- Tổng quan
- Nội dung
- Tiêu chuẩn liên quan
- Lược đồ
- Tải về
Tiêu chuẩn TCVN 6238-1:2017 Yêu cầu an toàn tính chất cơ lý đồ chơi trẻ em
| Số hiệu: | TCVN 6238-1:2017 | Loại văn bản: | Tiêu chuẩn Việt Nam |
| Cơ quan ban hành: | Bộ Khoa học và Công nghệ | Lĩnh vực: | Y tế-Sức khỏe , Công nghiệp |
|
Ngày ban hành:
Ngày ban hành là ngày, tháng, năm văn bản được thông qua hoặc ký ban hành.
|
2017 |
Hiệu lực:
|
Đã biết
|
| Người ký: | Đang cập nhật |
Tình trạng hiệu lực:
Cho biết trạng thái hiệu lực của văn bản đang tra cứu: Chưa áp dụng, Còn hiệu lực, Hết hiệu lực, Hết hiệu lực 1 phần; Đã sửa đổi, Đính chính hay Không còn phù hợp,...
|
Đã biết
|
TÓM TẮT TIÊU CHUẨN VIỆT NAM TCVN 6238-1:2017
Nội dung tóm tắt đang được cập nhật, Quý khách vui lòng quay lại sau!
Tải tiêu chuẩn Việt Nam TCVN 6238-1:2017
TIÊU CHUẨN QUỐC GIA
TCVN 6238-1:2017
ISO 8124-1:2014
AN TOÀN ĐỒ CHƠI TRẺ EM - PHẦN 1: CÁC YÊU CẦU AN TOÀN LIÊN QUAN ĐẾN TÍNH CHẤT CƠ LÝ
Safety of toys - Part 1: Safety aspects related to mechanical and physical properties
Mục lục
Lời nói đầu
Lời giới thiệu
1 Phạm vi áp dụng
2 Tài liệu viện dẫn
3 Thuật ngữ và định nghĩa
4 Yêu cầu
4.1 Sử dụng thông thường
4.2 Sử dụng sai có thể dự đoán trước do hành vi thông thường của trẻ
4.3 Vật liệu
4.4 Các chi tiết nhỏ
4.5 Hình dạng, kích thước và độ bền của một số đồ chơi
4.6 Cạnh
4.7 Đầu nhọn
4.8 Các chi tiết nhô ra
4.9 Dây và thanh kim loại
4.10 Màng nhựa hoặc túi nhựa dùng làm bao gói và có trong đồ chơi
4.11 Dây và dây co giãn
4.12 Cơ cấu gấp
4.13 Lỗ, khe hở và khả năng tiếp xúc được của các cơ cấu
4.14 Lò xo
4.15 Yêu cầu về độ ổn định và quá tải
4.16 Đồ chơi tạo thành một không gian khép kín
4.17 Thiết bị bảo vệ mô phỏng như mũ bảo hiểm, mũ và kính bảo vệ
4.18 Đồ chơi phóng
4.19 Phần quay (rotor) và cánh quạt
4.20 Đồ chơi dưới nước
4.21 Phanh
4.22 Xe đạp đồ chơi
4.23 Giới hạn tốc độ của đồ chơi do trẻ lái chạy bằng điện
4.24 Đồ chơi có chứa nguồn nhiệt
4.25 Đồ chơi chứa chất lỏng
4.26 Đồ chơi kích hoạt bằng miệng
4.27 Đồ chơi giày trượt, giày trượt có các bánh xe thẳng hàng và ván trượt
4.28 Ngòi nổ
4.29 Các yêu cầu về độ ồn
4.30 Xe scooter đồ chơi
4.31 Nam châm và chi tiết có từ tính
5 Phương pháp thử
5.1 Quy định chung
5.2 Thử các chi tiết nhỏ
5.3 Thử hình dạng và kích cỡ của một số loại đồ chơi
5.4 Thử các quả bóng nhỏ
5.5 Thử quả len
5.6 Thử đồ chơi hình người
5.7 Thử khả năng tiếp xúc được của một phần hoặc một chi tiết
5.8 Thử cạnh sắc
5.9 Thử đầu nhọn
5.10 Xác định độ dày của màng và tấm chất dẻo
5.11 Thử dây
5.12 Thử độ ổn định và sự quá tải
5.13 Thử cửa, nắp và nắp hòm đồ chơi
5.14 Thử va đập của đồ chơi che mặt
5.15 Thử động năng và thử va đập thành
5.16 Thử cơ cấu bánh quay tự do và thử tính năng phanh
5.17 Xác định vận tốc của đồ chơi do trẻ lái chạy bằng điện
5.18 Xác định sự tăng nhiệt độ
5.19 Sự rò rỉ của đồ chơi có chứa chất lỏng
5.20 Độ bền của các đồ chơi kích hoạt bằng miệng
5.21 Vật liệu giãn nở
5.22 Cơ cấu gấp hoặc trượt
5.23 Đồ chơi có thể giặt được
5.24 Phép thử việc sử dụng sai có thể dự đoán trước do hành vi thông thường của trẻ
5.25 Xác định mức áp suất âm
5.26 Độ bền tĩnh của xe scooter đồ chơi
5.27 Độ bền động của xe scooter đồ chơi
5.28 Thử tính năng phanh của xe scooter đồ chơi
5.29 Độ bền của trục tay lái xe scooter đồ chơi
5.30 Độ bền tách rời của tay cầm
5.31 Phép thử kéo nam châm
5.32 Chỉ số từ thông
5.33 Thử va đập của nam châm
5.34 Thử ngâm nam châm
5.35 Xác định khoảng phóng
5.36 Đánh giá đầu của vật phóng cứng
5.37 Chiều dài vật phóng đầu mút
Phụ lục A (tham khảo) Hướng dẫn phân loại tuổi sử dụng đồ chơi
Phụ lục B (tham khảo) Hướng dẫn về nhãn an toàn và ghi nhãn của nhà sản xuất
Phụ lục C (tham khảo) Hướng dẫn thiết kế đối với các đồ chơi gắn vào nôi hoặc cũi
Phụ lục D (tham khảo) Ghi nhãn súng đồ chơi
Phụ lục E (tham khảo) Cơ sở và lý do cơ bản để đưa ra các quy định trong tiêu chuẩn
Phụ lục F (tham khảo) Hướng dẫn thiết kế phần nhô ra của đồ chơi trong bồn tắm
Thư mục tài liệu tham khảo
Lời nói đầu
TCVN 6238-1:2017 thay thế TCVN 6238-1:2011.
TCVN 6238-1:2017 hoàn toàn tương đương với ISO 8124-1:2014.
TCVN 6238-1:2017 do Ban kỹ thuật Tiêu chuẩn quốc gia TCVN/TC 181: An toàn đồ chơi trẻ em biên soạn, Tổng cục Tiêu chuẩn Đo lường Chất lượng đề nghị Bộ Khoa học và Công nghệ công bố.
Bộ TCVN 6238, An toàn đồ chơi trẻ em, gồm các phần sau:
- TCVN 6238-1:2017 (ISO 8124-1:2014), Phần 1: Các yêu cầu an toàn liên quan đến tính chất cơ lý.
- TCVN 6238-2:2017 (ISO 8124-2:2014), Phần 2 : Tính cháy.
- TCVN 6238-3:2011 (ISO 8124-3:2010), Phần 3: Giới hạn mức thôi nhiễm của một số nguyên tố độc hại.
- TCVN 6238-4A:2017 (ISO 8124-4:2014), Phần 4A: Đu, cầu trượt và các đồ chơi vận động tương tự sử dụng tại gia đình.
- TCVN 6238-4:1997 (EN 71-4:1990), Phần 4: Bộ đồ chơi thực nghiệm về hoá học và các hoạt động liên quan.
- TCVN 6238-5A:2017 (ISO 8124-5:2015), Phần 5A: Xác định tổng hàm lượng một số nguyên tố trong đồ chơi.
- TCVN 6238-5:1997 (EN 71-5:1993), Phần 5: Bộ đồ chơi hóa học ngoài bộ đồ chơi thực nghiệm.
- TCVN 6238-6:2015 (ISO 8124-6:2014), Phần 6: Một số este phtalat trong đồ chơi và sản phẩm dành cho trẻ em.
- TCVN 6238-7:2017 (ISO 8124-7:2015), Phần 7: Yêu cầu và phương pháp thử cho sơn dùng bằng tay.
- TCVN 6238-8:2015 (ISO/TR 8124-8:2014), Phần 8: Hướng dẫn xác định tuổi sử dụng.
- TCVN 6238-9:2010 (EN 71-9:2005), Phần 9: Hợp chất hoá học hữu cơ - Yêu cầu chung.
- TCVN 6238-10:2010 (EN 71-10:2005), Phần 10: Hợp chất hoá học hữu cơ - Chuẩn bị và chiết mẫu;
- TCVN 6238-11:2010 (EN 71-11:2005), Phần 11: Hợp chất hoá học hữu cơ - Phương pháp phân tích.
Lời giới thiệu
Tiêu chuẩn ISO 8124-1:2014 được xây dựng chủ yếu dựa vào EN 71-1 và ASTM F963. ISO 8124-1:2014 được chấp nhận hoàn toàn thành TCVN 6238-1:2017.
Tuy nhiên, một đồ chơi được sản xuất phù hợp với tiêu chuẩn này không có nghĩa là sẽ hoàn toàn phù hợp với các yêu cầu quốc gia về an toàn đồ chơi tại thị trường mà sản phẩm đó được phân phối. Vì vậy người sử dụng tiêu chuẩn này cần phải tham khảo thêm các yêu cầu quốc gia có liên quan.
Việc phù hợp với các yêu cầu của tiêu chuẩn này sẽ làm giảm thiểu các nguy cơ tiềm ẩn liên quan đến đồ chơi khi đồ chơi được sử dụng đúng với cách thức đã định (sử dụng bình thường) cũng như khi đồ chơi được sử dụng không đúng cách thức đã định (sử dụng sai có thể dự đoán trước do các hành vi thông thường của trẻ).
Tiêu chuẩn này không loại trừ trách nhiệm của cha mẹ trong việc lựa chọn đồ chơi một cách phù hợp. Ngoài ra, tiêu chuẩn này không loại trừ việc cần thiết phải có sự giám sát của cha mẹ trong các trường hợp mà trẻ em ở các lứa tuổi khác nhau có thể tiếp xúc với cùng một (các) đồ chơi.
Các phụ lục A, B, C, D và E chỉ có mục đích để tham khảo nhưng rất quan trọng vì phụ lục này cung cấp các giải thích chính xác cho nội dung của tiêu chuẩn.
An toàn của đồ chơi điện được nêu trong TCVN 11332 (IEC 62115).
Khi có yêu cầu chỉ ra tuổi sử dụng trên nhãn an toàn thì có thể thể hiện theo năm hoặc theo tháng tuổi.
AN TOÀN ĐỒ CHƠI TRẺ EM -PHẦN 1: CÁC YÊU CẦU AN TOÀN LIÊN QUAN ĐẾN TÍNH CHẤT CƠ LÝ
Safety of toys -Part 1: Safety aspects related to mechanical and physical properties
1 Phạm vi áp dụng
Tiêu chuẩn này áp dụng cho tất cả các loại đồ chơi, là sản phẩm hoặc vật liệu bất kỳ được thiết kế hoặc được nêu rõ để sử dụng cho trẻ nhỏ hơn 14 tuổi sử dụng khi chơi. Trừ khi có các quy định đặc biệt khác, các yêu cầu này áp dụng cho cả đồ chơi mới và đồ chơi đã trải qua các điều kiện sử dụng thông thường cũng như sử dụng sai có thể dự đoán trước do các hành vi thông thường của trẻ.
Các yêu cầu của tiêu chuẩn này quy định các chuẩn mực có thể chấp nhận được đối với các đặc tính về cấu trúc của đồ chơi như hình dáng, kích cỡ, đường nét, khoảng trống (ví dụ lúc lắc, các chi tiết nhỏ, đầu nhọn và cạnh sắc, khe hở của đường bản lề) cũng như các chuẩn mực có thể chấp nhận được đối với các tính chất riêng biệt của một số nhóm đồ chơi (ví dụ giá trị động năng tối đa cho các vật phóng có đầu bịt không đàn hồi, góc lật tối thiểu của một số đồ chơi do trẻ lái).
Tiêu chuẩn này quy định các yêu cầu và phương pháp thử đối với đồ chơi dành cho trẻ em ở các nhóm lứa tuổi khác nhau từ mới sinh cho đến 14 tuổi. Các yêu cầu này khác nhau tùy thuộc vào nhóm tuổi sử dụng đồ chơi. Các yêu cầu đối với một nhóm tuổi riêng biệt phản ánh bản chất của các nguy cơ và khả năng thể chất và/hoặc tinh thần có thể có của trẻ để đối phó với các nguy cơ đó.
Tiêu chuẩn này cũng quy định rằng trên một số loại đồ chơi hoặc bao gói của chúng phải có lời cảnh báo và/hoặc hướng dẫn sử dụng phù hợp. Do các vấn đề về ngôn ngữ giữa các quốc gia khác nhau nên tiêu chuẩn không quy định cách diễn đạt các lời cảnh báo và hướng dẫn, mà chỉ cung cấp dưới dạng thông tin chung trong Phụ lục B. Cũng cần lưu ý rằng tại nhiều quốc gia có các yêu cầu pháp lý khác nhau liên quan đến việc ghi nhãn này.
Tiêu chuẩn này không nhằm mục đích bao gồm mọi nguy cơ tiềm ẩn có thể nhận thức được của một đồ chơi hoặc một loại đồ chơi cụ thể. Ngoại trừ yêu cầu về dán nhãn chỉ ra các nguy cơ thuộc về chức năng và lứa tuổi thích hợp sử dụng đồ chơi, tiêu chuẩn này không đưa ra các yêu cầu đối với các đặc tính vốn có và các nguy cơ gắn liền với chức năng của đồ chơi.
VÍ DỤ 1 Một ví dụ về nguy cơ như vậy là một đầu nhọn cần phải có cho chức năng của cây kim. Người mua bộ đồ chơi khâu vá hiểu rõ về nguy cơ gây ra bởi cây kim và nguy cơ gây ra bởi đầu nhọn chức năng này tương tác với người sử dụng như là một phần của quá trình học hỏi thông thường cũng như khi mua hàng thông qua nhãn cảnh báo trên bao bì của sản phẩm.
VÍ DỤ 2 Một ví dụ nữa là xe scooter đồ chơi hai bánh có các nguy cơ hiển nhiên và nhận thấy được liên quan đến việc sử dụng xe (ví dụ tính không ổn định trong khi sử dụng, đặc biệt là khi tập chơi). Các nguy cơ tiềm ẩn liên quan đến các đặc tính về cấu trúc của xe (cạnh sắc, nguy cơ kẹp, v.v...) sẽ được giảm thiểu khi xe phù hợp với các yêu cầu của tiêu chuẩn này.
Các sản phẩm sau đây không thuộc phạm vi áp dụng của tiêu chuẩn:
a) xe đạp, ngoại trừ các xe được coi là đồ chơi, nghĩa là xe có chiều cao yên tối đa bằng 435 mm (Xem Điều E.1, quy định chung);
b) ná bắn đá;
CHÚ THÍCH "Ná bắn đá" cũng được coi là "súng cao su" và thường được giữ bằng tay; ví dụ được nêu trong Hình 1. Các phiên bản đồ chơi của súng cao su và máy bắn đá kiểu thời trung cổ không được loại trừ khỏi phạm vi của tiêu chuẩn này; ví dụ được cho trong Hình 2.

Hình 1 - Ví dụ về ná bắn đá (không thuộc phạm vi của tiêu chuẩn này)

Hình 2 - Đồ chơi súng cao su kiểu thời trung cổ (thuộc phạm vi của tiêu chuẩn này)
c) phi tiêu có đầu nhọn bằng kim loại;
d) thiết bị trong các sân chơi gia đình và công cộng;
e) súng và súng ngắn hoạt động bằng hơi và khí nén (Xem Điều E.1);
f) diều (ngoại trừ độ cách điện của dây diều có được quy định trong tiêu chuẩn);
g) bộ mô hình lắp ráp, đồ thủ công mỹ nghệ, đồ sở thích mà trong đó sản phẩm cuối cùng không dùng chủ yếu để chơi;
h) thiết bị và dụng cụ thể thao, đồ dùng cắm trại, thiết bị luyện tập thể thao, nhạc cụ và đồ gia dụng; tuy nhiên, các đồ chơi mô phỏng của các thiết bị này vẫn thuộc phạm vi của tiêu chuẩn;
Thông thường sẽ có sự khác biệt rất nhỏ, ví dụ giữa một nhạc cụ hoặc một dụng cụ thể thao với các đồ chơi mô phỏng của chúng. Mục đích của nhà sản xuất hoặc nhà phân phối, cũng như việc sử dụng thông thường và sử dụng sai có thể dự đoán trước do hành vi thông thường của trẻ nhỏ, sẽ quyết định sản phẩm có phải là một đồ chơi mô phỏng hay không;
i) mô hình máy bay, tên lửa, tàu thuyền và các loại xe chạy trên mặt đất vận hành bằng động cơ đốt trong; tuy nhiên, các đồ chơi mô phỏng của chúng vẫn thuộc phạm vi của tiêu chuẩn (Xem Điều E.1);
j) sản phẩm sưu tầm không dùng cho trẻ dưới 14 tuổi;
k) sản phẩm dùng chủ yếu để trang trí trong các ngày lễ;
l) thiết bị sử dụng ở chỗ nước sâu, dụng cụ tập bơi và thiết bị hỗ trợ nổi trên mặt nước dành cho trẻ em như là phao bơi dạng ghế ngồi và các phao dạng khác;
m) đồ chơi lắp đặt ở nơi công cộng (ví dụ các khu giải trí, trung tâm thương mại);
n) bộ đồ chơi ghép hình (puzzles) có nhiều hơn 500 mảnh hoặc không có tranh, dùng cho người chuyên nghiệp;
o) pháo hoa, bao gồm cả ngòi nổ, ngoại trừ các ngòi nổ được thiết kế riêng cho đồ chơi;
p) sản phẩm có các bộ phận gia nhiệt được sử dụng dưới sự giám sát của người lớn dùng trong hoạt động giảng dạy;
q) động cơ hơi nước;
r) đồ chơi nghe nhìn (video) có thể nối với màn hình và hoạt động ở điện áp danh định lớn hơn 24 V;
s) núm vú giả dành cho trẻ em (đầu vú giả);
t) các loại vũ khí mô phỏng trung thực;
u) lò điện, bàn là điện hoặc các sản phẩm khác có chức năng điện vận hành ở điện áp danh định lớn hơn 24 V;
v) cung tên có chiều dài tổng thể ở trạng thái tĩnh lớn hơn 120 cm;
w) đồ trang sức thời trang dành cho trẻ em (Xem Điều E.1 ).
2 Tài liệu viện dẫn
Các tài liệu viện dẫn sau rất cần thiết cho việc áp dụng tiêu chuẩn. Đối với các tài liệu viện dẫn ghi năm công bố thì áp dụng bản được nêu. Đối với các tài liệu viện dẫn không ghi năm công bố thì áp dụng phiên bản mới nhất, bao gồm cả các sửa đổi.
TCVN 257-1:2007 (ISO 6508-1:2005), Vật liệu kim loại - Thử độ cứng Rockwell - Phần 1: Phương pháp thử (thang A, B, C, D, E, F, G, H, K, N, T).
TCVN 4502:2008 (ISO 868:2003), Chất dẻo và ebonit - Xác định độ cứng ấn lõm bằng thiết bị đo độ cứng (độ cứng Shore).
ISO 3746:1995, Acoustics - Determination of sound power levels of noise sources using sound pressure - Survey method using an enveloping measurement surface over a reflecting plane [Âm học - Xác định mức độ âm thanh của các nguồn ồn bằng cách sử dụng áp suất âm - Phương pháp điều tra sử dụng bề mặt đo qua mặt phẳng phản chiếu].
ISO 4287:1997, Geometrical Product Specifications (GPS) - Surface texture: Profile method - Terms, definitions and surface texture parameters (Yêu cầu cho các sản phẩm hình học (GPS) - Kết cấu bề mặt: Phương pháp mặt cắt - Thuật ngữ, định nghĩa và các thông số kết cấu bề mặt).
ISO 11201, Acoustics - Noise emitted by machinery and equipment - Measurement of emission sound pressure levels at a work station and at other specified positions - Engineering method in an essentially free field over a reflecting plane [Âm học - Tiếng ồn phát ra từ máy và thiết bị - Đo các mức áp suất âm phát ra ở một trạm làm việc và tại các vị trí quy định khác - Phương pháp kỹ thuật trong một trường âm tự do qua một mặt phẳng phản chiếu].
ISO 11202, Acoustics - Noise emitted by machinery and equipment- Measurement of emission sound pressure levels at a work station and at other specified positions - Survey method in situ [Âm học - Tiếng ồn phát ra từ máy và thiết bị - Đo các mức áp suất âm phát ra ở một trạm làm việc và tại các vị trí quy định khác - Phương pháp điều tra tại chỗ].
ISO 11204, Acoustics - Noise emitted by machinery and equipment - Measurement of emission sound pressure levels at a work station and at other specified positions - Method requiring environmental corrections [Âm học - Tiếng ồn phát ra từ máy và thiết bị - Đo các mức áp suất âm phát ra ở một trạm làm việc và tại các vị trí quy định khác - Phương pháp đòi hỏi sự hiệu chỉnh môi trường].
IEC 61672-1:2002, Electroacoustics - Sound level meters - Part 1: Specifications (Điện âm học - Máy đo mức âm - Phần 1: Yêu cầu kỹ thuật).
IEC 61672-2:2003, Electroacoustics - Sound level meters - Part 2: Pattern evaluation tests (Điện âm học - Máy đo mức âm - Phần 2: Phép thử đánh giá mẫu).
3 Thuật ngữ và định nghĩa
Trong tiêu chuẩn này áp dụng các thuật ngữ và định nghĩa sau.
CHÚ THÍCH Các yêu cầu của tiêu chuẩn này được áp dụng cho các nhóm tuổi nhất định. Xem diễn giải về các nhóm tuổi này tại E.43 (thuật ngữ về nhóm tuổi sử dụng đồ chơi).
3.1
Tiếp xúc được (accessible)
(Phần hoặc chi tiết) diện tích bất kỳ của đồ chơi có thể tiếp xúc được bởi phần phía trước vòng đai của dụng cụ xác định khả năng tiếp xúc như mô tả tại 5.7 (khả năng tiếp xúc của một phần hoặc chi tiết).
3.2
Đồ chơi dưới nước (aquatic toy)
Đồ chơi, có thể hoặc không thể làm phồng, có mục đích chịu cân nặng của trẻ và được sử dụng như là một dụng cụ để chơi ở chỗ nước nông.
CHÚ THÍCH Các đồ chơi trong bồn tắm và bóng để chơi trên bãi biển không được coi là đồ chơi dưới nước.
3.3
Mũi tên (arrow)
Vật phóng dạng thanh có chiều dài lớn hơn hoặc bằng 150 mm được người sử dụng bắn ra từ một cây cung.
3.4
Lớp lót (backing)
Vật liệu dính vào màng nhựa mềm dẻo.
3.5
Bóng (ball)
Vật thể hình cầu, hình trứng hoặc hình elip thường được thiết kế hoặc được dùng để ném, đánh, đá, lăn, thả hoặc cho nảy lên.
CHÚ THÍCH 1 Định nghĩa này bao gồm các quả bóng được nối với đồ chơi hay một sản phẩm bằng dây, dây đàn hồi hoặc dây tương tự và cả các vật thể có nhiều mặt được tạo thành bằng cách kết nối nhiều mặt phẳng với nhau và các vật thể khác dạng hình cầu, hình trứng hoặc hình elip được thiết kế hoặc được trẻ sử dụng như một quả bóng.
CHÚ THÍCH 2 Định nghĩa này không bao gồm các súc sắc hoặc các quả bóng ở bên trong máy bắn bóng, trò chơi mê cung hoặc các vật chứa tương tự. Một quả bóng được cho là ở bên trong một vật chứa nếu khi thử theo 5.24 (phép thử việc sử dụng sai có thể dự đoán trước do hành vi thông thường của trẻ) thì không thể lấy chúng ra khỏi vật chứa bên ngoài.
3.6
Đồ chơi hoạt động bằng pin (battery-operated toy)
Đồ chơi có ít nhất một chức năng phụ thuộc vào điện và được vận hành bằng pin.
3.7
Bavia (burr)
Phần nhám do xử lý không tốt khi cắt, tách hoặc hoàn tất vật liệu.
3.8
Đồ chơi để gần tai (close-to-the-ear toy)
Đồ chơi được thiết kế để sử dụng gần tai, nghĩa là phân phát ra âm thanh của đồ chơi thường được áp vào tai của trẻ.
VÍ DỤ Đồ chơi điện thoại di động và đồ chơi điện thoại mà phát ra âm thanh từ phần tay cầm.
3.9
Sập đổ (collapse)
Sự đổ sập bất ngờ hoặc không lường trước của một cơ cấu.
3.10
Âm thanh liên tục (continuous sound)
Âm thanh bất kỳ ở trạng thái ổn định hoặc nhóm các âm thanh biến thiên kéo dài trong khoảng thời gian quá một giây.
3.11
Dây (cord)
Đoạn vật liệu mảnh, dễ uốn.
VÍ DỤ Các monofilamăng, dây dệt và dây xe. dây thừng, dải dệt bằng chất dẻo, ruy băng và dây bện từ vật liệu dệt.
CHÚ THÍCH 1 Tóc búp bê không được coi là dây.
3.12
Kẹp (crushing)
Gây thương tích cho phần cơ thể do bị kẹp giữa hai bề mặt cứng.
3.13
Mức áp suất âm đỉnh trọng số C (C-weighted peak sound pressure level)
LpCđỉnh
Mức áp suất âm đỉnh thu được khi sử dụng trọng số C tiêu chuẩn.
3.14
Phi tiêu (dart)
Vật phóng dạng thanh có chiều dài nhỏ hơn 150 mm, được dùng để ném hoặc thổi.
3.15
Cơ cấu phóng (discharge mechanism)
Chi tiết của đồ chơi, tách biệt với vật phóng, dùng để phóng hoặc đẩy một vật phóng bay tự do.
3.16
Cơ cấu dẫn động (driving mechanism)
Tổ hợp các bộ phận hoặc chi tiết được kết nối (ví dụ các bánh răng, đai truyền, cơ cấu lên dây cót), ít nhất một trong các chi tiết này chuyển động và được truyền động bởi một nguồn độc lập với trẻ (ví dụ bằng điện hoặc cơ học).
3.17
Cạnh (edge)
Đường có chiều dài lớn hơn 2,0 mm, được tạo thành tại nơi tiếp giáp của hai bề mặt.
3.17.1
Cạnh uốn tròn (curled edge)
Cạnh mà tại đó phần tấm liền kề với nó được uốn vào theo một hình cung và tạo thành một góc nhỏ hơn 90° so với tấm nền.
CHÚ THÍCH Xem Hình 3.
3.17.2
Cạnh gấp (hemmed edge)
Cạnh mà tại đó phần tấm liền kề với nó được bẻ gập lên tấm đó một góc khoảng 180°, sao cho phần tấm liền kề với cạnh gần như song song với tấm nền chính.
CHÚ THÍCH Xem Hình 3.
3.17.3
Cạnh cuộn tròn (rolled edge)
Cạnh mà tại đó phần tấm liền kề với nó được uốn vào theo hình cung và tạo thành một góc từ 90° đến 120° so với tấm nền chính.
CHÚ THÍCH Xem Hình 3.
Kích thước tính bằng milimét
|
|
|
| a) Cạnh cuộn tròn | b) Cạnh gấp (uốn gấp) |
|
|
|
| c) Cạnh uốn tròn | d) Mối nối chồng đặc trưng |
a Không giới hạn
Hình 3 - Cạnh
3.18
Mức áp suất âm tương đương (equivalent sound pressure level)
LpAtđ
Mức âm thanh ở trạng thái ổn định, mà trong một khoảng thời gian xác định và ở một vị trí xác định có cùng năng lượng âm thanh trọng số A như năng lượng của âm thanh thay đổi theo thời gian.
3.19
Vật liệu giãn nở (expanding material)
Vật liệu mà khi cho vào nước thì thể tích của nó giãn nở ra.
3.20
Hoạt động nổ (explosive action)
Sự giải phóng năng lượng đột ngột đặc trưng bởi sự giãn nở nhanh hoặc nổ tung của một vật liệu.
3.21
Chi tiết lắp xiết (fastener)
Dụng cụ cơ khí gắn hai hoặc nhiều phần của đồ chơi lại với nhau.
VÍ DỤ Đinh vít, đinh tán, ghim dập.
3.22
Mài vát (feathering)
Sự tạo mặt xiên của một cạnh (hoặc giảm chiều dày hướng về phía cạnh) trong quá trình xén hoặc cắt vật liệu.
3.23
Rìa (flash)
Vật liệu thừa ra bên ngoài giữa các phần ăn khớp của một tổ hợp khuôn.
3.24
Cơ cấu gấp (folding mechanism)
Cơ cấu có bản lề, khớp xoay, gấp hoặc trượt có thể gây kẹp, đè, cắt hoặc đứt gãy trong quá trình vận hành.
VÍ DỤ Cầu là đồ chơi hoặc ghế đẩy đồ chơi.
3.25
Bay tự do (free flight)
Chuyển động tự do trong không khí.
CHÚ THÍCH 1 Định nghĩa này bao gồm các vật phóng bị giữ lại hoàn toàn bởi một dây buộc không cứng (ví dụ khẩu súng đồ chơi).
3.26
Nam châm chức năng trong chi tiết điện hoặc điện tử của đồ chơi (functional magnet in electrical or electronic components of toys)
Nam châm bất kỳ cần thiết cho sự vận hành của động cơ, rơ le, loa hoặc các chi tiết bằng điện hoặc điện tử khác có trong đồ chơi mà trong đó tính chất từ tính không phải là một cách chơi của đồ chơi.
3.27
Đồ chơi chức năng (functional toy)
Đồ chơi, thường là một mô hình thu nhỏ, hoạt động và được sử dụng giống một sản phẩm, dụng cụ hoặc hệ thống máy móc dành cho người lớn.
VÍ DỤ Bếp có các chức năng gia nhiệt.
3.28
Lông tơ (fuzz)
Đoạn vật liệu dạng xơ có thể dễ dàng lấy ra khỏi đồ chơi có bề mặt lông mịn.
3.29
Thủy tinh (glass)
Chất vô định hình, cứng, dễ vỡ, được chế tạo bằng cách nung chảy, thường bao gồm silic oxit và silicat hoà tan lẫn nhau và cũng có thể có cả xút và vôi.
3.30
Đồ chơi cầm tay (hand-held toy)
Đồ chơi được thiết kế để sử dụng hoặc hoạt động khi được cầm bằng tay.
VÍ DỤ Dụng cụ đồ chơi, trò chơi điện tử nhỏ, đồ chơi nhồi, búp bê, đồ chơi âm nhạc và đồ chơi phát nổ-phát sáng.
3.31
Tổn hại (harm)
Tổn thương cơ thể hoặc thiệt hại đến sức khỏe của con người hoặc thiệt hại về tài sản hay môi trường.
3.32
Nguy cơ (hazard)
Nguồn gây tổn hại tiềm ẩn.
CHÚ THÍCH 1 Thuật ngữ nguy cơ có thể được làm rõ để xác định nguồn gốc của nó hoặc bản chất của tổn hại có thể xảy ra (nghĩa là nguy cơ bị điện giật, bị kẹp, bị cắt, bị nhiễm độc, nguy cơ cháy hoặc đuối nước).
3.33
Chi tiết nhô ra nguy hiểm (hazardous projection)
Chi tiết nhô ra mà do vật liệu hoặc hình dáng của nó hoặc do cả hai, có nguy cơ đâm vào trẻ khi trẻ giẫm lên hoặc bị ngã vào.
CHÚ THÍCH 1 Các nguy cơ đâm vào mắt và/hoặc miệng không được đề cập đến trong định nghĩa này vì việc thiết kế sản phẩm không thể loại trừ các nguy cơ đâm vào các vùng này của cơ thể.
CHÚ THÍCH 2 Nếu chi tiết nhô ra ở trên một đồ chơi nhỏ mà đồ chơi này bị lật đổ khi tác dụng một lực vào đầu của chi tiết nhô ra thì chi tiết đó không được coi là có nguy cơ gây nguy hiểm.
3.34
Cạnh sắc nguy hiểm (hazardous Sharp edge)
Cạnh có thể tiếp xúc được của đồ chơi có khả năng gây thương tích không lường trước được khi sử dụng thông thường hoặc sử dụng sai có thể dự đoán trước do hành vi thông thường của trẻ.
3.35
Đầu nhọn nguy hiểm (hazardous sharp point)
Đầu nhọn có thể tiếp xúc được của đồ chơi có khả năng gây thương tích không lường trước được khi sử dụng thông thường hoặc sử dụng sai có thể dự đoán trước do hành vi thông thường của trẻ.
3.36
Khe hở đường bản lề (hinge-line clearance)
Khoảng cách giữa phần chuyển động và không chuyển động của đồ chơi, dọc theo hoặc liền kề với đường xuyên qua trục quay.
CHÚ THÍCH Xem Hình 4.

CHÚ DẪN
| 1 | Đường bản lề |
| 2 | Nắp |
| 3 | Hộp |
| A | Khe hở đường bản lề ở giữa các cạnh lắp ghép |
Hình 4 - Khe hở đường bản lề
3.37
Âm thanh xung (impulsive sound)
Âm thanh bất Kỳ đặc trưng bởi sự lệch của áp suất âm thanh vượt xa tiếng ồn xung quanh, thường trong khoảng thời gian ít hơn một giây.
3.38
Điểm nối chồng (lap joint)
Điểm nối mà ở đó một cạnh chồng lên một bề mặt song song nhưng không nhất thiết phải gắn cơ học vào bề mặt này ở tất cả mọi điểm dọc theo chiều dài.
CHÚ THÍCH 1 Xem Hình 6.
3.39
Đồ chơi lớn và cồng kềnh (large and bulky toy)
Đồ chơi có diện tích đáy lớn hơn 0,26 m2 hoặc có thể tích lớn hơn 0,08 m3 không tính đến các phần phụ không quan trọng.
CHÚ THÍCH 1 Diện tích đáy của đồ chơi có chân gắn cố định là diện tích được tạo bởi các đường thẳng nối các cạnh ngoài cùng của từng chân của vòng đai này.
3.40
Mép/cạnh dẫn (leading edge)
Phần của vật phóng (ví dụ đầu, cạnh hoặc phần nhô ra) mà có thể tiếp xúc với nhãn cầu mắt trong trường hợp vật phóng được phóng về phía mắt.
CHÚ THÍCH 1 Mép/cạnh dẫn này bao gồm tất cả các phần trên vật phóng mà bay theo các hướng không dự đoán trước (ví dụ bay kiểu lộn nhào) và có thể đập vào nhãn cầu mắt.
3.41
Viên bi (marble)
Khối cầu được làm bằng vật liệu cứng như thủy tinh, đá mã não, cẩm thạch hoặc chất dẻo, được sử dụng trong nhiều trò chơi khác nhau của trẻ em, thông thường như vật để chơi hay đánh dấu.
3.42
Chi tiết có từ tính (magnetic component)
Phần bất kỳ của đồ chơi có chứa nam châm được gắn chặn, được che kín hoàn toàn hoặc che một phần.
3.43
Bộ thực nghiệm có từ tính/điện (magnetic/electrical experimental set)
Đồ chơi có chứa một hoặc nhiều nam châm dùng để thực hiện các thực nghiệm giáo dục có cả tính chất từ và điện.
3.44
Mức áp suất âm trọng số A tối đa (maximum A-weighted sound pressure level)
LpAmax
Mức áp suất âm tối đa thu được khi sử dụng trọng số A tiêu chuẩn.
3.45
Kim loại (metal)
Vật liệu bao gồm kim loại cơ bản và/hoặc hợp kim của kim loại.
3.46
Sử dụng thông thường (normal use)
Cách chơi tuân thủ đúng hướng dẫn kèm theo đồ chơi, được thiết lập theo truyền thống hoặc thói quen hoặc rõ ràng từ việc khám phá đồ chơi.
3.47
Bao gói (packaging)
Vật liệu kèm theo đồ chơi khi mua nhưng không có chức năng để chơi.
3.48
Giấy (paper)
Vật liệu được bán như giấy hoặc cáctông, có khối lượng tối đa trên một đơn vị diện tích là 400g/m2.
3.49
Đồ dùng để chơi (play furniture)
Đồ dùng được thiết kế cho trẻ sử dụng và dự kiến hoặc có thể dùng để chịu/đỡ cân nặng của trẻ.
3.50
Quả len (pompom)
Các đoạn xơ, sợi hoặc chỉ được kẹp hoặc bó và buộc ở giữa và được chải ra để tạo thành một khối hình cầu, hình trứng hoặc elip.
CHÚ THÍCH 1 Định nghĩa này bao gồm cả các chi tiết gắn với đồ chơi có hình cầu, hình trứng và hình elip được làm từ các vật liệu nhồi (xem Hình 5).
CHÚ THÍCH 2 Quả tua có các dải sợi dài không được coi là quả len (xem Hình 6).

Hình 5 - Quả len thông thường và quả len tròn

Hình 6 - Quả tua có các dải sợi dài
3.51
Vật phóng (projectile)
Vật thể không có khả năng tự phóng mà được sử dụng để phóng ra cho bay tự do.
CHÚ THÍCH Định nghĩa này không đề cập đến đồ chơi bay tự phóng như máy bay trực thăng dùng điều khiển và máy bay lên dây cót, trừ khi khả năng tự phóng được tạo ra bởi khí nén và/hoặc chất lỏng nén có chứa sẵn trong vật phóng (ví dụ tên lửa).
3.52
Đồ chơi phóng có năng lượng dự trữ (projectile toy with stored energy)
Đồ chơi có vật phóng được phóng ra bằng cơ cấu phóng có khả năng dự trữ năng lượng độc lập với người sử dụng và kết hợp với một cơ cấu giải phóng.
CHÚ THÍCH 1 Cơ cấu giải phóng phải vận hành sau ít nhất một tác động riêng biệt bởi người sử dụng.
CHÚ THÍCH 2 Tên lửa đồ chơi và đồ chơi tương tự được phóng bởi phản ứng hóa học hoặc khí nén (ví dụ không khí) trong đó năng lượng có thể được dự trữ độc lập với người sử dụng được coi là đồ chơi phóng có năng lượng dự trữ. Ví dụ, trong một tên lửa phóng bởi hỗn hợp dấm và soda, người sử dụng bắt đầu phản ứng bằng cách trộn hai hợp chất với nhau nhưng không kiểm soát việc phóng thực tế. Tên lửa sẽ bay khi áp suất đạt được vượt quá lực giữ tên lửa trên bệ phóng.
3.53
Đồ chơi phóng không có năng lượng dự trữ (projectile toy without stored energy)
Đồ chơi có vật phóng được phóng đi bằng năng lượng do trẻ truyền vào vật phóng.
3.54
Nắp bảo vệ, chụp bảo vệ hoặc đầu bịt bảo vệ (protective cap, protective cover or protective tip)
Chi tiết gắn vào một cạnh hoặc chi tiết nhô ra nguy hiểm tiềm ẩn để giảm rủi ro gây thương tích.
3.55
Đồ chơi kéo (pull toy)
Đồ chơi được thiết kế để kéo trên sàn hoặc nền.
CHÚ THÍCH Đồ chơi được thiết kế cho trẻ từ 36 tháng tuổi trở lên không được coi là đồ chơi kéo.
3.56
Lúc lắc (rattle)
Đồ chơi được thiết kế chủ yếu để phát ra âm thanh khi lắc, thông thường dành cho trẻ chưa biết ngồi.
3.57
Sử dụng sai có thể dự đoán trước do hành vi thông thường của trẻ (reasonable foreseeable abuse)
Sử dụng đồ chơi trong điều kiện hoặc với mục đích khác với mục đích dự kiến của nhà cung cấp, nhưng có thể xảy ra do đồ chơi kết hợp với hoặc là kết quả do hành vi thông thường của trẻ.
VÍ DỤ Tháo rời một cách có chủ ý, làm rơi hoặc sử dụng một đồ chơi khác với mục đích dự kiến.
CHÚ THÍCH 1 Phép thử mô phỏng việc sử dụng sai có thể dự đoán trước do hành vi thông thường của trẻ được nêu tại 5.24 (phép thử sử dụng sai có thể dự đoán trước do hành vi thông thường).
3.58
Hộp đối chứng (reference box)
Bề mặt giả định là một hình hộp chữ nhật nhỏ nhất mà có thể quây kín đồ chơi không tính đến các phụ kiện.
3.59
Chi tiết có thể tháo rời (removable component)
Phần hoặc chi tiết được dự kiến để tháo rời khỏi đồ chơi mà không cần sử dụng dụng cụ.
3.60
Vật liệu đàn hồi (resilient material)
Vật liệu bất kỳ có độ cứng nhỏ hơn 70 Shore A khi đo theo TCVN 4502 (ISO 868).
3.61
Độ cứng (rigidity)
Độ cứng của vật liệu lớn hơn 70 Shore A khi đo theo TCVN 4502 (ISO 868).
3.62
Rủi ro (risk)
Sự kết hợp của khả năng xảy ra tổn hại và mức độ nghiêm trọng của tổn hại đó.
3.63
Thiết bị bảo vệ mô phỏng (simulated protective equipment)
Đồ chơi được thiết kế thành các sản phẩm mô phỏng một số kiểu bảo vệ thân thể cho người sử dụng.
VÍ DỤ Mũ và kính bảo vệ.
3.64
Đồ chơi nhồi mềm (soft filled toy)
Đồ chơi nhồi (stuffed toy)
Đồ chơi có bề mặt thân mềm, có hoặc không mặc quần áo, được nhồi bằng các vật liệu mềm hoặc hỗn hợp giữa vật liệu mềm và không mềm (ví dụ các hạt nhỏ), và có thể dùng tay để nén phần chính của đồ chơi một cách dễ dàng.
CHÚ THÍCH 1 Đồ chơi nhồi mềm có thể chỉ được nhồi bằng hỗn hợp vật liệu mềm và không mềm nếu phần chính của đồ chơi vẫn có thể nén được dễ dàng bằng tay.
3.65
Mảnh vỡ (splinter)
Mảnh nhọn, sắc.
3.66
Lò xo (spring)
3.66.1
Lò xo xoắn (helical spring)
Lò xo có dạng một cuộn dây.
CHÚ THÍCH 1 Xem Hình 7.
3.66.1.1
Lò xo nén (compression spring)
Lò xo xoắn trở về trạng thái ban đầu của nó sau khi ngừng nén.
3.66.1.2
Lò xo đàn hồi (extension spring)
Lò xo xoắn trở về trạng thái ban đầu của nó sau khi ngừng kéo.
3.66.2
Lò xo cuộn (spiral spring)
Lò xo có dạng dây cót đồng hồ.
CHÚ THÍCH 1 Xem Hình 8.
|
|
|
| Hình 7 - Lò xo xoắn | Hình 8 - Lò xo cuộn |
3.67
Đồ chơi bóp (squeeze toy)
Đồ chơi mềm cầm tay, thường kết hợp với chức năng phát ra âm thanh, chức năng này được kích hoạt bằng cách đẩy không khí qua một lỗ nhỏ khi bóp hoặc uốn gấp đồ chơi và đồ chơi luôn luôn phục hồi hình dạng ban đầu khi ngừng tác động.
3.68
Đồ chơi để trên bàn, trên sàn và đồ chơi gắn vào nôi (table-top, floor and crib toy)
Đồ chơi dùng để chơi khi được gắn hoặc đặt trên mặt bàn, mặt sàn hoặc nôi.
3.69
Đồ ngậm, nhai (teether)
Đồ chơi được thiết kế để trẻ đưa vào miệng, chủ yếu để giảm bớt cảm giác khó chịu khi mọc răng.
3.70
Dụng cụ (tool)
Tuốc nơ vít, đột hoặc các vật khác có thể dùng để vặn vít, kẹp hoặc các cơ cấu gắn chặt tương tự.
3.71
Đồ chơi (toy)
Sản phẩm hoặc vật liệu bất kỳ được thiết kế hoặc được chỉ rõ là để trẻ em dưới 14 tuổi chơi.
3.72
Xe đạp đồ chơi (toy bicycle)
Xe hai bánh, có hoặc không có bộ phận đỡ cho xe không bị đổ, có chiều cao yên xe tối đa là 435 mm và xe chuyển động được chỉ bằng sức lực của trẻ em tác động lên qua các bàn đạp.
3.73
Hòm đồ chơi (toy chest)
Dụng cụ chứa có nắp mở gắn bản lề, tạo thành một không gian kín có thể tích lớn hơn 0,03 m3, được thiết kế riêng để chứa đồ chơi.
3.74
Xe scooter đồ chơi (toy scooter)
Đồ chơi do trẻ lái và chuyển động được do hoạt động cơ bắp của người sử dụng hoặc bằng phương thức khác và có thể gấp được hoặc không gấp được, dành cho trẻ có cân nặng nhỏ hơn hoặc bằng 50 kg và gồm tối thiểu một sàn phẳng để đứng, hai bánh xe, và một hệ thống lái với trục tay lái có độ dài cố định hoặc điều chỉnh được.
CHÚ THÍCH 1 Định nghĩa này bao gồm xe scooter đồ chơi gấp được và không gấp được.
4 Yêu cầu
4.1 Sử dụng thông thường
Xem E.2.
Đồ chơi phải được thử theo các phép thử tương ứng trong 5.1 (quy định chung) đến 5.22 (cơ cấu gấp hoặc trượt) để đảm bảo rằng các nguy cơ xảy ra do kết quả của việc hao mòn thông thường và/hoặc giảm chất lượng được giảm thiểu.
Đồ chơi có dán nhãn là có thể giặt được phải được thử giặt theo 5.23 (đồ chơi giặt được).
Sau khi thử, đồ chơi vẫn phải tiếp tục phù hợp với các yêu cầu có liên quan nêu tại Điều 4 (yêu cầu).
4.2 Sử dụng sai có thể dự đoán trước do hành vi thông thường của trẻ
Xem E.3.
Sau các phép thử sử dụng thông thường, nếu không có quy định khác, đồ chơi dành cho trẻ dưới 96 tháng tuổi phải được thử theo 5.24 (thử việc sử dụng sai có thể dự đoán trước do hành vi thông thường của trẻ) để đảm bảo rằng các rủi ro liên quan đến việc sử dụng sai có thể dự đoán trước do hành vi thông thường của trẻ được giảm thiểu.
Sau khi thử, đồ chơi vẫn phải tiếp tục phù hợp với các yêu cầu có liên quan nêu tại Điều 4 (yêu cầu).
4.3 Vật liệu
4.3.1 Chất lượng vật liệu
Xem E.4.
Tất cả các vật liệu phải sạch sẽ và không bị nhiễm bẩn. Nên đánh giá vật liệu bằng mắt thường hơn là dùng kính phóng đại.
4.3.2 Vật liệu giãn nở
Xem E.5.
Đồ chơi, chi tiết có thể tháo rời của đồ chơi và các chi tiết rời ra khỏi đồ chơi trong quá trình thử theo 5.24 (thử việc sử dụng sai có thể dự đoán trước do hành vi thông thường của trẻ) mà lọt hoàn toàn vào trong ống trụ để thử các chi tiết nhỏ khi thử theo 5.2 (thử các chi tiết nhỏ) không được có kích thước nào của chúng giãn nở quá 50% khi thử theo 5.21 (vật liệu giãn nở).
Yêu cầu này không áp dụng cho các hạt trong bộ đồ chơi trồng cây.
4.4 Các chi tiết nhỏ
Xem E.6.
4.4.1 Đối với trẻ dưới 36 tháng tuổi
Các đồ chơi được thiết kế cho trẻ dưới 36 tháng tuổi, các chi tiết có thể tháo rời và các chi tiết bị rời ra khi thử theo 5.24 (phép thử việc sử dụng sai có thể dự đoán trước do hành vi thông thường của trẻ) dù để theo bất kỳ cách nào, không được lọt hoàn toàn vào ống trụ để thử các chi tiết nhỏ khi thử theo 5.2 (thử các chi tiết nhỏ).
Yêu cầu này cũng áp dụng cho các mảnh vỡ của đồ chơi bao gồm, nhưng không giới hạn, các mảnh rìa, mảnh vụn của nhựa và mảnh bọt biển hoặc vỏ bào.
Các sản phẩm sau được loại trừ trước và sau khi thử đồ chơi theo các phép thử trong Điều 5 (phương pháp thử):
- sách bằng giấy và các sản phẩm khác được làm bằng giấy và các mảnh giấy;
- dụng cụ để viết như bút chì màu, phấn, bút chì và bút mực;
- đất sét nặn và các sản phẩm tương tự;
- sơn dùng bằng tay, màu nước, hộp sơn và chổi để sơn;
- lông tơ;
- bóng bay;
- vải dệt;
- sợi;
- dây co giãn và dây bện;
- đĩa nhạc và/hoặc đĩa phim mà bản thân chúng không phải là các chi tiết nhỏ.
Hướng dẫn về các loại đồ chơi được thiết kế cho trẻ dưới 36 tháng tuổi được nêu tại A.4.2 (đồ chơi phù hợp với trẻ dưới 3 tuổi).
4.4.2 Đối với trẻ từ 36 tháng tuổi đến dưới 72 tháng tuổi
Đồ chơi và đồ chơi có các chi tiết có thể tháo rời dành cho trẻ từ 36 tháng đến dưới 72 tháng tuổi, khi thử theo 5.2 (thử chi tiết nhỏ) mà lọt hoàn toàn vào ống trụ để thử các chi tiết nhỏ phải có lời cảnh báo (xem hướng dẫn tại B.2.3, đồ chơi nhỏ và đồ chơi chứa chi tiết nhỏ). Xem Điều E.6 (chi tiết nhỏ).
Nếu đồ chơi có nhiều hơn một trong các nguy cơ sau:
- chi tiết nhỏ, quả bóng nhỏ hoặc viên bi
sẽ là đầy đủ nếu đồ chơi hoặc bao gói của đồ chơi có một trong các câu thông báo theo B.2.3 hoặc B.2.5 hoặc một câu thông báo kết hợp về việc tồn tại các nguy cơ tổng hợp.
4.5 Hình dạng, kích thước và độ bền của một số đồ chơi
Xem E.7.
4.5.1 Đồ chơi bóp, lúc lắc, chi tiết lắp xiết và một số đồ chơi khác và chi tiết đồ chơi
4.5.1.1 Quy định chung
Đồ chơi nhồi mềm (nhồi) hoặc các phần nhồi mềm của đồ chơi hoặc các phần làm hoàn toàn từ vải được loại trừ khỏi yêu cầu của 4.5.1.
4.5.1.2 Đồ chơi bóp, lúc lắc và một số đồ chơi khác và chi tiết của đồ chơi
Các yêu cầu của 4.5.1.2 áp dụng cho các loại đồ chơi sau:
- đồ chơi bóp dành cho trẻ dưới 18 tháng tuổi;
- lúc lắc;
- đồ ngậm, nhai và đồ chơi để ngậm, nhai dành cho trẻ dưới 18 tháng tuổi;
- chân của khung treo các đồ chơi tập vận động dành cho trẻ dưới 18 tháng;
- các đồ chơi dưới đây nếu chúng có khối lượng nhỏ hơn 0,5 kg và được dành cho trẻ dưới 6 tháng:
- các chi tiết có thể tháo rời của đồ chơi dùng để treo ngang qua nôi, cũi hoặc xe đẩy;
- các chi tiết có thể tháo rời của khung treo các đồ chơi tập cho trẻ chưa biết ngồi.
Đồ chơi và chi tiết đồ chơi dược liệt kê phía trên phải được thiết kế sao cho không có phần nào của đồ chơi nhô ra khỏi đáy của dưỡng thử A khi thử theo 5.3 (thử hình dáng và kích cỡ một số đồ chơi).
Đồ chơi và chi tiết đồ chơi được liệt kê phía trên, nếu có các đầu loe ra gần như hình cầu, bán cầu hoặc trụ loe phải được thiết kế sao cho các đầu này không nhô ra khỏi đáy của dưỡng thử bổ sung B khi thử theo 5.3.
4.5.1.3 Đồ chơi hoặc chi tiết đồ chơi khác có đầu gần hình cầu, bán cầu, hình trụ loe hoặc hình vòm khối lượng nhỏ hơn 0,5 kg và dành cho trẻ em dưới 18 tháng
Xem E.7
Các yêu cầu của 4.5.1.3 chỉ áp dụng cho đồ chơi hoặc chi tiết của đồ chơi có đầu hình gần cầu, bán cầu, hình trụ loe hoặc hình vòm được nối với một trục, tay cầm hoặc dụng cụ đỡ khác có diện tích mặt cắt ngang nhỏ hơn.
Các đầu gần hình cầu, bán cầu, hình trụ loe và hình vòm của đồ chơi và chi tiết của đồ chơi phải được thiết kế sao cho các đầu này không nhô ra khỏi đáy của dưỡng thử bổ sung B khi được thử theo 5.3 (thử hình dáng và kích thước của một số đồ chơi).
4.5.1.4 Chi tiết lắp xiết trong đồ chơi (ví dụ vít, bu lông, đai ốc và chốt) có đầu hình gần cầu, bán cầu hoặc hình vòm dành cho trẻ trên 18 tháng và nhỏ hơn 48 tháng
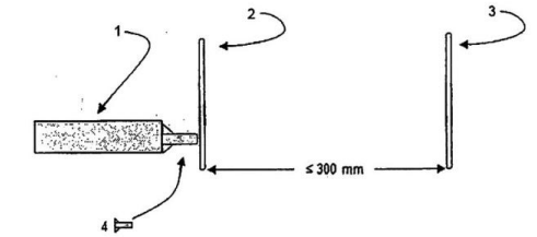
Xem E.7.
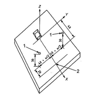
Yêu cầu trong 4.5.1.4 chỉ áp dụng cho các chi tiết lắp xiết đồ chơi đáp ứng tất cả các tiêu chí sau (xem Hình 9 và 10):
- Đầu hình gần cầu, bán cầu hoặc hình vòm có bán kính bằng lớn hơn hoặc bằng 15 mm.
- Khoảng cách từ đỉnh của chi tiết lắp xiết đồ chơi đến phần cắt nhỏ hơn hoặc bằng 44,4 mm.
- Tổng chiều dài lớn hơn hoặc bằng 57,1 mm.

CHÚ DẪN
| a | đường kính của đầu hình gần cầu, bán cầu hoặc hình vòm ≥15 mm |
| b | khoảng cách từ đỉnh chi tiết lắp xiết đến phần cắt ≤ 44,4 mm |
| c | tổng chiều dài ≥ 57,1 mm |
Hình 9 - Kích thước của chi tiết lắp xiết đồ chơi

Hình 10 - Ví dụ về các chi tiết lắp xiết đồ chơi
Các yêu cầu của 4.5.1.4 không áp dụng cho các chi tiết lắp xiết đồ chơi
- có các đầu không cứng hoặc
- được gắn với đồ chơi khi khối lượng tổng của đồ chơi/chi tiết lắp xiết không lớn hơn 0,5 kg và chiều dài của phần gắn/buộc nhỏ hơn 300 mm
Các đầu hình gần cầu, bán cầu hoặc hình vòm của chi tiết lắp xiết đồ chơi (ví dụ vít, bulong, đai ốc và chốt) phải được thiết kế sau cho các đầu này không nhô ra khỏi đáy của dưỡng thử bổ sung B khi thử theo 5.3 (thử hình dáng và kích thước một số đồ chơi).
4.5.2 Quả bóng nhỏ
Quả bóng nhỏ là quả bóng bất kỳ lọt hoàn toàn qua dưỡng thử khi thử theo 5.4 (thử quả bóng nhỏ).
a) Đồ chơi dành cho trẻ dưới 36 tháng tuổi không được là các quả bóng nhỏ hoặc có chứa các quả bóng nhỏ có thể tháo rời;
b) Đồ chơi dành cho trẻ từ 36 tháng tuổi đến dưới 96 tháng tuổi là các quả bóng nhỏ hoặc có chứa các quả bóng nhỏ có thể tháo rời hoặc có các quả bóng nhỏ bị rời ra khi thử theo 5.24 (phép thử việc sử dụng sai có thể dự đoán trước do hành vi thông thường của trẻ) phải có lời cảnh báo [xem hướng dẫn tại B.2.5 a), quả bóng nhỏ và viên bi].
Nếu đồ chơi có nhiều hơn một trong các nguy cơ sau:
- chi tiết nhỏ, quả bóng nhỏ hoặc viên bi
sẽ là đầy đủ nếu đồ chơi hoặc bao gói của đồ chơi có một trong các câu thông báo theo B.2.3 hoặc B.2.5 hoặc một câu thông báo kết hợp về việc tồn tại các nguy cơ tổng hợp.
4.5.3 Quả len
Xem E.8.
Quả len dành cho trẻ dưới 36 tháng tuổi bị rời ra khi thử theo 5.24.6.3 (thử kéo đối với quả len) không được lọt hoàn toàn qua dưỡng khi thử theo 5.5 (thử đối với quả len). Bất kỳ chi tiết, các mảnh hoặc dây đơn nào bị tách ra khỏi quả len trong phép thử kéo hoặc thử xoắn không phải thử tiếp theo 5.5.
4.5.4 Đồ chơi hình người
Xem E.9.
Loại trừ các đồ chơi hình người mềm làm bằng vật liệu dệt, đồ chơi hình người dành cho trẻ dưới 36 tháng tuổi phải có
a) một đầu hình cầu hoặc bán cầu được làm tròn, có phần cổ được làm thon gắn với một hình trụ đơn giản, không có thêm chi tiết nào khác:
b) tổng chiều dài không quá 64 mm (xem Hình 11).
Các đồ chơi này phải được thiết kế sao cho phần đầu tròn này không lọt qua và nhỏ ra khỏi đáy của dưỡng thử khi thử theo 5.6 (thử đồ chơi hình người). Yêu cầu này áp dụng cho các đồ chơi hình người có thêm vào hoặc được đúc các chi tiết như là mũ hoặc tóc, mà vẫn giữ được hình dạng tròn của đầu.

Hình 11 - Ví dụ về đồ chơi hình người
4.5.5 Núm vú đồ chơi
Núm vú đồ chơi được gắn hoặc bán cùng với một đồ chơi dành cho trẻ dưới 36 tháng tuổi phải có chiều dài núm vú không được lớn hơn 16 mm. Kích thước này được đo từ mặt phẳng đáy đến đầu của núm vú.
CHÚ THÍCH Các núm vú giả được gắn hoặc bán cùng với đồ chơi phải phù hợp với quy định cho núm vú giả.
4.5.6 Bóng bay
Xem 4.10 (màng chất dẻo hoặc túi chất dẻo trong bao gói và trong đồ chơi), 4.26 d) (đồ chơi kích hoạt bằng miệng) và E.10 (bóng bay).
Bóng bay làm từ cao su tự nhiên phải có lời cảnh báo (xem hướng dẫn tại B.2.4, hướng dẫn cho bóng bay).
4.5.7 Viên bi
Đồ chơi dành cho trẻ từ 36 tháng tuổi đến dưới 96 tháng tuổi là các viên bi hoặc có chứa các viên bi có thể tháo rời hoặc có các viên bi bị rời ra khi thử theo 5.24 (phép thử việc sử dụng sai có thể dự đoán trước do hành vi thông thường của trẻ) phải có lời cảnh báo [xem hướng dẫn tại B.2.5 b)].
Nếu đồ chơi có nhiều hơn một trong các nguy cơ sau:
- chi tiết nhỏ, bóng nhỏ hoặc viên bi
sẽ là đầy đủ nếu đồ chơi hoặc bao gói của đồ chơi có một trong các câu thông báo theo B.2.3 hoặc B.2.5 hoặc một câu thông báo kết hợp về việc tồn tại các nguy cơ tổng hợp.
4.5.8 Đồ chơi hình bán cầu
Xem E.41.
Các yêu cầu cho đồ chơi hình bán cầu áp dụng cho đồ chơi có dạng hình chén, hình bát hoặc hình nửa quả trứng có miệng gần tròn, oval hoặc elip với các kích thước của các trục từ 64 mm đến 102 mm, thể tích nhỏ hơn 177 ml, chiều sâu lớn hơn 13 mm và được thiết kế dành cho trẻ dưới 36 tháng tuổi.
Đồ chơi có dạng hình chén, hình bát hoặc hình nửa quả trứng tối thiểu phải phù hợp với ít nhất một trong các yêu cầu tại 4.5.8 a), b), c) hoặc d) (đồ chơi hình bán cầu) sau đây:
a) Đồ chơi này phải có ít nhất hai lỗ nằm cách miệng của nó một khoảng cách ít nhất là 13 mm khi đo theo đường viền bên ngoài:
- nếu các lỗ này được đặt ở đáy của đồ chơi thì ít nhất hai trong số các lỗ này phải cách nhau ít nhất là 13 mm; xem Hình 12 a);
- nếu các lỗ này không được đặt ở đáy của đồ chơi thì ít nhất hai trong số các lỗ này phải cách nhau ít nhất là 30° nhưng không được quá 150°: xem Hình 12 b);
b) Mặt phẳng của miệng chén phải không được liên tục và được phân chia ở khoảng giữa bằng một vách chia cách mặt phẳng của miệng một khoảng nhỏ hơn hoặc bằng 6 mm. Ví dụ về sự phân chia này là một vách chia xuyên qua tâm của miệng chén; xem Hình 12 c).
c) Đồ chơi phải có ba lỗ cách miệng từ 6 mm đến 13 mm và cách nhau ít nhất 100° khi đo dọc theo đường viền bên ngoài.
d) Toàn bộ vành ngoài của đồ chơi phải có trang trí kiểu vỏ sò lặp đi lặp lại. Khoảng cách tối đa giữa các đường tâm của hai đỉnh liền kề là 25 mm và chiều sâu tối thiểu là 6 mm. Ví dụ về mẫu trang trí này xem trong Hình 12 d).
Theo yêu cầu này, một lỗ được định nghĩa là lỗ trống có hình dạng bất kỳ có kích thước tối thiểu là 2 mm. Các yêu cầu nêu trên áp dụng trước và sau khi thử theo 5.24 (phép thử việc sử dụng sai có thể dự đoán trước do hành vi thông thường của trẻ).
Các đồ chơi sau không phải tuân theo các yêu cầu này:
Đồ chơi được thiết kế để chứa chất lỏng trong các sản phẩm dành cho trẻ từ 24 tháng tuổi trở lên (ví dụ ấm hoặc nồi);
Các dụng cụ chứa phải kín sao cho các chất chứa trong đó giữ được nguyên vẹn chức năng của nó (ví dụ dụng cụ chứa đất sét nặn);
Các chi tiết của các sản phẩm lớn hơn không bị rời ra khi thử theo 5.24 (ví dụ ống khói hình bát được gắn cố định vào tàu hỏa đồ chơi, hoặc một bể bơi được gắn vào một đồ chơi lớn hơn);
Dụng cụ chứa là một phần của bao gói mà sẽ bị bỏ đi khi đồ chơi được lấy ra khỏi bao gói.
Kích thước tính bằng milimét

a) các lỗ ở đáy của bát

b) vị trí của lỗ
Hình 12 - Ví dụ về các đồ chơi hình bán cầu

c) Đường gân cắt qua tâm của chén

d) Mẫu cạnh trang trí kiểu vỏ sò
Hình 12 - Ví dụ về các đồ chơi hình bán cầu (kết thúc)
4.6 Cạnh
Xem E.11.
4.6.1 Cạnh sắc tiếp xúc được bằng thủy tinh hoặc kim loại
Cạnh sắc tiếp xúc được bằng thủy tinh hoặc kim loại trên đồ chơi phải đáp ứng các yêu cầu sau.
a) Các cạnh tiếp xúc được trên đồ chơi dành cho trẻ dưới 96 tháng tuổi không được là các cạnh sắc nguy hiểm bằng thủy tinh hoặc kim loại khi thử theo 5.8 (thử cạnh sắc).
Nếu một cạnh tiếp xúc được không đạt trong phép thử cạnh sắc theo 5.8 (thử cạnh sắc) thì cạnh này phải được đánh giá để xác định xem nó có khả năng gây ra thương tích không lường trước được hay không khi đồ chơi được sử dụng theo cách đã được dự kiến và phù hợp với lứa tuổi.
b) Các cạnh sắc tiềm ẩn bằng thủy tinh hoặc bằng kim loại được coi là không tiếp xúc được khi nó nằm kề một bề mặt của mẫu thử và không có bất kỳ một khoảng hở nào giữa cạnh đó và bề mặt liền kề lớn hơn 0,5 mm (ví dụ trong điểm nối chồng và cạnh gấp, xem Hình 3).
c) Cạnh của các chi tiết dùng làm vật dẫn điện, các tấm kính đặt và kính phủ của kính hiển vi được coi là các cạnh chức năng và không cần cảnh báo.
4.6.2 Cạnh sắc chức năng
Các yêu cầu dưới đây áp dụng cho đồ chơi có các cạnh sắc chức năng.
a) Đồ chơi dành cho trẻ dưới 36 tháng tuổi không được có các cạnh sắc chức năng nguy hiểm tiếp xúc được.
b) Đồ chơi dành cho trẻ từ 36 tháng tuổi đến dưới 96 tháng tuổi mà do chức năng của chúng cần phải có các cạnh sắc (ví dụ kéo đồ chơi có thể cắt được hoặc bộ dụng cụ đồ chơi) và các đồ chơi không có các cạnh sắc không chức năng thì không bắt buộc phải theo các quy định tại 4.6 (cạnh) khi bao gói của chúng có lời cảnh báo (xem hướng dẫn tại B.2.12 đồ chơi có cạnh sắc chức năng và điểm nhọn chức năng).
4.6.3 Cạnh của đồ chơi kim loại
Các cạnh bằng kim loại tiếp xúc được gồm cả các cạnh của lỗ và rãnh trên đồ chơi dành cho trẻ dưới 96 tháng tuổi không được có các bavia và cạnh vát có thể gây ra nguy hiểm hoặc các cạnh này phải được gấp, cuộn tròn hoặc uốn tròn (xem Hình 3) hoặc phải có một thiết bị bảo vệ hoặc phần hoàn tất được gắn cố định.
Bất kể các cạnh này được hoàn tất như thế nào, chúng đều phải trải qua phép thử cạnh sắc nêu tại 5.8 (thử cạnh sắc).
4.6.4 Cạnh của đồ chơi đúc
Các cạnh, góc hoặc chỗ ghép để đúc và tiếp xúc được của đồ chơi đúc dành cho trẻ dưới 96 tháng tuổi không được có các cạnh sắc nguy hiểm gây ra bởi bavia và rìa hoặc chúng phải được bảo vệ để các cạnh sắc này không tiếp xúc được.
4.6.5 Cạnh của bulông hoặc đinh vít có ren lộ ra ngoài
Đầu tiếp xúc được của bulông hoặc đinh vít có ren không được có các cạnh sắc hoặc bavia, hoặc các đầu này phải được bịt bằng các nắp bảo vệ nhẵn sao cho các cạnh sắc hoặc bavia không tiếp xúc được. Các nắp bảo vệ được sử dụng phải được thử nén theo 5.24.7 (thử nén), bất kể nắp bảo vệ này tiếp xúc hay không tiếp xúc với mặt phẳng tiếp xúc trong phép thử nêu tại 5.24 (phép thử việc sử dụng sai có thể dự đoán trước do hành vi thông thường của trẻ). Các nắp bảo vệ này cũng phải được thử theo 5.24.5 (thử xoắn) sau khi thử theo 5.24.6.1 (thử kéo).
4.7 Đầu nhọn
Xem E.12.
4.7.1 Đầu nhọn tiếp xúc được
Các yêu cầu này áp dụng cho đồ chơi có đầu nhọn tiếp xúc được.
a) Đầu nhọn tiếp xúc được trên đồ chơi dành cho trẻ dưới 96 tháng tuổi không được là các đầu nhọn nguy hiểm khi thử theo 5.9 (thử đầu nhọn).
Nếu một đầu nhọn tiếp xúc được không đạt trong phép thử đầu nhọn theo 5.9 thì đầu nhọn này phải được đánh giá để xác định xem chúng có khả năng gây ra thương tích không lường trước được hay không khi đồ chơi được sử dụng theo cách đã được dự kiến và phù hợp với lứa tuổi.
Đầu của bút chì và các dụng cụ để viết và vẽ tương tự không được coi là đầu nhọn.
b) Đầu nhọn tiềm ẩn được coi là không tiếp xúc được khi nó nằm liền kề với một bề mặt của mẫu thử và không có bất kỳ khoảng hở nào giữa đầu nhọn đó và bề mặt liền kề lớn hơn 0,5 mm.
c) Các đầu nhọn trên đồ chơi dành cho trẻ dưới 36 tháng tuổi có kích thước mặt cắt ngang lớn nhất nhỏ hơn hoặc bằng 2 mm và không nhất thiết phải là đầu nhọn khi thử theo 5.9 thì vẫn được coi là đầu nhọn có nguy hiểm tiềm ẩn. Bởi vậy, các đầu nhọn này phải được đánh giá để xác định xem chúng có khả năng gây ra thương tích không lường trước được hay không khi đồ chơi được sử dụng theo cách đã được dự kiến và phù hợp với lứa tuổi.
4.7.2 Đầu nhọn chức năng
Các yêu cầu dưới đây áp dụng cho đồ chơi có đầu nhọn chức năng.
a) Đồ chơi dành cho trẻ dưới 36 tháng tuổi không được có các đầu nhọn chức năng nguy hiểm tiếp xúc được.
b) Đồ chơi dành cho trẻ từ 36 tháng tuổi đến dưới 96 tháng tuổi do chức năng của chúng cần có các đầu nhọn và không có các đầu nhọn không chức năng được loại trừ khỏi 4.7.1 (đầu nhọn tiếp xúc được) (ví dụ máy khâu đồ chơi có kim khâu) khi bao gói của chúng có lời cảnh báo (xem hướng dẫn tại B.2.12 với cạnh sắc chức năng và đầu nhọn chức năng).
4.7.3 Đồ chơi gỗ
Bề mặt và cạnh tiếp xúc được của gỗ sử dụng trong đồ chơi không được có dằm.
4.8 Các chi tiết nhô ra
4.8.1 Quy định chung
Xem E.13.
Các yêu cầu này nhằm mục đích giảm thiểu nguy cơ đâm thủng da hoặc chấn thương bên trong khi người sử dụng ngã đè lên các chi tiết nhô ra hoặc lên các chi tiết cứng.
Nếu một chi tiết nhô ra có nguy cơ tiềm ẩn đâm thủng da, chi tiết đó phải được bảo vệ một cách thích hợp, ví dụ như bẻ gập đầu dây kim loại hoặc gắn nắp bảo vệ hoặc chụp bảo vệ đã được làm nhẵn để làm tăng diện tích bề mặt có khả năng tiếp xúc tiềm ẩn với da. Nắp bảo vệ hoặc chụp bảo vệ phải không được rời ra khi thử theo 5.24 (phép thử việc sử dụng sai có thể dự đoán trước do hành vi thông thường của trẻ).
Nếu một tay lái cứng có nguy cơ gây chấn thương bên trong tiềm ẩm hoặc nguy cơ đâm thủng da thì nó phải được lắp với tay nắm có phần đầu tay nắm mở rộng. Các đầu ống có nguy cơ gây chấn thương hoặc nguy cơ đâm thủng da phải có đầu bịt hoặc có cách bảo vệ khác đối với phần đầu ống.
Các tay nắm, đầu bịt và các thiết bị bảo vệ khác không được rời ra khi chịu tác động của lực kéo 70 N.
Vì yêu cầu này liên quan đến những nguy cơ xảy ra khi trẻ ngã lên đồ chơi nên chỉ đánh giá đối với các chi tiết nhô ra thẳng đứng hoặc gần như thẳng đứng. Tuy nhiên, đồ chơi và chi tiết nhô ra của nó phải được thử ở vị trí kém thuận lợi nhất.
Đồ chơi được thiết kế để tháo lắp lặp đi lặp lại phải có các đánh giá riêng biệt đối với từng đơn vị lắp ráp và đối với đồ chơi đã được lắp ráp hoàn chỉnh như được nêu trong các hình ảnh minh họa ở bao gói, các hướng dẫn hoặc các quảng cáo khác. Các yêu cầu cho đồ chơi lắp ráp không áp dụng cho những đồ chơi mà việc lắp ráp là một hoạt động chính khi chơi đồ chơi.
4.8.2 Xem xét đặc biệt đối với các chi tiết nhô ra của đồ chơi bồn tắm
Các chi tiết cứng nhô ra của đồ chơi được thiết kế chủ yếu để chơi trong bồn tắm có nguy cơ đặc biệt có thể gây ra chấn thương đâm thủng nghiêm trọng. Hướng dẫn thiết kế để giảm thiểu các nguy cơ đâm thủng được nêu trong Phụ lục F (hướng dẫn thiết kế chi tiết nhô ra của đồ chơi bồn tắm)
Vì không có phương pháp xác định sự phù hợp với các hướng dẫn này, chúng không được sử dụng để đánh giá sự phù hợp với tiêu chuẩn này.
4.9 Dây và thanh kim loại
Xem E.14.
Các yêu cầu dưới đây áp dụng cho dây và thanh kim loại sử dụng trong đồ chơi.
a) Dây kim loại hoặc các vật liệu bằng kim loại khác dùng để uốn ví dụ với mục đích thay đổi hình dáng hoặc vị trí của đồ chơi hoặc chi tiết đồ chơi (ví dụ trong đồ chơi nhồi mềm) không được gẫy và tạo ra các đầu nhọn nguy hiểm hoặc nhô ra tại bất kỳ vị trí nào trên bề mặt đồ chơi khi thử theo 5.24.8.2 (dây và chi tiết bằng kim loại khác dùng để uốn).
b) Dây không được thiết kế để uốn nhưng đôi khi có thể bị uốn hay vô tình bị uốn trong quá trình chơi không được gẫy và tạo ra các đầu nhọn nguy hiểm hoặc nhô ra tại bất kỳ vị trí nào trên bề mặt đồ chơi khi thử theo 5.24.8.3 (dây có thể uốn)
c) Đầu các nan của ô đồ chơi phải được bảo vệ. Nếu các chi tiết bảo vệ bị rời ra khi thử theo 5.24.6.4 (thử kéo các chi tiết bảo vệ) thì đầu các nan này không được có các cạnh sắc và đầu nhọn khi thử theo 5.8 (thử cạnh sắc) và 5.9 (thử đầu nhọn). Hơn nữa, nếu các chi tiết bảo vệ bị rời ra khi thử kéo thì các nan này phải có đường kính tối thiểu bằng 2 mm và phần đầu của chúng phải nhẵn, được làm tròn gần giống hình cầu không có bavia.
4.10 Màng nhựa hoặc túi nhựa dùng làm bao gói và có trong đồ chơi
Xem E.15.
Các yêu cầu này không áp dụng cho màng bị co lại dùng để bọc bên ngoài và thường sẽ bị rách khi mở bao gói.
Màng nhựa dẻo hoặc túi nhựa dẻo không có lớp lót và có kích thước phần nhỏ lớn hơn 100 mm được sử dụng trong đồ chơi phải:
a) có chiều dày trung bình ≥ 0,038 mm và chiều dày riêng lẻ ≥ 0,032 mm khi thử theo 5.10 (xác định chiều dày của màng và tấm mỏng bằng nhựa), hoặc
b) có các phần được đục lỗ đều (chỗ mà vật liệu bị lấy đi) sao cho bất cứ phần nào của màng có kích thước 30 mm x 30 mm cũng phải có diện tích được đục lỗ tối thiểu là 1%. Xem Hình 13.
CHÚ THÍCH Yêu cầu trong 4.10 b) có thể đáp ứng được bằng cách đục các lỗ có đường kính 3,4 mm theo dạng các đường kẻ ô sau cho khoảng cách giữa tâm của hai lỗ theo chiều dọc và chiều ngang nhỏ hơn hoặc bằng 22,9 mm (diện tích của lỗ đường kính 3,4 mm lớn hơn 9 mm2 tức là lớn hơn 1% của diện tích 900 mm2 (30 mm x 30 mm).
Đối với bóng bay bằng màng nhựa dẻo, mỏng yêu cầu về độ dày tại khoản a) được áp dụng cho hai lớp màng nhựa (có nghĩa là chiều dày được đo khi không thổi phồng hoặc phá hủy quả bóng).
Kích thước tính bằng milimét

Hình 13 - Ví dụ về cách đục lỗ
4.11 Dây và dây co giãn
Xem E.16.
4.11.1 Dây và dây co giãn của đồ chơi dành cho trẻ dưới 18 tháng tuổi
Dây hoặc dây co giãn có trong đồ chơi hoặc gắn với đồ chơi mà các dây này có thể quấn vào nhau tạo thành một thòng lọng hoặc vòng cố định, phải có chiều dài tự do nhỏ hơn 220 mm khi được đo dưới tác động của lực kéo là 25 N ± 2 N.
Nếu dây hoặc dây co giãn đơn hoặc dây nhiều sợi hoặc dây co giãn nhiều sợi có thể quấn vào nhau và/hoặc tạo thành thòng lọng hoặc vòng cố định với một phần bất kỳ của đồ chơi, kể cả các hạt hoặc các chi tiết khác gắn ở cuối của dây hoặc dây co giãn, thì chu vi của thòng lọng hoặc vòng cố định đó phải nhỏ hơn 360 mm khi được đo dưới tác động của lực kéo là 25 N ± 2 N.
Dây hoặc dây co giãn của đồ chơi phải có độ dày trung bình (kích thước nhỏ nhất) lớn hơn hoặc bằng 1,5 mm khi đo theo 5.11.1 (xác định độ dày dây). Yêu cầu này không áp dụng cho các dải ruy băng.
4.11.2 Dây kéo tự co của đồ chơi dành cho trẻ dưới 18 tháng tuổi
Dây tiếp xúc được sử dụng trong cơ cấu kích hoạt bằng dây phải không được co lại nhiều hơn 6,4 mm khi thử theo 5.11.2 (dây kéo tự co).
4.11.3 Dây của đồ chơi kéo dành cho trẻ dưới 36 tháng tuổi
Dây hoặc dây co giãn của đồ chơi kéo dành cho trẻ dưới 36 tháng tuổi có chiều dài lớn hơn 220 mm khi được đo dưới tác động của lực kéo 25 N ± 2 N phải không được có các hạt hoặc các chi tiết gắn kết khác có thể quấn vào nhau tạo thành một thòng lọng hoặc vòng cố định.
4.11.4 Dây trên túi đồ chơi
Túi đồ chơi được làm bằng vật liệu không thấu khí có chu vi của miệng túi khi mở lớn hơn 360 mm không được có dây rút hoặc dây buộc miệng túi (xem 4.10).
4.11.5 Đồ chơi gắn/treo vào nôi, cũi
Đồ chơi được thiết kế đẻ gắn/treo vào nôi, cũi phải có kèm các hướng dẫn lưu ý về những nguy cơ nếu không tháo các đồ chơi này ra khi trẻ bắt đầu nhổm dậy và tập bò. Các hướng dẫn này cũng phải bao gồm cả hướng dẫn cách lắp ráp đúng (xem hướng dẫn tại B.2.7 đồ chơi tập cho trẻ treo vào nôi cũi và đồ chơi tương tự và B.3.2, đồ chơi treo vào nôi cũi). Xem E.16 (dây và dây co giãn).
Hướng dẫn thiết kế đồ chơi gắn/treo vào nôi, cũi được nêu trong Phụ lục C (hướng dẫn thiết kế đồ chơi treo vào nôi hoặc cũi).
4.11.6 Đồ chơi treo ở phía trên để trẻ chưa biết ngồi với hoặc chạm vào và đồ chơi tương tự
Đồ chơi treo ở phía trên để trẻ chưa biết ngồi với hoặc chạm vào và các đồ chơi tương tự để treo qua nôi, cũi hoặc xe đẩy (xem E.16, dây và dây co giãn) phải có kèm theo hướng dẫn lưu ý về những nguy cơ nếu không tháo các đồ chơi đó ra khi trẻ bắt đầu nhổm dậy và tập bò. Các hướng dẫn này cũng phải bao gồm cả hướng dẫn cách lắp ráp đúng (xem hướng dẫn tại B.2.10 đồ chơi treo ở phía trên để trẻ chưa biết ngồi với hoặc chạm vào và đồ chơi tương tự và B.3.3, hướng dẫn cho đồ chơi gắn/treo vào nôi, cũi).
Hướng dẫn thiết kế đồ chơi gắn/treo vào nôi, cũi được nêu trong Phụ lục C (hướng dẫn thiết kế cho đồ chơi treo vào nôi hoặc cũi).
4.11.7 Dây, dây bện và dây thép của các đồ chơi bay được
Dây, dây bện hoặc dây thép cầm tay của diều đồ chơi hoặc các đồ chơi bay được khác có chiều dài lớn hơn 1,8 m phải có điện trở lớn hơn 108 Ω/cm khi thử theo 5.11.3 (điện trở của dây).
Diều đồ chơi và các đồ chơi bay được khác phải có lời cảnh báo (xem B.2.16 hướng dẫn cho diều đồ chơi).
4.12 Cơ cấu gấp
Xem E.17.
4.12.1 Ghế đẩy, xe đẩy đồ chơi và đồ chơi tương tự
Yêu cầu tại 4.12.1 không áp dụng cho các đồ chơi có chiều rộng chỗ ngồi nhỏ hơn 140 mm.
Ghế đẩy, xe tập đi, xe đẩy đồ chơi và đồ chơi tương tự có cơ cấu gấp và trượt phải phù hợp với các yêu cầu sau:
a) Đối với đồ chơi có tay cầm hoặc cấu trúc khác có thể sập xuống trẻ phải:
1) có ít nhất một cơ cấu khoá chính và một cơ cấu khóa phụ, cả hai thiết bị này cùng tác động trực tiếp lên cơ cấu gấp.
2) ít nhất một trong các cơ cấu khoá phải tự động vào khớp khi đồ chơi được dựng lên.
3) khi thử theo 5.22.2 (ghế đẩy và xe đẩy đồ chơi), đồ chơi không được sập xuống và các cơ cấu khoá không bị hỏng hoặc rời ra.
4) nếu đồ chơi có hai cơ cấu khoá có cùng cấu tạo (ví dụ vòng khóa), một ở phía tay trái và một ở phía tay phải của đồ chơi, thì đồ chơi được coi là chỉ có một cơ cấu khoá.
5) nếu có thể dựng một phần ghế đẩy hoặc xe đẩy đồ chơi lên mà không dùng đến một trong các cơ cấu khóa thì phép thử theo 5.22.2 phải được tiến hành với một cơ cấu khoá không vào khớp.
CHÚ THÍCH 1 Dựng một phần có nghĩa là đồ chơi được dựng theo cách mà người sử dụng có thể tưởng nhầm là đồ chơi đã được dựng lên hoàn toàn.
CHÚ THÍCH 2 Ví dụ về ghế đẩy hoặc xe đẩy đồ chơi nêu tại 4.12.1 a) (ghế đẩy, xe đẩy đồ chơi và đồ chơi tương tự) được minh họa trong Hình 14.

CHÚ DẪN
| 1 | hướng chuyển động của tay cầm |
| 2 | hướng chuyển động của khung xe |
Hình 14 - Ghế đẩy hoặc xe đẩy đồ chơi nêu tại 4.12.1 a)
b) Đối với các ghế đẩy và xe đẩy đồ chơi không có nguy cơ gây nguy hiểm do tay cầm hoặc một phần cơ cấu khác sập xuống trẻ phải:
1 ) có ít nhất một cơ cấu khoá hoặc một chốt an toàn, có thể vận hành được bằng tay.
2) khi thử theo 5.22.2 (ghế đẩy và xe đẩy đồ chơi), đồ chơi không được sập xuống và cơ cấu khoá hoặc chốt an toàn không được hỏng hoặc bị rời ra.
3) nếu có thể dựng đứng một phần ghế đẩy hoặc xe đẩy đồ chơi mà cơ cấu khoá chưa vào khớp thì phép thử theo 5.22.2 phải được tiến hành theo hướng này (xem chú thích 1).
CHÚ THÍCH 1 Dựng một phần có nghĩa là đồ chơi được dựng theo cách mà người sử dụng có thể tưởng nhầm là đồ chơi đã được dựng lên hoàn toàn.
CHÚ THÍCH 2 Ví dụ về ghế đẩy hoặc xe đẩy đồ chơi nêu tại 4.12.1 b) (ghế đẩy, xe đẩy đồ chơi và đồ chơi tương tự) được minh họa trong Hình 15.

CHÚ DẪN
1 hướng chuyển động của khung xe
Hình 15 - Ghế đẩy đồ chơi nêu tại 4.12.1 b)
4.12.2 Các đồ chơi khác có cơ cấu gấp
Xem E.18.
Đồ dùng để chơi và các đồ chơi khác có cơ cấu gấp, tay cầm hoặc trụ đỡ có khả năng mang khối lượng của trẻ hoặc một khối lượng tương đương phải:
a) hoặc có một chốt an toàn hoặc một cơ cấu khoá ngăn không cho đồ chơi chuyển động hoặc sập xuống bất ngờ hoặc không mong muốn. Đồ chơi không được sập xuống khi thử theo 5.22.3 (thử đồ chơi khác có cơ cấu gấp).
b) hoặc phải có khe hở giữa các phần chuyển động đủ rộng để tránh làm kẹp hoặc làm đứt ngón tay, ngón chân của trẻ khi có chuyển động hoặc sập xuống bất ngờ của đồ chơi. Nếu có thể đưa một que dò đường kính 5 mm vào giữa các phần chuyển động thì cũng phải đưa được que dò đường kính 12 mm vào giữa các phần này.
4.12.3 Khe hở đường bản lề
Xem E.19.
Đồ chơi có một khe hoặc rãnh dọc theo đường bản lề giữa phần cố định và phần chuyển động có khối lượng lớn hơn 0,25 kg phải được chế tạo sao cho nếu có thể đưa được que dò đường kính 5 mm vào khe hở có thể tiếp xúc được của đường bản lề thì cũng phải đưa được que dò đường kính 12 mm vào tất cả các vị trí của bản lề này.
4.13 Lỗ, khe hở và khả năng tiếp xúc được của các cơ cấu
4.13.1 Lỗ tròn trên vật liệu cứng
Xem E.20.
Đối với đồ chơi dành cho trẻ dưới 60 tháng tuổi, nếu có thể đưa được que dò đường kính 6 mm qua một lỗ tròn tiếp xúc được trên bất kỳ vật liệu cứng nào có chiều dày nhỏ hơn 1,58 mm một khoảng sâu hơn hoặc bằng 10 mm thì cũng phải đưa được que dò đường kính 12 mm qua lỗ này.
4.13.2 Khe hở tiếp xúc được của các phần chuyển động
Xem E.21.
Đối với đồ chơi dành cho trẻ dưới 96 tháng tuổi, nếu có thể đưa được que dò đường kính 5 mm qua các khe hở tiếp xúc được giữa các phần chuyển động thì cũng phải đưa được que dò đường kính 12 mm qua các khe này.
4.13.3 Xích hoặc dây đai trong đồ chơi do trẻ lái
Xem E.22.
Phải có tấm chắn xích và dây đai truyền động trong đồ chơi do trẻ lái. Ở phía chân của trẻ gần xích hoặc dây đai nhất phải có tấm chắn từ đĩa xích hoặc bánh đai truyền động đến đĩa xích hoặc bánh đai được truyền động (xem Hình 16, mặt A). Cũng phải có tấm chắn xung quanh đĩa xích/bánh đai truyền động ở phía còn lại (xem Hình 16, mặt B) ở phía mà chân trẻ cách với xích hoặc dây đai (ví dụ bởi khung xe đạp).
CHÚ THÍCH Một đồ chơi có thể có hai mặt “A".
Tấm chắn phải đảm bảo sao cho xích hoặc dây đai và đĩa xích hoặc bánh đai là không tiếp xúc được từ mặt A và chỗ gặp nhau giữa xích hoặc dây đai với đĩa xích hoặc bánh đai là không tiếp xúc được từ mặt B (nếu có) khi thử theo 5.7 (khả năng tiếp xúc được của một phần hoặc chi tiết).
Tấm chắn phải được lắp sao cho không thể tháo ra được nếu không sử dụng dụng cụ.

Hình 16 - Xích và chắn xích (kết thúc)
4.13.4 Cơ cấu dẫn động khác
Xem E.23.
Cơ cấu đồng hồ, hoạt động bằng pin, cơ cấu quán tính hoặc các cơ cấu dẫn động khác của đồ chơi phải được che kín sao cho chúng không để lộ ra những cạnh sắc hoặc các đầu nhọn tiếp xúc được hoặc có nguy cơ làm kẹp các ngón tay hoặc các bộ phận khác của cơ thể.
4.13.5 Khóa lên dây cót
Xem E.24.
Yêu cầu này áp dụng đối với đồ chơi dành cho trẻ dưới 36 tháng tuổi có sử dụng khoá để lên dây cót. Yêu cầu này áp dụng cho khoá ở dạng một tấm phẳng gắn với thân khoá và nhô ra trên mặt phẳng cứng của thân đồ chơi.
Nếu có thể đưa một que dò đường kính 5 mm qua khe hở giữa đầu khoá lên dây cót và thân của đồ chơi thì cũng phải đưa được một que dò đường kính 12 mm vào tại tất cả các vị trí của khoá này. Trên đầu khóa không được có các lỗ mà có thể đưa một que dò đường kính 5 mm vào.
4.14 Lò xo
Xem E.25.
Lò xo phải phù hợp các yêu cầu sau:
a) Lò xo cuộn phải không tiếp xúc được nếu như khe hở giữa hai vòng lò xo liền nhau lớn hơn 3 mm tại bất kỳ vị trí sử dụng nào.
b) Lò xo xoắn đàn hồi phải không tiếp xúc được nếu như khe hở giữa hai vòng lò xo liền nhau lớn hơn 3 mm khi lò xo chịu một lực kéo bằng 40 N.
Yêu cầu này không áp dụng cho các lò xo không trở về vị trí ban đầu của chúng sau khi tháo tải.
c) Lò xo xoắn nén phải không tiếp xúc được nếu như khe hở giữa hai vòng lò xo liền nhau lớn hơn 3 mm khi ở trạng thái tĩnh và khi sử dụng đồ chơi thì lò xo này có thể chịu một lực nén lớn hơn hoặc bằng 40 N.
Yêu cầu này không áp dụng cho các lò xo không trở về trạng thái ban đầu của chúng sau khi chịu tác động của một lực là 40 N hoặc các lò xo quấn xung quanh một chi tiết khác của đồ chơi (ví dụ một thanh định hướng) do vậy không thể đưa dụng cụ dò khả năng tiếp xúc A (xem 5.7, khả năng tiếp xúc được của phần hoặc chi tiết) vào sâu hơn 5 mm giữa hai vòng lò xo liên tiếp.
4.15 Yêu cầu về độ ổn định và quá tải
4.15.1 Độ ổn định của đồ chơi do trẻ lái và ghế ngồi
Các yêu cầu từ 4.15.1.1 đến 4.15.1.3 áp dụng cho các đồ chơi do trẻ lái, đồ chơi cưỡi (ví dụ ngựa cưỡi) và đồ chơi cố định có ghế ngồi như đồ dùng để chơi dành cho trẻ dưới 60 tháng tuổi. Các yêu cầu này không áp dụng cho đồ chơi do trẻ lái có dạng hình cầu, hình trụ hoặc hình dạng khác mà thường không có đế cố định (ví dụ xe đạp đồ chơi và đồ chơi tương tự).
CHÚ THÍCH Các yêu cầu về độ ổn định đối với xe scooter đồ chơi có đế cố định được nêu trong 4.30.4 (độ ổn định).
4.15.1.1 Độ ổn định ở phía các mặt bên, trẻ có thể giữ ổn định bằng chân
Xem E.26.
Đồ chơi do trẻ lái và các đồ chơi cố định có ghế ngồi, có chiều cao tính từ nền lên đến ghế ngồi lớn hơn hoặc bằng 27 cm và chân của trẻ không bị giới hạn trong chuyển động ở các mặt bên của đồ chơi do đó trẻ có thể giữ ổn định bằng chân, không được bị đổ khi thử theo 5.12.2 (phép thử độ ổn định, trẻ có thể giữ ổn định bằng chân).
4.15.1.2 Độ ổn định ở phía các mặt bên, trẻ không thể giữ ổn định bằng chân
Xem E.26.
Đồ chơi do trẻ lái và các đồ chơi cố định có ghế ngồi mà chân của trẻ bị giới hạn trong chuyển động ở các mặt bên của đồ chơi chẳng hạn như bởi thùng xe của ôtô đồ chơi, không được bị đổ khi thử theo 5.12.3 (phép thử độ ổn định, trẻ không thể giữ ổn định bằng chân).
4.15.1.3 Độ ổn định phía trước và phía sau
Xem E.27.
Đồ chơi do trẻ lái và các đồ chơi cố định có ghế ngồi mà trẻ không thể giữ ổn định bằng chân, không được bị đổ về phía trước hoặc phía sau khi thử theo 5.12.4 (thử độ ổn định phía trước và phía sau).
4.15.2 Yêu cầu quá tải của đồ chơi do trẻ lái và ghế ngồi
Xem E.28.
Đồ chơi do trẻ lái, các đồ chơi cố định có ghế ngồi và đồ chơi được thiết kế để đỡ toàn bộ hoặc một phần khối lượng của trẻ phải không được sập xuống khi thử theo 5.12.5 (thử quá tải đối với đồ chơi do trẻ lái và ghế ngồi) và theo 5.24.4 (thử độ bền động của đồ chơi do trẻ lái có bánh xe). Các yêu cầu trong 4.15.2 không áp dụng cho xe scooter đồ chơi (phải tuân theo yêu cầu trong 4.30.3, độ bền).
Nhà sản xuất được khuyến cáo phải xem xét đến độ bền của ghế ngồi và cọc đỡ ghế dưới các điều kiện động lực học.
4.15.3 Độ ổn định của đồ chơi cố định đặt trên sàn
Xem E.29.
Đồ chơi cố định đặt trên sàn có chiều cao lớn hơn 760 mm và nặng hơn 4,5 kg không được đổ khi thử theo 5.12.6 (thử độ ổn định của đồ chơi cố định đặt trên sàn).
4.16 Đồ chơi tạo thành một không gian khép kín
Xem E.30.
4.16.1 Thông hơi
Bất kỳ đồ chơi nào được làm bằng vật liệu không thấu khí và có cửa hoặc nắp tạo thành một không gian khép kín liên tục có thể tích lớn hơn 0,03 m3 và có tất cả các kích thước bên trong lớn hơn hoặc bằng 150 mm phải có các khoảng thông hơi không bị bít kín. Các khoảng lỗ thông hơi này phải gồm tối thiểu hai lỗ, mỗi lỗ có diện tích ít nhất 650 mm2 và đặt cách nhau ít nhất 150 mm hoặc một khoảng hở mở rộng gồm cả phần giữa của hai lỗ và có diện tích tương đương với diện tích của hai lỗ là 650 mm2 (xem Hình 17).
Lỗ thông hơi không được bị bịt kín khi đặt đồ chơi ở trên sàn ở mọi vị trí và gần kề với hai mặt phẳng thẳng đứng vuông góc với nhau mô phỏng góc phòng. Nếu có một vách ngăn cố định hoặc các thanh chắn (hai thanh hoặc nhiều hơn) hạn chế một cách hiệu quả khoảng không gian liên tục sao cho các kích thước bên trong lớn nhất nhỏ hơn 150 mm thì không cần có các lỗ thông hơi.
Kích thước tính bằng milimét

CHÚ DẪN
| 1 | Tổng diện tích thông hơi lớn hơn hoặc bằng 1300 mm2. |
| 2 | Diện tích thông hơi khác tương đương, lớn hơn hoặc bằng 1300 mm2. |
Hình 17-Ví dụ về một lỗ thông hơi tương đương
4.16.2 Các bộ phận tạo thành không gian khép kín
4.16.2.1 Nắp, cửa và các cơ cấu tương tự
Các bộ phận tạo thành không gian khép kín như nắp, nắp chụp và cửa hoặc các cơ cấu tương tự không được có cơ cấu khoá tự động.
Các bộ phận tạo thành không gian khép kín này phải mở được bằng một lực nhỏ hơn hoặc bằng 45 N khi thử theo 5.13.1 (bộ phận tạo thành không gian khép kín).
Yêu cầu này nhằm ngăn ngừa một cách đáng kể việc sử dụng các nút bấm, khoá kéo và các khoá tương tự trên nắp, nắp chụp và cửa.
4.16.2.2 Cơ cấu đỡ nắp của hòm đồ chơi và đồ chơi tương tự
Các yêu cầu cho cơ cấu đỡ nắp hòm đồ chơi và đồ chơi tương tự như sau.
a) Hòm đồ chơi và đồ chơi tương tự có nắp mở theo chiều thẳng đứng phải có cơ cấu đỡ nắp để ngăn không cho nắp bị sập hoặc rơi xuống bất ngờ. Cơ cấu đỡ nắp này phải giữ được nắp sao cho tại bất kỳ vị trí nào trên cung hành trình của nắp từ vị trí cách 50 mm so với vị trí đóng hoàn toàn đến vị trí tạo thành cung không lớn hơn 60° so với vị trí đóng hoàn toàn thì nắp không bị rơi xuống một khoảng lớn hơn 12 mm bởi chính khối lượng của nó ngoại trừ 50 mm cuối của hành trình này. Phép thử phải được thực hiện theo 5.13.2.1 (đỡ nắp).
Cơ cấu đỡ nắp phải phù hợp với yêu cầu này trước và sau khi trải qua 7000 chu kỳ đóng và mở như mô tả tại 5.13.2.2 (thử độ bền của nắp hòm đồ chơi).
b) Cơ cấu đỡ nắp này không cần người sử dụng phải điều chỉnh để đảm bảo cơ cấu đỡ này là phù hợp hoặc cũng không cần phải điều chỉnh lại để phù hợp với quy định tại 4.16.2.2 a) nêu ở trên sau khi được thử theo 5.13.2.2.
c) Nắp và cơ cấu đỡ nắp phải phù hợp với các yêu cầu nêu tại 4.12 (cơ cấu gấp).
d) Hòm đồ chơi phải có kèm theo hướng dẫn lắp đặt và bảo dưỡng phù hợp (xem hướng dẫn về hòm đồ chơi tại B.3.4).
4.16.3 Đồ chơi trùm lên đầu
Đồ chơi trùm lên đầu như mũ theo kiểu của phi hành gia làm bằng vật liệu không thấu khí phải có vùng thông hơi không bị bít kín ở gần khu vực mũi và miệng. Khoảng thông hơi này phải bao gồm tối thiểu hai lỗ, mỗi lỗ có tổng diện tích ít nhất là 650 mm2 và cách nhau ít nhất 150 mm, hoặc một khoảng hở mở rộng gồm cả phần giữa hai lỗ và có diện tích tối thiểu tương đương với diện tích của hai lỗ là 650 mm2 (xem Hình 17).
4.17 Thiết bị bảo vệ mô phỏng như mũ bảo hiểm, mũ và kính bảo vệ
Xem E.31.
Tất cả các đồ chơi cứng trùm qua mặt như kính, mũ theo kiểu của phi hành gia hoặc tấm che mặt khi thử theo 5.14 (thử va đập của đồ chơi trùm qua mặt) không được tạo ra các cạnh sắc, đầu nhọn hoặc các chi tiết rời ra có thể đâm vào mắt. Điều này áp dụng cho các đồ chơi có các lỗ cắt ở vùng mắt, cũng như các đồ chơi che mắt.
Các đồ chơi mô phỏng thiết bị bảo vệ và được thiết kế để cho trẻ dùng (ví dụ, bao gồm nhưng không giới hạn, mũ bảo vệ dùng trong xây dựng, mũ bảo vệ khi chơi thể thao và mũ của nhân viên cứu hoả) và bao gói của chúng phải có lời cảnh báo (xem hướng dẫn tại B.2.11, thiết bị bảo vệ mô phỏng).
4.18 Đồ chơi phóng
Xem E.32.
4.18.1 Quy định chung
a) Các yêu cầu trong 4.18.2 a), b), c) (vật phóng) và 4.18.3 b) đến d) (đồ chơi vật phóng có năng lượng dự trữ) không áp dụng cho các vật phóng mà khoảng tối đa của vật phóng được phóng ra nhỏ hơn hoặc bằng 300 mm khi đo theo 5.35 (xác định khoảng phóng).
b) Yêu cầu trong 4.18.3 a) không áp dụng cho đồ chơi vật phóng dành cho trẻ lớn hơn 3 tuổi với khoảng phóng nhỏ hơn hoặc bằng 100 mm khi đo theo 5.35 (xác định khoảng phóng).
c) Các yêu cầu trong 4.18.2, 4.18.3 và 4.18.4 (đồ chơi vật phóng không có năng lượng dự trữ) không áp dụng cho:
- Các chi tiết có chức năng như vật phóng được để trong ngăn chứa kín cố định bên trong đồ chơi trừ khi chúng bị rời ra khi dụng cụ chứa bên ngoài được thử theo 5.24 (phép thử việc sử dụng sai có thể dự đoán trước do hành vi thông thường của trẻ).
- Đồ chơi đặt trên sàn chạy dọc theo một đường ray hoặc được phóng lên một bề mặt khác.
CHÚ THÍCH Các đồ chơi này không được coi là đồ chơi phóng ngay cả khi chúng có chi tiết bay tự do, ví dụ bay qua giữa các đường ray hoặc bề mặt.
4.18.2 Vật phóng
Đồ chơi vật phóng phải đáp ứng các yêu cầu sau:
a) Đầu hoặc mép/cạnh dẫn trên vật phóng cứng không được nhô ra khỏi đáy của dưỡng mô tả trong Hình 44 khi thử theo 5.36 (đánh giá đầu của vật phóng cứng).
b) Các mép/cạnh dẫn của vật phóng cũng như các góc bất kỳ liền kề với mép/cạnh dẫn phải nhẵn và không có điểm nhọn, bavia, rìa hoặc phần nhô ra tương tự.
c) Đối với vật phóng cứng được giải phóng bởi đồ chơi phóng có năng lượng dự trữ, các góc của vật phóng liền kề với mép/cạnh dẫn phải có cạnh được vê tròn. Với mục đích của yêu cầu này bán kính lượn bằng 0,25 mm được cho là thích hợp. Yêu cầu này không áp dụng cho vật phóng làm bằng giấy hoặc giấy các tông.
CHÚ THÍCH 1 Có thể có các mép/cạnh dẫn yêu cầu phải được đánh giá, đặc biệt trong tình huống vật phóng có thể đi theo hướng bất thường hoặc không dự đoán được (ví dụ bay kiểu nhào lộn)
CHÚ THÍCH 2 Để xác định một cạnh và/hoặc góc liền kề có nguy cơ va đập vào mắt hay không phải xem xét hình dạng bán cầu của nhãn cầu mắt cũng như kích cỡ và hình dáng của vật phóng liên quan đến mắt, quy luật hoặc khả năng dự đoán trước về đường bay và các yếu tố liên quan khác.
Xem Hình 18 về ví dụ đối với góc liên kề với mép/cạnh dẫn.

CHÚ DẪN
1 Các góc liền kề với mép/cạnh dẫn.
Hình 18 - Ví dụ về góc liền kề với mép/cạnh dẫn của vật phóng dạng tên lửa và dạng đĩa
d) Vật phóng có đầu mút là bề mặt tiếp xúc phải có chiều dài lớn hơn hoặc bằng 57 mm khi đo theo 5.37 (chiều dài của vật phóng có đầu mút) trước và sau khi thử theo 5.24.5 (thử xoắn) và 5.24.6.5 (thử kéo của vật phóng có đầu mút). Yêu cầu này không áp dụng cho:
- vật phóng có đầu mút không lọt hoàn toàn qua dưỡng thử C khi thử theo 5.24 (thử bóng nhỏ)hoặc
- vật phóng dạng thanh xốp dài hơn hoặc bằng 57 mm khi đo theo 5.37 và khi đầu mút có đường kính được đo ở trạng thái không nén ép, nhỏ hơn hoặc bằng đường kính của thanh xốp (xem Hình 19).

CHÚ DẪN
| 1 | phần đầu bằng chất dẻo |
| 2 | mút xốp |
| 3 | đầu mút |
Hình 19 - Vật phóng bằng mút xốp có đường kính đầu mút nhỏ hơn hoặc bằng đường kính thanh xốp
CHÚ THÍCH 3 Các yêu cầu trong 4.18.2 d) áp dụng cho cả các đầu mút có thể tách rời ra khỏi phần thanh và với các cốc gắn liền với phần thanh (nghĩa là đúc liền khối).
e) Các đầu mút trên vật phóng có đầu mút là bề mặt tiếp xúc không được rời ra khi thử theo 5.24.5 và 5.24.6.5 trừ khi:
- phần đầu mút gắn liền không lọt hoàn toàn qua dưỡng thử C khi thử theo 5.4 và đầu thanh lộ ra phải tuân theo 4.8 (các chi tiết nhô ra) hoặc
- đầu mút của vật phóng xốp có đường kính của đầu mút, khi đo ở trạng thái không nén, nhỏ hơn hoặc bằng đường kính của thanh xốp. Xem Hình 19.
CHÚ THÍCH 4 Yêu cầu của 4.18.2 e) áp dụng cho cả đầu mút được gắn không cố định với thanh hoặc đầu mút gắn liền với thanh (nghĩa là đúc liền khối).
4.18.3 Đồ chơi phóng có năng lượng dự trữ
Đồ chơi phóng có năng lượng dự trữ phải phù hợp với các yêu cầu sau:
a) Vật phóng khi đặt theo bất kỳ hướng nào không được lọt qua ống trụ để thử chi tiết nhỏ khi thử theo 5.2 (thử chi tiết nhỏ). Yêu cầu này áp dụng trước và sau khi thử theo 5.24 (thử sử dụng sai có thể dự đoán trước) và 5.15.2 (thử va đập vuông góc đối với vật phóng).
CHÚ THÍCH 1 Yêu cầu này áp dụng cho đồ chơi phóng dành cho trẻ từ 3 tuổi trở lên trừ khi được loại trừ theo 4.18.1 b) (quy định chung).
Yêu cầu này không áp dụng cho:
- các chi tiết nhỏ rời ra sau khi thử theo 5.24 và 5.15.2 mà không thể được phóng hoặc không thể di chuyển một khoảng cách lớn hơn 100 mm khi đo theo 5.35 (xác định khoảng phóng);
- các chi tiết nhỏ của phần xốp rời ra khỏi vật phóng có phần thanh được làm hoàn toàn bằng xốp sau khi thử theo 5.24 và 5.15.2.
b) Vật phóng có động năng lớn hơn 0,08 J khi thử theo 5.15.1 (động năng của vật phóng) phải:
- có bề mặt tiếp xúc làm bằng vật liệu đàn hồi, và
- có kèm theo cảnh báo về việc nhắm vào mắt hoặc mặt [xem B.2.15 a), hướng dẫn cho đồ chơi phóng]. Yêu cầu này chỉ áp dụng cho vật phóng có khả năng nhắm vào mặt (xem E.32, đồ chơi phóng) và
- có động năng trên một đơn vị diện tích tiếp xúc không lớn hơn 2 500 J/m2 khi thử theo 5.15.1.3.3 (xác định động năng trên diện tích tiếp xúc).
c) Khi một mũ, chụp hoặc đầu bảo vệ được sử dụng, nó phải:
- không bị rời ra khỏi vật phóng khi thử theo 5.24.5 (thử xoắn) và theo 5.24.6.4 (thử kéo cho các chi tiết bảo vệ); hoặc
- nếu mũ, chụp hoặc đầu bảo vệ bị rời ra khỏi vật phóng và nếu chi tiết rời ra vẫn có thể được phóng khỏi cơ cấu phóng thì đồ chơi phải tiếp tục đáp ứng với yêu cầu của 4.18.3.
d) Khi thử theo 5.15.2, vật phóng không được tạo ra cạnh sắc nguy hiểm hoặc đầu nhọn nguy hiểm và phải tiếp tục đáp ứng yêu cầu của 4.18.3.
e) Cơ cấu phóng phải được thiết kế sao cho không có khả năng phóng vật phóng chế tác, được quy định trong Hình 20 và Bảng 1, theo cách được xác định là nguy hiểm.
CHÚ THÍCH 2 Cơ cấu phóng phải được đánh giá ở trạng thái mà nó được cung cấp cùng với đồ chơi, nghĩa là không bị người sử dụng thay đổi.
CHÚ THÍCH 3 Vật phóng chế tác có thể di chuyển một khoảng cách nhỏ hơn hoặc bằng 300 mm khi được phóng ra không được coi là nguy hiểm [xem 4.18.1 a)].
Khi đánh giá khả năng của một cơ cấu phóng để phóng một vật phóng chế tác theo cách nguy hiểm, cần xem xét đến các yếu tố sau:
- khả năng lặp lại và dễ dàng nạp và sau đó phóng vật phóng chế tác;
- hướng của cơ cấu phóng;
- khoảng cách di chuyển của vật phóng chế tác;
- các yếu tố khác có liên quan.

CHÚ DẪN
| 1 | Thanh hình trụ |
| 2 | Đĩa |
| 3 | Khối cầu |
Hình 20 - Vật phóng chế tác
Bảng 1 - Kích thước của vật phóng chế tác được nêu trong Hình 20
Kích thước tính bằng milimét
| Ký hiệu | Tên | Vật liệu | Đường kính D | Chiều dài thanh X1 | Chiều dài côn X2 | Đường kính đầua R | Độ dày H |
| Thanh hình trụ | |||||||
| A | Bút chì | Gỗ cứng | 7 | 155 | 15 | 0,5 |
|
| B | Móng tay dài/ Bút máy | Nhôm | 3 | 100 | 5 | 0,1 |
|
| C | Bút chì | Nhôm | 3 | 50 | 5 | 0,1 |
|
| D | Móng tay ngắn/Tăm | Nhôm | 1,5 | 50 | 2,3 | 0,05 |
|
| E | Tăm | Nhôm | 1,5 | 20 | 2,3 | 0,05 |
|
| Phần cầu | |||||||
| F | Bi thép | Thép | 8 |
|
|
|
|
| G | Viên bi nhỏ | Thủy tinh | 16 |
|
|
|
|
| H | Viên bi to | Thủy tinh | 25 |
|
|
|
|
| Đĩa | |||||||
| I | Đồng xu nhỏ | Thép | 15 |
|
|
| 1,5 |
| J | Đống xu nhỡ | Thép | 20 |
|
|
| 2 |
| K | Đồng xu nhỡ/to | Thép | 25 |
|
|
| 3 |
| L | Đồng xu to | Thép | 30 |
|
|
| 3 |
| a Bán kính của đầu thanh không có yêu cầu kích thước tới hạn. | |||||||
4.18.4 Đồ chơi phóng không có năng lượng dự trữ
Đồ chơi phóng không có năng lượng dự trữ có thể được bắn vào mặt phải có kèm theo hướng dẫn sử dụng, đưa ra nguy cơ nhắm vào mắt hoặc mặt [xem B.2.15 b), đồ chơi phóng]. Yêu cầu này không áp dụng cho đồ chơi phóng dùng để ném về phía người, ví dụ đĩa bay, bóng hoặc đồ vật tương tự.
4.18.4.1 Đồ chơi phóng kích hoạt bằng miệng
Đồ chơi phóng kích hoạt bằng miệng không được phép để cho vật phóng đi qua phần miệng thổi của đồ chơi khi thử theo 5.20 (độ bền của đồ chơi kích hoạt bằng miệng).
4.18.4.2 Vật phóng ở dạng phi tiêu
Vật phóng ở dạng phi tiêu phải tuân theo các yêu cầu sau:
a) khi được thử theo 5.15.1.3.3 a) đến e) (xác định động năng trên đơn vị diện tích tiếp xúc), diện tích tiếp xúc của phi tiêu phải ít nhất bằng 3 cm2.
b) Phi tiêu phải
- có mũ, chụp hoặc đầu bảo vệ được gắn liền với phần đầu phía trước của thanh hoặc
- có đầu được làm cùn và gắn với mũ, chụp hoặc
- đầu bảo vệ, hoặc được làm bằng vật liệu đàn hồi, trừ khi nó dựa vào lực từ tính.
c) Sau khi thử theo 5.24.5 (thử xoắn) và theo 5.24.6.4 (thử kéo cho các chi tiết bảo vệ) vật phóng ở dạng phi tiêu có mũ, chụp hoặc đầu bảo vệ phải phù hợp với ít nhất một trong các yêu cầu sau:
- mũ, chụp hoặc đầu bảo vệ không được rời ra khỏi vật phóng, hoặc
- nếu mũ, chụp hoặc đầu bảo vệ bị rời ra khỏi vật phóng thì vật phóng không thể được phóng ra bằng cơ cấu phóng đã định, hoặc
- nếu mũ, chụp hoặc đầu bảo vệ bị rời ra khỏi vật phóng và vật phóng làm bằng vật liệu đàn hồi, nó phải tiếp tục có diện tích tiếp xúc ít nhất bằng 3 cm2 khi đo theo 5.15.1.3.3 a) đến e).
4.18.4.3 Mũi tên (ví dụ bộ cung và tên)
Vật phóng ở dạng mũi tên phải có động năng tối đa trên đơn vị diện tích tiếp xúc không lớn hơn 2500 J/m2 khi xác định theo 5.15.1.3.2 (xác định động năng).
Sau khi thử theo 5.15.2 (thử va đập vuông góc đối với vật phóng) vật phóng dạng mũi tên phải không có các cạnh sắc nguy hiểm hoặc đầu nhọn nguy hiểm và phải tiếp tục đáp ứng các yêu cầu của 4.18.4 (vật phóng không có năng lượng dự trữ).
Vật phóng dạng mũi tên phải
a) có mũ, chụp hoặc đầu bảo vệ được gắn liền với phần đầu phía trước của thanh hoặc
b) có đầu được làm cùn và gắn với mũ, chụp hoặc đầu bảo vệ, hoặc
c) được làm bằng vật liệu đàn hồi, trừ khi nó dựa vào lực từ tính.
Sau khi thử theo 5.24.5 (thử xoắn) và theo 5.24.6.4 (thử kéo cho các chi tiết bảo vệ) vật phóng ở dạng mũi tên có mũ, chụp hoặc đầu bảo vệ phải phù hợp với ít nhất một trong các yêu cầu sau:
- mũ, chụp hoặc đầu bảo vệ không được rời ra khỏi vật phóng, hoặc
- nếu mũ, chụp hoặc đầu bảo vệ bị rời ra khỏi vật phóng thì vật phóng không thể được phóng ra bằng cơ cấu phóng đã định, hoặc
- nếu vật phóng được làm bằng vật liệu đàn hồi nó phải tiếp tục có động năng tối đa trên đơn vị diện tích không lớn hơn 2500 J/m2 khi xác định theo 5.15.1.3.3 (xác định động năng trên đơn vị diện tích tiếp xúc).
4.19 Phần quay (rotor) và cánh quạt
Xem E.33.
Các yêu cầu này không áp dụng cho:
- phần quay và cánh quạt thông thường sẽ quay theo phương thẳng đứng, ví dụ cánh quạt trên đồ chơi máy bay hoặc một số đồ chơi bay sử dụng điều khiển, hoặc
- phần quay và cánh quạt trên vật phóng có khoảng phóng tối đa nhỏ hơn hoặc bằng 300 mm khi xác định theo 5.35 (xác định khoảng phóng).
phần quay và cánh quạt được cung cấp năng lượng bằng điện, lò xo hoặc quán tính và bay tự do phải được thiết kế để giảm thiểu các nguy cơ gây ra thương tích bởi cánh của nó. Ví dụ, có thể bằng cách kết hợp bởi một hoặc nhiều yêu cầu sau:
a) thiết kế của phần quay và cánh quạt phải ngăn chặn sự tiếp cận với các mép sắc trong quá trình vận hành;
b) các mép sắc phải được "gắn khớp” hoặc gắn lỏng với phần quay sao cho các đầu cánh không được cung cấp năng lượng trực tiếp bởi phần quay;
c) phần quay và cánh quạt phải được thiết kế sao cho mép/cạnh dẫn được bảo vệ bởi vật liệu đàn hồi.
Ví dụ về thiết kế đạt được các điều kiện này nêu trong Hình E.2.
4.20 Đồ chơi dưới nước
Xem E.34.
Tất cả các đầu để thổi không khí vào của đồ chơi dưới nước có thể làm phồng phải có van một chiều có nút đậy được gắn cố định vào đồ chơi.
Khi đồ chơi được làm phồng thì nút đậy phải có khả năng ấn được vào bên trong đồ chơi sao cho nó không nhô ra khỏi bề mặt của đồ chơi quá 5 mm.
Các thông tin hay hình ảnh quảng cáo cho đồ chơi này không được ám chỉ hay ngụ ý rằng trẻ sẽ an toàn với các đồ chơi loại này mà không cần phải được giám sát.
Đồ chơi dưới nước phải có lời cảnh báo theo B.2.6. (đồ chơi dưới nước).
4.21 Phanh
Xem E.35.
Các yêu cầu về phanh đối với đồ chơi như sau.
a) Đồ chơi do trẻ lái chạy bằng cơ hay bằng điện có cơ cấu bánh quay tự do xác định theo 5.16.1 (xác định cơ cấu bánh quay tự do)
- phải có một cơ cấu phanh;
- khi thử theo 5.16.2 (tính năng phanh của đồ chơi do trẻ lái chạy bằng cơ hoặc bằng điện khác với xe đạp đồ chơi), đồ chơi phải không được di chuyển quá 5 cm;
- đối với các đồ chơi có khối lượng lớn hơn hoặc bằng 30 kg thì phải khoá được phanh (phanh tay).
b) Đồ chơi do trẻ lái chạy bằng điện phải được vận hành bằng một công tắc và khi tắt công tắc thì điện được ngắt tự động mà không làm lật nghiêng đồ chơi. Khi phanh thì bánh lái phải được cắt điện tự động.
Các yêu cầu về phanh nêu tại 4.21 a) và 4.21 b) không áp dụng cho:
- đồ chơi mà khi chơi, tay hoặc chân tạo ra lực chuyển động cho bánh lái hoặc các bánh xe dẫn động thông qua truyền động trực tiếp (ví dụ: ô tô đạp chân, xe đạp ba bánh);
- đồ chơi do trẻ lái chạy bằng điện với vận tốc không tải tối đa là 1 m/s, có chiều cao chỗ ngồi nhỏ hơn 300 mm và chân của trẻ được tự do không bị vướng;
- xe đạp đồ chơi (xem 4.22.3, yêu cầu phanh).
4.22 Xe đạp đồ chơi
Xem 4.13.3 và E.36.
4.22.1 Hướng dẫn sử dụng
Xe đạp đồ chơi phải có kèm theo hướng dẫn lắp ráp và bảo dưỡng. Phải lưu ý các bậc cha mẹ hoặc người chăm sóc trẻ về các nguy hiểm tiềm ẩn và những điều cần lưu ý khi sử dụng xe đạp đồ chơi (xem hướng dẫn tại B.2.17).
CHÚ THÍCH Các yêu cầu cho xe đạp có chiều cao yên tối đa từ 435 mm đến 635 mm được quy định trong ISO 8098.
4.22.2 Xác định chiều cao yên tối đa
Cọc yên phải có vạch khắc cố định chi rõ độ sâu tối thiểu mà cọc yên phải lồng vào khung xe. Vạch khắc này phải được đánh dấu ở vị trí tương đương hoặc lớn hơn hai lần rưỡi đường kính của cọc tính từ phần đáy có tiết diện tròn của cọc và không được ảnh hưởng đến độ bền của cọc yên.
4.22.3 Yêu cầu đối với phanh
Xe đạp đồ chơi có cơ cấu bánh quay tự do xác định theo 5.16.1 (xác định cơ cấu bánh quay tự do) phải được trang bị một hệ thống phanh tác động lên bánh sau.
Đối với phanh tay, kích thước của cần phanh d đo từ điểm giữa của cần như trong Hình 14 không được vượt quá 60 mm. Phạm vi điều chỉnh của cần có thể điều chỉnh phải đảm bảo để đạt được kích thước này. Chiều dài của cần phanh / phải lớn hơn hoặc bằng 80 mm.
Khi thử theo 5.16.3 (tính năng phanh của xe đạp đồ chơi) đồ chơi không được di chuyển quá 5 cm.
Kích thước tính bằng milimét

CHÚ DẪN
1 Kích thước cần phanh, d
2 Điểm giữa của cần phanh
3 Chiều dài cần phanh, l
4 Trục xoay
Hình 21 - Kích thước cần phanh tay
4.23 Giới hạn tốc độ của đồ chơi do trẻ lái chạy bằng điện
Xem E.37.
Đồ chơi do trẻ lái chạy bằng điện phải có vận tốc tối đa là 8 km/h khi thử theo 5.17 (xác định tác độ của đồ chơi do trẻ lái chạy bằng điện).
4.24 Đồ chơi có chứa nguồn nhiệt
Các yêu cầu này không áp dụng cho các đèn đốt trong các bộ thí nghiệm hoá học hoặc các bộ dụng cụ thí nghiệm liên quan, bóng đèn và sản phẩm tương tự.
Khi thử theo 5.18 (xác định sự tăng nhiệt độ):
a) đồ chơi có chứa nguồn nhiệt không được bốc cháy khi sử dụng ở công suất tối đa;
b) sự tăng nhiệt độ của các tay cầm, tay nắm và các bộ phận tương tự mà tay có thể chạm vào không được vượt các giá trị sau:
- phần bằng kim loại 25 K
- phần bằng thủy tinh hoặc sứ 30 K
- phần bằng chất dẻo hoặc gỗ 35 K
c) sự tăng nhiệt độ của các phần có thể tiếp xúc được khác của đồ chơi không được vượt quá các giá trị sau:
- phần bằng kim loại 45 K
- phần bằng các vật liệu khác 55 K
CHÚ THÍCH Sự chênh lệch nhiệt độ 1K tương đương với sự chênh lệch nhiệt độ 1°C.
4.25 Đồ chơi chứa chất lỏng
Xem E.38.
Trong quá trình thử các phép thử có liên quan theo Điều 5 (phương pháp thử), đồ chơi có chứa chất lỏng không tiếp xúc được phải được thử theo 5.19 (sự rò rỉ của các đồ chơi có chứa chất lỏng) và phải không được có bất kỳ sự rò rỉ nào của các chất ở bên trong đồ chơi vì sự rò rỉ này sẽ gây ra các nguy cơ tiềm ẩn.
Đồ ngậm, nhai có chứa chất lỏng và đồ chơi nhai có chứa chất lỏng phải được ghi nhãn với cảnh báo không được đặt chúng vào trong ngăn đá (xem B.3.5, đồ ngậm, nhai có chứa chất lỏng và đồ chơi nhai có chứa chất lỏng).
4.26 Đồ chơi kích hoạt bằng miệng
Xem E.39.
Đồ chơi kích hoạt bằng miệng phải phù hợp với các yêu cầu sau:
a) Đồ chơi kích hoạt bằng miệng và các chi tiết ngậm vào miệng có thể tháo rời được của chúng không được lọt hoàn toàn vào ống trụ để thử các chi tiết nhỏ khi thử theo 5.2 (thử các chi tiết nhỏ).
b) Các chi tiết chi tiết ngậm vào miệng không tháo rời được của đồ chơi kích hoạt bằng miệng nếu bị rời ra khi thử theo 5.24.5 (thử xoắn) và 5.24.6.1 (thử kéo - quy định chung) thì các chi tiết này không được lọt hoàn toàn vào ống trụ để thử các chi tiết nhỏ khi thử theo 5.2 (thử các chi tiết nhỏ).
c) Các đồ chơi kích hoạt bằng miệng có chứa các chi tiết rời như quả cầu trong cái còi hoặc lưỡi gà trong bộ phận tạo âm thanh, khi thử theo 5.20 (độ bền của các đồ chơi kích hoạt bằng miệng), thì không được có bất kỳ chi tiết nào bị rời ra mà lọt hoàn toàn vào ống trụ để thử các chi tiết nhỏ khi thử theo 5.2 (thử các chi tiết nhỏ).
d) Các chi tiết ngậm vào miệng có thể hoặc không thể tháo rời, được gắn với các bóng bay, phải phù hợp với các yêu cầu tại 4.26 a) và 4.26 b) (xem 4.5.6, bóng bay).
4.27 Đồ chơi giày trượt, giày trượt có các bánh xe thẳng hàng và ván trượt
Đồ chơi giày trượt, giày trượt có các bánh xe thẳng hàng và ván trượt là các sản phẩm được thiết kế dành cho trẻ có cân nặng tối đa là 20kg.
Đồ chơi giày trượt, giày trượt có các bánh xe thẳng hàng và ván trượt đồ chơi phải có lời cảnh báo là nên mang thiết bị bảo vệ và sản phẩm này được thiết kế cho trẻ có cân nặng tối đa là 20kg (xem hướng dẫn tại B.2.14, đồ chơi giày trượt, giày trượt có bánh xe thẳng hàng và ván trượt).
4.28 Ngòi nổ
Xem E.40.
Khi sử dụng một cách hợp lý theo dự kiến, ngòi nổ được thiết kế đặc biệt để sử dụng trong đồ chơi phải không tạo ra ngọn lửa, các phần quá chói sáng hoặc các mảnh vụn khác có nguy cơ gây chấn thương mắt.
Bao gói của ngòi nổ phải có lời cảnh báo (xem hướng dẫn tại B.2.18, ngòi nổ).
4.29 Các yêu cầu về độ ồn
Xem E.42.
Khi thử theo 5.25 (xác định mức áp suất âm) các đồ chơi được thiết kế để phát ra âm thanh phải phù hợp với các yêu cầu sau.
a) Mức áp suất âm tương đương phát trọng số A, LpAtđ, của âm thanh liên tục tạo ra bởi các đồ chơi để gần tai không được vượt quá 65 dB.
b) Mức áp suất âm tương đương phát trọng số A, LpAtđ (mức áp suất âm trọng số A tối đa LpAmax, đối với các phép thử "đi qua") của âm thanh liên tục tạo ra bởi tất cả các đồ chơi khác, loại trừ đồ chơi để gần tai không được vượt quá 85 dB.
c) Mức áp suất âm đỉnh phát trọng số C, LpCđỉnh, của âm thanh xung tạo ra bởi đồ chơi để gần tai không được vượt quá 95 dB.
d) Mức áp suất âm đỉnh phát trọng số C, LpCđỉnh, của âm thanh xung tạo ra bởi đồ chơi bất kỳ trừ các đồ chơi tạo tiếng nổ (ví dụ ngòi nổ) không được vượt quá 115 dB.
e) Mức áp suất âm đỉnh phát trọng số C, LpC đỉnh, của âm thanh xung tạo ra bởi đồ chơi sử dụng các ngòi nổ hoặc các đồ chơi tạo tiếng nổ khác không được vượt quá 125 dB.
f) Nếu áp suất âm đỉnh phát trọng số C, LpC đỉnh, của âm thanh xung tạo ra bởi đồ chơi sử dụng ngòi nổ hoặc các đồ chơi tạo tiếng nổ khác vượt quá 115 dB thì phải lưu ý người sử dụng về nguy hiểm tiềm ẩn đối với thính giác (xem B.2.19).
Các yêu cầu này không áp dụng cho:
- đồ chơi được kích hoạt bằng miệng, nghĩa là đồ chơi mà mức ồn của chúng được xác định bằng việc thổi của trẻ (ví dụ còi và các nhạc cụ mô phỏng như kèn trompet, sáo);
- đồ chơi do trẻ kích hoạt, nghĩa là đồ chơi mà mức ồn của chúng được xác định bằng tác động cơ bắp của trẻ [ví dụ đàn phiến gỗ (xylophon), chuông, trống, đồ chơi bóp]. Yêu cầu về áp suất âm liên tục không áp dụng cho lúc lắc; tuy nhiên, lúc lắc là đối tượng của yêu cầu áp suất âm thanh xung;
- Radio, thiết bị mở băng, thiết bị mở CD và các đồ chơi điện tử tương tự khác.
- Đồ chơi được nối hoặc kết nối với các thiết bị bên ngoài (ví dụ tivi, máy tính) mà mức áp suất âm được xác định bởi thiết bị bên ngoài này.
- Âm thanh phát ra từ tai nghe/ống nghe.
4.30 Xe scooter đồ chơi
Xem E.44.
4.30.1 Quy định chung
Với mục đích của tiêu chuẩn này, xe scooter đồ chơi được chia thành hai nhóm:
- xe dành cho trẻ có cân nặng nhỏ hơn hoặc bằng 20 kg;
- xe dành cho trẻ có cân nặng từ 20 kg đến 50 kg.
Bên cạnh các yêu cầu có liên quan trong các điều nhỏ thuộc Điều 4 (yêu cầu), xe scooter đồ chơi phải tuân theo các yêu cầu nêu tại 4.30.
4.30.2 Cảnh báo và hướng dẫn sử dụng
Xe scooter đồ chơi phải có lời cảnh báo và chỉ báo liên quan đến khối lượng của trẻ có thể sử dụng đồ chơi. Xe cũng phải có kèm theo hướng dẫn sử dụng và các điều cần lưu ý. Các nguy hiểm tiềm ẩn khi lái xe scooter đồ chơi cũng phải được đưa ra để lưu ý cha mẹ hoặc người chăm nom (xem B.2.20, xe scooter đồ chơi).
4.30.3 Độ bền
Khi thử theo 5.26 [độ bền tĩnh của xe scooter đồ chơi] và 5.27 [độ bền động của xe scooter đồ chơi)], xe scooter đồ chơi phải không được:
- tạo ra các cạnh sắc nguy hiểm tiếp xúc được (xem 5.8, thử cạnh sắc);
- tạo ra các đầu nhọn nguy hiểm tiếp xúc được (xem 5.9, thử đầu nhọn);
- làm cho các cơ cấu truyền động có nguy cơ gây kẹp ngón tay, ngón chân hoặc các bộ phận khác của cơ thể trở thành tiếp xúc được;
- bị sập xuống và do đó không còn tiếp tục phù hợp với các yêu cầu có liên quan của tiêu chuẩn.
Khi thử theo 5.29 (độ bền của trục tay lái xe scooter đồ chơi);
- trục tay lái không được bị sập xuống và do đó không còn tiếp tục phù hợp với các yêu cầu có liên quan của tiêu chuẩn này;
- trục tay lái không được tách thành hai hoặc nhiều phần;
- các cơ cấu khoá không bị hỏng hoặc rời ra.
4.30.4 Độ ổn định
Khi khoảng cách giữa các tâm của bánh xe ngoài cùng lớn hơn 150 mm, (xe scooter đồ chơi) có ba bánh xe hoặc nhiều hơn không được bị đổ khi thử với tải trọng 50 kg theo 5.12.2 (thử tính ổn định ở phía hai mặt bên, trẻ có thể giữ ổn định bằng chân).
4.30.5 Tay cầm và trục tay lái điều chỉnh và gấp được
Các yêu cầu đối với trục tay lái và tay cầm điều chỉnh và gấp được như sau.
a) Để tránh việc bị thay đổi đột ngột về chiều cao, trục tay lái có chiều cao điều chỉnh được phải
- chỉ có thể điều chỉnh được khi sử dụng dụng cụ, hoặc
- có ít nhất một cơ cấu khóa chính và một cơ cấu khóa phụ, trong đó ít nhất một cơ cấu khóa phải khóa tự động khi chiều cao được điều chỉnh.
b) Trục tay lái phải không bị rời ra khi không có chủ định.
c) Trục tay lái loại gấp được phải có cơ cấu khóa trên cơ cấu gấp.
d) Nếu có thể đưa que dò 5 mm vào khoảng trống giữa các bộ phận chuyển động có thể làm các ngón tay bị thương thì cũng phải đưa được que dò 12 mm vào khoảng trống này.
e) Phải không đưa được que dò 5 mm vào giữa các khoảng hở tiếp xúc được trong các bộ phận chuyển động có thể làm kẹp ngón tay, ngón chân.
f) Tay cầm phải không được tách rời làm hai hoặc nhiều phần khi thử theo 5.30 (thử độ bền tách rời của tay cầm).
4.30.6 Phanh
Không yêu cầu có hệ thống phanh đối với xe scooter đồ chơi có dán nhãn dành cho trẻ có cân nặng nhỏ hơn hoặc bằng 20 kg.
Các loại xe scooter đồ chơi khác phải có ít nhất một hệ thống phanh tác động lên bánh sau và hệ thống phanh này phải làm giảm tốc dộ một cách hiệu quả, từ từ và không làm xe bị dừng đột ngột.
Khi thử theo 5.28 (thử phanh của xe scooter đồ chơi) thì lực cần thiết để giữ xe scooter đồ chơi trên mặt phẳng nghiêng phải nhỏ hơn 50 N.
4.30.7 Kích thước bánh xe
Đường kính (các) bánh trước của xe scooter đồ chơi phải lớn hơn hoặc bằng 120 mm.
4.30.8 Các chi tiết nhô ra
Xem E.13.
Phải có các đầu chụp tròn hoặc các nút bịt bằng vật liệu đàn hồi ở các đầu tay cầm của xe scooter đồ chơi. Các đầu chụp bảo vệ và nút bịt này phải có đường kính lớn hơn hoặc bằng 40 mm khi được đo ở vị trí nhỏ hơn hoặc bằng 20 mm tính từ phần đầu của đầu chụp hoặc nút bịt.
4.31 Nam châm và chi tiết có từ tính
Xem E.45.
Các yêu cầu trong 4.31.1 và 4.31.2 không áp dụng cho nam châm chức năng trong các chi tiết bằng điện hoặc điện tử của đồ chơi.
4.31.1 Bộ thực nghiệm có từ tính/điện dành cho trẻ lớn hơn hoặc bằng 8 tuổi
Bộ thực nghiệm có từ tính/điện dành cho trẻ lớn hơn hoặc bằng 8 tuổi có chứa các chi tiết từ tính phải có cảnh báo (xem B.2.21, bộ thực nghiệm có từ tính/điện dành cho trẻ lớn hơn hoặc bằng 8 tuổi), nếu chúng:
- có chỉ số từ thông bằng hoặc lớn hơn 50 kG2mm2 (0,5 T2mm2) khi thử theo 5.32 (chỉ số từ thông) và
- lọt hoàn toàn vào ống trụ khi thử theo 5.2 (thử các chi tiết nhỏ).
CHÚ THÍCH Các yêu cầu cho bộ thực nghiệm từ tính/điện dành cho trẻ lớn hơn 8 tuổi được nêu trong 4.31.2 (tất cả các đồ chơi có nam châm và chi tiết có từ tính).
4.31.2 Tất cả các đồ chơi có nam châm và chi tiết có từ tính
a) Nam châm và chi tiết có từ tính bất kỳ phải có chỉ số từ thông nhỏ hơn 50 kG2mm2 (0,5 T2mm2) khi thử theo 5.32 (chỉ số từ thông) hoặc không được lọt hoàn toàn vào ống trụ khi thử theo 5.2 (thử các chi tiết nhỏ).
b) Đồ chơi gỗ, đồ chơi sử dụng trong nước và chi tiết ngậm vào miệng của đồ chơi kích hoạt bằng miệng có nam châm và chi tiết từ tính phải được thử theo 5.34 (phép thử ngâm nam châm) trước khi thử theo 4.31.2 c).
c) Các phép thử sau phải được thực hiện theo thứ tự quy định trên tất cả các chi tiết có từ tính. Các chi tiết được sử dụng cho phép thử này phải không trải qua phép thử sử dụng thông thường và sử dụng sai có thể dự đoán trước do hành vi thông thường của trẻ. Nam châm và chi tiết có từ tính bất kỳ khi được giải phóng ra khỏi đồ chơi hoặc từ chi tiết có từ tính khi được thử theo các điều dưới đây phải có chỉ số từ thông nhỏ hơn 50 kG2mm2 (0,5 T2mm2) khi thử theo 5.32 hoặc không được lọt qua ống trụ khi thử theo 5.2.
- 5.31 (thử kéo nam châm);
- 5.24.2 (thử rơi) hoặc nếu có áp dụng, 5.24.3 (thử lật đối với đồ chơi lớn và cồng kềnh);
- 5.24.5 (thử xoắn);
- 5.24.26.1 (thử kéo, quy trình chung)
- 5.24.6.2 (thử kéo đối với đường may trong đồ chơi nhồi mềm, đồ chơi nhồi bằng hạt và các đồ chơi nhồi tương tự], nếu có;
- 5.33 (thử va đập nam châm);
- 5.24.7 (thử nén), đối với nam châm có thể tiếp xúc nhưng không thể dùng các ngón tay để kéo ra (như quy định trong 5.24.6.1);
- 5.31 (thử kéo nam châm).
CHÚ THÍCH 1 Ví dụ về chi tiết có từ tính là các thanh có kích thước hoặc hình dáng khác nhau có chứa nam châm.
CHÚ THÍCH 2 Nếu đồ chơi chứa một nam châm, chi tiết giữ nam châm được coi là một chi tiết đơn nhất.
CHÚ THÍCH 3 Ví dụ về một nam châm có thể tiếp xúc nhưng không thể dừng các ngón tay để kéo ra được là nam châm được gắn vào một hốc nhỏ.
5 Phương pháp thử
5.1 Quy định chung
Các phương pháp thử quy định trong Điều 5 được sử dụng để xác định sự phù hợp của đồ chơi với các yêu cầu trong tiêu chuẩn này.
Các phép thử từ 5.2 (thử chi tiết nhỏ) đến 5.23 (đồ chơi có thể giặt) áp dụng cho một số loại đồ chơi cụ thể nêu tại Điều 4 (yêu cầu).
Mục tiêu của các phép thử nêu tại 5.24 (thử sử dụng sai có thể dự đoán trước do hành vi thông thường của trẻ) mô phỏng việc sử dụng sai có thể dự đoán trước do hành vi thông thường của trẻ và những hư hỏng có thể xảy ra cho đồ chơi. Các phương pháp thử này được sử dụng để kiểm tra xem có các nguy cơ tiềm ẩn do việc sử dụng sai có thể dự đoán trước do hành vi thông thường của trẻ và do các hư hỏng của đồ chơi gây ra hay không.
Một số phương pháp thử đã được xây dựng cho các lứa tuổi
- từ khi mới sinh đến dưới 18 tháng tuổi;
- từ 18 tháng tuổi đến dưới 36 tháng tuổi;
- từ 36 tháng tuổi đến dưới 96 tháng tuổi.
Nếu tuổi sử dụng đồ chơi được ghi nhãn, dán nhãn, quảng cáo hoặc bằng cách khác chỉ ra là dành cho trẻ em của nhiều hơn một nhóm tuổi thì đồ chơi phải được thử theo các yêu cầu thử nghiêm ngặt nhất.
Nếu trên đồ chơi hoặc bao gói không quy định nhóm tuổi sử dụng một cách rõ ràng, hoặc (do những yếu tố như việc tiếp thị hay do cách dùng đồ chơi thông thường của trẻ em) việc quy định nhóm tuổi là không thích hợp và đồ chơi được dành cho hoặc thích hợp với trẻ em nhỏ hơn và bằng 96 tháng tuổi thì khi đó đồ chơi cũng sẽ được thử theo các yêu cầu thử nghiêm ngặt nhất.
Nếu trong một phép thử đồ chơi bị ảnh hưởng đáng kể, ví dụ như bởi ngàm kẹp hoặc một thiết bị thử tương tự, thì các phép thử tiếp theo phải được tiến hành trên một đồ chơi mới.
Ngoài ra, trừ khi trong phép thử quy định rõ, trước khi thử phải điều hoà mẫu ở nhiệt độ (21 ± 5) °C trong ít nhất 4 h. Những đồ chơi bằng vật liệu dệt hoặc những đồ chơi nhồi mềm (đồ chơi nhồi) bằng vật liệu dệt phải được điều hoà ở nhiệt độ (21 ± 5) °C và độ ẩm tương đối (65 ± 10) % trong ít nhất 4 h. Phép thử phải được bắt đầu trong vòng 5 min kể từ khi đồ chơi được lấy ra khỏi môi trường điều hoà sơ bộ.
Những đồ chơi phải do người lớn lắp ráp và không nhằm mục đích để cho trẻ em tháo ra phải được thử ở tình trạng đã được lắp ráp nếu trên bao bì và hướng dẫn lắp ráp ghi rõ rằng đồ chơi chỉ được lắp ráp bởi người lớn.
Trong trường hợp một quy trình thử có thể được áp dụng theo nhiều cách đối với một chi tiết thử của đồ chơi thì phải sử dụng lực (hoặc mômen) tại vị trí (hoặc hướng) sẽ gây ra những tác động xấu nhất.
5.2 Thử các chi tiết nhỏ
Xem 4.3.2 (vật liệu giãn nở), 4.4 (chi tiết nhỏ), 4.18.3 (đồ chơi phóng có năng lượng dự trữ), và 4.26 (đồ chơi kích hoạt bằng miệng) và 4.31 (nam châm và chi tiết có từ tính).
Đặt nhưng không được ấn đồ chơi vào một ống trụ như trong Hình 22 theo mọi chiều của đồ chơi.
Lặp lại quy trình này với chi tiết bất kỳ có thể tháo rời nào của đồ chơi và phần bất kỳ bị rời ra sau khi thử theo 5.24 (phép thử việc sử dụng sai có thể dự đoán trước do hành vi thông thường của trẻ). Lặp lại quy trình sau khi thử theo 5.24 chỉ áp dụng được nếu được quy định bởi yêu cầu tương ứng trong Điều 4 (yêu cầu).
Xác định xem đồ chơi hoặc các chi tiết có thể tháo rời hoặc bị rời ra có lọt hoàn toàn vào trong ống trụ không.
Kích thước tính bằng milimét

Hình 22 - Ống trụ để thử các chi tiết nhỏ
5.3 Thử hình dạng và kích cỡ của một số loại đồ chơi
Xem 4.5.1 (đồ chơi bóp, lúc lắc, chi tiết lắp xiết và một số đồ chơi khác và chi tiết của đồ chơi).
Đặt và kẹp dưỡng thử A như chỉ ra tại Hình 23 sao cho trục của khe hở thẳng đứng và khe hở không bị vướng cả ở phía trên và phía dưới.
Đặt đồ chơi cần thử theo cách sao cho khả năng nó nhô ra khỏi khe hở ở phía đáy của dưỡng thử là lớn nhất. Đặt đồ chơi vào khe hở theo cách này sao cho lực duy nhất tác dụng lên đồ chơi là lực tạo ra bởi chính khối lượng của nó.
Xác định xem có chi tiết nào của đồ chơi nhô ra khỏi đáy của dưỡng thử hay không.
Lặp lại quy trình nêu trên đối với các đồ chơi có đầu gần như hình cầu, bán cầu hoặc đầu hình tròn loe ra bằng cách sử dụng dưỡng thử B như chỉ ra tại Hình 24, trừ khi chỉ các đầu hình cầu. bán cầu, hình trụ loe hoặc hình vòm nhô ra đáy của dưỡng thử này.
Kích thước tính bằng milimét
|
|
|
| Hình 23 - Dưỡng thử A | Hình 24 - Dưỡng thử B |
5.4 Thử các quả bóng nhỏ
Xem 4.5.2 (bóng nhỏ) và 4.18.2 (vật phóng).
Đặt và kẹp dưỡng thử C như ở Hình 25 sao cho trục của khe hở thẳng đứng và khe hở không bị vướng cả ở phía trên và phía dưới.
Đặt quả bóng cần thử theo cách sao cho khả năng nó lọt qua khe hở của dưỡng thử là lớn nhất. Đặt quả bóng vào khe hở sao cho lực duy nhất tác dụng lên đồ chơi là lực tạo bởi chính khối lượng của nó.
Xác định xem quả bóng có lọt hoàn toàn qua dưỡng thử hay không.
Kích thước tính bằng milimét

Hình 25 - Dưỡng thử C
5.5 Thử quả len
Xem 4.5.3 (quả len).
Đặt và kẹp dưỡng thử C như chỉ ra tại Hình 25 sao cho trục của khe hở thẳng đứng và khe hở không bị vướng cả ở phía trên và phía dưới.
Đặt quả len cần thử theo cách sao cho khả năng quả len lọt qua khe hở của dưỡng thử là lớn nhất, đưa các đầu sợi tự do của quả len vào dưỡng thử trước. Đặt quả len vào khe hở sao cho lực duy nhất tác dụng lên đồ chơi là lực tạo bởi chính khối lượng của nó.
Xác định xem quả len có lọt hoàn toàn qua dưỡng thử hay không.
5.6 Thử đồ chơi hình người
Xem 4.5.4 (đồ chơi hình người).
Đặt và kẹp dưỡng thử B như nêu tại Hình 24 sao cho trục của khe hở thẳng đứng và khe hở không bị vướng cả ở phía trên và phía dưới.
Đặt đồ chơi cần thử theo cách sao cho khả năng phần đầu tròn nhô ra khỏi phía đáy của dưỡng thử là lớn nhất. Đặt đồ chơi vào khe hở sao cho lực duy nhất tác dụng lên đồ chơi là lực tạo ra bởi chính khối lượng của nó.
Xác định xem phần đầu tròn có nhô ra khỏi đáy của dưỡng thử hay không.
5.7 Thử khả năng tiếp xúc được của một phần hoặc một chi tiết
Xem 4.6 (cạnh), 4.7 (đầu), 4.13 (lỗ, khe hở và khả năng tiếp xúc được của cơ cấu) và 4.14 (lò xo)
5.7.1 Nguyên tắc
Dùng một dụng cụ dò có khớp nối để thử khả năng tiếp xúc được của một bộ phận hay chi tiết cần thử. Nếu bất kỳ phần nào ở phía trước vòng đai của dụng cụ dò tiếp xúc được với bộ phận hay chi tiết cần thử thì bộ phận hoặc chi tiết đó được coi là tiếp xúc được.
5.7.2 Thiết bị, dụng cụ
5.7.2.1 Dụng cụ dò khả năng tiếp xúc có khớp nối được làm bằng vật liệu cứng, như quy định trong Bảng 2 và minh họa trong Hình 26.
Sai số cho phép của các kích thước là ± 0,1 mm, trừ f và g có sai số cho phép là ± 1 mm.
Bảng 2 - Kích thước của dụng cụ dò khả năng tiếp xúc
| Tuổi sử dụng đồ chơi a | Dụng cụ dò | Kích thước b mm | ||||||
| a | b | c | d | e | f | g | ||
| Dưới 36 tháng tuổi | A | 2,8 | 5,6 | 25,9 | 14,7 | 44,0 | 25,4 | 464,3 |
| Từ 36 tháng tuổi trở lên | B | 4,3 | 8,6 | 38,4 | 19,3 | 57,9 | 38,1 | 451,6 |
| a Đối với đồ chơi dành cho trẻ thuộc cả hai nhóm tuổi thì phải sử dụng cả hai dụng cụ dò khả năng tiếp xúc. b Xem Hình 26. | ||||||||
Kích thước tính bằng milimét

CHÚ DẪN
| 1 | Điểm chốt xoay |
| 2 | Bán kính đầu bán cầu (a) |
| 3 | Vòng đai |
| 4 | Phần nối dài |
Hình 26 - Dụng cụ dò khả năng tiếp xúc
5.7.3 Cách tiến hành
Tháo tất cả các chi tiết có thể tháo rời ra khỏi đồ chơi theo thiết kế mà không cần sử dụng dụng cụ.
Khi có một dụng cụ đi kèm với đồ chơi thì tất cả các chi tiết có thể tháo rời khỏi đồ chơi bằng dụng cụ này phải được tháo ra.
Từ từ đưa dụng cụ dò có khớp nối tương ứng đến bộ phận hoặc chi tiết cần thử của đồ chơi theo cách thích hợp như mô tả từ 5.7.3 a) đến 5.7.3 c). Mỗi khớp nối của dụng cụ dò có thể xoay đến 90° để mô phỏng chuyển động của đốt ngón tay. Nếu cần thiết thì xoay dụng cụ dò tại các khớp nối của nó để thử khả năng tiếp xúc với bộ phận hoặc chi tiết cần thử của đồ chơi.
CHÚ THÍCH 1 Khi bộ phận là một đầu nhọn nằm kề với một mặt phẳng và khe hở giữa đầu nhọn và mặt phẳng nhỏ hơn hoặc bằng 0,5 mm thì đầu nhọn đó được coi là không thể tiếp xúc được và không cần tiến hành phép thử quy định tại 5.7.3 b).
a) Đối với các khe, lỗ hoặc khe hở khác có kích thước nhỏ nhất (xem Chú thích 2) nhỏ hơn đường kính vòng đai của dụng cụ dò tương ứng thì đưa dụng cụ dò vào cho đến khi chạm đến tận vòng đai của dụng cụ dò.
CHÚ THÍCH 2 Kích thước nhỏ nhất của một khe hở là đường kính của khối cầu lớn nhất có thể đi qua khe hở đó.
b) Đối với các khe, lỗ hoặc khe hở khác có kích thước nhỏ nhất lớn hơn đường kính vòng đai của dụng cụ dò A nhưng nhỏ hơn 187 mm khi sử dụng dụng cụ dò A, hoặc kích thước nhỏ nhất lớn hơn đường kính vòng đai của dụng cụ dò B nhưng nhỏ hơn 230 mm khi sử dụng dụng cụ dò B thì xác định chiều sâu để dò khả năng tiếp xúc được bằng cách đưa dụng cụ dò tương ứng với phần nối dài như ở Hình 26 theo mọi hướng với chiều sâu dò gấp 2,25 lần kích thước nhỏ nhất của khe, lỗ hoặc khe hở tính từ điểm bất kỳ trên mặt phẳng của khe hở đó.
c) Đối với các khe, lỗ hoặc khe hở khác có kích thước nhỏ nhất lớn hơn hoặc bằng 187 mm khi sử dụng dụng cụ dò A hoặc kích thước nhỏ nhất lớn hơn hoặc bằng 230 mm khi sử dụng dụng cụ dò B thì chiều sâu để dò khả năng tiếp xúc được là không giới hạn, trừ trường hợp lại có các khe, lỗ hoặc khe hở khác nằm trong các khe, lỗ hoặc khe hở ban đầu có kích thước phù hợp với các kích thước nêu ở a) hoặc b) của điều này; trong trường hợp này thử tiếp theo 5.7.3 a) hoặc 5.7.3 b) tương ứng. Nếu cả hai dụng cụ dò được sử dụng thì kích thước nhỏ nhất lớn hơn hoặc bằng 187 mm sẽ được dùng để xác định chiều sâu dò không giới hạn.
Xác định xem bộ phận hoặc chi tiết cần thử có thể tiếp xúc được bởi bất cứ phần nào ở phía trước vòng đai của dụng cụ dò hay không.
5.8 Thử cạnh sắc
Xem 4.6 (mép), 4.9 (dây và thanh bằng kim loại) và 4.30.3 (độ bền).
5.8.1 Nguyên tắc
Dính băng dính vào trục quay và quay một vòng 360° dọc theo cạnh tiếp xúc được cần thử. Kiểm tra chiều dài vết cắt trên băng dính.
5.8.2 Thiết bị, dụng cụ
Thiết bị, dụng cụ thử được minh họa tại Hình 27.
5.8.2.1 Trục quay, được làm bằng thép, có đường kính (9,53 ± 0,12) mm, bề mặt thử của trục không được có vết xước, vết khía hoặc bavia và có độ nhám bề mặt Ra ≤ 0,40 µm khi đo theo ISO 4287.
Bề mặt này phải có giá trị độ cứng Rockwell ≥ 40 HRC khi đo theo TCVN 257-1 (ISO 6508-1).
5.8.2.2 Thiết bị để làm quay trục quay và tác động lực lên trục quay, có khả năng làm quay trục quay với vận tốc tiếp tuyến không đổi là (23 ± 4) mm/s trong khoảng 75 % chuyển động ở đoạn giữa của hành trình 360° của nó, khởi động và dừng trục phải êm.
Dù thiết bị được thiết kế là loại xách tay hay để cố định, nó cũng phải có khả năng tác dụng một lực đến 6 N vuông góc với trục của trục quay.
5.8.2.3 Băng dính polytetrafluroetylen (PTFE) nhạy áp lực, có độ dày từ 0,066 mm đến 0,090 mm, chiều rộng ≥ 6 mm và lớp dính bằng polymer silicon nhạy áp lực có độ dày danh nghĩa là 0,08 mm.
Kích thước tính bằng milimét

CHÚ DẪN
| 1 | Dụng cụ, có thể di chuyển hoặc để cố định, tác dụng lực F đã biết và làm quay trục quay (xem 5.8.2.2) |
| 2 | Một lớp băng dính PTFE (xem 5.8.2.3) |
| 3 | Góc có thể thay đổi để xác định tình trạng xấu nhất (xem 5.8.3) |
| 4 | Trục quay |
| 5 | Cạnh cần thử |
Hình 27 - Dụng cụ thử cạnh sắc
5.8.3 Cách tiến hành
Phải chắc chắn rằng cạnh cần thử là cạnh tiếp xúc được theo phương pháp mô tả tại 5.7 (thử khả năng tiếp xúc được của một phần hoặc chi tiết).
Giữ đồ chơi sao cho cạnh tiếp xúc được không bị uốn cong hoặc di chuyển khi tác dụng lực vào trục quay. Phải đảm bảo rằng khoảng cách từ chỗ giữ đồ chơi đến cạnh cần thử không nhỏ hơn 15 mm.
Nếu một bộ phận của đồ chơi được lấy hoặc tháo ra để thử một cạnh riêng biệt và do vậy làm ảnh hưởng đến độ cứng của cạnh cần thử thì phải đỡ cạnh này sao cho độ cứng của nó xấp xỉ với độ cứng của cạnh trong đồ chơi được lắp ráp hoàn chỉnh.
Quấn một lớp băng dính (5.8.2.3, băng dính bằng polytetrafluoroethylen nhạy áp lực) xung quanh trục quay (5.8.2.1, trục quay) với một diện tích đủ để thực hiện phép thử.
Đặt trục quay đã quấn băng dính sao cho trục của nó tạo thành một góc (90 ± 5)° so với cạnh thẳng hoặc với tiếp tuyến tại điểm thử của một cạnh cong và băng dính tiếp xúc với phần sắc nhất của cạnh cần thử (có nghĩa là ở tình huống xấu nhất) khi trục quay được quay hết một vòng (xem Hình 25).
Tác động một lực F bằng(
) N vào trục quay cách phần đầu của băng dính 3 mm và quay trục quay 360° xung quanh trục của nó và áp vào cạnh cần thử sao cho không có chuyển động tương đối nào khác giữa trục và cạnh cần thử trong quá trình quay của trục quay. Nếu quá trình thử nghiệm này làm cho cạnh cần thử bị uốn cong thì tác động một lực tối đa mà không làm cạnh bị uốn cong.
Lấy băng dính ra khỏi trục quay mà không làm vết cắt trên băng dính bị rộng ra hoặc không làm vết rạch trên băng trở thành vết cắt. Đo chiều dài của băng dính đã tiếp xúc với cạnh trong quá trình thử. Đo chiều dài của băng dính bị cắt, bao gồm cả những vết cắt gián đoạn.
Tính tỷ lệ phần trăm chiều dài của băng dính đã bị cắt trong khi thử. Nếu tỷ lệ này lớn hơn 50 % chiều dài tiếp xúc thì cạnh đó được coi là cạnh sắc có nguy hiểm tiềm ẩn.
5.9 Thử đầu nhọn
Xem 4.7 (đầu), 4.9 (dây và thanh bằng kim loại) và 4.30.3 (độ bền).
5.9.1 Nguyên tắc
Lồng đầu nhọn tiếp xúc được vào trong một dụng cụ thử đầu nhọn và quan sát xem đầu nhọn này có xuyên vào trong dụng cụ thử một khoảng quy định hay không. Độ sâu xuyên được của đầu cần thử xác định độ nhọn. Nếu đầu nhọn có thể tiếp xúc được với đầu cảm ứng nằm ở vị trí cách đầu của nắp chụp một khoảng cách (0,38 ± 0,02) mm và làm cho đầu cảm ứng di chuyển hơn (0,12 ± 0,02) mm ứng với lực của lò xo phản hồi là (
) N, thì đầu này có thể được coi là nhọn tiềm ẩn.
5.9.2 Thiết bị, dụng cụ
5.9.2.1 Dụng cụ thử đầu nhọn, có khe đo nằm ở đầu nắp chụp của dụng cụ thử với hai kích thước chuẩn là chiều rộng (1,02 ± 0,02) mm và chiều dài (1,15 ± 0,02) mm, đầu cảm ứng nằm ngay ở đáy của khe đo, cách nắp chụp (0,38 ± 0.02) mm (như mô tả tại Hình 28).
Kích thước tính bằng milimét

CHÚ DẪN
| 1 | Khe đo | 7 | Vạch hiệu chuẩn |
| 2 | Nắp chụp | 8 | Vạch chia của micromet |
| 3 | Đầu cảm ứng | 9 | Pin khô R03 |
| 4 | Lò xo nén | 10 | Lò xo nối công tắc điện |
| 5 | Vòng khoá | 11 | Đèn chỉ thị và đai ốc có ren |
| 6 | Ống | 12 | Đầu nhọn cần thử |
| 13 Khe hở này được đóng kín khi đầu cần thử xuyên qua được khe đo và ấn đầu cảm ứng xuống 0,12 mm. Nhờ đó mạch điện được nối và đèn chỉ thị sáng lên, có nghĩa là đầu cần thử là đầu nhọn. | |||
Hình 28 - Dụng cụ thử đầu nhọn
5.9.3 Cách tiến hành
Phải biết chắc rằng đầu nhọn cần thử có thể tiếp xúc được theo phương pháp mô tả tại 5.7 (thử khả năng tiếp xúc được của một phần hoặc chi tiết).
Giữ đồ chơi cần thử sao cho đầu nhọn không di chuyển trong quá trình thử. Trong hầu hết các trường hợp sẽ không cần phải trực tiếp đỡ đầu nhọn, tuy nhiên nếu cần thiết, đỡ đầu nhọn tại điểm cách nó một khoảng không nhỏ hơn 6 mm.
Nếu một bộ phận của đồ chơi được tháo ra để thử một đầu nhọn riêng biệt và do vậy làm ảnh hưởng đến độ cứng của đầu nhọn cần thử thì phải đỡ đầu nhọn sao cho độ cứng của nó xấp xỉ với độ cứng của đầu nhọn trong đồ chơi được lắp hoàn chỉnh.
Điều chỉnh dụng cụ thử đầu nhọn (5.9.2.1, thiết bị thử đầu nhọn) bằng cách nới lỏng vòng khóa và xoay sao cho nó di chuyển về phía đèn chỉ thị một khoảng thích hợp để vạch hiệu chuẩn trên ống lộ ra. Xoay nắp đo theo chiều kim đồng hồ cho đến khi đèn chỉ thị sáng lên. Xoay nắp ngược chiều kim đồng hồ cho đến khi đầu cảm ứng di chuyển một khoảng (0,12 ± 0,02) mm từ vạch tiếp xúc với pin khô, như mô tả trong Hình 28.
CHÚ THÍCH Nếu trên nắp đo đã có các vạch chia micromet thì có thể xác định được khoảng cách này bằng cách xoay nắp ngược chiều kim đồng hồ cho đến khi vạch chia micromet tương ứng với vạch hiệu chuẩn. Khóa nắp đo tại vị trí này bằng cách xoay vòng khóa cho đến khi nó khớp chặt với nắp.
Đưa đầu nhọn cần thử vào khe đo theo hướng kém thuận lợi nhất và tác động một lực (4,5°-0,2 ) N để ấn lò xo xuống càng sâu càng tốt nhưng không để đầu nhọn cạo vào mép khe hoặc cố đẩy đầu nhọn qua khe. Nếu đầu nhọn được thử xuyên vào khe đo một khoảng lớn hơn hoặc bằng 0,5 mm làm cho đèn chỉ thị sáng lên và đầu nhọn vẫn giữ được hình dạng ban đầu của nó dưới tác dụng của lực (4,5o-0,2 ) N thì đầu thử này được coi là đầu nhọn có nguy hiểm tiềm ẩn.
5.10 Xác định độ dày của màng và tấm chất dẻo
5.10.1 Quy định chung
Xem 4.10 (màng chất dẻo hoặc túi bằng chất dẻo trong bao gói và trong đồ chơi).
Chuẩn bị các túi chất dẻo bằng cách cất dọc theo cạnh bên của túi làm bằng màng nhựa mỏng thành hai miếng, nhưng không căng túi ra.
5.10.2 Thiết bị, dụng cụ
Sử dụng dụng cụ có khả năng xác định độ dày chính xác đến 4 µm có các bề mặt đo phía trên và phía dưới phẳng, đường kính bằng (6 ± 1) mm và song song với nhau trong khoảng 5 µm, bề mặt được làm nhẵn và có thể tác dụng một lực nén bằng (0,75 ± 0,25) N.
5.10.3 Cách tiến hành
Điều hòa mẫu trong ít nhất 1h ở (21 ± 5) °C.
Đảm bảo rằng mẫu thử và các bề mặt của dụng cụ đo không bị nhiễm bẩn (ví dụ bụi).
Kiểm tra điểm zero của dụng cụ đo trước khi bắt đầu phép đo và kiểm tra lại sau mỗi lần đo.
Khi xác định độ dày, hạ thấp đế nhẹ nhàng để tránh làm biến dạng vật liệu.
Đo độ dày của một miếng bất kỳ tại 10 điểm cách đều nhau theo đường chéo của một diện tích mẫu bất kỳ có kích thước 100 mm x 100 mm.
Xác định xem độ dày của màng có phù hợp với các yêu cầu liên quan nêu tại 4.10 a) (màng chất dẻo hoặc túi chất dẻo trong bao gói và trong đồ chơi) hay không.
5.11 Thử dây
5.11.1 Xác định độ dày của dây
Xem 4.11.1 (dây và bộ phận điện trong đồ chơi dành cho trẻ dưới 18 tháng).
Kéo căng sợi dây với một lực là (25 ± 2) N.
Xác định độ dày của dây tại ba đến năm điểm dọc theo chiều dài của nó bằng một dụng cụ thích hợp có độ chính xác đến ± 0,1 mm. Đối với những dây nhỏ có độ dày đến 1,5 mm sử dụng phương pháp không nén để đo, ví dụ dùng một máy chiếu quang học.
Tính độ dày trung bình của dây.
Xác định xem độ dày có phù hợp với các yêu cầu nêu tại 4.11.1 hay không.
5.11.2 Dây kéo tự co
Xem 4.11.2 (dây kéo tự co trong đồ chơi dành cho trẻ dưới 18 tháng).
Dùng một ngàm kẹp thích hợp để kẹp đồ chơi sao cho dây thẳng đứng và đồ chơi ở vị trí thích hợp nhất để co lại. Kéo căng dây và buộc vào dây một tải trọng có khối lượng (
) kg.
Đối với dây đơn có đường kính nhỏ hơn 2 mm, buộc vào dây một tải trọng có khối lượng (
) kg.
Xác định xem dây có co lại một khoảng lớn hơn 6,4 mm hay không.
5.11.3 Điện trở của dây
Xem 4.11.7 (dây, dây bện và dây thép trong đồ chơi bay).
Điều hoà mẫu trong ít nhất 7h ở nhiệt độ (25 ± 3) °C và độ ẩm tương đối từ 50% đến 65% và tiến hành thử trong môi trường đó.
Xác định bằng một thiết bị thích hợp xem điện trở của dây có lớn hơn 108Ω/cm hay không.
5.12 Thử độ ổn định và sự quá tải
Xem 4.15 (yêu cầu độ ổn định và quá tải).
5.12.1 Quy định chung
Nếu đồ chơi được thiết kế để chịu được cân nặng của hai đứa trẻ trở lên tại cùng một thời điểm thì tiến hành thử đồng thời mỗi chỗ ngồi hoặc đứng.
5.12.2 Thử độ ổn định ở phía các mặt bên, trẻ có thể giữ ổn định bằng chân
Xem 4.15.1.1 (độ ổn định các mặt bên, trẻ có thể giữ ổn định bằng chân) và 4.30.4 (độ ổn định).
Đặt đồ chơi trên một mặt phẳng nhẵn, nghiêng (
)°so với mặt phẳng nằm ngang.
Đặt đồ chơi trên mặt phẳng này sao cho đồ chơi hướng về phía dễ làm cho nó bị lật nhất. Quay cơ cấu lái, nếu có, đến vị trí dễ bị lật nhất của đồ chơi. Chèn để bánh xe không bị quay nhưng không chèn các bánh xe nhỏ và để nó ở vị trí tự nhiên như trước khi chèn.
Đặt lên trên bề mặt đứng hoặc ngồi của đồ chơi một tải trọng có khối lượng tương ứng như nêu tại Bảng 3.
Bảng 3 - Tải trọng để thử độ ổn định
| Tuổi sử dụng đồ chơi | Tải trọng kg |
| Dưới 36 tháng tuổi | 25 ± 0,2 |
| Từ 36 tháng tuổi trở lên | 50 ± 0,5 |
Đặt tải sao cho trục chính của nó vuông góc với mặt phẳng nằm ngang trong khi đồ chơi được đặt trên mặt phẳng nghiêng theo quy định. Thiết kế tải trọng sao cho trọng tâm của nó cao hơn bề mặt ngồi (220 ± 10) mm. Tuy nhiên, đối với xe scooter đồ chơi sử dụng tải trọng có kích thước như quy định tại Hình 30. Đối với tất cả các đồ chơi do trẻ lái, phải đảm bảo trọng tâm của tải trọng cách phía sau của phần trước nhất của vị trí ngồi một khoảng cách là (43 ± 3) mm và cách phần đằng sau nhất của vị trí ngồi là (43 ± 3) mm.
CHÚ THÍCH Điều này liên quan đến hai phép thử khác nhau.
Nếu không có vị trí ngồi, đặt tải trọng ở vị trí kém thuận lợi nhất mà có thể đoán được là trẻ sẽ chọn để ngồi.
Quan sát xem đồ chơi có bị đổ trong vòng 1 min hay không kể từ khi đặt tải.
5.12.3 Thử độ ổn định ở phía các mặt bên, trẻ không thể giữ ổn định bằng chân
Xem 4.15.1.2 (độ ổn định, trẻ không thể giữ ổn định bằng chân).
Tiến hành thử theo 5.12.2 (thử độ ổn định, trẻ có thể giữ ổn định bằng chân), với mặt phẳng nghiêng (
)° so với mặt phẳng nằm ngang.
Quan sát xem đồ chơi có bị đổ trong vòng 1 min hay không kể từ khi đặt tải.
5.12.4 Độ ổn định ở phía trước và phía sau
Xem 4.15.1.3 (độ ổn định phía trước và phía sau).
Các đồ chơi do trẻ lái phải được thử với bánh lái, nếu có ở vị trí đồ chơi dễ bị đổ nhất.
Đối với đồ chơi cưỡi/bập bênh, điều chỉnh đồ chơi đến mức giới hạn của vòng bập bênh.
Đặt đồ chơi trên một mặt phẳng nhẵn nghiêng (
)° so với mặt phẳng nằm ngang. Thử cả hai trường hợp khi đồ chơi hướng lên trên và chúc xuống dưới mặt dốc.
Chất tải lên đồ chơi theo quy định tại 5.12.2 (thử độ ổn định ở phía các mặt bên, trẻ có thể giữ ổn định bằng chân).
Quan sát xem đồ chơi có bị đổ trong vòng 1 min hay không kể từ khi đặt tải.
5.12.5 Thử quá tải đối với đồ chơi do trẻ lái và các ghế ngồi
Xem 4.15.2 (yêu cầu quá tải của đồ chơi do trẻ lái và các ghế ngồi).
Đặt đồ chơi trên một mặt phẳng nằm ngang.
Đặt lên trên bề mặt đứng hoặc ngồi của đồ chơi một tải trọng có khối lượng tương ứng như nêu tại Bảng 4.
Bảng 4 - Tải trọng để thử quá tải
| Tuổi sử dụng đồ chơi | Tải trọng kg |
| Dưới 36 tháng tuổi | 35 ± 0,3 |
| Từ 36 tháng đến dưới 96 tháng tuổi | 80 ± 1,0 |
| Từ 96 tháng tuổi trở lên | 140 ± 2,0 |
Nếu khả năng chịu tải theo quảng cáo của đồ chơi cao hơn so với quy định tại Bảng 4 thì tiến hành thử theo tải trọng được quảng cáo này.
Xác định xem đồ chơi có bị sập xuống và không phù hợp với các yêu cầu có liên quan hay không.
5.12.6 Thử độ ổn định của đồ chơi cố định đặt trên sàn
Xem 4.15.3 (độ ổn định của đồ chơi đặt cố định trên sàn).
Đặt đồ chơi trên một mặt phẳng nhẵn, nghiêng 10° ± 1° so với mặt phẳng nằm ngang. Đặt đồ chơi trên mặt phẳng này sao cho nó quay mặt về hướng mà dễ làm nó bị đổ nhất. Điều chỉnh các bộ phận có thể di chuyển đến vị trí kém thuận lợi nhất, ví dụ các chi tiết kéo ra được của đồ chơi được kéo ra hết cỡ hoặc rút ra, tùy theo cái nào gây kém ổn định hơn.
Quan sát xem đồ chơi có bị đổ trong vòng 1 min hay không.
5.13 Thử cửa, nắp và nắp hòm đồ chơi
Xem 4.16.2 (bộ phận đóng kín).
5.13.1 Cửa, nắp
Khi cửa, nắp ở vị trí đóng, tác động một lực 45 N ± 1,3 N vào mặt trong của các bộ phận này theo hướng từ trong ra ngoài và vuông góc với mặt phẳng của cửa, nắp tại vị trí bất kỳ cách tâm hình học của cửa, nắp khoảng 25 mm.
Quan sát xem cửa, nắp có mở ra hay không.
5.13.2 Nắp của hòm đồ chơi
Trước khi thử lắp hòm đồ chơi (xem 4.16.2, cửa nắp), lắp ráp nắp đồ chơi theo hướng dẫn của nhà sản xuất.
5.13.2.1 Thử cơ cấu đỡ nắp
Nâng nắp đến vị trí bất kỳ cao hơn 50 mm so với vị trí đóng hoàn toàn khi đo từ cạnh ngoài cùng của nắp nhưng không quá 60° trong hành trình của nó. Thả nắp và đo khoảng rơi nếu có của nắp tại điểm gần giữa cạnh ngoài cùng của nó.
Xác định xem nắp có rơi quá 12 mm hay không (xem 4.16.2, bộ phận tạo thành không gian khép kín).
5.13.2.2 Thử độ bền của nắp hòm đồ chơi
Tiến hành thử 7 000 chu kỳ đóng mở nắp, trong đó một chu kỳ bao gồm nâng nắp lên từ vị trí đóng hoàn toàn để chuyển sang vị trí mở hoàn toàn và sau đó lại chuyển về vị trí đóng hoàn toàn. Để ngăn ngừa việc các ốc vít, móc cài của cơ cấu đỡ nắp bị căng quá mức, cần lưu ý không tiếp tục tác động lực lên nắp sau khi nắp đã ở vị trí mở hết cỡ thông thường của nó.
Thời gian để hoàn thành một chu kỳ sẽ mất khoảng 15s. Trong vòng 72h sẽ hoàn thành thử 7 000 chu kỳ, sau đó lặp lại phép thử theo 5.13.2.1 (cơ cấu đỡ nắp).
Kiểm tra xem nắp hòm đồ chơi và cơ cấu đỡ nắp có còn tiếp tục phù hợp với yêu cầu nêu tại 4.16.2.2 (cơ cấu đỡ nắp của hòm đồ chơi và đồ chơi tương tự) nữa hay không.
5.14 Thử va đập của đồ chơi che mặt
Xem 4.17 (thiết bị bảo vệ mô phỏng, như mũ bảo hiểm, mũ và kính bảo vệ).
Kẹp chặt đồ chơi bằng một ngàm kẹp thích hợp sao cho phần che mặt hoặc phần xung quanh vùng lỗ để mắt nhìn qua nằm trên một mặt phẳng nằm ngang.
Thả một viên bi thép có đường kính (16 ± 0,15) mm và khối lượng (16,9 ± 0,7) g từ độ cao (130 ± 0,5) cm lên phía trên mặt phẳng nằm ngang của vùng sẽ che vào mắt khi sử dụng đồ chơi theo cách thông thường.
Có thể dẫn hướng rơi cho viên bi nhưng vẫn không làm giới hạn việc rơi của nó bằng cách sử dụng một ống có đầu hở và có khoảng cách đến đồ chơi nằm trong khoảng 100 mm.
Kiểm tra xem đồ chơi có tạo ra cạnh sắc nguy hiểm, đầu nhọn nguy hiểm hay chi tiết rời ra có thể đâm vào mắt hay không.
5.15 Thử động năng và thử va đập thành
Xem 4.18 (đồ chơi phóng).
5.15.1 Động năng vật phóng
5.15.1.1 Nguyên tắc
Tính động năng của vật phóng từ giá trị lớn nhất của năm lần đo vận tốc trong các điều kiện sử dụng thông thường. Nếu có nhiều loại vật phóng được cung cấp cùng với đồ chơi, phải tính toán động năng của từng loại vật phóng.
5.15.1.2 Thiết bị
Dụng cụ tính giờ để xác định tốc độ, đưa ra động năng tính toán chính xác đến 0,005 J.
5.15.1.3 Cách tiến hành
5.15.1.3.1 Xác định tốc độ
Xác định tốc độ của vật phóng theo công thức 1:
v = d/t (1)
trong đó
| d | là khoảng cách tính bằng mét; |
| t | là thời gian tính bằng giây. |
Đặt cơ cấu phóng sao cho vật phóng được phóng theo cách đã định, ví dụ theo chiều thẳng đứng đối với tên lửa, qua một dụng cụ xác định thời gian thích hợp (ví dụ màn hình đo tốc độ viên đạn). Tính thời gian (t) qua khoảng cách (d) không lớn hơn 300 mm, đo từ bề mặt tiếp xúc của vật phóng khi chúng bay tự do. Xem Hình 29.
Khoảng cách đo (d) phải được giảm đi nếu cần thiết để đảm bảo rằng phép đo tổng thể đạt được với vật phóng bay tự do.
CHÚ THÍCH Sự giảm tốc tự nhiên của vật phóng khi chúng được rời khỏi cơ cấu phóng có thể dẫn đến kết quả khác nhau tùy thuộc vào khoảng cách đo.

CHÚ DẪN
| 1 | Cơ cấu phóng |
| 2 | Màn đầu tiên |
| 3 | Màn thứ hai |
| 4 | Vật phóng tại điểm bay tự do theo hướng ngang |
Hình 29 - Ví dụ xác định tốc độ sử dụng màn hình đo tốc độ viên đạn
Giải phóng vật phóng qua thiết bị tính thời gian 5 lần và sử dụng thời gian tối thiểu để tính toán tốc độ. Nếu có nhiều hơn một loại vật phóng được cung cấp với đồ chơi, lặp lại quy trình và sử dụng vật phóng có tốc độ lớn hơn để tính động năng theo 5.15.1.3.2 (xác định động năng) dưới đây.
Đối với cung, sử dụng một mũi tên của bộ đồ chơi và căng dây cung cho đến khi đạt được một trong các yêu cầu dưới đây, trước khi bắn cung:
1) đạt được lực kéo bằng 150 N hoặc
2) mũi tên không thể kéo tiếp về phía sau được hơn nữa do chiều dài của nó hoặc
3) đạt được khoảng cách kéo về phía sau là 70 cm.
5.15.1.3.2 Xác định động năng
Xác định động năng tối đa của vật phóng bay tự do theo công thức 2 :
Ek = mv2/2 (2)
Trong đó
| m | là khối lượng của vật phóng, tính bằng kilogam; |
| v | là tốc độ tối đa của vật phóng, đo theo 5.15.1.3.1 (xác định tốc độ), tính bằng mét trên giây (m/s); |
| Ek | là động năng tối đa, tính bằng jun; |
5.15.1.3.3 Xác định động năng trên diện tích tiếp xúc
Xác định động năng tối đa trên diện tích tiếp xúc Ek, dt theo phương trình (3)
Ek,đt=mv2/2A (3)
trong đó
| m | là khối lượng của vật phóng, tính bằng kilôgam (kg); |
| v | là vận tốc của vật phóng, đo theo 5.15.1.3.1 (xác định tốc độ) tính bằng mét trên giây (m/s); |
| A | là diện tích tiếp xúc của vật phóng, tính bằng mét vuông (m2); |
| Ek, dt | là động năng tối đa trên diện tích tiếp xúc, tính bằng Jun trên mét vuông (J/m2) |
Phương pháp được chấp nhận để xác định diện tích tiếp xúc của một vật phóng có đầu bịt đàn hồi là bôi màu hay mực (ví dụ như xanh Prussian) lên đầu của vật phóng và phóng nó lên một mặt phẳng vuông góc thích hợp từ khoảng cách (300 ± 5) mm và đo diện tích do vết màu/mực dây ra. Ngược lại, thay vì bôi màu/mực lên đầu vật phóng, có thể sử dụng mặt phẳng có thể bị đánh dấu tại vùng chịu va đập của vật phóng (ví dụ như mặt phẳng chịu va đập được phủ bởi giấy cacbon). Xác định diện tích chịu va đập như sau:
a) Bôi màu hoặc mực lên bề mặt tiếp xúc của vật phóng. Đặt một tờ giấy trắng sạch lên một bề mặt phẳng cứng. Đỡ bề mặt này sao cho nó không bị di chuyển khi chịu va đập.
b) Đặt một từ giấy than giữa một tờ giấy trắng và giữ cho các tờ giấy tỳ trên bề mặt phẳng cứng sao cho hình ảnh va đập của vật phóng sẽ được chuyển từ giấy than sang tờ giấy trắng.
c) Đưa vật phóng cần thử vào cơ cấu phóng. Hướng cơ cấu phóng đã được đặt tải vuông góc với bề mặt phẳng cứng, với bề mặt tiếp xúc của vật phóng cách bề mặt phẳng cứng một khoảng (300 ± 5) mm.
Nếu cơ cấu phóng có thể điều chỉnh với nhiều tốc độ phóng khác nhau thì chỉnh ở tốc độ phóng lớn nhất.
Đối với cung sử dụng mũi tên, kéo căng dây cung đến khi đạt được một trong các yêu cầu sau:
1) đạt được lực kéo bằng 150 N hoặc
2) mũi tên không thể kéo tiếp về phía sau được hơn nữa do chiều dài của nó hoặc
3) đạt được khoảng cách kéo về phía sau là 70 cm.
d) Phóng vật phóng lên tờ giấy.
e) Đo diện tích hình ảnh trên tờ giấy trắng. Diện tích chịu va đập là giá trị trung bình cộng của ít nhất 10 giá trị đo.
CHÚ THÍCH Khi tính diện tích tiếp xúc, không tính các diện tích màu trắng bất kỳ, nghĩa là diện tích không có mực.
f) Tính động năng cực đại trên diện tích tiếp xúc theo J/m2.
5.15.2 Thử va đập vuông góc đối với vật phóng
Nếu cơ cấu phóng được cài đặt nhiều tốc độ, đặt nó ở tốc độ lớn nhất.
Đặt đồ chơi sao cho vật phóng sẽ phóng theo hướng vuông góc với khối betong để thẳng đứng hoặc bề mặt va đập phẳng, cứng tương tự. Khoảng cách giữa mép/cạnh dẫn của vật phóng và bề mặt va đập phải sao cho vật phóng bay tự do (được giải phóng khỏi cơ cấu phóng) khi nó va đập vào bề mặt va đập.
Đối với cung sử dụng mũi tên, kéo căng dây cung đến khi đạt được một trong các yêu cầu sau:
a) đạt được lực kéo bằng 150 N hoặc
b) mũi tên không thể kéo tiếp về phía sau được hơn nữa do chiều dài của nó hoặc
c) đạt được khoảng cách kéo về phía sau là 70 cm Phóng vật phóng vào bề mặt va đập.
CHÚ THÍCH Nếu có thể, sử dụng vật phóng chưa trải qua bất kỳ phép thử nào trước đó.
Tiến hành thử ba lần. Kiểm tra xem vật phóng có bất kỳ cạnh sắc hoặc điểm nhọn nguy hiểm nào hay không.
5.16 Thử cơ cấu bánh quay tự do và thử tính năng phanh
5.16.1 Xác định cơ cấu bánh quay tự do
Xem 4.21 (phanh) và 4.22.3 (yêu cầu phanh).
Để xác định cơ cấu bánh quay tự do, chất tải có khối lượng tương ứng như nêu tại Bảng 3 trong 5.12.2 (thử độ ổn định, trẻ có thể giữ ổn định bằng chân) lên đồ chơi và đặt đồ chơi lên một mặt phẳng nằm ngang.
Kéo đồ chơi với vận tốc không đổi là 2 m/s ± 0,2 m/s trên một mặt phẳng phủ giấy nhôm oxit P60 và xác định lực kéo lớn nhất, F.
Đồ chơi được coi là không có cơ cấu bánh quay tự do nếu [sử dụng Công thức (4) hoặc (5)]:
F1 ≥ (m+25) x 1,7 (4)
hoặc
F2 ≥ (m+50) x 1,7 (5)
trong đó
F1 là lực kéo tối đa đối với đồ chơi dành cho trẻ dưới 36 tháng tuổi, tính bằng Niutơn (N);
F2 là lực kéo tối đa đối với đồ chơi dành cho trẻ từ 36 tháng tuổi trở lên, tính bằng Niutơn (N);
m là khối lượng của đồ chơi, tính bằng kilôgam (kg).
CHÚ THÍCH Nếu một đồ chơi trượt xuống khỏi mặt dốc nghiêng 10° khi được chất tải 50 kg thì có thể đồ chơi đó có cơ cấu bánh quay tự do.
5.16.2 Tính năng phanh của đồ chơi do trẻ lái chạy bằng cơ hoặc bằng điện trừ xe đạp đồ chơi
Xem 4.21 (phanh).
Chất tải có khối lượng tương ứng như nêu tại Bảng 3 trong 5.12.2 (thử độ ổn định, trẻ có thể giữ ổn định bằng chân) lên đồ chơi và đặt đồ chơi lên một mặt phẳng nghiêng (
)° được phủ bằng giấy nhôm oxit P60 sao cho trục dọc của đồ chơi song song với mặt phẳng nghiêng.
Tác động một lực (50 ± 2) N vào tay phanh theo hướng như khi tay phanh được sử dụng thông thường.
Đối với phanh được vận hành bằng tay tương tự như phanh xe đạp, tác động một lực (30 ± 2) N vuông góc với trục của tay phanh tại điểm giữa của tay phanh.
Đối với phanh chân, tác động một lực (50 ± 2) N vào bàn đạp theo hướng tạo tác dụng hãm của phanh.
Nếu xe có nhiều phanh thì thử từng phanh riêng biệt.
Kiểm tra xem đồ chơi có di chuyển quá 5 cm trong quá trình tác động lực lên phanh hay không.
5.16.3 Tính năng phanh của xe đạp đồ chơi
Xem 4.22.3 (yêu cầu phanh).
Chất tải khối lượng (50 ± 0,5) kg lên xe đạp đồ chơi sao cho trọng tâm của tải cao hơn bề mặt ngồi 150 mm. Đặt xe đạp đồ chơi trên một mặt phẳng nghiêng (
)o với trục dọc của nó song song với mặt phẳng nghiêng.
Đối với phanh tay tương tự như phanh xe đạp thông thường, tác động một lực (30 ± 2) N vuông góc với trục của tay phanh tại điểm giữa của tay phanh.
Đối với phanh chân, tác động một lực (50 ± 2) N vào bàn đạp theo hướng tạo tác dụng hãm của phanh.
Kiểm tra xem đồ chơi có di chuyển quá 5 cm trong quá trình tác động lực lên phanh hay không.
5.17 Xác định vận tốc của đồ chơi do trẻ lái chạy bằng điện
Xem 4.23 (giới hạn tốc độ của đồ chơi do trẻ lái chạy bằng điện).
Chất tải có khối lượng (25 ± 02) kg lên đồ chơi tại các vị trí ngồi và đứng thông thường.
Cho đồ chơi chạy trên một mặt phẳng nằm ngang và xác định xem vận tốc tối đa có vượt quá 8 km/h hay không.
5.18 Xác định sự tăng nhiệt độ
Xem 4.24 (đồ chơi có chứa nguồn nhiệt).
Trong môi trường không có gió lùa có nhiệt độ (21 ± 5) °C, cho đồ chơi hoạt động ở mức tối đa theo các hướng dẫn sử dụng cho đến khi đạt được sự cân bằng về nhiệt độ.
Đo nhiệt độ của các bộ phận có thể tiếp xúc được và tính sự tăng nhiệt độ.
Quan sát xem đồ chơi có bốc cháy hay không.
5.19 Sự rò rỉ của đồ chơi có chứa chất lỏng
Xem 4.25 (đồ chơi chứa chất lỏng).
Điều hòa đồ chơi ở nhiệt độ (37 ± 1) °C ít nhất trong 4h.
Trong vòng 30s sau khi lấy đồ chơi ra khỏi điều kiện điều hòa, tác động một lực (
) N vào bề mặt ngoài của đồ chơi bởi một cái kim bằng thép có đường kính (1 ±0,1) mm và có bán kính đầu kim là (0,5 ± 0,05) mm.
Tác động lực từ từ trong vòng 5s. Duy trì lực trong 5s.
Sau đó kiểm tra sự rò rỉ của đồ chơi bằng cách áp một tờ giấy coban clorua lên vùng vừa thử và tác động lên miếng giấy một lực (
) N bằng một phương tiện thích hợp khác.
Lặp lại phép thử sau khi điều hòa đồ chơi ở nhiệt độ (5 ± 1) °C ít nhất trong 4h.
Sau khi kết thúc, kiểm tra xem đồ chơi có bị rò rỉ hay không.
Nếu chất lỏng chứa trong đồ chơi không phải là nước thì kiểm tra sự rò rỉ bằng phương pháp thích hợp khác.
Không sử dụng giấy coban clorua cho phép thử 5 °C vì sự ngưng tụ hơi nước có thể dẫn đến kết quả sai.
5.20 Độ bền của các đồ chơi kích hoạt bằng miệng
Xem 4.26 (đồ chơi kích hoạt bằng miệng).
Nối phần để vào miệng của đồ chơi với một bơm pittông có khả năng đẩy và hút nhiều hơn 300 cm3 không khí trong khoảng thời gian ít hơn 3s. Đặt một van điều chỉnh sao cho bơm không tạo ra một áp suất dương hoặc âm lớn hơn 13,8 kPa. Thử đồ chơi với 10 chu kỳ xen kẽ đẩy ra và hút vào, mỗi chu kỳ trong vòng 5s với thể tích không khí ít nhất là (295 ± 10) cm3 kể cả thể tích có thể bị đẩy ra qua van điều chỉnh. Nếu lỗ ra của không khí tiếp xúc được thì cũng phải thử như trên đối với lỗ này.
Xác định xem có chi tiết nào bị rời ra lọt hoàn toàn vào ống trụ quy định tại 5.2 (thử các chi tiết nhỏ) hay không.
5.21 Vật liệu giãn nở
Xem 4.3.2 (vật liệu giãn nở).
Điều hòa đồ chơi hoặc chi tiết ở nhiệt độ (21 ± 5) °C và độ ẩm tương đối từ 40% đến 65% trong ít nhất 7h trước khi thử. Sử dụng thước cặp để đo các kích thước lớn nhất của đồ chơi hoặc bất kỳ chi tiết nào có thể tháo rời theo các chiều x, y và z. Ngâm đồ chơi hoặc chi tiết đồ chơi hoàn toàn vào một thùng chứa nước khử khoáng ở nhiệt độ (20 ± 5) °C trong (24 ± 0,5) h. Phải đảm bảo rằng sử dụng đủ nước cho phép thử, nghĩa là khi kết thúc thử nghiệm vẫn còn nước trong thùng.
Lấy mẫu đã được ngâm ra bằng một cái kẹp. Nếu không thể nhấc vật thử nghiệm ra được do độ bền cơ học không đủ thì nó được coi là phù hợp với yêu cầu nêu tại 4.3.2.
Để cho nước thừa chảy bớt đi trong vòng 1 min và đo lại các kích thước của đồ chơi.
Sau khi đo lại, ngâm chi tiết này vào trong nước khử khoảng lần nữa và lặp lại quy trình trên hai lần, sao cho chi tiết được đo sau 24h, 48h và 72h ngâm.
Tính toán độ giãn nở theo các kích thước x, y và z theo tỉ lệ phần trăm so với kích thước ban đầu.
Xác định xem đồ chơi có còn phù hợp với các yêu cầu nêu tại 4.3.2 nữa hay không.
5.22 Cơ cấu gấp hoặc trượt
5.22.1 Tải trọng
Chất tải có khối lượng (50 ± 0,5) kg lên đồ chơi.
Đối với đồ chơi dành cho trẻ em dưới 36 tháng tuổi thì chất tải có khối lượng (25 ± 0,2) kg lên đồ chơi.
5.22.2 Ghế đẩy và xe đẩy đồ chơi
Xem 4.12.1 (ghế đẩy, xe đẩy đồ chơi và đồ chơi tương tự).
Điều hòa sơ bộ đồ chơi bằng cách dựng và gấp nó 10 lần.
a) Đối với ghế đẩy và xe đẩy đồ chơi quy định trong 4.12.1 a), tiến hành như sau.
Dựng đồ chơi trên một mặt phẳng nằm ngang với các cơ cấu khóa được vào khớp và chất tải có khối lượng phù hợp như quy định tại 5.22.1 (tải trọng), đảm bảo rằng phần chịu tải là khung đồ chơi. Nếu cần, dùng giá đỡ thích hợp để đảm bảo rằng vật liệu làm chỗ ngồi không bị hỏng. Đặt tải lên khung ở vị trí kém thuận lợi nhất đối với các bộ phận gấp. Đặt tải trong vòng 5s và duy trì tải trong 5 min.
Xác định xem nếu một trong các cơ cấu khóa không vào khớp thì có thể dựng một phần đồ chơi lên được hay không. Nếu được thì tiến hành thử chất tải như trên khi đồ chơi chỉ được dựng lên một phần.
Nếu ghế ngồi có thể tháo rời được khỏi khung, thì cũng phải tiến hành thử chỉ trên phần khung đỡ ghế ngồi bằng cách sử dụng giá đỡ thích hợp để đỡ tải trọng.
Kiểm tra xem đồ chơi có bị sập xuống hay không và các cơ cấu khóa có còn hoạt động và có vào khớp nữa hay không.
b) Đối với ghế đẩy và xe đẩy đồ chơi quy định trong 4.12.1 b), tiến hành như sau.
Dựng đồ chơi trên một mặt phẳng nằm ngang với các cơ cấu khóa được vào khớp và chất tải trọng có khối lượng như mô tả trong 5.22.1, đảm bảo rằng phần chịu tải là khung đồ chơi. Nếu cần, dùng giá đỡ thích hợp để đảm bảo rằng vật liệu làm chỗ ngồi không bị hỏng. Đặt tải lên khung ở vị trí kém thuận lợi nhất cho các bộ phận gấp. Đặt tải trong vòng 5s và duy trì tải trong 5 min.
Kiểm tra xem nếu một trong các cơ cấu khóa không vào khớp thì có thể dựng một phần đồ chơi lên được hay không. Nếu được thì tiến hành thử chất tải như trên khi đồ chơi chỉ được dựng lên một phần.
Kiểm tra xem đồ chơi có bị sập xuống hay không và các cơ cấu khóa hay chốt an toàn có còn hoạt động và có vào khớp nữa hay không.
5.22.3 Đồ chơi khác có cơ cấu gấp
Xem 4.12.2 (các đồ chơi khác có cơ cấu gấp).
a) Dựng đồ chơi lên. Nâng đồ chơi lên và quan sát xem cơ cấu khóa có bị rời ra không khi nghiêng đồ chơi một góc (30 ± 1)° theo phương ngang.
b) Dựng đồ chơi trên một mặt phẳng nghiêng (
)° theo hướng kém thuận lợi nhất đối với các bộ phận gấp. Cài khóa. Đặt tải trọng có khối lượng thích hợp như mô tả trong 5.22.1 (tải trọng) lên đồ chơi trong 5 min. Đặt tải vào các vị trí mà trẻ có thể ngồi và ở vị trí kém thuận lợi nhất đối với các bộ phận gấp. Đảm bảo rằng phần chịu tải là khung đồ chơi. Nếu cần, phải sử dụng giá đỡ để vật liệu làm chỗ ngồi không bị hỏng.
Quan sát xem đồ chơi có bị sập xuống hoặc các cơ cấu khóa có bị rời ra hay không.
5.23 Đồ chơi có thể giặt được
Xem 4.1 (sử dụng thông thường).
Xác định khối lượng của mỗi đồ chơi trước khi bắt đầu thử.
Nếu nhà sản xuất không chỉ định phương pháp giặt khác trên nhãn gắn liền với đồ chơi thì tiến hành giặt đồ chơi bằng máy giặt qua sáu chu kỳ giặt máy và sấy thùng quay.
Có thể sử dụng máy giặt, máy sấy hoặc bột giặt gia dụng cho phép thử này. Cần lưu ý đến những loại máy giặt đặc biệt (thùng đứng hoặc ngang) được sử dụng tại các nước có bán đồ chơi.
Giặt đồ chơi cùng với một lượng quần áo sao cho khối lượng đồ khô ít nhất là 1,8 kg trong một máy giặt tự động, dùng chế độ nước "ấm" và chu kỳ giặt khoảng 12 min cài đặt ở chế độ "bình thường".
Sấy khô đồ chơi và quần áo theo hướng dẫn của nhà sản xuất.
CHÚ THÍCH Đối với các chế độ cài đặt tương đương trên các loại máy giặt khác, chế độ "ấm" là khoảng 40 °C và khối lượng bình thường là khối lượng trung bình theo máy đang được sử dụng.
Đồ chơi sẽ được coi là khô nếu khối lượng cuối cùng không vượt quá khối lượng khô ban đầu nhiều hơn 10%.
Kiểm tra xem đồ chơi có còn tiếp tục phù hợp với các yêu cầu liên quan nêu tại Điều 4 (yêu cầu) nữa hay không.
5.24 Phép thử việc sử dụng sai có thể dự đoán trước do hành vi thông thường của trẻ
Xem 4.2 (sử dụng sai có thể dự đoán trước do hành vi thông thường của trẻ).
5.24.1 Quy định chung
Các phép thử nêu tại 5.24 nhằm mô phỏng những tình huống trong đó những hư hỏng có thể xảy ra đối với đồ chơi do việc sử dụng sai có thể dự đoán trước do hành vi thông thường của trẻ.
Trừ khi có những quy định khác, các phép thử này chỉ áp dụng cho các đồ chơi dành cho trẻ em dưới 96 tháng tuổi.
Sau khi trải qua các phép thử này, đồ chơi vẫn phải tiếp tục phù hợp với các yêu cầu liên quan nêu tại Điều 4 (yêu cầu).
CHÚ THÍCH Các phép thử quy định trong 4.31.2 (tất cả các đồ chơi khác có nam châm và chi tiết có từ tính) được tiến hành theo trật tự quy định trong 4.31.2 trên một đồ chơi hoặc một phần của đồ chơi mà chưa trải qua thử nghiệm trước đó theo điều này (5.24, thử sử dụng sai có thể dự đoán trước do hành vi thông thường của trẻ).
5.24.2 Thử rơi
Trừ các đồ chơi quy định trong 5.24.3 (phép thử lật đổ đối với đồ chơi lớn và cồng kềnh), các đồ chơi có khối lượng thấp hơn mức giới hạn nêu tại Bảng 5 phải được thả rơi trên một mặt phẳng chịu va đập theo quy định, số lần đồ chơi được thả rơi và độ cao khi thả được quy định tại Bảng 5. Đồ chơi phải được thả theo hướng bất kỳ.
Mặt phẳng chịu va đập là một khối có bề mặt là tấm trải sàn bằng hợp chất vinyl có độ dày danh nghĩa xấp xỉ 3 mm được dán trên một tấm bê tông có độ dày ít nhất 64 mm. Mặt phẳng chịu va đập này phải có độ cứng là (80 ±10) Shore A và có diện tích tối thiểu là 0,3 m2.
Đối với đồ chơi chạy bằng pin thì pin phải ở đúng vị trí của nó trong khi thử rơi. Nếu không có yêu cầu riêng về loại pin thì sử dụng loại pin nặng nhất sẵn có để thử.
Bảng 5 - Thử rơi
| Tuổi sử dụng đồ chơi | Chuẩn khối lượng kg | Số lần thả rơi | Độ cao thả rơi cm |
| Dưới 18 tháng tuổi | < 1,4 | 10 | 138 ± 5 |
| Từ 18 tháng tuổi đến dưới 96 tháng tuổi | < 4,5 | 4 | 93 ±5 |
Sau mỗi lần thử rơi, đồ chơi được đưa trở về trạng thái nghỉ và phải được kiểm tra và đánh giá trước khi tiếp tục.
Kiểm tra xem đồ chơi có còn tiếp tục phù hợp với các yêu cầu liên quan nêu tại Điều 4 nữa hay không.
5.24.3 Thử lật đối với đồ chơi lớn và cồng kềnh
Đồ chơi lớn và cồng kềnh không phải thử theo 5.24.2 (thử rơi) mà thử theo quy trình sau đây:
Lật đồ chơi ba lần, một trong ba lần phải thực hiện ở vị trí kém thuận lợi nhất, bằng cách đẩy đồ chơi từ từ qua tâm cân bằng của nó lên trên mặt phẳng chịu va đập như mô tả tại 5.24.2 (thử rơi).
Sau mỗi lần lật, đồ chơi được đưa về trạng thái nghỉ và phải được kiểm tra và đánh giá trước khi tiếp tục thử.
Kiểm tra xem đồ chơi có còn tiếp tục phù hợp với các yêu cầu liên quan nêu tại Điều 4 (yêu cầu) nữa hay không.
5.24.4 Phép thử độ bền động đối với đồ chơi do trẻ lái trừ xe scooter đồ chơi
Đặt tải có khối lượng thích hợp quy định tại Bảng 3 lên bề mặt đứng hoặc ngồi của đồ chơi tại vị trí kém thuận lợi nhất trong vòng 5 min.
Buộc chặt tải trọng trên đồ chơi ở vị trí tương ứng với cách sử dụng thông thường của đồ chơi.
Lái đồ chơi ba lần với vận tốc (2 ± 0,2) m/s vào một bậc không đàn hồi có độ cao 50 mm.
Nếu đồ chơi được dự kiến chịu khối lượng của nhiều đứa trẻ cùng một lúc thì phải thử đồng thời đối với từng chỗ ngồi hoặc đứng.
Kiểm tra xem đồ chơi có còn tiếp tục phù hợp với các yêu cầu liên quan nêu tại Điều 4 (yêu cầu) nữa hay không.
5.24.5 Thử xoắn
Bất kỳ đồ chơi nào có chi tiết nhô ra, có chi tiết hoặc phần lắp ráp mà trẻ có thể lấy được chỉ bằng ngón cái và ngón trỏ hoặc bằng răng đều phải thực hiện phép thử này.
Đặt đồ chơi một cách chắc chắn tại vị trí thử hợp lý bất kỳ. Dùng ngàm kẹp có khả năng kẹp chặt chi tiết và truyền lực xoắn lên mẫu thử hoặc chi tiết thử.
Dùng một đồng hồ mômen hoặc tay quay mômen, tác động một mômen xoắn (0,45 ± 0,02) Nm theo chiều kim đồng hồ cho đến khi
a) chi tiết bị xoay một góc 180° so với vị trí ban đầu, hoặc
b) đạt được mômen xoắn quy định.
Xoay chi tiết một góc tối đa hoặc tác đụng một mômen xoắn quy định đều đặn trong vòng 5s và duy trì thêm 10s nữa. Sau đó ngừng tác đụng và để chi tiết trở về trạng thái nghỉ.
Lặp lại trình tự này theo hướng ngược chiều kim đồng hồ.
Các chi tiết nhô ra, chi tiết hoặc phần lắp ráp được gắn chặt trên một thanh hoặc một trục tiếp xúc được, được thiết kế để quay cùng với các chi tiết nhô ra, chi tiết hoặc phần lắp ráp phải được thử với các thanh hoặc trục được kẹp chặt để chúng không quay được trong khi thử nghiệm.
Nếu một chi tiết được gắn bằng một đinh ốc đã được lắp ráp bởi nhà sản xuất hoặc theo hướng dẫn của nhà sản xuất, và chi tiết này bị lỏng ra trong khi thử xoắn thì tiếp tục thực hiện phép thử này cho đến khi vượt quá mômen xoắn quy định hoặc cho đến khi chi tiết này bị rời ra. Nếu thấy rõ rằng chi tiết thử vẫn tiếp tục xoay tại mômen xoắn nhỏ hơn mức giới hạn mômen xoắn quy định và chi tiết sẽ không bị rời ra thì kết thúc phép thử.
Nếu chi tiết bị rời ra và để lộ ra một chi tiết có thể tiếp xúc được và có thể kéo ra bằng tay được như mô tả ở trên thì lặp lại phép thử xoắn đối với chi tiết này.
Kiểm tra xem đồ chơi có còn tiếp tục phù hợp với các yêu cầu liên quan nêu tại Điều 4 (yêu cầu) nữa hay không.
5.24.6 Thử kéo
5.24.6.1 Quy trình chung
Bất kỳ đồ chơi nào có chi tiết nhô ra, chi tiết hoặc phần lắp ráp mà trẻ em có thể cầm được chỉ bằng ngón cái và ngón trỏ hoặc bằng răng đều phải thực hiện phép thử này. Phép thử kéo sẽ được thực hiện trên cùng chi tiết của đồ chơi là đối tượng của phép thử trong 5.24.5 (thử xoắn).
Dùng ngàm kẹp có khả năng tác động một lực kéo lên chi tiết cần thử theo cách sao cho không làm ảnh hưởng đến tính đồng nhất về mặt cấu trúc của cơ cấu gắn kết giữa chi tiết cần thử và đồ chơi. Thiết bị thử kéo có thể là một đồng hồ đo lực kéo hoặc là phương tiện thích hợp khác có độ chính xác ± 2 N. Với mẫu thử được giữ chặt ở vị trí thuận lợi, kẹp một ngàm kẹp thích hợp lên mẫu thử hoặc chi tiết cần thử.
Tác dụng một cách đều đặn trong vòng 5s một lực (70 ± 2) N theo hướng song song với trục chính của chi tiết cần thử và duy trì trong 10s.
Tháo ngàm kẹp ra và gắn một ngàm kẹp khác phù hợp cho việc tác dụng một lực kéo vuông góc với trục chính của chi tiết thử.
Tác dụng một cách đều đặn trong vòng 5s một lực (70 ± 2) N theo hướng vuông góc với trục chính của chi tiết cần thử và duy trì trong 10s.
Kiểm tra xem đồ chơi có còn tiếp tục phù hợp với các yêu cầu liên quan nêu tại Điều 4 nữa hay không.
5.24.6.2 Thử kéo cho đường nối trong đồ chơi nhồi mềm (nhồi), đồ chơi nhồi bằng các hạt nhỏ và đồ chơi nhồi tương tự
Đối với những đồ chơi được kết cấu bằng vật liệu mềm và có các đường nối (bao gồm, nhưng không giới hạn, các đường may bằng chỉ, đường dán bằng keo, dán nóng hay hàn siêu âm), thì các đường nối này phải được thử kéo.
Ngàm kẹp dùng để kẹp vật liệu ở hai bên của đường nối phải có các má kẹp có gắn các đĩa có đường kính 19 mm (xem Hình 30).

CHÚ DẪN
1 Các đĩa phẳng
Hình 30 - Ngàm kẹp để thử đường nối
Kẹp ngàm kẹp vào vật liệu bọc bên ngoài đồ chơi nhồi mềm hoàn chỉnh sao cho đường kính ngoài của hai đĩa 19 mm ở điểm gần nhất với đường nối, cách mép của đường nối bằng chỉ khoảng 13 mm, nhưng không được gần hơn. Nếu không dùng chỉ để tạo đường nối, gắn ngàm kẹp sao cho các mép của hai đĩa cách nhau khoảng 13 mm so với đường nối nhưng không được gần hơn.
Tác dụng một cách đều đặn trong vòng 5s một lực (70 ± 2) N và duy trì trong 10s.
Nếu phần vật liệu ở cạnh đường nối không thể cầm được chỉ bằng ngón trỏ và ngón cái của người thử để kẹp hết bằng đĩa đường kính 19 mm thì không thực hiện phép thử với đường nối. Trong trường hợp này, thay vì thử đường nối thì tay, chân hay các phần phụ khác của đồ chơi phải được thử theo 5.24.5 (thử xoắn) và 5.24.6.1 (thử kéo, qui trình chung).
Kiểm tra xem đồ chơi có còn tiếp tục phù hợp với các yêu cầu liên quan nêu tại Điều 4 nữa hay không.
5.24.6.3 Thử kéo đối với quả len
Xem 4.5.3 (quả len).
Quả len phải được thử theo 5.24.5 (thử xoắn) và thử kéo như mô tả dưới đây.
Các ngàm kẹp dùng để kẹp vật liệu thử phải có các má kẹp có gắn các đĩa có đường kính 19 mm (xem Hình 30). Gắn một ngàm kẹp vào quả len và dùng ngàm kẹp kia giữ vật liệu nền.
Tác dụng một cách đều đặn trong vòng 5s một lực (70 ± 2) N và giữ trong 10s.
Kiểm tra xem đồ chơi có còn tiếp tục phù hợp với các yêu cầu liên quan nêu tại Điều 4 nữa hay không.
5.24.6.4 Thử kéo đối với các chi tiết bảo vệ
Xem 4.8 (chi tiết nhô ra), 4.9 (dây và thanh bằng kim loại) và 4.18 (đồ chơi phóng).
Tác dụng một cách đều đặn một lực kéo (70 ± 2) N lên chi tiết cần thử trong vòng 5s và duy trì trong 10s. Tác dụng lực theo hướng gây bất lợi nhất với cố gắng để kéo chi tiết ra.
5.24.6.5 Thử kéo đối với vật phóng có đầu mút
Xem 4.18.2 (vật phóng)
Đối với vật phóng có đầu mút là một bề mặt tiếp xúc, gắn ngàm kẹp trên trục sao cho mép của ngàm kẹp ở điểm cách 57 mm so với bề mặt tiếp xúc của vật phóng. Xác định khoảng cách này theo quy trình nêu trong 5.37 (chiều dài dầu mút của vật phóng). Nếu do chiều dài của vật phóng không đủ để đạt được khoảng cách 57 mm giữa ngàm kẹp và bề mặt tiếp xúc của vật phóng, đặt ngàm kẹp sao cho khoảng cách đến bề mặt tiếp xúc của vật phóng đạt tối đa. Đặt ngàm kẹp thứ hai quanh đầu mút được giữ chặt với bề mặt phẳng như trong Hình 31.
Nếu ngàm kẹp làm phá hủy vật phóng, có thể sử dụng phương pháp thay thế để giữ vật phóng.
CHÚ THÍCH Nếu sử dụng keo để gắn đầu mút vào mặt phẳng, cẩn thận không để dung môi trong keo ảnh hưởng đến tính chất vật liệu đầu mút hoặc chi tiết gắn chặt nó với thanh.
Cho vật phóng chịu lực theo chiều dọc bằng (70 ± 2) N đều trong 5s và duy trình trong 10s.
Nếu đầu mút bị tách ra thì xác định xem nó có lọt qua dưỡng thử C trong 5.4 (thử bóng nhỏ) hay không.
Nếu thanh bị gãy, xác định xem phần của thanh và đầu mút còn lại có tổng chiều dài bằng 57 mm hoặc lớn hơn hay không.

CHÚ DẪN
| 1 | Bề mặt phẳng |
| 2 | Ngàm kẹp |
| 3 | 57 mm tính từ đỉnh |
Hình 31 - Ví dụ cách gắn ngàm kẹp khi thử đầu mút của vật phóng
5.24.7 Thử nén
Bất kỳ vùng nào trên bề mặt của đồ chơi mà trẻ có thể tiếp xúc được nhưng vùng đó lại không tiếp xúc được với mặt phẳng khi thử theo 5.24.2 (thử rơi) đều là đối tượng của phép thử này.
Lực nén cho đồ chơi theo nhóm tuổi sử dụng được quy định tại Bảng 6.
Bảng 6- Lực nén
| Tuổi sử dụng đồ chơi | Lực nén N |
| Dưới 36 tháng tuổi | 114 ± 2,0 |
| Từ 36 tháng tuổi đến dưới 96 tháng tuổi | 136 ± 2,0 |
Thiết bị đặt tải là một đĩa kim loại cứng có đường kính (30 ± 1,5) mm và độ dày ít nhất là 10 mm. Mép ngoài cùng của đĩa phải được làm tròn đến bán kính 0,8 mm để loại bỏ các cạnh không đều.
Gắn đĩa vào một thang nén thích hợp có độ chính xác ± 2 N.
Đặt đồ chơi lên một mặt phẳng cứng ở bất kỳ vị trí thuận lợi nào. Đặt đĩa lên sao cho bề mặt tiếp xúc phẳng song song với mặt phẳng được thử.
Tác dụng lực theo quy định thông qua đĩa một cách đều đặn trong vòng 5s và duy trì trong 10s.
Kiểm tra xem đồ chơi có còn tiếp tục phù hợp với các yêu cầu liên quan nêu tại Điều 4 nữa hay không.
5.24.8 Thử uốn
5.24.8.1 Quy định chung
Xem 4.9 (dây và thanh bằng kim loại).
Nếu dây kim loại có lớp bọc, áp dụng phép thử lên dây kim loại ở điều kiện mà nó có ở trong đồ chơi (nghĩa là không di chuyển dây kim loại khỏi đồ chơi).
Gắn dây kim loại chắc chắn giữa hai trục kim loại, kìm đầu tròn hoặc miếng kim loại tương tự có đường kính (10 ± 1) mm. Tại điểm đặt cách 50 mm so với điểm gắn hoặc nhô ra ít nhất 50 mm tại đầu của thanh kim loại, tác dụng lực bằng (70 ± 2) N vuông góc với thanh kim loại. Nếu thanh kim loại uốn nhiều hơn 60°, tiếp tục phép thử sau.
Uốn thanh kim loại từ trên sang bên cạnh 60°, sau đó uốn theo hướng ngược lại 120°, và cuối cùng quay lại vị trị phía trên. Hoàn thành một chu kỳ.
5.24.8.2 Dây và chi tiết khác bằng kim loại dùng để uốn
Thực hiện 30 chu kỳ như mô tả trong 5.24.8.1 (yêu cầu chung) với tốc độ của một chu kỳ bằng 2s và 60s nghỉ sau mỗi 10 chu kỳ. Để đảm bảo dây kim loại hoặc vật liệu kim loại khác uốn tại điểm nhô lên so với trục, nó phải được giữ căng trong quá trình thử.
Kiểm tra xem đồ chơi có tiếp tục phù hợp với các yêu cầu liên quan trong 4.9 (dây và thanh kim loại) nữa hay không, bỏ vật liệu bọc bên ngoài nếu có thể để hỗ trợ việc kiểm tra.
5.24.8.3 Dây có thể uốn
Thực hiện chu kỳ như mô tả trong 5.24.8.1 (quy định chung) một lần.
Xác định xem đồ chơi có còn phù hợp với các yêu cầu liên quan trong 4.9 (dây và thanh kim loại) nữa hay không, bỏ vật liệu bọc bên ngoài nếu có thể để hỗ trợ việc kiểm tra.
5.25 Xác định mức áp suất âm
Xem 4.29 (yêu cầu độ ồn).
5.25.1 Lắp ráp và điều kiện lắp đặt
5.25.1.1 Quy định chung
Tiến hành đo trên đồ chơi mới chưa được thử lần nào. Dùng các pin mới hoặc pin sạc đã được sạc đầy để thử các đồ chơi chạy pin.
Không được dùng các nguồn năng lượng bên ngoài do trong nhiều trường hợp chúng ảnh hưởng đến tính năng của đồ chơi.
5.25.1.2 Môi trường thử
Môi trường thử phải đáp ứng các yêu cầu của ISO 3746:2010, Phụ lục A.
CHÚ THÍCH Trong thực tế điều này có nghĩa là hầu hết các phòng được trang bị thông thường với thể tích lớn hơn 30 m3 sẽ được coi là đủ điều kiện cho các khoảng cách đo 50 cm với điều kiện kích thước lớn nhất của đồ chơi không vượt quá 50 cm. Với các khoảng cách ngắn hơn 25 cm thì hầu hết môi trường nào cũng đủ điều kiện.
Nếu sử dụng ISO 11201 chính xác hơn thì môi trường thử phải đáp ứng các yêu cầu của ISO 3744.
5.25.1.3 Lắp dặt
Giá thử dùng cho việc lắp đặt đồ chơi và/hoặc người vận hành đồ chơi phải không được ảnh hưởng đến âm thanh phát ra của đồ chơi đang thử hoặc không được gây ra các phản xạ âm thanh làm tăng mức áp suất âm tại các điểm đo.
CHÚ THÍCH 1 Thông thường việc xoay đối tượng thử sẽ thuận lợi hơn là di chuyển micro.
- Lắp các đồ chơi để gần tai và các đồ chơi cầm tay vào một gá thử thích hợp cách phía trên mặt phẳng phản xạ ít nhất là 100 cm hoặc để một người lớn vận hành chúng bằng một tay duỗi ra.
CHÚ THÍCH 2 Nếu sử dụng người vận hành thì người đó phải dùng thiết bị bảo vệ tai khi thử các đồ chơi kêu rất to.
- Để các đồ chơi cố định đặt trên mặt bàn, trên sàn và gắn vào cũi trên một bàn thử tiêu chuẩn như mô tả trong ISO 11201. Mặt bàn phải đủ lớn để sao cho khi đặt đồ chơi nằm hoàn toàn trên mặt bàn thì cạnh của hộp đo được dùng để đo cũng phải nằm trên mặt bàn (xem 5.25.2.3.6, đồ chơi tự hành đặt trên sàn, trên bàn và đồ chơi treo vào nôi, cũi).
- Lắp các đồ chơi tự hành đặt trên sàn và trên bàn lên bàn thử tiêu chuẩn như mô tả ở trên vào một gá thử sao cho chúng không di chuyển nhưng vẫn có thể được vận hành với công suất đầy đủ.
- Đặt các đồ chơi kéo và đẩy trên một mặt phẳng phản xạ (ví dụ như bê tông, gạch hay mặt phẳng phẳng khác) và cố định chúng trong một gá thử giúp chúng di chuyển với vận tốc khác nhau theo một đường thẳng qua micro đo (thử "đi qua"). Phải đảm bảo rằng mặt phẳng phản xạ có đủ độ ma sát để ngăn không cho các bánh xe bị trượt.
- Đặt đồ chơi lên dây cót bằng tay, với dây cót vặn hết cỡ lên trên mặt phẳng phản xạ (ví dụ như bê tông, gạch hay mặt phẳng cứng khác) sao cho mặt trước của đồ chơi cách các micro của phép thử "đi qua" (40 ± 1 ) cm dọc theo trục x (xem Hình 35).
- Lắp các loại đồ chơi khác bằng cách thích hợp nhất theo các nguyên tắc đã mô tả ở phần trước.
5.25.1.4 Điều kiện thao tác
Cho đồ chơi cần thử hoạt động theo cách đã định hoặc dự kiến trước để tạo ra mức áp suất âm thanh phát ra lớn nhất ở micro, có nghĩa là tại đó đạt được độ ồn lớn nhất.
Cụ thể như sau:
- Vận hành đồ chơi được kích hoạt bằng tay, trừ các đồ chơi đẩy hoặc kéo, bằng cách tác động một lực tại vị trí và theo hướng tạo ra mức áp suất âm phát ra lớn nhất theo cách sử dụng đã định hoặc dự kiến trước. Đối với các đồ chơi lắc bằng tay thì lắc đồ chơi với tốc độ ba lần trong một giây. Một chu kỳ lắc bao gồm một hành trình lần đầu là 15 cm và sau đó quay lại vị trí ban đầu.
- Cầm cái lúc lắc tại vị trí tay cầm thông thường hoặc tại vị trí sao cho khoảng cách giữa tay với bộ phận phát ra âm thanh của lúc lắc là dài nhất. Phải đảm bảo rằng việc cầm lúc lắc bằng tay không làm ảnh hưởng đến âm thanh phát ra. Lắc mạnh về phía dưới mười lần với nhịp độ chậm bằng cổ tay. Giữ cho cẳng tay nằm ngang sao cho đạt được mức âm thanh cao nhất. Đứng đối diện với micro và giữ cho lúc lắc ở cùng độ cao với micro và cách nó 50 cm.
- Điều khiển đồ chơi kéo và đẩy với vận tốc không quá 2m/s sao cho mức áp suất âm thanh phát cao nhất.
- Thử đồ chơi phát nổ-phát sáng sử dụng ngòi nổ đã được nhà sản xuất khuyên dùng có sẵn trên thị trường.
5.25.2 Tiến hành đo
5.25.2.1 Các tiêu chuẩn áp dụng
Yêu cầu tối thiểu là xác định mức âm thanh phát ra tại các vị trí quy định xung quanh đồ chơi theo các phương pháp khảo sát quy định tại ISO 11202 và ISO 11204. Trong trường hợp tranh chấp, phải áp dụng phương pháp chính xác hơn nêu tại ISO 11201.
CHÚ THÍCH 1 Vì có những phản xạ âm nhỏ từ các tường bao quanh phòng nên phương pháp này có chiều hướng đưa ra những giá trị thấp hơn một chút so với ISO 11202 và ISO 11204.
CHÚ THÍCH 2 Trong một vài trường hợp, ISO 11204 có thể có độ chính xác của phương pháp kỹ thuật.
5.25.2.2 Thiết bị thử
Thiết bị bao gồm micro và cáp, phải đáp ứng các yêu cầu đối với thiết bị loại 1 hoặc loại 2 quy định tại IEC 61672-1 và IEC 61672-2. Khi đo các mức áp suất âm thanh đỉnh phát ra, ví dụ từ các đồ chơi sử dụng ngòi nổ, micro và toàn bộ hệ thống thiết bị đo phải có khả năng xử lý mức đỉnh tuyến tính vượt quá mức đỉnh trọng số C ít nhất là 10 dB.
Khi áp dụng ISO 11201 phải sử dụng dụng cụ đo loại 1.
5.25.2.3 Vị trí của micro
5.25.2.3.1 Yêu cầu chung
Phải sử dụng một số vị trí của micro. Trong thực tế, điều này có nghĩa một micro được di chuyển từ vị trí này sang vị trí khác. Nếu có thể thì nên xoay đối tượng thử. Phải giữ một khoảng cách đúng khi đo.
5.25.2.3.2 Đồ chơi để gần tai
Để xác định âm thanh liên tục, quay phần để gần tai của đồ chơi về phía micro khoảng cách bằng (50 ± 0,5) cm. Để đo âm thanh liên tục trên đồ chơi không có phần để gần tai, đặt micro cách bề mặt của đồ chơi tại nơi có nguồn âm thanh chính khoảng (50 ± 0,5) cm sao cho áp suất âm tại micro đạt tối đa.
Để xác định âm thanh xung, đặt micro cách bề mặt của đồ chơi tại nơi có nguồn âm thanh chính khoảng (50 ± 0,5) cm sao cho áp suất âm tại micro đạt tối đa.
5.25.2.3.3 Đồ chơi phát nổ-phát sáng
Sử dụng sáu micro xung quanh đồ chơi. Đặt bộ phận phát âm thanh chính của đồ chơi tại tâm của hệ thống đo phối hợp theo hướng hoạt động thông thường của nó sao cho các trục của đồ chơi trùng với trục của hệ thống đo phối hợp (xem Hình 32). Nếu chiều dài của đồ chơi vượt quá 50 cm, xoay đồ chơi trong mặt phẳng xy một góc 45° xung quanh trục z nhưng không thay đổi các vị trí của micro.
Chọn hai vị trí của micro dọc theo mỗi trục ở khoảng cách 50 cm ± 1 cm theo cả hai hướng kể từ tâm như nêu tại Hình 32.
Kích thước tính bằng milimét

CHÚ DẪN
1 Bề mặt phẳng
Hình 32 - Các vị trí của micro để đo mức áp suất âm thanh của đồ chơi phát nổ-phát sáng
5.25.2.3.4 Lúc lắc
Lắp micro cách sàn 1,2 m và cách nguồn âm thanh 0,5 m trong một phòng đủ rộng hoặc phòng có mức hấp thụ âm thanh đủ để làm cho âm thanh phản xạ là không đáng kể.
5.25.2.3.5 Đồ chơi cầm tay khác
Lựa chọn sáu vị trí micro trên một bề mặt đo hình hộp ở khoảng cách đo 50 cm từ hộp quy chiếu của đồ chơi, như quy định tại ISO 3746 và được minh họa tại Hình 33. Các vị trí đo này ở tâm của các bề mặt đo và cách hộp quy chiếu 50 cm.
Kích thước tính bằng milimét

CHÚ DẪN
1 Hộp đo
2 Hộp quy chiếu
Hình 33 - Các vị trí của micro cho tất cả đồ chơi cầm tay khác
5.25.2.3.6 Đồ chơi cố định và đồ chơi tự hành đặt trên bàn, sàn và gắn vào nôi cũi
Lựa chọn năm, hoặc nếu chiều dài hoặc chiều rộng của đồ chơi lớn hơn 100 cm thì lựa chọn 9 vị trí micro trên bề mặt đo dạng hộp ở khoảng cách đo 50 cm tính từ hộp quy chiếu của đồ chơi như quy định ở Hình 34. Các mặt bên của hộp đo với chiều cao H luôn ở cách mặt bên của hộp chuẩn 50 cm, trừ đáy hộp nằm trên cùng một mặt phẳng. Tất cả các vị trí của micro đều nằm ở trên hộp đo.
Kích thước tính bằng milimét

CHÚ DẪN
| 1 | Hộp đo |
| 2 | Hộp quy chiếu |
Hình 34 - Các vị trí của micro để đo đồ chơi cố định và đồ chơi tự hành đặt trên bàn, trên sàn và đồ chơi gắn vào nôi cũi
5.25.2.3.7 Đồ chơi kéo và đẩy và đồ chơi chạy bằng lò xo được kích hoạt bằng tay
Với các đồ chơi có chiều rộng, w, nhỏ hơn hoặc bằng 25 cm sử dụng hai vị trí micro cách trục x của hệ thống phối hợp đo 50 cm như nêu tại Hình 35.
Với các đồ chơi có chiều rộng w lớn hơn 25 cm, sử dụng hai vị trí micro cách trục x một khoảng bằng 40 cm cộng với một nửa chiều rộng của đồ chơi, (40 + wl2) như nêu tại Hình 35.
Đặt đồ chơi lên một gá thử hoặc trên bề mặt phản xạ theo hướng hoạt động thông thường của nó sao cho đồ chơi chuyển động dọc theo trục x và đi qua các vị trí của micro.
Kích thước tính bằng milimét

CHÚ DẪN
| 1 | Micro |
| 2 | Kết thúc đo |
| w | Chiều rộng của đồ chơi |
Hình 35 - Các vị trí của micro để đo đồ chơi kéo và đẩy và đồ chơi chạy bằng lò xo được kích hoạt bằng tay (thử "đi qua")
5.25.2.4 Cách đo
5.25.2.4.1 Yêu cầu chung
Đồ chơi phải hoạt động bình thường trước khi thực hiện các phép thử.
5.25.2.4.2 Đo âm thanh liên tục
Nếu đồ chơi có chu kỳ hoạt động rõ ràng, đo mức áp suất âm tương đương ở mỗi vị trí micro trong ít nhất một chu kỳ. Phải loại các khoảng thời gian yên tĩnh hơn 15s ra khỏi khoảng thời gian đo. Tiến hành ba lần đo.
Nếu đồ chơi không có chu kỳ hoạt động không rõ ràng, đo mức áp suất âm tương đương ở mỗi vị trí micro trong ít nhất 15s ở chế độ hoạt động bình thường khi độ ồn lớn nhất. Tiến hành ba lần đo.
5.25.2.4.3 Đo âm thanh xung
Đo mức áp suất âm thanh đỉnh phát trọng số C, LpCđỉnh, của âm thanh xung tại mỗi vị trí micro. Tiến hành ba lần đo.
5.25.2.4.4 Cách đo đối với lúc lắc
Đo mức áp suất âm thanh đỉnh phát trọng số C, LpCđỉnh, trong 10 chu kỳ. Tiến hành ba lần đo.
5.25.2.4.5 Kết quả đo
Phải ghi kết quả đo âm thanh như sau:
a) Mức áp suất âm thanh tương đương trọng số A phát ra ở một vị trí quy định, LpAtđ, tính bằng đexiben.
b) Mức áp suất âm thanh tối đa trọng số A phát ra ở một vị trí quy định, LpAmax (thử đi qua), tính bằng đexiben.
c) Mức áp suất âm thanh đỉnh trọng số C phát ra ở một vị trí quy định, LpCđỉnh, tính bằng đexiben.
Giá trị tối đa của các giá trị đo (LpAtđ, LpAmax và LpCđỉnh) tại bất cứ vị trí nào của micro là kết quả của phép đo.
5.26 Độ bền tĩnh của xe scooter đồ chơi
Xem 4.30.3 (độ bền).
Đặt một tải trọng thử lên vùng trung tâm của sàn xe scooter đồ chơi (xem Hình 36).
Đối với xe scooter đồ chơi có nhãn dành cho trẻ có cân nặng nhỏ hơn hoặc bằng 20 kg thì sử dụng tải trọng thử có khối lượng (50 ± 0,5) kg.
Đối với các xe scooter đồ chơi khác, sử dụng tải trọng thử có khối lượng (100 ± 1) kg.
Duy trì tải trọng trong 5 min.
Kích thước của tải trọng thử được nêu tại Hình 37.
Đường kính đáy của tải trọng thử khoảng 150 mm (xem Hình 37). Yêu cầu đường kính ngoài trong Hình 37 chỉ áp dụng cho phép thử ổn định của xe scooter đồ chơi (xem 5.12.2, thử ổn định các mặt bên, có thể dùng chân để giữ ổn định).
Kiểm tra xem đồ chơi có còn tiếp tục phù hợp với các yêu cầu liên quan trong tiêu chuẩn nữa hay không.

CHỨ DẪN
1 Tải trọng thử
Hình 36 - Thử độ bền tĩnh của xe scooter đồ chơi
Kích thước tính bằng milimét

CHÚ DẪN
| 1 | Tải trọng thử, 50 kg hoặc 100 kg |
| 2 | Trọng tâm |
CHÚ THÍCH Các cạnh của tải trọng được thể hiện bằng dấu chấm chỉ ra rằng đường kính của tải trọng cho phép được thay đổi từ đế đến đỉnh. Do đó, tải trọng 50 kg và 100 kg có thể có hình dáng khác nhau, miễn là đáp ứng các yêu cầu kích thước khác.
Hình 37 - Tải trọng để xác định độ bền và độ ổn định
5.27 Độ bền động của xe scooter đồ chơi
Xem 4.30.3 (độ bền).
5.27.1 Nguyên tắc
Buộc một tải trọng lên xe scooter đồ chơi, sau đó gắn cánh tay có khớp nối với các khớp nối ở khuỷu tay quay xuống phía dưới vào tay lái của xe scooter đồ chơi. Đâm vuông góc xe scooter đồ chơi vào một bậc không đàn hồi ba lần.
Sau đó kiểm tra xem xe scooter đồ chơi có còn tiếp tục phù hợp với các yêu cầu liên quan trong tiêu chuẩn nữa hay không.
5.27.2 Tải trọng
Sử dụng tải trọng như quy định tại Hình 38, tải trọng được trang bị các chi tiết mô phỏng hai cánh tay có khớp nối và một tấm đệm tháo ra được có các dây đai.
Khối lượng của mỗi cánh tay có khớp nối là (2 ± 0,02) kg.
Khối lượng của tấm đệm gồm cả cát và các dây đai là (0,5 ± 0,01) kg.
Khối lượng danh nghĩa của tải trọng với hai cánh tay có khớp nối và bổ sung lớp đệm phải là 54,5 kg đối với xe scooter đồ chơi dành cho người sử dụng có khối lượng đến 50 kg, và là 29,5 kg đối với xe scooter đồ chơi dành cho người sử dụng có khối lượng nhỏ hơn hoặc bằng 20 kg.
Các cánh tay có khớp nối này phải được gắn vào hai bên tại điểm trên cùng của tải trọng bằng các khớp nối hình cầu cho phép các cánh tay này có thể di chuyển theo mọi hướng.
Các khớp nối tại “khủyu tay” chuyển động được theo một hướng và phải có thể khóa được. Các khớp nối tại “cổ tay” chuyển động được theo hai hướng và phải có khả năng khóa được. Phần đầu của cánh tay phải có các ngàm kẹp để kẹp các cánh tay này vào đồ chơi.
5.27.3 Cách tiến hành
Chất tải phù hợp với loại xe scooter đồ chơi lên trên mặt phẳng của bệ đỡ có chiều cao (250 ± 25) mm và khối lượng (4,8 ± 0,2) kg đặt trên sàn của xe scooter đồ chơi (xem ví dụ về bệ đỡ này tại Hình 39). Đặt tải ở vị trí tương ứng như khi đồ chơi được sử dụng thông thường và dùng dây buộc tải vào đồ chơi. Có thể sử dụng một tấm đệm để tránh gây hư hại cho xe nhưng có thể không cần dùng đến tấm đệm này nếu như rõ ràng là tải trọng thử sẽ không gây hư hại cho xe đồ chơi.
Gắn các ngàm kẹp của các cánh tay có khớp nối vào tay cầm của xe scooter đồ chơi tại vị trí tương ứng như khi đồ chơi được sử dụng thông thường, khóa các khớp nối tại khuỷu tay và cổ tay.
Tăng tốc xe từ từ và cho xe chuyển động với vận tốc không đổi là (2 ± 0,2) m/s và đâm vuông góc vào một bậc cao (50 ± 2) mm làm bằng vật liệu không đàn hồi. Thực hiện phép thử này 3 lần. Tải trọng thử phải được kéo lên trên ngay khi xe đâm vào bậc để tải trọng không bị đổ và gây ra các hư hại không liên quan đến các phép thử đối với đồ chơi.
Trong suốt quá trình thử, cần cẩn trọng đối với tải trọng 50 kg vì các lý do an toàn. Để có thể kéo tải lên ngay tại thời điểm va đập và để giữ an toàn cho nhân viên thí nghiệm, có thể nối tải với một đường cáp ở trên cao bằng một dây kim loại hoặc bằng cơ cấu tương tự. Cần sử dụng thêm thiết bị hỗ trợ để (các) bánh của xe scooter đồ chơi đâm vuông góc với bậc làm bằng vật liệu không đàn hồi. Có thể sử dụng thiết bị giữ ổn định để giữ xe và tải trọng ở vị trí thẳng đứng trong suốt quá trình thử.
Kiểm tra xem đồ chơi có còn tiếp tục phù hợp với các yêu cầu liên quan trong tiêu chuẩn nữa hay không.
Kích thước tính bằng milimét
|
| |
| a) Tải trọng thử cho xe scooter đồ chơi dành cho trẻ có cân nặng từ 20kg đến 50kg | b) Tải trọng thử cho xe scooter đồ chơi dành cho trẻ có cân nặng nhỏ hơn hoặc bằng 20kg |
| Yêu cầu kỹ thuật của tải trọng dùng để thử độ bền động | |||
| Phần | Khối lượng kg | Đường kính mm | Chiều cao mm |
| a | 10,42 | 150 ± 2 | 75 ±2 |
| b | 14,58 | 178 ± 2 | 75 ± 2 |
| c | 4,16 | - | 150 ± 2 |
| d (mỗi tay) | 2,00 |
|
|
| e | 0,50 (tối đa) |
| 40 (tối đa) |
CHÚ DẪN
| 1 | Trọng tâm |
| 2 | Khớp nối hình cầu |
| 3 | Khớp nối một chiều |
| 4 | Khớp nối hai chiều |
| 5 | Ngàm kẹp |
| d | Cánh tay có khớp nối |
| e | Lớp đệm với các dây buộc (có thể tháo rời) |
Hình 38 - Tải trọng dùng để thử độ bền động
5.28 Thử tính năng phanh của xe scooter đồ chơi
Xem 4.30.6 (phanh).
5.28.1 Xe scooter đồ chơi có phanh tay
Chất tải có khối lượng (50 ± 0,5) kg như mô tả tại 5.27.2 lên mặt phẳng của bệ đỡ có chiều cao 250 mm (có bộ phận ổn định) và khối lượng (4,8 ± 0,2) kg như mô tả tại Hình 39 sao cho trọng tâm của tải trọng cách sàn của xe scooter đồ chơi một khoảng là 400 mm.
Gắn các cánh tay có khớp nối với tay cầm và đặt xe scooter đồ chơi lên một mặt phẳng nghiêng (10 ± 1)° được phủ bằng giấy nhám (nhôm oxit P60) sao cho trục dọc của xe song song với mặt phẳng nghiêng. Tác dụng một lực (30 ± 2) N vuông góc với trục của tay phanh tại điểm chính giữa.
Xác định lực cần thiết để giữ được xe scooter đồ chơi trên mặt phẳng nghiêng, song song với mặt phẳng đó.
5.28.2 Xe scooter đồ chơi có phanh chân
Chất tải có khối lượng (50 ± 0,5) kg như mô tả tại 5.27.2 lên mặt phẳng của bệ đỡ có chiều cao 250 mm (có bộ phận ổn định) và khối lượng (4,8 ± 0,2) kg như mô tả tại Hình 39 sao cho trọng tâm của tải trọng cách sàn của xe scooter đồ chơi một khoảng là 400 mm.
Gắn các tay có khớp nối với tay lái và đặt lên một mặt phẳng nghiêng (10 ± 1)° được phủ bằng giấy nhám (nhôm oxit P60) sao cho trục dọc của xe song song với mặt phẳng nghiêng (xem Hình 39). Đặt tải trọng (20 ± 1) N lên trên phanh chân.
Xác định lực cần thiết để giữ được xe scooter đồ chơi trên mặt phẳng nghiêng, song song với mặt phẳng đó.

CHÚ DẪN
| 1 | Tải trọng thử 25 kg với các cánh tay có khớp nối |
| 2 | Lực kế |
| 3 | Tải trọng thử, 20 kg |
| 4 | Bệ đỡ tải trọng có chiều cao 250 mm và khối lượng (48 ± 0,2) kg. |
Hình 39 - Thử tính năng phanh của xe scooter đồ chơi có phanh chân
5.29 Độ bền của trục tay lái xe scooter đồ chơi
Xem 4.30.3 (độ bền).
5.29.1 Độ bền với các lực hướng xuống dưới
Đặt và giữ xe scooter đồ chơi trên một mặt phẳng ngang sao cho xe ở vị trí thẳng đứng trong suốt quá trình thử. Kiểm tra xem các cơ cấu khóa đã được khóa đúng chưa.
a) Đối với xe scooter đồ chơi có hai tay cầm, treo đồng thời các tải trọng có khối lượng (50 ± 0,5) kg tại tâm của mỗi tay cầm [(xem Hình 40 a)]. Duy trì tải trọng trong 5 min.
Kiểm tra xem trục tay lái có bị sập xuống và các cơ cấu khóa có còn hoạt động và vẫn còn ở trạng thái đang khóa nữa hay không.
Nếu tay lái có chiều cao điều chỉnh được, tháo hai tải trọng 50 kg ra. Nhả cơ cấu khóa chính và vẫn khóa bằng cơ cấu khóa phụ, treo các tải trọng có khối lượng (25 ± 0,2) kg lên mỗi tay cầm và duy trì tải trọng này trong 5 min.
Kiểm tra xem cơ cấu khóa phụ có còn hoạt động và vẫn còn ở trạng thái đang khóa nữa hay không.
CHÚ THÍCH Mỗi cơ cấu khóa được thử với giả thiết rằng nó là cơ cấu khóa chính.
b) Đối với xe scooter đồ chơi loại chỉ có trục tay lái và không có tay cầm, thực hiện phép thử như nêu tại 5.29.1 a) (độ bền với lực quay xuống) bằng cách chất lần lượt các tải trọng có khối lượng (100 ± 1) kg và (50 ± 0,5) kg lên đầu trục tay lái [xem Hình 40 b)].

CHÚ DẪN
| 1 | Tải trọng thử |
| 2 | Khung thử |
Hình 40 - Thử tay lái
5.29.2 Độ bền với các lực hướng lên trên
Đặt và giữ xe scooter đồ chơi quay ngược xuống trên một khung thử [xem Hình 40 c)]. Kiểm tra chắc chắn rằng các cơ cấu khóa đều được khóa đúng.
a) Đối với xe scooter đồ chơi có hai tay cầm, treo đồng thời các tải trọng có khối lượng (25 ± 0,2) kg vào tâm của mỗi tay cầm. Duy trì tải trọng này trong 5 min.
b) Đối với xe scooter đồ chơi loại chỉ có trục tay lái và không có tay cầm, treo một tải trọng có khối lượng (50 ± 0,5) kg vào đầu cuối của trục tay lái. Duy trì tải trọng này trong 5 min.
Kiểm tra xem trục tay lái có bị rời ra thành từng đoạn hay không và các thiết bị khóa có còn hoạt động và vẫn còn ở trạng thái đang khóa nữa hay không.
5.30 Độ bền tách rời của tay cầm
Xem 4.30.5 (Tay cầm và trục tay lái điều chỉnh và gấp được).
Tác động lực 90 N lên mỗi đầu của tay cầm theo hai hướng đối diện nhau (xem Hình 41 ). Duy trì lực tác động trong 5 min.
Kiểm tra xem tay cầm có bị tách rời ra hay không.

CHÚ DẪN
| 1 | Phương pháp đo lực |
| 2 | Thiết bị kẹp |
| F | Lực, 90 N |
Hình 41 - Thử sự tách rời của tay cầm
5.31 Phép thử kéo nam châm
Xem 4.31.2 c) (tất cả các đồ chơi khác có nam châm và chi tiết có từ tính)
5.31.1 Nguyên tắc
Các phép thử này mô phỏng kiểu chơi dự kiến hoặc có thể dự đoán trước. Người ta nhận thấy rằng đồ chơi có thể chứa một nam châm hoặc kết hợp nhiều nam châm; các chi tiết có từ tính và/hoặc chi tiết gắn bằng kim loại; các phép thử này được thiết kế để mô phỏng kiểu chơi có thể dự đoán có sử dụng các chi tiết để gắn và tách các phần có từ tính.
Đối với đồ chơi có chứa nhiều hơn một nam châm/chi tiết từ tính, phép thử quy định trong 5.31.2 (đồ chơi có nam châm hoặc chi tiết từ tính) phải được tiến hành trừ khi không thể thực hiện phép thử mà không phá hủy đồ chơi. Trong trường hợp sau, phép thử phải được thực hiện bằng cách sử dụng đĩa đối chứng như mô tả trong 5.31.4 (đồ chơi có chứa chỉ một nam châm và không có chi tiết gắn kim loại).
CHÚ THÍCH Ví dụ về trường hợp không thể thực hiện phép thử trong 5.31.2 với (nam châm) hoặc chi tiết từ tính nếu không phá hủy đồ chơi là đồ chơi hình người, ở mỗi chân có một nam châm tiếp xúc được nhưng không dùng tay để kéo ra được.
Đồ chơi có chứa chỉ một nam châm và chi tiết gắn kim loại phải được thử theo 5.31.3 (đồ chơi có chứa chỉ một nam châm và chi tiết gắn kim loại).
Đồ chơi có chứa chỉ một nam châm và chi tiết gắn kim loại phải được thử theo 5.31.4 vì nó mô phỏng kiểu chơi mà đồ chơi được gắn và tách khỏi một bề mặt không đi cùng với đồ chơi.
5.31.2 Đồ chơi có nam châm hoặc chi tiết từ tính
Nhận biết nam châm hoặc chi tiết từ tính trong đồ chơi mà gần như có thể tách rời. Nam châm hoặc chi tiết từ tính được nhận biết phải chịu phép thử kéo nam châm.
Nếu không thể xác định nam châm hoặc chi tiết từ tính nào trong đồ chơi có thể tách rời nam châm khi thử, cho phép lặp lại phép thử với nam châm hoặc chi tiết từ tính khác lấy từ đồ chơi.
Không phá hủy đồ chơi, đặt nam châm hoặc chi tiết từ tính theo hướng hấp dẫn với nam châm cần thử, càng gần càng tốt để cho hút với nam châm cần thử. Tác dụng đều một lực kéo vào nam châm/chi tiết từ tính cho đến khi nó tách khỏi nam châm thử. Thực hiện phép thử 10 lần hoặc cho đến khi nam châm thử rời khỏi đồ chơi, tùy theo cái nào xảy ra trước.
Lặp lại quy trình với nam châm khác theo 4.31.2 (tất cả các đồ chơi khác có nam châm và chi tiết từ tính) mà đã trải qua phép thử kéo nam châm.
5.31.3 Đồ chơi có chỉ một nam châm và một chi tiết gắn bằng kim loại
Không phá hủy đồ chơi, đặt chi tiết gắn bằng kim loại càng gần càng tốt, để hút nam châm được thử, nếu có thể. Tác dụng đều một lực kéo vào chi tiết bằng kim loại cho đến khi chúng tách rời khỏi nam châm cần thử. Thực hiện phép thử 10 lần hoặc cho đến khi nam châm thử bị tách ra khỏi đồ chơi, tùy theo cái nào xảy ra trước.
5.31.4 Đồ chơi có chỉ một nam châm và không có chi tiết gắn bằng kim loại
5.31.4.1 Thiết bị, dụng cụ
Đĩa niken có hàm lượng niken tối thiểu bằng 99%, đường kính bằng (30 ± 5) mm và độ dày bằng (10 ± 0,5) mm.
5.31.4.2 Cách tiến hành
Không phá hủy đồ chơi, đặt phần phẳng của đĩa càng gần càng tốt với nam châm cần thử, để hút nếu được. Tác dụng đều một lực kéo vào đĩa cho đến khi nó tách ra khỏi nam châm thử. Thực hiện 10 lần hoặc cho đến khi nam châm thử bị tách ra khỏi đồ chơi, tùy theo cái nào xảy ra trước.
5.32 Chỉ số từ thông
5.32.1 Quy định chung
Xem 4.31.1 (bộ thực nghiệm có từ tính/điện dành cho trẻ từ 8 tuổi trở lên), 4.31.2 a) và c) (tất cả các đồ chơi có nam châm và chi tiết từ tính)
5.32.2 Nguyên tắc
Chỉ số từ thông được tính toán dựa trên kết quả phép đo mật độ từ thông và diện tích bề mặt cực.
5.32.3 Thiết bị, dụng cụ
5.32.3.1 Thiết bị Gauss xác định trường dòng điện một chiều, có độ phân giải bằng 5 G, có khả năng xác định trường chính xác đến 1,5 % hoặc hơn. Thiết bị đo phải có đầu dò kiểu trục với đường kính diện tích hoạt động bằng (0,76 ±0,13) mm và khoảng cách giữa diện tích hoạt động này với đỉnh đầu dò bằng (0,38 ± 0,13) mm.
5.32.3.2 Calliper hoặc dụng cụ tương tự với độ chính xác bằng 0,1 mm
5.32.4 Cách tiến hành
5.32.4.1 Đo mật độ từ thông
Nhận biết bề mặt của nam châm là một cực.
Đặt đỉnh đầu dò của thiết bị Gauss tiếp xúc với bề mặt cực của nam châm. Đối với chi tiết từ tính (khi nam châm được che toàn bộ hoặc một phần bên trong chi tiết của đồ chơi), đặt đầu dò tiếp xúc với bề mặt của chi tiết.
Giữ vị trí đầu dò vuông góc với bề mặt này.
Di chuyển đầu dò dọc theo bề mặt đến vị trí đạt giá trị tuyệt tối lớn nhất của mật độ từ thông. Ghi lại giá trị tuyệt đối tối đa của mật độ từ thông.
CHÚ THÍCH Vì đồng hồ có thể đọc cả giá trị âm và dương, giá trị tuyệt đối được sử dụng để tính toán.
5.32.4.2 Đo và tính toán diện tích bề mặt cực
Nếu nam châm ép/gắn như là một phần của chi tiết có từ tính, lấy nam châm ra khỏi chi tiết, thậm chí nếu cần phá hủy cả đồ chơi.
Nếu bề mặt cực của nam châm phẳng, đo các kích thước chính xác đến ± 0,1 mm và tính diện tích sử dụng công thức phù hợp.
Nếu bề mặt cực không phẳng (ví dụ hình bán cầu), đo đường kính lớn nhất của nam châm vuông góc với trục qua cực của nam châm (xem Hình 42) với độ chính xác đến ± 0,1 mm và tính diện tích của mặt cắt ngang tương ứng. Đối với nam châm đa cực, đo và tính toán diện tích của cực riêng lẻ lớn nhất mà có thể nhận biết bằng cách sử dụng màng quan sát trường điện từ hoặc tương đương.
CHÚ THÍCH Ví dụ về nam châm đa cực là một nam châm bọc cao su/chất dẻo, gồm nhiều dây hoặc cực.

CHÚ DẪN
| 1 | Mặt cắt ngang tối đa vuông góc với trục |
| 2 | Trục xuyên qua cực nam châm |
Hình 42 - Đường kính tối đa của nam châm có cực không phẳng
5.32.5 Tính toán chỉ số từ thông
Chỉ số từ thông (kg2mm2) được tính bằng cách nhân diện tích bề mặt cực (mm2) của nam châm với bình phương mật độ từ thông (kg2).
5.33 Thử va đập của nam châm
Xem 4.31.2 c) (tất cả các đồ chơi có nam châm và chi tiết từ tính)
Đặt chi tiết tương ứng của đồ chơi tại vị trí bất lợi nhất trên bề mặt thép phẳng nằm ngang và thả một quả nặng kim loại với khối lượng bằng (1 ± 0,02) kg, phân bố trên đường kính (80 ± 2) mm, qua một khoảng cách (100 ± 2) mm lên trên đồ chơi.
Xác định xem đồ chơi và nam châm hoặc chi tiết từ tính rời ra có lọt qua ống trụ khi thử theo 5.2 (thử chi tiết nhỏ) hay không.
5.34 Thử ngâm nam châm
Xem 4.31.2 b) (tất cả các đồ chơi có nam châm và chi tiết từ tính)
Nhấn chìm đồ chơi hoặc chi tiết đồ chơi hoàn toàn trong một bình chứa nước khử khoáng tại nhiệt độ bằng (21 ± 5) °C trong 4 min. Lấy đồ chơi ra, loại bỏ nước dư và giữ ở nhiệt độ phòng trong 10 min.
Thực hiện phép thử ngâm trong tổng số bốn chu kỳ
Ngay lập tức sau chu kỳ cuối, xác định xem nam châm hoặc chi tiết từ tính bị rời ra có lọt hoàn toàn vào ống trụ khi thử theo 5.2 (thử chi tiết nhỏ) hay không.
5.35 Xác định khoảng phóng
Xem 4.18 (đồ chơi phóng) và 4.19 (phần quay và chong chóng)
Phóng vật phóng theo cách sử dụng thông thường, sử dụng góc phóng mà sẽ tạo ra hành trình lớn nhất (thường bằng 45°). Tại điểm phóng, vật phóng sẽ rời cơ cấu phóng và bay tự do. Xác định khoảng cách lớn nhất của hành trình phóng tính từ điểm phóng khi ở trong không khí. Xem hình 43.
CHÚ THÍCH Một vật phóng được chủ định phóng theo chiều thẳng đứng cũng có thể được phóng ở góc nhỏ hơn nếu có thể.

CHÚ DẪN
| 1 | Mặt phẳng thẳng đứng | 5 | Khoảng cách 100 mm |
| 2 | Khoảng cách 300 mm | 6 | Điểm phóng |
| 3 | Ví dụ | 7 | Góc phóng |
| 4 | Mặt phẳng nằm ngang |
|
|
Hình 43 - Xác định khoảng phóng
5.36 Đánh giá đầu của vật phóng cứng
Xem 4.18.2 (vật phóng).
Để dưỡng như trong Hình 44 vào mép/cạnh dẫn bất kỳ của đồ chơi, sử dụng lực tối thiểu và trong mọi trường hợp không lớn hơn lực gây ra bởi khối lượng của vật phóng. Xác định bằng mắt xem đầu hoặc mép/cạnh dẫn có nhô ra ngoài dưỡng hay không.

Kích thước và dung sai:
Chiều cao: 2 mm +0,1/-0 mm
Đường kính trong: 4 mm +0/-0,1 mm
Đường kính ngoài: 6 mm +0/-0,1 mm
Hình 44 - Dưỡng hình trụ để xác định đầu vật phóng
5.37 Chiều dài vật phóng đầu mút
Xem 4.18.2 (vật phóng).
Đặt đầu mút lên bề mặt phẳng nằm ngang sao cho trục của nó thẳng đứng mà không chịu bất kỳ lực nào ngoài lực do chính nó gây ra. Nếu vật phóng bị đổ khi không được đỡ, đỡ vật phóng bằng một lực nằm ngang thích hợp trong quá trình đo. Đo chiều dài vật phóng như trong Hình 45.

CHÚ DẪN
1 Chiều dài vật phóng
Hình 45 - Đo chiều dài của vật phóng có đầu mút
Phụ lục A
(tham khảo)
Hướng dẫn phân loại tuổi sử dụng đồ chơi
A.1 Giới thiệu
Việc phân loại tuổi sử dụng đồ chơi một cách hợp lý là rất quan trọng để đảm bảo rằng một đồ chơi là phù hợp và an toàn ở các giai đoạn phát triển khác nhau về thể chất và tinh thần của trẻ sử dụng đồ chơi.
Việc ghi nhãn tuổi sử dụng đồ chơi nhằm cung cấp chỉ dẫn cho người tiêu dùng cách lựa chọn đồ chơi phù hợp cho trẻ trên cơ sở khả năng và sự quan tâm thông thường của các nhóm tuổi khác nhau và khía cạnh an toàn của đồ chơi.
Để đưa ra hướng dẫn cho nhà thiết kế và nhà sản xuất đồ chơi, TCVN 6238-8 (ISO/TR 8124-8) đã được công bố.
Các hướng dẫn đó đưa ra các suy xét và sự cân nhắc cần thiết để xác lập các khuyến cáo có ý nghĩa về lứa tuổi sử dụng đồ chơi.
A.2 Tiêu chí dùng để phân loại tuổi sử dụng đồ chơi
Các tiêu chí sau cần được xem xét khi đưa ra phân loại tuổi sử dụng một đồ chơi. Trong khi tất cả các tiêu chí này phải được xem xét tổng thể thì từng tiêu chí có thể được xem xét riêng biệt để đưa ra phân loại tuổi sử dụng phù hợp.
a) Đồ chơi phải phù hợp với khả năng về thể chất của trẻ để trẻ có thể thao tác và chơi với các đặc trưng riêng của một đồ chơi.
Điều này đòi hỏi hiểu biết về sự kết hợp thể chất, năng lực vận động tổng thể và sự khéo léo, kích thước cơ thể và sức khỏe thông thường của trẻ ở lứa tuổi đó.
b) Đồ chơi phải phù hợp với khả năng về trí tuệ của trẻ để trẻ có thể hiểu được cách sử dụng đồ chơi (có nghĩa là hiểu các hướng dẫn, sau đó là cách vận hành, mục đích của đồ chơi).
Việc xem xét đến các kỹ năng về trí tuệ ở một lứa tuổi nhất định là rất quan trọng đối với việc đưa ra một ý tưởng/khái niệm thách thức khả năng qua đó khuyến khích sự phát triển của trẻ và nếu không đạt được như vậy thì có thể coi là thất bại khi đồ chơi sẽ hoặc là quá dễ hoặc quá khó đối với trẻ.
c) Đồ chơi phải đáp ứng các nhu cầu chơi và sự quan tâm ở các mức độ phát triển khác nhau của trẻ.
Hiểu được các mức độ phát triển và nhận biết được vật liệu đồ chơi và môi trường chơi để hỗ trợ cho từng giai đoạn phát triển là rất quan trọng đối với việc ấn định các lứa tuổi phù hợp. Các quan tâm và các sở thích chơi thay đổi rất nhanh vì vậy cần lưu ý đặc biệt đến các sở thích cũng như những điều không thích của trẻ đối với các đối tượng đồ chơi cụ thể qua từng giai đoạn. Để làm cho một đồ chơi được trẻ chơi, rõ ràng rằng nó phải gây hấp dẫn cho người sử dụng nó, nói tóm lại nó phải gây sự thích thú.
A.3 Cơ sở để thiết lập các lứa tuổi sử dụng đồ chơi
Sử dụng các cơ sở sau có thể giúp cho việc quy định tuổi sử dụng đồ chơi. Các cơ sở này không được sắp xếp theo thứ tự quan trọng và nên xem xét tất cả các cơ sở này trong quá trình phân loại tuổi:
- kinh nghiệm trước đây về một đồ chơi hoặc đồ chơi tương tự có ngoài thị trường cho biết sự thích hợp của đồ chơi đối với một nhóm tuổi nhất định;
- các dữ liệu liên quan đến các phép đo tương đối về cơ thể và các yếu tố về nhân tố con người;
- nguồn tham khảo về các tiêu chuẩn phát triển của trẻ em để đưa ra các mốc phát triển quan trọng;
- sự nhận biết các đặc trưng phát triển để nâng cao/khuyến khích trong các khoảng tuổi nhất định;
- ý kiến của các nhà tư vấn bên ngoài, các chuyên gia, bác sỹ và nhà tâm lý học nghiên cứu về sự phát triển của trẻ em;
- phép thử các mô hình hoặc nguyên mẫu với trẻ em;
- sự quan sát các mức độ về kỹ năng của trẻ em khi chơi;
- tìm hiểu ý kiến của cha mẹ;
- sự tương tác với trẻ và đưa ra các câu hỏi.
A.4 Xem xét các khía cạnh an toàn để phân loại tuổi sử dụng đồ chơi
A.4.1 Quy định chung
Đồ chơi phải an toàn cho đối tượng sử dụng dự kiến. Một khi mức độ kỹ năng được xác định, thiết kế phải phù hợp để thỏa mãn các yêu cầu của quy định này liên quan đến tuổi sử dụng, chẳng hạn một đồ chơi ở mức độ quan tâm và kỹ năng của trẻ hai tuổi và có các chi tiết nhỏ không thể được xếp vào nhóm 3 tuổi, để tránh phải làm cho các chi tiết đó to ra.
Phân loại lứa tuổi là các chỉ dẫn cho sự phát triển trung bình, không nhất thiết phản ánh sự thích hợp đối với một đứa trẻ đặc biệt. Cha mẹ phải là người đánh giá tốt nhất xem đứa trẻ ở một giai đoạn phát triển tương ứng có thể chơi với một đồ chơi một cách an toàn hay không.
A.4.2 Đồ chơi phù hợp với trẻ dưới ba tuổi
Lưu tâm đầu tiên là các nguy cơ tiềm ẩn của việc hít và nuốt phải các chi tiết nhỏ của đồ chơi. Trẻ em dưới ba tuổi thường hay cho các đồ vật vào miệng. Tuy nhiên, thói quen cho đồ vật không phải là thức ăn vào miệng thường không mất đi trong giai đoạn ba tuổi. Các đồ chơi sau đây phù hợp với trẻ dưới ba tuổi:
- Đồ chơi bóp, đồ chơi để nhai, đồ chơi treo phía trên chỗ nằm của trẻ chưa biết ngồi, đồ chơi dùng để treo vào cũi, xe tập đi, xe cũi hoặc xe nôi, đồ chơi kéo và đẩy, đồ chơi gồm các khối hình học đơn giản bằng gỗ, bộ đồ chơi gồm hình khối và xếp chồng, đồ chơi ở bồn tắm, đồ chơi ở chỗ nước nông và đồ chơi cát, đồ chơi cưỡi/bập bênh, đồ chơi cưỡi, nhún, gắn trên các lò xo, đồ chơi đầu con thú gắn trên một cây gậy, đồ chơi hình con thú hay quả bóng phát ra tiếng nhạc khi lăn hay chạm vào, đồ chơi hình con thú, hình người chồi lên khi mở nắp hộp, đồ chơi nhồi mềm và các đồ chơi trước tuổi đi học, trò chơi và đồ chơi xếp hình, đồ chơi do trẻ lái, búp bê và hình các con vật, ô tô đồ chơi và các xe đồ chơi khác dành cho trẻ dưới 3 tuổi.
Một số các đặc tính mô tả các đồ chơi trước tuổi đi học phù hợp với trẻ dưới ba tuổi được liệt kê theo các nhóm đồ chơi dưới đây:
- Nhóm đồ chơi búp bê, bao gồm: búp bê hình em bé thân mềm hoặc búp bê loại để trẻ vuốt ve, ôm ấp, búp bê nhồi mềm hay nhồi bằng các hạt nhỏ, búp bê vải với các đặc tính đơn giản (kể cả các phụ kiện của búp bê) và búp bê bằng nhựa có khối lượng nhẹ với các chi tiết đơn giản và có ít khớp nối ở tay chân.
- Nhóm đồ chơi dành cho trẻ sơ sinh: đồ chơi để sử dụng trong nôi hoặc cũi, đồ chơi mà trẻ có thể cầm dễ dàng bằng các bàn tay nhỏ, đồ chơi để rung, cầm, lắc cho kêu hoặc vuốt ve.
- Nhóm đồ chơi xe cộ: xe ôtô, xe tải, tàu thủy và tàu hỏa có hình dáng đơn giản và thấp, được trang trí bằng các màu sắc cơ bản và không có quá nhiều chi tiết hoặc đặc trưng cho một kiểu loại xe cụ thể và chỉ cần các hành động đơn giản để chơi như lăn, ném, đẩy hay thả đồ chơi.
- Nhóm đồ chơi hoạt động: các đồ chơi hoạt động đơn giản để nhận biết âm thanh hoặc hình ảnh và các đồ chơi gây ngạc nhiên cho trẻ.
- Nhóm đồ chơi học tập: các đồ chơi, sách và đồ chơi xếp hình để học những điều cơ bản như chữ cái, số hoặc hình dạng, và các chuyển động vật lý đơn giản như quay bánh xe hoặc các núm, kéo và thả hoặc phân loại theo kích cỡ, v.v..
- Nhóm đồ chơi bóng mềm và đồ chơi tương tự: bóng nhẹ, mềm hoặc các hình khối khác để bóp, lắc, lăn hoặc ném.
A.4.3 Đồ chơi không phù hợp cho trẻ dưới ba tuổi
Các đồ chơi được cho là không phù hợp với trẻ dưới ba tuổi và vì vậy không được dán nhãn dành cho trẻ dưới ba tuổi có các đặc tính sau:
- Đồ chơi yêu cầu sự chuyển động phức tạp hoặc sự điều chỉnh có kiểm soát của các ngón tay để lắp các chi tiết phức tạp với nhau;
- Đồ chơi, ví dụ trò chơi đòi hỏi hoặc kếp hợp các yếu tố như khả năng đọc phải hơn mức ABC hoặc 123;
- Đồ chơi mô phỏng các hình hoặc đặc điểm và các phụ kiện đi kèm của người lớn;
- Bộ sưu tập (ví dụ, các nhân vật và xe cộ);
- Đồ chơi phóng, máy bay hay xe cộ có thể phóng lên;
- Bộ đồ chơi trang điểm.
A.4.4 Đồ chơi cho trẻ từ tám tuổi trở lên
Một ngưỡng phát triển quan trọng khác là giai đoạn khoảng tám tuổi, khi đó khả năng đọc của trẻ đã phát triển, trẻ có thể tự mình đọc, hiểu và chú ý đến các hướng dẫn, các lời cảnh báo v.v. Vì các hướng dẫn và lời cảnh báo này cần thiết cho sự sử dụng an toàn sản phẩm trong một số trường hợp nên các sản phẩm này phải được dán nhãn sử dụng cho trẻ trên tám tuổi.
Các sản phẩm thuộc loại này bao gồm:
- Bộ dụng cụ đồ chơi khoa học và môi trường có các chi tiết bằng thủy tinh dễ vỡ và các hướng dẫn phức tạp;
- Bộ mô hình và bộ lắp ráp phức tạp từ các chi tiết nhỏ, đòi hỏi lắp ráp chính xác và sự khéo léo của các ngón tay hoặc kết hợp các dụng cụ;
- Đồ chơi chạy điện có các bộ phận đốt nóng;
- Bộ đồ chơi hoá học, xe chạy bằng nhiên liệu, tên lửa, v.v..có chứa các hoá chất có thể gây độc mà thường không thể sử dụng một cách an toàn bởi trẻ chưa biết đọc và hiểu các hướng dẫn và lời cảnh báo. Lứa tuổi tối thiểu để sử dụng các sản phẩm này được khuyến cáo là tám tuổi và chỉ sử dụng khi có sự giám sát của người lớn.
A.5 Dán nhãn thể hiện tuổi sử dụng
Các nhà sản xuất có thể hỗ trợ cha mẹ và những người mua đồ chơi về việc lựa chọn đồ chơi thích hợp bằng cách kết hợp việc dán nhãn thể hiện để nhận biết các vấn đề tiềm ẩn có liên quan đến an toàn nếu đồ chơi được tiếp cận bởi trẻ nằm ngoài nhóm tuổi được khuyến cáo.
Các yếu tố để xem xét bao gồm sự hấp dẫn của đồ chơi đối với trẻ, kinh nghiệm trên thị trường, thiết kế hoặc cấu tạo của đồ chơi và bao gói có đưa ra các dấu hiệu trực quan về các chi tiết nhỏ hay không. Ngoài ra, nhà sản xuất phải xem xét đến khả năng người mua đánh giá quá cao khả năng về thể chất hoặc trí tuệ của trẻ và sự hiểu biết của trẻ về các nguy cơ tiềm ẩn có liên quan đến đồ chơi.
Phụ lục B
(tham khảo)
Hướng dẫn về nhãn an toàn và ghi nhãn của nhà sản xuất
B.1 Giới thiệu
Phụ lục này đưa ra các hướng dẫn về việc ghi nhãn cho một số loại đồ chơi.
Mục đích của nhãn an toàn là cung cấp các thông tin an toàn phù hợp đến người sử dụng khi mua đồ chơi (nghĩa là thông tin trên đồ chơi hoặc trên bao gói của đồ chơi, nếu có) và/hoặc trước lần sử dụng đồ chơi đầu tiên (nghĩa là trong hướng dẫn sử dụng) và/hoặc trước mỗi lần sử dụng đồ chơi (nghĩa là nhãn trên đồ chơi).
Yêu cầu về nhãn an toàn cho một số loại đồ chơi hoặc các đặc tính đồ chơi được đưa ra trong Điều 4.
Cần phải lưu ý rằng, các hướng dẫn này không đảm bảo việc phù hợp hoàn toàn với các yêu cầu quốc gia tương ứng về an toàn đồ chơi tại thị trường mà sản phẩm này được phân phối. Vì vậy người sử dụng các hướng dẫn này được khuyến cáo về việc cần nghiên cứu các yêu cầu quốc gia tương ứng.
B.2 Hướng dẫn về nhãn an toàn
B.2.1 Định nghĩa và vị trí nhãn
Nhãn an toàn phải ở dạng dễ nhìn thấy, dễ đọc, có thể hiểu được và không tẩy xóa được.
Thông tin về an toàn phải ở dạng gây được sự chú ý của người tiêu dùng và phải nằm trên bao gói hoặc trên sản phẩm để người tiêu dùng có thể dễ dàng nhìn thấy khi mua hàng.
Nhãn an toàn và ghi nhãn sản xuất phải theo ngôn ngữ của quốc gia mà đồ chơi đó được phân phối.
B.2.2 Tuổi sử dụng đồ chơi
Đồ chơi là đối tượng của các quy định của tiêu chuẩn này phải có nhãn nêu lứa tuổi tối thiểu dự kiến sẽ sử dụng đồ chơi. Nếu đồ chơi hoặc bao gói của nó không có nhãn quy định tuổi sử dụng theo cách rõ ràng và dễ thấy hoặc có nhãn không phù hợp thì đồ chơi sẽ phải được thử theo các quy định nghiêm ngặt nhất áp dụng trong tiêu chuẩn này.
Đối với một số đồ chơi như đồ chơi quần áo hoá trang và đồ chơi do trẻ lái, trên quan điểm về an toàn, việc ghi trên nhãn đồ chơi, bao gói của nó hoặc cả hai về giới hạn kích thước hoặc khối lượng của trẻ sử dụng đồ chơi cũng có thể được coi là phù hợp.
Hướng dẫn về việc xác định lứa tuổi phù hợp sử dụng đồ chơi nêu trong Phụ lục A.
B.2.3 Đồ chơi nhỏ và đồ chơi có các chi tiết nhỏ
Đồ chơi nhỏ và đồ chơi có các chi tiết nhỏ (xem 4.4) hoặc bao gói của nó phải có câu cảnh báo có nội dung tương tự như sau:
"Cảnh báo ! Không thích hợp cho trẻ dưới 3 tuổi. Có các chi tiết nhỏ”
Cụm từ "Cảnh báo! Không thích hợp cho trẻ dưới 3 tuổi" có thể được thay thế bằng một biểu tượng như nêu ra trong Hình B.1.
Chỉ dẫn về (những) mối nguy hiểm có thể được ghi trên chính đồ chơi, trên bao gói đồ chơi hoặc trong hướng dẫn sử dụng.

Hình B.1 - Biểu tượng cảnh báo về tuổi sử dụng
Chi tiết về việc thiết kế biểu tượng này như sau:
- vòng tròn và đường kẻ màu đỏ;
- nền màu trắng;
- phạm vi tuổi sử dụng và đường vẽ khuôn mặt màu đen;
- biểu tượng phải có đường kính ít nhất là 10 mm và tỷ lệ giữa các chi tiết của biểu tượng phải giống như trong Hình B.1;
- phạm vi tuổi không thích hợp với việc sử dụng đồ chơi nên được thể hiện theo năm, ví dụ 0-3.
B.2.4 Bóng bay
Xem 4..5.6.
Bao gói của bóng bay phải có câu cảnh báo với nội dung tương tự như sau:
"Cảnh báo! Trẻ em dưới tám tuổi có thể bị nghẹt thở bởi các bóng chưa được thổi phồng hoặc bóng vỡ. Cần sự giám sát của người lớn. Không cho trẻ chơi bóng chưa thổi. Vứt bỏ ngay các bóng vỡ".
B.2.5 Các quả bóng nhỏ và viên bi
Xem 4.5.2 và xem 4.5.7.
Bao gói đối với các quả bóng nhỏ và viên bi phải được mang dòng cảnh báo có nội dung tương đương với các nội dung dưới đây.
a) Nếu đồ chơi là một quả bóng nhỏ hoặc đồ chơi chứa một quả bóng nhỏ, trên đồ chơi hoặc bao gói của đồ chơi phải có lời cảnh báo với nội dung tương tự như sau:
“Đồ chơi quả bóng nhỏ này có nguy cơ gây nghẹt thở. Không thích hợp cho trẻ dưới 3 tuổi"
hoặc
"Sản phẩm này có chứa quả bóng nhỏ có nguy cơ gây nghẹt thở. Không thích hợp cho trẻ dưới 3 tuổi"
b) nếu đồ chơi là viên bi hoặc đồ chơi có chứa một viên bi, trên đồ chơi hoặc bao gói của đồ chơi phải có lời cảnh báo với nội dung tương tự như sau:
"Đồ chơi này là một viên bi có nguy cơ gây nghẹt thở. Không thích hợp cho trẻ dưới 3 tuổi"
hoặc
"Sản phẩm này có chứa viên bi có nguy cơ gây nghẹt thở. Không thích hợp cho trẻ dưới 3 tuổi"
B.2.6 Đồ chơi dưới nước
Xem 4.20.
Đồ chơi dưới nước phải có lời công bố rằng đây không phải là một thiết bị cứu hộ, và lời cảnh báo rằng đồ chơi này chỉ được sử dụng ở chỗ nước nông dưới sự giám sát của người lớn.
B.2.7 Đồ chơi gắn/treo trên nôi, cũi
Xem 4.11.5.
Đồ chơi gắn/treo trên nôi, cũi và bao gói của nó phải có thông báo lưu ý về việc trẻ bị thương do vướng hoặc bị nghẹt thở nếu đồ chơi không được tháo ra khi trẻ bắt đầu nhổm dậy và tập bò (xem B.3.2, đồ chơi gắn/treo trên nôi, cũi và B.3.3 đồ chơi ở phía trên để trẻ chưa biết ngồi với hoặc chạm vào và đồ chơi tương tự).
B.2.8 Đồ chơi tiếp xúc với thực phẩm
Trên bao bì và/hoặc hướng dẫn của đồ chơi hoặc các chi tiết của đồ chơi tiếp xúc với thực phẩm phải có dòng lưu ý về việc người lớn phải rửa sạch sản phẩm trước và sau khi sử dụng.
B.2.9 Đồ chơi do người lớn lắp rắp
Bao gói của đồ chơi được thiết kế để người lớn lắp ráp phải mang nhãn chỉ rõ điều này (cũng xem B.3.6, đồ chơi do người lớn lắp ráp).
B.2.10 Đồ chơi treo ở phía trên để trẻ chưa biết ngồi với hoặc chạm vào và đồ chơi tương tự
Xem 4.11.6.
Đồ chơi treo ở phía trên để trẻ chưa biết ngồi với hoặc chạm vào và đồ chơi tương tự được thiết kế để treo trong nôi, cũi hoặc xe đẩy bằng sợi dây, dây, dây chun hoặc dây bện cũng như bao gói của chúng phải có lời cảnh báo lưu ý về việc trẻ bị thương do vướng hoặc nghẹt thở khi vướng vào các đồ chơi này và nếu đồ chơi không được lấy ra khi trẻ bắt đầu nhổm dậy và tập bò (xem B.3.2, đồ chơi gắn/treo trên nôi, cũi và B.3.3 đồ chơi ở phía trên để trẻ chưa biết ngồi với hoặc chạm vào và đồ chơi tương tự).
B.2.11 Thiết bị bảo vệ mô phỏng
Xem 4.17
Thiết bị bảo vệ mô phỏng (ví dụ mũ bảo hộ lao động, mũ bảo vệ khi chơi thể thao và mũ của nhân viên cứu hoả) cũng như bao gói của đồ chơi phải công bố với người sử dụng rằng đây là đồ chơi và chúng không có tác dụng bảo vệ.
B.2.12 Đồ chơi có các cạnh sắc và đầu nhọn chức năng
Xem 4.6.2 và 4.7.2.
Đồ chơi dành cho trẻ từ 36 tháng tuổi đến dưới 96 tháng tuổi, có chứa các cạnh sắc hoặc đầu nhọn tiếp xúc được và chúng là các chi tiết cần thiết cho chức năng của đồ chơi, trên bao gói phải có lời cảnh báo về sự tồn tại của cạnh sắc hoặc đầu nhọn, hoặc cả hai.
B.2.13 Đồ chơi chức năng
Đồ chơi chức năng phải mang nhãn nêu rõ sản phẩm phải được sử dụng dưới sự giám sát trực tiếp của người lớn.
B.2.14 Đồ chơi giày trượt, giày trượt có các bánh xe thẳng hàng và ván trượt
Xem 4.27.
Đồ chơi giày trượt, giày trượt có các bánh xe thẳng hàng và ván trượt là các sản phẩm được thiết kế cho trẻ có cân nặng tối đa là 20 kg. Đồ chơi loại này phải có nhãn nêu rõ rằng các sản phẩm được thiết kế cho trẻ có cân nặng tối đa 20 kg và khuyến cáo người sử dụng về việc sử dụng các thiết bị bảo vệ như mũ bảo vệ, đệm cổ tay, đệm đầu gối và đệm khuỷu tay và không sử dụng trên các tuyến đường có phương tiện giao thông cơ giới lưu thông.
B.2.15 Đồ chơi phóng
Xem 4.18.3 b) và 4.18.4.
a) Đồ chơi có vật phóng phải có kèm các hướng dẫn sử dụng lưu ý người sử dụng về các nguy cơ khi nhắm vật phóng vào mắt hoặc mặt và nguy cơ khi sử dụng các vật phóng khác với các vật phóng do nhà chế tạo cung cấp hoặc khuyên dùng.
“Cảnh báo. Không nhắm vào mắt hoặc mặt”
CHÚ THÍCH Yêu cầu này dùng cho cảnh báo không áp dụng cho đồ chơi vật phóng mà có thể dùng để nhắm vào mắt hoặc mặt của người thứ ba.
b) Đồ chơi vật phóng không có năng lượng dự trữ mà có thể phóng vào mặt có thể phải kèm theo hướng dẫn sử dụng có đưa ra nguy cơ bắn vào mắt và mặt.
B.2.16 Diều đồ chơi
Xem 4.11.7.
Diều đồ chơi hoặc các đồ chơi nối với dây bay được khác phải có lời cảnh báo rằng không được sử dụng ở gần đường tải điện trên không và khi có dông bão.
B.2.17 Xe đạp đồ chơi
Xem 4.21.1.
Xe đạp đồ chơi phải được ghi nhãn khuyến cáo người sử dụng đội mũ bảo vệ khi lái xe.
Ngoài ra, hướng dẫn sử dụng phải có nội dung lưu ý rằng xe đạp này không cho phép sử dụng trên đường cao tốc. Ngoài ra, cha mẹ hoặc người chăm sóc trẻ em phải đảm bảo rằng trẻ em đã được hướng dẫn đầy đủ việc sử dụng xe đạp đồ chơi, đặc biệt là sử dụng hệ thống phanh một cách an toàn.
B.2.18 Ngòi nổ
Xem 4.28.
Bao gói của đồ chơi ngòi nổ phải có lời cảnh báo không được sử dụng đồ chơi trong nhà hoặc gần mặt và tai và không được để trong túi quần, túi áo.
B.2.19 Đồ chơi phát ra tiếng ồn xung động lớn
Xem 4.29 f).
Đồ chơi phát ra mức âm thanh xung động lớn hoặc bao gói của nó phải có lời cảnh báo sau:
“Cảnh báo! Không sử dụng gần tai! Sử dụng sai có thể gây hại cho thính giác"
Đối với đồ chơi ngòi nổ, thêm cảnh báo:
"Không đốt ở trong nhà !".
B.2.20 Xe scooter đồ chơi
Xem 4.30.2.
Xe scooter đồ chơi dành cho trẻ có cân nặng nhỏ hơn hoặc bằng 20kg phải có lời cảnh báo sau:
“Dành cho trẻ có cân nặng tối đa 20kg”
Xe scooter đồ chơi dành cho trẻ có cân nặng nhỏ hơn hoặc bằng 50kg phải có lời cảnh báo sau:
“Dành cho trẻ có cân nặng tối đa 50kg”
Ngoài ra, nếu có bao gói, và hướng dẫn sử dụng, phải có lời cảnh báo sau:
“Cảnh báo! Mang thiết bị bảo vệ trong khi sử dụng”
Không dành cho trẻ có cân nặng nhiều hơn 20kg (hoặc, “không dành cho trẻ có cân nặng nhiều hơn 50kg”)”.
Hướng dẫn sử dụng phải có nội dung lưu ý người sử dụng về việc phải cẩn thận khi sử dụng đồ chơi do đây là loại đồ chơi yêu cầu người sử dụng phải có kỹ năng tốt để tránh bị ngã hoặc va chạm gây thương tích cho người sử dụng và những người xung quanh. Hướng dẫn sử dụng khi thích hợp cũng phải bao gồm các thông tin như:
- các nội dung cảnh báo nêu trên;
- cách gấp và mở an toàn đối với xe hẩy gấp được;
- sự cần thiết phải lưu ý rằng tất cả các bộ phận khóa đã vào khớp với nhau;
- sự nguy hiểm khi sử dụng xe hẩy trên đường cao tốc hoặc đường phố;
- khuyến cáo về việc sử dụng các thiết bị bảo vệ như mũ bảo hiểm, găng tay, đệm đầu gối và đệm khuỷu tay.
B.2.21 Bộ thực nghiệm từ tính/điện dành cho trẻ em trên 8 tuổi
Xem 4.31.1 và E.45.
Bao gói và hướng dẫn sử dụng bộ thực nghiệm từ tính/điện dùng cho trẻ em trên 8 tuổi phải có thông báo có thể so sánh hoặc tương tự câu sau
“Cảnh báo. Không phù hợp cho trẻ dưới 8 tuổi. Sản phẩm này có chứa nam châm nhỏ”
Nam châm có thể dính vào nhau dọc theo ruột gây ra chấn thương nghiêm trọng. Đến ngay cơ sở y tế nếu nuốt phải nam châm”
B.3 Tài liệu hướng dẫn
B.3.1 Thông tin và hướng dẫn
Thông tin và các hướng dẫn về việc sử dụng hoặc lắp ráp an toàn một đồ chơi, hoặc cả hai dù ở trên bao gói hoặc trong tờ rơi đều phải đọc được dễ dàng.
B.3.2 Đồ chơi gắn/treo trên nôi, cũi
Xem 4.11.5.
Bộ đồ chơi dành cho trẻ sơ sinh gắn vào nôi, cũi, tường hoặc trần nhà (sau khi lắp ráp các đồ chơi ở trong các bộ đồ chơi này sẽ được treo ở phía trên nôi, cũi) phải có hướng dẫn lắp ráp, lắp đặt và sử dụng đúng để đảm bảo sản phẩm không có nguy cơ gây vướng. Hướng dẫn phải bao gồm ít nhất các thông tin sau:
- các đồ chơi này không nhằm để trẻ cầm/nắm hay túm được;
- nếu chúng được gắn vào nôi hoặc cũi thì phải được tháo ra khi trẻ bắt đầu nhổm dậy và tập bò;
- nếu đồ chơi được gắn vào tường hoặc trần thì phải lắp sao cho chúng ở ngoài tầm với của trẻ khi đứng;
- luôn luôn gắn chặt tất cả các bộ phận nối được cung cấp kèm với đồ chơi (dây, dây bện, ngàm kẹp, v.v...) vào nôi hoặc cũi theo hướng dẫn. Kiểm tra thường xuyên.
- không dùng thêm dây hoặc dây bện để nối đồ chơi với nôi hoặc cũi.
B.3.3 Đồ chơi treo ở phía trên để trẻ chưa biết ngồi với hoặc chạm vào và các đồ chơi tương tự
Xem 4.11.6.
Đồ chơi được thiết kế để treo qua nôi hoặc cũi bằng dây treo, dây, dây cao su hoặc dây bện (bao gồm, nhưng không giới hạn, các đồ chơi được treo sẵn trên khung mà trẻ có thể với hoặc chạm vào và đồ chơi vận động) phải có hướng dẫn lắp ráp, lắp đặt và sử dụng đúng để đảm bảo các sản phẩm này không có nguy cơ gây vướng hoặc gây nghẹt thở.
Hướng dẫn phải bao gồm ít nhất các thông tin sau:
- đồ chơi này không được thiết kế để trẻ "ngậm" và phải được để ở vị trí cách xa mặt và miệng của trẻ;
- đối với nôi có thể điều chỉnh chiều cao của đệm, vị trí cao nhất có thể làm đồ chơi ở quá gần trẻ;
- không bao giờ được hạ thấp mặt bên có thể mở ra của nôi khi đồ chơi vẫn được treo ở vị trí như thường lệ và trẻ không được giám sát;
- luôn luôn gắn chặt tất cả các bộ phận nối được cung cấp kèm với đồ chơi (dây, dây bện, ngàm kẹp, v.v...) vào nôi hoặc cũi theo hướng dẫn. Kiểm tra thường xuyên.
- không dùng thêm dây hoặc dây bện để nối đồ chơi với nôi hoặc cũi.
B.3.4 Hòm đồ chơi
Xem 4.16.2.2 d).
Phải có hướng dẫn chi tiết về việc lắp ráp và bảo trì hòm đồ chơi trong đó mô tả cách lắp ráp các chi tiết, nguy cơ phát sinh nếu dụng cụ đỡ nắp không được lắp vào, và mô tả cách xác định xem chi tiết đỡ nắp hòm có hoạt động đúng hay không.
B.3.5 Cái để trẻ ngậm, nhai có chứa chất lỏng và đồ chơi để trẻ ngậm, nhai có chứa chất lỏng
Xem 4.25.
Phải có hướng dẫn kèm theo cái để trẻ ngậm, nhai có chứa chất lỏng và đồ chơi để trẻ ngậm, nhai có chứa chất lỏng về việc không được cho chúng vào ngăn đá tủ lạnh.
B.3.6 Đồ chơi do người lớn lắp ráp
Hướng dẫn lắp ráp kèm theo đồ chơi được lắp ráp bởi người lớn và có các cạnh sắc hoặc đầu nhọn có nguy hiểm tiềm ẩn, hoặc có các chi tiết nhỏ nếu là đồ chơi dành cho trẻ dưới 3 tuổi, phải có lời công bố về điều đó cũng như về việc đồ chơi phải do người lớn lắp ráp (xem B.2.9, đồ chơi do người lớn lắp ráp).
B.4 Ghi nhãn của nhà sản xuất
Trên bộ phận chính của đồ chơi, bao gói, nhãn hoặc một tờ rơi đi kèm với đồ chơi phải có các thông tin về tên và địa chỉ của nhà sản xuất hoặc nhà phân phối, hoặc nhãn hiệu thương mại và/hoặc dấu hiệu mà qua đó có thể nhận dạng rõ ràng nhà sản xuất/phân phối. Tất cả các nhãn này phải dễ nhìn, dễ đọc và bền dưới các điều kiện sử dụng thông thường.
Phụ lục C
(tham khảo)
Hướng dẫn thiết kế đối với các đồ chơi gắn vào nôi hoặc cũi
C.1 Giới thiệu
Phụ lục này cung cấp các hướng dẫn về thiết kế nhằm mục đích khuyến khích sự kiểm tra cẩn thận các đặc tính và hình dạng của sản phẩm liên quan đến an toàn. Vì không có các phương pháp khách quan để xác định sự phù hợp với các hướng dẫn thiết kế này nên các hướng dẫn này không được sử dụng để đánh giá sự phù hợp với tiêu chuẩn này.
C.2 Hướng dẫn
Các sản phẩm để gắn vào nôi hoặc cũi phải được thiết kế sao cho giảm thiểu khả năng tiềm ẩn của các chi tiết như dây, dải duy băng, dây đàn hồi hoặc các phần khác của quần áo bị vướng, mắc vào sản phẩm và có thể gây ra nghẹt thở.
Ví dụ về việc thiết kế tốt các sản phẩm dùng trong nôi và cũi gồm có:
- tránh các chi tiết nhô ra nguy hiểm góp phần vào việc gây vướng mắc vào các đồ chơi gắn vào nôi hoặc cũi;
- làm tròn các góc bằng cách sử dụng các đường cong rộng khi có thể;
- đường viền trơn, nhẵn để giảm thiểu những thay đổi đột ngột về hình dáng mà dễ dàng trở thành các điểm làm mắc dây, dải duy băng, dây đàn hồi hoặc quần áo rộng;
- che các chi tiết kết nối cứng bằng các hốc lõm vào hoặc phương pháp khác tương tự;
- giảm sự tiềm ẩn về việc không khớp giữa các bề mặt mà tại đó có thể tạo ra các điểm gây vướng.
Phụ lục D
(tham khảo)
Ghi nhãn súng đồ chơi
D.1 Mục đích
Hướng dẫn trong phụ lục này nhằm mục đích giảm thiểu nguy cơ tiềm ẩn về việc súng đồ chơi bị nhầm là một khẩu súng thật.
D.2 Quy định chung
Hướng dẫn này áp dụng cho tất cả các đồ chơi giống và mô phỏng các loại súng có ngoại quan, hình dạng hoặc cấu trúc của một khẩu súng thật. Phần này bao gồm, nhưng không giới hạn các loại súng có không chức năng, súng phun nước, súng hơi, súng tạo tiếng nổ, súng phát sáng và súng bắn vật phóng không bằng kim loại.
Hướng dẫn này không áp dụng cho các loại súng sau:
- Súng đồ chơi không có ngoại quan, hình dạng hoặc cấu trúc hoặc sự kết hợp của các yếu tố trên giống như súng thật;
- Bộ sưu tập bản sao súng cổ không bắn được mà giống súng thật và có thể là các mô hình thu nhỏ theo tỷ lệ nhưng không nhằm để sử dụng như đồ chơi;
- Súng B-B truyền thống, súng bắn bi hoặc súng bắn bi giấy có thể phóng một vật phóng bằng lực không khí nén, khí nén hoặc tác động của lò xo, hoặc sự kết hợp của các yếu tố trên;
- Các vật trang trí, trang hoàng và vật thu nhỏ có ngoại quan, hình thù hoặc hình dạng hoặc sự kết hợp của các yếu tố trên giống như súng thật và các vật này có chiều cao không quá 38 mm và chiều dài không quá 70 mm (không bao gồm chiều dài của báng súng). Các vật này được thiết kế để trưng bày trên bàn hoặc gắn vào vòng đeo tay, vòng cổ hoặc móc treo chìa khoá, v.v...
D.3 Ghi nhãn
Các chi tiết nêu trong phụ lục này phải được đánh dấu hoặc sản xuất, hoặc cả hai theo một trong các cách sau. Dấu hiệu này phải vĩnh cửu và vẫn ở nguyên vị trí sau khi được thử theo 5.24 (phép thử việc sử dụng sai có thể dự đoán do hành vi thông thường của trẻ). Với mục đích của điều này, từ "vĩnh cửu" loại trừ việc sử dụng sơn hoặc nhãn thông thường.
- Nút bịt màu da cam rực hoặc màu da cam tươi được gắn vào đầu họng súng như một phần đồ chơi. Nút này không được thụt vào quá 6 mm so với đầu họng súng.
- Một dải màu da cam rực hoặc màu da cam tươi có chiều rộng tối thiểu là 6 mm bao quanh chu vi của đầu họng súng.
- Tạo màu sắc cho toàn bộ bề mặt ngoài của đồ chơi với các màu như màu trắng, đỏ tươi, da cam tươi, vàng tươi, xanh lá tươi, xanh da trời tươi, hồng tươi hoặc màu tím, hoặc dùng các màu này như tông màu chính để kết hợp với các màu sắc khác trong các họa tiết bất kỳ.
Phụ lục E
(tham khảo)
Cơ sở và lý do cơ bản để đưa ra các quy định trong tiêu chuẩn
E.1 Quy định chung
Xem Điều 1.
Với mục đích của tiêu chuẩn này, trong điều phạm vi áp dụng có liệt kê một số loại sản phẩm không được coi là đồ chơi. Tuy nhiên một số các chú giải có tính chất giải thích sau đây được cho là cần thiết:
a) Tiêu chuẩn này quy định cho xe đạp đồ chơi có chiều cao yên tối đa là 435 mm. Các xe đạp có chiều cao yên từ 435 mm đến 635 mm được quy định trong ISO 8098;
b) "Súng và súng ngắn hoạt động bằng hơi và khí nén" đề cập đến các vũ khí sử dụng không khí nén với áp suất cao hoặc các loại khí khác để phóng ra đạn bằng kim loại hoặc đạn bằng chất dẻo hoặc các mũi tên nhỏ và các loại súng này thường được người lớn sử dụng trong các cuộc thi. Ở nhiều nước pháp luật hạn chế việc bán các loại súng này cho trẻ em. Các súng đồ chơi như súng bắn nước bằng không khí nén không nằm trong danh sách loại trừ này;
c) "Các mô hình máy bay, tên lửa, tàu thủy và xe chạy trên mặt đất có động cơ sử dụng nhiên liệu" bao gồm cả động cơ cũng như các phụ kiện dự trữ;
d) "Đồ trang sức thời trang dành cho trẻ em" không bao gồm đồ trang sức ví dụ là một phần của búp bê và không phải để cho trẻ đeo. Cũng không gồm các bộ dụng cụ để làm trang sức.
E.2 Sử dụng thông thường
Xem 4.1.
Mục tiêu của các phép thử này là mô phỏng cách chơi thông thường của một đồ chơi và vì thế các phép thử này không liên quan đến những phép thử về việc sử dụng sai có thể dự đoán trước do hành vi thông thường của trẻ quy định trong 4.2 (sử dụng sai có thể dự đoán trước do hành vi thông thường của trẻ). Các phép thử này có mục đích đưa ra các nguy cơ tiềm ẩn hơn là chứng minh tính đáng tin cậy của một đồ chơi.
Với mục đích của tiêu chuẩn này, thực tế là một đồ chơi không đạt khi thử nghiệm việc sử dụng thông thường chỉ được coi là thích đáng nếu sự không phù hợp này làm phát sinh các nguy cơ tiềm ẩn theo các phép thử tương ứng quy định tại Điều 5 (phương pháp thử).
Các đồ chơi cần được thử các phép thử tương ứng mô tả cách sử dụng dự kiến của một loại đồ chơi cụ thể. Ví dụ, các tay cầm, bánh xe, khoá, nút bấm, dây, dây kim loại, xích v.v...sẽ được kích hoạt bởi trẻ và được vận hành lặp đi lặp lại. Các thiết bị vận hành bằng lò xo hay nguồn năng lượng cũng cần được thử tương tự.
Các phép thử cần được tiến hành ở môi trường mà đồ chơi dự kiến sẽ sử dụng. Ví dụ, các đồ chơi sử dụng trong bồn tắm sẽ được thử nghiệm trong nước xà phòng, các đồ chơi sử dụng tại các bồn chứa cát sẽ phải được tiếp xúc với cát trong khi thử nghiệm.
Có thể nhận thấy rằng không có yêu cầu đặc biệt nào được đưa ra ở đây; điều này là không thể khi xét đến số lượng lớn các chủng loại đồ chơi thuộc phạm vi của tiêu chuẩn này. Tuy nhiên, các nhà sản xuất hoặc nhà phân phối cần thử nghiệm tối đa để có thể tự đảm bảo rằng việc sử dụng thông thường trong khoảng thời gian tồn tại dự kiến của đồ chơi đã được mô phỏng.
E.3 Sử dụng sai có thể dự đoán trước do hành vi thông thường của trẻ
Xem 4.2.
Mục đích của các phép thử nêu trong 5.24 (phép thử việc sử dụng sai có thể dự đoán trước do hành vi thông thường của trẻ) là mô phỏng hư hại về mặt cấu trúc của đồ chơi như là hậu quả của việc ném, kéo, vặn xoắn và các hành động khác mà trẻ thường làm khi chơi đồ chơi. Các tương tác mô phỏng này được mô tả như việc sử dụng sai có thể dự đoán trước do hành vi thông thường của trẻ.
Tính nghiêm ngặt của các phép thử nêu trong 5.24 được xác định theo nhóm tuổi sử dụng dự kiến của đồ chơi. Nếu đồ chơi được dùng cho khoảng tuổi nhiều hơn một nhóm tuổi thì đồ chơi phải được thử theo phép thử nghiêm ngặt nhất.
Sau khi thử theo 5.24, đồ chơi vẫn phải tiếp tục phù hợp với các yêu cầu liên quan trong tiêu chuẩn này.
E.4 Chất lượng vật liệu
Xem 4.3.1.
Yêu cầu vật liệu dùng cho đồ chơi phải là vật liệu mới hoặc nếu là vật liệu tái chế, thì phải được xử lý sao cho mức ô nhiễm do các chất nguy hiểm gây ra không vượt quá mức xác định được trong vật liệu mới. Vật liệu phải không bị nhiễm dịch bệnh từ súc vật hoặc vật gây hại khác.
E.5 Vật liệu giãn nở
Xem 4.3.2.
Yêu cầu này nhằm giảm các rủi ro liên quan đến một số đồ chơi có thể giãn nở đột ngột khi bị nuốt phải.
Đã có các tai nạn xảy ra khi trẻ nuốt phải các đồ chơi như vậy.
E.6 Các chi tiết nhỏ
Xem 4.4.
Yêu cầu này nhằm giảm các rủi ro từ việc nuốt vào hoặc hít phải các vật thể nhỏ như là các đồ chơi nhỏ hoặc các chi tiết nhỏ của đồ chơi.
Các đồ chơi làm bằng bọt biển tạo ra các miếng nhỏ do bị xé rách khi thử theo 5.24 (thử việc sử dụng sai có thể dự đoán trước do hành vi thông thường của trẻ) được coi là nguy hiểm. Điều này cũng được áp dụng đối với các đồ chơi nhồi mềm bằng các miếng bọt biển nhỏ mà các miếng bọt biển nhỏ này có thể tiếp xúc được khi thử theo 5.24.
Các mắt gỗ ở các đồ chơi bằng gỗ về bản chất không bao giờ như nhau và từ một đồ chơi riêng lẻ có các mắt gỗ lỏng lẻo thì không thể đưa ra bất kỳ một kết luận nào về mức độ an toàn cho một loại sản phẩm nào đó. Tuy nhiên các mắt gỗ nhỏ ở các đồ chơi bằng gỗ có thể dễ dàng lấy hoặc đẩy ra phải được coi như là các chi tiết nhỏ có thể tháo rời được.
E.7 Hình dáng, kích cỡ và độ bền của một số loại đồ chơi
Xem 4.5, 4.5.1.3 và 4.5.1.4.
Mục đích của các yêu cầu này trong 4.5 (kích thước và độ bền của một số đồ chơi) là để nhận biết một số đồ chơi có thể có nguy cơ dính chặt, nguy cơ gây hóc và/hoặc ngạt thở vì thiết kế hoặc cấu tạo của đồ chơi cho phép chúng lọt vào miệng của trẻ em và bị mắc lại ở cổ họng. Các yêu cầu này cũng có ý nghĩa đối với việc nhận biết các nguy cơ gây nghẹn tiềm ẩn của các đồ chơi cho trẻ ngậm, nhai và đồ chơi bóp dành cho trẻ dưới 18 tháng tuổi.
Khi xác định xem đồ chơi nào được thiết kế cho trẻ chưa biết ngồi và cho trẻ dưới 18 tháng tuổi, cần xem xét các yếu tố liên quan sau đây: công bố của nhà sản xuất (ví dụ trên nhãn mác) nếu hợp lý, theo quảng cáo, tiếp thị và xem xét một cách tổng quát xem đồ chơi có phù hợp với nhóm tuổi đó không.
Thông thường trẻ em bắt đầu tự ngồi lên được ở độ tuổi từ 5 đến 10 tháng tuổi.
Các yêu cầu trong 4.5.1.2 (đồ chơi bóp, lúc lắc và một số đồ chơi khác và chi tiết đồ chơi) đề cập đến các nguy cơ gây hóc, ngạt thở và nguy cơ dính chặt liên quan đến lúc lắc, đồ chơi ngậm, nhai và đồ chơi bóp dành cho trẻ dưới 18 tháng. Các yêu cầu này áp dụng cho đồ chơi có khối lượng nhỏ hơn 0,5 kg và dành cho trẻ rất nhỏ đến khi biết ngồi, bao gồm các chi tiết đồ chơi có thể tháo rời từ đồ chơi treo dọc trên nôi, cũi hoặc xe đẩy; các yêu cầu này không áp dụng cho chi tiết lắp xiết của các sản phẩm dùng để gắn đồ chơi với nôi, cũi hoặc xe đẩy.
CHÚ THÍCH Thuật ngữ “gần như” được sử dụng dưới đây phù hợp với yêu cầu đồ chơi long standing và đồ chơi bóp.
Yêu cầu trong 4.5.1.3 (đầu gần hình cầu, hình bán cầu, hình trụ loe hoặc hình vòm của đồ chơi hoặc chi tiết đồ chơi) đề cập đến một số trường hợp tử vong và tai nạn theo báo cáo bởi Ủy ban an toàn người tiêu dùng Mỹ (CPSC), gồm trẻ nhỏ (dưới 18 tháng) chơi với các đồ chơi khác nhau có đầu hình cầu được gắn với một tay cầm hoặc thanh. Trường hợp tử vong hoặc bị thương do các đầu hình cầu của đồ chơi bị hóc bên trong họng của trẻ và gây ra ngạt thở. Các tai nạn này tương tự với các tai nạn đã được đề cập trước đây bằng cách sử dụng dưỡng đo bổ sung. Tiêu chuẩn EN 71 cũng đã được sử dụng để đối chiếu khi đánh giá các trường hợp tương tự. Việc loại trừ đối với các đồ chơi nặng hơn 0,5 kg không hợp nhất để phân biệt chúng với các loại đồ chơi khác cũng được viện dẫn từ EN 71.
Các yêu cầu trong 4.5.1.4 [chi tiết lắp xiết đồ chơi (ví dụ vít, bulông, đai ốc và chốt) có đầu hình gần cầu, bán cầu, hoặc hình vòm dành cho trẻ lớn hơn 18 tháng nhưng nhỏ hơn 48 tháng được dùng để đề cập đến các đồ chơi đáp ứng tiêu chí nhất định về kích thước và có nguy cơ dính chặt khi ngã đè lên. Các yêu cầu này dựa trên dữ liệu về tai nạn do CPSC cung cấp, gồm các vật có độ dài đủ lớn để bị đẩy vào miệng, có thể xuyên qua lưỡi gà khi trẻ ngã đè lên và phải lớn đủ để ngăn nó không thể di chuyển, thậm chí bởi một người lớn. Chuyên gia tai mũi họng đã được tư vấn để xem xét các dữ liệu tai nạn kiểu này. Các yêu cầu này chỉ đề cập đến các chi tiết lắp xiết đồ chơi vì các dữ liệu tai nạn có liên quan đến các chi tiết đồ chơi này. Phạm vi áp dụng rộng hơn bao gồm tất cả các chi tiết có hình dáng như vậy sẽ dẫn đến việc cấm sử dụng nhiều chi tiết đồ chơi hiện có mà đã được phân phối rộng rãi và được sử dụng trong nhiều năm nhưng chưa có dữ liệu về tai nạn liên quan.
Các sản phẩm có chiều dài nhỏ hơn 57,1 mm (chiều dài của hình trụ thử chi tiết nhỏ) được loại trừ là các sản phẩm có đường kính nhỏ hơn 15 mm. Các loại trừ này dựa trên kích thước của các sản phẩm liên quan đến các dữ liệu về tai nạn. Các chi tiết mềm dẻo được loại trừ vì đầu mềm dẻo chắc chắn không tạo ra nguy cơ dính chặt khi bị ngã đè lên.
Theo Chỉ dẫn của CPSC 1992: Các lựa chọn liên quan đến nguy cơ hóc, nghẹn từ các chi tiết đồ chơi nhỏ, kích thước thực của các vật được biết có nguy cơ làm hóc trẻ nhỏ thường có ý nghĩa hơn các giá trị đo đường thở của trẻ. Một số yếu tố tác động đến ý nghĩa của dữ liệu bị hóc thực tế. Sự khác nhau về kích thước miệng và họng kết hợp với tính đàn hồi của các mô trong miệng và họng làm gia tăng tính biến thiên của các giá trị đo. Các điểm chuẩn giải phẫu học cũng khó để chuẩn hóa và các mô của bệnh nhân được gây mê hoặc đã chết tương tác hoàn toàn khác so với đường thở của người khỏe mạnh không bị gây mê.
Nguy cơ gắn chặt được đề cập trong 4.5.1.4 khác với nguy cơ liên quan đến đồ chơi hình người được nêu trong 4.5.4 (đồ chơi hình người). Đồ chơi hình người có liên quan đến bảy trường hợp tử vong do hóc và một tai nạn gây chấn thương nghiêm trọng. Những tai nạn này xảy ra với trẻ dưới hai tuổi với một trường hợp loại trừ là trẻ chậm phát triển. Ngoài ra, các tai nạn hóc khác xảy ra với đồ chơi hình người nhưng không gây ra chấn thương nghiêm trọng.
Khoảng cách đến phần cắt dựa trên kích thước của cơ cấu thử quả bóng nhỏ (Dưỡng thử C).
Có tất cả chín trường hợp liên quan đến các sản phẩm khác nhau trong dữ liệu tai nạn gắn chặt. Bốn trường hợp gây ra tử vong và một trường hợp gây tổn thương não. Tuổi của trẻ trong các tai nạn này là bảy tháng, chín tháng và hai trẻ 13 tháng, 19 tháng, 22 tháng, hai trẻ hai tuổi và một trẻ bốn tuổi chậm phát triển. Trong dữ liệu này có hai trường hợp tử vong trong năm 2006 liên quan đến cùng một sản phẩm (móng tay nhựa) dành cho trẻ trên 3 tuổi. Lứa tuổi này đã được xác định là phù hợp bởi các chuyên gia trong lĩnh vực này. Nạn nhân trong các trường hợp này là trẻ 19 tháng và hai tuổi. Để đảm bảo các yêu cầu của 4.5.1.4 cho chi tiết lắp xiết đồ chơi đề cập đến đồ chơi gây ra hai trường hợp tử vong nêu trên, tuổi đối với yêu cầu này được mở rộng đến 48 tháng. Yêu cầu này không ngăn chặn việc sản xuất các sản phẩm tương tự trong tương lai nếu nó không áp dụng cho các sản phẩm dành cho trẻ dưới 48 tháng. Không cần mở rộng thêm khoảng tuổi trên 48 tháng vì tất cả các tai nạn được đề cập đến lứa tuổi đã công bố. Ngoài sản phẩm được nêu trong dữ liệu tai nạn năm 2006, tất cả các sản phẩm khác có trong dữ liệu này được xếp vào lứa tuổi dưới ba tuổi.
Không có lực tác động trong phép thử vì nó không dùng để mô phỏng một tai nạn gắn chặt thực. Hơn nữa, nó được thiết kế để nhận biết kích cỡ và hình dáng của sản phẩm liên quan đến các tai nạn này.
Dưỡng thử B bổ sung được sử dụng để nhận biết kích thước và hình dáng của vật thể liên quan đến dữ liệu tai nạn và không liên quan đến kích thước của trẻ đối với các tai nạn này. Tương tự như vậy, giới hạn 0,5 kg liên quan đến khối lượng của vật thể tương ứng với kiểu nguy cơ này không liên quan đến sức mạnh của trẻ.
Yêu cầu của 4.5.1.4 không áp dụng cho một số chi tiết đã được buộc chặt như được quy định trong phần loại trừ vì khối lượng của sản phẩm và chiều dài giới hạn của chi tiết đã buộc khiến chúng không làm cho chi tiết lắp xiết có nguy cơ bị gắn chặt. Hơn nữa, việc chưa có các dữ liệu tai nạn liên quan đến chi tiết lắp xiết được buộc chặt đã chứng minh việc loại trừ này.
Yêu cầu của 4.5.1.4 không áp dụng cho các chi tiết lắp xiết có đầu phẳng vì các dữ liệu tai nạn liên quan đến các đầu hình gần cầu, bán cầu hoặc hình vòm. Một nhóm công tác đã đánh giá chi tiết lắp xiết có đầu phẳng, trong đó có cả triệu sản phẩm được phân phối mà không có dữ liệu tai nạn liên quan. Cũng theo Chỉ dẫn của CPSC 1992: Lựa chọn liên quan đến nguy cơ hóc, nghẹn "vật thể tròn hoặc có ít nhất một đầu tròn thường có nguy cơ gây hóc. Vật thể có đầu phẳng hoặc nhọn thường ít khi có nguy cơ gây tai nạn”
Khi các yêu cầu đối với chi tiết lắp xiết đồ chơi được đưa ra, đã có thông tin về một trường hợp tử vong ở nước Anh gây ra bởi đồ chơi hình người đầu phẳng. Đây là một sự việc nhưng dữ liệu khi đó thực sự không đủ chi tiết để khẳng định rằng yêu cầu của chi tiết lắp xiết đồ chơi cần phải mở rộng cho các chi tiết có đầu phẳng mà không phải là chi tiết lắp xiết. Nếu trong tương lai có thêm dữ liệu liên quan đến chi tiết đầu phẳng thì các yêu cầu này có thể phải được xem xét lại.
Bảng sau đưa ra giải thích cùng với các ví dụ để giúp người đọc hiểu một đồ chơi/chi tiết với hình dạng cụ thể có thuộc phạm vi của 4.5.1.4 hay không. Các giải thích này giả thiết rằng kích thước của chi tiết và tuổi sử dụng sản phẩm thuộc phạm vi của 4.5.1.4.
Bảng E.1 - Giải thích và ví dụ
|
| Áp dụng: 4.5.1.4 áp dụng cho vít dạng vòm này, kể cả tâm của phần đầu phẳng hoặc có một lỗ xuyên qua |
|
| Không áp dụng: 4.5.1.4 không áp dụng cho búa vì nó không phải bộ phận lắp xiết đồ chơi, như đinh, vít, chốt hoặc bulông. |
|
| Áp dụng: 4.5.1.4 áp dụng cho sản phẩm này vi đầu của chúng hình vòm |
|
| Không áp dụng: 4.5.1.4 không áp dụng cho các chi tiết lắp xiết đồ chơi này vì đầu của chúng không phải hình cầu, bán cầu hoặc vòm. Đầu của chi tiết này phẳng. |
E.8 Quả len
Xem 4.5.3.
Yêu cầu này đề cập đến các nguy cơ gây ngạt thở liên quan đến quả len (xem ví dụ trong Hình 5) của đồ chơi cho trẻ dưới 36 tháng tuổi.
Định nghĩa về quả len (3.50) bao gồm cả các quả len thông thường cũng như các quả tua tròn như mô tả trong Hình 5. Ngoài ra, mặc dù khác nhau về cấu tạo nhưng các chi tiết hình cầu được làm bằng các vật liệu nhồi gắn vào đồ chơi cũng rất giống các quả len về cảm quan và ngoại quan và được sử dụng là sản phẩm trang trí theo cách tương tự. Các sản phẩm này cũng có nguy cơ tương tự như quả len và vì thế cũng phải tuân theo các yêu cầu này.
Qua các dữ liệu về thương, không cần phải quy định cho các quả tua có các dây bện dài như mô tả trong Hình 6.
E.9 Đồ chơi hình người dành cho trẻ em
Xem 4.5.4.
Yêu cầu này đề cập đến các nguy cơ gây hóc và/hoặc nghẹn tiềm ẩn liên quan đến một số đồ chơi hình người dành cho trẻ dưới 36 tháng tuổi.
Đồ chơi hình người dành cho trẻ em là đối tượng của yêu cầu này, có nguy cơ đối với trẻ còn rất nhỏ đặc biệt là em bé. Ví dụ dữ liệu thương tích của CPSC cho thấy các sản phẩm này đã có liên hệ trước đó với các hiện tượng nghẹn, bao gồm cả các trường hợp tử vong của trẻ rất nhỏ. Các sản phẩm "phù hợp” với trẻ dưới ba tuổi (nghĩa là theo chức năng, kích thước và đặc tính được dành cho trẻ dưới ba tuổi) là đối tượng của các yêu cầu này thậm chí nếu sản phẩm đó “được khuyến cáo” dành cho trẻ trên ba tuổi (nghĩa là được dán nhãn bởi nhà sản xuất rằng khuyến cáo dành cho trẻ dưới ba tuổi).
Các đặc tính riêng được nhận biết là các đặc tính về hình dáng được mô tả trong yêu cầu này. Chúng có thiết kế đơn giản không có phần gắn thêm và có đầu hình tròn, hình cầu hoặc bán cầu. Đồ chơi hình người dành cho trẻ em có thể đại diện cho con người, con vật hoặc các nhân vật tưởng tượng, không quan tâm đến việc nó có hiển thị tất cả các đặc trưng vật lý như mắt, mũi, miệng. v.v...hay không.
Dưỡng thử B bổ sung được chọn lựa dựa trên phân tích của tất cả các dữ liệu hiện có chỉ ra rằng dưỡng thử có thể xác định tất cả các nguy cơ tiềm ẩn của đồ chơi hình người đã biết có liên quan đến các tai nạn. Giới hạn về chiều dài (64 mm) dựa trên việc đánh giá kích thước của đồ chơi hình người đã biết liên quan đến các tai nạn. Đồ chơi hình người liên quan đến các tai nạn này không lọt hoàn toàn vào trong ống trụ thử chi tiết nhỏ.
E.10 Bóng bay
Xem 4.5.6.
Các mảnh của bóng bay cao su bị vỡ có nguy cơ gây hóc và nghẹn cho trẻ em và phải có lời cảnh báo.
E.11 Cạnh
Xem 4.6.
Các yêu cầu này nhằm làm giảm những rủi ro liên quan đến các vết đứt và vết rách do các cạnh sắc trên đồ chơi gây ra.
Tiêu chuẩn này chỉ đề cập đến các cạnh bằng kim loại và thủy tinh do không có phương pháp thử đối với các cạnh bằng nhựa. Tuy nhiên, khi thiết kế đồ chơi và sản xuất các dụng cụ, các nhà sản xuất phải tránh không tạo ra các cạnh sắc bằng nhựa càng nhiều càng tốt.
Người ta cũng đã cân nhắc về việc bổ sung các đánh giá chủ quan vào phương pháp thử đánh giá các cạnh sắc để xác định xem chúng có thực sự là các cạnh sắc nguy hiểm hay không vì có những cạnh của đồ chơi được đánh giá là cạnh sắc khi thử nghiệm nhưng lại không gây ra nguy hiểm.
Sự tồn tại của bavia trên một cạnh được xác định bằng cách đưa ngón tay dọc theo cạnh đó. Để kết luận là không đạt yêu cầu thì độ nhám này phải đáp ứng theo mức quy định của phép thử cạnh sắc.
Trong thực tế không thể sản xuất các chi tiết dẫn điện mà không có các cạnh sắc (ví dụ trong các hộp pin). Tuy nhiên, nguy cơ này được coi là thứ yếu và do đó cho phép có những cạnh như vậy.
E.12 Đầu nhọn
Xem 4.7.
Các yêu cầu này nhằm làm giảm những rủi ro do các đầu nhọn trên đồ chơi có thể gây ra như đâm thủng da v.v... Tuy nhiên, phải lưu ý rằng chúng không bao gồm các rủi ro liên quan đến mắt, là bộ phận quá nhạy cảm và cần được bảo vệ.
Người ta cũng đã cân nhắc về việc bổ sung các đánh giá chủ quan cho phương pháp thử để đánh giá các đầu nhọn để xác định xem chúng có thực sự là các đầu nhọn nguy hiểm hay không vì có những đầu nhọn của đồ chơi được đánh giá là đầu nhọn nguy hiểm khi thử nghiệm nhưng lại không gây ra nguy hiểm cho người sử dụng. Ví dụ về các đầu nhọn này là đầu nhọn của các dụng cụ làm sạch ống, được sử dụng như đồ chơi, các đầu nhọn này là quá yếu để có thể đâm thủng da.
Tuy nhiên, đối với trẻ dưới 36 tháng tuổi, những đầu không nhọn theo phương pháp thử lại có thể gây ra các rủi ro không dự kiến trước được. Các yêu cầu đối với các đầu nhọn có mặt cắt ngang tối đa là 2 mm đã được đưa ra trong 4.7.1 c) (điểm nhọn tiếp xúc được).
E.13 Các chi tiết nhô ra
Xem 4.8. và 4.30.8.
Phần đầu của các chi tiết nhô ra có nguy cơ đâm thủng da hoặc nguy cơ va đập phải được che bọc. Kích cỡ và hình dáng của phần bảo vệ không được quy định nhưng chúng phải có diện tích bề mặt đủ rộng.
Nếu chi tiết nhô ra ở trên một đồ chơi nhỏ và đồ chơi bị lật khi chịu tác động một lực vào phần đầu của chi tiết nhô ra, thì chi tiết nhô ra này được coi là không gây ra nguy hiểm.
Tay cầm và các ống nhô ra trên xe đạp phải luôn luôn được bảo vệ để giảm thiểu nguy cơ va đập khi đứa trẻ ngã lên trên đồ chơi trong khi sử dụng. Kích thước và hình dáng của phần bảo vệ không được quy định, trừ xe scooter đồ chơi nhưng cần phải đưa ra diện tích bề mặt lớn vừa đủ.
Giống như E.12, các yêu cầu này không đề cập đến các rủi ro liên quan đến mắt, là bộ phận quá nhạy cảm và cần được bảo vệ.
E.14 Dây và thanh kim loại
Xem 4.9.
Dây và các chi tiết kim khác được thiết kế và chủ định để uốn, và dây dùng để uốn, dù có được bọc bằng các vật liệu khác hay không vẫn phải được thử uốn (5.24.8, phép thử mềm dẻo) để chắc chắn rằng dây không bị gãy và tạo thành các đầu nhọn.
Dây và các chi tiết bằng kim loại khác được thiết kế và có mục đích dùng để uốn thường được sử dụng trong đồ chơi (nhồi) nhồi mềm, được coi là phù hợp với trẻ dưới 36 tháng tuổi. Các dây đứt thường sẽ nhô ra ngoài lớp bọc và gây nguy hiểm. Dây và các chi tiết bằng kim loại được thiết kế và có mục đích dùng để uốn cũng thường được sử dụng trong loại đồ chơi để làm cứng và duy trì kiểu dáng.
Ví dụ, dây có thể uốn thành một anten trên đồ chơi. Các yêu cầu trong 4.9 b) (dây và thanh kim loại) không có mục đích đề cập đến các thanh hình chữ U hoặc L, như các thanh thường được sử dụng trong khung của ô tô đồ chơi. Các đồ chơi có dây không thể uốn theo cách mô tả trong phương pháp thử nếu không lấy chúng ra khỏi đồ chơi thì không cần phải thử. Ví dụ về đồ chơi như vậy là một cái đánh trứng đồ chơi.
E.15 Màng nhựa dẻo hoặc túi nhựa dẻo trong bao gói và trong đồ chơi
Xem 4.10.
Yêu cầu này nhằm giảm thiểu khả năng xảy ra nguy cơ trẻ bị ngạt thở gây ra bởi màng nhựa mỏng, mềm nếu như màng nhựa này phủ lên mặt trẻ hoặc bị trẻ hít vào.
Màng nhựa mỏng có thể dính vào miệng hay mũi trẻ làm cho trẻ không thở được. Nếu màng có độ dày lớn hơn 0,038 mm thì rủi ro này được cho là ít nguy hiểm hơn.
Các quả bóng bay bằng cao su không thuộc quy định tại Điều 4.10 (màng chất dẻo hoặc túi chất dẻo trong bao gói và trong đồ chơi) do chúng không được làm từ vật liệu chất dẻo. Các quả bóng bay bằng chất dẻo thường rất chắc chắn nên trẻ không xé ra được và vì vậy việc đo độ dày của màng chất dẻo đối với các quả bóng bay loại này được thực hiện đối với 2 lớp màng (nghĩa là không cắt quả bóng ra).
E.16 Dây và dây đàn hồi
Xem 4.11.
Yêu cầu này nhằm giảm nguy cơ do các dây có trong đồ chơi tạo thành thòng lọng hoặc vòng cố định và có thể quấn chặt vào cổ của trẻ. Yêu cầu này cũng chỉ ra rủi ro khi trẻ có thể bị vướng vào dây tự co, ví dụ của đồ chơi phát ra âm thanh bằng cách kéo dây.
Một sợi dây monofilamăng không thể dễ dàng tạo thành một thòng lọng.
Yêu cầu tại 4.11.6 (đồ chơi treo ở phía trên để trẻ chưa biết ngồi với hoặc chạm vào và đồ chơi tương tự) nhằm giảm rủi ro bị nghẹt thở có thể gây ra bởi các đồ chơi gắn trên một sợi dây chăng ngang qua, ví dụ nôi, cũi. Nếu đứa trẻ cố gắng đứng dậy trong nôi cũi, trẻ có thể bị vướng do sợi dây có thể quấn quanh cổ hoặc trẻ có thể bị ngã và cổ họng của trẻ đè ngang qua sợi dây.
Mục đích của các yêu cầu trong 4.11.7 (dây, dây bện và dây thép của các đồ chơi bay) ngăn ngừa việc người sử dụng diều đồ chơi bị điện giật do diều chạm phải đường dây điện ở trên không. Yêu cầu này cũng nêu lên mối nguy khi chơi diều lúc trời dông bão.
E.17 Ghế đẩy, xe đẩy đồ chơi và đồ chơi tương tự
Xem 4.12.1.
Các yêu cầu này đề cập đến một số nhưng không phải tất cả những nguy cơ do bị kẹp, bị rách da thịt có thể xảy ra do sự đổ sập bất ngờ và không dự kiến được của các đồ chơi gấp, bất kể là đồ chơi này có được sử dụng để đỡ trẻ hay không.
Các yêu cầu này cũng nhằm làm giảm rủi ro do trẻ bị mắc kẹt bên trong ghế đẩy hoặc xe đẩy bị sập xuống cũng như khi trẻ bị kẹp tay khi chơi đồ chơi.
Những tai nạn chết người đã xảy ra khi những xe đẩy đồ chơi bị sập xuống và tay cầm đập vào đầu hoặc cổ của trẻ trong khi trẻ cố gắng ngồi vào hoặc trèo vào xe đẩy đồ chơi. Vì vậy các ghế đẩy hoặc xe đẩy đồ chơi cần phải được trang bị hai cơ cấu khóa và/hoặc thiết bị an toàn riêng biệt như đối với ghế đẩy và xe đẩy thật.
Những ghế đẩy có tay cầm được thiết kế để không gập xuống phía dưới đồ chơi khi đồ chơi bị sập mà lại gập lại với nhau theo hướng của các mặt bên được xem là những đồ chơi không gây ra nguy hiểm như nêu ở trên và do vậy các đồ chơi này không cần phải có hai cơ cấu khoá riêng biệt.
Tuy nhiên, không được cho rằng có thể loại bỏ được tất cả các mối nguy hiểm có thể xảy ra do bị kẹp bởi đồ chơi ngay cả khi chúng được gập lại theo cách đã định. Các nhà sản xuất phải giảm thiểu các rủi ro đó, ví dụ như phải tạo khoảng cách 12 mm giữa các chi tiết chuyển động hoặc bằng cách sử dụng các chốt an toàn. Phải hết sức cẩn thận khi thiết kế đồ chơi có các bộ phận gấp hoặc trượt để tránh đến mức tối đa các chuyển động giống như của một chiếc kéo cắt giữa các bộ phận.
E.18 Đồ chơi khác có cơ cấu gấp
Xem 4.12.2.
Yêu cầu này áp dụng cho các đồ chơi có thể đỡ trẻ hoặc các khối lượng tương đương, trừ các đồ chơi nhỏ.
E.19 Khe hở đường bản lề
Xem 4.12.3.
Yêu cầu này nhằm loại bỏ mối nguy hiểm do kẹp tay có thể xảy ra liên quan đến những bản lề có khe hở bản lề thay đổi, do đó trẻ có thể đưa ngón tay vào khe hở này tại một số vị trí trong khi lại không được đưa ngón tay vào các vị trí còn lại.
Yêu cầu này chỉ áp dụng cho các cơ cấu bản lề mà cả hai phần của nó đều có khối lượng lớn hơn hoặc bằng 250g và phần chuyển động của cơ cấu bản lề có tác dụng như "cửa" hoặc "nắp”. Theo yêu cầu này cửa hay nắp được định nghĩa là một vật để đóng một diện tích bề mặt mở rộng với một đường bản lề. Các phần có khớp bản lề khác không có diện tích bề mặt hoặc đường bản lề thì có thể xếp vào loại có cơ cấu gấp (xem 4.12.1 ghế đẩy, xe đẩy đồ chơi và đồ chơi tương tự) hoặc đồ chơi có thể đổ sập khác (xem 4.12.2, đồ chơi khác có cơ cấu gấp).
Yêu cầu này chỉ đề cập đến việc bị thương do bị kẹp tay giữa các cạnh dọc theo đường bản lề và giữa các bề mặt song song với đường bản lề như nêu ở Hình 4 nhưng không đề cập đến các tổn thương khác có thể xảy ra do bị kẹp tay giữa cạnh và các bề mặt khác của cơ cấu lắp ráp. Nó chỉ liên quan đến những lực có thể tác động vào các cạnh của đường bản lề khi cửa hoặc nắp đóng hoặc mở.
Không thể quy định một vùng bản lề thay vì một đường bản lề. Tuy nhiên người chế tạo phải xem xét điều này và cố gắng giảm sự rủi ro gây kẹp tay hoặc các bộ phận khác của cơ thể, ví dụ như bằng cách để một khe hở 12 mm giữa các bộ phận chuyển động gần đường bản lề.
E.20 Lỗ tròn trên vật liệu cứng
Xem 4.13.1.
Yêu cầu này nhằm tránh nguy cơ bị kẹt ngón tay trong các lỗ tiếp xúc được trên tấm kim loại mỏng hoặc vật liệu cứng khác có trong đồ chơi dành cho trẻ dưới 60 tháng tuổi. Các lỗ không phải hình tròn được cho là không có nguy cơ đáng kể hoặc ngăn cản sự lưu thông máu của ngón tay bị kẹp.
E.21 Khe hở tiếp xúc được của các phần chuyển động
Xem 4.13.2.
Yêu cầu này đề cập đến các khe hở giữa các phần chuyển động của đồ chơi dành cho trẻ dưới 96 tháng tuổi, và chỉ khi có nguy cơ ngàm kẹp các ngón tay hoặc các bộ phận khác. Yêu cầu này bao gồm nhưng không giới hạn, bánh xe, và lồng của bánh xe cứng, tấm chắn hoặc khe hở cong giữa bánh xe và khung xe của đồ chơi do trẻ lái chạy bằng năng lượng điện, lò xo hoặc quán tính.
E.22 Xích và dây đai trong đồ chơi do trẻ lái
Xem 4.13.3.
Cơ cấu truyền động phải được bao bọc để tránh làm kẹp hoặc nghiến vào các ngón tay hoặc các bộ phận khác của cơ thể. Đồ chơi phải do người lớn lắp ráp cần được thử sau khi đã được lắp ráp xong.
E.23 Cơ cấu dẫn động khác
Xem 4.13.4.
Các yêu cầu này nhằm giảm các rủi ro gây ra bởi các cạnh sắc và đầu nhọn bị lộ ra và tránh việc bị kẹp tay hoặc đứt tay khi ngón tay bị kẹp trong các lỗ nếu đồ chơi bị hỏng.
Nếu cơ cấu sau khi thử có thể tiếp xúc được và các bộ phận chuyển động có thể làm kẹp ngón tay hoặc gây thương tích cho trẻ thì cơ cấu được đánh giá là không đạt yêu cầu. Các cơ cấu dẫn động nhỏ như các cơ cấu trong các xe ô tô nhỏ được loại trừ vì chúng không đủ lực để làm kẹt ngón tay. Thử lực này bằng cách đưa một ngón tay hoặc bút chì vào cơ cấu.
E.24 Khoá lên dây cót
Xem 4.13.5.
Yêu cầu này nhằm mục đích tránh việc tay bị kẹp hoặc đứt tay khi ngón tay bị kẹp trong các lỗ ở đầu khoá lên dây cót hoặc giữa khoá lên dây cót và thân đồ chơi.
E.25 Lò xo
Xem 4.14.
Các yêu cầu này nhằm ngăn ngừa việc các ngón tay, ngón chân hoặc các bộ phận khác của cơ thể bị kẹp hoặc bị nghiến bởi các đồ chơi có lò xo.
E.26 Yêu cầu về độ ổn định về hai phía mặt bên
Xem 4.15.1.1 và 4.15.1.2.
Các yêu cầu này nhằm giảm thiểu các nguy cơ bất ngờ có thể xảy ra gây ra bởi đồ chơi dễ bị lật đổ. Người ta nhận thấy rằng có hai loại nguy cơ về độ ổn định có thể xảy ra: nguy cơ liên quan đến các đồ chơi do trẻ lái hoặc các ghế ngồi mà trẻ có thể dùng chân để giữ ổn định và nguy cơ liên quan đến đồ chơi mà chân của trẻ bị giới hạn bởi các cấu trúc đóng kín. Yêu cầu này có tính đến việc sử dụng chân của trẻ như một phương tiện để giữ xe ổn định, và thừa nhận rằng một đứa trẻ sẽ học được cách giữ thăng bằng ở các vị trí nghiêng một cách bản năng.
E.27 Độ ổn định phía trước và phía sau
Xem 4.15.1.3.
Yêu cầu này liên quan đến việc giữ ổn định phía trước và phía sau của đồ chơi do trẻ lái hoặc ghế ngồi, khi mà trẻ không thể dễ dàng dùng chân để giữ ổn định. Yêu cầu này cũng nhằm đảm bảo độ ổn định phía trước và phía sau, ví dụ đối với xe đạp ba bánh, đồ chơi cưỡi/bập bênh sao cho chúng không bị lật đổ.
E.28 Yêu cầu quá tải của đồ chơi do trẻ lái và ghế ngồi
Xem 4.15.2.
Yêu cầu này nhằm giảm nguy cơ bất ngờ có thể xảy ra do đồ chơi không chịu được tình trạng bị quá tải.
E.29 Độ ổn định của đồ chơi cố định đặt trên sàn
Xem 4.15.3.
Yêu cầu này nhằm giảm nguy cơ xảy ra khi một đồ chơi, ví dụ đồ dùng đồ chơi và hòm đồ chơi bị lật khi cửa, ngăn kéo hoặc bộ phận chuyển động khác của đồ chơi bị kéo/mở ra hết cỡ.
E.30 Đồ chơi tạo thành không gian khép kín
Xem 4.16.
Mục đích của yêu cầu này là làm giảm rủi ro có thể xảy ra do trẻ bị kẹt trong các đồ chơi tạo thành một không gian khép kín như lều, hòm đồ chơi và để tránh việc trẻ có thể bị ngạt thở khi chơi các đồ chơi ôm lấy đầu như mũ theo kiểu của các nhà du hành vũ trụ.
Tất cả các đồ chơi tạo thành không gian hạn chế và trẻ có thể chui vào đều thuộc phạm vi của yêu cầu này bất kể đồ chơi đó có được thiết kế để trẻ chui vào hay không. Ngay cả khi việc thông gió được đảm bảo thì đồ chơi cũng phải được thiết kế sao cho trẻ có thể chui ra khỏi không gian hạn chế này một cách dễ dàng mà không cần sự giúp đỡ từ bên ngoài.
E.31 Thiết bị bảo vệ mô phỏng như mũ bảo vệ các loại và kính bảo vệ
Xem 4.17.
Các yêu cầu này nhằm giảm thiểu rủi ro có thể gây ra ví dụ do kính hoặc mũ bảo vệ kiểu của phi hành gia nếu các vật liệu làm ra chúng không đạt yêu cầu hoặc do các đồ chơi mô phỏng các thiết bị bảo vệ như mũ bảo vệ dùng trong thể thao và các miếng đệm nếu như người mang/đội các thiết bị này sử dụng chúng như một thiết bị bảo vệ thực sự chứ không phải như một đồ chơi.
Các thiết bị như kính bơi và mặt nạ lặn với tác dụng bảo vệ trẻ thật sự không được coi là đồ chơi và không được quy định trong tiêu chuẩn này.
Kính râm dùng cho trẻ không được coi như là đồ chơi do chúng có tác dụng bảo vệ chống tia cực tím. Tuy nhiên, đối với các kính quá nhỏ và trẻ không thể đeo được như kính râm cho búp bê, gấu bông v,v thì lại được coi là đồ chơi.
E.32 Đồ chơi phóng
Xem 4.18.
Các yêu cầu này đề cập đến một số nhưng không phải tất cả các nguy cơ bất ngờ tiềm ẩn gây ra bởi các đồ chơi phóng hoặc do việc bắn các vật phóng khác với các vật phóng được bán kèm với đồ chơi này. Các đồ chơi được thiết kế để bay (ví dụ máy bay được cung cấp năng lượng bởi dây đàn hồi và trực thăng đồ chơi có điều khiển) không có nguy cơ tương tự và không thuộc phạm vi của yêu cầu cho vật phóng.
Các nguy cơ dễ dàng nhận thấy vốn có trong các đồ chơi truyền thống như là súng cao su và phi tiêu không được quy định trong yêu cầu này.
Nói chung, các vật phóng có khoảng phóng nhỏ hơn 300 mm không được cho là có đủ năng lượng để gây ra rủi ro chấn thương và vì thế được loại trừ khỏi phần lớn các yêu cầu liên quan đến các chi tiết nhỏ. Một hướng tiếp cận thận trọng hơn đã được đưa ra trong trường hợp vật phóng là các chi tiết nhỏ vì chúng đã được lưu lại trong dữ liệu chấn thương trên toàn thế giới. Một trong các cơ chế gây chấn thương đối với vật phóng là các chi tiết nhỏ bao gồm việc phóng vật phóng vào trong miệng/đường thở. Cơ chế gây chấn thương này không tồn tại đối với vật phóng mà chỉ có thể phóng trong một khoảng cách rất gần và do đó có ngoại trừ đối với vật phóng có khoảng phóng tối đa không lớn hơn 100 mm. Các vật phóng này thường thấy trên bộ đồ chơi mà hoạt động ban đầu giải phóng các vật phóng (ví dụ đá cuội, phần của xe đồ chơi, v.v...) mà di chuyển các khoảng cách ngắn tương đối. Các bộ đồ chơi như vậy được bán trong nhiều năm mà không có lịch sử gây chấn thương. Các loại đồ chơi khác mà phóng ra vật phóng chỉ trong một khoảng cách rất ngắn được cho là có nguy cơ gây chặn đường thở tương tự với các loại chi tiết rất nhỏ khác và đã được đề cập đến bởi các yêu cầu không phải cho vật phóng của tiêu chuẩn này.
Các vật phóng có đầu mút là bề mặt tiếp xúc đã có báo cáo liên quan đến các tai nạn chết người mà không liên quan đến cơ cấu phóng. Các ví dụ được báo cáo là các vật phóng có chiều dài nhỏ hơn 57 mm, trong đó đầu mút thường có đường kính lớn hơn đáng kể so với đường kính của thanh vật phóng. Vật phóng có thể đi vào cổ họng theo hướng mà thanh vật phóng vào trước, quay xuống dưới và khi đó đầu mút sẽ chặn đường thở. Việc thanh đi vào trước làm cho việc chặn đường thở gần như không thể ngăn chặn vì không thể gắp vật phóng ra được. Vật phóng có đầu mút khi đi vào đường thở với thanh đi vào trước sẽ dễ dàng gây ngạt hơn là có thể lấy ra vì hình dáng của đầu mút và tính mềm dẻo của phần chu vi cốc. Nó tạo ra hiệu ứng ngạnh. Không tồn tại nguy cơ như vậy đối với các thiết kế đầu mút mà đầu mút ở sát phần cổ hoặc thanh có đường kính lớn hơn hoặc bằng đường kính đầu mút. Yêu cầu vật phóng có đầu mút phải dài hơn 57 mm đã giúp cho việc ngăn cản vật phóng có đầu mút đi vào đường thở trên và có thể dễ dàng lấy vật phóng ra khi nó đi vào đường thở mà đầu mút đi vào trước. Nguy cơ này không xảy ra với vật phóng có đường kính đầu mút nhỏ hơn hoặc bằng đường kính của phần cổ hoặc phần thanh do đó nó được loại bỏ khỏi yêu cầu này. Điều này cũng bởi không có dữ liệu tai nạn liên quan đến các vật phóng giống như vậy và có đường kính thanh xấp xỉ 12 mm của hàng triệu sản phẩm đã được bán theo công bố của các nhà sản xuất đồ chơi và chúng cũng không có trong các thống kê về tai nạn và chấn thương liên quan đến việc ngạt thở.
Phương pháp kẹp vật phóng có đầu mút được quy định trong 5.24.6.5 (phép thử kéo vật phóng có đầu mút) sẽ cho phép ngàm kẹp gắn được với vật phóng có đầu mút có chiều dài cho phép ngắn nhất (57 mm) và sẽ đảm bảo rằng phát hiện được các điểm yếu bất kỳ của thanh vật phóng (là các điểm yếu mà khi chịu một lực kéo có thể làm gãy phần thanh có đầu mút có chiều dài tổng cộng nhỏ hơn 57 mm). Trong trường hợp vật phóng không được đúc thành một khối, thì thường đầu mút không được kẹp với thanh trong các phép thử. Để tránh trường hợp này, cho phép gắn đầu mút với một bề mặt phẳng bằng keo.
Đồ chơi vật phóng có năng lượng dự trữ thường là một khẩu súng hoặc cơ cấu lò xo, ví dụ như cung tên. Một cung tên được giữ bởi trẻ trong bộ cung và tên hoặc đồ chơi bắn hạt (pea-shooter) là các ví dụ về đồ chơi vật phóng không có năng lượng dự trữ. Cung tên lấy từ bộ cung và tên được xác định là một cơ cấu phóng vì nó không thể dự trữ năng lượng độc lập với người sử dụng, đồ chơi này được phân loại là đồ chơi phóng không có năng lượng dự trữ.
Trong các thiết kế mà vật phóng được phóng bởi người sử dụng bởi một cơ cấu phóng không có khả năng dự trữ năng lượng độc lập với người sử dụng, đồ chơi vật phóng đó phải được coi là đồ chơi phóng không có năng lưựng dữ trữ thậm chí nếu thiết kế của cơ cấu phóng có thể xác định động năng.
Ví dụ về cơ cấu phóng không có khả năng dự trữ năng lượng độc lập với người sử dụng bao gồm, nhưng không giới hạn: hệ thống ống thổi (bellow-powered) (không tạo áp) và một số vật phóng kiểu ma sát trong đó người sử dụng tác động lực lên vật phóng thông qua một khe hở bằng tay hoặc có hỗ trợ cơ học (ví dụ sử dụng cần đẩy).
Vật phóng kiểu ma sát là cơ cấu duy nhất mà có thể dự trữ năng lượng do thiết kế và vật liệu của chúng. Tuy nhiên, với mục đích của tiêu chuẩn này, vật phóng kiểu ma sát mà không thể phóng một vật phóng khi người sử dụng không cung cấp lực đầu vào cũng được coi là cơ cấu phóng không có năng lượng dữ trữ. Ví dụ, có thể xác định điều này bằng cách quan sát vị trí đặt vật phóng trong ví dụ vật phóng kiểu ma sát dưới đây:
|
| |
| a) Vị trí đặt vật phóng | b) Vật phóng được phóng ra |
Hình E.1 - Ví dụ của vật phóng kiểu ma sát không có năng lượng dự trữ
Thông tin trong B.2.15 (đồ chơi vật phóng) không áp dụng cho:
- đồ chơi vật phóng có thể được cho là có nguy cơ ngắm vào mắt hoặc mặt của người sử dụng hoặc người thứ ba; hoặc
- đồ chơi vật phóng dùng để ném về phía người, ví dụ đĩa bay, bóng và vật tương tự
Ví dụ về các đồ chơi không có nguy cơ ngắm vào mắt hoặc mặt bao gồm các vật phóng mà do thiết kế chỉ có thể được phóng dọc theo một bề mặt hoặc các đồ chơi mà trong đó mặt không để gần quỹ đạo vật phóng của đồ chơi.
Điều 4.18.3 b) (đồ chơi vật phóng có năng lượng dự trữ) đưa ra giới hạn tối đa của động năng trên diện tích tiếp xúc, hay còn gọi là mật độ động năng (Kinetic Energy Density) (KED). KED được đặt ngang hàng với cơ cấu thực dùng để xác định xem nguy cơ chấn thương mắt có xảy ra hay không. Sự phức tạp của cơ chế gây chấn thương mắt kết hợp với lời khuyên của chuyên gia đã đưa đến việc xác định rằng giá trị lớn nhất của KED bằng 2500 J/m2 là giá trị mà tại đó rủi ro xảy ra chấn thương mắt [ví dụ xuất huyết tiền phòng (hyphema)] là zero. Tuy nhiên, trong trường hợp vật phóng sắc nhọn có nguy cơ gây thương tích mắt thì KED không phải là chỉ số tốt thể hiện nguy cơ gây chấn thương mắt. Do đó, để tránh các đầu phóng không được làm tròn thích hợp, một phép đo bằng thước hình trụ đã được đưa ra dựa trên bán kính đầu bằng 2 mm được quy định trong phiên bản trước.
Khi xác định diện tích tiếp xúc (5.15.1.3.3, xác định động năng trên đơn vị diện tích tiếp xúc) giá trị trung bình của 10 giá trị đo được lấy sao cho giảm thiểu những biến thiên do kỹ năng của người thực hiện hoặc sự không ổn định của đồ chơi. Phép thử va đập thành (5.15.2, thiết bị) không ảnh hưởng bởi việc thay đổi người thực hiện và do đó ba phép đo được tiến hành theo một yêu cầu tương tự trong ASTM F963. Đối với việc xác định vận tốc tối đa (5.15.1.3.1, xác định vận tốc) thời gian tối thiểu từ năm phép đo được sử dụng thống nhất với các tiêu chuẩn hiện có, như EN 71, ASTM F963.
Các góc được tạo ra tại phần liền kề nhau của hai bề mặt và là các cạnh dẫn liền kề phải có bán kính tối thiểu bằng 0,25 mm nếu diện tích tiếp xúc được làm bằng một vật liệu cứng và đồ chơi phóng có năng lượng dự trữ. Yêu cầu này nhằm làm mềm các góc trên bề mặt mà trong một số mặt phẳng có thể coi là phẳng hoặc cùn nhưng trong mặt phẳng khác lại được cho là “sắc”. Việc “làm mềm” này được cho là không cần thiết (hoặc thực tế) đối với các vật phóng làm bằng giấy hoặc các tông và do đó các vật phóng làm bằng các vật liệu này được loại trừ khỏi yêu cầu.
Cơ cấu phóng phải được thiết kế sao cho giảm thiểu khả năng phóng bất kỳ vật phóng nào khác có nguy cơ gây nguy hiểm (ví dụ bút chì, đinh, đá) nếu không phải thay đổi bởi người sử dụng. Nếu có thể, cơ cấu phóng và vật phóng dự định phải được thiết kế sao cho bề mặt đặt tải có thiết kế đặc biệt để chì chấp nhận các vật phóng dự định. Điều này có thể đạt được bằng cách thêm rãnh khóa riêng biệt vào vật phóng và ăn khớp với cơ cấu phóng hoặc bằng cách thiết kế riêng một cơ cấu khóa để giữ vật phóng trước khi được phóng ra.
Thực tế các nhà sản xuất không thể xác định được mọi tình huống mà trẻ có thể tạo ra một vật phóng từ một sản phẩm có sẵn nhưng để tạo thuận lợi cho việc giải thích điều này, một bộ chuẩn các vật phóng chế tác đã được quy định. Các vật phóng chế tác có hành trình với khoảng cách rất nhỏ sẽ không có ảnh hưởng đến trẻ và vì vậy các vật phóng chế tác có khoảng phóng nhỏ hơn 300 mm được loại trừ khỏi yêu cầu này. Tuy nhiên, việc loại trừ này không có nghĩa các vật phóng chế tác có khoảng phóng lớn hơn 300 mm đương nhiên được cho là hấp dẫn trẻ hoặc có nguy hiểm. Những vật phóng chế tác như vậy vẫn phải được đánh giá để xác định xem nó có thể được phóng theo cách gây nguy hiểm tiềm ẩn khi tính đến các yếu tố liên quan khác như nêu trong 4.18.3 e) hay không.
Các yêu cầu liên quan đến mũi tên đề cập đến các nguy cơ tiềm ẩn liên quan đến các mũi tên dài hơn hoặc bằng 150 mm, được trẻ dùng để bắn, ví dụ trong trò chơi đóng vai. Đối với các mũi tên và cung, lực kéo bằng 150 N căn cứ trên 95 phần trăm lực kéo của một đứa trẻ 13 tuổi có thể sử dụng để kéo ra khỏi vị trí tiêu chuẩn với một tay trên một bục ở độ cao 1 300 mm (viện dẫn: McClelland 1976, UK và Childata, UK Department of Trade and Industry, datasheet 151). Khoảng cách tối đa bằng 70 cm căn cứ trên chiều dài một cánh tay của trẻ nam 13 tuổi (viện dẫn: Childata, UK Department of Trade and Industry, datasheet 54).
Các yêu cầu riêng đối với mũi tên trong 4.18.4.3 [mũi tên (ví dụ bộ cung và tên)] được áp dụng cho cung và tên đã được thu nhỏ lại, ví dụ như các sản phẩm đi kèm các bức tượng nhỏ trưng bày.
Phép thử va đập thành được đưa ra vì xem xét đến khả năng của việc sử dụng sai có thể dự đoán mà đồ chơi là đối tượng. Phép thử sử dụng thông thường/sử dụng sai có thể dự đoán trước do hành vi thông thường không mô phỏng được đầy đủ phá hủy có thể xảy ra sau khi giải phóng một vật phóng vào một nền hoặc tường cứng.
E.33 Phần quay và chong chóng
Xem 4.19
Các yêu cầu cho phần quay và chong chóng nhằm mục đích giảm thiểu nguy cơ gây chấn thương mắt từ các cánh quanh theo chiều ngang. Ví dụ về thiết kế được coi là giảm thiểu nguy cơ chấn thương mắt được nêu trong Hình E.2 dưới đây.

CHÚ DẪN
| 1 | Hướng quay |
| 2 | Đinh tán gắn lòng |
| 3 | Vật liệu đàn hồi |
| 4 | Phần bảo vệ bằng dây chất dẻo |
Hình E.2 - Ví dụ về thiết kế được coi là giảm thiểu nguy cơ gây chấn thương mắt
E.34 Đồ chơi dưới nước
Xem 4.20.
Các yêu cầu này nhằm làm giảm rủi ro bị đuối nước do không khí có trong đồ chơi thổi phồng để chơi dưới nước bị thoát ra qua van một cách bất ngờ và làm cho đồ chơi không nổi được nữa. Chúng cũng nhằm thông báo cho người lớn và trẻ em về những nguy hiểm khi sử dụng những đồ chơi này ở chỗ nước sâu. Tiêu chuẩn này áp dụng cho những đồ chơi thổi phồng được sử dụng để chịu được cân nặng của trẻ và được sử dụng để chơi ở chỗ nước nông dưới sự giám sát của người lớn.
Các nút đậy ở các van để thổi không khí vào không được rời ra và phải được bảo vệ để không bị lấy ra khỏi đồ chơi do vô ý. Việc thổi phồng đồ chơi sẽ dễ dàng hơn với các van không hồi lưu.
Các sản phẩm khác như các thuyền to làm phồng được, do kích cỡ và thiết kế của chúng là để nhằm mục đích cho việc sử dụng ở chỗ nước sâu, sẽ không thuộc phạm vi của tiêu chuẩn này. Phao tay và các phương tiện nổi tương tự được loại trừ do chúng được coi là những phương tiện hỗ trợ khi bơi và không phải là đồ chơi.
Đồ chơi phòng tắm thường được dùng trong bồn tắm trong nhà và không thuộc phạm vi của điều này, cũng như các quả bóng được thổi để chơi ngoài bãi biển, chủ yếu là để sử dụng trên bãi biển và không dùng dưới nước.
E.35 Phanh
Xem 4.21.
Các yêu cầu này nhằm ngăn chặn các tai nạn xảy ra do khả năng phanh của các xe đồ chơi không đáp ứng yêu cầu. Yêu cầu này quy định tất cả các đồ chơi có cơ cấu bánh quay tự do và do trẻ lái đều phải có phanh. Các yêu cầu này không áp dụng đối với các đồ chơi được truyền động trực tiếp, ví dụ xe ba bánh có bàn đạp ở bánh trước, ô tô đạp chân, và cả ô tô chạy điện trong đó chân của trẻ được tự do và có thể dùng để hãm xe.
Trong thực tế, để tiện cho việc đánh giá cơ cấu bánh quay tự do, người ta thường thử bằng cách để đồ chơi trên một mặt phẳng nghiêng 10° và xem nó có bị trượt xuống không. Chỉ trong trường hợp không chắc chắn mới cần sử dụng công thức để tính toán.
Công thức để tính toán cơ cấu bánh quay tự do theo công thức (E.1):
(m + 25).g.sin 10°
= (m + 25).g x 0,173
= (m + 25) x 1,70 (E.1)
trong đó m là khối lượng của xe đồ chơi.
E.36 Xe đạp đồ chơi
Xem 4.22.
Tiêu chuẩn này áp dụng cho xe đạp với chiều cao yên tối đa là 435 mm. Các xe đạp nhỏ này không được thiết kế và cũng không được phép sử dụng trên đường phố hay trên xa lộ.
Ở một vài nước có thể có những yêu cầu pháp lý nhất định liên quan đến thiết bị và/hoặc việc sử dụng xe đạp đối với trẻ em.
E.37 Giới hạn tốc độ của đồ chơi do trẻ lái chạy bằng điện
Xem 4.23.
Một số nước có thể đưa ra các giới hạn về tốc độ của đồ chơi do trẻ lái chạy bằng điện trong các quy định mang tính pháp lý của quốc gia đó.
E.38 Đồ chơi có chứa chất lỏng
Xem 4.25.
Các yêu cầu này nhằm làm giảm các rủi ro liên quan đến cái để trẻ ngậm, nhai và các sản phẩm tương tự bị đâm thủng do đó trẻ có thể tiếp xúc với các chất lỏng bị nhiễm bẩn hoặc trở nên nhiễm bẩn do bị đâm thủng.
Nếu xảy ra sự rò rỉ khi thử theo 5.19 (rò rỉ của đồ chơi chứa chất lỏng), phải xem xét đến các yếu tố sau khi đánh giá các nguy cơ tiềm ẩn của chất lỏng.
a) Đối với chất lỏng là nước
- dễ bị rò rỉ;
- trong chất lỏng có vi trùng không (ví dụ sự có mặt của vi trùng gây bệnh đã được biết đến);
- việc sử dụng chất bảo quản hoá học (chỉ đối với các chất bảo quản cho phép sử trong trong thực phẩm, lưu ý rằng giới hạn này có thể không áp dụng trong trường hợp thể tích chất lỏng ít);
- các chất hoà tan khác (ví dụ chất màu, v.v.)
b) Đối với chất lỏng không phải là nước (các quy định pháp lý khác của quốc gia có thể được áp dụng đối với một số chất lỏng không phải là nước)
- dễ bị rò rỉ;
- bản chất và nhận biết về chất lỏng;
- thể tích chất lỏng;
- độc tính của chất lỏng;
- tính dễ bắt cháy của chất lỏng;
- ảnh hưởng của chất lỏng đến các vật liệu khác mà nó rò rỉ ra.
CHÚ THÍCH Yêu cầu này không áp dụng cho chất điện phân trong pin. Nó cũng không áp dụng cho sơn, sơn bằng tay hoặc các sản phẩm tương tự đựng trong các lọ nhỏ.
Lời cảnh báo được yêu cầu ở 4.25 (đồ chơi chứa chất lỏng) nhằm làm cho các phụ huynh thấy được sự rủi ro liên quan đến việc đưa cho trẻ sản phẩm để trẻ ngậm, nhai quá lạnh đến mức có thể gây hại cho trẻ.
E.39 Đồ chơi kích hoạt bằng miệng
Xem 4.26.
Các yêu cầu này nhằm ngăn ngừa việc vô tình nuốt phải đồ chơi hoặc phần để ngậm vào miệng của các đồ chơi kích hoạt bằng miệng và làm cho người sử dụng bị ngạt thở.
Vì vậy các đồ chơi này cũng như các phần ngậm vào miệng có thể tháo rời hay có thể bị rời ra của chúng (ví dụ phần ngậm vào miệng của kèn trompet) phải không được nhỏ đến mức có thể vô tình nuốt phải.
Để chắc chắn rằng chi tiết nhỏ không bị rời ra khi sử dụng đồ chơi kích hoạt bằng miệng như kèn amonica hoặc còi, các đồ chơi này phải được thử hút và thổi bằng cách cho một thể tích không khí quy định đi qua đồ chơi.
Điều này áp dụng cho tất cả các đồ chơi được kích hoạt bằng miệng không kể đến lứa tuổi sử dụng của đồ chơi.
E.40 Ngòi nổ được thiết kế riêng cho đồ chơi
Xem 4.28
Các yêu cầu này nhằm giảm rủi ro gây hại cho mắt do các tia lửa, ngọn lửa và các phần phát sáng khi các ngòi nổ của đồ chơi bị phát nổ ở bên ngoài vũ khí đồ chơi hoặc do tác động cực kỳ nguy hiểm của các đồ chơi được thiết kế hoặc chế tạo không thích hợp. Ngoài ra các thương tích còn có thể xảy ra bởi các phản ứng đồng thời của một lượng lớn các kíp nổ.
E.41 Đồ chơi có hình bán cầu
Xem 4.5.8.
Yêu cầu này nhằm chỉ ra các rủi ro bị nghẹt thở do một số đồ chơi có hình dạng nhất định (ví dụ nửa quả bóng hoặc quả trứng, bình bát) có thể đè lên miệng và mũi của trẻ nhỏ và bịt kín mũi và miệng trẻ. Các dữ liệu sẵn có cho thấy rủi ro gây chết người này liên quan đến trẻ trong khoảng từ 4 tháng tuổi đến 24 tháng tuổi, trong đó tai nạn xảy ra lại liên quan đến trẻ ở độ tuổi đến 36 tháng tuổi.
Nhân viên của Ủy ban an toàn sản phẩm tiêu dùng Hoa Kỳ đã phân tích các dữ liệu liên quan đến các tai nạn và đưa ra các kết luận liên quan đến các kích thước của các đồ chơi gây ra tai nạn như sau:
Bảng E.2 - Kích thước của đồ chơi gây tai nạn
| Khoảng đường kính | 69 mm đến 97 mm |
| Khoảng độ sâu | 41 mm đến 51 mm |
| Khoảng thể tích | 100 ml đến 177 ml |
Nhóm công tác đã quan sát trẻ em sử dụng cốc có đường kính từ 51 mm đến 114 mm. Dựa trên các quan sát này và các kích thước của các cốc liên quan đến tai nạn, người ta đã đi đến kết luận là khoảng kích cỡ được lưu tâm là từ 64 mm đến 102 mm.
Vị trí của hai lỗ mô tả trong Hình 12 a) và Hình 12 b) nhằm giảm thiểu khả năng cả hai lỗ đồng thời bị bít lại. Kích cỡ của lỗ được quy định để ngăn ngừa việc tạo ra khoảng chân không. Các lỗ này không nhằm mục đích để trẻ thở qua.
E.42 Yêu cầu về độ ồn
Xem 4.29.
Các yêu cầu này nhằm làm giảm rủi ro gây hại cho thính giác do các mức ồn xung cao và liên tục. Chúng chỉ áp dụng cho đồ chơi được thiết kế để phát ra tiếng động, nghĩa là các đồ chơi có đặc tính tạo âm thanh như các thiết bị điện hoặc điện tử, các động cơ phát ra âm thanh, kíp nổ, chi tiết lúc lắc v.v...
Các yêu cầu tại 4.29 a) và 4.29 b) nhằm chỉ ra các nguy cơ do âm thanh tiên lục (ví dụ tiếng nói, âm nhạc, v.v...). Các nguy cơ này là thường xuyên và thông thường chỉ được biểu hiện sau nhiều năm bị phơi nhiễm.
Các yêu cầu tại 4.29 c) đến 4.29 f) nhằm chỉ ra các nguy cơ do âm thanh xung (ví dụ ngòi nổ, nổ bóng bay, v.v...), và các nguy cơ này có thể là đặc biệt nguy hiểm. Sự hủy hoại vĩnh viễn đối với thính giác có thể xảy ra chỉ sau một lần chịu các mức âm thanh đỉnh cao.
Yêu cầu về mức âm thanh xung được chia thành hai loại: hoạt động gây nổ và hoạt động không gây nổ. Mức đêxiben cao hơn cho phép đối với các đồ chơi gây ra âm thanh xung do hoạt động nổ của đồ chơi. Mức cao hơn này được cho phép vì tai người không có khả năng đáp ứng với các sóng âm thanh tăng nhanh như vậy.
Đồ chơi gần tai được thử ở 50 cm để giảm thiểu sai số đo. Mức đexiben cho phép đã được điều chỉnh xuống thấp để bù lại khoảng cách sử dụng gần hơn.
Đồ chơi tạo âm thanh cũng phải phù hợp với những yêu cầu có liên quan khác của tiêu chuẩn này.
E.43 Thuật ngữ về khoảng tuổi sử dụng đồ chơi
Tiêu chuẩn này sử dụng các thuật ngữ sau: "đối với trẻ dưới 18 tháng tuổi"; " đối với trẻ từ 18 tháng tuổi trở lên", "đối với trẻ dưới 36 tháng tuổi", "đối với trẻ từ 36 tháng tuổi trở lên", "đối với trẻ từ 18 tháng tuổi trở lên nhưng dưới 36 tháng tuổi", v.v... Điều này làm rõ việc áp dụng các phương pháp thử cho các khoảng tuổi này như thế nào.
Ví dụ, với một đồ chơi được phân loại tuổi sử dụng và được mang nhãn "18+" hoặc "dành cho trẻ từ 18 tháng tuổi trở lên", hoặc "dành cho trẻ từ 18 đến 24 tháng tuổi" sẽ không phải thử theo các yêu cầu áp dụng cho "trẻ dưới 18 tháng”.
Nếu các thông số thử được chỉ ra như trong bảng dưới đây và một đồ chơi đã được phân loại tuổi sử dụng phù hợp và mang nhãn, ví dụ "dành cho trẻ từ 24 đến 36 tháng tuổi", hoặc "24-36 tháng tuổi" thì sử dụng tải trọng 25 kg.
Bảng E.3 - Các thông số thử để phân loại tuổi sử dụng phù hợp và mang nhãn
| Tuổi sử dụng đồ chơi | Tải trọng (kg) |
| Dưới 36 tháng tuổi | 25 ± 0,2 |
| Từ 36 tháng tuổi trở lên | 50 ± 0,5 |
Đồ chơi dành cho trẻ em thuộc hơn một nhóm tuổi phải được thử theo các yêu cầu nghiêm ngặt nhất. Đối với đồ chơi đã được phân loại tuổi sử dụng phù hợp với lứa tuổi và mang nhãn, ví dụ, "2-5 năm" thì sử dụng tải trọng 50kg như nêu trong Bảng E.3.
Nếu thuật ngữ "tháng" được thay bằng "năm" thì vẫn áp dụng quy ước trên theo cách tương tự. Ví dụ, công bố "dưới 3 tuổi" có thể hiểu tương đương với "dưới 36 tháng tuổi".
E.44 Xe scooter đồ chơi
Xem 4.30.
Khối lượng cơ thể 20kg tương ứng một cách tương đối với khối lượng trung bình của một trẻ 5 tuổi. Khối lượng cơ thể 50kg thì tương ứng một cách tương đối với khối lượng trung bình của một trẻ 14 tuổi.
Điều này đã được xem xét và người ta thấy rằng cần phải chia xe scooter đồ chơi thành hai nhóm khối lượng, và giới hạn khối lượng 20kg cũng giống với giới hạn được sử dụng cho giầy trượt đồ chơi, v.v...Giới hạn cao hơn được áp dụng cho xe scooter đồ chơi là 50kg. Cần lưu ý rằng tiêu chuẩn Châu Âu đối với xe scooter đồ chơi được sử dụng như một thiết bị thể thao bắt đầu ở khối lượng 35kg và, vì vậy, ở đây sẽ có hai loại xe scooter đồ chơi đối với nhóm khối lượng cơ thể từ 35kg đến 50kg - một loại có nhãn CE, và một loại không có.
Người ta đã xem xét và thấy rằng việc yêu cầu phải có phanh đối với xe scooter đồ chơi cho trẻ 5 tuổi hoặc dưới 5 tuổi là không cần thiết do trẻ ở lứa tuổi này thường không lái xe với tốc độ cao và trẻ cũng không có khả năng sử dụng phanh một cách hiệu quả. Yêu cầu đối với đường kính bánh trước là để làm giảm nguy cơ người điều khiển ngã khi xe hẩy chạy trên những viên đá nhỏ hoặc các vật thể tương tự.
E.45 Nam châm
Xem 4.31.
Các yêu cầu này đề cập đến các nguy cơ liên quan với lực hút của các nam châm mạnh [ví dụ nam châm loại neodymium iron boron (NIB)] mà có khả năng gây ra thủng hoặc tắc đường ruột. Các nguy cơ này được bổ sung vào các nguy cơ liên quan đến các chi tiết nhỏ như là gây hóc hoặc ngạt (xem E.6, chi tiết nhỏ). Các yêu cầu này áp dụng theo lứa tuổi sử dụng đồ chơi.
Nam châm có thể làm trẻ bị ngạt. Nếu có nhiều hơn một nam châm hoặc một nam châm và một vật hút nam châm (ví dụ một vật bằng sắt hoặc niken) bị nuốt, các vật thể này có thể hút vào nhau dọc theo thành ruột và gây ra thủng hoặc tắc và có thể gây chấn thương dẫn đến tử vong.
Các đa chấn thương gồm ít nhất một trường hợp tử vong đã được báo cáo có liên quan đến các nam châm gây ra thủng hoặc vỡ ruột. Các tai nạn này xảy ra với trẻ nhỏ hơn và lớn hơn 3 tuổi. Các dấu hiệu y học liên quan đến việc thủng và vỡ ruột có thể dễ dàng bị nhầm do nhiều trẻ chỉ thể hiện giống như bệnh cúm. Các hiểu nhầm này dẫn đến việc xử lý chậm và gây ra hậu quả nghiêm trọng với trẻ.
Với mục đích của tiêu chuẩn này, nam châm và chi tiết từ tính có thể bị nuốt được xác định thông qua một ống trụ thử chi tiết nhỏ. Trụ thử chi tiết nhỏ được thiết kế ban đầu để nhận biết các chi tiết nhỏ trong đồ chơi đối với trẻ dưới 3 tuổi, thường hay gây hóc hoặc ngạt. Nó đã không được thiết kế để nhận biết các vật mà có thể bị nuốt bởi trẻ lớn hơn. Việc quyết định sử dụng trụ thử chi tiết nhỏ cũng dùng để đánh giá nam châm hoặc chi tiết từ tính mà có thể bị nuốt vì các lý do thực tế: trụ này là một dưỡng thử và nó đưa ra giới hạn an toàn vì nam châm và chi tiết từ tính liên quan đến các tai nạn đều lọt qua trụ có giới hạn lớn. Nguyên tắc tương tự cũng được áp dụng với yêu cầu cho vật liệu giãn nở.
Rủi ro nam châm hút lẫn nhau dọc theo thành ruột là do độ bền của nam châm. Một giá trị giới hạn dưới dạng chỉ số từ thông đã được đưa ra để định nghĩa một nam châm yếu là như thế nào. Phân tích dữ liệu này đã chỉ ra rằng chỉ nam châm loại NIB mạnh có thể gây ra tai nạn. Phân tích sau đó cũng đã xác định rằng nam châm có chỉ số từ thông nhỏ hơn 50 kG2mm2 (0,5 T2mm2) được cho là thích hợp để đảm bảo với giới hạn an toàn và nam châm kiểu này không được phép sử dụng trong các đồ chơi nếu chúng lọt qua trụ thử chi tiết nhỏ. Bằng cách đưa ra giới hạn chỉ số từ thông, rủi ro chấn thương với nam châm sẽ được giảm thiểu. Khi có được các dữ liệu bổ sung trong tương lai, giới hạn này sẽ được đánh giá để xác định xem có còn phù hợp không.
Hai hoặc nhiều nam châm có thể hút lẫn nhau và tạo thành một tổ hợp nam châm có chỉ số cao hơn của từng nam châm riêng lẻ. Chỉ số này sẽ không tăng lên gấp đôi nếu hai nam châm mạnh như nhau hút vào nhau và giá trị tăng chỉ số từ thông sẽ nhỏ hơn đối với mỗi một nam châm mới được thêm vào và phụ thuộc vào vật liệu từ tính, hình dáng, mặt cắt ngang, v.v... Việc nuốt phải nhiều nam châm chỉ có thể quan sát bởi một nam châm mạnh hơn và không có dữ liệu tai nạn liên quan đến các nam châm yếu gần với giới hạn chỉ số từ thông tạo thành một nam châm tổ hợp (mạnh hơn). Do đó, không có thử nghiệm bổ sung đối với các nam châm tổ hợp được đưa ra.
Các đồ chơi có chứa nam châm có thể bị ướt trong quá trình sử dụng thông thường và sử dụng sai có thể dự đoán là đối tượng của phép thử ngâm để đảm bảo rằng nam châm dính không bị rời ra khỏi đồ chơi khi ướt. Đồ chơi gỗ cũng là đối tượng của phép thử này vì tính chất của gỗ (ví dụ kích thước các lỗ) có thể thay đổi ngay cả với sự thay đổi của độ ẩm không khí.
Trong vài trường hợp, nam châm được đặt lõm vào và không thể trải qua phép thử xoắn và kéo thông thường. Ví dụ về các đồ chơi được phát hiện khi một nam châm bị tách ra bởi một nam châm khác.
Phép thử kéo nam châm được đưa ra để giảm thiểu rủi ro nam châm đó bị tách ra trong khi sử dụng thông thường và sử dụng sai có thể dự đoán.
Đối với các đồ chơi chỉ có một chi tiết từ tính, đồ chơi đó được xem là đáp ứng các định nghĩa của một chi tiết từ tính (xem 3.42, chi tiết từ tính).
Nam châm chức năng trong các đồ chơi không được coi là có các rủi ro tương tự khi nam châm tạo thành một phần của quá trình chơi. Việc sử dụng nam châm trong các chi tiết này có thể không được nhận ra vì chúng ở bên trong động cơ điện hoặc trong mạch điện. Không có các tai nạn được báo cáo có liên hệ đến các nam châm rời ra từ chi tiết điện hoặc điện tử.
Bộ thực nghiệm từ tính/điện dành cho trẻ lớn hơn và bằng 8 tuổi được loại khỏi yêu cầu trong 4.31.2 (tất cả các đồ chơi khác có nam châm và chi tiết từ tính) và thay vào đó phải có một cảnh báo. Loại trừ này chỉ áp dụng cho các bộ thực nghiệm cao cấp, trong đó người chơi phải lắp động cơ điện, loa, chuông cửa, v.v..., nghĩa là các sản phẩm yêu cầu cả từ tính và điện trong chức năng của chúng. Phải lưu ý rằng cảnh báo phù hợp với EN 71-1 nhưng không theo ASTM F963. Tuy nhiên, bộ thực nghiệm có cảnh báo theo ASTM F963 sẽ phù hợp với cảnh báo của ISO vì trong nội dung của ASTM F963 có nêu “so sánh được". Bộ thực nghiệm từ tính/điện dành cho trẻ trên 8 tuổi phải phù hợp với các yêu cầu trong 4.31.2.
Phụ lục F
(tham khảo)
Hướng dẫn thiết kế phần nhô ra của đồ chơi trong bồn tắm
Hướng dẫn dưới đây (1 đến 5) đề cập đến nguy cơ gây ra bởi những phần cứng nhô ra thẳng đứng hoặc gần như thẳng đứng trong đồ chơi bồn tắm và nhằm giảm thiểu rủi ro chấn thương bộ phận sinh dục và hậu môn của trẻ khi chúng không mặc quần áo, ngồi hoặc nằm lên phần nhô ra. Một số ví dụ về các đồ chơi có nguy cơ tiềm ẩn này bao gồm nhưng không giới hạn như vây cứng của cá, các vỏ hạt cứng, phễu và cột buồm.
Dữ liệu về tai nạn liên quan đến kích thước sản phẩm và đặc tính nhô ra không có nhiều; tuy nhiên, dữ liệu không chỉ ra con số chấn thương đâm xuyên và chấn thương liên quan đến việc bị đâm qua do trẻ không mặc quần áo hoặc mặc ít quần áo và trượt trên các bề mặt ướt của bồn tắm hay khi ngồi hoặc ngã lên trên các phần cứng nhô ra trên sản phẩm được cho là đồ chơi trong bồn tắm.
Điều quan trọng là việc thiết kế đồ chơi trong bồn tắm đã được phát triển trên cơ sở xem xét đến kiểu dáng, kích thước và vật liệu của phần nhô ra bất kỳ trên đồ chơi như vậy sao cho nguy cơ đâm xuyên được giảm thiểu. Các ví dụ về thiết kế như sau:
1) Phần nhô ra không thẳng đứng: Nên có thiết kế phần nhô ra giống như vậy, vì chúng luôn không giữ được ở vị tri thẳng đứng khi đồ chơi được đánh giá ở tất cả các vị trí của chúng bao gồm sự xem xét đến vị trí tiềm ẩn mà đồ chơi có thể dựa lên đáy của bồn tắm khi có hoặc không có nước trong bồn, để tạo thành phần nhô ra thẳng đứng hoặc gần như thẳng đứng.
2) Độ ổn định: Nếu một đồ chơi bị đổ khi bị tác động một lực lên đầu của phần nhô ra thẳng đứng cả khi bồn tắm không có nước hoặc chứa đầy nước, thì phần nhô ra thẳng đứng không được gây ra nguy hiểm.
3) Không tiếp xúc được: Phần nhô ra thẳng đứng có thể được bảo vệ phù hợp để giảm thiểu nguy cơ gây thương tích. Phần nhô ra được bảo vệ là phần có kết cấu liền kề đầy đủ (các mép, vỏ hoặc chi tiết cố định khác) để giúp cho phần nhô ra không có nguy cơ đâm thủng hoặc đâm xuyên.
4) Tính mềm dẻo: Phần nhô ra thẳng đứng có thể được thiết kế mềm dẻo để giảm thiểu nguy cơ gây thương tích. Có thể thực hiện bằng cách lựa chọn vật liệu, thiết kế mà uốn hoặc nén hoặc kích thước của phần nhô ra.
5) Kích thước: Các kích thước như đường kính hoặc độ dày của phần nhô ra thẳng đứng có thể có kích thước đủ lớn để giảm thiểu nguy cơ gây thương tích.
Thư mục tài liệu tham khảo
[1] ISO 3744, Acoustics - Determination of sound power levels of noise sources using sound pressure - Engineering method in an essentially free field over a reflecting plane.
[2] TCVN 10101 (ISO 4593), Chất dẻo - Màng và tấm - Xác định độ dày bằng phương pháp quét cơ học.
[3] ISO 8089, Cycles - Safety requirements for bicycles for young children.
[4] TCVN 11332 (IEC 62115), Đồ chơi sử dụng điện - An toàn.
[5] EN 71 -1:2005, Safety of toys - Part 1: Mechanical and physical properties.
[6] ASTM F963, Standard Consumer Safety specification for Toy Safety.
[7] Age determination guidelines: Relating children’s ages to toy characteristics and play behavior. US Consumer Product Safety Commission, Washington, D.C., 2002.
Available at: http://www.cpsc.gov
[8] Manufactures’ abbreviated guide for age-labeling toys: Matching toy characteristics to children’s age. US Consumer Product Safety Commission, Washington, D.C., 2002.
Available at: http://www.cpsc.gov
[9] Noise from toys and its effect on hearing. The Institute of Sound and Vibration Research, University of Southampton, Southampton, August 1997.
[10] FINAL REPORT. Eye Injury Risk Functions for Human and FOCUS Eyes: Hyphema, Lens Dislocation and Retinal Damage. Eric Kennefy, PhD, Biomedical Engineering Department, Bucknell Univesity, Lewisburg, PA 17837 and Stefan Duma, PhD, Virginia Tech - Wake Forest University, Center for Injury Biomechanics, 313 ICTAS Building, Stanger Street (MC 0298), Blacksburg, VA 24061. Available at:
http://www.facstaff.bucknell.edu/eak012/Reports_n_Papers/Eye_Injury_Risk_Functions_for_Human_and_FOCUS_Eyes--FinalReport_W81XWH-05-2-0055--July2011Update.pdf
Bạn chưa Đăng nhập thành viên.
Đây là tiện ích dành cho tài khoản thành viên. Vui lòng Đăng nhập để xem chi tiết. Nếu chưa có tài khoản, vui lòng Đăng ký tại đây!













