- Tổng quan
- Nội dung
- Tiêu chuẩn liên quan
- Lược đồ
- Tải về
Tiêu chuẩn TCVN 14455:2025 Đồ dùng trẻ em - Ghế trẻ em cho xe đạp - Yêu cầu an toàn và phương pháp thử
| Số hiệu: | TCVN 14455:2025 | Loại văn bản: | Tiêu chuẩn Việt Nam |
| Cơ quan ban hành: | Bộ Khoa học và Công nghệ | Lĩnh vực: | Công nghiệp |
| Trích yếu: | BS EN 14344:2022 Đồ dùng trẻ em - Ghế trẻ em cho xe đạp - Yêu cầu an toàn và phương pháp thử | ||
|
Ngày ban hành:
Ngày ban hành là ngày, tháng, năm văn bản được thông qua hoặc ký ban hành.
|
2025 |
Hiệu lực:
|
Đang cập nhật |
| Người ký: | Đang cập nhật |
Tình trạng hiệu lực:
Cho biết trạng thái hiệu lực của văn bản đang tra cứu: Chưa áp dụng, Còn hiệu lực, Hết hiệu lực, Hết hiệu lực 1 phần; Đã sửa đổi, Đính chính hay Không còn phù hợp,...
|
Đã biết
|
TÓM TẮT TIÊU CHUẨN VIỆT NAM TCVN 14455:2025
Nội dung tóm tắt đang được cập nhật, Quý khách vui lòng quay lại sau!
Tải tiêu chuẩn Việt Nam TCVN 14455:2025
TIÊU CHUẨN QUỐC GIA
TCVN 14455:2025
BS EN 14344:2022
ĐỒ DÙNG TRẺ EM - GHẾ TRẺ EM CHO XE ĐẠP - YÊU CẦU AN TOÀN VÀ PHƯƠNG PHÁP THỬ
Child care articles - Child seats for cycles - Safety requirements and test methods
Mục lục
Lời nói đầu
1 Phạm vi áp dụng
2 Tài liệu viện dẫn
3 Thuật ngữ và định nghĩa
4 Yêu cầu chung và điều kiện thử
4.1 Yêu cầu chung và phân loại ghế
4.2 Các yêu cầu bổ sung đối với ghế trước
4.3 Các yêu cầu bổ sung đối với ghế sau gắn vào bộ giá hành lý phía sau
4.4 Nguyên tắc về điều kiện nghiêm ngặt nhất
4.5 Dung sai và điều kiện thử
4.6 Thứ tự thử nghiệm
5 Thiết bị thử
5.1 Que thăm
5.2 Thiết bị đo góc và thể tích được bảo vệ
5.3 Bệ thử
5.4 Khối đỡ chân
5.5 Ống trụ thử các chi tiết nhỏ
5.6 Dưỡng đo khe
5.7 Kẹp
5.8 Thiết bị thử độ bền và độ bền lâu
5.9 Túi thử
5.10 Mô hình thử nghiệm đối với phép thử lật.
6 Mối nguy hóa học
7 Mối nguy về nhiệt
8 Mối nguy cơ học
8.1 Xác định thể tích được bảo vệ
8.2 Mối nguy từ khoảng trống và khe hở - kẹt ngón tay và bàn chân
8.3 Mối nguy do các cạnh và phần nhô ra
8.4 Các mối nguy hiểm do các bộ phận chuyển động, tức là cắt và ép
8.5 Mối nguy do vô tình nhả chức năng ngả
8.6 Mối nguy ngạt thở do bao bì bằng chất dẻo
8.7 Mối nguy do vướng, mắc
8.8 Mối nguy do ngạt thở/nuốt phải - Các bộ phận nhỏ
8.9 Mối nguy do độ bền kết cấu không đảm bảo
8.10 Các mối nguy từ chức năng bảo vệ không đầy đủ
9 Thông tin sản phẩm
9.1 Thông tin mua hàng
9.2 Hướng dẫn sử dụng
9.3 Ghi nhãn
Phụ lục A (quy định) Thiết bị đo
Phụ lục B (quy định) Khối đỡ chân A và B.
Phụ lục C (tham khảo) Phương pháp luận
Thư mục tài liệu tham khảo
Lời nói đầu
TCVN 14455:2025 hoàn toàn tương đương với BS EN 14344:2022
TCVN 14455:2025 do Ban kỹ thuật tiêu chuẩn quốc gia TCVN/TC 310 Đồ dùng trẻ em biên soạn, Viện Tiêu chuẩn Chất lượng Việt Nam đề nghị, Ủy ban Tiêu chuẩn Đo lường Chất lượng Quốc gia thẩm định, Bộ Khoa học và Công nghệ công bố.
ĐỒ DÙNG TRẺ EM - GHẾ TRẺ EM CHO XE ĐẠP - YÊU CẦU AN TOÀN VÀ PHƯƠNG PHÁP THỬ
Child care articles - Child seats for cycles - Safety requirements and test methods
1 Phạm vi áp dụng
Tiêu chuẩn này quy định các yêu cầu đối với ghế trẻ em được thiết kế để lắp trên xe đạp và xe đạp có trợ lực điện với tốc độ ngắt trợ lực lên đến 25 km/h (theo EN 15194), hệ thống gắn ghế và các phụ kiện dự định gắn với ghế nhằm mục đích chờ trẻ có cân nặng từ 9 kg đến 22 kg và có khả năng ngồi mà không cần hỗ trợ.
CHÚ THÍCH 1 Một số quốc gia châu Âu có quy định pháp luật riêng về ghế trẻ em dành cho xe đạp. Việc tuân thủ tài liệu này có thể không đáp ứng các quy định đó.
CHÚ THÍCH 2 Trong trường hợp ghế trẻ em hoặc bất kỳ bộ phận nào của ghế có nhiều chức năng hoặc có thể chuyển đổi sang chức năng khác, có thể áp dụng các tiêu chuẩn liên quan khác.
CHÚ THÍCH 3 Các lý do bổ sung cho việc đưa vào một số yêu cầu trong tiêu chuẩn này được trình bày tại Phụ lục E.
2 Tài liệu viện dẫn
Các tài liệu viện dẫn sau rất cần thiết cho việc áp dụng tiêu chuẩn. Đối với các tài liệu viện dẫn ghi năm công bố thì áp dụng bản được nêu. Đối với các tài liệu viện dẫn không ghi năm công bố thì áp dụng phiên bản mới nhất, bao gồm cả các sửa đổi, bổ sung (nếu có).
EN 71-1:2014+A1:2018[1], Safety of toys - Part 1: Mechanical and physical properties (An toàn đồ chơi trẻ em - Phần 1: Các yêu cầu an toàn liên quan đến tính chất cơ lý)
EN 71-2:2020[2], Safety of toys - Part 2: Flammability (An toàn đồ chơi trẻ em - Phần 2: Tính cháy)
ISO 11243:2016, Cycles - Luggage carriers for bicycles - Requirements and test methods (Xe đạp - Giá để hành lý cho xe đạp - Yêu cầu và phương pháp thử)
EN 71-3:2019+A1:2021[3], Safety of toys - Part 3: Migration of certain elements (An toàn đồ chơi trẻ em - Phần 3: Giới hạn mức thôi nhiễm của một số nguyên tố độc hại)
3 Thuật ngữ và định nghĩa
Trong tiêu chuẩn này, áp dụng các thuật ngữ và định nghĩa được nêu trong TCVN 14453-1:2025 (BS EN 12790-1:2023).
3.1
Ghế (seat)
Ghế trẻ em được thiết kế để lắp trên xe đạp.
3.2
Ghế trước (front seat)
Ghế trẻ em được thiết kế để lắp trên xe đạp phía trước người lái (giữa ghi-đông, của xe đạp và người lái).
3.3
Ghế sau (rear seat)
Ghế trẻ em được thiết kế để lắp trên xe đạp phía sau người lái.
3.4
Ghế ngả (reclining seat)
Ghế trước hoặc ghế sau có thể chở trẻ ở tư thế ngồi thẳng hoặc tư thế ngả.
3.5
Tấm chắn (guard)
Thiết bị làm giảm hoặc ngăn cản việc tiếp cận vật lý đến vùng nguy hiểm bằng cách che chắn khu vực có chứa một hoặc nhiều mối nguy.
3.6
Tấm chắn chân có thể tháo rời (removable foot guard)
Tấm chắn luôn được cung cấp kèm theo ghế hoặc được lắp sẵn và có thể tháo rời.
3.7
Mặt phẳng chuẩn (reference plane)
Mặt phẳng được xác định bởi bề mặt trên cùng của tấm đế của thiết bị đo.
Chú thích Xem Hình A.2 (chú dẫn 17).
3.8
Hệ thống gắn (attachment system)
Kết cấu để gắn ghế trẻ em lên xe đạp.
3.9
Bệ chân (footrest)
Kết cấu dùng để đỡ chân trẻ.
3.10
Thể tích được bảo vệ (protected volume)
Thể tích mà trẻ có thể tiếp cận khi đang ngồi và được giữ chặt trong ghế, trong đó yêu cầu phải có các quy định an toàn cụ thể.
3.11
Cụm ghi-đông và cổ ghi-đông (handlebar and handlebar stem assembly)
3.11.1
Ghi-đông (handlebar)
Bộ phận mà người lái cầm nắm.
Chú thích Xem Hình 1.
3.11.2
Phần mở rộng (extension)
Bộ phận của cổ ghi-đông định vị ghi-đông phía trước trục lái.
CHÚ THÍCH Xem Hình 1.
3.11.3
Cổ phuộc (quill)
Bộ phận của một số thiết kế cổ ghi-đông, đồng trục với trục lái và lắp một phần vào ống trục lái của càng xe.
Chú thích Xem Hình 1.

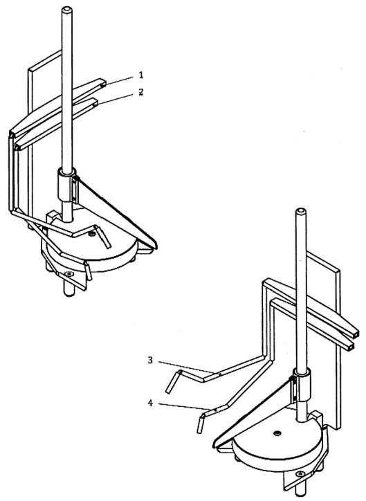
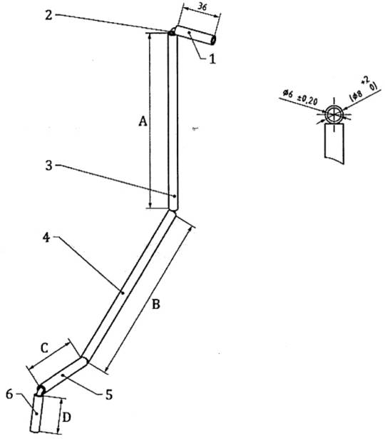
CHÚ DẪN
1 Ghi-đông
2 Phần mở rộng
3 Ống chèn
Hình 1 - Bộ ghi-đông và thân ghi-đông
3.12
Hệ thống an toàn (restraint system)
Bộ phận được thiết kế để giữ trẻ ở tư thế ngồi và trong trạng thái an toàn.
3.13
Đai chặn qua bẹn (crotch restraint)
Bộ phận được thiết kế để đi qua giữa hai chân trẻ, nhằm ngăn trẻ trượt về phía trước.
3.14
Xe đạp (cycle)
Phương tiện có ít nhất hai bánh và được điều khiển hoàn toàn hoặc chủ yếu bằng sức người trên xe đó, cụ thể là bằng bàn đạp.
[NGUỒN: ISO 4210-1:2014, 2.4]
3.15
Phụ kiện (accessories)
Chi tiết bổ sung được gắn trực tiếp vào ghế trẻ em hoặc hệ thống gắn ghế.
CHÚ THÍCH 1 Các chi tiết sau đây không được xem là phụ kiện: gác chân, hệ thống an toàn, bộ chắn tích hợp và bổ sung, hệ thống gắn ghế.
3.16
Tựa đầu (headrest)
Thiết bị hỗ trợ tư thế dùng để đỡ đầu.
3.17
Tấm chất dẻo (plastic sheeting)
Tấm chất dẻo mỏng được sử dụng như một phần của ghế hoặc của bao bì.
Chú thích 1: Các hình dán (decals) cũng được bao gồm trong định nghĩa này.
[NGUỒN: EN 71-1:2014+A1:2018, 3.52]
3.18
Thiết bị vận hành (operating device)
Bộ phận thuộc cơ cấu khóa được thiết kế để người điều khiển kích hoạt thông qua một hoặc nhiều thao tác.
3.19
Cơ cấu khóa (locking mechanism)
Tổ hợp các chi tiết bao gồm một hoặc nhiều thiết bị khóa (locking device(s)) và một hoặc nhiều thiết bị vận hành (operating device(s)).
3.20
Thiết bị khóa (locking device)
Chi tiết cơ khí giữ cho một (các) bộ phận của ghế xe đạp ở vị trí sử dụng (ví dụ: chốt, móc, khóa vượt tâm...) có thể được kích hoạt hoặc ngắt kích hoạt thông qua thao tác lên thiết bị vận hành.
[NGUỒN: EN 1888-1:2018, 3.20]
3.21
Bảo vệ bên (lateral protection)
Bộ phận của ghế xe đạp được thiết kế để cung cấp chỗ tựa tay đầy đủ, nhằm giữ trẻ ổn định theo phương ngang.
4 Yêu cầu chung và điều kiện thử
4.1 Yêu cầu chung và phân loại ghế
Các loại ghế được phân loại theo trọng lượng và chiều cao của trẻ em và vị trí lắp ghế trên xe đạp (xem Bảng 1).
Bảng 1 - Phân loại ghế
| Loại ghế | Khoảng chiều cao/cân nặng | |
| 9 kg đến 15 kg | 9 kg đến 22 kg | |
| Ghế sau | A15 | A22 |
| Ghế trước giữa tay lái xe đạp và người lái | C15 | Không cho phép |
| Chiều cao đứng tối đa của trẻ | 930 mm | 1100 mm |
| Ghế trước ở phía trước tay lái của xe đạp | Không cho phép | Không cho phép |
VÍ DỤ Chỉ định ghế được lắp phía sau người lái (A), tải trọng tối đa 15 kg (15): Ghế trẻ em A15.
4.2 Các yêu cầu bổ sung đối với ghế trước
Ghế trước không được gắn vào tay lái của xe đạp hoặc phần mở rộng của tay lái như định nghĩa trong 3.11.
CHÚ THÍCH Các quy định bổ sung có thể áp dụng đối với vị trí gắn ghế trên xe đạp (ví dụ: các quy định giao thông đường bộ của Đức và Áo).
Ghế trước loại C15 có thể được gắn giữa tay lái của xe đạp và người lái. Không được phép gắn bất kỳ ghế trước nào phía trước tay lái của xe đạp.
4.3 Các yêu cầu bổ sung đối với ghế sau gắn vào bộ giá hành lý phía sau
Ghế sau được cố định vào bộ giá hành lý phía sau phải có hệ thống giữ bổ sung, không thể tháo rời khỏi ghế, và phải được gắn vào một phần khác của xe đạp, nhằm giới hạn sự di chuyển về phía sau của ghế. Sự dịch chuyển về phía sau không được lớn hơn 50 mm và góc di,chuyển không được lớn hơn 15° theo hướng phía sau. Nếu có hệ thống giữ bổ sung đi kèm với ghế, nó phải chịu được lực kéo gấp đôi trọng lượng tối đa cho phép của trẻ cộng với trọng lượng của ghế. Ngoài ra, nó phải có hệ thống để cố định đầu dây tự do (để tránh dây bị mắc vào bánh xe).
4.4 Nguyên tắc về điều kiện nghiêm ngặt nhất
Việc lắp đặt và điều chỉnh ghế trong quá trình thử nghiệm phải được thực hiện theo hướng dẫn sử dụng.
Có thể sử dụng bất kỳ xe đạp nào phù hợp theo hướng dẫn sử dụng.
Trừ khi có quy định khác, mỗi phép thử phải được thực hiện với ghế trẻ em trong điều kiện nghiêm ngặt nhất đối với phép thử đó, xét về:
- Việc có hoặc không có các phụ kiện khác được cung cấp hoặc khuyến nghị bởi nhà sản xuất để sử dụng cùng với ghế trẻ em, và các phụ kiện này được chất tải theo hướng dẫn của nhà sản xuất;
- Việc điều chỉnh ghế trẻ em, và bất kỳ chi tiết điều chỉnh nào khác (ví dụ: tựa lưng có thể ngả) hoặc các phụ kiện, hoặc bất kỳ cấu hình tùy chọn nào khác của ghế trẻ em được cho phép trong hướng dẫn của nhà sản xuất hoặc được nhà sản xuất chấp thuận theo cách khác;
- Tất cả các lớp đệm có thể tháo rời phải được lắp đặt trong quá trình đo.
CHÚ THÍCH Tải trọng nặng nhất không phải lúc nào cũng tạo ra điều kiện nghiêm ngặt nhất.
4.5 Dung sai và điều kiện thử
Trừ khi có quy định khác, các sai số cho phép sau đây phải được sử dụng:
Tất cả các lực: độ chính xác ± 5 %.
Tất cả các khối lượng: độ chính xác ± 1 %.
Tất cả các kích thước: độ chính xác ±1,0 mm.
Tất cả các phép đo thời gian: độ chính xác ± 1 s.
Tất cả các góc: độ chính xác ±1 °.
Tất cả các tần số, biên độ: độ chính xác ± 5 %.
Ghế phải được điều hòa ở nhiệt độ (23 ± 5) °C trong ít nhất 2 h trước khi thử. Tất cả các phép thử phải được tiến hành ở nhiệt độ (23 ± 5) °C, trừ khi có quy định khác.
4.6 Thứ tự thử nghiệm
Các phép thử từ Điều 8 phải được thực hiện trên cùng một mẫu thử theo thứ tự trình bày. Một mẫu thử riêng biệt có thể được sử dụng cho tất cả các phép thử khác.
5 Thiết bị thử
5.1 Que thăm
5.1.1 Que thăm dạng ngón tay
5.1.1.1 Que thăm dạng ngón tay với đầu hình bán cầu
Các que thăm được làm bằng chất dẻo hoặc vật liệu cứng, trơn khác, có đường kính 7 mm với đầu hình bán cầu (xem Hình 2).
Kích thước tính bằng milimét

CHÚ DẪN
1 R3,5
2 Đường quanh chu vi thể hiện độ sâu xâm nhập
3 ![]()
Hình 2 - Que thăm 7 mm
5.1.1.2 Que thăm đánh giá hình dạng
Que thăm được chế tạo từ chất dẻo hoặc vật liệu cứng, nhẵn khác có các kích thước được minh họa trong Hình 3 dưới đây.
Kích thước tính bằng milimét

A CHÚ DẪN
A Hình chiếu trước
B Hình chiếu bằng
C Hình chiếu bên
D Hình chiếu 3D
Hình 3 - Que thăm đánh giá hình dạng
5.1.1.3 Que thăm hình côn đánh giá lưới
Que thăm để đánh giá lưới; Que thăm làm từ chất dẻo hoặc vật liệu cứng, nhẵn khác như trên Hình 4 - Que thăm hình côn đánh giá lưới phải có khả năng lắp được trên thiết bị đo lực sao cho đầu côn có thể hướng vào lỗ được đánh giá.
Kích thước tính bằng milimét

Hình 4 - Que thăm hình côn đánh giá lưới
Dung sai bán kính là ± 0,2 mm.
5.1.2 Que thăm hình côn
Que thăm làm bằng chất dẻo hoặc vật liệu cứng nhẵn khác có đường kính
,
, mm và
mm với một đầu hình côn (có góc 30°), có thể được gắn vào thiết bị đo lực (xem Hình 5 bên dưới).
Kích thước tính bằng milimét

CHÚ DẪN
d đường kính (12; 25 hoặc 45)
CHÚ THÍCH Để tránh rủi ro, đầu phần hình côn có thể được bo tròn.
Hình 5 - Que thăm hình côn
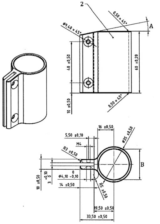
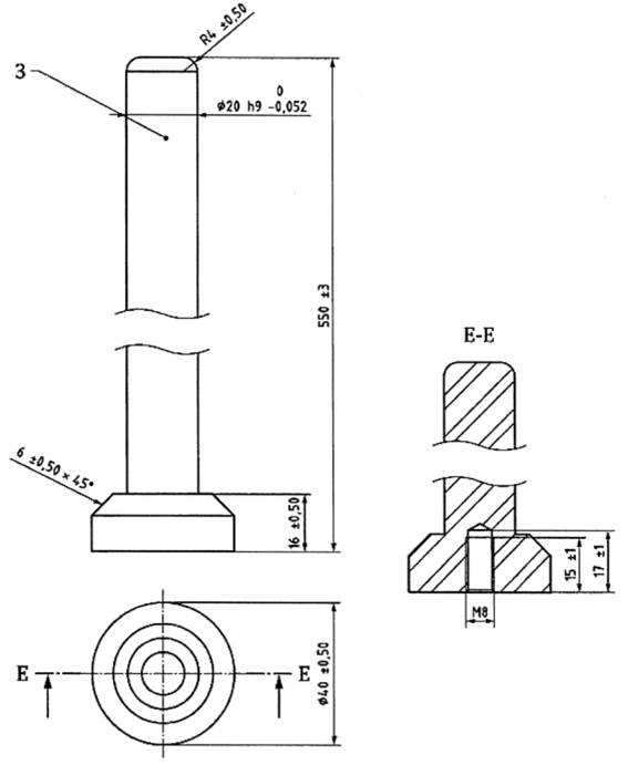
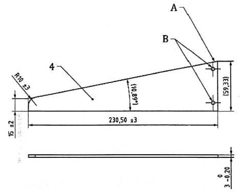
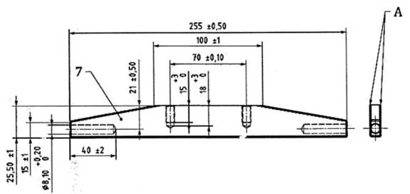
5.2 Thiết bị đo góc và thể tích được bảo vệ
Phải sử dụng thiết bị đo được xác định trong Phụ lục A để xác định thể tích được bảo vệ cho trẻ (xem 8.1), kiểm tra kích thước ghế ngồi (xem 8.10.2) và kiểm tra góc tối thiểu giữa ghế và mặt phẳng nằm ngang cũng như góc tối thiểu giữa mặt phẳng nằm ngang, ghế và tựa lưng (xem 8.10.8).
5.3 Bệ thử
Thiết bị này được thiết kế để đỡ ghế sau, theo góc 73° giữa phương ngang và ống tiếp nhận thiết bị gắn ghế.
Ống biểu thị cho ống ghế hoặc khung của xe đạp.
5.4 Khối đỡ chân
Hai khối đỡ chân (xem Phụ lục B, Hình B.1) bằng nhôm sẽ được sử dụng để đánh giá:
- Kích thước của bệ chân,
- Phạm vi điều chỉnh,
- Hiệu quả của các dây đai, và
- Độ bền của bệ chân.
(Chi tiết thêm, xem Phụ lục B, Hình B.2 và Hình B.3).
5.5 Ống trụ thử các chi tiết nhỏ
Ống trụ để đánh giá các chi tiết nhỏ, phải có kích thước phù hợp với Hình 6.
Kích thước tính bằng milimét

Hình 6 - Ống trụ thử các chi tiết nhỏ
5.6 Dưỡng đo khe
Dưỡng đo có độ dày (0,40 ± 0,02) mm và bán kính cạnh chèn (3,0 ± 0,5) mm (xem Hình 7).
Kích thước tính bằng milimét

Hình 7 - Dưỡng đo khe
5.7 Kẹp
Kẹp được yêu cầu để kẹp chặt các chi tiết cần thử trong cả hai phép thử: phép thử mô-men xoắn, 8.8.2.2 (có thể xem các ví dụ trong CEN/TR 13387-3:2018, Hình 27) và phép thử độ bền kéo, 8.8.2.3 (có thể xem các ví dụ trong CEN/TR 13387-3:2018, Hình 28 và Hình 29). Tuy nhiên, khi sử dụng thì kẹp không được làm hư hại chi tiết cần thử. Ngoài ra, kẹp không được làm ảnh hưởng đến kết quả thử.
5.8 Thiết bị thử độ bền và độ bền lâu
5.8.1 Thiết bị thử động lực ngang
Thiết bị (xem Hình 8) có khả năng tạo ra chuyển động được mô tả trong 8.9.3.5.

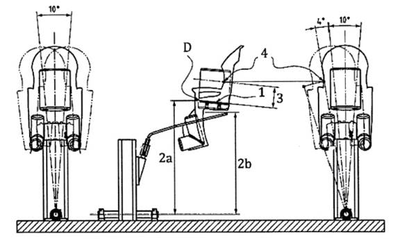
CHÚ DẪN
| 1 | mặt phẳng tham chiếu |
| 2a | khoảng cách thẳng đứng giữa điểm D của thiết bị đo (Phụ lục A) và trục xoay ngang (xem Bảng 3) |
| 2b | 2b khoảng cách thẳng đứng giữa bệ đỡ và trục xoay ngang (xem Bảng 3) |
| 3 | 3 chiều cao của các điểm đo phía trên mặt phẳng tham chiếu |
| 4 | 4 điểm đo |
| D | điểm đo chiều cao ghế |
Hình 8 - Thiết bị thử động học theo phương ngang
5.8.2 Thiết bị giới hạn
Ví dụ về các thiết bị giới hạn là công tắc vi mô hoặc cảm biến hồng ngoại để phát hiện chuyển động quá mức của ghế trong quá trình kiểm tra độ cứng ngang.
5.9 Túi thử
Các túi này phải được làm từ vật liệu đủ chắc chắn để ngăn chặn sự sụt lún của đồ bên trong, sao cho túi vẫn tuân thủ các kích thước quy định khi kết thúc thử nghiệm nhưng phải đủ mềm dẻo để phù hợp với các bộ phận của ghế đỡ chúng. Túi phải được đổ đầy đến khối lượng quy định bằng vật liệu trơ, dạng hạt, đồng nhất thích hợp bất kỳ (không nhất thiết phải là cát). Túi đựng thân thử (B) phải là hình trụ có đường kính d1, chiều dài l2, Và khối lượng m1, và hai túi đựng chân (F) có hình chữ L, hình trụ uốn cong 90° có đường kính d2, chiều dài l2, chiều cao h2 và khối lượng m2 (xem Hình 9). Giá trị các kích thước và khối lượng này được nêu trong Bảng 2.

CHÚ DẪN
B túi đựng thân thử
d1 đường kính ống trụ của túi đựng thân thử
l1 chiều dài ống trụ của túi đựng thân thử
m1 khối lượng ống trụ của túi đựng thân thử
F túi đựng chân
d2 đường kính hình trụ của túi đựng chân
l2 chiều dài của túi đựng chân
h2 chiều cao của túi đựng chân
m2 khối lượng của túi đựng chân
Hình 9 - Bố trí túi thử trên ghế
Bảng 2 - Kích thước túi thử và khối thử
| Loại ghế | Túi thân thử (B) | Túi đựng chân thử (F) | |||||
| d1 mm | l1 mm | m1 kg | d2 mm | l2 mm | h2 mm | m2 kg | |
| A15, C15 | 175 ± 40 | 225 ± 50 | 12,0 ± 0,1 | 70 ± 20 | 140 ± 20 | 175 ± 40 | 2,0 ± 0,1 |
| A22 | 200 ± 40 | 260 ± 50 | 18,0 ± 0,1 | 80 ± 20 | 160 ± 30 | 200 ± 40 | 3,0 ± 0,1 |
5.10 Mô hình thử nghiệm đối với phép thử lật
Mô hình thử nghiệm được làm từ vật liệu cứng với bề mặt nhẵn và tổng khối lượng là (9,0 ± 0,1) kg, xem Hình 10.
Kích thước tính bằng milimét

Dung sai:
- kích thước ± 2 mm;
- góc ± 2°;
- khi hiển thị, bán kính góc phải là (10 ± 1) mm.
Hình 10 - Mô hình thử nghiệm
6 Mối nguy hóa học
Có thể sử dụng một mẫu riêng biệt cho các thử nghiệm này.
Xác định rằng tất cả các bộ phận mà trẻ có thể tiếp xúc khi ngồi phải tuân thủ EN 71-3.
CHÚ THÍCH 1 Các quy định hóa học của châu Âu hiện hành đang được áp dụng.
CHÚ THÍCH 2 Xem thêm CEN/TR 13387-2.
7 Mối nguy về nhiệt
Vải không được tạo ra hiện tượng chớp cháy bề mặt khi tác dụng ngọn lửa như mô tả trong EN 71-3, 4.4 và 5.4.
Có thể sử dụng một mẫu riêng biệt cho các phép thử này.
8 Mối nguy cơ học
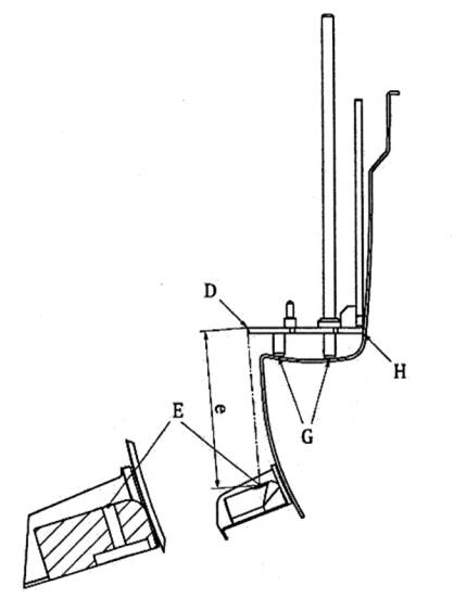
8.1 Xác định thể tích được bảo vệ
Lắp ghế lên bệ thử như quy định tại mục 5.3.
Khi đệm có thể tháo rời (ví dụ để làm sạch), phép thử phải được thực hiện kèm theo đệm.
Đặt thiết bị đo (Phụ lục A) vào trong ghế, sau đó đẩy thiết bị đo tựa vào tựa lưng như thể hiện trong Hình 20 cho đến khi tiếp xúc với phần tựa lưng (H). Trong quá trình định vị, bốn chốt (G) phải luôn tiếp xúc với ghế.
- Gắn lên thiết bị đo phần vai và tay nhân tạo phù hợp theo phân loại của ghế (xem Bảng 4, hàng g và h) và Hình A.1.
- Đánh giá phải được thực hiện với ghế được gắn ở các vị trí bất lợi nhất, có tính đến hướng dẫn sử dụng.
- Xác định phần nào của ghế xe đạp có thể được tay nhân tạo của thiết bị đo với tới.
Một dải thẳng đứng rộng 200 mm ở mặt ngoài phía sau của tựa lưng, tính từ đỉnh tựa lưng đến hình chiếu của mặt phẳng tham chiếu, được xem là không thể tiếp cận bởi trẻ em (xem Hình 11).

CHÚ DẪN
1 Mặt phẳng tham chiếu
Hình 11 - Khả năng tiếp cận phần tựa lưng
8.2 Mối nguy từ khoảng trống và khe hở - kẹt ngón tay và bàn chân
8.2.1 Yêu cầu
Không được có các ống trụ hở đầu hoặc khe hở khép kín nằm trong thể tích được bảo vệ của ghế có kích thước từ 7 mm đến 12 mm, khi thử theo 8.2.2, trừ khi độ sâu nhỏ hơn 10 mm hoặc que thăm đánh giá hình dạng có thể đi vào khi thử theo 8.2.2.a).
Yêu cầu này không áp dụng cho hệ thống an toàn và các khóa của hệ thống an toàn.
Kích thước của các lỗ trong lưới nằm trong thể tích được bảo vệ phải nhỏ hơn 7 mm khi thử theo 8.2.2.b).
Không được cò các lỗ hoặc khe hở có thể tiếp cận được giữa các bộ phận cứng của bệ chân cò chiều rộng lớn hơn 25 mm và nhỏ hơn 45 mm, khi thử theo 8.2.2.C).
8.2.2 Phương pháp thử
a) Kiểm tra xem que thăm 7 mm (5.1.1.1) có thể đi vào 10 mm trở lên trong bất kỳ khe hở nào có thể tiếp cận được theo bất kỳ hướng nào không, với lực tác dụng lên đến 30 N.
Nếu que thăm 7 mm đi vào được từ 10 mm trở lên, thì que thăm đánh giá hình dạng (5.1.1.2) cũng phải lọt qua từ 10 mm trở lên với lực tác dụng lên đến 5 N.
b) Kiểm tra xem que thăm hình côn (5.1.1.3) có thể lọt qua lỗ trên lưới đến phần đường kính 7 mm hay không, với lực tác dụng lên đến 30 N.
c) Kiểm tra xem que thăm hình côn 25 mm (5.1.2) có đi vào được bất kỳ khe hở nào trên bệ chân hay không, với lực tác dụng lên đến 30 N.
Nếu que thăm 25 mm lọt qua, thì que thăm hình côn 45 mm (5.1.2) cũng phải lọt qua với lực tác dụng lên đến 5 N.
Hình 12 minh họa các ví dụ về tiêu chí đạt và không đạt đối với que thăm đánh giá hình dạng.

CHÚ DẪN
|
| Que thăm đánh giá hình dạng |
| F | Không đạt |
| P | Đạt |
Hình 12 - Ví dụ về đánh giá đạt và không đạt của que thăm đánh giá hình dạng
8.3 Mối nguy do các cạnh và phần nhô ra
8.3.1 Yêu cầu
Tất cả các cạnh, bề mặt và phần nhô ra lộ ra ngoài trong thể tích được bảo vệ của ghế phải được bo tròn hoặc vát cạnh và không có các ba Via hoặc cạnh sắc.
Các cạnh lộ ra ngoài thể tích được bảo vệ có thể tiếp xúc với tay, chân của người chăm sóc, v.v., trong quá trình sử dụng bình thường, thao tác hoặc bảo trì bình thường không được sắc đến mức gây nguy hiểm cho người chăm sóc.
Khi được kiểm tra theo 8.3.2, bất kỳ lớp bảo vệ nào cũng phải không thể tháo rời, hoặc nếu có thể tháo rời, tất cả các cạnh, bề mặt và phần nhô ra lộ ra ngoài phải được bo tròn hoặc vát cạnh và không có ba via hoặc cạnh sắc.
8.3.2 Phương pháp thử
Tác dụng một lực kéo lên đến 90 N vào lớp bảo vệ theo hướng ngược lại với hướng lắp ghế cần thử. Tác dụng lực từ từ trong 5 s và duy trì trong 10 s.
8.4 Các mối nguy hiểm do các bộ phận chuyển động, tức là cắt và ép
8.4.1 Yêu cầu
Trong thể tích được bảo vệ, không được có các điểm cắt và ép nguy hiểm tiềm ẩn giữa các bộ phận cứng được thiết kế để di chuyển gần nhau đến mức dưới 12 mm, trừ khi khoảng cách này luôn nhỏ hơn 3 mm. Các bộ phận chuyển động trong quá trình lắp ghế sử dụng hoặc khi gấp ghế hoặc trong quá trình điều chỉnh có kiểm soát các bộ phận được khóa khi ở vị trí sử dụng sẽ không áp dụng yêu cầu này.
Phép thử sẽ được thực hiện một lần với bộ thử có tải theo 5.9 và lần thứ hai không có tải.
Phép thử sẽ được thực hiện trước và sau phép thử độ bền trong 8.9.3.
8.4.2 Mối nguy đặc biệt do độ đàn hồi của ghế trong thể tích được bảo vệ
Khoảng cách giữa vỏ bọc ghế trẻ em và hệ thống gắn ghế phải nhỏ hơn 3 mm hoặc lớn hơn 12 mm.
Bước 1: Việc đánh giá sẽ được thực hiện:
- Đầu tiên, khi không có tải trọng trong ghế trẻ em;
- Và thứ hai, với các túi thử có tải tương ứng (theo 5.9) được đặt vào ghế trẻ em.
Bước 2: Việc đánh giá sẽ được thực hiện trước và sau phép thử độ bền trong 8.9.3.
8.5 Mối nguy do vô tình nhả chức năng ngả
8.5.1 Quy định chung
Yêu cầu sau đây áp dụng khi thiết bị điều khiển cơ cấu khóa nằm trong thể tích được bảo vệ.
Sản phẩm mà trong đó tựa lưng/ghế có thể được điều chỉnh vào vị trí ngả lưng phải có thiết bị điều khiển cơ cấu khóa (các cơ cấu khóa), phù hợp với 8.5.2, để giữ ghế xe đạp ở vị trí của nó.
Hệ thống gắn ghế không được coi là cơ cấu khóa để điều chỉnh tựa lưng của khu vực ngồi.
8.5.2 Cơ cấu khóa bị nhả ra ngoài ý muốn
Để tránh nguy hiểm do cơ cấu khóa bị nhả ra ngoài ý muốn, phải đáp ứng một trong các điều kiện sau:
a) Ít nhất một trong các thiết bị vận hành của cơ cấu khóa yêu cầu lực vận hành lớn hơn 50 N hoặc mômen xoắn 0,34 Nm, hoặc
b) Ít nhất một trong các thiết bị vận hành của cơ cấu khóa được nhả ra bằng cách sử dụng dụng cụ, hoặc
c) Việc nhả cơ cấu khóa yêu cầu ít nhất hai hành động liên tiếp, hành động đầu tiên phải được duy trì trong khi hành động thứ hai được thực hiện, hoặc
d) Việc nhả cơ cấu khóa cần có ít nhất hai tác động độc lập và đồng thời.
Các ghế mà ở mọi vị trí sử dụng đều phải tháo ra khỏi xe đạp để điều chỉnh ghế hoặc tựa lưng không thuộc các yêu cầu của điều này.
Trong trường hợp tựa lưng có thể điều chỉnh được có chuyển động ngả lưng được kiểm soát liên tục (ví dụ: chuyển động vặn vít bằng núm), điều này không được coi là sự nhả không chủ ý.
8.5.3 Mối nguy do việc tháo rời không chủ ý hệ thống gắn ghế vào xe đạp
Để tránh các mối nguy do việc tháo rời không chủ ý hệ thống gắn ghế, một trong các điều kiện sau phải được đáp ứng:
a) Ít nhất một trong các cơ cấu điều khiển của hệ thống gắn ghế yêu cầu lực điều khiển lớn hơn 50 N hoặc mô-men xoắn 0,34 Nm, hoặc
b) Ít nhất một trong các cơ cấu điều khiển của hệ thống gắn ghế có thể được giải phóng bằng cách sử dụng công cụ, hoặc
c) Hệ thống gắn ghế yêu cầu ít nhất hai hành động liên tiếp, trong đó hành động đầu tiên phải được duy trì trong khi thực hiện hành động thứ hai, hoặc
d) Hệ thống gắn ghế yêu cầu ít nhất hai hành động độc lập và đồng thời.
8.5.4 Mối nguy do miếng bảo vệ chân có thể tháo rời
8.5.4.1 Quy định chung
Các yêu cầu sau áp dụng khi cơ cấu điều khiển của tấm bảo vệ chân có thể tháo rời nằm trong thể tích được bảo vệ.
8.5.4.2 Tháo rời không chủ ý tấm bảo vệ chân
Để tránh các mối nguy do việc tháo rời không chủ ý tấm bảo vệ chân, một trong các điều kiện sau phải được đáp ứng: a) Cơ cấu khóa của tấm bảo vệ chân có thể tháo rời yêu cầu lực điều khiển lớn hơn 50 N, hoặc mô-men xoắn 0,34 Nm, hoặc
a) Tấm bảo vệ chân có thể tháo rời được giải phóng bằng cách sử dụng công cụ, hoặc
b) Việc tháo rời tấm bảo vệ chân yêu cầu ít nhất hai hành động liên tiếp, trong đó hành động đầu tiên phải được duy trì trong khi thực hiện hành động thứ hai, hoặc
c) Việc tháo rời tấm bảo vệ chân yêu cầu ít nhất hai hành động độc lập và đồng thời.
8.6 Mối nguy ngạt thở do bao bì bằng chất dẻo
Túi và tấm chất dẻo sử dụng để bao gói phải đáp ứng một trong các yêu cầu sau:
a) Túi làm bằng chất dẻo mềm có chu vi miệng mở lớn hơn 360 mm, được sử dụng để bao gói bên ngoài hoặc bên trong, hoặc tấm chất dẻo dùng để bao gói, phải có độ dày trung bình từ 0,038 mm trở lên (được đo theo EN 71-1:2014 +A1:2018) và không được có dây rút hoặc dây dùng để đóng miệng túi; hoặc
b) Túi làm bằng tấm đục lỗ hoặc tấm chất dẻo đục lỗ có độ dày trung bình nhỏ hơn 0,038 mm (được đo theo EN 71-1:2014 +A1:2018) và có diện tích lớn hơn 100 mm × 100 mm phải được đục lỗ theo cách sao cho tối thiểu 1 % diện tích bị loại bỏ trên bất kỳ vùng diện tích nào kích thước 30 mm × 30 mm; hoặc
Bất kỳ lớp phủ chất dẻo được sử dụng làm bao gói không đáp ứng các yêu cầu nêu trên phải được ghi nhãn rõ ràng bằng ngôn ngữ chính thức của quốc gia nơi ghế được phân phối, kèm theo cảnh báo yêu cầu tháo bỏ, tiêu hủy hoặc để bao bì chất dẻo tránh xa trẻ em để ngăn ngừa mối nguy ngạt thở.
Màng chất dẻo bị phá hủy khi người sử dụng mở bao bì sẽ không thuộc phạm vi áp dụng của các yêu cầu này.
Ví dụ: Màng co, màng bọc.
8.7 Mối nguy do vướng, mắc
8.7.1 Yêu cầu
Chiều dài tự do của hệ thống an toàn, hệ thống giữ bổ sung (4.3) không thuộc phạm vi áp dụng của yêu cầu này.
Dây, dây buộc và các dải vải hẹp khác bắt nguồn từ khu vực nằm giữa mặt phẳng tham chiếu dọc theo bên trong khu vực ngồi của trẻ và phần đỉnh của mặt trong không được tạo thành vòng có chu vi lớn hơn 360 mm hoặc có chiều dài tự do khi kéo căng vượt quá 220 mm, khi đo theo 8.7.2.
Trường hợp các dây, dải ruy băng và các bộ phận tương tự được gắn với ghế cùng nhau hoặc cách nhau không quá 80 mm, tất cả các dây đơn lẻ phải có chiều dài tự do tối đa là 220 mm và tổng chiều dài từ đầu tự do này đến đầu tự do còn lại không được vượt quá 360 mm (xem Hình 13).
Kích thước tính bằng milimét

CHÚ DẪN
Lx chiều dài của dây đơn
D khoảng cách giữa các điểm gắn
Hình 13 - Ví dụ về cách đo dây, dải ruy băng hoặc các chi tiết tương tự
8.7.2 Phương pháp thử
Chiều dài của dây, dải ruy băng hoặc các chi tiết tương tự sẽ được đo từ điểm gắn trên ghế đến đầu tự do của dây, dải ruy băng hoặc các chi tiết tương tự dưới lực kéo 25 N. Kích thước chu vi của một vòng sẽ được đo từ điểm gắn trên ghế của một đầu đến điểm gắn của đầu còn lại dưới lực kéo 25 N.
8.8 Mối nguy do ngạt thở/nuốt phải - Các bộ phận nhỏ
8.8.1 Yêu cầu
Phép thử chỉ áp dụng cho các chi tiết bên trong thể tích được bảo vệ, bao gồm cả nhãn dán.
Chi tiết hoặc bộ phận của chi tiết được tháo ra theo 8.8.2.1 đều phải được đánh giá.
Khi thử theo 8.8.2.1 (khả năng kẹp), 8.8.2.2 (thử mômen xoắn) và 8.8.2.3 (thử độ bền kéo), chi tiết hoặc bộ phận của chi tiết được tháo rời, dù được thiết kế để tháo ra bằng cách phải sử dụng dụng cụ hay không, phải không được lọt hoàn toàn vào trong ống trụ thử các chi tiết nhỏ, xem 5.5.
8.8.2 Phương pháp thử
8.8.2.1 Đánh giá khả năng cầm nắm các chi tiết của trẻ
Nếu chi tiết cần thử không thể bị nắm giữa ngón tay cái và ngón trỏ, cần xác định xem chi tiết có thể bị nắm hay không bằng cách chèn que thăm (xem 5.6) giữa chi tiết và lớp dưới cùng hoặc thân ghế theo góc từ 0° đến 10° so với bề mặt, sử dụng lực (10 ± 1) N. Nếu que thăm có thể được chèn vào hơn 2 mm, chi tiết sẽ được coi là có thể cầm nắm.
8.8.2.2 Thử mô-men xoắn
Tác dụng mô-men xoắn từ từ lên chi tiết trong khoảng thời gian 5 s theo chiều kim đồng hồ cho đến khi:
a) đạt được một vòng quay 180° từ vị trí ban đầu; hoặc
b) đạt được mô-men xoắn 0,34 Nm.
Mức độ quay tối đa hoặc mô-men xoắn yêu cầu sẽ được duy trì trong 10 s.
Để chi tiết về trạng thái nghỉ và lặp lại quy trình thử (từ vị trí này) theo hướng ngược chiều kim đồng hồ.
Khi có các chi tiết, bộ phận hoặc cụm chi tiết được gắn cứng trên một trục hoặc thanh có thể quay cùng với các chi tiết, bộ phận hoặc cụm chi tiết trong suốt quá trình thử, trục hoặc thanh phải được kẹp lại để ngăn chặn việc quay.
Nếu một chi tiết được gắn bằng ren vít bị lỏng trong quá trình tác dụng mô-men xoắn yêu cầu, phải tiếp tục tác dụng mô-men xoắn cho đến khi vượt quá mô-men xoắn yêu cầu hoặc chi tiết bị tháo rời hoặc rõ ràng là chi tiết sẽ không thể tháo rời.
Khi sử dụng kẹp và thiết bị thử, phải thận trọng không làm hỏng cơ cấu gắn hoặc thân chi tiết.
8.8.2.3 Thử độ bền kéo
Phép thử độ bền kéo sẽ được thực hiện sau phép thử mô-men xoắn (8.8.2.2) và trên cùng một chi tiết đã được sử dụng cho phép thử mô-men xoắn.
Gắn một kẹp phù hợp (xem 5.7) vào chi tiết đã được xác nhận là có thể nắm được theo yêu cầu tại 8.8.2.1, lưu ý không làm hỏng cơ cấu gắn hoặc thân chi tiết.
Cố định chi tiết trong máy thử độ bền kéo và tác dụng lực kéo lên chi tiết cần thử với lực tối đa 90 N. Tác dụng lực từ từ trong khoảng thời gian 5 s và duy trì trong 10 s.
8.9 Mối nguy do độ bền kết cấu không đảm bảo
8.9.1 Yêu cầu về độ bền và độ bền lâu
Tất cả các chi tiết (trừ phụ kiện được định nghĩa tại 3.15) phải được lắp ráp theo hướng dẫn của nhà sản xuất (xem 9.2).
Ghế, các chi tiết đã thử nghiệm hoặc các điểm gắn phải được kiểm tra sau mỗi phép thử.
Sau khi thử ghế theo các yêu cầu tại 8.9.3.2 thử tại điều kiện nhiệt độ cao, 8.9.3.3 thử rơi nhiệt độ thấp, 8.9.3.4 thử tải trọng tĩnh đối với độ bền chân ghế, 8.9.3.5 thử mỏi, 8.9.3.6 thử độ cứng theo phương ngang, 8.9.3.7 thử độ bền va đập, các chi tiết đã thử hoặc các điểm gắn phải:
- Không có vết nứt hoặc gãy có thể nhìn thấy;
- vẫn thực hiện chức năng theo thiết kế;
- Hệ thống gắn không được di chuyển vĩnh viễn quá 3 mm theo hướng tuyến tính hoặc 5° theo hướng góc so với bộ gá thử nghiệm. Yêu cầu này chỉ áp dụng cho thử nghiệm độ mỏi (8.9.3.5) và thử nghiệm độ cứng (8.9.3.6).
8.9.2 Phương pháp lắp ghế để thử nghiệm độ bền và độ bền lâu đối với ghế được thiết kế không chở hành lý và ghế được thiết kế chở hành lý
Lắp ghế lên bệ thử như mô tả trong Hình 8. Bệ thử phải có các đặc điểm giống với các bộ phận của xe đạp mà ghế được thiết kế để gắn vào nhưng phải cứng hơn nhiều so với xe đạp. Bộ gá phải cứng hơn nhiều so với bệ đỡ hành lý. Nếu ghế trẻ em được thiết kế để sử dụng với một bệ đỡ hành lý cụ thể, chúng phải được thử nghiệm cùng nhau.
Ví dụ: Những bộ phận của bộ gá giống với ống khung, mà một số thiết kế ghế trẻ em có thể được kẹp vào, thay vì được làm từ ống thép đặc có đường kính ngoài tương tự. Những đặc điểm giống xe đạp này phải được cố định chắc chắn vào khung tham chiếu mà từ đó các phép đo độ lệch của ghế được thực hiện.
Ghế phải được lắp ráp với bất kỳ phương tiện điều chỉnh nào theo 4.2 và 4.3 và bất kỳ bộ phận điều chỉnh nào khác (ví dụ: bệ chân, ghế ngả) theo hướng dẫn của nhà sản xuất. Sau 60 chu kỳ, các bộ phận gắn kết phải được siết lại và phép thử tiếp tục.
Đánh dấu hoặc ghi lại vị trí của ghế và các kẹp hoặc giá đỡ gắn ghế trên bộ gá. Đối với các ghế sau xe thiết kế để gắn vào bệ đỡ hành lý, phần của bộ gá giống với nền bệ đỡ hành lý phải nằm ngang.
8.9.3 Phương pháp thử độ bền và độ bền lâu
8.9.3.1 Quy định chung
Đối với thử nghiệm độ bền và độ bền lâu, tất cả các ghế phải chịu các phép thử sau: 8.9.3.2 thử tại nhiệt độ cao, 8.9.3.3 thử tại nhiệt độ thấp và thử rơi nhiệt độ thấp, 8.9.3.4 thử độ bền bệ chân, 8.9.3.5 thử độ bền lâu, 8.9.3.6 thử độ cứng theo phương ngang, 8.9.3.7 thử độ bền va đập.
8.9.3.2 Điều hòa ở nhiệt độ cao
Đề ghế trong (4 ± 1) h trong buồng ở nhiệt độ (65 ± 5) °C. Lấy ghế ra khỏi buồng và tiến hành thử tại nhiệt độ thấp theo 8.9.3.3.
8.9.3.3 Điều hòa ở nhiệt độ thấp và thử rơi
Để ghế trong (4 ± 1) h trong buồng ở nhiệt độ (-20 ± 1) °C. Tháo ghế ra khỏi buồng và trong vòng 15 s thả ghế từ độ cao 1 m xuống sàn bê tông nhẵn, phẳng. Thả ghế sao cho một bên của ghế chạm sàn.
8.9.3.4 Thử độ bền của bệ chân
Lắp ghế theo yêu cầu tại mục 8.9.2 và chèn khối phù hợp (xem Bảng 4) vào bệ chân, cho đến khi khối tiếp xúc với đáy bệ chân.
Cố định khối bằng dây đai giữ chân.
Một sợi dây/cáp phải được luồn qua lỗ của khối đỡ chân, được buộc chắc chắn bằng một nút hoặc phương pháp tương tự ở đầu khối đỡ chân. Gắn một khối lượng bằng trọng lượng tối đa của trẻ mà ghế được thiết kế để chở (xem Hình 14).
CHÚ THÍCH Có thể tạo một lỗ bên trong chỗ để chân hoặc bất kỳ bộ phận nào khác của ghế để áp dụng khối thử.
Áp dụng khối thử trong 1 min.

CHÚ DẪN
1 Khối đỡ chân
2 Bộ gá cố định
3 Bệ chân
4 Lỗ trên bệ chân để luồn dây
5 Khối lượng thử nghiệm
6 Lỗ dưới đáy bệ chân (nếu cần thiết)
7 Hỗ trợ chân
8 Dây buộc kết nối khối đỡ chân với khối lượng thử nghiệm
9 Nút trên dây để cố định ở đầu trên của khối đỡ chân
Hình 14 - Thử độ bền của bệ chân
8.9.3.5 Thử độ mỏi
8.9.3.5.1 Chuẩn bị cho các thử độ mỏi, phương pháp lắp đặt
Lắp đặt ghế theo yêu cầu tại 8.9.2 trên thiết bị rung theo 5.8.1.
Tải trọng cho ghế và bệ chân của nó bằng các túi thử nghiệm, như mô tả tại mục 5.9, được sắp xếp theo Hình 9 để mô phỏng trọng lượng của một trẻ em.
Cố định các túi thử nghiệm này bằng các dây đai được cung cấp kèm theo ghế. Các dây đai bổ sung, đai và/hoặc băng keo, vật liệu đệm, tất cả đều có trọng lượng không đáng kể, phải được sử dụng để ngăn chặn sự di chuyển tự do quá mức của các túi thử nghiệm trong quá trình thử nghiệm.
CHÚ THÍCH Nếu tần số dao động riêng của ghế trùng với một trong các tần số tác dụng trong các phép thử theo 8.9.3.5 và 8.9.3.6, gây ra hiện tượng cộng hưởng, thì có thể giảm tần số đi 10 % và tăng biên độ lên 23 %.
Ghế, các chi tiết được thử hoặc điểm gắn phải được kiểm tra sau mỗi bước. Các phép thử phải được thực hiện cùng với phép thử nghiệm mỏi như quy định tại 8.9.3.5.2 và 8.9.3.5.3 theo các vị trí sau:
- Bước 1: 25 % chu kỳ thử với kích thước lớn nhất của điểm gắn (ví dụ: đường kính ống yên, chiều rộng của giá chở hành lý do nhà sản xuất cung cấp), với tựa lưng ở vị trí dựng đứng hoàn toàn;
- Bước 2: 25 % chu kỳ thử với kích thước lớn nhất của điểm gắn, với tựa lưng ở vị trí ngả hoàn toàn;
- Bước 3: 25 % chu kỳ thử với kích thước nhỏ nhất của điểm gắn, với tựa lưng ở vị trí ngả hoàn toàn;
- Bước 4: 25 % chu kỳ thử với kích thước nhỏ nhất của điểm gắn, với tựa lưng ở vị trí dựng đứng hoàn toàn.
Đối với sản phẩm không có chức năng ngả lưng:
- Bước 1: 50 % chu kỳ thử với kích thước lớn nhất của điểm gắn (ví dụ: đường kính ống yên, chiều rộng của giá chở hành lý do nhà sản xuất cung cấp);
- Bước 2: 50 % chu kỳ thử với kích thước nhỏ nhất của điểm gắn.
8.9.3.5.2 Thử động học theo phương thẳng đứng
Rung ghế bằng chuyển động hình sin theo phương thẳng đứng với tần số 7 Hz và biên độ 5 mm (hành trình tổng cộng 10 mm) trong 50 000 chu kỳ.
8.9.3.5.3 Thử động học theo phương ngang
Rung ghế theo phương ngang bằng chuyển động hình sin quanh một trục nằm ngang, đại diện cho đường tiếp xúc giữa lốp xe đạp và mặt đường, đặt ở vị trí cách ghế một khoảng 2a hoặc 2b (xem Bảng 3 và Hình 8). Thiết lập cung dao động là 10° và tiếp tục phép thử trong 50 000 chu kỳ ở tần số 1 Hz.
Bảng 3 - Khoảng cách từ ghế đến trục đung đưa theo phương ngang
| Loại ghế | Chi tiết lắp | Mặt phẳng thử | 2a | 2b |
|
|
|
| mm | mm |
| A15, A22 | Bệ đỡ giá hành lý | Bệ đỡ | - | 750 |
| A15, A22 | Khung xe đạp | Mặt phẳng tham chiếu | 810 | - |
| C15 | Khung xe đạp | Mặt phẳng tham chiếu | 900 | - |
| CT5 | Cổ phuộc (quill) | Mặt phẳng tham chiếu | 910 | - |
Trong quá trình thử nghiệm, ghế không được chạm vào bệ thử để tránh ảnh hưởng đến kết quả thử. Trong suốt phép thử, chuyển động hình sin của bệ thử phải được duy trì.
8.9.3.6 Thử độ cứng theo phương ngang
Trong quá trình thử theo 8.9.3.5.1, các điểm đo trên ghế (xem số 4 trong Hình 8) không được dao động vượt ra ngoài các điểm đã được thiết lập bởi các cơ cấu giới hạn (xem 5.8.2).
Phép thử này phải được thực hiện vào cuối bước 4 của phép thử động phương ngang được mô tả trong 8.9.3.5.3, sử dụng cùng điều kiện thử. Đảm bảo rằng các khối tải được gắn chặt để không va chạm vào hai bên ghế trong quá trình dao động.
Xác định hai điểm đo tại mép ngoài cùng của ghế ở độ cao như sau so với mặt phẳng chuẩn (xem số 3 trong Hình 8):
- 100 mm đối với ghế loại A15 và C15;
- 150 mm đối với ghế loại A22.
Nghiêng ghế dần sang một bên đến giới hạn của cung dao động được quy định tại 8.9.3.5.3, sau đó nghiêng thêm một góc (3 + 0,1/ - 0)° vượt quá vị trí đó (xem Hình 8). Đặt một cơ cấu giới hạn tại các điểm đo nhằm phát hiện chuyển động vượt mức của ghế trong quá trình thử độ cứng ngang. Lặp lại thao tác này cho bên còn lại.
Tiếp tục lặp lại điều kiện của phép thử động phương ngang tại 8.9.3.5.3 với tổng số 100 chu kỳ.
- Vị trí của điểm đo phải được xác định khi ghế ở vị trí thẳng đứng.
- Đối với các ghế có chức năng ngả, phép thử phải được lặp lại ở vị trí ngả nhiều nhất.
- Với tất cả cấu hình, phép thử phải được thực hiện với đường kính ống nhỏ nhất theo hướng dẫn sử dụng.
8.9.3.7 Thử va đập
8.9.3.7.1 Yêu cầu
Sau khi thực hiện phép thử theo 8.9.3.7.2, ghế trẻ em không được xuất hiện bất kỳ vết nứt hay gãy vỡ nào và phải vẫn được gắn chặt vào bệ thử.
CHÚ THÍCH Biến dạng vĩnh viễn phát sinh từ phép thử này được xem là đạt nếu không làm ảnh hưởng đến sự cân bằng của người điều khiển xe.
8.9.3.7.2 Phương pháp thử
Lắp đặt ghế trẻ em trên bệ thử tại vị trí sau cùng và theo hướng dựng đứng. Lắp mô hình thân người thử nghiệm (xem Phụ lục A) vào trong ghế trẻ em.
Xác định độ cao rơi 300 mm theo phương thẳng đứng so với điểm c của mô hình thân người thử nghiệm (khoảng cách 300 mm giữa điểm c - xem Phụ lục A - trên mặt phẳng chuẩn và đáy của túi thử tương ứng). Tháo mô hình thân người ra, đặt túi thử vào đúng vị trí và độ cao, sau đó thả rơi túi thử (túi thân người). Túi thử phải rơi tự do và hiện tượng nảy không bị cản trở.
8.10 Các mối nguy từ chức năng bảo vệ không đầy đủ
8.10.1 Quy định chung
Khuyến nghị hình dạng tựa lưng cần đảm bảo có đủ không gian cho mũ bảo hiểm của trẻ. Đặt mô hình thân người thử nghiệm vào ghế như đã nêu trong 8.1.
8.10.2 Yêu cầu đối với khu vực chỗ ngồi và bộ phận đỡ chân
Kích thước của các vùng chính nâng đỡ trẻ trên ghế phải tuân theo các mục a, c, d, e và f trong Bảng 4, khi được đo bằng mô hình thân người thử nghiệm mô tả trong Phụ lục A.
CHÚ THÍCH Mặt phẳng chuẩn của mô hình đo nằm cách khoảng 55 mm phía trên vùng ngồi, và các phép đo được thực hiện tại hoặc tương đối so với mặt phẳng này. Do đó, các kích thước c và d trong Bảng 4 nhỏ hơn khoảng 55 mm so với kích thước thực của các bộ phận này, trong khi kích thước e lại lớn hơn với giá trị tương ứng.
Bảng 4 - Tính chất/kích thước
Kích thước tính bằng milimét
| Chi tiết | Hình minh họa | Loại ghế | |||
| A15 | C15 | A22 | |||
| a | Chiều rộng ghế ngồi (bên trong) | Không có hình minh họa | 230 ± 30 | 230 ± 30 | 250 ± 40 |
| b | Khối thử ở vị trí trên | Phụ lục B | Khối A | Khối A | Khối A |
|
| Khối thử ở vị trí dưới |
| Khối A | Khối A | Khối B |
| c | Chiều cao tối thiểu của tựa lưng bao gồm tựa đầu không tháo rời được | Hình 19 | 385 | 160 | 140 |
| d | chiều dài tối thiểu của bộ bảo vệ ghế thành bên | Hình 19 | 65 | 40 | 85 |
| e | Khoảng cách chỗ để chân ở vị trí trên | Hình 17 | e ≤ 145 | e ≤ 145 | e ≤ 145 |
|
| Khoảng cách chỗ để chân ở vị trí dưới (chiều cao) |
| e ≥ 210 | e ≥ 185 | e ≥ 240 |
| f | Chiều dài tối thiểu của bộ bảo vệ ghế thành bên | Hình 19 | 105 | 105 | 105 |
| 9 | Tay | Hình A.7 | 930 | 930 | 1100 |
| h | Vai | Hình A.8 và A.14 | 930 | 930 | 1100 |
Đối với ghế ngả lưng, tất cả các kích thước phải được đo ở vị trí thẳng đứng của tựa lưng.
Chỗ để chân phải được điều chỉnh giữa vị trí tối thiểu và tối đa theo Bảng 4 (e). Đối với loại A22 và A15, phải có ít nhất một vị trí trung gian giữa phạm vi tối thiểu và phạm vi tối đa.
8.10.3 Bảo vệ chân
8.10.3.1 Bề mặt của bộ bảo vệ chân mặt bên
8.10.3.1.1 Yêu cầu đối với ghế sau
Ghế sau phải được trang bị các bộ bảo vệ ở vị trí gần mỗi bệ đỡ chân theo yêu cầu trong 8.10.3.1.2.
8.10.3.1.2 Phương pháp thử
Bộ bảo vệ chân mặt bên (3) được xác định bởi bề mặt bắt đầu từ đầu cuối của bệ đỡ chân tương ứng ở vị trí cao nhất (1), qua đầu cuối của bệ đỡ chân tương ứng ở vị trí thấp nhất (2) và kéo bài xuống tới bề mặt trên của bệ đỡ chân. Bề mặt này cần được nhìn vuông góc với mặt phẳng trung tâm dọc của ghế (xem Hình 15).
Đặt khối tương ứng vào trong bệ đỡ chân (xem Bảng 4) ở vị trí thấp nhất và ghi chú vị trí của điểm trên cùng của phần bảo vệ.
Đặt khối tương ứng vào trong bệ đỡ chân (xem Bảng 4) ở vị trí cao nhất và ghi chú vị trí của điểm trên cùng của phần bảo vệ.
Vẽ một đường thẳng cắt qua gót của bệ đỡ chân ở các vị trí cao nhất và thấp nhất.
Vẽ một đường thẳng giữa hai điểm này và kéo dài đến đường từ bề mặt trên của bệ đỡ chân. Khu vực có dấu chéo trong Hình 15 phải được bảo vệ hoàn toàn bởi phần bảo vệ bên.
Gắn ghế lên bệ thử. Thực hiện một tác động vào bộ bảo vệ chân bằng một đầu thử có bề mặt bán cầu có bán kính 25 mm và độ cứng (55 ± 3)° Shore A. Năng lượng tác động là 5 J ± 5 %.

CHÚ DẪN
1 Khối A cho ghế A22 và A15
2 Khối B cho ghế A22 / Khối A cho ghế A15
3 Diện tích tối thiểu của bộ bảo vệ chân mặt bên
Hình 15 - Xác định diện tích bộ bảo vệ chân mặt bên
8.10.3.2 Bệ đỡ chân cho tất cả các ghế
8.10.3.2.1 Yêu cầu
Ghế sau phải được trang bị các bộ bảo vệ bên trong bên cạnh mỗi bệ đỡ chân theo yêu cầu tại 8.10.3.1.2. Ghế/bệ đỡ chân phải có một bề mặt bao phủ phần chiếu thẳng đứng của đáy khối tương ứng ít nhất ở một vị trí. Ghế/bệ đỡ chân phải có một tường ngoài với chiều cao tối thiểu bao phủ khu vực dưới vùng W của khối B (xem Hình B.2) hoặc bất kỳ phương tiện nào khác để ngăn chân bị đẩy ra sau. có thể có các lỗ thoát nước và phải tuân thủ theo yêu cầu tại 8.2.
8.10.3.2.2 Phương pháp thử
Chèn khối B vào bệ đỡ chân và kiểm tra xem có thể tìm được vị trí mà mặt dưới của khối được bệ đỡ chân bao phủ hoàn toàn hay không.
8.10.4 Yêu cầu về chiều rộng ghế và phương pháp thử cho tất cả các ghế
Chiều rộng ghế phải tuân thủ giá trị được nêu trong Bảng 4 (a).
Đo chiều rộng bên trong của ghế, qua điểm B trên mặt phẳng tham chiếu và vuông góc với mặt phẳng trung tâm dài theo hình chiếu trong Hình 16. Nếu lớp đệm bên cạnh cản trở việc đo này, lớp đệm bên cạnh phải được tháo ra hoặc gập lại để đo.

CHÚ DẪN
17 Bệ đỡ của thiết bị đo
a Chiều rộng bên trong của ghế
B Điểm trên mặt phẳng tham chiếu và vuông góc với mặt phẳng dọc của ghế
Hình 16 - Đo chiều rộng ghế
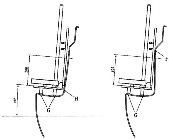
8.10.5 Phạm vi điều chỉnh độ cao của bệ chân tối thiểu
8.10.5.1 Yêu cầu
Có thể điều chỉnh bệ chân theo giá trị quy định trong Bảng 4.
8.10.5.2 Phương pháp thử
Điều chỉnh tựa lưng của ghế về vị trí thẳng đứng nhất.
Mọi thành phần có thể làm ảnh hưởng đến vị trí chính xác của thiết bị đo (dây đai chặn qua bẹn, các bộ phận đệm, khóa, v.v.) cần được đặt sao cho thiết bị đo được đặt đúng vị trí trên ghế.
Đặt thiết bị đo (xem Phụ lục A) có tổng trọng lượng 9 kg lên ghế. Sau đó đẩy thiết bị đo về phía tựa lưng như hình trong Hình 17 cho đến khi thiết bị tiếp xúc với tựa lưng (H). Trong quá trình đặt, bốn chốt (G) phải luôn tiếp xúc với ghế.
Cài đặt các khối tương ứng (xem Bảng 4) hoàn toàn vào bệ chân ở vị trí được mô tả trong 8.10.3.2.2. Nếu có nhiều hơn một vị trí có thể, ít nhất một trong số chúng phải đáp ứng yêu cầu. Đo khoảng cách e từ điểm D đến E theo Hình 17.

CHÚ DẪN
D Bệ đỡ thiết bị đo, điểm đo bệ chân
E Điểm nơi lực được tác dụng
e Khoảng cách vị trí bệ chân (Bảng 4)
G Chốt tiếp xúc với khu vực ngồi
H Điểm tiếp xúc với tựa lưng
Hình 17 - Đo sự điều chỉnh bệ chân
8.10.6 Giữ chân bằng dây đai
8.10.6.1 Yêu cầu
Trừ khi thiết kế của ghế sao cho chân của trẻ em được bao bọc, cần phải trang bị dây đai giữ chân. Dây đai giữ chân như vậy phải có chiều rộng tối thiểu là 15 mm và có thể điều chỉnh được.
Dây đai giữ chân phải giữ chắc các bộ phận tương ứng khi thử theo phương pháp mô tả ở 8.10.6.2.
8.10.6.2 Phương pháp thử
Phép thử phải được thực hiện ở vị trí trên và dưới của bệ chân. Bộ phận cần chọn theo phân loại của ghế và vị trí bệ chân (xem Bảng 4).
Các bộ phận được định nghĩa trong Hình B.1, B.2 và ống trụ trong Hình B.3 của Phụ lục B. Chèn bộ phận tương ứng (xem Bảng 4) vào trong bệ chân sao cho càng sâu càng tốt.
Áp dụng lực kéo 100 N trong 10 s, tác dụng theo góc 45° theo hướng tiến về phía trước tại điểm A của ng trụ như chỉ dẫn trong Hình 18. Trong suốt phép thử, hướng của lực kéo phải được duy trì.

CHÚ DẪN
1 Khối tương ứng
F Lực tác dụng 100 N trong 10 s
Hình 18 - Giữ chân bằng dây đai
8.10.7 Bảo vệ ghế theo phương ngang
8.10.7.1 Các yêu cầu
Ghế phải được trang bị bộ bảo vệ ghế theo phương ngang. Chiều cao tối thiểu và chiều dài của mép ngoài bộ bảo vệ ghế theo phương ngang phải tuân thủ các giá trị được đưa ra trong Bảng 4 và được đo theo phương pháp mô tả ở 8.10.7.2.
Các khe hở trong bộ bảo vệ ghế theo phương ngang và giữa bộ bảo vệ ghế theo phương ngang và tựa lưng được phép có, với điều kiện các khe hở này tuân thủ các yêu cầu liên quan trong 8.2 (mối nguy mắc kẹt).
8.10.7.2 Phương pháp thử
Điều chỉnh tựa lưng của ghế về vị trí thẳng đứng nhất.
Các bộ phận có thể làm ảnh hưởng đến việc định vị chính xác thiết bị đo (đai chặn qua bẹn, các bộ phận đệm, khóa, v.v.) phải được điều chỉnh sao cho thiết bị đo được đặt đúng vị trí trên ghế.
Đặt thiết bị đo (xem Phụ lục A) có tổng trọng lượng 9 kg lên ghế. Sau đó đẩy thiết bị đo về phía tựa lưng như thể hiện trong Hình 19 cho đến khi nó tiếp xúc với tựa lưng (H). Trong suốt quá trình định vị, bốn chốt (G) phải luôn tiếp xúc với ghế.
Đo các khoảng cách c, d và f (được đưa ra trong Bảng 4) từ điểm A (Hình A.17) của thiết bị đo như được thể hiện trong Hình 19

CHÚ DẪN
C Chiều cao tối thiểu của tựa lưng, bao gồm cả phần tựa đầu không thể tháo rời.
D Chiều cao tối thiểu của bộ bảo vệ ghế bên.
E Điểm tại vị trí lực tác dụng.
F Chiều dài tối thiểu của bộ bảo vệ ghế mặt bên.
G Các chốt tiếp xúc với khu vực ngồi.
H/A Điểm tiếp xúc với tựa lưng.
Hình ảnh không trình bày tải trọng bổ sung.
Hình 19 - Bảo vệ ghế theo phương ngang
8.10.8 Góc giữa ghế và tựa lưng
8.10.8.1 Yêu cầu
Ghế phải được lắp đặt trên bệ thử như đã định nghĩa trong 5.3. Khi đo theo hướng dẫn trong 8.10.8.2:
- Góc giữa ghế và tựa lưng không được nhỏ hơn 90°; và
- Góc (Hình 20) giữa mặt phẳng tham chiếu và mặt phẳng ngang không được nhỏ hơn 0°.
CHÚ THÍCH Các góc có giá trị dưới đường nằm ngang được coi là nhỏ hơn 0°.
8.10.8.2 Phương pháp thử để đo góc tựa lưng
Đối với các ghế có thể ngả, điều chỉnh tựa lưng về vị trí thẳng đứng nhất.
Bất kỳ chi tiết nào có thể cản trở việc đặt đúng mô hình thân người thử nghiệm (như đai chặn qua bẹn, phần đệm, khóa, v.v.) cần được bố trí sao cho không ảnh hưởng đến việc đặt mô hình đúng vị trí trên ghế.
Đặt mô hình thân người thử nghiệm (xem 5.2) có tổng khối lượng 9 kg lên ghế. Sau đó, đẩy mô hình này dựa vào tựa lưng như thể hiện trong Hình 21 cho đến khi tiếp xúc với tựa lưng (H). Trong quá trình đặt mô hình, bốn chốt (G) phải luôn tiếp xúc với bề mặt ngồi.
Tiến hành đo góc trên mặt phẳng tham chiếu của mô hình thân người thử nghiệm. Trong suốt quá trình đo, mô hình không được dịch chuyển khỏi vị trí.
Để đảm bảo rằng góc giữa mặt ngồi và tựa lưng không nhỏ hơn 90°, kiểm tra xem có điểm tiếp xúc nào của mô hình nằm trong khoảng từ mặt phẳng tham chiếu đến 200 mm phía trên mặt phẳng tham chiếu (của mô hình).
Đảm bảo rằng cả bốn chốt (G) của mô hình luôn tiếp xúc với bề mặt ngồi (xem Hình 20, 21 và 22).
Kích thước tính bằng milimét

CHÚ DẪN
G Chốt tiếp xúc với khu vực ghế ngồi
Hình 20 - Xác định trước vị trí đặt mô hình thân người thử nghiệm
| Kích thước tính bằng milimét | Kích thước tính bằng milimét |

| CHÚ DẪN | CHÚ DẪN |
| G Chốt tiếp xúc với bề mặt ghế ngồi H Ví dụ về điểm tiếp xúc | G Chốt tiếp xúc với bề mặt ghế ngồi H Ví dụ về điểm tiếp xúc |
| Hình 21 - Trường hợp đạt yêu cầu | Hình 22 - Trường hợp không đạt yêu cầu |
8.10.9 Hệ thống an toàn
8.10.9.1 Quy định chung
Ghế ngồi phải được trang bị dây đai có thể điều chỉnh hoặc thiết bị giữ chặt tương đương, được thiết kế để giữ cho trẻ ngồi ở tư thế an toàn trên ghế.
Tất cả các ghế ngồi phải giữ trẻ theo một trong các cách sau:
- Tại vai và qua bẹn; hoặc
- Tại vai và eo nếu ghế có phần gờ hoặc yên ngăn giữa hai chân với chiều cao tối thiểu 20 mm so với mặt phẳng tham chiếu; hoặc
- Tại vai, eo và bẹn.
Tất cả dây đai được trang bị để giữ trẻ trong ghế phải có bề rộng tối thiểu là 19 mm.
8.10.9.2 Hiệu quả của hệ thống an toàn, phép thử lật (Mối nguy do việc nhả không chủ ý của các cơ cấu gắn)
8.10.9.2.1 Yêu cầu
Khi thử theo 8.10.9.2.2, mô hình thân người thử nghiệm mô tả ở Hình 10 không được rơi hoàn toàn ra khỏi hệ thống an toàn. Lưu ý rằng chuyển động một phần của mô hình thân người thử nghiệm không được coi là lỗi.
8.10.9.2.2 Phương pháp thử
Trước hết, đặt mô hình thân người thử nghiệm vào chính giữa ghế, sao cho trục 225 mm áp sát vào tựa lưng và gắn hệ thống an toàn theo hướng dẫn của nhà sản xuất, cố định dây đai eo quanh phần thân của mô hình sao cho không có độ chùng và dây đai eo nằm phía trên phần cụt chân. Nếu đai chặn qua bẹn có thể điều chỉnh, hãy điều chỉnh để loại bỏ độ chùng. Nếu có dây đai vai, đặt một khối đệm hình hộp chữ nhật kích thước 30 mm, làm từ vật liệu cứng, nhẵn, lên mỗi vai của mô hình. Điều chỉnh từng dây đai vai sao cho không còn độ chùng, sau đó tháo khối đệm ra.
Sử dụng một thiết bị quay để quay ghế một cách trơn tru một vòng 360° với tốc độ (4,0 ± 0,5) vòng/min theo chiều xuôi và ngược.
Quay ghế một vòng 360° theo chiều xuôi. Nếu cần, đưa mô hình trở lại vị trí ban đầu mà không thay đổi các cơ cấu điều chỉnh của hệ thống an toàn.
Quay ghế một vòng 360° theo chiều ngược. Nếu cần, đưa mô hình trở lại vị trí ban đầu mà không thay đổi các cơ cấu điều chỉnh của hệ thống an toàn.
Lặp lại chu trình quay xuôi và ngược hai lần nữa, tổng cộng ba vòng quay xuôi và ba vòng quay ngược. Nếu cần, sau mỗi vòng quay, đưa mô hình về vị trí ban đầu mà không điều chỉnh lại các cơ cấu của hệ thống an toàn.
8.10.9.3 Gắn hệ thống an toàn vào ghế
8.10.9.3.1 Yêu cầu
Khi thử theo phương pháp 8.10.9.3.2, việc gắn hệ thống an toàn vào ghế không được bị đứt, biến dạng vĩnh viễn, bị lỏng, bị rách hoặc bị dịch chuyển.
8.10.9.3.2 Phương pháp thử
Tác dụng từ từ một lực (150 ± 2) N lên từng điểm gắn của hệ thống an toàn theo hướng căng nhất. Mỗi điểm gắn của hệ thống an toàn phải được thử riêng biệt. Chi tiết khóa của hệ thống an toàn không được thử nghiệm ở giai đoạn này. Duy trì lực này trong 1 min.
8.10.9.4 Độ bền của chi tiết khóa của hệ thống an toàn
8.10.9.4.1 Yêu cầu
Khi thử nghiệm theo phương pháp 8.10.9.4.2 ở bất kỳ phương hướng nào, chi tiết khóa không được mở hoặc bị hư hại, điều này sẽ làm ảnh hưởng đến chức năng và hoạt động bình thường của khóa.
8.10.9.4.2 Phương pháp thử
Lực kéo 200 N phải được tác động từ từ lên các dây đai ở hai bên của chi tiết khóa. Duy trì lực này trong 1 min.
8.10.9.5 Trượt vi mô và độ bền của các cơ cấu điều chỉnh
8.10.9.5.1 Yêu cầu
Khi thử nghiệm theo phương pháp 8.10.9.5.2, sự trượt trong các cơ cấu điều chỉnh dây đai không được vượt quá 25 mm đối với mỗi cơ cấu như vậy. Hệ thống an toàn đóng phải chịu được một lực ngang bằng 1.5 lần trọng lượng/tải trọng tối đa của ghế (xem Bảng 1) trong 1 min.
8.10.9.5.2 Phương pháp thử
Các chi tiết hoặc cơ cấu phải được thử trượt vi mô phải được giữ trong ít nhất 24 giờ trước khi thử nghiệm trong một môi trường có nhiệt độ (20 ± 5) °C và độ ẩm tương đối (65 ± 5) %.
Phép thử sẽ được thực hiện trong khoảng nhiệt độ từ 15 °C đến 30 °C.
Đầu tự do của dây đai phải được sắp xếp theo cấu hình giống như khi thiết bị được sử dụng trong chu kỳ và không được gắn vào bất kỳ bộ phận nào khác (xem Hình 23).

Hình 23 - Thử trượt vi mô
Thiết bị điều chỉnh phải được đặt trên một đoạn dây đai thẳng đứng, một đầu của dây sẽ chịu tải trọng 5 kg (được hướng dẫn sao cho không bị dao động và dây không bị xoắn). Đầu tự do của dây đai từ thiết bị điều chỉnh sẽ được gắn thẳng đứng lên hoặc xuống như trên ghế. Đầu kia của dây sẽ đi qua một con lăn phân tách với trục ngang song song với mặt phẳng của phần dây đai đỡ tải, phần dây đi qua con lăn phải là ngang.
Thiết bị thử nghiệm sẽ được sắp xếp sao cho trung tâm của nó, ở vị trí cao nhất mà nó có thể nâng lên, cách bàn hỗ trợ (300 ± 5) mm và tải trọng 5 kg sẽ cách bàn hỗ trợ 100 mm.
Hai mươi chu kỳ thử nghiệm trước sẽ được hoàn thành và 1.000 chu kỳ sẽ được hoàn thành với tần số 0,5 Hz, chuyển động hình sin và biên độ tổng là (300 ± 20) mm. Nếu không có đủ dây đai để cung cấp biên độ này, thử nghiệm có thể được thực hiện trên một đoạn ngắn hơn với chiều dài tối thiểu là 200 mm. Tải trọng 5 kg chỉ được áp dụng trong thời gian tương ứng với một sự dịch chuyển (100 ± 20) mm cho mỗi nửa chu kỳ. Trượt vi mô sẽ được đo từ vị trí ở cuối 20 chu kỳ thử trước.
8.10.9.6 Yêu cầu đối với việc đóng hệ thống an toàn
Nếu không đóng hoàn toàn, việc đóng hệ thống an toàn phải tách rời khi một lực không quá 10 N được tác dụng theo hướng ngược lại với hướng của cơ cấu gắn.
8.10.9.7 Yêu cầu và phương pháp thử đối với hệ thống an toàn chống mở (Hệ thống gắn trẻ em vào ghế)
Bất kỳ thiết bị dây đai hoặc hệ thống an toàn nào cũng phải có cơ cấu mở an toàn chống trẻ em, yêu cầu thực hiện hai hành động độc lập, trong đó hành động đầu tiên phải duy trì trong khi hành động thứ hai được thực hiện, hoặc cần một lực tối thiểu 40 N để mở cơ cấu, với giới hạn tối đa là 60 N.
9 Thông tin sản phẩm
9.1 Thông tin mua hàng
9.1.1 Yêu cầu chung về thông tin mua hàng
Thông tin mua hàng phải được cung cấp theo cách dễ nhìn thấy tại điểm bán, ở bên ngoài bao bì hoặc trên nhãn dán rõ ràng và gắn vào ghế để có thể tham khảo mà không cần mở bao bì.
Khi không sử dụng bao bì và thông tin mua hàng được cung cấp cùng với hướng dẫn sử dụng thì thông tin mua hàng bắt buộc phải được nêu trên trang bìa của hướng dẫn sử dụng.
Thông tin này phải được trình bày bằng (các) ngôn ngữ của quốc gia nơi ghế sẽ được phân phối.
CHÚ THÍCH Nếu ghế được bán qua internet thì điểm bán là trang web bán ghế.
9.1.2 Thông tin mua hàng cụ thể
9.1.2.1 Quy định chung
a) Ghế phải được cung cấp với thông tin rõ ràng về chiều cao và cân nặng tối đa của trẻ. Ngoài ra, phải chỉ rõ các loại xe đạp mà ghế không thể sử dụng an toàn, nếu có. Đối với ghế gắn trên khung xe đạp, phải nêu rõ đường kính khung và loại mặt cắt.
b) Nêu rõ các công cụ cần thiết nhưng không được cung cấp kèm theo ghế.
9.1.2.2 Ghế sau được thiết kế để gắn vào giá đỡ hành lý.
Cảnh báo bổ sung phải được cung cấp kèm theo ghế sau được thiết kế để gắn vào giá đỡ hành lý có tải trọng 27 kg, chỉ ra rằng một giá đỡ hành lý phù hợp theo tiêu chuẩn EN ISO 11243:2016 là cần thiết. Cảnh báo này phải có nội dung như sau:
CẢNH BÁO - Vì lý do an toàn, loại ghế này chỉ được lắp vào giá đỡ hành lý tuân thủ EN ISO 11243:2016 có tải trọng 27 kg.
9.1.2.3 Ghế trước
Cảnh báo bổ sung phải được cung cấp cho ghế trước:
CẢNH BÁO Ghế trước làm giảm khả năng điều khiển của xe đạp.
9.2 Hướng dẫn sử dụng
9.2.1 Quy định chung
Mắc kẹt không chỉ giới hạn ở ghế trẻ em mà còn phải xem xét các khu vực có thể xảy ra mắc kẹt trên xe đạp (ví dụ, lò xo yên xe có thể tiếp cận). Người tiêu dùng cần được thông báo về những khu vực có thể xảy ra mắc kẹt khác trên xe đạp.
Thông tin này có thể được cung cấp dưới mọi hình thức (giấy, CD, website...) theo quy định quốc gia và phải được viết bằng ngôn ngữ của quốc gia nơi ghế xe đạp sẽ được bán hoặc bằng các công cụ trực quan, như biểu tượng và hình ảnh, nổi bật trong thông tin về an toàn ghế. Khi thông tin ở định dạng điện tử, một bản in giấy phải có sẵn khi yêu cầu. Người tiêu dùng phải được thông báo về thông tin này từ nhà sản xuất hoặc nhà bán lẻ.
Các cảnh báo, hướng dẫn, thông tin và lời khuyên sau đây phải được cung cấp cùng với ghế. Trong hướng dẫn, cần có sự phân biệt rõ ràng giữa hướng dẫn lắp đặt và hướng dẫn sử dụng.
9.2.2 Hướng dẫn cụ thể về lắp đặt và sử dụng
9.2.2.1 Lắp đặt
a) Thông tin về cách và nơi để gắn ghế và phụ kiện vào xe đạp, bao gồm cách siết chặt các bộ phận cố định và khuyến nghị kiểm tra độ an toàn của các bộ phận cố định thường xuyên;
b) Hướng dẫn chỉ lắp ghế vào những xe đạp phù hợp, có loại khung và trụ yên thích hợp cho việc gắn ghế và chịu thêm tải trọng, bao gồm lời khuyên kiểm tra thông tin đi kèm với xe đạp và giá đỡ hành lý, hoặc tham khảo ý kiến của nhà sản xuất hoặc nhà cung cấp của chúng;
c) Hướng dẫn điều chỉnh đúng cách ghế và các bộ phận của ghế, nếu có thể, để tối ưu hóa sự thoải mái và an toàn cho trẻ: bao gồm hướng dẫn đảm bảo ghế không bị nghiêng về phía trước, tránh cho trẻ bị trượt ra ngoài, khuyến nghị rằng tựa lưng nên nghiêng nhẹ về phía sau;
d) Hướng dẫn kiểm tra xem tất cả các bộ phận của xe đạp có hoạt động chính xác khi lắp ghế lên;
e) Hướng dẫn rằng ghế không thể được gắn vào trụ yên trừ khi được phép bởi nhà sản xuất xe đạp;
f) Hướng dẫn rằng ghế phải được lắp đặt càng gần yên xe càng tốt.
9.2.2.2 Sử dụng
a) Lời khuyên cho người sử dụng kiểm tra xem có bất kỳ quy định pháp lý nào cụ thể về việc chở trẻ em trên ghế gắn vào xe đạp tại quốc gia nơi ghế được sử dụng không;
b) Hướng dẫn không chở trẻ em quá nhỏ để ngồi an toàn trên ghế, cùng với lời khuyên về độ tuổi hoặc kích thước tối thiểu của trẻ mà ghế được thiết kế cho trẻ. Chỉ chở trẻ em có thể ngồi một mình trong một khoảng thời gian dài, ít nhất bằng thời gian của hành trình xe đạp dự định;
c) Hướng dẫn đảm bảo ban đầu và kiểm tra lại theo thời gian rằng chiều cao và cân nặng của trẻ không vượt quá khả năng tải trọng tối đa của ghế;
d) Hướng dẫn đảm bảo không có phần nào trên cơ thể hoặc quần áo của trẻ có thể tiếp xúc với bộ phận chuyển động của ghế hoặc xe đạp, và kiểm tra lại khi trẻ lớn lên. Hướng dẫn này sẽ đề cập đến các nguy cơ mắc kẹt ở chân trong bánh xe và ngón tay trong cơ cấu phanh và yên xe có lò xo;
e) Hướng dẫn đảm bảo không có vật sắc nhọn nào mà trẻ có thể chạm phải, ví dụ như dây cáp bị sờn;
f) Hướng dẫn đảm bảo rằng hệ thống an toàn và hệ thống giữ trẻ bổ sung không bị lỏng hoặc có thể bị mắc kẹt vào các bộ phận chuyển động, đặc biệt là bánh xe, bao gồm cả khi xe đạp được sử dụng mà không có trẻ trong ghế;
g) Hướng dẫn luôn sử dụng hệ thống an toàn, đảm bảo rằng trẻ được giữ trong ghế;
h) Lời khuyên rằng trẻ em trong ghế cần được mặc ấm hơn so với người lái xe đạp và nên được bảo vệ khỏi mưa;
i) Lời khuyên rằng khi vận chuyển xe đạp bằng ô tô (bên ngoài ô tô), hãy tháo ghế ra. Luồng không khí có thể làm hỏng ghế hoặc làm lỏng các bộ phận cố định của ghế với xe đạp, điều này có thể dẫn đến tai nạn;
j) Lời khuyên cho người lái xe cẩn thận xem xét sự ổn định/cân bằng khi lắp trẻ vào ghế trên xe đạp;
k) Lời khuyên rằng trẻ em trong ghế nên được trang bị mũ bảo hiểm an toàn phù hợp với EN 1078:2012+A1:2012;
l) Hướng dẫn kiểm tra nhiệt độ quá mức (ví dụ do tiếp xúc trực tiếp với ánh nắng mặt trời) của ghế trước khi đặt trẻ vào ghế;
m) Hướng dẫn rằng ghế trẻ em này không phù hợp sử dụng trong các hoạt động thể thao (ví dụ đạp xe leo núi, đua xe...);
n) Khi lái xe lần đầu với ghế đã lắp, hãy thử lái xe trong môi trường an toàn/yên tĩnh trước khi lái trên đường cao tốc.
Hướng dẫn bổ sung cho ghế sau
o) Hướng dẫn che các lò xo yên xe sau lộ ra.
Hướng dẫn bổ sung cho ghế sau gắn vào giá đỡ hành lý
p) Hướng dẫn đảm bảo rằng không vượt quá tải trọng của giá đỡ. Hướng dẫn này sẽ đề cập đến các chỉ dẫn về lớp tải trọng thích hợp của EN ISO 11243:2016.
q) Ghế sau gắn trên giá đỡ hành lý phải có một cảnh báo yêu cầu người sử dụng luôn luôn thắt chặt hệ thống giữ trẻ bổ sung.
Hướng dẫn bổ sung cho ghế trước:
r) Hướng dẫn thay đổi loại tay lái của xe khi góc lái giảm xuống dưới 45°.
9.2.2.3 Cảnh báo
Các cảnh báo phải được bắt đầu bằng từ “CẢNH BÁO” hoặc “CẢNH BÁO” (tùy thuộc vào trường hợp), tức là thay vì lặp lại từ "CẢNH BÁO" trước mỗi cảnh báo khi có nhiều cảnh báo, có thể sử dụng từ “CẢNH BÁO” một lần duy nhất. Từ “CẢNH BÁO” hoặc “CẢNH BÁO” có thể được theo sau bởi dấu câu, ví dụ như dấu chấm than. Các câu cảnh báo phải được viết bằng chữ có chiều cao chữ in hoa ít nhất là 2,5 mm. Từ “CẢNH BÁO” phải được viết bằng chữ in hoa.
Các cảnh báo sau đây phải được cung cấp theo hình thức dưới đây:
a) CẢNH BÁO: Không gắn thêm hành lý vào ghế trẻ em.
Cảnh báo này phải bao gồm khuyến nghị mang những tải trọng này ở đầu đối diện của xe đạp, ví dụ như đối với ghế sau, sử dụng giá đỡ hành lý phía trước.
b) CẢNH BÁO: Không sửa đổi ghế.
c) CẢNH BÁO: Xe đạp có thể hành xử khác khi có trẻ trong ghế.
Đặc biệt về sự cân bằng, lái và phanh.
d) CẢNH BÁO: Không bao giờ để xe đạp đứng một mình khi có trẻ trong ghế mà không có người giám sát.
e) CẢNH BÁO: Bất kỳ vết nứt nào hoặc nếu bề mặt bắt đầu bị hỏng, điều này cho thấy tuổi thọ của ghế đã hết và cần phải thay thế. Nếu có bất kỳ nghi ngờ nào, hãy liên hệ với chuyên gia.
f) CẢNH BÁO: Luôn luôn kiểm tra nhiệt độ bề mặt của ghế trước khi sử dụng.
g) CẢNH BÁO: Luôn đảm bảo rằng đầu của trẻ được hỗ trợ trong vị trí ngả lưng.
h) CẢNH BÁO: Ghế trẻ em này không phù hợp cho việc sử dụng trong các hoạt động thể thao.
Đối với ghế trước:
i) CẢNH BÁO: Khả năng điều khiển tay lái có thể bị giảm do ghế.
9.2.2.4 Bảo trì
a) Hướng dẫn về cách làm sạch ghế phải được cung cấp.
b) Thông tin về cách thay thế bất kỳ chi tiết nào bị hỏng hoặc hư hại phải được cung cấp.
9.3 Ghi nhãn
9.3.1 Yêu cầu chung về ghi nhãn
Các ghế phải được ghi nhãn các thông tin sau. Tất cả các nhãn phải chịu được thử nghiệm như mô tả ở 9.3.3.
Đối với a), b) và c) nhãn phải được đặt ở vị trí luôn nhìn thấy được khi sử dụng hoặc trong khi đặt trẻ vào trong ghế (trẻ có thể che nhãn này khi ngồi):
a) trọng lượng tối đa của trẻ có thể được vận chuyển (theo phân loại ở Điều 4) hoặc sử dụng hình ảnh sau đây (xem Hình 24);
|
| Đường kính tối thiểu: - 25 mm để đánh dấu chỗ ngồi/thông tin mua hàng - 10 mm để hướng dẫn Kích thước của hình chữ nhật: tỷ lệ với hình tròn như trong Hình 24 Tỷ lệ: như trong Hình 24 Chiều cao tối thiểu của các số: - 4 mm để đánh dấu chỗ ngồi - 2 mm để hướng dẫn Màu sắc: - đường viền ngoài của hình tròn: trắng - nền bên trong hình tròn và hình chữ nhật: xanh lam |
b) “CẢNH BÁO: Không bao giờ để trẻ một mình không có người trông coi" hoặc sử dụng biểu tượng sau (xem Hình 25):
|
| Đường kính tối thiểu: - 25 mm để đánh dấu chỗ ngồi - 10 mm để hướng dẫn Tỷ lệ: như trong Hình 25 Màu sắc: - viền ngoài: trắng - hình tròn và nét: đò - nền bên trong hình tròn: trắng - trẻ em / người chăm sóc / mũi tên: đen |
c) "CẢNH BÁO: Luôn luôn sử dụng hệ thống an toàn" hoặc sử dụng chú dẫn hình sau (xem Hình 26):
|
| Đường kính tối thiểu: - 25 mm đối với ghi nhãn ghế ngồi - 10 mm đối với hướng dẫn sử dụng Tỷ lệ: như trong Hình 26 Màu sắc: - viền ngoài: trắng - nền bên trong hình tròn: xanh lam - trẻ em / hệ thống an toàn / mũi tên: trắng |
CHÚ THÍCH 1: Các ký hiệu trong Hình 24, Hình 25 và Hình 26 được thể hiện trên nền màu xám để làm nổi bật sự hiện diện của đường viền màu trắng.
CHÚ THÍCH 2 Các ký hiệu được trình bày trong Hình 24, Hình 25 và Hình 26 thuộc sở hữu của Cơ quan Quản lý Người tiêu dùng, Y tế, Nông nghiệp và Thực phẩm (CHAFEA), cơ quan điều hành của Ủy ban Châu Âu. Bất kỳ ai cũng có thể tự do sử dụng các biểu tượng này nhưng không được đưa vào như một phần của bất kỳ đăng ký nhãn hiệu hoặc thiết kế nào.
a) Chiều cao tối đa của trẻ có thể được vận chuyển (theo phân loại ở Điều 4);
b) Tên hoặc nhãn hiệu của nhà sản xuất;
c) Tháng và năm sản xuất;
d) Phương tiện truy xuất nguồn gốc;
e) Viện dẫn tiêu chuẩn này.
9.3.2 Yêu cầu ghi nhãn cho ghế sau được gắn với giá để hành lý
Ghế sau được trang bị thêm giá để hành lý phải có cảnh báo sau:
CẢNH BÁO - Luôn phải gắn chặt các thiết bị an toàn bổ sung.
9.3.3 Ghi nhãn, phương pháp thử
Nhãn phải được chà xát bằng tay trong 20 s bằng một miếng vải thấm nước. Sau khi thử, nhãn vẫn phải dễ đọc.
Phụ lục A
(quy định)
Thiết bị đo
Thiết bị đo phải được thiết kế theo các kích thước nêu trong Hình A.1 đến A.17. Trừ khi có quy định khác, tất cả các kích thước đều có dung sai là ± 0,5 mm.
Kết cấu cơ bản của thiết bị đo là một tấm phẳng, trong đó bề mặt trên của tấm xác định mặt phẳng chuẩn của ghế.

| CHÚ DẪN | |
| 1 | Vai 110 cm |
| 2 | Vai 93 cm |
| 3 | Tay 110 cm |
| 4 | Tay 93 cm |
Hình A.1 - Hình ảnh thiết bị đo

CHÚ DẪN
| Số thứ tự | Tên chi tiết | Vật liệu (tham khảo) | Số lượng |
| 1 | Ống lót | Chất dẻo | 1 |
| 2 | Đế thước đo chiều cao | Nhôm | 1 |
| 3 | Cột đo thẳng đứng | Thép | 1 |
| 4 | Thước đo chiều cao | Nhôm | 1 |
| 5 | Tay mô phỏng chiều cao 110 cm | Nhôm | 1 |
| 6 | Tay mô phỏng chiều cao 93 cm | Nhôm | 1 |
| 7 | Vai mô phỏng trẻ cao 110 cm | Nhôm | 1 |
| 8 | Vít chìm, M8 × 25 | Thép | 13 |
| 9 | Chốt định tâm tải trọng | Thép | 1 |
| 10 | Tải trọng | Thép | 1 |
| 11 | Chốt trụ dài | Nhôm | 2 |
| 12 | Chốt trụ ngắn | Nhôm | 2 |
| 13 | Vít chìm, M4 × 10 | Thép | 2 |
| 14 | Thanh mô phỏng cột sống | Nhôm | 1 |
| 15 | Vai mô phỏng trẻ cao 93 cm | Nhôm | 1 |
| 16 | Giá đỡ góc vuông 90 độ | Nhôm | 1 |
| 17 | Tấm đế | Nhôm | 1 |
Hình A.2 - Mô tả chi tiết thiết bị đo
Kích thước tính bằng milimét

CHÚ DẪN
Ống lót
A. Ø30 ép chặt vào chi tiết số 2
Hình A.3 - Ống lót
Kích thước tính bằng milimét

CHÚ DẪN
2 Đế thước đo chiều cao
A. Lắp phẳng với chi tiết số 4
B. Ép chặt lên chi tiết số 1
Hình A.4 - Đế thước đo chiều cao
Kích thước tính bằng milimét

CHÚ DẪN
3 Cột đo thẳng đứng
Hình A.5 - Cột đo thẳng đứng
Kích thước tính bằng milimét

CHÚ DẪN
2 Đế thước đo chiều cao
4 Thước đo chiều cao
A Lắp phẳng với chi tiết số 2
B Khoan đồng thời với chi tiết số 2 để đảm bảo độ kín khít
Hình A.6 - Thước đo chiều cao
Kích thước tính bằng milimét

CHÚ DẪN
Cấu tạo
1 Ống lót
2 Đế thước đo chiều cao
3 Cột đo thẳng đứng
4 Thước đo chiều cao
| 5 Tay mô phỏng chiều cao 93 cm | A | B | C | D |
|
| 144 | 135 | 71 | 34 |
| 6 Tay mô phỏng chiều cao 110 cm | A | B | C | D |
|
| 182 | 179 | 85 | 36 |
CHÚ THÍCH Các ống có chiều dài theo kết cấu bảng trên được liên kết với nhau bằng dây đàn hồi. Dây đàn hồi được thắt chặt nhẹ để giữ tất cả các ống lại với nhau, sau đó cố định chặt lại.
Hình A.7 - Tay cầm
Kích thước tính bằng milimét


CHÚ DẪN
7 Vai, trẻ cao 110 cm
A Vát mép toàn bộ nhưng hai mép này phải giữ gờ sắc
B tất cả tại góc 1 ± 0,20 × 45°, trừ hai mép.
Hình A.8 - Vai mô phỏng trẻ cao 110 cm
Kích thước tính bằng milimét

CHÚ DẪN
9 Chốt tại tâm tải trọng
Hình A.9 - Chốt tại tâm tải trọng
Kích thước tính bằng milimét

CHÚ DẪN
10 Tải trọng
A Chiều cao được điều chỉnh sao cho tổng khối lượng của thiết bị đo khoảng 9 kg
Hình A.10 - Tải trọng
Kích thước tính bằng milimét

CHÚ DẪN
11 Đinh hình trụ dài
Hình A.11 - Đinh hình trụ dài
Kích thước tính bằng milimét

CHÚ DẪN
12 Đinh hình trụ ngắn
Hình A.12 - Đinh hình trụ ngắn
Kích thước tính bằng milimét

CHÚ DẪN
14 Thanh trụ
Hình A.13-Thanh trụ
Kích thước tính bằng milimét

CHÚ DẪN
7 Vai, trẻ cao 93 cm
A Vát mép toàn bộ nhưng hai mép này phải giữ gờ sắc
Hình A.14 - Vai, trẻ cao 93 cm
Kích thước tính bằng milimét

CHÚ DẪN
16 Giá đỡ tại góc 90°
Hình A.15 - Giá đỡ tại góc 90°
Kích thước tính bằng milimét

CHÚ DẪN
17 Tấm đế
A Vát mép để lắp vít đầu chim
B Vát mép để lắp vít đầu chìm × 4
Hình A.16 - Tấm đế
Kích thước tính bằng milimét

CHÚ DẪN
105 Vai, trẻ cao 93 cm
A Đoạn cực của tấm đế
B Điểm tham chiếu đo rộng ghế
C Vị trí thả cho phép thử va chạm
D Điểm đo chiều cao ghế và kích thước chân đỡ
Hình A.17 - Hình chiếu bằng của tấm đế
Phụ lục B
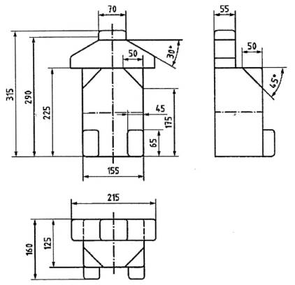
(quy định)
Khối đỡ chân A và B
B.1 Quy định chung
Như đã chỉ ra trong mục 5.4, hai khối đỡ chân sau (Hình B.1 và B.2) làm bằng nhôm sẽ được sử dụng để đánh giá kích thước của chân đỡ, phạm vi điều chỉnh, hiệu quả của dây đai và độ bền của chân đỡ.
Kích thước tính bằng milimét

CHÚ DẪN
A Chiều rộng mũi chân 75,0
B Chiều dài 100,0
C Chiều dài 115,0
D Chiều rộng gót chân 58,0
Hình B.1 - Hình chiếu bằng của khối để chân A và B
Kích thước tính bằng milimét

CHÚ DẪN
T Độ chính xác R5,0
CHÚ THÍCH Trừ khi có quy định khác, tất cả các góc ngoài đều được bo tròn R=1.
Hình B.2 - Chi tiết khối đỡ chân A và B

CHÚ DẪN
A Lỗ khoan ren M10
B Hình trụ
C Khối đỡ chân
Hình B.3 - Khối đỡ chân có ống trụ
Phụ lục C
(tham khảo)
Phương pháp luận
C.1 Quy định chung
Phụ lục thông tin này được đưa vào với mục đích cung cấp lý do để đưa vào một số yêu cầu được đưa ra trong tiêu chuẩn này.
Khi thích hợp, các số điều khoản có liên quan trong tiêu chuẩn được đưa ra trong Phụ lục này và tài liệu tham khảo có liên quan cho Phụ lục được đưa ra trong phần quy định của tiêu chuẩn.
Tiêu chuẩn này không được phát triển để đề cập đến ghế trẻ em được sử dụng trong các hoạt động thể thao (ví dụ: đạp xe leo núi, đua xe...).
C.2 Mối nguy hóa học
Trẻ em dưới 24 tháng tuổi dành khá nhiều thời gian cho cả việc ngậm và nhai. Điều quan trọng là phải hạn chế số lượng một số nguyên tố nhất định, có thể gây hại nếu trẻ ngậm và nhai.
Các phương pháp thử được quy định trong EN 71-3.
Không có tài liệu tham khảo nào khác về hóa chất vì một số trong số chúng đã được quy định trong các quy định khác (đặc biệt là REACH).
Formaldehyde trong hàng dệt may hoặc sản phẩm gỗ và đặc biệt là trong keo: các sản phẩm không được quy định trong các loại vật liệu này. Ngay cả khi thực tế là sản phẩm này là sản phẩm ngoài trời, nhóm không bị thuyết phục để tích hợp yêu cầu này.
Đối với nitrosamine: Đối với vật liệu đàn hồi hoặc lưu hóa, cần cân nhắc đến các sản phẩm sử dụng và chăm sóc trẻ em có thể cho vào miệng, đặc biệt là những sản phẩm có tiếp xúc với miệng hoặc có khả năng tiếp xúc với miệng trong thời gian dài.
C.3 Mối nguy nhiệt
Hiệu ứng chớp cháy, khi ngọn lửa lan rộng trên bề mặt của vật liệu mềm mà không làm cháy nền, phải được kiểm soát.
Yêu cầu và phương pháp thử được quy định trong EN 71-2:2020.
C.4 Mối nguy cơ học
C.4.1 Quy định chung
Có nhiều mối nguy hiểm về cơ học mà trẻ em cần được bảo vệ. Có thể tham khảo CEN/TR 13387-3 để biết thêm chi tiết về các mối nguy này.
C.4.2 Mối nguy do nghẹn và nuốt phải
Nghẹn là mối nguy nghiêm trọng có thể xảy ra khi đường hô hấp bên trong của trẻ bị tắc nghẽn, khiến việc hô hấp bị cản trở và không khí không thể đi vào phổi. Khi điều này xảy ra, đường hô hấp có thể bị đóng lại, dẫn đến tổn thương não.
Mối nguy do nuốt phải phát sinh từ việc các chi tiết nhỏ lọt vào hệ tiêu hóa của trẻ, điều này có thể gây nhiễm bẩn, tắc nghẽn bên trong hoặc gây rách mô.
Các yêu cầu và phương pháp thử được quy định trong EN 71-1.
C.4.3 Mối nguy vướng, mắc
Nếu dây, ruy băng và vải hẹp đủ dài để quấn quanh cổ trẻ, thì có mối nguy trẻ bị siết cổ. Các vòng có thể luồn qua đầu trẻ cũng có mối nguy trẻ bị siết cổ. Khoảng cách giữa các điểm cố định của dây, ruy băng và vải hẹp có thể thay đổi trong quá trình sử dụng do tính linh hoạt của các thành phần của sản phẩm (ví dụ: dây trên các bộ phận vải mềm) và khi lực 25 N được áp dụng cho mục đích đo lường.
Việc loại trừ các thiết bị hạn chế được coi là không áp dụng đối với tất cả các tiêu chuẩn chăm sóc trẻ em khác sử dụng các thiết bị này.
Lý do của cách tiếp cận này dựa trên những lý do sau:
- dây đeo rộng (tối thiểu 19 mm) và không thể coi là dây buộc hoặc dây thừng;
- chiều dài còn lại sau khi lắp vào trẻ phải quá dài và bất thường, đủ để có mối nguy siết cổ;
- trẻ bị trói, khả năng di chuyển của trẻ bị hạn chế, khiến việc tiếp cận chiều dài tự do này quanh cổ là không thể.
C.4.4 Mối nguy mắc kẹt
Các yêu cầu nhằm giải quyết mối nguy hiểm liên quan đến việc ngón tay của trẻ bị kẹt trong một lỗ hổng có thể ngăn chặn lưu thông máu.
Những rủi ro này tăng lên cùng với mong muốn khám phá môi trường của trẻ cao hơn. Ngay cả khi trẻ có thể tự di chuyển, trẻ không phải lúc nào cũng có thể rút ngón tay ra khỏi mối nguy hiểm tiềm ẩn.
Giảm kích thước vì độ sâu của các lỗ hổng và khoảng trống tự do có thể tránh được mọi mối nguy hiểm.
Hình dạng cũng phải được xem xét để đánh giá rủi ro: một số hình dạng giới hạn nhất định sẽ làm giảm lưu thông máu.
Nếu nhóm WG7 quyết định tích hợp que thăm 7 mm thay vì que thăm 5 mm, thì đó là do phạm vi độ tuổi của các sản phẩm liên quan (trọng lượng tối thiểu của trẻ: 9 kg theo bảng phân loại), do đó, các kích thước tối thiểu đã được lựa chọn với sự trợ giúp của dữ liệu nhân trắc học:
Đối với trẻ P95 / 8,4 kg, cân nặng tương đương với trẻ 6-9 tháng tuổi - Chiều rộng ngón tay út bằng 9 mm (nguồn: Bảng A1 và A5 từ CEN/TR 13387-1:2018).
Đối với trẻ P95 / 9,2 kg, cân nặng tương đương với trẻ 9-12 tháng tuổi - Chiều rộng ngón tay út bằng 9 mm (nguồn: Bảng A1 và A5 từ CEN/TR 13387-1:2018).
C.4.5 Chức năng bảo vệ
C.4.5.1 Quy định chung
Một khuyến nghị đã được đưa ra là “Khuyến nghị rằng hình dạng của tựa lưng phải đủ không gian cho mũ bảo hiểm trẻ em”, và không liên quan đến yêu cầu chính thức vì sẽ quá phức tạp để thực hiện do số lượng thông số cần tính đến: loại mũ bảo hiểm, kích thước của trẻ, kích thước đầu, hình dạng của ghế, v.v.
C.4.5.2 Thể tích được bảo vệ
Để xác định thể tích được bảo vệ, người ta cho rằng tư thế ngồi thẳng đứng là trường hợp tệ nhất vì ở tư thế này, trẻ có thể với tới những vùng nhạy cảm hơn của ghế trẻ em (ví dụ điểm kết nối của ghế với xe đạp). Trong quá trình làm việc, các chuyên gia cũng đã phát triển một mẫu có tay khớp nối cung cấp nhiều chuyển động tự do gần với thực tế.
C.4.5.3 Tựa đầu
Phạm vi của tiêu chuẩn này khiến cho yêu cầu về phần đỡ đầu trở nên vô ích vì ghế dành cho trẻ có khả năng ngồi mà không cần hỗ trợ.
C.4.5.4 Bảo vệ đầu
Khi soạn thảo tài liệu này, không thể đưa ra các yêu cầu và phương pháp thử nghiệm cụ thể cho việc bảo vệ đầu cho trẻ rất nhỏ.
Bảo vệ đầu phải bao gồm một biện pháp thích hợp để ngăn ngừa đầu của trẻ bị thương do va chạm không chủ ý.
C.4.5.5 Bảo vệ chân
Bị kẹt chân trẻ em là tình huống nguy hiểm nhất khi vận chuyển trẻ em bằng xe đạp.
Các chấn thương có thể rất nghiêm trọng và kéo dài trong thời gian dài, có thể gây ra các vấn đề trong việc phát triển khả năng vận động để đi bộ. Do đó, ghế phải được thiết kế sao cho không tiếp xúc giữa chân trẻ và bánh xe đạp. cần ngăn ngừa tiếp xúc này bằng cách thiết kế ghế sao cho không thể tiếp xúc về mặt vật lý khi trẻ được cố định trên ghế bằng hệ thống giữ hoặc bằng cách cung cấp các thanh bảo vệ bổ sung để gắn vào ghế và/hoặc xe đạp cùng với ghế.
C.4.6 Độ bền
Các yêu cầu và phương pháp thử nghiệm đối với hệ thống gắn của người lái và các chốt và bộ điều chỉnh được sử dụng để cố định trẻ em là để đầm bảo rằng ghế trẻ em vẫn an toàn khi sử dụng.
C.4.7 Mối nguy ngạt thở
Khi đường thở ngoài của trẻ; miệng và mũi, bị chặn đồng thời, không khí không thể đi vào phổi của trẻ. Khi điều này xảy ra, nó có thể khiến đường thở đóng lại dẫn đến tổn thương não.
C.4.8 Mối nguy từ bề mặt nóng và lạnh
Việc các bộ phận của đồ dùng chăm sóc và sử dụng cho trẻ em tiếp xúc với da hoặc miệng của trẻ là điều thường gặp. Nếu các bề mặt này quá nóng hoặc quá lạnh, trẻ có thể bị bỏng.
Vì trẻ em có khả năng phản ứng hạn chế khi tiếp xúc với bề mặt nóng và lạnh nên cần được bảo vệ.
Trẻ em không chạm vào bề mặt giống như người lớn.
Cho đến khi được 24 tháng tuổi, trẻ em không có phản xạ đủ nhanh để phản ứng khi tiếp xúc với bề mặt nóng. Do đó, thời gian tiếp xúc có thể lên tới 15 s đối với trẻ rất nhỏ.
Không có khả năng đồ dùng chăm sóc và sử dụng cho trẻ em được thiết kế để tạo ra nhiệt.
Nếu đồ dùng chăm sóc và sử dụng cho trẻ em tạo ra nhiệt khi sử dụng, EN ISO 13732-1 khuyến nghị nhiệt độ tối đa có thể được sử dụng làm hướng dẫn khi soạn thảo các tiêu chuẩn cho đồ dùng chăm sóc và sử dụng cho trẻ em.
C.4.9 Thông tin sản phẩm
Định nghĩa về trọng tâm đã bị xóa khỏi văn bản trước do khó khăn trong phép đo trong trường hợp tựa lưng ngả ra sau. ở một số quốc gia (ví dụ như Đức), việc đánh dấu ghế bằng thông tin trọng tâm là bắt buộc theo luật định. Trọng tâm như được phản ánh trong EN 14344:2004 không đại diện cho trọng tâm thực sự. Một bộ thông tin và cảnh báo toàn diện được cho là có giá trị hơn đối với người dùng so với thông tin sai.
C.4.10 Ghế trước
Việc thiếu ổn định của một vật dụng chăm sóc trẻ em có thể gây ra những rủi ro nghiêm trọng.
Việc liên kết một vật dụng chăm sóc trẻ em với một sản phẩm vốn không ổn định như xe đạp chắc chắn là điều khó giải quyết.
Ban đầu, nhóm làm việc muốn đảm bảo rằng ghế xe đạp liên quan đến xe đạp đại diện cho một cụm lắp ráp phụ "rắn chắc" để tránh bất kỳ chuyển động ký sinh nào do tính linh hoạt của sản phẩm hoặc cụm lắp ráp không đáng tin cậy. Để trả lời cho những khả năng đó, thử nghiệm tính toàn vẹn về mặt kết cấu, thử nghiệm sức mạnh và thử nghiệm độ bền đã được phát triển.
Trong quá trình phân tích rủi ro do nhóm chuyên gia thực hiện và đối với ghế xe đạp lắp ở phía trước, nhóm làm việc (được hỗ trợ bởi các quy định của Đức) không muốn cho phép lắp trên các bộ phận quay (xem 4.1), chẳng hạn như tay lái hoặc phần mở rộng, để tránh hiện tượng «khớp» quá mức của hệ thống lái (xem 3.11.3).
Tuy nhiên, có khả năng lắp ghế trên ống lồng đại diện cho một phần cố định của khung.
Trong quá trình phân tích rủi ro, nhóm làm việc đã đưa ra các khía cạnh tích cực khác.
Ghế trước cho phép:
- Di chuyển trọng tâm của cụm lắp ráp (ghế xe đạp và xe đạp) và không có phần nhô ra phía sau, điều này có thể quan trọng với 22 kg. Phương pháp lắp này giúp xử lý tốt hơn khi lái xe nhưng cũng khi đứng yên;
- Để hạn chế trọng lượng của trẻ em;
- Để giám sát trẻ vì trẻ được cha mẹ trực tiếp giám sát và để đảm bảo an toàn cho trẻ bằng cách đặt tay lên tay lái một cách tự nhiên.
Thư mục tài liệu tham khảo
[1] EN 1078:2012+A1:2012, Helmets for pedal cyclists and for users of skateboards and roller skates
[2] EN 15194:2017, Cycles - Electrically power assisted cycles - EPAC Bicycles
[3] EN ISO 4210-1:2014, Cycles - Safety requirements for bicycles - Part 1: Terms and definitions (ISO 4210-1:2014)
[4] EN ISO 13732-1:2008, Ergonomics of the thermal environment - Methods for the assessment of human responses to contact with surfaces - Part 1: Hot surfaces (ISO 13732-1:2006)
[5] CEN/TR 13387-2:2018, Child care articles - General safety guidelines - Part 2: Chemical hazards
[6] CEN/TR 13387-3:2018, Child care articles - General safety guidelines - Part 3: Mechanical hazards
[7] CEN/TR 13387-5:2018, Child care articles - General safety guidelines - Part 5: Product information
[8] EN 1888-1:2018, Child care articles - Wheeled child conveyances - Part 1: Pushchairs and Prams
[1] Hiện có TCVN 6238-1:2017 (ISO 8124-1:2014) về An toàn đồ chơi trẻ em - Phần 1: Các yêu cầu an toàn liên quan đến tính chất cơ lý
[2] Hiện có.TCVN 6238-2:2017 (ISO 8124-2:2014), An toàn đồ chơi trẻ em - Phần 2: Tính cháy
[3] Hiện có TCVN 6238-3:2011 (ISO 8124-3:2010), An toàn đồ chơi trẻ em - Phần 3: Giới hạn mức thôi nhiễm của một số nguyên tố độc hại
Bạn chưa Đăng nhập thành viên.
Đây là tiện ích dành cho tài khoản thành viên. Vui lòng Đăng nhập để xem chi tiết. Nếu chưa có tài khoản, vui lòng Đăng ký tại đây!


