- Tổng quan
- Nội dung
- Tiêu chuẩn liên quan
- Lược đồ
- Tải về
Tiêu chuẩn TCVN 14456:2025 Xe đẩy trẻ em có bánh xe - Yêu cầu an toàn và phương pháp thử
| Số hiệu: | TCVN 14456:2025 | Loại văn bản: | Tiêu chuẩn Việt Nam |
| Cơ quan ban hành: | Bộ Khoa học và Công nghệ | Lĩnh vực: | Công nghiệp |
| Trích yếu: | ISO 31110:2020 Xe đẩy trẻ em có bánh xe - Xe đẩy và xe nôi - Yêu cầu an toàn và phương pháp thử | ||
|
Ngày ban hành:
Ngày ban hành là ngày, tháng, năm văn bản được thông qua hoặc ký ban hành.
|
2025 |
Hiệu lực:
|
Đang cập nhật |
| Người ký: | Đang cập nhật |
Tình trạng hiệu lực:
Cho biết trạng thái hiệu lực của văn bản đang tra cứu: Chưa áp dụng, Còn hiệu lực, Hết hiệu lực, Hết hiệu lực 1 phần; Đã sửa đổi, Đính chính hay Không còn phù hợp,...
|
Đã biết
|
TÓM TẮT TIÊU CHUẨN VIỆT NAM TCVN 14456:2025
Nội dung tóm tắt đang được cập nhật, Quý khách vui lòng quay lại sau!
Tải tiêu chuẩn Việt Nam TCVN 14456:2025
TIÊU CHUẨN QUỐC GIA
TCVN 14456:2025
ISO 31110:2020
XE ĐẨY TRẺ EM CÓ BÁNH XE - XE ĐẨY VÀ XE NÔI YÊU CẦU AN TOÀN VÀ PHƯƠNG PHÁP THỬ
Wheeled child conveyances - Pushchairs and prams - Requirements and test methods
Mục lục
1 Phạm vi áp dụng
2 Tài liệu viện dẫn
3 Thuật ngữ và định nghĩa
4 Yêu cầu và phương pháp thử
4.1 Quy định chung
4.2 Lấy mẫu
4.3 Nguyên tắc về điều kiện khắc nghiệt nhất
4.4 Dung sai đối với thiết bị thử
4.5 Điều kiện thử
4.6 Xác định thể tích được bảo vệ
4.7 Xác định đường giao nhau
4.8 Xác định không gian ngồi
5 Thiết bị thử
5.1 Khối thử
5.2 Que thăm thử
5.3 Thiết bị đo góc
5.4 Quả cầu thử
5.5 Bảng bản lề
5.6 Ống trụ thử các chi tiết nhỏ
5.7 Bề mặt thử
5.8 Cữ chặn hình chữ nhật
5.9 Thiết bị kiểm tra bề mặt không đều
5.10 Ống trụ thử
5.11 Thiết bị kẹp
6 Mối nguy hóa học
6.1 Quy định chung
6.2 Các yêu cầu
6.3 Sự thôi nhiễm của một số nguyên tố
6.4 Phtalat
6.5 Chất tạo màu azo
6.6 Formaldehyt
7 Mối nguy do nhiệt
8 Mối nguy cơ học
8.1 Chức năng bảo vệ
8.2 Mối nguy mắc kẹt
8.3 Mối nguy từ các bộ phận chuyển động
8.4 Mối nguy do vướng, mắc
8.5 Mối nguy do nghẹn và nuốt phải
8.6 Mối nguy do ngạt thở
8.7 Mối nguy từ các cạnh và phần nhô ra
8.8 Thiết bị đỗ xe và phanh
8.9 Độ ổn định
8.10 Độ bền kết cấu
9 Độ bền và độ bám dính của nhãn
9.1 Yêu cầu
9.2 Phương pháp thử
10 Thông tin sản phẩm
10.1 Quy định chung
10.2 Ghi nhãn sản phẩm
10.3 Thông tin mua hàng
10.4 Hướng dẫn sử dụng
Phụ lục A (tham khảo) Ví dụ về hệ thống gấp
Phụ lục C (tham khảo) Hóa chất
Phụ lục D (tham khảo) Hướng dẫn áp dụng 8.3.5.1.1.3 “Nhả không chủ ý cơ cấu khóa”
Phụ lục E (tham khảo) Ví dụ về các bộ phận chuyển động của mui che bên trong 100 mm từ điểm trục...
Phụ lục F (tham khảo) Thông tin thêm về các mối nguy
Thư mục tài liệu tham khảo
Lời nói đầu
TCVN 14456:2025 hoàn toàn tương đương với ISO 31110:2020
TCVN 14456:2025 do Ban kỹ thuật tiêu chuẩn quốc gia TCVN/TC 310 Đồ dùng trẻ em biên soạn, Viện Tiêu chuẩn Chất lượng Việt Nam đề nghị, Ủy ban Tiêu chuẩn Đo lường Chất lượng Quốc gia thẩm định, Bộ Khoa học và Công nghệ công bố.
XE ĐẨY TRẺ EM CÓ BÁNH XE - XE ĐẨY VÀ XE NÔI YÊU CẦU AN TOÀN VÀ PHƯƠNG PHÁP THỬ
Wheeled child conveyances - Pushchairs and prams - Requirements and test methods
1 Phạm vi áp dụng
Tiêu chuẩn này quy định các yêu cầu an toàn và phương pháp thử đối với xe đẩy và xe nôi dùng để vận chuyển một hoặc nhiều trẻ em đến ba tuổi.
Tiêu chuẩn này không áp dụng cho đồ chơi, xe đẩy dùng trong thể thao, xe đẩy và xe nôi chạy bằng động cơ, xe đẩy và xe nôi được thiết kế dành cho trẻ em có nhu cầu đặc biệt.
(Các) tiêu chuẩn liên quan khác có thể được áp dụng nếu có khi xe đẩy và xe nôi hoặc bất kỳ chi tiết nào của xe đẩy và xe nôi có nhiều chức năng hoặc có thể được chuyển đổi thành chức năng khác.
2 Tài liệu viện dẫn
Các tài liệu viện dẫn sau rất cần thiết cho việc áp dụng tiêu chuẩn. Đối với các tài liệu viện dẫn ghi năm ban hành thì áp dụng bản được nêu. Đối với các tài liệu viện dẫn không ghi năm ban hành thì áp dụng phiên bản mới nhất, bao gồm cả các sửa đổi, bổ sung (nếu có).
TCVN 6238-2:2017 (ISO 8124-2:2014), An toàn đồ chơi trẻ em - Phần 2: Tính cháy
TCVN 7421-1 (ISO 14184-1), Vật liệu dệt - Xác định formaldehyt - Phần 1: Formaldehyt tự do và thủy phân (phương pháp chiết trong nước)
TCVN 7535-1 (ISO 17226-1), Da - Xác định hàm lượng formaldehyt bằng phương pháp hóa học - Phần 1: Phương pháp sắc ký lỏng hiệu năng cao
TCVN 9557-1 (ISO 17234-1), Da - Phép thử hóa xác định một số chất tạo màu azo có trong da nhuộm - Phần 1: Xác định một số amin thơm được sinh ra từ chất tạo màu azo
TCVN 9557-2 (ISO 17234-2), Da - Phép thử hóa xác định một số chất tạo màu azo có trong da nhuộm - Phần 2: Xác định 4-aminoazobenzen
TCVN 12512-1 (ISO 14362-1), Vật liệu dệt - Phương pháp xác định một số amin thơm nhả từ chất màu azo - Phần 1: Phát hiện việc sử dụng chất màu azo bằng cách chiết và không chiết xơ
TCVN 12512-3 (ISO 14362-3), Vật liệu dệt - Phương pháp xác định một số amin thơm nhả từ chất màu azo - Phần 3: Phát hiện việc sử dụng một số chất màu azo có thể nhả 4-aminoazobenzen
ISO 8124-1:2018[1], Safety of toys - Part 1: Safety aspects related to mechanical and physical properties (An toàn đồ chơi trẻ em - Phần 1: Các khía cạnh an toàn liên quan đến tính chất cơ - lý)
ISO 8124-3:2020[2], Safety of toys - Part 3: Migration of certain elements (An toàn đồ chơi trẻ em - Phần 3: Sự thôi nhiễm của một số nguyên tố)
ISO 8124-6:2018[3], Safety of toys - Part 6: Certain Phtalat esters in toys and children's products (An toàn đồ chơi trẻ em - Phần 6: Một số este Phtalat trong đồ chơi và sản phẩm dành cho trẻ em)
3 Thuật ngữ và định nghĩa
Trong tiêu chuẩn này, các thuật ngữ và định nghĩa sau đây được áp dụng.
3.1
Thiết bị khóa tự động (automatic locking device)
thiết bị tự động kích hoạt mà không cần thao tác bổ sung từ người chăm sóc khi xe được dựng ở vị trí sử dụng
3.2
Vật liệu nền (base material)
Vật liệu làm cơ sở để hình thành hoặc lắng đọng các lớp phủ
3.3
Thiết bị phanh (braking device)
Thiết bị dùng để giảm tốc độ của xe đẩy trẻ em có bánh xe (xem 3.25)
3.4
Lớp phủ bảo vệ thanh chắn trước (bumper bar protective covering)
Chi tiết được thiết kế và dùng để ngăn không cho lộ ra vật liệu xốp hoặc vật liệu độn khác bên dưới có thể tiếp xúc được
CHÚ THÍCH 1 Ví dụ bao gồm, nhưng không giới hạn ở, các loại vật liệu dệt và vật liệu nền vải như vải dệt thoi, vải dệt kim, vật liệu được phủ, cán màng, ép đùn, cán nóng, và các loại da.
3.5
Nôi xách tay (carry cot)
nôi xách tay cầm tay - sản phẩm bao gồm một phần đáy, các mặt bên, mặt đầu và tay xách, dùng để đặt trẻ nằm và vận chuyển bằng tay
3.6
Khung gầm (chassis)
Kết cấu có bánh và một hoặc nhiều tay cầm để đẩy, kéo và điều khiển, được thiết kế để gắn và vận chuyển một hoặc nhiều trong số các bộ phận: thân xe nôi (xem 3.17), bộ phận ghế (xem 3.22) hoặc ghế ô tô
3.7
Đai chặn qua bẹn (crotch restraint)
Bộ phận đặt giữa hai chân trẻ để ngăn trẻ trượt về phía trước.
3.8
Hệ thống gấp (folding system)
cụm các chi tiết chuyển động cho phép xe chuyển đổi từ trạng thái dựng sang trạng thái gấp và ngược lại dưới sự điều khiển của người chăm sóc
VÍ DỤ: Xem Hình A.1
3.9
Chỗ để chân (footrest)
bộ phận đỡ chân, được trẻ sử dụng khi ngồi
3.10
Bệ tích hợp (integrated platform)
bộ phận tích hợp trong xe đẩy trẻ em (xem 3.25), được thiết kế để đỡ thêm một trẻ đứng
3.11
Chỗ gác chân (leg rest)
bộ phận đỡ chân, được trẻ sử dụng khi ngồi
3.12
Thiết bị khóa (locking device)
chi tiết cơ khí, là một phần của cơ cấu khóa (xem 3.13), có chức năng giữ cho các bộ phận của xe ở trạng thái dựng trong vị trí sử dụng (ví dụ: chốt, móc, khóa ép trung tâm), có thể được kích hoạt hoặc vô hiệu hóa thông qua hành động tác động lên cơ cấu điều khiển (xem 3.14)
VÍ DỤ: Xem HìnhA.1
3.13
Cơ cấu khóa (locking mechanism)
cụm các chi tiết bao gồm một hoặc nhiều thiết bị khóa (xem 3.12) và một hoặc nhiều cơ cấu điều khiển (xem 3.14)
VÍ DỤ: Xem Hình A.1
3.14
Cơ cấu điều khiển (operating device)
bộ phận của cơ cấu khóa (xem 3.13) được thiết kế để được người chăm sóc kích hoạt thông qua một hoặc nhiều hành động có chủ ý
VÍ DỤ: Xem Hình A.1
3.15
Thiết bị phanh (parking device)
Thiết bị giữ cho xe đẩy trẻ em (xem 3.25) đứng yên tại chỗ
3.16
Xe nôi (pram)
xe bao gồm khung gầm (xem 3.6) và một hoặc nhiều thân xe nôi (xem 3.17)
3.17
Thân xe nôi (pram body)
kết cấu có thành bên và thành đầu gần như thẳng đứng và liên tục, kết thúc bằng một mặt đáy bên trong, thường được thiết kế để vận chuyển một hoặc nhiều trẻ ở tư thế nằm ngang
3.18
Thể tích được bảo vệ (protected volume)
thể tích mà trẻ có thể tiếp cận khi đang ngồi hoặc nằm trong xe đẩy trẻ em (xem 3.25), nơi cần có các yêu cầu an toàn cụ thể
CHÚ THÍCH 1 Xem 4.6
3.19
Xe đẩy (pushchair)
xe bao gồm khung gầm (xem 3.6) và một hoặc nhiều bộ phận ghế (xem 3.22) hoặc ghế ô tô
3.20
Hệ thống an toàn (restraint system)
hệ thống để giữ trẻ bên trong xe đẩy trẻ em (xem 3.25)
3.21
Tay cầm đảo chiều (reversible handle)
tay cầm có thể xoay trên khung gầm (xem 3.6) để thay đổi hướng đẩy
3.22
Bộ phận ghế (seat unit)
kết cấu có thể điều chỉnh hoặc không để đạt các tư thế ngả, thẳng đứng hoặc nằm phẳng, được thiết kế để đỡ một hoặc nhiều trẻ
3.23
Ghế ô tô kiểu A (type A car seat)
hệ thống an toàn cho trẻ em (CRS) dùng cho trẻ nặng đến 9 kg
VÍ DỤ: Tại châu Âu, xem Quy định ECE R44 (nhóm 0) hoặc Quy định ECE R129
3.24
Ghế ô tô kiểu B (type B car seat)
hệ thống an toàn cho trẻ em (CRS) dùng cho trẻ nặng đến 13 kg
VÍ DỤ: Tại châu Âu, xem Quy định ECE R44 (nhóm 0+) hoặc Quy định ECE R129
3.25
Xe đẩy trẻ em có bánh xe (wheeled child conveyance)
xe được thiết kế để vận chuyển một hoặc nhiều trẻ em và có thể điều khiển bằng tay trong khi chủ yếu được đẩy
4 Yêu cầu và phương pháp thử
4.1 Quy định chung
Các từ in nghiêng được định nghĩa trong Điều 3. Thông tin bổ sung về bối cảnh và phương pháp luận cho các yêu cầu khác nhau được nêu trong Phụ lục C và Phụ lục F.
4.2 Lấy mẫu
Trừ khi có quy định khác, các phép thử phải được thực hiện theo thứ tự các điều khoản được nêu trong tiêu chuẩn này. Trừ khi có quy định khác, mỗi phép thử chỉ được thực hiện trên một xe.
Các xe đẩy có nhiều chỗ cho nôi và/hoặc bộ phận ghế ngồi phải đáp ứng tất cả các yêu cầu áp dụng cho tất cả các cách bố trí có thể có theo hướng dẫn của nhà sản xuất. Nếu một xe đẩy có thể được trang bị thêm bộ phận ghế ngồi, nôi hoặc ghế ô tô do nhà sản xuất cung cấp hoặc khuyến nghị, sự kết hợp này phải tuân thủ tiêu chuẩn này.
4.3 Nguyên tắc về điều kiện khắc nghiệt nhất
Trừ khi có quy định khác, mỗi phép thử trong tiêu chuẩn này phải được tiến hành với xe đẩy trẻ em có bánh xe ở điều kiện khắc nghiệt nhất đối với phép thử đó, xét theo:
- lựa chọn và số lượng bộ phận ghế ngồi, thân xe đẩy và/hoặc ghế ngồi trên ô tô được gắn vào khung xe, như đã nêu trong hướng dẫn của nhà sản xuất;
- việc thêm bất kỳ bộ phận ghế ngồi bổ sung nào đã được nhà sản xuất chấp thuận;
- việc sử dụng khối lượng thử: đối với xe vận chuyển nhiều hơn một trẻ, ít nhất một vị trí có thể cho trẻ ngồi phải được chịu tải bằng khối thử;
- việc chất tải (hoặc không) vào bất kỳ khoang chứa nào được thiết kế để mang thêm tải trọng, được cho phép trong hướng dẫn hoặc được nhà sản xuất chấp thuận, và việc đặt (hoặc không đặt) tải trọng vào bất kỳ khoang chứa nào như vậy, tối đa theo khối lượng cho phép trong hướng dẫn của nhà sản xuất, hoặc 2 kg nếu không có giá trị nào được quy định;
CHÚ THÍCH Các túi nhỏ được gắn trên các chi tiết bằng vật liệu dệt không nằm trong phạm vi điều kiện này.
- việc bổ sung (hoặc không) bất kỳ phụ kiện nào khác do nhà sản xuất cung cấp hoặc khuyến nghị để sử dụng với xe, với các phụ kiện được chất tải theo hướng dẫn của nhà sản xuất;
- việc điều chỉnh các bộ phận ghế ngồi, thân xe đẩy, tay cầm, ghế ngồi trên ô tô và bất kỳ chi tiết hoặc phụ kiện điều chỉnh nào khác, hoặc bất kỳ cách sắp xếp tùy chọn nào khác của xe được cho phép trong hướng dẫn của nhà sản xuất hoặc được nhà sản xuất chấp thuận.
Thứ tự chất tải mô hình thân người thử nghiệm (trẻ em) phải được thử trong điều kiện khắc nghiệt nhất, ngay cả khi nhà sản xuất có quy định khác.
Thứ tự lắp đặt các phụ kiện đã có trẻ trong đó và có chức năng mang trẻ (ví dụ: ghế ngồi trên ô tô, thân xe đẩy) phải được thử trong điều kiện khắc nghiệt nhất, ngay cả khi nhà sản xuất có quy định khác.
Tải trọng lớn nhất không phải lúc nào cũng tạo ra điều kiện khắc nghiệt nhất.
4.4 Dung sai đối với thiết bị thử
Trừ khi có quy định khác, độ chính xác của thiết bị thử phải là:
- lực: ± 5 %;
- khối lượng: ± 0,5 %;
- kích thước: ± 0,5 mm;
- thời gian: ± 1 s;
- góc: ± 0,5°.
4.5 Điều kiện thử
Xe đẩy phải được điều hòa ở nhiệt độ (23 ± 5) °C ít nhất 2 giờ trước khi thực hiện các phép thử. Trừ khi có quy định khác, tất cả các phép thử phải được tiến hành ở nhiệt độ (23 ±10) °C.
Đối với các xe đẩy được trang bị lốp hơi, áp suất lốp phải được điều chỉnh theo hướng dẫn của nhà sản xuất trước khi thực hiện toàn bộ quy trình thử nghiệm. Nếu lốp bị thủng trong quá trình thử nghiệm, lốp phải được thay thế và tiếp tục quy trình thử nghiệm.
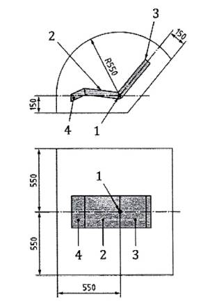
4.6 Xác định thể tích được bảo vệ
4.6.1 Thể tích được bảo vệ của các bộ phận ghế ngồi
Thể tích được bảo vệ của các bộ phận ghế ngồi phải được xác định theo Hình 1.
Kích thước tính bằng milimét

CHÚ DẪN
| 1 | Điểm gốc từ đó thể tích được bảo vệ được xác định (điểm giữa của đường giao nhau, trên bề mặt phía trên chưa bị nén của bộ phận ghế ngồi) |
| 2 | Ghế ngồi |
| 3 | Tựa lưng |
| 4 | Chỗ gác chân |
Hình 1 - Thể tích được bảo vệ đối với các bộ phận ghế ngồi
Không gian nằm sau tựa lưng được loại trừ khỏi thể tích được bảo vệ.
Khi một phương tiện phù hợp cho hai hoặc nhiều trẻ em, không gian nằm sau tựa lưng phải được tính đến nếu phương tiện lọt qua một thể tích được bảo vệ khác.
Không gian dưới ghế ngồi và dưới chỗ gác chân được loại trừ khỏi thể tích được bảo vệ, trừ một dải rộng 50 mm đo từ mép ngoài cùng của các cạnh ghế/chỗ gác chân, nơi mà ghế/chỗ gác chân không được trang bị bảo vệ thành bên có chiều cao lớn hơn 50 mm (vải dệt hoặc bất kỳ chi tiết cứng nào) (xem Hình 2).
Kích thước tính bằng milimét

CHÚ DẪN
1 Không gian để kiểm tra
2 Không gian không cần kiểm tra
3 Chỗ gác chân
4 Ghế ngồi
5 Tựa lưng
Hình 2 - Ảnh hưởng của bảo vệ thành bên đối với việc xác định thể tích được bảo vệ
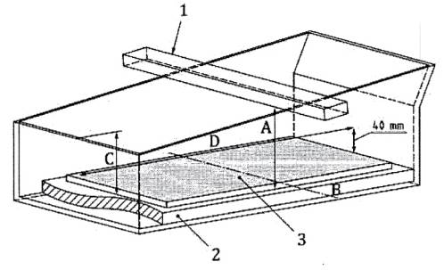
4.6.2 Thể tích được bảo vệ của thân xe đẩy có chiều dài lớn hơn 800 mm
Thể tích được bảo vệ của thân xe đẩy có chiều dài lớn hơn 800 mm phải được xác định theo Hình 3.
Bề mặt bên dưới thân xe đẩy không thuộc thể tích được bảo vệ.
Kích thước tính bằng milimét

Hình 3 - Thể tích được bảo vệ đối với thân xe đẩy có chiều dài lớn hơn 800 mm
4.6.3 Thể tích được bảo vệ đối với thân xe đẩy có chiều dài bên trong tối đa 800 mm và ghế ngồi ô tô
Đối với xe được thiết kế chỉ dành cho trẻ dưới sáu tháng tuổi, thể tích được bảo vệ của thân xe đẩy có chiều dài bên trong tối đa 800 mm và đối với ghế ngồi ô tô được coi là bề mặt phía trên bên trong đỡ trẻ và bề mặt bên trong của các cạnh và phần cuối của thân xe đẩy. Xem Hình 7.
4.7 Xác định đường giao nhau
Đường giao nhau phải được xác định là giao điểm giữa ghế và tựa lưng như trên Hình 4.

CHÚ DẪN
LL Đường giao nhau
1 Tựa lưng
2 Ghế ngồi
Hình 4 - Đường giao nhau
Khi khối ghế có dạng võng, đường nối lý thuyết được xác định như Hình 5.

CHÚ DẪN
LL Đường giao nhau
L hình chiếu thẳng đứng của C lên khung võng
Hình 5 - Đường giao nhau đối với ghế ngồi dạng võng
CHÚ THÍCH Đường giao nhau có thể thay đổi khi tựa lưng được điều chỉnh ở các vị trí khác nhau.
4.8 Xác định không gian ngồi
4.8.1 Xác định không gian dành cho trẻ đối với bộ phận ghế ngồi và ghế ô tô
Không gian dành cho trẻ được xác định là 550 mm tính từ điểm giữa của đường giao nhau (junction line), trên bề mặt phía trên không bị nén của bộ phận ghế ngồi hoặc ghế ô tô, và giới hạn bởi các cạnh bên của bề mặt phía trên bên trong, nơi nâng đỡ trẻ. Thể tích này kết thúc tại mép trước của ghế. Xem Hình 6.
Kích thước tính bằng milimét

Hình 6 - Không gian dành cho trẻ đối với bộ phận ghế ngồi và ghế ô tô
4.8.2 Xác định không gian chứa người đối với thân xe đẩy có chiều dài nhỏ hơn 800 mm
Đối với xe được thiết kế chỉ dành cho trẻ dưới sáu tháng tuổi, không gian dành cho thân xe đẩy có chiều dài bên trong tối đa 800 mm được coi là thể tích của bề mặt bên trong phía trên đỡ trẻ và bề mặt bên trong của các cạnh và đầu cuối, của thân xe đẩy. Xem Hình 7.
4.8.3 Xác định không gian dành cho trẻ đối với thân xe đẩy có chiều dài nhỏ hơn 800 mm
Đối với các phương tiện chỉ được thiết kế dành cho trẻ dưới sáu tháng tuổi, không gian dành cho trẻ đối với các thân xe đẩy có chiều dài bên trong tối đa là 800 mm được xem là thể tích của bề mặt phía trên bên trong nâng đỡ trẻ và bề mặt bên trong của các thành bên và thành đầu của thân xe đẩy. Xem Hình 7.

CHÚ DẪN
1 Không gian dành cho trẻ
Hình 7 - Không gian cho trẻ trong thân xe đẩy có chiều dài nhỏ hơn 800 mm
Kích thước tính bằng milimét

CHÚ DẪN
1 Không gian dành cho trẻ
Hình 8 - Không gian dành cho trẻ đối với thân xe đẩy có chiều dài nhỏ hơn 800 mm
5 Thiết bị thử
5.1 Khối thử
5.1.1 Nguyên tắc chung
Trừ khi có quy định khác, các khối thử được sử dụng phải là các khối được nêu trong 5.1.2 đến 5.1.9.
Mọi hư hỏng của vật liệu dệt có thể xảy ra do mài mòn bởi khối tải thử trong quá trình thử nghiệm sẽ không được xem xét. Có thể giảm thiểu hư hỏng bằng cách sử dụng phương tiện bảo vệ phù hợp có khối lượng không đáng kể. Nếu hư hỏng không phải do mài mòn bởi khối thử thì được coi là hư hỏng kết cấu.
Các khối tải thử có thể được gắn thêm tay cầm để thuận tiện cho việc vận chuyển, miễn là trọng tâm không thay đổi, khối lượng nằm trong giới hạn sai số cho phép và quy trình thử không bị ảnh hưởng.
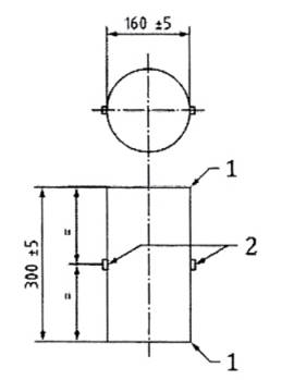
5.1.2 Khối thử A
Khối thử A là một ống trụ cứng, đường kính (160 ± 5) mm, chiều cao (300 ± 5) mm, khối lượng
kg, với trọng tâm ở giữa ống. Các cạnh có bán kính (5 ± 1) mm. Hai điểm neo cách đáy 150 ± 2,5) mm, đối xứng 180° quanh chu vi, như trong Hình 9.
Kích thước tính bằng milimét

CHÚ DẪN
1 Bán kính: (5 ± 1) mm
2 Hai điểm neo
Hình 9 - Khối thử A
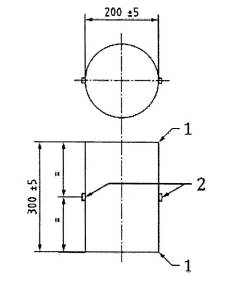
5.1.3 Khối thử B
Khối thử B là một ống trụ cứng có đường kính (200 ± 5) mm và chiều cao (300 ± 5) mm, có khối lượng
kg và tâm của khối lượng nằm ở trung tâm của ống trụ. Tất cả các cạnh có bán kính (5 ± 1) mm. Hai điểm neo sẽ được cung cấp, được đặt cách đáy (150 ± 2,5) mm và đối xứng nhau ở góc 180° quanh chu vi (xem Hình 10).
Kích thước tính bằng milimét

CHÚ DẪN
1 Bán kính: (5 ± 1) mm
2 Hai điểm neo
Hình 10 - Khối thử B
5.1.4 Khối thử C
Khối thử C là một tấm cứng có chiều dài (600 ± 5) mm, chiều rộng (180 ± 5) mm, độ dày tối thiểu là 5 mm và khối lượng (9 + 0,1/0) kg, được gắn bản lề dọc theo đường giữa chiều dài (xem Hình 11).
Dung sai kích thước là ± 0,5 mm.
Kích thước tính bằng milimét

CHÚ DẪN
1 Trục bản lề
Hình 11 - Khối thử C
5.1.5 Khối thử D
Khối thử D được làm bằng vật liệu cứng có bề mặt nhẵn và tổng khối lượng (9 + 0,1/0) kg, (xem Hình 12).
Kích thước tính bằng milimét

Dung sai:
_ Các kích thước ± 2 mm;
_ Các góc ± 2°;
_ Trong đó bán kính góc phải là (10 ± 1) mm.
Hình 12 - Khối thử D
5.1.6 Khối thử D0
Khối thử D0 được làm bằng vật liệu cứng có bề mặt nhẵn và tổng khối lượng
kg (xem Hình 13).
Kích thước tính bằng milimét

Dung sai:
- Kích thước ± 2 mm;
- Góc ± 2°:
- Trong đó góc bán kính phải là (10 ± 1) mm.
Hình 13 - Khối thử D0
5.1.7 Khối thử F
Khối thử F là một ống trụ cứng có đường kính (180 ± 5) mm và chiều cao (300 ± 5) mm, có khối lượng là
kg và trọng tâm nằm tại trung tâm của ống trụ. Tất cả các cạnh của ống trụ phải có bán kính (5 ± 1) mm. Hai điểm gắn phải được cung cấp, được đặt cách đáy (150 ± 2,5) mm và cách nhau 180° quanh chu vi (xem Hình 14).
Kích thước tính bằng milimét

CHÚ DẪN
1 Bán kính (5 ± 1) mm
2 Điểm neo
Hình 14 - Khối thử F
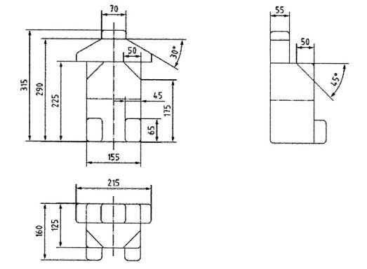
5.1.8 Khối thử G
Khối thử G bao gồm hai phần giống nhau làm bằng thép và có kích thước nêu trong Hình 15.
Mỗi phần phải có khối lượng
kg.
Kích thước tính bằng milimét

CHÚ DẪN
1 Hình chiếu cạnh
2 Hình chiếu đứng
a Đường kính ngoài
b Đường kính trong (ống 1'1/4)
Hình 15 - Khối thử G
Khoảng cách giữa hai phần giống nhau của khối thử G phải được điều chỉnh theo hình dạng và kích thước của bệ tích hợp được thử.
Một thanh cứng có khối lượng không đáng kể phải được sử dụng để giữ khối thử dọc theo bệ tích hợp và cả hai phần phải được giữ tách biệt với nhau bằng bất kỳ phương tiện kết nối nào có khối lượng không đáng kể.
5.1.9 Que thăm
Một thanh vuông cứng có tiết diện (25 × 25) mm, có chiều dài lớn hơn chiều dài thân xe đẩy và có khối lượng 0,75 kg.
5.2 Que thăm thử
5.2.1 Que thăm dạng ngón tay
5.2.1.1 Que thăm dạng ngón tay có đầu hình bán cầu
Ba que thăm làm bằng vật liệu cứng và nhẵn có đường kính
mm,
mm và
mm, với một đầu hình bán cầu (xem Hình 16).
Kích thước tính bằng milimét

CHÚ DẪN
1 Đầu hình bán cầu
2 Đường quanh chu vi
3 Ø 5 mm, 7 mm và 12 mm
Hình 16 - Que thăm có đầu hình bán cầu
5.2.1.2 Que thăm đánh giá hình dạng
Que thăm làm bằng vật liệu cứng và nhẵn có kích thước như Hình 17.
Kích thước tính bằng milimét

CHÚ DẪN
A Hình chiếu cạnh
B Hình chiếu bằng
C Hình chiếu đứng
Hình 17 - Que thăm đánh giá hình dạng
5.2.1.3 Que thăm hình côn cho lưới
Que thăm để đánh giá lưới làm bằng vật liệu cứng và nhẵn, như trên Hình 18. Que thăm này phải có khả năng được lắp trên thiết bị đo lực sao cho đầu hình côn có thể hướng vào lỗ đang được đánh giá.
Dung sai trên bán kính là ± 0,2 mm.
Kích thước tính bằng milimét

Hình 18 - Que thăm hình côn đánh giá lưới
5.2.2 Que thăm hình côn
Que thăm làm bằng vật liệu cứng, nhẵn có đường kính
mm,
mm và
mm với một đầu hình côn có góc 30 ° có thể được gắn trên thiết bị đo lực (xem Hình 19).
CHÚ THÍCH Để tránh mọi rủi ro, đầu của phần hình côn có thể được bo tròn.
Kích thước tính bằng milimét

Hình 19 - Que thăm hình côn
5.3 Thiết bị đo góc
Một thiết bị thép có khớp nối nặng 9 kg dùng để đo góc giữa ghế và tựa lưng (xem Hình 20).
Kích thước tính bằng milimét

CHÚ DẪN
1 Bộ phận được đặt lên bề mặt ghế làm bằng thép
2 Bộ phận được đặt lên bề mặt tựa lưng làm bằng thép
3 Chốt bản lề làm bằng thép
E Khối lượng: (4 495 ± 50) g
F Khối lượng: (4 501 ± 50) g
G Khối lượng của trục bản lề: (17 ± 0,5) g, chiều dài: 79,5 mm
Tổng khối lượng: (9 ± 0,1) kg.
Dung sai kích thước: ± 2 mm.
Tất cả các cạnh phải được vát.
Hình 20 - Thiết bị đo góc
5.4 Quả cầu thử
Quả cầu có bề mặt cứng, nhẵn, đường kính 120 mm và khối lượng 5 kg.
5.5 Bảng bản lề
Bảng bản lề dùng để tạo độ lỏng trong khi điều chỉnh dây đai của hệ thống an toàn xung quanh khối thử D0 (xem Hình 21).

CHÚ DẪN
1 Lỗ Ø 3 mm
2 Cáp thép Ø 1,5 mm
3 Ống Ø 25 mm
4 Ống Ø 25 mm
5 Dây cáp thép Ø 1,5 mm
6 Đầu cáp kiểu vòng
7 Tổng chiều dài = 13 ống
Chiều dài mỗi ống: 60 mm.
Hình 21 - Bảng bản lề
5.6 Ống trụ thử các chi tiết nhỏ
Ống trụ có các kích thước được mô tả trong Hình 22.
Kích thước tính bằng milimét

Hình 22 - Ống trụ thử các chi tiết nhỏ
5.7 Bề mặt thử
Bề mặt có khả năng nghiêng một góc 9° (0/+0,5)°, 12° (0/+0,5)° hoặc 45° (0/+0,5)° so với phương ngang và được phủ bằng giấy oxit nhôm loại 80.
5.8 Cữ chặn hình chữ nhật
Cữ chặn hình chữ nhật làm bằng vật liệu cứng có chiều cao 25 mm, chiều dài và chiều rộng thích hợp.
5.9 Thiết bị kiểm tra bề mặt không đều
5.9.1 Chướng ngại vật
Bề mặt của thiết bị thử bề mặt không đều phải bao gồm hai loại chướng ngại vật: Kiểu A và Kiểu B, như nêu trong Hình 23 và 24.
Các chướng ngại vật này phải được lắp đặt trên hệ thống băng chuyền, như nêu trong Hình 25, sao cho các bánh xe ở mỗi bên của xe được nâng lên luân phiên. Hệ thống băng chuyền phải chạy với tốc độ (5 ±0,1) km/h.
Đối với thiết bị có băng chuyền, băng chuyền phải được hỗ trợ bởi một bề mặt phẳng cứng, trên đó các bánh xe của xe đẩy trẻ em có bánh xe được đặt lên, như nêu trong Hình 25.
Việc sử dụng con lăn làm phương tiện cho bề mặt phẳng cứng là không được chấp nhận.
Toàn bộ hệ thống băng chuyền có thể làm bằng vật liệu cứng. Do đó, không cần thêm bề mặt phẳng cứng bổ sung.
Khoảng cách giữa hai nhóm chướng ngại vật (một chu kỳ) phải đủ để xe đẩy trẻ em có bánh xe nằm phẳng trên băng chuyền, khoảng cách này không được lớn hơn 200 cm.
Kích thước tính bằng milimét

Hình 23 - Chướng ngại vật kiểu A cho phép thử bề mặt không bằng phẳng
Kích thước tính bằng milimét

CHÚ DẪN
1 Hướng dịch chuyển
Hình 24 - Chướng ngại vật kiểu B cho phép thử bề mặt không bằng phẳng
Kích thước tính bằng milimét

CHÚ DẪN
| 1 | Bánh xe trước | 5 | Hướng di chuyển của các chướng ngại vật |
| 2 | Bánh xe sau | 6 | Bệ phẳng |
| 3 | Đường trung tâm | 7 | Băng chuyền |
| 4 | Chiều dài của một chu kỳ |
|
|
Hình 25 - Sắp xếp cho phép thử bề mặt không đều
5.9.2 Cánh tay khớp nối
Thiết bị thử bao gồm hai cánh tay khớp nổi độc lập có khả năng di chuyển độc lập với nhau trong mặt phẳng thẳng đứng (xem Hình B.1 và B.2).
Thiết bị thử phải cho phép các cánh tay khớp nối có thể điều chỉnh được độ cao và chiều rộng của thiết bị thử bề mặt không đều để phù hợp với các loại và kích cỡ khác nhau của phương tiện.
Các cánh tay khớp nối phải quay quanh khớp nối cánh tay (xem Hình B.1). Lực theo phương thẳng đứng tác dụng lên mỗi tay cầm phải là (20 ± 1) N.
Thiết bị thử nghiệm bao gồm hai cánh tay khớp nối độc lập, có khả năng di chuyển độc lập với nhau trong mặt phẳng thẳng đứng (xem Hình B.1 và B.2).
5.10 Ống trụ thử
Ống trụ thử, làm bằng vật liệu cứng, đường kính 136 mm, cao 304 mm, nặng 4,5 kg, trên đó có kẻ các đường chu vi như trên Hình 26.
Kích thước tính bằng milimét

CHÚ DẪN
A. Hình chiếu cạnh
B. Hình chiếu 3D
C. Hình chiếu bằng
CHÚ THÍCH: Chấp nhận ASTM F833 [30]
Hình 26 - Ống trụ thử
5.11 Thiết bị kẹp
Một hoặc nhiều thiết bị kẹp có ngàm, trên đó gắn các đĩa có đường kính 19 mm (xem Hình 27).

Hình 27 - Thiết bị kẹp đường may
6 Mối nguy hóa học
6.1 Quy định chung
Thông tin bổ sung về cơ sở và lý do cho các yêu cầu khác nhau được nêu trong Phụ lục C. Nhìn chung, vật liệu chính được sử dụng trong xe đẩy trẻ em có bánh xe là chất dẻo hoặc polyme, lớp phủ, cao su, vải, da, da nhân tạo, v.v.
6.2 Các yêu cầu
6.2.1 Nguyên tắc chung
Các hóa chất được liệt kê theo vật liệu trong Bảng 1 phải tuân thủ các yêu cầu từ 6.3 đến 6.7.
Bảng 1 - Hóa chất theo từng loại vật liệu
| Vật liệu | Sự thôi nhiễm của các nguyên tố (xem 6.3) | Phtalat (xem 6.4) | Chất tạo màu azo (xem 6.5) | Formaldehyt (xem 6.6) | Chất chống cháy (xem 6.7) |
| Chất dẻo | X | X |
|
| X |
| Lớp phủ | X | X |
|
|
|
| Cao su | X | X |
|
|
|
| Da nhân tạo | X | X | X |
| X |
| Xơ sợi | X |
| X | X | X |
| Da thuộc | X |
| X | X |
|
| Tấm xơ ép | X |
|
| X |
|
| Vật liệu khác | X |
|
|
|
|
| CHÚ THÍCH Vật liệu khác bao gồm (giấy và các tông, gỗ, tre) nhưng không bao gồm kim loại, thủy tinh, gốm. | |||||
6.2.2 Lấy mẫu
Mẫu thử phải đại diện cho vật liệu sử dụng trong sản xuất hàng loạt. Các vật liệu giống nhau có thể được kết hợp và xử lý như một phần mẫu thử duy nhất. Các phần mẫu thử có thể bao gồm nhiều hơn một loại vật liệu hoặc màu sắc chỉ khi việc phân tách vật lý, chẳng hạn như in chấm, vải có hoa văn hoặc lý do hạn chế về khối lượng, ngăn cản việc hình thành các mẫu riêng biệt.
Yêu cầu về mẫu thử trên không loại trừ việc thử nghiệm vật liệu trước khi được sử dụng để sản xuất (vật liệu thô từ quy trình sản xuất).
CHÚ THÍCH 1 Quy trình sản xuất phải đảm bảo không làm tăng nguy cơ bị cấm đối với vật liệu.
Khi một bề mặt được phù bằng một lớp sơn hoặc lớp phủ tương tự nhiều lớp, mẫu thử không được bao gồm vật liệu nền. Sơn và các vật liệu phủ bề mặt tương tự là chất lỏng, bán lỏng hoặc các vật liệu khác, có thể có hoặc không có sự phân tán của chất màu mịn, thay đổi thành lớp phim rắn khi một lớp mỏng được áp dụng lên kim loại, gỗ, da, vải, nhựa hoặc bề mặt khác.
CHÚ THÍCH các vật liệu tổng hợp (ví dụ: vải phủ) có thể tách rời cơ học, lớp phù và vải sẽ được thử nghiệm riêng biệt.
Đối với phép thử thôi nhiễm của một số nguyên tố và phtalate, một phần mẫu thử nhỏ hơn 10 mg từ một mẫu phòng thí nghiệm đơn lẻ không được thử nghiệm.
Nếu khối lượng của phần mẫu thử từ một mẫu đơn lẻ lớn hơn 10 mg nhưng nhỏ hơn khối lượng thử nghiệm bình thường, khuyến nghị bổ sung vật liệu thử nghiệm như sau:
a) bổ sung vật liệu giống nhau từ các vị trí khác nhau của cùng một mẫu;
b) lấy mẫu từ vật liệu thô: nếu vật liệu thô được sử dụng thay cho sản phẩm hoàn thiện, phải ghi trong báo cáo thử nghiệm.
6.3 Sự thôi nhiễm của một số nguyên tố
Tất cả các vật liệu có thể tiếp xúc được trong thể tích được bảo vệ (xem Bảng 1) không được vượt quá lượng nguyên tố trong Bảng 2 sau đây, có xét đến hệ số hiệu chỉnh khi thử theo ISO 8124-3:2020.
Bảng 2 - Mức giới hạn chấp nhận được từ vật liệu xe đẩy trẻ em có bánh xe
| Nguyên tố | Sb | As | Ba | Cd | Cr | Pb | Hg | Se |
| Mức giới hạn (mg/kg) | 60 | 25 | 1 000 | 75 | 60 | 90 | 60 | 500 |
6.4 Phtalat
Tất cả các vật liệu chất dẻo có thể tiếp xúc được trong thể tích được bảo vệ (xem Bảng 1) không được chứa Phtalat vượt quá giới hạn trong Bảng 3.
Phải sử dụng quy trình thử quy định trong ISO 8124-6:2018.
Bảng 3 - Phtalat tối đa được chấp nhận trong xe đẩy trẻ em có bánh xe
| Vật liệu | Chất | Số CAS | Mức giới hạn |
| Chất dẻo hoặc polyme, lớp phủ, da nhân tạo và cao su | Bis (2-ethylhexyl) Phtalat (DEHP) | 117-81-7 | Nồng độ bằng hoặc nhỏ hơn 0,1 % theo khối lượng |
| Dibutyl Phtalat (DBP) | 84-74-2 | ||
| Benzyl butyl Phtalat (BBP) | 85-68-7 | ||
| Chất dẻo hoặc polyme, lớp phủ, da nhân tạo và cao su mà trẻ em có thể cho vào miệng | Di-n-octyl Phtalat (DNOP) | 117-84-0 | Nồng độ bằng hoặc nhỏ hơn 0,1 % theo khối lượng |
| Di-'isononyl' Phtalat (DINP) | 28553-12-0 | ||
| 68515-48-0 | |||
| Di-'isodecyl' Phtalat (DIDP) | 26761-40-0 | ||
| 68515-49-1 |
6.5 Chất tạo màu azo
Tất cả các loại vải màu, da thuộc và da nhân tạo có thể tiếp xúc được trong thể tích được bảo vệ không được chứa các amin thơm như nêu trong Bảng 4, chất này có thể được giải phóng bằng cách tách khử một hoặc nhiều nhóm azo vượt quá 30 mg/kg.
Phải sử dụng quy trình thử nêu trong TCVN 12512-1 (ISO 14362-1) và TCVN 12512-3 (ISO 14362-3) đối với vải và TCVN 9557-1 (ISO 17234-1) và TCVN 9557-2 (ISO 17234-2) đối với da.
Phần mẫu thử dưới 0,2 g trong một mẫu phòng thí nghiệm sẽ được miễn thử nghiệm. Tất cả các màu phải được kiểm tra. Tối đa ba màu có thể được kết hợp thành một mẫu.
Chất tạo màu azo có khả năng tạo thành 4-aminoazobenzen tạo ra các amin anilin (số CAS 62-53-3) và 1,4-phenylenediamine (số CAS 106-50-3) trong các điều kiện của ISO 14362-1 và TCVN 9557-1 (ISO 17234-1). Do giới hạn phát hiện, có thể chỉ phát hiện được anilin. Nếu phát hiện thấy anilin trên 5 mg/kg thì phải kiểm tra sự có mặt của các chất tạo màu này theo TCVN 12512-3 (ISO 14362-3) đối với xơ hoặc TCVN 9557-2 (ISO 17234-2) đối với da, có thể giải phóng 4-aminoazobenzen.
Các loại xơ, chỉ hoặc xơ "trắng" và không màu không được coi là có chứa chất tạo màu azo và do đó, các bộ phận này không phải thử nghiệm. Nhưng phải chú ý đến các vật liệu "in nhạt" vì chúng có thể chứa chất tạo màu azo.
Bảng 4 - Giới hạn amin thơm trong xe đẩy trẻ em có bánh xe
| Vật liệu | Chất | Số CAS | Mức giới hạn (mg/kg) |
| Vải, da (bao gồm cả da nhân tạo) | 4-amino biphenyl | 92-67-1 | 30 |
| Benzidin | 92-87-5 | 30 | |
| 4-clo-o-toluidin | 95-69-2 | 30 | |
| 2-naphtylamin | 91-59-8 | 30 | |
| o-aminoazotoluen | 97-56-3 | 30 | |
| 5-nitro-o-toluidin | 99-55-8 | 30 | |
| 4-clo anilin | 106-47-8 | 30 | |
| 4-metoxy-m-phenylendiamin | 615-05-4 | 30 | |
| 4,4'-diamino diphenyl metan | 101-77-9 | 30 | |
| 3,3'-diclo benzidin | 91-94-1 | 30 | |
| 3,3'-đimetoxy benzidin | 119-90-4 | 30 | |
| 3,3'-dimetyl benzidin | 119-93-7 | 30 | |
| 4,4'-metylen-di-o-toluidin | 838-88-0 | 30 | |
| p-cresidin | 120-71-8 | 30 | |
| 4,4'-metylen-bis-(2-clo anilin) | 101-14-4 | 30 | |
| 4,4'-oxydianilin | 101-80-4 | 30 | |
| 4,4'-thiodianilin | 139-65-1 | 30 | |
| o-toluidin | 95-53-4 | 30 | |
| 4-metyl-m-phenylendiamin | 95-80-7 | 30 | |
| 2,4,5-trimetyl anilin | 137-17-7 | 30 | |
| 2-metoxy anilin | 90-04-0 | 30 | |
| 4-aminoazobenzen | 60-09-3 | 30 | |
| 2,4-xylidin | 95-68-1 | 30 | |
| 2,6-xylidin | 87-62-7 | 30 |
6.6 Formaldehyt
Tất cả các vật liệu vải và da có thể tiếp xúc được trong thể tích được bảo vệ không được giải phóng formaldehyt vượt quá 20 mg/kg (Xem Bảng 5).
Tất cả các tấm ván sợi không được giải phóng formaldehyt vượt quá 0,124 mg/m3 (Xem Bảng 5).
Bảng 5 - Hàm lượng formaldehyt tối đa cho phép trong xe đẩy trẻ em có bánh xe
| Vật liệu | Chất | Số CAS | Mức giới hạn |
| Xơ và da thuộc | Formaldehyt | 50-00-0 | 20 mg/kg |
| Tấm xơ ép | 0,124 mg/m3 |
Đối với formaldehyt giải phóng ra từ vải và da, phải sử dụng quy trình thử nêu trong TCVN 7421-1 (ISO 14184-1) đối với vải và TCVN 7535-1 (ISO 17226-1) đối với da.
Các loại vải khác nhau phải được thử riêng biệt nhưng có thể bỏ qua sự khác biệt về màu sắc. Phần mẫu thử có khối lượng dưới 1,0 g trong một mẫu phòng thử nghiệm sẽ không cần phải thử nghiệm.
Đối với formaldehyt được giải phóng ra từ ván sợi, quy trình thử được xác định trong TCVN 11899-1 (ISO 12460-1).
6.7 Chất chống cháy
Các loại chất dẻo, da nhân tạo và vải tiếp xúc được trong thể tích được bảo vệ của xe đẩy trẻ em có bánh xe nếu không được xử lý bằng chất chống cháy sẽ không phải thử nghiệm chất chống cháy. Chỉ cần có một bản tuyên bố về sự phù hợp. Có thể sử dụng mẫu công bố hợp chuẩn về chất chống cháy trong C.5 để tham khảo.
Chất dẻo, da nhân tạo và vải tiếp xúc được trong thể tích được bảo vệ của xe chở trẻ em có bánh xe được xử lý bằng chất chống cháy không được chứa chất chống cháy liệt kê trong Bảng 6 theo các giới hạn cho trong Bảng 6.
Bảng 6 - Các chất chống cháy được xem xét đối với xe đẩy trẻ em có bánh xe
| Số CAS | Hóa chất | Mức giới hạn |
| 25637-99-4 | Hexabromocyclododecan (HBCDD) | < 100 ppma |
| 5436-43-1 | Tetrabromodiphenyl ete (tetra-BDE) | < 10 ppma |
| 32534-81-9 | Pentabromodiphenyl ete (penta-BDE) | < 10 ppma |
| 36483-60-0 | Hexabromodiphenyl ete (hexa-BDE) | < 10 ppma |
| 189084-68-2 | Heptabromodiphenyl ete (hepta-BDE) | < 10 ppma |
| 32536-52-0 | Octabromodiphenyl ete (octa-BDE) | < 0,1 % |
| 1163-19-5 | Decabromodiphenyl ete (deca-BDE) | < 0,1 % |
| 59536-65-1 | Biphenyl polibrom hóa (PBB) | Không được sử dụng |
| 126-72-7 | Tri-(2,3-đibromopropyl) phosphat (TRIS) | Không được sử dụng |
| 545-55-1 | Tris-(aziridinyl) phosphinoxit (TEPA) | Không được sử dụng |
| 115-96-8 | Tris(2-cloethyl) phosphat (TCEP) | < 5 ppma |
| 13674-87-8 | Tris-diclopropyl phosphat (TDCPP) | < 5 ppma |
| 13674-84-5 | Tris-clopropyl phosphat (TCPP) | < 5 ppma |
| CHÚ Ý Các quy định có liên quan bao gồm EU REACH, RoHS, POP, TSD, v.v. a 1 ppm = 1 mg/kg | ||
7 Mối nguy do nhiệt
Vải sợi không được tạo ra hiệu ứng chớp cháy trên bề mặt khi sử dụng ngọn lửa theo TCVN 6238-2:2017 (ISO 8124-2:2014).
Có thể sử dụng một mẫu riêng biệt cho các phép thử này.
8 Mối nguy cơ học
8.1 Chức năng bảo vệ
8.1.1 Sự phù hợp của phương tiện
8.1.1.1 Yêu cầu
8.1.1.1.1 Xe dành cho trẻ em từ sơ sinh
Xe dành cho trẻ em từ sơ sinh phải đáp ứng ít nhất một trong các yêu cầu sau:
a) Thân xe đẩy phù hợp với yêu cầu ở 8.1.2.
b) Bộ ghế trong đó góc giữa tựa lưng và ghế (góc 1 trên Hình 28) có khả năng điều chỉnh một góc 150° hoặc lớn hơn khi được đo theo 8.1.1.2.1 và phù hợp với 8.1.2 . Bất kỳ bộ phận nào có chức năng cần thiết để phù hợp với 8.1.2 đều không được phép để quả cầu thử rơi khỏi bộ phận ghế khi thử theo 8.1.1.2.2. hệ thống an toàn phải có thể được tháo rời, ẩn hoặc che phủ theo hướng dẫn của nhà sản xuất để tránh nguy cơ bị siết cổ.
c) Bộ phận ghế ngồi, trong đó góc giữa tựa lưng và mặt ghế (góc 1 trong Hình 28) có thể điều chỉnh đến góc ít nhất 150° khi đo theo mục 8.1.1.2.1 và được trang bị hệ thống an toàn phù hợp từ sơ sinh, tuân thủ mục 8.1.3.
8.1.1.1.2 Xe được sử dụng từ sáu tháng tuổi
Ghế ngồi ô tô được miễn yêu cầu này.
Xe dành cho trẻ từ sáu tháng tuổi phải có hệ thống dây an toàn phù hợp với các yêu cầu liên quan ở 8.1.3.
Các ghế ngồi được sử dụng cho trẻ từ sáu tháng tuổi phải được ghi nhãn cảnh báo trong 10.2 c) 3). Cảnh báo phải được nhìn thấy rõ ràng trong quá trình gập, mở hoặc điều chỉnh xe.
8.1.1.1.3 Ghế
Ghế ô tô được miễn các yêu cầu này. Khi đo theo 8.1.1.2.1:
- Góc 1 giữa ghế và tựa lưng (xem Hình 28) không được nhỏ hơn 95°;
- Góc 2 giữa ghế và phương ngang (xem Hình 28) không được nhỏ hơn 0°;
- Góc 3 giữa tựa lưng và phương ngang (xem Hình 28) không được nhỏ hơn 0°.
CHÚ THÍCH Các góc phía dưới đường nằm ngang được coi là nhỏ hơn 0°.
Khi thử theo 8.1.1.2.1, mặt trên của tựa lưng của bộ phận ghế phải bằng hoặc cao hơn mặt trên của bộ phận 2 của thiết bị đo góc.

CHÚ DẪN
1 Góc giữa mặt ghế và tựa lưng
2 Góc giữa mặt ghế và phương ngang
3 Góc giữa tựa lưng và phương ngang
4 Bộ phận ghế ngồi
5 Thiết bị đo góc
6 Phương ngang
Hình 28 - Đo góc của bộ phận ghế ngồi
8.1.1.2 Phương pháp thử
8.1.1.2.1 Đo góc và chiều dài tựa lưng
Điều chỉnh tựa lưng của ghế về vị trí thẳng đứng nhất.
Bất kỳ đệm đầu có thể tháo rời nào cũng phải được tháo ra trước khi thực hiện phép đo.
Đặt thiết bị đo góc (xem 5.3) trên bộ ghế với bộ phận 1 tựa vào ghế và bộ phận 2 (xem Hình 20) dựa vào tựa lưng, như trong Hình 28.
Bất kỳ bộ phận nào có thể làm ảnh hưởng đến vị trí chính xác của bộ phận 1 của thiết bị đo góc (dây đeo đáy quần, bộ phận có đệm, khóa, v.v.) phải được đặt đúng vị trí sao cho đảm bảo bộ phận 1 của thiết bị được đặt chính xác trên ghế.
Nâng toàn bộ thiết bị lên cách ghế ít nhất 50 mm bằng bộ phận 2 (xem Hình 20), duy trì tiếp xúc hoàn toàn với tựa lưng. Với thiết bị ở vị trí này, phải gập bộ phận 1 lên đến mức tối đa. Sau đó hạ toàn bộ thiết bị xuống thấp nhất có thể bằng trọng lượng của chính nó, với bộ phận 2 (xem Hình 20) duy trì tiếp xúc hoàn toàn với phần tựa lưng. Sau đó từ từ mở bộ phận 1 (xem Hình 20) sao cho bộ phận này tựa hoàn toàn vào ghế càng nhiều càng tốt dưới trọng lượng của chính nó.
Đo các góc 1, 2 và 3 (xem Hình 28) trên mặt trên của thiết bị đo góc. Trong quá trình đo, dụng cụ đo góc không được dịch chuyển khỏi vị trí của nó.
Nếu có thể, phải điều chỉnh tựa lưng về vị trí thấp nhất, cho phép thiết bị đo góc di chuyển tự do cùng với bộ phận ghế. Sau đó đo các góc 1, 2 và 3 (xem Hình 28) trên mặt trên của dụng cụ đo góc. Dụng cụ đo góc không được dịch chuyển khỏi vị trí của nó trong quá trình đo.
Kiểm tra xem mặt trên của tựa lưng ghế có bằng hoặc cao hơn mặt trên của phần 2 (xem Hình 20) của thiết bị đo góc hay không.
8.1.1.2.2 Thử khả năng giữ quả cầu
Ngả tựa lưng của bộ phận ghế ngồi đến vị trí ngả tối đa. Tất cả các bộ phận được thiết kế để giữ trẻ, bao gồm cả phần sau của mui che và yếm che, phải được gắn vào theo hướng dẫn của nhà sản xuất.

| a) Hướng quay lên/quay xuống đường cong | b) Hướng vuông góc với đường cong |
CHÚ DẪN
1 Đường giao nhau
Hình 29 - Phép thử giữ quả cầu thử
Cố định phương tiện thử trên một mặt phẳng nghiêng 45°, theo hướng quay xuống dốc.
Đặt quả cầu thử (xem 5.4) như nêu trong Hình 29 a) tại trung tâm của đường giao nhau. Thả quả cầu thử để lăn tự do.
Ghi nhận xem quả cầu thử có rơi ra khỏi bộ phận ghế ngồi hay không.
Lặp lại phép thử, đặt quả cầu thử tại phía bên trái và bên phải trên đường giao nhau.
Lặp lại toàn bộ quy trình với phương tiện thử quay ngược chiều dốc.
Lặp lại toàn bộ quy trình với phương tiện thử quay vuông góc với chiều dốc, và đặt quả cầu thử như nêu trong Hình 29 b).
8.1.2 Chiều cao bên trong tối thiểu của thân xe đẩy
8.1.2.1 Yêu cầu
Khi đo theo 8.1.2.2, chiều cao bên trong tối thiểu của mép trên các cạnh bên và cạnh đầu của thân xe đẩy phải như sau:
a) Đối với thân xe đẩy có chiều dài bên trong (D trong Hình 30) bằng hoặc nhỏ hơn 800 mm:
1) Chiều cao bên trong (A trong Hình 30) phải không nhỏ hơn 150 mm trong phạm vi ít nhất 170 mm về mỗi phía tính từ đường tâm của chiều dài (B trong Hình 30);
2) Tại tất cả các điểm khác trên các cạnh bên và cạnh đầu, chiều cao bên trong (C trong Hình 30) phải ít nhất là 100 mm;
b) Đối với thân xe đẩy có chiều dài bên trong (D trong Hình 30) lớn hơn 800 mm:
1) Chiều cao bên trong (A trong Hình 30) phải không nhỏ hơn 180 mm trong phạm vi ít nhất 180 mm về mỗi phía tính từ đường tâm của chiều dài (B trong Hình 30);
2) Tại tất cả các điểm khác trên các cạnh bên và cạnh đầu, chiều cao bên trong (C trong Hình 30) phải ít nhất là 130 mm.
8.1.2.2 Phương pháp thử
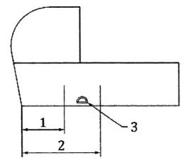
Đo chiều dài bên trong D cách 40 mm từ bề mặt trên cùng của khối thử C tại đường trục dọc của thân xe đẩy.
Chiều cao bên trong tối thiểu của thân xe đẩy phải được đo từ mép dưới của que thăm (xem 5.1.9), như thể hiện trong Hình 30, đặt trên mép trên cùng của thân xe đẩy, đến mép dưới của khối thử C, được đặt trên nệm do nhà sản xuất cung cấp hoặc khuyến nghị [xem 10.2 d)].
Việc đo chiều cao tối thiểu phải được thực hiện theo phương dọc, khi que thăm được đặt lên các đầu của thân xe đẩy, và theo phương ngang, khi que thăm được đặt lên các cạnh bên của thân xe đẩy.
Nếu thân xe đẩy được lắp với để có thể nghiêng, phép đo phải được thực hiện khi ở tư thế nằm hoàn toàn.
Kích thước tính bằng milimét

CHÚ DẪN
1 Que thăm
2 Nệm
3 Khối thử C
A Chiều cao bên trong từ đường tâm
B Đường tâm của chiều dài
C Chiều cao bên trong tại tất cả các điểm
D Chiều dài bên trong
Hình 30 - Đo chiều cao bên trong tối thiểu của thân xe đẩy
8.1.3 Hệ thống an toàn và dây buộc
8.1.3.1 Yêu cầu
8.1.3.1.1 Hệ thống an toàn cho các bộ phận ghế ngồi
Các yêu cầu trong 8.1.3.1.1 không áp dụng cho hệ thống giảm chấn của ghế ngồi ô tô.
Các bộ phận ghế ngồi phải được trang bị hệ thống an toàn kết hợp với đai chặn qua bẹn cho từng vị trí có thể ngồi của trẻ.
Hệ thống an toàn phải được thiết kế sao cho không thể sử dụng nếu không có đai chặn qua bẹn. Hệ thống an toàn phải có khả năng điều chỉnh.
Khi dây đai là một phần của hệ thống an toàn, dây đai phải có chiều rộng tối thiểu là 19 mm.
Hệ thống an toàn của bộ phận ghế ngồi phải phù hợp với 8.1.3.1.2 (hệ thống an toàn kiểu A) hoặc 8.1.3.1.3 (hệ thống an toàn kiểu B).
Hệ thống an toàn của thân xe đẩy phải phù hợp với 8.1.3.1.4.
8.1.3.1.2 Hệ thống an toàn kiểu A
Tất cả các bộ phận chỗ ngồi phải được thử theo 8.1.3.2.1. Khối thử D (xem 5.1.5) không được rơi hoàn toàn ra khỏi hệ thống an toàn.
Các bộ phận ghế được thiết kế cho trẻ em dưới sáu tháng tuổi phải được thử theo 8.1.3.2.1. Khối thử D0 (xem 5.1.6) không được rơi hoàn toàn ra khỏi hệ thống an toàn.
CHÚ THÍCH: Bất kỳ chuyển động cục bộ nào của khối thử D hoặc D0 đều không được coi là hỏng.
Khi thử theo 8.1.3.2.2, phần gắn của hệ thống an toàn không được gãy, biến dạng, lỏng lẻo hoặc bị rách/di dời, và bộ phận ghế phải giữ nguyên vị trí mà không bị hư hỏng vĩnh viễn.
Khi thử theo 8.1.3.2.3, các chốt không được tháo ra và không bị hư hỏng làm ảnh hưởng đến hoạt động và chức năng bình thường của chúng.
Khi thử theo 8.1.3.2.4, độ trượt tối đa của bộ điều chỉnh phải là 20 mm.
8.1.3.1.3 Hệ thống an toàn kiểu B[4]
Hệ thống an toàn phải đáp ứng các yêu cầu sau:
- Nếu hệ thống an toàn sử dụng điểm neo tựa lưng ghế cho dây đeo vai, chiều cao của điểm neo tiềm năng của dây đeo vai phải cách đường giao nhau giữa lưng xe đẩy và ghế là (267 ± 26) mm đến (318 ± 26) mm, với lưng xe đẩy ở vị trí thẳng đứng nhất khi thử theo 8.1.3.2.6;
- Điểm neo của đai thắt lưng phải nằm giữa đường 50 mm và đường 127 mm trên ống trụ thử (xem Hình 26) khi thử theo 8.1.3.2.7;
- Que thăm có đường kính 25 mm (xem Hình 19) không được lọt qua bất kỳ khe hở nào giữa đai thắt lưng và ống trụ thử khi thử theo 8.1.3.2.8;
- Vị trí xa nhất về phía trước của đường giao nhau giữa đai chặn qua bẹn và bề mặt ghế không được ở phía trước ống trụ thử khi thử theo 8.1.3.2.9. Đệm ghế có thể tháo rời không được xem là một phần của bề mặt ghế;
- Điểm tiếp xúc ở mép dưới của dây đai thắt lưng phải nằm giữa đường 114 mm và đường 190 mm trên ống trụ thử khi thử theo 8.1.3.2.10.
Khi thử theo 8.1.3.2.2, phần gắn của hệ thống an toàn không được gãy, biến dạng, lỏng lẻo hoặc bị rách/di dời, và bộ phận ghế phải giữ nguyên vị trí mà không bị hư hỏng vĩnh viễn.
Khi thử theo 8.1.3.2.3, các chốt không được tháo ra và không bị hư hỏng làm ảnh hưởng đến hoạt động và chức năng bình thường của chúng.
Khi thử theo 8.1.3.2.4, độ trượt tối đa của bộ điều chỉnh là 20 mm.
8.1.3.1.4 Hệ thống an toàn cho thân xe đẩy
Thân xe đẩy có chiều dài bên trong lớn hơn 800 mm (xem 8.1.2.2) phải được lắp hai điểm neo dây an toàn cho mỗi vị trí mà trẻ có thể ngồi. Các điểm neo dây an toàn phải được nằm ở mỗi bên của để thân xe đẩy trong vùng được chỉ ra trong Hình 31.
Nếu được cung cấp, các điểm neo cho dây an toàn bổ sung được lắp trên thân xe đẩy có chiều dài bên trong nhỏ hơn 800 mm (xem 8.1.2.2) phải được đặt ở mỗi bên của để thân xe đẩy trong vùng được chỉ ra trong Hình 31.
Khi được thử theo 8.1.3.2.5, các điểm neo dây an toàn phải tiếp tục hoạt động theo thiết kế.

CHÚ DẪN
1 245 mm tính từ điểm móc
2 một nửa chiều dài bên trong (D/2) của thân xe đẩy
3 điểm neo dây an toàn
Hình 31 - Điểm neo dây an toàn
8.1.3.2 Phương pháp thử
8.1.3.2.1 Hiệu quả của hệ thống an toàn của bộ ghế
Đối với bộ phận ghế ngồi được thiết kế cho trẻ dưới sáu tháng tuổi, đặt tấm bảng có bản lề được mô tả trong 5.5 vào giữa khối thử D0 và tựa lưng của bộ phận ghế ngồi. Tấm bảng có bản lề phải bám sát nhất có thể theo đường cong của bộ phận ghế ngồi, và mặt đáy của tấm bảng phải phẳng khít với mặt đáy của khối thử D0. Gắn hệ thống an toàn theo hướng dẫn của nhà sản xuất với bộ phận ghế ngồi ở vị trí ngả tối đa. Thắt đai an toàn quanh eo, nếu có, quanh phần thân người của khối thử D0 sao cho loại bỏ mọi độ chùng và đai eo được đặt phía trên phần cụt chân. Nếu đai chặn qua bẹn có thể điều chỉnh, điều chỉnh sao cho không còn độ chùng. Sau khi điều chỉnh hệ thống an toàn, tấm bảng có bản lề sẽ được tháo ra để thực hiện phép thử. Nếu hệ thống an toàn có dây đai vai có thể đặt ở nhiều vị trí khác nhau trên mặt lưng của bộ phận ghế ngồi, thì dây đai vai phải được đặt ở vị trí thấp nhất (để phù hợp với trẻ nhỏ nhất).
Đối với các bộ phận ghế ngồi được thiết kế cho trẻ trên sáu tháng tuổi, ban đầu đặt khối thử D tựa vào tựa lưng tại vị trí chính giữa bộ phận ghế ngồi, với trục 225 mm hướng vào tựa lưng, và gắn hệ thống an toàn theo hướng dẫn của nhà sản xuất khi bộ phận ghế ngồi ở vị trí dựng thẳng nhất. Thắt đai an toàn quanh eo, nếu có, quanh phần thân người của khối thử D sao cho loại bỏ mọi độ chùng và đai eo được đặt phía trên phần cụt chân. Nếu đai chặn qua bẹn có thể điều chỉnh, điều chỉnh sao cho không còn độ chùng và đai eo vẫn được đặt phía trên phần cụt chân. Nếu hệ thống an toàn có dây đai vai có thể được đặt tại nhiều vị trí khác nhau trên mặt lưng của bộ phận ghế ngồi, thì dây đai vai phải được đặt ở vị trí cao nhất (để phù hợp với trẻ lớn nhất).
Khi có gắn dây đai vai, đặt một khối đệm dạng hình hộp chữ nhật có kích thước 30 mm, được làm bằng vật liệu cứng, trơn nhẵn, trên mỗi vai của khối thử D. Điều chỉnh từng dây đai vai theo hướng dẫn của nhà sản xuất sao cho không còn độ chùng. Tháo các khối đệm sau khi điều chỉnh xong.
Một bề mặt thử có khả năng quay sẽ được sử dụng để xoay mẫu xe trơn tru 360° với vận tốc (4 ± 0,5) r/min, theo cả hướng tiến và hướng lùi.
Xoay xe 360° theo hướng tiến. Nếu cần, đặt lại khối thử D hoặc D0 về vị trí ban đầu mà không được thay đổi bộ điều chỉnh của hệ thống an toàn. Xoay xe 360° theo hướng lùi. Nếu cần, đặt lại khối thử D hoặc Do về vị trí ban đầu mà không được thay đổi bộ điều chỉnh của hệ thống an toàn.
Lặp lại chu trình quay theo hướng tiến và hướng lùi thêm hai lần nữa, tổng cộng là ba vòng quay theo hướng tiến và ba vòng quay theo hướng lùi. Nếu cần, sau mỗi lần quay, đặt lại khối thử D hoặc D0 về vị trí ban đầu mà không được thay đổi bộ điều chỉnh của hệ thống an toàn.
8.1.3.2.2 Gắn hệ thống an toàn vào bộ phận ghế ngồi
Tác dụng từ từ lực kéo 150 N vào mỗi điểm gắn hệ thống an toàn theo hướng khó khăn nhất. Duy trì lực này trong 1 min.
Nếu gắn nhiều hơn một dây đai ở cùng một vị trí hoặc trong bán kính 20 mm, lực 150 N sẽ được tác dụng đồng thời vào từng dây đai.
8.1.3.2.3 Độ bền của chốt
Lực kéo 200 N sẽ được tác dụng từ từ vào các dây đai ở cả hai bên của chốt. Duy trì lực này trong 1 min.
8.1.3.2.4 Hiệu quả của hệ thống điều chỉnh
Phép thử này phải được tiến hành vào cuối toàn bộ quy trình thử được nêu trong tiêu chuẩn này. Sử dụng khoảng 125 mm của hệ thống an toàn ở mỗi bên của hệ thống điều chỉnh.
Cố định một đầu của mẫu thử vào một hàm kẹp của thiết bị kiểm tra độ bền kéo và đầu kia vào một hàm kẹp còn lại. Khoảng cách giữa các hàm kẹp là 200 mm.
Vẽ một đường thẳng ngang qua chiều rộng của mẫu thử ngang bằng với mỗi hàm kẹp.
Đặt tốc độ di chuyển hàm kẹp (500 ±10) mm/min. Giảm khoảng cách giữa các hàm kẹp xuống 150 mm. Cho mẫu thử chịu lực kéo cho đến khi lực kéo đạt (100 ± 10) N. Khi đạt đến độ biến dạng này, đưa khoảng cách giữa các hàm về 150 mm.
Thực hiện thử tổng cộng 10 lần.
Đo khoảng cách giữa các đường kẻ ngang bằng với các hàm kẹp. Sự chênh lệch giữa kích thước này và kích thước ban đầu là 200 mm chính là lượng trượt.
8.1.3.2.5 Độ bền của các điểm neo dây an toàn
Cố định thân xe đẩy để ngăn chặn mọi chuyển động và từ từ tác dụng lực 150 N vào mỗi điểm neo dây an toàn theo hướng khó khăn nhất. Duy trì lục này trong 1 min.
Nếu có nhiều hơn một điểm neo dây an toàn được gắn ở cùng một vị trí hoặc trong bán kính 20 mm, lực 150 N sẽ được tốc dụng vào mỗi điểm neo dây an toàn cùng một lúc.
8.1.3.2.6 Đo vị trí các điểm neo
Phải đo từ đường giao nhau của ghế/tựa lưng đến điểm thấp nhất của đường giao nhau dây đai/tựa lưng. Với tựa lưng xe đẩy ở vị trí thẳng đứng nhất, phải đo từ đỉnh ghế không nén song song với lưng xe.
8.1.3.2.7 Xác định vị trí khối thử
Nếu xe đẩy trẻ em có bánh xe có tựa lưng có thể điều chỉnh, phải đặt xe ở vị trí dựng đứng hoàn toàn. Cố định chặt ống trụ thử nghiệm (xem Hình 26) trong bộ phận (xem Hình 32) bằng hệ thống an toàn. Góc dưới của ống trụ thử phải nằm ở đường giao nhau giữa đáy ghế/lưng ghế với ống trụ thử ở giữa và tiếp xúc hoàn toàn với lưng ghế. Căn chỉnh đai thắt lưng sao cho song song với các đường trên ống trụ thử. Xác định vị trí của điểm trung tâm neo đai thắt lưng bằng cách kiểm tra trực quan.

CHÚ DẪN
1 Điểm neo ở thắt lưng
2 Điểm nối đai chặn qua bẹn
CHÚ THÍCH Theo ASTM F833 [30].
Hình 32 - Ống trụ thử trong xe đẩy
8.1.3.2.8 Xác định khe hở ở đai hãm eo[5]
Với cùng cấu hình theo 8.1.3.2.7, cố gắng tự do vượt qua đường kính 25 mm que thăm (xem Hình 19) qua khoảng trống bất kỳ giữa hệ thống đai thắt lưng và ống trụ thử nghiệm.
8.1.3.2.9 Xác định vị trí của khối thử[6]
Đặt ống trụ thử nghiệm (xem Hình 26) sao cho góc dưới nằm ở đường giao nhau bề mặt ghế/lưng và đáy của ống trụ thử tiếp xúc hoàn toàn với bề mặt ghế. Xác định vị trí hướng về phía trước của đường giao nhau giữa dây đeo đáy quần và bề mặt ghế bằng cách kiểm tra bằng mắt.
8.1.3.2.10 Xác định vị trí của khối thử bằng hệ thống đai chặn qua bẹn[7]
Phép thử phải được thiết lập giống như 8.1.3.2.9.
Nếu đai chặn qua bẹn có thể điều chỉnh, điều chỉnh đai đến chiều dài tối đa. Đặt điểm cách 50 mm bên phải và bên trái của đường giao nhau giữa bẹn/thắt lưng theo Hình 33. Khi hệ thống an toàn qua thắt lưng được điều chỉnh để cho phép mở rộng hoàn toàn đai chặn qua bẹn, kéo đai chặn qua bẹn lên điểm cao nhất trên ống trụ thử.
Kiểm tra vị trí của đai thắt lưng.

CHÚ DẪN
1 điểm
CHÚ THÍCH Theo ASTM F833 [30]
Hình 33 - Điểm
8.2 Mối nguy mắc kẹt
8.2.1 Lỗ và khe hở
8.2.1.1 Yêu cầu
Khi thử theo 8.2.1.2, không được có các khe hở khép kín bằng vật liệu cứng trong thể tích được bảo vệ để que thăm 7 mm lọt qua trừ khi độ sâu lọt qua nhỏ hơn 10 mm hoặc trừ khi que thăm đánh giá hình dạng lọt qua. Yêu cầu này không áp dụng cho hệ thống an toàn.
Kích thước của các lỗ trên lưới trong thể tích được bảo vệ phải nhỏ hơn 7 mm khi đo theo 8.2.1.2.
Không được có lỗ hoặc khe hở tiếp xúc được giữa các bộ phận cứng của chỗ để chân có chiều rộng lớn hơn 25 mm và nhỏ hơn 45 mm khi đo theo 8.2.1.2.
Minh họa về các khe hở khép kín được đưa ra trong F.3.3.
8.2.1.2 Phương pháp thử
Kiểm tra xem que thăm dạng ngón tay 7 mm (xem 5.2.1.1), với lực tác dụng đến 30 N, có lọt qua được 10 mm hoặc lớn hơn vào bất kỳ lỗ nào có thể tiếp xúc được theo bất kỳ hướng nào có thể hay không. Nếu que thăm 7 mm lọt qua 10 mm trở lên. thì que thăm đánh giá hình dạng (xem 5.2.1.2) cũng phải lọt qua 10 mm hoặc hơn với lực tác dụng lên tới 5 N.
Kiểm tra xem que thăm hình côn (xem 5.2.1.3) có lọt qua các lỗ trên lưới đến phần có đường kính 7 mm với lực tác dụng lên tới 30 N hay không.
Kiểm tra xem que thăm hình côn 25 mm (xem 5.2.2) có lọt vào bất kỳ lỗ nào trên chỗ để chân với lực tác dụng lên đến 30 N hay không. Nếu que thăm hình côn 25 mm lọt qua thì que thăm hình côn 45 mm (xem 5.2.2) cũng phải lọt qua với một lực tác dụng lên tới 5 N.
8.3 Mối nguy từ các bộ phận chuyển động
8.3.1 Yêu cầu
Các yêu cầu phải được kiểm tra trước và sau phép thử bề mặt không bằng phẳng (xem 8.10.4). Các yêu cầu này không áp dụng cho hệ thống an toàn.
Trong thể tích được bảo vệ, không được có mối nguy do cắt hoặc ép giữa các chi tiết cứng chuyển động tương đối với nhau, trừ các trường hợp xe đang được dựng lên để sử dụng, đang được gấp lại hoặc trong quá trình điều chỉnh các chi tiết được khóa khi ở đúng vị trí để sử dụng.
Các mép tiếp xúc giữa các chi tiết chuyển động tương đối với nhau phải được bo tròn hoặc vát mép theo 8.7, trừ khi khoảng hở luôn nhỏ hơn 5 mm.
8.3.2 Mối nguy do cắt
8.3.2.1 Yêu cầu
Sau khi sản phẩm được thiết lập để sử dụng bình thường theo hướng dẫn của nhà sản xuất, không được có điểm cắt nguy hiểm có thể tiếp cận được trong thể tích được bảo vệ mà có thể đóng lại nhỏ hơn 12 mm, hoặc nơi đầu thăm 12 mm không thể lọt vào, khi thử theo 8.3.2.2.
Đối với mui che và các chi tiết tương tự như mái che, tấm chắn nắng, v.v., yêu cầu này được áp dụng cho khoảng hở giữa các chi tiết khung và giữa bộ căng mui che (nếu có) với các chi tiết khung, trong phạm vi 100 mm được đo từ điểm xoay chính của mui che (xem Hình 34 và Phụ lục E).

Hình 34 - Khoảng cách từ điểm xoay chính của mui che
8.3.2.2 Phương pháp thử
Kiểm tra các bộ phận có chuyển động nén tiềm ẩn nguy hiểm. Điều chỉnh các bộ phận chuyển động để giảm khoảng cách đến khoảng cách tối thiểu có thể và giữ chúng ở đúng vị trí mà không làm giảm tính linh hoạt của các bộ phận.
Khi sử dụng lực tác dụng 30 N, kiểm tra xem que thăm 12 mm (xem 5.2.2) có thể lọt qua giữa các bộ phận chuyển động hay không.
Tiến hành thử ở vị trí khó khăn nhất của các bộ phận chuyển động.
8.3.3 Mối nguy do nén ép (xem F.3.4)
8.3.3.1 Yêu cầu
Sau khi sản phẩm được thiết lập để sử dụng bình thường theo hướng dẫn của nhà sản xuất, phải không có điểm nén nguy hiểm nào có thể tiếp xúc được trong thể tích được bảo vệ có thể khép lại nhỏ hơn 12 mm trừ khi khoảng hở luôn nhỏ hơn 5 mm.
8.3.3.2 Phương pháp thử
Kiểm tra xem que thăm 12 mm (xem 5.2.2) có thể lọt qua giữa các bộ phận chuyển động hay không hoặc kiểm tra xem que thăm 5 mm (xem 5.2.1.1) không thể lọt qua giữa các bộ phận chuyển động.
8.3.4 Bánh xe
Bất kỳ khe hở nào giữa các bánh xe trong thể tích được bảo vệ phải được che phủ sao cho que thăm dạng ngón tay 7 mm (xem 5.2.1.1) không lọt qua trừ khi độ sâu nhỏ hơn 5 mm.
Điểm tiếp xúc giữa bánh xe và mặt đất không được nằm trong thể tích được bảo vệ.
8.3.5 Cơ cấu khóa
8.3.5.1 Hệ thống gấp để cất giữ hoặc vận chuyển
8.3.5.1.1 Yêu cầu
8.3.5.1.1.1 Yêu cầu chung
Các xe có thể gấp lại để cất giữ hoặc vận chuyển, trong đó khung xe có thể gấp lại khi gắn thân xe đẩy hoặc ghế ngồi, phải được lắp một hoặc nhiều cơ cấu khóa. Các cơ cấu khóa phải tuân thủ các yêu cầu trong 8.3.5.1.1.2 và 8.3.5.1.1.3.
Các xe có thể gấp lại để cất giữ hoặc vận chuyển, trong đó khung xe chỉ có thể gấp lại khi đã tháo thân xe đẩy hoặc ghế ngồi hoặc các xe chỉ có thể gấp lại sau khi đặt ở vị trí rõ ràng không cho phép vận chuyển trẻ em (ví dụ: lật xe) phải được lắp một hoặc nhiều cơ cấu khóa.
Chức năng của bất kỳ cơ cấu điều khiển nào không được suy giảm sau khi thử theo 8.3.5.1.2.1.
8.3.5.1.1.2 Triển khai không đầy đủ
Để tránh các mối nguy do việc triển khai không đầy đủ, phải có ít nhất hai cơ cấu khóa.
Ít nhất một cơ cấu khóa phải tự động kích hoạt khi sản phẩm được triển khai hoàn toàn để sử dụng.
Nếu không thể quan sát được cơ cấu khóa mà không gây hư hại cho xe đẩy, có thể sử dụng mẫu thử thứ hai để xác định số lượng cơ cấu khóa.
8.3.5.1.1.3 Vô tình nhả cơ cấu khóa
CHÚ THÍCH 1 Hướng dẫn được đưa ra để áp dụng điều khoản này trong Phụ lục D.
CHÚ THÍCH 2 Việc đưa trẻ em ra ngoài không được coi là hành động vận hành.
Để tránh nguy hiểm do vô tình nhả ra, một trong ba điều kiện sau đây phải được đáp ứng:
a) phải có ít nhất một cơ cấu điều khiển đáp ứng các điều kiện sau:
1) cơ cấu điều khiển phải yêu cầu ít nhất hai hành động liên tiếp, hành động thứ hai phụ thuộc vào việc hành động đầu tiên đã được người chăm sóc thực hiện và bảo trì chưa;
2) cơ cấu điều khiển không được kích hoạt hoặc bị hỏng trong một hành động duy nhất trong quá trình thử theo 8.3.5.1.2.2;
b) phải có hai cơ cấu điều khiển riêng biệt và độc lập đáp ứng một trong các điều kiện sau:
1) khi một hoặc cả hai cơ cấu điều khiển được thiết kế để vận hành bằng chân (ví dụ: về vị trí, hình dạng), thì ít nhất một trong số chúng phải tự động trở về vị trí ban đầu và thiết bị khóa phải khớp lại khi được thử theo 8.3.5.1.2.3;
2) khi cả hai cơ cấu điều khiển đều được thiết kế để vận hành bằng tay (ví dụ: về vị trí, hình dạng, theo hướng dẫn sử dụng của nhà sản xuất), cả hai đều phải tự động trở về vị trí ban đầu và các thiết bị khóa phải khớp lại khi được thử theo 8.3.5.1.2.3.
c) phải có ba hoặc nhiều cơ cấu điều khiển riêng biệt và độc lập, trong đó ít nhất một thiết bị phải nằm ngoài thể tích được bảo vệ hoặc phải có lực lớn hơn 50 N để vận hành.
Trong quá trình thử theo 8.3.5.1.2.4, xe không được gập. Sau khi thử theo 8.3.5.1.2.4, xe và cơ cấu khóa không bị hư hỏng và xe vẫn phải tuân thủ các yêu cầu của 8.2 và 8.7.
Khi được thử theo các phép thử sau, xe không được gập và các thiết bị khóa không được nhả ra:
- thử bề mặt không đều (xem 8.10.4);
- thử độ bền động (xem 8.10.5);
- thử nghiệm độ bền tay cầm (xem 8.10.7).
8.3.5.1.2 Phương pháp thử
8.3.5.1.2.1 Quy định chung
Chạy các cơ cấu điều khiển 200 lần.
8.3.5.1.2.2 Vô tình nhả cơ cấu khóa bằng một hành động duy nhất
Đặt xe đã triển khai hoàn toàn và sẵn sàng sử dụng trên một bề mặt phẳng nằm ngang.
Tác dụng lực 150 N hoặc mô-men xoắn 2,2 N•m vào cơ cấu điều khiển. Lực hoặc mô-men xoắn này sẽ được tác dụng vào cơ cấu điều khiển theo hướng có nhiều khả năng vận hành cơ cấu điều khiển trong một hành động duy nhất. Lực hoặc mô-men xoắn sẽ được tác dụng trong khoảng thời gian 5 s.
8.3.5.1.2.3 Cơ cấu điều khiển tự động trở lại vị trí ban đầu
Đặt xe trên một bề mặt phẳng nằm ngang.
Khi không có bất kỳ khối thử nào trong xe, vận hành cơ cấu điều khiển. Kiểm tra xem cơ cấu điều khiển có tự động trở về vị trí ban đầu không và thiết bị khóa có khớp lại không.
Đặt một trong các chi tiết sau đây như mô tả trong 8.8.2.1 với tựa lưng và/hoặc cụm ghế được điều chỉnh ở vị trí khó nhất:
- khối thử A trong thân xe đẩy có chiều dài nhỏ hơn 800 mm hoặc ghế ô tô kiểu A;
- Khối thử B trong bộ phận ghế ngồi hoặc trong thân xe đẩy có chiều dài lớn hơn 800 mm;
- khối thử F trong ghế ô tô kiểu B.
Tháo cơ cấu điều khiển tự động. Kiểm tra xem cơ cấu điều khiển tự động có tự động trở về vị trí ban đầu không và thiết bị khóa có khớp lại không.
8.3.5.1.2.4 Thử hiệu quả của cơ cấu khóa trên các xe có khung gầm có thể gập lại khi lắp thân xe đẩy hoặc bộ phận ghế ngồi hoặc ghế ô tô
Đặt một trong những thứ sau đây như mô tả trong 8.8.2.1:
- Khối thử A trong thân xe đẩy có chiều dài nhỏ hơn 800 mm hoặc ghế ô tô kiểu A;
- Khối thử B trong bộ phận ghế ngồi hoặc trong thân xe đẩy có chiều dài lớn hơn 800 mm;
- Khối thử F trong ghế ô tô kiểu B.
Nếu xe được thiết kế cho nhiều hơn một trẻ, hãy sử dụng bất kỳ số lượng khối thử phù hợp nào, tối đa một khối lượng ở mỗi vị trí dự định có trẻ em ngồi.
Lắp tất cả các cơ cấu khóa.
Giữ chặt bánh xe để ngăn cản chuyển động tiến hoặc lùi bằng các cữ chặn cố định trên sàn có chiều cao lớn hơn bán kính của bánh xe, như minh họa trong Hình 35.
Tác dụng lực F trong thời gian 5 s vào tay lái (hoặc từng tay cầm lần lượt trong trường hợp có tay cầm riêng biệt) theo từng hướng sau:
a) về phía trước theo phương ngang;
b) về phía sau theo phương ngang.
Phải thực hiện phép thử với các cữ chặn giữa các bánh xe hoặc bên ngoài chúng (xem Hình 35).
Lực F sẽ là lực nâng bánh trước hoặc bánh sau hoặc 200 N, tùy theo lực nào nhỏ hơn.
Đối với xe có hai hoặc nhiều cơ cấu điều khiển riêng biệt và độc lập, phải vận hành từng cơ cấu điều khiển để lần lượt nhả từng thiết bị khóa và tác dụng lực F theo cùng cách như trong a) và b) ở trên.
Không được tiến hành thử trên các xe mà khối thử khiến tất cả các thiết bị khóa tự động khớp lại.

Hình 35 - Vị trí các cữ chặn
8.3.5.2 Xe đẩy có ghế quay
Xe đẩy có bộ ghế quay trên bất kỳ trục nào phải được trang bị ít nhất một thiết bị khóa tự động để ngăn chặn việc quay vô ý.
8.3.5.3 Chuyển động của tay cầm
8.3.5.3.1 Yêu cầu đối với tay cầm đảo chiều
Bất kỳ (các) thiết bị khóa nào của tay cầm đảo chiều phải được bố trí sao cho không thể vận hành nhiều hơn một thiết bị trong một thao tác.
Để tránh các mối nguy do thao tác vô ý của người lớn hoặc thao tác của trẻ em, phải có ít nhất hai cơ cấu khóa, yêu cầu một trong hai cơ cấu sau:
a) hai thao tác riêng biệt tác động lên hai bộ phận riêng biệt cửa xe;
b) hai hành động liên tiếp, hành động đầu tiên được duy trì trong khi hành động thứ hai được thực hiện.
Để tránh nguy hiểm do tay cầm không khóa, ít nhất một trong các cơ cấu khóa phải tự động vào khớp khi tay cầm ở vị trí sử dụng.
Khi thử theo các thử nghiệm sau đây, (các) cơ cấu khóa của tay cầm không được nhả ra:
- Thử bề mặt không đều (xem 8.10.4);
- Thử độ bền động (xem 8.10.5);
- Kiểm tra độ bền của tay cầm (xem 8.10.7).
8.3.5.3.2 Yêu cầu đối với tay cầm dạng ống lồng
Tay cầm dạng ống lồng phải được trang bị các thiết bị để tránh tình trạng vô tình bị tách rời hoặc rời ra trong quá trình sử dụng.
Khi thân xe đẩy, bộ phận ghế ngồi hoặc ghế ô tô được gắn vào khung xe theo hướng dẫn của nhà sản xuất, phải rõ ràng đối với người chăm sóc rằng thân xe đẩy, bộ phận ghế ngồi hoặc ghế ô tô đã được đặt đúng vị trí và khóa chặt.
Để tránh các mối nguy do tách rời không chủ ý của thân xe đẩy, bộ phận ghế ngồi hoặc ghế ô tô, trọng lượng của trẻ phải tác dụng ngược lại việc tách rời thân xe đẩy, bộ phận ghế ngồi hoặc ghế ô tô, và một trong các yêu cầu sau đây phải được đáp ứng:
a) Cần một lực tối thiểu là 50 N hoặc mô men xoắn tối thiểu là 0,34 N·m để nhả cơ cấu gắn thân xe đẩy, bộ phận ghế ngồi hoặc ghế ô tô vào khung xe;
b) Ít nhất phải có hai hành động liên tiếp để tách rời thân xe đẩy, bộ phận ghế ngồi hoặc ghế ô tô hoặc nhả cơ cấu gắn, trong đó hành động đầu tiên phải được duy trì trong khi thực hiện hành động thứ hai;
c) Ít nhất phải có hai hành động độc lập đồng thời để tách rời thân xe đẩy, bộ phận ghế ngồi hoặc ghế ô tô hoặc nhả cơ cấu gắn;
d) Phải có hơn hai hành động độc lập để tách rời thân xe đẩy, bộ phận ghế ngồi hoặc ghế ô tô.
Điều này phải được đánh giá cả khi có và không có khối thử trong sản phẩm. Thân xe đẩy, bộ phận ghế ngồi hoặc ghế ô tô không được rơi xuống bởi trọng lượng của chính phương tiện khi tất cả các cơ cấu gắn được nhả.
8.4 Mối nguy do vướng, mắc
8.4.1 Yêu cầu
Hệ thống an toàn, quai túi và tay xách của thân xe đẩy hoặc nôi xách được loại trừ khỏi các yêu cầu này.
Dây, dây rút và các loại vải bản hẹp khác có điểm bắt đầu bên trong hoặc kéo dài vào bên trong thân xe đẩy, bộ phận ghế ngồi hoặc ghế ô tô không được tạo thành một vòng có chu vi vượt quá 360 mm. Các chi tiết này không được có chiều dài tự do khi kéo căng vượt quá 220 mm, khi được đo theo 8.4.2.
Dây, dây rút và các loại vải bản hẹp khác không bắt nguồn từ không gian dành cho trẻ (xem 4.7) nhưng có thể kéo dài vào thân xe đẩy, bộ phận ghế ngồi hoặc ghế ô tô, không được tạo thành một vòng có chu vi vượt quá 360 mm. Các chi tiết này không được có chiều dài tự do khi kéo căng vượt quá 220 mm bên trong thân xe đẩy, bộ phận ghế ngồi hoặc ghế ô tô, khi được đo theo 8.4.2, chỉ tính bộ phận của chi tiết có thể kéo dài vào thân xe đẩy, bộ phận ghế ngồi hoặc ghế ô tô.
Trường hợp dây, ruy băng và các bộ phận tương tự được gắn vào xe hoặc cách nhau trong khoảng 80 mm, tất cả dây đơn lẻ phải có chiều dài tự do tối đa là 220 mm. Tổng chiều dài từ một đầu lỏng này đến đầu lỏng kia phải tối đa là 360 mm (xem Hình 36).

Hình 36 - Ví dụ về dây, ruy băng hoặc các bộ phận tương tự được sử dụng để buộc
8.4.2 Phương pháp thử
Chiều dài của dây, ruy băng hoặc bộ phận tương tự phải được đo từ điểm cố định trên xe đến đầu tự do của dây, ruy băng hoặc bộ phận tương tự dưới lực kéo 25 N.
Kích thước ngoại vi của vòng phải được đo từ điểm cố định trên xe ở một đầu đến điểm cố định ở đầu kia dưới lực kéo 25 N.
Khi dây, ruy băng, vòng hoặc các bộ phận tương tự không bắt nguồn từ không gian dành cho trẻ em (xem 4.8), phép đo phải được thực hiện từ mép xung quanh bề mặt bên trong phía trên đỡ trẻ.
8.5 Mối nguy do nghẹn và nuốt phải
8.5.1 Yêu cầu
Khi thử theo 8.5.2.1 và 8.5.2.2, bất kỳ bộ phận hoặc bộ phận nào của bộ phận trong thể tích được bảo vệ bị tháo ra, cho dù có mục đích tháo ra mà không sử dụng dụng cụ hay không, đều không được lắp hoàn toàn vào các bộ phận nhỏ. hình trụ (xem 5.6) theo bất kỳ hướng nào mà không bị nén.
Không được sử dụng nhãn chất dẻo tự dính trên bề mặt bên trong của thân xe đẩy hoặc bộ phận ghế ngồi. Nhãn truyền nhiệt không được coi là tự dính.
Các thanh cản mà người ngồi trong xe có thể tiếp cận và phía trước phải đáp ứng một trong các yêu cầu sau:
a) thanh cản không chứa xốp hoặc vật liệu độn khác;
b) lớp phủ thanh cản ngăn không cho lớp xốp hoặc vật liệu độn bên dưới bị lộ ra khi thử theo 8.5.2.3.
8.5.2 Phương pháp thử
8.5.2.1 Thử mô-men xoắn[8]
Tác dụng từ từ mô-men xoắn vào linh kiện trong khoảng thời gian 5 s theo chiều kim đồng hồ cho đến khi:
- đạt được góc quay 180° so với vị trí ban đầu;
- đạt được mô-men xoắn 0,34 Nm.
Lực quay tối đa hoặc mô-men xoắn yêu cầu phải được áp dụng trong 10 s.
Sau đó, để các chi tiết trở lại trạng thái thả lỏng và lặp lại quy trình theo chiều ngược chiều kim đồng hồ.
Khi các phần nhô ra, chi tiết hoặc cụm lắp ráp được lắp cứng trên thanh hoặc trục có thể tiếp xúc được được thiết kế để quay cùng với các phần nhô ra, linh kiện hoặc cụm lắp ráp, trong quá trình thử, thanh hoặc trục phải được kẹp chặt để ngăn ngừa sự quay.
Nếu một chi tiết được gắn bằng ren vít bị lỏng trong quá trình tác dụng mô-men xoắn yêu cầu, phải tiếp tục tác dụng mô-men xoắn cho đến khi vượt quá mô-men xoắn yêu cầu, chi tiết phải tháo rời hoặc thấy rõ rằng linh kiện sẽ không thể tháo rời.
Khi sử dụng kẹp và thiết bị thử, phải cẩn thận không làm hỏng cơ cấu gắn hoặc thân của chi tiết.
Kiểm tra xem bất kỳ chi tiết hoặc bộ phận nào của chi tiết được tháo ra trong quá trình thử có lọt vào ống trụ thử các chi tiết nhỏ không.
8.5.2.2 Thử độ bền kéo
Phép thử độ bền kéo phải được thực hiện trên các chi tiết giống như thử mô-men xoắn.
Gắn một kẹp phù hợp vào chi tiết, chú ý không làm hỏng chi tiết hoặc bất kỳ bộ phận nào của sản phẩm.
Tác dụng lực kéo lên đến 70 N đối với vải và 90 N đối với các chi tiết khác cần thử. Tác dụng lực từ từ trong khoảng thời gian 5 s và duy trì trong 10 s.
Kiểm tra xem chi tiết hoặc bất kỳ bộ phận nào của chi tiết bị rời ra trong quá trình thử có lọt vào ống trụ thử các chi tiết nhỏ không.
8.5.2.3 Phương pháp thử tháo lớp phủ bảo vệ thanh cản
Nếu lớp bảo vệ có thể tháo rời, lắp đặt lớp bảo vệ thanh bảo vệ theo hướng dẫn của nhà sản xuất lên thanh bảo vệ.
Gắn một thiết bị đo lực vào lớp bảo vệ bằng cách sử dụng kẹp, ví dụ như mô tả trong mục 5.11. Phép thử này sẽ được coi là đạt nếu vật liệu lớp bảo vệ thanh bảo vệ không thể được nắm giữa ngón cái và ngón trỏ của nhân viên thử nghiệm một cách đủ để kẹp bởi các mỏ kẹp có đường kính 19 mm.
Thiết bị kẹp chỉ được gắn vào lớp bảo vệ thanh bảo vệ và không được gắn vào lớp xốp hoặc các vật liệu đệm bên dưới lớp bảo vệ, cũng như không được gắn vào các thiết bị gắn như khóa kéo hoặc các miếng dán Velcro.
Từ từ tác dụng lực 70 N theo hướng có khả năng nhất làm lộ ra lớp xốp hoặc vật liệu đệm bên dưới lớp bảo vệ trong khoảng thời gian 5 s và giữ nguyên trong 10 s tiếp theo.
Kiểm tra bằng mắt xem liệu lớp xốp hoặc vật liệu đệm có bị lộ ra hay không..
8.6 Mối nguy do ngạt thở
8.6.1 Lớp lót bên trong của thân xe đẩy và bộ phận ghế ngồi
Khi lớp lót bên trong của thân xe đẩy hoặc bộ phận ghế ngồi được làm từ chất dẻo hoặc vật liệu phủ chất dẻo, độ dày tối thiểu của nó phải là 0,2 mm.
Khi lớp lót bên trong của thân xe đẩy hoặc bộ phận ghế ngồi được làm từ vải không tráng phủ chất dẻo, nó phải được căng đủ để không gây mối nguy ngạt thở cho trẻ em.
8.6.2 Các yêu cầu đối với bao bì
CHÚ THÍCH Bao bì bao gồm bao bì sử dụng một lần và bao bì sử dụng nhiều lần.
Các chất dẻo mềm dẻo được sử dụng cho bao bì, bao gồm túi, phải tuân thủ một trong các yêu cầu sau:
a) Bao bì phủ diện tích lớn hơn 100 mm × 100 mm khi thử theo ISO 8124-1:2018, Điều 5.10, phải có độ dày trung bình không nhỏ hơn 0,038 mm;
b) Bao bì có độ dày trung bình nhỏ hơn 0,038 mm và phủ diện tích lớn hơn 100 mm × 100 mm phải có các lỗ thủng sao cho ít nhất 1 % diện tích bị kiểu Bỏ trên bất kỳ khu vực nào có kích thước 30 mm × 30 mm.
Túi làm từ vật liệu không thấm nước có chu vi lỗ mở lớn hơn 360 mm không được có dây rút hoặc dây để buộc miệng túi.
8.7 Mối nguy từ các cạnh và phần nhô ra
Tất cả các cạnh, bề mặt và phần nhô ra lộ ra ngoài trong khoang được bảo vệ của phương tiện phải được bo tròn hoặc vát mép và không có các ba Via hoặc cạnh sắc.
Tất cả các bề mặt khác phải không có ba Via hoặc cạnh sắc.
8.8 Thiết bị đỗ xe và phanh
8.8.1 Yêu cầu
Phương tiện phải được trang bị một thiết bị đỗ xe, cơ cấu của thiết bị có thể được vận hành bởi người chăm sóc đứng gần tay cầm.
Nếu thiết bị đỗ xe hoặc cơ cấu vận hành của nó nằm trong khoang được bảo vệ, nó phải được thiết kế sao cho không thể được vận hành bởi trẻ em ngồi trong phương tiện. Yêu cầu này được đáp ứng khi có một trong các điều kiện sau:
a) Cần lực tối thiểu 50 N hoặc mô men xoắn tối thiểu 0,34 N-m để nhả thiết bị đỗ xe;
b) Cần ít nhất hai hành động liên tiếp để nhả thiết bị đỗ xe, hành động đầu tiên phải được duy trì trong khi hành động thứ hai được thực hiện;
c) Cần ít nhất hai hành động độc lập đồng thời để nhả thiết bị đỗ xe;
d) Cần ít nhất ba hành động độc lập để nhả thiết bị đỗ xe.
Khi được thử nghiệm theo 8.8.2.2, 8.8.2.3 và 8.8.2.4, phương tiện phải giữ được trạng thái tĩnh trên dốc trong ít nhất 1 min.
Chuyển động tối đa của bất kỳ bánh xe hoặc bộ bánh xe nào không được vượt quá 90 mm khi thử nghiệm theo 8.8.2.5. Yêu cầu này không áp dụng cho các phương tiện mà thiết bị đỗ xe tác động trực tiếp lên lốp xe và các thiết bị đỗ xe không có khoảng cách giữa các vị trí khác nhau.
Thiết bị đỗ xe phải được thử nghiệm theo 8.8.2.2 đến 8.8.2.5 cả trước và sau khi trải qua bài thử nghiệm bề mặt không đều (xem 8.10.4). Việc điều chỉnh ma sát (xem 8.8.2.6), nếu có, phải được thực hiện sau phép thử bề mặt không đều (xem 8.10.4).
Nếu phương tiện có thiết bị phanh, người chăm sóc phải có khả năng kích hoạt thiết bị phanh khi đang di chuyển.
CHÚ THÍCH Đối với các phương tiện có tay cầm có thể đảo ngược và thiết bị kích hoạt bằng chân, có thể cần có các thiết bị như vậy ở mỗi bên nơi người chăm sóc di chuyển, đẩy hoặc kéo phương tiện.
Khi thiết bị phanh và thiết bị đỗ xe được kết hợp trong một cơ cấu, hành động để kích hoạt thiết bị phanh phải khác với hành động để kích hoạt thiết bị đỗ xe. Hành động phanh không được kích hoạt thiết bị đỗ xe.
Mọi bệ sàn hoặc bộ phận của phương tiện không được cản trở khả năng tiếp cận cơ cấu vận hành của thiết bị đỗ xe hoặc thiết bị phanh.
Bệ sàn hoặc bộ phận của phương tiện không được cản trở khả năng tiếp cận cơ cấu vận hành của thiết bị đỗ xe hoặc thiết bị phanh.
8.8.2 Phương pháp thử
8.8.2.1 Điều kiện thử chung
Vận hành thiết bị đỗ xe 200 lần trước khi thực hiện các phép thử. Vị trí các khối thử như sau:
- Trong thân xe đẩy, khối thử A hoặc B đối với thân xe đẩy có chiều dài bên trong lớn hơn 800 mm phải được đặt ở vị trí trung tâm và theo phương ngang.
- Trong ghế xe kiểu A, khối thử A và trong ghế xe kiểu B, khối thử F phải được đặt ở vị trí trung tâm dựa vào tựa lưng sao cho cạnh dưới của nó tiếp xúc với đường giao nhau giữa ghế và tựa lưng.
- Trong bộ phận ghế ngồi, khối thử B phải được đặt ở vị trí trung tâm dựa vào tựa lưng sao cho cạnh dưới của nó tiếp xúc với đường giao nhau giữa ghế và tựa lưng.
- Đối với phương tiện có bệ sàn, phép thử sẽ được thực hiện với khối thử G được đặt đều và cố định sao cho điểm giữa đáy của khối thử G nằm trên đường trung tâm của bệ sàn, vuông góc với mặt đất khi phương tiện được đặt trên dốc. Nếu cần, sử dụng miếng đệm không đáng kể để duy trì vị trí khối thử G.
Đối với vị trí có góc giữa tựa lưng và ghế từ 150° trở lên, khối thử B phải được đặt sao cho đường giao nhau giữa tựa lưng và ghế trùng với mặt phẳng ngang qua trung tâm khối thử. Nếu phương tiện được thiết kế cho nhiều trẻ em, sử dụng số khối thử phù hợp, tối đa một khối cho mỗi vị trí. Các tải trọng bổ sung phải được đặt ở vị trí trung tâm trong khoang chứa và cố định bằng vật liệu đệm không đáng kể.
CHÚ THÍCH 1 Các điều kiện khắc nghiệt nhất cho phép thử thiết bị đỗ xe đạt được khi số khối thử trong phương tiện ít hơn số lượng trẻ em mà phương tiện được thiết kế cho. Nếu phương tiện thiết kế cho nhiều trẻ em và có thể chứa thân xe đẩy, bộ phận ghế ngồi, hoặc ghế xe, các kết hợp của chúng phải được tải với khối thử phù hợp.
Mọi chuyển động ban đầu của bánh xe trên dốc sẽ không được tính trong phép thử.
CHÚ THÍCH 2 Chuyển động này có thể là do sự tương tác giữa thiết bị đỗ xe và phương tiện, cùng với hệ thống treo và sự lún kết cấu.
8.8.2.2 Phương tiện hướng lên dốc
Đặt phương tiện lên bề mặt thử nghiệm (xem 5.7) nghiêng 9° hướng lên dốc. Kích hoạt cơ cấu phanh. Nếu phương tiện được trang bị bánh xoay hoặc bánh lái, thì:
- bánh xoay hoặc bánh lái đối diện với tay cầm phải được mở khóa và đặt ở vị trí mà chúng sẽ thường xuyên tự động khi phương tiện di chuyển theo hướng đối diện;
- bất kỳ bánh xoay hoặc bánh lái nào ở đầu tay cầm phải được khóa.
8.8.2.3 Phương tiện hướng xuống dốc
Lặp lại 8.8.2.2 với phương tiện hướng xuống dốc.
8.8.2.4 Phương tiện vuông góc với dốc
Đặt phương tiện vuông góc với hướng dốc trên bề mặt thử (xem 5.7) nghiêng 9°. Kích hoạt cơ cấu phanh. Nếu phương tiện được trang bị bánh xoay, thì:
- bất kỳ bánh xoay nào ở đầu tay cầm phải được khóa;
- bánh xoay đối diện với tay cầm phải được mở khóa và đặt ở vị trí mà chúng sẽ thường xuyên tự động khi phương tiện di chuyển theo hướng đang đối diện.
8.8.2.5 Thử chuyển động của bánh xe
Đặt phương tiện cần thử nghiệm lên bề mặt thử nghiệm (xem 5.7) nghiêng 9° hướng lên dốc và kích hoạt cơ cấu phanh. Để phương tiện đạt trạng thái thăng bằng.
Sử dụng một vật cản hình chữ nhật, đánh dấu vị trí bánh xe xuống dốc bằng một đường vuông góc với hướng dốc. Kiểu Bỏ vật cản.
Giữ nguyên vị trí của phương tiện bằng tay và đồng thời tháo cơ cấu phanh. Để phương tiện di chuyển xuống dốc sao cho cơ cấu phanh được kích hoạt ở vị trí tiếp theo. Sử dụng vật cản hình chữ nhật, đánh dấu vị trí bánh xe xuống dốc bằng một đường vuông góc với dốc.
Đo khoảng cách giữa hai đường đã đánh dấu.
8.8.2.6 Thử mài mòn
Phép thử mài mòn phải được thực hiện nếu phương tiện được trang bị cơ cấu phanh hoạt động trên bánh xe. Phép thử phải được thực hiện trên các bánh xe mà cơ cấu phanh hoạt động.
Phép thử mài mòn phải được thực hiện sau khi thử bề mặt không đều (xem 8.10.4).
Phép thử mài mòn phải được thực hiện trên một trống, có thể vận hành với tốc độ (5 ± 0,1) km/h. Bề mặt trống được phủ giấy nhôm oxit loại 80 với các chướng ngại vật dạng cam cao 12 mm, như trong Hình 37. Phải sử dụng giấy nhôm oxit mới cho mỗi phép thử.

CHÚ DẪN
1 Phương tiện
2 Chướng ngại vật hình cam
3 Giấy ôxít nhôm loại 80
Hình 37 - Thử mài mòn
Đặt và cố định một trong các khối thử sau:
- khối thử A ở đáy của các thân xe đẩy có chiều dài trong không gian nội thất từ 800 mm trở xuống khi đo theo tiêu chuẩn 8.1.2.2 hoặc trong các ghế ô tô kiểu A;
- khối thử B cho các thân xe đẩy có chiều dài trong không gian nội thất lớn hơn 800 mm khi đo theo tiêu chuẩn 8.1.2.2;
- khối thử F cho ghế ô tô kiểu B;
- khối thử B cho các bộ phận ghế ngồi.
Phép thử mài mòn phải bao gồm 100.000 chướng ngại vật dạng cam. Khoảng cách giữa các chướng ngại vật phải là (400 0/+40) mm.
Đối với các phương tiện có cấu hình thay thế, phải thực hiện tổng cộng 100.000 lần, với tối thiểu 50.000 chu kỳ trong cấu hình bộ phận ghế ngồi và đối với 50.000 chu kỳ còn lại, mỗi cấu hình sẽ có số chu kỳ bằng nhau.
8.9 Độ ổn định
8.9.1 Độ ổn định của phương tiện
8.9.1.1 Yêu cầu
Xe không được bị lật khi thử theo 8.9.1.2. Thân xe đẩy, bộ ghế hoặc thiết bị gắn vào ghế ô tô không được bị rời ra trong quá trình thử.
8.9.1.2 Cách tiến hành
8.9.1.2.1 Vị trí của phương tiện
Đặt phương tiện lên bề mặt thử (xem 5.7) nghiêng với góc 12° mà không kích hoạt cơ cấu phanh.
Phương tiện phải được đặt nhẹ nhàng vào các cữ chặn 25 mm (xem 5.8) mà không có lực tác động thêm. Thực hiện thử với phương tiện theo các hướng: phía trước, phía sau (xem Hình 38) và sau đó là vuông góc với dốc, hướng sang trái và hướng sang phải.

CHÚ DẪN
1 Bánh xe
2 Cữ chặn
3 Hướng dốc
A - Ví dụ ổn định phía sau
B - Ví dụ ổn định phía trước
Hình 38 - Độ ổn định phía sau và phía trước
Khi đánh giá độ ổn định ngang, đặt xe một lần vuông góc với bề mặt thử và một lần sao cho (các) bánh trước thẳng hàng với (các) bánh sau, như nêu trong Hình 39.

CHÚ DẪN
1 Bánh xe
2 Cữ chặn
3 Hướng dốc
4 Vuông góc với bề mặt thử
5 Bánh xe trước thẳng hàng với bánh xe sau
Hình 39 - Độ ổn định ngang
Nếu phương tiện vượt qua cữ chặn 25 mm × 25 mm, sử dụng cữ chặn 50 mm × 50 mm để giữ phương tiện nằm trên bề mặt thử. Cữ chặn bổ sung chỉ được đặt để chặn bánh xe vượt qua cữ chặn 25 mm × 25 mm.
Khi phương tiện có bánh xe xoay hoặc bánh lái, các bánh này phải được đặt theo phương vuông góc và/hoặc song song với hướng dốc, tùy theo điều kiện nào gây bất lợi nhất.
Để thay đổi vị trí của phương tiện, phải dỡ khối thử ra, sau đó nạp lại tải để đánh giá độ ổn định.
8.9.1.2.2 Độ ổn định của xe đẩy (cho một trẻ)
8.9.1.2.2.1 Xe đẩy (cho một trẻ) có chiều dài bên trong từ 800 mm trở xuống
Chất tải vào xe đẩy có chiều dài bên trong từ 800 mm trở xuống với khối thử A đặt ở giữa thân xe đẩy, với dung sai ±10 mm sao cho trục dọc và trục ngang của thân xe đẩy và khối thử thẳng hàng.
Hạn chế chuyển động của khối thử bằng các nêm có khối lượng không đáng kể.
8.9.1.2.2.2 Xe đẩy (cho một trẻ) có chiều dài bên trong lớn hơn 800 mm
Chất tải vào xe đẩy có chiều dài bên trong lớn hơn 800 mm với khối thử B đặt ở giữa thân xe đẩy, với dung sai ±10 mm sao cho trục dọc và trục ngang của thân xe đẩy và khối thử thẳng hàng.
Hạn chế chuyển động của khối thử bằng các nêm có khối lượng không đáng kể.
8.9.1.2.3 Độ ổn định của xe đẩy (cho một trẻ)
Đối với bất kỳ vị trí nào mà góc giữa lưng tựa và mặt ghế nhỏ hơn 150° (khi được đo theo 8.1.1.2.1), điều chỉnh bộ phận ghế ngồi về vị trí thẳng đứng nhất và đặt khối thử B lên bộ phận ghế ngồi, tựa vào lưng ghế. Nâng toàn bộ khối thử B lên ít nhất 50 mm so với mặt ghế, đảm bảo khối thử vẫn tiếp xúc hoàn toàn với lưng tựa. Khi khối thử đang ở vị trí này, nhẹ nhàng hạ xuống thấp nhất có thể cho đến khi nó tựa hoàn toàn lên mặt ghế bằng trọng lượng của chính nó.
Khi cần thiết để duy trì vị trí của khối thử áp sát vào lưng tựa, có thể sử dụng nêm có khối lượng không đáng kể để giữ ổn định khối thử (xem Hình 40 a)). Khối thử được đặt ở vị trí giữa lưng tựa sao cho trục dọc của khối thử và trục dọc của lưng tựa trùng nhau (xem Hình 40 b)).
Khi lưng tựa có thể ngả, lưng tựa phải được ngả ra mà không tháo khối thử B khỏi ghế, đồng thời vẫn giữ tiếp xúc giữa khối thử và lưng tựa trong suốt quá trình thử.

| a) Hình chiếu bên | b) Hình chiếu đứng |
CHÚ DẪN
| 1 Khối thử B | 5 Đường giao nhau giữa mặt ghế và lưng tựa |
| 2 Lưng tựa | 6 Trục dọc của khối thử |
| 3 Bộ phận ghế ngồi | 7 Trục dọc của bộ phận ghế ngồi (đường tâm của mặt ghế) |
| 4 Nêm có khối lượng không đáng kể |
|
Hình 40 - Vị trí của khối thử B trong bộ ghế để thử độ ổn định
Đối với các vị trí trong đó góc giữa tựa lưng và ghế bằng hoặc lớn hơn 150°, khối thử B phải được đặt sao cho đường giao nhau của tựa lưng ghế và mặt phẳng ngang qua tâm của khối thử thẳng hàng (xem Hình 41).

CHÚ DẪN
1 Khối thử B
2 Tựa lưng ở vị trí ngả
3 Mặt ghế
4 Đường giao nhau giữa mặt ghế và tựa lưng
5 Mặt phẳng ngang đi qua tâm của khối thử
Hình 41 - Vị trí của khối thử B để thử độ ổn định của xe đẩy trong đó góc giữa tựa lưng và ghế bằng hoặc lớn hơn 150°
8.9.1.2.4 Độ ổn định của xe được lắp ghế ô tô
Đặt khối thử A vào ghế ô tô kiểu A và khối thử F vào ghế ô tô kiểu B được đặt ở giữa tựa lưng (xem Hình 42) sao cho cạnh dưới của khối thử tiếp xúc với điểm thấp nhất bên trong ghế ô tô. Khi cần thiết để duy trì vị trí của khối thử, phải sử dụng các nêm có khối lượng không đáng kể để đỡ khối thử.

Hình 42 - Vị trí của khối thử F để thử độ ổn định của xe có lắp ghế ngồi trên ô tô
8.9.1.2.5 Độ ổn định của phương tiện chở nhiều trẻ em
Nếu xe nôi được thiết kế cho nhiều hơn một trẻ em, sử dụng số lượng khối thử tương ứng, tối đa một khối cho mỗi vị trí dự kiến dành cho trẻ, như mô tả trong 8.9.1.2.2.1 hoặc 8.9.1.2.2.2.
Nếu xe đẩy được thiết kế cho nhiều hơn một trẻ em, sử dụng số lượng khối thử tương ứng, tối đa một khối cho mỗi vị trí dự kiến dành cho trẻ, như mô tả trong 8.9.1.2.3.
Nếu xe đẩy trẻ em có thể chở nhiều hơn một trẻ và bộ khung có thể lắp thân xe đẩy, bộ phận ghế ngồi và/hoặc ghế ô tô, thì các tổ hợp cấu hình như được mô tả trong hướng dẫn sử dụng của nhà sản xuất và trong phần ghi nhãn sản phẩm phải được chất tải bằng khối thử thích hợp theo quy định tại 8.9.1.2.2 đến 8.9.1.2.4. Điều kiện thử nghiêm ngặt nhất phải được xác định dựa trên tổ hợp giữa thân xe đẩy, bộ phận ghế ngồi hoặc ghế ô tô.
CHÚ THÍCH: Điều kiện ổn định nghiêm ngặt nhất xảy ra khi số lượng khối thử được đặt trong xe ít hơn tổng số khối thử tương ứng với số vị trí ngồi.
8.9.1.2.6 Độ ổn định của xe được lắp bệ tích hợp
Phép thử phải được thực hiện trên xe đẩy có gắn bệ tích hợp, với và không có khối thử A hoặc B hoặc F trên bộ phận ghế ngồi, thân xe nôi hoặc ghế ô tô.
Xe được đặt trên bề mặt nằm ngang.
Tựa lưng phải được đặt ở vị trí dựng thẳng nhất.
Đặt và cố định khối thử G, sao cho điểm giữa của đáy khối thử G nằm trên đường tâm của bệ tích hợp. Khối thử G phải được giữ ổn định dọc theo bệ tích hợp bằng một thanh cứng. Hai bộ phận này phải được giữ cách nhau bằng bất kỳ phương tiện nối nào có khối lượng không đáng kể.
Khối thử G phải được định vị và cố định sao cho vuông góc với bề mặt thử. Trường hợp hình dạng của xe không cho phép khối thử G đặt ở vị trí thẳng đứng, thì khối này phải được đặt ở vị trí gần thẳng đứng nhất có thể.
Tác dụng một lực 50 N theo phương thẳng đứng xuống điểm giữa của tay cầm. Nếu là tay cầm rời, nối các tay cầm bằng một thanh cứng và tác dụng lực tại điểm giữa của thanh đó.
8.10 Độ bền kết cấu
8.10.1 Tay cầm và điểm neo tay cầm của thân xe đẩy và bộ phận ghế ngồi có chức năng xách tay
8.10.1.1 Yêu cầu
Các điểm gắn hoặc đỉnh của cơ cấu giữ tay cầm mềm phải được bố trí ở vị trí ít nhất bằng ba phần tư chiều cao của thân xe đẩy, đo từ bên ngoài tính từ đáy.
Khi thử theo 8.10.1.2, các điểm neo của tay cầm của thân xe đẩy hoặc bộ phận ghế ngồi có chức năng xách tay không được bị gãy hoặc bị kéo bật ra.
Tính toàn vẹn của các điểm neo phải được duy trì.
Không được có sự biến dạng vĩnh viễn hoặc hư hỏng ở bất kỳ phần nào của thân xe đẩy, bộ phận ghế ngồi có chức năng xách tay, tay cầm hoặc điểm gắn sau khi được thử theo 8.10.1.2.
8.10.1.2 Phương pháp thử
Đặt khối thử c tại tâm hình học của thân xe đẩy và chất tải đều để tổng khối lượng đạt 38 kg, hoặc 38 kg trên mỗi trẻ em nếu được thiết kế cho nhiều hơn một trẻ.
Chất tải đều bộ phận ghế ngồi có thể tháo rời đến tổng khối lượng 38 kg, hoặc 38 kg trên mỗi trẻ em nếu được thiết kế cho nhiều hơn một trẻ.
Treo thân xe đẩy hoặc bộ phận ghế ngồi bằng tay cầm của nó như mô tả trong 8.10.2.2 trong vòng 30 min.
8.10.2 Độ ổn định theo chiều dọc của thân xe đẩy có tay cầm
8.10.2.1 Yêu cầu
Khi thử theo 8.10.2.2, góc nghiêng lớn nhất của thân xe đẩy theo hướng đầu hoặc chân không được vượt quá 10°.
8.10.2.2 Phương pháp thử
Đặt khối thử A tại tâm hình học của thân xe đẩy. Nếu xe được thiết kế cho nhiều hơn một trẻ, sử dụng số khối thử tương ứng, tối đa một khối cho mỗi vị trí dành cho trẻ. Việc di chuyển của khối thử có thể được hạn chế nếu cần thiết bằng bất kỳ phương tiện thuận tiện nào có khối lượng không đáng kể.
Nếu thân xe đẩy có mui che, mui che phải được gập xuống.
Nếu thân xe đẩy có tay cầm cứng, lấy hai đoạn dây đai rộng 20 mm có chiều dài bằng nhau và gắn mỗi đoạn vào tay cầm cứng để tạo thành các vòng dây đai.
Treo thân xe đẩy bằng tay cầm hoặc bằng các vòng dây đai từ một thanh kim loại có tiết diện 40 mm × 40 mm với bán kính ngoài xấp xỉ 5 mm.
Nếu thân xe đẩy có tay cầm ngang, treo bằng tay cầm từ thanh kim loại đã mô tả sao cho tay cầm vuông góc với thanh kim loại.
8.10.3 Độ bền và độ bền lâu dài của các cơ cấu gắn kết thân xe đầy, bộ phận ghế ngồi, ghế ô tô hoặc nôi xách tay
8.10.3.1 Yêu cầu
Sau khi thử theo 8.10.3.2, các cơ cấu dùng để gắn thân xe đẩy, bộ phận ghế ngồi hoặc ghế ô tô vào khung xe không được bị tách rời, lỏng ra hoặc có dấu hiệu hư hỏng trong hoặc sau khi thử. Thân xe đẩy, bộ phận ghế ngồi hoặc ghế ô tô không được tách khỏi khung xe.
Sau khi thử theo 8.10.3.2, bất kỳ nôi xách tay nào gắn vào bộ phận ghế ngồi không được tách ra khỏi bộ phận ghế ngồi.
8.10.3.2 Phương pháp thử
Lắp thân xe đẩy, bộ phận ghế ngồi hoặc ghế ô tô lên khung xe và vận hành cơ cấu gắn kết giữ chúng với khung xe 200 lần.
Khi thân xe đẩy được gắn vào bộ phận ghế ngồi, vận hành cơ cấu gắn kết 200 lần.
Đặt khối thử A vào đáy của thân xe đẩy hoặc ghế ô tô loại A nếu chiều dài trong nhỏ hơn 800 mm.
Đặt khối thử B vào đáy thân xe đẩy nếu chiều dài trong lớn hơn 800 mm. Đặt khối thử B vào bộ phận ghế ngồi và cố định tại vị trí trung tâm.
Đặt khối thử F vào ghế ô tô loại B và cố định tại vị trí trung tâm.
Nếu xe được thiết kế cho nhiều hơn một trẻ, sử dụng số khối thử tương ứng, tối đa một khối cho mỗi vị trí dành cho trẻ.
Gắn xe bằng bánh xe hoặc trục với một bệ thử cứng có thể được xoay theo trục song song với mặt đất.
Từ từ xoay xe có gắn khối thử một góc 100° so với phương ngang, cả theo chiều kim đồng hồ và ngược chiều kim đồng hồ sao cho chỉ các cơ cấu gắn kết truyền tải tải trọng thử đến khung xe hoặc bộ phận ghế ngồi (xem Hình 43).
Giữ nguyên vị trí này trong 5 min theo mỗi hướng.

Hình 43 - Kiểm tra độ bền và độ bền của các thiết bị gắn vào thân xe đẩy, bộ phận ghế ngồi và ghế ngồi ô tô
8.10.4 Thử bề mặt không đều
8.10.4.1 Yêu cầu
Khi thử theo phương pháp 8.10.4.2, không có phần nào của sản phẩm bị gãy hoặc biến dạng gây ảnh hưởng đến sự an toàn của xe. Các dấu hiệu mài mòn không được coi là lỗi. Xe không được phép sụp đổ. Các cơ cấu khóa và thiết bị gắn phải vẫn hoạt động như dự kiến. Các thiết bị dùng để kết nối thân xe đầy, bộ phận ghế ngồi hoặc ghế ô tô với khung xe không được phép bị tách rời, lỏng hoặc hư hỏng trong hoặc sau khi thử nghiệm. Sau khi thử theo 8.10.4.2, xe phải vẫn tuân thủ các yêu cầu của 8.2, 8.3, 8.5, 8.8 và 8.9.
8.10.4.2 Phương pháp thử
Xe phải được đặt lên thiết bị thử bề mặt không đều (xem 5.9) sao cho tay cầm của xe có thể được kết nối với các cánh tay khớp độc lập (xem 5.9.2). Các tay cầm phải được kết nối với các cánh tay khớp, ban đầu được định vị ngang sao cho chuyển động tự do của tay cầm không bị hạn chế hoặc kiểm soát bởi các cánh tay khớp. Nếu có nhiều hơn hai tay cầm, các cánh tay khớp sẽ được kết nối với cặp tay cầm ngoài cùng. Tay cầm của xe đẩy trẻ em phải được bảo vệ bằng xốp hoặc vật liệu khác có khối lượng không đáng kể.
Đặt các khối thử liên quan như sau:
- Trong thân xe đẩy, khối thử A hoặc khối thử B cho thân xe đẩy có chiều dài bên trong lớn hơn 800 mm khi đo theo phương pháp 8.1.2.2 phải được đặt ở vị trí trung tâm và ở trạng thái ngang.
- Trong ghế ô tô loại A, khối thử A và trong ghế ô tô loại B, khối thử F phải được đặt ở vị trí trung tâm dựa vào tựa lưng sao cho cạnh dưới của nó tiếp xúc với đường giao nhau giữa ghế và tựa lưng.
- Trong bộ phận ghế ngồi, khối thử B phải được đặt ở vị trí trung tâm dựa vào tựa lưng sao cho cạnh dưới của nó tiếp xúc với đường giao nhau giữa ghế và tựa lưng, cố định khối thử bằng hệ thống an toàn và dây đai thích hợp nếu cần thiết.
Đặt bất kỳ tựa lưng điều chỉnh nào của bộ phận ghế ngồi vào vị trí thẳng đứng nhất. Nếu xe được thiết kế cho nhiều trẻ, sử dụng số lượng khối thử phù hợp, lên đến một khối ở mỗi vị trí dự định được chiếm đóng bởi một đứa trẻ. Các bánh xe xoay hoặc lái sẽ được mờ khóa.
Chuyển động tối đa của khối thử trong khi thiết lập không vượt quá 50 mm theo bất kỳ hướng nào bằng cách sử dụng dây đai liên kết các điểm neo trên khối thử với các điểm gắn trên xe. Để giữ cho xe ở vị trí trung tâm trên thiết bị thử nghiệm bề mặt không đều trong suốt bài thử, có thể sử dụng dây đai bên để dẫn hướng xe với một lượng căng tối thiểu áp dụng lên xe. Các dây đai này nên được gắn ngang vào chân trước của xe và mặt bên và/hoặc phía trước của thiết bị thử nghiệm bề mặt không đều.
Xe phải di chuyển qua cấu hình như trong Hình 25 tổng cộng 72.000 lần với tốc độ (5 ± 0,1) km/h.
Đối với các xe có các cấu hình thay thế như thân xe đẩy, ghế ô tô, v.v., phép thử phải được thực hiện trong tổng cộng 72.000 chu kỳ, với các cấu hình sau:
- 24.000 chu kỳ, với thân xe đẩy, ghế ô tô, v.v., với số chu kỳ bằng nhau cho mỗi cấu hình;
- sau đó, 48.000 chu kỳ còn lại với khối thử B trong bộ phận ghế ngồi.
Đối với các xe chỉ có bộ phận ghế ngồi (không sử dụng thân xe đẩy hoặc ghế ô tô) phù hợp với 8.1.1.1.1 b) hoặc c), thử nghiệm sẽ được thực hiện trong tổng cộng 72.000 chu kỳ, với các cấu hình sau:
- 24.000 chu kỳ, với khối thử A trong bộ phận ghế ngồi;
- sau đó, 48.000 chu kỳ còn lại với khối thử B trong bộ phận ghế ngồi.
Nếu tay cầm có thể kéo dài, phải đặt tay cầm ở vị trí kéo dài nhất. Phần tay cầm có thể điều chỉnh (ví dụ như xoay) phải được căn chỉnh sao cho sát khung tay cầm nhất có thể. Trong trường hợp sản phẩm có nhiều hơn hai tay cầm, các tay cầm ngoài cùng sẽ được sử dụng trong thử nghiệm.
Nếu bộ phận ghế ngồi cho phép, phải đặt bộ phận ghế ngồi theo hướng đối diện với hướng di chuyển. Nếu xe có tay cầm có thể đảo ngược, số chu kỳ sẽ được chia để thử nghiệm sản phẩm theo mỗi hướng sử dụng.
Đối với các xe có bệ sàn, một nửa tổng số chu kỳ, tức là 36.000, phải được thực hiện bằng cách đặt và cố định hai khối thử 10 kg mỗi cái cố định đồng đều quanh đường giữa trên bệ sàn. Các khối thử sử dụng không được phá hủy bệ sàn do hình dạng hoặc vật liệu của chúng.
Đối với các xe có các cấu hình thay thế như thân xe đẩy, ghế ô tô, v.v., phép thử phải được thực hiện cho tối đa ba cấu hình, xem xét các điều kiện khắc nghiệt nhất trên cùng một khung
8.10.5 Độ bền động
8.10.5.1 Yêu cầu
Khi thử theo 8.10.5.2, xe không được sụp đổ. Các cơ cấu khóa và thiết bị gắn phải vẫn hoạt động như dự kiến. Các thiết bị dùng để gắn thân xe đẩy, bộ phận ghế ngồi hoặc ghế ô tô với khung xe không được phép bị tách rời, lỏng hoặc hư hỏng trong hoặc sau khi thử nghiệm. Sau khi thử nghiệm theo phương pháp 8.10.5.2, bất kỳ giỏ đựng nào được gắn vào bộ phận ghế ngồi không được tách rời khỏi bộ phận ghế ngồi. Sau khi thử theo 8.10.5.2, thân xe đẩy, bộ phận ghế ngồi hoặc ghế ô tô không được di chuyển quá 10 mm trên khung xe sau khi thử nghiệm theo mỗi hướng trong phương pháp 8.10.5.2. Yêu cầu này không áp dụng đối với các giỏ đựng mềm gắn vào bộ phận ghế ngồi hoặc trong thân xe đẩy.
8.10.5.2 Phương pháp thử
Đặt các khối thử liên quan như sau:
- Trong thân xe đẩy, khối thử A hoặc khối thử B (áp dụng đối với thân xe đẩy có chiều dài bên trong lớn hơn 800 mm khi đo theo phương pháp 8.1.2.2) phải được đặt ở vị trí trung tâm và theo phương ngang.
- Trong ghế ô tô loại A, đặt khối thử A; trong ghế ô tô loại B, đặt khối thử F. Các khối thử này phải được đặt ở vị trí trung tâm, tựa vào phần tựa lưng sao cho cạnh dưới của chủng tiếp xúc với đường giao nhau giữa ghế và tựa lưng.
- Trong bộ phận ghế ngồi, đặt khối thử B ở vị trí trung tâm, tựa vào phần tựa lưng sao cho cạnh dưới của nó tiếp xúc với đường giao nhau giữa ghế và tựa lưng, cố định khối thử bằng hệ thống an toàn và dây đai thích hợp nếu cần thiết.
Đặt phần tựa lưng điều chỉnh (nếu có) của bộ phận ghế ngồi vào vị trí thẳng đứng nhất.
Nếu xe được thiết kế để chở nhiều trẻ, sử dụng số lượng khối thử phù hợp, tối đa một khối cho mỗi vị trí được thiết kế để trẻ ngồi.
Đặt xe như minh họa trong Hình 44. Thả xe và để xe chạy tự do xuống dốc, hướng tới một chướng ngại vật cứng làm bằng thép, có chiều cao ít nhất bằng chiều cao trục bánh xe.
Tiến hành thử như sau:
- Thực hiện ba lần đối với mỗi cấu hình thay thế như thân xe đẩy, ghế ô tô;
- Thực hiện năm lần đối với bộ phận ghế ngồi, cho mỗi hướng theo hướng dẫn của nhà sản xuất.
Kiểm tra sự dịch chuyển của thân xe đẩy, bộ phận ghế ngồi hoặc ghế ô tô.
Trong suốt quá trình thử, phải ngăn xe không bị lật.
Nếu thân xe đẩy, bộ phận ghế ngồi hoặc ghế ô tô bị dịch chuyển, cần điều chỉnh lại về vị trí ban đầu trước khi thử theo hướng ngược lại.
Lặp lại phép thử với xe quay theo hướng ngược lại và kiểm tra sự dịch chuyển của thân xe đẩy, bộ phận ghế ngồi hoặc ghế ô tô.

CHÚ DẪN
1 Bề mặt phẳng và cứng
2 Chướng ngại vật bằng thép
3 Ít nhất bằng chiều cao trục của bánh xe
Hình 44 - Thử độ bền động
8.10.6 Độ bền của bánh xe
8.10.6.1 Yêu cầu
Sau khi thử theo 8.10.6.2, cụm bánh xe có thể tháo rời, cụm quay hoặc bánh xe cố định phải được gắn vào trục và cụm bánh xe phải hoạt động theo thiết kế.
8.10.6.2 Phương pháp thử
8.10.6.2.1 Phương pháp thử tách bánh xe khỏi trục thử
8.10.6.2.1.1 Quy định chung[9]
Các bánh xe có phuộc ở cả hai bên được miễn yêu cầu này.
Kiểm tra độ rời khỏi trục của một bánh sau và một bánh trước theo 8.10.6.2.1.2 và 8.10.6.2.1.3 đối với cụm bánh xe không quay theo 8.10.6.2.1.4.
8.10.6.2.1.2 Phương pháp thử bánh xe không quay
Cố định thiết bị nằm nghiêng trên bàn để có thể treo vật nặng lên bánh xe của thiết bị mà không cản trở việc tháo thiết bị. Treo một vật nặng 45 kg lên bánh xe dọc theo đường tâm trục sao cho nó kéo vào chốt bánh xe (xem Hình 45). Trọng lượng có thể được tác dụng bằng một thiết bị cố định/kẹp có thể điều chỉnh để phù hợp với các bánh xe có kích thước khác nhau. Thiết bị cố định/kẹp phải được chế tạo để giảm thiểu hư hỏng cho bánh xe và không cản trở lực tác dụng qua bánh xe tới dây buộc. Tác dụng quả nặng dần dần trong khoảng thời gian 5 s. Sau đó quay bánh xe 360° theo chiều kim đồng hồ rồi ngược chiều kim đồng hồ 360° trong 10 chu kỳ: một chu kỳ tương đương với việc quay bánh xe một lần theo chiều kim đồng hồ 360° và một lần ngược chiều kim đồng hồ 360° (xem Hình 46). Mỗi chu kỳ không được nhỏ hơn 12 s hoặc lớn hơn 18 s.

CHÚ THÍCH Theo ASTM F833
Hình 45 - khối thử treo
CHÚ THÍCH Theo ASTM F833

Hình 46 - Quay bánh xe
8.10.6.2.1.3 Phương pháp thử bánh xe quay[10]
Cố định thiết bị ở vị trí nghiêng trên bàn sao cho có thể treo vật nặng lên bánh xe của thiết bị mà không cản trở việc tháo thiết bị. Treo một vật nặng 23 kg lên bánh xe, dọc theo đường tâm trục, sao cho nó tác dụng lực kéo vào chốt bánh xe (xem Hình 45). Trọng lượng này có thể được tác dụng thông qua một thiết bị cố định/kẹp có thể điều chỉnh để phù hợp với các bánh xe có kích thước khác nhau. Thiết bị cố định/kẹp này phải được thiết kế để giảm thiểu hư hỏng bánh xe và không cản trở lực truyền qua bánh xe tới dây buộc. Tác dụng quả nặng từ từ trong khoảng thời gian 5 s. Sau đó, xoay bánh xe 360° theo chiều kim đồng hồ, rồi 360° ngược chiều kim đồng hồ, trong 10 chu kỳ: một chu kỳ bao gồm một vòng quay 360° theo chiều kim đồng hồ và một vòng quay 360° ngược chiều kim đồng hồ (xem Hình 46). Thời gian thực hiện mỗi chu kỳ không được ít hơn 12 s và không được vượt quá 18 s. Nếu cần thiết, phải cố định cụm bánh xe quay để cụm không xoay bằng khóa quay của nhà sản xuất hoặc biện pháp khác phù hợp nhằm giữ cụm bánh xe quay đứng yên.
CHÚ THÍCH: Khóa quay của sản phẩm không phải lúc nào cũng đủ để cố định bánh trước không quay. Nếu cần, có thể tháo rời cụm bánh xe quay khỏi thiết bị để thuận tiện cho việc kiểm tra.
8.10.6.2.1.4 Phương pháp thử cụm quay từ khung[11]
Kiểm tra một cụm quay. Nếu thiết bị có các cụm quay ở mặt trước và mặt sau, phải kiểm tra từng cụm. Cố định thiết bị sao cho việc tháo (các) cụm bánh xe quay không bị cản trở.
Tác dụng một lực kéo 200 N vào cụm quay theo hướng thông thường khi tháo cụm quay (xem Hình 47). Tác dụng lực kéo từ từ trong khoảng thời gian 5 s và duy trì thêm 10 s.

CHÚ THÍCH Theo ASTM F833
Hình 47 - Cụm quay
8.10.7 Độ bền của tay cầm
8.10.7.1 Yêu cầu
Sau khi thử theo 8.10.7.2.2, không được có hư hỏng về kết cấu của tay cầm hoặc bất kỳ chi tiết nào của xe làm ảnh hưởng đến sự an toàn của xe. Xe vẫn phải phù hợp với các yêu cầu trong 8.3.1.
Sau khi thử theo 8.10.7.2.3, tay cầm điều chỉnh được hoặc đảo ngược được hoặc một phần của tay cầm không được rời ra. Bất kỳ điểm gắn nào của tay cầm đảo ngược đều không được rời ra hoặc bị gãy.
Trong quá trình thử theo 8.10.7.2.4, các cữ chặn cuối phải ngăn cản việc nhả tay cầm dạng ống lồng hoặc một phần của tay cầm.
8.10.7.2 Phương pháp thử
8.10.7.2.1 Điều kiện thử chung
Trước khi thực hiện phép thử theo 8.10.7.2.2 và 8.10.7.2.3, (các) tay cầm đảo ngược phải được đảo ngược lại 200 lần, mỗi lần đều sử dụng cơ cấu khóa.
8.10.7.2.2 Thử độ bền
Đặt xe trên bề mặt nằm ngang, không sử dụng thiết bị đỗ xe. Đặt (các) khối thử liên quan như sau:
- Trong thân xe đẩy: sử dụng khối thử A hoặc khối thử B (đối với thân xe có chiều dài bên trong > 800 mm theo đo lường trong 8.1.2.2), đặt ở giữa và theo phương nằm ngang.
- Trên ghế ô tô kiểu A: sử dụng khối thử A.
- Trên ghế ô tô kiểu B: sử dụng khối thử F, đặt chính giữa tựa lưng sao cho mép dưới của khối thử tiếp xúc với đường giao nhau giữa ghế/tựa lưng.
- Trong bộ phận ghế ngồi: sử dụng khối thử B, đặt ở giữa tựa lưng sao cho cạnh dưới của khối thử tiếp xúc với đường giao nhau giữa ghế/tựa lưng. Giữ khối thử bằng hệ thống an toàn và dây đai thích hợp nếu cần thiết.
Đặt (các) tựa lưng điều chỉnh được ở vị trí thẳng đứng nhất.
Nếu xe được thiết kế cho nhiều hơn một trẻ, sử dụng số lượng khối thử tương ứng, tối đa một khối thử tại mỗi vị trí dành cho trẻ em.
Nếu xe có nhiều hơn hai tay cầm, vật cố định phải được gắn vào cặp tay cầm bên ngoài.
Thực hiện thao tác nâng và hạ (các) tay cầm bằng cách tác dụng một lực thẳng đứng lên tay cầm, sao cho bánh sau và bánh trước được nâng lên lần lượt (120 ± 10) mm, đo tại thời điểm bắt đầu thử so với bệ sàn, rồi hạ xuống một cách có kiểm soát, liên tục (xem Hình 48).
Thực hiện phép thử với tổng số 10 000 chu kỳ, với tần suất (15 ± 2) chu kỳ/min.
Trường hợp lực hướng xuống cần thiết để nâng bánh trước vượt quá 450 N, tiến hành thử bằng cách luân phiên tác dụng một lực hướng xuống 450 N và một lực hướng lên đủ để nâng bánh sau, trong 3000 chu kỳ với tần suất (15 ± 2) chu kỳ/min.
Sau đó, tiếp tục thử bằng cách chỉ nâng bánh sau lên (120 ± 10) mm, thêm 7 000 chu kỳ, với tần suất (15 ± 2) chu kỳ/min.
Đối với các xe có bố trí thay thế, phép thử phải được thực hiện với tổng số 10 000 chu kỳ, với số chu kỳ bằng nhau cho mỗi bố trí.
Đối với các xe có bố trí thay thế, phép thử phải được thực hiện tối đa trên ba bố trí, có xét đến các điều kiện khắc nghiệt nhất trên cùng một tay cầm.
Bất kỳ bánh lái và bánh dẫn hướng nào đều phải được khóa.
Đối với các xe có bệ sàn lắp liền, đặt và cố định đồng đều hai vật nặng, mỗi vật nặng 10 kg, quanh đường tâm của bệ sàn.
Kích thước tính bằng milimét

Hình 48 - Chuyển động của xe trong quá trình thử tay cầm
8.10.7.2.3 Lực cản động của tay cầm đảo chiều và/hoặc điều chỉnh được
Cố định xe sao cho hệ thống treo hiện có không hấp thụ bất kỳ chuyển động hoặc lực nào khi di chuyển tay cầm.
Giữ xe ở trạng thái mà các bánh xe không bị nâng lên. Tất cả các cơ cấu khóa tay cầm tự động phải ở trạng thái khóa.
Nếu xe được trang bị bất kỳ cơ cấu khóa bổ sung nào cần kích hoạt thủ công để cố định tay cầm đảo chiều, thì phép thử tay cầm phải được thực hiện mà không gắn cơ cấu khóa bổ sung.
Gắn một sợi cáp thép vào tay cầm, cách tâm tay cầm 200 mm.
Trong trường hợp có các tay cầm riêng lẻ, cáp phải được gắn vào một tay cầm.
Nếu không đo được khoảng cách 200 mm, phải gắn tại vị trí bất lợi nhất.
Dần cáp qua các ròng rọc sao cho có thể tác dụng một lực ở góc 90° theo hướng chuyển động của tay cầm.
Gắn khối thử B vào đầu còn lại của cáp và để treo tự do (xem Hình 49).
Để khối lượng đạt đến trạng thái cân bằng. Sau đó, nâng khối lượng lên 100 mm theo phương thẳng đứng rồi thả rơi.
Lặp lại phép thử với cáp được gắn ở phía đối diện của tay cầm, hoặc trên tay cầm còn lại trong trường hợp có hai tay cầm riêng lẻ.
Đảo ngược (các) tay cầm và lặp lại toàn bộ quy trình trên.
Kích thước tính bằng milimét

Hình 49 -Thử lực cản động đối với (các) tay cầm điều chỉnh được và/hoặc đảo chiều
8.10.7.2.4 Điện trở động của tay cầm dạng ống lồng
Cố định xe sao cho hệ thống treo hiện có không hấp thụ bất kỳ chuyển động và lực nào khi di chuyển tay cầm.
Tất cả các thiết bị khóa tay cầm phải được khóa.
Điều chỉnh tay cầm theo chiều dài tối đa. Nếu xe được trang bị bất kỳ thiết bị khóa bổ sung nào cần được kích hoạt bằng tay để cố định tay cầm, thì việc kiểm tra tay cầm phải được thực hiện mà không gắn thiết bị khóa bổ sung đó.
Gắn cáp thép vào tay cầm, cách tâm 200 mm. Trong trường hợp có tay cầm riêng biệt, phải gắn vào một tay cầm. Nếu không thể đo được, phải gắn ở vị trí khó khăn nhất.
Dẫn cáp qua các ròng rọc sao cho có thể tác dụng một lực theo hướng trục dọc của tay cầm. Gắn khối thử B vào đầu kia của cáp và để treo tự do (xem Hình 50).
Cho khối thử đạt đến trạng thái cân bằng. Nâng vật lên theo phương thẳng đứng 100 mm rồi thả ra.
Lặp lại phép thử với cáp được gắn ở phía bên kia của tay cầm hoặc trên tay cầm đơn còn lại.
Kích thước tính bằng milimét

Hình 50 - Thử độ bền động của tay cầm dạng ống lồng
9 Độ bền và độ bám dính của nhãn
9.1 Yêu cầu
Sau khi thử theo 9.2, nội dung trên nhãn vẫn phải đọc được rõ ràng.
9.2 Phương pháp thử
Bất kỳ nhãn vĩnh viễn nào phải được chà nhẹ qua lại 20 lần bằng vải bông được làm ẩm bằng nước khử khoáng.
10 Thông tin sản phẩm
10.1 Quy định chung
Tất cả thông tin về sản phẩm phải được cung cấp bằng (các) ngôn ngữ chính thức của quốc gia nơi sản phẩm được bán.
Từ CẢNH BÁO phải được thêm vào đầu câu cảnh cáo hoặc ở đầu danh sách các cảnh báo riêng biệt.
Từ CẢNH BÁO và chữ cái đầu tiên của câu phải được viết bằng chữ in hoa có chiều cao tối thiểu 2,5 mm.
Cảnh báo có thể được thể hiện bằng các từ khác nhau miễn là chúng truyền tải rõ ràng cùng một thông điệp.
10.2 Ghi nhãn sản phẩm
Xe phải được ghi nhãn rõ ràng, dễ thấy và bền với ít nhất các thông tin sau. Trong trường hợp xe có thể được bán theo từng bộ phận riêng biệt (khung, thân xe đẩy và/hoặc bộ phận ghế), mỗi bộ phận phải được ghi nhãn.
a) Tên hoặc nhãn hiệu của nhà sản xuất, nhà nhập khẩu hoặc tổ chức chịu trách nhiệm bán hàng.
b) Phương tiện nhận biết mẫu xe khi xe có thể bán theo từng bộ phận riêng biệt.
c) Cảnh báo phù hợp từ danh sách sau:
Khi sử dụng sản phẩm, cảnh báo này phải hiển thị rõ ràng: ''Không bao giờ để trẻ em ở một mình."
Đối với thân xe đẩy có chiều dài bên trong lớn hơn 800 mm, theo định nghĩa trong 8.1.2.1 b): "Sử dụng dây an toàn ngay khi trẻ có thể ngồi mà không cần hỗ trợ."
Đối với các loại xe không phù hợp với trẻ em dưới sáu tháng tuổi theo 8.1.1.1.2, cảnh báo này phải hiển thị rõ ràng trong quá trình gấp, mờ hoặc điều chỉnh xe: "Bộ phận ghế này không phù hợp với trẻ em dưới sáu tháng tuổi."
Đối với tất cả các bộ phận ghế: "Luôn sử dụng hệ thống an toàn." Đối với các bộ phận ghế tuân thủ 8.1.1.1.1, cảnh báo phải hiển thị rõ ràng khi xe được sử dụng như xe đẩy trẻ em.
Chỉ sử dụng khi lắp tấm chắn cản có thể tháo rời: "Trẻ em có thể bị nghẹn do bọt." Đối với thanh chắn cản có tấm chắn bảo vệ có thể tháo rời, cảnh báo phải nằm trên tấm chắn xốp.
d) Đối với thân xe đẩy, độ dày tối đa của nệm được sử dụng trừ khi có nệm. Nhà sản xuất phải ghi rõ ràng rằng chỉ được sử dụng một nệm.
e) Đối với lốp bơm hơi, áp suất tối đa phải được ghi trên lốp hoặc sản phẩm.
f) Bao bì chất dẻo phải được ghi cảnh báo sau: "CẢNH BÁO: Để vỏ chất dẻo này tránh xa trẻ em để tránh ngạt thở." Tuyên bố này có thể được diễn đạt bằng các câu khác nhau miễn là truyền tải rõ ràng cùng một cảnh báo.
g) Viện dẫn tiêu chuẩn này, nghĩa là TCVN 14456:2025 (ISO 31110:2020).
10.3 Thông tin mua hàng
Nhà sản xuất, nhà nhập khẩu hoặc tổ chức chịu trách nhiệm bán sản phẩm phải cung cấp thông tin sau đây để dễ thấy tại điểm bán. Nếu sản phẩm được bán qua internet, điểm bán là trang web nơi sản phẩm được bán.
a) Thông tin liên quan đến cân nặng, độ tuổi và/hoặc khả năng của trẻ mà sản phẩm phù hợp (tối đa 15 kg).
b) Cảnh báo: "CẢNH BÁO: Sản phẩm này chỉ được thiết kế để sử dụng khi đi bộ."
c) Đối với thân xe đẩy có chiều dài 800 mm trở xuống, phải đưa ra tuyên bố rằng sản phẩm không được sử dụng ngay khi trẻ có thể tự ngồi:
"Sản phẩm này phù hợp với trẻ không thể tự ngồi dậy, không thể lăn và không thể tự chống tay và đầu gối để đứng dậy. Trọng lượng tối đa của trẻ: 9 kg."
Yêu cầu này không áp dụng đối với thân xe đẩy tuân thủ tiêu chuẩn ghế ô tô.
10.4 Hướng dẫn sử dụng
Hướng dẫn liên quan đến việc sử dụng sản phẩm an toàn sẽ được cung cấp dưới dạng tờ hướng dẫn, sổ tay hướng dẫn, tờ rơi hoặc phương tiện in ấn khác.
Hướng dẫn sẽ có tiêu đề như sau: "Quan trọng - Đọc kỹ hướng dẫn này trước khi sử dụng và giữ lại để tham khảo sau này." (Không bắt buộc phải có tiêu đề này trên bìa.)
Hướng dẫn phải bao gồm các nội dung sau:
- CẢNH BÁO
- Không bao giờ để trẻ em không có người trông coi
- Đảm bảo rằng tất cả các cơ cấu khóa đã được cài đặt trước khi sử dụng
- Để tránh thương tích, hãy đảm bảo rằng trẻ được giữ cách xa khi mở và gấp sản phẩm này
- Không để trẻ em chơi với sản phẩm này
- Bộ phận ghế ngồi này không phù hợp với trẻ em dưới sáu tháng tuổi (nếu áp dụng)
- Luôn sử dụng hệ thống an toàn (nếu áp dụng)
- Kiểm tra xem thân xe đẩy, bộ phận ghế ngồi hoặc thiết bị gắn ghế ô tô đã được gắn đúng cách chưa trước khi sử dụng
- Sản phẩm này chỉ phù hợp để sử dụng khi đi bộ
- Sử dụng dây an toàn ngay khi trẻ có thể ngồi mà không cần hỗ trợ (đối với thân xe đẩy có chiều dài lớn hơn 800 mm)
- Để ngăn ngừa tai nạn, hãy đảm bảo rằng xe được giữ cách xa các cửa đóng tự động (ví dụ: trên tàu hỏa, thang máy)
Từ CẢNH BÁO sẽ được thêm vào đầu mỗi câu cảnh báo (như trên) hoặc ở đầu danh sách các cảnh báo riêng biệt.
Ít nhất phải cung cấp các thông tin sau:
- Tên hoặc nhãn hiệu của nhà sản xuất, nhà nhập khẩu hoặc tổ chức chịu trách nhiệm bán sản phẩm;
- Phương tiện nhận dạng sản phẩm;
- Thông tin liên quan đến cân nặng, độ tuổi và/hoặc khả năng của trẻ phù hợp với sản phẩm (tối đa 15 kg);
- Đối với xe đẩy được thiết kế để sử dụng từ khi mới sinh, khuyến nghị sử dụng tư thế ngả nhiều nhất cho trẻ sơ sinh;
- Hướng dẫn lắp ráp ban đầu, gấp và dựng (nếu có);
- Tuyên bố về khả năng tương thích giữa khung và thân xe đẩy, bộ phận ghế ngồi và/hoặc ghế ô tô (nếu có);
- Đối với thân xe đẩy, chỉ dẫn về độ dày tối đa của nệm được sử dụng trừ khi có kèm theo nệm. Nhà sản xuất phải chỉ rõ rằng chỉ được sử dụng một nệm.
- Hướng dẫn bao gồm tất cả các chức năng của sản phẩm:
- cơ cấu điều khiển, đỗ xe và/hoặc phanh;
- kích hoạt thiết bị đỗ xe khi đặt và nhấc trẻ/trẻ em lên;
- đối với xe được lắp phụ kiện chở hàng, thông tin chi tiết về tải trọng tối đa;
- tuyên bố rằng bất kỳ tải trọng nào gắn vào tay cầm và/hoặc mặt sau tựa lưng và/hoặc hai bên xe sẽ ảnh hưởng đến độ ổn định của xe;
- thực hiện kiểm tra, bảo dưỡng, làm sạch và/hoặc rửa xe thường xuyên;
- tuyên bố rằng xe chỉ được sử dụng cho số lượng trẻ em mà xe được thiết kế;
- tuyên bố rằng không được sử dụng các phụ kiện không được nhà sản xuất phê duyệt;
- hướng dẫn sử dụng và bảo dưỡng hệ thống an toàn bao gồm mọi điểm gắn;
- đảm bảo sử dụng an toàn bệ tích hợp cùng với chỉ dẫn về trọng lượng của trẻ phù hợp (tối đa 20 kg);
- đối với thân xe đẩy có chiều dài không quá 800 mm, tuyên bố rằng ngay khi trẻ có thể ngồi mà không cần hỗ trợ, sản phẩm sẽ không được sử dụng: "Sản phẩm này không phù hợp với trẻ có thể ngồi dậy mà không cần hỗ trợ hoặc lăn qua lăn lại và tự đẩy mình lên bằng tay và đầu gối. Trọng lượng tối đa của trẻ: 9 kg." (Nội dung này không áp dụng cho thân xe đẩy tuân thủ tiêu chuẩn ghế ô tô.)
- đối với thân xe đẩy có tay cầm linh hoạt, tuyên bố rằng tay cầm phải được để ra ngoài thân xe đầy trong quá trình sử dụng;
- tuyên bố rằng chỉ được sử dụng các bộ phận thay thế do nhà sản xuất/nhà phân phối cung cấp hoặc khuyến nghị;
- bất kỳ thông tin nào khác về việc sử dụng an toàn.
Phụ lục A
(tham khảo)
Ví dụ về hệ thống gấp
Như đã nêu trong 3.8, hệ thống gấp cho phép xe đẩy trẻ em có bánh xe có thể thay đổi từ vị trí dựng đứng sang vị trí gấp lại dưới sự kiểm soát của người chăm sóc (xem Hình A.1).

CHÚ DẪN
| 1 | Hệ thống gấp (FS) |
| 2 | Cơ cấu điều khiển (OD) |
| 3 | Cơ cấu khóa (LM = OD + LD) |
| 4 | Thiết bị khóa (LD), ví dụ 1 và ví dụ 3, hai chốt khóa được liên kết với OD |
Hình A.1 - Hệ thống gấp
Phụ lục B
(tham khảo)
Cánh tay khớp nối
Kích thước tính bằng milimét

CHÚ DẪN
1 Khớp nối tay
2 Vòng đệm thép đường kính 60 mm
3 Điểm tác dụng lực
Hình B.1 - Bộ phận tay khớp thích ứng cho tay cầm thẳng đứng


CHÚ DẪN
1 điểm tác dụng lực
2 Phương án có nêm trượt
Hình B.2 - Bộ phận tay khớp thích ứng cho hai tay cầm
Phụ lục C
(tham khảo)
Hóa chất
C.1 Quy định chung
Xe đẩy trẻ em có bánh xe, bao gồm cả hóa chất chứa trong xe, phải an toàn cho trẻ em khi sử dụng. Xe đẩy trẻ em có bánh xe phải được sản xuất theo tiêu chuẩn chất lượng để đảm bảo không có mối nguy từ hóa chất.
Nhiều quốc gia hiện chỉ có luật cho sản phẩm đồ chơi chứ không có luật cho xe đẩy trẻ em có bánh xe. Mục đích của phụ lục này là thiết lập một phạm vi điều chỉnh chung để tránh các mối nguy về hóa chất. Phụ lục này bao gồm các chất hóa học được công nhận rộng rãi và bị cấm rộng rãi trong các sản phẩm dành cho trẻ em trên toàn thế giới để thiết lập một hệ thống an toàn hóa chất thiết yếu cơ bản cho trẻ em.
Đối với các hạn chế về hóa chất đối với đồ chơi và sản phẩm dành cho trẻ em, các quốc gia khác nhau có thể có các luật hoặc tiêu chuẩn khác nhau, chẳng hạn như REACH, RoHS, POP, TSD ở Liên minh Châu Âu (EU) và CPSA, TSCA ở Hoa Kỳ, GB 6675 ở Trung Quốc, CCPSA ở Canada, vệ sinh thực phẩm và ST 2016 ở Nhật Bản, các tiêu chuẩn an toàn chung cho sản phẩm dành cho trẻ em ở Hàn Quốc, v.v.
Các vật liệu thô chính được sử dụng trong xe đẩy trẻ em có bánh xe là nhựa hoặc polyme, lớp phủ, vải, cao su, v.v. Các vật liệu khác nhau có thể có các mối nguy về hóa chất khác nhau. Ví dụ, lớp phủ có thể chứa kim loại nặng và Phtalat, nhựa và cao su có thể chứa Phtalat, hàng dệt may và da có thể chứa chất tạo màu azo và formaldehyt. về các yêu cầu về vật liệu trong Bảng 1, kim loại thường có lớp phủ bề mặt và chỉ nên thử nghiệm một số phần nhỏ của kim loại, thủy tinh và gốm sứ, nhưng chúng không đáp ứng các yêu cầu về cơ học vật lý, do đó chúng không nằm trong phạm vi của các vật liệu khác trong Bảng 1. Các phần thử có thể được lấy từ mỗi vật liệu dựa trên danh mục vật liệu (BOM) của sản phẩm.
CHÚ THÍCH Khả năng tiếp cận vật liệu được đánh giá bằng cách sử dụng thiết bị trong ISO 8124-1:2018, 5.7.2.
C.2 Mối nguy của hóa chất
C.2.1 Các nguyên tố
Kim loại nặng là một trong những hóa chất đáng lo ngại nhất trong đồ chơi và sản phẩm dành cho trẻ em. Chì, cadmium và một số kim loại nặng có thể tích tụ trong cơ thể con người theo thời gian, dẫn đến ngộ độc mãn tính và ảnh hưởng đến trí nhớ và trí thông minh của trẻ em. Vì trẻ em ít có khả năng chống lại hóa chất nên việc sử dụng kim loại nặng trong đồ chơi và sản phẩm dành cho trẻ em sẽ bị hạn chế.
Ô nhiễm kim loại nặng ở khắp mọi nơi. Nó có thể gây ô nhiễm nước, đất, thực phẩm và thậm chí tích tụ trong sinh học. Một số nguyên tố có thể được tìm thấy trong tất cả các loại vật liệu. Một số nguyên tố và hợp chất của chúng có thể tương tác với một số protein hoặc enzyme, do đó dẫn đến việc chúng bị bất hoạt và gây ra độc tính cấp tính sau đó cho cơ thể con người.
Một số nguyên tố bị hạn chế trong hầu hết các quy định và tiêu chuẩn về đồ chơi và sản phẩm dành cho trẻ em, chẳng hạn như 2009/48/EC tại EU, ASTM F963 tại Hoa Kỳ, GB 6675 tại Trung Quốc, vệ sinh thực phẩm và ST 2016 tại Nhật Bản, v.v. Các phương pháp thử nghiệm một số nguyên tố được đưa ra trong, ví dụ, EN 71-3, TCVN 6238-3 (ISO 8124-3), ASTM F963 và GB 6675.4. Ở hầu hết các quốc gia và khu vực, tám nguyên tố bị hạn chế trong các tiêu chuẩn sản phẩm dành cho đồ chơi và sản phẩm dành cho trẻ em, bao gồm TCVN 6238-3 (ISO 8124-3), tiêu chuẩn phổ biến nhất dành cho đồ chơi. Do đó, tiêu chuẩn này tham chiếu đến các yêu cầu của TCVN 6238-3 (ISO 8124-3) và hạn chế tám nguyên tố này.
Các phần thử nghiệm phải được lấy từ một mẫu xe chở trẻ em có bánh xe duy nhất. Không khuyến khích thử nghiệm tổng hợp.
Nếu chỉ có 10 mg đến 100 mg vật liệu, hãy thử nghiệm và tính toán số lượng các nguyên tố thích hợp như thể đã sử dụng một phần thử nghiệm 100 mg. Khối lượng thực tế của phần thử nghiệm phải được ghi chú trong báo cáo thử nghiệm. Nếu phần thử nghiệm vượt quá 100 mg, có thể thay thế bằng vật liệu thô.
C.2.2 Phtalat
Phtalat có trong các vật liệu hóa dẻo, và việc cố ý thêm các chất hóa dẻo cụ thể đã bị cấm trong đồ chơi. Nhưng ở nhiều quốc gia, các chất hóa dẻo cụ thể không bị cấm trong các phương tiện giao thông có bánh xe dành cho trẻ em. Các vật liệu dẻo hóa chính trong các phương tiện giao thông có bánh xe dành cho trẻ em là nhựa và cao su, có thể thêm chất hóa dẻo để tăng độ dẻo của vật liệu. Các phương tiện giao thông có bánh xe dành cho trẻ em được cấu tạo từ nhiều loại vật liệu nhựa khác nhau, trong đó chất hóa dẻo thường được sử dụng làm chất phụ gia. Một số chất hóa dẻo Phtalat là chất gây rối loạn nội tiết có thể gây ra dị tật bẩm sinh. Việc hạn chế chất hóa dẻo Phtalat đối với xe đẩy trẻ em và xe nôi là rất quan trọng.
CHÚ THÍCH Vật liệu hóa dẻo là bất kỳ vật liệu đồng nhất nào sau đây:
- polyvinyl clorua (PVC), polyvinyliden clorua (PVDC), polyvinyl axetat (PVA) và polyetan (PU);
- bất kỳ loại polyme nào khác (bao gồm bọt polyme và vật liệu cao su), ngoại trừ cao su Silicon và cao su tự nhiên;
- lớp phủ bề mặt, lớp phủ chống trượt, lớp hoàn thiện, đề can và thiết kế in;
- chất kết dính, chất trám, sơn và mực.
Phtalat thường tồn tại trong PVC cũng như các loại nhựa khác, bao gồm PVA, PVDC và PU. PVC được sử dụng trong đồ chơi, sản phẩm dành cho trẻ em và nhiều sản phẩm tiêu dùng khác dưới dạng dây và cáp để cách điện. Một số loại nhựa nhất định, chẳng hạn như polyethylene và polypropylene, thường không chứa chất hóa dẻo, nhưng lớp phủ bề mặt và chất kết dính trên chúng có thể chứa Phtalat. Mặc dù một số loại chất dẻo không cần chất hóa dẻo, chúng vẫn có thể bị nhiễm Phtalat, nghĩa là Phtalat có thể được tìm thấy trong một số chất đàn hồi hoặc cao su tổng hợp. Hầu hết các loại sợi và hàng dệt may tự nhiên và tổng hợp không được cho là chứa Phtalat, nhưng các thiết kế in, lớp phủ, xử lý bề mặt và các thành phần đàn hồi có thể chứa Phtalat. Ví dụ về các vật liệu có thể chứa Phtalat:
- PVC và các polyme liên quan, chẳng hạn như PVDC và PVA;
- nhựa mềm hoặc dẻo, ngoại trừ polyolefin;
- cao su mềm hoặc dẻo, ngoại trừ cao su Silicon và mủ cao su tự nhiên;
- cao su xốp hoặc nhựa xốp, chẳng hạn như PU;
- lớp phủ bề mặt, lớp phủ chống trượt, lớp hoàn thiện, đề can và thiết kế in;
- vật liệu đàn hồi trong trang phục, chẳng hạn như đồ ngủ;
- chất kết dính và chất bịt kín;
- vật liệu cách điện;
- vật liệu dệt có lớp phủ bề mặt, keo dán hoặc đồ trang trí bằng vinyl.
Ví dụ về vật liệu nguyên chất và mới thường không chứa Phtalat:
- kim loại chưa hoàn thiện;
- gỗ tự nhiên, ngoại trừ lớp phủ và chất kết dính được thêm vào gỗ;
- hàng dệt may làm từ sợi tự nhiên, chẳng hạn như cotton hoặc len, ngoại trừ đồ trang trí in, lớp phủ chống thấm nước hoặc các phương pháp xử lý bề mặt khác, lớp phủ mặt sau và vật liệu đàn hồi (đặc biệt là đồ ngủ);
- hàng dệt may làm từ sợi tổng hợp thông thường, chẳng hạn như polyester, acrylic và nylon, ngoại trừ đồ trang trí in, lớp phủ chống thấm nước hoặc các phương pháp xử lý bề mặt khác và vật liệu đàn hồi ngoại trừ bất kỳ hàng dệt may nào có chứa PVC hoặc các polyme liên quan;
- polyethylene và polypropylene (polyolefin);
- cao su silicon và mủ cao su thiên nhiên;
- các sản phẩm khoáng như cát chơi, thủy tinh và pha lê.
Sáu loại Phtalat (DBP, BBP, DEHP, DNOP, DINP, DIDP) bị hạn chế ở các quốc gia lớn trên thế giới. Giới hạn thường là 0,1% cho tổng số ba Phtalat hoặc riêng lẻ. Cho đến nay, các phương pháp thử nghiệm Phtalat khác nhau cũng được quy định trong nhiều tiêu chuẩn khác nhau, chẳng hạn như TCVN 8238-6 (ISO 8124-6), GB/T 22048, EN 14372 và CPSC-CH-C1001-09.4, Phương pháp C34, v.v.
Có thể sử dụng thử nghiệm tổng hợp Phtalat, trong đó có thể kết hợp tối đa ba phần thử thành một mẫu thử nghiệm, cho mục đích sàng lọc. Nếu kết quả của thử nghiệm tổng hợp thấp hơn giới hạn hoạt động, có thể sử dụng để đánh giá sự phù hợp, nếu không, phải có hành động tiếp theo, bao gồm cả thử nghiệm riêng biệt.
C.2.3 Chất tạo màu azo
Vải cũng là một trong những thành phần chính của xe đẩy trẻ em có bánh xe. Thuốc nhuộm vải được sử dụng trong quá trình nhuộm vải để tạo ra nhiều màu sắc khác nhau cho vải. Các hợp chất có chứa kết cấu phân tử nhóm azo (-N = N-) được gọi chung là "chất tạo màu azo". Chất tạo màu azo gần như phân bố ở tất cả các màu sắc và chúng được sử dụng rộng rãi trong hàng dệt may, quần áo, sản phẩm da và vải gia dụng. Khi hàng dệt may, quần áo và sản phẩm da tiếp xúc trực tiếp với cơ thể con người, một số loại chất tạo màu azo có thể trộn với mồ hôi và tạo thành hợp chất amin thơm gây ung thư. Hợp chất amin thơm có thể được cơ thể con người hấp thụ và gây hại rất lớn cho cơ thể. Tuy nhiên, hầu hết chất tạo màu azo đều an toàn và chỉ một số ít có thể giảm xuống còn hơn 20 kiểu Amin thơm được quy định là bị cấm. Hiện nay, có tới 3.000 loại chất tạo màu azo đang được sử dụng.
Việc sử dụng chất tạo màu azo bị hạn chế ở Châu Âu theo Phụ lục XVII của quy định REACH, trong đó đặt ra các yêu cầu về việc tiếp thị và sử dụng một số chất và hỗn hợp nhất định trong các mặt hàng. Tiêu chuẩn dệt may Trung Quốc GB 18401 cũng hạn chế chất tạo màu azo. Tiêu chuẩn đồ chơi Việt Nam, QCVN 3:2009/BKHCN, hạn chế sự di chuyển của một số hợp chất amin thơm có nguồn gốc từ chất tạo màu azo trong đồ chơi dựa trên tiêu chuẩn Châu Âu EN 71-9. Các phương pháp thử chất tạo màu azo hiện có là TCVN 12512-1 (ISO 14362-1), TCVN 12512-3 (ISO 14362-3), TCVN 9557-1 (ISO 17234-1), TCVN 9557-2 (ISO 17234-2), TCVN 6238-9 (EN 71-9), GB/T 17592, GB/T 23344, v.v. Các thiết bị thử chủ yếu là HPLC-DAD, HPLC-MS/MS và GC-MS.
C.2.4 Formaldehyt
Tổ chức Y tế Thế giới đã xác định formaldehyt là chất gây ung thư và gây quái thai. Formaldehyt cũng gây kích ứng da và niêm mạc. Formaldehyt đã bị hạn chế sử dụng trong xe đẩy và xe nôi ở Nhật Bản và Hàn Quốc. Formaldehyt có thể được thêm vào vải trong quá trình xử lý như một chất chống co ngót và để duy trì độ bền của quá trình in và nhuộm. Trong quá trình sản xuất da nhân tạo, formaldehyt không có khả năng được thêm vào.
Một số quốc gia đã cấm formaldehyt trong vải hoặc đồ chơi, ví dụ như GB 18401 ở Trung Quốc và EN 71-9 và OEKO-TEX® ở Châu Âu. Đối với các phương pháp thử nghiệm, JIS L 1041, GB/T 2912 và AATCC 112 thường được sử dụng ở Nhật Bản, Trung Quốc và Hoa Kỳ, trong khi TCVN 7421-1 (ISO 14184-1) và TCVN 7421-2 (ISO 14184-2) là các phương pháp được áp dụng rộng rãi nhất đối với vải.
C.2.5 Chất chống cháy
Trong thập kỷ qua, EU, Na Uy, Hoa Kỳ và một số quốc gia khác đã bắt đầu cấm một số chất chống cháy có chứa clo, chất chống cháy có chứa brom và chất chống cháy có chứa phốt pho trong đồ chơi, sản phẩm điện và nội thất xe cộ, v.v., vì những hóa chất này được coi là chất gây ung thư, gây đột biến hoặc độc hại đối với sinh sản. Chất chống cháy có thể được sử dụng trong vải và da vì chúng có chức năng và được cố ý thêm vào để tăng khả năng chống cháy. Nếu không có yêu cầu về khả năng bắt lửa đối với một sản phẩm, thì nói chung không có lý do gì để cố ý thêm chất chống cháy. Xe đẩy trẻ em có bánh xe chủ yếu được người lớn vận hành và thường được giám sát, vì vậy nhìn chung không có mối nguy cháy đối với trẻ em. Do đó, chỉ cần tự khai báo dựa trên kiểm tra nội bộ của nhà sản xuất là đủ.
C.3 Vật liệu thô
Vật liệu thô là một mặt hàng sẽ được xử lý hóa học/vật lý (trộn với vật liệu khác, sấy khô, làm cứng, xử lý bằng nhiệt, chịu sự bốc hơi, v.v.) trong quá trình sản xuất thành phẩm. Ví dụ về vật liệu thô là keo, mực, chất dẻo polyme, chất nhuộm.
Vật liệu thô có thể thay thế thành phẩm để thử nghiệm, nhưng nhà sản xuất phải hết sức cẩn trọng trong việc quản lý và kiểm soát đúng đắn tất cả vật liệu thô, bộ phận thành phần, cụm lắp ráp và thành phẩm đối với bất kỳ yếu tố nào có thể ảnh hưởng đến việc thành phẩm tuân thủ tất cả các quy tắc hiện hành. Nhà sản xuất phải hết sức cẩn trọng để quy trình sản xuất không thêm các hóa chất bị cấm từ các nguồn chưa được thử nghiệm, chẳng hạn như phễu vật liệu, thiết bị nghiền lại hoặc các thiết bị khác được sử dụng trong quá trình lắp ráp thành phẩm. Ngoài ra, quy trình sản xuất phải đảm bảo rằng nó không ảnh hưởng đến việc đánh giá các yêu cầu hóa chất áp dụng theo vật liệu, ví dụ: sẽ không phù hợp để thử polyme nylon rắn nếu nylon xuất hiện trong đồ chơi cuối cùng dưới dạng vải nylon. Nếu vật liệu thô được sử dụng để thay thế thành phẩm trong quá trình thử nghiệm, chúng phải nhất quán. Sự khác biệt trong kết quả thử nghiệm giữa vật liệu thô và thành phẩm có thể phát sinh do một số nguyên nhân, trong đó phổ biến nhất là:
a) thay thế vật liệu thô xảy ra trong quá trình sản xuất;
b) nhiễm bẩn vật liệu thô xảy ra trong quá trình sản xuất (ví dụ: súng phun bị nhiễm chì dùng để phun sơn tuân thủ, do đó làm chỗ sơn không tuân thủ);
c) di chuyển các nguyên tố và hợp chất của chúng từ chất nền dẻo hóa sang lớp phủ bề mặt.
C.4 Đặt vào miệng
Thuật ngữ "đặt vào miệng" có nghĩa là một phần của xe đẩy trẻ em có bánh xe mà trẻ có thể đưa vào miệng để trẻ có thể mút và nhai. Nếu phần đó chỉ có thể liếm được thì không được coi là có thể đặt vào miệng. Nếu một kích thước của một phần nhỏ hơn 5 cm, thì có thể đặt vào miệng, ví dụ như bề mặt của thanh cản, mặt ghế và tay vịn, dây đai hoặc dây an toàn, trong khi lốp xe không thể đặt vào miệng. Để biết thêm thông tin, xem Tài liệu tham khảo [20].
Hình C.1 cho thấy ví dụ về những gì có thể đưa vào miệng. Các phần không thể đưa vào miệng bao gồm tay lái, bánh xe, lưng ghế, khay mua sắm và túi (ở phía sau), chỗ để chân và nắp cuối.

| a) Khu vực có thể tiếp cận bằng xe đẩy trẻ em có bánh xe | b) Các phần có thể được đưa vào miệng |
CHÚ DẪN
1 bề mặt của thanh cản
2 mặt ghế và tay vịn
3 dây đai hoặc dây an toàn
Hình C.1 - Ví dụ về các chi tiết có thể cho vào miệng
C.5 Văn bản tuyên bố hợp chuẩn
Mẫu giấy chứng nhận hợp quy cho chất chống cháy được đưa ra làm ví dụ và có thể sử dụng các tuyên bố tương tự.
TUYÊN BỐ TUÂN THỦ
Bằng cách ký vào tài liệu này, <tên người nộp đơn> chứng nhận rằng vật liệu <mô tả/thông số kỹ thuật của vật liệu> chưa được xử lý bằng chất chống cháy và tuân thủ các yêu cầu của TCVN 14456:2025 (ISO 31110:2020), Bảng 1.
Người nộp đơn: ____________________________________________________________
Được chứng nhận bởi: (chữ ký, dấu công ty) _____________________________________
Ngày: ____________________________________________________________________
Phụ lục D
(tham khảo)
Hướng dẫn áp dụng 8.3.5.1.1.3 "Nhả không chủ ý cơ cấu khóa"
D.1 Yêu cầu chung
Xe có cơ cấu khóa với số lượng cơ cấu điều khiển khác nhau được thiết kế để người chăm sóc vận hành.
Các yêu cầu về việc nhả cơ cấu khóa không chủ ý đã được xác định có tính đến số lượng cơ cấu điều khiển được cung cấp để nhả cơ cấu khóa. Do đó, điều này làm giảm khả năng nhả cơ cấu khóa không chủ ý.
Có thể có những sản phẩm mà do số lượng và tính năng của các cơ cấu điều khiển, có nghi ngờ về các yêu cầu phù hợp áp dụng, 8.3.5.1.1.3 a) hoặc b), b) hoặc c). D.4 cung cấp hướng dẫn về các trường hợp như vậy.
D.2 Sản phẩm được lắp một cơ cấu điều khiển duy nhất (sản phẩm có thể gập lại chỉ bằng một tay)
Các sản phẩm có một cơ cấu điều khiển duy nhất (xem Bảng D.1) được coi là có khả năng ngăn chặn việc nhả vô ý các cơ cấu khóa nếu chúng đáp ứng điều kiện cụ thể 8.3.5.1.1.3 a), nghĩa là chúng đáp ứng cả hai điều kiện sau:
- cơ cấu điều khiển yêu cầu hai hành động liên tiếp, trong đó hành động đầu tiên được duy trì trong khi hành động thứ hai được thực hiện;
- không thể bỏ qua một hoặc cả hai hành động bắt buộc bằng cách tác dụng một lực hoặc mô-men xoắn nhất định lên thiết bị (ví dụ: kéo cần gạt mà không cần nhấn nút liên động, quay núm mà không trượt nút liên động, kéo cần gạt theo hướng chéo ngay cả khi cần gạt được thiết kế để kéo rồi đẩy sang một bên).
Bảng D.1 - Ví dụ về cơ cấu khóa chỉ có một cơ cấu điều khiển
|
| Cách nhả Nút trượt (1) rồi xoay núm (2). Chỉ đáp ứng điều kiện 8.3.5.1.1.3 a) nếu núm không thể xoay với mô-men xoắn được chỉ định mà không trượt nút. |
|
| Cách nhả Hoạt động kép trên liên kết thanh ngang (trượt cần gạt và nâng thanh ngang). Chỉ đáp ứng điều kiện 8.3.5.1.1.3 a) nếu liên kết thanh ngang không thể được nâng lên bằng lực đã chỉ định mà không trượt cần gạt (ví dụ: bằng cách tác dụng lực đó trực tiếp vào cần gạt theo hướng chéo). |
D.3 Sản phẩm được lắp hai cơ cấu điều khiển
Hai thiết bị vận hành riêng biệt và độc lập (xem Bảng D.2) được coi là đủ để ngăn ngừa việc mở khóa không chủ ý của cơ cấu khóa nếu chúng đáp ứng các điều kiện tại mục 8.3.5.1.1.3 b), có nghĩa là ít nhất một trong các điều kiện sau:
Điều kiện 1) Áp dụng cho các sản phẩm mà ít nhất một thiết bị vận hành được thiết kế để vận hành bằng chân. Có thể dự đoán rằng người chăm sóc vô tình kích hoạt thiết bị vận hành. Do đó, khả năng có ít nhất một cơ cấu khóa được kích hoạt để ngăn ngừa việc gập xe không chủ ý được coi là rất cao nếu ít nhất thiết bị vận hành được kích hoạt bằng chân tự động trở lại trạng thái ban đầu và cơ cấu khóa được tái kích hoạt.
Điều kiện 2) Áp dụng cho các sản phẩm mà cả hai thiết bị vận hành đều được thiết kế để vận hành bằng tay. Có thể dự đoán rằng người chăm sóc vô tình kích hoạt một trong hai thiết bị vận hành (ví dụ: bằng cách chơi với chúng trong khi sử dụng sản phẩm). Vì lý do này, yêu cầu rằng cả hai cơ cấu khóa tự động tái kích hoạt khi được kiểm tra theo mục 8.3.5.1.2.3.
Bảng D.2 - Ví dụ về cơ cấu khóa với hai cơ cấu điều khiển
|
| Cách nhả Nâng thanh chéo phía sau rồi đạp bàn đạp bằng chân. Đáp ứng điều kiện 8.3.5.1.1.3 b) 1) nếu bàn đạp dự định được vận hành bằng chân tự động trở về trạng thái ban đầu khi được kiểm tra theo 8.3.5.1.2.3 |
|
| Cách nhả Kéo cả hai cần gạt trên tay cầm. Đáp ứng điều kiện 8.3.5.1.1.3 b) 2) chỉ khi cả hai cơ cấu điều khiển tự động kích hoạt lại khi được thử theo 8.3.5.1.2.3. |
|
| Cách nhả Kéo cần gạt trên tay cầm và đồng thời xoay núm. Đáp ứng điều kiện 8.3.5.1.1.3 b) 2) chỉ khi cả hai cơ cấu điều khiển tự động kích hoạt lại khi được thử theo 8.3.5.1.2.3. |
D.4 Sản phẩm có ba hoặc nhiều cơ cấu điều khiển
Ba hoặc nhiều cơ cấu điều khiển riêng biệt và độc lập (xem Bảng D.3) được coi là đủ để ngăn chặn việc vô tình nhả cơ cấu khóa nếu ít nhất một trong số chúng không thể được trẻ em ngồi trong xe vận hành. Vì lý do này, cần phải đáp ứng ít nhất một trong các điều kiện sau:
- ít nhất một trong các cơ cấu điều khiển phải nằm ngoài thể tích được bảo vệ; hoặc
- nếu tất cả các cơ cấu điều khiển đều nằm bên trong thể tích được bảo vệ, thì ít nhất một trong số chúng cần lực lớn hơn 50 N để vận hành.
Bảng D.3 - Sản phẩm có ba hoặc nhiều cơ cấu điều khiển
|
| Cách nhả Kéo cả hai cò trên tay cầm và nâng chốt sau. Đáp ứng điều kiện 8.3.5.1.1.3 c) nếu ít nhất một trong ba cơ cấu điều khiển (một trong các cò hoặc chốt sau) nằm ngoài thể tích được bảo vệ hoặc cần ít nhất 50 N để vận hành. |
D.5 Sản phẩm được quy định bởi các yêu cầu khác nhau
Có những trường hợp có thể có nghi ngờ về điều kiện phù hợp nào sẽ được áp dụng (ví dụ: một chiếc xe được lắp hai cơ cấu điều khiển, một trong số đó yêu cầu phải có tác động kép để vận hành; một chiếc xe có ba cơ cấu điều khiển, trong đó có hai thiết bị tự động trở về trạng thái ban đầu khi được vận hành).
Trong những trường hợp này, chỉ cần xe đáp ứng ít nhất một trong các điều kiện sau: a), b) hoặc c).
Ví dụ, xem xét một sản phẩm được lắp hai cơ cấu điều khiển: một cần gạt trên tay cầm và một núm có nút phải được đẩy để quay núm.
Nếu núm đáp ứng các điều kiện được xác định trong 8.3.5.1.1.3 a), tức là không thể quay mà không nhấn nút, thì xe được coi là đáp ứng điều kiện 8.3.5.1.1.3 ngay cả khi cơ cấu khóa không đáp ứng điều kiện 8.3.5.1.1.3 b) (ví dụ: cò có thể không tự động trở về trạng thái ban đầu khi được thử nghiệm theo 8.3.5.1.2.2).
Nếu cơ cấu khóa đáp ứng điều kiện 8.3.5.1.1.3 b), tức là cả núm và cò đều tự động trở về trạng thái ban đầu và các thiết bị khóa sẽ khớp lại khi được kiểm tra theo 8.3.5.1.2.2, thì xe được coi là đáp ứng điều kiện 8.3.5.1.1.3 ngay cả khi núm không đáp ứng 8.3.5.1.1.3 a) (ví dụ: núm có thể quay mà không cần nhấn nút).
Phụ lục E
(tham khảo)
Ví dụ về các bộ phận chuyển động của mui che bên trong 100 mm từ điểm trục
E.1 Trường hợp A
Các vòm của mui che không thể chồng lên nhau. Chúng có một cữ chặn cơ học có thể cho phép đưa que thăm 12 mm vào giữa các vòm ở vị trí nằm ngang.

CHÚ DẪN
1 vòm của mui che không thể chồng lên nhau
2 khung của xe đẩy
Hình E.1 - Mui che đóng

Hình E.2 - Vị trí bên - Hướng chèn của que thăm 12 mm
Giải pháp này không phải là tình huống nguy hiểm.
E.2 Trường hợp B
Các vòm của mui che có thể chồng lên nhau và có thể đưa que thăm 12 mm vào giữa các vòm bằng vị trí phía trước. Xem Hình E.3 và E.4.

CHÚ DẪN
1 vòm của mui che có thể chồng lên nhau
2 khung của xe đẩy
Hình E.3 - Mui che đóng

Hình E.4 - Vị trí phía trước - Hướng chèn của que thăm 12 mm
Giải pháp này không phải là tình huống nguy hiểm.
E.3 Trường hợp C
Các vòm của mui che có thể chồng lên nhau và không thể đưa que thăm 12 mm vào giữa các vòm bằng vị trí phía trước hoặc bên. Que thăm 5 mm có thể đi qua giữa các vòm. Xem Hình E.5 và E.6.

CHÚ DẪN
1 các vòm mui che có thể chồng lên nhau
2 khung của xe đẩy
3 vị trí phía trước: không thể chèn que thăm 12 mm
4 góc nhìn từ bên
Hình E.5 - Mui che đóng

Hình E.6 - Vị trí bên - Hướng chèn của que thăm 12 mm
Giải pháp này là tình huống nguy hiểm.
Phụ lục F
(tham khảo)
Thông tin thêm về các mối nguy
F.1 Quy định chung
Phụ lục này cung cấp lý do cho một số yêu cầu được đưa ra trong tiêu chuẩn này.
F.2 Mối nguy do nhiệt (xem Điều 7)
Xác suất trẻ em tiếp xúc hoặc tiếp xúc gần với nguồn đánh lửa là thấp đối với các sản phẩm này và do đó không có yêu cầu về sự lan truyền ngọn lửa. Tuy nhiên, các yêu cầu đã được đưa vào để giảm sự bùng phát bề mặt, nhằm tránh các mối nguy tức thời do ngọn lửa lan nhanh và đột ngột trên bề mặt vật liệu được sử dụng.
F.3 Mối nguy cơ học (xem Điều 8)
F.3.1 Quy định chung
Đối với tất cả các mối nguy cơ học, độ tuổi và khả năng của trẻ em đã được xem xét.
Khối lượng 9 kg được sử dụng để thử nghiệm có ý định đại diện cho trẻ em chín tháng tuổi.
Khối lượng 15 kg được sử dụng để thử nghiệm có ý định đại diện cho trẻ em 3 tuổi.
F.3.2 Chức năng bảo vệ (xem 8.1)
Điều khoản phụ 8.1.2 đề cập đến mối nguy trẻ em rơi ra khỏi xe. Tiêu chuẩn này bao gồm các yêu cầu về chiều cao tối thiểu của các cạnh thân xe đẩy, hiệu quả của hệ thống an toàn, điểm gắn dây an toàn và góc của các bộ phận ghế ngồi.
F.3.3 Mối nguy mắc kẹt (xem 8.2)
Mối nguy mắc kẹt xảy ra khi trẻ bị mắc kẹt trong một khoảng trống tĩnh và trẻ không có khả năng tự thoát ra. Không nên nhầm lẫn những mối nguy này với những khoảng trống giữa các bộ phận chuyển động, nơi ngón tay hoặc thịt của trẻ có thể bị đè bẹp hoặc đứt.
Việc ngón tay của trẻ bị mắc kẹt trong các lỗ mở tĩnh có thể khiến mát nguồn cung cấp máu đến các đầu ngón tay. Điều này xảy ra nếu kích thước và hình dạng của các lỗ mở không cho phép đủ không gian xung quanh ngón tay (xem Hình F.1).

CHÚ DẪN
1 Que thăm
Hình F.1 - Ví dụ về việc sử dụng que thăm đánh giá hình dạng
F.3.4 Mối nguy từ các bộ phận chuyển động (xem 8.3)
Mối nguy từ các bộ phận chuyển động liên quan đến các thành phần chuyển động khi sử dụng. Mối nguy liên quan đến toàn bộ cơ thể hoặc một phần cơ thể của trẻ. Cơ thể trẻ có thể bị đè bẹp nếu sản phẩm bị đổ xung quanh trẻ.
Ngón tay của trẻ được coi là có mối nguy cao hơn và có thể bị cắt, đè bẹp hoặc thậm chí bị đứt nếu chúng bị kẹt giữa các thành phần của sản phẩm đang chuyển động.
Mối nguy cắt xảy ra khi các thành phần chuyển động tương đối với nhau và có tác động cắt kéo dẫn đến cắt cụt.
Mối nguy nghiền xảy ra khi các thành phần chuyển động tương đối với nhau và có tác động nén dẫn đến bầm tím hoặc gãy xương.
Có thể xảy ra sự kết hợp giữa mối nguy nghiền nát và mối nguy cắt.
Mối nguy phát sinh từ các bộ phận chuyển động phụ thuộc vào khả năng gây thương tích của các bộ phận. Nếu có thể, nên tránh các bộ phận chuyển động có thể đóng lại nhỏ hơn 12 mm.
Các chuyển động có thể tạo ra mối nguy bao gồm:
- chuyển động của sản phẩm hoặc các thành phần của sản phẩm;
- chuyển động của trọng lượng cơ thể của trẻ khi sử dụng sản phẩm;
- tác dụng hoặc nhả lực bên ngoài (của một trẻ khác, người chăm sóc hoặc cơ chế có động cơ).
Cần xem xét các điều kiện sau đây khi đánh giá mối nguy của các bộ phận chuyển động:
- khả năng tiếp cận các bộ phận chuyển động của bất kỳ trẻ nào được vận chuyển trong xe; điều này có thể được giảm bớt bằng các yếu tố bảo vệ, khoảng cách từ trẻ đến các bộ phận chuyển động, v.v.;
- tính linh hoạt của vật liệu, ví dụ như khung nhựa, xốp, thanh kim loại nhỏ;
- vật liệu mềm như vải;
- tác động của các lực tác dụng ở các vị trí khác nhau;
- phương tiện vận hành các bộ phận chuyển động;
- bất kỳ thiết kế nào của các bộ phận khiến chuyển động bị che khuất khỏi người chăm sóc (ví dụ như vỏ vải);
- khả năng của trẻ;
- hình dạng và vật liệu của các bộ phận, ví dụ như ống tròn, xốp xung quanh các bộ phận cứng, tấm thép phẳng.
Tiêu chuẩn này đề cập đến sự an toàn của trẻ khi được đặt trong xe nơi các mối nguy do các bộ phận của sản phẩm chuyển động khi sử dụng đã được đề cập. Các yêu cầu cũng được đưa ra để tránh trẻ em nhả các cơ cấu khóa giữ chặt sản phẩm ở đúng vị trí sử dụng, điều này có thể dẫn đến việc sản phẩm bị gấp lại một cách vô tình và có khả năng bị đè bẹp.
Tuy nhiên, vẫn có mối nguy xảy ra trong quá trình người chăm sóc trẻ em mở hoặc gấp các sản phẩm này. Người chăm sóc có trách nhiệm kiểm soát quá trình mở và gấp sản phẩm.
Để tránh mối nguy cho trẻ em, người chăm sóc cần đảm bảo rằng trẻ em không chạm vào sản phẩm trong quá trình mở và gấp. Thông tin sản phẩm có liên quan đã được cung cấp để làm nổi bật điều này.
Do đó, các yêu cầu đối với thể tích được bảo vệ (xem 8.3.1) không bao gồm bất kỳ cân nhắc nào về mối nguy bị cắt hoặc đè bẹp giữa các bộ phận cứng di chuyển trong khi xe đang được dựng lên để sử dụng, đang được gấp lại hoặc trong quá trình điều chỉnh các bộ phận được khóa khi ở đúng vị trí để sử dụng.
Vì việc gấp đột ngột có thể gây ra mối nguy bị cắt và đè bẹp cũng như mối nguy bị kẹt hoặc ngạt thở, nên người chăm sóc phải thấy rõ rằng sản phẩm được khóa đúng vị trí để sử dụng.
Các yêu cầu đã được quy định cho hệ thống gấp của khung gầm phải được khóa ở vị trí sử dụng để tránh bị bung ra do triển khai không đầy đủ và được bảo vệ chống lại việc trẻ em hoặc người lớn vô tình mở ra. Một lực 150 N hoặc mô-men xoắn 2,2 Nm được tác dụng vào cơ cấu khóa (xem 8.3.5.1.2.2) để kiểm tra xem nó có thể được mở ra bằng một hành động đơn lẻ không chủ ý hay không (ví dụ: kẻo theo hướng chéo thay vì kéo sang một bên và hướng lên trên, hoặc quay cơ cấu khóa mà không nhấn nút khóa của nó).
Cơ cấu khóa được yêu cầu để ngăn tay cầm có thể đảo ngược bị bung ra khi kéo xe qua một bậc thang khi có trẻ em trong xe.
Các yêu cầu đã được quy định đối với thân xe đẩy và ghế ngồi có thể tháo rời phải được khóa để trẻ em hoặc người lớn không vô tình mở ra, và đối với các tay cầm có thể điều chỉnh phải được khóa để trẻ em hoặc người lớn không vô tình mở ra.
F.3.5 Mối nguy do vướng, mắc (xem 8.4)
Nếu dây, ruy băng và vải hẹp đủ dài để quấn quanh cổ trẻ em, sẽ có mối nguy bị siết cổ, khi đó hơi thở của trẻ bị cản trở khiến không khí không thể lọt qua phổi, có thể dẫn đến tổn thương não và/hoặc tử vong. Các vòng có thể luồn qua đầu trẻ em cũng có mối nguy bị siết cổ.
Khoảng cách giữa các điểm cố định của dây, ruy băng và vải hẹp có thể thay đổi trong quá trình sử dụng do tính linh hoạt của các bộ phận của xe (ví dụ: dây trên các bộ phận vải mềm). Do đó, lực 25 N được áp dụng cho mục đích đo lường.
F.3.6 Mối nguy do nghẹn và nuốt phải (xem 8.5)
Ngạt là một mối nguy nghiêm trọng có thể xảy ra khi đường thở bên trong của trẻ bị chặn và hơi thở của trẻ bị cản trở khiến không khí không thể lọt qua phổi, có thể dẫn đến tổn thương não và/hoặc tử vong.
Mối nguy nuốt phải là do các thành phần nhỏ lọt qua hệ tiêu hóa của trẻ, có thể gây nhiễm độc hoặc tắc nghẽn hoặc rách bên trong.
Các yêu cầu đưa ra giới hạn kích thước của các thành phần có thể tháo rời hoặc có thể bị trẻ kéo ra. Khi sử dụng kẹp để thử nghiệm, phải cẩn thận để thành phần hoặc xe không bị hư hỏng do thiết bị.
Đã cân nhắc đến việc tiếp cận vật liệu làm đầy thanh cản vì có thể gây ra mối nguy nghẹn.
F.3.7 Mối nguy do ngạt thở (xem 8.6)
Nếu đường thở bên ngoài của trẻ (miệng và mũi) bị chặn đồng thời, không khí không thể lọt qua phổi của trẻ và có thể xảy ra tổn thương não và/hoặc tử vong.
Yêu cầu đối với lớp lót bên trong của thân xe đẩy hoặc ghế ngồi, bằng nhựa hoặc phủ nhựa, phải đảm bảo lớp lót đủ dày để không bị cong vềnh trên mặt trẻ và đảm bảo lớp vải lót không quá lỏng lẻo đến mức che mất mặt trẻ.
Yêu cầu về độ dày của lớp bọc nhựa và túi nhựa, có kích thước mà trẻ có thể trùm túi lên đầu, đã được đưa ra để túi không bị cong theo khuôn mặt trẻ, che mất mũi và miệng trẻ và cản trở việc thở của trẻ.
F.3.8 Mối nguy từ các cạnh và phần nhô ra (xem 8.7)
Các cạnh sắc và phần nhô ra có thể gây ra vết cắt, vết rách hoặc trầy xước trên da của trẻ. Các đầu nhọn có thể đâm thủng da hoặc mắt của trẻ.
F.3.9 Thiết bị đỗ xe và phanh (xem 8.8)
Thiết bị đỗ xe phải giữ cho xe ở vị trí đứng yên trong khi thiết bị phanh phải làm chậm hoặc dừng xe khi người chăm sóc đẩy xe.
Các yêu cầu đã được đưa ra để đảm bảo thiết bị đỗ xe có thể tiếp xúc được với người chăm sóc trong quá trình sử dụng và được thiết kế sao cho trẻ không thể vận hành trong xe.
Các yêu cầu để đảm bảo thiết bị đỗ xe có hiệu quả đã được đưa ra để ngăn sản phẩm vô tình lăn, ví dụ như khi người chăm sóc đang lắp hoặc tháo trẻ ra khỏi xe.
F.3.10 Độ ổn định (xem 8.9)
Nếu xe bị lật, trẻ em bên trong có thể bị thương.
Độ ổn định của xe có thể bị ảnh hưởng khi thêm tải trọng bổ sung và sử dụng phụ kiện hoặc các tính năng được lắp trên sản phẩm. Vì tiêu chuẩn này không thể lường trước và kiểm tra tất cả các cách sử dụng và tải sản phẩm tiềm năng, người chăm sóc được nhắc nhở về các vấn đề ổn định liên quan đến việc bổ sung các phụ kiện nặng vào xe.
F.3.11 Độ bền kết cấu (xem 8.10)
Tính toàn vẹn về kết cấu đảm bảo rằng các thành phần của xe sẽ không bị hỏng trong quá trình sử dụng và gây thương tích cho trẻ.
Nếu cơ cấu khóa của tay cầm có thể đảo ngược, điều chỉnh hoặc thu gọn vô tình bị nhả ra khi bị kéo hoặc đẩy qua bậc thang hoặc lề đường, xe có thể bị lật và trẻ có thể rơi ra khỏi xe. Nếu tay cầm bị gãy khi xe bị kéo hoặc đẩy qua bậc thang hoặc lề đường, xe có thể bị lật hoặc lăn đi và trẻ có thể rơi ra khỏi xe.
Các yêu cầu đã được đưa ra để đảm bảo bất kỳ thân xe đẩy và bộ phận ghế nào được gắn chặt vào khung xe.
Bài kiểm tra bề mặt không bằng phẳng đã được đưa vào để mô phỏng việc sử dụng tổng thể của xe trên cả bề mặt bằng phẳng và không bằng phẳng.
Bài kiểm tra độ bền động đã được đưa vào để mô phỏng các tình huống mà xe đâm vào các vật thể cố định.
F.3.12 Thông tin mua hàng (xem 10.3)
Thông tin mua hàng cho phép người tiêu dùng đưa ra lựa chọn sáng suốt (ví dụ: bằng cách quy định bất kỳ giới hạn nào về độ tuổi/cân nặng/khả năng hoặc thông tin tương thích) khi mua xe đẩy trẻ em có bánh xe.
Thông tin mua hàng phải được cung cấp tại điểm bán hàng và phải hiển thị tại điểm bán hàng qua mạng hoặc đặt hàng qua thư.
F.4 Các yếu tố không được đề cập trong tiêu chuẩn này
F.4.1 Sử dụng dây đai cố định
Tiêu chuẩn này không đưa ra yêu cầu phải cung cấp dây đai cố định trên xe. Mặc dù đây có thể là một lựa chọn để ngăn ngừa các mối nguy do người chăm sóc mất liên lạc với tay cầm khiến xe lăn đi, nhưng vẫn có những mối nguy khác có thể phát sinh do sự hiện diện của phụ kiện như vậy, chẳng hạn như người chăm sóc mất thăng bằng và kéo xe ngã, và có những khả năng khác để ngăn ngừa mối nguy mất kiểm soát.
Mối nguy mất kiểm soát về cơ bản liên quan đến việc sử dụng nhiều, như với các phương tiện dùng để chạy bộ hoặc trượt patin. Vì không có đủ dữ liệu về tai nạn nên không có yêu cầu nào được đưa vào tiêu chuẩn này.
F.4.2 Sử dụng màu cho bộ truyền động của thiết bị đỗ xe
Tiêu chuẩn này không đưa ra yêu cầu bộ truyền động của thiết bị đỗ xe phải được tô màu đó, như đã nêu trong các tiêu chuẩn khác. Lý do là màu đó thường được sử dụng để chỉ ra mối nguy, điều này không phù hợp và có thể dẫn đến hiểu lầm.
Thư mục tài liệu tham khảo
[1] ISO 12460-1, Wood-based panels - Determination of formaldehyt release - Part 1: Formaldehyt emission by the 1-cubic-metre chamber method
[2] ISO 14184-2, Textiles - Determination of formaldehyt - Part 2: Released formaldehyt (vapour absorption method)
[3] AATCC TM112, Formaldehyt Release from Fabric: Sealed Jar Method
[4] ASTM F963-17, standard Consumer Safety Specification for Toy Safety
[5] EN 71 -3, Safety of toys - Part 3: Migration of certain elements
[6] EN 71 -9, Safety of toys - Part 9: Organic chemical compounds - Requirements
[7] EN 14372, Child care articles - Cutlery and feeding utensils - Safety requirements and tests
[8] GB 6675-4, Safety of toys - Part 4: Migration of certain elements
[9] GB 18401, National General Safety Technical Code for Textile Products
[10] GB/T 2912.1, Textiles - Determination of form aide hyt - Part 1: Free and hydrolized formaldehyt (Water extraction method)
[11] GB/T 17592, Textiles - Determination of the banned azo colourants
[12] GB/T 22048, Determination of certain Phtalat esters in toys and children's products
[13] GB/T 23344, Textiles - Determination of 4-aminoazobenzene
[14] JIS L 1041, Test methods for resin finished textiles
[15] ST 2016, Japan Toy Safety standard
[16] Annex XVII of the REACH regulation, Conditions of restriction
[17] CCPSA. Canada Consumer Product Safety Act (S.c. 2010, c. 21)
[18] CPSA. Consumer Product Safety Act. Codified at 15 u.s.c. §§ 2051-2089
[19] CPSC-CH-C1001-09.4. Standard Operating Procedure for Determination of Phtalats. United States Consumer Product Safety Commission
[20] European Commission. Guidance Document on the interpretation of the concept "which can be placed in the mouth" as laid down in the Annex to the 22nd amendment of Council Directive 76/769/EEC. Ref. Ares(2014)78709 - 15/01/2014
[21] EU. RoHs. Directive 2002/95/EC of the European Parliament and of the Council of 27 January 2003 on the restriction of the use of certain hazardous substances in electrical and electronic equipment
[22] EU. TSD. Directive 2009/48/EC of the European Parliament and of the Council of 18 June 2009 on the safety of toys
[23] EU. POPs. Regulation (EU) No 2019/1021 of the European Parliament and of the Council of 20 June 2019 on persistent organic pollutants
[24] Health Canada Method C34 and C34.2
[25] OEKO-TEX® label
[26] QCVN 3:2009/BKHCN. Committee for drafting of the national technical regulation on safety of toys, is presented by the Directorate for Standards, Metrology and Quality, and is promulgated under the Circular No. 18/2009/TT-BKHCN dated June 26, 2009 by the Minister of Science and Technology
[27] TSCA. Toxic Substances Control Act. Codified at 15 U.S.C. §2601 et seq. (1976)
[28] UN/ECE. Regulation No 44 of the Economic Commission for Europe of the United Nations (UN/ECE) - Uniform provisions concerning the approval of restraining devices for child occupants of power driven vehicles ('child restraint systems')
[29] UN/ECE. Regulation No 129 of the Economic Commission for Europe of the United Nations (UN/ECE) - Uniform provisions concerning the approval of enhanced Child Restraint Systems used on board of motor vehicles (ECRS)
[30] ASTM F833-199, standard Consumer Safety Performance Specification for Carriages and Strollers
[1] Hiện có TCVN 6238-1:2017 (ISO 8124-1:2014), An toàn đồ chơi trẻ em - Phần 1: Các yêu cầu an toàn liên quan đến tính chất cơ lý
[2] Hiện có TCVN 6238-3:2011 (ISO 8124-3:2010), An toàn đồ chơi trẻ em - Phần 3: Giới hạn mức thôi nhiễm của một số nguyên tố độc hại
[3] Hiện có TCVN 6238-6:2015 (ISO 8124-6:2014), An toàn đồ chơi trẻ em - Phần 6: Một số este phtalat trong đồ chơi và sản phẩm dành cho trẻ em
[4] Theo ASTM F833 [30]
[5] Theo ASTM F883 [30]
[6] Theo ASTM F883 [30]
[7] Theo ASTM F883 [30]
[8] Theo ASTM F833 [30]
[9] Theo ASTM F833 [30]
[10] Theo ASTM F833 [30]
[11] Theo ASTM F833 [30]
Bạn chưa Đăng nhập thành viên.
Đây là tiện ích dành cho tài khoản thành viên. Vui lòng Đăng nhập để xem chi tiết. Nếu chưa có tài khoản, vui lòng Đăng ký tại đây!





