- Tổng quan
- Nội dung
- Tiêu chuẩn liên quan
- Lược đồ
- Tải về
Tiêu chuẩn Quốc gia TCVN 6238-4A:2020 ISO 8124-4:2014 with amendment 1:2017 and amendment 2:2019 An toàn đồ chơi trẻ em - Phần 4A: Đu, cầu trượt và các đồ chơi vận động tương tự sử dụng tại gia đình
| Số hiệu: | TCVN 6238-4A:2020 | Loại văn bản: | Tiêu chuẩn Việt Nam |
| Cơ quan ban hành: | Bộ Khoa học và Công nghệ | Lĩnh vực: | Y tế-Sức khỏe |
|
Ngày ban hành:
Ngày ban hành là ngày, tháng, năm văn bản được thông qua hoặc ký ban hành.
|
31/12/2020 |
Hiệu lực:
|
Đã biết
|
| Người ký: | Đang cập nhật |
Tình trạng hiệu lực:
Cho biết trạng thái hiệu lực của văn bản đang tra cứu: Chưa áp dụng, Còn hiệu lực, Hết hiệu lực, Hết hiệu lực 1 phần; Đã sửa đổi, Đính chính hay Không còn phù hợp,...
|
Đã biết
|
TÓM TẮT TIÊU CHUẨN VIỆT NAM TCVN 6238-4A:2020
Tiêu chuẩn Quốc gia TCVN 6238-4A:2020: Quy định an toàn cho đồ chơi vận động trẻ em tại gia đình
Tiêu chuẩn Quốc gia TCVN 6238-4A:2020, được công bố ngày 23/11/2020, thay thế cho TCVN 6238-4A:2017 và hoàn toàn tương đương với tiêu chuẩn ISO 8124-4:2014 cùng các sửa đổi bổ sung. Tiêu chuẩn này quy định các yêu cầu và phương pháp thử nghiệm an toàn đối với đồ chơi vận động sử dụng tại gia đình cho trẻ em dưới 14 tuổi.
Phạm vi áp dụng: TCVN 6238-4A:2020 quy định các yêu cầu an toàn liên quan đến đồ chơi vận động bao gồm các thiết bị như đu, cầu trượt và các thiết bị tương tự. Tuy nhiên, tiêu chuẩn không áp dụng cho các thiết bị thể thao hoặc giáo dục, các sản phẩm chăm sóc trẻ em và đồ chơi không dùng trong gia đình.
Yêu cầu về độ bền và ổn định: Đến mức tối thiểu, đồ chơi phải không bị đổ sập khi thử nghiệm độ bền và phải đảm bảo ổn định khi sử dụng. Đồ chơi có chiều cao rơi tự do dưới 600 mm phải không bị đổ khi thử nghiệm theo quy định.
Các quy định về thiết kế: Tiêu chuẩn yêu cầu các đồ chơi phải có thiết kế an toàn để tránh những nguy cơ mắc kẹt hoặc vướng víu cho trẻ như các khoảng hở gây nguy hiểm cho phần đầu, cổ, hoặc các bộ phận cơ thể khác. Đồng thời, các chi tiết của đồ chơi như góc cạnh, đầu bulông phải được thiết kế trơn nhẵn để đảm bảo an toàn.
Kháng lực và cách sử dụng: Đồ chơi phải có khả năng chịu tải trọng lớn và phải được sử dụng theo cách mà người sử dụng dễ dàng có thể xử lý trong các trường hợp khẩn cấp. Tiêu chuẩn cũng đưa ra các quy định về việc giám sát của cha mẹ trong lúc trẻ chơi với đồ chơi, đồng thời nhấn mạnh rằng trách nhiệm trong việc chọn lựa đồ chơi an toàn vẫn nằm ở người lớn.
Tiêu chuẩn này thuộc bộ tiêu chuẩn an toàn đồ chơi trẻ em, hướng đến việc bảo vệ sức khỏe và sự an toàn cho trẻ em trong môi trường gia đình. Để thực hiện tốt, các nhà sản xuất và người tiêu dùng cần nắm rõ các yêu cầu nêu trên và tham khảo kỹ lưỡng hướng dẫn sử dụng.
Tải tiêu chuẩn Việt Nam TCVN 6238-4A:2020
TIÊU CHUẨN QUỐC GIA
TCVN 6238-4A:2020
ISO 8124-4:2014
WITH AMENDMENT 1:2017
AND AMENDMENT 2:2019
AN TOÀN ĐỒ CHƠI TRẺ EM - PHẦN 4A: ĐU, CẦU TRƯỢT VÀ CÁC ĐỒ CHƠI VẬN ĐỘNG TƯƠNG TỰ SỬ DỤNG TẠI GIA ĐÌNH
Safety of toys - Part 4: Swings, slides and similar activity toys for indoor and outdoor family domestic use
Lời nói đầu
TCVN 6238-4A:2020 thay thế cho TCVN 6238-4A:2017.
TCVN 6238-4A:2020 hoàn toàn tương đương với ISO 8124-4:2014 và sửa đổi 1:2017; sửa đổi 2:2019.
TCVN 6238-4A:2020 do Ban kỹ thuật Tiêu chuẩn quốc gia TCVN/TC 181 An toàn đồ chơi trẻ em biên soạn, Tổng cục Tiêu chuẩn Đo lường Chất lượng đề nghị, Bộ Khoa học và Công nghệ công bố.
Bộ TCVN 6238, An toàn đồ chơi trẻ em, gồm các phần sau:
- TCVN 6238-1:2020 (ISO 8124-1:2018, with amendment 1:2020; and amendment 2:2020), Phần 1: Các yêu cầu an toàn liên quan đến tính chất cơ lý.
- TCVN 6238-2:2017 (ISO 8124-2:2014), Phần 2: Tính cháy.
- TCVN 6238-3:2020 (ISO 8124-3:2020), Phần 3: Giới hạn mức thôi nhiễm của một số nguyên tố độc hại.
- TCVN 6238-4A:2020 (ISO 8124-4:2014, with amendment 1:2017; and amendment 2:2019), Phần 4A: Đu, cầu trượt và các đồ chơi vận động tương tự sử dụng tại gia đình.
- TCVN 6238-4:1997 (EN 71-4:1990), Phần 4: Bộ đồ chơi thực nghiệm về hoá học và các hoạt động liên quan.
- TCVN 6238-5A:2017 (ISO 8124-5:2015), Phần 5A: Xác định tổng hàm lượng một số nguyên tố trong đồ chơi.
- TCVN 6238-5:1997 (EN 71-5:1993), Phần 5: Bộ đồ chơi hóa học ngoài bộ đồ chơi thực nghiệm.
- TCVN 6238-6:2020 (ISO 8124-6:2018), Phần 6: Một số este phtalat trong đồ chơi và sản phẩm dành cho trẻ em.
- TCVN 6238-7:2017 (ISO 8124-7:2015), Phần 7: Yêu cầu và phương pháp thử cho sơn dùng bằng tay,
- TCVN 6238-8:2020 (ISO/TR 8124-8:2016), Phần 8: Hướng dẫn xác định tuổi sử dụng.
- TCVN 6238-9:2010 (EN 71-9:2005), Phần 9: Hợp chất hoá học hữu cơ - Yêu cầu chung.
- TCVN 6238-10:2010 (EN 71-10:2005), Phần 10: Hợp chất hoá học hữu cơ - Chuẩn bị và chiết mẫu;
- TCVN 6238-11:2010 (EN 71-11:2005), Phần 11: Hợp chất hoá học hữu cơ - Phương pháp phân tích.
Lời giới thiệu
Một đồ chơi được sản xuất phù hợp với tiêu chuẩn này không có nghĩa là sẽ hoàn toàn phù hợp với các yêu cầu quốc gia về an toàn đồ chơi tại thị trường mà sản phẩm đó được phân phối. Vì vậy người sử dụng tiêu chuẩn này cần phải tham khảo thêm các yêu cầu quốc gia có liên quan.
Việc phù hợp với các yêu cầu của tiêu chuẩn này sẽ làm giảm thiểu các nguy cơ tiềm ẩn liên quan đến đồ chơi khi đồ chơi được sử dụng đúng với cách thức đã định (sử dụng thông thường) cũng như khi đồ chơi được sử dụng không đúng cách thức đã định (sử dụng sai có thể dự đoán trước do các hành vi thông thường của trẻ).
Tiêu chuẩn này không loại trừ cũng như không có mục đích loại trừ trách nhiệm của cha mẹ trong việc lựa chọn đồ chơi một cách phù hợp. Ngoài ra, tiêu chuẩn này không loại trừ việc cần thiết phải có sự giám sát của cha mẹ trong các trường hợp mà trẻ em ở các lứa tuổi khác nhau có thể tiếp xúc với cùng một (các) đồ chơi.
AN TOÀN ĐỒ CHƠI TRẺ EM - PHẦN 4A: ĐU, CẦU TRƯỢT VÀ CÁC ĐỒ CHƠI VẬN ĐỘNG TƯƠNG TỰ SỬ DỤNG TẠI GIA ĐÌNH
Safety of toys - Part 4: Swings, slides and similar activity toys for indoor and outdoor family domestic use
1 Phạm vi áp dụng
Tiêu chuẩn này quy định các yêu cầu và phương pháp thử đối với đồ chơi vận động sử dụng tại gia đình, dành cho trẻ em dưới 14 tuổi chơi.
Các sản phẩm thuộc phạm vi tiêu chuẩn này bao gồm đu, cầu trượt, đồ chơi bập bênh, đồ chơi cưỡi/quay tròn, đồ chơi cưỡi/ bập bênh, khung trèo, đu có ghế quây kín dành cho trẻ nhỏ đã biết ngồi và các sản phẩm chịu được số cân nặng của một hoặc nhiều trẻ.
Các sản phẩm sau không thuộc phạm vi của tiêu chuẩn này:
a) thiết bị tập thể hình và thiết bị thể thao, trừ khi chúng được gắn cùng với đồ chơi vận động;
b) thiết bị sử dụng trong các trường học, trung tâm chăm sóc trẻ, nhà trẻ, các khu vui chơi công cộng, nhà hàng, các trung tâm mua sắm và các địa điểm công cộng tương tự;
c) các sản phẩm chăm sóc dành cho trẻ em, nhưng không giới hạn như đu dành cho trẻ sơ sinh, nôi cũi, giường hoặc các đồ dùng nội thất bao gồm bàn ăn ngoài trời, ghế/nôi/giường bập bênh và các sản phẩm được thiết kế sử dụng riêng trong chữa bệnh.
Các đồ chơi hoạt động có thể làm phồng cũng thuộc phạm vi của tiêu chuẩn này. Tuy nhiên, một máy thổi được sử dụng để làm phồng liên tục đồ chơi không thuộc phạm vi của tiêu chuẩn này vì nó được coi là thiết bị gia dụng và được quy định bởi TCVN 5699-2-80 (IEC 60335-2-80).
Xem A.1.
2 Tài liệu viện dẫn
Các tài liệu viện dẫn sau rất cần thiết cho việc áp dụng tiêu chuẩn này. Đối với các tài liệu viện dẫn ghi năm công bố thi áp dụng phiên bản được nêu. Đối với các tài liệu viện dẫn không ghi năm công bố thì áp dụng phiên bản mới nhất bao gồm cả các sửa đổi, bổ sung (nếu có).
TCVN 6238-1 (ISO 8124-1), An toàn đồ chơi trẻ em - Phần 1: Các yêu cầu an toàn liên quan đến tính chất cơ lý.
3 Thuật ngữ và định nghĩa
Trong tiêu chuẩn này áp dụng các thuật ngữ và định nghĩa nêu trong TCVN 6238-1 (ISO 8124-1) và các thuật ngữ, định nghĩa sau.
3.1
Đồ chơi vận động (activity toy)
Đồ chơi sử dụng tại gia đình, chịu được cân nặng của một hoặc nhiều trẻ, kết cấu đỡ của đồ chơi giữ cố định trong khi các hoạt động diễn ra và kết cấu này chịu được các vận động sau đây của đứa trẻ: trèo, đu, trượt, lắc, quay tròn, nhảy lên, nảy lên, trườn bò và trượt hoặc kết hợp của các vận động trên.
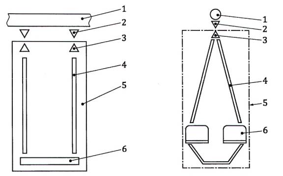
VÍ DỤ Đu, cầu trượt, đồ chơi cưỡi/quay tròn và khung trèo (xem Hình 1).
CHÚ THÍCH Đồ chơi dưới nước, bể vầy, khung nhún và xe cộ để cưỡi lên không được coi là đồ chơi vận động theo định nghĩa của tiêu chuẩn này.

Hình 1 - Ví dụ về các loại đồ chơi vận động (không theo đúng tỷ lệ thực tế)
3.2
Neo (anchor)
Dụng cụ dùng để gắn đồ chơi với bề mặt sàn.
3.3
Cầu trượt liên kết (attachment slide)
Cầu trượt mà người sử dụng chỉ có thể tiếp cận với vùng bắt đầu trượt bằng cách đi qua một thiết bị khác hoặc các bộ phận của một thiết bị khác.
3.4
Thanh chắn (barrier)
Dụng cụ bảo vệ để trẻ không bị ngã từ các bề mặt ở trên cao.
3.5
Xà ngang (crossbeam)
Thanh hoặc xà là phần chịu tài chính của đồ chơi.
3.6
Vướng/mắc kẹt (entrapment)
Tình trạng trong đó cơ thể, một phần cơ thể hoặc quần áo bị vướng/mắc kẹt lại và không gỡ ra được.
3.7
Chuyển động bắt buộc (forced movement)
Chuyển động mà hướng và phạm vi chuyển động của trẻ được xác định bởi sự vận hành của thiết bị, ví dụ đu, trượt, cưỡi/bập bênh hoặc quay tròn.
3.8
Chiều cao rơi tự do (free height of fall)
Khoảng cách lớn nhất theo chiều thẳng đứng từ vị trí được thiết kế để chịu cân nặng của trẻ, ví dụ từ chỗ ngồi của đu đến vị trí va đập bên dưới.
3.9
Không gian vận động (free space)
Không gian bên trong, bên trên hoặc xung quanh đồ chơi vận động mà có thể bị tác động bởi người sử dụng do các chuyển động bắt buộc gây ra bởi thiết bị, ví dụ đu, trượt, cưỡi/bập bênh hoặc quay tròn.
CHÚ THÍCH 1 Định nghĩa về không gian vận động này không bao gồm khoảng không gian ba chiều trong đó xảy ra rơi ngã.
3.10
Ghế đu quây kín dành cho trẻ nhỏ đã biết ngồi (fully enclosed toddler swing seats)
Ghế đu có một chỗ ngồi được quây kín dành cho trẻ nhỏ đã biết ngồi.
CHÚ THÍCH 1 Chỗ ngồi được quây kín là chỗ ngồi có một hệ thống chặn dùng để đỡ ở xung quanh và giữa hai chân của trẻ (xem Hình 2).

Hình 2 - Ví dụ ghế đu quây kín dành cho trẻ nhỏ đã biết ngồi
3.11
Vùng chịu va đập (impact area)
Vùng ghế đu tiếp xúc với quả nặng thử trong phép thử va đập theo 6.4 (xác định va đập ghế đu).
3.12
Đu cho trẻ sơ sinh (infant swing)
Bộ phận tĩnh có khung, được gắn động cơ để đu đưa đứa trẻ ở tư thế ghế ngồi.
CHÚ THÍCH 1 Đu dành cho trẻ sơ sinh được sử dụng cho trẻ từ lúc mới sinh cho đến khi trẻ biết ngồi.
3.13
Tay vịn (handrail)
Thanh/dây giúp cho người sử dụng giữ thăng bằng hoặc có thể tự đứng vững.
3.14
Sàn (platform)
Bề mặt nằm ngang bất kỳ được nâng cao, sử dụng để trẻ chơi hoặc là chỗ chuyển tiếp giữa các bộ phận.
CHÚ THÍCH 1 Vùng bắt đầu của cầu trượt có diện tích nhỏ hơn 129 000 mm2 không được coi là sàn.
3.15
Cầu trượt (slide)
Kết cấu có các bề mặt dốc mà người chơi có thể trượt theo đường trượt đã định.
Xem Hình 3.
CHÚ THÍCH 1 Các mặt phẳng dốc được thiết kế cho các mục đích khác, như các mái nhà và các mặt dốc khác không được coi là cầu trượt.

| CHÚ DẪN | |
| A | Vùng bắt đầu |
| B | Vùng trượt |
| C | Vùng kết thúc |
| D | Chiều cao cầu trượt |
| B + C | Chiều dài cầu trượt |
CHÚ THÍCH Các kích thước A, B và C được đo tại đường tâm của bề mặt trượt Mỗi kích thước này đại diện cho một vùng của bề mặt trượt. Mỗi vùng của bề mặt trượt được xác định bởi giao điểm của đường cong bề mặt trượt (tính từ đáy của bề mặt trượt) với đường chia đôi góc tạo thành giữa các vùng của bề mặt trượt.
Hình 3 - Hình minh họa cầu trượt
3.16
Móc treo (suspension connector)
Dụng cụ nối trực tiếp giữa xà ngang và cơ cấu đu.
Xem Hình 4.
3.17
Đu (swing)
Kết cấu thường được gắn hoặc kết hợp với một xà ngang, các móc treo và cơ cấu đu có ghế đu, phương tiện treo và móc nối.
Xem Hình 4.

| a) Ví dụ ghế phẳng | b) Ví dụ ghế đôi (kiểu gondola) |
CHÚ DẪN
1 Xà ngang/thanh treo
2 Móc treo
3 Móc nối
4 Phương tiện treo
5 Cơ cấu đu
6 Bộ phận đu [ví dụ ghế ngồi, ghế ngồi dạng bánh xe, thanh ngang, ghế đôi (ghế đu kiểu gondola)]
CHÚ THÍCH Dụng cụ đu có thể bao gồm một hoặc nhiều chỗ để chân. Chỗ để chân được xem là các bộ phận của đu.
Hình 4 - Hình minh họa đu
3.18
Đồ chơi vận động có thể làm phồng (inflatable activity toy)
Đồ chơi vận động, có kết cấu được làm bằng vật liệu mềm dẻo, có thể được làm phồng bằng không khí, để trẻ chơi phía trên hoặc bên trong.
VÍ DỤ Lâu đài, cầu trượt được làm phồng (xem Hình 5).
CHÚ THÍCH 1 Có hai loại đồ chơi có thể làm phồng: một loại được giữ phồng bằng một cơ cấu kín (van) đã được làm phồng; một loại được giữ phồng bằng cách thổi liên tục không khí vào từ một máy thổi.

Hình 5 - Ví dụ về đồ chơi vận động có thể làm phồng
3.19
Bể vầy (paddling pool)
Bể vầy đồ chơi có độ sâu nước tối đa 400 mm, đo từ mức tràn đến điểm sâu nhất trong bể.
CHÚ THÍCH 1 Bể được lắp đặt cố định không được coi là một đồ chơi.
CHÚ THÍCH 2 Ví dụ về các bể vầy điển hình có thể thấy trong tài liệu hướng dẫn khi áp dụng các Directive của Châu Âu về an toàn đồ chơi trẻ em (2009/48/EC), (http://ec.europa.eu/enterprise/sectors/toys/files/gddoc8pools_en.pdf).
4 Yêu cầu
4.1 Quy định chung
Xem A.4.1.
4.1.1 Độ bền tĩnh
Các đồ chơi vận động, trừ đu, không được đổ sập khi thử theo 6.2.1 (độ bền của đồ chơi không phải đu). Sau khi thử, đồ chơi vẫn phải tiếp tục phù hợp với các yêu cầu có liên quan của tiêu chuẩn này. Các yêu cầu đối với đu được nêu tại 4.7 (đu).
4.1.2 Chiều cao tối đa
Xem A.4.1.2.
Các bộ phận của đồ chơi vận động được thiết kế để trẻ trèo, ngồi hoặc đứng lên trên không được có chiều cao lớn hơn hoặc bằng 2 500 mm khi được đo từ nền.
Điều này không áp dụng đối với các thanh chắn, các mái nhà, v.v... được thiết kế không phải để trèo, ngồi hoặc đứng lên trên.
Các thanh chắn, mái nhà, v.v... không dùng để trèo phải được thiết kế sao cho hạn chế việc leo trèo của trẻ.
4.1.3 Góc và cạnh
Xem A.4.1.3.
Các góc và cạnh nhô ra phải được làm tròn.
Các góc và cạnh nhô ra trên các bộ phận chuyển động phải có bán kính tối thiểu 3 mm. Điều này không áp dụng cho các ghế đu có khối lượng nhỏ hơn hoặc bằng 1 000 g, góc và cạnh của các bộ phận đó phải được làm tròn.
4.1.4 Các chi tiết nhô ra
4.1.4.1 Quy định chung
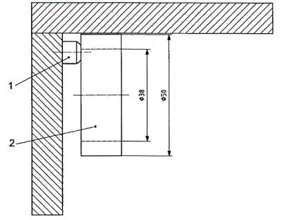
Các chi tiết nhô ra (như là đầu bulông hoặc đai ốc) phải được đặt lõm vào hoặc phải được bảo vệ sao cho chúng không gây ra các nguy cơ vướng/mắc kẹt hoặc các nguy cơ khác cho người sử dụng.
Nếu các chi tiết nhô ra không lọt được vào bên trong dụng cụ thử có đường kính ngoài 50 mm như quy định tại 6.7.1 (các chi tiết nhô ra) thì các chi tiết này được coi là không tiếp xúc được và không phải áp dụng yêu cầu này (xem Hình 6).
Các dây nhô ra không phải áp dụng các yêu cầu tại 4.1.4.
Kích thước tính bằng milimét

CHÚ DẪN
1 chi tiết nhô ra không tiếp xúc được (không phải áp dụng yêu cầu này).
2 dụng cụ thử (đường kính 50 mm).
Hình 6 - Ví dụ về chi tiết nhô ra không phải áp dụng yêu cầu này
4.1.4.2 Tất cả các chi tiết nhô ra
Các chi tiết nhô ra không được nhô ra khỏi bề mặt của dụng cụ thử khi thử theo 6.7.1.
Phần trên của chi tiết nhô ra không được có kích thước lớn hơn kích thước của phần đế (xem Hình 7). Trong trường hợp chi tiết nhô ra là vật liệu cứng thì kích thước phần đế phải được coi là kích thước chính của đai ốc hoặc đầu bulông gắn kết đồ chơi.

CHÚ DẪN
a Đạt (y ≤ x).
b Không đạt (y > x).
Hình 7 - Ví dụ về hình dạng của các chi tiết nhô ra
4.1.4.3 Các chi tiết nhô ra thẳng đứng
Các chi tiết nhô lên phía trên và vuông góc hoặc tạo thành góc nhọn so với mặt phẳng có gắn chi tiết và lọt vào một trong các dụng cụ thử quy định tại 6.7.1 phải không được nhô ra quá 3 mm so với mặt phẳng này (xem Hình 8).
Ví dụ, các đầu bulông có hình bán cầu không phải áp dụng yêu cầu này vì chúng không nhô ra vuông góc với mặt phẳng có gắn chi tiết đó.
Kích thước tính bằng milimét

CHÚ DẪN
a Các chi tiết nhô lên phía trên so với mặt phẳng ngang và vuông góc hoặc tạo thành góc nhọn so với mặt phẳng có gắn chi tiết phải phù hợp quy định về chiều cao tối đa là 3 mm.
b Các chi tiết nhô lên có phần đầu hình bán cầu không phải áp dụng yêu cầu về chiều cao tối đa 3 mm.
c Các phần nhô ra so với trục nằm ngang hoặc bên dưới trục nằm ngang không được nhô ra khỏi bề mặt của dụng cụ thử được quy định tại 6.7.1.
d Mặt phẳng nằm ngang.
e Các chi tiết nhô ra tạo thành góc tù so với mặt phẳng có gắn chi tiết không phải áp dụng yêu cầu về chiều cao tối đa 3 mm.
Hình 8 - Thử chi tiết nhô ra thẳng đứng
4.1.4.4 Đường chuyển động
Các chi tiết nhô ra ở mặt trước và mặt sau của các bộ phận treo của các ghế đu và các chi tiết nhô ra trên bề mặt trong của cầu trượt phải không được nhô ra khỏi bề mặt của dụng cụ thử khi thử theo 6.7.2 (chi tiết nhô ra trên đường chuyển động).
4.1.4.5 Cầu trượt
Cầu trượt bao gồm cả thanh chắn bảo vệ và các chi tiết gắn kết chúng và các vùng chuyển tiếp có nguy cơ gây vướng mắc nhiều hơn các vùng khác của đồ chơi. Do vậy, các yêu cầu sau được áp dụng cho cầu trượt và các dụng cụ trượt.
Bất kỳ chi tiết nhô ra nào tiếp xúc được và lọt qua dụng cụ thử đường kính 77 mm quy định tại 6.7.1.2 thì phần nhô ra vuông góc hoặc tạo thành một góc nhọn với mặt phẳng có gắn chi tiết không được cao quá 3 mm. Các vùng là đối tượng của yêu cầu này được mô tả tại Hình 9. Bề mặt ngoài của các ống trượt kín không phải áp dụng yêu cầu này.
Cầu trượt phải có bề mặt trượt liên tục, nhẵn, không có khe hở hoặc khoảng trống có nguy cơ gây ra vướng mắc, nhưng không giới hạn như là khoảng trống giữa các thành của cầu trượt khi hai cầu trượt đơn được ghép với nhau để tạo thành cầu trượt đôi hoặc vị trí để gắn mái che vào thành cầu trượt. Cầu trượt thanh lăn không phải áp dụng yêu cầu này. Xem 4.6.4 (cầu trượt thanh lăn) về các yêu cầu riêng áp dụng cho cầu trượt thanh lăn.
4.1.5 Dây bện, dây xích và dây cáp dùng để trèo và đu
Xem A.4.1.5.
Dây bện, dây xích và dây cáp treo lơ lửng dùng để trèo phải được buộc chặt ở cả hai đầu để ngăn các dây này tự thắt lại, tạo thành một thòng lọng có chu vi bên trong lớn hơn hoặc bằng 130 mm (đường kính 41,4 mm).
Dây bện, dây xích hoặc dây cáp dùng để treo ghế đu không phải áp dụng yêu cầu này.
4.1.6 ống hở
Tất cả các đầu của ống hở không nằm trên nền hoặc không được che chắn phải có nắp đậy hoặc nút đậy nhẵn và vừa khít. Nắp hoặc chụp bảo vệ phải không được rời ra khi thử xoắn và thử kéo đối với các chi tiết bảo vệ như quy định tại TCVN 6238-1 (ISO 8124-1).
Kích thước tính bằng milimét

CHÚ DẪN
1 Bề mặt trượt
2 Vùng gạch chéo là vùng không được có chi tiết nhô ra có nguy cơ gây vướng mắc
3 Chiều cao đứng
4 Vùng bắt đầu
5 Vùng kết thúc
6 Thành cầu trượt
a Đạt (nhỏ hơn hoặc bằng 3 mm)
b Không đạt (lớn hơn 3 mm)
Hình 9 - Ví dụ về vùng nhô ra không gây vướng/mắc kẹt và chi tiết nhô ra
4.2 Thanh chắn
Xem A.4.2.
Sàn bất kỳ để ngồi hoặc đứng nào cao hơn so với mặt nền từ 760 mm trở lên phải có thanh chắn ở tất cả các mặt hướng ra phía ngoài của đồ chơi.
Cho phép có các khoảng hở giữa các thanh chắn để có đường đi vào cầu trượt, khung trèo và thang.
Các thanh chắn của sàn cao hơn so với mặt nền từ 760 mm đến 1 000 mm phải có chiều cao tối thiểu là 630 mm.
Các thanh chắn của sàn cao hơn so với mặt nền từ 1 000 mm đến 1 830 mm phải có chiều cao tối thiểu là 720 mm.
Các thanh chắn của sàn cao hơn so với mặt nền từ 1 830 mm trở lên phải có chiều cao tối thiểu là 840 mm.
Đối với các sàn cao hơn so với mặt nền từ 760 mm đến 1 000 mm phải có khoảng hở tối đa theo chiều thẳng đứng giữa phần thấp nhất của thanh chắn và sàn là 610 mm.
Đối với các sàn cao hơn so với mặt nền từ 1 000 mm trở lên thì phải thiết kế thanh chắn sao cho giảm thiểu việc trèo lên và không thể đưa được dụng cụ dò mô phỏng người quy định tại 6.5.1 (vướng mắc đầu và cổ trong khoảng hở được quây kín hoàn toàn) qua các khoảng hở giữa các thanh chắn này hoặc giữa thanh chắn với bề mặt sàn.
Đối với các thanh chắn có phần đỉnh không bằng phẳng thì sử dụng một thước thẳng (200 ± 5) mm để đo chiều cao tối thiểu. Đặt thước thẳng nằm ngang trên đỉnh của thanh chắn. Đo khoảng cách thẳng đứng giữa sàn và mặt dưới của thước. Khoảng cách này không được nhỏ hơn chiều cao tối thiểu được quy định trong tiêu chuẩn này.
CHÚ THÍCH Các yêu cầu đặc biệt áp dụng cho cầu trượt (xem 4.6.2 (các thành chắn của cầu trượt) và 4.6.3 (vùng bắt đầu, vùng trượt và vùng kết thúc của cầu trượt).
Khi thử theo 6.3 (độ bền động của thanh chắn và tay vịn), không phần nào của thanh chắn hoặc tay vịn bị đổ sập làm cho đồ chơi không còn phù hợp với các yêu cầu có liên quan trong tiêu chuẩn này.
4.3 Thang leo, thang bậc và cầu thang
Các yêu cầu này không áp dụng cho các đồ chơi có chiều cao của sàn nhỏ hơn hoặc bằng 600 mm.
Thang leo, thang bậc và cầu thang phải đáp ứng các yêu cầu sau.
a) Thanh thang hoặc bậc thang phải là một bề mặt nằm ngang chắc chắn, có chiều rộng lớn hơn hoặc bằng 240 mm (xem Hình 10).
b) Khoảng cách khi đo theo chiều thẳng đứng như mô tả tại Hình 10 giữa các mặt trên của các thanh thang hoặc bậc thang không được vượt quá 310 mm và không được vượt quá 230 mm đối với cầu thang.
c) Bề mặt của bậc thang không được trơn trượt.
CHÚ THÍCH Để đáp ứng yêu cầu này có thể làm mặt bậc gợn sóng hoặc sử dụng vật liệu chống trơn trượt.
d) Đường kính hoặc kích thước mặt cắt ngang các thanh thang của thang leo ít nhất phải là 16 mm nhưng không quá 45 mm. Phải cẩn thận khi thiết kế các thanh thang có mặt cắt không phải là hình tròn để đảm bảo khả năng gắn chặt không bị suy yếu đáng kể.
e) Chiều sâu của các bậc thang của thang bậc chắn kín ở mặt sau và chiều sâu của bậc cầu thang phải lớn hơn hoặc bằng 180 mm.
f) Độ dốc của cầu thang không được quá 50°. Độ dốc của thang bậc không được nhỏ hơn 65° và lớn hơn 75°. Độ dốc của thang leo phải không được nhỏ hơn 60° và lớn hơn 90°.
g) Cầu thang và thang bậc cao hơn so với mặt nền 1 200 mm trở lên phải có tay vịn liên tục bắt đầu từ độ cao 760 mm so với mặt nền (xem Hình 10).
Kích thước tính bằng milimét


CHÚ DẪN
a Độ dốc:
đối với thang bậc ≥ 65° và ≤ 75°;
đối với thang leo ≥ 60° và ≤ 90°.
Hình 10 - Kích thước của các loại thang
4.4 Vướng/mắc kẹt
Xem A.4.4.
4.4.1 Mắc kẹt đầu và cổ
Các yêu cầu này không áp dụng đối với các khoảng hở mà ranh giới ở phía dưới là nền.
Các đồ chơi vận động phải được chế tạo sao cho không có các khoảng hở gây nguy cơ mắc kẹt đầu hoặc cổ dù đưa chân vào trước hay đưa đầu vào trước.
CHÚ THÍCH Các tình huống có thể gây mắc kẹt bao gồm:
- các khoảng hở được bao kín hoàn toàn mà người sử dụng có thể trượt đầu hoặc chân vào trước;
- các khoảng hở được bao kín một phần hoặc có dạng chữ V;
- các khoảng hở tạo ra do chuyển động tịnh tiến hoặc chuyển động cắt hoặc trượt.
Khi lựa chọn vật liệu, nhà sản xuất phải xem xét đến nguy cơ gây vướng/mắc kẹt có thể xảy ra do sự biến dạng của vật liệu trong quá trình sử dụng.
a) Khi thử theo 6.5.1 (thử mắc kẹt đầu và cổ), khoảng hở được bao kín hoàn toàn nếu cho dụng cụ dò C (Hình 25) qua thì cũng phải cho dụng cụ dò D (Hình 26) đi qua.
b) Khi thử theo 6.5.1, nếu không đưa được dụng cụ dò D qua khoảng hở cứng có thể tiếp xúc được thì cũng phải không đưa được dụng cụ dò E (Hình 27) qua khoảng hở này.
c) Các khoảng hở được bao kín một phần hoặc các khoảng hở có dạng chữ V phải được chế tạo sao cho hoặc:
1) khoảng hở này là không thể tiếp xúc được như minh họa tại Hình 29 và khi thử theo 6.5.2.3 a); hoặc
2) đầu của dưỡng thử tiếp xúc được với đáy của khoảng hở khi thử theo 6.5.2.3 b).
d) Phải đưa được dụng cụ dò D (Hình 26) qua các khoảng hở giữa các chi tiết mềm dẻo của cầu treo và các phần cạnh cứng dưới điều kiện chịu tải xấu nhất. Phải tiến hành thừ cả trường hợp chịu tải và không chịu tải.
e) Các chi tiết không cứng (ví dụ dây bện) phải không được chồng lên nhau nếu như khi chồng lên nhau chúng tạo thành các khoảng hở không phù hợp với các yêu cầu tại mục a).
f) Tấm chắn để ngăn trẻ không cho tiếp xúc được với các khoảng hở không đáp ứng với các yêu cầu từ a) đến e) phải
1) được chế tạo bằng vật liệu cứng;
2) không được gãy, hỏng hoặc bị rời ra và làm cho khoảng hở trở thành tiếp xúc được khi chịu va đập bởi một lực 27 J tạo ra bởi quả cầu thép đường kính 127 mm tại điểm va đập nằm trong khoảng 25 mm so với tâm của tấm chắn;
3) không được gãy, hỏng hoặc bị rời ra làm cho khoảng hở trở thành tiếp xúc được khi thử xoắn và thử kéo theo quy định tại TCVN 6238-1 (ISO 8124-1).
4.4.2 Vướng mắc quần áo và tóc
Các tình huống mà quần áo hoặc tóc có nguy cơ bị vướng hoặc mắc vào có thể gây ra bởi:
a) các khe hở hoặc khoảng hở có dạng chữ V mà tại đó các chi tiết của quần áo có thể bị vướng vào trong khi hoặc ngay trước khi người sử dụng trải qua một chuyển động bắt buộc;
b) các chi tiết nhô ra;
c) các bộ phận quay.
Cầu trượt, ống tụt và các mái phải được chế tạo sao cho dây xích hoặc hạt ở đầu dây không bị mắc vào khi thử theo 6.6 (thử hạt).
CHÚ THÍCH 1 Khi sử dụng các chi tiết có tiết diện tròn thì phải đặc biệt lưu ý để tránh gây vướng mắc quần áo và tóc. Điều này có thể đạt được bằng cách sử dụng các miếng đệm hoặc dụng cụ tương tự.
Cầu trượt, ống tụt và các mái phải được kết cấu sao cho các khoảng hở ở trong vùng không gian vận động không làm dây xích hoặc hạt ở đầu dây bị mắc vào khi thử theo 6.6.
Các bộ phận quay (ví dụ các trục) phải được che chắn để quần áo hoặc tóc không bị vướng mắc vào.
CHÚ THÍCH 2 Có thể sử dụng nắp đậy hoặc tấm che phù hợp để quần áo hoặc tóc không bị vướng mắc vào các bộ phận quay.
4.4.3 Kẹt chân
Các bề mặt để đứng, chạy hoặc đi không được có các khe hở có thể làm kẹt bàn chân hoặc ống chân. Không được có các khe hở có chiều rộng lớn hơn 30 mm khi đo theo một chiều (xem Hình 11) trừ khi có biện pháp phù hợp để cân bằng.
Kích thước tính bằng milimét

Hình 11 - Đo khe hở trên bề mặt của đường chạy và đi
4.4.4 Vướng mắc ngón chân, ngón tay
Đồ chơi vận động phải được chế tạo sao cho các lỗ, rãnh và khe hở không làm các ngón tay và ngón chân bị vướng mắc vào.
Đối với các lỗ, rãnh và khe hở tiếp xúc được ở trong hoặc ở giữa các vật liệu cứng (trừ các dây xích) tại nơi mà cơ thể tham gia vào chuyển động bắt buộc, nếu có thể cho que dò có đường kính 5 mm vào sâu trong các lỗ, rãnh và khe hở này một khoảng sâu hơn hoặc bằng 10 mm thì cũng phải cho được que dò có đường kính 12 mm vào các khe, lỗ, rãnh này.
Yêu cầu này không áp dụng đối với các khe nứt của gỗ cứng sinh ra bởi lão hóa do thời tiết.
4.5 Độ ổn định của các đồ chơi vận động không phải là cầu trượt, đu và đồ chơi có xà ngang
4.5.1 Quy định chung
CHÚ THÍCH Các yêu cầu về độ ổn định của cầu trượt quy định tại 4.6.1 (độ ổn định của cầu trượt), độ ổn định của đu và các đồ chơi vận động khác có xà ngang quy định tại 4.7.1 (độ ổn định của đu và các đồ chơi vận động khác có xà ngang).
Đồ chơi vận động loại có các neo gắn cố định (ví dụ gắn vào bêtông) khi được sử dụng theo hướng dẫn của nhà sản xuất thì không cần phải thử độ ổn định.
Đồ chơi vận động loại có các neo tháo lắp được, không gắn cố định vào nền phải được thử khi các neo được gắn cố định theo hướng dẫn của nhà sản xuất.
Đồ chơi vận động không có neo phải được thử độ ổn định.
4.5.2 Độ ổn định của đồ chơi vận động có chiều cao rơi tự do nhỏ hơn hoặc bằng 600 mm
Đồ chơi vận động có chiều cao rơi tự do nhỏ hơn hoặc bằng 600 mm phải không bị đổ khi thử theo 6.1.1 (độ ổn định của đồ chơi vận động có chiều cao rơi tự do nhỏ hơn hoặc bằng 600 mm).
4.5.3 Độ ổn định của đồ chơi vận động có chiều cao rơi tự do lớn hơn 600 mm
Đồ chơi vận động có chiều cao rơi tự do lớn hơn 600 mm phải không bị đổ khi thử theo 6.1.2 (độ ổn định của đồ chơi vận động có chiều cao rơi tự do lớn hơn 600 mm).
4.6 Cầu trượt
Xem A.4.6.
4.6.1 Độ ổn định của cầu trượt
Cầu trượt loại có các neo gắn cố định (ví dụ gắn vào bêtông) khi được sử dụng theo hướng dẫn của nhà sản xuất thì không cần phải thử độ ổn định.
Cầu trượt loại có các neo tháo lắp được, không gắn cố định vào nền phải được thử khi các neo được gắn cố định theo hướng dẫn của nhà sản xuất.
Cầu trượt không có neo phải được thử độ ổn định.
Cầu trượt phải không bị đổ khi thử theo 6.1.3 (độ ổn định của cầu trượt).
4.6.2 Các thành chắn của cầu trượt
Các thành chắn của cầu trượt phải tuân theo các yêu cầu sau (xem Hình 12).
a) Đối với cầu trượt cao hơn so với mặt nền từ 1 000 mm trở lên thì chiều cao, h, của các thành chắn cầu trượt phải lớn hơn hoặc bằng 100 mm.
b) Đối với cầu trượt cao hơn so với mặt nền từ 1 000 mm trở xuống thì chiều cao, h, của các thành chắn cầu trượt phải lớn hơn hoặc bằng 50 mm.
Không cần có các thành chắn tại vùng kết thúc của cầu trượt.

CHÚ DẪN
h Chiều cao của thành chắn cầu trượt
w Chiều rộng của cầu trượt
Hình 12 - Chiều cao của thành chắn cầu trượt
4.6.3 Vùng bắt đầu, vùng trượt và vùng kết thúc của cầu trượt
CHÚ THÍCH Đối với cầu trượt liên kết, có thể sử dụng sàn là vùng bắt đầu.
Vùng bắt đầu và vùng kết thúc của cầu trượt phải tuân theo các yêu cầu sau (xem Hình 13).
a) Vùng bắt đầu của cầu trượt cao hơn so với mặt nền từ 1 000 mm trở xuống phải có:
- chiều rộng nhỏ hơn chiều rộng của vùng trượt một giá trị không lớn hơn 40 mm (xem Hình 12 về cách đo chiều rộng); ví dụ nếu vùng trượt có chiều rộng là 300 mm thì vùng bắt đầu phải có chiều rộng lớn hơn 260 mm;
- chiều dài lớn hơn hoặc bằng 150 mm;
- độ dốc từ 0° đến 10° so với phương ngang.
b) Vùng bắt đầu của cầu trượt cao hơn so với mặt nền từ 1 000 mm trở lên phải có:
- chiều rộng nhỏ hơn so với chiều rộng của vùng trượt, khoảng chênh lệch giữa các chiều rộng của vùng bắt đầu và vùng trượt phải 40 mm (cách đo chiều rộng xem Hình 12); ví dụ nếu vùng trượt có chiều rộng là 300 mm thì vùng bắt đầu phải có chiều rộng lớn hơn 260 mm;
- chiều dài lớn hơn hoặc bằng 250 mm;
- độ dốc từ 0° đến 10° so với phương ngang.
c) Vùng bắt đầu phải có các phương tiện hỗ trợ cho trẻ khi trẻ di chuyển từ cầu thang/thang leo vào vị trí ngồi, ví dụ các tay vịn. Có thể sử dụng các thanh chắn phù hợp với quy định tại 4.2 để làm tay vịn.
d) Độ dốc của toàn bộ vùng trượt so với mặt phẳng nằm ngang không được vượt quá 60° tại điểm bất kỳ. Độ dốc của vùng trượt phải được đo tại đường tâm.
e) Vùng kết thúc của cầu trượt phải có:
- chiều dài lớn hơn hoặc bằng 150 mm;
- độ cao tại đầu cuối của vùng kết thúc so với mặt nền nhỏ hơn hoặc bằng 300 mm;
- độ dốc từ 0° đến 10° so với phương ngang.
f) Phần cuối của vùng kết thúc phải được uốn cong tối thiểu là 90° và có bán kính cong lớn hơn hoặc bằng 25 mm. Yêu cầu này không áp dụng đối với cầu trượt có vùng kết thúc cao hơn so với mặt nền từ 25 mm trở xuống.
4.6.4 Cầu trượt kiểu thanh lăn
Cầu trượt kiểu thanh lăn phải phù hợp với các yêu cầu đối với cầu trượt tại 4.6.1 (độ ổn định của cầu trượt) đến 4.6.3 (vùng bắt đầu, vùng trượt và vùng kết thúc của cầu trượt).
Giữa các chỗ nối các bộ phận của cầu trượt không được có các vị trí có nguy cơ gây kẹp, làm trầy, đứt da hoặc làm vướng mắc khi sử dụng thông thường hoặc sử dụng sai có thể dự đoán trước do các hành vi thông thường của trẻ.
Các vị trí có nguy cơ gây kẹp, làm trầy, đứt da hoặc làm vướng mắc là các điểm bất kỳ mà tại đó có thể đưa que dò có đường kính 5 mm vào sâu 10 mm hoặc nhiều hơn tại một hoặc nhiều vị trí, hoặc giữa các thanh lăn, hoặc giữa các chi tiết liền kề nhau.
Kích thước tính bằng milimét

CHÚ DẪN
a Chiều dài của vùng bắt đầu:
≥ 150 mm đối với cầu trượt có chiều cao nhỏ hơn hoặc bằng 1 000 mm [xem 4.6.3 a) (vùng bắt đầu, vùng trượt và vùng kết thúc của cầu trượt)]:
≥ 250 mm đối với cầu trượt có chiều cao lớn hơn 1 000 mm [xem 4.6.3 b)].
Hình 13 - Yêu cầu đối với cầu trượt
4.7 Đu
Xem A.4.7.
4.7.1 Độ ổn định của đu và đồ chơi vận động khác có xà ngang
4.7.1.1 Quy định chung
Đu có các neo gắn cố định (ví dụ gắn vào bêtông) khi được sử dụng theo hướng dẫn của nhà sản xuất thì không cần phải thử độ ổn định.
Đu có các neo tháo lắp được, không gắn cố định vào nền phải được thử khi các neo được gắn cố định theo hướng dẫn của nhà sản xuất.
Đu không có neo phải được thử độ ổn định.
4.7.1.2 Đu có xà ngang cao hơn so với mặt nền từ 1 200 mm trở lên
Khi thử theo 6.1.4.1 (độ ổn định của đu và các đồ chơi vận động khác có xà ngang cao hơn so với mặt nền từ 1200 mm trở lên) đồ chơi không được bị đổ.
4.7.1.3 Đu dành cho trẻ dưới 36 tháng tuổi có xà ngang cao hơn so với mặt nền từ 1 200 mm trở xuống
Khi thử theo 6.1.4.2 (độ ổn định của đu và các đồ chơi vận động khác có xà ngang cao hơn so với mặt nền từ 1200 mm trở xuống) đồ chơi không được bị đổ.
4.7.2 Độ bền của xà ngang, cơ cấu đu, móc treo và móc nối
Xem A.4.7.2.
Kết cấu và/hoặc xà ngang không được đổ sập khi thử theo 6.2.2 (độ bền của đu và đồ chơi tương tự). Sau khi thử, đồ chơi vẫn phải tiếp tục phù hợp với các yêu cầu có liên quan của tiêu chuẩn này.
4.7.3 Đu dành cho trẻ dưới 36 tháng tuổi
4.7.3.1 Quy định chung
Ghế đu phải có lưng tựa và cơ cấu an toàn để ngăn trẻ không bị ngã khỏi ghế.
CHÚ THÍCH Các giải pháp sau được cho là thích hợp:
- thanh hình chữ T hoặc thanh bảo vệ có dây đeo dạng chạc ba, khoảng cách giữa dây hoặc thanh ngang so với ghế khi đo từ phần thấp nhất của bề mặt ngồi của ghế đến mặt trên cùng của dây hoặc thanh ngang nằm trong khoảng từ 200 mm đến 300 mm;
- một cơ cấu để buộc trẻ vào ghế, ví dụ dây đeo dạng chạc ba.
Khung và/hoặc xà ngang không được đổ sập khi thử theo 6.2.2.3.2 (độ bền của đu dành cho trẻ dưới 36 tháng tuổi).
Sau khi thử, đồ chơi vẫn phải tiếp tục phù hợp với các yêu cầu có liên quan của tiêu chuẩn này.
4.7.3.2 Đu không có xà ngang dành cho trẻ nhỏ đã biết ngồi
Đu dành cho trẻ nhỏ đã biết ngồi phải giữ được ổn định khi thử theo 6.1.5 (độ ổn định của đu thành cho trẻ đã biết ngồi).
4.7.4 Va đập từ ghế đu
Khi thử theo 6.4 (xác định va đập từ ghế đu), các ghế đu không được truyền đi một gia tốc đỉnh trung bình lớn hơn 50 g, khi đo với tần số giới hạn là 10 kHz và phải có lực nén bề mặt trung bình không được lớn hơn 90 N/cm2.
Yêu cầu này không áp dụng cho các ghế đu mà tổng khối lượng của ghế đu và các phương tiện treo như minh họa tại Hình 4, nhỏ hơn 1,0 kg và diện tích va đập ước lượng lớn hơn 20 cm2.
4.7.5 Khoảng cách tối thiểu giữa các bộ phận ghế đu liền kề và các kết cấu liền kề
Các yêu cầu này không áp dụng cho các bộ phận ghế đu chỉ có một ghế trong đu có chiều cao của xà ngang nhỏ hơn hoặc bằng 1 200 mm so với nền.
Khoảng cách tối thiểu giữa các bộ phận ghế đu liền kề và giữa các bộ phận ghế đu với kết cấu liền kề phải phù hợp quy định tại Bảng 1.
Bảng 1 - Khoảng cách tối thiểu giữa các bộ phận ghế đu liền kề và các kết cấu liền kề
| Khoảng cách giữa | Bộ phận ghế đu tự doa | Bộ phận ghế đu bán linh hoạtb | Bộ phận ghế đu có các phương tiện treo cứng | Kết cấu liền kề của thiết bị đu |
| Các bộ phận ghế đu tự doa | 450 | 450 | 450 | 300 |
| Các bộ phận ghế đu bán linh hoạtb | 450 | 300 | 300 | 300 |
| Bộ phận ghế đu có các phương tiện treo cứng | 450 | 300 | 300 | 300 |
| a Bộ phận ghế đu tự do thường được cố định bởi một phương tiện treo linh hoạt, cho phép người sử dụng đu theo nhiều hướng. Các ví dụ của bộ phận ghế đu tự do là các dây thừng để leo trèo và đu khỉ. b Bộ phận ghế đu bán linh hoạt thường được cố định bởi nhiều hơn một phương tiện treo linh hoạt. Các ví dụ của bộ phận ghế đu bán tự do là các ghế đu truyền thống và các xà ngang. | ||||
Đối với các phương tiện treo có thể điều chỉnh được, phép đo phải được thực hiện với bộ phận ghế đu đã được điều chỉnh đến độ cao lớn nhất, trừ khi nhà sản xuất quy định độ cao tối đa trong cấu trúc.
Đối với các ghế đu mềm, có thể sử dụng vật thử như mô tả tại Hình 14 để mô phỏng tải trọng đặc trưng.
Kích thước tính bằng milimét

CHÚ DẪN
a Độ sâu W của ghế.
b Khối lượng 12 kg.
Hình 14 - Tải trọng thử đặc trưng cho ghế đu mềm
4.7.6 Độ ổn định ở phía các mặt bên của ghế đu
Xem A.4.7.6
Yêu cầu này không áp dụng cho bộ phận ghế đu có phương tiện treo cứng hoặc bộ phận ghế đu có một điểm treo.
Khoảng cách tối thiểu giữa các điểm treo đu được đo dọc theo xà ngang phải được tính toán như sau (xem Hình 15):
| A = 0,04 h + B | (1) |
Trong đó
A là khoảng cách giữa các điểm treo đu dọc theo xà ngang;
B là khoảng cách giữa hai điểm nối ghế đu với phương tiện treo đu tính theo đường tâm;
h là khoảng cách từ nền đến mặt dưới của xà ngang.

Hình 15 - Khoảng cách tối thiểu giữa các điểm treo đu
4.7.7 Khoảng cách tối thiểu giữa các bộ phận ghế đu và nền
Khoảng cách tối thiểu giữa các bộ phận ghế đu và nền phải phù hợp quy định tại Bảng 2 khi đu được đặt tải giống như sử dụng thông thường.
Bảng 2 - Khoảng cách tối thiểu giữa các bộ phận ghế đu và nền
| Bộ phận ghế đu | Khoảng cách so với mặt nền (mm) |
| Bất cứ phần nào của bộ phận ghế đu mà chiều cao xà ngang nhỏ hơn hoặc bằng 1 200 mm | 200 |
| Bề mặt ngồi của bộ phận ghế đu mà chiều cao xà ngang lớn hơn 1 200 mm | 350 |
| Chỗ để chân của bộ phận ghế đu mà chiều cao xà ngang lớn hơn 1 200 mm | 250 |
Đối với các ghế đu mềm, có thể sử dụng dụng cụ thử như mô tả tại Hình 14 để mô phỏng tải trọng đặc trưng.
4.7.8 Móc treo và phương tiện treo
Xem A.4.7.8.
a) Móc treo trên ghế đu phải được gắn trước khi cung cấp đồ chơi. Yêu cầu này không áp dụng đối với các đu có phương tiện treo cứng. Không cho phép sử dụng phương pháp lắp cơ cấu treo vào xà ngang chỉ bằng cách duy nhất là người sử dụng buộc dây vào xà ngang.
b) Các móc treo phải được thiết kế để không bị rời ra ngoài ý muốn.
VÍ DỤ Các móc được quấn vào ít nhất 540° hoặc móc treo lò xo.
c) Dây treo đu phải có đường kính tối thiểu là 10 mm (giá trị trung bình của năm lần đo tại các vị trí đại diện dọc theo dây). Dây dạng dải và dây xích phải có chiều rộng tối thiểu là 10 mm.
d) Các mắt xích dây treo đu tiếp xúc được phải có các khoảng hở tối đa là 5 mm để không làm kẹp ngón tay khi xích treo chịu tải (xem Hình 16).
e) Phải lưu ý người sử dụng về việc cần kiểm tra và bảo dưỡng định kỳ các bộ phận chính của đu (xem 5.3 (hướng dẫn bảo dưỡng)).
f) Khi thử theo 6.8 (thử độ bền của móc treo và phương tiện treo) các móc treo phải không bị lỏng ra hoặc bị hư hỏng về kết cấu.
Kích thước tính bằng milimét

Hình 16 - Khoảng hở tối đa trong dây xích treo đu
4.8 Đồ chơi bập bênh
Các yêu cầu này áp dụng cho các đồ chơi bập bênh có thanh ngang được đỡ trên một điểm chốt xoay ở tâm.
Tâm điểm của vị trí ngồi hoặc đứng của đồ chơi bập bênh không được cao quá 1 200 mm. Vị trí ngồi hoặc đứng của đồ chơi bập bênh chỉ được nâng lên và hạ xuống tối đa 30° so với phương nằm ngang.
Đối với đồ chơi bập bênh có tâm điểm của vị trí ngồi hoặc đứng cao hơn hoặc bằng 1 000 mm thì ở mỗi đầu của đồ chơi bập bênh tại vị trí va chạm với nền phải có vật liệu giảm chấn hoặc phải có thiết bị giảm chấn lắp tại tâm của phần bập bênh lên xuống.
4.9 Đồ chơi cưỡi/quay tròn và đồ chơi cưỡi/bập bênh
Xem A.4.9
Đồ chơi cưỡi/quay tròn, đồ chơi cưỡi/ bập bênh và các đồ chơi tương tự phải tuân theo các yêu cầu sau.
Đồ chơi không được bị đổ khi thử theo 6.1.1 (độ ổn định của đồ chơi vận động có chiều cao rơi tự do nhỏ hơn hoặc bằng 600 mm).
Đồ chơi không được sập khi thử theo 6.2.1 (độ bền của đồ chơi không phải đu). Sau khi thử, đồ chơi vẫn phải tiếp tục phù hợp với các yêu cầu có liên quan của tiêu chuẩn này.
Chiều cao rơi tự do tối đa khi đo từ mặt nền đến vị trí ngồi hoặc đứng bất kỳ nào của đồ chơi cưỡi/quay tròn và đồ chơi cưỡi/bập bênh không được lớn hơn 600 mm.
4.10 Đồ chơi vận động có thể làm phồng
Xem A.4.10.
4.10.1 Quy định chung
Đồ chơi vận động có thể làm phồng phải đáp ứng yêu cầu của các phần có thể áp dụng khác trong tiêu chuẩn này, ví dụ đối với cầu trượt và thanh chắn.
4.10.2 Neo giữ
Đồ chơi vận động có thể làm phồng sử dụng ngoài trời hoặc sử dụng máy thổi để đưa không khí vào liên tục phải có một hệ thống neo giữ và phụ kiện cần thiết có thể gắn chặt đồ chơi vào nền.
Nếu được giữ bởi neo gắn với sàn thì phải có tối thiểu hai điểm neo trên mỗi cạnh của đồ chơi vận động có thể làm phồng và tối thiểu bốn điểm cho mỗi đồ chơi, ví dụ đối với các sản phẩm hình tròn, chúng phải được phân bố đều quanh đồ chơi.
CHÚ THÍCH Neo ở góc được tính bằng 50 % trên mỗi cạnh.
Mỗi điểm neo và tất cả các chi tiết của hệ thống neo, ví dụ, dây thừng, dây vải, chi tiết gắn bằng kim loại, cọc và quả nặng phải bền với lực 1 600 N được áp dụng theo một hướng phù hợp với góc sử dụng thông thường được xác định bởi liên kết với đồ chơi.
Đỉnh của các cọc đóng xuống nền (nếu có) không được có cạnh sắc và/hoặc phải được bọc bằng vật liệu mềm hoặc đàn hồi để ngăn chặn nguy cơ chấn thương khi va đập phải.
Hệ thống neo phải được thiết kế sao cho điểm neo được đặt ở vị trí cách xa vùng va đập tiềm ẩn, ví dụ bằng cách gắn chúng với mép cạnh đáy của đồ chơi (xem Hình 17).

CHÚ DẪN
1 Cạnh của đồ chơi vận động có thể làm phồng
2 Diện tích va đập
3 Cọc neo gần với cạnh của đồ chơi vận động có thể làm phồng
4 Mặt sàn
Hình 17 - Neo giữ tại mép cạnh đáy của đồ chơi
Được phép sử dụng các hệ thống neo không phải là cọc neo với sàn (như túi nước, túi đá dăm, hộp cát hoặc khối nặng khác) nếu hệ thống chịu được lực tương tự như khi chúng được giữ chặt bằng cọc neo vào sàn, có tính đến hình dáng của đồ chơi.
4.10.3 Ống nối để làm phồng liên tục
Ống nối để đẩy liên tục không khí từ máy thổi vào đồ chơi vận động phải đủ dài để có thể đặt máy thổi phồng cách xa đồ chơi tối thiểu 2,5 m.
4.10.4 Khoang chơi
4.10.4.1 Quy định chung
Chiều cao của khoang chơi phải được đo từ bề mặt sàn hoặc mặt phẳng nghiêng đến đỉnh thành khoang chơi, vuông góc với sàn hoặc mặt phẳng nghiêng và trong điều kiện không chịu tải.
Thành khoang chơi không được có các kết cấu mà có thể được sử dụng như một phương tiện để trèo lên thành.
Đồ chơi và bộ phận vận động gắn liền với đồ chơi vận động có thể làm phồng không được đặt ở vị trí mà có thể hỗ trợ cho việc trèo lên thành của khoang chơi.
Cho phép có các khoảng hở giữa thành của khoang chơi để có thể đi vào cầu trượt, khung trèo và thang.
4.10.4.2 Sàn
Sàn bất kỳ dùng để ngồi hoặc đứng cao hơn so với mặt đất từ 760 mm trở lên phải có cách thức để bao quanh được người chơi.
Khoang chơi phải được thiết kế như sau:
a) các thành cao tối thiểu 1,8 m;
b) các thành cao từ 610 mm đến 1,8 m có mái che cố định để che được người chơi.
4.10.4.3 Mặt phẳng nghiêng
Mặt phẳng nghiêng nhỏ hơn 30° phải được xử lý giống như một sàn.
Phần mét dài đầu tiên tại đỉnh của mặt nghiêng lớn hơn 30° phải đáp ứng các yêu cầu của như với sàn của khoang chơi.
Phần chiều dài còn lại của mặt phẳng nghiêng lớn hơn 30° cao hơn 760 mm so với sàn phải có thành cao tối thiểu bằng 900 mm.
Góc của mặt phẳng nghiêng phải được đo trong điều kiện không chịu tải.
4.10.4.4 Đổ sập an toàn
Đồ chơi vận động có thể làm phồng phải được thiết kế sao cho người sử dụng có đủ thời gian và chỗ hở để thoát ra khỏi đồ chơi trong trường hợp mất áp suất không khí.
Khi thử theo 6.9 (sự thoát khí của đồ chơi vận động có thể làm phồng):
a) thời gian cần thiết tối thiểu để quả nặng thử có thể chạm được đến điểm thấp nhất phải theo như quy định trong Bảng 3.
Bảng 3 - Thời gian thoát ra tối thiểu
| Chiều cao sàn mm | Thời gian tối thiểu để quả nặng thử chạm đến điểm thấp nhất s |
| Nhỏ hơn 600 | 10 |
| Lớn hơn 600 và nhỏ hơn 1500 | 20 |
| Lớn hơn 1500 và nhỏ hơn 2000 | 30 |
| Lớn hơn 2000 | 40 |
b) Khoảng hở của ống bất kỳ hoặc điểm chèn dưới sàn không được giảm chiều cao nhiều hơn 50 % trong vòng 30 s.
Điểm chèn có khoảng tách rời bằng zero khi đồ chơi được làm phồng hoàn toàn không phải tuân theo quy định này.
4.11 Bể vầy
4.11.1 Quy định chung
Thông tin cung cấp trên bao gói hoặc kèm theo sản phẩm, không được có hình ảnh và câu chữ mà thể hiện hoặc ngụ ý rằng trẻ sẽ an toàn trong đồ chơi nếu không có giám sát.
4.11.2 Cạnh, điểm và chi tiết nhỏ
Trước và sau khi thử theo 6.10 (thử tải trọng tĩnh đối với bể vầy có thành không làm phồng), bể vầy không được có các cạnh sắc nguy hiểm, điểm nhọn hoặc các chi tiết nhỏ.
Các phép thử đối với cạnh sắc nguy hiểm, điểm nhọn nguy hiểm và chi tiết nhỏ được tiến hành theo TCVN 6238-1 (ISO 8124-1).
4.11.3 Bể vầy có thành có thể làm phồng
Tất cả các đầu đưa không khí vào của bể vầy có thành có thể làm phồng phải có các van có đầu bịt gắn cố định với đồ chơi.
Khi đồ chơi được làm phồng, đầu bịt này phải được đẩy vào bên trong đồ chơi sao cho nó không nhô ra quá 5 mm so với bề mặt của đồ chơi.
5 Cảnh báo và ghi nhãn
5.1 Ghi nhãn
Nhãn phải được gắn chắc chắn và dễ nhìn cả trên đồ chơi và bao gói (nếu có). Trên nhãn phải có các thông tin sau:
- đồ chơi này chỉ được sử dụng tại gia đình;
- đồ chơi được sử dụng trong nhà hay ngoài trời;
- thông tin về cân nặng và/hoặc độ tuổi của trẻ sử dụng đồ chơi;
- nếu thích hợp, số lượng tối đa trẻ có thể đồng thời sử dụng đồ chơi một cách an toàn;
- thông tin nhận diện hoặc liên hệ nhà sản xuất hoặc phân phối đồ chơi.
5.2 Hướng dẫn lắp ráp và lắp đặt
5.2.1 Quy định chung
Trừ đồ chơi có thể làm phồng và bể vầy, thiết bị có chiều cao bề mặt nhỏ hơn hoặc bằng 600 mm không phải áp dụng quy định tại 5.2 (hướng dẫn lắp ráp và lắp đặt).
Các thông tin đưa ra trên nhãn/thông tin bán hàng cũng phải được đưa ra trong hướng dẫn lắp đặt.
Các đồ chơi vận động yêu cầu người sử dụng lắp ráp phải có kèm theo các hướng dẫn lắp ráp thích hợp, kể cả các bản vẽ, để đảm bảo cả những người không có chuyên môn, kỹ năng cũng có thể lắp ráp được đồ chơi.
Hướng dẫn lắp ráp và lắp đặt, khi có thể, phải bao gồm:
- khuyến cáo đồ chơi vận động phải được đặt trên một nền phẳng, cách các kết cấu khác như hàng rào, gara, nhà, cành cây, dây phơi, hoặc đường dây điện ít nhất là 1,8 m.
- hướng dẫn chi tiết về cách lắp đặt neo để không làm cho các bộ phận đỡ bị lật đổ hoặc bị nhấc lên khi sử dụng thông thường hoặc sử dụng sai có thể dự đoán trước do hành vi thông thường của trẻ, cũng như cần xem xét đến các điều kiện thông thường của nền. Các hướng dẫn phải bao gồm thông tin về điều kiện nền phù hợp với các neo được cung cấp và thông tin về các neo thay thế đối với các điều kiện nền khác có thể phải tính đến, ví dụ khoan xoắn ốc đối với đất cát;
- hướng dẫn về việc các neo cần được lắp ở vị trí ngang bằng hoặc ở dưới nền để giảm nguy cơ vấp ngã;
- hướng dẫn về việc các đồ chơi vận động (ví dụ đu, cầu trượt, khung trèo) phải được lắp trên các bề mặt hấp thụ va đập như cát, vỏ bào từ gỗ, cao su và tấm xốp và không được lắp đồ chơi vận động trên các bề mặt bê tông, trải nhựa hoặc các bề mặt cứng khác;
- bản vẽ thu nhỏ theo tỷ lệ về cách lắp đặt phần cứng để tạo thuận lợi cho việc sử dụng đúng các chi tiết lắp xiết có chiều dài phù hợp;
- thông tin về việc cần giữ lại hướng dẫn lắp ráp và lắp đặt để sử dụng về sau;
- khuyến cáo về hướng của đồ chơi so với hướng mặt trời (ví dụ nếu đồ chơi có bề mặt có thể bị nóng dưới ánh sáng mặt trời trực tiếp mà sẽ gây nguy cơ bị bỏng).
5.2.2 Thông tin về các vật liệu làm bề mặt sàn cho thiết bị
5.2.2.1 Chiều cao rơi tối đa
Hướng dẫn sử dụng phải nêu cách xác định chiều cao rơi tối đa đối với sản phẩm cung cấp của nhà sản xuất.
Chiều cao rơi tối đa của sản phẩm được xác định như sau:
- đối với đu, chiều cao rơi tối đa là chiều cao của móc treo;
- đối với các sàn nâng cao có thanh chắn, chiều cao rơi tối đa là chiều cao của bề mặt trên thanh chắn;
- đối với các sàn nâng cao không có thanh chắn, chiều cao rơi tối đa là chiều cao bề mặt trên của sàn;
- đối với khung trèo và thang ngang, chiều cao rơi tối đa là chiều cao của bề mặt trên cùng của bộ phận.
- đối với đồ chơi cưỡi/bập bênh và đồ chơi bập bênh, chiều cao rơi tối đa là chiều cao tối đa của bề mặt được thiết kế để người sử dụng ngồi hoặc đứng khi chơi.
5.2.2.2 Bề mặt giảm chấn
Hướng dẫn phải có “Phiếu thông tin cho khách hàng về vật liệu làm bề mặt sàn cho thiết bị” như nêu tại Phụ lục B (phiếu thông tin cho khách hàng về vật liệu làm bề mặt sàn cho thiết bị) hoặc các hướng dẫn riêng về bề mặt đối với các sản phẩm được nêu tại Phụ lục B.
5.2.3 Bể vầy
Bao gói và hướng dẫn lắp ráp và lắp đặt bể vầy phải có lưu ý về việc bể vầy không được lắp đặt trên bề mặt bê tông, trải nhựa hoặc bề mặt cứng khác.
Bao gói và hướng dẫn lắp ráp và lắp đặt bể vầy có độ sâu lớn hơn hoặc bằng 300 mm phải có thông báo tương tự như sau: “Quy định về rào chắn quanh bể vầy có thể ảnh hưởng đến sản phẩm này. Tham vấn chính quyền địa phương”
5.3 Hướng dẫn bảo dưỡng
Phải có hướng dẫn bảo dưỡng cung cấp kèm theo đồ chơi vận động trong đó lưu ý người sử dụng về sự cần thiết của việc kiểm tra và bảo dưỡng định kỳ các bộ phận chính của đồ chơi (như xà ngang, các móc treo, các neo, v.v...), và chỉ ra rằng nếu không tiến hành các kiểm tra này thì đồ chơi có thể bị đổ hoặc có thể gây ra các nguy cơ khác. Hướng dẫn này cũng phải đưa ra cách xác định khi nào xảy ra sự hư hỏng và các yêu cầu về việc phải thay thế các bộ phận khi cần thiết.
Hướng dẫn bảo dưỡng phải có dòng chữ “Giữ lại để tham khảo khi cần thiết”.
Khi thích hợp, trong hướng dẫn bảo dưỡng cũng phải có các khuyến cáo về tầm quan trọng của việc phải tuân thủ theo các hướng dẫn bảo dưỡng khi bắt đầu của từng mùa trong năm cũng như việc bảo dưỡng định kỳ trong quá trình sử dụng đồ chơi:
- kiểm tra tất cả các bulông và đai ốc xem có chặt không và nếu cần phải vặn chặt lại;
- tra dầu cho tất cả các bộ phận chuyển động bằng kim loại;
- Kiểm tra tất cả các nắp chụp và bulông xem có sắc hay không và nếu cần thì thay thế;
- kiểm tra ghế đu, dây xích, dây treo đu và các chi tiết kết nối khác để đảm bảo chúng không bị hư hỏng; thay thế theo hướng dẫn của nhà sản xuất nếu cần;
- đánh bóng các phần bị gỉ và các ống và nếu cần thì sơn lại bằng sơn không có chì.
Hướng dẫn bảo dưỡng đối với đồ chơi vận động có thể làm phồng phải có khuyến cáo là đồ chơi phải được làm sạch và các mảnh vụn tích tụ trên đồ chơi phải được loại bỏ trước khi sử dụng. Phải đưa ra khuyến cáo về vật liệu làm sạch và phương pháp phù hợp với vật liệu sử dụng trong kết cấu của đồ chơi.
5.4 Cảnh báo
5.4.1 Đuối nước
Nếu có khả năng nước, giống nước mưa bị đọng lại đến độ sâu lớn hơn 40 mm tại bất kỳ phần nào của đồ chơi hoạt động, đồ chơi phải đáp ứng các yêu cầu của bể vầy hoặc cảnh báo phải được nêu trong hướng dẫn và trên đồ chơi liên quan đến nguy cơ bị đuối nước nếu nước đọng không được rút hết trước khi sử dụng.
5.4.2 Đồ chơi vận động có thể làm phồng
5.4.2.1 Neo
Đồ chơi vận động có thể làm phồng và bao gói đồ chơi (nếu có) phải có cảnh báo rằng chúng không an toàn nếu hệ thống neo không được sử dụng và không được sử dụng đồ chơi khi có gió mạnh [xem c.2.3 hướng dẫn neo của đồ chơi vận động có thể làm phồng].
5.4.2.2 Ống nối để làm phồng liên tục
Ống nối để đưa không khí liên tục vào đồ chơi vận động có thể làm phồng từ một máy thổi phải có cảnh báo về nguy cơ bị ngã đè lên máy thổi và hướng dẫn phải đặt máy thổi ở vị trí cách xa ít nhất 2.5 m so với đồ chơi [xem C.2.4, hướng dẫn cho ống nối của đồ chơi vận động có thể làm phồng].
5.4.2.3 Bỏng ma sát
Nếu có thể
- cảnh báo gắn kèm đồ chơi và trong hướng dẫn đối với đồ chơi vận động có thể làm phồng về bỏng ma sát [xem c.2.5, hướng dẫn về bỏng ma sát];
- thông tin cung cấp hướng dẫn sử dụng quần áo phù hợp cần phải mặc khi sử dụng đồ chơi để tránh nguy cơ bỏng ma sát.
5.4.3 Bể vầy
5.4.3.1 Đuối nước
Bể vầy phải gắn bảng cảnh báo an toàn về việc giám sát trẻ và thông tin cảnh báo như sau:
“Cảnh báo!
Nguy cơ đuối nước
Luôn luôn giám sát trẻ - Giữ trẻ trong tầm tay
Rút sạch nước bể vầy và cất giữ an toàn khi không sử dụng
- Cảnh báo phải dễ nhận biết và có màu tương phản với bề mặt xung quanh liền kề của bể vầy.
- Ký hiệu an toàn phải được lựa chọn từ các ký hiệu đã có của chuẩn được quốc tế công nhận và màu sắc phải là màu được quy định trong tiêu chuẩn áp dụng, bao gồm cả màu nền.
- Cảnh báo phải dễ nhìn trên bề mặt bên trong của bể vầy.
- Kích thước của ký hiệu an toàn trên bể vầy phải có chiều cao không nhỏ hơn 40 mm và phải được đặt trên hoặc bên cạnh của cảnh báo.
- Dưới đây là các ví dụ về các ký hiệu an toàn được chấp nhận
|
|
|
| a) Ký hiệu về hành động bắt buộc ISO 20712-1-WSM002 “Giám sát trẻ trong khu vực có nước” | b) Ký hiệu cấm EN 71-8:2011 “Biểu đồ cấm” |
Hình 18 - Ví dụ về các ký hiệu an toàn
Bao gói và hướng dẫn lắp đặt, lắp ráp phải có thông báo “Trẻ em có thể bị đuối nước chỉ với một lượng nước rất nhỏ. Rút sạch nước trong bể khi không sử dụng”
5.4.3.2 Nhiễm bẩn nước
Hướng dẫn lắp ráp, lắp đặt và bảo dưỡng bể vầy phải có một thông báo về nguy cơ nước có thể bị nhiễm bẩn nếu không được xử lý và nước bể vầy nên được thay thường xuyên (đặc biệt trong thời tiết nóng) hoặc khi bị nhiễm bẩn.
6 Phương pháp thử
6.1 Độ ổn định
6.1.1 Độ ổn định của đồ chơi vận động có chiều cao rơi tự do nhỏ hơn hoặc bằng 600 mm
Xem 4.5.2 và 4.9.
6.1.1.1 Nguyên tắc
Đồ chơi được đặt tải trên một mặt phẳng nghiêng để mô phỏng trường hợp trẻ ở vị trí lệch tâm.
6.1.1.2 Thiết bị, dụng cụ
- Tải trọng có khối lượng 50 kg ± 0,5 kg và kích thước như nêu tại Hình 19.
- Tải trọng có khối lượng 25 kg ± 0,2 kg và kích thước như nêu tại Hình 19.
- Mặt phẳng nghiêng 10° ± 1°.
6.1.1.3 Cách tiến hành
Đặt tải có khối lượng 50 kg ± 0,5 kg lên bề mặt đứng hoặc ngồi của đồ chơi tại vị trí kém ổn định nhất trong 5 min.
Đối với các đồ chơi có ghi nhãn là không phù hợp cho trẻ trên 36 tháng tuổi thì đặt tải có khối lượng 25 kg ± 0,2 kg lên đồ chơi.
Đặt đồ chơi lên mặt phẳng nghiêng 10° ± 1° tại vị trí kém ổn định nhất.
Đối với đồ chơi được thiết kế để chịu cân nặng của nhiều trẻ cùng một lúc khi chơi thì đặt tải có các khối lượng (25 kg hoặc 50 kg) tương ứng với từng trẻ lên vị trí ngồi hoặc đứng kém ổn định nhất.
Quan sát xem đồ chơi có bị đổ hay không.
6.1.2 Độ ổn định của đồ chơi vận động có chiều cao rơi tự do lớn hơn 600 mm
Xem 4.5.3.
6.1.2.1 Nguyên tắc
Tác động một lực theo phương ngang lên đỉnh của đồ chơi để mô phỏng việc trẻ trèo lên đồ chơi.
6.1.2.2 Thiết bị, dụng cụ
- Thiết bị phù hợp để tác động một lực (120 ± 5) N theo phương ngang.
- Dụng cụ chặn, nếu cần.
6.1.2.3 Cách tiến hành
Lắp ráp đồ chơi theo hướng dẫn của nhà sản xuất và đặt đồ chơi trên một mặt phẳng cứng nằm ngang.
Đối với đồ chơi không có chân đế, có thể phải dùng các dụng cụ chặn để đồ chơi không bị trượt trên nền. Tuy nhiên, các dụng cụ chặn này phải không được có tác dụng đỡ làm cho đồ chơi không bị đổ.
Các đồ chơi vận động có các neo tháo lắp được, phải được thử khi các neo này được gắn cố định vào bề mặt theo hướng dẫn của nhà sản xuất.
Tác động lực 120 N theo phương ngang theo hướng dễ làm cho đồ chơi bị đổ nhất. Lực này phải được tác động tại điểm xa nhất và cao nhất mà tay trẻ có thể nắm được. Tuy nhiên điểm có thể nắm được cao nhất được giới hạn đến độ cao hơn 1 500 mm so với bề mặt cao nhất, là bề mặt có kích thước đủ để trẻ có thể đứng lên trên.
CHÚ THÍCH 1 1500 mm là chiều cao tối đa tính đến vai của 95 % trẻ ở độ tuổi đến 14 tuổi.
Tác động các lực 120 N theo phương ngang, số lượng lực tác động tối đa bằng số lượng trẻ có thể sử dụng đồ chơi cùng một lúc theo thiết kế của nhà sản xuất (tham khảo thông tin của sản phẩm). Khoảng cách giữa hai điểm bất kỳ chịu tác động của lực phải ít nhất là 600 mm.
CHÚ THÍCH 2 Điều kiện kém ổn định nhất có thể xảy ra khi số lượng lực tác động lên đồ chơi nhỏ hơn số lượng lực tối đa.
Quan sát xem đồ chơi có bị đổ hay không.
6.1.3 Độ ổn định của cầu trượt
Xem 4.6.1.
6.1.3.1 Nguyên tắc
Đồ chơi được đặt tải trên một mặt nghiêng để mô phỏng trường hợp trẻ ở vị trí lệch tâm.
6.1.3.2 Thiết bị, dụng cụ
- Tải trọng có khối lượng 50 kg ± 2 kg và kích thước như nêu tại Hình 19.
- Mặt phẳng nghiêng 10° ± 1°.
6.1.3.3 Cách tiến hành
Đặt đồ chơi lên mặt phẳng nghiêng 10°± 1° tại vị trí kém ổn định nhất.
Các cầu trượt có neo tháo lắp được, không gắn cố định vào nền phải được thử khi các neo được gắn cố định theo hướng dẫn của nhà sản xuất.
Đặt tải có khối lượng 50 kg ± 2 kg lên vị trí tâm hình học của từng bề mặt mà trẻ có thể đứng hoặc ngồi lên. Các bề mặt đó bao gồm vùng bắt đầu, thang leo, vùng kết thúc và vùng trượt. Gắn chặt tải trọng bằng phương pháp thích hợp để tải không bị trượt hoặc rơi.
Đối với đồ chơi được thiết kế để chịu cân nặng của nhiều hơn một đứa trẻ thì có thể đặt tải đồng thời hoặc đặt tải riêng lẻ, tùy thuộc theo cách nào kém ổn định hơn.
Quan sát xem đồ chơi có bị đổ hay không.
6.1.4 Độ ổn định của đu và đồ chơi vận động khác có xà ngang
Xem 4.7.1.
6.1.4.1 Độ ổn định của đu và đồ chơi vận động khác có xà ngang cao hơn so với nền từ 1 200 mm trở lên
Xem 4.7.1.1.
6.1.4.1.1 Nguyên tắc
Tác động đồng thời một lực theo phương ngang vào từng điểm treo để mô phỏng các lực tác động theo phương ngang gây ra bởi hiệu ứng con lắc.
6.1.4.1.2 Thiết bị, dụng cụ
- Thiết bị phù hợp để tác động một lực từ 125 N đến (2 000 ± 20) N theo phương ngang theo quy định tại Bảng 4.
- Dụng cụ chặn, nếu cần.
Bảng 4 - Ví dụ về các lực tác động theo phương ngang
| Số lượng điểm treo | 1 đứa trẻ | 2 đứa trẻ | 3 đứa trẻ | 4 đứa trẻ |
| Lực tính bằng Niutơn trên một điểm treo | ||||
| 1 | 500 | 1 000 | 1 500 | 2 000 |
| 2 | 250 | 500 | 750 | 1 000 |
| 4 | 125 | 250 | 375 | 500 |
6.1.4.1.3 Cách tiến hành
Lắp ráp đồ chơi theo hướng dẫn của nhà sản xuất và đặt hoặc cố định đồ chơi trên một mặt phẳng cứng, nằm ngang.
Đối với đồ chơi không có chân để, có thể phải dùng các dụng cụ chặn để đồ chơi không bị trượt trên nền. Tuy nhiên, các dụng cụ chặn này không được có tác dụng đỡ làm cho đồ chơi không bị đổ.
Đu và các đồ chơi vận động khác có xà ngang có các neo tháo lắp được, phải được thử khi các neo được gắn cố định vào bề mặt theo hướng dẫn của nhà sản xuất.
Tác động đồng thời các lực (500 ± 20) N theo phương ngang tương ứng với một người sử dụng theo hướng đu vào các điểm treo đu. Khi một ghế đu có nhiều điểm treo thì phân bố lực này đều lên các điểm treo (sử dụng hướng dẫn tại Bảng 4). Các lực tác động vào các điểm treo này phải được tác động đồng thời theo cùng một hướng.
Quan sát xem đồ chơi có bị đổ hay không.
6.1.4.2 Độ ổn định của đu và các đồ chơi vận động khác có xà ngang cao hơn so với nền từ 1 200 mm trở lên
Xem 4.7.1.2.
6.1.4.2.1 Nguyên tắc
Đồ chơi được đặt tải và được vận hành để mô phỏng việc sử dụng thông thường.
6.1.4.2.2 Thiết bị, dụng cụ
- Tải trọng có khối lượng 25 kg ± 0,2 kg và kích thước như nêu tại Hình 19.
- Các khối chặn, nếu cần.
6.1.4.2.3 Cách tiến hành
Đặt đồ chơi lên một mặt phẳng nằm ngang, có thể sử dụng các khối chặn để giữ chân trước của đồ chơi không bị trượt trên sàn. Tuy nhiên, các khối chặn này không được có tác dụng đỡ làm cho đồ chơi không bị đổ.
Gắn chặt tải trọng có khối lượng 25 kg ± 0,2 kg lên ghế đu của đồ chơi.
Nâng ghế đu lên cao về phía sau đến vị trí tối đa, nhưng không quá 45° so với phương thẳng đứng, rồi thả ra (xem Hình 20).
Nếu đu có nhiều ghế đu thì gắn các tải trọng có khối lượng 25 kg ± 0,2 kg lên từng ghế đu. Nâng đồng thời tất cả các ghế lên cao về phía sau đến vị trí tối đa, nhưng không quá 45° so với phương thẳng đứng, rồi thả chúng ra đồng thời.
Quan sát xem đồ chơi có bị đổ hay không.
Kích thước tính bằng milimét

a Trọng tâm
Hình 19 - Tải trọng để thử độ bền và độ ổn định

CHÚ DẪN
| 1 Khối chặn các chân trước của đu | 2 Tải trọng 25 kg |
Hình 20 - Thử độ ổn định của các đu có xà ngang cao hơn so với nền từ 1 200 mm trở xuống
6.1.5 Độ ổn định của đu dành cho trẻ nhỏ đã biết ngồi
Xem 4.7.3.2.
6.1.5.1 Nguyên tắc
Sử dụng một con lắc để mô phỏng một trẻ nhỏ bị ngã ra phía trước và phía sau trong khi đu.
6.1.5.2 Thiết bị, dụng cụ
Thiết bị thử kiểu con lắc có kết cấu, kích thước và vật liệu như nêu tại Hình 21.
Kích thước tính bằng milimét

CHÚ DẪN
| 1 | Bulông không vặn chặt cho phép con lắc chuyển động tự do |
| 2 | 2 Ke nẹp góc bằng thép - 50 x 50 x 100 - dày 5 mm |
| 3 | 1 ống thép - CO 25 mm x LG 464 mm - thành dày 1,5 mm |
| 4 | 1 bulông C/S - UNC 13 - LG 2A x 64 mm |
| 5 | 4 vòng đệm C/S - OD (13 x 35) mm |
| 6 | 2 ống đóng đai tạ hình chuông bằng thép có vít - OD 60 mm |
| 7 | 1 x 13 UNC-đai ốc lục giác 2H |
| 8 | 2 đầu tạ, mỗi đầu có khối lượng 4,5 kg - đường kính tối đa 210 mm, dày khoảng 25 mm |
| 9 | bu lông có ren (4 x 6) mm - có chiều dài cần thiết hoặc |
| 10 | đai ốc(4 x 6)mm |
| 11 | vòng đệm (4 x 6) mm |
Hình 21 - Thiết bị thử kiểu con lắc để thử đu dành cho trẻ nhỏ đã biết ngồi
6.1.5.3 Cách tiến hành
Thiết bị thử kiểu con lắc gồm một đầu tạ có khối lượng 4,5 kg đặt trên đỉnh của một trụ xoay tự do và một đầu tạ có khối lượng 4,5 kg được gắn cố định vào đáy của thiết bị thử. Các đầu tạ có đường kính tối đa 210 mm. Khối lượng tổng cộng của thiết bị thử kiểu con lắc không được vượt quá 10,9 kg.
Treo ghế đu dành cho trẻ nhỏ đã biết ngồi theo hướng dẫn của nhà sản xuất. Nếu chiều cao của đu có thể điều chỉnh được thì tiến hành thử ở cả hai vị trí thấp nhất và cao nhất. Khi đu ở trạng thái nghỉ, kẻ một đường chuẩn so sánh theo phương ngang trên ghế đu.
Gắn chặt thiết bị thử kiểu con lắc vào bề mặt ngồi của đu tại vị trí nằm trong khoảng 13 mm so với trọng tâm hình học của bề mặt ghế đu sao cho hướng chuyển động của thanh lắc cùng với hướng chuyển động của đu.
Nếu bề mặt ghế đu được làm bằng vật liệu mềm thì có thể gắn thêm vật liệu gia cường vào mặt ngoài của đáy ghế để hỗ trợ cho việc gắn thiết bị thử kiểu con lắc vào ghế. Phải đảm bảo rằng việc gắn thêm vật liệu gia cường này không làm ảnh hưởng đến kết quả thử.
Trọng tâm của tải trọng ở phía trên của thiết bị thử kiểu con lắc được phải ở độ cao 410 mm so với điểm cao nhất của bề mặt ghế đu khi trục quay của thiết bị thử ở vị trí thẳng đứng.
CHÚ THÍCH Độ cao 410 mm được đưa ra trên cơ sở dữ liệu thử nghiệm của các đu bị thu hồi do bị đổ và dữ liệu thử nghiệm của các đu không bị đổ.
Trong khi giữ thiết bị thử hướng về phía sau ghế ngồi, nâng ghế về phía sau đến khi góc tạo thành giữa đường nối trọng tâm hình học của bề mặt ghế đu và điểm chốt xoay trên móc treo so với phương thẳng đứng là
.
Thả đồng thời đu và thiết bị thử và để chúng đu tự do cho đến khi đường cung đu tạo thành theo hướng về phía trước và/hoặc phía sau đu nằm trong khoảng 15° so với phương thẳng đứng. Tại thời điểm đỏ, dừng chuyển động của đu bằng cách từ từ đưa đu về trạng thái nghỉ nhưng cần lưu ý để không làm thay đổi vị trí của thiết bị thử kiểu con lắc. Đo góc tạo thành giữa đường chuẩn so sánh trên ghế đu với mặt phẳng ngang.
Thực hiện quy trình này ba lần.
Lặp lại phép thử nhưng với thiết bị thử kiểu con lắc hướng về phía trước của đu.
Đu được đánh giá là không ổn định và không đáp ứng các yêu cầu của 4.7.3.2 (đu dành cho trẻ nhỏ chưa biết ngồi không có xà ngang) nếu trong bất kỳ lần thử nào của sáu lần thử, thiết bị thử kiểu con lắc bị đổ hoặc rơi về phía trước hoặc phía sau và làm cho đường chuẩn so sánh nằm ngang của đu bị lệch đi một góc lớn hơn 30° so với vị trí ban đầu của nó (xem Hình 22).


a Điểm chốt xoay
b Nghiêng về phía trước 30°: không đạt.
b Nằm ngang.
d Nghiêng về phía sau 30°: không đạt
Hình 22 - Tiêu chí để đánh giá đu dành cho trẻ nhỏ đã biết ngồi đạt/không đạt
6.2 Độ bền tĩnh
6.2.1 Độ bền của đồ chơi không phải là đu
Xem 4.1.1 và 4.9.
6.2.1.1 Nguyên tắc
Đồ chơi được đặt tải để mô phỏng số lượng trẻ dự kiến sử dụng đồ chơi.
6.2.1.2 Thiết bị, dụng cụ
- Tải trọng có khối lượng 50 kg ± 0,5 kg và kích thước như nêu tại Hình 19.
- Tải trọng có khối lượng 25 kg ± 0,2 kg và kích thước như nêu tại Hình 19.
6.2.1.3 Cách tiến hành
Đặt tải khối lượng 50 kg ± 0,5 kg lên bề mặt ngồi hoặc đứng của đồ chơi tại vị trí kém bền nhất.
Đối với đồ chơi có xà ngang, đặt tải lên tâm của xà ngang. Giữ tải trong 5 min.
Đối với đồ chơi có ghi nhãn không phù hợp cho trẻ lớn hơn 36 tháng tuổi thì đặt tải có khối lượng 25 kg ± 0,2 kg lên đồ chơi.
Đối với các đồ chơi được thiết kế để chịu cân nặng của nhiều đứa trẻ cùng một lúc thì thử đồng thời mỗi bề mặt ngồi hoặc đứng hoặc tâm của xà ngang.
Đối với các đồ chơi mà do thiết kế không có độ ổn định thì các đồ chơi này cần được đỡ trong quá trình thử. Cần lưu ý để đảm bảo rằng việc đỡ đồ chơi như vậy không làm ảnh hưởng đến khả năng chịu tải của chúng.
Đối với các đồ chơi mà do thiết kế của nó, khối lượng của trẻ được phân bố tại các vị trí khác nhau trên đồ chơi thì phải phân bố tải trọng nêu trên một cách phù hợp với việc sử dụng đồ chơi theo khuyến cáo. Trong trường hợp này, đặt các tải trọng thử khác khi số lượng điểm phân bố đã được xem xét.
Kiểm tra xem đồ chơi có còn phù hợp với các yêu cầu có liên quan của tiêu chuẩn này nữa không.
6.2.2 Độ bền của đu và các đồ chơi tương tự
Xem 4.7.2.
6.2.2.1 Nguyên tắc
Đồ chơi được đặt tải để mô phỏng số lượng trẻ dự kiến sử dụng đồ chơi.
6.2.2.2 Thiết bị, dụng cụ
a) Đối với đu, trừ các loại được nêu tại khoản b):
- Tải trọng có khối lượng 200 kg ± 10 kg;
- Các tải trọng có khối lượng 50 kg + 2 kg.
b) Đối với đu dành cho trẻ dưới 36 tháng tuổi có các điểm treo cao hơn so với nền từ 1 200 mm trở xuống:
- Tải trọng có khối lượng 66 kg ± 3 kg;
6.2.2.3 Cách tiến hành
6.2.2.3.1 Độ bền của đu dành cho trẻ trên 36 tháng tuổi
Xem 4.7.2.
Đu dành cho trẻ trên 36 tháng tuổi có các điểm treo cao hơn so với nền từ 1 200 mm trở lên phải được thử như sau.
Lắp ráp đồ chơi theo hướng dẫn của nhà sản xuất và đặt hoặc gắn nó trên một mặt phẳng cứng, nằm ngang.
Đối với đồ chơi gồm nhiều đu và các khung trèo, xác định số lượng trẻ có thể sử dụng đồ chơi cùng một lúc (tham khảo hướng dẫn sử dụng của nhà sản xuất).
Đối với các đu dạng thuyền và đồ chơi bập bênh treo (nghĩa là đồ chơi đu có hai ghế nhưng chỉ có một điểm treo), phải đảm bảo tải trọng được phân bố đều trên cả hai ghế hoặc bề mặt đứng.
Thử nghiệm cột đu ở chính giữa khung trèo giống như nó là một cái đu với tải trọng phù hợp.
Đặt tải 200 kg lần lượt lên từng bề mặt ngồi hoặc đứng trong khoảng thời gian 1 h.
Sau đó, đặt tải 50 kg đồng thời lên từng bề mặt ngồi và đứng trong 1 h.
Xác định xem đồ chơi có còn phù hợp với các yêu cầu có liên quan của tiêu chuẩn nữa hay không.
6.2.2.3.2 Độ bền của đu dành cho trẻ dưới 36 tháng tuổi
Xem 4.7.3.
Đu dành cho trẻ dưới 36 tháng tuổi có các điểm treo cao hơn so với nền từ 1 200 mm trở xuống phải được thử như sau.
Đặt tải có khối lượng 66 kg lên đồ chơi trong 1 h.
Phải đảm bảo tài trọng phân bố đều trên toàn bộ ghế ngồi.
CHÚ THÍCH Có thể sử dụng một số phương pháp khác như sử dụng một khung hoặc treo tải trọng lên ghế. Xác định xem đu có còn phù hợp với các yêu cầu có liên quan của tiêu chuẩn nữa hay không.
6.3 Độ bền động của thanh chắn và tay vịn
Xem 4.2.
6.3.1 Nguyên tắc
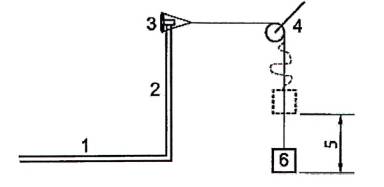
Tạo một ứng suất va đập đột ngột theo phương ngang vào thanh chắn hoặc tay vịn gây ra bởi tải trọng đập rơi thông qua một miếng đệm.
6.3.2 Thiết bị, dụng cụ
- Một miếng đệm dài 200 mm và dày tối thiểu 50 mm, được làm bằng vật liệu dệt, da hoặc vật liệu tương tự, được nhồi bằng vật liệu thích hợp và có hình dáng phù hợp để có thể gắn được vào đỉnh của thanh chắn hoặc tay vịn.
- Dụng cụ gồm một ròng rọc và một tải trọng có khối lượng 25 kg ± 1 kg được gắn vào một đầu dây không đàn hồi, sao cho có thể tác động một lực va đập theo phương ngang vào miếng đệm trên thanh chắn hoặc tay vịn khi tải trọng rơi tự do.
Xem ví dụ tại Hình 23.
6.3.3 Cách tiến hành
Lắp ráp đồ chơi theo hướng dẫn của nhà sản xuất và đặt hoặc gắn nó vào mặt phẳng cứng, nằm ngang.
Buộc chặt miếng đệm vào đỉnh của thanh chắn hoặc tay vịn tại vị trí kém thuận lợi nhất nhưng không được làm hư hại đồ chơi. Buộc đầu dây tự do của thiết bị thử vào miếng đệm.
Điều chỉnh dây và ròng rọc sao cho tải trọng treo tự do. Nâng tải trọng lên 125 mm ± 10 mm theo phương thẳng đứng và để nó rơi tự do (điều này sẽ gây ra một năng lượng va đập xấp xỉ 30 J). Trong vòng 10 s, tháo thiết bị ra khỏi thanh chắn.
Kiểm tra xem đồ chơi có còn phù hợp với các yêu cầu có liên quan của tiêu chuẩn nữa hay không.

CHÚ DẪN
| 1 Sàn 2 Thanh chắn hoặc tay vịn 3 Miếng đệm | 4 Ròng rọc 5 Độ cao rơi 6 Tải trọng |
Hình 23 - Ví dụ về thiết bị thử độ bền động của thanh chắn và tay vịn
6.4 Xác định sự va đập của ghế đu
Xem 4.7.4.
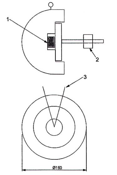
6.4.1 Nguyên tắc
Các bộ phận ghế đu được nâng lên và cho va đập vào một quả nặng thử. Tín hiệu phát ra bởi dụng cụ đo gia tốc trong mỗi lần va đập được xử lý (tần số cắt là 10 kHz) để xác định giá trị gia tốc đỉnh. Đo diện tích va đập giữa bộ phận đu và quả nặng thử và tính toán lực nén bề mặt.
6.4.2 Thiết bị, dụng cụ
- Quả nặng thử là một quả nhôm hình cầu hoặc hình bán cầu có bán kính 80 mm ± 3 mm, và khối lượng tổng cộng (kể cả dụng cụ đo gia tốc) là 4,6 kg ± 0,05 kg. Phần chịu va đập nằm giữa bề mặt bị va đập và dụng cụ đo gia tốc phải đồng nhất và không có các lỗ rỗng. Các cáp nối với dụng cụ đo gia tốc phải được đặt sao cho ảnh hưởng của chúng lên khối lượng của tải trọng thử là nhỏ nhất. Xem ví dụ tại Hình 24.
- Dụng cụ đo gia tốc được gắn vào trọng tâm của tổ hợp tải trọng có trục độ nhạy nằm trong khoảng 2° so với hướng chuyển động của quả nặng thử và có khả năng đo gia tốc ba trục với phạm vi đo nằm trong khoảng ± 500 g và độ chính xác ± 0,1 g với khoảng tần số từ 0 Hz đến 10 000 Hz.
- Bộ khuếch đại với tần số lấy mẫu là 10 kHz và tần số cắt là 10 kHz.
- Hai dây xích, trong đó mắt xích có độ dày của vật liệu (đường kính) là 6 mm ± 0,5 mm và kích thước chính của dây xích là 47 mm ± 2 mm. Các dây xích nối vào quả thử phải có chiều dài bằng nhau và được treo từ các trục nằm cách nhau 600 mm tại độ cao bằng với độ cao của các móc treo đu gắn trên xà ngang sao cho đoạn kéo dài tưởng tượng của trục các dây này cắt nhau tại tâm của quả nặng thử (xem Hình 24).
6.4.3 Cách tiến hành
Lắp ráp ghế đu cần thử theo hướng dẫn của nhà sản xuất.
Treo đu bằng phương tiện treo được cung cấp cùng với đu ở độ cao tối đa cho phép. Nếu phương tiện treo là dây bện hoặc dây cáp thì chúng phải được kéo căng ra để có thể chuyển động trơn tru khi thả đu trong lúc thử. Nếu cần có thể treo tải trọng vào mỗi đầu dây, ví dụ treo tải 5 kg và để như vậy trong 6 h hoặc cho đến khi dây được kéo căng ra.
Điều chỉnh toàn bộ hệ thống sao cho dây xích treo tải trọng thử song song với phương tiện treo ghế đu.
Treo và điều chỉnh tải trọng thử sao cho điểm tiếp xúc của ghế đu với tâm của tải trọng thử và trọng tâm của tải trọng thử cùng nằm trên một mặt phẳng ngang. Phải đảm bảo dây xích treo tải trọng thử không bị xoắn và tải trọng thử được treo theo đường thẳng đứng.
Đánh dấu vào phía mặt bên của ghế đu được treo bởi dây xích, dây bện, dây cáp hoặc các phương tiện treo không cứng khác. Dấu này cần được đánh dấu ngay dưới điểm chốt xoay khi đu ở trạng thái nghỉ, treo tự do.
Nâng ghế đu được treo bởi dây xích, dây bện, dây cáp hoặc các phương tiện treo không cứng khác lên theo hành trình chuyển động của nó cho đến khi hình chiếu bên của đường thẳng nổi điểm chốt xoay và điểm đánh dấu tạo thành một góc 60° ± 1° so với phương thẳng đứng. Khi cơ cấu treo được nâng đến vị trí thử sẽ tạo thành một vài chỗ cong trên dây treo đu. Điều chỉnh vị trí của cơ cấu treo để xác định các chỗ cong tạo thành hành trình ổn định.
Kích thước tính bằng milimét

CHÚ DẪN
1 Dụng cụ đo gia tốc
2 Đối trọng
3 Điểm nối
Hình 24 - Ví dụ về quả nặng thừ và các điểm nối với xích treo
Đối với các ghế đu được treo bởi phương tiện treo cứng (phương tiện treo này thẳng đứng khi đu ở trạng thái nghỉ), nâng ghế lên theo hành trình chuyển động của nó cho đến khi hình chiếu bên của phương tiện treo tạo thành góc 60° ± 1°so với phương thẳng đứng hoặc cho đến khi đạt được góc lớn nhất, tùy theo giá trị nào là nhỏ hơn.
CHÚ THÍCH Cần lưu ý để không làm hỏng thiết bị thử. Nếu thử đu nặng hoặc cứng hơn bình thường thì cần thử sơ bộ trước ở góc thử nhỏ hơn (ví dụ, 10°, 20°, 30°, v.v...). Nếu kết quả thử sơ bộ tại các góc thử nhỏ hơn góc thử quy định vượt quá mức cho phép thì mẫu được đánh giá là không đạt và không cần thử tiếp ở các góc thử lớn hơn.
Đỡ ghế đu ở vị trí thử bằng một cơ cấu có thể thả ghế đu ra mà không cần sử dụng lực tác động từ bên ngoài mà có thể làm ảnh hưởng đến hành trình của ghế đu. Trước khi thả ra, ghế đu và phương tiện treo phải đứng yên. Khi được thả ra, tổ hợp này phải chuyển động hướng xuống phía dưới một cách trơn tru, ghế đu không bị xoay hoặc lắc làm cho nó không thể đập vào quả thử tại điểm tiếp xúc. Nếu quan sát thấy ghế đu bị xoay hoặc lắc, không ghi nhận kết quả thử và phải thực hiện phép thử khác.
Trước khi tiến hành một loạt phép đo, phải đảm bảo rằng đã có được điểm va đập theo dự kiến. Dùng phấn đánh dấu (+) ở tâm của tải trọng thử sao cho vết đánh dấu này có thể dính lại trên bề mặt va đập của ghế đu. Nếu cần phải kiểm tra và điều chỉnh lại quả nặng thử theo hướng thẳng đứng hoặc nằm ngang. Lặp lại quy trình này cho đến khi đạt được sự lặp lại đối với điểm va đập dự kiến.
Đối với một số ghế đu mềm thì cần có một vật đỡ để duy trì hình dạng của ghế trong suốt quá trình thử. Khối lượng của vật đỡ này không được vượt quá 10 % khối lượng của ghế. Trong trường hợp sử dụng vật đỡ thì yêu cầu về gia tốc đỉnh trung bình tối đa 50 g phải được tăng bằng với tỷ lệ tăng khối lượng của ghế do sử dụng vật đỡ tính theo % (tăng tối đa 10 %).
Điểm va đập dự kiến được xác định là tâm hình học của bề mặt va đập của đu.
Đánh dấu (+) bằng phấn tại tâm của quả nặng thử sao cho dấu này có thể dính lại trên bề mặt va đập của ghế đu.
Phải đảm bảo quả nặng thử ở trạng thái nghỉ hoàn toàn và được điều chỉnh chính xác theo ba trục.
Nâng ghế đu lên và thả như quy định ở trên sao cho ghế đu va chạm với quả nặng thử.
Kiểm tra xem dấu để lại trên bề mặt va đập của ghế đu có nằm trong khoảng ± 5 mm (theo phương thẳng đứng) và ± 10 mm (theo phương ngang) tính từ điểm va đập dự kiến hay không.
6.4.4 Kết quả
6.4.4.1 Gia tốc đỉnh
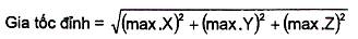
Thu thập các số liệu của năm lần va đập (khi ghế đu không bị xoay hoặc lắc). Đo gia tốc đỉnh của từng va đập, tính bằng g. Tính gia tốc đỉnh trung bình và kiểm tra xem có phù hợp với quy định không. Gia tốc đỉnh của mỗi va đập phải được tính toán là căn bậc hai của tổng bình phương các giá trị tối đa đo được theo mỗi chiều:
|
| (2) |
Lưu ý rằng giá trị tối đa theo mỗi chiều cần đo không nhất thiết phải xảy ra cùng một lúc (giá trị X tối đa có thể xuất hiện tại thời điểm khác với thời điểm đạt giá trị Y lớn nhất).
Giá trị gia tốc, tính bằng g phải được biểu thị đến một chữ số sau dấu phẩy.
6.4.4.2 Sự nén ép bề mặt
Từ hai trong năm lần thử va đập, đo diện tích va đập như sau:
- đánh dấu phấn lên quả nặng thử trước khi thử va đập và đo diện tích của vết phấn để lại trên ghế đu sau khi va đập;
- dùng một màng celluloid trong suốt (ví dụ màng được sử dụng trong máy chiếu) để vẽ lại diện tích va đập;
- đặt một "tờ giấy có kẻ các ô vuông 1 milimét" dưới màng celluloid và tính chính xác diện tích va đập theo centimét vuông đến một chữ số sau dấu phẩy.
Tính diện tích va đập trung bình của hai lần thử và từ đó tính lực nén ép bề mặt theo đơn vị niutơn trên centimét vuông theo công thức sau:
| Lực nén ép bề mặt = F/A | (3) |
Trong đó
A là diện tích va đập trung bình;
F m x a, trong đó m là khối lượng của quả nặng thử (4,6 kg ± 0,23) và a là giá trị gia tốc đỉnh trung bình của năm lần va đập.
CHÚ THÍCH 1 Nếu ghế đu bị biến dạng trong quá trình thử, thì phải sử dụng mẫu mới cho các phép thử còn lại.
CHÚ THÍCH 2 Có thể cần phải dùng cồn để làm sạch quả nặng thử giữa các lần thử.
6.5 Thử mắc kẹt đầu và cổ
6.5.1 Sự mắc kẹt đầu và cổ vào các khoảng hở được bao kín hoàn toàn
Xem 4.2 và 4.4.1.
6.5.1.1 Nguyên tắc
Sử dụng dụng cụ dò để đánh giá các khoảng hở được bao kín hoàn toàn đối với nguy cơ gây mắc kẹt đầu và cổ.
6.5.1.2 Thiết bị, dụng cụ
Dụng cụ dò được làm bằng vật liệu cứng phù hợp và có kích thước như mô tả tại Hình 25, 26 và 27.
6.5.1.3 Cách tiến hành
Dùng một lực 220 N để đưa dụng cụ dò C (Hình 25) vào khoảng hở. Nếu dụng cụ dò C xuyên qua được khoảng hở này thì kiểm tra xem liệu có thể dùng lực 100 N để đưa dụng cụ dò D (Hình 26) xuyên qua khoảng hở này được không.
Dùng một lực 100 N để đưa dụng cụ dò E (Hình 27) vào khoảng hở. Nếu dụng cụ dò E xuyên qua được khoảng hở này thì kiểm tra xem liệu có thể dùng lực 100 N để đưa dụng cụ dò D xuyên qua khoảng hở này được không.
Đưa các dụng cụ dò vuông góc với khoảng hở và không làm nghiêng chúng.
Kích thước tính bằng milimét

CHÚ DẪN
1 Tay cầm
CHÚ THÍCH Trừ khi có quy định khác, dung sai của các giá trị đo bằng ± 1 mm .
Hình 25 - Dụng cụ dò C (mô phỏng phần thân) để đánh giá các khoảng hở được bao kín hoàn toàn
Kích thước tính bằng milimét

CHÚ DẪN
1 Tay cầm
CHÚ THÍCH Trừ khi có quy định khác, dung sai của các giá trị đo bằng ± 1 mm.
Hình 26 - Dụng cụ dò D (mẫu lớn mô phỏng phần đầu của trẻ) để đánh giá các khoảng hở được bao kín hoàn toàn
Kích thước tính bằng milimét

CHÚ DẪN
1 Tay cầm
CHÚ THÍCH Trừ khi có quy định khác, dung sai của các giá trị đo bằng ± 1 mm.
Hình 27 - Dụng cụ dò E để đánh giá các khoảng hở được bao kín hoàn toàn
6.5.2 Sự mắc kẹt đầu và cổ vào các khoảng hở được bao kín một phần và khoảng hở hình chữ V
Xem 4.4.1.
6.5.2.1 Nguyên tắc
Sử dụng dưỡng thử để đánh giá nguy cơ đầu và cổ bị mắc kẹt vào các khoảng hở được bao kín một phần và khoảng hở hình chữ V.
6.5.2.2 Thiết bị, dụng cụ
Dưỡng thử được làm bằng vật liệu cứng thích hợp và có kích thước như mô tả tại Hình 28.
6.5.2.3 Cách tiến hành
a) Đưa phần "B" của dưỡng thử vào giữa và vuông góc với phần biên của khoảng hở như mô tả tại Hình 29.
Quan sát xem dưỡng thử có lọt hẳn vào trong qua phần biên của khoảng hở hay không hoặc không thể đưa toàn bộ chiều dày của dưỡng thử vào khoảng hở như mô tả tại Hình 29.
Đánh giá xem khoảng hở là loại tiếp xúc được hay không tiếp xúc được như nêu tại Hình 29.
b) Nếu có thể đưa dưỡng thử vào đến độ sâu lớn hơn chiều dày của dưỡng (45 mm) khi thử theo a) thì đưa phần "A" của dưỡng thử vào khoảng hở sao cho đường tâm của nó thẳng hàng với đường tâm của khoảng hở và mặt phẳng của nó song song và thẳng hàng với khoảng hở như mô tả tại Hình 30.
Kích thước tính bằng milimét

CHÚ DẪN
1 phần B
2 phần A
CHÚ THÍCH Trừ khi có quy định khác, dung sai của các giá trị đo bằng ± 1 mm và của các góc bằng ±1°.
Hình 28 - Dưỡng thử D để đánh giá nguy cơ mắc kẹt đầu và cổ vào các khoảng hở được bao kín một phần và khoảng hở hình chữ V

a Không tiếp xúc được.
b Tiếp xúc được.
Hình 29 - Cách đưa phần "B" của dưỡng thử vào khoảng hở

CHÚ DẪN
a Đạt.
b Không đạt.
Hình 30 - Cách đưa phần "A" của dưỡng thử vào khoảng hở
Đưa dưỡng thử dọc theo đường tâm của khoảng hở cho đến khi dưỡng bị chặn lại bởi đường bao quanh của khoảng hở hoặc đầu của dưỡng thử tiếp xúc với đáy của khoảng hở.
Quan sát xem đầu của dưỡng thử có tiếp xúc với đáy của khoảng hở được bao kín một phần hoặc khoảng hở hình chữ V như mô tả tại Hình 30 hay không.
6.6 Thử các hạt, nút ở đầu dây rút của quần áo
Xem 4.4.2.
6.6.1 Nguyên tắc
Di chuyển dụng cụ thử dọc theo hướng của chuyển động bắt buộc để xem có tồn tại nguy cơ gây vướng/mắc kẹt hay không.
6.6.2 Thiết bị, dụng cụ
Dụng cụ thử như mô tả tại Hình 31 a) gồm có:
- hạt, như mô tả tại Hình 31 b), được làm bằng vật liệu phù hợp như polyamit (PA) (ví dụ nylon) hoặc polytetrafluroetylen (PTFE);
- dây xích, như mô tả tại Hình 31 c);
- vòng đai, có thể tháo rời và trượt dễ dàng;
- cọc.
Kích thước tính bằng milimét

| a) Bộ dụng cụ thử hoàn chỉnh | b) Hạt nhựa gắn ở đầu dây xích |
|
|
|
|
| c) Dây xích |
CHÚ DẪN
1 Cọc
2 Dây xích
3 Hạt nhựa
4 Vòng đai
Hình 31 - Dụng cụ thử kiểu dây hạt nhựa
6.6.3 Cách tiến hành
6.6.3.1 Cầu trượt
Đặt bộ dụng cụ thử thẳng đứng tại vị trí cách điểm chuyển tiếp giữa vùng bắt đầu và vùng trượt của cầu trượt 200 mm và tại vị trí phù hợp ở hai bên lòng máng trượt như mô tả tại Hình 32.
Kích thước tính bằng milimét

| a) Cầu trượt hẹp | b) Cầu trượt rộng |
CHÚ DẪN
1 Dụng cụ thử kiểu dây hạt nhựa
2 Đường tâm cầu trượt
Hình 32 - Đặt dụng cụ thử lên cầu trượt
Đưa dây xích và hạt thử vào tất cả các vị trí như sau.
a) Di chuyển bộ dụng cụ thử theo hướng của chuyển động bắt buộc nhưng phải đảm bảo rằng cọc của dụng cụ thử được giữ thẳng đứng, đồng thời dây xích và hạt gắn ở đầu dây chỉ chịu tác động duy nhất bởi khối lượng của chính nó. Không tác động thêm bất kỳ lực bổ sung nào để làm dây xích hoặc hạt bị chèn vào một khe hở.
b) Đối với cầu trượt rộng hơn chiều rộng của dụng cụ thử thì tiến hành thử hai lần với đế cọc được đặt tại hai rìa xa nhất của máng trượt như mô tả tại Hình 32.
Quan sát xem dây xích hoặc hạt có bị vướng/mắc kẹt hay không.
6.6.3.2 Cột tụt
Tiến hành thử theo hai cách khác nhau như sau
a) Đặt bộ dụng cụ thử thẳng đứng tại rìa của sàn ở điểm gần với cột tụt nhất.
Sử dụng bộ dụng cụ thử tại tất cả các vị trí, phải đảm bảo rằng dây xích hoặc hạt gắn ở đầu dây chỉ chịu tác động duy nhất bởi khối lượng của chính nó. Không tác động thêm bất kỳ lực bổ sung nào để làm dây xích hoặc hạt bị chèn vào một khe hở. Nếu nhờ vậy mà xác định được điểm có nguy cơ gây vướng mắc tiềm ẩn thì di chuyển dụng cụ thử theo hướng chuyển động bắt buộc của người sử dụng.
Quan sát xem hạt hoặc dây xích có bị vướng/mắc kẹt hay không.
b) Tháo dây xích và hạt ra khỏi bộ dụng cụ thử và đặt nó vào vị trí phía trên cách bề mặt của sàn liền kề 1 800 mm như mô tả tại Hình 33.
Đưa dây xích và hạt lên tất cả các vị trí dọc theo toàn bộ chiều dài của cột tụt xuống đến điểm cách nền 1 000 mm nhưng phải đảm bảo rằng dây xích hoặc hạt gắn ở đầu dây chỉ chịu tác động duy nhất bởi khối lượng của chính nó. Không tác động thêm bất kỳ lực bổ sung nào để làm dây xích hoặc hạt bị chèn vào một khe hở. Nếu nhờ vậy mà xác định được điểm có nguy cơ gây vướng mắc tiềm ẩn thì di chuyển dây xích và hạt theo hướng chuyển động bắt buộc của người sử dụng.
Quan sát xem dây xích hoặc hạt có bị vướng/mắc hay không.
Kích thước tính bằng milimét

CHÚ DẪN
1 Sàn bắt đầu
2 Dây xích và hạt
Hình 33 - Đặt dụng cụ thử trên cột tụt
6.6.3.3 Mái
Đưa dây xích và hạt lên bất kỳ khe hở nào tiếp xúc được tại đỉnh hoặc dọc theo bề mặt của mái, nhưng phải đảm bảo rằng dây xích hoặc hạt gắn ở đầu dây chỉ chịu tác động duy nhất bởi khối lượng của chính nó. Không tác động thêm bất kỳ lực bổ sung nào để làm dây xích hoặc hạt bị chèn vào một khe hở.
Di chuyển dụng cụ thử theo tất cả các hướng của chuyển động trượt tiềm ẩn của người sử dụng.
Quan sát xem dây xích hoặc hạt có bị vướng/mắc kẹt hay không.
6.7 Thử chi tiết nhô ra
Xem 4.1.4.
6.7.1 Tất cả các chi tiết nhô ra
Xem 4.1.4.1,4.1.4.2 và 4.1.4.3.
6.7.1.1 Nguyên tắc
Sử dụng dụng cụ thử để đánh giá mức độ nhô ra của các chi tiết.
6.7.1.2 Thiết bị, dụng cụ
Dụng cụ thử được làm bằng vật liệu cứng thích hợp và có các kích thước như nêu trong Hình 34.
Kích thước tính bằng milimét

Hình 34 - Dụng cụ thử các chi tiết nhô ra
6.7.1.3 Cách tiến hành
Đặt từng dụng cụ thử như nêu tại Hình 34 lên trên các chi tiết nhô ra.
Đối với từng dụng cụ thử được đặt lên chi tiết nhô ra, xác định xem chi tiết nhô ra đó có nhô ra khỏi bề mặt của dụng cụ thử hay không.
Xem các ví dụ về việc sử dụng các dụng cụ thử tại Hình 35.

CHÚ DẪN
1 Dụng cụ thử
a Đạt.
b Không đạt.
Hình 35 - Thử các chi tiết nhô ra phức hợp
6.7.2 Các chi tiết nhô ra trong các đường chuyển động
Xem 4.1.4.4 và 4.1.4.5.
6.7.2.1 Nguyên tắc
Sử dụng dụng cụ thử để đánh giá mức độ nhô ra của các chi tiết.
6.7.2.2 Thiết bị, dụng cụ
Dụng cụ thử được làm bằng vật liệu cứng thích hợp và có các kích thước như nêu tại Hình 36.
6.7.2.3 Cách tiến hành
a) Đối với ghế đu, thực hiện phép thử khi ghế đu ở trạng thái nghỉ. Đặt dụng cụ thử như nêu tại Hình 36 lên trên bất kỳ chi tiết nhô ra nào ở bề mặt phía trước và phía sau của bộ phận treo sao cho trục của lỗ trên dụng cụ thử song song với cả đường đi dự kiến của bộ phận treo và mặt phẳng nằm ngang.
b) Đối với cầu trượt, đặt dụng cụ thử như nêu tại Hình 36 lên trên, bất kỳ chi tiết nhô ra nào trên bề mặt trong của cầu trượt.
Xác định xem các chi tiết nhô ra đó có nhô ra khỏi bề mặt của dụng cụ thử hay không.
Kích thước tính bằng milimét

Hình 36 - Dụng cụ thử các đường chuyển động
6.8 Thử độ bền của các móc treo và phương tiện treo
Xem 4.7.8.
6.8.1 Nguyên tắc
Các móc treo và phương tiện treo phải được thử qua 180 000 chu kỳ hoạt động khi được đặt tải để mô phỏng quá trình sử dụng.
6.8.2 Thiết bị, dụng cụ
Quả nặng thử được quy định tại Bảng 5.
Bảng 5 - Đường cung đu và quả nặng thử
| Loại đu | Đường cung đu ° | Tải trọng kg |
| Đu dành cho một người (có hai móc treo) | 90 | 37 |
| Đu không quây kín dành cho nhiều người (có hai móc treo, hai người) | 60 | 60 |
| Đu quây kín dành cho nhiều người (có bốn móc treo, hai người) | 45 | 27 |
| Đu quây kín dành cho nhiều người (có bốn móc treo, bốn người) | 45 | 54 |
6.8.3 Cách tiến hành
Gắn từng loại ghế đu với bộ phận đỡ của nó theo hướng dẫn lắp đặt và gắn cơ cấu đu này vào một khung thử cố định phù hợp.
Các chi tiết mềm của ghế đu có thể được thay thế bằng các chi tiết cứng có cùng kích cỡ và khối lượng miễn là các chi tiết thay thế này không làm ảnh hưởng đến các bộ phận chuyển động của ghế đu.
Gắn quả nặng có khối lượng phù hợp vào từng vị trí sử dụng cần thử.
Đu đưa mẫu treo này tổng cộng 180 000 chu kỳ (phía trước và phía sau) theo cung đu có góc đu như nêu tại Bảng 5.
Xác định xem các móc treo đu có bị lỏng ra hay hư hỏng về kết cấu hay không.
6.8.4 Quy trình thay thế
Có thể sử dụng một quy trình thử thay thế quy trình trên bằng cách thử riêng biệt các móc treo trên khung thử tại phòng thí nghiệm như sau.
Gắn móc treo vào một phần của bộ phận đỡ đu theo hướng dẫn lắp đặt của nhà sản xuất.
Lắp móc treo và bộ phận đỡ đu vào khung thử như mô tả tại Hình 37, sao cho trục xoay của khung thử và điểm chốt xoay của móc treo thẳng hàng.
Gắn quả nặng thử tương ứng theo quy định tại Bảng 5 vào móc treo và thử 180 000 chu kỳ đu về phía trước và phía sau với cung đu tương ứng quy định tại Bảng 5.

CHÚ DẪN
1 Trục xoay
2 Điểm chốt xoay
3 Tải trọng thử
4 Cung đu (xem Bảng 5)
Hình 37 - Móc treo và khung treo để thử
6.9 Tháo hơi đồ chơi vận động có thể làm phồng
6.9.1 Nguyên tắc
Một quả nặng thử được đặt lên một sàn hoặc bề mặt chơi và mở van hoặc tắt mô tơ của máy thổi. Xác định thời gian để đồ chơi xẹp xuống làm cho quả nặng chạm đến điểm thấp nhất.
Phép thử được lặp lại với từng sàn hoặc bề mặt chơi riêng
6.9.2 Thiết bị, dụng cụ
6.9.2.1 Tấm đặt tải, được làm bằng vật liệu cứng có đường kính 400 mm.
6.9.2.2 Tải trọng bổ sung, gồm các túi cát phù hợp để đạt được tải trọng thử như quy định trong Bảng 6.
6.9.3 Cách tiến hành
Thổi phồng đồ chơi hoạt động đến áp suất không khí tối thiểu được quy định hoặc đến áp suất của máy thổi được cung cấp.
Tác dụng tải trọng phù hợp theo Bảng 6 tại tâm hình học của sàn hoặc bề mặt chơi thông qua một tấm đặt tải.
Bảng 6 - Tải trọng thử cho phép thử tháo hơi
| Chiều cao sàn mm | Khối lượng tải trọng thử kg |
| Nhỏ hơn 1500 | 20 |
| Lớn hơn hoặc bằng 1500 | 35 |
Mở van hoặc tắt mô tơ của máy thổi
Xác định:
a) thời gian cần để thiết để quả nặng chạm đến điểm thấp nhất của nó và
b) thời gian cần để mở ống hoặc điểm chặn bất kỳ dưới sàn bị giảm chiều cao xuống 50 %.
6.10 Thử tải trọng tĩnh của bể vầy có thành không được làm phồng
Xem 4.11.2.
Tác dụng tải trọng 25 kg (xem Hình 19) theo chiều thẳng đứng trong khoảng 5 min vào điểm bất kỳ của kết cấu không có chủ định chịu cân nặng của trẻ và dễ gây ra phá hỏng nhất.
Phụ lục A
(tham khảo)
Cơ sở và lý do cơ bản để đưa ra các quy định trong tiêu chuẩn
A.0 Quy định chung
Phụ lục này cung cấp cơ sở và các lý do cơ bản để đưa ra một số yêu cầu quan trọng trong tiêu chuẩn. Phụ lục này dành cho người đã biết về các đối tượng của tiêu chuẩn nhưng không tham gia vào việc xây dựng tiêu chuẩn. Việc hiểu được lý do đưa ra các quy định tại tiêu chuẩn này được cho là cần thiết để áp dụng đúng tiêu chuẩn.
Các điều trong phụ lục này được đánh số tương ứng với các điều mà nỏ viện dẫn đến nên việc đánh số tại phụ lục là không liên tục.
A.1 Phạm vi áp dụng
Đồ chơi thuộc phạm vi của tiêu chuẩn này có cùng các nguy cơ như các sản phẩm thuộc nhóm thiết bị dùng trong các sân chơi công cộng. Đôi khi rất khó để phân biệt giữa đồ chơi sử dụng tại gia đình và đồ chơi dành cho các sân chơi công cộng. Nguyên tắc chung là các sản phẩm được mua để sử dụng riêng tại gia đình thì thuộc phạm vi của tiêu chuẩn này.
A.3.19 Bể vầy
Định nghĩa về bể vầy thống nhất với EN 71-8. Bể bơi có độ sâu tối đa lớn hơn 400 mm không được coi là đồ chơi và không thuộc phạm vi của tiêu chuẩn này. Độ sâu này được coi là giới hạn chấp nhận để có thể coi là sản phẩm đồ chơi.
A.4.1 Các yêu cầu, quy định chung
Điều này đưa ra các yêu cầu cơ bản đối với tất cả các đồ chơi vận động nhằm giảm thiểu các mối nguy do độ bền không đủ, do bị ngã từ trên cao, do các chi tiết nhô ra nguy hiểm và đưa ra một số yêu cầu đối với phần cứng của đồ chơi.
A.4.1.2 Chiều cao tối đa
Chiều cao rơi tối đa không thay đổi theo lứa tuổi sử dụng vì một đồ chơi vận động thường dành cho nhóm đối tượng sử dụng rộng rãi. Các yêu cầu đối với thanh chắn được đưa ra để đảm bảo rằng các sàn ở trên cao là an toàn với trẻ ở mọi lứa tuổi.
A.4.1.3 Góc và cạnh
Yêu cầu về bán kính cong 3 mm của các bộ phận chuyển động áp dụng cho đu, đồ chơi cưỡi/quay tròn và các sản phẩm tương tự chịu cân nặng của trẻ và có tốc độ nhất định. Yêu cầu này không áp dụng cho cửa, nắp và các bộ phận có chuyển động tương tự. Tuy nhiên, khi thích hợp, các nhà sản xuất được khuyến cáo sử dụng bán kính rộng để giảm thiểu các nguy cơ này.
CHÚ THÍCH Các yêu cầu chung đối với các cạnh sắc được nêu trong TCVN 6238-1 (ISO 8124-1).
A.4.1.5 Dây bện, dây xích và dây cáp để trèo và đu
Các dây bện treo tự do thường có nguy cơ gây nghẹt thở. Yêu cầu này được đưa ra nhằm ngăn ngừa khả năng dây bện tạo thành thòng lọng quấn quanh cổ trẻ.
Lưu ý rằng dây xích hoặc dây cáp treo mà có thể tạo thành một vòng lớn hơn 130 mm cũng có thể tạo thành một vòng 130 mm và do vậy sẽ không đáp ứng yêu cầu này.
A.4.2 Thanh chắn
Không có yêu cầu về thanh chắn đối với các sàn thấp hơn 760 mm vì khi ngã từ độ cao này thì không có nguy cơ gây chấn thương nguy hiểm.
Nguy cơ gây chấn thương cho trẻ nhỏ sẽ cao hơn khi bị ngã từ các sàn có độ cao từ 760 mm đến 1 000 mm. Các thanh chắn trên các sàn này có tác dụng ngăn cho trẻ nhỏ không vô tình bị ngã do chúng chưa nhận thức được nguy hiểm vốn có của các sàn ở trên cao. Các thanh chắn này có thể cao hơn 630 mm nhưng quy định về khoảng hở tối đa 610 mm theo chiều thẳng đứng nhằm để đảm bảo rằng thanh chắn thực sự có tác dụng đối với trẻ thuộc nhóm trẻ nhỏ nhất có thể chơi trên đồ chơi.
Đối với các sàn ở độ cao trên 1 000 mmm thì nguy cơ bị chấn thương càng cao hơn vì vậy thanh chắn được yêu cầu phải cao hơn và phải được thiết kế để ngăn ngừa việc trẻ chui qua các thanh chắn này. Yêu cầu về chiều cao của thanh chắn đối với các sàn có độ cao từ 1 000 mm đến 1 830 mm được đưa ra trên cơ sở độ cao trọng tâm của 95 phần trăm số trẻ ở độ tuổi lên sáu. Yêu cầu về chiều cao của thanh chắn đối với các sàn cao hơn 1 830 mm được đưa ra trên cơ sở độ cao trọng tâm của 95 phần trăm số ở trẻ độ tuổi lên mười.
Khi trẻ lớn hơn mười tuổi sử dụng các đồ chơi này thì không cần thiết phải có thanh chắn cao hơn do ở độ tuổi này trẻ đã có sự kết hợp các kỹ năng vận động và nhận thức tốt về các nguy cơ này.
A.4.4 Bị vướng/mắc kẹt
Các tai nạn nghiêm trọng đã xảy ra khi đầu của trẻ bị mắc kẹt và làm cho trẻ bị nghẹt thở. Bởi vậy các khoảng hở phải được thiết kế sao cho nếu dụng cụ thử mô phỏng phần thân của trẻ có thể gài qua khoảng hở này thì đầu của trẻ cũng có thể chui qua được. Mối nguy này sẽ trở nên phức tạp hơn vì trong thực tế đôi khi trẻ đội mũ bảo hiểm xe đạp hoặc mũ bảo hiểm đồ chơi.
Việc loại trừ đối với các khoảng hở cao hơn so với mặt nền từ 600 mm trở xuống sẽ cần thay đổi do các nghiên cứu mới đây chỉ ra rằng trẻ nhỏ vẫn có thể bị nghẹt thở ngay cả khi chúng đứng trên mặt nền.
Các mối nguy đáng kể cũng xảy ra với mũ trùm đầu và mũ có dây trên quần áo, ví dụ khi trẻ trượt xuống cầu trượt và phép thử nêu tại 6.6 (thử các hạt, nút ở đầu dây rút của quần áo) được đưa ra để giảm nguy cơ các chi tiết này bị mắc vào đồ chơi.
Điều 4.4 (vướng/mắc kẹt) cũng đưa ra các yêu cầu liên quan đến việc vướng/mắc kẹt các ngón tay, ngón chân cũng như các bộ phận khác của cơ thể.
A.4.6 Cầu trượt
Các yêu cầu cho tay vịn [xem 4.6.3 (vùng bắt đầu, vùng trượt và vùng kết thúc trên cầu trượt c)] đối với vùng bắt đầu và đối với thang trèo được đưa ra để ngăn cho trẻ khỏi bị ngã khi di chuyển vào vị trí ngồi ở vùng bắt đầu của cầu trượt.
A.4.7 Đu
Các yêu cầu này được đưa ra để giảm các nguy cơ từ khung và các phần treo, và giảm nguy cơ trẻ bị vướng vào các dây treo.
A.4.7.2 Độ bền của xà ngang, cơ cấu đu, các móc treo và dây treo
Đu dành cho trẻ dưới 36 tháng tuổi thường được sử dụng trong nhà và thường được treo ở chỗ mở cửa.
Các đu này được thử với tải trọng 200 kg vì có khả năng trẻ lớn hơn cũng có thể sử dụng đu. Các đu có các điểm treo đu cao hơn so với nền từ 1 200 mm trở xuống thì được cho là quá thấp để trẻ lớn hơn có thể sử dụng và do đó chỉ phải thử với tải trọng 66 kg.
A.4.7.6 Độ ổn định về hai bên của ghế đu
Yêu cầu này nhằm giảm nguy cơ va đập với ghế đu liền kề.
A.4.7.7 Khoảng cách tối thiểu giữa bộ phận ghế đu và nền đất
Với các đu có chiều cao xà ngang nhỏ hơn hoặc bằng 1 200 m, khoảng cách nền thấp hơn được áp dụng vì:
- đu được dự định dùng cho trẻ nhỏ không có khả năng tự đu và khó ngã ra ngoài vì cấu tạo của ghế đu;
- lực được sử dụng rất nhỏ;
- khoảng cách nền cao hơn có thể khiến bộ phận ghế đu quá ngắn để cung cấp đủ lần đu.
Khoảng cách nền 250 mm với chỗ để chân của một ghế đu có chiều cao xà ngang lớn hơn 1 200 mm cung cấp khoảng cách cho một đứa trẻ tới 14 tuổi. Theo một nghiên cứu về đặc điểm thể chất của trẻ[4], độ sâu ngực của 95 % trẻ 13 tuổi là 221 mm và độ dài đầu của 95 % trẻ 13 tuổi là 198 mm.
Khoảng cách này khác với 200 mm được cung cấp bởi ASTM F1148 vì sự khác biệt trong các khoảng độ tuổi của trẻ mà tiêu chuẩn áp dụng. ASTM F1148 áp dụng với trẻ từ 18 tháng tới 10 tuổi, trong khi tiêu chuẩn này áp dụng với các thiết bị dùng cho trẻ tới 14 tuổi.
A.4.7.8 Các móc treo và phương tiện treo
Đường kính tối thiểu của dây bện hoặc độ rộng của dây đai và dây xích được quy định 10 mm để giảm nguy cơ bị vướng mắc vào dây gây nghẹt thở.
A.4.9 Đồ chơi cưỡi/quay tròn và đồ chơi cưỡi/ bập bênh
Yêu cầu này nhằm mục đích đảm bảo độ bền, độ ổn định về phía trước và phía sau và độ ổn định về hai bên của các đồ chơi cưỡi/bập bênh sao cho đồ chơi không bị lật đổ ngoài ý muốn.
A.4.10 Đồ chơi hoạt động có thể làm phồng
Đồ chơi hoạt động có thể làm phồng có diện tích bề mặt cao tỷ lệ với khối lượng của chúng và có thể bi ảnh hưởng bởi gió nếu không được neo đúng.
Dụng cụ thổi phồng bán ngoài thị trường được yêu cầu có neo đủ để bền với gió cấp 6 (11,1 m/s). số lượng các điểm neo yêu cầu trên mỗi mặt của dụng cụ được tính theo công thức (1):
![]()
trong đó
![]()
| F | là lực; |
| Cw | là hệ số gió; |
| ρ | là khối lượng riêng của không khí; |
| V | là tốc độ gió lớn nhất; |
| A | là diện tích bề mặt lộ ra được xác định bằng cách đo hoặc tính toán (m2) sử dụng các giá trị xác định: |
| Cw | = 1,5 |
| ρ | = 1,24 kg/m3 |
| V | = 11,1 m/s (trung bình của Beaufort cấp 6). |
Sử dụng giá trị này, hai điểm neo trên một cạnh là thích hợp với thiết bị có diện tích bề mặt lộ ra bằng 18,7 m2. Hai điểm neo trên một cạnh được cho là phù hợp đối với đồ chơi sử dụng tại gia đình.
Mỗi chi tiết của hệ thống neo phải bền với lực 1600 N được áp dụng theo hướng sử dụng thông thường. Phá hủy được xác định bằng cách tách chi tiết ra khỏi nền hoặc đồ chơi. Nếu lực phù hợp để làm lỏng được chi tiết thì cũng đủ để tách nó ra hoàn toàn.
A.5.4.3 Bể vầy
Tiêu chuẩn được áp dụng với các sản phẩm được bán ở nhiều thị trường. Do đó cho phép sử dụng các ký hiệu an toàn được quy định trong các tiêu chuẩn khác đã được công nhận như ASTM, ANSI và EN.
Phụ lục B
(tham khảo)
Phiếu thông tin cho khách hàng về các vật liệu làm bề mặt sàn
Ủy ban An toàn sản phẩm hàng tiêu dùng của Mỹ (CPSC) ước tính rằng có khoảng 100 000 ca chấn thương do bị ngã từ các thiết bị chơi xuống bề mặt sàn được điều trị trong các bệnh viện tại Mỹ. Các chấn thương kiểu này là chấn thương nguy hiểm nhất trong các chấn thương liên quan đến thiết bị chơi và có khả năng gây chết người, đặc biệt là với chấn thương ở đầu. Bề mặt sàn bên dưới và xung quanh thiết bị có thể là yếu tố chính gây ra nguy cơ chấn thương khi ngã. Hiển nhiên là khi ngã lên một bề mặt giảm chấn thì ít có nguy cơ gây chấn thương nghiêm trọng hơn so với khi ngã lên một bề mặt cứng. Không bao giờ được đặt thiết bị đồ chơi trên một bề mặt cứng, như là sàn bê tông hoặc sàn trải nhựa, và nếu sử dụng sàn giảm chấn bằng có thì đất nền sẽ sớm bị lộ ra tại những chỗ thường xuyên có người qua lại. Có thể sử dụng các vật liệu như mùn cưa, vỏ bào từ gỗ, cát hoặc sỏi mịn để tạo bề mặt giảm chấn bằng cách rải ra và duy trì chúng tại độ sâu thích hợp ở bên dưới và xung quanh thiết bị.
Bảng B.1 liệt kê các chiều cao tối đa mà từ đó nếu trẻ bị ngã lên bốn loại vật liệu bề mặt nêu trên sẽ không xảy ra nguy cơ chấn thương đầu có thể dẫn đến chết người, nếu các vật liệu này được rải ra và duy trì tại các độ sâu 150 mm, 225 mm và 300 mm.
Bảng B.1 - Chiều cao rơi tính theo milimét mà không gây chấn thương ở đầu có thể dẫn đến chết người
| Loại vật liệu | Độ sâu của vật liệu làm bề mặt sàn | ||
| 150 mm | 225 mm | 300 mm | |
| Mùn cưa nghiền hai lần | 1 800 | 3 000 | 3 300 |
| Vỏ bào từ gỗ | 1 800 | 2 100 | 3 600 |
| Cát mịn | 1 500 | 1 500 | 2 700 |
| Sỏi nhỏ | 1 800 | 2 100 | 3 000 |
Tuy nhiên, cũng phải thừa nhận rằng dù có sử dụng loại sàn nào đi nữa thì cũng không ngăn được tất cả các chấn thương gây ra do bị ngã từ trên cao.
Khuyến cáo nên bố trí vật liệu giảm chấn cách chu vi của các thiết bị tĩnh như thang trèo và cầu trượt ít nhất là 1 800 mm theo tất cả các hướng. Tuy nhiên do trẻ có thể cố ý nhảy từ một đu đang chuyển động nên vật liệu giảm chấn phải được bố trí mở rộng ra phía trước và sau đu một khoảng tối thiểu bằng hai lần độ cao của điểm chốt xoay tính từ điềm ở ngay bên dưới trục xoay của cơ cấu treo.
Thông tin này nhằm hỗ trợ cho việc so sánh tính chất giảm chấn tương đối của các vật liệu khác nhau. Không có vật liệu nào được đề xuất ưu tiên hơn các vật liệu còn lại. Tuy nhiên, từng vật liệu chỉ hiệu quả khi được duy trì đúng cách. Các vật liệu này phải được kiểm tra và bổ sung định kỳ để duy trì được độ sâu phù hợp cần thiết đối với thiết bị sử dụng. Việc lựa chọn vật liệu phụ thuộc vào loại và độ cao của thiết bị chơi, sự sẵn có của vật liệu và giá cả của nó.
Thông tin này được trích dẫn từ các ấn bản của CPSC “Playground surfacing - Technical information guide (Bề mặt nền của thiết bị chơi - Thông tin hướng dẫn kỹ thuật)" và “Handbook for Public Playground Safety (Sổ tay an toàn cho các thiết bị dùng cho sân chơi công cộng)”.
Phụ lục C
(tham khảo)
Hướng dẫn ghi nhãn an toàn đối với một số loại đồ chơi vận động
C.1 Quy định chung
Phụ lục này cung cấp hướng dẫn ghi nhãn cho một số loại đồ chơi vận động
Mục đích của việc ghi nhãn an toàn là cung cấp các thông tin an toàn thích hợp tới người sử dụng khi mua (trên đồ chơi hoặc trên bao gói) và/hoặc trong quá trình sử dụng ban đầu của đồ chơi (trong hướng dẫn sử dụng) và/hoặc trong mỗi lần sử dụng đồ chơi (trong nhãn đồ chơi). Các yêu cầu đối với nhãn an toàn cho một số đồ chơi hoặc đặc tính đồ chơi được nêu trong Điều 5 (cảnh báo và ghi nhãn)
C.2 Ghi nhãn an toàn
C.2.1 Xác định và vị trí nhãn
Nhãn an toàn phải nhìn được bằng mắt thường, dễ nhìn, dễ hiểu và khó tẩy xóa.
Các thông tin an toàn phải gây được sự chú ý của người tiêu dùng và phải được đặt trên bao gói hoặc trên sản phẩm sao cho người sử dụng dễ dàng nhìn thấy khi mua.
Nhãn an toàn và nhãn nhà sản xuất phải được thể hiện bằng ngôn ngữ của nước mà tại đó phân phối đồ chơi
C.2.2 Đuối nước
Xem 5.4.1.
Nếu có khả năng nước bị đọng lại ở độ sâu lớn hơn 40 mm tại điểm bất kỳ của đồ chơi vận động, cảnh báo tương tự phải được nêu trong hướng dẫn và trên đồ chơi
CẢNH BÁO - Có nguy cơ đuối nước. Tháo nước đọng trước khi sử dụng
C.2.3 Neo giữ của đồ chơi vận động có thể làm phồng
Xem 5.4.2.1
Các đồ chơi vận động có thể làm phồng và bao gói của chúng phải có cảnh báo về nguy cơ sử dụng đồ chơi ở nơi gió lớn và không sử dụng hệ thống neo
CẢNH BÁO - Đồ chơi này không an toàn nếu không được neo vì có thể bị bay. Không sử dụng khi có gió lớn.
C.2.4 Ống nối đối với đồ chơi vận động có thể làm phồng
Xem 5.4.2.2.
Các ống nối để thổi phồng đồ chơi vận động có thể làm phồng phải có cảnh báo đi kèm về nguy cơ ngã đè lên máy thổi, ví dụ như sau:
CẢNH BÁO - Trẻ em có thể bị thương khi ngã đè lên máy thổi. Đặt máy thổi cách đồ chơi ít nhất 2,5 m.
C.2.5 Bỏng ma sát
Xem 5.4.2.3.
Đồ chơi vận động có thể làm phồng có nguy cơ gây bỏng phải có cảnh báo về nguy cơ này và khuyến cáo sử dụng quần áo phù hợp.
CẢNH BÁO - Sử dụng sản phẩm này có thể gây bỏng da để hở. Đảm bảo quần áo che kín tay và chân cũng như cổ.
Thư mục tài liệu tham khảo
[1] EN 71 -8, Safety of toys - Part 8: Activity toys for dosmestic use.
[2] ASTM F 1148, Standards conmumer safety performance specification for home playground equipment.
[3] TCVN 6599-2-80 (IEC 60335-2-80), Thiết bị điện gia dụng và thiết bị điện tương tự - An toàn - Part 2-80: Yêu cầu cụ thể đối với quạt điện.
[4] Physical characteristics of children as related to death and injury for consumer product design and use. UM-HSRI - Bl - 75-5 final report contract FDA -72-70 May, 1975.
Mục lục
Lời nói đầu
Lời giới thiệu
1 Phạm vi áp dụng
2 Tài liệu viện dẫn
3 Thuật ngữ và định nghĩa
4 Yêu cầu
4.1 Quy định chung
4.2 Thanh chắn
4.3 Thang leo, thang bậc và cầu thang
4.4 Vướng/mắc kẹt
4.5 Độ ổn định của các đồ chơi vận động không phải là cầu trượt, đu và đồ chơi có xà ngang
4.6 Cầu trượt
4.7 Đu
4.8 Đồ chơi bập bênh
4.9 Đồ chơi cưỡi/quay tròn và đồ chơi cưỡi/bập bênh
4.10 Đồ chơi vận động có thể làm phồng
4.11 Bể vầy
5 Cảnh báo và ghi nhãn
5.1 Ghi nhãn
5.2 Hướng dẫn lắp ráp và lắp đặt
5.3 Hướng dẫn bảo dưỡng
5.4 Cảnh báo
6 Phương pháp thử
6.1 Độ ổn định
6.2 Độ bền tĩnh
6.3 Độ bền động của thanh chắn và tay vịn
6.4 Xác định sự va đập của ghế đu
6.5 Thử mắc kẹt đầu và cổ
6.6 Thử các hạt, nút ở đầu dây rút của quần áo
6.7 Thử chi tiết nhô ra
6.8 Thử độ bền của các móc treo và phương tiện treo
6.9 Tháo hơi đồ chơi vận động có thể làm phồng
6.10 Thử tải trọng tĩnh của bể vầy có thành không được làm phồng
Phụ lục A (tham khảo) Cơ sở và lý do cơ bản để đưa ra các quy định trong tiêu chuẩn
Phụ lục B (tham khảo) Phiếu thông tin cho khách hàng về các vật liệu làm bề mặt sàn
Phụ lục C (tham khảo) Hướng dẫn ghi nhãn an toàn đối với một số loại đồ chơi vận động
Thư mục tài liệu tham khảo
Bạn chưa Đăng nhập thành viên.
Đây là tiện ích dành cho tài khoản thành viên. Vui lòng Đăng nhập để xem chi tiết. Nếu chưa có tài khoản, vui lòng Đăng ký tại đây!


