- Tổng quan
- Nội dung
- Tiêu chuẩn liên quan
- Lược đồ
- Tải về
Tiêu chuẩn Quốc gia TCVN 12325:2018 Yêu cầu, phương pháp thử phin lọc bụi
| Số hiệu: | TCVN 12325:2018 | Loại văn bản: | Tiêu chuẩn Việt Nam |
| Cơ quan ban hành: | Bộ Khoa học và Công nghệ | Lĩnh vực: | Y tế-Sức khỏe , Khoa học-Công nghệ |
|
Ngày ban hành:
Ngày ban hành là ngày, tháng, năm văn bản được thông qua hoặc ký ban hành.
|
2018 |
Hiệu lực:
|
Đã biết
|
| Người ký: | Đang cập nhật |
Tình trạng hiệu lực:
Cho biết trạng thái hiệu lực của văn bản đang tra cứu: Chưa áp dụng, Còn hiệu lực, Hết hiệu lực, Hết hiệu lực 1 phần; Đã sửa đổi, Đính chính hay Không còn phù hợp,...
|
Đã biết
|
TÓM TẮT TIÊU CHUẨN VIỆT NAM TCVN 12325:2018
Nội dung tóm tắt đang được cập nhật, Quý khách vui lòng quay lại sau!
Tải tiêu chuẩn Việt Nam TCVN 12325:2018
TIÊU CHUẨN QUỐC GIA
TCVN 12325:2018
EN 143:2000
PHƯƠNG TIỆN BẢO VỆ CƠ QUAN HÔ HẤP – PHIN LỌC BỤI – YÊU CẦU, PHƯƠNG PHÁP THỬ, GHI NHÃN
Respiratory protective devices – Particle filters – Requirements, testing, marking
Lời nói đầu
TCVN 12325:2018 hoàn toàn tương đương với EN 143:2000.
TCVN 12325:2018 do Ban kỹ thuật Tiêu chuẩn quốc gia TCVN/TC 94 Phương tiện bảo vệ cá nhân biên soạn, Tổng cục Tiêu chuẩn Đo lường Chất lượng đề nghị, Bộ Khoa học và Công nghệ công bố.
Lời giới thiệu
Phương tiện bảo vệ cơ quan hô hấp (PTBVCQHH) có thể chỉ được chấp nhận khi các bộ phận riêng rẽ thỏa mãn các yêu cầu kỹ thuật của phép thử. Tính năng này có thể là một tiêu chuẩn hoàn chỉnh hoặc một phần của tiêu chuẩn. Các phép thử tính năng thực tế được thực hiện trên các thiết bị hoàn chỉnh được quy định trong tiêu chuẩn phù hợp. Nếu vì lý do nào đó không thử được trên thiết bị hoàn chỉnh thì cho phép thử trên thiết bị mô phỏng có đặc tính hô hấp và phân bố khối lượng tương tự như thiết bị hoàn chỉnh.
PHƯƠNG TIỆN BẢO VỆ CƠ QUAN HÔ HẤP – PHIN LỌC BỤI – YÊU CẦU, PHƯƠNG PHÁP THỬ, GHI NHÃN
Respiratory protective devices – Particle filters – Requirements, testing, marking
1 Phạm vi áp dụng
Tiêu chuẩn này quy định cho phin lọc bụi được sử dụng như các bộ phận trong phương tiện bảo vệ cơ quan hô hấp không hỗ trợ, nhưng không sử dụng trong thiết bị thoát hiểm và khẩu trang lọc bụi.
Các phép thử trong phòng thử nghiệm dùng để đánh giá sự phù hợp với các yêu cầu.
Một số phin lọc tuân theo tiêu chuẩn này cũng phù hợp để sử dụng với các loại phương tiện bảo vệ cơ quan hô hấp khác và, vì vậy, phải thử và ghi nhãn phin lọc theo tiêu chuẩn phù hợp.
2 Tài liệu viện dẫn
Các tài liệu viện dẫn sau rất cần thiết cho việc áp dụng tiêu chuẩn này. Đối với các tài liệu viện dẫn ghi năm công bố thì áp dụng phiên bản được nêu. Đối với các tài liệu viện dẫn không ghi năm công bố thì áp dụng phiên bản mới nhất bao gồm cả các sửa đổi, bổ sung (nếu có).
EN 132, Respiratory protective devices - Definitions of terms and pictograms (Phương tiện bảo vệ cơ quan hô hấp - Định nghĩa các thuật ngữ và hình vẽ)
EN 134, Respiratory protective devices - Nomenclature of components (Phương tiện bảo vệ cơ quan hô hấp - Tên gọi các bộ phận)
EN 148-1, Respiratory protective devices - Threads for facepieces - Part 1: Standard thread connection (Phương tiện bảo vệ cơ quan hô hấp - Ren của tấm che mặt - Phần 1: Mối nối có ren chuẩn)
EN 13274-5:2001, Respiratory protective devices - Methods of test - Climatic conditions (Phương tiện bảo vệ cơ quan hô hấp - Phương pháp thử - Phần 5: Điều kiện về khí hậu)
3 Thuật ngữ và định nghĩa
Trong tiêu chuẩn này áp dụng các thuật ngữ và định nghĩa trong EN 132 và tên gọi các bộ phận trong EN 134 và các thuật ngữ và định nghĩa sau:
3.1
Phin lọc có thể sử dụng lại (re-useable filter)
Phin lọc được dùng cho nhiều hơn một lần.
4 Mô tả
Không khí đi vào (các) phin lọc bụi để loại bỏ bụi, sau đó đi vào tấm che mặt.
5 Phân loại
Các phin lọc bụi được phân loại theo hiệu quả lọc bụi. Có ba loại phin lọc bụi: P1, P2 và P3 xếp theo thứ tự tăng dần về hiệu quả lọc.
Ngoài ra, các phin lọc có thể được phân loại thành loại sử dụng một lần và loại có thể sử dụng lại (nhiều hơn một lần).
Sự bảo vệ được tạo ra bởi phin lọc P2 hoặc phin lọc P3 bao gồm cả sự bảo vệ bởi loại phin lọc có hiệu quả lọc thấp hơn.
6 Ký hiệu
Phin lọc bụi đáp ứng các yêu cầu của tiêu chuẩn này phải được ký hiệu theo cách sau:
Phin lọc bụi TCVN 12325 (EN 143), kiểu, loại, lựa chọn phin lọc; ví dụ: Phin lọc bụi TCVN 12325 (EN 143) P3 NR.
7 Yêu cầu
7.1 Yêu cầu chung
Trong tất cả các phép thử, tất cả các mẫu thử phải đáp ứng các yêu cầu.
7.2 Giá trị danh nghĩa và dung sai
Nếu không có quy định khác, các giá trị quy định trong tiêu chuẩn này được biểu thị bằng giá trị danh nghĩa. Loại trừ các giới hạn về nhiệt độ, các giá trị không được công bố là tối đa hay tối thiểu phải có dung sai là ± 5 %. Nếu không có quy định khác, nhiệt độ môi trường để thử phải là (24 ± 8) °C nhưng đối với các phép thử cơ học là (20 ± 10) °C. Các giới hạn nhiệt độ khác phải có độ chính xác ± 1 °C.
7.3 Kiểm tra bằng mắt thường
Thực hiện kiểm tra bằng mắt thường trước khi thực hiện các phép thử trong phòng thử nghiệm và theo quy định khác trong tiêu chuẩn này.
Phép thử phải được thực hiện theo 8.2.
7.4 Mối nối
Mối nối giữa (các) phin lọc và tấm che mặt hoặc (các) bộ phận khác được dự kiến để sử dụng phải chắc chắn và không rò rỉ.
Mối nối giữa phin lọc và tấm che mặt có thể là một cơ cấu nối vĩnh viễn hoặc cơ cấu nối đặc thù hoặc một vòng ren tuân theo EN 148-1.
Không sử dụng các vòng ren tuân theo EN 148-2 hoặc EN 148-3.
Nếu phin lọc được dùng cho tấm che mặt có nhiều phin lọc hoặc có ren khác thì sẽ không thể nối với một ren theo EN 148-1, EN 148-2 hoặc EN 148-3.
Phin lọc phải dễ thay thế mà không sử dụng các dụng cụ đặc biệt và phải được thiết kế hoặc ghi nhãn để ngăn ngừa sự lắp ráp không đúng.
Phép thử phải được thực hiện theo 8.2.
7.5 Khối lượng
Khối lượng tối đa của (các) phin lọc được dùng để nối trực tiếp với bán mặt nạ là 300 g.
Khối lượng tối đa của (các) phin lọc được dùng để nối trực tiếp với mặt nạ là 500 g.
Phép thử phải được thực hiện theo 8.1.
7.6 Phin lọc kép
Nếu các bộ lọc dùng nhiều hơn một phin lọc (cụ thể: bộ lọc nhiều phin), dòng khi qua đó phải đều nhau thì bộ phin lọc hoàn chỉnh phải đáp ứng tất cả các yêu cầu trong tiêu chuẩn này (ví dụ: tổng khối lượng của bộ phin lọc được dùng để nối trực tiếp với bán mặt nạ phải không lớn hơn 300 g).
Tuy nhiên, nếu sử dụng riêng một phin lọc của bộ lọc nhiều phin thì phải đáp ứng các yêu cầu ở lưu lượng tổng cho các phép thử được quy định trong tiêu chuẩn này.
Nhà sản xuất phải cung cấp tất cả các thông tin cần thiết về cách sử dụng phin lọc kép.
Phép thử phải được thực hiện theo 8.1 và 8.2.
7.7 Vật liệu
Phin lọc phải được làm bằng vật liệu phù hợp để chịu được các điều kiện sử dụng thông thường và phơi ở môi trường có nhiệt độ, độ ẩm và ăn mòn thường gặp. Về bản chất, phin lọc phải chịu được ăn mòn của môi trường lọc.
Vật liệu của môi trường lọc hoặc các sản phẩm khí thải ra từ dòng khí qua phin lọc phải không gây nguy hiểm hoặc độc hại cho người sử dụng.
Phép thử phải được thực hiện theo 8.2.
7.8 Bao gói
Các phin lọc khi đưa ra bán phải được bao gói để bảo vệ tránh hư hại cơ học hoặc sự nhiễm bẩn có thể nhìn thấy trước khi sử dụng.
Nếu phù hợp, phải gắn kín các phin lọc để bảo vệ môi trường lọc, tránh các ảnh hưởng từ môi trường và theo cách sao cho có thể nhận biết được các chỗ gắn bị nứt, vỡ.
Phép thử phải được thực hiện theo 8.2.
7.9 Độ bền cơ học (M.S.)
Các phin lọc phải được đưa vào thử độ bền cơ học theo yêu cầu của tiêu chuẩn này.
Phép thử phải được thực hiện theo 8.3.
Sau khi xử lý, các phin lọc phải không bị hư hại về cơ học và phải đáp ứng các yêu cầu trong các điều liên quan.
Phép thử phải được thực hiện theo 8.2.
7.10 Điều hòa nhiệt độ (T.C.)
Đưa các phin lọc vào thử điều hòa nhiệt độ theo yêu cầu của tiêu chuẩn này.
Phép thử phải được thực hiện theo 8.4.
Sau khi xử lý, các phin lọc phải không có dấu hiệu hư hại và đáp ứng các yêu cầu trong các điều liên quan.
Phép thử phải được thực hiện theo 8.2.
7.11 Độ cản thở
Độ cản dòng khí do (các) phin lọc gây ra phải càng nhỏ càng tốt và không được phép vượt quá các giá trị được cho trong Bảng 1.
Bốn phin lọc được thử, hai sau khi thử độ bền cơ học theo 8.3, hai sau khi thử độ bền cơ học theo 8.3 và thử điều hòa nhiệt độ theo 8.4.
Phép thử phải được thực hiện theo 8.6.
Bảng 1 - Độ cản thở tối đa
| Loại phin lọc | Độ cản thở tối đa, tính bằng mbar*) | |
| ở 30 l/min | ở 95 l/min | |
| P1 | 0,6 | 2,1 |
| P2 | 0,7 | 2,4 |
| P3 | 1,2 | 4,2 |
| *) bar = 105 N/m2 = 100 kPa | ||
7.12 Độ lọt qua phin lọc
Các yêu cầu về độ lọt qua phin lọc tối đa được cho trong Bảng 2.
Đối với từng sol khí, phải thử ba phin lọc sau khi thử độ bền cơ học theo 8.3 và điều hòa nhiệt độ theo 8.4.
Phép thử phải được thực hiện theo 8.7.
Các phin lọc không đáp ứng các yêu cầu sau khi lưu giữ phải được xếp là loại sử dụng một lần.
Bảng 2 - Độ lọt qua phin lọc tối đa
| Loại phin lọc | Độ lọt qua phin lọc tối đa của sol khí thử (%) | |
| Phép thử natri clorua ở 95 l/min | Phép thử dầu parafin ở 95 l/min | |
| P1 | 20 | 20 |
| P2 | 6 | 6 |
| P3 | 0,05 | 0,05 |
7.13 Sự bít kín
7.13.1 Yêu cầu chung
Nếu thực hiện phép thử bít kín cho một phin lọc của bộ lọc nhiều phin ở dòng khí được chia đều, các yêu cầu quy định đối với độ cản thở của phin lọc sau khi bụi làm bít lại sẽ giữ cho tải bụi quy định được chia đều cho số phin của bộ lọc (ví dụ: để thử một phin lọc tách rời từ phin lọc kép, loại P2, sự bít lại được thực hiện ở lưu lượng 47,5 l/min cho đến khi đạt đến 5 mbar hoặc cho đến khi lắng đọng 263 mg.h.m-3, tùy theo trường hợp nào xảy ra trước).
7.13.2 Độ lọt qua phin lọc
Phải thỏa mãn các yêu cầu về độ lọt qua phin lọc theo 7.12 đối với từng sol khí thử trước và sau phép thử bít bằng bột đôlomit.
Đối với từng sol khí, phải thử bốn phin lọc, hai phin lọc sau khi thử độ bền cơ học theo 8.3, hai phin lọc sau khi thử độ bền cơ học theo 8.3 và thử điều hòa nhiệt độ theo 8.4.
Phép thử phải được thực hiện theo 8.7.2, 8.7.3 và 8.8.
7.13.3 Độ cản thở
Độ cản thở sau khi bít kín phải không vượt quá
Phin lọc loại P1 4 mbar
Phin lọc loại P2 5 mbar
Phin lọc loại P3 7 mbar
Phải thử bốn phin lọc, hai phin lọc sau khi thử độ bền cơ học theo 8.3, hai phin lọc sau khi thử độ bền cơ học theo 8.3 và thử điều hòa nhiệt độ theo 8.4.
Phép thử phải được thực hiện theo 8.6 và 8.8.
8 Phép thử
8.1 Yêu cầu chung
Các phép thử tính năng đối với các phin lọc không có bộ phận nối theo EN 148-1 phải được thực hiện tại nơi phin lọc sẽ được sử dụng trên thực tế.
Nếu không quy định dụng cụ do hoặc phương pháp đo đặc biệt nào thì phải sử dụng các dụng cụ và phương pháp đo thông thường.
8.2 Kiểm tra bằng mắt thường
Thực hiện kiểm tra các phin lọc bằng mắt thường và ghi lại các kết quả phù hợp. Kiểm tra bằng mắt thường bao gồm ghi nhãn và các thông tin do nhà sản xuất cung cấp.
8.3 Độ bền cơ học (M.S.)
8.3.1 Thiết bị thử
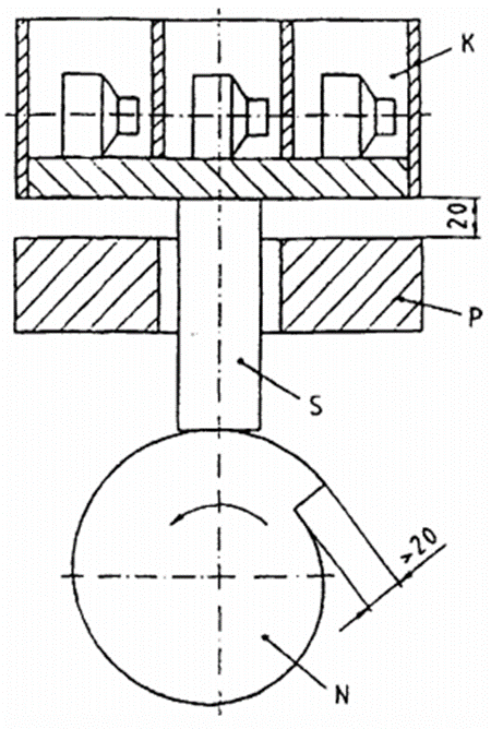
Thiết bị thử như dạng sơ đồ trong Hình 1, bao gồm một hộp bằng thép (K) được cố định trên một piston chuyển động thẳng đứng (S), có thể nhấc lên 20 mm nhờ một bánh lệch tâm quay (N) và tự rơi xuống một tấm thép (P) khi bánh lệch tâm quay. Khối lượng của hộp thép phải lớn hơn 10 kg.
Trọng lượng của tấm thép để hộp thép rơi xuống phải (tối thiểu) gấp 10 lần khối lượng của hộp thép. Điều này có thể đạt được bằng cách lắp tấm để vào một sàn đặc cứng bằng bulông.
8.3.2 Quy trình thử
Thử các phin lọc còn nguyên vẹn, lấy từ bao gói vẫn gắn kín.
(các) phin lọc không có vỏ bọc phải được thử trong bao gói thương mại có kích thước nhỏ nhất.
Các phin lọc phải được đặt nằm ngang trong hộp thép (K) sao cho chúng không chạm vào nhau trong khi thử, cho phép chuyển động 6 mm theo phương ngang và chuyển động tự do theo phương thẳng đứng. Sau khi thử, các vật liệu lỏng lẻo có thể rời ra khỏi phin lọc thì phải lấy ra trước khi thử tính năng.
Thiết bị thử phải được vận hành ở vận tốc khoảng 100 vòng/phút trong khoảng 20 min và tổng số 2 000 vòng quay.
8.4 Điều hòa nhiệt độ (T.C.)
Nếu phù hợp, để phin lọc trong bao gói và đưa vào chu trình nhiệt như sau:
a) Môi trường khô ở (70 ± 3) °C trong 24 h;
b) Nhiệt độ (-30 ± 3) °C trong 24 h;
và cho phép đặt trở lại nhiệt độ phòng trong ít nhất 4 h giữa các lần phơi và trước khi tiếp tục thử.
Thực hiện điều hòa theo cách sao cho không xảy ra sốc nhiệt.
8.5 Điều kiện về dòng thử
8.5.1 Yêu cầu chung
Tất cả các phép thử tính năng phải được thực hiện sao cho không khí thử hoặc sol khí thử đi qua phin lọc theo phương ngang, trừ trường hợp có quy định khác về quy trình thử.
8.5.2 Phin lọc kép
Khi thử riêng một phin lọc của bộ lọc nhiều phin, dòng khí được quy định cho phép thử phải được chia đều cho số lượng phin lọc mà dòng khi đi qua. Tuy nhiên, nếu chỉ sử dụng một phin lọc của bộ lọc nhiều phin thì phải sử dụng toàn bộ dòng khí cho phép thử.
Nếu độ cản của các phin lọc thỏa mãn công thức sau:

thì phin lọc có thể được thử như một phin lọc riêng với một dòng được chia đều. Nếu độ cản thở của phin lọc không thỏa mãn công thức trên thì phải thử các phin lọc trong một bộ lọc hoàn chỉnh ở toàn bộ lưu lượng.
Khi thử một phin lọc của bộ lọc nhiều phin với dòng khí thử được chia đều, phải đáp ứng các yêu cầu tính năng phù hợp với tiêu chuẩn này.
8.6 Độ cản thở
Phin lọc phải được nối kín với thiết bị thử bằng các cơ cấu nối phù hợp.
Thực hiện phép thử ở hai lưu lượng dòng (30 l/min và 95 l/min dòng liên tục hoặc dòng ngắt quãng phù hợp) với không khí ở nhiệt độ phòng, áp suất môi trường xung quanh và độ ẩm sao cho không xuất hiện sự ngưng tụ.
Các giá trị về độ cản phải được hiệu chỉnh vì độ cản do cơ cấu nối gây ra. Đo lưu lượng dòng ở độ cản đó, hiệu chỉnh đến giá trị tuyệt đối 23 °C và 1 bar.
Kích thước tính bằng milimét

CHÚ DẪN
| K | Hộp thép | S | Piston |
| P | Tấm thép | N | Bánh lệch tâm |
Hình 1 - Thiết bị thử độ bền cơ học
8.7 Độ lọt qua phin lọc
8.7.1 Yêu cầu chung
Sử dụng hai sol khí thử cho phép đo độ lọt qua phin lọc:
a) natri clorua, sử dụng thiết bị được mô tả trong 8.7.3
b) dầu parafin, sử dụng thiết bị được mô tả trong 8.7.4
Quy trình chung được mô tả trong 8.7.2 và áp dụng cho phép thử có sử dụng các sol khí thử.
CHÚ THÍCH Phòng thử nghiệm phải xem xét các yếu tố sau:
- Buồng thử phải được thiết kế để giảm thiểu sự thay đổi về vận tốc không khí đi qua bề mặt phin lọc khi thử. Vận tốc không khí cao cục bộ (“vòi phun”), có thể gây ra độ lọt cao của phin lọc một cách nhân tạo.
- Dầu parafin được sử dụng để thử phải không phơi với nhiệt độ cao và không khí nén trong khoảng thời gian dài, bởi vì điều này có thể làm thay đổi thành phần của dầu, có thể làm cho kết quả không chính xác.
- Phải thay dầu parafin trong thiết bị thử ba tháng một lần.
8.7.2 Quy trình thử
Đưa sol khí vào buồng thử, ở chỗ lắp phin lọc thử. Dòng sol khí lưu lượng 95 l/min đi qua phin lọc và ngay lập tức đo nồng độ sol khí ở phía trước và phía sau phin lọc bằng quang kế.
Độ lọt qua phải được ghi lại trong suốt phép thử tại các khoảng thời gian lấy mẫu không vượt quá 5 min.
- Đối với các phin lọc thử bằng dầu parafin, tiếp tục phép thử cho đến khi phin lọc phơi với 120 mg sol khí thử.
- Đối với các phin lọc được thử bằng natri clorua, tiếp tục phép thử cho đến khi phin lọc phơi với 120 mg sol khí thử, trừ khi;
a) Đối với các phin lọc dùng một lần, độ lọt cho thấy sự giảm liên tục trong 5 min hoặc 5 lần lấy mẫu, lấy bất cứ lần nào có giá trị lớn hơn.
b) Đối với các phin lọc có thể sử dụng lại, độ lọt qua cho thấy sự giảm liên tục trong 5 min hoặc 5 lần lấy mẫu, lấy bất cứ lần nào có giá trị lớn hơn, độ lọt cực đại thấp hơn khi thử bằng sol khí dầu parafin.
CHÚ THÍCH Nên ghi lại liên tục độ lọt qua.
Nếu đáp ứng các điều kiện trên, có thể kết thúc phép thử phơi sớm hơn.
Ghi lại độ lọt cực đại trong khi phơi.
Đối với các phin lọc có thể sử dụng lại, tiếp tục phép thử ngay như dưới đây, nhưng trong trường hợp các phin lọc có thể sử dụng lại cho phép thử natri clorua kết thúc trước khi phơi đủ 120 mg, các phép thử sau đó chỉ cần thực hiện bằng sol khí thử dầu paratin.
Lấy phin lọc ra khỏi buồng thử lọt qua và lưu giữ phin lọc theo EN 13274-5, trong thời gian (24 ± 1) h dưới các điều kiện môi trường xung quanh như mô tả trong 3.1 của EN 13274-5, đảm bảo các phin lọc không tiếp xúc với nhau.
Lấy phin lọc ra khỏi nơi lưu giữ và đặt trở lại buồng thử lọt qua.
Cho sol khi thử (sol khí tương tự như sử dụng cho phép thử phơi 120 mg) đi qua phin lọc ở dòng 95 l/min.
Xác định độ lọt qua đo được là giá trị trung bình trong thời gian (30 ± 3) s, sau 3 min bắt đầu phép thử. Ghi lại giá trị này là độ lọt qua sau khi lưu giữ.
8.7.3 Phép thử natri clorua
8.7.3.1 Yêu cầu chung
Sol khí của bụi natri clorua được tạo ra bằng cách phun sương dung dịch nước natri clorua và làm bay hơi nước. Đo nồng độ của sol khi này ở phía trước và phía sau phin lọc thử bằng quang kế ngọn lửa, có khả năng xác định chính xác độ lọt của phin lọc trong khoảng từ 0,0001 đến 100 %.
8.7.3.2 Thiết bị thử
Thiết bị thử như thể hiện trên Hình 2. Sol khí được tạo ra bằng cách sử dụng thiết bị phun sương Collison chứa đầy dung dịch natri clorua 1 %. Thiết bị phun sương, ví dụ được thể hiện trên Hình 3, bao gồm một bình chứa bằng thủy tinh có gắn đầu thiết bị phun sương cỏ ba vòi phun. Không khí được cấp vào thiết bị phun sương ở áp suất 3,45 bar và bụi chất lỏng thu được đập vào màng ngăn để loại đi các bụi lớn. Các hạt bụi không chịu va đập bị loại ra khỏi dòng khí và, trộn với không khí khô, nước bay hơi để lại sol khí natri clorua khô.
Sol khí được tạo ra bằng phương pháp này là đa phân tán với đường kính hạt bụi trung bình khối xấp xỉ 0,6 µm. Phân bố kích thước hạt bụi được cho trong Hình 4. Sol khí giữ không đổi, trong các giới hạn có thể chấp nhận được, tương ứng với kích thước và nồng độ hạt bụi miễn là áp suất cấp trong khoảng từ 3,31 bar đến 3,59 bar và lưu lượng khí vào ba vòi phun từ 12,5 l/min đến 13,0 l/min. Phía đầu ra được trộn với 82 l/min không khí khô để tạo ra dòng tổng 95 l/min.
Dung dịch natri clorua trong thiết bị phun sương được phun ở tốc độ xấp xỉ 15 ml/h. Sự thất thoát này là do một phần đến chỗ phun sương của dung dịch, một phần bay hơi nước từ bình thủy tinh. Thể tích bình đủ để sự thay đổi về nồng độ và sự thất thoát về thể tích dung dịch trong thời gian 8 h sẽ không gây ra sự thay đổi đáng kể về đặc tính của sol khí thử.
Sol khí natri clorua được phân tích phía trước và phía sau phin lọc thử bằng quang kế ngọn lửa. Quang kế được sử dụng để phân tích có thể là một thiết bị phù hợp bất kỳ có độ nhạy yêu cầu, tuy nhiên, một quang kế được thiết kế đặc biệt để đáp ứng các yêu cầu này là có sẵn.*
Thiết bị là một quang kế ngọn lửa hydro. Đèn khí hydro được đặt trong một ống đốt thẳng đứng, ổng này hở ở phía dưới để cho ống lấy mẫu vào, qua đó sol khí được phân tích chảy vào. Dòng sol khí đến ngọn lửa được kiểm soát bởi sự đối lưu và được giữ không đổi bằng một van thổi gió.
Một lượng nhỏ không khí đã lọc được cấp liên tục vào ống lấy mẫu phía dưới đầu vào của ống đốt. Chức năng cấp này để ngăn không khí trong phòng có thể chứa một lượng đáng kể muối natri tràn vào đèn khi không có dòng qua ống mẫu.
Đèn khí hydro, tạo được ngọn lửa đối xứng trên trục thẳng đứng, được bao quanh bởi một ống thủy tinh chịu nhiệt, ống này phải đồng nhất về mặt quang học để giảm thiểu ảnh hưởng đến ánh sáng ngọn lửa phát ra.
Bụi natri clorua trong không khí đi qua ống đốt bị bay hơi tạo ra phát xạ natri ở 589 nm. Cường độ phát xạ này tỷ lệ với nồng độ natri trong dòng khí.
Đo cường độ của ánh sáng do ngọn lửa phát ra bằng cách sử dụng bộ nhân quang. Sử dụng phin lọc nhiễu giải hẹp có các phin lọc dài bên phù hợp để tách phát xạ natri ra khỏi ánh sáng nền có các bước sóng khác. Phin lọc này tốt nhất là có độ rộng dải nửa đỉnh không lớn hơn 5 nm.
Do đầu ra bộ nhân quang chỉ tỷ lệ với ánh sáng tới trong một dải tương đối nhỏ, cường độ ánh sáng cao được làm yếu đi bằng các bộ lọc mật độ trung tính. Các bộ lọc được hiệu chuẩn chính xác kết hợp với bộ lọc nhiễu khi sử dụng và vì vậy cường độ ánh sáng thực tế có thể được tính từ đầu ra của bộ nhân quang. Khuếch đại và ghi lại tín hiệu từ bộ nhân quang.
Việc hiệu chuẩn quang kế ngọn lửa sẽ phụ thuộc vào thiết kế chi tiết của thiết bị, và phải thực hiện theo thông tin của nhà sản xuất nếu thu được kết quả đáng tin cậy. Tuy nhiên, nhìn chung các phương pháp có thể sử dụng là: pha loãng sol khí nhiều lần, pha loãng dung dịch phun hoặc kết hợp cả hai phương pháp này. Nếu chỉ pha loãng sol khí hoặc dung dịch thì giới hạn hiệu chuẩn dưới xấp xỉ hai đơn vị lớn hơn độ nhạy tối đa của thiết bị.
Nếu sử dụng một bộ nhân quang có phin lọc làm suy yếu để phát hiện, điều này không quan trọng bởi vì bộ nhân quang đo một dải mức ánh sáng không đổi trong một dải hoàn chỉnh của thiết bị, và biết được các giá trị của phin lọc làm suy yếu, giá trị đó không thay đổi. Bởi vì đường cong hiệu chuẩn là đường tuyến tính ở nồng độ thấp và có thể an toàn ngoại suy các giá trị nhỏ hơn. Giới hạn tuyến tính trên của đường cong hiệu chuẩn xấp xỉ 0,12 mg/m3 do sự hấp thụ lại ánh sáng trong ngọn lửa. Sự hiệu chuẩn không tuyến tính có thể ở trên điểm này đến xấp xỉ 15 mg/m3. Nếu sử dụng các cảm biến khác không như mô tả ở trên thì sẽ cần một kỹ thuật kết hợp để đạt được độ nhạy tối đa.
8.7.3.3 Điều kiện thử
Sự phân bố kích thước hạt bụi của sol khí thử, xem Hình 4.
Lưu lượng sol khí thử 95 l/min
Nồng độ sol khí (8 ± 4) mg/m3
Áp suất không khí vào thiết bị phun sương (3,45 ± 0,14) bar
Lưu lượng vào thiết bị phun sương (12,75 ± 0,25) l/min
Lưu lượng không khí loãng 82 l/min
Lưu lượng hydro đến quang kế từ 450 ml/min đến 500 ml/min
Bước sóng phát xạ natri 589nm
Nhiệt độ không khí môi trường xung quanh
Độ ẩm tương đối nhỏ hơn 60%.
8.7.3.4 Tính độ lọt qua

Trong đó
P độ lọt qua;
C1 nồng độ natri clorua phía trước phin lọc;
C2 nồng độ natri clorua phía sau phin lọc.

CHÚ DẪN
| 1 không khí nén | 8 mẫu thử |
| 2 phin lọc khí | 9 van ba chiều |
| 3 thiết bị tạo sol khí thử | 10 lưu lượng kế |
| 4 miệng phun | 11 van kiểm soát lưu lượng dòng |
| 5 không khí sạch | 12 thải khí |
| 6 buồng thử | 13 thiết bị đo sol khí |
| 7 áp kế (tùy chọn) | 14 thải khí |
Hình 2 - Sơ đồ thiết bị để thử natri clorua
Kích thước tính bằng milimét


CHÚ DẪN
| 1 bình có nắp vặn bằng thủy tinh | 8 Goăng cao su | ||
| 2 miệng xả |
| đường kính ngoài 25,0 mm | |
| 3 cơ cấu rửa sợi |
| đường kính trong 10,0 mm | |
|
| đường kính ngoài 4,5 mm |
| độ dày 1,5 mm |
|
| đường kính trong 2,0 mm |
| các chỗ gắn kín khí |
|
| độ dày 0,8 mm | 9 đai ốc | |
| 4 ống bọc ngoài | 10 nắp vặn | ||
| 5 ống dẫn | 11 có ren trong 6,4 | ||
| 6 goăng cao su |
| ||
| 7 chụp | a) ba lỗ đường kính 1,6 | ||
|
| Cách đều nhau trên đường kính 7,9 P.C | ||
|
| b) ba lỗ đường kính 0,34 | ||
Hình 3 - Bản vẽ thiết bị phun sương

Sol Khí thử NaCI
Sự phân bố kích thước được tạo ra bằng cách phun dung dịch NaCl 1 % ở 3,45 bar
CHÚ DẪN
1 khối lượng
2 số lượng
a kích thước dài nhất của hạt NaCI (µm)
b tỷ lệ phần trăm nhỏ hơn kích thước được công bố (%)
Hình 4 - Sự phân bố kích thước hạt sol khi natri clorua
8.7.4 Phép thử dầu parafin
8.7.4.1 Yêu cầu chung
Sol khí của các giọt dầu paratin được tạo ra bằng cách phun dầu parafin đã làm nóng. Đo nồng độ của sol khí này phía trước và phía sau phin lọc thử bằng quang kế sol khí, có khả năng xác định chính xác độ lọt của phin lọc trong khoảng từ 0,003 % đến 100 %.
8.7.4.2 Thiết bị thử
Ví dụ về thiết bị được thể hiện trên Hình 5. Sol khí được tạo ra bằng cách sử dụng một thiết bị phun (Hình 6 và Hình 8). Bình phun (6) chứa đầy dầu parafin (parafin rắn perliquidum CP 27 DAB 7*, sao cho mức dầu nằm giữa vạch min/max (10). Bình phun được gia nhiệt bằng các bộ gia nhiệt điện tử (8), sao cho nhiệt độ của dầu được giữ ổn định 100 °C bằng bộ ổn nhiệt (9). Nhiệt độ được đo bởi nhiệt kế (11). Không khí đã lọc và nén ở 4 bar (3, 4) được gia nhiệt trước trong (8) và thổi qua bộ phận nhiều vòi phun (12 và Hình 8). Các giọt lớn trong sương dầu tạo ra được tách trong vòi phun có kiểm soát (13) và trong ống dạng xoắn (15). Trong bình trộn (5), pha loãng các giọt dầu và hơi dầu bằng 50 l/min không khí đã được lọc, đo bằng lưu lượng kế (2). Vì không khí pha loãng ở nhiệt độ phòng nên hơi dầu ngưng tụ trong bình trộn. Sol khí tạo được là sol khi thử, được giảm đến nồng độ thử (20 ± 5) mg/m3 bằng cách loại bỏ một phần phù hợp sương dầu (xem Hình 5, bộ phận 18 kết hợp với 11, 7,10, 12 và 17) và bằng cách pha loãng tiếp với không khí lọc ở lưu lượng 83 l/min trong các quạt gió chạy bằng năng lượng khí (loại Friedrichs-Antlinger, xem Hình 5, bộ phận 5 và Hình 9). Sol khí thử được tạo ra bằng phương pháp này là đa phân tán. Sự phân bố kích thước hạt là sự phân bố logarit thông thường với đường kính Stokes trung bình 0,4 µm (đối với phân bố số) và độ lệch chuẩn logarit 0,26 (xem Hình 7).
Sol khí thử được cấp vào buồng thử (Hình 5, (1)), ở đó đã cố định phin lọc thử (15). Sol khí dư được lọc bằng phin lọc hiệu suất cao có độ cản dòng thấp (10). Lưu lượng 95 l/min được đưa qua phin lọc thử. Đo nồng độ thử phía trước và phía sau phin lọc thử bằng quang kế tản xạ ánh sáng tích hợp. Nguyên tắc của quang kế sol khí được thể hiện trên Hình 10. Thiết bị là một quang kế tán xạ 45°. Nguồn ánh sáng đi trực tiếp đến cảm biến đo và đến bộ nhân quang. Chùm tia trực tiếp đến bộ nhân bị gián đoạn bởi bộ tạo xung, sao cho ánh sáng bị tán xạ từ các hạt luôn luôn được hiệu chỉnh đối với sai lệch cường độ nguồn. Chùm tia đối chứng bị suy yếu một cách tự động đến cường độ của chùm ánh sáng tán xạ bởi các phin lọc và cái nêm đen trung tính.
Cường độ ánh sáng tán xạ hiển thị là giá trị đo nồng độ sol khí.
8.7.4.3 Điều kiện thử
Sự phân bố kích thước hạt bụi cùa sol khí thử, xem Hình 7.
Lưu lượng đi qua phin lọc khi thử 95 l/min
Nồng độ sol khi (20 ± 5) mg/m3
Nhiệt độ không khí môi trường xung quanh
Áp suất không khí vào thiết bị phun sương (4,00 ± 0,15) bar
Lưu lượng vào thiết bị phun sương (13,5 ± 0,5) l/min
Lưu lượng khí hỗn hợp trong máy tạo sol khí 50 l/min
Lưu lượng của không khí pha loãng 83 l/min
Nhiệt độ của dầu trong máy tạo sol khí từ 100 °C đến 110 °C
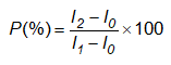
8.7.4.4 Tính độ lọt qua

Trong đó
P độ lọt qua;
l1 giá trị đọc quang kế phía trước phin lọc;
l2 giá trị đọc quang kế phía sau phin lọc;
l0 giá trị đọc zero quang kế đối với không khí sạch.

CHÚ DẪN
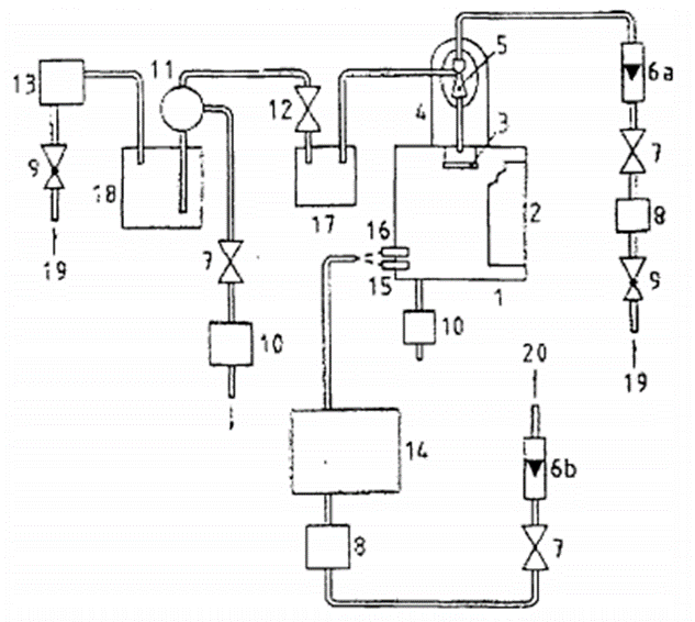
| 1 Buồng thử: vật liệu trong suốt cứng, đường kính 500 mm, chiều cao 500 mm, ở phía hai bên được che bằng gỗ dán 2 Cửa lắp khít của buồng thử 3 Đĩa để thu gom dầu chảy xuống thành ống 4 Vỏ che miệng thổi được hoạt động bằng sức gió 5 Ống thổi hoạt động bằng sức gió để đưa sương dầu đậm đặc vào buồng thử 6 Lưu lượng kế, dải đo từ 800 l/h đến 8 000 l/h a) để đo không khí đẩy vào ống thổi (5 000 l/h) b) để đo lưu lượng thử (95 l/min) 7 Van kiểm soát lưu lượng 8 Phin lọc hiệu năng cao 9 Van giảm áp, phạm vi hoạt động từ 1 bar đến 5 bar ở áp suất từ 6 bar đến 10 bar 10 Phin lọc hiệu năng cao có độ cản thấp | 11 Bầu chữ T để lấy lượng sương dầu cần để thử 12 Van kim kiểm soát nồng độ sương dầu trong buồng thử 13 Thiết bị tạo sương dầu 14 Quang kế sol khí 15 Ống nối tới đối tượng thử 16 Đầu dò để đo nồng độ sương dầu trong buồng thử Quang kế sol khí được đối với 15 hoặc 16 theo yêu cầu bằng một ống ngắn. Đóng chặt ống nối không sử dụng. Các ống cho sương dầu là các ống chất dẻo gia cường vật liệu dệt có đường kính trong 19 mm. 17 Bình Woulfe 18 Thể tích bộ đệm 5 l 19 Không khí nén 20 Đến bơm chân không |
Hình 5 - Sơ đồ nguyên lý thiết bị thử dầu paraphin

CHÚ DẪN
| 1 | Khi vào 5 bar có phin lọc khí | 13 | Van điều tiết |
| 2 | Lưu lượng kế | 14 | Áp kế dạng ống hình chữ U |
| 3 | Bộ giảm áp | 15 | Ống xoắn |
| 4 | Áp kế | 16 | Van xả |
| 5 | Bình trộn | 17 | Đầu ra đến thiết bị đo |
| 6 | Bình phun | 18 | Đầu ra để thải bỏ |
| 7 | Bình chứa bộ ổn nhiệt | 19 | Van chuyển dòng |
| 8 | Vỏ gia nhiệt | 20 | Bơm dầu |
| 9 | Bộ ổn nhiệt | 21 | Bình chứa cấp dầu |
| 10 | Bộ hiển thị mức dầu | 22 | Van khóa |
| 11 | Nhiệt kế | 23 | Thải khí |
| 12 | Miệng xả | 24 | Đo |
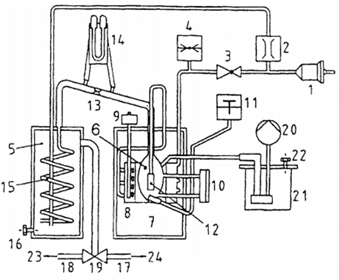
Hình 6 - Sơ đồ nguyên lý thiết bị tạo sol khí dầu paraphin

Sương dầu paraphin
Phân bố số σlogd = 0,26
CHÚ DẪN
1) Tỷ lệ phần trăm theo kích thước hạt
2) Đường kính động của hạt (đường kính Stokes), tính bằng µm
Hình 7 - Sự phân bố kích thước hạt sương dầu paraphin
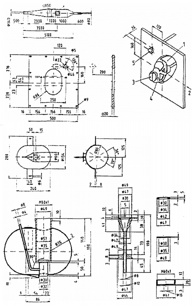
Kích thước tính bằng milimét

CHÚ DẪN
1 Dầu paraphin
2 Mức dầu
Hình 8 - Thiết bị phun
Kích thước tính bằng milimét

Hình 9 - Ống thổi hoạt động bằng sức gió

CHÚ DẪN
1 Điều chỉnh động cơ
2 Bộ phận điều chỉnh chùm tia
3 Chùm tia tới l0
4 Bộ nhân quang
5 Thiết bị khuếch đại
6 Chùm tia sáng tán xạ l
7 Buồng đo
8 Nguồn sáng
Hình 10 - Sơ đồ nguyên lý quang kế sol khí
8.8 Sự bít kín
8.8.1 Yêu cầu chung
Phép thử bao gồm việc đưa không khí chứa đầy bụi qua phin lọc thử và xác định lượng bụi bị giữ lại trên phin lọc khi đạt đến độ cản thở quy định.
Phin lọc thử được gá trên một bộ gá phù hợp, hoặc có thể thử phin lọc được lắp trên tấm che mặt, nhưng sau đó kết quả phải tính đến sự giảm áp tạo ra do đặc điểm của tấm che mặt (ví dụ: van hít vào).
Trong cả hai trường hợp, cần phải làm kín mối tiếp xúc với cơ cấu giữ.
8.8.2 Thiết bị thử
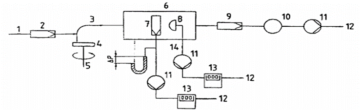
Thiết bị thử được thể hiện ở dạng sơ đồ nguyên lý như trên Hình 11.

CHÚ DẪN
| 1 Không khí nén 2 Phin lọc khí 3 Vòi phun 4 Bụi 5 Bộ phân phối bụi 6 Buồng thử bụi 7 Phin lọc để thử | 8 Đầu dò 9 Phin lọc 10 Lưu lượng kế 11 Bơm 12 Thải khí 13 Đồng hồ đo khí 14 Đường dẫn của đầu dò |
Hình 11 – Sơ đồ nguyên lý thiết bị thử sự bít kín bụi dolomit
8.8.3 Điều kiện thử
- Bụi: Dolomit DRB 4/15.*
Phân bố kích thước hạt bụi trong không khí tại nơi làm việc của buồng bụi được cho trong Hình 12.
Dưới đây là các thông số cần thiết, phải kiểm tra nếu hình dạng cùa buồng thử khác so với model mô tả.
- Dòng liên tục qua buồng bụi: 60 m3/h, tốc độ tuyến tính 4 cm/s;
- Dòng liên tục qua phin lọc: 95 l/min;
- Nồng độ bụi: (400 ± 100) mg/m3;
- Nhiệt độ không khí: (23 ± 2) °C;
- Độ ẩm tương đối của không khí: (45 ±15) %;
- Thời gian thử: Thử cho đến khi tích số của nồng độ bụi và thời gian thử là 263 mg.h.m-3 hoặc độ cản thở đạt đến 4 mbar đối với phin lọc P1 hoặc 5 mbar đối với phin lọc P2 hoặc 7 mbar đối với phin lọc P3.
8.8.4 Quy trình thử
Bụi từ bộ phận phân phối được chuyển đến buồng bụi, tại đó bụi được phân tán vào dòng khí 60 m3/h.
Phin lọc thử được gá một cách kín khít trên bộ gá và đặt trong buồng bụi. Thổi dòng sol khí 95 l/min qua phin lọc thử cho đến khi đạt đến giới hạn đã cho trong Điều 7.13 hoặc đạt đến thời gian thử yêu cầu.
Nồng độ bụi trong buồng thử có thể đo được bằng cách thổi không khí ở 2 l/min qua đầu dò mẫu có lắp với một phin lọc hiệu năng cao, đã cân từ trước (bề mặt mở, đường kính 37 mm) được đặt gần mẫu thử.
Nồng độ bụi được tính từ khối lượng bụi đã thu gom, lưu lượng dòng qua phin lọc và thời gian thu gom.
CHÚ THÍCH Có thể sử dụng các phương pháp phù hợp khác để đo nồng độ bụi.

Phân bố kích thước (theo khối lượng)
Sol khí thử dolomit DRB 4/15
CHÚ DẪN
1) Tỷ lệ phần trăm kích thước đã công bố ở trên
2) Đường kính hạt chiếm phần khối lượng cơ sở, tính bằng µm
Hình 12 - Sự phân bố kích thước hạt bụi dolomit

CHÚ DẪN
| 1 Đầu giả 2 Dòng khí 3 Phin lọc | 4 Tấm che mặt 5 Đầu dò a) Lỗ ở buồng thử bụi |
Hình 13 - Bản vẽ thiết bị thử bít của bụi dolomit
9 Ghi nhãn
9.1 Yêu cầu chung
Tất cả các nhãn phải dễ đọc và bền lâu.
Các chi tiết lắp ghép và các phần rời có liên quan đáng kể đến sự an toàn phải được ghi nhãn sao cho có thể nhận biết được.
9.2 Phin lọc có vỏ bọc
Tất cả các phin lọc có vật liệu lọc chứa trong giấy gói phải được ghi nhãn với các thông tin tối thiểu sau:
a) Kiểu và loại phin lọc phù hợp (P1, P2 hoặc P3), và mã màu trắng như sau:
Nếu không ghi nhãn trực tiếp trên thân phin lọc thì phải dán một mã màu phù hợp trên nhãn cố định với thân phin lọc. Trong trường hợp này, màu của thân phin lọc không được coi là mã màu;
Màu bạc hoặc màu kim loại sáng không được coi là màu trắng:
b) “NR” nếu phin lọc chỉ dùng một lần: “ví dụ: TCVN 13525:2018 (EN 143:2000) P3 NR” hoặc
c) “R” nếu phin lọc có thể sử dụng lại: ví dụ: TCVN 13525:2018 (EN 143:2000) P2 R;
d) Dán nhãn chỉ rõ nếu phin lọc dùng cho phin lọc kép;
e) Số hiệu tiêu chuẩn này:
f) Tối thiểu là năm hết hạn sử dụng. Hết hạn sử dụng có thể được thể hiện bằng hình ảnh như thể hiện trên Hình 14 với mã “yyyy/mm” để chỉ rõ năm và tháng:
g) Tên của nhà sản xuất, nhãn thương mại hoặc các biện pháp nhận biết khác;
h) Câu “xem thông tin do nhà sản xuất cung cấp” tối thiểu bằng ngôn ngữ chính thức của quốc gia sẽ sử dụng sản phẩm, hoặc hình vẽ phù hợp như thể hiện trên Hình 14;
i) Dấu nhận biết kiểu loại.
9.3 Phin lọc không có vỏ bọc
Phin lọc gồm toàn bộ vật liệu lọc (không có lớp bọc) phải được ghi nhãn tối thiểu:
a) Kiểu và loại phin lọc phù hợp (P1, P2 hoặc P3), và mã màu trắng như sau:
b) “NR” nếu phin lọc chỉ được dùng một lần: “ví dụ: TCVN 13525:2018 (EN 143:2000) P3 NR” hoặc
c) “R” nếu phin lọc có thể sử dụng lại: ví dụ: TCVN 13525:2018 (EN 143:2000) P2 R;
d) Dấu nhận biết loại.
9.4 Bao gói phin lọc
Bao gói phin lọc thương mại có kích thước nhỏ nhất cần được ghi nhãn với các thông tin tối thiểu sau, trừ khi đã có trên phin lọc:
a) Kiểu và loại phin lọc phù hợp (P1, P2 hoặc P3), và mã màu trắng như sau:
b) “NR” nếu phin lọc chỉ được dùng một lần: “ví dụ: TCVN 13525:2018 (EN 143:2000) P3 NR” hoặc
c) “R” nếu phin lọc có thể sử dụng lại: ví dụ: TCVN 13525:2018 (EN 143:2000) P2 R;
d) Viện dẫn tiêu chuẩn này;
e) Tối thiểu là năm hết hạn sử dụng hoặc hình ảnh tương đương như thể hiện trên Hình 14, nếu có thể;
f) Tên của nhà sản xuất, nhãn thương mại hoặc các biện pháp nhận dạng khác;
g) Câu “xem thông tin do nhà sản xuất cung cấp” tối thiểu bằng ngôn ngữ chính thức của quốc gia sẽ sử dụng sản phẩm, hoặc hình vẽ phù hợp như thể hiện trên Hình 14;
h) Dấu nhận biết loại;
i) Các điều kiện lưu giữ do nhà sản xuất khuyến nghị (ít nhất là nhiệt độ và độ ẩm) hoặc hình ảnh tương đương như thể hiện trên Hình 14;
j) Nhãn phin lọc kép, nếu có thể.
Thông tin đã quy định trong c), f) và g) phải dễ nhìn thấy mà không cần mở bao gói.

Hình 14 - Hình vẽ
10 Thông tin do nhà sản xuất cung cấp
Thông tin về vận chuyển do nhà sản xuất cung cấp
a) phải có trên mọi bao gói có kích thước nhỏ nhất dùng trong mua bán;
b) phải tối thiểu bằng ngôn ngữ chính thức của quốc gia sẽ sử dụng sản phẩm;
c) phin lọc phải bao gồm tất cả các thông tin cần thiết cho người được đào tạo và người đủ khả năng về
- sự áp dụng/giới hạn
- có dấu nhận biết kiểu loại để chắc chắn phin lọc có thể nhận biết được
- kiểm soát trước khi sử dụng
- lắp ghép
- mô tả cách đưa phin lọc vào thiết bị được thiết kế cho phin lọc và cách nhận biết thiết bị
- cách sử dụng
- cách bảo dưỡng
- lưu giữ phin lọc
d) phải rõ ràng và dễ hiểu. Nếu hữu ích thì bổ sung thêm các minh họa, số phần, ghi nhãn;
e) phải có cảnh báo về các vấn đề có khả năng gặp phải, ví dụ:
- Nguy hiểm do thiếu ôxy
- nguy hiểm do ôxy hoặc không khí có nhiều ôxy
- chất lượng không khí
- sử dụng thiết bị trong môi trường dễ nổ;
- lưu giữ dưới các điều kiện không theo quy định của nhà sản xuất mà có ảnh hưởng đến hạn sử dụng;
- hướng dẫn một cách thích hợp sử dụng phin lọc với mặt nạ hoặc bán mặt nạ, hoặc không sử dụng với bán mặt nạ (trọng lượng của phin lọc).
f) đối với phin lọc dùng một lần (ghi nhãn “NR”) phải ghi rõ cảnh báo là thiết bị không được sử dụng nhiều lần.
g) bổ sung các giải thích cho các hình vẽ sử dụng.
Bảng 3 - Bảng tóm tắt các yêu cầu và phép thử
| Tiêu đề | Điều về yêu cầu | Số lượng mẫu | Điều hòa | Điều về thử nghiệm |
| Kiểm tra bằng mắt thường | 7.3 | tất cả | -------------- | 8.2 |
| Mối nối | 7.4 | tất cả | -------------- | 8.2 |
| Khối lượng | 7.5 | tất cả | -------------- | 8.1 |
| Phin lọc kép | 7.6 | tất cả | -------------- | 8.1, 8.2 |
| Bao gói | 7.8 | tất cả | -------------- | 8.2 |
| Độ bền cơ học (M.S) | 7.9 | -------------- | -------------- | 8.2, 8.3 |
| Điều hòa nhiệt độ (T.C) | 7.10 | -------------- | -------------- | 8.2, 8.4 |
| Độ cản thở | 7.11 | 2 (đối với từng lưu lượng) | M.S | 8.6 |
| 2 (đối với từng lưu lượng) | M.S + T.C. | 8.6 | ||
| Độ lọt qua phin lọc | 7.12 | 3 (đối với từng sol khí) | M.S +T.C: | 8.7 |
| Sự bít | 7.13 | 4 | M.S | 8.8 |
| 4 | M.S + T.C. | 8.8 | ||
| Điều kiện dòng thử | -------------- | tất cả | -------------- | 8.5 |
Phụ lục ZA
(tham khảo)
Các điều của tiêu chuẩn này đưa ra các yêu cầu cần thiết hoặc các khoản của chỉ thị Châu Âu
Tiêu chuẩn này được xây dựng trên cơ sở Ủy ban châu Âu và Hiệp hội tự do thương mại Châu Âu ủy quyền cho CEN và cung cấp các yêu cầu cần thiết của Chỉ thị 89/686/EEC, Phụ lục II.
CẢNH BÁO Các yêu cầu khác và các chỉ thị khác của Châu Âu có thể áp dụng cho các sản phẩm không thuộc phạm vi áp dụng của tiêu chuẩn này.
Các điều của tiêu chuẩn này đưa ra các yêu cầu cần thiết hoặc các điều khoản của Chỉ thị 89/686/EEC, Phụ lục II.
Bảng ZA.1
| Chỉ thị Châu Âu 89/686/EEC, Phụ lục II | Điều của tiêu chuẩn |
| 1.1.1 | 7.5, 7.7, 7.11,7.12, 7.13 |
| 1.1.2.1 | 7.5, 7.11,7.12, 7.13 |
| 1.1.2.2 | 5, 7.12 |
| 1.2.1.1 | 7.7 |
| 1.2.1.2 | 7.3 |
| 1.3.1 | 7.3, 7.4, 7.5 |
| 1.3.2 | 7.4, 7.5, 7.9, 7.10 |
| 1.3.3 | 7.4, 7.5 |
| 1.4 | 9, 10 |
| 2.4 | 9.2 d), 10 c |
| 2.10 | 7.4, 10 c) |
| 2.12 | 9 |
| 3.10.1 | 4, 5, 6, 7, 9, 10 |
Tuân theo các điều của tiêu chuẩn này sẽ cung cấp một phương pháp tuân thủ các yêu cầu cần thiết cụ thể của Chỉ thị có liên quan và các quy định của Hiệp hội EFTA.
* Thông tin có liên quan đến nhà cung cấp quang kế và thiết bị tạo sol khí có thể có được từ Ban thư ký của CEN/TC 79.
* Tính chất vật lý của dầu:
Khối lượng riêng ở 20 °C: 0,846 g/cm3
Độ nhớt ở 20 °C: 0,026 đến 0,031 Pa.s
Thông tin có liên quan đến nhà cung cấp dầu parafin, máy tạo sol khí có thể có được từ ban thư ký của CEN/TC 79.
* Thông tin có liên quan đến nhà cung cấp bụi dolomite có thể có được từ ban thư ký của CEN/TC 79.
Bạn chưa Đăng nhập thành viên.
Đây là tiện ích dành cho tài khoản thành viên. Vui lòng Đăng nhập để xem chi tiết. Nếu chưa có tài khoản, vui lòng Đăng ký tại đây!