- Tổng quan
- Nội dung
- Tiêu chuẩn liên quan
- Lược đồ
- Tải về
Tiêu chuẩn quốc gia TCVN14267:2025 Găng tay bảo vệ chống rủi ro cơ học
| Số hiệu: | TCVN 14267:2025 | Loại văn bản: | Tiêu chuẩn Việt Nam |
| Cơ quan ban hành: | Bộ Khoa học và Công nghệ | Lĩnh vực: | Lao động-Tiền lương , Công nghiệp |
| Trích yếu: | ISO 23388:2018 Găng tay bảo vệ chống rủi ro cơ học | ||
|
Ngày ban hành:
Ngày ban hành là ngày, tháng, năm văn bản được thông qua hoặc ký ban hành.
|
22/01/2025 |
Hiệu lực:
|
Đã biết
|
| Người ký: | Đang cập nhật |
Tình trạng hiệu lực:
Cho biết trạng thái hiệu lực của văn bản đang tra cứu: Chưa áp dụng, Còn hiệu lực, Hết hiệu lực, Hết hiệu lực 1 phần; Đã sửa đổi, Đính chính hay Không còn phù hợp,...
|
Đã biết
|
TÓM TẮT TIÊU CHUẨN VIỆT NAM TCVN 14267:2025
Nội dung tóm tắt đang được cập nhật, Quý khách vui lòng quay lại sau!
Tải tiêu chuẩn Việt Nam TCVN 14267:2025
TIÊU CHUẨN QUỐC GIA
TCVN 14267:2025
ISO 23388:2018
GĂNG TAY BẢO VỆ CHỐNG RỦI RO CƠ HỌC
Protective gloves against mechanical risks
Lời nói đầu
TCVN 14267:2025 hoàn toàn tương đương với ISO 23388:2018.
TCVN 14267:2025 do Ban kỹ thuật Tiêu chuẩn quốc gia TCVN/TC 94 Phương tiện bảo vệ cá nhân biên soạn, Viện Tiêu chuẩn Chất lượng Việt Nam đề nghị, Ủy ban Tiêu chuẩn Đo lường Chất lượng Quốc gia thẩm định, Bộ Khoa học và Công nghệ công bố.
GĂNG TAY BẢO VỆ CHỐNG RỦI RO CƠ HỌC
Protective gloves against mechanical risks
1 Phạm vi áp dụng
Tiêu chuẩn này quy định các yêu cầu, phương pháp thử, ghi nhãn và thông tin cần cung cấp cho găng tay bảo vệ chống lại các rủi ro cơ học do mài mòn, cắt bằng lưỡi cắt, xé, đâm xuyên và, nếu có, va đập.
Tiêu chuẩn này được sử dụng cùng với TCVN 14266 (ISO 21420).
Các phương pháp thử quy định trong tiêu chuẩn này cũng có thể áp dụng cho phương tiện bảo vệ cánh tay.
2 Tài liệu viện dẫn
Các tài liệu viện dẫn sau rất cần thiết cho việc áp dụng tiêu chuẩn này. Đối với các tài liệu viện dẫn ghi năm công bố thì áp dụng phiên bản được nêu. Đối với các tài liệu viện dẫn không ghi năm công bố thì áp dụng phiên bản mới nhất bao gồm cả các sửa đổi, bổ sung (nếu có).
TCVN 5071 (ISO 5084), Vật liệu dệt - Xác định độ dày của vật liệu và sản phẩm dệt
TCVN 5094 (ISO 7211-4), Vật liệu dệt - Vải dệt thoi - Phương pháp xác định độ săn của sợi tách ra từ vải
TCVN 5095 (ISO 7211-5), Vật liệu dệt - Vải dệt thoi - Phương pháp xác định độ nhỏ của sợi tách ra từ vải
TCVN 5363:2013 (ISO 4649:2010)[1], Cao su lưu hóa hoặc nhiệt dẻo - Xác định độ chịu mài mòn sử dụng thiết bị chống quay hình trụ
TCVN 6910-2 (ISO 5725-2), Độ chính xác (độ đúng và độ chụm) của phương pháp đo và kết quả đo - Phần 2: Phương pháp cơ bản xác định độ lặp lại và độ tái lập của phương pháp đo tiêu chuẩn
TCVN 9595-3 (ISO/IEC Guide 98-3), Độ không đảm bảo đo - Phần 3: Hướng dẫn trình bày độ không đảm bảo đo (GUM:1995)
TCVN 7424-1 (ISO 12947-1), Vật liệu dệt - Xác định khả năng chịu mài mòn của vải bằng phương pháp Martindale - Phần 1: Thiết bị thử mài mòn Martindale
TCVN 9546:2013 (ISO 13997:1999), Trang phục bảo vệ - Tính chất cơ học - Xác định độ bền cắt bởi các vật sắc
TCVN 10600-1 (ISO 7500-1), Vật liệu kim loại - Kiểm tra xác nhận máy thử tĩnh một trục - Phần 1: Máy thử kéo/nén - Kiểm tra xác nhận và hiệu chuẩn hệ thống đo lực
TCVN 14266 (ISO 21420), Găng tay bảo vệ - Yêu cầu chung và phương pháp thử
ISO/IEC Guide 98-4, Uncertainty of measurement - Part 4: Role of measurement uncertainty in conformity assessment (Độ không đảm bảo đo - Phần 4: Vai trò của độ không đảm bảo đo trong đánh giá sự phù hợp)
ISO 1139, Textiles - Designation of yarns (Vật liệu dệt - Ký hiệu sợi)
ISO 7211-1, Textiles - Woven fabrics - Construction - Methods of analysis - Part 1: Methods for the presentation of a weave diagram and plans for drafting, denting and lifting (Vật liệu dệt - Vải dệt thoi - Cấu tạo - Phương pháp phân tích - Phần 1: Phương pháp trình bày sơ đồ dệt và lập bản vẽ luồn go, luồn khổ và điều go)
ISO/TR 11827, Textiles - Composition testing - Identification of fibres (Vật liệu dệt - Thử nghiệm thành phần - Nhận biết xơ)
ISO 13934-1, Textiles - Tensile properties of fabrics - Part 1: Determination of maximum force and elongation at maximum force using the strip method (Vật liệu dệt - Tính chất kéo của vải - Phần 1: Xác định lực tối đa và độ giãn dài ở lực tối đa bằng phương pháp băng vải)
EN 1049-2, Textiles - Woven fabrics - Construction - Method of analysis - Part 2: Determination of number of threads per unit length (Vật liệu dệt - Vải dệt thoi - Cấu tạo - Phương pháp phân tích - Phần 2: Xác định số lượng sợi trên một đơn vị chiều dài)
EN 12127, Textiles - Fabrics - Determination of mass per unit area using small samples (Vật liệu dệt - Vải - Xác định khối lượng trên một đơn vị diện tích bằng cách sử dụng các mẫu nhỏ)
EN 13594:2015, Protective gloves for motorcycle riders - Requirements and test methods (Găng tay bảo vệ cho người đi xe máy - Yêu cầu và phương pháp thử)
3 Thuật ngữ và định nghĩa
Trong tiêu chuẩn này, áp dụng các thuật ngữ, định nghĩa sau.
3.1
Chu trình mài mòn (abrasion cycle)
Hoàn thành tất cả các chuyển động mài mòn tịnh tiến theo hình Lissajous bao gồm 16 lần chà xát, tức là 16 vòng quay của hai bộ truyền động ngoài và 15 vòng quay của bộ truyền động trong của thiết bị thử mài mòn Martindale
CHÚ THÍCH Một lần chà xát mài mòn là một vòng quay của các bộ truyền động ngoài của thiết bị thử mài mòn Martindale [xem TCVN 7424-1 (ISO 12947-1)].
[NGUỒN: TCVN 7424-1:2004 (ISO 12947-1:1998), 3.2]
3.2
Cánh tay (arm)
Một phần cơ thể giữa cổ tay và vai.
3.3
Bảo vệ cánh tay (arm protector)
Ống tay bảo vệ tách rời găng tay hoặc áo để tạo ra sự bảo vệ chống lại ít nhất một trong các rủi ro cơ học sau: mài mòn, cắt bằng lưỡi cắt, xé và đâm xuyên.
3.4
Găng tay làm từ nhiều lớp (glove made from several layers)
Găng tay được làm từ hai hoặc nhiều lớp vật liệu.
3.5
Găng tay được làm từ nhiều lớp không liên kết (glove made from several un-bonded layers)
Găng tay được làm từ hai hoặc nhiều lớp vật liệu không được kết nối với nhau, sau khi chuẩn bị mẫu để thử nghiệm.
3.6
Găng tay được làm từ nhiều lớp liên kết (glove made from several bonded layers)
Găng tay được làm từ hai hoặc nhiều lớp vật liệu được kết nối với nhau (ví dụ: bằng cách dán, khâu, ngâm, tẩm) sau khi chuẩn bị mẫu cho thử nghiệm.
3.7
Găng tay bảo vệ đặc biệt (glove providing a specific protection)
Găng tay được thiết kế để tạo được sự bảo vệ tăng thêm cho toàn bộ hoặc một phần bàn tay.
CHÚ THÍCH bảo vệ lòng bàn tay hoặc bảo vệ chống va đập.
3.8
Lô găng tay (glove series)
Kiểu găng tay đơn hoặc kiểu găng tay có cùng vật liệu lòng bàn tay cho đến đường cổ tay trong đó chỉ có sự khác nhau về kích cỡ, chiều dài, tay trái/phải và màu sắc
3.9
Găng tay bảo vệ chống rủi ro cơ học (protective glove against mechanical risks)
Găng tay tạo được sự bảo vệ chống lại ít nhất một trong các rủi ro cơ học sau: mài mòn, cắt bằng lưỡi cắt, xé và đâm xuyên
4 Yêu cầu
4.1 Yêu cầu chung
Găng tay bảo vệ theo tiêu chuẩn này trước tiên phải đáp ứng tất cả các yêu cầu áp dụng của TCVN 14266 (ISO 21420).
Tất cả các mẫu phải được lấy từ vật liệu lòng bàn tay của các găng tay khác nhau cho mục đích phân loại. Đối với phương tiện bảo vệ cánh tay, mẫu phải được lấy từ vùng cần được bảo vệ.
Găng tay bảo vệ chống các rủi ro cơ học phải có mức tính năng từ 1 trở lên đối với ít nhất một trong các tính chất (mài mòn, cắt bằng lưỡi cắt, xé và đâm xuyên) ở Bảng 1 hoặc ít nhất là mức A của phép thử cắt trong TCVN 9546:2013 (ISO 13997:1999) (ví dụ: thiết bị thử TDM) trong Bảng 2.
Găng tay đáp ứng các yêu cầu về độ bền đâm xuyên có thể không phù hợp để bảo vệ chống lại các vật nhọn như kim tiêm dưới da.
Bảng 1 - Mức tính năng
| Thử nghiệm | Mức 1 | Mức 2 | Mức 3 | Mức 4 | Mức 5 |
| 6.1 Độ bền mài mòn (số lần chà xát) | 100 | 500 | 2 000 | 8 000 | - |
| 6.2 Thử nghiệm coupe: Độ bền cắt (chỉ số) | 1,2 | 2,5 | 5,0 | 10,0 | 20,0 |
| 6.4 Độ bền xé (N) | 10 | 25 | 50 | 75 | - |
| 6.5 Độ bền đâm xuyên (N) | 20 | 60 | 100 | 150 | - |
Bảng 2- Mức tính năng của vật liệu được thử theo TCVN 9546 (ISO 13997)
|
| Mức A | Mức B | Mức C | Mức D | Mức E | Mức F |
| 6.3 Độ bền cắt (N) [TCVN 9546 (ISO 13997)] | 2 | 5 | 10 | 15 | 22 | 30 |
CHÚ THÍCH Không có mối tương quan giữa mức tính năng đạt được với phương pháp thử 6.2 và 6.3.
CHÚ THÍCH Độ không đảm bảo đo, xem Phụ lục B.
Nếu phù hợp, phải thử nghiệm các vùng bổ sung của găng tay bảo vệ (ví dụ: đối với găng tay bảo vệ đặc biệt hoặc đối với các vùng có mức độ bảo vệ thấp hơn) và kết quả phải được ghi trong hướng dẫn sử dụng.
4.2 Bảo vệ bổ sung (tùy chọn)
4.2.1 Yêu cầu chung
Găng tay, dù được làm từ một lớp hay từ nhiều lớp (liên kết hoặc không liên kết), có thể tạo ra sự bảo vệ đặc biệt khi găng tay tuân theo các yêu cầu được xác định trong (các) điều sau đây.
4.2.2 Bảo vệ chống va đập
Phải thử nghiệm từng vùng có yêu cầu bảo vệ chống va đập. Do phương pháp thử (kích thước mẫu thử), không thể thử khả năng bảo vệ chống va đập lên ngón tay.
Găng tay bảo vệ chống các rủi ro cơ học có thể được thiết kế và chế tạo để tạo ra khả năng giảm va đập cụ thể (ví dụ: bảo vệ chống va đập lên các khớp ngón tay, mu bàn tay, lòng bàn tay). Những găng tay này phải phù hợp với yêu cầu sau.
Khi thực hiện thử nghiệm theo 6.6, tính năng phải tuân theo với mức 1 của EN 13594:2015, Bảng 7.
5 Lấy mẫu và điều hòa mẫu
5.1 Điều hòa mẫu và tất cả các vật tư thử nghiệm tiêu hao khác (ví dụ: giấy nhám, EPDM, vải bạt) như sau:
- nhiệt độ (23 ± 2)°C;
- độ ẩm tương đối (50 ± 5) %.
Thời gian điều hòa ít nhất là 24 h. Tốt nhất nên thực hiện các thử nghiệm trong điều kiện môi trường nêu trên.
5.2 Nếu thực hiện thử nghiệm trong môi trường khác và nếu thời gian thử không quá 15 min thì phải bắt đầu thử trong vòng 5 min sau khi lấy mẫu ra khỏi môi trường điều hòa.
5.3 Nếu có yêu cầu đặc biệt thử nghiệm trong môi trường khác thì nhà sản xuất hoặc đại diện được ủy quyền có trách nhiệm sắp xếp các thử nghiệm bổ sung và trình bày kết quả bao gồm mô tả đầy đủ về môi trường thử trong thông tin do nhà sản xuất cung cấp (Điều 8).
6 Phương pháp thử
6.1 Độ bền mài mòn
6.1.1 Nguyên tắc
Mài mòn các mẫu vật liệu hình tròn dưới áp lực xác định với chuyển động phẳng theo chu trình dưới dạng hình Lissajous (chu trình mài mòn), là kết quả của các chuyển động điều hòa đơn vuông góc với nhau. Độ bền mài mòn được đo bằng số lần chà xát cần thiết để xảy ra hiện tượng rách.
6.1.2 Vật tư tiêu hao
6.1.2.1 Vật mài
Vật mài phải đáp ứng các yêu cầu nêu trong Phụ lục A.
CHÚ THÍCH 1 Vật mài phù hợp được thử bởi nhóm tiêu chuẩn hóa, Klingspor PL31B, Grit 1801)[2] (xem Phụ lục A).
CHÚ THÍCH 2 Hiện tại chỉ có một quy trình hiệu chuẩn sử dụng vật liệu dệt chuẩn. Một phương pháp hiệu chuẩn thiết thực hơn cho các vật liệu tham chiếu khác đang được xây dựng.
6.1.2.2 Băng dính hai mặt
Phải sử dụng băng dính hai mặt để tạo độ bám dính cho mẫu trong quá trình thử nghiệm nhằm đạt được kết quả có thể lặp lại. Giá trị bám dính trung bình phải tối thiểu là 0,20 N/mm.
Các thử nghiệm phải được thực hiện theo phương pháp nêu trong Phụ lục C.
CHÚ THÍCH 1 Nếu độ bám dính không đủ, mẫu sẽ di chuyển trong quá trình thử và trong trường hợp này có thể quan sát thấy hiện tượng rách hơn là mài mòn.
CHÚ THÍCH 2 Ví dụ về băng dính hai mặt phù hợp được nêu trong C.5. Các loại băng dính thay thế có thể được kiểm tra tính phù hợp bằng cách sử dụng phương pháp thử xác định trong Phụ lục C.
6.1.3 Thiết bị
Yêu cầu thiết bị mài thuộc loại được mô tả trong TCVN 7424-1 (ISO 12947-1) là Martindale Wear and Abrasion. Thiết bị mài phải đáp ứng yêu cầu sau:
Áp lực lên mẫu: (9,0 ± 0,2) kPa.
6.1.4 Mẫu thử
Lấy bốn mẫu thử từ bốn găng tay riêng lẻ của cùng một lô găng tay. Trong trường hợp vật liệu lòng bàn tay có thiết kế không đều, mẫu thử phải được lấy ở vùng có khả năng bảo vệ kém nhất (loại bỏ các phần gia cường không che phủ toàn bộ lòng bàn tay).
Trong trường hợp mẫu thử được làm từ nhiều lớp không liên kết (ví dụ: găng tay được làm từ nhiều lớp không liên kết), thực hiện thử nghiệm trên từng lớp. Nếu mẫu được làm từ các lớp liên kết (ví dụ: găng tay được làm từ nhiều lớp liên kết), nếu các lớp có thể tách rời mà không làm hư hỏng vật liệu thì phải thực hiện thử nghiệm trên từng lớp độc lập. Nếu không, phép thử phải được thực hiện trên tất cả các lớp, chú ý không có đường may trong vùng thử.
6.1.5 Quy trình thử nghiệm
6.1.5.1 Cài đặt thiết bị
6.1.5.1.1 Lắp mẫu thử
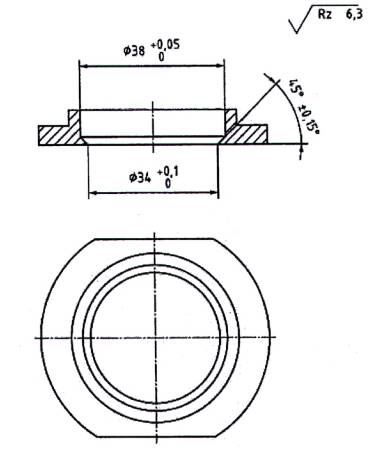
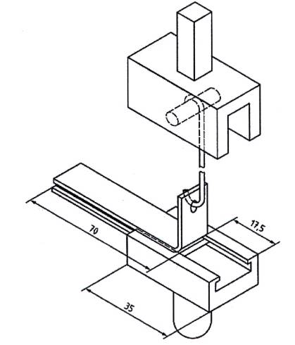
Cắt bốn mẫu thử theo đúng kích thước, đường kính (38,0 ± 0,5) mm. Cố định mẫu thử bằng băng dính 2 mặt ở chính giữa tấm kim loại dưới tác động của vật nặng khoảng 10 kg trong thời gian 5 min, cẩn thận không để mẫu thử bị căng. Độ bám dính tốt có thể đạt được thông qua việc sử dụng băng dính hai mặt để ngăn mẫu thử bị lỏng và tạo ra bọt khí. Đặt vòng giữ mẫu vào vị trí đầu gá lắp trên đế của thiết bị.
Để thử các vật liệu dày hơn vòng kẹp chuẩn (ví dụ: da có độ dày lớn hơn 1,2 mm), phải tăng đường kính lỗ của vòng kẹp (xem Hình 1).
Kích thước tính bằng milimét

Hình 1 - Vòng kẹp khác cho vật liệu dày
Một số vật liệu có thể cần thời gian tiếp xúc lâu hơn để đảm bảo độ bám dính tối đa giữa mẫu thử và băng dính. Có thể phải xử lý bề mặt (ví dụ: loại bỏ bụi xơ) để cải thiện độ bám dính giữa mẫu thử và băng dính, miễn là việc xử lý này sẽ không ảnh hưởng đến tính năng của vật liệu trong quá trình thử. Nếu thời gian tiếp xúc khác (> 5 min) và/hoặc nếu xử lý bề mặt thì phải ghi lại điều này.
Đảm bảo vòng kẹp mẫu thử và miếng đệm kim loại được giữ chắc chắn trong tấm gá lắp, bắt đầu vặn phần trên của giá đỡ mẫu vào vòng, chú ý không để các đường ren lệch nhau. Bắt đầu thao tác vặn, sử dụng cả hai tay để duy trì áp lực liên tục hướng xuống trên cụm lắp ráp và tấm gá lắp.
Quy trình này sẽ thường đảm bảo rằng mẫu được giữ chắc chắn trong giá đỡ ở điều kiện không có nếp nhăn và sẵn sàng để thử nghiệm.
CHÚ THÍCH Điều quan trọng là sử dụng hiệu quả băng dính hai mặt để ngăn sự di chuyển của mẫu thử trong suốt thời gian thử nghiệm (ví dụ: có thể sử dụng băng dính hai mặt dùng trong ngành xây dựng). Thông tin này được đưa ra để tạo thuận lợi cho người sử dụng Phụ lục C.
6.1.5.1.2 Lắp vật mài
Cố định cẩn thận vật mài (6.1.2.1) bằng băng dính hai mặt phủ toàn bộ bề mặt của tấm gá lắp. Đảm bảo vật mài phẳng bằng cách tác dụng lực vào bề mặt với thiết bị thử, và nếu sử dụng khung giữ thì sau đó định vị và siết chặt khung bằng cách sử dụng các vít đối diện theo đường chéo, theo trình tự. Đảm bảo vật mài được giữ chắc chắn tại chỗ và không có nếp nhăn hoặc đường gờ.
6.1.5.1.3 Lắp bộ giữ mẫu
Lắp bộ giữ mẫu thử lên tấm trên cùng dưới áp lực (9,0 ± 0,2) kPa và bật thiết bị. Tốt nhất là nên thử bốn mẫu thử cùng lúc trên cùng một thiết bị. Nếu thử theo cách khác thì phải ghi trong báo cáo thử nghiệm và nêu rõ lý do.
Mỗi lần lấy bộ giữ mẫu ra khỏi thiết bị để kiểm tra điểm cuối của mẫu có bị thủng không, siết chặt bộ giữ mẫu trước khi đặt lại vào thiết bị.
Nếu cần phải dừng thử trong một khoảng thời gian đáng kể (ví dụ: qua đêm hoặc vào cuối tuần), lấy mẫu ra khỏi bộ giữ mẫu và bảo quản mẫu với mặt quay lên trên. Bảo vệ mẫu thử bằng cách dùng một tấm bìa hoặc mảnh vải sạch để đậy lên trên.
6.1.5.2 Phương pháp đánh giá
Tính năng của mẫu được xác định bởi độ thủng của mẫu, đó là sự suy giảm của mẫu được quan sát bằng mắt thường sau khi tiếp xúc với một số lần chà xát mài mòn xác định, tức là:
- ở vải dệt thoi, khi hai sợi riêng biệt bị đứt hoàn toàn sẽ xuất hiện lỗ thủng;
- ở vải dệt kim, khi một sợi bị đứt hoàn toàn sẽ xuất hiện lỗ thủng;
- ở các lớp liên kết, khi lỗ đầu tiên xuyên qua tất cả các lớp do mài mòn tạo ra có đường kính nhỏ nhất bằng 1 mm;
- đối với các vật liệu khác với các vật liệu nêu trên, khi lỗ đầu tiên do mài mòn có đường kính ít nhất bằng 1 mm.
6.1.5.3 Phương pháp thử
Từng thử nghiệm sẽ được thực hiện với một vật mài mới. Bắt đầu thử và kiểm tra mẫu thử sau 100 lần chà xát. Nếu không bị thủng, tiếp tục thử cho đến khi đạt 500 lần chà xát (mức tính năng 2). Nếu không bị thủng thì tiếp tục thử cho đến khi đạt được mức tính năng tiếp theo trong Bảng 1. Kiểm tra các mẫu thử ở số lần chà xát yêu cầu đối với từng mức tính năng.
Tại mỗi lần kiểm tra mẫu thử ở mức tính năng quy định, cả mẫu thử và vật mài phải được làm sạch (ví dụ: bằng khí nén sạch) và bộ giữ mẫu phải được siết chặt trước khi đặt lại vào thiết bị.
Nếu có lỗ thủng khi kiểm tra mẫu thử ở mức tính năng đã cho thì sẽ phân loại ở mức tính năng kém hơn trước đó.
Khi xuất hiện lỗ thủng nhỏ hơn 2 mm ở mép của một mẫu thử hoặc khi xuất hiện vết rách, phải loại bỏ mẫu thử này và lặp lại toàn bộ phép thử. Nếu ở lần thử thứ hai, có ít nhất một mẫu thử không đạt thì phải ghi lại giá trị thấp nhất của các mẫu thử không bị loại bỏ trong cả hai phép thử.
Khi mẫu được làm từ nhiều lớp (xem 6.1.4, đoạn 2), kết quả cuối cùng của phép thử sẽ là tổng kết quả của tất cả các lớp.
Báo cáo sẽ thể hiện 4 kết quả riêng rẽ. Mức tính năng được xác định là giá trị thấp nhất trong bốn giá trị.
6.1.6 Báo cáo thử nghiệm
Báo cáo thử nghiệm phải bao gồm các thông tin sau:
- Viện dẫn tiêu chuẩn này bao gồm cả năm công bố;
- Viện dẫn điều của tiêu chuẩn này;
- Viện dẫn tiêu chuẩn đối với mẫu thử;
- Tất cả các kết quả riêng rẽ theo phép thử nêu ở 6.1.5;
- Sai lệch bất kỳ so với phương pháp thử (đặc biệt là thời gian tiếp xúc khác nhau với băng dính và xử lý bề mặt của mẫu thử);
- Mẫu tham chiếu của các vật tư tiêu hao đã sử dụng (giấy mài và băng dính);
- Bất kỳ thay đổi vật lý nào được quan sát thấy trên mẫu thử;
- Mức tính năng theo Bảng 1.
6.2 Độ bền cắt
6.2.1 Nguyên tắc
Mẫu bị cắt bằng một lưỡi cắt tròn quay ngược chiều, chuyển động luân phiên dưới tải trọng quy định.
6.2.2 Thiết bị
Thiết bị thử coupe (xem các ví dụ trên Hình 2, Hình 3 và Hình 4) bao gồm:
a) một bàn thử nghiệm tạo ra sự luân phiên chuyển động ngang sang tròn. Chuyển động theo phương ngang một đoạn dài 50 mm và lưỡi cắt quay đủ 360°; ngược chiều với chuyển động của nó. Vận tốc cắt hình sin của lưỡi cắt đạt được là (8 ± 2) cm/s;
b) Một vật nặng tác dụng lên lưỡi cắt tạo ra lực (5 ± 0,5) N;
c) Một lưỡi cắt tròn có đường kính (45 ± 0,5) mm, độ dày (0,3 ± 0,03) mm và tổng góc cắt từ 30° đến 35° (xem Hình 3). Lưỡi cắt phải bằng thép không gỉ có độ cứng Vickers từ 700 đến 720;
Kích thước tính bằng milimét

CHÚ DẪN
| 1 | buồng động cơ và đầu dò điện tử | 9 | máy đếm |
| 2 | bánh quay và thanh dẫn động | 10 | mẫu thử |
| 3 | hệ thống trượt | 11 | giá đỡ cách nhiệt |
| 4 | các thanh dẫn | 12 | cao su dẫn điện |
| 5 | dụng cụ giữ mẫu thử | 13 | lá nhôm |
| 6 | lưỡi cắt tròn | 14 | giấy lọc |
| 7 | thanh răng | 15 | phần trên |
| 8 | tấm đỡ | a | Chuyển động luân phiên của lưỡi cắt. |
Hình 2 - Thiết bị thử độ bền cắt của găng tay bảo vệ
Kích thước tính bằng milimét

CHÚ DẪN
1 hướng dọc hoặc sợi dọc
2 hướng ngang hoặc sợi ngang
Hình 3 - Kích thước mẫu đối chứng
Kích thước tính bằng milimét

Hình 4 - Thông số kỹ thuật của lưỡi cắt tròn
CHÚ THÍCH Lưỡi cắt OLFA® RB có đường kính 45 mm phù hợp cho thử nghiệm này[3].
d) Giá đỡ bằng cao su dẫn điện [độ cứng (80 ± 3) IRHD], ví dụ: EPDM, trên đó đặt mẫu thử;
e) Khung kẹp mẫu thử như mô tả trong Hình 2;
f) Hệ thống tự động phát hiện thời điểm cắt qua;
g) Máy đếm chu trình được hiệu chuẩn đến 1/10 chu trình.
6.2.3 Mẫu thử
Mỗi mẫu thử là một băng rộng (60 ± 6) mm và dài (100 ± 10) mm được cắt theo hướng (góc 45°). Trong trường hợp mẫu thử được làm từ nhiều lớp không liên kết, mẫu hoàn chỉnh phải được thử với tất cả các lớp cùng nhau. Trong trường hợp lòng bàn tay có thiết kế không đều, phải lấy mẫu thử từ vùng lòng bàn tay có khả năng bảo vệ kém nhất.
Hai mẫu thử phải được lấy từ 2 găng tay riêng biệt.
6.2.4 Mẫu đối chứng
Kích thước của mẫu đối chứng giống với kích thước của mẫu thử, được cắt từ vải bạt[4] với các thông số kỹ thuật nêu ở 6.2.5.
6.2.5 Vải bạt
Vải bạt phải là vải dệt có sợi dọc và sợi ngang được kéo từ các sợi OE với các thuộc tính sau:
| - thành phần sợi = bông | (ISO/TR 11827) |
| - kiểu dệt = | (ISO 7211-1); |
|
|
|
| - khối lượng trên một đơn vị diện tích = 525 g/m2 ± 5% | (EN 12127); |
| - mật độ sợi dọc = 28 sợi/cm ± 5 sợi/5 cm | (EN 1049-2); |
| - mật độ sợi ngang = 9 sợi/cm ± 4 sợi/10 cm | (EN 1049-2); |
| - độ nhỏ của sợi dọc = 85 Tex ± 10 % | TCVN 5095 (ISO 7211-5); |
| - độ nhỏ của sợi ngang = 263 Tex ± 10 % | TCVN 5095 (ISO 7211-5); |
| - sợi dọc, cấu trúc và độ săn=sợi xe 2, hướng xoắn S, 370 vòng xoắn/m ± 10 % | [ISO 1139, TCVN 5094 (ISO 7211-4)];
|
| - sợi ngang, cấu trúc và độ săn=sợi xe 3, hướng xoắn S, 181 vòng xoắn/m ± 10 % | [ISO 1139, TCVN 5094 (ISO 7211-4)]; |
| - độ dày = 1,0 ± 0,1 mm | TCVN 5071 (ISO 5084); |
| - độ bền kéo của sợi dọc = 1 400 N (tối thiểu) | (ISO 13934-1); |
| - độ bền kéo của sợi ngang = 1 100 N (tối thiểu) | (ISO 13934-1). |
6.2.6 Phương pháp thử
Trên giá đỡ cao su, đặt một lá nhôm có độ dày khoảng 0,01 mm, phủ một tờ giấy (65 ± 5) g/m2 có độ dày nhỏ hơn 0,1 mm. Mục đích của tờ giấy này là để hạn chế sự dịch chuyển của mẫu trong quá trình thử và để tránh phát hiện vết cắt đứt không mong muốn do sợi thép trong một số vải nhất định hoặc do những khoảng trống trong cấu trúc của vải dệt kim mỏng. Đặt mẫu đối chứng không kéo căng trên lá nhôm trong khung kẹp.
Khung kẹp được đặt trên bàn. Cánh tay giữ lưỡi cắt được hạ nhẹ xuống mẫu đối chứng.
Trước thử nghiệm bất kỳ, độ sắc của lưỡi cắt được kiểm tra như sau: tại thời điểm cắt đứt mẫu đối chứng, ghi lại số chu trình (C). Số chu trình phải nằm trong khoảng từ 0,8 đến 1,4 ở trình tự thử đầu tiên và từ 0,8 đến 2,0 ở mỗi 4 trình tự thử kế tiếp khác.
Nếu số chu trình < 0,8 thì phải làm giảm độ sắc của lưỡi cắt bằng cách thực hiện chuyển động cắt trên ba lớp vải đối chứng. Nếu số chu trình lớn hơn 2,0 sau mỗi trình tự thử nghiệm thì phải thay lưỡi cắt cho trình tự tiếp theo. Sau mỗi thử nghiệm (tức là sau mỗi 5 trình tự thử nghiệm), phải sử dụng một lưỡi cắt mới để bắt đầu một thử nghiệm mới.
Mẫu thử phải chịu thử nghiệm tương tự và ghi lại số chu trình (T). Thử nghiệm sẽ dừng bằng tay khi T đạt tối đa 60 chu trình.
Phải thực hiện năm thử nghiệm trên mỗi mẫu thử theo trình tự sau cho mỗi thử nghiệm (điểm bắt đầu, ngay sau khi tiếp xúc với mẫu thử, phải tại một trong các đường biên của mẫu thử):
a) thử trên mẫu đối chứng;
b) thử trên mẫu thử;
c) thử trên mẫu đối chứng.
Đối với vật liệu làm cùn lưỡi cắt; nếu sau trình tự đầu tiên, số chu trình Cn+1 lớn hơn 3 lần Cn trên một mẫu đã thử thì phải thực hiện phương pháp thử độ bền cắt theo Điều 6.3 TCVN 9546:2013 (ISO 13997:1999) và phương pháp này trở thành phương pháp thử tham chiếu để đánh giá khả năng bảo vệ chống rủi ro cắt.
Tuy nhiên, phương pháp thử tương ứng với 6.2 có thể được thực hiện theo yêu cầu.
6.2.7 Tính toán kết quả thử
Kết quả phải được thể hiện theo Bảng 3.
Bảng 3 - Thử lưỡi cắt - Tính chỉ số
| Trình tự | Mẫu đối chứng Cn | Mẫu thử T | Mẫu đối chứng Cn+1 | Chỉ số i |
| 1 | C1 | T1 | C2 | i1 |
| 2 | C2 | T2 | C3 | i2 |
| 3 | C3 | T3 | C4 | i3 |
| 4 | C4 | T4 | C5 | i4 |
| 5 | C5 | t5 | C6 | i5 |
biểu thị giá trị trung bình của các chu trình trên mẫu đối chứng trước và sau khi cắt mẫu thử Tn và được tính như sau:
![]()
Đối với mỗi mẫu thử, giá trị chỉ số cuối cùng (I) được tính như sau:
với

Giá trị nhỏ nhất của I là 1 nếu T = 0. I là số không thứ nguyên.
Báo cáo phải bao gồm các bảng (Bảng 3) thu được trên 2 mẫu và thể hiện 10 kết quả in, cũng như hai giá trị trung bình tính được Cn. Mức tính năng được xác định là mức thấp nhất trong hai giá trị chỉ số tính được.
6.2.8 Báo cáo thử nghiệm
Báo cáo thử nghiệm phải bao gồm các thông tin sau:
- Viện dẫn tiêu chuẩn này bao gồm cả năm công bố;
- Viện dẫn điều của tiêu chuẩn này;
- Viện dẫn tiêu chuẩn đối với mẫu thử;
- Kết quả theo 6.2.7;
- Sai lệch bất kỳ so với phương pháp thử;
- Mẫu tham chiếu của các vật tư tiêu hao đã sử dụng (lưỡi cắt, vải bạt);
- Mức tính năng theo Bảng 1.
6.3 Phương pháp xác định độ bền cắt [TCVN 9546 (ISO 13997)]
6.3.1 Yêu cầu chung
Phương pháp thử này được mô tả trong TCVN 9546:2013 (ISO 13997:1999). Bảng 2 thể hiện sự tương ứng giữa mức tính năng (A đến F) và lực cắt tương đương của TCVN 9546:2013 (ISO 13997:1999).
6.3.2 Mẫu thử
Mẫu thử phải được lấy từ lòng bàn tay của găng tay.
Phải áp dụng các yêu cầu kỹ thuật liên quan đến găng tay nêu tại Điều 5 và Phụ lục A của TCVN 9546:2013 (ISO 13997:1999).
Phải đo 5 giá trị cuối cùng [TCVN 9546:2013 (ISO 13997:1999), 6.3.5 e)] trên cùng một mẫu lòng bàn tay.
6.3.3 Báo cáo thử nghiệm
Báo cáo thử nghiệm phải bao gồm các thông tin sau:
- Theo TCVN 9546:2013 (ISO 13997:1999), Điều 7;
- Mẫu tham chiếu của các vật tư tiêu hao đã sử dụng (lưỡi cắt, cao su tổng hợp);
- Mức tính năng theo Bảng 2.
6.4 Độ bền xé
6.4.1 Nguyên tắc
Độ bền xé được định nghĩa là lực cần thiết để lan truyền vết rách trong một mẫu hình chữ nhật được rạch một nửa dọc theo chiều dài của mẫu.
6.4.2 Thiết bị
Chỉ sử dụng các thiết bị thử kéo ít nhất là Loại 2 theo TCVN 10600-1 (ISO 7500-1), có hệ thống đo lực quán tính thấp.
6.4.3 Mẫu thử
Kích thước của mẫu thử được thể hiện trên Hình 5. Kích thước của mẫu thử: (100 ±10) mm × (50 ± 5) mm. Một vết rạch (50 ± 5) mm được thực hiện theo hướng dọc của mẫu, cách mép (25,0 ± 2,5) mm. Vết rạch phải được thực hiện bằng một lưỡi cắt sắc thẳng và vuông góc với bề mặt mẫu thử. Trong trường hợp găng tay có chứa phần gia cường (ví dụ: miếng đệm) trong lòng bàn tay thì mẫu thử phải được lấy từ các lớp không có phần gia cường này. Trong trường hợp mẫu thử được làm từ nhiều lớp không liên kết thì thử nghiệm được thực hiện trên từng lớp. Việc phân loại dựa trên lớp có mức tính năng cao nhất.
Kích thước tính bằng milimét

Hình 5 - Mẫu thử
6.4.4 Bố trí mẫu thử
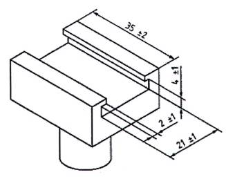
Ít nhất 20 mm của mỗi băng thử được cắt trước theo quy định (xem Hình 6), kẹp trong thiết bị thử kéo với các ngàm cách nhau ít nhất 10 mm để đảm bảo hướng kéo song song với hướng dọc của mẫu thử.

CHÚ DẪN
1 băng thử
Hình 6 - Băng thử
6.4.5 Phương pháp thử
6.4.5.1 Lực xé được ghi lại trên máy ghi X-Y ở vận tốc thử kéo là (100 ± 10) mm/min. Mẫu thử phải được xé rời hoàn toàn. Lưu ý trong một số trường hợp vết rách có thể không nằm ở hướng dọc của mẫu.
6.4.5.2 Nếu mẫu thử không bị xé rời hoàn toàn dưới một lực lớn hơn 75 N thì có thể dừng thử nghiệm và ghi lại lực tối đa đạt được.
6.4.5.3 Thử nghiệm phải được thực hiện trên một mẫu được cắt từ một trong bốn găng tay khác nhau của cùng một lô găng tay.
6.4.5.4 Phải thử hai mẫu theo hướng của găng tay từ cổ tay đến đầu ngón tay và hai mẫu phải được thử dọc theo chiều rộng lòng bàn tay (xem Hình 7).
6.4.5.5 Độ bền xé của từng mẫu được lấy là giá trị đỉnh cao nhất ghi được và việc phân loại được xác định bằng cách lấy giá trị thấp nhất trong các giá trị riêng lẻ.

CHÚ DẪN
a) theo chiều rộng lòng bàn tay của găng tay
b) theo hướng của găng tay
Hình 7 - Thử xé - Vùng thử
6.4.6 Báo cáo thử nghiệm
Báo cáo thử nghiệm phải bao gồm các thông tin sau:
- Viện dẫn tiêu chuẩn này bao gồm cả năm công bố;
- Viện dẫn điều của tiêu chuẩn này;
- Viện dẫn tiêu chuẩn đối với mẫu thử;
- Kết quả theo như phép thử được nêu trong 6.4.5;
- Sai lệch bất kỳ so với phương pháp thử;
- Mức tính năng theo Bảng 1.
6.5 Độ bền đâm xuyên
6.5.1 Nguyên tắc
Độ bền đâm xuyên được xác định bằng lực tác dụng bởi một đầu đâm bằng thép có kích thước xác định để đâm xuyên mẫu thử được giữ trên thiết bị giữ. Không nên nhầm lẫn với việc xỏ khuyên bằng đầu nhọn hoặc kim mỏng.
6.5.2 Thiết bị
Thiết bị bao gồm:
- Một dụng cụ nén quán tính thấp, Loại 2 theo TCVN 10600-1 (ISO 7500-1), được dùng để đo lực từ 0 N đến 500 N;
- Đầu đâm bằng thép đặt ở giữa trục của dụng cụ, được tạo hình theo yêu cầu và kích thước chính xác như Hình 8:
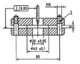
- Thiết bị giữ mẫu thử ở chính giữa trục của dụng cụ, như thể hiện trong Hình 9.
Kích thước tính bằng milimét

Hình 8 - Đầu đâm - Thép 60 HRC Rockwell
Kích thước tính bằng milimét

CHÚ DẪN
1 chốt siết chặt
Hình 9 - Thiết bị giữ
6.5.3 Mẫu thử
Một mẫu thử hình tròn có đường kính tối thiểu 40 mm được lấy theo cách sao cho các đường may, gia cường hoặc độ dày bổ sung được đặt bên ngoài diện tích kẹp và điểm xuyên thủng. Trong trường hợp có nhiều lớp không liên kết, các lớp này được thử cùng nhau. Trong trường hợp lòng bàn tay có thiết kế không đều thì phải thử tất cả các vùng; kết quả cuối cùng là giá trị thu được thấp nhất.
6.5.4 Phương pháp thử
a) Kẹp mẫu thử vào giữa thiết bị giữ với bề mặt bên ngoài hướng về phía đầu đâm.
b) Di chuyển đầu đâm xuống mẫu thử với vận tốc 100 mm/min. Tiếp tục cho đến khi đạt được độ dịch chuyển 50 mm, được đo từ mức mẫu. Ghi lại giá trị lực cao nhất, ngay cả khi mẫu thử không bị thủng.
c) Thử nghiệm phải được thực hiện trên bốn mẫu được cắt từ bốn găng tay khác nhau của cùng một lô găng tay.
d) Hình dáng và kích thước của đầu đâm phải tuân theo Hình 8 cho từng phép thử. Đối với hầu hết các vật liệu, nên kiểm tra đầu đâm ít nhất sau mỗi 500 lần sử dụng, nhưng đối với các vật liệu cứng và mài mòn có thể làm hỏng đầu đâm thì cần phải kiểm tra thường xuyên hơn.
e) Việc phân loại được xác định theo giá trị thấp nhất được ghi lại.
6.5.5 Báo cáo thử nghiệm
Báo cáo thử nghiệm phải bao gồm các thông tin sau:
- Viện dẫn điều của tiêu chuẩn này bao gồm cả năm công bố;
- Viện dẫn tiêu chuẩn đối với mẫu thử;
- Bốn giá trị đo được như xác định trong 6.5.4;
- Sai lệch bất kỳ so với phương pháp thử;
- Mức tính năng theo Bảng 1.
6.6 Thử va đập
Đối với các khớp ngón tay, thực hiện các thử nghiệm theo EN 13594:2015, 6.9 với năng lượng va đập là 5 J.
Đối với các bộ phận khác (mu bàn tay, lòng bàn tay, v.v.), phải thử phần trung tâm của vùng bảo vệ được yêu cầu theo EN 13594:2015, 6.9 với năng lượng va đập là 5 J. Phải thử bốn va đập ở giữa vùng bảo vệ từ bốn găng tay khác nhau. Kết quả được đưa ra theo yêu cầu trong EN 13594:2015, 6.9 h).
7 Ghi nhãn
7.1 Yêu cầu chung
Việc ghi nhãn trên găng tay bảo vệ hoặc phương tiện bảo vệ cánh tay phải phù hợp với các điều áp dụng của TCVN 14266 (ISO 21420).
7.2 Hình ảnh
Đối với găng tay đáp ứng các yêu cầu của Điều 4, các tính chất cơ học của găng tay phải được thể hiện bằng hình ảnh, xem Hình 10, đối với các rủi ro cơ học kèm theo mức tính năng tương ứng của từng thử nghiệm cơ học (xem Hình 11).
Số đầu tiên tương ứng với độ bền mài mòn, số thứ hai tương ứng với độ bền cắt, số thứ ba tương ứng với độ bền xé, số thứ tư tương ứng với độ bền đâm xuyên và ký tự thứ năm (một chữ cái) tương ứng với độ bền cắt theo TCVN 9546:2013 (ISO 13997:1999) (như thể hiện trong Bảng 1 và Bảng 2).
Nếu thử độ bền cắt theo 6.2 cho thấy lưỡi cắt bị cùn như xác định ở 6.3 và độ bền cắt được công bố thì ít nhất phải ghi nhãn mức độ chống cắt theo thứ tự bảng chữ cái của TCVN 9546:2013 (ISO 13997:1999). Mức cắt bằng số theo 6.2 có thể được ghi lại tùy chọn trong việc ghi nhãn cùng với mức chữ cái được đưa ra bởi kết quả thử nghiệm theo mức chữ cái của phương pháp TCVN 9546:2013 (ISO 13997:1999).
Việc đặt hình ảnh và mức tính năng có liên quan với nhau phải theo TCVN 14266 (ISO 21420).

Hình 10 - Hình ảnh đối với các rủi ro cơ học (ISO 7000 - 2490)
7.3 Ghi nhãn các yêu cầu bổ sung về bảo vệ chống va đập
Khi găng tay đáp ứng được các yêu cầu nêu trong 4.2.1 thì mã ghi nhãn “P” sẽ được thêm vào sau số mức tính năng năm (xem ví dụ trong Hình 11 và Bảng 4).
7.4 Ví dụ về ghi nhãn

Hình 11 - Ví dụ về ghi nhãn đối với rủi ro cơ học
Bảng 4 - Giải thích các ví dụ trong Hình 11
| Ví dụ | Ví dụ 1 | Ví dụ 2 | Ví dụ 3 |
| Mài mòn (6.1) | mức 3 | mức 3 | mức 3 |
| Cắt (6.2) | mức 4 | Phép thử không được thực hiện hoặc không áp dụng | mức 2 |
| Xé (6.4) | mức 4 | mức 1 chưa đạt | mức 1 chưa đạt |
| Đâm xuyên (6.5) | mức 3 | mức 3 | mức 3 |
| Cắt (6.3) | mức E | mức E | Phép thử không được thực hiện |
| Bảo vệ chống va đập | đạt | Phép thử không được thực hiện | Phép thử không được thực hiện |
8 Thông tin do nhà sản xuất cung cấp cho người sử dụng
Thông tin phải phù hợp với điều có thể áp dụng của TCVN 14266 (ISO 21420).
Phải nêu chi tiết về mọi thử nghiệm đặc biệt được thực hiện trong môi trường khác (xem 5.3).
Nếu phù hợp, phải có cảnh báo đối với găng tay có hai lớp trở lên thì việc phân loại tổng thể không nhất thiết phản ánh tính năng của lớp ngoài cùng.
Nếu có yêu cầu bảo vệ chống va đập thì phải nêu rõ:
- (các) diện tích được yêu cầu bảo vệ;
- Cảnh báo sự bảo vệ không áp dụng cho ngón tay.
Đối với bất kỳ găng tay chống rủi ro cơ học nào đạt được và cho thấy tính năng xé (6.4), bằng hoặc lớn hơn mức 1 thì phải kèm theo cảnh báo rằng không được đeo găng tay khi có rủi ro bị vướng vào các bộ phận chuyển động của máy móc.
Đối với độ cùn trong quá trình thử nghiệm độ bền cắt (6.2), kết quả thử coupe chỉ mang tính biểu thị trong khi thử nghiệm độ bền cắt (6.3) là kết quả tính năng tham khảo. Câu này sẽ được chỉ rõ trong thông báo cho người dùng.
Phụ lục A
(quy định)
Vật mài
A.1 Yêu cầu đối với vật mài
Vật mài phải đáp ứng các yêu cầu kỹ thuật sau:
- Độ nhám: 180;
- Loại hạt: nhôm oxit;
- Mật độ lớp phủ: bán hở;
- Lớp nền: Lớp nền phải làm bằng giấy có chất lượng phù hợp, có khối lượng nền tối thiểu là 110 g/m2 ± 5 %;
- Chất kết dính: Chất kết dính phải phù hợp với mục đích sử dụng;
- Vật mài: Hạt mài được sử dụng phải phù hợp với mục đích sử dụng. Chỉ sử dụng hạt mài theo Tiêu chuẩn FEPA P.
Giấy nhám phải có các đặc tính sau:
a) Độ bền đứt không được nhỏ hơn:
1) theo hướng dọc: 500 N/50 mm;
2) theo hướng ngang: 250 N/50 mm.
b) Khối lượng của giấy nhám là 300 g/m2 ± 15 %.
A.2 Tiêu chí chấp nhận vật mài
Khi thử vải bạt (6.2.5) bằng phương pháp mô tả ở 6.1.5 sau 100 lần chà xát, khối lượng bị mất phải nằm trong khoảng từ 0,009 g đến 0,027 g.
Phụ lục B
(tham khảo)
Kết quả thử nghiệm - Độ không đảm bảo đo
Đối với mỗi phép đo yêu cầu được thực hiện theo tiêu chuẩn này, phải đánh giá ước tính tương ứng về độ không đảm bảo đo.
Phải sử dụng một trong ba cách tiếp cận sau:
- Phương pháp thống kê, ví dụ: được nêu trong TCVN 6910-2 (ISO 5725-2);
- Phương pháp toán học, ví dụ: được nêu trong TCVN 9595-3 (ISO/IEC Guide 98-3);
- Đánh giá độ không đảm bảo đo và sự phù hợp như nêu trong ISO/IEC Guide 98-4.
Phụ lục C
(quy định)
Thử nghiệm xác nhận chất kết dính được sử dụng trong 6.1.2.2 của tiêu chuẩn này
C.1 Mục tiêu
Điều rất quan trọng là mẫu phải được giữ chặt trong thử nghiệm mài mòn (6.1).
Tính năng liên kết của băng dính là rất cần thiết.
Phương pháp thử này dựa trên TCVN 10450 (ISO 11644).
C.2 Thiết bị và vật liệu
C.2.1 Thiết bị thử kéo, có các đặc điểm sau:
a) Dải lực phù hợp với mẫu được thử;
b) Vận tốc kéo không đổi của hai ngàm kẹp là 100 mm/min;
c) Biện pháp phù hợp để cố định giá đỡ tấm kết dính (C.2.3) và móc liên kết (C.2.4);
d) Bộ phận để ghi lại biểu đồ lực-độ giãn trong quá trình thử.
C.2.2 Tấm PVC, bao gồm một miếng polyvinyl clorua cứng (PVC), có kích thước khoảng 70 mm × 20 mm × 3 mm để gắn mẫu thử. Ưu tiên sử dụng PVC có khả năng hấp thụ hồng ngoại (IR) cao.
C.2.3 Giá đỡ tấm kết dính (xem Hình C.1), được làm bằng vật liệu phù hợp, để giữ tấm kết dính mà mẫu thử đã được liên kết vào kẹp dưới của thiết bị thử kẻo. Tùy chọn, các tấm có thể được giữ chắc chắn bằng vít xuyên qua các cạnh của giá đỡ tấm (xem Hình C.3).
Kích thước tính bằng milimét

(± 2 mm đối với cạnh 35 mm, các cạnh khác ± 1 mm)
Hình C.1 - Giá đỡ tấm kết dính
C.2.4 Móc liên kết, làm bằng dây thép có đường kính từ 1 mm đến 2 mm, dài ít nhất 200 mm, để gắn đầu tự do của mẫu thử vào kẹp trên của thiết bị thử kéo (xem Hình C.3). Chiều dài của móc liên kết đảm bảo góc tách luôn ở mức gần 90°.
C.2.5 Đục, phù hợp để tạo một lỗ có đường kính từ 2 mm đến 3 mm trên mẫu cao su chuẩn, nếu sử dụng móc liên kết (C.2.4).
C.2.6 Cao su chuẩn [theo TCVN 5363:2013 (ISO 4649:2010), Phụ lục B], kích thước của miếng cao su cần thử, 100 mm ± 2 mm × 10 mm ± 1 mm.
Cao su phải được cắt lát với độ dày 1,5 mm. Bề mặt thử là bề mặt ngoài (mịn hơn). Bề mặt này được tẩy nhờn bằng ete dầu mỏ (d = 0,65 g/cm3). Sau khi tẩy nhờn, để cao su chuẩn khô trong 2 min và dán băng dính.
C.3 Chuẩn bị mẫu thử
Băng dính là mẫu thử.
Mẫu thử và cao su chuẩn phải được điều hòa ít nhất 16 h trong môi trường chuẩn được quy định trong tiêu chuẩn này trước khi thử.
Dán băng mẫu thử có kích thước 70 mm ± 2 mm × 10 mm ± 1 mm lên tấm PVC (C.2.2) rồi dán cao su chuẩn trên băng (xem Hình C.2).
Kích thước tính bằng milimét

CHÚ DẪN
1 tấm PVC
2 băng mẫu thử
3 cao su chuẩn
Hình C.2 - Chuẩn bị mẫu thử
Sau đó đặt một tấm PVC lên trên tổ hợp có khối lượng 10 kg.
Giữ vật nặng trên tổ hợp trong thời gian 5 min ± 30 s, sau đó lấy vật nặng 10 kg ra và thực hiện phép thử ngay.
Phải chuẩn bị hai tổ hợp thử nghiệm.
C.4 Quy trình thử nghiệm
C.4.1 Cố định giá đỡ (C.2.3) vào kẹp dưới của thiết bị thử kéo (C.2.1).
C.4.2 Trượt mẫu thử đã điều hòa (tấm PVC/mẫu thử/cao su chuẩn) vào giá đỡ cho đến khi một đầu của tấm ngang bằng với một đầu của giá đỡ.
C.4.3 Gắn một đầu của móc liên kết (C.2.4) vào kẹp trên của thiết bị thử kéo và gắn đầu còn lại vào mẫu bằng cách móc vào lỗ ở đầu mẫu (xem Hình C.3).
Kích thước tính bằng milimét

Hình C.3 - Bố trí mẫu thử và các kẹp để thử bằng hệ thống móc liên kết
C.4.4 Đặt thiết bị thử kéo ở vận tốc tách rời các ngàm kẹp không đổi là 100 mm/min và ghi lại biểu đồ lực-độ giãn để tách cao su chuẩn khỏi mẫu thử từ 30 mm đến 35 mm.
C.4.5 Lực phải được tác dụng sao cho cao su chuẩn tách ra một góc khoảng 90° so với tấm PVC. Thử nghiệm được thực hiện trên mẫu thử thứ hai.
C.4.6 Đối với mỗi biểu đồ lực-độ giãn, được thể hiện dưới dạng biểu đồ trong Hình C.4, xác định lực trung bình trong quá trình lan truyền tách rời của mẫu thử, tức là giá trị bám dính. Ghi lại giá trị bám dính này, biểu thị bằng niutơn trên mm, được làm tròn đến 0,01 N/mm gần nhất.

CHÚ DẪN
1 khoảng cách xấp xỉ 30mm
X giá trị bám dính
Y độ bám dính
Hình C.4 - Đánh giá biểu đồ lực-độ giãn
Việc ghi lực được bắt đầu sau khi mức lực tối đa đầu tiên (đỉnh tăng vọt ban đầu). Tất cả các đỉnh đều được ghi lại, (xem Hình C.4) nhưng 10 % độ dịch chuyển đầu tiên và cuối cùng không được sử dụng để đánh giá. Lực bám dính được tính từ giá trị trung bình của các lực tối đa và tối thiểu.
CHÚ THÍCH Nếu không có các đỉnh lực thì tổng khoảng cách dịch chuyển (không bao gồm 10 % đầu tiên và cuối cùng) được chia thành 9 phần có khoảng cách bằng nhau. Lực bám dính được tính từ giá trị trung bình của các giá trị lực tại điểm bắt đầu của mỗi đoạn.
Đối với 2 mẫu thử, tính và ghi lại giá trị trung bình của tất cả các giá trị bám dính thu được. Kết quả là trung bình cộng của 2 giá trị.
C.5 Ví dụ về băng dính được chấp nhận
- TESA® 56170-0004[5];
- Băng Polyken® 100Ds5);
- 3M™ tham khảo 4655).
Thư mục tài liệu tham khảo
[1] TCVN 10450 (ISO 11644), Da - Phép thử độ kết dính của lớp trau chuốt
MỤC LỤC
Lời nói đầu
1 Phạm vi áp dụng
2 Tài liệu viện dẫn
3 Thuật ngữ và định nghĩa
4 Yêu cầu
4.1 Yêu cầu chung
4.2 Bảo vệ bổ sung (tùy chọn)
5 Lấy mẫu và điều hòa mẫu
6 Phương pháp thử
6.1 Độ bền mài mòn
6.2 Độ bền cắt
6.3 Phương pháp xác định độ bền cắt [TCVN 9546 (ISO 13997)]
6.4 Độ bền xé
6.5 Độ bền đâm xuyên
6.6 Thử va đập
7 Ghi nhãn
7.1 Yêu cầu chung
7.2 Hình ảnh
7.3 Ghi nhãn các yêu cầu bổ sung về bảo vệ chống va đập
7.4 Ví dụ về ghi nhãn
8 Thông tin do nhà sản xuất cung cấp cho người sử dụng
Phụ lục A (quy định) Vật mài
Phụ lục B (tham khảo) Kết quả thử nghiệm - Độ không đảm bảo đo
Phụ lục C (quy định) Thử nghiệm xác nhận chất kết dính được sử dụng trong 6.1.2.2 của tiêu chuẩn này
Thư mục tài liệu tham khảo
[1] Tiêu chuẩn này đã hủy và được thay thế bằng TCVN 5363:2020 (ISO 4649:2017)
[2] Klingspor PL31B, Grit 180 là tên thương mại của sản phẩm được cung cấp bởi KLINGSPOR Schleitsysteme GmbH & Co. KG, Hüttenstraße 36, D-35708 Haiger. Thông tin này được đưa ra nhằm tạo thuận lợi cho người sử dụng tiêu chuẩn này và không phải là chỉ định của ISO đối với sản phẩm được đặt tên. Có thể sử dụng các sản phẩm tương đương nếu cho thấy tạo ra kết quả tương tự.
[3] OLFA® RB 45 mm là nhãn hiệu của sản phẩm được sản xuất bởi tập đoàn OLFA, Osaka, 537 Nhật Bản. Thông tin này được cung cấp để tạo thuận lợi cho người sử dụng tiêu chuẩn này và không phải là chứng nhận của ISO cho sản phẩm. Có thể sử dụng các sản phẩm tương đương nếu cho thấy tạo ra kết quả tương tự.
[4] Vải bạt loại này được sản xuất bởi TENTHOREY DE LA PLAINE - 88510 ELOYES - PHÁP, nhận biết chất lượng vải: n°14861. Thông tin này được đưa ra nhằm tạo thuận lợi cho người sử dụng tiêu chuẩn này và không phải là chứng nhận của ISO cho sản phẩm. Có thể sử dụng các sản phẩm tương đương nếu cho thấy tạo ra kết quả tương tự.
[5] Đây là những ví dụ về (các) sản phẩm phù hợp có sẵn trên thị trường. Thông tin này được đưa ra nhằm tạo thuận lợi cho người sử dụng tiêu chuẩn này và không phải là sự xác nhận của ISO đối với các sản phẩm này. Có thể sử dụng các sản phẩm tương đương nếu chúng cho thấy kết quả tương tự.
Bạn chưa Đăng nhập thành viên.
Đây là tiện ích dành cho tài khoản thành viên. Vui lòng Đăng nhập để xem chi tiết. Nếu chưa có tài khoản, vui lòng Đăng ký tại đây!