- Tổng quan
- Nội dung
- Tiêu chuẩn liên quan
- Lược đồ
- Tải về
Tiêu chuẩn quốc gia TCVN 12326-2:2025 Găng tay bảo vệ chống hóa chất nguy hiểm và vi sinh vật - Phần 2: Xác định độ chống thấm
| Số hiệu: | TCVN 12326-2:2025 | Loại văn bản: | Tiêu chuẩn Việt Nam |
| Cơ quan ban hành: | Bộ Khoa học và Công nghệ | Lĩnh vực: | Lao động-Tiền lương , Công nghiệp |
| Trích yếu: | ISO 374-2:2019 Găng tay bảo vệ chống hóa chất nguy hiểm và vi sinh vật - Phần 2: Xác định độ chống thấm | ||
|
Ngày ban hành:
Ngày ban hành là ngày, tháng, năm văn bản được thông qua hoặc ký ban hành.
|
22/01/2025 |
Hiệu lực:
|
Đã biết
|
| Người ký: | Đang cập nhật |
Tình trạng hiệu lực:
Cho biết trạng thái hiệu lực của văn bản đang tra cứu: Chưa áp dụng, Còn hiệu lực, Hết hiệu lực, Hết hiệu lực 1 phần; Đã sửa đổi, Đính chính hay Không còn phù hợp,...
|
Đã biết
|
TÓM TẮT TIÊU CHUẨN VIỆT NAM TCVN 12326-2:2025
Tiêu chuẩn quốc gia về găng tay bảo vệ hóa chất nguy hiểm
Ngày 22/01/2025, Bộ Khoa học và Công nghệ đã công bố Tiêu chuẩn quốc gia TCVN 12326-2:2025 ISO 374-2:2019 về "Găng tay bảo vệ chống hóa chất nguy hiểm và vi sinh vật - Phần 2: Xác định độ chống thấm", có hiệu lực từ ngày 22/01/2025. Tiêu chuẩn này quy định phương pháp thử nghiệm độ chống thấm của găng tay nhằm bảo vệ người sử dụng khỏi hóa chất nguy hiểm và vi sinh vật.
Tiêu chuẩn này áp dụng cho găng tay bảo vệ hóa chất và vi sinh vật, giúp xác định khả năng chống thấm của sản phẩm, đảm bảo an toàn cho người lao động trong môi trường làm việc tiềm ẩn nguy cơ tiếp xúc với chất độc hại.
Phương pháp thử nghiệm độ chống thấm
Tiêu chuẩn TCVN 12326-2:2025 quy định rõ ràng hai phương pháp thử nghiệm độ chống thấm:
Thử rò rỉ khí: Găng tay được nhúng trong nước và bơm không khí vào bên trong. Sự hiện diện của bóng khí từ bề mặt găng tay sẽ cho thấy có rò rỉ hay không.
Thử rò rỉ nước: Nước được đổ vào găng tay và quan sát sự xuất hiện của các giọt nước bên ngoài găng tay để xác định rò rỉ.
Cả hai phương pháp đều yêu cầu thực hiện theo các quy trình cụ thể để đảm bảo độ chính xác trong việc phát hiện sự rò rỉ.
Yêu cầu đối với mẫu thử nghiệm
Mẫu thử nghiệm bao gồm một chiếc găng tay của từng kích cỡ, tối thiểu là 4 mẫu cho mỗi lần thực hiện thử nghiệm. Nếu găng tay không đạt yêu cầu thử nghiệm, cần ghi rõ kết quả trong báo cáo thử nghiệm.
Thiết bị và dụng cụ cần thiết
Các thiết bị cần thiết cho việc thử nghiệm bao gồm bộ gá cố định, dụng cụ bơm khí, thùng chứa nước và các ống nhựa tương ứng. Tất cả thiết bị cần phải đảm bảo tính chính xác và độ tin cậy để thu được kết quả đúng.
Báo cáo thử nghiệm
Các báo cáo cần bao gồm thông tin đầy đủ về mẫu găng tay, tình trạng thử nghiệm và kết quả đạt hoặc không đạt cho từng phương pháp thử nghiệm. Điều này giúp nâng cao chất lượng sản phẩm và đảm bảo an toàn cho người sử dụng trong môi trường làm việc.
Kiểm soát chất lượng trong sản xuất
Phụ lục A của tiêu chuẩn quy định các mức kiểm tra và mức chất lượng chấp nhận cho găng tay trong quá trình sản xuất, qua đó, giúp đảm bảo rằng sản phẩm cuối cùng đáp ứng đủ tiêu chuẩn an toàn và chất lượng. Mức chất lượng chấp nhận được quy định cụ thể với từng loại găng tay nhằm giảm thiểu rủi ro khi sử dụng.
Tiêu chuẩn TCVN 12326-2:2025 không chỉ đảm bảo chất lượng của sản phẩm mà còn bảo vệ sức khỏe của người lao động, góp phần quan trọng trong việc sử dụng găng tay bảo hộ một cách an toàn và hiệu quả.
Tải tiêu chuẩn Việt Nam TCVN 12326-2:2025
TIÊU CHUẨN QUỐC GIA
TCVN 12326-2:2025
ISO 374-2:2019
GĂNG TAY BẢO VỆ CHỐNG HÓA CHẤT NGUY HIỂM VÀ VI SINH VẬT - PHẦN 2: XÁC ĐỊNH ĐỘ CHỐNG THẤM
Protective gloves against dangerous chemicals and micro-organisms - Part 2: Determination of resistance to penetration
Lời nói đầu
TCVN 12326-2:2025 hoàn toàn tương đương với ISO 374-2:2019.
TCVN 12326-2:2025 do Ban kỹ thuật Tiêu chuẩn quốc gia TCVN/TC 94 Phương tiện bảo vệ cá nhân biên soạn, Viện Tiêu chuẩn Chất lượng Việt Nam đề nghị, Ủy ban Tiêu chuẩn Đo lường Chất lượng Quốc gia thẩm định, Bộ Khoa học và Công nghệ công bố.
Bộ TCVN 12326 (ISO 374), Găng tay bảo vệ chống hóa chất nguy hiểm và vi sinh vật gồm các tiêu chuẩn sau:
- TCVN 12326-1:2018 [ISO 374-1:2016 (WITH AMENDMENT 1:2018)], Phần 1: Thuật ngữ và các yêu cầu tính năng đối với rủi ro hóa chất.
- TCVN 12326-2:2025 (ISO 374-2:2019), Phần 2: Xác định độ chống thấm.
- TCVN 12326-4:2025 (ISO 374-4:2019), Phần 4: Xác định khả năng chống suy giảm do hóa chất.
- TCVN 12326-5:2018 (ISO 374-5:2016), Phần 5: Thuật ngữ và các yêu cầu tính năng đối với rủi ro vi sinh vật.
GĂNG TAY BẢO VỆ CHỐNG HÓA CHẤT NGUY HIỂM VÀ VI SINH VẬT - PHẦN 2: XÁC ĐỊNH ĐỘ CHỐNG THẤM
Protective gloves against dangerous chemicals and micro-organisms - Part 2: Determination of resistance to penetration
1 Phạm vi áp dụng
Tiêu chuẩn này quy định phương pháp thử khả năng chống thấm của găng tay để bảo vệ chống các hóa chất nguy hiểm và/hoặc vi sinh vật.
2 Tài liệu viện dẫn
Các tài liệu viện dẫn sau rất cần thiết cho việc áp dụng tiêu chuẩn này. Đối với các tài liệu viện dẫn ghi năm công bố thì áp dụng phiên bản được nêu. Đối với các tài liệu viện dẫn không ghi năm công bố thì áp dụng phiên bản mới nhất bao gồm cả các sửa đổi, bổ sung (nếu có).
TCVN 12326-1 (ISO 374-1), Găng tay bảo vệ chống hóa chất nguy hiểm và vi sinh vật - Phần 1: Thuật ngữ và các yêu cầu tính năng đối với rủi ro hóa chất
3 Thuật ngữ và định nghĩa
Trong tiêu chuẩn này áp dụng các thuật ngữ, định nghĩa trong TCVN 12326-1 (ISO 374-1).
4 Nguyên tắc thử nghiệm
4.1 Thử rò rỉ khí
Nhúng một chiếc găng tay trong nước và bơm không khí tạo áp lực bên trong găng tay. Rò rỉ được phát hiện bởi dòng bọt khí từ bề mặt găng tay.
4.2 Thử rò rỉ nước
Đổ đầy nước vào găng tay. Phát hiện rò rỉ thông qua sự xuất hiện của các giọt nước ở bên ngoài găng tay.
4.3 Lưu ý
Quy trình thử rò rỉ khí không phù hợp với tất cả các loại găng tay. Ví dụ: trong cùng một chiếc găng tay, một số bộ phận có thể bị phồng quá mức trong khi các bộ phận khác chỉ có thể phồng lên một phần. Nếu không phù hợp để thử rò rỉ khí thì chỉ thực hiện thử thấm nước.
Đối với cả hai phương pháp, bỏ qua rò rỉ trong phạm vi cách mép của vùng không thấm chất lỏng 40 mm.
5 Lấy mẫu
Để thử nghiệm, mẫu thử sẽ là một chiếc găng tay của từng kích cỡ, với số lượng tối thiểu là 4 mẫu cho mỗi lần thực hiện thử nghiệm.
Vì một số lý do nhất định, không thể thử một số găng tay, ví dụ: mẫu căng phồng quá mức không đồng nhất hoặc độ dày của lớp lót làm cản trở việc lắp mẫu trên bộ gá.
Nếu một mẫu thử không đạt trong phép thử độ thấm thì phép thử phải được ghi lại là không đạt.
Với mục đích kiểm soát quá trình sản xuất, ví dụ: của nhà sản xuất hoặc tổ chức đánh giá, xem Phụ lục A.
6 Thiết bị, dụng cụ
6.1 Thử rò rỉ khí
6.1.1 Bộ gá cố định hình trụ, có hình côn với dải đường kính phù hợp để tạo sự kín khí đối với găng tay được thử. Trục này phải có khả năng xoay 180°.
6.1.2 Dụng cụ bơm khí.
6.1.3 Thùng chứa nước.
6.1.4 Đồng hồ đo áp suất, thang đo từ 0 kPa đến 10 kPa.
6.1.5 Bộ điều chỉnh áp suất mong muốn.
Hình 1 và Hình 2 thể hiện ví dụ về thiết bị phù hợp.

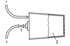
CHÚ DẪN
1 van một chiều
2 bộ gá cố định hình trụ
a nối đến đồng hồ đo áp suất.
b đến bảng điều khiển.
Hình 1 - Chi tiết phóng to của bộ gá cố định hình trụ
Kích thước tính bằng milimét

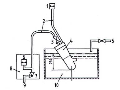
CHÚ DẪN
| 1 | đồng hồ đo áp suất | 6 | đồng hồ đo áp suất |
| 2 | ống mềm | 7 | bộ điều chỉnh áp suất |
| 3 | van một chiều | 8 | bảng điều khiển |
| 4 | bộ gá cố định hình trụ | 9 | nguồn cấp khí nén |
| 5 | nguồn cấp nước | 10 | thùng chứa nước |
Hình 2 - Bố trí điển hình của thiết bị thử dùng áp suất không khí
6.2 Thư rò rỉ nước
6.2.1 Ống nhựa trong suốt có đầu hở được gắn móc ở đầu trên, ống có độ dài 380 mm và có đường kính đủ rộng để vừa khít với găng tay được thử. Ống có một vạch cách đầu dưới 40 mm (xem Hình 3)
Kích thước tính bằng milimét


Hình 3 - Ống đổ có gắn móc
6.2.2 Dây đai đàn hồi có băng dính velcro hoặc vật liệu làm chặt khác.
6.2.3 Giá đỡ có thanh ngang để treo đầu móc của ống (xem Hình 4). Thanh đỡ phải có khả năng chịu được khối lượng của toàn bộ số găng tay sẽ được treo tại thời điểm bất kỳ.
6.2.4 Dụng cụ có khả năng cung cấp tối thiểu 1 000 ml nước.
6.2.5 Có thể sử dụng biện pháp khác để giữ găng. Thiết bị phải có khả năng cố định găng tay vào bộ gá, có đường kính phù hợp với găng tay sao cho có thể đổ nước vào găng tay trong phạm vi cách mép của vùng không thấm chất lỏng 40 mm. Thiết bị phải có khả năng chứa lượng nước nhiều hơn lượng cần đổ vào găng tay.

Hình 4 - Giá để treo ống đổ nước
7 Cách tiến hành
7.1 Yêu cầu chung
Cẩn thận lấy găng tay ra khỏi giấy gói, hộp hoặc bao bì đựng găng tay. Ghi lại mã nhận dạng, số lô, kích cỡ và nhãn hiệu của mẫu. Kiểm tra bằng mắt xem có vết xé, vết rách và lỗ thủng không. Nếu có những điều này thì găng tay phải được ghi là không đạt yêu cầu khi kiểm tra bằng mắt.
7.2 Thử rò rỉ khí
7.2.1 Găng tay được cố định chặt vào bộ gá hình trụ và, sau khi nhúng chìm trong nước ở nhiệt độ môi trường xung quanh, làm phồng găng tay bằng cách bơm không khí đến áp suất X kPa (xem Bảng 1) cộng với mức quá áp 1 kPa trên 100 mm của phần nhúng chìm được đo tại đầu ngón tay gần nhất với đáy của thùng nước. Ví dụ, đối với mức nhúng chìm 250 mm tại đầu ngón tay, phải bơm thêm 2,5 kPa vào áp suất không khí được quy định trong Bảng 1.
Áp suất bơm phồng phải đạt được với độ lệch giới hạn ±10 % trong vòng 2 min và việc kiểm tra bong bóng khí phải thực hiện thêm trong (30 ± 5) s.
Bảng 1 - Áp suất không khí
| Độ dày danh nghĩa của găng tay | Áp suất không khí |
| e | X |
| mm | kPa |
| Do nhà sản xuất cung cấp |
|
| e ≤ 0,3 | 0,5 |
| 0,3 < e ≤ 0,5 | 2,0 |
| 0,5 <e ≤ 1,0 | 5,0 |
| e > 1,0 | 6,0 |
7.2.2 Đối với găng tay có chiều dài đến 250 mm, việc nhúng chìm phải được thực hiện với bàn tay hướng thẳng đứng hướng xuống dưới sao cho nước bao phủ bề mặt găng tay nhiều nhất có thể.
Đối với găng tay có chiều dài trên 250 mm, việc nhúng chìm phải được thực hiện với bàn tay có góc hướng xuống dưới, ở độ sâu thẳng đứng (250 ± 10) mm phía trên đầu ngón giữa và sao cho nước bao phủ bề mặt găng tay nhiều nhất có thể. Xoay bộ gá và kiểm tra toàn bộ bề mặt găng tay để tìm sự xuất hiện của bọt khí (xem Hình 2).
7.3 Thử rò rỉ nước
7.3.1 Găng tay được gắn vào một ống nhựa có đầu hở bằng cách đưa mép của cổ găng tay đến vạch 40 mm (xem Hình 3) và cố định chặt găng tay bằng dây đàn hồi để tạo thành vòng bịt kín nước.
7.3.2 Đổ qua ống ít nhất 1 000 ml nước vào găng tay và ít nhất đầy đến mức vạch dấu 40 mm của vùng không thấm chất lỏng của găng tay. Nước phải ở nhiệt độ môi trường xung quanh.
Một phần trong số 1 000 ml nước có thể còn giữ lại trong ống đổ tùy thuộc vào loại găng tay được thử.
Nếu cần thiết, găng tay có thể được đỡ bằng một số biện pháp phù hợp để tránh biến dạng quá mức dưới sức nặng của nước.
7.3.3 Kiểm tra găng tay ngay lập tức xem có rò rỉ nước không. Không được bóp găng tay. Hạn chế chạm tay vào bề mặt để phát hiện rò rỉ. Có thể lau các giọt nước để xác nhận sự rò rỉ hoặc có thể sử dụng bột talc để tăng khả năng nhìn thấy giọt nước.
7.3.4 Nếu găng tay không bị rò rỉ ngay lúc đó thì treo thẳng đứng ống có gắn găng tay (xem Hình 4) và kiểm tra lại sau 2 min (± 10 s) sau lần thêm nước ban đầu. Một lần nữa, hạn chế chạm tay vào bề mặt, kiểm tra bề mặt găng tay xem có rò rỉ không.
8 Báo cáo thử nghiệm
Báo cáo thử nghiệm phải bao gồm:
- Viện dẫn tiêu chuẩn này, nghĩa là TCVN 12326-2 (ISO 374-2:2019);
- Cách nhận biết đầy đủ găng tay được thử;
- Kiểm tra bằng mắt: đạt hoặc không đạt;
- Thử rò rỉ khí và thử rò rỉ nước: đạt hoặc không đạt;
- Đối với thử rò rỉ khí: áp suất không khí sử dụng;
- Lý do không thử nghiệm bất kỳ phép thử thấm qua nào;
- Ghi lại bất kỳ sai lệch nào so với tiêu chuẩn này.
Phụ lục A
(tham khảo)
Phụ lục tham khảo được sử dụng để đảm bảo chất lượng trong quá trình sản xuất
Găng tay từ một lô hoặc loạt được lấy mẫu và kiểm tra theo TCVN 7790 (ISO 2859) (tất cả các phần). Các mức kiểm tra và mức chất lượng chấp nhận (AQL) phải phù hợp với các mức nêu trong Bảng A.1 hoặc theo thỏa thuận giữa bên mua và bên bán, nếu thỏa thuận nghiêm ngặt hơn.
Bảng A.1- Mức kiểm tra và mức chất lượng chấp nhận
| Mức tính năng | Mức chất lượng chấp nhận | Mức kiểm tra |
| Mức 3 | < 0,65 | G1 |
| Mức 2 | < 1,5 | G1 |
| Mức 1 | < 4,0 | S4 |
Thư mục tài liệu tham khảo
[1] TCVN 7790 (ISO 2859) (tất cả các phần), Quy trình lấy mẫu để kiểm tra định tính
Bạn chưa Đăng nhập thành viên.
Đây là tiện ích dành cho tài khoản thành viên. Vui lòng Đăng nhập để xem chi tiết. Nếu chưa có tài khoản, vui lòng Đăng ký tại đây!