- Tổng quan
- Nội dung
- Tiêu chuẩn liên quan
- Lược đồ
- Tải về
Tiêu chuẩn quốc gia TCVN 12326-4:2025 ISO 374-4:2019 Găng tay bảo vệ chống hóa chất nguy hiểm và vi sinh vật - Phần 4: Xác định khả năng chống suy giảm do hóa chất
| Số hiệu: | TCVN 12326-4:2025 | Loại văn bản: | Tiêu chuẩn Việt Nam |
| Cơ quan ban hành: | Bộ Khoa học và Công nghệ | Lĩnh vực: | Lao động-Tiền lương , Công nghiệp |
| Trích yếu: | ISO 374-4:2019 Găng tay bảo vệ chống hóa chất nguy hiểm và vi sinh vật - Phần 4: Xác định khả năng chống suy giảm do hóa chất | ||
|
Ngày ban hành:
Ngày ban hành là ngày, tháng, năm văn bản được thông qua hoặc ký ban hành.
|
22/01/2025 |
Hiệu lực:
|
Đã biết
|
| Người ký: | Đang cập nhật |
Tình trạng hiệu lực:
Cho biết trạng thái hiệu lực của văn bản đang tra cứu: Chưa áp dụng, Còn hiệu lực, Hết hiệu lực, Hết hiệu lực 1 phần; Đã sửa đổi, Đính chính hay Không còn phù hợp,...
|
Đã biết
|
TÓM TẮT TIÊU CHUẨN VIỆT NAM TCVN 12326-4:2025
Tiêu chuẩn quốc gia TCVN 12326-4:2025: Quy định quan trọng về găng tay bảo vệ cho người dùng
Tiêu chuẩn quốc gia TCVN 12326-4:2025 về găng tay bảo vệ chống hóa chất nguy hiểm và vi sinh vật được ban hành nhằm xác định khả năng chống suy giảm do hóa chất của các loại găng tay bảo vệ. Tiêu chuẩn này tương đương với ISO 374-4:2019, được soạn thảo bởi Ban kỹ thuật Tiêu chuẩn quốc gia TCVN/TC 94 và công bố bởi Bộ Khoa học và Công nghệ. Tiêu chuẩn có hiệu lực từ năm 2025 và thay thế một số tiêu chuẩn cũ liên quan.
Trong tiêu chuẩn này, phạm vi áp dụng quy định phương pháp thử nghiệm để đánh giá khả năng chống suy giảm do hóa chất của vật liệu làm găng tay bảo vệ khi tiếp xúc liên tục với hóa chất. Qua đó, các nhà sản xuất và sử dụng găng tay sẽ có căn cứ để lựa chọn sản phẩm bảo vệ an toàn cho người dùng, đặc biệt trong những môi trường làm việc có nguy cơ cao về hóa chất.
Tiêu chuẩn đặc biệt chú trọng đến phương pháp thử khả năng chống đâm thủng, bằng cách đo mức độ thay đổi khả năng này sau khi găng tay tiếp xúc với hóa chất. Việc thử nghiệm áp dụng cho găng tay làm từ polyme tự nhiên hoặc tổng hợp, đảm bảo tính chính xác trong việc đánh giá độ an toàn của sản phẩm.
Các bước thử nghiệm yêu cầu cần đảm bảo điều kiện nhiệt độ và độ ẩm, cũng như quy trình lấy mẫu phải chặt chẽ, đảm bảo sự đồng nhất trong việc thử nghiệm. Găng tay phải được điều hòa trước khi thử nghiệm và sẽ được kiểm tra độ đâm thủng sau khi tiếp xúc với hóa chất trong điều kiện quy định.
Kết quả thử nghiệm sẽ phản ánh độ suy giảm vật liệu găng tay thông qua các thông số cụ thể như lực đâm thủng trung bình. Tất cả dữ liệu thu được từ việc thử nghiệm đều phải được ghi chép cẩn thận trong báo cáo, từ tên hóa chất thử nghiệm cho tới các biến đổi vật lý của găng tay sau khi tiếp xúc. Điều này nhằm đảm bảo rằng mọi sự thay đổi và các yếu tố có thể ảnh hưởng đến hiệu suất của găng tay đều được xác định rõ ràng.
Cuối cùng, tiêu chuẩn TCVN 12326-4:2025 hướng đến việc cải thiện an toàn lao động, đặc biệt cho những người làm việc trong các lĩnh vực có tiếp xúc nhiều với hóa chất, góp phần bảo vệ sức khỏe họ một cách hiệu quả nhất. Tiêu chuẩn này sẽ là một trong những căn cứ quan trọng để các doanh nghiệp và tổ chức xây dựng phương án bảo hộ lao động phù hợp và hiệu quả.
Tải tiêu chuẩn Việt Nam TCVN 12326-4:2025
TIÊU CHUẨN QUỐC GIA
TCVN 12326-4:2025
ISO 374-4:2019
GĂNG TAY BẢO VỆ CHỐNG HÓA CHẤT NGUY HIỂM VÀ VI SINH VẬT - PHẦN 4: XÁC ĐỊNH KHẢ NĂNG CHỐNG SUY GIẢM DO HÓA CHẤT
Protective gloves against dangerous chemicals and micro-organisms - Part 4: Determination of resistance to degradation by chemicals
Lời nói đầu
TCVN 12326-4:2025 hoàn toàn tương đương với ISO 374-4:2019.
TCVN 12326-4:2025 do Ban kỹ thuật Tiêu chuẩn quốc gia TCVN/TC 94 Phương tiện bảo vệ cá nhân biên soạn, Viện Tiêu chuẩn Chất lượng Việt Nam đề nghị, Ủy ban Tiêu chuẩn Đo lường Chất lượng Quốc gia thẩm định, Bộ Khoa học và Công nghệ công bố.
Bộ TCVN 12326 (ISO 374), Găng tay bảo vệ chống hóa chất nguy hiểm và vi sinh vật gồm các tiêu chuẩn sau:
- TCVN 12326-1:2018 [ISO 374-1:2016 (WITH AMENDMENT 1:2018)], Phần 1: Thuật ngữ và các yêu cầu tính năng đối với rủi ro hóa chất
- TCVN 12326-2:2025 (ISO 374-2:2019), Phần 2: Xác định độ chống thấm
- TCVN 12326-4:2025 (ISO 374-4:2019), Phần 4: Xác định khả năng chống suy giảm do hóa chất
- TCVN 12326-5:2018 (ISO 374-5:2016), Phần 5: Thuật ngữ và các yêu cầu tính năng đối với rủi ro vi sinh vật
GĂNG TAY BẢO VỆ CHỐNG HÓA CHẤT NGUY HIỂM VÀ VI SINH VẬT - PHẦN 4: XÁC ĐỊNH KHẢ NĂNG CHỐNG SUY GIẢM DO HÓA CHẤT
Protective gloves against dangerous chemicals and micro-organisms - Part 4: Determination of resistance to degradation by chemicals
1 Phạm vi áp dụng
Tiêu chuẩn này quy định phương pháp thử để xác định khả năng chống suy giảm do các hóa chất nguy hiểm của vật liệu làm găng tay bảo vệ khi tiếp xúc liên tục.
CHÚ THÍCH Phụ lục A đưa ra thông tin về kết quả thử nghiệm liên phòng đối với phương pháp này.
Nên sử dụng cùng với các phép thử khác để đánh giá khả năng chống hóa chất, như khả năng chống thẩm thấu và thấm qua, vì phép thử hóa học không cung cấp đủ thông tin về những thay đổi tính chất vật lý ảnh hưởng đến găng tay trong quá trình tiếp xúc với hóa chất. Điều này là cần thiết vì mặt bên ngoài của găng tay tiếp xúc với hóa chất.
2 Tài liệu viện dẫn
Các tài liệu viện dẫn sau rất cần thiết cho việc áp dụng tiêu chuẩn này. Đối với các tài liệu viện dẫn ghi năm công bố thì áp dụng phiên bản được nêu. Đối với các tài liệu viện dẫn không ghi năm công bố thì áp dụng phiên bản mới nhất bao gồm cả các sửa đổi, bổ sung (nếu có).
TCVN 12326-1 (ISO 374-1), Găng tay bảo vệ chống hóa chất nguy hiểm và vi sinh vật - Phần 1: Thuật ngữ và các yêu cầu tính năng đối với rủi ro hóa chất
TCVN 14266 (ISO 21420), Găng tay bảo vệ - Yêu cầu chung và phương pháp thử
TCVN 14267:2025 (ISO 23388:2018), Găng tay bảo vệ chống rủi ro cơ học
3 Thuật ngữ và định nghĩa
Trong tiêu chuẩn này áp dụng các thuật ngữ, định nghĩa trong TCVN 12326-1 (ISO 374-1) và TCVN 14266 (ISO 21420).
4 Nguyên tắc thử nghiệm
Khả năng chống suy giảm do hóa chất lỏng của vật liệu làm găng tay bảo vệ được xác định bằng cách đo sự thay đổi khả năng chống đâm thủng của vật liệu găng tay sau khi bề mặt bên ngoài tiếp xúc liên tục với hóa chất thử nghiệm. Phép thử này có thể áp dụng cho găng tay làm bằng polyme tự nhiên hoặc tổng hợp. Găng tay có lót có thể tạo ra kết quả đo không sử dụng được.
5 Phương pháp thử khả năng chống đâm thủng
5.1 Lấy mẫu
Chọn ba chiếc găng tay để thử nghiệm. Điều hòa găng tay ở nhiệt độ (23 ± 2) °C, độ ẩm tương đối (50 ± 5) % trong ít nhất 24 h.
Trong trường hợp cấu tạo của găng tay không đồng đều và/hoặc phức tạp, phải thử mỗi mẫu ở từng vùng. Sử dụng dưỡng tròn 20 mm phù hợp, cắt 6 mẫu thử trên từng găng tay để có tổng số 18 mẫu thử. Đối với từng chiếc găng tay, 3 mẫu thử sẽ tiếp xúc với hóa chất thử và 3 mẫu thử sẽ không tiếp xúc.
Chọn các mẫu thử sao cho chúng đồng nhất và đại diện cho cấu tạo chính của găng tay. Tránh các vùng có hoa văn nổi hoặc các vùng có độ dày hoặc thành phần khác nhau khi cắt các mẫu thử.
Nếu găng tay được tạo thành từ nhiều lớp không dính kết với nhau thì chỉ thử lớp bảo vệ chống hóa chất.
Mẫu phải được thử theo phương pháp mô tả trong 5.3. Một phương pháp thử nghiệm bổ sung để tham khảo không bắt buộc được đưa ra làm ví dụ trong Phụ lục B.
Đối với găng tay có lót, nếu không thể tách lớp lót ra khỏi găng tay (và nếu lớp lót quá dày) thì thử nghiệm sẽ không khả thi vì không thể bịt kín lọ và mẫu sẽ trượt trong quá trình thử. Đối với một số mẫu, nếu có lớp lót dày thì không cần thiết phải sử dụng vách ngăn để bịt kín lọ đúng cách. Trong trường hợp này, đảm bảo lớp lót sẽ có khả năng chống rò rỉ.
5.2 Thiết bị, dụng cụ
Phải sử dụng các thiết bị, dụng cụ sau:
a) Dưỡng cắt đường kính (20 ± 1) mm;
b) Dưỡng cắt đường kính (12 ± 1) mm (để cắt lỗ tại tâm của từng vách ngăn);
c) Lọ 20 ml có nắp đậy [đường kính miệng lọ (12,5 ± 0,5) mm];
d) Vách ngăn có đường kính 20 mm [ví dụ: được làm từ cao su clorobutyl không có lớp polytetrafluoroethylene (PTFE)];
e) Vòng đệm bằng nhôm, đường kính trong 20 mm
f) Dụng cụ gấp mép bằng tay;
g) Dụng cụ mở nắp bằng tay;
h) Giá đỡ mẫu có đục 18 lỗ, đường kính mỗi lỗ 20 mm;
i) Cốc có mỏ 150 ml;
j) Pipet chuyển, 2 ml;
k) Lực kế có đầu đo đâm thủng theo TCVN 14267:2025 (ISO 23388:2018), Điều 6.5 và một cảm biến để đo lực nén với độ chính xác ± 1 %;
I) Giá đỡ lọ mẫu.
5.3 Cách tiến hành
5.3.1 Điều kiện thử nghiệm
Phép thử phải được thực hiện ở (23 ± 2) °C (chuẩn bị, hóa chất, tiếp xúc với hóa chất, và thử nghiệm đâm thủng).
5.3.2 Các phép đo trước khi thử
Cho hóa chất thử vào cốc có mỏ 150 ml. Sử dụng pipet chuyển, cho khoảng 2 ml hóa chất thử vào một trong các lọ có nắp đậy.
Đặt vách ngăn vào lọ có nắp đậy vòng đệm bằng nhôm, đường kính trong 20 mm. Sử dụng dưỡng cắt (12 ± 1) mm, tạo một lỗ ở chính giữa vách ngăn.
Đặt mẫu găng tay lên trên vách ngăn với bề mặt ngoài của găng tay hướng vuông góc vào trong lọ. Đặt nắp nhôm có mẫu thử lên trên lọ. Đậy kín lọ bằng dụng cụ gấp mép bằng tay và lật ngược lọ để hóa chất thử tiếp xúc với mẫu thử (xem Hình 1). Ghi lại thời gian. Đặt lọ vào giá đỡ mẫu đục lỗ.
CHÚ THÍCH Giá đỡ mẫu đục lỗ có hai mục đích:
a) cho phép không khí lưu thông dưới màng mẫu, và
b) nếu áp suất từ hóa chất thử ép vào mẫu tạo thành hình lồi thì bình vẫn đứng vững.
Lặp lại cách tiến hành như trên cho từng mẫu trong số tám mẫu còn lại sẽ được phơi nhiễm. Tính thời gian cho các thao tác này sao cho quá trình phơi nhiễm trên các mẫu tiếp theo cách nhau ba phút. Khi kết thúc thời gian phơi nhiễm một giờ (± 5 min), kiểm tra từng lọ thử nghiệm để xác nhận mức độ bao phủ hóa chất thử nghiệm trên mẫu thử. Nếu hóa chất không bao phủ mẫu thử, loại bỏ mẫu thử và lặp lại thử nghiệm bằng cách sử dụng lượng hóa chất thử nghiệm nhiều hơn.
Gắn chín mẫu chưa phơi nhiễm vào các lọ còn lại theo cách tương tự, ngoại trừ việc cho hóa chất vào lọ.

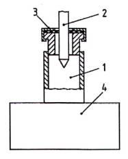
CHÚ DẪN
1 Hóa chất thử
2 Bề mặt ngoài của mẫu thử găng tay tiếp xúc với hóa chất thử, là một vùng hình tròn có đường kính (12,5 ± 0,5) mm
Hình 1 - Vị trí của lọ trong thời gian tiếp xúc giữa mẫu thử và hóa chất thử

CHÚ DẪN
1 lọ 20 ml có nắp đậy
2 đầu đo đâm thủng
3 mẫu thử
4 giá đỡ lọ mẫu (được giữ bằng ngàm của lực kế)
Hình 2 - Vị trí của lọ trong phép thử đâm thủng
5.3.3 Thử đâm thủng
Lắp đầu đo đâm thủng vào cảm biến lực của lực kế. Đặt tốc độ bàn trượt đến 100 mm/min và vặn chặt giá đỡ lọ vào bàn.
Đặt một lọ vào giá đỡ. Đâm thủng mẫu thử và ghi lại lực yêu cầu cực đại (xem Hình 2).
Lặp lại thử nghiệm cho từng mẫu; thử từng mẫu thử được phơi nhiễm một giờ sau khi bắt đầu phơi nhiễm trên mẫu thử đó.
Mẫu thử phải được kiểm tra xem có bất kỳ thay đổi nào về tính chất vật lý trong và sau khi thử (sau khi làm khô). Bất kỳ thay đổi nào như phồng lên, co lại, hóa giòn, hóa cứng, hóa mềm, bong tróc, phân rã, thay đổi màu sắc/phai màu, tách lớp phải được ghi lại và mô tả trong báo cáo thử nghiệm để biết thông tin.
5.3.4 Biểu thị kết quả
Xác định độ suy giảm của từng mẫu trong số ba mẫu găng tay đối với từng hóa chất hoặc hỗn hợp hóa chất cụ thể bằng công thức:
|
| (1) |
Trong đó
| DRx | là độ suy giảm của mẫu găng tay x do tác động của hóa chất thử, tính bằng %; |
| OPx | là lực đâm thủng trung bình trên ba mẫu thử không phơi nhiễm từ mẫu găng tay x; phải cùng đơn vị với RPx; |
| RPx | là lực đâm thủng trung bình trên ba mẫu thử được phơi nhiễm từ mẫu găng tay x; phải cùng đơn vị với OPx. |
Xác định độ suy giảm của vật liệu găng tay trước tác động của hóa chất thử bằng công thức (2) dưới đây:
|
| (2) |
Trong đó
| DR | là độ suy giảm của vật liệu găng tay do tác động của hóa chất thử, tính bằng %: |
| DR1 | là độ suy giảm của mẫu găng tay thứ nhất do tác động của hóa chất thử, tính bằng %: |
| DR2 | là độ suy giảm của mẫu găng tay thứ hai do tác động của hóa chất thử, tính bằng %: |
| DR3 | là độ suy giảm của mẫu găng tay thứ ba do tác động của hóa chất thử, tính bằng %. |
Xác định độ lệch chuẩn (SD) của độ suy giảm đối với ba mẫu găng tay.
6 Báo cáo thử nghiệm
Đối với từng vật liệu làm găng tay bảo vệ được thử nghiệm, báo cáo phải bao gồm các thông tin sau:
a) Tài liệu tham chiếu của nhà sản xuất về găng tay được thử bao gồm vật liệu, loại và số lô.
b) Tên hóa chất thử, độ tinh khiết, nếu ở dạng hỗn hợp thì bao gồm nồng độ và các thành phần khác.
c) Viện dẫn tiêu chuẩn này.
d) Ngày thử nghiệm.
e) Ghi lại DR1, DR2, DR3, DR (xem 5.3.4), phần trăm thay đổi khi đâm thủng vật liệu làm găng tay. Phải ghi lại cả SD.
f) Lớp lót, nếu có, đã được tách ra khỏi mẫu thử chưa.
g) Mọi quan sát về sự thay đổi hình dáng bên ngoài của mẫu thử vật liệu sau khi phơi nhiễm hóa chất. Ví dụ về các quan sát được ghi là phồng lên, co lại, hóa giòn, hóa cứng, hóa mềm, bong tróc, phân rã, thay đổi màu sắc/phai màu và tách lớp.
h) Mọi sai lệch so với tiêu chuẩn này phải được ghi lại.
Phụ lục A
(tham khảo)
Thử nghiệm liên phòng đối với phương pháp thử nghiệm hiện tại
Dữ liệu về độ suy giảm sau đây (xem Bảng A.1 và A.2) thu được trong thử nghiệm đối chiếu liên phòng được thực hiện bởi một số phòng thử nghiệm, sử dụng phương pháp thử được mô tả trong Điều 5.
Bảng A.1 - Kết quả tính theo % thử nghiệm đối chiếu với găng tay cao su tự nhiên (độ dày 0,6 mm)
| Phòng thí nghiệm | Etyl axetat | Heptan | ||
| Giá trị trung bình | Độ lệch chuẩn | Giá trị trung bình | Độ lệch chuẩn | |
| 1 | 43 | 6,8 | 66 | 4,0 |
| 2 | 37 | 10 | 61 | 7,0 |
| 3 | 36 | 5,9 | 47 | 1,6 |
| 4 | 39 | 4,5 | 49 | 2,8 |
| 5 | 40 | 5,3 | 56 | 6,1 |
| 6 | 32 | 2,8 | 51 | 8,1 |
| 7 | - | - | 56 | 2,4 |
| Giá trị trung bình | 37,8 | 5,9 | 55,1 | 4,6 |
Bảng A.2 - Kết quả tính theo % của thử nghiệm dối chiếu với các vật liệu làm găng tay khác
| Phòng thí nghiệm | Axeton | Axit sunfuric | ||||
| Giá trị trung bình của găng tay Nitril | Giá trị trung bình của găng tay PVC | Giá trị trung bình của găng tay Polycloropren | Giá trị trung bình của găng tay Nitril | Giá trị trung bình của găng tay PVC | Giá trị trung bình của găng tay Polycloropren | |
| 1 | 85 | 90 | 65 | 49 | -36 | 3 |
| 2 | 89 | 86 | 63 | 57 | -55 | 6 |
| 3 | 88 | 98 | 60 | 46 | -50 | -6 |
| 4 | 86 | 89 | 60 | 57 | -41 | 5 |
| 5 | 92 | 87 | - | 40 | -31 | - |
| 6 | - | - | - | 62 | - | 13 |
Phụ lục B
(tham khảo)
Thử nghiệm sự thay đổi khối lượng
B.1 Yêu cầu chung
Phương pháp này chỉ dành riêng cho việc đánh giá vật liệu và.không tính đến việc sử dụng thực tế phương tiện bảo vệ cá nhân (PTBVCN). Phụ lục này mô tả một phương pháp thử khác để xác định khả năng chống suy giảm của vật liệu do hóa chất khi tiếp xúc liên tục bằng thử nghiệm thay đổi khối lượng.
B.2 Lấy mẫu
Găng tay phải được điều hòa ở (23 ± 2) °C trong ít nhất 24 h. Mẫu thử phải được lấy từ ba chiếc găng tay. Đặt găng tay phẳng trên một bề mặt và đo (60 ± 2) mm tính từ đầu ngón tay. Các mẫu thử phải được cắt từ cùng một ngón tay trên mỗi chiếc găng tay.
B.3 Thiết bị, dụng cụ
B.3.1 Cân phân tích, có độ chính xác đến 0,001 g, dùng để xác định khối lượng.
B.3.2 Cốc có mỏ, ví dụ: cốc có mỏ bằng thủy tinh 50 ml hoặc dụng cụ chứa khác (độ sâu ít nhất 5,1 cm).
B.3.3 Thiết bị đo thời gian, đồng hồ bấm giờ hoặc các thiết bị đo thời gian khác.
B.3.4 Ống nghiệm có vật nặng hoặc dụng cụ khác để giữ mẫu thẳng đứng trong cốc có mỏ.
B.3.5 Đĩa cân có nắp đậy, dùng để giữ mẫu trong quá trình cân.
B.4 Cách tiến hành
B.4.1 Phép đo
Cân khối lượng ban đầu của từng mẫu thử ngón tay, chính xác đến 0,001 g.
B.4.2 Điều kiện thử nghiệm
Thử nghiệm phải được tiến hành ở (23 ± 2) °C (chuẩn bị, hóa chất và tiếp xúc với hóa chất).
B.4.3 Cách tiến hành
Bắt đầu tính thời gian và nhúng mẫu thử ngón tay vào cốc có mỏ chứa hóa chất thử. ống nghiệm có vật nặng sẽ giữ mẫu thẳng đứng trong cốc có mỏ. Đổ đầy hóa chất thử vào cốc đến độ sâu (42 ± 2) mm (xem Hình B.1). Lượng hóa chất thử phải được điều chỉnh trong quá trình thử để giữ cho cốc chứa đầy đến mức vạch dấu. Nhiều mẫu ngón tay có thể được bắt đầu cách nhau khoảng 1 min để có thời gian cân mẫu.
Kích thước tính bằng milimét

Hình B.1 - Bố trí điển hình của thiết bị thử sự thay đổi khối lượng
Sau 60 min (± 5 min) phơi nhiễm, lấy mẫu thử ngón tay ra khỏi hóa chất, lau khô nhẹ bằng khăn sạch để loại bỏ chất lỏng trên bề mặt, đặt vào đĩa cân có nắp đậy và ghi lại khối lượng mẫu thử với độ chính xác làm tròn đến 0,001 g. Việc cân mẫu thử ngón tay phải được thực hiện càng nhanh càng tốt sau 60 min tiếp xúc với hóa chất.
Mẫu thử ngón tay phải được kiểm tra xem có bất kỳ thay đổi nào về tính chất vật lý trong và sau khi thử (sau khi làm khô). Bất kỳ thay đổi nào như phồng lên, co lại, hóa giòn, hóa cứng, hóa mềm, bong tróc, phân hủy, thay đổi màu sắc/phai màu, tách lớp phải được ghi lại và mô tả trong báo cáo thử nghiệm.
B.4.4 Tính toán
Tính phần trăm thay đổi khối lượng dựa trên khối lượng ban đầu. Sự thay đổi khối lượng có thể dương (tăng) hoặc âm (giảm). Tính sự thay đổi khối lượng giữa mẫu thử ban đầu và khối lượng mẫu thử sau 60 min phơi nhiễm. Chia chênh lệch này cho khối lượng ban đầu và nhân với 100 để có phần trăm thay đổi khối lượng.
Xác định giá trị trung bình của phần trăm thay đổi khối lượng của ba mẫu thử. Đồng thời xác định độ lệch chuẩn (SD) của phần trăm thay đổi khối lượng đối với ba mẫu thử.
B.4.5 Biểu thị kết quả
Kết quả thay đổi khối lượng và SD được biểu thị bằng phần trăm.
B.5 Báo cáo thử nghiệm
Đối với mỗi vật liệu làm găng tay bảo vệ được thử, báo cáo phải bao gồm các thông tin sau:
a) Tài liệu tham chiếu của nhà sản xuất về găng tay được thử bao gồm vật liệu, loại và số lô.
b) Tên hóa chất thử, nếu ở dạng hỗn hợp thì ghi rõ nồng độ và các thành phần khác.
c) Viện dẫn tiêu chuẩn này.
d) Phần trăm thay đổi khối lượng của từng mẫu thử và giá trị trung bình và SD.
e) Ngày thử nghiệm.
f) Mọi quan sát về sự thay đổi hình dáng bên ngoài của mẫu thử vật liệu sau khi phơi nhiễm hóa chất. Ví dụ về các quan sát được ghi là phồng lên, co lại, hóa giòn, hóa cứng, hóa mềm, bong tróc, phân rã, thay đổi màu sắc/phai màu và tách lớp.
g) Mọi sai lệch so với tiêu chuẩn này phải được ghi lại.
Bạn chưa Đăng nhập thành viên.
Đây là tiện ích dành cho tài khoản thành viên. Vui lòng Đăng nhập để xem chi tiết. Nếu chưa có tài khoản, vui lòng Đăng ký tại đây!