- Tổng quan
- Nội dung
- Tiêu chuẩn liên quan
- Lược đồ
- Tải về
Tiêu chuẩn TCVN 14131-2:2024 Sản phẩm chịu lửa - Xác định kích thước và khuyết tật ngoại quan của gạch chịu lửa
| Số hiệu: | TCVN 14131-2:2024 | Loại văn bản: | Tiêu chuẩn Việt Nam |
| Cơ quan ban hành: | Bộ Khoa học và Công nghệ | Lĩnh vực: | Xây dựng , Công nghiệp |
| Trích yếu: | ISO 12678-2:1996 Sản phẩm chịu lửa - Xác định kích thước và khuyết tật ngoại quan của gạch chịu lửa - Phần 2: Các khuyết tật góc, cạnh và khuyết tật trên bề mặt khác | ||
|
Ngày ban hành:
Ngày ban hành là ngày, tháng, năm văn bản được thông qua hoặc ký ban hành.
|
31/12/2024 |
Hiệu lực:
|
Đã biết
|
| Người ký: | Đang cập nhật |
Tình trạng hiệu lực:
Cho biết trạng thái hiệu lực của văn bản đang tra cứu: Chưa áp dụng, Còn hiệu lực, Hết hiệu lực, Hết hiệu lực 1 phần; Đã sửa đổi, Đính chính hay Không còn phù hợp,...
|
Đã biết
|
TÓM TẮT TIÊU CHUẨN VIỆT NAM TCVN 14131-2:2024
Tiêu chuẩn quốc gia TCVN 14131-2:2024 quy định về khuyết tật của gạch chịu lửa
Ngày 31/12/2024, Bộ Xây dựng đã ban hành tiêu chuẩn TCVN 14131-2:2024 về xác định kích thước và khuyết tật ngoại quan của gạch chịu lửa, dựa trên tiêu chuẩn quốc tế ISO 12678-2:1996. Tiêu chuẩn này có hiệu lực ngay lập tức.
Tiêu chuẩn TCVN 14131-2:2024 áp dụng cho gạch chịu lửa, đặc biệt chú trọng vào việc xác định kích thước và các khuyết tật như góc, cạnh và bề mặt. Nó không quy định tiêu chí nghiệm thu sản phẩm nhưng hướng dẫn cách thức kiểm tra và đo đạc khuyết tật cho các loại gạch đáp ứng tiêu chuẩn quốc gia liên quan.
Mục đích và Phạm vi
Tiêu chuẩn này mô tả các phương pháp và dụng cụ đơn giản để đo kích thước gạch chịu lửa cũng như kiểm tra sự phù hợp với bản vẽ sản phẩm. Nó áp dụng cho các gạch có dạng quy định trong TCVN 8253 và TCVN 9033.
Các loại khuyết tật
Tiêu chuẩn xác định nhiều loại khuyết tật của gạch chịu lửa:
- Khuyết tật góc: Bao gồm các vết sứt ở góc gạch với sự đo đạc ba kích thước cụ thể.
- Khuyết tật cạnh: Đo độ dài và chiều sâu của các vết sứt ở cạnh gạch.
- Rỗ bề mặt: Các lỗ trên bề mặt gạch được đo đường kính và độ sâu.
- Vết nứt: Chia thành nhiều loại như vết nứt tóc, rạn bề mặt và vết nứt hở, với từng phương pháp đo cụ thể.
- Vết lồi và lõm: Các khuyết tật có thể xảy ra trong quá trình sản xuất gạch.
Thiết bị và Dụng cụ
Tất cả các dụng cụ đo phải được hiệu chuẩn chính xác. Tiêu chuẩn yêu cầu sử dụng các thiết bị như thước lá thép, thước cặp, và các loại nêm đo để đảm bảo kết quả đạt độ chính xác cao.
Quy trình đo đạc
Tiêu chuẩn hướng dẫn từng bước cụ thể trong quá trình đo đạc các khuyết tật, từ việc chuẩn bị mẫu gạch cho tới cách thức sử dụng các dụng cụ đo. Các kích thước cần được ghi nhận chính xác, kèm theo biên bản thử nghiệm.
Báo cáo kết quả
Khi hoàn tất thử nghiệm, các thông tin cần thiết sẽ được đưa vào báo cáo, bao gồm tên đơn vị thử nghiệm, thông tin về gạch thử nghiệm, và kết quả đo đạc.
Với những quy định này, tiêu chuẩn TCVN 14131-2:2024 sẽ giúp các nhà sản xuất kiểm soát chất lượng gạch chịu lửa và đảm bảo tính nhất quán của sản phẩm.
Tải tiêu chuẩn Việt Nam TCVN 14131-2:2024
TIÊU CHUẨN QUỐC GIA
TCVN 14131-2:2024
ISO 12678-2:1996
SẢN PHẨM CHỊU LỬA - XÁC ĐỊNH KÍCH THƯỚC VÀ KHUYẾT TẬT NGOẠI QUAN CỦA GẠCH CHỊU LỬA - PHẦN 2: CÁC KHUYẾT TẬT GÓC, CẠNH VÀ KHUYẾT TẬT TRÊN BỀ MẶT KHÁC
Refractory products - Measurement of dimensions and external defects of refractory bricks - Part 2: Corner and edge defects and other surface imperfections
Lời nói đầu
TCVN 14131-2:2024 hoàn toàn tương đương với ISO 12678-2:1996
TCVN 14131-2:2024 do Viện Vật liệu xây dựng - Bộ Xây dựng biên soạn, Bộ Xây dựng đề nghị, Tổng cục Tiêu chuẩn Đo lường Chất lượng thẩm định, Bộ Khoa học và Công nghệ công bố.
Bộ tiêu chuẩn TCVN 14131 (ISO 12678) Sản phẩm chịu lửa - Xác định kích thước và khuyết tật ngoại quan của gạch chịu lửa gồm các tiêu chuẩn sau:
- TCVN 14131-1 (ISO 12678-1:1996) Phần 1: Kích thước và sự phù hợp với bản vẽ;
- TCVN 14131-2 (ISO 12678-2:1996) Phần 2: Các khuyết tật góc, cạnh và khuyết tật trên bề mặt khác.
SẢN PHẨM CHỊU LỬA - XÁC ĐỊNH KÍCH THƯỚC VÀ KHUYẾT TẬT NGOẠI QUAN CỦA GẠCH CHỊU LỬA - PHẦN 2: CÁC KHUYẾT TẬT GÓC, CẠNH VÀ KHUYẾT TẬT TRÊN BỀ MẶT KHÁC
Refractory products - Measurement of dimensions and external defects of refractory bricks - Part 2: Corner and edge defects and other surface imperfections
1 Phạm vi áp dụng
Tiêu chuẩn này mô tả các dụng cụ và quy định các phương pháp đơn giản để xác định kích thước thông thường của gạch chịu lửa. Tiêu chuẩn này cũng quy định các phương pháp kiểm tra sự phù hợp với bản vẽ theo từng dạng sản phẩm, xác định độ lồi, lõm, độ lệch góc. Tiêu chuẩn không đưa ra tiêu chí cho việc nghiệm thu, đánh giá gạch chịu lửa.
Tiêu chuẩn này chỉ áp dụng cho các loại gạch có dạng theo TCVN 8253 (ISO 5019-6), TCVN 9033 (ISO 5417) và từ ISO 5019-1 đến ISO 5019-5, trừ khi có thỏa thuận khác.
2 Tài liệu viện dẫn
Các tài liệu viện dẫn sau là cần thiết khi áp dụng tiêu chuẩn này. Đối với tài liệu ghi năm công bố thì áp dụng bản được nêu. Đối với các tài liệu viện dẫn không ghi năm công bố thì áp dụng phiên bản mới nhất, bao gồm cả các sửa đổi, bổ sung (nếu có).
TCVN 8253 (ISO 5019-6:1984), Gạch kiềm tính cho lò thổi ôxy và lò điện hồ quang luyện thép - Hình dạng và kích thước.
TCVN 9033 (ISO 5417:1986), Gạch chịu lửa cho lò quay - Kích thước cơ bản.
ISO 5019-1, Refractory bricks - Dimensions - Part 1: Rectangular bricks (Gạch chịu lửa - Kích thước - Phần 1: Gạch côn).
ISO 5019-2, Refractory bricks - Dimensions - Part 2: Arch bricks (Gạch chịu lửa - Kích thước - Phần 2: Gạch vòm).
ISO 5019-3, Refractory bricks - Dimensions - Part 3: Rectangular checker bricks for regenerative furnaces (Gạch chịu lửa - Kích thước - Phần 3: Phần 3: Gạch côn ô rỗng cho buồng hồi nhiệt).
ISO 5019-4, Refractory bricks - Dimensions - Part 4: Rectangular bricks for electric arc furnace roofs (Gạch chịu lửa - Kích thước - Phần 4: Gạch côn cho nắp lò hồ quang điện).
ISO 5019-5, Refractory bricks - Dimensions - Part 5: Skewbacks (Gạch chịu lửa - Kích thước - Phần 5: Gạch chân vòm).
3 Thuật ngữ và định nghĩa
Trong tiêu chuẩn này sử dụng các thuật ngữ và định nghĩa sau:
3.1
Khuyết tật góc (Corner defect)
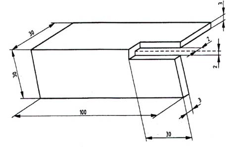
Vết sứt góc được xác định bằng ba kích thước a, b và c như trong Hình 1.

CHÚ DẪN:
a, b và c: Ba kích thước xác định khuyết tật góc.
Hình 1 - Khuyết tật góc điển hình
3.2
Khuyết tật cạnh (edge defect)
Vết sứt cạnh được xác định bằng ba kích thước e, f và g như trong Hình 2.

CHÚ DẪN:
e, f, và g: Ba kích thước xác định khuyết tật cạnh.
Hình 2 - Khuyết tật cạnh điển hình
3.3
Rỗ bề mặt (Crater)
Các lỗ hiện rõ trên bề mặt gạch chịu lửa được xác định bằng đường kính lớn nhất, đường kính nhỏ nhất và chiều sâu có thể đo được bằng các dụng cụ trong Điều 4.
3.4
Vết nứt (Cracks), bao gồm:
3.4.1 Vết nứt tóc (Hairline cracks)
Những vết nứt nhìn thấy trên bề mặt gạch chịu lửa mà kích thước chiều dài có thể đo được và chiều rộng nhỏ hơn hoặc bằng 0,2 mm.
3.4.2 Rạn bề mặt (Surface crazing)
Mạng lưới các vết nứt tóc trên bề mặt gạch chịu lửa.
3.4.3 Vết nứt hở (Open cracks)
Những vết nứt trên bề mặt mà chiều dài lớn hơn 10 mm và chiều rộng hơn 0,2 mm.
CHÚ THÍCH 1: Các loại vết nứt có thể xuất hiện ở trên được nêu tại Hình 3.

CHÚ DẪN:
1 Vết nứt tóc
2 Rạn bề mặt
3 Vết nứt hở
Hình 3 - Các vết nứt điển hình
3.5 Vết lồi và vết lõm (Protrusions and indentations)
Những khuyết tật có thể xuất hiện trong quá trình tạo hình hoặc nung gạch chịu lửa.
3.6 Ba via (Fins)
Viền vật liệu mỏng trên bề mặt sản phẩm nhô khỏi cạnh.
4 Thiết bị, dụng cụ
4.1 Quy định chung
Tất cả các dụng cụ, thiết bị đo phải được hiệu chuẩn hoặc được cấp chứng nhận về tính chính xác của kết quả đo. Độ chính xác của dụng cụ đo chiều dài (4.2) phải được kiểm tra thường xuyên theo thước chuẩn quốc gia
4.2 Dụng cụ đo chiều dài, (thước lá thép chia vạch theo milimét, thước cặp) phù hợp với dung sai yêu cầu và phù hợp với độ chính bằng một nửa độ chính xác yêu cầu của phép đo.
CHÚ THÍCH 2: Thước lá thép có độ chính xác tới 1 mm (có thể tới 0,5 mm) trong khi thước cặp có độ chính xác tới 0,1 mm. Nên dùng thước cặp để đo đoạn thẳng khi độ chính xác yêu cầu nhỏ ho,n 1 mm.
4.3 Thanh thép thẳng
Dày ít nhất 5 mm và đủ dài để đo được đường chéo lớn nhất.
4.4 Hai nêm đo bằng thép, có thể là:
a) Loại 1, dài ít nhất 50 mm và một đầu phẳng dày 10 mm, dài ít nhất 10 mm và vát chéo đến “0” mm ở đầu kia (xem Hình 4a); hoặc
b) Loại 2, dài 160 mm vát từ 4 mm đến “0” mm (xem Hình 4b).
Mỗi nêm được chia vạch và đánh số trên mặt dốc để biểu thị độ dày tính từ đáy nêm, với bước vạch chia độ dốc là 0,5 mm (Loại 1) hoặc 0,1 mm (Loại 2).
Kích thước tính bằng milimét

a) Loại 1

b) Loại 2
Hình 4 - Hai loại nêm
Nêm đo được sử dụng cùng thước thép thẳng để xác định chiều cao của vết lồi (Điều 10)
4.5 Bộ căn lá thép (hoặc lưới đo khe hở) với kích cỡ thích hợp và chính xác thường được dùng để đo độ rộng của vết nứt.
4.6 Thước đo độ sâu
Được hiệu chuẩn đến milimét chiều sâu, có một đầu dò đường kính 3 mm.
4.7 Thước căn vết sứt
Dụng cụ có khe hở 2 mm trên cả hai bề mặt theo mô tả ở Hình 5 để đo các kích thước khuyết tật góc và cạnh nhỏ nhất, cần dùng một thước căn vết sứt cùng một thanh thước thẳng (4.3) để đo khuyết tật góc (Điều 6). Cần dùng hai thước căn vết sứt cùng một thước lá thép để đo khuyết tật cạnh (Điều 7).
CHÚ THÍCH 3: Thước căn vết sứt cho phép xác định chính xác điểm bắt đầu đo kích thước vết sứt.
Kích thước tính bằng milimét

Hình 5 - Thước căn vết sứt
5 Chuẩn bị mẫu gạch chịu lửa
Cải thiện bề mặt và cạnh của gạch, nếu cần, bằng cách loại bỏ những chỗ nhô ra như ba via, chỗ phồng rộp và lớp cát. Có thể dùng giấy giáp cọ đi.
Tại những chỗ đổi mầu, ví dụ gây ra bởi ôxýt sắt, phải kiểm tra vết nứt âm. Để kiểm tra những vết nứt âm có thể xuất hiện trong trường hợp này, dùng búa thép nặng 100 g có bề mặt phẳng gõ nhẹ lên vùng đổi màu hai hoặc ba cái. Bất kỳ vết nứt nào được phát hiện trong trường hợp này phải được đo đạc và báo cáo theo Điều 8.
CHÚ THÍCH 4: Không nên cải thiện bề mặt gạch nếu những vết lồi ở bề mặt có thể đo đạc được như mô tả trong Điều 10.
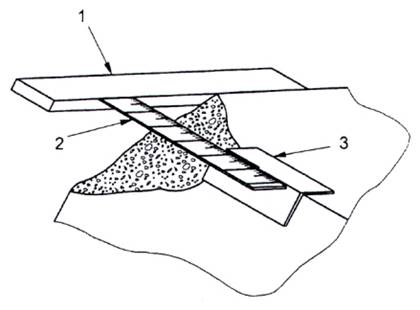
6 Đo khuyết tật góc
Đo các kích thước a, b và c của khuyết tật góc (Hình 1), bằng một thanh thép thẳng (4.3), một thước căn vết sứt (4.7) và một thước lá thép (4.2) như chỉ ra trong Hình 6. Thước căn vết sứt phải được đặt dọc theo cạnh cần đo sao cho mép của khe hở trùng với góc bị vỡ trên ít nhất một bề mặt, như trong Hình 7. Các kích thước a, b và c được đo giữa thanh thép thẳng và đỉnh khe hờ của thước căn vết sứt, độ chính xác đến milimét.

CHÚ DẪN:
1 Thanh thép thẳng
2 Thước lá thép
3 Thước căn vết sứt
Hình 6 - Đo khuyết tật góc

Hình 7 - Vị trí đặt thước đo khuyết tật sứt, vỡ
7 Đo khuyết tật cạnh
Đo chiều dài, g, của khuyết tật cạnh (Hình 2) bằng hai thước căn vết sứt (4.7) và một thước lá thép (4.2), như chỉ ra trong Hình 8. Đo độ sâu của khuyết tật cạnh kí hiệu là e và f (Hình 2) sử dụng một thanh thép thẳng (4.3) và thước lá thép. Đo kích thước với độ chính xác đến milimét.

CHÚ DẪN:
1 Dụng cụ đo khuyết tật sứt vỡ
2 Thước thép
Hình 8 - Đo độ dài của khuyết tật cạnh
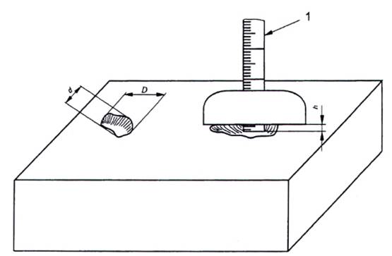
8 Đo rỗ bề mặt
Đo đường kính lớn nhất (D) và nhỏ nhất (d) của một lỗ rỗ bề mặt bằng cách sử dụng thước lá thép (4.2) như trong Hình 9. Đường kính biểu kiến lỗ rỗ bề mặt, tính công thức sau:
![]()
Chiều sâu h tính bằng milimét (mm), của một lỗ rỗ bề mặt được đo bằng cách sử dụng thước đo độ sâu (4.6) như trong Hình 9.
Đo các kích thước đến độ chính xác milimét.

CHÚ DẪN:
1 Thước đo độ sâu, đầu dò đường kính 0 3 mm
D Đường kính lớn nhất của lỗ rỗ bề mặt
d Đường kính nhỏ nhất của lỗ rỗ bề mặt
h Độ sâu của lỗ rỗ bề mặt
Hình 9 - Đo kích thước của lỗ rỗ bề mặt
9 Đo vết nứt
Đo chiều dài của vết nứt bao gồm một hoặc nhiều đoạn thẳng bằng thước lá thép (4.2). Nếu vết nứt vẫn tiếp tục kéo dài sang bề mặt khác, chiều dài của vết nứt bằng tổng các chiều dài của vết nứt trên mỗi bề mặt.
Đo chiều rộng của vết nứt bằng thước lá thép (4.2) hoặc bộ căn lá thép (4.5).
Đo diện tích của vùng rạn bề mặt (3.4.2) tính bằng centimét vuông (cm2).
Đo kích thước của vết nứt với độ chính xác theo Bảng 1.
Bảng 1 - Độ chính xác của phép đo
Kích thước tính bằng milimét
| Phép đo | Độ chính xác của phép đo | |
| Độ dài của vết nứt | 1 | |
| Chiều rộng của vết nứt hở | > 0,2 ≤ 1 | 0,2 |
| > 1 | 0,5 | |
10 Đo vết lồi và vết lõm
Đo chiều cao của vết lồi từ bề mặt mẫu bằng thanh thép thẳng (4.3) và các nêm (4.4), độ chính xác đến 0,5 mm. Đặt thước thẳng song song với bề mặt, tiếp xúc với vết lồi và điều chỉnh nêm để hiển thị các giá trị bằng nhau trên mỗi nêm, như trong Hình 10.
Đo vết lõm cũng sử dụng phương pháp tương tự như đo rỗ bề mặt (Điều 8).

CHÚ DẪN:
1 Chiều cao
2 Nêm đo vết lồi
3 Thanh thép thẳng
4 Nêm đo vết lồi
Hình 10 - Đo chiều cao của vết lồi
11 Đo ba Via
Đo chiều cao của ba via chính xác đến milimét (mm), cũng sử dụng phương pháp như đo độ lồi (Điều 10), hoặc dùng thước đo độ sâu (4.6) hoặc thước lá thép (4.2).
12 Báo cáo thử nghiệm
Bản báo cáo kết quả phải bao gồm ít nhất những thông tin sau:
a) tên đơn vị thí nghiệm;
b) địa điểm và ngày thử nghiệm;
c) viện dẫn tiêu chuẩn này;
d) thông tin của gạch được thử nghiệm (nhà sản xuất, hình dạng và kích thước, chất lượng);
e) số lô và kích thước mẫu (số lượng mẫu);
f) các đặc tính thử nghiệm;
g) kết quả thử nghiệm;
h) ký ghi rõ họ tên người thử nghiệm.
Bạn chưa Đăng nhập thành viên.
Đây là tiện ích dành cho tài khoản thành viên. Vui lòng Đăng nhập để xem chi tiết. Nếu chưa có tài khoản, vui lòng Đăng ký tại đây!