- Tổng quan
- Nội dung
- Tiêu chuẩn liên quan
- Lược đồ
- Tải về
Tiêu chuẩn quốc gia TCVN 13469-1:2022 Hiệu quả năng lượng của tòa nhà - Phần 1: Khung tổng quát và các quy trình
| Số hiệu: | TCVN 13469-1:2022 | Loại văn bản: | Tiêu chuẩn Việt Nam |
| Cơ quan ban hành: | Bộ Khoa học và Công nghệ | Lĩnh vực: | Xây dựng |
|
Ngày ban hành:
Ngày ban hành là ngày, tháng, năm văn bản được thông qua hoặc ký ban hành.
|
24/05/2022 |
Hiệu lực:
|
Đã biết
|
| Người ký: | Đang cập nhật |
Tình trạng hiệu lực:
Cho biết trạng thái hiệu lực của văn bản đang tra cứu: Chưa áp dụng, Còn hiệu lực, Hết hiệu lực, Hết hiệu lực 1 phần; Đã sửa đổi, Đính chính hay Không còn phù hợp,...
|
Đã biết
|
TÓM TẮT TIÊU CHUẨN VIỆT NAM TCVN 13469-1:2022
Tiêu chuẩn quốc gia TCVN 13469-1:2022: Khung tổng quát đánh giá hiệu quả năng lượng tổng thể của tòa nhà
Tiêu chuẩn quốc gia TCVN 13469-1:2022 tương đương với ISO 52000-1:2017, được ban hành bởi Viện Khoa học Công nghệ Xây dựng vào ngày 25/04/2022 và có hiệu lực thi hành từ ngày 10/05/2022. Tiêu chuẩn này liên quan đến việc đánh giá hiệu quả năng lượng của các tòa nhà, bao gồm cả những tòa nhà mới xây dựng và những tòa nhà hiện tại.
Chủ yếu, tiêu chuẩn này nhằm thiết lập một khung tổng quát và các quy trình đánh giá hiệu quả năng lượng tổng thể của các tòa nhà. Tiêu chuẩn bao gồm nhiều khía cạnh như thuật ngữ và định nghĩa, ký hiệu, phương pháp luận đánh giá, và quy trình tính toán hiệu quả năng lượng.
Một phần quan trọng của TCVN 13469-1 là quy định về chỉ số hiệu quả năng lượng. Tiêu chuẩn này yêu cầu các bên liên quan từ kiến trúc sư đến nhà quản lý phải tuân thủ một số chỉ số như chỉ số năng lượng sơ cấp, chỉ số phát thải khí nhà kính, và chỉ số chi phí. Điều này sẽ giúp đạt được mục tiêu sử dụng năng lượng hiệu quả và bền vững.
TCVN 13469-1 đã xác định rõ ràng phạm vi áp dụng với các tòa nhà khác nhau và điều kiện dùng trong thiết kế, xây dựng và vận hành. Nó quy định cách đo lường và tính toán hiệu quả năng lượng từ đó đưa ra các chỉ số so sánh. Theo quy định, hiệu quả năng lượng phải được tính toán dựa trên dữ liệu đầu vào từ thiết kế, điều kiện vận hành và dữ liệu khí hậu bên ngoài.
Tiêu chuẩn này cũng quy định cách thức phân loại không gian bên trong tòa nhà nhằm phục vụ cho việc đánh giá chính xác hơn. Các không gian được phân loại theo công năng sử dụng để dễ dàng xác định các yêu cầu về hiệu quả năng lượng cụ thể cho từng loại không gian.
Trong phần khung tổng quát, tiêu chuẩn đề cập đến các quy tắc kết hợp các không gian khác nhau thành các vùng ứng với các hệ thống kỹ thuật hỗ trợ như hệ thống sưởi ấm, làm mát, chiếu sáng, và thông gió. Các yếu tố như diện tích sàn sử dụng và thể tích không khí cũng được đưa vào đánh giá để đảm bảo tính công bằng trong so sánh hiệu quả năng lượng giữa các tòa nhà.
TCVN 13469-1:2022 cũng đưa ra nhiều quy định về quản lý và tự động hóa trong tòa nhà, tạo điều kiện cho việc tiết kiệm năng lượng bằng công nghệ hiện đại. Các công nghệ này không chỉ giúp quản lý việc sử dụng năng lượng mà còn cung cấp môi trường sống thân thiện hơn cho người sử dụng.
Cuối cùng, tiêu chuẩn này nhấn mạnh tầm quan trọng của năng lượng tái tạo trong việc giảm thiểu tác động đến môi trường và cải thiện hiệu quả năng lượng tổng thể của tòa nhà. Điều này đặc biệt quan trọng trong bối cảnh hiện nay khi các nước ngày càng tập trung vào phát triển kinh tế bền vững và giảm lượng khí thải carbon.
Tải tiêu chuẩn Việt Nam TCVN 13469-1:2022
TIÊU CHUẨN QUỐC GIA
TCVN 13469-1:2022
ISO 52000-1:2017
HIỆU QUẢ NĂNG LƯỢNG CỦA TÒA NHÀ - ĐÁNH GIÁ HIỆU QUẢ NĂNG LƯỢNG TỔNG THỂ CỦA TÒA NHÀ - PHẦN 1: KHUNG TỔNG QUÁT VÀ CÁC QUY TRÌNH
Energy performance of buildings - Overarching EPB assessment - Part 1: General framework and procedures
MỤC LỤC
Lời nói đầu
Lời giới thiệu
1 Phạm vi áp dụng
2 Tài liệu viện dẫn
3 Thuật ngữ và định nghĩa
4 Ký hiệu, các chỉ số dưới và thuật ngữ viết tắt
4.1 Ký hiệu
4.2 Chỉ số dưới
4.3 Thuật ngữ viết tắt
5 Mô tả khung tổng quát và các quy trình
5.1 Đầu ra của phương pháp
5.2 Mô tả tổng quát các quy trình và định tuyến
5.3 Tiêu chí lựa chọn giữa các phương pháp
6 Các bước chuẩn bị tổng quát
6.1 Tổng quát
6.2 Danh sách các loại và phân loại
6.2.1 Loại đối tượng
6.2.2 Phân loại tòa nhà và không gian
6.2.3 Loại hình ứng dụng
6.2.4 Loại hình đánh giá
6.2.5 Dịch vụ tòa nhà
6.3 Xác định loại và phân loại cho một trường hợp cụ thể
6.3.1 Tổng quát
6.3.2 Dữ liệu đầu ra
7 Hiệu quả năng lượng tính toán của tòa nhà.
7.1 Dữ liệu đầu ra
7.2 Khoảng thời gian tính toán và kỳ tính toán
7.2.1 Khoảng thời gian tính toán
7.2.2 Kỳ tính toán
7.3 Dữ liệu đầu vào
7.3.1 Dữ liệu sản phẩm
7.3.2 Dữ liệu thiết kế hệ thống
7.3.3 Dữ liệu điều kiện vận hành
7.4 Mô tả quy trình tính toán
8 Hiệu quả năng lượng tổng thể đo lường và so sánh với tính toán
8.1 Tổng quát
8.2 Đầu ra của phương pháp
8.3 Khoảng thời gian đo lường và kỳ đo lường
8.4 Dữ liệu đầu vào
8.5 Quy trình đo lường
8.6 Tính toán hiệu quả năng lượng dựa trên năng lượng đo lường
8.7 So sánh giữa hiệu quả năng lượng tính toán và hiệu quả năng lượng đo lường
8.8 Báo cáo hiệu quả năng lượng đo lường
9 Đánh giá tổng thể hiệu quả năng lượng của tòa nhà...
9.1 Phân loại tòa nhà và/hoặc không gian
9.2 Tổ hợp các dịch vụ tòa nhà bao gồm trong hiệu quả năng lượng của tòa nhà trong từng không gian
9.3 Diện tích sàn sử dụng và thể tích không khí
9.4 Chuẩn hóa kích thước tòa nhà
9.4.1 Kích thước tham chiếu
9.4.2 Chuẩn hóa
9.4.3 Diện tích sàn tham chiếu
9.5 Ranh giới và đường bao ranh giới đánh giá
9.5.1 Nguyên tắc chung
9.5.2 Ranh giới đánh giá cho nhiều tòa nhà
9.6 Hiệu quả năng lượng tổng thể
9.6.1 Cân bằng năng lượng tổng thể theo trọng số
9.6.2 Chỉ số năng lượng sơ cấp
9.6.3 Chỉ số phát thải khí nhà kính
9.6.4 Chỉ số trọng số bổ sung
9.6.5 Chỉ số chi phí
9.6.6 Chỉ số trọng số cho năng lượng xuất đi
9.6.7 Dòng năng lượng
9.7 Phần đóng góp của năng lượng tái tạo
9.8 Chỉ số hiệu quả năng lượng cho hệ thống kỹ thuật tòa nhà
9.9 Phương pháp tính toán chỉ số hiệu quả năng lượng cho mỗi phần của một tòa nhà và/hoặc dịch vụ
10 Phần vùng tòa nhà
10.1 Tổng quát
10.2 Vùng nhiệt và khu vực phục vụ
10.3 Không gian
10.4 Quy tắc phân vùng
10.4.1 Nguyên tắc
10.4.2 Tiêu chí phân vùng cụ thể
10.5 Quy tắc gán dữ liệu
10.5.1 Phân chia
10.5.2 Tái tổ hợp
10.6 Quy trình phân vùng
11 Tính toán hiệu quả năng lượng, định tuyến và cân bằng nhiệt
11.1 Tổng quát
11.2 Quy trình tính toán tổng thể (các bước)
11.3 Nguyên tắc tính toán thu hồi và tổn thất
11.3.1 Tổng quát
11.3.2 Phương pháp tiếp cận chi tiết
11.3.3 Phương pháp tiếp cận đơn giản hóa
11.4 Ảnh hưởng của tự động hóa và kiểm soát tòa nhà (BAC) và quản lý kỹ thuật tòa nhà (TBM)
11.5 Dữ liệu khí hậu và môi trường bên ngoài
11.6 Hiệu quả năng lượng tổng thể
11.6.1 Tổng quát
11.6.2 Năng lượng điện và các chất mang năng lượng khác được xuất đi
11.6.3 Chất mang năng lượng mà không có xuất năng lượng đi
11.6.4 Nhiệt xuất đi được sản xuất tại chỗ và không bao gồm trong việc sử dụng nhiệt của tòa nhà...
12 Đầu ra tổng thể chung
12.1 Tổng quát
12.2 Tổng quan dạng bảng năng lượng trên mỗi chất mang năng lượng và dịch vụ năng lượng
Phụ lục A (Quy định) Bảng dữ liệu đầu vào và lựa chọn phương pháp - Bản mẫu
Phụ lục B (Tham khảo) Bảng dữ liệu đầu vào và lựa chọn phương pháp - Lựa chọn mặc định
Phụ lục C (Quy định) Chỉ số dưới chung
Phụ lục D (Tham khảo) Tính toán hiệu quả năng lượng đo lường
Phụ lục E (Quy định) Phương pháp tính toán các chỉ số hiệu quả năng lượng cho mỗi phần của một tòa nhà và/hoặc dịch vụ
Phụ lục F (Tham khảo) Thuật ngữ theo thứ tự ABC
Phụ lục G (Tham khảo) Chỉ số liên quan đến lưới điện
Phụ lục H (Tham khảo) Đề xuất các chỉ số để đánh giá tòa nhà năng lượng gần bằng không (NZEB)
Thư mục tài liệu tham khảo
Lời nói đầu
TCVN 13469-1:2022 hoàn toàn tương đương với ISO 52000-1:2017.
TCVN 13469-1:2022 do Viện Khoa học Công nghệ Xây dựng biên soạn, Bộ Xây dựng đề nghị, Tổng cục Tiêu chuẩn Đo lường Chất lượng thẩm định, Bộ Khoa học và Công nghệ công bố.
Bộ tiêu chuẩn TCVN 13469 (ISO 52000) Hiệu quả năng lượng của tòa nhà - Đánh giá hiệu quả năng lượng tổng thể của tòa nhà gồm hai phần:
- TCVN 13469-1:2022 (ISO 52000-1:2017), Phần 1: Khung tổng quát và các quy trình
- TCVN 13469-2:2022 (ISO/TR 52000-2:2017), Phần 2: Giải thích và minh chứng cho TCVN 13469-1 (ISO 52000-1)
Lời giới thiệu
Tiêu chuẩn này là một phần trong các tiêu chuẩn nhằm mục đích hài hòa quốc tế phương pháp luận đánh giá hiệu quả năng lượng của các tòa nhà. Các tiêu chuẩn này được gọi là bộ tiêu chuẩn hiệu quả năng lượng của tòa nhà.
Tất cả các tiêu chuẩn hiệu quả năng lượng của tòa nhà (EPB) tuân theo các quy tắc cụ thể để đảm bảo tính nhất quán tổng thể, rõ ràng và minh bạch.
Tất cả các tiêu chuẩn EPB có tính linh hoạt đối với các phương pháp, dữ liệu đầu vào yêu cầu và tham chiếu các tiêu chuẩn EPB khác bằng việc đưa ra một bản mẫu quy định trong Phụ lục A và Phụ lục B với các lựa chọn tham khảo mặc định.
Phụ lục A đưa ra một bản mẫu quy định các lựa chọn để sử dụng đúng tiêu chuẩn này. Phụ lục B đưa ra các lựa chọn tham khảo mặc định.
CHÚ THÍCH 1: Vì vậy trong trường hợp này:
- Cơ quan quản lý sẽ quy định các lựa chọn;
- Người sử dụng sẽ áp dụng tiêu chuẩn để đánh giá hiệu quả năng lượng của tòa nhà, và do đó sử dụng các lựa chọn quy định bởi cơ quan quản lý.
Các đối tượng chính sử dụng tiêu chuẩn này gồm các kiến trúc sư, các kỹ sư và các nhà quản lý.
Các đối tượng tiếp theo sử dụng tiêu chuẩn này là các bên muốn thúc đẩy việc phân loại xếp hạng tòa nhà theo hiệu quả năng lượng trên cơ sở kho dữ liệu về tiêu thụ năng lượng của tòa nhà.
Khung tổng quát đối với hiệu quả năng lượng tổng thể của tòa nhà bao gồm:
a) Thuật ngữ, định nghĩa và ký hiệu chung;
b) Tòa nhà và các ranh giới đánh giá;
c) Phân chia tòa nhà thành các loại không gian;
d) Phương pháp luận để tính toán hiệu quả năng lượng của tòa nhà (công thức tính năng lượng được sử dụng, cấp đến, sản xuất và/hoặc xuất đi tại địa điểm tòa nhà và địa điểm ở gần);
e) Tập hợp về các công thức tổng thể và mối quan hệ đầu vào - đầu ra liên kết các yếu tố khác nhau có liên quan với đánh giá hiệu quả năng lượng tổng thể của tòa nhà;
f) Các yêu cầu chung đối với hiệu quả năng lượng của tòa nhà liên quan đến các tính toán thành phần
g) Các quy tắc kết hợp các không gian khác nhau thành các vùng;
h) Các chỉ số hiệu quả;
i) Phương pháp luận đánh giá hiệu quả năng lượng đo lường.
Bảng 1 cho biết vị trí của tiêu chuẩn này trong bộ tiêu chuẩn hiệu quả năng lượng của tòa nhà (EPB) được cấu trúc theo từng mô-đun quy định trong tiêu chuẩn này.
CHÚ THÍCH 2: Trong TCVN 13469-2 (ISO/TR 52000-2)[6] đối với mỗi mô-đun, có thể thấy cùng một bảng với mã số của các tiêu chuẩn EPB và các báo cáo kỹ thuật kèm theo đã được xuất bản hoặc đang trong quá trình biên soạn.
CHÚ THÍCH 3: Các mô-đun đại diện cho các tiêu chuẩn EPB, mặc dù một tiêu chuẩn EPB có thể bao gồm nhiều mô-đun và một mô-đun có thể được bao chùm bởi nhiều hơn một tiêu chuẩn EPB, ví dụ, một phương pháp đơn giản và một phương pháp chi tiết tương ứng. Xem thêm Bảng A.1 và Bảng B.1.
Bảng 1 - Vị trí của tiêu chuẩn này (trong trường hợp M1-1- M1 -3, M1-5, M1-7- M1-10), cấu trúc theo từng mô-đun của bộ tiêu chuẩn hiệu quả năng lượng của tòa nhà
|
| Tổng thể | Tòa nhà | Các hệ thống kỹ thuật của tòa nhà | |||||||||||
| Mô-đun phụ | Mô tả |
| Mô tả |
| Mô tả | Sưởi ấm | Làm mát | Thông gió | Gia ẩm | Khử ẩm | Cấp nước nóng sinh hoạt | Chiếu sáng | Kiểm soát và tự động hóa tòa nhà | Quang điện, gió... |
| Mô-đun phụ 1 |
| M1 |
| M2 |
| M3 | M4 | M5 | M6 | M7 | M8 | M9 | M10 | M11 |
| 1 | Tổng quát | TCVN 13469-1 (ISO 52000-1) | Tổng quát |
| Tổng quát |
|
|
|
|
|
|
|
|
|
| 2 | Thuật ngữ và định nghĩa chung; ký hiệu, đơn vị và chỉ số | TCVN 13469-1 (ISO 52000-1) | Nhu cầu năng lượng tòa nhà |
| Nhu cầu |
|
|
|
|
|
|
|
|
|
| 3 | Các ứng dụng | TCVN 13469-1 (ISO 52000-1) | (Tự nguyện) Các điều kiện trong nhà không có hệ thống |
| Tải và công suất tối đa |
|
|
|
|
|
|
|
|
|
| 4 | Cách thể hiện hiệu quả năng lượng |
| Cách thể hiện hiệu quả năng lượng |
| Cách thể hiện hiệu quả năng lượng |
|
|
|
|
|
|
|
|
|
| 5 | Loại tòa nhà và ranh giới tòa nhà | TCVN 13469-1 (ISO 52000-1) | Truyền nhiệt bằng dẫn nhiệt |
| Phát thải và kiểm soát |
|
|
|
|
|
|
|
|
|
| 6 | Mức sử dụng tòa nhà và các điều kiện vận hành |
| Truyền nhiệt bằng rò lọt khí và thông gió |
| Phân bổ và kiểm soát |
|
|
|
|
|
|
|
|
|
| 7 | Tập hợp các dịch vụ năng lượng và vặt mang năng lượng | TCVN 13469-1 (ISO 52000-1) | Thu nhận nhiệt bên trong |
| lưu giữ và kiểm soát |
|
|
|
|
|
|
|
|
|
| 8 | Các vùng của tòa nhà | TCVN 13469-1 (ISO 52000-1) | Thu nhận nhiệt mặt trời |
| Phát năng lượng và kiểm soát |
|
|
|
|
|
|
|
|
|
| 9 | Hiệu quả năng lượng tính toán | TCVN 13469-1 (ISO 52000-1) | Động học tòa nhà (nhiệt khối) |
| Điều độ tải và các điều kiện vận hành |
|
|
|
|
|
|
|
|
|
| 10 | Hiệu quả năng lượng đo lường | TCVN 13469-1 (ISO 52000-1) | Hiệu quả năng lượng đo lường |
| Hiệu quả năng lượng đo lường |
|
|
|
|
|
|
|
|
|
| 11 | Kiểm tra |
| Kiểm tra |
| Kiểm tra |
|
|
|
|
|
|
|
|
|
| 12 | Cách thể hiện tiện nghi trong nhà |
|
|
| BMS |
|
|
|
|
|
|
|
|
|
| 13 | Các điều kiện môi trường bên ngoài |
|
|
|
|
|
|
|
|
|
|
|
|
|
| 14 | Tính toán kinh tế |
|
|
|
|
|
|
|
|
|
|
|
|
|
| a không áp dụng các mô-đun trong ô bôi đậm | ||||||||||||||
HIỆU QUẢ NĂNG LƯỢNG CỦA TÒA NHÀ - ĐÁNH GIÁ HIỆU QUẢ NĂNG LƯỢNG TỔNG THỂ CỦA TÒA NHÀ - PHẦN 1: KHUNG TỔNG QUÁT VÀ CÁC QUY TRÌNH
Energy performance of buildings - Overarching EPB assessment – Part 1: General framework and procedures
1 Phạm vi áp dụng
Tiêu chuẩn này thiết lập một cấu trúc có hệ thống, toàn diện và theo mô-đun để đánh giá hiệu quả năng lượng của các tòa nhà xây mới và hiện hữu (hiệu quả năng lượng của tòa nhà) một cách toàn diện.
Tiêu chuẩn này được áp dụng để đánh giá mức năng lượng sử dụng tổng thể của một tòa nhà bằng đo lường hoặc tính toán và tính toán hiệu quả năng lượng theo năng lượng sơ cấp hoặc các số liệu đo đếm liên quan đến dạng năng lượng khác. Tiêu chuẩn này tính đến khả năng và giới hạn cụ thể cho các ứng dụng khác nhau như thiết kế tòa nhà, tòa nhà mới theo hoàn công và các tòa nhà hiện hữu đang trong giai đoạn sử dụng cũng như cải tạo.
CHÚ THÍCH: Bảng 1 trong phần Lời giới thiệu cho biết vị trí của tiêu chuẩn này trong bộ tiêu chuẩn hiệu quả năng lượng của tòa nhà (EPB) được cấu trúc theo từng mô-đun quy định trong tiêu chuẩn này.
2 Tài liệu viện dẫn
Các tài liệu viện dẫn sau rất cần thiết cho việc áp dụng tiêu chuẩn này. Đối với các tài liệu viện dẫn ghi năm công bố thì áp dụng phiên bản được nêu. Đối với các tài liệu viện dẫn không ghi năm công bố thì áp dụng phiên bản mới nhất, bao gồm các sửa đổi bổ sung nếu có.
TCVN 9313 (ISO 7345), Cách nhiệt - Các đại lượng vật lý và định nghĩa
CHÚ THÍCH: Các tài liệu tham chiếu mặc định đối với các tiêu chuẩn hiệu quả năng lượng của tòa nhà (EPB) khác với TCVN 13469-1 (ISO 52000-1) được nhận diện theo mã số mô-đun và được nêu trong Phụ lục A (Bản mẫu quy định trong Bảng A.1) và Phụ lục B (lựa chọn mặc định tham khảo nêu trong Bảng B.1).
VÍ DỤ: Mã số mô-đun EPB: M5-5 hoặc M5-5,1 (nếu mô-đun M5-5 được chia thành các tiểu mô-đun), hoặc M5-5/1 (nếu tham chiếu theo một điều cụ thể của tiêu chuẩn bao gồm cả M5-5).
3 Thuật ngữ và định nghĩa
Tiêu chuẩn này sử dụng các thuật ngữ và định nghĩa quy định trong TCVN 9313 (ISO 7345) và các thuật ngữ và định nghĩa sau.
Điều 3 bao gồm cả các thuật ngữ không được sử dụng trong tiêu chuẩn này, nhưng cần thiết để đảm bảo tính nhất quán tổng thể trong các tiêu chuẩn EPB.
CHÚ THÍCH 1: Danh sách thuật ngữ theo anphabe trong tiêu chuẩn này được nêu trong Phụ lục F.
CHÚ THÍCH 2: Xem TCVN 13469-2 (ISO/TR 52000-2)[6] để được giải thích về các thuật ngữ và định nghĩa tổng quát và cách tránh xung đột với quy định kỹ thuật quốc gia hoặc khu vực (ví dụ: Về mặt pháp lý).
3.1
Tòa nhà (building)
3.1.1
Đối tượng được đánh giá (assessed object)
Tòa nhà, phần của một tòa nhà hoặc hồ sơ dữ liệu của tòa nhà là đối tượng được đánh giá hiệu quả năng lượng.
CHÚ THÍCH 1: Đối tượng được đánh giá bao gồm tất cả các không gian và hệ thống kỹ thuật có thể góp phần hoặc tác động đến việc đánh giá hiệu quả năng lượng.
CHÚ THÍCH 2: Đối tượng được đánh giá có thể bao gồm một hoặc một vài đơn nguyên tòa nhà, nếu chúng không phải là đối tượng riêng lẻ của việc đánh giá hiệu quả năng lượng.
CHÚ THÍCH 3: Cần phân biệt giữa tòa nhà thiết kế, tòa nhà mới sau thi công xây dựng và tòa nhà hiện hữu đang sử dụng và tòa nhà hiện hữu sau khi cải tạo sửa chữa lớn.
3.1.2
Tòa nhà (building)
Tổng thể công trình xây dựng bao gồm kết cấu xây dựng và tất cả các hệ thống kỹ thuật trong đó năng lượng có thể được sử dụng để điều hòa môi trường bên trong tòa nhà và cung cấp nước nóng sinh hoạt, chiếu sáng và các dịch vụ khác liên quan đến việc sử dụng tòa nhà.
CHÚ THÍCH 1: Khái niệm đề cập đến tòa nhà hữu hình như một tổng thể hoặc đến tất cả các phần của tòa nhà bao gồm các không gian và các hệ thống kỹ thuật của tòa nhà có liên quan đến việc đánh giá hiệu quả năng lượng.
CHÚ THÍCH 2: Các phần của một tòa nhà có thể nằm tách biệt nhưng đều nằm trên cùng một mặt bằng xây dựng của tòa nhà.
VÍ DỤ: Căn tin hoặc nhà bảo vệ hoặc một hoặc nhiều phòng học của một ngôi trường trong một phần tách biệt của một tòa nhà; hoặc một không gian thiết yếu trong một ngôi nhà ở riêng lẻ (ví dụ: Phòng ngủ).
3.1.3
Loại tòa nhà (building category)
Loại đơn nguyên (unit category)
Phân loại tòa nhà và hoặc đơn nguyên tòa nhà liên quan đến công năng sử dụng chính hoặc tình trạng đặc biệt của chúng nhằm mục đích phân biệt các quy trình đánh giá hiệu quả năng lượng và/hoặc các yêu cầu hiệu quả năng lượng.
VÍ DỤ 1: Các tòa nhà được bảo tồn như là một bộ phận của một môi trường được ấn định vì các giá trị kiến trúc hoặc lịch sử đặc biệt của chúng, tòa nhà từng được sử dụng làm nơi thờ phụng và thực hiện các nghi lễ tôn giáo, các tòa nhà ở riêng lẻ, (a) nhà ở riêng lẻ với các loại khác nhau; (b) Khối nhà chung cư; (c) Tòa nhà văn phòng công sở; (d) Trường học; (e) Bệnh viện (f) Khách sạn và nhà hàng; (g) Công trình thể thao; (h) tòa nhà dịch vụ thương mại bán buôn và bán lẻ; (i) Trung tâm lưu trữ dữ liệu; (j) Các loại tòa nhà tiêu thụ năng lượng khác.
CHÚ THÍCH 1: Các quy chuẩn xây dựng thường đưa ra các quy định phân biệt giữa các loại tòa nhà.
CHÚ THÍCH 2: Loại tòa nhà, ví dụ có thể cho biết việc đánh giá hiệu quả năng lượng có phải là bắt buộc hay không (ví dụ: Không bắt buộc đối với các tòa nhà tôn giáo hoặc lịch sử) cũng như các yêu cầu quy định tối thiểu về hiệu quả năng lượng (ví dụ: Đối với các tòa nhà mới); tại một số nước, hiệu quả năng lượng đo lường của một tòa nhà được quy định cho các loại tòa nhà cụ thể (ví dụ: Tòa nhà chung cư, tòa nhà công cộng quy mô lớn), v.v...Một cách phân loại khác là phân biệt giữa tòa nhà mới và hiện hữu và tòa nhà được cải tạo.
CHÚ THÍCH 3: Nhiều tòa nhà hoặc đơn nguyên tòa nhà của một loại (công năng sử dụng) xác định có nhiều không gian thuộc các loại (công năng sử dụng) khác nhau; chẳng hạn một tòa nhà công sở có thể có cả nhà hàng; xem 3.1.14. Định nghĩa phân loại không gian
CHÚ THÍCH 4: Việc phân cấp một loại tòa nhà cũng có thể có tác động mạnh đến các phần khác của các quy chuẩn xây dựng, ví dụ: Quy định về an toàn (ví dụ: Lối thoát hiểm, cường độ chịu lực của sàn) hoặc chất lượng môi trường bên trong tòa nhà (ví dụ: Bội số trao đổi không khí tối thiểu).
3.1.4
Bộ phận tòa nhà (building element)
Bộ phận không thể tách rời của các hệ thống kỹ thuật hoặc của kết cấu xây dựng của tòa nhà.
3.1.5
Kết cấu xây dựng tòa nhà (building fabric)
Tất cả các cấu kiện hữu hình của một tòa nhà không bao gồm các hệ thống kỹ thuật.
VÍ DỤ 1: Mái, tường, sàn, cửa đi, cổng và các vách ngăn bên trong.
VÍ DỤ 2: Nó gồm cả các cấu kiện ở bên trong và bên ngoài vỏ bao che nhiệt, cũng như bản thân vỏ bao che nhiệt.
CHÚ THÍCH 1: Kết cấu xây dựng cho biết sự truyền nhiệt, độ kín khí của vỏ bao che nhiệt và (gần như toàn bộ) nhiệt khối của toà nhà (ngoài nhiệt khối của các đồ đạc và các hệ thống kỹ thuật ra). Kết cấu xây dựng cũng có tác dụng chắn gió và chống thấm cho tòa nhà. Đôi khi kết cấu xây dựng của tòa nhà cũng được mô tả là tòa nhà không có bát kỳ hệ thống kỹ thuật nào.
3.1.6
Hồ sơ dữ liệu tòa nhà (building portfolio)
Tập hợp thông tin về các tòa nhà và các hệ thống kỹ thuật chung có hiệu quả năng lượng được xác định có tính đến sự tác động tương hỗ lẫn nhau giữa chúng.
CHÚ THÍCH 1: Ví dụ về một thiết bị chung phục vụ cho tập hợp tòa nhà là hệ thống phát năng lượng (tấm pin năng lượng mặt trời, tua bin gió, bộ đồng phát, nồi hơi, v.v...).
3.1.7
Vùng nhiệt của tòa nhà (building thermal zone)
Vùng nhiệt (thermal zone)
Môi trường bên trong với các điều kiện được giả định đủ đồng nhất về nhiệt cho phép tính toán cân bằng nhiệt theo các quy trình quy định trong tiêu chuẩn hiệu quả năng lượng của tòa nhà thuộc mô-đun 2-2.
CHÚ THÍCH 1: Tiêu chuẩn hiệu quả năng lượng của tòa nhà thuộc mô-đun M2-2 là ISO 52016-1.
3.1.8
Đơn nguyên tòa nhà (building unit)
Bộ phận, sàn hoặc căn hộ bên trong một tòa nhà được thiết kế hoặc được cải tạo để sử dụng riêng biệt so với phần còn lại của tòa nhà.
VÍ DỤ: Một cửa hàng bên trong khu thương mại, một căn hộ trong một tòa nhà chung cư hoặc không gian văn phòng cho thuê trong một tòa nhà công sở.
CHÚ THÍCH 1: Một đơn nguyên tòa nhà có thể là đối tượng được đánh giá.
3.1.9
Không gian được làm mát (cooled space)
Phòng hoặc khu vực khép kín vì mục đích tính toán với giả định là được làm mát đến một nhiệt độ cài đặt cho trước hoặc các nhiệt độ cài đặt.
3.1.10
Không gian cơ sở (elementary space)
Không gian (space)
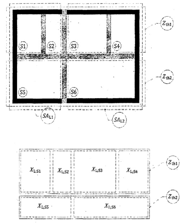
Phòng, một phần của phòng hoặc một nhóm các phòng liền kề thuộc về một vùng nhiệt và một khu vực phục vụ của từng loại dịch vụ được sử dụng để quản lý các ranh giới của các vùng nhiệt và khu vực phục vụ và để quản lý sự trao đổi dữ liệu giữa các khu vực phục vụ và các vùng nhiệt.
3.1.11
Không gian được sưởi ấm (heated space)
Phòng hoặc khu vực khép kín vì mục đích tính toán với giả định là được sưởi ấm đến một nhiệt độ cài đặt cho trước hoặc các nhiệt độ được cài đặt.
3.1.12
Diện tích sàn tham chiếu (reference floor area)
Diện tích sàn được sử dụng làm kích thước tham chiếu.
CHÚ THÍCH 1: Xem định nghĩa kích thước tham chiếu.
3.1.13
Kích thước tham chiếu (reference size)
Chuẩn đo thích hợp để chuẩn hóa hiệu quả năng lượng tổng thể hoặc thành phần và các yêu cầu hiệu quả năng lượng theo kích thước của tòa nhà hoặc phần của một tòa nhà và so sánh với định mức.
3.1.14
Phân loại không gian (space category)
Sự phân loại không gian tòa nhà liên quan đến tập hợp các điều kiện sử dụng cụ thể.
VÍ DỤ: Không gian văn phòng, không gian nhà hàng, lối vào hội trường, khu vệ sinh, không gian ở, phòng họp, cửa hàng, phòng ngủ, ga ra ô tô trong nhà, khu cầu thang trong nhà có sưởi, khu cầu thang không có sưởi.v.v...
CHÚ THÍCH 1: Phân loại không gian thích hợp cho việc tính toán đánh giá hiệu quả năng lượng và xác định kích thước tham chiếu.
3.1.15
Diện tích vỏ bao che nhiệt (thermal envelope area)
Tổng diện tích của tất cả các bộ phận của một tòa nhà bao quanh các không gian được điều hòa nhiệt thông qua đó nhiệt truyền qua trực tiếp hoặc gián tiếp, truyền ra ngoài hoặc truyền vào từ môi trường bên ngoài.
CHÚ THÍCH 1: Diện tích vỏ bao che phụ thuộc vào việc sử dụng kích thước bên trong, tổng kích thước bên trong hoặc kích thước bên ngoài.
CHÚ THÍCH 2: Diện tích vỏ bao che không bao gồm diện tích các tòa nhà liền kề, xem TCVN 13105:2020 (ISO 13789:2017).
CHÚ THÍCH 3: Diện tích vỏ bao che có thể đóng vai trò trong các cách thể hiện hiệu quả năng lượng tổng thể và thành phần và so sánh với định mức.
[Nguồn: TCVN 13105:2020 (ISO 13789:2017), 3.9 - Sửa đổi bổ sung chú thích 2 và 3].
3.1.16
Không gian được điều hòa nhiệt (thermal conditioned space)
Không gian được sưởi ấm và/hoặc làm mát.
3.1.17
Không gian không được điều hòa nhiệt (thermal unconditioned space)
Phòng hoặc khu vực khép kín không thuộc phần của một không gian được điều hòa nhiệt.
3.1.18
Diện tích sàn hữu ích (useful floor area)
(Đối với việc đánh giá hiệu quả năng lượng của tòa nhà) Diện tích sàn của một tòa nhà cần thiết được dùng làm thông số để định lượng các điều kiện sử dụng cụ thể được thể hiện bằng một đơn vị diện tích sàn và thông số để áp dụng các phép đơn giản hóa và quy tắc phân vùng và phân bổ (lại).
3.2
Điều kiện trong nhà và ngoài nhà (indoor and outdoor condition)
3.2.1
Điều kiện sử dụng (condition of use)
Yêu cầu và/hoặc hạn chế đối với việc sử dụng một loại không gian tòa nhà liên quan đến các dịch vụ đánh giá hiệu quả năng lượng và/hoặc các điều kiện ranh giới.
VÍ DỤ: Nhiệt độ cài đặt cho làm mát, Điểm nhiệt độ cài đặt cho sưởi, lượng thông gió tối thiểu liên quan đến chất lượng không khí, nhu cầu về cung cấp nước nóng sinh hoạt (ví dụ: Trên một mét vuông sàn hoặc trên đầu người), mức chiếu sáng, thu nhận nhiệt bên trong, v.v..., gồm cá phân bố theo thời gian (vận hành). Nếu thích hợp, các con số dựa trên số người cư ngụ trên mỗi mét vuông hoặc theo mỗi loại không gian tòa nhà.
3.2.2
Điều kiện thiết kế (design condition)
(Vận hành tòa nhà) Mô tả dựa trên yếu tố môi trường cụ thể như chất lượng không khí trong nhà, mức chiếu sáng đầy đủ, tiện nghi nhiệt và âm, hiệu suất năng lượng và điều khiển hệ thống liên quan được dùng để đánh giá vận hành của tòa nhà, một phần của tòa nhà và các hệ thống kỹ thuật tòa nhà.
3.2.3
Nhiệt độ bên ngoài (external temperature)
Nhiệt độ của không khí ngoài nhà.
3.2.4
Nhiệt độ bên trong (internal temperature)
Trung bình theo trọng số của nhiệt độ không khí và nhiệt độ bức xạ trung bình ở trung tâm của vùng nhiệt.
CHÚ THÍCH 1: Đây là nhiệt độ vận hành gần đúng theo ISO 7726.
3.2.5
Dịch vụ khác của tòa nhà (other building service)
Dịch vụ được cung cấp bởi các thiết bị tiêu thụ năng lượng.
3.2.6
Cường độ bức xạ mặt trời (solar irradiance)
Năng lượng bức xạ trên một bề mặt, nghĩa là thương số của dòng bức xạ chiếu lên bề mặt và diện tích của bề mặt đó hoặc tỷ lệ năng lượng mặt trời chiếu lên một bề mặt trên một đơn vị diện tích bề mặt đó.
3.2.7
Bức xạ mặt trời (solar irradiation)
Năng lượng mặt trời chiếu lên một diện tích trong một khoảng thời gian xác định.
CHÚ THÍCH 1: Năng lượng chiếu lên một đơn vị diện tích của một bề mặt được xác định bằng cách tích hợp bức xạ mặt trời trong một khoảng thời gian xác định thường là một giờ hoặc một ngày (ISO 9488[10])
3.3
Hệ thống kỹ thuật tòa nhà (technical building systems)
3.3.1
Hệ thống điều hòa không khí (air conditioning system)
Tổ hợp của tất cả các bộ phận cần thiết để xử lý không khí nhằm kiểm soát nhiệt độ của không khí cấp, có thể kết hợp với kiểm soát lưu lượng, độ ẩm và lọc không khí.
3.3.2
Khu vực phục vụ của hệ thống điều hòa không khí (air conditioning system service area)
Tập hợp các không gian đấu nối với cùng một hệ thống điều hòa không khí.
3.3.3
Dịch vụ tòa nhà (building service)
Dịch vụ được cung cấp bởi các hệ thống kỹ thuật tòa nhà và trang thiết bị cung cấp các điều kiện môi trường trong nhà chấp nhận được, cấp nước nóng sinh hoạt sinh hoạt, mức chiếu sáng và các dịch vụ khác có liên quan đến việc sử dụng tòa nhà.
[Nguồn: ISO 13612-2:2014,[7] - sửa đổi].
3.3.4
Khu vực phục vụ của tòa nhà (khu vực phục vụ) (building service area (service area))
Phần của một tòa nhà gồm có một hoặc nhiều không gian cơ sở được phục vụ bởi hệ thống kỹ thuật hoặc hệ thống kỹ thuật con cụ thể.
CHÚ THÍCH 1: Khu vực phục vụ tòa nhà cho mạng sưởi ấm cụ thể, cho mạng làm mát cụ thể, cho hệ thống phân phối cấp nước nóng sinh hoạt cụ thể, cho hệ thống thông gió cụ thể, cho hệ thống điều hòa không khí cụ thể, cho một cấu hình chiếu sáng cụ thể (chiếu sáng nhân tạo hoặc tự nhiên).
3.3.5
Đồng phát (cogeneration)
Kết hợp phát nhiệt và năng lượng (combined heat and power-CHP)
Một quá trình sản xuất đồng thời năng lượng nhiệt và năng lượng điện và/hoặc năng lượng cơ học.
[Nguồn: Chỉ thị hiệu quả năng lượng của tòa nhà - EPBD].
3.3.6
Khu vực phục vụ của hệ thống làm mát (cooling system service area)
Tập hợp các không gian được kết nối với cùng một hệ thống làm mát.
3.3.7
Khu vực phục vụ của hệ thống cấp nước nóng sinh hoạt (domestic hot water service area)
Tập hợp các không gian được kết nối với cùng một hệ thống phân phối cấp nước nóng sinh hoạt.
3.3.8
Khu vực phục vụ của hệ thống sưởi ấm (heating system service area)
Tập hợp các không gian được kết nối với cùng một hệ thống sưởi.
3.3.9
Tổn thất nhiệt có thể thu hồi của hệ thống (recoverable system thermal loss)
Phần tổn thất nhiệt của một hệ thống có thể thu hồi được để giảm bớt nhu cầu năng lượng dùng cho sưởi ấm hoặc làm mát hoặc mức sử dụng năng lượng của hệ thống sưởi ấm hoặc làm mát.
CHÚ THÍCH 1: Điều này phụ thuộc vào cách tiếp cận tính toán được chọn để tính phần thu hồi được và tổn thất (cách tiếp cận chi tiết hoặc đơn giản hóa, xem 11.3).
3.3.10
Tổn thất nhiệt được thu hồi của hệ thống (recovered system thermal loss)
Phần tổn thất có thể thu hồi được của hệ thống đã được thu hồi để giảm bớt nhu cầu năng lượng dùng cho sưởi ấm hoặc làm mát hoặc mức sử dụng năng lượng của hệ thống sưởi ấm hoặc làm mát.
CHÚ THÍCH 1: Điều này phụ thuộc vào cách tiếp cận tính toán được chọn để tính phần thu hồi được và tổn thất (cách tiếp cận chi tiết hoặc đơn giản hóa, xem 11.3).
[Nguồn: ISO 13675:2013,[8] 3.1.23].
3.3.11
Tổn thất nhiệt của hệ thống (thermal system loss)
Tổn thất nhiệt từ một hệ thống kỹ thuật tòa nhà cho làm mát, sưởi ấm, cấp nước nóng sinh hoạt, gia ẩm, khử ẩm hoặc thông gió không góp phần vào đầu ra hữu ích của hệ thống.
CHÚ THÍCH 1: Tổn thất của một hệ thống có thể chuyển đổi thành thu nhận thêm nhiệt bên trong cho tòa nhà nếu nó có thể thu hồi được.
CHÚ THÍCH 2: Năng lượng nhiệt được thu hồi trực tiếp tại hệ thống con không được coi là tổn thất nhiệt của hệ thống nhưng được coi là thu hồi nhiệt và được xử lý theo tiêu chuẩn hiệu quả năng lượng của tòa nhà liên quan trong mô-đun M3 đến M8.
CHÚ THÍCH 3: Nhiệt tỏa ra từ hệ thống chiếu sáng hoặc bởi các dịch vụ khác (ví dụ: Thiết bị dụng cụ của máy vi tính) không thuộc phần tổn thất nhiệt của hệ thống, nhưng thuộc phần nhiệt thu nhận thêm nhiệt bên trong tòa nhà.
[Nguồn: ISO 13612-2:2014,[7] 3.14 - sửa đổi].
3.3.12
Hệ thống kỹ thuật con của tòa nhà (technical building sub-system)
Bộ phận của hệ thống kỹ thuật tòa nhà có công năng cụ thể (ví dụ: Phát nhiệt, phân phối nhiệt, phát thải nhiệt).
3.3.13
Hệ thống kỹ thuật tòa nhà (technical building system)
Thiết bị kỹ thuật phục vụ sưởi ấm, thông gió, gia ẩm, khử ẩm, cấp nước nóng sinh hoạt, chiếu sáng, tự động và kiểm soát tòa nhà và sản xuất điện.
CHÚ THÍCH 1: Một hệ thống kỹ thuật tòa nhà có thể có công năng cho một hoặc nhiều dịch vụ tòa nhà (ví dụ: Sưởi ấm, sưởi ấm và cấp nước nóng sinh hoạt).
CHÚ THÍCH 2: Một hệ thống kỹ thuật tòa nhà gồm có nhiều hệ thống con khác nhau.
CHÚ THÍCH 3: Sản xuất điện có thể bao gồm các hệ thống như đồng phát, điện gió và quang điện.
3.3.14
Khu vực phục vụ của hệ thống thông gió (ventilation system service area)
Tập hợp không gian được kết nối với cùng một hệ thống thông gió.
3.4
Năng lượng (energy)
3.4.1 Điều hòa không khí (air conditioning)
Hình thức xử lý không khí nhằm kiểm soát nhiệt độ tối đa hoặc tối thiểu, có thể kết hợp với kiểm soát thông gió, độ ẩm và độ sạch không khí.
3.4.2
Ranh giới đánh giá (assessment boundary)
Ranh giới tại đó năng lượng cấp đến hoặc xuất đi được đo lường hoặc tính toán.
3.4.3
Năng lượng phụ trợ (auxiliary energy)
Năng lượng điện sử dụng bởi các hệ thống kỹ thuật để hỗ trợ chuyển đổi năng lượng nhằm đáp ứng các nhu cầu năng lượng.
CHÚ THÍCH 1: Điều này bao gồm cả năng lượng cho quạt, bơm, thiết bị điện tử, v.v...Đầu vào năng lượng điện cho một hệ thống thông gió để vận chuyển không khí không được coi là năng lượng phụ trợ, mà là năng lượng sử dụng cho thông gió.
[Nguồn: ISO 13612-2:2014,[7] 3.3 - sửa đổi].
3.4.4
Tự động hóa và kiểm soát tòa nhà (building automation and control)
Các sản phẩm, phần mềm và dịch vụ kỹ thuật để điều khiển tự động, giám sát và tối ưu hóa, sự can thiệp và quản lý của con người để đạt được việc vận hành các thiết bị dịch vụ tòa nhà hiệu quả năng lượng, tiết kiệm và an toàn.
3.4.5
Khử ẩm (dehumidification)
Quá trình loại bỏ hơi nước ra khỏi không khí.
3.4.6
Năng lượng cấp đến (delivered energy)
Năng lượng được biểu thị trên mỗi chất mang năng lượng được cung cấp cho các hệ thống kỹ thuật tòa nhà thông qua ranh giới đánh giá nhằm đáp ứng việc sử dụng được tính đến hoặc để sản xuất năng lượng được xuất đi.
CHÚ THÍCH 1: Năng lượng cấp đến có thể được tính toán cho việc sử dụng xác định hoặc nó có thể được đo lường.
3.4.7
Từ xa (distant)
(đến địa điểm của tòa nhà) không ở tại chỗ và cũng không ở gần.
3.4.8
Lưới điện (electric grid)
Mạng lưới điện công cộng.
3.4.9
Chất mang năng lượng (energy carrier)
Vật chất hoặc hiện tượng vật lý có thể được dùng để tạo ra công cơ học hoặc nhiệt năng hoặc để vận hành các quá trình hóa hoặc lý học.
3.4.10
Năng lượng từ các nguồn không tái tạo (energy from non-renewable sources)
Năng lượng không tái tạo (non-renewable energy)
Năng lượng từ nguồn bị cạn kiệt do khai thác.
CHÚ THÍCH 1: Ví dụ năng lượng từ các nhiên liệu hóa thạch
3.4.11
Năng lượng từ các nguồn tái tạo (energy from renewable sources)
Năng lượng tái tạo (renewable energy)
Năng lượng từ các nguồn không hóa thạch tái tạo như gió, mặt trời, địa nhiệt, thủy nhiệt và năng lượng đại dương, thủy điện, sinh khối, khí bãi rác, khí của nhà máy xử lý nước thải và bioga.
3.4.12
Nhu cầu năng lượng cho cấp nước nóng sinh hoạt (energy need for domestic hot water)
Nhiệt được cung cấp cho một lượng cần thiết nước nóng cần cung cấp để nâng nhiệt độ của nó từ nhiệt độ của mạng cấp nước lạnh đến một nhiệt độ cấp nước được định trước tại điểm cung cấp nước mà không gây ra các tổn thất của hệ thống cung cấp nước nóng sinh hoạt.
3.4.13
Nhu cầu năng lượng cho sưởi ấm và làm mát (energy need for heating and cooling)
Nhiệt được cung cấp cho hoặc được lấy ra khỏi một không gian được điều hòa nhiệt để duy trì các điều kiện nhiệt độ đã định của một không gian trong một khoảng thời gian nhất định.
3.4.14
Nhu cầu năng lượng cho gia ẩm hoặc khử ẩm (energy need for humidification and dehumidification)
Nhiệt ẩn có trong hơi nước được cung cấp cho hoặc được lấy ra khỏi một không gian được điều hòa nhiệt bằng một hệ thống kỹ thuật tòa nhà để duy trì độ ẩm tối đa hoặc tối thiểu cụ thể bên trong không gian.
3.4.15
Nguồn năng lượng (energy source)
Nguồn từ đó năng lượng hữu ích có thể được trích xuất hoặc thu hồi trực tiếp hoặc bằng các biện pháp chuyển đổi hoặc quá trình chuyển đổi.
VÍ DỤ: Mỏ dầu và khí đốt, mỏ than, mặt trời, gió, năng lượng địa nhiệt, đại dương (năng lượng sóng, năng lượng nhiệt đại dương), rừng, v.v...
3.4.16
Sử dụng năng lượng cho chiếu sáng (energy use for lighting)
Năng lượng điện đầu vào cho một hệ thống chiếu sáng.
3.4.17
Sử dụng năng lượng cho các dịch vụ khác (energy use for other services)
Năng lượng đầu vào cho các thiết bị cung cấp dịch vụ không bao gồm trong dịch vụ hiệu quả năng lượng của tòa nhà.
CHÚ THÍCH 1: Xem định nghĩa dịch vụ hiệu quả năng lượng của tòa nhà.
VÍ DỤ: Thang máy, thang cuốn, thiết bị gia dụng, tivi, máy tính, v.v... (Nếu không bao hàm trong các dịch vụ hiệu quả năng lượng của tòa nhà).
3.4.18
Sử dụng năng lượng cho sưởi ấm hoặc làm mát không gian tòa nhà hoặc cấp nước nóng sinh hoạt (energy use for space heating or cooling or domestic hot water)
Năng lượng đầu vào cho hệ thống sưởi ấm, làm mát hoặc cấp nước nóng sinh hoạt để đáp ứng nhu cầu năng lượng cho sưởi ấm, làm mát (bao gồm cả khử ẩm) hoặc cấp nước nóng sinh hoạt tương ứng.
3.4.19
Sử dụng năng lượng cho thông gió (energy use for ventilation)
Năng lượng điện đầu vào cho một hệ thống thông gió để vận chuyển không khí và thu hồi nhiệt.
3.4.20
Năng lượng xuất đi (exported energy)
Năng lượng được biểu thị trên mỗi chất mang năng lượng được cung cấp bởi các hệ thống kỹ thuật tòa nhà thông qua ranh giới đánh giá.
CHÚ THÍCH 1: Nó có thể được quy định bởi các loại hình sản xuất năng lượng (ví dụ: Đồng phát nhiệt và điện, quang điện) để áp dụng các chỉ số trọng số khác nhau.
CHÚ THÍCH 2: Năng lượng xuất đi có thể được tính toán hoặc được đo lường.
3.4.21
Trị số tỏa nhiệt toàn phần (gross calorific value)
Lượng nhiệt tỏa ra bởi một đơn vị khối lượng nhiên liệu được đốt cháy hoàn toàn với ô xy ở một áp suất không đổi bằng 101320 Pa và khi các sản phẩm của quá trình cháy đạt nhiệt độ của môi trường xung quanh.
CHÚ THÍCH 1: Lượng nhiệt này bao gồm lượng nhiệt ẩn của sự ngưng tụ hơi nước bất kỳ có trong nhiên liệu và của hơi nước được tạo thành bởi quá trình cháy hydrô trong nhiên liệu.
3.4.22
Gia ẩm (humidification)
Quá trình bổ sung hơi nước vào không khí để làm tăng độ ẩm.
3.4.23
Chiếu sáng (lighting)
Quá trình cung cấp chiếu sáng.
3.4.24
Ở gần (nearby)
(vị trí tòa nhà) ở cấp địa phương hoặc cấp quận/huyện (ví dụ: Làm mát và sưởi ấm trung tâm ở quy mô cấp quận/huyện)
CHÚ THÍCH 1: Các tùy chọn có thể (xem Phụ lục A) và các tùy chọn được cung cấp (trong Phụ lục B).
3.4.25
Trị số tỏa nhiệt thực (net calorific value)
Trị số tỏa nhiệt không bao gồm lượng nhiệt ẩn của ngưng tụ hơi nước bất kỳ có trong nhiên liệu và của hơi nước được tạo thành bởi quá trình cháy hydro trong nhiên liệu.
3.4.26
Năng lượng không tái tạo (non-renewable-energy)
Năng lượng được lấy từ một nguồn bị cạn kiệt do khai thác (ví dụ: Các nhiên liệu hóa thạch).
CHÚ THÍCH 1: Tài nguyên tồn tại với số lượng hữu hạn không thể bổ sung theo thang thời gian của nhân loại.
3.4.27
Tại chỗ (on-site)
Mặt bằng và các thửa đất có tòa nhà tọa lạc và bản thân tòa nhà.
CHÚ THÍCH 1: Thực địa xác định rõ mối liên kết mạnh mẽ giữa nguồn năng lượng (việc định vị và tương tác) và tòa nhà.
3.4.28
Đường bao ranh giới (perimeter)
Phân loại ranh giới tính đến nguồn năng lượng cấp đến.
CHÚ THÍCH 1: Tiêu chuẩn này phân biệt giữa các nguồn năng lượng “tại chỗ”, “ở gần” và “từ xa”.
3.4.29
Năng lượng sơ cấp (primary energy)
Năng lượng không phải chịu bất kỳ một quá trình chuyển đổi hoặc biến đổi nào.
CHÚ THÍCH 1: Năng lượng sơ cấp bao gồm năng lượng không tái tạo và năng lượng tái tạo. Nếu tính đến cả hai thì nó có thể được gọi là tổng năng lượng sơ cấp.
3.4.30
Làm mát không gian tòa nhà (space cooling)
Quá trình loại bỏ nhiệt thừa ra khỏi không gian của một tòa nhà nhằm đạt được và duy trì một nhiệt độ tối đa xác định trong không gian đó.
3.4.31
Sưởi ấm không gian tòa nhà (space heating)
Quá trình cấp nhiệt cho không gian của một tòa nhà nhằm đạt được và duy trì một nhiệt độ tối thiểu xác định trong không gian đó.
3.4.32
Tổng năng lượng (total energy)
Năng lượng từ cả hai nguồn năng lượng tái tạo và không tái tạo.
CHÚ THÍCH 1: Tổng năng lượng là tổng của năng lượng tái tạo và năng lượng không tái tạo.
3.4.33
Thông gió (ventilation)
Quá trình cấp hoặc thải không khí bằng các phương pháp thông gió tự nhiên hoặc cơ khí vào trong hoặc ra khỏi một không gian của tòa nhà.
3.5
Hiệu quả năng lượng (energy performance)
3.5.1 Năng lượng đo lường thực tế (actual meassured energy)
Năng lượng đo được mà không có bất kỳ điều chỉnh nào theo điều kiện khí hậu và sử dụng tiêu chuẩn.
3.5.2
Hiệu quả năng lượng theo hoàn công (as built energy performance)
Hiệu quả năng lượng được tính toán với các dữ liệu cho tòa nhà sau khi hoàn thành công việc xây dựng (trước khi hoặc trong quá trình vận hành tòa nhà) và tập hợp dữ liệu sử dụng tiêu chuẩn.
CHÚ THÍCH 1: Thuật ngữ này biểu thị mức sử dụng năng lượng thực hàng năm tính toán cho một toà nhà được thực hiện trong các điều kiện tiêu chuẩn hóa. Nó đặc biệt phù hợp cho việc cấp giấy chứng nhận hiệu quả năng lượng và các quy định (thẩm tra việc tuân thủ các yêu cầu).
3.5.3
Hiệu quả năng lượng tính toán (calculated energy performance)
Hiệu quả năng lượng dựa trên các tính toán năng lượng cấp đến thực tế theo trọng số cho các dịch vụ hiệu quả năng lượng của tòa nhà.
3.5.4
Hệ số phát thải CO2 (CO2 emission coefficient)
Hệ số mô tả lượng khí CO2 giải phóng ra khi thực hiện một hoạt động nhất định, như đốt cháy một tấn nhiên liệu trong một lò đốt.
CHÚ THÍCH 1: Nói chung, các hệ số phát thải CO2 từ mức tiêu thụ năng lượng cụ thể (TCVN ISO 50001:2012, 3.7) được định lượng từ các chỉ số phát thải CO2 đối với việc sử dụng năng lượng.
CHÚ THÍCH 2: Các hệ số phát thải CO2 có thể khác nhau theo từng năm.
CHÚ THÍCH 3: Hệ số phát thải CO2 cũng có thể bao gồm lượng phát thải tương đương của các loại khí nhà kính khác (ví dụ: Khí metan).
3.5.5
Hiệu quả năng lượng thiết kế (design energy performance)
Hiệu quả năng lượng với các dữ liệu thiết kế cho tòa nhà và điều kiện sử dụng và tập hợp dữ liệu khí hậu tiêu chuẩn.
CHÚ THÍCH 1: Thuật ngữ này biểu thị mức sử dụng năng lượng thực tế hàng năm tính toán cho một tòa nhà được thiết kế ở các điều kiện tiêu chuẩn. Nó đặc biệt phù hợp cho việc thực hiện các thủ tục xin cấp giấy phép xây dựng tòa nhà ở giai đoạn thiết kế.
3.5.6
Đặc tính năng lượng (energy feature)
Đặc tính hiệu quả năng lượng của tòa nhà (building energy peformance feature)
Cấu kiện, bộ phận hoặc đặc tính bất kỳ của một tòa nhà, đơn lẻ hoặc tổ hợp có thể có ảnh hưởng đến hiệu quả năng lượng của đối tượng được đánh giá.
CHÚ THÍCH 1: Đặc tính hiệu quả năng lượng của tòa nhà có thể liên quan đến một đặc tính riêng biệt của tòa nhà (ví dụ: Cách nhiệt của một bức tường) hoặc một tổ hợp bất kỳ của các đặc tính của tòa nhà (ví dụ: Nhu cầu sưởi ấm, hiệu suất của hệ thống sưởi ấm, hiệu quả năng lượng tổng thể), cho đến toàn bộ tòa nhà.
CHÚ THÍCH 2: Mỗi đặc tính hiệu quả năng lượng của tòa nhà có thể được đặc trưng bởi một vài chỉ số hiệu quả năng lượng của tòa nhà. Ví dụ: Cách nhiệt của một bức tường có thể được định lượng bằng hệ số truyền nhiệt, tổng nhiệt trở, chỉ số nhiệt độ, v.v... Để biết thêm ví dụ, xem ISO 52018-1.
3.5.7
Hiệu quả năng lượng (energy performance)
Hiệu quả năng lượng tổng thể (overall energy peformance)
(của một đối tượng được đánh giá) Lượng năng lượng (có trọng số) cần thiết được tính toán hoặc đo lường để đáp ứng nhu cầu năng lượng liên quan đến việc sử dụng điển hình của một đối tượng được đánh giá bao gồm năng lượng được sử dụng cho các dịch vụ cụ thể (dịch vụ hiệu quả năng lượng của tòa nhà).
CHÚ THÍCH 1: Xem định nghĩa các dịch vụ hiệu quả năng lượng của tòa nhà và định nghĩa, đối tượng được đánh giá.
CHÚ THÍCH 2: Cũng được gọi là hiệu quả năng lượng tổng thể để phân biệt với hiệu quả năng lượng thành phần.
3.5.8 Giấy chứng nhận hiệu quả năng lượng (energy performance certificate)
(của một đối tượng được đánh giá) Giấy chứng nhận, ví dụ được công nhận bởi một quốc gia hoặc một pháp nhân được chỉ định theo thẩm quyền, cho biết hiệu quả năng lượng của đối tượng được đánh giá, được tính toán hoặc đo lường tuân theo một hoặc nhiều phương pháp quy định.
CHÚ THÍCH 1: Ý nghĩa của thuật ngữ “giấy chứng nhận” và “chứng nhận” trong tiêu chuẩn này khác với các thuật ngữ trong ISO/IEC 17000[9].
3.5.9
Chứng nhận hiệu quả năng lượng (energy performance certification)
Quá trình xem xét và cấp giấy chứng nhận hiệu quả năng lượng.
3.5.10
Chỉ số hiệu quả năng lượng (energy performance indicator)
Chỉ số EPB (EPB indicator)
Đại lượng bằng số được tính toán hoặc đo lường đặc trưng cho đặc tính năng lượng của đối tượng được đánh giá.
CHÚ THÍCH 1: Các chỉ số EPB được sử dụng để đánh giá xếp hạng, đưa ra các yêu cầu hiệu quả năng lượng và/hoặc cấp giấy chứng nhận. Một chỉ số EPB có thể, ví dụ, được biểu thị bằng hiệu quả năng lượng trên một đơn vị diện tích sàn hoặc hiệu quả năng lượng chia cho định mức cụ thể hoặc một giá trị tham chiếu khác.
CHÚ THÍCH 2: Thuật ngữ này bao hàm cả hiệu quả năng lượng tổng thể và thành phần.
3.5.11
Yêu cầu hiệu quả năng lượng (energy performance requirement)
Mức tối thiểu của hiệu quả năng lượng (thành phần hoặc tổng thể) cần đạt để được cho phép hoặc lợi thế, ví dụ: Được phép xây dựng tòa nhà, lãi suất thấp hơn, nhãn chất lượng.
3.5.12
Xếp hạng năng lượng (energy rating)
Xếp hạng hiệu quả năng lượng của tòa nhà (EPB rating)
Việc đánh giá giá trị của một chỉ số hiệu quả năng lượng bằng cách so sánh với một hoặc nhiều giá trị tham chiếu, có thể bao gồm việc so sánh trực quan vị trí trên thang đo liên tục hoặc rời rạc.
CHÚ THÍCH 1: Thuật ngữ này có thể liên quan đến hiệu quả năng lượng tổng thể hoặc thành phần.
3.5.13
Dịch vụ hiệu quả năng lượng của tòa nhà (EPB service)
Dịch vụ tòa nhà bao gồm trong việc đánh giá hiệu quả năng lượng.
CHÚ THÍCH 1: Xem định nghĩa dịch vụ tòa nhà. Các dịch vụ nào bao gồm trong lựa chọn của quốc gia hoặc theo vùng được quy định trong Phụ lục A/ Phụ lục B.
VÍ DỤ: Năng lượng được sử dụng để sưởi ấm, làm mát, thông gió, gia ẩm, khử ẩm, cấp nước nóng sinh hoạt và chiếu sáng.
3.5.14
Tiêu chuẩn hiệu quả năng lượng của tòa nhà (EPB standard)
Tiêu chuẩn tuân thủ các yêu cầu quy định trong tiêu chuẩn này, CEN/TS 16628[4] và CEN/TS 16629[5]
CHÚ THÍCH 1: Ba tiêu chuẩn cơ bản EPB này đã được nghiên cứu xây dựng theo yêu cầu của Ủy ban châu Âu và Hiệp hội mậu dịch tự do châu Âu (Yêu cầu M/480) đối với Ủy ban châu Âu về tiêu chuẩn hóa (CEN) và hỗ trợ các yêu cầu cần thiết của Chỉ thị châu Âu 2010/31/EU về hiệu quả năng lượng của tòa nhà. Một số tiêu chuẩn EPB và các tài liệu liên quan được nghiên cứu xây dựng hoặc soát xét cũng theo yêu cầu nói trên.
3.5.15
Chỉ số năng lượng đo lường (measured energy indicator)
Chỉ số hiệu quả năng lượng dựa trên hiệu quả năng lượng đo lường.
3.5.16
Hiệu quả năng lượng đo lường (measured energy performance)
Hiệu quả năng lượng dựa trên lượng năng lượng đo lường cấp đến và xuất đi.
CHÚ THÍCH 1: Hiệu quả năng lượng đo lường là tổng theo trọng số của tất cả các chất mang năng lượng được sử dụng bởi tòa nhà được đo bằng thiết bị đo hoặc được suy ra từ năng lượng đo lường bởi các phương thức khác. Nó là thước đo hiệu quả sử dụng của tòa nhà sau khi hiệu chỉnh hoặc ngoại suy. Thuật ngữ này đặc biệt phù hợp cho việc chứng nhận hiệu quả năng lượng thực tế.
CHÚ THÍCH 2: Còn được gọi là “hiệu quả năng lượng vận hành”
3.5.17
Chỉ số năng lượng sơ cấp không tái tạo (non-renewable primary energy factors)
Năng lượng sơ cấp không tái tạo đối với một chất mang năng lượng xác định, bao gồm năng lượng cấp đến và tổng chi phí cung cấp năng lượng đến các điểm sử dụng chia cho năng lượng cấp đến.
3.5.18
Chỉ số sử dụng năng lượng sơ cấp (numerical indicator of primary energy use)
Mức sử dụng năng lượng sơ cấp trên một đơn vị diện tích sàn tham chiếu.
CHÚ THÍCH 1: Vì mức sử dụng năng lượng sơ cấp có thể biểu thị bằng tổng năng lượng sơ cấp, năng lượng sơ cấp không tái tạo có thể được quy định bằng một chỉ số bằng số (ví dụ: Mức sử dụng năng lượng sơ cấp không tái tạo).
3.5.19
Hiệu quả năng lượng thành phần (partial energy performance) (của một đối tượng được đánh giá)
Hiệu quả năng lượng của một hoặc tổ hợp các bộ phận hoặc các đặc tính năng lượng khác của đối tượng được đánh giá.
CHÚ THÍCH 1: Các đặc tính năng lượng khác như các nhu cầu năng lượng cho sưởi ấm, làm mát và độ kín khí.
3.5.20
Giá trị tham chiếu (reference value)
Giá trị pháp lý theo tiêu chuẩn hoặc được tính toán so với chỉ số năng lượng cần so sánh.
CHÚ THÍCH 1: Đây có thể là một giá trị cố định cho các loại tòa nhà cụ thể hoặc cho các đặc tính năng lượng cụ thể, hoặc là giá trị biến số (theo công thức hoặc tòa nhà tham chiếu được công nhận) có tính đến một hoặc nhiều dữ liệu của tòa nhà thực tế.
3.5.21
Chỉ số năng lượng sơ cấp tái tạo (renewable primary energy factor)
Năng lượng sơ cấp tái tạo cho một chất mang năng lượng từ xa hoặc ở gần gồm cả năng lượng cấp đến và tổng chi phí cung cấp năng lượng đến các điểm sử dụng chia cho năng lượng cấp đến.
3.5.22
Chỉ số năng lượng tiêu chuẩn (standard energy indicator)
Chỉ số hiệu quả năng lượng dựa trên hiệu quả năng lượng ở các điều kiện kiện tiêu chuẩn.
CHÚ THÍCH 1: Được đánh giá ở các điều kiện tiêu chuẩn (nếu tính toán) hoặc được hiệu chỉnh đối với các điều kiện sai lệch (nếu đo lường)
3.5.23
Hiệu quả năng lượng tiêu chuẩn (standard energy performance)
Hiệu quả năng lượng sử dụng dữ liệu thực tế đối với một tòa nhà ở điều kiện sử dụng và tập hợp dữ liệu khí hậu tiêu chuẩn.
CHÚ THÍCH 1: Nó biểu thị mức sử dụng năng lượng thực tế hàng năm của một đối tượng được đánh giá ở điều kiện được tiêu chuẩn hóa. Nó đặc biệt phù hợp cho việc chứng nhận về hiệu quả năng lượng tiêu chuẩn.
CHÚ THÍCH 2: Trong trường hợp hiệu quả năng lượng tính toán nó cũng có thể được gọi là “hiệu quả năng lượng theo đặc tính”.
3.5.24
Hiệu quả năng lượng điều chỉnh để phù hợp (tailored energy performance)
Hiệu quả năng lượng tính toán bằng cách sử dụng dữ liệu thực tế của một tòa nhà ở điều kiện khí hậu và mức độ sử dụng thực tế.
3.5.25
Tổng chỉ số năng lượng sơ cấp (total primary energy factor)
Tổng của các chỉ số năng lượng sơ cấp tái tạo và không tái tạo cho một chất mang năng lượng xác định.
3.6
Tính toán năng lượng
3.6.1
Kỳ đánh giá (assessment period)
Khoảng thời gian theo đó việc đánh giá hiệu quả năng lượng được thực hiện.
CHÚ THÍCH 1: Thời gian đánh giá điển hình thường thường là một năm. Nó không nhất thiết phải tương tự như kỳ tính toán hoặc khoảng thời gian tính toán.
3.6.2
“Bin” (bin)
Lớp nhiệt độ thống kê (đôi khi là một khoảng thời gian) đối với nhiệt độ không khí ngoài trời, với các giới hạn lớp được biểu thị bằng một đơn vị đo nhiệt độ.
CHÚ THÍCH 1: “Bin” thường là khoảng không liên tục có cùng một điều kiện nhiệt độ.
3.6.3
Khoảng thời gian tính toán (calculation interval)
Khoảng thời gian riêng rẽ để tính toán hiệu quả năng lượng.
VÍ DỤ: Một giờ, một tháng, một mùa sưởi và/hoặc làm mát, một năm, các phương thức vận hành, Bins.
3.6.4
Kỳ tính toán (calculation period)
Khoảng thời gian theo đó việc tính toán được thực hiện.
CHÚ THÍCH 1: Kỳ tính toán có thể được chia nhỏ thành một số các khoảng thời gian tính toán.
CHÚ THÍCH 2: Kỳ tính toán thường là một năm đối với dịch vụ cấp nước nóng sinh hoạt, thông gió và là một mùa đối với sưởi ấm hoặc làm mát.
CHÚ THÍCH 3: Độ kéo dài của kỳ tính toán (ví dụ: Mùa sưởi ấm hoặc mùa làm mát) có thể là kết quả của việc tính toán hoặc có thể được quy định đối với các ứng dụng cụ thể.
3.6.5
Thu nhận nhiệt (heat gain)
Nhiệt được sản sinh ngay bên trong hoặc xâm nhập vào không gian được điều hòa nhiệt từ các nguồn nhiệt khác ngoài năng lượng nhằm sử dụng cho sưởi ấm, làm mát hoặc cấp nước nóng sinh hoạt.
CHÚ THÍCH 1: Thu nhận nhiệt bên trong và thu nhận nhiệt mặt trời. Giếng thu nhiệt từ tòa nhà là các ví dụ về thu nhận nhiệt với dấu âm.
CHÚ THÍCH 2: Đối với điều kiện mùa hè việc thu nhận nhiệt với dấu dương góp phần làm gia tăng tải nhiệt vào không gian tòa nhà.
3.6.6
Mùa sưởi ấm hoặc mùa làm mát (heating or cooling season)
Khoảng thời gian trong năm cần một lượng năng lượng đáng kể để sưởi ấm hoặc làm mát.
CHÚ THÍCH 1: Độ kéo dài của mùa được sử dụng để xác định thời kỳ vận hành các hệ thống kỹ thuật.
3.6.7
Thu nhận nhiệt bên trong (internal heat gain)
Nhiệt được sản sinh ngay bên trong tòa nhà bởi các cư dân (nhiệt hiện trao đổi chất) và bởi các thiết bị như thiết bị chiếu sáng, thiết bị gia dụng, thiết bị văn phòng, v.v... khác với năng lượng nhằm cung cấp cho sưởi ấm, làm mát hoặc cấp nước nóng sinh hoạt.
CHÚ THÍCH 1: Điều này bao gồm các tổn thất nhiệt của hệ thống được thu hồi nếu chọn phương pháp chi tiết để tính toán thu hồi tổn thất nhiệt của hệ thống, xem 11.3.
3.6.8
Khoảng thời gian đo (measurement interval)
Thời gian giữa các phép đo riêng lẻ.
3.6.9
Kỳ đo lường (measurement period)
Khoảng thời gian bao gồm các khoảng thời gian đo.
CHÚ THÍCH 1: Kỳ đo lường có thể là bội số của kỳ đánh giá.
3.6.10
Thu nhận nhiệt mặt trời (solar heat gain)
Nhiệt cung cấp do sự xâm nhập trực tiếp hoặc gián tiếp của bức xạ mặt trời (sau khi hấp thụ trong các bộ phận tòa nhà) vào tòa nhà thông qua cửa sổ, tường và mái không xuyên sáng, hoặc qua các thiết bị hấp thụ năng lượng mặt trời thụ động như không gian nhận nhiệt mặt trời, tường cách nhiệt trong suốt và tường năng lượng mặt trời.
CHÚ THÍCH 1: Các thiết bị thu năng lượng mặt trời chủ động như bộ thu năng lượng mặt trời được coi là bộ phận của hệ thống kỹ thuật tòa nhà.
3.6.11
Thu nhận nhiệt hữu ích (useful heat gain)
Phần nhiệt thu nhận được ở bên trong tòa nhà và từ bức xạ mặt trời góp phần làm giảm nhu cầu năng lượng cho sưởi ấm.
4 Ký hiệu, các chỉ số dưới và thuật ngữ viết tắt
Điều 4 bao gồm các ký hiệu, các chỉ số dưới và các thuật ngữ viết tắt không được sử dụng trong tiêu chuẩn này, nhưng là cần thiết để đảm bảo tính nhất quán tổng thể trong bộ tiêu chuẩn hiệu quả năng lượng của tòa nhà.
CHÚ THÍCH: Bộ tiêu chuẩn hiệu quả năng lượng của tòa nhà giới thiệu một số lớn đại lượng và ký hiệu của chúng. Để tạo thuận lợi cho việc sử dụng các tiêu chuẩn này, một bộ ký hiệu và chỉ số dưới đã được xác định. Các ký hiệu tuân theo các tiêu chuẩn đã được thiết lập về thuật ngữ như TCVN 9313 (ISO 7345) và giới thiệu các thuật ngữ khác phổ biến cho bộ tiêu chuẩn hiệu quả năng lượng của tòa nhà; đặc biệt một tập hợp các chỉ số dưới để phân biệt giữa các loại hình sử dụng năng lượng khau, các chất mang năng lượng khác nhau, v.v...
4.1 Ký hiệu
| Ký hiệu | Đại lượng | Đơn vị |
| A | Diện tích | m2 |
| B | Chỉ số giảm nhiệt độ | - |
| C | Nhiệt dung | J/K a |
| c | Nhiệt dung riêng | J/(kg·K) a |
| c | Hệ số d | Khác nhau |
| d | Chiều dày | m |
| D | Đường kính | m |
| E | Năng lượng nói chung | kg,m3, (kWh) a b |
| EP | Chỉ số hiệu quả năng lượng | kw.h/(m2 năm) d kg/(m2 năm) VND/(m2 năm) a c |
| f | Chỉ số (ví dụ: Chỉ số năng lượng sơ cấp) | - d |
| H | Hệ số truyền nhiệt | W/K |
| H | Trị số tỏa nhiệt | kW·K/kg |
| h | Hệ số truyền nhiệt bề mặt | W/(m2.K) |
| I | Cường độ bức xạ mặt trời | W/m2 |
| k | Hệ số | - d |
| K | Chỉ số phát thải CO2 | Kg/(kW·h) |
| L | Chiều dài | m |
| m | Khối lượng (ví dụ: Lượng phát thải CO2) | kg |
| n | Bội số trao đổi không khí | 1/h |
| N | Số hạng mục (chỉ có số nguyên) | - |
| O | Mức độ sử dụng | Người |
| p | Áp suất | Pa |
| p | Năng lượng nói chung bao gồm cả điện năng | W |
| Q | Lượng nhiệt | (kW.h) |
| q | Lưu lượng thể tích không khí | m3/s |
| q | Cường độ dòng nhiệt | W/m2 |
| R | Nhiệt trở | m2·K/W |
| RER | Tỷ lệ năng lượng tái tạo | - |
| S | Không gian cơ sở |
|
| S | Kích thước |
|
| SA | (Hệ thống) khu vực phục vụ |
|
| T | Nhiệt độ nhiệt động học | K |
| t | Thời gian, chu kỳ thời gian | s a |
| U | Hệ số truyền nhiệt | W/(m2·K) |
| V | Thể tích | m3 |
| W X | Năng lượng phụ trợ (điện) Tỷ lệ thể tích | (kW·h) a % |
| X, Y | Đặc tính, hệ thống bất kỳ | - |
| Z | Vùng (nhiệt) |
|
| Δ | Delta (tiền tố kết hợp với các ký hiệu) | Khác nhau |
| η | Chỉ số (hiệu suất) | - |
| ϑ | Nhiệt độ Celsius | °C |
| ψ | Hệ số truyền nhiệt tuyến tính | W/(m·K) |
| Φ | Lưu lượng dòng nhiệt, công suất | W |
| φ | Độ ẩm tương đối | % |
| χ | Hệ số truyền nhiệt điểm | W/K |
| ρ | Khối lượng riêng | kg/m3 |
| τ | Hằng số thời gian | s a |
| ε | Chỉ số chi tiêu |
|
| a Giờ được sử dụng làm đơn vị thời gian thay cho giây khi kết hợp nhiệt lượng hoặc dòng năng lượng (W) với đại lượng nhiệt hoặc năng lượng (kW·h) b Đơn vị phụ thuộc vào loại chất mang năng lượng. c Đơn vị phụ thuộc vào chỉ số được chọn. d Các hệ số có thứ nguyên; Các chỉ số không thứ nguyên e bao gồm năng lượng sơ cấp và các chất mang năng lượng; lưu ý rằng đối với nhiệt thì sử dụng ký hiệu Q và đối với năng lượng phụ trợ và công thì sử dụng ký hiệu W | ||
4.2 Chỉ số dưới
Trong tiêu chuẩn này sử dụng các chỉ số dưới sau:
| 0 | cơ bản, tham chiếu | mn | trung bình (theo thời gian hoặc không gian) |
| A | không khí | nd | nhu cầu |
| A | thiết bị khác a | nEPus | không liên quan đến dịch vụ tòa nhà đang xem xét |
| an | hàng năm | ngen | không tạo ra/ không sản sinh/ không phát năng lượng |
| aux | phụ trợ | nrbl | không thu hồi được |
| avg | trung bình thời gian | nrby | ở gần |
| B | tòa nhà | nren | không tái tạo |
| bin | “bin” | nrvd | không thu hồi |
| bm | sinh khối | ntdel | Năng lượng cấp đến thuần |
| C | làm mát a | nused | không được sử dụng (trong cùng một khoảng thời gian tính toán) |
| calc | được tính toán | nut | không được dùng đến |
| CO2 | phát thải CO2 | off | tắt, ngắt |
| cr | chất mang năng lượng | oil | dầu |
| ctr | kiểm soát | on | bật |
| CW | làm mát và cấp nước nóng sinh hoạt a | out | đầu ra |
| day | hàng ngày | P | năng lượng sơ cấp |
| dc | làm mát tập trung ở qui mô cấp quận/huyện | per | cho một khoảng thời gian |
| del | được cung cấp | pk | cao điểm |
| dh | cấp nhiệt tập trung ở qui mô cấp quận/huyện | Pnren | năng lượng sơ cấp không tái tạo |
| DHU | khử ẩm a | pol | liên quan đến chính sách |
| dis | phân phối | pr | sản xuất, tạo ra |
| distant | từ xa | Ptot | tổng năng lượng sơ cấp |
| dhum | hệ thống khử ẩm | pv | điện mặt trời (quang điện) |
| e | bên ngoài | rbl | thu hồi |
| el | điện |
|
|
| em | phát xạ/ phát thải/ nguồn phát xạ | red | giảm đi, giảm xuống |
| env | vỏ bao che | ren | năng lượng tái tạo |
| EPus | Tất cả các dịch vụ tòa nhà bao gồm trong đánh giá hiệu quả năng lượng | rvd | được thu hồi |
|
|
| saX | khu vực phục vụ (X là phần giữ chỗ cho các ký hiệu C, H, v.v...) |
| est | ước tính | seas | mùa |
| exp | xuất đi | sens | hiện |
| f | Sàn | set | điểm cài đặt |
| gas | khí đốt | sf | nhiên liệu rắn |
| gen | tạo ra/ sản sinh/ phát năng lượng | sol | mặt trời |
| gn | thu nhận | sp | không gian |
| grid | từ mạng lưới công cộng (lưới) | sto | lưu trữ, tích trữ |
| h | hàng giờ | sys | hệ thống |
| H | sưởi ấm a | T | nhiệt a |
| HC | sưởi ấm và làm mát a | t | khoảng thời gian tính toán |
| HCW | sưởi ấm, làm mát và cấp nước nóng sinh hoạt a | tmp | tạm thời |
| ht | truyền nhiệt | tot | tổng cộng |
| HU | gia ẩm a | TOT | tổng cộng a |
| hum | hệ thống gia ẩm | tr | truyền nhiệt |
| HW | sưởi ấm và cấp nước nóng sinh hoạt a | us | sử dụng |
| i,j,k | các chỉ số | use | diện tích sàn sử dụng |
|
|
| used | được sử dụng trong cùng một khoảng thời gian tính toán |
| in | đầu vào (input), đầu vào (inlet) | ut | sử dụng |
| int | bên trong hoặc bên ngoài nhà | V | thông gió a |
| L | chiếu sáng a | ve | truyền nhiệt thông gió |
| lat | ẩn | W | cấp nước nóng sinh hoạt (DHW) a |
| lf | nhiên liệu lỏng | wd | gỗ |
| ls | tổn thất | we | trọng số |
| m | hàng tháng | wk | hàng tuần |
| max | tối đa | X | dịch vụ tòa nhà bất kỳ đang xem xét |
| meas | đo lường | Y | hệ thống con bất kỳ |
| min | tối thiểu | zt | vùng nhiệt |
| a Loại năng lượng sử dụng. | |||
4.3 Thuật ngữ viết tắt
| AHU | bộ xử lý không khí |
| BAC | tự động hóa và kiểm soát tòa nhà |
| CHP | đồng phát nhiệt và điện |
| DHW | cấp nước nóng sinh hoạt |
| EP | hiệu quả năng lượng |
| EPB | hiệu quả năng lượng của tòa nhà |
| PV | quang điện |
| RER | tỷ lệ năng lượng tái tạo |
5 Mô tả khung tổng thể và các quy trình
5.1 Đầu ra của phương pháp
Kết quả đầu ra chính của tiêu chuẩn này là chỉ số hiệu quả năng lượng tổng thể của một tòa nhà, một phần của tòa nhà, (ví dụ: Đơn nguyên tòa nhà) hoặc hồ sơ dữ liệu của các tòa nhà. Ngoài ra nó còn cho biết phần tách khoản của hiệu quả năng lượng thành phần, ví dụ: Cho mỗi dịch vụ năng lượng (sưởi ấm, chiếu sáng, v.v...), trên mỗi đơn nguyên tòa nhà, trên mỗi khoảng thời gian (giờ, tháng, v.v...) và tách khoản của dòng năng lượng ở các đường bao ranh giới khác nhau và ví dụ: Năng lượng cấp đến so với năng lượng xuất đi.
5.2 Mô tả tổng quát các quy trình và định tuyến
Tiêu chuẩn này cung cấp khung theo dạng mô-đun và khung tổng thể để đánh giá hiệu quả năng lượng của tòa nhà. Nó cung cấp cơ sở chung cho việc tính toán và đo lường hiệu quả năng lượng và cũng để kiểm tra hiệu quả năng lượng ở quy mô cấp độ toàn bộ tòa nhà, đơn nguyên tòa nhà hoặc các bộ phận tòa nhà.
Các tiêu chuẩn EPB tạo điều kiện cho việc kiểm tra các hệ thống kỹ thuật tòa nhà. Chúng có thể được sử dụng trong quá trình đánh giá tòa nhà thông qua cách tiếp cận điều chỉnh để kiểm tra và đánh giá hiệu quả năng lượng (xem các tiêu chuẩn cụ thể: M1-11 - M10-11).
Tùy thuộc vào ứng dụng cụ thể thì có thể cần đến các tiêu chuẩn khác.
Phương pháp đánh giá hiệu quả năng lượng của tòa nhà phải tính đến nhiều thông số:
- Loại đối tượng: Toàn bộ tòa nhà, đơn nguyên tòa nhà, phần của một tòa nhà, hoặc bộ phận tòa nhà (kết cấu tòa nhà hoặc các hệ thống kỹ thuật);
- Loại tòa nhà/ không gian (nhà ở, văn phòng công sở, v.v...);
- Loại hình ứng dụng: Hiệu quả năng lượng tổng thể được tính toán hoặc đo lường hoặc thanh kiểm tra;
- Mỗi ứng dụng này có thể có các mục tiêu khác nhau: Kiểm tra sự tuân thủ các yêu cầu hiệu quả năng lượng quốc gia hoặc vùng, cấp giấy chứng nhận hiệu quả năng lượng;
- Loại hình đánh giá: Đánh giá thiết kế, đánh giá theo hoàn công, v.v...;
- Các dịch vụ năng lượng: Sưởi ấm, làm mát, thông gió, gia ẩm, khử ẩm, cấp nước nóng sinh hoạt, chiếu sáng, tự động hóa và kiểm soát tòa nhà, nguồn năng lượng quang điện và gió, v.v...
Các thông số này có thể liên quan trực tiếp hoặc gián tiếp đến các quy định quốc gia hoặc khu vực. Giá trị của các thông số này phải được thu thập trong quá trình chuẩn bị đánh giá hiệu quả năng lượng (Điều 6) Sau bước chuẩn bị này, các bước sau đây phải được tuân thủ để thực hiện đánh giá hiệu quả năng lượng:
- Xác định đường bao ranh giới và ranh giới đánh giá (xem 9.5).
- Tính toán (Điều 7) hoặc đo lường (Điều 8) các dòng năng lượng tại ranh giới đánh giá.
- Tính trọng số của các dòng năng lượng theo các chỉ số năng lượng sơ cấp hoặc các số liệu khác, ví dụ: Phát thải CO2 (xem 9.6). Điều này được thực hiện với các chỉ số kiểm soát cho phép có bao gồm hoặc loại bỏ ảnh hưởng của năng lượng xuất đi và của sự bù trừ bất kỳ giữa các chất mang năng lượng.
- Tổng hợp hiệu quả năng lượng và phần đóng góp của năng lượng tái tạo (xem 9.7).
- Đối với hiệu quả năng lượng tổng thể được tính toán (xem thủ tục tính toán trong Điều 6, gồm phân vùng của tòa nhà hoặc phần của một tòa nhà nêu trong Điều 10.
- Đối với hiệu quả năng lượng được tính toán ở cấp độ tòa nhà hoặc cấp độ bộ phận hệ thống (xem 9.8).
- Đối với hiệu quả năng lượng tổng thể đo lường (xem Điều 8)
CHÚ THÍCH: Để cung cấp tính linh hoạt, có thể có các lựa chọn được xác định rõ ràng (xem Phụ lục A). Để tiến tới việc hài hòa hóa, độ tái lập và tính minh bạch, các lựa chọn mặc định tham khảo được đưa ra trong Phụ lục B. Xem lời giới thiệu.
Tác động chính đến các thủ tục thông qua các tiêu chuẩn EPB là lựa chọn giữa đánh giá hiệu quả năng lượng tính toán hoặc đo lường hoặc thanh kiểm tra. Bảng 2 đưa ra tổng quan tóm lược về mối quan hệ của từng điều đối với ba ứng dụng chính này.
Bảng 2 - Mối quan hệ của các điều với các ứng dụng khác nhau
| Điều | EP tính toán | EP đo lường | Thanh kiểm tra |
| 3. Thuật ngữ và định nghĩa | Có | Có | Có |
| 4. Ký hiệu, đơn vị, chỉ số dưới và thuật ngữ viết tắt | Có | Có | Có |
| 5. Mô tả khung tổng quát và các quy trình (định tuyến), cấu trúc theo dạng mô-đun tham chiếu tổng quát | Có | Có | Có |
| 6. Các bước chuẩn bị (loại đối tượng, loại nhà và không gian, loại ứng dụng, loại hình đánh giá, dịch vụ tòa nhà | Có | Có | Có |
| 7. Hiệu quả năng lượng tính toán | Có | Không (ngoại trừ để xác nhận) | Không (ngoại trừ để so sánh) |
| 8. Hiệu quả năng lượng đo lường | Không | Có | Từng phần a |
| 9. Đánh giá tổng thể hiệu quả năng lượng của tòa nhà: Ranh giới đánh giá, cân bằng năng lượng, chỉ số hiệu quả, phần đóng góp của các chỉ số hiệu quả năng lượng tái tạo cho các hệ thống kỹ thuật tòa nhà | Có | Có | Từng phần a |
| 10. Phân vùng của tòa nhà | Có | Từng phần a | Từng phần a |
| 11. Tính toán hiệu quả năng lượng tổng thể, thủ tục và cân bằng (cân bằng năng lượng cấp đến và xuất đi, nhu cầu nhiệt của tòa nhà, các hệ thống kỹ thuật tòa nhà, các điều kiện vận hành, dữ liệu khí hậu và môi trường bên ngoài) | Có | Không (ngoại trừ để xác nhận) | Không (ngoại trừ để so sánh) |
| 12. Đầu ra tổng quát chung | Có | Có/Từng phần a | Có/Từng phần a |
| 13. Kiểm soát chất lượng | Có | Có | Có/Từng phần a |
| 14. Kiểm tra sự tuân thủ | Có | Có | Có/Từng phần a |
| Phụ lục A, Phụ lục B (Bảng dữ liệu đầu vào và lựa chọn phương pháp) | Có | Có | Có/Từng phần a |
| Phụ lục C (Các chỉ số chung) | Có | Có | Có |
| Phụ lục D (Tính toán hiệu quả năng lượng đo lường) | Có | Có | Từng phần a |
| Phụ lục E (Các phương pháp tính toán các chỉ số hiệu quả năng lượng cho mỗi phần của một tòa nhà và/hoặc một dịch vụ) | Có | Từng phần a | Không |
| a xem TCVN 13469-2 (ISO/TR 52000-2)[2] để được giải thích thêm | |||
Các quy trình đánh giá gồm một số yếu tố và khía cạnh. Chúng có thể được trình bày theo các cách khác nhau.
5.3 Tiêu chí lựa chọn giữa các phương pháp
Việc lựa chọn phương pháp hoặc các phương pháp thường được thực hiện ở cấp quốc gia hoặc khu vực và có thể phụ thuộc vào loại đối tượng, loại tòa nhà, loại hình ứng dụng và loại hình đánh giá. Các lựa chọn này được nêu trong Bảng A.2 (bản mẫu) với các lựa chọn mặc định tham khảo nêu trong Bảng B.2.
CHÚ THÍCH: Các xem xét được nêu ra trong TCVN 13469-2 (ISO/TR 52000-2)[6].
6 Các bước chuẩn bị tổng thể
6.1 Tổng quát
Để chuẩn bị đánh giá hiệu quả năng lượng, các thông số sau phải được xác định:
- Loại đối tượng: Xem 6.2.1;
- Loại tòa nhà (và/hoặc không gian): Xem 6.2.2;
- Loại hình ứng dụng: Xem 6.2.3;
- Loại hình đánh giá: Xem 6.2.4;
- Dịch vụ năng lượng: Xem 6.2.5.
Bởi vì mỗi thông số có tác động mạnh mẽ đến khả năng ứng dụng hoặc các lựa chọn bên trong của phần lớn các tiêu chuẩn EPB khác, các lựa chọn được chỉ định với các định danh tham chiếu duy nhất.
Các thông số này có thể liên quan trực tiếp hoặc gián tiếp đến các quy định quốc gia hoặc khu vực. Vì vậy Phụ lục A đưa ra các bản mẫu quy định với các lựa chọn mặc định tham khảo nêu trong Phụ lục B.
Tính linh hoạt được cung cấp bởi các lựa chọn trong Phụ lục A cho phép đưa ra các giả định và các khả năng cụ thể cho đầu vào đơn giản liên quan đến các tòa nhà xây mới hoặc hiện hữu trong cùng một phương pháp luận chung.
Trong các điều tiếp theo thì đầu tiên các danh sách được quy định. Sau đó đối với trường hợp đánh giá cụ thể, loại hình hoặc phân loại phù hợp được nhận biết theo các danh sách này.
6.2 Danh sách các loại và phân loại
6.2.1 Loại đối tượng
Đối tượng được đánh giá là một tòa nhà, phần của một tòa nhà hoặc hồ sơ dữ liệu tòa nhà ở một địa điểm xây dựng riêng lẻ.
Tại địa điểm xây dựng tòa nhà có thể có một hoặc nhiều tòa nhà. Các tòa nhà khác nhau trên một địa điểm riêng lẻ có thể được tách rời nhau hoặc kết nối với nhau hoặc thậm trí nằm cách xa nhau.
Các loại đối tượng khác nhau (với định danh: EPB_OBJECT_TYPE) được nêu trong Bảng A.3 (bản mẫu). Các loại đối tượng mặc định tham khảo được nêu ra trong Bảng B.3.
VÍ DỤ 1: Toàn bộ tòa nhà hoặc phần của tòa nhà hoặc đơn nguyên tòa nhà, tòa nhà mới hoặc hiện hữu, tòa nhà công cộng lớn. tòa nhà ở hoặc tòa nhà không để ở có thể yêu cầu lựa chọn phương pháp đánh giá khác nhau (ví dụ: Được đo lường so với được tính toán).
CHÚ THÍCH 1: Xem giải thích trong báo cáo kỹ thuật kèm theo, TCVN 13469-2 (ISO/TR 52000-2)[6].
CHÚ THÍCH 2: Có khả năng là loại tòa nhà (xem 6.2.2) và/hoặc loại hình ứng dụng (xem 6.2.3) có thể phải được xác định song song, bởi vì loại tòa nhà và/hoặc loại hình ứng dụng có thể có tác động đến đối tượng.
VÍ DỤ 2: được kết nối bởi một hành lang, hội trường hoặc bãi đậu xe trong nhà.
CHÚ THÍCH 3: Trong bảng dữ liệu quốc gia, các quy tắc cụ thể có thể đưa ra giới hạn đối tượng sẽ được đánh giá trong trường hợp có nhiều hơn một tòa nhà hoặc tòa nhà được kết nối. Điều này được đề cập trong Điều 9, bởi vì nó có thể phụ thuộc vào loại hình ứng dụng.
6.2.2 Phân loại tòa nhà và không gian
Phân loại khác nhau của đối tượng được đánh giá liên quan đến công năng chính phải được xác định, bởi vì có thể có tác động đến các bước tiếp theo trong các quy trình đánh giá.
Danh sách phân loại khác nhau (với định danh: BLDNGCAT_TYPE) được nêu trong Bảng A.4 (bản mẫu). Danh sách phân loại mặc định tham khảo được nêu trong Bảng B.4.
CHÚ THÍCH 1: Thông thường việc phân cấp của tòa nhà có tính pháp lý, ví dụ: Liên quan đến các quy định tòa nhà cụ thể.
CHÚ THÍCH 2: Ví dụ và giải thích được nêu trong báo cáo kỹ thuật kèm theo (TCVN 13469-2 (ISO/TR 52000-2)[6].
VÍ DỤ 1: Tòa nhà ở, nhà nghỉ, tòa nhà văn phòng, tòa nhà hỗn hợp.
VÍ DỤ 2: Tác động có thể có, ví dụ: Phụ thuộc vào các quy tắc quốc gia: Đánh giá riêng rẽ cho phần sử dụng để làm nhà ở của một tòa nhà với phân loại công năng sử dụng hỗn hợp; hoặc của một đơn nguyên tòa nhà trong một tòa nhà chung cư.
Danh sách phân loại tòa nhà không bao gồm trong việc đánh giá hiệu quả năng lượng của tòa nhà được nêu trong Bảng A.5, với các mặc định tham khảo nêu trong Bảng B.5.
Các lựa chọn liệu có hay không đối với các loại không gian khác nhau có thể được thực hiện bên trong một loại tòa nhà được nêu trong Bảng A.6 (với lựa chọn mặc định tham khảo nêu trong Bảng B.6).
CHÚ THÍCH 3: Việc phân loại không gian xác định các điều kiện sử dụng để đánh giá hiệu quả năng lượng (tính toán hoặc đo lường). Các điều kiện sử dụng có thể có tác động đến dịch vụ nào được bao gồm trong đánh giá.
Danh sách các loại không gian (với định danh: SPACECAT_TYPE) được nêu trong Bảng A.7 (bản mẫu). Danh sách các loại mặc định tham khảo được nêu trong Bảng B.7. Danh sách phân loại không gian hoàn toàn tương đương với danh sách phân loại tòa nhà.
6.2.3 Loại hình ứng dụng
Loại hình ứng dụng phải được xác định. Các ứng dụng có thể có bao gồm việc kiểm tra tuân thủ các yêu cầu hiệu quả năng lượng, chứng nhận hiệu quả năng lượng và kiểm tra hiệu quả năng lượng.
CHÚ THÍCH: Ở một giai đoạn xác định bất kỳ trong quy trình, cho đến và gồm cả việc phân vùng (Điều 10), có thể phải kết luận rằng việc nhận biết ban đầu về loại tòa nhà hoặc phần của một tòa nhà vẫn chưa đầy đủ hoặc chưa được hoàn thành và phải làm lại. Ví dụ: Nếu một phần liền kề của một tòa nhà ban đầu bị bỏ qua, nhưng sau đó phát hiện nó có chung một hệ thống kỹ thuật tòa nhà với các không gian bao gồm trong đánh giá hiệu quả năng lượng.
Loại hình ứng dụng (với định danh: EPB_APPLIC_TYPE) được nêu trong Bảng A.8 (bản mẫu). Loại hình ứng dụng mặc định tham khảo được nêu trong Bảng B.8.
6.2.4 Loại hình đánh giá
Loại hoặc các loại hình đánh giá hiệu quả năng lượng phải được quy định cho loại hình ứng dụng và loại tòa nhà nào phụ thuộc vào ứng dụng và/hoặc loại tòa nhà.
Việc đánh giá hiệu quả năng lượng của tòa nhà bao gồm các dịch vụ tòa nhà như được quy định trong 6.2.5 và áp dụng cho các điều kiện vận hành (tiêu chuẩn) giả định. Nếu đánh giá EPB đo lường (xem Điều 8) không được điều chỉnh để bao quát các dịch vụ tòa nhà và điều kiện giả định tương tự, hai loại hình đánh giá EPB này không thể so sánh được.
CHÚ THÍCH: Trong thực tế việc điều chỉnh này là không đáng kể, xem TCVN 13469-2 (ISO/TR 52000-2) [6].
Ứng dụng điển hình của các loại hình đánh giá EPB khác nhau được tóm lược trong Bảng 3.
Bảng 3 - Loại hình đánh giá EPB
| Loại | Loại con | Dữ liệu đầu vào | Loại ứng dụng | ||
| Công năng sử dụng | Khí hậu | Tòa nhà | |||
| Tính toán (theo đặc tính) | Thiết kế | Tiêu chuẩn | Tiêu chuẩn | Thiết kế | Cấp phép xây dựng, Giấy chứng nhận ở các điều kiện |
| Theo hoàn công | Tiêu chuẩn | Tiêu chuẩn | Thực tế | Giấy chứng nhận hiệu quả năng lượng, Quy chuẩn xây dựng | |
| Thực tế | Thực tế | Thực tế | Thực tế | Xác nhận | |
| Điều chỉnh để phù hợp | Điều chỉnh phụ thuộc vào mục đích | Tối ưu hóa, xác nhận, lập kế hoạch cải tạo, kiểm toán năng lượng | |||
| Đo lường (theo vận hành) | Thực tế a | Thực tế | Thực tế | Thực tế | Theo dõi giám sát, hoặc kiểm toán năng lượng |
| Điều chỉnh điều kiện khí hậu | Thực tế | Điều chỉnh theo tiêu chuẩn | Thực tế | Theo dõi giám sát hoặc kiểm toán năng lượng | |
| Điều chỉnh theo sử dụng | Điều chỉnh theo tiêu chuẩn |
|
| Theo dõi giám sát | |
| Tiêu chuẩn | Điều chỉnh theo tiêu chuẩn | Điều chỉnh theo tiêu chuẩn | Thực tế | Giấy chứng nhận hiệu quả năng lượng, Quy chuẩn xây dựng | |
| a Đây không phải là hiệu quả năng lượng bởi vì còn thiếu các điều chỉnh cốt yếu. | |||||
Loại hình đánh giá (với định danh: EPB_ASSESS_TYPE) được nêu trong Bảng A.9 (bản mẫu). Loại hình ứng dụng mặc định tham khảo được nêu trong Bảng B.9. Loại hình đánh giá có thể khác nhau cho loại đối tượng và tòa nhà khác nhau.
6.2.5 Dịch vụ tòa nhà
Loại hình dịch vụ hỗn hợp (với định danh: EPB_LISTSERVICES_TYPE) phải được tính đến trong việc đánh giá hiệu quả năng lượng được nêu trong Bảng A.10 (bản mẫu). Hỗn hợp các loại hình dịch vụ mặc định tham khảo được nêu trong Bảng B.10.
CHÚ THÍCH: Đối với một số dịch vụ tòa nhà, việc tính đến chúng xét về mặt hiệu quả năng lượng của tòa nhà ít phổ biến hơn (ví dụ: Năng lượng sử dụng cho các thiết bị nhỏ, nấu ăn, thang cuốn, và thang máy).
Sự kết hợp có thể khác nhau cho các loại tòa nhà và không gian khác nhau (ví dụ: Tòa nhà ở so với tòa nhà không để ở). Các chi tiết của từng loại kết hợp được nêu trong 9.2 và lựa chọn giữa các nguyên tắc khác nhau được giới thiệu: Liệu sự có mặt của một hệ thống cho một dịch vụ cụ thể có phải là quyết định khi tính đến việc sử dụng năng lượng hay không, hoặc liệu các điều kiện sử dụng cần thiết có phải là quyết định (để đảm bảo quy định về phạm vi đánh giá cùng cấp).
6.3 Xác định loại và phân loại cho một trường hợp cụ thể
6.3.1 Tổng quát
Đối với đối tượng được đánh giá đang xem xét:
a) Giới thiệu một định danh trường hợp duy nhất và duy trì nó xuyên suốt cho tất cả các khâu đánh giá hiệu quả năng lượng của tòa nhà;
b) Xác định đối tượng được đánh giá theo danh sách các loại đối tượng nêu trong Bảng A.3 (với các loại mặc định tham khảo nêu trong Bảng B.3);
c) Xác định loại tòa nhà theo danh sách phân loại nêu trong Bảng A.4 (với các loại mặc định tham khảo nêu trong Bảng B.4);
d) Nếu cho phép các loại không gian khác nhau (xem Bảng A.6, với lựa chọn mặc định tham khảo nêu trong Bảng B.6):
- Xác định phân loại không gian cho từng không gian (hoặc nhóm không gian) trong đối tượng được đánh giá đang xem xét theo danh sách phân loại không gian nêu trong Bảng A.7 (với các loại mặc định tham khảo nêu trong Bảng B.7);
CHÚ THÍCH: Có thể phải xem xét lại việc xác định phân loại không gian trong tiến trình đánh giá tiếp theo vỏ bao che nhiệt và trong việc đơn giản hóa, được thể hiện trong Điều 9.
- Nếu không thì loại không gian sẽ tương tự như loại tòa nhà.
e) Xác định loại hình ứng dụng theo danh sách loại hình ứng dụng nêu trong Bảng A.8 (với các loại mặc định tham khảo nêu trong Bảng B.8)
f) Xác định loại hình đánh giá theo danh sách loại hình đánh giá nêu trong Bảng A.9 (với các loại mặc định tham khảo nêu trong Bảng B.9)
g) Xác định loại hình dịch vụ hỗn hợp theo danh sách loại hình dịch vụ hỗn hợp nêu trong Bảng A10 (với các loại mặc định tham khảo nêu trong Bảng B.10)
6.3.2 Dữ liệu đầu ra
Các loại và phân loại được xác định cũng có thể có ảnh hưởng đến các lựa chọn trong các tiêu chuẩn EPB khác. Do đó, đây là những đặc tính quan trọng được sử dụng làm dữ liệu đầu vào trong các tiêu chuẩn EPB khác, khi có liên quan. Bảng 4 dưới đây trình bày các bước chuẩn bị tổng quát.
Bảng 4 - Dữ liệu đầu ra, các bước chuẩn bị tổng quát
| Mô tả | Ký hiệu định danh | Đơn vị | Mô-đun đích dự định |
| Trường hợp đánh giá | CASE_IDENTIFIER | Không xác định | Tất cả |
| Loại đối tượng (có thể có nhiều hơn một đối tượng) | EPB_OBJIECT_TYPE | Không xác định | Tất cả |
| Loại tòa nhà | BLDNGCAT_TYPE | Không xác định | Tất cả |
| Loại không gian cho từng không gian hoặc nhóm không gian (nếu khác nhau so với loại tòa nhà) | SPACECAT_TYPE | Không xác định | Tất cả |
| Loại hình ứng dụng | EPB_APPLIC_TYPE | Không xác định | Tất cả |
| Loại hình đánh giá | EPB_ASSESS_TYPE | Không xác định | Tất cả |
| Loại hình dịch vụ kết hợp | EPB_LISTSERVICE_TYPE | Không xác định | Tất cả |
7 Hiệu quả năng lượng tính toán của tòa nhà
7.1 Dữ liệu đầu ra
Dữ liệu đầu ra của tiêu chuẩn này được nêu trong Bảng 5.
Bảng 5 - Dữ liệu đầu ra
| Mô tả | Ký hiệu | Đơn vị | Mô-đun đích dự định |
| Tổng dữ liệu đầu ra hàng năm | |||
| Hiệu quả năng lượng theo trọng số | Ewe | kW·h/năm kgCO2/năm kgCO2eq/năm VND/ năm kW·h/m2/ năm | M1-4 |
| Tỷ lệ năng lượng tái tạo | RER | - | M1-4 |
| Năng lượng sẵn có để sử dụng bên ngoài tòa nhà |
| kw.h/ năm | M1-4 |
| Dữ liệu đầu ra hàng năm cho mỗi dịch vụ hoặc cho mỗi vùng tòa nhà | |||
| Hiệu quả năng lượng theo trọng số cho mỗi dịch vụ hoặc cho mỗi vùng hoặc cho mỗi dịch vụ và vùng | Ewe;X Ewe;X;z,i | kw·h/năm kgCO2/năm kgCO2eq/năm VND/năm kW.h/m2/ năm | M1-4 |
| Tỷ lệ năng lượng tái tạo cho mỗi dịch vụ | RERx | - |
|
| Năng lượng được cấp đến cho mỗi dịch vụ hoặc cho mỗi vùng hoặc cho mỗi dịch vụ và cho mỗi vùng | Edel;X Edel;X;z,i | kW.h/năm | M1-4 |
| CHÚ THÍCH: CAR_NAMEj là tên của chất mang năng lượng thứ j | |||
Để thu được dữ liệu đầu ra cho mỗi dịch vụ và cho mỗi vùng tòa nhà đòi hỏi quy trình tính toán được mô tả trong Phụ lục E, Các chỉ số hiệu quả trên mỗi phần của tòa nhà và cho mỗi dịch vụ.
7.2 Khoảng thời gian tính toán và kỳ tính toán
7.2.1 Khoảng thời gian tính toán
Khoảng thời gian tính toán được áp dụng cho các phương pháp theo cấu trúc dạng mô-đun được quy định trong các tiêu chuẩn riêng. Các khoảng thời gian tính toán có thể là:
- Theo giờ;
- Theo tháng;
- Theo mùa;
- Theo năm;
- Theo “Bin”.
Khoảng thời gian tính toán phải nhất quán trong toàn bộ các tính toán. Các quy định để kết hợp các khoảng thời gian tính toán khác nhau được nêu trong các mô-đun liên quan.
7.2.2 Kỳ tính toán
Khoảng thời gian của mùa sưởi ấm hoặc mùa làm mát được xác định theo thời gian vận hành của các hệ thống kỹ thuật tương ứng. Nó có thể khác so với thời gian được suy ra từ việc tính toán các nhu cầu năng lượng.
CHÚ THÍCH 1: Khoảng thời gian của mùa có thể ngắn hơn so với thời gian có được từ việc tính toán các nhu cầu do loại bỏ các nhu cầu trái mùa, hoặc dài hơn, do các tổn thất của hệ thống trong thời gian không có nhu cầu.
Trong trường hợp hạn chế về khoảng thời gian của chu kỳ sưởi ấm hoặc làm mát được tính đến trong các tính toán, các hạn chế này phải được áp dụng cho tất cả các tiêu chuẩn EPB có liên quan.
Những hạn chế như vậy phải được tính đến trong các tiêu chuẩn hệ thống liên quan theo các mô-đun M3-1 - M7-1 tính toán sử dụng năng lượng của hệ thống. Việc lựa chọn các hạn chế như vậy được nêu trong Phụ lục A (bản mẫu quy định) và Phụ lục B (lựa chọn mặc định tham khảo) trong các tiêu chuẩn này.
CHÚ THÍCH 2: Các hạn chế này có thể, ví dụ: Là do các quy định quốc gia hoặc khu vực.
7.3 Dữ liệu đầu vào
7.3.1 Dữ liệu sản phẩm
Tiêu chuẩn này không đòi hỏi dữ liệu về sản phẩm.
7.3.2 Dữ liệu thiết kế hệ thống
Tiêu chuẩn này không đòi hỏi dữ liệu thiết kế hệ thống.
7.3.3 Dữ liệu điều kiện vận hành
7.3.3.1 Tổng quát
Dữ liệu điều kiện vận hành của các hệ thống kỹ thuật (hệ thống kỹ thuật con) cần thiết cho quy trình tính toán này được nêu trong Bảng 6.
Bảng 6 - Danh sách dữ liệu đầu vào điều kiện vận hành của hệ thống kỹ thuật (hệ thống kỹ thuật con)
| Tên | Ký hiệu | Tên gọi lập trình | Đơn vị | Dải | Nguồn gốc | Thay đổi |
| Điện năng đầu vào cho máy phát điện i đối với dịch vụ tòa nhà X (hoặc tổ hợp dịch vụ) trong khoảng thời gian tính toán t | EX,gen,i,in,el,t | E_X_gen_i_in_el_t | kWh | 0 ... ∞ | Khác nhau | Có |
| Năng lượng phụ trợ đầu vào cho hệ thống con Y cho dịch vụ tòa nhà X (hoặc tổ hợp dịch vụ) trong khoảng thời gian tính toán t | WX;Y;aux;t | W_X_Y_aux_t | kWh | 0 ... ∞ | Khác nhau | Có |
| Loại hình sử dụng năng lượng | EL_USE | EL_USE |
| Danh sách | Khác nhau | Không |
| Năng lượng điện được sản xuất tại chỗ bởi hệ thống con j (ví dụ: Đồng phát nhiệt và điện), quang điện hoặc điện gió) trong khoảng thời gian tính toán t | Epr;el,j;t | E_pr_el_j_t | kWh | 0...∞ | Khác nhau | Có |
| Loại hình phát điện | EL_PROD | EL_PROD | Không xác định | Danh sách | Khác nhau | Không |
| Điện năng sử dụng trong tòa nhà cho các công năng sử dụng phi hiệu quả năng lượng của tòa nhà | EnEPus;el;t | E_nEPus_el_t | kWh | 0...∞ | Khác nhau | Có |
| Chất mang năng lượng cr đầu vào cho máy phát i đối với dịch vụ tòa nhà X trong thời gian tính toán bước t | EX;gen,i;in;cr;t | E_X_gen j_in_cr_t | kWh | 0 ...∞ | Khác nhau | Có |
| Chất mang năng lượng cr cho máy phát i đối với dịch vụ tòa nhà X | GEN_CRX;gen,i | GEN_CRX_gen_i |
| Danh sách | Khác nhau | Không |
| Dữ liệu bổ sung cần thiết cho tính toán các chỉ số hiệu quả năng lượng trên mỗi phần của một tòa nhà | ||||||
| Nhu cầu năng lượng trên mỗi phần của tòa nhà | QX;nd;i | QX_nd_i | kWh | 0...∞ | Khác nhau | Có |
| Trọng số mặc định trên mỗi phần của tòa nhà | Xdef;i | Xdef_i | kWh | 0 ...∞ | Khác nhau | Có |
| Năng lượng đầu vào cho các hệ thống kỹ thuật con | QX;Y;in | QX_Y_in | kWh | 0...∞ | Khác nhau | Có |
| Năng lượng đầu ra của các hệ thống kỹ thuật con | QX;Y;out | QX_Y_out | kWh | 0...∞ | Khác nhau | Có |
7.3.3.2 Điện năng đầu vào cho máy phát
Chỉ có điện năng đầu vào EX,gen,i,in,el,t là đầu vào chính cho một thiết bị phát. Nó là một mảng hai chiều:
- Một giá trị cho từng khoảng thời gian tính toán t;
- Một giá trị cho từng máy phát X,i (một hoặc nhiều máy phát cho từng dịch vụ);
CHÚ THÍCH: Thông thường đây là đầu vào cho các bơm nhiệt chạy điện, máy làm lạnh và các quạt gió của hệ thống thông gió. Có thể có một máy phát cho từng dịch vụ, một máy phát cho nhiều dịch vụ hoặc nhiều máy phát cho một dịch vụ.
7.3.3.3 Năng lượng phụ trợ đầu vào
Năng lượng phụ trợ đầu vào WX;Y;aux;t cho hệ thống con Y đối với dịch vụ tòa nhà X (hoặc tổ hợp các dịch vụ) trong khoảng thời gian tính toán t là một mảng hai chiều:
- Một giá trị cho từng khoảng thời gian tính toán t;
- Một giá trị cho từng hệ thống con Y đối với dịch vụ X (có một vài hệ thống con Y cho mỗi dịch vụ X)
7.3.3.4 Loại hình sử dụng điện
Loại hình sử dụng năng lượng điện được xác định bởi một cặp của các mảng một chiều định danh trường hợp:
- Một mảng với một giá trị cho từng điện năng đầu vào cho máy phát i của dịch vụ X, xem 7.3.3.2.
- Một mảng với một giá trị cho từng điện năng đầu vào phụ trợ cho hệ thống con Y đối với dịch vụ X, xem 7.3.3.3;
CHÚ THÍCH 1: Thông tin này được sử dụng nếu muốn tính đến loại hình sử dụng (ví dụ: Để hạn chế khả năng bao quát các sử dụng đã chọn tùy thuộc vào loại nguồn năng lượng).
CHÚ THÍCH 2: Nếu không sử dụng quy định kỹ thuật này thì giá trị mặc định sẽ được giả định.
Bản mẫu về quy định kỹ thuật của loại hình sử dụng năng lượng điện được nêu trong Bảng A.11. Định danh mặc định được nêu trong Bảng B.11.
7.3.3.5 Điện năng sản xuất tại chỗ
Điện năng Epr;el,j;t được sản xuất tại chỗ bởi máy phát j (ví dụ: Đồng phát nhiệt và điện, quang điện và điện gió) trong các khoảng thời gian tính toán là một mảng hai chiều:
- Một giá trị cho từng khoảng thời gian tính toán t;
- Một giá trị cho từng thiết bị phát điện j.
7.3.3.6 Loại hình sản xuất điện
Loại hình sản xuất điện được quy định bởi một mảng một chiều định danh trường hợp với một giá trị cho từng loại hình sản xuất điện j.
Bản mẫu về quy định kỹ thuật của loại hình phát điện được nêu trong Bảng A.12. Định danh mặc định được nêu trong Bảng B.12.
7.3.3.7 Sử dụng điện cho các mục đích phi hiệu quả năng lượng của tòa nhà
Năng lượng điện sử dụng trong tòa nhà cho mục đích sử dụng phi hiệu quả năng lượng của tòa nhà EnEPus;el;t là điện năng sử dụng tại chỗ cho việc sử dụng như cho các thiết bị, các hoạt động thương mại, thang máy (cho đến khi chúng nằm ngoài phạm vi của hiệu quả năng lượng của tòa nhà). Năng lượng điện sử dụng trong tòa nhà cho việc sử dụng phi hiệu quả năng lượng của tòa nhà EnEPus;el;t là một loại hình sử dụng tùy chọn. Nếu nó không được chỉ định rõ ràng thì nó được giả định bằng không. Nó là mảng một chiều; có một giá trị cho từng bước tính toán thời gian.
CHÚ THÍCH: Mã định danh chung cho việc sử dụng này là EL_USE_NEPB.
7.3.3.8 Năng lượng cấp đến khác ngoài điện năng
Đầu vào chất mang năng lượng cr, EX;gen,i;in;cr;t cho máy phát i đối với dịch vụ tòa nhà X trong bước tính toán thời gian là một mảng hai chiều:
- một giá trị cho từng khoảng thời gian tính toán t;
- một giá trị cho từng thiết bị phát điện j.
Đầu vào điện năng chính bất kỳ được tính toán riêng rẽ, xem EX,gen,i,in,el,t ở trên.
7.3.3.9 Quy định kỹ thuật chất mang năng lượng
Chất mang năng lượng GEN_CRX;gen,i cho máy phát i đối với dịch vụ tòa nhà X là mảng một chiều định danh trường hợp: một giá trị cho từng máy phát i của từng dịch vụ X.
CHÚ THÍCH: Thông tin này được sử dụng để lựa chọn các chỉ số trọng số liên quan.
7.3.3.10 Năng lượng sử dụng cho mỗi phần của một tòa nhà
Năng lượng sử dụng cho mỗi phần của một tòa nhà QX_nd_i là nhu cầu năng lượng được tính toán cho vùng nhiệt i hoặc khu vực phục vụ i.
7.3.3.11 Trọng số mặc định cho mỗi phần của một tòa nhà
Trọng số mặc định cho mỗi phần của một tòa nhà là một đặc tính của vùng nhiệt i hoặc khu vực phục vụ i được sử dụng để phân bổ lượng năng lượng chung bất kỳ cho các vùng nhiệt hoặc khu vực phục vụ khi các nhu cầu đều bằng không. Xem E.2.3.2.
7.3.3.12 Năng lượng đầu vào cho hệ thống kỹ thuật con
Năng lượng đầu vào cho một hệ thống con QX_Y_ là năng lượng đi vào hệ thống con theo hướng dòng năng lượng.
VÍ DỤ: QH;gen;in là năng lượng đầu vào cho một thiết bị phát nhiệt như nhiên liệu đầu vào cho một nồi hơi.
7.3.3.13 Năng lượng đầu ra của hệ thống kỹ thuật con
Năng lượng đầu ra QX;Y;out của một hệ thống kỹ thuật con là năng lượng ra khỏi hệ thống con theo hướng dòng năng lượng.
VÍ DỤ: QH;gen;out là năng lượng đầu ra từ một thiết bị sưởi như nhiệt cung cấp bởi một nồi hơi để lưu trữ hoặc phân phối.
7.3.4 Hằng số và dữ liệu vật lý
Tiêu chuẩn này không yêu cầu bất kỳ dữ liệu vật lý và hằng số nào.
Bảng A.13 đến A.15 thiết lập bản mẫu để ghi khối lượng riêng và trị số tỏa nhiệt của các nhiên liệu. Các giá trị mặc định đối với các nhiệt liệu lựa chọn được nêu trong Bảng B.13 đến B.15.
7.3.5 Dữ liệu khác
Quy trình tính toán này yêu cầu xác định một số thông số để tính trọng số của các chất mang năng lượng. Chúng được nêu trong Bảng 7.
Bảng 7 - Danh sách các thông số tính toán
| Tên | Ký hiệu | Tên gọi lập trình | Đơn vị | Dải | Nguồn gốc | Thay đổia |
| Dữ liệu điều kiện vận hành |
|
|
|
|
|
|
| Chỉ số trọng số của chất mang năng lượng cấp đến cr | ƒwe;del,cr;t | Khác nhau | 0...∞ | Địa phương | Có/không | |
| Chỉ số trọng số của điện lưới xuất đi | ƒwe;exp;el;grid;t | Khác nhau | 0...∞ | Địa phương | Có/không | |
| Chỉ số trọng số của điện năng xuất đi cho việc sử dụng phi hiệu quả năng lượng trong tòa nhà | ƒwe;ex- p;el;used;nEPus,t | Khác nhau | 0...∞ | Địa phương | Có/không | |
| Chỉ số đánh giá năng lượng xuất đi | kexp |
| 0...1 | Địa phương | Không | |
| a “thay đổi”: giá trị có thể thay đổi theo thời gian: các giá trị khác nhau trên mỗi khoảng thời gian, ví dụ: Giá trị theo giờ hoặc giá trị theo tháng (không phải giá trị không đổi trong năm). | ||||||
Các loại chỉ số trọng số có thể có (bao gồm năng lượng sơ cấp, chi phí, phát thải CO2, v.v...) được xác định trong 9.6.6.
Bản mẫu để ghi các thông số tính toán này được nêu trong Phụ lục A, Bảng A.16 và A.17.
Các giá trị mặc định của các chỉ số trọng số là hằng số được nêu trong Phụ lục B, Bảng B16 và B.17. Quy trình tính toán cũng hỗ trợ cho các chỉ số trọng số thay đổi.
7.4 Mô tả quy trình tính toán
Kết quả đầu ra của quy trình tính toán là hiệu quả năng lượng theo trọng số Ewe và các chỉ số hiệu quả năng lượng khác. Kết quả đầu ra có thể được lựa chọn tùy ý tính chi tiết cho mỗi dịch vụ hoặc cho mỗi phần của một tòa nhà (ví dụ: Đơn nguyên tòa nhà).
Quy trình tính toán bao gồm các bước sau:
- Thực hiện các bước chuẩn bị tổng quát được mô tả trong Điều 6;
- Đánh giá chi tiết, ranh giới và điều kiện của tòa nhà hoặc phần tòa nhà được mô tả trong 9.1-9.5,
- Tuân theo tất cả các bước tính toán được mô tả trong 9.6 và Điều 11, bao gồm:
- Xác định (tính toán) các thành phần năng lượng lượng được cấp đến và xuất đi có tính đến thời điểm cung cấp và xuất năng lượng được mô tả trong 11.6;
- Xác định năng lượng cấp đến và xuất đi theo trọng số như mô tả trong 11.6;
- Trích xuất các chỉ số hiệu quả thành phần, ví dụ: Phân bổ hiệu quả năng lượng cho các phần của tòa nhà hoặc các dịch vụ như mô tả trong Phụ lục E;
- Lập báo cáo như mô tả trong Điều 12.
Các lựa chọn được cung cấp để thu được ý nghĩa mong muốn của các chỉ số hiệu quả năng lượng. Các lựa chọn được quy định để đưa ra một giá trị cho các thông số tính toán như kexp và các chỉ số trọng số.
8 Hiệu quả năng lượng tổng thể đo lường và so sánh với tính toán
8.1 Tổng quát
Phương pháp này chỉ áp dụng cho các tòa nhà hiện hữu đang trong thời kỳ sử dụng.
Hiệu quả năng lượng đo lường được tính toán theo cùng một cách như hiệu quả năng lượng tính toán bằng cách sử dụng lượng năng lượng cấp đến và xuất đi đo được Edel;cr,i;meas và Eexp;cr,j;meas thay cho các lượng tính toán tương ứng.
Quy trình đo và chuẩn hóa lượng năng lượng được cấp đến, sản xuất và xuất đi cho các dịch vụ đang xem xét được nêu trong các mô-đun từ M3-10 đến M11-10.
CHÚ THÍCH: Có thể hiệu quả năng lượng đo lường sẽ không cung cấp dữ liệu với cùng mức độ phân tích như hiệu quả năng lượng tính toán.
8.2 Đầu ra của phương pháp
Kết quả đầu ra của hiệu quả năng lượng đo lường về nguyên tắc là tương tự như đầu ra của hiệu quả năng lượng tính toán được nêu trong Bảng 5, với các hạn chế sau:
- Hiếm khi biết được tường tận quá trình cung cấp và xuất năng lượng. Thường thường thì chỉ biết được lượng năng lượng theo mùa hoặc theo năm.
- Tỷ lệ năng lượng tái tạo không thể xác định được nếu không thể đo được phần đóng góp của các nguồn tái tạo;
VÍ DỤ: Phần đóng góp của năng lượng mặt trời hiếm khi đo được một cách trực tiếp.
- Sự sẵn có của dữ liệu năng lượng đo lường cho các dịch vụ cụ thể và/hoặc các vùng tòa nhà phụ thuộc vào số và chất lượng của các thiết bị đo đếm được lắp đặt.
CHÚ THÍCH 1: Một vài quy trình tính toán cho phép xác định hiệu quả năng lượng thành phần cho các dịch vụ cụ thể không có đồng hồ đo chuyên dụng.
Để thu được dữ liệu đầu ra cho mỗi dịch vụ và mỗi vùng của tòa nhà đòi hỏi các quy trình tính toán được mô tả trong E.3.
CHÚ THÍCH 2: Chỉ có thể sử dụng phương pháp tính toán ngược được nêu trong E.3. để xác định hiệu quả năng lượng đo lường.
8.3 Khoảng thời gian đo lường và kỳ đo lường
Kỳ đánh giá (khoảng thời gian theo đó hiệu quả năng lượng được đánh giá) là tương tự như kỳ đánh giá đối với hiệu quả năng lượng tính toán.
Khoảng thời gian đo lường là khoảng thời gian giữa các lần đọc dữ liệu của các đồng hồ đo hoặc mức sử dụng lượng năng lượng đã biết. Nếu có một vài chất mang năng lượng và/hoặc mức sử dụng năng lượng thì khoảng thời gian đo lường có thể là không đồng bộ.
Kỳ đo lường là quãng thời gian bao quát toàn bộ các khoảng thời gian đo lường. Để tính trung bình ảnh hưởng của khí hậu và/hoặc hành vi của người sử dụng, khoảng thời gian đo lường cần thiết có thể là bội số của kỳ tính toán.
Tiêu chí xác nhận quy định số khoảng thời gian đo lường cần thiết và thời gian tối thiểu cần thiết của kỳ đo lường.
Các quy định kỹ thuật chi tiết của các khoảng và kỳ đo lường cần thiết cũng như tiêu chí xác nhận được nêu trong các mô-đun cụ thể.
8.4 Dữ liệu đầu vào
8.4.1 Dữ liệu sản phẩm
Tiêu chuẩn này không đòi hỏi bất kỳ dữ liệu nào về sản phẩm.
8.4.2 Dữ liệu thiết kế hệ thống
Tiêu chuẩn này không đòi hỏi bất kỳ dữ liệu nào về thiết kế hệ thống.
8.4.3 Dữ liệu điều kiện vận hành
Dữ liệu điều kiện vận hành của các hệ thống kỹ thuật (hệ thống kỹ thuật con) cần thiết cho hiệu quả năng lượng đo lường tương tự như cho hiệu quả năng lượng tính toán nhưng đầu vào được cung cấp cho mỗi dòng năng lượng thay vì cho mỗi máy phát và/hoặc cho mỗi hệ thống con. Xem Bảng 8.
Bảng 8 - Danh sách dữ liệu đầu vào về điều kiện vận hành của hệ thống kỹ thuật (hệ thống kỹ thuật con)
| Tên | Ký hiệu | Tên gọi lập trình | Đơn vị | Dải | Nguồn gốc | Thay đổi |
| Điện năng cấp đến đo được cho dịch vụ X | Edel;el;X;meas | E_DEL_EL_X_MEAS | kWh | 0...∞ | Khác nhau | Có |
| Loại hình sử dụng năng lượng | EL_USE | EL_USE | Không xác định | Danh sách | Khác nhau | Không |
| Điện năng xuất đi đo được | Eexp;el;meas | E_EXP_EL_MEAS | kWh | 0...∞ | Khác nhau | Có |
| Năng lượng điện đo được do sản xuất tại chỗ bởi hệ thống con j | Epr;el,j;meas | E_PR_EL,J_MEAS | kWh | 0...∞ | Khác nhau | Có |
| Loại hình phát điện i | EL_PROD,i | EL_PROD,I | Không xác định | Danh sách | Khác nhau | Không |
| Điện năng sử dụng đo được trong tòa nhà cho việc sử dụng phi hiệu quả năng lượng của tòa nhà | EnEPus;el;meas | E_NEPUS_EL_MEAS | kWh | 0...∞ | Khác nhau | Có |
| Chất mang năng lượng cr,i cấp đến đo được cho dịch vụ tòa nhà X | Edel;cr,i;X;meas | E_DEL_CR_I_X_MEAS | kWh | 0...∞ | Khác nhau | Có |
| Loại chất mang năng lượng được cấp đến i | MEAS_CR,i | MEAS_CR_I | Không xác định | Danh sách | Khác nhau | Không |
| Dữ liệu bổ sung cần thiết cho tính toán các chỉ số hiệu quả năng lượng trên mỗi phần của tòa nhà | ||||||
| Năng lượng sử dụng đo được cho mỗi phần của tòa nhà z,i | QX;z,i;meas | QX_Z_MEAS | kWh | 0...∞ | Khác nhau | Có |
| Trọng số mặc định trên mỗi phần của tòa nhà | Xdef;i | XDEF_I | kWh | 0...∞ | Khác nhau | Có |
Dữ liệu điều kiện vận hành cho hiệu quả năng lượng đo lường được xác định theo các mô-đun:
- M3-10 cho sưởi ấm;
- M4-10 cho cấp nước nóng sinh hoạt;
- M4-10 cho làm mát;
- M5-10 cho thông gió;
- M9-10 cho chiếu sáng;
- M10-10 cho tự động hóa và kiểm soát tòa nhà;
- M11-10 cho sản xuất điện.
8.4.4 Dữ liệu vật lý và hằng số
Tiêu chuẩn này không đòi hỏi bất kỳ dữ liệu vật lý hoặc hằng số nào.
8.4.5 Dữ liệu khác
Dữ liệu khác (chỉ số trọng số) giống như là đối với hiệu quả năng lượng tính toán được nêu trong 9.6.
8.5 Quy trình đo lường
Quy trình đo lường và hiệu chỉnh lượng năng lượng cấp đến và xuất đi được nêu trong mô-đun MX-10 trong bộ tiêu chuẩn EPB.
Lượng năng lượng đo lường cần hiệu chỉnh và/hoặc ngoại suy vì các lý do sau:
- Dịch vụ năng lượng: Năng lượng đo lường chính xác cho các dịch vụ không được bao gồm trong hiệu quả năng lượng (xem Bảng A.18/ Bảng B.18);
CHÚ THÍCH 1: Ví dụ: Điều này có thể liên quan đến việc chiếu sáng trong tòa nhà ở và các thiết bị.
- Sự ước tính lượng nhiên liệu sử dụng nếu chúng không được đo tự động;
CHÚ THÍCH 2: Ví dụ: Tính khối lượng của gỗ và độ ẩm của gỗ, lượng than hoặc dầu.
- Kỳ đánh giá: Nội suy hoặc ngoại suy cho cả năm có tính đến các mô hình theo mùa khác nhau cho các dịch vụ và các nguồn năng lượng tái tạo khác nhau;
CHÚ THÍCH 3: Mô hình mùa khác nhau có thể gồm: sưởi ấm, làm mát, cấp nước nóng sinh hoạt và chiếu sáng và mô hình mùa của ví dụ: năng lượng mặt trời năng lượng gió. Điều này đòi hỏi việc ước tính số lượng tương đối và mô hình mùa nếu không biết riêng các dòng năng lượng này.
- Thời tiết: Điều chỉnh số liệu thời tiết thực tế về thời tiết tiêu chuẩn có tính đến sự khác biệt trong tác động của thời tiết đến các dịch vụ kế tiếp và các nguồn năng lượng tái tạo;
- Mức độ sử dụng và vận hành: Điều chỉnh từ thực tế đến mô hình mức độ sử dụng và điều kiện sử dụng tiêu chuẩn.
CHÚ THÍCH 4: Hiệu chỉnh và ngoại suy để chuyển đổi năng lượng sử dụng đo được về năng lượng sử dụng chính xác hợp lý ở điều kiện môi trường và vận hành tiêu chuẩn để đánh giá hiệu quả năng lượng có thể đòi hỏi cách tiếp cận phù hợp và kiến thức chuyên môn.
8.6 Tính toán hiệu quả năng lượng dựa trên năng lượng đo lường
Chu trình đánh giá như sau:
a) Đánh giá hiệu quả năng lượng dựa trên năng lượng đo lường bắt đầu bằng việc thực hiện các bước chuẩn bị tổng quát được mô tả trong Điều 6. Điều này bao gồm việc so sánh giữa thông tin hiệu quả năng lượng mong muốn (ví dụ: Dịch vụ nào được đánh giá xếp hạng và/hoặc phần nào của tòa nhà và/hoặc yếu tố nào phải được vô hiệu hóa). Việc đánh giá xếp hạng hiệu quả năng lượng đo lường phải được tính đến trong giai đoạn thiết kế các hệ thống kỹ thuật trong các tòa nhà mới.
CHÚ THÍCH: Bước này được thực hiện đối với tòa nhà hiện hữu không có các quy định đặc biệt về việc đo đếm, sẽ cung cấp các giới hạn đối với các kết quả đạt được hoặc quy định kỹ thuật đối với việc lắp đặt các thiết bị đo bổ sung.
b) Nếu thích hợp và có liên quan đến các bước trước đó thì thực hiện đánh giá chi tiết, ranh giới và điều kiện của đối tượng được đánh giá theo mô tả trong 9.1 đến 9.5.
c) Lượng năng lượng cấp đến và xuất đi được xác định theo quy trình nêu trong các mô-đun cụ thể.
d) Hiệu quả năng lượng đo lường được tính theo các nguyên tắc nêu trong 9.6 và Điều 11, bằng cách sử dụng lượng chất mang năng lượng được cấp đến và xuất đi đo được thay cho lượng được tính toán
Chi tiết về điều chỉnh công thức trong 9.6 và Điều 11 cho hiệu quả năng lượng đo lường được nêu trong Phụ lục D.
8.7 So sánh giữa hiệu quả năng lượng tính toán và hiệu quả năng lượng đo lường
Việc so sánh giữa hiệu quả năng lượng tính toán và đo lường phải được thực hiện đối với số lượng chất mang năng lượng được cấp đến và xuất đi được đo và tính toán tương ứng.
Trước khi so sánh,
- Tính toán phải được điều chỉnh phù hợp để phản ánh cùng một điều kiện khí hậu và mục đích sử dụng của tòa nhà như là đối với hiệu quả năng lượng đo lường.
- Hoặc hiệu quả năng lượng đo lường so sánh phải được tiêu chuẩn hóa theo điều kiện khí hậu và mục đích sử dụng để phản ánh cùng một điều kiện như là đối với hiệu quả năng lượng tính toán.
Việc so sánh cũng có thể được thực hiện bằng cách áp đặt các tương quan cụ thể giữa năng lượng được sử dụng và một biến số mô tả mức độ dịch vụ. Mối tương quan tương tự phải được tạo ra bằng cách sử dụng dữ liệu được tính toán và đo lường và so sánh.
VÍ DỤ: Ký số thiết kế năng lượng có thể so sánh với ký số năng lượng đo lường. Điều này vô hiệu hóa ảnh hưởng của khí hậu và có thể cung cấp một số đầu mối về việc sử dụng tòa nhà.
Kỹ thuật so sánh cụ thể này được mô tả trong các mô-đun đo lường liên quan MX-10.
CHÚ THÍCH: Việc xác nhận hiệu quả năng lượng đo lường so với hiệu quả năng lượng tính toán là đặc biệt cần thiết để đánh giá hiệu quả chi phí và năng lượng của các giải pháp cải tiến có thể có.
8.8 Báo cáo hiệu quả năng lượng đo lường
Báo cáo hiệu quả năng lượng đo lường phải bao gồm các thông tin sau:
- Loại hình đánh giá (ví dụ: Theo thực tế, được điều chỉnh theo khí hậu, được điều chỉnh theo công năng sử dụng, được chuẩn hóa);
- Lượng năng lượng được cấp đến và xuất đi đo được thực tế;
- Lượng năng lượng được cấp đến và xuất đi đo được đã điều chỉnh;
- Hiệu quả năng lượng đo lường;
- Kết quả kiểm tra xác nhận;
- Thông tin về các giả định và/hoặc các dữ liệu liên quan khác về đo lường năng lượng.
9 Đánh giá tổng thể hiệu quả năng lượng của tòa nhà
9.1 Phân loại tòa nhà và/hoặc không gian
Theo 6.2.2, tùy thuộc vào lựa chọn nêu trong Bảng A.6/ Bảng B.6, một trong các loại tòa nhà từ Bảng A.4/ Bảng B.4 được chỉ định cho cả tòa nhà, hoặc một trong các loại không gian của Bảng A.7/ Bảng B.7 được chỉ định cho từng không gian.
Mỗi loại không gian được đặc trưng bởi một tập hợp các điều kiện sử dụng để đánh giá hiệu quả năng lượng (tính toán hoặc đo lường), được quy định trong các tiêu chuẩn bao quát mô-đun M1-6 về hiệu quả năng lượng của tòa nhà.
9.2 Tổ hợp các dịch vụ tòa nhà bao gồm trong hiệu quả năng lượng của tòa nhà trong từng không gian
Điều kiện sử dụng (nhiệt độ, độ ẩm, chất lượng không khí, ánh sáng, ...) cho biết dịch vụ nào được giả định là có (xem 6.2.5). Các loại không gian bao gồm không gian được điều hòa, không được điều hòa hoặc được điều hòa một phần. Mỗi loại không gian bản thân nó có thể góp phần vào mức sử dụng năng lượng hoặc có thể có ảnh hưởng đến các không gian khác (ví dụ: Nhiệt, năng lượng mặt trời, ánh sáng tự nhiên, năng lượng sử dụng bổ sung).
Phải xem xét các tòa nhà không được trang bị tất cả các dịch vụ cần phải được đánh giá hiệu quả năng lượng (ví dụ: Tòa nhà không có hệ thống làm mát khi làm mát là một phần của việc tính toán hiệu quả năng lượng). Các lựa chọn có thể có là:
- “Hệ thống giả định”: Nếu loại không gian được cho là được điều hòa về nhiệt, thì không gian đó được coi là được điều hòa nhiệt (không tính đến việc không có sự cung cấp lạnh và nhiệt thực tế), vì vậy giả định có một hệ thống giả hoặc hệ thống tương tự như trong các không gian liền kề).
- “Sự có mặt của hệ thống”: Nếu có hệ thống con sưởi ấm hoặc làm mát, thì không gian được coi là không gian được điều hòa nhiệt (không tính đến mục đích sử dụng giả định).
CHÚ THÍCH 1: Lựa chọn thứ nhất ngăn ngừa trường hợp tòa nhà có được hiệu quả năng lượng tốt hơn với chi phí cho sự tiện nghi nhiệt thấp hơn (vi phạm quy định về phạm vi đánh giá cùng cấp).
CHÚ THÍCH 2: Sự có mặt và không có mặt của, ví dụ: Cung cấp phát xạ nhiệt (ví dụ: Bộ phát xạ) không phải là một tiêu chí đầy đủ: Một không gian có thể được sưởi ấm gián tiếp thông qua các không gian liền kề (nếu chỉ có một hệ thống sưởi trong một không gian nhằm để sưởi ấm các không gian liền kề)
Điều này có các gợi ý nghĩa sau cho việc tính toán:
- Nguyên tắc “hệ thống giả định”: Cung cấp quy định kỹ thuật của một hệ thống kỹ thuật mặc định cho mỗi dịch vụ còn thiếu;
VÍ DỤ: Ngôi nhà riêng lẻ không có sưởi ấm ở phòng ngủ.
CHÚ THÍCH 3: Đôi khi được gọi là: “dịch vụ giả tưởng”. Đây là cách để tránh vi phạm quy định về phạm vi đánh giá cùng cấp, trong trường hợp dịch vụ được lắp đặt dưới mức chuẩn hoặc không được lắp đặt. Ví dụ: Sưởi ấm trong căn gác mái, làm mát trong một tòa nhà không có (hoặc có) hệ thống làm mát không đủ. Trong các trường hợp này việc không tinh đến hệ thống sưởi hoặc làm mát sẽ dẫn đến hiệu quả năng lượng tốt hơn so với khi được lắp đặt. Trừ phi được thay bằng mức tiện nghi thấp hơn. Xem thêm giải thích trong TCVN 13469-2 (ISO/TR 52000-2) [6].
- Nguyên tắc “Sự có mặt của hệ thống”: Không tính đến sử dụng năng lượng cho một dịch vụ cụ thể nếu không có mặt hệ thống kỹ thuật tòa nhà cho dịch vụ đó. Hệ quả: Hiệu quả năng lượng tốt hơn có thể có cho tòa nhà thiếu một vài dịch vụ được chấp nhận (vi phạm quy định về phạm vi đánh giá cùng cấp).
CHÚ THÍCH 4: Khả năng để bù đắp cho điều này bằng cách nêu bật sự thiếu tiện nghi bằng một chỉ số thiếu tiện nghi bổ sung (ví dụ: Các giờ thiếu tiện nghi vào mùa hè). Nếu không có hoặc không đủ các dịch vụ cụ thể, có thể cần lựa chọn quốc gia hoặc vùng đế thiết lập phạm vi đánh giá cùng cấp. Điều này có thể thực hiện với sự trợ giúp của các tiêu chuẩn EPB liên quan đến mô-đun M1-6.
- Hoặc là các điều kiện sử dụng thực tế đã được thực hiện: Dẫn đến mức sử dụng năng lượng ít hơn và do đó hiệu quả năng lượng tốt hơn, nhưng với giá phải trả là mức độ tiện nghi hoặc tính khả dụng thấp hơn, sau đó điều này cần phải được báo cáo để tránh hiểu nhầm về giá trị hiệu quả năng lượng tốt hơn.
- Hoặc là các điều kiện sử dụng được giả định để tính toán, điều đó có nghĩa là các tiêu chuẩn EPB cần tạo điều kiện cho sự lựa chọn như thế cho từng dịch vụ: sưởi ấm (ví dụ: Không gian sống được sưởi ấm không đủ), làm mát (ví dụ: Không gian văn phòng có điều kiện tiện nghi tồi về mùa hè), chiếu sáng (mức chiếu sáng quá tháp hoặc tiện nghi nhìn quá kém), cấp nước nóng sinh hoạt (ví dụ: Cấp nước nóng sinh hoạt quá chậm hoặc nhiệt độ quá thấp), v.v...
- Nguyên tắc “nguyên tắc khác”: Nguyên tắc khác không bao gồm trong hai nguyên tắc trên.
Lựa chọn giữa nguyên tắc “hệ thống giả định”, nguyên tắc: “Sự có mặt hệ thống” hoặc nguyên tắc “khác” được nêu trong Bảng A.19 (bản mẫu), với lựa chọn mặc định tham khảo nêu trong Bảng B.19.
Việc lựa chọn này cũng có ảnh hưởng đến các quy tắc phân vùng (Điều 10).
Ngoài ra, các không gian không được điều hòa nhiệt nhất định, vì lý do đơn giản, có thể được giả định là có cùng điều kiện sử dụng như các không gian được điều hòa nhiệt liền kề và sau đó được liên kết với nhau.
VÍ DỤ: Tầng áp mái, cầu thang, sân trước và gara.
CHÚ THÍCH 5: Xem thêm phần thảo luận mở rộng nêu trong TCVN 13469-2 (ISO/TR 52000-2)[6].
Quy tắc cụ thể được quy định trong tiêu chuẩn liên quan thuộc mô-đun EPB M2-2.
Việc lựa chọn liệu các không gian kín này được giả định là có cùng điều kiện sử dụng như không gian được điều hòa nhiệt liền kề có thể có tác động rất mạnh đến hiệu quả năng lượng tính toán hay không.
Ngoài ra, việc lựa chọn liệu kích thước của không gian này, như diện tích sàn sử dụng, diện tích sàn tham chiếu hoặc giá trị tham chiếu được bao gồm trong kích thước của tòa nhà có thể có tác động rất mạnh đến chỉ số cho hiệu quả năng lượng hay không.
CHÚ THÍCH 6: Tính nhất quán là điều cần thiết giữa các lựa chọn kế tiếp này. Lý do và một số hệ quả của các lựa chọn này được trình bày trong TCVN 13469-2 (ISO/TR 52000-2)[6].
Bởi vì tác động này, việc lựa chọn không chỉ liên quan đến hiệu quả năng lượng tính toán mà còn cả đến hiệu quả năng lượng đo lường. Hơn nữa có thể có liên quan để biết liệu có hay không việc cần phải đưa năng lượng sử dụng trong các loại hình không gian này vào trong hiệu quả năng lượng đo lường.
Việc lựa chọn như thế cũng có thể phụ thuộc vào hạ tầng pháp lý quốc gia và truyền thống xây dựng tòa nhà.
Cũng có thể chọn trên cơ sở kết cấu xây dựng công trình để hình thành các rào cản nhiệt chính: Kết cấu xây dựng bên trong hoặc bên ngoài của các không gian không được điều hòa nhiệt. Tuy nhiên một quyết định hoàn toàn dựa trên các dữ liệu vật lý này là không rõ ràng đặc biệt khi có sự liên quan đến sự thẩm lậu không khí, kính, cầu nhiệt và/hoặc diện tích sàn mặt đất. Việc đánh giá chi tiết các đặc tính truyền nhiệt và truyền nhiệt thông gió có thể là khó khăn và không hiệu quả.
Đối với một số loại không gian có thể bắt buộc phải xem xét về mặt pháp lý các không gian này thuộc bên trong của vỏ bao che nhiệt (ví dụ: Phòng ngủ) hoặc (đối với loại không gian khác) thuộc bên ngoài vỏ bao che (ví dụ: Một gara hoặc kho chứa xăng dầu).
9.3 Diện tích sàn sử dụng và thể tích không khí
Đối với từng không gian (chỉ số không gian, i) diện tích sàn sử dụng, Ause;space,i được đánh giá. Điều này là cần thiết để định lượng các điều kiện sử dụng cụ thể được biểu thị trên mỗi mét vuông diện tích sàn sử dụng (ví dụ: Mức độ sử dụng) và cho việc áp dụng quy tắc đơn giản hóa và phân vùng và phân bổ (tái phân bổ).
Việc lựa chọn liên quan đến loại kích thước để xác định diện tích sàn sử dụng được nêu trong Bảng A.20, với lựa chọn mặc định tham khảo trong Bảng B.20.
Diện tích sàn sử dụng phải được quy định theo cách sao cho tổng diện tích sàn của các không gian riêng lẻ giống y như diện tích sàn của các vùng nhiệt hoặc khu vực phục vụ của các không gian này.
VÍ DỤ: Nếu sử dụng kích thước ngoài, tường ngăn giữa các không gian có thể được tính gấp đôi nếu diện tích sàn của hai không gian liền kề được cộng lại. Một hệ thống trong đó kích thước bên ngoài của một căn phòng bao gồm một nửa các vách tường ngăn là tốt hơn.
Diện tích sàn sử dụng cũng có thể là cơ sở để xác định diện tích sàn tham chiếu (xem TCVN 13470-1 (ISO 52003-1)).
Đối với từng không gian (chỉ số không gian, i) thể tích không khí Vair;space,i được đánh giá. Điều này là cần thiết làm cơ sở cho việc xác định thể tích không khí cho mỗi vùng nhiệt, đầu vào cho các tính toán nhiệt liên quan đến thông gió và độ ẩm.
9.4 Chuẩn hóa kích thước tòa nhà
9.4.1 Kích thước tham chiếu
Hiệu quả năng lượng tổng thể và hiệu quả năng lượng thành phần có thể được chuẩn hóa theo kích thước tòa nhà bằng cách liên kết nó với một hoặc nhiều số liệu đo liên quan tới kích thước tòa nhà như thể tích tham chiếu hoặc diện tích sàn tham chiếu.
Bản mẫu cho lựa chọn số liệu của kích thước tham chiếu được nêu trong Bảng A.21, với lựa chọn mặc định tham chiếu nêu trong Bảng B.21.
Đánh giá kích thước của một tòa nhà hoặc phần của một tòa nhà đồng nghĩa với việc xem xét chọn không gian được bao gồm. Lựa chọn này liên quan đến loại không gian. Đối với các loại không gian cụ thể tỷ lệ (giữa 0 và 1) của kích thước có thể là thích hợp.
VÍ DỤ: Tầng hầm, tầng áp mái, khu để xe trong nhà.
CHÚ THÍCH: Những lựa chọn này có thể có tác động mạnh đến hiệu quả năng lượng được chuẩn hóa. Vì vậy các lựa chọn có liên quan trực tiếp với các giả định về điều kiện sử dụng cho các loại tòa nhà và/hoặc không gian khác nhau (ví dụ: Cho tầng hầm, tầng áp mái, khu để xe trong nhà, v.v...) và thường được xác định ở cấp quốc gia hoặc vùng; xem thêm thông tin về tác động và lý do căn bản của các lựa chọn có thể có được nêu trong TCVN 13469-2 (ISO/TR 52000-2)[6].
Bản mẫu cho lựa chọn loại không gian gồm số liệu đo về kích thước của tòa nhà được nêu trong Bảng A.22, với lựa chọn mặc định tham chiếu nêu trong Bảng B.22. Nếu thích hợp thì có thể chỉ định tỷ lệ đóng góp, ƒref;cat,i.
9.4.2 Chuẩn hóa
Sử dụng công thức (1) để chuẩn hóa một đại lượng X theo kích thước tham chiếu S.
|
| (1) |
trong đó:
X là đại lượng được chuẩn hóa;
S là kích thước tham chiếu của đối tượng được đánh giá;
Y là kích thước đã được chuẩn hóa;
Ssp,i là kích thước của không gian thứ i của đối tượng được đánh giá;
ƒref;cat,j là phần tỷ lệ đóng góp vào kích thước tham chiếu của loại không gian thứ j có không gian thứ i;
Chỉ số thứ i Bao hàm tất cả các không gian của đối tượng được đánh giá.
9.4.3 Diện tích sàn tham chiếu
Một trong các lựa chọn số liệu đo kích thước của tòa nhà là diện tích sàn tham chiếu, có thể dựa trên diện tích sàn sử dụng, Ause. Bảng A.21 cung cấp bản mẫu để lựa chọn số liệu đo tham chiếu, gồm cả khả năng bổ sung các thông tin thêm. Lựa chọn mặc định được nêu trong Bảng B.21.
CHÚ THÍCH 1: Sự khác nhau giữa diện tích sàn sử dụng và diện tích sàn tham chiếu: Diện tích sàn tham chiếu được sử dụng để chuẩn hóa hiệu quả năng lượng. Diện tích sàn sử dụng được sử dụng cho các mục đích khác nhau, như điều kiện sử dụng, nếu điều kiện sử dụng được tính trên mỗi mét vuông sàn (ví dụ: Sử dụng nước nóng, nhu cầu thông gió) hoặc được tính cho diện tích sản, ví dụ: Cho việc tái phân bổ trong trường hợp phân vùng (xem Điều 10).
CHÚ THÍCH 2: Lý do căn bản để lựa chọn được nêu trong báo cáo kỹ thuật kèm theo, TCVN 13469-2 (ISO/TR 52000-2)[6].
9.5 Ranh giới và đường bao ranh giới đánh giá
9.5.1 Nguyên tắc chung
Ranh giới đánh giá có liên quan với đối tượng được đánh giá, theo xác định trong 6.2.1.
Hiệu quả năng lượng đối với một phần của đối tượng được đánh giá và/hoặc cho mỗi dịch vụ được tính toán theo Phụ lục E.
Năng lượng có thể được cấp đến hoặc xuất đi qua ranh giới đánh giá. Ranh giới đánh giá xác định vị trí tại đó giá trị thực tế của năng lượng cấp đến hoặc xuất đi được tính toán hoặc đo lường.
Một số dòng năng lượng này có thể được định lượng dựa trên đồng hồ đo (ví dụ: Ga, điện, sưởi trung tâm). Đối với các hệ thống năng lượng như thủy điện, điện gió, điện mặt trời chủ động, ranh giới đánh giá là đầu ra của các tấm quang điện, bộ thu năng lượng mặt trời, hoặc các thiết bị phát điện.
Năng lượng cấp đến được phân loại theo loại đường bao ranh giới sau (nguồn gốc, hoặc đích đến):
- Tại chỗ;
- Ở gần;
- Từ xa.
Khái niệm tại chỗ, ở gần và từ xa được thể hiện dưới dạng sơ đồ trong Hình 1.

CHÚ DẪN:
| a | Ranh giới đánh giá (cân bằng năng lượng sử dụng) | 1 | Quang điện |
| b | Đường bao ranh giới: tại chỗ | 2 | Phong điện |
| c | Đường bao ranh giới: ở gần | 3 | Phòng nồi hơi |
| d | Đường bao ranh giới: từ xa | 4 | Bơm nhiệt |
| S1 | Không gian được điều hòa nhiệt | 5 | Sưởi/ làm mát trung tâm cấp quận |
| S2 | Không gian bên ngoài vỏ bao che nhiệt | 6 | Trạm điện (hạ/ trung thế và tích điện) |
Hình 1 - Ví dụ sơ đồ thể hiện khái niệm về đường bao ranh giới và ranh giới đánh giá
Chỉ số năng lượng theo trọng số (ví dụ: Năng lượng sơ cấp, CO2) được xác định cho từng dòng năng lượng cấp đến hoặc xuất đi qua ranh giới đánh giá có tính đến nguồn gốc của năng lượng cấp đến và đích đến của năng lượng xuất đi.
Trong trường hợp năng lượng được sản xuất tại chỗ hoặc ở gần, chỉ số trọng số được tính toán theo các tiêu chuẩn EPB liên quan. Bản mẫu đối với các chỉ số trọng số được nêu trong Bảng A.16. Xem Bảng B.16 đối với các chỉ số trọng số mặc định tham khảo.
Trong trường hợp năng lượng từ xa, chỉ số trọng số cũng được cung cấp trong Bảng A.16. Xem Bảng B.16 đối với các chỉ số trọng số mặc định tham khảo.
Việc bao gồm hoặc loại trừ phần đóng góp năng lượng theo đường bao ranh giới (nguồn gốc) tùy thuộc vào mục tiêu tính toán: Ví dụ: Để xác định tỷ lệ năng lượng tái tạo (RER) hoặc để xác định hiệu quả năng lượng. Xem bản mẫu trong Bảng A.23 và Bảng A.24. Lựa chọn mặc định tham khảo được nêu trong Bảng B.23 và B.24.
Ranh giới đánh giá và chỉ số trọng số cho tòa nhà, tại chỗ, ở gần và từ xa phải được thiết lập theo cách để tránh tính hai lần năng lượng tái tạo. Việc tính hai lần năng lượng tái tạo trong chuỗi cung cấp năng lượng đến và đi khỏi tòa nhà phải bị nghiêm cấm không được thực hiện.
9.5.2 Ranh giới đánh giá cho nhiều tòa nhà
Năng lượng trao đổi giữa các tòa nhà thuộc cùng một hồ sơ dữ liệu tòa nhà phải được xác định theo bước A (ví dụ: kexp = 0).
Nếu đối tượng được đánh giá bao gồm một vài tòa nhà được phục vụ bởi hệ thống kỹ thuật chung nhưng cần có hiệu quả năng lượng riêng biệt thì các tòa nhà này phải được xử lý theo cùng một cách như hai hoặc nhiều đơn nguyên tòa nhà hoặc hai hoặc nhiều dịch vụ.
9.6 Hiệu quả năng lượng tổng thể
9.6.1 Cân bằng năng lượng tổng thể theo trọng số
Hiệu quả năng lượng tổng thể theo trọng số Ewe của một đối tượng được đánh giá là cân bằng tại ranh giới đánh giá của:
- Năng lượng cấp đến theo trọng số, cần thiết để đáp ứng nhu cầu năng lượng của việc sử dụng đang xem xét và để sản xuất năng lượng được xuất đi Ewe;del;
- Năng lượng xuất đi theo trọng số Ewe;exp.
Năng lượng cấp đến và xuất đi theo trọng số dựa trên các chỉ số trọng số trên mỗi chất mang năng lượng.
Hiệu quả năng lượng tổng thể theo trọng số Ewe được tính theo công thức (2):
| Ewe = Ewe;del,an - Ewe;exp | (2) |
trong đó:
Ewe;del,an là năng lượng được cung cấp hàng năm theo trọng số chỉ tính đến các chất mang năng lượng được cấp đến từ các đường bao ranh giới (nguồn gốc) được xác định theo bản mẫu nêu trong bảng A.23 được quy định trong Điều 9 cho hiệu quả năng lượng tính toán và trong Điều 8 cho hiệu quả năng lượng đo lường. Đường bao ranh giới mặc định được nêu trong Bảng B.23.
Ewe;exp năng lượng xuất đi hàng năm theo trọng số cho chất mang năng lượng i gồm năng lượng xuất đi cho các chức năng tại vị trí tòa nhà không được bao gồm trong hiệu quả năng lượng, như được quy định cho hiệu quả năng lượng tính toán trong Điều 11 và cho hiệu quả năng lượng đo lường trong Điều 8.
Hiệu quả năng lượng theo trọng số có thể được tính toán với loại trọng số bất kỳ sau:
- Năng lượng sơ cấp có thể là không tái tạo (EPnren), tái tạo (EPren) và tổng cộng (EPtot), xem 9.6.2;
- Phát thải khí nhà kính, xem 9.6.3;
- Các chỉ số trọng số bổ sung, xem 9.6.4;
- Các chi phí, xem 9.6.5.
CHÚ THÍCH 1: Điều này có nghĩa là phần tính theo trọng số không nhất thiết phải là năng lượng: Nó có thể là chi phí, lượng phát thải nhiệt, lượng phát thải khí nhà kính.
Để cho phép các chỉ số trọng số phụ thuộc thời gian, việc tính trọng số phải được thực hiện trong từng khoảng thời gian tính toán được thực hiện trong Điều 11.
Ewe:del;an được tính theo công thức (3):
| Ewe;del;an = Ewe;del;nexp;an + Ewe;del;el;an | (3) |
trong đó:
Ewe;del;nexp;an là năng lượng được cung cấp hàng năm theo trọng số không gồm năng lượng được xuất đi tính toán theo 11.6.3, công thức (39);
Ewe;del;el;an là điện năng được cung cấp hàng năm theo trọng số được tính theo 11.6.2.1, công thức (19);
CHÚ THÍCH 2: Nếu chất mang năng lượng không được xuất đi thì Ewe;exp;nexp;an = 0.
9.6.2 Chỉ số năng lượng sơ cấp
Các giá trị khác nhau của chỉ số năng lượng sơ cấp có thể sử dụng cho năng lượng được xuất đi, tái cấp đến hoặc xuất đi cho các công năng tại hiện trường tòa nhà không được bao gồm trong hiệu quả năng lượng. Năng lượng cấp đến và chỉ số năng lượng sơ cấp có liên quan có thể được biểu thị dựa trên trị số tỏa nhiệt toàn phần hoặc trị số tỏa nhiệt thực (xem Bảng A.13 đến Bảng A.16 và giá trị mặc định tham khảo trong Bảng B.13 đến B.16).
Lựa chọn giữa trị số tỏa nhiệt thực và trị số tỏa nhiệt toàn phần phải được duy trì từ đánh giá hiệu quả năng lượng của hệ thống (con) cho đến, và bao gồm, chỉ số năng lượng sơ cấp, mà không được kết hợp giá trị thực tế và toàn phần. Xem Bảng A.25 để biết các chỉ số chuyển đổi giữa trị số tỏa nhiệt thực tế và trị số tỏa nhiệt toàn phần và giá trị mặc định tham khảo được nêu trong Bảng B.25.
Chỉ số năng lượng sơ cấp cho năng lượng cấp đến và năng lượng xuất đi cũng có thể khác nhau trên mỗi chất mang năng lượng. Đối với từng dòng năng lượng cấp đến hoặc xuất đi hoặc chất mang năng lượng có ba chỉ số năng lượng sơ cấp (xem Hình 2).
a) Tổng chỉ số năng lượng sơ cấp (Ptot);
b) Chỉ số năng lượng sơ cấp không tái tạo (Pnren);
c) Chỉ số năng lượng sơ cấp tái tạo (Pren).

CHÚ DẪN:
| A | Nguồn năng lượng | 4 | Cơ sở hạ tầng năng lượng không tái tạo |
| B | Chuỗi cung cấp năng lượng đầu nguồn | 5 | Cơ sở hạ tầng năng lượng tái tạo |
| C | Bên trong ranh giới đánh giá | 6 | Năng lượng không tái tạo để chiết xuất, tinh chế, chuyển đổi và vận chuyển |
| 1 | Tổng năng lượng sơ cấp | 7 | Năng lượng tái tạo để chiết xuất, tinh chế, chuyển đổi và vận chuyển |
| 2 | Năng lượng sơ cấp không tái tạo | 8 | Năng lượng không tái tạo được cung cấp |
| 3 | Năng lượng sơ cấp tái tạo | 9 | Năng lượng tái tạo được cung cấp |
Hình 2 - Chỉ số năng lượng sơ cấp
Các chi phí cung cấp năng lượng đến các điểm sử dụng được xác định trong Bảng A.26 và lựa chọn mặc định tham khảo được nêu trong Bảng B.26.
Bản mẫu về giá trị của chỉ số năng lượng sơ cấp được nêu trong Bảng A.16. Giá trị mặc định tham khảo của chỉ số năng lượng sơ cấp được nêu trong Bảng B.16.
Hiệu quả năng lượng của tòa nhà khi được biểu thị dưới dạng năng lượng sơ cấp, được dựa trên tổng năng lượng sơ cấp hoặc các chỉ số năng lượng sơ cấp. Xem bảng A.27. Lựa chọn mặc định tham khảo được nêu trong Bảng B.27.
Khi biểu thị mức sử dụng năng lượng sơ cấp thì phải chỉ định rõ đó là tổng năng lượng sơ cấp, năng lượng sơ cấp không tái tạo và năng lượng sơ cấp tái tạo.
9.6.3 Chỉ số phát thải khí nhà kính
Chỉ số phát thải khí nhà kính phải được biểu thị bằng kilogram khí CO2 tương đương trên mỗi kWh và cũng có thể bao gồm mức phát thải tương đương của mức phát thải khí nhà kính khác như methan, hơi nước v.v...Chỉ số chuyển đổi phải phù hợp với lựa chọn đề cập đến trị số tỏa nhiệt toàn phần hoặc trị số tỏa nhiệt thực.
Chúng phải bao gồm tất cả các mức phát thải CO2 tương đương liên quan với năng lượng cấp đến đã được sử dụng bởi tòa nhà.
Các lựa chọn được nêu trong Bảng A.26, mặc định tham khảo được nêu trong Bảng B.26.
9.6.4 Chỉ số trọng số bổ sung
Chỉ số bổ sung có thể được sử dụng để bổ trợ hoặc làm giảm đối với một số chất mang năng lượng.
CHÚ THÍCH: Lựa chọn này cung cấp khả năng sử dụng phương pháp luận của tiêu chuẩn này (ví dụ: Ranh giới đánh giá, đường bao ranh giới, cân bằng năng lượng) để tính toán trọng số bất kỳ.
9.6.5 Chỉ số chi phí
Chỉ số chi phí theo trọng số phải phù hợp với mô-đun M1-14 và phải được biểu thị bằng đơn vị tiền tệ trên mỗi kWh. Đối với nhiên liệu, chỉ số chuyển đổi phải phù hợp với lựa chọn đề cập đến trị số tỏa nhiệt toàn phần hoặc trị số tỏa nhiệt thực.
9.6.6 Chỉ số trọng số cho năng lượng xuất đi
9.6.6.1 Tổng quát
Có hai loại chỉ số trọng số bổ sung cho năng lượng xuất đi. Chúng được dựa trên việc đánh giá của:
- Tài nguyên được sử dụng để sản xuất chất mang năng lượng xuất đi được sử dụng cho đánh giá “Bước A” (ƒPren;exp;stepA,i;) theo 9.6.6.2;
- Tài nguyên tránh được sử dụng bởi mạng lưới bên ngoài bởi vì việc xuất chất mang năng lượng được sử dụng cho đánh giá “Bước B” (ƒPren;exp,i;) theo 9.6.6.3.
9.6.6.2 Bước A: Chỉ số trọng số dựa trên tài nguyên được sử dụng để sản xuất năng lượng xuất đi
9.6.6.2.1 Tổng quát
Chỉ số trọng số dựa trên các tài nguyên được sử dụng để sản xuất năng lượng xuất đi có thể:
- Phụ thuộc vào thời gian;
- Đối với một chất mang năng lượng xác định, chỉ có một chỉ số trọng số cho năng lượng xuất đi tại tất cả các đích đến. Chúng được định danh bằng chỉ số dưới “stepA”.
9.6.6.2.2 Điện gió/ quang điện
Chỉ số trọng số dựa trên các tài nguyên được sử dụng để sản xuất bằng quang điện ƒwe;exp;el;stepA;PV và điện gió ƒwe;exp;el;stepA;wind xuất đi giống như chỉ số trọng số của năng lượng cấp đến tương ứng.
VÍ DỤ: Đối với sản xuất bằng quang điện, chỉ số chuyển đổi năng lượng sơ cấp tái tạo cho bước AƒPren;exp;el;stepA;pv bằng với ƒPren;del;el;pv.
9.6.6.2.3 Điện đồng phát
Chỉ số trọng số dựa trên các tài nguyên được sử dụng để sản xuất điện đồng phát xuất đi được tính theo đầu vào năng lượng cấp đến của máy đồng phát bằng cách sử dụng cùng phương pháp phân bổ được sử dụng cho sản xuất nhiệt cùng với điện năng, xem Hình 3.

CHÚ DẪN:
| 1 | Đồng phát |
| EX;chp;in;i | Đầu vào chất mang năng lượng cr cho hệ thống đồng phát i, cho dịch vụ tòa nhà X |
| Epr;el;chp | Điện được sản xuất bởi hệ thống đồng phát |
| QX;chp;out | Nhiệt được sản xuất bởi hệ thống đồng phát |
Hình 3 - Dòng năng lượng đầu vào và đầu ra của hệ thống đồng phát
Khi một hệ thống đồng phát tạo ra cả nhiệt QX;chp;out và điện năng Epr;el;chp chỉ số năng lượng sơ cấp bước A cho điện năng đồng phát ở khoảng thời gian tính toán i được tính theo công thức (4):
|
| (4) |
trong đó:
Epr;el;chp;t là điện năng tạo ra trong khoảng thời gian t.
Các phần đầu vào theo trọng số được phân bổ cho đầu ra, Ewe;in;el,t và Ewe,in;Q,t được tính theo công thức (5) và (6):
|
| (5) |
và
|
| (6) |
trong đó:
aW,t và aQ,t là chỉ số phân bổ cho điện và nhiệt đồng phát ở khoảng thời gian tính toán xác định
Ewe;in;t là tổng các đầu vào của chất mang năng lượng theo trọng số cho hệ thống đồng phát ở khoảng thời gian tính toán t được tính theo công thức (7):
|
| (7) |
CHÚ THÍCH 1: Năng lượng phụ trợ cho máy đồng phát được khấu trừ từ điện năng được tạo ra (ví dụ: Điện sản xuất thuần được báo cáo).
Điều này phải được thực hiện riêng rẽ (ví dụ: Một cách độc lập) cho từng tiêu chí trọng số (ví dụ: Đối với năng lượng sơ cấp tái tạo và năng lượng sơ cấp không tái tạo) với cùng một chỉ số phân bổ.
CHÚ THÍCH 2: Quy trình này cũng có thể được sử dụng trong trường hợp nhiệt xuất đi.
9.6.6.2.4 Nhiều hệ thống phát tại chỗ cung cấp năng lượng xuất đi
Trong trường hợp có nhiều hệ thống phát tại chỗ, chỉ số trọng số trung bình bước A của điện năng được tính theo công thức (8):
|
| (8) |
trong đó:
Eexp;el;pr,i;t lượng điện sản xuất bởi hệ thống phát thứ i được xuất đi;
ƒwe;exp;el;stepA;pr;i;t chỉ số chuyển đổi bước A cho lượng điện sản xuất bởi hệ thống phát thứ i được tính theo 9.6.6.2.2 và 9.6.6.2.3.
Lượng năng lượng xuất đi được sản xuất bởi máy phát năng lượng thứ i Eexp;el;pr,i được xác định:
- hoặc theo mức độ ưu tiên;
- hoặc không theo mức độ ưu tiên.
theo quy trình sau.
Mỗi loại máy phát được gắn với một ký hiệu định danh theo bản mẫu nêu trong Bảng A.12. Tập hợp mặc định được nêu trong Bảng B.12.
Mức độ ưu tiên được chỉ định bằng cách liên kết một ký hiệu định danh về loại hình phát năng lượng với từng mức độ ưu tiên bắt đầu từ mức 1 là cấp cao nhất. Bản mẫu được nêu trong Bảng A.28 và tập hợp mặc định ưu tiên được nêu trong Bảng B.28.
Nếu không cần đặt ra mức độ ưu tiên, thì các mức độ ưu tiên được cấp cho ký hiệu đinh danh đặc biệt “KHÔNG”.
Nếu có trình tự mức độ ưu tiên thì tuân theo quy trình sau.
a) Thiết lập lượng năng lượng sản xuất có thể được sử dụng theo công thức (9):
|
| (9) |
b) Bắt đầu với mức ưu tiên i = 1 và lặp lại từng mức ưu tiên cho đến mức cuối cùng:
1) Lấy năng lượng sản xuất bởi máy với mức ưu tiên thứ i ở khoảng thời gian t Epr;el;lvl,i,t
2) Tính toán toán năng lượng có thể sử dụng tối đa cho máy phát với mức ưu tiên thứ i theo công thức (10)
|
| (10) |
3) Tính toán lượng năng lượng tạo ra có thể sử dụng ở mức ưu tiên thứ i + 1 EEPus;el;left;t,i+1 theo công thức (11)
|
| (11) |
4) Tính toán năng lượng sử dụng thực tế cho máy phát với mức ưu tiên thứ i Epr;el;lvl,i;used;t theo công thức (12)
|
| (12) |
5) Tính toán năng lượng xuất đi cho máy phát với mức ưu tiên thứ i Eexp;el;pr,i;t theo công thức (13)
|
| (13) |
Nếu không cần đặt ra mức ưu tiên (ký hiệu định danh ưu tiên = không) thì sau đó lặp lại quy trình sau cho từng loại năng lượng điện được sản xuất thứ i:
a) Tính toán phần ƒpr;el,i của năng điện được sản xuất loại thứ i theo công thức (14):
|
| (14) |
b) Tính toán năng lượng sử dụng thực tế từ năng lượng điện được sản xuất loại thứ i theo công thức (15):
|
| (15) |
c) Tính toán năng lượng xuất đi cho máy phát với mức ưu tiên thứ i Eexp;el;pr,i;t theo công thức (16):
|
| (16) |
9.6.6.3 Bước B: Chỉ số trọng số dựa trên các tài nguyên mà mạng lưới bên ngoài tránh được do năng lượng xuất đi
Chỉ số dựa trên các tài nguyên mà mạng lưới bên ngoài tránh được do năng lượng xuất đi có thể phụ thuộc vào thời gian. Ngược lại với Bước A, chỉ số trọng số của Bước B không được định danh bởi bất kỳ chỉ số dưới đặc biệt nào.
VÍ DỤ: Đối với điện, chỉ số chuyển đổi năng lượng sơ cấp tái tạo cho Bước B là fPren;exp;el (phần tái tạo của các tài nguyên mà mạng lưới năng lượng bên ngoài tránh được). Không có chỉ số dưới đặc biệt nào được đưa ra bởi vì điều này xác định kết quả cuối cùng, trong khi Bước A là bước tạm thời.
Chỉ số trọng số của Bước B phải được chỉ định theo định dạng nêu trong Bảng A.16. Giá trị mặc định tham khảo được nêu trong Bảng B.16.
9.6.7 Dòng năng lượng
Dòng năng lượng được tính đến trong tính toán cân bằng hiệu quả năng lượng phải được xác định. Xem 11.6.2.
9.7 Phần đóng góp của năng lượng tái tạo
Tỷ lệ năng lượng tái tạo RER được tính theo công thức (17):
|
| (17) |
trong đó:
EPtot là tổng năng lượng sơ cấp được tính theo công thức (2) bằng cách sử dụng tổng các chỉ số chuyển đổi sơ cấp ƒPtot;del;cr,i và ƒPtot;exp;cr,i có tính đến các đường bao ranh giới. Bảng A.24 đưa ra bản mẫu để xác định các đường bao ranh giới cho RER với giá trị mặc định tham khảo nêu trong Bảng B.24.
EPren;RER là năng lượng sơ cấp tái tạo được tính theo công thức (2) có tính đến các đường bao ranh giới. Bảng A.24 đưa ra bản mẫu để xác định các đường bao ranh giới cho RER với giá trị mặc định tham khảo nêu trong Bảng B.24.
CHÚ THÍCH: Giải thích thêm và ví dụ được cung cấp trong báo cáo kỹ thuật kèm theo, TCVN 13469-2 (ISO/TR 52000-2) [6].
RER phụ thuộc vào đường bao ranh giới được lựa chọn. Để có thể so sánh các giá trị tính toán khác nhau của RER thì đường bao ranh giới được chọn nên được gắn với các chỉ số dưới (ví dụ: RERonst, RERnrbv, RERdist).
Các quy trình về năng lượng xuất phát từ nguồn năng lượng tái tạo liên quan đến các công nghệ khác nhau (hệ thống năng lượng mặt trời, bơm nhiệt, v.v...) được đưa ra trong các tiêu chuẩn EPB liên quan đến các hệ thống con.
9.8 Chỉ số hiệu quả năng lượng cho hệ thống kỹ thuật tòa nhà
Với mục đích minh bạch và tối ưu hóa việc sử dụng năng lượng của các hệ thống kỹ thuật tòa nhà, chỉ số hiệu quả năng lượng thành phần của các hệ thống kỹ thuật tòa nhà có thể được đặt ra đối với hiệu quả năng lượng.
Với mục đích tối ưu hóa việc sử dụng năng lượng của các hệ thống kỹ thuật, có thể xác định các yêu cầu đối với hiệu quả năng lượng.
Các chỉ số hiệu quả của hệ thống phải bao gồm ít nhất các dịch vụ sau, nếu đây là phần tổ hợp của các dịch vụ năng lượng (xem 6.2.5/9.2):
- Hệ thống sưởi;
- Hệ thống cấp nước nóng sinh hoạt;
- Hệ thống điều hòa không khí;
- Hệ thống làm mát;
- Hệ thống thông gió;
- Hệ thống chiếu sáng;
- Hệ thống tự động hóa và kiểm soát tòa nhà;
- Hoặc tổ hợp của các hệ thống này.
Đối với mỗi hệ thống này (ví dụ: Hệ thống sưởi) hoặc các hệ thống con (ví dụ: Sản xuất nhiệt, phân phối nhiệt) chỉ số hiệu quả của hệ thống được tính toán theo các tiêu chuẩn hệ thống hoặc hệ thống con liên quan theo mô-đun EPB từ M3 đến M10.
9.9 Phương pháp tính toán chỉ số hiệu quả năng lượng cho mỗi phần của một tòa nhà và/hoặc dịch vụ
Có hai phương pháp cho quy trình tính toán chi tiết các chỉ số hiệu quả năng lượng cho mỗi phần của một tòa nhà và/hoặc dịch vụ. Hai phương pháp hoàn toàn tương đương nhưng yêu cầu tài nguyên tính toán khác nhau và chỉ có một phương pháp thể có được sử dụng để tính chỉ số hiệu quả năng lượng đo lường.
Phương pháp tính toán thông thường bắt đầu từ các nhu cầu và sau đó tuân theo tính toán năng lượng theo trọng số. Đối với mỗi phần của dịch vụ hoặc phần của tòa nhà được đánh giá xếp hạng riêng rẽ, việc tính toán được thực hiện riêng biệt. Phương pháp này chỉ có thể sử dụng để tính chỉ số hiệu quả năng lượng tính toán mà không sử dụng để tính chỉ số hiệu quả năng lượng đo lường.
Phương pháp tính toán ngược bắt đầu từ năng lượng theo trọng số và việc tính toán sau đó được thực hiện hướng đến nhu cầu. Nó được áp dụng sau khi đã hoàn thành việc tính toán hiệu quả năng lượng lượng. Sau đó thực hiện việc tính toán xem phần nào của chỉ số hiệu quả năng lượng tổng thể này có thể được phân bổ cho phần nào của tòa nhà hoặc dịch vụ. Phương pháp này có thể sử dụng để tính hiệu quả năng lượng đo lường.
Cả hai phương pháp được nêu trong Phụ lục E.
10 Phân vùng tòa nhà
10.1 Tổng quát
Điều 10 được áp dụng cho hiệu quả năng lượng tính toán.
Đối tượng được đánh giá có thể được phân chia thành các vùng nhiệt và khu vực phục vụ.
Khi có thể, đối tượng được đánh giá (tòa nhà hoặc phần của tòa nhà) được coi là một vùng nhiệt duy nhất.
Tuy nhiên, việc tính toán hiệu quả năng lượng có thể yêu cầu đối tượng được đánh giá phải được chia thành các vùng nhiệt (xem 10,2) tùy thuộc vào:
- Sự khác biệt về điều kiện sử dụng trong không gian của tòa nhà;
- Sự phức tạp của tòa nhà (Đặc tính vật lý của tòa nhà, các đơn nguyên tòa nhà, v.v...);
- Sự phức tạp của hệ thống kỹ thuật tòa nhà.
Sau đó việc tính toán cân bằng nhiệt được thực hiện riêng cho từng vùng nhiệt và không trực tiếp cho toàn bộ đối tượng được đánh giá.
Khi có thể, đối tượng được đánh giá (tòa nhà hoặc phần tòa nhà) được coi như một vùng phục vụ riêng lẻ cho mỗi dịch vụ (sưởi ấm, làm mát, cấp nước nóng sinh hoạt, thông gió, chiếu sáng).
Tuy nhiên, đối với một hoặc nhiều dịch vụ, việc tính toán hiệu quả năng lượng có thể yêu cầu chia đối tượng được đánh giá thành các khu vực phục vụ khác nhau (xem 10.2), tùy thuộc vào mức độ phức tạp của các hệ thống kỹ thuật.
Việc phân chia tòa nhà hoặc một phần tòa nhà thành các khu vực phục vụ về nguyên tắc được thực hiện riêng cho từng dịch vụ. Theo cách này thì có thể tránh được trường hợp khi việc phân chia thành các khu vực phục vụ cần tinh lọc kỹ hơn cho một dịch vụ thì điều này cũng cần thiết cho tất cả các dịch vụ khác.
VÍ DỤ: Một khu vực phục vụ chiếu sáng và một khu vực phục vụ các nhu cầu cấp nước nóng sinh hoạt có thể được chỉ định và tính toán độc lập với nhau.
Ảnh hưởng của các hệ thống kỹ thuật tòa nhà đến cân bằng nhiệt ở dạng sưởi hoặc làm lạnh phân tán được tính đến cho mỗi vùng nhiệt.
Khi khu vực phục vụ cho một dịch vụ không trùng với một vùng nhiệt thì áp dụng các quy tắc phân chia và kết hợp đơn giản.
Loại đối tượng được đánh giá (ví dụ: Tòa nhà mới hoặc hiện hữu) và loại hình ứng dụng (ví dụ: Cấp giấy chứng nhận hiệu quả năng lượng hoặc các yêu cầu hiệu quả năng lượng tối thiểu), như đã được quy định trong Bảng A.3 và Bảng A.8 (bản mẫu quy định) và Bảng B.3 và Bảng B.8 (lựa chọn mặc định tham khảo) cũng có thể gây ảnh hưởng tới sự phân biệt thành các vùng nhiệt và các khu vực phục vụ khác nhau.
CHÚ THÍCH 1: Đối với các tòa nhà có hiệu quả cao mối quan tâm trong việc đánh giá chính xác hiệu quả năng lượng có thể quan trọng hơn so với các tòa nhà hiện hữu có hiệu quả năng lượng kém.
Mỗi vùng nhiệt hoặc khu vực phục vụ bao quát một hoặc nhiều cái gọi là các không gian cơ sở để phân chia và tổng hợp các đại lượng tính toán nhất định một cách dễ dàng, minh bạch và rõ ràng giữa các khu vực phục vụ và các vùng nhiệt (xem 10.3). Không gian cơ sở là khu vực nhỏ nhất bao quát một vùng nhiệt và một khu vực phục vụ của mỗi loại. Những không gian cơ sở chỉ được sử dụng cho mục đích này. Các quy tắc phân chia và tổng hợp dựa trên kích thước (ví dụ: Diện tích sàn) của các không gian cơ sở.
CHÚ THÍCH 2: Số liệu đo về kích thước được để mở đối với việc lựa chọn (bản mẫu quy định trong Bảng A.29, lựa chọn mặc định tham khảo nêu trong Bảng B.29.
CHÚ THÍCH 3: Về nguyên tắc, nó sẽ đủ để chia một vùng nhiệt trong các không gian cơ sở một cách độc lập cho từng dịch vụ. Tuy nhiên, về mật quản trị và áp dụng các quy tắc phân vùng và đối với phần mềm tính toán thực tế thì điều này sẽ phức tạp hơn. Thông tin duy nhất cần thiết ở mức không gian cơ sở là kích thước của nó.
Khái niệm “phân vùng” được sử dụng cho toàn bộ quá trình phân chia thành các vùng nhiệt và phân chia thành các khu vực phục vụ. Các không gian cơ sở được quy định là bước cuối cùng của quá trình phân chia vùng.
10.2 Vùng nhiệt và khu vực phục vụ
Đối với mỗi đại lượng đầu vào và đầu ra liên quan của từng tiêu chuẩn EPB cần phải xác định rõ giá trị được áp dụng cho vùng nhiệt (Zth) hoặc khu vực phục vụ (SAX).
Có các loại khu vực phục vụ khác nhau tùy theo dịch vụ đang xem xét.
Các khu vực phục vụ nêu trong Bảng 9 được phân biệt như sau:
Bảng 9 - Các loại khu vực phục vụ EPB
| Ký hiệu | Khu vực phục vụ (loại) | Chú thích (tham khảo) |
| SAH | Khu vực phục vụ của hệ thống sưởi | Đối với hệ thống sưởi |
| SAC | Khu vực phục vụ của hệ thống làm mát | Đối với hệ thống làm mát |
| SAV | Khu vực phục vụ của vùng thông gió | Đối với lưu lượng không khí và hệ thống thông gió |
| SAW | Khu vực phục vụ của hệ cấp nước nóng sinh hoạt | Đối với nhu cầu cấp nước nóng sinh hoạt và hệ thống |
| SAL | Khu vực phục vụ của hệ chiếu sáng | Đối với chiếu sáng tự nhiên và hệ thống chiếu sáng nhân tạo |
Vùng nhiệt là một phần của tòa nhà bao gồm một tập hợp các không gian cơ sở có chung cân bằng nhiệt.
Khu vực phục vụ là một phần của tòa nhà bao gồm một tập hợp các không gian có chung một nhu cầu thống nhất về mặt tính toán hoặc được phục vụ bởi một bộ phận cụ thể của hệ thống kỹ thuật hoặc hệ thống kỹ thuật con.
CHÚ THÍCH 1: Trong các trường hợp đơn giản các vùng nhiệt và các khu vực phục vụ cho các dịch vụ khác nhau có thể giống hệt nhau. Nhưng việc phân chia thành các khu vực phục vụ có thể cần thiết cho một dịch vụ và không cần thiết cho dịch vụ khác. Trong trường hợp đó các khu vực phục vụ của các dịch vụ khác nhau dẫn đến sự đơn giản nhất đối với cả việc thu thập dữ liệu đầu vào và tính toán thực tế. Xem ví dụ dưới đây (và xem TCVN 13469-2 (ISO/TR 52000-2)[6] để biết thêm ví dụ.
CHÚ THÍCH 2: Nhu cầu cho một khu vực phục vụ có thể được tính cho các phần của tòa nhà không cùng là các vùng nhiệt.
Tiêu chí để phân chia thành các vùng nhiệt và khu vực phục vụ được nêu trong 10.4.
Khu vực phục vụ có thể bao gồm các phòng, nhóm phòng, toàn bộ tòa nhà hoặc các phần của các phòng. Ranh giới của một khu vực phục vụ không cần thiết phải là ranh giới vật chất.
VÍ DỤ 1: Khu vực phục vụ chiếu sáng có thể kết thúc ở một chỗ cụ thể trong một phòng hoặc nhóm phòng khi mức chiếu sáng giảm xuống dưới một ngưỡng nhất định.
Tổng của các vùng nhiệt bao quát toàn bộ khu vực của đối tượng được đánh giá. Việc phân chia vùng nhiệt cũng được áp dụng cho các không gian không được sưởi.
VÍ DỤ 2: Một loạt các hộp để xe không được sưởi hoặc không gian lưu giữ có thể được xem là một vùng nhiệt.
Đối với mỗi loại khu vực phục vụ, tổng số khu vực phục vụ bao gồm toàn bộ khu vực của đối tượng được đánh giá.
VÍ DỤ 3: Nếu phần của đối tượng được đánh giá không được phục vụ hoặc giả định được phục vụ bởi một loại hình dịch vụ cụ thể (ví dụ: Không có làm mát), phần này sau đó được gắn nhãn là khu vực phục vụ có dịch vụ bằng không (ví dụ: Khu vực phục vụ hệ thống làm mát: “không có làm mát cơ khí”).
Khu vực phục vụ có thể bao quát phần của một vùng nhiệt hoặc bao quát (nhiều phần) nhiều hơn một vùng nhiệt.
10.3 Không gian
Với mục đích phân vùng, một không gian được gọi là “không gian cơ sở” nếu nó thuộc về một khu vực phục vụ của mỗi loại dịch vụ và một vùng nhiệt.
Không gian cơ sở là một phần của một phòng, một phòng hoặc nhóm phòng liền kề thuộc một vùng nhiệt và một dịch vụ của mỗi dịch vụ. Không gian cơ sở được sử dụng để nhận diện quy định kỹ thuật của các vùng nhiệt và khu vực phục vụ. Không gian cơ sở không thể một phần thuộc về một vùng nhiệt và một phần thuộc về vùng nhiệt khác; hoặc một phần thuộc về một khu vực phục vụ và một phần thuộc về một khu vực phục vụ khác.
VÍ DỤ 1: Xem Hình 4. Vùng nhiệt 1 bao gồm không gian cơ sở S1+S2+S3+S4+S5. Khu vực phục vụ của hệ thống sưởi 1 bao gồm không gian cơ sở S1+S2+S3. Khu vực phục vụ của hệ thống sưởi 2 bao gồm không gian S4+S5.
VÍ DỤ 2: Không gian cơ sở gồm có một loạt các không gian cơ sở liền kề nằm trong cùng một vùng nhiệt, cùng một khu vực phục vụ cung cấp đáp ứng nhu cầu nước nóng, cùng một khu vực phục vụ thông gió, cùng một hệ thống làm mát và sưởi và khu vực phục vụ hệ thống bộ phận và cùng một khu vực phục vụ chiếu sáng.
VÍ DỤ 3: Không gian cơ sở gồm có một loạt các gara trong một tòa nhà chung cư có tác dụng giảm tổn thất nhiệt của các tầng được điều hòa nhiệt ở trên; với điện năng sử dụng cho chiếu sáng có thể (tại các quốc gia cụ thể) được bao gồm trong hiệu quả năng lượng của tòa nhà.
Không gian cơ sở cũng được sử dụng để trao đổi dữ liệu tính toán nhất định giữa các khu vực phục vụ và các vùng nhiệt sử dụng các quy tắc phân chia hoặc tổng hợp nêu trong 10.5.
Ngoài ra, điều này còn cho phép khả năng gán dữ liệu cho một nhóm không gian cơ sở tạo thành một đơn nguyên tòa nhà hoặc một phần cụ thể của tòa nhà.
Không gian cơ sở không được sử dụng cho các tính toán thực tế: Tính toán thực tế được thực hiện cho mỗi vùng nhiệt (tính toán cân bằng nhiệt) và ngoài ra, trên mỗi loại khu vực phục vụ (cho các tính toán liên quan đến hệ thống).
Vì vậy, hầu hết đầu vào, như hầu hết các đặc tính vật lý, điều kiện ranh giới và điều kiện sử dụng không được thu thập ở cấp độ không gian cơ sở nhưng được thu thập ở cấp độ các vùng nhiệt và khu vực phục vụ (đầu vào hệ thống bổ sung liên quan).
VÍ DỤ 4:
- Các đặc tính nhiệt và khu vực của các bộ phận tòa nhà được thu thập cho mỗi vùng nhiệt và không phải trên mỗi không gian cơ sở;
- Đối với một vùng cấp nước nóng sinh hoạt, nhu cầu nước nóng được thu thập trên mỗi khu vực phục vụ cấp nước nóng sinh hoạt và không phải trên mỗi không gian cơ sở;
- Tuy nhiên dữ liệu về tính toán khu vực phục vụ cấp nước nóng sinh hoạt như các tổn thất được thu hồi cho sưởi phải được chuyển theo cách rõ ràng tới đúng vùng nhiệt và các quy tắc gán dữ liệu được đưa ra trong 10.5 cho mục đích đó.
- Đối với khu vực phục vụ chiếu sáng, dữ liệu đầu vào đặc trưng là các tính chất của kính (độ truyền sáng, độ cao trên sàn và kích thước) cộng thêm với độ sâu xâm nhập của vùng ánh sáng tự nhiên vuông góc với cửa mở lấy ánh sáng cũng như các thuộc tính của hệ thống chiếu sáng. Các dữ liệu này được thu thập trên mỗi khu vực phục vụ chiếu sáng và không phải trên mỗi không gian cơ sở.

CHÚ DẪN:
Zth1 Vùng nhiệt 1; gồm không gian cơ sở S1+S2+S3+S4+S5
SAH1 Khu vực phục vụ của hệ thống sưởi 1 (ví dụ: Lò sưởi); gồm không gian cơ sở S1+S2+S3
SAH2 Khu vực phục vụ của hệ thống sưởi 2 (ví dụ: Sưởi dưới sàn); gồm không gian cơ sở S4+S5
Hình 4 - Ví dụ về một vùng nhiệt và hai khu vực phục vụ sưởi
Ranh giới của một không gian cơ sở không cần thiết phải là ranh giới vật chất.
VÍ DỤ 5: Giống như khu vực phục vụ chiếu sáng, ranh giới có thể ở một chỗ nào đó ở giữa phòng hoặc một nhóm phòng, phụ thuộc vào khoảng cách mà sáng tự nhiên xâm nhập vào trong các căn phòng này và không nhất thiết phải trùng với một bức tường.
Nếu cần thông tin ở cấp độ của đơn nguyên tòa nhà hoặc một phần của tòa nhà (đối tượng được đánh giá), các ranh giới của một nhóm các không gian cơ sở phải trùng với ranh giới của đối tượng được đánh giá.
VÍ DỤ 6: Nếu trong một khối căn hộ có hệ thống sưởi tập trung, hiệu quả năng lượng sưởi cần thiết trên mỗi đơn nguyên tòa nhà, sau đó mỗi đơn nguyên tòa nhà phải được coi là một không gian cơ sở hoặc tổ hợp của các không gian cơ sở.
Trong quy trình phân vùng, quy định kỹ thuật của các vùng nhiệt và khu vực phục vụ, một số thông tin là cần thiết ở cấp độ không gian tòa nhà:
- Loại không gian là cần thiết cho điều kiện sử dụng, trở thành một trong những tiêu chí chính có thể cho việc phân vùng (xem 10.4).
- Thông tin cơ bản khác cần thiết để áp dụng cho các quy tắc phân vùng.
CHÚ THÍCH: Hiển nhiên, điều quan trọng là các quy tắc phân vùng không đòi hỏi thông tin quá chi tiết ở cấp độ không gian tòa nhà, nếu không sẽ mất đi lợi ích của việc thu thập dữ liệu đầu vào ở cấp độ vùng (lớn hơn).
VÍ DỤ 7: Sự khác biệt lớn về tỷ lệ phần trăm của kính trong mặt tiền bao che có thể là một tiêu chí để phân chia thành các vùng nhiệt khác nhau. Điều này không yêu cầu phải đo lường đầy đủ chi tiết một cách riêng biệt kích thước của cửa sổ và phần không xuyên sáng đối với mỗi không gian tòa nhà.
Khi đã hoàn thành việc phân vùng thì cũng đã biết các không gian cơ sở. Đối với không gian cơ sở, chỉ có kích thước (ví dụ: Diện tích sàn, thể tích hoặc số liệu đo lường được lựa chọn khác) là cần thiết cho việc gán các kết quả tính toán (xem 10.5).
10.4 Quy tắc phân vùng
10.4.1 Nguyên tắc
Các tiêu chí công năng sau được nêu trong Bảng 10 được xác định để phân chia đối tượng được đánh giá.
Bảng 10 - Tiêu chí phân vùng theo công năng
| Ký hiệu | Mô tả | Tiêu chí theo chức năng có thể |
| Zth | Vùng nhiệt | Điều kiện sử dụng khác nhau (Nhiệt, hơi ẩm) Sự khác biệt của cân bằng nhiệt (ví dụ: Nhiệt khối, thu nhận nhiệt bên trong gồm cả tổn thất nhiệt hệ thống, tỷ lệ kính trên diện tích sàn/ bóng đổ/ hướng... Ranh giới loại không gian Đơn nguyên tòa nhà |
| SA H | Khu vực phục vụ của hệ thống sưởi | Các loại bộ phát bức xạ và kiểm soát phát xạ khác nhau Các vùng mạng lưới phân phối khác nhau (Trong thực tế liên kết với các lịch trình vận hành khác nhau, lần lượt được liên kết với các loại không gian khác nhau) Hệ thống sưởi khác nhau |
| SAC | Khu vực phục vụ của hệ thống làm mát | Các loại bộ phát bức xạ và kiểm soát phát xạ khác nhau Các vùng mạng lưới phân phối khác nhau (xem sưởi) Hệ thống làm mát khác nhau |
| SAV | Khu vực phục vụ thông gió | Các điều kiện sử dụng khác nhau (nhu cầu thông gió liên quan đến chất lượng không khí trong nhà) Loại thông gió và/hoặc các loại hệ thống con khác nhau Hệ thống thông gió khác nhau |
| SAW | Khu vực phục vụ cấp nước nóng sinh hoạt | Các điều kiện sử dụng khác nhau (nhu cầu cấp nước nóng sinh hoạt) Hệ thống cấp nước nóng sinh hoạt khác nhau hoặc loại hệ thống con khác nhau Các hệ thống cấp nước nóng sinh hoạt khác nhau |
| SAL | Khu vực phục vụ chiếu sáng | Tiềm năng chiếu sáng tự nhiên khác nhau Các điều kiện sử dụng khác nhau (nhu cầu chiếu sáng, “khu vực mục tiêu”) Loại hệ thống chiếu sáng hoặc hệ thống chiếu sáng tự nhiên hoặc hệ thống con khác nhau |
Tiêu chí công năng bổ sung có thể được xác định. Trong 10.5 các tiêu chí công năng này được chuyển đổi thành các tiêu chí cụ thể.
10.4.2 Tiêu chí phân vùng cụ thể
Tiêu chí phân vùng cụ thể cho các vùng nhiệt được nêu trong tiêu chuẩn liên quan thuộc mô-đun EPB M2-2.
Tiêu chí phân vùng cụ thể hoặc liên kết với tiêu chí phân vùng cụ thể cho các khu vực phục vụ được cung cấp trong các tiêu chuẩn hệ thống liên quan thuộc Mô-đun EPB M3-M5 và M8-M9.
10.5 Quy tắc gán dữ liệu
10.5.1 Phân chia
Đối với mỗi vùng nhiệt, dữ liệu cần được trao đổi với khu vực phục vụ bao quát (phần của) vùng nhiệt và ngược lại.
Điều này được thực hiện thông qua các không gian cơ sở. Các không gian cơ sở được sử dụng để chia nhỏ và tổng hợp dữ liệu phục vụ việc trao đổi.
Với các quy tắc phân chia, dữ liệu trở nên khả dụng ở cấp độ không gian cơ sở mà không cần thực hiện việc tính toán ở cấp độ không gian cơ sở theo ví dụ dưới đây.
VÍ DỤ 1: Xem Hình 5.
Zth1 = S1 + S2 + S3 + S4
Zth2 = S5 + S6
SAL1 = S1 + S2 + S5
SAL2 = S3 + S4 + S6
Phân chia kết quả XL1 của khu vực phục vụ chiếu sáng SAL1 theo các không gian tuân theo các quy tắc phân chia chung hoặc cụ thể đã cho. Điều này mang lại kết quả XL;S1, XL;S2 và XL;S5.
Phân chia kết quả XL2 của khu vực phục vụ chiếu sáng SAL2 theo các không gian theo các quy tắc phân chia tổng quát hoặc cụ thể đã cho. Điều này mang lại kết quả XL;S3, XL;S4 and XL;S6.
Tái tổ hợp cho với vùng nhiệt Zth1: XL;th1 = XL;S1 + XL;S2 + XL;S3 + XL;S4 (xem 10.5.2)
Tái tổ hợp cho vùng nhiệt Zth2: XL;th2 = XL;S5 + XL;S6 (xem 10.5.2)

Sự phân chia:
| Quy tắc đơn giản, xem công thức (18) cho SAL1; | Quy tắc đơn giản, xem công thức (18) cho SAL2: |
| XL;S1 = XL1 x S1/(S1+S2+S5) XL;S2 = XL1 x S2/(S1+S2+S5) XL;S5 = XL1 x S5/(S1+S2+S5) | XL;S3 = XL2 x S3/(S3+S4+S6) XL;S4 = XL1 x S2/(S3+S4+S6) XL;S6 = XL2 x S6/(S3+S4+S6) |
Tái tổ hợp:
Quy tắc đơn giản
XL;th1 = XL;S1 + XL;S2 + XL;S3 + XL;S4
XL;th2 = XL;S5 + XL;S6
CHÚ DẪN:
| Zth1 | Vùng nhiệt 1 (bao quát không gian cơ sở S1+S2+S3+S4) |
| Zth2 | Vùng nhiệt 2 (bao quát không gian cơ sở S5+S6) |
| SAL1 | Khu vực phục vụ chiếu sáng 1 (bao quá không gian S1+S2+S5) |
| SAL2 | Khu vực phục vụ chiếu sáng 1 (bao quá không gian S3+S4+S6) |
| a | Tổn thất có thể thu hồi |
| b | Hệ thống đường ống phân phối |
Hình 5 - Ví dụ phân chia và tái tổ hợp
VÍ DỤ 2: Một khu vực phục vụ của hệ thống sưởi và hai vùng nhiệt, đòi hỏi việc phân bổ tổn thất hệ thống có thể thu hồi cho từng vùng nhiệt (xem Hình 6)

CHÚ DẪN:
| Zth1 | Vùng nhiệt 1 (bao quát không gian cơ sở S1+S2+S3) |
| Zth2 | Vùng nhiệt 2 (bao quát không gian cơ sở S4+S5) |
| SAH1 | Khu vực phục vụ sưởi 1 (bao quát không gian S1+S2+S3+ S4+S5) |
| a | Tổn thất có thể thu hồi |
| b | Hệ thống đường ống phân phối |
Hiện trạng: Hai vùng nhiệt (Zth1, Zth2), một hệ thống đường ống phân phối; vị trí của mỗi đoạn ống trong từng vùng nhiệt chưa biết
Hình 6 - Ví dụ minh họa sự cần thiết của các quy tắc phân chia
VÍ DỤ 3: Nếu một ống thông gió đi qua các không gian (cơ sở) khác nhau, thì đó là nhiệt độ môi trường trong mỗi không gian này được sử dụng để tính toán truyền nhiệt qua đường ống (“tổn thất nhiệt”). Nếu các không gian này thuộc các vùng nhiệt khác nhau, nhiệt độ môi trường là nhiệt độ trung bình của các vùng nhiệt giao nhau (đầu vào từ tiêu chuẩn cho tính toán cân bằng nhiệt), theo trọng số kích thước của các không gian giao nhau (hoặc, ví dụ: Theo trọng số chiều dài của đường ống trên mỗi không gian). Đổi lại đối với mỗi cân bằng nhiệt ở mỗi vùng nhiệt, truyền nhiệt (“tổn thất nhiệt”, giá trị dương hoặc âm) vào đường ống sẽ được thu thập từ các không gian (đầu ra từ tiêu chuẩn thông gió)): tổn thất nhiệt trên mỗi không gian là một phần của tổng tổn thất, ví dụ: theo trọng số diện tích của các không gian liên quan (hoặc, ví dụ: theo trọng số chiều dài của đường ống trên mỗi không gian).
Mục đích thứ hai là cho phép gán dữ liệu cho một đơn nguyên tòa nhà hoặc một phần cụ thể của tòa nhà, được mô tả trong 10.3.
Một số tiêu chuẩn EPB có thể có các quy tắc gán dữ liệu cụ thể dựa trên các đặc tính cụ thể của các không gian cơ sở, để cho phép thực hiện tính toán ở cấp vùng nhiệt (lớn hơn), và vẫn được hưởng lợi từ thông tin cụ thể ở cấp độ không gian cơ sở cho việc phân chia.
VÍ DỤ 4: Các quy tắc gán cụ thể có thể được sử dụng cho loại bộ phát bức xạ nhiệt (ví dụ: Thiết bị sưởi hoặc sưởi ấm sàn). Với thông tin này nhu cầu sưởi của một vùng nhiệt có thể được quy cho từng không gian cơ sở trong vùng đó và được liên kết với các hệ thống con phát xạ nhiệt khác nhau.
Việc phân chia và phân phối phải được thực hiện theo chỉ số trọng số đã chọn. Việc lựa chọn chỉ số trọng số phù hợp phải được thực hiện một cách cụ thể rõ ràng.
Trừ phi có quy định khác, việc phân chia tuyến tính được thực hiện. Nếu đại lượng X phải được phân chia hoặc phân phối cho các phần tử i theo chỉ số trọng số Y, thì nó sẽ được tính theo công thức (18).
|
| (18) |
trong đó chỉ số trọng số Yi là dữ liệu đo của phần tử thứ i trong vùng nhiệt.
VÍ DỤ 5: X là nhu cầu sưởi của một vùng nhiệt; Y là diện tích sàn sử dụng; i = 1,2,... là các không gian cơ sở trong vùng nhiệt. Các quy tắc phân chia tổng quát và liên kết đến các quy tắc phân chia cụ thể được nêu trong Bảng A.29 (bản mẫu) và Bảng B.29 (các quy tắc mặc định tham khảo hoặc các liên kết).
10.5.2 Tái tổ hợp
Đối với từng vùng nhiệt hoặc khu vực phục vụ, dữ liệu được gán cho từng không gian cơ sở nêu trong 10.5.1 phải được tổ hợp lại để thu được dữ liệu kết quả ở cấp độ vùng nhiệt hoặc khu vực phục vụ.
10.6 Quy trình phân vùng
Việc phân chia cần thiết của đối tượng được đánh giá thành các không gian cơ sở đạt được bằng cách áp dụng lần lượt các tiêu chí phân vùng được quy định trong 10.4, để phân chia thành các vùng nhiệt và cho mỗi dịch vụ, để phân chia thành các khu vực phục vụ.
Điểm bắt đầu của quy trình là coi toàn bộ tòa nhà là một vùng nhiệt duy nhất và một khu vực phục vụ duy nhất cho mỗi dịch vụ.
Đối với các tiêu chí kế tiếp, nó được xác nhận nếu vùng nhiệt bất kỳ đã được xác định với các tiêu chí trước đó phải được phân chia tiếp thành các vùng nhỏ hơn. Sau khi tất cả các tiêu chí đã được áp dụng thì xác định số lượng tối thiểu của các vùng nhiệt cần thiết.
11 Tính toán hiệu quả năng lượng, định tuyến và cân bằng nhiệt
11.1 Tổng quát
Điều 11 được dành cho hiệu quả năng lượng tính toán. Tuy nhiên, các yếu tố cơ bản của các quy trình này có thể sử dụng trong trường hợp tính hiệu quả năng lượng đo lường.
CHÚ THÍCH 1: Ví dụ nếu có sẵn dữ liệu hàng giờ (đồng hồ đo thông minh), và/hoặc nếu điện sản xuất bằng phương pháp quang điện (PV) được đo riêng rẽ, v.v...
Trình tự tính toán được thực hiện bắt đầu từ nhu cầu đến nguồn năng lượng (ví dụ: Từ nhu cầu năng lượng của tòa nhà đến năng lượng sơ cấp).
Điện năng (cho chiếu sáng, thông gió, phụ trợ) và năng lượng nhiệt (cho sưởi ấm, làm mát, gia ẩm, khử ẩm, cấp nước nóng sinh hoạt) được xem xét riêng rẽ trong ranh giới đánh giá.
Các đại lượng làm mát phải có giá trị dương khi nhiệt được tách thải ra khỏi không gian và/hoặc hệ thống. Trên bản vẽ thì hướng thực tế của dòng nhiệt phải được chỉ định rõ ràng.
CHÚ THÍCH 2: Xem TCVN 13469-2 (ISO/TR 52000-2)[6] để có giải thích thêm.
11.2 Quy trình tính toán tổng thể (các bước)
Quy trình tính toán tổng thể gồm có các bước tính sau:
a) Xác định điều kiện sử dụng bên trong (nhiệt độ, độ ẩm, mức độ sử dụng, thu nhận nhiệt bên trong, lịch trình thời gian) theo các điều liên quan của các tiêu chuẩn liên quan đến mô-đun EPB M1-6 cho loại tòa nhà hoặc nếu có sự khác biệt, cho mỗi loại không gian.
b) Xác định điều kiện bên ngoài (dữ liệu khí hậu) theo các điều liên quan của các tiêu chuẩn liên quan đến mô-đun EPB M1-13 (xem 11.5).
c) Phân chia tòa nhà thành các vùng, nếu cần thiết. Việc phân vùng có thể khác nhau đối với việc tính toán nhu cầu năng lượng và đối với các hệ thống kỹ thuật tòa nhà. Xem Điều 10.
d) Đối với mỗi khoảng thời gian tính toán, tính toán nhu cầu năng lượng cho sưởi, làm mát và làm (khử) ẩm và cấp nước nóng sinh hoạt. Đối với mỗi hệ thống kỹ thuật liên quan đến các dịch vụ EPB, tính toán năng lượng sử dụng bao gồm năng lượng phụ trợ, phần đóng góp của các nguồn năng lượng tái tạo và các tổn thất nhiệt có thể thu hồi (xem 11.3). Hãy tính đến tác động của việc tự động hóa và kiểm soát tòa nhà (xem 11.4).
e) Lặp lại vòng lặp cho khoảng thời gian tính toán riêng lẻ nếu sự tương tác giữa các quá trình khác nhau gồm cả ảnh hưởng của tổn thất nhiệt có thể thu hồi (xem 11.3), không được tính đến hoặc bằng cách đơn giản hóa (ví dụ: Chỉ số hiệu chỉnh bên trong hệ thống con) hoặc bằng cách đưa vào (trì hoãn) tương tác tới khoảng thời gian tính toán tiếp theo. Sự lặp lại có thể từ một lần lặp lại duy nhất cho đến một bước lặp đầy đủ.
CHÚ THÍCH: Trong trường hợp sự tương tác bị trì hoãn tới khoảng thời gian tính toán tiếp theo thì cần có biện pháp phòng ngừa để tránh đầu ra dao động ở các khoảng thời gian tính toán kế tiếp xảy ra trong trường hợp các tương tác hoặc sự can thiệp với các động lớn. Ví dụ: Nếu một cửa sổ được mở ra để tăng mức tự làm mát mà không tiêu tốn năng lượng. Nếu điều này có tác động lớn đến cân bằng nhiệt, hiệu ứng làm mát có thể quá lớn thì sẽ dẫn đến việc đóng cửa sổ ngay lập tức vào giờ tiếp theo (hoặc thậm chí dẫn đến nhu cầu sưởi ấm).
f) Tính toán lượng điện năng quang điện, gió, đồng phát điện và nhiệt và điện năng khác được sản xuất tại chỗ theo các điều của các tiêu chuẩn liên quan đến mô-đun EPB M11-8.
g) Tính toán thành phần năng lượng cấp đến và xuất đi cho mỗi khoảng thời gian tính toán theo 11.6.2.4.
h) Đối với mỗi khoảng thời gian tính toán, xác định năng lượng cấp đến và xuất đi theo trọng số dưới dạng năng lượng sơ cấp hoặc theo chỉ số khác bất kỳ (xem 9.6) theo 11.6 có tính đến các lựa chọn như đưa vào hoặc không đưa năng lượng xuất đi vào hiệu quả năng lượng của tòa nhà.
i) Tính tổng kết quả của từng bước riêng rẽ và thu được hiệu quả năng lượng cho kỳ tính toán theo 11.6 và 9.6.1.
j) Tính năng lượng cấp đến hoặc năng lượng theo trọng số cho mỗi dịch vụ hoặc cho mỗi phần của một tòa nhà theo Phụ lục E.
k) Tính các chỉ số hiệu quả năng lượng thành phần như hiệu suất của hệ thống con, hệ số tải, phần đóng góp của hệ thống nhiệt mặt trời.
l) Phát hành báo cáo tính toán theo Điều 12.
11.3 Nguyên tắc tính toán thu hồi và tổn thất
11.3.1 Tổng quát
Tương tác giữa các dịch vụ năng lượng khác nhau (như sưởi, làm mát và chiếu sáng) được tính đến bằng cách tính toán mức thu nhận nhiệt và tổn thất hệ thống có thể thu hồi được có thể có tác động tích cực hoặc tiêu cực đến hiệu quả năng lượng của tòa nhà.
Điểm bắt đầu cho mỗi tính toán sưởi và/hoặc làm mát là nhu cầu của tòa nhà. Sự thu nhận nhiệt và tổn thất nhiệt có thể thu hồi cụ thể (thu nhận nhiệt mặt trời, thu nhận nhiệt trao đổi chất, v.v...) được tính vào nhu cầu nhiệt của tòa nhà thuộc mỗi loại một tòa nhà hoặc loại không gian được nêu trong các điều liên quan của các tiêu chuẩn liên quan đến mô-đun EPB M1-6.
Hai phương pháp tiếp cận được cho phép tính đến các tổn thất nhiệt khác có thể thu hồi được (như tản nhiệt cho quạt, tổn thất nhiệt và tổn thất lạnh trên đường ống gió, đường ống dẫn, tản nhiệt cho đèn chiếu sáng không được tính vào nhu cầu về năng lượng của tòa nhà tại điểm bắt đầu: phương pháp tiếp cận chi tiết được mô tả trong 11.3.2 và phương pháp tiếp cận đơn giản hóa được mô tả trong 11.3.3.
Việc lựa chọn có thể khác nhau cho các hệ thống kỹ thuật (hệ thống kỹ thuật con) khác nhau của tòa nhà và phải được quy định trong Phụ lục A cho mỗi tiêu chuẩn hệ thống con liên quan với lựa chọn mặc định tham khảo nêu trong Phụ lục B. Ví dụ: Như công năng của tòa nhà hoặc loại hệ thống, vị trí trong tòa nhà.
CHÚ THÍCH: Mặc dù các lựa chọn giữa phương pháp tiếp cận chi tiết và đơn giản hóa được thực hiện theo các tiêu chuẩn EPB khác nhau, tính nhất quán tổng thể trong các lựa chọn cho toàn bộ bộ tiêu chuẩn EPB là rất quan trọng để có độ chính xác tổng thể cân bằng.
11.3.2 Phương pháp tiếp cận chi tiết
Theo phương pháp tiếp cận chi tiết, tổng số các tác động của bộ tiêu nhiệt và các nguồn trong tòa nhà và các hệ thống kỹ thuật tòa nhà có thể thu hồi được để điều hòa không gian được xem xét trong tính toán nhu cầu về năng lượng nhiệt.
Các tổn thất của hệ thống nhiệt kỹ thuật tòa nhà phụ thuộc vào năng lượng đầu vào (nhu cầu năng lượng) bản thân nó lại phụ thuộc vào tổn thất nhiệt của hệ thống có thể thu hồi được.. Đối với tính toán, các tổn thất có thể được thu hồi hoặc ngay lập tức (trong cùng khoảng thời gian tính toán) hoặc có độ trễ (trong khoảng thời gian tính toán tiếp theo). Các bước tính tổng thể được mô tả trong 11.2.
Quy trình sau đây được thực hiện để tính đến các tổn thất có thể thu hồi trong khoảng thời gian tính toán sau:
a) Lấy các tổn thất nhiệt hệ thống từ khoảng thời gian tính toán trước đó và cộng chúng vào các nguồn nhiệt khác (ví dụ: Thu nhận nhiệt mặt trời và thu nhận nhiệt bên trong, các tổn thất nhiệt từ chiếu sáng và/hoặc hệ thống kỹ thuật khác như cấp nước nóng sinh hoạt) trong tính toán về nhu cầu sưởi và làm mát;
b) Tính nhu cầu năng lượng nhiệt cho sưởi và làm mát;
c) Thực hiện tính toán hệ thống con theo các mô-đun từ M3-M7 và xác định các tổn thất nhiệt có thể thu hồi được;
d) Lưu giữ các tổn thất nhiệt hệ thống có thể thu hồi được cho khoảng thời gian tính toán tiếp theo.
CHÚ THÍCH 1: Nếu các tổn thất có thể thu hồi được là tương đối lớn so với nhu cầu, “tính toán khoảng thời gian tính toán tiếp theo” có thể dẫn đến sự không ổn định của việc tính toán (đầu ra dao động).
Đối với cả hai phương pháp tiếp cận, lượng tổn thất được thu hồi có thể được trích xuất từ các kết quả tính toán như sau:
a) Thực hiện tính toán hàng năm theo một trong hai phương pháp với các tổn thất có thể thu hồi được;
b) Thực hiện tính toán hàng năm theo một trong hai phương pháp mà không có tổn thất có thể thu hồi được;
Sự khác nhau giữa hai cách tính xét về mặt đầu ra yêu cầu của hệ thống kỹ thuật là các tổn thất nhiệt hệ thống được thu hồi.
CHÚ THÍCH 2: Tổn thất nhiệt của hệ thống được thu hồi có thể có giá trị âm, ví dụ: Trong trường hợp tổn thất nhiệt dẫn đến việc làm mát tăng lên cần đến phương pháp tiếp cận đơn giản hóa.
11.3.3 Phương pháp tiếp cận đơn giản hóa
Theo phương pháp tiếp cận đơn giản hóa, các tổn thất nhiệt thu hồi của hệ thống thu được bằng cách nhân tổn thất nhiệt hệ thống có thể thu hồi với chỉ số thu hồi, trừ trực tiếp tổn thất của từng hệ thống kỹ thuật (hệ thống kỹ thuật con) của tòa nhà được xem xét. Điều này để tránh sự lặp đi lặp lại.
Quy trình tính toán được thực hiện như sau:
- Thực hiện tính toán hệ thống con theo các tiêu chuẩn thuộc mô-đun EPB từ M3 đến M10 và xác định các tổn thất nhiệt của hệ thống có thể thu hồi;
- Tính tổn thất nhiệt của hệ thống được thu hồi bằng cách nhân tổn thất nhiệt của hệ thống với chỉ số thu hồi quy ước;
- Trừ đi tổn thất nhiệt của hệ thống:
- Từ tổng tổn thất nhiệt của hệ thống nếu tổn thất được thu hồi cho cùng một dịch vụ tòa nhà;
- Từ nhu cầu của tòa nhà nếu tổn thất được thu hồi dành cho một dịch vụ tòa nhà khác (ví dụ: Tổn thất cấp nước nóng sinh hoạt được thu hồi để sưởi ấm).
CHÚ THÍCH 1: Chỉ số thu hồi có thể, ví dụ: Được tính toán theo chỉ số cân bằng nhiệt theo tháng từ M2-2.
CHÚ THÍCH 2: Đối với hệ thống phức tạp phương pháp tiếp cận chi tiết là thích hợp hơn.
CHÚ THÍCH 3: Thu hồi nhiệt trong hệ thống (ví dụ: Sự gia nhiệt trước của quá trình đốt cháy không khí, hoặc thu hồi từ không khí thải) được xử lý theo các tiêu chuẩn hệ thống liên quan thuộc mô-đun EPB từ M3 đến M8.
11.4 Ảnh hưởng của tự động hóa và kiểm soát tòa nhà (BAC) và quản lý kỹ thuật tòa nhà (TBM)
Sự đóng góp của BAC (bao gồm cả TBM) đến hiệu quả năng lượng của tòa nhà được xem xét trong quy trình tính toán vì tác động của tất cả các chức năng BAC được cài đặt đến hiệu quả năng lượng của tòa nhà.
Nó đề cập đến ba đặc tính:
- Điều khiển chính xác (chủ yếu sử dụng trong các mô-đun phát xạ và điều khiển M3-5, M4-5 và M5-5;
- Chức năng BAC (chủ yếu sử dụng trong các mô-đun M3-5 cho đến M3-9, M4-5 cho đến M4-9, M5-9 cho đến M9-5, M9-9)
- Chiến lược BAC (chủ yếu sử dụng cho M10-12):
Sự đóng góp của từng chức năng BAC được tính đến bằng một trong năm phương pháp tiếp cận sau: tiếp cận theo thời gian; tiếp cận theo điểm cài đặt; tiếp cận trực tiếp; tiếp cận theo phương thức vận hành; và tiếp cận theo chỉ số hiệu chỉnh.
CHÚ THÍCH: Việc áp dụng một trong hai phương pháp tiếp cận đầu tiên - tiếp cận theo thời gian hoặc tiếp cận theo điểm cài đặt, nói chung dẫn đến việc sửa đổi các chương trình thời gian và các điểm cài đặt, cả hai đều đến từ mô-đun xác định hồ sơ người sử dụng (M1-6 điều kiện vận hành và mức độ sử dụng tòa nhà). Việc sửa đổi này được thực hiện trong bước tính toán a) của quy trình tính toán tổng thể (xem 11.2). Việc áp dụng ba phương pháp tiếp cận khác tiếp cận trực tiếp, tiếp cận theo phương thức vận hành và tiếp cận theo chỉ số hiệu chỉnh - ảnh hưởng chủ yếu đến tính toán tại các khoảng thời gian tính toán, nghĩa là bước tính toán e). Nó cũng có thể yêu cầu một số tính toán trước trong bước tính toán a) cho đến d).
Phương pháp tiếp cận nào được áp dụng và chính xác thế nào được mô tả trong tiêu chuẩn dành riêng cho mô-đun EPB xử lý chức năng BAC. Đối với các chức năng BAC được xử lý trong một trong các tiêu chuẩn thuộc các mô-đun EPB M3-5 cho đến M3-9, M4-5 cho đến M4-9, M5-5 cho đến M5-9, M9-5, M9-9, M10-5 cho đến M10-9, tất cả năm phương pháp tiếp cận đều có thể áp dụng, đối với các chức năng BAC được xử lý trong M10-12 hai phương pháp tiếp cận đầu tiên thường được áp dụng.
11.5 Dữ liệu khí hậu và môi trường bên ngoài
Dữ liệu khí hậu tiêu chuẩn chung phải được sử dụng trong tất cả tiêu chuẩn EPB liên quan.
Chuỗi thời gian của các giá trị phải đại diện cho các ứng dụng (ví dụ: Tính toán nhu cầu sưởi ấm và làm mát, chiếu sáng, bộ thu năng lượng mặt trời, quang điện, điện gió). Do đó các giá trị này có thể phân biệt giữa các điều kiện thiết kế (đánh giá phụ tải tối đa) và các điều kiện điển hình (đánh giá năng lượng).
Dữ liệu khí hậu phổ biến và các quy tắc tiền xử lý được nêu trong tiêu chuẩn thuộc mô-đun EPB M1-13.
CHÚ THÍCH: Dữ liệu khí hậu và sử dụng thực tế cũng có thể được sử dụng cho việc đánh giá xếp hạng được điều chỉnh phù hợp.
11.6 Hiệu quả năng lượng tổng thể
11.6.1 Tổng quát
Công thức tổng quát (2) để tính hiệu quả năng lượng của một đối tượng đánh giá được cung cấp trong 9.6.1.
Tiếp theo, các thông số cần thiết cho việc tính toán này (năng lượng cấp đến và/hoặc xuất đi theo trọng số) được quy định:
- Cho điện năng và các chất mang năng lượng khác có xuất đi, Ewe;del;el;an và Ewe;exp;el;an được tính theo 11.6.2.
- Cho các chất mang khác không được xuất đi, Ewe;del;nexp;an được tính theo 11.6.3.
11.6.2 Năng lượng điện và các chất mang năng lượng khác được xuất đi
11.6.2.1 Tính toán cân bằng năng lượng tổng quát
Cân bằng năng lượng theo trọng số sẽ tính riêng các phần sau đây của điện được sản xuất tại chỗ Epr;el:
a) Epr;el;used;EPus được sử dụng cho các dịch vụ EPB của tòa nhà ở cùng khoảng thời gian tính toán t;
b) Eexp;el;used;nEPus được xuất đi và sử dụng cho các dịch vụ phi EPB của tòa nhà ở cùng khoảng thời gian tính toán t;
c) Eexp;el;grid được xuất đi và sẽ không được sử dụng cho các dịch vụ tòa nhà (chỉ có xuất đi).
CHÚ THÍCH 1: Eexp;el;used;nEPus chỉ được tính đến nếu điện sử dụng tại chỗ cho các mục đích sử dụng phi EPB đã được xác định và đưa vào tính toán (ví dụ: Chỉ khi được xác định và ≠ 0 đó là một tùy chọn).
Sơ đồ tham chiếu cân bằng điện được thể hiện trong Hình 7.

CHÚ DẪN:
| AN | Ranh giới đánh giá |
| AB-IN | Bên trong ranh giới đánh giá |
| AB-OUT | Bên ngoài ranh giới đánh giá |
| GRID | Lưới điện |
| Epr,el,t | Năng lượng điện sản xuất tại chỗ và bên trong ranh giới đánh giá trong tính toán |
| EEPus,el,t | Năng lượng điện sử dụng bởi các hệ thống kỹ thuật cung cấp dịch vụ EPB trong khoảng thời gian tính toán t |
| EnEPus,eI,t | Năng lượng điện sử dụng trong tòa nhà cho các dịch vụ phi EPB trong khoảng thời gian tính toán t |
| Epr,el,used,EPus,t | Phần năng lượng điện sản xuất Epr,el,t được sử dụng bởi các hệ thống kỹ thuật cung cấp các dịch vụ EPB trong tính toán. Giá trị của nó là giá trị tối thiểu của Epr,el,t và EEPus,el,t |
| Eexp,el,t | Phần năng lượng điện sản xuất vượt quá mức sử dụng bởi các hệ thống kỹ thuật cung cấp dịch vụ EPB trong khoảng thời gian tính toán t; Eexp,el,t thoát khỏi ranh giới đánh giá trong khoảng thời gian tính toán t. |
| Eexp,el,used,nEPus,t | Phần năng lượng điện xuất đi được sử dụng cho các dịch vụ phi EPB trong tòa nhà trong năng lượng cấp đến bởi điện lưới trong khoảng thời gian tính toán t |
| Edel,el,t | Năng lượng cấp đến từ lưới điện trong khoảng thời gian tính toán t |
| Eexp,el,grid,t | Năng lượng điện xuất đi hòa vào lưới điện |
| Edel,el,grid,t | Năng lượng cấp đến từ lưới điện trong khoảng thời gian tính toán t |
Hình 7 - Sơ đồ tham chiếu về cân bằng năng lượng
CHÚ THÍCH 1: Để đơn giản, năng lượng cấp đến cần thiết để sản sinh Epr;el không được biểu thị trong Hình 7. Phần đóng góp vào hiệu quả năng lượng của việc sản sinh Epr;el;t được xét đến trong tính toán về chất mang năng lượng được sử dụng để sản sinh Epr;el;t (bức xạ mặt trời, nhiên liệu cấp cho máy đồng phát, v.v...) được thực hiện trong 11.6.3.
CHÚ THÍCH 2: Tính đồng thời của Epr;el và EEPus;el được nắm bắt tốt hơn với các khoảng thời gian tính toán theo giờ. Đối với các khoảng thời gian theo tháng nó không xét đến sự khác biệt, ví dụ: Giữa sản xuất vào ban ngày và sử dụng điện năng vào ban đêm. Chỉ số phù hợp đã được giới thiệu trong mục d) của 11.6.2.4 [xem công thức (31) và (32)] để điều chỉnh chính sự khác biệt này theo thời lượng của khoảng thời gian tính toán.
Phần đóng góp của năng lượng điện cấp đến Ewe;del;el;an vào hiệu quả năng lượng hàng năm theo trọng số được tính theo công thức (19):
|
| (19) |
Trong đó:
Edel;el,t là năng lượng điện cấp đến trong mỗi khoảng thời gian tính toán t, được tính theo quy trình nêu trong bước h) của 11.6.2.4;
ƒwe;del;el;t là chỉ số trọng số phụ thuộc thời gian của năng lượng điện cung cấp, nêu trong 9.6.2 đến 9.6.5.
Phần đóng góp của năng lượng điện xuất đi Ewe;exp;el;an vào hiệu quả năng lượng hàng năm theo trọng số được tính theo công thức (20):
|
| (20) |
trong đó:
Ewe;ex;el;an;A là năng lượng điện xuất đi theo trọng số được tính toán bằng việc sử dụng các hệ số phản ánh các tài nguyên được sử dụng để sản sinh năng lượng điện xuất đi, được tính theo 11.6.2.2, chỉ bao gồm những loại nguồn được chấp nhận theo bản mẫu trong bảng A.30, với lựa chọn mặc định tham khảo nêu trong Bảng B.30.
Ewe;exp;el;an;AB sự khác biệt giữa năng lượng xuất đi theo trọng số được tính bằng cách sử dụng các chỉ số phản ánh các tài nguyên tránh được sử dụng bên ngoài tòa nhà và năng lượng xuất đi theo trọng số sử dụng các chỉ số phản ánh các tài nguyên được sử dụng để sản sinh năng lượng xuất đi được tính theo 11.6.2.3.
kexp chỉ số được sử dụng để kiểm soát phần nào năng lượng xuất đi được bao gồm vào hiệu quả năng lượng của tòa nhà. Xem Bảng A.17; Giá trị mặc định tham khảo được nêu trong Bảng B.17.
CHÚ THÍCH 4: Nếu kexp được lấy bằng 0, năng lượng xuất đi (không phải tài nguyên cho sản xuất, cũng không phải tài nguyên tránh được trong lưới) không được bao gồm vào hiệu quả năng lượng của tòa nhà (xem TCVN 13469-2 (ISO/TR 52000-2)[6] để minh họa điều này).
CHÚ THÍCH 5: Các nguồn năng lượng ở gần và/hoặc ở gần và từ xa được bao gồm hoặc không được bao gồm tùy thuộc vào các lựa chọn thực hiện trong 9.6.1. Ở đây chỉ số y (onst, nrby, dist) được bỏ ra khỏi công thức.
Năng lượng điện có sẵn cho sử dụng bên ngoài tòa nhà Eexp;el;avl;an không tính vào hiệu quả năng lượng của tòa nhà được tính theo công thức (21):
|
| (21) |
Tài nguyên năng lượng theo trọng số (tái tạo và/hoặc không tái tạo) đã được sử dụng để cung cấp năng lượng điện sẵn có cho mục đích sử dụng bên ngoài tòa nhà (và không tính vào hiệu quả năng lượng của tòa nhà) được tính theo công thức (22):
|
| (22) |
Phần năng lượng xuất đi theo trọng số này không phải là phần của hiệu quả năng lượng của tòa nhà và có thể được báo cáo là có sẵn bên ngoài tòa nhà. Nhưng bởi vì các tài nguyên được sử dụng để sản xuất năng lượng điện được xuất đi có thể có một phần năng lượng không tái tạo theo trọng số, nên các tài nguyên được sử dụng này (tái tạo và/hoặc không tái tạo) cũng phải được đưa vào báo cáo.
11.6.2.2 Năng lượng xuất đi theo trọng số sử dụng các chỉ số phản ánh quá trình sản xuất năng lượng xuất đi (Bước A)
Năng lượng xuất đi theo trọng số được tính bằng cách sử dụng các chỉ số phản ánh các tài nguyên sử dụng để sản xuất năng lượng xuất đi được tính theo công thức (23):
|
| (23) |
Phần đóng góp vào năng lượng điện xuất đi hàng năm theo trọng số được sử dụng cho các dịch vụ tòa nhà phi EPB trong tòa nhà Ewe,exp.el,used,nEPus,an;A được tính theo công thức (24):
|
| (24) |
trong đó:
Eexp;el;used;nEPus;t năng lượng điện được sử dụng cho việc sử dụng phi EPB trong các dịch vụ tòa nhà trong mỗi khoảng thời gian tính toán t;
ƒwe;exp;el;stepA;t chỉ số trọng số phụ thuộc thời gian cho năng lượng điện xuất đi có liên quan đến các tài nguyên được sử dụng để sản xuất nó, được xác định trong 9.6.6.2.
Phần đóng góp vào năng lượng xuất đi hàng năm theo trọng số của năng lượng điện lưới xuất đi được tính theo công thức (25):
|
| (25) |
trong đó:
Eexp;el;grid;t năng lượng điện lưới xuất đi trong mỗi khoảng thời gian tính toán t, được tính theo quy trình nêu trong 11.6.2.4.
CHÚ THÍCH: Các đóng góp này vào hiệu quả năng lượng theo trọng số của các thành phần năng lượng xuất đi bằng với năng lượng cấp đến được sử dụng để sản xuất ra chúng. VI vậy chúng loại bỏ phần tương ứng của năng lượng cấp đến theo trọng số và hiệu quả năng lượng kết quả không bao gồm ảnh hưởng của năng lượng xuất đi.
11.6.2.3 Ảnh hưởng của năng lượng xuất đi đến hiệu quả năng lượng theo trọng số (Bước B)
Ảnh hưởng đến hiệu quả năng lượng của sự khác biệt giữa tài nguyên được sử dụng để sản xuất năng lượng điện xuất đi và các tài nguyên tránh không phải sử dụng do năng lượng xuất đi được tính theo công thức (26):
|
| (26) |
Phần đóng góp của năng lượng điện sử dụng cho các dịch vụ tòa nhà phi EPB trong toàn nhà Ewe,exp,el,used,nEPus;an;AB được tính theo công thức (27):
|
| (27) |
trong đó:
ƒwe;exp;el;stepA,t chỉ số trọng số phụ thuộc theo thời gian của năng lượng điện xuất đi cho các mục đích sử dụng phi EPB trong tòa nhà.
Phần đóng góp của năng lượng điện lưới xuất đi Ewe;exp;el;grid;an;AB được tính theo công thức (28):
|
| (28) |
trong đó:
ƒwe;exp;el;grid,t chỉ số trọng số phụ thuộc theo thời gian của năng lượng điện lưới xuất đi.
11.6.2.4 Quy trình tính toán thành phần năng lượng điện cấp đến và xuất đi
Năng lượng điện cấp đến và xuất đi và các thành phần của chúng được tính toán theo quy trình sau:
a) Đối với mỗi khoảng thời gian tính toán, tính mức sử dụng điện cho các dịch vụ tòa nhà EPB đang xem xét EEPus;eI;t (ví dụ: Tổng của tất cả các đầu vào sản xuất năng lượng và mức sử dụng điện phụ trợ) theo công thức (29):
|
| (29) |
trong đó:
EX;gen,i;in;el;t là đầu vào năng lượng điện cấp cho máy phát thứ i cho dịch vụ tòa nhà X (hoặc tổ hợp dịch vụ) trong khoảng thời gian tính toán t;
WX,Y,aux;t là đầu vào năng lượng phụ trợ cho hệ thống con Y cho dịch vụ tòa nhà (hoặc tổ hợp dịch vụ) trong khoảng thời gian tính toán t;
Ở tầm quốc gia có thể quyết định một số việc sử dụng điện có thể không được đáp ứng đủ bởi một số loại hình sản xuất năng lượng tại chỗ (vì lý do kinh tế, không tạo lợi thế đối với việc tự tiêu thụ, v.v...).
Việc sử dụng điện có thể không được đáp ứng đủ bằng năng lượng sản xuất tại chỗ được xác định theo bản mẫu ở Bảng A.31. Bảng mặc định được nêu trong Bảng B.31.
Việc sử dụng điện không thể được thỏa mãn bởi điện sản xuất tại chỗ sẽ được rút ra khỏi mức sử dụng điện năng dùng để tính năng lượng xuất đi và được đảm bảo bởi lượng điện cấp đến.
CHÚ THÍCH 1: Khả năng để giới hạn năng lượng xuất đi (ví dụ: Bởi kexp) vẫn được đưa ra.
b) Đối với mỗi khoảng thời gian tính toán t, tính năng lượng điện sử dụng cho các dịch vụ tòa nhà phi EPB EnEPus,el,t trong khoảng thời gian tính toán t theo các tiêu chuẩn liên quan.
c) Đối với mỗi khoảng thời gian tính toán t, tính lượng điện sản xuất tại chỗ theo công thức (30):
|
| (30) |
trong đó:
Epr;el,i;t là năng lượng điện sản xuất tại chỗ bởi hệ thống con thứ j (ví dụ: Đồng phát nhiệt và điện; quang điện và điện gió) trong khoảng thời gian tính toán.
d) Đối với mỗi khoảng thời gian tính toán t, tính lượng điện sản xuất ra được sử dụng cho dịch vụ tòa nhà EPB trong cùng một khoảng thời gian tính toán Epr,el,used,EPus,t theo công thức (31):
|
| (31) |
trong đó:
ƒmatch;t là chỉ số suy giảm thống kê có tính đến sự không phù hợp về thời gian giữa sản xuất và sử dụng điện.
Đối với khoảng thời gian tính toán theo giờ thì giả định rằng ƒmatch = 1
Đối với các bước thời gian khác, được tính theo công thức (32):
|
| (32) |
Hàm số này phụ thuộc vào thời lượng của khoảng thời gian tính toán và tính đến loại tòa nhà và mục đích sử dụng của tòa nhà. Nó phải được quy định theo dạng thức nêu trong Bảng A.32. Bảng mặc định được nêu trong Bảng B.32.
e) Đối với mỗi khoảng thời gian tính toán t, tính năng lượng điện xuất đi Eexp,el,t theo công thức (33):
|
| (33) |
f) Đối với mỗi khoảng thời gian tính toán t, tính năng lượng điện xuất đi được sử dụng cho các mục đích phi hiệu quả năng lượng trong tòa nhà (phi EPB) Eexp;el;used;nEPus;t trong khoảng thời gian tính toán t theo công thức (34):
|
| (34) |
trong đó:
EnEPus;el;t là năng lượng điện sử dụng trong tòa nhà cho các mục đích sử dụng phi EPB.
CHÚ THÍCH 2: Việc sử dụng phi EPB không được xem xét trong hiệu quả năng lượng nếu chúng được lấy bằng 0 (EnEPus:el;t = 0).
g) Đối với mỗi khoảng thời gian tính toán t, tính năng lượng điện xuất đi vào lưới điện Eexp;el;grid;t trong khoảng thời gian tính toán t theo công thức (35):
|
| (35) |
Tính năng lượng điện xuất đi hàng năm hòa vào lưới điện Eexp;el;grid;an theo công thức (36):
|
| (36) |
h) Đối với mỗi khoảng thời gian tính toán t, tính năng lượng điện cấp đến Edel;el;t theo công thức (37):
|
| (37) |
Tính năng lượng cấp đến hàng năm cho các dịch vụ EPB theo công thức (38):
|
| (38) |
11.6.3 Chất mang năng lượng mà không có xuất năng lượng đi
Năng lượng cấp đến hàng năm theo trọng số đối với tất cả các chất mang năng lượng cr,i mà không có năng lượng xuất đi được tính theo công thức (39):
|
| (39) |
trong đó:
ƒwe;del;cr,j,t là chỉ số trọng số phụ thuộc thời gian của chất mang năng lượng cấp đến cr,j;
Edel;cr,j,t là lượng chất mang năng lượng cấp đến cr, j trong bước thời gian tính toán t.
Lượng chất mang năng lượng cấp đến trong bước thời gian tính toán t Edel;cr,j,t được tính theo công thức (40):
|
| (40) |
trong đó:
EX;gen,i;in;cf,j,t là chất mang năng lượng đầu vào cr cho máy phát bất kỳ i cho dịch vụ bất kỳ X.
Nếu một chất mang năng lượng không phải điện năng cũng được xuất đi thì phải sử dụng công thức nêu trong 11.6.2.
11.6.4 Nhiệt xuất đi được sản xuất tại chỗ và không bao gồm trong việc sử dụng nhiệt của tòa nhà
Ảnh hưởng của việc sử dụng nhiệt phi EPB hoặc của việc xuất năng lượng nhiệt được loại trừ ra khỏi tính toán hiệu quả năng lượng (xem Hình 8) với quy trình sau.

CHÚ DẪN:
1 Máy phát
Hình 8 - Sơ đồ tham chiếu xuất năng lượng nhiệt
Đối với mỗi chất mang năng lượng hoặc đầu vào cấp cho máy phát (hoặc bộ các máy phát) Edel;cr,i, tính bằng (kWh), sản xuất nhiệt cho việc sử dụng khác ngoài các dịch vụ tòa nhà được xem xét:
- Tính đầu vào của máy phát Edel;cr có tính đến tất cả các phụ tải QEPus;gen;out và QnEPus;gen;out và Qexp trong đó:
QEPus;gen;out là nhiệt được tạo ra cho các dịch vụ tòa nhà EPB tại chỗ được xem xét;
QnEPus;gen;out là nhiệt được tạo ra cho các mục đích sử dụng tại chỗ khác ngoài các dịch vụ tòa nhà EPB được xem xét;
Qexp là nhiệt lượng được xuất đi.
VÍ DỤ: Việc sử dụng phi EPB tại chỗ: Cấp nhiệt cho bể bơi với cùng một máy phát cấp nhiệt cho sưởi ấm.
- Tính tỷ lệ của từng chất mang năng lượng Edel;cr,i;H (kWh) được tính đến trong tính toán hiệu quả năng lượng EPB theo công thức (41):
|
| (41) |
Nếu một thiết bị phát điện chung tại chỗ sản xuất điện (hoặc chất mang năng lượng khác như khí bioga), việc phân bổ năng lượng tại chỗ bằng cách sử dụng hệ thống kỹ thuật phải được thực hiện:
- Theo tiêu chí được quy định theo bản mẫu trong Phụ A, với lựa chọn mặc định trong Phụ lục B:
- Sử dụng điện;
- Khu vực được phục vụ;
- Các tiêu chí khác.
- Với mức độ ưu tiên quy định theo bàn mẫu nêu trong Phụ lục A, với lựa chọn mặc định nêu trong Phụ lục B:
- Đầu tiên tính toán sự tương tác chung của lưới điện, sau đó phân bổ lượng điện sản xuất và điện sử dụng tại chỗ (hoặc các chất mang khác);
- Đầu tiên phân bổ lượng điện sản xuất và điện sử dụng tại chỗ (hoặc chất mang khác) sau đó tính tương tác lưới của hệ thống kỹ thuật riêng lẻ.
CHÚ THÍCH: Xem Phụ lục G về quy trình tính toán tham chiếu.
12 Đầu ra tổng thể chung
12.1 Tổng quát
Điều 12 quy định nội dung của một báo cáo đánh giá sử dụng năng lượng của một đối tượng được đánh giá theo tiêu chuẩn này. Nội dung của giấy chứng nhận được xác định theo mô-đun M1-4.
CHÚ THÍCH 1: Thông tin về tòa nhà năng lượng gần bằng không được nêu trong Phụ lục H.
CHÚ THÍCH 2: Điều 12 xác định nội dung của một báo cáo tính toán nhằm mục đích hiểu được các tính toán được thực hiện. Đây không phải là yêu cầu đối với báo cáo bất kỳ về EPC hoặc đơn xin cấp phép xây dựng tòa nhà.
Nội dung chính của báo cáo tính toán phải bao gồm các thông tin sau:
- Tham chiếu tiêu chuẩn này (TCVN 13469-1:2022 (ISO 52000-1:2017));
- Mục đích của đánh giá hiệu quả năng lượng;
- Mô tả tòa nhà, vị trí, các hoạt động, thiết bị và mức độ sử dụng;
- Loại hình đánh giá hiệu quả năng lượng.
Ít nhất phải bao gồm các thông tin sau:
CHÚ THÍCH 3: Việc báo cáo nhiều thông tin hơn phụ thuộc vào các yêu cầu quốc gia và các tài liệu khác ở cấp quốc gia.
Thông số khí hậu được sử dụng cho hiệu quả năng lượng tính toán hoặc như đã biết - nhiệt độ bên ngoài trung bình, cường độ bức xạ mặt trời, v.v... cho hiệu quả năng lượng đo lường.
Giá trị đầu vào cho hiệu quả năng lượng tính toán:
- Nội dung của báo cáo theo các tiêu chuẩn EPB liên quan;
- Các giả định được sử dụng để tính năng lượng sử dụng cho cấp nước nóng sinh hoạt và chiếu sáng.
Các giá trị đầu ra từ hiệu quả năng lượng tính toán:
- Mức sử dụng năng lượng cho sưởi ấm, làm mát, thông gió, cấp nước nóng sinh hoạt và chiếu sáng cùng với các khoảng tin cậy của chúng (nếu có sẵn);
- Nhu cầu năng lượng hàng tháng cho sưởi ấm và cho làm mát, nhiệt độ trung bình trong và ngoài nhà và bức xạ mặt trời trái đất trên một mặt phẳng ngang, hệ số truyền dẫn nhiệt và thông gió và thu nhận nhiệt mặt trời và thu nhận nhiệt bên trong nhà.
- Mô tả tòa nhà, vị trí, các hoạt động, thiết bị và mức độ sử dụng;
- Loại hình đánh giá hiệu quả năng lượng.
CHÚ THÍCH 4: Biểu đồ hình cột hiển thị các mục chính của cân bằng năng lượng hàng tháng rất hữu ích để nhận định nhanh về ảnh hưởng tương đối của từng yếu tố chính này.
Trong trường hợp tính toán theo giờ: Năng lượng cấp đến theo giờ cho từng chất mang năng lượng là một hàm của nhiệt độ bên ngoài nhà.
CHÚ THÍCH 5: Một biểu đồ ví dụ: Năng lượng cấp đến được tính trung bình theo tuần so với nhiệt độ bên ngoài nhà là rất hữu ích để có nhận định nhanh về các yếu tố ảnh hưởng quan trọng cho phép so sánh nhanh với các biểu đồ tương tự được sử dụng thường xuyên trong tòa nhà thực tế như một chỉ báo về chất lượng năng lượng. Xem thêm TCVN 13469-2 (ISO/TR 52000-2),[6] về ví dụ để hiểu rõ hơn về tác động tương đối của các yếu tố khác nhau trong việc đánh giá hiệu quả năng lượng.
Hiệu quả năng lượng đo lường đối với từng chất mang năng lượng:
- Kỳ thời gian đánh giá;
- Phương pháp sử dụng để đánh giá việc sử dụng năng lượng;
- Số lượng sử dụng, đơn vị sử dụng khi đánh giá nó (ví dụ: Lít, mét khối, kilogram, (kWh));
- Phương pháp sử dụng để ngoại suy và điều chỉnh theo thời tiết, nếu có;
- Năng lượng cấp đến và xuất đi của từng chất mang năng lượng bằng (kWh) hoặc bội số của chúng, cùng với các khoảng tin cậy của chúng (nếu có sẵn).
Hiệu quả năng lượng được xác nhận:
- Báo cáo về hiệu quả năng lượng đo lường với các khoảng tin cậy;
- Các giả định được sử dụng để hiệu quả năng lượng được điều chỉnh phù hợp khớp với hiệu quả năng lượng đo lường;
- Kết quả hiệu quả năng lượng tính toán gồm cả các khoảng tin cậy;
- Nếu cần thiết, hiệu quả năng lượng tính toán tiêu chuẩn được xác nhận gồm cả các khoảng tin cậy.
12.2 Tổng quan dạng bảng năng lượng trên mỗi chất mang năng lượng và dịch vụ năng lượng
Bảng 11 cung cấp một cách tổng quan về hiệu quả năng lượng tổng thể và thành phần trên mỗi chất mang năng lượng và dịch vụ năng lượng. Bảng cho biết tất cả các đầu ra có thể có nhưng không có nghĩa là tất cả các đầu ra này phải phù hợp và có sẵn cho bất kỳ một tòa cụ thể nào (ví dụ: Tòa nhà có thể không có hệ thống làm mát). Nhưng nếu có sẵn đầu ra thì đây là một bố cục cho nó.
Trong bảng cũng có các nhu cầu năng lượng cho sưởi ấm và làm mát, cộng với năng lượng tái tạo được sản xuất tại chỗ.
Bảng phải được hoàn thành trong trường hợp hiệu quả năng lượng tính toán. Trong trường hợp hiệu quả năng lượng đo lường thì chỉ có các thông tin có sẵn mới phải đưa vào báo cáo.
Để có được các giá trị, nếu có liên quan, các giá trị phải được tính tổng cho các vùng tính toán hoặc các vùng đo lường và các hệ thống.
CHÚ THÍCH: Xem ví dụ trong TCVN 13469-2 (ISO/TR 52000-2)[6].
Báo cáo này có thể bao gồm các bảng với các chỉ số bổ sung như:
- Phần đóng góp của năng lượng nhiệt bức xạ mặt trời chủ động, tự sưởi ấm và tự làm mát không cần năng lượng và các kỹ thuật đặc biệt khác đến hiệu quả năng lượng của tòa nhà;
- Sản xuất năng lượng tái tạo tại chỗ;
- Phần đóng góp của năng lượng tái tạo từ xa hoặc ở gần.
Bảng 12 cung cấp đánh giá chi tiết về năng lượng xuất đi theo lựa chọn của thông số kexp.
Bảng 13 cung cấp thành phần chi tiết của RER tùy thuộc vào các lựa chọn về tính toán năng lượng tái tạo. Nó có thể dùng để cho biết thành phần năng lượng tái tạo nào đã được tính đến khi xác định RER.
Bảng 11 - Tổng quan về tổng hiệu quả năng lượng và hợp phần trên mỗi chất mang năng lượng và dịch vụ tòa nhà

Bảng 11 - (Kết thúc)

Bảng tương tự có thể được hoàn chỉnh bằng cách lấy từng giá trị chia cho giá trị của Ewe để thu được một tổng quan định lượng về tác động tương đối của các thành tố riêng lẻ.
Bảng 12 - Tổng quan về tổng hiệu quả năng lượng và cân bằng năng lượng tổng thể trên mỗi chất mang năng lượng

Bảng 13 - Tỷ số năng lượng tái tạo
| Số hạng cân bằng năng lượng | Được bao gồm | Giá trị kWh/năm |
| EPren,onst |
|
|
| EPren,nrby |
|
|
| EPren,dist |
|
|
| EPren,RER |
|
|
| Eptot |
|
|
| RER |
|
|
| CHÚ THÍCH: Xem 9.7 và Bảng A.24 và B.24 để biết thông tin về các nguồn năng lượng có hoặc không được tính đến. | ||
Phụ lục A
(Quy định)
Bảng dữ liệu đầu vào và lựa chọn phương pháp - Bản mẫu
A.1 Tổng quát
Bản mẫu trong Phụ lục A của tiêu chuẩn này được sử dụng để quy định lựa chọn các phương pháp, dữ liệu đầu vào cần thiết và tham chiếu đến các tài liệu khác.
CHÚ THÍCH 1: Việc tuân theo bản mẫu này là chưa đủ để bảo đảm tính nhất quán của dữ liệu.
CHÚ THÍCH 2: Các lựa chọn mặc định tham khảo ở trong Phụ lục B. Các giá trị và lựa chọn thay thế có thể tuân thủ theo các quy định quốc gia/ vùng. Nếu không chấp nhận các lựa chọn và giá trị mặc định trong Phụ lục B bởi vì các quy định quốc gia / vùng, các chính sách hoặc truyền thông quốc gia thì có thể kỳ vọng rằng:
- Các cơ quan quốc gia hoặc vùng có thẩm quyền soạn thảo các bảng dữ liệu với các lựa chọn và giá trị quốc gia hoặc vùng phù hợp với bản mẫu trong Phụ lục A hoặc
- Theo mặc định, cơ quan tiêu chuẩn quốc gia sẽ bổ sung hoặc gộp phụ lục quốc gia (Phụ lục NA) vào tiêu chuẩn này phù hợp với bản mẫu trong Phụ lục A để đưa ra các lựa chọn và giá trị quốc gia hoặc vùng phù hợp vợi các văn bản quy phạm pháp luật.
CHÚ THÍCH 3: Bản mẫu trong Phụ lục A có thể áp dụng cho các ứng dụng khác nhau (ví dụ: Thiết kế tòa nhà mới, chứng nhận tòa nhà mới, cải tạo một tòa nhà hiện hữu, và chứng nhận một tòa nhà hiện hữu) và cho các loại tòa nhà khác nhau (ví dụ: Tòa nhà nhỏ hoặc đơn giản và tòa nhà lớn hoặc tòa nhà tổ hợp). Có thể phân biệt các giá trị và các lựa chọn cho các ứng dụng khác nhau hoặc các loại tòa bằng cách:
- Bổ sung thêm cột hoặc hàng (một cột hoặc hàng đối với mỗi ứng dụng), nếu bản mẫu cho phép;
- Gộp nhiều phiên bản của một bảng (một phiên bản đối với mỗi ứng dụng), đánh số liên tiếp theo a, b, c,... Ví dụ: Bảng NA. 3a, Bảng NA. 3b;
- Xây dựng các bảng dữ liệu quốc gia/ vùng khác nhau cho cùng một tiêu chuẩn. Trong trường hợp tiêu chuẩn có phụ lục quốc gia thì sẽ được đánh số liên tiếp (Phụ lục NA, Phụ lục NB, Phụ lục NC,...).
CHÚ THÍCH 4: Trong phần giới thiệu của bảng dữ liệu quốc gia/vùng có thể bổ sung thông tin, ví dụ về các quy định quốc gia/ vùng được áp dụng.
CHÚ THÍCH 5: Để đảm bảo người dùng có được các giá trị đầu vào nhất định, bảng dữ liệu tuân theo bản mẫu trong Phụ lục A có thể tham chiếu đến các quy trình quốc gia đánh giá dữ liệu đầu vào cần thiết. Ví dụ: Tham chiếu văn bản báo cáo đánh giá quốc gia bao gồm sơ đồ cây ra quyết định, các bảng và các tính toán trước.
Những ô bôi đậm trong bảng là phần của bản mẫu và do đó không nhập dữ liệu vào phần này.
A.2 Bản tham chiếu
Bản tham chiếu được định danh bằng các mã số mô-đun được đưa ra trong một bảng kèm theo định dạng nêu trong Bảng A.1 (bản mẫu).
Bảng A.1 - Bản tham chiếu (xem Điều 2)
| Bản tham chiếu | Tiêu chuẩn tham chiếu | |
|
| Số | Tên |
| M1-2 |
|
|
| M1-3 |
|
|
| M1-4 |
|
|
| M1-5, M1-7 |
|
|
| M1-8, M1-9 |
|
|
| M1-10 |
|
|
| M1-6, M2-7 |
|
|
| M1-11 |
|
|
| M1-13 |
|
|
| M1-14 |
|
|
| M2-2 |
|
|
| M2-3 |
|
|
| M2-4 |
|
|
| M2-5 |
|
|
| M2-6 |
|
|
| M2-7 |
|
|
| M2-8 |
|
|
| M3-1 |
|
|
| M3-2 |
|
|
| M3-3 |
|
|
| M3-4 |
|
|
| M3-5 |
|
|
| M3-6 |
|
|
| M3-7 |
|
|
| M3-8 |
|
|
| M3-9 |
|
|
| M3-10 |
|
|
| M3-11 |
|
|
| M3-12 |
|
|
| M4-1 |
|
|
| M4-2 |
|
|
| M4-3 |
|
|
| M4-4 |
|
|
| M4-5 |
|
|
| M4-6 |
|
|
| M4-7 |
|
|
| M4-8 |
|
|
| M4-9 |
|
|
| M4-10 |
|
|
| M4-11 |
|
|
| M4-12 |
|
|
| M5-1 |
|
|
| M5-2 |
|
|
| M5-3 |
|
|
| M5-4 |
|
|
| M5-5 |
|
|
| M5-6 |
|
|
| M5-7 |
|
|
| M5-8 |
|
|
| M5-9 |
|
|
| M5-10 |
|
|
| M5-11 |
|
|
| M6-1 |
|
|
| M6-2 |
|
|
| M6-3 |
|
|
| M6-4 |
|
|
| M6-5 |
|
|
| M6-6 |
|
|
| M6-7 |
|
|
| M6-8 |
|
|
| M6-9 |
|
|
| M6-10 |
|
|
| M6-11 |
|
|
| M7-1 |
|
|
| M7-2 |
|
|
| M7-3 |
|
|
| M7-4 |
|
|
| M7-5 |
|
|
| M7-6 |
|
|
| M7-7 |
|
|
| M7-8 |
|
|
| M7-9 |
|
|
| M7-10 |
|
|
| M7-11 |
|
|
| M8-1 |
|
|
| M8-2 |
|
|
| M8-3 |
|
|
| M8-4 |
|
|
| M8-5 |
|
|
| M8-6 |
|
|
| M8-7 |
|
|
| M8-8 |
|
|
| M8-9 |
|
|
| M8-10 |
|
|
| M8-11 |
|
|
| M9-1 |
|
|
| M9-2 |
|
|
| M9-3 |
|
|
| M9-4 |
|
|
| M9-5 |
|
|
| M9-6 |
|
|
| M9-8 |
|
|
| M9-10 |
|
|
| M9-11 |
|
|
| M10-1 |
|
|
| M10-2 |
|
|
| M10-3 |
|
|
| M10-4 |
|
|
| M10-5 |
|
|
| M10-6 |
|
|
| M10-7 |
|
|
| M10-8 |
|
|
| M10-11 |
|
|
| M10-12 |
|
|
| M11-1 |
|
|
| M11-4 |
|
|
| M11-8 |
|
|
A.3 Bước chuẩn bị tổng thể
Bảng A.2 - Loại hình đánh giá hiệu quả năng lượng theo loại tòa nhà và ứng dụng (xem 5.3)
| Ứng dụng | Loại tòa nhà | Loại hình đánh giá | Điều kiện |
|
|
|
|
|
| CHÚ THÍCH: Bổ sung thêm hàng trong trường hợp có nhiều mục đích đánh giá hơn. | |||
Bảng A.3 - Loại đối tượng (xem Điều 6 và 10.1)
| Loại đối tượng EPB (EPB_OBJECT_EPB) | |||
| Loạia | Mô tả | Tập hợp con b | Lời dẫn giải |
| (Ký hiệu định danh duy nhất bằng chữ viết hoa) | Một dòng cho mỗi loại |
|
|
|
|
|
|
|
| CHÚ THÍCH: Loại đối tượng có thể có ảnh hưởng đến các lựa chọn trong tiêu chuẩn tổng quát này và trong các tiêu chuẩn khác. Do đó đặc tính này được kế thừa bởi các các tiêu chuẩn EPB khác, nếu có liên quan. a Một lựa chọn có thể có cho một tập hợp con. b Định nghĩa trường hợp tính toán, một lựa chọn phải được thực hiện cho mỗi tập hợp con. | |||
Bảng A.4 - Loại tòa nhà (xem Điều 6 và 9)
| Loại tòa nhà (BLDNGCAT_TYPE) | ||
| Loại | Mô tả | Lời dẫn giải |
| (Ký hiệu định danh duy nhất bằng chữ viết hoa) | Một dòng cho mỗi loại |
|
|
|
|
|
|
|
|
|
| CHÚ THÍCH: Loại tòa nhà có thể có ảnh hưởng đến các lựa chọn trong tiêu chuẩn tổng quát này và trong các tiêu chuẩn khác. Do đó đặc tính này được kế thừa bởi các các tiêu chuẩn EPS khác, nếu có liên quan. | ||
Bảng A.5 - Loại tòa nhà nào được đưa vào đánh giá EPB (xem 6.2.2)
| Loại tòa nhà (Xem Bảng A.3) | Ký hiệu định danh | Được đưa vào đánh giá hiệu quả năng lượng a Có/Không |
|
|
|
|
|
|
|
|
| a loại tòa nhà áp dụng tiêu chuẩn này, ví dụ: Bởi vì có yêu cầu EPB cho loại tòa nhà này. | ||
Bảng A.6 - Phân biệt các loại không gian (xem Điều 6,9 và 10.1)
| Lựa chọn | ||
| Loại | Lựa chọn | Lời dẫn giải |
| Phân biệt các loại không gian trong tòa nhà | Có/ không |
|
Trong trường hợp phân biệt thì phải hoàn thành Bảng A.7. Nếu không thì danh sách các loại không gian sẽ giống như danh sách của các loại tòa nhà: (SPACECAT_X = BLDNGCAT_X).
Bảng A.7 - Loại không gian (xem Điều 6 và 9)
| Loại không gian (SPACECAT_TYPE) | ||
| Loại | Mô tả | Lời dẫn giải |
| (Ký hiệu định danh duy nhất bằng chữ viết hoa) | Một dòng cho mỗi loại |
|
|
|
|
|
| CHÚ THÍCH 1: Mỗi loại không gian yêu cầu một tập hợp các điều kiện sử dụng (yêu cầu cài đặt nhiệt độ, thông gió và chiếu sáng, nhu cầu cấp nước nóng sinh hoạt, v.v...). | ||
| CHÚ THÍCH 2: Loại không gian có thể có ảnh hưởng đến các lựa chọn trong tiêu chuẩn tổng quát này và trong tiêu chuẩn khác. Do đó đặc tính này được kế thừa bởi các các tiêu chuẩn EPB khác, khi có liên quan. | ||
Bảng A.8 - Loại hình ứng dụng (xem Điều 6 và 9)
| Loại hình ứng dụng EPB (EPB_APPLIC_TYPE) | ||
| Loại | Mô tả | Lời dẫn giải |
| (Ký hiệu định danh duy nhất bằng chữ viết hoa) | Một dòng cho mỗi loại |
|
|
|
|
|
|
|
|
|
| CHÚ THÍCH: Loại hình ứng dụng có thể có ảnh hưởng đến các lựa chọn trong tiêu chuẩn tổng quát này và trong các tiêu chuẩn khác. Do đó đặc tính này được kế thừa bởi các các tiêu chuẩn EPS khác, nếu có liên quan. | ||
Bảng A.9 - Loại hình đánh giá EPB (xem Điều 6 và 9)
| Loại hình đánh giá EPB (EPB_ASSESS_TYPE) (Xem Bảng 3) | ||
| Loại | Mô tả | Lời dẫn giải |
| (Ký hiệu định danh duy nhất bằng chữ viết hoa) | Một dòng cho mỗi loại |
|
|
|
|
|
| CHÚ THÍCH 1: Loại có thể là khác nhau đối với các loại đối tượng, tòa nhà hoặc không gian khác nhau CHÚ THÍCH 2: Loại hình đánh giá có thể có ảnh hưởng đến các lựa chọn trong tiêu chuẩn tổng quát này và trong các tiêu chuẩn khác. Do đó đặc tính này được kế thừa bởi các các tiêu chuẩn EPB khác, nếu có liên quan. | ||
Bảng A.10 - Tổ hợp của các loại hình dịch vụ (xem Điều 6 và 9)
| Loại hình dịch vụ EPB (EPB_LISTSERVICES_TYPE) | ||
| Loại | Mô tả | Lời dẫn giải |
| (Ký hiệu định danh duy nhất bằng chữ viết hoa) | Một dòng cho mỗi loại |
|
|
|
|
|
|
|
|
|
| CHÚ THÍCH 1: Tổ hợp có thể là khác nhau đối với các loại tòa nhà hoặc không gian khác nhau CHÚ THÍCH 2: Loại hình dịch vụ hỗn hợp có thể có ảnh hưởng đến các lựa chọn trong tiêu chuẩn tổng quát này và trong các tiêu chuẩn khác. Do đó đặc tính này được kế thừa bởi các tiêu chuẩn EPS khác, nếu có liên quan. | ||
A.4 Phương pháp
Bảng A.11 - Loại hình sử dụng điện (xem 7.3.3.4)
| Loại hình sử dụng năng lượng điện | Ký hiệu định danh |
|
|
|
| Mô tả sử dụng điện | Ký hiệu định danh cho loại hình đó |
Bảng A.12 - Loại hình phát điện (xem 7.3.3.6 và 9.6.6.2.4)
| Loại hình phát năng lượng điện | Ký hiệu định |
|
|
|
| Mô tả phát điện | Ký hiệu định danh cho loại hình đó |
Bảng A.13 - Trị số tỏa nhiệt toàn phần của một số nhiên liệu rắn thông thường (xem 7.3.4 và 9.6.2)
| Nhiên liệu | Trị số tỏa nhiệt toàn phần |
|
|
|
|
|
|
|
|
|
|
|
|
|
|
|
|
|
|
|
|
|
| a |
|
| a Bổ sung thêm hàng của các chất mang năng lượng. | |
Bảng A.14 - Trị số tỏa nhiệt toàn phần của một số nhiên liệu lỏng thông thường (xem 7.3.4 và 9.6.2)
| Nhiên liệu | Khối lượng riêng kg/l | Trị số tỏa nhiệt toàn phần |
|
|
|
|
|
|
|
|
|
|
|
|
|
|
|
|
|
|
|
|
|
|
|
|
|
|
|
|
|
|
|
|
| a |
|
|
| a Bổ sung thêm hàng của các chất mang năng lượng. | ||
Bảng A.15 - Trị số tỏa nhiệt toàn phần của một số chất mang năng lượng thông thường dạng khí (xem 7.3.4 và 9.6.2)
| Nhiên liệu | Khối lượng riêng kg/m3 | Trị số tỏa nhiệt toàn phần |
|
|
|
|
|
|
|
|
|
|
|
|
|
|
|
|
|
|
|
|
|
|
|
|
| a |
|
|
| a Bổ sung thêm hàng của các chất mang năng lượng. | ||
Bảng A.16 - Chỉ số trọng số (dựa trên trị số tỏa nhiệt toàn phần hoặc thực (xem 7.3.5, 9.5.1, 9.6.2, 9.6.5 và 9.6.6.3)
| Chất mang năng lượng | fPnren | fPren | fPtot | a |
| cấp từ xa |
|
|
|
|
| a b |
|
|
|
|
| cấp ở gần |
|
|
|
|
|
|
|
|
|
|
| cấp tại chỗ |
|
|
|
|
|
|
|
|
|
|
| Xuất đi |
|
|
|
|
|
|
|
|
|
|
| a Bổ sung thêm cột trong trường hợp có các yêu cầu khác, ví dụ: Yêu cầu về CO2. b Bổ sung thêm dòng của các chất mang năng lượng the rows of the energy carriers. | ||||
Bảng A.17 - Chỉ số kexp (xem 7.3.5 và 11.6.2.1)
| Mô tả | Giá trị |
| kexp Chỉ số được sử dụng để kiểm soát phần nào của năng lượng xuất đi được đưa vào hiệu quả năng lượng của tòa nhà | 0…1 |
Bảng A.18 - Dịch vụ tòa nhà được xem xét trong tính toán hiệu quả năng lượng (xem 8.2 và 8.5)
| Tổ hợp của loại hình dịch vụ | Lựa chọn: được đưa vào tính toán hiệu quả năng lượng (một cột trên mỗi loại danh mục dịch vụ, xem Bảng A.10) | |
|
|
| |
| Dịch vụ tòa nhà a | EPB_LISTSERVICES_RES | EPB_LISTSERVICES_NRES |
| Sưởi ấm | Có/ Không |
|
| Làm mát | Có/ Không |
|
| Thông gió | Có/ Không |
|
| Gia ẩm | Có/ Không |
|
| Khử ẩm | Có/ Không |
|
| Cấp nước nóng sinh hoạt | Có/Không |
|
| Chiếu sáng | Có/ Không |
|
| Chiếu sáng bên ngoài | Có/ Không |
|
| Vận chuyển người (ví dụ: Thang máy, thang cuốn) | Có/ Không |
|
| Dịch vụ khác tiêu thụ điện (ví dụ: Thiết bị) | Có/ Không |
|
| Khác (đề nghị chỉ định rõ) | Có/ Không |
|
| a Bổ sung thêm hàng hoặc chỉnh sửa dòng trong trường hợp dịch vụ khác/ khác biệt hơn. | ||
Bảng A.19 - Nguyên tắc giả định có mặt hệ thống (xem 9.2)
| Phương pháp | Lựa chọn Có hoặc Khônga | |
| 1 | Nguyên tắc "hệ thống giả định" | Có hoặc Không |
| 2 | Nguyên tắc “có mặt hệ thống” | Có hoặc Không |
| 3 | Nguyên tắc khác | Có hoặc Không |
| Trong trường hợp của phương pháp 3: | ||
|
| Quy trình tham chiếu: | (Tham chiếu) |
| a Chỉ có thể có một lựa chọn; Lựa chọn có thể được phân biệt cho mỗi dịch vụ. CHÚ THÍCH: Tính nhất quán của các điều kiện sử dụng (mô-đun M1-6) là điều cần thiết. | ||
Bảng A.20 - Quy định kỹ thuật của diện tích sàn sử dụng (xem 9.3)
| Quy định kỹ thuật và/hoặc tham chiếu đến tiêu chuẩn có nhiều thông tin hơn |
| Văn bản tự soạn |
Bảng A.21 - Loại hoặc các loại dự liệu đo của kích thước toàn nhà (xem 9.3 và 9.4)
| Đại lượng | Đơn vị | Quy định kỹ thuật và/hoặc tham chiếu đến tiêu chuẩn với nhiều thông tin hơn |
|
|
|
|
|
|
|
|
| CHÚ THÍCH: Bổ sung thêm hàng cho mỗi số liệu đo. | ||
Bảng A.22 - Loại không gian nào có đóng góp vào kích thước tham chiếu (xem 9.4)
| Loại không gian | Đóng góp? | Nếu có: (Tùy chọn) phần của kích thước đóng góp vào kích thước tham chiếu (fref;cat,) giá trị mặc định =1 a |
| Một hàng trên mỗi loại không gian | Có/Không |
|
| Có/Không | Giá trị nằm giữa 0 và 1 | |
| a Các lựa chọn trong bảng này là các lựa chọn thực sự không thể thực hiện được nếu không có cái nhìn toàn diện về tất cả các tiêu chuẩn EPB. Việc phân loại không gian có liên quan trực tiếp đến điều kiện sử dụng được giả định cho mỗi loại không gian và các quy tắc cụ thể để kết hợp các không gian thành các vùng. Ví dụ: Việc phân chia nhỏ thành các loại không gian khác nhau với điều kiện sử dụng khác nhau cho mỗi không gian (như cài đặt nhiệt độ, lưu lượng thông gió, mức chiếu sáng, v.v ..) có thể dễ dàng dẫn đến sự phức tạp không mong muốn trong việc đánh giá. | ||
Bảng A.23 - Quy định kỹ thuật về đường bao ranh giới (xem 9.5.1 và 9.6.1)
| Chất mang năng lượng | Quy định kỹ thuật của đường bao ranh giới ở gần (xem 3.4.24) | |
| Nhiên liệu sinh học | Rắn |
|
| Lỏng |
| |
| Khí |
| |
| Điện |
|
|
| Sưởi tập trung |
|
|
| Làm mát tập trung |
|
|
Bảng A.24 - Lựa chọn đường bao ranh giới (xem 9.5.1 và 9.7)
| Lựa chọn đường bao ranh | Lựa chọn - tính toán RER (Năng lượng tái tạo) | Lựa chọn - tính toán RER (Tổng năng lượng) | Lựa chọn - tính toán EPB (Năng lượng cấp đến) |
| Tại chỗ | Có/ Không | Có/ Không | Có/ Không |
| Ở gần | Có/ Không | Có/ Không | Có/ Không |
| Từ xa | Có/ Không | Có/ Không | Có/ Không |
Bảng A.25 - Chỉ số chuyển đổi từ trị số tỏa nhiệt thực sang trị số tỏa nhiệt toàn phần đối với các chất mang năng lượng (xem 9.6.2)
| Chất mang năng lượng a | Chỉ số chuyển đổi fGCV/ NCV |
|
|
|
|
|
|
| a Bổ sung thêm hàng của các chất mang năng lượng | |
Bảng A.26 - Phần năng lượng tính vào chỉ số năng lượng sơ cấp và chỉ số phát thải CO2 (xem 9.6.2 và 9.6.3)
|
| Chỉ số năng lượng sơ cấp | Hệ số phát thải CO2 |
| Bao gồm |
|
|
| - Năng lượng để trích xuất chất mang năng lượng sơ cấp | Có/ Không | Có/ Không |
| - Năng lượng để tinh chế và/hoặc chuyển đổi chất mang năng lượng sơ cấp | Có/ Không | Có/Không |
| - Năng lượng để vận chuyển chất mang năng lượng sơ cấp | Có/ Không | Có/ Không |
| - Năng lượng được sử dụng cho hoạt động bất kỳ khác cho việc cung cấp đến tòa nhà (ví dụ: Lưu trữ) | Có/ Không | Có/ Không |
| - Năng lượng để xây dựng, vận hành và tháo dỡ các bộ thiết bị tinh chế và/hoặc các bộ thiết bị chuyển đổi | Có/ Không | Có/ Không |
| - Năng lượng để xây dựng, vận hành và tháo dỡ hệ thống vận tải | Có/ Không | Có/ Không |
| - Năng lượng để làm sạch và xử lý chất thải | Có/ Không | Có/ Không |
| - Năng lượng nằm trong các vật liệu | Có/ Không | Có/ Không |
|
| ||
| Các khí nhà kính khác ngoài khí CO2 được bao gồm a | Không xác định | Có/ Không |
|
| ||
| Áp dụng cho xếp hạng dựa trên | trị số tỏa nhiệt thực /toàn phần | trị số tỏa nhiệt thực /toàn phần |
| a Có thể liệt kê các loại khí nhà kính khác. | ||
Bảng A.27 - Cơ sở về hiệu quả năng lượng của các tòa nhà (xem 9.6.2)
| Cơ sở về hiệu quả năng lượng của tòa nhà | Lựa chọn | Loại ứng dụng (Xem bảng A.8/B.8) |
| Tổng hiệu quả năng lượng (EP = EPtot) hoặc | EP = EPtot hoặc
|
|
| Hiệu quả năng lượng không tái tạo (EP = EPnren) | EP = EPnren |
|
| CHÚ THÍCH: Bổ sung thêm dòng trong trường hợp có nhiều mục đích đánh giá hơn. | ||
Bảng A.28 - Mức ưu tiên đối với hệ thống phát năng lượng, xuất đi (xem 9.6.6.2.4)
| Mức ưu tiên cho xuất đi | Ký hiệu định danh ưu tiên | Ký hiệu định danh loại hình phát năng lượng |
|
|
|
|
| Mô tả mức ưu tiên | Ký hiệu định danh cho mức ưu tiên đó | Loại hình phát năng lượng có mức ưu tiên đó |
Bảng A.29 - Quy tắc phân chia (xem 10.5.1)
| Loại vùng hoặc khu vực phục vụ a | Quy tắc chung | Quy tắc riêng (nếu có) |
| Vùng nhiệt |
|
|
| Khu vực phục vụ của hệ thống sưởi |
|
|
| Khu vực phục vụ của hệ thống làm mát |
|
|
| Khu vực phục vụ thông gió |
|
|
| Khu vực phục vụ cấp nước nóng sinh hoạt |
|
|
| Khu vực phục vụ chiếu sáng |
|
|
|
|
|
|
| a Bổ sung thêm dòng, trong trường hợp có nhiều khu vực phục vụ hơn. | ||
Bảng A.30 - Dòng năng lượng được tính vào cân bằng năng lượng của tòa nhà (xem 11.6.2.1)
| Hệ thống hoặc bộ phận | Được tính là năng lượng cấp đến? (Có/Không) a | Năng lượng xuất đi được tính vào đánh giá hiệu quả năng lượng theo Bước B (11.6.2.1) b (Có/ Không) |
| Các nhu cầu |
|
|
|
|
|
|
| Tại chỗ |
|
|
|
|
|
|
|
|
|
|
| Ở gần | c |
|
|
|
|
|
|
|
|
|
| (Một dòng cho một loại bổ sung) |
|
|
| Từ xa | d |
|
|
|
|
|
| (Một dòng cho một loại bổ sung) |
|
|
| a “Không” trong cột thứ hai có nghĩa là “không áp dụng” ở cột thứ ba. b Chỉ có liên quan nếu kexp > 0. Xem Bảng A.29/B.29. c Nếu lựa chọn đường bao ranh giới là khu vực “ở gần” (xem Bảng A.19) d Nếu lựa chọn đường bao ranh giới là khu vực. “từ xa” (xem Bảng A.19) CHÚ THÍCH: Có thể xóa bớt hoặc bổ sung thêm các hàng | ||
Bảng A.31 - Loại hình sử dụng điện không được đáp ứng đủ bởi sản xuất điện tại chỗ (xem 11.6.2.4)
| Loại hình sản xuất điện tại chỗ | Việc sử dụng không được phép | Lời dẫn giải |
|
|
|
|
| Ký hiệu định danh loại hình sản xuất điện | Ký hiệu định danh loại hình sử dụng điện |
|
Bảng A.32 - Chỉ số phù hợp sản xuất và sử dụng điện (xem 11.6.2.4)
| Khoảng thời gian tính toán | Trường hợp | Hàm số chỉ số phù hợp và các thông số |
| Mô tả khoảng thời gian | Mô tả trường hợp | Hàm số để thu được chỉ số và các thông số của hàm số |
|
|
|
|
Phụ lục B
(Tham khảo)
Bảng dữ liệu đầu vào và lựa chọn phương pháp - Lựa chọn mặc định
B.1 Tổng quát
Bản mẫu trong Phụ lục A của tiêu chuẩn này được sử dụng để quy định lựa chọn các phương pháp, dữ liệu đầu vào cần thiết và tham chiếu đến các tài liệu khác.
CHÚ THÍCH 1: Việc tuân theo bản mẫu nây lá chưa đủ để bảo đảm tính nhất quán của dữ liệu.
CHÚ THÍCH 2: Các lựa chọn mặc định tham khảo ở trong Phụ lục B. Các giá trị và lựa chọn thay thế có thể tuân thủ theo các quy định quốc gia/ vùng. Nếu không chấp nhận các lựa chọn và giá trị mặc định trong Phụ lục B bởi vì các quy định quốc gia / vùng, các chính sách hoặc truyền thống quốc gia thì có thể kỳ vọng rằng:
- Các cơ quan quốc gia hoặc vùng có thẩm quyền soạn thảo các bảng dữ liệu với các lựa chọn và giá trị quốc gia hoặc vùng phù hợp với bản mẫu trong Phụ lục A hoặc
- Theo mặc định, cơ quan tiêu chuẩn quốc gia sẽ bổ sung hoặc gộp phụ lục quốc gia (Phụ lục NA) vào tiêu chuẩn này phù hợp với bản mẫu trong Phụ lục A để đưa ra các lựa chọn và giá trị quốc gia hoặc vùng phù hợp với các văn bản quy phạm pháp luật.
CHÚ THÍCH 3: Bản mẫu trong Phụ lục A có thể áp dụng cho các ứng dụng khác nhau (ví dụ: Thiết kế tòa nhà mới, chứng nhận tòa nhà mới, cải tạo một tòa nhà hiện hữu, và chứng nhận một tòa nhà hiện hữu) và cho các loại tòa nhà khác nhau (ví dụ: Tòa nhà nhỏ hoặc đơn giản và tòa nhà lớn hoặc tòa nhà tổ hợp). Có thể phân biệt các giá trị vá các lựa chọn cho các ứng dụng khác nhau hoặc các loại tòa bằng cách:
- Bổ sung thêm cột hoặc hàng (một cột hoặc hàng đối với mỗi ứng dụng), nếu bản mẫu cho phép;
- Gộp nhiều phiên bản của một bảng (một phiên bản đối với mỗi ứng dụng), đánh số liên tiếp theo a, b, c, ... Ví dụ: Bảng NA. 3a, Bảng NA. 3b;
- Xây dựng các bảng dữ liệu quốc gia/ vùng khác nhau cho cùng một tiêu chuẩn. Trong trường hợp tiêu chuẩn có phụ lục quốc gia thì sẽ được đánh số liên tiếp (Phụ lục NA, Phụ lục NB, Phụ lục NC, ...).
CHÚ THÍCH 4: Trong phần giới thiệu của bảng dữ liệu quốc gia/vùng có thể bổ sung thông tin, ví dụ về các quy định quốc gia/ vùng được áp dụng.
CHÚ THÍCH 5: Để đảm bảo người dùng có được các giá trị đầu vào nhất định, bảng dữ liệu tuân theo bản mẫu trong Phụ lục A có thể tham chiếu các quy trình quốc gia đánh giá dữ liệu đầu vào cần thiết. Ví dụ: Tham chiếu văn bản báo cáo đánh giá quốc gia bao gồm sơ đồ cây ra quyết định, các bảng và các tính toán trước.
Những ô bôi đậm trong bảng là phần của bản mẫu và do đó không nhập dữ liệu vào phần này.
B.2 Bản tham chiếu
Bản tham chiếu được định danh bằng các mã số mô-đun được đưa ra trong một bảng kèm theo định dạng nêu trong Bảng A.1 (bản mẫu).
Bảng B.1 - Bản tham chiếu (xem Điều 2)
| Bản tham chiếu | Tiêu chuẩn tham chiếu | |
|
| Số hiệu | Tên |
| M1-1 | TCVN 13469-1 (ISO 52000-1) | Tiêu chuẩn này |
| M1-2 |
| Xem M1-1 |
| M1-3 |
| Xem M1-1 |
| M1-4 | TCVN 13470-1 (ISO 52003-1) | Energy performance of buildings - Indicators, requirements, ratings and certificates - Part 1: General aspects and application to the over- all energy performance (Hiệu quả năng lượng của tòa nhà - Các chỉ số, yêu cầu, xếp hạng và giấy chứng nhận - Các khía cạnh chung và áp dụng đối với hiệu quả năng lượng tổng thể) |
| M1-5, M1- 7 |
| Xem M1-1 |
| M1-8, M1- 9 |
| Xem M1-1 |
| M1-10 |
|
|
| M1-6, M2- 7 | ISO 17772-1 | Energy performance of buildings - Indoor environmental quality - Part 1: Indoor environmental input parameters for the design and assessment of energy performance of buildings (Hiệu quả năng lượng của tòa nhà - Chất lượng không khí trong nhà - Phần 1: Thông số đầu vào môi trường trong nhà cho thiết kế và đánh giá hiệu quả năng lượng của tòa nhà) |
|
| EN 16798-1 (đang biên soạn) | Energy performance of buildings - Ventilation of buildings - Part 1: Indoor environmental input parameters for design and assessment of energy performance of buildings addressing indoor air quality, thermal environment, lighting and acoustics (Module M1-6) (Hiệu quả năng lượng của tòa nhà - Thông gió tòa nhà - Phần 1: Thông số đầu vào môi trường trong nhà cho thiết kế và đánh giá hiệu quả năng lượng của tòa nhà đề cập đến chất lượng không khí trong nhà, môi trường nhiệt, chiếu sáng và âm thanh (mô-đun M1-6) |
| M1-11 |
| Xem M1-6 |
| M1-13 | ISO 52010-1 | Energy performance of buildings - External climatic conditions - Part 1: Conversion of climatic data for energy calculations (Hiệu quả năng lượng của tòa nhà - Điều kiện khí hậu bên ngoài - Phần 1: Chuyển đổi dữ liệu khí hậu để tính toán năng lượng) |
| M1-14 | EN 15459-1 | Energy performance of buildings - Economic evaluation procedure for energy systems in buildings - Part 1: Calculation procedures, Module M1-14 (Hiệu quả năng lượng của tòa nhà - Quy trình đánh giá kinh tế các hệ thống năng lượng trong tòa nhà - Phần 1: Quy trình tính toán, Mô-đun M1-14) |
| M2-2 | ISO 52016-1 | Energy performance of buildings - Energy needs for heating and cooling, internal temperatures and sensible and latent heat loads - Part 1: Calculation procedures (Hiệu quả năng lượng của tòa nhà - Nhu cầu năng lượng cho sưởi ấm và làm mát, nhiệt độ bên trong và tải nhiệt hiện và nhiệt ẩn - Phần 1: Quy trình tính toán) |
| M2-3 | ISO 52017-1 | Energy performance of buildings - Sensible and latent heat loads and internal temperatures - Part 1: Generic calculation procedures (Hiệu quả năng lượng của tòa nhà - Tải nhiệt hiện và nhiệt ẩn và nhiệt độ bên trong - Phần 1: Quy trình tính toán tổng quát) |
| M2-4 | ISO 52018-1 | Energy performance of buildings - Indicators for partial EPB require- ments related to thermal energy balance and fabric features - Part 1: Overview of options (Hiệu quả năng lượng của tòa nhà - Các chỉ số đối với yêu cầu EPB thành phần liên quan đến cân bằng năng lượng nhiệt và đặc điểm kết cấu xây dựng - Phần 1: Tổng quan các lựa chọn) |
| M2-5.1 | TCVN 13105(ISO 13789) | Thermal performance of buildings - Transmission and ventilation heat transfer coefficients - Calculation method (Đặc trưng nhiệt của tòa nhà - Hệ số truyền dẫn nhiệt và truyền nhiệt thông gió - Phương pháp tính) |
| M2-5.2 | ISO 13370 | Thermal performance of buildings - Heat transfer via the ground - Calculation methods (Đặc trưng nhiệt của tòa nhà - Truyền nhiệt qua nền đất - Phương pháp tính) |
| M2-5.3 | TCVN 13101 (ISO 6946) | Building components and building elements - Thermal resistance and thermal transmittance - Calculation methods (Bộ phận và cấu kiện của tòa nhà - Nhiệt trở và hệ số truyền nhiệt - Phương pháp tính) |
| M2-5.4 | TCVN 13102(ISO 10211) | Thermal bridges in building construction - Heat flows and surface temperatures - Detailed calculations (Cầu nhiệt trong công trình xây dựng - Dòng nhiệt và nhiệt độ bề mặt - Tính toán chi tiết) |
| M2-5.5 | ISO 14683 | Thermal bridges in building construction - Linear thermal transmittance - Simplified methods and default values (Cầu nhiệt trong công trình xây dựng - Truyền nhiệt tuyến tính - Các phương pháp đơn giản hóa và các giá trị mặc định) |
| M2-5.6 | ISO 10077-1 | Thermal performance of windows, doors and shutters - Calculation of thermal transmittance - Part 1: General (Đặc trưng nhiệt của cửa sổ, cửa đi và cửa chớp chắn nắng - Tính toán truyền nhiệt - Phần 1: Tổng quát) |
| M 2-5.7 | ISO 10077-2 | Thermal performance of windows, doors and shutters - Calculation of thermal transmittance-Part 2: Numerical method for frames (Đặc trưng nhiệt của cửa sổ, cửa đi và cửa chớp chắn nắng - Tính toán truyền nhiệt - Phần 2: Phương pháp số cho khung cửa) |
| M2-5.8 | TCVN 13104(ISO 12631) | Thermal performance of curtain walling - Calculation of thermal transmittance (Đặc trưng nhiệt của hệ vách kính - Tính toán truyền nhiệt) |
| M2-9 | ISO 13786 | Thermal performance of building components - Dynamic thermal characteristics - Calculation methods (Đặc trưng nhiệt của bộ phận tòa nhà - Đặc tính nhiệt động học -Tính toán truyền nhiệt) |
| M2-7 |
| Xem M2-5 |
|
|
|
|
| M2-8 | ISO 52022-3 | Energy performance of buildings - Thermal, solar and daylight properties of building components and elements - Part 3: Detailed calculation method of the solar and daylight characteristics for solar protection devices combined with glazing (Hiệu quả năng lượng của tòa nhà - Đặc tính nhiệt, bức xạ và chiếu sáng ngày của các bộ phận và cấu kiện tòa nhà - Phần 3: Phương pháp tính toán chi tiết đặc tính bức xạ và chiếu sáng ngày cho các thiết bị che nắng có kết hợp với kính) |
|
| ISO 52022-1 | Energy performance of buildings - Thermal, solar and daylight properties of building components and elements - Part 1: simplified calculation method of the solar and daylight characteristics for solar protection devices combined with glazing (Hiệu quả năng lượng của tòa nhà - Đặc tính nhiệt, bức xạ và chiếu sáng ngày của các bộ phận và cấu kiện tòa nhà - Phần 1: Phương pháp tính toán đơn giản hóa đặc tính bức xạ và chiếu sáng ngày cho các thiết bị che nắng có kết hợp với kính) |
|
|
|
|
| M3-1 | EN 15316-1 | Energy performance of buildings - Method for calculation of system energy requirements and system efficiencies - Part 1: General arid Energy performance expression, Module M3-1, M3-4, M3-9, M8-1, M8-4 (Hiệu quả năng lượng của tòa nhà - Phương pháp tính toán yêu cầu năng lượng và hiệu suất của hệ thống - Phần 1: Thể hiện hiệu quả chung và năng lượng, mô-đun M3-1, M3-4, M3-9, M8-1, M8-4) |
| M3-2 |
|
|
| M3-3 | EN 12831-1 | Energy performance of buildings - Method for calculation of the design heat load-Part 1: Space heating load, Module M3-3 (Hiệu quả năng lượng của tòa nhà - Phương pháp tính toán tải nhiệt thiết kế - Phần 1: Tải sưởi ấm không gian, Mô-đun M3-3) |
| M3-4 | EN 15316-1 | Xem M3-1 |
| M3-5 | EN 15316-2 | Energy performance of buildings - Method for calculation of system energy requirements and system efficiencies - Part 2: Space emission systems (heating and cooling), Module M3-5, M4-5 (Hiệu quả năng lượng của tòa nhà - Phương pháp tính toán yêu cầu năng lượng và hiệu suất của hệ thống - Phần 2: Hệ thống phát xạ không gian (sưởi và làm mát), mô-đun M3-5, M4-5) |
| M3-6 | EN 15316-3 | Energy performance of buildings - Method for calculation of system energy requirements and system efficiencies - Part 3: Space distribution systems (DHW, heating and cooling), Module M3-6, M4-6, M8-6 (Hiệu quả năng lượng của tòa nhà - Phương pháp tính toán yêu cầu năng lượng và hiệu suất của hệ thống - Phần 3: Hệ thống phân phối theo không gian, mô-đun M3-6, M4-6, M8-6) |
| M3-7 | EN 15316-5 | Energy performance of buildings - Method for calculation of system energy requirements and system efficiencies - Part 5: Space heating and DHW storage systems (not cooling), Module M3-7, M8-7 (Hiệu quả năng lượng của tòa nhà - Phương pháp tính toán yêu cầu năng lượng và hiệu suất của hệ thống - Phần 1: Thể hiện hiệu quả chung và năng lượng, mô-đun M3-1, M3-4, M3-9, M8-1, M8-4) |
| M3-8 | EN 15316-4-1 | Energy performance of buildings - Method for calculation of system energy requirements and system efficiencies - Part 4-1: Space heating and DHW generation systems, combustion systems (boilers, biomass), Module M3-8-1 and M 8-8-1 (Hiệu quả năng lượng của tòa nhà - Phương pháp tính toán yêu cầu năng lượng và hiệu suất của hệ thống - Phần 4-1: Hệ thống sản xuất nước nóng và nhiệt không gian, môđun M3-8-1 và M 8-8-1) |
|
| EN 15316-4-2 | Energy performance of buildings - Method for calculation of system energy requirements and system efficiencies - Part 4-2: Space heating generation systems, heat pump systems, Module M3-8-2, M8-8-2 (Hiệu quả năng lượng của tòa nhà - Phương pháp tính toán yêu cầu năng lượng và hiệu suất của hệ thống - Phần 4-2: Hệ thống sưởi không gian, mô-đun M3-8-2, M8-8-2) |
|
| EN 15316-4-3 | Energy performance of buildings - Method for calculation of system energy requirements and system efficiencies - Part 4-3: Heat generation systems, thermal solar and photovoltaic systems, Module M3-8-3, M8-8-3, M11-8-3 (Hiệu quả năng lượng của tòa nhà - Phương pháp tính toán yêu cầu năng lượng và hiệu suất của hệ thống - Phần 4-3: Hệ thống sản xuất nhiệt, Hệ thống nhiệt mặt trời và quang điện, mô-đun M3-8-3, M8-8-3, M11-8-3) |
|
| EN 15316-4-4 | Energy performance of buildings - Method for calculation of system energy requirements and system efficiencies - Part 4-4: Heat generation systems, building-integrated cogeneration systems, Module M8-3-4, M8-8-4, M8-11-4 (Hiệu quả năng lượng của tòa nhà - Phương pháp tính toán yêu cầu năng lượng và hiệu suất của hệ thống - Phần 4-4: Hệ thống sản xuất nhiệt, hệ thống đồng phát tích hợp trong tòa nhà, mô-đun M8-3-4, M8-8-4, M8-11-4) |
|
| EN 15316-4-5 | Energy performance of buildings - Method for calculation of system energy requirements and system efficiencies - Part 4-5: District heating and cooling, Module M3-8-5, M4-8-5, M8-8-5, M11-8-5 (Hiệu quả năng lượng của tòa nhà - Phương pháp tính toán yêu cầu năng lượng và hiệu suất của hệ thống - Phần 4-5: Sưởi và làm mát tập trung, mô-đun M3-8-5, M4-8-5, M8-8-5, M11-8-5) |
|
| EN 15316-4-8 | Energy performance of buildings - Method for calculation of system energy requirements and system efficiencies - Part 4-8: Space heating generation systems, air heating and overhead radiant heating systems, including stoves (local), Module M3-8-8 (Hiệu quả năng lượng của tòa nhà - Phương pháp tính toán yêu cầu năng lượng và hiệu suất của hệ thống - Phần 4: Hệ thống phát nhiệt sưởi cho không gian, hệ thống sưởi bức xạ phía trên đầu và không khí ẩm gồm cả lò sưởi (cục bộ) mô-đun M3-8-8) |
| M3-9 |
|
|
| M3-10 | EN 15378-3 | Energy performance of buildings -Heating and DHW systems in buildings - Part 3: Measured energy performance, Module M3-10 and M8-10 (Hiệu quả năng lượng của tòa nhà - Hệ thống cấp nhiệt và nước nóng trong tòa nhà - Phần 3: Hiệu quả năng lượng đo lường, Mô-đun M3-10 và M8-10) |
| M3-11 | EN 15378-1 | Energy performance of buildings - Heating systems and DHW in buildings - Inspection of boilers, heating systems and DHW, Module M3-11, M8-11 (Hiệu quả hiệu quả năng lượng của tòa nhà - Hệ thống cấp nhiệt và nước nóng - kiểm tra nồi hơi, hệ thống cấp nhiệt và cấp nước nóng sinh hoạt, Mô-đun M3-11, M8-11) |
| M3-12 |
|
|
| M4-1 | EN 16798-9 | Energy performance of buildings -Ventilation for buildings - Part 9: Calculation methods for energy requirements of cooling systems (Modules M4-1, M4-4, M4-9) - General (Hiệu quả năng lượng của tòa nhà - Thông gió tòa nhà - Phần 9: Phương pháp tính toán yêu cầu năng lượng cho hệ thống làm mát (Mô-đun M4-1, M4-4 M4-9) - Tổng quát |
| M4-2 |
|
|
| M4-3 | ISO 52016-1 | Xem M2-2 |
| M4-4 | EN 16798-9 | Xem M4-1 |
| M4-5 | EN 15316-2 | Xem M3-5 |
| M4-6 | EN 15316-3 | Xem M3-6 |
| M4-7 | EN 16798-15 | Energy performance of buildings - Ventilation for buildings - Part 15: Calculation of cooling systems (Module M4-7) - Storage (Hiệu quả năng lượng của tòa nhà - Thông gió tòa nhà - Phần 15: Tính toán hệ thống làm mát (Mô-đun M4-7)- Lưu trữ) |
| M4-8 | EN 16798-13 | Energy performance of buildings - Ventilation for buildings - Part 13: Calculation of cooling systems (Module M4-8) - Generation (Hiệu quả năng lượng của tòa nhà - Thông gió tòa nhà - Phần 13: Tính toán hệ thống làm mát (Mô-đun M4-8) - Sản xuất) |
|
| EN 15316-4-5 | Xem M3-8 |
| M4-9 |
|
|
| M4-10 |
|
|
| M4-11 | EN 16798-17 | Energy performance of buildings - Ventilation for buildings - Part 17: Guidelines for inspection of ventilation and air conditioning systems (Module M4-11, M5-11, M6-11, M7- 11) (Hiệu quả năng lượng của tòa nhà - Thông gió tòa nhà - Phần 17: Hướng dẫn kiểm tra hệ thống thông gió và điều hòa không khí (Mô-đun M4-11, M5-11, M6-11, M7-11) |
| M4-12 |
|
|
| M5-1 | EN 16798-3 | Energy performance of buildings - Ventilation for buildings- Part 3: For non-residential buildings - Performance requirements for ventila- tion and room-conditioning systems (Modules M5-1, M5-4) (Hiệu quả năng lượng của tòa nhà - Thông gió tòa nhà-Phần 3: Đối với tòa nhà không để ở - Yêu cầu hiệu quả đối với hệ thống thông gió và điều hòa phòng (Mô-đun M5-1, M5-4) |
| M5-2 |
|
|
| M5-3 |
|
|
| M5-4 | EN 16798-3 | Xem M5-1 |
| M5-5 | E.N 16798-7 | Energy performance of buildings - Ventilation for buildings - Part 7: Calculation methods for the determination of air flow rates in build- ings including infiltration (Module M5-5) (Hiệu quả năng lượng của tòa nhà - Thông gió tòa nhà - Phần 7: Phương pháp tính toán xác định lưu lượng không khí trong tòa nhà gồm cả thẩm lậu khí (Mô-đun M5-5) |
| M5-6 | EN 16798-5-1 và EN 16798-5-2 | Energy performance of buildings - Ventilation for buildings - Part 5-1: Calculation methods for energy requirements of ventilation and air conditioning systems (Modules M5-6, M5-8, M6-5, M6-8, M7-5, M7-8) - Method 1: Distribution and generation (Hiệu quả năng lượng của tòa nhà - Thông gió tòa nhà - Phần 5-1: Phương pháp tính toán yêu cầu năng lượng cho hệ thống thông gió và điều hòa không khí (Mô-đun M5-6, M5-8, M6-5, M6-8, M7-5,M7-8) - Phương pháp 1: Phân phối và sản xuất) Energy performance of buildings - Ventilation for buildings - Part 5-2: Calculation methods for energy requirements of ventilation and air conditioning systems (Modules M5-6, M5-8, M6-5, M6-8, M7-5,M7-8) - Method 2: Distribution and generation (Hiệu quả năng lượng của tòa nhà - Thông gió tòa nhà - Phần 5-2: Phương pháp tính toán yêu cầu năng lượng cho hệ thống thông gió và điều hòa không khí (Mô-đun M5-6, M5-8, M6-5, M6-8, M7-5, M7-8) - Phương pháp 1: Phân phối và sản xuất) |
| M5-7 |
|
|
| M5-8 | EN 16798-5-1 và EN 16798-5-2 | Xem M5-6 |
| M5-9 |
|
|
| M5-10 |
|
|
| M5-11 | EN 16798-17 | Xem M4-11 |
| M6-1 |
| Xem M5-1 |
| M6-2 |
| Xem M5-2 |
| M6-3 |
| Xem M5-3 |
| M6-4 |
| Xem M5-4 |
| M6-5 | EN 16798-5-1 và EN 16798-5-2 | Xem M5-6 |
|
| EN 16798-5-2 |
|
| M6-6 |
| Xem M5-6 |
| M6-7 |
| Xem M5-7 |
| M6-8 | EN 16798-5-1 và EN 16798-5-2 | Xem M5-6 |
| M6-9 |
| Xem M5-9 |
| M6-10 |
| Xem M5-10 |
| M6-11 | EN 16798-17 | Xem M5-11 |
| M7-1 |
| Xem M5-1 |
| M7-2 |
| Xem M5-2 |
| M7-3 |
| Xem M5-3 |
| M7-4 |
| Xem M5-4 |
| M7-5 | EN 16798-5-1 và EN 16798-5-2 | Xem M5-6 |
| M7-6 |
| Xem M5-6 |
| M7-7 |
| Xem M5-7 |
| M7-8 | EN 16798-5-1 và EN 16798-5-2 | Xem M5-6 |
| M7-9 |
| Xem M5-9 |
| M7-10 |
| Xem M5-10 |
| M7-11 | EN 16798-17 | Xem M5-11 |
| M8-1 | EN 15316-1 | Xem M3-1 |
| M8-2 | EN 12831-3 | Energy performance of buildings - Method for calculation of the design heat load - Domestic hot water systems heat load and charac- terization of needs, Module M8-2, M8-3 (Hiệu quả năng lượng của tòa nhà - Phương pháp tính toán tải nhiệt thiết kế - Tải nhiệt của hệ thống cấp nước nóng sinh hoạt và đặc trưng về nhu cầu, Mô-đun M8-2, M8-3) |
| M8-3 | EN 12831-3 | Xem M8-2 |
| M8-4 | EN 15316-1 | Xem M8-1 |
| M8-5 |
|
|
| M8-6 | EN 15316-3 | Xem M3-6 |
| M8-7 | EN 15316-5 | Xem M3-7 |
| M8-8 | EN 15316-4-1 | Xem M3-8 |
|
| EN 15316-4-3 | Xem M3-8 |
|
| EN 15316-4-4 | Xem M3-8 |
|
| EN 15316-4-5 | Xem M3-8 |
|
| EN 15316-4-8 | Xem M3-8 |
| M8-9 |
|
|
| M8-10 | EN 15378-3 | Xem M3-10 |
| M8-11 | EN 15378-1 | Xem M3-11 |
| M9-1 | EN 15193-1 | Energy performance of buildings - Energy requirements for lighting - Part 1: Specifications, Module M9 (Hiệu quả năng lượng của tòa nhà - Yêu cầu năng lượng cho chiếu sáng - Phần 1: Quy định kỹ thuật, Mô-đun M9) |
| M9-2 | EN 15193-1 | Xem M9-1 |
| M9-3 |
|
|
| M9-4 | EN 15193-1 | Xem M9-1 |
| M9-5 |
|
|
| M9-6 |
|
|
| M9-8 |
|
|
| M9-10 | EN 15193-1 | Xem M9-1 |
| M9-11 | EN 15193-1 | Xem M9-1 |
| M10-1 | EN 15232-1 | Energy performance of buildings - Part 1: Impact of Building Automation, Controls and Building Management - Modules M10-4,5,6,7,8,9,10 (Hiệu quả năng lượng của tòa nhà - Tác động của tự động hóa, kiểm soát và quản lý tòa nhà - Mô- đun M10-4,5,6,7,8,9,10) |
| M10-2 |
|
|
| M10-3 |
|
|
| M10-4 |
|
|
| M10-5 | EN 15232-1 | Xem M10-1 |
| M10-6 | EN 15232-1 | Xem M10-1 |
| IV! 10-7 | EN 15232-1 | Xem M10-1 |
| M10-8 | EN 15232-1 | Xem M10-1 |
| M10-11 | EN 16946-1 | Energy Performance of Buildings - Inspection of Automation, Con- trols and Technical Building Management - Part 1: Module M10-11 (Hiệu quả năng lượng của tòa nhà - Kiểm tra đối với tự động hóa, kiểm soát và quản lý kỹ thuật tòa nhà - Phần 1: Mô-đun M10- 11) |
| M10-12 | EN 16947-1 | Energy Performance of Buildings - Building Management System - Part 1: Module M10-12 (Hiệu quả năng lượng của tòa nhà - Hệ thống quản lý tòa nhà - Mô-đun M10-12) |
| M11-1 |
|
|
| M11-4 |
|
|
| M11-8 | EN 15316-4-3 | Xem M3-8 |
|
| EN 15316-4-4 | Xem M3-8 |
|
| EN 15316-4-5 | Xem M3-8 |
|
| EN 15316-4-10 | Energy performance of buildings - Method for calculation of system energy requirements and system efficiencies - Part 4-10: Wind power generation systems, Module M11-8-3 (Hiệu quả năng lượng của tòa nhà - Phương pháp tính toán yêu cầu năng lượng và hiệu suất của hệ thống - Phần 4-10: Hệ thống điện gió, Mô-đun M11-8-3) |
B.3 Các yêu cầu hiệu quả năng lượng
Bảng B.2 - Loại hình đánh giá hiệu quả năng lượng theo loại tòa nhà và ứng dụng a) (xem 5.3)
| Ứng dụng | Loại tòa nhà | Loại hình đánh giá | Điều kiện |
| Giấy chứng nhận hiệu quả năng lượng | Tất cả các loại | Loại theo hoàn công | - |
| Giấy phép xây dựng tòa nhà | Tất cả các loại | Loại thiết kế | - |
| Giấy phép sử dụng | Tất cả các loại | Loại theo hoàn công | - |
| Kiểm toán năng lượng | Tất cả các loại | Loại điều chỉnh phù hợp | - |
| CHÚ THÍCH: Bổ sung thêm hàng trong trường hợp có nhiều mục đích đánh giá hơn. | |||
Bảng B.3 - Loại đối tượng (xem Điều 6 và 10.1)
| EPB_OBJECT_EPB (Loại đối tượng EPB) | |||
| Loạia | Mô tả | Tập hợp con b | Lời dẫn giải |
| EPB_OBJECT_BLDNG_TOT | Toàn bộ tòa nhà | 1 |
|
| EPB_ OBJECT_ BLDNG_ UNIT | Đơn nguyên tòa nhà | 1 |
|
| EPB_ OBJECT_BLDNG_ PART | Phần của một tòa nhà (thiếu một hoặc nhiều đặc tính của một tòa nhà hoàn chỉnh hoặc đơn nguyên tòa nhà) | 1 |
|
| EPB_OBJECT LCYCLE_NEW.DESIGN | Thiết kế tòa nhà mới | 2 |
|
| EPB_OBJECT_LCYCLE_AS.BUILT | Tòa nhà hiện hữu theo hoàn công (không có dữ liệu sử dụng dài hạn) | 2 |
|
| EPB_OBJECT LCYCLE_EXIST.RENOV | Tòa nhà hiện hữu sau cải tạo nâng cấp (không có dữ liệu sử dụng dài hạn) | 2 |
|
| EPB_OBJECT LCYCLE_EXIST.EXTENS | Tòa nhà hiện hữu được mở rộng ((không có dữ liệu sử dụng dài hạn) | 2 |
|
| EPB_OBJECT_LCYCLE EXIST.IN.USE | Tòa nhà hiện hữu đang sử dụng | 2 |
|
| EPB_ OBJECT_CAT_ RES | Tòa nhà ở | 3 |
|
| EPB_OBJECT_CAT_NRES | Tòa nhà không để ở | 3 |
|
|
|
|
|
|
| EPB_ OBJECT_USER_ L.PUBL | Tòa nhà công cộng lớn | 4 |
|
| EPB_ OBJECT_ USER_OTHER | Khác | 4 |
|
| CHÚ THÍCH: Loại đối tượng có thể có ảnh hưởng đến các lựa chọn trong tiêu chuẩn tổng quát này và trong các tiêu chuẩn khác. Do đó đặc tính này được kế thừa bởi các các tiêu chuẩn EPB khác, nếu có liên quan. a Một lựa chọn có thể có cho một tập hợp con (1,2,3,4).. b Định nghĩa trường hợp tính toán, một lựa chọn phải được thực hiện cho mỗi tập hợp con. | |||
Bảng B.4 - Loại tòa nhà (xem Điều 6 và 9)
| Loại tòa nhà (BLDNGCAT_TYPE) | ||
| Loại | Mô tả | Lời dẫn giải |
| BLDNGCAT_ RES_ SINGLE | Các loại nhà ở gia đình riêng lẻ khác nhau | a |
| BLDNGCAT_RES_ APPBLOCK | Khối nhà chung cư |
|
| BLDNGCAT_ RES_ ELDER | Nhà ở cho người già và người khuyết tật |
|
| BLDNGCAT_RES_COLL | Nhà ở tập thể |
|
| BLDNGCAT_RES_MOBIL | Nhà ở di động |
|
| BLDNGCAT_RES_HOL | Nhà nghỉ |
|
| BLDNGCAT_OFF | Văn phòng công sở |
|
| BLDNGCAT_EDUC | Trường học |
|
| BLDNGCAT_HOSP | Bệnh viện |
|
| BLDNGCAT_HOTEL | Khách sạn và nhà hàng ăn |
|
| BLDNGCAT_SPORT | Cơ sở thể thao |
|
| BLDNGCAT_ RETAIL | Tòa nhà dịch vụ thương mại bán buôn bán lẻ |
|
| BLDNGCAT_DATA_CENTER | Trung tâm dữ liệu |
|
| BLDNGCAT_INDUS | Khu công nghiệp |
|
| BLDNGCAT_ WORKS | Nhà xưởng |
|
| BLDNGCAT_AGRIC | Tòa nhà nông nghiệp không để ở |
|
| a Danh sách được sao chép từ ISO 13675, Phụ lục 1.5 [8], nhưng lĩnh vực nhà ở khác biệt hơn và các tòa nhà khác sử dụng năng lượng khác biệt hơn. | ||
| CHÚ THÍCH: Loại tòa nhà có thể có ảnh hưởng đến các lựa chọn trong tiêu chuẩn tổng quát này và trong các tiêu chuẩn khác. Do đó đặc tính này được kế thừa, bởi các các tiêu chuẩn EPB khác, nếu có liên quan. | ||
Bảng B.5 - Loại tòa nhà nào được đưa vào đánh giá EPB (xem 6.2.2)
| Loại tòa nhà (Xem Bảng A.3) | Ký hiệu định danh | Được đưa vào đánh đánh giá hiệu quả năng lượng a Có/Không |
| Tòa nhà ở | BLDNCCAT_ RES_ SINGLE | Có |
| Các loại nhà ở gia đình riêng lẻ khác nhau | BLDNGCAT_RES_APPBLOCK | Có |
| Khối nhà chung cư | BLDNGCAT_ RES_ ELDER | Có |
| Nhà ở cho người già và người tàn tật | BLDNGCAT_RES_COLL | Có |
| Nhà ở tập thể | BLDNGCAT_ RES_MOBIL | Có |
| Nhà ở di động | BLDNGCAT_RES_HOL | Có |
| Nhà nghỉ | BLDNGCAT_RES_ SINGLE | Có |
| Tòa nhà không để ở |
|
|
| Văn phòng công sở | BLDNGCAT_OFF | Có |
| Trường học | BLDNGCAT_EDUC | Có |
| Bệnh viện | BLDNGCAT_HOSP | Có |
| Khách sạn và nhà hàng | BLDNGCAT_HOTEL | Có |
| Cơ sở thể thao | BLDNGCAT_SPORT | Có |
| Tòa nhà dịch vụ thương mại bán buôn bán lẻ | BLDNGCAT_RETAIL | Có |
| Trung tâm dữ liệu | BLDNGCAT_INDUS | Có |
| Khu công nghiệp | BLDNGCAT_WORKS | Không |
| Nhà xưởng | BLDNGCAT_AGRIC | Không |
| Tòa nhà nông nghiệp không để ở | BLDNGCAT_OFF | Không |
| a loại tòa nhà áp dụng tiêu chuẩn này, ví dụ: Bởi vì có yêu cầu EPB cho loại tòa nhà này. | ||
Bảng B.6 - Phân biệt các loại không gian (xem Điều 6,9 và 10.1)
| Lựa chọn | ||
| Loại | Lựa chọn | Chú giải |
| Phân biệt các loại không gian trong tòa nhà | Có |
|
Trong trường hợp phân biệt thì phải hoàn thành Bảng B.7. Nếu không thì danh sách các loại không gian sẽ giống như danh sách của các loại tòa nhà: (SPACECAT_X = BLDNGCAT_X).
Bảng B.7 - Loại không gian (xem Điều 6 và 9)
| Loại không gian (SPACECAT_TYPE) | ||
| Loại | Mô tả | Chú giải |
| SPACECAT_RES_LIV | Không gian phòng khách; phòng ngủ, phòng nghiên cứu, phòng tắm hoặc vệ sinh |
|
| SPACECAT_RES_INDIV_ OTHER | Khu nhà ở riêng lẻ; Hội trường, hành lang, cầu thang bên trong vỏ bao che nhiệt, gác mái bên trong vỏ bao che nhiệt |
|
| SPACECAT _RES_COLL | Khu tập thể để ở hoặc không để ở: Hội trường, hành lang, cầu thang bên trong vỏ bao che nhiệt |
|
| SPACECAT_TH.UNCOND_ OTHER | Không gian liền kề không được điều hòa nhiệt như phòng kho lưu trữ hoặc gác mái không được điều hòa |
|
| SPACECAT_TH.UNCOND_SU | Không gian nhận nhiệt mặt trời và cửa trời |
|
| SPACECAT_HALL | Lối vào sảnh/ sảnh |
|
| SPACECAT_CORR | Hành lang |
|
| SPACECAT_TH.UNCOND _CORR | Hội trường, hành lang bên ngoài vỏ bao che nhiệt |
|
| SPACECAT_OFF | Không gian văn phòng công sở |
|
| SPACECAT_EDUC | Không gian cơ sở đào tạo |
|
| SPACECAT_HOSP_BED | Phòng ngủ bệnh viện |
|
| SPACECAT_HOSP_OTHER | Phòng khác của bệnh viện |
|
| SPACECAT_HOTEL | Phòng khách sạn |
|
| SPACECAT_REST | Không gian của nhà hàng |
|
| SPACECAT_ REST_ KITCH | Bếp của nhà hàng |
|
| SPACECAT_MEET | Không gian phòng họp hoặc hội thảo |
|
| SPACECAT_AUDIT | Thính phòng/ giảng đường |
|
| SPACECAT_THEAT | Không gian nhà hát hoặc chiếu phim |
|
| SPACECAT_SERVER | Phòng máy chủ hoặc phòng vi tính |
|
| SPACECAT_SPORT_ TH.COND | Cơ sở thể thao, được điều hòa |
|
| SPACECAT_SPORT_ TH.UNCO | Cơ sở thể thao, không được điều hòa |
|
| SPACECAT_RETAIL | Không gian dịch vụ thương mại bán buôn và bán lẻ (cửa hàng) |
|
| SPACECAT_NONRES_BATH | Phòng tắm không thuộc nhà ở, vòi sen, vệ sinh nếu bên trong vỏ bao che |
|
| SPACECAT_SPA | Không gian spa với tắm hơi và/hoặc khu thư giãn |
|
| SPACECAT_SWIMM | Không gian với bể bơi trong nhà |
|
| SPACECAT_STOR_HEAT | Không gian kho được sưởi |
|
| SPACECAT_STOR_COOL | Không gian kho được làm mát |
|
| SPACECAT_STOR_NOCON | Không gian kho không được điều hòa |
|
| SPACECAT_ENGINE | Phòng máy |
|
| SPACECAT_CAR | Gara cá nhân hoặc bãi đậu xe tập trung trong nhà |
|
| SPACECAT_BARN | Phòng kho hoặc chuồng gia súc |
|
| CHÚ THÍCH 1: Mỗi loại không gian yêu cầu một tập hợp các điều kiện sử dụng (yêu cầu cài đặt nhiệt độ, thông gió và chiếu sáng, nhu cầu cấp nước nóng sinh hoạt, v.v...). CHÚ THÍCH 2: Loại không gian có thể có ảnh hưởng đến các lựa chọn trong tiêu chuẩn tổng quát này và trong các tiêu chuẩn khác. Do đó đặc tính này được kế thừa bởi các các tiêu chuẩn EPB khác, nếu có liên quan. | ||
Bảng B.8 - Loại hình ứng dụng (xem Điều 6 và 9)
| Loại hình ứng dụng EPB (EPB_APPLIC_TYPE) | ||
| Loại | Mô tả | Chú giải |
| EPB_APPLIC_REQ | Để kiểm tra sự tuân thủ các yêu cầu hiệu quả năng lượng |
|
| EPB_A PPLIC_ CERTIF | Chứng nhận hiệu quả năng lượng |
|
| EPB_APPLIC_PERMIT_BLD | Xin giấy phép xây dựng |
|
| EPB_APPLIC_PERMIT_USE | Xin giấy phép sử dụng |
|
| EPB_APPLIC_AUDIT | Kiểm toán năng lượng (điều chỉnh phù hợp) |
|
| EPB_APPLIC_INSP | Kiểm tra hiệu quả năng lượng |
|
| CHÚ THÍCH: Loại hình ứng dụng có thể có ảnh hưởng đến các lựa chọn trong tiêu chuẩn tổng quát này và trong các tiêu chuẩn khác. Do đó đặc tính này được kế thừa bởi các các tiêu chuẩn EPB khác, nếu có liên quan. | ||
Bảng B.9 - Loại hình đánh giá EPB (xem Điều 6 và 9)
| Loại hình đánh giá EPB (EPB_ASSESS_TYPE) (Xem Bảng 3) | ||
| Loại | Mô tả | Lời dẫn giải |
| EPB_ASSESS_CALC_DESIGN | Được tính toán, thiết kế |
|
| EPB_ASSESS_CALC_ASBUILT | Được tính toán theo hoàn công |
|
| EPB_ASSESS_CALC_ACTUAL | Được tính toán, thực tế |
|
| EPB_ASSESS CALC_TAILORED | Được tính toán, điều chỉnh phù hợp |
|
| EPB_ASSESS_MEAS_ACTUAL | Được đo lường, thực tế |
|
| EPB_ASSESS_MEAS_ CORR_CLIM | Được đo lường, hiệu chỉnh theo khí hậu |
|
| EPB ASSESS_MEAS CORR_USE | Được đo lường, hiệu chỉnh theo sử dụng |
|
| EPB_ASSESS_MEAS_STAND | Được đo lường, tiêu chuẩn (hiệu chỉnh theo khí hậu và việc sử dụng) |
|
| CHÚ THÍCH 1: Loại có thể là khác nhau đối với các loại đối tượng, tòa nhà hoặc không gian khác nhau CHÚ THÍCH 2: Loại hình đánh giá có thể có ảnh hưởng đến các lựa chọn trong tiêu chuẩn tổng quát này và trong các tiêu chuẩn khác; Do đó đặc tính này được kế thừa bởi các tiêu chuẩn EFB khác, nếu có liên quan. | ||
Bảng B.10 -Tổ hợp của các loại hình dịch vụ (xem Điều 6 và 9)
| Loại hình dịch vụ EPB (EPB_LISTSERVICES_TYPE) | ||
| Loại | Mô tả | Lời dẫn giải |
| EPB_LISTSERVICES_RES | Các dịch vụ được bao gồm cho đánh giá EPB của tòa nhà ở |
|
| EPB_LISTSERVICES_NRES | Các dịch vụ được bao gồm cho đánh giá EPB của tòa nhà không để ở |
|
| CHÚ THÍCH 1: Tổ hợp có thể là khác nhau đối với các loại tòa nhà hoặc không gian khác nhau CHÚ THÍCH 2: Loại hình dịch vụ hỗn hợp có thể có ảnh hưởng đến các lựa chọn trong tiêu chuẩn tổng quát này và trong các tiêu chuẩn khác. Do đó đặc tính này được kế thừa bởi các tiêu chuẩn EPS khác, nếu có liên quan. | ||
B.4 Phương pháp
Bảng B.11 - Loại hình sử dụng điện (xem 7.3.3.4)
| Loại hình sử dụng năng lượng điện | Ký hiệu định danh |
| Đầu vào chính cho máy phát | EL_USE_MAIN |
| Năng lượng phụ trợ | EL_USE_AUX |
| Sưởi trực tiếp (Hiệu ứng Joule) | EL_USE_JOULE |
| Việc sử dụng không EPB | EL_USE_NEPB |
Bảng B.12 - Loại hình phát điện (xem 7.3.3.6 và 9.6.6.2.4)
| Loại hình phát năng lượng điện | Ký hiệu định |
| Quang điện | EL_PROD_PV |
| Tua bin | EL_PROD_WIND |
| Đồng phát | EL_PROD_CHP |
Bảng B.13 - Trị số tỏa nhiệt toàn phần của một số nhiên liệu rắn thông thường (xem 7.3.4 và 9.6.2)
| Nhiên liệu | Trị số tỏa nhiệt toàn phần |
| Antraxit | 8,9 - 9,7 |
| Than bitum | 4,7 - 6,9 |
| Than củi | 8,22 |
| Than đá | 7,8 - 8,6 |
| Than nâu | 4,2 - 8,3 |
| Than bùn | 3.6 - 5.6 |
| Gỗ (khô) | 3,9 - 47 |
| a Bổ sung thêm hàng của các chất mang năng lượng. | |
Bảng B.14 - Trị số tỏa nhiệt toàn phần của một số nhiên liệu lỏng thông thường (xem 7.3.4 và 9.6.2)
| Nhiên liệu | Khối lượng riêng kg/l | Trị số tỏa nhiệt toàn phần kWh/kg |
| Dầu |
|
|
| Dầu nặng, nhẹ | 0,84 - 0,85 | 12,44 |
| Dầu sưởi, nặng | 0,96 | 13,94 - 11,75 |
| Gas dạng lỏng | ||
| 80 propane:20 butane | 0,52 | 13,83 |
| 70 propane:30 butane | 0,53 | 13,83 |
| 60 propane:40 butane | 0,53 | 13,81 |
| 50 propane:50 butane | 0,55 | 13,78 |
| Propane thương mại | 0,51 | 13,89 |
| a Bổ sung thêm hàng của các chất mang năng lượng. | ||
Bảng B.15 - Trị số tỏa nhiệt toàn phần của một số chất mang năng lượng thông thường dạng khí (xem 7.3.4 và 9.6.2)
| Nhiên liệu | Khối lượng riêng kg/m3 | Trị số tỏa nhiệt toàn phần kWh/m3 |
| Khí tự nhiên L | 0,64 | 9,75 - 9,78 |
| Khí tự nhiên H | 0,61 | 11,41 - 11,47 |
| Metan | 0,55 | 11,06 - 11,08 |
| Propane | 1,56 | 28,03 |
| Butane | 2,09 | 37,19 |
| Hydro | 0,09 | 39 |
| Bioga | 1,2 | 4 to 8 a |
| a Tùy thuộc vào hàm lượng metan của nó. | ||
| CHÚ THÍCH: Bổ sung thêm hàng của các chất mang năng lượng. | ||
Bảng B.16 - Chỉ số trọng số (dựa trên trị số tỏa nhiệt toàn phần hoặc thực (xem 7.3.5, 9,5.1, 9.6.2, 9.6.5 và 9.6.6.3)
| Chất mang năng lượng được cấp từ xa | fPnren | fPren | fPtot | KCO2 e (g/kwh) | ||
| 1 | Nhiên liệu hóa thạch | Rắn | 1,1 | 0 | 1,1 | 360 |
| 2 | Lỏng | 1,1 | 0 | 1,1 | 290 | |
| 3 | Khí | 1,1 | 0 | 1,1 | 220 | |
| 4 | Nhiên liệu sinh học | Rắn | 0,2 | 1 | 1,2 | 40 |
| 5 | Lỏng | 0,5 | 1 | 1,5 | 70 | |
| 6 | Khí | 0,4 | 1 | 1,4 | 100 | |
| 7 | Điện c | 2,3 | 0,2 | 2,5 | 420 | |
| được cấp ở gần |
|
|
|
| ||
| 8 | Sưởi tập trung theo quy mô cấp quận a | 1,3 | 0 | 1,3 | 260 | |
| 9 | Làm mát tập trung theo quy mô cấp quận | 1,3 | 0 | 1,3 | 260 | |
| được cấp tại chỗ |
|
|
|
| ||
| 10 | Mặt trời | Quang điện | 0 | 1 | 1 | 0 |
| 11 | Nhiệt | 0 | 1 | 1 | 0 | |
| 12 | Gió | 0 | 1 | 1 | 0 | |
| 13 | Môi trường | Địa nhiệt; Khí, Thủy nhiệt | 0 | 1 | 1 | 0 |
| Xuất đi |
|
|
|
| ||
| 14 | Điện b c | Hòa mạng lưới diện | 2,3 | 0,2 | 2,5 | 420 |
| 15 |
| Cho việc sử dụng không EPB | 2,3 | 0,2 | 2,5 | 420 |
| a Giá trị mặc định dựa trên nồi hơi sử dụng khí đốt tự nhiên. Giá trị cụ thể được tính theo M3-8.5. b Có thể phân biệt giữa các nguồn điện khác nhau như gió hoặc mặt trời. c Các giá trị này được thiết lập phù hợp với hệ số mặc định được cung cấp trong Phụ lục IV của Chỉ thị 2012/27/EU. Hệ số mặc định này hiện đang được xem xét và có thể cần có sự sửa đổi của các chỉ số trên. | ||||||
| a Bổ sung thêm cột trong thường hợp có các yêu cầu khác, ví dụ: Yêu cầu về CO2. b Bổ sung thêm hàng của các chất mang năng lượng. | ||||||
Bảng B.17 - Chỉ số kexp (xem 7.3.5 và 11.6.2.1)
| Mô tả | Giá trị |
| kexp Chỉ số được sử dụng để kiểm soát phần nào của năng lượng xuất đi được bao gồm vào hiệu quả năng lượng của tòa nhà | 1 |
Bảng B.18 - Dịch vụ tòa nhà được xem xét trong tính toán hiệu quả năng lượng (xem 8.2 và 8.5)
| Tổ hợp của loại hình dịch vụ | Lựa chọn: được đưa vào tính toán hiệu quả năng lượng (một cột trên mỗi loại hình dịch vụ hỗn hợp, xem Bảng B.10) | |
| Dịch vụ tòa nhà a | EPB_LISTSERVICES_RES | EPB_LISTSERVICES_NRES |
| Sưởi ấm | Có | Có |
| Làm mát | Có | Có |
| Thông gió | Có | Có |
| Gia ẩm | Có | Có |
| Khử ẩm | Có | Có |
| Cấp nước nóng sinh hoạt | Có | Có |
| Chiếu sáng | Không | Có |
| Chiếu sáng bên ngoài | Không | Không |
| Vận chuyển người (ví dụ: Thang máy, thang cuốn) | Không | Không |
| Dịch vụ khác tiêu thụ điện (ví dụ: Thiết bị) | Không | Không |
| Khác | Không | Không |
| a Bổ sung thêm hàng hoặc chỉnh sửa dòng trong trường hợp dịch vụ khác/ khác biệt hơn. | ||
Bảng B.19 - Nguyên tắc giả định có mặt của hệ thống (xem 9.2)
| Phương pháp | Lựa chọn Có hoặc Không a | |
| 1 | Nguyên tắc “hệ thống giả định” | Có hoặc Không |
| 2 | Nguyên tắc “có mặt hệ thống” | Có hoặc Không |
| 3 | Nguyên tắc khác | Có hoặc Không |
| Trong trường hợp của phương pháp 3: | ||
|
| Quy trình tham chiếu: | (Tham chiếu) |
| a Chỉ có thể có một lựa chọn; Lựa chọn có thể được phân biệt cho mỗi dịch vụ. CHÚ THÍCH: Tính nhất quán của các điều kiện sử dụng (mô-đun-M1-6) là điều cần thiết. | ||
Bảng B.20 - Quy định kỹ thuật của diện tích sàn sử dụng (xem 9.3)
| Thông số kỹ thuật và/hoặc tham chiếu đến tiêu chuẩn với nhiều thông tin hơn |
| Diện tích sàn sử dụng bằng diện tích của sàn theo các quy tắc cụ thể sau: Không bao gồm: Diện tích sàn dưới cấu tạo chịu tải bị loại trừ. Diện tích sàn mở (không có sàn) bị loại trừ. Diện tích sàn với chiều cao dưới trần nhỏ hơn 1,5 m ( ngoại trừ các dầm phụ). Bao gồm: Diện tích sàn dưới cấu tạo không chịu tải tại ranh giới của không gian hoặc các không gian được xem xét: được đo đến điểm giữa. Diện tích sàn dưới cấu tạo không chịu tải bên trong không gian hoặc các không gian được xem xét. |
Bảng B.21 - Loại hoặc các loại dữ liệu đo của kích thước tòa nhà (xem 9.3 và 9.4)
| Đại lượng | Đơn vị | Quy định kỹ thuật và/hoặc tham chiếu đến tiêu chuẩn với nhiều thông tin hơn |
| Diện tích sàn tham chiếu | m2 | Diện tích sàn sử dụng như nêu trong Bảng B.20 của tiêu chuẩn này, với các phần theo Bảng B.22. |
|
|
|
|
| CHÚ THÍCH: Bổ sung thêm hàng cho mỗi số liệu. | ||
Bảng B.22 - Loại không gian nào có đóng góp vào kích thước tham chiếu (xem 9.4)
| Loại không gian | Đóng góp? | Nếu có: (Tùy chọn) phần của kích thước đóng góp vào kích thước tham chiếu (fref;cat,) giá trị mặc định =1 a |
| Không gian phòng khách; phòng ngủ, phòng nghiên cứu, phòng tắm hoặc vệ sinh | Có | 1,0 |
| Khu nhà ở riêng lẻ: Hội trường, hành lang, cầu thang bên trong vò bao che nhiệt, gác mái bên trong vỏ bao che nhiệt | Có | 1,0 |
| Khu nhà ở tập thể hoặc phi dân cư: Hội trường, hành lang, cầu thang bên trong vỏ bao che nhiệt | Có | 1,0 |
| Không gian liền kề không được điều hòa nhiệt như phòng kho lưu trữ hoặc gác mái không được điều hòa | Không |
|
| Không gian nhận nhiệt mặt trời hoặc cửa trời không được điều hòa nhiệt | Không |
|
| Hội trường, hành lang bên ngoài vỏ bao che nhiệt | Có |
|
| Không gian văn phòng công sở | Có | 1,0 |
| Không gian cơ sở đào tạo | Có | 1,0 |
| Phòng ngủ bệnh viện | Có | 1,0 |
| Phòng khác của bệnh viện | Có | 1,0 |
| Phòng khách sạn | Có | 1,0 |
| Không gian của nhà hàng | Có | 1,0 |
| Bếp của nhà hàng | Không |
|
| Không gian phòng họp hoặc hội thảo | Có | 1,0 |
| Thính phòng/ giảng đường | Có | 1,0 |
| Không gian nhà hát hoặc chiếu phim | Có | 1,0 |
| Phòng máy chủ hoặc phòng vi tính | Không |
|
| Cơ sở thể thao, được điều hòa nhiệt | Có | 1,0 |
| Cơ sở thể thao, không được điều hòa nhiệt | Có | 0,5 |
| Không gian dịch vụ thương mại bán buôn và bán lẻ (cửa hàng) | Có | 1,0 |
| Phòng tắm phi dân cư, vòi sen, vệ sinh nếu bên trong vỏ bao che | Có | 1,0 |
| Không gian kho có sưởi | Không |
|
| Không gian kho được làm mát | Không |
|
| Không gian kho không được điều hòa | Không |
|
| Phòng máy | Không |
|
| Gara cá nhân hoặc bãi đỗ xe tập trung trong nhà | Không |
|
| Phòng kho hoặc chuồng gia súc | Không |
|
| a Các lựa chọn trong bảng này là các lựa chọn thực sự không thể thực hiện được nếu không có cái nhìn toàn diện về tất cả các tiêu chuẩn EPB. Việc phân loại không gian có liên quan trực tiếp đến điều kiện sử dụng được giả định cho mỗi loại không gian và các quy tắc cụ thể để kết hợp các không gian thành các vùng. Ví dụ: Việc phân chia nhỏ thành các loại không gian khác nhau với điều kiện sử dụng khác nhau cho mỗi không gian (như cài đặt nhiệt độ, lưu lượng thông gió, mức chiếu sáng, v.v...) có thể dễ dàng dẫn đến sự phức tạp không mong muốn trong việc đánh giá. | ||
Bảng B.23 - Quy định kỹ thuật của đường bao ranh giới (xem 9.5.1 và 9.6.1)
| Chất mang năng lượng | Quy định kỹ thuật của đường bao ranh giới ở gần (xem 3.4.24) | |
| Nhiên liệu sinh học | Rắn | Không có thêm quy định |
| Lỏng | Kết nối với cùng một nhánh của mạng phân phối hoặc có kết nối đặc thù đòi hỏi thiết bị cụ thể cho đối tượng được đánh giá để kết nối với nó | |
| Khí | Kết nối với cùng một nhánh của mạng phân phối hoặc có kết nối đặc thù đòi hỏi thiết bị cụ thể cho đối tượng được đánh giá để kết nối với nó | |
| Điện |
| Kết nối với cùng một nhánh của mạng phân phối, nghĩa là trung thế hoặc hạ thế |
| Sưởi tập trung |
| Luôn luôn ở gần |
| Làm mát tập trung |
| Luôn luôn ở gần |
Bảng B.24 - Lựa chọn đường bao ranh giới (xem 9.5.1 và 9.7)
| Lựa chọn đường bao ranh | Lựa chọn - tính toán RER (Năng lượng tái tạo) | Lựa chọn - tính toán RER (Tổng năng lượng) | Lựa chọn - tính toán EPB (Năng lượng cấp đến) |
| Tại chỗ | Có | Có | Có |
| Ở gần | Có | Có | Có |
| Từ xa | Không | Có | Có |
Bảng B.25 - Chỉ số chuyển đổi từ trị số tỏa nhiệt thực sang trị số tỏa nhiệt toàn phần đối với các chất mang năng lượng (xem 9.6.2)
| Chất mang năng lượng a | Chỉ số chuyển đổi fGCV/NCV |
| Dầu | 1,06 |
| Khí đốt | 1,11 |
| Khí hóa lỏng (LPG) | 1,09 |
| Than | 1,04 |
| Than nâu | 1,08 |
| Gỗ | 1,08 |
| a Bổ sung thêm hàng của các chất mang năng lượng | |
Bảng B.26 - Phần năng lượng tính vào chỉ số năng lượng sơ cấp và chỉ số phát thải CO2 (xem 9.6.2 và 9.6.3)
|
| Chỉ số năng lượng sơ cấp | Hệ số phát thải | |
| Bao gồm phần | - Năng lượng để trích xuất chất mang năng lượng sơ cấp | Có | Có |
| - Năng lượng để vận chuyển chất mang năng lượng sơ cấp | Có | Có | |
| - Năng lượng được sử dụng cho bất kỳ hoạt động nào khác cho việc cung cấp đến tòa nhà (ví dụ: Lưu trữ) | Có | Có | |
| - Năng lượng để xây dựng, vận hành và tháo dỡ các bộ thiết bị chuyển đổi | Không | Không | |
| - Năng lượng để xây dựng, vận hành và tháo dở hệ thống vận tải | Không | Không | |
| - Năng lượng để làm sạch và xử lý chất thải | Không | Không | |
| - Năng lượng trong các vật liệu | Không | Không | |
| Các khí nhà kính khác ngoài khí CO2 đã bao gồm a | Không xác định | Có | |
|
|
|
| |
| Áp dụng cho xếp hạng dựa trên | trị số tỏa nhiệt thực | trị số tỏa nhiệt thực | |
| a Có thể liệt kê các loại khí nhà kính khác. | |||
Bảng B.27 - Cơ sở về hiệu quả năng lượng của các tòa nhà (xem 9.6.2)
| Cơ sở về hiệu quả năng lượng của tòa nhà | Lựa chọn | Loại ứng dụng (Xem bảng A.6/B.6) |
| Tổng hiệu quả năng lượng (EP = EPtot) hoặc Hiệu quả năng lượng không tái tạo (EP = EPnren) | EP= EPnren | Tất cả các loại hình ứng dụng trong Bảng B.6 |
| CHÚ THÍCH: Bổ sung thêm dòng trong trường hợp có nhiều mục đích đánh giá hơn. | ||
Bảng B.28 - Mức ưu tiên đối với hệ thống phát năng lượng, xuất đi (xem 7.3.3.6 và 9.6.6.2.4)
| Mức ưu tiên cho xuất đi | Ký hiệu định danh ưu tiên | Ký hiệu định danh loại hình phát năng lượng |
| Ưu tiên mức 1 (cao nhất) | EL_EXP_PRIO_LEVEL_1 | EL_PROD_PV |
| Ưu tiên mức 2 | EL_EXP_PRIO_LEVEL_2 | EL_PROD_WIND |
| Ưu tiên mức 1 (thấp nhất) | EL_EXP_PRIO_LEVEL_3 | EL_PROD_CHP |
Bảng B.29 - Quy tắc phân chia (xem 10.5.1)
| Loại vùng hoặc khu vực phục vụ a | Quy tắc chung | Quy tắc riêng (nếu có) |
| Vùng nhiệt | Diện tích sàn sử dụng theo trọng số | Xem ISO 52016-1 |
| Khu vực phục vụ của hệ thống sưởi ấm | Diện tích sàn sử dụng theo trọng số |
|
| Khu vực phục vụ của hệ thống làm mát | Diện tích sàn sử dụng theo trọng số |
|
| Khu vực phục vụ thông gió | Diện tích sàn sử dụng theo trọng số |
|
| Khu vực phục vụ cấp nước nóng sinh hoạt | Diện tích sàn sử dụng theo trọng số |
|
| Khu vực phục vụ chiếu sáng | Diện tích sàn sử dụng theo trọng số |
|
|
|
|
|
| a Bổ sung thêm dòng trong trường hợp có nhiều khu vực phục vụ hơn. | ||
Bảng B.30 - Dòng năng lượng được tính vào cân bằng năng lượng của tòa nhà (xem 11.6.2.1)
| Hệ thống hoặc bộ phận | Được tính là năng lượng cấp đến? Có/Khônga | Năng lượng xuất đi được tính vào đánh giá hiệu quả năng lượng Bước B (11.6.2.1) b (Có/không) |
| Các nhu cầu |
|
|
| Năng lượng tái tạo thụ động | Không | Không áp dụng |
| Tại chỗ |
|
|
| Hệ thống kỹ thuật được bố trí tại chỗ và tạo ra năng lượng từ các nguồn tái tạo | Có | Có |
| Năng lượng mặt trời từ các tấm năng lượng mặt trời | Có | Có |
| Tự làm mát không mất năng lượng như năng lượng tái tạo | Có | Không áp dụng |
| Tự sưởi ấm không mất năng lượng như năng lượng tái tạo | Có | Không áp dụng |
| Nhiệt được lấy từ môi trường bởi bơm nhiệt | Có | Có |
| Sản xuất điện từ năng lượng gió | Có | Không |
| Ở gần | C |
|
| Sưởi tập trung | Có | Không |
| Làm mát tập trung | Có | Không |
| Nhiệt tạo ra bởi sinh khối | Có | Không |
| Từ xa | d |
|
| Sản xuất điện từ các nguồn tái tạo | Có | Không |
| a “Không” trong cột thứ hai có nghĩa là “không áp dụng” ở cột thứ ba. b Chỉ có liên quan nếu kexp > 0, Xem Bảng A.29/B.29. c Nếu lựa chọn đường bao ranh giới là khu vực “ở gần” (xem Bảng A.19) d Nếu lựa chọn đường, bao ranh giới là khu vực “từ xa” (xem Bảng A.19) CHÚ THÍCH: Có thể xóa bớt hoặc bổ sung thêm các hàng | ||
Bảng B.31 - Loại hình sử dụng điện không được đáp ứng đủ bởi sản xuất điện tại chỗ (xem 11.6.2.4)
| Loại hình sản xuất điện tại chỗ | Không được phép sử dụng | Lời dẫn giải |
| Tất cả | Không | Loại hình sử dụng điện bất kỳ có thể được đáp ứng bởi một loại hình sản xuất điện bất kỳ tại chỗ |
Bảng B.32 - Chỉ số phù hợp sản xuất và sử dụng điện (xem 11.6.2.4)
| Khoảng thời gian tính toán | Trường hợp | Hàm số chỉ số phù hợp và các thông số |
| Theo giờ | Tất cả các loại tòa nhà | fmatch = 1 |
| Theo tháng | Tất cả các loại tòa nhà |
Với |
Phụ lục C
(Quy định)
Chỉ số dưới chung
C.1 Tổng quát
Việc tính toán EPB liên quan đến một số lượng lớn các đại lượng vật lý. Phụ lục C quy định các quy tắc đảm bảo tính nhất quán và tránh sự trùng lặp trong việc đặt tên các đại lượng vật lý cho toàn bộ tiêu chuẩn EPB
Liên quan đến từng tiêu chuẩn EPB riêng lẻ, các đại lượng có thể được phân chia thành hai nhóm chính:
- Các đại lượng chung nhằm làm đầu vào từ hoặc đầu ra cho các tiêu chuẩn khác của bộ tiêu chuẩn EPB;
- Các đại lượng nội tại nhằm mục đích chỉ được sử dụng trong tiêu chuẩn EPB cụ thể.
Phụ lục C bao gồm:
- Chỉ số dưới cơ bản chung và quy tắc tạo lập các chỉ số dưới mới;
- Định nghĩa của ký hiệu định danh trường hợp.
Điều 4 cung cấp danh sách các ký hiệu EPB, đơn vị và chỉ số dưới chung.
C.2 Chỉ số dưới chung
C.2.1 Thứ tự của các chỉ số
Các chỉ số được phân thành các cấp độ khác nhau được sắp xếp theo thứ tự sau:
- Vị trí thứ nhất: Cấp độ 1;
- Vị trí thứ 2: Cấp độ 2 (nếu áp dụng);
- V.v...
Ở mỗi cấp độ có thể có các tập hợp chỉ số dưới khác nhau, cho các bối cảnh khác nhau.
CHÚ THÍCH: Trong một bối cảnh nhất định cần có sự phân biệt giữa sử dụng năng lượng (sưởi ấm so với làm mát so với thông gió, v.v...), trong khi trong một bối cảnh khác cần có sự phân biệt giữa chất mang năng lượng (ga so với dầu so với điện). Nhưng không bao giờ phải phân biệt giữa mức sử dụng năng lượng cho sưởi ấm và nhiên liệu sử dụng gas.
Các cấp độ được phân cấp để hài hòa thứ tự của các chỉ số dưới được sử dụng trong các tiêu chuẩn EPB khác nhau. Chỉ số dưới phải tuân theo thứ tự (cấp độ) từ tổng quát nhất cho đến chi tiết nhất.
VÍ DỤ: Tổn thất nhiệt hệ thống thông gió có thể thu hồi:
và không phải là
C.2.2 Quy tắc bỏ qua một cấp độ nếu không áp dụng
Khi chỉ số dưới ở một cấp độ xác định mô tả sự phân chia không được áp dụng thì chỉ số cho cấp độ đó sẽ được bỏ qua.
C.2.3 Quy tắc bỏ qua một cấp độ nếu có ý nghĩa rõ ràng trong bối cảnh
Trong một tiêu chuẩn EPB, nếu đại lượng không được chuyển qua các tiêu chuẩn EPB khác, một hoặc nhiều chỉ số có thể được bỏ qua miễn là có ý nghĩa rõ ràng trong bối cảnh (nếu không thì danh sách có đầy đủ chỉ số dưới sẽ được sử dụng).
CHÚ THÍCH: Quy tắc này được áp dụng để tránh danh sách dài các chỉ số dưới khi một chỉ số dưới luôn giống nhau trong bối cảnh nhất định.
VÍ DỤ: Chỉ số “calc” có thể được bỏ qua trong đại lượng
(vì vậy có thể viết là
) trong Điều chỉ đề cập đến các đại lượng tính toán.
C.2.4 Đại lượng nội tại
Đại lượng nội tại là đại lượng nhằm được sử dụng và tham chiếu chỉ trong một mô-đun.
Để tránh sự trùng lặp có thể có của các ký hiệu trong các tiêu chuẩn EPB và các tiêu chuẩn liên quan khác, một chỉ số cấp một duy nhất phải được sử dụng cho tất cả các đại lượng nội tại của tiêu chuẩn EPB cho một mô-đun.
VÍ DỤ: Mô-đun bơm nhiệt có thể được gán với chỉ số dưới “hp” cho tất cả các chỉ số của đại lượng nội tại của mô-đun đó.
C.2.5 Đại lượng chung
Đại lượng chung là đại lượng nhằm mục đích chuyển qua cho hoặc được tham chiếu bởi các tiêu chuẩn EPB khác.
VÍ DỤ: Đầu vào phân phối nhiệt nhằm được tham chiếu làm cơ sở cho đầu ra phát nhiệt.
Chỉ số dưới cho các đại lượng chung được xác định cho ba phạm vi sau:
- Phạm vi cân bằng các nhu cầu của tòa nhà, trong đó chỉ số dưới đầu tiên phải là dịch vụ (H, C, W,...) và sau đó hạng mục cân bằng được chỉ định;
- Phạm vi các hệ thống kỹ thuật, trong đó chỉ số dưới đầu tiên phải là dịch vụ (H, C, W, ...) và sau đó các cấp độ sau là hệ thống con, hạng mục cân bằng bên trong hệ thống con và các quy định kỹ thuật khác;
- Các tương tác qua ranh giới đánh giá, trong đó chỉ số dưới đầu tiên phải là loại dòng năng lượng (cấp đến, xuất đi, sơ cấp) và sau đó là quy định kỹ thuật khác.
C.2.6 Thuật ngữ cho các chỉ số dưới
C.2.6.1 Tổng quát
Ba hoặc bốn cấp độ đầu tiên cho ba phạm vi được thể hiện trong Bảng C.1 đến C.4.
Chúng có thể được bổ sung thêm các chỉ số phụ để chỉ ra vùng không gian và/hoặc khoảng thời gian tính toán (xem Bảng C.5).
C.2.6.2 Chỉ số dưới cho phạm vi tòa nhà
Trong phạm vi tòa nhà:
- Cấp độ đầu tiên là dịch vụ;
- Cấp độ thứ hai là hạng mục cân bằng năng lượng;
- Cấp độ thứ ba là quy định kỹ thuật tùy chỉnh.
Các chỉ số dưới chung cho phạm vi tòa nhà được nêu trong Bảng C.1.
Bảng C.1 - Chỉ số dưới cho phạm vi tòa nhà
| Cấp độ 1 Dịch vụ | Cấp độ 2 Hạng mục cân bằng năng lượng | Cấp độ 3 Được sử dụng hoặc không được sử dụng | |||
| H | Sưởi ấm | nd | Nhu cầu | ut | được sử dụng |
| C | Làm mát | ht | Truyền nhiệt | nut | không được sử dụng |
| W | Cấp nước nóng sinh hoạt | tr | Dẫn (truyền nhiệt) |
|
|
| V | Thông gió | ve | Thông gió (truyền nhiệt) |
|
|
| HU | Gia ẩm | gn | Thu nhận |
|
|
| DHU | Khử ẩm | sol | Mặt trời |
|
|
| L | Chiếu sáng | int | Bên trong |
|
|
| BAC | Tự động hóa và kiểm soát tòa nhà | sens | hiện |
|
|
| E | Năng lượng quang điện, gió | lat | ẩn |
|
|
| XY | Tổ Hợp của H, C, W |
|
|
|
|
| O | Dịch vụ khác |
|
|
|
|
| Epus | Dịch vụ EPB |
|
|
|
|
| nEPus | Dịch vụ không EPB |
|
|
|
|
| TOT | Tổng cộng |
|
|
|
|
| A | Thiết bị |
|
|
|
|
| T | Nhiệt |
|
|
|
|
C.2.6.3 Chỉ số dưới cho phạm vi hệ thống kỹ thuật tòa nhà
Trong phạm vi hệ thống kỹ thuật tòa nhà:
- Cấp độ đầu tiên là dịch vụ;
- Cấp độ thứ hai là nhận biết hệ thống kỹ thuật con;
- Cấp độ thứ ba là hạng mục cân bằng;
- Cấp độ thứ tư là quy định kỹ thuật của hạng mục cân bằng liên quan đến thu hồi năng lượng;
- Cấp độ thứ năm là dịch vụ đích của việc thu hồi năng lượng.
Các chỉ số dưới chung cho phạm vi hệ thống kỹ thuật được nêu trong Bảng C.2.
Bảng C.2 - Chỉ số dưới cho phạm vi hệ thống kỹ thuật
| Cấp độ 1 Dịch vụ | Cấp độ 2 Hệ thống kỹ thuật tòa nhà | Cấp độ 3 Hạng mục cân bằng | Cấp độ 4 Thông số kỹ thuật của hạng mục cân bằng | Cấp độ 5 Đích của việc thu hồi (dịch vụ) | |||||
| H | Sưởi ấm | us | Sử dụng | Ls | Tổn thất | rbl | Có thể thu hồi | H | Sưởi ấm |
| C | Làm mát | sys | Hệ thống | aux | Phụ trợ | rvd | Được thu hồi | C | Làm mát |
| W | Cấp nước nóng sinh hoạt | em | Phát xạ, phát thải | In | Đầu vào | nrbl | Không thể thu hồi | W | Cấp nước nóng sinh hoạt |
| V | Thông gió | dis | Phân phối | out | Đầu ra | nrvd | Không thu hồi được | V | Thông gió |
| HU | Gia ẩm | sto | Lưu giữ |
|
|
|
| HU | Gia ẩm |
| DHU | Khử ẩm | nod | Điểm nút |
|
|
|
| DHU | Khử ẩm |
| L | Chiếu sáng | gen | Phát, sản sinh, sản xuất |
|
|
|
| L | Chiếu sáng |
| BAC | Tự động hóa và kiểm soát tòa nhà | hum | Gia ẩm |
|
|
|
| BAC | Tự động hóa và kiểm soát tòa nhà |
|
|
| dhum | Khử ẩm |
|
|
|
|
|
|
| XY | Tổ hợp của H, C, w | hp | Bơm nhiệt |
|
|
|
| XY | Tổ hợp của H, C, W |
| O | Dịch vụ khác | blr | Nồi hơi |
|
|
|
| O | Dịch vụ khác |
| Epus | Dịch vụ EPB | cgn | Đồng phát |
|
|
|
| Epus | Dịch vụ EPB |
| nEPus | Dịch vụ không EPB | ts | Nhiệt mặt trời |
|
|
|
| nEPus | Dịch vụ không EPB |
| TOT | Tổng cộng | pv | Quang điện |
|
|
|
| TOT | Tổng cộng |
| A | Thiết bị |
|
|
|
|
|
| A | Thiết bị |
| T | Nhiệt |
|
|
|
|
|
| T | Nhiệt |
| O | Khác |
|
|
|
|
|
| O | Khác |
C.2.6.4 Tương tác qua ranh giới đánh giá
Đối với sự trao đổi năng lượng không theo trọng số qua ranh giới đánh giá:
- Cấp độ đầu tiên là loại của dòng năng lượng;
- Cấp độ thứ hai là nhận diện chất mang năng lượng;
- Các cấp độ sau là cấp độ đạt điều kiện.
- Các chỉ số dưới phổ biến cho năng lượng không trọng số qua ranh giới đánh giá được nêu trong Bảng C.3.
Bảng C.3 - Chỉ số dưới cho năng lượng không theo trọng số qua ranh giới đánh giá
| Cấp độ 1 Loại dòng năng lượng | Cấp độ 2 Chất mang năng lượng | Cấp độ 3 Cấp độ đạt điều kiện dịch vụ nào | |||
| del | Cấp đến | gas | Khí đốt | H | Sưởi ấm |
| exp | Xuất đi | oil | Dầu | C | Làm mát |
| pr | Sản xuất | el | Điện | W | Cấp nước nóng sinh hoạt |
| EPus | Sử dụng cho dịch vụ EPB | wd | Gỗ | V | Thông gió |
| nEPus | Sử dụng cho dịch vụ ngoài dịch vụ EPB | dh | Sưởi ấm tập trung | HU | Gia ẩm |
|
|
| dc | Làm mát tập trung | DHU | Khử ẩm |
|
|
| sf | Nhiên liệu rắn | L | Chiếu sáng |
|
|
| If | Nhiên liệu lỏng | BAC | Tự động hóa và kiểm soát tòa nhà |
|
|
| gf | Nhiệt liệu khí | E | Quang điện, gió |
|
|
| bm | Sinh khối | XY | Tổ hợp của H, C, W |
|
|
| sol | Nhiệt mặt trời | Epus | Dịch vụ EPB |
|
|
| pv | Điện mặt trời | nEPus | Dịch vụ không EPB |
|
|
| ah | Nhiệt từ môi trường xung quanh | TOT | Tổng cộng |
|
|
| wnd | gió | A | Thiết bị |
|
|
| cr | chất mang (nói chung) | T | Nhiệt |
|
|
|
|
| O | Dịch vụ khác |
|
|
|
|
| Cấp độ đạt điều kiện Nguồn gốc | |
|
|
|
|
| onst | Tại chỗ |
|
|
|
|
| nrby | ở gần |
|
|
|
|
| dist | từ xa |
|
|
|
|
| Cấp độ đạt điều kiện Hạng mục cân bằng nào | |
|
|
|
|
| used | Được sử dụng trong cùng một khoảng thời gian tính toán |
|
|
|
|
| Unus sed | Không được sử dụng trong cùng một khoảng thời gian tính toán |
|
|
|
|
| grid | Đến lưới/ từ lưới |
Các chỉ số dưới trong Bảng C.3 cũng được sử dụng cho phát thải CO2, các chi phí và các loại hiệu quả khác theo trọng số.
Đối với sự trao đổi năng lượng theo trọng số qua ranh giới đánh giá:
- Chỉ số cấp độ thứ nhất là loại trọng số P cho “sơ cấp”:
- Cấp độ thứ hai là loại con tùy chọn của trọng số (ví dụ: Tái tạo/ không tái tạo/ tổng cộng đối với năng lượng sơ cấp hoặc chất ô nhiễm đối với các chỉ số phát thải);
- Cấp độ thứ ba và cấp độ sau đây có thể là một trong các mục sau:
- Quy định kỹ thuật của dòng năng lượng cấp đến liên quan tuân theo các quy tắc tương tự được đặt ra trong Bảng C.2;
- Quy định kỹ thuật về nguồn gốc hoặc đích đến của năng lượng sơ cấp. Chỉ số ký hiệu định danh dịch vụ bất kỳ (cấp độ 1 trong Bảng C1) có thể được sử dụng ở đây.
Bảng C.4 - Chỉ số dưới cho đại lượng năng lượng theo trọng số (hiệu quả năng lượng)
| Cấp độ 1 Loại tiêu chí trọng số | Cấp độ 2 Cấp độ đạt điều kiện Loại dòng năng lượng | ||
| we | Trọng số | del | Cấp đến |
| Ptot | Tổng năng lượng sơ cấp | exp | Xuất đi |
| Pren | Năng lượng sơ cấp tái tạo | pr | Sản xuất |
| Pnren | Năng lượng sơ cấp không tái tạo |
|
|
| ghg | Phát thải khí nhà kính |
|
|
| CO2 | Phát thải CO2 | Cấp độ đạt điều kiện Đích đến của dòng năng lượng | |
| CST | Chi phí | EPus | Sử dụng cho dịch vụ EPB |
|
|
| nEPus | Sử dụng cho dịch vụ khác ngoài EPB |
|
|
| X | Sử dụng EPB bất kỳ |
|
|
| Cấp độ đạt điều kiện Nguồn gốc của dòng năng lượng | |
|
|
| onst | Tại chỗ |
|
|
| nrby | Ở gần |
|
|
| dist | Từ xa |
C.2.6.5 Cấp độ tiếp theo của các chỉ số dưới
Một vài bối cảnh có thể cần đến các chỉ số dưới khác.
Sự phân loại chung và phân cấp được nêu trong bảng C.5.
CHÚ THÍCH: Trong một bối cảnh bất kỳ xác định nhu cầu có nhiều hơn một cấp độ phụ thêm là rất hiếm.
Bảng C.5 - Chỉ số dưới khác
| Cấp độ n + 1 Phạm vi không gian | Cấp độ n + 2 Chu kỳ thời gian | Cấp độ n + 3 Cách thức để có được | Cấp độ n + 4 Thống kê | ||||
| B | Tòa nhà | wk | Hàng tuần | calc | Tính toán | avg | Trung bình theo thời gian |
| Z | Vùng tòa nhà | day | Hàng ngày | meas | Đo lường | mn | Trung bình (thời gian hoặc không gian)a |
| sp | Không gian | h | Hàng giờ | est | Ước tính | max | Tối đa |
| bu | Đơn nguyên tòa nhà | m | Hàng tháng |
|
| min | Tối thiểu |
| sa | Khu vực phục vụ | seas | Theo mùa |
|
| pk | Đỉnh |
|
|
| bin | “bin” |
|
|
|
|
|
|
| an | Hàng năm |
|
|
|
|
| a Trung bình được sử dụng cho trung bình về thời gian và không gian (sẽ được lấy theo bối cảnh) | |||||||
C.2.6.6 Chỉ số dưới khác
Các chỉ số chung khác được liệt kê trong Bảng C.6
Bảng C.6 - Các chỉ số dưới chung khác
| 0 | Cơ bản, cơ sở, tham chiếu |
| A | Không khí |
| E | Bên ngoài |
| evn | Vỏ bao che |
| F | Sàn |
| off | Ngắt/ Tắt |
| on | Bật |
| red | Giảm đi |
| Fld/P100 | Ở mức đầy tải |
| Pn | Ở mức tải danh định |
| P30 | Ở mức 30% tải |
| P0 | Ở mức không tải |
| Pavg | Ở mức tải trung bình |
| Set | Ở điều kiện điểm cài đặt |
C.3 Định danh trường hợp
Nhận diện các đặc tính định tính được thực hiện bởi các ký hiệu (ngôn ngữ XML).
- Định danh đặc tính chỉ ra một đặc tính có thể có một vài giá trị hoặc có thể là một vài loại;
- Định danh trường hợp xác định giá trị cụ thể hoặc loại của một đặc tính.
Mỗi định danh đặc tính được cấu trúc như một chuỗi các mã ghi nhớ được phân tách bởi dấu gạch dưới.
Mỗi mã ghi nhớ phải có tối đa tám ký tự.
Tất cả các định danh trong một mô-đun phải bắt đầu bằng một mã tiền tố chung duy nhất.
Các mã số phải theo thứ tự từ tổng quát đến chi tiết.
Khi các mã số có cùng ý nghĩa với các ký hiệu và các chỉ số, mã số phải giống như ký hiệu hoặc chỉ số dưới tương ứng.
VÍ DỤ 1: BRL_TYPE cho loại nồi hơi theo chỉ thị về nồi hơi. “BRL” là mã số chung cho tất cả định danh trường hợp trong tất cả các tiêu chuẩn EPB về nồi hơi.
Mỗi định danh trường hợp được chỉ định bằng cách gắn thêm một mã số vào định danh đặc tính.
VÍ DỤ 2: BRL_TYPE_STD xác định một nồi hơi tiêu chuẩn theo chỉ thị về nồi hơi.
C.4 Thuật ngữ viết tắt và mã được sử dụng với phần mềm
C.4.1 Tổng quát
Để các tiêu chuẩn EPB có thể được đưa vào phần mềm, việc phiên âm các ký hiệu và các chỉ số dưới được sử dụng trong các tiêu chuẩn EPB trong ngôn ngữ phần mềm phải thật rõ ràng.
C.4.2 Mã hóa ký hiệu
Ký hiệu và chỉ số được viết bằng chữ in hoa theo thứ tự giống như trong chỉ số dưới.
Ký hiệu và chỉ số dưới đầu tiên được phân tách bởi ký tự dấu gạch dưới "_".
Dấu gạch dưới được chèn vào giữa đơn vị và chỉ số dưới.
Chỉ số dưới được phân tách bởi một dấu gạch dưới “_” (dấu “;” và “,” giữa các chỉ số khác nhau được thay thế bởi dấu “_” để mã hóa chúng).
VÍ DỤ: QH;nd được mã hóa thánh Q_H_nd.
C.4.3 Ký hiệu sử dụng chữ Hy lạp
Chữ cái và ký hiệu Hy Lạp được chuyển dịch sang phần mềm mã hóa theo tên của chúng. Toàn bộ tên được sử dụng thay vì, ví dụ, chỉ có ba chữ cái đầu tiên, bởi vì việc mã hóa tên hoàn chỉnh thường được đề xuất bởi phần mềm cơ bản.Toàn bộ tên thì sẽ ít gây ra nhầm lẫn hơn (xem bảng C.7).
Chữ viết thường Hy Lạp được chuyển đổi bằng tên với chữ cái viết thường.
Chữ cái Hy Lạp viết Hoa được chuyển đổi chỉ bằng một chữ cái viết hoa đầu tiên trong tên. Khi chữ cái Hy Lạp viết hoa giống như bảng chữ cái La tinh thì chỉ sử dụng chữ cái La tinh viết hoa.
VÍ DỤ:
được phiên âm thành Phi_H_gen_1_out.
Không nên sử dụng các chữ cái Hy Lạp viết hoa với chữ cái La tinh, hoặc chữ cái Hy lạp tương tự như chữ cái La tinh.
Chúng được đặt trong các dấu ngoặc theo bảng C.7.
Bảng C.7 - Phiên âm các chữ cái Hy Lạp theo ngôn ngữ phần mềm
| Hy Lạp | Phần mềm | Chữ in hoa Hy Lạp | Phần mềm | Hy Lạp | Phần mềm | Chữ in hoa Hy Lạp | Phần mềm |
| α | alpha | (A) | A | (v) | nu | (N) | N |
| β | beta | (B) | B | ξ | xi |
| XI |
| y | gamma |
| Gamma | (o) | omicron | (O) | O |
|
| delta | Δ | Delta |
| pi |
| Pi |
|
| epsilon | (E) | E |
| rho | (P) | P |
|
| zeta | (Z) | Z |
| sigma |
| Sigma |
|
| eta | (H) | H |
| tau | (T) | T |
|
| theta |
| Theta |
| upsilon |
| Y |
|
| iota | (l) | I |
| phi | Φ | Phi |
|
| kappa | (K) | K |
| chi | (X) | X |
| λ | lambda |
| Lambda |
| psi |
| Psi |
| µ | mu | (M) | M |
| omega | Ω | Omega |
Xem thêm C.4 về các định danh trường hợp.
C.4.4 Đặc tính và định danh trường hợp
Định danh đặc tính hoặc trường hợp là một loại ký hiệu mới được đưa vào để xử lý các tùy chọn theo dạng phù hợp đối với phần mềm. Thông tin thêm có thể xem trong CEN/TR 16629 [5].
Ví dụ về việc sử dụng định danh, một mô-đun tính toán có thể đòi hỏi việc địa phương hóa của một hạng mục:
- Để quyết định nhiệt độ bên ngoài nào được sử dụng để tính tổn thất nhiệt;
- Hoặc để quyết định xem chúng có được thu hồi hay không.
Sau đó:
- Nếu hạng mục là một nồi hơi, mã thích hợp có thể là BRL,
- Mã bổ sung để chỉ định việc địa phương hóa có thể là LOC, vì vậy định danh cho việc địa phương hóa của nồi hơi là: BLR_LOC.
- Sau đó nồi hơi có thể được lắp đặt trong không gian sưởi, không gian không được sưởi, v.v....Điều này được xác định bởi các mã như “INT”, “EXT”, “UNH”, ...
Các giá trị có thể có có thể được tóm lược trong một bảng giống như Bảng C.8.
Bảng C.8 - Ví dụ định danh cho việc địa phương hóa nồi hơi
| Mã | Ý nghĩa |
| BLR_LOC_INT | Không gian được sưởi |
| BLR_LOC_EXT | Bên ngoài (ngoài nhà) |
| BLR LOC_UNH | Không gian không được sưởi |
| BLR_LOC_BLR | Phòng nồi hơi |
Phụ lục D
(Tham khảo)
Tính toán hiệu quả năng lượng đo lường
D.1 Tổng quát
Phụ lục D trình bày ngắn gọn cách thức tuân theo nguyên tắc về hiệu quả năng lượng tính toán khi xử lý hiệu quả năng lượng đo lường.
Các mô-đun năng lượng đo lường cung cấp số lượng đo lường của các chất mang năng lượng được cấp đến hoặc xuất đi thay thế cho các chất mang năng lượng được tính toán. Sự điều chỉnh bất kỳ theo điều kiện khí hậu và/hoặc điều kiện sử dụng đều được thực hiện trong các mô-đun năng lượng đo lường liên quan như M3-10 và M11-10.
D.2 Tòa nhà chỉ có năng lượng được cấp đến
Nếu không có năng lượng được xuất đi, thì công thức (39) của 11.6.3 là công thức duy nhất được sử dụng.
Điều này được thực hiện bằng cách thay
bằng
và thu được:

Tổng theo thời gian được bỏ qua nếu chỉ có sẵn lượng năng lượng cấp đến đo lường hàng năm, nếu vậy thì cần có một chỉ số trọng số trung bình hoặc hằng số.
Tổng theo thời gian có thể liên quan đến các số đọc liên tiếp hoặc các số đọc theo quãng thời gian khác nhau (ví dụ: Đỉnh so với ngoài đỉnh). Điều thứ hai thường phù hợp đối với trọng số kinh tế.
Công thức này được sử dụng cho điện năng cũng như khi không có lượng điện được xuất đi (ví dụ:
chỉ là một biểu hiện của
.
Tỷ số năng lượng tái tạo không thể tính được nếu không đo được phần đóng góp của nhiệt mặt trời và/hoặc nhiệt thu được từ môi trường bởi bơm nhiệt.
D.3 Tòa nhà có năng lượng xuất đi
Nếu:
- Năng lượng điện được sản xuất
được đo riêng so với năng lượng được cấp đến
.
- và lượng điện sản xuất ra không được sử dụng trực tiếp (ví dụ: Đi vòng qua đồng hồ đo lượng điện được cấp đến).
Sau đó lượng điện cấp đến đo được là lượng điện sử dụng thực tế (Đối với đánh giá xếp hạng tính toán, lượng điện cấp đến không được tính đến lượng điện được sản xuất và sử dụng ngay trong cùng một khoảng thời gian tính toán) và quy trình nêu trong 11.6.2 có thể được sử dụng bằng cách chỉ xem xét bước thời gian t và bỏ qua công thức bất kỳ tập hợp hoặc chia tách các giá trị hàng năm như công thức (36) và (38).
Điều này được thực hiện bằng cách đặt:
- Epr;el = Epr;el;meas
- EEPus;el = Edel;el;meas
Chỉ số phù hợp tải cụ thể có thể được xác định trong tài liệu ứng dụng quốc gia.
Giả sử rằng lượng điện cấp đến đo được chỉ bao gồm các công năng sử dụng EPB. Nếu việc đo lường riêng đối với các công năng sử dụng không EPB được cung cấp và các chỉ số trọng số tương ứng được thiết lập thì sau đó các công năng sử dụng không EPB có thể được tính đến. Trong trường hợp đo đếm riêng biệt cho nhiều máy phát điện, tiêu chí ưu tiên có thể được thiết lập và tính đến như đối với hiệu quả năng lượng tính toán.
Phụ lục E
(Quy định)
Phương pháp tính toán các chỉ số hiệu quả năng lượng cho mỗi phần của một tòa nhà và/hoặc dịch vụ
E.1 Tổng quát
Phụ lục E giới thiệu quy trình tính toán chi tiết được tham chiếu trong 7.1, 7.4, 9.5.1, 9.9 và 10.2.
E.2 Phương pháp tính thông thường
E.2.1 Nguyên tắc
Phương pháp tính thông thường dựa trên các nguyên tắc sau:
- Việc tính toán bắt đầu theo trình tự đi từ các nhu cầu cho đến năng lượng theo trọng số;
- Việc tính toán được thực hiện riêng cho từng phần dịch vụ sẽ được đánh giá xếp hạng riêng lẻ (hạng mục sử dụng năng lượng);
- Năng lượng nhiệt và năng lượng điện được tính toán riêng cho các hệ thống kỹ thuật;
- Đối với mỗi hệ thống con, đầu vào kết quả nhiệt được phân bổ cho các hạng mục sử dụng được kết nối tỷ lệ với phần đầu ra của hệ thống con;
- Đối với mỗi hệ thống con năng lượng phụ trợ được phân bổ cho các hạng mục sử dụng được kết nối tỷ lệ với phần đầu ra của hệ thống con;
- Đối với mỗi hệ thống phát năng lượng, phần đóng góp của mỗi chất mang năng lượng và năng lượng phụ trợ được phân bổ cho các hạng mục sử dụng được kết nối tỷ lệ với phần đầu ra của máy phát;
- Khi một máy phát có hoạt động đồng thời cấp cho các dịch vụ khác nhau (ví dụ: Nồi hơi dự phòng để cấp nước nóng sinh hoạt cũng đồng thời cấp nhiệt cho sưởi ấm), chất mang năng lượng và năng lượng phụ trợ được phân bổ tỷ lệ với phần đầu ra của máy phát;
- Khi máy phát có hoạt động thay thế cho các dịch vụ khác nhau (ví dụ: Bơm nhiệt được tính toán riêng cho sưởi ấm và cấp nước nóng sinh hoạt) máy phát này được xem như là hai máy phát riêng biệt và sẽ không có sự hợp nhất trong tính toán.
E.2.2 Chú giải
Mỗi phần của tòa nhà hoặc dịch vụ tòa nhà có một chỉ số riêng mong muốn thì được gọi là “hạng mục sử dụng hoặc “hạng mục sử dụng năng lượng” và được nhận dạng bởi một chỉ số duy nhất i.
Với tính toán thông thường, tại bất kỳ giai đoạn tính toán nào, cho bất kỳ dữ liệu nào đều có:
- Giá trị thực;
- Phần được phân bổ cho (hoặc có liên quan với) mỗi hạng mục sử dụng i.
VÍ DỤ: Nếu QH;dis;out đầu ra của một chu trình phân phối, sau đó QH;dis;out;i là phần của đầu ra được phân bổ cho hạng mục sử dụng i.
E.2.3 Bắt đầu tính toán
E.2.3.1 Tổng quát
Việc tính toán bắt đầu với việc biết các nhu cầu QX,nd,i liên quan đến từng hạng mục sử dụng "i" và đặt ra cho hệ thống con cuối cùng bằng cách sử dụng công thức (E.1):
(E.1)
và tất nhiên công thức (E.2):
(E.2)
trong đó tổng được thực hiện cho các hạng mục sử dụng "i" được kết nối với bộ phát được quy định của hệ thống con "j".
Đối với các hạng mục sử dụng liên quan đến thông gió, các hạng mục sử dụng được xác định bởi lưu lượng dòng không khí liên quan.
E.2.3.2 Trọng số phân bổ mặc định
Trọng số phân bổ mặc định khác không Xdef;i phải được xác định cho mỗi hạng mục sử dụng.
E.2.4 Quy tắc hệ thống con
Đối với mỗi hệ thống con y, điều chưa biết là định mức năng lượng nhiệt đầu vào QX;Y;in,i và phần năng lượng phụ trợ WX;Y;aux,i cho mỗi hạng mục sử dụng. Chúng được xác định theo công thức (E.3) và (E.4).


Nếu, theo công thức (E.5):

Thì công thức (E.6) và (E.7) thay cho công thức (E.3) và (E.4):

Chỉ số j được giới hạn cho các hạng mục được kết nối với hệ thống con đang được tính toán.
VÍ DỤ: Khi tính toán phát xạ nhiệt/ lạnh và kiểm soát 1 nêu trong Hình E.1, chỉ số j là từ 1 đến 3.

Hình E.1 - Sơ đồ tính toán hệ thống con trong trường hợp được kết nối với đầu vào hoặc đầu ra của hệ thống con
E.2.5 Quy tắc nút
“Nút” là các kết nối giữa các hệ thống con. Nói chung một nút có thể kết nối:
- n các hệ thống cung cấp con cung cấp năng lượng cho nút;
- m các hệ thống phụ tải con lấy năng lượng từ nút.
VÍ DỤ: Trong Hình E.1 có ba máy phát Y cấp cho bốn mạng phân phối Z. Vì vậy, đối với nút giữa các máy phát Y và mạng phân phối Z có thể áp dụng như sau: n = 3 và = 4.
Đối với mỗi nút, giá trị chưa biết là định mức của năng lượng nhiệt đầu ra của các hệ thống tải con QX;Z;in,i.
Đối với mỗi nút, giá trị chưa biết là định mức năng lượng nhiệt đầu ra của các hệ thống cung cấp con QX;Y,I;out,i cho mỗi hệ thống cung cấp con "l" và chúng được xác định theo công thức (E.8):

CHÚ THÍCH: Công thức này phải được sử dụng một lần cho mỗi hệ thống của n hệ thống cung cấp con Y,l.
trong đó:
là đầu ra của hệ thống cung cấp con Y,l đã biết;
là định mức của đầu vào của hệ thống phụ tải con trên mỗi hạng mục sử dụng thứ i.
E.2.6 Hiệu quả năng lượng theo trọng số Bước A trên mỗi hạng mục sử dụng
Hiệu quả năng lượng theo trọng số bước A trên mỗi hạng mục sử dụng được tính theo công thức (E.9):

Đầu vào máy phát trên mỗi hạng mục sử dụng
được tính theo công thức (E.10):

trong đó:
được tính theo công thức (E.3) khi áp dụng cho một thiết bị phát năng lượng.
Năng lượng phụ trợ Waux,i được tính theo công thức (E.11):

Chỉ số trọng số trung bình
của lượng điện sử dụng bên trong ranh giới đánh giá được tính theo công thức (E.12):

trong đó:
được tính theo công thức (31),
được tính theo công thức (37),
bằng với
dụ: Chỉ số chuyển đổi của lượng điện được sản xuất tính đến các tải nguyên được sử dụng để sản xuất nó, được xác định trong 9.6.6.2 (xem 11.6.2),
là chỉ số trọng số của điện lưới cấp đến.
Trong điều trước đó hiệu quả năng lượng Bước A đã được tính toán. Kết quả cuối cùng là Bước B. Bước A là kết quả cuối cùng nếu kexp được lấy bằng 0.
Năng lượng xuất đi không thể phân bổ trực tiếp cho các hạng mục sử dụng. Giả định rằng ảnh hưởng đến năng lượng theo trọng số theo tỷ lệ như nhau.
Vì vậy hiệu quả năng lượng theo trọng số trên mỗi hạng mục sử dụng được tính theo công thức (E.13):

trong đó:
được tính theo công thức (E.14):

trong đó:
Ewe;A là hiệu quả năng lượng theo trọng số thu được khi lấy kexp = 0,
Ewe là hiệu quả năng lượng theo trọng số thu được khi lấy theo giá trị mong muốn của thông số kexp
E.2.7 Phân bổ chất mang năng lượng
Lượng của mỗi chất mang năng lượng trên mỗi hạng mục sử dụng đã là một phần của quá trình tính toán khi sử dụng phương pháp tính thông thường.
E.2.8 Dịch vụ khác
Khi có các dịch vụ khác, tiêu chí phân tách giữa các hạng mục sử dụng sẽ là một đại lượng khác so với nhiệt đầu ra.
Trong trường hợp thông gió, năng lượng điện cho các quạt, năng lượng phụ trợ và nhiệt cho quạt gió phải được phân bổ cho các hạng mục sử dụng. Tiêu chí phân bổ có thể là lưu lượng liên quan đến mỗi hạng mục sử dụng thông gió.
E.3 Phương pháp tính toán ngược
E.3.1 Nguyên tắc
Phương pháp tính toán ngược dựa trên các nguyên tắc sau:
- Việc tính toán bắt đầu theo trình tự đi từ năng lượng theo trọng số cho đến các nhu cầu;
- Việc tính toán ngược được áp dụng sau khi hiệu quả nâng lượng tổng thể đã được tính toán;
- Việc tính toán phải được lặp lại cho mỗi loại hiệu quả năng lượng theo trọng số cần phải được phân bổ (ví dụ: Nó được thực hiện một cách độc lập cho EPren, EPnren,…).
- Đối với mỗi hệ thống con năng lượng theo trọng số có liên đới với đầu ra là tổng năng lượng theo trọng số liên đới với đầu vào của năng lượng bổ sung bất kỳ theo trọng số. Năng lượng bổ sung theo trọng số thường được liên kết với việc sử dụng năng lượng phụ trợ.
- Đối với mỗi nút, năng lượng theo trọng số liên đới với đầu vào của các hệ thống cung cấp con bất kỳ được liên kết với đầu vào của các hệ thống phụ tải con theo tỷ lệ với đầu vào nhiệt của các hệ thống phụ tải con,
- Khi một máy phát có hoạt động đồng thời cho các dịch vụ khác nhau (ví dụ: Nồi hơi dự phòng để cấp nước nóng sinh hoạt cũng đồng thời cấp nhiệt cho sưởi ấm), năng lượng theo trọng số có liên đới với đầu ra tổng thể được phân bổ cho hệ thống phụ tải con tỷ lệ với đầu vào nhiệt của chúng;
- Khi máy phát có hoạt động thay thế cho các dịch vụ khác nhau (ví dụ: Bơm nhiệt được tính toán riêng cho sưởi ấm và cấp nước nóng sinh hoạt) máy phát này được xem như là hai máy phát riêng biệt và sẽ không có sự hợp nhất trong tính toán.
E.3.2 Chú giải
Mỗi phần của tòa nhà hoặc dịch vụ tòa nhà có một chỉ số riêng mong muốn được gọi là “hạng mục sử dụng” hoặc “hạng mục sử dụng năng lượng” giống như trong phương pháp tính toán thông thường.
Với việc tính toán ngược, lượng năng lượng theo trọng số được liên kết với lượng nhiệt bất kỳ. Vì vậy bất kỳ đầu vào hoặc đầu ra nhiệt cho một hệ thống con đều có lượng năng lượng theo trọng số liên đới được biểu thị bằng chỉ số dưới về trọng số đằng trước chỉ số dưới về dịch vụ.
VÍ DỤ: Nếu
là đầu ra của một chu trình phân phối thì
là năng lượng theo trọng số liên quan.
Định nghĩa tương tự về các hệ thống con và các nút cũng được sử dụng giống như trong phương pháp tính thông thường.
E.3.3 Bắt đầu tính toán
Bắt đầu của việc tính toán là áp dụng quy tắc hệ thống con (xem điều tiếp theo) cho từng hệ thống phát năng lượng con.
E.3.4 Quy tắc hệ thống con
Đối với mỗi hệ thống con, năng lượng theo trọng số
liên đới với đầu ra được tính theo công thức (E.15):

Nói chung, năng lượng theo trọng số liên đới với đầu vào
là kết quả của phép tính tại nút trước đó.
Đối với hệ thống phát năng lượng con, năng lượng theo trọng số liên đới với đầu vào là năng lượng theo trọng số liên quan đến năng lượng cấp đến và nó được tính theo công thức (E.16):

Nếu đầu vào cho một máy phát là năng lượng điện (bơm nhiệt, máy lạnh, v.v...), hệ trọng trọng số được tính theo công thức (E.12).
Năng lượng theo trọng số
liên đới với năng lượng phụ trợ
được tính theo công, thức (E.17):

trong đó:
là tổng năng lượng phụ trợ đầu vào cho hệ thống con;
là chỉ số trọng số trung bình đối với điện được tính theo công thức (E.12).
E.3.5 Quy tắc nút
Khi có một nút giữa:
- m hệ thống tải con Y,j lấy năng lượng từ nút;
- n hệ thống cung cấp con cung cấp năng lượng cho nút;
thì
- Dữ liệu chưa biết là năng lượng theo trọng số liên đới với mỗi hệ thống tải con (những hệ thống này lấy năng lượng từ nút)
;
- Dữ liệu đã biết là năng lượng theo trọng số liên đới với đầu ra của các hệ thống cung cấp con
;
- Và năng lượng theo trọng số liên kết với mỗi hệ thống phụ tải con
được tính theo công thức (E.18):

Nếu một nút bao gồm một bộ lưu trữ thì phần đóng góp theo trọng số lưu trữ (nó sẽ là phần phụ trợ) được cộng thêm vào phần năng lượng theo trọng số của máy phát. Bộ lưu trữ cũng có thể được xem như là một hệ thống con thông thường, do đó không có ngoại lệ.
E.3.6 Chỉ định năng lượng theo trọng số cho các hạng mục sử dụng
Năng lượng theo trọng số liên đới với đầu vào của hệ thống con cuối cùng được phân bổ cho các hạng mục sử dụng được kết nối tỷ lệ với nhu cầu tuân theo công thức (E.19):

Kết quả này là hiệu quả năng lượng của Bước A, ví dụ: Kết quả thu được khi lấy kexp = 0.
E.3.7 Hiệu quả năng lượng theo trọng số trên mỗi hạng mục sử dụng
Trong điều trước đó, hiệu quả năng lượng của Bước A đã được tính toán. Kết quả cuối cùng là Bước B. Quy trình để có kết quả cuối cùng tương tự như đã quy định trong E.2.6.
E.3.8 Phân bổ chất mang năng lượng và các đại lượng khác
Phương pháp này tương tự như đối với năng lượng theo trọng số với các thay đổi sau.
Đại lượng được phân bổ sẽ được ký hiệu bằng “X” bởi vì nó có thể là một loại đại lượng bất kỳ.
Quy tắc hệ thống con được tính theo công thức (E.20):

Điều này thay cho công thức (E.15) có nghĩa là đại lượng liên đới ở đầu ra là đại lượng liên đới ở đầu vào cộng với đại lượng bổ sung bất kỳ nhập vào trong hệ thống con:
- Khi phân bổ các chất mang năng lượng, thường không có đại lượng bổ sung
;
- Với năng lượng điện hoặc năng lượng điện phụ trợ sẽ có phần đóng góp bổ sung cho mỗi đầu vào năng lượng phụ trợ.
Quy tắc nút được tính theo công thức (E.21) thay cho công thức (E.18):

Việc phân bổ cuối cùng được thực hiện bằng công thức (E.22) thay cho công thức (E.19):

Phụ lục F
(Tham khảo)
Thuật ngữ theo thứ tự ABC
| Thuật ngữ | Số |
| Bin | 3.6.2 |
| Bộ phận tòa nhà | 3.1.4 |
| Bức xạ mặt trời | 3.2.7 |
| Chất mang năng lượng | 3.4.9 |
| Chiếu sáng | 3.4.23 |
| Chỉ số năng lượng đo lường | 3.5.15 |
| Chỉ số EPB | 3.5.10 |
| Chỉ số hiệu quả năng lượng | 3.5.10 |
| Chỉ số năng lượng sơ cấp không tái tạo | 3.5.17 |
| Chỉ số năng lượng sơ cấp tái tạo | 3.5.21 |
| Chỉ số năng lượng tiêu chuẩn | 3.5.22 |
| Chỉ số sử dụng năng lượng sơ cấp | 3.5.18 |
| Chứng nhận hiệu quả năng lượng | 3.5.9 |
| Cường độ bức xạ mặt trời | 3.2.6 |
| Dịch vụ EPB | 3.5.13 |
| Diện tích sàn sử dụng (cho đánh giá EPB) | 3.1.18 |
| Diện tích sàn tham chiếu | 3.1.12 |
| Diện tích vỏ bao che tòa nhà | 3.1.15 |
| Đặc tính hiệu quả năng lượng của tòa nhà (EPB) | 3.5.6 |
| Dịch vụ tòa nhà | 3.3.3 |
| Dịch vụ tòa nhà khác | 3.2.5 |
| Điều hòa không khí | 3.4.1 |
| Điều kiện sử dụng | 3.2.1 |
| Điều kiện thiết kế (vận hành tòa nhà) | 3.2.2 |
| Đối tượng được đánh giá | 3.1.1 |
| Đơn nguyên tòa nhà | 3.1.8 |
| Đổng phát | 3.3.5 |
| Đường bao ranh giới (phân loại ranh giới) | 3.4.28 |
| Gia ẩm | 3.4.22 |
| Giá trị tham chiếu | 3.5.20 |
| Giấy chứng nhận hiệu quả năng lượng (của một đối tượng được đánh giá) | 3.5.8 |
| Hệ thống điều hòa không khí | 3.3.1 |
| Hệ thống kỹ thuật con của tòa nhà | 3.3.12 |
| Hệ thống kỹ thuật tòa nhà | 3.3.13 |
| Hệ số phát thải CO2 | 3.5.4 |
| Hiệu quả năng lượng điều chỉnh để phù hợp | 3.5.24 |
| Hiệu quả năng lượng đo lường | 3.5.16 |
| Hiệu quả năng lượng của một đối tượng được đánh giá | 3.5.7 |
| Hiệu quả năng lượng theo hoàn công | 3.5.2 |
| Hiệu quả năng lượng tính toán | 3.5.3 |
| Hiệu quả năng lượng thiết kế | 3.5.5 |
| Hiệu quả năng lượng tiêu chuẩn | 3.5.23 |
| Hiệu quả năng lượng tổng thể của một đối tượng được đánh giá | 3.5.7 |
| Hiệu quả năng lượng thành phần của một đối tượng được đánh giá | 3.5.19 |
| Hồ sơ dữ liệu tòa nhà | 3.1.6 |
| Kết cấu tòa nhà | 3.1.5 |
| Kết hợp phát nhiệt và điện | 3.3.5 |
| Kết hợp phát nhiệt và điện CHP | 3.3.5 |
| Không gian được điều hòa nhiệt | 3.1.16 |
| Không gian không được điều hòa nhiệt | 3.1.17 |
| Không gian được sưởi | 3.1.11 |
| Khoảng thời gian tính toán | 3.6.3 |
| Khoảng thời gian đo lường | 3.6.8 |
| Không gian được làm mát | 3.1.9 |
| Không gian | 3.1.10 |
| Không gian cơ sở | 3.1.10 |
| Khu vực phục vụ | 3.3.4 |
| Khu vực phục vụ của hệ thống làm mát | 3.3.6 |
| Khu vực phục vụ của tòa nhà | 3.3.4 |
| Khu vực phục vụ của hệ thống sưởi | 3.3.8 |
| Khử ẩm | 3.4.5 |
| Kích thước tham chiếu | 3.1.13 |
| Khu vực phục vụ của hệ thống điều hòa không khí | 3.3.2 |
| Khu vực phục vụ của hệ thống cấp nước nóng sinh hoạt | 3.3.7 |
| Khu vực phục vụ của hệ thống thông gió | 3.3.14 |
| Kỳ đánh giá | 3.6.1 |
| Kỳ đo lường | 3.6.9 |
| Kỳ tính toán | 3.6.4 |
| Loại đơn vị | 3.1.3 |
| Loại không gian | 3.1.14 |
| Làm mát không gian | 3.4.30 |
| Loại tòa nhà | 3.1.3 |
| Lưới điện | 3.4.8 |
| Mùa sưởi hoặc làm mát | 3.6.6 |
| Năng lượng cấp đến | 3.4.6 |
| Năng lượng đo lường thực tế | 3.5.1 |
| Năng lượng không tái tạo | 3.4.26 |
| Năng lượng phụ trợ | 3.4.3 |
| Năng lượng sơ cấp | 3.4.29 |
| Năng lượng từ nguồn không tái tạo | 3.4.10 |
| Năng lượng từ nguồn tái tạo | 3.4.11 |
| Năng lượng sử dụng cho chiếu sáng | 3.4.16 |
| Năng lượng sử dụng cho các dịch vụ khác | 3.4.17 |
| Năng lượng sử dụng cho sưởi ấm hoặc làm mát không gian hoặc cấp nước nóng sinh hoạt | 3.4.18 |
| Năng lượng sử dụng cho thông gió | 3.4.19 |
| Năng lượng tái tạo | 3.4.11 |
| Năng lượng xuất đi | 3.4.20 |
| Nguồn năng lượng | 3.4.15 |
| Nhiệt độ bên ngoài | 3.2.3 |
| Nhiệt độ bên trong | 3.2.4 |
| Nhu cầu năng lượng cho cấp nước nóng sinh hoạt | 3.4.12 |
| Nhu cầu năng lượng cho sưởi ấm và làm mát | 3.4.13 |
| Nhu cầu năng lượng cho gia ẩm và khử ẩm | 3.4.14 |
| Ở gần (địa điểm tòa nhà) | 3.4.24 |
| Ranh giới đánh giá | 3.4.2 |
| Sưởi ấm không gian | 3.4.31 |
| Tại chỗ | 3.4.27 |
| Thông gió | 3.4.33 |
| Thu nhận nhiệt | 3.6.5 |
| Thu nhận nhiệt hữu ích | 3.6.11 |
| Thu nhận nhiệt mặt trời | 3.6.10 |
| Thu nhận nhiệt bên trong | 3.6.7 |
| Tiêu chuẩn EPB | 3.5.14 |
| Tòa nhà | 3.1.2 |
| Tổng năng lượng | 3.4.32 |
| Tổn thất nhiệt hệ thống có thể thu hồi | 3.3.9 |
| Tổn thất nhiệt hệ thống được thu hồi | 3.3.10 |
| Tổn thất nhiệt hệ thống | 3.3.11 |
| Tổng chỉ số năng lượng sơ cấp | 3.5.25 |
| Trị số tỏa nhiệt toàn phần | 3.4.21 |
| Trị số tỏa nhiệt thực | 3.4.25 |
| Từ xa (so với tòa nhà) | 3.4.7 |
| Tự động hóa và kiểm soát tòa nhà | 3.4.4 |
| Xếp hạng EPB | 3.5.12 |
| Xếp hạng năng lượng | 3.5.12 |
| Vùng nhiệt | 3.1.7 |
| Vùng nhiệt tòa nhà | 3.1.7 |
| Yêu cầu hiệu quả năng lượng | 3.5.11 |
Phụ lục G
(Tham khảo)
Chỉ số liên quan đến lưới điện
G.1 Chỉ số phù hợp phụ tải
G.1.1 Chỉ số phù hợp sử dụng
Chỉ số phù hợp sử dụng [(công thức G.1)] là mối quan hệ giữa năng lượng điện được sản xuất tại chỗ và được sử dụng trực tiếp và tổng mức sử dụng năng lượng điện:

CHÚ THÍCH: Trong trường hợp sản xuất năng lượng tái tạo tại chỗ và không có năng lượng sử dụng không hiệu quả năng lượng, chỉ số này giống như chỉ số năng lượng tái tạo (REF) được xác định bởi REHVA.
G.1.2 Chỉ số phù hợp sản xuất
Chỉ số phù hợp sản xuất [(công thức G.2)] là quan hệ giữa năng lượng điện được sản xuất tại chỗ và được sử dụng trực tiếp và tổng mức năng lượng điện sản xuất tại chỗ:

CHÚ THÍCH: Trong trường hợp sản xuất năng lượng tái tạo tại chỗ và không có năng lượng sử dụng không hiệu quả năng lượng, chỉ số này giống như chỉ số năng lượng tái tạo (REM) được xác định bởi REHVA.
G.1.3 Chỉ số tương tác lưới
G.1.4 Chỉ số phù hợp giữa sản xuất và tái sử dụng
Chỉ số phù hợp giữa sản xuất và tái sử dụng [công thức (G.3)] là mối quan hệ giữa năng lượng điện sản xuất tại chỗ không được sử dụng trực tiếp và tổng mức năng lượng sản xuất tại chỗ:

CHÚ THÍCH: Chỉ số này cho biết phần năng lượng sản xuất tại chỗ được sử dụng nhưng phải thông qua lưới điện do việc sản xuất và sử dụng không đồng bộ. Do đó nó là một chỉ số đối với phụ tải lưới điện hàng năm do năng lượng tự sản xuất và tự sử dụng.
Phụ lục H
(Tham khảo)
Đề xuất các chỉ số để đánh giá tòa nhà năng lượng gần bằng không (NZEB)
H.1 Nguyên tắc chung
Phụ lục H không đưa ra định nghĩa có tính ràng buộc của NZEB, nhưng đưa ra một đề xuất phương pháp luận.
Việc chỉ sử dụng một yêu cầu, ví dụ: Chỉ số bằng số về mức sử dụng dụng năng lượng sơ cấp có thể dẫn đến sự hiểu lầm. Trong đề xuất này, các yêu cầu khác nhau được kết hợp lại để đánh giá nhất quán tòa nhà năng lượng gần bằng không (NZEB) phù hợp với định nghĩa được đưa ra trong Chỉ thị hiệu quả năng lượng của toà nhà (EPBD 2010/31/EU)[8] tại mục 2: ‘tòa nhà năng lượng gần bằng không’ có nghĩa là một tòa nhà có hiệu quả năng lượng rất cao, như được xác định phù hợp với Phụ lục I. Lượng năng lượng gần như bằng không hoặc rất nhỏ cần thiết nên được cung cấp đến một mức độ rất đáng kể bởi các nguồn tái tạo, gồm cả năng lượng từ các nguồn tái tạo được sản xuất tại chỗ hoặc ở gần.
Do đó một NZEB có nghĩa là:
Một tòa nhà có hiệu quả năng lượng rất cao (lượng năng lượng yêu cầu rất nhỏ có liên quan đến việc sử dụng điển hình của tòa nhà bao gồm năng lượng sử dụng cho sưởi ấm, làm mát, thông gió, cấp nước nóng sinh hoạt và chiếu sáng), có tính đến:
- Các điều kiện môi trường trong nhà;
- Các đặc tính nhiệt của tòa nhà, các bộ phận tòa nhà có tác động đáng kể đến hiệu quả năng lượng của vỏ bao che tòa nhà;
- Việc lắp đặt hệ thống HVAC, cung cấp nước nóng sinh hoạt, lắp đặt hệ thống chiếu sáng tích hợp, tối ưu hóa sử dụng năng lượng của các hệ thống kỹ thuật tòa nhà;
Các hệ thống năng lượng mặt trời chủ động và các hệ thống khác dựa trên năng lượng từ các nguồn tái tạo;
- Các hệ thống làm mát hoặc sưởi ấm theo khối hoặc trung tâm.
Lượng năng lượng rất nhỏ cần thiết cho một NZEB nên được cung cấp đến một mức độ rất đáng kể bởi các nguồn tái tạo, gồm cả năng lượng từ các nguồn tái tạo được sản xuất tại chỗ hoặc ở gần.
Một NZEB được đặc trưng bởi một chỉ số bằng số về mức sử dụng năng lượng sơ cấp, ví dụ: Tính bằng kW.h/m2 trên năm.
Phương pháp luận đánh giá được đề xuất sẽ thực hiện theo từng bước ‘từ các nhu cầu cho đến hiệu quả năng lượng tổng thể được thể hiện trong việc sử dụng năng lượng sơ cấp’.
Chỉ khi đạt được yêu cầu của từng bước thực hiện thì sau đó tòa nhà đến cuối cùng mới có thể đủ điều kiện là ‘NZEB’ theo phương pháp được đề xuất trong Phụ lục H.
H.2 Yêu cầu thứ nhất: Kết cấu xây dựng tòa nhà (nhu cầu năng lượng)
Yêu cầu thứ nhất phản ánh hiệu quả của kết cấu xây dựng tòa nhà được đặc trưng bởi các nhu cầu năng lượng. Các nhu cầu năng lượng dựa trên các điều kiện địa phương và công năng thiết kế của tòa nhà.
Chúng tính đến:
- Chất lượng của vỏ bao che tòa nhà (ví dụ: Cách nhiệt, cửa sổ);
- Thiết kế sinh khí hậu (ví dụ: Thu nhận bức xạ mặt trời, chiếu sáng tự nhiên);
- Quán tính nhiệt, phân vùng và
- Sự cần thiết phải đảm bảo các điều kiện môi trường trong nhà thích hợp đề tránh các ảnh hưởng tiêu cực có thể có như chất lượng không khí trong nhà kém (bởi vì thiếu thông gió) hoặc các vấn đề về nhiệt ẩm (như nấm mốc).
Các nhu cầu năng lượng được tính toán với mô-đun M2.2.
H.3 Yêu cầu thứ hai: Tổng mức sử dụng năng lượng sơ cấp
Yêu cầu thứ hai phản ánh hiệu quả của các hệ thống kỹ thuật tòa nhà (việc lắp đặt hệ thống HVAC, cung cấp nước nóng sinh hoạt, lắp đặt hệ thống chiếu sáng tích hợp) được đặc trưng bởi mức năng lượng sử dụng.
Các hệ thống kỹ thuật được liên kết với một hoặc nhiều chất mang năng lượng (ví dụ: Nồi hơi sử dụng ga, tiêu thụ phụ trợ). Để thêm các chất mang năng lượng khác nhau theo một cách nhất quán yêu cầu thứ hai được thể hiện bằng tổng mức sử dụng năng lượng sơ cấp.
Bản mẫu được sử dụng để quy định các chỉ số năng lượng sơ cấp (danh sách của các chất mang năng lượng và các giá trị) được nêu trong Bảng A.25, danh sách mặc định tham khảo và các giá trị nêu trong Bảng B.25.
CHÚ THÍCH 1: Năng lượng sơ cấp được xác định là năng lượng từ các nguồn tái tạo và không tái tạo.
Chỉ số năng lượng sơ cấp liên quan (PEF) được xác định như là:
Chỉ số năng lượng sơ cấp không tái tạo chỉ tính đến các chi phí năng lượng không tái tạo khi cấp đến điểm sử dụng năng lượng, không bao gồm các chi phí năng lượng tái tạo và các thành phần năng lượng sơ cấp;
- Chỉ số năng lượng sơ cấp tái tạo chỉ tính đến các phần năng lượng tái tạo khi cấp đến điểm sử dụng năng lượng, không bao gồm các phần năng lượng không tái tạo và các thành phần năng lượng sơ cấp;
- Tổng chỉ số năng lượng sơ cấp: Tổng chỉ số năng lượng sơ cấp là tổng của chỉ số năng lượng sơ cấp không tái tạo và chỉ số năng lượng sơ cấp tái tạo.
Tổng mức sử dụng năng lượng sơ cấp là cách nhất quán để đặt ra các yêu cầu đối với hệ thống kỹ thuật tòa nhà bởi vì một số hệ thống (ví dụ: Bộ phát điện trực tiếp) có một số tổn thất hệ thống bên ngoài ranh giới đánh giá tòa nhà (ví dụ: Phát điện). Tổng chỉ số năng lượng sơ cấp có tính đến các tổn thất bên ngoài ranh giới đánh giá.
Chỉ có các năng lượng được cấp qua ranh giới đánh giá từ các đường bao ranh giới xác định (ví dụ: Ở gần và/hoặc từ xa) được tính đến để liên kết vào tổng mức sử dụng năng lượng sơ cấp với các thiết bị đo đếm năng lượng.
CHÚ THÍCH 2: Vì Phụ lục H chỉ là một đề xuất phương pháp tham khảo, do vậy ở đây không cung cấp một kế hoạch báo cáo thực hiện hoàn chỉnh.
H.4 Yêu cầu thứ ba: Sử dụng năng lượng sơ cấp không tái tạo mà không có bù trừ giữa các chất mang năng lượng
Yêu cầu thứ ba là phản ảnh phần đóng góp năng lượng từ các nguồn tài nguyên (ví dụ: Hệ thống năng lượng mặt trời chủ động hoặc hệ thống khác dựa trên năng lượng từ các nguồn tái tạo, hệ thống sưởi và làm mát trung tâm hoặc theo khối) được đặc trưng bởi việc tiêu thụ năng lượng sơ cấp không tái tạo. Yêu cầu thứ ba này không tính đến:
- Sự bù trừ giữa các chất mang năng lượng khác nhau ví dụ giữa ga và sản xuất điện bằng quang điện tại chỗ;
- Ảnh hưởng của năng lượng xuất đi.
Yêu cầu này chỉ tính đến năng lượng được sử dụng để cung cấp cho các dịch vụ tại chỗ (sưởi ấm, thông gió, v.v...).
Mức sử dụng năng lượng sơ cấp không tái tạo được tính theo 9.6.6.2 (Bước A)
H.5 Đánh giá xếp hạng NZEB cuối cùng: Chỉ số bằng số của việc sử dụng năng lượng sơ cấp không tái tạo có bù trừ
Ở giai đoạn này, sự bù trừ giữa các chất mang năng lượng và ảnh hưởng của năng lượng xuất đi được đưa vào tính toán.
Chỉ số bằng số của năng lượng sơ cấp không tái tạo được tính toán theo 9.6.6.3 (Bước B).
Thư mục tài liệu tham khảo
[1 ] EN 15603:2013, Energy performance of buildings - Overarching standard EPBD
[2] ISO 16346:2013, Energy performance of buildings - Assessment of overall energy performance
[3] ISO/TR 16344:2012, Energy performance of buildings - Common terms, definitions and symbols for the overall energy performance rating and certification .
[4] CEN/TS 16628, Energy performance of buildings - Basic principles for the set of EPB standards
[5] CEN/TS 16629, Energy performance of buildings - Detailed technical rules for the set of EPS standards
[6] TCVN 13469-2 (ISO/TR 52000-2), Hiệu quả năng lượng của tòa nhà - Đánh giá hiệu quả năng lượng tổng thể của tòa nhà - Phần 2: Giải thích và minh chứng cho TCVN (ISO 52000-1)
[7] ISO 13612-2:2014, Heating and cooling systems in buildings - Method for calculation of the system performance and system design for heat pump systems - Part 2: Energy calculation
[8] ISO 13675:2013, Heating systems in buildings - Method and design for calculation of the system energy performance - Combustion systems (boilers)
[9] ISO/IEC 17000, Conformity assessment - Vocabulary and general principles
[10] ISO 9488:1999, Solar energy - Vocabulary
[11] TCVN 13470-1 (ISO 52003-1), Hiệu quả năng lượng của tòa nhà - Các chỉ số, yêu cầu, xếp hạng và giấy chứng nhận - Phần 1: Các khía cạnh chung và áp dụng đối với hiệu quả năng lượng tổng thể
[12] ISO 17772-1, Energy performance of buildings - Indoor environmental quality - Part 1: Indoor environmental input parameters for the design and assessment of energy performance of buildings
[13] EN 16798-11, Energy performance of buildings - Ventilation of buildings - Part 1: Indoor environmental input parameters for design and assessment of energy performance of buildings addressing indoor air quality, thermal environment, lighting and acoustics (Module M1-6)
[14] ISO 52010-1, Energy performance of buildings - External climatic conditions - Part 1: Conversion of climatic data for energy calculations
[15] EN 15459-1, Energy performance of buildings - Economic evaluation procedure for energy systems in buildings - Part 1: Calculation procedures, Module M1-14
[16] ISO 52016-1, Energy performance of buildings - Energy needs for heating and cooling, internal temperatures and sensible and latent heat loads - Part 1: Calculation procedures
[17] ISO 52017-1, Energy performance of buildings - Sensible and latent heat loads and internal temperatures - Part 1: Generic calculation procedures
[18] ISO 52018-1, Energy performance of buildings - Indicators for partial EPB requirements related to thermal energy balance and fabric features - Part 1: Overview of options
[19] TCVN 13105 (ISO 13789), Đặc trưng nhiệt của tòa nhà - Hệ số truyền dẫn nhiệt và truyền nhiệt thông gió - Phương pháp tính
[20] ISO 13370, Thermal performance of buildings - Heat transfer via the ground - Calculation methods
[21] TCVN 13101:2020 (ISO 6946:2017) Bộ phận và cấu kiện tòa nhà - Nhiệt trở và truyền nhiệt - Phương pháp tính toán.
[22] TCVN 13102 (ISO 10211) Cầu nhiệt trong công trình xây dựng - Dòng nhiệt và nhiệt độ bề mặt - Tính toán chi tiết
[23] ISO 14683, Thermal bridges in building construction - Linear thermal transmittance - simplified methods and default values
[24] ISO 10077-1, Thermal performance of windows, doors and shutters - Calculation of thermal transmittance - Part 1: General
[25] ISO 10077-2, Thermal performance of windows, doors and shutters - Calculation of thermal transmittance - Part 2: Numerical method for frames
[26] TCVN 13104 (ISO 12631), Đặc trưng nhiệt của hệ vách kính - Tinh toán truyền nhiệt
[27] ISO 13786, Thermal performance of building components - Dynamic thermal characteristics - Calculation methods
[28] ISO 52022-3, Energy performance of buildings - Thermal, solar and daylight properties of building components and elements - Part 3: Detailed calculation method of the solar and daylight characteristics for solar protection devices combined with glazing
[29] ISO 52022-1, Energy performance of buildings - Thermal, solar and daylight properties of building components and elements - Part 1: Simplified calculation method of the solar and daylight characteristics for solar protection devices combined with glazing
[30] EN 15316-1, Energy performance of buildings - Method for calculation of system energy requirements and system efficiencies - Part 1: General and Energy performance expression, Module M3-1, M3-4, M3-9, M8-1, M8-4
[31] EN 12831-1, Energy performance of buildings - Method for calculation of the design heat load - Part 1: Space heating load, Module M3-3
[32] EN 15316-2, Energy performance of buildings - Method for calculation of system energy requirements and system efficiencies - Part 2: Space emission systems (heating and cooling), Module M3-5, M4-5
[33] EN 15316-3, Energy performance of buildings - Method for calculation of system energy requirements and system efficiencies - Part 3: Space distribution systems (DHW, heating and cooling), Module M3-6, M4-6, M8-6
[34] EN 15316-5, Energy performance of buildings - Method for calculation of system energy requirements and system efficiencies - Part 5: Space heating and DHW storage systems (not cooling), Module M3-7, M8-7
[35] EN 15316-4-1, Energy performance of buildings - Method for calculation of system energy requirements and system efficiencies - Part 4-1: Space heating and DHW generation systems, combustion systems (boilers, biomass), Module M3-8-1 and M8-8-1
[36] EN 15316-4-2, Energy performance of buildings - Method for calculation of system energy requirements and system efficiencies - Part 4-2: Space heating generation systems, heat pump systems, Module M3-8-2, M8-8-2
[37] EN 15316-4-3, Energy performance of buildings - Method for calculation of system energy requirements and system efficiencies - Part 4-3: Heat generation systems, thermal solar and photovoltaic systems, Module M3-8-3, M8-8-3, M11-8-3
[38] EN 15316-4-4, Energy performance of buildings - Method for calculation of system energy requirements and system efficiencies - Part 4-4: Heat generation systems, building-integrated cogeneration systems, Module M8-3-4, M8-8-4, M8-11-4
[39] EN 15316-4-5, Energy performance of buildings - Method for calculation of system energy requirements and system efficiencies - Part 4-5: District heating and cooling, Module M3-8-5, M4-8-5, M8-8-5, M11-8-5
[40] EN 15316-4-8, Energy performance of buildings - Method for calculation of system energy requirements and system efficiencies - Part 4-8: space heating generation systems, air heating and overhead radiant heating systems, including stoves (local), Module M3-8-8
[41] EN 15378-3, Energy performance of buildings - Heating and DHW systems in buildings - Part 3: Measured energy performance, Module M3-10 and M8-10
[42] EN 15378-1, Energy performance of buildings - Heating systems and DHW in buildings - Inspection of boilers, heating systems and DHW, Module M3-11, M8-11
[43] EN 16798-9, Energy performance of buildings - Ventilation for buildings - Part 9: Calculation methods for energy requirements of cooling systems (Modules M4-1, M4-4, M4-9) - General
[44] EN 16798-15, Energy performance of buildings - Ventilation for buildings - Part 15: Calculation of cooling systems (Module M4-7) - Storage
[45] EN 16798-13, Energy performance of buildings - Ventilation for buildings - Part 13: Calculation of cooling systems (Module M4-8) - Generation
[46] EN 16798-17, Energy performance of buildings - Ventilation for buildings - Part 17: Guidelines for inspection of ventilation and air conditioning systems (Module M4-11, M5-11, M6-11, M7-11)
[47] EN 16798-3, Energy performance of buildings - Ventilation for buildings - Part 3: For non- residential buildings - Performance requirements for ventilation and room-conditioning systems (Modules M5-1, M5-4)
[48] EN 16798-7, Energy performance of buildings - Ventilation for buildings - Part 7: Calculation methods for the determination of air flow rates in buildings including infiltration (Module M5-5
[49] EN 16798-5-1, Energy performance- of buildings - Ventilation for buildings - Part 5-1: Calculation methods for energy requirements of ventilation and air conditioning systems (Modules M5-6, M5-8, M6-5, M6-8, M7-5, M7-8) - Method 1: Distribution and generation
[50] EN 16798-5-2, Energy performance of buildings - Ventilation for buildings - Part 5-2: Calculation methods for energy requirements of ventilation and air conditioning systems (Modules M5-6, M5- 8, M6-5, M6-8, M7-5, M7-8) - Method 2: Distribution and generation
[51] EN 12831-3, Energy performance of buildings - Method for calculation of the design heat load - Domestic hot water systems heat load and characterization of needs, Module M8-2, M8-3
[52] EN 15193-1, Energy performance of buildings - Energy requirements for lighting - Part 1: Specifications, Module M9
[53] EN 15232-1, Energy performance of buildings - Part 1: Impact of Building Automation, Controls and Building Management - Modules M10-4,5,6,7,8,9,10
[54] EN 16946-1, Energy Performance of Buildings - Inspection of Automation, Controls and Technical Building Management - Part 1: Module M10-11
[55] EN 15316-4-10, Energy performance of buildings - Method for calculation of system energy requirements and system efficiencies - Part 4-10: Wind power generation systems, Module M11- 8-3
[56] EN 16947-1, Energy Performance of Buildings - Building Management System - Part 1: Module M10-12
Bạn chưa Đăng nhập thành viên.
Đây là tiện ích dành cho tài khoản thành viên. Vui lòng Đăng nhập để xem chi tiết. Nếu chưa có tài khoản, vui lòng Đăng ký tại đây!







































