- Tổng quan
- Nội dung
- VB gốc
- Tiếng Anh
- Hiệu lực
- VB liên quan
- Lược đồ
-
Nội dung hợp nhất
Tính năng này chỉ có tại LuatVietnam.vn. Nội dung hợp nhất tổng hợp lại tất cả các quy định còn hiệu lực của văn bản gốc và các văn bản sửa đổi, bổ sung, đính chính... trên một trang. Việc hợp nhất văn bản gốc và những văn bản, Thông tư, Nghị định hướng dẫn khác không làm thay đổi thứ tự điều khoản, nội dung.
Khách hàng chỉ cần xem Nội dung hợp nhất là có thể nắm bắt toàn bộ quy định hiện hành đang áp dụng, cho dù văn bản gốc đã qua nhiều lần chỉnh sửa, bổ sung.
- Tải về
Thông tư 34/2025/TT-BXD về quản lý khai thác kết cấu hạ tầng đường sắt
| Cơ quan ban hành: | Bộ Xây dựng |
Số công báo:
Số công báo là mã số ấn phẩm được đăng chính thức trên ấn phẩm thông tin của Nhà nước. Mã số này do Chính phủ thống nhất quản lý.
|
Đang cập nhật |
| Số hiệu: | 34/2025/TT-BXD | Ngày đăng công báo: | Đang cập nhật |
| Loại văn bản: | Thông tư | Người ký: | Nguyễn Danh Huy |
|
Ngày ban hành:
Ngày ban hành là ngày, tháng, năm văn bản được thông qua hoặc ký ban hành.
|
14/11/2025 |
Ngày hết hiệu lực:
Ngày hết hiệu lực là ngày, tháng, năm văn bản chính thức không còn hiệu lực (áp dụng).
|
Đang cập nhật |
|
Áp dụng:
Ngày áp dụng là ngày, tháng, năm văn bản chính thức có hiệu lực (áp dụng).
|
Đã biết
|
Tình trạng hiệu lực:
Cho biết trạng thái hiệu lực của văn bản đang tra cứu: Chưa áp dụng, Còn hiệu lực, Hết hiệu lực, Hết hiệu lực 1 phần; Đã sửa đổi, Đính chính hay Không còn phù hợp,...
|
Đã biết
|
| Lĩnh vực: | Giao thông |
TÓM TẮT THÔNG TƯ 34/2025/TT-BXD
Nội dung tóm tắt đang được cập nhật, Quý khách vui lòng quay lại sau!
Tải Thông tư 34/2025/TT-BXD
|
BỘ XÂY DỰNG |
CỘNG HÒA XÃ HỘI CHỦ NGHĨA VIỆT NAM |
THÔNG TƯ
Quy định về quản lý, khai thác kết cấu hạ tầng đường sắt
________________
Căn cứ Luật Đường sắt ngày 27 tháng 6 năm 2025;
Căn cứ Nghị định số 33/2025/NĐ-CP ngày 25 tháng 02 năm 2025 của Chính phủ quy định chức năng, nhiệm vụ, quyền hạn và cơ cấu tổ chức của Bộ Xây dựng;
Theo đề nghị của Cục trưởng Cục Đường sắt Việt Nam;
Bộ trưởng Bộ Xây dựng ban hành Thông tư quy định về quản lý, khai thác kết cấu hạ tầng đường sắt.
Chương I
QUY ĐỊNH CHUNG
Điều 1. Phạm vi điều chỉnh
Thông tư này quy định chi tiết một số điều của Luật Đường sắt số 95/2025/QH15, bao gồm:
1. Khoản 6 Điều 14 về điều kiện, trình tự, thủ tục thực hiện việc kết nối ray giữa các tuyến đường sắt trong nước, trừ trường hợp đường sắt chuyên dùng kết nối ray với đường sắt chuyên dùng.
2. Khoản 2, khoản 7 Điều 16 về:
a) Đường sắt giao nhau với đường bộ phải xây dựng nút giao khác mức;
b) Đường ngang, giao thông tại khu vực đường ngang; cấp, gia hạn giấy phép xây dựng, cải tạo, nâng cấp, bãi bỏ đường ngang;
c) Cầu có mặt cầu đường sắt dùng chung với đường bộ; giao thông trên khu vực cầu có mặt cầu đường sắt dùng chung với đường bộ, trong hầm;
d) Kết nối tín hiệu đèn giao thông đường bộ với tín hiệu đèn báo hiệu trên đường bộ tại đường ngang, cung cấp thông tin hỗ trợ cảnh giới tại các điểm giao cắt đồng mức giữa đường bộ và đường sắt.
3. Điểm a khoản 3 Điều 41 về quản lý, bảo trì kết cấu hạ tầng đường sắt quốc gia.
4. Khoản 5 Điều 44 về cấp giấy phép xây dựng công trình thiết yếu trong phạm vi đất dành cho đường sắt.
5. Khoản 3 Điều 45 về phòng, chống, khắc phục hậu quả thiên tai, sự cố đối với kết cấu hạ tầng đường sắt.
6. Khoản 7 Điều 46 về giá, phụ thu ngoài giá dịch vụ điều hành giao thông vận tải đường sắt.
7. Khoản 7 Điều 52 về:
a) Xây dựng biểu đồ chạy tàu và điều hành giao thông vận tải đường sắt;
b) Xây dựng, công bố công lệnh tải trọng, công lệnh tốc độ;
c) Quy định về hệ thống quản lý an toàn vận hành, đánh giá, chứng nhận an toàn hệ thống.
Điều 2. Đối tượng áp dụng
Thông tư này áp dụng đối với tổ chức, cá nhân liên quan đến quản lý, khai thác kết cấu hạ tầng đường sắt.
Điều 3. Giải thích từ ngữ
Trong Thông tư này, các từ ngữ dưới đây được hiểu như sau:
1. Khu vực kết nối ray là phạm vi được giới hạn bởi đoạn đường sắt từ vị trí kết nối ray đến ga gần nhất của tuyến đường sắt có nhu cầu kết nối.
2. Đường ngang công cộng là đoạn đường bộ thuộc quốc lộ, đường tỉnh, đường xã, đường đô thị giao nhau cùng mức với đường sắt quốc gia, đường sắt địa phương, đường sắt chuyên dùng được cơ quan có thẩm quyền cho phép xây dựng và khai thác.
3. Đường ngang chuyên dùng là đoạn đường bộ chuyên dùng giao nhau cùng mức với đường sắt quốc gia, đường sắt địa phương, đường sắt chuyên dùng được cơ quan có thẩm quyền cho phép xây dựng và khai thác.
4. Đường ngang có người gác là đường ngang được tổ chức phòng vệ bằng hình thức bố trí người gác.
5. Đường ngang không có người gác là đường ngang được tổ chức phòng vệ bằng cảnh báo tự động hoặc biển báo, bao gồm:
a) Đường ngang cảnh báo tự động là đường ngang bố trí phòng vệ bằng báo hiệu cảnh báo tự động, có hoặc không có cần chắn tự động;
b) Đường ngang biển báo là đường ngang bố trí phòng vệ bằng các biển báo hiệu.
6. Đường ngang sử dụng lâu dài là đường ngang không giới hạn thời gian khai thác kể từ khi cấp có thẩm quyền cho phép.
7. Đường ngang sử dụng có thời hạn là đường ngang chỉ được khai thác trong thời gian nhất định được cấp có thẩm quyền cho phép.
8. Chắn đường ngang là cần chắn, giàn chắn được xây dựng, lắp đặt trong phạm vi đường ngang với mục đích ngăn người, phương tiện và các vật thể khác đi qua đường sắt trong một khoảng thời gian nhất định.
9. Cơ quan quản lý đường bộ là cơ quan thực hiện chức năng quản lý nhà nước chuyên ngành thuộc Bộ Xây dựng; cơ quan chuyên môn thuộc Ủy ban nhân dân cấp tỉnh; đơn vị chuyên môn thuộc Ủy ban nhân dân cấp xã.
10. Gờ giảm tốc là một dạng vạch sơn kẻ đường, có chiều dày không quá 06 milimét (mm), có tác dụng cảnh báo (thông qua việc gây ra tác động nhẹ lên phương tiện) cho người điều khiển phương tiện biết trước vị trí nguy hiểm, cần phải giảm tốc độ và chú ý quan sát để bảo đảm an toàn giao thông.
11. Gồ giảm tốc là một cấu tạo dạng hình cong, nổi trên mặt đường, có tác dụng cưỡng bức các phương tiện giảm tốc độ trước khi đi qua vị trí nguy hiểm.
12. Cung cấp thông tin hỗ trợ cảnh giới là việc cung cấp thông tin của doanh nghiệp quản lý tài sản đường sắt, chủ sở hữu đường sắt chuyên dùng thuộc phạm vi quản lý cho người cảnh giới để thực hiện nhiệm vụ tại các điểm giao cắt giữa đường bộ, đường sắt cần cảnh giới.
13. Đèn báo hiệu trên đường bộ tại đường ngang là loại đèn báo hiệu đường bộ đặt trong phạm vi đường ngang để điều khiển người và phương tiện tham gia giao thông đường bộ đi qua đường ngang.
14. Kết nối tín hiệu là việc liên kết kỹ thuật giữa hệ thống tín hiệu đèn giao thông đường bộ và hệ thống tín hiệu đèn báo hiệu trên đường bộ tại đường ngang nhằm bảo đảm biểu thị thống nhất và đồng bộ giữa các tín hiệu.
15. Nhà cảnh giới là công trình xây dựng có mái, có tường vách để cho người được giao nhiệm vụ cảnh giới làm việc và lắp, đặt trang thiết bị phục vụ cảnh giới.
16. Trang thiết bị phục vụ cảnh giới là những trang thiết bị cần thiết để người được giao nhiệm vụ cảnh giới thực hiện nhiệm vụ bao gồm: điện thoại (dây, máy), đèn tín hiệu, còi, cờ, biển báo, pháo hiệu, băng biển, sổ ghi chép lịch trình chạy tàu và các trang thiết bị khác cho vị trí cần cảnh giới.
17. Cầu chung là cầu có mặt đường sắt dùng chung với đường bộ, phương tiện giao thông đường bộ và phương tiện giao thông đường sắt sử dụng chung mặt cầu.
18. Chắn cầu chung là cần chắn, giàn chắn do nhân viên gác cầu chung điều khiển.
19. Bảo trì công trình đường sắt là tập hợp các công việc nhằm bảo đảm và duy trì sự làm việc bình thường, an toàn của công trình đường sắt theo quy định của thiết kế hoặc quy trình bảo trì, bao gồm:
a) Bảo dưỡng công trình đường sắt là hoạt động theo dõi, chăm sóc, sửa chữa những hư hỏng nhỏ của công trình và thiết bị lắp đặt vào công trình, tuần, gác, trực giải quyết trở ngại chạy tàu được tiến hành thường xuyên, định kỳ để duy trì công trình ở trạng thái khai thác, sử dụng bình thường và hạn chế phát sinh các hư hỏng công trình;
b) Sửa chữa công trình đường sắt là việc khắc phục, khôi phục, cải tạo hoặc thay thế những hư hỏng của bộ phận công trình, thiết bị, cấu kiện công trình hay toàn bộ công trình được phát hiện trong quá trình khai thác, sử dụng nhằm bảo đảm sự làm việc bình thường, an toàn của công trình và an toàn giao thông vận tải đường sắt. Sửa chữa công trình đường sắt bao gồm sửa chữa định kỳ và sửa chữa đột xuất:
Sửa chữa định kỳ công trình đường sắt là sửa chữa hư hỏng hoặc cải tạo, thay thế bộ phận công trình, thiết bị lắp đặt vào công trình bị hư hỏng được thực hiện định kỳ theo quy định của quy trình bảo trì và kế hoạch quản lý, bảo trì công trình đường sắt được duyệt;
Sửa chữa đột xuất công trình đường sắt là sửa chữa được thực hiện khi bộ phận công trình, công trình bị hư hỏng do chịu các tác động đột xuất như gió, bão, lũ lụt, động đất, va đập, cháy và những tác động đột xuất khác hoặc khi bộ phận công trình, công trình có biểu hiện xuống cấp ảnh hưởng đến an toàn sử dụng, vận hành, khai thác công trình;
c) Kiểm tra công trình đường sắt là việc quan sát bằng trực quan hoặc bằng thiết bị chuyên dụng để đánh giá hiện trạng công trình nhằm phát hiện kịp thời các dấu hiệu xuống cấp, những hư hỏng của công trình, thiết bị lắp đặt vào công trình để có biện pháp xử lý kịp thời. Công tác kiểm tra công trình đường sắt bao gồm kiểm tra thường xuyên, kiểm tra định kỳ và kiểm tra đột xuất;
d) Công tác khác là nội dung được xác định theo kế hoạch quản lý, bảo trì công trình đường sắt bao gồm các nhiệm vụ: kiểm định công trình; lập, thẩm tra quy trình bảo trì; xây dựng, thẩm tra định mức kinh tế - kỹ thuật bảo trì công trình đường sắt; trông coi bảo quản vật tư thu hồi từ công tác bảo trì công trình đường sắt; tháo dỡ, xử lý tài sản kết cấu hạ tầng đường sắt; lập, cập nhật hồ sơ quản lý kết cấu hạ tầng, bảo trì công trình đường sắt; cắm mốc giới đất dành cho đường sắt và các nhiệm vụ cần thiết khác phục vụ vận hành, khai thác kết cấu hạ tầng đường sắt.
20. Cơ sở dữ liệu kết cấu hạ tầng đường sắt là tập hợp các thông tin về công trình và lịch sử bảo trì công trình đường sắt được xây dựng, cập nhật, quản lý, khai thác sử dụng thống nhất trên phạm vi cả nước.
21. Doanh nghiệp quản lý tài sản đường sắt là doanh nghiệp được chủ sở hữu hoặc đại diện chủ sở hữu giao quản lý tài sản kết cấu hạ tầng đường sắt.
22. An toàn hệ thống là việc bảo đảm an toàn bằng cách áp dụng có hệ thống các biện pháp kỹ thuật, công cụ quản lý để xác định các nguy cơ, kiểm soát tỷ lệ xuất hiện của một nguy hiểm gây ra thiệt hại và mức độ nghiêm trọng của thiệt hại đó nhằm đạt được các mục tiêu về độ tin cậy, tính sẵn sàng, khả năng bảo dưỡng, độ an toàn.
23. Đánh giá rủi ro là quá trình phân tích định tính hoặc định lượng tỷ lệ xuất hiện của một nguy hiểm gây ra thiệt hại và mức độ nghiêm trọng của thiệt hại đó để có cơ sở lựa chọn áp dụng các biện pháp kiểm soát hiệu quả.
24. Đánh giá, chứng nhận an toàn hệ thống là việc đánh giá độc lập về an toàn hệ thống đối với các hạng mục công việc thực hiện và xác nhận tuyến đường sắt bảo đảm an toàn vận hành.
25. Đề cương nhiệm vụ đánh giá, chứng nhận an toàn hệ thống (sau đây gọi tắt là Đề cương đánh giá, chứng nhận) là tài liệu do Tổ chức chứng nhận xây dựng theo yêu cầu của Chủ đầu tư dự án để mô tả các nội dung liên quan đến công việc đánh giá, chứng nhận an toàn hệ thống.
26. Hệ thống quản lý an toàn vận hành là hệ thống quản lý của doanh nghiệp quản lý tài sản đường sắt, bao gồm các quy định, hướng dẫn về cơ cấu tổ chức, quy trình quản lý của doanh nghiệp được xây dựng phù hợp với tiêu chuẩn quản lý an toàn để kiểm soát hiệu quả tỷ lệ xuất hiện của một nguy hiểm gây ra thiệt hại và mức độ nghiêm trọng của thiệt hại đó.
27. Tư vấn an toàn hệ thống là tổ chức cung cấp dịch vụ đánh giá, chứng nhận an toàn hệ thống đường sắt được Tổ chức công nhận quốc tế công nhận, độc lập với chủ đầu tư dự án, đơn vị tư vấn dự án, nhà thầu thi công xây dựng, cung cấp thiết bị của dự án.
28. Năng lực của kết cấu hạ tầng đường sắt là khả năng thông qua của kết cấu hạ tầng được xác định bởi các yếu tố tải trọng trục, tải trọng rải đều, tốc độ chạy tàu lớn nhất (Vmax) trên một đoạn tuyến đường sắt; năng lực thông qua của tuyến đường sắt, của nhà ga, của hệ thống thông tin tín hiệu đường sắt.
29. Tác nghiệp kỹ thuật chạy tàu là thực hiện các công việc phục vụ cho đoàn tàu chạy an toàn và bảo đảm chất lượng phục vụ.
30. Thời gian chạy tàu lữ hành là thời gian chạy tàu tính từ ga xuất phát đến ga cuối cùng, bao gồm cả thời gian chạy trên đường và thời gian dừng để tránh vượt, làm tác nghiệp kỹ thuật chạy tàu, tác nghiệp hành khách, hàng hóa.
Chương II
ĐIỀU KIỆN, TRÌNH TỰ, THỦ TỤC THỰC HIỆN VIỆC KẾT NỐI RAY
CÁC TUYẾN ĐƯỜNG SẮT TRONG NƯỚC
Điều 4. Nội dung, yêu cầu đối với kết nối ray các tuyến đường sắt
1. Kết nối ray các tuyến đường sắt là việc kết nối đường ray, hệ thống thông tin, tín hiệu phục vụ điều hành giao thông vận tải đường sắt, hệ thống điện sức kéo (nếu có) giữa tuyến đường sắt địa phương, đường sắt chuyên dùng với đường sắt quốc gia hoặc giữa các tuyến đường sắt địa phương với nhau để các đoàn tàu có thể chạy từ tuyến này sang tuyến khác và ngược lại. Nội dung kết nối ray các tuyến đường sắt gồm kết nối kỹ thuật, kết nối điều hành giao thông vận tải đường sắt và được quy định như sau:
a) Kết nối kỹ thuật gồm: kết nối công trình đường sắt; kết nối hệ thống thông tin, tín hiệu giao thông đường sắt và kết nối hệ thống cấp điện sức kéo đường sắt;
b) Kết nối điều hành giao thông vận tải đường sắt gồm: kết nối trung tâm điều hành giao thông vận tải để thống nhất phương án tổ chức điều hành chạy tàu.
2. Yêu cầu đối với kết nối ray các tuyến đường sắt
a) Kết nối ray các tuyến đường sắt phải bảo đảm yêu cầu nhiệm vụ quốc phòng, an ninh, phòng chống cháy nổ, cứu hộ, cứu nạn, đáp ứng yêu cầu về đồng bộ, an toàn và phát huy hiệu quả khai thác;
b) Khi kết nối ray tuyến đường sắt địa phương, đường sắt chuyên dùng với đường sắt quốc gia, doanh nghiệp quản lý tài sản đường sắt quốc gia tổ chức điều hành giao thông vận tải đường sắt tại vị trí kết nối;
c) Việc kết nối ray các tuyến đường sắt phải đáp ứng yêu cầu đồng bộ về quy chuẩn kỹ thuật, tiêu chuẩn áp dụng, bảo đảm công tác điều hành giao thông vận tải đường sắt thống nhất, an toàn.
Điều 5. Thẩm quyền cấp, gia hạn, thu hồi phép kết nối ray, bãi bỏ kết nối ray
1. Cục Đường sắt Việt Nam thực hiện cấp, gia hạn giấy phép kết nối ray; bãi bỏ kết nối ray; thu hồi giấy phép kết nối ray tuyến đường sắt địa phương, đường sắt chuyên dùng với đường sắt quốc gia; tuyến đường sắt quốc gia với đường sắt quốc gia.
2. Chủ tịch Ủy ban nhân dân cấp tỉnh cấp, gia hạn giấy phép kết nối ray; bãi bỏ kết nối ray; thu hồi giấy phép kết nối ray tuyến đường sắt chuyên dùng với đường sắt địa phương, tuyến đường sắt địa phương với đường sắt địa phương thuộc địa bàn quản lý.
Điều 6. Hồ sơ đề nghị cấp, gia hạn giấy phép kết nối ray, bãi bỏ kết nối ray
1. Hồ sơ đề nghị cấp giấy phép kết nối ray gồm:
a) Bản chính hoặc bản điện tử đơn đề nghị cấp giấy phép theo mẫu tại Phụ lục I của Thông tư này;
b) Bản chính hoặc bản sao có chứng thực hoặc bản điện tử hoặc bản sao điện tử của các tài liệu sau:
Quyết định đầu tư dự án tuyến đường sắt đề xuất kết nối ray;
Hồ sơ thiết kế kỹ thuật hoặc thiết kế bản vẽ thi công kết nối công trình đường sắt; kết nối hệ thống thông tin, tín hiệu giao thông đường sắt và kết nối hệ thống cấp điện sức kéo đường sắt đã được phê duyệt;
Phương án kết nối trung tâm điều hành giao thông vận tải và phương án tổ chức điều hành chạy tàu;
Phương án tổ chức thi công và biện pháp bảo đảm an toàn.
2. Hồ sơ đề nghị gia hạn giấy phép kết nối ray gồm:
a) Bản chính hoặc bản điện tử đơn đề nghị gia hạn theo mẫu tại mục 1 Phụ lục II của Thông tư này;
b) Bản chính hoặc bản sao có chứng thực hoặc bản điện tử hoặc bản sao điện tử của tài liệu chứng minh lý do gia hạn giấy phép kết nối ray.
3. Hồ sơ đề nghị bãi bỏ kết nối ray gồm:
a) Bản chính hoặc bản điện tử đơn đề nghị bãi bỏ kết nối theo mẫu tại mục 2 Phụ lục II của Thông tư này;
b) Bản chính hoặc bản sao có chứng thực hoặc bản điện tử hoặc bản sao điện tử của tài liệu phương án tổ chức thi công khi bãi bỏ kết nối ray.
4. Hồ sơ đề nghị cấp, gia hạn giấy phép kết nối ray, bãi bỏ kết nối ray bản điện tử có giá trị pháp lý như bản giấy.
Điều 7. Trình tự, thủ tục cấp, gia hạn giấy phép kết nối ray, bãi bỏ kết nối ray
1. Chủ đầu tư dự án hoặc chủ sở hữu công trình lập 01 bộ hồ sơ đề nghị quy định tại Điều 6 của Thông tư này, gửi đến cơ quan có thẩm quyền quy định tại Điều 5 của Thông tư này theo một trong các hình thức: nộp hồ sơ trực tiếp tại bộ phận một cửa của cơ quan có thẩm quyền; nộp qua hệ thống dịch vụ công trực tuyến; nộp qua hệ thống bưu chính.
2. Cơ quan có thẩm quyền tiếp nhận và kiểm tra hồ sơ đề nghị. Trường hợp thành phần hồ sơ chưa đầy đủ theo quy định, trong vòng 01 ngày làm việc (nếu tiếp nhận hồ sơ trực tiếp tại bộ phận một cửa hoặc qua cổng dịch vụ công trực tuyến) hoặc 02 ngày làm việc (nếu tiếp nhận hồ sơ qua hệ thống bưu chính) kể từ ngày tiếp nhận hồ sơ, cơ quan có thẩm quyền trả kết quả bằng văn bản và hướng dẫn chủ đầu tư hoàn thiện hồ sơ theo quy định.
3. Thời hạn giải quyết hồ sơ
a) 10 ngày làm việc kể từ ngày nhận đủ hồ sơ theo quy định đối với trường hợp cấp giấy phép kết nối ray;
b) 05 ngày làm việc kể từ ngày nhận đủ hồ sơ theo quy định đối với trường hợp gia hạn giấy phép kết nối ray, bãi bỏ kết nối ray;
c) Trường hợp không cấp, gia hạn giấy phép kết nối ray, bãi bỏ kết nối ray, cơ quan có thẩm quyền phải có văn bản trả lời, nêu rõ lý do.
4. Mẫu giấy phép kết nối ray, quyết định gia hạn giấy phép kết nối, quyết định bãi bỏ kết nối ray
a) Giấy phép kết nối ray theo mẫu quy định tại Phụ lục III của Thông tư này;
b) Quyết định gia hạn giấy phép kết nối ray theo mẫu quy định tại mục 1 Phụ lục IV của Thông tư này;
c) Quyết định bãi bỏ kết nối ray theo mẫu quy định tại mục 2 Phụ lục IV của Thông tư này.
5. Giấy phép kết nối ray, quyết định gia hạn giấy phép kết nối, quyết định bãi bỏ kết nối ray được trả bằng bản điện tử, trừ trường hợp chủ đầu tư dự án hoặc chủ sở hữu công trình có nhu cầu nhận bản giấy. Bản điện tử có giá trị pháp lý như bản giấy.
6. Mỗi giấy phép kết nối ray chỉ được gia hạn thời gian thi công một lần, không quá 12 tháng trong thời gian giấy phép còn hiệu lực, đồng thời thời gian gia hạn không vượt quá thời gian thực hiện dự án đã được cấp có thẩm quyền phê duyệt.
Điều 8. Thu hồi phép kết nối ray
1. Các trường hợp giấy phép kết nối bị thu hồi
a) Giấy phép được cấp không đúng theo quy định của pháp luật;
b) Chủ đầu tư dự án thực hiện không đúng nội dung của giấy phép và không thực hiện việc khắc phục theo yêu cầu của cơ quan nhà nước có thẩm quyền;
c) Chủ đầu tư dự án vi phạm các quy định của pháp luật về quản lý, bảo vệ kết cấu hạ tầng giao thông đường sắt, an toàn giao thông đường sắt, phòng chống cháy nổ, vệ sinh môi trường trong khu vực kết nối ray;
d) Sau 12 tháng, kể từ ngày được cấp giấy phép mà chủ đầu tư dự án vẫn chưa triển khai thi công kết nối.
2. Sau 10 ngày làm việc, kể từ ngày có quyết định thu hồi giấy phép, cơ quan cấp giấy phép thông báo cho các cơ quan, đơn vị liên quan đến việc thực hiện giấy phép và đăng tải trên Cổng thông tin điện tử của cơ quan ban hành quyết định.
Chương III
ĐƯỜNG SẮT GIAO NHAU VỚI ĐƯỜNG BỘ
Mục 1
ĐƯỜNG NGANG
Tiểu mục 1
QUY ĐỊNH CHUNG VỀ ĐƯỜNG NGANG
Điều 9. Đường sắt giao nhau khác mức với đường bộ
Đường sắt giao nhau với đường bộ phải xây dựng nút giao khác mức trong các trường hợp sau đây:
1. Đường sắt có tốc độ thiết kế trên 100 km/h giao nhau với đường bộ.
2. Đường sắt giao nhau với đường bộ cao tốc, đường cao tốc đô thị; đường sắt giao nhau với đường bộ có tốc độ thiết kế trên 80 km/h.
3. Đường sắt đô thị giao nhau với đường bộ, trừ đường xe điện bánh sắt.
Điều 10. Phân loại và phân cấp đường ngang
1. Phân loại đường ngang
a) Theo thời gian sử dụng: đường ngang sử dụng lâu dài; đường ngang sử dụng có thời hạn;
b) Theo hình thức tổ chức phòng vệ: đường ngang có người gác; đường ngang không có người gác;
c) Theo tính chất phục vụ: đường ngang công cộng; đường ngang chuyên dùng.
2. Đường ngang được phân thành cấp I, cấp II, cấp III và theo quy định tại Phụ lục V của Thông tư này.
Điều 11. Phạm vi đường ngang và khu vực đường ngang
1. Phạm vi đường ngang được xác định như sau:
a) Đoạn đường bộ, phạm vi đất dành cho đường bộ nằm trong đất hành lang an toàn giao thông đường sắt và phạm vi bảo vệ công trình đường sắt;
b) Đoạn đường sắt, phạm vi đất dành cho đường sắt nằm trong đất hành lang an toàn đường bộ.
2. Khu vực đường ngang bao gồm: phạm vi đường ngang quy định tại khoản 1 Điều này và giới hạn hành lang an toàn giao thông tại khu vực đường ngang được xác định theo quy định của Chính phủ quy định chi tiết một số điều Luật Đường sắt.
Điều 12. Vị trí và góc giao của đường ngang
1. Đối với đường ngang khi xây dựng mới:
a) Đường ngang phải đặt trên đoạn đường sắt có bình diện là đường thẳng. Trường hợp đặc biệt khó khăn mà phải đặt trên đoạn đường cong, chỉ được đặt trên đoạn đường cong tròn có bán kính tối thiểu 300 mét (m), không được đặt trên đoạn đường cong hoãn hòa;
b) Đường ngang phải cách cửa hầm, mố cầu đường sắt tối thiểu 100 mét (m);
c) Khoảng cách giữa hai đường ngang ngoài đô thị không được nhỏ hơn 1000 mét (m), trong đô thị không được nhỏ hơn 500 mét (m), trừ trường hợp đường bộ hiện hữu là đường tỉnh giao cắt với đường sắt;
d) Đường ngang phải nằm ngoài cột tín hiệu vào ga; vị trí gần nhất của đường ngang phải cách cột tín hiệu vào ga tối thiểu 3,5 mét (m);
đ) Góc giao giữa đường sắt và đường bộ là góc vuông (90°); trường hợp địa hình khó khăn, góc giao không được nhỏ hơn 45° và phải bảo đảm tầm nhìn theo quy định của pháp luật về quản lý, bảo vệ kết cấu hạ tầng đường sắt;
e) Trường hợp đường ngang khi xây dựng mới chưa phù hợp một trong các điều kiện quy định tại điểm a, điểm b, điểm c, điểm d, điểm đ khoản này, khi lập hồ sơ đề nghị cấp giấy phép xây dựng đường ngang, chủ đầu tư dự án phải làm rõ về điều kiện mặt bằng, nguồn lực tài chính, bảo đảm phù hợp với quy hoạch được cấp có thẩm quyền phê duyệt, đáp ứng nhu cầu phát triển kinh tế - xã hội của địa phương.
2. Đối với đường ngang hiện hữu chưa đáp ứng quy định tại điểm a, điểm b, điểm c, điểm d, điểm đ khoản 1 Điều này
a) Trong quá trình khai thác, sử dụng, doanh nghiệp quản lý tài sản đường sắt quốc gia (đối với đường ngang công cộng trên đường sắt quốc gia), chủ sở hữu đường sắt chuyên dùng (đối với đường ngang công cộng trên đường sắt chuyên dùng), chủ quản lý, sử dụng đường ngang (đối với đường ngang chuyên dùng) phải thực hiện các biện pháp bảo đảm an toàn giao thông tại vị trí nguy hiểm theo quy định của Chính phủ quy định chi tiết một số điều Luật Đường sắt;
b) Khi cải tạo, nâng cấp đường ngang, chủ đầu tư dự án phải bố trí đầy đủ hệ thống phòng vệ đường ngang và từng bước cải thiện tối thiểu được một trong các yếu tố kỹ thuật của đường bộ qua đường ngang về bình diện, góc giao, trắc dọc.
Điều 13. Đường sắt trong phạm vi đường ngang
1. Mặt đường ngang phải đặt ray hộ bánh hoặc kết cấu khác để tạo khoảng cách giữa má trong ray chính với ray hộ bánh hoặc giữa má trong ray chính với kết cấu đó (sau đây gọi là khe ray), đáp ứng các yêu cầu sau:
a) Ray hộ bánh hoặc kết cấu tạo khe ray phải đặt hết phạm vi hai vai đường bộ;
b) Chiều rộng khe ray:
Đối với đường ngang nằm trên đường thẳng hoặc đường cong có bán kính từ 500 mét (m) trở lên: khe ray rộng 75 milimét (mm);
Đối với các đường ngang nằm trên đường cong có bán kính nhỏ hơn 500 mét (m): khe ray rộng 75 milimét (mm) + 1/2 độ mở rộng của đường cong theo Quy chuẩn kỹ thuật quốc gia về khai thác đường sắt;
c) Chiều sâu khe ray ít nhất là 45 milimét (mm);
d) Trường hợp mặt đường bộ trong lòng đường sắt bằng bê tông nhựa phải dùng ray hộ bánh để tạo khe ray; cao độ ray hộ bánh bằng cao độ ray chính;
đ) Trường hợp mặt đường bộ trong lòng đường sắt bằng các tấm đan, mép tấm đan sát ray chính phải có cấu tạo đặc biệt để tạo khe ray;
e) Trường hợp đặt ray hộ bánh quy định tại điểm a khoản này, hai đầu ray được uốn vào phía trong lòng đường sắt, chiều dài đoạn đầu ray hộ bánh được uốn là 500 milimét (mm), khe ray tại vị trí bắt đầu uốn theo quy định tại điểm b khoản này, khe ray tại vị trí cuối cùng của ray là 250 milimét (mm). Tại vị trí điểm bắt đầu uốn và vị trí cuối cùng của ray hộ bánh phải được liên kết chặt với tà vẹt;
g) Không đặt mối nối ray trong phạm vi đường ngang. Trường hợp đường bộ tại đường ngang rộng phải hàn liền mối ray, khi chưa hàn được thì dồn ray làm cháy mối;
h) Các phụ kiện nối giữ ray phải đầy đủ, liên kết chặt chẽ.
2. Yêu cầu về vật liệu
a) Khi xây dựng mới hoặc cải tạo, nâng cấp đường ngang phải sử dụng tà vẹt bê tông cốt thép trong phạm vi đường ngang; đối với đường ngang hiện hữu, hạn chế sử dụng tà vẹt sắt hoặc tà vẹt gỗ trong phạm vi đường ngang;
b) Nền đá ba lát tại đường ngang phải đủ độ dày và bảo đảm tiêu chuẩn quy định;
c) Việc sử dụng vật tư, vật liệu lắp đặt cho đường ngang phải bảo đảm tiêu chuẩn về vật tư, vật liệu sử dụng cho công trình đường sắt.
Điều 14. Yêu cầu đối với đoạn đường bộ tại đường ngang khi xây dựng mới đường ngang
Khi xây dựng mới đường ngang, đoạn đường bộ tại đường ngang phải đáp ứng tiêu chuẩn kỹ thuật tương ứng theo cấp đường bộ và các quy định sau:
1. Bình diện: đường bộ từ mép ray ngoài cùng trở ra phải thẳng trên một đoạn dài tối thiểu bằng khoảng cách tầm nhìn hãm xe theo tiêu chuẩn đường ô tô - yêu cầu thiết kế; trường hợp khó khăn về địa hình cũng không được nhỏ hơn 15 mét (m). Đối với đường ngang có bố trí dải phân cách giữa, khoảng cách từ mép ray ngoài cùng đến đầu giải phân cách tối thiểu là 06 mét (m).
2. Trắc dọc
a) Trong lòng đường sắt và từ mép ray ngoài cùng trở ra, đường bộ dốc 0% trên chiều dài tối thiểu 16 mét (m), trường hợp khó khăn không nhỏ hơn 10 mét (m);
b) Đoạn đường bộ tiếp theo có độ dốc không quá 03% trên chiều dài tối thiểu 20 mét (m); trường hợp vùng núi và địa hình khó khăn, độ dốc các đoạn này không được quá 06%;
c) Đoạn đường bộ đi qua hai đường sắt trở lên, độ dốc dọc của đường bộ được xác định theo cao độ đỉnh ray của hai đường sắt liền kề.
3. Chiều rộng phần xe chạy của đoạn đường bộ trong phạm vi đường ngang không nhỏ hơn bề rộng phần xe chạy trên đường bộ phía ngoài và không nhỏ hơn 06 mét (m). Trường hợp phải mở rộng để mặt đường không nhỏ hơn 06 mét (m), đoạn từ phạm vi đường ngang trở ra phải vuốt dần về bề rộng phần xe chạy trên đường bộ ngoài phạm vi đường ngang theo tỉ lệ 10:1. Bề rộng phần lề đường tối thiểu phải bảo đảm đủ để lắp đặt biển báo hiệu đường bộ.
4. Trong phạm vi đường ngang phải có đầy đủ hệ thống thoát nước để bảo đảm thoát nước của khu vực.
5. Trên mặt đường bộ trong khu vực đường ngang không có người gác phải bố trí gờ giảm tốc, gồ giảm tốc. Việc bố trí gờ giảm tốc, gồ giảm tốc theo sơ đồ tổ chức phòng vệ đường ngang tại Phụ lục VI của Thông tư này. Trong trường hợp này, đoạn đường bộ trong lòng đường sắt và từ mép ray ngoài cùng trở ra, đường bộ dốc 0% trên chiều dài tối thiểu 25 mét (m).
6. Trường hợp tổ chức giao thông có phần đường dành riêng cho người đi bộ qua đường ngang, phạm vi từ mép ray ngoài cùng trở ra đến vị trí ngang vạch dừng xe phải bố trí vạch sơn đi bộ qua đường theo Quy chuẩn kỹ thuật quốc gia về báo hiệu đường bộ.
Điều 15. Yêu cầu đối với đoạn đường bộ tại đường ngang trong một số trường hợp đặc biệt
1. Trường hợp đường bộ liền kề có đoạn rẽ vào đường sắt và khoảng cách gần nhất từ mép ray ngoài cùng đến đường bộ có giá trị nhỏ hơn 15 mét (m)
a) Ưu tiên mở rộng mặt đường bộ phía tiếp giáp với đường sắt để bố trí làn xe cho các phương tiện đường bộ dừng chờ quan sát trước khi rẽ vào đường ngang và từ đường ngang đi ra;
b) Bề rộng làn xe dừng chờ tối thiểu bằng bề rộng một làn xe theo cấp đường bộ. Mặt đường bộ sau khi mở rộng phải nằm ngoài hàng rào ngăn cách giữa đường sắt với đường bộ, bảo đảm an toàn cho các phương tiện giao thông đường sắt, đường bộ đi qua đường ngang. Việc bố trí làn xe dừng chờ theo Phụ lục VII của Thông tư này;
c) Nâng, hạ mặt đường bộ khu vực đường ngang để bảo đảm đường bộ từ mép ray ngoài cùng trở ra phía đường bộ liền kề đường sắt nằm trên dốc bằng (0%) trong phạm vi tối thiểu là 05 mét (m); đoạn đường bộ tiếp theo có độ dốc không quá 06% và đáp ứng yêu cầu tiêu chuẩn kỹ thuật tương ứng theo cấp kỹ thuật đường bộ.
2. Trường hợp đoạn đường bộ tại đường ngang nằm trên đoạn cong của đường sắt
a) Đường bộ tại đường ngang có độ dốc theo dốc siêu cao của đường sắt trong phạm vi tối thiểu của khổ giới hạn tiếp giáp kiến trúc theo quy định tại Quy chuẩn kỹ thuật quốc gia về khai thác đường sắt;
b) Đoạn đường bộ tiếp theo nằm trên dốc bằng (0%) trên phạm vi chiều dài tối thiểu 16 mét (m), trường hợp khó khăn không nhỏ hơn 10 mét (m). Đoạn đường bộ tiếp theo có độ dốc không quá 03% trên chiều dài tối thiểu 20 mét (m); trường hợp vùng núi và địa hình khó khăn, độ dốc không được quá 06%.
3. Trường hợp đường ngang hiện hữu có đường bộ cắt qua nhiều đường sắt: độ dốc đường bộ trong lòng đường sắt và phạm vi tối thiểu là 01 mét (m) tính từ mép ray ngoài cùng của mỗi đường trở ra được xác định theo dốc đỉnh ray mỗi đường; đoạn đường bộ tiếp theo có độ dốc được xác định theo chênh cao đỉnh ray của hai đường sắt liền kề.
Điều 16. Kết cấu mặt đường bộ tại đường ngang
1. Kết cấu mặt đường bộ trong lòng đường sắt và phạm vi từ mép ray chính ngoài cùng trở ra tối thiểu đến hết phạm vi đường ngang là các tấm đan hoặc kết cấu khác phải bảo đảm êm thuận và đáp ứng tải trọng theo cấp đường bộ tương ứng.
2. Trường hợp sử dụng tấm đan, phạm vi đặt tấm đan từ mép ray chính ngoài cùng trở ra tối thiểu đến hết phần tà vẹt.
3. Mặt đường bộ phải thỏa mãn tiêu chuẩn kỹ thuật tương ứng với loại kết cấu mặt đường. Trường hợp sử dụng tấm đan bê tông cốt thép phải được liên kết chặt chẽ, ổn định.
Điều 17. Tổ chức phòng vệ đường ngang
1. Đối với đường ngang cấp I, cấp II phải tổ chức phòng vệ theo hình thức có người gác.
2. Đối với đường ngang cấp III:
a) Tổ chức phòng vệ theo hình thức cảnh báo tự động đối với trường hợp bảo đảm tầm nhìn tại khu vực đường ngang;
b) Tổ chức phòng vệ theo hình thức có người gác đối với trường hợp không bảo đảm tầm nhìn tại khu vực đường ngang.
3. Sơ đồ tổ chức phòng vệ đường ngang theo hình thức có người gác và không có người gác quy định tại Phụ lục VI của Thông tư này.
4. Đối với các đường ngang hiện có tổ chức phòng vệ bằng biển báo trên đường sắt, doanh nghiệp quản lý tài sản đường sắt hoặc chủ quản lý, sử dụng đường ngang phải từng bước nâng cấp hình thức phòng vệ đường ngang theo thứ tự ưu tiên để tăng cường an toàn giao thông. Khi chưa nâng cấp được hình thức phòng vệ đường ngang, doanh nghiệp quản lý tài sản đường sắt hoặc chủ quản lý, sử dụng đường ngang phải tổ chức cảnh giới tại những đường ngang là điểm đen, điểm tiềm ẩn tai nạn giao thông.
Điều 18. Nhà gác đường ngang và chiếu sáng tại đường ngang
1. Nhà gác đường ngang chỉ được sử dụng phục vụ cho nhân viên gác đường ngang thực hiện nhiệm vụ bảo đảm an toàn giao thông tại đường ngang và phải bảo đảm các điều kiện sau:
a) Đặt ở vị trí có thể quan sát được về hai phía đường bộ và đường sắt thuận tiện cho công tác của nhân viên gác đường ngang; không làm cản trở tầm nhìn của người tham gia giao thông trên đường sắt và đường bộ;
b) Bộ phận gần nhất của nhà gác đường ngang phải cách mép ray đường sắt ngoài cùng, mép phần xe chạy đường bộ ít nhất 3,5 mét (m) và không xa quá 10 mét (m). Trường hợp khó khăn do không còn đủ quỹ đất để bố trí, bộ phận gần nhất của nhà gác đường ngang không được vi phạm khổ giới hạn tiếp giáp kiến trúc đường sắt theo quy định tại Quy chuẩn kỹ thuật quốc gia về khai thác đường sắt. Cửa ra vào ưu tiên mở về phía đường bộ, tường nhà phải có cửa sổ lắp kính nhìn rõ được đường bộ và đường sắt; nền nhà phải tối thiểu cao bằng mặt ray;
c) Nhà gác đường ngang phải có buồng vệ sinh, điện, nước sạch, quạt điện hoặc điều hòa không khí phục vụ cho nhân viên gác đường ngang. Khi xây dựng mới, nhà gác đường ngang phải có diện tích làm việc tối thiểu 12 mét vuông (m2) và đáp ứng đủ diện tích theo số định biên của ca làm việc.
2. Đường ngang có người gác ở nơi có nguồn điện lưới quốc gia phải trang bị đèn chiếu sáng về ban đêm và ban ngày khi có sương mù. Ánh sáng đèn đủ để người điều khiển phương tiện giao thông đường sắt và đường bộ nhìn rõ tín hiệu của nhân viên gác đường ngang. Độ rọi trung bình 25 - 30 lx, độ đồng đều chung của ánh sáng Emin/Etb không nhỏ hơn 0,5.
Điều 19. Hệ thống phòng vệ đường ngang
1. Hệ thống phòng vệ đường ngang bao gồm: chắn đường ngang; cọc tiêu, hàng rào cố định; vạch sơn kẻ đường, gờ giảm tốc, gồ giảm tốc; hệ thống biển báo hiệu đường sắt, đường bộ; hệ thống giám sát đường ngang; đèn tín hiệu và chuông điện; tín hiệu cảnh báo đường ngang, tín hiệu ngăn đường trên đường sắt và các thiết bị khác liên quan đến bảo đảm an toàn giao thông, phòng ngừa tai nạn tại đường ngang.
2. Hệ thống phòng vệ đường ngang khi xây dựng, lắp đặt vào đường ngang phải đáp ứng các yêu cầu sau:
a) Tuân thủ quy chuẩn kỹ thuật, tiêu chuẩn áp dụng cho từng loại hình thiết bị;
b) Phải được bố trí đầy đủ, phù hợp với loại hình đường ngang, thường xuyên kiểm tra và duy trì trạng thái kỹ thuật hoạt động ổn định, an toàn, phòng ngừa tai nạn trong suốt quá trình khai thác, sử dụng đường ngang.
3. Bố trí hệ thống phòng vệ đường ngang đối với đường ngang có người gác phải bảo đảm đầy đủ các nội dung sau:
a) Cần chắn, giàn chắn thủ công hoặc cần chắn, giàn chắn sử dụng động cơ điện do người điều khiển hoặc cần chắn tự động;
b) Cọc tiêu, hàng rào cố định;
c) Vạch sơn kẻ đường;
d) Hệ thống biển báo hiệu đường sắt, đường bộ;
đ) Đèn tín hiệu, chuông điện hoặc loa phát âm thanh;
e) Tín hiệu ngăn đường trên đường sắt, trừ những đường ngang nằm trong phạm vi phòng vệ của tín hiệu vào ga, ra ga, hoặc tín hiệu bãi dồn, tín hiệu thông qua trên đường sắt có thiết bị đóng đường tự động hoặc tín hiệu phòng vệ khác, khi các tín hiệu trên cách đường ngang dưới 800 mét (m);
g) Hệ thống giám sát đường ngang và các thiết bị khác liên quan đến bảo đảm an toàn giao thông tại đường ngang.
4. Bố trí hệ thống phòng vệ đường ngang đối với đường ngang không có người gác phải bảo đảm đầy đủ các nội dung sau:
a) Đường ngang cảnh báo tự động
Cần chắn tự động (nếu có);
Cọc tiêu, hàng rào chắn cố định;
Vạch sơn kẻ đường, gờ giảm tốc, gồ giảm tốc; biển cảnh báo chú ý tàu hỏa;
Hệ thống biển báo hiệu đường sắt, đường bộ;
Đèn tín hiệu, chuông điện hoặc loa phát âm thanh;
Hệ thống giám sát đường ngang và các thiết bị khác liên quan đến bảo đảm an toàn giao thông tại đường ngang.
b) Đường ngang biển báo hiện hữu
Cọc tiêu;
Vạch sơn kẻ đường, gờ giảm tốc, gồ giảm tốc; biển cảnh báo chú ý tàu hỏa, biển STOP (R122), kết hợp với biển phụ ghi “Dừng lại quan sát trước khi qua đường ngang”;
Hệ thống biển báo hiệu đường sắt, đường bộ;
Các thiết bị khác liên quan đến bảo đảm an toàn giao thông tại đường ngang.
5. Mọi tổ chức, cá nhân có trách nhiệm bảo vệ, không được tự ý di chuyển, chiếm đoạt, làm hư hỏng hoặc làm giảm hiệu lực và tác dụng của hệ thống phòng vệ đường ngang.
Điều 20. Cọc tiêu và hàng rào chắn cố định
1. Bố trí cọc tiêu dọc hai bên lề đường bộ trong phạm vi đường ngang
a) Cọc tiêu được lắp đặt đến vị trí đặt chắn đường ngang đối với đường ngang có người gác;
b) Cọc tiêu được lắp đặt đến vị trí cách mép ray ngoài cùng 2,5 mét (m) đối với đường ngang không có người gác;
c) Khoảng cách giữa các cọc tiêu là 1,5 mét (m) và mỗi hàng cọc tiêu cắm ít nhất là 06 cọc; tại các đoạn đường nguy hiểm có thể sử dụng hàng rào có lan can phòng hộ thay cho hàng cọc tiêu;
d) Không cần bố trí cọc tiêu trong trường hợp phần đường xe chạy đã được phân biệt rõ bởi bó vỉa, vỉa hè hoặc các kết cấu liền kề hoặc khi đã sử dụng tiêu phản quang dạng mũi tên tại các đường cong.
2. Tại đường ngang có người gác, dọc hai bên lề đường bộ trong phạm vi từ chắn đường ngang đến vị trí cách đường sắt tối thiểu 2,5 mét (m) phải bố trí hàng rào chắn cố định để ngăn cách không cho người và phương tiện giao thông đường bộ vượt rào vào đường ngang khi chắn đường ngang đã đóng.
3. Quy cách và kích thước cọc tiêu, hàng rào chắn cố định theo quy định tại Quy chuẩn kỹ thuật quốc gia về báo hiệu đường bộ.
4. Trường hợp trong khu vực đường ngang có đường bộ liền kề và gần đường sắt mà phải bố trí hàng rào chắn ngăn cách giữa đường bộ với đường sắt, chiều cao hàng rào phải bảo đảm tầm nhìn cho người điều khiển phương tiện giao thông đường bộ khi đi qua đường ngang.
Điều 21. Vạch sơn kẻ đường, gờ giảm tốc, gồ giảm tốc trên mặt đường bộ khu vực đường ngang
1. Mặt đường bộ trong khu vực đường ngang phải luôn duy trì các vạch báo hiệu đường bộ sau:
a) Vạch dừng xe;
b) Vạch giảm tốc độ;
c) Vạch phân chia hai chiều làn xe chạy;
d) Vạch báo gần chỗ giao nhau với đường sắt;
e) Vạch chữ “STOP” đối với đường ngang tổ chức phòng vệ bằng biển báo;
g) Các vạch báo hiệu đường bộ khác phù hợp với đặc điểm của đường ngang nhằm tăng cường an toàn giao thông tại đường ngang.
2. Trường hợp khu vực đường ngang có đường bộ liền kề và gần với đường sắt, mặt bằng đường bộ bị hạn chế để bố trí vạch báo hiệu đường bộ quy định tại khoản 1 Điều này, cơ quan quản lý đường bộ chủ trì, phối hợp với doanh nghiệp quản lý tài sản đường sắt kiểm tra mặt bằng đường bộ khu vực đường ngang để bố trí vạch báo hiệu đường bộ tuân thủ quy định của Quy chuẩn kỹ thuật quốc gia về báo hiệu đường bộ, phù hợp với điều kiện thực tế và bảo đảm an toàn giao thông.
3. Vị trí vạch dừng xe
a) Vạch dừng xe cách tối thiểu 05 mét (m) tính từ ray gần nhất;
b) Trường hợp đường bộ giao vuông góc với đường sắt, vạch dừng xe bố trí vuông góc với hướng đường bộ đi vào đường sắt;
c) Trường hợp đường bộ giao không vuông góc với đường sắt, tùy thuộc vào điều kiện mặt bằng và lưu lượng tham gia giao thông đường bộ, được bố trí vạch dừng xe không vuông góc với hướng đường bộ đi vào đường sắt để tăng khả năng lưu thoát phương tiện tại khu vực đường ngang.
4. Việc xây dựng, bố trí gờ giảm tốc, gồ giảm tốc áp dụng theo quy định hiện hành.
5. Quy cách và vị trí các vạch báo hiệu đường bộ theo Quy chuẩn kỹ thuật quốc gia về báo hiệu đường bộ.
Điều 22. Hệ thống biển báo hiệu đường sắt, đường bộ
1. Đối với đường ngang có người gác phải đặt các biển báo hiệu sau:
a) Biển ngừng
“Biển ngừng” được đặt trên đường sắt phía nhà gác đường ngang, vị trí đặt cách mép đường bộ trở ra tối thiểu 03 mét (m) để ngăn tàu đi vào đường ngang khi chắn đường ngang chưa đóng hoàn toàn;
Trong trường hợp đường ngang đã được lắp tín hiệu ngăn đường hoặc đường ngang nằm trong phạm vi phòng vệ của tín hiệu vào ga, ra ga, hoặc tín hiệu bãi dồn, tín hiệu thông qua trên đường sắt có thiết bị đóng đường tự động hoặc tín hiệu phòng vệ khác khi các tín hiệu trên cách đường ngang dưới 800 mét (m) thì không đặt “Biển ngừng”;
b) Tùy theo góc giao giữa đường sắt và đường bộ, đặt biển “Nơi đường sắt giao vuông góc với đường bộ” hoặc biển “Nơi đường sắt giao không vuông góc với đường bộ” trên đường bộ trong phạm vi đường ngang trước khi vào vị trí giao nhau với đường sắt;
c) Đặt biển “Giao nhau với đường sắt có rào chắn” trên đường bộ ngoài phạm vi đường ngang trước khi vào vị trí giao nhau với đường sắt.
2. Đối với đường ngang không có người gác, ngoài việc đặt biển báo hiệu quy định tại điểm b khoản 1 Điều này, phải đặt các biển sau:
a) Trên đường bộ ngoài phạm vi đường ngang trước khi vào vị trí giao nhau với đường sắt: đặt biển “Giao nhau với đường sắt có rào chắn” đối với đường ngang có cần chắn tự động; đặt biển “Giao nhau với đường sắt không có rào chắn” đối với đường ngang không có cần chắn tự động;
b) Biển “Dừng lại” trên đường bộ trong phạm vi đường ngang trước khi vào vị trí giao nhau với đường sắt đối với đường ngang biển báo.
3. Trên hai phía đường sắt đi tới đường ngang phải đặt biển “Kéo còi”.
4. Kích thước, quy cách, vị trí đặt các biển báo hiệu đường sắt, đường bộ theo Quy chuẩn kỹ thuật quốc gia về báo hiệu đường bộ và Quy chuẩn kỹ thuật quốc gia về tín hiệu giao thông đường sắt.
Điều 23. Đèn tín hiệu, chuông điện hoặc loa phát âm thanh
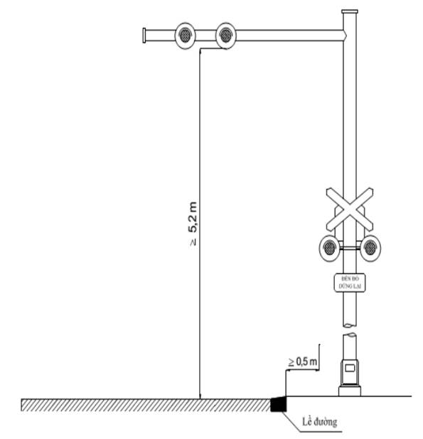
1. Đèn tín hiệu, chuông điện hoặc loa phát âm thanh phải đặt trước chắn đường ngang (hoặc liền với trụ chắn đường ngang) hoặc đặt cách ray ngoài cùng 06 mét (m) trở lên. Trong mọi trường hợp, đèn tín hiệu phải đặt tại vị trí không bị che khuất.
2. Yêu cầu đối với tín hiệu
a) Đèn tín hiệu phải có hai đèn đỏ đặt ngang nhau. Khi có tàu sắp tới đường ngang, hai đèn tín hiệu thay phiên nhau sáng nhấp nháy. Khi tàu qua hết đường ngang, chắn đường ngang đã mở hoàn toàn, đèn tín hiệu tắt. Đèn tín hiệu phải được lắp đặt bổ sung trên cột cần vươn đối với đường bộ có 04 làn xe trở lên hoặc nơi có địa hình bị che khuất tầm nhìn;
b) Thời điểm đèn tín hiệu bật sáng phải bảo đảm trước lúc tàu tới đường ngang ít nhất 60 giây đối với đường ngang cảnh báo tự động; 90 giây đối với đường ngang có người gác dùng tín hiệu tự động; 120 giây đối với đường ngang có người gác không dùng tín hiệu tự động;
c) Đèn tín hiệu phải bảo đảm để người điều khiển phương tiện giao thông đường bộ nhìn thấy được tín hiệu từ khoảng cách 100 mét (m) trở lên; ánh sáng đỏ của đèn tín hiệu phải bảo đảm không gây nhầm lẫn cho lái tàu.
3. Yêu cầu đối với chuông điện hoặc loa phát âm thanh
a) Chuông hoặc loa phát âm thanh phải kêu khi tàu tới gần đường ngang ít nhất 60 giây đối với đường ngang cảnh báo tự động; 90 giây đối với đường ngang có người gác dùng tín hiệu tự động; 120 giây đối với đường ngang có người gác không dùng tín hiệu tự động;
b) Đối với đường ngang có người gác, chuông hoặc loa phát âm thanh tắt khi chắn đường ngang đóng hoàn toàn;
c) Khi chuông kêu, loa phát âm thanh, mức âm lượng tại vị trí cách xa 15 mét (m), cao 1,2 mét (m) so với mặt đất phải từ 90 đề xi ben (dB) đến 115 đề xi ben (dB).
4. Sơ đồ đèn tín hiệu và chuông điện hoặc loa phát âm thanh theo quy định tại Phụ lục VIII của Thông tư này.
Điều 24. Cột tín hiệu ngăn đường trên đường sắt
1. Vị trí đặt cột tín hiệu ngăn đường trên đường sắt
a) Cột tín hiệu ngăn đường trên đường sắt đặt cách đường ngang có người gác (tính từ vai đường bộ cùng phía) từ 100 mét (m) đến 500 mét (m). Nơi có nhiều đường ngang có người gác mà khoảng cách giữa hai đường ngang liền kề nhỏ hơn 500 mét (m), cột tín hiệu ngăn đường trên đường sắt bố trí ở hai đầu khu vực có nhiều đường ngang;
b) Vị trí đặt cột tín hiệu ngăn đường ở bên trái theo hướng tàu chạy theo Quy chuẩn kỹ thuật quốc gia về tín hiệu giao thông đường sắt.
2. Tầm nhìn của tín hiệu ngăn đường trên đường sắt phải bảo đảm ít nhất 800 mét (m). Trường hợp địa hình khó khăn, tầm nhìn của tín hiệu ngăn đường không được nhỏ hơn 400 mét (m).
3. Hoạt động của tín hiệu ngăn đường trên đường sắt
a) Tín hiệu ngăn đường trên đường sắt là tín hiệu màu đỏ, tín hiệu ngăn đường bật sáng báo hiệu dừng tàu;
b) Khi tín hiệu ngăn đường tắt, tàu hoạt động bình thường. Khi có trở ngại trên đường ngang ảnh hưởng đến an toàn giao thông, nhân viên gác đường ngang phải mở tín hiệu ngăn đường;
c) Đường ngang có người gác trên khu gian có thiết bị đóng đường tự động nhiều phân khu phải lắp đặt thiết bị chuyển tín hiệu đóng đường ở gần đường ngang nhất về trạng thái đóng để nhân viên gác đường ngang thao tác khi có trở ngại trên đường ngang ảnh hưởng đến an toàn giao thông.
Điều 25. Thiết bị tại nhà gác đường ngang
1. Trong nhà gác đường ngang phải bố trí đầy đủ các thiết bị sau đây:
a) Điện thoại liên lạc với trực ban ga báo chắn đường ngang;
b) Thiết bị điều khiển tín hiệu đường bộ;
c) Thiết bị điều khiển tín hiệu đường sắt đối với đường ngang quy định tại điểm e khoản 3 Điều 19 của Thông tư này;
d) Thiết bị thông báo tự động cho nhân viên gác chắn biết khi tàu tới gần đường ngang;
đ) Thiết bị điều khiển chắn đường ngang đối với trường hợp quy định tại khoản 3 Điều 27 của Thông tư này;
e) Thiết bị có khả năng ghi nhận, lưu trữ liên lạc giữa trực ban chạy tàu và nhân viên gác đường ngang;
g) Đồng hồ báo giờ.
2. Các thiết bị trong nhà gác đường ngang quy định tại khoản 1 Điều này phải bảo đảm làm việc bình thường, ổn định.
3. Đối với đường ngang công cộng trên đường sắt chuyên dùng, đường ngang chuyên dùng trên đường sắt chuyên dùng, đường ngang sử dụng có thời hạn, việc bố trí thiết bị tại nhà gác đường ngang do cơ quan có thẩm quyền cấp giấy phép xây dựng đường ngang quyết định trên cơ sở khoản 1 Điều này, nhưng phải bảo đảm đầy đủ thông tin cho nhân viên gác đường ngang biết khi tàu tới gần đường ngang để kịp thời đóng chắn.
Điều 26. Thiết bị tín hiệu và thiết bị phòng vệ đường ngang hoạt động bằng điện
1. Đối với đường ngang có người gác
a) Các thiết bị tín hiệu và thiết bị phòng vệ hoạt động bằng điện phải được điều khiển tập trung tại nhà gác đường ngang;
b) Các thiết bị phải luôn ở trạng thái hoạt động bình thường, ổn định, phải có cơ chế điều khiển được bằng thủ công nếu thiết bị hư hỏng đột xuất.
2. Đối với đường ngang cảnh báo tự động
a) Tín hiệu cảnh báo đường bộ phải bảo đảm thông báo rõ ràng và kịp thời trong mọi điều kiện thời tiết về trạng thái đóng đường ngang;
b) Khi thiết bị có trở ngại, không thể phát tín hiệu đèn đỏ nháy sáng luân phiên, doanh nghiệp quản lý tài sản đường sắt hoặc chủ quản lý, sử dụng đường ngang phải kịp thời sửa chữa, khôi phục lại trong thời gian sớm nhất. Đồng thời, phải tổ chức phòng vệ đường ngang bằng tín hiệu cảnh báo (đèn vàng sáng nhấp nháy) về phía đường bộ và cử người cảnh giới đường ngang;
c) Việc theo dõi, giám sát hoạt động của các thiết bị tại đường ngang cảnh báo tự động phải được thực hiện thường xuyên, liên tục thông qua hệ thống giám sát lắp đặt tại đường ngang cảnh báo tự động nhằm bảo đảm thiết bị cảnh báo tự động hoạt động bình thường, ổn định.
Điều 27. Chắn đường ngang tại đường ngang có người gác
1. Trên đường bộ hai bên đường sắt trong phạm vi đường ngang phải đặt chắn đường ngang để ngăn các phương tiện và người tham gia giao thông đường bộ khi có tàu đến. Chắn đường ngang đặt cách mép ray ngoài cùng tối thiểu 04 mét (m). Trường hợp địa hình hạn chế, chắn phải được đặt tại vị trí không được vi phạm khổ giới hạn tiếp giáp kiến trúc của đường sắt theo quy định tại Quy chuẩn kỹ thuật quốc gia về khai thác đường sắt.
2. Chắn đường ngang bắt đầu đóng từ phía bên phải sang phía bên trái theo hướng đi vào đường ngang. Trường hợp đường ngang có nhiều chắn phải đóng chắn phía bên phải theo hướng đi vào đường ngang trước, các chắn còn lại được đóng sau. Khi chắn đã đóng phải ngăn toàn bộ mặt đường bộ.
3. Chắn đường ngang có thể lắp động cơ điện hoặc sử dụng cần chắn điện (do nhân viên gác chắn điều khiển hoặc tự động).
4. Thời gian đóng chắn đường ngang
a) Hai phía đường bộ đi vào đường ngang phải được đóng chắn hoàn toàn trước khi tàu đến đường ngang ít nhất 60 giây đối với chắn điện và cần chắn tự động; 90 giây đối với chắn thủ công;
b) Không đóng chắn trước khi tàu đến đường ngang quá 03 phút đối với đường ngang cấp I, cấp II và quá 05 phút đối với đường ngang cấp III; trừ trường hợp đường ngang được tổ chức phòng vệ bằng chắn ở trạng thái thường xuyên đóng.
5. Đối với đường ngang hiện hữu đang sử dụng chắn thủ công, từng bước lắp động cơ điện hoặc thay thế dần bằng cần chắn điện (do nhân viên gác chắn điều khiển hoặc tự động) để nâng cao chất lượng tổ chức phòng vệ tại đường ngang, nâng cao an toàn giao thông và giảm định biên gác đường ngang.
Điều 28. Chắn đường ngang tại đường ngang cảnh báo tự động
1. Trên đường bộ hai bên đường sắt trong phạm vi đường ngang cảnh báo tự động có lắp đặt cần chắn tự động, cần chắn tự động phải đặt cách mép ray ngoài cùng tối thiểu 04 mét (m). Trường hợp địa hình hạn chế, khi đặt chắn không được vi phạm khổ giới hạn tiếp giáp kiến trúc của đường sắt theo quy định tại Quy chuẩn kỹ thuật quốc gia về khai thác đường sắt.
2. Chắn đường ngang sử dụng loại cần chắn đóng 1/2 hoặc 2/3 hoặc toàn bộ mặt đường bộ theo quy định sau:
a) Trường hợp sử dụng chắn đường ngang đóng 1/2 hoặc 2/3 mặt đường bộ, phần đường bộ còn lại không có cần chắn phải rộng ít nhất 03 mét (m) và ở bên trái của chiều xe chạy vào đường ngang;
b) Trường hợp sử dụng chắn đường ngang đóng toàn bộ mặt đường bộ thì phải có thiết bị giám sát, hỗ trợ để bảo đảm không còn phương tiện đường bộ trong phạm vi đường ngang khi chắn đường ngang đóng hoàn toàn.
3. Thiết bị chắn tự động phải bảo đảm hoạt động theo trình tự sau đây:
a) Khi tàu đến gần đường ngang, đèn đỏ báo hiệu trên đường bộ và đèn đỏ trên cần chắn tự động bật sáng, chuông báo hiệu hoặc loa phát âm thanh tự động kêu; sau từ 07 giây đến 08 giây, cần chắn tự động bắt đầu đóng;
b) Khi tàu qua khỏi đường ngang, cần chắn tự động mở và đèn trên cần chắn, đèn tín hiệu trên đường bộ tự động tắt khi cần chắn đã mở hoàn toàn.
4. Thời gian đóng chắn: hai phía đường bộ đi vào đường ngang phải được đóng chắn hoàn toàn trước khi tàu đến đường ngang ít nhất 40 giây.
5. Đối với đường ngang cảnh báo tự động hiện hữu chưa có cần chắn tự động phải từng bước bổ sung lắp đặt cần chắn tự động.
Điều 29. Yêu cầu đối với việc đặt biển báo hiệu trong trường hợp đường bộ liền kề và có đoạn rẽ vào đường sắt
1. Khi chiều dài đoạn rẽ đến đường sắt nhỏ hơn 10 mét (m)
a) Căn cứ góc giao của đường ngang, phải đặt biển “Nơi đường sắt giao vuông góc với đường bộ” hoặc “Nơi đường sắt giao không vuông góc với đường bộ” tại lề hai góc giao giữa đường bộ chạy gần với đoạn rẽ vào đường sắt;
b) Căn cứ loại hình phòng vệ đường ngang phải đặt các biển “Giao nhau với đường sắt có rào chắn” hoặc “Giao nhau với đường sắt không có rào chắn” trên lề bên phải đường bộ chạy gần đường sắt. Khoảng cách các biển đến đoạn rẽ từ 75 mét (m) đến 250 mét (m).
2. Khi chiều dài đoạn rẽ đến đường sắt từ 10 mét (m) đến 75 mét (m)
a) Căn cứ góc giao của đường ngang, phải đặt biển “Nơi đường sắt giao vuông góc với đường bộ” hoặc “Nơi đường sắt giao không vuông góc với đường bộ” trên lề bên phải đoạn rẽ, tại vị trí cách ray ngoài cùng của đường sắt 10 mét (m);
b) Căn cứ loại hình phòng vệ đường ngang phải đặt các biển “Giao nhau với đường sắt có rào chắn” hoặc “Giao nhau với đường sắt không có rào chắn” trên lề bên phải đường bộ chạy gần đường sắt; khoảng cách các biển đến đoạn rẽ từ 10 mét (m) đến 200 mét (m).
3. Khi chiều dài đoạn rẽ đến đường sắt lớn hơn 75 mét (m), đặt các biển báo hiệu theo quy định tại Điều 22 của Thông tư này.
4. Mặt các biển quy định tại khoản 1 và điểm b khoản 2 Điều này đặt theo hướng vuông góc với chiều xe chạy trên đường bộ gần đường sắt và không bị che khuất.
5. Vị trí đặt biển báo hiệu quy định tại khoản 1 và khoản 2 Điều này theo mục C Phụ lục VI của Thông tư này.
Điều 30. Phương tiện, thiết bị và người gác đường ngang
1. Đường ngang có người gác phải bố trí người gác thường trực liên tục suốt ngày đêm theo chế độ ban, kíp và phải được trang bị đầy đủ công cụ, thiết bị để tổ chức phòng vệ gồm:
a) Cờ đỏ, còi, đèn đỏ;
b) Pháo hiệu đối với đường ngang không có tín hiệu ngăn đường.
2. Việc bố trí định biên gác chắn tại đường ngang theo quy định của pháp luật về lao động, phù hợp với công tác quản lý và thao tác đóng, mở chắn đường ngang kịp thời, chính xác, bảo đảm an toàn giao thông tại đường ngang.
Điều 31. Hồ sơ quản lý đường ngang
1. Hồ sơ quản lý đối với từng đường ngang
a) Hồ sơ hoàn công đường ngang và các công trình khác đã được cấp phép xây dựng trong khu vực đường ngang theo quy định của pháp luật về xây dựng. Trường hợp hồ sơ hoàn công bị thất lạc hoặc thiếu, các chủ thể quy định tại Điều 106 của Thông tư này có trách nhiệm lập hồ sơ quản lý hiện trạng đường ngang;
b) Giấy phép xây dựng đường ngang, quyết định đưa đường ngang vào khai thác, sử dụng;
c) Biểu thống kê trạng thái kỹ thuật và lý lịch đường ngang;
d) Bản vẽ mặt bằng khu vực đường ngang thể hiện hành lang an toàn giao thông và các công trình kiến trúc, vật che khuất tầm nhìn trong khu vực đường ngang;
đ) Sổ nhật ký theo dõi hoạt động của đường ngang đối với: đường ngang, thiết bị đường ngang và hệ thống báo hiệu đường ngang;
e) Đối với đường ngang có người gác, ngoài quy định tại điểm a, điểm b, điểm c, điểm d, điểm đ khoản này, hồ sơ quản lý đường ngang gồm có các sổ sách, bảng biểu sau: bảng giờ tàu, bảng phân công gác đường ngang, sơ đồ phòng vệ khi có chướng ngại trên đường ngang, những thao tác cụ thể của nhân viên gác đường ngang, bảng tóm tắt các điều kỷ luật của nhân viên gác đường ngang, sổ nhật ký gác đường ngang, sổ mệnh lệnh.
2. Biểu tổng hợp thống kê các đường ngang cho từng tuyến đường sắt theo địa giới hành chính quản lý cấp xã, cấp tỉnh quy định tại Phụ lục IX của Thông tư này và được công khai trên Cổng thông tin điện tử của Cục Đường sắt Việt Nam, doanh nghiệp quản lý tài sản đường sắt, chủ quản lý, sử dụng đường ngang.
Điều 32. Nội dung quản lý đường ngang
1. Lập, cập nhật, lưu trữ hồ sơ quản lý đường ngang theo quy định tại Điều 31 của Thông tư này; cập nhật hồ sơ đường ngang vào cơ sở dữ liệu kết cấu hạ tầng đường sắt.
2. Kiểm tra, duy trì trạng thái hoạt động đường ngang bảo đảm an toàn giao thông theo hồ sơ được cấp có thẩm quyền phê duyệt.
3. Tổ chức và trực tiếp thực hiện phòng vệ đường ngang theo quy định của Thông tư này.
4. Quản lý, bảo vệ tài sản đường ngang, hành lang an toàn giao thông tại đường ngang theo quy định của pháp luật.
5. Đối với các đường ngang hiện hữu chưa đáp ứng theo quy định tại Thông tư này, khi cải tạo, nâng cấp đường ngang phải từng bước cải thiện góc giao giữa đường bộ và đường sắt, bình diện đường bộ, độ dốc đường bộ, bổ sung hệ thống thiết bị phòng vệ đường ngang, mở rộng diện tích nhà gác đường ngang. Trong thời gian chưa thực hiện cải tạo, nâng cấp đường ngang phải có biện pháp bảo đảm an toàn giao thông cho người và phương tiện giao thông đi qua đường ngang.
Tiểu mục 2
CẤP, GIA HẠN GIẤY PHÉP XÂY DỰNG, CẢI TẠO, NÂNG CẤP, BÃI BỎ ĐƯỜNG NGANG
Điều 33. Điều kiện xây dựng, cải tạo, nâng cấp, bãi bỏ đường ngang
1. Bảo đảm nguồn vốn đầu tư xây dựng, nâng cấp, cải tạo, quản lý, bảo trì, bãi bỏ đường ngang
a) Tổ chức đề nghị xây dựng, cải tạo, nâng cấp, bãi bỏ đường ngang phải bảo đảm nguồn kinh phí để thực hiện theo quy định của pháp luật;
b) Cơ quan có thẩm quyền quyết định đầu tư dự án xây dựng đường ngang xác định rõ nguồn vốn quản lý, bảo trì và tổ chức phòng vệ đường ngang;
c) Đối với đường ngang công cộng trên đường sắt quốc gia do Cục Đường sắt Việt Nam cấp giấy phép xây dựng, nâng cấp, cải tạo, chủ đầu tư dự án bàn giao lại công trình sau khi hoàn thành cho Bộ Xây dựng để quản lý, bảo trì và tổ chức phòng vệ đường ngang;
d) Đối với đường ngang công cộng trên đường sắt quốc gia, đường sắt địa phương do Chủ tịch Ủy ban nhân dân cấp tỉnh cấp giấy phép xây dựng, nâng cấp, cải tạo, chủ đầu tư dự án bàn giao lại công trình sau khi hoàn thành cho Ủy ban nhân dân cấp tỉnh để quản lý, bảo trì và tổ chức phòng vệ đường ngang thuộc địa bàn quản lý;
đ) Đối với đường ngang công cộng trên đường sắt chuyên dùng, chủ sở hữu đường sắt chuyên dùng phải bảo đảm kinh phí để quản lý, bảo trì và tổ chức phòng vệ đường ngang;
e) Đối với đường ngang chuyên dùng, chủ quản lý, sử dụng đường ngang phải bảo đảm kinh phí để quản lý, bảo trì và tổ chức phòng vệ đường ngang.
2. Đối với đường ngang sử dụng có thời hạn, ngoài các điều kiện quy định tại khoản 1 Điều này, khi xây dựng, cải tạo, nâng cấp đường ngang phải bảo đảm:
a) Mục đích sử dụng đường ngang phù hợp với phương án tổ chức giao thông tạm thời được cấp có thẩm quyền phê duyệt;
b) Thời hạn khai thác, sử dụng đường ngang không quá 24 tháng;
c) Chủ quản lý, sử dụng đường ngang cam kết làm thủ tục bãi bỏ đường ngang và tự tháo dỡ đường ngang, hoàn trả kết cấu hạ tầng đường sắt khi hết thời hạn khai thác, sử dụng.
3. Không cấp giấy phép xây dựng mới đường ngang tổ chức phòng vệ bằng biển báo trên đường sắt quốc gia.
4. Các công trình được miễn giấy phép xây dựng, cải tạo, nâng cấp đường ngang:
a) Công trình cải tạo, nâng cấp, sửa chữa đường ngang trên đường sắt quốc gia đã được Bộ Xây dựng phê duyệt kế hoạch thực hiện;
b) Công trình cải tạo, nâng cấp, sửa chữa đường ngang trên đường sắt địa phương đã được Ủy ban nhân dân cấp tỉnh phê duyệt kế hoạch thực hiện;
c) Công trình sửa chữa đường ngang có phương án thiết kế không làm thay đổi cấp đường ngang, không làm thay đổi hình thức tổ chức phòng vệ của đường ngang và không làm thay đổi chiều rộng mặt đường bộ tại đường ngang.
Điều 34. Thẩm quyền cấp, gia hạn, thu hồi phép xây dựng, cải tạo, nâng cấp đường ngang; quyết định bãi bỏ đường ngang
1. Cục Đường sắt Việt Nam cấp, gia hạn, thu hồi giấy phép xây dựng đường ngang, quyết định bãi bỏ đường ngang đối với đường ngang công cộng trên đường sắt quốc gia do Bộ Xây dựng tổ chức quản lý, bảo trì.
2. Chủ tịch Ủy ban nhân dân cấp tỉnh cấp, gia hạn, thu hồi giấy phép xây dựng đường ngang, quyết định bãi bỏ đường ngang đối với:
a) Đường ngang trên đường sắt địa phương;
b) Đường ngang công cộng trên đường sắt chuyên dùng;
c) Đường ngang chuyên dùng trên đường sắt quốc gia;
d) Đường ngang công cộng trên đường sắt quốc gia do Ủy ban nhân dân cấp tỉnh tổ chức quản lý, bảo trì.
Điều 35. Hồ sơ đề nghị cấp, gia hạn giấy phép xây dựng, cải tạo, nâng cấp đường ngang, quyết định bãi bỏ đường ngang
1. Hồ sơ đề nghị cấp giấy phép xây dựng, cải tạo, nâng cấp đường ngang gồm:
a) Bản chính hoặc bản điện tử đơn đề nghị theo mẫu quy định tại Phụ lục X của Thông tư này;
b) Bản chính hoặc bản sao có chứng thực hoặc bản điện tử hoặc bản sao điện tử của các tài liệu sau:
Quyết định phê duyệt dự án đầu tư xây dựng công trình;
Quyết định phê duyệt thiết kế kỹ thuật hoặc thiết kế bản vẽ thi công của đường ngang;
Hồ sơ thiết kế kỹ thuật hoặc thiết kế bản vẽ thi công của đường ngang đã được phê duyệt;
Phương án tổ chức thi công đường ngang và biện pháp bảo đảm an toàn giao thông trong quá trình thi công được cấp thẩm quyền phê duyệt hoặc chủ đầu tư dự án chấp thuận.
2. Hồ sơ đề nghị gia hạn giấy phép xây dựng, cải tạo, nâng cấp đường ngang gồm:
a) Bản chính hoặc bản điện tử đơn đề nghị theo mẫu quy định tại Phụ lục XI của Thông tư này;
b) Bản chính hoặc bản sao có chứng thực hoặc bản điện tử hoặc bản sao điện tử của các tài liệu sau:
Tiến độ thi công công trình được cấp có thẩm quyền phê duyệt;
Tài liệu chứng minh lý do đề nghị gia hạn là một trong các tài liệu: Biên bản bàn giao mặt bằng thi công xây dựng, cải tạo, nâng cấp đường ngang trong trường hợp vướng mắc về mặt bằng thi công; Biên bản xác nhận thiệt hại giữa chủ đầu tư dự án và nhà thầu thi công đường ngang trong trường hợp thiên tai, sự cố làm ảnh hưởng đến tiến độ thi công xây dựng, cải tạo, nâng cấp đường ngang; Quyết định điều chỉnh chủ trương đầu tư dự án hoặc quyết định điều chỉnh chương trình, dự án đầu tư xây dựng công trình trong trường hợp việc điều chỉnh dự án làm ảnh hưởng đến tiến độ thi công xây dựng, cải tạo, nâng cấp đường ngang.
3. Hồ sơ đề nghị bãi bỏ đường ngang gồm:
a) Bản chính hoặc bản điện tử đơn đề nghị theo mẫu quy định tại Phụ lục XII của Thông tư này;
b) Bản chính hoặc bản sao có chứng thực hoặc bản điện tử hoặc bản sao điện tử của một trong các tài liệu sau:
Biên bản nghiệm thu hoàn thành công trình, hạng mục công trình vào sử dụng đối với cầu vượt, hầm chui hoặc đường ngang khác để tổ chức giao thông thay thế cho đường ngang đề nghị bãi bỏ;
Phương án tổ chức giao thông thay thế khi bãi bỏ đường ngang.
4. Hồ sơ đề nghị cấp, gia hạn giấy phép xây dựng, cải tạo, nâng cấp đường ngang, quyết định bãi bỏ đường ngang bản điện tử có giá trị pháp lý như bản giấy.
Điều 36. Trình tự, thủ tục cấp, gia hạn giấy phép xây dựng, cải tạo, nâng cấp đường ngang, quyết định bãi bỏ đường ngang
1. Chủ đầu tư dự án hoặc chủ quản lý, sử dụng đường ngang lập 01 bộ hồ sơ đề nghị quy định tại Điều 35 của Thông tư này, gửi đến cơ quan có thẩm quyền quy định tại Điều 34 của Thông tư này theo một trong các hình thức: nộp hồ sơ trực tiếp tại bộ phận một cửa của cơ quan có thẩm quyền; nộp qua hệ thống dịch vụ công trực tuyến; nộp qua hệ thống bưu chính.
2. Cơ quan có thẩm quyền tiếp nhận và kiểm tra hồ sơ đề nghị. Trường hợp thành phần hồ sơ chưa đầy đủ theo quy định, trong vòng 01 ngày làm việc (nếu tiếp nhận hồ sơ trực tiếp tại bộ phận một cửa hoặc qua cổng dịch vụ công trực tuyến) hoặc 02 ngày làm việc (nếu tiếp nhận hồ sơ qua hệ thống bưu chính) kể từ ngày tiếp nhận hồ sơ, cơ quan có thẩm quyền trả kết quả bằng văn bản và hướng dẫn chủ đầu tư hoàn thiện hồ sơ theo quy định.
3. Thời hạn giải quyết hồ sơ:
a) 08 ngày làm việc kể từ ngày nhận đủ hồ sơ theo quy định đối với trường hợp cấp giấy phép xây dựng, cải tạo, nâng cấp đường ngang;
b) 03 ngày làm việc kể từ ngày nhận đủ hồ sơ theo quy định đối với trường hợp gia hạn giấy phép xây dựng, cải tạo, nâng cấp đường ngang;
c) 05 ngày làm việc kể từ ngày nhận đủ hồ sơ theo quy định đối với trường hợp quyết định bãi bỏ đường ngang;
d) Trường hợp không cấp, gia hạn giấy phép xây dựng, cải tạo, nâng cấp đường ngang, quyết định bãi bỏ đường ngang, cơ quan có thẩm quyền phải có văn bản trả lời, nêu rõ lý do.
4. Mẫu giấy phép, quyết định gia hạn giấy phép xây dựng, cải tạo, nâng cấp đường ngang, quyết định bãi bỏ đường ngang
a) Giấy phép xây dựng, cải tạo, nâng cấp đường ngang theo mẫu quy định tại Phụ lục XIII của Thông tư này;
b) Quyết định gia hạn giấy phép xây dựng, cải tạo, nâng cấp đường ngang theo mẫu quy định tại Phụ lục XIV của Thông tư này;
c) Quyết định bãi bỏ đường ngang theo mẫu quy định tại Phụ lục XV của Thông tư này.
5. Giấy phép, quyết định gia hạn giấy phép xây dựng, cải tạo, nâng cấp đường ngang, quyết định bãi bỏ đường ngang được trả bằng bản điện tử, trừ trường hợp chủ đầu tư dự án hoặc chủ sở hữu công trình có nhu cầu nhận bản giấy. Bản điện tử có giá trị pháp lý như bản giấy.
6. Mỗi giấy phép xây dựng, cải tạo, nâng cấp đường ngang chỉ được gia hạn 01 lần trong thời gian giấy phép còn hiệu lực và thời gian gia hạn không quá 12 tháng, đồng thời không vượt quá thời gian thực hiện dự án đã được cấp có thẩm quyền phê duyệt.
Điều 37. Thu hồi giấy phép xây dựng, cải tạo, nâng cấp đường ngang
1. Các trường hợp giấy phép xây dựng, cải tạo, nâng cấp đường ngang bị thu hồi:
a) Giấy phép được cấp không đúng theo quy định của pháp luật;
b) Chủ đầu tư dự án thực hiện không đúng nội dung của giấy phép và không thực hiện việc khắc phục theo yêu cầu của cơ quan nhà nước có thẩm quyền;
c) Chủ đầu tư dự án vi phạm các quy định của pháp luật về quản lý, bảo vệ kết cấu hạ tầng giao thông đường sắt, an toàn giao thông đường sắt, bảo vệ môi trường tại khu vực xây dựng công trình;
d) Sau 12 tháng, kể từ ngày được cấp giấy phép mà chủ đầu tư dự án vẫn chưa triển khai xây dựng công trình.
2. Sau 10 ngày làm việc, kể từ ngày có quyết định thu hồi giấy phép, cơ quan cấp giấy phép thông báo cho các cơ quan, đơn vị liên quan đến việc thực hiện giấy phép và đăng tải trên Cổng thông tin điện tử của cơ quan ban hành quyết định.
Mục 2
KẾT NỐI TÍN HIỆU ĐÈN GIAO THÔNG ĐƯỜNG BỘ VỚI TÍN HIỆU
ĐÈN BÁO HIỆU TRÊN ĐƯỜNG BỘ TẠI ĐƯỜNG NGANG
Điều 38. Điều kiện và nguyên tắc kết nối tín hiệu
1. Điều kiện kết nối tín hiệu được thực hiện tại nút giao đường bộ có nhánh đường bộ đi vào đường ngang mà khoảng cách từ tim nút giao đường bộ đến vạch dừng gần nhất trên đường bộ tại đường ngang không lớn hơn 75 mét (m).
2. Nguyên tắc kết nối tín hiệu
a) Không làm ảnh hưởng đến hoạt động bình thường của hệ thống tín hiệu đèn giao thông đường bộ và hệ thống tín hiệu đèn báo hiệu trên đường bộ tại đường ngang;
b) Quyền ưu tiên thuộc về tín hiệu đèn báo hiệu trên đường bộ tại đường ngang;
c) Bảo đảm biểu thị tín hiệu đèn giao thông đường bộ và tín hiệu đèn báo hiệu trên đường bộ tại đường ngang thống nhất và đồng bộ khi có tàu chạy qua đường ngang;
d) Việc kết nối tín hiệu được thực hiện theo tiêu chuẩn, quy chuẩn kỹ thuật về tín hiệu giao thông đường sắt, đường bộ và các văn bản quy phạm pháp luật có liên quan; đồng thời phải hạn chế tối đa ùn tắc giao thông tại khu vực đường ngang và khu vực nút giao đường bộ có nhánh đường bộ đi vào đường ngang.
Điều 39. Yêu cầu kỹ thuật về kết nối tín hiệu
1. Phải bố trí đèn tín hiệu giao thông đường bộ để điều khiển hướng phương tiện giao thông đường bộ đi vào đường ngang.
2. Khi đèn tín hiệu báo hiệu trên đường bộ tại đường ngang bật sáng, đèn tín hiệu giao thông đường bộ hướng rẽ vào đường ngang phải có biểu thị phù hợp với đèn tín hiệu báo hiệu trên đường bộ tại đường ngang. Khi đèn báo hiệu trên đường bộ tại đường ngang tắt thì tín hiệu đèn giao thông đường bộ phải tự điều chỉnh trở lại hoạt động bình thường.
3. Tín hiệu đèn báo hiệu trên đường bộ tại đường ngang được cấp đến tủ điều khiển tín hiệu đèn giao thông đường bộ hoặc đến hộp kết nối (nếu có) phải bảo đảm cho toàn bộ hệ thống kết nối tín hiệu hoạt động ổn định, chính xác.
4. Vị trí hộp kết nối (nếu có) phải bảo đảm thuận lợi cho việc kết nối tín hiệu, thuận lợi trong sửa chữa, thay thế và hạn chế tác động của môi trường.
Mục 3
CẦU CHUNG
Điều 40. Khu vực cầu chung và yêu cầu đối với công trình, thiết bị trong khu vực cầu chung
1. Khu vực cầu chung là giới hạn được xác định bởi toàn bộ kết cấu công trình cầu, gầm cầu và phạm vi quản lý tính từ mép trong của mố (giáp đầu dầm) trở ra mỗi bên như sau:
a) Đối với đường sắt: tới cột tín hiệu phòng vệ cầu (bao gồm cả cột tín hiệu);
b) Đối với đường bộ: tới chắn cầu chung (bao gồm cả cần chắn, giàn chắn).
2. Công trình, thiết bị phải được bố trí đầy đủ và duy trì trạng thái kỹ thuật, hoạt động ổn định, an toàn, phòng ngừa tai nạn trong suốt quá trình khai thác, sử dụng cầu chung.
3. Mặt cầu chung
a) Mặt cầu phải đáp ứng yêu cầu kỹ thuật của cấp đường và thống nhất trên đoạn tuyến đường sắt;
b) Trên cầu chung, trong lòng đường sắt dọc ray chính phải đặt ray hộ bánh hoặc tạo khe ray theo quy định của Quy chuẩn kỹ thuật quốc gia về khai thác đường sắt.
4. Mặt đường bộ trong khu vực cầu chung
a) Mặt đường bộ trên cầu chung phải đáp ứng quy chuẩn kỹ thuật, tiêu chuẩn tương ứng với loại kết cấu mặt cầu, phù hợp với cấp đường của đoạn tuyến đường bộ hai đầu cầu chung và bảo đảm êm thuận cho các phương tiện ra, vào cầu chung;
b) Mặt đường bộ vào cầu chung, chỗ tiếp giáp với đường sắt phải phù hợp với yêu cầu kỹ thuật của đường ngang hiện hành.
5. Nhà gác cầu chung và thiết bị bố trí trong nhà gác cầu chung
a) Nhà gác cầu chung dành cho nhân viên gác cầu chung thực hiện điều khiển giao thông. Vị trí nhà gác phải bảo đảm nhân viên gác cầu khi ngồi trong nhà gác nhìn được rõ người và các phương tiện hoặc các chướng ngại vật ở trên cầu; nhìn được rõ đoạn đường bộ và đoạn đường sắt vào cầu;
b) Nhà gác cầu chung không làm che khuất tầm nhìn của người điều khiển phương tiện giao thông đường sắt và đường bộ.
c) Các điện thoại liên lạc, thiết bị điều khiển tín hiệu đường sắt, thiết bị điều khiển tín hiệu đường bộ, thiết bị thông báo tự động cho nhân viên gác tàu biết khi tàu đến cầu chung, đồng hồ báo giờ, thiết bị ghi nhận và lưu trữ liên lạc giữa ga với nhân viên gác cầu chung phải được duy trì trạng thái kỹ thuật, bảo đảm hoạt động tốt.
6. Chắn cầu chung
a) Trong khu vực cầu chung trên đoạn đường bộ hai đầu cầu phải đặt cần chắn hoặc giàn chắn có người gác để ngăn các phương tiện và người tham gia giao thông đường bộ vào cầu khi có tàu đến;
b) Tại mỗi vị trí đặt chắn, phải sử dụng tối thiểu 02 chắn để ngăn từng làn đường trên đường bộ ra, vào cầu chung bảo đảm hoạt động linh hoạt, trật tự giao thông đối với các phương tiện giao thông đường bộ theo từng làn xe và hạn chế ùn tắc giao thông trong khu vực cầu chung;
c) Chắn cầu chung phải đóng hoàn toàn ở thời điểm trước khi tàu tới cầu ít nhất 02 phút và nhiều nhất không quá 05 phút để bảo đảm không có người, phương tiện giao thông và các chướng ngại vật khác trên cầu;
d) Yêu cầu kỹ thuật và thao tác đóng, mở chắn cầu chung theo quy định tại Phụ lục XVI của Thông tư này.
Điều 41. Hệ thống báo hiệu, tín hiệu trên cầu chung
1. Nguyên tắc hoạt động của hệ thống báo hiệu, tín hiệu
a) Hệ thống báo hiệu, tín hiệu trên đường sắt, đường bộ vào cầu chung phải hoạt động và biểu thị theo Quy chuẩn kỹ thuật quốc gia về tín hiệu giao thông đường sắt và Quy chuẩn kỹ thuật quốc gia về báo hiệu đường bộ;
b) Ở trạng thái không có tàu đến cầu chung, tín hiệu đèn màu phòng vệ đường sắt ở trạng thái đóng (sáng màu đỏ biểu thị cấm tàu đi qua cầu); tín hiệu đường bộ ở trạng thái mở (sáng màu lục biểu thị cho phép các phương tiện giao thông đường bộ đi qua cầu); chắn cầu chung ở trạng thái mở (cho phép các phương tiện giao thông đường bộ đi qua cầu);
c) Ở trạng thái có tàu đi đến cầu chung, tín hiệu đường bộ ở trạng thái đóng (sáng màu đỏ biểu thị cấm các phương tiện giao thông đường bộ đi vào cầu); chắn cầu chung ở trạng thái đóng (cấm các phương tiện giao thông đường bộ đi vào cầu); tín hiệu đèn màu phòng vệ đường sắt ở trạng thái mở (sáng màu lục biểu thị cho phép tàu đi qua cầu). Điều kiện để mở tín hiệu phòng vệ đường sắt là tín hiệu đường bộ ở trạng thái đóng, chắn cầu chung ở trạng thái đóng và không có chướng ngại vật ở trên cầu;
đ) Sau khi tàu đã đi ra khỏi cầu, các thiết bị lần lượt hoạt động theo trình tự sau: tín hiệu đèn màu phòng vệ đường sắt đóng; tín hiệu đường bộ mở; chắn cầu chung mở.
2. Biển báo hiệu, tín hiệu phòng vệ trên đường sắt
a) Trên đường sắt trong khu vực cầu chung phải bố trí biển kéo còi trước khi đoàn tàu đi vào cầu chung và biển tốc độ tối đa cho phép. Vị trí, quy cách biển theo Quy chuẩn kỹ thuật quốc gia về tín hiệu giao thông đường sắt;
b) Trên hai phía đường sắt đi tới cầu chung phải đặt tín hiệu phòng vệ. Hoạt động và biện pháp xử lý khi tín hiệu phòng vệ bị hỏng thực hiện theo Quy chuẩn kỹ thuật quốc gia về khai thác đường sắt và Quy chuẩn kỹ thuật quốc gia về tín hiệu giao thông đường sắt.
3. Báo hiệu đường bộ tại cầu chung
a) Vạch kẻ đường trong khu vực cầu chung gồm: vạch dừng xe; vạch báo gần chỗ giao nhau với đường sắt; vạch phân chia hai chiều xe chạy ngược chiều; vạch giới hạn mép ngoài phần đường xe chạy hoặc vạch phân cách làn xe;
b) Biển báo trong khu vực cầu chung gồm: biển dừng lại; biển nơi đường sắt giao với đường bộ; biển tốc độ tối đa cho phép; các biển báo cấm theo tiêu chuẩn và cấp kỹ thuật tại khu vực cầu chung;
c) Dọc hai bên lề đường bộ khu vực cầu chung phải bố trí hàng cọc tiêu đến vị trí chắn cầu chung; từ chắn cầu chung đến vị trí cách đường sắt tối thiểu 2,5 mét (m) phải bố trí hàng rào chắn cố định để ngăn cách không cho người và phương tiện giao thông đường bộ vào cầu chung khi chắn cầu chung đã đóng. Quy cách bố trí cọc tiêu và hàng rào chắn cố định theo Quy chuẩn kỹ thuật quốc gia về báo hiệu đường bộ;
d) Trên đường bộ ngoài khu vực cầu chung đặt biển giao nhau với đường sắt có rào chắn.
4. Tín hiệu đường bộ tại cầu chung
a) Trên đường bộ vào cầu chung phải lắp đặt đèn tín hiệu; đèn tín hiệu phải được đặt tại vị trí không bị che khuất;
b) Đèn tín hiệu loại đèn màu lục và đỏ không nhấp nháy. Hoạt động của đèn tín hiệu theo quy định tại khoản 1 Điều này;
c) Đèn tín hiệu phải bảo đảm để người điều khiển phương tiện giao thông đường bộ nhìn thấy được tín hiệu từ khoảng cách 100 mét (m) trở lên; ánh sáng đỏ của đèn tín hiệu không được chiếu về phía đường sắt;
d) Độ cao đặt đèn, kích thước, hình dạng và các quy định khác của đèn tín hiệu theo Quy chuẩn kỹ thuật quốc gia về báo hiệu đường bộ.
Điều 42. Phòng vệ, điều hành giao thông trên khu vực cầu chung
1. Cầu chung phải được phòng vệ và phải được tổ chức điều hành giao thông khu vực cầu chung để bảo đảm an toàn giao thông theo quy định của Thông tư này và pháp luật có liên quan.
2. Việc phòng vệ, tổ chức điều hành giao thông trên khu vực cầu chung phải thường trực liên tục 24 giờ trong ngày.
3. Sơ đồ tổ chức phòng vệ cầu chung theo quy định tại Phụ lục XVII của Thông tư này.
Điều 43. Phương thức chỉ huy và liên lạc giữa các nhà gác cầu chung
1. Doanh nghiệp quản lý tài sản đường sắt quốc gia căn cứ vào thiết bị và tình hình thực tế của cầu chung để quy định phương thức chỉ huy và liên lạc giữa các nhà gác cầu để điều khiển giao thông trên cầu.
2. Phương thức chỉ huy và liên lạc phải bảo đảm các quy định của Thông tư này và bảo đảm nguyên tắc thông suốt, an toàn, không làm ùn tắc, ách tắc các phương tiện giao thông trong khu vực cầu chung.
3. Các luồng phương tiện đường bộ lưu thông qua cầu phải được nhân viên gác cầu chung hai phía phối hợp điều hành đóng, mở tín hiệu và chắn cầu chung để tổ chức lần lượt theo từng chiều di chuyển.
Điều 44. Bảo đảm an toàn giao thông khi sửa chữa cầu chung
1. Khi sửa chữa cầu chung có ảnh hưởng đến giao thông đường bộ, đường sắt, đơn vị thi công có trách nhiệm:
a) Thống nhất với doanh nghiệp quản lý tài sản đường sắt quốc gia, cơ quan quản lý đường bộ có thẩm quyền về phương án tổ chức thi công, phương án tổ chức giao thông và an toàn giao thông;
b) Bảo đảm an toàn giao thông và không được gây ùn tắc giao thông đường bộ, trở ngại hoạt động giao thông đường bộ, đường sắt trong thời gian sửa chữa.
2. Trường hợp cần phong tỏa đường sắt để phục vụ thi công các công trình trong khu vực cầu chung, phải được sự đồng ý của doanh nghiệp quản lý tài sản đường sắt quốc gia.
3. Trường hợp cần phong tỏa đường bộ để phục vụ thi công các công trình trong khu vực cầu chung, phải lấy ý kiến của cơ quan quản lý đường bộ có thẩm quyền.
Mục 4
QUY TẮC GIAO THÔNG TẠI ĐƯỜNG NGANG, CẦU CHUNG,
TRONG HẦM
Điều 45. Giao thông đường bộ trong phạm vi đường ngang, cầu chung
1. Người tham gia giao thông đường bộ khi qua đường ngang, cầu chung phải chấp hành quy định của pháp luật về trật tự, an toàn giao thông đường bộ, pháp luật về đường sắt và thực hiện quy định sau:
a) Phải ưu tiên phương tiện giao thông đường sắt;
b) Phải chấp hành hiệu lệnh của nhân viên gác đường ngang, cầu chung và chỉ dẫn của các báo hiệu, tín hiệu trong phạm vi đường ngang, cầu chung;
c) Khi có báo hiệu dừng bằng đèn tín hiệu (đèn đỏ sáng), cờ đỏ, biển đỏ, còi, chuông hoặc loa phát âm thanh kêu, chắn đường ngang, cầu chung đang dịch chuyển hoặc đã đóng, hiệu lệnh của nhân viên gác chắn, nhân viên gác cầu chung, người tham gia giao thông đường bộ (kể cả những xe có quyền ưu tiên) đều phải dừng lại về bên phải chiều đi và trước vạch dừng xe;
d) Người không có nhiệm vụ không được tự ý mở chắn đường ngang, chắn cầu chung khi chắn đã đóng;
đ) Đối với đường ngang biển báo, người tham gia giao thông đường bộ phải dừng lại trước vạch dừng, lắng nghe còi tàu, chú ý quan sát tàu đến từ xa ở hai phía, khi thấy chắc chắn không có tàu tới đường ngang mới được đi qua và hoàn toàn chịu trách nhiệm nếu để xảy ra tai nạn;
e) Xe thô sơ, người đi bộ, súc vật có người dắt phải đi trên phần đường dành riêng trên cầu chung. Không cho phép xe thô sơ, người đi bộ, súc vật có người dắt đi vào phần đường dành cho phương tiện khác.
2. Khi đèn tín hiệu không hoạt động hoặc báo hiệu sai quy định hoặc chắn đường ngang, chắn cầu chung bị hư hỏng, nhân viên gác đường ngang, nhân viên gác cầu chung phải điều hành giao thông.
Điều 46. Dừng, đỗ xe trong khu vực đường ngang
1. Không được quay đầu xe, dừng xe, đỗ xe trong phạm vi giữa hai vạch “Dừng xe” tại đường ngang.
2. Khi phương tiện tham gia giao thông đường bộ bị hư hỏng, bị tai nạn hoặc hàng hóa trên xe bị rơi, đổ không thể di chuyển ngay ra khỏi phạm vi giữa hai vạch “Dừng xe” tại đường ngang, người điều khiển phương tiện phải tìm biện pháp để nhanh chóng đưa người, phương tiện, hàng hóa ra khỏi phạm vi này.
Trường hợp điểm gần nhất của xe hoặc của hàng hóa cách mép ngoài của ray ngoài cùng nhỏ hơn 1,75 mét (m), người điều khiển phương tiện phải tìm biện pháp để báo hiệu cho tàu dừng trước chướng ngại; đồng thời, phải bằng mọi biện pháp nhanh chóng đưa phương tiện, hàng hóa ra cách mép ngoài của ray ngoài cùng tối thiểu 1,75 mét (m). Biện pháp dừng tàu trước chướng ngại theo quy định tại Phụ lục XVIII của Thông tư này.
Điều 47. Lưu hành xe quá tải trọng, xe quá khổ giới hạn của đường bộ, xe bánh xích khi qua đường ngang
1. Người điều khiển phương tiện phải tuân thủ quy định của pháp luật trật tự, an toàn giao thông đường bộ, pháp luật đường sắt và điều kiện lưu hành xe trong giấy phép lưu hành xe do cơ quan có thẩm quyền cấp.
2. Trước khi di chuyển qua đường ngang, người điều khiển phương tiện phải có phương án bảo đảm an toàn cho đường ngang, an toàn giao thông đường sắt và thông báo trước cho nhân viên gác đường ngang để được hỗ trợ, hướng dẫn.
Điều 48. Người dẫn dắt súc vật qua đường ngang
1. Trước khi dẫn dắt đàn súc vật qua đường ngang có người gác, người dẫn dắt súc vật phải liên hệ với nhân viên đường ngang để tìm hiểu thông tin giờ tàu và để được hướng dẫn.
2. Trước khi dẫn dắt đàn súc vật qua đường ngang không có người gác, người dẫn dắt đàn súc vật phải quan sát phương tiện giao thông đường sắt đến đường ngang, chỉ được dẫn dắt đàn súc vật đi qua khi có đủ điều kiện an toàn.
3. Người dẫn dắt đàn súc vật phải dẫn dắt đàn súc vật đi sát mép đường bộ bên phải. Người dẫn dắt đàn súc vật hoàn toàn chịu trách nhiệm nếu để xảy ra tai nạn do việc không tuân thủ quy tắc giao thông tại đường ngang theo quy định tại Thông tư này.
Điều 49. Giao thông đường sắt trong khu vực đường ngang, cầu chung, trong hầm
1. Lái tàu phải kéo còi trước khi đi vào đường ngang, cầu chung, hầm và phải chú ý tín hiệu ngăn đường, tín hiệu phòng vệ cầu chung, tín hiệu của nhân viên gác hầm, tín hiệu cảnh báo đường ngang (nếu có); lái tàu phải chú ý quan sát đường ngang, cầu chung, hầm để nhanh chóng hãm tàu khi thấy có tín hiệu dừng tàu hoặc có trở ngại trên đường sắt.
2. Trường hợp bắt buộc phải dừng, đỗ tàu trên đường ngang; dồn tàu hoặc giải thể, lập tàu, trưởng tàu hoặc lái tàu (trường hợp trong khu gian), trưởng ga hoặc trực ban chạy tàu (trường hợp trong ga) phải tìm mọi cách để đường bộ được nhanh chóng giải phóng tắc nghẽn giao thông.
3. Khi phải đỗ tàu trên đường ngang, thời gian đỗ không được vượt quá 03 phút trên đường ngang cấp I, cấp II, không được vượt quá 05 phút trên đường ngang cấp III, trừ trường hợp giải quyết sự cố, tai nạn giao thông đường sắt.
Mục 5
CUNG CẤP, TIẾP NHẬN THÔNG TIN HỖ TRỢ CẢNH GIỚI TẠI CÁC
ĐIỂM GIAO CẮT GIỮA ĐƯỜNG BỘ VÀ ĐƯỜNG SẮT
Điều 50. Trách nhiệm cung cấp và tiếp nhận thông tin hỗ trợ cảnh giới
1. Doanh nghiệp quản lý tài sản đường sắt quốc gia, đường sắt địa phương cung cấp thông tin hỗ trợ cảnh giới cho tổ chức, cá nhân nêu tại khoản 3 Điều này để thực hiện nhiệm vụ đối với các điểm giao cắt đường bộ, đường sắt cần cảnh giới.
2. Chủ sở hữu đường sắt chuyên dùng cung cấp thông tin hỗ trợ cảnh giới cho tổ chức, cá nhân nêu tại khoản 3 Điều này để thực hiện nhiệm vụ đối với các điểm giao cắt đường bộ, đường sắt cần cảnh giới.
3. Ủy ban nhân dân cấp xã và tổ chức, cá nhân được giao nhiệm vụ cảnh giới tại đường ngang, lối đi tự mở phải tiếp nhận thông tin hỗ trợ cảnh giới từ các tổ chức, cá nhân quy định tại khoản 1, khoản 2 Điều này để thực hiện cảnh giới.
Điều 51. Nội dung, hình thức cung cấp thông tin hỗ trợ cảnh giới
1. Nội dung cung cấp thông tin hỗ trợ cảnh giới
a) Thông tin hỗ trợ cảnh giới phải được duy trì cung cấp, tiếp nhận thường xuyên, liên tục theo định kỳ hàng ngày hoặc đột xuất theo thống nhất giữa doanh nghiệp quản lý tài sản đường sắt hoặc chủ sở hữu đường sắt chuyên dùng với Ủy ban nhân dân cấp xã (nếu có);
b) Nội dung cung cấp thông tin hỗ trợ cảnh giới bao gồm thời gian, lịch trình các đoàn tàu chạy qua vị trí cần cảnh giới và các thông tin khác (nếu có) phục vụ cho công tác hỗ trợ cảnh giới;
c) Mọi thông tin hỗ trợ cảnh giới đều phải được cung cấp, tiếp nhận đầy đủ, kịp thời để thực hiện nhiệm vụ cảnh giới.
2. Hình thức cung cấp thông tin hỗ trợ cảnh giới
a) Thông tin hỗ trợ cảnh giới phải được các tổ chức, cá nhân quy định tại khoản 1, khoản 2 Điều 50 của Thông tư này cung cấp trực tiếp hoặc qua điện thoại cảnh giới, bảo đảm nhanh chóng chính xác và phải được tổ chức, cá nhân được giao nhiệm vụ cảnh giới xác nhận, ghi chép vào sổ lịch trình chạy tàu đã được hướng dẫn;
b) Khi có nhà cảnh giới tại vị trí cần cảnh giới, trang thiết bị phục vụ cảnh giới được lắp đặt tại nhà cảnh giới;
c) Khi không có nhà cảnh giới tại vị trí cần cảnh giới, trang thiết bị phục vụ cảnh giới được đặt tại địa điểm do tổ chức được giao cảnh giới chỉ định;
d) Vị trí để trang thiết bị phục vụ cảnh giới phải bảo đảm thuận lợi cho việc lắp đặt và an toàn thiết bị, dễ dàng cho người cảnh giới tiếp nhận thông tin.
Chương IV
QUẢN LÝ, BẢO TRÌ KẾT CẤU HẠ TẦNG ĐƯỜNG SẮT QUỐC GIA
Mục 1
QUẢN LÝ KẾT CẤU HẠ TẦNG ĐƯỜNG SẮT, BẢO TRÌ CÔNG TRÌNH
ĐƯỜNG SẮT QUỐC GIA DO NHÀ NƯỚC ĐẦU TƯ
Điều 52. Nội dung quản lý kết cấu hạ tầng đường sắt, bảo trì công trình đường sắt
1. Nội dung quản lý kết cấu hạ tầng đường sắt gồm:
a) Lập, phê duyệt kế hoạch quản lý, bảo trì công trình đường sắt, giá dịch vụ sự nghiệp công quản lý, bảo trì kết cấu hạ tầng đường sắt; quản lý nguồn tài chính cho công tác quản lý kết cấu hạ tầng và bảo trì công trình đường sắt;
b) Thực hiện kế hoạch quản lý, bảo trì công trình đường sắt và quản lý chất lượng dịch vụ sự nghiệp công quản lý, bảo trì kết cấu hạ tầng đường sắt;
c) Phòng, chống, khắc phục hậu quả thiên tai, sự cố đối với kết cấu hạ tầng đường sắt;
d) Bảo vệ kết cấu hạ tầng đường sắt theo quy định;
đ) Quản lý, theo dõi và tổ chức xử lý các vị trí công trình xung yếu, có dấu hiệu nguy hiểm, không bảo đảm an toàn trong quá trình sử dụng;
e) Tổ chức lập, cập nhật hồ sơ quản lý kết cấu hạ tầng đường sắt; cập nhật cơ sở dữ liệu kết cấu hạ tầng đường sắt;
g) Báo cáo định kỳ, đột xuất theo quy định.
2. Nội dung bảo trì công trình đường sắt
a) Nội dung bảo trì công trình đường sắt được lập thành kế hoạch quản lý, bảo trì công trình đường sắt bao gồm các công việc sau: bảo dưỡng, quan trắc và công tác khác; quản lý, giám sát công tác bảo dưỡng công trình đường sắt; sửa chữa công trình; bổ sung, thay thế hạng mục, thiết bị công trình để việc khai thác sử dụng công trình bảo đảm an toàn;
b) Công tác sửa chữa công trình được xác định theo thiết kế xây dựng hoặc phương án kỹ thuật và thực hiện theo quy định của pháp luật về quản lý chất lượng, thi công xây dựng và bảo trì công trình xây dựng;
c) Công tác bảo dưỡng công trình đường sắt và quản lý, giám sát công tác bảo dưỡng công trình đường sắt; bổ sung, thay thế hạng mục, thiết bị công trình được xác định theo phương án tác nghiệp kỹ thuật bảo dưỡng công trình của doanh nghiệp quản lý tài sản đường sắt quốc gia;
d) Nhiệm vụ quan trắc và công tác khác được xác định theo đề cương được phê duyệt và thực hiện theo quy định của pháp luật về quản lý chất lượng, thi công xây dựng và bảo trì công trình xây dựng.
Điều 53. Yêu cầu đối với công tác quản lý kết cấu hạ tầng đường sắt, bảo trì công trình đường sắt
1. Công tác quản lý kết cấu hạ tầng đường sắt được thực hiện thống nhất, phân cấp rõ thẩm quyền, trách nhiệm của từng cơ quan, tổ chức và trách nhiệm phối hợp hoạt động giữa các cơ quan, đơn vị.
2. Bảo trì công trình đường sắt được thực hiện theo kế hoạch quản lý, bảo trì công trình đường sắt được phê duyệt và quy trình bảo trì, trừ trường hợp quy định tại khoản 4 Điều này.
3. Bảo trì công trình đường sắt phải bảo đảm an toàn cho người, tài sản, công trình; bảo đảm giao thông an toàn, thông suốt; phòng, chống cháy nổ và bảo vệ môi trường.
4. Những công việc được thực hiện trước khi điều chỉnh, bổ sung trong kế hoạch quản lý, bảo trì công trình đường sắt gồm:
a) Công trình khắc phục bước 1 hậu quả thiệt hại do thiên tai, sự cố gây ra theo quy định của Thông tư này;
b) Nhiệm vụ xử lý đối với công trình đường sắt có dấu hiệu nguy hiểm, không bảo đảm an toàn cho khai thác, sử dụng theo quy định tại Điều 56 của Thông tư này.
Điều 54. Hồ sơ quản lý kết cấu hạ tầng đường sắt, bảo trì công trình đường sắt
1. Hồ sơ quản lý kết cấu hạ tầng đường sắt được lập cho từng loại công trình đường sắt, bảo đảm phù hợp với phạm vi quản lý và được cập nhật thường xuyên để phục vụ công tác bảo trì công trình đường sắt. Hồ sơ quản lý kết cấu hạ tầng đường sắt bao gồm hồ sơ trạng thái kỹ thuật công trình; hồ sơ quản lý phạm vi bảo vệ công trình, hành lang an toàn giao thông đường sắt; hồ sơ hoàn thành công trình (nếu có) và được quy định như sau:
a) Hồ sơ trạng thái kỹ thuật công trình:
Hồ sơ trạng thái kỹ thuật công trình được lập cho từng công trình trong đó thể hiện vị trí, phạm vi, quy mô; đặc tính kỹ thuật; thời gian xây dựng, sửa chữa; thời điểm kiểm tra và tình trạng kỹ thuật hiện tại của công trình;
Hồ sơ trạng thái kỹ thuật công trình bao gồm các tài liệu quy định tại Quy trình bảo trì, bảng tổng hợp trạng thái kỹ thuật công trình theo mẫu tại Phụ lục XXI của Thông tư này;
b) Hồ sơ quản lý phạm vi bảo vệ công trình, hành lang an toàn giao thông đường sắt được lập cho từng tuyến đường sắt trên địa giới hành chính theo phân cấp quản lý của tỉnh, thành phố, bảo đảm đồng bộ với hồ sơ mốc giới đất dành cho đường sắt theo quy định của Chính phủ quy định chi tiết một số điều Luật Đường sắt. Nội dung hồ sơ thể hiện thông tin chủ yếu gồm: phạm vi xây dựng công trình đường sắt, phạm vi bảo vệ công trình và phạm vi hành lang an toàn giao thông đường sắt;
c) Hồ sơ hoàn thành công trình theo quy định của Chính phủ về quản lý chất lượng, thi công xây dựng và bảo trì công trình xây dựng;
d) Hồ sơ trạng thái kỹ thuật công trình, hồ sơ quản lý phạm vi bảo vệ công trình, hành lang an toàn giao thông đường sắt được cập nhật trong khoảng thời gian không quá 90 ngày kể từ khi hoàn thành bảo trì công trình hoặc phát sinh thay đổi trong thực tế.
2. Hồ sơ bảo trì công trình đường sắt
a) Hồ sơ bảo trì công trình đường sắt gồm tài liệu phục vụ công tác bảo trì và hồ sơ hoàn thành bảo trì được lập cho từng công trình, nhiệm vụ theo kế hoạch quản lý, bảo trì công trình đường sắt được phê duyệt;
b) Tài liệu phục vụ công tác bảo trì công trình đường sắt gồm: kết quả điều tra trạng thái cơ bản của công trình đường sắt; kế hoạch quản lý, bảo trì công trình đường sắt, phương án giá dịch vụ sự nghiệp công được phê duyệt; kết quả kiểm tra công trình đường sắt, quan trắc, kiểm định chất lượng công trình (nếu có) để phục vụ công tác bảo trì;
c) Hồ sơ hoàn thành bảo dưỡng công trình gồm: phương án tác nghiệp kỹ thuật bảo dưỡng công trình được phê duyệt; tài liệu quản lý chất lượng bảo dưỡng công trình theo quy trình bảo trì và biên bản nghiệm thu hoàn thành công tác bảo dưỡng;
d) Hồ sơ hoàn thành sửa chữa công trình được lập theo quy định của Chính phủ về quản lý chất lượng thi công xây dựng và bảo trì công trình xây dựng;
đ) Hồ sơ hoàn thành công trình khắc phục hậu quả thiên tai, sự cố đối với các công trình đường sắt thực hiện theo quy định tại Điều 83 của Thông tư này;
e) Các hồ sơ, tài liệu khác có liên quan đến bảo trì công trình đường sắt.
3. Doanh nghiệp quản lý tài sản đường sắt quốc gia tổ chức lập, cập nhật hồ sơ quản lý kết cấu hạ tầng, bảo trì công trình đường sắt.
Điều 55. Quan trắc, kiểm định chất lượng công trình, bộ phận công trình đường sắt trong quá trình khai thác, sử dụng
1. Quan trắc công trình, kiểm định chất lượng công trình trong quá trình khai thác, sử dụng được thực hiện trong các trường hợp theo quy định của Chính phủ.
2. Định kỳ hàng năm hoặc theo yêu cầu của Bộ Xây dựng, doanh nghiệp quản lý tài sản đường sắt quốc gia rà soát, xây dựng danh mục công trình đường sắt cần phải thực hiện quan trắc, kiểm định chất lượng gửi Cục Đường sắt Việt Nam để làm cơ sở thẩm định kế hoạch quản lý, bảo trì công trình đường sắt hằng năm.
3. Doanh nghiệp quản lý tài sản đường sắt quốc gia triển khai thực hiện quan trắc, kiểm định chất lượng công trình đường sắt theo quy định của pháp luật về quản lý chất lượng, thi công xây dựng và bảo trì công trình xây dựng.
Điều 56. Xử lý đối với công trình đường sắt có dấu hiệu nguy hiểm, không bảo đảm an toàn khai thác, sử dụng
1. Trong quá trình thực hiện bảo trì công trình đường sắt, doanh nghiệp quản lý tài sản đường sắt quốc gia phải kịp thời phát hiện công trình, bộ phận công trình, thiết bị lắp đặt vào công trình đường sắt hư hỏng, xuống cấp về chất lượng, không bảo đảm an toàn khai thác, sử dụng để xử lý theo quy định.
2. Khi phát hiện hoặc nhận được thông tin về công trình, bộ phận công trình, thiết bị lắp đặt vào công trình đường sắt hư hỏng, xuống cấp về chất lượng, không bảo đảm an toàn cho việc khai thác, sử dụng, doanh nghiệp quản lý tài sản đường sắt quốc gia có trách nhiệm:
a) Quyết định biện pháp khẩn cấp và tổ chức xử lý để bảo đảm an toàn chạy tàu;
b) Lập báo cáo gửi Cục Đường sắt Việt Nam kết quả thực hiện hoặc đề xuất kiểm định chất lượng công trình, quan trắc công trình và sửa chữa đột xuất công trình (nếu cần thiết). Báo cáo của doanh nghiệp quản lý tài sản đường sắt quốc gia lập theo mẫu tại Phụ lục XXII của Thông tư này.
3. Cục Đường sắt Việt Nam quyết định việc kiểm định chất lượng công trình, quan trắc công trình, sửa chữa đột xuất công trình và báo cáo Bộ Xây dựng kết quả thực hiện.
4. Trên cơ sở quyết định của Cục Đường sắt Việt Nam, doanh nghiệp quản lý tài sản đường sắt quốc gia tổ chức thực hiện: kiểm định chất lượng công trình, quan trắc công trình thực hiện theo quy định của pháp luật về quản lý chất lượng, thi công xây dựng và bảo trì công trình xây dựng; sửa chữa đột xuất công trình thực hiện theo quy định tại khoản 3 Điều 60 của Thông tư này.
5. Kết quả thực hiện kiểm định chất lượng, quan trắc, sửa chữa đột xuất công trình được cập nhật, bổ sung vào kế hoạch quản lý, bảo trì công trình đường sắt.
Điều 57. Đánh giá an toàn công trình đường sắt trong quá trình khai thác, sử dụng
1. Công trình đường sắt ảnh hưởng lớn đến an toàn và lợi ích cộng đồng theo quy định của Chính phủ quy định chi tiết một số điều và biện pháp thi hành Luật Xây dựng về quản lý hoạt động xây dựng phải được tổ chức đánh giá an toàn chịu lực và an toàn vận hành trong quá trình khai thác, sử dụng định kỳ hoặc đột xuất.
2. Trình tự, nội dung đánh giá an toàn công trình đường sắt thực hiện theo quy định của pháp luật về quản lý chất lượng, thi công xây dựng và bảo trì công trình xây dựng.
3. Định kỳ hằng năm hoặc theo yêu cầu của Bộ Xây dựng, doanh nghiệp quản lý tài sản đường sắt quốc gia rà soát, xây dựng danh mục công trình đường sắt thuộc đối tượng phải đánh giá an toàn công trình theo quy định pháp luật về quản lý chất lượng, thi công xây dựng và bảo trì công trình xây dựng; Cục Đường sắt Việt Nam rà soát và công bố danh mục công trình làm cơ sở triển khai thực hiện theo quy định.
Điều 58. Áp dụng tiêu chuẩn, định mức kinh tế - kỹ thuật trong công tác bảo trì công trình đường sắt
1. Công tác bảo trì công trình đường sắt áp dụng theo các tiêu chuẩn, định mức kinh tế - kỹ thuật, định mức chi phí do cơ quan có thẩm quyền ban hành.
2. Đối với các công việc chưa có tiêu chuẩn, định mức kinh tế - kỹ thuật, định mức chi phí do cơ quan có thẩm quyền ban hành thì xác định theo đơn giá xây dựng công trình do Ủy ban nhân dân cấp tỉnh công bố hoặc xác định trên cơ sở giá thị trường hoặc theo giá tương tự ở các công trình đã thực hiện.
Điều 59. Lập, phê duyệt và điều chỉnh kế hoạch quản lý, bảo trì công trình đường sắt
1. Lập kế hoạch quản lý, bảo trì công trình đường sắt
a) Định kỳ hằng năm hoặc theo yêu cầu của Bộ Xây dựng, căn cứ vào tình trạng kỹ thuật của công trình đường sắt, nhu cầu vận tải trên từng tuyến đường sắt đang khai thác, quy trình bảo trì, định mức kinh tế - kỹ thuật, quy chuẩn kỹ thuật, tiêu chuẩn áp dụng, doanh nghiệp quản lý tài sản kết cấu hạ tầng đường sắt quốc gia lập kế hoạch quản lý, bảo trì công trình đường sắt nhằm bảo đảm an toàn công trình trong quá trình khai thác;
b) Kế hoạch quản lý, bảo trì công trình đường sắt xây dựng đầy đủ các thông tin gồm: tên nhiệm vụ, công trình, hạng mục công trình; đơn vị tính, khối lượng, dự kiến kinh phí thực hiện; thời gian thực hiện; phương thức thực hiện và mức độ ưu tiên đối với các công trình sửa chữa định kỳ;
c) Nội dung kế hoạch quản lý, bảo trì công trình đường sắt bao gồm:
Bảo dưỡng công trình đường sắt;
Sửa chữa công trình;
Công tác khắc phục hậu quả thiên tai, sự cố đã thực hiện;
Kiểm định, quan trắc và công tác khác (nếu có);
Quản lý, giám sát thực hiện bảo dưỡng công trình đường sắt;
Các nhiệm vụ xử lý khẩn cấp sự cố công trình;
Khắc phục hậu quả thiên tai, sự cố công trình;
d)Thành phần hồ sơ trình kế hoạch quản lý, bảo trì công trình đường sắt gồm:
Thuyết minh kế hoạch quản lý, bảo trì công trình đường sắt, trong đó nêu tình trạng kỹ thuật của công trình đường sắt, nhu cầu vận tải trên từng tuyến đường sắt đang khai thác, quy trình bảo trì, định mức kinh tế - kỹ thuật, quy chuẩn kỹ thuật, tiêu chuẩn áp dụng và phương án phân bổ chi phí;
Kế hoạch quản lý, bảo trì công trình đường sắt được lập theo mẫu tại Phụ lục XXIII của Thông tư này;
Bảng tổng hợp khối lượng bảo dưỡng công trình đường sắt được lập theo mẫu tại Phụ lục XXIV của Thông tư này;
Hồ sơ trạng thái kỹ thuật công trình đường sắt quy định tại điểm a khoản 1 Điều 54 Thông tư này. Trường hợp trạng thái công trình đường sắt đã đủ thông tin trong cơ sở dữ liệu kết cấu hạ tầng đường sắt, doanh nghiệp quản lý tài sản đường sắt quốc gia xác nhận nội dung này trong văn bản đề nghị làm cơ sở sử dụng thay cho hồ sơ giấy;
đ) Doanh nghiệp quản lý tài sản đường sắt quốc gia tổ chức lập kế hoạch nhu cầu quản lý, bảo trì công trình đường sắt của năm kế hoạch trình Bộ Xây dựng, đồng thời gửi Cục Đường sắt Việt Nam trước ngày 30 tháng 5 hằng năm để thẩm định; Cục Đường sắt Việt Nam hoàn thành báo cáo thẩm định trước ngày 15 tháng 6 hằng năm. Trên cơ sở báo cáo thẩm định của Cục Đường sắt Việt Nam, doanh nghiệp quản lý tài sản kết cấu hạ tầng đường sắt quốc gia tiếp thu ý kiến thẩm định và hoàn thiện trình Bộ Xây dựng trước ngày 20 tháng 6 hằng năm để xem xét, phê duyệt kế hoạch nhu cầu công tác bảo trì.
2. Căn cứ kế hoạch nhu cầu công tác quản lý, bảo trì được phê duyệt, Bộ Xây dựng tổng hợp dự toán kinh phí quản lý, bảo trì công trình đường sắt vào dự toán thu, chi ngân sách nhà nước hằng năm của Bộ Xây dựng, gửi Bộ Tài chính trước ngày 20 tháng 7 hằng năm.
3. Phê duyệt kế hoạch quản lý, bảo trì công trình đường sắt
a) Căn cứ thông báo của Bộ Xây dựng về dự toán chi ngân sách nhà nước hoạt động kinh tế đường sắt, doanh nghiệp quản lý tài sản đường sắt quốc gia rà soát, cập nhật kế hoạch quản lý, bảo trì công trình đường sắt của năm kế hoạch phù hợp với nguồn kinh phí được bố trí và trình Bộ Xây dựng, đồng thời gửi Cục Đường sắt Việt Nam trước ngày 01 tháng 11 hằng năm để thẩm định. Thành phần hồ sơ, nội dung kế hoạch quản lý, bảo trì công trình đường sắt thực hiện theo quy định tại điểm b, điểm c, điểm d khoản 1 Điều này; tờ trình kế hoạch quản lý, bảo trì công trình đường sắt lập theo mẫu tại Phụ lục XXV của Thông tư này;
b) Cục Đường sắt Việt Nam thực hiện thẩm định và gửi kết quả thẩm định về Bộ Xây dựng và doanh nghiệp quản lý tài sản kết cấu hạ tầng đường sắt quốc gia trước ngày 01 tháng 12 hằng năm;
c) Trên cơ sở báo cáo thẩm định của Cục Đường sắt Việt Nam, doanh nghiệp quản lý tài sản kết cấu hạ tầng đường sắt quốc gia tiếp thu ý kiến thẩm định và hoàn thiện trình Bộ Xây dựng phê duyệt kế hoạch quản lý, bảo trì công trình đường sắt trước ngày 05 tháng 12 hằng năm.
4. Điều chỉnh kế hoạch quản lý, bảo trì công trình đường sắt:
a) Kế hoạch quản lý, bảo trì công trình đường sắt được điều chỉnh trong quá trình thực hiện để phù hợp với tình trạng kỹ thuật thực tế của công trình đường sắt;
b) Doanh nghiệp quản lý tài sản đường sắt quốc gia lập hồ sơ điều chỉnh kế hoạch quản lý, bảo trì công trình đường sắt trình Bộ Xây dựng, đồng thời gửi Cục Đường sắt Việt Nam thẩm định trước ngày 01 tháng 11 hằng năm; Cục Đường sắt Việt Nam hoàn thành báo cáo thẩm định trước ngày 10 tháng 11 hằng năm;
c) Thành phần hồ sơ, nội dung kế hoạch quản lý, bảo trì điều chỉnh thực hiện theo quy định tại điểm b, điểm c, điểm d khoản 1 Điều này;
d) Trên cơ sở báo cáo thẩm định của Cục Đường sắt Việt Nam, doanh nghiệp quản lý tài sản kết cấu hạ tầng đường sắt quốc gia tiếp thu ý kiến thẩm định và hoàn thiện trình Bộ Xây dựng trước ngày 20 tháng 11 hằng năm.
Điều 60. Thực hiện kế hoạch quản lý, bảo trì công trình đường sắt
1. Căn cứ kế hoạch quản lý, bảo trì công trình đường sắt và dự toán chi ngân sách nhà nước do Bộ Xây dựng giao, doanh nghiệp quản lý tài sản đường sắt quốc gia tổ chức thực hiện bảo trì công trình đường sắt.
2. Thực hiện công tác bảo dưỡng công trình đường sắt
a) Doanh nghiệp quản lý tài sản đường sắt quốc gia được thực hiện đặt hàng cung cấp sản phẩm, dịch vụ sự nghiệp công theo quy định của pháp luật;
b) Việc lập, thẩm định, ban hành văn bản định giá cụ thể dịch vụ sự nghiệp công quản lý, bảo trì kết cấu hạ tầng đường sắt quốc gia theo phương thức đặt hàng được thực hiện như sau: doanh nghiệp quản lý tài sản đường sắt quốc gia tổ chức lập phương án giá trình Cục Đường sắt Việt Nam trước ngày 15 tháng 01 hằng năm; Cục Đường sắt Việt Nam thực hiện thẩm định phương án giá và ban hành văn bản định giá cụ thể sản phẩm, dịch vụ sự nghiệp công quản lý, bảo trì kết cấu hạ tầng đường sắt quốc gia sử dụng ngân sách nhà nước theo quy định của pháp luật về giá trước ngày 15 tháng 02 hằng năm.
3. Thực hiện công tác sửa chữa công trình
a) Đối với công trình sửa chữa có chi phí từ 500 triệu đồng trở lên, doanh nghiệp quản lý tài sản đường sắt quốc gia tổ chức lập báo cáo kinh tế - kỹ thuật hoặc dự án đầu tư xây dựng trình Cục Đường sắt Việt Nam thẩm định, phê duyệt. Việc triển khai công trình thực hiện theo quy định của pháp luật về đầu tư xây dựng và các quy định của pháp luật có liên quan;
b) Đối với sửa chữa công trình có chi phí dưới 500 triệu đồng, doanh nghiệp quản lý tài sản đường sắt quốc gia tổ chức lập, phê duyệt phương án kỹ thuật - dự toán và triển khai thực hiện.
4.Thực hiện sửa chữa, khắc phục hậu quả thiên tai, sự cố đối với công trình đường sắt
a) Công trình khắc phục hậu quả thiên tai, sự cố bước 1 thực hiện theo quy định tại Điều 81 và Điều 82 của Thông tư này. Sau khi khắc phục hậu quả thiên tai, sự cố bước 1, doanh nghiệp quản lý tài sản đường sắt quốc gia cập nhật, bổ sung kết quả thực hiện vào kế hoạch quản lý, bảo trì công trình đường sắt và trình Bộ Xây dựng phê duyệt theo quy định.
b) Công trình khắc phục hậu quả thiên tai, sự cố bước 2 thực hiện theo quy định tại khoản 3 Điều này.
5. Đối với công tác khác, doanh nghiệp quản lý tài sản đường sắt quốc gia tổ chức lập đề cương, dự toán chi phí để thực hiện nhiệm vụ trình Cục Đường sắt Việt Nam thẩm định, phê duyệt. Việc triển khai thực hiện theo quy định của pháp luật có liên quan.
6. Việc sử dụng vốn ngoài ngân sách thực hiện quản lý, bảo trì công trình đường sắt, cơ quan, tổ chức thực hiện quản lý, bảo trì công trình đường sắt thực hiện theo quy định của pháp luật về quản lý, sử dụng tài sản công và quy định của pháp luật có liên quan.
Điều 61. Quản lý chất lượng công tác bảo trì công trình đường sắt
1. Doanh nghiệp quản lý tài sản đường sắt quốc gia thực hiện quản lý chất lượng bảo trì công trình đường sắt theo quy định của Chính phủ quy định chi tiết một số nội dung về quản lý chất lượng, thi công xây dựng và bảo trì công trình xây dựng.
2. Quản lý vật liệu, sản phẩm, cấu kiện, thiết bị sử dụng cho công tác bảo trì công trình đường sắt
a) Đối với bảo dưỡng công trình đường sắt: vật tư, thiết bị chủ yếu phải thực hiện thí nghiệm kiểm tra hoặc yêu cầu nhà cung cấp xuất trình đầy đủ chứng nhận về chất lượng, nguồn gốc xuất xứ trước khi sử dụng, bao gồm:
Ray, tà vẹt, ghi, phụ kiện liên kết ray, phụ kiện liên kết ray với tà vẹt, phụ kiện ghi, dầm cầu, gối cầu, bu lông các loại, đinh đường, đinh xoắn, sơn, đá balast, sắt, thép, xi măng, cát, đá, sỏi;
Cột thông tin, xà thông tin, sứ, dây thông tin, cáp thông tin, cáp tín hiệu, cáp điện, tủ thiết bị, tủ điều khiển, tủ nguồn, bộ điều khiển, cần chắn điện, thiết bị quay ghi, cảm biến phát hiện tàu, rơ le tín hiệu, card thiết bị, cơ cấu tín hiệu, đèn tín hiệu, thiết bị nguồn, ắc quy, sơn;
Các vật tư, thiết bị khác theo yêu cầu của Bộ trưởng Bộ Xây dựng;
b) Đối với sửa chữa công trình: việc quản lý vật liệu, sản phẩm, cấu kiện, thiết bị sử dụng cho công trình thực hiện theo quy định về quản lý chất lượng, thi công xây dựng và bảo trì công trình xây dựng.
3. Nghiệm thu bảo trì công trình đường sắt
a) Đối với bảo dưỡng công trình đường sắt, doanh nghiệp quản lý tài sản đường sắt quốc gia thực hiện nghiệm thu theo quy trình bảo trì và tiêu chí giám sát, nghiệm thu;
b) Đối với công tác sửa chữa công trình đường sắt; khắc phục hậu quả thiên tai, sự cố đối với công trình đường sắt, doanh nghiệp quản lý tài sản đường sắt quốc gia tổ chức nghiệm thu công việc xây dựng, nghiệm thu giai đoạn thi công xây dựng hoặc bộ phận công trình, nghiệm thu hoàn thành hạng mục công trình, công trình xây dựng đưa vào sử dụng theo quy định Chính phủ về quản lý chất lượng thi công xây dựng và bảo trì công trình xây dựng;
c) Đối với công tác khác theo kế hoạch quản lý, bảo trì công trình đường sắt được phê duyệt, doanh nghiệp quản lý tài sản đường sắt quốc gia tổ chức nghiệm thu theo quy định của pháp luật có liên quan.
4. Doanh nghiệp quản lý tài sản đường sắt quốc gia có trách nhiệm tổ chức xây dựng và duy trì hệ thống quản lý chất lượng bảo dưỡng công trình. Hệ thống quản lý chất lượng bảo dưỡng công trình đường sắt phải bảo đảm tuân thủ theo quy trình bảo trì được duyệt.
Điều 62. Báo cáo định kỳ trong quá trình quản lý kết cấu hạ tầng, bảo trì công trình đường sắt
1. Tên báo cáo: Báo cáo định kỳ kết quả thực hiện công tác quản lý kết cấu hạ tầng, bảo trì công trình đường sắt.
2. Nội dung báo cáo phải thể hiện đầy đủ các nội dung sau: nhiệm vụ thực hiện; khối lượng, kinh phí được Bộ Xây dựng phê duyệt hoặc điều chỉnh trong kế hoạch quản lý, bảo trì công trình đường sắt; chất lượng thực hiện, kết quả nghiệm thu, thanh toán; đề xuất, kiến nghị (nếu có).
3. Đối tượng thực hiện báo cáo: doanh nghiệp quản lý tài sản đường sắt quốc gia.
4. Cơ quan nhận báo cáo: Cục Đường sắt Việt Nam, Bộ Xây dựng.
5. Phương thức gửi, nhận báo cáo: bằng bản điện tử gửi qua trục liên thông hệ thống quản lý văn bản hoặc bằng văn bản giấy trong trường hợp không có trục liên thông hệ thống quản lý văn bản.
6. Thời hạn gửi báo cáo: ngày 15 tháng 7 hằng năm đối với báo cáo định kỳ 06 tháng đầu năm; trước ngày 15 tháng 01 của tháng tiếp theo đối với báo cáo năm.
7. Tần suất thực hiện báo cáo: 02 lần trong năm.
8. Thời gian chốt số liệu báo cáo: từ ngày 01 tháng 01 đến ngày 30 tháng 6 đối với báo cáo định kỳ 06 tháng đầu năm; từ ngày 01 tháng 01 đến ngày 31 tháng 12 đối với báo cáo năm.
9. Biểu mẫu báo cáo theo mẫu tại Phụ lục XXVI của Thông tư này.
Điều 63. Nguồn kinh phí, nội dung chi phí quản lý kết cấu hạ tầng, bảo trì công trình đường sắt
1. Kinh phí dành cho công tác quản lý kết cấu hạ tầng, bảo trì công trình đường sắt do nhà nước đầu tư được hình thành từ các nguồn sau:
a) Ngân sách nhà nước;
b) Nguồn kinh phí hợp pháp khác theo quy định của pháp luật.
2. Nội dung các khoản mục chi phí liên quan đến thực hiện quản lý kết cấu hạ tầng, bảo trì công trình đường sắt bao gồm:
a) Chi phí lập, thẩm tra quy trình bảo trì và định mức kinh tế - kỹ thuật phục vụ công tác bảo trì công trình đường sắt;
b) Chi phí kiểm tra, quan trắc, kiểm định chất lượng, đánh giá an toàn, sửa chữa công trình đường sắt, bảo dưỡng công trình đường sắt và quản lý, giám sát công tác bảo dưỡng công trình đường sắt;
c) Chi phí lập, cập nhật hồ sơ quản lý kết cấu hạ tầng đường sắt; chi phí cập nhật cơ sở dữ liệu kết cấu hạ tầng đường sắt;
d) Các chi phí cần thiết khác để thực hiện quá trình bảo trì công trình đường sắt theo quy định của pháp luật về quản lý chất lượng, thi công xây dựng và bảo trì công trình xây dựng.
3. Việc xác định chi phí thực hiện quản lý, bảo trì công trình đường sắt được thực hiện như sau:
a) Đối với sửa chữa công trình đường sắt, chi phí thực hiện được xác định theo từng công trình, dự án theo quy định của pháp luật về quản lý chi phí đầu tư xây dựng;
b) Đối với bảo dưỡng công trình đường sắt và khắc phục bước 1 hậu quả thiệt hại thiên tai, sự cố, doanh nghiệp quản lý tài sản đường sắt quốc gia tổ chức lập phương án giá dịch vụ sự nghiệp công, dự toán chi phí theo quy định của pháp luật về ngân sách nhà nước;
c) Đối với các công việc còn lại, chi phí thực hiện được xác định bằng dự toán trên cơ sở nội dung và khối lượng công việc thực hiện theo quy định của pháp luật hiện hành.
Mục 2
QUẢN LÝ KẾT CẤU HẠ TẦNG, BẢO TRÌ CÔNG TRÌNH ĐƯỜNG SẮT
ĐẦU TƯ BẰNG NGUỒN VỐN NGOÀI NHÀ NƯỚC
Điều 64. Nội dung, hồ sơ quản lý kết cấu hạ tầng đường sắt, bảo trì công trình đường sắt
1. Nội dung quản lý kết cấu hạ tầng đường sắt gồm:
a) Lập, phê duyệt kế hoạch quản lý, bảo trì công trình đường sắt;
b) Thực hiện kế hoạch quản lý, bảo trì công trình đường sắt và quản lý chất lượng dịch vụ sự nghiệp công quản lý, bảo trì kết cấu hạ tầng đường sắt;
c) Phòng, chống, khắc phục hậu quả thiên tai, sự cố đối với kết cấu hạ tầng đường sắt;
d) Bảo vệ kết cấu hạ tầng đường sắt theo quy định;
đ) Quản lý, theo dõi và tổ chức xử lý các vị trí công trình xung yếu, có dấu hiệu nguy hiểm, không bảo đảm an toàn trong quá trình sử dụng;
e) Tổ chức lập hồ sơ, cập nhật cơ sở dữ liệu kết cấu hạ tầng đường sắt;
g) Báo cáo định kỳ, đột xuất theo quy định.
2. Nội dung bảo trì công trình đường sắt thực hiện theo quy định của pháp luật về quản lý chất lượng, thi công xây dựng và bảo trì công trình xây dựng.
3. Hồ sơ quản lý kết cấu hạ tầng đường sắt thực hiện theo quy định tại khoản 1 Điều 54 của Thông tư này; hồ sơ bảo trì công trình đường sắt được lập theo quy định của Chính phủ về quản lý chất lượng, thi công xây dựng và bảo trì công trình xây dựng.
Điều 65. Đánh giá an toàn công trình, quan trắc, kiểm định chất lượng công trình đường sắt trong quá trình khai thác, sử dụng
1. Chủ sở hữu công trình đường sắt có trách nhiệm tổ chức thực hiện:
a) Đánh giá an toàn chịu lực và an toàn vận hành trong quá trình khai thác, sử dụng định kỳ hoặc đột xuất đối với công trình đường sắt thuộc danh mục công trình ảnh hưởng lớn đến an toàn, lợi ích cộng đồng theo quy định của Chính phủ quy định chi tiết một số điều và biện pháp thi hành Luật xây dựng về quản lý hoạt động xây dựng;
b) Quan trắc công trình, kiểm định chất lượng công trình trong quá trình khai thác, sử dụng trong các trường hợp theo quy định của Chính phủ về quản lý chất lượng, thi công xây dựng và bảo trì công trình xây dựng.
2. Chủ sở hữu công trình đường sắt lập, công bố danh mục công trình đường sắt thuộc đối tượng phải quan trắc, kiểm định chất lượng, đánh giá an toàn công trình theo quy định pháp luật gửi Bộ Xây dựng, Cục Đường sắt Việt Nam để quản lý, theo dõi.
Điều 66. Xử lý đối với công trình đường sắt có dấu hiệu nguy hiểm, không bảo đảm an toàn khai thác, sử dụng
1. Trong quá trình khai thác sử dụng, chủ sở hữu công trình đường sắt phải kịp thời phát hiện công trình, bộ phận công trình, thiết bị lắp đặt vào công trình đường sắt hư hỏng, xuống cấp về chất lượng, không bảo đảm an toàn khai thác, sử dụng để xử lý theo quy định.
2. Khi phát hiện hoặc nhận được thông tin về công trình, bộ phận công trình, thiết bị lắp đặt vào công trình đường sắt hư hỏng, xuống cấp về chất lượng, không bảo đảm an toàn cho việc khai thác, sử dụng, chủ sở hữu công trình đường sắt có trách nhiệm:
a) Quyết định biện pháp khẩn cấp và tổ chức xử lý để bảo đảm an toàn chạy tàu;
b) Triển khai thực hiện kiểm định chất lượng công trình, quan trắc công trình, sửa chữa đột xuất công trình và báo cáo Bộ Xây dựng, Cục Đường sắt Việt Nam kết quả thực hiện.
Điều 67. Áp dụng tiêu chuẩn trong bảo trì và kế hoạch bảo trì công trình đường sắt
1. Chủ sở hữu công trình đường sắt lập, phê duyệt danh mục tiêu chuẩn áp dụng cho công tác bảo trì công trình đường sắt bảo đảm phù hợp với danh mục tiêu chuẩn áp dụng cho dự án đã được cấp có thẩm quyền phê duyệt theo quy định của pháp luật.
2. Chủ sở hữu công trình đường sắt tổ chức lập, phê duyệt kế hoạch bảo trì công trình đường sắt theo từng năm và gửi Bộ Xây dựng, Cục Đường sắt Việt Nam trong thời hạn 05 ngày làm việc kể từ ngày phê duyệt để quản lý, theo dõi.
Điều 68. Thực hiện bảo trì công trình đường sắt
1. Chủ sở hữu công trình đường sắt tổ chức thực hiện bảo trì, quản lý, giám sát chất lượng bảo trì công trình đường sắt do mình đầu tư theo quy định của pháp luật về quản lý chất lượng, thi công xây dựng và bảo trì công trình xây dựng, pháp luật về đường sắt; bảo đảm an toàn cho người, công trình; bảo đảm giao thông an toàn, thông suốt; phòng, chống cháy, nổ và bảo vệ môi trường.
2. Chủ sở hữu công trình đường sắt có trách nhiệm tổ chức lập, ban hành và duy trì Hệ thống quản lý chất lượng bảo trì công trình đường sắt. Hệ thống này phải bảo đảm đầy đủ sơ đồ tổ chức phân công trách nhiệm rõ ràng cho từng đơn vị, bộ phận, bao gồm nhưng không giới hạn các nội dung sau đây:
a) Trình tự xây dựng, kiểm soát kế hoạch bảo trì công trình và các bộ phận tham gia trong việc kiểm soát quá trình thực hiện;
b) Yêu cầu đối với chất lượng bảo trì công trình đường sắt;
c) Nội dung và trình tự kiểm soát chất lượng vật tư, vật liệu trước khi đưa vào bảo trì công trình;
d) Kiểm tra, giám sát trong quá trình thực hiện bảo trì công trình;
đ) Nội dung và trình tự đánh giá kết quả, nghiệm thu bảo trì công trình;
e) Nội dung và trình tự thực hiện khắc phục, sửa chữa những hạng mục bảo trì công trình công trình không đạt yêu cầu khi nghiệm thu.
Chương V
QUY ĐỊNH VỀ CẤP, GIA HẠN GIẤY PHÉP XÂY DỰNG CÔNG TRÌNH
THIẾT YẾU TRONG PHẠM VI ĐẤT DÀNH CHO ĐƯỜNG SẮT
VÀ CÔNG TRÌNH HẠ TẦNG KỸ THUẬT SỬ DỤNG CHUNG
Điều 69. Xây dựng công trình thiết yếu trong phạm vi đất dành cho đường sắt, công trình hạ tầng kỹ thuật sử dụng chung với đường sắt (sau đây gọi là công trình thiết yếu, dùng chung với đường sắt)
1. Trường hợp đã có công trình hạ tầng kỹ thuật sử dụng chung với đường sắt thì được bố trí, lắp đặt thêm công trình thiết yếu, dùng chung với đường sắt (đường cáp thông tin, công trình viễn thông, đường dây tải điện, dây dẫn điện, chiếu sáng công cộng; đường ống cấp nước, thoát nước, cấp năng lượng), trừ các trường hợp sau:
a) Việc lắp đặt thêm công trình thiết yếu, dùng chung với đường sắt vào công trình hạ tầng kỹ thuật sử dụng chung không bảo đảm an toàn công trình đường sắt, công trình hạ tầng kỹ thuật sử dụng chung;
b) Công trình hạ tầng kỹ thuật sử dụng chung có quy mô, kích thước, tải trọng không phù hợp hoặc không còn vị trí để lắp đặt thêm công trình thiết yếu, dùng chung với đường sắt;
c) Lắp đặt đường ống dẫn khí đốt, các chất dễ cháy, nổ vào trong hầm đường sắt; lắp đặt đường dây tải điện cao thế theo quy định của pháp luật về điện lực vào cầu đường sắt.
2.Chủ đầu tư công trình thiết yếu, dùng chung với đường sắt phải bố trí dấu hiệu nhận biết công trình thuộc sở hữu của mình khi lắp đặt vào công trình hạ tầng kỹ thuật sử dụng chung với đường sắt như sau:
a) Đối với ống cấp năng lượng, cấp nước, thoát nước, dấu hiệu nhận biết bao gồm các thông tin: tên đầy đủ hoặc viết tắt của chủ sở hữu, ký hiệu, màu sắc và thông tin cần thiết khác được in, sơn trực tiếp trên vỏ ngoài đường ống hoặc ghi trên thẻ gắn bên ngoài đường ống;
b) Đối với các loại đường dây, dấu hiệu nhận biết được thể hiện bằng màu sắc của dây, kèm theo thẻ ghi các thông tin nhận biết chủ sở hữu và thông tin cần thiết khác và được gắn vào đường dây.
Điều 70. Thẩm quyền cấp, gia hạn, thu hồi giấy phép xây dựng công trình thiết yếu, dùng chung với đường sắt
1. Cục Đường sắt Việt Nam cấp, gia hạn, thu hồi giấy phép xây dựng công trình thiết yếu trong phạm vi đất dành cho đường sắt quốc gia.
2. Chủ tịch Ủy ban nhân dân cấp tỉnh thực hiện cấp, gia hạn, thu hồi giấy phép xây dựng công trình thiết yếu trong phạm vi đất dành cho đường sắt địa phương.
Điều 71. Hồ sơ đề nghị cấp, gia hạn giấy phép xây dựng công trình thiết yếu, dùng chung với đường sắt
1. Hồ sơ đề nghị cấp giấy phép xây dựng công trình thiết yếu, dùng chung với đường sắt gồm:
a) Bản chính hoặc bản điện tử đơn đề nghị theo mẫu quy định tại Phụ lục XXVII của Thông tư này;
b) Bản chính hoặc bản sao có chứng thực hoặc bản điện tử hoặc bản sao điện tử của các tài liệu sau:
Quyết định phê duyệt dự án hoặc văn bản giao nhiệm vụ chủ đầu tư công trình;
Quyết định phê duyệt thiết kế kỹ thuật hoặc thiết kế bản vẽ thi công;
Tài liệu xác định công trình phải bố trí trong phạm vi đất dành cho đường sắt: quyết định phê duyệt quy hoạch hoặc thỏa thuận hướng tuyến công trình của Ủy ban nhân dân cấp xã trở lên đối với công trình thiết yếu phục vụ kinh tế - xã hội; hợp đồng cho thuê dịch vụ khai thác kết cấu hạ tầng đường sắt đối với công trình hạ tầng kỹ thuật sử dụng chung với đường sắt;
Tiến độ thi công công trình được cấp có thẩm quyền phê duyệt;
Phương án tổ chức thi công công trình và biện pháp bảo đảm an toàn giao thông, an toàn công trình trong quá trình thi công.
2. Hồ sơ đề nghị gia hạn giấy phép xây dựng công trình thiết yếu, dùng chung với đường sắt gồm:
a) Bản chính hoặc bản điện tử đơn đề nghị theo mẫu quy định tại Phụ lục XXVIII của Thông tư này;
b) Bản chính hoặc bản sao có chứng thực hoặc bản điện tử hoặc bản sao điện tử của các tài liệu sau:
Tiến độ thi công công trình được cấp có thẩm quyền phê duyệt;
Tài liệu chứng minh lý do đề nghị gia hạn là một trong các tài liệu sau: Biên bản bàn giao mặt bằng thi công xây dựng công trình trong trường hợp vướng mắc về mặt bằng thi công; Biên bản xác nhận thiệt hại giữa chủ đầu tư dự án và nhà thầu thi công xây dựng công trình trong trường hợp thiên tai, sự cố làm ảnh hưởng đến tiến độ thi công xây dựng công trình; Quyết định điều chỉnh chủ trương đầu tư dự án hoặc quyết định điều chỉnh chương trình, dự án đầu tư xây dựng công trình trong trường hợp việc điều chỉnh dự án làm ảnh hưởng đến tiến độ thi công xây dựng công trình.
3. Hồ sơ đề nghị cấp, gia hạn giấy phép xây dựng công trình thiết yếu, dùng chung với đường sắt bản điện tử có giá trị pháp lý như bản giấy.
Điều 72. Trình tự, thủ tục cấp, gia hạn giấy phép xây dựng công trình thiết yếu, dùng chung với đường sắt
1. Chủ đầu tư dự án hoặc chủ quản lý, sử dụng đường ngang lập 01 bộ hồ sơ đề nghị quy định tại Điều 71 của Thông tư này, gửi đến cơ quan có thẩm quyền quy định tại Điều 70 của Thông tư này theo một trong các hình thức: nộp hồ sơ trực tiếp tại bộ phận một cửa của cơ quan có thẩm quyền; nộp qua hệ thống dịch vụ công trực tuyến; nộp qua hệ thống bưu chính.
2. Cơ quan có thẩm quyền tiếp nhận và kiểm tra hồ sơ đề nghị. Trường hợp thành phần hồ sơ chưa đầy đủ theo quy định, trong vòng 01 ngày làm việc (nếu tiếp nhận hồ sơ trực tiếp tại bộ phận một cửa hoặc qua cổng dịch vụ công trực tuyến) hoặc 02 ngày làm việc (nếu tiếp nhận hồ sơ qua hệ thống bưu chính) kể từ ngày tiếp nhận hồ sơ, cơ quan có thẩm quyền trả kết quả bằng văn bản và hướng dẫn chủ đầu tư hoàn thiện hồ sơ theo quy định.
3. Thời hạn giải quyết hồ sơ:
a) 08 ngày làm việc kể từ ngày nhận đủ hồ sơ theo quy định đối với trường hợp cấp cấp giấy phép xây dựng công trình thiết yếu, dùng chung với đường sắt;
b) 03 ngày làm việc kể từ ngày nhận đủ hồ sơ theo quy định đối với trường hợp gia hạn giấy phép xây dựng công trình thiết yếu, dùng chung với đường sắt;
c) Trường hợp không cấp, gia hạn giấy phép xây dựng công trình thiết yếu, dùng chung với đường sắt, cơ quan có thẩm quyền phải có văn bản trả lời, nêu rõ lý do.
4. Mẫu giấy phép, quyết định gia hạn giấy phép xây dựng công trình thiết yếu, dùng chung với đường sắt
a) Giấy phép xây dựng công trình thiết yếu, dùng chung với đường sắt theo màu quy định tại Phụ lục XXIX của Thông tư này;
b) Quyết định gia hạn giấy phép xây dựng công trình thiết yếu, dùng chung với đường sắt theo mẫu quy định tại Phụ lục XXX của Thông tư này.
5. Giấy phép, quyết định gia hạn giấy phép xây dựng công trình thiết yếu, dùng chung với đường sắt được trả bằng bản điện tử, trừ trường hợp chủ đầu tư dự án hoặc chủ sở hữu công trình có nhu cầu nhận bản giấy. Bản điện tử có giá trị pháp lý như bản giấy.
6. Mỗi giấy phép xây dựng công trình thiết yếu, dùng chung với đường sắt chỉ được gia hạn 01 lần trong thời gian còn hiệu lực, thời gian gia hạn không quá 12 tháng, đồng thời không vượt quá thời gian thực hiện dự án đã được cấp có thẩm quyền phê duyệt.
7. Chủ sở hữu đường sắt chuyên dùng quyết định thành phần hồ sơ, trình tự thực hiện cấp, gia hạn giấy phép xây dựng công trình trong phạm vi đất dành cho đường sắt chuyên dùng.
Điều 73. Thu hồi giấy phép xây dựng công trình thiết yếu, dùng chung với đường sắt
1. Các trường hợp giấy phép xây dựng công trình thiết yếu, dùng chung với đường sắt bị thu hồi:
a) Giấy phép được cấp không đúng theo quy định của pháp luật;
b) Chủ đầu tư dự án thực hiện không đúng nội dung của giấy phép và không thực hiện việc khắc phục theo yêu cầu của cơ quan nhà nước có thẩm quyền;
c) Chủ đầu tư dự án vi phạm các quy định của pháp luật về quản lý, bảo vệ kết cấu hạ tầng giao thông đường sắt, an toàn giao thông đường sắt, bảo vệ môi trường, thoát nước, phòng chống cháy, nổ tại khu vực xây dựng công trình;
d) Sau 12 tháng, kể từ ngày được cấp giấy phép mà chủ đầu tư dự án vẫn chưa triển khai xây dựng công trình.
2. Sau 10 ngày làm việc, kể từ ngày có quyết định thu hồi giấy phép, cơ quan cấp giấy phép thông báo cho các cơ quan, đơn vị liên quan đến việc thực hiện giấy phép và đăng tải trên Cổng thông tin điện tử của cơ quan ban hành quyết định.
Chương VI
PHÒNG, CHỐNG, KHẮC PHỤC HẬU QUẢ THIÊN TAI, SỰ CỐ ĐỐI
VỚI KẾT CẤU HẠ TẦNG ĐƯỜNG SẮT
Mục 1
PHÒNG NGỪA THIÊN TAI
Điều 74. Nội dung phòng ngừa thiên tai
1. Điều tra cơ bản phòng, chống thiên tai nhằm hạn chế ảnh hưởng của thiên tai đối với hệ thống kết cấu hạ tầng đường sắt, phương tiện giao thông vận tải đường sắt; ngăn chặn các nguy cơ gây hư hại hoặc hủy hoại các công trình khi thiên tai xảy ra, bao gồm các nội dung chủ yếu:
a) Hiện trạng về cơ cấu tổ chức, nhân lực, trang thiết bị của doanh nghiệp trong hoạt động phòng, chống thiên tai;
b) Tác động của thiên tai đối với kết cấu hạ tầng đường sắt, hoạt động đường sắt.
2. Xây dựng và thực hiện kế hoạch phòng, chống thiên tai theo quy định của pháp luật về phòng, chống thiên tai và pháp luật về đường sắt.
3. Tổ chức và tham gia tập huấn, huấn luyện nghiệp vụ về kỹ năng xử lý thông tin trong công tác phòng, chống, khắc phục hậu quả thiên tai và cứu nạn.
4. Xây dựng phương án ứng phó thiên tai, dự kiến các cấp độ rủi ro thiên tai, loại thiên tai có thể xảy ra; mức độ ảnh hưởng đối với kết cấu hạ tầng đường sắt và phương tiện vận tải đường sắt; lập biện pháp và phương án xử lý phù hợp theo các nội dung sau:
a) Các biện pháp neo, buộc, chống, đỡ, chêm, chèn, hãm để bảo vệ công trình thiết bị, phương tiện, hàng hóa;
b) Có kế hoạch sơ tán các phương tiện, thiết bị, hàng hóa; phương án cứu hộ, cứu nạn, chuyển tải hành khách, hàng hóa;
c) Dự trữ vật tư, thiết bị dự phòng; dự trữ lương thực, thực phẩm đề phòng thiên tai, sự cố làm tắc đường cho những đoàn tàu chạy suốt trên trục Bắc - Nam hoặc tàu địa phương chạy quá 300 km;
d) Các biện pháp chống vật va trôi vào công trình khi có nước lũ;
đ) Thường xuyên theo dõi diễn biến của các loại hình thiên tai; quan trắc tình hình thực tế thiên tai đang diễn ra đối với công trình; theo dõi mức độ chịu thiên tai, sự cố của công trình và trang thiết bị;
e) Quy định chế độ thông tin trong thời gian có thiên tai, sự cố bảo đảm phù hợp với nguyên tắc hoạt động phòng, chống thiên tai. Dự kiến trước những tình huống xảy ra như mất điện, gián đoạn thông tin, nước ngập công trình đường sắt để chủ động khắc phục nhanh và hiệu quả.
5. Dự phòng vật tư, phương tiện, trang thiết bị, nhu yếu phẩm cho công tác phòng, chống thiên tai và cứu nạn:
a) Vật tư chủ yếu bao gồm: tà vẹt, đá hộc, đá dăm, rọ thép, ray, đinh đường, dầm tạm phục vụ thi công, pa lê, dây thừng, cột thông tin, xà đỡ, dây thép, nhiên liệu, xăng dầu và các loại vật tư cần thiết khác; vật tư thu hồi từ các dự án, công trình sửa chữa định kỳ (ray, tà vẹt gỗ, dầm cầu,...);
b) Trang thiết bị bao gồm: đầu máy, toa xe, cần cẩu cứu hộ, cần cẩu thi công bốc xếp, goòng các loại, xe ô tô các loại, búa đóng cọc, máy xúc, máy phát điện, máy bơm, máy hàn, kích, phương tiện thiết bị thông tin liên lạc hữu tuyến, vô tuyến, hộp phân phối điện tạm thời chuyên dụng, bơm khẩn cấp, phương tiện đường thủy đối với những khu vực chỉ có khả năng tiếp cận đường sắt bằng đường thủy và các dụng cụ, công cụ, trang thiết bị cần thiết khác;
c) Dự trữ lương thực, nhu yếu phẩm thiết yếu, thuốc chữa bệnh tại những nơi xung yếu, hiểm trở để sử dụng khi cần thiết.
6. Bảo đảm yêu cầu phòng ngừa thiên tai theo quy định tại Điều 75, Điều 76, Điều 77 và Điều 78 của Thông tư này.
Điều 75. Phòng ngừa thiên tai trong giai đoạn khảo sát, thiết kế sửa chữa, cải tạo, nâng cấp công trình đường sắt
1. Nghiên cứu địa hình, địa mạo, địa chất, số liệu khí tượng, thủy văn của vùng, khu vực công trình; điều tra, khảo sát, thu thập đầy đủ số liệu, dữ liệu của khu vực công trình về: cấp động đất; lượng mưa lớn nhất; tần suất lũ, mực nước lịch sử; sự xâm thực của sóng, thủy triều đối với công trình; cấp gió, bão lớn nhất; lịch sử lụt, bão, thiên tai, sự cố.
2. Tính toán, thiết kế quy mô sửa chữa, cải tạo, nâng cấp công trình bảo đảm tính ổn định đối với tác động phá hoại của thiên tai khu vực công trình theo quy chuẩn kỹ thuật, tiêu chuẩn áp dụng. Phương án thiết kế sửa chữa, cải tạo, nâng cấp công trình phải xét đến ảnh hưởng của các công trình thủy lợi, thủy điện, các công trình nhân tạo khác, tác động phá hủy môi trường sinh thái của vùng, khu vực xây dựng công trình, ứng phó với biến đổi khí hậu, phòng, chống cháy, nổ theo quy định của pháp luật về xây dựng.
3. Ứng dụng công nghệ tiên tiến, công nghệ mới, vật liệu mới, nghiên cứu những quy luật thủy văn, thủy lực của sông; quy luật thiên tai của vùng, khu vực công trình để có giải pháp cải tạo, sửa chữa, nâng cấp công trình hợp lý, chống được tác động của thiên tai.
Điều 76. Phòng ngừa thiên tai trong giai đoạn thi công sửa chữa, cải tạo, nâng cấp công trình đường sắt
1. Khi thi công sửa chữa, cải tạo, nâng cấp công trình đường sắt có thời gian kéo dài qua mùa lụt bão, trong phương án tổ chức thi công phải xét đến công tác phòng, chống thiên tai cho người, công trình chưa hoàn thiện, các công trình phụ trợ và trang thiết bị thi công bảo đảm an toàn.
2. Phòng ngừa thiên tai, sự cố khi thiết kế tổ chức thi công và chuẩn bị thi công sửa chữa, cải tạo, nâng cấp công trình đường sắt:
a) Lán trại, nơi tập kết vật tư, thiết bị thi công phải có biện pháp gia cố; bảo đảm an toàn khi có thiên tai, sự cố xảy ra; hệ thống điện của công trường phải có biện pháp bảo đảm an toàn;
b) Tiến độ thi công phải được xây dựng hợp lý, đủ khả năng ứng phó khi thiên tai, sự cố xảy ra;
c) Phải có kế hoạch sơ tán người và tài sản; tổ chức lực lượng ứng cứu, thông tin liên lạc, dự phòng vật tư, trang thiết bị cần thiết để sẵn sàng ứng phó thiên tai, sự cố xảy ra trong quá trình thi công sửa chữa, cải tạo, nâng cấp công trình đường sắt.
3. Phòng ngừa thiên tai, sự cố trong quá trình thi công sửa chữa, cải tạo, nâng cấp công trình đường sắt:
a) Thi công theo đúng hồ sơ thiết kế, chỉ dẫn kỹ thuật, phương án tổ chức thi công và tiến độ thi công được phê duyệt;
b) Tuân thủ trình tự quản lý chất lượng thi công xây dựng theo quy định của pháp luật; bảo đảm phù hợp với quy chuẩn kỹ thuật, tiêu chuẩn áp dụng cho công trình;
c) Thường xuyên khơi thông dòng chảy, hệ thống thoát nước công trình để hạn chế ảnh hưởng khi xảy ra thiên tai, sự cố;
d) Chất thải rắn từ hoạt động xây dựng phải được tập kết đúng nơi quy định và không được ảnh hưởng đến công tác phòng, chống thiên tai, sự cố của công trường thi công;
đ) Khi thiên tai sắp xảy ra trên khu vực công trình, phải bố trí người, phương tiện, thiết bị kiểm tra tình hình thực tế công trình; hạ thấp các máy móc, thiết bị trên cao; đưa các phương tiện, thiết bị dưới sông vào nơi khuất gió và neo chằng chắc chắn; thu dọn công trường gọn gàng, đưa máy móc, thiết bị thi công vào bãi tập kết; sẵn sàng lực lượng, phương tiện để thực hiện phương án phòng chống thiên tai;
e) Phải thanh thải dòng chảy, dọn dẹp công trường trước khi nghiệm thu, bàn giao công trình đưa vào sử dụng.
Điều 77. Phòng ngừa thiên tai đối với công trình đường sắt đang khai thác, sử dụng
1. Thường xuyên kiểm tra, theo dõi các vị trí xung yếu, các công trình đường sắt tiềm ẩn nguy cơ mất an toàn khi xảy ra thiên tai để chủ động, kịp thời khắc phục hoặc báo cáo cấp có thẩm quyền quyết định biện pháp xử lý để bảo đảm an toàn công trình, an toàn giao thông đường sắt.
2. Đối với cống, hầm, cầu nhỏ hơn 25m (khoảng cách từ đuôi tường cánh hoặc đuôi máng ba lát của mố bên này đến đuôi tường cánh hoặc đuôi máng ba lát của mố bên kia):
a) Đối với cầu nhỏ hơn 25m: khơi thông dòng chảy, tạo điều kiện thoát nước tốt; kiểm tra thường xuyên, sửa chữa kịp thời các bộ phận của cầu (tứ nón, đường đầu cầu, chỗ tiếp giáp giữa đường đầu cầu và mố cầu). Trường hợp cầu có kết cấu móng nông phải kiểm tra mức độ xói của lòng sông và có biện pháp gia cố chống xói;
b) Đối với cống: khơi thông lòng cống; kiểm tra thường xuyên, sửa chữa kịp thời các bộ phận kết cấu thượng lưu và hạ lưu của cống; gia cố chống xói dòng chảy của cống;
c) Đối với hầm: khơi thông rãnh dọc, rãnh đỉnh của hầm; lát lại những đoạn rãnh hỏng; thường xuyên kiểm tra, kịp thời đề xuất và thực hiện biện pháp gia cố kết cấu vỏ hầm bị xung yếu, dột; có biện pháp phòng, chống hiện tượng đá lăn, đá đổ xảy ra khu vực hầm.
3. Đối với cầu từ 25m trở lên (khoảng cách từ đuôi tường cánh hoặc đuôi máng ba lát của mố bên này đến đuôi tường cánh hoặc đuôi máng ba lát của mố bên kia):
a) Trước mùa mưa, bão phải tổ chức đo, cập nhật mặt cắt lòng sông trong phạm vi ảnh hưởng đến an toàn công trình cầu;
b) Thường xuyên kiểm tra, kịp thời sửa chữa hư hỏng các bộ phận kết cấu của cầu, đặc biệt là các bộ phận trực tiếp chịu ảnh hưởng của thiên tai;
c) Thường xuyên kiểm tra mức độ xói lòng sông, xói mố trụ cầu để kịp thời có biện pháp gia cố, xử lý bảo đảm an toàn công trình khi mùa mưa bão đến;
d) Kiểm tra, kịp thời đề xuất và thực hiện biện pháp gia cố hoặc xây dựng mới trụ phòng chống va xô trụ cầu để ngăn ngừa các vật trôi có thể va đập gây mất an toàn cho cầu;
đ) Theo dõi, ghi chép và lưu trữ sự thay đổi thủy văn, thủy lực của dòng chảy và kịp thời đề xuất, thực hiện phương án xử lý thích hợp bảo đảm an toàn công trình cầu khi mùa mưa bão đến.
4. Đối với đường sắt
a) Thường xuyên kiểm tra, chặt cây, dãy cỏ, nạo vét khơi thông, sửa chữa rãnh dọc, rãnh đỉnh, thoát nước ngầm, thoát nước nền đường bảo đảm khả năng thoát nước khi xảy ra mưa lũ;
b) Tạo độ dốc lề đường cho nước chảy vào rãnh hoặc xuống mái dốc phía dưới, tạo độ dốc liên tục cho rãnh đổ dồn nước vào hố thu và thoát ra khỏi phạm vi đường;
c) Xử lý taluy, nền đường đào để chống sạt lở; bạt, san lấp tạo mặt phẳng độ bền vững và khả năng thoát nước cho bề mặt taluy, chặt bỏ cây mọc trên đỉnh taluy. Xử lý mạch nước ngầm thoát ra mặt taluy (nếu có). Tại những vị trí nền đường xung yếu, thực hiện các biện pháp gia cố để tăng cường ổn định, bền vững.
5. Đối với công trình kiến trúc đường sắt, kho ga, bãi hàng
a) Thường xuyên kiểm tra, nạo vét khơi thông hệ thống thoát nước công trình, bảo đảm khả năng thoát nước khi xảy ra mưa lũ;
b) Kiểm tra, kịp thời xử lý chống thấm, chống dột, chống sét của công trình;
c) Gia cố các vị trí xung yếu, bảo đảm tăng cường an toàn công trình trong mùa mưa bão.
6. Đối với công trình thông tin, tín hiệu
a) Phát quang hành lang an toàn đường dây và tầm nhìn tín hiệu;
b) Thay các cột điện, xà đỡ hỏng, các dây điện rò rỉ, đứt. Bổ sung dây co đứt, thiếu. Đắp lại ụ cột bị xói lở;
c) Kiểm tra và xử lý hệ thống tiếp đất, chống sét cho máy móc thiết bị và các tổng đài bảo đảm an toàn trong mùa mưa bão;
d) Kịp thời sửa chữa các thiết bị thông tin, tín hiệu bị hư hỏng, bảo đảm sử dụng tốt trong mùa lụt, bão;
đ) Có phương án xử lý chống cháy, chập thiết bị tín hiệu nơi bị úng ngập.
7. Đối với công trình ngầm
a) Thường xuyên kiểm tra, nạo vét khơi thông hệ thống thoát nước công trình, chuẩn bị phương tiện, thiết bị thoát nước (hộp phân phối điện tạm thời chuyên dụng, bơm khẩn cấp) sẵn sàng ứng phó khi có sự cố, ngập úng xảy ra;
b) Kiểm tra hệ thống điện cấp điện, hệ thống thông tin tín hiệu, hệ thống phòng cháy, chữa cháy; kịp thời sửa chữa các thiết bị hư hỏng, bảo đảm sử dụng tốt trong mùa lụt, bão;
c) Kiểm tra, kịp thời xử lý chống thấm, chống dột công trình; gia cố các vị trí xung yếu, bảo đảm tăng cường an toàn công trình trong mùa mưa bão.
8. Công trình thiết yếu đã được xây dựng trong phạm vi đất dành cho đường sắt phải được kiểm tra và thực hiện các biện pháp bảo đảm an toàn cho người, công trình đường sắt, giao thông đường sắt khi có thiên tai xảy ra.
Điều 78. Phòng ngừa thiên tai trong hoạt động vận tải đường sắt
Trước mùa mưa bão hằng năm, doanh nghiệp vận tải đường sắt phải xây dựng kế hoạch phòng ngừa thiên tai trong hoạt động vận tải đường sắt gồm:
1. Kế hoạch bảo đảm an toàn cho người và phương tiện, hàng hóa khi có thiên tai xảy ra.
2. Phương án chuyển tải hành khách, cung cấp lương thực, nhu yếu phẩm thiết yếu, thuốc chữa bệnh đối với tàu khách, bảo quản hàng hóa ở những khu vực dễ xảy ra gián đoạn giao thông vận tải đường sắt do ảnh hưởng của thiên tai như: Nơi thiên tai thường xuyên gây hư hỏng công trình đường sắt; khu vực đèo, dốc, hầm; khu vực hẻo lánh.
3. Biện pháp bảo đảm an toàn, an ninh trật tự, bảo vệ môi trường khu vực xung yếu, có nguy cơ gián đoạn giao thông vận tải đường sắt khi xảy ra thiên tai.
Mục 2
ỨNG PHÓ THIÊN TAI, SỰ CỐ
Điều 79. Nội dung ứng phó thiên tai, sự cố
1. Tiếp nhận thông tin dự báo, cảnh báo thiên tai kịp thời để xử lý, thông báo đến các đối tượng chịu ảnh hưởng của thiên tai, bảo đảm phù hợp với loại thiên tai, cường độ, cấp độ rủi ro, vị trí, tọa độ hiện tại, hướng đi và diễn biến.
2. Quyết định và thực hiện các biện pháp ứng phó thiên tai theo quy định của pháp luật về phòng, chống thiên tai để bảo đảm an toàn đối với người, an toàn chạy tàu, phương tiện, thiết bị; hạn chế đến mức thấp nhất thiệt hại về tài sản kết cấu hạ tầng đường sắt, phương tiện giao thông đường sắt.
3. Bảo đảm giao thông và thông tin liên lạc đáp ứng yêu cầu chỉ đạo, chỉ huy phòng, chống thiên tai.
4. Tổ chức thực hiện huy động các nguồn lực để ứng phó thiên tai, sự cố
a) Khi kết cấu hạ tầng đường sắt bị hư hỏng, tổ chức theo dõi, kiểm tra, tuần tra, chốt gác tại các vị trí mà kết cấu hạ tầng đường sắt bị hư hỏng hoặc tiềm ẩn bị phá hoại do thiên tai gây ra như: khu vực sườn đồi, kè, cống; khu vực nền đường bị sạt lở, trôi vỡ nền đường, mất ổn định; nền đường bị ngập; khu vực bị đá lăn, đá đổ; khu vực hầm; các cầu và các công trình liên quan bị hư hỏng hoặc tiềm ẩn hư hỏng do thiên tai gây ra, đe dọa đến an toàn chạy tàu; khu vực đèo, dốc; cột thông tin, tín hiệu gãy, đổ; thiết bị thông tin tín hiệu bị ngập; khu vực tiềm ẩn ảnh hưởng do các công trình đập xả nước, đê điều tiềm ẩn khả năng gây ngập, gây hư hỏng công trình đường sắt; các vị trí khác tiềm ẩn gây mất an toàn cho người, công trình đường sắt, giao thông vận tải đường sắt, vệ sinh môi trường, nguy cơ cháy nổ do ảnh hưởng của thiên tai gây ra;
b) Khi hoạt động vận tải đường sắt bị ngưng trệ, tổ chức giữ gìn an ninh trật tự, vệ sinh môi trường, phòng chống cháy, nổ, nơi bố trí tạm trú, sơ tán hành khách; bảo vệ tính mạng, tài sản của hành khách; kịp thời di chuyển đoàn tàu ra khỏi khu vực nguy hiểm bảo đảm an toàn.
5. Thực hiện các biện pháp trong ứng phó thiên tai theo quy định tại Điều 80 của Thông tư này.
Điều 80. Các biện pháp trong ứng phó thiên tai, sự cố
1. Khi xảy ra bão, áp thấp nhiệt đới, mưa lớn, lũ, lũ quét, ngập lụt, nước dâng, sạt lở đất do mưa lũ hoặc dòng chảy, sụt lún đất do mưa lũ hoặc dòng chảy
a) Sơ tán người ra khỏi khu vực nguy hiểm, nơi không bảo đảm an toàn; tập trung triển khai biện pháp bảo đảm an toàn cho người, đặc biệt đối tượng dễ bị tổn thương trong tình huống thiên tai khẩn cấp;
b) Tìm kiếm, cứu chữa người bị thương, hỗ trợ lương thực, thuốc chữa bệnh, nước uống và nhu yếu phẩm khác tại khu vực bị chia cắt, khu vực ngập lụt nghiêm trọng và địa điểm sơ tán;
c) Khẩn trương có biện pháp bảo đảm an toàn đối với công trình đường sắt;
d) Thực hiện các biện pháp để bảo đảm an toàn, ổn định, chống trôi, trượt phương tiện giao thông đường sắt trên đường hoặc trong ga;
đ) Khẩn trương di chuyển phương tiện giao thông đường sắt khỏi khu vực nguy hiểm, khu vực ngập nước đến nơi an toàn;
e) Trường hợp mưa to kéo dài, gió bão mạnh, phải kiểm tra trạng thái kỹ thuật công trình đường sắt để quyết định biện pháp tổ chức chạy tàu bảo đảm an toàn.
2. Khi xảy ra động đất, sóng thần
a) Chủ động trú, tránh, bảo đảm an toàn cho người và phương tiện giao thông đường sắt;
b) Chủ động sơ tán người và phương tiện giao thông đường sắt ra khỏi khu vực chịu ảnh hưởng của động đất, sóng thần;
c) Tổ chức cứu chữa người bị thương; bố trí nơi ở tạm, hỗ trợ lương thực, thuốc chữa bệnh, nước uống, nhu yếu phẩm khác cho hành khách đi tàu, nhân viên đường sắt phục vụ chạy tàu bị ảnh hưởng.
3. Bảo đảm duy trì và kịp thời xử lý thông tin liên lạc thông suốt giữa việc chỉ đạo thực hiện phòng, chống thiên tai với Trung tâm Điều hành giao thông vận tải đường sắt và các cơ quan, đơn vị liên quan khi có thiên tai, sự cố xảy ra.
4. Chủ động điều chỉnh kế hoạch chạy tàu, tốc độ phù hợp trên các khu vực chịu ảnh hưởng của thiên tai bảo đảm an toàn công trình, an toàn chạy tàu và an toàn cho hành khách; kịp thời cung cấp thông tin cho khách hàng về dịch vụ điều hành giao thông vận tải đường sắt và năng lực của kết cấu hạ tầng đường sắt khu vực công trình bị hư hỏng do thiên tai gây ra.
5. Tổ chức cắm biển hạn chế tốc độ, kết hợp tổ chức cảnh giới, phòng vệ tại các vị trí kết cấu hạ tầng đường sắt bị hư hỏng do thiên tai gây ra, các vị trí tiềm ẩn nguy cơ gây mất an toàn chạy tàu.
6. Bảo đảm an ninh, trật tự an toàn xã hội khu vực xảy ra thiên tai, bảo vệ tài sản kết cấu hạ tầng đường sắt và tài sản của khách hàng.
Mục 3
KHẮC PHỤC HẬU QUẢ THIÊN TAI, SỰ CỐ
Điều 81. Nội dung khắc phục hậu quả thiên tai, sự cố
1. Tiếp tục thực hiện các biện pháp trong ứng phó thiên tai, sự cố.
2. Chuyển tải hành khách, hành lý và tài sản của hành khách đi tàu ra khỏi vùng bị ảnh hưởng bởi thiên tai, sự cố đến địa điểm an toàn; chuyển tải hoặc tiếp tục bảo vệ hàng hóa phù hợp với điều kiện thực tế.
3. Quyết định phương án và thực hiện sửa chữa, khôi phục các công trình đường sắt bị hư hỏng, bảo đảm giao thông vận tải được thông suốt, an toàn trong thời gian nhanh nhất.
4. Trục vớt, cứu chữa phương tiện giao thông đường sắt, trang thiết bị, phương tiện phục vụ thi công và chạy tàu để phục vụ sản xuất; sửa chữa các công trình phòng, chống thiên tai bị hư hỏng.
5. Thực hiện các biện pháp bảo vệ môi trường, phòng chống dịch bệnh ở khu vực bị tác động của thiên tai, sự cố.
6. Lập hồ sơ khắc phục thiên tai, sự cố theo quy định tại Điều 83 của Thông tư này.
Điều 82. Trình tự khắc phục hậu quả thiên tai, sự cố
1. Trình tự thực hiện khắc phục hậu quả thiên tai, sự cố đối với đường sắt quốc gia hiện có thực hiện theo hai bước như sau:
a) Bước 1: tính từ thời điểm có công điện phong tỏa khu gian, cấm tàu chạy do lụt, bão, thiên tai, sự cố, tai nạn đến khi có công điện trả tốc độ từ ≥15 km/h đối với công trình đường sắt, cầu đường sắt, hầm đường sắt theo hồ sơ thiết kế hoặc phương án kỹ thuật sửa chữa, khôi phục công trình bị hư hỏng được duyệt hoặc từ thời điểm có điện báo về sự cố công trình thông tin tín hiệu đường sắt, công trình kiến trúc đường sắt đến khi gia cố, khôi phục công trình bảo đảm điều kiện tác nghiệp điều hành chạy tàu an toàn, gồm hai giai đoạn:
Giai đoạn 1: sửa chữa, bảo đảm ổn định, an toàn đối với công trình đường sắt, cầu đường sắt, hầm đường sắt để chạy tàu tốc độ 05 km/h; giải phóng các chướng ngại ảnh hưởng đến công trình thông tin, tín hiệu, chống đỡ cột thông tin tín hiệu bị đổ gãy, nối thông liên lạc, bảo dưỡng thiết bị tín hiệu; giải phóng các chướng ngại công trình kiến trúc bị sập, đổ do ảnh hưởng bởi thiên tai, sự cố. Thời gian giai đoạn 1 tính từ thời điểm sau khi có lệnh phong tỏa khu gian đến thời điểm thông tàu tốc độ 05 km/h;
Giai đoạn 2: gia cố, khôi phục, bảo đảm ổn định, an toàn công trình đường sắt, cầu đường sắt, hầm đường sắt để chạy tàu tốc độ ≥ 15 km/h theo hồ sơ thiết kế hoặc phương án kỹ thuật sửa chữa, khôi phục công trình được duyệt; khôi phục, thay thế cột và thiết bị thông tin, tín hiệu bảo đảm trạng thái hoạt động ổn định; khôi phục công trình kiến trúc bảo đảm điều kiện khai thác. Thời gian giai đoạn 2 không quá 45 ngày tính từ thời điểm kết thúc giai đoạn 1 đến thời điểm trả tốc độ ≥ 15 km/h. Sau khi chạy tàu với tải trọng và tốc độ theo hồ sơ thiết kế hoặc phương án kỹ thuật gia cố, khôi phục công trình được phê duyệt, tổ chức triển khai ngay các nội dung để thực hiện bước 2.
b) Bước 2
Cải tạo, khôi phục, nâng cấp công trình để bảo đảm ổn định lâu dài và chạy tàu theo công lệnh tải trọng, công lệnh tốc độ chạy tàu trong khu gian; nâng cấp hệ thống thiết bị thông tin tín hiệu, công trình kiến trúc bảo đảm trạng thái tiêu chuẩn kỹ thuật và điều kiện hoạt động ổn định lâu dài;
Việc khắc phục hậu quả thiên tai, sự cố bước 2 được thực hiện theo quy định của pháp luật về đầu tư xây dựng và pháp luật có liên quan. Chủ đầu tư dự án có trách nhiệm tổ chức xây dựng công trình bảo đảm chất lượng, an toàn.
2. Trình tự thực hiện khắc phục hậu quả thiên tai, sự cố đối với đường sắt ngoài quy định tại khoản 1 Điều này thực hiện như sau:
a) Bước 1: thực hiện khôi phục, gia cố công trình, bảo đảm ổn định, an toàn điều kiện khai thác chạy tàu an toàn; sau khi hoàn thành khắc phục bước 1, doanh nghiệp quản lý tài sản đường sắt hoặc chủ sở hữu công trình đường sắt báo cáo kết quả thực hiện và điều kiện an toàn chạy tàu gửi Cục Đường sắt Việt Nam (đối với tuyến đường sắt quốc gia), Ủy ban nhân dân cấp tỉnh (đối với tuyến đường sắt địa phương);
b) Bước 2: thực hiện sửa chữa, nâng cấp công trình để bảo đảm điều kiện khai thác chạy tàu theo tải trọng, tốc độ thiết kế; doanh nghiệp quản lý tài sản đường sắt hoặc chủ sở hữu công trình đường sắt có trách nhiệm tổ chức xây dựng công trình bảo đảm chất lượng, an toàn.
Điều 83. Hồ sơ khắc phục hậu quả thiên tai, sự cố
1. Hồ sơ khắc phục hậu quả thiên tai, sự cố đối với công trình đường sắt bước 1 đối với đường sắt quốc gia do Nhà nước đầu tư gồm:
a) Tờ trình đề nghị thẩm định, phê duyệt hồ sơ khắc phục hậu quả thiên tai, sự cố đối với công trình đường sắt bước 1 của doanh nghiệp quản lý tài sản đường sắt;
b) Tài liệu liên quan đến công tác khắc phục hậu quả thiên tai, sự cố gồm:
Biên bản xác nhận thiệt hại do thiên tai, sự cố gây ra có xác nhận của Ủy ban nhân dân cấp xã nơi xảy ra thiên tai, sự cố gây thiệt hại đối với công trình đường sắt;
Các văn bản, công điện chỉ huy, chỉ đạo của cấp có thẩm quyền;
Hợp đồng đặt hàng, thanh lý hợp đồng khắc phục hậu quả thiên tai, sự cố theo quy định;
Tài liệu xác định thời gian, địa điểm phong tỏa khu gian, hạn chế tốc độ, trả tốc độ chạy tàu; thời điểm gián đoạn, nối thông tuyến và khôi phục hệ thống thông tin tín hiệu; thời điểm sự cố công trình kiến trúc làm gián đoạn, khôi phục hoạt động của hệ thống điều hành giao thông vận tải đường sắt;
c) Hồ sơ thiết kế hoặc phương án kỹ thuật sửa chữa, gia cố, khôi phục công trình đường sắt bước 1 đã được phê duyệt gồm:
Tài liệu khảo sát (nếu có);
Tài liệu thiết kế hoặc phương án kỹ thuật gia cố, khôi phục công trình, (trừ trường hợp công trình phức tạp phải khoan thăm dò, nghiên cứu địa chất thủy văn thì chuyển sang thực hiện bước 2);
d) Hồ sơ quản lý chất lượng sửa chữa, gia cố, khôi phục công trình đường sắt gồm:
Quyết định phê duyệt phương án kỹ thuật sửa chữa, gia cố, khôi phục công trình đường sắt bước 1;
Bản vẽ hoàn công;
Các tài liệu chứng nhận xuất xứ hàng hóa, chứng nhận chất lượng hàng hóa theo quy định của Luật Chất lượng sản phẩm hàng hóa;
Các kết quả quan trắc (nếu có), đo đạc, thí nghiệm trong quá trình thi công;
Các biên bản nghiệm thu công việc xây dựng, nghiệm thu bộ phận hoặc giai đoạn công trình (nếu có) trong quá trình thi công xây dựng;
Các kết quả thí nghiệm đối chứng, kiểm định chất lượng công trình, thí nghiệm khả năng chịu lực kết cấu xây dựng (nếu có);
Hồ sơ quản lý chất lượng của thiết bị lắp đặt vào công trình;
Phụ lục các tồn tại cần sửa chữa, khắc phục (nếu có) sau khi hoàn thành công tác khắc phục thiên tai, sự cố;
Biên bản nghiệm thu hoàn thành công tác khắc phục hậu quả thiên tai, sự cố;
Các hồ sơ, văn bản, tài liệu khác có liên quan trong quá trình khắc phục hậu quả thiên tai, sự cố và nghiệm thu công trình.
đ) Hồ sơ dự toán theo hướng dẫn của Bộ trưởng Bộ Xây dựng kèm theo tài liệu khác liên quan làm căn cứ xác định chi phí.
2. Hồ sơ khắc phục hậu quả thiên tai, sự cố đối với công trình đường sắt bước 2 thực hiện theo quy định của pháp luật về quản lý chất lượng, thi công xây dựng và bảo trì công trình xây dựng.
3. Hồ sơ khắc phục hậu quả thiên tai, sự cố đối với đường sắt địa phương do Nhà nước đầu tư do Ủy ban nhân dân cấp tỉnh quy định.
4. Hồ sơ khắc phục hậu quả thiên tai, sự cố đối với đường sắt quốc gia, đường sắt địa phương được đầu tư bằng nguồn vốn ngoài ngân sách nhà nước, do chủ sở hữu công trình đường sắt quy định sau khi lấy ý kiến của Cục Đường sắt Việt Nam (đối với tuyến đường sắt quốc gia), Ủy ban nhân dân cấp tỉnh (đối với tuyến đường sắt địa phương).
Mục 4
NGUYÊN TẮC HOẠT ĐỘNG, CHẾ ĐỘ TRỰC, CHẾ ĐỘ BÁO CÁO
PHÒNG, CHỐNG THIÊN TAI, NGUỒN KINH PHÍ VÀ CHI PHÍ CHO
HOẠT ĐỘNG PHÒNG, CHỐNG, KHẮC PHỤC HẬU QUẢ
THIÊN TAI, SỰ CỐ
Điều 84. Nguyên tắc hoạt động, công tác trực phòng, chống thiên tai, sự cố
1. Hoạt động phòng, chống thiên tai, sự cố phải bảo đảm an toàn cho người, phương tiện, thiết bị tham gia ứng phó thiên tai, sự cố và cứu nạn, công trình đường sắt, phương tiện hoạt động trên phạm vi khu vực được ứng phó, cứu nạn và bảo vệ môi trường; hạn chế mức thấp nhất sự cố, tai nạn do chính hoạt động ứng phó, cứu nạn gây ra.
2. Khi thiên tai suy yếu hoặc sau khi thời tiết trở lại bình thường các tổ chức, cá nhân theo nhiệm vụ được giao phải triển khai ngay các biện pháp ứng phó, khắc phục hậu quả thiệt hại xảy ra đối với công trình đường sắt để khôi phục hoạt động giao thông đường sắt, bảo đảm giao thông đường sắt an toàn, thông suốt.
3. Công tác trực phòng, chống thiên tai, sự cố
a) Đối với đường sắt quốc gia do Nhà nước đầu tư, căn cứ các loại hình thiên tai theo cấp độ rủi ro thiên tai thường xuyên xảy ra theo từng khu vực và chỉ đạo của Ban Chỉ huy Phòng thủ dân sự Bộ Xây dựng, bộ phận thường trực chỉ huy phòng, chống thiên tai, sự cố của từng cơ quan, đơn vị xác định cụ thể thời gian trực, chế độ trực bảo đảm đáp ứng nhiệm vụ công tác phòng, chống thiên tai được giao;
b) Đối với đường sắt địa phương do Nhà nước đầu tư, Ủy ban nhân dân cấp tỉnh quy định công tác trực phòng, chống thiên tai, sự cố phù hợp với loại hình khai thác của từng tuyến đường sắt;
c) Đối với công trình đường sắt đầu tư bằng nguồn vốn ngoài nhà nước, chủ sở hữu công trình hoặc doanh nghiệp quản lý tài sản đường sắt phải bố trí bộ phận thường trực chỉ huy phòng, chống thiên tai, sự cố và thực hiện phòng, chống thiên tai theo quy định của pháp luật; quy định và tổ chức thực hiện công tác trực phòng, chống thiên tai, sự cố phù hợp với loại hình đường sắt do mình đầu tư.
4. Thời gian làm việc, chế độ trực, nghỉ bù trực, thời gian nghỉ ngơi và chế độ được hưởng đối với người hưởng lương từ ngân sách nhà nước
a) Thời gian làm việc, chế độ trực, nghỉ bù trực, thời gian nghỉ ngơi và chế độ được hưởng đối với người được hưởng lương từ ngân sách nhà nước khi được cơ quan có thẩm quyền huy động trực phòng, chống thiên tai thực hiện theo quy định của Chính phủ quy định chi tiết một số điều của Luật Phòng thủ dân sự;
b) Căn cứ tình hình thực tế, nhiệm vụ được giao, thủ trưởng hoặc người đứng đầu cơ quan phòng chống thiên tai và tìm kiếm cứu nạn có trách nhiệm ban hành quy chế trực ban thường trực công tác phòng, chống thiên tai theo quy định của Bộ trưởng Bộ Nông nghiệp và Môi trường;
c) Thời gian làm việc, chế độ trực, nghỉ bù trực, thời gian nghỉ ngơi và chế độ được hưởng đối với những người không thuộc quy định tại điểm a, điểm b khoản này thực hiện theo các quy định của pháp luật về lao động và quy định của tổ chức sử dụng người lao động.
5. Người làm nhiệm vụ trực, người được huy động tham gia hoạt động phòng, chống và khắc phục hậu quả thiên tai, sự cố được hưởng chế độ trực, trợ cấp, làm thêm giờ theo quy định của Chính phủ quy định chi tiết một số điều của Luật Phòng thủ dân sự và hướng dẫn của Bộ trưởng Bộ Tài chính.
Điều 85. Thời gian và chế độ thông tin, báo cáo công tác phòng, chống thiên tai đối với đường sắt quốc gia, đường sắt địa phương do Nhà nước đầu tư
1. Về thời gian
a) Kế hoạch phòng, chống thiên tai theo chu kỳ 05 năm tương ứng với kế hoạch phát triển kinh tế - xã hội;
b) Trước ngày 15 tháng 6 hằng năm, doanh nghiệp quản lý tài sản đường sắt cập nhật, điều chỉnh kế hoạch năm về phòng, chống thiên tai gửi Cục Đường sắt Việt Nam (đối với tuyến đường sắt quốc gia), Ủy ban nhân dân cấp tỉnh (đối với tuyến đường sắt địa phương) để tổng hợp.
2. Doanh nghiệp quản lý tài sản đường sắt hằng năm báo cáo về công tác phòng, chống thiên tai trên đường sắt quốc gia với các nội dung sau:
a) Tên báo cáo: Báo cáo công tác phòng, chống thiên tai và tìm kiếm cứu nạn trên đường sắt;
b) Nội dung yêu cầu: Thông tin về danh sách và số điện thoại liên lạc của các thành viên trong bộ phận thường trực chỉ huy phòng, chống thiên tai, sự cố; nhiệm vụ, địa chỉ của các chủ thể liên quan; tổng hợp kế hoạch phòng, chống thiên tai; kết quả theo dõi, kiểm tra, đôn đốc việc thực hiện công tác phòng, chống của các doanh nghiệp kinh doanh đường sắt;
c) Đối tượng thực hiện báo cáo: Doanh nghiệp quản lý tài sản đường sắt;
d) Cơ quan nhận báo cáo: Cục Đường sắt Việt Nam (đối với đường sắt quốc gia), Ủy ban nhân dân cấp tỉnh (đối với đường sắt địa phương);
đ) Phương thức gửi, nhận báo cáo: bằng bản điện tử gửi qua trục liên thông hệ thống quản lý văn bản hoặc bằng văn bản giấy trong trường hợp không có trục liên thông hệ thống quản lý văn bản;
e) Thời hạn gửi báo cáo: ngày 31 tháng 3 hằng năm;
g) Tần suất thực hiện báo cáo: báo cáo định kỳ hằng năm;
h) Thời gian chốt số liệu báo cáo: tính từ ngày 31 tháng 3 năm trước đến ngày 30 tháng 3 năm báo cáo;
i) Mẫu báo cáo tại Phụ lục XXXI của Thông tư này.
3. Trong vòng 48 giờ kể từ khi xảy ra thiên tai, sự cố, các chủ thể có liên quan bị ảnh hưởng do thiên tai, sự cố phải kịp thời báo cáo Cục Đường sắt Việt Nam (đối với đường sắt quốc gia), Ủy ban nhân dân cấp tỉnh (đối với đường sắt địa phương) các nội dung về tình hình diễn biến thiên tai; sơ bộ mức độ thiệt hại; dự kiến phương án, tiến độ ứng phó và khắc phục.
Điều 86. Nguồn kinh phí phòng, chống, khắc phục hậu quả thiên tai, sự cố
1. Nguồn kinh phí phòng, chống, khắc phục hậu quả thiên tai, sự cố đối với các tuyến đường sắt do Nhà nước đầu tư được hình thành từ các nguồn sau:
a) Ngân sách nhà nước;
b) Các khoản thu hợp pháp khác theo quy định của pháp luật.
2. Việc quản lý, sử dụng kinh phí phòng, chống, khắc phục hậu quả thiên tai đối với các tuyến đường sắt do Nhà nước đầu tư thực hiện theo quy định của pháp luật về ngân sách nhà nước.
3. Nội dung chi phí phòng, chống, khắc phục hậu quả thiên tai, sự cố đối với các tuyến đường sắt do Nhà nước đầu tư thực hiện theo quy định của pháp luật về ngân sách nhà nước, hướng dẫn của Bộ trưởng Bộ Tài chính, Bộ trưởng Xây dựng.
4. Chủ sở hữu công trình đường sắt tự bố trí kinh phí và quản lý chi phí phòng, chống, khắc phục hậu quả thiên tai, sự cố đối với các tuyến đường sắt do mình đầu tư.
Chương VII
BIỂU ĐỒ CHẠY TÀU VÀ ĐIỀU HÀNH GIAO THÔNG
VẬN TẢI ĐƯỜNG SẮT
Mục 1
BIỂU ĐỒ CHẠY TÀU
Điều 87. Quy định chung xây dựng biểu đồ chạy tàu và điều hành giao thông vận tải đường sắt
1. Biểu đồ chạy tàu là mệnh lệnh đối với tất cả nhân viên đường sắt và các tổ chức, cá nhân khác có liên quan và là cơ sở để tổ chức chạy tàu.
2. Khi chạy tàu giữa các tuyến đường sắt có nối ray với nhau phải được sự thỏa thuận, thống nhất giữa các doanh nghiệp quản lý tài sản tuyến đường sắt về hành trình và các biện pháp bảo đảm an toàn.
3. Biểu đồ chạy tàu phải đạt được các yêu cầu sau:
a) Bảo đảm an toàn trong tổ chức chạy tàu;
b) Đáp ứng nhu cầu vận chuyển hành khách, hàng hóa;
c) Mật độ chạy tàu, tốc độ chạy tàu tương ứng với năng lực của kết cấu hạ tầng đường sắt;
d) Sử dụng có hiệu quả phương tiện giao thông đường sắt;
đ) Dành được khoảng trống thời gian không chạy tàu trên một số khu gian, khu đoạn để phục vụ thi công, sửa chữa, bảo trì kết cấu hạ tầng đường sắt.
e) Bảo đảm thứ tự ưu tiên các nhóm tàu quy định tại khoản 3 Điều 88 của Thông tư này;
g) Chỉ huy điều hành dễ dàng, thuận lợi, bảo đảm tỷ lệ tàu đi đến đúng giờ;
h) Bảo đảm thời gian và hành trình hợp lý trên các khu gian;
i) Có đủ thời gian dừng, đỗ tàu để thực hiện các tác nghiệp kỹ thuật chạy tàu hành khách, hàng hóa theo quy định tại các ga dừng, đỗ tàu.
Điều 88. Loại tàu, số hiệu tàu, thứ tự ưu tiên của các loại tàu trong biểu đồ chạy tàu và điều hành giao thông vận tải đường sắt
1. Tàu chạy trên đường sắt bao gồm các loại tàu sau đây:
a) Tàu cứu viện là tàu được tổ chức chạy để phục vụ công tác cứu hộ, cứu nạn khi có yêu cầu;
b) Tàu đặc biệt là tàu được tổ chức chạy đột xuất nhằm phục vụ các nhiệm vụ đặc biệt theo yêu cầu của cơ quan có thẩm quyền không có hành trình quy định trong biểu đồ chạy tàu;
c) Tàu quân dụng là tàu được tổ chức chạy để phục vụ chở người, hàng chuyên phục vụ cho nhiệm vụ của quân đội, công an;
d) Tàu liên vận quốc tế là tàu khách hoặc tàu hàng chạy liên vận quốc tế;
đ) Tàu khách chạy suốt thường xuyên là tàu khách chạy liên tục và có hành trình cố định liên tuyến, trong một tuyến hoặc một số khu đoạn;
e) Các loại tàu khách, tàu hàng, tàu hỗn hợp không thuộc loại tàu theo quy định tại điểm a, điểm b, điểm c, điểm d, điểm đ khoản này do doanh nghiệp quản lý tài sản đường sắt quy định.
2. Mỗi đoàn tàu chạy trên đường sắt phải được đánh số hiệu tàu theo quy định sau:
a) Các đoàn tàu chạy trên các tuyến không có số hiệu trùng nhau;
b) Các đoàn tàu chạy theo hướng từ Thủ đô Hà Nội đi các tuyến mang số hiệu lẻ, các đoàn tàu chạy theo hướng từ các tuyến về Thủ đô Hà Nội mang số hiệu chẵn. Số hiệu các đoàn tàu chạy trong đường nhánh có nối với đường sắt quốc gia, đường sắt địa phương do doanh nghiệp quản lý tài sản đường sắt quyết định;
c) Doanh nghiệp quản lý tài sản đường sắt (đối với tuyến đường sắt do nhà nước đầu tư), chủ sở hữu công trình đường sắt (đối với tuyến đường sắt đầu tư bằng nguồn vốn ngoài nhà nước) quy định cụ thể việc đánh số hiệu các loại tàu chạy trên đường sắt.
3. Các loại tàu chạy trên đường sắt tuân theo thứ tự ưu tiên theo các nhóm tàu sau đây:
a) Nhóm số 1: Tàu cứu viện;
b) Nhóm số 2: Tàu đặc biệt, tàu quân dụng;
c) Nhóm số 3: Tàu liên vận quốc tế;
d) Nhóm số 4: Các loại tàu còn lại.
4. Doanh nghiệp quản lý tài sản đường sắt, chủ sở hữu công trình đường sắt căn cứ vào thứ tự các nhóm tàu quy định tại khoản 3 Điều này để xác định thứ tự ưu tiên các tàu chạy trên đường sắt do mình quản lý.
Điều 89. Nội dung cơ bản của biểu đồ chạy tàu
Biểu đồ chạy tàu bao gồm các nội dung cơ bản sau đây:
1. Tổng số đôi tàu khách, tàu hàng (bao gồm cả tàu chính thức và tàu dự bị), thành phần đoàn tàu, chiều dài đoàn tàu chạy, loại đầu máy kéo tàu trên các khu đoạn, các tuyến đường sắt trong một ngày đêm.
2. Ga đỗ và thời gian đỗ làm tác nghiệp cắt, nối toa xe hàng, tác nghiệp hành khách, tác nghiệp tránh, vượt tàu và tác nghiệp kỹ thuật chạy tàu đối với đầu máy, toa xe, đoàn tàu.
3. Thời gian đi, đến, thông qua các ga, thời gian chạy trên từng khu gian của từng đoàn tàu.
4. Các quy định cần thiết khác có liên quan đến việc lập tàu, bảo đảm an toàn chạy tàu, bảo đảm tàu đi, đến đúng giờ, các hướng dẫn và triển khai thực hiện biểu đồ chạy tàu.
Điều 90. Trình tự xây dựng, công bố biểu đồ chạy tàu
Việc xây dựng, công bố biểu đồ chạy tàu trên đường sắt do doanh nghiệp quản lý tài sản đường sắt (đối với tuyến đường sắt do nhà nước đầu tư) hoặc do chủ sở hữu công trình đường sắt (đối với tuyến đường sắt được đầu tư bằng nguồn vốn ngoài nhà nước) thực hiện như sau:
1. Xây dựng biểu đồ chạy tàu
a) Chậm nhất trước 80 ngày so với ngày dự kiến công bố biểu đồ chạy tàu, doanh nghiệp quản lý tài sản đường sắt hoặc chủ sở hữu công trình đường sắt có trách nhiệm thông báo bằng văn bản về việc xây dựng biểu đồ chạy tàu tới các doanh nghiệp kinh doanh vận tải đường sắt (trừ tàu liên vận quốc tế và tàu khách chạy suốt thường xuyên);
b) Trong vòng 10 ngày kể từ ngày nhận được thông báo của doanh nghiệp quản lý tài sản đường sắt hoặc chủ sở hữu công trình đường sắt quy định tại điểm a của khoản này, doanh nghiệp kinh doanh vận tải đường sắt phải gửi nhu cầu chạy tàu trên các tuyến đường sắt bằng văn bản tới doanh nghiệp quản lý tài sản đường sắt hoặc chủ sở hữu công trình đường sắt;
c) Căn cứ vào năng lực của kết cấu hạ tầng đường sắt, nhu cầu của doanh nghiệp kinh doanh vận tải đường sắt, nội dung của công lệnh tải trọng, công lệnh tốc độ đã công bố, doanh nghiệp quản lý tài sản đường sắt hoặc chủ sở hữu công trình đường sắt xây dựng dự thảo biểu đồ chạy tàu gửi các doanh nghiệp nêu trên để tham gia ý kiến trước 40 ngày so với ngày dự kiến công bố biểu đồ chạy tàu;
d) Chậm nhất sau 05 ngày, kể từ ngày nhận được dự thảo biểu đồ chạy tàu, các doanh nghiệp kinh doanh vận tải đường sắt phải có ý kiến đóng góp bằng văn bản đối với dự thảo biểu đồ chạy tàu gửi doanh nghiệp quản lý tài sản đường sắt hoặc chủ sở hữu công trình đường sắt;
đ) Trên cơ sở ý kiến tham gia của các doanh nghiệp kinh doanh vận tải đường sắt, doanh nghiệp quản lý tài sản đường sắt hoặc chủ sở hữu công trình đường sắt có trách nhiệm thực hiện các nhiệm vụ sau đây:
Nghiên cứu, tiếp thu, hoàn chỉnh dự thảo biểu đồ chạy tàu để ban hành và công bố;
Gửi thông báo bằng văn bản đến các doanh nghiệp kinh doanh vận tải đường sắt về khả năng đáp ứng của doanh nghiệp quản lý tài sản đường sắt hoặc chủ sở hữu công trình đường sắt đối với yêu cầu vận chuyển và tổ chức chạy tàu, mời các doanh nghiệp kinh doanh vận tải đường sắt tham gia vận chuyển đối với các tuyến đường sắt còn dư thừa năng lực chạy tàu.
2. Công bố biểu đồ chạy tàu
a) Sau khi hoàn chỉnh biểu đồ chạy tàu, doanh nghiệp quản lý tài sản đường sắt hoặc chủ sở hữu công trình đường sắt có trách nhiệm gửi biểu đồ chạy tàu tới tất cả các doanh nghiệp kinh doanh vận tải đường sắt và các tổ chức có liên quan để triển khai thực hiện, gửi Cục Đường sắt Việt Nam (đối với đường sắt quốc gia), Sở Xây dựng (đối với đường sắt địa phương) để giám sát việc thực hiện biểu đồ chạy tàu chậm nhất là 10 ngày trước ngày biểu đồ chạy tàu có hiệu lực thi hành;
b) Sau khi thực hiện quy định tại điểm a khoản này, doanh nghiệp quản lý tài sản đường sắt hoặc chủ sở hữu công trình đường sắt có trách nhiệm công bố biểu đồ chạy tàu trên phương tiện thông tin đại chúng, trên trang thông tin điện tử của doanh nghiệp các nội dung sau: các đôi tàu tổ chức chạy, loại tàu, thành phần đoàn tàu chạy trên các tuyến đường sắt; ga xuất phát, ga cuối cùng của các đoàn tàu; thời gian chạy tàu lữ hành của các đoàn tàu; ga đỗ nhận khách, thời gian đỗ nhận khách; ga đỗ và thời gian đỗ tác nghiệp cắt nối toa xe hàng;
c) Sau khi nhận được biểu đồ chạy tàu, doanh nghiệp kinh doanh vận tải đường sắt có trách nhiệm thông báo công khai về lịch trình chạy tàu tại ga đường sắt có tác nghiệp hành khách, hàng hóa. Nội dung thông báo gồm: thời gian đi, thời gian đến tại các ga; các quy định cần thiết liên quan đến việc lập tàu, bảo đảm an toàn chạy tàu, đúng giờ.
3. Sau khi công bố biểu đồ chạy tàu mà còn có ý kiến khác nhau về quyền được tham gia tổ chức chạy tàu của các doanh nghiệp kinh doanh vận tải đường sắt và các vấn đề liên quan đến an toàn giao thông đường sắt thì doanh nghiệp quản lý tài sản đường sắt hoặc chủ sở hữu công trình đường sắt chủ trì việc đàm phán để thỏa thuận giải quyết.
4. Trường hợp có từ 02 doanh nghiệp kinh doanh vận tải đường sắt trở lên cùng đăng ký một hành trình chạy tàu trong biểu đồ chạy tàu thì doanh nghiệp quản lý tài sản đường sắt quyết định phân bổ hành trình chạy tàu cho doanh nghiệp kinh doanh vận tải đường sắt theo thứ tự ưu tiên như sau:
a) Theo nhóm tàu quy định tại khoản 3 Điều 88 của Thông tư này;
b) Số lần khai thác chạy tàu trong 01 năm;
c) Hiệu quả kinh tế (mức giá và phụ thu ngoài giá (nếu có) dịch vụ điều
hành giao thông vận tải đường sắt) và hiệu quả sử dụng năng lực kết cấu hạ tầng đường sắt;
d) Mức độ ảnh hưởng đến an toàn công trình đường sắt;
đ) Thời điểm đăng ký nhu cầu chạy tàu.
Điều 91. Điều chỉnh biểu đồ chạy tàu và chạy thêm tàu trên đường sắt
1. Trường hợp điều chỉnh biểu đồ chạy tàu có liên quan đến việc rút ngắn hành trình chạy tàu so với hành trình đã công bố: doanh nghiệp quản lý tài sản đường sắt hoặc chủ sở hữu công trình đường sắt tiến hành điều chỉnh và gửi báo cáo giải trình lý do rút ngắn hành trình chạy tàu và biểu đồ chạy tàu điều chỉnh tới Cục Đường sắt Việt Nam (đối với đường sắt quốc gia), Sở Xây dựng (đối với đường sắt địa phương) trước khi công bố để thực hiện kiểm tra, giám sát việc điều chỉnh, công bố và thực hiện biểu đồ chạy tàu điều chỉnh.
2. Trường hợp đặc biệt do thiên tai, tai nạn, sự cố, trở ngại trên đường hoặc chạy thêm các đoàn tàu đặc biệt mà phải điều chỉnh ngay hành trình chạy tàu của các đoàn tàu đang chạy trên tuyến: doanh nghiệp quản lý tài sản đường sắt hoặc chủ sở hữu công trình đường sắt có quyền chủ động điều chỉnh để bảo đảm khôi phục nhanh nhất việc chạy tàu theo biểu đồ chạy tàu đã công bố.
3. Việc điều chỉnh biểu đồ chạy tàu không thuộc các trường hợp quy định tại khoản 1 và khoản 2 của Điều này (điều chỉnh cục bộ hành trình chạy tàu): doanh nghiệp quản lý tài sản đường sắt hoặc chủ sở hữu công trình đường sắt tiến hành điều chỉnh, công bố biểu đồ chạy tàu điều chỉnh và gửi biểu đồ chạy tàu điều chỉnh cho Cục Đường sắt Việt Nam (đối với đường sắt quốc gia), Sở Xây dựng (đối với đường sắt địa phương) trước 05 ngày so với ngày dự kiến thực hiện biểu đồ chạy tàu điều chỉnh.
4. Việc điều chỉnh biểu đồ chạy tàu quy định tại các khoản 1, khoản 2, khoản 3 Điều này phải tuân theo quy định tại Điều 87 của Thông tư này.
5. Việc công bố biểu đồ chạy tàu điều chỉnh quy định tại khoản 1 và khoản 3 Điều này phải thực hiện theo quy định tại khoản 2 Điều 90 của Thông tư này.
6. Doanh nghiệp quản lý tài sản đường sắt phải đền bù thiệt hại về kinh tế (nếu có) cho doanh nghiệp vận tải đường sắt do lỗi chủ quan của mình gây ra khi điều chỉnh biểu đồ chạy tàu.
Điều 92. Kiểm tra, giám sát việc thực hiện biểu đồ chạy tàu
1. Nội dung kiểm tra, giám sát việc thực hiện biểu đồ chạy tàu gồm:
a) Kiểm tra, giám sát việc xây dựng, công bố, điều chỉnh biểu đồ chạy tàu;
b) Kiểm tra, giám sát sự phù hợp của biểu đồ chạy tàu với công lệnh tốc độ, công lệnh tải trọng của kết cấu hạ tầng đường sắt đã công bố, với đặc tính kỹ thuật của đầu máy, toa xe vận dụng trên đường sắt;
c) Kiểm tra, giám sát việc thực hiện kết nối liên thông và chia sẻ dữ liệu điều hành chạy tàu, biểu đồ chạy tàu thuộc trách nhiệm của doanh nghiệp quản lý tài sản đường sắt hoặc chủ sở hữu công trình đường sắt;
d) Kiểm tra, giám sát việc thực hiện các nguyên tắc và nội dung của điều hành giao thông vận tải đường sắt; trách nhiệm thực hiện điều hành giao thông vận tải đường sắt; trách nhiệm tổ chức chạy tàu của doanh nghiệp kinh doanh vận tải đường sắt theo biểu đồ chạy tàu.
2. Thẩm quyền kiểm tra giám sát việc thực hiện biểu đồ chạy tàu
a) Cục Đường sắt Việt Nam thực hiện kiểm tra, giám sát các tổ chức, cá nhân có liên quan trong việc xây dựng, công bố, điều chỉnh, thực hiện biểu đồ chạy tàu do doanh nghiệp quản lý tài sản đường sắt, chủ sở hữu công trình đường sắt thực hiện đối với đường sắt quốc gia, đường sắt chuyên dùng có nối ray với đường sắt quốc gia;
b) Sở Xây dựng thực hiện kiểm tra, giám sát các tổ chức, cá nhân có liên quan trong việc xây dựng, công bố, điều chỉnh, thực hiện biểu đồ chạy tàu do doanh nghiệp quản lý tài sản đường sắt, chủ sở hữu công trình đường sắt thực hiện đối với đường sắt địa phương, đường sắt chuyên dùng có nối ray với đường sắt địa phương.
3. Khi cơ quan có thẩm quyền kiểm tra phát hiện ra các sai phạm trong việc xây dựng, điều chỉnh, công bố, thực hiện biểu đồ chạy tàu, doanh nghiệp quản lý tài sản đường sắt, chủ sở hữu công trình đường sắt, doanh nghiệp kinh doanh vận tải đường sắt có trách nhiệm thực hiện ngay các biện pháp khắc phục thuộc trách nhiệm của mình. Trường hợp sai phạm uy hiếp đến an toàn chạy tàu, cơ quan có thẩm quyền yêu cầu doanh nghiệp tạm dừng chạy tàu cho đến khi khắc phục xong các sai phạm.
4. Trường hợp chủ sở hữu công trình đường sắt quốc gia, đường sắt địa phương không duy trì hoạt động chạy tàu trên tuyến đường sắt do mình đầu tư theo biểu đồ chạy tàu đã công bố trong thời gian quá 12 tháng do nguyên nhân chủ quan, ảnh hưởng đến giao thông vận tải đường sắt, kinh tế - xã hội, quốc phòng, an ninh, chủ sở hữu công trình đường sắt phải bàn giao quyền khai thác tuyến đường sắt cho Nhà nước để tổ chức khai thác phục vụ kinh tế - xã hội, quốc phòng, an ninh. Trong trường hợp này, Nhà nước không phải thanh toán tiền sử dụng kết cấu hạ tầng đường sắt cho chủ sở hữu công trình đường sắt.
Mục 2
ĐIỀU HÀNH GIAO THÔNG VẬN TẢI ĐƯỜNG SẮT
Điều 93. Nguyên tắc của điều hành giao thông vận tải đường sắt
1. Tập trung, thống nhất, tuân thủ biểu đồ chạy tàu đã công bố, bao gồm:
a) Doanh nghiệp quản lý tài sản đường sắt (đối với tuyến đường sắt do nhà nước đầu tư) hoặc chủ sở hữu công trình đường sắt (đối với tuyến đường sắt được đầu tư bằng nguồn vốn ngoài nhà nước) chịu trách nhiệm chỉ huy, điều hành tàu chạy trên đường sắt do mình quản lý;
b) Điều hành giao thông vận tải đường sắt phải tuân thủ biểu đồ chạy tàu đã công bố.
2. Bảo đảm giao thông vận tải đường sắt an toàn thông suốt theo đúng biểu đồ chạy tàu.
3. Bảo đảm bình đẳng giữa các doanh nghiệp kinh doanh vận tải đường sắt, bao gồm:
a) Điều hành giao thông vận tải đường sắt phải bảo đảm theo thứ tự ưu tiên quy định tại khoản 3 Điều 88 và khoản 4 Điều 90 của Thông tư này;
b) Khi điều hành cần thay đổi thứ tự ưu tiên các nhóm tàu hoặc các tàu trong nhóm thì phải có lý do và được Thủ trưởng của doanh nghiệp quản lý tài sản đường sắt (đối với tuyến đường sắt do nhà nước đầu tư) hoặc chủ sở hữu công trình đường sắt (đối với tuyến đường sắt được đầu tư bằng nguồn vốn ngoài nhà nước) đồng ý;
c) Khi có thiên tai, tai nạn, sự cố, trở ngại trên đường hoặc chạy thêm các đoàn tàu đặc biệt mà phải điều chỉnh ngay hành trình chạy tàu của các đoàn tàu đang chạy trên tuyến thì việc điều hành giao thông vận tải đường sắt phải bảo đảm việc điều chỉnh hành trình chạy tàu của các đoàn tàu theo quy định tại khoản 2 Điều 91 của Thông tư này.
Điều 94. Nội dung, trách nhiệm điều hành giao thông vận tải đường sắt
1. Nội dung điều hành giao thông vận tải đường sắt gồm:
a) Xây dựng, phân bổ và công bố biểu đồ chạy tàu, điều chỉnh biểu đồ chạy tàu khi cần thiết theo quy định của Thông tư này;
b) Tổ chức chạy tàu thống nhất, tập trung, bảo đảm an toàn, thông suốt theo đúng biểu đồ chạy tàu đã công bố, quy định về tín hiệu, quy tắc giao thông đường sắt và mệnh lệnh chạy tàu, bao gồm:
Tổ chức đón tàu, gửi tàu tại các ga, chạy tàu trên tuyến đường sắt theo hành trình chạy tàu đã công bố trong biểu đồ chạy tàu;
Tổ chức dồn tàu, lập tàu, giải thể đoàn tàu; dồn tàu phục vụ tác nghiệp hành khách; dồn tàu phục vụ xếp dỡ hàng hóa; dồn tàu phục vụ công tác chỉnh bị, sửa chữa tại các ga;
Phối hợp tổ chức điều hành giao thông vận tải đường sắt giữa các tuyến đường sắt có nối ray với nhau;
c) Chỉ huy giải quyết các sự cố khẩn cấp hoặc bất thường xảy ra trên đường sắt, bao gồm:
Huy động nhân lực, phương tiện, trang thiết bị của các doanh nghiệp kinh doanh vận tải đường sắt và tổ chức chạy tàu, dồn tàu để phục vụ công tác cứu hộ, cứu nạn trên đường sắt khi xảy ra tai nạn, sự cố giao thông đường sắt;
Điều chỉnh hành trình chạy tàu trên từng khu đoạn, từng tuyến đường sắt để khôi phục biểu đồ chạy tàu nhanh nhất sau các vụ tai nạn, sự cố;
Tham gia phân tích, xác định nguyên nhân, đề xuất các giải pháp khắc phục các vụ tai nạn, sự cố giao thông đường sắt;
Tạm đình chỉ chạy tàu khi phát hiện có nguy cơ mất an toàn chạy tàu;
d) Thu nhận và tổng hợp thông tin liên quan đến công tác điều hành giao thông vận tải đường sắt gồm: thông tin về hành khách, hàng hóa, tai nạn, sự cố, thi công, sửa chữa kết cấu hạ tầng đường sắt; thông tin về hành trình chạy tàu thực tế trên tuyến; thông tin về vận dụng đầu máy, toa xe;
đ) Phối hợp điều hành giao thông vận tải đường sắt với các tổ chức đường sắt quốc tế, bao gồm:
Chủ trì và phối hợp trong việc điều hành giao thông vận tải đường sắt về tổ chức chạy tàu liên vận đường sắt quốc tế tại các khu gian và ga biên giới thuộc phạm vi quản lý của đường sắt Việt Nam;
Chủ trì và phối hợp điều hành giao thông vận tải đường sắt khi các lực lượng và phương tiện giao thông đường sắt của nước ngoài vào thực hiện nhiệm vụ tìm kiếm cứu nạn tại Việt Nam;
e) Lưu trữ dữ liệu liên quan đến công tác điều hành theo quy định của pháp luật.
2. Trách nhiệm thực hiện điều hành giao thông vận tải đường sắt
a) Doanh nghiệp quản lý tài sản đường sắt điều hành giao thông vận tải đường sắt trên đường sắt do nhà nước đầu tư theo biểu đồ chạy tàu đã được công bố;
b) Chủ sở hữu công trình đường sắt điều hành giao thông vận tải đường sắt trên đường sắt do mình đầu tư theo biểu đồ chạy tàu đã được công bố.
Điều 95. Giá và phụ thu ngoài giá dịch vụ điều hành giao thông vận tải đường sắt
1. Giá dịch vụ điều hành giao thông vận tải đường sắt gồm:
a) Giá dịch vụ điều hành chạy tàu được xác định theo từng loại tàu khách, tàu hàng trên từng tuyến đường sắt đã được phân bổ trong biểu đồ chạy tàu và được tính toán thông qua chỉ tiêu Đoàn tàu.Km;
b) Giá dịch vụ điều hành dồn tàu được xác định theo từng loại tác nghiệp dồn toa xe, được tính toán thông qua chỉ tiêu lượt tác nghiệp dồn/01 toa xe.
2. Nguyên tắc định giá, căn cứ định giá, phương pháp định giá, ban hành văn bản định giá hoặc điều chỉnh mức giá dịch vụ điều hành giao thông vận tải đường sắt do nhà nước đầu tư thực hiện theo quy định của pháp luật về giá.
3. Phụ thu ngoài giá dịch vụ điều hành giao thông vận tải đường sắt là khoản tiền khách hàng phải trả thêm cho doanh nghiệp cung cấp dịch vụ điều hành giao thông vận tải đường sắt để sử dụng dịch vụ điều hành giao thông vận tải đường sắt theo yêu cầu riêng của khách hàng ngoài các nội dung điều hành giao thông vận tải đường sắt theo quy định tại khoản 1 Điều 94 của Thông tư này.
Phụ thu ngoài giá dịch vụ điều hành giao thông vận tải đường sắt do doanh nghiệp quản lý tài sản đường sắt và khách hàng thỏa thuận theo cơ chế thị trường, bảo đảm bù đắp chi phí sản xuất, kinh doanh hợp lý, hài hòa lợi ích của các bên và phù hợp với quy định của pháp luật.
4. Doanh nghiệp quản lý tài sản đường sắt thực hiện việc niêm yết, công khai thông tin về giá, phụ thu ngoài giá dịch vụ điều hành giao thông vận tải đường sắt theo quy định của pháp luật về giá.
Chương VIII
XÂY DỰNG, CÔNG BỐ CÔNG LỆNH TẢI TRỌNG,
CÔNG LỆNH TỐC ĐỘ
Điều 96. Yêu cầu xây dựng, cập nhật công lệnh tải trọng, công lệnh tốc độ
Việc xây dựng và cập nhật công lệnh tải trọng, công lệnh tốc độ phải bảo đảm các yêu cầu sau:
1. Công lệnh tải trọng và công lệnh tốc độ phải được xác định trên cơ sở trạng thái kỹ thuật, khả năng chịu lực của kết cấu hạ tầng, khả năng khai thác của công trình và phương tiện giao thông đường sắt; bảo đảm phù hợp với tình trạng kỹ thuật thực tế, trong giới hạn chịu lực của công trình và đáp ứng yêu cầu an toàn công trình, an toàn giao thông đường sắt.
2. Tải trọng trục, tải trọng phân bố đều của đầu máy, toa xe và đoàn tàu khai thác không được vượt quá mức cho phép quy định trong công lệnh tải trọng của từng khu đoạn, tuyến đường sắt.
3. Xác định dải tốc độ và thay đổi tốc độ trên tuyến phải bảo đảm hạn chế số lượng điểm thay đổi tốc độ trong cùng một khu gian hoặc khu đoạn, trừ các vị trí cố định có yêu cầu chạy chậm; bảo đảm chuyển tiếp hợp lý giữa các dải tốc độ, tránh thay đổi đột ngột gây mất ổn định, ảnh hưởng đến vận hành êm thuận và an toàn của phương tiện.
Điều 97. Nội dung cơ bản của công lệnh tải trọng
1. Nội dung liên quan đến việc xây dựng công lệnh tải trọng bao gồm:
a) Khổ đường sắt áp dụng;
b) Tải trọng trục (tính bằng tấn/trục), tải trọng phân bố đều (tính bằng tấn/mét) và các quy định kỹ thuật liên quan đến phương tiện giao thông đường sắt được phép khai thác trên từng đoạn, khu gian, khu đoạn hoặc tuyến đường sắt tương ứng với từng khổ đường, bao gồm cả đoàn tàu cứu viện, cứu hộ và máy móc thi công;
c) Các tuyến nhánh có kết nối ray với tuyến đường sắt chính.
2. Tải trọng trục và tải trọng rải đều được phép khai thác trên từng đoạn, khu gian, khu đoạn, tuyến đường sắt.
3. Quy định về ghép đầu máy, máy thi công và các phương tiện giao thông đường sắt để chạy đơn, chạy ghép trên từng đoạn, khu gian, khu đoạn, tuyến đường sắt.
4. Các thông tin khác liên quan đến phương tiện giao thông đường sắt, công trình đường sắt để hướng dẫn thực hiện công lệnh tải trọng.
5. Nội dung công lệnh tải trọng quy định tại khoản 1, khoản 2, khoản 3, khoản 4 Điều này phải được lập riêng cho từng tuyến đường sắt, bao gồm cả các tuyến nhánh có kết nối ray với tuyến đường sắt chính.
6. Tải trọng thiết kế của các công trình phụ trợ chạy tàu, phục vụ thi công trên từng đoạn, khu gian, khu đoạn, tuyến đường sắt phải tuân thủ công lệnh tải trọng đã được công bố.
Điều 98. Nội dung cơ bản của công lệnh tốc độ
1. Nội dung cơ bản liên quan đến việc xây dựng công lệnh tốc độ bao gồm:
a) Khổ đường sắt áp dụng;
b) Lý trình các ga và các vị trí phải hạn chế tốc độ kỹ thuật cho phép của công trình đường sắt (bao gồm yếu tố bình diện, các vị trí đang thi công và các vị trí xung yếu khác trên tuyến);
c) Các thông tin kỹ thuật khác liên quan đến phương tiện giao thông đường sắt khai thác trên từng đoạn, khu gian, khu đoạn, tuyến đường sắt;
d) Quy định liên quan đến việc di chuyển và tổ chức chạy tàu đối với đoàn tàu cứu viện, cứu hộ, máy móc và thiết bị thi công hoạt động trên tuyến đường sắt;
đ) Quy định về các vị trí thi công được phép hạn chế tốc độ theo từng giai đoạn thi công cụ thể.
2. Bảng quy định tốc độ kỹ thuật cho phép của công trình đường sắt và các vị trí phải hạn chế tốc độ trên từng đoạn, khu gian, khu đoạn, tuyến đường sắt bao gồm:
a) Tốc độ chạy tàu (tính theo km/h), bao gồm: tốc độ lớn nhất cho phép; tốc độ chạy chậm;
b) Các vị trí thay đổi tốc độ;
c) Đối với các vị trí quy định tại điểm a và điểm b khoản này, phải ghi rõ các thông tin sau: lý trình điểm đầu và điểm cuối; chiều dài đoạn, khu đoạn, các vị trí xung yếu phải hạn chế tốc độ trên tuyến, kèm theo tên địa danh (nếu có);
d) Bảng quy định tốc độ kỹ thuật cho phép của công trình đường sắt được lập theo mẫu tại Phụ lục XXXII của Thông tư này.
Điều 99. Trình tự xây dựng, công bố, cập nhật công lệnh tải trọng, công lệnh tốc độ
1. Đối với đường sắt quốc gia, đường sắt địa phương:
a) Căn cứ vào trạng thái kỹ thuật cho phép, khả năng khai thác của công trình đường sắt và tải trọng của phương tiện giao thông đường sắt, doanh nghiệp quản lý tài sản đường sắt (đối với đường sắt do nhà nước đầu tư), chủ sở hữu công trình đường sắt (đối với đường sắt đầu tư bằng nguồn vốn ngoài nhà nước) tổ chức xây dựng, cập nhật dự thảo công lệnh tải trọng và công lệnh tốc độ;
b) Trước 30 ngày so với ngày dự kiến công bố, doanh nghiệp quản lý tài sản đường sắt (đối với đường sắt do nhà nước đầu tư), chủ sở hữu công trình đường sắt (đối với đường sắt đầu tư bằng nguồn vốn ngoài nhà nước) gửi dự thảo công lệnh tốc độ, công lệnh tải trọng lấy ý kiến tham gia của: Cục Đường sắt Việt Nam (đối với đường sắt quốc gia), Sở Xây dựng (đối với đường sắt địa phương);
c) Trong thời hạn 10 ngày kể từ ngày nhận được hồ sơ, cơ quan được lấy ý kiến quy định tại điểm b khoản này có trách nhiệm trả lời doanh nghiệp quản lý tài sản đường sắt (đối với đường sắt do nhà nước đầu tư), chủ sở hữu công trình đường sắt (đối với đường sắt đầu tư bằng nguồn vốn ngoài nhà nước) bằng văn bản;
đ) Doanh nghiệp quản lý tài sản đường sắt (đối với đường sắt do nhà nước đầu tư), chủ sở hữu công trình đường sắt (đối với đường sắt đầu tư bằng nguồn vốn ngoài nhà nước) có trách nhiệm tiếp thu, giải trình ý kiến tham gia và hoàn thiện nội dung, ban hành công lệnh tải trọng và công bố công khai trên trang thông tin điện tử của mình trong vòng 05 ngày kể từ ngày ban hành;
e) Trong thời hạn 05 ngày kể từ ngày ban hành, doanh nghiệp quản lý tài sản đường sắt, chủ sở hữu công trình đường sắt phải gửi công lệnh tải trọng, công lệnh tốc độ đến Cục Đường sắt Việt Nam (đối với đường sắt quốc gia), Sở Xây dựng (đối với đường sắt địa phương) để công khai trên cổng thông tin điện tử.
2. Đối với đường sắt chuyên dùng, chủ sở hữu tuyến đường sắt chuyên dùng có trách nhiệm tự xây dựng và công bố công lệnh tải trọng, công lệnh tốc độ áp dụng cho tuyến đường sắt do mình đầu tư, khai thác.
Chương IX
QUY ĐỊNH VỀ HỆ THỐNG QUẢN LÝ AN TOÀN VẬN HÀNH, ĐÁNH
GIÁ, CHỨNG NHẬN AN TOÀN HỆ THỐNG
Điều 100. Quy định chung về đánh giá, chứng nhận an toàn hệ thống
1. Đường sắt tốc độ cao, đường sắt cấp I, đường sắt đô thị xây dựng mới hoặc nâng cấp theo quy định tại khoản 2 Điều này, trước khi đưa vào khai thác phải được Tư vấn an toàn hệ thống đánh giá, chứng nhận an toàn hệ thống.
2. Trường hợp phải được đánh giá, chứng nhận an toàn hệ thống khi thực hiện nâng cấp tuyến đường sắt gồm:
a) Thay đổi hệ thống thông tin - tín hiệu điều khiển chạy tàu;
b) Thay đổi kiểu loại toa xe đường sắt (không bao gồm các phương tiện chuyên dùng phục vụ thi công, duy tu bảo trì đường sắt);
c) Cải tạo hệ thống cung cấp điện sức kéo;
d) Nâng cao năng lực vận tải, mở rộng quy mô tuyến;
đ) Thay đổi cơ cấu tổ chức của Tổ chức vận hành.
3. Đề cương đánh giá, chứng nhận do Tư vấn an toàn hệ thống lập, Chủ đầu tư dự án phê duyệt bao gồm nhưng không giới hạn các nội dung sau:
a) Phạm vi đánh giá, chứng nhận;
b) Phương pháp, quy trình thực hiện;
c) Các giới hạn an toàn, tiêu chuẩn chấp nhận rủi ro;
d) Kế hoạch thực hiện đánh giá, chứng nhận;
đ) Tài liệu chuyển giao.
Điều 101. Hệ thống quản lý an toàn vận hành
1. Đường sắt tốc độ cao, đường sắt cấp I, đường sắt đô thị phải áp dụng hệ thống quản lý an toàn vận hành trong quá trình khai thác, sử dụng. Trách nhiệm xây dựng, duy trì hệ thống quản lý an toàn vận hành
a) Doanh nghiệp quản lý tài sản đường sắt tổ chức xây dựng, phê duyệt và duy trì hệ thống quản lý an toàn vận hành đối với các tuyến đường sắt do nhà nước đầu tư;
b) Chủ sở hữu công trình đường sắt tổ chức xây dựng, phê duyệt và duy trì hệ thống an toàn vận hành đối với các tuyến đường sắt đầu tư bằng nguồn vốn ngoài nhà nước.
2. Hệ thống quản lý an toàn vận hành bao gồm nhưng không giới hạn các nội dung sau:
a) Chính sách an toàn được người đại diện pháp luật của Tổ chức vận hành phê duyệt và được phổ biến trong nội bộ tổ chức;
b) Các mục tiêu an toàn bao gồm: mục tiêu định tính là các mục tiêu về đánh giá, xếp hạng mức an toàn; mục tiêu định lượng là các mục tiêu số liệu cụ thể có thể đo đếm được;
c) Kế hoạch thực hiện các mục tiêu an toàn;
d) Quản lý sự phù hợp với các tiêu chuẩn kỹ thuật và tuân thủ quy định vận hành liên quan;
đ) Quản lý sự thay đổi;
e) Quản lý rủi ro;
g) Quản lý năng lực người làm công tác vận hành, bảo trì hệ thống;
h) Quản lý đào tạo nguồn nhân lực quản lý an toàn;
i) Quản lý tài liệu, trao đổi thông tin liên quan đến an toàn;
k) Quản lý tình huống khẩn cấp: các quy định về công tác cứu hộ, cảnh báo, thông tin và phối hợp với các bên liên quan trong trường hợp khẩn cấp;
l) Quản lý điều tra tai nạn, sự cố: bảo đảm các tai nạn, sự cố, các tình huống nguy hiểm được ghi chép, điều tra và phân tích cùng với các biện pháp khắc phục phòng ngừa cần thiết được áp dụng;
m) Đánh giá nội bộ.
Điều 102. Nội dung đánh giá, chứng nhận an toàn hệ thống
1. Nội dung đánh giá, chứng nhận an toàn hệ thống khi xây dựng mới
a) Đánh giá độ tin cậy, tính sẵn sàng, khả năng bảo dưỡng và độ an toàn đối với các hệ thống sau: toa xe đường sắt (không bao gồm các phương tiện chuyên dùng phục vụ thi công, duy tu bảo trì đường sắt); hệ thống thông tin - tín hiệu điều khiển chạy tàu; hệ thống cung cấp điện sức kéo; cửa chắn ke ga (nếu có);
b) Đánh giá rủi ro phương án sơ tán hành khách trong trường hợp khẩn cấp, trên cầu cạn, trong đường hầm, nhà ga; đánh giá rủi ro kiểm soát khói, thoát nhiệt, thông gió trong đường hầm;
c) Đánh giá tích hợp hệ thống;
d) Đánh giá thử nghiệm vận hành, chạy thử hệ thống;
đ) Đánh giá Hệ thống quản lý an toàn vận hành.
2. Nội dung đánh giá, chứng nhận an toàn hệ thống khi nâng cấp
a) Đánh giá độ tin cậy, tính sẵn sàng, khả năng bảo dưỡng và độ an toàn đối với các hạng mục được nâng cấp;
b) Đánh giá tích hợp hệ thống;
c) Đánh giá chạy thử hệ thống sau khi nâng cấp;
d) Đánh giá Hệ thống quản lý an toàn vận hành.
3. Đối với trường hợp chỉ thay đổi cơ cấu tổ chức của Tổ chức vận hành chỉ thực hiện đánh giá Hệ thống quản lý an toàn vận hành.
Điều 103. Trình tự thực hiện đánh giá, chứng nhận an toàn hệ thống
1. Chủ đầu tư dự án tổ chức lập, phê duyệt đề cương - dự toán để xác định yêu cầu kỹ thuật và giá gói thầu đánh giá, chứng nhận an toàn hệ thống theo quy định và lựa chọn nhà thầu Tư vấn an toàn hệ thống theo quy định.
2. Căn cứ yêu cầu kỹ thuật của dự án, Tư vấn an toàn hệ thống xây dựng Đề cương đánh giá, chứng nhận theo quy định tại khoản 3 Điều 100 của Thông tư này.
3. Tư vấn an toàn hệ thống thực hiện theo Đề cương đánh giá, chứng nhận đã được phê duyệt. Căn cứ theo kế hoạch nêu trong đề cương và tiến độ thực tế của dự án, Tư vấn an toàn hệ thống gửi báo cáo đánh giá định kỳ hoặc báo cáo đánh giá các hạng mục ngay sau khi hoàn thành công việc cho Chủ đầu tư dự án và các bên liên quan.
4. Sau khi hoàn thành và kết thúc toàn bộ công việc theo Đề cương đánh giá, chứng nhận, Tư vấn an toàn hệ thống lập báo cáo đánh giá cuối cùng và cấp chứng nhận an toàn hệ thống.
Điều 104. Chứng nhận an toàn hệ thống
Chứng nhận an toàn hệ thống là chứng chỉ của Tổ chức chứng nhận xác nhận tuyến đường sắt tốc độ cao, đường sắt cấp I, đường sắt đô thị được thiết kế, xây dựng phù hợp với tiêu chuẩn quản lý an toàn và đủ điều kiện an toàn vận hành. Chứng nhận an toàn hệ thống bao gồm các nội dung cơ bản sau đây:
1. Tên, địa chỉ của Tư vấn an toàn hệ thống.
2. Tên của tuyến, đoạn tuyến đường sắt.
3. Tên, địa chỉ của tổ chức vận hành.
4. Thông tin về đặc tính kỹ thuật của tuyến đường sắt, bao gồm:
a) Khổ đường, chiều dài tuyến, đoạn tuyến, số ga;
b) Hệ thống cung cấp điện sức kéo: loại hình cấp điện, cấp điện áp;
c) Thành phần đoàn tàu: số lượng toa xe, tải trọng trục, tốc độ thiết kế/ vận hành tối đa;
d) Hệ thống điều khiển chạy tàu: Communication Based Train Control- CBTC, (Automatic Train Operation - ATO), (European Train Control System - ETCS)...;
đ) Năng lực chuyên chở: số lượng hành khách/ giờ/ hướng.
5. Tiêu chuẩn áp dụng để chứng nhận.
6. Kết luận của Tư vấn an toàn hệ thống về sự phù hợp với tiêu chuẩn áp dụng và an toàn vận hành của tuyến đường sắt.
Chương X
TỔ CHỨC THỰC HIỆN
Điều 105. Trách nhiệm của các tổ chức có liên quan trong việc kết nối ray các tuyến đường sắt
1. Doanh nghiệp kinh doanh đường sắt
a) Tham gia ý kiến khi nhận được yêu cầu của tổ chức có thẩm quyền cấp giấy phép kết nối;
b) Thống nhất với tổ chức đề nghị kết nối về phương án tổ chức thi công và biện pháp bảo đảm an toàn trong quá trình thi công;
c) Bàn giao hiện trường cho tổ chức đề nghị kết nối;
d) Kiểm tra, yêu cầu tổ chức đề nghị kết nối thực hiện đúng nội dung giấy phép kết nối được cấp, phương án tổ chức thi công và biện pháp bảo đảm an toàn trong quá trình thi công. Trường hợp phát hiện nguy cơ mất an toàn trong quá trình thi công, doanh nghiệp kinh doanh đường sắt yêu cầu chủ đầu tư dự án tạm dừng thi công để có biện pháp khắc phục và báo cáo cơ quan cấp giấy phép kết nối để xử lý theo quy định;
đ) Tham gia nghiệm thu hoàn thành kết nối, tiếp nhận lại hiện trường và hồ sơ hoàn thành công trình để quản lý, theo dõi, khai thác.
2. Tổ chức có nhu cầu kết nối các tuyến đường sắt
a) Thống nhất với doanh nghiệp kinh doanh đường sắt về phương án tổ chức thi công, biện pháp bảo đảm an toàn trong quá trình thi công;
b) Tiếp nhận hiện trường để triển khai thực hiện việc kết nối theo giấy phép;
c) Thực hiện đầy đủ các nội dung theo quy định tại giấy phép kết nối; bảo đảm an toàn công trình, an toàn giao thông vận tải đường sắt và bảo vệ môi trường trong suốt quá trình thi công;
d) Sau khi hoàn thành công trình kết nối, bàn giao hiện trường và hồ sơ hoàn thành công trình cho doanh nghiệp kinh doanh đường sắt để quản lý, theo dõi, khai thác theo quy định;
đ) Phối hợp với doanh nghiệp kinh doanh đường sắt trong việc bảo đảm các nguyên tắc, điều kiện và nội dung kết nối theo quy định của Thông tư này;
e) Duy trì trạng thái kỹ thuật ổn định và bảo đảm nguồn kinh phí để quản lý, bảo trì công trình và thiết bị trong khu vực kết nối ray. Có biện pháp gia cố kịp thời bảo đảm an toàn công trình, an toàn giao thông vận tải đường sắt khi phát hiện hoặc nhận được tin báo công trình hư hỏng;
g) Tự di chuyển vị trí kết nối hoặc cải tạo công trình trong khu vực kết nối ray khi có yêu cầu của cơ quan có thẩm quyền và chịu mọi chi phí di dời, cải tạo công trình; tự tháo dỡ kết nối và chịu mọi chi phí tháo dỡ khi hết hạn sử dụng đối với kết nối có thời hạn. Phải bồi thường khi gây ra thiệt hại cho công trình đường sắt, an toàn giao thông vận tải đường sắt theo quy định của pháp luật.
Điều 106. Trách nhiệm của tổ chức, cá nhân liên quan trong việc quản lý đường ngang, cầu chung
1. Cục Đường sắt Việt Nam thực hiện kiểm tra trách nhiệm, nghĩa vụ của doanh nghiệp quản lý tài sản đường sắt quốc gia, chủ quản lý, sử dụng đường ngang chuyên dùng và ủy ban nhân dân cấp xã trong việc quản lý, bảo trì cầu chung và đường ngang trên đường sắt quốc gia.
2. Cơ quan quản lý đường bộ địa phương
a) Thực hiện kiểm tra trách nhiệm, nghĩa vụ của chủ quản lý, sử dụng đường ngang chuyên dùng, chủ sở hữu đường sắt chuyên dùng, ủy ban nhân dân cấp xã trong việc quản lý, bảo trì đường ngang trên đường sắt chuyên dùng;
b) Quản lý, duy trì trạng thái hoạt động của công trình đường bộ ngoài phạm vi đường ngang; công trình đường bộ ngoài phạm vi cầu chung; bảo đảm tầm nhìn của người điều khiển phương tiện giao thông đường bộ tại đường ngang;
c) Phối hợp với doanh nghiệp quản lý tài sản đường sắt quốc gia hoặc chủ quản lý, sử dụng đường sắt chuyên dùng, ủy ban nhân dân cấp xã giải tỏa hành lang an toàn giao thông tại khu vực đường ngang.
3. Ủy ban nhân dân cấp xã
a) Thực hiện các biện pháp bảo đảm trật tự, an toàn giao thông đường sắt, đường bộ; kiểm tra, xử lý vi phạm trật tự, an toàn giao thông đường sắt; tham gia phối hợp giải quyết tai nạn giao thông đường sắt;
b) Phối hợp với cơ quan quản lý đường bộ địa phương, doanh nghiệp quản lý tài sản đường sắt quốc gia, chủ quản lý, sử dụng đường ngang trong việc đề xuất cơ quan có thẩm quyền thực hiện xây dựng, cải tạo, nâng cấp, bãi bỏ đường ngang theo quy định của Thông tư này;
c) Chủ trì, phối hợp với Cục Đường sắt Việt Nam, doanh nghiệp quản lý tài sản đường sắt quốc gia, chủ quản lý, sử dụng đường ngang, cơ quan quản lý đường bộ địa phương trong việc thực hiện giải tỏa hành lang an toàn giao thông tại đường ngang thuộc địa bàn thuộc phạm vi quản lý;
d) Tổ chức quản lý, bảo trì, duy trì trạng thái hoạt động của đường ngang công cộng trên đường sắt quốc gia theo quy định tại Điều 32 của Thông tư này đối với các đường ngang do Ủy ban nhân dân cấp tỉnh cấp giấy phép xây dựng, nâng cấp, cải tạo;
đ) Bố trí định biên gác đường ngang và lập hồ sơ quản lý đường ngang do mình quản lý, bảo trì theo quy định của Thông tư này.
4. Doanh nghiệp quản lý tài sản đường sắt quốc gia
a) Trong thời hạn 05 ngày làm việc, kể từ khi nghiệm thu hoàn thành xây dựng, nâng cấp, cải tạo đường ngang công cộng trên đường sắt quốc gia, doanh nghiệp quản lý tài sản đường sắt quốc gia quyết định đưa đường ngang vào khai thác sử dụng. Trường hợp đường ngang do Ủy ban nhân dân cấp tỉnh cấp giấy phép xây dựng, nâng cấp, cải tạo, doanh nghiệp quản lý tài sản đường sắt quốc gia chủ trì, phối hợp với Ủy ban nhân dân cấp xã được giao quản lý, bảo trì đường ngang công cộng, chủ quản lý, sử dụng đường ngang chuyên dùng thống nhất đưa đường ngang vào khai thác sử dụng;
b) Quản lý, bảo trì, duy trì trạng thái hoạt động của đường ngang công cộng trên đường sắt quốc gia theo quy định tại Điều 32 của Thông tư này, trừ các đường ngang do Ủy ban nhân dân cấp tỉnh cấp giấy phép xây dựng, nâng cấp, cải tạo;
c) Bố trí định biên gác đường ngang đối với đường ngang công cộng trên đường sắt quốc gia do mình quản lý, bảo trì theo kế hoạch bảo trì kết cấu hạ tầng đường sắt quốc gia được phê duyệt;
d) Hằng năm, chủ trì, phối hợp với cơ quan quản lý đường bộ địa phương và ủy ban nhân dân cấp xã kiểm tra, lập kế hoạch sửa chữa đường ngang công cộng trên đường sắt quốc gia và kiến nghị cơ quan nhà nước có thẩm quyền về việc cải tạo, nâng cấp hoặc thay đổi hình thức phòng vệ đường ngang công cộng trên đường sắt quốc gia phù hợp với quy định tại Thông tư này;
đ) Thường xuyên kiểm tra, phát hiện, kịp thời đề xuất và phối hợp với ủy ban nhân dân cấp xã giải tỏa hành lang an toàn giao thông tại đường ngang trên đường sắt quốc gia;
đ) Chủ trì, phối hợp với chính quyền địa phương tổ chức cảnh giới tăng cường bảo đảm an toàn giao thông tại các đường ngang công cộng nguy hiểm trên đường sắt quốc gia do mình quản lý, bảo trì;
e) Lập hồ sơ quản lý đường ngang công cộng trên đường sắt quốc gia do mình quản lý, bảo trì theo quy định tại Điều 31 của Thông tư này.
g) Yêu cầu chủ đầu tư dự án, đơn vị thi công công trình xây dựng đường ngang thực hiện đúng nội dung giấy phép được cấp, phương án bảo đảm an toàn công trình, an toàn giao thông, bảo vệ môi trường trong quá trình thi công. Trường hợp phát hiện nguy cơ mất an toàn trong quá trình thi công, đề nghị chủ đầu tư dự án tạm dừng thi công để có biện pháp khắc phục; báo cáo cơ quan cấp giấy phép để xử lý theo quy định;
h) Bàn giao mặt bằng thi công, tham gia nghiệm thu hoàn thành công trình xây dựng, cải tạo, nâng cấp đường ngang để phục vụ công tác quản lý, bảo trì theo quy định;
i) Khi hết thời hạn khai thác sử dụng đường ngang trên đường sắt quốc gia, doanh nghiệp quản lý tài sản đường sắt quốc gia chủ trì, phối hợp với chủ quản lý, sử dụng đường ngang, ủy ban nhân dân cấp xã đề xuất cơ quan có thẩm quyền bãi bỏ đường ngang;
k) Chủ trì, phối hợp với chủ quản lý, sử dụng đường ngang và ủy ban nhân dân cấp xã để rào chắn, tháo dỡ đường ngang, hoàn trả kết cấu hạ tầng đường sắt sau khi có quyết định bãi bỏ đường ngang;
l) Quản lý sử dụng, tổ chức thực hiện phòng vệ, bố trí người gác, điều hành giao thông trên khu vực cầu chung;
m) Quy định cụ thể trách nhiệm của nhân viên gác cầu chung.
n) Thực hiện chế độ báo cáo đối với đường ngang do mình quản lý, bảo trì và quản lý phạm vi đất dành cho đường sắt:
Tên báo cáo: Báo cáo số liệu về đường ngang và xây dựng công trình trong phạm vi đất dành cho đường sắt;
Nội dung báo cáo thể hiện đầy đủ các nội dung sau: Việc sử dụng, khai thác, bảo vệ tài sản đường ngang, hồ sơ quản lý đường ngang quy định tại Thông tư này đối với đường ngang trên đường sắt quốc gia; công trình xây dựng trong phạm vi đất dành cho đường sắt quốc gia; đề xuất, kiến nghị (nếu có).
Đối tượng thực hiện báo cáo: Doanh nghiệp quản lý tài sản đường sắt quốc gia;
Cơ quan nhận báo cáo: Cục Đường sắt Việt Nam;
Phương thức gửi, nhận báo cáo: bằng bản điện tử gửi qua trục liên thông hệ thống quản lý văn bản hoặc bằng văn bản giấy trong trường hợp không có trục liên thông hệ thống quản lý văn bản;
Thời hạn gửi báo cáo: ngày 15 tháng 3 hằng năm;
Tần suất thực hiện báo cáo: 01 lần trong năm;
Thời gian chốt số liệu báo cáo: từ ngày 15 tháng 3 của năm trước đến ngày 14 tháng 3 của năm báo cáo;
Biểu mẫu báo cáo theo mẫu quy định tại Phụ lục IX của Thông tư này.
5. Doanh nghiệp quản lý tài sản đường sắt địa phương thực hiện chức năng, nhiệm vụ trong việc quản lý đường ngang theo quyết định của Chủ tịch Ủy ban nhân dân cấp tỉnh.
6. Chủ quản lý, sử dụng đường ngang chuyên dùng
a) Quản lý, bảo trì, tổ chức phòng vệ và duy trì trạng thái kỹ thuật của đường ngang thuộc phạm vi quản lý sử dụng trong suốt quá trình khai thác theo quy định tại Thông tư này;
b) Bố trí định biên gác đường ngang do mình quản lý, sử dụng;
c) Có biện pháp sửa chữa kịp thời bảo đảm an toàn đường ngang do mình quản lý, sử dụng, an toàn giao thông khi phát hiện có hư hỏng;
d) Lập hồ sơ quản lý đường ngang do mình quản lý, sử dụng theo quy định của Thông tư này;
đ) Trường hợp chủ quản lý, sử dụng đường ngang chuyên dùng không thực hiện đầy đủ quy định tại điểm a, điểm b, điểm c, điểm d khoản này, doanh nghiệp quản lý tài sản đường sắt quốc gia (đối với đường ngang trên đường sắt quốc gia) hoặc chủ sở hữu đường sắt chuyên dùng (đối với đường ngang trên đường sắt chuyên dùng) quyết định tạm dừng khai thác đường ngang. Khi đó, chủ quản lý, sử dụng đường ngang chuyên dùng phải bồi thường thiệt hại do lỗi của mình gây ra theo quy định của pháp luật.
7. Chủ sở hữu đường sắt chuyên dùng
a) Quản lý, bảo trì, tổ chức phòng vệ, bố trí định biên gác đường ngang và duy trì trạng thái kỹ thuật của đường ngang công cộng trên đường sắt chuyên dùng;
b) Quyết định cho phép đường ngang công cộng trên đường sắt chuyên dùng đưa vào khai thác sử dụng và lập hồ sơ quản lý đường ngang theo quy định của Thông tư này;
c) Quyết định việc xây dựng, cải tạo, nâng cấp đường ngang chuyên dùng trên đường sắt chuyên dùng.
8. Chủ đầu tư dự án xây dựng, nâng cấp, cải tạo đường ngang
a) Trước khi phê duyệt dự án đầu tư xây dựng công trình, chủ đầu tư dự án lấy ý kiến tham gia của cơ quan có thẩm quyền cấp giấy phép quy định tại Điều 34 của Thông tư này về vị trí, quy mô xây dựng, nâng cấp, cải tạo đường ngang;
b) Trước khi thi công công trình, chủ đầu tư dự án thống nhất với doanh nghiệp quản lý tài sản đường sắt quốc gia, chủ sở hữu đường sắt chuyên dùng, cơ quan quản lý đường bộ địa phương về phương án tổ chức thi công, biện pháp bảo đảm an toàn giao thông đường sắt;
c) Sau khi thi công hoàn thành công trình, bàn giao lại hiện trường và hồ sơ hoàn công cho các tổ chức quy định tại điểm b khoản này;
d) Bảo đảm an toàn công trình, an toàn giao thông vận tải đường sắt, bảo vệ môi trường trong suốt quá trình thi công;
đ) Bồi thường khi gây ra thiệt hại do lỗi của mình gây ra theo quy định của pháp luật.
9. Chủ đầu tư dự án tách cầu đường bộ ra khỏi cầu chung
a) Xây dựng đường bộ hai đầu cầu để tách hoàn toàn đường bộ ra khỏi cầu chung;
b) Dỡ bỏ đoạn đường bộ lên cầu chung hiện có sau khi đầu tư xong cầu đường bộ và đường bộ hai đầu cầu mới;
c) Báo cáo doanh nghiệp quản lý tài sản đường sắt quốc gia và Cục Đường sắt Việt Nam để quyết định chuyển cầu chung thành cầu đi riêng khi đủ điều kiện tách đường bộ khỏi cầu chung.
Điều 107. Trách nhiệm của tổ chức, cá nhân liên quan trong việc kết nối tín hiệu, cung cấp thông tin hỗ trợ cảnh giới
1. Ủy ban nhân dân cấp xã
a) Chủ trì, phối hợp với Cục Đường sắt Việt Nam, Cục Đường bộ Việt Nam, doanh nghiệp quản lý tài sản đường sắt quốc gia, chủ sở hữu đường sắt chuyên dùng kiểm tra, xác định các vị trí cần phải kết nối tín hiệu và các vị trí cần cung cấp thông tin hỗ trợ cảnh giới, đề xuất với Ủy ban nhân dân cấp tỉnh tổ chức thực hiện;
b) Cung cấp danh sách tổ chức, cá nhân được giao thực hiện cảnh giới, tiếp nhận thông tin hỗ trợ cảnh giới cho các tổ chức, cá nhân quy định tại khoản 1, khoản 2 Điều 50 của Thông tư này;
c) Chủ trì kiểm tra việc tiếp nhận thông tin hỗ trợ cảnh giới của các tổ chức, cá nhân được giao cảnh giới tại các lối đi tự mở;
d) Quản lý trang thiết bị phục vụ cảnh giới cho các vị trí cảnh giới. thuộc phạm vi quản lý;
đ) Tổng hợp và lưu trữ hồ sơ quản lý các vị trí cần cảnh giới có hỗ trợ thông tin hỗ trợ cảnh giới thuộc phạm vi quản lý.
2. Doanh nghiệp quản lý tài sản đường sắt quốc gia, chủ sở hữu đường sắt chuyên dùng
a) Xây dựng, lắp đặt đường cáp kết nối tín hiệu được cấp từ tủ điều khiển đèn báo hiệu trên đường bộ tại đường ngang trên đường sắt thuộc phạm vi quản lý, khai thác, sử dụng đến hộp kết nối (trường hợp có hộp kết nối) hoặc đến tủ điều khiển tín hiệu đèn giao thông đường bộ;
b) Phối hợp với cơ quan quản lý tín hiệu đèn giao thông đường bộ thực hiện việc kết nối tín hiệu; thỏa thuận kết nối tín hiệu theo quy định tại Phụ lục XIX của Thông tư này;
c) Bảo đảm đèn báo hiệu trên đường bộ tại đường ngang hoạt động theo đúng yêu cầu kỹ thuật;
d) Khi xảy ra sự cố hư hỏng đèn báo hiệu trên đường bộ tại đường ngang thuộc phạm vi quản lý làm ảnh hưởng đến việc kết nối tín hiệu, phải thông báo ngay và phối hợp với lực lượng chức năng điều hành giao thông nhằm bảo đảm an toàn giao thông qua đường ngang và hạn chế ùn tắc giao thông;
đ) Cung cấp thông tin hỗ trợ cảnh giới, lắp đặt trang thiết bị phục vụ cảnh giới theo quy định của Thông tư này;
e) Hướng dẫn, bồi dưỡng nghiệp vụ về an toàn giao thông đường sắt; hướng dẫn kỹ năng tiếp nhận thông tin và sử dụng trang thiết bị hỗ trợ cảnh giới cho người cảnh giới;
g) Niêm yết thông tin liên quan của người cảnh giới (họ tên, số điện thoại, địa chỉ) và thời gian cảnh giới tại phòng trực ban chạy tàu ga gần nhất nơi cung cấp thông tin hỗ trợ cảnh giới;
h) Lập kế hoạch xây dựng, cung cấp, bảo trì trang thiết bị phục vụ cảnh giới thuộc phạm vi quản lý trình cấp có thẩm quyền phê duyệt theo quy định;
i) Định kỳ hằng năm cung cấp thông tin cho ủy ban nhân dân cấp xã danh sách tên, địa chỉ, điện thoại liên lạc của tổ chức được giao cung cấp thông tin hỗ trợ cảnh giới.
3. Tổ chức được giao quản lý tín hiệu đèn giao thông đường bộ
a) Chủ trì, phối hợp với doanh nghiệp quản lý tài sản đường sắt quốc gia hoặc chủ sở hữu đường sắt chuyên dùng lắp đặt, khai thác, bảo trì đường cáp kết nối tín hiệu từ tủ điều khiển tín hiệu đèn giao thông đường bộ đến hộp kết nối (trong trường hợp có hộp kết nối);
b) Bảo đảm hoạt động của tín hiệu giao thông đường bộ tại nút giao phù hợp với trạng thái biểu thị tín hiệu đèn báo hiệu trên đường bộ tại đường ngang khi có tàu chạy qua đường ngang.
4. Tổ chức, cá nhân được giao nhiệm vụ cảnh giới
a) Cung cấp thông tin liên quan của người cảnh giới (họ tên, số điện thoại, địa chỉ) đến doanh nghiệp quản lý tài sản đường sắt quốc gia, chủ sở hữu đường sắt chuyên dùng, ủy ban nhân dân cấp xã để phối hợp thực hiện cảnh giới;
b) Phối hợp với doanh nghiệp quản lý tài sản đường sắt quốc gia, chủ sở hữu đường sắt chuyên dùng, ủy ban nhân dân cấp xã để tiếp nhận thông tin hỗ trợ cảnh giới để được hướng dẫn, bồi dưỡng nghiệp vụ về an toàn giao thông đường sắt, kỹ năng tiếp nhận thông tin hỗ trợ cảnh giới và sử dụng trang thiết bị cảnh giới;
c) Quản lý, sử dụng trang thiết bị phục vụ cảnh giới tại điểm cảnh giới theo quy định;
d) Thực hiện theo thỏa thuận cung cấp thông tin hỗ trợ cảnh giới quy định tại Phụ lục XX của Thông tư này;
đ) Kịp thời thông báo đến doanh nghiệp quản lý tài sản đường sắt quốc gia, chủ sở hữu đường sắt chuyên dùng, ủy ban nhân dân cấp xã về sự cố, tình trạng hư hỏng các trang thiết bị phục vụ cảnh giới.
Điều 108. Trách nhiệm của tổ chức, cá nhân liên quan trong việc xây dựng công trình thiết yếu, dùng chung với đường sắt
1. Cục Đường sắt Việt Nam
a) Thực hiện kiểm tra, hướng dẫn doanh nghiệp quản lý tài sản đường sắt quốc gia, chủ đầu tư dự án xây dựng công trình thiết yếu, dùng chung với đường sắt và các chủ thể liên quan trong việc xây dựng công trình trong phạm vi đất dành cho đường sắt quốc gia;
b) Thống nhất với chủ đầu tư dự án xây dựng công trình thiết yếu, dùng chung với đường sắt về vị trí, quy mô xây dựng công trình trên đường sắt quốc gia.
2. Ủy ban nhân dân các cấp
a) Quy định nội dung, trách nhiệm của các chủ thể trong việc xây dựng công trình thiết yếu, dùng chung với đường sắt địa phương;
b) Thực hiện kiểm tra, hướng dẫn chủ đầu tư dự án xây dựng công trình thiết yếu, dùng chung với đường sắt và các chủ thể liên quan trong việc xây dựng công trình trong phạm vi đất dành cho đường sắt địa phương;
c) Thống nhất với chủ đầu tư dự án xây dựng công trình thiết yếu, dùng chung với đường sắt về vị trí, quy mô xây dựng công trình trên đường sắt địa phương.
3. Doanh nghiệp quản lý tài sản đường sắt
a) Thường xuyên kiểm tra, kịp thời phát hiện, đề xuất và phối hợp với chính quyền địa phương xử lý hành vi vi phạm trong việc xây dựng công trình thiết yếu, dùng chung với đường sắt;
b) Thống nhất với chủ đầu tư dự án xây dựng công trình thiết yếu, dùng chung với đường sắt về phương án tổ chức thi công, thời gian phong tỏa phục vụ thi công (nếu có), biện pháp bảo đảm an toàn công trình, an toàn giao thông đường sắt;
c) Yêu cầu chủ đầu tư dự án, đơn vị thi công công trình thiết yếu, dùng chung với đường sắt thực hiện đúng nội dung giấy phép được cấp, phương án bảo đảm an toàn công trình, an toàn giao thông, bảo vệ môi trường trong quá trình thi công. Trường hợp phát hiện nguy cơ mất an toàn trong quá trình thi công, đề nghị chủ đầu tư dự án tạm dừng thi công để có biện pháp khắc phục; báo cáo cơ quan cấp giấy phép để xử lý theo quy định;
d) Bàn giao mặt bằng thi công, tham gia nghiệm thu hoàn thành công trình, hạng mục công trình thiết yếu, dùng chung với đường sắt; tiếp nhận hồ sơ hoàn công để phục vụ công tác quản lý, bảo trì.
4. Chủ đầu tư dự án xây dựng công trình thiết yếu, dùng chung với đường sắt
a) Trước khi phê duyệt dự án đầu tư xây dựng công trình, chủ đầu tư dự án lấy ý kiến tham gia của cơ quan có thẩm quyền về vị trí, quy mô xây dựng công trình quy định tại khoản 1, khoản 2 Điều này;
b) Trước khi thi công công trình, chủ đầu tư dự án lấy ý kiến tham gia về phương án tổ chức thi công, thời gian phong tỏa phục vụ thi công, biện pháp bảo đảm an toàn công trình, an toàn giao thông đường sắt với tổ chức sau đây:
Doanh nghiệp quản lý tài sản đường sắt quốc gia đối với công trình liên quan đến công trình liên quan đến đường sắt quốc gia;
Doanh nghiệp kinh doanh đường sắt địa phương đối với công trình liên quan đến đường sắt địa phương;
c) Làm thủ tục nhận bàn giao mặt bằng thi công trước khi khởi công xây dựng công trình;
d) Sau khi thi công hoàn thành công trình, bàn giao lại hiện trường và hồ sơ hoàn công cho các tổ chức quy định tại khoản 3 Điều này;
đ) Duy trì trạng thái kỹ thuật ổn định và bảo đảm nguồn kinh phí để quản lý, bảo trì đối với phần công trình trong phạm vi đất dành cho đường sắt;
e) Bảo đảm an toàn công trình đường sắt, an toàn giao thông đường sắt, bảo vệ môi trường trong suốt quá trình thi công; bảo trì công trình trong quá trình khai thác; có biện pháp gia cố kịp thời bảo đảm an toàn công trình, an toàn giao thông vận tải đường sắt khi phát hiện hoặc nhận được tin báo công trình hư hỏng;
g) Tự bỏ kinh phí và kịp thời thực hiện di chuyển hoặc cải tạo công trình khi có yêu cầu của cơ quan có thẩm quyền theo quy định của pháp luật; tự phá dỡ công trình khi hết hạn sử dụng (đối với công trình xây có thời hạn sử dụng được ghi trong giấy phép xây dựng);
h) Bồi thường khi gây ra thiệt hại do lỗi của mình gây ra theo quy định của pháp luật.
Điều 109. Trách nhiệm của tổ chức, cá nhân liên quan trong việc quản lý, bảo trì kết cấu hạ tầng đường sắt quốc gia
1. Cục Đường sắt Việt Nam
a) Kiểm tra trách nhiệm, nghĩa vụ của doanh nghiệp quản lý tài sản đường sắt quốc gia, chủ sở hữu công trình đường sắt đầu tư bằng nguồn vốn ngoài nhà nước trong việc quản lý kết cấu hạ tầng, bảo trì công trình đường sắt theo quy định của Thông tư này;
b) Thực hiện trách nhiệm, nghĩa vụ của cơ quan chuyên môn về xây dựng thuộc Bộ Xây dựng đối với các công trình sửa chữa đường sắt thuộc kế hoạch quản lý, bảo trì công trình đường sắt.
2. Căn cứ theo chức năng, nhiệm vụ, các Cục, Vụ thuộc Bộ Xây dựng thực hiện tham mưu cho Bộ trưởng Bộ Xây dựng trong việc quản lý nhà nước về kết cấu hạ tầng đường sắt và bảo trì công trình đường sắt.
3. Doanh nghiệp quản lý tài sản đường sắt quốc gia
a) Tổ chức thực hiện quản lý kết cấu hạ tầng, bảo trì công trình đường sắt theo quy định;
b) Thực hiện giám sát công tác bảo trì công trình đường sắt, chịu trách nhiệm toàn diện về khối lượng và chất lượng bảo trì công trình đường sắt, bảo đảm hoạt động giao thông đường sắt thông suốt, trật tự, an toàn, chính xác theo quy định của pháp luật;
c) Tổ chức kiểm tra công trình đường sắt, theo dõi định kỳ chất lượng công trình đường sắt trong quá trình khai thác, sử dụng; thực hiện sửa chữa những hư hỏng nhỏ để duy trì trạng thái kỹ thuật ổn định của công trình đường sắt, bảo đảm an toàn công trình, an toàn giao thông đường sắt;
d) Tổ chức cập nhật trạng thái công trình và lịch sử bảo trì công trình vào cơ sở dữ liệu kết cấu hạ tầng đường sắt;
đ) Chịu trách nhiệm về sự cố hoặc xuống cấp của công trình do không thực hiện hoặc thực hiện không đầy đủ nội dung quản lý kết cấu hạ tầng, bảo trì công trình đường sắt theo quy định.
4. Chủ sở hữu công trình đường sắt đầu tư bằng nguồn vốn ngoài nhà nước
a) Tổ chức thực hiện quản lý kết cấu hạ tầng, bảo trì công trình đường sắt do mình đầu tư theo quy định của pháp luật về quản lý chất lượng, thi công xây dựng và bảo trì công trình xây dựng, pháp luật về đường sắt;
b) Chịu trách nhiệm chất lượng công trình đường sắt, bảo đảm hoạt động giao thông đường sắt thông suốt, trật tự, an toàn, chính xác theo quy định của pháp luật. Chịu trách nhiệm về sự cố hoặc xuống cấp của công trình do không thực hiện hoặc thực hiện không đầy đủ nội dung quản lý kết cấu hạ tầng, bảo trì công trình đường sắt theo quy định;
c) Chịu sự kiểm tra của cơ quan quản lý nhà nước có thẩm quyền trong việc thực hiện trách nhiệm, nghĩa vụ quản lý kết cấu hạ tầng, bảo trì công trình đường sắt do mình đầu tư.
Điều 110. Trách nhiệm của tổ chức, cá nhân liên quan trong việc phòng, chống, khắc phục hậu quả thiên tai, sự cố đối với kết cấu hạ tầng đường sắt
1. Cục Đường sắt Việt Nam
a) Chủ trì, phối hợp với Ban Chỉ huy Phòng thủ dân sự Bộ Xây dựng tổ chức kiểm tra trách nhiệm, nghĩa vụ của tổ chức, cá nhân liên quan trong việc thực hiện công tác phòng, chống, khắc phục hậu quả thiên tai, sự cố đối với kết cấu hạ tầng đường sắt quốc gia;
b) Phối hợp với doanh nghiệp quản lý tài sản đường sắt quốc gia cập nhật kế hoạch phòng, chống thiên tai theo quy định;
c) Tổng hợp kế hoạch phòng, chống thiên tai 05 năm và điều chỉnh, cập nhật hằng năm do doanh nghiệp quản lý tài sản đường sắt xây dựng để báo cáo Bộ Xây dựng;
d) Tiếp nhận và triển khai chỉ đạo của Ban Chỉ huy Phòng thủ dân sự Bộ Xây dựng đến các doanh nghiệp quản lý tài sản đường sắt quốc gia và các cơ quan, đơn vị liên quan theo quy định;
đ) Thẩm định, phê duyệt hồ sơ khắc phục hậu quả thiên tai, sự cố trên đường sắt quốc gia do Nhà nước đầu tư đối với công trình bước 1. Thời gian thẩm định, phê duyệt trong vòng 10 ngày làm việc kể từ khi nhận đủ hồ sơ theo quy định tại khoản 1 Điều 83 của Thông tư này.
2. Doanh nghiệp quản lý tài sản đường sắt:
a) Tổ chức tập huấn, huấn luyện, diễn tập kỹ năng phòng, chống, khắc phục hậu quả thiên tai, sự cố và cứu nạn trong hoạt động đường sắt thuộc trách nhiệm, nghĩa vụ của doanh nghiệp;
b) Chủ trì, phối hợp với các cơ quan, đơn vị liên quan tổ chức thực hiện phòng ngừa thiên tai theo quy định tại Điều 74 và Điều 77 của Thông tư này;
c) Phối hợp với chủ đầu tư dự án, nhà thầu thi công, nhà thầu tư vấn thiết kế thực hiện phòng ngừa thiên tai đối với các dự án sửa chữa, cải tạo, nâng cấp công trình đường sắt, dự án đầu tư xây dựng công trình xây dựng trong phạm vi đất dành cho đường sắt theo quy định tại Điều 75 và Điều 76 của Thông tư này;
d) Chủ trì, phối hợp với ủy ban nhân dân cấp xã có đường sắt đi qua và các cơ quan, đơn vị liên quan xây dựng, tổ chức thực hiện kế hoạch phòng, chống thiên tai theo quy định;
đ) Tiếp nhận thông tin dự báo, cảnh báo thiên tai, cấp độ rủi ro thiên tai, diễn biến thiên tai để chủ động tổ chức ứng phó thiên tai, sự cố bảo đảm an toàn kết cấu hạ tầng đường sắt, giao thông vận tải đường sắt theo quy định;
e) Chịu sự chỉ đạo, chỉ huy của Ban Chỉ huy Phòng thủ dân sự Bộ Xây dựng, Cục Đường sắt Việt Nam (đối với đường sắt quốc gia do nhà nước đầu tư); chịu sự chỉ đạo, chỉ huy của Ban Chỉ huy Phòng thủ dân sự cấp tỉnh (đối với đường sắt địa phương do nhà nước đầu tư);
g) Chủ trì, phối hợp với các cơ quan đơn vị liên quan tổ chức thực hiện ứng phó khi có sự cố thiên tai xảy ra, khắc phục hậu quả sự cố thiên tai theo quy định tại Điều 79, Điều 80, Điều 81, Điều 82 của Thông tư này;
h) Đối với đường sắt quốc gia do nhà nước đầu tư, trong thời hạn 30 ngày kể từ khi hoàn thành công tác cứu chữa bước 1, doanh nghiệp quản lý tài sản đường sắt quốc gia tổng hợp, hoàn thiện hồ sơ về khắc phục thiên tai, sự cố đối với công trình đường sắt bước 1 trình Cục Đường sắt Việt Nam phê duyệt theo quy định;
i) Thực hiện thanh, quyết toán chi phí khắc phục hậu quả thiên tai, sự cố và cứu nạn theo quy định của pháp luật;
k) Thực hiện chế độ báo cáo cấp có thẩm quyền về công tác phòng, chống, khắc phục hậu quả thiên tai; ứng phó sự cố và cứu nạn theo yêu cầu của cấp có thẩm quyền theo quy định của Thông tư này;
l) Thành lập bộ phận thường trực chỉ huy phòng, chống thiên tai, sự cố để thực hiện trách nhiệm của mình.
3. Chủ đầu tư dự án, nhà thầu tư vấn thiết kế, đơn vị thi công xây dựng trên đường sắt đang khai thác và công trình xây dựng trong phạm vi đất dành cho đường sắt và các cơ quan, đơn vị liên quan:
a) Chịu sự điều hành, chỉ huy của doanh nghiệp quản lý tài sản đường sắt trong việc ứng phó, khắc phục hậu quả thiên tai, sự cố theo quy định của Thông tư này;
b) Chủ động phối hợp với doanh nghiệp quản lý tài sản đường sắt, các đơn vị có liên quan để giải quyết sự cố công trình hoặc có nguy cơ bị hư hỏng.
4. Ủy ban nhân dân cấp xã có trách nhiệm phối hợp với doanh nghiệp quản lý tài sản đường sắt trong việc kiểm tra hệ thống thoát nước, phòng chống sạt lở và cảnh báo các nguy cơ ảnh hưởng từ môi trường đến công trình đường sắt; sơ tán, hỗ trợ người dân, hành khách trong trường hợp vận tải đường sắt bị ngưng trệ.
5. Các tổ chức, cá nhân quy định tại khoản 2, khoản 3, khoản 4 Điều này khi tham gia ứng phó thiên tai, sự cố có trách nhiệm phối hợp với chính quyền địa phương, Cục Đường sắt Việt Nam giữ gìn trật tự, an ninh trong khu vực xảy ra thiên tai, sự cố và chấp hành mệnh lệnh chỉ huy, chỉ đạo của cấp có thẩm quyền, sẵn sàng ứng cứu các đơn vị khác khi được điều động để khắc phục hậu quả thiên tai, sự cố.
Điều 111. Trách nhiệm của tổ chức, cá nhân liên quan trong việc xây dựng biểu đồ chạy tàu và điều hành giao thông vận tải đường sắt
1. Cục Đường sắt Việt Nam
a) Tổ chức thẩm định và trình Bộ Xây dựng phê duyệt giá tối đa dịch vụ điều hành giao thông vận tải đường sắt trên kết cấu hạ tầng đường sắt quốc gia do Nhà nước đầu tư, quản lý trong thời hạn 05 ngày làm việc, kể từ ngày nhận đủ hồ sơ theo quy định;
b) Theo dõi, kiểm tra, giám sát, xử lý khiếu nại trong công tác xây dựng, công bố và thực hiện biểu đồ chạy tàu; thực hiện kiểm tra việc kết nối, chia sẻ dữ liệu điều hành chạy tàu, biểu đồ chạy tàu giữa các tuyến đường sắt quốc gia với nhau, giữa tuyến đường sắt quốc gia với tuyến đường sắt địa phương, giữa tuyến đường sắt quốc gia với tuyến đường sắt chuyên dùng.
2. Sở Xây dựng
a) Tổ chức thẩm định và trình Ủy ban nhân dân cấp tỉnh phê duyệt giá tối đa dịch vụ điều hành giao thông vận tải đường sắt trên kết cấu hạ tầng đường sắt địa phương do mình đầu tư trong thời hạn 05 ngày làm việc, kể từ ngày nhận đủ hồ sơ theo quy định;
b) Theo dõi, kiểm tra, giám sát, xử lý khiếu nại trong công tác xây dựng, công bố và thực hiện biểu đồ chạy tàu; thực hiện kiểm tra việc kết nối, chia sẻ dữ liệu điều hành chạy tàu, biểu đồ chạy tàu giữa các tuyến đường sắt địa phương với nhau, giữa tuyến đường sắt địa phương với tuyến đường sắt chuyên dùng trong phạm vi quản lý.
3. Doanh nghiệp quản lý tài sản đường sắt
a) Thực hiện các nhiệm vụ liên quan đến việc xây dựng, công bố, điều chỉnh biểu đồ chạy tàu, điều hành giao thông vận tải đường sắt theo quy định tại Thông tư này;
b) Xây dựng, điều chỉnh phương án giá dịch vụ điều hành giao thông vận tải đường sắt trên đường sắt trình Bộ Xây dựng (đối với đường sắt quốc gia do nhà nước đầu tư), ủy ban nhân dân cấp tỉnh (đối với đường sắt địa phương do nhà nước đầu tư) định giá tối đa;
c) Cung cấp các số liệu liên quan làm cơ sở cho việc xây dựng biểu đồ chạy tàu như: trọng lượng đoàn tàu, công lệnh sức kéo; thời gian tác nghiệp kỹ thuật chạy tàu, hành khách, hàng hóa ở các ga; nhu cầu vận chuyển và tổ chức chạy tàu của các doanh nghiệp kinh doanh vận tải đường sắt theo yêu cầu của Cục Đường sắt Việt Nam, Sở Xây dựng;
d) Chỉ đạo, kiểm tra các tổ chức, cá nhân trong phạm vi quản lý thực hiện các quy định liên quan tại Thông tư này;
đ) Phối hợp với chủ sở hữu đường sắt chuyên dùng, đường sắt địa phương có nối ray với đường sắt quốc gia trong việc điều chỉnh biểu đồ chạy tàu và chạy thêm tàu quy định tại khoản 2 Điều 91 của Thông tư này khi tai nạn, sự cố giao thông đường sắt xảy ra trên đường sắt chuyên dùng và đường sắt địa phương khi có yêu cầu;
e) Thiết lập và duy trì kết nối liên thông và chia sẻ dữ liệu điều hành chạy tàu, biểu đồ chạy tàu với hệ thống điều độ trung tâm quốc gia và với hệ thống điều độ các tuyến đường sắt có kết nối với tuyến đường sắt do mình đầu tư; tuân thủ quy định về chuẩn giao thức dữ liệu, an toàn thông tin và an ninh mạng trong việc kết nối;
g) Thực hiện chế độ báo cáo công tác xây dựng, công bố, điều chỉnh biểu đồ chạy tàu và kết quả thực hiện trong năm theo đề cương tại Phụ lục XXXIII của Thông tư này.
4. Chủ sở hữu công trình đường sắt
a) Thực hiện các nhiệm vụ liên quan đến việc xây dựng, công bố, điều chỉnh biểu đồ chạy tàu, điều hành giao thông vận tải đường sắt trên đường sắt do mình đầu tư theo quy định tại Thông tư này;
b) Duy trì hoạt động chạy tàu theo đúng biểu đồ chạy tàu đã công bố trên đường sắt do mình đầu tư, trừ trường hợp kết cấu hạ tầng đường sắt bị ảnh hưởng do thiên tai, sự cố theo quy định của Thông tư này;
c) Trường hợp tuyến đường sắt chuyên dùng có nối ray với đường sắt do nhà nước đầu tư, chủ sở hữu công trình đường sắt có trách nhiệm
Cung cấp các số liệu liên quan làm cơ sở cho việc xây dựng biểu đồ chạy tàu gồm: trọng lượng đoàn tàu, công lệnh sức kéo; thời gian tác nghiệp kỹ thuật chạy tàu, hành khách, hàng hóa ở các ga; nhu cầu vận chuyển và tổ chức chạy tàu của các doanh nghiệp kinh doanh vận tải đường sắt cho Cục Đường sắt Việt Nam (trường hợp nối ray với đường sắt quốc gia), Sở Xây dựng (trường hợp nối ray với đường sắt địa phương);
Phối hợp với doanh nghiệp quản lý tài sản đường sắt trong việc điều chỉnh biểu đồ chạy tàu và chạy thêm tàu quy định tại khoản 2 Điều 91 của Thông tư này khi tai nạn, sự cố giao thông đường sắt xảy ra trên đường sắt do Nhà nước đầu tư khi có yêu cầu;
d) Thiết lập, duy trì kết nối liên thông và chia sẻ dữ liệu điều hành chạy tàu, biểu đồ chạy tàu với hệ thống điều độ trung tâm quốc gia và với hệ thống điều độ các tuyến đường sắt có kết nối với tuyến đường sắt do mình đầu tư; tuân thủ quy định về chuẩn giao thức dữ liệu, an toàn thông tin và an ninh mạng trong việc kết nối;
đ) Thực hiện chế độ báo cáo công tác xây dựng, công bố, điều chỉnh biểu đồ chạy tàu và kết quả thực hiện trong năm theo đề cương tại tại Phụ lục XXXIII của Thông tư này.
5. Doanh nghiệp kinh doanh vận tải đường sắt
a) Cung cấp đầy đủ, chính xác các thông tin về nhu cầu vận tải, năng lực phương tiện, thiết bị vận tải phục vụ cho doanh nghiệp quản lý tài sản đường sắt, chủ sở hữu công trình đường sát để phục vụ cho việc xây dựng, công bố và điều chỉnh biểu đồ chạy tàu, điều hành giao thông vận tải đường sắt;
b) Bảo đảm phương tiện giao thông đường sắt luôn phù hợp với kết cấu hạ tầng đường sắt công bố;
c) Thực hiện chạy tàu an toàn, đúng hành trình đã được phân bổ trong biểu đồ chạy tàu;
d) Phối hợp với doanh nghiệp quản lý tài sản đường sắt, chủ sở hữu công trình đường sắt có nối ray với đường sắt quốc gia trong việc điều chỉnh biểu đồ chạy tàu và chạy thêm tàu quy định tại khoản 2 Điều 91 của Thông tư này khi tai nạn, sự cố giao thông đường sắt xảy ra trên đường sắt khi có yêu cầu.
Điều 112. Trách nhiệm của tổ chức, cá nhân liên quan trong việc xây dựng, công bố công lệnh tải trọng, công lệnh tốc độ
1. Cục Đường sắt Việt Nam thực hiện kiểm tra việc thực hiện trách nhiệm của doanh nghiệp quản lý tài sản đường sắt quốc gia và các tổ chức có liên quan trong việc xây dựng, công bố công lệnh tải trọng, công lệnh tốc độ trên đường sắt quốc gia.
2. Sở Xây dựng thực hiện kiểm tra việc thực hiện trách nhiệm của doanh nghiệp quản lý tài sản đường sắt địa phương và các tổ chức có liên quan trong việc xây dựng, công bố công lệnh tải trọng, công lệnh tốc độ trên đường sắt địa phương.
3. Doanh nghiệp quản lý tài sản đường sắt
a) Kiểm tra, giám sát, hướng dẫn doanh nghiệp vận tải đường sắt và các tổ chức, cá nhân thực hiện đúng công lệnh tải trọng, công lệnh tốc độ đã công bố;
b) Tổ chức kiểm tra việc phương án tổ chức thi công, biện pháp bảo đảm an toàn giao thông đường sắt tại các vị trí thi công trên tuyến đường sắt theo công lệnh tải trọng, công lệnh tốc độ đã công bố.
Điều 113. Trách nhiệm của tổ chức, cá nhân liên quan trong việc đánh giá, chứng nhận an toàn hệ thống
1. Cục Đường sắt Việt Nam
a) Chủ trì, phối hợp với Cục Đăng kiểm Việt Nam, Cục Kinh tế - Quản lý đầu tư xây dựng kiểm tra trách nhiệm, nghĩa vụ của chủ đầu tư dự án trong việc đánh giá, chứng nhận an toàn hệ thống đối với tuyến đường sắt quốc gia;
b) Kiểm tra trách nhiệm của doanh nghiệp quản lý tài sản đường sắt quốc gia (đối với tuyến đường sắt do nhà nước đầu tư) hoặc chủ sở hữu công trình đường sắt (đối với tuyến đường sắt quốc gia đầu tư bằng nguồn vốn ngoài nhà nước) trong việc duy trì hệ thống quản lý an toàn vận hành trong quá trình khai thác, sử dụng.
2. Sở Xây dựng
a) Kiểm tra trách nhiệm, nghĩa vụ của chủ đầu tư dự án trong việc đánh giá, chứng nhận an toàn hệ thống đối với tuyến đường sắt địa phương;
b) Kiểm tra trách nhiệm của doanh nghiệp quản lý tài sản đường sắt địa phương (đối với tuyến đường sắt địa phương do nhà nước đầu tư) hoặc chủ sở hữu công trình đường sắt (đối với tuyến đường sắt địa phương đầu tư bằng nguồn vốn ngoài nhà nước) trong việc duy trì hệ thống quản lý an toàn vận hành trong quá trình khai thác, sử dụng.
3. Chủ đầu tư dự án
a) Lựa chọn Tổ chức chứng nhận có đủ điều kiện năng lực thực hiện đánh giá, chứng nhận an toàn hệ thống;
b) Phê duyệt Đề cương đánh giá, chứng nhận của Tổ chức chứng nhận lập;
c) Phối hợp với doanh nghiệp quản lý tài sản đường sắt trong việc xây dựng Hệ thống quản lý an toàn vận hành;
d) Báo cáo Cục Đường sắt Việt Nam đối với tuyến đường sắt quốc gia, Sở Xây dựng đối với đường sắt địa phương về kết quả đánh giá, chứng nhận an toàn hệ thống;
d) Lưu giữ đầy đủ hồ sơ đánh giá, chứng nhận an toàn hệ thống theo quy định và bàn giao đầy đủ cho doanh nghiệp quản lý tài sản đường sắt.
4. Doanh nghiệp quản lý tài sản đường sắt (đối với tuyến đường sắt do nhà nước đầu tư) hoặc chủ sở hữu công trình đường sắt (đối với tuyến đường sắt đầu tư bằng nguồn vốn ngoài nhà nước)
a) Gửi tài liệu hệ thống quản lý an toàn vận hành sau khi phê duyệt cho Cục Đường sắt Việt Nam (đối với tuyến đường sắt quốc gia), Sở Xây dựng (đối với đường sắt địa phương) để theo dõi, kiểm tra khi cần thiết;
b) Duy trì áp dụng và cải tiến hệ thống quản lý an toàn vận hành để khai thác tuyến đường sắt an toàn;
c) Lưu trữ đầy đủ hồ sơ liên quan đến việc xây dựng và áp dụng hệ thống an toàn vận hành theo quy định.
Chương XI
ĐIỀU KHOẢN THI HÀNH
Điều 114. Hiệu lực thi hành
1. Thông tư này có hiệu lực thi hành từ ngày 01 tháng 01 năm 2026.
2. Các thông tư sau hết hiệu lực kể từ ngày Thông tư này có hiệu lực thi hành
a) Thông tư số 26/2018/TT-BGTVT ngày 14 tháng 5 năm 2018 của Bộ trưởng Bộ Giao thông vận tải quy định điều kiện, trình tự, thủ tục thực hiện kết nối ray đường sắt đô thị, đường sắt chuyên dùng với đường sắt quốc gia;
b) Thông tư số 11/2023/TT-BGTVT ngày 28 tháng 6 năm 2023 của Bộ trưởng Bộ Giao thông vận tải sửa đổi, bổ sung một số điều của Thông tư số 26/2018/TT-BGTVT ngày 14 tháng 5 năm 2018 của Bộ trưởng Bộ Giao thông vận tải;
c) Thông tư số 29/2023/TT-BGTVT ngày 29 tháng 9 năm 2023 của Bộ trưởng Bộ Giao thông vận tải quy định về đường ngang và cấp giấy phép xây dựng công trình thiết yếu trong phạm vi đất dành cho đường sắt;
d) Thông tư số 11/2018/TT-BGTVT ngày 28 tháng 3 năm 2018 của Bộ trưởng Bộ Giao thông vận tải quy định về cầu chung, giao thông trên khu vực cầu chung;
đ) Thông tư số 28/2018/TT-BGTVT ngày 14 tháng 5 năm 2018 của Bộ trưởng Bộ Giao thông vận tải quy định về kết nối tín hiệu đèn giao thông đường bộ với tín hiệu đèn báo hiệu trên đường bộ tại đường ngang, cung cấp thông tin hỗ trợ cảnh giới tại các điểm giao cắt giữa đường bộ và đường sắt;
e) Thông tư số 06/2025/TT-BXD ngày 12 tháng 5 năm 2025 của Bộ trưởng Bộ Xây dựng quy định về quản lý, bảo trì kết cấu hạ tầng đường sắt quốc gia;
g) Thông tư số 17/2021/TT-BGTVT ngày 25 tháng 8 năm 2021 của Bộ trưởng Bộ Giao thông vận tải quy định về phòng, chống, khắc phục hậu quả thiên tai; ứng phó sự cố và cứu nạn trong lĩnh vực đường sắt;
h) Thông tư số 27/2018/TT-BGTVT ngày 14 tháng 5 năm 2018 của Bộ trưởng Bộ Giao thông vận tải quy định về xây dựng, công bố công lệnh tải trọng, công lệnh tốc độ trên đường sắt quốc gia, đường sắt đô thị chạy chung với đường sắt quốc gia, đường sắt chuyên dùng;
i) Thông tư số 24/2018/TT-BGTVT ngày 07 tháng 5 năm 2018 của Bộ trưởng Bộ Giao thông vận tải quy định về xây dựng biểu đồ chạy tàu và điều hành giao thông vận tải đường sắt;
k) Thông tư số 31/2018/TT-BGTVT ngày 15 tháng 5 năm 2018 của Bộ trưởng Bộ Giao thông vận tải quy định về đánh giá, chứng nhận an toàn hệ thống đối với đường sắt đô thị;
l) Thông tư số 32/2020/TT-BGTVT ngày 14 tháng 12 năm 2020 của Bộ trưởng Bộ Giao thông vận tải sửa đổi, bổ sung một số điều của Thông tư số 29/2018/TT-BGTVT ngày 14 tháng 5 năm 2018 của Bộ trưởng Bộ Giao thông vận tải;
m) Thông tư số 14/2021/TT-BGTVT ngày 28 tháng 7 năm 2021 của Bộ trưởng Bộ Giao thông vận tải ban hành Thông tư bãi bỏ Điều 22 Thông tư số 31/2018/TT-BGTVT ngày 15 tháng 5 năm 2018 của Bộ trưởng Bộ Giao thông vận tải.
Điều 115. Quy định chuyển tiếp
1. Hồ sơ đề nghị chấp thuận chủ trương kết nối ray đường sắt do tổ chức, cá nhân có nhu cầu kết nối nộp đến cơ quan có thẩm quyền trước ngày thông tư này có hiệu lực thì tiếp tục thực hiện theo quy định tại Thông tư số 26/2018/TT-BGTVT ngày 14 tháng 5 năm 2018 của Bộ trưởng Bộ Giao thông vận tải.
2. Về quản lý, bảo trì kết cấu hạ tầng đường sắt
a) Các công trình, nhiệm vụ đã được phê duyệt và đang triển khai thực hiện đến ngày Thông tư này có hiệu lực vẫn chưa hoàn thành thì tiếp tục thực hiện theo quy định tại Thông tư số 06/2025/TT-BXD ngày 12 tháng 5 năm 2025 của Bộ trưởng Bộ Xây dựng;
b) Các công trình, nhiệm vụ đã phê duyệt trước ngày Thông tư này có hiệu lực nhưng chưa thực hiện thì việc triển khai thực hiện theo quy định của Thông tư này.
3. Thiên tai, sự cố xảy ra trước ngày Thông tư này có hiệu lực thi hành được thực hiện như sau:
a) Trình tự, nội dung, hồ sơ, trách nhiệm của các chủ thể trong việc thực hiện khắc phục hậu quả thiên tai, sự cố đối với công trình bước 1 thực hiện theo quy định tại Thông tư số 17/2021/TT-BGTVT ngày 25 tháng 8 năm 2021 của Bộ trưởng Bộ Giao thông vận tải;
b) Việc khắc phục hậu quả thiên tai, sự cố đối với công trình bước 2 thực hiện theo quy định của Thông tư này.
4. Trường hợp công lệnh tải trọng, công lệnh tốc độ đã xây dựng và công bố trước ngày 01 tháng 01 năm 2026 được tiếp tục thực hiện đến khi công bố công lệnh tải trọng, công lệnh tốc độ mới hoặc công lệnh tải trọng, công lệnh tốc độ được cập nhật.
5. Các hợp đồng cung cấp dịch vụ điều hành giao thông vận tải đường sắt đã được ký kết theo quy định của pháp luật trước ngày Thông tư này có hiệu lực thi hành thì tiếp tục thực hiện theo quy định đến hết thời hạn của hợp đồng ký kết. Trường hợp sửa đổi, bổ sung hợp đồng ký kết kể từ ngày Thông tư này có hiệu lực thi hành phải thực hiện theo quy định tại Thông tư này.
|
Nơi nhận: |
KT. BỘ TRƯỞNG
|
PHỤ LỤC I. MẪU ĐƠN ĐỀ NGHỊ CẤP GIẤY PHÉP KẾT NỐI RAY CÁC TUYẾN ĐƯỜNG SẮT
(Ban hành kèm theo Thông tư số 34/2025/TT-BXD ngày 14 tháng 11 năm 2025 của Bộ trưởng Bộ Xây dựng)
|
....(1)... |
CỘNG HÒA XÃ HỘI CHỦ NGHĨA VIỆT NAM |
ĐƠN ĐỀ NGHỊ
Cấp giấy phép kết nối ray giữa tuyến đường sắt...(3)...
với tuyến đường sắt...(4)...
Kính gửi: ...(2)...
- Căn cứ Luật Đường sắt số 95/2025/QH15 ngày 27 tháng 6 năm 2025;
- Căn cứ Thông tư số .../TT-BXD, ngày ....tháng ....năm 2025 của Bộ trưởng Bộ Xây dựng quy định về quản lý, khai thác kết cấu hạ tầng đường sắt.
...(1)... đại diện bởi: ..chức vụ: ...
- Địa chỉ liên hệ: ...
- Số điện thoại: ...
...(1)..... đề nghị ….(2).... cấp giấy phép kết nối tuyến đường sắt ...(3)…. với tuyến đường sắt .. ....(4).... với nội dung như sau:
1. Địa điểm kết nối: thuộc địa bàn xã (phường)..., tỉnh (thành phố) ...
2. Vị trí kết nối: tại ga ... trên tuyến đường sắt ....(4)....:
- Số lượng đường ga tại vị trí kết nối:….
- Chiều dài đường ga của các đường ga tại vị trí kết nối:…..
- Tín hiệu chạy tàu tại vị trí kết nối:….
3. Tiêu chuẩn kỹ thuật chủ yếu của tuyến đường sắt có nhu cầu kết nối:
- Cấp kỹ thuật ….
- Khổ đường ….
- Tiêu chuẩn, quy chuẩn kỹ thuật, công nghệ áp dụng (ghi chi tiết danh mục tiêu chuẩn, quy chuẩn, công nghệ áp dụng) ….
- Tải trọng đoàn tàu, chiều dài đoàn tàu sẽ khai thác sau khi kết nối...
- Khổ giới hạn tiếp giáp kiến trúc và khổ giới hạn đầu máy toa xe đang áp dụng ….
- Hệ thống tín hiệu chạy tàu ...
- Bình diện đường sắt khu vực kết nối ray ...
- Trắc dọc đường sắt khu vực kết nối ray ...
- Tiêu chuẩn bề rộng nền đường của tuyến đường sắt có nhu cầu kết nối
- Các nội dung khác (nếu có) ...
4. Cam kết về kinh phí đầu tư xây dựng, quản lý, bảo trì công trình đường sắt tại vị trí kết nối ...
5. Phương án tổ chức điều hành chạy tàu: ...
6. Biện pháp bảo đảm an toàn giao thông, bảo vệ môi trường và phòng chống cháy, nổ ….
7. Thời gian thi công kết nối: ...
8. Thời gian khai thác, sử dụng kết nối: ...
9. Phương án quản lý, khai thác kết cấu hạ tầng đường sắt tại vị trí kết nối sau khi kết nối...
10. ....(1).... cam kết:
- Thực hiện đầy đủ các nội dung theo giấy phép kết nối.
- Chịu toàn bộ kinh phí đầu tư xây dựng, quản lý, bảo trì công trình và thiết bị trong khu vực kết nối ray.
- Bảo đảm an toàn công trình, an toàn giao thông vận tải đường sắt và bảo vệ môi trường trong suốt quá trình thi công; quản lý, bảo trì công trình và thiết bị trong khu vực kết nối ray trong quá trình khai thác, sử dụng.
- Tự tháo dỡ công trình, thiết bị kết nối khi có yêu cầu của cơ quan có thẩm quyền.
- Chịu mọi chi phí tháo dỡ khi hết hạn sử dụng (đối với kết nối có thời hạn).
11. Nhu cầu nhận kết quả là bản giấy: Có □ Không □
|
Nơi nhận: - Như trên; - .........; - .........; - Lưu: VT.
|
QUYỀN HẠN, CHỨC VỤ CỦA NGƯỜI KÝ (Chữ ký của người có thẩm quyền,
Họ và tên
|
Hướng dẫn ghi trong đơn đề nghị
(1) : Tên tổ chức, cá nhân đề nghị cấp giấy phép kết nối.
(2) : Tên cơ quan có thẩm quyền cấp giấy phép kết nối.
(3) : Tên tuyến đường sắt địa phương hoặc tuyến đường sắt chuyên dùng đề nghị được kết nối.
(4) : Tên tuyến đường sắt sẽ kết nối vào.
ĐỀ NGHỊ BÃI BỎ KẾT NỐI RAY CÁC TUYẾN ĐƯỜNG SẮT
của Bộ trưởng Bộ Xây dựng)
1. Mẫu đơn đề nghị gia hạn giấy phép kết nối ray
|
....(1)... |
CỘNG HÒA XÃ HỘI CHỦ NGHĨA VIỆT NAM |
ĐƠN ĐỀ NGHỊ
Gia hạn Giấy phép kết nối ray giữa tuyến đường sắt...(4)...
với tuyến đường sắt...(3)...
Kính gửi: ...(2)...
- Căn cứ Luật Đường sắt số 95/2025/QH15 ngày 27/6/2025;
- Căn cứ Thông tư số .../TT-BXD, ngày ...tháng ...năm 2025 của Bộ trưởng Bộ Xây dựng quy định về quản lý, khai thác kết cấu hạ tầng đường sắt;
- Căn cứ Giấy phép kết nối ray số... ngày... tháng... năm...
...(1).... đại diện bởi: chức vụ: ... đề nghị ...(2)... được gia hạn ... (nêu rõ gia hạn thời gian thi công kết nối hoặc thời gian khai thác sử dụng tuyến đường sắt kết nối), với nội dung sau:
1. Địa điểm kết nối: địa bàn xã (phường) …..tỉnh (thành phố)….
2. Vị trí kết nối: tại ga ... trên tuyến đường sắt ....(3)...
3. Lý do đề nghị gia hạn: ...
4. Thời gian đề nghị gia hạn: ...
5. Nhu cầu nhận kết quả là bản giấy: Có □ Không □
|
Nơi nhận: - Như trên; - ..........; - ..........; - Lưu VT
|
QUYỀN HẠN, CHỨC VỤ CỦA NGƯỜI KÝ (Chữ ký của người có thẩm quyền,
Họ và tên
|
Hướng dẫn ghi trong đơn đề nghị gia hạn
(1) : Tên tổ chức đề nghị gia hạn giấy phép kết nối.
(2) : Tên cơ quan có thẩm quyền gia hạn giấy phép kết nối.
(3) : Tên tuyến đường sắt được kết nối.
(4) : Tên tuyến đường sắt có nhu cầu kết nối.
2. Mẫu đơn đề nghị bãi bỏ kết nối các tuyến đường sắt
|
....(1)... |
CỘNG HÒA XÃ HỘI CHỦ NGHĨA VIỆT NAM |
ĐƠN ĐỀ NGHỊ
Bãi bỏ kết nối ray giữa tuyến đường sắt...(4)...
với tuyến đường sắt...(3)...
Kính gửi: ....(2)....
- Căn cứ Luật Đường sắt số 95/2025/QH15 ngày 27/6/2025;
- Căn cứ Thông tư số .../TT-BXD, ngày... tháng... năm 2025 của Bộ trưởng Bộ Xây dựng quy định về quản lý, khai thác kết cấu hạ tầng đường sắt;
- Căn cứ Giấy phép kết nối ray số... ngày.... tháng.... năm.....
.....(1).... đại diện bởi: ….; chức vụ: .... đề nghị ...(2)... được bãi bỏ kết nối ray giữa tuyến đường sắt....(4)..... với tuyến đường sắt....(3)..... với nội dung sau:
1. Bãi bỏ vị trí kết nối tại ga .... trên tuyến đường sắt .....(3) .....
2. Lý do đề nghị bãi bỏ: .....
3. Phương án hoàn trả mặt bằng tại vị trí kết nối sau khi bãi bỏ kết nối: ...
4. Phương án quản lý, sử dụng vật tư thu hồi sau khi bãi bỏ kết nối:.
5. Nhu cầu nhận kết quả là bản giấy: Có □ Không □
|
Nơi nhận: - Như trên; - ..........; - ..........; - Lưu VT
|
QUYỀN HẠN, CHỨC VỤ CỦA NGƯỜI KÝ (Chữ ký của người có thẩm quyền,
Họ và tên
|
Hướng dẫn ghi trong đơn đề nghị bãi bỏ
(1) : Tên tổ chức đề nghị bãi bỏ kết nối.
(2) : Tên cơ quan có thẩm quyền quyết định bãi bỏ kết nối.
(3) : Tên tuyến đường sắt được kết nối.
(4) : Tên tuyến đường sắt có nhu cầu kết nối.
PHỤ LỤC III. MẪU GIẤY PHÉP KẾT NỐI RAY CÁC TUYẾN ĐƯỜNG SẮT
(Ban hành kèm theo Thông tư số 34/2025/TT-BXD ngày 14 tháng 11 năm 2025 của Bộ trưởng Bộ Xây dựng)
|
....(1)... |
CỘNG HÒA XÃ HỘI CHỦ NGHĨA VIỆT NAM |
GIẤY PHÉP
Kết nối tuyến đường sắt ...(2)... với tuyến đường sắt ...(3)...
- Căn cứ Luật Đường sắt số 95/2025/QH15 ngày 27 tháng 6 năm 2025;
- Căn cứ Thông tư số... /TT-BXD, ngày.... tháng ....năm 2025 của Bộ trưởng Bộ Xây dựng quy định về quản lý, khai thác kết cấu hạ tầng đường sắt.
- Xét Đơn đề nghị số ..../.... ngày ... tháng ... năm ... của ....(4)...,
QUYẾT ĐỊNH:
Điều 1. Tổ chức được phép kết nối ray giữa tuyến đường sắt .....(2).... với tuyến đường sắt ....(3).....:
- Tên tổ chức:...
- Địa chỉ: ...
- Số điện thoại: ...
Điều 2. Nội dung kết nối:
1. Địa điểm kết nối: địa bàn xã (phường) .....tỉnh (thành phố).....
2. Vị trí kết nối: tại ga ... trên tuyến đường sắt .....(3)..., cụ thể:
- Số lượng đường ga tại vị trí kết nối: ….
- Chiều dài đường ga của các đường ga tại vị trí kết nối: .....
- Hệ thống tín hiệu, điều hành chạy tàu tại vị trí kết nối: .....
3. Tiêu chuẩn kỹ thuật chủ yếu của tuyến đường sắt .....(2)....:
- Cấp kỹ thuật của đường sắt: .....
- Khổ đường: ...
- Quy chuẩn kỹ thuật, tiêu chuẩn áp dụng: ....
- Tải trọng đoàn tàu, chiều dài đoàn tàu khai thác sau khi kết nối: ...
- Hệ thống tín hiệu, điều khiển chạy tàu: ...
- Bình diện đường sắt khu vực kết nối ray: ...
- Trắc dọc đường sắt khu vực kết nối ray: ...
- Các nội dung khác: ...
4. Phương án tổ chức điều hành chạy tàu: ...
5. Thời gian thi công kết nối: ...
6. Thời gian khai thác, sử dụng kết nối: ...
Điều 3. Trách nhiệm của tổ chức, đơn vị có liên quan
1. Trách nhiệm của chủ đầu tư dự án, chủ quản lý sử dụng tuyến đường sắt có nhu cầu kết nối: ...
2. Trách nhiệm của doanh nghiệp kinh doanh tuyến đường sắt được kết nối:...
3. Trách nhiệm của tổ chức, cá nhân khác có liên quan: ...
Điều 4. Hiệu lực của quyết định: ...
|
Nơi nhận: - Như trên; - .........; - .........; - Lưu VT
|
QUYỀN HẠN, CHỨC VỤ CỦA NGƯỜI KÝ (Chữ ký của người có thẩm quyền,
Họ và tên
|
Hướng dẫn ghi trong giấy phép
(1) : Tên cơ quan cấp giấy phép kết nối.
(2) : Tên tuyến đường sắt có nhu cầu kết nối.
(3) : Tên tuyến đường sắt được kết nối.
(4) : Tên tổ chức đề nghị cấp giấy phép kết nối.
PHỤ LỤC IV. MẪU ĐƠN ĐỀ NGHỊ GIA HẠN GIẤY PHÉP KẾT BỎ KẾT NỐI RAY, ĐỀ NGHỊ BÃI BỎ KẾT NỐI RAY CÁC TUYẾN ĐƯỜNG SẮT
(Ban hành kèm theo Thông tư số 34/2025/TT-BXD ngày 14 tháng 11 năm 2025 của Bộ trưởng Bộ Xây dựng)
1. Mẫu quyết định gia hạn giấy phép kết nối các tuyến đường sắt
|
....(1)... |
CỘNG HÒA XÃ HỘI CHỦ NGHĨA VIỆT NAM |
QUYẾT ĐỊNH
Gia hạn giấy phép kết nối tuyến đường sắt ...(2)... với tuyến đường sắt...(3)...
- Căn cứ Luật Đường sắt số 95/2025/QH15 ngày 27/6/2025;
- Căn cứ Thông tư số .../TT-BXD, ngày ....tháng ...năm 2025 của Bộ trưởng Bộ Xây dựng quy định về quản lý, khai thác kết cấu hạ tầng đường sắt.
- Căn cứ Giấy phép số ... ngày ... tháng ... năm ... về việc kết nối tuyến đường sắt ...(2).... với tuyến đường sắt...(3)...;
- Xét Đơn đề nghị số ... ngày ... tháng…. năm .... của ...(4)...,
QUYẾT ĐỊNH:
Điều 1. Gia hạn (ghi rõ gia hạn thời gian thi công kết nối hoặc thời gian khai thác, sử dụng tuyến đường sắt kết nối) giấy phép kết nối tuyến đường sắt ...(2)... với tuyến đường sắt ...(3)... đến ngày ... tháng ... năm ...
Điều 2. Trách nhiệm của tổ chức, đơn vị có liên quan
1. Trách nhiệm của chủ đầu tư dự án, chủ quản lý sử dụng tuyến đường sắt có nhu cầu kết nối: ...
2. Trách nhiệm của doanh nghiệp kinh doanh tuyến đường sắt được kết nối:...
3. Trách nhiệm của tổ chức, cá nhân khác có liên quan: ...
|
Nơi nhận: - Như trên; - ..........; - ..........; - Lưu VT
|
QUYỀN HẠN, CHỨC VỤ CỦA NGƯỜI KÝ (Chữ ký của người có thẩm quyền,
Họ và tên
|
Hướng dẫn ghi trong quyết định gia hạn giấy phép kết nối
(1) : Tên cơ quan có thẩm quyền quyết định gia hạn giấy phép kết nối.
(2) : Tên tuyến đường sắt có nhu cầu kết nối.
(3) : Tên tuyến đường sắt được kết nối.
(4) : Tên tổ chức đề nghị gia hạn giấy phép kết nối.
2. Mẫu quyết định bãi bỏ kết nối các tuyến đường sắt
|
....(1)... |
CỘNG HÒA XÃ HỘI CHỦ NGHĨA VIỆT NAM |
QUYẾT ĐỊNH
Bãi bỏ kết nối tuyến đường sắt ...(2)... với tuyến đường sắt ..(3)...
- Căn cứ Luật Đường sắt số 95/2025/QH15 ngày 27/6/2025;
- Căn cứ Thông tư số .../TT-BXD, ngày... tháng ....năm 2025 của Bộ trưởng Bộ Xây dựng quy định về quản lý, khai thác kết cấu hạ tầng đường sắt.
- Căn cứ Giấy phép số ... ngày ... tháng ... năm ... về việc kết nối tuyến đường sắt ...(2).... với tuyến đường sắt...(3)...;
- Xét Đơn đề nghị số ... ngày ... tháng năm .... của ...(4)...,
QUYẾT ĐỊNH:
Điều 1. Bãi bỏ kết nối tuyến đường sắt ...(2)... với tuyến đường sắt ...(3)... từ ... giờ ... ngày ... tháng ... năm ...
Điều 2. Trách nhiệm của tổ chức có liên quan khi bãi bỏ kết nối
1. Trách nhiệm của chủ đầu tư dự án, chủ quản lý sử dụng tuyến đường sắt có nhu cầu kết nối: ...
2. Trách nhiệm của doanh nghiệp kinh doanh tuyến đường sắt được kết nối:...
3. Trách nhiệm của tổ chức, cá nhân khác có liên quan: ...
|
Nơi nhận: - Như trên; - ..........; - ..........; - Lưu VT
|
QUYỀN HẠN, CHỨC VỤ CỦA NGƯỜI KÝ (Chữ ký của người có thẩm quyền,
Họ và tên
|
Hướng dẫn ghi trong quyết định bãi bỏ kết nối
(1) : Tên cơ quan có thẩm quyền quyết định bãi bỏ kết nối.
(2) : Tên tuyến đường sắt có nhu cầu kết nối.
(3) : Tên tuyến đường sắt được kết nối.
(4) : Tên tổ chức đề nghị bãi bỏ kết nối.
PHỤ LỤC V. PHÂN CẤP ĐƯỜNG NGANG
(Ban hành kèm theo Thông tư số 34/2025/TT-BXD ngày 14 tháng 11 năm 2025 của Bộ trưởng Bộ Xây dựng)
|
Cấp đường ngang |
Khi có một trong hai, hoặc cả hai yếu tố: lưu lượng xe thiết kế hoặc tích số tàu xe |
|
|
Đường sắt giao với |
Tích số tàu xe (A) |
|
|
I |
- Đường bộ có lưu lượng xe thiết kế 3.000 xe trở lên |
- |
|
- Đường bộ đô thị |
Trên 20.000 |
|
|
II |
- Đường bộ có lưu lượng xe thiết kế từ 200 xe đến 3.000 xe |
- |
|
- Đường bộ là đường xã có lưu lượng xe thiết kế nhỏ hơn 200 xe |
- |
|
|
- Đường bộ đô thị |
Từ 5.000 đến 20.000 |
|
|
III |
- Đường bộ chưa được phân cấp |
Dưới 5.000 |
|
- Đường bộ đô thị |
||
Ghi chú:
Tích số tàu xe là số nhân của đoàn tàu với số xe qua đường ngang trong một ngày đêm trung bình:
A = Nt x Nx
Trong đó:
A: Tích số tàu xe.
Nt : Số đoàn tàu qua đường ngang trong một ngày đêm, theo số liệu của biểu đồ chạy tàu hoặc theo dự kiến kế hoạch khi thiết kế tuyến đường.
Nx : Số xe con quy đổi qua đường ngang trong một ngày đêm trung bình.
Trường hợp sử dụng số liệu thống kê phải có xác nhận của cơ quan quản lý tuyến đường bộ.
Trường hợp đếm xe thực tế, thực hiện đếm trong vòng 06 tháng, mỗi tháng đếm 01 lần, đếm vào các ngày 5, 6, 7 trong tháng, hai ngày đầu đếm 16h/24h (từ 05h00 đến 21h00), ngày thứ 3 đếm 24h/24h (từ 0h00 hôm trước đến 0h00 hôm sau) và tổng hợp số liệu trung bình của 06 tháng. Phương pháp đếm xe có thể thực hiện bằng thủ công hoặc tự động.
Hệ số quy đổi từ các loại xe ra xe con theo quy định tại bảng sau:
Bảng hệ số quy đổi từ xe các loại ra xe con
|
Địa hình |
Loại xe |
|||||
|
Xe đạp |
Xe máy |
Xe con |
Xe tải có 2 trục và xe buýt dưới 25 chỗ |
Xe tải có từ 3 trục trở lên và xe buýt lớn |
Xe kéo moóc, xe buýt kéo moóc |
|
|
Đồng bằng và đồi |
0,2 |
0,3 |
1,0 |
2,0 |
2,5 |
4,0 |
|
Núi |
0,2 |
0,3 |
1,0 |
2,5 |
3,0 |
5,0 |
|
Chú thích: -Việc phân biệt địa hình được dựa trên cơ sở độ dốc ngang phổ biến của sườn đồi, sườn núi như sau: đồng bằng và đồi ≤ 30%; núi > 30%. - Đường tách riêng xe thô sơ thì không quy đổi xe đạp. |
||||||
PHỤ LỤC VI. SƠ ĐỒ TỔ CHỨC PHÒNG VỆ ĐƯỜNG NGANG
(Ban hành kèm theo Thông tư số 34/2025/TT-BXD ngày 14 tháng 11 năm 2025 của Bộ trưởng Bộ Xây dựng)
A. Tổ chức phòng vệ đường ngang có người gác (thể hiện một phía của đường ngang)

Ghi chú:
1. Biển “Kéo còi”.
2. Cột tín hiệu ngăn đường.
3. Nhà gác đường ngang (trường hợp khó khăn, bộ phận gần nhất của nhà gác đường ngang không vi phạm khổ giới hạn tiếp giáp kiến trúc của đường sắt và không vi phạm khổ giới hạn của đường bộ).
4. Vị trí đèn tín hiệu và chuông điện.
5. Biển số W.210 “Giao nhau với đường sắt có rào chắn”.
6. Cọc tiêu (trừ trường hợp phần đường xe chạy đã được phân biệt rõ bởi bó vỉa, vỉa hè hoặc các kết cấu liền kề hoặc khi đã sử dụng tiêu phản quang dạng mũi tên tại các đường cong).
7. Hàng rào cố định.
8. Chắn đường đường ngang:
Đối với trường hợp bề rộng mặt đường bộ ≥ 7,0m, có thể bố trí 02 chắn cho 1 phía đường bộ đi vào đường ngang khi đó việc đóng chắn phải thực hiện bảo đảm phù hợp để ngăn luồng phương tiện giao thông đường bộ đi vào đường ngang.
Trường hợp khó khăn, chắn đường ngang phải đặt ngoài khổ giới hạn tiếp giáp kiến trúc đường sắt.
9. Vạch dừng xe (Vạch 7.1).
10.Biển “Ngừng”, trừ trường hợp đường ngang đã có tín hiệu ngăn đường hoặc đường ngang nằm trong phạm vi phòng vệ của tín hiệu vào ga, ra ga, hoặc tín hiệu bãi dồn, tín hiệu thông qua trên đường sắt có thiết bị đóng đường tự động hoặc tín hiệu phòng vệ khác, khi các tín hiệu trên cách đường ngang dưới 800 mét (m).
Hình vẽ trên thể hiện bố trí phòng vệ tại đường ngang có người gác tại một phía của đường ngang; phía đối diện, việc phòng vệ đường ngang sẽ được bố trí tương tự.
B. Tổ chức phòng vệ tại đường ngang không có người gác (thể hiện một phía của đường ngang)
1. Đối với đường ngang cảnh báo tự động, có cần chắn tự động:

Ghi chú:
1. Biển “Kéo còi”.
2. Vị trí đèn tín hiệu và chuông điện.
3. Biển số W.210 “Giao nhau với đường sắt có rào chắn”.
4. Cọc tiêu hoặc có thể sử dụng hàng rào có lan can phòng hộ thay cho hàng cọc tiêu (trừ trường hợp phần đường xe chạy đã được phân biệt rõ bởi bó vỉa, vỉa hè hoặc các kết cấu liền kề hoặc khi đã sử dụng tiêu phản quang dạng mũi tên tại các đường cong).
5. Vạch dừng xe (Vạch 7.1).
6. Gờ giảm tốc.
7. Gồ giảm tốc (nếu có).
8. Cần chắn tự động (trường hợp khó khăn, cần chắn phải đặt ngoài khổ giới hạn tiếp giáp kiến trúc đường sắt).
Hình vẽ trên thể hiện bố trí phòng vệ tại đường ngang cảnh báo tự động, có cần chắn tự động tại một phía của đường ngang; phía đối diện, việc phòng vệ đường ngang sẽ được bố trí tương tự.
2. Đối với đường ngang cảnh báo tự động, không có cần chắn tự động:

Ghi chú:
1. Biển “Kéo còi”.
2. Vị trí đèn tín hiệu và chuông điện.
3. Biển số W.211a. “Giao nhau với đường sắt không có rào chắn”
4. Cọc tiêu hoặc có thể sử dụng hàng rào có lan can phòng hộ thay cho hàng cọc tiêu (trừ trường hợp phần đường xe chạy đã được phân biệt rõ bởi bó vỉa, vỉa hè hoặc các kết cấu liền kề hoặc khi đã sử dụng tiêu phản quang dạng mũi tên tại các đường cong).
5. Vạch dừng xe (Vạch 7.1).
6. Gờ giảm tốc.
7. Gồ giảm tốc.
Hình vẽ trên thể hiện bố trí phòng vệ tại đường ngang cảnh báo tự động, không có cần chắn tự động tại một phía của đường ngang; phía đối diện, việc phòng vệ đường ngang sẽ được bố trí tương tự.
3. Đối với đường ngang biển báo:

Ghi chú:
1. Biển “Kéo còi”.
2. Biển số W.242a,b “Nơi đường sắt giao vuông góc với đường bộ” hoặc Biển số W243a,b,c “Nơi đường sắt giao không vuông góc với đường bộ”.
3. Biển số W.211a “Giao nhau với đường sắt không có rào chắn”.
4. Cọc tiêu hoặc có thể sử dụng hàng rào có lan can phòng hộ thay cho hàng cọc tiêu (trừ trường hợp phần đường xe chạy đã được phân biệt rõ bởi bó vỉa, vỉa hè hoặc các kết cấu liền kề hoặc khi đã sử dụng tiêu phản quang dạng mũi tên tại các đường cong).
5. Vạch dừng xe (Vạch 7.1) kết hợp vạch sơn chữ “STOP”.
6. Biển dừng lại (Biển số R.122) kết hợp với biển phụ ghi “Dừng lại quan sát trước khi qua đường ngang”.
7. Gờ giảm tốc.
8. Gồ giảm tốc.
Hình vẽ trên thể hiện bố trí phòng vệ tại đường ngang biển báo tại một phía của đường ngang; phía đối diện, việc phòng vệ đường ngang sẽ được bố trí tương tự.
C. Vị trí đặt biển báo khi đường bộ liền kề và gần đường sắt, có đoạn rẽ vào đường sắt (thể hiện một phía của đường ngang)
1. Chiều dài đoạn rẽ đến đường sắt nhỏ hơn 10 m:

Ghi chú:
1. Biển số W242a,b “Nơi đường sắt giao vuông góc với đường bộ” hoặc Biển số W243a,b,c “Nơi đường sắt giao không vuông góc với đường bộ”.
2. Biển số W210 “Giao nhau với đường sắt có rào chắn” đối với đường ngang có người gác hoặc đường ngang cảnh báo tự động có cần chắn tự động; Biển số W211a “Giao nhau với đường sắt không có rào chắn” đối với đường ngang cảnh báo tự động, không có cần chắn tự động hoặc đường ngang biển báo.
3. Những báo hiệu, tín hiệu của đường ngang không thể hiện trong hình vẽ trên, tùy theo hình thức phòng vệ thực hiện theo Mục A, B của Phụ lục này.
2. Chiều dài đoạn rẽ đến đường sắt từ 10 m đến 75 m:

Ghi chú:
1. Biển số W242a,b “Nơi đường sắt giao vuông góc với đường bộ” hoặc Biển số W243a,b,c “Nơi đường sắt giao không vuông góc với đường bộ”.
2. Biển số W210 “Giao nhau với đường sắt có rào chắn” đối với đường ngang có người gác hoặc đường ngang cảnh báo tự động có cần chắn tự động; Biển số W211a “Giao nhau với đường sắt không có rào chắn” đối với đường ngang cảnh báo tự động, không có cần chắn tự động hoặc đường ngang biển báo.
3. Những báo hiệu, tín hiệu của đường ngang không thể hiện trong hình vẽ trên, tùy theo hình thức phòng vệ thực hiện theo Mục A, B của Phụ lục này.
PHỤ LỤC VII. BỐ TRÍ LÀN PHỤ
(Ban hành kèm theo Thông tư số 34/2025/TT-BXD ngày 14 tháng 11 năm 2025 của Bộ trưởng Bộ Xây dựng)

Ghi chú:
- Bề rộng của làn phụ là 3,5 m, trường hợp khó khăn cho phép giảm xuống 3,0 m.
- Nên bố trí thành một tuyến độc lập, nếu không được, làn phụ đặt trên phần lề gia cố; nếu bề rộng lề gia cố không đủ thì mở rộng thêm cho đủ 3,5m và bảo đảm lề đất rộng đủ 0,5m. (tại đoạn này xe đạp và xe thô sơ đi cùng với xe ô tô trên làn phụ).
- Đoạn chuyển tiếp sang làn xe phụ phải đặt trước điểm bắt đầu mở làn phụ 35m và mở rộng dần theo hình nêm theo độ mở rộng 1:10 (chiều dài đoạn mở rộng là 70m).
PHỤ LỤC VIII. SƠ ĐỒ ĐÈN TÍN HIỆU VÀ CHUÔNG ĐIỆN HOẶC LOA PHÁT ÂM THANH
(Ban hành kèm theo Thông tư số 34/2025/TT-BXD ngày 14 tháng 11 năm 2025 của Bộ trưởng Bộ Xây dựng)
A. Tại đường ngang có người gác:
1. Trường hợp không sử dụng cột cần vươn

Ghi chú:
1. Móng bê tông.
2. Đế cột.
3. Thân cột.
4. Biển “Đèn đỏ dừng lại”.
5. Cơ cấu biểu thị hai đèn đỏ. Cơ cấu biểu thị sử dụng đèn hướng về phía đường bộ hoặc sử dụng đèn đa hướng hình cầu để tăng khả năng quan sát.
6. Biển “Nơi đường sắt giao vuông góc với đường bộ”; hoặc Biển “Nơi đường sắt giao không vuông góc với đường bộ”.
7. Hộp chuông hoặc loa phát âm thanh.
(Nếu lắp hai cơ cấu tín hiệu trên cùng một cột để xoay về hai hướng của đường bộ dẫn vào đường ngang thì hai cơ cấu nối tiếp nhau)
2. Trường hợp sử dụng cột cần vươn

Ghi chú:
- Phần móng, đế, thân cột và cơ cấu bên dưới bố trí như trường hợp không sử dụng cột cần vươn.
- Cơ cấu tín hiệu trên cần vươn giống như cơ cấu bên dưới.
B. Tại đường ngang không có người gác
1. Trường hợp không sử dụng cột cần vươn

Ghi chú:
1. Móng bê tông.
2. Đế cột.
3. Thân cột.
4. Biển “Đèn đỏ dừng lại”.
5. Cơ cấu biểu thị hai đèn đỏ, một đèn vàng. Cơ cấu biểu thị sử dụng đèn hướng về phía đường bộ hoặc sử dụng đèn đa hướng hình cầu để tăng khả năng quan sát.
6. Biển “Nơi đường sắt giao vuông góc với đường bộ”; hoặc Biển “Nơi đường sắt giao không vuông góc với đường bộ”.
7. Hộp chuông hoặc loa phát âm thanh.
(Nếu lắp hai cơ cấu tín hiệu trên cùng một cột để xoay về hai hướng của đường bộ dẫn vào đường ngang thì hai cơ cấu nối tiếp nhau).
2. Trường hợp sử dụng cột cần vươn
Ghi chú:
- Phần móng, đế, thân cột và cơ cấu bên dưới bố trí như trường hợp không sử dụng cột cần vươn.
- Cơ cấu tín hiệu trên cần vươn giống như cơ cấu bên dưới.
PHỤ LỤC IX. BIỂU TỔNG HỢP THỐNG KÊ CÁC ĐƯỜNG NGANG
(Ban hành kèm theo Thông tư số 34/2025/TT-BXD ngày 14 tháng 11 năm 2025 của Bộ trưởng Bộ Xây dựng)
A. Biểu tổng hợp thống kê các đường ngang cho từng tuyến đường sắt theo địa giới hành chính quản lý
(Tính đến tháng... Năm 20...)
|
TT |
Tuyến đường sắt |
Số lượng đường ngang |
Số lượng đường ngang nguy hiểm đến ATGT đang tổ chức cảnh giới |
Ghi chú |
|||||
|
Có gác |
Cảnh báo tự động |
Biển báo |
Do địa phương thực hiện |
Do doanh nghiệp kinh doanh KCHTĐS thực hiện |
|
||||
|
Cần chắn |
Dàn chắn |
Có cần chắn |
Không có cần chắn |
|
|
|
|||
|
(1) |
(2) |
(3) |
(4) |
(5) |
(6) |
(7) |
(8) |
(9) |
(10) |
|
I |
Thuộc địa bàn tỉnh, thành phố ... |
||||||||
|
1 |
Tuyến đường sắt... |
|
|
|
|
|
|
|
|
|
2 |
Tuyến đường sắt. … |
|
|
|
|
|
|
|
|
|
|
Cộng: |
|
|
|
|
|
|
|
|
|
II |
Thuộc địa bàn tỉnh, thành phố ... |
||||||||
|
1 |
Tuyến đường sắt. … |
|
|
|
|
|
|
|
|
|
|
… |
|
|
|
|
|
|
|
|
|
|
Cộng: |
|
|
|
|
|
|
|
|
|
|
Tổng cộng: |
|
|
|
|
|
|
|
|
|
Người lập biểu (Ký, ghi rõ họ tên) |
QUYỀN HẠN, CHỨC VỤ CỦA NGƯỜI KÝ (Chữ ký của người có thẩm quyền, |
B. Số liệu quản lý đường ngang cho từng tuyến đường sắt
1. Tuyến đường sắt: ….
(Tính đến tháng... năm ....)
|
TT |
Tên đường ngang |
Lý trình đường sắt tại vị trí giao cắt |
Lý trình đường bộ tại vị trí giao cắt |
Địa điểm |
Các yếu tố đường ngang |
Các yếu tố |
đường bộ khu ngang |
vực đường |
Tầm nhìn điểm giao cắt (m) |
Quyết định thành lập đường ngang |
Thời gian sử dụng đường ngang |
Số vụ tai nạn xảy ra tại đường ngang theo từng năm |
Tình hình hoạt động của thiết bị chắn đường ngang |
Tình trạng hồ sơ quản lý đường ngang |
||||||||||||||
|
Tỉnh (TP) |
Xã (Phường) |
Cấp đường ngang |
Góc giao (độ) |
Bán kính đường sắt R đs; Bán kính đường bộ Rđb tại vị trí giao cắt (m) |
Tính chất phục vụ của đường ngang |
Hình thức phòng vệ của đường ngang |
Tổ chức cảnh giới đường ngang |
Loại đường bộ giao với đường sắt |
Kết cấu mặt đường bộ trong lòng đường sắt |
Kết cấu mặt đường bộ phạm vi từ mép ray ngoài cùng ra hết tà vẹt |
Kết cấu mặt đường bộ Phần còn lại |
Chiều rộng mặt đường bộ (m) |
Độ dốc đường bộ trong phạm vi đường ngang (%) |
Đường sắt |
Đường bộ |
|
|
|
|
|
||||||||
|
Hướng chẵn |
Hướng lẻ |
Phía trái ĐS |
Phía phải ĐS |
|
|
|
|
|
||||||||||||||||||||
|
Bên phải |
Bên trái |
Bên phải |
Bên trái |
|
|
|
|
|
||||||||||||||||||||
|
|
(1) |
(2) |
(3) |
(4) |
(5) |
(6) |
(7) |
(8) |
(9) |
(10) |
(11) |
(12) |
(13) |
(14) |
(15) |
(16) |
(17) |
(18) |
(19) |
(20) |
(21) |
(22) |
(23) |
(24) |
(25) |
(26) |
(27) |
(28) |
|
1 |
|
|
|
|
|
|
|
|
|
|
|
|
|
|
|
|
|
|
|
|
|
|
|
|
|
|
|
|
|
2 |
|
|
|
|
|
|
|
|
|
|
|
|
|
|
|
|
|
|
|
|
|
|
|
|
|
|
|
|
|
3 |
|
|
|
|
|
|
|
|
|
|
|
|
|
|
|
|
|
|
|
|
|
|
|
|
|
|
|
|
|
Người lập biểu (Ký, ghi rõ họ tên)
|
QUYỀN HẠN, CHỨC VỤ CỦA NGƯỜI KÝ (Chữ ký của người có thẩm quyền, dấu/chữ ký số của cơ quan, tổ chức)
|
Hướng dẫn ghi trong tổng hợp số liệu đường ngang:
(6) Cấp đường ngang: Ghi rõ cấp I, II hay III.
(7) Góc giao cắt với đường bộ (độ).
(8) Bán kính đường cong của đường sắt tại vị trí đường ngang (nếu có).
(9) Tính chất phục phụ: Công cộng (CC) hay chuyên dùng (CD).
(10) Hình thức tổ chức phòng vệ (có người gác, CBTĐ, BB); Dàn chắn (DC)/ cần chắn (CC).
(11) Cảnh giới (Địa phương cảnh giới (ĐP) hoặc doanh nghiệp quản lý tài sản đường sắt quốc gia hoặc chủ quản lý, sử dụng đường sắt chuyên dùng cảnh giới (DN).
(12) Đường bộ giao cắt với đường sắt; ví dụ (ĐT.265 hoặc vào chùa Tứ Kỳ)
(13) Kết cấu mặt đường bộ trong lòng đường sắt “(tấm đan bê tông cốt thép (TĐ) hoặc bê tông nhựa (BTN)”.
(14) Kết cấu mặt đường bộ từ mép ray chính ngoài cùng trở ra mỗi bên từ 1m hoặc 2m “(tấm đan bê tông cốt thép (TĐ) hoặc bê tông nhựa (BTN)”.
(15) Kết cấu mặt đường bộ phần còn lại bằng “(bê tông nhựa (BTN) hoặc bê tông xi măng (BTXM)”.
(16) Chiều rộng phần xe chạy của đoạn đường bộ trong phạm vi đường ngang (m).
(17) Độ dốc của đường bộ (trường hợp đường ngang trên đoạn đường sắt cong tròn (CT a%) hay trường hợp vi phạm quy định về đường ngang (VP a%).
(25) Ghi rõ thời hạn sử dụng của đường ngang (lâu dài, có thời hạn sử dụng. Trường hợp đường ngang đã hết hạn thời hạn sử dụng phải nêu rõ lý do).
(26) Ghi rõ số vụ và thời gian xảy ra tai nạn tại đường ngang.
(27) Nêu rõ tình hình hoạt động của thiết bị chắn đường ngang.
(28) Nêu rõ tình trạng hồ sơ quản lý đường ngang theo quy định tại Thông tư này.
C. Số liệu về xây dựng công trình trong phạm vi đất dành cho đường sắt
(Tính từ ngày ... tháng... năm ... đến ngày... tháng... năm ....)
|
STT |
Tên công trình |
Địa điểm xây dựng |
Số giấy phép |
Ngày khởi công |
Ngày hoàn thành |
Chủ, nhà đầu tư |
||
|
Theo giấy phép |
Thực tế thi công |
Theo giấy phép |
Thực tế thi công |
|
||||
|
I |
Tuyến đường sắt |
|
|
|
|
|
|
|
|
1 |
… |
|
|
|
|
|
|
|
|
2 |
… |
|
|
|
|
|
|
|
|
… |
… |
|
|
|
|
|
|
|
|
Người lập biểu (Ký, ghi rõ họ tên)
|
QUYỀN HẠN, CHỨC VỤ CỦA NGƯỜI KÝ (Chữ ký của người có thẩm quyền,
|
PHỤ LỤC X. MẪU ĐƠN ĐỀ NGHỊ CẤP GIẤY PHÉP XÂY DỰNG, CẢI TẠO, NÂNG CẤP ĐƯỜNG NGANG
(Ban hành kèm theo Thông tư số 34/2025/TT-BXD ngày 14 tháng 11 năm 2025 của Bộ trưởng Bộ Xây dựng)
|
....(1)... |
CỘNG HÒA XÃ HỘI CHỦ NGHĨA VIỆT NAM |
ĐƠN ĐỀ NGHỊ
CẤP GIẤY PHÉP XÂY DỰNG, CẢI TẠO, NÂNG CẤP ĐƯỜNG NGANG
...(2)/.....
Kính gửi: ..(3)....
- Căn cứ Luật Đường sắt số 95/2025/QH15 ngày 27 tháng 6 năm 2025;
- Căn cứ Thông tư số ..../TT-BXD, ngày... tháng ....năm 2025 của Bộ trưởng Bộ Xây dựng quy định về quản lý, khai thác kết cấu hạ tầng đường sắt.
...(1)... đại diện bởi: ...; chức vụ: ...
Đề nghị được cấp giấy phép xây dựng, cải tạo, nâng cấp đường ngang với các nội dung như sau:
1. Mục đích:...
2. Thời gian sử dụng: ... (4) ...
3. Thuộc Dự án: ...
4. Địa điểm: ...
5. Mật độ người, xe dự tính ...
6. Cấp đường ngang .....
7. Các yếu tố kỹ thuật chủ yếu:
a) Đường sắt:
- Mặt bằng đường sắt ...
- Trắc dọc đường sắt ...
- Nền đường sắt ...
b) Đường bộ:
- Cấp đường bộ ....
- Mặt bằng đường bộ .....
- Trắc dọc đường bộ ...
- Nền đường bộ ...
c) Góc giao ...
8. Tầm nhìn:
- Của người điều khiển phương tiện giao thông đường bộ (lái xe) ...
- Của người điều khiển phương tiện giao thông đường sắt (lái tàu) ...
9. Khoảng cách tới đường ngang gần nhất ...
- Phía gốc lý trình ...
- Phía đối diện ...
10. Hình thức tổ chức phòng vệ:...
11. Trang thiết bị phục vụ phòng vệ đường ngang: ...(5).....
12. Thời gian thi công kể từ ngày…/…/…. đến hết ngày …/…/….
13. Nhu cầu nhận kết quả là bản giấy: Có □ Không □
...(1)... cam kết:
- Chịu toàn bộ kinh phí đầu tư xây dựng, quản lý, bảo trì, tổ chức phòng vệ (nếu có); giải phóng mặt bằng trong phạm vi hành lang an toàn giao thông tại khu vực đường ngang; đặt đầy đủ thiết bị hướng dẫn giao thông và bảo đảm trật tự, an toàn giao thông tại vị trí này.
- Tự dỡ bỏ (đối với đường ngang khai thác, sử dụng có thời hạn) khi hết thời hạn sử dụng.
Nếu không thực hiện đúng các cam kết trên, ...(1)... chịu trách nhiệm theo quy định của pháp luật.
Địa chỉ liên hệ:....
Số điện thoại:......
|
Nơi nhận: - .....; - Lưu:.....
|
QUYỀN HẠN, CHỨC VỤ CỦA NGƯỜI KÝ (Chữ ký của người có thẩm quyền, dấu/chữ ký số của cơ quan, tổ chức) Họ và tên
|
Hướng dẫn ghi trong Đơn đề nghị
(1) Tên đơn vị hoặc tổ chức đề nghị cấp giấy phép.
(2) Ghi lý trình đường ngang, tên tuyến đường sắt.
(3) Tên cơ quan có thẩm quyền cấp giấy phép.
(4) Ghi thời gian sử dụng lâu dài hoặc có thời hạn, nếu có thời hạn ghi rõ thời hạn sử dụng là từ ngày .... tháng .... năm .... đến ngày .... tháng… năm ...
(5) Liệt kê trang thiết bị phục vụ phòng vệ của nhân viên gác đường ngang: Cờ đỏ, còi, pháo hiệu, đồng hồ và trang thiết bị khác tại nhà gác đường ngang, đối với đường ngang cảnh báo tự động không ghi mục này.
PHỤ LỤC XI. MẪU ĐƠN ĐỀ NGHỊ GIA HẠN GIẤY PHÉP XÂY DỰNG, CẢI TẠO, NÂNG CẤP ĐƯỜNG NGANG
(Ban hành kèm theo Thông tư số 34/2025/TT-BXD ngày 14 tháng 11 năm 2025 của Bộ trưởng Bộ Xây dựng)
|
....(1)... |
CỘNG HÒA XÃ HỘI CHỦ NGHĨA VIỆT NAM |
ĐƠN ĐỀ NGHỊ GIA HẠN GIẤY PHÉP XÂY DỰNG,
CẢI TẠO, NÂNG CẤP ĐƯỜNG NGANG
...(2)....
Kính gửi: ......(3)....
- Căn cứ Luật Đường sắt số 95/2025/QH15 ngày 27 tháng 6 năm 2025;
- Căn cứ Thông tư số .../TT-BXD, ngày...tháng ....năm 2025 của Bộ trưởng Bộ Xây dựng quy định về quản lý, khai thác kết cấu hạ tầng đường sắt.
- Căn cứ Giấy phép xây dựng số ... ngày... tháng... năm ...
...(1)... đề nghị được gia hạn thời gian xây dựng, cải tạo, nâng cấp đường ngang, với lý do….(4)...
...(1).... cam kết thực hiện theo đúng giấy phép được cấp, quyết định gia hạn giấy phép và quy định của pháp luật có liên quan.
Địa chỉ liên hệ:...
Số điện thoại:....
Nhu cầu nhận kết quả là bản giấy: Có □ Không □
|
Nơi nhận: - .....; - .....; - Lưu:.....
|
QUYỀN HẠN, CHỨC VỤ CỦA NGƯỜI KÝ (Chữ ký của người có thẩm quyền, dấu/chữ ký số của cơ quan, tổ chức)
Họ và tên
|
Hướng dẫn ghi trong đơn đề nghị
(1) Tên tổ chức đề nghị gia hạn giấy phép xây dựng, cải tạo, nâng cấp đường ngang.
(2) Ghi lý trình đường ngang, tên tuyến đường sắt.
(3) Tên cơ quan có thẩm quyền quyết định gia hạn giấy phép xây dựng đường ngang.
(4) Nêu lý do đề nghị gia hạn giấy phép.
PHỤ LỤC XII. MẪU ĐƠN ĐỀ NGHỊ BÃI BỎ ĐƯỜNG NGANG
(Ban hành kèm theo Thông tư số 34/2025/TT-BXD ngày 14 tháng 11 năm 2025
của Bộ trưởng Bộ Xây dựng)
|
....(1)... |
CỘNG HÒA XÃ HỘI CHỦ NGHĨA VIỆT NAM |
ĐƠN ĐỀ NGHỊ BÃI BỎ ĐƯỜNG NGANG
...(2)....
Kính gửi: ...(3)....
- Căn cứ Luật Đường sắt số 95/2025/QH15 ngày 27 tháng 6 năm 2025;
- Căn cứ Thông tư số .../TT-BXD, ngày ...tháng ...năm 2025 của Bộ trưởng Bộ Xây dựng quy định về quản lý, khai thác kết cấu hạ tầng đường sắt.
...(1)... đề nghị ...(3)... xem xét bãi bỏ đường ngang cấp ...(4)...; phòng vệ bằng...(5)...; tại vị trí ...(2)...
Lý do bãi bỏ: . ....(6)....
.. .....(1).... cam kết bảo đảm nguồn kinh phí để tổ chức bãi bỏ và hoàn trả trạng thái ban đầu của đoạn đường sắt trong phạm vi đường ngang.
Nhu cầu nhận kết quả là bản giấy: Có □ Không □
|
Nơi nhận: - .....; - .....; - Lưu:.....
|
QUYỀN HẠN, CHỨC VỤ CỦA NGƯỜI KÝ (Chữ ký của người có thẩm quyền, dấu/chữ ký số của cơ quan, tổ chức)
Họ và tên
|
Hướng dẫn ghi trong đơn đề nghị:
(1) Tên tổ chức đề nghị bãi bỏ đường ngang.
(2) Lý trình đường ngang, tên tuyến đường sắt.
(3) Tên cơ quan có thẩm quyền quyết định bãi bỏ.
(4) Ghi cấp đường ngang.
(5) Ghi hình thức tổ chức phòng vệ (có người gác; không có người gác: cảnh báo tự động; biển báo)...
(6) Nêu rõ lý do cần bãi bỏ.
PHỤ LỤC XIII. MẪU GIẤY PHÉP XÂY DỰNG, CẢI TẠO, NÂNG CẤP ĐƯỜNG NGANG
(Ban hành kèm theo Thông tư số 34/2025/TT-BXD ngày 14 tháng 11 năm 2025 của Bộ trưởng Bộ Xây dựng)
|
....(1)... |
CỘNG HÒA XÃ HỘI CHỦ NGHĨA VIỆT NAM |
GIẤY PHÉP XÂY DỰNG
(CẢI TẠO, NÂNG CẤP ĐƯỜNG NGANG)
....(2)....
- Căn cứ Luật Đường sắt số 95/2025/QH15 ngày 27 tháng 6 năm 2025;
- Căn cứ Thông tư số .../TT-BXD, ngày ...tháng.... năm 2025 của Bộ trưởng Bộ Xây dựng quy định về quản lý, khai thác kết cấu hạ tầng đường sắt;
- Xét Đơn đề nghị số .../... ngày ... tháng ... năm ... của ....(3)...,
Điều 1. Cấp cho:
- ...(3)...
- Người đại diện: …chức vụ: ...
- Địa chỉ: ...
- Điện thoại: ...
Điều 2. Nội dung cấp phép
1. Cấp đường ngang: ....hình thức tổ chức phòng vệ ...
2. Các yếu tố kỹ thuật chủ yếu của đường ngang:
- Góc giao cắt giữa đường sắt và đường bộ: ...
- Chiều rộng mặt đường ngang: ...
- Đường sắt tại đường ngang:
+ Bình diện: ...
+ Trắc dọc: ...
+ Kiến trúc tầng trên: ...
- Đường bộ tại đường ngang:
+ Bình diện: ...
+ Trắc dọc: ...
+ Kết cấu mặt đường: ...
- Loại chắn (nếu có) ...
- Hệ thống thông tin, tín hiệu đường ngang ...
- Hệ thống hàng rào, cọc tiêu, biển báo, vạch kẻ đường trên đường bộ ...
- Hệ thống thoát nước: ...
- Nhà gác chắn (nếu có): ...
- Các vấn đề khác: ...
Điều 3. Trách nhiệm của tổ chức, đơn vị có liên quan
1. Trách nhiệm của chủ đầu tư dự án, chủ quản lý sử dụng đường ngang: ...
2. Trách nhiệm của doanh nghiệp quản lý tài sản đường sắt quốc gia: ...
3. Trách nhiệm của tổ chức, cá nhân khác có liên quan: ...
Điều 4. Hiệu lực của giấy phép và thời gian thi công
1. Giấy phép này có hiệu lực kể từ ngày ... tháng ... năm ... đến ngày ... tháng ... năm ...
2. Thời gian thi công công trình kể từ ngày ... tháng ... năm ... đến ngày …. tháng …. năm ….
Điều 5. Tổ chức thực hiện
|
Nơi nhận: - Như Điều; - .....; - Lưu:.....
|
QUYỀN HẠN, CHỨC VỤ CỦA NGƯỜI KÝ (Chữ ký của người có thẩm quyền, dấu/chữ ký số của cơ quan, tổ chức)
Họ và tên
|
Hướng dẫn ghi trong Giấy phép:
(1) Tên cơ quan có thẩm quyền cấp giấy phép.
(2) Ghi lý trình đường ngang, tên tuyến đường sắt.
(3) Tên đơn vị hoặc tổ chức đề nghị cấp giấy phép.
(5) Tổ chức tư vấn lập hồ sơ thiết kế.
PHỤ LỤC XIV. MẪU QUYẾT ĐỊNH GIA HẠN GIẤY PHÉP XÂY DỰNG, CẢI TẠO, NÂNG CẤP ĐƯỜNG NGANG
(Ban hành kèm theo Thông tư số 34/2025/TT-BXD ngày 14 tháng 11 năm 2025 của Bộ trưởng Bộ Xây dựng)
|
....(1)... |
CỘNG HÒA XÃ HỘI CHỦ NGHĨA VIỆT NAM |
QUYẾT ĐỊNH
Gia hạn giấy phép xây dựng (cải tạo, nâng cấp) đường ngang ...(2)...,
tuyến đường sắt ...(3)....
...(4)...
- Căn cứ Luật Đường sắt số 95/2025/QH15 ngày 27 tháng 6 năm 2025;
- Căn cứ Thông tư số .../TT-BXD, ngày.... tháng.... năm 2025 của Bộ trưởng Bộ Xây dựng quy định về quản lý, khai thác kết cấu hạ tầng đường sắt.
- Căn cứ Giấy phép xây dựng số ... ngày... tháng….. năm ...
- Xét Đơn đề nghị số .../... ngày ... tháng ... năm ... của ....(5)...,
QUYẾT ĐỊNH:
Điều 1. Gia hạn Giấy phép xây dựng (cải tạo, nâng cấp, đường ngang) ...(2)..., tuyến đường sắt ...(3) ... với nội dung:
- Gia hạn thời gian thi công xây dựng, cải tạo, nâng cấp đường ngang đến ngày ... tháng ... năm ...
- Với lý do: ...(6)...
Điều 2. Hiệu lực của quyết định
…..
Điều 3. Tổ chức thực hiện
|
Nơi nhận: - Như Điều; - .....; - Lưu:..... |
QUYỀN HẠN, CHỨC VỤ CỦA NGƯỜI KÝ (Chữ ký của người có thẩm quyền, dấu/chữ ký số của cơ quan, tổ chức)
Họ và tên |
Hướng dẫn ghi trong quyết định gia hạn giấy phép
(1) Tên cơ quan có thẩm quyền quyết định gia hạn giấy phép.
(2) Ghi lý trình đường ngang.
(3) Ghi tên tuyến đường sắt.
(4) Người có thẩm quyền đề nghị gia hạn giấy phép.
(5) Tên tổ chức đề nghị gia hạn giấy phép/
(6) Ghi lý do gia hạn giấy phép.
PHỤ LỤC XV. MẪU QUYẾT ĐỊNH BÃI BỎ ĐƯỜNG NGANG
(Ban hành kèm theo Thông tư số 34/2025/TT-BXD ngày 14 tháng 11 năm 2025 của Bộ trưởng Bộ Xây dựng)
|
....(1)... |
CỘNG HÒA XÃ HỘI CHỦ NGHĨA VIỆT NAM |
QUYẾT ĐỊNH
Bãi bỏ đường ngang Km ...(2)... tuyến đường sắt ...(3)….
...(4)...
- Căn cứ Luật Đường sắt số 95/2025/QH15 ngày 27 tháng 6 năm 2025;
- Căn cứ Thông tư số .../TT-BXD, ngày ...tháng... năm 2025 của Bộ trưởng Bộ Xây dựng quy định về quản lý, khai thác kết cấu hạ tầng đường sắt.
- Xét Đơn đề nghị số .../... ngày ... tháng ... năm ... của ....(5)...,
QUYẾT ĐỊNH:
Điều 1. Bãi bỏ đường ngang Km...(2).... tuyến đường sắt .....(3).... kể từ ngày ... tháng ... năm 20...
Lý do bãi bỏ: ....(6)....
Điều 2. Tổ chức thực hiện
Điều 3. Trách nhiệm thi hành
|
Nơi nhận: - Như Điều…; - .....; - Lưu:.....
|
QUYỀN HẠN, CHỨC VỤ CỦA NGƯỜI KÝ (Chữ ký của người có thẩm quyền, dấu/chữ ký số của cơ quan, tổ chức)
Họ và tên
|
Hướng dẫn ghi trong quyết định
(1) Tên cơ quan có thẩm quyền quyết định bãi bỏ đường ngang.
(2) Ghi lý trình đường sắt.
(3) Ghi tên tuyến đường sắt.
(4) Người có thẩm quyền bãi bỏ đường ngang.
(5) Ghi tên tổ chức đề nghị bãi bỏ đường ngang.
(6) Ghi lý do bãi bỏ đường ngang.
PHỤ LỤC XVI. YÊU CẦU KỸ THUẬT VÀ THAO TÁC ĐÓNG, MỞ CHẮN CẦU CHUNG
(Ban hành kèm theo Thông tư số 34/2025/TT-BXD ngày 14 tháng 11 năm 25 của Bộ trưởng Bộ Xây dựng)
I. Yêu cầu kỹ thuật của chắn cầu chung
1. Chắn phải được thiết kế cụ thể về kiểu loại tùy theo địa hình khu vực cầu chung hoặc yêu cầu hay đề nghị của chủ đầu tư dự án được cấp có thẩm quyền phê duyệt.
2. Cần chắn, giàn chắn được đóng, mở bằng thủ công hoặc động cơ điện.
3. Khi chắn làm bằng kiểu cần chắn:
a) Có thể làm trơn hoặc treo các lá sắt hoặc lưới sắt;
b) Phải có bộ phận chốt hãm;
c) Cần chắn phải sơn vạch trắng đỏ xen kẽ, rộng 300 milimét (mm) chiếu nghiêng 45° về bên phải theo hướng đường bộ nhìn vào cầu chung. Đầu mút cần chắn có vạch đỏ thẳng đứng rộng 300 milimét (mm);
d) Cột, trụ cần chắn sơn vạch trắng đỏ xen kẽ rộng 200 milimét (mm), thẳng góc với tim cột, trụ.
4. Khi chắn làm bằng kiểu giàn:
a) Xà ngang trên cùng của giàn chắn phải có đèn một mặt phát ánh sáng màu đỏ về phía đường bộ khi chắn đóng;
b) Nếu sử dụng đèn điện thì cách 02 mét (m) đến 03 mét (m) đặt một đèn, nếu đèn dầu thì chỉ cần một đèn treo giữa chắn vào ban đêm hoặc ban ngày khi thời tiết xấu làm giảm tầm nhìn.
II. Thao tác đóng, mở chắn
1. Chắn phải bắt đầu đóng từ phía bên phải đường bộ (theo hướng đi vào cầu chung) sang phía trái. Cầu chung có nhiều chắn phải đóng chắn phía bên phải trước, đóng chắn phía trái tiếp theo cho đến chắn tận cùng phía bên trái.
2. Khi chắn đã đóng phải ngăn hết mặt đường bộ, liền sát với hàng rào cố định và phải cao hơn mặt đường bộ từ 01 mét (m) đến 1,2 mét (m).
3. Khi chắn mở, không một bộ phận nào của chắn được vi phạm tĩnh không đường bộ.
4. Không được để giàn chắn, cần chắn ở vị trí lơ lửng.
III. Sơ đồ 2 loại chắn:
a) Cần chắn:

b) Giàn chắn:

PHỤ LỤC XVII. SƠ ĐỒ TỔ CHỨC PHÒNG VỆ CẦU CHUNG
(Ban hành kèm theo Thông tư số 34/2025/TT-BXD ngày 14 tháng 11 năm 2025 của Bộ trưởng Bộ Xây dựng)
(Thể hiện một đầu cầu)

Ghi chú:
1. Biển “Kéo còi”.
2. Cột tín hiệu phòng vệ.
3. Nhà gác cầu chung.
4. Biển nơi đường sắt giao với đường bộ, đèn tín hiệu.
5. Biển “Giao nhau với đường sắt có rào chắn”.
6. Cọc tiêu.
7. Hàng rào cố định.
8. Chắn cầu chung.
9. Vạch “Dừng xe”.
10. Vạch phân chia hai chiều xe chạy ngược chiều.
11. Vạch giới hạn mép ngoài phần đường xe chạy hoặc vạch phân cách làn xe cơ giới và làn xe thô sơ.
PHỤ LỤC XVIII. BIỆN PHÁP BÁO CHO TÀU DỪNG TRƯỚC CHƯỚNG NGẠI
(Ban hành kèm theo Thông tư số 34/2025/TT-BXD ngày 14 tháng 11 năm 2025 của Bộ trưởng Bộ Xây dựng)
Khi phương tiện tham gia giao thông đường bộ bị hư hỏng, bị tai nạn không thể di chuyển ngay khỏi phạm vi đường ngang hoặc hàng hóa rơi đổ trong phạm vi đường ngang mà điểm gần nhất của xe hoặc của hàng hóa cách mép ngoài của ray ngoài cùng nhỏ hơn 1,75 mét (m) thì người điều khiển phương tiện phải tìm biện pháp để báo hiệu cho tàu dừng trước chướng ngại theo quy định sau:
1. Khi khẩn cấp có tàu tới gần, người điều khiển phương tiện giao thông đường bộ phải nhanh chóng đi về phía có tàu làm tín hiệu cho tàu đỗ lại: ban ngày dùng cờ đỏ hoặc vải đỏ mở, ban đêm dùng đèn đỏ, hướng về phía đoàn tàu tới. Nếu không có cờ đỏ, vải đỏ hoặc ánh đèn màu đỏ, thì ban ngày hai tay nắm lại hoặc cầm bất cứ vật gì quay vòng tròn hướng về phía tàu; ban đêm dùng đèn (bất cứ màu gì, trừ màu lục) hoặc ánh lửa, quay vòng tròn hướng về phía tàu.
2. Khi không biết chắc chắn có tàu sắp tới và nếu ngoài người điều khiển phương tiện giao thông đường bộ, có đủ hai người thì mỗi người đi về một phía đường sắt, đến chỗ cách đường ngang từ 500 mét (m) đến 800 mét (m), đứng về phía tay phải, cách ray ngoài cùng ra 2 mét (m), quay lưng về phía đường ngang để sẵn sàng làm tín hiệu cho tàu đỗ lại như quy định tại Mục 1 nêu trên. Nếu đường ngang ở gần ga, người điều khiển phương tiện giao thông đường bộ có thể cử người về ga báo, sau khi đã bố trí phòng vệ như Mục 3 dưới đây.
3. Nếu chỉ có một mình, người điều khiển phương tiện giao thông đường bộ phải dùng hai cọc gỗ hoặc tre (cấm dùng cọc bằng kim loại hoặc bằng vật liệu gì cứng khác), có buộc áo hoặc bằng mảnh vải (ban ngày) và đèn hoặc mồi lửa (ban đêm), cắm giữa lòng đường sắt, cách đường ngang ít nhất 500 mét (m), cao trên mặt ray ít nhất 01 mét (m) để làm tín hiệu phòng vệ báo cho người điều khiển phương tiện giao thông đường sắt ngừng lại.
4. Đồng thời với việc thực hiện các biện pháp trên, người điều khiển phương tiện giao thông đường bộ phải tích cực và nhanh chóng tìm cách đưa xe hoặc hàng hóa ra khỏi đường sắt. Khi đã đưa các chướng ngại ra cách mép ngoài của ray ngoài cùng tối thiểu 1,75 mét (m) và sau khi xem xét lại đường sắt không có trở ngại và hư hỏng, bảo đảm không có bộ phận nào của xe hoặc hàng hóa có thể rơi, đổ vào phạm vi an toàn của đường sắt, người điều khiển phương tiện giao thông đường bộ phải lập tức bỏ tín hiệu phòng vệ do mình đã đặt, sau đó tiếp tục đưa các chướng ngại ra xa đường sắt.
PHỤ LỤC XIX. MẪU THỎA THUẬN KẾT NỐI TÍN HIỆU ĐÈN GIAO THÔNG, ĐƯỜNG BỘ VỚI TÍN HIỆU ĐÈN BÁO HIỆU TRÊN ĐƯỜNG BỘ ĐƯỜNG NGANG
(Ban hành kèm theo Thông tư số 34/2025/TT-BXD ngày 14 tháng 11 năm 2025 của Bộ trưởng Bộ Xây dựng)
|
CÁC TỔ CHỨC THỎA THUẬN KẾT NỐI |
CỘNG HÒA XÃ HỘI CHỦ NGHĨA VIỆT NAM |
THỎA THUẬN
Kết nối tín hiệu đèn giao thông đường bộ với tín hiệu đèn báo hiệu trên
đường bộ tại đường ngang
Chúng tôi gồm:
Tên tổ chức được giao quản lý đèn báo hiệu trên đường bộ tại đường ngang (hoặc chủ đầu tư dự án): ...
Địa chỉ: ...
Điện thoại: ...
Tên tổ chức được giao quản lý tín hiệu đèn giao thông đường bộ (hoặc chủ đầu tư dự án): .
Địa chỉ: ...
Điện thoại: ...
Căn cứ Thông tư số .../TT-BXD, ngày ...tháng ....năm 2025 của Bộ trưởng Bộ Xây dựng quy định về quản lý, khai thác kết cấu hạ tầng đường sắt.
Hai bên thỏa thuận việc kết nối tín hiệu đèn giao thông đường bộ với tín hiệu đèn báo hiệu trên đường bộ tại đường ngang với nội dung sau:
1. Địa điểm kết nối: xã (phường)... tỉnh (thành phố) ...
2. Vị trí kết nối: Tại Km…. trên tuyến đường sắt....
- Đường bộ (tên đường bộ) ... tại lý trình Km.....
- Các nội dung khác ...
3. Điểm kết nối: (mô tả vị trí) ....
3.1. Trường hợp có hộp kết nối: .....
3.2. Trường hợp không có hộp kết nối (đấu thẳng từ tủ điều khiển tín hiệu đèn báo hiệu trên đường bộ tại đường ngang đến tủ điều khiển tín hiệu đèn giao thông đường bộ): .....
4. Phương án tổ chức giao thông khi kết nối .....
- Đường bộ ...
- Đường sắt ...
5. Thời gian thực hiện kết nối của mỗi bên và của chung ...
6. Biện pháp bảo đảm an toàn, hạn chế ùn tắc giao thông ...
7. Nội dung khác ...
Thỏa thuận này làm cơ sở để hai bên xây dựng phương án, tổ chức giao thông ... và kết nối tín hiệu ...
|
QUYỀN HẠN, CHỨC VỤ CỦA NGƯỜI KÝ (Chữ ký của người có thẩm quyền, dấu/chữ ký số của cơ quan, tổ chức)
|
QUYỀN HẠN, CHỨC VỤ CỦA NGƯỜI KÝ (Chữ ký của người có thẩm quyền, dấu/chữ ký số của cơ quan, tổ chức)
|
PHỤ LỤC XX. MẪU THỎA THUẬN CUNG CẤP THÔNG TIN HỖ TRỢ CẢNH GIỚI
(Ban hành kèm theo Thông tư số 34/2025/TT-BXD ngày 14 tháng 11 năm 2025 của Bộ trưởng Bộ Xây dựng)
|
CÁC TỔ CHỨC THỎA THUẬN |
CỘNG HÒA XÃ HỘI CHỦ NGHĨA VIỆT NAM |
THỎA THUẬN
Cung cấp thông tin hỗ trợ cảnh giới
Chúng tôi gồm:
Tên tổ chức cung cấp thông tin: ...
Địa chỉ: ...
Điện thoại: ...
Tên tổ chức thực hiện cảnh giới: ...
Địa chỉ: ...
Điện thoại: ....
Căn cứ Thông tư số ..../TT-BXD, ngày... tháng ....năm 2025 của Bộ trưởng Bộ Xây dựng quy định về quản lý, khai thác kết cấu hạ tầng đường sắt.
Hai bên thỏa thuận cung cấp thông tin hỗ trợ cảnh giới với nội dung sau:
1. Địa điểm cảnh giới: thuộc xã (phường)... tỉnh (thành phố) ...
2. Vị trí cảnh giới: tại Km... trên tuyến đường sắt ...
- Đường bộ (tên đường bộ) ... tại lý trình Km ...
- Các nội dung cung cấp thông tin ...
- Phương thức cung cấp thông tin ...
3. Điểm đặt nhà cảnh giới và lắp đặt điện thoại cảnh giới: (mô tả vị trí nếu có): ...
4. Phương án tổ chức giao thông cảnh giới ...
- Đường bộ ....
- Đường sắt .....
5. Thời gian thực hiện (nếu có) ...
- Lắp đặt điện thoại (nếu có) ...
- Thời gian cảnh giới ...
- Họ tên những người cảnh giới ...
6. Biện pháp bảo đảm an toàn ...
7. Nội dung khác ...
Thỏa thuận này làm cơ sở để hai bên tiến hành nhiệm vụ của mình ...
|
QUYỀN HẠN, CHỨC VỤ CỦA NGƯỜI KÝ (Chữ ký của người có thẩm quyền, dấu/chữ ký số của cơ quan, tổ chức)
|
QUYỀN HẠN, CHỨC VỤ CỦA NGƯỜI KÝ (Chữ ký của người có thẩm quyền, dấu/chữ ký số của cơ quan, tổ chức)
|
PHỤ LỤC XXI. BẢNG TỔNG HỢP TRẠNG THÁI KỸ THUẬT CÔNG TRÌNH ĐƯỜNG SẮT
(Ban hành kèm theo Thông tư số 34/2025/TT-BXD ngày 14 tháng 11 năm 2025
của Bộ trưởng Bộ Xây dựng)
I. Đường chính tuyến
1. Tuyến đường sắt:..............
2. Khổ đường:........................
3. Lý trình đầu:.... ; lý trình cuối: ....; chiều dài.....
4. Tổng chiều dài cầu:....
5. Tổng chiều dài hầm:....
6. Số lượng ghi trên chính tuyến: ...bộ; tổng chiều dài....
7. Khối lượng đường chính:
- Loại ray..., loại tà vẹt... khối lượng ...
- Loại ray..., loại tà vẹt... khối lượng ...
….
8. Trạng thái kỹ thuật đường chính tuyến được lập cho từng khu gian theo bảng sau:
|
TT |
Lý trình đầu |
Lý trình cuối |
Chiều dài |
Loại nền đường |
Chiều dày nền đá |
Loại ray |
Loại tà vẹt |
Loại phụ kiện |
Năm sửa chữa, nội dung sửa chữa |
Thời điểm kiểm tra |
Trạng thái công trình (*) |
|
|
|
|
|
|
|
|
|
|
|
|
|
|
|
|
|
|
|
|
|
|
|
|
|
|
|
|
|
|
|
|
|
|
|
|
|
|
|
Ghi chú: Cột "Trạng thái công trình" ghi theo hướng dẫn của Quy trình bảo trì, trường hợp chưa đủ điều kiện để đánh giá theo hướng dẫn của quy trình bảo trì, ghi theo nội dung đánh giá trực quan về chất lượng công trình với các mức 1, 2, 3 như sau:
- Mức 1: Công trình không có dấu hiệu hư hỏng, bảo đảm điều kiện khai thác bình thường.
- Mức 2: Công trình có dấu hiệu hư hỏng nhỏ nhưng vẫn bảo đảm điều kiện khai thác, cần phải sửa chữa nhỏ lẻ trong quá trình bảo dưỡng, về lâu dài cần lập kế hoạch sửa chữa định kỳ.
- Mức 3: Công trình hư hỏng cần phải áp dụng biện pháp khẩn cấp và tổ chức xử lý để bảo đảm an toàn chạy tàu.
II. Đường ga
1. Tuyến đường sắt:....
2. Khổ đường:....
3. Khối lượng đường ga:.....
- Loại ray..., loại tà vẹt... khối lượng ...
- Loại ray..., loại tà vẹt... khối lượng ...
….
4. Trạng thái kỹ thuật đường ga được lập cho từng ga theo bảng sau:
4.1. Ga:....
|
TT |
Tên đường ga |
Chiều dài toàn bộ |
Chiều dài đặt ray |
Chiều dài sử dụng |
Loại ray |
Loại tà vẹt |
Loại phụ kiện |
Năm sửa chữa, nội dung sửa chữa |
Thời điểm kiểm tra |
Trạng thái công trình (*) |
|
|
|
|
|
|
|
|
|
|
|
|
|
|
|
|
|
|
|
|
|
|
|
|
|
|
|
|
|
|
|
|
|
|
|
|
4.2. Ga.....
.....
Ghi chú: Cột "Trạng thái công trình" ghi theo hướng dẫn của Quy trình bảo trì, trường hợp chưa đủ điều kiện để đánh giá theo hướng dẫn của quy trình bảo trì, ghi theo nội dung đánh giá trực quan về chất lượng công trình với các mức 1, 2, 3 như sau:
- Mức 1: Công trình không có dấu hiệu hư hỏng, bảo đảm điều kiện khai thác bình thường.
- Mức 2: Công trình có dấu hiệu hư hỏng nhỏ nhưng vẫn bảo đảm điều kiện khai thác, cần phải sửa chữa nhỏ lẻ trong quá trình bảo dưỡng, về lâu dài cần lập kế hoạch sửa chữa định kỳ.
- Mức 3: Công trình hư hỏng cần phải áp dụng biện pháp khẩn cấp và tổ chức xử lý để bảo đảm an toàn chạy tàu.
III. Ghi
1. Tuyến (đoạn tuyến) đường sắt:....
2. Khổ đường:....
3. Khối lượng ghi:....
- Loại ghi... số lượng ......
- Loại ghi... số lượng ...
…..
4. Trạng thái kỹ thuật ghi được lập cho từng ga (hoặc khu gian) theo bảng sau:
4.1. Ga:...
|
TT |
Tên bộ ghi |
Lý trình |
Các yếu tố kỹ thuật của ghi |
Nước sản xuất |
Năm lắp đặt |
Năm sửa chữa, nội dung sửa chữa |
Thời điểm kiểm tra |
Trạng thái công trình (*) |
|||||
|
Tang ghi |
Loại ray |
Chiều dài |
Loại tâm |
Hướng rẽ |
Góc rẽ |
|
|
|
|
|
|||
|
|
|
|
|
|
|
|
|
|
|
|
|
|
|
|
|
|
|
|
|
|
|
|
|
|
|
|
|
|
4.2. Ga:.....
Ghi chú: Cột "Trạng thái công trình" ghi theo hướng dẫn của Quy trình bảo trì, trường hợp chưa đủ điều kiện để đánh giá theo hướng dẫn của quy trình bảo trì, ghi theo nội dung đánh giá trực quan về chất lượng công trình với các mức 1, 2, 3 như sau:
- Mức 1: Công trình không có dấu hiệu hư hỏng, bảo đảm điều kiện khai thác bình thường.
- Mức 2: Công trình có dấu hiệu hư hỏng nhỏ nhưng vẫn bảo đảm điều kiện khai thác, cần phải sửa chữa nhỏ lẻ trong quá trình bảo dưỡng, về lâu dài cần lập kế hoạch sửa chữa định kỳ.
- Mức 3: Công trình hư hỏng cần phải áp dụng biện pháp khẩn cấp và tổ chức xử lý để bảo đảm an toàn chạy tàu.
IV. Cầu
1. Tuyến đường sắt:....
2. Khổ đường:....
3. Khối lượng cầu:.....
- Loại cầu... khối lượng ...
- Loại cầu... khối lượng .......
……
4. Trạng thái kỹ thuật của cầu được lập cho từng tuyến đường sắt theo bảng sau:
|
TT |
Tên cầu, lý trình |
Chiều dài cầu |
Số nhịp |
Chiều dài dầm |
Loại dầm |
Mặt cầu |
Mố/ trụ |
Tải trọng |
Năm xây dựng |
Năm sửa chữa, nội dung sửa chữa |
Thời điểm kiểm tra |
Trạng thái công trình (*) |
|
|
|
|
|
|
|
|
|
|
|
|
|
|
|
|
|
|
|
|
|
|
|
|
|
|
|
|
Ghi chú: Cột "Trạng thái công trình" ghi theo hướng dẫn của Quy trình bảo trì, trường hợp chưa đủ điều kiện để đánh giá theo hướng dẫn của quy trình bảo trì, ghi theo nội dung đánh giá trực quan về chất lượng công trình với các mức 1, 2, 3 như sau:
- Mức 1: Công trình không có dấu hiệu hư hỏng, bảo đảm điều kiện khai thác bình thường.
- Mức 2: Công trình có dấu hiệu hư hỏng nhỏ nhưng vẫn bảo đảm điều kiện khai thác, cần phải sửa chữa nhỏ lẻ trong quá trình bảo dưỡng, về lâu dài cần lập kế hoạch sửa chữa định kỳ.
- Mức 3: Công trình hư hỏng cần phải áp dụng biện pháp khẩn cấp và tổ chức xử lý để bảo đảm an toàn chạy tàu.
V. Cống
1. Tuyến đường sắt:....
2. Khổ đường:....
3. Khối lượng cống:....
- Loại cống... khối lượng ...
- Loại cống... khối lượng ...
…..
4. Trạng thái kỹ thuật của cống được lập cho từng tuyến đường sắt theo bảng sau:
|
TT |
Lý trình |
Hình dạng |
Khẩu độ |
Chiều dài cống |
Chiều dài thân cống |
Vật liệu |
Chiều cao đất đắp |
Tải trọng |
Năm xây dựng |
Năm sửa chữa, nội dung sửa chữa |
Thời điểm kiểm tra |
Trạng thái công trình (*) |
|
|
|
|
|
|
|
|
|
|
|
|
|
|
|
|
|
|
|
|
|
|
|
|
|
|
|
|
Ghi chú: Cột "Trạng thái công trình" ghi theo hướng dẫn của Quy trình bảo trì, trường hợp chưa đủ điều kiện để đánh giá theo hướng dẫn của quy trình bảo trì, ghi theo nội dung đánh giá trực quan về chất lượng công trình với các mức 1, 2, 3 như sau:
- Mức 1: Công trình không có dấu hiệu hư hỏng, bảo đảm điều kiện khai thác bình thường.
- Mức 2: Công trình có dấu hiệu hư hỏng nhỏ nhưng vẫn bảo đảm điều kiện khai thác, cần phải sửa chữa nhỏ lẻ trong quá trình bảo dưỡng, về lâu dài cần lập kế hoạch sửa chữa định kỳ.
- Mức 3: Công trình hư hỏng cần phải áp dụng biện pháp khẩn cấp và tổ chức xử lý để bảo đảm an toàn chạy tàu.
VI. Hầm
1. Tuyến đường sắt:....
2. Khổ đường:....
3. Khối lượng hầm:....
- Loại hầm... khối lượng ...
- Loại hầm... khối lượng ...
…..
4. Trạng thái kỹ thuật của hầm được lập cho từng tuyến đường sắt theo bảng sau:
|
TT |
Tên hầm, lý trình |
Chiều dài |
Bán kính cong |
Độ dốc |
Hướng rẽ |
Vật liệu |
Năm xây dựng |
Năm sửa chữa, nội dung sửa chữa |
Thời điểm kiểm tra |
Trạng thái công trình (*) |
|
|
Tường |
Vòm |
|
|||||||||
|
|
|
|
|
|
|
|
|
|
|
|
|
|
|
|
|
|
|
|
|
|
|
|
|
|
Ghi chú: Cột "Trạng thái công trình" ghi theo hướng dẫn của Quy trình bảo trì, trường hợp chưa đủ điều kiện để đánh giá theo hướng dẫn của quy trình bảo trì, ghi theo nội dung đánh giá trực quan về chất lượng công trình với các mức 1, 2, 3 như sau:
- Mức 1: Công trình không có dấu hiệu hư hỏng, bảo đảm điều kiện khai thác bình thường.
- Mức 2: Công trình có dấu hiệu hư hỏng nhỏ nhưng vẫn bảo đảm điều kiện khai thác, cần phải sửa chữa nhỏ lẻ trong quá trình bảo dưỡng, về lâu dài cần lập kế hoạch sửa chữa định kỳ.
- Mức 3: Công trình hư hỏng cần phải áp dụng biện pháp khẩn cấp và tổ chức xử lý để bảo đảm an toàn chạy tàu.
VII. Công trình kiến trúc
1. Trạng thái kỹ thuật công trình nhà ga, kho ga và các công trình phụ trợ được lập cho từng ga theo bảng sau:
1.1. Tuyến đường sắt: ...
1.1.1. Ga…..
|
TT |
Loại công trình |
Cấp công trình |
Diện tích |
Kết cấu |
Năm xây dựng |
Năm sửa chữa, nội dung sửa chữa |
Thời điểm kiểm tra |
Trạng thái công trình (*) |
|
1 |
Nhà ga (gồm Phòng chỉ huy chạy tàu; phòng đặt máy thông tin tín hiệu; phòng đợi tàu; các phòng chức năng khác). |
|
|
|
|
|
|
|
|
2 |
Kho ga |
|
|
|
|
|
|
|
|
3 |
Đề-pô |
|
|
|
|
|
|
|
|
4 |
Nhà đặt thiết bị TTTH (nếu có) |
|
|
|
|
|
|
|
|
5 |
Nhà gác ghi |
|
|
|
|
|
|
|
|
6 |
Nhà cung cầu (nếu có) |
|
|
|
|
|
|
|
|
7 |
Nhà cung đường (nếu có) |
|
|
|
|
|
|
|
|
8 |
Nhà cung TTTH (nếu có) |
|
|
|
|
|
|
|
|
9 |
Nhà đặt máy bơm, máy nổ |
|
|
|
|
|
|
|
|
10 |
Bể nước (bao gồm cả bể nước phục vụ PCCC) |
|
|
|
|
|
|
|
|
11 |
Nhà để xe |
|
|
|
|
|
|
|
|
12 |
Tường rào, hệ thống cấp, thoát nước và các công trình phụ trợ khác. |
|
|
|
|
|
|
|
|
|
|
|
|
|
|
|
|
|
1.1.2. Ga: ...
2. Trạng thái kỹ thuật công trình nhà gác đường ngang, gác cầu, gác hầm được lập cho từng tuyến đường sắt theo bảng sau:
2.1. Tuyến đường sắt: ...
|
TT |
Loại công trình |
Cấp công trình |
Diện tích |
Kết cấu |
Năm xây dựng |
Năm sửa chữa, nội dung sửa chữa |
Thời điểm kiểm tra |
Trạng thái công trình (*) |
|
1 |
Nhà gác đường ngang |
|
|
|
|
|
|
|
|
1.1 |
Đường ngang Km. … |
|
|
|
|
|
|
|
|
|
…. |
|
|
|
|
|
|
|
|
2 |
Nhà gác cầu |
|
|
|
|
|
|
|
|
2.1 |
Cầu Km. … |
|
|
|
|
|
|
|
|
|
…. |
|
|
|
|
|
|
|
|
3 |
Nhà gác hầm |
|
|
|
|
|
|
|
|
3.1 |
Hầm Km. … |
|
|
|
|
|
|
|
|
|
… |
|
|
|
|
|
|
|
2.2. Tuyến đường sắt: ...
3. Trạng thái kỹ thuật công trình ke ga, sân ga, bãi hàng, quảng trường ga, đường bộ trong ga được lập cho từng ga theo bảng sau:
3.1. Tuyến đường sắt: ...
3.1.1. Ga….
|
TT |
Loại công trình |
Diện tích |
Kết cấu |
Năm xây dựng |
Năm sửa chữa, nội dung sửa chữa |
Thời điểm kiểm tra |
Trạng thái công trình (*) |
|
1 |
Ke ga |
|
|
|
|
|
|
|
1.1 |
Ke không có mái che |
|
|
|
|
|
|
|
1.2 |
Ke có mái che |
|
|
|
|
|
|
|
1.3 |
Giao ke |
|
|
|
|
|
|
|
|
… |
|
|
|
|
|
|
|
2 |
Bãi hàng |
|
|
|
|
|
|
|
2.1 |
…. |
|
|
|
|
|
|
|
|
|
|
|
|
|
|
|
|
3 |
Sân ga |
|
|
|
|
|
|
|
3.1 |
… |
|
|
|
|
|
|
|
|
|
|
|
|
|
|
|
|
4 |
Quảng trường ga |
|
|
|
|
|
|
|
4.1 |
… |
|
|
|
|
|
|
|
|
|
|
|
|
|
|
|
|
5 |
Đường bộ vào ga |
|
|
|
|
|
|
|
5.1 |
…. |
|
|
|
|
|
|
|
|
|
|
|
|
|
|
|
3.1.2. Ga: ...
3.2. Tuyến đường sắt: ...
3.2.1. Ga: ...
Ghi chú: Cột "Trạng thái công trình" ghi theo hướng dẫn của Quy trình bảo trì, trường hợp chưa đủ điều kiện để đánh giá theo hướng dẫn của quy trình bảo trì, ghi theo nội dung đánh giá trực quan về chất lượng công trình với các mức 1, 2, 3 như sau:
- Mức 1: Công trình không có dấu hiệu hư hỏng, bảo đảm điều kiện khai thác bình thường.
- Mức 2: Công trình có dấu hiệu hư hỏng nhỏ nhưng vẫn bảo đảm điều kiện khai thác, cần phải sửa chữa nhỏ lẻ trong quá trình bảo dưỡng, về lâu dài cần lập kế hoạch sửa chữa định kỳ.
- Mức 3: Công trình hư hỏng cần phải áp dụng biện pháp khẩn cấp và tổ chức xử lý để bảo đảm an toàn cho khai thác sử dụng.
IX. Đường ngang
1. Trạng thái kỹ thuật công trình đường ngang phòng vệ bằng biển báo được lập cho từng tuyến đường sắt theo bảng sau:
1.1. Tuyến đường sắt: ...
|
TT |
Tên, lý trình |
Hệ thống phòng vệ |
Tầm nhìn phía đường bộ |
Tầm nhìn phía đường sắt |
Góc giao |
Cấp đường bộ |
Chiều rộng mặt đường bộ |
Độ dốc đường bộ |
Năm xây dựng |
Năm sửa chữa, nội dung sửa chữa |
Thời điểm kiểm tra |
Trạng thái công trình (*) |
|
|
|
|
|
|
|
|
|
|
|
|
|
|
|
|
|
|
|
|
|
|
|
|
|
|
|
|
1.2. Tuyến đường sắt: ...
2. Trạng thái kỹ thuật công trình đường ngang phòng vệ bằng cảnh báo tự động được lập cho từng tuyến đường sắt theo bảng sau:
2.1. Tuyến đường sắt: ...
|
TT |
Tên, lý trình |
Hệ thống phòng vệ |
Tầm nhìn phía đường bộ |
Tầm nhìn phía đường sắt |
Góc giao |
Cấp đường bộ |
Chiều rộng mặt đường bộ |
Độ dốc đường bộ |
Năm xây dựng |
Năm sửa chữa, nội dung sửa chữa |
Thời điểm kiểm tra |
Trạng thái công trình (*) |
|
|
|
|
|
|
|
|
|
|
|
|
|
|
|
|
|
|
|
|
|
|
|
|
|
|
|
|
2.2. Tuyến đường sắt: ...
3. Trạng thái kỹ thuật công trình đường ngang phòng vệ có người gác được lập cho từng tuyến đường sắt theo bảng sau:
3.1. Tuyến đường sắt: ...
|
TT |
Tên, lý trình |
Hệ thống phòng vệ |
Tầm nhìn phía đường sắt |
Góc giao |
Cấp đường bộ |
Chiều rộng mặt đường bộ |
Độ dốc đường bộ |
Nhà gác đường ngang |
Năm xây dựng |
Năm sửa chữa, nội dung sửa chữa |
Thời điểm kiểm tra |
Trạng thái công trình (*) |
|
|
|
|
|
|
|
|
|
|
|
|
|
|
|
|
|
|
|
|
|
|
|
|
|
|
|
|
3.2. Tuyến đường sắt: ...
Ghi chú: Cột "Trạng thái công trình" ghi theo hướng dẫn của Quy trình bảo trì, trường hợp chưa đủ điều kiện để đánh giá theo hướng dẫn của quy trình bảo trì, ghi theo nội dung đánh giá trực quan về chất lượng công trình với các mức 1, 2, 3 như sau:
- Mức 1: Công trình không có dấu hiệu hư hỏng, bảo đảm điều kiện khai thác bình thường.
- Mức 2: Công trình có dấu hiệu hư hỏng nhỏ nhưng vẫn bảo đảm điều kiện khai thác, cần phải sửa chữa nhỏ lẻ trong quá trình bảo dưỡng, về lâu dài cần lập kế hoạch sửa chữa định kỳ.
- Mức 3: Công trình hư hỏng cần phải áp dụng biện pháp khẩn cấp và tổ chức xử lý để bảo đảm an toàn.
X. Hệ thống thông tin, tín hiệu đường sắt
1. Trạng thái kỹ thuật công trình đường truyền tải được lập cho từng tuyến đường sắt theo bảng sau:
1.1. Tuyến đường sắt: ….
|
Đoạn |
Dây trần |
Cáp thông tin, tín hiệu (km/sợi) |
Năm xây dựng |
Năm sửa chữa, nội dung sửa chữa |
Thời điểm kiểm tra |
Trạng thái kỹ thuật công trình (*) |
||||||
|
Cột đầu (lý trình đầu) |
Cột cuối (lý trình cuối) |
Loại cột |
Loại xà |
Số đôi dây |
Cáp quang treo |
Cáp quang chôn |
Cáp đồng treo |
Cáp đồng chôn |
|
|
|
|
|
|
|
|
|
|
|
|
|
|
|
|
|
|
|
|
|
|
|
|
|
|
|
|
|
|
|
|
1.2. Tuyến đường sắt: ...
2. Trạng thái kỹ thuật trạm thông tin, trung tâm giám sát đường ngang cảnh báo tự động được lập cho từng tuyến đường sắt theo bảng sau:
2.1. Tuyến đường sắt: .....
|
TT |
Tên trạm, địa điểm xây dựng |
Loại hình trạm |
Chức năng |
Số lượng thiết bị chính |
Năm xây dựng |
Năm sửa chữa, nội dung sửa chữa |
Thời điểm kiểm tra |
Trạng thái kỹ thuật công trình (*) |
|
|
|
|
|
|
|
|
|
|
|
|
|
|
|
|
|
|
|
|
2.2. Tuyến đường sắt: .....
3. Trạng thái kỹ thuật thiết bị thông, tin tín hiệu ga được lập cho từng ga đường sắt theo bảng sau:
3.1. Tuyến đường sắt: ...
3.1.1. Ga: ...
|
TT |
Tên thiết bị |
Loại hình thiết bị |
Chức năng |
Đơn vị tính |
Số lượng |
Năm xây dựng |
Năm sửa chữa, nội dung sửa chữa |
Thời điểm kiểm tra |
Trạng thái kỹ thuật công trình (*) |
|
|
|
|
|
|
|
|
|
|
|
|
|
|
|
|
|
|
|
|
|
|
3.1.2. Ga: ...
3.2. Tuyến đường sắt: .....
3.2.1. Ga: ...
4. Trạng thái kỹ thuật thiết bị thông, tin tín hiệu phòng vệ đường ngang có người gác, cầu chung, thông tin cảnh giới đường ngang được lập cho từng đường ngang, cầu chung, điểm cảnh giới trên tuyến đường sắt theo bảng sau:
4.1. Tuyến đường sắt: ...
4.1.1. Đường ngang ….
|
TT |
Tên thiết bị |
Loại hình thiết bị |
Chức năng |
Đơn vị tính |
Số lượng |
Năm xây dựng |
Năm sửa chữa, nội dung sửa chữa |
Thời điểm kiểm tra |
Trạng thái kỹ thuật công trình (*) |
|
|
|
|
|
|
|
|
|
|
|
|
|
|
|
|
|
|
|
|
|
|
4.1.2. Đường ngang Km...
4.2. Tuyến đường sắt: ...
4.2.1. Đường ngang Km.
5. Trạng thái kỹ thuật thiết bị tín hiệu đường ngang cảnh báo tự động được lập cho từng đường ngang trên tuyến đường sắt theo bảng sau:
5.1. Tuyến đường sắt: ...
5.1.1. Đường ngang Km.
|
TT |
Tên thiết bị |
Loại hình thiết bị |
Chức năng |
Đơn vị tính |
Số lượng |
Năm xây dựng |
Năm sửa chữa, nội dung sửa chữa |
Thời điểm kiểm tra |
Trạng thái kỹ thuật công trình (*) |
|
|
|
|
|
|
|
|
|
|
|
|
|
|
|
|
|
|
|
|
|
|
5.1.2. Đường ngang Km.
5.2. Tuyến đường sắt: ...
5.2.1. Đường ngang Km.....
Ghi chú: Cột "Trạng thái công trình" ghi theo hướng dẫn của Quy trình bảo trì, trường hợp chưa đủ điều kiện để đánh giá theo hướng dẫn của quy trình bảo trì, ghi theo nội dung đánh giá trực quan về chất lượng công trình với các mức 1, 2, 3 như sau:
- Mức 1: Công trình không có dấu hiệu hư hỏng, bảo đảm điều kiện khai thác bình thường.
- Mức 2: Công trình có dấu hiệu hư hỏng nhỏ nhưng vẫn bảo đảm điều kiện khai thác, cần phải sửa chữa nhỏ lẻ trong quá trình bảo dưỡng, về lâu dài cần lập kế hoạch sửa chữa định kỳ.
- Mức 3: Công trình hư hỏng cần phải áp dụng biện pháp khẩn cấp và tổ chức xử lý để bảo đảm an toàn chạy tàu.
PHỤ LỤC XXII. MẪU BÁO CÁO XỬ LÝ ĐỐI VỚI CÔNG TRÌNH ĐƯỜNG SẮT DẤU HIỆU NGUY HIỂM, KHÔNG BẢO ĐẢM AN TOÀN CHO KHAI THÁC SỬ DỤNG
(Ban hành kèm theo Thông tư số 34/2025/TT-BXD ngày 14 tháng 11 năm 2025 của Bộ trưởng Bộ Xây dựng)
|
(TÊN ĐƠN VỊ) V/v..... |
CỘNG HÒA XÃ HỘI CHỦ NGHĨA VIỆT NAM |
Kính gửi: Cục Đường sắt Việt Nam
Thực hiện quy định về bảo trì công trình đường sắt, ….(1).... báo cáo xử lý đối với công trình đường sắt có dấu hiệu nguy hiểm, không bảo đảm an toàn cho khai thác, sử dụng như sau:
1. Tình hình khai thác, sử dụng công trình:
.....(2)....
2. Mô tả dấu hiệu nguy hiểm công trình:
.....(3)....
3. Biện pháp xử lý đang thực hiện:
.....(4)......
4. Đề xuất, kiến nghị:
.....(5)....
|
Nơi nhận: - ....; - ....; - Lưu:.....
|
QUYỀN HẠN, CHỨC VỤ CỦA NGƯỜI KÝ (Chữ ký của người có thẩm
Họ và tên
|
Hướng dẫn ghi báo cáo
(1) Ghi tên doanh nghiệp báo cáo.
(2) Ghi tên công trình, hạng mục công trình, địa điểm và tình hình khai thác sử dụng công trình trong thời gian gần đây.
(3) Mô tả mức độ hư hỏng, dấu hiệu nguy hiểm công trình kèm theo ảnh chụp hiện trạng, kết quả theo dõi, kiểm tra (nếu có).
(4) Nêu rõ các biện pháp xử lý đang được áp dụng để bảo đảm khai thác chạy tàu an toàn.
(5) Đề xuất biện pháp xử lý, dự kiến phạm vi, quy mô sửa chữa công trình (nếu cần thiết).
PHỤ LỤC XXIII. KẾ HOẠCH QUẢN LÝ, BẢO TRÌ CÔNG TRÌNH ĐƯỜNG SẮT
(Ban hành kèm theo Thông tư số 34/2025/TT-BXD ngày 14 tháng 11 năm 2025 của Bộ trưởng Bộ Xây dựng)
I. Biểu 01: Bảng tổng hợp kế hoạch quản lý, bảo trì công trình đường sắt
|
TT |
Nhiệm vụ |
Kinh phí (nghìn đồng) |
|
|
TỔNG SỐ (I+II+III+IV) |
|
|
I |
Bảo dưỡng, quản lý, giám sát công tác bảo dưỡng công trình đường sắt |
|
|
1 |
Sản phẩm... |
|
|
1.1 |
Tuyến đường sắt…. từ Km… đến Km. … |
|
|
1.2 |
Tuyến đường sắt… từ Km. ..đến Km.… |
|
|
... |
... |
|
|
2 |
Sản phẩm. … |
|
|
2.1 |
Tuyến đường sắt…. từ Km… đến Km. … |
|
|
2.2 |
Tuyến đường sắt… từ Km. ..đến Km.… |
|
|
... |
... |
|
|
n |
Quản lý, giám sát công tác bảo dưỡng công trình đường sắt |
|
|
II |
Sửa chữa công trình đường sắt |
|
|
1 |
Sửa chữa định kỳ |
|
|
1.1 |
Công trình < 500 triệu đồng |
|
|
1.2 |
Công trình ≥ 500 triệu đồng |
|
|
2 |
Sửa chữa đột xuất |
|
|
III |
Kiểm định, quan trắc và công tác khác |
|
|
1 |
Kiểm định |
|
|
2 |
Quan trắc |
|
|
.... |
Công tác ..... |
|
|
IV |
Các nhiệm vụ xử lý khẩn cấp sự cố công trình; khắc phục hậu quả thiên tai, sự cố |
|
|
1 |
Nhiệm vụ xử lý khẩn cấp sự cố công trình |
|
|
2 |
Khắc phục hậu quả thiên tai, sự cố |
|
II. Biểu 02: Bảng chi tiết bảo dưỡng công trình đường sắt
|
TT |
Hạng mục |
Đơn vị |
Khối lượng |
Kinh phí |
Thời gian thực hiện |
Phương thức thực hiện |
|
1 |
Sản phẩm thứ 1 |
|
|
|
|
|
|
1.1 |
Tuyến đường sắt (từ Km... đến Km...) |
|
|
|
|
|
|
|
- Đường chính tuyến |
km |
|
|
|
|
|
|
- Đường ga |
km |
|
|
|
|
|
|
- Ghi |
bộ |
|
|
|
|
|
|
…. |
|
|
|
|
|
|
1.2 |
Tuyến đường sắt (từ Km... đến Km...) |
|
|
|
|
|
|
|
- Đường chính tuyến |
km |
|
|
|
|
|
|
- Đường ga |
km |
|
|
|
|
|
|
- Ghi |
bộ |
|
|
|
|
|
|
…. |
|
|
|
|
|
|
…. |
…. |
|
|
|
|
|
III. Biểu 03: Danh mục sửa chữa công trình đường sắt
|
TT |
Tên công trình |
Kinh phí |
Thời gian thực hiện |
Phương thức thực hiện |
|
1 |
Tuyến đường sắt... |
... |
... |
... |
|
1.1 |
Công trình... |
... |
... |
... |
|
... |
... |
... |
... |
... |
|
2 |
Tuyến đường sắt. |
... |
... |
... |
|
2.1 |
Công trình. |
... |
.. |
... |
|
... |
... |
... |
.... |
... |
IV. Biểu 04: Danh mục quan trắc và công tác khác
|
TT |
Tên nhiệm vụ |
Kinh phí |
Thời gian thực hiện |
Phương thức thực hiện |
|
1 |
Kiểm định |
......... |
......... |
......... |
|
1.1 |
Nhiệm vụ. … |
|
|
|
|
... |
... |
|
|
|
|
2 |
Quan trắc |
|
|
|
|
2.1 |
Nhiệm vụ. |
|
|
|
|
... |
.... |
|
|
|
|
3 |
Công tác ... |
|
|
|
|
3.1 |
Nhiệm vụ. … |
|
|
|
|
... |
... |
|
|
|
V. Biểu 05: Danh mục công công trình xử lý khẩn cấp sự cố; khắc phục hậu quả thiên tai, sự cố
|
TT |
Tên công trình |
Kinh phí |
|
1 |
Công trình... |
... |
|
2 |
Công trình. |
... |
|
... |
.... |
... |
PHỤ LỤC XXIV. BẢNG TỔNG HỢP KHỐI LƯỢNG BẢO DƯỠNG CÔNG TRÌNH ĐƯỜNG SẮT
(Ban hành kèm theo Thông tư số 34/2025/TT-BXD ngày 14 tháng 11 năm 2025
của Bộ trưởng Bộ Xây dựng)
|
TT |
Hạng mục công việc |
Đơn vị |
Khối lượng năm trước |
Khối lượng năm nay |
Tăng / giảm |
Lý do tăng / giảm |
|
1 |
Tuyến đường sắt (từ Km... đến Km...) |
|
|
|
|
|
|
|
- Đường chính tuyến |
km |
|
|
|
|
|
|
- Đường ga |
km |
|
|
|
|
|
|
- Ghi |
bộ |
|
|
|
|
|
|
- Cầu |
km |
|
|
|
|
|
|
- Cống |
km |
|
|
|
|
|
|
- Hầm |
km |
|
|
|
|
|
|
- … |
|
|
|
|
|
|
|
- …. |
|
|
|
|
|
|
2 |
Tuyến đường sắt (từ Km... đến Km...) |
|
|
|
|
|
|
|
- …. |
|
|
|
|
|
PHỤ LỤC XXV. MẪU TỜ TRÌNH KẾ HOẠCH QUẢN LÝ, BẢO TRÌ CÔNG TRÌNH ĐƯỜNG SẮT
(Ban hành kèm theo Thông tư số 34/2025/TT-BXD ngày 14 tháng 11 năm 2025 của Bộ trưởng Bộ Xây dựng)
|
(TÊN ĐƠN VỊ) |
CỘNG HÒA XÃ HỘI CHỦ NGHĨA VIỆT NAM Hà Nội, ngày ... tháng ... năm 20... |
TỜ TRÌNH
Về việc thẩm định, phê duyệt kế hoạch quản lý, bảo trì
công trình đường sắt quốc gia năm...(1)...
_________________
Kính gửi: Bộ Xây dựng
Thực hiện quy định về bảo trì công trình đường sắt, …..(2)…. trình thẩm định, phê duyệt quản lý, bảo trì công trình đường sắt quốc gia năm …..(1)…. như sau:
1. Căn cứ
....(3)....
2. Kết quả thực hiện kế hoạch bảo trì năm trước
.....(4)....
3. Mục tiêu và cơ cấu bố trí kinh phí kế hoạch
....(5)....
4. Nội dung kế hoạch
.....(6).....
5. Đề xuất, kiến nghị
.....(7)....
|
Nơi nhận: - .....; - .....; - Lưu:....
|
QUYỀN HẠN, CHỨC VỤ CỦA NGƯỜI KÝ (Chữ ký của người có thẩm
Họ và tên
|
Hướng dẫn ghi tờ trình
(1) Ghi năm kế hoạch.
(2) Ghi tên doanh nghiệp trình kế hoạch bảo trì.
(3) Ghi đầy đủ các căn cứ làm cơ sở để xây dựng kế hoạch bảo trì bao gồm: các văn bản quy phạm pháp luật, quy chuẩn kỹ thuật, tiêu chuẩn áp dụng; các văn bản chỉ đạo, điều hành trong quá trình thực hiện bảo trì có liên quan.
(4) Tóm tắt kết quả thực hiện đối với các nội dung đã và đang thực hiện kế hoạch bảo trì của năm trước.
(5) Thuyết minh mục tiêu hướng tới và nguyên tắc cơ cấu bố trí kinh phí trong kế hoạch để bảo đảm phù hợp với tình trạng kỹ thuật của công trình đường sắt và nhu cầu vận tải trên từng tuyến đường sắt; quá trình điều tra, xác nhận khối lượng nhu cầu bảo trì.
(6) Thuyết minh làm rõ từng nội dung trong kế hoạch bảo trì gồm: bảo dưỡng công trình đường sắt; sửa chữa công trình; công tác khắc phục hậu quả thiên tai, sự cố đã thực hiện; kiểm định, quan trắc và công tác khác (nếu có); quản lý, giám sát thực hiện bảo dưỡng công trình đường sắt; các nhiệm vụ xử lý khẩn cấp sự cố công trình; khắc phục hậu quả thiên tai, sự cố cho năm tiếp theo; quản lý và bảo vệ kết cấu hạ tầng đường sắt.
(7) Nêu rõ đề xuất, kiến nghị của doanh nghiệp trình kế hoạch bảo trì. (Tài liệu gửi kèm theo tờ trình theo quy định tại điểm d khoản 1 Điều 12 Thông tư này).
PHỤ LỤC XXVI. BIỂU MẪU BÁO CÁO ĐỊNH KỲ KẾT QUẢ THỰC HIỆN BẢO TRÌ CÔNG TRÌNH ĐƯỜNG SẮT
(Ban hành kèm theo Thông tư số 34/2025/TT-BXD ngày 14 tháng 11 năm 2025 của Bộ trưởng Bộ Xây dựng)
|
(TÊN ĐƠN VỊ)
|
CỘNG HÒA XÃ HỘI CHỦ NGHĨA VIỆT NAM Hà Nội, ngày ... tháng ... năm 20... |
BÁO CÁO ĐỊNH KỲ KẾT QUẢ THỰC HIỆN BẢO TRÌ KẾT
CÔNG TRÌNH ĐƯỜNG SẮT
(Kỳ báo cáo: 6 tháng đầu năm /năm...)
Kính gửi:
- Bộ Xây dựng;
- Cục Đường sắt Việt Nam.
1. Kết quả thực hiện nhiệm vụ:
|
TT |
Nhiệm vụ |
Đơn vị |
Khối lượng |
Kinh phí (đồng) |
Thời gian thực hiện |
Mức độ hoàn thành (%) |
|
1 |
Bảo dưỡng công trình đường sắt |
|
|
|
|
|
|
1.1 |
Tuyến đường sắt ... (từ Km…. đến Km….) |
|
|
|
|
|
|
|
… |
|
|
|
|
|
|
2 |
Sửa chữa công trình đường sắt |
|
|
|
|
|
|
2.1 |
Công trình. … |
|
|
|
|
|
|
|
…. |
|
|
|
|
|
|
3 |
Nhiệm vụ khắc phục hậu quả thiên tai, sự cố, tai nạn giao thông đường sắt |
|
|
|
|
|
|
3.1 |
Nhiệm vụ. … |
|
|
|
|
|
|
|
… |
|
|
|
|
|
|
4 |
Công tác khác |
|
|
|
|
|
|
4.1 |
Công tác. …. |
|
|
|
|
|
|
|
… |
|
|
|
|
|
2. Đề xuất, kiến nghị:
a) Đề xuất: …………….
b) Kiến nghị: …………………….
QUYỀN HẠN, CHỨC VỤ CỦA NGƯỜI KÝ
(Chữ ký của người có thẩm
quyền, dấu/chữ ký số của cơ
quan, tổ chức)
Họ và tên
PHỤ LỤC XXVII. MẪU ĐƠN ĐỀ NGHỊ CẤP GIẤY PHÉP XÂY DỰNG CÔNG TRÌNH THIẾT YẾU, DÙNG CHUNG ĐƯỜNG SẮT
(Ban hành kèm theo Thông tư số 34/2025/TT-BXD ngày 14 tháng 11 năm 2025 của Bộ trưởng Bộ Xây dựng)
|
....(1).....
|
CỘNG HÒA XÃ HỘI CHỦ NGHĨA VIỆT NAM ..., ngày ... tháng ... năm 20... |
ĐƠN ĐỀ NGHỊ CẤP GIẤY PHÉP XÂY DỰNG CÔNG TRÌNH THIẾT YẾU, DÙNG CHUNG VỚI ĐƯỜNG SẮT
...(2).....
Kính gửi: .....(3)...
- Căn cứ Luật Đường sắt số 95/2025/QH15 ngày 27 tháng 6 năm 2025;
- Căn cứ Thông tư số .../TT-BXD, ngày ...tháng ...năm 2025 của Bộ trưởng Bộ Xây dựng quy định về quản lý, khai thác kết cấu hạ tầng đường sắt.
...(1)... đại diện bởi: ...; chức vụ: ..., đề nghị được cấp Giấy phép xây dựng công trình với nội dung chủ yếu sau:
1. Tên công trình/hạng mục công trình: ...(2)...
Thuộc Dự án: ...(4)...
2. Vị trí xây dựng . ....(5)....
3. Hồ sơ thiết kế kỹ thuật (hoặc thiết kế bản vẽ thi công) công trình (phần trong phạm vi đất dành cho đường sắt) do ...(6)... lập, đã được ...(7).... phê duyệt tại quyết định số ....ngày ...tháng ...năm ....
4. Quy mô xây dựng: ..(8).....
5. Thời gian thi công bắt đầu từ ngày ... tháng ... năm ... đến hết ngày ...tháng ... năm ...
6.... .(1)... cam kết:
+ Tự di chuyển hoặc cải tạo công trình và không đòi bồi thường khi cơ quan có thẩm quyền yêu cầu; đồng thời, hoàn chỉnh các thủ tục theo quy định của pháp luật có liên quan để công trình được thi công xây dựng xong trong thời hạn có hiệu lực của Giấy phép;
+ Tự phá dỡ công trình và chịu mọi chi phí phá dỡ khi hết hạn sử dụng (đối với công trình xây dựng tạm);
+ Thực hiện đầy đủ các biện pháp bảo đảm an toàn công trình đường sắt, an toàn giao thông đường sắt và không gây ô nhiễm môi trường;
+ Thi công xây dựng công trình theo đúng hồ sơ thiết kế đã được phê duyệt và tuân thủ theo quy định của Giấy phép.
Nếu không thực hiện đúng các cam kết trên, ...(1)... chịu trách nhiệm theo quy định của pháp luật.
7. Địa chỉ liên hệ: ..Số điện thoại: ..Email: ...
8. Nhu cầu nhận kết quả là bản giấy: Có □ Không □
|
Nơi nhận: - .....; - Lưu:....
|
QUYỀN HẠN, CHỨC VỤ CỦA NGƯỜI KÝ (Chữ ký của người có thẩm quyền,
Họ và tên
|
Hướng dẫn ghi trong Đơn đề nghị cấp giấy phép
(1) Tên đơn vị hoặc tổ chức đề nghị cấp giấy phép.
(2) Ghi tên công trình hoặc hạng mục công trình đề nghị cấp giấy phép, lý trình, tuyến đường sắt; ví dụ “Công trình đường ống cấp nước sạch chui qua đường sắt tại vị trí km 5+555, tuyến đường sắt Hà Nội - Tp. Hồ Chí Minh”.
(3) Tên cơ quan cấp giấy phép xây dựng.
(4) Ghi tên dự án đầu tư xây dựng công trình trong đó có công trình hoặc hạng mục công trình đề nghị cấp giấy phép xây dựng.
(5) Ghi lý trình, tên tuyến đường sắt, thuộc địa phận xã, tỉnh.
(6) Tổ chức tư vấn lập hồ sơ thiết kế.
(7) Cơ quan phê duyệt hồ sơ thiết kế.
(8) Ghi quy mô công trình, hạng mục công trình (phần trong phạm vi đất dành cho đường sắt) đề nghị cấp giấy phép.
PHỤ LỤC XXVIII. MẪU ĐƠN ĐỀ NGHỊ GIA HẠN GIẤY PHÉP XÂY DỰNG CÔNG TRÌNH THIẾT YẾU, DÙNG CHUNG VỚI ĐƯỜNG SẮT
(Ban hành kèm theo Thông tư số 34/2025/TT-BXD ngày 14 tháng 11 năm 2025 của Bộ trưởng Bộ Xây dựng)
|
....(1).....
|
CỘNG HÒA XÃ HỘI CHỦ NGHĨA VIỆT NAM ..., ngày ... tháng ... năm 20... |
ĐƠN ĐỀ NGHỊ GIA HẠN GIẤY PHÉP XÂY DỰNG CÔNG TRÌNH
THIẾT YẾU, DÙNG CHUNG VỚI ĐƯỜNG SẮT
...(2)...
Kính gửi: .....(3)....
- Căn cứ Luật Đường sắt số 95/2025/QH15 ngày 27 tháng 6 năm 2025;
- Căn cứ Thông tư số ..../TT-BXD, ngày... tháng ....năm 2025 của Bộ trưởng Bộ Xây dựng quy định về quản lý, khai thác kết cấu hạ tầng đường sắt;
- Căn cứ Giấy phép số ngày .... tháng năm ...
...(1)... đề nghị được gia hạn giấy phép xây dựng công trình:
Thời điểm kết thúc thi công xây dựng công trình: ngày ... tháng ... năm...
Lý do gia hạn: ....(4)....
...(1)... cam kết thực hiện theo đúng Giấy phép được cấp, quyết định gia hạn Giấy phép thi công xây dựng công trình và quy định của pháp luật có liên quan.
Địa chỉ liên hệ: ...
Số điện thoại: ...
Nhu cầu nhận kết quả là bản giấy: Có □ Không □
|
Nơi nhận: - .....; - .....; - Lưu: ....
|
QUYỀN HẠN, CHỨC VỤ CỦA NGƯỜI KÝ (Chữ ký của người có thẩm quyền,
Họ và tên
|
Hướng dẫn ghi trong Đơn đề nghị gia hạn
(1) Tên đơn vị hoặc tổ chức đề nghị gia hạn giấy phép xây dựng.
(2) Ghi tên công trình hoặc hạng mục công trình đề nghị gia hạn giấy phép xây dựng; ví dụ “Công trình đường ống cấp nước sạch chui qua đường sắt tại vị trí Km5+555, tuyến đường sắt Hà Nội - Tp. Hồ Chí Minh”.
(3) Tên cơ quan có thẩm quyền gia hạn giấy phép xây dựng công trình.
(4) Nêu lý do gia hạn giấy phép xây dựng.
PHỤ LỤC XXIX. MẪU GIẤY PHÉP XÂY DỰNG CÔNG TRÌNH THIẾT YẾU DÙNG CHUNG VỚI ĐƯỜNG SẮT
(Ban hành kèm theo Thông tư số 34/2025/TT-BXD ngày 14 tháng 11 năm 2025 của Bộ trưởng Bộ Xây dựng)
|
....(1).....
|
CỘNG HÒA XÃ HỘI CHỦ NGHĨA VIỆT NAM ..., ngày ... tháng ... năm 20... |
GIẤY PHÉP XÂY DỰNG CÔNG TRÌNH THIẾT YẾU, DÙNG CHUNG
VỚI ĐƯỜNG SẮT
....(2)....
- Căn cứ Luật Đường sắt số 95/2025/QH15 ngày 27 tháng 6 năm 2025;
- Căn cứ Thông tư số .../TT-BXD, ngày ....tháng ...năm 2025 của Bộ trưởng Bộ Xây dựng quy định về quản lý, khai thác kết cấu hạ tầng đường sắt.
Xét Đơn đề nghị số ....ngày ...tháng ....năm 20... của ...(3)...
Điều 1. Cấp cho:
- ....(3)....
- Người đại diện: ...; chức vụ: ...
- Địa chỉ: ...
- Điện thoại: ...
Điều 2. Nội dung giấy phép:
- Tên công trình: ...(2)...
- Thuộc dự án: ...(4)...
- Địa điểm xây dựng: ...(5)...
- Quy mô xây dựng công trình (phần trong phạm vi đất dành cho đường sắt):
...(6)...
Điều 3. Trách nhiệm của tổ chức được cấp Giấy phép và các cơ quan, tổ chức có liên quan:
1...(7)...
2. ...
Điều 4. Hiệu lực của giấy phép và thời hạn thi công:
1. Giấy phép này có hiệu lực kể từ ngày ... tháng ... năm ... đến ngày ... tháng ... năm ....
2. Thời gian thi công công trình kể từ ngày... . tháng .... năm .... đến ngày .... tháng .... năm ....
|
Nơi nhận: - Như Điều.....; - ……; - Lưu: ….
|
QUYỀN HẠN, CHỨC VỤ CỦA NGƯỜI KÝ (Chữ ký của người có thẩm quyền, dấu/chữ
Họ và tên
|
Hướng dẫn ghi trong Giấy phép
(1) Tên cơ quan có thẩm quyền cấp giấy phép xây dựng.
(2) Ghi tên công trình hoặc hạng mục công trình được cấp Giấy phép, lý trình, tuyến đường sắt; ví dụ “Công trình đường ống cấp nước sạch chui qua đường sắt tại vị trí km 5+555, tuyến đường sắt Hà Nội - Tp. Hồ Chí Minh”.
(3) Tên đơn vị hoặc tổ chức đề nghị cấp giấy phép xây dựng.
(4) Ghi tên dự án đầu tư xây dựng công trình trong đó có công trình hoặc hạng mục công trình được cấp giấy phép xây dựng.
(5) Ghi rõ lý trình, tên tuyến đường sắt, thuộc địa phận xã, tỉnh.
(6) Ghi phần quy mô xây dựng công trình trong phạm vi đất dành cho đường sắt.
(7) Ghi yêu cầu về trách nhiệm đối với tổ chức được cấp giấy phép xây dựng và các cơ quan, tổ chức có liên quan.
PHỤ LỤC XXX. MẪU QUYẾT ĐỊNH GIA HẠN GIẤY PHÉP XÂY DỰNG CÔNG TRÌNH THIẾT YẾU, DÙNG CHUNG VỚI ĐƯỜNG SẮT
(Ban hành kèm theo Thông tư số 34/2025/TT-BXD ngày 14 tháng 11 năm 2025 của Bộ trưởng Bộ Xây dựng)
|
....(1).....
|
CỘNG HÒA XÃ HỘI CHỦ NGHĨA VIỆT NAM ..., ngày ... tháng ... năm 20... |
QUYẾT ĐỊNH
Về việc gia hạn giấy phép xây dựng công trình thiết yếu, dùng chung với
đường sắt
...(2)...
- Căn cứ Luật Đường sắt số 95/2025/QH15 ngày 27 tháng 6 năm 2025;
- Căn cứ Thông tư số …./TT-BXD, ngày… tháng…. năm 2025 của Bộ trưởng Bộ Xây dựng quy định về quản lý, khai thác kết cấu hạ tầng đường sắt;
- Căn cứ Giấy phép thi công xây dựng số.... ngày ... tháng ... năm.;
Xét Đơn đề nghị số ....ngày ...tháng ....năm 20... của ...(3)...
QUYẾT ĐỊNH
Điều 1. Gia hạn Giấy phép xây dựng ….(2) ... với nội dung sau:
Thời điểm kết thúc thi công xây dựng công trình: ngày ... tháng ... năm….
Lý do gia hạn: ….(4)….
Điều 2. Các nội dung khác, những yêu cầu đối với tổ chức, cá nhân được cấp gia hạn giấy phép xây dựng
Điều 3. Hiệu lực của quyết định
Quyết định này có hiệu lực kể từ ngày …. tháng …. năm …. đến ngày ….tháng …. năm …..
|
Nơi nhận: - Như Điều.....; - …..; - Lưu:…..
|
QUYỀN HẠN, CHỨC VỤ CỦA NGƯỜI KÝ (Chữ ký của người có thẩm quyền, dấu/chữ
Họ và tên
|
Hướng dẫn ghi trong Quyết định gia hạn Giấy phép
(1) Tên cơ quan có thẩm quyền gia hạn giấy phép xây dựng.
(2) Ghi tên công trình hoặc hạng mục công trình, lý trình, tuyến đường sắt; ví dụ “Công trình đường ống cấp nước sạch chui qua đường sắt tại vị trí km 5+555, tuyến đường sắt Hà Nội - Tp. Hồ Chí Minh”.
(3) Tên đơn vị hoặc tổ chức đề nghị gia hạn giấy phép.
(4) Ghi lý do gia hạn giấy phép.
PHỤ LỤC XXXI. MẪU BÁO CÁO CÔNG TÁC PHÒNG, CHỐNG THIÊN TAI
(Ban hành kèm theo Thông tư số 34/2025/TT-BXD ngày 14 tháng 11 năm 2025 của Bộ trưởng Bộ Xây dựng)
|
ĐƠN VỊ
|
CỘNG HÒA XÃ HỘI CHỦ NGHĨA VIỆT NAM ..., ngày ... tháng ... năm 20... |
BÁO CÁO
Công tác phòng, chống thiên tai trên đường sắt
Kính gửi:……………….
1. Tình hình thực hiện
- Thông tin về danh sách và số điện thoại liên lạc của các thành viên trong bộ phận thường trực chỉ huy phòng, chống thiên tai, sự cố; nhiệm vụ, địa chỉ của các chủ thể liên quan;
- Tổng hợp kế hoạch phòng, chống thiên tai và cứu nạn trên đường sắt quốc gia.
2. Kết quả đạt được
- Thông tin về danh sách và số điện thoại liên lạc của các thành viên trong bộ phận thường trực chỉ huy phòng, chống thiên tai, sự cố; nhiệm vụ, địa chỉ của các chủ thể liên quan;
- Tổng hợp kế hoạch phòng, chống thiên tai và cứu nạn trên đường sắt quốc gia;
- Kết quả theo dõi, kiểm tra, đôn đốc việc thực hiện công tác phòng, chống thiên tai và cứu nạn của các doanh nghiệp kinh doanh đường sắt;
- Kết quả thực hiện khắc phục hậu quả thiệt hại do thiên tai, sự cố gây ra;
3. Tồn tại, hạn chế và nguyên nhân của tồn tại, hạn chế: Các vướng mắc phát sinh trong quá trình thực hiện.
4. Phương hướng nhiệm vụ; đề xuất, kiến nghị
- Kế hoạch, biện pháp thực hiện trong năm tới.
- Đề xuất, kiến nghị.
QUYỀN HẠN, CHỨC VỤ CỦA NGƯỜI KÝ
(Chữ ký của người có thẩm quyền,
dấu/chữ ký số của cơ quan, tổ chức)
Họ và tên
PHỤ LỤC XXXII. BIỂU MẪU CÔNG LỆNH TỐC ĐỘ
(Ban hành kèm theo Thông tư số 34/2025/TT-BXD ngày 14 tháng 11 năm 2025 của Bộ trưởng Bộ Xây dựng)
BẢNG QUY ĐỊNH TỐC ĐỘ KỸ THUẬT CHO PHÉP CỦA CÔNG TRÌNH ĐƯỜNG SẮT NĂM...
I. Tốc độ kỹ thuật cho phép trên tuyến đường sắt....
A. Đường chính
|
Tên ga |
Lý trình |
Dài (km) |
Tốc độ (km/h) |
Điểm chạy chậm |
||||
|
Khổ 1000 mm |
Khổ 1435 mm |
Vị trí chạy chậm |
Dài (m) |
Tốc độ chạy chậm (km/h) |
Ghi chú |
|||
|
(1) |
(2) |
(3) |
(4) |
(5) |
(6) |
(7) |
(8) |
(9) |
|
|
|
|
|
|
|
|
|
|
|
|
|
|
|
|
|
|
|
|
Ghi chú:
(1): Ghi tên ga, lý trình ga.
(2): Ghi lý trình điểm đầu, điểm cuối của từng đoạn có tốc độ kỹ thuật cho phép của công trình đường sắt như nhau.
(3): Chiều dài từng đoạn có tốc độ kỹ thuật cho phép của công trình đường sắt như nhau (km).
(4), (5): Tốc độ kỹ thuật (km/h) cho phép của công trình đường sắt trên từng đoạn theo từng loại khổ đường khác nhau. Trường hợp trên tuyến chỉ có 01 loại khổ đường thì ghi giá trị tốc độ cho phép công trình đường sắt tương ứng với loại khổ đường đó.
(6): Ghi rõ lý trình điểm đầu, điểm cuối của vị trí phải chạy chậm.
(7): Chiều dài đoạn phải chạy chậm (m).
(8): Tốc độ chạy chậm (km/h).
(9): Ghi rõ lý do phải chạy chậm: bán kính đường cong R; điểm xung yếu phải hạn chế tốc độ; vị trí thi công phải hạn chế tốc độ; yếu tố kỹ thuật của đường cong không bảo đảm yêu cầu.
B. Các điểm hạn chế tốc độ khác
1.Ghi đường sắt trên chính tuyến tại các ga (hướng thẳng, hướng rẽ): Ghi rõ số hiệu ghi, tên ga, lý trình ga.
2.Ghi đường sắt trên chính tuyến ngoài khu gian (hướng thẳng, hướng rẽ): Ghi rõ số hiệu ghi, lý trình ghi.
3.Các điểm hạn chế tốc độ khác tại thời điểm xây dựng, công bố công lệnh tốc độ.
II. Tốc độ kỹ thuật cho phép trên các đường nhánh...
Đường nhánh..., thuộc tuyến đường sắt...
|
TT |
Tên đường nhánh |
Dài (m) |
Tốc độ (km/h) |
Ghi chú |
|
|
(1) |
(2) |
(3) |
(4) |
|
|
|
|
|
|
|
|
|
|
|
|
Ghi chú:
(1): Ghi rõ tên đường nhánh; điểm đầu và điểm cuối của đường nhánh.
(2): Chiều dài từng đoạn đường nhánh (m) có tốc độ kỹ thuật cho phép của công trình đường sắt như nhau.
(3): Tốc độ kỹ thuật cho phép của công trình đường sắt theo từng đoạn của đường nhánh (km/h).
(4): Ghi rõ vị trí, lý trình nối đường nhánh vào đường chính; lý do hạn chế tốc độ: bán kính đường cong R, điểm xung yếu phải hạn chế tốc độ, vị trí thi công phải hạn chế tốc độ, yếu tố kỹ thuật của đường cong không bảo đảm yêu cầu.
PHỤ LỤC XXXIII. ĐỀ CƯƠNG BÁO CÁO CÔNG TÁC XÂY DỰNG, CÔNG BỐ, ĐIỀU CHỈNH BIỂU ĐỒ CHẠY TÀU VÀ KẾT QUẢ THỰC HIỆN TRONG NĂM ĐỐI VỚI ĐƯỜNG SẮT QUỐC GIA, ĐƯỜNG SẮT ĐỊA PHƯƠNG
(Ban hành kèm theo Thông tư số 34/2025/TT-BXD ngày 14 tháng 11 năm 2025 của Bộ trưởng Bộ Xây dựng)
I. YÊU CẦU
1. Tên báo cáo: Báo cáo công tác xây dựng, công bố, điều chỉnh biểu đồ chạy tàu và kết quả thực hiện trong năm đối với đường sắt quốc gia, đường sắt địa phương.
2. Nội dung báo cáo phải thể hiện đầy đủ nội dung việc đã thực hiện, kết quả đạt được; những tồn tại, hạn chế và nguyên nhân; vướng mắc phát sinh trong quá trình thực hiện và đề xuất, kiến nghị.
3. Đối tượng thực hiện báo cáo:
- Doanh nghiệp quản lý tài sản đường sắt đối với đường sắt quốc gia, đường sắt địa phương do nhà nước đầu tư.
- Chủ sở hữu công trình đường sắt đối với đường sắt quốc gia, đường sắt địa phương được đầu tư bằng nguồn vốn ngoài ngân sách nhà nước.
4. Cơ quan nhận báo cáo: Cục Đường sắt Việt Nam (đối với đường sắt quốc gia), Sở Xây dựng (đối với đường sắt địa phương).
5. Phương thức gửi, nhận báo cáo: bằng bản điện tử gửi qua trục liên thông hệ thống quản lý văn bản hoặc bằng văn bản giấy trong trường hợp không có trục liên thông hệ thống quản lý văn bản.
6. Thời hạn gửi báo cáo: ngày 20 tháng 12 hằng năm.
7. Tần suất thực hiện báo cáo: 01 lần trong năm.
8. Thời gian chốt số liệu báo cáo: từ ngày 15 tháng 12 của năm trước đến ngày 14 tháng 12 của năm báo cáo.
II. BIỂU MẪU BÁO CÁO
|
ĐƠN VỊ:... __________
|
CỘNG HÒA XÃ HỘI CHỦ NGHĨA VIỆT NAM Độc lập - Tự do - Hạnh phúc _______________________ |
BÁO CÁO
Công tác xây dựng, công bố, điều chỉnh biểu đồ chạy tàu và kết quả
thực hiện trong năm...
1. Nội dung công việc đã thực hiện: ...
2. Tổng hợp kết quả thực hiện: ...
- Lập biểu đồ chạy tàu: ...
- Điều chỉnh biểu đồ chạy tàu: ...
- Công bố biểu đồ chạy tàu: ...
- Các doanh nghiệp vận tải tham gia chạy tàu: ...
3. Tồn tại, hạn chế và nguyên nhân: ...
4. Đề xuất, kiến nghị: ...
QUYỀN HẠN, CHỨC VỤ CỦA NGƯỜI KÝ
(Chữ ký của người có thẩm quyền,
dấu/chữ ký số của cơ quan, tổ chức)
Họ và tên
Bạn chưa Đăng nhập thành viên.
Đây là tiện ích dành cho tài khoản thành viên. Vui lòng Đăng nhập để xem chi tiết. Nếu chưa có tài khoản, vui lòng Đăng ký tại đây!
Bạn chưa Đăng nhập thành viên.
Đây là tiện ích dành cho tài khoản thành viên. Vui lòng Đăng nhập để xem chi tiết. Nếu chưa có tài khoản, vui lòng Đăng ký tại đây!