- Tổng quan
- Nội dung
- VB gốc
- Tiếng Anh
- Hiệu lực
- VB liên quan
- Lược đồ
-
Nội dung hợp nhất
Tính năng này chỉ có tại LuatVietnam.vn. Nội dung hợp nhất tổng hợp lại tất cả các quy định còn hiệu lực của văn bản gốc và các văn bản sửa đổi, bổ sung, đính chính... trên một trang. Việc hợp nhất văn bản gốc và những văn bản, Thông tư, Nghị định hướng dẫn khác không làm thay đổi thứ tự điều khoản, nội dung.
Khách hàng chỉ cần xem Nội dung hợp nhất là có thể nắm bắt toàn bộ quy định hiện hành đang áp dụng, cho dù văn bản gốc đã qua nhiều lần chỉnh sửa, bổ sung.
- Tải về
Thông tư 29/2023/TT-BGTVT cấp giấy phép xây dựng công trình dành cho đường sắt
| Cơ quan ban hành: | Bộ Giao thông Vận tải |
Số công báo:
Số công báo là mã số ấn phẩm được đăng chính thức trên ấn phẩm thông tin của Nhà nước. Mã số này do Chính phủ thống nhất quản lý.
|
Đã biết
|
| Số hiệu: | 29/2023/TT-BGTVT | Ngày đăng công báo: |
Đã biết
|
| Loại văn bản: | Thông tư | Người ký: | Nguyễn Danh Huy |
|
Ngày ban hành:
Ngày ban hành là ngày, tháng, năm văn bản được thông qua hoặc ký ban hành.
|
29/09/2023 |
Ngày hết hiệu lực:
Ngày hết hiệu lực là ngày, tháng, năm văn bản chính thức không còn hiệu lực (áp dụng).
|
Đã biết
|
|
Áp dụng:
Ngày áp dụng là ngày, tháng, năm văn bản chính thức có hiệu lực (áp dụng).
|
Đã biết
|
Tình trạng hiệu lực:
Cho biết trạng thái hiệu lực của văn bản đang tra cứu: Chưa áp dụng, Còn hiệu lực, Hết hiệu lực, Hết hiệu lực 1 phần; Đã sửa đổi, Đính chính hay Không còn phù hợp,...
|
Đã biết
|
| Lĩnh vực: | Xây dựng Giao thông |
TÓM TẮT THÔNG TƯ 29/2023/TT-BGTVT
1. Hồ sơ đề nghị cấp giấy phép xây dựng, cải tạo, nâng cấp đường ngang gồm:
- Đơn đề nghị theo mẫu quy định tại Phụ lục VII của Thông tư này.
- Bản chính hoặc bản sao được chứng thực hoặc bản sao kèm theo bản chính để đối chiếu hoặc bản sao điện tử có giá trị pháp lý (khi thực hiện thủ tục hành chính trên môi trường điện tử) các tài liệu sau:
- Quyết định phê duyệt dự án đầu tư xây dựng công trình;
- Quyết định phê duyệt thiết kế kỹ thuật hoặc thiết kế bản vẽ thi công của đường ngang;
- Hồ sơ thiết kế kỹ thuật hoặc thiết kế bản vẽ thi công của đường ngang đã được phê duyệt;
- Phương án tổ chức thi công đường ngang và biện pháp bảo đảm an toàn giao thông trong quá trình thi công được cấp thẩm quyền phê duyệt hoặc chủ đầu tư chấp thuận.
2. Khi phải đỗ tàu trên đường ngang, thời gian đỗ không được vượt quá 03 phút trên đường ngang cấp I, cấp II, không được vượt quá 05 phút trên đường ngang cấp III trừ đường ngang theo quy định của pháp luật về giải quyết sự cố, tai nạn giao thông đường sắt và phân tích, thống kê báo cáo về sự cố, tai nạn giao thông đường sắt.
3. Các cơ cấu và thiết bị chắn tự động phải bảo đảm hoạt động theo trình tự sau đây:
- Khi tàu đến gần đường ngang, đèn đỏ báo hiệu trên đường bộ và đèn đỏ trên cần chắn tự động bật sáng, chuông báo hiệu hoặc loa phát âm thanh tự động kêu; sau từ 07-08 giây, cần chắn tự động bắt đầu đóng;
- Khi tàu qua khỏi đường ngang, cần chắn tự động mở và đèn trên cần chắn, đèn tín hiệu trên đường bộ tự động tắt khi cần chắn đã mở hoàn toàn.
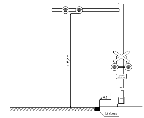
4. Đèn tín hiệu, chuông điện hoặc loa phát âm thanh (trừ trường hợp đường bộ giao cắt đường bộ liền kề với đường sắt) phải đặt trước chắn đường ngang (hoặc liền với trụ chắn đường ngang) hoặc đặt cách ray ngoài cùng 06 mét trở lên. Trong mọi trường hợp, đèn tín hiệu phải đặt tại vị trí không bị che khuất.
Thông tư này có hiệu lực từ ngày 01/12/2023.
Văn bản này được thay thế bởi 34/2025/TT-BXD
Văn bản này được sửa đổi, bổ sung bởi 09/2025/TT-BXD
Xem chi tiết Thông tư 29/2023/TT-BGTVT có hiệu lực kể từ ngày 01/12/2023
Tải Thông tư 29/2023/TT-BGTVT
|
BỘ GIAO THÔNG VẬN TẢI
|
CỘNG HÒA XÃ HỘI CHỦ NGHĨA VIỆT NAM Hà Nội, ngày 29 tháng 9 năm 2023 |
THÔNG TƯ
Quy định về đường ngang và cấp giấy phép xây dựng công trình
thiết yếu trong phạm vi đất dành cho đường sắt
______________
Căn cứ Luật Đường sắt ngày 16 tháng 6 năm 2017;
Căn cứ Nghị định số 56/2022/NĐ-CP ngày 24 tháng 8 năm 2022 của Chính phủ quy định chức năng, nhiệm vụ, quyền hạn và cơ cấu tổ chức của Bộ Giao thông vận tải;
Theo đề nghị của Vụ trưởng Vụ Kết cấu hạ tầng giao thông và Cục trưởng Cục Đường sắt Việt Nam;
Bộ trưởng Bộ Giao thông vận tải ban hành Thông tư quy định về đường ngang và cấp giấy phép xây dựng công trình thiết yếu trong phạm vi đất dành cho đường sắt.
Chương I
QUY ĐỊNH CHUNG
Điều 1. Phạm vi điều chỉnh
Thông tư này quy định về đường ngang (không bao gồm: đường sắt và đường bộ trên cầu chung; nơi đường sắt giao nhau với đường bộ chuyên dùng phục vụ tác nghiệp của ga, cảng, bãi hàng, nhà máy, xí nghiệp, khu công nghiệp); giao thông tại khu vực đường ngang; việc cấp, gia hạn giấy phép xây dựng, cải tạo, nâng cấp, bãi bỏ đường ngang trên đường sắt quốc gia, đường sắt chuyên dùng; việc cấp, gia hạn giấy phép xây dựng công trình thiết yếu trong phạm vi đất dành cho đường sắt.
Điều 2. Đối tượng áp dụng
Thông tư này áp dụng đối với tổ chức, cá nhân có liên quan đến:
1. Hoạt động xây dựng, cải tạo, nâng cấp, bãi bỏ, quản lý, sử dụng, bảo trì đường ngang.
2. Hoạt động giao thông tại khu vực đường ngang.
3. Xây dựng công trình thiết yếu trong phạm vi đất dành cho đường sắt.
Điều 3. Giải thích từ ngữ
1. Đường ngang công cộng là đoạn đường bộ thuộc quốc lộ, đường tỉnh, đường huyện , đường xã, đường đô thị giao nhau cùng mức với đường sắt quốc gia, đường sắt chuyên dùng được cơ quan có thẩm quyền cho phép xây dựng và khai thác.
2. Đường ngang chuyên dùng là đoạn đường bộ chuyên dùng giao nhau cùng mức với đường sắt quốc gia, đường sắt chuyên dùng được cơ quan có thẩm quyền cho phép xây dựng và khai thác.
3. Đường ngang có người gác là đường ngang được tổ chức phòng vệ bằng hình thức bố trí người gác.
4. Đường ngang không có người gác là đường ngang được tổ chức phòng vệ bằng cảnh báo tự động hoặc biển báo.
5. Đường ngang cảnh báo tự động là đường ngang bố trí phòng vệ bằng báo hiệu cảnh báo tự động, có hoặc không có cần chắn tự động.
6. Đường ngang biển báo là đường ngang bố trí phòng vệ bằng các biển báo hiệu.
7. Đường ngang sử dụng lâu dài là đường ngang không giới hạn thời gian khai thác kể từ khi cấp có thẩm quyền cho phép.
8. Đường ngang sử dụng có thời hạn là đường ngang chỉ được khai thác trong thời gian nhất định được cấp có thẩm quyền cho phép.
9. Chắn đường ngang là cần chắn, giàn chắn được xây dựng, lắp đặt trong phạm vi đường ngang với mục đích ngăn người, phương tiện và các vật thể khác đi qua đường sắt trong một khoảng thời gian nhất định.
10. Cơ quan quản lý đường bộ là cơ quan thực hiện chức năng quản lý nhà nước chuyên ngành thuộc Bộ Giao thông vận tải; cơ quan chuyên môn thuộc Ủy ban nhân dân tỉnh, thành phố trực thuộc trung ương, Ủy ban nhân dân huyện, quận, thị xã, thành phố thuộc tỉnh; Ủy ban nhân dân xã, phường, thị trấn.
11. Hệ thống phòng vệ đường ngang là hệ thống liên quan đến bảo đảm an toàn giao thông, phòng ngừa tai nạn tại đường ngang bao gồm: chắn đường ngang; cọc tiêu, hàng rào cố định; vạch sơn kẻ đường, gờ giảm tốc, gồ giảm tốc; hệ thống biển báo hiệu đường sắt, đường bộ; hệ thống giám sát đường ngang; đèn tín hiệu và chuông điện; tín hiệu cảnh báo đường ngang, tín hiệu ngăn đường trên đường sắt và các thiết bị khác liên quan.
12. Gờ giảm tốc là một dạng vạch sơn kẻ đường, có chiều dày không quá 06 milimét (mm), có tác dụng cảnh báo (thông qua việc gây ra tác động nhẹ lên phương tiện) cho người điều khiển phương tiện biết trước vị trí nguy hiểm, cần phải giảm tốc độ và chú ý quan sát để bảo đảm an toàn giao thông.
13. Gồ giảm tốc là một cấu tạo dạng hình cong, nổi trên mặt đường, có tác dụng cưỡng bức các phương tiện giảm tốc độ trước khi đi qua vị trí nguy hiểm.
Chương II
QUY ĐỊNH VỀ ĐƯỜNG NGANG
Điều 4. Phạm vi và khu vực đường ngang
1. Phạm vi đường ngang được xác định như sau:
a) Đoạn đường bộ, phạm vi đất dành cho đường bộ nằm trong đất hành lang an toàn giao thông đường sắt và phạm vi bảo vệ công trình đường sắt;
b) Đoạn đường sắt, phạm vi đất dành cho đường sắt nằm trong đất hành lang an toàn đường bộ.
2. Khu vực đường ngang bao gồm:
a) Phạm vi đường ngang;
b) Giới hạn hành lang an toàn giao thông tại khu vực đường ngang theo quy định của pháp luật về quản lý, bảo vệ kết cấu hạ tầng giao thông đường sắt.
Điều 5. Phân loại và phân cấp đường ngang
1. Phân loại đường ngang
a) Theo thời gian sử dụng: đường ngang sử dụng lâu dài; đường ngang sử dụng có thời hạn;
b) Theo hình thức tổ chức phòng vệ: đường ngang có người gác; đường ngang không có người gác;
c) Theo tính chất phục vụ: đường ngang công cộng; đường ngang chuyên dùng.
2. Đường ngang được phân thành cấp I, cấp II và cấp III theo quy định tại Phụ lục I của Thông tư này.
Điều 6. Vị trí và góc giao của đường ngang
1. Đối với đường ngang khi xây dựng mới:
a) Đường ngang phải đặt trên đoạn đường sắt có bình diện là đường thẳng. Trường hợp đặc biệt khó khăn mà phải đặt trên đoạn đường sắt cong, chỉ được đặt trên đoạn đường sắt cong tròn có bán kính tối thiểu 300 mét (m), không được đặt trên đoạn hoãn hòa;
b) Đường ngang phải cách cửa hầm, mố cầu đường sắt từ 100 mét (m) trở lên;
c) Khoảng cách giữa hai đường ngang ngoài đô thị không được nhỏ hơn 1000 mét (m), trong đô thị không được nhỏ hơn 500 mét (m), trừ trường hợp đường bộ hiện hữu là đường tỉnh, đường huyện giao cắt với đường sắt;
d) Đường ngang phải nằm ngoài cột tín hiệu vào ga; vị trí gần nhất của đường ngang phải cách cột tín hiệu vào ga tối thiểu 3,5 mét (m);
đ) Góc giao giữa đường sắt và đường bộ là góc vuông (90°); trường hợp địa hình khó khăn, góc giao không được nhỏ hơn 45° và phải bảo đảm tầm nhìn theo quy định của pháp luật về quản lý, bảo vệ kết cấu hạ tầng đường sắt;
e) Trường hợp đường ngang khi xây dựng mới chưa phù hợp một hoặc một số điều kiện quy định tại điểm a, điểm b, điểm c, điểm d, điểm đ Khoản này, khi đề nghị chấp thuận chủ trương xây dựng đường ngang, chủ đầu tư dự án phải làm rõ về điều kiện mặt bằng, nguồn lực tài chính, bảo đảm phù hợp với quy hoạch được cấp có thẩm quyền phê duyệt, đáp ứng nhu cầu phát triển kinh tế - xã hội của địa phương.
2. Đối với đường ngang hiện hữu chưa đáp ứng quy định tại điểm a, điểm b, điểm c, điểm d, điểm đ khoản 1 Điều này:
a) Trong quá trình khai thác, sử dụng, doanh nghiệp kinh doanh kết cấu hạ tầng đường sắt (đối với đường ngang công cộng trên đường sắt quốc gia), chủ sở hữu đường sắt chuyên dùng (đối với đường ngang công cộng trên đường sắt chuyên dùng), chủ quản lý, sử dụng đường ngang (đối với đường ngang chuyên dùng), cơ quan theo phân cấp, ủy quyền của Ủy ban nhân dân cấp tỉnh, Cục Đường sắt Việt Nam thực hiện các biện pháp bảo đảm an toàn giao thông tại vị trí nguy hiểm theo quy định tại Điều 9 Nghị định số 65/2018/NĐ-CP ngày 12 tháng 5 năm 2018 của Chính phủ quy định chi tiết thi hành một số điều của Luật Đường sắt;
b) Khi cải tạo, nâng cấp đường ngang, chủ đầu tư dự án phải bố trí đầy đủ hệ thống phòng vệ đường ngang và từng bước cải thiện tối thiểu được một trong các yếu tố kỹ thuật của đường bộ qua đường ngang về bình diện, góc giao, trắc dọc.
Điều 7. Đường sắt trong phạm vi đường ngang
1. Yêu cầu về kỹ thuật:
Kết cấu mặt đường ngang phải đặt ray hộ bánh hoặc kết cấu khác để tạo khoảng cách má trong giữa ray chính với ray hộ bánh hoặc giữa ray chính với kết cấu đó (sau đây gọi là khe ray) đáp ứng các yêu cầu sau:
a) Ray hộ bánh hoặc kết cấu tạo khe ray phải đặt hết phạm vi hai vai đường bộ;
b) Chiều rộng khe ray:
Đối với đường ngang nằm trên đường thẳng hoặc đường cong có bán kính từ 500 mét (m) trở lên: khe ray rộng 75 milimét (mm);
Đối với các đường ngang nằm trên đường cong có bán kính nhỏ hơn 500 mét (m): khe ray rộng 75 milimét (mm) + 1/2 độ mở rộng của đường cong theo Quy chuẩn kỹ thuật quốc gia về khai thác đường sắt;
c) Chiều sâu khe ray ít nhất là 45 milimét (mm);
d) Trường hợp mặt đường bộ trong lòng đường sắt bằng bê tông nhựa phải dùng ray hộ bánh để tạo khe ray; cao độ ray hộ bánh bằng cao độ ray chính;
đ) Trường hợp mặt đường bộ trong lòng đường sắt bằng các tấm đan, mép tấm đan sát ray chính phải có cấu tạo đặc biệt để tạo khe ray;
e) Trường hợp đặt ray hộ bánh quy định tại điểm a Khoản này, hai đầu ray được uốn vào phía trong lòng đường sắt; chiều dài đoạn đầu ray hộ bánh được uốn là 500 milimét (mm), khe ray tại vị trí bắt đầu uốn theo quy định tại điểm b Khoản này, khe ray tại vị trí cuối cùng của ray là 250 milimét (mm). Tại vị trí điểm bắt đầu uốn và vị trí cuối cùng của ray hộ bánh phải được liên kết chặt chẽ với tà vẹt;
g) Không đặt mối nối ray trong phạm vi đường ngang. Trường hợp đường bộ tại đường ngang rộng phải hàn liền mối ray, khi chưa hàn được thì dồn ray làm cháy mối;
h) Các phụ kiện nối giữ ray phải đầy đủ, liên kết chặt chẽ.
2. Yêu cầu về vật liệu:
a) Tà vẹt đặt trong phạm vi đường ngang dùng tà vẹt bê tông cốt thép; hạn chế sử dụng tà vẹt sắt hoặc tà vẹt gỗ trong phạm vi đường ngang đối với đường ngang hiện hữu; không sử dụng tà vẹt sắt hoặc tà vẹt gỗ trong phạm vi đường ngang xây dựng mới;
b) Nền đá ba lát tại đường ngang phải sạch, đủ độ dày và bảo đảm tiêu chuẩn quy định;
c) Việc sử dụng vật tư, vật liệu lắp đặt cho đường ngang phải bảo đảm tiêu chuẩn về vật tư, vật liệu sử dụng cho công trình đường sắt.
Điều 8. Yêu cầu đối với đoạn đường bộ tại đường ngang khi xây dựng mới đường ngang
Khi xây dựng mới đường ngang, đoạn đường bộ tại đường ngang phải đáp ứng tiêu chuẩn kỹ thuật tương ứng theo cấp đường bộ và các quy định sau:
1. Bình diện: đường bộ từ mép ray ngoài cùng trở ra phải thẳng trên một đoạn dài tối thiểu bằng khoảng cách tầm nhìn hãm xe theo tiêu chuẩn đường ô tô - yêu cầu thiết kế; trường hợp khó khăn về địa hình cũng không được nhỏ hơn 15 mét (m). Đối với đường ngang có bố trí dải phân cách giữa, khoảng cách từ mép ray ngoài cùng đến đầu giải phân cách tối thiểu là 06 mét (m).
2. Trắc dọc:
a) Trong lòng đường sắt và từ mép ray ngoài cùng trở ra, đường bộ dốc 0% trên chiều dài tối thiểu 16 mét (m), trường hợp khó khăn không nhỏ hơn 10 mét (m);
b) Đoạn đường bộ tiếp theo có độ dốc không quá 03% trên chiều dài tối thiểu 20 mét (m); trường hợp vùng núi và địa hình khó khăn, độ dốc các đoạn này không được quá 06%;
c) Đoạn đường bộ đi qua hai đường sắt trở lên, độ dốc dọc của đường bộ được xác định theo cao độ đỉnh ray của hai đường sắt liền kề.
3. Chiều rộng phần xe chạy của đoạn đường bộ trong phạm vi đường ngang không nhỏ hơn bề rộng phần xe chạy trên đường bộ phía ngoài và không nhỏ hơn 06 mét (m). Trường hợp phải mở rộng để mặt đường không nhỏ hơn 06 mét (m), đoạn tiếp theo vuốt dần về bề rộng phần xe chạy trên đường bộ ngoài phạm vi đường ngang theo tỉ lệ 10:1. Bề rộng phần lề đường tối thiểu phải bảo đảm đủ để lắp đặt biển báo hiệu đường bộ.
4. Trong phạm vi đường ngang phải có đầy đủ hệ thống thoát nước để bảo đảm thoát nước của khu vực.
5. Trên mặt đường bộ trong khu vực đường ngang không có người gác được bố trí gờ giảm tốc, gồ giảm tốc để tăng cường an toàn giao thông. Việc bố trí gờ giảm tốc, gồ giảm tốc theo sơ đồ tổ chức phòng vệ đường ngang tại Phụ lục II của Thông tư này. Trong trường hợp này, đoạn đường bộ trong lòng đường sắt và từ mép ray ngoài cùng trở ra, đường bộ dốc 0% trên chiều dài tối thiểu 25 mét (m).
6. Trường hợp tổ chức giao thông có phần đường dành riêng cho người đi bộ qua đường ngang, phạm vi từ mép ray ngoài cùng trở ra đến vạch dừng xe đối với phần đường này bố trí vạch sơn đi bộ qua đường theo Quy chuẩn kỹ thuật quốc gia về báo hiệu đường bộ.
Điều 9. Yêu cầu đối với đoạn đường bộ tại đường ngang trong một số trường hợp đặc biệt
1. Trường hợp đường bộ liền kề có đoạn rẽ vào đường sắt và khoảng cách gần nhất từ mép ray ngoài cùng đến đường bộ có giá trị nhỏ hơn 15 mét (m):
a) Ưu tiên mở rộng mặt đường bộ phía tiếp giáp với đường sắt để bố trí làn xe cho các phương tiện đường bộ dừng chờ quan sát trước khi rẽ vào đường ngang và từ đường ngang đi ra;
b) Bề rộng làn xe dừng chờ tối thiểu bằng bề rộng một làn xe theo cấp đường bộ. Mặt đường bộ sau khi mở rộng phải nằm ngoài hàng rào ngăn cách giữa đường sắt với đường bộ, bảo đảm an toàn cho các phương tiện giao thông đường sắt, đường bộ đi qua đường ngang. Việc bố trí làn xe dừng chờ theo Phụ lục III của Thông tư này;
c) Nâng, hạ mặt đường bộ khu vực đường ngang để bảo đảm đường bộ từ mép ray ngoài cùng trở ra phía đường bộ liền kề đường sắt nằm trên dốc bằng (0%) trong phạm vi tối thiểu là 05 mét (m); đoạn đường bộ tiếp theo có độ dốc không quá 06% và đáp ứng yêu cầu tiêu chuẩn kỹ thuật tương ứng theo cấp kỹ thuật đường bộ.
2. Trường hợp đoạn đường bộ tại đường ngang nằm trên đoạn cong của đường sắt:
a) Đường bộ tại đường ngang có độ dốc theo dốc siêu cao của đường sắt trong phạm vi tối thiểu của khổ giới hạn tiếp giáp kiến trúc theo quy định tại Quy chuẩn kỹ thuật quốc gia về khai thác đường sắt;
b) Đoạn đường bộ tiếp theo nằm trên dốc bằng (0%) trên phạm vi chiều dài tối thiểu 16 mét (m), trường hợp khó khăn không nhỏ hơn 10 mét (m). Đoạn đường bộ tiếp theo có độ dốc không quá 03% trên chiều dài tối thiểu 20 mét (m); trường hợp vùng núi và địa hình khó khăn, độ dốc không được quá 06%.
3. Trường hợp đường ngang hiện hữu có đường bộ cắt qua nhiều đường sắt: độ dốc đường bộ trong lòng đường sắt và phạm vi tối thiểu là 01 mét (m) tính từ mép ray ngoài cùng của mỗi đường trở ra theo dốc đỉnh ray mỗi đường; đoạn đường bộ tiếp theo có độ dốc theo chênh cao của đỉnh ray của hai đường sắt liền kề.
Điều 10. Kết cấu mặt đường bộ tại đường ngang
1. Kết cấu mặt đường bộ trong lòng đường sắt và phạm vi từ mép ray chính ngoài cùng trở ra tối thiểu đến hết phạm vi đường ngang là các tấm đan hoặc kết cấu khác phải bảo đảm êm thuận và đáp ứng tải trọng theo cấp đường bộ tương ứng.
2. Trường hợp sử dụng tấm đan, phạm vi đặt tấm đan từ mép ray chính ngoài cùng trở ra tối thiểu đến hết phần tà vẹt.
3. Mặt đường bộ phải thỏa mãn tiêu chuẩn kỹ thuật tương ứng với loại kết cấu mặt đường. Trường hợp sử dụng tấm đan bê tông cốt thép phải được liên kết chặt chẽ, ổn định.
Điều 11. Tổ chức phòng vệ đường ngang
1. Đối với đường ngang cấp I, cấp II phải tổ chức phòng vệ theo hình thức có người gác.
2. Đối với đường ngang cấp III:
a) Tổ chức phòng vệ theo hình thức cảnh báo tự động đối với trường hợp bảo đảm tầm nhìn tại khu vực đường ngang;
b) Tổ chức phòng vệ theo hình thức có người gác đối với trường hợp không bảo đảm tầm nhìn tại khu vực đường ngang;
c) Đối với các đường ngang phòng vệ bằng cảnh báo tự động và đường ngang phòng vệ bằng biển báo hiện hữu mà chưa bảo đảm tầm nhìn tại khu vực đường ngang:
Doanh nghiệp kinh doanh kết cấu hạ tầng đường sắt quốc gia chủ trì, phối hợp với Ủy ban nhân dân cấp huyện , cơ quan quản lý đường bộ kiểm tra, đề xuất Cục Đường sắt Việt Nam quyết định tổ chức cảnh giới tại các đường ngang nguy hiểm trên đường sắt quốc gia theo nguyên tắc bảo đảm an toàn chạy tàu, an toàn giao thông tại khu vực đường ngang và báo cáo Bộ Giao thông vận tải kết quả thực hiện;
Doanh nghiệp kinh doanh đường sắt chuyên dùng chủ trì, phối hợp với Ủy ban nhân dân cấp huyện , cơ quan quản lý đường bộ kiểm tra, đề xuất chủ sở hữu đường sắt chuyên dùng hoặc chủ sở hữu đường bộ chuyên dùng về việc tổ chức cảnh giới tại các đường ngang nguy hiểm trên đường sắt chuyên dùng. Trường hợp chủ sở hữu đường bộ chuyên dùng không có điều kiện tổ chức cảnh giới, phải có văn bản thỏa thuận thống nhất với doanh nghiệp kinh doanh kết cấu hạ tầng đường sắt chuyên dùng về biện pháp tăng cường an toàn giao thông tại khu vực đường ngang.
3. Sơ đồ đường ngang tổ chức phòng vệ theo hình thức có người gác và không có người gác quy định tại Phụ lục II của Thông tư này.
Điều 12. Nhà gác đường ngang
Nhà gác đường ngang chỉ được sử dụng phục vụ cho nhân viên gác đường ngang thực hiện nhiệm vụ bảo đảm an toàn giao thông tại đường ngang và phải bảo đảm các điều kiện sau:
1. Đặt ở vị trí có thể quan sát được về hai phía đường bộ và đường sắt thuận tiện cho công tác của nhân viên gác đường ngang; không làm cản trở tầm nhìn của người tham gia giao thông trên đường sắt và đường bộ.
2. Bộ phận gần nhất của nhà gác đường ngang phải cách mép ray đường sắt ngoài cùng, mép phần xe chạy đường bộ ít nhất 3,5 mét (m) và không xa quá 10 mét (m). Trường hợp khó khăn do không còn đủ quỹ đất để bố trí, bộ phận gần nhất của nhà gác đường ngang không được vi phạm khổ giới hạn tiếp giáp kiến trúc đường sắt theo quy định tại Quy chuẩn kỹ thuật quốc gia về khai thác đường sắt. Cửa ra vào ưu tiên mở về phía đường bộ, tường nhà phải có cửa sổ lắp kính nhìn rõ được đường bộ và đường sắt; nền nhà phải tối thiểu cao bằng mặt ray.
3. Nhà gác đường ngang phải có buồng vệ sinh, điện, nước sạch, quạt điện hoặc điều hòa không khí phục vụ cho nhân viên gác đường ngang. Khi xây dựng mới, nhà gác đường ngang phải có diện tích làm việc tối thiểu 12 mét vuông (m2) và đáp ứng đủ diện tích theo số định biên của ca làm việc.
Điều 13. Chiếu sáng tại đường ngang
Đường ngang có người gác ở nơi có nguồn điện lưới quốc gia phải trang bị đèn chiếu sáng về ban đêm và ban ngày khi có sương mù. Ánh sáng đèn đủ để người điều khiển phương tiện giao thông đường sắt và đường bộ nhìn rõ tín hiệu của nhân viên gác đường ngang. Độ rọi trung bình 25 - 30 lx, độ đồng đều chung của ánh sáng Emin/Etb không nhỏ hơn 0,5.
Điều 14. Hệ thống phòng vệ đường ngang
1. Hệ thống phòng vệ đường ngang khi xây dựng, lắp đặt vào đường ngang phải đáp ứng các yêu cầu sau:
a) Tuân thủ quy chuẩn kỹ thuật, tiêu chuẩn áp dụng cho từng loại hình thiết bị;
b) Phải được bố trí đầy đủ, phù hợp với loại hình đường ngang, thường xuyên kiểm tra và duy trì trạng thái kỹ thuật hoạt động ổn định, an toàn, phòng ngừa tai nạn trong suốt quá trình khai thác, sử dụng đường ngang.
2. Mọi tổ chức, cá nhân có trách nhiệm bảo vệ, không được tự ý di chuyển, chiếm đoạt, làm hư hỏng hoặc làm giảm hiệu lực và tác dụng của hệ thống phòng vệ đường ngang.
Điều 15. Bố trí hệ thống phòng vệ đường ngang
1. Đối với đường ngang có người gác:
a) Cần chắn, giàn chắn thủ công hoặc cần chắn, giàn chắn sử dụng động cơ điện do người điều khiển hoặc cần chắn tự động;
b) Cọc tiêu, hàng rào cố định;
c) Vạch sơn kẻ đường;
d) Hệ thống biển báo hiệu đường sắt, đường bộ;
đ) Đèn tín hiệu, chuông điện hoặc loa phát âm thanh;
e) Tín hiệu ngăn đường trên đường sắt, trừ những đường ngang nằm trong phạm vi phòng vệ của tín hiệu vào ga, ra ga, hoặc tín hiệu bãi dồn, tín hiệu thông qua trên đường sắt có thiết bị đóng đường tự động hoặc tín hiệu phòng vệ khác, khi các tín hiệu trên cách đường ngang dưới 800 mét (m);
g) Hệ thống giám sát đường ngang và các thiết bị khác liên quan đến bảo đảm an toàn giao thông tại đường ngang.
2. Đối với đường ngang không có người gác:
a) Đường ngang cảnh báo tự động:
Cần chắn tự động (nếu có);
Cọc tiêu, hàng rào chắn cố định;
Vạch sơn kẻ đường, gờ giảm tốc, gồ giảm tốc; biển cảnh báo chú ý tàu hỏa;
Hệ thống biển báo hiệu đường sắt, đường bộ;
Đèn tín hiệu, chuông điện hoặc loa phát âm thanh;
Hệ thống giám sát đường ngang và các thiết bị khác liên quan đến bảo đảm an toàn giao thông tại đường ngang.
b) Đường ngang biển báo hiện hữu:
Cọc tiêu;
Vạch sơn kẻ đường, gờ giảm tốc, gồ giảm tốc; biển cảnh báo chú ý tàu hỏa, biển STOP (R122), kết hợp với biển phụ ghi “Dừng lại quan sát trước khi qua đường ngang”;
Hệ thống biển báo hiệu đường sắt, đường bộ;
Các thiết bị khác liên quan đến bảo đảm an toàn giao thông tại đường ngang.
Điều 16. Cọc tiêu và hàng rào chắn cố định
1. Dọc hai bên lề đường bộ trong phạm vi đường ngang phải có hàng cọc tiêu theo quy định sau:
a) Cọc tiêu được lắp đặt đến vị trí đặt chắn đường ngang đối với đường ngang có người gác;
b) Cọc tiêu được lắp đặt đến vị trí cách mép ray ngoài cùng 2,5 mét (m) đối với đường ngang không có người gác;
c) Khoảng cách giữa các cọc tiêu là 1,5 mét (m) và mỗi hàng cọc tiêu cắm ít nhất là 06 cọc; tại các đoạn đường nguy hiểm có thể sử dụng hàng rào có lan can phòng hộ thay cho hàng cọc tiêu.
2. Tại đường ngang có người gác, dọc hai bên lề đường bộ trong phạm vi từ chắn đường ngang đến vị trí cách đường sắt tối thiểu 2,5 mét (m) phải bố trí hàng rào chắn cố định để ngăn cách không cho người và phương tiện giao thông đường bộ vượt rào vào đường ngang khi chắn đường ngang đã đóng.
3. Quy cách và kích thước cọc tiêu, hàng rào chắn cố định theo quy định tại Quy chuẩn kỹ thuật quốc gia về báo hiệu đường bộ.
4. Trường hợp trong khu vực đường ngang có đường bộ liền kề và gần đường sắt mà phải bố trí hàng rào chắn ngăn cách giữa đường bộ với đường sắt, chiều cao hàng rào phải bảo đảm tầm nhìn cho người điều khiển phương tiện giao thông đường bộ khi đi qua đường ngang.
Điều 17. Vạch sơn kẻ đường, gờ giảm tốc, gồ giảm tốc trên mặt đường bộ khu vực đường ngang
1. Mặt đường bộ trong khu vực đường ngang phải luôn duy trì các vạch báo hiệu đường bộ sau:
a) Vạch dừng xe;
b) Vạch giảm tốc độ;
c) Vạch phân chia hai chiều làn xe chạy;
d) Vạch báo gần chỗ giao nhau với đường sắt;
e) Vạch chữ “STOP” đối với đường ngang tổ chức phòng vệ bằng biển báo;
g) Các vạch báo hiệu đường bộ khác phù hợp với đặc điểm của đường ngang nhằm tăng cường an toàn giao thông tại đường ngang.
2. Trường hợp khu vực đường ngang có đường bộ liền kề và gần với đường sắt, mặt bằng đường bộ bị hạn chế để bố trí vạch báo hiệu đường bộ quy định tại khoản 1 Điều này, cơ quan quản lý đường bộ chủ trì, phối hợp với doanh nghiệp kinh doanh kết cấu hạ tầng đường sắt kiểm tra mặt bằng đường bộ khu vực đường ngang để bố trí vạch báo hiệu đường bộ tuân thủ quy định của Quy chuẩn kỹ thuật quốc gia về báo hiệu đường bộ, phù hợp với điều kiện thực tế và bảo đảm an toàn giao thông.
3. Vị trí vạch dừng xe:
a) Vạch dừng xe cách tối thiểu 05 mét (m) tính từ ray gần nhất;
b) Vạch dừng xe bố trí vuông góc với hướng đường bộ đi vào đường sắt;
c) Đối với trường hợp đường bộ giao không vuông góc với đường sắt, tùy thuộc vào điều kiện mặt bằng và lưu lượng tham gia giao thông đường bộ, cho phép bố trí vạch dừng xe song song với đường sắt để tăng khả năng lưu thoát phương tiện tại khu vực đường ngang.
4. Việc xây dựng, bố trí gờ giảm tốc, gồ giảm tốc áp dụng theo quy định hiện hành.
5. Quy cách và vị trí các vạch báo hiệu đường bộ theo Quy chuẩn kỹ thuật quốc gia về báo hiệu đường bộ.
Điều 18. Hệ thống biển báo hiệu đường sắt, đường bộ
1. Đối với đường ngang có người gác:
a) Biển ngừng:
Không đặt biển ngừng trên đường sắt tại đường ngang trong trường hợp đường ngang đã được lắp tín hiệu ngăn đường hoặc đường ngang nằm trong phạm vi phòng vệ của tín hiệu vào ga, ra ga, hoặc tín hiệu bãi dồn, tín hiệu thông qua trên đường sắt có thiết bị đóng đường tự động hoặc tín hiệu phòng vệ khác khi các tín hiệu trên cách đường ngang dưới 800 mét (m);
Trường hợp còn lại, đặt “Biển ngừng” trên đường sắt phía nhà gác đường ngang, vị trí đặt cách mép đường bộ trở ra tối thiểu 03 mét (m) để ngăn tàu đi vào đường ngang khi chắn đường ngang chưa đóng hoàn toàn;
b) Tùy theo góc giao giữa đường sắt và đường bộ, đặt biển “Nơi đường sắt giao vuông góc với đường bộ” hoặc biển “Nơi đường sắt giao không vuông góc với đường bộ” trên đường bộ trong phạm vi đường ngang trước khi vào vị trí giao nhau với đường sắt;
c) Đặt biển “Giao nhau với đường sắt có rào chắn” trên đường bộ ngoài phạm vi đường ngang trước khi vào vị trí giao nhau với đường sắt.
2. Đối với đường ngang không có người gác, ngoài việc đặt biển báo hiệu quy định tại điểm b, khoản 1 Điều này, phải đặt các biển sau:
a) Trên đường bộ ngoài phạm vi đường ngang trước khi vào vị trí giao nhau với đường sắt: đặt biển “Giao nhau với đường sắt có rào chắn” đối với đường ngang có cần chắn tự động; đặt biển “Giao nhau với đường sắt không có rào chắn” đối với đường ngang không có cần chắn tự động;
b) Biển “Dừng lại” trên đường bộ trong phạm vi đường ngang trước khi vào vị trí giao nhau với đường sắt đối với đường ngang biển báo.
3. Trên hai phía đường sắt đi tới đường ngang phải đặt biển “Kéo còi”.
4. Kích thước, quy cách, vị trí đặt các biển báo hiệu đường sắt, đường bộ theo Quy chuẩn kỹ thuật quốc gia về báo hiệu đường bộ và Quy chuẩn kỹ thuật quốc gia về tín hiệu đường sắt.
Điều 19. Đèn tín hiệu, chuông điện hoặc loa phát âm thanh
1. Đèn tín hiệu, chuông điện hoặc loa phát âm thanh (trừ trường hợp đường bộ giao cắt đường bộ liền kề với đường sắt) phải đặt trước chắn đường ngang (hoặc liền với trụ chắn đường ngang) hoặc đặt cách ray ngoài cùng 06 mét (m) trở lên. Trong mọi trường hợp, đèn tín hiệu phải đặt tại vị trí không bị che khuất.
2. Yêu cầu đối với tín hiệu:
a) Đèn tín hiệu phải có hai đèn đỏ đặt ngang nhau, hai đèn này thay phiên nhau nhấp nháy khi bật sáng. Khi có tàu sắp tới đường ngang, đèn tín hiệu bật sáng, cấm đi qua đường ngang. Khi tàu qua hết đường ngang, chắn đường ngang đã mở hoàn toàn, đèn tín hiệu tắt, việc đi qua đường ngang trở lại bình thường. Đèn tín hiệu phải được lắp đặt bổ sung trên cột cần vươn đối với đường bộ có 04 làn xe trở lên hoặc nơi có địa hình bị che khuất tầm nhìn;
b) Thời điểm đèn tín hiệu bật sáng phải bảo đảm trước lúc tàu tới đường ngang ít nhất là: 60 giây khi dùng tín hiệu tự động (đối với đường ngang có tín hiệu cảnh báo tự động); 90 giây khi dùng tín hiệu tự động và chắn đường ngang không tự động; 120 giây khi dùng tín hiệu không tự động;
c) Độ sáng và góc phát sáng: ánh sáng và góc phát sáng của đèn tín hiệu phải bảo đảm để người điều khiển phương tiện giao thông đường bộ nhìn thấy được tín hiệu từ khoảng cách 100 mét (m) trở lên; ánh sáng đỏ của đèn tín hiệu không được chiếu về phía đường sắt.
3. Yêu cầu đối với chuông điện hoặc loa phát âm thanh:
a) Chuông hoặc loa phát âm thanh phải kêu khi tàu tới gần đường ngang ít nhất 60 giây khi dùng tín hiệu tự động (đối với đường ngang có tín hiệu cảnh báo tự động); 90 giây khi dùng tín hiệu tự động và chắn đường ngang không tự động; 120 giây khi dùng tín hiệu không tự động;
b) Đối với đường ngang có người gác, chuông hoặc loa phát âm thanh tắt khi chắn đường ngang đóng hoàn toàn;
c) Khi chuông kêu, loa phát âm thanh, mức âm lượng tại vị trí cách xa 15 mét (m), cao 1,2 mét (m) so với mặt đất phải từ 90 đề xi ben (dB) đến 115 đề xi ben (dB) để người tham gia giao thông nghe rõ.
4. Sơ đồ đèn tín hiệu và chuông điện hoặc loa phát âm thanh theo quy định tại Phụ lục IV của Thông tư này.
Điều 20. Cột tín hiệu ngăn đường trên đường sắt
1. Vị trí đặt cột tín hiệu ngăn đường trên đường sắt:
a) Cột tín hiệu ngăn đường trên đường sắt đặt cách đường ngang (tính từ vai đường bộ cùng phía) từ 100 mét (m) đến 500 mét (m). Nơi nhiều đường ngang có người gác ở gần nhau và khoảng cách giữa hai đường ngang nhỏ hơn 500 mét (m), cột tín hiệu ngăn đường trên đường sắt bố trí ở hai đầu khu vực có nhiều đường ngang;
b) Vị trí đặt cột tín hiệu ngăn đường ở bên trái theo hướng tàu chạy theo Quy chuẩn kỹ thuật quốc gia về tín hiệu giao thông đường sắt.
2. Tầm nhìn của tín hiệu ngăn đường trên đường sắt phải bảo đảm ít nhất 800 mét (m). Trường hợp địa hình khó khăn, tầm nhìn của tín hiệu ngăn đường không được nhỏ hơn 400 mét (m).
3. Hoạt động của tín hiệu ngăn đường trên đường sắt:
a) Tín hiệu ngăn đường trên đường sắt là tín hiệu màu đỏ, tín hiệu ngăn đường bật sáng báo hiệu dừng tàu;
b) Khi tín hiệu ngăn đường tắt, tàu hoạt động bình thường. Khi có trở ngại trên đường ngang ảnh hưởng đến an toàn giao thông, nhân viên gác đường ngang phải mở tín hiệu ngăn đường sáng màu đỏ;
c) Đường ngang có người gác trên khu gian có thiết bị đóng đường tự động phải lắp đặt thiết bị để chuyển tín hiệu đóng đường ở gần đường ngang nhất về trạng thái đóng để nhân viên gác đường ngang thao tác kịp thời khi trên đường ngang có trở ngại ảnh hưởng đến an toàn giao thông tại đường ngang.
Điều 21. Thiết bị tại nhà gác đường ngang
1. Trong nhà gác đường ngang phải bố trí đầy đủ các thiết bị sau đây:
a) Điện thoại liên lạc với trực ban ga báo chắn đường ngang;
b) Thiết bị điều khiển tín hiệu đường bộ;
c) Thiết bị điều khiển tín hiệu đường sắt đối với đường ngang quy định tại điểm e khoản 1 Điều 15 của Thông tư này;
d) Thiết bị thông báo tự động cho nhân viên gác chắn biết khi tàu tới gần đường ngang;
đ) Thiết bị điều khiển chắn đường ngang đối với trường hợp quy định tại khoản 3 Điều 23 của Thông tư này;
e) Thiết bị có khả năng ghi nhận, lưu trữ những liên lạc giữa trực ban chạy tàu và nhân viên gác đường ngang;
g) Đồng hồ báo giờ.
2. Các thiết bị trong nhà gác đường ngang quy định tại khoản 1 Điều này phải bảo đảm sẵn sàng làm việc bình thường, ổn định.
3. Đối với đường ngang trên đường sắt chuyên dùng, đường ngang sử dụng có thời hạn từ 12 tháng trở xuống, việc bố trí thiết bị tại nhà gác đường ngang do cơ quan có thẩm quyền cấp giấy phép xây dựng đường ngang quyết định nhưng phải bảo đảm đủ thông tin cho nhân viên gác đường ngang biết khi tàu tới gần đường ngang để kịp thời đóng chắn ngăn ngừa tai nạn giao thông xảy ra.
Điều 22. Thiết bị tín hiệu và thiết bị phòng vệ đường ngang hoạt động bằng điện
1. Đối với đường ngang có người gác:
a) Các thiết bị tín hiệu và thiết bị phòng vệ hoạt động bằng điện phải được điều khiển tập trung tại nhà gác đường ngang;
b) Các thiết bị phải được kiểm tra thường xuyên để luôn ở trạng thái sẵn sàng hoạt động, phải có cơ chế điều khiển được bằng thủ công nếu thiết bị hư hỏng đột xuất.
2. Đối với đường ngang cảnh báo tự động:
a) Các tín hiệu tự động phía đường bộ phải bảo đảm thông báo rõ ràng và kịp thời trong mọi điều kiện thời tiết về trạng thái đóng đường ngang;
b) Khi thiết bị có trở ngại, không thể phát tín hiệu đèn đỏ nháy sáng luân phiên, doanh nghiệp kinh doanh kết cấu hạ tầng đường sắt hoặc chủ quản lý, sử dụng đường ngang phải sửa chữa kịp thời, khôi phục lại trong thời gian sớm nhất. Đồng thời, phải tổ chức phòng vệ đường ngang bằng tín hiệu cảnh báo (đèn vàng sáng nhấp nháy) về phía đường bộ và cử người cảnh giới đường ngang;
c) Việc theo dõi, giám sát hoạt động của các thiết bị tại đường ngang cảnh báo tự động phải được thực hiện thường xuyên, liên tục thông qua hệ thống giám sát lắp đặt tại đường ngang cảnh báo tự động nhằm bảo đảm thiết bị cảnh báo tự động hoạt động bình thường, ổn định.
Điều 23. Chắn đường ngang có người gác
1. Trên đường bộ hai bên đường sắt trong phạm vi đường ngang phải đặt chắn đường ngang để ngăn các phương tiện và người tham gia giao thông đường bộ khi có tàu đến. Chắn đường ngang đặt cách mép ray ngoài cùng tối thiểu 04 mét (m). Trường hợp địa hình hạn chế, chắn phải được đặt tại vị trí không được vi phạm khổ giới hạn tiếp giáp kiến trúc của đường sắt theo quy định tại Quy chuẩn kỹ thuật quốc gia về khai thác đường sắt.
2. Chắn đường ngang bắt đầu đóng từ phía bên phải sang phía trái theo hướng đi vào đường ngang. Trường hợp đường ngang có nhiều chắn phải đóng chắn phía bên phải theo hướng đi vào đường ngang trước; các chắn còn lại được đóng sau. Khi chắn đã đóng phải ngăn toàn bộ mặt đường bộ.
3. Chắn đường ngang có thể lắp động cơ điện để hỗ trợ nhân viên gác chắn thao tác đóng, mở chắn hoặc sử dụng cần chắn điện do người điều khiển hoặc sử dụng cần chắn tự động đóng kín mặt đường bộ.
4. Thời gian đóng chắn đường ngang:
a) Hai phía đường bộ đi vào đường ngang phải được đóng chắn hoàn toàn trước khi tàu đến đường ngang ít nhất: 60 giây đối với chắn điện và cần chắn tự động; 90 giây đối với chắn thủ công;
b) Không đóng chắn trước quá 03 phút đối với đường ngang cấp I, cấp II và quá 05 phút đối với đường ngang cấp III trước khi tàu đến đường ngang; trừ trường hợp đường ngang được tổ chức phòng vệ bằng chắn ở trạng thái thường xuyên đóng.
Điều 24. Chắn đường ngang cảnh báo tự động
1. Trên đường bộ hai bên đường sắt trong phạm vi đường ngang cảnh báo tự động có lắp đặt cần chắn tự động, cần chắn tự động phải đặt cách mép ray ngoài cùng tối thiểu 04 mét (m). Trường hợp địa hình hạn chế, khi đặt chắn không được vi phạm khổ giới hạn tiếp giáp kiến trúc của đường sắt theo quy định tại Quy chuẩn kỹ thuật quốc gia về khai thác đường sắt.
2. Chắn đường ngang sử dụng loại cần đóng 1/2 hoặc 2/3 mặt đường bộ, phần đường bộ còn lại không có cần chắn phải rộng ít nhất 03 mét (m) và ở bên trái của chiều xe chạy vào đường ngang.
3. Các cơ cấu và thiết bị chắn tự động phải bảo đảm hoạt động theo trình tự sau đây:
a) Khi tàu đến gần đường ngang, đèn đỏ báo hiệu trên đường bộ và đèn đỏ trên cần chắn tự động bật sáng, chuông báo hiệu hoặc loa phát âm thanh tự động kêu; sau từ 07 giây đến 08 giây, cần chắn tự động bắt đầu đóng;
b) Khi tàu qua khỏi đường ngang, cần chắn tự động mở và đèn trên cần chắn, đèn tín hiệu trên đường bộ tự động tắt khi cần chắn đã mở hoàn toàn.
4. Thời gian đóng chắn: hai phía đường bộ đi vào đường ngang phải được đóng chắn hoàn toàn trước khi tàu đến đường ngang ít nhất 40 giây.
Điều 25. Yêu cầu đối với việc đặt biển báo hiệu trong trường hợp đường bộ liền kề và có đoạn rẽ vào đường sắt
1. Khi chiều dài đoạn rẽ đến đường sắt nhỏ hơn 10 mét (m):
a) Căn cứ góc giao của đường ngang, phải đặt biển “Nơi đường sắt giao vuông góc với đường bộ” hoặc “Nơi đường sắt giao không vuông góc với đường bộ” tại lề hai góc giao giữa đường bộ chạy gần với đoạn rẽ vào đường sắt;
b) Căn cứ loại hình phòng vệ đường ngang phải đặt các biển “Giao nhau với đường sắt có rào chắn” hoặc “Giao nhau với đường sắt không có rào chắn” trên lề bên phải đường bộ chạy gần đường sắt. Khoảng cách các biển đến đoạn rẽ từ 40 mét (m) đến 240 mét (m).
2. Khi chiều dài đoạn rẽ đến đường sắt từ 10 mét (m) đến 75 mét (m):
a) Căn cứ góc giao của đường ngang, phải đặt biển “Nơi đường sắt giao vuông góc với đường bộ” hoặc “Nơi đường sắt giao không vuông góc với đường bộ” trên lề bên phải đoạn rẽ, tại vị trí cách ray ngoài cùng của đường sắt 10 mét (m);
b) Căn cứ loại hình phòng vệ đường ngang phải đặt các biển “Giao nhau với đường sắt có rào chắn” hoặc “Giao nhau với đường sắt không có rào chắn” trên lề bên phải đường bộ chạy gần đường sắt; khoảng cách các biển đến đoạn rẽ từ 10 mét (m) đến 200 mét (m).
3. Khi chiều dài đoạn rẽ đến đường sắt lớn hơn 75 mét (m), đặt các biển báo hiệu theo quy định tại Điều 18 của Thông tư này.
4. Mặt các biển quy định tại khoản 1 và điểm b khoản 2 Điều này đặt theo hướng vuông góc với chiều xe chạy trên đường bộ gần đường sắt và không bị che khuất.
5. Vị trí đặt biển báo hiệu quy định tại khoản 1 và khoản 2 Điều này theo mục C Phụ lục II của Thông tư này.
Điều 26. Đèn tín hiệu trên đường bộ khi nút giao đường bộ có nhánh đường bộ đi vào đường ngang và khoảng cách đến đường ngang nhỏ hơn 75 mét (m)
Tại nút giao đường bộ có nhánh đường bộ đi vào đường ngang và khoảng cách đến đường ngang nhỏ hơn 75 mét (m), cơ quan quản lý đường bộ phải:
1. Bố trí đèn tín hiệu để điều khiển hướng phương tiện giao thông đường bộ đi vào đường ngang.
2. Khi đèn tín hiệu đường bộ tại đường ngang bật sáng, đèn tín hiệu trên đường bộ liền kề với đường sắt hướng rẽ vào đường ngang phải có biểu thị phù hợp với đèn tín hiệu đường bộ tại đường ngang; trong trường hợp này, ưu tiên xây dựng làn chờ dừng xe trên đường bộ liền kề với đường sắt.
3. Để biểu thị phù hợp quy định tại khoản 1, khoản 2 Điều này, phải thực hiện kết nối theo quy định về kết nối tín hiệu đèn giao thông đường bộ với tín hiệu đèn tín hiệu trên đường bộ tại đường ngang.
Điều 27. Đặt biển báo hiệu trên đường ngang khi đường bộ giao cắt cả đường sắt và đường bộ liền kề với đường sắt
Đường bộ giao cắt cả đường sắt và đường bộ liền kề với đường sắt, việc đặt biển báo hiệu trên đường bộ đi vào đường ngang được thực hiện theo quy định sau:
1. Hướng đường bộ đi vào đường ngang không giao cắt với đường bộ thực hiện theo quy định tại Điều 18 của Thông tư này.
2. Hướng đường bộ đi vào đường ngang có giao cắt với đường bộ sau đó giao cắt với đường sắt thực hiện theo quy định tại Điều 25 của Thông tư này.
Điều 28. Phương tiện, thiết bị và người gác đường ngang
1. Đường ngang phải được trang bị đầy đủ phương tiện, thiết bị theo quy định.
2. Đối với đường ngang có người gác phải bố trí người gác thường trực liên tục suốt ngày đêm theo chế độ ban, kíp.
3. Việc bố trí định biên gác chắn tại đường ngang theo quy định của pháp luật về lao động, phù hợp với công tác quản lý và thao tác đóng, mở chắn đường ngang kịp thời, chính xác, bảo đảm an toàn giao thông tại đường ngang.
Điều 29. Hồ sơ quản lý đường ngang
Hồ sơ quản lý đường ngang bao gồm:
1. Hồ sơ quản lý đối với từng đường ngang:
a) Hồ sơ hoàn công đường ngang và các công trình khác đã được cấp phép xây dựng trong khu vực đường ngang theo quy định của pháp luật về xây dựng. Trường hợp hồ sơ hoàn công bị thất lạc hoặc thiếu, các chủ thể quy định tại Điều 58, Điều 59, Điều 60 của Thông tư này có trách nhiệm lập hồ sơ quản lý hiện trạng đường ngang;
b) Giấy phép xây dựng đường ngang, quyết định đưa đường ngang vào khai thác, sử dụng;
c) Biểu thống kê trạng thái kỹ thuật và lý lịch đường ngang;
d) Hồ sơ hành lang an toàn giao thông tại đường ngang theo quy định của pháp luật về quản lý, bảo vệ kết cấu hạ tầng đường sắt, có thể hiện các công trình kiến trúc, vật che khuất tầm nhìn trong phạm vi này;
đ) Sổ nhật ký theo dõi hoạt động của đường ngang đối với: Đường ngang, thiết bị đường ngang và hệ thống báo hiệu đường ngang;
e) Đối với đường ngang có người gác, ngoài quy định tại điểm a, điểm b, điểm c, điểm d, điểm đ Khoản này, hồ sơ quản lý đường ngang gồm có các sổ sách, bảng biểu sau: Bảng giờ tàu, bảng phân công gác đường ngang, sơ đồ phòng vệ khi có chướng ngại trên đường ngang, những thao tác cụ thể của nhân viên gác đường ngang, bảng tóm tắt các điều kỷ luật của nhân viên gác đường ngang, sổ nhật ký gác đường ngang, sổ mệnh lệnh.
2. Biểu tổng hợp thống kê các đường ngang cho từng tuyến đường sắt theo địa giới hành chính quản lý cấp xã, cấp huyện, cấp tỉnh quy định tại Phụ lục V của Thông tư này và được công khai trên Trang thông tin điện tử của Cục Đường sắt Việt Nam, doanh nghiệp kinh doanh kết cấu hạ tầng đường sắt, chủ quản lý, sử dụng đường ngang.
Điều 30. Nội dung quản lý đường ngang
1. Lập, cập nhật, lưu trữ hồ sơ quản lý đường ngang theo quy định tại Điều 29 của Thông tư này; cập nhật hồ sơ đường ngang vào hệ thống cơ sở dữ liệu hệ thống thông tin quản lý, theo dõi.
2. Kiểm tra, duy trì trạng thái hoạt động đường ngang bảo đảm an toàn giao thông theo hồ sơ được cấp có thẩm quyền phê duyệt.
3. Tổ chức và trực tiếp thực hiện phòng vệ đường ngang theo quy định của Thông tư này.
4. Quản lý, bảo vệ tài sản đường ngang, hành lang an toàn giao thông tại đường ngang theo quy định của pháp luật.
5. Đối với các đường ngang bị thất lạc giấy phép xây dựng, quyết định đưa đường ngang vào khai thác, sử dụng:
a) Trường hợp đường ngang trên đường sắt quốc gia: Chủ sở hữu đường ngang chuyên dùng lập hồ sơ hiện trạng đường ngang gửi Cục Đường sắt Việt Nam lấy ý kiến về điều kiện tiếp tục khai thác đường ngang;
b) Trường hợp đường ngang công cộng trên đường sắt chuyên dùng liên quan đến quốc lộ: Tổ chức quản lý sử dụng, khai thác đường ngang lập hồ sơ hiện trạng đường ngang gửi Cục Đường bộ Việt Nam lấy ý kiến về điều kiện tiếp tục khai thác đường ngang;
c) Trường hợp đường ngang công cộng trên đường sắt chuyên dùng liên quan đến đường tỉnh, đường huyện , đường xã, đường bộ đô thị: Tổ chức quản lý sử dụng, khai thác đường ngang lập hồ sơ hiện trạng đường ngang gửi Ủy ban nhân dân cấp tỉnh lấy ý kiến về điều kiện tiếp tục khai thác đường ngang.
Điều 31. Giao thông đường bộ trong phạm vi đường ngang
Người tham gia giao thông đường bộ khi qua đường ngang phải chấp hành quy định của pháp luật đường bộ, pháp luật đường sắt và thực hiện quy định sau:
1. Phải ưu tiên cho các phương tiện giao thông hoạt động trên đường sắt.
2. Phải chấp hành hiệu lệnh của nhân viên gác đường ngang và chỉ dẫn của các báo hiệu trong phạm vi đường ngang.
3. Khi có báo hiệu dừng bằng đèn tín hiệu (đèn đỏ sáng nháy), cờ đỏ, biển đỏ, còi, chuông hoặc loa phát âm thanh kêu, chắn đường ngang đang dịch chuyển hoặc đã đóng, hiệu lệnh của nhân viên gác chắn, người tham gia giao thông đường bộ (kể cả những xe có quyền ưu tiên) đều phải dừng lại về bên phải chiều đi và trước vạch dừng xe.
4. Người không có nhiệm vụ không được tự ý mở chắn đường ngang khi chắn đã đóng.
5. Đối với đường ngang biển báo, người tham gia giao thông đường bộ phải dừng lại trước vạch dừng, lắng nghe còi tàu, chú ý quan sát tàu đến từ xa ở hai phía, khi thấy chắc chắn không có tàu tới đường ngang mới được đi qua và hoàn toàn chịu trách nhiệm nếu để xảy ra tai nạn.
Điều 32. Dừng, đỗ xe trong khu vực đường ngang
1. Không được quay đầu xe, dừng xe, đỗ xe trong phạm vi giữa hai vạch “Dừng xe” tại đường ngang.
2. Khi phương tiện tham gia giao thông đường bộ bị hư hỏng, bị tai nạn hoặc hàng hóa trên xe bị rơi, đổ không thể di chuyển ngay ra khỏi phạm vi giữa hai vạch “Dừng xe” tại đường ngang, người điều khiển phương tiện phải tìm biện pháp để nhanh chóng đưa phương tiện, hàng hóa ra khỏi phạm vi này.
Trường hợp điểm gần nhất của xe hoặc của hàng hóa cách mép ngoài của ray ngoài cùng nhỏ hơn 1,75 mét (m), người điều khiển phương tiện phải tìm biện pháp để báo hiệu cho tàu dừng trước chướng ngại; đồng thời, phải bằng mọi biện pháp nhanh chóng đưa phương tiện, hàng hóa ra cách mép ngoài của ray ngoài cùng tối thiểu 1,75 mét (m). Biện pháp dừng tàu trước chướng ngại theo quy định tại Phụ lục VI của Thông tư này.
Điều 33. Lưu hành xe quá tải trọng, xe quá khổ giới hạn của đường bộ, xe bánh xích khi qua đường ngang
1. Người điều khiển phương tiện phải tuân thủ pháp luật đường bộ, pháp luật đường sắt và điều kiện lưu hành xe trong giấy phép lưu hành xe do cơ quan có thẩm quyền cấp.
2. Trước khi di chuyển qua đường ngang, người điều khiển phương tiện phải có phương án bảo đảm an toàn cho đường ngang, an toàn giao thông đường sắt và thông báo trước cho nhân viên gác đường ngang để được hỗ trợ, hướng dẫn.
Điều 34. Người dẫn dắt súc vật qua đường ngang
1. Trước khi dẫn dắt đàn súc vật qua đường ngang có người gác, người dẫn dắt súc vật phải liên hệ với nhân viên đường ngang để tìm hiểu thông tin giờ tàu và để được hướng dẫn.
2. Trước khi dẫn dắt đàn súc vật qua đường ngang không có người gác, người dẫn dắt đàn súc vật phải quan sát phương tiện giao thông đường sắt đến đường ngang, chỉ được dẫn dắt đàn súc vật đi qua khi có đủ điều kiện an toàn.
3. Người dẫn dắt đàn súc vật phải dẫn dắt đàn súc vật đi sát mép đường bộ bên phải. Người dẫn dắt đàn súc vật hoàn toàn chịu trách nhiệm nếu để xảy ra tai nạn do việc không tuân thủ quy tắc giao thông tại đường ngang theo quy định tại Thông tư này.
Điều 35. Người điều khiển tàu qua đường ngang
Người điều khiển tàu qua đường ngang ngoài việc tuân thủ quy định tại khoản 2 Điều 39 Luật Đường sắt, phải chú ý tín hiệu ngăn đường, tín hiệu cảnh báo đường ngang (nếu có), chú ý quan sát đường ngang để nhanh chóng hãm tàu khi thấy có tín hiệu dừng tàu hoặc có trở ngại trên đường ngang.
Điều 36. Dừng, đỗ tàu trong phạm vi đường ngang
1. Trường hợp bắt buộc phải dừng, đỗ tàu trên đường ngang; dồn tàu hoặc giải thể, lập tàu, trưởng tàu hoặc lái tàu (trường hợp trong khu gian), trưởng ga hoặc trực ban chạy tàu (trường hợp trong ga) phải tìm mọi cách để đường bộ được nhanh chóng giải phóng tắc nghẽn giao thông.
2. Khi phải đỗ tàu trên đường ngang, thời gian đỗ không được vượt quá 03 phút trên đường ngang cấp I, cấp II, không được vượt quá 05 phút trên đường ngang cấp III trừ đường ngang theo quy định của pháp luật về giải quyết sự cố, tai nạn giao thông đường sắt và phân tích, thống kê báo cáo về sự cố, tai nạn giao thông đường sắt.
Điều 37. Điều kiện xây dựng, cải tạo, nâng cấp đường ngang
1. Tổ chức đề nghị xây dựng, cải tạo, nâng cấp đường ngang phải bảo đảm nguồn kinh phí để cải tạo, nâng cấp đường ngang theo quy định của pháp luật.
2. Cơ quan có thẩm quyền quyết định đầu tư dự án xây dựng đường ngang xác định rõ nguồn vốn quản lý, bảo trì và tổ chức phòng vệ đường ngang.
3. Đối với đường ngang sử dụng có thời hạn, ngoài các điều kiện quy định tại khoản 1, khoản 2 Điều này, khi xây dựng, cải tạo, nâng cấp đường ngang phải bảo đảm:
a) Mục đích sử dụng đường ngang phù hợp với phương án tổ chức giao thông tạm thời được cấp có thẩm quyền phê duyệt;
b) Thời hạn khai thác, sử dụng đường ngang không quá 24 tháng;
c) Chủ quản lý, sử dụng đường ngang cam kết làm thủ tục bãi bỏ đường ngang và tự tháo dỡ đường ngang, hoàn trả kết cấu hạ tầng đường sắt khi hết thời hạn khai thác, sử dụng.
4. Đối với đường ngang công cộng trên đường sắt quốc gia có thời gian sử dụng lâu dài được đầu tư bằng nguồn vốn nhà nước, sau khi hoàn thành đường ngang, chủ đầu tư bàn giao lại công trình cho Bộ Giao thông vận tải để tổ chức quản lý, bảo trì và khai thác theo quy định. Đối với đường ngang được xây dựng bằng nguồn vốn khác, tổ chức đề nghị xây dựng đường ngang phải bảo đảm kinh phí để quản lý, bảo trì và tổ chức phòng vệ đường ngang.
Điều 38. Điều kiện bãi bỏ đường ngang
1. Đường ngang bãi bỏ khi đáp ứng một trong hai điều kiện sau:
a) Đường ngang hết thời gian khai thác, sử dụng theo giấy phép được cơ quan có thẩm quyền cấp;
b) Đường ngang không còn nhu cầu khai thác, sử dụng.
2. Khi bãi bỏ đường ngang công cộng có thời gian sử dụng lâu dài, tổ chức đề nghị bãi bỏ đường ngang phải lập phương án tổ chức giao thông thay thế khi bãi bỏ đường ngang.
3. Nguồn kinh phí khi bãi bỏ đường ngang:
a) Tổ chức đề nghị bãi bỏ đường ngang phải bảo đảm nguồn kinh phí để tổ chức bãi bỏ và hoàn trả trạng thái ban đầu của đoạn đường sắt trong phạm vi đường ngang theo quy định của pháp luật;
b) Cơ quan có thẩm quyền quyết định bãi bỏ đường ngang xác định rõ nguồn kinh phí cho việc bãi bỏ đường ngang.
Chương III
QUY ĐỊNH VỀ CẤP PHÉP, GIA HẠN GIẤY PHÉP XÂY DỰNG
VÀ THU HỒI, BÃI BỎ ĐƯỜNG NGANG
Điều 39. Công trình được cấp giấy phép
1. Các công trình quy định tại điểm b khoản 2 Điều 12 Luật Đường sắt và quy định của pháp luật về quản lý, bảo vệ kết cấu hạ tầng đường sắt, gồm:
a) Công trình phục vụ quốc phòng, an ninh;
b) Công trình giao thông: cầu, cầu vượt, hầm;
c) Công trình thủy lợi: cống, kè thủy lợi; hệ thống dẫn, chuyển nước;
d) Công trình năng lượng: cột điện lực, đường dây tải điện;
đ) Công trình hạ tầng kỹ thuật: đường ống cấp nước, thoát nước, viễn thông, xăng, dầu, khí, năng lượng, hóa chất.
2. Công trình xây dựng, cải tạo, nâng cấp đường ngang phù hợp với quy định tại Điều 37 của Thông tư này.
3. Các công trình quy định tại khoản 1 Điều này khi cải tạo, nâng cấp có thay đổi hình dạng, kích thước, kết cấu chịu lực hoặc ảnh hưởng đến công trình đường sắt có liên quan.
4. Không cấp giấy phép xây dựng mới đường ngang tổ chức phòng vệ bằng biển báo trên đường sắt quốc gia.
Điều 40. Nguyên tắc cấp, gia hạn giấy phép xây dựng
1. Chỉ cấp giấy phép xây dựng đối với các công trình quy định tại Điều 39 của Thông tư này.
2. Các công trình cấp phép xây dựng phải:
a) Phù hợp với quy hoạch được cấp có thẩm quyền phê duyệt hoặc phù hợp với nội dung thỏa thuận của Ủy ban nhân dân cấp huyện trở lên về vị trí xây dựng công trình;
b) Quy mô xây dựng công trình, hồ sơ thiết kế đã được cấp có thẩm quyền phê duyệt;
c) Tuân thủ quy chuẩn kỹ thuật, tiêu chuẩn áp dụng;
d) Bảo đảm an toàn công trình, an toàn giao thông đường sắt, bảo vệ môi trường, phòng chống cháy, nổ.
3. Thời gian thi công xây dựng công trình được cấp phép xây dựng phải phù hợp với tiến độ tổng thể của dự án được cấp có thẩm quyền phê duyệt.
4. Vị trí, quy mô xây dựng công trình, phương án tổ chức thi công, biện pháp bảo đảm an toàn công trình, an toàn giao thông đường sắt đối với công trình xây dựng trong phạm vi đất dành cho đường sắt đã được cơ quan có thẩm quyền cấp phép xây dựng, doanh nghiệp kinh doanh kết cấu hạ tầng đường sắt thỏa thuận và thống nhất theo quy định của Thông tư này.
5. Công trình được cấp giấy phép xây dựng phải kịp thời di chuyển khi cơ quan có thẩm quyền yêu cầu theo quy định của pháp luật.
6. Giấy phép xây dựng chỉ được gia hạn trong thời gian giấy phép còn hiệu lực.
7. Các công trình được miễn giấy phép xây dựng:
a) Công trình cải tạo, nâng cấp, sửa chữa đường ngang, công trình đường sắt trên đường sắt quốc gia đã được Bộ Giao thông vận tải phê duyệt kế hoạch thực hiện;
b) Công trình sửa chữa đường ngang có phương án thiết kế không làm thay đổi cấp đường ngang, không làm thay đổi hình thức tổ chức phòng vệ của đường ngang và không làm thay đổi chiều rộng mặt đường bộ tại đường ngang.
Điều 41. Thẩm quyền cấp, gia hạn, thu hồi, hủy giấy phép xây dựng, cải tạo, nâng cấp đường ngang; quyết định bãi bỏ đường ngang
1. Cục Đường sắt Việt Nam:
a) Cấp, gia hạn, thu hồi, hủy giấy phép xây dựng, cải tạo, nâng cấp đường ngang trên đường sắt quốc gia;
b) Quyết định bãi bỏ đường ngang trên đường sắt quốc gia.
2. Cục Đường bộ Việt Nam:
a) Cấp, gia hạn, thu hồi, hủy giấy phép xây dựng, cải tạo, nâng cấp đường ngang trên đường sắt chuyên dùng liên quan đến quốc lộ;
b) Quyết định bãi bỏ đường ngang trên đường sắt chuyên dùng liên quan đến quốc lộ.
3. Cơ quan theo phân cấp, ủy quyền của Ủy ban nhân dân cấp tỉnh:
a) Cấp, gia hạn, thu hồi, hủy giấy phép xây dựng, cải tạo, nâng cấp đường ngang trên đường sắt chuyên dùng liên quan đến đường tỉnh, đường huyện , đường xã, đường bộ đô thị và đường bộ chuyên dùng trong phạm vi quản lý;
b) Quyết định bãi bỏ đường ngang trên đường sắt chuyên dùng liên quan đường tỉnh, đường huyện , đường xã, đường bộ đô thị và đường bộ chuyên dùng trong phạm vi quản lý.
Điều 42. Hồ sơ đề nghị cấp giấy phép xây dựng, cải tạo, nâng cấp đường ngang
Hồ sơ đề nghị cấp giấy phép xây dựng, cải tạo, nâng cấp đường ngang gồm:
1. Đơn đề nghị theo mẫu quy định tại Phụ lục VII của Thông tư này.
2. Bản chính hoặc bản sao được chứng thực hoặc bản sao kèm theo bản chính để đối chiếu hoặc bản sao điện tử có giá trị pháp lý (khi thực hiện thủ tục hành chính trên môi trường điện tử) các tài liệu sau:
a) Quyết định phê duyệt dự án đầu tư xây dựng công trình;
b) Quyết định phê duyệt thiết kế kỹ thuật hoặc thiết kế bản vẽ thi công của đường ngang;
c) Hồ sơ thiết kế kỹ thuật hoặc thiết kế bản vẽ thi công của đường ngang đã được phê duyệt;
d) Phương án tổ chức thi công đường ngang và biện pháp bảo đảm an toàn giao thông trong quá trình thi công được cấp thẩm quyền phê duyệt hoặc chủ đầu tư chấp thuận.
Điều 43. Trình tự thực hiện cấp giấy phép xây dựng, cải tạo, nâng cấp đường ngang
1. Tổ chức là chủ đầu tư dự án, chủ quản lý, sử dụng đường ngang có nhu cầu xây dựng, cải tạo, nâng cấp đường ngang lập 01 bộ hồ sơ đề nghị, nộp trực tiếp hoặc gửi qua hệ thống bưu chính hoặc gửi trên môi trường điện tử đến cơ quan có thẩm quyền cấp giấy phép quy định tại Điều 41 của Thông tư này.
2. Trường hợp nộp hồ sơ trực tiếp, cơ quan có thẩm quyền quy định tại Điều 41 của Thông tư này có trách nhiệm trả kết quả trong ngày làm việc về thành phần hồ sơ đề nghị cấp giấy phép.
3. Trường hợp nộp hồ sơ qua đường bưu điện hoặc thực hiện qua môi trường điện tử, nếu thành phần hồ sơ chưa đầy đủ theo quy định, trong thời hạn 02 ngày làm việc, cơ quan có thẩm quyền quy định tại Điều 41 của Thông tư này thông báo bằng văn bản hướng dẫn hoàn thiện hồ sơ.
4. Trong thời hạn 02 ngày làm việc, kể từ ngày nhận hồ sơ đầy đủ theo quy định, cơ quan có thẩm quyền cấp giấy phép có trách nhiệm gửi hồ sơ đến các cơ quan đơn vị liên quan để lấy ý kiến:
a) Doanh nghiệp kinh doanh kết cấu hạ tầng đường sắt, cơ quan quản lý đường bộ (nếu có liên quan) đối với đường ngang trên đường sắt quốc gia;
b) Cục Đường bộ Việt Nam, cơ quan theo phân cấp, ủy quyền của Ủy ban nhân dân cấp tỉnh quản lý tuyến đường bộ (nếu có liên quan).
5. Trong vòng 05 ngày làm việc kể từ thời điểm cơ quan có thẩm quyền cấp giấy phép xây dựng, cải tạo, nâng cấp đường ngang có văn bản lấy ý kiến, cơ quan, tổ chức được lấy ý kiến có trách nhiệm trả lời bằng văn bản. Quá thời hạn trên nếu tổ chức được lấy ý kiến không có văn bản trả lời thì được coi là đã chấp thuận và phải chịu trách nhiệm do việc không trả lời hoặc trả lời chậm trễ gây ra.
6. Thời gian giải quyết hồ sơ: 10 ngày làm việc, kể từ ngày nhận đủ hồ sơ theo quy định.
7. Giấy phép xây dựng, cải tạo, nâng cấp đường ngang theo mẫu quy định tại Phụ lục VIII của Thông tư này. Trường hợp không chấp thuận cấp phép xây dựng phải có văn bản trả lời, nêu rõ lý do.
8. Trường hợp thực hiện trên môi trường điện tử chủ đầu tư dự án, chủ quản lý, sử dụng đường ngang có nhu cầu xây dựng, cải tạo, nâng cấp đường ngang lập hồ sơ đề nghị gồm tệp tin chứa bản chụp chính hồ sơ, tài liệu quy định tại Điều 42 của Thông tư này và thực hiện trên địa chỉ website: https://dichvucong.mt.gov.vn.
Điều 44. Hồ sơ đề nghị bãi bỏ đường ngang
Hồ sơ đề nghị bãi bỏ đường ngang gồm:
1. Đơn đề nghị bãi bỏ đường ngang theo mẫu tại Phụ lục IX của Thông tư này.
2. Bản chính hoặc bản sao được chứng thực hoặc bản sao kèm theo bản chính để đối chiếu hoặc bản sao điện tử có giá trị pháp lý (khi thực hiện thủ tục hành chính trên môi trường điện tử) một trong các tài liệu sau:
a) Biên bản nghiệm thu hoàn thành công trình, hạng mục công trình vào sử dụng đối với cầu vượt, hầm chui hoặc đường ngang khác để tổ chức giao thông thay thế cho đường ngang đề nghị bãi bỏ;
b) Phương án tổ chức giao thông thay thế khi bãi bỏ đường ngang.
Điều 45. Trình tự thực hiện bãi bỏ đường ngang
1. Tổ chức là chủ đầu tư dự án, chủ quản lý, sử dụng đường ngang có nhu cầu bãi bỏ đường ngang lập 01 bộ hồ sơ đề nghị, nộp trực tiếp hoặc gửi qua hệ thống bưu chính hoặc gửi trên môi trường điện tử đến cơ quan có thẩm quyền quy định tại Điều 41 của Thông tư này.
2. Trường hợp nộp hồ sơ trực tiếp, cơ quan có thẩm quyền quy định tại Điều 41 của Thông tư này có trách nhiệm trả kết quả trong ngày làm việc về thành phần hồ sơ đề nghị bãi bỏ đường ngang.
3. Trường hợp nộp hồ sơ qua đường bưu điện hoặc thực hiện qua môi trường điện tử, nếu thành phần hồ sơ chưa đầy đủ theo quy định, trong thời hạn 02 ngày làm việc, cơ quan có thẩm quyền quy định tại Điều 41 của Thông tư này thông báo bằng văn bản hướng dẫn hoàn thiện hồ sơ.
4. Trong thời hạn 02 ngày làm việc, kể từ ngày nhận hồ sơ đầy đủ theo quy định, cơ quan có thẩm quyền bãi bỏ đường ngang có trách nhiệm gửi hồ sơ đến các cơ quan đơn vị liên quan để lấy ý kiến:
a) Doanh nghiệp kinh doanh kết cấu hạ tầng đường sắt, cơ quan quản lý đường bộ (nếu có liên quan) đối với đường ngang trên đường sắt quốc gia;
b) Chủ sở hữu đường sắt chuyên dùng, cơ quan quản lý đường bộ (nếu có liên quan) đối với đường ngang trên đường sắt chuyên dùng.
5. Trong vòng 05 ngày làm việc kể từ thời điểm cơ quan có thẩm quyền thẩm quyền bãi bỏ đường ngang có văn bản lấy ý kiến, cơ quan, tổ chức được lấy ý kiến có trách nhiệm trả lời bằng văn bản. Quá thời hạn trên nếu tổ chức được lấy ý kiến không có văn bản trả lời thì được coi là đã chấp thuận và phải chịu trách nhiệm do việc không trả lời hoặc trả lời chậm trễ gây ra.
6. Thời gian giải quyết hồ sơ: 07 ngày làm việc, kể từ ngày nhận đủ hồ sơ theo quy định.
7. Quyết định bãi bỏ đường ngang theo mẫu quy định tại Phụ lục X của Thông tư này. Trường hợp không ban hành quyết định phải có văn bản trả lời, nêu rõ lý do.
8. Trường hợp thực hiện trên môi trường điện tử, chủ đầu tư dự án, chủ quản lý, sử dụng đường ngang có nhu cầu bãi bỏ đường ngang lập hồ sơ đề nghị gồm tệp tin chứa bản chụp chính hồ sơ, tài liệu quy định tại Điều 44 của Thông tư này và thực hiện trên địa chỉ website: https://dichvucong.mt.gov.vn.
Điều 46. Hồ sơ đề nghị gia hạn giấy phép xây dựng, cải tạo, nâng cấp đường ngang
Hồ sơ đề nghị gia hạn giấy phép xây dựng, cải tạo, nâng cấp đường ngang gồm:
1. Đơn đề nghị theo mẫu tại Phụ lục XI của Thông tư này.
2. Bản chính hoặc bản sao được chứng thực hoặc bản sao kèm theo bản chính để đối chiếu hoặc bản sao điện tử có giá trị pháp lý (khi thực hiện thủ tục hành chính trên môi trường điện tử):
a) Tiến độ tổng thể dự án được cấp có thẩm quyền phê duyệt;
b) Tài liệu chứng minh lý do đề nghị gia hạn là một trong các tài liệu sau:
Biên bản bàn giao mặt bằng thi công xây dựng, cải tạo, nâng cấp đường ngang trong trường hợp vướng mắc về mặt bằng thi công;
Biên bản xác nhận thiệt hại giữa chủ đầu tư và nhà thầu thi công đường ngang trong trường hợp sự cố, thiên tai làm ảnh hưởng đến tiến độ thi công xây dựng, cải tạo, nâng cấp đường ngang;
Quyết định điều chỉnh chủ trương đầu tư dự án hoặc quyết định điều chỉnh chương trình, dự án đầu tư xây dựng công trình trong trường hợp việc điều chỉnh dự án làm ảnh hưởng đến tiến độ thi công xây dựng, cải tạo, nâng cấp đường ngang.
Điều 47. Trình tự thực hiện gia hạn giấy phép xây dựng, cải tạo, nâng cấp đường ngang
1. Tổ chức là chủ đầu tư dự án, chủ quản lý, sử dụng đường ngang có nhu cầu gia hạn giấy phép xây dựng, cải tạo, nâng cấp đường ngang lập 01 bộ hồ sơ đề nghị, nộp trực tiếp hoặc gửi qua đường bưu điện hoặc gửi trên môi trường điện tử đến cơ quan có thẩm quyền cấp giấy phép quy định tại Điều 41 của Thông tư này.
2. Trường hợp nộp hồ sơ trực tiếp, cơ quan có thẩm quyền quy định tại Điều 41 của Thông tư này có trách nhiệm trả kết quả trong ngày làm việc về thành phần hồ sơ đề nghị gia hạn giấy phép xây dựng, cải tạo, nâng cấp đường ngang.
3. Trường hợp nộp hồ sơ qua đường bưu điện hoặc thực hiện qua môi trường điện tử, nếu thành phần hồ sơ chưa đầy đủ theo quy định, trong thời hạn 02 ngày làm việc, cơ quan có thẩm quyền quy định tại Điều 41 của Thông tư này thông báo bằng văn bản hướng dẫn hoàn thiện hồ sơ.
4. Thời gian giải quyết hồ sơ: 03 ngày làm việc, kể từ ngày nhận đủ hồ sơ theo quy định.
5. Quyết định gia hạn giấy phép xây dựng đường ngang theo mẫu quy định tại Phụ lục XII của Thông tư này. Trường hợp không ban hành quyết định phải có văn bản trả lời, nêu rõ lý do.
6. Trường hợp thực hiện trên môi trường điện tử, chủ đầu tư dự án, chủ quản lý, sử dụng đường ngang có nhu cầu gia hạn giấy phép xây dựng, cải tạo, nâng cấp đường ngang lập hồ sơ đề nghị gồm tệp tin chứa bản chụp chính hồ sơ, tài liệu quy định tại Điều 46 của Thông tư này và thực hiện trên địa chỉ website: https://dichvucong.mt.gov.vn.
7. Mỗi Giấy phép chỉ được gia hạn 01 lần và thời gian gia hạn không quá 12 tháng, đồng thời không vượt quá thời gian thực hiện dự án đã được cấp có thẩm quyền phê duyệt.
Điều 48. Thẩm quyền cấp, gia hạn, thu hồi, hủy giấy phép xây dựng công trình thiết yếu trong phạm vi đất dành cho đường sắt
1. Cục Đường sắt Việt Nam cấp, gia hạn, thu hồi, hủy giấy phép xây dựng công trình thiết yếu trong phạm vi đất dành cho đường sắt quốc gia.
2. Cơ quan theo phân cấp, ủy quyền của Ủy ban nhân dân cấp tỉnh thực hiện cấp, gia hạn, thu hồi, hủy giấy phép xây dựng công trình thiết yếu trong phạm vi đất dành cho đường sắt đô thị.
Điều 49. Hồ sơ đề nghị cấp giấy phép xây dựng công trình thiết yếu trong phạm vi đất dành cho đường sắt
Hồ sơ đề nghị cấp giấy phép xây dựng công trình thiết yếu trong phạm vi đất dành cho đường sắt gồm:
1. Đơn đề nghị cấp giấy phép xây dựng theo mẫu quy định tại Phụ lục XIII của Thông tư này.
2. Bản chính hoặc bản sao được chứng thực hoặc bản sao kèm theo bản chính để đối chiếu hoặc bản sao điện tử có giá trị pháp lý (khi thực hiện thủ tục hành chính trên môi trường điện tử) các tài liệu sau:
a) Quyết định phê duyệt dự án hoặc văn bản giao nhiệm vụ chủ đầu tư công trình;
b) Quyết định phê duyệt thiết kế kỹ thuật hoặc thiết kế bản vẽ thi công; ảnh chụp hiện trạng (đối với công trình cải tạo, nâng cấp);
c) Hồ sơ thiết kế kỹ thuật hoặc thiết kế bản vẽ thi công đã được phê duyệt;
d) Văn bản pháp lý của cơ quan quản lý nhà nước có thẩm quyền xác định công trình không thể bố trí ngoài phạm vi đất dành cho đường sắt: Quyết định phê duyệt quy hoạch hoặc thỏa thuận của Ủy ban nhân dân cấp huyện trở lên có liên quan đến việc xây dựng công trình trong phạm vi đất dành cho đường sắt;
đ) Tiến độ tổng thể dự án được cấp có thẩm quyền phê duyệt;
e) Phương án tổ chức thi công công trình và biện pháp bảo đảm an toàn giao thông, an toàn công trình trong quá trình thi công.
Điều 50. Trình tự thực hiện cấp giấy phép xây dựng công trình thiết yếu trong phạm vi đất dành cho đường sắt
1. Chủ đầu tư dự án có nhu cầu xây dựng công trình trong phạm vi đất dành cho đường sắt lập 01 bộ hồ sơ đề nghị, nộp hồ sơ trực tiếp hoặc gửi qua đường bưu điện hoặc gửi trên môi trường điện tử đến cơ quan có thẩm quyền quy định tại Điều 48 của Thông tư này.
2. Trường hợp nộp hồ sơ trực tiếp, cơ quan có thẩm quyền quy định tại Điều 48 của Thông tư này có trách nhiệm trả kết quả trong ngày làm việc về thành phần hồ sơ đề nghị cấp giấy phép.
3. Trường hợp nộp hồ sơ qua đường bưu điện hoặc thực hiện qua môi trường điện tử, nếu thành phần hồ sơ chưa đầy đủ theo quy định, trong thời hạn 02 ngày làm việc, cơ quan có thẩm quyền quy định tại Điều 48 của Thông tư này thông báo bằng văn bản hướng dẫn hoàn thiện hồ sơ.
4. Trong thời hạn 02 ngày làm việc, kể từ ngày nhận hồ sơ đầy đủ theo quy định, cơ quan có thẩm quyền cấp giấy phép xây dựng có trách nhiệm gửi hồ sơ đến các cơ quan, đơn vị liên quan để lấy ý kiến:
a) Doanh nghiệp kinh doanh kết cấu hạ tầng đường sắt khi xây dựng công trình trong phạm vi đất dành cho đường sắt quốc gia;
b) Doanh nghiệp kinh doanh đường sắt đô thị và các cơ quan chuyên môn theo phân cấp của Ủy ban nhân dân cấp tỉnh khi xây dựng công trình trong phạm vi đất dành cho đường sắt đô thị.
5. Trong vòng 05 ngày làm việc kể từ thời điểm cơ quan có thẩm quyền thẩm quyền cấp giấy phép xây dựng có văn bản lấy ý kiến, cơ quan, tổ chức được lấy ý kiến có trách nhiệm trả lời bằng văn bản. Quá thời hạn trên nếu tổ chức được lấy ý kiến không có văn bản trả lời thì được coi là đã chấp thuận và phải chịu trách nhiệm do việc không trả lời hoặc trả lời chậm trễ gây ra.
6. Thời gian giải quyết hồ sơ: 10 ngày làm việc, kể từ ngày nhận đủ hồ sơ theo quy định.
7. Giấy phép xây dựng theo mẫu quy định tại Phụ lục XIV của Thông tư này. Trường hợp không ban hành quyết định phải có văn bản trả lời, nêu rõ lý do.
8. Trường hợp thực hiện trên môi trường điện tử, chủ đầu tư dự án có nhu cầu xây dựng công trình thiết yếu trong phạm vi đất dành cho đường sắt lập hồ sơ đề nghị gồm tệp tin chứa bản chụp chính hồ sơ, tài liệu quy định tại Điều 49 của Thông tư này và thực hiện trên địa chỉ website: https://dichvucong.mt.gov.vn.
9. Chủ sở hữu đường sắt chuyên dùng quyết định trình tự thực hiện cấp giấy phép xây dựng công trình trong phạm vi đất dành cho đường sắt chuyên dùng.
Điều 51. Hồ sơ đề nghị gia hạn giấy phép xây dựng công trình thiết yếu trong phạm vi đất dành cho đường sắt
Hồ sơ đề nghị gia hạn giấy phép xây dựng công trình thiết yếu trong phạm vi đất dành cho đường sắt gồm:
1. Đơn đề nghị theo mẫu tại Phụ lục XV của Thông tư này.
2. Bản chính hoặc bản sao được chứng thực hoặc bản sao kèm theo bản chính để đối chiếu hoặc bản sao điện tử có giá trị pháp lý (khi thực hiện thủ tục hành chính trên môi trường điện tử):
a) Tiến độ tổng thể dự án được cấp có thẩm quyền phê duyệt;
b) Tài liệu chứng minh lý do đề nghị gia hạn là một trong các tài liệu sau:
Biên bản bàn giao mặt bằng thi công xây dựng công trình trong trường hợp vướng mắc về mặt bằng thi công;
Biên bản xác nhận thiệt hại giữa chủ đầu tư và nhà thầu thi công xây dựng công trình trong trường hợp sự cố, thiên tai làm ảnh hưởng đến tiến độ thi công xây dựng công trình;
Quyết định điều chỉnh chủ trương đầu tư dự án hoặc quyết định điều chỉnh chương trình, dự án đầu tư xây dựng công trình trong trường hợp việc điều chỉnh dự án làm ảnh hưởng đến tiến độ thi công xây dựng công trình.
Điều 52. Trình tự thực hiện gia hạn giấy phép xây dựng công trình thiết yếu trong phạm vi đất dành cho đường sắt
1. Khi hết thời gian thi công công trình ghi trong giấy phép xây dựng mà công trình chưa hoàn thành, chủ đầu tư dự án lập 01 bộ hồ sơ đề nghị, nộp hồ sơ trực tiếp hoặc gửi qua đường bưu điện hoặc gửi trên môi trường điện tử đến cơ quan cấp giấy phép quy định tại Điều 48 của Thông tư này.
2. Trường hợp nộp hồ sơ trực tiếp, cơ quan có thẩm quyền quy định tại Điều 48 của Thông tư này có trách nhiệm trả kết quả trong ngày làm việc về thành phần hồ sơ đề nghị gia hạn giấy phép xây dựng công trình thiết yếu trong phạm vi đất dành cho đường sắt.
3. Trường hợp nộp hồ sơ qua đường bưu điện hoặc thực hiện qua môi trường điện tử, nếu thành phần hồ sơ chưa đầy đủ theo quy định, trong thời hạn 02 ngày làm việc, cơ quan có thẩm quyền quy định tại Điều 48 của Thông tư này thông báo bằng văn bản hướng dẫn hoàn thiện hồ sơ.
4. Thời gian giải quyết hồ sơ: 03 ngày làm việc, kể từ ngày nhận đủ hồ sơ theo quy định.
5. Quyết định gia hạn giấy phép xây dựng theo mẫu quy định tại Phụ lục XVI của Thông tư này. Trường hợp không ban hành quyết định phải có văn bản trả lời, nêu rõ lý do.
6. Trường hợp thực hiện trên môi trường điện tử, chủ đầu tư dự án có nhu cầu gia hạn giấy phép xây dựng công trình thiết yếu trong phạm vi đất dành cho đường sắt lập hồ sơ đề nghị gồm tệp tin chứa bản chụp chính hồ sơ, tài liệu quy định tại Điều 51 của Thông tư này và thực hiện trên địa chỉ website: https://dichvucong.mt.gov.vn.
7. Mỗi Giấy phép chỉ được gia hạn 01 lần, thời gian gia hạn không quá 12 tháng, đồng thời không vượt quá thời gian thực hiện dự án đã được cấp có thẩm quyền phê duyệt.
8. Chủ sở hữu đường sắt chuyên dùng quyết định trình tự thực hiện gia hạn giấy phép xây dựng công trình thiết yếu trong phạm vi đất dành cho đường sắt chuyên dùng.
Điều 53. Thu hồi và hủy giấy phép xây dựng, cải tạo, nâng cấp đường ngang và giấy phép xây dựng công trình trong phạm vi đất dành cho đường sắt
1. Các trường hợp giấy phép xây dựng, cải tạo, nâng cấp đường ngang; giấy phép xây dựng công trình trong phạm vi đất dành cho đường sắt (sau đây gọi là giấy phép) bị thu hồi:
a) Giấy phép được cấp không đúng theo quy định của pháp luật;
b) Chủ đầu tư dự án tổ chức thực hiện hoặc trực tiếp thực hiện thi công không đúng nội dung của giấy phép. Trong thời hạn quá 1/3 thời gian xây dựng trong giấy phép kể từ ngày cơ quan nhà nước có thẩm quyền phát hiện và yêu cầu nhưng chủ đầu tư vẫn chưa hoàn thành việc khắc phục các vi phạm theo yêu cầu;
c) Chủ đầu tư dự án vi phạm các quy định của pháp luật về quản lý, bảo vệ kết cấu hạ tầng giao thông đường sắt, an toàn giao thông đường sắt, bảo vệ môi trường tại khu vực xây dựng công trình;
d) Sau 12 tháng, kể từ ngày được cấp giấy phép mà chủ đầu tư vẫn chưa triển khai xây dựng công trình.
2. Sau 10 ngày làm việc, kể từ ngày có quyết định thu hồi giấy phép, cơ quan có thẩm quyền quy định tại Điều 41 và Điều 48 của Thông tư này ban hành quyết định công bố hủy giấy phép, đồng thời thông báo cho các cơ quan, đơn vị liên quan đến việc thực hiện giấy phép.
Chương IV
TRÁCH NHIỆM CỦA CÁC TỔ CHỨC CÓ LIÊN QUAN TRONG VIỆC QUẢN LÝ, KHAI THÁC, SỬ DỤNG, XÂY DỰNG, CẢI TẠO, NÂNG CẤP, BÃI BỎ ĐƯỜNG NGANG VÀ XÂY DỰNG CÔNG TRÌNH TRONG PHẠM VI ĐẤT DÀNH CHO ĐƯỜNG SẮT
Điều 54. Trách nhiệm của Cục Đường sắt Việt Nam
1. Thực hiện trách nhiệm của cơ quan quản lý nhà nước chuyên ngành đường sắt trong việc quản lý đường ngang trên đường sắt quốc gia và xây dựng công trình trong phạm vi đất dành cho đường sắt quốc gia.
2. Tổ chức kiểm tra, giám sát việc thực hiện quản lý, bảo trì, phòng vệ đường ngang của doanh nghiệp kinh doanh kết cấu hạ tầng đường sắt đối với đường ngang trên đường sắt quốc gia theo quy định tại Thông tư này.
Điều 55. Trách nhiệm của Cục Đường bộ Việt Nam
Đối với đường ngang công cộng trên đường sắt chuyên dùng liên quan đến quốc lộ:
1. Quản lý, duy trì trạng thái hoạt động của công trình đường bộ ngoài phạm vi đường ngang; tầm nhìn của người điều khiển phương tiện giao thông đường bộ.
2. Tổ chức kiểm tra, giám sát việc thực hiện quản lý, bảo trì đường ngang, phòng vệ đường ngang của chủ sở hữu đường sắt chuyên dùng theo quy định tại Thông tư này.
Điều 56. Trách nhiệm của cơ quan quản lý đường bộ địa phương
1. Thực hiện theo phân cấp, ủy quyền của Ủy ban nhân dân cấp tỉnh để thực hiện đối với đường ngang công cộng trên đường sắt chuyên dùng liên quan đến đường tỉnh, đường huyện , đường xã, đường đô thị thuộc phạm vi quản lý:
a) Tổ chức kiểm tra, giám sát việc thực hiện quản lý, bảo trì đường ngang, phòng vệ đường ngang của chủ sở hữu đường sắt chuyên dùng theo quy định tại Thông tư này;
b) Phối hợp với doanh nghiệp kinh doanh kết cấu hạ tầng đường sắt hoặc chủ quản lý, sử dụng đường sắt chuyên dùng, chính quyền địa phương dỡ bỏ đường ngang không có giấy phép xây dựng; giải tỏa hành lang an toàn giao thông tại khu vực đường ngang.
2. Quản lý, duy trì trạng thái hoạt động của công trình đường bộ ngoài phạm vi đường ngang; tầm nhìn của người điều khiển phương tiện giao thông đường bộ đối với đường ngang công cộng liên quan đến đường tỉnh, đường huyện , đường xã, đường bộ đô thị thuộc phạm vi quản lý.
Điều 57. Trách nhiệm của Ủy ban nhân dân các cấp
1. Tổ chức tuyên truyền, giáo dục nhân dân; tổ chức phòng ngừa, ngăn chặn và xử lý kịp thời hành vi vi phạm hành lang an toàn giao thông đường sắt.
2. Quản lý đất trong phạm vi hành lang an toàn giao thông đường sắt, hành lang an toàn giao thông tại đường ngang theo quy định của pháp luật đường sắt.
3. Phối hợp với cơ quan quản lý đường bộ, doanh nghiệp kinh doanh kết cấu hạ tầng đường sắt, chủ quản lý, sử dụng đường ngang trong việc:
a) Kiểm tra đường ngang để đề xuất cơ quan có thẩm quyền thực hiện cải tạo, nâng cấp, bãi bỏ đường ngang theo quy định của Thông tư này;
b) Đề xuất hình thức tổ chức phòng vệ đường ngang công cộng phù hợp quy định tại Thông tư này.
4. Chủ trì, phối hợp với Cục Đường sắt Việt Nam, Cục Đường bộ Việt Nam, doanh nghiệp kinh doanh kết cấu hạ tầng đường sắt, chủ quản lý, sử dụng đường ngang, cơ quan quản lý đường bộ địa phương trong việc thực hiện giải tỏa hành lang an toàn giao thông tại đường ngang trên địa bàn thuộc phạm vi quản lý.
Điều 58. Trách nhiệm của doanh nghiệp kinh doanh kết cấu hạ tầng đường sắt
1. Trong thời hạn 05 ngày làm việc, kể từ khi nghiệm thu hoàn thành đường ngang công cộng, đường ngang chuyên dùng trên đường sắt quốc gia, doanh nghiệp kinh doanh kết cấu hạ tầng đường sắt quốc gia tiếp nhận công trình và đưa đường ngang vào khai thác sử dụng.
2. Quản lý, bảo trì, duy trì trạng thái hoạt động của đường ngang công cộng trên đường sắt quốc gia theo quy định tại khoản 1, khoản 2, khoản 3, khoản 4 Điều 30 của Thông tư này.
3. Bố trí định biên gác đường ngang đối với đường ngang công cộng trên đường sắt quốc gia theo kế hoạch bảo trì kết cấu hạ tầng đường sắt quốc gia được phê duyệt.
4. Hàng năm, chủ trì, phối hợp với cơ quan quản lý đường bộ và chính quyền địa phương kiểm tra, lập kế hoạch sửa chữa đường ngang công cộng trên đường sắt quốc gia và kiến nghị cơ quan nhà nước có thẩm quyền về việc cải tạo, nâng cấp hoặc thay đổi hình thức phòng vệ đường ngang công cộng trên đường sắt quốc gia phù hợp với quy định tại Thông tư này.
5. Thường xuyên kiểm tra, phát hiện, kịp thời đề xuất và phối hợp với chính quyền địa phương giải tỏa hành lang an toàn giao thông tại đường ngang trên đường sắt quốc gia.
6. Chủ trì, phối hợp với chính quyền địa phương tổ chức cảnh giới tăng cường bảo đảm an toàn giao thông tại các đường ngang công cộng nguy hiểm trên đường sắt quốc gia.
7. Lập hồ sơ quản lý đường ngang công cộng trên đường sắt quốc gia theo quy định tại Điều 29 của Thông tư này.
8. Yêu cầu chủ đầu tư dự án, đơn vị thi công công trình xây dựng đường ngang, công trình thiết yếu xây dựng trong phạm vi đất dành cho đường sắt quốc gia thực hiện đúng nội dung giấy phép được cấp, phương án bảo đảm an toàn công trình, an toàn giao thông, bảo vệ môi trường trong quá trình thi công. Trường hợp phát hiện nguy cơ mất an toàn trong quá trình thi công, đề nghị chủ đầu tư dự án tạm dừng thi công để có biện pháp khắc phục; báo cáo cơ quan cấp giấy phép để xử lý theo quy định.
9. Bàn giao mặt bằng thi công, tham gia nghiệm thu hoàn thành công trình xây dựng đường ngang, công trình xây dựng trong phạm vi đất dành cho đường sắt quốc gia; tiếp nhận hồ sơ hoàn công để phục vụ công tác quản lý, bảo trì theo quy định.
10. Khi hết thời hạn khai thác sử dụng đường ngang, doanh nghiệp kinh doanh kết cấu hạ tầng đường sắt chủ trì, phối hợp với chủ quản lý, sử dụng đường ngang, chính quyền địa phương tổ chức kiểm tra, đề xuất cơ quan có thẩm quyền quy định tại Điều 41 của Thông tư này làm thủ tục bãi bỏ đường ngang.
11. Chủ trì, phối hợp với chủ quản lý, sử dụng đường ngang và chính quyền địa phương để rào chắn, tháo dỡ đường ngang, hoàn trả kết cấu hạ tầng đường sắt sau khi có quyết định bãi bỏ đường ngang.
12. Thực hiện chế độ báo cáo:
a) Tên báo cáo: Báo cáo số liệu về đường ngang và xây dựng công trình trong phạm vi đất dành cho đường sắt;
b) Nội dung báo cáo phải thể hiện đầy đủ các nội dung sau: Việc sử dụng, khai thác, bảo vệ tài sản đường ngang, hồ sơ quản lý đường ngang quy định tại Thông tư này đối với đường ngang trên đường sắt quốc gia; công trình xây dựng trong phạm vi đất dành cho đường sắt quốc gia; đề xuất, kiến nghị (nếu có).
c) Đối tượng thực hiện báo cáo: Doanh nghiệp kinh doanh kết cấu hạ tầng đường sắt;
d) Cơ quan nhận báo cáo: Cục Đường sắt Việt Nam;
đ) Phương thức gửi, nhận báo cáo: văn bản giấy và qua hệ thống quản lý văn bản liên thông của Cục Đường sắt Việt Nam;
e) Thời hạn gửi báo cáo: trước ngày 15 tháng 3 hàng năm;
g) Tần suất thực hiện báo cáo: 01 lần trong năm;
h) Thời gian chốt số liệu báo cáo: từ ngày 15 tháng 3 của năm trước đến ngày 14 tháng 3 của năm báo cáo;
i) Biểu mẫu báo cáo theo mẫu quy định tại Phụ lục V của Thông tư này.
Điều 59. Trách nhiệm của chủ quản lý, sử dụng đường ngang chuyên dùng
1. Quản lý, bảo trì, tổ chức phòng vệ và duy trì trạng thái kỹ thuật của đường ngang thuộc phạm vi quản lý sử dụng trong suốt quá trình khai thác theo quy định tại Thông tư này.
2. Bố trí định biên gác đường ngang do mình quản lý, sử dụng.
3. Có biện pháp sửa chữa kịp thời bảo đảm an toàn đường ngang do mình quản lý, sử dụng, an toàn giao thông khi phát hiện có hư hỏng.
4. Lập hồ sơ quản lý đường ngang do mình quản lý, sử dụng theo quy định tại Điều 29 của Thông tư này.
5. Trường hợp chủ quản lý, sử dụng đường ngang chuyên dùng không thực hiện đầy đủ quy định tại khoản 1, khoản 2, khoản 3, khoản 4 Điều này, doanh nghiệp kinh doanh kết cấu hạ tầng đường sắt (đối với đường ngang trên đường sắt quốc gia) hoặc chủ sở hữu đường sắt chuyên dùng (đối với đường ngang trên đường sắt chuyên dùng) quyết định tạm dừng khai thác đường ngang. Khi đó, chủ quản lý, sử dụng đường ngang chuyên dùng phải bồi thường thiệt hại do lỗi của mình gây ra theo quy định của pháp luật.
Điều 60. Trách nhiệm của chủ sở hữu đường sắt chuyên dùng
1. Đối với đường ngang công cộng trên đường sắt chuyên dùng:
a) Quản lý, bảo trì, tổ chức phòng vệ và duy trì trạng thái kỹ thuật của đường ngang thuộc phạm vi quản lý trong suốt quá trình khai thác sử dụng theo quy định tại Thông tư này;
b) Bố trí định biên gác đường ngang;
c) Tham gia ý kiến và chịu trách nhiệm trước pháp luật đối với các nội dung ý kiến đã tham gia góp ý đối với việc xây dựng, cải tạo, nâng cấp đường ngang;
d) Trong thời hạn 05 ngày làm việc, kể từ khi nghiệm thu hoàn thành đường ngang phải ban hành quyết định cho phép đường ngang đưa vào khai thác sử dụng;
đ) Lập hồ sơ quản lý đường ngang theo quy định tại Điều 29 của Thông tư này.
2. Quyết định việc xây dựng, cải tạo, nâng cấp đường ngang chuyên dùng trên đường sắt chuyên dùng; xây dựng công trình trong phạm vi đất dành cho đường sắt chuyên dùng.
Điều 61. Trách nhiệm của chủ đầu tư dự án đường ngang, công trình thiết yếu xây dựng trong phạm vi đất dành cho đường sắt
1. Trước khi phê duyệt dự án đầu tư xây dựng công trình, chủ đầu tư dự án lấy ý kiến tham gia của cơ quan có thẩm quyền cấp giấy phép quy định tại Điều 41, Điều 48 của Thông tư này và chủ sở hữu đường sắt chuyên dùng đối với trường hợp thực hiện trong phạm vi đất dành cho đường sắt chuyên dùng về vị trí, quy mô xây dựng công trình.
2. Trước khi thi công công trình, chủ đầu tư dự án lấy ý kiến tham gia về phương án tổ chức thi công, thời gian phong tỏa phục vụ thi công, biện pháp bảo đảm an toàn giao thông với tổ chức sau đây:
a) Doanh nghiệp kinh doanh kết cấu hạ tầng đường sắt đối với công trình liên quan đến công trình đường sắt quốc gia và đất dành cho đường sắt quốc gia;
b) Doanh nghiệp kinh doanh đường sắt đô thị đối với công trình liên quan đến công trình đường sắt đô thị và đất dành cho đường sắt đô thị;
c) Chủ sở hữu đường sắt chuyên dùng đối với công trình liên quan đến công trình đường sắt chuyên dùng và đất dành cho đường sắt chuyên dùng;
d) Cơ quan quản lý đường bộ có liên quan.
3. Làm thủ tục nhận bàn giao mặt bằng thi công trước khi khởi công xây dựng công trình.
4. Sau khi thi công hoàn thành công trình, bàn giao lại hiện trường và hồ sơ hoàn công cho các tổ chức quy định tại khoản 2 Điều này.
5. Duy trì trạng thái kỹ thuật ổn định và bảo đảm nguồn kinh phí để quản lý, bảo trì đối với phần công trình trong phạm vi đất dành cho đường sắt.
6. Bảo đảm an toàn công trình, an toàn giao thông vận tải đường sắt, bảo vệ môi trường trong suốt quá trình thi công; bảo trì công trình trong quá trình khai thác; có biện pháp gia cố kịp thời bảo đảm an toàn công trình, an toàn giao thông vận tải đường sắt khi phát hiện hoặc nhận được tin báo công trình hư hỏng.
7. Tự di chuyển hoặc cải tạo công trình và không đòi bồi thường khi có yêu cầu của cơ quan có thẩm quyền theo quy định của pháp luật; tự phá dỡ công trình khi hết hạn sử dụng (đối với công trình xây có thời hạn sử dụng được ghi trong giấy phép xây dựng).
8. Bồi thường khi gây ra thiệt hại do lỗi của mình gây ra theo quy định của pháp luật.
Chương V
ĐIỀU KHOẢN THI HÀNH
Điều 62. Hiệu lực thi hành
Thông tư này có hiệu lực thi hành kể từ ngày 01 tháng 12 năm 2023, thay thế Thông tư số 25/2018/TT-BGTVT ngày 14 tháng 5 năm 2018 và Thông tư số 07/2022/TT-BGTVT ngày 31 tháng 5 năm 2022 của Bộ trưởng Bộ Giao thông vận tải quy định về đường ngang và cấp giấy phép xây dựng công trình thiết yếu trong phạm vi đất dành cho đường sắt.
Điều 63. Quy định chuyển tiếp
1. Đối với các đường ngang chuyên dùng tổ chức phòng vệ bằng biển báo trên đường sắt quốc gia hiện có, chủ sở hữu đường bộ chuyên dùng phải từng bước nâng cấp hình thức phòng vệ đường ngang theo thứ tự ưu tiên để tăng cường an toàn giao thông. Trong khi chưa nâng cấp hình thức phòng vệ đường ngang, chủ sở hữu đường bộ chuyên dùng phải tổ chức cảnh giới tại những đường ngang là điểm đen, điểm tiềm ẩn tai nạn giao thông có nguy cơ xảy ra tai nạn giao thông cao.
2. Đối với các đường ngang hiện hữu chưa đáp ứng theo quy định tại Thông tư này, khi cải tạo, nâng cấp đường ngang, chủ đầu tư dự án phải từng bước cải thiện góc giao giữa đường bộ và đường sắt, bình diện đường bộ, độ dốc đường bộ, bổ sung hệ thống thiết bị phòng vệ đường ngang, mở rộng diện tích nhà gác đường ngang. Trong thời gian chưa thực hiện cải tạo, nâng cấp đường ngang phải có biện pháp bảo đảm an toàn giao thông cho người và phương tiện giao thông đi qua đường ngang.
3. Đối với đường ngang cảnh báo tự động hiện hữu chưa có cần chắn tự động, phải từng bước bổ sung lắp đặt cần chắn tự động để tăng cường an toàn giao thông.
4. Đối với đường ngang hiện hữu đang sử dụng chắn thủ công, từng bước thay thế dần bằng cần chắn điện hoặc cần chắn, giàn chắn sử dụng động cơ điện do người điều khiển hoặc cần chắn tự động để nâng cao chất lượng tổ chức phòng vệ tại đường ngang, nâng cao an toàn giao thông và giảm định biên gác đường ngang.
Điều 64. Trách nhiệm thi hành
Chánh Văn phòng Bộ, Chánh Thanh tra Bộ, các Vụ trưởng, Cục trưởng Cục Đường bộ Việt Nam, Cục trưởng Cục Đường sắt Việt Nam, Giám đốc Sở Giao thông vận tải các tỉnh, thành phố trực thuộc trung ương, Thủ trưởng các cơ quan, tổ chức và cá nhân có liên quan chịu trách nhiệm thi hành Thông tư này./.
|
Nơi nhận: |
KT. BỘ TRƯỞNG |
Phụ lục I
PHÂN CẤP ĐƯỜNG NGANG
(Ban hành kèm theo Thông tư số: 29/2023/TT-BGTVT ngày 29 tháng 09 năm 2023
của Bộ trưởng Bộ Giao thông vận tải)
|
Cấp đường ngang |
Khi có một trong hai, hoặc cả hai yếu tố: lưu lượng xe thiết kế hoặc tích số tàu xe |
|
|
Đường sắt giao với |
Tích số tàu xe (A) |
|
|
I |
- Đường bộ có lưu lượng xe thiết kế 3.000 xe trở lên |
- |
|
- Đường bộ đô thị |
Trên 20.000 |
|
|
II |
- Đường bộ có lưu lượng xe thiết kế từ 200 xe đến 3.000 xe |
- |
|
- Đường bộ là đường huyện , đường xã có lưu lượng xe thiết kế nhỏ hơn 200 xe |
- |
|
|
- Đường bộ đô thị |
Từ 5.000 đến 20.000 |
|
|
III |
- Đường bộ chưa được phân cấp |
Dưới 5.000 |
|
- Đường bộ đô thị |
||
Ghi chú:
Tích số tàu xe là số nhân của đoàn tàu với số xe qua đường ngang trong một ngày đêm trung bình:
A = Nt x Nx
Trong đó:
A: Tích số tàu xe.
Nt: Số đoàn tàu qua đường ngang trong một ngày đêm, theo số liệu của biểu đồ chạy tàu hoặc theo dự kiến kế hoạch khi thiết kế tuyến đường.
Nx: Số xe con quy đổi qua đường ngang trong một ngày đêm trung bình.
Trường hợp sử dụng số liệu thống kê phải có xác nhận của cơ quan quản lý tuyến đường bộ.
Trường hợp đếm xe thực tế, thực hiện đếm trong vòng 06 tháng, mỗi tháng đếm 01 lần, đếm vào các ngày 5, 6, 7 trong tháng, hai ngày đầu đếm 16h/24h (từ 05h00 đến 21h00), ngày thứ 3 đếm 24h/24h (từ 0h00 hôm trước đến 0h00 hôm sau) và tổng hợp số liệu trung bình của 06 tháng. Phương pháp đếm xe có thể thực hiện bằng thủ công hoặc tự động.
Hệ số quy đổi từ các loại xe ra xe con theo quy định tại bảng sau:
Bảng hệ số quy đổi từ xe các loại ra xe con
|
Địa hình |
Loại xe |
|||||
|
Xe đạp |
Xe máy |
Xe con |
Xe tải có 2 trục và xe buýt dưới 25 chỗ |
Xe tải có từ 3 trục trở lên và xe buýt lớn |
Xe kéo moóc, xe buýt kéo moóc |
|
|
Đồng bằng và đồi |
0,2 |
0,3 |
1,0 |
2,0 |
2,5 |
4,0 |
|
Núi |
0,2 |
0,3 |
1,0 |
2,5 |
3,0 |
5,0 |
|
Chú thích: - Việc phân biệt địa hình được dựa trên cơ sở độ dốc ngang phổ biến của sườn đồi, sườn núi như sau: đồng bằng và đồi ≤ 30%; núi > 30%. - Đường tách riêng xe thô sơ thì không quy đổi xe đạp. |
||||||
Phụ lục II
SƠ ĐỒ TỔ CHỨC PHÒNG VỆ ĐƯỜNG NGANG
(Ban hành kèm theo Thông tư số: 29/2023/TT-BGTVT ngày 29 tháng 9 năm 2023
của Bộ trưởng Bộ Giao thông vận tải)
A. Tổ chức phòng vệ đường ngang có người gác (thể hiện một phía của đường ngang):

Ghi chú:
1. Biển “Kéo còi”.
2. Cột tín hiệu ngăn đường.
3. Nhà gác đường ngang (trường hợp khó khăn, bộ phận gần nhất của nhà gác đường ngang không vi phạm khổ giới hạn tiếp giáp kiến trúc của đường sắt và không vi phạm khổ giới hạn của đường bộ).
4. Vị trí đèn tín hiệu và chuông điện.
5. Biển số W.210 “Giao nhau với đường sắt có rào chắn”.
6. Cọc tiêu.
7. Hàng rào cố định.
8. Chắn đường đường ngang:
Đối với trường hợp bề rộng mặt đường bộ ≥ 7,0m, có thể bố trí 02 chắn cho 1 phía đường bộ đi vào đường ngang, khi đó việc đóng chắn phải thực hiện bảo đảm phù hợp để ngăn luồng phương tiện giao thông đường bộ đi vào đường ngang.
Trường hợp khó khăn, chắn đường ngang phải đặt ngoài khổ giới hạn tiếp giáp kiến trúc đường sắt.
9. Vạch dừng xe (Vạch 7.1).
10. Biển “Ngừng”, trừ trường hợp đường ngang đã có tín hiệu ngăn đường hoặc đường ngang nằm trong phạm vi phòng vệ của tín hiệu vào ga, ra ga, hoặc tín hiệu bãi dồn, tín hiệu thông qua trên đường sắt có thiết bị đóng đường tự động hoặc tín hiệu phòng vệ khác, khi các tín hiệu trên cách đường ngang dưới 800 mét (m).
Hình vẽ trên thể hiện bố trí phòng vệ tại đường ngang có người gác tại một phía của đường ngang; phía đối diện, việc phòng vệ đường ngang sẽ được bố trí tương tự.
B. Tổ chức phòng vệ tại đường ngang không có người gác (thể hiện một phía của đường ngang)
1. Đối với đường ngang cảnh báo tự động, có cần chắn tự động:

Ghi chú:
1. Biển “Kéo còi”.
2. Vị trí đèn tín hiệu và chuông điện.
3. Biển số W.210 “Giao nhau với đường sắt có rào chắn”.
4. Cọc tiêu hoặc có thể sử dụng hàng rào có lan can phòng hộ thay cho hàng cọc tiêu.
5. Vạch dừng xe (Vạch 7.1).
6. Gờ giảm tốc.
7. Gồ giảm tốc (nếu có).
8. Cần chắn tự động (trường hợp khó khăn, cần chắn phải đặt ngoài khổ giới hạn tiếp giáp kiến trúc đường sắt).
Hình vẽ trên thể hiện bố trí phòng vệ tại đường ngang cảnh báo tự động, có cần chắn tự động tại một phía của đường ngang; phía đối diện, việc phòng vệ đường ngang sẽ được bố trí tương tự.
2. Đối với đường ngang cảnh báo tự động, không có cần chắn tự động:

Ghi chú:
1. Biển “Kéo còi”.
2. Vị trí đèn tín hiệu và chuông điện.
3. Biển số W.211a. “Giao nhau với đường sắt không có rào chắn”
4. Cọc tiêu hoặc có thể sử dụng hàng rào có lan can phòng hộ thay cho hàng cọc tiêu.
5. Vạch dừng xe (Vạch 7.1).
6. Gờ giảm tốc.
7. Gồ giảm tốc.
Hình vẽ trên thể hiện bố trí phòng vệ tại đường ngang cảnh báo tự động, không có cần chắn tự động tại một phía của đường ngang; phía đối diện, việc phòng vệ đường ngang sẽ được bố trí tương tự.
3. Đối với đường ngang biển báo:

Ghi chú:
1. Biển “Kéo còi”.
2. Biển số W.242a,b “Nơi đường sắt giao vuông góc với đường bộ” hoặc Biển số W243a,b,c “Nơi đường sắt giao không vuông góc với đường bộ”.
3. Biển số W.211a “Giao nhau với đường sắt không có rào chắn”.
4. Cọc tiêu hoặc có thể sử dụng hàng rào có lan can phòng hộ thay cho hàng cọc tiêu.
5. Vạch dừng xe (Vạch 7.1) kết hợp vạch sơn chữ “STOP”.
6. Biển dừng lại (Biển số R.122) kết hợp với biển phụ ghi “Dừng lại quan sát trước khi qua đường ngang”.
7. Gờ giảm tốc.
8. Gồ giảm tốc.
Hình vẽ trên thể hiện bố trí phòng vệ tại đường ngang biển báo tại một phía của đường ngang; phía đối diện, việc phòng vệ đường ngang sẽ được bố trí tương tự.
C. Vị trí đặt biển báo khi đường bộ liền kề và gần đường sắt, có đoạn rẽ vào đường sắt (thể hiện một phía của đường ngang)
1. Chiều dài đoạn rẽ đến đường sắt nhỏ hơn 10 m:

Ghi chú:
1. Biển số W242a,b “Nơi đường sắt giao vuông góc với đường bộ” hoặc Biển số W243a,b,c “Nơi đường sắt giao không vuông góc với đường bộ”.
2. Biển số W210 “Giao nhau với đường sắt có rào chắn” đối với đường ngang có người gác hoặc đường ngang cảnh báo tự động có cần chắn tự động; Biển số W211a “Giao nhau với đường sắt không có rào chắn” đối với đường ngang cảnh báo tự động, không có cần chắn tự động hoặc đường ngang biển báo.
3. Những báo hiệu, tín hiệu của đường ngang không thể hiện trong hình vẽ trên, tùy theo hình thức phòng vệ thực hiện theo Mục A, B của Phụ lục này.
2. Chiều dài đoạn rẽ đến đường sắt từ 10 m đến 50 m:

Ghi chú:
1. Biển số W242a,b “Nơi đường sắt giao vuông góc với đường bộ” hoặc Biển số W243a,b,c “Nơi đường sắt giao không vuông góc với đường bộ”.
2. Biển số W210 “Giao nhau với đường sắt có rào chắn” đối với đường ngang có người gác hoặc đường ngang cảnh báo tự động có cần chắn tự động; Biển số W211a “Giao nhau với đường sắt không có rào chắn” đối với đường ngang cảnh báo tự động, không có cần chắn tự động hoặc đường ngang biển báo.
3. Những báo hiệu, tín hiệu của đường ngang không thể hiện trong hình vẽ trên, tùy theo hình thức phòng vệ thực hiện theo Mục A, B của Phụ lục này.
Phụ lục III
BỐ TRÍ LÀN PHỤ
(Ban hành kèm theo Thông tư số: 29/2023/TT-BGTVT ngày 29 tháng 09 năm 2023
của Bộ trưởng Bộ Giao thông vận tải)

Ghi chú:
- Bề rộng của làn phụ là 3,5 m, trường hợp khó khăn cho phép giảm xuống 3,0 m.
- Nên bố trí thành một tuyến độc lập, nếu không được, làn phụ đặt trên phần lề gia cố; nếu bề rộng lề gia cố không đủ thì mở rộng thêm cho đủ 3,5m và bảo đảm lề đất rộng đủ 0,5m. (tại đoạn này xe đạp và xe thô sơ đi cùng với xe ô tô trên làn phụ).
- Đoạn chuyển tiếp sang làn xe phụ phải đặt trước điểm bắt đầu mở làn phụ 35m và mở rộng dần theo hình nêm theo độ mở rộng 1:10 (chiều dài đoạn mở rộng là 70m).
Phụ lục IV
SƠ ĐỒ ĐÈN TÍN HIỆU VÀ CHUÔNG ĐIỆN HOẶC LOA PHÁT ÂM THANH
(Ban hành kèm theo Thông tư số: 29/2023/TT-BGTVT ngày 29 tháng 9 năm 2023
của Bộ trưởng Bộ Giao thông vận tải)
A. Tại đường ngang có người gác:
1. Trường hợp không sử dụng cột cần vươn

Ghi chú:
1. Móng bê tông.
2. Đế cột.
3. Thân cột.
4. Biển “Đèn đỏ dừng lại”.
5. Cơ cấu biểu thị hai đèn đỏ.
6. Biển “Nơi đường sắt giao vuông góc với đường bộ”; hoặc Biển “Nơi đường sắt giao không vuông góc với đường bộ”.
7. Hộp chuông hoặc loa phát âm thanh.
(Nếu lắp hai cơ cấu tín hiệu trên cùng một cột để xoay về hai hướng của đường bộ dẫn vào đường ngang thì hai cơ cấu nối tiếp nhau)
2. Trường hợp sử dụng cột cần vươn

Ghi chú:
- Phần móng, đế, thân cột và cơ cấu bên dưới bố trí như trường hợp không sử dụng cột cần vươn.
- Cơ cấu tín hiệu trên cần vươn giống như cơ cấu bên dưới.
B. Tại đường ngang không có người gác
1. Trường hợp không sử dụng cột cần vươn

Ghi chú:
1. Móng bê tông.
2. Đế cột.
3. Thân cột.
4. Biển “Dừng lại quan sát tàu hỏa khi qua đường sắt”.
5. Cơ cấu biểu thị hai đèn đỏ, một đèn vàng.
6. Biển “Nơi đường sắt giao vuông góc với đường bộ”; hoặc Biển “Nơi đường sắt giao không vuông góc với đường bộ”.
7. Hộp chuông hoặc loa phát âm thanh.
(Nếu lắp hai cơ cấu tín hiệu trên cùng một cột để xoay về hai hướng của đường bộ dẫn vào đường ngang thì hai cơ cấu nối tiếp nhau).
2. Trường hợp sử dụng cột cần vươn

Ghi chú:
- Phần móng, đế, thân cột và cơ cấu bên dưới bố trí như trường hợp không sử dụng cột cần vươn.
- Cơ cấu tín hiệu trên cần vươn giống như cơ cấu bên dưới.
Phụ lục V
BIỂU TỔNG HỢP THỐNG KÊ CÁC ĐƯỜNG NGANG
(Ban hành kèm theo Thông tư số: 29/2023/TT-BGTVT ngày 29 tháng 09 năm 2023
của Bộ trưởng Bộ Giao thông vận tải)
A. Biểu tổng hợp thống kê các đường ngang cho từng tuyến đường sắt theo địa giới hành chính quản lý
(Tính đến tháng... Năm 20...)
|
STT |
Tuyến đường sắt |
Số lượng đường ngang |
Số lượng đường ngang nguy hiểm đến ATGT đang tổ chức cảnh giới |
Ghi chú |
|||||
|
Có gác |
Cảnh báo tự động |
Biển báo |
Do địa phương thực hiện |
Do doanh nghiệp kinh doanh KCHTĐS thực hiện |
|||||
|
Cần chắn |
Dàn chắn |
Có cần chắn |
Không có cần chắn |
||||||
|
(1) |
(2) |
(3) |
(4) |
(5) |
(6) |
(7) |
(8) |
(9) |
(10) |
|
I |
Thuộc địa bàn tỉnh, thành phố … |
||||||||
|
1 |
Tuyến đường sắt… |
|
|
|
|
|
|
|
|
|
2 |
Tuyến đường sắt… |
|
|
|
|
|
|
|
|
|
|
Cộng: |
|
|
|
|
|
|
|
|
|
II |
Thuộc địa bàn tỉnh, thành phố … |
||||||||
|
1 |
Tuyến đường sắt… |
|
|
|
|
|
|
|
|
|
.. |
… |
|
|
|
|
|
|
|
|
|
|
Cộng: |
|
|
|
|
|
|
|
|
|
|
Tổng cộng: |
|
|
|
|
|
|
|
|
|
Người lập biểu
|
ĐẠI DIỆN THEO PHÁP LUẬT CỦA DOANH NGHIỆP |
B. Số liệu quản lý đường ngang cho từng tuyến đường sắt
1. Tuyến đường sắt: ...........................
(Tính đến tháng ... năm ....)
|
STT |
Tên đường ngang |
Lý trình đường sắt tại vị trí giao cắt |
Lý trình đường bộ tại vị trí giao cắt |
Địa điểm |
Các yếu tố đường ngang |
Các yếu tố đường bộ khu vực đường ngang |
Tầm nhìn điểm giao cắt (m) |
Quyết định thành lập đường ngang |
Thời gian sử dụng đường ngang |
Số vụ tai nạn xảy ra tại đường ngang theo từng năm |
Tình hình hoạt động của thiết bị chắn đường ngang |
Tình trạng hồ sơ quản lý đường ngang |
Đề xuất, kiến nghị |
|||||||||||||||||
|
Tỉnh (TP) |
Huyện (Quận) |
Xã (Phường) |
Cấp đường ngang |
Góc giao (độ) |
Bán kính đường sắt Rđs; Bán kính đường bộ Rđb tại vị trí giao cắt (m) |
Tính chất phục vụ của đường ngang |
Hình thức phòng vệ của đường ngang |
Tổ chức cảnh giới đường ngang |
Loại đường bộ giao với đường sắt |
Kết cấu mặt đường bộ trong lòng đường sắt |
Kết cấu mặt đường bộ phạm vi từ mép ray ngoài cùng ra hết tà vẹt |
Kết cấu mặt đường bộ Phần còn lại |
Chiều rộng mặt đường bộ (m) |
Độ dốc đường bộ trong phạm vi đường ngang (%) |
Đường sắt |
Đường bộ |
||||||||||||||
|
Hướng chẵn |
Hướng lẻ |
Phía trái ĐS |
Phía phải ĐS |
|||||||||||||||||||||||||||
|
Bên phải |
Bên trái |
Bên phải |
Bên trái |
|||||||||||||||||||||||||||
|
|
(1) |
(2) |
(3) |
(4) |
(5) |
(6) |
(7) |
(8) |
(9) |
(10) |
(11) |
(12) |
(13) |
(14) |
(15) |
(16) |
(17) |
(18) |
(19) |
(20) |
(21) |
(22) |
(23) |
(24) |
(25) |
(26) |
(27) |
(28) |
(29) |
(30) |
|
1 |
|
|
|
|
|
|
|
|
|
|
|
|
|
|
|
|
|
|
|
|
|
|
|
|
|
|
|
|
|
|
|
2 |
|
|
|
|
|
|
|
|
|
|
|
|
|
|
|
|
|
|
|
|
|
|
|
|
|
|
|
|
|
|
|
3 |
|
|
|
|
|
|
|
|
|
|
|
|
|
|
|
|
|
|
|
|
|
|
|
|
|
|
|
|
|
|
|
Người lập biểu |
ĐẠI DIỆN THEO PHÁP LUẬT CỦA DOANH NGHIỆP |
Hướng dẫn ghi trong tổng hợp số liệu đường ngang:
(7) Cấp đường ngang: Ghi rõ cấp I, II hay III.
(8) Góc giao cắt với đường bộ (độ).
(9) Bán kính đường cong của đường sắt tại vị trí đường ngang (nếu có).
(10) Tính chất phục phụ: Công cộng (CC) hay chuyên dùng (CD).
(11) Hình thức tổ chức phòng vệ (có người gác, CBTĐ, BB); Dàn chắn (DC)/ cần chắn (CC).
(12) Cảnh giới (Địa phương cảnh giới (ĐP) hoặc Doanh nghiệp kinh doanh kết cấu hạ tầng đường sắt hoặc chủ quản lý, sử dụng đường sắt chuyên dùng cảnh giới (DN).
(13) Đường bộ giao cắt với đường sắt; ví dụ (ĐT.265 hoặc vào chùa Tứ Kỳ hoặc vào xã Thanh khê).
(14) Kết cấu mặt đường bộ trong lòng đường sắt “(tấm đan bê tông cốt thép (TĐ) hoặc bê tông nhựa (BTN)”.
(15) Kết cấu mặt đường bộ từ mép ray chính ngoài cùng trở ra mỗi bên từ 1m hoặc 2m “(tấm đan bê tông cốt thép (TĐ) hoặc bê tông nhựa (BTN)”.
(16) Kết cấu mặt đường bộ phần còn lại bằng “(bê tông nhựa (BTN) hoặc bê tông xi măng (BTXM)”.
(17) Chiều rộng phần xe chạy của đoạn đường bộ trong phạm vi đường ngang (m).
(18) Độ dốc của đường bộ (trường hợp đường ngang trên đoạn đường sắt cong tròn (CT a%) hay trường hợp vi phạm quy định về đường ngang (VP a%).
(26) Ghi rõ thời hạn sử dụng của đường ngang (lâu dài, có thời hạn sử dụng. Trường hợp đường ngang đã hết hạn thời hạn sử dụng phải nêu rõ lý do).
(27) Ghi rõ số vụ và thời gian xảy ra tai nạn tại đường ngang.
(28) Nêu rõ tình hình hoạt động của thiết bị chắn đường ngang.
(29) Nêu rõ tình trạng hồ sơ quản lý đường ngang theo quy định tại Thông tư này.
(30) Đề xuất, kiến nghị cụ thể về: cải tạo, nâng cấp; thay thế thiết bị chắn đường ngang và các tồn tại khác của đường ngang cần phải khắc phục.
Cột số (5) trong bảng tại mục B Phụ lục V bị bãi bỏ bởi điểm c khoản 7 Điều 24 Thông tư 09/2025/TT-BXD.
C. Số liệu về xây dựng công trình trong phạm vi đất dành cho đường sắt
(Tính từ ngày ... tháng ... năm ... đến ngày ... tháng ... năm ....)
|
STT |
Tên công trình |
Địa điểm xây dựng |
Số giấy phép |
Ngày khởi công |
Ngày hoàn thành |
Chủ, nhà đầu tư |
Ghi chú |
||
|
Theo giấy phép |
Thực tế thi công |
Theo giấy phép |
Thực tế thi công |
||||||
|
I |
Tuyến đường sắt... |
|
|
|
|
|
|
|
|
|
1 |
... |
|
|
|
|
|
|
|
|
|
2 |
... |
|
|
|
|
|
|
|
|
|
... |
... |
|
|
|
|
|
|
|
|
|
Người lập biểu |
ĐẠI DIỆN THEO PHÁP LUẬT CỦA DOANH NGHIỆP |
Phụ lục VI
BIỆN PHÁP BÁO CHO TÀU DỪNG TRƯỚC CHƯỚNG NGẠI
(Ban hành kèm theo Thông tư số: 29/2023/TT-BGTVT ngày 29 tháng 9 năm 2023
của Bộ trưởng Bộ Giao thông vận tải)
Khi phương tiện tham gia giao thông đường bộ bị hư hỏng, bị tai nạn không thể di chuyển ngay khỏi phạm vi đường ngang hoặc hàng hóa rơi đổ trong phạm vi đường ngang mà điểm gần nhất của xe hoặc của hàng hóa cách mép ngoài của ray ngoài cùng nhỏ hơn 1,75 mét (m) thì người điều khiển phương tiện phải tìm biện pháp để báo hiệu cho tàu dừng trước chướng ngại theo quy định sau:
1. Khi khẩn cấp có tàu tới gần, người điều khiển phương tiện giao thông đường bộ phải nhanh chóng đi về phía có tàu làm tín hiệu cho tàu đỗ lại: ban ngày dùng cờ đỏ hoặc vải đỏ mở, ban đêm dùng đèn đỏ, hướng về phía đoàn tàu tới. Nếu không có cờ đỏ, vải đỏ hoặc ánh đèn màu đỏ, thì ban ngày hai tay nắm lại hoặc cầm bất cứ vật gì quay vòng tròn hướng về phía tàu; ban đêm dùng đèn (bất cứ màu gì, trừ màu lục) hoặc ánh lửa, quay vòng tròn hướng về phía tàu.
2. Khi không biết chắc chắn có tàu sắp tới và nếu ngoài người điều khiển phương tiện giao thông đường bộ, có đủ hai người thì mỗi người đi về một phía đường sắt, đến chỗ cách đường ngang từ 500 mét (m) đến 800 mét (m), đứng về phía tay phải, cách ray ngoài cùng ra 2 mét (m), quay lưng về phía đường ngang để sẵn sàng làm tín hiệu cho tàu đỗ lại như quy định tại Mục 1 nêu trên. Nếu đường ngang ở gần ga, người điều khiển phương tiện giao thông đường bộ có thể cử người về ga báo, sau khi đã bố trí phòng vệ như Mục 3 dưới đây.
3. Nếu chỉ có một mình, người điều khiển phương tiện giao thông đường bộ phải dùng hai cọc gỗ hoặc tre (cấm dùng cọc bằng kim loại hoặc bằng vật liệu gì cứng khác), có buộc áo hoặc bằng mảnh vải (ban ngày) và đèn hoặc mồi lửa (ban đêm), cắm giữa lòng đường sắt, cách đường ngang ít nhất 500 mét (m), cao trên mặt ray ít nhất 01 mét (m) để làm tín hiệu phòng vệ báo cho người điều khiển phương tiện giao thông đường sắt ngừng lại.
4. Đồng thời với việc thực hiện các biện pháp trên, người điều khiển phương tiện giao thông đường bộ phải tích cực và nhanh chóng tìm cách đưa xe hoặc hàng hóa ra khỏi đường sắt. Khi đã đưa các chướng ngại ra cách mép ngoài của ray ngoài cùng tối thiểu 1,75 mét (m) và sau khi xem xét lại đường sắt không có trở ngại và hư hỏng, bảo đảm không có bộ phận nào của xe hoặc hàng hóa có thể rơi, đổ vào phạm vi an toàn của đường sắt, người điều khiển phương tiện giao thông đường bộ phải lập tức bỏ tín hiệu phòng vệ do mình đã đặt, sau đó tiếp tục đưa các chướng ngại ra xa đường sắt.
Phụ lục VII
MẪU ĐƠN ĐỀ NGHỊ CẤP GIẤY PHÉP XÂY DỰNG, CẢI TẠO, NÂNG CẤP ĐƯỜNG NGANG
(Ban hành kèm theo Thông tư số: 29/2023/TT-BGTVT ngày 29 tháng 09 năm 2023
của Bộ trưởng Bộ Giao thông vận tải)
|
...(1)… Số: ……../………. |
CỘNG HÒA XÃ HỘI CHỦ NGHĨA VIỆT NAM ……….……, ngày tháng... năm 20... |
ĐƠN ĐỀ NGHỊ CẤP GIẤY PHÉP XÂY DỰNG, CẢI TẠO, NÂNG CẤP ĐƯỜNG NGANG
TẠI …(3)…
Kính gửi: …(4)…
Căn cứ Luật Đường sắt ngày 16 tháng 6 năm 2017;
Căn cứ Thông tư số: /2023/TT-BGTVT ngày tháng năm 2023 của Bộ trưởng Bộ Giao thông vận tải quy định về đường ngang và cấp giấy phép xây dựng trong phạm vi đất dành cho đường sắt;
Căn cứ ...(5)...
…(2)... đại diện bởi: ………………; chức vụ: ……………………
Đề nghị được cấp giấy phép xây dựng, cải tạo, nâng cấp đường ngang với các nội dung như sau:
1. Mục đích: …
2. Thời gian sử dụng: (lâu dài có thời hạn, nếu có thời hạn ghi rõ thời hạn sử dụng là từ ngày …. tháng …. năm …. đến ngày …. tháng ….. năm …..)
3. Thuộc Dự án: ...(6)…
4. Địa điểm: …(7)…
5. Mật độ người, xe dự tính …(8)...
6. Cấp đường ngang …………………….
7. Các yếu tố kỹ thuật chủ yếu:
a) Đường sắt:
- Mặt bằng đường sắt …(9) …
- Trắc dọc đường sắt …(10) …
- Nền đường sắt …(11)…
b) Đường bộ:
- Cấp đường bộ …(12)…
- Mặt bằng đường bộ …(13)…
- Trắc dọc đường bộ …(14)…
- Nền đường bộ …(15)…
c) Góc giao …(16)…
8. Tầm nhìn:
- Của người điều khiển phương tiện giao thông đường bộ (lái xe) …(17)...
- Của người điều khiển phương tiện giao thông đường sắt (lái tàu) …(18)...
9. Khoảng cách tới đường ngang gần nhất …(19)…
- Phía gốc lý trình ……….
- Phía đối diện ………..
10. Hình thức tổ chức phòng vệ: (Có người gác, cảnh báo tự động) ………
11. Trang thiết bị phục vụ phòng vệ đường ngang: …(20)…
12. Những vấn đề khác (nếu có).
...(2)... cam kết:
- Chịu toàn bộ kinh phí đầu tư xây dựng, quản lý, bảo trì, tổ chức phòng vệ (nếu có); giải phóng mặt bằng trong phạm vi hành lang an toàn giao thông tại khu vực đường ngang; đặt đầy đủ thiết bị hướng dẫn giao thông và bảo đảm trật tự, an toàn giao thông tại vị trí này.
- Tự dỡ bỏ (đối với đường ngang khai thác, sử dụng có thời hạn) khi hết thời hạn sử dụng.
Nếu không thực hiện đúng các cam kết trên, ...(2)... chịu trách nhiệm theo quy định của pháp luật.
Địa chỉ liên hệ: ………
Số điện thoại: …………….
|
Nơi nhận: |
QUYỀN HẠN, CHỨC VỤ CỦA NGƯỜI KÝ
|
Hướng dẫn ghi trong Đơn đề nghị
(1) Tên tổ chức hoặc cơ quan cấp trên của đơn vị hoặc tổ chức đề nghị cấp giấy phép (nếu có).
(2) Tên đơn vị hoặc tổ chức đề nghị cấp giấy phép.
(3) Ghi lý trình, tên tuyến đường sắt.
(4) Tên cơ quan nhà nước có thẩm quyền cấp giấy phép.
(5) Văn bản chấp thuận cho phép xây dựng của cơ quan nhà nước có thẩm quyền.
(6) Ghi đầy đủ tên dự án đầu tư xây dựng công trình có đường ngang đề nghị cấp giấy phép.
(7) Ghi rõ lý trình, tên tuyến đường sắt, thuộc địa phận xã, huyện, tỉnh.
(8) Ghi rõ mật độ người, xe dự tính qua đường ngang trong một ngày đêm sau khi xây dựng mới hoặc nâng cấp, cải tạo.
(9) Đường sắt thẳng hay cong (bán kính đường cong, hướng rẽ theo lý trình).
(10) Độ dốc (‰) đường sắt, hướng dốc lên hay xuống tính theo lý trình.
(11) Chiều rộng nền đường sắt, loại nền đường đắp, đào hoặc không đào đắp, độ cao đắp hoặc độ sâu đào.
(12) Cấp đường bộ theo quy định trong TCVN 4054:2005 và TCVN 10380:2014.
(13) Chiều dài đoạn thẳng, bán kính cong của đường bộ từ mép ray trở ra mỗi phía.
(14) Độ dốc (%) đường bộ từ tim đường sắt (hoặc mép ray) trở ra mỗi phía.
(15) Chiều rộng nền đường bộ, loại nền đường đắp hay đào, độ cao nền đắp, độ sâu nền đào.
(16) Góc giao giữa đường bộ và đường sắt tính theo đơn vị độ.
(17) Tầm nhìn lái xe phụ thuộc cấp đường bộ, theo quy định của Tiêu chuẩn Việt Nam TCVN 4054-2005, nêu rõ đứng ở từng bên đường ngang nhìn về hai phía đường sắt.
(18) Người lái tàu có thể nhìn thấy đường ngang từ điểm cách xa đường ngang bao nhiêu mét về phía góc lý trình và phía đối diện.
(19) Nêu khoảng cách tới đường ngang gần nhất từ hai phía.
(20) Liệt kê trang thiết bị phục vụ phòng vệ của nhân viên gác đường ngang: Cờ đỏ, còi, pháo hiệu, đồng hồ và trang thiết bị khác tại nhà gác đường ngang, đối với đường ngang cảnh báo tự động không ghi mục này.
Phụ lục VIII
MẪU GIẤY PHÉP XÂY DỰNG, CẢI TẠO, NÂNG CẤP ĐƯỜNG NGANG
(Ban hành kèm theo Thông tư số: 29/2023/TT-BGTVT ngày 29 tháng 9 năm 2023
của Bộ trưởng Bộ Giao thông vận tải)
|
...(1)… Số: ……../………. |
CỘNG HÒA XÃ HỘI CHỦ NGHĨA VIỆT NAM ……….……, ngày tháng... năm 20... |
GIẤY PHÉP XÂY DỰNG (CẢI TẠO, NÂNG CẤP ĐƯỜNG NGANG)
TẠI …(3)…
Căn cứ Luật Đường sắt ngày 16 tháng 6 năm 2017;
Căn cứ Thông tư số: /2023/TT-BGTVT ngày tháng năm 2023 của Bộ trưởng Bộ Giao thông vận tải quy định về đường ngang và cấp giấy phép xây dựng trong phạm vi đất dành cho đường sắt;
Căn cứ văn bản chấp thuận về chủ trương việc cho phép xây dựng, cải tạo, nâng cấp đường ngang số: ……./…… ngày..../…../20…. ;
Xét Đơn đề nghị cấp giấy phép xây dựng, cải tạo, nâng cấp đường ngang của...(4)... số ....ngày ... tháng .... năm 20....
Điều 1. Cấp cho:
- ...(4)...
- Người đại diện: ………………….; chức vụ: …………………….
- Địa chỉ: ………………………………….
- Điện thoại: ……………………………….
Điều 2. Nội dung cấp phép:
1. Cấp đường ngang: …………, hình thức tổ chức phòng vệ …………….
2. Các yếu tố kỹ thuật chủ yếu của đường ngang:
- Góc giao cắt giữa đường sắt và đường bộ: …….
- Chiều rộng mặt đường ngang: ……. m.
- Đường sắt tại đường ngang:
+ Bình diện: ……………………
+ Trắc dọc: ………………..
+ Kiến trúc tầng trên: ……………..
- Đường bộ tại đường ngang:
+ Bình diện: …………………..
+ Trắc dọc: …………………….
+ Kết cấu mặt đường: …………….
- Loại chắn (nếu có) ……………………………
- Hệ thống thông tin, tín hiệu đường ngang (nếu có) …………
- Hệ thống hàng rào, cọc tiêu, biển báo, vạch kẻ đường trên đường bộ, …………
- Hệ thống thoát nước: ……………..
- Nhà gác chắn (nếu có): ……………
- Các vấn đề khác: …………………..
Điều 3. Kinh phí tổ chức phòng vệ và quản lý, khai thác, bảo trì hàng năm do ……. chi trả.
Điều 4. Sau khi hoàn thành việc thi công toàn bộ các hạng mục công trình, thiết bị đường ngang, Chủ đầu tư tổ chức nghiệm thu bàn giao công trình theo quy định của pháp luật về xây dựng.
Điều 5. Hiệu lực của giấy phép và thời gian thi công
1. Giấy phép này có hiệu lực kể từ ngày … tháng … năm … đến ngày … tháng … năm …
2. Thời gian thi công công trình kể từ ngày … tháng … năm … đến ngày … tháng … năm …
Điều 6. Tổ chức thực hiện
|
Nơi nhận: |
QUYỀN HẠN, CHỨC VỤ CỦA NGƯỜI KÝ
|
Hướng dẫn ghi trong Giấy phép
(1) Tên cơ quan cấp trên của cơ quan có thẩm quyền cấp giấy phép (nếu có).
(2) Tên cơ quan có thẩm quyền cấp giấy phép. (3) Ghi lý trình, tên tuyến đường sắt.
(4) Tên đơn vị hoặc tổ chức đề nghị cấp giấy phép. (5) Tổ chức tư vấn lập hồ sơ thiết kế.
(6) Cơ quan phê duyệt hồ sơ thiết kế.
Phụ lục IX
MẪU ĐƠN ĐỀ NGHỊ BÃI BỎ ĐƯỜNG NGANG
(Ban hành kèm theo Thông tư số: 29/2023/TT-BGTVT ngày 29 tháng 9 năm 2023
của Bộ trưởng Bộ Giao thông vận tải)
|
...(1)… Số: ……../………. |
CỘNG HÒA XÃ HỘI CHỦ NGHĨA VIỆT NAM ……….……, ngày tháng... năm 20... |
ĐƠN ĐỀ NGHỊ BÃI BỎ ĐƯỜNG NGANG
TẠI ...(3)…
Kính gửi: ...(4)…
Căn cứ Luật Đường sắt ngày 16 tháng 6 năm 2017;
Căn cứ Thông tư số: /2023/TT-BGTVT ngày tháng năm 2023 của Bộ trưởng Bộ Giao thông vận tải quy định về đường ngang và cấp giấy phép xây dựng trong phạm vi đất dành cho đường sắt;
Căn cứ …(5) ...
...(2)... đề nghị ...(4)... xem xét bãi bỏ đường ngang cấp ...(6)...; phòng vệ bằng...(7)...; giao cắt giữa đường sắt …(8)...với đường bộ…(9)…
…(2)… cam kết bảo đảm nguồn kinh phí để tổ chức bãi bỏ và hoàn trả trạng thái ban đầu của đoạn đường sắt trong phạm vi đường ngang.
|
Nơi nhận: |
QUYỀN HẠN, CHỨC VỤ CỦA NGƯỜI KÝ
|
Hướng dẫn ghi trong Đơn đề nghị
(1) Tên tổ chức hoặc cơ quan cấp trên của đơn vị hoặc tổ chức đề nghị bãi bỏ đường ngang.
(2) Tên tổ chức đề nghị bãi bỏ đường ngang.
(3) Địa danh, lý trình đường sắt, tên tuyến đường sắt.
(4) Tên cơ quan có thẩm quyền quyết định bãi bỏ.
(5) Nêu rõ lý do cần bãi bỏ.
(6) Ghi cấp đường ngang: cấp I, cấp II hoặc cấp III.
(7) Ghi hình thức tổ chức phòng vệ (có người gác; không có người gác: cảnh báo tự động; biển báo).
(8) Ghi lý trình, tên tuyến đường sắt (ví dụ km 5+750, tuyến đường sắt Gia Lâm - Hải Phòng).
(9) Tên tuyến đường bộ, ví dụ: quốc lộ số …. tỉnh lộ số …. liên huyện nối huyện với....đường công vụ.
Phụ lục X
MẪU QUYẾT ĐỊNH BÃI BỎ ĐƯỜNG NGANG
(Ban hành kèm theo Thông tư số: 29/2023/TT-BGTVT ngày 29 tháng 09 năm 2023
của Bộ trưởng Bộ Giao thông vận tải)
|
...(1)… Số: ……../………. |
CỘNG HÒA XÃ HỘI CHỦ NGHĨA VIỆT NAM ……….……, ngày tháng... năm 20... |
QUYẾT ĐỊNH
V/v bãi bỏ đường ngang tại Km …(3)... tuyến đường sắt ...
...(2)...
Căn cứ Luật Đường sắt ngày 16 tháng 6 năm 2017;
Căn cứ Thông tư số: /2023/TT-BGTVT ngày tháng năm 2023 của Bộ trưởng Bộ Giao thông vận tải quy định về đường ngang và cấp giấy phép xây dựng trong phạm vi đất dành cho đường sắt;
Xét đề nghị của …………….(4)……………………….. ; .
Theo đề nghị của ông (bà) …………….,
QUYẾT ĐỊNH:
Điều 1. Bãi bỏ đường ngang …………… tại Km...(3)….. tuyến đường sắt …… kể từ ngày ... tháng ….. năm 20....
Lý do bãi bỏ: …(5)…
Điều 2. Tổ chức thực hiện
Điều 3. Các ông (bà) ... và thủ trưởng các đơn vị liên quan chịu trách nhiệm thi hành Quyết định này./.
|
Nơi nhận: |
QUYỀN HẠN, CHỨC VỤ CỦA NGƯỜI KÝ
|
Hướng dẫn ghi trong Quyết định
(1) Tên cơ quan cấp trên của cơ quan có thẩm quyền quyết định (nếu có).
(2) Tên cơ quan có thẩm quyền quyết định bãi bỏ đường ngang.
(3) Ghi lý trình, tên tuyến đường sắt.
(4) Tên đơn vị hoặc tổ chức đề nghị bãi bỏ đường ngang.
(5) Ghi lý do bãi bỏ đường ngang.
Phụ lục XI
MẪU ĐƠN ĐỀ NGHỊ GIA HẠN GIẤY PHÉP XÂY DỰNG, CẢI TẠO, NÂNG CẤP ĐƯỜNG NGANG
(Ban hành kèm theo Thông tư số: 29/2023/TT-BGTVT ngày 29 tháng 9 năm 2023
của Bộ trưởng Bộ Giao thông vận tải)
|
...(1)… Số: ……../………. |
CỘNG HÒA XÃ HỘI CHỦ NGHĨA VIỆT NAM ……….……, ngày tháng... năm 20... |
ĐƠN ĐỀ NGHỊ GIA HẠN GIẤY PHÉP XÂY DỰNG, CẢI TẠO, NÂNG CẤP ĐƯỜNG NGANG
TẠI …(3)…
Kính gửi: …(4)…
Căn cứ Luật đường sắt ngày 16 tháng 6 năm 2017;
Căn cứ Thông tư số: /2023/TT-BGTVT ngày tháng năm 2023 của Bộ trưởng Bộ Giao thông vận tải quy định về đường ngang và cấp giấy phép xây dựng trong phạm vi đất dành cho đường sắt;
Căn cứ Giấy phép xây dựng số ….. ngày .... tháng ….. năm ….. của ...(4)… cấp cho ...(2)…
…(2)… đề nghị được gia hạn thời gian xây dựng, cải tạo, nâng cấp đường ngang, với lý do…(5)...
…(2)… cam kết thực hiện theo đúng giấy phép được cấp, quyết định gia hạn giấy phép và quy định của pháp luật có liên quan.
Địa chỉ liên hệ: …….
Số điện thoại: ……….
|
Nơi nhận: |
QUYỀN HẠN, CHỨC VỤ CỦA NGƯỜI KÝ
|
Hướng dẫn ghi trong Đơn đề nghị
(1) Tên tổ chức hoặc cơ quan cấp trên của đơn vị hoặc tổ chức đề nghị gia hạn giấy phép xây dựng, cải tạo, nâng cấp đường ngang.
(2) Tên đơn vị hoặc tổ chức đề nghị gia hạn giấy phép xây dựng, cải tạo, nâng cấp đường ngang.
(3) Ghi lý trình, tên tuyến đường sắt.
(4) Tên cơ quan có thẩm quyền quyết định gia hạn giấy phép xây dựng đường ngang.
(5) Nêu lý do đề nghị gia hạn giấy phép.
Phụ lục XII
MẪU QUYẾT ĐỊNH GIA HẠN GIẤY PHÉP XÂY DỰNG, CẢI TẠO, NÂNG CẤP ĐƯỜNG NGANG
(Ban hành kèm theo Thông tư số: 29/2023/TT-BGTVT ngày 29 tháng 9 năm 2023
của Bộ trưởng Bộ Giao thông vận tải)
|
...(1)… Số: ……../………. |
CỘNG HÒA XÃ HỘI CHỦ NGHĨA VIỆT NAM ……….……, ngày tháng... năm 20... |
QUYẾT ĐỊNH
Về việc gia hạn giấy phép xây dựng, đường ngang
...(2)...
Căn cứ Luật Đường sắt ngày 16 tháng 6 năm 2017;
Căn cứ Thông tư số: /2023/TT-BGTVT ngày tháng năm 2023 của Bộ trưởng Bộ Giao thông vận tải quy định về đường ngang và cấp giấy phép xây dựng trong phạm vi đất dành cho đường sắt;
Căn cứ Giấy phép xây dựng số ….. ngày .... tháng ….. năm ….. của …(4)…cấp cho ...(2)…
Xét Đơn đề nghị gia hạn giấy phép xây dựng, cải tạo, nâng cấp đường ngang số ....ngày ...tháng ....năm 20... của ...(4)...
QUYẾT ĐỊNH:
Điều 1. Gia hạn Giấy phép xây dựng, cải tạo, nâng cấp, đường ngang ...(3)... của ...(2) ... cấp cho ....(4)….. với nội dung:
- Gia hạn thời gian thi công xây dựng, cải tạo, nâng cấp đường ngang đến ngày ... tháng ... năm ...
- Với lý do: ...(5)...
Điều 2. Các nội dung khác và những yêu cầu đối với chủ đầu tư, đơn vị thi công công trình giữ nguyên như Giấy phép số ngày .... tháng ... năm ….
Điều 3. Hiệu lực của quyết định
Quyết định này có hiệu lực kể từ ngày … tháng … năm … đến ngày … tháng … năm …
Điều 4. Tổ chức thực hiện
|
Nơi nhận: |
QUYỀN HẠN, CHỨC VỤ CỦA NGƯỜI KÝ
|
Hướng dẫn ghi trong Quyết định gia hạn giấy phép
(1) Tên cơ quan cấp trên của cơ quan có thẩm quyền quyết định gia hạn giấy phép (nếu có).
(2) Tên cơ quan có thẩm quyền quyết định gia hạn giấy phép.
(3) Ghi lý trình, tên tuyến đường sắt.
(4) Tên đơn vị hoặc tổ chức đề nghị gia hạn giấy phép.
(5) Ghi lý do gia hạn giấy phép xây dựng, cải tạo, nâng cấp đường ngang.
Phụ lục XIII
MẪU ĐƠN ĐỀ NGHỊ CẤP GIẤY PHÉP XÂY DỰNG CÔNG TRÌNH TRONG PHẠM VI ĐẤT DÀNH CHO ĐƯỜNG SẮT
(Ban hành kèm theo Thông tư số: 29/2023/TT-BGTVT ngày 29 tháng 9 năm 2023
của Bộ trưởng Bộ Giao thông vận tải)
|
...(1)… Số: ……../………. |
CỘNG HÒA XÃ HỘI CHỦ NGHĨA VIỆT NAM ……….……, ngày tháng... năm 20... |
ĐƠN ĐỀ NGHỊ CẤP GIẤY PHÉP XÂY DỰNG CÔNG TRÌNH THIẾT YẾU TRONG PHẠM VI ĐẤT DÀNH CHO ĐƯỜNG SẮT
...(3)…
Kính gửi: …(4)…
Căn cứ Luật Đường sắt ngày 16 tháng 6 năm 2017;
Căn cứ Thông tư số: /2023/TT-BGTVT ngày tháng năm 2023 của Bộ trưởng Bộ Giao thông vận tải quy định về đường ngang và cấp giấy phép xây dựng trong phạm vi đất dành cho đường sắt;
Căn cứ ...
...(2)... đại diện bởi: …………….; chức vụ: ……………, đề nghị được cấp Giấy phép xây dựng công trình thiết yếu trong phạm vi đất dành cho đường sắt với các nội dung chủ yếu sau:
- Tên công trình/hạng mục công trình: ...(3)...
- Thuộc Dự án: ...(5)...
- Tại …(6)…
- Hồ sơ thiết kế kỹ thuật (hoặc thiết kế bản vẽ thi công) công trình (phần trong phạm vi đất dành cho đường sắt) do ...(7)... lập, đã được ...(8)… phê duyệt tại quyết định số ....ngày ...tháng ...năm ....
- Quy mô xây dựng: …(9)…
- Thời gian thi công bắt đầu từ ngày ... tháng ... năm ... đến hết ngày ...tháng ... năm ...
- ...(2)... cam kết:
+ Tự di chuyển hoặc cải tạo công trình và không đòi bồi thường khi cơ quan có thẩm quyền yêu cầu; đồng thời, hoàn chỉnh các thủ tục theo quy định của pháp luật có liên quan để công trình được thi công xây dựng xong trong thời hạn có hiệu lực của Giấy phép;
+ Tự phá dỡ công trình và chịu mọi chi phí phá dỡ khi hết hạn sử dụng (đối với công trình xây dựng tạm);
+ Thực hiện đầy đủ các biện pháp bảo đảm an toàn công trình đường sắt, an toàn giao thông đường sắt và không gây ô nhiễm môi trường;
+ Thi công xây dựng công trình theo đúng hồ sơ thiết kế đã được phê duyệt và tuân thủ theo quy định của Giấy phép.
Nếu không thực hiện đúng các cam kết trên, ...(2)... chịu trách nhiệm theo quy định của pháp luật.
Địa chỉ liên hệ: ……………
Số điện thoại: ………………….
|
Nơi nhận: |
QUYỀN HẠN, CHỨC VỤ CỦA NGƯỜI KÝ
|
Hướng dẫn ghi trong Đơn đề nghị cấp giấy phép
(1) Tên tổ chức hoặc cơ quan cấp trên của đơn vị hoặc tổ chức đề nghị cấp giấy phép (nếu có).
(2) Tên đơn vị hoặc tổ chức đề nghị cấp giấy phép.
(3) Ghi tên công trình hoặc hạng mục công trình đề nghị cấp giấy phép, lý trình, tuyến đường sắt; ví dụ “Công trình đường ống cấp nước sạch chui qua đường sắt tại vị trí km 5+555, tuyến đường sắt Hà Nội - Tp. Hồ Chí Minh”.
(4) Tên cơ quan cấp giấy phép xây dựng.
(5) Ghi tên dự án đầu tư xây dựng công trình trong đó có công trình hoặc hạng mục công trình đề nghị cấp giấy phép xây dựng.
(6) Ghi lý trình, tên tuyến đường sắt, thuộc địa phận huyện , tỉnh.
(7) Tổ chức tư vấn lập hồ sơ thiết kế.
(8) Cơ quan phê duyệt hồ sơ thiết kế.
(9) Ghi quy mô công trình, hạng mục công trình (phần trong phạm vi đất dành cho đường sắt) đề nghị cấp giấy phép.
Phụ lục XIV
MẪU GIẤY PHÉP XÂY DỰNG CÔNG TRÌNH TRONG PHẠM VI ĐẤT DÀNH CHO ĐƯỜNG SẮT
(Ban hành kèm theo Thông tư số: 29/2023/TT-BGTVT ngày 29 tháng 09 năm 2023
của Bộ trưởng Bộ Giao thông vận tải)
|
...(1)… Số: ……../………. |
CỘNG HÒA XÃ HỘI CHỦ NGHĨA VIỆT NAM ……….……, ngày tháng... năm 20... |
GIẤY PHÉP XÂY DỰNG CÔNG TRÌNH TRONG PHẠM VI ĐẤT DÀNH CHO ĐƯỜNG SẮT
…(3)…
Căn cứ Luật Đường sắt ngày 16 tháng 6 năm 2017;
Căn cứ Thông tư số: /2023/TT-BGTVT ngày tháng năm 2023 của Bộ trưởng Bộ Giao thông vận tải quy định về đường ngang và cấp giấy phép xây dựng trong phạm vi đất dành cho đường sắt;
Căn cứ ...
Xét Đơn đề nghị cấp số ....ngày ...tháng ....năm 20... của ...(4)...
Điều 1. Cấp cho:
- …(4)…
- Người đại diện: …………………; chức vụ: …………….
- Địa chỉ: ………………………………..
- Điện thoại: …………………………..
Điều 2. Nội dung giấy phép:
- Tên công trình: ...(3)...
- Thuộc dự án: ...(5)...
- Địa điểm xây dựng: ...(6)...
- Quy mô xây dựng công trình (phần trong phạm vi đất dành cho đường sắt): ...(7)...
Điều 3. Trách nhiệm của tổ chức được cấp Giấy phép và các cơ quan, tổ chức có liên quan:
1...(8)...
2. ...
Điều 4. Hiệu lực của giấy phép và thời hạn thi công:
1. Giấy phép này có hiệu lực kể từ ngày … tháng … năm … đến ngày … tháng … năm …
2. Thời gian thi công công trình kể từ ngày … tháng … năm … đến ngày … tháng … năm …
|
Nơi nhận: |
QUYỀN HẠN, CHỨC VỤ CỦA NGƯỜI KÝ
|
Hướng dẫn ghi trong Giấy phép
(1) Tên cơ quan cấp trên của cơ quan có thẩm quyền cấp giấy phép xây dựng (nếu có).
(2) Tên cơ quan có thẩm quyền cấp giấy phép xây dựng.
(3) Ghi tóm tắt tên công trình hoặc hạng mục công trình được cấp Giấy phép, lý trình, tuyến đường sắt; ví dụ “Công trình đường ống cấp nước sạch chui qua đường sắt tại vị trí km 5+555, tuyến đường sắt Hà Nội - Tp. Hồ Chí Minh”.
(4) Tên đơn vị hoặc tổ chức đề nghị cấp giấy phép xây dựng.
(5) Ghi tên dự án đầu tư xây dựng công trình trong đó có công trình hoặc hạng mục công trình được cấp giấy phép xây dựng.
(6) Ghi rõ lý trình, tên tuyến đường sắt, thuộc địa phận huyện , tỉnh.
(7) Ghi phần quy mô xây dựng công trình trong phạm vi đất dành cho đường sắt.
(8) Ghi yêu cầu về trách nhiệm đối với tổ chức được cấp giấy phép xây dựng và các cơ quan, tổ chức có liên quan.
Phụ lục XV
MẪU ĐƠN ĐỀ NGHỊ GIA HẠN GIẤY PHÉP XÂY DỰNG CÔNG TRÌNH
TRONG PHẠM VI ĐẤT DÀNH CHO ĐƯỜNG SẮT
(Ban hành kèm theo Thông tư số: 29/2023/TT-BGTVT ngày 29 tháng 9 năm 2023
của Bộ trưởng Bộ Giao thông vận tải)
|
...(1)… Số: ……../………. |
CỘNG HÒA XÃ HỘI CHỦ NGHĨA VIỆT NAM ……….……, ngày tháng... năm 20... |
ĐƠN ĐỀ NGHỊ GIA HẠN GIẤY PHÉP XÂY DỰNG CÔNG TRÌNH
TRONG PHẠM VI ĐẤT DÀNH CHO ĐƯỜNG SẮT
…(3)...
Kính gửi: …(4)…
Căn cứ Luật Đường sắt ngày 16 tháng 6 năm 2017;
Căn cứ Thông tư số: /2023/TT-BGTVT ngày tháng năm 2023 của Bộ trưởng Bộ Giao thông vận tải quy định về đường ngang và cấp giấy phép xây dựng trong phạm vi đất dành cho đường sắt;
Căn cứ Giấy phép số ….. ngày .... tháng ….. năm …… của …(4)… cấp cho …(2)…
…(2)... đề nghị được gia hạn giấy phép xây dựng công trình:
Thời điểm kết thúc thi công xây dựng công trình: ngày ... tháng ... năm…
Lý do gia hạn: …(5)…
...(2)... cam kết thực hiện theo đúng Giấy phép được cấp, quyết định gia hạn Giấy phép thi công xây dựng công trình và quy định của pháp luật có liên quan.
Địa chỉ liên hệ: ………………
Số điện thoại: ……………………
|
Nơi nhận: |
QUYỀN HẠN, CHỨC VỤ CỦA NGƯỜI KÝ
|
Hướng dẫn ghi trong Đơn đề nghị gia hạn
(1) Tên tổ chức hoặc cơ quan cấp trên của đơn vị hoặc tổ chức đề nghị gia hạn giấy phép xây dựng (nếu có).
(2) Tên đơn vị hoặc tổ chức đề nghị gia hạn giấy phép xây dựng.
(3) Ghi tóm tắt tên công trình hoặc hạng mục công trình đề nghị gia hạn giấy phép xây dựng; ví dụ “Công trình đường ống cấp nước sạch chui qua đường sắt tại vị trí Km5+555, tuyến đường sát Hà Nội - Tp. Hồ Chí Minh”.
(4) Tên cơ quan có thẩm quyền gia hạn giấy phép xây dựng công trình.
(5) Nêu lý do gia hạn giấy phép xây dựng.
Phụ lục XVI
MẪU QUYẾT ĐỊNH GIA HẠN GIẤY PHÉP XÂY DỰNG CÔNG TRÌNH
TRONG PHẠM VI ĐẤT DÀNH CHO ĐƯỜNG SẮT
(Ban hành kèm theo Thông tư số: 29/2023/TT-BGTVT ngày 29 tháng 9 năm 2023
của Bộ trưởng Bộ Giao thông vận tải)
|
...(1)… Số: ……../………. |
CỘNG HÒA XÃ HỘI CHỦ NGHĨA VIỆT NAM ……….……, ngày tháng... năm 20... |
QUYẾT ĐỊNH
Về việc gia hạn giấy phép xây dựng công trình trong phạm vi đất dành cho đường sắt
...(3)...
Căn cứ Luật Đường sắt ngày 16 tháng 6 năm 2017;
Căn cứ Thông tư số: /2023/TT-BGTVT ngày tháng năm 2023 của Bộ trưởng Bộ Giao thông vận tải quy định về đường ngang và cấp giấy phép xây dựng trong phạm vi đất dành cho đường sắt;
Căn cứ Giấy phép thi công xây dựng số.... ngày … tháng … năm;
Xét Đơn đề nghị gia hạn giấy phép xây dựng số ....ngày ...tháng ....năm...; ....của ...(4)....
QUYẾT ĐỊNH
Điều 1. Gia hạn Giấy phép xây dựng …(3) ... của ...(2) ... cấp cho ....(4)… với nội dung sau:
Thời điểm kết thúc thi công xây dựng công trình: ngày ... tháng ... năm…
Lý do gia hạn: …(5)…
Điều 2. Các nội dung khác, những yêu cầu đối với tổ chức, cá nhân được cấp gia hạn giấy phép xây dựng
Điều 3. Hiệu lực của quyết định
Quyết định này có hiệu lực kể từ ngày … tháng … năm … đến ngày …tháng … năm …
|
Nơi nhận: |
QUYỀN HẠN, CHỨC VỤ CỦA NGƯỜI KÝ
|
Hướng dẫn ghi trong Quyết định gia hạn Giấy phép
(1) Tên cơ quan cấp trên của cơ quan có thẩm quyền gia hạn giấy phép xây dựng (nếu có).
(2) Tên cơ quan có thẩm quyền gia hạn giấy phép xây dựng.
(3) Ghi tóm tắt tên công trình hoặc hạng mục công trình, lý trình, tuyến đường sắt; ví dụ “Công trình đường ống cấp nước sạch chui qua đường sắt tại vị trí km 5+555, tuyến đường sắt Hà Nội - Tp. Hồ Chí Minh”.
(4) Tên đơn vị hoặc tổ chức đề nghị gia hạn giấy phép xây dựng.
(5) Ghi lý do gia hạn giấy phép xây dựng.
Bạn chưa Đăng nhập thành viên.
Đây là tiện ích dành cho tài khoản thành viên. Vui lòng Đăng nhập để xem chi tiết. Nếu chưa có tài khoản, vui lòng Đăng ký tại đây!
Bạn chưa Đăng nhập thành viên.
Đây là tiện ích dành cho tài khoản thành viên. Vui lòng Đăng nhập để xem chi tiết. Nếu chưa có tài khoản, vui lòng Đăng ký tại đây!