- Tổng quan
- Nội dung
- Tiêu chuẩn liên quan
- Lược đồ
- Tải về
Tiêu chuẩn quốc gia TCVN 14497:2025 Phòng cháy chữa cháy - Thiết bị báo cháy độc lập - Đầu báo cháy khói sử dụng ánh sáng tán xạ, ánh sáng truyền qua hoặc ion hoá
| Số hiệu: | TCVN 14497:2025 | Loại văn bản: | Tiêu chuẩn Việt Nam |
| Cơ quan ban hành: | Bộ Khoa học và Công nghệ | Lĩnh vực: | Xây dựng , An ninh trật tự |
| Trích yếu: | Phòng cháy chữa cháy - Thiết bị báo cháy độc lập - Đầu báo cháy khói sử dụng ánh sáng tán xạ, ánh sáng truyền qua hoặc ion hoá | ||
|
Ngày ban hành:
Ngày ban hành là ngày, tháng, năm văn bản được thông qua hoặc ký ban hành.
|
01/10/2025 |
Hiệu lực:
|
Đã biết
|
| Người ký: | Đang cập nhật |
Tình trạng hiệu lực:
Cho biết trạng thái hiệu lực của văn bản đang tra cứu: Chưa áp dụng, Còn hiệu lực, Hết hiệu lực, Hết hiệu lực 1 phần; Đã sửa đổi, Đính chính hay Không còn phù hợp,...
|
Đã biết
|
TÓM TẮT TIÊU CHUẨN VIỆT NAM TCVN 14497:2025
Tiêu chuẩn quốc gia TCVN 14497:2025: Quy định mới về thiết bị báo cháy độc lập ảnh hưởng tới nhà sản xuất và người tiêu dùng
Tiêu chuẩn quốc gia TCVN 14497:2025 được ban hành nhằm quy định các yêu cầu và phương pháp thử nghiệm cho thiết bị báo cháy khói độc lập sử dụng ánh sáng tán xạ, ánh sáng truyền qua hoặc ion hóa. Tiêu chuẩn này áp dụng cho các hộ gia đình và công trình dân dụng, giúp đảm bảo an toàn phòng cháy chữa cháy. Ngày ban hành là 01/01/2025 và có hiệu lực ngay trong cùng ngày.
Đối tượng áp dụng là nhà sản xuất và người tiêu dùng thiết bị báo cháy. Các nhà sản xuất thiết bị báo cháy khói cần đáp ứng những yêu cầu chính sau:
Sự phù hợp: Cần cung cấp tài liệu minh bạch về thiết kế, vật liệu và độ tin cậy của sản phẩm. Đầu báo phải đảm bảo có tuổi thọ sử dụng ít nhất 10 năm trong điều kiện bình thường.
Chức năng: Tiêu chuẩn cho phép sử dụng các chức năng tùy chọn như kết nối với thiết bị khác, ngắt tạm thời, hoặc báo cháy bằng giọng nói mà không làm giảm hiệu suất của thiết bị. Điều này mang lại sự linh hoạt cho các mô hình đầu báo cháy.
Giá trị ngưỡng kích hoạt: Các thiết bị sử dụng ánh sáng tán xạ hoặc ánh sáng truyền qua phải đáp ứng các giá trị ngưỡng nhất định để đảm bảo độ nhạy phát hiện khói.
Tín hiệu báo cháy: Thiết bị phải có tín hiệu âm thanh rõ ràng và đèn chỉ thị trạng thái để người sử dụng dễ nhận biết khi có sự cố. Đặc biệt, đèn chỉ thị báo cháy và lỗi phải dễ nhìn từ khoảng cách nhất định.
Nguồn điện và an toàn: Đầu báo cần có nguồn điện chính và có thể có nguồn dự phòng để hoạt động liên tục. Ngoài ra, thiết bị cần phải ngăn ngừa nguy cơ gây hại cho người sử dụng trong quá trình hoạt động.
Người tiêu dùng cũng được hưởng lợi từ tiêu chuẩn này, vì nó đảm bảo rằng sản phẩm trên thị trường đạt tiêu chuẩn an toàn và hiệu quả trong việc phát hiện và thông báo về khói và cháy. Những yêu cầu này sẽ giúp họ lựa chọn được thiết bị chất lượng, bảo vệ tốt hơn cho tài sản và an toàn gia đình.
Tiêu chuẩn TCVN 14497:2025 có mối liên hệ với các tiêu chuẩn quốc tế, giúp đồng bộ hóa trong việc đảm bảo an toàn phòng cháy chữa cháy không chỉ trong nước mà còn trên thị trường quốc tế. Việc áp dụng tiêu chuẩn này sẽ không chỉ nâng cao năng lực cạnh tranh của các sản phẩm Việt Nam mà còn củng cố niềm tin của người tiêu dùng vào các sản phẩm an toàn, chất lượng.
Tải tiêu chuẩn Việt Nam TCVN 14497:2025
TIÊU CHUẨN QUỐC GIA
TCVN 14497:2025
PHÒNG CHÁY CHỮA CHÁY - THIẾT BỊ BÁO CHÁY ĐỘC LẬP - ĐẦU BÁO CHÁY KHÓI SỬ DỤNG ÁNH SÁNG TÁN XẠ, ÁNH SÁNG TRUYỀN QUA HOẶC ION HÓA
Fire protection - stand-alone fire detector - Smoke alarms using scattered light, transmitted light or ionization
Mục lục
Lời nói đầu
1. Phạm vi áp dụng
2. Tài liệu viện dẫn
3. Thuật ngữ và định nghĩa
4. Yêu cầu chung
4.1 Sự phù hợp
4.2 Các chức năng tùy chọn và bổ sung
4.3 Loại báo động khói
4.4 Giá trị ngưỡng kích hoạt của đầu báo cháy sử dụng ánh sáng tán xạ hoặc truyền qua
4.5 Tín hiệu báo cháy
4.6 Đèn chỉ thị trạng thái có kết nối với nguồn điện chính bên ngoài
4.7 Đèn chỉ thị tình trạng lỗi - Chức năng tùy chọn
4.8 Yêu cầu đối với đèn chỉ thị trạng thái báo cháy, tình trạng lỗi và kết nối với nguồn điện chính bên ngoài
4.9 Yêu cầu đối với tín hiệu báo cháy của đầu báo cháy khói có mở rộng thêm các tính năng ngoài các yêu cầu của tiêu chuẩn này
4.10 Dụng cụ thử nghiệm
4.11 Phương tiện hiệu chuẩn
4.12 Các thành phần người dùng có thể thay thế
4.13 Nguồn điện chính
4.14 Nguồn điện dự phòng
4.15 Thiết bị cung cấp điện bên ngoài
4.16 Kết nối pin với đầu báo cháy khói
4.17 Pin có thể thay thế cho người dùng
4.18 An toàn điện
4.19 Thiết bị ngắt kết nối pin
4.20 Kết nối các thiết bị có thể kết nối bên ngoài
4.21 Thiết bị đầu cuối cho dây dẫn bên ngoài
4.22 Bảo vệ tránh sự xâm nhập của vật thể lạ
4.23 Chức năng kết nối giữa các đầu báo báo cháy khói - Chức năng tùy chọn
4.24 Chức năng ngắt tạm thời âm thanh báo cháy - Chức năng tùy chọn
4.25 Chức năng vô hiệu hóa tạm thời đầu báo cháy khói - Chức năng tùy chọn
4.26 Vật liệu phóng xạ trong đầu báo cháy khói loại B
4.27 Chức năng báo cháy bằng giọng nói - Chức năng tùy chọn
4.28 Chức năng kết nối giữa các đầu báo cháy khói bằng tần số vô tuyến - Chức năng tùy chọn
4.29 Chức hiệu chỉnh độ sai lệch cảm biến - Chức năng tùy chọn
4.30 Quy định về nhãn hiệu trên đầu báo cháy khối
4.31 Các yêu cầu bổ sung đối với hệ thống báo khói do phần mềm điều khiển
5 Thử nghiệm
5.1 Tổng quan
5.2 Sự phụ thuộc theo hướng
5.3 Độ nhạy ban đầu
5.4 Thử nghiệm lặp lại
5.5 Chuyển động không khí
5.6 Độ chói
5.7 Thử nghiệm hoạt động trong môi trường nhiệt độ cao
5.8 Thử nghiệm hoạt động trong môi trường lạnh
5.9 Thử nghiệm hoạt động trong môi trường nóng ẩm
5.10 Thử nghiệm ăn mòn Sulfur Dioxide (SO2)
5.11 Thử nghiệm hoạt động trong trạng thái đầu báo bị va đập
5.12 Thử nghiệm hoạt động trong trạng thái đầu báo bị rung, hình sin
5.13 Thử nghiệm độ bền từ tác động rung, hình sin
5.14 Thử chức năng cảm biến nhiệt độ - chức năng tùy chọn
5.15 Thử nghiệm khả năng tương thích điện từ (EMC) và độ miễn nhiễm
5.16 Độ nhạy cháy
5.17 Tình trạng pin yếu
5.18 Đầu ra âm thanh 85 dBA - Chức năng tùy chọn
5.19 Đầu ra âm thanh 70 dBA- Chức năng tùy chọn
5.20 Độ bền chuông báo
5.21 Đầu báo cháy khói có thể kết nối với nhau
5.22 Thiết bị đầu báo cháy khói sử dụng liên kết tần số vô tuyến điện
5.23 Thiết bị tắt báo động
5.24 Tính năng tắt tạm thời
5.25 Sự thay đổi điện áp nguồn
5.26 Đảo ngược cực
5.27 Nguồn điện dự phòng
5.28 An toàn điện
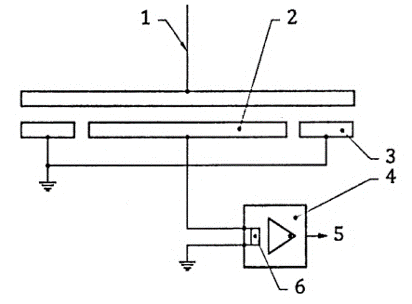
Phụ lục A (Quy định) Đường ống dẫn khói để đo giá trị ngưỡng kích hoạt
Phụ lục B (Quy định) Thử nghiệm sol-khí để đo giá trị ngưỡng phản ứng
Phụ lục C (Quy định) Dụng cụ đo khói
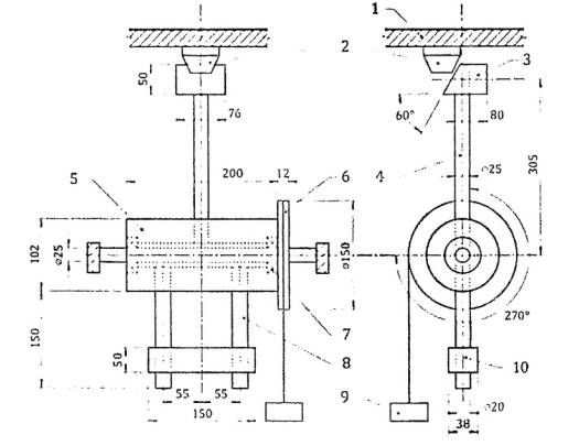
Phụ lục D (Quy định) Thiết bị thử nghiệm gây sáng chói
Phụ lục E (Quy định) Thiết bị thử nghiệm va đập
Phụ lục F (Quy định) Phòng thử nghiệm cháy
Phụ lục G (Quy định) Đốt cháy nhiệt phân âm ỉ gỗ (TF2)
Phụ lục H (Quy định) Đốt cháy bông âm ỉ phát sáng (TF3)
Phụ lục I (Quy định) Đốt cháy nhựa (polyurethane) (TF4)
Phụ lục J (Quy định) Đốt cháy chất lỏng (n-heptan) (TF5)
Phụ lục K (Tham khảo) Thông tin liên quan đến việc cấu tạo đường dẫn khói
Phụ lục L (Tham khảo) Thông tin liên quan đến cấu tạo Buồng đo ion hóa
Phụ lục M (Quy định) Thử nghiệm cấu hình bằng cách sử dụng thiết bị thử nghiệm lá chắn tần số vô tuyến
Thư mục tài liệu tham khảo
Lời nói đầu
TCVN 14497:2025 được xây dựng trên cơ sở tham khảo ISO 12239:2021 Smoke alarms using scattered light, transmitted light or ionization.
TCVN 14497:2025 do Cục Cảnh sát phòng cháy, chữa cháy và cứu nạn, cứu hộ biên soạn, Bộ Công an đề nghị, Ủy ban Tiêu chuẩn Đo lường Chất lượng Quốc gia thẩm định, Bộ Khoa học và Công nghệ công bố.
PHÒNG CHÁY CHỮA CHÁY - THIẾT BỊ BÁO CHÁY ĐỘC LẬP - ĐẦU BÁO CHÁY KHÓI SỬ DỤNG ÁNH SÁNG TÁN XẠ, ÁNH SÁNG TRUYỀN QUA HOẶC ION HÓA
Fire protection - Stand-alone fire detector - Smoke alarms using scattered light, transmitted light or ionization
1. Phạm vi áp dụng
Tiêu chuẩn này quy định các yêu cầu, phương pháp thử nghiệm, đối với đầu báo cháy khói độc lập hoạt động bằng ánh sáng tán xạ, ánh sáng truyền qua hoặc ion hóa, dành cho các hộ gia đình hoặc công trình dân dụng tương tự.
Đối với việc thử nghiệm các loại đầu báo cháy khói khác (hoạt động trên các nguyên tắc khác), tiêu chuẩn này chỉ được sử dụng để tham khảo.
Đầu báo cháy khói với các đặc điểm đặc biệt, được phát triển cho các rủi ro cụ thể không được đề cập trong tiêu chuẩn này.
Tiêu chuẩn này cho phép, tuy nhiên không bắt buộc thiết bị báo cháy khói phải bao gồm những tính năng sau đây:
- Hoạt động phạm vi nhiệt độ mở rộng:
- Kết nối với các thiết bị hoặc phụ kiện báo cháy khói tương tự khác;
- Ngắt tạm thời;
- Tắt báo động;
- Đặc tính tần số âm thanh;
- Nguồn điện dự phòng điều kiện im lặng thấp;
- Đầu báo cháy khói bằng giọng nói;
- Đầu báo cháy khói sử dụng liên kết tần số vô tuyến;
- Phản ứng với đám cháy phát triển chậm.
Trường hợp nhà sản xuất có đề cập nội dung trên, thì có thể áp dụng các yêu cầu nêu tại tiêu chuẩn này.
Tiêu chuẩn này không bao gồm các thiết bị dành cho việc kết hợp trong các hệ thống sử dụng thiết bị điều khiển và chỉ thị riêng biệt. Các hệ thống như vậy được quy định trong bộ TCVN 7568.
2. Tài liệu viện dẫn
Các tài liệu viện dẫn sau rất cần thiết cho việc áp dụng tiêu chuẩn này. Đối với các tài liệu viện dẫn ghi năm công bố thì áp dụng phiên bản được nêu. Đối với các tài liệu viện dẫn không ghi năm công bố thì áp dụng phiên bản mới nhất, bao gồm cả các sửa đổi (nếu có).
- TCVN 5500 (ISO 8201:1987) Âm học - Tín hiệu âm thanh sơ tán khẩn cấp.
- TCVN 5910 (ISO 209-1/1989) Nhôm và hợp kim nhôm gia công áp lực - Thành phần hóa học và dạng sản phẩm - Phần 1: Thành phần hóa học.
- TCVN 6385:2009 (IEC 60065:2005) Thiết bị nghe, nhìn và thiết bị điện tử tương tự - Yêu cầu an toàn.
- TCVN 6853 (ISO 2919:1999) An toàn bức xạ - Nguồn phóng xạ kín - Yêu cầu chung và phân loại.
- TCVN 7568-4:2013 (ISO 7240-4:2003) Hệ thống báo cháy - Phần 4: Thiết bị cấp nguồn.
- TCVN 7568-7:2015 (ISO 7240-7:2011) Hệ thống báo cháy - Phần 7: Đầu báo cháy khói kiểu điểm sử dụng ánh sáng, ánh sáng tán xạ hoặc ion hóa.
- TCVN 7699-1:2007 (IEC 60068-1:1998) Thử nghiệm môi trường - Phần 1: Quy định chung và hướng dẫn.
- TCVN 7699-2-1:2007 (IEC 60068-2-1:2007) Thử nghiệm môi trường - Phần 2-1: Các thử nghiệm - Thử nghiệm A: Lạnh.
- TCVN 7699-2-2:2011 (IEC 60068-2-2:2007) Thử nghiệm môi trường - Phần 2-2: Các thử nghiệm - Thử nghiệm B: Nóng khô.
- TCVN 7699-2-6:2009 (IEC 60068-2-6:2007) Thử nghiệm môi trường - Phần 2-6: Các thử nghiệm - Thử nghiệm Fc: Rung (Hình Sin).
- TCVN 7699-2-42:2014 (IEC 60068-2-42:2003) Thử nghiệm môi trường - Phần 2-42: Các thử nghiệm - Thử nghiệm Kc: Thử nghiệm bằng Sulfur Dioxide đối với các tiếp điểm và mối nối.
- TCVN 7699-2-78:2007 (IEC 60068-2-78:2001) Thử nghiệm môi trường - Phần 2-78: Các thử nghiệm - Thử nghiệm Cab: Nóng ẩm, không đổi.
- TCVN 7909-4-3:2015 (IEC 61000-4-3:2010) Tương thích điện từ (EMC) - Phần 4-3: Phương pháp đo và thử - Thử miễn nhiễm đối với trường điện từ bức xạ tần số vô tuyến.
- TCVN 12527-1:2018 (IEC 61672-1:2013) Điện âm - Máy đo mức âm - Phần 1: Các yêu cầu.
- ISO 7731 - Ergonomics - Danger signals for public and work areas - Auditory danger signals (Tín hiệu nguy hiểm cho khu vực công cộng và nơi làm việc - Tín hiệu nguy hiểm nghe thấy).
- IEC 60950-1:2005 Information technology equipment - Safety - Part 1: General requirements (Thiết bị công nghệ thông tin - An toàn - Phần 1: Yêu cầu chung).
- IEC 62599-2 Alarm systems - Part 2: Electromagnetic compatibility - Immunity requirements for components of fire and security alarm systems (Hệ thống báo động - Phần 2: Tương thích điện từ - Yêu cầu miễn nhiễm đối với các bộ phận của hệ thống báo cháy và an ninh).
3. Thuật ngữ và định nghĩa
3.1
Mật độ Sol khí (aerosol density)
Mật độ khói (smoke density)
Lượng hạt trên một thể tích được mô tả bằng một trong hai tham số:
- m (3.14)
- y (3.29)
CHÚ THÍCH 1: Các thông số này không phải là nồng độ mà biểu thị các giá trị tỷ lệ thuận với nồng độ và đã được chứng minh là có tác dụng thay cho giá trị nồng độ thực cho mục đích của các thử nghiệm này.
3.2
Trạng thái báo cháy (alarm condition)
Tín hiệu bằng âm thanh, đèn phù hợp với trạng thái báo cháy do nhà sản xuất quy định để báo hiệu sự tồn tại của đám cháy
3.3
Tính năng tắt báo động (alarm-silence facility)
Phương tiện tạm thời tắt tiếng hoặc tắt cảm biến báo khói sau khi phát hiện khói.
3.4
Thiết bị có thể kết nối (connectable device)
Thiết bị không được quy định trong tiêu chuẩn này có thể kết nối với đầu báo cháy khi hoạt động của nó không gây cản trở cho tính năng (không làm giảm hiệu suất, tính năng) của (các) đầu báo cháy khói được kết nối.
3.5
Tín hiệu báo động bằng âm thanh (audible alarm signal)
Âm thanh chỉ thị trạng thái báo động
3.6
Tình trạng pin yếu (battery-low condition)
Sự kết hợp giữa điện áp pin và điện trở nối tiếp dẫn đến cảnh báo lỗi.
3.7
Đầu báo cháy khói kết hợp (combination smoke alarm)
Đầu báo cháy kết hợp trong một vỏ cơ khí nhiều hơn một cảm biến báo cháy, với mỗi cảm biển báo hiệu độc lập báo hiệu tình trạng báo cháy, ví dụ: ion hóa và quang điện.
3.8
Đầu báo cháy khói có thể tháo rời (detachable smoke alarm)
Đầu báo cháy khói bao gồm hai thành phần, đầu và đế, cho phép chúng được tách biệt với nhau để bảo trì mà không làm hỏng bất kỳ thành phần nào.
3.9
Trạng thái lỗi (fault condition)
Điều kiện trong đó đầu báo cháy khói bị ảnh hưởng bởi một điều kiện bất lợi của một thành phần có thể cản trở đầu báo phát trạng thái báo cháy.
3.10
Cảnh báo trạng thái lỗi (fault warning)
Cảnh báo bằng âm thanh phù hợp với trạng thái báo lỗi, cho biết sự tồn tại của một lỗi thực tế hoặc mới bắt đầu có thể ngăn chặn tình trạng báo cháy.
3.11
Môi trường không vật cản (free-field conditions)
Điều kiện trong đó có một số lượng rất nhỏ các bề mặt phản xạ hoặc hấp thụ sóng âm thanh hoặc sóng tần số vô tuyến điện.
3.12
Đầu báo cháy khói có thể kết nối với nhau (interconnectable smoke alarm)
Đầu báo cháy khói có thể được kết nối với các thiết bị báo cháy khói khác để cung cấp tình trạng báo cháy chung.
3.13
Hướng độ nhạy thấp nhất (least sensitive orientation)
Điểm quay của đầu báo cháy so với luồng không khí, quanh trục thẳng đứng nơi đầu báo cháy tạo ra giá trị ngưỡng kích hoạt lớn nhất.
3.14
Chỉ số hấp thụ (absorbance index - m)
Độ suy giảm ánh sáng đo được đặc trưng cho nồng độ các hạt trong khói hoặc sol khí.
CHÚ THÍCH: Công thức tính m được đưa ra trong Phụ lục C.
3.15
Nguồn điện lưới (mains)
Nguồn cung cấp AC từ đơn vị phân phối điện.
3.16
Nguồn điện chính (main power source)
Nguồn điện dùng để cung cấp điện cho đầu báo cháy trong thời gian dài.
3.17
Hướng độ nhạy cao nhất (most sensitive orientation)
Điểm quay của đầu báo cháy so với luồng không khí, quanh trục thẳng đứng nơi đầu báo cháy tạo ra giá trị ngưỡng kích hoạt nhỏ nhất.
3.18
Đầu báo cháy khói đa chức năng (multi-criteria smoke alarm)
Đầu báo cháy khói kết hợp trong một vỏ cơ khí, cảm biến khói cộng với một hoặc nhiều cảm biến bổ sung với tất cả các cảm biến được giám sát riêng biệt về sự hiện diện hay vắng mặt của tín hiệu đầu ra liên quan đến sự phát triển của đảm cháy trong đó tín hiệu riêng lẻ từ mỗi cảm biến được đánh giá để xác định khi nào tình trạng báo động được kích hoạt.
3.19
Nguồn điện không thể tháo rời (non-removable power source)
Nguồn điện chính (hoặc dự phòng) bên trong được tích hợp hoặc cố định trong đầu báo cháy khói sao cho người dùng không thể thay thế hoặc tháo rời.
3.20
Trạng thái thường trực (normal condition)
Tình trạng trong đó đầu báo cháy khói được cấp điện và không đưa ra tình trạng báo động hoặc tình trạng lỗi nhưng có thể đưa ra các tín hiệu như vậy nếu có tình huống phát sinh.
3.21
Đầu báo cháy khói mở (open smoke alarm)
Đầu báo cháy khói quang với (các) khối cảm biến bên ngoài vỏ bọc của nó.
3.22
Liên kết tần số vô tuyến (radio frequency link)
Phương tiện liên lạc giữa ít nhất hai đầu báo cháy khói, sử dụng đường truyền sóng tần số vô tuyến.
3.23
Ngưỡng kích hoạt (response threshold - Ath)
Mật độ sol khí trong vùng lân cận của mẫu thử tại thời điểm mẫu thử phát ra một tín hiệu báo cháy khi được thử theo quy định tại 5.1.6.
3.24
Nguồn điện dự phòng (standby power source)
Là nguồn điện cung cấp điện cho đầu báo khói khi nguồn điện chính bị mất.
3.25
Báo cháy khói độc lập (alone smoke alarm)
Thiết bị chứa trong một vỏ tất cả các thành phần, có hoặc không có nguồn điện bên trong, cần thiết để phát hiện khói và tạo ra trạng thái báo động và có thể bao gồm một hoặc nhiều bộ phận như đế và đầu.
3.26
Ngắt tạm thời (temporary disablement facility)
Phương tiện tạm thời vô hiệu hóa hoặc làm giảm độ nhạy của đầu báo cháy khói khi nó ở trong tình trạng bình thường.
3.27
Đầu báo cháy khói loại A (type A smoke alarm - type A)
Đầu báo cháy khói không chứa chất phóng xạ.
3.28
Đầu báo cháy khói loại B (type B smoke alarm - type B)
Đầu báo cháy khói chứa chất phóng xạ.
3.29
y
Biến số không thứ nguyên, tương ứng với sự thay đổi trong dòng điện chạy trong buồng ion hóa như một hàm số đã biết của nồng độ các hạt trong khói hoặc sol-khí.
CHÚ THÍCH: Công thức tính y được đưa ra trong Phụ lục C.
4. Yêu cầu chung
4.1 Sự phù hợp
Nhà sản xuất phải cung cấp tài liệu tổng quan về thiết kế, thành phần, vật liệu và độ tin cậy của sản phẩm. Tài liệu này phải có đủ thông tin để kiểm tra, thử nghiệm và đánh giá sự phù hợp với tiêu chuẩn.
Đầu báo cháy khói kết hợp và đa chức năng phải bao gồm cảm biến khói và không phân biệt bất kỳ chức năng cảm biến bổ sung nào, phải được kiểm tra theo các yêu cầu của tiêu chuẩn này.
Đầu báo cháy khói mở phải được kiểm tra, thử nghiệm theo các yêu cầu của tiêu chuẩn này và các điều khoản liên quan của TCVN 7568-7 (ISO 7240-7).
Đầu báo cháy khói phải được đặt lại và:
a) Phải đáp ứng các yêu cầu của điều 4, có thể được xác minh bằng kiểm tra trực quan hoặc đánh giá kỹ thuật;
b) Phải được kiểm tra theo quy định tại điều 5;
c) Phải đáp ứng các yêu cầu của các thử nghiệm;
d) Có tuổi thọ sử dụng ít nhất 10 năm trong điều kiện sử dụng bình thường.
4.2 Các chức năng tùy chọn và bổ sung
Nếu bao gồm một chức năng tùy chọn, tất cả các yêu cầu tương ứng sẽ được đáp ứng.
Các chức năng bổ sung có thể được cung cấp ngay cả khi không được quy định trong tiêu chuẩn này. Khi được cung cấp, các chức năng đó sẽ không gây xung đột cho bất kỳ chức năng nào được yêu cầu trong tiêu chuẩn này. Trong trường hợp các cảm biến cháy có chung chức năng của đầu báo cháy khói như còi báo động và chỉ báo cảnh báo bằng hình ảnh thì chỉ báo này phải được phân biệt với chỉ báo báo động cháy.
GHI CHÚ: Mỗi chức năng tùy chọn được bao gồm trong một điều riêng biệt, với bộ yêu cầu liên quan riêng, để cho phép các đấu báo cháy khói nêu trong tiêu chuẩn này có các tổ hợp chức năng khác nhau và vẫn phù hợp với tiêu chuẩn này.
4.3 Loại đầu báo cháy khói
Đầu báo cháy khói phải là một hoặc cả hai loại sau:
a) Loại A
b) Loại B
4.4 Giá trị ngưỡng kích hoạt của đầu báo cháy sử dụng ánh sáng tán xạ hoặc truyền qua
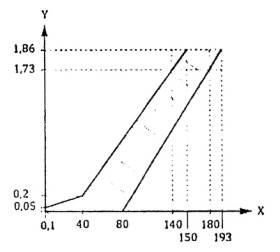
Đầu báo cháy sử dụng ánh sáng tán xạ hoặc truyền qua phải phù hợp với một trong hai dải giá trị ngưỡng kích hoạt được quy định trong Bảng 1 và các điều kiện cuối thử nghiệm tương ứng cho các đám cháy thử nghiệm được quy định trong 5.16.
Bảng 1 - Giá trị ngưỡng kích hoạt cho đầu báo cháy sử dụng ánh sáng phân tán hoặc truyền qua
| TT | Giá trị ngưỡng kích hoạt trong đường ống dẫn khói (hoặc sol- khí) dB/m | Kiểm tra các điều kiện cuối thử nghiệm | |||
| TF2 dB/m | TF3 dB/m | TF4 không thứ nguyên | TF5 không thứ nguyên | ||
| 1 | 0,05 < m | m = 2 | m = 2 | y = 6 | y = 6 |
| 2 | 0,2 < m | m = 2 | m = 2 | y = 6,5 | y = 7,5 |
| GHI CHÚ: Giá trị m càng nhỏ thì độ nhạy của đầu báo cháy càng cao. | |||||
4.5 Tín hiệu báo cháy
4.5.1 Tín hiệu báo cháy bằng âm thanh
4.5.1.1 Mẫu thời gian tín hiệu
Mẫu thời gian tín hiệu âm thanh của đầu báo cháy khói là:
a) Tín hiệu sơ tán âm thanh khẩn cấp được định nghĩa trong TCVN 5500, hoặc
b) Tín hiệu nguy hiểm thính giác được định nghĩa trong ISO 7731.
GHI CHÚ: Việc lựa chọn mẫu thời gian tín hiệu có liên quan đến yêu cầu lắp đặt của đầu báo cháy khói và có thể là yêu cầu của quy định quốc gia.
4.5.1.2 Mức cường độ âm thanh báo cháy - Chức năng tùy chọn
Chỉ báo âm thanh trong điều kiện báo cháy sẽ bắt đầu phát ra âm thanh ở mức không lớn hơn 45 dBA, tăng dần đến mức tối đa không quá 105 dBA trong khoảng thời gian từ 3 s đến 10 s (theo quy định 5.18 và 5.19).
4.5.1.3 Đặc tính tần số tín hiệu báo cháy - Chức năng tùy chọn
Tín hiệu báo động bằng âm thanh phải có tần số cơ bản là 520 Hz với các sóng hài lẻ để gần giống sóng vuông.
4.5.2 Chỉ thị trạng thái báo cháy bằng đèn
4.5.2.1 Đối với đầu báo cháy khói có thể kết nối - Chức năng tùy chọn
Đầu báo cháy khói có thể kết nối với nhau phải có đèn chỉ thị trạng thái báo cháy có màu đỏ, theo đó đầu báo cháy khói khi cảm biến phát hiện khói và truyền tín hiệu tạo ra trạng thái báo cháy có thể được xác định bằng đèn chỉ thị nhấp nháy hoặc được chiếu sáng liên tục. Các đầu báo cháy khói được kết nối với nhau mà cảm biến không phát hiện khói, thì đèn chỉ thị trạng thái báo cháy trên các đầu báo khói này sẽ không hoạt động. Đèn chỉ thị trạng thái báo cháy này cũng có thể tích hợp để chỉ thị các chức năng bổ sung khác, nhưng màu sắc của đèn chỉ thị trạng báo cháy cần phải khác biệt với màu sắc chỉ thị của bất kỳ chức năng bổ sung nào.
4.5.2.2 Đối với đầu báo cháy khói không có chức năng kết nối với nhau
Đầu báo cháy khói không có chức năng kết nối với nhau phải có đèn chỉ thị tình trạng báo động có màu đỏ. Đèn chỉ thị sẽ nhấp nháy hoặc được chiếu sáng liên tục khi đầu báo cháy được kích hoạt. Đèn báo có thể được kết hợp để báo trực quan về tình trạng lỗi. Sự hỏng hóc dẫn đến trạng thái không hoạt động của bất kỳ đèn chỉ thị nào sẽ không ngăn cản tình trạng báo động.
4.6 Đèn chỉ thị trạng thái có kết nối với nguồn điện chính bên ngoài
Một đầu báo cháy khói kết nối với nguồn điện chính bên ngoài phải có đèn chỉ thị trạng thái được kết nối với nguồn điện chính có màu xanh lá cây. Đèn chỉ thị phải được chiếu sáng liên tục khi được kết nối với nguồn điện chính bên ngoài. Sự hỏng hóc dẫn đến trạng thái không hoạt động của đèn chỉ thị trạng thái được kết nối với nguồn điện chính bên ngoài sẽ không ngăn cản tình trạng báo cháy.
4.7 Đèn chỉ thị tình trạng lỗi - Chức năng tùy chọn
Đầu báo cháy khói phải có đèn chỉ thị tình trạng lỗi có màu hổ phách hoặc màu vàng. Đèn chỉ thị phải nhấp nháy hoặc được chiếu sáng liên tục khi đầu báo cháy có tình trạng lỗi. Đèn chỉ thị có thể được kết hợp để chỉ thị tình trạng báo cháy. Sự hỏng hóc dẫn đến trạng thái không hoạt động của bất kỳ đèn chỉ thị nào sẽ không ngăn cản tình trạng báo cháy.
4.8 Yêu cầu đối với đèn chỉ thị trạng thái báo cháy, tình trạng lỗi và kết nối với nguồn điện chính bên ngoài
Đèn chỉ thị trạng thái báo cháy, tình trạng lỗi và kết nối với nguồn điện chính bên ngoài trên đầu báo cháy khói khi hoạt động phải được nhìn thấy từ khoảng cách ít nhất 1 m và từ ít nhất một điểm khi đầu báo cháy khói được gắn ở môi trường được chiếu sáng với cường độ ánh sáng xung quanh là 500 lux.
4.9 Yêu cầu đối với tín hiệu báo cháy của đầu báo cháy khói có mở rộng thêm các tính năng ngoài các yêu cầu của tiêu chuẩn này
- Tín hiệu báo cháy bằng âm thanh sẽ được ưu tiên hơn bất kỳ tín hiệu nào khác, ngay cả khi tín hiệu khác được kích hoạt trước.
- Âm thanh báo cháy phải khác biệt với âm thanh của tín hiệu khác. Được phép sử dụng bộ phát âm thanh chung nếu thu và phân biệt được các tín hiệu riêng biệt.
- Đầu báo có tính năng báo tình trạng lỗi bằng âm thanh, thì âm thanh báo lỗi phải khác với âm thanh báo cháy nhưng không bắt buộc phải khác với âm thanh báo các chức năng khác được sử dụng.
- Bất kỳ tình trạng lỗi nào liên quan đến các tính năng ngoài các yêu cầu của tiêu chuẩn này, sẽ không ảnh hưởng đến hoạt động và giám sát của đầu báo cháy khói.
4.10 Dụng cụ thử nghiệm
Phải cung cấp công cụ thử nghiệm (công tắc hoặc nút ẩn) để mô phỏng kích hoạt của cụm cảm biển phát hiện sự hiện diện của khói. Công cụ thử nghiệm có thể gắn liền với vỏ đầu báo cháy khói hoặc điều khiển từ xa đầu báo cháy khói.
Công cụ thử nghiệm phải có thể tác động được từ bên ngoài đầu báo cháy khói khi được lắp đặt theo quy định trong hướng dẫn lắp đặt. Trong trường hợp công cụ thử nghiệm ở xa đầu báo cháy khói, nó phải có chức năng tương tự như công cụ thử nghiệm tích hợp trong vỏ đầu báo cháy khói và được dán nhãn để xác định chức năng của bộ điều khiển.
4.11 Phương tiện hiệu chuẩn
Các phương tiện hiệu chuẩn phải không điều chỉnh được sau khi sản xuất.
4.12 Các thành phần người dùng có thể thay thế
Ngoại trừ pin hoặc cầu chì, đầu báo cháy khói không được có bộ phận nào mà người dùng có thể thay thế hoặc bảo trì được.
4.13 Nguồn điện chính
4.13.1 Nguồn điện chính có thể nằm bên trong hoặc bên ngoài vỏ đầu báo cháy khói.
4.13.2 Nguồn điện chính bên trong
Trường hợp nguồn điện chính là pin nằm trong đầu báo cháy khói, phải đáp ứng các yêu cầu sau:
a) Có khả năng cung cấp điện trong thời gian tối thiểu là 01 năm trước khi xảy ra tình trạng pin yếu để bảo đảm cho đầu báo cháy khói hoạt động gồm: hoạt động ở trạng thái thường trực; hoạt động thử nghiệm kích hoạt đầu báo trong 10 s được thực hiện hàng tuần; cho mạch vô tuyến và các thông báo tần số vô tuyến (nếu có); bổ sung của thử nghiệm kết nối (nếu có) và của bất kỳ tính năng bổ sung nào không được mô tả trong tiêu chuẩn này.
b) Phải có chỉ báo tình trạng pin yếu bằng âm thanh hoặc các dạng chỉ báo khác. Chỉ báo tình trạng pin yếu sẽ xuất hiện ít nhất 120 s một lần. Phải có tín hiệu báo tình trạng pin yếu bằng âm thanh đặc biệt trước khi pin hết kiệt theo quy định tại 5.17.
c) Tại thời điểm bắt đầu tình trạng pin yếu, pin phải có đủ công suất để đầu báo cháy ở trạng thái báo động theo quy định ở 5.18 hoặc 5.19 trong ít nhất 4 min, ở trạng thái thường trực trong ít nhất 30 ngày. Đối với đầu báo cháy khói có liên kết tần số vô tuyến ngoài yêu cầu trên còn phải có khả năng truyền ít nhất một tín hiệu báo động tần số vô tuyến trong trường hợp có cháy.
d) Pin trong đầu báo khói có thể thay thế bởi người dùng, trừ khi pin không thể tháo rời và tuổi thọ hoạt động của pin trong đầu báo cháy khói không dưới 10 năm.
GHI CHÚ: Trong trường hợp không có quy trình thử nghiệm phù hợp để kiểm tra dung lượng pin, dữ liệu liên quan đến tải của đầu báo cháy khói và đặc tính của pin phải được nhà sản xuất cung cấp để chỉ ra rằng yêu cầu trên có thể được đáp ứng.
4.13.3 Nguồn điện chính bên ngoài
Trong trường hợp nguồn điện chính nằm bên ngoài đầu báo cháy khói thì phải cung cấp nguồn điện dự phòng bên trong hoặc bên ngoài theo quy định tại 4.14.
4.14 Nguồn điện dự phòng
4.14.1 Quy định chung
4.14.1.1 Đối với đầu báo cháy khói kết nối với nguồn điện chính bên ngoài phải cung cấp nguồn điện dự phòng và áp dụng các yêu cầu sau:
a) Nguồn điện dự phòng không thể nạp lại: phải đáp ứng các yêu cầu như đối với nguồn điện chính bên trong tại 4.13.2.
b) Nguồn điện dự phòng có thể nạp lại: phải có khả năng cung cấp điện cho đầu báo cháy khói ở trạng thái thường trực (không báo cháy) trong thời gian tối thiểu là 24 h, ở trạng thái báo cháy theo quy định trong 5.18 hoặc 5.19 trong thời gian tối thiểu là 4 min và ở trạng thái cảnh báo lỗi trong thời gian tối thiểu là 24 h. Tại thời điểm bắt đầu cảnh báo lỗi pin đối với đầu báo cháy khói có liên kết tần số vô tuyến phải có khả năng truyền ít nhất một tín hiệu cảnh báo tần số vô tuyến trong trường hợp có cháy.
4.14.1.2 Trong trường hợp không có quy trình thử nghiệm phù hợp để xác minh nguồn điện dự phòng, dữ liệu liên quan đến tải dùng điện của đầu báo cháy khói và đặc điểm của nguồn điện dự phòng phải được nhà sản xuất cung cấp để chỉ ra rằng các yêu cầu trên có thể được đáp ứng.
4.14.2 Giám sát nguồn điện dự phòng
Nguồn điện dự phòng phải được theo dõi tình trạng lỗi, bao gồm tình trạng pin yếu, sự cố hở mạch và ngắn mạch của nguồn điện dự phòng. Nguồn điện dự phòng người dùng có thể thay thế được giám sát bằng đầu báo cháy khói. Trong mỗi trường hợp, tín hiệu cảnh báo pin yếu phải được phát ra ít nhất một lần mỗi phút. Khi sử dụng thiết bị cấp nguồn bên ngoài thực hiện theo 4.15, cảnh báo pin yếu phải được đưa ra tại thiết bị cung cấp điện riêng biệt.
4.14.3 Chức năng tắt chỉ thị pin yếu của nguồn điện dự phòng - Chức năng tùy chọn
Trường hợp sử dụng nguồn điện dự phòng có thể nạp lại và nguồn điện dự phòng bị cạn kiệt do mất nguồn điện chính, khi khôi phục nguồn điện chính sẽ được phép tắt chỉ thị pin yếu bằng âm thanh tối đa 24 h bằng cách vận hành điều khiển im lặng trong điều kiện pin yếu.
GHI CHÚ: Điều khiển này tương tự như điều khiển thử nghiệm.
4.15 Thiết bị cung cấp điện bên ngoài
Trường hợp cả nguồn điện chính và nguồn điện dự phòng đều nằm ngoài đầu báo cháy khói và được cung cấp bởi thiết bị cung cấp điện riêng biệt (PSE), PSE có trách nhiệm:
a) Tuân thủ TCVN 7568-4:2013;
b) Giám sát kết nối nguồn điện giữa thiết bị cung cấp điện bên ngoài và (các) đầu báo cháy khói. Một lỗi trong kết nối nguồn điện sẽ được phát hiện bằng đèn chỉ thị và âm thanh tại PSE.
4.16 Kết nối pin với đầu báo cháy khói
4.16.1 Trừ trường hợp đầu nối phân cực được sử dụng, các kết nối đầu cuối hoặc đầu cuối với pin phải được ký hiệu để phân biệt với độ phân cực chính xác (ví dụ: cộng hoặc trừ). Phân cực có thể được quy định trên thiết bị liền kề với đầu cuối hoặc đầu cuối của pin.
4.16.2 Bất kỳ dây dẫn nào kết nối các đầu nối đầu cuối của pin với bảng mạch trong đầu báo khói phải được cung cấp các thiết bị giảm sức căng của dây dẫn giữa hai đầu nối đầu cuối pin và bảng mạch đầu báo cháy khói để khi các dây dẫn phải chịu lực kéo 20 N liên tục trong 1 min theo bất kỳ phương nào được thiết kế cho phép, lực kéo không được truyền đến các khớp nối giữa dây dẫn và đầu nối đầu cuối pin hoặc giữa dây dẫn và bảng mạch trong đầu báo cháy khói.
4.17 Pin có thể thay thế cho người dùng
4.17.1 Việc tháo và thay thế pin do người dùng thay thế sẽ không cần phải sử dụng các công cụ hoặc tháo rời đầu báo cháy khói. Yêu cầu này không áp dụng cho việc tháo đầu báo cháy khói có thể tháo rời khỏi đế gắn của nó.
4.17.2 Quy định
Việc tháo pin để thay thế sẽ dẫn đến cảnh báo trực quan, cơ học hoặc âm thanh rằng pin đã được tháo ra. Cảnh báo trực quan không phụ thuộc vào nguồn điện.
Sẽ không thể lắp đặt đầu báo cháy khói trên để hoặc giá đỡ của nó nếu như pin chưa được lắp đặt chính xác trong vỏ của đầu báo cháy khói.
GHI CHÚ: Yêu cầu này không áp dụng cho pin hoặc pin dành riêng cho các tính năng bổ sung.
Một số ví dụ về cảnh báo pin đã được tháo ra khỏi đầu báo:
- Một lá cờ cảnh báo sẽ được tiếp xúc với pin được tháo ra và nắp đóng lại;
- Nắp bản lề hoặc ngăn chứa pin không thể đóng lại khi tháo pin;
- Một đơn vị không thể thay thế khi đế/giá đỡ của nó đã tháo pin.
4.18 An toàn điện
Đầu báo cháy khói phải được thiết kế và xây dựng để không gây nguy hiểm trong sử dụng bình thường hoặc trong điều kiện lỗi theo 5.28.
4.19 Pin - Cơ cấu ngắt kết nối pin
Đầu báo cháy khói có nguồn cấp điện bên trong không thể tháo rời phải có thiết bị ngắt kết nối với pin. Thiết bị ngắt kết nối không yêu cầu tháo rời đầu báo cháy khói. Trường hợp đầu báo cháy khói là loại có thể tháo rời thì việc tháo rời phần đầu ra khỏi đế không được coi là tháo rời.
Người sử dụng phải dễ dàng nhận biết được khi nào pin đã bị ngắt, thông qua dấu hiệu trực quan rõ ràng.
4.20 Kết nối các thiết bị có thể kết nối bên ngoài
Đầu báo cháy khói có thể cung cấp kết nối với các thiết bị có thể kết nối bên ngoài bằng hệ thống dây dẫn, tần số vô tuyến hoặc bằng các phương tiện khác (ví dụ: chỉ báo từ xa, rơ le điều khiển, máy phát). Sự cố hở hoặc ngắn mạch của các kết nối này hoặc sự gián đoạn của đường truyền sẽ không ngăn cản hoạt động chính xác của đầu báo cháy khói.
4.21 Thiết bị đầu cuối cho dây dẫn bên ngoài
4.21.1 Đầu báo cháy khói hoặc để là loại có kết nối bên ngoài, phải cung cấp kết nối của dây dẫn bằng vít, đai ốc hoặc các thiết bị hiệu quả tương đương.
4.21.2 Đối với đầu báo cháy khói được cấp nguồn từ bên ngoài sử dụng đầu nối loại "dây dẫn không dùng vít", đầu nối phải được coi là dây dẫn. Các đầu nối loại "dây dẫn không dùng vít" phải được thử nghiệm kéo, sao cho khi đầu nối chịu lực kéo 20 N mà không bị giật trong 1 min theo bất kỳ hướng nào mà thiết kế cho phép, đầu nối không bị tách rời.
4.21.3 Nếu điểm nối dây được cung cấp, chúng sẽ cho phép kết nối các dây dẫn có diện tích mặt cắt định mức từ 0,4 mm2 đến 1,5 mm2. Các điểm nối dây phải được thiết kế sao cho chúng kẹp dây dẫn giữa các bề mặt kim loại mà không quay các bề mặt đó nhưng có đủ áp suất tiếp xúc và không làm hỏng dây dẫn. Không thể ngắt kết nối dây dẫn hoặc tiếp cận dây dẫn để ngắt kết nối nếu không sử dụng công cụ.
4.22 Bảo vệ tránh sự xâm nhập của vật thể lạ
Đầu báo khói phải được thiết kế sao cho một quả cầu có đường kính 1,3 ± 0,05 mm không thể xâm nhập vào buồng cảm biến. Thiết kế cũng phải ngăn không cho một que thăm dò hình chữ nhật có tiết diện 1,0 ± 0,05 mm x 2,0 ± 0,05 mm đi qua bề mặt ngoài của buồng khói.
GHI CHÚ: Yêu cầu này nhằm mục đích hạn chế côn trùng xâm nhập vào các bộ phận nhạy cảm của đầu báo khói. Tuy nhiên, cần lưu ý rằng yêu cầu này không đủ để ngăn chặn mọi loại côn trùng. Việc giới hạn quá mức kích thước các lỗ thông khí có thể gây nguy cơ bị tắc nghẽn do bụi, v.v. Do đó, có thể cần phải áp dụng các biện pháp bổ sung khác.
4.23 Chức năng kết nối giữa các đầu báo báo cháy khói - Chức năng tùy chọn
Khi các đầu báo cháy khói được kết nối với nhau để đưa ra điều kiện báo động chung thì áp dụng như sau:
a) Tất cả các đầu báo cháy khói phải phát ra tín hiệu báo cháy bằng âm thanh khi một trong số các đầu báo cháy được kết nối với nhau được kích hoạt báo cháy.
b) Nếu đầu báo cháy khói có chức năng ngắt tạm thời âm thanh báo cháy, thì việc ngắt tạm thời âm thanh báo cháy của một trong các đầu báo cháy khói, sẽ không ngăn cản các đầu báo cháy khói còn lại phát ra tín hiệu báo cháy bằng âm thanh khi đầu báo cháy khói bất kỳ khác được kích hoạt báo cháy.
c) Việc kết nối số lượng đầu báo cháy khói tối đa mà nhà sản xuất cho phép sẽ không ảnh hưởng đáng kể đến độ nhạy của đầu báo cháy khói cũng như khả năng đáp ứng dung lượng pin theo 5.17 hoặc yêu cầu đầu ra âm thanh báo cháy theo 5.18 hoặc 5.19.
GHI CHÚ: Số lượng tối đa của các thiết bị được kết nối liên động cũng bao gồm các thiết bị có khả năng kết nối.
d) Đối với đầu báo cháy khói hoạt động bằng pin, các mạch hở hoặc ngắn mạch của các dây dẫn kết nối không được ngăn các đầu báo cháy khói hoạt động riêng lẻ hoặc dẫn đến tình trạng báo động hoặc tình trạng lỗi.
4.24 Chức năng ngắt tạm thời âm thanh báo cháy - Chức năng tùy chọn
Các đầu báo cháy có chức năng ngắt tạm thời âm thanh báo cháy thì thực hiện yêu cầu sau:
Việc ngắt tạm thời âm thanh báo cháy phải được điều khiển bằng tay bởi nút điều khiển ngay trên vỏ của đầu báo cháy khói hoặc điều khiển từ xa.
a) Chức năng ngắt tạm thời âm thanh báo cháy có hiệu lực trong khoảng thời gian không quá 15 min kể từ khi điều khiển ngắt tạm thời âm thanh báo cháy. Độ nhạy của đầu báo cháy khói sẽ được tự động khôi phục trong vòng 15 min kể từ khi điều khiển ngắt tạm thời âm thanh báo cháy. Nếu thời gian ngắt tạm thời âm thanh báo cháy có thể điều chỉnh, không thể đặt nó dưới 5 min hoặc quá 15 min.
b) Việc tắt tiếng đầu báo cháy khói đã vào tình trạng báo động có thể dẫn đến việc tắt tiếng báo động của bất kỳ đầu báo cháy khói nào được kết nối với nhau chưa vào tình trạng báo động.
c) Báo động im lặng tại đầu báo cháy khói được kết nối với nhau đang trong tình trạng báo động có thể làm tắt tín hiệu báo động âm thanh của bất kỳ đầu báo cháy khói nào được kết nối với nhau khác, nhưng không phải bất kỳ đầu báo cháy khói nào khác đã vào tình trạng báo động.
d) Hoạt động liên tục của điều khiển báo động im lặng sẽ không dẫn đến tín hiệu báo động âm thanh bị tắt tiếng trong hơn 15 min mà không xảy ra tình trạng báo động hoặc cảnh báo lỗi.
GHI CHÚ: Yêu cầu này nhằm ngăn chặn tín hiệu báo động âm thanh bị tắt vĩnh viễn do việc vô tình hoặc cố ý làm kẹt bộ phận điều khiển.
e) Điều khiển bằng tay có thể không tách rời với đầu báo cháy khói hoặc điều khiển từ xa từ đầu báo cháy khói. Trường hợp điều khiển bằng tay ở xa đầu báo cháy khói, nó phải có chức năng tương tự như điều khiển bằng tay không thể tách rời với đầu báo cháy khói và được dán nhãn để xác định chức năng của điều khiển.
4.25 Chức năng vô hiệu hóa tạm thời đầu báo cháy khói - Chức năng tùy chọn
Đầu báo cháy khói có chức năng điều khiển tạm thời vô hiệu hóa đầu báo cháy khói khi ở trong trạng thái thường trực, áp dụng như sau:
a) Việc điều khiển tạm thời vô hiệu hóa đầu báo cháy khói phải được điều khiển bằng tay. Điều khiển này có thể gắn trên đầu báo cháy khói hoặc tách biệt với đầu báo cháy khói.
b) Khi chức năng vô hiệu hóa được kích hoạt bằng tay thì đầu báo cháy khói sẽ bị vô hiệu hóa trong khoảng thời gian không quá 15 min. Độ nhạy của cảm biến khói trong đầu báo cháy khói sẽ tự động khôi phục trong vòng 15 min kể từ khi chức năng vô hiệu hóa được kích hoạt. Nếu khoảng thời gian vô hiệu hóa tạm thời hoặc tắt cảm biến có thể điều chỉnh, thì điều chỉnh trong khoảng thời gian từ 5 min đến 15 min.
c) Việc vô hiệu hóa tạm thời một đầu báo cháy khói cụ thể sẽ không dẫn đến việc vô hiệu hóa bất kỳ đầu báo cháy khói nào trong nhóm các đầu báo cháy khói được kết nối với nhau.
d) Đầu báo cháy khói bị vô hiệu hóa phải có khả năng phát ra tín hiệu báo cháy khi được kết nối với đầu báo cháy khói cảm biến được khói và được kích hoạt báo cháy.
e) Hoạt động liên tục của điều khiển vô hiệu hóa tạm thời, trên đầu báo cháy khói hoặc điều khiển từ xa hoặc cả hai, sẽ không dẫn đến đầu báo cháy khói bị vô hiệu hóa hoặc tắt cảm biến trong hơn 15 min mà không có tín hiệu báo động hoặc cảnh báo lỗi do đầu báo cháy khói đưa ra.
GHI CHÚ: Yêu cầu này nhằm ngăn chặn việc mất tính nhạy vĩnh viễn do việc vô tình hoặc cố ý làm kẹt bộ phận điều khiển.
f) Trường hợp điều khiển bằng tay ở xa đầu báo cháy khói, nó phải có chức năng tương tự như điều khiển bằng tay không thể thiếu đối với chính đầu báo cháy khói và được dán nhãn để xác định chức năng của điều khiển.
4.26 Vật liệu phóng xạ trong đầu báo cháy khói loại B
4.26.1 Không thể tiếp xúc trực tiếp với các nguồn phóng xạ nếu không sử dụng các công cụ.
4.26.2 Các nguồn phóng xạ phải được niêm phong tuân thủ các yêu cầu liên quan của TCVN 6853, với phân loại tối thiểu là C32222.
4.26.3 Hoạt tính bình thường của hạt nhân phóng xạ không được lớn hơn 37 kBq. Radium-226 không được sử dụng.
4.27 Chức năng báo cháy bằng giọng nói - Chức năng tùy chọn
4.27.1 Đầu báo cháy khói có chức năng báo cháy bằng giọng nói phải có khả năng tạo ra tín hiệu cảnh báo âm thanh và giọng nói để thông báo về sự tồn tại của đám cháy.Tất cả các thông báo về sự tồn tại của đám cháy được tích hợp sẵn trong đầu báo phải do nhà sản xuất công bố và cơ quan thử nghiệm xem xét. Thông báo được xác định là trường hợp xấu nhất phải được đánh giá sự phù hợp. Khi chọn thông tin để đưa vào thông báo trong trường hợp xấu nhất, cần xem xét độ dài, độ lớn và thời gian lặp lại của thông báo.
4.27.2 Đối với các thông báo yêu cầu hành động ngay lập tức, tín hiệu cảnh báo và chuỗi thông báo cháy do đầu báo cháy phát ra theo một chu trình được lập lại nhiều lần như sau:
a) Tín hiệu âm thanh cảnh báo, kéo dài trong 2 s đến 10 s; tiếp theo là
b) Trạng thái im lặng, kéo dài trong 0,25 s đến 2 s; tiếp theo là
c) Thông báo cháy bằng giọng nói; tiếp theo là
d) Trạng thái im lặng, kéo dài trong 0,25 s đến 5 s.
Thời gian cho mỗi chu trình không được vượt quá 30 s.
Khoảng thời gian im lặng có thể cần phải dài hơn quy định trong một số trường hợp nhất định, ví dụ như trong không gian có độ vang, nhưng thời gian cho mỗi chu kỳ không vượt quá 30 s.
CHÚ THÍCH: Đối với các thông báo khác, nó được phép kéo dài khoảng thời gian im lặng sau thông báo bằng giọng nói hoặc khoảng thời gian mà thông báo được lặp lại hoặc cả hai.
4.28 Chức năng kết nối giữa các đầu báo cháy khói bằng tần số vô tuyến - Chức năng tùy chọn
4.28.1 Đối với thiết bị báo khói sử dụng các liên kết tần số vô tuyến để kết nối phải đáp ứng yêu cầu tại các điều khoản 4.28.2, 4.28.3, 4.28.4 và 4.28.5 và Phụ lục M.
4.28.2 Thời gian kể từ khi truyền tín hiệu liên kết tần số vô tuyến và quá trình xử lý tín hiệu của thiết bị thu nhận không được lớn hơn 30 s.
4.28.3 Liên kết tần số vô tuyến phải có phạm vi trường tự do tối thiểu là 100 m. Trường hợp nhà sản xuất quy định phạm vi lớn hơn 100 m thì phạm vi công bố phải được xác minh.
4.28.4 Đầu báo cháy khói sử dụng liên kết tần số vô tuyến để kết nối phải đáp ứng các yêu cầu sau:
a) Có một sơ đồ mã hóa đầy đủ để ngăn chặn việc kích hoạt hoặc nhận tín hiệu cảnh báo từ một hệ thống báo khỏi tần số vô tuyến không liên quan khác trong cùng một dải radio và
b) Có tối thiểu 65 000 mã nhận dạng, hoặc
c) Cung cấp phương tiện cho người dùng trên trang web để chọn mã nhận dạng từ tối thiểu 255 mã.
4.28.5 Yêu cầu môi trường đối với thiết bị báo khói kết nối bằng tần số vô tuyến
Thiết bị được cung cấp để kết nối liên kết tần số vô tuyến của đầu báo cháy khói phải hoạt động chính xác khi được thử nghiệm theo các yêu cầu về môi trường được quy định trong tiêu chuẩn này.
4.29 Chức hiệu chỉnh
Việc cung cấp "hiệu chỉnh độ sai lệch" (ví dụ để điều chỉnh cho sự sai lệch cảm biến do tích tụ bụi bẩn trong thiết bị báo khói), sẽ không dẫn đến tình trạng giảm đáng kể độ nhạy của thiết bị báo khói đối với các đám cháy đang phát triển chậm (xem Phụ lục N).
Vì việc thực hiện các thử nghiệm với mật độ khói tăng rất chậm là không thực tế, nên việc đánh giá phản ứng của thiết bị báo khói đối với mật độ khói tăng chậm phải được thực hiện bằng cách phân tích mạch/phần mềm và/hoặc các thử nghiệm và mô phỏng vật lý.
Thiết bị báo khói được coi là đáp ứng các yêu cầu của khoản này nếu đánh giá này cho thấy:
a) Đối với bất kỳ tỷ lệ gia tăng mật độ khói, R, lớn hơn 25 % giá trị ngưỡng phản ứng chưa được hiệu chỉnh ban đầu của thiết bị báo khói, Ath,u, mỗi h, thời gian để thiết bị báo khói đưa ra báo động không vượt quá 1,6 x (Ath,u:R) bởi hơn 100 s;
b) Tổng hiệu chỉnh, Ct, bị giới hạn sao cho Ct < 0,6 Ath,u trong phạm vi này và giá trị ngưỡng phản ứng được hiệu chỉnh đầy đủ, Ath,c, không vượt quá 1,6 lần giá trị ban đầu của nó.
4.30 Quy định về nhãn hiệu trên đầu báo cháy khói
4.30.1 Trong trường hợp bất kỳ thông tin nào trên nhãn hiệu của đầu báo cháy khói được sử dụng các ký hiệu hoặc chữ viết tắt không phổ biến, những thông tin này phải được giải thích trong tài liệu đi kèm với đầu báo cháy khói. Thông tin ghi trên nhãn hiệu của đầu báo phải bảo đảm như sau:
a) Hiển thị trong quá trình cài đặt; và
b) Phải được tiếp cận trong quá trình bảo trì; và
c) Không được đặt trên ốc vít hoặc các bộ phận có thể tháo rời khác.
4.30.2 Thông tin ghi trên nhãn hiệu đầu báo cháy khói
4.30.2.1 Trên vỏ mỗi đầu báo cháy khói phải được in thông tin nhãn hiệu rõ ràng và không thể xóa mờ như sau:
a) Số hiệu của tiêu chuẩn này (tức là TCVN 14497:2025);
b) Tên hoặc nhãn hiệu và địa chỉ của nhà sản xuất hoặc nhà cung cấp;
c) Quy định mô hình (loại hoặc số);
d) Loại thiết bị báo khói (loại A và/hoặc loại B) và giải thích ý nghĩa của quy định loại;
e) Đầu ra mức âm thanh định mức được đo trong 5.18 hoặc 5.19 nếu thích hợp;
f) Tín hiệu tình trạng báo động âm thanh (TCVN 5500 hoặc ISO 7731);
g) Phạm vi nhiệt độ mở rộng nếu đầu báo cháy khói đã được đánh giá để sử dụng trong nhiệt độ mở rộng (nếu có);
h) Ngày sản xuất hoặc số lô mà nhà sản xuất có thể xác định ngày hoặc lô và địa điểm sản xuất và phiên bản/bản sửa đổi của bất kỳ phần mềm nào được sử dụng trong đầu báo cháy khói;
i) Ngày đề nghị của nhà sản xuất để thay thế, tùy thuộc vào bảo trì bình thường, thường xuyên (có thể cung cấp cho một nơi để ghi chú ngày thay đổi đầu báo cháy khói);
j) Đối với đầu báo cháy khói kết hợp pin có thể thay thế, loại và số lượng pin do nhà sản xuất khuyến nghị và hướng dẫn sau đây cho người dùng, sẽ hiển thị trong quá trình vận hành thay pin: "Kiểm tra đầu báo cháy khói để hoạt động chính xác bằng cách sử dụng thiết bị thử nghiệm bất cứ khi nào pin được thay thế";
k) Đối với đầu báo cháy khói kết hợp pin không thể thay thế, cảnh báo sau đây sẽ hiển thị trong quá trình sử dụng bình thường: "CẢNH BÁO - Không thể thay pin - Xem hướng dẫn sử dụng";
l) Đối với loại B, đầu báo cháy khói phải được đánh dấu vĩnh viễn bằng biểu tượng ba lá, tên của hạt nhân phóng xạ và hoạt động. Các yêu cầu đánh dấu bổ sung có thể được yêu cầu theo quy định quốc gia và bao gồm bất kỳ lời khuyên bổ sung nào về các hạn chế buôn bán, vận chuyển hoặc xử lý đầu báo cháy khói;
m) Các dấu hiệu được yêu cầu trong TCVN 6385:2009, Khoản 5, có thể nằm trên bất kỳ phần bên ngoài nào của đầu báo cháy khói, nhưng không cần thiết phải nhìn thấy các dấu hiệu cụ thể sau khi lắp đặt;
n) Đối với thiết bị loại I theo tiêu chuẩn TCVN 6385:2009, các thông tin sau đây phải được hiển thị gần các thiết bị đầu cuối đầu vào nguồn điện: "CẢNH BÁO - ĐẦU BÁO CHÁY KHÓI NÀY PHẢI ĐƯỢC NỐI ĐẤT" và nếu các bộ phận trực tiếp có thể truy cập được khi nắp được tháo ra hoặc mở ra, một cảnh báo về hiệu ứng đó, có thể nhìn thấy trước khi nắp được tháo ra hoặc mở ra;
o) Một thông báo trên bề mặt bên ngoài của đầu báo: KHÔNG SƠN. Các chữ cái phải cao không dưới 3 mm và có thể nhìn thấy rõ ràng sau khi đầu báo cháy khói được lắp đặt theo cách dự định;
р) Đối với đầu báo cháy khói sử dụng ánh sáng tán xạ hoặc truyền qua, dải giá trị ngưỡng phản ứng. Ví dụ Băng tần 1 hoặc (0,2 < m) dB/m.
4.30.2.2 Sự phù hợp phải được kiểm tra bằng phương pháp quan sát trực quan. Tính không thể xóa của nhãn hiệu phải được kiểm tra bằng cách xác định rằng nó không thể bị xóa khi được chà nhẹ bằng một miếng vải lần lượt thấm dung môi nhẹ và sau đó là nước.
4.31 Các yêu cầu bổ sung đối với hệ thống báo khói do phần mềm điều khiển
4.31.1 Đối với hệ thống báo khối dựa vào kiểm soát phần mềm để đáp ứng các yêu cầu của tiêu chuẩn này, thì phải đáp ứng các yêu cầu tại 4.31.2, 4.31.3, 4.31.4 và 4.31.5.
4.31.2 Nhà sản xuất phải cung cấp tài liệu tổng quan về thiết kế phần mềm. Tài liệu này phải đủ chi tiết để thiết kế được thử nghiệm tuân thủ tiêu chuẩn này và phải bao gồm ít nhất những nội dung sau:
a) Mô tả chức năng của luồng chương trình chính (ví dụ: dưới dạng sơ đồ hoặc sơ đồ cấu trúc), bao gồm:
1) Mô tả ngắn gọn về các mô-đun và các chức năng mà chúng thực hiện,
2) Cách các mô-đun nhận và gửi tín hiệu,
3) Hệ thống phân cấp tổng thể của chương trình,
4) Cách mà phần mềm tương tác với phần cứng của thiết bị báo khỏi,
5) Cách đặt tên cho các mô-đun, bao gồm quá trình xử lý ngắt:
b) Mô tả các vùng bộ nhớ được sử dụng cho các mục đích khác nhau (ví dụ; chương trình, dữ liệu dành riêng cho trang web và dữ liệu đang chạy);
с) Quy định mà phần mềm và phiên bản của nó có thể được xác định duy nhất.
4.31.3 Nhà sản xuất phải chuẩn bị và cung cấp tài liệu thiết kế chi tiết. Điều này sẽ có sẵn để thử nghiệm theo cách tôn trọng quyền bảo mật của nhà sản xuất. Nó bao gồm ít nhất những điều sau đây:
a) Tổng quan về toàn bộ cấu hình hệ thống, bao gồm tất cả các thành phần phần mềm và phần cứng;
b) Mô tả từng phần của chương trình, chứa ít nhất:
1) Tên của từng phần,
2) Mô tả các nhiệm vụ được thực hiện,
3) Mô tả về các giao diện, bao gồm kiểu dạng truyền dữ liệu, phạm vi dữ liệu hợp lệ và thử nghiệm dữ liệu hợp lệ,
c) Danh sách mã nguồn đầy đủ, dưới dạng bản cứng hoặc ở dạng bản mềm có thể đọc được (ví dụ: mã ASCII), bao gồm tất cả các biến toàn cầu và cục bộ, hằng số và nhãn được sử dụng, và nhận xét đầy đủ để luồng chương trình được công nhận;
d) Chi tiết của bất kỳ công cụ phần mềm nào được sử dụng trong giai đoạn thiết kế và triển khai (công cụ CASE, trình biên dịch, v.v.).
GHI CHÚ: Tài liệu thiết kế chi tiết này có thể được xem xét tại cơ sở của nhà sản xuất.
4.31.4 Thiết kế phần mềm
Để đảm bảo độ chính xác của thiết bị, các yêu cầu sau đây đối với thiết kế phần mềm được áp dụng:
a) Việc thiết kế các giao diện cho dữ liệu được tạo thủ công và tự động sẽ không cho phép dữ liệu không hợp lệ gây ra lỗi trong hoạt động của chương trình.
b) Phần mềm phải được thiết kế để tránh xảy ra lỗi chương trình.
4.31.5 Lưu trữ các chương trình và dữ liệu
4.31.4.1 Chương trình cần thiết để tuân thủ tiêu chuẩn này và bất kỳ dữ liệu đặt trước nào, chẳng hạn như cài đặt của nhà sản xuất, sẽ được giữ trong bộ nhớ không thay đổi. Chỉ có thể ghi vào các vùng bộ nhớ chứa chương trình và dữ liệu này bằng cách sử dụng một công cụ hoặc mã đặc biệt và sẽ không thể thực hiện được trong quá trình hoạt động bình thường của thiết bị.
4.31.4.2 Dữ liệu cụ thể về địa điểm sẽ được lưu giữ trong bộ nhớ lưu giữ dữ liệu trong ít nhất hai tuần mà không có nguồn điện bên ngoài cho thiết bị, trừ khi có quy định để tự động gia hạn dữ liệu đó, sau khi mất điện, trong vòng 1 h kể từ khi nguồn điện được khôi phục.
5 Thử nghiệm
5.1 Tổng quan
5.1.1 Chức năng tùy chọn
Nếu một lựa chọn được thực hiện, tất cả các yêu cầu tương ứng sẽ được đáp ứng.
Các chức năng khác cũng có thể được cung cấp, ngay cả khi không được quy định trong tiêu chuẩn này. Tuy nhiên, các lựa chọn như vậy sẽ không mâu thuẫn với bất kỳ yêu cầu nào của tiêu chuẩn này và trong trường hợp có lỗi sẽ không gây nguy hiểm cho bất kỳ chức năng nào được yêu cầu bởi tiêu chuẩn này.
CHÚ THÍCH 1: Mỗi chức năng tùy chọn được bao gồm như một thực thể riêng biệt, với bộ yêu cầu liên quan riêng, để cho phép các đầu báo cháy khói được bao phủ bởi tiêu chuẩn này với các tổ hợp chức năng khác nhau để tuân thủ tiêu chuẩn này.
Hai mức đầu ra âm thanh tùy chọn được quy định trong tiêu chuẩn này. Các tùy chọn cho phép các cơ quan quản lý quốc gia quy định mức đầu ra âm thanh tối thiểu (70 dBA hoặc 85 dBA) theo yêu cầu của quy định quốc gia. Trong trường hợp không có quy định, nên cài đặt mức âm thanh lớn hơn.
CHÚ THÍCH 2: Một thử nghiệm phạm vi nhiệt độ mở rộng tùy chọn được bao gồm cho các đầu báo cháy khói được lắp đặt ở các khu vực có phạm vi nhiệt độ lớn hơn, chẳng hạn như các phương tiện lưu trú giải trí.
5.1.2 Điều kiện môi trường cho các thử nghiệm
Trừ khi có quy định khác trong quy trình thử nghiệm, tiến hành thử nghiệm sau khi mẫu thử đã được ổn định trong điều kiện môi trường tiêu chuẩn để thử nghiệm theo TCVN 7699-1 như sau:
- Nhiệt độ: 15 °C đến 35 °C
- Độ ẩm tương đối: 25 % đến 75 %
- Áp suất không khí: 86 kPa đến 106 kPa
Nhiệt độ và độ ẩm về cơ bản phải không đổi đối với mỗi thử nghiệm môi trường áp dụng các điều kiện khí quyển tiêu chuẩn.
5.1.3 Điều kiện hoạt động cho các thử nghiệm
Nếu phương pháp thử yêu cầu mẫu thử phải hoạt động, sau đó kết nối mẫu thử với nguồn điện tuân thủ các đặc tính theo yêu cầu của dữ liệu của nhà sản xuất. Trừ khi có quy định khác trong phương pháp thử, các thông số nguồn điện áp dụng cho mẫu thử phải được đặt trong (các) phạm vi quy định của nhà sản xuất và về cơ bản sẽ không đổi trong suốt quá trình thử nghiệm. Giá trị được chọn cho mỗi tham số thường là giá trị định mức hoặc giá trị trung bình của phạm vi quy định.
Các chi tiết về nguồn điện được sử dụng phải được đưa ra trong báo cáo thử nghiệm (xem mục 6).
5.1.4 Bố trí lắp đặt mẫu thử
Gắn mẫu thử bằng các phương tiện gắn thông thường theo hướng dẫn của nhà sản xuất. Nếu các hướng dẫn này mô tả nhiều phương pháp lắp, thì hãy chọn phương pháp được coi là không thuận lợi nhất cho mỗi thử nghiệm.
5.1.5 Dung sai các thông số thử nghiệm
Trừ khi có quy định khác, dung sai cho các thông số thử nghiệm môi trường phải được đưa ra trong các tiêu chuẩn tham chiếu cơ bản cho thử nghiệm (ví dụ: phần liên quan của IEC 60068).
Nếu một dung sai cụ thể hoặc giới hạn độ lệch không được quy định trong một yêu cầu hoặc quy trình thử nghiệm, dung sai ± 5 % sẽ được áp dụng.
5.1.6 Đo giá trị ngưỡng kích hoạt
Lắp đặt mẫu mà giá trị ngưỡng kích hoạt sẽ được đo trong đường ống dẫn khỏi của thiết bị thử nghiệm được mô tả trong Phụ lục A, ở vị trí hoạt động bình thường, bằng các phương tiện gắn thông thường. Hướng của mẫu so với hướng của luồng không khí phải là hướng ít nhạy nhất, như được xác định trong thử nghiêm phụ thuộc hướng, trừ khi có quy định khác trong quy trình thử nghiệm.
Trước khi bắt đầu mỗi phép đo, vệ sinh đường ống dẫn khói của thiết bị thử nghiệm bằng không khí sạch để đảm bảo rằng đường ống dẫn khói của thiết bị thử nghiệm và mẫu không có sol khí thử nghiệm.
Vận tốc không khi ở gần mẫu phải là 0,2 ± 0,04 m/s trong quá trình đo, trừ khi có quy định khác trong quy trình thử nghiệm.
Trừ khi có quy định khác trong quy trình thử nghiệm, nhiệt độ không khí trong đường ống phải là (23 ± 5) °C và không được thay đổi quá 5 °C đối với tất cả các phép đo trên một loại đầu báo cháy khói cụ thể.
Kết nối mẫu với nguồn điện của nó theo quy định trong 5.1.3 và cho phép nó ổn định trong ít nhất 15 min.
Đưa sol khí thử nghiệm, như được quy định trong Phụ lục B, vào đường ống dẫn khói của thiết bị thử nghiệm sao cho tốc độ tăng mật độ sol khí như sau:
- Đối với đầu báo cháy khói sử dụng ánh sáng tán xạ hoặc truyền qua, tính bằng decibel trên mét mỗi phút: ![]()
- Cho đầu báo cháy khói sử dụng ion hóa, mỗi phút: ![]()
GHI CHÚ: Các phạm vi này nhằm cho phép lựa chọn tỷ lệ thuận tiện, tùy thuộc vào độ nhạy của đầu báo cháy khói, để có được phản hồi trong một thời gian hợp lý.
Tỷ lệ tăng mật độ sol-khí được lựa chọn ban đầu phải tương tự nhau đối với tất cả các phép đo trên một loại tín hiệu báo khỏi cụ thể.
Tất cả các phép đo mật độ sol khí phải được thực hiện ở gần mẫu.
Giá trị ngưỡng phản ứng là mật độ sol khí (m hoặc y) tại thời điểm mẫu đưa ra điều kiện báo động. Điều này sẽ được ghi là m, được biểu thị bằng decibel trên mét (dB/m), đối với đầu báo cháy khói sử dụng ánh sáng tán xạ hoặc truyền qua, hoặc là y cho đầu báo cháy khói sử dụng ion hóa (Phụ lục C áp dụng).
5.1.7 Cung cấp cho các thử nghiệm
Cung cấp những điều sau đây để thử nghiệm sự tuân thủ tiêu chuẩn này:
a) 20 mẫu và ngoài số lượng mẫu cần thiết cho thử nghiệm kết nối và thử nghiệm an toàn điện như quy định trong 5.21 và 5.28 tương ứng;
b) Dữ liệu được quy định trong 4.20 và 4.25;
c) Tài liệu thiết kế (ví dụ: bản vẽ, danh sách bộ phận, sơ đồ khối và mô tả về các nguyên tắc hoạt động của Công cụ thử nghiệm).
Các mẫu được gửi sẽ được coi là đại diện cho sản xuất bình thường của nhà sản xuất liên quan đến việc xây dựng và hiệu chuẩn của chúng. Điều này có nghĩa là giá trị ngưỡng kích hoạt trung bình của 20 mẫu được tìm thấy trong thử nghiệm độ nhạy ban đầu (mục 5.3) cũng phải đại diện cho giá trị trung bình sản xuất và các giới hạn quy định trong thử nghiệm độ nhạy ban đầu cũng phải được áp dụng cho sản xuất của nhà sản xuất.
5.1.8 Đánh số đầu báo cháy khói theo quy định trong 5.3.2. Thực hiện các thử nghiệm, như được quy định trong Bảng 2, trên mỗi đầu báo cháy khói theo thứ tự mà chúng được liệt kê.
5.1.9 Báo cáo thử nghiệm
Kết quả thử nghiệm phải được báo cáo theo khoản 6 .
Bảng 2 - Lịch thử nghiệm
| Thử nghiệm | Điều khoản phụ | Số lượng mẫu |
| Phụ thuộc định hướng | 5.2 | Lựa chọn một mẫu bất kỳ |
| Độ nhạy ban đầu | 5.3 | Tất cả các mẫu |
| Lặp lại | 5.4 | Lựa chọn một mẫu bất kỳ |
| Chuyển động không khí | 5.5 | 1 |
| Độ chóia | 5.6 | 2 |
| Nhiệt khô (hoạt động) | 5.7 | 3 |
| Lạnh (hoạt động) | 5.8 | 4 |
| Nhiệt ẩm (hoạt động) | 5.9 | 5 |
| Ăn mòn Sulfur Dioxide (SO2) | 5.10 | 6,7 |
| Tác động | 5.11 | 8 |
| Rung (hoạt động) | 5.12 | 9 |
| Rung (độ bền) | 5.13 | 9 |
| Nhiệt độ mở rộng | 5.14 | 3,4 |
| - Thử nghiệm miễn nhiễm tương thích điện từ (EMC) (hoạt động) | 5.15 |
|
| - Nguồn điện cung cấp điện áp giảm và gián đoạn ngắn | 10 | |
| - Phóng tĩnh điện |
| |
| - Trường điện từ bức xạ | 11 | |
| - Sự nhiễu loạn do trường điện từ gây ra | 12 | |
| - Bùng nổ thoáng qua nhanh chóng | 13 | |
| - Chuyển tiếp năng lượng cao chậm | 14 | |
| Độ nhạy cháy | 5.16 | 17, 18, 19, 20 |
| Tình trạng pin yếu | 5.17 | 1, 15 |
| Đầu ra âm thanh b | 5.18 hoặc 5.19 | 1, 15 |
| Độ bền chuông báo | 5.20 | 3, 4, 5, 6, 7 |
| Đầu báo cháy khói có thể kết nối với nhau | 5.21 | 21c |
| Đầu báo cháy khói sử dụng liên kết tần số vô tuyến điện | 5.22 | Yêu cầu mẫu bổ sung |
| Tính năng tắt báo động | 5.23 | 16 |
| Tính năng vô hiệu hóa tạm thời | 24 | 16 |
| Sự thay đổi điện áp nguồn | 5.25 | 20 |
| Đảo ngược phân cực | 5.26 | 20 |
| Nguồn điện dự phòng | 5.27 | 1, 15 |
| An toàn điện | 5.28 | Mẫu bổ sung (theo yêu cầu) |
| Thời gian trình tự cho đầu báo cháy khói bằng giọng nói | 5.29 | 2, 3 |
| a Thử nghiệm này chỉ áp dụng cho các đầu báo cháy khói sử dụng ánh sáng tán xạ hoặc nguyên tắc hoạt động của ánh sáng. b Đầu ra âm thanh phải được thử nghiệm theo quy định trong 5.18 hoặc 5.19 theo quy định của nhà sản xuất. c Số lượng mẫu phụ thuộc vào thông số kỹ thuật của nhà sản xuất. d Thử nghiệm này chỉ áp dụng cho hệ thống đầu báo cháy khói có nguồn điện dự phòng. | ||
5.2 Sự phụ thuộc theo hướng
5.2.1 Mục đích thử nghiệm
Mục đích thử nghiệm là cho thấy độ nhạy của mẫu không phụ thuộc quá mức vào hướng của luồng không khí xung quanh đầu báo cháy khói.
5.2.2 Quy trình thử nghiệm
Đo giá trị ngưỡng kích hoạt của mẫu được thử nghiệm tám lần như được quy định trong 5.1.6 với mẫu được xoay 45° về trục tung của nó giữa mỗi lần đo, để các phép đo được thực hiện cho tám hưởng khác nhau so với hướng của luồng không khí.
Quy định giá trị ngưỡng phản ứng tối đa ymax hoặc mmax và giá trị tối thiểu là ymin hoặc mmin.
Ghi lại hướng ít nhạy nhất và hướng nhạy nhất. Hướng đo ngưỡng kích hoạt tối đa được gọi là hướng ít nhạy nhất và hướng đo ngưỡng kích hoạt tối thiểu được gọi là hướng nhạy nhất.
5.2.3 Yêu cầu
Tỷ lệ của các giá trị ngưỡng phản ứng ymax :ymin hoặc mmax:mmin không được lớn hơn 1,6. Giá trị ngưỡng phản ứng thấp hơn ymin không được nhỏ hơn 0,2 hoặc mmin không được nhỏ hơn 0,05 dB/m.
5.3 Độ nhạy ban đầu
5.3.1 Mục đích thử nghiệm
Mục đích thử nghiệm là xác định độ nhạy của từng mẫu trước khi thử nghiệm. Điều này sẽ được sử dụng làm cơ sở cho một số thử nghiệm khác.
5.3.2 Quy trình Thử nghiệm
Đo giá trị ngưỡng phản ứng của mẫu theo quy định trong 5.1.6. Đánh số đầu báo cháy khói theo thứ tự độ nhạy, số 1 có ngưỡng phản ứng thấp nhất và số 20 có ngưỡng phản ứng cao nhất. Quy định giá trị ngưỡng phản ứng tối đa là ymax hoặc mmax và giá trị tối thiểu là ymin hoặc mmin. Tính giá trị trung bình của các giá trị ngưỡng phản ứng này và ký hiệu là
hoặc
.
5.3.3 Yêu cầu
Các hệ thức sau sẽ được áp dụng: ymax:
hoặc mmax:
≤ 1,33 và
:ymin hoặc
: mmin ≤ 1,5.
5.4 Thử nghiệm lặp lại
5.4.1 Mục đích thử nghiệm
Mục đích thử nghiệm là để chứng minh rằng mẫu có sự đáp ứng ổn định đối với độ nhạy của nó ngay cả sau một số điều kiện báo động.
5.4.2 Quy trình thử nghiệm
Đo giá trị ngưỡng kích hoạt của mẫu được thử nghiệm sáu lần như được quy định trong 5.1.6.
Định hướng của mẫu so với hướng của luồng không khí là tùy ý, nhưng nó phải giống nhau cho cả sáu phép đo.
Quy định giá trị ngưỡng phản ứng tối đa là ymax hoặc mmax và giá trị tối thiểu là ymin hoặc mmin.
5.4.3 Yêu cầu
Tỷ lệ của giá trị ngưỡng phản ứng ymax: ymin hoặc mmax: mmin không được lớn hơn 1,6.
Giá trị ngưỡng phản ứng thấp hơn ymin không được nhỏ hơn 0,2.
Giá trị ngưỡng phản ứng thấp hơn mmin không được nhỏ hơn:
- 0,05 dB/m đối với đầu báo có ngưỡng phản ứng được công bố là băng tần 1, hoặc
- 0,2 dB/m đối với đầu báo có giá trị ngưỡng phản ứng được công bố là băng tần 2.
Giá trị ngưỡng phản ứng cao hơn mmax phải là giá trị đạt được trước khi kết thúc điều kiện thử nghiệm.
5.5 Chuyển động không khí
5.5.1 Mục đích thử nghiệm
Mục đích thử nghiệm là để chứng minh rằng độ nhạy của mẫu không bị ảnh hưởng quá mức bởi tốc độ của luồng không khí và nó không dễ bị báo động sai trong gió lùa hoặc gió giật ngắn.
5.5.2 Quy trình thử nghiệm
Đo giá trị ngưỡng phản ứng của mẫu được thử nghiệm như được quy định trong 5.1.6 theo các hướng nhạy nhất và ít nhạy nhất, như được xác định trong 5.3, quy định các giá trị thích hợp là y(0,2)max và y(0,2)min hoặc m(0,2)max và m(0,2)min
Lặp lại các phép đo này, nhưng với vận tốc không khí ở gần thiết bị báo khói (1 ± 0,2) m/s. Quy định các giá trị ngưỡng phản ứng trong các thử nghiệm này là y(1,0)max và y(1,0)min hoặc m(1,0)max và m(1,0)min
Đối với đầu báo cháy khói trong buồng ion hóa, hãy để mẫu được thử nghiệm, theo hướng nhạy nhất của nó, đối với luồng không khí không có sol khí với vận tốc (5 ± 0,5) m/s trong khoảng thời gian 5 min.
5.5.3 Yêu cầu
Áp dụng một trong các hệ thức sau:
- Cho đầu báo cháy khói sử dụng ion hóa:
![]()
- Đối với đầu báo cháy khói sử dụng ánh sáng tán xạ hoặc truyền qua:
![]()
Đầu báo cháy khói không được phát ra tình trạng lỗi hoặc tình trạng báo động trong quá trình thử nghiệm với không khí không có sol-khí.
5.6 Độ chói
5.6.1 Mục đích thử nghiệm
Mục đích thử nghiệm là cho thấy độ nhạy của mẫu không bị ảnh hưởng quá mức khi các nguồn sáng nhân tạo ở gần. Thử nghiệm này chỉ được áp dụng cho các đầu báo cháy khói sử dụng ánh sáng tán xạ hoặc ánh sáng truyền qua, vì các đầu báo cháy khói trong buồng ion hóa được coi là không có khả năng bị ảnh hưởng.
5.6.2 Quy trình thử nghiệm
Lắp đặt thiết bị chói (theo Phụ lục D) trong đường ống dẫn khói (theo Phụ lục A). Lắp đặt mẫu trong thiết bị chói theo hướng ít nhạy cảm nhất và kết nối nó với thiết bị cấp nguồn và giám sát của nó.
Thực hiện các thủ tục sau:
a) Đo giá trị ngưỡng phản ứng như được quy định trong 5.1.6.
b) Bật đồng thời bốn đèn trong 10 s và sau đó TẮT trong 10 s. Lặp lại 10 lần.
c) Bật lại bốn đèn và sau ít nhất 1 min, đo giá trị ngưỡng phản ứng như được quy định trong 5.1.6, với đèn BẬT.
d) Sau đó tắt bốn đèn.
Lặp lại a) đến d), nhưng với đầu báo quay 90° theo một hướng (có thể chọn một trong hai hướng) từ hướng ít nhạy nhất.
Đối với mỗi hướng, quy định giá trị ngưỡng phản ứng tối đa là mmax và giá trị ngưỡng phản ứng tối thiểu là mmin.
5.6.3 Yêu cầu
Trong khoảng thời gian đèn đang được BẬT và TẮT và khi đèn BẬT trước khi đo giá trị ngưỡng phản ứng, mẫu sẽ không phát ra cảnh báo hoặc tín hiệu lỗi.
Đối với mỗi hướng, tỷ lệ của ngưỡng phản ứng mmax: mmin không được lớn hơn 1,6.
5.7 Thử nghiệm hoạt động trong môi trường nhiệt độ cao
5.7.1 Mục đích thử nghiệm
Mục đích thử nghiệm là để chứng minh khả năng mẫu có thể hoạt động chính xác ở nhiệt độ môi trường cao, có thể xảy ra trong thời gian ngắn trong môi trường thực.
5.7.2 Quy trình thử nghiệm
5.7.2.1 Tham khảo
Sử dụng thiết bị thử nghiệm và thực hiện quy trình như được quy định trong TCVN 7699-2-2, Test Bb và trong 5.7.2.2 đến 5.7.2.5.
5.7.2.2 Trạng thái của mẫu trong quá trình thử nghiệm
Gắn mẫu thử được Thử nghiệm theo quy định trong 5.1.4 trong đường ống dẫn khói (theo Phụ lục A), theo hướng ít nhạy cảm nhất và kết nối nó với thiết bị cấp nguồn và giám sát theo quy định trong 5.1.3.
5.7.2.3 Thử nghiệm
Điều kiện mẫu như sau:
Nhiệt độ: Bắt đầu ở nhiệt độ không khí ban đầu (23 ± 5) °C, tăng nhiệt độ không khí lên (40 ± 2) °C.
Thời gian: Duy trì nhiệt độ này trong 2 h.
GHI CHÚ: Thử nghiệm Bb quy định tốc độ thay đổi nhiệt độ ≤ 1 K/min cho các chuyển đổi đến và đi từ nhiệt độ thử nghiệm.
5.7.2.4 Các phép đo trong quá trình thử nghiệm
Theo dõi mẫu trong thời gian thử nghiệm để phát hiện bất kỳ tín hiệu báo động hoặc lỗi nào.
5.7.2.5 Các phép đo cuối cùng
Đo giá trị ngưỡng phản ứng như được quy định trong 5.1.6, nhưng ở nhiệt độ (40 ± 2) °C.
Trong số hai giá trị ngưỡng phản ứng được đo cho mẫu trong thử nghiệm này và trong thử nghiệm độ nhạy ban đầu, quy định giá trị lớn hơn là ymax hoặc mmax và giá trị nhỏ hơn là ymin hoặc mmin.
5.7.3 Yêu cầu
Không được đưa ra tình trạng báo động hoặc tình trạng lỗi trong quá trình thử nghiệm.
Tỷ lệ của giá trị ngưỡng phản ứng ymax: ymin hoặc mmax: mmin không được lớn hơn 1,6.
5.8 Thử nghiệm hoạt động trong môi trường lạnh
5.8.1 Mục đích thử nghiệm
Mục đích thử nghiệm là để chứng minh khả năng mẫu có thể hoạt động chính xác ở nhiệt độ môi trường thấp, có thể xảy ra trong thời gian ngắn trong môi trường thực.
5.8.2 Quy trình thử nghiệm
5.8.2.1 Tham khảo
Sử dụng thiết bị thử nghiệm và thực hiện quy trình như quy định trong TCVN 7699-2-1, Test Ab, và trong 5.8.2.2 đến 5.8.2.5. to 5.8.2.5.
5.8.2.2 Trạng thái của mẫu trong quá trình thử nghiệm
Gắn mẫu thử được Thử nghiệm theo quy định trong 5.1.4 trong đường ống dẫn khói được quy định trong Phụ lục A, theo hướng ít nhạy cảm nhất, với nhiệt độ không khí ban đầu là (23 ± 5) °C và kết nối nó với nguồn điện của nó như được quy định trong 5.1.3.
5.8.2.3 Thử nghiệm
Điều kiện mẫu thử như sau:
Nhiệt độ: Bắt đầu ở nhiệt độ không khí ban đầu (23 ± 5) °C, giảm nhiệt độ không khí trong đường ống xuống (0 ± 2) °C, với tốc độ không quá 1 K/min và duy trì nhiệt độ này trong 2 h.
Thời gian: Duy trì nhiệt độ này trong 2 h.
GHI CHÚ: Thử nghiệm Ab quy định tốc độ thay đổi nhiệt độ ≤ 1 K/min cho các chuyển đổi đến và đi từ nhiệt độ thử nghiệm.
5.8.2.4 Các phép đo trong quá trình thử nghiệm
Theo dõi mẫu trong thời gian thử nghiệm để phát hiện bất kỳ tín hiệu báo động hoặc lỗi nào.
5.8.2.5 Các phép đo cuối cùng
Đo giá trị ngưỡng phản ứng như được quy định trong 5.1.6, nhưng ở nhiệt độ (0 ± 2) °C.
Trong số hai giá trị ngưỡng phản ứng được đo cho mẫu trong thử nghiệm này và trong thử nghiệm độ nhạy ban đầu, quy định giá trị lớn hơn là ymax hoặc mmax và giá trị nhỏ hơn là ymin hoặc mmin.
5.8.3 Yêu cầu
Không được đưa ra tình trạng báo động hoặc tình trạng lỗi trong quá trình chuyển đổi sang hoặc khoảng thời gian ở nhiệt độ thử nghiệm.
Tỷ lệ của giá trị ngưỡng phản ứng ymax: ymin hoặc mmax: mmin không được lớn hơn 1,6.
5.9 Thử nghiệm hoạt động trong môi trường nóng ẩm
5.9.1 Mục đích thử nghiệm
Mục đích thử nghiệm là chứng minh khả năng của mẫu hoạt động chính xác sau khi tiếp xúc với độ ẩm tương đối cao (không ngưng tụ) và nhiệt độ cao, có thể xảy ra trong thời gian ngắn trong môi trường làm việc thực tế.
5.9.2 Quy trình thử nghiệm
5.9.2.1 Tham khảo
Sử dụng thiết bị thử nghiệm và thực hiện quy trình như quy định trong TCVN 7699-2, tủ thử nghiệm và trong 5.9.2.2 đến 5.9.2.5.
5.9.2.2 Trạng thái của mẫu trong quá trình thử nghiệm
Gắn mẫu thử được Thử nghiệm theo quy định trong 5.1.4 trong đường ống dẫn khói được mô tả trong Phụ lục B, theo hướng ít nhạy nhất của nó, với nhiệt độ không khí ban đầu là (23 ± 5) °C và kết nối nó với nguồn điện của nó như được quy định trong 5.1.3.
5.9.2.3 Thử nghiệm
Điều kiện mẫu thử như sau:
- Cho mẫu thử tiếp xúc với nhiệt độ không khí ban đầu là (40 ± 2) °C và độ ẩm tương đối dưới 45%.
- Sau 2 h, tăng độ ẩm tương đối lên (93 ± 3) % trong khoảng thời gian 1 h. Duy trì nhiệt độ và độ ẩm này trong khoảng thời gian 4 ngày.
- Cho phép mẫu phục hồi trong khoảng thời gian từ 1 h đến 2 h ở điều kiện phòng thí nghiệm tiêu chuẩn.
5.9.2.4 Các phép đo trong quá trình thử nghiệm
Theo dõi mẫu trong thời gian thử nghiệm để phát hiện bất kỳ tín hiệu báo động hoặc lỗi nào.
5.9.2.5 Các phép đo cuối cùng
Đo giá trị ngưỡng phản ứng như được quy định trong 5.1.6.
Trong số hai giá trị ngưỡng phản ứng được đo cho mẫu trong thử nghiệm này và trong thử nghiệm độ nhạy ban đầu, quy định giá trị lớn hơn là ymax hoặc mmax và giá trị nhỏ hơn là ymin hoặc mmin.
5.9.3 Yêu cầu
Không được đưa ra tình trạng báo động hoặc tình trạng lỗi trong quá trình thử nghiệm.
Tỷ lệ của các giá trị ngưỡng phản ứng ymax: ymin hoặc mmax: mmin không được lớn hơn 1,6.
5.10 Thử nghiệm ăn mòn Sulfur Dioxide (SO2)
5.10.1 Mục đích thử nghiệm
Mục đích thử nghiệm là chứng minh khả năng của mẫu chịu được tác động ăn mòn của Sulfur Dioxide như một chất gây ô nhiễm trong khí quyển.
5.10.2 Quy trình thử nghiệm
5.10.2.1 Tham khảo
Sử dụng công cụ thử nghiệm và thực hiện quy trình nói chung như được quy định trong TCVN 7699-2-42, nhưng thực hiện quá trình thử nghiệm như được quy định trong 5.10.2.2 để 5.10.2.4.
5.10.2.2 Trạng thái của mẫu trong quá trình thử nghiệm
Gắn mẫu theo quy định trong 5.1.4. Không cấp nguồn cho nó trong quá trình thử nghiệm, nhưng trang bị cho nó dây đồng chưa tráng thiếc, có đường kính thích hợp, được kết nối với đủ số lượng thiết bị đầu cuối để cho phép thực hiện phép đo cuối cùng mà không cần kết nối thêm với mẫu.
5.10.2.3 Thử nghiệm
Điều kiện mẫu thử như sau:
- Nhiệt độ: (25 ± 2) °C;
- Độ ẩm tương đối: (93 ± 3) %;
- Nồng độ SO2: (25 ± 5) μl/l;
- Thời gian: 21 ngày
5.10.2.4 Các phép đo cuối cùng
Ngay sau khi thử nghiệm, cho mẫu thử vào sấy trong khoảng 16 h ở (40 ± 2) °C, < 50% RH, tiếp theo là thời gian phục hồi từ 1 h đến 2 h ở điều kiện phòng thí nghiệm tiêu chuẩn. Sau thời gian phục hồi này, đo giá trị ngưỡng phản ứng như được quy định trong 5.1.6.
Quy định giá trị ngưỡng phản ứng lớn hơn được đo trong thử nghiệm này và giá trị được đo cho cùng một mẫu trong thử nghiệm độ nhạy ban đầu là ymax hoặc mmax và nhỏ hơn là ymin hoặc mmin.
5.10.3 Yêu cầu
Không được đưa ra tín hiệu lỗi trong quá trình thử nghiệm sau thử nghiệm độ bền khi kết nối lại mẫu.
Tỷ lệ của các giá trị ngưỡng phản ứng ymax:ymin hoặc mmax:mmin không được lớn hơn 1,6.
5.11 Thử nghiệm hoạt động trong trạng thái đầu báo bị va đập
5.11.1 Mục đích thử nghiệm
Mục đích thử nghiệm là để chứng minh khả năng chống chịu của mẫu đối với các tác động cơ học lên bề mặt của nó, mà nó có thể duy trì trong môi trường vận chuyển, lắp đặt và dịch vụ thông thường, và nó có thể chịu được một cách hợp lý.
5.11.2 Quy trình thử nghiệm
5.11.2.1 Thiết bị
Thiết bị thử nghiệm phải bao gồm một búa xoay kết hợp đầu hợp kim nhôm hình chữ nhật (hợp kim nhôm AI Cu4SiMg tuân thủ điều kiện TCVN 5910, đã được xử lý hóa lỏng và kết tủa cứng hóa) với mặt phẳng tác động được vát theo góc 60° so với phương ngang, khi ở vị trí nổi bật (tức là khi trục búa thẳng đứng). Thiết bị phải được làm như mô tả trong Phụ lục E.
5.11.2.2 Trạng thái của mẫu trong quá trình thử nghiệm
Gắn chặt mẫu vào thiết bị bằng các phương tiện lắp đặt thông thường và đặt nó sao cho nó bị đập bởi nửa trên của mặt va chạm khi búa ở vị trí thẳng đứng (tức là khi đầu búa di chuyển theo chiều ngang). Chọn hướng phương vị và vị trí va chạm so với mẫu vì điều đó có nhiều khả năng làm giảm hoạt động bình thường của mẫu.
Kết nối mẫu với nguồn điện của nó như được quy định trong 5.1.3.
5.11.2.3 Thử nghiệm
Sử dụng các thông số thử nghiệm sau trong quá trình thử nghiệm:
- Năng lượng tác động: (1,9 ± 0,1) J;
- Vận tốc búa: (1.5 ± 0,13) m/s;
- Số lần va đập: 1.
5.11.2.4 Các phép đo trong quá trình thử nghiệm
Theo dõi mẫu trong thời gian ổn định và thêm 2 min để phát hiện bất kỳ tình trạng báo động hoặc tình trạng lỗi nào.
5.11.2.5 Các phép đo cuối cùng
Sau khi điều chỉnh, đo giá trị ngưỡng phản ứng như được quy định trong 5.1.6.
Quy định giá trị ngưỡng phản ứng lớn hơn được đo trong thử nghiệm này và giá trị được đo cho cùng một mẫu trong thử nghiệm độ nhạy ban đầu là ymax hoặc mmax và nhỏ hơn là ymin hoặc mmin.
5.11.3 Yêu cầu
Không được đưa ra tình trạng báo động hoặc tình trạng lỗi trong quá trình ổn định hoặc thêm 2 min.
Tác động không được tách rời đầu báo cháy khói khỏi để của nó, hoặc để khỏi giá đỡ.
Tỷ số giữa các giá trị ngưỡng phản ứng ymax:ymin hoặc mmax:mmin không được lớn hơn 1,6.
5.12 Thử nghiệm hoạt động trong trạng thái đầu báo bị rung, hình sin
5.12.1 Mục đích thử nghiệm
Mục đích thử nghiệm là chứng minh khả năng đáp ứng của mẫu đối với độ rung ở mức được coi là tương đương với quá trình vận chuyển, lắp đặt và phục vụ thông thường.
5.12.2 Quy trình thử nghiệm
5.12.2.1 Tham khảo
Sử dụng thiết bị thử nghiệm và thực hiện quy trình như quy định trong TCVN 7699-2-6, Test Fc và trong 5.12.2.2 đến 5.12.2.5.
5.12.2.2 Trạng thái của mẫu trong quá trình ổn định
Gắn mẫu lên một vật cố định cứng như được quy định trong 5.1.4 và kết nối nó với nguồn điện của nó như được quy định trong 5.1.3.
Lần lượt áp dụng dao động trong mỗi ba trục vuông góc lẫn nhau và sao cho một trong ba trục vuông góc với mặt phẳng lắp thông thường của mẫu.
5.12.2.3 Ổn định
Điều kiện mẫu thử như sau:
- Dải tần số: (10 đến 150) Hz;
- Biên độ gia tốc: 5 m/s2 (≈ 0,5 gn);
- Số trục: 3
- Tốc độ quét: 1 quãng tám/min;
- Số chu kỳ quét: 1/trục.
Các thử nghiệm độ bền và vận hành rung động có thể được kết hợp sao cho mẫu phải chịu điều kiện thử nghiệm vận hành, sau đó là điều kiện thử nghiệm độ bền trong một trục trước khi chuyển sang trục tiếp theo. Chỉ cần thực hiện một phép đo cuối cùng.
5.12.2.4 Các phép đo trong quá trình ổn định
Theo dõi mẫu trong thời gian ổn định để phát hiện bất kỳ tình trạng báo động hoặc tình trạng lỗi nào.
5.12.2.5 Các phép đo cuối cùng
Sau khi ổn định, thử nghiệm trực quan mẫu cả bên trong và bên ngoài cho thiệt hại cơ học. Sau đó đo ngưỡng phản ứng như quy định trong 5.1.6.
Các phép đo cuối cùng thường được thực hiện sau khi thử nghiệm độ bền rung và chỉ cần được thực hiện ở đây nếu thử nghiệm vận hành được tiến hành cách ly.
Quy định giá trị ngưỡng phản ứng lớn hơn được đo trong thử nghiệm này và giá trị được đo cho cùng một mẫu trong thử nghiệm độ nhạy ban đầu là ymax hoặc mmax và nhỏ hơn là ymin hoặc mmin.
5.12.3 Yêu cầu
Không được đưa ra tình trạng báo động hoặc tình trạng lỗi trong quá trình ổn định. Không gây ra thiệt hại cơ học bên trong hoặc bên ngoài.
Tỷ số giữa các giá trị ngưỡng phản ứng ymax.ymin hoặc mmax.mmin không được lớn hơn 1,6.
5.13 Thử nghiệm độ bền từ tác động rung, hình sin
5.13.1 Mục đích thử nghiệm
Mục đích thử nghiệm là chứng minh khả năng của mẫu chịu được các tác động lâu dài của rung động ở các mức tuân thủ môi trường vận chuyển, lắp đặt và vận hành.
5.13.2 Quy trình thử nghiệm
5.13.2.1 Tham khảo
Sử dụng thiết bị thử nghiệm và thực hiện quy trình như được quy định trong TCVN 7699-2-6, Test Fc, và trong 5.13.2.2 đến 5.13.2.4.
5.13.2.2 Trạng thái của mẫu trong quá trình ổn định
Gắn mẫu trên một vật cố định cứng như được quy định trong 5.1.4, nhưng không cấp nguồn cho nó trong quá trình ổn định.
Lần lượt áp dụng dao động cho từng trục trong số ba trục vuông góc lẫn nhau và sao cho một trong ba trục dao động tác dụng vuông góc với trục lắp thông thường của mẫu.
5.13.2.3 Ổn định
Điều kiện mẫu thử như sau:
- Dải tần số: (10 đến 150) Hz;
- Biên độ gia tốc: 10 m/s2 (1,0 gn);
- Số trục: 3;
- Tốc độ quét: 1 quãng tám/min;
- Số chu kỳ quét: 20/trục.
Các thử nghiệm độ bền và vận hành rung động có thể được kết hợp sao cho mẫu phải chịu điều kiện thử nghiệm vận hành, sau đó là điều kiện thử nghiệm độ bền cho một trục trước khi chuyển sang trục tiếp theo. Chỉ cần thực hiện một phép đo cuối cùng.
5.13.2.4 Các phép đo cuối cùng
Sau khi ổn định, đo giá trị ngưỡng phản ứng theo được quy định trong 5.1.6.
Quy định giá trị ngưỡng phản ứng lớn hơn được đo trong thử nghiệm này và giá trị được đo cho cùng một mẫu trong thử nghiệm độ nhạy ban đầu là ymax hoặc mmax và nhỏ hơn là ymin hoặc mmin.
5.13.3 Yêu cầu
Không có tín hiệu lỗi nào liên quan đến độ bền được đưa ra khi nối lại mẫu thử.
Tỷ số giữa các giá trị ngưỡng phản ứng ymax:ymin hoặc mmax:mmin không được lớn hơn 1,6.
5.14 Thử chức năng cảm biến nhiệt độ - chức năng tùy chọn
5.14.1 Mục đích thử nghiệm
Mục đích thử nghiệm là chứng minh khả năng hoạt động chính xác của mẫu trong phạm vi nhiệt độ mở rộng.
5.14.2 Quy trình Thử nghiệm
Gắn mẫu được thử nghiệm trong đường ống dẫn khói được mô tả trong Phụ lục B, theo hướng ít nhạy cảm nhất, với nhiệt độ không khí ban đầu là (23 ± 5) °C và kết nối nó với nguồn điện của nó như được quy định trong 5.1.3.
Áp dụng chu kỳ nhiệt độ sau 10 lần:
a) Tăng nhiệt độ lên (65 ± 2) °C trong (2 ± 0,5) h.
b) Giữ nhiệt độ ở (65 ± 2) °C cho đến 8,5 h sau khi bắt đầu chu kỳ.
c) Giảm nhiệt độ xuống (-10 ± 2) °C trong (4 ± 1) h.
d) Giữ nhiệt độ ở (-10 ± 2) °C cho đến 19,5 h sau khi bắt đầu chu kỳ.
e) Tăng nhiệt độ lên (23 ± 5) °C trong (2 ± 0,5) h.
f) Giữ nhiệt độ ở (23 ± 5) °C cho đến 24 h sau khi bắt đầu chu kỳ.
Sau mỗi chu kỳ ổn định nhiệt độ đã được hoàn thành, đo giá trị ngưỡng phản ứng như được quy định trong 5.1.6, nhưng ở nhiệt độ (0 ± 2) °C.
Trong số 10 giá trị ngưỡng phản ứng được đo cho mẫu trong thử nghiệm này và thử nghiệm độ nhạy ban đầu, quy định giá trị lớn hơn là ymax hoặc mmax và giá trị nhỏ hơn là ymin hoặc mmin.
5.14.3 Yêu cầu
Không được đưa ra tình trạng báo động hoặc tình trạng lỗi trong quá trình điều chỉnh nhiệt độ.
Tỷ lệ của các giá trị ngưỡng phản ứng ymax:ymin hoặc mmax:mmin không được lớn hơn 1,6.
5.15 Thử nghiệm khả năng tương thích điện từ (EMC) và độ miễn nhiễm
5.15.1 Thực hiện các thử nghiệm miễn nhiễm điện từ EMC sau theo quy định trong IEC 62599-2:
a) Điện áp nguồn điện giảm và gián đoạn ngắn;
b) Phóng tĩnh điện;
c) Trường điện từ bức xạ;
d) Nhiễu do trường điện từ gây ra;
e) Các xung biến thiên nhanh với tần suất lặp lại là 100 Hz;
f) Tăng từ từ năng lượng điện áp .
5.15.2 Đối với các thử nghiệm này, các tiêu chí về sự phù hợp được quy định trong IEC 62599-2 và các tiêu chí sau đây sẽ được áp dụng.
a) Thử nghiệm chức năng được yêu cầu trong các phép đo ban đầu và cuối cùng như sau:
- Đo giá trị ngưỡng phản ứng như được quy định trong 5.1.6.
- Quy định giá trị ngưỡng phản ứng lớn hơn được đo trong thử nghiệm này và giá trị được đo cho cùng một mẫu trong thử nghiệm độ nhạy ban đầu là ymax hoặc mmax và nhỏ hơn là ymin hoặc mmin.
b) Điều kiện hoạt động bắt buộc phải được quy định trong 5.1.3.
c) Tiêu chí chấp nhận đối với thử nghiệm chức năng sau ổn định phải là tỷ số giữa các giá trị ngưỡng phản ứng ymax:ymin hoặc mmax:mmin không được lớn hơn 1,6.
5.16 Độ nhạy cháy
5.16.1 Mục đích thử nghiệm
Mục đích thử nghiệm là chứng minh khả năng của mẫu phản ứng với một loạt các loại khói theo yêu cầu để áp dụng chung trong các khu vực ở.
5.16.2 Quy trình thử nghiệm
5.16.2.1 Nguyên tắc thử nghiệm
Các mẫu được gắn trong một phòng thử nghiệm cháy tiêu chuẩn (theo Phụ lục F) và tiếp xúc với một loạt các đám cháy thử nghiệm được thiết kế để tạo ra khỏi đại diện cho một loạt các loại điều kiện khói và khói.
5.16.2.2 Thử nghiệm cháy
Theo dõi các mẫu được xác định trong 5.3 trong bốn vụ cháy thử nghiệm, TF2 đến TF5.
GHI CHÚ: Cháy thử nghiệm 1 (TF1) không được coi là áp dụng cho tiêu chuẩn này.
Loại, số lượng và cách bố trí nhiên liệu và phương pháp đốt cháy phải được mô tả cho từng vụ cháy thử trong Phụ lục G đến J, cùng với điều kiện kết thúc thử nghiệm và giới hạn đường cong biên dạng yêu cầu.
Để được coi là một đám cháy thử nghiệm hợp lệ, sự phát triển của đám cháy phải bảo đảm rằng các đường cong biểu diễn m theo y và m theo thời gian t nằm trong các giới hạn quy định, cho đến thời điểm tất cả các mẫu thử đã kích hoạt báo động, hoặc đến khi đạt điều kiện kết thúc thử nghiệm - tùy theo điều kiện nào xảy ra trước. Nếu các điều kiện này không được đáp ứng, thì thử nghiệm được coi là không hợp lệ và phải được lặp lại. Việc điều chỉnh khối lượng và cách bố trí nhiên liệu là cho phép và có thể cần thiết để tạo ra các đám cháy thử nghiệm hợp lệ.
5.16.2.3 Lắp đặt các mẫu
Lắp đặt các mẫu theo hướng dẫn của nhà sản xuất, sao cho chúng ở hướng ít nhạy nhất so với luồng không khí giả định từ trung tâm phòng đến mẫu.
Đối với thiết bị báo khói chỉ dành cho treo tường, gắn bốn mẫu (số 17 đến 20) trong vòng 0,5 m từ giữa 36 các bức tường dài như được thể hiện trong Phụ lục G với mẫu số 18 và 19 gần trần nhất và mẫu số 17 và 20 xa nhất được lấy ra khỏi trần nhà, tuân thủ hướng dẫn của nhà sản xuất.
Đối với đầu báo cháy khói dành cho trần nhà hoặc treo tường, gắn mẫu số 17 và 18 lên trần nhà trong khu vực được quy định và gắn mẫu số 19 và 20 trên tường như mô tả ở trên.
Kết nối mỗi mẫu với nguồn năng lượng của nó như được quy định trong 5.1.3 và cho phép nó ổn định trong điều kiện tĩnh trước khi bắt đầu mỗi vụ cháy thử.
5.16.2.4 Điều kiện ban đầu
QUAN TRỌNG - Sự ổn định của không khí và nhiệt độ ảnh hưởng đến luồng khói trong phòng. Điều này đặc biệt quan trọng đối với các đám cháy thử nghiệm tạo ra lực nâng nhiệt thấp cho khỏi (ví dụ: TF2 và TF3). Do đó, chênh lệch giữa nhiệt độ gần sàn và trần nhà phải là < 2 °C và nên tránh các nguồn nhiệt cục bộ có thể gây ra dòng đối lưu (ví dụ: đèn và máy sưởi). Nếu mọi người cần ở trong phòng khi bắt đầu đám cháy thử nghiệm, họ nên rời đi càng sớm càng tốt, cẩn thận để tạo ra sự xáo trộn tối thiểu cho không khí.
Trước mỗi lần thử lửa, hãy thông gió cho căn phòng bằng không khí sạch cho đến khi không còn khói, để có thể đạt được các điều kiện được liệt kê dưới đây.
Sau đó tắt hệ thống thông gió và đóng tất cả các cửa ra vào, cửa sổ và các khe hở khác. Để không khí trong phòng ổn định và các điều kiện sau phải đạt được trước khi bắt đầu thử nghiệm:
- Nhiệt độ, T: (23 ± 5) °C;
- Chuyển động không khí: không đáng kể;
- Mật độ khói (ion hóa): y ≤ 0,05;
- Mật độ khói (quang học): m ≤ 0,02 dB/m.
5.16.2.5 Ghi lại các thông số cháy và giá trị phản ứng
Trong mỗi lần thử nghiệm, ghi lại các thông số cháy trong Bảng 3 như một hàm của thời gian kể từ khi bắt đầu thử nghiệm. Ghi lại từng tham số liên tục hoặc ít nhất một lần mỗi s.
Bảng 3 - Thông số cháy
| Tham số | Biểu tượng | Đơn vị |
| Thay đổi nhiệt độ | ΔT | K |
| Mật độ khói (ion hóa) | y | (không thứ nguyên) |
| Mật độ khói (quang học) | m | dB/m |
Điều kiện báo động do mẫu đưa ra phải được coi là dấu hiệu cho thấy đầu báo cháy khói đã phản ứng với đám cháy thử nghiệm.
Ghi lại thời gian đáp ứng (điều kiện báo động) của từng mẫu, cùng với ΔTa, ya và ma, các thông số cháy tại thời điểm phản ứng. Phản hồi của đầu báo cháy khói sau khi điều kiện kết thúc thử nghiệm bị bỏ qua.
GHI CHÚ: Chỉ số a cho biết giá trị được quy định khi nhập điều kiện báo động.
5.16.3 Yêu cầu
Tất cả bốn mẫu phải tạo ra một điều kiện báo động trong mỗi vụ cháy thử nghiệm trước khi điều kiện kết thúc thử nghiệm quy định.
5.17 Tình trạng pin yếu
5.17.1 Mục đích thử nghiệm
Mục đích thử nghiệm là để chứng minh rằng một mẫu sẽ cho tình trạng pin yếu trước khi tăng điện trở bên trong hoặc giảm điện áp đầu cuối của pin ngăn cản hoạt động chính xác.
GHI CHÚ: Trường hợp phương pháp thử này không phù hợp để áp dụng, có thể thỏa thuận một phương pháp thay thế giữa nhà sản xuất và nhà thử nghiệm.
5.17.2 Quy trình thử nghiệm
Kết nối đầu báo cháy khói như thể hiện trong Hình 1 .
Với điện trở mắc nối tiếp, R, được đặt thành 0 và điện áp nguồn, V, được đặt thành điện áp pin định mức, VR, đo ngưỡng phản ứng của đầu báo cháy khói như được quy định trong 5.1.6.
Với điện trở mắc nối tiếp, R, được đặt thành 0, giảm điện áp nguồn, V, trong các giai đoạn 0,01 x VR trong khoảng thời gian ít nhất 1 min, cho đến khi điều kiện pin yếu được quy định. Ghi lại điện áp nguồn tại đó tình trạng pin yếu được đưa ra là VE và đo ngưỡng phản ứng của đầu báo cháy khói như được quy định trong 5.1.6.
Với điện áp nguồn V được đặt ở VR, tăng điện trở của điện trở mắc nối tiếp R từ 0 theo gia số 0,1 Ω trong khoảng thời gian ít nhất 1 min cho đến khi điều kiện pin yếu được đưa ra. Ghi lại điện trở mà tại đó điều kiện pin yếu được đưa ra là RE và đo ngưỡng phản ứng của đầu báo cháy khói như được quy định trong 5.1.6.

CHỨ DẪN:
1. Nguồn cấp điện DC theo quy định
2. Điện trở mắc nối tiếp
3. Điện áp nguồn
4. Đầu báo cháy khói đã tháo pin
Hình 1 - Sơ đồ thử nghiệm tình trạng pin yếu
5.17.3 Yêu cầu
Tỷ lệ của các ngưỡng phản ứng đo được tại VE và RE với ngưỡng phản ứng đo được bằng điện trở nối tiếp đặt về 0 và điện áp nguồn đặt về VR phải không nhỏ hơn 0,625 và không lớn hơn 1,6.
5.18 Đầu ra âm thanh 85 dBA - Chức năng tùy chọn
5.18.1 Mục đích thử nghiệm
Mục đích thử nghiệm là để chứng minh rằng mẫu phải có khả năng cung cấp đầu ra ít nhất 85 dBA và không quá 105 dBA ở 3 m.
5.18.2 Phương pháp thử nghiệm
Thử nghiệm ít nhất hai mẫu. Ngoài ra, thử nghiệm cả các mẫu dành cho kết nối nhiều trạm trong cấu hình đó, với điện trở đường dây và số lượng đầu báo cháy khói nối mạng tối đa và đầu ra âm thanh được đo trên đầu báo cháy khói trong điều kiện báo động. Đầu báo cháy khói được cấp nguồn bên ngoài phải được thử nghiệm khi được kết nối với nguồn điện áp và tần số định mức. Đối với pin sạc hoặc pin chính, nguồn điện ổn định phải được sử dụng và cài đặt ở một mức ngay trên hoặc ở điều kiện pin yếu với pin được quy định vẫn ở vị trí nhưng bị ngắt kết nối. Thiết bị báo khói được cấp nguồn ngoài kết hợp nguồn pin dự phòng phải được thử nghiệm cả nguồn ngoài và nguồn pin như mô tả ở trên.
GHI CHÚ: Nếu nhiều hơn năm đầu báo cháy khói kết nối với nhau thi có thể kết nối tối thiểu năm thiết bị và mô phỏng phần còn lại bằng một tải điện tương đương.
Phải sử dụng đồng hồ đo mức âm thanh tuân thủ TCVN 12527-1:2018 Loại 2 trở lên. Mức cường độ âm thanh có trọng số A phải được đo và ghi lại bằng dB (A) bằng cách sử dụng tính năng F (Nhanh) (0,125 s) và chỉ báo HOLD tối đa. Có thể chọn đo mức cường độ âm thanh trong dải tần 4 đến 20 kHz.
Thực hiện phép đo trong điều kiện trường tự do để giảm thiểu ảnh hưởng của năng lượng âm thanh phản xạ. Mức tiếng ồn xung quanh phải thấp hơn mức đo được do đầu báo cháy khói tạo ra ít nhất 10 dB.
Điều kiện trường tự do có thể được mô phỏng bằng cách gắn thiết bị lên bảng gỗ (xem ISO 7240-3). Các yêu cầu về mức cường độ âm thanh phải được đáp ứng ở độ cao 3 m so với đầu báo cháy khói. Các phép đo có thể được tiến hành ngoài trời vào một ngày trời quang với vận tốc gió không quá 8 km/h và nhiệt độ môi trường từ 15 °C đến 25 °C.
Ngoài ra, có thể sử dụng một buồng dội âm không nhỏ hơn 28 m3, không có chiều nào nhỏ hơn 2 m và có hệ số hấp thụ từ 0,99 trở lên từ 100 Hz đến 10 kHz ở tất cả các bề mặt cho phép đo này.
Áp suất âm thanh phải được đo trực tiếp trước đầu báo cháy khói hoặc ở một góc trong vòng cung theo chiều ngang 45° ở hai bên của nó.
Đối với đầu báo cháy khói sử dụng tần số đầu ra định mức 520 Hz, hãy đo tần số chính và sóng hài thứ 3 và thứ 5.
5.18.3 Yêu cầu
Đầu ra âm thanh phải bắt đầu ở mức không lớn hơn 45 dBA, tăng dần lên ít nhất 85 dBA và không quá 105 dBA trong khoảng thời gian từ 3 s đến 10 s (tùy chọn).
Đối với đầu báo cháy khói hoạt động bằng pin, đầu ra âm thanh phải có ít nhất 85 dBA và không quá 105 dBA sau 1 min báo động và ít nhất 82 dBA sau 4 min báo động.
Đối với đầu báo cháy khói được cấp nguồn bên ngoài, đầu ra âm thanh phải ít nhất 85 dBA và không quá 105 dBA sau 4 min báo động.
Đối với đầu báo cháy khói sử dụng tần số đầu ra định mức 520 Hz,
- Sóng hài thứ 3 phải là (-9,6 ± 2) dB, và
- Sóng hài thứ 5 phải là (-14 ± 2) dB
Mức cường độ âm thanh tương đối với tần số chính đo được.
5.19 Đầu ra âm thanh 70 dBA - Chức năng tùy chọn
5.19.1 Mục đích thử nghiệm
Mục đích thử nghiệm là để chứng minh rằng mẫu phải có khả năng tạo ra đầu ra ít nhất 70 dBA và không quá 105 dBA ở 3 m.
5.19.2 Phương pháp Thử nghiệm
Thử nghiệm ít nhất hai mẫu. Ngoài ra, Thử nghiệm cả các kết nối nhiều trạm trong cấu hình đó, với điện trở đường dây và số lượng đầu báo cháy khói nối mạng tối đa và đầu ra âm thanh được đo trên Đầu báo cháy khói trong điều kiện báo động. Đầu báo cháy khói được cấp nguồn bên ngoài phải được Thử nghiệm khi được kết nối với nguồn điện áp và tần số định mức. Đối với pin sạc hoặc pin chính, nguồn điện ổn định phải được sử dụng đặt ở một điểm ngay trên hoặc ở điều kiện pin yếu với pin được quy định vẫn ở vị trí nhưng bị ngắt kết nối. Đầu báo cháy khói được cấp nguồn bên ngoài kết hợp nguồn pin dự phòng phải được thử nghiệm cả bên ngoài và nguồn pin như mô tả ở trên.
GHI CHÚ: Nếu nhiều hơn năm đầu báo cháy khói kết nối với nhau thì có thể kết nối tối thiểu năm thiết bị và mô phỏng phần còn lại bằng một tải điện tương đương.
Phải sử dụng đồng hồ đo mức âm thanh tuân thủ TCVN 12527-1:2018 Loại 2 trở lên. Mức cường độ âm thanh có trọng số A phải được đo và ghi lại bằng dB (A) bằng cách sử dụng đặc tính chỉ báo F (Nhanh) (0,125 s) và chỉ báo Hold tối đa. Có thể đo có chọn lọc mức cường độ âm thanh trong dải tần 4 đến 20 kHz.
Thực hiện phép đo trong điều kiện trường tự do để giảm thiểu ảnh hưởng của năng lượng âm thanh phản xạ. Mức tiếng ồn xung quanh phải thấp hơn mức đo được ít nhất 10 dB do đầu báo cháy khói tạo ra.
Điều kiện trường tự do có thể được mô phỏng bằng cách gắn thiết bị lên bảng gỗ (xem ISO 7240-3). Phải đáp ứng các yêu cầu về mức cường độ âm thanh ở độ cao 3 m so với đầu báo cháy khói. Các phép đo có thể được tiến hành ngoài trời vào một ngày trời quang với vận tốc gió không quá 8 km/h và nhiệt độ môi trường từ 15 °C đến 25 °C.
Ngoái ra, có thể sử dụng một buồng dội âm không nhỏ hơn 28 m3, không có chiều nào nhỏ hơn 2 m và có hệ số hấp thụ từ 0,99 trở lên hoặc lớn hơn từ 100 Hz đến 10 kHz ở tất cả các bề mặt cho phép đo này.
Áp suất âm thanh phải được đo trực tiếp trước đầu báo cháy khói hoặc ở một góc nằm trong đường vòng cung theo chiều ngang 45° ở hai bên của thiết bị này.
Đối với đầu báo cháy khói sử dụng tần số đầu ra định mức 520 Hz, hãy đo tần số chính và sóng hài thứ 3 và thứ 5.
5.19.3 Yêu cầu
Đầu ra âm thanh phải bắt đầu ở mức không lớn hơn 45 dBA, tăng dần lên ít nhất 70 dBA và không quá 105 dBA trong khoảng thời gian từ 3 s đến 10 s (tùy chọn).
Đối với đầu báo cháy khói hoạt động bằng pin, đầu ra âm thanh phải ít nhất 70 dBA và không quá 105 dBA sau 1 min báo động và ít nhất 67 dBA sau 4 min báo động.
Đối với đầu báo cháy khói được cấp nguồn bên ngoài, đầu ra âm thanh phải ít nhất 70 dBA và không quá 105 dBA sau 4 min báo động.
Đối với đầu báo cháy khói sử dụng tần số đầu ra định mức 520 Hz,
- Sóng hài thứ 3 phải là (-9,6 ± 2) dB, và
- Sóng hài thứ 5 phải là (-14 ± 2) dB
Mức cường độ âm thanh tương đối với tần số chính đo được.
5.20 Độ bền chuông báo
5.20.1 Mục đích thử nghiệm
Mục đích thử nghiệm là để chứng minh khả năng mẫu chuông báo có thể hoạt động như dự kiến sau khi thử nghiệm độ bền.
5.20.2 Quy trình thử nghiệm
Kết nối mẫu với nguồn điện của nó như được quy định trong 5.1.3. Trường hợp nguồn điện chính được tích hợp bên trong, nên sử dụng nguồn điện được chọn lọc điều chỉnh theo điện áp quy định của nó.
Vận hành mẫu trong 8 h luân phiên trong 5 min cấp nguồn và khử năng lượng ở chế độ chờ và các chế độ báo động.
Sau khi ổn định, đo đầu ra âm thanh của đầu báo cháy khói như quy định trong 5.18 hoặc 5.19 theo quy định của nhà sản xuất.
5.20.3 Yêu cầu
Mẫu phải đáp ứng các yêu cầu đầu ra âm thanh như quy định trong 5.18 hoặc 5.19 theo quy định của nhà sản xuất.
5.21 Đầu báo cháy khói có thể kết nối với nhau
5.21.1 Mục đích thử nghiệm
Mục đích thử nghiệm là để chứng minh khả năng mẫu thử nghiệm có thể kết nối với nhau để vận hành như dự kiến và để đảm bảo rằng thiết bị kết nối không làm giảm hoạt động của bất kỳ đầu báo cháy khói đơn lẻ nào.
5.21.2 Quy trình thử nghiệm
Kết nối đầu báo cháy khói đang thử nghiệm với số lượng đầu báo cháy khói tối đa cho phép theo hướng dẫn của nhà sản xuất [(xem 4.23 c)].
Nếu có nhiều hơn năm đầu báo cháy khói kết nối với nhau, thì có thể kết nối tối thiểu năm đầu báo cháy khói và mô phỏng phần còn lại bằng một tải điện tương đương.
Kích hoạt một đầu báo cháy khói vào điều kiện báo động và thử nghiệm tất cả các đầu báo cháy khói được kết nối với nhau để biết tình trạng báo động.
Nếu đầu báo cháy khói có chức năng tắt báo động, điều khiển tắt báo động trên một đầu báo cháy khói và trong thời gian im lặng đó, kích hoạt một đầu báo cháy khói khác. Thử nghiệm các đầu báo cháy khói được kết nối với nhau để biết tình trạng báo động, bao gồm cả đầu báo cháy khói trong điều kiện đã tắt báo động.
Với các đầu báo cháy khói được kết nối với nhau, đo ngưỡng phản ứng của đầu báo cháy khói được thử nghiệm như được quy định trong 5.1.8. Trường hợp nguồn điện chính được tích hợp bên trong, lặp lại Thử nghiệm ngưỡng phản ứng với các thiết bị có dây dẫn kết nối bị đoản mạch.
Với đầu báo cháy khói được kết nối với nhau, lặp lại thử nghiệm đầu ra âm thanh được mô tả trong 5.18 hoặc 5.19 trên một trong các đầu báo cháy khói, nếu có. Trong thử nghiệm này, đảm bảo rằng các đầu báo cháy khói được kết nối với nhau khác được sàng lọc hoặc giãn cách nhau 1 khoảng đủ để báo động của chúng không ảnh hưởng đến phép đo. Trong trường hợp nguồn điện chính được tích hợp bên trong, lặp lại thử nghiệm đầu ra âm thanh với các thiết bị có dây dẫn kết nối bị đoản mạch.
Trường hợp nguồn điện chính được tích hợp bên trong, đánh giá lại các yêu cầu về công suất, bao gồm cả tải được tạo ra bằng cách kết nối số lượng đầu báo cháy khói tối đa cho phép (xem 4.13).
5.21.3 Yêu cầu
Yêu cầu đối với đầu báo cháy khói có thể kết nối như sau:
- Tất cả các thiết bị đầu báo cháy khói được kết nối với nhau phải tạo ra báo động trong vòng 1 min kể từ khi có một báo động.
- (Các) tỷ lệ của (các) ngưỡng phản ứng được đo trong thử nghiệm này với ngưỡng phản ứng được đo trong thử nghiệm độ nhạy ban đầu phải nằm trong khoảng từ 0,625 đến 1,6.
- Đầu ra âm thanh phải đáp ứng các yêu cầu 5.18 hoặc 5.19 nếu có.
- Các yêu cầu nguồn điện chính bên trong được quy định trong 4.13 vẫn có thể được đáp ứng.
5.22 Thiết bị đầu báo cháy khói sử dụng liên kết tần số vô tuyến điện
5.22.1 Tổng quan
Điều khoản này quy định các phương pháp thử nghiệm và tiêu chí hiệu suất cho đầu báo cháy khói sử dụng liên kết tần số vô tuyến để kết nối với nhau.
GHI CHÚ: Không yêu cầu giám sát vĩnh viễn đường truyền.
5.22.2 Dải tần số vô tuyến
5.22.2.1 Mục đích thử nghiệm
Để đảm bảo rằng dải tần số vô tuyến đủ cho ứng dụng hộ gia đình/ dân cư, phải đo hiệu suất hệ thống của bộ phận vô tuyến.
5.22.2.2 Tính toán suy giảm trường tự do
Độ suy giảm trường tự do được tính tùy theo tần số sử dụng và khoảng cách do nhà sản xuất công bố và được tính theo công thức sau:
![]()
Trong đó:
λ là bước sóng tính bằng m; bước sóng ![]()
r là khoảng cách tính bằng m;
D là độ suy hao tính bằng dB.
Kết quả D được ghi lại.
5.22.2.3 Quy trình thử nghiệm công suất phát
Phải cung cấp năm mẫu thử. Công suất phát của từng mẫu được xác định theo hướng truyền tín hiệu bất lợi nhất theo chỉ dẫn của nhà sản xuất. Việc đo này có thể được thực hiện, ví dụ, trong buồng không phản xạ RF hoặc trong điều kiện không có nhiễu trường. Trường hợp các mẫu sử dụng các tần số khác nhau, phép đo sẽ được thực hiện tại tần số cao nhất. Mẫu có công suất phát thấp nhất sẽ được xác định và đánh dấu là "S1". Mẫu này sẽ được sử dụng cho các phép đo tham chiếu sau đó, do đó không được sử dụng cho bất kỳ phép thử môi trường nào trong các phần khác của tiêu chuẩn này
5.22.2.4 Thử nghiệm bộ thu
5.22.2.4.1 Tổng quan
Trong dải tần được sử dụng trong 5.22.2.2, độ nhạy máy thu của tất cả các mẫu (ngoài "S1") được Thử nghiệm trong điều kiện trường tự do. Trong mẫu thử nghiệm này "S1" được sử dụng làm bộ phát, định hướng sao cho hướng truyền không thuận lợi nhất của nó phải đối mặt với máy thu. Sau đó, mỗi mẫu khác, lần lượt, được đặt ở khoảng cách 100 m hoặc theo quy định của nhà sản xuất nếu nó lớn hơn 100 m, được định hướng sao cho hướng ít nhạy nhất của bộ thu phải đối mặt với bộ phát. Một tín hiệu báo động sau đó được truyền bởi "S1".
5.22.2.4.2 Yêu cầu
Mỗi đầu báo cháy khói được thử nghiệm sẽ nhận được tín hiệu từ thiết bị phát "S1" và tạo ra tín hiệu báo động âm thanh trong vòng 30 s. Các thiết bị phụ trợ tần số vô tuyến phải được Thử nghiệm theo 5.22.2.4.1.
5.22.3 Thất bại trong thử nghiệm liên kết tần số vô tuyến
5.22.3.1 Tổng quan
Nhà sản xuất phải cung cấp phương tiện vô hiệu hóa việc truyền tần số vô tuyến giữa hai đầu báo cháy khói liên kết tần số vô tuyến.
5.22.3.2 Yêu cầu
Việc vô hiệu hóa truyền tần số vô tuyến phải không dẫn đến thay đổi trạng thái của đầu báo cháy khói. Mỗi đầu báo cháy khói phải đáp ứng giá trị ngưỡng phản ứng như được quy định trong Bảng 1.
5.22.4 Xác minh mã nhận dạng
5.22.4.1 Mục đích thử nghiệm
Để chứng minh khả năng của đầu báo cháy khói để phân biệt số lượng mã nhận dạng cần thiết.
5.22.4.2 Quy trình thử nghiệm
Nhà sản xuất phải nộp tài liệu mô tả cách mã hóa hoạt động để đánh giá yêu cầu. Nhà sản xuất phải chứng minh rằng có tối thiểu 65 000 mã nhận dạng hoặc 255 cách mã hóa có thể thay đổi hoạt động để đáp ứng yêu cầu.
5.22.4.3 Yêu cầu thử nghiệm
Một đánh giá kỹ thuật phải được thực hiện để xác minh các yêu cầu quy định tại 5.22.3.2.
5.22.5 Thử nghiệm môi trường cho các đầu báo cháy khói liên kết tần số vô tuyến
5.22.5.1 Mục đích thử nghiệm
Mục đích thử nghiệm để cho thấy rằng đầu báo cháy khói bao gồm mô-đun vô tuyến không thay đổi đáng kể sau khi ổn định môi trường.
5.22.5.2 Quy trình thử nghiệm
Các thiết bị đầu báo cháy khói bao gồm các mô-đun vô tuyến của chúng phải chịu các thử nghiệm môi trường theo các điều khoản liên quan của tiêu chuẩn này.
Sau khi ổn định:
- Kích hoạt đầu báo cháy khói đã được ổn định vào trạng thái báo động và kiểm tra xem một mẫu được kết nối có báo động như được quy định trong 4.23 hay không.
- Kích hoạt đầu báo cháy khói chưa được ổn định vào trạng thái báo động và xem thiết bị báo cháy được ổn định có báo động như được quy định trong 4.23 hay không.
5.22.5.3 Yêu cầu thử nghiệm
Ngoài các yêu cầu cụ thể trong các khoản khác của tiêu chuẩn này, các yêu cầu bổ sung sau đây cũng được áp dụng:
- Trong quá trình thử nghiệm môi trường hoạt động, hệ thống đầu báo cháy khói không được tạo ra hoặc truyền bất kỳ tín hiệu báo động hoặc lỗi nào.
- Sau khi thử nghiệm độ bền, không tín hiệu báo động và tín hiệu lỗi nào được phát hoặc truyền đi khi vận hành.
Một đánh giá kỹ thuật phải được thực hiện để xác minh các yêu cầu quy định tại 4.23.
5.23 Thiết bị tắt báo động
5.23.1 Mục đích thử nghiệm
Mục đích thử nghiệm là để chứng minh khả năng mẫu có tính năng tắt báo động có thể hoạt động như dự kiến và để đảm bảo rằng tính năng tắt báo động không làm ảnh hưởng vĩnh viễn đến hoạt động của đầu báo cháy khói.
5.23.2 Yêu cầu thử nghiệm
Tạo khói theo quy định trong 5.1.6 trong đường ống dẫn khói được quy định trong Phụ lục A, với vận tốc không khí (0,2 ± 0,04) m/s và nhiệt độ không khí (23 ± 5) °C, nhưng tăng mật độ khói lên gấp ba lần ± 10 % ngưỡng phản ứng (m hoặc y) được ghi lại cho đầu báo cháy khói số 16, khi được thử nghiệm như quy định trong 5.3.2. Sử dụng đầu báo cháy khói số 16, với điện áp nguồn tương ứng với VR, lắp đầu báo cháy khói vào đường ống đầy khói trong khi vẫn duy trì mật độ khói cần thiết. Sau khi đầu báo cháy khói đi vào điều kiện báo động, vận hành tắt báo động bằng tay, giữ đầu báo cháy khói trong đường ống đầy khói trong ít nhất 15 min.
a) Đo thời gian từ lúc điều khiển bằng tay đến khi có tín hiệu âm thanh phát lại.
b) Lặp lại thử nghiệm tắt báo động bằng tay vận hành liên tục trong (15 đến 15,25) min.
c) Lặp lại các thử nghiệm cho mỗi lần điều khiển tắt báo động từ xa.
5.23.3 Yêu cầu
Khoảng thời gian quy định trong 5.23.2 phải lớn hơn 5 min và nhỏ hơn 15 min.
Tín hiệu báo động âm thanh phải vang lên trước khi hết thời hạn quy định cho 5.23.2 b).
5.24 Tính năng tắt tạm thời
5.24.1 Mục đích thử nghiệm
Mục đích thử nghiệm là chứng minh khả năng các mẫu với tính năng điều khiển tắt báo động tạm thời có thể hoạt động như dự kiến và đảm bảo rằng tính năng tắt tạm thời không làm ảnh hưởng vĩnh viễn đến hoạt động của đầu báo cháy khói.
5.24.2 Quy trình thử nghiệm
5.24.2.1 Tạo khói theo quy định trong 5.1.6 trong đường ống dẫn khói quy định tại Phụ lục A, với vận tốc không khí (0,2 ± 0,04) m/s và nhiệt độ không khí (23 ± 5) °C, nhưng tăng mật độ khói lên gấp ba lần ± 10 % ngưỡng phản ứng (m hoặc y) được ghi cho đầu báo cháy khói số 16, khi được Thử nghiệm như quy định trong 5.3.2, duy trì mật độ khói cần thiết trong suốt thời gian thử nghiệm. Sử dụng đầu báo cháy khói số 16, với điện áp nguồn tương ứng với VR:
a) Bật thủ công tính năng vô hiệu hóa tạm thời sau đó lắp ngay thiết bị đầu báo cháy khói vào đường ống đầy khói. Đo thời gian từ lúc vô hiệu hóa tạm thời đến khi báo động âm thanh phát lại.
b) Lặp lại thử nghiệm trong mục a) với điều khiển vô hiệu hóa tạm thời hoạt động liên tục trong 15 min đến 15,25 min. Đo thời gian từ lúc vô hiệu hóa tạm thời đến khi báo động âm thanh phát lại.
c) Lặp lại các thử nghiệm cho mỗi lần điều khiển vô hiệu hóa tạm thời từ xa.
5.24.3 Yêu cầu
Khoảng thời gian quy định cho 5.24.2.1 a) phải lớn hơn 5 min và nhỏ hơn 15 min.
Tín hiệu báo động âm thanh phải vang lên trước khi hết thời hạn quy định cho 5.23.2 b).
Tỷ lệ của ngưỡng phản ứng được đo trong quá trình thử nghiệm với ngưỡng phản ứng được ghi cho cùng một đầu báo cháy khói khi thử nghiệm như quy định trong 5.3.2 không được nhỏ hơn 0,625 và không lớn hơn 1,6.
5.25 Sự thay đổi điện áp nguồn
5.25.1 Mục đích thử nghiệm
Mục đích thử nghiệm là để chứng minh rằng, trong (các) phạm vi quy định của điện áp nguồn, độ nhạy của mẫu không phụ thuộc quá mức vào các thông số này.
5.25.2 Quy trình thử nghiệm
Đo giá trị ngưỡng phản ứng của mẫu được thử nghiệm như được quy định trong 5.1.6, với các điều kiện cấp nguồn theo quy định (ví dụ: điện áp tối đa và tối thiểu).
Thử nghiệm đầu báo cháy khói hoạt động từ nguồn chính với điện áp nguồn bằng 0,85 lần giới hạn dưới và 1,1 lần giới hạn trên của dải điện áp nguồn định mức được quy định trong yêu cầu của nhà sản xuất. Nếu đầu báo cháy khói dùng pin sạc, hãy dành đủ thời gian để điện áp pin ổn định trước khi đo ngưỡng phản ứng.
Trường hợp nguồn điện chính được tích hợp bên trong, thực hiện các thử nghiệm với điện áp nguồn tương ứng với VR, và cũng ở điện áp tình trạng pin yếu (VE) như được quy định trong 5.17.2.
Trường hợp sử dụng nguồn điện dự phòng, Thử nghiệm cả đầu báo cháy khói khi nguồn điện chính bị ngắt. Nhà sản xuất phải quy định điện áp tối đa và tối thiểu. Tiến hành các thử nghiệm ở mức điện áp tối đa và tối thiểu.
Quy định giá trị ngưỡng phản ứng tối đa là ymax hoặc mmax và giá trị tối thiểu là ymin hoặc mmin.
5.25.3 Yêu cầu
Tỷ lệ của các giá trị ngưỡng phản ứng ymax:ymin hoặc mmax:mmin không được lớn hơn 1,6.
Giá trị ngưỡng phản ứng dưới ymin không được nhỏ hơn 0,2.
Giá trị ngưỡng phản ứng dưới mmin không được nhỏ hơn:
- 0,05 dB/m đối với đầu báo có giá trị ngưỡng phản ứng được công bố là dải tần 1
- 0,2 dB/m đối với đầu báo có giá trị ngưỡng phản ứng được công bố là dải tần 2.
Giá trị ngưỡng phản ứng trên mmax phải là giá trị được ghi trước các điều kiện kết thúc thử nghiệm.
5.26 Đảo ngược cực
5.26.1 Mục đích thử nghiệm
Mục đích thử nghiệm là để chứng minh khả năng của đầu báo cháy khói được cấp nguồn bên ngoài bằng pin hoặc nguồn DC có thể hoạt động bình thường sau khi bị kết nối sai cực.
5.26.2 Quy trình thử nghiệm
Đối với thiết bị đầu báo cháy khói hoạt động bằng pin (bao gồm cả pin nguồn điện dự phòng hoặc tương đương) nhằm mục đích kết nối với thiết bị đầu cuối phân cực, đảo ngược cực trong 10 s đến 15 s, nếu có thể thiết lập kết nối đảo ngược với loại pin dự kiến sử dụng mà không gây ra thiệt hại cơ học cho thiết bị đầu báo cháy khói.
Trừ khi xảy ra lỗi hoặc báo động, duy trì điều kiện này trong 2 h.
Đối với đầu báo cháy khói cấp nguồn ngoài, đảo ngược cực của đường cấp nguồn. Trừ khi xảy ra lỗi hoặc báo động, duy trì điều kiện này trong 2 h.
Đối với đầu báo cháy khói có thể kết nối với nhau, nối các dây dẫn kết nối với cực bị đảo ngược. Trừ khi xảy ra lỗi hoặc báo động, duy trì điều kiện này trong 2 h.
Sau khi ổn định phân cực ngược, nối mẫu với nguồn điện của nó như quy định trong 5.1.3 và đo giá trị ngưỡng phản ứng của nó như trong 5.1.6.
Trường hợp thiết bị có nguồn điện chính được tích hợp bên trong hoặc có nguồn điện dự phòng, hãy xác định điện áp (VE) tại đó tình trạng pin yếu xảy ra như được quy định trong 5.17.2.
Trong hai giá trị ngưỡng phản ứng đối với mẫu thử trong thử nghiệm này và thử nghiệm độ nhạy ban đầu, quy định giá trị lớn hơn là ymax hoặc mmax và giá trị nhỏ hơn là ymin hoặc mmin.
5.26.3 Yêu cầu
Tỷ lệ của các giá trị ngưỡng phản ứng ymax:ymin hoặc mmax:mmin không được lớn hơn 1,6.
Trường hợp nguồn điện chính là nguồn điện tích hợp bên trong hoặc nguồn điện dự phòng được bao gồm và điện áp được áp dụng, tình trạng pin yếu sẽ xảy ra sau thử nghiệm đảo ngược cực. Điện áp điều kiện pin yếu (VE) được xác định sau thử nghiệm đảo cực phải nằm trong khoảng 5 % điện áp điều kiện pin yếu được xác định trước khi thử nghiệm.
5.27 Nguồn điện dự phòng
5.27.1 Mục đích thử nghiệm
Mục đích thử nghiệm là để chứng minh rằng mẫu sẽ rơi vào tình trạng lỗi khi nguồn điện dự phòng bị cạn kiệt, hở mạch và đoản mạch.
5.27.2 Quy trình thử nghiệm
Kết nối mẫu với nguồn điện chính và nguồn điện dự phòng, sau đó làm theo quy trình thử nghiệm được quy định trong 5.17.
Khôi phục mẫu về tình trạng bình thường, sau đó ngắt kết nối nguồn điện chính và lặp lại quy trình thử nghiệm được quy định trong 5.17.
Khôi phục mẫu về tình trạng bình thường, sau đó ngắt nguồn điện dự phòng.
Khôi phục mẫu về tình trạng bình thường, sau đó ngắt nguồn điện dự phòng và lập tức áp dụng đoản mạch giữa các đầu cuối nguồn điện dự phòng.
5.27.3 Yêu cầu
Mẫu thử phải tạo ra tình trạng lỗi sau mỗi bước thử.
5.28 An toàn điện
5.28.1 Mục đích thử nghiệm
Mục đích thử nghiệm là để chứng minh rằng mẫu thử đủ an toàn về điện cho tính mạng con người tránh các dòng điện nguy hiểm đi qua cơ thể người (điện giật), quá nhiệt cũng như sự bốc cháy và cháy lan.
5.28.2 Quy trình thử nghiệm
5.28.2.1 Làm nóng trong điều kiện hoạt động bình thường
Đánh giá mẫu tuân thủ các yêu cầu của TCVN 6385:2009, Khoản 7.
5.28.2.2 Nguy cơ điện giật trong điều kiện hoạt động bình thường
Đánh giá mẫu tuân thủ các yêu cầu của TCVN 6385:2009, Khoản 8 và 9, khi được gắn theo bất kỳ hướng nào trên bề mặt thẳng đứng và khi được gắn ở mặt dưới của bề mặt nằm ngang.
Yêu cầu của TCVN 6385:2009, 9.1.6 phải áp dụng cho các chân của ổ cắm trên thiết bị sau khi rút phích nối gắn vào dây nguồn điện lưới.
5.28.2.3 Yêu cầu cách nhiệt
Đối với mẫu dự kiến vận hành từ nguồn cấp lớn hơn 34 V (đỉnh hoặc DC.), Đánh giá thiết bị theo các yêu cầu của TCVN 6385:2009, Khoản 10, không tính đến thử nghiệm quy định tại 10.1.
5.28.2.4 Điều kiện lỗi
Đánh giá mẫu tuân thủ các yêu cầu của TCVN 6385:2009, Khoản 11.
5.28.2.5 Sức mạnh cơ học
Đánh giá mẫu theo yêu cầu của TCVN 6385:2009, Điều 12 độ bền cơ học.
5.28.2.6 Khoảng thông thủy và khoảng cách đường rò
Đánh giá mẫu tuân thủ các yêu cầu của TCVN 6385:2009, Khoản 13.
5.28.2.7 Thành phần
Đánh giá các thành phần sau để tuân thủ các yêu cầu liên quan của TCVN 6385:2009, Khoản 14:
- Điện trở, tụ điện, cuộn cảm và máy biến áp (những thành phần này nếu bị đoản mạch hoặc ngắt kết nối sẽ vi phạm các yêu cầu hoạt động trong điều kiện lỗi, liên quan đến nguy cơ quá nhiệt, cháy hoặc giật điện);
- Thiết bị bảo vệ, công tắc, khóa liên động an toàn, thiết bị cài đặt điện áp và vỏ cho pin; và
- Định mức công suất, điện áp và dòng điện, nếu thích hợp, của tất cả các thành phần để tuân thủ ứng dụng của chúng.
Sự tuân thủ phải được kiểm tra bằng cách đo mạch, phân tích thiết kế mạch, các phép đo trên các thành phần bằng cách hỏi và bằng cách kiểm tra nếu thích hợp.
5.28.2.8 Bảo vệ chống lại sự phát sinh và lây lan của đám cháy
Đánh giá mẫu tuân thủ các yêu cầu của TCVN 6385:2009, Khoản 20.
5.28.2.9 Kết nối dây
Đánh giá mẫu tuân thủ các yêu cầu của IEC 60950-1:2005, 3.2 và 3.3.
5.28.3 Yêu cầu
Mẫu phải đáp ứng các yêu cầu của thử nghiệm.
5.29 Thời gian trình tự cho đầu báo cháy khói bằng giọng nói
5.29.1 Mục đích thử nghiệm
Mục đích thử nghiệm là xác minh rằng trình tự tín hiệu và thời gian của báo động giọng nói và tín hiệu cảnh báo nằm trong yêu cầu.
5.29.2 Quy trình thử nghiệm
Kết nối mẫu với nguồn điện phù hợp và đặt nó ở điện áp tối thiểu do nhà sản xuất công bố.
Kích hoạt chuỗi âm thanh sau:
- Đo chênh lệch thời gian giữa các tín hiệu khi bắt đầu chuỗi âm thanh và khi kết thúc chuỗi âm thanh.
- Lặp lại các phép đo sáu lần trong khoảng thời gian 5 min.
- Lặp lại quy trình với nguồn điện được đặt ở điện áp tối đa do nhà sản xuất công bố.
5.29.3 Các phép đo trong quá trình ổn định
Đối với mỗi chuỗi âm thanh, đo trình tự và thời lượng của tín hiệu cảnh báo, khoảng thời gian im lặng và cảnh báo giọng nói.
5.29.4 Yêu cầu
Các phép đo của 5.29.3 phải nằm trong giới hạn quy định tại 4.24.
6 Báo cáo thử nghiệm
Báo cáo thử nghiệm phải có tối thiểu các thông tin sau:
a) Mã đầu báo cháy khói được thử nghiệm;
b) Tham chiếu đến tiêu chuẩn này và bất kỳ sửa đổi nào;
c) Kết quả thử nghiệm: các giá trị ngưỡng phản ứng riêng lẻ và các giá trị trung bình tối thiểu, tối đa hoặc số học nếu thích hợp;
d) Thời gian ổn định và môi trường ổn định;
e) Nhiệt độ và độ ẩm tương đối trong phòng thử nghiệm trong suốt quá trình thử nghiệm;
f) Chi tiết nguồn điện;
g) Chi tiết về bất kỳ sai lệch nào so với tiêu chuẩn này hoặc từ các tài liệu tham khảo được thực hiện;
h) Chi tiết của bất kỳ tính năng vận hành nào được coi là tùy chọn;
i) Bất kỳ đặc điểm bất thường nào được quan sát; và
j) Ngày thử nghiệm.
Phụ lục A
(Quy định)
Đường ống dẫn khói để đo giá trị ngưỡng kích hoạt
Phụ lục này quy định các đặc tính của đường ống dẫn khói có tầm quan trọng hàng đầu để thực hiện các phép đo lặp lại và tái tạo các giá trị ngưỡng kích hoạt của đầu báo cháy khói. Tuy nhiên, sẽ không thực tế khi quy định và đo lường tất cả các thông số có thể ảnh hưởng đến các phép đo, thông tin cơ bản trong Phụ lục K cần được xem xét cẩn thận khi đường ống dẫn khói được thiết kế và sử dụng để thực hiện các phép đo theo tiêu chuẩn này.
Đường ống dẫn khói phải có khoang làm việc nằm ngang chứa thể tích làm việc. Thể tích làm việc là một phần xác định của khoang làm việc nơi nhiệt độ không khí và luồng không khí nằm trong điều kiện thử nghiệm bắt buộc. Yêu cầu này phải được xác minh thường xuyên trong điều kiện tĩnh, bằng các phép đo tại một số điểm thích hợp được phân bố trong và trên ranh giới tưởng tượng của thể tích làm việc. Thể tích làm việc phải đủ lớn để bao bọc hoàn toàn đầu báo được thử nghiệm và các bộ phận cảm biến của thiết bị đo. Khoang làm việc phải được thiết kế để cho phép lắp thiết bị gây chói được quy định trong Phụ lục D. Đầu báo được thử nghiệm phải được gắn ở vị trí thông thường của nó ở mặt dưới của một bảng phẳng thẳng hàng với luồng không khí trong thể tích làm việc. Bảng phải có kích thước sao cho cạnh hoặc các cạnh của bảng cách bất kỳ bộ phận nào của đầu báo ít nhất 20 mm. Việc bố trí lắp đặt đầu báo không được cản trở quá mức luồng không khí giữa bảng và trần đường ống.
Phải cung cấp các công cụ để tạo ra một luồng không khí cơ bản với vận tốc yêu cầu [tức là (0,2 ± 0,04) m/s hoặc (1,0 ± 0,2) m/s] đi qua phần thể tích làm việc. Có thể kiểm soát nhiệt độ ở các giá trị cần thiết và tăng nhiệt độ với tốc độ không quá 1 K/min đến 55 °C.
Cả hai phép đo mật độ sol khí, m, được biểu thị bằng decibel trên mét (dB/m) cho các đầu báo sử dụng ánh sáng tán xạ hoặc truyền qua, và y (không thứ nguyên) cho các đầu báo sử dụng ion hóa, phải được thực hiện trong thể tích làm việc ở gần đầu báo.
Cần cung cấp các công cụ để đưa sol khí thử nghiệm vào đường ống sao cho mật độ sol khí đồng nhất thu được trong thể tích làm việc.
Chỉ được gắn một đầu báo trong đường dẫn khói, trừ khi chứng minh được rằng các phép đo được thực hiện đồng thời trên nhiều đầu báo không mâu thuẫn nhiều so với các phép đo được thực hiện trên một đầu báo riêng lẻ. Trong trường hợp có mâu thuẫn, giá trị thu được từ thử nghiệm riêng lẻ sẽ được chấp nhận.
Phụ lục B
(Quy định)
Thử nghiệm sol-khí để đo giá trị ngưỡng phản ứng
Sol-khí đa phân tán phải được sử dụng làm sol-khí thử nghiệm để đo các giá trị ngưỡng phản ứng. Phần lớn các hạt bao gồm sol-khí phải có đường kính hạt từ 0,5 μm đến 1 μm và chiết suất xấp xỉ 1,4.
Sol-khí thử nghiệm phải có thể tái hiện và ổn định liên quan đến các thông số sau:
- Phân bố khối lượng hạt;
- Hằng số quang học của các hạt;
- Hình dạng hạt;
- Cấu trúc hạt.
Sự ổn định của sol-khí nên được đảm bảo. Một phương pháp có thể để làm điều này là đo lường và giám sát sự ổn định của tỷ lệ m:y.
Nên sử dụng máy tạo Sol-khí sử dụng dầu parafin cấp dược phẩm để tạo Sol-khí thử nghiệm.
Phụ lục C
(Quy định)
Dụng cụ đo khói
C.1 Máy đo độ cản sáng
Ngưỡng phản ứng của đầu báo cháy khói sử dụng ánh sáng tán xạ hoặc ánh sáng truyền qua được đặc trưng bởi chỉ số hấp thụ (chỉ số hấp thụ ánh sáng) của sol-khí thử nghiệm, được đo ở gần thiết bị đầu báo cháy khói, tại thời điểm thiết bị tạo ra báo động.
Chỉ số hấp thụ được quy định là m và được biểu thị bằng đơn vị decibel trên mét (dB/m). Chỉ số hấp thụ, m, được đưa ra theo phương trình sau:
![]()
Trong đó
d là khoảng cách, được biểu thị bằng mét, đo bởi tia sáng di chuyển trong môi trường sol khí hoặc khói thử nghiệm, từ nguồn sáng đến nguồn thu sáng;
P0 là công suất bức xạ nhận được khi không có sol-khí hoặc khói thử nghiệm;
P là công suất bức xạ nhận được khi có sol-khí hoặc khói thử nghiệm.
Đối với tất cả các nồng độ Sol khí hoặc khói tương ứng với độ suy giảm lên đến 2 dB/m, sai số đo của máy đo độ cán sáng không được vượt quá 0,02 dB/m + 5 % độ suy giảm đo được của nồng độ Sol khí hoặc khói.
Hệ thống quang học phải được bố trí sao cho bất kỳ ánh sáng nào bị tán xạ quá 3° bởi sol khí hoặc khói thử nghiệm đều bị đầu báo ánh sáng bỏ qua.
Công suất bức xạ hiệu dụng của chùm sáng phải là:
- Ít nhất 50 % trong phạm vi bước sóng từ 800 nm đến 950 nm;
- Không quá 1 % trong dải bước sóng dưới 800 nm;
- Không quá 10 % trong dải bước sóng trên 1 050 nm.
CHÚ THÍCH: Công suất bức xạ hiệu dụng trong mỗi dải bước sóng là sản phẩm của năng lượng phát ra từ nguồn sáng, mức truyền của đường đo quang học trong không khí sạch và độ nhạy của bộ thu trong dải bước sóng này.
C.2 Thiết bị đo cường độ phát xạ ion hóa (MIC)
C.2.1 Tổng quát
Ngưỡng phản ứng của các đầu báo sử dụng ion hóa được đặc trưng bởi một đại lượng không chiều, y, có nguồn gốc từ sự thay đổi tương đối của dòng điện chạy trong máy đo cường độ phát xạ ion hóa và liên quan đến nồng độ hạt của sol khí thử nghiệm, được đo ở gần đầu báo, tại thời điểm nó tạo ra một báo động.
C.2.2 Phương pháp vận hành và lắp đặt cơ bản
Cấu trúc cơ học của Buồng đo ion hóa được đưa ra trong Phụ lục L.
Thiết bị đo bao gồm buồng đo, bộ khuếch đại điện tử và phương pháp hút liên tục mẫu Sol khí hoặc khói cần đo.
Nguyên tắc hoạt động của Buồng đo ion hóa được thể hiện trong Hình C.1. Buồng đo chứa một khoang đo và một phương tiện thích hợp để hút được không khí mẫu vào buồng thử nghiệm và đi qua khoang đo sao cho các hạt sol khí hoặc khói khuếch tán đều vào thể tích này và dòng ion trong khoang đo không bị xáo trộn bởi chuyển động của không khí.
Không khí trong khoang đo được ion hóa bởi bức xạ alpha từ một nguồn phóng xạ americium, theo đó có một dòng chảy lưỡng cực của các ion khi một điện áp được áp dụng giữa các điện cực. Dòng chảy của các ion này bị ảnh hưởng theo cách đã biết bởi các hạt sol khí hoặc khói. Tỷ lệ dòng điện trong buồng không có sol khí với tỷ lệ trong buồng có sol khí là một hàm đã biết về nồng độ sol khí hoặc khói. Do đó, đại lượng không chiều y, tỷ lệ thuận với nồng độ hạt của loại sol khí hoặc khói cụ thể, được sử dụng như một thước đo giá trị ngưỡng phản ứng cho các đầu báo khói sử dụng ion hóa.
Buồng đo được định cỡ và vận hành để áp dụng các hệ thức sau:
![]()
Trong đó
Io là dòng điện trong buồng mà không khí không chứa sol khí hoặc khói thử nghiệm;
I là dòng điện trong buồng mà không khí chứa sol khí hoặc khói thử nghiệm;
η là hằng số buồng đo;
Z là nồng độ hạt tính bằng đơn vị hạt trên mét khối;
là đường kính hạt trung bình.

CHÚ DẪN:
| 1 - Đầu hút 2 - Tấm lắp ráp 3 - Vòng cách điện 4 - Lối vào không khí/khói 5 - Lưới bên ngoài 6 - Lưới bên trong 7 - Tia α | 8 - Nguồn α 9 - Khoang đo 10 - Điện cực đo 11 - Vành bảo vệ 12 - Vật liệu cách nhiệt 13 - Kính chắn gió 14 - Điện tử |
Hình C.1 - Buồng đo ion hóa - Phương pháp hoạt động
C.2.3 Dữ liệu kỹ thuật
a) Nguồn bức xạ
Đồng vị: americium 241 Am
Hoạt độ: (130 ± 6,5) kBq
Năng lượng trung bình: (4,5 ± 0,225) MeV
Cấu trúc cơ khí: Americium oxide nhúng vàng giữa hai lớp vàng, phủ một lớp hợp kim vàng cứng. Nguồn có dạng một đĩa tròn có đường kính 27 mm, được gắn vào một giá đỡ sao cho không thể tiếp cận được các cạnh cắt.
b) Buồng ion hóa
Trở kháng buồng (tức là nghịch đảo độ dốc của đặc tuyến Vôn - Ampe của buồng trong vùng tuyến tính của nó, nơi dòng điện buồng ≤ 100 pA) phải là (1,9 ± 0,095) x 1011 Ω, khi được đo trong môi trường không có Sol khí và không khói ở các điều kiện sau:
Áp suất: (101,3 ± 1) kPa;
Nhiệt độ: (25 ± 2) °C;
Độ ẩm tương đối: (55 ± 20) %;
Với điện thế của vành bảo vệ trong khoảng ± 0,1 V của điện áp của điện cực đo.
c) Bộ khuyếch đại đo dòng điện
Buồng được vận hành trong mạch được thể hiện trong Hình C.2. với điện áp nguồn sao cho dòng điện buồng giữa các điện cực đo là 100 pA trong môi trường không sol khí hoặc khói. Trở kháng đầu vào của thiết bị đo dòng phải là < 109 Ω.
d) Hệ thống hút
Hệ thống hút phải hút không khí qua thiết bị với lưu lượng ổn định liên tục (30 ± 3) l/min ở áp suất khí quyển.

CHÚ DẪN:
| 1 - Điện áp nguồn 2 - Điện cực đo 3 - Vành bảo vệ | 4 - Bộ khuyếch đại đo dòng điện 5 - Điện áp đầu ra tỷ lệ thuận với dòng buồng 6 - Trở kháng đầu vào, (Zin) < 109 Ω |
Hình C.2 - Buồng đo ion hóa - Mạch vận hành
Phụ lục D
(Quy định)
Thiết bị thử nghiệm gây sáng chói
Thiết bị gây sáng chói [xem Hình D.1 a)] sẽ được cấu tạo để nó có thể được đưa vào khoang làm việc của đường ống dẫn khói. Thiết bị có hình khối, với bốn mặt khối (ABFE, AEHD, BFGC và EFGH) được đóng lại và lót bên trong bằng lá nhôm có độ bóng cao. Hai mặt khối đối lập còn lại (ABCD và EFGH) được mở để cho phép dòng Sol khí thử nghiệm qua thiết bị.
Một đèn huỳnh quang tròn [32 W, "trắng ấm", nhiệt độ màu gần đúng: 2 800 K; xem Hình D.1_b)] với đường kính khoảng 30 cm được gắn trên mỗi bốn bề mặt kín của khối lập phương. Đèn không được gây nhiễu loạn trong đường ống. Để có được sản lượng ánh sáng ổn định, các ống phải được ủ trong 100 h và loại bỏ ở 2000 h.
Đầu báo khói được thử nghiệm phải được lắp đặt ở trung tâm của mặt hình khối phía trên [xem Hình D.1 a)] để ánh sáng có thể chiếu vào nó từ mọi hướng.
Các kết nối điện với đèn huỳnh quang phải sao cho không có nhiễu với hệ thống phát hiện thông qua tín hiệu điện.
Đơn vị tính bằng centimét

| a) Thiết bị | b) Đèn |
CHÚ DẪN:
1 - Dòng sol-khí
2 - Đèn huỳnh quang
Hình D.1 - Thiết bị gây chói (a) và đèn (b)
Phụ lục E
(Quy định)
Thiết bị thử nghiệm va đập
Bộ thiết bị (xem Hình E.1) về cơ bản bao gồm một cái búa xoay bao gồm một phần hình chữ nhật (đầu búa) với một mặt vát, gắn trên một trục thép hình ống. Búa được cố định vào một bạc thép, chạy trên ổ bi trên một trục thép cố định được gắn trong một khung thép cứng, để búa có thể xoay tự do quanh trục cố định. Thiết kế của khung cứng cho phép xoay hoàn toàn cụm búa khi không có mẫu thử.
Phần đầu búa có kích thước tổng thể là 76 mm (chiều rộng) x 50 mm (chiều sâu) x 94 mm (chiều dài) và được làm từ hợp kim nhôm (Al Cu4SiMg như được quy định trong TCVN 5910), đã được xử lý hóa lỏng và kết tủa cứng hóa. Nó có một mặt phẳng vát mép ở (60 ± 1)° đến trục dài của đầu. Trục thép hình ống có đường kính ngoài (25 ± 0,1) mm với độ dày thành (1,6 ± 0,1) mm.
Đầu búa được gắn trên trục sao cho trục dài của nó ở khoảng cách hướng tâm 305 mm so với trục quay của cụm búa, hai trục vuông góc với nhau. Bạc trung tâm có đường kinh ngoài 102 mm và dài 200 mm, và được gắn đồng trục trên chốt bản lề thép cố định, có đường kính khoảng 25 mm; tuy nhiên, đường kính chính xác của trục sẽ phụ thuộc vào vòng bi được sử dụng.
Đối diện với trục búa là cán đối trọng bằng thép, mỗi cán có đường kính ngoài 20 mm và dài 185 mm. Những cán thép này được vặn vào bạc sao cho chiều dài 150 mm nhô ra. Một quả nặng bằng thép được gắn trên cán sao cho vị trí của nó có thể được điều chỉnh để cân bằng khối lượng của đầu búa và cán búa, như trong Hình E.1. Ở phần cuối của bạc trung tâm được gắn một ròng rọc hợp kim nhôm đường kính 150 mm, rộng 12 mm, và quấn quanh ròng rọc một dây cáp không giãn, với một đầu cáp cố định vào ròng rọc. Đầu kia của cáp treo quả nặng vận hành.
Khung cứng cũng nâng đỡ bảng gắn mẫu thử nghiệm được lắp theo cách lắp thông thường của nó. Bảng gắn mẫu có thể điều chỉnh theo chiều dọc để nửa trên của đầu búa của búa sẽ đập vào mẫu khi búa di chuyển theo chiều ngang, như thể hiện trong Hình E.1.
Để vận hành thiết bị, vị trí của bảng gắn mẫu được điều chỉnh đầu tiên như thể hiện trong Hình E.1 và bảng gắn mẫu sau đó được cố định chặt chẽ vào khung. Việc lắp ráp búa sau đó được cân bằng cẩn thận bằng cách điều chỉnh quả nặng đối trọng khi quả nặng vận hành bị loại bỏ. Cán búa sau đó được kéo trở lại vị trí nằm ngang sẵn sàng để thả và quả nặng vận hành được phục hồi. Khi thả cụm búa, quả nặng vận hành sẽ quay búa và cán qua một góc 3π/2 rad để đập vào mẫu. Khối lượng, tính bằng kg, quả nặng vận hành để tạo ra lực tác động cần thiết là 1,9 J bằng 0,388/(3πr) kg, trong đó r là bán kính hiệu dụng của ròng rọc, tính bằng mét. Điều này tương đương khoảng 0,55 kg cho bán kính ròng rọc 75 mm.
Vì tiêu chuẩn này yêu cầu vận tốc búa khi tác động là (1,5 ± 0,13) m/s, khối lượng của đầu búa sẽ cần phải giảm bằng cách khoan mặt sau đủ để có được vận tốc này. Người ta ước tính rằng cần có một đầu có khối lượng khoảng 0,79 kg để có được vận tốc quy định, nhưng điều này sẽ phải được xác định bằng thử nghiệm nhiều lần.
Đơn vị tính bằng milimét

CHÚ DẪN:
| 1 - Bảng gắn mẫu 2 - Đầu báo 3 - Đầu búa 4 - Trục gắn đầu búa 5 - Bạc thép 6 - Ròng rọc | 7 - Vòng bi 8 - Cán đối trọng 9 - Quả nặng vận hành 10 - Quả nặng đối trọng a - góc chuyển động |
LƯU Ý: Các kích thước được hiển thị chỉ nhằm mục đích hướng dẫn, ngoài những kích thước liên quan đến đầu búa.
Hình E.1 - Bộ thiết bị thử nghiệm va đập
Phụ lục F
(Quy định)
Phòng thử nghiệm cháy
Các mẫu được thử nghiệm, Buồng đo ion hóa (MIC), đầu dò nhiệt độ và bộ phận đo của máy đo độ cản sáng đều phải nằm trong vùng thể tích được hiển thị trong Hình F.1 và F.2.
Các mẫu, buồn đo ion hóa MIC và các bộ phận cơ học của máy đo độ cản sáng phải cách nhau ít nhất 100 mm, được đo đến các cạnh gần nhất. Đường tâm của chùm tia của máy đo độ cản sáng phải thấp hơn trần ít nhất 35 mm.
Đơn vị tính bằng mét

CHÚ DẪN:
1 - Mẫu và dụng cụ đo lường (xem Hình F.2)
2 - Vị trí của thử nghiệm cháy
Hình F.1 - Sơ đồ phòng thử nghiệm cháy và vị trí của mẫu và dụng cụ giám sát
Kích thước của phòng thử nghiệm phải nằm trong các giới hạn sau:
Chiều dài: (10 ± 1) m;
Chiều rộng: (7 ± 1) m;
Chiều cao: (4 ± 0,2) m.
Trần và tường phải bằng phẳng, không có vật cản giữa nguồn lửa và đầu báo cũng như thiết bị đo đạc. Nguồn lửa phải càng ở trung tâm của phòng càng tốt để giảm thiểu sự phản xạ của khói với bốn bức tường.
Phòng thử nghiệm cháy được trang bị các dụng cụ đo lường sau đây:
- Buồng đo ion hóa hóa (MIC);
- Máy đo độ cản sáng;
- Đầu dò nhiệt độ.
Đơn vị tính bằng mét

CHÚ DẪN:
1 - Trần nhà
Hình F.2 - Vị trí lắp đặt dụng cụ và mẫu
Đơn vị tính bằng mét

CHÚ DẪN:
1 - Vị trí mẫu đầu báo cháy khói treo tường
hmin - Khoảng cách nhỏ nhất tới trần nhà theo quy định của nhà sản xuất
hmax - Khoảng cách lớn nhất tới trần nhà theo quy định của nhà sản xuất
Hình F3 - Mặt bên của phòng thử nghiệm cháy và vị trí của hệ thống đầu báo cháy khói treo tường
Phụ lục G
(Quy định)
Đốt cháy nhiệt phân âm ỉ gỗ (TF2)
G.1 Nhiên liệu
Khoảng 10 que gỗ sồi khô (độ ẩm ≈ 5 %), mỗi que có kích thước 75 mm x 25 mm x 20 mm, là đủ.
G.2 Bếp điện
Bếp điện phải có bề mặt rãnh đường kính 220 mm với tám rãnh đồng tâm với khoảng cách giữa các rãnh 3 mm. Mỗi rãnh phải sâu 2 mm và rộng 5 mm, với rãnh ngoài cách mép 4 mm. bếp điện phải có công suất khoảng 2 kW.
Nhiệt độ của bếp điện phải được đo bằng cảm biến gắn vào rãnh thứ năm, được tính từ mép của bếp điện và được bảo đảm tiếp xúc nhiệt tốt.
G.3 Bố trí thử nghiệm
Các que phải được bố trí xuyên tâm trên bề mặt bếp điện có rãnh, với mặt 20 mm tiếp xúc với bề mặt sao cho đầu dò nhiệt độ nằm giữa các que và không bị che phủ, như trong Hình G.1.
G.4 Tốc độ gia nhiệt
Bếp điện phải được cấp nguồn sao cho nhiệt độ của nó tăng từ nhiệt độ môi trường xung quanh lên 600 °C trong khoảng 11 min.
G.5 Điều kiện kết thúc thử nghiệm
Điều kiện kết thúc thử nghiệm, mE, sẽ là khi m = 2 dB/m hoặc khi tất cả các mẫu đã tạo ra tín hiệu báo động, tùy điều kiện nào xảy ra trước.
G.6 Tiêu chí hiệu lực thử nghiệm
Không được xảy ra cháy trước khi đạt đến điều kiện kết thúc thử nghiệm. Sự phát triển của đám cháy phải sao cho các đường cong của m theo y và m theo thời gian, t, lần lượt nằm trong các vùng gạch ngang được thể hiện trên Hình G.2 và G.3. Nghĩa là, 1,23 ≤ y ≤ 2,05 và 570 ≤ t ≤ 840 ở điều kiện kết thúc thử nghiệm mE = 2 dB/m.

CHÚ DẪN:
1 - Bếp điện có rãnh
2 - Cảm biến nhiệt độ
3 - Thanh gỗ
Hình G.1 - Bố trí thanh gỗ trên mặt bếp điện

CHÚ DẪN:
Y: m-value, dB/m
X: y-value
Hình G.2 - Giới hạn của m so với y, Fire TF2

CHÚ DẪN:
Y: m-value, dB/m
X: t-value, s
Hình G.3 - Giới hạn của m theo thời gian, t, Fire TF2
Phụ lục H
(Quy định)
Đốt cháy bông âm ỉ phát sáng (TF3)
H.1 Nhiên liệu
Khoảng 90 miếng bấc bông bện, mỗi miếng dài khoảng 80 cm và nặng khoảng 3 g, thường là đủ. Bấc phải không có bất kỳ lớp phủ bảo vệ nào và phải được giặt và sấy khô nếu cần thiết.
H.2 Bố trí
Các bấc phải được gắn chặt vào một vòng có đường kính khoảng 10 cm và lơ lửng khoảng 1 m trên một tấm không cháy như thể hiện trong Hình H.1.
Kích thước tính bằng mét

Hình H.1 - Bố trí bấc bông
H.3 Đánh lửa
Đầu dưới của mỗi bấc phải được đốt cháy để bấc tiếp tục phát sáng. Bất cứ ngọn lửa nào bùng lên phải được dập ngay lập tức. Thời gian thử nghiệm sẽ bắt đầu khi tất cả các bấc phát sáng.
H.4 Điều kiện kết thúc thử nghiệm
Điều kiện kết thúc thử nghiệm, mE, sẽ là khi m = 2 dB/m hoặc khi tất cả các mẫu đã tạo ra điều kiện báo động, tùy điều kiện nào xảy ra trước.
H.5 Tiêu chí hiệu lực Thử nghiệm
Sự phát triển của đám cháy phải sao cho các đường cong của m theo y và m theo thời gian, t, lần lượt nằm trong các vùng gạch ngang được thể hiện trên Hình H.2 và H.3. Nghĩa là, ở điều kiện kết thúc thử nghiệm mE = 2 dB/m, 3,2 ≤ y ≤ 5,33 và 280 ≤ t ≤ 750.

CHÚ DẪN:
Y: m-value, dB/m
X: y-value
Hình H.2 - Giới hạn của m so với y, Fire TF3

CHÚ DẪN:
Y: m-value, dB/m
X: t-value, s
Hình H.3 - Giới hạn của m với thời gian, t, cháy TF3
Phụ lục I
(Quy định)
Đốt cháy nhựa (polyurethane) (TF4)
I.1 Nhiên liệu
Ba tấm thảm, khoảng 50 cm x 50 cm x 2 cm, bằng bọt polyurethane mềm, không có chất phụ gia chống cháy và có mật độ khoảng 20 kg/m3, thường là đủ. Tuy nhiên, lượng nhiên liệu chính xác có thể được điều chỉnh để có được các thử nghiệm hợp lệ.
I.2 Bố trí
Các tấm thảm phải được đặt chồng lên nhau trên một đế được tạo thành từ lá nhôm với các cạnh được gấp lại để tạo thành khay.
I.3 Đánh lửa
Các tấm thảm thường được đốt cháy ở một góc của thảm dưới; tuy nhiên, vị trí đánh lửa chính xác có thể được điều chỉnh để có được thử nghiệm hợp lệ. Có thể sử dụng một lượng nhỏ vật liệu cháy sạch (ví dụ: 5 cm3 rượu cồn tinh chế) để hỗ trợ đánh lửa.
I.4 Điều kiện kết thúc thử nghiệm
Điều kiện kết thúc thử nghiệm, yE, sẽ là:
- yE = 6,0 cho đầu báo ion hóa và đầu báo sử dụng ánh sáng tán xạ hoặc truyền qua với giá trị ngưỡng phản ứng được công bố là dải 1, hoặc
- yE = 6,5 đối với đầu báo sử dụng ánh sáng tán xạ hoặc truyền qua, với giá trị ngưỡng phản ứng được công bố là dải 2, hoặc
- Tất cả các mẫu đã tạo ra một điều kiện báo động,
Tùy vào điều kiện nào xảy ra trước.
I.5 Tiêu chí hiệu lực thử nghiệm
Sự phát triển của đám cháy phải sao cho các đường cong của m theo y và m theo thời gian t nằm trong các vùng gạch ngang tương ứng như trên Hình 1.1 và 1.2. Nghĩa là, ở điều kiện kết thúc thử nghiệm:
- yE = 6,0 và 1,27 ≤ m ≤ 1,73 đối với đầu báo và đầu báo ion hóa sử dụng ánh sáng tán xạ hoặc truyền qua với giá trị ngưỡng phản ứng được công bố là dải 1 và 140 ≤ t ≤ 180, hoặc
- yE = 6,5 và 1,38 ≤ m ≤ 1,86 đối với đầu báo sử dụng ánh sáng tán xạ hoặc truyền qua, với giá trị ngưỡng phản ứng được công bố là dải 2 và 150 ≤ t ≤ 193.

CHÚ DẪN:
Y: m-value, dB/m
X: y-value
Hình I.1 - Giới hạn cho m so với y, Fire TF4 - Đầu báo ion hóa và đầu báo sử dụng ánh sáng tán xạ hoặc truyền qua với giá trị ngưỡng phản ứng được công bố là dải 1

CHÚ DẪN:
Y: m-value, dB/m
X: y-value
Hình I.2 - Giới hạn cho m so với y, Fire TF4 - Đầu báo sử dụng ánh sáng tán xạ hoặc truyền qua có giá trị ngưỡng phản ứng được công bố là dải 2

CHÚ DẪN:
Y: m-value, dB/m
X: t-value, s
Hình I.3 - Giới hạn cho m theo thời gian, t, Cháy TF4
Phụ lục J
(Quy định)
Đốt cháy chất lỏng (n-heptan) (TF5)
J.1 Nhiên liệu
Khoảng 650 g hỗn hợp n-heptan (độ tinh khiết ≥ 99%) với khoảng 3% toluen (độ tinh khiết ≥ 99%), theo thể tích, thường là đủ. Số lượng chính xác có thể thay đổi để có được các thử nghiệm hợp lệ.
J.2 Bố trí
Hỗn hợp heptan/toluen phải được đốt trong khay thép vuông có kích thước xấp xỉ 33 cm x 33 cm x 5 cm.
J.3 Đánh lửa
Đánh lửa phải bằng ngọn lửa hoặc tia lửa, v.v.
J.4 Điều kiện cuối thử nghiệm
Điều kiện kết thúc thử nghiệm, yE, sẽ là khi:
- yE = 6,0 cho đầu báo ion hóa và đầu báo sử dụng ánh sáng tán xạ hoặc truyền qua với giá trị ngưỡng phản ứng được công bố là dải 1, hoặc
- yE = 7,5 đối với đầu báo sử dụng ánh sáng tán xạ hoặc truyền qua, với giá trị ngưỡng phản ứng được công bố là dải 2, hoặc
- Khi tất cả các mẫu đã tạo ra một điều kiện báo động,
Tùy vào điều kiện nào xảy ra trước.
Tuy nhiên, nếu đạt được điều kiện kết thúc thử nghiệm, yE = 6, trước khi tất cả các mẫu đầu báo sử dụng ánh sáng tán xạ hoặc ánh sáng truyền qua phản ứng thì thử nghiệm chỉ được coi là hợp lệ nếu đã đạt được m > 1,1 dB/m.
J.5 Tiêu chí hiệu lực thử nghiệm
Sự phát triển của đám cháy phải sao cho các đường cong của m theo y và m theo thời gian, t, nằm trong các khu vực được đánh dấu tương ứng như trên Hình J.1 và Hình J.2 và Hình J.3. Nghĩa là, ở điều kiện kết thúc thử nghiệm:
- yE = 6,0 và 0,92 ≤ m ≤ 1,24 đối với đầu báo ion hóa và đầu báo sử dụng ánh sáng tán xạ hoặc truyền qua với giá trị ngưỡng phản ứng được công bố là dải 1, ngoại trừ trường hợp đặc biệt ở trên có m ≤ 1,1 và 120 ≤ t ≤ 240, hoặc
- yE = 7,5 và 1,15 ≤ m ≤ 1,55 đối với đầu báo sử dụng ánh sáng tán xạ hoặc truyền qua, với giá trị ngưỡng phản ứng được công bố là dải 2, ngoại trừ trường hợp đặc biệt ở trên là m ≤ 1,1 và 150 ≤ t ≤ 300.

CHÚ DẪN:
Y: m-value, dB/m
X: y-value
Hình J.1 - Giới hạn của m so với y, Fire TF5 - Đầu báo ion hóa và đầu báo sử dụng ánh sáng tán xạ hoặc truyền qua với 0,05 < m < dải giá trị ngưỡng phản ứng đã công bố

CHÚ DẪN:
Y: m-value, dB/m
X: y-value
Hình J.2 - Giới hạn của m đối với y, Lửa TF5 - Đầu báo sử dụng ánh sáng tán xạ hoặc truyền qua với 0,2 < m < dải giá trị ngưỡng phản ứng đã công bố

CHÚ DẪN:
Y: m-value, dB/m
X: t-value, s
Hình J.3 - Giới hạn của m đối với thời gian, t, Fire TF5
Phụ lục K
(Tham khảo)
Thông tin liên quan đến việc cấu tạo đường dẫn khói
K.1 Đầu báo khói phản ứng khi một hoặc nhiều tín hiệu từ một hoặc nhiều cảm biến khói đáp ứng các tiêu chí nhất định. Nồng độ khói tại một hoặc nhiều cảm biến có liên quan đến nồng độ khói xung quanh đầu báo nhưng mối quan hệ thường phức tạp và phụ thuộc vào một số yếu tố, chẳng hạn như hướng, lắp đặt, vận tốc không khí, nhiễu loạn và tốc độ tăng mật độ sol khí. Sự thay đổi tương đối của giá trị ngưỡng phản ứng được đo trong đường ống dẫn khói là thông số chính được xem xét khi độ ổn định của đầu báo khói được đánh giá bằng thử nghiệm theo tiêu chuẩn này.
K.2 Nhiều thiết kế đường ống dẫn khói khác nhau tuân thủ các thử nghiệm được quy định trong tiêu chuẩn này, nhưng cần xem xét các điểm sau khi thiết kế và mô tả đặc điểm của đường ống dẫn khói.
K.3 Các phép đo giá trị ngưỡng phản ứng yêu cầu tăng mật độ sol khí cho đến khi đầu báo phản hồi. Điều này có thể được tạo điều kiện trong một đường ống dẫn khói kín. Một hệ thống xả khói được yêu cầu trang bị để thanh lọc đương ống dẫn khói sau mỗi lần tiếp xúc với sol khí.
K.4 Luồng không khí được tạo ra bởi quạt trong đường ống dẫn khói sẽ bị hỗn loạn, và cần phải đi qua một bộ giảm xáo trộn không khí để tạo ra một luồng không khí gần như ổn định phân tầng và thống nhất trong thể tích làm việc (xem Hình K.1). Có thể tạo ra điều kiện này bằng cách sử dụng một bộ lọc, tổ ong hoặc cả hai, ở cùng hàng hoặc bên trên khoang làm việc của đường ống. Nếu một bộ lọc được sử dụng, nó phải đủ thô để cho phép sol khí đi qua. Cần cẩn thận để đảm bảo rằng luồng không khí được trộn đều để tạo ra nhiệt độ và mật độ sol khí đồng đều trước khi đi vào bộ giảm xáo trộn dòng khí. Trộn hiệu quả có thể thu được bằng cách cho sol khí vào đường ống thượng nguồn của quạt.
K.5 Cần có một công cụ sưởi ấm không khí trước khi nó đi vào khoang làm việc. Đường ống phải có một hệ thống có khả năng kiểm soát việc sưởi ấm để đạt được nhiệt độ quy định và hồ sơ nhiệt độ trong thể tích làm việc. Việc sưởi ấm phải đạt được bằng các máy sưởi nhiệt độ thấp để tránh sản xuất các sol khí không liên quan hoặc thay đổi sol khí thử nghiệm.
K.6 Cần đặc biệt chú ý đến việc Bố trí các thành tố trong thể tích làm việc để tránh làm xáo trộn các điều kiện thử nghiệm, ví dụ: do nhiễu loạn. Việc hút qua MIC tạo ra vận tốc không khí trung bình khoảng 0,04 m/s trong mặt phẳng của các lỗ đầu vào trong vỏ buồng. Tuy nhiên, ảnh hưởng của lực hút sẽ không đáng kể nếu MIC được đặt 10 cm đến 15 cm ở hạ lưu vị trí đầu báo.
K.7 Đường ống dẫn khói có thể được thiết kế để tiếp xúc với gió không có sol khí với vận tốc 5 m/s và 10 m/s, miễn là điều này không ảnh hưởng đến hoạt động khi đường ống được sử dụng để đo giá trị ngưỡng phản ứng.

CHÚ DẪN:
| 1 - Thể tích làm việc 2 - Bảng gắn mẫu 3 - Đầu báo đang được thử nghiệm 4 - Cảm biến nhiệt độ 5 - Bộ giảm xáo trộn thấp 6 - Thiết bị cấp nguồn và giám sát | 7 - Thiết bị điều khiển và đo lường 8 - Luồng không khí 9 - Buồng đo ion hóa (MIC) 10 - Đầu hút của máy MIC 11 - Máy đo độ cản sáng 12 - Tấm hắt sáng cho máy đo độ cản sáng |
Hình K.1 - Đường ống dẫn khói - Mặt bên và mặt cắt của khoang làm việc

CHÚ DẪN:
| 1 - Thể tích làm việc 2 - Bảng gắn mẫu 3 - Đầu báo đang được thử nghiệm 4 - Cảm biến nhiệt độ | 5 - Máy đo độ cản sáng 6 - Buồng đo ion hóa (MIC) 7 - Tấm hắt sáng cho máy đo độ cản sáng |
Hình K.2 - Đường ống dẫn khói, khoang làm việc, mặt cắt A-A
Phụ lục L
(Tham khảo)
Thông tin liên quan đến cấu tạo Buồng đo ion hóa
Cấu trúc cơ học của Buồng đo ion hóa (MIC) được thể hiện trong Hình L.1. Các kích thước quan trọng về mặt chức năng được đánh dấu bằng dung sai của chúng. Các chi tiết khác về các bộ phận khác nhau của thiết bị được đưa ra trong Bảng L.1.
CHÚ THÍCH: MIC được mô tả đầy đủ trong mục [1]
Bảng L.1 - Danh sách các bộ phận của MIC
| STT | Mục | Số cung cấp | Kích thước, tính năng đặc biệt | Vật liệu |
| 1 | Vành cách điện | 1 | - | Polyamide |
| 2 | Ổ cắm đa cực | 1 | 10 cực |
|
| 3 | Thiết bị đầu cuối điện cực đo | 1 | Để cung cấp buồng | - |
| 4 | Thiết bị đầu cuối điện cực đo | 1 | Để khuếch đại hoặc thiết bị đo dòng điện | 1 |
| 5 | Vòi hút | 1 |
|
|
| 6 | Ổ cắm dẫn hướng | 4 | - | Polyamide |
| 7 | Vỏ | 1 | - | Nhôm |
| 8 | Tấm cách điện | 1 | - | Polycarbonate |
| 9 | Vành bảo vệ | 1 | - | Thép không gỉ |
| 10 | Điện cực đo | 1 | - | Thép không gỉ |
| 11 | Tấm lắp ráp | 1 | - | Nhôm |
| 12 | Vít định vị với đai ốc xẻ rãnh | 3 | M3 | Đồng thau mạ niken |
| 13 | Nắp | 1 | Sáu lỗ hở | Thép không gỉ |
| 14 | Lưới bên ngoài | 1 | Dây, đường kính 0,2 mm; chiều rộng lưới bên trong, 0,8 mm | Thép không gỉ |
| 15 | Lưới bên trong | 1 | Dây, đường kính 0,4 mm; chiều rộng lưới bên trong, 1,6 mm | Thép không gỉ |
| 16 | Kính chắn gió | 1 |
| Thép không gỉ |
| 17 | Vòng trung gian | 1 | Với 72 lỗ cách đều nhau, mỗi lỗ có đường kính 2 mm | - |
| 18 | Vòng ren | 1 | - | Đồng thau mạ niken |
| 19 | Hộp nguồn | 1 |
| Đồng thau mạ niken |
| 20 | Nguồn 241 Am | 1 | Đường kính 27 mm | Xem C.2.3 |
| 21 | Các lỗ mở ở ngoại vi | 6 | - | - |
Kích thước tính bằng milimét

CHÚ THÍCH 1: Xem Bảng L.1 để biết danh sách các bộ phận.
CHÚ THÍCH 2: Các kích thước không có dung sai được đánh dấu là các kích thước được khuyến nghị.
Hình L.1 - Cấu tạo cơ khí buồng đo ion hóa
Phụ lục M
(Quy định)
Thử nghiệm cấu hình bằng cách sử dụng thiết bị thử nghiệm lá chắn tần số vô tuyến
M.1 Yêu cầu chung đối với thiết bị thử nghiệm được che chắn
Thiết bị Thử nghiệm được che chắn phải hoàn toàn tuân thủ EN 61000-4-3.
UFA (khu vực trường thống nhất) phải tuân thủ kích thước của DUT (xem Hình M.1 và Hình M.2).

CHÚ DẪN:
1 - Máy đo cường độ trường
2 - Bộ thu đang được Thử nghiệm
3 - Bộ nối
4 - Máy phân tích phổ
5 - Bộ suy hao được chia thành các bước 1 dB
6 - Nguồn tín hiệu
Hình M.1 - Bố trí thử nghiệm cho bộ thu

CHÚ DẪN:
1 - Máy đo cường độ trường
2 - Máy phát
3 - Đầu nối đồng hồ đo công suất RF
Hình M.2 - Bố trí thử nghiệm cho máy phát
M.2 Xác định ngưỡng truyền A
Ngưỡng truyền A là giá trị suy hao cao nhất trong đó tối thiểu 80 % các thử nghiệm truyền báo động thành công. Giá trị này được tìm thấy bằng cách tác động đến thành phần hoặc bộ phận vô tuyến của thành phần để thay đổi từ trạng thái thường trực sang điều kiện báo động bằng cách sử dụng khói, nhiệt, ánh sáng hoặc bằng chuyển động cơ học của các que ánh sáng chẳng hạn.
Tăng độ suy hao theo từng bước cho đến khi nhận được ít hơn 80 % tin nhắn báo động tiếp theo. Sau đó giảm độ suy hao theo các bước 1 dB cho đến khi nhận được và chỉ ra ít nhất 80 % tin nhắn báo động tiếp theo.
M.3 Xác định mức tham chiếu
Mức tham chiếu (RL) của thiết bị đầu báo cháy khói phải được xác định và sử dụng làm cơ sở cho tất cả các thử nghiệm khác.
Phép đo này có thể được thực hiện bằng cách sử dụng cách bố trí như trong Hình M.1.
Bộ tạo tín hiệu mong muốn được điều chế thích hợp để mô phỏng tín hiệu đã truyền. Ngoài ra, một thiết bị truyền thực tế có thể được sử dụng, thông qua bộ suy hao quang để điều khiển mức RF. Nếu sử dụng thiết bị thực, cần đặc biệt cẩn thận để đảm bảo cách ly đầy đủ để khi bộ suy hao quang được đặt ở mức tối đa, bộ thu sẽ không nhận thiết bị truyền qua rò rỉ giữa cáp và đầu nối.
Để xác định RL, phải xác định ngưỡng.
Khi đạt đến điểm này, mức tín hiệu mong muốn được tăng thêm 3 dB và mức này là RL.
VÍ DỤ: Giá trị quan sát được trên máy phân tích phổ là -80 dB/m; Mức tham chiếu là -80 dB/m + 3 dB/m = 77 dB/m.
Phụ lục N
(Tham khảo)
Hiệu chỉnh độ sai lệch độ nhạy báo động
N.1 Nguyên tắc hiệu chỉnh sai lệch độ nhạy của đầu báo
Một đầu báo cháy khói đơn giản hoạt động bằng cách so sánh tín hiệu từ cảm biến với một ngưỡng cố định nhất định (ngưỡng báo động). Khi tín hiệu cảm biến đạt đến ngưỡng, đầu báo cháy khói sẽ tạo ra báo động. Mật độ khói khi báo động này xảy ra là giá trị ngưỡng phản ứng của đầu báo cháy khói. Trong đầu báo cháy khói đơn giản này, ngưỡng báo động là cố định và không phụ thuộc vào tốc độ thay đổi tín hiệu cảm biến theo thời gian.
Được biết, tín hiệu cảm biến trong không khí sạch có thể thay đổi theo tuổi thọ của đầu báo cháy khói. Những thay đổi như vậy có thể được gây ra do ô nhiễm buồng cảm biến do bụi hoặc do các tác động lâu dài khác như lão hóa thành phần. Sự trôi dạt này có thể, theo thời gian, dẫn đến tăng độ nhạy và cuối cùng là báo động sai.
Do đó, có thể được coi là có lợi khi tạo ra khoảng hiệu chỉnh cho sự trôi dạt như vậy để duy trì mức giá trị ngưỡng phản ứng không đổi hơn theo thời gian. Vì mục đích của cuộc thảo luận này, người ta giả định rằng việc hiệu chỉnh đạt được bằng cách tăng ngưỡng cảnh báo để bù đắp một phần hoặc toán bộ sự thiên lệch đi lên của cảm biến.
Bất kỳ sự hiệu chỉnh nào cũng làm giảm độ nhạy của đầu báo cháy khói để làm chậm những thay đổi trong đầu ra cảm biến, ngay cả khi những thay đổi này là do sự gia tăng thực sự, nhưng dần dần của mức độ khói. Mục tiêu của 4.29 và phụ lục này là để đảm bảo rằng việc hiệu chỉnh không làm giảm độ nhạy của đầu báo với các đám cháy phát triển chậm đến mức không thể chấp nhận được.
Với mục đích của mục 4.29 và phụ lục này, giả định rằng sự phát triển của bất kỳ đám cháy nào gây nguy hiểm nghiêm trọng đến tính mạng hoặc tài sản là đầu ra của cảm biến thay đổi với tốc độ ít nhất là 25 % giá trị ngưỡng phản ứng không hiệu chỉnh ban đầu của đầu báo, Ath,u trên h. Ở tốc độ tối thiểu mà quy định kỹ thuật này áp dụng, tức là 0,25 Ath,u trên h, thời gian tối đa để báo động mà không cần hiệu chỉnh là 4 h. Phản ứng với tốc độ thay đổi nhỏ hơn 0,25 Ath,u trên h không được quy định trong 4.29 và phụ lục này và do đó không yêu cầu đầu báo phải đáp ứng với tốc độ thay đổi chậm hơn này.
Để không hạn chế cách thức đạt được hiệu chỉnh, 4.27 chỉ yêu cầu thời gian để báo động, đối với tất cả các tỷ lệ thay đổi lớn hơn 0,25 Ath,u mỗi h, không vượt quá 1,6 x thời gian để báo động nếu hiệu chỉnh không có mặt. Do đó, ở mức tối thiểu mà thông số kỹ thuật này áp dụng, tức là 0,25 Ath,u mỗi h, thời gian tối đa để báo động cho đầu báo được hiệu chỉnh là 1,6 x 4 h, hoặc 6,4 h.
N.2 Hiệu chỉnh tuyến tính
Nếu ngưỡng phản ứng tăng theo kiểu tuyến tính theo thời gian để đáp ứng với sự gia tăng tín hiệu cảm biến và nếu mức độ hiệu chỉnh không bị giới hạn, thì tỷ lệ hiệu chỉnh tối đa cho phép, như có thể thấy từ Hình N.1, được mô tả bởi công thức (N.1):
![]()
Với mức hiệu chỉnh này, đầu ra cảm biến đạt đến ngưỡng hiệu chỉnh trong chính xác 6,4 h

CHÚ DẪN:
X: Thời gian, t (h)
Y: Ngưỡng báo động liên quan đến Ath,u
1 - Ngưỡng báo động, để hiệu chỉnh tuyến tính ở 0,094 Ath,u mỗi giờ
2 - Đầu ra cảm biến, 0,25 Ath,u mỗi giờ
Hình N.1 - Hiệu chỉnh tuyến tính - Trường hợp giới hạn
N.3 Hiệu chỉnh từng bước
Mặc dù đã được giả định trong các mệnh đề trước rằng ngưỡng phản ứng được hiệu chỉnh tuyến tính và liên tục, quá trình này không cần phải là tuyến tính hoặc liên tục. Ví dụ, điều chỉnh từng bước được hiển thị trong Hình N.2 cũng đáp ứng yêu cầu vì, trong trường hợp này, báo động đạt được trong 6 h, nhỏ hơn giá trị giới hạn là 6,4 h.

CHÚ DẪN:
| X: Thời gian, t (h) | 1 - Ngưỡng báo động, cho hiệu chỉnh từng bước |
| Y: Ngưỡng báo động liên quan đến Ath,u | 2 - Đầu ra cảm biến, 0,25 Ath,u mỗi giờ |
Hình N.2 - Hiệu chỉnh từng bước - Trường hợp giới hạn
N.4 Hiệu chỉnh tỷ lệ cao
Hơn nữa, mức hiệu chỉnh không cần phải giới hạn ở 0,094 Ath,u trên giờ nếu tổng mức hiệu chỉnh bị giới hạn ở 0,6 Ath,u. Tỷ lệ hiệu chỉnh tương đối nhanh được cân bằng bởi tỷ lệ chậm hơn hoặc bằng 0, như trong Hình N.3. cũng đáp ứng yêu cầu đạt được trạng thái báo động trong 6,4 h hoặc ít hơn. Trong trường hợp này, mức hiệu chỉnh tối đa chỉ bị giới hạn bởi các yêu cầu của đám cháy thử nghiệm.

CHÚ DẪN:
X: Thời gian, t (h)
Y: Ngưỡng báo động liên quan đến Ath,u
1 - Ngưỡng báo động, tỷ lệ cao, hiệu chỉnh ở mức độ hạn chế
2 - Đầu ra cảm biến, 0,25 Ath,u mỗi giờ
Hình N.3 - Tỷ lệ hiệu chỉnh cao, mức độ hạn chế
N.5 Tránh vùng phi tuyến
Các yêu cầu của 4.29 cho phép sử dụng các hiệu chỉnh một cách khá tự do cho những thay đổi chậm trong độ nhạy đầu báo cháy khói. Tuy nhiên, người ta nhận ra rằng trong một đầu báo cháy khói thực tế, phạm vi mà đầu ra của cảm biến có liên quan tuyến tính đến khói (hoặc kích thích khác tương đương với khói) là hữu hạn. Nếu phạm vi hiệu chỉnh đưa đầu ra cảm biến vào vùng phi tuyến này, thì độ nhạy của đầu báo cháy khói có thể bị suy giảm đến mức không thể chấp nhận được.
Ví dụ, hãy xem xét một đầu báo cháy khói có đặc tính truyền như trong Hình N.4, trong đó cả hai trục được biểu thị dưới dạng giá trị ngưỡng phản ứng Ath,u. Tính phi tuyến của đặc tính làm cho độ nhạy hiệu dụng bị giảm ở các giá trị kích thích cao hơn. Trong trường hợp này, mức hiệu chỉnh phải được giới hạn ở mức nhỏ hơn 1,1 x Ath,u, vì để tạo ra sự thay đổi về đầu ra Ath,u, kích thích phải tăng từ 1,1 x Ath,u lên 2,7 x Ath,u. Việc giảm độ nhạy theo hệ số 1,6 là mức tối đa cho phép theo 4,29.

CHÚ DẪN:
X: Kích thích
Y: Đầu ra
Hình N.4 - Ví dụ về đặc tính truyền phi tuyến
Thư mục tài liệu tham khảo
[1] ISO 112239:2021 Smoke alarms using scattered light, transmitted light or ionization (Thiết bị báo khói sử dụng ánh sáng tán xạ, ánh sáng truyền qua hoặc ion hóa).
Bạn chưa Đăng nhập thành viên.
Đây là tiện ích dành cho tài khoản thành viên. Vui lòng Đăng nhập để xem chi tiết. Nếu chưa có tài khoản, vui lòng Đăng ký tại đây!