- Tổng quan
- Nội dung
- Tiêu chuẩn liên quan
- Lược đồ
- Tải về
Tiêu chuẩn Quốc gia TCVN 6394:2014 Mương bê tông cốt thép thành mỏng đúc sẵn
| Số hiệu: | TCVN 6394:2014 | Loại văn bản: | Tiêu chuẩn Việt Nam |
| Cơ quan ban hành: | Đang cập nhật | Lĩnh vực: | Xây dựng |
|
Ngày ban hành:
Ngày ban hành là ngày, tháng, năm văn bản được thông qua hoặc ký ban hành.
|
2014 |
Hiệu lực:
|
Đã biết
|
| Người ký: | Đang cập nhật |
Tình trạng hiệu lực:
Cho biết trạng thái hiệu lực của văn bản đang tra cứu: Chưa áp dụng, Còn hiệu lực, Hết hiệu lực, Hết hiệu lực 1 phần; Đã sửa đổi, Đính chính hay Không còn phù hợp,...
|
Đã biết
|
TÓM TẮT TIÊU CHUẨN VIỆT NAM TCVN 6394:2014
Nội dung tóm tắt đang được cập nhật, Quý khách vui lòng quay lại sau!
Tải tiêu chuẩn Việt Nam TCVN 6394:2014
TIÊU CHUẨN QUỐC GIA
TCVN 6394:2014
MƯƠNG BÊ TÔNG CỐT THÉP THÀNH MỎNG ĐÚC SẴN
Precast thin wall reinforced concrete channels
Lời giới thiệu
Tiêu chuẩn này qui định các yêu cầu kỹ thuật và phương pháp thử kiểm tra nghiệm thu chất lượng đối với sản phẩm “Mương bê tông cốt thép thành mỏng đúc sẵn” dùng trong các công trình tưới tiêu nông nghiệp và thoát nước thải.
Tiêu chuẩn 6394:2014 được xây dựng trên cơ sở chấp nhận giải pháp công nghệ phù hợp cho “Dây chuyền công nghệ chế tạo các sản phẩm bê tông cốt thép thành mỏng đúc sẵn dùng trong hệ thống hạ tầng kỹ thuật và bảo vệ môi trường” được Bộ Xây dựng ra quyết định công nhận và cho phép áp dụng rộng rãi trên toàn quốc (theo Quyết định số 885/QĐ-BXD ngày 30/9/2011), đồng thời áp dụng giải pháp “Mương bê tông cốt thép thành mỏng đúc sẵn” của Công ty TNHH MTV thoát nước và phát triển đô thị tỉnh Bà Rịa - Vũng Tàu (BUSADCO) được Cục Sở hữu trí tuệ cấp Bằng độc quyền giải pháp hữu ích theo Quyết định số 43719/QĐ-SHTT ngày 14 tháng 8 năm 2013.
MƯƠNG BÊ TÔNG CỐT THÉP THÀNH MỎNG ĐÚC SẴN
Precast thin wall reinforced concrete channels
1. Phạm vi áp dụng
Tiêu chuẩn này áp dụng cho sản phẩm mương bê tông cốt thép thành mỏng đúc sẵn (có chiều dày danh nghĩa của thành không lớn hơn 80 mm) dùng trong các công trình tưới tiêu nông nghiệp và thoát nước thải.
2. Tài liệu viện dẫn
Các tài liệu viện dẫn sau là cần thiết cho việc áp dụng tiêu chuẩn này. Đối với các tài liệu viện dẫn ghi năm công bố thì áp dụng bản được nêu. Đối với các tài liệu viện dẫn không ghi năm công bố thì áp dụng phiên bản mới nhất, bao gồm các bản sửa đổi, bổ sung (nếu có).
TCVN 1651-1:2008, Thép cốt bê tông - Phần 1: Thép thanh tròn trơn.
TCVN 1651-2:2008, Thép cốt bê tông - Phần 2: Thép thanh vằn.
TCVN 1651-3:2008, Thép cốt bê tông - Phần 3: Lưới thép hàn.
TCVN 2682:2009, Xi măng poóc lăng - Yêu cầu kỹ thuật.
TCVN 3105:1993, Hỗn hợp bê tông nặng và bê tông nặng - Lấy mẫu, chế tạo và bảo dưỡng mẫu thử.
TCVN 3118:1993, Bê tông nặng - Phương pháp xác định cường độ nén.
TCVN 4506:2012 Nước cho bê tông và vữa - Yêu cầu kỹ thuật.
TCVN 6067:2004, Xi măng poóc lăng bền sun phát - Yêu cầu kỹ thuật.
TCVN 6260:2009, Xi măng poóc lăng hỗn hợp - Yêu cầu kỹ thuật.
TCVN 6288:1997, Dây thép vuốt nguội để làm cốt bê tông và sản xuất lưới thép hàn làm cốt.
TCVN 7570:2006, Cốt liệu cho bê tông và vữa - Yêu cầu kỹ thuật.
TCVN 7711:2013, Xi măng poóc lăng hỗn hợp bền sun phát - Yêu cầu kỹ thuật.
TCVN 8826:2011, Phụ gia khoáng hoạt tính cao dùng cho bê tông và vữa - Silicafume và tro trấu nghiền mịn.
TCVN 8827:2011, Phụ gia hóa học cho bê tông.
TCVN 9356:2012, Kết cấu bê tông cốt thép - Phương pháp điện từ xác định chiều dày lớp bê tông bảo vệ, vị trí và đường kính cốt thép trong bê tông.
TCVN 9490:2012 (ASTM C900-06), Bê tông - Phương pháp xác định cường độ kéo nhổ.
TCVN 10302:2014, Phụ gia hoạt tính tro bay dùng cho bê tông, vữa xây và xi măng.
3. Thuật ngữ và định nghĩa
Trong tiêu chuẩn này sử dụng các thuật ngữ và định nghĩa sau:
3.1. Đốt mương (Channel internode)
Một sản phẩm mương bê tông cốt thép thành mỏng đúc sẵn sản xuất theo kích thước qui định.
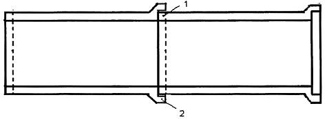
3.2. Mối nối (Joint)
Phần liên kết giữa đầu dương và đầu âm của các đốt mương (Hình 3).
3.2.1. Đầu dương (Possitive head)
Phần mối nối nhìn thấy từ bên trong sau khi các đốt mương đã được lắp ghép vào nhau.
3.2.2. Đầu âm (Negative head)
Phần mối nối nhìn thấy bên ngoài sau khi các đốt mương đã được lắp ghép vào nhau.
3.3. Kích thước danh nghĩa (Nominal dimension)
Kích thước được qui ước chọn làm kích thước cơ bản để thiết kế các mô đun các kích thước của đốt mương.
3.4. Chiều dài hiệu dụng (Effective length)
Chiều dài được tính từ mép ngoài đầu âm đến mép trong đầu dương của đốt mương.
3.5. Lô sản phẩm (Product lot)
Số lượng đốt mương được sản xuất liên tục theo cùng một thiết kế, vật liệu, và quy trình công nghệ được qui định khi lấy mẫu thử đối với các chỉ tiêu kỹ thuật khác nhau.
4. Phân loại, các kích thước cơ bản và ký hiệu
4.1. Phân loại
4.1.1. Theo mục đích sử dụng
- Mương tưới tiêu cho nông nghiệp;
- Mương thoát nước.
4.1.2. Theo hình dạng đốt mương
- Mương có tiết diện dạng U đáy phẳng (Hình 1a);
- Mương có tiết diện dạng U đáy cong (Hình 1b).

Hình 1 - Hình dạng cơ bản đốt mương
4.1.3. Theo cấu tạo
- Mương có nắp (nắp kín và nắp hở);
- Mương không có nắp.
4.1.4. Theo khả năng chịu tải
- Mương chịu tải thông thường;
- Mương chịu tải cao.
4.2. Kích thước cơ bản
Kích thước cơ bản của các loại đốt mương, tấm đan nắp và mối nối khi lắp ghép được thể hiện ở Hình 2 và Hình 3.

CHÚ DẪN: 1- Đốt mương; 2- Tấm đan nắp; L- Chiều dài hiệu dụng; B- Chiều rộng lòng mương; h- chiều cao lòng mương: t- Chiều dày thành; d- Chiều dày đáy.
2a) Đốt mương bê tông dạng U đáy phẳng

CHÚ DẪN: L- Chiều dài hiệu dụng; B- Chiều rộng lòng mương; h- Chiều cao lòng mương; t- Chiều dày thành; d- Chiều dày đáy; b- Chiều rộng đáy ngoài.
2b) Đốt mương bê tông dạng U đáy cong

CHÚ DẪN: Bn - Chiều rộng nắp; Ln- Chiều dài nắp; Dn- Chiều dày nắp.
2c) Tấm đan nắp mương
Hình 2 - Đốt mương bê tông đúc sẵn

| CHÚ DẪN: | 1- Đầu dương mối nối; 2- Đầu âm mối nối. |
CHÚ THÍCH: Chi tiết các mối nối, rãnh cố định nắp xem thêm tại Phụ lục A
Hình 3 - Mối nối đốt mương
4.2. Ký hiệu
Các sản phẩm đốt mương được ký hiệu bằng các chữ và số viết tắt theo trình tự sau:
- U: Mương có tiết diện dạng U đáy phẳng.
- Uc: Mương có tiết diện dạng U đáy cong.
- B: Chiều rộng lòng mương.
- 400, 500...900: số đo chiều rộng lòng mương, mm.
- Pt: Mương chịu tải thông thường.
- Pc: Mương chịu tải cao.
Ví dụ: “UB500” được hiểu là loại mương dạng U đáy phẳng không có nắp có chiều rộng lòng mương bằng 500 mm;
“UB500-Pt” được hiểu là loại mương dạng U đáy phẳng có nắp với chiều rộng lòng mương bằng 500 mm và khả năng chịu tải thông thường
5. Yêu cầu kỹ thuật
5.1. Yêu cầu về vật liệu
5.1.1. Xi măng
Xi măng dùng để sản xuất mương bê tông đúc sẵn sử dụng cho thoát nước thải và mương tưới tiêu ở các vùng có môi trường xâm thực là các loại xi măng poóc lăng bền sun phát (PCSR) phù hợp với TCVN 6067:2004 hoặc xi măng poóc lăng hỗn hợp bền sun phát (PCBMSR, PCBHSR) phù hợp với TCVN 7711:2013.
Đối với mương tưới tiêu ở các vùng không chịu môi trường xâm thực có thể sử dụng xi măng poóc lăng phù hợp với TCVN 2682:2009 hoặc xi măng poóc lăng hỗn hợp phù hợp với TCVN 6260:2009.
5.1.2. Cốt liệu
Các loại cốt liệu dùng để sản xuất mương bê tông phù hợp với TCVN 7570:2006. Ngoài ra còn phải thỏa mãn các quy định của thiết kế.
5.1.3. Nước
Nước trộn và bảo dưỡng bê tông phù hợp với TCVN 4506:2012.
5.1.4. Phụ gia
Phụ gia bê tông dùng để sản xuất mương bê tông phù hợp với TCVN 8826:2011, TCVN 8827:2011 và TCVN 10302:2014.
5.1.5. Cốt thép
Cốt thép dùng cho sản xuất mương bê tông đúc sẵn phù hợp với các tiêu chuẩn tương ứng sau: - Thép thanh dùng làm cốt chịu lực phù hợp TCVN 1651-1:2008 và TCVN 1651-2:2008;
- Thép cuộn các bon thấp kéo nguội cường độ cao phù hợp với TCVN 6288:1997;
- Lưới thép hàn phù hợp TCVN 1651-3:2008.
Sai lệch khoảng cách bố trí thép theo thiết kế (tính bằng milimét):
- Đối với các thanh thép chịu lực không lớn hơn 10;
- Đối với thép đai không lớn hơn 10.
5.1.6. Bê tông
- Mác bê tông phải đảm bảo theo yêu cầu thiết kế và không nhỏ hơn M25.
- Hỗn hợp bê tông có tỷ lệ nước/xi măng (N/X) không lớn hơn 0,45.
5.2. Yêu cầu về kích thước và mức sai lệch kích thước
5.2.1. Kích thước
Các kích thước của các đốt mương dạng U đáy phẳng, U đáy cong, tấm nắp được quy định theo Bảng 1 và Bảng 2.
5.2.2. Sai lệch kích thước
5.2.2.1. Mức sai lệch kích thước đốt mương
Sai lệch giữa kích thước thực tế so với kích thước cơ bản của đốt mương và tấm nắp được quy định trong Bảng 3.
5.2.2.2. Mức sai lệch kích thước đầu nối
Mức sai lệch kích thước đầu dương: chiều rộng ngoài - 5 mm; chiều cao ngoài ± 5 mm.
Mức sai lệch kích thước đầu âm: chiều rộng trong + 5 mm; chiều cao trong ± 5 mm.
5.2.2.3. Chiều dày lớp bê tông bảo vệ cốt thép
Chiều dày của lớp bê tông bảo vệ cốt thép bên trong và bên ngoài không được nhỏ hơn 12 mm.
5.3. Yêu cầu ngoại quan và các khuyết tật cho phép
5.3.1. Độ phẳng bề mặt
Bề mặt bên ngoài và bên trong của mương bê tông phải đảm bảo phẳng đều, không cho phép có các điểm lồi hoặc lõm vượt quá 2 mm.
Không cho phép có các lỗ rỗng trên bề mặt bê tông với chiều sâu lớn hơn 2 mm.
Bảng 1 - Kích thước danh nghĩa của các loại đốt mương bê tông đúc sẵn
Kích thước tính bằng milimét
| Loại mương | Ký hiệu | Kích thước 1) | ||||||
| Chiều rộng lòng mương, B 2) | Chiều dài hiệu dụng, L | Chiều cao lòng mương, h | Chiều dày thành, t | Chiều dày đáy, d | Chiều rộng đáy, b | |||
| Mương tưới tiêu 3) | Mương dạng U đáy phẳng | UB400 | 400 | 1000 ÷ 2000 | 300 ÷ 600 | 40 | 70 | - |
| UB500 | 500 | - | ||||||
| UB600 | 600 | 50 | - | |||||
| UB700 | 700 | 500 ÷ 900 | 50 | - | ||||
| UB800 | 800 | - | ||||||
| UB900 | 900 | 500 ÷ 1000 | - | |||||
| Mương dạng U đáy cong | UCB400 | 400 | 1000 | 400 ÷ 500 | 40 | 180÷200 | ||
| UCB500 | 500 | |||||||
| UCB600 | 600 | 500 ÷ 600 | 50 | 200÷220 | ||||
| UCB700 | 700 | 600 ÷ 700 | 220÷250 | |||||
| UCB800 | 800 | 900 ÷ 1000 | 800 ÷ 900 | 250÷280 | ||||
| UCB900 | 900 | 900 ÷ 1000 | ||||||
| Mương thoát nước thải | Mương chịu tải thông thường | UB400- Pt | 400 | 1000÷2000 | 300 ÷ 600 | 40 | 70 | - |
| UB500- Pt | 500 | - | ||||||
| UB600- Pt | 600 | 50 | - | |||||
| UB700- Pt | 700 | 500÷900 | - | |||||
| UB800- Pt | 800 | - | ||||||
| UB900- Pt | 900 | 500÷1000 | - | |||||
| Mương chịu tải cao | UB400- Pc | 400 | 300÷600 | 80 | 100 | - | ||
| UB500- Pc | 500 | - | ||||||
| UB600- Pc | 600 | - | ||||||
| UB700- Pc | 700 | 500÷900 | - | |||||
| UB800- Pc | 800 | - | ||||||
| UB900- Pc | 900 | 500÷1000 | - | |||||
| CHÚ THÍCH: 1) Các kích thước khác theo yêu cầu khách hàng. 2) Trong trường hợp mương dạng U đáy cong, B được đo tại vị trí miệng mương. 3) Các đoạn mương tưới tiêu băng qua đường phải có nắp đậy và phải đạt độ chịu tải Pt hoặc Pc tương ứng tùy theo yêu cầu thiết kế. | ||||||||
Bảng 2 - Kích thước tấm nắp bê tông đúc sẵn
Kích thước tính bằng milimét
| Loại mương | Kích thước tấm nắp | ||
| Chiều dài, Ln | Chiều rộng, Bn | Chiều dày, Dn | |
| Mương chịu tải thông thường (Pt) | 1000 ÷ 2000 | B + 2t + 220 | 80 |
| Mương chịu tải cao (Pc) | |||
| CHÚ THÍCH; B: Chiều rộng lòng mương t: Chiều dày thành mương | |||
Bảng 3 - Mức sai lệch kích thước cho phép của đốt mương và tấm nắp
Kích thước tính bằng milimét
| Loại mương theo chiều rộng lòng | Mức sai lệch kích thước cho phép | ||||||||
| Đốt mương | Tấm nắp | ||||||||
| Chiều dài hiệu dụng, L | Chiều rộng lòng, B | Chiều cao lòng, h | Chiều dày thành, t | Chiều dày đáy, d | Chiều rộng đáy ngoài, b | Chiều dài, Ln | Chiều rộng, Bn | Chiều dày, Dn | |
| B400 | ± 10 | ± 5 | ± 5 | ± 2 | ± 5 | ± 4 | ± 10 | ± 5 | ± 3 |
| B500 | |||||||||
| B600 | |||||||||
| B700 | |||||||||
| B800 | |||||||||
| B900 | |||||||||
5.3.2. Nứt bề mặt
Cho phép có các vết nứt bề mặt bê tông do biến dạng mềm nhưng chiều rộng của các vết nứt không được quá 0,1 mm. Các vết nứt này có thể được xoa lấp bằng hồ xi măng.
5.3.3. Sự biến màu của bề mặt bê tông
Bề mặt bê tông của đốt mương không được có các vết ố biến màu do cốt thép bên trong bị ăn mòn tạo gỉ.
5.3.4. Sứt vỡ bề mặt
Sứt vỡ bề mặt do tháo khuôn hoặc do quá trình vận chuyển, thì tổng diện tích bề mặt sứt vỡ không được vượt quá 4 lần bình phương mức sai lệch cho phép của chiều dài đốt mương trong đó diện tích một miếng sứt vỡ không được lớn hơn 1/2 lần tổng diện tích bề mặt các vết sứt vỡ và không được có vết sứt vỡ đồng thời cả mặt trong và mặt ngoài tại chỗ tiếp xúc của các đầu nối.
5.4. Yêu cầu về khả năng chống thấm nước
Khả năng chống thấm nước của mương bê tông được đánh giá bằng khả năng chịu được áp lực thủy tĩnh của nước khi đốt mương được bịt kín hai đầu và lòng mương chứa đầy nước trong khoảng thời gian qui định 36 h mà không bị thấm thành vết hoặc giọt nước ở mặt ngoài thành mương.
5.5. Yêu cầu về khả năng chịu tải
5.5.1. Khả năng chịu tải đứng
Khả năng chịu tải đứng chỉ áp dụng đối với mương có nắp, xác định theo phương pháp nén trên bệ máy, với lực nén giới hạn (tải trọng giới hạn) là lực nén được quy định ở Bảng 4 tương ứng với thiết kế kỹ thuật cho các loại mương có phạm vi áp dụng khác nhau.
Bảng 4 - Khả năng chịu tải đứng của mương bê tông
| Loại mương | Lực nén giới hạn, kN |
| Mương chịu tải thông thường (Pt) | 45,0 |
| Mương chịu tải cao (Pc) | 75,0 |
5.5.2. Khả năng chịu tải ngang
Khả năng chịu tải ngang chỉ áp dụng đối với mương không có nắp, xác định bởi tải trọng phá hủy tác động mặt ngoài thành mương và tải trọng phá hủy tác động lên mặt trong thành mương, được qui định ở Bảng 5 tương ứng với thiết kế kỹ thuật cho các loại mương có kích thước chiều rộng lòng mương khác nhau.
Bảng 5 - Khả năng chịu tải ngang của mương bê tông
| Ký hiệu mương | Tải trọng phá hủy tác động mặt ngoài thành mương (kN/m), không nhỏ hơn | Tải trọng phá hủy tác động mặt trong thành mương (kN/m), không nhỏ hơn |
| B400 | 2,2 | 2,0 |
| B500 | ||
| B600 | ||
| B700 | ||
| B800 | ||
| B900 |
6. Phương pháp thử
6.1. Lấy mẫu
- Để kiểm tra các chỉ tiêu về kích thước, ngoại quan, khuyết tật và cường độ bê tông, mỗi lô lấy ngẫu nhiên không ít hơn ba sản phẩm đại diện cho lô để thí nghiệm, cỡ lô thông thường là 150 sản phẩm. Nếu số lượng không đủ 150 sản phẩm cũng tính là một lô đủ.
- Khả năng chống thấm được kiểm tra định kỳ ba tháng một lần. Từ mỗi lô lấy ngẫu nhiên hai sản phẩm đã qua kiểm tra kích thước, ngoại quan và cường độ bê tông làm đại diện cho lô cần kiểm tra.
- Khả năng chịu tải được kiểm tra định kỳ sáu tháng một lần. Từ mỗi lô lấy ngẫu nhiên sáu sản phẩm đã qua kiểm tra kích thước, ngoại quan và cường độ bê tông làm đại diện cho lô kiểm tra. Trong đó, hai sản phẩm dùng để thử khả năng chịu tải đứng, hai sản phẩm để thử khả năng chịu tải ngang do nén ép tác động từ mặt ngoài thành mương, hai sản phẩm dùng để thử khả năng chịu tải ngang do tác động đạp đẩy thành trong mương.
6.2. Xác định kích thước và mức sai lệch kích thước
6.2.1. Thiết bị, dụng cụ
6.2.1.1. Thước kẹp với hàm kẹp lớn có độ chính xác 0,1 mm;
6.2.1.2. Thước thép hoặc thước thép cuộn có khả năng đo độ dài 3 m, độ chính xác 1 mm;
6.2.1.3. Máy khoan.
6.2.2. Cách tiến hành
- Lấy mẫu theo 6.1.
- Đo chiều dài hiệu dụng của từng đốt mương theo các cạnh bằng thước thép hoặc thước thép cuộn.
- Đo chiều cao bên trong của từng đốt mương được tiến hành trên cả hai đầu đốt mương.
- Đo chiều dày của thành mương theo các cạnh ở hai đầu bằng thước kẹp.
- Đo chiều dày của đáy mương ở hai đầu bằng thước kẹp.
- Đo chiều dày của lớp bê tông bảo vệ cốt thép đối với từng đốt mương theo TCVN 9356:2012, hoặc bằng cách khoan hai lỗ trên bề mặt đốt mương cho tới cốt thép hoặc cắt ngang tiết diện mương để đo chiều dày lớp bê tông bảo vệ. Sau khi kiểm tra, lỗ khoan phải được trát kín bằng vữa xi măng.
6.2.3. Đánh giá kết quả
Đối chiếu các kết quả đo trung bình với các kích thước cơ bản của đốt mương để xác định mức sai lệch cho phép như đã được quy định trong 5.2. Nếu trong ba sản phẩm lấy ra kiểm tra có một sản phẩm trở lên không đạt chất lượng thì lấy ba sản phẩm khác trong lô đó để kiểm tra lần hai. Nếu lại có một sản phẩm trở lên không đạt yêu cầu chất lượng thì lô sản phẩm đó phải nghiệm thu theo từng sản phẩm.
6.3. Kiểm tra ngoại quan và các khuyết tật
6.3.1. Thiết bị, dụng cụ
6.3.1.1. Thước lá thép hoặc thước nhựa dài 1 m, độ chính xác 1 mm;
6.3.1.2. Thước lá thép hoặc thước nhựa dài 300 mm, độ chính xác đến 1 mm;
6.3.1.3. Thước kẹp có độ chính xác đến 0,1 mm;
6.3.1.4. Bộ căn lá có độ dày (0,01 ÷ 1,00) mm;
6.3.1.5. Kính lúp có độ phóng đại (5 ÷ 10) lần.
6.3.2. Cách tiến hành
- Lấy mẫu theo 6.1.
- Đo chiều cao hoặc chiều sâu, vết lồi, lõm bằng kết hợp thước lá thép và thước kẹp.
- Đo chiều rộng vết nứt bằng quan sát qua kính lúp kết hợp với căn lá thép.
- Sự biến màu của bề mặt bê tông được quan sát bằng mắt thường.
- Đo kích thước vết sứt vỡ bằng thước kẹp kết hợp với thước lá thép.
6.3.3. Đánh giá kết quả
Đối chiếu với yêu cầu về ngoại quan và khuyết tật của đốt mương được quy định trong 5.3 để đánh giá chất lượng sản phẩm thử. Nếu cả ba sản phẩm lấy ra từ một lô đạt yêu cầu thì lô đó đạt chất lượng qui định. Nếu trong ba sản phẩm có một sản phẩm trở lên không đạt thì trong lô đó lại lấy tiếp ba sản phẩm khác để kiểm tra.
Nếu lại có một sản phẩm trở lên không đạt yêu cầu thì lô sản phẩm đó sẽ phải nghiệm thu từng sản phẩm.
6.4. Xác định khả năng chống thấm nước
6.4.1. Dụng cụ, thiết bị và vật liệu
6.4.1.1. Đồng hồ đo thời gian, bay mũi nhọn;
6.4.1.2. Bộ gá để bịt 2 đầu mương;
6.4.1.3. Matit bitum (hỗn hợp bi tum nấu chảy + bột đá).
6.4.2. Cách tiến hành
- Lấy mẫu theo 6.1.
- Lắp bộ gá và gắn matit bịt kín hai đầu đốt mương.
- Đổ nước vào đốt mương cho đầy cách mép trên khoảng 10 cm và giữ nước trong đốt mương trong một thời gian qui định 36 h.
- Kết thúc thời gian thử, quan sát mặt ngoài mương xem có vết nước thấm hoặc đọng giọt trên bề mặt không.
6.4.3. Đánh giá kết quả
Nếu không có vết nước thấm ra ngoài thì đốt mương đạt yêu cầu về độ chống thấm.
Nếu trong hai sản phẩm thử có một sản phẩm trở lên bị thấm thì phải lấy tiếp hai sản phẩm khác để thử lại. Nếu lại có một sản phẩm trở lên bị thấm thì lô sản phẩm đó phải nghiệm thu từng sản phẩm.
6.5. Xác định cường độ bê tông
Bê tông phải được lấy mẫu, bảo dưỡng theo TCVN 3105:1993, xác định cường độ chịu nén theo TCVN 3118:1993 và lưu phiếu thí nghiệm, coi đó là một trong các hồ sơ chất lượng sản phẩm.
Khi cần thiết, có thể tiến hành kiểm tra cường độ chịu nén của bê tông trực tiếp trên sản phẩm theo TCVN 9490:2012 (ASTM C900-06) để xác định mác thực tế so với thiết kế.
6.6. Xác định khả năng chịu tải
6.6.1. Khả năng chịu tải đứng
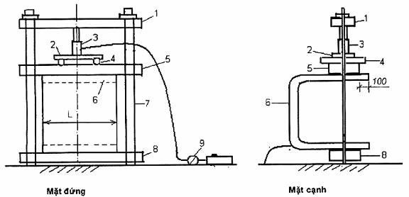
6.6.1.1. Nguyên tắc
- Khả năng chịu tải đứng của đốt mương được xác định bằng phương pháp nén trên bệ máy. Lực nén giới hạn là lực nén quy định cho mỗi loại đốt mương và được duy trì ít nhất trong 5 min mà đốt mương không bị phá hủy.
- Khi nén, đốt mương được lắp đặt để tiếp xúc chặt chẽ với sàn máy nén và giữ cố định theo phương ngang của đốt mương, lực nén đặt tại điểm giữa nắp đậy (Hình 4).
- Có thể thử tải bằng cách chất tải hoặc ép thủy lực tại hiện trường khi điều kiện nền móng đảm bảo yêu cầu kĩ thuật.
6.6.1.2. Thiết bị, dụng cụ
6.6.1.2.1. Máy nén thủy lực hoặc máy nén cơ học dùng hệ thống kích. Máy phải được lắp đồng hồ lực có thang đo phù hợp sao cho tải trọng thử phải nằm trong phạm vi (20 ÷ 80) % của giá trị lớn nhất của thang đo lực. Độ chính xác của máy trong khoảng ± 2 % tải trọng thử quy định;
6.6.1.2.2. Kính phóng đại, thước căn lá;
6.6.1.2.3. Tấm đệm cao su có độ cứng (45 ÷ 60) theo thang đo độ cứng Shore;
6.6.1.2.4. Tấm ép cứng có đường kính 330 mm;
6.6.1.2.5. Thiết bị nén tại hiện trường phải phù hợp với các yêu cầu thí nghiệm cũng như điều kiện lắp đặt các dụng cụ đo và thiết bị gia tải.
6.6.1.3. Cách tiến hành
- Lấy mẫu theo 6.1.
- Đặt đốt mương thử có nắp đậy lên bệ thử một cách chắc chắn, ổn định.
- Đặt tấm đệm và tấm ép cứng trên lên điểm giữa theo bề ngang nắp đậy.
- Tác dụng lực lên điểm giữa của tấm ép cứng, tăng tải đến giá trị 10 % lực nén quy định.
- Kiểm tra độ ổn định, tiếp xúc của toàn bộ hệ thống và các thanh gối tựa.
-Tiếp tục tăng tải với tốc độ gia tải 200 kN/min. Nếu xuất hiện vết nứt thì giữ tải trong 1 min và quan sát, đo chiều rộng vết nứt.
- Sau đó tiếp tục tăng tải cho tới khi đạt 75 % giá trị lực nén giới hạn thì tăng tải chậm tại với tốc độ 44 kN/min. Khi đạt lực nén giới hạn thì giữ tải trọng 5 min và quan sát. Nếu có vết nứt thì đo chiều rộng và chiều sâu vết nứt bằng thước căn lá. Nếu không nứt, hoặc cố vết nứt chiều rộng bằng hoặc nhỏ hơn 0,1 mm thì ngừng gia tải và dừng thử.

Hình 4 - Vị trí đặt lực để kiểm tra khả năng chịu tải đứng của đốt mương
6.6.1.4. Đánh giá kết quả
Khi thử đến tải trọng nén giới hạn quy định ở Bảng 4 có thể xảy ra các trường hợp sau đây:
- xuất hiện vết nứt lớn hơn quy định (chiều rộng lớn hơn 0,1 mm và chiều sâu lớn hơn 0,2 mm), thì đốt mương không đạt yêu cầu về khả năng chịu tải đứng.
- không xuất hiện vết nứt hoặc có vết nứt chiều rộng bằng hoặc nhỏ hơn 0,1 mm thì đốt mương đạt yêu cầu về khả năng chịu tải đứng.
Đánh giá kết quả kiểm tra lô thử: Nếu trong hai đốt mương đem thử có một đốt mương trở lên không đạt yêu cầu về khả năng chịu tải, thì phải chọn hai đốt mương khác để thử tiếp. Nếu lại có một đốt mương trở lên không đạt yêu cầu về khả năng chịu tải, thì lô sản phẩm đó không đạt yêu cầu về khả năng chịu tải và phải tiến hành phân loại lại.
6.6.2. Khả năng chịu tải ngang
- Khả năng chịu tải ngang do tác động nén ép mặt ngoài của sản phẩm mương đúc sẵn không có nắp được thử theo phương pháp mô tả trong B.1, Phụ lục B.
- Khả năng chịu tải ngang do tác động đạp đẩy mặt trong của sản phẩm mương đúc sẵn không có nắp được thử theo phương pháp mô tả trong B.2, Phụ lục B.
7. Ghi nhãn, bảo quản và vận chuyển
7.1. Ghi nhãn
Trên mặt ngoài mỗi đốt mương tại các vị trí dễ quan sát phải ghi rõ:
- Tên, địa chỉ cơ sở sản xuất;
- Loại sản phẩm, kích thước cơ bản;
- Số hiệu lô sản phẩm;
- Ngày, tháng, năm sản xuất;
- Dấu kiểm tra chất lượng (khuyến khích sử dụng mã vạch để quản lý chất lượng).
Vật liệu dùng ghi nhãn đảm bảo không bị hoà tan trong nước và không phai màu.
Khi xuất xưởng phải có giấy chứng nhận chất lượng sản phẩm cho mỗi lô hàng, trong đó thể hiện kết quả thử các chỉ tiêu chất lượng theo tiêu chuẩn này.
7.2. Bảo quản
- Sản phẩm được xếp nằm ngang theo các hàng ngay ngắn, giữa các lớp hàng phải đặt các miếng kê gỗ thích hợp.
- Sản phẩm phải được xếp riêng theo từng lô, từng loại riêng.
7.3. Vận chuyển
- Sản phẩm chỉ được phép bốc xếp, vận chuyển khi cường độ bê tông đạt tối thiểu 85% cường độ thiết kế.
- Sản phẩm được bốc xếp, dỡ bằng cần cẩu chuyên dụng với móc dây cáp mềm hoặc thiết bị nâng thích hợp.
- Khi vận chuyển, các đốt mương phải được chèn, liên kết chặt với phương tiện vận chuyển để tránh xô đẩy, va đập, gây hư hỏng.
PHỤ LỤC A
(tham khảo)
Mô tả chi tiết cấu tạo các mối nối và tấm nắp của mương

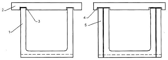
CHÚ DẪN: 1- Mối nối đối đầu; 2- Xây bao gạch
1a) Mối nối đối đầu có xây gạch bao quanh

CHÚ DẪN: 1- Đầu âm mối nối; 2- Đầu dương mối nối
1b) Đầu nối âm dương thông thường
Hình A.1 - Các kiểu đầu nối thông thường

CHÚ DẪN: 1- Đầu âm mối nối; 2- Đầu dương mối nối
Hình A.2 - Mối nối âm dương có đầu loe

CHÚ DẪN: 1- Đốt mương; 2- Nắp mương thẳng
Hình A.3 - Tấm nắp thẳng thông thường


CHÚ DẪN:
1 - Đốt mương;
2 - Nắp mương;
3 - Rãnh đơn;
4 - Rãnh kép;
5 - Đầu loe khớp nối âm dương.
Hình A.4 - Tấm nắp có rãnh cố định chống xô lệch ngang
PHỤ LỤC B
(quy định)
Phương pháp xác định khả năng chịu tải ngang của đốt mương bê tông cốt thép đúc sẵn
B.1. Xác định khả năng chịu tải ngang do tác động nén ép mặt ngoài thành mương
B.1.1. Thiết bị dụng cụ
B.1.1.1. Khung ép
Khung ép phải có cường độ và độ cứng vững cao, có thể chịu sự phân bố của tải trọng mà không bị biến dạng, khung ép được cấu tạo bởi các dầm trên, dầm giữa, dầm dưới, dầm nhỏ gia tải, thanh thép truyền lực Φ16 và thanh giằng. Trong đó, dầm trên, dầm giữa, dầm dưới làm bằng thép hình U12, dầm nhỏ gia tải làm bằng thép hình U10;
B.1.1.2. Kích lắp ngoài
Kích rời được lắp một áp lực kế tiêu chuẩn có độ chính xác cao với phạm vi đo 1,6 MPa, trong đó cấp chính xác là cấp 0,4, giá trị vạch chia thang đo là 0,01 MPa.
B.1.2. Cách tiến hành
- Tại hiện trường thử nghiệm cần rải trước một xe cát vàng, đầu tiên lắp thanh giằng và dầm dưới. Lật nghiêng mương bê tông theo chiều bên một góc 90° và đặt lên trên dầm đáy sao cho mặt phẳng của miệng mương vuông góc với mặt đất, mặt cạnh của dầm đáy cách mặt phẳng của miệng mương khoảng 100 mm, cát vàng được sử dụng để điều chỉnh vị trí của mương, sao cho mặt bên của mương tiếp xúc đều đặn với dầm đáy. Sau đó phủ một lớp đệm cát lên trên mặt bên của thân mương và dọc theo thân mương cách mặt phẳng miệng mương khoảng 100 mm - 150 mm; yêu cầu là bề mặt của mặt cát phải bằng phẳng, đặt dầm giữa lên trên đệm cát, mặt bên của dầm giữa cách mặt phẳng miệng mương 100 mm, sao cho phần chịu lực của nó tương đồng với dầm đáy. Vạch các điểm chia trên dầm giữa, đặt các thanh thép truyền lực lên trên điểm vạch, đặt dầm nhỏ gia tải lên trên các thanh truyền lực, đặt kích lên chính điểm giữa của dầm nhỏ, cuối cùng đặt dầm trên lên trên cùng và vặn chặt đai ốc. Sơ đồ lắp đặt thiết bị thử nghiệm xem Hình B.1.
- Sau khi lắp đặt xong mương bê tông, tiến hành gia tăng áp lực lên thành mương một cách đều đặn với tốc độ gia tải không lớn hơn 1kN/min cho đến khi mẫu thử bị nứt vỡ phá hủy.
- Ghi kết quả áp lực phá hủy trên áp lực kế.
CHÚ THÍCH:
1) Đối với các đốt mương có chiều dài lớn có thể cắt thành các đoạn đốt có chiều dài khoảng 1 m để thử nghiệm.
2) Để đảm bảo an toàn, trước khi gia tải phải dùng dây thép buộc treo kích vào lỗ dầm trên để phòng khi mương bị phá hủy làm kích rơi gây thương vong cho người trong quá trình thí nghiệm.
Kích thước tính bằng milimet

| CHÚ DẪN: | 1- Dầm trên; | 4- Thanh thép truyền lực; | 7- Thanh giằng; |
|
| 2- Dầm nhỏ gia tải; | 5- Dầm giữa; | 8- Dầm đáy; |
|
| 3- Kích; | 6- Mẫu thử; | 9- Áp lực kế. |
Hình B.1 - Sơ đồ Xác định khả năng chịu tải ngang do tác động nén ép mặt ngoài thành mương
B.1.3. Tính kết quả
Giá trị tải trọng phá hủy do tác động nén ép ngoài Png tính bằng KN/m theo công thức sau:
![]()
trong đó:
F - Lực phá hủy, kN;
F0 - Tự trọng của (thanh thép truyền lực + dầm giữa + kích), kN;
L - Chiều dài chịu lực thực tế của mương, m;
Png - Giá trị của tải trọng phá hủy do tác động nén ép ngoài, kN/m.
B.1.4. Đánh giá kết quả
Nếu trong hai sản phẩm thử có một sản phẩm trở lên không đạt yêu cầu về tải trọng phá hủy được qui định trong Bảng 5, lấy hai sản phẩm khác trong lô sản phẩm để thử tiếp. Nếu lại có một sản phẩm trở lên không đạt yêu cầu thì lô sản phẩm không đạt yêu cầu nghiệm thu và phải tiến hành phân loại lại.
B.2. Xác định khả năng chịu tải ngang do tác động đạp đẩy mặt trong thành mương
B.2.1. Thiết bị dụng cụ
B.2.1.1. Bộ gá
Hai thanh thép hình U12 và các thanh giằng chống;
B.2.1.2. Kích lắp ngoài
Kích lắp ngoài với áp lực kế tiêu chuẩn có độ chính xác cao với phạm vi đo 1,6 MPa, trong đó cấp chính xác là cấp 0,4, giá trị vạch chia thang đo là 0,01 MPa.
B.2.2. Cách tiến hành
- Đặt đốt mương thử nghiệm lên trên nền đất, đặt hai thanh thép hình áp sát vào hai mặt bên của mương, bề mặt của thanh thép vuông góc với nền đất, mép trên của các thanh thép hình cách mặt đỉnh mương 100 mm. Đặt kích nằm ngang vào giữa hai thanh thép hình ở thân mương, hai đầu kích có thể dùng miếng gỗ cứng để tiếp xúc với thanh thép hình. Sơ đồ lắp đặt thiết bị thử nghiệm xem Hình B.2.
- Sau khi đã lắp đặt chính xác mẫu thử, bắt đầu gia tăng áp lực lên thành mương một cách đều đặn với tốc độ gia tải không lớn hơn 1 kN/min cho đến khi mẫu thử bị nứt vỡ phá hủy.
- Ghi kết quả áp lực phá hủy trên áp lực kế.
Kích thước tính bằng milimet

CHÚ DẪN: 1- Mẫu thử; 2- Thanh thép hình; 3- Kích, 4- Áp lực kế.
Hình B.2 - Sơ đồ Xác định khả năng chịu tải ngang do tác động đạp đẩy mặt trong thành mương
B.2.3. Tính kết quả
Giá trị tải trọng phá hủy tác dụng đạp đẩy mặt trong Ptr tính bằng KN/m theo công thức sau:
![]()
trong đó:
F - Lực phá hủy, kN;
L - Chiều dài chịu lực thực tế của mương, m;
Ptr - Giá trị của tải trọng phá do tác dụng đạp đẩy mặt trong, kN/m.
B.2.4. Đánh giá kết quả
Nếu trong hai sản phẩm thử có một sản phẩm trở lên không đạt yêu cầu về tải trọng phá hủy được qui định trong bảng 5 tại 5.5.2, có thể lấy hai sản phẩm khác trong lô sản phẩm để thử tiếp. Nếu lại có một sản phẩm trở lên không đạt yêu cầu thì lô sản phẩm không đạt yêu cầu nghiệm thu và phải tiến hành phân loại lại.
MỤC LỤC
Lời nói đầu
Lời giới thiệu
1. Phạm vi áp dụng
2. Tài liệu viện dẫn
3. Thuật ngữ và định nghĩa
4. Phân loại, các kích thước cơ bản và ký hiệu
5. Yêu cầu kỹ thuật
5.1. Yêu cầu vật liệu
5.2. Yêu cầu về kích thước và mức sai lệch kích thước
5.3. Yêu cầu về ngoại quan và các khuyết tật cho phép
5.4. Yêu cầu về khả năng chống thấm nước
5.5. Yêu cầu về khả năng chịu tải
6. Phương pháp thử
6.1. Lấy mẫu
6.2. Xác định kích thước và mức sai lệch kích thước
6.3. Kiểm tra ngoại quan và các khuyết tật
6.4. Xác định khả năng chống thấm nước
6.5. Xác định cường độ bê tông
6.6. Xác định khả năng chịu tải
7. Ghi nhãn, vận chuyển và bảo quản
7.1. Ghi nhãn
7.2. Bảo quản
7.3. Vận chuyển
Phụ lục A (Tham khảo) Mô tả chi tiết cấu tạo các mối nối và tấm nắp của mương
Phụ lục B (Qui định) Phương pháp thử xác định khả năng chịu tải ngang của đốt mương bê tông cốt thép đúc sẵn
Bạn chưa Đăng nhập thành viên.
Đây là tiện ích dành cho tài khoản thành viên. Vui lòng Đăng nhập để xem chi tiết. Nếu chưa có tài khoản, vui lòng Đăng ký tại đây!