- Tổng quan
- Nội dung
- Tiêu chuẩn liên quan
- Lược đồ
- Tải về
Tiêu chuẩn TCVN 11823-12:2017 Thiết kế kết cấu vùi và áp hầm cầu đường bộ
| Số hiệu: | TCVN 11823-12:2017 | Loại văn bản: | Tiêu chuẩn Việt Nam |
| Cơ quan ban hành: | Bộ Khoa học và Công nghệ | Lĩnh vực: | Xây dựng , Giao thông |
|
Ngày ban hành:
Ngày ban hành là ngày, tháng, năm văn bản được thông qua hoặc ký ban hành.
|
2017 |
Hiệu lực:
|
Đã biết
|
| Người ký: | Đang cập nhật |
Tình trạng hiệu lực:
Cho biết trạng thái hiệu lực của văn bản đang tra cứu: Chưa áp dụng, Còn hiệu lực, Hết hiệu lực, Hết hiệu lực 1 phần; Đã sửa đổi, Đính chính hay Không còn phù hợp,...
|
Đã biết
|
TÓM TẮT TIÊU CHUẨN VIỆT NAM TCVN 11823-12:2017
Nội dung tóm tắt đang được cập nhật, Quý khách vui lòng quay lại sau!
Tải tiêu chuẩn Việt Nam TCVN 11823-12:2017
TIÊU CHUẨN QUỐC GIA
TCVN 11823-12:2017
THIẾT KẾ CẦU ĐƯỜNG BỘ - PHẦN 12: KẾT CẤU VÙI VÀ ÁO HẦM
Highway bridge design specification - Part 12: Buried structures and tunnel liners
LỜI NÓI ĐẦU
TCVN 11823 -12: 2017 được biên soạn trên cơ sở tham khảo Tiêu chuẩn thiết kế cầu theo hệ số tải trọng và sức kháng của AASHTO (AASHTO, LRFD Bridge Design Specification). Tiêu chuẩn này là một Phần thuộc Bộ tiêu chuẩn Thiết kế cầu đường bộ bao gồm 12 Phần như sau:
- TCVN 11823-1:2017 Thiết kế cầu đường bộ - Phần 1: Yêu cầu chung
- TCVN 11823-2:2017 Thiết kế cầu đường bộ - Phần 2: Tổng thể và đặc điểm vị trí
- TCVN 11823-3:2017 Thiết kế cầu đường bộ - Phần 3: Tải trọng và Hệ số tải trọng
- TCVN 11823-4:2017 Thiết kế cầu đường bộ - Phần 4: Phân tích và Đánh giá kết cấu
- TCVN 11823-5:2017 Thiết kế cầu đường bộ - Phần 5: Kết cấu bê tông
- TCVN 11823-6:2017 Thiết kế cầu đường bộ - Phần 6: Kết cấu thép
- TCVN 11823-9:2017 Thiết kế cầu đường bộ - Phần 9: Mặt cầu và Hệ mặt cầu
- TCVN 11823-10:2017 Thiết kế cầu đường bộ - Phần 10: Nền móng
- TCVN 11823-11:2017 Thiết kế cầu đường bộ - Phần 11: Mố, Trụ và Tường chắn
- TCVN 11823-12:2017 Thiết kế cầu đường bộ - Phần 12: Kết cấu vùi và Áo hầm
- TCVN 11823-13:2017 Thiết kế cầu đường bộ - Phần 13: Lan can
- TCVN 11823-14:2017 Thiết kế cầu đường bộ - Phần 14: Khe co giãn và Gối cầu
Tiêu chuẩn kỹ thuật thi công tương thích với Bộ tiêu chuẩn này là Tiêu chuẩn kỹ thuật thi công cầu AASHTO LRFD (AASHTO LRFD Bridge construction Specifications)
TCVN 11823 - 12: 2017 do Bộ Giao thông vận tải tổ chức biên soạn, Bộ Giao thông vận tải đề nghị, Tổng cục Tiêu chuẩn Đo lường Chất lượng thẩm định, Bộ Khoa học và Công nghệ công bố.
THIẾT KẾ CẦU ĐƯỜNG BỘ - PHẦN 12: KẾT CẤU VÙI VÀ ÁO HẦM
Highway bridge design specification - Part 12: Buried Structures and Tunnel Liners
1 PHẠM VI ÁP DỤNG
Tiêu chuẩn này quy định các yêu cầu thiết kế kết cấu vùi như các loại cống và bản thép làm áo hầm (vách hầm), dùng để chống đỡ khi đào hầm trong đất.
Hệ thống kết cấu vùi được đề cập trong tiêu chuẩn này là: cống ống kim loại, kết cấu bản mỏng, kết cấu bản mỏng có khẩu độ lớn, kết cấu hộp bản mỏng, ống bê tông cốt thép, vòm bê tông cốt thép đúc tại chỗ và đúc sẵn, kết cấu hộp và e líp, ống cống bằng nhựa dẻo nóng.
Loại bản áo hầm (vách hầm) được xem xét là các pa nen thép uốn nguội.
2 TÀI LIỆU VIỆN DẪN
Các tài liệu dưới đây là rất cần thiết đối với việc áp dụng tiêu chuẩn này. Các tài liệu viện dẫn được trích dẫn từ những vị trí thích hợp trong văn bản tiêu chuẩn và các ấn phẩm được liệt kê dưới đây. Đối với các tài liệu có đề ngày tháng, những sửa đổi bổ sung sau ngày xuất bản chỉ được áp dụng cho bộ Tiêu chuẩn này khi bộ Tiêu chuẩn này được sửa đổi, bổ sung. Đối với các tiêu chuẩn không đề ngày tháng thì dùng phiên bản mới nhất.
- TCVN 2737:1995 Tải trọng và tác động - Tiêu chuẩn thiết kế
- TCVN 4954:05 Đường ô tô- Yêu cầu thiết kế
- TCVN 5408:2007 Lớp phủ kẽm nhúng nóng trên bề mặt sản phẩm gang và thép- Yêu cầu kỹ thuật và phương pháp thử
- TCVN 1651: 2008 - Thép cốt bê tông và lưới thép hàn
TCVN 5664:2009 - Tiêu chuẩn quốc gia, Phân cấp kỹ thuật đường thủy nội địa
- TCVN 9386:2012 - Thiết kế công trình chịu động đất
- TCVN 9392:2012- Thép cốt bê tông - Hàn hồ quang
- TCVN 9393: 2012- Cọc - Phương pháp thử nghiệm hiện trường bằng tải trọng tĩnh ép dọc trục
- TCVN 10307:2014 - Kết cấu cầu thép - Yêu cầu kỹ thuật chung về chế tạo, lắp ráp và nghiệm thu
- TCVN 10309:2014 - Hàn cầu thép - Quy định kỹ thuật
- AASHTO LRFD Bridge Construction Specifications (Tiêu chuẩn kỹ thuật thi công cầu AASHTO)
- AASHTO M 36 - Standard Specification for Corrugated Steel Pipe, Metallic-Coated, for Sewers and Drains (Tiêu chuẩn ống cống bằng thép mạ gợn sóng dùng cho công trình thoát nước)
- AASHTO T 99 - Standard Method of Test for Moisture-Density Relations of Soils Using a 2.5-kg (5.5-lb) Rammer and a 305-mm (12-in.) Drop (Tiêu chuẩn phương pháp thí nghiệm xác định quan hệ giữa độ ẩm - tỷ trọng đất bằng búa nặng 2,5Kg rơi từ độ cao 305 mm)
- AASHTO M 145 - Standard Specification for Classification of Soils and Soil-Aggregate Mixtures for Highway Construction Purposes (Tiêu chuẩn phân loại đất và trộn cấp phối đất trong xây dựng đường bộ)
- AASHTO M167M- Standard specification for corrugated steel structural plate, zinc coated, for field-bolted pipe, pipe-arches, and Arches (Tiêu chuẩn kết cấu bản mỏng các dạng ống, vòm cung tròn, và vòm bằng thép mạ gợn sóng lắp nối bu lông tại hiện trường)
- AASHTO M170M - Standard Specification for Reinforced Concrete Culvert (Tiêu chuẩn cống bê tông cốt thép)
- AASHTO M 219 Standard Specification for Corrugated Aluminum Alloy Structural Plate for Field-Bolted Pipe, Pipe-Arches, and Arches (Tiêu chuẩn kết cấu bản mỏng dạng ống, vòm cung tròn và vòm bằng nhôm gợn sóng lắp nối bu lông tại hiện trường)
- AASHTO M 304 - Standard Specification for Poly(Vinyl Chloride) (PVC) Profile Wall Drain Pipe and Fittings Based on Controlled Inside Diameter. (Tiêu chuẩn ống cống có vách định dạng và chi tiết nối kiểm soát theo đường kính trong bằng nhựa tổng hợp)
- ASTM C507 - Standard Specification for Reinforced Concrete Elliptical Culvert, Storm Drain, and Sewer Pipe (Tiêu chuẩn ống cống thoát nước bê tông cốt thép dạng enlip)
- ASTM D3350 - Standard Specification for Polyethylene Plastics Pipe and Fittings Materials. (Tiêu chuẩn ống cống và chi tiết nối bằng nhựa dẻo)
- ASTM D1784 - Standard Specification for Rigid Poly(Vinyl Chloride) (PVC) Compounds and Chlorinated Poly(Vinyl Chloride) (CPVC) Compounds (Tiêu chuẩn thành phần hợp chất nhựa PVC và CPVC)
- ASTM F894 - Standard Specification for Polyethylene (PE) Large Diameter Profile Wall Sewer and Drain Pipe (Tiêu chuẩn ống cống có vách định dạng đường kính lớn bằng nhựa)
- ASTM D3966 Standard Test Methods for Deep Foundations Under Lateral Load (Tiêu chuẩn phương pháp thí nghiệm móng sâu chịu tải trọng ngang)
- ASTM D5818 Standard Practice for Exposure and Retrieval of Samples to Evaluate Installation Damage of Geosynthetics (Tiêu chuẩn thực hành phương pháp rải và thu hồi để đánh giá sự hư hỏng do thi công vải địa kỹ thuật)
- ASTM D 5261 standard Test Method for Measuring Mass per Unit Area of Geotextile (Tiêu chuẩn phương pháp thí nghiệm để đo trọng lượng trên một đơn vị diện tích của vải địa kỹ thuật
- ENV ISO 13438: Geotextiles And Geotextile-related Products - Screening Test Method For Determining The Resistance To Oxidation (Phương pháp thí nghiệm xác định sức kháng chịu o xi hóa của vải địa kỹ thuật)
3 THUẬT NGỮ VÀ ĐỊNH NGHĨA
3.1 Bào mòn (Abrasion) - Phần mặt cắt hoặc lớp phủ của cống bị mất đi do tác động cơ học của nước truyền tải trọng lòng lơ lửng của cát, sỏi và các hạt cỡ sỏi cuội ở tốc độ cao với sự chảy rối đáng kể.
3.2 Kết cấu vùi (Buried Structure) - Thuật ngữ chung chỉ kết cấu được xây dựng bằng phương pháp đắp nền hoặc đào hào.
3.3 Sự ăn mòn, gỉ (Corrosion) - Phần mặt cắt và lớp phủ của kết cấu vùi bị mất đi do các quá trình hóa học và/hoặc điện-hóa học.
3.4 Cống (Culvert) - Một kết cấu vùi mặt cắt ngang hình cong hoặc hình chữ nhật để thoát nước, hoặc cho xe cộ, tiện ích công cộng hay người đi bộ đi qua.
3.5 Tấm lượn sóng sâu (Deep Corrugated Plate) - Tấm lượn sóng theo tiêu chuẩn AASHTO M167 có đường tên uốn cong sóng lớn hơn 123 mm
3.6 FEM (Finite Element Method) - Phương pháp phần tử hữu hạn
3.7 Chiều rộng của hào hẹp (Narrow Trench Width) - Mặt ngoài của ống cứng cộng 300 mm.
3.8 Tỷ lệ chiếu (Projection Ratio) - Tỷ lệ giữa cự ly thẳng đứng từ đỉnh phía ngoài của ống đến mặt đất hoặc mặt mỏng với chiều cao thẳng đứng của mép ngoài của ống, chỉ áp dụng cho ống bê tông cốt thép.
3.9 Bán kính bên (Side Radius) - Kết cấu cống bằng tôn lượn sóng có bán kính lượn gần với mặt cắt đỉnh cống. Trong kết cấu hộp thì thường gọi là bán kính vuốt góc
3.10 Lớp bọc bằng đất (Soil Envelope) - Vùng đất được lấp lại một cách có kiểm tra xung quanh kết cấu cống để đảm bảo sự làm việc cần thiết dựa trên những xem xét về sự tương tác đất - kết cấu.
3.11 Hệ tương tác đất - kết cấu (Soil-Structure Interaction System) - Kết cấu vùi có thuộc tính kết cấu bị ảnh hưởng bởi sự tương tác với lớp bọc bằng đất.
3.12 Hầm (Tunnel) - Khoảng trống nằm ngang hoặc gần như nằm ngang trong đất được đào theo hình đã thiết kế trước bằng phương pháp đào hầm, không phải phương pháp cắt-và-phủ (đào hào).
4 TÍNH CHẤT CỦA ĐẤT VÀ VẬT LIỆU
4.1 XÁC ĐỊNH TÍNH CHẤT CỦA ĐẤT
4.1.1 Tổng quát
Phải tiến hành thăm dò địa chất để xác định sự hiện diện và ảnh hưởng của các điều kiện địa chất và môi trường đến sự làm việc của kết cấu vùi. Với kết cấu vùi tựa trên móng và với cống vòm dạng ống và ống đường kính lớn cần tiến hành khảo sát móng để đánh giá sức kháng của đất nền dưới móng chịu tác động của tải trọng và thỏa mãn các yêu cầu về chuyển vị của kết cấu.
4.1.2 Đất nền
Cần xem xét loại đất và thuộc tính liên quan của đất nền đối với sự ổn định của nền và lún dưới tác dụng của tải trọng.
4.1.3 Đất lấp bao kết cấu vùi
Phải kiểm soát và xác định loại đất, tỷ trọng sau đầm nén và các đặc tính cường độ của đất bao quanh kết cấu vùi. Đất lấp bao gồm đất bao quanh cần phù hợp các yêu cầu của AASHTO M 145 như sau:
• Đối với ống mềm tiêu chuẩn và kết cấu bê tông: A-1, A-2 hoặc A-3 (GW, GP, SW, SP, GM, SM, SC, GC)
• Đối với cống hộp kim loại và kết cấu bản mỏng có nhịp lớn với lớp phủ nhỏ hơn 3600 mm: A-1, A-2-4, A-2-5 hoặc A-3 (GW, GP, SW, SP, GM, SM, SC, GC)
• Và đối với kết cấu kim loại nhịp lớn có lớp phủ không nhỏ hơn 3600 mm: A-1 hoặc A-3 (GW, GP, SW, SP, GM, SM ).
• Đối với ống cống nhựa dẻo nóng, vật liệu nền, đất đắp bao: đất A1, A-2-4, hoặc A-3. Nhiều nhất có 50% có kích thước hạt qua sàng 100 và 20% cỡ hạt qua sàng 200.
4.2 VẬT LIỆU
4.2.1 Cống nhôm và kết cấu bản mỏng nhôm
Nhôm làm ống cống kim loại gợn sóng và vòm cung tròn phải theo quy định về vật liệu của AASHTO M 196 (ASTM B 745M). Nhôm làm kết cấu bản mỏng, vòm cung tròn, vòm và kết cấu hộp cần thỏa mãn các yêu cầu của Quy định về vật liệu AASHTO M 219 (ASTM B 746M).
CHÚ THÍCH:
Trong tiêu chuẩn này đề cập đến kết cấu bản mỏng là loại kết cấu vùi được chế tạo uốn từ các tấm kim loại lượn sóng thành các kết cấu có mặt cắt ngang hình dạng tròn, enlip đứng, enlip nằm ngang có khẩu độ đến 3000 mm hoặc 7000 mm với chiều cao đến 4500 mm làm kết cấu thoát nước hoặc hầm chui qua đường cho người và phương tiện giao thông
4.2.2 Bê tông
Bê tông theo quy định của Điều 4 Phần 5 bộ tiêu chuẩn này trừ f'c có thể dựa vào thí nghiệm mẫu.
4.2.3 Ống cống bê tông đúc sẵn
Ống cống bê tông đúc sẵn phải phù hợp với các yêu cầu của AASHTO M170M (ASTM C 76M).
Có thể sử dụng bề dầy thiết kế của vách không giống kích thước vách tiêu chuẩn với điều kiện phải thiết kế theo quy định của Tiêu chuẩn này.
4.2.4 Kết cấu bê tông đúc sẵn
Vòm, kết cấu e-líp và hộp bê tông đúc sẵn phải phù hợp các yêu cầu của AASHTO M 206 M (ASTM C 506), M207M (ASTM C507), M 259 M (ASTM C 789 M) và M 273 M (ASTM C 850M)
4.2.5 Ống cống thép và kết cấu bản mỏng thép
Thép gợn sóng làm ống cống và vòm cung tròn cần phù hợp các yêu cầu của Quy định về vật liệu AASHTO M 36M (ASTM A 760M). Thép làm kết cấu bản mỏng, vòm cung tròn, vòm và kết cấu hộp cần thỏa mãn các yêu cầu của AASHTO M167M (ASTM A 761M).
4.2.6 Cốt thép
Cốt thép phải có đặc tính cơ lý và thành phần hóa chất phù hợp với các yêu cầu của Điều 4.3 Phần 5 bộ tiêu chuẩn này.
Với sợi trơn và tấm lưới sợi hàn trơn, cường độ chảy có thể lấy bằng 450 MPa. Với tấm lưới sợi hàn có gờ, cường độ chảy có thể lấy bằng 480 MPa.
4.2.7 Ống nhựa dẻo nóng
Ống nhựa có các loại vách dạng vách cứng, gợn sóng hoặc định dạng (profin) và có thể làm bằng polyetylen - (PE) hoặc polyvinyl clorit (PVC).
Ống PE cần phù hợp với các yêu cầu của ASTM F 714 cho ống vách cứng, của AASHTO M294 cho ống gợn sóng và ASTM F 894 cho ống vách định dạng.
Ống PVC cần phù hợp với các yêu cầu của AASHTO M 278 cho ống vách cứng, ASTM F 679 cho ống vách cứng và AASHTO M 304 cho ống vách định dạng.
5 TRẠNG THÁI GIỚI HẠN VÀ HỆ SỐ SỨC KHÁNG
5.1 TỔNG QUÁT
Kết cấu vùi và móng của nó phải được thiết kế bằng phương pháp thích hợp được quy định ở các Điều 7 đến 12 sao cho chúng chịu được các tải trọng tính toán theo các tổ hợp tải trọng quy định ở các Điều 5.2 và 5.3.
Sức kháng tính toán Rr, cần được tính toán cho mỗi trạng thái giới hạn như sau:
Rr = φ Rn (1)
ở đây:
Rn = sức kháng danh định
φ = hệ số sức kháng quy định trong Bảng 1.
5.2 TRẠNG THÁI GIỚI HẠN SỬ DỤNG
Kết cấu vùi phải được tính thiết kế với Tổ hợp tải trọng sử dụng quy định trong Bảng 3 Phần 3 bộ tiêu chuẩn này cho các tiêu chí sau:
• Độ võng của kết cấu kim loại, bản vách hầm, ống nhựa dẻo nóng, và
• Chiều rộng vết nứt trong kết cấu bê tông cốt thép.
5.3 TRẠNG THÁI GIỚI HẠN CƯỜNG ĐỘ
Kết cấu vùi và vách hầm (áo hầm) phải được tính thiết kế với tải trọng thi công và tổ hợp tải trọng cường độ I và II quy định ở Bảng 3 Phần 3 bộ tiêu chuẩn này cho các hạng mục như sau:
• Với kết cấu kim loại:
+ diện tích vách
+ oằn
+ độ bền của mối nối ghép tạo ống
+ giới hạn độ uốn trong thi công
+ uốn của kết cấu hộp
• Với kết cấu bê tông:
+ uốn,
+ cắt
+ nén
+ kéo hướng tâm
• Với ống nhựa dẻo nóng:
+ diện tích vách
+ oằn
+ giới hạn độ uốn
• Với bản vách hầm:
+ diện tích vách
+ oằn
+ cường độ mối nối
+ độ cứng thi công
5.4 ĐIỀU CHỈNH TẢI TRỌNG VÀ HỆ SỐ TẢI TRỌNG
Phải áp dụng hệ số điều chỉnh tải trọng cho kết cấu vùi và vách hầm theo quy định ở Điều 4 Phần 1 bộ tiêu chuẩn này, trừ hệ số điều chỉnh tải trọng thi công lấy bằng 1,0. Với trạng thái giới hạn cường độ, kết cấu vùi phải được xem là không dư dưới tải trọng đất đắp và dư dưới hoạt tải và lực xung kích. Tính quan trọng trong khai thác cần được xác định theo điều kiện khai thác liên tục và an toàn của tuyến đường.
5.5 HỆ SỐ SỨC KHÁNG
Hệ số sức kháng cho kết cấu vùi phải lấy theo Bảng 1. Các giá trị về hệ số cường độ cho thiết kế nền đất của móng kết cấu vùi phải lấy theo quy định trong Phần 10 bộ tiêu chuẩn này.
Bảng 1- Hệ số sức kháng của kết cấu vùi
| Loại hình kết cấu | Hệ số sức kháng |
| ống cống kim loại, vòm và kết cấu vòm cung tròn |
|
| ống dạng uốn xoắn với mối nối ghép hoặc hàn hoàn toàn: |
|
| • Diện tích vách tối thiểu và điều kiện oằn | 1,0 |
| ống tròn với mối nối hàn chấm, tán đinh hoặc bắt bu lông |
|
| • Diện tích vách tối thiểu và ổn định do uốn |
|
| • Cường độ mối nối dọc tối thiểu | 1,00 |
| • Sức kháng ép của móng vòm ống | 0,67 |
|
| Theo quy định Phần 10 |
| kết cấu cống bằng thép bản uốn: |
|
| • Diện tích vách tối thiểu và điều kiện oằn | 1,00 |
| • Cường độ mối nối dọc tối thiểu | 0,67 |
| • Sức kháng ép của móng vòm cung tròn | Theo quy định Phần 10 |
| kết cấu bẩn mỏng nhịp lớn và kết cấu bản vách hầm |
|
| • Diện tích vách tối thiểu | 0,67 |
| • Cường độ mối nối dọc tối thiểu | 0,67 |
| • Sức chịu của móng vòm cung tròn | Theo quy định Phần 10 |
| kết cấu hộp bản mỏng |
|
| • Cường độ mô men dẻo | 1,0 |
| • Sức chịu của móng vòm cung tròn | Theo quy định Phần 10 |
| ống cống bê tông cốt thép |
|
| Phương pháp thiết kế trực tiếp: |
|
| Lắp đặt loại 1 | 0,9 |
| • Uốn | 0,82 |
| • Cắt | 0,82 |
| • Kéo hướng tâm |
|
| Các loại lắp đặt khác | 1,0 |
| • Uốn | 0,9 |
| • Cắt |
|
| • Kéo hướng tâm | 0,9 |
| Kết cấu hộp bê tông cốt thép đổ tại chỗ |
|
| • uốn | 0,90 |
| • cắt | 0,85 |
| Kết cấu hộp bê tông cốt thép đúc sẵn |
|
| • Uốn | 1,00 |
| • Cắt | 0,90 |
| Các kết cấu 3 mặt hộp bằng bê tông đúc sẵn |
|
| • Uốn | 0,95 |
| • Cắt | 0,90 |
| ống nhựa dẻo nóng |
|
| ống PE và PVC |
|
| • Lực đẩy ϕT | 1,00 |
| • Độ cứng của đất ϕS | 0,90 |
| • ổn định tổng thể, ϕBkl | 0,70 |
| • Uốn, ϕf | 1,00 |
5.6 GIỚI HẠN ĐỘ UỐN VÀ ĐỘ CỨNG THI CÔNG
5.6.1 Ống cống bằng kim loại gợn sóng và kết cấu bản mỏng
Hệ số uốn của ống cống bằng kim loại gợn sóng và kết cấu bản mỏng không được vượt quá các trị số ở Bảng 2
Bảng 2 - Giới hạn về hệ số uốn
| Loại vật liệu xây dựng | Kích cỡ gợn sóng (mm) | Hệ số uốn (mm/N) |
| Ống thép | 6,35 | 0,25 |
| 12,7 | 0,25 | |
| 25,4 | 0,19 | |
| Ống nhôm | 6,35 và 12,7 |
|
| Bề dày vật liệu 1,52 | 0,18 | |
| Bề dày vật liệu 1,90 | 0,35 | |
| Các chiều dày khác | 0,53 | |
| 25,4 | 0,34 | |
| Bản thép | 150 x 50 |
|
| Ống | 0,11 | |
| Vòm cung tròn | 0,17 | |
| Vòm | 0,17 | |
| Bản nhôm | 230 x 64 |
|
| Ống | 0,14 | |
| Vòm cung tròn | 0,21 | |
| Vòm | 0,41 |
5.6.2 Ống cống bằng dải kim loại uốn vòng xoắn ốc và vòm cung tròn
Khi thi công đặt ống cống cùng đắp nền đường, theo các quy định của Điều 6.6.2 và 6.6.3, và đặt cống trong hào đào theo các quy định của Điều 6.6.1 và 6.6.3 thì hệ số độ uốn của ống cống bằng dải kim loại uốn vòng xoắn và vòm cung tròn không được vượt quá các trị số ghi trong Bảng 3.
Bảng 3 - Giới hạn về hệ số độ uốn
| Vật liệu | Điều kiện | Kích thước gợn sóng | Hệ số độ uốn |
| Thép | Lắp cống trước đắp nền | 19 x 19 x 190 | 0,039 l1/3 |
| 19 x 25 x 290 | 0,031 l1/3 | ||
| Đào hào lắp cống | 19 x 19 x 190 19 x 25 x 290 | 0,045 I1/3 0,037 l1/3 | |
| Nhôm | Lắp cống trước đắp nền | 19 x 19 x 190 | 0,056 l1/3 |
| 19 x 25 x 290 | 0,039 l1/3 | ||
| Đào hào lắp cống | 19 x 19 x 190 19 x 25 x 290 | 0,067 I1/3 0,048 l1/3 |
Các trị số mô men quán tính l của ống thép và nhôm và vòm cung tròn lấy theo các Bảng A2 và A5 Phụ lục A.
5.6.3 Ống nhựa dẻo nóng
Hệ số độ uốn FF của ống nhựa không được vượt quá 0,54 mm/N.
5.6.4 Bản vách hầm bằng thép
Độ cứng thi công Cs (N/mm) của bản vách hầm bằng thép không được nhỏ hơn các trị số dưới đây:
• Bản vách hai gờ mặt bích: Cs ≥ (N/mm)
• Bản vách bốn gờ mặt bích: Cs ≥ 19,5 (N/mm)
6 QUI ĐỊNH THIẾT KẾ CHUNG
6.1 TẢI TRỌNG
Kết cấu vùi phải được thiết kế chịu ứng lực do áp lực đất nằm ngang và thẳng đứng, tĩnh tải mặt đường, hoạt tải và hiệu ứng xung kích gây nên. Tùy theo điều kiện hiện trường và biện pháp thi công, tải trọng chất thêm của đất, hoạt tải ở trên đỉnh, tải trọng kéo xuống (do ma sát âm), và áp lực thủy tĩnh bên ngoài cũng phải được tính toán. Lực nổi của nước phải được tính cho phần ở dưới mặt nước của kết cấu vùi theo quy định ở Điều 7.2 Phần 3 bộ tiêu chuẩn này. Tải trọng động đất chỉ cần xét khi kết cấu vùi cắt qua đứt gãy đang hoạt động.
Với áp lực đất thẳng đứng phải áp dụng hệ số tải trọng tối đa quy định ở Bảng 3 Phần 3 bộ tiêu chuẩn này.
Tải trọng bánh xe phải được phân bố qua đất đắp theo quy định của Điều 6.1.2.6 Phần 3 bộ tiêu chuẩn này.
6.2 TRẠNG THÁI GIỚI HẠN SỬ DỤNG
6.2.1 Chuyển vị cho phép
Tiêu chuẩn chuyển vị cho phép của kết cấu vùi phải được xác định trên cơ sở chức năng và loại hình kết cấu, tuổi thọ phục vụ dự kiến và những hậu quả của các dịch chuyển vượt quá cho phép.
6.2.2 Độ lún
6.2.2.1 Tổng quát
Độ lún phải được xác định theo quy định ở Điều 6.2 Phần 10 bộ tiêu chuẩn này. Phải xem xét tới các chuyển vị có thể xảy ra do:
• Chênh lệch lún theo chiều dọc ống cống,
• Lún khác nhau giữa ống cống và đất lấp,
• Lún của móng và lún do tải trọng không cân bằng ở đoạn dưới mái ta luy nền đắp của cống chéo.
6.2.2.2 Chênh lệch lún theo chiều dọc
Độ lún khác nhau dọc theo chiều dài kết cấu vùi phải được xác định theo quy định của Điều 6.2.4 Phần 10 bộ tiêu chuẩn này. Ống cống và dạng cống khác dễ bị lún khác nhau theo chiều dọc phải được nối ghép bằng mối nối dương để ngăn ngừa lực làm tách rời mối nối theo các quy định của Phần 26 và 27, Tiêu chuẩn kỹ thuật thi công cầu AASHTO LRFD.
Có thể quy định độ vồng thi công để đảm bảo thoát nước dòng chảy trong tuổi thọ khai thác của kết cấu.
6.2.2.3 Chênh lệch độ lún giữa kết cấu và đất đắp
Ở nơi có thể phát sinh lún khác nhau giữa kết cấu vòm và đất đắp ở bên của kết cấu vòm, móng cần được thiết kế phòng lún có chú ý tới đất lấp.
Ống có vòm ngược không được đặt trên móng có độ lún ít hơn độ lún của đất lấp bên cạnh, cần làm nền đồng nhất bằng vật liệu hạt được đầm nén vừa phải.
6.2.2.4 Độ Lún của móng
Móng phải được thiết kế cho lún đồng đều theo chiều dọc và chiều ngang. Lún của mỏng cần đủ lớn để bảo vệ chống lực kéo xuống có thể có do lún của đất lấp bên cạnh gây nên. Nếu gặp phải vật liệu nền xấu cần xem xét việc đào tất cả hoặc một phần đất không thích hợp và thay bằng vật liệu đắp phù hợp và được đầm nén.
Thiết kế móng theo các quy định của Điều 6 Phần 10 bộ tiêu chuẩn này.
Phải xác định phản lực móng của kết cấu cống hộp kim loại theo quy định trong Điều 9.4.5.
Các hiệu ứng của chiều sâu móng phải được xét đến trong thiết kế móng vòm. Phản lực móng phải được coi là tác dụng theo hướng tiếp tuyến với vòm tại điểm liên kết giữa vòm với móng và phản lực này phải bằng lực nén của vòm ở móng.
6.2.2.5 Tải trọng không cân bằng
Kết cấu vùi chéo góc với tuyến đường và kéo dài qua nền đắp phải được thiết kế có xét đến ảnh hưởng của tải trọng không đối xứng lên mặt cắt kết cấu.
6.2.3 Lực đẩy nổi
Phải xét lực đẩy nổi lên khi kết cấu được đặt dưới mức nước ngầm cao nhất có thể xuất hiện.
6.3 THIẾT KẾ KẾT CẤU VÙI THEO ĐIỀU KIỆN ĐẤT NỀN
6.3.1 Sức kháng ép và ổn định
Phải thiết kế các bộ phận chi tiết và móng của kết cấu vùi sao cho nền đất có đủ sức kháng ép và đất đắp xung quanh kết cấu không bị xói ngầm do gradient thủy lực.
6.3.2 Đất lấp ở góc của vòm ống kim loại
Đất lấp ở góc của vòm cung tròn kim loại phải được thiết kế có xét đến áp lực góc lấy bằng lực đẩy của vòm chia cho bán kính của góc vòm cung tròn. Lớp đất xung quanh các góc của vòm cung tròn phải chịu áp lực này. Có thể quy định việc lấp bằng đất kết cấu được đầm tới độ chặt cao hơn bình thường.
6.4 THIẾT KẾ THỦY LỰC
Áp dụng tiêu chuẩn thiết kế quy định ở Điều 6 Phần 2 bộ tiêu chuẩn này và Chương 10 của TCVN 4954:05 để thiết kế thủy lực
6.5 XÓI LỞ
Phải thiết kế kết cấu vùi sao cho không có bộ phận kết cấu nào phát sinh dịch chuyển do xói lở.
Khi dự tính có nguy cơ xói lở thì tường bản cánh phải được kéo đủ dài để bảo vệ bộ phận kết cấu của lớp đất bao quanh kết cấu. Với kết cấu đặt trên lớp trầm tích dễ bị xói cần dùng tường ngăn đặt sâu dưới độ sâu xói tối đa có thể xảy ra hoặc lát lòng. Móng của kết cấu phải đặt thấp hơn độ sâu xói tối đa dự kiến, ít nhất 600mm.
6.6 ĐẤT ĐẮP BAO
6.6.1 Lắp đặt cống trong hào đào qua nền đường
Chiều rộng tối thiểu của hào cần có khoảng cách giữa ống cống và tường hào để đủ chỗ lắp đặt và đầm vật liệu lấp thỏa đáng và an toàn.
Hồ sơ thiết kế phải quy định yêu cầu đảm bảo sự ổn định của hào hoặc làm tường hào dốc hoặc có chống đỡ tạm khi tường hào sâu, đảm bảo an toàn lao động theo Luật an toàn vệ sinh lao động và các quy định liên quan.
6.6.2 Lắp đặt cống trước khi đắp nền đường
Chiều dày tối thiểu của lớp đất bao cần đủ để đảm bảo giữ cố định chống chuyển dịch ngang cho kết cấu vùi. Tổng chiều dày lớp đất bao và nền đắp phía trên cần đủ dày để chịu tất cả các tải trọng trên cống và đảm bảo các yêu cầu về chuyển vị quy định ở Điều 6.2.
6.6.3 Lớp đất phủ tối thiểu
Chiều dày lớp đất phủ kể cả lớp nền đường bằng hạt được đầm chặt và lớp móng mặt đường không được nhỏ hơn quy định ở Bảng 4.
Bảng 4 - Lớp đất phủ tối thiểu
| Loại hình | Điều kiện | Lớp phủ tối thiểu |
| ống kim loại gợn sóng | - | S/8 ≥ 300 mm |
| ống kim loại bằng dải kim loại cuốn xoắn | ống thép | S/4 ≥ 300 mm |
| ống nhôm Khi S ≤ 1200 mm | S/2 ≥ 300 mm | |
| ống nhôm khi S > 1200 mm | S/2,75 ≥ 600 mm | |
| Kết cấu bản mỏng | - | S/8 ≥ 300 mm |
| Kết cấu bản mỏng nhịp lớn | - | Theo Bảng 5 |
| Kết cấu bản mỏng hộp | - | 430 mm như quy định ở Điều 9.1 |
| ống cống bê tông cốt thép | Chỗ không thảm và dưới mặt đường mềm | Bc/8 hoặc B'c/8 trị số nào ≥ 300 mm |
| Đắp bằng vật liệu rời đầm chặt dưới mặt đường cứng | 230 mm | |
| ống nhựa | - | ID/8 ≥ 300 mm |
| S = đường kính ống cống (mm) Bc = đường kính ngoài hoặc chiều rộng của kết cấu (mm) B'c = chiều cao đứng từ mép đến mép ngoài ống (mm) ID = đường kính trong (mm) | ||
Nếu không có lớp đất phủ thì đỉnh của kết cấu hộp bằng bê tông đúc sẵn hoặc đúc tại chỗ phải được thiết kế chịu tác động trực tiếp của tải trọng xe.
Yêu cầu đối với lớp đất phủ trong khi xây dựng được lấy theo quy định của Tiêu chuẩn kỹ thuật thi công cầu AASHTO LRFD.
6.7 CỰ LY TỐI THIỂU GIỮA CÁC ỐNG CỦA CỐNG CÓ NHIỀU CỬA
Cự ly giữa các ống của cống có nhiều đường ống phải đủ để có thể đặt ống cống và đầm đất ở bên hông hoặc giữa các ống cống. Đối với ống cống đường kính nhỏ hơn 600 mm, cự ly này nên tối thiểu là 300mm; đối với ống cống đường kính từ 600mm đến 1800mm cự ly giữa các ống cống tối thiểu bằng một nửa đường kính ống cống, với ống cống đường kính lớn hơn 1800 mm, cự ly này nên là 900mm.
Hồ sơ thiết kế nên quy định yêu cầu đất lấp phải phối hợp với việc giảm thiểu tải trọng không cân giữa các kết cấu nhiều cửa đặt cạnh nhau. Khi có thể, đất lấp phải giữ cao bằng nhau khắp cả loạt kết cấu. Phải kiểm soát về ổn định của kết cấu bị uốn chịu tải trọng không cân của toàn bộ đường ống do hiệu ứng của độ dốc dọc lớn của đường, nếu có.
6.8 XỬ LÝ ĐẦU CỐNG
6.8.1 Tổng Quát
Phải chú ý đặc biệt tới cấu tạo bảo vệ chân mái ta luy ở đầu cống, nơi có nước dềnh hoặc có thể xảy ra xói hoặc xuất hiện lực đẩy nâng đầu cống lên. Cần xem xét xử lý về an toàn giao thông như làm lưới sắt đủ khỏe nghiêng theo mái dốc nền đường bao kín phạm vi đầu cống; kéo dài cống ra ngoài điểm nguy hiểm ở mái dốc nền đường, hoặc xây tường đầu cống, có lan can.
6.8.2 Cống mềm xây chéo
Phải xử lý đầu cống mềm (ống cống kim loại) đặt chéo so với tim đường và kéo dài qua nền đắp hoặc bằng cách đắp mở rộng nền đường uốn cho nền đường bao đầu cống để đảm bảo tải trọng đối xứng ở hai đầu ống, hoặc tường đầu phải thiết kế cấu tạo để chịu lực đẩy ở đầu ống cống bị cắt.
6.9 CÁC ĐIỀU KIỆN GỈ VÀ BÀO MÒN
Phải xem xét sự xuống cấp của sức bền kết cấu do gỉ và bào mòn.
Nếu thiết kế cống kim loại và cống nhựa có độ dày kết cấu khống chế theo điều kiện hệ số độ uốn trong lắp đặt thì có thể giảm hoặc bỏ qua các yêu cầu bảo vệ chống gỉ và bào mòn miễn là khi cống xuống cấp vẫn có đủ độ bền chịu tải trọng suốt tuổi thọ của kết cấu.
7 CỐNG ỐNG KIM LOẠI, CỐNG VÒM CUNG TRÒN VÀ KẾT CẤU VÒM
7.1 TỔNG QUÁT
Các quy định tại Điều này được áp dụng cho thiết kế kết cấu vùi dạng ống kim loại gợn sóng, ống bằng dải kim loại uốn xoắn ốc và các loại kết cấu bản mỏng.
Ống cống kim loại gợn sóng và cống vòm cung tròn có thể được chế tạo bằng liên kết đinh tán, hàn hoặc khóa nối bằng các tấm gợn sóng vành khuyên hoặc xoắn ốc. Kết cấu bản mỏng, vòm cung tròn và vòm chỉ được bắt bu lông với các tấm gợn sóng dạng vành khuyên.
Tỷ lệ giữa đường tên vòm với chiều dài nhịp của vòm của kết cấu bản mỏng dạng vòm không được nhỏ hơn 0,3.
Thiết kế kết cấu có bán kính lớn hơn 4000 mm phải áp dụng các quy định của Điều 8.
7.2 SỨC KHÁNG CỦA KẾT CẤU
Thiết kế ống cống kim loại gợn sóng và xoắn ốc, cống vòm cung tròn và kết cấu bản mỏng theo trạng thái giới hạn cường độ bao gồm các hạng mục:
• Diện tích vách ống,
• Sức kháng chịu ổn định do uốn (oằn), và
• Sức kháng mối nối của kết cấu có mối nối dọc.
7.2.1 Các đặc trưng mặt cắt
Kích thước và các đặc trưng của các mặt cắt ống cống, chiều dài nối tối thiểu, các yêu cầu cơ học và hóa học của các mặt cắt ống và cống vòm cung tròn bằng thép và nhôm gợn sóng, kết cấu bản mỏng bằng thép và nhôm gợn sóng, cống vòm cung tròn và vòm có thể lấy theo Phụ lục A.
7.2.2 Lực nén
Lực nén tính toán TL cho đơn vị chiều dài của vách được tính như sau:
(2)
ở đây:
TL = lực nén tính toán trên một đơn vị chiều dài (N/mm)
S = khẩu độ ống (mm)
PL = áp lực tính toán ở đỉnh (MPa)
7.2.3 Sức kháng của vách
Sức kháng hướng trục tính toán Rn cho đơn vị chiều dài của vách không xét đến oằn được xác định như sau:
Rn = ϕFy A (3)
ở đây:
A = diện tích vách (mm2/mm)
Fy = cường độ chảy của kim loại (MPa)
ϕ = hệ số sức kháng theo Điều 5.5
7.2.4 Sức kháng oằn
Diện tích vách tính theo Phương trình 3 cần được kiểm toán về ổn định. Nếu fcr < Fy thì A phải được tính lại theo fcr thay cho Fy
Nếu 
thì:
(4)
Nếu 
thì:
(5)
ở đây:
Em = mô đun đàn hồi của kim loại (MPa)
Fu = cường độ kéo của kim loại (MPa)
fcr = ứng suất tới hạn bị oằn (MPa)
r = bán kính quán tính gợn sóng (mm)
k = hệ số độ cứng của đất lấy bằng 0,22
S = đường kính của ống cống hoặc khẩu độ của vòm kết cấu bản (mm)
7.2.5 Sức kháng của mối nối
Với ống cống được chế tạo có mối nối dọc, sức kháng danh định của mối nối phải đủ để chịu lực nén tính toán TL trong vách ống.
7.2.6 Các yêu cầu về vận chuyển và lắp đặt
Độ mềm kết cấu ống khi cẩu nâng được biểu thị bằng hệ số uốn, xác định như sau:
(6)
Trong đó:
S = đường kính của ống cống hoặc khẩu độ của vòm kết cấu bản (mm)
Em = mô đun đàn hồi của kim loại (MPa)
I = Mô men quán tính của mặt cắt (mm4/mm)
Các trị số của hệ số uốn về cẩu lắp không được vượt quá các trị số quy định ở Điều 5.6 cho kết cấu ống cống và kết cấu bản mỏng bằng thép và nhôm.
7.3 ỐNG LÓT TRƠN
Ống kim loại gợn sóng gồm tấm lót trơn và vỏ gợn sóng liên kết làm một ở các mối nối xoắn ốc cách nhau không quá 760 mm có thể thiết kế trên cùng một cơ sở như ống kim loại gợn sóng tiêu chuẩn có cùng vỏ gợn sóng và trọng lượng trên đơn vị mm không nhỏ hơn tổng trọng lượng trên một mm của tấm lót và vỏ gợn sóng dạng xoắn ốc.
Bước gợn sóng không vượt quá 75 mm và chiều dày của vỏ không nên mỏng hơn 60% tổng chiều dày của ống cống tiêu chuẩn tương đương.
7.4 CÁC CHI TIẾT TĂNG CỨNG CHO KẾT CẤU BẢN MỎNG
Có thể tăng cường độ cứng và sức kháng uốn của kết cấu bản mỏng bằng cách bố trí thêm các chi tiết tăng cứng theo chu vi trên đỉnh vòm. Các chi tiết tăng cứng phải đối xứng và bắt đầu từ điểm ở phía dưới điểm 1/4 mặt bên của kết cấu kéo dài qua đỉnh vòm đến điểm tương ứng ở phía bên đối diện của kết cấu.
7.5 THI CÔNG VÀ LẮP ĐẶT
Khi thiết kế cần yêu cầu việc thi công và lắp đặt theo Phần 26 của Tiêu chuẩn kỹ thuật Thi công cầu AASHTO LRFD.
8 KẾT CẤU BẢN MỎNG NHỊP LỚN
8.1 TỔNG QUÁT
Các quy định tại Điều này và ở Điều 7 được áp dụng để thiết kế kết cấu bản mỏng kim loại gợn sóng nhịp lớn.
Các kết cấu có dạng minh họa trên Hình 1 dưới đây được coi là kết cấu bản mỏng nhịp lớn:
• Kết cấu bản mỏng dạng ống và dạng vòm có các đặc trưng quy định ở Điều 8.3.5 và
• Các hình dạng đặc biệt với mọi kích thước có bán kính đường cong ở đỉnh hoặc bản mặt bên lớn hơn 4000 mm. Cống hộp kim loại không được coi là kết cấu cống nhịp lớn và được quy định ở Điều 9.

Hình 1 - Các hình dạng kết cấu bản mỏng nhịp lớn
8.2 TRẠNG THÁI GIỚI HẠN SỬ DỤNG
Không yêu cầu kiểm tra các tiêu chuẩn theo trạng thái giới hạn sử dụng.
8.3 SỨC KHÁNG CỦA KẾT CẤU
Phải áp dụng quy định của Điều 7 trừ các yêu cầu về oằn và uốn được quy định tại Điều này.
Kích thước và đặc trưng của mặt cắt kết cấu, chiều dài nối tối thiểu, các yêu cầu về cơ học và hóa học và các đặc tính của bu lông cho mặt cắt kết cấu bản mỏng có nhịp lớn phải theo quy định ở Phụ lục A hoặc quy định ở Điều này.
8.3.1 Đặc trưng mặt cắt
8.3.1.1 Mặt cắt
Phải áp dụng các quy định của Điều 7 trừ các quy định của Điều này.
Các kết cấu không mô tả ở đây phải được coi là thiết kế đặc biệt.
Phải áp dụng Bảng A3. Các yêu cầu tối thiểu về đặc trưng mặt cắt phải lấy theo Bảng 5. Có thể bố trí lớp đất phủ nhỏ hơn trị số tương ứng với chiều dày bản tối thiểu tùy theo bán kính quy định ở Bảng 5 nếu dùng sườn để tăng cứng bản. Nếu dùng sườn thì chiều dày bản không nên giảm dưới trị số tối thiểu cho bán kính đó, và mô men quán tính của mặt cắt bản và sườn không được nhỏ hơn mô men quán tính của bản dày hơn không có sườn theo cùng chiều cao đất đắp. Khi lớp đất phủ nhỏ hơn trị số tối thiểu theo bán kính đã ghi trong Bảng thì phải được thiết kế đặc biệt.
Không được thiết kế khác với yêu cầu quy định ở Bảng 5 trừ khi chứng minh bằng hồ sơ có cơ sở khoa học.
Bảng 5 - Các yêu cầu tối thiểu đối với các đặc trưng được coi là kết cấu bản mỏng nhịp lớn
| Chiều dày tối thiểu của đỉnh vòm (mm) | |||||
| Bán kính đỉnh (mm) | ≤ 4500 | 4500-5200 | 5200-6100 | 6100-7000 | 7000-7600 |
| Bán thép gợn sóng 150mm x 50mm - Chiều dày tối thiểu của đỉnh vòm (mm) | 2,82 | 3,56 | 4,32 | 5,54 | 6,32 |
| Các giới hạn hình học | |||||
| Cần áp dụng các giới hạn hình học dưới đây: • bán kính bản tối đa - 7600 mm • góc ở giữa đỉnh vòm tối đa - 80° • tỷ lệ tối thiểu giữa bán kính đỉnh vòm và chân vòm - 2 • tỷ lệ tối đa giữa bán kính đỉnh vòm và chân vòm - 5 | |||||
| Chiều dày tối thiểu của lớp đất phủ (mm) | |||||
| Bán kính đỉnh (mm) | ≤ 4500 | 4500-5200 | 5200-6100 | 6100-7000 | 7000-7600 |
| Chiều dày thép không có sườn(mm) |
| ||||
| 2,82 | 750 | - | - | - | - |
| 3,56 | 750 | 900 | - | - | - |
| 4,32 | 750 | 900 | 900 | - | - |
| 4,78 | 750 | 900 | 900 | - | - |
| 5,54 | 600 | 750 | 750 | 900 | - |
| 6,32 | 600 | 600 | 750 | 900 | 1200 |
| 7,11 | 600 | 600 | 750 | 900 | 1200 |
8.3.1.2 Kiểm soát hình dạng
Không áp dụng các quy định của Điều 7.2.4 và 7.2.6 cho thiết kế kết cấu bản mỏng nhịp lớn.
8.3.1.3 Các yêu cầu về cơ học và hóa học
Áp dụng các quy định ở Bảng A3, A8 và A10 Phụ lục A.
8.3.2 Lực nén tính toán
Xác định lực nén tính toán ở vách theo Phương trình 2, với điều kiện trị số S trong Phương trình phải thay bằng hai lần trị số của bán kính đỉnh vòm RT.
8.3.3 Diện tích vách
Áp dụng các quy định của Điều 7.2.3
8.3.4 Sức kháng của mối nối
Áp dụng các quy định của Điều 7.2.5
8.3.5 Yêu cầu thiết kế với các chi tiết đặc biệt
8.3.5.1 Các thanh tăng cứng dọc liên tục
Các thanh tăng cứng dọc liên tục phải được liên kết với bản gợn sóng ở hai chân đỉnh vòm. Thanh tăng cứng có thể làm bằng kim loại hoặc bê tông riêng lẻ hoặc tổ hợp.
8.3.5.2 Sườn tăng cường
Sườn tăng cường gắn theo các dạng kết cấu có thể làm cứng kết cấu bản kim loại, cấu tạo sườn tăng cường cần được:
• Uốn cong phù hợp với độ cong của bản,
• Gắn chặt vào kết cấu để đảm bảo cùng làm việc với bản gợn sóng, và
• Đặt theo cự ly đủ để tăng mô men quán tính của mặt cắt theo yêu cầu của thiết kế.
8.4 THIẾT KẾ NỀN MÓNG KẾT CẤU VÙI
8.4.1 Giới hạn lún
Thiết kế phải theo quy định của Điều 6.2.2, khi thiết lập các tiêu chuẩn về lún cần xét đến các yếu tố dưới đây:
• Khi đắp vượt trên đỉnh kết cấu cống, phải giới hạn độ lún tương đối giữa phần đỡ đất lấp và kết cấu đề khống chế các lực kéo xuống. Nếu phần đất lấp ở bên bị lún nhiều hơn kết cấu, có thể phải tính toán chi tiết.
• Phải giới hạn độ lún dọc theo đường tim dọc của kết cấu vòm để duy trì độ dốc và loại trừ nứt móng vòm.
Chênh lệch lún tính toán của kết cấu giữa hai chân vòm, Δ, phải thỏa mãn:
(7)
trong đó:
S = khẩu độ kết cấu giữa các điểm chân vòm của các kết cấu cống bản kim loại nhịp lớn (mm)
R = đường tên của kết cấu (mm)
Có thể yêu cầu các giới hạn lún nghiêm ngặt hơn nếu cần thiết để bảo vệ mặt đường hay để giới hạn độ võng chênh lệch theo chiều dọc mặt đường.
8.4.2 Các phản lực tại móng của kết cấu vòm
Có thể lấy các phản lực ở bệ móng bằng:
Rv = (VDL+ VLL) cosΔ (8)
RH = (VDL + VLL) sinΔ (9)
trong đó:


n = Số nguyên [ 2 H1 / Lw + 2] ≤ Số làn xe liền kề nhau
Với:
RV = thành phần phản lực thẳng đứng tại bệ móng kết cấu.
RH = thành phần phản lực nằm ngang tại bệ móng.
Δ = góc xoay của kết cấu (độ).
AL = tải trọng trục (N) lấy bằng 50% của toàn bộ tải trọng trục có thể đồng thời đặt vào kết cấu, nghĩa là:
• 145 000 N đối với trục xe tải thiết kế.
• 220 000 N đối với cặp trục đôi thiết kế
AT = diện tích phần phía trên của kết cấu nằm trên chân vòm (mm2)
H1 = chiều cao đất lấp tính từ bệ móng kết cấu đến bề mặt xe chạy (mm)
H2 = chiều cao đất lấp tính từ chân vòm của kết cấu đến bề mặt xe chạy (mm)
Lw = chiều rộng làn xe (mm)
γs = tỷ trọng đất (kg/m3)
g = gia tốc trọng trường (m/s2)
S = khẩu độ (mm)
Sự phân bố hoạt tải qua nền đắp phải dựa trên cơ sở của bất kỳ phương pháp phân tích nào được chấp nhận.
8.4.3 Thiết kế bệ móng
Bệ móng bê tông cốt thép phải được thiết kế theo Điều 10.6 Phần 10 bộ tiêu chuẩn này và phải xác định kích thước thỏa mãn các yêu cầu về độ lún theo quy định của Điều 8.4.1.
8.5 THIẾT KẾ ĐẤT LẤP BAO XUNG QUANH KẾT CẤU VÙI
8.5.1 Tổng quát
Vật liệu đắp lấp bao xung quanh kết cấu vùi phải theo quy định của Điều 4.1.3 đối với kết cấu bản mỏng khẩu độ lớn. Phải xác định chiều rộng của phần đắp bao ở mỗi bên của kết cấu để hạn chế sự thay đổi về hình dạng trong khi thi công nền đường ngoài phạm vi đất đắp bao và khống chế được các độ võng ở trạng thái giới hạn sử dụng.
8.5.2 Các yêu cầu thi công
Phần đất bao kết cấu phải được kéo dài đến vách hồ đào và được đầm chặt hoặc được kéo dài tới một khoảng cách phù hợp để bảo vệ hình dạng kết cấu do chịu tải trọng thi công. Có thể lấp đất vào phần chiều rộng hố đào còn lại bằng loại đất thích hợp và đầm chặt theo quy định của Điều 8.5.3. Trong điều kiện nền đắp, chiều rộng lấp đất kết cấu nhỏ nhất phải bằng 1800 mm. Nếu dùng các vật liệu đắp khác nhau ở cạnh nhau không đảm bảo các tiêu chí độ lọc nước địa kỹ thuật thì phải dùng vải địa kỹ thuật thích hợp để tránh hiện tượng vật liệu đắp bị di chuyển.
8.5.3 Các yêu cầu sử dụng
Chiều rộng của phần đất bao mỗi bên kết cấu phải đủ để giới hạn biến dạng nén ngang là 1% của khẩu độ kết cấu vùi về mỗi bên của kết cấu.
Khi xác định biến dạng nén ngang, phải dựa trên cơ sở tính toán bề rộng và chất lượng của vật liệu đắp đã được lựa chọn cũng như vật liệu nền đắp tại chỗ hoặc các vật liệu đắp khác trong phạm vi mỗi bên của kết cấu lấy rộng ra một khoảng cách bằng đường tên của kết cấu, cộng với chiều cao đất phủ trên nó như thể hiện trong Hình 2.
Các lực tác dụng hướng tâm ra ngoài phần vòm ở góc có bán kính nhỏ của kết cấu với một khoảng cách d1 tính từ kết cấu có thể lấy bằng:
(10)
trong đó:
P1 = áp lực nằm ngang ở một khoảng cách d1 tính từ kết cấu (MPa).
d1 = khoảng cách tính từ kết cấu (mm).
T = toàn bộ lực nén do tĩnh tải và hoạt tải tác dụng lên kết cấu (Điều 8.3.2) (N/mm).
Rc = bán kính ở góc của kết cấu (mm).
Chiều rộng phần đắp bao kề giáp kết cấu vùi, d có thể lấy bằng:
(11)
trong đó:
d = chiều rộng phần bao cần thiết liền kề kết cấu (mm).
PBrg = áp lực tựa cho phép để giới hạn ứng biến nén ở vách hố đào hay nền đắp (MPa).
Phần bao đất lấp bao kết cấu phải lấy liên tục trên đỉnh kết cấu cho đến trị số nhỏ hơn của:
• Cao độ đất phủ lấp nhỏ nhất quy định cho kết cấu đó,
• Mặt đáy của mặt đường hay mặt đáy lớp móng đường bằng đất loại hạt, khi lớp móng này nằm dưới lớp mặt đường, hoặc
• Mặt đáy của bất cứ bản giảm tải nào hay kết cấu tương tự tại đó có bản giảm tải.

Hình 2- Phần đất đắp bao kết cấu điển hình và phạm vi vùng ảnh hưởng của kết cấu.
8.6 THIẾT KẾ XỬ LÝ PHẦN ĐẦU KẾT CẤU VÙI
8.6.1 Tổng quát
Phải xem việc thiết kế và chọn phương án xử lý phần đầu kết cấu bản mỏng là một phần không tách rời với thiết kế kết cấu bản mỏng.
8.6.2 Các loại cấu tạo đầu kết cấu có vỏ tiêu chuẩn
Các loại cấu tạo đầu kết cấu tiêu chuẩn dùng cho các vỏ bản mỏng kim loại gợn sóng phải theo như minh họa trên Hình 4.

(C). ĐẦU CẮT XIÊN (CÁC YÊU CẦU TOÀN BỘ TƯỜNG ĐẦU)
Hình 4 - Các loại cấu tạo phần đầu kết cấu bản mỏng tiêu chuẩn
Khi dùng đầu vát có bậc phải xét đến những yêu cầu dưới đây:
• Phần nâng cao của bậc trên cùng phải bằng hay lớn hơn đường tên của phần vòm đỉnh nghĩa là các tấm bản ở phần vòm đỉnh không được cắt đi.
• Đối với các kết cấu có bản vòm ngược ở đáy thì bậc dưới cùng phải thỏa mãn các yêu cầu như của bậc trên cùng.
• Đối với các vòm, bậc dưới cùng phải cao ít nhất 150 mm.
• Phần dốc của các tấm bản bị cắt nói chung phải dốc hơn 3:1.
• Mép cạnh trên của các tấm bản bị cắt phải được liên kết bằng bulông và được chống đỡ bởi một vòng đai dốc bằng bê tông, bởi lớp lát mặt ngoài ta luy hay bằng cách tương tự.
Các đầu kết cấu bị vát hoàn toàn chỉ được sử dụng khi có thiết kế đặc biệt. Những kết cấu có đáy vòm ngược phải có phần bậc dưới phù hợp với các yêu cầu đối với các đầu cong kiểu vát có bậc.
Mép cắt vát của mọi tấm bản phải được chống đỡ bởi một vòng đai dốc bằng bê tông cứng thích hợp.
Các phần đầu bị cắt chéo phải được liên kết đầy đủ và được chống đỡ bởi một tường đầu bằng bê tông cốt thép hay kết cấu cứng khác. Tường đầu phải kéo dài tới một khoảng cách thích hợp trên đỉnh kết cấu để có khả năng chống lại các lực đầy nén vòng từ các tấm bản. Ngoài các áp lực chủ động thẳng góc của đất và áp lực do hoạt tải, phải thiết kế tường đầu để chống lại thành phần áp lực hướng tâm do kết cấu cống tác động vào theo quy định của Điều 8.5.
8.6.3 Chống đỡ cân bằng
Khi thiết kế và cấu tạo, phải đảm bảo cho đất đỡ hai bên cống được cân bằng vuông góc với kết cấu. Thay vì việc thiết kế đặc biệt, phải đảm bảo cho các phần dốc chạy vuông góc ngang qua kết cấu không được vượt quá 10% khi chiều cao lớp đất phủ bằng hay ít hơn 3000mm và 15% khi lớp đất phủ cao hơn.
Nếu kết cấu đặt chéo với nền đắp, phần đất đắp phải được cấu tạo vênh đi sao cho đảm bảo chống đỡ cân bằng và cung cấp một bề rộng đất lấp và bề rộng nền cần thiết để giữ đầu kết cấu.
8.6.4 Bảo vệ kết cấu chịu tác động thủy lực
8.6.4.1 Tổng quát
Phải tuân thủ các quy định bảo vệ kết cấu về phương diện thủy lực, bao gồm bảo vệ phần đất lấp bao kết cấu, móng và vỏ kết cấu cũng như các vật liệu đắp khác trong phạm vi chịu ảnh hưởng của kết cấu.
8.6.4.2 Bảo vệ đất lấp
Khi thiết kế hay lựa chọn cấp phối đất đắp, phải xét đến các tổn thất tính nguyên vẹn của đất lấp do việc đặt cống. Nếu dùng vật liệu dễ trôi thì kết cấu và phần đầu của đất bao phải đảm bảo được cách ly đầy đủ để khống chế việc đất di chuyển và/hoặc thẩm thấu.
8.6.4.3 Các tường chân khay
Mọi kết cấu dùng thoát nước có bản đáy kiểu vòm ngược hoàn toàn phải được thiết kế và cấu tạo có các tường chân khay ở thượng lưu và hạ lưu. Các tấm bản vòm ngược phải được liên kết bu lông với các tường chân khay bằng bu lông ϕ 20mm với cự ly tim đến tim là 500mm.
Phải khai triển tường chân khay tới chiều sâu thích đáng để giới hạn thẩm thấu thủy lực để khống chế lực đẩy nâng theo quy định của Điều 8.6.4.4 và xói lở theo Điều 8.6.4.5.
8.6.4.4 Lực nâng thủy lực
Phải xét lực nâng đối với các kết cấu thủy lực có bản đáy vòm ngược hoàn toàn khi mức nước thiết kế trong ống có thể hạ đột ngột. Thiết kế phải có các giải pháp để giới hạn gradien thủy lực khi mực nước ở phần đất lấp cao hơn ở trong cống, đảm bảo cho bản đáy vòm ngược không bị oằn và giữ cho kết cấu không bị nổi lên. Có thể tính oằn theo quy định trong Điều 7.2.4 với khẩu độ kết cấu bằng hai lần bán kính của bản đáy vòm ngược.
8.6.4.5 Xói lở
Thiết kế chống xói lở phải theo quy định của Điều 6.5. Nếu gặp phải loại đất dễ bị xói, có thể dùng các phương tiện chống xói lở truyền thống để thỏa mãn các yêu cầu này.
Không cần dùng các móng sâu như móng cọc hay giếng chìm trừ khi phải thiết kế đặc biệt đảm bảo xét đến lún chênh lệch và không đủ khả năng chống đỡ chắn giữ phần đất lấp khi xẩy ra xói lở dưới bệ cọc.
8.7 BẢN BÊ TÔNG GIẢM TẢI
Có thể dùng các bản bê tông giảm tải để giảm mômen trong các kết cấu bản mỏng nhịp dài.
Chiều dài của bản bê tông giảm tải phải lấy ít nhất là lớn hơn khẩu độ kết cấu 600mm. Phải kéo dài bản giảm tải qua phần chiều rộng chịu tải trọng của xe cộ và phải xác định chiều dầy của chúng theo quy định trong Điều 9.4.6.
8.8 THI CÔNG VÀ LẮP ĐẶT
Hồ sơ thiết kế phải quy định yêu cầu thi công và lắp đặt theo quy định Phần 26 của Tiêu chuẩn kỹ thuật thi công cầu AASHTO LRFD.
9 KẾT CẤU HỘP BẢN MỎNG
9.1 TỔNG QUÁT
Phương pháp thiết kế quy định tại Điều này được giới hạn cho lớp đất phủ dày từ 430 đến 1500 mm.
Các quy định của Điều này áp dụng cho thiết kế kết cấu bản mỏng dạng hộp, từ đây về sau gọi là "Cống hộp kim loại". Các quy định của Điều 7 và 8 không được áp dụng cho thiết kế cống hộp, trừ khi được ghi rõ.
Nếu cấu tạo sườn tăng cường để tăng sức kháng uốn và khả năng chịu mô men của bản thì thanh tăng cường ngang cần làm bằng mặt cắt thép hoặc nhôm được uốn theo bản kết cấu. Sườn phải được bắt bu lông vào bản để tạo thành sức kháng uốn của mặt cắt liên hợp. Cự ly giữa các sườn không nên vượt quá 600 mm ở đỉnh và 1370 mm ở thành cống. Phải cấu tạo mối nối sườn đủ khả năng làm việc tới sức kháng uốn giới hạn chảy tại vị trí mối nối.
9.2 TẢI TRỌNG
Hoạt tải thiết kế theo các quy định của Điều 6.1 Phần 3 bộ tiêu chuẩn này
Tỷ trọng của đất lấp khác với 1900 kg/m3 có thể theo Điều 9.4.2.
9.3 TRẠNG THÁI GIỚI HẠN SỬ DỤNG
Không cần áp dụng trạng thái giới hạn sử dụng trong thiết kế kết cấu cống hộp.
9.4 SỨC KHÁNG CỦA KẾT CẤU
9.4.1 Tổng quát
Sức kháng của cống hộp bằng tấm lượn sóng phải được xác định ở trạng thái giới hạn cường độ theo quy định các Điều 5.3, 5.4 và 5.5 và các yêu cầu ở đây.
Mặt cắt cống hộp để áp dụng thiết kế theo Điều này được quy định trong Hình 6 với yêu cầu kích thước hình học ghi trong Bảng 7. Phải áp dụng đặc trưng cơ lý của tấm kim loại lượn sóng cho trong Bảng A10.

Hình 6 - Dạng hình học của cống hộp
Bảng 7- Yêu cầu kích thước hình học cống hộp
| Nhịp, S: 2670 mm đến 7750 mm |
| Chiều cao, R: 760 mm đến 3200 mm |
| Bán kính đỉnh, rc ≤ 7560 mm |
| Chiều cao, R: 760 mm đến 3200 mm |
| Bán kính đỉnh, rc ≤ 7560 mm |
| Bán kính hông, rh ≥ 760 mm |
| Góc hông cong, Δ: 50° đến 70° |
| Chiều dài chân, D: đo từ đáy bản có thể thay đổi từ 120 mm đến 1800 mm |
| Chiều dài tối thiểu của sườn ở chân L nhỏ hơn 480 mm hoặc (D - 5) mm hoặc đến 75 mm trên đỉnh chân móng bê tông. |
Sức kháng uốn của kết cấu cống hộp bản lượn sóng phải được xác định bằng cường độ chảy theo quy định của tấm kim loại lượn sóng.
Sức kháng uốn của kết cấu cống hộp bằng tấm lượn sóng có sườn tăng cứng phải được xác định bằng giá trị giới hạn chảy quy định của cả sườn và vỏ lượn sóng. Chỉ có thể dùng trị số tính toán cho thiết kế sau khi được khẳng định bằng thí nghiệm uốn đại diện. Phải cấu tạo mối nối sườn đủ khả năng làm việc tới sức kháng uốn dẻo theo yêu cầu tại mối nối.
9.4.2 Mô men do tải trọng tính toán
Mô men do hoạt tải và tĩnh tải chưa có hệ số ở phần hông cống hộp và phần đỉnh vòm của cống hộp kim loại Mdl và Mg có thể tính như sau:
Mdl = (g x 109)γS{S3 [0.0053 - 7.87 x 10-7 (S-3660)] + 0.053 (H-427)S2} (12)
(13)
trong đó:
Mdl = tổng mô men tĩnh tải danh định ở đỉnh hộp và bên hông (N.mm/mm)
Mll = tổng mômen hoạt tải danh định ở đỉnh và bên hông (N.mm/mm)
S = khẩu độ cống hộp (mm)
γS = tỷ trọng đất (kg/m3)
H = chiều cao phần phủ lấp tính từ đường tên cống hộp đến đỉnh của mặt đường (mm)
Cll = hệ số điều chỉnh hoạt tải
= C1C2AL
AL = Tổng tải trọng trục trong nhóm trục (N)
C1 = 1,0 đối với trục đơn, 0,5 + S/15000 ≤ 1,0 đối với các trục đôi.
C2 = hệ số điều chỉnh đối với số bánh xe trên 1 trục thiết kế theo quy định của Bảng 8.
trong đó:
Khi 2400 ≤ S ≤ 6000 (14)
khi 6000 ≤ S ≤ 8000 (15)
K2 = 5,8 x 10-6 H2 - 0,0013H + 5,05 khi 400 ≤ H ≤ 900 (16)
K2 = 0,0062H + 3 khi 900 ≤ H ≤ 1500 (17)
Bảng 8 - Các giá trị hệ số điều chỉnh (C2) đối với số bánh xe trên mỗi trục
| Số các bánh xe trên nhóm trục quy ước | Chiều dầy đắp phủ (mm) | |||
| 400 | 600 | 900 | 1500 | |
| 2 | 1,18 | 1,21 | 1,24 | 1,02 |
| 4 | 1,00 | 1,00 | 1,00 | 1,00 |
| 8 | 0,63 | 0,70 | 0,82 | 0,93 |
Trừ khi có quy định khác, mô hình xe tải thiết kế theo quy định của Điều 6.1.2.2 Phần 3 bộ tiêu chuẩn này cần được giả thiết có 4 bánh xe trên một trục. Cần giả thiết mô hình xe trục đôi thiết kế quy định trong Điều 6.1.2.3 Phần 3 bộ tiêu chuẩn này là một nhóm trục gồm 2 trục với 4 bánh xe trên mỗi trục.
Phải xác định các mô men tính toán Mdlu và Mllu, để dùng cho các Phương trình của Điều 9.4.3, theo quy định Bảng 3 Phần 3 bộ tiêu chuẩn này, trừ hệ số hoạt tải để tính mllu phải lấy bằng 2,0. Phải xác định các phản lực tính toán bằng cách đưa vào các hệ số phản lực quy định trong Điều 9.4.5.
9.4.3 Sức kháng mô men dẻo
Sức kháng mô men dẻo của đỉnh hộp Mpc và sức kháng mô men dẻo của hông hộp Mph không được nhỏ hơn tổng theo tỷ lệ của mô men tĩnh và hoạt tải đã điều chỉnh.
Các trị số Mpc và Mph phải được xác định như sau:
Mpc ≥ CH Pc [Mdlu + Mllu] (18)
Mph ≥ CH [1-Pc] [Mdlu + RhMllu] (19)
trong đó:
CH = hệ số lớp đất phủ ở đỉnh lấy theo quy định của Điều 9.4.4
Pc = phạm vi cho phép phần tỷ lệ tổng mô men đỉnh cống chịu, theo Bảng 9
Rh = trị số của hệ số chiết giảm mô men ở hông, theo Bảng 10
Mdlu = mô men tính toán do tĩnh tải theo quy định của Điều 9.4.2 (N mm)
Mllu = mô men tính toán do hoạt tải theo quy định của Điều 9.4.2 (N mm)
Bảng 9- Trị số tỷ lệ mô men ở đỉnh Pc
| Nhịp (mm) | Phạm vi cho phép của Pc |
| < 3000 | 0,55 - 0,70 |
| 3000 - 4500 | 0,50 - 0,70 |
| 4500 - 6000 | 0,45 - 0,70 |
| 6000 - 8000 | 0,45 - 0,60 |
Bảng 10- Trị số giảm mô men ở hông RH
|
| Chiều cao lớp đất phủ (mm) | |||
| 400 | 600 | 900 | 1200 - 1500 | |
| Rh | 0,66 | 0,74 | 0,87 | 1,00 |
9.4.4 Hệ số đất phủ ở đỉnh CH
Với chiều dày lớp đất phủ lớn hơn hoặc bằng 1000 mm, hệ số đất phủ ở đỉnh CH lấy bằng 1,0.
Với chiều dày lớp phủ trên đỉnh ở giữa 420 và 1000 mm, hệ số đất phủ ở đỉnh lấy bằng:
(20)
ở đây:
H = chiều cao lớp phủ trên đỉnh (mm)
9.4.5 Phản lực móng
Phải xác định phản lực ở móng cống hộp theo Phương trình sau:
(21)
ở đây:
g = gia tốc trọng trường (m/s2)
V = phản lực móng chưa tính với hệ số (N/mm)
γs = tỷ trọng đất lấp (kg/m3)
H = chiều cao lớp phủ trên đỉnh (mm)
R = chiều cao cống (mm)
S = chiều dài nhịp (mm)
AL = tổng tải trọng trục (N)
9.4.6 Bản bê tông giảm tải
Có thể đặt bản bê tông trên lớp đất bao cống, ở đây gọi là bản giảm tải, để giảm mô men uốn trong cống hộp kim loại. Bản giảm tải không được tiếp xúc với đỉnh cống như minh họa ở Hình 7.
Chiều dài của bản bê tông giảm tải phải lớn hơn khẩu độ cống ít nhất 600 mm và đủ để nhô khỏi mỗi bên hông cống 300 mm. Bản giảm tải cần đặt suốt chiều rộng chịu tải trọng xe.
Chiều dày của bản giảm tải bê tông cốt thép phải xác định theo:
t = tbRALRcRf (22)
ở đây:
t = chiều dày tối thiểu của bản (mm)
tb = chiều dày cơ bản của bản lấy theo Bảng 11 (mm)
RAL = hệ số điều chỉnh tải trọng trục trong Bảng 12.
Rc = hệ số điều chỉnh cường độ bê tông trong Bảng 13.
Rf = hệ số lấy bằng 1,2 cho kết cấu hộp có nhịp nhỏ hơn 8000 mm.

Hình 7- Cống hộp kim loại có bản giảm tải bằng bê tông
Bảng 11- Chiều dầy cơ bản của bản tb (mm) (Duncan, và cộng sự 1985)
| Phân loại thống nhất của nền đất dưới bản | Độ chặt tương đối % của tỷ trọng khô tối đa của tiêu chuẩn AASHTO | ||
| 100 | 95 | 90 | |
| Chiều dày cơ bản của bản (mm) | |||
| GW, GP, SW, SP hoặc SM | 190 | 200 | 220 |
| SM-SC hoặc SC | 200 | 220 | 230 |
| ML hoặc CL | 220 | 230 | 240 |
Bảng 12 - Hệ số điều chỉnh tải trọng trục RAL (Duncan, và cộng sự 1985)
| Tải trọng trục đơn | RAL |
| 45 000 | 0,6 |
| 90 000 | 0,8 |
| 135 000 | 0,97 |
| 142 000 | 1,00 |
| 128 000 | 1,05 |
| 200 000 | 1,10 |
| 222 000 | 1,15 |
Bảng 13- Hệ số điều chỉnh cường độ bê tông Rc (Duncan, và cộng sự 1985)
| Cường độ nén của bê tông f'c (MPa) | Rc |
| 21 | 1,19 |
| 24 | 1,15 |
| 28 | 1,10 |
| 31 | 1,05 |
| 34 | 1,01 |
| 38 | 0,97 |
| 41 | 0,94 |
9.5 THI CÔNG VÀ LẮP ĐẶT
Hồ sơ thiết kế phải quy định yêu cầu thi công và lắp đặt theo đúng Phần 26, “Cống kim loại” Tiêu chuẩn kỹ thuật thi công cầu AASHTO LRFD.
10 CỐNG BÊ TỐNG CỐT THÉP
10.1 TỔNG QUÁT
Phải áp dụng các quy định của Điều này cho việc thiết kế kết cấu đối với các kết cấu cống bê tông cốt thép đúc sẵn có các hình dạng vòm, ellip, tròn.
Có thể thiết kế kết cấu cho các loại cống nói trên theo một trong hai phương pháp sau:
• Phương pháp thiết kế trực tiếp theo trạng thái giới hạn cường độ, quy định trong Điều 10.4.2 hoặc
• Phương pháp thiết kế gián tiếp theo trạng thái giới hạn sử dụng, quy định trong Điều 10.4.3
10.2 TẢI TRỌNG
10.2.1 Các cách lắp đặt chuẩn
Trong hồ sơ thiết kế phải quy định tầng đệm móng và phần đất lấp phù hợp với quy định của Điều 27.5.2 của Tiêu chuẩn kỹ thuật thi công cầu AASHTO LRFD.
Yêu cầu về độ chặt tối thiểu và chiều dầy lớp đệm dùng cho các chuẩn lắp đặt cống trước khi đắp nền và chuẩn lắp đặt cống trong hào đào phải theo quy định của Bảng 14 và 15 tương ứng.
Bảng 14 - Đất dùng cho chuẩn lắp đặt cống trước đắp nền và các yêu cầu đầm nén tối thiểu
| Loại lắp đặt | Chiều dày lớp đệm | Phần nách và phần ngoài lớp đệm | Phần thành bên phía dưới |
| Loại 1 | Đối với nền đất, tối thiểu Bc/600mm, không ít hơn 75mm Đối với nền đá, tối thiểu Bc/300mm, không ít hơn 150mm | 95% SW(*) | 90% SW, 95% ML hay 100% CL |
| Loại 2 - Cách lắp đặt dùng cho ống ellip nằm, ellip đứng hay ống vòm | Đối với nền đất, tối thiểu Bc/600mm, không ít hơn 75mm Đối với nền đá, tối thiểu Bc/300mm, không ít hơn 150mm | 90% SW hay 95% ML | 85% SW, 90% ML hay 95% CL |
| Loại 3 - Cách lắp đặt dùng cho ống ellip nằm, ellip đứng hay ống vòm | Đối với nền đất, tối thiểu Bc/600mm không ít hơn 75mm Đối với nền đá, tối thiểu Bc/300mm không ít hơn 150mm | 85% SW, 90% ML hay 95% CL | 85% SW, 90% ML hay 95% CL |
| Loại 4 | Đối với nền đất, không cần lớp đệm. Đối với nền đá, tối thiểu Bc/300mm, không ít hơn 150mm | Không cần đầm lèn, trừ phi CL dùng 85% CL | Không cần đầm lèn, trừ phi CL dùng 85% CL |
| • (*)“95% SW” nghĩa là loại vật liệu đất SW với độ chặt Proctor tiêu chuẩn nhỏ nhất bằng 95% các giá trị proctor cải tiến tương đương được cho trong Bảng 27.5.2.2-3 của tiêu chuẩn Thi công cầu đường bộ AASHTO LRFD. • Phần đất nằm ở vùng ngoài lớp đệm móng, ở h và phần dưới, ngoài phần trong vòng Bc/3 tính từ các chân vòm của ống, phải được đầm chặt ít nhất bằng độ chặt của phần lớn vùng đất đắp lấp phủ trên ống. • Chiều rộng ít nhất của phần dưới thấp của hố đào phải lấy bằng 1,33 Bc hoặc rộng hơn, nếu cần có không gian thích hợp để đạt được độ chặt quy định đối với vùng nách và đệm móng. • Đối với phần dưới hố đào có các vách đất tự nhiên, phải đảm bảo độ rắn chắc của bất kỳ phần đất nằm bên dưới của vách hố đào có độ rắn chắc ít nhất tương đương với các yêu cầu đầm lèn quy định cho vùng bên sườn phía dưới và phần đất lấp phủ bên trên kết cấu. Nếu không đảm bảo như vậy, phải đào đổ đi và thay bằng đất đầm chặt cho đến cao trình quy định. | |||
Bảng 15 - Đất dùng cho chuẩn lắp đặt cống trong hào đào và các yêu cầu đầm nén tối thiểu
| Loại lắp đặt | Chiều dày lớp đệm | Phần hông và phần ngoài lớp đệm | Phần thành bên ở phía dưới |
| Loại 1 | Đối với nền đất, tối thiểu Bc/600 mm, không ít hơn 75mm, Đối với nền đá, tối thiểu Bc/300mm, không ít hơn 150mm | 95% SW(*) | 90% SW, 95% ML hay 100% CL hoặc đất thiên nhiên có độ rắn chắc đồng đều |
| Loại 2 - Các lắp đặt dùng cho ống ellip nằm, ellip đứng hay ống vòm | Đối với nền đất, tối thiểu Bc/600 mm, không ít hơn 75mm Dùng cho nền đá, tối thiểu Bc/300mm, Không ít hơn 150mm | 90% SW hay 95% ML | 85% SW, 95% ML, 95%CL hay đất thiên nhiên có độ rắn chắc đồng đều |
| Loại 3 - Các lắp đặt dùng cho ống ellip nằm, ellip đứng hay ống vòm | Đối với nền đất, tối thiểu Bc/600 mm, không ít hơn 75mm Đối với nền đá, tối thiểu Bc/300mm, Không ít hơn 150mm | 85% SW, 90% ML hay 95% CL | 85% SW, 90% ML, 95% CL hay đất thiên nhiên có độ rắn chắc đồng đều |
| Loại 4 | Đối với nền đất, không cần lớp đệm. Đối với nền đá, tối thiểu Bc/300mm không ít hơn 150mm | Không cần đầm lèn, trừ khi CL dùng 85% CL | 85% SW, 90% ML, 95% CL hay đất thiên nhiên có độ rắn chắc đồng đều |
| • (*) “95% SW” nghĩa là phải lấy theo loại vật liệu đất SW với độ chặt Protor tiêu chuẩn nhỏ nhất bằng 95% các giá trị Protor cải tiến tương đương được cho trong Bảng 27.5.2.2-3 Tiêu chuẩn kỹ thuật thi công cầu AASHTO LRFD. • Cao độ đỉnh hố đào không được thấp hơn cao độ trắc dọc đường hoàn thiện là 0,1 H; đối với lòng đường đỉnh của nó không được thấp hơn đáy của vật liệu làm móng mặt đường là 300mm. • Đất nằm trong vùng đệm móng và vách kết cấu phải được đầm lèn ít nhất có độ chặt như quy định đối với hầu hết đất của vùng đất lấp. • Đối với vách của các hố đào có mái dốc trong vòng 100 so với đường thẳng đứng thì độ đầm chặt hay độ rắn chắc của đất ở vùng vách hố đào và vùng thành bên ở phía dưới không cần xem xét. • Đối với các vách hố đào có mái dốc lớn hơn 10° bao gồm cả phần nền đắp thì phải đầm lèn phần vách bên ở phía dưới ít nhất đạt được độ đầm chặt theo quy định đối với đất trong vùng đất lấp. | |||
Phải xác định tải trọng do đất đắp không có hệ số WE như sau:
WE = g Fe γs Bc H x 10-9 (23)
trong đó:
WE = tải trọng tiêu chuẩn của đất (N/mm)
Fe = hệ số tương tác đất - kết cấu đối với cách lắp đặt được định nghĩa ở đây.
Bc = kích thước nằm ngang cống đo theo mặt ngoài đến mặt ngoài (mm)
g = gia tốc trọng trường (m/s2)
H = chiều cao của phần đất đất lấp trên ống (mm)
γs = tỷ trọng của đất (kg/m3)
Phải lấy trọng lượng đơn vị của đất dùng để tính tải trọng do đất gây ra bằng trọng lượng đơn vị của loại đất đắp được quy định cho việc lắp đặt cống nhưng không được lấy ít hơn 1760 kg/m3.
Phải được thiết kế cống với các chuẩn lắp đặt cống trước khi đắp nền và lắp đặt trong hào đào theo phần nhô (dương) các điều kiện tải trọng nền đắp, trong đó phải lấy Fe bằng các hệ số hiệu ứng vòm thẳng đứng VAF quy định trong Bảng 16 dùng cho từng loại chuẩn lắp đặt.
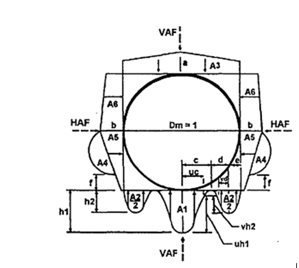
Đối với các chuẩn lắp đặt, phải dùng phân bố áp lực đất theo phân bố HEGER như cho trong Hình 8 và Bảng 16 đối với từng cách lắp đặt.

Hình 8 - Phân bố áp lực HEGER và các hệ số hiệu ứng vòm
Bảng 16 - Các hệ số dùng theo Hình 8
|
| Loại lắp đặt | |||
|
| 1 | 2 | 3 | 4 |
| VAF(*) | 1,35 | 1,40 | 1,40 | 1,45 |
| HAF | 0,45 | 0,40 | 0,37 | 0,30 |
| A1 | 0,62 | 0,85 | 1,05 | 1,45 |
| A2 | 0,73 | 0,55 | 0,35 | 0,00 |
| A3 | 1,35 | 1,40 | 1,40 | 1,45 |
| A4 | 0,19 | 0,15 | 0,10 | 0,00 |
| A5 | 0,08 | 0,08 | 0,10 | 0,11 |
| A6 | 0,18 | 0,17 | 0,17 | 0,19 |
| a | 1,40 | 1,45 | 1,45 | 1,45 |
| b | 0,40 | 0,40 | 0,36 | 0,30 |
| c | 0,18 | 0,19 | 0,20 | 0,25 |
| e | 0,08 | 0,10 | 0,12 | 0,00 |
| f | 0,05 | 0,05 | 0,05 | - |
| u | 0,80 | 0,82 | 0,85 | 0,90 |
| v | 0,80 | 0,70 | 0,60 | - |
| (*) • VAF và HAF là các hệ số hiệu ứng vòm thẳng đứng và nằm ngang. Các hệ số này biểu thị toàn bộ các tải trọng đất thẳng đứng và nằm ngang, trị số không thứ nguyên tác dụng lên ống. • Tổng các tải trọng thực tế thẳng đứng và nằm ngang bằng (VAF) x (PL) và (HAF) x (PL) trong đó PL là tải trọng của lăng thể. • Các hệ số A1 đến A6 biểu thị tích phân của các thành phần áp lực đất không thứ nguyên thẳng đứng và nằm ngang thuộc các thành phần đã chỉ rõ của các biểu đồ áp lực thành phần tức là diện tích dưới các biểu đồ áp lực thành phần. • Giả thiết áp lực thay đổi hoặc là theo parabola, hoặc là đường thẳng như thể hiện trên Hình 8 với các đại lượng không thứ nguyên ở các điểm khống chế được biểu thị bằng h1, h2, uh1, uh2, a và b | ||||
CHÚ THÍCH:
Các giá trị kích thước không thứ nguyên nằm ngang và thẳng đứng của các vùng áp lực thành phần được xác định bởi các hệ số c, d, e, uc, vd và f, trong đó:
d = (0,5-c-e) (24)
(25)
(26)
10.2.2 Trọng lượng của chất lỏng trong ống
Khi thiết kế phải xét trọng lượng chưa nhân hệ số của chất lỏng, WF, trong ống trên cơ sở tỷ trọng chất lỏng là 1000kg/m3 nếu không có quy định khác.
Đối với các chuẩn lắp đặt, trọng lượng chất lỏng phải được chống đỡ bởi áp lực đất thẳng đứng được giả thiết có phân bố lên phần bên dưới của ống cống giống như trong Hình 8 đối với tải trọng đất.
10.2.3 Các hoạt tải
Phải lấy hoạt tải theo quy định của Điều 6 Phần 3 bộ tiêu chuẩn này và phân bố qua lớp đất phủ theo quy định trong Điều 6.1.2.6 Phần 3 bộ tiêu chuẩn này. Đối với các chuẩn lắp đặt, phải giả thiết hoạt tải trên ống cống phân bố đều theo chiều thẳng đứng trên đỉnh ống và phân bố lên đáy ống tương tự như trong Hình 8.
10.3 TRẠNG THÁI GIỚI HẠN SỬ DỤNG
Phải tính toán chiều rộng các vết nứt trên vách ở trạng thái giới hạn sử dụng do tác dụng của mômen và lực nén. Nói chung chiều rộng vết nứt không được vượt quá 0,25 mm.
10.4 SỨC KHÁNG CỦA KẾT CẤU
10.4.1 Tổng quát
Phải xác định sức kháng của kết cấu ống cống bê tông cốt thép bị vùi ở trạng thái giới hạn cường độ dưới tác dụng của lực:
• Uốn
• Nén
• Cắt
• Kéo hướng tâm
Phải xác định các kích thước mặt cắt cống bằng phương pháp thiết kế trực tiếp căn cứ vào tính toán, hoặc gián tiếp căn cứ theo kinh nghiệm.
Khi hồ sơ thiết kế quy định dùng lưới cốt 1/4 vòng tròn, cốt đai vòng móc và lồng cốt thép ellip, thì phải quy định hướng lắp đặt ống và thiết kế phải tính đến khả năng bị đặt sai hướng một góc là 10° trong khi lắp đặt ống.
10.4.2 Phương pháp thiết kế trực tiếp
10.4.2.1 Tải trọng và phân bố áp lực
Tổng tải trọng thẳng đứng tác động lên ống cống phải được xác định theo Điều 10.2.1.
Phân bố áp lực lên ống cống do tải trọng và phản lực móng phải được xác định từ phân tích tương tác đất - kết cấu hoặc từ phương pháp gần đúng hợp lý, cả hai đều được phép dùng sơ đồ áp lực theo sơ đồ trên Hình 9 và phương pháp giải tích kết cấu ống.

Hình 9 - Phân bố áp lực thiết kế quanh ống bê tông vùi để phân tích theo thiết kế trực tiếp
10.4.2.2 Phân tích hiệu ứng lực vòng ống
Phải xác định hiệu ứng lực trong ống cống bằng phân tích đàn hồi của vòng ống dưới tác dụng áp lực phân bố được giả định hoặc phân tích tương tác đất - kết cấu.
10.4.2.3 Hệ số chế tạo và vật liệu
Hệ số chế tạo và vật liệu, FrP cho kéo hướng tâm và FvP cho cường độ cắt được lấy bằng 1,0 cho thiết kế ống cống bê tông cốt thép chế tạo tại nhà máy. Có thể dùng các trị số lớn hơn nếu có đủ số liệu thí nghiệm phù hợp với AASHTO M 242 M (ASTM C 655M).
10.4.2.4 Sức kháng uốn ở trạng thái giới hạn cường độ
10.4.2.4.1 Cốt thép theo vòng tròn
Cốt thép chịu uốn trên đơn vị mm chiều dài ống phải thỏa mãn:
(27)
trong đó:
g = 0,85 flc (28)
ở đây:
As = diện tích cốt thép trên chiều dài ống (mm2/mm )
fy = cường độ chảy theo quy định của cốt thép (MPa)
d = cự ly từ mặt chịu nén tới trọng tâm cốt thép kéo (mm)
h = chiều dày vách ống (mm)
Mu = mômen do tải trọng tính toán (N-mm/ mm)
Nu = lực nén do tải trọng tính toán là dương khi nén (N/mm)
ϕ = hệ số sức kháng uốn cho trong Điều 5.5.
10.4.2.4.2 Cốt thép tối thiểu
Diện tích cốt thép, As, trên mm chiều dài ống không được nhỏ hơn:
• Cho mặt trong ống có hai lớp cốt thép:
(29)
• Cho mặt ngoài ống có hai lớp cốt thép:
(30)
• Với cốt thép hình e-lip trong ống tròn và với ống tròn có đường kính bằng hoặc nhỏ hơn 840 mm chỉ có một lồng cốt thép đơn ở một phần ba giữa vách ống:
(31)
ở đây:
Si = đường kính trong hoặc khẩu độ ngang của ống (mm)
h = chiều dày vách ống (mm)
fy = cường độ chảy của cốt thép (MPa)
10.4.2.4.3 Cốt thép chịu uốn tối đa không có cốt đai
Cốt thép chịu uốn không có cốt đai trên đơn vị mm chiều dài ống phải thỏa mãn:
• với thép bên trong chịu kéo hướng tâm:
(32)
ở đây:
rs = bán kính của thép phía trong (mm)
f'c = cường độ nén của bê tông (MPa)
fy = cường độ chảy của quy định của cốt thép (MPa)
Rφ = ϕr/ϕf tỷ lệ của hệ số sức kháng kéo hướng tâm với hệ số kháng mômen quy định trong Điều 5.5
Frp = 1,0 trừ khi giá trị lớn hơn được minh chứng bằng số liệu thí nghiệm
trong đó:
• Với 300 mm ≤ Si ≤ 1830 mm
Fn = 1 + 0,000328(1830-Si)
• Với 1830mm ≤ Si ≤ 3660mm

• Với Si > 3660mm
Frt = 0,80
• Với cốt thép chịu nén:
(33)
trong đó:
g' = f'c [0,85 - 0,0073 (f'c - 28)] (34)
0,85 f'c ≥ g' ≥ 0,65 f'c (35)
ở đây:
ϕ = hệ số sức kháng uốn lấy theo Điều 5.4.2 Phần 5 bộ tiêu chuẩn này
10.4.2.4.4 Cốt thép khống chế bề rộng vết nứt
Hệ số bề rộng vết nứt, Fcr, có thể xác định theo:
• Nếu Ns là nén được lấy là dương và:
(36)
• Nếu Ns là kéo được lấy là âm và:
(37)
trong đó:
(38)
(39)
(40)
(41)
ở đây:
Ms = mômen uốn ở trạng thái giới hạn sử dụng (N-mm/mm)
Ns = lực nén dọc trục ở trạng thái giới hạn sử dụng (N/mm)
d = cự ly từ mặt bị nén đến trọng tâm cốt thép kéo (mm)
h = chiều dày vách (mm)
f'c = cường độ nén quy định của bê tông (MPa)
C1 = hệ số khống chế nứt cho các loại cốt thép khác nhau, lấy theo Bảng 17
As = diện tích cốt thép mm2/mm
tb = lớp bảo vệ cốt thép (mm)
Si = cự ly cốt thép tròn (mm)
n = 1,0 khi cốt thép kéo có một lớp
n = 2,0 khi cốt thép kéo gồm nhiều lớp
ϕ = hệ số sức kháng uốn như quy định trong Điều 5.5
Bảng 17 - Hệ số khống chế bề rộng vết nứt
| Loại | Cốt thép | C1 |
| 1 | Sợi trơn hoặc thanh trơn | 1,0 |
| 2 | Tấm lưới sợi trơn hàn với cự ly tối đa theo chiều dọc bằng 200 mm, lưới sợi có gờ hàn, hoặc sợi thép có gờ | 1,5 |
| 3 | Thanh có gờ hoặc thanh cốt thép bất kỳ có cốt đai vòng móc neo vào đó. | 1,9 |
Với cốt thép loại 2 trong Bảng 17 có t2b Si /n > 50000 thì hệ số chiều rộng vết nứt Fcr cũng phải khảo sát bằng các hệ số B1 và C1 quy định cho loại 3 và phải dùng trị số Fcr nào lớn hơn.
10.4.2.4.5 Lớp bê tông bảo vệ tối thiểu
Áp dụng các quy định của Điều 5.12.3 Phần 5 bộ tiêu chuẩn này về lớp bê tông bảo vệ tối thiểu, trừ các quy định sau:
• Nếu chiều dày vách ống nhỏ hơn 63 mm, lớp bảo vệ không được mỏng hơn 20 mm và
• Nếu chiều dày vách ống không nhỏ hơn 63 mm, lớp bảo vệ không mỏng hơn 26 mm.
10.4.2.5 Sức kháng cắt không có cốt đai hướng tâm
Phải kiểm soát sức kháng chịu lực cắt ở mặt cắt nguy hiểm khi Mn / (Vud) = 3,0. Sức kháng cắt tính toán không có cốt đai hướng tâm Vr được tính bằng:
Vr = ϕ Vn (42)
trong đó:
(43)
(44)
• Với các ống có hai lồng cốt thép hoặc một lồng cốt elip
(45)
• Đối với ống có đường kính vượt quá 915mm có một lồng cốt thép tròn đơn
(46)
Nếu Nu là nén, nó được dùng dấu dương và:
(47)
Nếu Nu là kéo, nó được dùng dấu âm và:
(48)
(49)
(50)
Dấu đại số ở Phương trình 49 lấy là dương khi mặt bên trong ống chịu kéo và là âm khi mặt bên ngoài ống chịu kéo.
ở đây:
f'cmax = 49 MPa
d = cự ly từ mặt chịu nén đến trọng tâm cốt thép chịu kéo (mm)
h = bề dày vách (mm)
ϕ = hệ số sức kháng cắt quy định ở Điều 5.4.2 Phần 5 bộ tiêu chuẩn này
r = bán kính đường tròn tim vách của ống bê tông (mm)
Nu = lực nén do tải trọng tính toán (N/mm)
Vu = lực cắt do tải trọng tính toán (N/mm)
Fvp = hệ số chế tạo và vật liệu quy định trong Điều 10.4.2.3
Nếu sức kháng cắt tính toán ở đây không đủ thì phải làm các cốt đai hướng tâm theo quy định của Điều 10.4.2.6.
10.4.2.6 Sức kháng cắt có cốt đai hướng tâm
Cốt thép chịu kéo và thép cốt đai chịu cắt hướng tâm không được nhỏ hơn:
• Với kéo hướng tâm:
(51)
Sv ≤ 0,75ϕvd (52)
• Với cắt:
(53)
Sv ≤ 0,75ϕvd (54)
trong đó:
(55)
ở đây:
Mu = mô men uốn do tải trọng tính toán (N.mm/mm)
Mnu = mô men tính toán tác dụng trên một đơn vị chiều rộng mặt cắt ngang để điều chỉnh các hiệu ứng của lực nén hoặc kéo (N.mm/mm)
Nu = lực nén do tải trọng tính toán (N/mm)
Vu = lực cắt do tải trọng tính toán (N/mm)
Vc = sức kháng cắt của mặt cắt bê tông (N/mm)
d = cự ly từ mặt chịu nén tới trọng tâm cốt thép kéo (mm)
fy = cường độ chảy theo quy định của cốt thép, trị số của fy phải lấy số nhỏ hơn của cường độ chảy của cốt đai hoặc khả năng neo khai triển của nó (MPa)
rs = bán kính của cốt thép bên trong (mm)
sv = cự ly giữa các cốt đai (mm)
Vr = sức kháng cắt tính toán của mặt cắt ống không có cốt đai hướng tâm trên đơn vị chiều dài ống (N/mm)
Avr = diện tích cốt thép đai chịu kéo hướng tâm trên đơn vị chiều rộng mặt cắt của mỗi hàng cốt đai ở cự ly tròn “sv” (mm2/mm)
Avs = diện tích cần thiết cho cốt thép đai (mm2/mm)
f'c = cường độ nén của bê tông (MPa)
ϕv = hệ số kháng cắt theo Điều 5.5
ϕr = hệ số kháng kéo hướng tâm trong Điều 5.5
Fc = hệ số độ cong xác định theo Phương trình 49
10.4.2.7 Neo cốt thép đai
10.4.2.7.1 Neo cốt đai chịu kéo hướng tâm
Khi bố trí các cốt đai chịu kéo hướng tâm, phải neo các cốt đai vòng quanh từng đường chu vi của lồng cốt thép bên trong để khai triển sức kháng của cốt đai và cũng phải neo chúng xung quanh lồng ngoài hoặc phải được chôn vào vùng chịu nén một đoạn dài đủ để phát huy sức kháng cần thiết của cốt đai.
10.4.2.7.2 Neo cốt đai chịu cắt
Trong trường hợp không yêu cầu cốt đai chịu kéo hướng tâm mà chỉ yêu cầu chịu cắt thì cự ly theo chiều dọc của chúng phải đảm bảo sao cho chúng được neo quanh từng vòng chu vi chịu kéo hoặc từng vòng chu vi chịu kéo xen kẽ. Cự ly giữa các cốt đai này không được vượt quá 150mm.
10.4.2.7.3 Độ chôn sâu của các đai
Các cốt đai dùng để chống lại các lực ở các vùng bản đáy vòm ngược và vùng đỉnh vòm phải được neo đầy đủ vào phía đối diện của vách ống cống để khai triển được sức kháng cần thiết của cốt đai.
10.4.3 Phương pháp thiết kế gián tiếp
10.4.3.1 Sức kháng ép
Phải xác định tải trọng đất và hoạt tải trên cống theo Điều 10.2 và so sánh với cường độ chịu ép trên ba gờ tựa của ống cống xác định thông qua tải trọng thử D. Phải áp dụng trạng thái giới hạn sử dụng với các tiêu chuẩn bề rộng vết nứt cho phép quy định tại Điều này.
Tải trọng D cho các loại kích thước ống phải được xác định phù hợp với AASHTO M 242 (ASTM C655M)
Sức kháng ép trên ba gờ tựa của ống cống bê tông cốt thép tương ứng với bề rộng vết nứt 0,25 mm quan sát được qua thí nghiệm không được nhỏ hơn tải trọng thiết kế được xác định cho lắp đặt ống lấy bằng:
(56)
trong đó:
BFE = hệ số nền tải trọng đất quy định trong Điều 10.4.3.2.1 hay Điều 10.4.3.2.2
BFLL = hệ số nền cho hoạt tải quy định trong Điều 10.4.3.2.3
Si = đường kính trong của ống (mm)
WE = tổng tải trọng đất chưa nhân hệ số được quy định trong Điều 10.2.1 (N/mm)
WF = tổng tải trọng chất lỏng chưa nhân hệ số trong ống được quy định trong Điều 10.2.3 (N/mm)
WL = toàn bộ hoạt tải chưa nhân hệ số trên một đơn vị chiều dài ống được quy định trong Điều 10.2.4 (N/mm)
Đối với cống lắp đặt theo chuẩn loại 1 (xem Bảng 14,15), các tải trọng D tính ở trên phải được nhân với hệ số lắp đặt bằng 1,10
10.4.3.2 Hệ số nền
Trong hồ sơ thiết kế phải yêu cầu độ chặt tối thiểu quy định trong các Bảng 14 và 15.
10.4.3.2.1 Hệ số nền cho tải trọng đất đắp trên ống tròn
Các hệ số nền cho tải trọng đất, BFE dùng cho ống cống tròn có đường kính liệt kê trong Bảng 18.
Đối với các đường kính ống khác so với những con số liệt kê trong Bảng 18, các hệ số nền trong điều kiện nền đắp BFE có thể xác định theo cách nội suy.
Bảng 18- Các hệ số nền cho ống tròn
| Đường kính ống danh định (mm) | Các lắp đặt tiêu chuẩn | |||
| Loại 1 | Loại 2 | Loại 3 | Loại 4 | |
| 300 | 4,4 | 3,2 | 2,5 | 1,7 |
| 600 | 4,2 | 3,0 | 2,4 | 1,7 |
| 900 | 4,0 | 2,9 | 2,3 | 1,7 |
| 1800 | 3,8 | 2,8 | 2,2 | 1,7 |
| 3600 | 3,6 | 2,8 | 2,2 | 1,7 |
10.4.3.2.2 Hệ số nền cho tải trọng đất đối với vòm và cống ống ellip
Phải tính hệ số nền cho lắp đặt vòm và ellip theo Phương trình sau:
(57)
trong đó:
CA = hằng số tương ứng với hình dạng ống theo quy định của Bảng 19
CN = thông số, là hàm số phân bố của tải trọng thẳng đứng và phản lực thẳng đứng, theo quy định của Bảng 19
x = thông số, là hàm số của diện tích của phần hình chiếu thẳng đứng của ống trên đó áp lực ngang là có ích theo quy định Bảng 19
q = tỷ số của toàn bộ áp lực ngang với toàn bộ tải trọng đất lấp thẳng đứng theo quy định ở đây
Các giá trị tính toán của CA, CN và x theo Bảng 19
Giá trị của thông số q được lấy như sau:
• Đối với vòm và ống ellip nằm:
(58)
Bảng 19 - Các giá trị tính toán của các thông số trong Phương trình hệ số nền
| Hình dạng ống | CA | Loại lắp đặt | CN | Tỷ số hình chiếu, P | x |
| Vòm và ellip nằm | 1,337 | 2 | 0,630 | 0,9 0,7 | 0,421 0,369 |
| 3 | 0,763 | 0,5 0,3 | 0,268 0,148 | ||
| Ellip đứng | 1,021 | 2 | 0,516 | 0,9 0,7 | 0,718 0,639 |
| 3 | 0,615 | 0,5 0,3 | 0,457 0,238 |
• Đối với ống ellip đứng:
(59)
trong đó:
p = tỷ số hình chiếu, tỷ số của khoảng cách thẳng đứng tính từ đỉnh ngoài của ống đến mặt lớp lót nền với chiều cao phía ngoài thẳng đứng của ống,
10.4.3.2.3. Các hệ số nền cho hoạt tải
Các hệ số nền BFLL cho hoạt tải WL dùng cho cả ống tròn, vòm và ống ellip được lấy trị số quy định trong Bảng 20. Đối với ống có đường kính không được liệt kê trong Bảng 20, có thể xác định hệ số nền theo cách nội suy.
Bảng 20 - Các hệ số nền BFLL
| Đường kính ống cống, mm | Chiều cao đắp phủ, mm | |
| < 600 | ≥ 600 | |
| 300 | 3.2 | 2.4 |
| 450 | 3.2 | 2.4 |
| 600 | 3.2 | 2.4 |
| 750 và lớn hơn | 2.2 | 2.2 |
10.4.4 Khai triển lưới cốt thép vòng bổ sung tại vùng chịu kéo
10.4.4.1 Lồng cốt thép tối thiểu
Thay cho việc phân tích chi tiết, khi bố trí cấu tạo lưới cốt thép vòng bổ sung ở vùng chịu kéo, thì diện tích của lồng cốt thép chủ không được nhỏ hơn 25 phần trăm của diện tích yêu cầu ở điểm có mômen cực đại.
10.4.4.2 Chiều dài khai triển của lưới cốt sợi hàn
Phải áp dụng quy định của Điều 11.2.5 Phần 5 bộ tiêu chuẩn này.
10.4.4.3 Khai triển lưới cốt thép vòng bổ sung vùng chịu kéo bằng lưới cốt sợi trơn hàn
Chiều dài neo ở mỗi đầu của cuộn vòng không được nhỏ hơn:
• Giá trị lớn hơn giữa 12 lần đường kính thanh của lưới và ba phần tư chiều dầy vách ống vượt qua điểm mà không yêu cầu lưới vòng bổ sung chịu kéo, xác định theo góc ở tâm và
• Vượt qua điểm có ứng suất uốn lớn nhất đo theo góc ở tâm cộng với chiều dài khai triển Ld trong đó Ld được quy định theo Điều 11.2.5.2 Phần 5 bộ tiêu chuẩn này.
Lưới sợi phải chứa không ít hơn 2 cốt dọc với khoảng cách ít nhất bằng khoảng cách được xác định bởi góc ở tâm về hai phía của điểm có yêu cầu cốt thép chịu uốn nhiều nhất cộng thêm 25mm.
Điểm neo sâu dọc theo phía ngoài cùng của lưới sợi ít nhất phải đảm bảo một khoảng cách được xác định bởi góc ở tâm và vượt qua điểm tại đó lượng cốt thép được tiếp tục kéo dài không ít hơn hai lần diện tích yêu cầu chịu uốn.
10.4.4.4 Khai triển lưới cốt thép vòng bổ sung vùng chịu kéo bằng các thanh có gờ, sợi thép có gờ hay lưới cốt sợi có gờ
Khi dùng các thanh có gờ, sợi có gờ hay lưới cốt sợi có gờ thì các thanh uốn tròn trong lưới cốt thép vòng bổ sung vùng chịu kéo phải thỏa mãn các điều kiện sau:
• Các thanh vòng phải kéo dài vượt quá điểm không cần thép chịu kéo bổ sung, xác định bởi góc ở tâm, cộng với số lớn hơn giữa 12 đường kính sợi (hay thanh) và ba phần tư chiều dầy vách của ống cống.
• Các thanh cuộn tròn phải kéo dài ra cả 2 phía của điểm có ứng suất chịu uốn cực đại, xác định theo góc ở tâm cộng với chiều dài khai triển Lhd theo quy định của Điều 11.2.5.1 Phần 5 bộ tiêu chuẩn này và được điều chỉnh bởi hệ số hoặc các hệ số chỉnh lý thích hợp.
• Các thanh uốn vòng phải kéo dài ít nhất 1 khoảng cách, được xác định bởi góc ở tâm, vượt quá điểm tại đó lượng cốt thép được tiếp tục kéo dài không ít hơn hai lần diện tích yêu cầu chịu uốn.
10.5 THI CÔNG VÀ LẮP ĐẶT
Hồ sơ thiết kế cần phải quy định yêu cầu thi công và lắp đặt phù hợp với Phần 27 “Cống bê tông” của Tiêu chuẩn kỹ thuật thi công cầu AASHTO LRFD.
11 CỐNG HỘP BÊ TÔNG CỐT THÉP ĐÚC TẠI CHỖ VÀ ĐÚC SẴN VÀ VÒM BÊ TÔNG CỐT THÉP ĐÚC TẠI CHỖ
11.1 TỔNG QUÁT
Phải áp dụng các quy định của Điều này cho thiết kế kết cấu cống hộp bê tông cốt thép đúc tại chỗ và đúc sẵn và vòm bê tông cốt thép đúc tại chỗ với vành vòm liên khối với chân vòm.
Thiết kế phải phù hợp với các Điều có thể áp dụng của Tiêu chuẩn, trừ các hiệu chỉnh tại Điều này.
11.2 CÁC TẢI TRỌNG VÀ PHÂN BỐ HOẠT TẢI
11.2.1 Tổng Quát
Phải áp dụng tải trọng và tổ hợp tải trọng ghi ở Bảng 3 Phần 3 bộ tiêu chuẩn này. Phải xét hoạt tải như quy định trong Điều 6.1.3 Phần 3 bộ tiêu chuẩn này. Phân bố tải trọng bánh xe và lực tập trung đối với cống có chiều dày lớp phủ nhỏ hơn 600 mm phải được lấy như quy định trong Điều 6.2.10 Phần 4 bộ tiêu chuẩn này. Đối với xe chạy song song với nhịp, cống hộp sẽ được thiết kế cho một làn chất tải, với làn đơn nhân với hệ số làn của tải trọng được đặt. Yêu cầu về bố trí cốt thép phân bố ở phía dưới của bản nắp của cống hộp phải theo quy định ở Điều 7.3.2 Phần 9 bộ tiêu chuẩn này, đối với cốt thép thường và Điều 14.4.1 Phần 5 bộ tiêu chuẩn này đối với cốt thép dự ứng lực.
Phân bố tải trọng bánh xe đối với cống có lớp phủ bằng hoặc lớn hơn 600 mm phải theo quy định ở Điều 6.1.2.6 Phần 3 bộ tiêu chuẩn này.
Lực xung kích đối với kết cấu vùi phải theo quy định của Điều 6.2.2 Phần 3 bộ tiêu chuẩn này. Phải bố trí cấu tạo dầm gờ biên như quy định trong Điều 6.2.1.4 Phần 4 bộ tiêu chuẩn này như sau:
• tại phần đầu cống khi tải trọng bánh xe di chuyển trong khoảng 600 mm từ đầu cống
• tại khe biến dạng của cống đúc tại chỗ khi tải trọng bánh xe di chuyển bên trên hoặc bên cạnh khe biến dạng.
11.2.2 Điều chỉnh tải trọng đất do sự làm việc tương tác đất - kết cấu
11.2.2.1 Trường hợp thi công theo phương pháp lắp đặt trước đắp nền và đào hào
Thay cho việc phân tích chính xác, có thể tính toàn bộ tải trọng đất chưa nhân hệ số WE tác dụng lên cống như sau:
• Trường hợp thi công theo kiểu lắp đặt cống trước khi đắp nền đường
WE = gFeγsBcH x 10-9 (60)
trong đó:
(61)
• Trường hợp thi công theo kiểu đào hào qua nền đường để lắp đặt cống
WE = g Ftγs Bc H x 10-9 (62)
trong đó:
(63)
trong đó:
g = gia tốc trọng trường (m/s2)
WE = toàn bộ tải trọng đất chưa nhân hệ số (N/mm)
Bc = chiều rộng tính theo mặt ngoài của cống theo quy định ở Hình 10 hay 11 khi thích hợp (mm)
H = chiều cao phần đất lấp theo quy định ở Hình 10 và 11 (mm)
Fe = hệ số tương tác đất - kết cấu theo biện pháp lắp đặt trước khi đắp nền được quy định ở đây
Ft = hệ số tương tác đất - kết cấu theo biện pháp thi công đào hào được quy định ở đây
γs = tỷ trọng đất lấp (kg/m3)
Bd = chiều rộng nằm ngang của hố đào quy định theo Hình 11 (mm)
Cd = hệ số quy định trong Hình 12
Fe không vượt quá 1,15 khi thi công đắp đất có đầm chặt dọc hai bên của mặt cắt hộp, hoặc 1,40 khi thi công lấp đất không đầm chặt dọc hai bên của mặt cắt hộp.
Khi thi công kiểu đào hào mà bề rộng hào lớn hơn kích thước nằm ngang của cống quá 300mm, Ft phải lấy không quá trị số đã được chọn đối với điều kiện thi công kiểu trước khi đắp nền.

Hình 10 - Thi công đắp nền - các mặt cắt hộp bê tông đúc sẵn

Hình 11- Thi công đào hào - các mặt cắt hộp bê tông đúc sẵn

Hình 12 - Hệ số Cd dùng cho trường hợp thi công đào hào
11.2.2.2 Các biện pháp thi công khác
Đối với các phương pháp thi công khác với biện pháp đắp nền hay đào hào cũng có thể được chiết giảm tải trọng tác dụng lên cống, bao gồm các phương pháp lắp đặt ống cống nhô cao trên mặt đất tự nhiên một phần, không nhô (0,0), nhô âm, hố dẫn và kích đẩy.
Tải trọng tác dụng lên cống khi thi công theo các phương pháp này có thể được xác định theo các phương pháp được chấp nhận dựa trên các thí nghiệm, phân tích tương tác đất - kết cấu hay các kinh nghiệm đã có.
11.2.3 Phân bố các tải trọng tập trung lên bản đáy của cống hộp
Chiều rộng của dải bản mặt đỉnh dùng để phân bố các tải trọng bánh xe tập trung quy định trong Điều 11.2 cũng phải dùng để xác định các mômen, lực cắt và lực nén ở các tường bên và bản đáy hộp.
11.2.4 Phân bố của các tải trọng tập trung trong các cống hộp chéo
Không cần điều chỉnh hiệu ứng chéo đối với phân bố tải trọng bánh xe theo Điều 11.2.3.
11.3 TRẠNG THÁI GIỚI HẠN SỬ DỤNG
Phải áp dụng các quy định của Điều 7.3.4 Phần 5 bộ tiêu chuẩn này để khống chế bề rộng vết nứt trong cống hộp đúc tại chỗ và đúc sẵn cũng như vòm bê tông cốt thép đúc tại chỗ.
11.4 THIẾT KẾ KẾT CẤU
11.4.1 Tổng quát
Tất cả các mặt cắt phải được thiết kế theo trạng thái giới hạn cường độ với tải trọng tính toán quy định trong Bảng 3 Phần 3 bộ tiêu chuẩn này trừ các quy định điều chỉnh tại Điều này. Phải kiểm soát sức kháng cắt trong cống theo Điều 14.5.3 Phần 5 bộ tiêu chuẩn này.
11.4.2 Mômen thiết kế cho cống hộp
Khi mà nách của kết cấu liền khối được quy định vát 450 thì cốt thép âm trong tường và bản có thể thiết kế theo mômen uốn xác định theo tỷ lệ của mô men tại mặt cắt giao giữa phần nách với phần bản có chiều dày không đổi. Nếu không phải áp dụng các quy định của Phần 5 bộ tiêu chuẩn này.
11.4.3 Cốt thép tối thiểu
11.4.3.1 Kết cấu đúc tại chỗ
Cốt thép ở tất cả các mặt cắt chịu uốn, bao gồm mặt trong của tường, không được ít hơn quy định trong Điều 7.3.3.2 Phần 5 bộ tiêu chuẩn này. Cốt thép chịu co ngót và nhiệt độ phải được đặt gần mặt trong của tường và bản theo quy định của Điều 10.8 Phần 5 bộ tiêu chuẩn này.
11.4.3.2 Kết cấu hộp đúc sẵn
Ở tất cả các mặt chịu kéo uốn, diện tích cốt thép tối thiểu phải không được nhỏ hơn 0,002 lần diện tích nguyên của mặt cắt bê tông.
Đối với bản đỉnh của cống hộp có lớp đất phủ nhỏ hơn 600 mm, diện tích cốt thép dọc ở đáy bản phải lớn hơn diện tích cốt thép phân bố theo quy định của Điều 7.3.2 Phần 9 bộ tiêu chuẩn này hay 0,002 lần diện tích nguyên của mặt cắt bê tông.
Đối với tất cả cốt thép dọc khác, diện tích cốt thép dọc tối thiểu phải không được nhỏ hơn 0.06 mm2/mm trên mỗi mặt. Nếu chiều dài đốt cống đúc sẵn dài hơn 5000 mm thì cốt thép dọc tối thiểu phải theo quy định của Điều 10.8 Phần 5 bộ tiêu chuẩn này.
11.4.4 Lớp bảo vệ tối thiểu cho kết cấu hộp đúc sẵn
Phải áp dụng các quy định của Điều 12.3 Phần 5 bộ tiêu chuẩn này
11.5 THI CÔNG VÀ LẮP ĐẶT
Hồ sơ thiết kế phải quy định yêu cầu thi công và lắp đặt phù hợp với Phần 27 “Cống bê tông” Tiêu chuẩn kỹ thuật thi công cầu AASHTO LRFD.
12 ỐNG NHỰA DẺO NÓNG
12.1 TỔNG QUÁT
Phải áp dụng các quy định của Điều này cho thiết kế kết cấu ống nhựa vùi có vách đặc, gợn sóng hoặc vách có gờ bao ngoài làm bằng nhựa PE, PP hoặc PVC.
12.2 TRẠNG THÁI GIỚI HẠN SỬ DỤNG
Phải giới hạn xoắn cục bộ tối đa cho phép của ống nhựa được lắp đặt trên cơ sở những yêu cầu khai thác và ổn định chung trong khi thi công lắp đặt. Biến dạng kéo của thớ biên không được vượt quá biến dạng dài hạn cho phép quy định trong Bảng 21. Biến dạng kéo tịnh phải là chênh số học giữa biến dạng kéo do uốn và biến dạng nén vòng.
12.3 THIẾT KẾ SỨC KHÁNG KẾT CẤU
12.3.1 Tổng quát
Kết cấu ống nhựa vùi phải được kiểm soát theo trạng thái giới hạn cường độ đối với lực nén, oằn và ứng biến kết hợp.
12.3.2 Đặc trưng mặt cắt
Các đặc trưng mặt cắt của ống gợn sóng PE, ống có sườn PE và ống có sườn PVC có thể lấy tương ứng trong các Bảng A11 đến A13 Phụ lục A.
12.3.3 Các yêu cầu hóa học và cơ học
Các đặc trưng cơ học dùng trong thiết kế cho ở Bảng 21.
Trừ đối với ổn định oằn, việc lựa chọn các yêu cầu về đặc trưng cơ học ban đầu hay theo tuổi thọ. Kiểm tra về ổn định oằn tổng thể phải tính theo trị số mô đun đàn hồi theo tuổi thọ thiết kế.
Bảng 21- Đặc trưng cơ học của ống nhựa
| Loại ống | Loại có ngăn (Cell) tối thiểu | Giới hạn ứng biến dài hạn sử dụng εyt(%) | Giới hạn ứng biến tính toán | Ban đầu | 50 năm | 75 năm | |||
| Fu min (MPa) | E min (MPa) | Fu min (MPa) | E min (MPa) | Fu min (MPa) | E min (MPa) | ||||
| ống PE vách đặc ASTM F714 | ASTM D3350, 335434C | 5,0 | 4,1 | 20,7 | 758 | 9,93 | 152 | 9,65 | 144,8 |
| ống PE vách gợn sóng AASHTO 294 | ASTM D3350, 335420C | 5,0 | 4,1 | 20,7 | 758 | 6,21 | 152 | 6,2 | 144,8 |
| ống PE vách định dạng gờ bao ASTMF894 | ASTM D3350, 334433C | 5,0 | 4,1 | 20,7 | 552 | 7,72 | 138 | 7,6 | 130,9 |
| ASTM D3350, 335434C | 5,0 | 4,1 | 20,7 | 758 | 9,93 | 152 | 9,65 | 144,8 | |
| ống PVC vách đặc AASHTO M278 ASTMF679 | ASTM D1784, 12454C | 5,0 | 2,6 | 48,3 | 2760 | 25,5 | 965 | 24,8 | 945 |
| ASTM D1784, 12364C | 3.5 | 2,6 | 41,4 | 3030 | 17,9 | 1090 | 17,2 | 1075 | |
| ống PVC vách định dạng gờ bao AASHTO M304 | ASTM D1784, 12454C | 5.0 | 2,6 | 48,3 | 2760 | 25,5 | 965 | 24,8 | 945 |
| ASTM D1784, 12364C | 3.5 | 2,6 | 41,4 | 3030 | 17,9 | 1090 | 17,2 | 1075 | |
12.3.4 Lực nén
Lực nén tính toán trên đơn vị chiều dài của vách kết cấu ống nhựa vùi lấy bằng:
(64)
trong đó:
TL = lực nén tính toán trên đơn vị chiều dài (N/mm)
Do = đường kính ngoài của ống (mm)
PF = áp lực thẳng đứng tính toán trên đỉnh (MPa)
Trong đó, áp lực đứng tính toán trên đỉnh vòm, PF, phải được tính như sau:
PF = ηEV(γEVVAF Psp+1.3γWAPW)+ ηLLγLLCLPL. (65)
trong đó:
(66)
(67)
với:
PF = áp lực đứng tính toán trên đỉnh (MPa)
ηEV = hệ số điều chỉnh tải trọng, theo Điều 4.2 Phần 1 bộ tiêu chuẩn này, áp dụng cho áp lực đất thẳng đứng trên cống
γEV = hệ số tải trọng đối với áp lực thủy tĩnh, như quy định trong Điều 4.1 Phần 3 bộ tiêu chuẩn này
VAF = hệ số vòm thẳng đứng
Psp = áp lực đất tĩnh (EV) như quy định trong Phần 3 bộ tiêu chuẩn này. Không bao gồm áp lực thủy tĩnh (MPa)
PW = áp lực nước thủy tĩnh (MPa)
Hs = chiều cao mực nước ngầm nằm trên đường chân vòm của ống (mm)
γW = trọng lượng riêng của nước (kg/m3)
ηLL = hệ số điều chỉnh tải trọng, như quy định trong Điều 4.2 Phần 1 bộ tiêu chuẩn này, áp dụng đối với hoạt tải trên cống.
γLL = hệ số tải trọng cho hoạt tải, như quy định trong Điều 4.1 Phần 3 bộ tiêu chuẩn này
PL = áp lực do hoạt tải (LL) và lực xung kích (IM) tải trọng va đập (MPa)
CL = hệ số phân bố hoạt tải LW / Do < 1
LW = bề rộng phân bố hoạt tải nằm ngang trong hướng đường vòng tròn, tại cao độ đỉnh (mm)
SH = hệ số độ cứng đai
ϕs = hệ số sức kháng xét đến độ cứng của đất, ϕs = 0.9
Ms = mô đun của đất quy định trong Bảng 22 (MPa)
R = bán kính của đường tim vách cống (mm)
E = mô đun đàn hồi thời điểm ban đầu hoặc mô đun theo thời gian quy định trong Bảng 21 (MPa)
g = gia tốc trọng trường (m/s2)
A = diện tích vách ống cống (mm2/mm)
Trong trường hợp không có dữ liệu hiện trường tiêu chuẩn, mô đun cát tuyến của đất đầm nén, Ms, có thể được chọn từ Bảng 22 theo loại đất đắp và tỷ trọng, và áp lực đất, Psp. Có thể sử dụng nội suy tuyến tính các mức độ lèn chặt đất để xác định Ms.
Đối với cống dưới lớp đất đắp mỏng hơn hoặc bằng 3050 mm, loại đất và tỷ trọng được chọn từ Bảng 22 nên lấy đại diện cho điều kiện đất trên bề rộng bằng 1/2 đường kính mỗi bên cống, nhưng không được nhỏ hơn 450 mm mỗi bên cống.
Đối với cống dưới lớp đất đắp dày hơn 3050 mm, loại đất và tỷ trọng được chọn từ Bảng 22 nên lấy đại diện cho các điều kiện đất trên bề rộng bằng đường kính mỗi bên cống.
Bảng 22 - Giá trị Ms theo loại đất và điều kiện đầm nén
| PSP. Mức ứng suất | Sn-100 | Sn-95 | Sn-90 | Sn-85 |
| (MPa) | (MPa) | (MPa) | (MPa) | (MPa) |
| 0,007 | 16,201 | 13,789 | 8,790 | 3,240 |
| 0,036 | 23,786 | 17.925 | 10,342 | 3,585 |
| 0,072 | 28,957 | 20,683 | 11,203 | 3,930 |
| 0,144 | 37,919 | 23,786 | 12,410 | 4,481 |
| 0,287 | 51,708 | 29,301 | 14,478 | 5,688 |
| 0,431 | 64,118 | 34,472 | 17,236 | 6,894 |
| PSP - Mức ứng suất |
| Si-95 | Si-90 | Si-85 |
| (MPa) |
| (MPa) | (MPa) | (MPa) |
| 0,007 |
| 9,756 | 4,169 | 2,482 |
| 0,036 |
| 11,514 | 5,102 | 2,689 |
| 0,072 |
| 12,203 | 5,171 | 2,756 |
| 0,144 |
| 12,962 | 5,447 | 2,965 |
| 0,287 |
| 14,409 | 6,205 | 3,516 |
| 0,431 |
|
|
|
|
| PSP. Mức ứng suất |
| CI-95 | CI-90 | Cl-85 |
| (MPa) |
| (MPa) | (MPa) | (MPa) |
| 0,007 |
| 3,654 | 1,758 | 0,896 |
| 0,036 |
| 4,309 | 2,206 | 1,207 |
| 0,072 |
| 4,757 | 2,448 | 1,379 |
| 0,144 |
| 5,102 | 2,723 | 1,586 |
| 0,287 |
| 5,619 | 3,171 | 1,965 |
| 0,431 |
| 6,171 | 3,620 | 2,379 |
| - Các loại đất được xác định bởi hai chữ cái để phân biệt các loại đất: Sn cho cát và sỏi, Si cho phù sa và Cl cho đất sét. Nhóm đất cụ thể trong các loại này, dựa theo tiêu chuẩn ASTM D 2478 và AASHTO M 145, được liệt kê trong Bảng 23. - Số hậu tố của ký hiệu các loại đất biểu thị độ chặt của đất lấy bằng tỷ lệ phần trăm của trọng lượng thể tích khô tối đa được xác định theo AASHTO T 99 | ||||
Bảng 23 - Phân loại đất theo tiêu chuẩn ASTM và AASHTO
| Loại đất (*) | ASTM D 2487 | AASHTO M145 |
| Sn (Cát pha sỏi, SW) | SW, SP (2) | A1, A3 (2) |
| Si | GM, SM, ML | A-2-4, A-2-5, A4 |
| CL | CL, MH, GC, SC cũng như GC và SC với nhiều hơn 20% hạt qua sàng 0.075-mm | A-2-6, A-2-7, A5, A6 |
| (*) - Loại đất được liệt kê trong dấu ngoặc đơn là loại đã được thí nghiệm để xây dựng giá trị mô đun của đất được đầm lèn ghi trong Bảng 22. Các mối tương quan với các loại đất khác là gần đúng. - Các loại vật liệu với kích thước hạt trung bình nhỏ hơn sàng 0,425-mm sẽ không được dùng làm vật liệu đắp cho cống nhựa trừ khi có các biện pháp phòng ngừa đặc biệt để kiểm soát độ ẩm và theo dõi mức độ đầm chặt. | ||
12.3.5 Sức kháng của vách ống cống
12.3.5.1 Tổng quát
Sức kháng tính toán chịu kéo của vách đối với lực đẩy, Rr, được tính như sau:
Rr = ϕ A Fu (69)
ở đây:
Rr = sức kháng kéo tính toán cho lực đẩy (N/mm)
ϕ = hệ số sức kháng theo Điều 5.5
A = diện tích vách (mm2/mm)
Fu = cường độ kéo (MPa) lấy theo Bảng 21 (MPa)
Sức kháng nén tính toán của vách cho lực nén, Rr, được tính như sau:
Rr = ϕAeffFu (70)
ở đây:
Rr = sức kháng nén tính toán cho lực nén (N/mm)
Aeff = diện tích có hiệu của vách (mm2/mm)
Phải kiểm soát cả giới hạn ứng biến kết hợp theo quy định trong Điều 12.3.5.4.
Nếu đánh giá khả năng mất ổn định cục bộ theo Điều 12.3.5.3 có kết quả tổng diện tích có hiệu bị giảm, thì diện tích có hiệu sẽ được sử dụng trong việc đánh giá sức kháng tính toán.
12.3.5.1 Ổn định oằn
Phải kiểm soát ổn định oằn đối với vách ống cống. Nếu fcr < Fu thì phải tính lại trị số Rr theo giá trị fcr thay cho Fu.
(71)
trong đó:
(72)
(73)
ở đây:
fcr = cường độ chịu oằn của vách ống (MPa)
R = bán kính đường tim của vách ống cống (mm)
Aeff = diện tích có hiệu của vách ống cống (mm2/mm)
B' = hệ số phân bố ứng suất không đều
hw = chiều cao mặt nước trên ống (mm)
Rw = hệ số lực đẩy nổi
h = chiều cao mặt đất trên ống (mm)
ϕs = hệ số sức kháng đối với độ cứng đất, ϕs = 0.9
Ms = mô đun của đất đầm chặt, Bảng 22 (MPa)
E = mô đun đàn hồi của vật liệu ống cống theo thời gian theo quy định trong Bảng 21 (MPa)
I = mô men quán tính (mm4/mm)
12.3.5.3 Sức kháng oằn cục bộ của vách ống
12.3.5.3.1 Tổng quát
Các chi tiết của vách ống cống có gờ tăng cứng bao ngoài được thiết kế để chống oằn cục bộ theo các quy định sau đây.
12.3.5.3.2 Mô hình tính vách của ống định dạng
Để xác định sức kháng oằn, vách ống sẽ được mô hình hóa thành các chi tiết thẳng. Mỗi chi tiết được định một bề rộng dựa trên khoảng cách tịnh giữa các chi tiết liền kề và bề dày dựa trên bề dày ở tim của chi tiết. Xem hình 13 mô tả mô hình tính cho một vách có gờ điển hình của ống.

Hình 13 - Mặt cắt ngang thực tế và mô hình tính của vách ống có gờ
12.3.5.3.3 Độ mảnh và bề rộng có hiệu
Bề rộng hữu hiệu của từng cấu kiện cho ổn định oằn được xác định như sau:
b = ρ w (74)
trong đó:
(75)
(76)
ở đây:
A = diện tích vách, quy định trong Điều 12.3.5.1 (mm2/mm)
b = bề rộng có hiệu cấu kiện (mm)
εyc = giới hạn ứng biến do lực nén tính toán cho trong Bảng 21 (mm/mm)
ρ = hệ số bề rộng có hiệu
w = toàn bộ bề rộng tịnh của gờ tăng cứng giữa hai chi tiết vách đỡ của gờ (mm)
λ = hệ số độ mảnh
t = bề dày cấu kiện (mm)
k = hệ số gối đỡ, k=4,0 với các chi tiết được đỡ, k = 0,43 đối với các chi tiết không được đỡ như các sườn đứng độc lập.
Để đánh giá sức kháng nén dọc trục, diện tích mặt cắt phải lấy giá trị diện tích mặt cắt có hiệu, Aeff, do ảnh hưởng của oằn cục bộ. Diện tích mặt cắt có hiệu được xác định bằng cách lấy diện tích nguyên của mặt cắt trừ đi tổng các phần diện tích không có hiệu của từng chi tiết mặt cắt như sau:
(77)
ở đây:
Aeff = diện tích có hiệu của vách ống, trên chiều dài đơn vị (mm2/mm)
ω = khoảng cách giữa các gờ tăng cứng gợn sóng (mm)
Ag = diện tích mặt cắt nguyên của vách ống trên đơn vị chiều dài (mm2/mm)
12.3.5.4 Ứng biến kết hợp
12.3.5.4.1 Tổng quát
Tổng ứng biến tính toán nén trong vách ống do lực nén và uốn kết hợp không được vượt quá giới hạn ứng biến nén tổng hợp, εcu, xác định như sau:
(78)
trong đó:
(79)
ở đây:
E = Mô đun đàn hồi vật liệu ống theo thời gian
Fu = cường độ chịu kéo quy định trong Điều 12.3.5.1
εbu(max)= tổng hợp ứng biến nén giới hạn tính toán được lấy bằng γBεc (mm/mm)
γB = 1,5, hệ số điều chỉnh tải trọng áp dụng cho ứng biến tổng hợp
γp = hệ số tải trọng tối đa đối với tải trọng thường xuyên áp lực đất thẳng đứng (EV) đối với trường hợp kết cấu vùi mềm khác cống hộp kim loại, quy định trong Bảng 3 Phần 3 bộ tiêu chuẩn này.
Tổng ứng biến kéo tính toán trong vách ống cống do lực nén và uốn không vượt quá ứng biến kéo giới hạn, εtu, được xác định như sau:
(80)
ở đây:
εb = biến dạng uốn chưa nhân hệ số (mm/mm)
εbu = biến dạng uốn tính toán = γBεb (mm/mm)
εtt = biến dạng kéo theo thời gian tính toán = γB εyt (mm/mm)
εyt = giới hạn ứng biến kéo sử dụng trong Bảng 21 (mm/mm)
12.3.5.4.2 ứng biến dạng uốn
Trong trường hợp không có phân tích chi tiết hơn, ứng biến uốn có thể được tính toán dựa trên quan hệ thực nghiệm giữa biến dạng và độ võng được lấy như sau:
(81)
trong đó:
(82)
ở đây:
εbu = ứng biến uốn (mm/mm)
Df = hệ số hình dạng quy định trong Bảng 24
R = bán kính đường tim của vách ống (mm)
c = khoảng cách từ trục trung hòa tới thớ ngoài cùng (mm)
Δ = độ võng của ống, giảm đường kính thẳng đứng do uốn (mm)
D = đường kính tim của vách ống (mm)
Bảng 24 - Hệ số hình dạng, Df, dựa trên độ cứng ống, nền đắp và cấp đầm nén
| Độ cứng của cống (F/Δy, MPa) | Vật liệu đất đắp quanh ống cống và mức độ đầm nén | |||
| Sỏi (1) | Cát (2) | |||
| Đổ đống tới đầm sơ(3) | Đầm trung bình tới đầm kỹ(4) | Đổ đống tới đầm sơ(3) | Đầm trung bình tới kỹ(4) | |
| 0,062 | 5,5 | 7,0 | 6,0 | 8,0 |
| 0,124 | 4,5 | 5,5 | 5,0 | 6,5 |
| 0,248 | 3,8 | 4,5 | 4,0 | 5,5 |
| 0,496 | 3,3 | 3,8 | 3,5 | 4,5 |
| (1) GW, GP, GW-GC, GW-GM, GP-GC và GP-GM theo tiêu chuẩn ASTM D 2487 (bao gồm cả đá) (2) SW, SP, SM, SC, GM và GC hoặc hỗn hợp theo tiêu chuẩn ASTM D 2487 (3) <85% trọng lượng thể tích khô tối đa theo tiêu chuẩn AASHTO T99, <40% tỷ trọng tương đối (ASTM D 4253 và D 4254) (4) ≤85% trọng lượng thể tích khô tối đa theo tiêu chuẩn AASHTO T99, ≥40% tỷ trọng tương đối (ASTM D 4253 và D 4254) | ||||
12.3.6 Các yêu cầu về vận chuyển và lắp đặt
Phải kiểm soát giới hạn hệ số uốn FF theo quy định trong Điều 5.6.3. Hệ số uốn FF tính bằng mm/N được xác định như sau:
(83)
ở đây:
I = mômen quán tính (mn4/mm)
E = mô đun đàn hồi (MPa)
S = đường kính ống (mm)
13 TẤM ÁO HẦM BẰNG THÉP
13.1 TỔNG QUÁT
Phải áp dụng các quy định trong Điều này cho việc thiết kế kết cấu các tấm vách (áo) hầm bằng thép dùng cho chống đỡ khi đào hầm trong đất. Việc thi công phải tuân theo Phần 25 “Vách hầm bằng thép và bê tông” của Tiêu chuẩn kỹ thuật Thi công cầu AASHTO LRFD.
Tấm vách hầm có thể được làm từ kim loại gợn sóng toàn chiều dài có cấu tạo hai gờ mặt bích nối theo từng đoạn và mối nối chồng theo chiều dọc hoặc có loại tấm làm từ kim loại gợn sóng một phần có 4 gờ mặt bích và được nối dọc bằng mặt bích. Cả hai loại đều phải dùng bulông liên kết để tạo thành dạng vành khuyên tròn.
13.2 TẢI TRỌNG
Không được áp dụng các quy định về tải trọng đất của Điều 10.5 Phần 3 bộ tiêu chuẩn này cho kết cấu hầm.
13.2.1 Tải trọng đất
Phải áp dụng quy định của Điều 4.1. Nếu không áp dụng các phương pháp phân tích mô hình đất chính xác hơn thì áp lực của đất có thể được tính như sau:
WE = g Cdt γS S x 10-9 (84)
trong đó:
g = gia tốc trọng trường (m/s2)
Cdt = hệ số tải trọng dùng cho xây lắp hầm được quy định theo biểu đồ trên Hình 14
γS = tỷ trọng toàn bộ của đất (kg/m3).
WE = áp lực đất ở đỉnh (MPa).
S = đường kính hay khẩu độ nhịp của hầm (mm)

CHÚ DẪN:
H = chiều cao của phần đất trên đỉnh hầm (mm)
S = đường kính hay khẩu độ nhịp của hầm (mm)
Hình 14 - Biểu đồ hệ số Cdt dùng cho hầm trong đất
13.2.3 Hoạt tải
Phải áp dụng các quy định của Điều 6.1
13.2.3 Áp lực phun vữa
Nếu áp lực phun vữa lớn hơn tải trọng thiết kế đã tính thì tải trọng thiết kế WT tác dụng lên vỏ hầm phải bằng áp lực phun vữa.
13.3 THIẾT KẾ KẾT CẤU
13.3.1 Các đặc trưng mặt cắt
Tấm vách hầm bằng thép phải thỏa mãn các yêu cầu tối thiểu về đặc trưng mặt cắt ngang, trong Bảng 25, về sức kháng của mối nối, trong Bảng 26 và về các đặc trưng cơ học trong Bảng 27.
13.3.2 Diện tích vách
Phải áp dụng các quy định của các Điều 7.2.2 và 7.2.3 với việc sử dụng diện tích có hiệu trong Bảng 25.
13.3.3 Ổn định oằn
Phải áp dụng các quy định của Điều 13.2.2 và 7.2.4 trừ khi hệ số độ cứng của đất k có thể thay đổi từ 0,22 đến 0,44 phụ thuộc vào chất lượng và mức sử dụng vật liệu chèn lấp.
13.3.4 Sức kháng của mối nối
Phải áp dụng các quy định của Điều 7.2.5.
13.3.5 Độ cứng trong thi công
Độ cứng trong thi công phải được biểu thị bằng hệ số độ cứng thi công, tính như sau:
(85)
trong đó:
S = đường kính hay khẩu độ nhịp
E = mô đun dàn hồi (MPa)
I = mô men quán tính (mm4/mm)
Các giá trị của Cs theo Phương trình 85 không được ít hơn các giá trị dùng cho tấm vách hầm bằng thép quy định trong Điều 5.6.4.
Bảng 25 - Các đặc trưng mặt cắt ngang - tấm vách hầm bằng thép
| Tấm vách hầm kiểu 2 gờ nối mặt bích | |||||||
| Chiều dày (mm) | Diện tích hữu hiệu | Mô men quán tính | Bán kính hồi chuyển | ||||
| 1,91 | 2,44 | 557 | 15,12 | ||||
| 2,67 | 3,43 | 808 | 15,29 | ||||
| 3,43 | 4,42 | 1048 | 15,39 | ||||
| 4,17 | 5,42 | 1296 | 15,47 | ||||
| 4,55 | 5,92 | 1428 | 15,52 | ||||
| 5,31 | 6,91 | 1692 | 15,63 | ||||
| 6,08 | 7,92 | 1932 | 15,63 | ||||
| Tấm vách hàm kiểu 4 gờ nối mặt bích | |||||||
| Chiều dày (mm) | Diện tích (mm2/mm) | Diện tích hữu hiệu (mm2/mm) | Mô men quán tính (mm4/mm) | Bán kính hồi chuyển | |||
| 2,67 | 3,38 | 1,70 | 689 | 14,3 | |||
| 3,04 | 3,86 | 1,93 | 803 | 14,4 | |||
| 3,43 | 4,32 | 2,16 | 901 | 14,4 | |||
| 4,17 | 5,31 | 2,67 | 1150 | 14,7 | |||
| 4,55 | 5,77 | 2,90 | 1230 | 14,1 | |||
| 5,31 | 6,71 | 3,35 | 1430 | 14,6 | |||
| 6,07 | 7,62 | 3,81 | 1970 | 14,1 | |||
| 6,35 | 7,85 | 3,94 | 1660 | 14,5 | |||
| 7,94 | 9,80 | 4,90 | 2020 | 14,3 | |||
| 9,53 | 11,68 | 5,84 | 2340 | 14,2 | |||
Bảng 26 - Cường độ mối nối dọc tối thiểu, các yêu cầu về bu lông và đai ốc nối tấm vách hầm bằng thép
| Chiều dày tấm (mm) | Tấm 2 bản nối mặt bích | Tấm 4 bản nối mặt bích | ||||
| Các bu lông mối nối dọc | Cường độ cực hạn của mối nối (N/mm) | Các bu lông nối dọc | Cường độ cực hạn của mối nối (N/mm) | |||
| Đường kính (mm) | Vật liệu ASTM | Đường kính (mm) | Vật liệu ASTM | |||
| 1,91 | 16 | A 307 | 292 | - | - | - |
| 2,67 | 16 | A 307 | 438 | 13 | A 307 | 380 |
| 3,43 | 16 | A 307 | 686 | 13 | A 307 | 628 |
| 4,17 | 16 | A 307 | 803 | 13 | A 307 | 730 |
| 4,55 | 16 | A 307 | 905 | 16 | A 307 | 788 |
| 5,31 | 16 | A 449 | 1270 | 16 | A 307 | 978 |
| 6,07 | 16 | A 449 | 1343 | 16 | A 307 | 1183 |
| 7,95 | 16 | - | - | 16 | A 307 | 1679 |
| 9,53 | 16 | - | - | 16 | A 307 | 1737 |
Các bu lông mối nối theo đường vòng tròn phải phù hợp với ASTM A 307 hoặc tốt hơn đối với mọi chiều dày tấm bản.
Bảng 27 - Các đặc trưng cơ học - Tấm bản vách hầm bằng thép
(Tấm bản trước khi được uốn nguội)
| Cường độ kéo nhỏ nhất | 290 MPa |
| Giới hạn chảy nhỏ nhất | 193 MPa |
| Độ dãn dài, 50 mm | 30% |
| Mô đun đàn hồi | 200000 MPa |
14 CÁC KẾT CẤU CÓ BA MẶT BẢN BÊ TÔNG CỐT THÉP ĐÚC SẴN
14.1 TỔNG QUÁT
Phải áp dụng các điều khoản của Điều này cho việc thiết kế các kết cấu hình máng ba mặt bản bằng bê tông cốt thép đúc sẵn tựa lên nền móng bằng bê tông.
14.2 VẬT LIỆU
14.2.1 Bê tông
Bê tông phải theo quy định của Điều 4.2 Phần 5 bộ tiêu chuẩn này, trừ việc đánh giá f'c có thể dựa trên các mẫu thử.
14.2.2 Cốt thép
Cốt thép phải thỏa mãn các yêu cầu của Điều 4.3 Phần 5 bộ tiêu chuẩn này trừ đối với lưới sợi thép hàn có thể sử dụng cường độ chảy là 450 MPa. Đối với lưới cốt sợi, cự ly các sợi dọc phải lấy tối đa là 200mm, cự ly lưới sợi hàn uốn tròn không được lớn hơn 100mm hay ít hơn 50mm. Nếu dùng thép dự ứng lực, phải theo Điều 9 Phần 5 bộ tiêu chuẩn này.
14.3 LỚP BÊ TÔNG BẢO VỆ CỐT THÉP
Lớp bê tông bảo vệ cốt thép trong kết cấu đúc sẵn có ba mặt bản bê tông sử dụng lưới sợi hàn phải được lấy bằng ba lần đường kính sợi nhưng không được ít hơn 25mm. Trừ khi cốt thép ở phần đỉnh của bản trên được lấp đất ít hơn 600mm, khi đó phải lấy lớp bảo vệ tối thiểu bằng 50mm.
14.4 CÁC ĐẶC TRƯNG HÌNH HỌC
Trừ khi được quy định ở đây, hình dạng của các kết cấu ba mặt bản đúc sẵn có thể thay đổi về khẩu độ nhịp, đường tên, chiều dày vách, kích thước nách và độ cong. Nhà sản xuất phải quy định các đặc trưng hình học cụ thể. Chiều dày vách phải dùng tối thiểu là 200mm đối với khẩu độ nhịp dưới 7300mm và là 250mm đối với khẩu độ nhịp lớn hơn và bằng 7300mm.
14.5 THIẾT KẾ
14.5.1 Tổng quát
Thiết kế phải phù hợp với các phần của các tiêu chuẩn này, trừ khi có quy định khác ở đây. Việc phân tích phải dựa trên mô hình mối nối bằng chốt ở bệ móng và phải tính đến các chuyển vị dự kiến của bệ móng.
14.5.2 Sự phân bố các hiệu ứng của tải trọng tập trung tại bản nắp hộp và các bản mặt bên
Phân bố tải trọng bánh xe và tải trọng tập trung đối với bản nắp hộp và các bản của kết cấu có ba mặt bản phải lấy theo quy định trong Điều 11.2.1
14.5.3 Sự phân bổ của các tải trọng tập trung trong các cống đặt chéo
Phải phân bố các tải trọng bánh xe lên các cống chéo theo các quy định tương tự như đối với các ống có cốt thép chủ song song với hướng giao thông. Đối với các cấu kiện cống chéo với các góc lớn hơn 15° phải xét đến ảnh hưởng góc chéo khi phân tích kết cấu.
14.5.4 Sự truyền lực cắt tại các mối nối ngang giữa các phân đoạn cống
Phải làm các khóa chống cắt ở mặt đỉnh của các đốt cấu kiện đúc sẵn có phần đỉnh hình phẳng nằm dưới lớp phủ mỏng.
Phải áp dụng các quy định của Điều 6.2.10.4 Phần 4 bộ tiêu chuẩn này.
Khi chiều dày lớp đất đắp trên bản mặt đỉnh của kết cấu mỏng hơn 600 mm phải bố trí cấu tạo truyền lực cắt giữa các đơn nguyên liền kề của mặt đỉnh của các kết cấu để chịu lực gây ra do hoạt tải. Sự truyền lực cắt giữa các đơn nguyên liền kề có thể được xem là đủ khi chiều dày bản mặt đỉnh bằng hoặc lớn hơn:
• Với bản dự ứng lực:
S/28 (86)
• Với bản không dự ứng lực:
(S+3000)/30 (87)
Trong đó:
S = khẩu độ (mm) đo song song với mối nối đối với mặt cắt liền kề
14.5.5 Chiều dài nhịp
Khi xét đến các nách đổ tại chỗ nghiêng 45°, có thể bố trí cốt thép chịu mô men âm trong các vách và các bản theo tỷ lệ, căn cứ vào mô men uốn ở chỗ giao của nách với bản có chiều dày không đổi.
14.5.6 Các hệ số sức kháng
Phải áp dụng các quy định của Điều 5.5.4.2 Phần 5 và Điều 1.4.1 Phần 1 bộ tiêu chuẩn này cho thích hợp
14.5.7 Kiểm soát nứt
Phải áp dụng các quy định của Điều 7.3.4 Phần 5 bộ tiêu chuẩn này cho các kết cấu vùi.
14.5.8 Cốt thép tối thiểu
Không được áp dụng các quy định của Điều 10.8.2 Phần 5 bộ tiêu chuẩn này cho các kết cấu đúc sẵn 3 mặt dạng lòng máng.
Cốt thép chịu uốn chính theo hướng khẩu độ nhịp phải đảm bảo tỷ lệ diện tích của cốt thép với diện tích nguyên của bê tông tối thiểu bằng 0,002. Lượng cốt thép tối thiểu này phải đảm bảo bố trí tại thớ kéo của mặt cắt chịu kéo do uốn, ở mặt trong của vách và theo mỗi chiều của bản mặt đỉnh của các kết cấu ba mặt có đất lấp mỏng hơn 600mm.
14.5.9 Kiểm soát độ võng ở trạng thái giới hạn sử dụng
Các giới hạn độ võng dùng cho các kết cấu bê tông được quy định trong Điều 5.2.6.2 Phần 2 bộ tiêu chuẩn này là bắt buộc và các trị số giới hạn cho kết cấu người đi bộ dùng cho các vùng đô thị.
14.5.10 Thiết kế bệ móng
Khi thiết kế phải xét đến các chênh lệch chuyển vị nằm ngang và thẳng đứng cũng như góc xoay của bệ móng. Phải áp dụng các quy định trong Phần 5 và Phần 10 bộ tiêu chuẩn này cho việc thiết kế móng.
14.5.11 Lấp đất kết cấu
Quy định về yêu cầu lấp đất phải tuân theo các giả thiết về thiết kế đã áp dụng. Các hồ sơ hợp đồng cần yêu cầu độ đầm chặt tối thiểu của đất lấp là 90% độ chặt Proctor tiêu chuẩn để ngăn ngừa lún mặt đường chỗ tiếp giáp kết cấu. Có thể yêu cầu độ chặt đầm nén cao hơn của đất lấp trên kết cấu khi sử dụng hệ thống tương tác kết cấu đất.
14.5.12 Bảo vệ chống xói lở và các vấn đề liên quan với đường thủy
Phải áp dụng các quy định của Điều 6 Phần 2 bộ tiêu chuẩn này cho thích hợp
PHỤ LỤC A
(Quy định)
ĐẶC TRƯNG CỦA MỘT SỐ LOẠI CỐNG VÀ KẾT CẤU BẢN MỎNG
Bảng A1 - Ống thép gợn sóng - đặc trưng mặt cắt ngang
| Gợn sóng 39 x 6,4 mm | |||
| Độ dày | A | r | l |
| (mm) | (mm2/mm) | (mm) | (mm4/mm) |
| 0,71 | 0,64 | - | - |
| 0,86 | 0,80 | - | - |
| 1,0 | 0,97 | 2,07 | 4,15 |
| 1,3 | 1,29 | 2,09 | 5,64 |
| 1,6 | 1,61 | 2,11 | 7,19 |
| 2,0 | 2,01 | 2,15 | 9,29 |
| 2,8 | 2,82 | 2,23 | 14,0 |
| 3,5 | 3,63 | 2,33 | 19,8 |
| 4,3 | 4,45 | 2,46 | 26,8 |
| Gợn sóng 63 x 13 mm | |||
| Độ dày | A | r | I |
| 1,02 | 0,98 | 4,32 | 18,4 |
| 1,32 | 1,31 | 4,34 | 24,6 |
| 1,63 | 1,64 | 4,35 | 31,0 |
| 2,01 | 2,05 | 4,37 | 39,2 |
| 2,77 | 2,87 | 4,42 | 56,1 |
| 3,51 | 3,69 | 4,49 | 74,3 |
| 4,27 | 4,52 | 4,56 | 93,8 |
| Gợn sóng 127 x 26 mm | |||
| Độ dày | A | r | I |
| 1,63 | 1,68 | 9,29 | 145 |
| 2,01 | 2,10 | 9,30 | 182 |
| 2,77 | 2,94 | 9,34 | 256 |
| 3,51 | 3,79 | 9,38 | 333 |
| 4,27 | 4,63 | 943 | 411 |
Bảng A2 - Ống thép có sườn xoắn kiểu lò xo - Đặc trưng mặt cắt ngang
| Gợn sóng 20 x 20 x 190 mm | |||
| Độ dày (mm) | A | r | I |
| 1,63 | 1,08 | 7,37 | 58,8 |
| 2,01 | 1,51 | 7,16 | 77,7 |
| 2,77 | 2,52 | 6,81 | 117 |
| 3,51 | 3,66 | 6,58 | 158 |
| Gợn sóng 20 x 26 x192 mm | |||
| Độ dày (mm) | A | r (mm) | I |
| 1,63 | 0,79 | 9,73 | 75,1 |
| 2,01 | 1,11 | 9,47 | 99,6 |
| 2,77 | 1,87 | 9,02 | 152 |
Bảng A3 - Kết cấu bản mỏng thép- Đặc trưng mặt cắt ngang
| Gợn sóng 152 x 50 mm | |||
| Độ dày (mm) | A | r (mm) | I |
| 2,82 | 3,29 | 17,3 | 990 |
| 3,56 | 4,24 | 17,4 | 1280 |
| 4,32 | 5,18 | 17,4 | 1580 |
| 4,78 | 5,80 | 17,5 | 1770 |
| 5,54 | 6,77 | 17,5 | 2080 |
| 6,32 | 7,73 | 17,6 | 2400 |
| 7,11 | 8,72 | 17,7 | 2720 |
Bảng A4 - Ống nhôm uốn gợn sóng - đặc trưng mặt cắt ngang
| Gợn sóng 38 x 6,5 mm | |||
| Độ dày (mm) | A | r | I |
| 1,22 | 1,29 | 2,10 | 5,64 |
| 1,52 | 1,61 | 2,11 | 5,72 |
| Gợn sóng 68 x 13 mm | |||
| Độ dày (mm) | A | r | 1 |
| 1,52 | 1,64 | 4,35 | 31,0 |
| 1,91 | 2,05 | 4,37 | 39,2 |
| 2,67 | 2,87 | 4,42 | 56,1 |
| 3,43 | 3,69 | 4,49 | 74,3 |
| 4,17 | 4,51 | 4,56 | 93,8 |
| Gợn sóng 78 x 26 mm | |||
| Độ dày | A | r | I |
| 1,52 | 1,88 | 8,68 | 142 |
| 1,91 | 2,37 | 8,70 | 178 |
| 2,67 | 3,30 | 8,76 | 253 |
| 3,43 | 4,42 | 8,82 | 331 |
| 4,17 | 5,20 | 8,89 | 411 |
| Gợn sóng 155 x 25 mm | |||
| Chiều dày có hiệu (mm) | A | Diện tích có hiệu | r |
| 1,52 | 1,64 | 0,82 | 9,22 |
| 1,91 | 2,05 | 1,02 | 9,22 |
| 2,67 | 2,87 | 1,44 | 9,24 |
| 3,43 | 3,69 | 1,85 | 9,26 |
| 4,17 | 4,52 | 2,26 | 9,29 |
Bảng A5 - Ống nhôm có gờ kiểu lò xo xoắn - Đặc trưng mặt cắt ngang
| Gợn sóng 20 x 20 x 191 mm | |||
| Độ dày (mm) | A | r | I |
| 1,52 | 0,88 | 7,70 | 52,4 |
| 1,91 | 1,21 | 7,59 | 69,8 |
| 2,67 | 1,95 | 7,37 | 106 |
| 3,43 | 2,76 | 7,21 | 143 |
| Gợn sóng 20 x 26 x 292 mm | |||
| Độ dày | A | r (mm) | I |
| 1,52 | 0,66 | 10,06 | 66,9 |
| 1,91 | 0,90 | 9,93 | 89,3 |
| 2,67 | 1,48 | 9,65 | 137 |
| 3,43 | 1,48 | 9,37 | 137 |
Bảng A6 - Kết cấu bản mỏng hoặc vòm cung tròn bằng nhôm uốn lượn sóng - Đặc trưng mặt cắt ngang
| Nhôm gợn sóng 230 x 64 mm | |||
| Độ dày | Diện tích | Bán kính quán tính r | Mô men quán tính, I |
| 2,54 | 2,97 | 21,43 | 1360 |
| 3,18 | 3,70 | 21,45 | 1700 |
| 3,81 | 4,45 | 21,46 | 2050 |
| 4,45 | 5,18 | 21,47 | 2390 |
| 5,08 | 5,93 | 21,49 | 2740 |
| 5,72 | 6,67 | 21,51 | 3080 |
| 6,35 | 7,41 | 21,52 | 3430 |
Bảng A7- Cường độ nhỏ nhất của mối nối dọc bằng đinh tán hoặc hàn chấm trên ống thép hoặc nhôm uốn lượn sóng
| Ống nhôm gợn sóng 64 và 67 x 13 mm | |||
| Độ dày | Kích cỡ đinh tán | Đinh tán đơn | Đinh tán kép |
| 1,52 | 7,94 | 131 | 204 |
| 1,91 | 7,94 | 131 | 263 |
| 2,67 | 9,53 | 228 | 460 |
| 3,43 | 9,53 | 237 | 482 |
| 4,17 | 9,53 | 245 | 496 |
| Ống nhôm gợn sóng 76 x 26 mm | ||
| Độ dày | Kích cỡ đinh tán | Đinh tán kép |
| 1,52 | 9,53 | 241 |
| 1,91 | 9,53 | 299 |
| 2,67 | 12,7 | 409 |
| 3,43 | 12,7 | 613 |
| 4,17 | 12,7 | 796 |
| Ống nhôm gợn sóng 152 x 26 mm | ||
| Độ dày | Kích cỡ đinh tán | Đinh tán kép |
| 1,52 | 12,7 | 234 |
| 1,91 | 12,7 | 291 |
| 2,67 | 12,7 | 407 |
| 3,43 | 12,7 | 524 |
| 4,24 | 12,7 | 635 |
Bảng A7 (tiếp theo)- Cường độ nhỏ nhất của mối nối dọc bằng đinh tán hoặc hàn chấm trên ống thép hoặc nhôm uốn lượn sóng
| 64 vμ 67 x 13 mm Ống thép gợn sóng | |||
| Độ dày | Kích cỡ Rive (mm) | Tán Rive đơn (N/m) | Đinh Rive tán kép (Nm) |
| 1,63 | 7,94 | 244 | 315 |
| 2,01 | 7,94 | 266 | 435 |
| 2,77 | 9,53 | 342 | 683 |
| 3,51 | 9,53 | 358 | 715 |
| 42,7 | 9,53 | 374 | 749 |
| 76 x 26 mm ống thép gợn sóng | ||
| Độ dày | Kích cỡ đinh tán | Đinh tán kép |
| 1,63 | 9,53 | 419 |
| 2,01 | 9,53 | 521 |
| 2,77 | 11,1 | 774 |
| 3,51 | 11,1 | 930 |
| 4,27 | 11,1 | 1030 |
Bảng A8 - Cường độ nhỏ nhất của mối nối dọc bằng bu lông trên kết cấu bản mỏng bằng thép hoặc nhôm
| Ống kết cấu bản mỏng bằng thép 152 x 50 mm | ||||
| Độ dày | Đường kính Bu lông | 13 | 20 | 26 |
| 2,77 | 19,1 | 628 | - | - |
| 3,51 | 19,1 | 905 | - | - |
| 4,27 | 19,1 | 1180 | - | - |
| 4,78 | 19,1 | 1360 | - | - |
| 5,54 | 19,1 | 1640 | - | - |
| 6,32 | 19,1 | 1930 | - | - |
| 7,11 | 19,1 | 2100 | 2630 | 2830 |
| 8,08 | 22,2 | - | - | 3430 |
| 9,65 | 22,2 | - | - | 4160 |
Bảng A8 (tiếp theo)
| 230 x 64 mm, ống kết cấu bản mỏng nhôm | |||
| Độ dày | Đường kính bulông | Bulông thép, 18 bulông/m | Bulông nhôm, 18 bulông/m |
| 2,54 | 20 | 409 | 385 |
| 3,18 | 20 | 599 | 508 |
| 3,81 | 20 | 790 | 648 |
| 4,45 | 20 | 930 | 771 |
| 5,08 | 20 | 1070 | 771 |
| 5,72 | 20 | 1220 | 771 |
| 6,35 | 20 | 1360 | 771 |
Bảng A9 - Đặc trưng cơ học của ống và vòm cung tròn bằng kim loại có sườn xoắn ốc và gợn sóng
| Vật liệu | Cường độ kéo đứt tối thiểu, Fu (MPa) | Cường độ chảy tối thiểu, Fy (MPa) | Mô đun đàn hồi, Em (MPa) |
| Nhôm H34 (1)&(4) | 214 | 165 | 69000 |
| Nhôm H32 (2)&(4) | 186 | 138 | 69000 |
| Thép (2) | 310 | 228 | 200000 |
| (1) Phải theo quy định của AASHTO M 197 (ASTM B 744M) đối với hợp kim anclet 3004-H34 (2) Phải theo quy định của AASHTO M 197 (ASTM B 744M) đối với hợp kim anclet 3004-H32 (3) Phải theo quy định của AASHTO M 167 (ASTM A 761M ), M 218, và M 246 (ASTM A 742) (4) Khi dùng vật liệu ram H34 mối nối phải dùng liên kết đinh tán. Cả hai loại vật liệu ram H32 và H34 có thể dùng cho loại ống cuôn dải xoắn ốc. | |||
Bảng A10 - Đặc trưng cơ học của tấm thép và nhôm gợn sóng
| Vật liệu | Cường độ kéo tối thiểu | Cường độ chảy tối thiểu | Mô đun đàn hồi |
| Độ dày của tấm nhôm (1)(mm) |
| ||
| 2,54-4,44 | 241 | 165 | 69000 |
| 4,45-6,35 | 234 | 165 | 69000 |
| Độ dày tấm thép (2) (mm) |
| ||
| Các loại | 310 | 228 | 200000 |
| (1) Phải đáp ứng yêu cầu AASHTO M 219 (ASTM B 746M) hợp kim 5052 (2) Phải đáp ứng yêu cầu AASHTO M 167 (ASTM B 761M) | |||
Bảng A11- Ống nhựa gợn sóng PE tổng hợp (ASSHTO M 294)
| Kích thước danh định | Đường kính trong min | Đường kính ngoài max | Min. A | Min, C | Min. I |
| 305 | 300 | 373 | 3.17 | 8.89 | 393 |
| 380 | 376 | 457 | 4.02 | 11.4 | 869 |
| 455 | 450 | 546 | 4.87 | 12.7 | 1020 |
| 610 | 599 | 729 | 6.56 | 16.5 | 1900 |
| 760 | 749 | 925 | 8.25 | 19.1 | 2670 |
| 915 | 902 | 1080 | 9.52 | 22.9 | 3640 |
| 1050* | 1034 | 1200 | 9.93 | 28.2 | 8900 |
| 1200* | 1182 | 1380 | 10.90 | 29.2 | 8900 |
| * Với các ống đường kính 1050-mm và 1200-mm, chiều dày vách ống được thiết kế với sức kháng chịu kéo theo tuổi thọ là 6,21 M Pa,. | |||||
Bảng A12 - Ống có gân bằng nhựa tổng hợp PE (ASTM F 894)
| Kích thước danh định | Đường kính trong min | Đường kính ngoài max | Min. A | Min, C | Min. I (mm4/mm) | |
| Loại hạt | Loại hạt | |||||
| 457 | 452 | 533 | 6,26 | 8,7 | 852 | 623 |
| 533 | 528 | 615 | 8,78 | 10,4 | 1150 | 836 |
| 610 | 605 | 691 | 9,86 | 10,9 | 1330 | 968 |
| 686 | 679 | 770 | 12,5 | 13,2 | 2050 | 1490 |
| 762 | 756 | 851 | 12,5 | 13,2 | 2050 | 1490 |
| 838 | 832 | 945 | 14,8 | 15,1 | 2640 | 2160 |
| 914 | 908 | 1020 | 17,1 | 16,3 | 3310 | 2700 |
| 1070 | 1060 | 1200 | 16,5 | 18,1 | 4540 | 3720 |
| 1220 | 1210 | 1350 | 18,7 | 20,0 | 5540 | 4540 |
Bảng A13- Loại ống PVC vách định dạng (AASHTO M 304)
| Kích thước danh định (mm) | Đường kính trong, min (mm) | Đường kính ngoài, max (mm) | Min. A (mm2/mm) | Min. C (mm) | Min. l | Min. l (mm4/mm) Loại hạt 12364 C |
| 305 | 297 | 345 | 2,54 | 3,81 | 66 | 49 |
| 381 | 363 | 419 | 2,75 | 4,32 | 98 | 82 |
| 457 | 445 | 508 | 3,39 | 4,57 | 147 | 131 |
| 533 | 523 | 584 | 3,81 | 5,33 | 197 | 180 |
| 610 | 594 | 660 | 4,13 | 5,84 | 262 | 246 |
| 762 | 747 | 833 | 4,87 | 6,86 | 393 | 328 |
| 914 | 897 | 1000 | 5,50 | 7,87 | 574 | 508 |
| 1070 | 1050 | 1170 | 6,14 | 8,64 | 770 | 705 |
| 1220 | 1200 | 1320 | 6,69 | 9,40 | 1000 | 918 |
MỤC LỤC
LỜI NÓI ĐẦU
1 PHẠM VI ÁP DỤNG
2 TÀI LIỆU VIỆN DẪN
3 THUẬT NGỮ VÀ ĐỊNH NGHĨA
4 TÍNH CHẤT CỦA ĐẤT VÀ VẬT LIỆU
4.1 XÁC ĐỊNH TÍNH CHẤT CỦA ĐẤT
4.1.1 Tổng quát
4.1.2 Đất nền
4.1.3 Đất lấp bao kết cấu vùi
4.2 VẬT LIỆU
4.2.1 Cống nhôm và kết cấu bản mỏng nhôm
4.2.2 Bê tông
4.2.3 Ống cống bê tông đúc sẵn
4.2.4 Kết cấu bê tông đúc sẵn
4.2.5 Ống cống thép và kết cấu bản mỏng thép
4.2.6 Cốt thép
4.2.7 Ống nhựa dẻo nóng
5 TRẠNG THÁI GIỚI HẠN VÀ HỆ SỐ SỨC KHÁNG
5.1 TỔNG QUÁT
5.2 TRẠNG THÁI GIỚI HẠN SỬ DỤNG
5.3 TRẠNG THÁI GIỚI HẠN CƯỜNG Độ
5.4 ĐIỀU CHỈNH TẢI TRỌNG VÀ HỆ SỐ TẢI TRỌNG
5.5 HỆ SỐ SỨC KHÁNG
5.6 GIỚI HẠN ĐỘ UỐN VÀ ĐỘ CỨNG THI CÔNG
5.6.1 Ống cống bằng kim loại gợn sóng và kết cấu bản mỏng
5.6.2 Ống cống bằng dải kim loại uốn vòng xoắn ốc và vòm cung tròn
5.6.3 Ống nhựa dẻo nóng
5.6.4 Bản vách hầm bằng thép
6 QUI ĐỊNH THIẾT KẾ CHUNG
6.1 TẢI TRỌNG
6.2 TRẠNG THÁI GIỚI HẠN SỬ DỤNG
6.2.1 Chuyển vị cho phép
6.2.2 Độ lún
6.2.2.1 Tổng quát
6.2.2.2 Chênh lệch lún theo chiều dọc
6.2.2.3 Chênh lệch độ lún giữa kết cấu và đất đắp
6.2.2.4 Độ Lún của móng
6.2.2.5 Tải trọng không cân bằng
6.2.3 Lực đẩy nổi
6.3 THIẾT KẾ KẾT CẤU VÙI THEO ĐIỀU KIỆN ĐẤT NỀN
6.3.1 Sức kháng ép và ổn định
6.3.2 Đất lấp ở góc của vòm ống kim loại
6.4 THIẾT KẾ THỦY LỰC
6.5 XÓI LỞ
6.6 ĐẤT ĐẮP BAO
6.6.1 Lắp đặt cống trong hào đào qua nền đường
6.6.2 Lắp đặt cống trước khi đắp nền đường
6.6.3 Lớp đất phủ tối thiểu
6.7 CỰ LY TỐI THIỂU GIỮA CÁC ỐNG CỦA CỐNG CÓ NHIỀU CỬA
6.8 XỬ LÝ ĐẦU CỐNG
6.8.1 Tổng Quát
6.8.2 Cống mềm xây chéo
6.9 CÁC ĐIỀU KIỆN GỈ VÀ BÀO MÒN
7 CỐNG ỐNG KIM LOẠI, CỐNG VÒM CUNG TRÒN VÀ KẾT CẤU VÒM
7.1 TỔNG QUÁT
7.2 SỨC KHÁNG CỦA KẾT CẤU
7.2.1 Các đặc trưng mặt cắt
7.2.2 Lực nén
7.2.3 Sức kháng của vách
7.2.4 Sức kháng oằn
7.2.5 Sức kháng của mối nối
7.2.6 Các yêu cầu về vận chuyển và lắp đặt
8.2 TRẠNG THÁI GIỚI HẠN SỬ DỤNG
8.3 SỨC KHÁNG CỦA KẾT CẤU
8.3.1 Đặc trưng mặt cắt
8.3.1.1 Mặt cắt
8.3.1.2 Kiểm soát hình dạng
8.3.1.3 Các yêu cầu về cơ học và hóa học
8.3.2 Lực nén tính toán
8.3.3 Diện tích vách
8.3.4 Sức kháng của mối nối
8.3.5 Yêu cầu thiết kế với các chi tiết đặc biệt
8.3.5.1 Các thanh tăng cứng dọc liên tục
8.3.5.2 Sườn tăng cường
8.4 THIẾT KẾ NỀN MÓNG KẾT CẤU VÙI
8.4.1 Giới hạn lún
8.4.2 Các phản lực tại móng của kết cấu vòm
8.4.3 Thiết kế bệ móng
8.5 THIẾT KẾ ĐẤT LẮP BAO XUNG QUANH KẾT CẤU VÙI
8.5.1 Tổng quát
8.5.2 Các yêu cầu thi công
8.5.3 Các yêu cầu sử dụng
8.6 THIẾT KẾ XỬ LÝ PHẦN ĐẦU KẾT CẤU VÙI
8.6.1 Tổng quát
8.6.2 Các loại cấu tạo đầu kết cấu có vỏ tiêu chuẩn
8.6.3 Chống đỡ cân bằng
8.6.4 Bảo vệ kết cấu chịu tác động thủy lực
8.6.4.1 Tổng quát
8.6.4.2 Bảo vệ đất lấp
8.6.4.3 Các tường chân khay
8.6.4.4 Lực nâng thủy lực
8.6.4.5 Xói lở
8.7 BẢN BÊ TÔNG GIẢM TẢI
8.8 THI CÔNG VÀ LẮP ĐẶT
9 KẾT CẤU HỘP BẢN MỎNG
9.1 TỔNG QUÁT
9.2 TẢI TRỌNG
9.3 TRẠNG THÁI GIỚI HẠN SỬ DỤNG
9.4 SỨC KHÁNG CỦA KẾT CẤU
9.4.1 Tổng quát
9.4.2 Mô men do tải trọng tính toán
9.4.3 Sức kháng mô men dẻo
9.4.4 Hệ số đất phủ ở đỉnh CH
9.4.5 Phản lực móng
9.4.6 Bản bê tông giảm tải
9.5 THI CÔNG VÀ LẮP ĐẶT
10 CỐNG BÊ TÔNG CỐT THÉP
10.1 TỔNG QUÁT
10.2 TẢI TRỌNG
10.2.1 Các cách lắp đặt chuẩn
10.2.2 Trọng lượng của chất lỏng trong ống
10.2.3 Các hoạt tải
10.3 TRẠNG THÁI GIỚI HẠN SỬ DỤNG
10.4 SỨC KHÁNG CỦA KẾT CẤU
10.4.1 Tổng quát
10.4.2 Phương pháp thiết kế trực tiếp
10.4.2.1 Tải trọng và phân bố áp lực
10.4.2.2 Phân tích hiệu ứng lực vòng ống
10.4.2.3 Hệ số chế tạo và vật liệu
10.4.2.4 Sức kháng uốn ở trạng thái giới hạn cường độ
10.4.2.5 Sức kháng cắt không có cốt đai hướng tâm
10.4.2.6 Sức kháng cắt có cốt đai hướng tâm
10.4.2.7 Neo cốt thép đai
10.4.3 Phương pháp thiết kế gián tiếp
10.4.3.1 Sức kháng ép
10.4.3.2 Hệ số nền
10.4.4 Khai triển lưới cốt thép vòng bổ sung tại vùng chịu kéo
10.4.4.1 Lồng cốt thép tối thiểu
10.4.4.2 Chiều dài khai triển của lưới cốt sợi hàn
10.4.4.3 Khai triển lưới cốt thép vòng bổ sung vùng chịu kéo bằng lưới cốt sợi trơn hàn
10.4.4.4 Khai triển lưới cốt thép vòng bổ sung vùng chịu kéo bằng các thanh có gờ, sợi thép có gờ hay lưới cốt sợi có gờ
10.5 THI CÔNG VÀ LẮP ĐẶT
11 CỐNG HỘP BÊ TÔNG CỐT THÉP ĐÚC TẠI CHỖ VÀ ĐÚC SẴN VÀ VÒM BÊ TÔNG CỐT THÉP ĐÚC TẠI CHỖ
11.1 TỔNG QUÁT
11.2 CÁC TẢI TRỌNG VÀ PHÂN BỐ HOẠT TẢI
11.2.1 Tổng Quát
11.2.2 Điều chỉnh tải trọng đất do sự làm việc tương tác đất - kết cấu
11.2.2.1 Trường hợp thi công theo phương pháp lắp đặt trước đắp nền và đào hào
11.2.2.2 Các biện pháp thi công khác
11.2.3 Phân bố các tải trọng tập trung lên bản đáy của cống hộp
11.2.4 Phân bố của các tải trọng tập trung trong các cống hộp chéo
11.3 TRẠNG THÁI GIỚI HẠN SỬ DỤNG
11.4 THIẾT KẾ KẾT CẤU
11.4.1 Tổng quát
11.4.2 Mômen thiết kế cho cống hộp
11.4.3 Cốt thép tối thiểu
11.4.3.1 Kết cấu đúc tại chỗ
11.4.3.2 Kết cấu hộp đúc sẵn
11.4.4 Lớp bảo vệ tối thiểu cho kết cấu hộp đúc sẵn
11.5 THI CÔNG VÀ LẮP ĐẶT
12 ỐNG NHỰA DẺO NÓNG
12.1 TỔNG QUÁT
12.2 TRẠNG THÁI GIỚI HẠN SỬ DỤNG
12.3 THIẾT KẾ SỨC KHÁNG KẾT CẤU
12.3.1 Tổng quát
12.3.2 Đặc trưng mặt cắt
12.3.3 Các yêu cầu hóa học và cơ học
12.3.4 Lực nén
12.3.5 Sức kháng của vách ống cống
12.3.5.1 Tổng quát
12.3.5.1 Ổn định oằn
12.3.5.3 Sức kháng oằn cục bộ của vách ống
12.3.5.4 Ứng biến kết hợp
12.3.6 Các yêu cầu về vận chuyển và lắp đặt
13 TẤM ÁO HẦM BẢNG THÉP
13.1 TỔNG QUÁT
13.2 TẢI TRỌNG
13.2.1 Tải trọng đất
13.2.3 Hoạt tải
13.2.3 Áp lực phun vữa
13.3 THIẾT KẾ KẾT CẤU
13.3.1 Các đặc trưng mặt cắt
13.3.2 Diện tích vách
13.3.3 Ổn định oằn
13.3.4 Sức kháng của mối nối
13.3.5 Độ cứng trong thi công
14 CÁC KẾT CẤU CÓ BA MẶT BẢN BÊ TÔNG CỐT THÉP ĐÚC SẴN
14.1 TỔNG QUÁT
14.2 VẬT LIỆU
14.2.1 Bê tông
14.2.2 Cốt thép
14.3 LỚP BÊ TÔNG BẢO VỆ CỐT THÉP
14.4 CÁC ĐẶC TRƯNG HÌNH HỌC
14.5 THIẾT KẾ
14.5.1 Tổng quát
14.5.2 Sự phân bổ các hiệu ứng của tải trọng tập trung tại bản nắp hộp và các bản mặt bên
14.5.3 Sự phân bố của các tải trọng tập trung trong các cống đặt chéo
14.5.4 Sự truyền lực cắt tại các mối nối ngang giữa các phân đoạn cống
14.5.5 Chiều dài nhịp
14.5.6 Các hệ số sức kháng
14.5.7 Kiểm soát nứt
14.5.8 Cốt thép tối thiểu
14.5.9 Kiểm soát độ võng ở trạng thái giới hạn sử dụng
14.5.10 Thiết kế bệ móng
14.5.11 Lấp đất kết cấu
14.5.12 Bảo vệ chống xói lở và các vấn đề liên quan với đường thủy
PHỤ LỤC A
ĐẶC TRƯNG CỦA MỘT SỐ LOẠI CỐNG VÀ KẾT CẤU BẢN MỎNG
Bạn chưa Đăng nhập thành viên.
Đây là tiện ích dành cho tài khoản thành viên. Vui lòng Đăng nhập để xem chi tiết. Nếu chưa có tài khoản, vui lòng Đăng ký tại đây!