- Tổng quan
- Nội dung
- Tiêu chuẩn liên quan
- Lược đồ
- Tải về
Tiêu chuẩn quốc gia TCVN 7568-5:2025 ISO 7240-5:2018 Hệ thống báo cháy - Phần 5: Đầu báo cháy nhiệt kiểu điểm
| Số hiệu: | TCVN 7568-5:2025 | Loại văn bản: | Tiêu chuẩn Việt Nam |
| Cơ quan ban hành: | Bộ Khoa học và Công nghệ | Lĩnh vực: | Xây dựng , An ninh trật tự |
| Trích yếu: | ISO 7240-5:2018 Hệ thống báo cháy - Phần 5: Đầu báo cháy nhiệt kiểu điểm | ||
|
Ngày ban hành:
Ngày ban hành là ngày, tháng, năm văn bản được thông qua hoặc ký ban hành.
|
01/10/2025 |
Hiệu lực:
|
Đã biết
|
| Người ký: | Đang cập nhật |
Tình trạng hiệu lực:
Cho biết trạng thái hiệu lực của văn bản đang tra cứu: Chưa áp dụng, Còn hiệu lực, Hết hiệu lực, Hết hiệu lực 1 phần; Đã sửa đổi, Đính chính hay Không còn phù hợp,...
|
Đã biết
|
TÓM TẮT TIÊU CHUẨN VIỆT NAM TCVN 7568-5:2025
Tiêu chuẩn quốc gia TCVN 7568-5:2025 ISO 7240-5:2018 về đầu báo cháy nhiệt kiểu điểm
Ngày 01/10/2025, Bộ Công an đã công bố Tiêu chuẩn quốc gia TCVN 7568-5:2025 ISO 7240-5:2018 quy định về các yêu cầu, phương pháp thử và tiêu chí tính năng cho các đầu báo cháy nhiệt kiểu điểm trong hệ thống báo cháy tòa nhà. Tiêu chuẩn này sẽ có hiệu lực từ ngày ban hành.
Tiêu chuẩn này áp dụng cho các đầu báo cháy nhiệt kiểu điểm được lắp đặt trong các tòa nhà, nhằm đảm bảo hoạt động hiệu quả và an toàn trong công tác phòng cháy chữa cháy. Những đầu báo cháy khác hoặc sử dụng trong môi trường khác sẽ chỉ sử dụng tiêu chuẩn này như một tài liệu tham khảo.
Yêu cầu chung về đầu báo cháy
Các đầu báo cháy phải đáp ứng các tiêu chí và yêu cầu như sau:
- Được kiểm tra thông qua phương pháp thử nghiệm xác nhận tính năng và phải đáp ứng điều kiện quy định cho từng cấp độ đầu báo.
- Phân loại đầu báo cháy theo các cấp A1, A2, B, C, D, E, F, G tương ứng với các yêu cầu cụ thể về nhiệt độ hoạt động.
- Các đầu báo cấp A1, A2, B, C hoặc D phải có chỉ báo màu đỏ khi kích hoạt báo cháy, tiếp nhận tín hiệu báo lỗi và duy trì khả năng vận hành chính xác.
Thử nghiệm và phương pháp thử
Tiêu chuẩn quy định các phương pháp thử nghiệm cần thiết để đảm bảo đầu báo cháy hoạt động đúng theo yêu cầu. Bao gồm:
- Thử nghiệm độ nhạy cảm với nhiệt độ, tốc độ tăng nhiệt độ không khí, và xác nhận đầu báo cháy có hoạt động tốt trong các điều kiện khác nhau (nhiệt độ, ẩm độ, áp suất).
- Thực hiện thử nghiệm lắp đặt đúng cách, môi trường thử nghiệm ổn định và kết nối với thiết bị giám sát.
- Các đầu báo cháy không đặt lại cần phải được thử nghiệm với số lượng lớn và theo lịch trình thử nghiệm thiết lập.
Trong tiêu chuẩn cũng đề cập đến việc ghi nhận thời gian phản ứng của các đầu báo cháy trong điều kiện thử nghiệm khác nhau, nhằm đánh giá hiệu quả hoạt động và độ tin cậy của thiết bị.
Bảng 1 của tiêu chuẩn xác định nhiệt độ nhạy cảm và thông số nóng lạnh cụ thể cho từng cấp đầu báo cháy, phục vụ cho việc phân loại và đánh giá sản phẩm.
Chính sách này giúp đảm bảo rằng các đầu báo cháy nhiệt kiểu điểm đáp ứng tiêu chuẩn quốc tế, góp phần nâng cao hiệu quả trong việc bảo vệ an toàn cháy cho các công trình xây dựng.
Tải tiêu chuẩn Việt Nam TCVN 7568-5:2025
TIÊU CHUẨN QUỐC GIA
TCVN 7568-5:2025
ISO 7240-5:2018
HỆ THỐNG BÁO CHÁY - PHẦN 5: ĐẦU BÁO CHÁY NHIỆT KIỂU ĐIỂM
Fire detection and alarm systems - Part 5: Point type heat detectors
Lời nói đầu
TCVN 7568-5:2025 thay thế TCVN 7568-5:2013.
TCVN 7568-5:2025 hoàn toàn tương đương với ISO 7240-5:2018.
TCVN 7568-5:2025 do Cục cảnh sát phòng cháy, chữa cháy và cứu nạn, cứu hộ biên soạn, Bộ Công an đề nghị, Ủy ban tiêu chuẩn Đo lường Chất lượng quốc gia thẩm định, Bộ Khoa học và Công nghệ công bố.
Bộ tiêu chuẩn TCVN 7568 (ISO 7240), hệ thống báo cháy bao gồm các phần sau:
- TCVN 7568-1:2024 (ISO 7240-1:2014) - Phần 1: Quy định chung và định nghĩa.
- TCVN 7568-2:2013 (ISO 7240-2:2003) - Phần 2: Trung tâm báo cháy.
- TCVN 7568-3:2015 (ISO 7240-3:2010) - Phần 3: Thiết bị báo cháy bằng âm thanh.
- TCVN 7568-4:2013 (ISO 7240-4:2003) - Phần 4: Thiết bị cấp nguồn.
- TCVN 7568-5:2013 (ISO 7240-5:2003) - Phần 5: Đầu báo cháy nhiệt kiểu điểm.
- TCVN 7568-6:2013 (ISO 7240-6-2011) - Phần 6: Đầu báo cháy khí cacbon monoxit dùng pin điện hóa.
- TCVN 7568-7:2015 (ISO 7240-7-2011) - Phần 7: Đầu báo cháy khói kiểu điểm sử dụng ánh sáng, ánh sáng tán xạ hoặc ion hóa.
- TCVN 7568-8:2015 (ISO 7240-8:2014) - Phần 8: Đầu báo cháy kiểu điểm sử dụng cảm biến cacbon monoxit kết hợp với cảm biến nhiệt.
- TCVN 7568-9:2015 (ISO/TS 7240-9:2012) - Phần 9: Đám cháy thử nghiệm cho các đầu báo cháy.
- TCVN 7568-10-2015 (ISO 7240-10:2012) - Phần 10: Đầu báo cháy lửa kiểu điểm.
- TCVN 7568-11:2015 (ISO 7240-11:2011) - Phần 11: Hộp nút ấn báo cháy.
- TCVN 7568-12:2015 (ISO 7240-12:2014) - Phần 12: Đầu báo cháy khói kiểu đường truyền sử dụng chùm tia chiếu quang học.
- TCVN 7568-13:2015 (ISO 7240-13:2005) - Phần 13: Đánh giá tính tương thích của các bộ phận trong hệ thống.
- TCVN 7568-14:2015 (ISO 7240-14:2013) - Phần 14: Thiết kế, lắp đặt, vận hành và bảo dưỡng các hệ thống báo cháy trong và xung quanh tòa nhà.
- TCVN 7568-15:2015 (ISO 7240-15:2014) - Phần 15: Đầu báo cháy kiểu điểm sử dụng cảm biến khói và cảm biến nhiệt.
- TCVN 7568-16:2016 (ISO 7240-16:2007) - Phần 16: Thiết bị điều khiển và hiển thị hệ thống âm thanh.
- TCVN 7568-17:2016 (ISO 7240-17:2009) - Phần 17: Thiết bị cách ly ngắn mạch.
- TCVN 7568-18:2016 (ISO 7240-18:2009) - Phần 18: Thiết bị vào/ra.
- TCVN 7568-19:2016 (ISO 7240-19:2007) - Phần 19: Thiết kế, lắp đặt, chạy thử và bảo dưỡng các hệ thống âm thanh dùng cho tình huống khẩn cấp.
- TCVN 7568-20:2016 (ISO 7240-20:2010) - Phần 20: Bộ phát hiện khói công nghệ hút.
- TCVN 7568-21:2016 (ISO 7240-21:2005) - Phần 21: Thiết bị định tuyến.
- TCVN 7568-22:2016 (ISO 7240-22:2007) - Phần 22: Thiết bị phát hiện khói dùng trong các đường ống.
- TCVN 7568-23:2016 (ISO 7240-23:2013) - Phần 23: Thiết bị báo động qua thị giác.
- TCVN 7568-25:2023 (ISO 7240-25:2010) - Phần 25: Các thành phần sử dụng kết nối bằng đường truyền vô tuyến.
- TCVN 7568-29 : 2023 (ISO/TS 7240-29:2017) - Phần 29: Đầu báo cháy video.
ISO 7240, Fire detection and alarm systems (Hệ thống báo cháy) còn có các phần sau:
- ISO 7240-24:2010 - Part 24: Soud-system loundspeakers (Loa hệ thống âm thanh).
- ISO 7240-27:2009 - Part 27: Point-type fire detectors using a scattered-light, transmitted-light or ionization smoke sensor, and electrochemical-cell carbon-monoxide sensor and a heat sensor (Đầu báo cháy kiểu điểm sử dụng ánh sáng tán xạ, ánh sáng truyền qua hoặc cảm biến khói lớn ion hóa và cảm biến khí cacbon monoxit pin điện hoá và cảm biến nhiệt).
- ISO 7240-28:2008 - Part 28: Fire protection control equipment (Thiết bị kiểm soát phòng cháy chữa cháy).
- ISO/TS 7240-30:2022 - Part 30: Fire detection and alarm systems - Design, installation, commissioning and service of video fire detector systems (Hệ thống báo cháy - Thiết kế, lắp đặt, vận hành và bảo dưỡng hệ thống báo cháy video).
- ISO 7240-31:2022 - Fire detection and alarm systems - Part 31: Resettable line-type heat detectors (Hệ thống báo cháy - Phần 31 - Đầu báo cháy nhiệt kiểu dây có thể đặt lại).
HỆ THỐNG BÁO CHÁY - PHẦN 5: ĐẦU BÁO CHÁY NHIỆT KIỂU ĐIỂM
Fire detection and alarm systems - Part 5: Point type heat detectors
1. Phạm vi áp dụng
Tiêu chuẩn này quy định các yêu cầu, phương pháp thử và các tiêu chí về tính năng đối với các đầu báo cháy nhiệt kiểu điểm dùng trong các hệ thống báo cháy trong các tòa nhà (xem TCVN 7568-1:2024 (ISO 7240-1:2018)).
Đối với các kiểu khác của đầu báo cháy nhiệt hoặc đối với các đầu báo cháy được sử dụng trong các môi trường khác, tiêu chuẩn này chỉ có thể được sử dụng làm tài liệu hướng dẫn. Các đầu báo cháy nhiệt có các đặc tính đặc biệt và được lắp đặt ở các môi trường nguy hiểm khác không thuộc phạm vi áp dụng của tiêu chuẩn này.
2. Tài liệu viện dẫn
Các tài liệu viện dẫn sau đây rất cần thiết cho việc áp dụng tiêu chuẩn này. Đối với các tài liệu viện dẫn có ghi năm công bố thì áp dụng phiên bản đã nêu. Đối với các tài liệu viện dẫn không ghi năm công bố thì áp dụng phiên bản mới nhất, bao gồm cả các sửa đổi, bổ sung (nếu có).
TCVN 5910 (ISO 209-1) - Nhôm và hợp kim nhôm gia công áp lực - Thành phần hóa học và dạng của sản phẩm - Phần 1: Thành phần hóa học
TCVN 7568-1 (ISO 7240-1) - Hệ thống báo cháy - Phần 1: Quy định chung và định nghĩa TCVN 7699-1 (IEC 60068-1) - Thử nghiệm môi trường - Phần 1: Quy định chung và hướng dẫn.
TCVN 7699-2-1 (IEC 60068-2-1) - Thử nghiệm môi trường - Phần 2-1: Các thử nghiệm. Thử nghiệm A: Lạnh.
TCVN 7699-2-2 (IEC 60068-2-2) - Thử nghiệm môi trường - Phần 2-2: Các thử nghiệm. Thử nghiệm B: Nóng khô.
TCVN 7699-2-6 (IEC 60068-2-6) - Thử nghiệm môi trường - Phần 2-6: Các thử nghiệm. Thử nghiệm Fc: Rung (Hình sin).
TCVN 7699-2-27 (IEC 60068-2-27) - Thử nghiệm môi trường - Phần 2-27: Các thử nghiệm. Thử nghiệm Ea và hướng dẫn: Xóc.
TCVN 7699-2-30 (IEC 60068-2-30) - Thử nghiệm môi trường - Phần 2-30: Các thử nghiệm - Thử nghiệm DB: Nóng ẩm, chu kỳ (chu kỳ 12h + 12h).
TCVN 7699-2-42 (IEC 60068-2-42) - Thử nghiệm môi trường - Phần 2-42: Các thử nghiệm - Thử nghiệm Kc: Thử nghiệm bằng lưu huỳnh đioxit đối với các tiếp điểm và mối nối.
TCVN 7699-2-78 (IEC 60068-2-78) - Thử nghiệm môi trường - Phần 2 - 78: Các thử nghiệm - Thử nghiệm Cab: Nóng ẩm, không đổi.
IEC 62599-2, Alarm systems - Part 2: Electromagnetic compatibility - Immunity requirements for components of fire and security alarm systems (Hệ thống báo động - Phần 2: Tương thích điện từ - Yêu cầu miễn dịch đối với các thành phần của hệ thống báo động cháy và an ninh).
3. Thuật ngữ và định nghĩa
Tiêu chuẩn này áp dụng các thuật ngữ và định nghĩa trong TCVN 7568-1 (ISO 7420-1) và các thuật ngữ, định nghĩa sau:
3.1
Nhiệt độ sử dụng điển hình (typical application temperature)
Nhiệt độ mà một đầu báo cháy đã lắp đặt có thể chịu đựng được trong thời gian dài trong điều kiện không có cháy.
CHÚ THÍCH: Nhiệt độ này thấp hơn 29 °C so với nhiệt độ nhạy cảm tĩnh nhỏ nhất tương ứng với cáp được ghi nhãn trên đầu báo cháy như quy định trong Bảng 1.
3.2
Nhiệt độ sử dụng cao nhất (maximum application temperature)
Nhiệt độ cao nhất mà một đầu báo cháy đã lắp đặt có thể chịu đựng được trong thời gian ngắn trong điều kiện không có cháy.
CHÚ THÍCH: Nhiệt độ này thấp hơn 4 °C so với nhiệt độ nhạy cảm tĩnh nhỏ nhất tương ứng với cấp được ghi nhãn trên đầu báo cháy như quy định trong Bảng 1.
3.3
Nhiệt độ nhạy cảm tĩnh (static response temperature)
Nhiệt độ mà ở đó đầu báo cháy sẽ phát tín hiệu báo cháy nếu có sự tăng nhỏ của nhiệt độ.
CHÚ THÍCH: Các tốc độ tăng nhiệt độ khoảng 0,2 K/min thường được xem là thích hợp để đo nhiệt độ này, tuy nhiên tỷ lệ tốc độ tăng nhiệt độ thấp hơn có thể được yêu cầu trong một số trường hợp (xem 5.3).
4. Yêu cầu chung
4.1 Sự phù hợp
Để phù hợp với tiêu chuẩn này, các đầu báo cháy phải đáp ứng các yêu cầu:
a) Điều 4: phải được kiểm tra xác nhận bằng mắt thường hoặc đánh giá cơ khí, phải được thử nghiệm theo quy định tại Điều 5 và phải đáp ứng các yêu cầu của phép thử tương ứng với các cấp đầu báo được ghi trên nhãn đầu báo cháy.
b) Điều 7 và 8: được kiểm tra xác nhận bằng mắt thường.
4.2 Phân loại
4.2.1 Các đầu báo cháy phải tuân thủ theo một trong các cấp sau: A1, A2, B, C, D, E, F hoặc G phù hợp với các yêu cầu của các thử nghiệm được quy định trong Điều 5 (xem Bảng 1).
Bảng 1 - Phân loại đầu báo cháy theo nhiệt độ
| Cấp đầu báo cháy | Nhiệt độ sử dụng điển hình, °C | Nhiệt độ sử dụng cao nhất, °C | Nhiệt độ nhạy cảm tĩnh nhỏ nhất, °C | Nhiệt độ nhạy cảm tĩnh lớn nhất, °C |
| A1 | 25 | 50 | 54 | 65 |
| A2 | 25 | 50 | 54 | 70 |
| B | 40 | 65 | 69 | 85 |
| C | 55 | 80 | 84 | 100 |
| D | 70 | 95 | 99 | 115 |
| E | 85 | 110 | 114 | 130 |
| F | 100 | 125 | 129 | 145 |
| G | 115 | 140 | 144 | 160 |
4.2.2 Nhà sản xuất có thể tùy chọn đưa ra thông tin bổ sung về kiểu nhạy cảm được biểu hiện bởi đầu báo cháy bằng cách thêm vào các cấp nêu trên ký hiệu “S” hoặc “R”. Các đầu báo cháy được ký hiệu với ký hiệu “S” hoặc “R” vào ký hiệu của cấp phải được thử nghiệm phù hợp với phép thử theo quy định trong điều 6 và phải nhạy cảm các yêu cầu của thử nghiệm này ngoài các thử nghiệm của Điều 5.
CHÚ THÍCH:
- Các đầu báo cháy có ký hiệu “S” của ký hiệu cấp không nhạy cảm ở nhiệt độ dưới nhiệt độ nhạy cảm tĩnh nhỏ nhất tương ứng phân loại của chúng (xem Bảng 1), ngay cả ở các tốc độ tăng nhiệt độ không khí cao;
- Các đầu báo cháy có ký hiệu “R” của ký hiệu cấp hội nhập được các đặc tính tốc độ tăng để nhạy cảm các yêu cầu về thời gian đáp ứng (xem Bảng 4) đối với các tốc độ tăng cao của nhiệt độ không khí ngay cả khi bắt đầu ở nhiệt độ không khí thấp hơn nhiều so với nhiệt độ sử dụng điển hình.
4.3 Vị trí của các phần tử nhạy cảm nhiệt
Mỗi đầu báo cháy phải được cấu tạo sao cho có ít nhất là một phần của phần tử nhạy cảm nhiệt, trừ các phần tử có chức năng phụ (ví dụ như các bộ hiệu chỉnh đặc tính) phải cách bề mặt lắp đặt đầu báo cháy ≥ 15 mm.
4.4 Hiển thị báo động riêng
4.4.1 Các đầu báo cháy cấp A1, A2, B, C hoặc D phải được trang bị đèn chỉ thị màu đỏ để xác định được đầu báo cháy đã được kích hoạt cho đến khi trạng thái báo động được đặt lại. Khi các điều kiện khác của đầu báo cháy có thể được chỉ thị bằng đèn thì chúng phải được phân biệt rõ ràng và khác với trạng thái báo cháy, trừ khi đầu báo cháy được chuyển sang ở chế độ làm việc.
4.4.2 Đối với các đầu báo cháy tháo lắp được, đèn hiển thị có thể được gắn liền với để hoặc ở đầu báo cháy. Các đầu báo cấp E, F hoặc G phải được trang bị hoặc một bị đèn báo hiển thị màu đỏ, hoặc phải có một cách thức khác để nhìn thấy được trạng thái báo động của đầu báo cháy.
CHÚ THÍCH: Trạng thái báo cháy được đặt lại (reset) bằng cách thủ công tại thiết bị điều khiển và hiển thị (Xem TCVN 7568-2 (ISO 7240-2)).
4.4.3 Đèn hiển thị phải nhìn thấy được ở khoảng cách không quá 6 m với cường độ ánh sáng môi trường xung quanh đến 500 lx tại các góc không quá
a) 5° theo mọi hướng và
b) 45° theo một hướng.
4.5 Sự kết nối với thiết bị phụ trợ
Khi đầu báo cháy dùng để kết nối với các thiết bị phụ trợ (ví dụ, các đầu báo cháy điều khiển từ xa, các rơ le điều khiển), các phụ kiện kết nối xảy ra lỗi về hở mạch hoặc ngắn mạch thì không được làm ảnh hưởng đến sự hoạt động chính xác của đầu báo cháy.
4.6 Giám sát các đầu báo cháy tháo được
Đối với các đầu báo cháy tháo được, phải trang bị hệ thống giám sát từ xa (ví dụ trung tâm báo cháy) để phát hiện sự tháo ra của phần đầu báo cháy ra khỏi để và phát tín hiệu báo lỗi.
4.7 Điều chỉnh của nhà sản xuất
Không thể thay đổi được các cài đặt của nhà sản xuất trừ khi sử dụng các biện pháp đặc biệt (ví dụ như sử dụng mã hoặc dụng cụ đặc biệt, hoặc phá vỡ hoặc tháo dấu niêm phong).
4.8 Điều chỉnh trạng thái nhạy cảm tại hiện trường
Nếu có quy định cho phép điều chỉnh trạng thái nhạy cảm tại hiện trường đối với đầu báo cháy thì:
a) Đối với mỗi chế độ cài đặt mà nhà sản xuất công bố sự phù hợp với tiêu chuẩn này, nhà sản xuất phải công bố một cấp tương ứng, đối với mỗi chế độ cài đặt đó, đầu báo cháy phải tuân thủ các yêu cầu của tiêu chuẩn này đối với cấp tương ứng. Việc truy cập phương tiện điều chỉnh chỉ có thể thực hiện được bằng cách sử dụng mã số hoặc dụng cụ chuyên dụng hoặc bằng cách tháo đầu báo cháy ra khỏi đế hoặc giá đỡ;
b) Bất kỳ chế độ cài đặt nào mà nhà sản xuất không công bố phù hợp với tiêu chuẩn này thì chỉ có thể truy cập được bằng cách sử dụng mã số hoặc dụng cụ chuyên dụng, phải được ghi rõ ràng trên đầu báo cháy hoặc trong dữ liệu liên quan rằng nếu sử dụng các chế độ cài đặt này, đầu báo cháy sẽ không tuân thủ theo tiêu chuẩn này.
CHÚ THÍCH: Có thể thực hiện các điều chỉnh này ở đầu báo cháy hoặc ở trung tâm báo cháy.
4.9 Yêu cầu đối với các đầu báo cháy được điều khiển bằng phần mềm
4.9.1 Quy định chung
Đối với các đầu báo cháy điều khiển bằng phần mềm, các yêu cầu của 4.9.2 và 4.9.3 phải được đáp ứng để phù hợp các yêu cầu của tiêu chuẩn này.
4.9.2 Thiết kế phần mềm
Để đảm bảo độ tin cậy của đầu báo cháy phải áp dụng các yêu cầu sau cho thiết kế phần mềm
a. Phần mềm phải có cấu trúc mô đun
b. Thiết kế giao diện cho dữ liệu được tạo thủ công và tự động không cho phép dữ liệu không hợp lệ gây ra lỗi hoạt động của chương trình.
c. Phần mềm phải được thiết kế để tránh xảy ra ra sự khóa chết của dòng chương trình.
4.9.3 Lưu trữ các chương trình và dữ liệu
4.9.3.1 Chương trình cần thiết phải tuân theo tiêu chuẩn này và bất cứ dữ liệu thiết lập trước nào như các dữ liệu đặt của nhà sản xuất phải được giữ lại trong bộ nhớ không mất thông tin. Phép ghi cho các vùng của bộ nhớ chứa chương trình này và các dữ liệu chỉ có thể thực hiện được bằng cách sử dụng một số công cụ hoặc mã đặc biệt và không thể thực hiện được trong quá trình hoạt động bình thường của đầu báo cháy.
4.9.3.2 Các dữ liệu riêng tại hiện trường phải được lưu trong bộ nhớ, bộ nhớ này có khả năng lưu giữ các dữ liệu trong thời gian ít nhất hai tuần mà không cần nguồn điện bên ngoài cấp cho đầu báo cháy, trừ khi có khả năng tự động khôi phục dữ liệu sau khi mất nguồn trong vòng 1h kể từ khi nguồn điện được cấp trở lại.
5. Thử nghiệm
5.1 Quy định chung
5.1.1 Điều kiện khí quyển cho thử nghiệm
Trừ khi có quy định khác trong thử nghiệm, phải thực hiện thử nghiệm sau khi mẫu thử đã được ổn định trong điều kiện khí quyển chuẩn cho thử nghiệm như quy định trong IEC 60068-1 như sau:
- Nhiệt độ: (15 đến 35) °C
- Độ ẩm tương đối: (25 đến 75) %;
- Áp suất không khí: (86 đến 106) kPa.
CHÚ THÍCH: Nếu các biến đổi trong các thông số này có ảnh hưởng đáng kể đến phép đo thì các biến đổi này nên giữ ở mức nhỏ nhất trong một loạt các phép đo được thực hiện như một phần của thử nghiệm trên một mẫu thử.
5.1.2 Điều kiện vận hành cho thử nghiệm
Nếu phương pháp thử yêu cầu mẫu thử được vận hành thì mẫu thử phải được kết nối với thiết bị cung cấp và giám sát thích hợp có đặc tính theo yêu cầu trong dữ liệu của nhà sản xuất, trừ khi có quy định khác trong phương pháp thử, các thông số của nguồn cung cấp cho mẫu thử phải được chỉnh đặt trong phạm vi quy định của nhà sản xuất và phải duy trì hầu như không thay đổi trong suốt các quá trình thử nghiệm. Giá trị được lựa chọn cho mỗi thông số thường phải là giá trị danh nghĩa hoặc giá trị trung bình của phạm vi quy định. Nếu tiến hành thử yêu cầu mẫu thử được giám sát để phát hiện bất cứ tín hiệu báo động hoặc tín hiệu lỗi nào thì phải thực hiện các kết nối với bất cứ các thiết bị phụ trợ nào (ví dụ, qua đấu dây tới thiết bị ở đầu cuối đường dây cho các đầu báo cháy thông thường) để cho phép nhận biết một tín hiệu lỗi.
CHÚ THÍCH: Các chi tiết của thiết bị cung cấp và giám sát và các chuẩn mực của tín hiệu báo động được sử dụng nên được đưa vào báo cáo thử nghiệm.
5.1.3 Bố trí lắp đặt
Mẫu thử phải được lắp đặt bằng các phương tiện gắn thông thường theo hướng dẫn của nhà sản xuất. Nếu hướng dẫn này quy định nhiều hơn một phương pháp lắp đặt thì phương pháp được xem là không thuận lợi nhất phải được lựa chọn cho mỗi thử nghiệm.
5.1.4 Dung sai
Nếu không có quy định khác, dung sai đối với các thông số môi trường cho thử nghiệm phải theo quy định trong các tiêu chuẩn viện dẫn cơ bản cho thử nghiệm (ví dụ phần có liên quan của IEC 60068).
Nếu yêu cầu hoặc quy trình thử nghiệm không quy định giới hạn dung sai hoặc độ sai lệch cụ thể thì phải áp dụng giới hạn sai lệch là ± 5 %.
5.1.5 Đo thời gian đáp ứng
Lắp đặt mẫu thử để đo được thời gian đáp ứng trong đường hầm nhiệt (Phụ lục A) như quy định tại 5.1.3. Mẫu thử phải được kết nối với thiết bị cung cấp và giám sát thích hợp phù hợp với 5.1.2.
Sự định hướng của mẫu thử so với hướng của dòng không khí phải đảm bảo sao cho đạt được thời gian đáp ứng lớn nhất trong thử nghiệm phụ thuộc hướng 5.2, nếu không có các quy định khác.
Trước khi đo, ổn định nhiệt độ của luồng không khí và mẫu thử ở nhiệt độ được quy định trong quy trình thử áp dụng. Sau đó, thực hiện phép đo bằng cách tăng nhiệt độ không khí trong đường hầm nhiệt độ một cách tuyến tính với thời gian ở tốc độ tăng được quy định trong tiến hành thử áp dụng tới khi thiết bị cung cấp và giám sát chỉ báo một tín hiệu báo động hoặc tới khi đạt được giới hạn trên của thời gian đáp ứng cho thử nghiệm. Trong quá trình đo, dòng không khí phải được duy trì ở tốc độ dòng khí không thay đổi tương đương với (0,8 ±0,1) m/s ở 25 °C. Nhiệt độ không khí phải được điều chỉnh trong khoảng ± 2 K so với nhiệt độ danh nghĩa được yêu cầu ở bất cứ thời gian nào trong quá trình thử nghiệm (xem Phụ lục A). Thời gian đáp ứng là khoảng thời gian từ lúc nhiệt độ bắt đầu tăng tới khi có chỉ báo một tín hiệu báo động từ thiết bị cung cấp và giám sát.
CHÚ THÍCH 1: Thời gian bắt đầu có hiệu quả của sự tăng nhiệt độ có thể được xác lập bằng phép ngoại suy tuyến tính của các đường nhiệt độ ổn định và nhiệt độ tăng đối với thời gian.
CHÚ THÍCH 2: Nên chú ý tránh cho các đầu báo cháy không bị hư hỏng do sự thay đổi nhiệt độ đột ngột khi chuyển chúng đến và từ nhiệt độ ổn định hoặc nhiệt độ báo động.
CHÚ THÍCH 3: Các chi tiết liên quan đến đường hầm nhiệt được trình bày trong các Phụ lục A và B.
5.1.6 Quy định về thử nghiệm
Phải cung cấp các dữ liệu được quy định trong mục 8 cộng với số lượng các đầu báo cháy sau cho thử nghiệm theo tiêu chuẩn này
a) Đối với các đầu báo cháy đặt lại được: 15 đầu báo cháy;
b) Đối với các đầu báo cháy không đặt lại được: 62 đầu báo cháy;
c) Đối với các đầu báo cháy không đặt lại được có ký hiệu S: 63 đầu báo cháy;
d) Đối với các đầu báo cháy không đặt lại được có ký hiệu R: 68 đầu báo cháy.
Các mẫu thử được cung cấp để thử nghiệm phải đại diện cho sản xuất bình thường của nhà sản xuất về mặt cấu tạo và được hiệu chuẩn.
5.1.7 Chương trình thử nghiệm
5.1.7.1 Các mẫu thử có thể đặt lại được sẽ được tổ chức thử nghiệm đánh số từ 1 đến 15 và được thử nghiệm theo lịch trình thử nghiệm trong Bảng 2.
Đối với các đầu báo cháy có chức năng điều chỉnh cấp của đầu báo cháy tại vị trí lắp đặt:
a) Các thử nghiệm theo 5.3, 5.4, 5.5, 5.6, 5.8, 5.19 và 5.20 phải được áp dụng cho từng cấp phù hợp;
b) Thử nghiệm theo 5.10 phải được áp dụng cho cấp có mức nhiệt độ cao nhất;
c) Tất cả các thử nghiệm khác phải được áp dụng cho ít nhất một cấp.
5.1.7.2 Các mẫu thử không đặt lại được phải tổ chức tiến hành thử nghiệm đánh số từ 1 đến 62, 1 đến 63 hoặc 1 đến 68 theo cấp và được thử nghiệm phù hợp với lịch trình thử nghiệm như quy định trong Bảng 3.
Bảng 2 - Lịch trình thử nghiệm cho các đầu báo cháy có thể đặt lại được
| Thử nghiệm | Điều | Mẫu thử số... | |||||||
| Được thử ở các tốc độ tăng nhiệt độ không khí sau K/min | |||||||||
| ≤0,2 | 1 | 3 | 5 | 10 | 20 | 30 | Thử làm nguội đột ngột | ||
| Sự phụ thuộc hướng | 5.2 | - | - | - | - | 1 | - | - | - |
| Nhiệt độ nhạy cảm tĩnh | 5.3 | 1,2 | - | - | - | - | - | - | - |
| Thời gian đáp ứng từ nhiệt độ sử dụng điển hình | 5.4 | - | 1,2 | 1,2 | 1,2 | 1,2 | 1,2 | 1,2 | - |
| Thời gian đáp ứng từ 25 °C | 5.5- | - |
| 1 |
| - | 1 | - | - |
| Thời gian đáp ứng từ nhiệt độ môi trường cao | 5.6 | - | - | 1 | - | - | 1 | - | - |
| Biến đổi trong các tham số cung cấp | 5.7 | - | - | 1,2 | - | - | 1,2 | - | - |
| Khả năng tái tạo lại được (thời gian đáp ứng trước thử nghiệm về môi trường) | 5.8 | - | - | 3 đến 15 | - | - | 3 đến 15 | - | - |
| Lạnh (vận hành) | 5.9 | - | - | 3 | - | - | 3 | - | - |
| Nóng khô (bền lâu) | 5.10 | - | - | 4 | - | - | 4 | - | - |
| Nóng ẩm, có chu kỳ (vận hành) | 5.11 | - | - | 5 | - | - | 5 | - | - |
| Nóng ẩm, trạng thái ổn định (bền lâu) | 5.12 | - | - | 6 | - | - | 6 | - | - |
| Sunfua đioxit (SO2) (bền lâu) | 5.13 | - | - | 7 | - | - | 7 | - | - |
| Va chạm (vận hành) | 5.14 | - | - | 8 | - | - | 8 | - | - |
| Va đập (vận hành) | 5.15 | - | - | 9 | - | - | 9 | - | - |
| Rung hình sin (vận hành) | 5.16 | - | - | 10 | - | - | 10 | - | - |
| Rung hình sin (bền lâu) | 5.17 | - | - | 10 | - | - | 10 | - | - |
| Phóng điện tĩnh điện (vận hành) | 5.18 | - | - | 11a | - | - | 11a | - | - |
| Trường điện từ bức xạ (vận hành) | 5.18 | - | - | 12a | - | - | 12a | - | - |
| Nhiễu loạn điều khoản do trường điện từ tạo ra (vận hành) | 5.18 | - | - | 13a | - | - | 13a | - | - |
| Nổ ở quá trình chuyển tiếp nhanh (vận hành) | 5.18 | - | - | 14a | - | - | 14a | - | - |
| Sự tăng vọt điện áp có năng lượng tương đối cao (vận hành) | 5.18 | - | - | 15a | - | - | 15a | - | - |
| Thử nghiệm bổ sung cho các đầu báo cháy có ký hiệu S | 6.1 | - | - | - | - | - | - | - | 1 |
| Thử nghiệm bổ sung cho các đầu báo cháy có ký hiệu R | 6.2 | - | - | - | - | 1,2 | 1,2 | 1,2 | - |
| Để đảm bảo tính kinh tế của thử nghiệm, cho phép sử dụng cùng một mẫu thử cho nhiều hơn một thử nghiệm tính tương thích điện từ (EMC). Trong trường hợp này, thử nghiệm chức năng trung gian trên mẫu thử được sử dụng cho nhiều hơn một thử nghiệm có thể được thay thế bằng kiểm tra đơn giản để đảm bảo rằng mẫu thử vẫn có khả năng phát ra một tín hiệu báo động và thử nghiệm chức năng đầy đủ được tiến hành ở cuối trình tự các thử nghiệm. Tuy nhiên nên chú ý rằng trong trường hợp có hư hỏng thì không thể nhận biết được thử nghiệm nào đã gây ra hư hỏng. | |||||||||
Bảng 3 - Lịch trình thử nghiệm cho các đầu báo cháy không đặt lại được
| Thử nghiệm | Điều | Mẫu thử số... | |||||||
| Được thử nghiệm ở các tốc độ tăng nhiệt độ không khí sau K/min | |||||||||
| ≤0,2 | 1 | 3 | 5 | 10 | 20 | 30 | Thử làm nguội đột ngột | ||
| Sự phụ thuộc hướng | 5.2 | - | - | - | - | 1 đến 8 | - | - | - |
| Nhiệt độ nhạy cảm tĩnh | 5.3 | 9,10 | - | - | - | - | - | - | - |
| Thời gian đáp ứng từ nhiệt độ sử dụng điển hình | 5.4 | - | 11,12 | 13,14 | 15,16 | 17,18 | 19,20 | 21,22 | - |
| Thời gian đáp ứng từ 25 °C | 5.5 | - | - | 23 | - | - | 24 | - | - |
| Thời gian đáp ứng từ nhiệt độ môi trường cao | 5.6 | - | - | 25 | - | - | 26 | - | - |
| Biến đổi trong các tham số cung cấp | 5.7 | - | - | 27,28 | - | - | 29,30 | - | - |
| Khả năng tái tạo lại được (thời gian đáp ứng trước thử nghiệm về môi trường) | 5.8 | - | - | 31,32 | - | - | 33,34 | - | - |
| Lạnh (vận hành) | 5.9 | - | - | 35 | - | - | 36 | - | - |
| Nóng khô (bền lâu) | 5.10 | - | - | 37 | - | - | 38 | - | - |
| Nóng ẩm, có chu kỳ (vận hành) | 5.11 | - | - | 39 | - | - | 40 | - | - |
| Nóng ẩm, trạng thái ổn định (bền lâu) | 5.12 | - | - | 41 | - | - | 42 | - | - |
| Sunfua đioxit (SO2) (bền lâu) | 5.13 | - | - | 43 | - | - | 44 | - | - |
| Va chạm (vận hành) | 5.14 | - | - | 45 | - | - | 46 | - | - |
| Va đập (vận hành) | 5.15 | - | - | 47 | - | - | 48 | - | - |
| Rung hình sin (vận hành) | 5.16 | - | - | 49 | - | - | 50 | - | - |
| Rung hình sin (bền lâu) | 5.17 | - | - | 51 | - | - | 52 | - | - |
| Phóng điện tĩnh điện (vận hành) | 5.18 | - | - | 53a | - |
| 54a | - | - |
| Trường điện từ bức xạ (vận hành) | 5.18 | - | - | 55a | - | - | 56a | - | - |
| Nhiễu loạn điều khiển do trường điện từ tạo ra (vận hành) | 5.18 | - | - | 57a | - | - | 58a | - | - |
| Nổ ở quá trình chuyển tiếp nhanh (vận hành) | 5.18 | - | - | 59a | - | - | 60s | - | - |
| Sự tăng vọt điện áp có năng lượng tương đối cao (vận hành) | 5.18 | - | - | 61a | - | - | 62a | - | - |
| Thử nghiệm bổ sung cho các đầu báo cháy có ký hiệu S | 6.1 | - | - | - |
| - | - | - | - |
| Thử nghiệm bổ sung cho các đầu báo cháy có ký hiệu R | 6.2 | - | - | - |
| - | 63,64 | 65,66 | 67,68 |
| Để đảm bảo tính kinh tế của thử nghiệm, cho phép sử dụng cùng một mẫu thử cho nhiều hơn một thử nghiệm tính tương thích điện từ (EMC). Trong trường hợp này, thử nghiệm chức năng trung gian trên mẫu thử được sử dụng cho nhiều hơn một thử nghiệm có thể được loại bỏ và thử nghiệm chức năng đầy đủ được tiến hành ở cuối trình tự các thử nghiệm. Tuy nhiên nên chú ý rằng trong trường hợp có hư hỏng thì không thể nhận biết được thử nghiệm nào đã gây ra hư hỏng. | |||||||||
5.2 Sự phụ thuộc hướng
5.2.1 Mục tiêu của thử nghiệm
Xác nhận rằng thời gian đáp ứng của đầu báo cháy không phụ thuộc một cách quá mức vào hướng của dòng không khí xung quanh đầu báo cháy.
5.2.2 Tiến hành thử
Mẫu thử phải được thử nghiệm như mô tả trong 5.1.5 với tốc độ tăng nhiệt độ không khí 10 K/min. Thực hiện tám thử nghiệm như nêu trên, xoay mẫu thử quanh một trục thẳng đứng góc 45° giữa các lần thử nghiệm liên tiếp sao cho các thử nghiệm được thực hiện ở tám hướng khác nhau. Trước mỗi thử nghiệm, mẫu thử phải được ổn định ở nhiệt độ sử dụng điển hình được quy định trong Bảng 1 tương ứng với cấp được ghi trên mẫu thử. Ghi lại thời gian đáp ứng ở cả tám hướng và ghi lại các hướng có thời gian đáp ứng lớn nhất và nhỏ nhất đã được đo.
5.2.3 Yêu cầu
Các đầu báo cháy cấp A1 phải được nhạy cảm giữa 1 min 0 s và 4 min 20 s ở tất cả tám hướng.
Các đầu báo cháy cấp A2, B, C, D, E, F và G phải nhạy cảm giữa 2 min 0 s và 5 min 30 s tại tất cả tám hướng.
5.3 Nhiệt độ nhạy cảm tĩnh
5.3.1 Mục tiêu của thử nghiệm
Xác nhận khả năng nhạy cảm chính xác của đầu báo cháy với tốc độ tăng chậm của nhiệt độ không khí.
5.3.2 Tiến hành thử
Các mẫu thử phải được thử nghiệm như mô tả tại 5.1.5 với tốc độ tăng nhiệt độ không khí là 1 K/min cho đến khi đạt được nhiệt độ sử dụng cao nhất tương ứng với cấp được ghi nhãn trên mẫu thử như quy định trong Bảng 1. Sau đó tiếp tục thử nghiệm ở tốc độ tăng nhiệt độ không khí lớn nhất là 0,2 K/min. Một mẫu thử phải được thử nghiệm theo hướng cho thời gian đáp ứng lớn nhất và mẫu thử khác theo hướng cho thời gian đáp ứng nhỏ nhất như đã xác định tại 5.2. Trước mỗi thử nghiệm, mẫu thử phải được ổn định ở nhiệt độ sử dụng điển hình được quy định trong Bảng 1 tương ứng với cấp được ghi trên mẫu thử. Nhiệt độ mà mẫu thử phản ứng phải được ghi lại.
5.3.3 Yêu cầu
Nhiệt độ nhạy cảm của các đầu báo cháy được thử phải nằm giữa các nhiệt độ nhạy cảm tĩnh nhỏ nhất và lớn nhất tương ứng với cấp được ghi trên mẫu thử như quy định trong Bảng 1.
5.4 Thời gian đáp ứng từ nhiệt độ sử dụng điển hình
5.4.1 Mục tiêu của thử nghiệm
Xác nhận khả năng của đầu báo cháy, được ổn định ở nhiệt độ sử dụng điển hình của nó, nhạy cảm đúng trên phạm vi các tốc độ tăng nhiệt độ không khí.
5.4.2 Tiến hành thử
Thử nghiệm các mẫu thử như quy định trong 5.1.5 ở các tốc độ tăng nhiệt độ không khí 1 K/min, 3 K/min, 5 K/min, 10 K/min, 20 K/min và 30 K/min. Thử nghiệm một mẫu thử ở hướng trong thử nghiệm 5.2 để cho thời gian đáp ứng lớn nhất, và mẫu thử kia ở hướng cho thời gian đáp ứng nhỏ nhất. Trước mỗi thử nghiệm, ổn định các mẫu thử ở nhiệt độ sử dụng điển hình tương ứng với cấp được ghi trên nhãn mẫu thử như quy định trong Bảng 1. Ghi thời gian đáp ứng cho mỗi mẫu thử ở mỗi tốc độ tăng nhiệt độ không khí.
5.4.3 Yêu cầu
Thời gian đáp ứng của các đầu báo cháy phải nằm giữa các giới hạn dưới và giới hạn trên của thời gian đáp ứng tương ứng với cấp của đầu báo cháy như quy định trong Bảng 4.
Bảng 4 - Giới hạn thời gian đáp ứng
| Tốc độ tăng nhiệt độ không khí K/min | Các đầu báo cháy cấp A1 | Các đầu báo cháy cấp A2, B, C, E, F và G | ||||||
| Giới hạn dưới của thời gian đáp ứng | Giới hạn trên của thời gian đáp ứng | Giới hạn dưới của thời gian đáp ứng | Giới hạn trên của thời gian đáp ứng | |||||
| min | s | min | s | min | s | min | s | |
| 1 | 29 | 00 | 40 | 20 | 29 | 00 | 46 | 00 |
| 3 | 7 | 13 | 13 | 40 | 7 | 13 | 16 | 00 |
| 5 | 4 | 09 | 8 | 20 | 4 | 09 | 105 | 00 |
| 10 | 1 | 00 | 4 | 20 | 2 | 00 | 5 | 30 |
| 20 | - | 30 | 2 | 20 | 1 | 00 | 3 | 13 |
| 30 | - | 20 | 1 | 40 | - | 40 | 2 | 25 |
CHÚ THÍCH: Thông tin về nguồn gốc của các giới hạn quy định trong Bảng 4 được cho trong Phụ lục C.
5.5 Thời gian đáp ứng từ 25 °C
5.5.1 Mục tiêu của thử nghiệm
Xác nhận các đầu báo cháy ở cấp có nhiệt độ sử dụng điển hình trên 25 °C (xem Bảng 1) không thể hiện nhạy cảm nhanh bất thường đối với sự tăng bình thường của nhiệt độ. Vì vậy, thử nghiệm này không áp dụng được cho các đầu báo cháy cấp A1 hoặc A2.
5.5.2 Tiến hành thử
Thử nghiệm mẫu như quy định trong 5.1.5 ở các tốc độ tăng nhiệt độ không khí 3 K/min và 20 K/min. Thử nghiệm mẫu thử ở hướng trong thử nghiệm 5.2 để cho thời gian đáp ứng ngắn nhất. Trước mỗi thử nghiệm, ổn định mẫu thử ở 25 °C. Ghi lại thời gian đáp ứng của mẫu thử,
5.5.3 Yêu cầu
Thời gian đáp ứng ở 3 K/min phải vượt quá 7 min 13 s và thời gian đáp ứng ở 20 K/min phải vượt quá 1 min 0 s.
5.6 Thời gian đáp ứng từ nhiệt độ môi trường cao, nóng khô (vận hành)
5.6.1 Mục tiêu của thử nghiệm
Chứng minh khả năng của đầu báo cháy để vận hành đúng ở các nhiệt độ môi trường xung quanh cao thích hợp với các nhiệt độ làm việc dự định.
5.6.2 Tiến hành thử
Thử nghiệm mẫu thử như quy định trong 5.1.5 ở các tốc độ tăng nhiệt độ không khí 3 K/min và 20 K/min. Thử nghiệm mẫu thử ở hướng trong thử nghiệm 5.2 để cho thời gian đáp ứng ngắn nhất. Trước mỗi thử nghiệm, ổn định mẫu thử trong 2 h ở nhiệt độ sử dụng cao nhất tương ứng với cấp được ghi nhãn trên mẫu thử như quy định trong Bảng 1. Tốc độ tăng nhiệt độ không khí đến nhiệt độ ổn định phải ≤ 1 K/min. Ghi lại thời gian đáp ứng của mẫu thử.
5.6.3 Yêu cầu
Không có tín hiệu báo động hoặc tín hiệu lỗi nào được phát ra trong thời gian nhiệt độ tăng đến nhiệt độ ổn định hoặc trong suốt thời gian ổn định.
Đầu báo cháy phải nhạy cảm giữa các giới hạn trên và dưới của thời gian đáp ứng tương ứng với cấp của nó như quy định trong Bảng 5.
Bảng 5 - Các giới hạn thời gian đáp ứng từ nhiệt độ sử dụng cao nhất
| Cấp của đầu báo cháy | Các giới hạn dưới của thời gian đáp ứng ở các tốc độ tăng nhiệt độ không khí sau | Các giới hạn trên của thời gian đáp ứng ở các tốc độ tăng nhiệt độ không khí sau | ||||||
| 3 K/min | 20 K/min | 3 K/min | 20 K/min | |||||
| min | s | min | s | min | s | min | s | |
| A1 | 1 | 20 | 0 | 12 | 13 | 40 | 2 | 20 |
| Tất cả các cấp khác | 1 | 20 | 0 | 12 | 16 | 00 | 3 | 13 |
5.7 Biến động trong các tham số cung cấp
5.7.1 Mục tiêu của thử nghiệm
Để chỉ ra rằng trong phạm vi quy định của các tham số cung cấp (ví dụ điện áp) thì thời gian đáp ứng của đầu báo cháy không phụ thuộc quá mức vào các tham số cung cấp.
5.7.2 Tiến hành thử
Thử nghiệm các mẫu thử như quy định trong 5.1.5 ở các tốc độ tăng nhiệt độ không khí 3 K/min và 20 K/min theo hướng trong thử nghiệm 5.2 để cho thời gian đáp ứng dài nhất, ở các giới hạn trên và dưới của phạm vi thông số (ví dụ điện áp) cung cấp do nhà sản xuất quy định. Trước mỗi thử nghiệm, ổn định các mẫu thử ở nhiệt độ sử dụng điển hình tương ứng với cấp được ghi nhãn trên mẫu thử như quy định trong Bảng 1. Ghi lại thời gian đáp ứng cho mỗi tốc độ tăng nhiệt độ không khí ở mỗi giới hạn của tham Số cung cấp.
Đối với các đầu báo cháy thông thường, tham số cung cấp là điện áp một chiều được áp dụng cho đầu báo cháy. Đối với các kiểu đầu báo cháy khác (ví dụ đầu báo cháy analog có thể lập địa chỉ), có thể cần phải xem xét các mức tín hiệu và định mức thời gian. Nếu cần thiết có thể yêu cầu nhà sản xuất cho thiết bị cung cấp thích hợp để cho phép thay đổi các tham số cung cấp theo yêu cầu.
5.7.3 Yêu cầu
Thời gian đáp ứng của đầu báo cháy phải nằm giữa các giới hạn trên và dưới của thời gian đáp ứng đối với cấp đầu báo cháy tương ứng như quy định trong Bảng 4.
5.8 Khả năng tái lập
5.8.1 Mục tiêu
Để chứng minh rằng thời gian đáp ứng của mẫu thử trong các giới hạn yêu cầu và đối với các đầu báo cháy đặt lại được, để xác lập dữ liệu cơ sở về thời gian đáp ứng nhằm so sánh với các thời gian đáp ứng đo được sau các thử nghiệm về môi trường.
5.8.2 Tiến hành thử
Đo thời gian đáp ứng của các mẫu thử như quy định trong 5.1.5 ở các tốc độ tăng nhiệt độ không khí 3 K/min và 20 K/min theo hướng trong thử nghiệm 5.2 để cho thời gian đáp ứng dài nhất. Trước mỗi phép đo, ổn định mẫu thử ở nhiệt độ sử dụng điển hình tương ứng với cấp được ghi nhãn trên mẫu thử như quy định trong Bảng 1.
5.8.3 Yêu cầu
Thời gian đáp ứng của đầu báo cháy phải nằm giữa các giới hạn trên và dưới của thời gian đáp ứng đối với cấp của đầu báo cháy tương ứng như quy định tương ứng trong Bảng 4.
5.9 Thử nghiệm lạnh (vận hành)
5.9.1 Mục tiêu của thử nghiệm
Để chứng minh khả năng của đầu báo cháy để vận hành đúng ở nhiệt độ môi trường xung quanh thấp thích hợp với nhiệt độ làm việc dự định.
5.9.2 Tiến hành thử
5.9.2.1 Tài liệu tham khảo
Sử dụng thiết bị thử và thực hiện tiến hành thử như quy định trong IEC 60068-2-1, Thử nghiệm Ab, và trong 5.9.2.2 đến 5.9.2.5.
5.9.2.2 Trạng thái của mẫu thử trong quá trình ổn định
Lắp đặt mẫu thử như quy định trong 5.1.3 và kết nối mẫu thử với thiết bị cung cấp và giám sát như quy định trong 5.1.2.
5.9.2.3 Ổn định
Ổn định các mẫu thử sử dụng các thông số sau:
- Nhiệt độ: (-10 ±3) °C;
- Thời gian: 16 h.
CHÚ THÍCH: Thử nghiệm Ab quy định tốc độ thay đổi nhiệt độ ≤ 1 K/min cho sự chuyển tiếp đến và tử nhiệt ổn định.
5.9.2.4 Các phép đo trong quá trình ổn định
Giám sát các mẫu thử trong thời gian ổn định để phát hiện bất cứ tín hiệu báo động hoặc tín hiệu lỗi nào.
5.9.2.5 Các phép đo lần cuối
Đo thời gian đáp ứng của các mẫu thử quy định trong 5.1.5 ở tốc độ tăng nhiệt không khí 3 K/min và 20 K/min theo hướng trong thử nghiệm 5.2 để cho thời gian đáp ứng dài nhất. Trước mỗi phép đo, ổn định mẫu thử ở nhiệt độ sử dụng điển hình tương ứng với cấp được ghi nhãn trên mẫu thử như quy định trong Bảng 1.
5.9.3 Yêu cầu
Không có tín hiệu báo động hoặc tín hiệu báo lỗi nào được phát ra trong quá trình chuyển tiếp tới nhiệt độ ổn định hoặc trong thời gian ở nhiệt độ ổn định.
Đối với các đầu báo cháy đặt lại được, thời gian đáp ứng 3 K/min không được nhỏ hơn 7min13s và bất cứ thay đổi nào trong thời gian đáp ứng so với thời gian được trong thử nghiệm tương đương (5.8) không được vượt quá 2 min 40 s.
Đối với các đầu báo cháy đặt lại được, thời gian đáp ứng ở 20 K/min không được ít hơn 30 s đối với các đầu báo cháy cấp A1, không được ít hơn 60 s đối với tất cả các cấp khác, và bất cứ thay đổi nào trong thời gian đáp ứng so với thời gian thu được trong thử nghiệm tương đương (5.8) không được vượt quá 30 s.
Đối với các đầu báo cháy không đặt lại được, thời gian đáp ứng phải nằm giữa các giới hạn trên và dưới của thời gian đáp ứng đối với cấp của đầu báo cháy tương ứng như quy định trong Bảng 4.
5.10 Thử nghiệm nóng khô (bền lâu)
5.10.1 Mục tiêu của thử nghiệm
Chứng minh khả năng của đầu báo cháy chịu được nhiệt độ môi trường xung quanh cao tương ứng với cấp của nó. Thử nghiệm này không áp dụng được cho các đầu báo cháy cấp A1, A2 và B.
5.10.2 Tiến hành thử
5.10.2.1 Tài liệu tham chiếu
Sử dụng thiết bị thử và thực hiện tiến hành thử như quy định trong IEC 60068-2-2, thử nghiệm Ba hoặc Bb và trong 5.10.2.2 đến 5.10.2.4.
5.10.2.2 Trạng thái của mẫu thử trong quá trình ổn định Không cấp điện cho mẫu thử trong quá trình ổn định.
5.10.2.3 Ổn định
Ổn định các mẫu thử trong 21 ngày sử dụng nhiệt độ quy định trong Bảng 6.
Bảng 6 - Các nhiệt độ ổn định nóng khô (độ bền lâu)
| Cấp của đầu báo cháy | Nhiệt độ ổn định °C |
| C | 80 ±2 |
| D | 95 ±2 |
| E | 110 + 2 |
| F | 125 ±2 |
| G | 140 ±2 |
5.10.2.4 Các phép đo lần cuối
Đo thời gian đáp ứng của các mẫu thử như quy định trong 5.1.5 ở các tốc độ tăng nhiệt độ không khí 3 K/min và 20 K/min theo hướng trong thử nghiệm 5.2 để có thời gian đáp ứng dài nhất. Trước mỗi phép đo, độ ổn định mẫu thử ở nhiệt độ sử dụng điển hình tương ứng với cấp được ghi nhãn trên mẫu thử như quy định trong Bảng 1.
5.10.3 Yêu cầu
Không được phát ra tín hiệu báo lỗi được xem là do ổn định cho thử nghiệm độ bền lâu lúc kết nối lại mẫu thử.
Đối với các đầu báo cháy đặt lại được, thời gian đáp ứng ở 3 K/min không được ít hơn 7 min 13 s và bất cứ thay đổi nào về thời gian đáp ứng so với thời gian thu được trong thử nghiệm tương đương (5.8) không được vượt quá 2 min 40 s.
Đối với các đầu báo cháy đặt lại được, thời gian đáp ứng ở 20 K/min không được ít hơn 1 min 0 s và bất cứ thay đổi nào về thời gian đáp ứng so với thời gian thu được trong thử nghiệm tương đương (5.8) không được vượt quá 30 s.
Đối với các đầu báo cháy không đặt lại được, thời gian đáp ứng phải nằm giữa các giới hạn trên và dưới của thời gian đáp ứng được quy định cho cấp thích hợp của đầu báo cháy trong Bảng 4.
5.11 Thử nóng ẩm, có chu kỳ (vận hành)
5.11.1 Mục tiêu của thử nghiệm
Chứng minh khả năng của đầu báo cháy để vận hành đúng ở độ ẩm tương đối cao (có ngưng tụ) có thể xảy ra trong khoảng thời gian ngắn ở môi trường làm việc dự định.
5.11.2 Tiến hành thử
5.11.2.1 Tài liệu tham chiếu
Sử dụng thiết bị thử và thực hiện tiến hành thử như quy định trong IEC 60068-2-30, sử dụng kiểu chu kỳ thử 1, và trong 5.11.2.2 đến 5.11.2.5.
5.11.2.2 Trạng thái của mẫu thử trong quá trình ổn định
Lắp đặt mẫu thử như quy định trong 5.1.3 và kết nối mẫu thử với thiết bị cung cấp và giám sát như quy định trong 5.1.2.
5.11.2.3 Ổn định
Ổn định các mẫu thử như quy định trong IEC 60068-2-30, mức độ nghiêm trọng 1:
- Nhiệt độ giới hạn dưới (25 ± 3) °C;
- Nhiệt độ giới hạn trên (40 ± 2) °C;
- Độ ẩm tương đối:
- Ở nhiệt độ giới hạn dưới: ≥ 95 %;
- Ở nhiệt độ giới hạn trên: (93 ± 3) %;
- Số lượng các chu kỳ: 2.
5.11.2.4 Các phép đo trong quá trình ổn định
Giám sát các mẫu thử trong thời gian ổn định để phát hiện bất cứ tín hiệu báo động hoặc tín hiệu báo lỗi nào.
5.11.2.5 Các phép đo lần cuối
Sau giai đoạn đặt lại được, đo thời gian đáp ứng của các mẫu thử như quy định trong 5.1.5 ở các tốc độ tăng nhiệt độ không khí 3 K/min và 20 K/min theo hướng trong thử nghiệm 5.2 để có thời gian đáp ứng dài nhất. Trước mỗi phép đo, ổn định mẫu thử ở nhiệt độ sử dụng điển hình tương ứng với cấp được ghi nhãn trên mẫu thử như quy định trong Bảng 1.
5.11.3 Yêu cầu
Không có tín hiệu báo động hoặc tín hiệu báo lỗi nào được phát ra trong quá trình ổn định.
Đối với các đầu báo cháy đặt lại được, thời gian đáp ứng ở 3 K/min không được ít hơn 7 min 13 s và bất cứ sự thay đổi nào về thời gian đáp ứng so với thời gian thu được trong thử nghiệm tương đương (5.8) không được vượt quá 2 min 40 s.
Đối với các đầu báo cháy phụ hồi được, thời gian đáp ứng ở 20 K/min không được ít hơn 30 s đối với các đầu báo cháy cấp A1, không được ít hơn 1 min 0 s đối với tất cả các đầu báo cháy có cấp khác, và bất cứ sự thay đổi nào về thời gian đáp ứng so với thời gian thu được trong thử nghiệm tương đương (5.8) không được vượt quá 30 s.
Đối với các đầu báo cháy không đặt lại được, thời gian đáp ứng phải nằm giữa các giới hạn trên và dưới của thời gian đáp ứng đối với cấp tương ứng của đầu báo cháy như quy định trong Bảng 4.
5.12 Thử nóng ẩm, trạng thái ổn định (bền lâu)
5.12.1 Mục tiêu của thử nghiệm
Chứng minh khả năng của đầu báo cháy chịu được các ảnh hưởng lâu dài của nóng ẩm trong môi trường làm việc (các thay đổi về đặc tính điện của các vật liệu, các phản ứng hóa học liên quan đến ẩm ướt, ăn mòn điện hóa, v.v...).
5.12.2 Tiến hành thử
5.12.2.1 Tài liệu tham chiếu
Sử dụng thiết bị thử và thực hiện tiến hành thử như quy định trong IEC 60068-2-78, Thử nghiệm Cab, và trong 5.12.2.2 đến 5.12.2.4.
5.12.2.2 Trạng thái của mẫu thử trong quá trình ổn định
Lắp đặt các mẫu thử quy định trong 5.1.3 nhưng không cấp điện cho mẫu thử trong quá trình xử lý, ổn định.
5.12.2.3 Ổn định
Xử lý ổn định các mẫu thử sử dụng các thông số sau:
- Nhiệt độ: (40 ± 2) °C;
- Độ ẩm tương đối: (93 ± 3) %;
- Thời gian: 21 ngày.
5.12.2.4 Các phép đo lần cuối
Sau giai đoạn đặt lại được ít nhất là 1 h ở điều kiện phòng thí nghiệm tiêu chuẩn đo thời gian đáp ứng của các mẫu thử như quy định trong 5.1.5 ở các tốc độ tăng nhiệt độ không khí 3 K/min và 20 K/min theo hướng trong thử nghiệm 5.2 để có thời gian đáp ứng dài nhất. Trước mỗi phép đo, ổn định mẫu thử ở nhiệt độ sử dụng điển hình tương ứng với cấp được ghi nhãn trên mẫu thử như quy định trong Bảng 1.
5.12.3 Yêu cầu
Không được phát ra tín hiệu báo lỗi được xem là do ổn định cho thử nghiệm độ bền lâu lúc kết nối lại mẫu thử.
Đối với các đầu báo cháy đặt lại được, thời gian đáp ứng ở 3 K/min không được ít hơn 7 min 13 s và bất cứ thay đổi nào về thời gian đáp ứng so với thời gian thu được trong thử nghiệm tương đương (5.8) không được vượt quá 2 min 40 s.
Đối với các đầu báo cháy đặt lại được, thời gian đáp ứng ở 20 K/min không được ít hơn 30 s đối với các đầu báo cháy cấp A1, không được ít hơn 1 min 0 s đối với tất cả các cấp khác của đầu báo cháy, và bất cứ sự thay đổi nào về thời gian đáp ứng so với thời gian đáp ứng thu được trong thử nghiệm tương đương (5.8) không được vượt quá 30 s.
Đối với các đầu báo cháy không đặt lại được, thời gian đáp ứng phải nằm giữa các giới hạn trên và dưới của thời gian đáp ứng đối với cấp tương ứng của đầu báo cháy như quy định trong Bảng 4.
5.13 Thử ăn mòn sunfua đioxit (SO2) (bền lâu)
5.13.1 Mục tiêu của thử nghiệm
Chứng minh khả năng của đầu báo cháy chịu được các ảnh hưởng ăn mòn của sunfua đioxit (SO2), một chất gây ô nhiễm trong khí quyển.
5.13.2 Tiến hành thử
5.13.2.1 Tài liệu tham chiếu
Sử dụng thiết bị thử và thực hiện tiến hành thử như quy định trong IEC 60068-2-42, Thử nghiệm Kc, trừ việc sử dụng ổn định như quy định trong 5.13.2.3.
5.13.2.2 Trạng thái của mẫu thử trong quá trình ổn định
Lắp đặt các mẫu thử như quy định trong 5.1.3, không cấp điện cho mẫu thử trong quá trình ổn định, nhưng trang bị cho mẫu thử các dây đồng không mạ thiếc có đường kính thích hợp và được kết nối với các đầu ra đủ để cho phép thực hiện phép đo lần cuối mà không phải làm thêm các đầu nối cho mẫu thử.
5.13.2.3 Ổn định
Ổn định các mẫu thử sử dụng các thông số sau:
- Nhiệt độ: (25 ± 2) °C;
- Độ ẩm tương đối: (93 ± 3) %;
- Nồng độ SO2: (25 ± 5) μl/l;
- Thời gian: 21 ngày.
5.13.2.4 Các phép đo lần cuối
Ngay sau khi ổn định, mẫu thử được sấy khô trong thời gian 16 h ở nhiệt độ (40 ± 2) °C, độ ẩm tương đối ≤ 50 %, theo sau là một giai đoạn đặt lại được ít nhất là 1 h ở các điều kiện phòng thí nghiệm. Sau đó đo thời gian đáp ứng của mẫu thử như quy định trong 5.1.5 ở các tốc độ tăng nhiệt độ không khí 3 K/min và 20 K/min theo hướng trong thử nghiệm 5.2 để có thời gian đáp ứng dài nhất. Trước mỗi phép đo, ổn định mẫu thử ở nhiệt độ sử dụng điển hình tương ứng với cấp được ghi nhãn trên mẫu thử như quy định trong Bảng 1.
5.13.3 Yêu cầu
Không được phát ra tín hiệu báo lỗi được xem là do ổn định cho thử nghiệm độ bền lâu lúc kết nối lại mẫu thử.
Đối với các đầu báo cháy đặt lại được, thời gian đáp ứng ở 3 K/min không được ít hơn 7 min 13 s và bất cứ thay đổi nào về thời gian đáp ứng so với thời gian thu được trong thử nghiệm tương đương 5.8 không được vượt quá 2 min 40 s.
Đối với các đầu báo cháy đặt lại được, thời gian đáp ứng ở 20 K/min không được ít hơn 30 s đối với các đầu báo cháy cấp A1, không được ít hơn 1 min 0 s đối với tất cả các cấp khác nhau, và bất cứ sự thay đổi nào về thời gian đáp ứng so với thời gian thu được trong thử nghiệm tương đương (5.8) không được vượt quá 30 s.
Đối với các đầu báo cháy không đặt lại được, thời gian đáp ứng phải nằm giữa các giới hạn trên và dưới của thời gian đáp ứng đối với cấp tương ứng của đầu báo cháy như quy định trong Bảng 4.
5.14 Thử sốc (shock) (vận hành)
5.14.1 Mục tiêu của thử nghiệm
Chứng minh khả năng chống chịu của đầu báo cháy với các cú sốc cơ học, có khả năng xảy ra, mặc dù không thường xuyên, trong môi trường hoạt động dự kiến.
5.14.2 Tiến hành thử
5.14.2.1 Tài liệu tham chiếu
Sử dụng thiết bị thử và thực hiện tiến hành thử như quy định trong IEC 60068-2-27, thử nghiệm Ea, trừ việc sử dụng ổn định như quy định trong 5.14.2.3.
5.14.2.2 Trạng thái của mẫu thử trong quá trình ổn định
Lắp đặt mẫu thử trên đồ gồ đá cứng vững như quy định trong 5.1.3 và kết nối mẫu thử với thiết bị cung cấp và giám sát như mô tả trong 5.1.2.
5.14.2.3 Ổn định
Đối với các mẫu thử có khối lượng ≤ 4,75 kg, ổn định các mẫu thử sử dụng các thông số sau:
- Kiểu xung đột va chạm: Nửa hình sin;
- Thời gian xung đột: 6 ms;
- Gia tốc đỉnh: 10 x (100 - 20 m) m/s2 (trong đó M là khối lượng của mẫu thử tính bằng kilogam);
- Số lượng: 6;
- Các xung trên một hướng: 3.
Không thử nghiệm các mẫu thử có khối lượng > 4,75 kg.
5.14.2.4 Các phép đo trong quá trình ổn định
Giám sát các mẫu thử trong thời gian ổn định và trong thời gian bổ sung thêm 2 min nữa để phát hiện bất cứ tín hiệu báo động hoặc tín hiệu lỗi nào.
5.14.2.5 Các phép đo lần cuối
Đo thời gian đáp ứng của các mẫu thử như quy định trong 5.1.5 ở các tốc độ tăng nhiệt độ không khí 3 K/min và 20 K/min theo hướng trong thử nghiệm thử ở nhiệt độ sử dụng điển hình tương ứng với cấp được ghi nhãn trên mẫu thử quy định trong Bảng 1.
5.14.3 Yêu cầu
Không phát ra tín hiệu báo động hoặc tín hiệu báo lỗi trong thời gian 2 min bổ sung thêm.
Đối với các đầu báo cháy đặt lại được, thời gian đáp ứng ở 3 K/min không được ít hơn 7 min 13 s và bất cứ thay đổi nào về thời gian đáp ứng so với thời gian thu được trong thử nghiệm tương đương 5.8 không được vượt quá 40 s.
Đối với các đầu báo cháy đặt lại được, thời gian đáp ứng ở 20 K/min không được ít hơn 30 s đối với các đầu báo cháy cấp A1, không được ít hơn 60 s đối với tất cả các cấp khác, và bất cứ sự thay đổi nào về thời gian đáp ứng so với thời gian thu được trong thử nghiệm tương đương 5.8 không được vượt quá 30 s.
Đối với các đầu báo cháy không đặt lại được, thời gian đáp ứng phải nằm giữa các giới hạn trên và dưới của thời gian đáp ứng đối với cấp tương ứng của đầu báo cháy, như quy định trong Bảng 4.
5.15 Thử va đập (vận hành)
5.15.1 Mục tiêu của thử nghiệm
Chứng minh khả năng không chịu ảnh hưởng (tính miễn nhiễm) của đầu báo cháy đối với các va đập cơ học vào bề mặt có thể phải chịu va đập trong môi trường làm việc bình thường của nó và bề mặt này có thể chịu đựng được.
5.15.2 Tiến hành thử
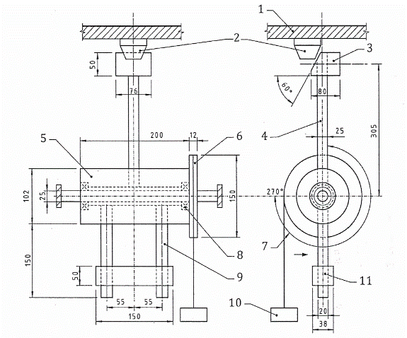
5.15.2.1 Thiết bị thử
Thiết bị thử (Hình D.1) gồm có một búa đu đưa gắn với đầu búa có tiết diện hình chữ nhật bằng hợp kim nhôm (hợp kim nhôm AlCu4SiMg tuân theo ISO 209-1, trạng thái dung dịch và kết tủa) có mặt va đập phẳng được bát cạnh tốt tới góc 60° so với phương nằm ngang ở vị trí thẳng đứng). Đầu búa phải có chiều cao (50 ± 2,5) mm, chiều rộng (76 ± 3,8) mm và chiều dài ở khoảng cách giữa chiều cao (80 ± 4) mm. Thiết bị thử này được mô tả trong Phụ lục D.
5.15.2.2 Trạng thái của mẫu thử trong quá trình ổn định
Lắp đặt mẫu thử một cách vững chắc vào thiết bị bằng phương tiện lắp đặt bình thường của nó và định vị mẫu thử để va đập với nửa phía trên của mặt va đập đầu búa khi búa ở vị trí thẳng đứng (nghĩa là khi đầu búa đanh di chuyển theo phương nằm ngang). Hướng của góc phương vị và vị trí va đập so với mẫu thử phải được lựa chọn sao cho có thể làm suy giảm tới mức tối đa sự vận hành của mẫu thử. Mẫu thử phải được kết nối với thiết bị cung cấp và giám sát như quy định trong 5.1.2.
5.15.2.3 Ổn định
Ổn định các mẫu thử sử dụng các thông số sau:
- Năng lượng va đập: (1,9 ± 0,1) J;
- Tốc độ của búa: (1,5 ± 0,13) m/s;
- Số lượng va đập: 1.
5.15.2.4 Các phép đo trong quá trình ổn định
Giám sát mẫu thử trong thời gian ổn định và trong thời gian bổ sung thêm 2 min nữa để phát hiện bất cứ tín hiệu báo động hoặc tín hiệu lỗi nào.
5.15.2.5 Các phép đo lần cuối
Đo thời gian đáp ứng của các mẫu thử như quy định trong 5.1.5 ở các tốc độ tăng nhiệt độ không khí 3 K/min và 20 K/min theo hướng trong thử nghiệm 5.2 để cho thời gian đáp ứng dài nhất. Trước mỗi phép đo, ổn định mẫu thử ở nhiệt độ sử dụng điển hình tương ứng với cấp được ghi nhãn trên mẫu thử, như quy định trong Bảng 1.
5.15.3 Yêu cầu
Không phát ra tín hiệu báo động hoặc tín hiệu báo lỗi trong thời gian ổn định hoặc trong thời gian 2 min bổ sung thêm.
Đối với các đầu báo cháy đặt lại được, thời gian đáp ứng ở 3 K/min không được ít hơn 7 min 13 s và bất cứ thay đổi nào về thời gian đáp ứng so với thời gian thu được trong thử nghiệm tương đương (5.8) không được vượt quá 2 min 40 s.
Đối với các đầu báo cháy đặt lại được, thời gian đáp ứng ở 20 K/min không được ít hơn 30 s đối với các đầu báo cháy cấp A1, không được ít hơn 1 min 0 s đối với tất cả các cấp khác, và bất cứ thay đổi nào về thời gian đáp ứng so với thời gian thu được trong thử nghiệm tương đương (5.8) không được vượt quá 30 s.
Đối với các đầu báo cháy không đặt lại được, thời gian đáp ứng phải nằm giữa các giới hạn trên và dưới của thời gian đáp ứng đối với cấp tương ứng của đầu báo cháy, như quy định trong Bảng 4.
5.16 Thử rung hình sin (vận hành)
5.16.1 Mục tiêu của thử nghiệm
Chứng minh khả năng không chịu ảnh hưởng (tính miễn nhiễm) của đầu báo cháy đối với rung ở các mức được xem là thích hợp với môi trường làm việc bình thường.
5.16.2 Tiến hành thử
5.16.2.1 Tài liệu tham chiếu
Sử dụng thiết bị thử và thực hiện tiến hành thử như quy định trong IEC 60068-2-6, thử nghiệm Fc, và trong 5.16.2.2 đến 5.16.2.5.
5.16.2.2 Trạng thái của mẫu thử trong quá trình ổn định
Lắp đặt mẫu thử trên đồ gá cứng vững như quy định trong 5.1.3 và kết nối mẫu thử với thiết bị cung cấp và giám sát như quy định trong 5.1.2 cho tác động của rung lần lượt vào mỗi một trong ba trục vuông góc với nhau và sao cho một trong ba trục vuông góc với mặt phẳng lắp đặt thông thường của mẫu thử.
5.16.2.3 Ổn định
Ổn định các mẫu thử sử dụng các thông số sau:
- Dải tần số: (10 đến 150) Hz;
- Biên độ gia tốc: 5 m/s2 (≈0,5 gn);
- Số lượng trục: 3;
-Tốc độ quét: 1 octa/min;
- Số lượng chu kỳ quét: 1 /trục.
Các thử nghiệm vận hành và độ bền lâu đối với rung có thể được kết hợp sao cho mẫu thử được thử nghiệm vận hành khi ổn định theo sau là thử nghiệm độ bền lâu khi ổn định theo một trục trước khi thay đổi sang trực tiếp-sau. Chỉ cần thực hiện một phép đo lần cuối.
5.16.2.4 Các phép đo trong quá trình ổn định
Giám sát các mẫu thử trong thời gian ổn định để phát hiện bất cứ tín hiệu báo động hoặc tín hiệu báo lỗi nào.
5.16.2.5 Các phép đo lần cuối
Các phép đo lần cuối quy định trong 5.17.2.4 thường được thực hiện sau thử nghiệm độ bền lâu về rung. Các phép đo này chỉ được thực hiện nếu thử nghiệm vận hành được tiến hành riêng.
5.16.3 Yêu cầu
Không được phát ra tín hiệu báo động hoặc tín hiệu báo lỗi trong quá trình ổn định.
Đối với các đầu báo cháy đặt lại được, thời gian đáp ứng ở 3 K/min không được ít hơn 7 min 13 s và bất cứ thay đổi nào về thời gian đáp ứng so với thời gian thu được trong thử nghiệm tương đương (5.8) không được vượt quá 2 min 40 s.
Đối với các đầu báo cháy đặt lại được, thời gian đáp ứng ở 20 K/min không được ít hơn 30 s đối các đầu báo cháy cấp A1, không được ít hơn 60 s đối với tất cả các cấp khác, và bất cứ thay đổi nào về thời gian đáp ứng so với thời gian trong thử nghiệm tương đương (5.8) không được vượt quá 30 s.
Đối với các đầu báo cháy không đặt lại được, thời gian đáp ứng phải nằm giữa các giới hạn trên và dưới của thời gian đáp ứng đối với cấp tương ứng của đầu báo cháy như quy định trong Bảng 4.
5.17 Thử nghiệm Rung, hình sin (bền lâu)
5.17.1 Mục tiêu của thử nghiệm
Chứng minh các đầu báo cháy có khả năng chịu đựng được tác động rung lâu dài ở mức độ thích hợp với môi trường làm việc bình thường.
5.17.2 Tiến hành thử
5.17.2.1 Tài liệu tham chiếu
Sử dụng thiết bị thử và thực hiện tiến hành thử như quy định trong IEC 60068-2-6, thử nghiệm Fc, và trong 5.17.2.2 đến 5.17.2.4.
5.17.2.2 Trạng thái của mẫu thử trong quá trình ổn định
Lắp đặt mẫu thử trên đồ gá cứng vững như quy định trong 5.1.3 và kết nối mẫu thử với thiết bị cung cấp và giám sát như quy định trong 5.1.3 cho tác động của rung lần lượt vào mỗi một trong ba trục vuông góc với nhau và sao cho một trong ba trục vuông góc với mặt phẳng lắp đặt thông thường của mẫu thử.
5.17.2.3 Ổn định
Ổn định các mẫu thử sử dụng các thông số sau:
- Dải tần số: (10 đến 150) Hz;
- Biên độ gia tốc: 5 m/s2 (≈0,5 gn);
- Số lượng trục: 3;
- Tốc độ quét: 1 octa/min;
- Số lượng chu kỳ quét: 20/trục.
Các thử nghiệm vận hành và độ bền lâu đối với rung có thể được kết hợp sao cho mẫu thử được thử nghiệm vận hành khi ổn định theo sau là thử nghiệm độ bền lâu khi ổn định theo một trục trước khi thay đổi sang trục tiếp sau. Chỉ cần thực hiện một phép đo lần cuối.
5.17.2.5 Các phép đo lần cuối
Đo thời gian đáp ứng của các mẫu thử như quy định trong 5.1.5 ở các tốc độ tăng nhiệt độ không khí 3 K/ min và 20 K/min theo hướng trong thử nghiệm 5.2 để cho thời gian đáp ứng dài nhất. Trước mỗi phép đo, ổn định mẫu thử ở nhiệt độ sử dụng điển hình tương ứng với cấp được ghi nhãn trên mẫu thử như quy định trong Bảng 1.
5.17.3 Yêu cầu
Không được phát ra tín hiệu báo động hoặc tín hiệu báo lỗi trong quá trình ổn định.
Đối với các đầu báo cháy có thể đặt lại được, thời gian đáp ứng ở 3 K/min không được ít hơn 7 min 13 s và bất cứ thay đổi nào về thời gian đáp ứng so với thời gian thu được trong thử nghiệm tương đương (5.8) không được vượt quá 2 min 40 s.
Đối với các đầu báo cháy có thể đặt lại được, thời gian đáp ứng ở 20 K/min không được ít hơn 30 s đối các đầu báo cháy cấp A1, không được ít hơn 60 s đối với tất cả các cấp khác, và bất cứ thay đổi nào về thời gian đáp ứng so với thời gian trong thử nghiệm tương đương (5.8) không được vượt quá 30 s.
Đối với các đầu báo cháy không đặt lại được, thời gian đáp ứng phải nằm giữa các giới hạn trên và dưới của thời gian đáp ứng đối với cấp tương ứng của đầu báo cháy như quy định trong Bảng 4.
5.18 Thử nghiệm tính miễn nhiễm tương thích điện từ (EMC) (vận hành)
5.18.1 Tiến hành thử
Thử nghiệm tính miễn nhiễm tương thích điện từ (EMC) như quy định trong IEC 62599-2:
a) Sự phóng điện tĩnh điện;
b) Trường điện từ bức xạ;
c) Nhiễu loạn điều khiển do trường điện từ;
d) Xung nhiễu tức thời, với một tần số lặp lại là 100 kHz;
e) Làm chậm sự tăng đột biến điện áp năng lượng cao.
5.18.2 Đối với các thử nghiệm này, phải áp dụng các chuẩn mực về sự tuân thủ được quy định trong IEC 62599-2 và các yêu cầu sau:
a) Thử nghiệm chức năng theo yêu cầu trong các phép đo ban đầu và lần cuối phải như sau:
- Đo thời gian đáp ứng của các mẫu thử như quy định trong 5.1.5 ở các tốc độ tăng nhiệt độ khống chế 3 K/min và 20 K/min theo hướng trong thử nghiệm 5.2 để cho thời gian đáp ứng dài nhất;
- Trước mỗi phép đo, ổn định mẫu thử nhiệt độ sử dụng điển hình tương ứng với cấp được ghi nhãn trên mẫu thử như quy định trong Bảng 1.
b) Điều kiện vận hành yêu cầu phải theo quy định trong 5.1.2;
c) Các chuẩn mực chấp nhận đối với thử nghiệm chức năng sau khi ổn định phải như sau:
- Không phát ra tín hiệu báo động hoặc tín hiệu báo lỗi trong quá trình ổn định;
- Đối với các đầu báo cháy đặt lại được, thời gian đáp ứng ở 3 K/min không được ít hơn 7 min 13 s và bất cứ thay đổi nào về thời gian đáp ứng so với thời gian thu được trong thử nghiệm tương đương (5.8) không được vượt quá 2 min 40 s.
- Đối với các đầu báo cháy đặt lại được, thời gian đáp ứng ở 20 K/min không được ít hơn 30 s đối với các đầu báo cháy cấp A1, không được ít hơn 60 s đối với tất cả các cấp khác, và bất cứ thay đổi nào về thời gian đáp ứng so với thời gian thu được trong thử nghiệm tương đương (5.8) không được vượt quá 30 s.
- Đối với các đầu báo cháy không đặt lại được, thời gian đáp ứng phải nằm giữa các giới hạn trên và dưới của thời gian đáp ứng đối với cấp tương ứng của đầu báo cháy như quy định trong Bảng 4.
5.19 Thử nghiệm đối với các đầu báo cháy có ký hiệu S
5.19.1 Mục tiêu của thử nghiệm
Xác nhận đầu báo cháy có ký hiệu s ở ký hiệu cấp không nhạy cảm ở nhiệt độ dưới nhiệt độ nhạy cảm tĩnh nhỏ nhất tương ứng với cấp của đầu báo cháy. Thử nghiệm này chỉ áp dụng cho các đầu báo cháy có ký hiệu S.
CHÚ THÍCH: Các đầu báo cháy có ký hiệu S có thể đặc biệt thích hợp cho sử dụng trong các ứng dụng như các buồng nồi hơi và nhà bếp ở đây có thể phải chịu các tốc độ tầng nhiệt độ cao trong thời gian dài.
5.19.2 Tiến hành thử
5.19.2.1 Thử làm nguội đột ngột đối với các đầu báo cháy có ký hiệu S
Lắp đặt trong mẫu thử như quy định trong 5.1.3 và kết nối mẫu thử với thiết bị cung cấp và giám sát như quy định trong 5.1.2.
Ổn định mẫu thử ở nhiệt độ ổn định tương ứng với cấp được ghi nhãn trên mẫu thử như quy định trong Bảng 7. Tại lúc kết thúc giai đoạn ổn định, chuyển mẫu thử trong thời gian không vượt quá 10 s vào dòng không khí lưu lượng (0,8 ±0,1) m/s (đương lượng khối lượng ở 25 °C) được duy trì ở nhiệt độ được quy định trong Bảng 7. Thử nghiệm mẫu thử theo hưởng trong thử nghiệm 5.2 để cho thời gian đáp ứng ngắn nhất. Phơi mẫu thử vào dòng không khí trong thời gian ít nhất là 10 min. Ghi lại bất cứ sự phản ứng nào của mẫu thử trong thời gian này hoặc trong thời gian chuyển mẫu thử.
Bảng 7 - Nhiệt độ ổn định và nhiệt độ không khí đối với các cấp có ký hiệu S
| Cấp của đầu báo cháy | Nhiệt độ xử lý ổn định, °C | Nhiệt độ dòng không khí, °C |
| A1S | 5 ± 2 | 50 ± 2 |
| A2S | 5 ± 2 | 50 ± 2 |
| BS | 20 ± 2 | 65 ± 2 |
| cs | 35 ± 2 | 80 ± 2 |
| DS | 50 ± 2 | 95 ± 2 |
| ES | 65 ± 2 | 110 ± 2 |
| FS | 80 ± 2 | 125 ±2 |
| GS | 95 ± 2 | 140 ± 2 |
5.19.2.2 Đánh giá thời gian đáp ứng
Thời gian đáp ứng của mẫu thử trong các thử nghiệm quy định trong 5.2, 5.4, 5.7, 5.8
5.19.3 Yêu cầu
Mẫu thử được thử nguội đột ngột không được phát ra tín hiệu báo động hoặc tín hiệu báo lỗi trong thời gian chuyển hoặc trong 10 min được phơi trong dòng không khí khi được thử như quy định trong 5.19.2.1
Thời gian đáp ứng của mẫu thử trong các thử nghiệm quy định trong 5.2, 5.4, 5.7 và 5.8 phải vượt quá giới hạn dưới của thời gian đáp ứng tương ứng với mỗi tốc độ tăng nhiệt độ như quy định trong Bảng 8.
Bảng 8 - Giới hạn dưới của thời gian đáp ứng đối với các đầu báo cháy có ký hiệu S
| Tốc độ tăng nhiệt độ không khí, K/min | Giới hạn dưới của thời gian đáp ứng | |
| min | s | |
| 3 | 9 | 40 |
| 5 | 5 | 48 |
| 10 | 2 | 54 |
| 20 | 1 | 27 |
| 30 | - | 58 |
CHÚ THÍCH: Các giới hạn dưới của thời gian đáp ứng này tương ứng với độ tăng nhỏ nhất của nhiệt độ so với nhiệt độ ổn định 29 °C.
5.20 Thử nghiệm đối với các đầu báo cháy có ký hiệu R
5.20.1 Mục tiêu của thử nghiệm
Xác nhận đầu báo cháy có ký hiệu R duy trì được các yêu cầu nhạy cảm theo cấp của nó đối với các tốc độ tăng cao của nhiệt độ bắt đầu từ nhiệt độ ban đầu thấp hơn nhiệt độ sử dụng điển hình tương ứng với cấp được ghi nhãn trên đầu báo cháy. Thử nghiệm này chỉ áp dụng cho các đầu báo cháy có ký hiệu R.
CHÚ THÍCH: Các đầu báo cháy có ký hiệu R có thể đặc biệt thích hợp cho sử dụng trong các tòa nhà không được sưởi, khi nhiệt độ môi trường có thể thay đổi đáng kể và không chịu các tốc độ tăng nhiệt độ cao trong thời gian dài.
5.20.2 Tiến hành thử
Thử nghiệm các mẫu thử như quy định trong 5.1.5 ở các tốc độ tăng nhiệt độ 10 K/min, 20 K/min và 30 K/min. Thử nghiệm một mẫu thử theo hướng dẫn trong thử nghiệm 5.2 để cho thời gian đáp ứng ngắn nhất và mẫu thử khác theo hướng dẫn cho thời gian đáp ứng dài nhất. Trước mỗi thử nghiệm, ổn định dòng không khí và mẫu thử ở nhiệt độ tương ứng với cấp được ghi nhãn trên mẫu thử như quy định trong Bảng 9. Ghi lại thời gian đáp ứng của các mẫu thử.
Bảng 9 - Nhiệt độ ổn định ban đầu đối với các báo cháy có ký hiệu R
| Cấp của đầu báo cháy | Nhiệt độ ổn định ban đầu, °C |
| A1R | 5 ± 2 |
| A2R | 5 ± 2 |
| BR | 20 ± 2 |
| CR | 35 ± 2 |
| DR | 50 ± 2 |
| ER | 65 ± 2 |
| FR | 80 ± 2 |
| GR | 95 ± 2 |
5.20.3 Yêu cầu
Thời gian đáp ứng của các đầu bào cháy phải nằm giữa các giới hạn trên và dưới của thời gian đáp ứng tương ứng với cấp của đầu báo cháy như quy định trong Bảng 4.
6. Báo cáo thử nghiệm
Báo cáo thử phải có tối thiểu các thông tin sau:
a) Nhận biết mẫu thử;
b) Số hiệu của tiêu chuẩn này, TCVN 7568-5:2025 (ISO 7240-5:2018);
c) Các kết quả thử nghiệm: các thời gian đáp ứng riêng, giá trị thấp nhất, giá trị cao nhất và giá trị trung bình cộng phù hợp.
d) Thời gian ổn định và môi trường ổn định;
e) Nhiệt độ và độ ẩm tương đối trong phòng thử trong suốt quá trình thử;
f) Các chi tiết của thiết bị cung cấp và giám sát và các chuẩn mực của sự đáp ứng;
g) Các chi tiết về bất cứ sai lệch nào so với tiêu chuẩn này hoặc so với các tiêu chuẩn được viện dẫn và các chi tiết về bất cứ các hoạt động nào được xem là tùy chọn.
7. Ghi nhãn
Mỗi đầu báo cháy phải được ghi nhãn rõ ràng với các thông tin sau:
a) Số hiệu của tiêu chuẩn này, TCVN 7568-5 (ISO 7240-5);
b) Cấp của đầu báo cháy (ví dụ A1, A1R, A1S, A2, B, v.v). Nếu đầu báo cháy có phương tiện để điều chỉnh cấp tại hiện trường (xem 4.8) thì việc ghi nhãn của cấp có thể được thay thế bằng ký hiệu “P”;
c) Tên hoặc nhãn hiệu của nhà sản xuất hoặc nhà cung cấp;
d) Ký hiệu mẫu (model) (kiểu hoặc số hiệu);
e) Các ký hiệu của các đầu đấu dây;
f) Một số dấu hiệu hoặc mã (ví dụ, số loạt hoặc mã của lô) mà nhà sản xuất có thể nhận biết ít nhất là ngày hoặc lô và địa điểm chế tạo và số hiệu phiên bản của bất cứ phần mềm nào được cài đặt trong đầu báo cháy.
Đối với các đầu báo cháy tháo được thì ở phần đầu của đầu báo cháy phải được ghi nhãn a), b), c), d) và f) và phần đế phải được ghi nhãn ít nhất là d) và e).
Khi bất cứ sự ghi nhãn nào trên thiết bị sử dụng các ký hiệu hoặc chữ viết tắt không thông dụng thì chúng nên được giải thích trong dữ liệu được cung cấp cho thiết bị.
Nhãn phải nhìn thấy được trong quá trình lắp đặt đầu báo cháy và phải tiếp cận được trong quá trình bảo dưỡng.
Nhãn không được đặt trên các vít hoặc các chi tiết khác có thể tháo ra được một cách dễ dàng.
8. Dữ liệu
8.1 Tài liệu cho phần cứng
8.1.1 Các đầu báo cháy phải được cung cấp có đủ dữ liệu kỹ thuật, dữ liệu cho lắp đặt và bảo dưỡng để có thể lắp đặt và vận hành đúng, nếu tất cả các dữ liệu này không được cung cấp cho mỗi đầu báo cháy thì tham chiếu từ tờ dữ liệu thích hợp được cung cấp cho mỗi đầu báo cháy.
CHÚ THÍCH: Để có thể vận hành đúng các đầu báo cháy, các dữ liệu này nên quy định các yêu cầu về xử lý đúng các tín hiệu từ đầu báo cháy. Quy định này có thể dưới dạng đặc tính kỹ thuật đầy đủ của các tín hiệu này, một đoạn tham chiếu thủ tục truyền tín hiệu thích hợp hoặc một đoạn tham chiếu các kiểu trung tâm báo cháy thích hợp, v.v...
8.1.2 Đối với các đầu báo cháy có phương tiện để điều chỉnh cấp của chúng tại hiện trường thì các dữ liệu này phải nhận biết các cấp áp dụng được và phải mô tả phương pháp lập trình (ví dụ, bằng việc lựa chọn các vị trí chuyển mạch trên đầu báo cháy hoặc lựa chọn chỉnh đặt từ một chương trình (menu) trong trung tâm báo cháy).
CHÚ THÍCH: Thông tin bổ sung có thể được yêu cầu bởi các cơ quan chứng nhận để đảm bảo rằng các đầu báo cháy tuân theo các yêu cầu của tiêu chuẩn này.
8.2 Tài liệu phần mềm
8.2.2.1 Nhà sản xuất phải có tài liệu mô tả ngắn gọn về thiết kế phần mềm. Tài liệu này phải đủ chi tiết về thiết kế để được kiểm tra sự tuân theo của tiêu chuẩn này và phải bao gồm ít nhất là các yêu cầu sau:
a) mô tả chức năng của luồng chương trình chính (ví dụ, sơ đồ luồng hoặc lược đồ) bao gồm:
- Mô tả ngắn gọn các môđun và các chức năng mà chúng thực hiện;
- Cách thức tương tác của các mô đun;
- Sự phân cấp toàn bộ chương trình;
- Cách thức mà phần mềm tương tác với phần cứng của đầu báo cháy;
- Cách thức mà các mô đun được gọi, bao gồm cả bất cứ sự xử lý ngắt nào.
b) Mô tả các vùng của bộ nhớ được sử dụng cho các mục đích khác nhau (ví dụ, chương trình, dữ liệu riêng tại hiện trường và dữ liệu đang hoạt động);
c) Ký hiệu, qua đỏ phần mềm và phiên bản của nó có thể được nhận biết một cách duy nhất.
8.2.2.2 Nhà sản xuất phải chuẩn bị và duy trì tài liệu thiết kế chi tiết. Tài liệu này phải có sẵn để phục vụ kiểm tra trên cơ sở bảo đảm quyền bảo mật của nhà sản xuất. Tài liệu phải bao gồm tối thiểu là các nội dung sau:
a) Mô tả ngắn gọn toàn bộ cấu hình của hệ thống, gồm tất cả các thành phần của phần mềm và phần cứng;
b) Mô tả mỗi mô đun của chương trình có chứa ít nhất là
- Tên của mô đun;
- Mô tả các nhiệm vụ được thực hiện;
- Mô tả các giao diện, bao gồm cả kiểu truyền dữ liệu, dải dữ liệu hợp lệ và kiểm tra đối với dữ liệu hợp lệ;
c) Các mã nguồn đầy đủ, như bản sao dạng cứng hoặc ở dạng máy có thể đọc được (ví dụ, ASC II- code), bao gồm sự biến toàn bộ và biến cục bộ, các hằng số và các nhãn được sử dụng, và diễn giải đủ để nhận biết được dòng chương trình;
d) Các chi tiết của bất cứ công cụ phần mềm nào được sử dụng trong thiết kế và thực hiện (ví dụ, công cụ CASE-tools, biên dịch).
Tài liệu thiết kế chi tiết này có thể được kiểm tra tại cơ sở của nhà sản xuất.
Phụ lục A
(Quy định)
Đường hầm nhiệt dùng cho các phép đo thời gian đáp ứng và nhiệt độ nhạy cảm
A.1 Phụ lục này quy định các đặc tính của đường hầm nhiệt, các đặc tính này rất quan trọng cho việc thực hiện các phép đo có thể lặp lại và tái tạo lại được của thời gian đáp ứng và nhiệt độ nhạy cảm tĩnh của các đầu báo cháy nhiệt. Tuy nhiên, vì việc quy định và đo tất cả các thông số có thể ảnh hưởng đến các phép đo là không thực tế cho nên cần chú ý quan tâm và tính đến các thông tin cơ bản trong Phụ lục B khi thiết kế và sử dụng đường hầm nhiệt để thực hiện các phép đo phù hợp với tiêu chuẩn này.
Đường hầm nhiệt phải nhạy cảm các yêu cầu sau đối với mỗi cấp của đầu báo cháy nhiệt được sử dụng cho thử nghiệm.
A.2 Đường hầm nhiệt phải có một đoạn làm việc nằm ngang chứa một thể tích làm việc. Thể tích làm việc là một bộ phận xác định của đoạn làm việc ở đó nhiệt độ không khí và các điều kiện của dòng không khí ở trong phạm vi ± 2 K và ± 0,1 m/s so với các điều kiện thử nghiệm danh nghĩa. Sự tuân theo yêu cầu này phải được kiểm tra đều đặn trong cả điều kiện tĩnh và điều kiện có tốc độ tăng nhiệt độ tại số lượng thích hợp các điểm được phân bố bên trong và các đường biên tưởng tượng của thể tích làm việc. Thể tích làm việc phải đủ lớn để bao bọc hoàn toàn các đầu báo cháy được thử, số lượng yêu cầu các panen lắp đặt và cảm biến đo nhiệt độ.
A.3 Đầu báo cháy được thử nghiệm phải được lắp đặt ở vị trí làm việc bình thường của nó trên mặt phía dưới của một panen phẳng được đặt thẳng hàng với dòng không khí trong thể thích làm việc. Panen phải có chiều dày (5 ± 1) mm và các kích thước sao cho các cạnh của panen phải cách bất cứ bộ phận nào của đầu báo cháy ít nhất là 20 mm. Các cạnh của panen phải có dạng nửa tròn và dòng không khí giữa các panen và trần của đường hầm không bị cản trở quá mức. Vật liệu để chế tạo panen phải có độ dẫn nhiệt không lớn hơn 0,52 W/m/K.
A.4 Nếu có nhiều hơn một đầu báo cháy được lắp đặt trong thể tích làm việc và được thử nghiệm đồng thời thì các thử nghiệm trước đây phải được tiến hành để xác nhận rằng các phép đo thời gian đáp ứng được thực hiện đồng thời trên nhiều hơn một đầu báo cháy gần như phù hợp với các phép đo được thực hiện bằng thử nghiệm các đầu báo cháy riêng biệt. Trong trường hợp có sự tranh cãi thì giá trị thu được bằng thử nghiệm riêng phải được chấp nhận.
A.5 Phải có phương tiện để tạo ra dòng không khí đi qua thể tích làm việc ở nhiệt độ và tốc độ tăng nhiệt độ không khí thay đổi đối với các cấp của đầu báo cháy được thử. Dòng không khí này chủ yếu phải là chảy tầng và được duy trì ở lưu lượng không đổi tương đương với (0,8 ±0,1) m/s ở 25 °C.
A.6 Cảm biến nhiệt độ phải được bố trí ở phía đầu dòng cách đầu báo cháy ít nhất là 50 mm và ở phía dưới cách bề mặt bên dưới của panen lắp đặt ít nhất là 25 mm. Nhiệt độ không khí phải được điều chỉnh trong phạm vi ± 2 K so với nhiệt độ danh nghĩa được yêu cầu ở bất cứ thời điểm nào trong quá trình thử nghiệm.
A.7 Hệ thống đo nhiệt độ không khí phải có hằng số thời gian tổng không lớn hơn 2 s khi được đo trong không khí với lưu lượng khối lượng tương đương với (0,8 ±0,1) m/s ở 25 °C.
A.8 Phải có phương tiện để đo thời gian đáp ứng của đầu báo cháy được thử nghiệm với độ chính xác đến ± 1 s.
Phụ lục B
(Tham khảo)
Kết cấu đường hầm nhiệt
B.1 Các đầu báo cháy nhiệt nhạy cảm khi các tín hiệu từ một hoặc nhiều cảm biến nhạy cảm một số chuẩn mực. Nhiệt độ của các bộ cảm biến có liên quan đến nhiệt độ không khí xung quanh đầu báo cháy, nhưng mối quan hệ thường phức tạp và phụ thuộc vào nhiều yếu tố. Như sự định hướng lắp đặt, tốc độ không khí, sự chảy rối, tốc độ tăng nhiệt độ không khí v.v... Các thời gian đáp ứng và nhiệt độ đáp ứng, tính ổn định của chúng là các tham số chính được xem xét khi đánh giá tính năng phát hiện chảy của các đầu báo cháy nhiệt bằng thử nghiệm phù hợp với tiêu chuẩn này.
Có nhiều thiết kế đường hầm nhiệt khác nhau thích hợp đối với các thử nghiệm được quy định trong tiêu chuẩn này nhưng nên quan tâm đến các điểm sau khi thiết kế và xác định đặc tính của đường hầm nhiệt.
B.2 Có hai kiểu đường hầm nhiệt cơ bản: đường hầm nhiệt tuần hoàn khép kín và không tuần hoàn khép kín. Tất cả các đường hầm nhiệt đều như nhau, đường hầm nhiệt không tuần hoàn khép kín yêu cầu bộ phát nhiệt có công suất cao hơn so với đường hầm nhiệt tuần hoàn khép kín, đặc biệt là đối với các tốc độ tăng nhiệt độ không khí cao hơn. Cần có sự quan tâm hơn để bảo đảm rằng bộ phát nhiệt có công suất cao và hệ thống điều khiển của đường hầm nhiệt không tuần hoàn khép kín nhạy cảm đủ cho các thay đổi trong nhu cầu về nhiệt cần thiết để đạt được các điều kiện yêu cầu của nhiệt độ - thời gian trong đoạn làm việc. Mặt khác, việc duy trì lưu lượng khối lượng không khí không đổi cùng với tăng nhiệt độ thường khó khăn hơn trong đường hầm nhiệt tuần hoàn khép kín
B.3 Hệ thống điều khiển nhiệt độ phải có khả năng duy trì nhiệt độ trong khoảng ± 2 K “nhiệt độ chuyển tiếp lý tưởng” đối với tất cả các tốc độ tăng nhiệt độ không khí quy định. Tính năng này có thể đạt được bằng nhiều cách khác nhau, ví dụ:
- Bằng điều khiển sự đốt nóng có tỷ lệ, trong đó sử dụng các phần tử đốt nóng nhiều hơn khi tạo ra tốc độ tăng nhiệt độ cao hơn. Có thể đạt được sự điều khiển nhiệt độ tốt hơn bằng cách cấp điện liên tục cho một số phần tử đốt nóng trong khi điều chỉnh các phần tử khác nhau. Với hệ thống điều khiển này, khoảng cách giữa bộ phát nhiệt của đường hầm nhiệt và đầu báo cháy được thử nghiệm không nếu quá lớn để cho cự trễ vốn có trong vòng lặp hồi tiếp điều khiển nhiệt độ trở nên quá mức ở lưu lượng không khí (0,8 ± 0,1) m/s;
- Bằng điều khiển sự đốt nóng theo hướng cấp nhiệt có tốc độ điều khiển được với sự trợ giúp của sự hồi tiếp có tỷ lệ/toàn phần (Pl). Hệ thống điều khiển này sẽ cho phép khoảng cách lớn hơn giữa bộ phát nhiệt của đường hầm nhiệt và đầu báo cháy được thử nghiệm.
Điều quan trọng là các prôtin của nhiệt độ quy định thu được có độ chính xác theo yêu cầu ở trong đoạn làm việc.
B.4 Đối với đường hầm nhiệt không tuần hoàn khép kín, máy đo gió dùng để điều khiển và giám sát dòng không khí có thể được đặt trong một đoạn của đường hầm phía trước của bộ phát nhiệt, ở đây máy đo gió sẽ chịu tác động của nhiệt độ hầu như không thay đổi, do đó đã loại trừ được bất cứ sự bù nhiệt độ nào cho tín hiệu ra của nó. Một tốc độ không đổi do máy đo gió chỉ thị nên được định vị tương quan với lưu lượng khối lượng không đổi của gió đi qua thể tích làm việc. Tuy nhiên để duy trì lưu lượng khối lượng không đổi ở áp suất khí quyển bình thường trong đường hầm nhiệt tuần hoàn khép kín, cần phải tăng tốc độ không khí nhiệt độ không khí nhiệt độ không khí tăng lên. Vì vậy nên xem xét cẩn thận để đảm bảo rằng có sự hiệu chỉnh thích hợp đối với hệ số nhiệt độ của máy đo gió khi giám sát dòng không khí. Không nên cho rằng máy đo gió tự động bù nhiệt độ sẽ bù nhanh ở tốc độ tăng nhiệt độ không khí cao.
B.5 Dòng không khí được tạo ra bởi quạt gió trong đường hầm nhiệt sẽ là dòng chảy rối và cần được đưa qua bộ phận giảm chảy rối để tạo ra dòng chảy gần với chảy tầng và dòng không khí đồng đều trong thể tích làm việc (xem Hình B.1 & B.2).
Yêu cầu này có thể đạt được dễ dàng bằng cách sử dụng bộ lọc, vật có đục nhiều lỗ nhỏ hoặc cả hai, xếp thẳng hàng và ở phía đầu dòng của đoạn làm việc trên đường hầm.
B.6 Nên chú ý đảm bảo cho dòng không khí từ bộ phát nhiệt được hòa trộn để có nhiệt độ đồng đều trước khi đi vào bộ phận giảm chảy rối.
B.7 Không thể thiết kế được một đường hầm mà nhiệt độ đồng đều và các điều kiện của dòng chảy phổ biến trên tất cả các phần của đoạn làm việc. Sai lệch sẽ xuất hiện, đặc biệt là ở gần các thành của đường hầm, ở đó lớp không khí ở ngoài biên thường chậm hơn và nguội hơn. Chiều dày của lớp không khí ngoài biên này và gradien nhiệt độ của nó có thể giảm đi bởi kết cấu và lớp phủ các thành (tường) đường hầm với vật liệu có tính dẫn nhiệt thấp.
B.8 Phải đặc biệt chú ý đến hệ thống đo nhiệt độ trong đường Phải đặc biệt chú ý tới hệ thống đo nhiệt độ trong đường hầm. Hằng số thời gian tổng yêu cầu không lớn hơn 2 s trong không khí có nghĩa là cảm biến nhiệt độ nên có khối lượng nhiệt rất nhỏ. Trong thực tế chỉ có các cặp nhiệt điện và các cảm biến nhỏ tương tự mới thích hợp cho hệ thống đo. Ảnh hưởng của tổn thất nhiệt từ cảm biến qua các dây dẫn của nó thường có thể giảm tới mức tối thiểu bằng cách phơi chiều dài nhiều centimet của dây dẫn vào dòng không khí.

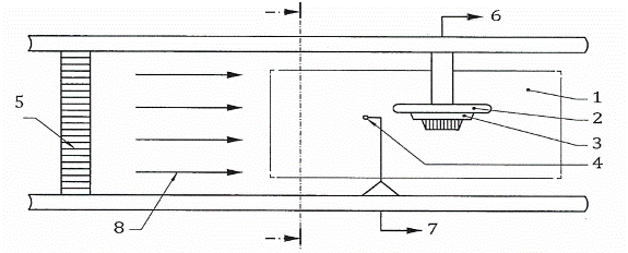
CHÚ DẪN
| 1 | Thể tích làm việc | 5 | Bộ phận giảm dòng chảy rối |
| 2 | Panel lắp | 6 | Đầu ra tối thiểu cung cấp và giám sát |
| 3 | Các đầu báo cháy được thử nghiệm | 7 | Bộ điều khiển đầu ra và thiết bị đo |
| 4 | Cảm biến nhiệt độ | 8 | Dòng không khí |
Hình B.1 - Ví dụ về đoạn làm việc của đường hầm nhiệt

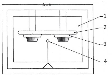
CHÚ DẪN:
1 Thể tích làm việc
2 Panel lắp
3 Các đầu báo cháy được thử nghiệm
4 Cảm biến nhiệt độ
Hình B.2 - Ví dụ về đường hầm nhiệt - Thử nghiệm đồng thời hai đầu báo cháy
Phụ lục C
(Tham khảo)
Nguồn gốc của các giới hạn trên và dưới của thời gian đáp ứng
C.1 Giới hạn trên
C.1.1 Giới hạn trên của thời gian phản hồi được lấy từ thời gian phản hồi lý thuyết của lý tưởng hóa máy dò chỉ chứa phần tử tĩnh (máy dò nhiệt độ cố định). Giả sử không có tổn thất nhiệt từ các cảm nhận yếu tố, các phản ứng thời gian của như là Một máy dò dưới không thay đổi điều kiện của không khí khối chảy Và tốc độ tăng nhiệt độ không khí phụ thuộc vào hai đặc tính thiết kế. Đầu tiên là 'hằng số thời gian τ của cảm nhận phần tử như thể hiện bằng Công thức (C.1):
|
| (C.1) |
CHÚ DẪN:
C là nhiệt dung của phần tử nhạy cảm nhiệt
H là hệ số truyền nhiệt đối lưu cho phần tử;
A là diện tích bề mặt của phần tử
C.1.2 Đặc tính thử thứ hai là nhiệt độ đó tại đầu báo cháy sẽ đưa ra một tín hiệu báo động khi chịu tác động của tốc độ tăng nhiệt độ không khí vô cùng chậm, sự chỉnh nhiệt độ cố định của nó, sự chỉnh đặt này thường được thực hiện bằng điều chỉnh khe hở giữa các tiếp điểm (công tắc), điện trở, v.v...
C.1.3 Sự giảm đi của một trong các đặc tính này sẽ dẫn đến sự giảm đi của thời gian đáp ứng của đầu báo cháy ở bất cứ tốc độ tăng nhiệt độ không khí đã cho nào. Vì vậy một đầu báo cháy có thời gian đáp ứng cao (độ nhạy thấp) sẽ có chỉnh đặt nhiệt độ chỉnh cao hoặc hằng số thời gian dài hoặc cả hai, trong khi một đầu báo cháy có thời gian đáp ứng ngắn (độ nhạy cao) sẽ có các giá trị của một đặc tính thấp hơn hoặc cả hai.
C.1.4 Khi giả thiết không có các tổn thất nhiệt, độ tăng nhiệt độ 6 của phần tử nhạy cảm ở bất cứ thời điểm t nào, khi chịu tác động của lưu lượng khối lượng không đổi có sự tăng nhiệt độ α một cách tuyến tính, được cho bởi phương trình (C.2) sau:
|
| (C.2) |
Lời giải của phương trình như sau:
|
| (C.3) |
Nếu θo là độ tăng nhiệt độ làm việc của phần tử nhạy cảm (độ chênh lệch giữa nhiệt độ báo động và nhiệt độ ổn định) thì thời gian đáp ứng được cho bởi nghiệm của phương trình trên với 8 được đặt trở lại là θo.
Hai tập hợp các giới hạn của thời gian đáp ứng được cho trong Bảng 4 đã được tính toán sử dụng các giá trị cho trong Bảng C.1.
Bảng C.1 - Các hằng số nhiệt được sử dụng để thu được các giới hạn trên trong Bảng 4
| Cấp của các đầu báo cháy | Thời gian nhiệt hằng số cho giới hạn trên | |
| θo K | τ S | |
| A1 | 40 | 20 |
| Tất cả các cấp khác | 45 | 60 |
Các hằng số thời gian được cho trong Bảng C.1 có tính đến luồng không khí tốc độ 0,8 m/s và không nên nhầm lẫn với “Chỉ số thời gian đáp ứng’’ (Irt được biểu thị bằng m/s) thường được sử dụng trong các tài liệu về đầu báo cháy nhiệt khác. Irt được tham chiếu đến 1 m/s có liên quan đến hằng số thời gian τu ở lưu tốc không khí bởi phương trình (C.4) sau:
|
| (C.4) |
Hằng số thời gian được tham chiếu đến 1 m/s có cùng giá trị số Irt được tham chiếu đến 1 m/s.
C.2 Giới hạn dưới
C.2.1 Mục đích của việc đặt ra các giới hạn của thời gian đáp ứng của các đầu báo cháy là giảm tới mức tối thiểu sự mắc phải các tín hiệu báo động giả do các thay đổi trong nhiệt độ không khí xảy ra trong điều kiện không có đám cháy.
C.2.2 Sự phân tích tính năng của các đầu báo cháy tốc độ tăng nhiệt độ do nhiều nhà sản xuất tiến hành đã chỉ ra rằng, trừ các đầu báo cháy có tính năng tương đương với cấp A1, các đầu báo cháy phát hiện ra tín hiệu báo động ở cùng một nhiệt độ với các tốc độ tăng nhiệt độ từ 1 K/min. Dưới ánh sáng của sự khám phá này và phạm vi rộng của các điều kiện áp dụng trong đó các đầu báo cháy này có thể được lắp đặt, sự tăng lên nhỏ nhất của nhiệt độ cần thiết để phát ra tín hiệu báo động đối với các đầu báo cháy khác với cấp A1 đã được chỉnh đặt tại 20 K cho các tốc độ tăng nhiệt độ 10 K/min và lớn hơn khi bắt đầu từ nhiệt độ ban đầu hoặc thấp hơn nhiệt độ sử dụng điển hình. Đối với các đầu báo cháy cấp A1, sự tăng lên nhỏ nhất của nhiệt độ để phát ra tín hiệu báo động đã được chỉnh đặt tại 10 K cho các tốc độ tăng nhiệt độ 10 K/min và lớn hơn bởi vì có thể dự kiến rằng các đầu báo cháy cấp A1 sẽ được lắp trong môi trường không lớn, có sự thay đổi nhanh về nhiệt độ.
C.2.3 Các giới hạn dưới của thời gian đáp ứng quy định trong Bảng 4 cho các tốc độ tăng nhiệt độ đến 5 K/min đối với cấp A1 và đến 10 K/min đối với các cấp khác đã thu được từ các số liệu tính toán của đầu báo cháy tốc độ tăng nhiệt gồm có hai phần tử nhạy cảm nhiệt, một có hằng số thời gian 0 min và phần tử kia có hằng số thời gian 34 min và có “chỉnh đặt" nhiệt độ ban đầu là 19,51 K giữa các phần tử.
Các giá trị này đã được lựa chọn vì chúng tạo thành đường cong trơn mang lại độ tăng nhiệt độ vận hành 29 K đối với 1 K/min và 20 K đối với 10 K/min và lớn hơn. Đối với đầu báo cháy này, khi giả thiết là không có tổn thất nhiệt, thời gian đáp ứng t được cho bởi phương trình (C5) sau:
|
| (C.5) |
Trong đó:
τ là hằng số thời gian của phần tử thứ hai;
θ là giá trị chỉnh đặt của nhiệt độ giữa các phần tử;
α là tốc độ tăng nhiệt độ không khí
C.3 Thay đổi sau các thử nghiệm về môi trường
C.3.1 Đối với một phép đo đơn, có thể đo thời gian đáp ứng với độ chính xác cao, nhưng nhiệt độ nhạy cảm thường có độ ổn định lớn hơn một cách tương xứng bởi vì nhiệt độ thay đổi theo thời gian và có thể sai lệch so với nhiệt độ yêu cầu tới 2 K ở bất cứ thời điểm nào. Vì lý do đó, các phép đo thời gian đáp ứng đã được quy định trong tiêu chuẩn này cho các thử nghiệm trong đó đầu báo cháy chịu tác động của các tốc độ tăng nhiệt độ 1 K/min và lớn hơn.
c.3.2 Một số đầu báo cháy nhiệt, đặc biệt là các đầu báo cháy nhiệt độ cố định có hằng số thời gian nhiệt rất ngắn có thể một dải các thời gian đáp ứng từ các phép đo lặp lại phản ánh các giới hạn điều chỉnh nhiệt độ của thiết bị thử thay vì các thay đổi trong đầu báo cháy. Đó là vì thời gian đáp ứng của đầu báo cháy có thể có liên quan mật thiết với nhiệt độ của dòng không khí hơn là thời gian phải chịu tốc độ tăng nhiệt độ. Ngược lại, thời gian đáp ứng của các đầu báo cháy khác có thể phụ thuộc nhiều vào nhiệt độ ổn định hóa ban đầu hơn là nhiệt độ tức thời tại thời điểm đáo ứng. Các khả năng này đã được xem xét khi xác định sự thay đổi lớn nhất về thời gian đáp ứng giữa các phép đo được thực hiện trước và sau các thử nghiệm về môi trường.
C.3.3 Sự thay đổi lớn nhất cho phép tại 3 K/min là 2 min 40 s ngang bằng với thay đổi 8 K trong nhiệt độ nhạy cảm trong đó 4 K thuộc về thiết bị đo và 4 K thuộc về đầu báo cháy. Một cách tương tự, sự thay đổi lớn nhất cho phép là 30 s tại 20 K/min cùng ngang bằng với 8 K cộng thêm 2 K thuộc về hai độ không ổn định cho phép được quy tròn 1 s trong phép đo thời gian đáp ứng.
Phụ lục D
(Tham khảo)
Thiết bị để thử nghiệm va đập
D.1 Thiết bị (Hình D.1) chủ yếu gồm có một búa chuyển động lắc, đầu búa có tiết diện hình chữ nhật với mặt va đập được vát cạnh và được lắp trên cán bằng thép ống. Búa được lắp cố định vào ống thép cứng vững sao cho búa có thể quay tự do quanh trục cố định. Kết cấu của khung cứng vững phải cho phép bộ phận búa có thể quay được toàn bộ vòng tròn khi không lắp mẫu thử.
D.2 Đầu búa (đầu đập) có các kích thước: Chiều rộng 76 mm, chiều cao 50 mm và chiều dài 94 mm (các kích thước bao) và được chế tạo bằng hợp kim nhôm (AICu4SiMg như quy định trong ISO 209-1:1989) đã được xử lý nhiệt ở trạng thái dung dịch và kết tủa. Đầu búa có một mặt va đập phẳng được vát cạnh (60 ± 1)° so với trục dài của đầu búa. Đầu búa bằng thép ống có đường kính ngoài (25 ±0,1) mm, chiều dày thành (1,6 ± 0,1) mm.
D.3 Đầu búa được lắp trên cán sao cho đường trục dài của đầu búa cách trục quay của bộ phận búa 305 mm, hai đường trục này vuông góc với nhau, ống thép ở tâm có đường kính ngoài 102 mm và chiều dài 200 mm được lắp đồng trục trên trục tâm bằng thép cố định có đường kính khoảng 25 mm, tuy nhiên độ chính xác của đường kính trục sẽ phụ thuộc vào các ổ bi được sử dụng.
D.4 Đối diện với cán búa theo phương hướng kính là hai cánh tay đòn có đối trọng cân bằng, mỗi cánh tay đòn có đường kính ngoài 20 mm và chiều dài 185 mm các cánh tay đòn này được lắp ghép bằng ren bằng ống thép sao cho chiều dài của các phần nhô ra là 150 mm. Đối trọng cân bằng thép được lắp trên các cánh tay đòn sao cho vị trí của nó có thể điều chỉnh được để cân bằng với khối lượng của đầu búa và các cánh tay đòn như nêu trên Hình D.1. Trên một đầu mút của ống thép ở tâm có lắp một puli bằng hợp kim nhôm đường kính 150 mm, rộng 12 mm, có dây cáp không kép dài được quấn quanh với một đầu của cáp được cố định trên puli. Đầu kia của cáp buộc vào tải trong vận hành.
D.5 Khung cứng vững của thiết bị thử cũng đỡ panen lắp đặt được điều chỉnh theo phương thẳng đứng sao cho nửa phía trên của mặt va đập của búa sẽ đập vào mẫu thử khi búa di chuyển theo phương nằm ngang theo hình D1.
D.6 Để vận hành thiết bị, vị trí của mẫu thử và panen lắp đặt được điều chỉnh trước tiên như chỉ dẫn trên Hình D.1 Bộ phận búa được cân bằng cẩn thận bằng cách điều chỉnh đối trọng cân bằng với tải trọng vận hành được tháo ra. Sau đó cán búa được kéo về vị trí nằm ngang để chuẩn bị sẵn sàng thả ra và tải trọng vận hành lại được lắp lại. Khi thả bộ phận búa, tải trọng vận hành sẽ làm cho búa và cán quay một góc 3π/2 rad để đập vào mẫu thử. Khối lượng của tải trọng vận hành để tạo ra năng lượng va đập yêu cầu 1,9 J bằng:
|
| (D.1) |
Trong đó r là bán kính hiệu dụng của puli tính bằng mét. Khối lượng này xấp xỉ bằng 0,55 kg đối với bán kính puli 75 mm.
D.7 Theo yêu cầu của tiêu chuẩn này, đối với tốc độ của búa lúc va đập (1,5 ± 0,13) m/s thì khối lượng của đầu búa sẽ cần được giảm đi bằng cách khoan mặt sau của đầu búa đủ để đạt được tốc độ này. Có thể dự tính rằng, một đầu búa có khối lượng khoảng 0,79 kg sẽ đạt được tốc độ quy định, nhưng khối lượng này sẽ phải được xác định bằng thử nghiệm và có sai số.

Đơn vị tính là mm
CHÚ DẪN:
| 1 | Panel lắp đặt | 7 | Các vòng bi |
| 2 | Đầu báo cháy | 8 | Bi |
| 3 | Đầu búa | 9 | Thanh cân bằng |
| 4 | Cán búa | 10 | Trọng lượng hoạt động |
| 5 | Ống thép ở tâm | 11 | Tải trọng cân bằng |
| 6 | Puli (tời) |
|
|
CHÚ THÍCH - Các kích thước đã cho có tính chất hướng dẫn, trừ các kích thước liên quan đến dầu
Hình D.1 - Thiết bị thử va đập
Mục lục
Lời nói đầu
1. Phạm vi áp dụng
2. Tài liệu viện dẫn
3. Thuật ngữ và định nghĩa
4. Yêu cầu chung
5. Thử nghiệm
5.1 Quy định chung
5.2 Sự phụ thuộc hướng
5.3 Nhiệt độ nhạy cảm tĩnh
5.4 Thời gian đáp ứng từ nhiệt độ sử dụng điển hình
5.5 Thời gian đáp ứng từ 25 °C
5.6 Thời gian đáp ứng từ nhiệt độ môi trường cao, nóng khô (vận hành)
5.7 Biến động trong các tham số cung cấp
5.8 Khả năng tái lập
5.9 Thử nghiệm lạnh (vận hành)
5.10 Thử nghiệm nóng khô (bền lâu)
5.11 Thử nóng ẩm, có chu kỳ (vận hành)
5.12 Thử nóng ẩm, trạng thái ổn định (bền lâu)
5.13 Thử ăn mòn sunfua đioxit (SO2) (bền lâu)
5.14 Thử sốc (shock) (vận hành)
5.15 Thử va đập (vận hành)
5.16 Thử rung hình sin (vận hành)
5.17 Thử nghiệm Rung, hình sin (bền lâu)
5.18 Thử nghiệm tính miễn nhiễm tương thích điện từ (EMC) (vận hành)
5.19 Thử nghiệm đối với các đầu báo cháy có ký hiệu S
5.20 Thử nghiệm đối với các đầu báo cháy có ký hiệu R
6. Báo cáo thử nghiệm
7. Ghi nhãn
8. Dữ liệu
Phụ lục A
Phụ lục B
Phụ lục C
Phụ lục D
Bạn chưa Đăng nhập thành viên.
Đây là tiện ích dành cho tài khoản thành viên. Vui lòng Đăng nhập để xem chi tiết. Nếu chưa có tài khoản, vui lòng Đăng ký tại đây!


