- Tổng quan
- Nội dung
- Tiêu chuẩn liên quan
- Lược đồ
- Tải về
Tiêu chuẩn TCVN 9311-10:2025 Thử nghiệm chịu lửa - Vật liệu bảo vệ kết cấu thép
| Số hiệu: | TCVN 9311-10:2025 | Loại văn bản: | Tiêu chuẩn Việt Nam |
| Cơ quan ban hành: | Bộ Khoa học và Công nghệ | Lĩnh vực: | Xây dựng |
| Trích yếu: | ISO 834-10:2014 Thử nghiệm chịu lửa - Các bộ phận công trình - Phần 10: Các yêu cầu riêng đánh giá hiệu quả của vật liệu bảo vệ chịu lửa cho kết cấu thép | ||
|
Ngày ban hành:
Ngày ban hành là ngày, tháng, năm văn bản được thông qua hoặc ký ban hành.
|
01/12/2025 |
Hiệu lực:
|
Đã biết
|
| Người ký: | Đang cập nhật |
Tình trạng hiệu lực:
Cho biết trạng thái hiệu lực của văn bản đang tra cứu: Chưa áp dụng, Còn hiệu lực, Hết hiệu lực, Hết hiệu lực 1 phần; Đã sửa đổi, Đính chính hay Không còn phù hợp,...
|
Đã biết
|
TÓM TẮT TIÊU CHUẨN VIỆT NAM TCVN 9311-10:2025
Nội dung tóm tắt đang được cập nhật, Quý khách vui lòng quay lại sau!
Tải tiêu chuẩn Việt Nam TCVN 9311-10:2025
TIÊU CHUẨN QUỐC GIA
TCVN 9311-10:2025
ISO 834-10:2014
THỬ NGHIỆM CHỊU LỬA - CÁC BỘ PHẬN CÔNG TRÌNH - PHẦN 10: CÁC YÊU CẦU RIÊNG ĐÁNH GIÁ HIỆU QUẢ CỦA VẬT LIỆU BẢO VỆ CHỊU LỬA CHO KẾT CẤU THÉP
Fire resistance tests - Elements of building construction - Part 10: Specific requirements to determine the contribution of applied fire protection materials to structural steel elements
Lời nói đầu
TCVN 9311-10:2025 hoàn toàn tương đương với tiêu chuẩn ISO 834-10:2014 Fire resistance tests - Elements of building construction Part 10: Specific requirements to determine the contribution of applied fire protection materials to structural steel elements.
TCVN 9311-10:2025 do Viện KHCN Xây dựng biên soạn, Bộ Xây dựng đề nghị, Ủy ban Tiêu chuẩn Đo lường Chất lượng Quốc gia thẩm định, Bộ Khoa học và Công nghệ công bố.
Lời giới thiệu
Bộ tiêu chuẩn TCVN 9311 gồm có các tiêu chuẩn sau:
TCVN 9311-1:2024 Thử nghiệm chịu lửa - Các bộ phận công trình xây dựng - Phần 1: Các yêu cầu chung.
TCVN 9311-3:2012 (ISO 834-3:1994) Thử nghiệm chịu lửa - Các bộ phận công trình xây dựng - Phần 3: Chỉ dẫn về phương pháp thử và áp dụng số liệu thử nghiệm.
TCVN 9311-4:2012 (ISO 834-4:2000) Thử nghiệm chịu lửa - Các bộ phận công trình xây dựng - Phần 4: Yêu cầu riêng đối với bộ phận ngăn cách đứng chịu tải.
TCVN 9311-5:2012 (ISO 834-5:2000) Thử nghiệm chịu lửa - Các bộ phận công trình xây dựng - Phần 5: Yêu cầu riêng đối với bộ phận ngăn cách nằm ngang chịu tải.
TCVN 9311-6:2012 (ISO 834-6:2000) Thử nghiệm chịu lửa - Các bộ phận công trình xây dựng - Phần 6: Các yêu cầu riêng đối với dầm.
TCVN 9311-7:2012 (ISO 834-7:2000) Thử nghiệm chịu lửa - Các bộ phận công trình xây dựng - Phần 7: Các yêu cầu riêng đối với cột.
TCVN 9311-8:2012 (ISO 834-8:2000) Thử nghiệm chịu lửa - Các bộ phận công trình xây dựng - Phần 8: Các yêu cầu riêng đối với bộ phận ngăn cách đứng không chịu tải.
Bộ tiêu chuẩn ISO 834 gồm có các tiêu chuẩn sau:
ISO 834-2:2019 Fire-resistance tests - Elements of building construction Part 2: Requirements and recommendations for measuring furnace exposure on test samples.
ISO 834-9:2003 Fire-resistance tests - Elements of building construction - Part 9: Specific requirements for non-loadbearing ceiling elements.
ISO 834-10:2014 Fire resistance tests - Elements of building construction - Part 10: Specific requirements to determine the contribution of applied fire protection materials to structural steel elements.
ISO 834-11:2014 Fire resistance tests - Elements of building construction - Part 11: Specific requirements for the assessment of fire protection to structural steel elements.
ISO 834-12:2012 Fire resistance tests - Elements of building construction - Part 12: Specific requirements for separating elements evaluated on less than full scale furnaces.
ISO 834-13:2019 Fire-resistance tests - Elements of building construction - Part 13: Requirements for the testing and assessment of applied fire protection to steel beams with web openings.
ISO 834-14:2019 Fire-resistance tests - Elements of building construction - Part 14: Requirements for the testing and assessment of applied fire protection to solid steel bar.
THỬ NGHIỆM CHỊU LỬA - CÁC BỘ PHẬN CÔNG TRÌNH - PHẦN 10: CÁC YÊU CẦU RIÊNG ĐÁNH GIÁ HIỆU QUẢ CỦA VẬT LIỆU BẢO VỆ CHỊU LỬA CHO KẾT CẤU THÉP
Fire resistance tests - Elements of building construction - Part 10: Specific requirements to determine the contribution of applied fire protection materials to structural steel elements
1 Phạm vi áp dụng
Tiêu chuẩn này quy định phương pháp thử nghiệm các hệ bảo vệ chịu lửa cho cấu kiện kết cấu thép được sử dụng trong công trình xây dựng như dầm, cột, hoặc cấu kiện chịu kéo. Tiêu chuẩn này được biên soạn để sử dụng kết hợp với quy trình đánh giá được trình bày được mô tả trong ISO 834-11. Tiêu chuẩn này áp dụng cho các loại tiết diện thép (bao gồm cả các tiết diện ống) và chỉ xét đến các tiết diện có bản bụng đặc. Các kết quả nhận được trên các tiết diện I hoặc tiết diện H được áp dụng trực tiếp cho tiết diện thép góc, tiết diện C và tiết diện T có cùng hệ số tiết diện được sử dụng như các cấu kiện riêng lẻ, ví dụ như giằng, hoặc một phần của hệ kết cấu chế tạo sẵn như hệ giàn thép. Tiêu chuẩn này không áp dụng đối với các thanh/que đặc, thanh thép hoặc tiết diện ống được nhồi bê tông.
Tiêu chuẩn này mô tả các quy trình thử nghiệm chịu lửa cần được thực hiện để đánh giá khả năng của hệ bọc bảo vệ để duy trì đủ khả năng bám dính và giữ đúng vị trí trong phạm vi xác định về biến dạng, lò thử nghiệm và nhiệt độ thép, để đảm bảo rằng hiệu quả của hệ bọc bảo vệ không bị suy giảm đáng kể, đồng thời cung cấp dữ liệu về các đặc tính nhiệt của hệ bọc bảo vệ khi chịu tác động của đường cong quan hệ nhiệt độ - thời gian tiêu chuẩn (chế độ nhiệt tiêu chuẩn) được quy định trong tiêu chuẩn TCVN 9311-1.
Trong trường hợp đặc biệt được quy định trong quy chuẩn quốc gia, các vật liệu chịu lửa dạng phản ứng có thể được yêu cầu phải được thử nghiệm với đường cong nhiệt chậm. Thử nghiệm và các yêu cầu cho việc sử dụng đường cong này được mô tả trong phụ lục F.
Tiêu chuẩn này có thể áp dụng cho cả hệ bảo vệ chịu lửa dạng thụ động và dạng phản ứng như được định nghĩa trong phần thuật ngữ và định nghĩa, được lắp đặt hoặc thi công theo cách giúp chúng giữ nguyên vị trí trong khoảng thời gian dự kiến chịu lửa.
Phương pháp thử nghiệm chịu lửa cung cấp các quy định cho việc thu thập và trình bày kết quả thử nghiệm được sử dụng làm đầu vào trực tiếp trong ISO 834-11 để xác định các giới hạn áp dụng trực tiếp cho các tiết diện thép với hình dạng, kích thước và khoảng thời gian chịu lửa khác nhau.
2 Tài liệu viện dẫn
Các tài liệu viện dẫn sau cần thiết khi áp dụng tiêu chuẩn này. Đối với các tài liệu viện dẫn ghi năm công bố thì áp dụng phiên bản được nêu. Đối với các tài liệu viện dẫn không ghi năm công bố thì áp dụng phiên bản mới nhất, bao gồm cả các sửa đổi, bổ sung (nếu có).
TCVN 9311-1 (ISO 834-1), Thử nghiệm chịu lửa - Các bộ phận công trình xây dựng - Phần 1: Yêu cầu chung
TCVN 9311-6:2012 (ISO 834-6), Thử nghiệm chịu lửa - Các bộ phận công trình xây dựng - Phần 6: Các yêu cầu riêng đối với dầm
TCVN 9311-7:2012 (ISO 834-7), Thử nghiệm chịu lửa - Các bộ phận công trình xây dựng - Phần 7: Các yêu cầu riêng đối với cột
TCVN 12695: 2020 (ISO 1182:2010), Thử nghiệm phản ứng với lửa cho các sản phẩm xây dựng - Phương pháp thử tính không cháy
ISO 1716, Reaction To Fire Tests For Products - Determination Of The Gross Heat Of Combustion (Calorific Value) (Thử nghiệm phản ứng với lửa cho các sản phẩm xây dựng - Xác định nhiệt lượng của quá trình đốt (giá trị nhiệt lượng)).
ISO 8421-2, Fire protection - Vocabulary - Part 2: Structural fire protection (Bảo vệ chịu lửa - Từ vựng - Phần 2: Bảo vệ chịu lửa kết cấu).
ISO 834-11, Fire resistance tests - Elements of building construction - Part 11: Specific requirements for the assessment of fire protection to structural steel elements (Thử nghiệm chịu lửa - Các bộ phận công trình xây dựng - Phần 11: các yêu cầu riêng cho việc đánh giá lớp bọc bảo vệ với cấu kiện của kết cấu thép).
EN 13501-1, Fire classification of construction products and building elements - Part 1: Classification using test data from reaction to fire tests (Phân loại chịu lửa cho sản phẩm xây dựng và bộ phận công trình - Phần 1: Phân loại dữ liệu từ các thử nghiệm phản ứng với lửa).
EN 1363-1, Fire resistance tests - Part 1: General requirements (Thử nghiệm chịu lửa - Phần 1: Các quy định chung).
TCVN 13249:2020 (ISO 13943:2017), An toàn cháy - Từ vựng.
IEC 584-1, Thermocouples - Part 1 Reference Tables (Đầu đo nhiệt - Phần 1: Bảng tham khảo).
ETAG 018, Fire Protective Products (Các sản phẩm bọc bảo vệ chịu lửa).
3 Thuật ngữ và định nghĩa
Các thuật ngữ và định nghĩa được nêu trong TCVN 9311-1, TCVN 13249, TCVN 9310-4 và những thuật ngữ, định nghĩa sau được áp dụng khi sử dụng tiêu chuẩn này.
3.1
Giá trị đặc trưng của nhiệt độ thép (characteristic steel temperature)
Nhiệt độ của cấu kiện thép kết cấu được sử dụng để xác định hệ số hiệu chỉnh cho khả năng bám dính được tính toán bằng trung bình cộng của nhiệt độ trung bình và nhiệt độ lớn nhất.
3.2
Nhiệt độ thiết kế (design temperature)
Nhiệt độ của cấu kiện thép được sử dụng cho mục đích thiết kế kết cấu.
3.3
Bảo vệ chịu lửa
Biện pháp bảo vệ các cấu kiện thép bằng hệ bảo vệ chịu lửa sao cho nhiệt độ của cấu kiện thép được giới hạn trong suốt thời gian tiếp xúc với lửa.
3.4
Hệ bảo vệ chịu lửa (fire protection system)
Vật liệu chịu lửa cùng với tất cả các hệ đỡ bao gồm lưới thép gia cường như được thử nghiệm.
CHÚ THÍCH: Hệ bảo vệ chịu lửa dạng phản ứng bao gồm sơn lót và lớp phủ bề mặt nếu có.
3.5
Chiều dày bảo vệ chịu lửa (fire protection thickness)
Chiều dày khô của hệ bảo vệ chịu lửa dạng 1 lớp hoặc chiều dày tổng cộng của tất cả các lớp trong hệ bảo vệ chịu lửa.
CHÚ THÍCH 1: Chiều dày các bộ phận của hệ đỡ hoặc dải che mối nối không được tính vào chiều dày bảo vệ chịu lửa.
CHÚ THÍCH 2: Hệ bảo vệ dạng phản ứng, chiều dày là chiều dày trung bình của màng sơn khô không bao gồm lớp lót và lớp phủ bề mặt nếu có.
3.6
Tiết diện H (H section)
Cấu kiện thép có chiều rộng bản cánh lớn so với chiều cao tiết diện có chức năng chính là chịu lực dọc trục, có thể kết hợp chịu uốn và chịu cắt.
3.7
Tiết diện I (I section)
Dầm phụ hoặc dầm chính bằng thép có phần bản cánh ngắn có hình dạng giống chữ “I” có chức năng chính là chịu các tải trọng vuông góc với trục dọc của nó.
CHÚ THÍCH: Các tải trọng này thường gây ra uốn cho cấu kiện. Các bản cánh có thể song song hoặc thuôn dần.
3.8
Vật liệu bảo vệ dạng thụ động (passive fire protection material)
Các vật liệu, không thay đổi tính chất vật lý khi chịu nhiệt, cung cấp hiệu quả bảo vệ bằng các tính chất vật lý hoặc cách nhiệt của chúng.
CHÚ THÍCH: Có thể bao gồm các vật liệu chứa nước hoặc phản ứng thu nhiệt, khi tiếp xúc với lửa sẽ tạo hiệu ứng làm mát. Các dạng vật liệu này có thể bao gồm lớp phủ dạng phun, lớp trát, sản phẩm dạng cuộn, dạng tẩm hoặc dạng bản.
3.9
Vật liệu bảo vệ dạng phản ứng (reactive fire protection material)
Các vật liệu mà thành phần của nó xảy ra phản ứng hóa học khi bị đốt nóng để làm thay đổi tính chất vật lý và cung cấp hiệu quả bảo vệ chịu lửa thông qua các đặc tính cách nhiệt và làm mát.
3.10
Tiết diện tham chiếu (reference section)
Tiết diện thép được lấy trên cùng một chiều dài như tiết diện có tải tương đương.
3.11
Hệ số tiết diện (cấu kiện không được bọc bảo vệ) (section factor- unprotected steel)
Tỷ số giữa diện tích trên một đơn vị chiều dài của chu vi tiếp xúc với lửa của cấu kiện thép, Am, với thể tích mặt cắt ngang trên mỗi đơn vị chiều dài, V.
3.12
Hệ số tiết diện (hệ bảo vệ dạng định hình) (section factor-profiled fire protection system)
Tỷ số giữa diện tích trên một đơn vị chiều dài của chu vi ngoài phần tiếp xúc với lửa của cấu kiện thép không bao gồm vật liệu bảo vệ, Am, với thể tích của tiết diện trên mỗi đơn vị chiều dài, V.
3.13
Hệ số tiết diện (với hệ bảo vệ dạng hộp) (section factor - boxed fire protection system)
Tỷ số giữa diện tích bề mặt bên trong của hộp chữ nhật hoặc hộp vuông nhỏ nhất có thể bao quanh cấu kiện thép, Am, với thể tích trên mỗi đơn vị chiều dài, V.
3.14
Cấu kiện thép (steel member)
Bộ phận trong kết cấu xây dựng, có chức năng chịu lực và được chế tạo từ thép.
CHÚ THÍCH: Trong phạm vi của tiêu chuẩn này, thép được sử dụng trong thử nghiệm phải cùng loại với thép được dùng trong thực tế.
3.15
Nhiệt độ thép (steel temperature)
Nhiệt độ trung bình tổng thể được sử dụng làm dữ liệu đầu vào cho phân tích, được tính toán như sau:
- Với dầm tiết diện I và tiết diện H, là trung bình của nhiệt độ bản cánh trên, nhiệt độ bàn bụng, nhiệt độ bản cánh dưới, chia cho 3.
- Với cột có tiết diện I, H và tiết diện ống, là tổng của các giá trị nhiệt độ trung bình tại từng vị trí đo chia cho số vị trí đo.
- Với dầm tiết diện ống, là trung bình của nhiệt độ mặt bên cộng với trung bình của nhiệt độ mặt dưới, chia cho 2.
3.16
Khả năng bám dính (stickability)
Khả năng của hệ bảo vệ chịu lửa duy trì đủ sự gắn kế đủ vững chắc và giữ đúng vị trí trong phạm vi biến dạng, nhiệt độ lò và nhiệt độ thép đã xác định, sao cho hiệu quả của hệ bọc bảo vệ không bị suy giảm đáng kể.
3.17
Gói thử nghiệm (test package)
Tập hợp các tiết diện thép bao gồm cả mẫu ngắn hoặc mẫu dài được thử nghiệm để xác định đầy đủ khả năng bám dính của hệ bảo vệ chịu lửa và cung cấp dữ liệu nhiệt trong một phạm vi chiều dày bảo vệ, hệ số tiết diện, nhiệt độ thép.
3.18
Mẫu thử nghiệm (test specimen)
Tiết diện thép cùng với hệ bảo vệ chịu lửa được thử nghiệm.
CHÚ THÍCH: Tiết diện thép được thử nghiệm, đại diện cho một cấu kiện thép trong phạm vi của phép thử này, có thể bao gồm cột hoặc dầm thép dài và ngắn.
4. Ký hiệu và từ viết tắt
| A | Diện tích (m2); |
| Am | Diện tích phần chu vi tiếp xúc với lửa của cấu kiện kết cấu thép, trên một đơn vị chiều dài (m2); |
| Ap | Với hệ bảo vệ dạng định hình: là diện tích phần chu vi ngoài của cấu kiện thép kết cấu không bao gồm vật liệu bảo vệ, trên một đơn vị chiều dài (m2); Với hệ bảo vệ dạng hộp: diện tích bề mặt phía trong của lớp bảo vệ hình chữ nhật hoặc hình vuông mà có thể đo được xung quanh cầu kiện thép (m2); |
| b | Bề rộng của tiết diện thép (m); |
| d | Chiều dày (mm); |
| daver | Chiều dày trung bình (mm); |
| dp | Chiều dày của vật liệu bảo vệ chịu lửa (mm); |
| dp(max) | Chiều dày lớn nhất của vật liệu bảo vệ chịu lửa (mm); |
| dp(min) | Chiều dày nhỏ nhất của vật liệu bảo vệ chịu lửa (mm); |
| h | Chiều cao tiết diện thép (mm); |
| Kp | Hệ số ảnh hưởng của chiều dày; |
| Ks | Hệ số ảnh hưởng của tiết diện; |
| Lexp | Chiều dài của đoạn dầm tiếp xúc với lửa (mm); |
| Lspec | Tổng chiều dài của mẫu thử (mm); |
| Lsup | Chiều dài của dầm giữa hai gối tựa (mm); |
| P | Chu vi của phần tiết diện tiếp xúc với lửa (m); |
| Sp | Hệ số tiết diện tại hệ số Ks (m-1); |
| Smax | Hệ số tiết diện lớn nhất tương ứng tại hệ số Ks bằng 1 (m-1); |
| Smin | Hệ số tiết diện nhỏ nhất tương ứng tại hệ số Ks bằng 0 (m-1); |
| tf | Chiều dày bản cánh của tiết diện (mm); |
| tw | Chiều dày thành của tiết diện ống hoặc chiều dày bản bụng của cột tiết diện I và H (mm); |
| V | Thể tích tiết diện thép trên mỗi đơn vị chiều dài (m3/m); |
| Vp | Thể tích phần bảo vệ chịu lửa trên một đơn vị chiều dài (m3/m); |
| LB | Dầm có chất tải (Load beam); |
| LC | Cột có chất tải dài 3 m (Load column); |
| TC | Cột cao không chất tải (2 m) (Tall column); |
| LHB | Dầm ống có chất tải (Load hollow beam); |
| LHC | Cột ống có chất tải (Load hollow column); |
| SIB | Dầm ngắn tiết diện I (Short I beam); |
| SIC | Cột ngắn tiết diện I (Short I column); |
| TCHS | Dầm cao tiết diện ống tròn (Tall circular hollow beam); |
| TRHS | Dầm cao tiết diện ống chữ nhật (Tall rectangular hollow beam); |
| SHB | Dầm ngắn tiết diện ống (Short hollow beam); |
| SHC | Cột ngắn tiết diện ống (Short hollow column); |
| RB | Dầm tham chiếu (Reference beam); |
5. Thiết bị thử nghiệm
5.1 Yêu cầu chung
Lò thử nghiệm và các thiết bị thử nghiệm phải phù hợp với những yêu cầu được quy định trong TCVN 9311-1.
5.2 Lò thử nghiệm
Lò thử nghiệm phải được thiết kế để chứa được kích thước của mẫu thử tiếp xúc với sự gia nhiệt theo quy định trong 7.2 và phải phù hợp với việc lắp đặt ở trên hoặc trong lò thử nghiệm được quy định tại Điều 8.
5.3 Thiết bị gia tải
Gia tải được thực hiện theo TCVN 9311-1. Hệ gia tải có khả năng chất tải lên dầm theo quy định tại 6.2.2 và lên cột theo quy định tại 6.2.4.
6. Các điều kiện thử nghiệm
6.1 Yêu cầu chung
Các quy trình được đưa ra trong TCVN 9311-1 phải được tuân thủ trong quá trình thử nghiệm trừ khi có hướng dẫn khác.
Một số lượng các cấu kiện thép có tiết diện “I”, “H”, và tiết diện ống, được bảo vệ bằng hệ bảo vệ chịu lửa, được gia nhiệt trong lò thử nghiệm theo cách thức được đưa ra trong TCVN 9311-1.
Các dầm và cột có chất tải được gia nhiệt để cung cấp các thông tin về khả năng của hệ bảo vệ chịu lửa đối với việc duy trì tính nguyên vẹn và khả năng bám dính vào cấu kiện thép. Dầm và cột không chất tải được gia nhiệt để cung cấp thông tin về các đặc tính nhiệt học của hệ bảo vệ chịu lửa.
Các thử nghiệm cần được kéo dài cho đến khi nhiệt độ của thép đạt mức giá trị tối đa tương ứng với ứng dụng của dữ liệu.
Phương pháp thử nghiệm dầm có chất tải trong tiêu chuẩn này được xây dựng để tạo ra độ võng tối đa (chiều dài nhịp/30) dưới tác dụng đồng thời của tải trọng và nhiệt độ được quy định trong TCVN 9311-1. Nếu điều này không thể thực hiện được, thì tốc độ võng vượt quá giá trị quy định trong tiêu chuẩn TCVN 9311-1.
Khi có nhiều mẫu thử được thử nghiệm đồng thời, cần đảm bảo rằng tất cả đều được tiếp xúc với cùng một điều kiện thử nghiệm quy định.
6.2 Các điều kiện đỡ và tải trọng
6.2.1 Yêu cầu chung
Chi tiết về các tính toán được thực hiện để xác định tải trọng thử nghiệm phải được đưa vào báo cáo thử nghiệm.
6.2.2 Dầm có chất tải
Đối với mỗi mẫu thử nghiệm dầm có chất tải, cần bố trí hệ thống đỡ, định vị và căn chỉnh thích hợp trong lò theo yêu cầu của TCVN 9311-6, trừ khi có các yêu cầu sửa đổi được nêu trong tiêu chuẩn này.
Dầm thử nghiệm không được bổ sung thêm bộ phận chống xoắn ngoại trừ trường hợp cần thiết nêu trong 7.2.1. Chiều dài mẫu thử giữa các gối đỡ (Lsup) không nên lớn hơn chiều dài phần tiếp xúc với lửa cộng thêm 400 mm ở mỗi đầu. Chiều dài của mẫu thử nghiệm (Lspec) nên bằng chiều dài tiếp xúc với lửa cộng thêm tối đa 500 mm ở mỗi đầu.
Các dầm có chất tải cần phải chịu tổng tải trọng đại diện cho 60 % mô men kháng uốn thiết kế, được tính toán dựa trên giới hạn chảy thực tế lấy từ chứng chỉ thử nghiệm lô thép hoặc giá trị đo thực tế.
Tải trọng thực tế tác dụng lên mẫu thử phải là tổng tải trọng tính toán trừ đi trọng lượng bản thân của dầm, tấm bê tông phía trên, và hệ bảo vệ chịu lửa.
Phương pháp chất tải phải sử dụng một hệ gia tải nhằm tạo ra mô men uốn không đổi trên ít nhất 20% nhịp của dầm quanh vị trí giữa nhịp. Sự tăng nhẹ mô men tại các điểm gối đỡ do tấm sàn ở trên có thể bỏ qua.
Tải trọng phải được phân bố đều và đối xứng tại tối thiểu hai vị trí dọc theo chiều dài dầm.
Việc gia tải có thể thực hiện theo một trong hai phương pháp được mô tả tại Hình 1.
Các đầu dầm có chất tải nằm ngoài lò thử nghiệm phải được cách nhiệt bằng vật liệu cách nhiệt phù hợp.

Hình 1 - Các phương án bố trí đối với dầm có chất tải
CHÚ DẪN:
A Chi tiết A - liên kết lớp bê tông mặt trên của dầm.
B Chi tiết B - chất tải lên dầm theo phương pháp 1 hoặc phương pháp 2.
1 Sườn cứng bản bụng tại vị trí gối liên kết - tiết diện I hoặc H.
2 Sườn cứng bản bụng ở vị trí đặt tải trọng - tiết diện I hoặc H.
3 Khoảng hở cần thiết để đảm bảo lớp lót lò không ảnh hưởng tới lớp vật liệu bảo vệ.
4 Tải trọng tác dụng tập trung lên mặt trên của dầm thông qua tấm truyền tải (13) hoặc tấm bê tông (12)
5 Bu lông ren/ tấm đệm/ đai ốc.
6 Vật liệu cách nhiệt dạng sợi hoặc tương đương.
7 Vật liệu cách nhiệt sợi nén đặt theo chiều rộng của dầm (xem 7.1).
8 Nhịp dầm.
9 Khe hở cần thiết để đảm bảo dầm có thể uốn mà không bị hạn chế bởi bản sàn.
10 Dầm thép - minh họa cho tiết diện I, tiết diện ống cũng tương tự.
11 Tấm sàn bê tông khí chưng áp có khối lượng riêng 500 kg/m3 được neo giữ như trong 7.1; kích thước danh nghĩa của tấm sàn: rộng x dài x dày là 600 mm (±100 mm) x 625 mm (tối đa) x (150 mm đến 200 mm).
12 Tấm sàn bê tông nhẹ có khối lượng riêng danh nghĩa là 1500 kg/m3 được neo giữ như trong 7.1; kích thước danh nghĩa của tấm sàn như (11).
13 Bộ phận truyền tải trọng.
14 Thanh giằng bổ sung để hạn chế chuyền vị xoay của dầm nếu cần thiết.
6.2.3 Dầm không chất tải
Mỗi mẫu thử nghiệm dầm không chất tải được cấu tạo như Hình 2.

CHÚ DẪN:
1 Nắp lò.
2 Tấm cách nhiệt.
3 Bu lông ren/ tấm đệm/ đai ốc.
4 Tiết diện thép.
5 Tấm cách nhiệt - chụp 2 đầu
Hình 2 - Bố trí đỡ dầm không chất tải
6.2.4 Cột có chất tải
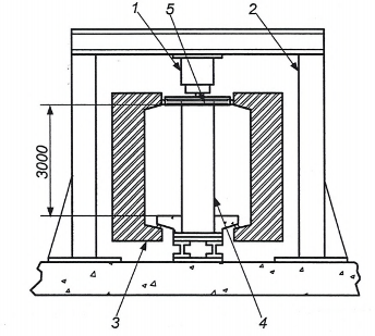
Với mỗi cột có chất tải, cần phải có các biện pháp để đỡ, định vị, và căn chỉnh chính xác mẫu cột trong lò thử nghiệm phù hợp với TCVN 9311-7 cùng với yêu cầu sửa đổi hoặc bổ sung đưa ra trong tiêu chuẩn này. Một ví dụ về bố trí thử nghiệm được đưa ra trong Hình 3.
Cột có chất tải phải chịu một tải trọng thử nghiệm tương ứng với 60 % sức kháng oằn thiết kế được tính toán dựa trên giới hạn chảy thực tế lấy từ các chứng chỉ lô hoặc từ các giá trị đo thực tế. Chi tiết tính toán được thực hiện để xác định tải trọng thử nghiệm cần được đưa vào trong báo cáo thử nghiệm.
6.2.5 Cột không chất tải
Cột không chất tải phải được giữ thẳng đứng bên trong lò thử nghiệm; bằng cách lắp đặt vào mặt dưới của nắp lò thử nghiệm (xem Hình 4) hoặc đặt trực tiếp trên mặt sàn lò thử nghiệm hoặc trên bệ đỡ (xem Hình 5).
Khi cột không chất tải được thử nghiệm đồng thời với dầm, các cột này phải được bắt bu lông vào mặt dưới của trần lò (nắp lò) hoặc đứng trên bệ đỡ hoặc sàn lò. Khi các cột không chất tải được thử nghiệm đồng thời với một cột có chất tải, các cột không chất tải phải được đặt trên các các bệ đỡ hoặc trực tiếp trên sàn lò.
Kích thước được tính theo đơn vị milimet

CHÚ DẪN:
1 Kích thủy lực.
2 Khung gia tải.
3 Lò thử nghiệm.
4 Cột có chất tải.
5 Tâm thép (chỉ áp dụng với lớp phủ dạng phản ứng).
Hình 3 - Cột có chất tải, ví dụ bố trí thử nghiệm chung

CHÚ DẪN:
1 Nắp lò.
2 Tấm cách nhiệt.
3 Bu lông ren/ tấm đệm/ đai ốc.
4 Cột cao.
5 Cột ngắn.
6 Tấm cách nhiệt - chụp hai đầu.
7 Tấm thép (xem Hình 7) nên được đặt ở tất cả các cột với giải pháp bảo vệ dạng phản ứng dù nằm trên sàn hay được cố định với trần lò (tấm thép không được sử dụng với giải pháp bảo vệ dạng thụ động).
Hình 4 - Bố trí các cột không chất tải

CHÚ DẪN:
1 - Sàn lò hoặc bệ đỡ.
2 - Vật liệu cách nhiệt đủ để ngăn truyền nhiệt qua chân của mẫu thử.
3 - Cột ngắn
4 - Tấm cách nhiệt - chụp ở đầu
Hình 5 - Lắp đặt cột không chất tải trên sàn lò hoặc chân đỡ
7. Mẫu thử nghiệm
7.1 Yêu cầu chung
Các mẫu thử nghiệm cần được chọn cho phù hợp với phạm vi đánh giá dự kiến và phải bao gồm cả mẫu có chất tải và mẫu không chất tải. Việc thử nghiệm đối với các mẫu có chất tải và mẫu tham chiếu tương đương không chất tải sẽ là cơ sở để hiệu chỉnh khả năng bám dính khi phân tích dữ liệu nhiệt thu được từ các mẫu ngắn không chất tải.
Tùy vào phạm vi đánh giá, nguyên tắc lựa chọn các mẫu có chất tải hoặc không chất tải cần dựa trên yêu cầu chi tiết được trình bày trong 7.4.
Trong mọi trường hợp có thể, đối với mỗi thử nghiệm liên quan đến dầm hoặc cột có chất tải, cần phải bao gồm và thử nghiệm đồng thời một mẫu tham chiếu tương đương không chất tải trong cùng lò thử nghiệm. Trường hợp không thể thử nghiệm được cột có chất tải hoặc cột tham chiếu cùng nhau trong lò, thì mẫu tham chiếu sẽ phải thử nghiệm riêng biệt nhưng trong cùng một vị trí lò như mẫu cột có chất tải trước đó. Với các tiết diện ống được bảo vệ bằng hệ bọc bảo vệ chịu lửa dạng phản ứng, cần thực hiện thử nghiệm cho cả cột tiết diện ống tròn và ống chữ nhật.
Để đánh giá cho cả chiều dày lớn nhất và nhỏ nhất của hệ bảo vệ chịu lửa, một dầm thép có chất tải cần được thử nghiệm để kiểm tra khả năng bám dính khi xảy ra độ võng lớn nhất của tiết diện thép, đến nhiệt độ cao nhất dự kiến. Hai dầm thép có chất tải không nhất thiết phải có cùng kích thước với nhau.
Nếu việc đánh giá chỉ giới hạn trong phạm vi cột được bảo vệ ở bốn mặt, các thử nghiệm dầm có chát tải cần được thay thế bằng thử nghiệm cột có chất tải. Trong trường hợp đó, các tiết diện dầm tham chiếu không chất tải cần được thay thế bằng các tiết diện cột tham chiếu không chất tải.
Dữ liệu từ các mẫu có chất tải và mẫu tham chiếu tương đương không chất tải cần được sử dụng để xác định hệ số hiệu chỉnh khả năng bám dính trong một phạm vi chiều dày lớp bảo vệ chịu lửa.
Đối với hệ bảo vệ chịu lửa dạng thụ động, cần phải xem xét các thử nghiệm có chất tải trên cả dầm và cột nếu hệ đỡ khác nhau cho từng loại cấu kiện. Trong trường hợp sử dụng hệ tấm cố định bằng bắn ghim, các quy định trên chỉ áp dụng đối với chiều dày nhỏ nhất được thử nghiệm với dạng tấm này.
7.2 Thiết kế và chuẩn bị mẫu thử nghiệm
7.2.1 Mẫu dầm có chất tải
Mẫu thử nghiệm dầm có chất tải phải có tiết diện I hoặc H hoặc tiết diện ống chữ nhật.
Mẫu dầm thép sử dụng trong thử nghiệm có chất tải cần được chế tạo theo Hình 6 và được thử nghiệm theo TCVN 9311-6 cùng với bất kỳ sửa đổi nào được đưa ra trong phần tiêu chuẩn này.
Mỗi dầm cần có tổng chiều dài đảm bảo chiều dài phần tiếp xúc với lửa không ít hơn 4 000 mm.
Chiều dài dầm có chất tải và khoảng cách các gối đỡ được quy định như sau:
Chiều dài dầm giữa các gối đỡ (Lsup) phải bằng chiều dài phần tiếp xúc với lửa cộng với tối đa 400 mm ở mỗi đầu. Chiều dài tổng thể của mẫu thử (Lspec) phải bằng chiều dài tiếp xúc với lửa cộng với tối đa 500 mm ở mỗi đầu (xem Hình 6).
Chiều dài bổ sung, dành cho mục đích lắp đặt, phải được khống chế càng ngắn càng tốt trong phạm vi cho phép.
Trong trường hợp nhịp của các dầm này lớn đến mức càn phải gia cường bổ sung, cần bố trí các sườn tăng cứng tại bản bụng dầm theo thỏa thuận với khách hàng và phải được ghi rõ trong báo cáo:
Để tăng độ cứng cho bản bụng dầm và tăng khả năng chống xoắn của dầm, các dầm có thể được bố trí với:
a) Sườn tăng cứng bản bụng dầm ở dạng tấm thép hoặc bản thép hình tam giác, được hàn tại mỗi điểm chất tải; các sườn phải có chiều dày tối thiểu bằng chiều dày của bản bụng và chiều rộng ít nhất nhỏ hơn chiều rộng của bản cánh dầm 10 mm (chi tiết xem Hình 6) và
b) Sườn tăng cứng bản bụng dầm ở dạng tấm thép hoặc thép hình C, được hàn tại mỗi điểm chất tải; các sườn phải có chiều dày tối thiểu bằng chiều dày của bản bụng: trường hợp dùng tấm thép, hình dạng sườn nên là hình thang để tăng khả năng chống xoắn (chi tiết xem Hình 6);

CHÚ DẪN:
| 1 Tải trọng. 2 Chiều dài tiếp xúc lửa, Lexp. 3 Nhịp, Lsup. 4 Sườn tăng cứng bản bụng ở vị trí đặt tải nếu cần thiết - tiết diện I hoặc H. | 5 Sườn tăng cứng bản bụng ở vị trí gối đỡ nếu cần thiết - tiết diện I hoặc H. 6 Điểm đo chiều dày lớp phủ phun 7 Dầm tiết diện ống 8 Tiết diện I hoặc H |
Hình 6 - Sơ đồ dầm chất tải có sườn tăng cứng bản bụng và các điểm đo chiều dày
7.2.2 Tiết diện dầm không chất tải
Các tiết diện thép dùng trong thử nghiệm dầm không chất tải phải được chế tạo theo Hình 2.
Chiều dài nhỏ nhất của đoạn dầm ngắn không chất tải là 1 000 mm ± 50 mm. Với hệ bảo vệ dạng tấm, các mối nối tấm trong lớp bảo vệ không được tính đến trừ khi chiều dài tối đa của tấm nhỏ hơn 1 000 mm..
Để giảm thiểu sự truyền nhiệt ở hai đầu của các dầm không chất tải, các đầu dầm phải được bảo vệ bằng tấm cách nhiệt hoặc vật liệu tương tự, có khả năng duy trì ở nhiệt độ cao và cung cấp khả năng cách nhiệt tương đương hoặc cao hơn so với lớp bảo vệ chịu lửa được sử dụng trên toàn bộ chiều dài của mẫu thử (xem Hình 2).
Kích thước của hệ bảo vệ đầu dầm phải lớn hơn kích thước ngoài của hệ bảo vệ chịu lửa.
Đơn vị tính bằng milimét

CHÚ DẪN:
1 Tấm cách nhiệt cố định vào tấm thép.
2 Tấm thép dày 6 mm.
3 Đường hàn liên tục dọc theo gờ ngoài của bản cánh cột tiết diện I hoặc H với đường hàn gián đoạn dài 30mm bố trí so le tại các vị trí khác, đường hàn liên tục với tiết diện ống.
4 Tiết diện cột.
5 Đường hàn liên tục
CHÚ THÍCH: Lớp phủ trương phồng có chiều dày tương đương phần chính của cột sẽ được phủ lên các bề mặt tiếp xúc của tấm thép; các khu vực này phải được chuẩn bị tương tự như phần chính của tiết diện.
Hình 7 - Tấm thép bịt đầu của các cột được bảo vệ bằng lớp phủ trương phồng
7.2.3 Các tiết diện tham chiếu không chất tải
Khi có thể, mỗi tiết diện tham chiếu không chất tải phải được lấy từ cùng loại thép như tiết diện có chất tải tương ứng, đảm bảo rằng chúng có cùng kích thước và đặc tính. Nếu điều này không thể thực hiện được, phòng thử nghiệm phải đảm bảo rằng tiết diện tham chiếu có về kích thước và đặc tính tương tự.
Chiều dài tối thiểu của các dầm và cột ngắn được sử dụng làm tiết diện tham chiếu phải là 1 000 mm ± 50 mm. Với hệ bảo vệ chịu lửa dạng tấm, các mối nối tấm trong lớp bảo vệ không được tính đến trừ khi chiều dài tối đa của tấm nhỏ hơn 1 000 mm.
7.2.4 Các tiết diện cột có chất tải
Mẫu thử cột có chất tải phải có chiều cao phần tiếp xúc với lửa tối thiểu là 3 000 mm và được chế tạo theo Hình 3, đồng thời tuân thủ TCVN 9311-7.
7.2.5 Các tiết diện cột cao không chất tải
Các tiết diện cột cao không chất tải phải có chiều cao là 2 000 ± 50 mm và được chế tạo theo Hình 4.
7.2.6 Các tiết diện cột ngắn không chất tải
Các tiết diện cột ngắn phải được chế tạo theo Hình 4 và Hình 5.
Chiều dài tối thiểu của các đoạn cột ngắn không chất tải phải là 1 000 mm ± 50 mm. Với hệ bảo vệ chịu lửa dạng tấm, các mối nối tấm trong lớp bảo vệ không được tính đến trừ khi chiều dài tối đa của tấm nhỏ hơn 1 000 mm.
Các đoạn cột ngắn có thể được đặt trực tiếp trên sàn lò hoặc đặt trên bệ đỡ hoặc treo lên trần lò.
Để giảm thiểu sự truyền nhiệt từ hai đầu của các đoạn cột thép không chất tải, các đầu cột phải được bảo vệ bằng tấm cách nhiệt hoặc vật liệu tương tự, có khả năng duy trì ở nhiệt độ cao và cung cấp khả năng cách nhiệt tương đương hoặc cao hơn so với hệ bảo vệ chịu lửa được sử dụng trên toàn bộ chiều cao của cột (xem Hình 4).
Kích thước của hệ bảo vệ đầu dầm phải lớn hơn kích thước ngoài của hệ bảo vệ chịu lửa (xem hình 4).
7.2.7 Cột có chất tải, cột cao và cột ngắn - tấm phía trên (bảo vệ dạng phản ứng)
Để có thể xác định chính xác khả năng cách nhiệt của lớp phủ trương phồng được sử dụng cho cột, phần mép trên của cột đang được thử nghiệm phải được cách nhiệt nhằm ngăn ngừa hiện tượng truyền nhiệt không mong muốn đến khu vực này của tiết diện.
Một tấm thép dày 6 mm cần được gắn cố định trực tiếp vào mép trên của cột không chất tải, hoặc ở khoảng cách 3 m tính từ chân của cột có chất tải. Tấm thép phải được hàn cố định vào tiết diện và được phủ vật liệu chịu lửa dạng phản ứng lên tất cả các mặt tiếp xúc lửa (ngoại trừ mặt trên) với chiều dày tương tự như lớp phủ được áp dụng cho phần chính của tiết diện. Mép trên của tấm thép phải được bảo vệ bằng tấm cách nhiệt hoặc vật liệu tương tự ở điều kiện nhiệt độ cao có khả năng cung cấp khả năng cách nhiệt tương đương hoặc lớn hơn so với vật liệu bảo vệ chịu lửa.
Bố trí này nhằm tạo điều kiện để lớp phủ trương phồng hình thành theo cách thực tế hơn và ngăn chặn việc ghi nhận sai số dữ liệu nhiệt độ tại khu vực quan trọng này. Minh họa chi tiết cấu tạo nêu trong Hình 7.
Cách bố trí này cũng có thể được áp dụng cho cột có chất tải, ngoại trừ việc tấm thép có thể được đặt thắp hơn mép trên nhằm tránh ảnh hưởng đến thiết bị gia tải. Trong trường hợp này, chiều cao tiếp xúc tối thiểu phải đảm bảo duy trì.
7.2.8 Áp dụng bảo vệ chịu lửa cho cấu kiện thép (tất cả vật liệu)
Bề mặt của tiết diện thép phải được chuẩn bị và hệ bảo vệ chịu lửa được áp dụng cho dầm và cột đại diện cho cách áp dụng trong thực tế. Phương pháp để áp dụng hệ bảo vệ đối với cột không nên khác so với dầm; nếu không, cần tiến hành các thử nghiệm riêng biệt và đánh giá riêng bao gồm cả cột chất tải.
7.2.8.1 Bảo vệ dạng thụ động
Bất kể sự thay đổi khối lượng riêng của hệ bảo vệ chịu lửa được sử dụng cho dầm chất tải và dầm không chất tải tương đương phải nằm trong các giới hạn được quy định tại 7.3.2.3.
Đối với hệ bảo vệ chịu lửa dạng tấm và dạng bản, các dầm thép có chất tải và cột thép có chất tải phải gồm một ví dụ về bất kỳ mối nối kết cấu hoặc mối nối ngoại vi nào có thể được sử dụng trong thực tế.
Với dầm, hệ bảo vệ chịu lửa phải được đỡ từ tiết diện thép hoặc từ bản sàn bê tông khi thích hợp. Khi hệ bảo vệ chịu lửa được cố định vào bản sàn bê tông nhẹ bằng các phương pháp nhân tạo (ví dụ: bắt bu lông xuyên qua), việc đánh giá phải xem xét đến phương pháp cố định vào kết cấu đỡ dự kiến được sử dụng trong thực tế.
Vật liệu bảo vệ chịu lửa phải được lắp đặt vào mẫu thử có chất tải trước khi gia tải. Trong trường hợp dầm có chất tải được bảo vệ bằng hệ bảo vệ chịu lửa dạng tấm hoặc bản, xem hướng dẫn bổ sung tại 11.3.
Vật liệu bảo vệ chịu lửa phải được bố trí vượt quá chiều dài chịu nhiệt và cần bao phủ toàn bộ chiều cao của mỗi cấu kiện cột. Ngoài ra, đối với dầm có chất tải, phải bố trí đủ khoảng hở để đảm bảo rằng thành lò không ảnh hưởng đến lớp bảo vệ chịu lửa. Khoảng hở này cần thiết nhằm đảm bảo lớp bảo vệ chịu lửa không bị ảnh hưởng bất lợi khi dầm bị võng.
Khi hệ bảo vệ chịu lửa có dạng hộp, các đầu của khoảng hở giữa vật liệu và kết cấu thép phải được bịt kín tại vị trí mẫu thử đi ra khỏi thành lò. Việc này nhằm ngăn ngừa sự rò rỉ khí qua chiều dài phần tiếp xúc với lửa của mẫu thử.
Trong quá trình lắp đặt hoặc trong suốt quá trình thử nghiệm, hệ bảo vệ chịu lửa phải được lắp đặt sao cho không chịu các ứng suất do giãn nở hay các tác nhân khác với điều kiện sử dụng thực tế.
7.3 Thành phần vật liệu của mẫu thử
7.3.1 Các tiết diện thép
Loại thép kết cấu phải là thép cán nóng (thép không hợp kim, không xử lý nhiệt) có giới hạn chảy từ 200 N/mm2 tới 290 N/mm2.
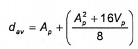
Kích thước và diện tích mặt cắt ngang của tiết diện thép phải được đo, bỏ qua mọi sai số do bán kính bo góc trong và ngoài. Các giá trị này được dùng để xác định hệ số tiết diện (Am/V) theo các công thức được đưa ra trong Hình 8.

Hình 8 - Công thức tính toán hệ số tiết diện Am/V
7.3.2 Các hệ bảo vệ chịu lửa
7.3.2.1 Yêu cầu chung
Thành phần của hệ bảo vệ chịu lửa phải do khách hàng đề xuất và phải bao gồm ít nhất khối lượng riêng danh nghĩa và độ ẩm dự kiến. Có thể yêu cầu thêm các thông tin liên quan đến nhiệt dung riêng nhằm phục vụ cho việc đánh giá.
Vì lý do bảo mật, khách hàng có thể không muốn thông báo chi tiết về công thức hoặc thành phần trong báo cáo thử nghiệm.
Đối với các lớp phủ dạng phản ứng, chiều dày màng khô của lớp phủ phải được đo tại thời điểm thử nghiệm. Các bước thực hiện và quy trình kiểm tra phù hợp được nêu trong Phụ lục B.
Đối với các vật liệu chịu lửa dạng thụ động như tấm, bản và vật liệu phun, chiều dày thực tế, khối lượng riêng và độ ẩm thực tế của vật liệu phải được đo tại thời điểm thử nghiệm cho từng mẫu thử. Các quy trình thích hợp với các loại vật liệu bảo vệ khác nhau được nêu trong Phụ lục A.
Kích thước và chiều dày của tấm và bản phải được xác định theo các tiêu chuẩn quốc gia và nằm trong giới hạn sai số được quy định trong các tiêu chuẩn này.
Tương tự, chiều dày của tấm và bản phải được xác định theo các tiêu chuẩn quốc gia có liên quan và nằm trong giới hạn sai số quy định trong các tiêu chuẩn này.
7.3.2.2 Chiều dày của vật liệu bảo vệ
7.3.2.2.1 Bản và tấm
Chiều dày vật liệu bảo vệ dạng bản hoặc tấm không được sai lệch quá 15 % so với giá trị trung bình trên toàn bộ bề mặt. Giá trị trung bình phải được sử dụng trong đánh giá kết quả phạm vi áp dụng của phép thử. Nếu chiều dày tấm thay đổi vượt quá 15 % thì chiều dày lớn nhất ghi nhận được phải sử dụng trong đánh giá.
Giá trị trung bình phải là giá trị trung bình của tất cả các phép đo theo quy định tại Phụ lục A.
7.3.2.2.2 Vữa phun và vật liệu bảo vệ dạng thụ động
Chiều dày vật liệu bảo vệ dạng vữa phun và vật liệu bảo vệ dạng thụ động phải được đo tại các vị trí quy định trong Phụ lục A. Các điểm đo chiều dày không được đặt gần hơn 150 mm so với vị trí sườn cứng bản bụng của dầm chất tải.
Các phép đo phải được thực hiện cách xa các vị trí đặt đầu đo nhiệt từ 50 mm đến 100 mm.
Chiều dày của vật liệu bảo vệ dạng phun không được sai lệch quá 20% so với giá trị trung bình. Giá trị trung bình được sử dụng trong việc đánh giá kết quả và phạm vi áp dụng của phép thử. Nếu sai lệch của chiều dày lớn hơn 20 %, giá trị chiều dày lớn nhất phải được sử dụng trong đánh giá.
Chiều dày trung bình (hoặc chiều dày lớn nhất theo các yêu cầu nêu trên đối với sai lệch cho phép) của vật liệu bảo vệ chịu lửa được áp dụng cho từng dầm có chất tải và cột có chất tải phải giống như đối với chiều dày áp dụng cho dầm hoặc cột ngắn tham chiếu. Trong mỗi trường hợp, độ sai lệch không được vượt quá 10 % giá trị lớn nhất hoặc ± 5 mm, tùy theo giá trị nào nhỏ hơn.
7.3.2.2.3 Vật liệu bảo vệ dạng phản ứng
Đối với vật liệu bảo vệ dạng phản ứng, trước tiên phải đo chiều dày trung bình của lớp sơn lót, sau đó trừ đi giá trị này từ tổng chiều dày trung bình của lớp sơn lót và lớp sơn dạng phản ứng để xác định chiều dày lớp phủ dạng phản ứng. Sai số cho phép về chiều dày không tính đến lớp sơn lót và lớp sơn phủ hoàn thiện (giả sử phân bố chuẩn của chiều dày đo được) phải như sau:
a) Tại các vị trí đo nhiệt độ
- Tối thiểu 68 % số phép đo phải nằm trong phạm vi ± 20 % giá trị trung bình.
- Tối thiểu 95 % số phép đo phải nằm trong phạm vi ± 30 % giá trị trung bình.
- Tất cả các phép đo phải nằm trong phạm vi ± 45 % giá trị trung bình.
b) Về tổng thể
- Tối thiểu 68 % số phép đo phải nằm trong phạm vi ± 20 % so với giá trị trung bình tại các vị trí đo nhiệt độ.
- Tối thiểu 95 % số phép đo phải nằm trong phạm vi ± 30 % so với giá trị trung bình tại các vị trí đo nhiệt độ.
- Tất cả các phép đo phải nằm trong phạm vi ± 45 % so với giá trị trung bình tại các vị trí đo nhiệt độ.
Nếu chiều dày vượt quá những giá trị giới hạn trên, mẫu thử nghiệm phải được điều chỉnh để phù hợp với những yêu cầu trên.
7.3.2.3 Khối lượng riêng của vật liệu bảo vệ dạng thụ động
Khối lượng riêng của vật liệu bảo vệ (nếu phù hợp) được áp dụng cho từng tiết diện phải được xác định theo Phụ lục A và được ghi nhận.
Với mỗi chiều dày của vật liệu bảo vệ chịu lửa, khối lượng riêng của vật liệu không được sai lệch quá 15 % so với giá trị trung bình. Giá trị trung bình phải được sử dụng trong việc đánh giá kết quả và phạm vi áp dụng của phép thử. Nếu có sai lệch vượt quá 15 % thì phải sử dụng giá trị lớn nhất để đánh giá.
Khối lượng riêng trung bình của vật liệu bảo vệ (hoặc khối lượng riêng lớn nhất theo tiêu chí sai lệch cho phép nêu trên) được áp dụng cho dầm thép có chất tải tải và cột thép có chất tải phải giống với giá trị được áp dụng cho dầm thép hoặc cột thép ngắn tương đương không chất tải. Sự chênh lệch giữa các giá trị khối lượng riêng trong mỗi trường hợp không được vượt quá 10 % giá trị trung bình lớn nhất tại chiều dày sử dụng. Phòng thí nghiệm phải xác nhận các giá trị cân bằng của các tiết diện được chất tải và tiết diện tham chiếu phải nằm trong phạm vi 10 % của nhau.
7.3.2.4 Kiểm tra mẫu thử
Việc kiểm tra và xác nhận mẫu thử để đảm bảo sự phù hợp với yêu cầu kỹ thuật phải được thực hiện theo TCVN 9311-1.
Các đặc tính của vật liệu bảo vệ chịu lửa được sử dụng trong quá trình chuẩn bị các mẫu thử nghiệm phải được xác định đo, sử dụng các mẫu chuyên biệt khi cần thiết theo các phương pháp được nêu trong Phụ lục A hoặc Phụ lục B.
Khách hàng phải có trách nhiệm xác nhận rằng vật liệu bảo vệ chịu lửa đã được thi công đúng, và trong trường hợp vật liệu dạng phun hoặc phủ, phải được xác nhận bằng các phương pháp thích hợp để đảm bảo rằng vật liệu có thành phần và quy cách đúng theo thiết kế.
Phải ghi chép đầy đủ khoảng hở giữa mặt trong của hệ tấm hoặc bản và tiết diện thép. Đối với dầm, các phép đo phải được thực hiện ở khoảng giữa nhịp và ở cả hai đầu của dầm. Đối với cột, các phép đo phải được thực hiện ở khoảng giữa chiều cao và tại đỉnh của cột.
7.4 Lựa chọn mẫu thử nghiệm
7.4.1 Nguyên tắc lựa chọn
Phạm vi đánh giá sẽ quyết định việc lựa chọn mẫu thử.
Đối với vật liệu bảo vệ dạng thụ động, hướng dẫn lựa chọn mẫu thử được quy định trong Phụ lục C. Đối với vật liệu bảo vệ dạng phản ứng, hướng dẫn lựa chọn mẫu thử được quy định trong Phụ lục D.
Phụ lục C và Phụ lục D cho phép thực hiện nhiều đánh giá khác nhau, tùy thuộc vào việc nhà sản xuất có mong muốn thực hiện đánh giá hạn chế hay đánh giá mở rộng. Mỗi gói thử nghiệm chỉ ra số lượng mẫu thử tối thiểu cần thiết cho phạm vi đã cho.
7.4.2 Mẫu thử để đánh giá khả năng bám dính
Phương pháp xác định hệ số hiệu chỉnh khả năng bám dính phụ thuộc vào phạm vi của gói thử nghiệm và hệ bảo vệ chịu lửa.
Hướng dẫn lựa chọn cho vật liệu bảo vệ dạng thụ động được nêu trong Phụ lục C. Hướng dẫn lựa chọn cho vật liệu bảo vệ dạng phản ứng được nêu trong Phụ lục D.
7.4.3 Các tiết diện yêu cầu cho phân tích nhiệt
Ngoài các yêu cầu nêu trong 7.4.2, cần có một loạt các tiết diện I không chất tải để phục vụ cho bất kỳ phương pháp phân tích nào được sử dụng. Các tiết diện này phải được lựa chọn để bao quát phạm vi chiều dày vật liệu bảo vệ, hệ số tiết diện và khoảng thời gian chịu lửa, và phải bao gồm cả tiết diện tham chiếu ngắn tương đương với tiết diện chất tải hoặc tiết diện cao.
Các tiết diện ngắn và cao sẽ được yêu cầu bổ sung để phân tích với tiết diện ống được lựa chọn tương tự để kể đến các yếu tố về chiều dày bảo vệ, hệ số tiết diện và khoảng thời gian chịu lửa.
Lựa chọn mẫu thử nghiệm được xác định bởi phạm vi đánh giá cần thiết đối với sản phẩm bảo vệ. Điều này sẽ dựa trên phạm vi hệ số tiết diện (lớn nhất và nhỏ nhất) và phạm vi chiều dày (lớn nhất và nhỏ nhất) cho từng khoảng thời gian chịu lửa. Các hệ số phạm vi sẽ có giá trị lớn nhất là 1,0 và giá trị nhỏ nhất 0,0 và sẽ được xác định bởi nhà sản xuất.
Lựa chọn mẫu thử cho vật liệu bảo vệ dạng thụ động được nêu trong Phụ lục D. Đối với vật liệu bảo vệ phản ứng, lựa chọn mẫu thử trong Phụ lục E.
8. Lắp đặt mẫu thử nghiệm
8.1 Dầm có chất tải
Các tấm sàn bằng bê tông nhẹ hoặc bê tông khí chưng áp phải được dùng làm lớp bê tông trên cùng, được cố định vào dầm bằng các bu lông có đường kính 12 mm. Chỉ có hai mặt bên và mặt dưới của dầm được tiếp xúc với nhiệt, như thể hiện trong Hình 1. Các tấm sàn phải có các đặc tính sau:
a) Chiều rộng dọc theo dầm là 600 mm ± 100 mm.
b) Chiều dày phải nằm trong khoảng từ 150 mm đến 200 mm.
c) Chiều dài tối đa là 625 mm.
d) Khối lượng riêng danh nghĩa của các tấm sàn bằng bê tông khí chưng áp là 500 kg/m3.
e) Khối lượng riêng danh nghĩa của các tấm sàn bằng bê tông nhẹ là 1 500 kg/m3.
f) Tấm sàn bê tông phải có khoảng cách giữa chúng đủ lớn cho phép dầm chịu uốn.
Phải có một lớp vật liệu cách nhiệt dạng sợi gốm nén đặt giữa tấm bê tông nhẹ và bản cánh trên của dầm. Lớp vật liệu cách nhiệt có cấp A1 được xác định theo tiêu chuẩn EN 13501-1 và có nhiệt độ làm việc tối thiểu là 1 000 °C. Chiều dày khi chưa nén là 30 mm ± 5 mm và có khối lượng riêng danh nghĩa là 125 ± 25 kg/m3. Lớp vật liệu cách nhiệt có chiều rộng bằng chiều rộng mặt trên của dầm thép (xem Hình 1).
Vật liệu cách nhiệt thay thế cấp A1 được xác định theo TCVN 12695 và ISO 1716 có thể được sử dụng với điều kiện có đặc tính tương tự về nhiệt và chiều dày so với tấm cách nhiệt bằng sợi bông gốm.
Các tấm bê tông nhẹ phía trên phải được liên kết bu lông vào dầm thông qua bu lông ren có đường kinh thích hợp được hàn vào dầm. Phải có một tấm thép đệm thích hợp bên dưới đai ốc khóa. Các tấm bê tông nhẹ phải được liên kết ở vị trí mối nối giữa hai tấm hoặc trong chính thân tấm (xem Hình 1: thể hiện chi tiết phương pháp liên kết).
Mỗi tấm bê tông phải được cố định ít nhất tại 2 vị trí. Khoảng hở giữa các tấm bê tông phải được lấp đầy bằng vật liệu chịu lửa.
Tại thời điểm bắt đầu thử nghiệm, mặt dưới của tấm bê tông trên dầm chất tải phải nằm ngang bằng với mặt dưới của các tấm nắp lò liền kề.
Cần bố trí các biện pháp phù hợp với quy trình phòng thí nghiệm để đảm bảo rằng khe hở giữa tấm bê tông trên dầm chất tải và các tấm nắp lò liền kề được bịt kín để tránh thoát khí lò ra ngoài, đặc biệt là khi dầm bị biến dạng trong quá trình thử nghiệm. Dầm chất tải phải được lắp đặt, đồng thời cần đặc biệt chú ý đến việc cách nhiệt các gối đỡ của dầm khỏi tác động của nhiệt.
Ngoài ra, các đầu của dầm chất tải nằm ngoài lò phải được cách nhiệt và cần có đủ khoảng hở giữa mặt dưới của hệ bảo vệ chịu lửa và thành lò để ngăn truyền nhiệt không mong muốn..
8.2 Dầm không chất tải
Mỗi mẫu thử nghiệm dầm không chất tải phải được cố định bằng bu lông vào mặt dưới của các tấm nắp lò làm từ cùng một loại bê tông được sử dụng làm lớp phủ lên dầm có chất tải. Phải có một tấm thép thích hợp bên dưới đai ốc khóa của bu lông.
Mỗi mẫu thử phải được cung cấp một lớp cách nhiệt bằng sợi gốm được đặt giữa mặt dưới nắp lò và bản cánh trên của dầm như quy định trong 8.1 đối với dầm có chất tải và Hình 2.
Các vật liệu cách nhiệt thay thế (Loại A1) có thể được sử dụng với điều kiện chúng có các đặc tính nhiệt và chiều dày tương tự như lớp cách nhiệt bằng sợi gốm đã chỉ định.
Các dầu dầm phải được cách nhiệt bằng một lớp vật liệu cách nhiệt cứng hoặc vật liệu cách nhiệt đàn hồi. Xem cấu tạo chi tiết tại Hình 2.
8.3 Cột có chất tải
Mẫu thử nghiệm cột có chất tải được lắp đặt như thể hiện trong Hình 3 và được mô tả trong TCVN 9311-7.
8.4 Cột không chất tải
Mẫu thử nghiệm cột cao và cột ngắn phải được liên kết bu lông vào mặt dưới của tấm nắp lò bê tông nhẹ [được mô tả trong 6.2.5, sử dụng đinh bu lông ren đường kính 10 mm hàn vào tiết diện cột và có các tấm (100 x 100 x 6) mm đặt dưới có đai ốc khóa] hoặc đặt trên sàn lò (trực tiếp hoặc trên bệ đỡ).
Phải sử dụng đủ lớp cách nhiệt dạng sợi như mô tả trong 8.1 ở tất cả các bề mặt tiếp xúc giữa cột và tấm nắp lò, hoặc sàn lò, hoặc bệ đỡ để tránh truyền nhiệt qua các đầu của tiết diện.
Kích thước hình học của vật liệu cách nhiệt bằng sợi phải lớn hơn kích thước bên ngoài của phần thép thép được bọc bảo vệ chịu lửa.
8.5 Lắp đặt mẫu thử nghiệm
Đối với mỗi thử nghiệm có một dầm hoặc một cột chất tải, một dầm hoặc cột tham chiếu tương đương không chất tải phải được đưa vào và thử nghiệm trong lò cùng một lúc.
Đối với mỗi dầm có chất tải, dầm tham chiếu tương đương phải được bố trí song song và ở giữa nhịp của dầm có chất tải.
Mỗi cột cao và cột tham chiếu tương đương không chất tải phải được lắp đặt trong lò cùng một lúc và được thử nghiệm cùng nhau nếu có thể.
Các mẫu thử phải được bố trí trong lò để đảm bảo chúng không bị che chắn hoặc bị ảnh hưởng bởi thành lò, các mẫu thử khác và các chướng ngại vật. Khoảng cách tối thiểu đến mẫu thử là 300 m hoặc một khoảng cách bằng chiều cao của bản bụng dầm nếu chiều cao của dầm lớn hơn 300 mm. Ví dụ về lắp đặt mẫu thử trong lò có kích thước 4 m x 3 m được đưa ra trong Hình 9.
8.6 Tải trọng lò thử nghiệm
Để đảm bảo duy trì được chế độ nhiệt theo mối quan hệ nhiệt độ - thời gian quy định, có thể cần phải kiểm soát số lượng các cấu kiện thép trong lò và vị trí của chúng.
Thông thường, một lò có kích thước 4 m x 3 m, sâu khoảng 2 m có thể chứa được tới 45 kg /m3 mà không gây ảnh hưởng bất lợi.
9. Điều kiện của mẫu thử nghiệm
Tất cả các mẫu thử, bộ phận cấu thành và bất kỳ mẫu thử nào được lấy để xác định các đặc tính của vật liệu đều phải được xử lý theo điều kiện quy định trong TCVN 9311-1.
10 Bố trí lắp đặt
10.1 Yêu cầu chung
Thiết bị đo nhiệt độ, áp suất lò, tải trọng tác dụng và chuyển vị phải phù hợp với các yêu cầu của TCVN 9311-1.
10.2 Đầu đo nhiệt độ của lò thử nghiệm
10.2.1 Yêu cầu chung
Đầu đo nhiệt lò thử nghiệm dạng tấm, thuộc loại quy định trong tiêu chuẩn TCVN 9311-1, cần được cung cấp để đo nhiệt độ của lò thử nghiệm và được bố trí cách đều để cung cấp số liệu chính xác về nhiệt độ trong vùng của mẫu thử. Không được đặt ở những vị trí không thể đo được nhiệt độ lò một cách chính xác vì bị che khuất bởi các mẫu thử.
Có khả năng một loạt các thử nghiệm có thể có ít nhất một thử nghiệm chỉ bao gồm các cấu kiện ngắn.
10.2.2 Nhiệt độ lò thử nghiệm khi thử nghiệm mẫu dầm có chất tải
Nhiệt độ lò trong vùng của mỗi mẫu thử nghiệm dầm có chất tải phải được đo bằng nhiệt kế dạng tấm, đặt tại các vị trí 1/5, 2/5, 3/5 và 4/5 chiều dài phần tiếp xúc nhiệt của dầm có chất tải, với hai tấm nhiệt kế ở mỗi vị trí, mỗi bên của dầm bố trí một nhiệt kế. Các nhiệt kế dạng tấm phải được đặt cách mặt dưới nắp lò 500 mm như thể hiện trên Hình 10.
Các nhiệt kế dạng tấm phải được định hướng sao cho một nửa số lượng của chúng có mặt “A” hướng về phía sàn của lò, và đối với nửa còn lại, mặt “A” hướng về các thành bên dài hơn của lò. Việc phân bố các hướng khác nhau phải đảm bảo sao cho ở mỗi phía của dầm có số lượng nhiệt kế bằng nhau hướng về sàn và về thành lò.
Khi bắt đầu thử nghiệm, các nhiệt kế này phải được bố trí theo quy định trong TCVN 9311-1 và được thể hiện trên Hình 10.

CHÚ DẪN:
1 Vị trí của dầm ngắn tham chiếu không chất tải (song song với dầm có chất tải).
2 Cột ngắn không chất tải
3 Dầm có chất tải
Hình 9 - Lắp đặt mẫu thử nghiệm điển hình
10.2.3 Nhiệt độ lò thử nghiệm khi thử nghiệm mẫu cột có chất tải
Trong trường hợp cột có chất tải được thử nghiệm độc lập, nhiệt độ lò trong vùng của cấu kiện cột được đo bằng cách sử dụng hai nhiệt kế dạng tấm đặt ở hai bên cột tại mỗi mức 1/4, 1/2 và 3/4 chiều cao cột và cách cột 100 mm.
Các nhiệt kế dạng tấm phải được định hướng sao cho mặt “A” được đặt đối diện với các thành bên của lò. Các phần cách nhiệt được hướng về phía cột.
Khi bắt đầu thử nghiệm, đầu nóng của các nhiệt kế phải được định vị và duy trì trong suốt quá trình thử nghiệm như đã quy định trong TCVN 9311-1.

CHÚ DẪN:
1 Nhiệt kế dạng tấm.
2 Dầm tiết diện I hoặc H, dầm tiết diện ống bố trí tương tự.
CHÚ THÍCH: Chỉ dành cho mục đích minh họa, dầm được minh họa với hệ bảo vệ dạng định hình ở bên trái và hệ bảo vệ dạng hộp ở bên phải.
Hình 10 - Vị trí của nhiệt kế dạng tấm của lò thử nghiệm cho dầm có chất tải
10.2.4 Nhiệt độ lò thử nghiệm khi thử nghiệm mẫu không chất tải
10.2.4.1 Cột đặt trên mặt sàn lò thử nghiệm có hoặc không có dầm chất tải
Trong trường hợp các cột ngắn hoặc cột cao được thử nghiệm trong cùng một lò với một dầm chất tải hoặc một cột chất tải và chúng được đặt trên mặt sàn đáy lò, thì nhiệt độ lò thử nghiệm trong vùng của mỗi cấu kiện cột phải được đo bằng hai tấm nhiệt kế. Các nhiệt kế được đặt ở hai bên của cột, cách đỉnh cột 0,5 m và phải được sử dụng để kiểm soát nhiệt độ của lò nung như đã nêu trong TCVN 9311-1. Các đầu đo nhiệt này phải được đặt cách đều càng tốt có tính đến vị trí và số lượng mẫu thử.
Các nhiệt kế dạng tấm phải được định hướng sao cho mặt “A” đối diện với thành bên của lò thử nghiệm. Phần cách nhiệt phải hướng về phía cột.
Khi bắt đầu thử nghiệm, các đầu nóng của các đầu đo nhiệt phải được định vị và duy trì trong suốt quá trình thử nghiệm như quy định trong TCVN 9311-1.
Cột ngắn được đặt trên bệ (chiều cao > 500 mm) là tương đương với việc cố định trên trần và do đó không yêu cầu thêm nhiệt kế dạng tấm.
10.2.4.2 Cấu kiện cao và ngắn cố định vào trần lò có dầm chất tải
Trong trường hợp dầm ngắn, cột ngắn hoặc cột cao được cố định vào nắp lò thử nghiệm và thử nghiệm cùng lúc với dầm chất tải, thì nhiệt độ lò phải được đo bằng nhiệt kế dạng tấm với vị trí như đã nêu trong 10.2.2.
10.2.4.3 Cấu kiện cao và ngắn cố định vào trần lò không có dầm chất tải
Trong một loạt thử nghiệm có thể có ít nhất một thử nghiệm trong đó chỉ lắp đặt các cấu kiện ngắn hoặc cấu kiện cao trong lò.Trong các thử nghiệm như vậy, nhiệt độ lò sẽ được đo bằng các nhiệt kế dạng tấm đặt ở cùng vị trí như khi lắp đặt dầm chất tải như đã nêu trong 10.2.2.
10.3 Lắp đặt đầu đo nhiệt độ thép
10.3.1 Yêu cầu chung
Đầu đo nhiệt dùng để đo và ghi nhận nhiệt độ của thép, theo loại và phương pháp cố định được nêu trong Phụ lục E, phải được lắp đặt ở các vị trí đo nhiệt và các điểm đo khác theo quy định dưới đây (xem 10.3.1.1 tới 10.3.5) và được minh họa trong Hình 11 đến Hình 14.
10.3.1.1 Tiết diện I hoặc H
Các đầu đo nhiệt trên bản cánh phải được cố định ở vị trí giữa điểm mép ngoài của bản cánh và bản bụng: đầu đo nhiệt trên bản bụng được cố định ở khoảng giữa hai bản cánh.
10.3.1.2 Cột, dầm tiết diện ống chữ nhật
Các điểm đo nhiệt vào mặt phù hợp tại điểm giữa các góc liền kề.
10.3.1.3 Cột ống tiết diện tròn
Các điểm đo nhiệt ở mỗi vị trí đo phải được gắn đều xung quanh chu vi tiết diện tròn.
10.3.2 Dầm có chất tải
Đối với mỗi mẫu thử nghiệm dầm có chất tải, phải có ba vị trí đo, mỗi vị trí bao gồm năm đầu đo nhiệt đặt tại 1/4,1/2 và 3/4 chiều dài của đoạn dầm tiếp xúc với nhiệt.
Đối với tiết diện I và H, đầu đo nhiệt phải được gắn vào cánh dưới của dầm ở hai bên luân phiên của bản bụng dầm cách 250 mm từ vị trí đo ở giữa dầm. Đối với dầm ống, các đầu đo nhiệt bổ sung phải được gắn ở mặt dưới.
Các điểm đo nhiệt độ phải cách điểm chất tải ít nhất 150 mm và không được gần hơn 150 mm so với sườn tăng cứng bản bụng nếu có. Các đầu đo nhiệt trên bản bụng dầm phải được bố trí so le hai bên bản bụng dầm (xem Hình 11).

CHÚ DẪN:
| 1 Vị trí 1 | A Vị trí A |
| 2 Vị trí 2 | B Vị trí B |
| 3 Vị trí 3 | L nhịp dầm |
Hình 11 - Vị trí và hướng đầu đo nhiệt trên dầm có chất tải
10.3.3 Dầm không chất tải
Đối với mỗi mẫu dầm thử nghiệm, phải có ba vị trí đo, mỗi vị trí gồm ba đầu đo nhiệt tại 1/3, 1/2 và 2/3 chiều dài của đoạn dầm tiếp xúc với nhiệt. Các đầu đo nhiệt trên bản bụng và bản cánh phải được bố trí so le nhau tại các vị trí đo liền kề đối với tiết diện I và H (xem Hình 12).
Tương tự, đối với các tiết diện ống, các đầu đo nhiệt phải được đặt tại các vị trí đo tương tự và ở giữa mỗi mặt của tiết diện.

Các vị trí đầu đo nhiệt gắn trên dầm ngắn tiết diện “I” và “H” (tổng cộng 9 vị trí)

Các vị trí đầu đo nhiệt gắn trên dầm ngắn tiết diện ống (tổng cộng 9 vị trí)
CHÚ DẪN:
1 Vị trí 1
2 Vị trí 2
3 Vị trí 3
L Chiều dài
Hình 12 - Vị trí và hướng của đầu đo nhiệt trên dầm không chất tải
10.3.4 Cột có chất tải và cột cao không chất tải
Đối với mỗi mẫu thử cột có chất tải và không chất tải, phải có một vị trí đo bao gồm năm đầu đo nhiệt được đặt cách đỉnh cột 200 mm và tại các vị trí 1/3 và 2/3 chiều dài tiếp xúc với nhiệt của cột (xem hình 13).
Các đầu đo nhiệt trên bản bụng cũng được gắn so le ở hai bên bản bụng.
Tương tự, đối với các tiến diện ống, các đầu đo nhiệt phải được gắn ở các vị trí tương tự và đặt giữa của mỗi mặt (xem Hình 14).

CHÚ DẪN:
1 Vị trí 1
2 Vị trí 2
3 Vị trí 3
H Chiều cao phần tiếp xúc với lửa
Hình 13 - Vị trí và hướng của đầu đo nhiệt trên cột tiết diện I và H

CHÚ DẪN:
1 Vị trí 1
2 Vị trí 2
3 Vị trí 3
H Chiều cao phần tiếp xúc với lửa
Hình 14 - Vị trí và hướng của đầu đo nhiệt trên các tiết diện ống
10.3.5 Cột ngắn không chất tải
Đối với mỗi cột ngắn tiết diện I hoặc H, phải có một vị trí đo bao gồm năm điểm đo nhiệt ở khoảng cách 200 mm từ đỉnh cột và một vị trí đo gồm bốn điểm đo nhiệt ở vị trí giữa chiều cao của cột (xem Hình 13). Các điểm đo nhiệt trên bản bụng và bản cánh được bố trí so le ở các vị trí đo liền kề cho tiết diện I hoặc H.
Đối với cột có tiết diện ống, phải có bốn đầu đo nhiệt cho mỗi vị trí đo và được gắn ở giữa của mỗi mặt của cột (xem Hình 14).
10.4 Đầu đo áp suất của lò thử nghiệm
Áp suất trong lò phải được đo bằng một trong các kiểu của bộ phận cảm biến được quy định trong TCVN 9311-1.
10.5 Dụng cụ đo biến dạng
Biến dạng theo phương thẳng đứng tại điểm giữa nhịp so với gối đỡ đối với dầm chất tải và biến dạng dọc trục đối với cột thép chất tải, phải được đo theo quy định trong TCVN 9311-1.
10.6 Dụng cụ đo tải trọng
Dụng cụ đo tải trọng tác dụng được yêu cầu theo các quy định của TCVN 9311-1.
11 Quy trình thử nghiệm
11.1 Quy định chung
Số lượng mẫu thử nghiệm cần thiết để tạo thành gói thử nghiệm theo quy định trong điều 7.
Kết hợp các mẫu thử trong một số thử nghiệm theo khả năng của lò thử nghiệm và các tiêu chí nêu trong 8.5.
Tiến hành các thử nghiệm trên một dầm có chất tải cùng với dầm không chất tải tương ứng và khi có thể, bổ sung thêm cả các mẫu cột không chất tải. Bất cứ khi nào có thể, tiến hành thử nghiệm trên một cột chất tải cùng với mẫu cột ngắn không chất tải tương ứng.
Tiến hành kiểm tra để đảm bảo tính nhất quán của các đầu đo nhiệt và thiết lập các giá trị nhiệt độ ban đầu trước khi thử nghiệm và các quy trình được xác định trong 11.2 đến 11.4.
11.2 Nhiệt độ và áp suất lò thử nghiệm
Đo và ghi lại nhiệt độ lò thử nghiệm trong vùng của các mẫu thử bằng cách sử dụng nhiệt kế dạng tấm được quy định trong 10.2 và áp suất lò thử nghiệm phù hợp với TCVN 9311-1.
Vị trí của các nhiệt kế dạng tấm được sử dụng để kiểm soát nhiệt độ lò phụ thuộc vào các mẫu thử được thử nghiệm trong lò.
Các nhiệt kế dạng tấm được quy định trong 10.2.2 đến 10.2.4 sẽ được sử dụng để kiểm soát nhiệt độ lò theo các tiêu chí của TCVN 9311-1.
Cơ quan có thẩm quyền có thể yêu cầu thực hiện các thử nghiệm cho hệ bảo vệ chịu lửa dưới tác động của đám cháy âm ỉ (đường cong nhiệt chậm). Khi điều này là cần thiết, quy trình thử nghiệm được mô tả trong Phụ lục F.
11.3 Tác dụng và kiểm soát tải trọng
11.3.1 Dầm chất tải
Sử dụng các quy trình của TCVN 9311-1, tác dụng một tải trọng không đổi lên dầm chất tải, với độ lớn phù hợp với 6.2.2, trong suốt thời gian thử nghiệm cho đến khi biến dạng đạt Lsup/30 hoặc tốc độ biến dạng đạt L2/9 000 d mm/min (d là khoảng cách từ thớ biên của vùng chịu nén tới thớ biên của vùng chịu kéo của tiết diện kết cấu, tính bằng milimét), tại thời điểm đó tải trọng phải được dừng tác dụng.
Giá trị Lsup/30 phải đạt được trong khoảng 500 °C đến 600 °C. Nếu không đạt được giá trị này sau khi nhiệt độ đạt đến 575 °C, thì tải trọng phải được tăng dần và thận trọng cho đến khi đạt đến giá trị Lsup/30. Nhiệt độ được sử dụng để đánh giá phải là nhiệt độ trung bình của bản cánh dưới. Trong trường hợp dầm chất tải có chiều dày lớp bảo vệ chịu lửa lớn nhất, Lsup/30 phải đạt được trong khoảng 85 % của khoảng thời gian chịu lửa lớn nhất trong phạm vi đánh giá.
Đối với hệ bảo vệ chịu lửa dạng tấm hoặc bản, việc tác dụng tải trọng yêu cầu lên dầm đã được bảo vệ có thể dẫn đến phá vỡ vật liệu bảo vệ. Do đó, có thể tác dụng tối đa 50 % tải trọng yêu cầu trước khi lắp đặt hệ bảo vệ chịu lửa.
11.3.2 Cột chất tải
Sử dụng các quy trình của TCVN 9311-1, đặt một tải trọng không đổi lên cột chất tải, có giá trị quy định theo 6.2.4, duy trì trong suốt thời gian thử nghiệm cho đến khi đạt được độ giãn dài tối đa và cột trở lại chiều cao ban đầu, tại thời điểm đó tải trọng sẽ được dỡ bỏ.
Trong trường hợp cột chất tải có chiều dày lớp bảo vệ lớn nhất, yêu cầu trên phải đạt được trong khoảng 85% của thời gian chịu lửa lớn nhất trong phạm vi đánh giá.
11.4 Đo đạc và quan sát
11.4.1 Nhiệt độ của thép
Đo và ghi lại nhiệt độ của các cấu kiện chất tải và không chất tải bằng đầu đo nhiệt gắn vào bề mặt thép như quy định trong 10.3 với khoảng thời gian không quá 1 phút.
11.4.2 Biến dạng
Xác định điểm gốc biến dạng ban đầu, so với các gối đỡ, trước khi tác dụng tải trọng thử nghiệm. Sau đó, sử dụng các quy trình của TCVN 9311-1, gia tải lên mẫu thử nghiệm, đo điểm không của biến dạng và theo dõi biến dạng của dầm có chất tải và co ngắn dọc trục của cột có chất tải (nếu có) liên tục trong suốt thử nghiệm, với các khoảng thời gian không quá 1 phút.
11.4.3 Quan sát
Theo dõi ứng xử chung của từng mẫu thử trong suốt quá trình thử nghiệm và ghi lại sự xuất hiện của các hiện tượng như nứt, rạn, tách lớp hoặc tách rời vật liệu chịu lửa và các hiện tượng tương tự như mô tả trong TCVN 9311-1.
11.4.4 Kết thúc thử nghiệm
Tất cả các thử nghiệm phải cung cấp dữ liệu nhiệt lên đến nhiệt độ tối đa được yêu cầu trong phạm vi đánh giá.
Khi tải trọng đã được loại bỏ đối với các thử nghiệm trên các mẫu thử có chất tải, có thể cần tiếp tục thử nghiệm cho đến khi nhiệt độ trung bình ghi trên tất cả các cấu kiện thép vượt quá nhiệt độ tối đa và thời gian thử nghiệm vượt quá khoảng thời gian tối đa mà khách hàng yêu cầu. Nếu không, kết thúc thử nghiệm khi xảy ra một hoặc nhiều điều kiện dừng thử nghiệm được quy định trong TCVN 9311-1.
12 Kết quả thử nghiệm
Trong bất kỳ thử nghiệm nào, kết quả sai lệch có thể xảy ra do hỏng đầu đo nhiệt, ứng xử bất thường của vật liệu bảo vệ, lắp đặt mẫu thử không chính xác, v.v. Nếu có bất kỳ kết quả nào bị bỏ qua, phòng thí nghiệm cần đưa ra các lý do chính đáng và có sự đồng thuận của khách hàng, trường hợp này áp dụng các quy tắc sau:
12.1 Tiết diện I và H
12.1.1 Dầm chất tải tiết diện I và H
- Trong 6 điểm đo nhiệt bản cánh trên, có ít nhất 4 kết quả phải hợp lệ.
- Trong 3 điểm đo nhiệt trên bản bụng, có ít nhất 2 kết quả phải hợp lệ.
- Trong 8 điểm đo nhiệt trên bản cánh dưới, có ít nhất 6 kết quả phải hợp lệ.
12.1.2 Dầm không chất tải tiết diện I và H
- Trong 3 điểm đo nhiệt bản cánh trên, có ít nhất 2 kết quả phải hợp lệ.
- Trong 3 điểm đo nhiệt trên bản bụng, có ít nhất 2 kết quả phải hợp lệ.
- Trong 3 điểm đo nhiệt trên bản cánh dưới, có ít nhất 2 kết quả phải hợp lệ.
12.1.3 Cột chất tải tiết diện I hoặc H và cột cao không chất tải
- Trong 15 điểm đo nhiệt trên cột, có ít nhất 9 kết quả hợp lệ, với ít nhất 3 kết quả hợp lệ tại mỗi vị trí đo nhiệt.
12.1.4 Cột ngắn tiết diện I hoặc H không chất tải
- Trong 3 điểm đo nhiệt trên mỗi bản cánh, ít nhất 2 kết quả phải hợp lệ..
- Trong 3 điểm đo nhiệt trên bản bụng, ít nhất 2 kết quả phải hợp lệ..
12.2 Tiết diện ống
12.2.1 Dầm tiết diện ống có chất tải
- Trong 11 điểm đo nhiệt trên dầm, có ít nhất 9 kết quả hợp lệ, với ít nhất 2 kết quả hợp lệ tại mỗi vị trí đo nhiệt.
12.2.2 Dầm tiết diện ống không chất tải
- Trong 9 điểm đo nhiệt trên dầm, có ít nhất 7 kết quả hợp lệ, với ít nhất 2 kết quả hợp lệ tại mỗi vị trí đo nhiệt.
12.2.3 Cột cao tiết diện ống có chất tải và không chất tải
- Trong 12 điểm đo nhiệt trên cột, ít nhất 9 kết quả hợp lệ, với ít nhất 3 kết quả hợp lệ tại mỗi vị trí đo nhiệt.
12.2.4 Cột ngắn tiết diện ống không chất tải
- Trong 8 điểm đo nhiệt trên cột, có ít nhất 6 kết quả hợp lệ, với ít nhất 2 kết quả hợp lệ tại mỗi vị trí đo nhiệt.
13 Trình bày kết quả thử nghiệm
Những nội dung sau đây phải được thể hiện trong báo cáo thử nghiệm:
a) Kết quả đo của các kích thước, đặc biệt là chiều dày của lớp bảo vệ chịu lửa, cũng như khối lượng riêng và độ ẩm đối với loại bảo vệ dạng thụ động, cùng với các giá trị sẽ được sử dụng trong đánh giá, theo 7.3.
b) Các kết quả riêng lẻ của tất cả giá trị đo nhiệt độ lò thử nghiệm và giá trị trung bình của tất cả các phép đo nhiệt độ lò riêng lẻ, được thực hiện theo quy định trong TCVN 9311-1, được trình bày bằng đồ thị và so sánh với các yêu cầu và dung sai quy định cho trong TCVN 9311-1.
c) Các kết quả riêng lẻ của tất cả các phép đo áp suất trong lò thử nghiệm và giá trị trung bình của tất cả các phép đo áp suất riêng lẻ, được thực hiện theo quy định trong TCVN 9311-1, được trình bày bằng đồ thị và so sánh với các yêu cầu và dung sai quy định cho trong TCVN 9311-1.
d) Các kết quả riêng lẻ và nhiệt độ trung bình của mỗi bản cánh, nhiệt độ trung bình của bản bụng, và nhiệt độ trung bình tổng thể được xác định như đã nêu trong phần thuật ngữ và định nghĩa và tất cả các kết quả riêng lẻ của tất cả các đầu đo nhiệt tại các vị trí theo 10.3, tất cả được trình bày bằng đồ thị (đó là minh chứng về việc tuân thủ các tiêu chí hợp lệ của 12.1).
e) Các giá trị biến dạng trên các dầm có chất tải quy định trong 11.4.2, được trình bày bằng đồ thị (nếu tải trọng được loại bỏ theo 11.3.1, thì ghi nhận thời điểm xảy ra).
f) Các kết quả riêng lẻ về độ co ngắn dọc trục trên các cột có chất tải quy định trong 11.4.2, tất cả được trình bày bằng đồ thị (nếu tải trọng được loại bỏ theo 11.3.2, ghi nhận thời điểm xảy ra).
g) Các quan sát được ghi nhận và thời điểm xảy ra.
Các kết quả từ b) đến f) có thể được trình bày dưới dạng một tập hợp dữ liệu đo lường được lựa chọn đủ để đưa ra đầy đủ ứng xử của mẫu thử theo TCVN 9311-1.
Các kết quả từ b) đến f) cũng có thể được chuẩn bị và in dưới dạng bảng và/ hoặc trình bày dưới dạng điện tử. Trong trường hợp trình bày dạng điện tử, dữ liệu nên được chuẩn bị ở chế độ phù hợp, định dạng "chỉ cho phép đọc" được lựa chọn để ngăn việc sửa đổi. Chỉ những dữ liệu hợp lệ được lưu giữ trong các hồ sơ phòng thí nghiệm mới được sử dụng trong quá trình đánh giá.
14 Báo cáo thử nghiệm
Báo cáo thử nghiệm phải bao gồm các thông tin sau đây.
“Báo cáo này cung cấp thông tin chi tiết về cấu tạo, các điều kiện thử nghiệm và các kết quả thu được khi hệ bảo vệ chịu lửa được mô tả trong tài liệu này được thử nghiệm theo các quy trình của TCVN 9311-10. Bất kỳ sai lệch nào liên quan đến chiều dày và khối lượng riêng của vật liệu bọc bảo vệ chịu lửa và các chi tiết cấu tạo, tải trọng, ứng suất ở các mép biên hoặc các điều kiện khác với phạm vi áp dụng cho phép đều có thể làm mất hiệu lực của kết quả thử nghiệm ”.
Ngoài các nội dung được yêu cầu trong TCVN 9311-1, báo cáo thử nghiệm phải bao gồm các thông tin sau:
a) Mô tả chung và chi tiết chính xác của hệ bảo vệ chịu lửa.
b) Tên của nhà sản xuất sản phẩm hoặc sản phẩm và tên của nhà sản xuất hoặc đơn vị thi công kết cấu.
c) Thông tin đầy đủ về quy trình chuẩn bị của mẫu thử nghiệm bao gồm phương pháp lắp đặt/thi công hệ bảo vệ chịu lửa và xử lý bề mặt (đối với lớp phủ dạng phản ứng, bao gồm chiều dày lớp sơn lót, loại lớp phủ dạng phản ứng - phương pháp quét/phun hoặc nhúng, số lớp phủ và lớp phủ hoàn thiện).
d) Mô tả về quy trình chế tạo mẫu thử nghiệm (bao gồm mô tả điều kiện tạo mẫu và việc lắp đặt vào trong lò thử nghiệm).
e) Kết quả đo được trong suốt quá trình thử nghiệm bằng các thiết bị đo được nêu tại Điều 13 từ b) đến f), được trình bày dưới dạng đồ thị (và các hình thức bổ sung khác nếu có), theo yêu cầu trong Điều 13.
f) Mô tả ứng xử quan trọng của mẫu thử được quan sát trong suốt thời gian thử nghiệm, bao gồm (các) hiện tượng và mức độ bong tróc của vật liệu bảo vệ chịu lửa (nếu có).
g) Độ lớn tải trọng tác dụng lên từng mẫu thử, dưới dạng hàm số của thời gian, và trong trường hợp tải trọng được dỡ bỏ (trên dầm và cột có chất tải), thì ghi rõ thời điểm dỡ tải.
h) Thời gian chính các khi thử nghiệm bị kết thúc và lý do, trên cơ sở 11.4.4 cho việc kết thúc.
i) Kết quả của bất kỳ phép thử nào được thực hiện bằng ngọn lửa âm ỉ (đường cong nhiệt chậm), như mô tả trong Phụ lục F, phải được báo cáo riêng.
j) Chi tiết của các tính toán xác định tải trọng thử nghiệm.
Phụ lục A
(quy định)
Xác định các tính chất vật liệu bảo vệ chịu lửa dạng thụ động
A.1 Giới thiệu
Việc xác định chiều dày, khối lượng riêng và độ ẩm của vật liệu bảo vệ chịu lửa và các vật liệu khác được sử dụng trong các thử nghiệm chịu lửa là rất quan trọng để dự đoán chính xác chiều dày vật liệu bảo vệ chịu lửa cần thiết từ kết quả thử nghiệm.
Các phương pháp được sử dụng để xác định các đặc tính này phải nhất quán và phụ lục này cung cấp hướng dẫn về các quy trình thích hợp phải được áp dụng.
Bất kỳ mẫu thử đặc biệt nào dùng để xác định chiều dày, khối lượng riêng và độ ẩm phải phù hợp với mẫu thử nghiệm chịu lửa thực tế trong các điều kiện được mô tả trong Mục 9.
Bất kỳ tiêu chuẩn sản phẩm cụ thể nào hiện có để xác định các đặc tính này đều phải được tuân theo. Các quy trình nêu trong TCVN 9311-1 phải được áp dụng cùng với các yêu cầu bổ sung dưới đây.
A.2 Chiều dày của vật liệu bảo vệ chịu lửa
A.2.1 Đo lường
Đối với vật liệu bảo vệ chịu lửa dạng tấm hoặc bản, chiều dày danh nghĩa của từng vật liệu phải được đo bằng máy đo hoặc thước kẹp phù hợp theo tiêu chuẩn quốc gia. Phép đo phải được thực hiện trên vật liệu thực tế trong quá trình lắp đặt mẫu thử hoặc trên mẫu thử nghiệm đặc biệt, kích thước nhỏ nhất của chúng phải là 300 mm x 300 mm. Cần thực hiện ít nhất 9 phép đo xung quanh chu vi và trên bề mặt của vật liệu.
Chiều dày thiết kế được sử dụng trong đánh giá phải như mô tả trong 7.3.2.2.
Đối với vật liệu bảo vệ chịu lửa dạng thụ động (dạng phun), chiều dày phải được đo bằng que dò hoặc mũi khoan có đường kính 1 mm, được đưa vào vật liệu tại từng vị trí đo cho đến khi đầu của que dò hoặc mũi khoan chạm đến bề mặt của cấu kiện. Trên que dò hoặc mũi khoan phải gắn một đĩa thép tròn đường kính 50 mm để xác định chính xác vị trí bề mặt.
Số lượng và vị trí của các điểm đo chiều dày phải được xác định theo A.2.2.
Chiều dày thiết kế được sử dụng trong đánh giá phải được xác định trong 7.3.2.2.
Đối với vật liệu bảo vệ chịu lửa dạng phun, có chiều dày lớn hơn rất nhiều 5 mm (nghĩa là khi chiều dày trung bình của lớp chịu lửa lớn hơn 15 % chiều cao của cấu kiện thử nghiệm), chiều dày trung bình phải được xác định theo công thức:
|
| (A.1) |
Đối với vật liệu bảo vệ chịu lửa được phun phủ và lớp phủ có chiều dày nhỏ hơn 5 mm được phủ lên bề mặt của các cấu kiện thử nghiệm là dầm thép và cột thép, chiều dày vật liệu phải được xác định trực tiếp trên cấu kiện thử nghiệm, sau khi lớp phủ đã khô hoàn toàn.
Chiều dày phải được đo bằng dụng cụ sử dụng nguyên lý cảm ứng điện từ hoặc dòng điện xoáy với đầu dò tiếp xúc có đường kính tối thiểu là 2,5 mm.
Số lượng và vị trí của các điểm đo chiều dày phải được mô tả trong A.2.2. Chiều dày thiết kế được sử dụng trong đánh giá được nêu trong 7.3.2.2.
A.2.2 Vị trí đo chiều dày
Số lượng và vị trí các điểm đo chiều dày (được coi là yêu cầu tối thiểu) phải thực hiện như sau:
A.2.2.1 Dầm chất tải
Cần thực hiện tối thiểu 88 phép đo phân bố trên các vị trí đo được chỉ định trong Hình 6 và 11.
- Các vị trí đo mà tại đó các phép đo nhiệt độ được thực hiện trên bề mặt của dầm thử nghiệm.
- Các vị trí đo nhiệt độ ở mặt trên của cánh dưới dầm, hoặc mặt dưới của dầm ống, ở giữa các vị trí đo nhiệt độ.
- Các vị trí nằm giữa các vị trí đo nhiệt độ ngoài cùng và mép ngoài cùng của mặt trên cánh dưới dầm hoặc mặt dưới của các dầm ống.
A.2.2.2 Dầm không chất tải
Cần thực hiện tối thiểu 24 phép đo tại các vị trí trên bề mặt tiếp xúc với lửa của dầm (bản bụng và bàn cánh; xem Hình 12) tại các vị trí gần với:
- Các vị trí đo nhiệt độ (cách từ 50 mm đến 100 mm) tại đó các phép đo nhiệt độ được thực hiện trên bề mặt của dầm thử nghiệm.
A.2.2.3 Cột chất tải
Cần thực hiện tối thiểu 50 phép đo phân bố đều trên các vị trí đo được chỉ định trong Hình 13 đối với tiết diện I hoặc H và với cấu kiện tiết diện ống theo Hình 14.
- Các vị trí đo nhiệt độ (cách từ 50 mm đến 100 mm) tại đó vị trí mà đo nhiệt độ trên bề mặt của cột thử nghiệm.
- Các vị trí ở giữa các vị trí đo nhiệt độ.
A.2.2.4 Cột ngắn không chất tải
Cần thực hiện tối thiểu 24 phép đo phân bố đều trên các vị trí đo được chỉ ra trong Hình 13 đối với tiết diện I hoặc H và Hình 14 đối với tiết diện ống.
- Các vị trí đo nhiệt độ (cách xa từ 50 mm đến 100 mm) tại đó vị trí mà đo nhiệt độ trên bề mặt cửa cột thử nghiệm.
A.3 Khối lượng riêng của vật liệu bảo vệ chịu lửa
Khối lượng riêng của vật liệu bảo vệ chịu lửa phải được xác định từ các phép đo khối lượng và kích thước bằng cách sử dụng phương pháp như sau:
Đối với vật liệu bảo vệ chịu lửa dạng thụ động dạng tấm hoặc panel, khối lượng riêng có thể xác định từ các giá trị đo khối lượng, đo chiều dày trung bình (từ chín phép đo) và diện tích được thực hiện trên vật liệu thực tế trong quá trình lắp ráp hoặc trên mẫu thử nghiệm đặc biệt kích thước tối thiểu là 300 mm x 300 mm. Khối lượng của tấm phải được xác định bằng cách sử dụng một cân có độ chính xác tương đương 0,1 % tổng khối lượng của mẫu được cân hoặc 0,1 g (với khối lượng mẫu tối thiểu là 100 g), lấy giá trị nào lớn hơn.
Khối lượng riêng của vật liệu bảo vệ chịu lửa dạng sợi hoặc vật liệu nén tương tự sẽ được tính liên quan đến chiều dày danh nghĩa.
Đối với vật liệu bảo vệ chịu lửa dạng phun, khối lượng riêng của vật liệu phải được xác định từ các mẫu được phun, từ bên dưới, vào khay kim loại, đặt nằm ngang. Việc này phải được thực hiện cùng lúc với việc thi công vật liệu bảo vệ chịu lửa lên các mẫu thử thép. Các khay này phải có kích thước 300 mm x 300 mm và được làm từ thép tấm dày 1 mm.
Chiều sâu của các khay sẽ bằng chiều dày thiết kế của vật liệu bảo vệ chịu lửa.
Đối với mỗi chiều dày của vật liệu khác nhau cần chuẩn bị hai khay với vật liệu được áp dụng tương đương với mẫu thép. Một khay được làm khô để cung cấp thông tin tham khảo về khối lượng riêng khô và độ ẩm. Khay còn lại phải được sử dụng để xác định khối lượng riêng tại thời điểm thử nghiệm.
Chiều dày của vật liệu trong các khay phải được xác định tại 9 vị trí trên bề mặt của khay bao gồm:
- Một vị trí ở tâm (tổng cộng 1 điểm) và
- Hai vị trí dọc theo mỗi trục từ tâm đến góc, cách đều nhau, tâm và góc (tổng cộng là 8 điểm).
Khối lượng của vật liệu bảo vệ chịu lửa trong khay phải được đo bằng cân có độ chính xác tương đương 0,1 % tổng khối lượng của mẫu được cân hoặc 0,1 g (kích thước mẫu phải đủ sao cho khối lượng của mẫu nhỏ nhất là 100 g), lấy giá trị nào lớn hơn.
Khối lượng riêng thiết kế được sử dụng trong đánh giá trong mọi trường hợp được xác định theo 7.3.2.2.
A.4 Độ ẩm của vật liệu bảo vệ được thi công
Các mẫu thử nghiệm và vật liệu trong khay dùng để đo độ ẩm phải được bảo quản cùng và trong các điều kiện giống như mẫu thử. Việc đo độ ẩm cuối cùng phải được thực hiện vào ngày diễn ra thử nghiệm chịu lửa.
Đối với vật liệu bảo vệ thụ động dạng tấm hoặc bản, phải lấy các mẫu thử nghiệm đặc biệt có kích thước tối thiểu 300 mm x 300 mm theo từng độ dày khác nhau của vật liệu được sử dụng. Các mẫu này phải được cán và sấy khô trong tủ sấy thông gió, sử dụng nhiệt độ và kỹ thuật quy định trong TCVN 9311-1. Độ ẩm của mẫu thử phải được tính bằng phần trăm so với trọng lượng cân bằng ẩm của mẫu.
Đối với vật liệu chịu lửa thụ động dạng phun, độ ẩm của vật liệu phải được xác định từ quá trình sấy khô của một trong các khay mẫu được đề cập trong A.3 cho mỗi chiều dày được thử nghiệm. Các mẫu này phải được cân và sấy khô trong tủ sấy thông gió, sử dụng nhiệt độ và kỹ thuật quy định trong TCVN 9311-1. Độ ẩm của mẫu thử phải được tính bằng phần trăm so với trọng lượng cân bằng ẩm của mẫu.
Phụ lục B
(quy định)
Xác định các tính chất vật liệu bảo vệ chịu lửa dạng phản ứng
B.1 Giới thiệu
Việc xác định chiều dày của vật liệu bảo vệ chịu lửa và các vật liệu khác được sử dụng trong thử nghiệm khả năng chịu lửa là rất quan trọng để dự đoán chính xác chiều dày lớp chịu lửa yêu cầu từ kết quả thử nghiệm.
Các phương pháp được sử dụng để xác định các đặc tính này phải nhất quán và phụ lục này cung cấp hướng dẫn về các quy trình thích hợp phải được áp dụng.
Bất kỳ mẫu thử nào được sử dụng để xác định chiều dày phải phù hợp với mẫu thử cháy thực tế trong các điều kiện được mô tả trong Điều 8.
Các quy trình nêu trong TCVN 9311-1 phải được tuân thủ cùng với các yêu cầu sau.
B.2 Chiều dày của vật liệu bảo vệ chịu lửa
B.2.1 Chiều dày màng khô
Chiều dày màng khô phải được xác định trực tiếp trên các mẫu thử nghiệm, sau khi lớp phủ được để khô hoàn toàn theo quy định của khách hàng.
Phòng thử nghiệm phải đo chiều dày bằng dụng cụ sử dụng nguyên lý cảm ứng điện từ hoặc dòng điện xoáy với đường kính đầu dò tiếp xúc ít nhất là 2,5 mm.
B.2.2 Vị trí đo
Số lượng và vị trí điểm đo chiều dày (được coi là mức tối thiểu cần thiết) phải như sau:
B.2.2.1 Dầm chất tải
Cần thực hiện tối thiểu 88 phép đo được trải đều trên các vị trí đo được chỉ ra trong Hình 6 và Hình 13.
- Các vị trí đo tại đó các phép đo nhiệt độ được thực hiện trên bề mặt của dầm thử nghiệm.
- Các vị trí tại đó các phép đo nhiệt độ được thực hiện trên bề mặt phía trên của cánh dưới dầm hoặc bề mặt dưới của dầm ống, ở giữa khoảng cách giữa mỗi vị trí đo nhiệt độ.
- Các vị trí ở giữa khoảng cách giữa các vị trí đo nhiệt độ ngoài cùng và các điểm ngoài cùng trên bề mặt phía trên của cánh dầm dưới hoặc bề mặt phía dưới của dầm ống.
B.2.2.2 Dầm không chất tải
Cần thực hiện tối thiểu 24 phép đo tại các vị trí trên bề mặt tiếp xúc với lửa của dầm (bản bụng và các bản cánh hoặc bề mặt của các dầm ống; xem Hình 12) tại các vị trí gần với:
- Các vị trí đo nhiệt độ (cách từ 50 mm đến 100 mm) tại đó các phép đo nhiệt độ được thực hiện trên bề mặt của dầm thử nghiệm.
B.2.2.3 Cột có chất tải, cột cao
Cần thực hiện tối thiểu 50 phép đo trên các vị trí đo nhiệt được chỉ ra trong Hình 13 đối với cấu kiện tiết diện I hoặc H và Hình 14 đối với cấu kiện có tiết diện ống.
- Các vị trí đo nhiệt độ (cách từ 50 mm đến 100 mm) tại đó các phép đo nhiệt độ được thực hiện trên bề mặt của cột thử nghiệm.
- Các vị trí ở giữa khoảng cách giữa mỗi vị trí đo nhiệt độ.
B.2.2.4 Cột ngắn không chất tải
Cần thực hiện tối thiểu 24 phép đo trải đều trên các vị trí đo được chỉ ra trong Hình 13 đối với cấu kiện tiết diện I hoặc H và Hình 14 đối với cấu kiện tiết diện ống.
- Các vị trí đo nhiệt độ (cách từ 50 mm đến 100 mm) tại đó các phép đo nhiệt độ được thực hiện trên bề mặt của cột thử nghiệm.
B.3 Nhận dạng
Việc xác định lớp phủ phải phù hợp với ETAG 018-Phần 2.
Các đặc tính của vật liệu cần được xác định/nhận dạng rõ ràng (công thức chế tạo).
Phụ lục C
(quy định)
Nguyên tắc lựa chọn mẫu thử nghiệm - vật liệu bảo vệ dạng thụ động
C.1 Nguyên tắc lựa chọn
Phạm vi đánh giá sẽ quyết định việc lựa chọn các mẫu thử. Bảng D.1 cho phép thực hiện nhiều đánh giá khác nhau tùy thuộc vào việc nhà sản xuất muốn thực hiện thử nghiệm hạn chế hay mở rộng. Mỗi gói thử nghiệm chỉ ra số lượng mẫu thử tối thiểu cần thiết cho phạm vi đã cho.
Thử nghiệm dầm chất tải của một hệ bảo vệ chịu lửa cụ thể cũng có thể được áp dụng cho các cột sử dụng cùng hệ bảo vệ chịu lửa. Cùng một hệ bảo vệ chịu lửa được định nghĩa là hệ thống có các chốt cố định giống hệt với phần nửa dưới của hệ bảo vệ dầm. Hệ này cũng phải được sử dụng cùng một phương pháp cố định ở phần nửa trên của hệ bảo vệ dầm. Ví dụ, nếu hệ bảo vệ dầm chỉ sử dụng gá đỡ dạng thanh chống ngang, thì hệ bảo vệ cột có thể được coi là giống như vậy nếu các thanh chống ngang cũng được sử dụng trong hệ bảo vệ cột và chúng được đặt ở cùng một khoảng cách. Nếu hệ bảo vệ dầm sử dụng các thanh góc ở phần trên của hộp bảo vệ dầm mà không sử dụng ở phần dưới thì các thanh góc tương tự phải được sử dụng trong hệ bảo vệ cột. Nếu không, hai hệ bảo vệ được coi là khác nhau và cột chất tải phải được thử nghiệm.
Hệ bảo vệ chịu lửa bao gồm nhiều lớp tấm, bản, hoặc màng khác nhau phải được coi như nhiều hơn một hệ. Do đó, một hệ một lớp riêng biệt được yêu cầu một gói thử nghiệm và đánh giá riêng biệt với hệ nhiều lớp. Ví dụ: nếu một hệ bảo vệ dạng tấm yêu cầu tối đa ba lớp tấm, thì cần có hai gói thử nghiệm và đánh giá, tức là một gói cho hệ bảo vệ một lớp và một gói cho hệ bảo vệ gồm hai và ba lớp kết hợp.
Nếu hệ bảo vệ dạng vữa được thử nghiệm mà không có bất kỳ lưới gia cường nào, thì lưới có thể được thêm vào trong thực tế. Nếu lưới được sử dụng trong thử nghiệm, thì nó phải được sử dụng trong thực tế.
Bảng C.1 áp dụng cho tấm, bản hoặc màng và lớp phủ dạng phun. Trong trường hợp sử dụng tấm, bản hoặc màng, hệ bảo vệ chịu lửa của cột và dầm phải giống nhau cho các cột và dầm kết hợp (gói thử nghiệm 3 và 4).
CHÚ THÍCH: Có thể cần thêm các mẫu thử bổ sung cho các tiết diện thép nặng hơn theo quy chuẩn xây dựng quốc gia.
Khách hàng có thể áp dụng các nguyên tắc được đưa ra trong Phụ lục A cho các tiết diện ống. Nếu đây là trường hợp, phải tiến hành thử nghiệm các tiết diện I hoặc H trong phụ lục này.
Trong trường hợp vật liệu bảo vệ bằng dạng tấm, bản hoặc màng khi phương pháp cố định các vật liệu bảo vệ đối với tiết diện ống khác với phương pháp đối với tiết diện I hoặc H hoặc khi yêu cầu cần có đánh giá riêng cho các tiết diện ống, áp dụng Bảng C.2.
CHÚ THÍCH: Có thể cần thêm các mẫu thử bổ sung cho các tiết diện thép nặng hơn theo quy chuẩn xây dựng quốc gia.
Bảng C.1 - Nguyên tắc lựa chọn - Tiết diện hở
| Phạm vi | Gói thử nghiệm | Dầm chất tải được chọn từ C.2 | Cột chất tải được chọn từ C.2 | Dầm tham chiếub | Cột tham chiếuc | Dầm ngắn tiết diện I | Cột ngắn tiết diện I | Tổng số cấu kiện ngắn | Quy trình hiệu chỉnh từ bảng B.2-ISO 834-11 |
| Dầm Ia | 1 | ✓ |
| 2 |
| 11 |
| 13 | a) |
| Cột I | 2 |
| ✓ |
| 2 |
| 11 | 13 | b) |
| Dầm và cột Ia | 3 | ✓ |
| 2 |
|
| 13 | 15 | d) |
| Dầm và cột Ia | 4 | ✓ |
| 2 |
| 11 | 13 | 26 | c) |
| a - bao gồm cả tiết diện I và H b - Dầm này được sử dụng để phân tích nhiệt c - Cột này được sử dụng để phân tích nhiệt | |||||||||
Bảng C.2 - Nguyên tắc lựa chọn - tiết diện ống
| Phạm vi | Gói thử nghiệm | Dầm chất tải được chọn từ C.2 | Cột chất tải được chọn từ C.2 | Dầm tham chiếu | Dầm ngắn tiết diện ống | Cột ngắn tiết diện ống | Tổng số cấu kiện ngắn | Quy trình hiệu chỉnh từ bảng B.2 - ISO 834-11 |
| Dầm tiết diện ống chữ nhật | 1 | ✓ |
| 2 | 4 |
| 6 | e) |
| Cột tiết diện ống | 2 |
| ✓ | 2 |
| 4 | 6 | f) |
Cần phải tiến hành một chương trình thử nghiệm đối với các cấu kiện không chất tải để xác định mối quan hệ giữa khả năng chịu lửa, chiều dày lớp bảo vệ và hệ số tiết diện. Một chương trình thí nghiệm điển hình sẽ bao gồm ít nhất sáu tiết diện cho một phạm vi chiều dày.
C.2 Các tiết diện thử nghiệm để hiệu chỉnh khả năng bám dính
Để kể đến khả năng bám dính của vật liệu bảo vệ chịu lửa, dữ liệu nhiệt độ của các tiết diện ngắn phải được hiệu chỉnh dựa trên các dầm chất tải và cột chất tải tùy thuộc vào phạm vi của gói thử nghiệm đã chọn. Phương pháp luận để hiệu chỉnh khả năng bám dính phụ thuộc vào phạm vi của gói thử nghiệm được chọn từ Bảng C.3 và C.4 và được mô tả trong ISO 834-11.
Quy trình toán học để hiệu chỉnh khả năng bám dính được nêu trong ISO 834-11. Hướng dẫn để lựa chọn các tiết diện có chất tải để đánh giá khả năng bám dính được nêu trong Bảng C.3 và C.4.
Bảng C.3 - Lựa chọn tiết diện thử nghiệm với dạng bọc bằng vữa
| Cấu kiện chất tải | Chiều dày bảo vệ | Hệ số tiết diện | Chiều cao hoặc chiều rộng tối thiểu |
|
|
|
| mm |
| Dầm 1 | Lớn nhất | Lớn nhất để phù hợp với phạm vi đánh giá | 300 |
| Dầm 2 | Nhỏ nhất | Lớn nhất để phù hợp với phạm vi đánh giá | 300 |
| Cột 1 | Lớn nhất | Lớn nhất để phù hợp với phạm vi đánh giá | 200 |
| Cột 2 | Nhỏ nhất | Lớn nhất để phù hợp với phạm vi đánh giá | 200 |
Bảng C.4 - Lựa chọn tiết diện thử nghiệm với dạng bọc bằng tấm/màng/bản - hệ một lớp
| Cấu kiện chất tải | Chiều dày bảo vệ | Hệ số tiết diện | Chiều cao tối thiểu mm |
| Dầm 1 | Lớn nhất | Lớn nhất để phù hợp với phạm vi đánh giá | 300 |
| Dầm 2 | Nhỏ nhất | Lớn nhất để phù hợp với phạm vi đánh giá | 300 |
| Cột 1 | Lớn nhất | Lớn nhất để phù hợp với phạm vi đánh giá | 200 |
| Cột 2 | Nhỏ nhất | Lớn nhất để phù hợp với phạm vi đánh giá | 200 |
Không phải tất cả các tiết diện chất tải đều được yêu cầu chứng minh khả năng bám dính; do đó, tham khảo Bảng C.1 để lựa chọn các thử nghiệm cần thiết.
Phương pháp luận để xác định hiệu chỉnh khả năng bám dính phụ thuộc vào phạm vi của gói thử nghiệm được chọn từ Bảng C.1 và Bảng C.2 và được mô tả trong ISO 834-11.
Hệ số hiệu chỉnh đối với hệ bảo vệ một lớp chỉ được áp dụng cho dữ liệu nhiệt từ thử nghiệm một lớp.
Hệ số hiệu chỉnh đối với hệ bảo vệ nhiều lớp chỉ được áp dụng cho dữ liệu nhiệt từ thử nghiệm nhiều lớp.
Đối với hệ bảo vệ nhiều lớp được thử nghiệm trên dầm và cột, tiết diện được bảo vệ với chiều dày nhỏ nhất sử dụng hai lớp tấm, bản hoặc màng mỏng nhất và tiết diện được bảo vệ với chiều dày lớn nhất phải sử dụng hai hoặc nhiều lớp tấm, bản hoặc màng dày nhất. Trong trường hợp sau, lớp ngoài của tấm, bản hoặc màng có thể được thay thế bằng một lớp mỏng hơn để tạo ra độ dày tối đa đáp ứng phạm vi đánh giá.
Vị trí của lớp mỏng nhất phải giống như trong thực tế. Ví dụ, nếu lớp mỏng nhất được thử nghiệm là lớp ngoài cùng của hệ bảo vệ, thì nó phải là lớp ngoài cùng trong thực tế.
C.3 Tiết diện cần thiết cho phân tích nhiệt
C.3.1 Tiết diện ngắn I và H
Các tiết diện sẽ được chọn để bao phủ phạm vi chiều dày bảo vệ, hệ số tiết diện và thời gian chịu lửa và sẽ gồm tiết diện tham chiếu ngắn tương đương với tiết diện chất tải. Bảng C.5 và Bảng C.6 đưa ra số lượng tối thiểu các tiết diện cần thiết. Các tiết diện bổ sung có thể được thử nghiệm để cho phép hiệu chỉnh đường cong như mô tả trong ISO 834-11 (phương pháp đồ thị).
Các tiết diện ngắn bổ sung sẽ được yêu cầu để phân tích các tiết diện ống được chọn tương tự để bao phủ phạm vi chiều dày bảo vệ, hệ số tiết diện và thời gian chịu lửa.
Hệ bảo vệ chịu lửa cho các mẫu thử ngắn, không chất tải có mối nối sẽ không được bao gồm các mối nối trừ khi hệ bảo vệ được sử dụng thông thường có các mối nối cách nhau không quá 1 m.
Việc lựa chọn các mẫu thử sẽ được xác định bởi phạm vi đánh giá cần thiết cho sản phẩm. Việc này sẽ dựa trên phạm vi của hệ số tiết diện (lớn nhất và nhỏ nhất) và phạm vi độ dày (lớn nhất và nhỏ nhất) cho từng khoảng thời gian chịu lửa. Các hệ số phạm vi sẽ là 1,0 cho tối đa và 0,0 cho tối thiểu và sẽ được xác định bởi nhà sản xuất.
Đối với tiết diện I hoặc H, áp dụng Bảng C.5.
CHÚ THÍCH: Có thể cần thêm các mẫu thử bổ sung cho các tiết diện thép nặng hơn theo quy chuẩn xây dựng quốc gia.
Bảng C.5 - Chiều dày lớp bảo vệ chịu lửa và hệ số tiết diện để phân tích nhiệt (tiết diện ngắn I hoặc H)
| Hệ số phạm vi tiết diện Ks | Hệ số phạm vi chiều dày, Kd | |||
| 0,0 (dmin) | 0,2 - 0,5 | 0,5 - 0,8 | 1,0 (dmax) | |
| 0,0 (Smin) | ✓ | ✓ | ✓ |
|
|
| ✓ptp |
|
|
|
| 0,2 - 0,5 | ✓ |
| ✓ | ✓ |
|
| ✓ptp |
|
|
|
|
| ✓ptp | ✓ptp |
| ✓ptp |
| 0,5 - 0,8 | ✓ | ✓ | ✓ | ✓ |
|
|
| ✓ptp | ✓ptp | ✓ptp |
|
|
| ✓ptp | ✓ptp | ✓ptp |
| 1,0 (Smax) |
| ✓ | ✓ | ✓ |
Bảng C.5 áp dụng riêng cho dầm và cột.
Trên đây là một ví dụ - trong bất kỳ lựa chọn nào phải có ít nhất ba tiết diện trong mỗi hàng và ba tiết diện trong mỗi cột ngoại trừ trường hợp có thêm các tiết diện ptp.
Dầm hoặc cột chất tải có chiều dày bảo vệ lớn nhất phải nằm trong phạm vi hệ số tiết diện (0,2-1,0).
Dầm hoặc cột chất tải có chiều dày tối thiểu phải nằm trong phạm vi hệ số tiết diện (0,2-0,8).
Hệ số tiết diện và chiều dày thực tế được tính toán theo công thức trong Hình 8.
Phạm vi đánh giá sẽ được giới hạn cho các dầm có chiều cao tối đa bằng hai lần chiều cao dầm thử nghiệm chất tải với chiều dày vật liệu bảo vệ thích hợp.
Phạm vi đánh giá sẽ được giới hạn trong các cột có chiều cao tối đa bằng hai lần chiều cao của dầm hoặc cột được thử nghiệm chất tải, tối đa là 600 mm.
Tổng số tiết diện ngắn tối thiểu là 13 đối với dầm và 11 đối với cột. Nếu hệ lựa chọn sử dụng ít hơn 4 chiều dày trong thực tế, các chiều dày dày này được thử nghiệm và mỗi chiều dày phải được thử nghiệm ở từng phạm vi hệ số tiết diện.
Nếu chỉ sử dụng các cột ngắn để đánh giá cho các dầm, thì các dầm tham chiếu cũng phải được bao gồm cho cả thử nghiệm dầm chất tải (với chiều dày) nhỏ nhất và lớn nhất.
Nếu chỉ sử dụng các cấu kiện ngắn tiết diện I hoặc H để đánh giá dầm, thì chiều cao bản bụng của dầm chất tải tối đa sẽ bị giới hạn ở chiều cao bản bụng cộng thêm 50%.
Nếu các tiết diện ngắn I hoặc H được sử dụng để đánh giá tính năng của các tiết diện ống thì phải tuân thủ theo Phụ lục A của ISO 834-11.
Các tiết diện được chỉ ra trong Bảng C.5 với tham chiếu "ptp" được yêu cầu như các tiết diện bổ sung trung gian cho các phạm vi của hệ số tiết diện ở hai bên, được yêu cầu khi sử dụng phương pháp đánh giá đồ họa điểm-điểm cho một đường có chiều dày danh nghĩa cụ thể.
C.3.2 Tiết diện ống
Nếu các tiết diện ống được thử nghiệm và đánh giá riêng, có nghĩa là không sử dụng Phụ lục A của ISO 834 - 11, thì áp dụng Bảng C.6:
CHÚ THÍCH: Có thể cần thêm các mẫu thử bổ sung cho các tiết diện thép nặng hơn theo quy chuẩn xây dựng quốc gia.
Bảng C.6 - Chiều dày lớp bảo vệ chịu lửa và phạm vi hệ số tiết diện để phân tích nhiệt
(tiết diện ống)
| Phạm vi hệ số tiết diện Ks | Hệ số phạm vi chiều dày, Kd | ||
| 0,0 (dmin) | 0,4 - 0,6 | 0,0 (dmax) | |
| 0,0 (Smin) | ✓ | ✓ | ✓ |
| 0,4 - 0,6 | ✓ |
|
|
| 1,0 (Smax) |
| ✓ |
|
Bảng trên áp dụng riêng biệt cho cột và dầm tiết diện ống.
Trên đây là một ví dụ - trong bất kỳ lựa chọn nào phải có ít nhất 2 tiết diện trong mỗi hàng và 2 tiết diện trong mỗi cột.
Dầm chất tải có chiều dày lớn nhất phải nằm trong phạm vi hệ số tiết diện (0,5-1,0).
Cột tiết diện ống chất tải có chiều dày lớn nhất phải nằm trong phạm vi hệ số tiết diện (0,5-1,0).
Hệ số tiết diện và chiều dày thực tế được xác định theo Công thức C.1 và C.2.
Số lượng tiết diện ngắn tối thiểu là 6 đối với dầm và 6 đối với cột, tổng cộng là 12 mẫu. Nếu hệ bảo vệ sử dụng ít hơn ba loại chiều dày trong thực tế, thì những chiều dày này sẽ phải được thử nghiệm và mỗi chiều dày phải được thử nghiệm cho từng phạm vi hệ số tiết diện.
Số lượng tiết diện mẫu thử ít hơn so với Bảng C.5 chỉ cho phép trong một đánh giá giới hạn, ví dụ áp dụng chiều dày vật liệu bảo vệ cố định cho từng phạm vi hệ số tiết diện và không cần ngoại suy giữa các phạm vi chiều dày đã thử nghiệm.
Để đánh giá đầy đủ, phải sử dụng cùng cách tiếp cận và số lượng các tiết diện được nêu trong Bảng C.5.
Phạm vi đánh giá sẽ được giới hạn đối với các dầm có chiều cao tối đa bằng 1,5 lần chiều cao của dầm chất tải thử nghiệm được bảo vệ với chiều dày lớp bảo vệ phù hợp.
Phạm vi đánh giá sẽ được giới hạn đối với các cột có chiều cao tối đa bằng 2 lần chiều cao tiết diện dầm hoặc cột chất tải được thử nghiệm, tối đa là 600 mm.
Đối với một số khoảng thời gian chịu lửa, tiết diện có chất tải có thể không nằm trong phạm vi hệ số tiết diện lớn nhất nhưng phải được bảo vệ bằng lớp vật liệu có chiều dày lớn nhất.
Các giá trị thực tế của phạm vi hệ số có thể được lấy từ Công thức C.1 và C.2.
Với chiều dày
| dp = Kd (dmax - dmin) + dmin | (C.1) |
trong đó:
dp là chiều dày tại hệ số Kd;
dmax là chiều dày lớn nhất tại hệ số Kd bằng 1;
dmin là chiều dày nhỏ nhất tại hệ số Kd bằng 0;
Ví dụ: phạm vi chiều dày từ 0,2 mm đến 1,2 mm
Thì chiều dày tại hệ số Ks bằng 0,5 là [(1,2 - 0,2) x 0,5] + 0,2 = 0,7 mm.
Với hệ số tiết diện
| sp = Ks (smax - smin) + smin | (C.2) |
trong đó:
Sp là hệ số tiết diện tại hệ số Ks;
smax là hệ số tiết diện lớn nhất tại hệ số Ks bằng 1;
smin là hệ số tiết diện nhỏ nhất tại hệ số Ks bằng 0;
Ví dụ: phạm vi hệ số tiết diện từ 60 m-1 tới 300 m-1
Thì hệ số tiết diện tại hệ số Ks bằng 0,5 là [(300-60)x0,5] + 60 =180 m-1.
Hệ số tiết diện có thể được xác định bởi nhà sản xuất tùy thuộc vào việc lựa chọn dữ liệu thử nghiệm thực tế của phòng thí nghiệm.
Các mẫu thử nghiệm tham khảo lựa chọn theo bảng trong Phụ lục G.
Phụ lục D
(quy định)
Nguyên tắc lựa chọn mẫu thử nghiệm - vật liệu bảo vệ dạng phản ứng
D.1 Nguyên tắc lựa chọn
Phạm vi đánh giá sẽ quyết định việc lựa chọn các mẫu thử nghiệm. Bảng D.1 cho phép thực hiện nhiều dạng đánh giá khác nhau tùy thuộc vào việc nhà sản xuất muốn tiến hành thử nghiệm hạn chế hay mở rộng. Mỗi gói thử nghiệm chỉ rõ số lượng mẫu thử tối thiểu cần thiết cho phạm vi đánh giá tương ứng.
CHÚ THÍCH: Có thể cần thêm các mẫu thử bổ sung cho các tiết diện thép nặng hơn theo quy chuẩn xây dựng quốc gia.
Chương trình thử nghiệm cho các cấu kiện không chất tải nhằm mục đích nghiên cứu mối quan hệ giữa khả năng chịu lửa, chiều dày màng khô và hệ số tiết diện.
Khi cột tham chiếu liên quan đến dầm tham chiếu chỉ có ý nghĩa trong các gói thử nghiệm mà trong đó đánh giá được thực hiện chỉ dựa trên dữ liệu của cột ngắn, thì các dầm tham chiếu có chiều dày nhỏ nhất và lớn nhất sẽ được yêu cầu bổ sung ngoài các mẫu thử cột ngắn. Trong các trường hợp khác, cả dầm tham chiếu và cột tham chiếu đều có thể được đưa vào nhóm mẫu thử ngắn đã chọn.
Việc thử nghiệm các cột tiết diện ống tròn và ống chữ nhật được bảo vệ bằng các lớp bảo vệ dạng phản ứng không chứng minh một cách rõ ràng rằng một hình dạng nào bất lợi hơn hình dạng kia. Để kết quả thử nghiệm có thể được sử dụng cho cả hai hình dạng, cần tiến hành thử nghiệm để xác định chính xác hình dạng nào bất lợi hơn trước khi chỉ đánh giá một trong hai loại tiết diện ống.
Để đánh giá lớp bọc bảo vệ có hoạt động khác nhau giữa các cột rỗng tròn hay cột rỗng chữ nhật hay không, cần thử nghiệm một cột cao của từng loại với hệ số tiết diện danh nghĩa từ 130 m-1 đến 160 m-1 được bảo vệ bằng cùng một chiều dày bọc bảo vệ, tương ứng với giá trị danh nghĩa lớn nhất, hoặc tại hệ số tiết diện lớn nhất phù hợp với phạm vi đánh giá.
Kích thước tiết diện danh nghĩa cho cột cao tiết diện ống tròn và ống chữ nhật lần lượt là 168,3 mm đường kính x 6,3 mm chiều dày thành và 160 mm x 160 mm với chiều dày thành là 8,0 mm, hoặc chiều dày thành nhỏ nhất phù hợp với phạm vi đánh giá. Trong trường hợp này, có thể cần lựa chọn mẫu thử tiết diện ống có cùng chiều dày thành với cột cao để có thể thực hiện hiệu chỉnh dữ liệu dựa trên tiết diện tham chiếu giống nhau.
Cần tiến hành so sánh biểu đồ nhiệt độ thép theo thời gian đạt đến từng nhiệt độ thiết kế trong phạm vi đánh giá để xác định được tính năng bất lợi nhất.
Khi đã xác định được loại tiết diện ống bất lợi nhất, thì cột tiết diện ống chất tải và các tiết diện ngắn sẽ được lựa chọn tương ứng.
Ngoài ra, các thử nghiệm trên tiết diện ống hình chữ nhật và hình tròn có thể được tiến hành và đánh giá riêng biệt. Trong mỗi trường hợp, sẽ cần một tiết diện có chất tải với chiều dày lớn nhất.
Bảng D.1 - Lựa chọn mẫu thử nghiệm
| Phạm vi | Gói thử nghiệm | LB min + LB max | LC min + LC max | TC max | LHB max | LHB min | LHC max | LHC min | RB | SIB | SIC | TCHS | TRHS | SHB | SHC | Tổng số cấu kiện ngắn | Quy trình hiệu chỉnh theo bảng B.1 của ISO 834-11 |
| Dầm I | 1 | ✓ |
|
|
|
|
|
|
| 13 |
|
|
|
|
| 13 | a) |
| Cột I | 2 |
| ✓ |
|
|
|
|
|
|
| 13 |
|
|
|
| 13 | b) |
| Dầm và cột I | 3 | ✓ |
| ✓ |
|
|
|
|
| 13 | 13 |
|
|
|
| 26 | a), c) |
| Dầm và cột I | 3A | ✓ |
| ✓ |
|
|
|
| 2 |
| 13 |
|
|
|
| 15 | d) |
| Dầm, cột I, và cột tiết diện ống | 4 | ✓ |
| ✓ |
|
| ✓ |
|
| 13 | 13 | ✓ | ✓ |
| 6 | 32 | a), c), e) |
| Dầm, cột I, và cột tiết diện ống | 4A | ✓ |
| ✓ |
|
| ✓ |
| 2 |
| 13 | ✓ | ✓ |
| 6 | 21 | d), e) |
| Dầm, cột I, và cột tiết diện ống | 5 | ✓ |
| ✓ | ✓ |
|
|
|
| 13 | 13 |
|
| 6 |
| 32 | a), c), f) |
| Dầm, cột I , và cột tiết diện ống | 5A | ✓ |
| ✓ | ✓ |
|
|
| 2 |
| 13 |
|
| 6 |
| 21 | d), f) |
| Dầm, cột I, và dầm, cột tiết diện ống | 6 | ✓ |
| ✓ | ✓ |
| ✓ |
|
| 13 | 13 | ✓ | ✓ | 6 | 6 | 38 | a), c), e), f) |
| Dầm, cột I, và dầm, cột tiết diện ống | 6A | ✓ |
| ✓ | ✓ |
| ✓ |
| 2 |
| 13 | ✓ | ✓ | 6 | 6 | 27 | d), e), f) |
| Dầm I, dầm, cột tiết diện ống | 7 | ✓ |
|
| ✓ |
| ✓ |
|
| 13 |
| ✓ | ✓ | 6 | 6 | 25 | a), e), f) |
| Cột I, cột, dầm tiết diện ống | 8 |
| ✓ |
| ✓ |
| ✓ |
|
|
| 13 | ✓ | ✓ | 6 | 6 | 25 | b), e), f) |
| Dầm, cột tiết diện ống | 9 |
|
| ✓ | ✓ | ✓ | ✓ |
|
|
|
| ✓ | ✓ | 6 | 6 | 12 | g), h) |
| Dầm I, dầm tiết diện ống | 10 | ✓ |
| ✓ | ✓ |
|
|
|
| 13 |
|
|
| 6 |
| 19 | a), g) |
| Cột I, cột tiết diện ống | 11 |
| ✓ |
|
|
| ✓ | ✓ |
|
| 13 | ✓ | ✓ |
| 6 | 19 | b), h) |
| Dầm I, cột tiết diện ống | 12 | ✓ |
|
|
|
|
| ✓ |
| 13 |
| ✓ | ✓ |
| 6 | 19 | a), h) |
| Cột I, dầm tiết diện ống | 13 |
| ✓ |
| ✓ | ✓ |
|
|
|
| 13 |
|
| 6 |
| 19 | b), g) |
| Dầm tiết diện ống | 14 |
|
|
| ✓ | ✓ |
|
|
|
|
|
|
| 6 |
| 6 | g) |
| Cột tiết diện ống | 15 |
|
|
|
|
| ✓ | ✓ |
|
|
| ✓ | ✓ |
| 6 | 6 | h) |
D.2 Tiết diện thử nghiệm để hiệu chỉnh khả năng bám dính
Để xác định khả năng bám dính của vật liệu bảo vệ chịu lửa, dữ liệu nhiệt độ của các tiết diện ngắn phải được hiệu chỉnh bằng cách so sánh với dầm, cột chất tải tùy thuộc vào chương trình thử nghiệm đã chọn. Phương pháp xác định hiệu chỉnh khả năng bám dính phụ thuộc vào phạm vi của gói thử nghiệm được chọn trong Bảng D.1 và được mô tả trong ISO 834-11.
D.3 Các tiết diện cần thiết cho phân tích nhiệt
D3.1 Tiết diện ngắn I và H
Các tiết diện sẽ được chọn để bao phủ phạm vi chiều dày bảo vệ, hệ số tiết diện và thời gian chịu lửa và sẽ bao gồm tiết diện ngắn tham chiếu tương đương với tiết diện tải hoặc tiết diện cao. Bảng D.2 và Bảng D.3 đưa ra số lượng tối thiểu tiết diện cần thiết. Các tiết diện bổ sung có thể được thử nghiệm để cho phép sử dụng phương pháp điều chỉnh đường cong như mô tả trong ISO 834-11, Phụ lục C (phương pháp đồ thị).
Các tiết diện ngắn và cao bổ sung sẽ cần thiết cho việc phân tích các tiết diện ống, được chọn tương tự sao cho bao phủ phạm vi chiều dày bảo vệ, hệ số tiết diện và thời gian chịu lửa.
Việc lựa chọn các mẫu thử sẽ được xác định bởi phạm vi đánh giá cần thiết cho sản phẩm. Điều này sẽ dựa trên phạm vi hệ số tiết diện (lớn nhất và nhỏ nhất) và phạm vi chiều dày (lớn nhất và nhỏ nhất) cho từng khoảng thời gian chịu lửa. Các hệ số phạm vi sẽ là 1,0 cho giá trị lớn nhất và 0,0 cho giá trị nhỏ nhất và sẽ được xác định bởi nhà sản xuất.
với tiết diện ngắn I và H áp dụng Bảng D.2.
CHÚ THÍCH: Có thể cần thêm các mẫu thử bổ sung cho các tiết diện thép nặng hơn theo quy chuẩn xây dựng quốc gia.
Bảng D.2 - Chiều dày vật liệu bảo vệ chịu lửa và phạm vi hệ số tiết diện cho phân tích nhiệt (tiết diện ngắn I hoặc H )
| Phạm vi hệ số tiết diện Ks | Hệ số phạm vi chiều dày | |||
| 0,0 (dmin) | 0,2 - 0,5 | 0,5 - 0,8 | 1,0 (dmax) | |
| 0,0 (smin) | ✓ | ✓ | ✓ |
|
|
| ✓ptp |
|
|
|
| 0,2 - 0,5 | ✓ |
| ✓ | ✓ |
|
| ✓ptp |
|
|
|
|
| ✓ptp | ✓ptp | ✓ptp | ✓ptp |
| 0,5 - 0,8 | ✓ | ✓ |
| ✓ |
|
|
| ✓ptp | ✓ptp | ✓ptp |
|
|
| ✓ptp | ✓ptp | ✓ptp |
| 1,0 (smax) |
| ✓ | ✓ | ✓ |
Nếu sử dụng phương pháp đồ thị theo Phụ lục C của ISO 834-11, thì phải tham chiếu Bảng C.3 để đảm bảo chính xác số lượng các mức chiều dày được đưa vào khi lựa chọn mẫu thử.
Bảng trên áp dụng riêng biệt cho dầm và cột.
Bảng trên là một ví dụ và trong bất kỳ lựa chọn nào cũng phải cần ít nhất ba tiết diện trong mỗi hàng và ba tiết diện trong mỗi cột ngoại trừ các tiết diện ptp bổ sung.
Dầm có chất tải có chiều dày lớn nhất phải nằm trong phạm vi hệ số tiết điện tử 0,2 đến 1,0 và dầm có chất tải có chiều dày nhỏ nhất phải nằm trong phạm vi hệ số tiết điện tử 0,2 đến 0,8.
Chiều dày thực tế và hệ số tiết diện được tính toán tương ứng theo các công thức D.1 và D.2.
Ít nhất một tiết diện dầm ngắn phải có chiều cao bản bụng tối thiểu là 600 mm.
Số lượng tiết diện ngắn tối thiểu là 13 đối với dầm và 13 đối với cột.
Hệ số tiết diện được chỉ ra trong Bảng E.2 cùng với tham chiếu ptp là các tiết diện bổ sung nằm trung gian giữa các khoảng hệ số tiết diện ở hai phía khi sử dụng phương pháp đồ thị từ điểm này đến điểm kia cho một chiều dày danh nghĩa cụ thể.
Nếu chỉ sử dụng các cột ngắn để đánh giá cho dầm thì cũng phải bao gồm các dầm tham chiếu cho cả thử nghiệm dầm chất tải có chiều dày nhỏ nhất và lớn nhất.
Nếu chỉ sử dụng các cột ngắn để đánh giá cho dầm, thì chiều cao bản bụng dầm tối đa sẽ được giới hạn bằng chiều cao bản bụng dầm chất tải cộng thêm 50%.
D3.2 Tiết diện ống
Bảng D.3 được áp dụng cho tiết diện ống ngắn.
CHÚ THÍCH: Có thể cần thêm các mẫu thử bổ sung cho các tiết diện thép nặng hơn theo quy chuẩn xây dựng quốc gia.
Bảng D.3 - Chiều dày vật liệu bảo vệ chịu lửa và phạm vi hệ số tiết diện dùng trong phân tích nhiệt (tiết diện ống)
| Phạm vi hệ số tiết diện Ks | Hệ số phạm vi chiều dày Kd | ||
| 0,0 (dmin) | 0,4 - 0,6 | 1,0 (dmax) | |
| 0.0 (smin) | ✓ | ✓ |
|
| 0,4 - 0,6 | ✓ |
| ✓ |
| 1,0 (smax) |
| ✓ | ✓ |
Bảng D.3 áp dụng riêng biệt đối với dầm và cột tiết diện ống.
Bảng D.3 là một ví dụ và trong bất kỳ lựa chọn nào cũng cần có ít nhất 2 tiết diện cho mỗi hàng và 2 tiết diện cho mỗi cột.
Dầm tiết diện ống có chất tải với chiều dày lớn nhất phải nằm trong phạm vi hệ số tiết diện thuộc khoảng 0,5 đến 1,0 và dầm tiết diện ống có chất tải với chiều dày nhỏ nhất phải nằm trong phạm vi hệ số tiết diện thuộc khoảng 0,5 đến 1,0.
Chiều dày thực tế và hệ số tiết diện được tính toán theo Công thức (D.1) và (D.2) tương ứng.
Số lượng tiết diện ngắn tối thiểu là 6 đối với dầm và 6 đối với cột.
Số lượng tiết diện ít hơn so với Bảng D.2 chỉ cho phép đối đánh giá giới hạn, tức là chiều dày bảo vệ cố định cho mỗi hệ số tiết diện mà không cho phép nội suy giữa các phạm vi chiều dày được thử nghiệm. Để đánh giá đầy đủ, cùng một phương pháp và số lượng tiết diện như đã nêu trong Bảng D.2 phải được sử dụng.
Các giá trị thực tế của hệ số phạm vi có thể được lấy từ Công thức (D.1) và (D.2).
Với chiều dày:
| dp = Kd (dmax - dmin) + dmin | (D.1) |
trong đó:
dp là chiều dày tương ứng tại hệ số Kd.
dmax là chiều dày lớn nhất tại hệ số Kd bằng 1.
dmin là chiều dày nhỏ nhất tại hệ số Kd bằng 0.
Ví dụ: phạm vi chiều dày từ 0,2 mm đến 1,2 mm.
Thì chiều dày xác định tại hệ số Ks bằng 0,5 là [(1,2-0,2)x0,5] + 0,2 = 0,7 mm
Với hệ số tiết diện
| Sp = Ks (smax - smin) + smin | (D.2) |
Trong đó:
sp là hệ số tiết diện tương ứng tại Ks.
smax là hệ số tiết diện lớn nhất tương ứng tại hệ số Ks bằng 1.
smin là hệ số tiết diện nhỏ nhất tương ứng tại hệ số Ks bằng 0.
Ví dụ: phạm vi hệ số tiết diện từ 60 m-1 đến 300 m-1
thì hệ số tiết diện tại Ks bằng 0,5 là [(300 - 60)x 0,5] + 60 = 180 m-1
Hệ số tiết diện có thể được xác định bởi nhà sản xuất tùy thuộc vào việc lựa chọn dữ liệu thử nghiệm thực tế của phòng thử nghiệm. Các mẫu thử phải tham khảo từ các bảng trong Phụ lục G.
Phụ lục E
(quy định)
Lắp đặt đầu đo nhiệt vào cấu kiện thép và đi dây
E.1 Nguyên tắc chung
Việc đo nhiệt độ thép một cách chính xác là yếu tố then chốt cho phương pháp đánh giá. Loại đầu đo nhiệt và phương pháp gắn và lắp đặt dây dẫn, bảo vệ và kết nối với cáp bù hoặc dây nối dài phải được xem xét cẩn thận. Phụ lục này đưa ra hướng dẫn về các quy trình phù hợp.
E.2 Các loại đầu đo nhiệt
Một vài loại khác nhau của đầu đo nhiệt được cho là phù hợp, bao gồm loại “T”, “N”, “K” và “J” như quy định trong IEC 60584-1.
Ưu tiên sử dụng đầu đo nhiệt nằm trong lớp vỏ bọc bằng thép không gỉ được cách nhiệt bằng sợi khoáng với đầu nóng được cách nhiệt. Đường kính tổng thể của lớp vỏ bọc tối thiểu là 1,5 mm.
Các đầu đo nhiệt khác có thể được sử dụng với sự tham vấn giữa phòng thí nghiệm và khách hàng thử nghiệm về tính phù hợp của chúng. Các đầu đo nhiệt phù hợp phải là được cung cấp với dây đơn có đường kính tối thiểu 0,5 mm và có lớp cách nhiệt giữa 2 sợi dây và giữa từng sợi dây với bất kỳ vật liệu dẫn nhiệt bên ngoài nào nhằm đảm bảo không xảy ra hỏng hóc trong quá trình thử nghiệm.
E.3 Lắp đặt đầu đo nhiệt
Đầu nóng của đầu đo nhiệt cần được gắn vào kết cấu thép bằng cách gõ nhẹ hoặc các phương pháp khác mà không gây ảnh hưởng đến độ nhậy hoặc độ chính xác của đầu đo nhiệt. Không được phép sử dụng vít hoặc bu lông để gắn.
Bất kể phương pháp gắn nào được sử dụng, điều quan trọng là đầu đo nhiệt không tiếp xúc với vật khác ngoài mối nối nóng, vốn phải nằm trên hoặc tại bề mặt thép: mối nối nóng của đầu đo nhiệt luôn phải được đặt tại vị trí tạo ra vòng lặp ngắn nhất giữa nó và mối nối lạnh, và phải được cố định để đảm bảo nó duy trì đúng vị trí đó.
E.4 Lắp đặt dây dẫn cho đầu đo nhiệt
Phải cố gắng tối đa, khi có thể, để đảm bảo rằng dây dẫn từ mối nối nóng đi theo tuyến đến mối nối lạnh mà không bị phơi ra nhiệt độ cao hơn mối nối nóng. Các dây phải được luồn ra phía sau vật liệu bảo vệ chịu lửa và ra khỏi lò mà không đi xuyên qua môi trường bên trong lò.
Có thể cần thiết phải bảo vệ các sợi dây đo nhiệt bằng kênh dẫn hoặc ống bọc trước khi phủ vật liệu chịu lửa. Cấu trúc bảo vệ này nên được làm từ thép mỏng và hàn điểm vào các góc của bản bụng và bản cánh.
Cần lưu ý rằng tính năng cách nhiệt của vật liệu bảo vệ đầu đo nhiệt phụ thuộc vào việc dây dẫn không bị kéo căng, di chuyển hoặc chịu lực trong suốt quá trình thử nghiệm.
Có thể các dây đo nhiệt sẽ cần được giữ để đảm bảo rằng phá hoại của vật liệu cách nhiệt không xảy ra.
E.5 Kết nối đầu đo nhiệt
Không được có mối nối giữa các dây đo nhiệt và dây nối dài hoặc dây bù trong bất kỳ khu vực có nhiệt độ cao.
Dây bù phải là loại phù hợp với loại dây của đầu đo nhiệt đang sử dụng.
E.6 Hỏng đầu đo nhiệt
Các hư hỏng của đầu đo nhiệt không dễ dàng xác định được. Hỏng do đứt dây bên trong hoặc do hỏng lớp cách nhiệt giữa các dây, dẫn đến đoản mạch tại mối nối nóng.
Tuy nhiên các dấu hiệu hỏng rõ ràng có thể nhận thấy là:
- Nhiệt độ hiển thị đột ngột giảm so với giá trị đã ghi nhận trước đó,
- Nhiệt độ hiển thị đột ngột tăng lên giá trị tối đa trong dải đo của thiết bị ghi nhận, và
- Nhiệt độ hiển thị “thay đổi và biến động” không phù hợp với các giá trị dự báo.
Một dấu hiệu phổ biến của hỏng lớp cách nhiệt mà có thể quan sát được là giá trị nhiệt độ hiển thị không phù hợp với nhiệt độ thực tế trong lò thử nghiệm.
Phụ lục F
(tham khảo)
Phương pháp thử nghiệm đối với ngọn lửa âm ỉ (đường cong nhiệt chậm)
F.1 Giới thiệu
Các sản phẩm bảo vệ chịu lửa được kích hoạt bởi thông lượng nhiệt của đám cháy có thể được yêu cầu thử nghiệm đối với đường cong nhiệt âm ỉ (đường cong nhiệt chậm được định nghĩa trong ISO 834-2), với tốc độ tăng nhiệt độ thấp hơn so với đường cong nhiệt độ - thời gian tiêu chuẩn (chế độ nhiệt chuẩn).
Phương pháp thử này, được áp dụng cho các vật liệu chịu lửa dạng phản ứng, chỉ được sử dụng trong những trường hợp đặc biệt, khi có thể dự kiến rằng tính năng của sản phẩm khi tiếp xúc với ngọn lửa âm ỉ kém hơn đáng kể so với khi tiếp xúc với đường cong nhiệt độ - thời gian tiêu chuẩn và khi thử nghiệm như vậy được quy định trong các quy chuẩn quốc gia nơi sản phẩm được sử dụng.
Phương pháp này không phải là bắt buộc áp dụng đối với tất cả các vật liệu chịu lửa được sử dụng trên kết cấu thép.
F.2 Thiết bị thử nghiệm
Lò và các thiết bị thử nghiệm phải được thiết kế để các mẫu thử nghiệm tiếp xúc với sự gia nhiệt như quy định tại F.5.
Đường cong nhiệt âm ỉ (đường cong nhiệt chậm) được quy định trong ISO 834-2, trong đó mô tả một chế độ nhiệt sao cho khoảng thời gian (t) từ 0 phút đến 20 phút, nhiệt độ lò (T) tuân theo phương trình:
|
| (F.1) |
Sau thời điểm t = 20 phút và trong thời gian còn lại của thử nghiệm, nhiệt độ lò thử nghiệm (T) tuân theo mối quan hệ nhiệt độ - thời gian:
|
| (F.2) |
Đường cong nhiệt này được thể hiện trong Hình F.1.

Hình F.1 - So sánh ứng xử với các đường cong nhiệt tiêu chuẩn và đường cong nhiệt âm ỉ
CHÚ THÍCH:
1 Đường cong nhiệt độ - thời gian tiêu chuẩn.
2 Đường cong nhiệt âm ỉ (đường cong nhiệt chậm).
3 Nhiệt độ trên cấu kiện khi chịu tác động của đường cong nhiệt độ - thời gian tiêu chuẩn.
4 Nhiệt độ trên cấu kiện khi chịu tác động của đường cong nhiệt âm ỉ (đường cong nhiệt chậm).
A Nhiệt độ, đơn vị °C.
B Thời gian, tính bằng phút.
F.3 Mẫu thử nghiệm
4 cột thép ngắn cần được quy định, ví dụ: như trong bảng F.1 là 4 tiết diện cấu kiện được đưa ra từ bảng D.3.
Bảng F.1 - Các mẫu thử nghiệm
| Phạm vi hệ số tiết diện Ks | Hệ số phạm vi chiều dày Kd | |||
| 0,0 (dmin) | 0,2 - 0,5 | 0,5 - 0,8 | 1,0 (dmax) | |
| 0,0 (smin) | ✓ |
|
|
|
| 0,2 - 0,5 |
|
|
|
|
| 0,5 - 0,8 |
| ✓ | ✓ |
|
| 1,0 (smax) |
|
|
| ✓ |
F.4 Kết thúc thử nghiệm
Kết thúc thử nghiệm sau 40 phút hoặc nếu thấy có nguy cơ mất an toàn khi tiếp tục thử nghiệm theo TCVN 9311-1.
F.5 Đánh giá kết quả thử nghiệm
Dữ liệu nhiệt độ đặc trưng thu được từ mỗi nhóm bốn cột ngắn đã được xác định chịu tác động của cả đường cong nhiệt độ - thời gian tiêu chuẩn (theo thử nghiệm chính) và đường cong nhiệt âm ỉ (thử nghiệm này) phải được so sánh với nhau.
Các kết quả từ tất cả các đầu đo nhiệt tại mỗi vị trí có thể so sánh phải được kiểm tra và ghi lại bằng cách lập bảng. Các kết quả tại mỗi vị trí đó cũng phải được trình bày dưới dạng đồ thị, tương tự như trong Hình F.1, và ứng xử của vật liệu chịu lửa đối với hai nguồn nhiệt phải được so sánh và ghi lại.
Các giá trị của ΔT1 và ΔT2 phải được đo và ghi nhận cho tất cả các vị trí có thể so sánh.
Phụ lục G
(tham khảo)
Bảng hệ số tiết diện
Các bảng sau liệt kê các hệ số tiết diện cho nhiều kích thước khác nhau của cấu kiện thép:
Bảng G.1 - Hệ số tiết diện cho các dầm tiết diện I và H được bảo vệ dạng định hình
| Kích thước tiết diện dầm theo UK mm x mm x kg/m | Hệ số tiết diện danh nghĩa (bảo về dạng định hình) | Kích thước tiết diện dầm Châu Âu | Ký hiệu dầm theo Châu Âu | Hệ số tiết diện danh nghĩa (bảo về dang định hình) m-1 |
| 914 x 419 x 388 | 60 | 814 x 303 x 317 | HEM 800 | 63 |
| 610 x 305 x 238 | 70 | 900 x 300 x 291 | HEM 900 | 73 |
| 610 x 305 x 179 | 90 | 540 x 300 x 166 | HEA 550 | 95 |
| 254 x 254 x 89 | 110 | 240 x 240 x 83 | HEB 240 | 116 |
| 457 x 152 x 82 | 130 | 500 x 200 x 91 | IPE 500 | 141 |
| 356 x 171 x 67 | 140 |
|
|
|
| 533 x 210 x 92 | 140 |
|
|
|
| 406 x 178 x 67 | 155 | 400 x 180 x 66 | IPE 400 | 164 |
| 610 x 229 x 101 | 145 |
|
|
|
| 406 x 178 x 60 | 175 | 330 x 160 x 49 | IPE 330 | 188 |
| 406 x 178 x 54 | 190 | 300 x 150 x 42 | IPE 300 | 200 |
| 356 x 171 x 45 | 210 | 240 x 120 x 31 | IPE 240 | 223 |
| 356 x 127 x 39 | 215 |
|
|
|
| 254 x 146 x 31 | 230 | 200 x 100 x 22 | IPE 200 | 253 |
| 305 x 102 x 28 | 245 | 180 x 91 x 19 | IPE 180 | 268 |
| 254 x 102 x 22 | 275 | 160 x 82 x 16 | IPE 160 | 287 |
| 305 x 102 x 25 | 285 | 140 x 73 x 13 | IPE 140 | 306 |
| 102 x 44 x 7,4 | 320 | 120 x 64 x 10,4 | IPE 120 | 331 |
|
|
| 100 x 55 x 7,8 | IPE 100 | 360 |
|
|
|
| IPE 80 | 390 |
Bảng G.2 - Hệ số tiết diện cho tiết diện dầm I, H được bảo vệ dạng hộp
| Kích thước tiết diện dầm theo UK mm x mm x kg/m | Hệ số tiết diện danh nghĩa (bảo vệ dạng định hình) | Kích thước tiết diện dầm Châu Âu | Ký hiệu dầm theo Châu Âu | Hệ số tiết diện danh nghĩa (bảo vệ dạng hộp) |
| 914 x 419 x 388 | 60 | 814 x 303 x 317 | HEM 800 | 49 |
| 610 x 305 x 238 | 70 | 900 x 300 x 291 | HEM 900 | 58 |
| 610 x 305 x 179 | 90 | 540 x 300 x 166 | HEA 550 | 67 |
| 254 x 254 x 89 | 110 | 240 x 240 x 83 | HEB 240 | 71 |
| 457 x 152 x 82 | 105 | 500 x 200 x 91 | IPE 500 | 107 |
| 356 x 171 x 67 | 105 |
|
|
|
| 533 x 210 x 92 | 110 |
|
|
|
| 406 x 178 x 67 | 115 | 400 x 180 x 66 | IPE 400 | 121 |
| 610 x 229 x 101 | 110 |
|
|
|
| 406 x 178 x 60 | 130 | 330 x 160 x 49 | IPE 330 | 137 |
| 406 x 178 x 54 | 145 | 300 x 150 x 42 | IPE 300 | 145 |
| 356 x 171 x 45 | 155 | 240 x 120 x 31 | IPE 240 | 161 |
| 356 x 127 x 39 | 170 |
|
|
|
| 254 x 146 x 31 | 160 | 200 x 100 x 22 | IPE 200 | 184 |
| 305 x 102 x 28 | 200 | 180 x 91 x 19 | IPE 180 | 194 |
| 254 x 102 x 22 | 215 | 160 x 82 x 16 | IPE 160 | 207 |
| 305 x 102 x 25 | 225 | 140 x 73 x 13 | IPE 140 | 221 |
| 102 x 44 x 7,4 | 260 | 120 x 64 x 10,4 | IPE 120 | 239 |
|
|
| 100 x 55 x 7,8 | IPE 100 | 258 |
|
|
|
| IPE 80 | 277 |
Bảng G.3 - Hệ số tiết diện cho cột tiết diện I, H được bảo vệ dạng định hình
| Kích thước tiết diện dầm theo UK mm x mm x kg/m | Hệ số tiết diện danh nghĩa (bảo vệ dạng định hình) | Kích thước tiết diện dầm Châu Âu mm x mm x kg/m | Ký hiệu dầm theo Châu Âu | Hệ số tiết diện danh nghĩa (bảo vệ dạng định hình) |
| 356 x 406 x 634 | 30 |
|
|
|
| 305 x 305 x 283 | 55 | 432 x 307 x 256 | HEM 400 | 64 |
| 356 x 406 x 340 | 55 |
|
|
|
| 305 x 305 x 198 | 75 | 270 x 248 x 157 | HEM 240 | 76 |
|
|
| 310 x 288 x 189 | HEM 280 | 74 |
| 254 x 254 x 132 | 90 | 240 x 226 x 117 | HEM 220 | 92 |
| 356 x 368 x 177 | 95 | 450 x 300 x 171 | HEB 450 | 98 |
| 254 x 254 x 107 | 110 | 320 x 300 x 127 | HEB 320 | 117 |
| 305 x 305 x 118 | 120 | 300 x 300 x 117 | HEB 300 | 125 |
|
|
| 390 x 300 x 125 | HEA400 | 128 |
| 254 x 254 x 89 | 130 | 240 x 240 x 83 | HEB 240 | 139 |
| 356 x 368 x 129 | 130 | 330 x 300 x 105 | HEA340 | 145 |
| 203 x 203 x 60 | 160 | 180 x 180 x 51 | HEB 180 | 168 |
| 305 x 305 x 97 | 145 | 290 x 300 x 88,3 | HEA 300 | 166 |
| 203 x 203 x 52 | 180 | 230 x 240 x 60 | HEA 240 | 192 |
| 203 x 203 x 46 | 200 | 210 x 220 x 51 | HEA 220 | 209 |
|
|
| 190 x 200 x 42 | HEA 200 | 229 |
| 152 x 152 x 30 | 235 | 152 x 160 x 34 | HEA 160 | 253 |
|
|
| 133 x 140 x 25 | HEA 140 | 259 |
| 203 x 102 x 23 | 270 | 114 x 120 x 20 | HEA120 | 290 |
|
|
| 200 x 100 x 22,4 | IPE 200 | 290 |
| 152 x 152 x 23 | 300 | 180 x 91 x 19 | IPE 180 | 307 |
| 178 x 102 x 19 | 305 | 160 x 82 x 16 | IPE 160 | 329 |
|
|
|
| IPE 100 | 424 |
|
|
|
| IPE 80 | 450 |
Bảng G.4 - Hệ số tiết diện cho cột tiết diện I, H được bảo vệ dạng hộp
| Kích thước tiết diện dầm theo UK mm x mm x kg/m | Hệ số tiết diện danh nghĩa (bảo vệ dạng định hình) | Kích thước tiết diện dầm Châu Âu mm x mm x kg/m | Ký hiệu dầm theo Châu Âu | Hệ số tiết diện danh nghĩa (bảo vệ dạng định hình) |
| 356 x 406 x 634 | 20 |
|
|
|
| 305 x 305 x 283 | 40 | 432 x 307 x 256 | HEM 400 | 46 |
| 356 x 406 x 340 | 35 |
|
|
|
| 305 x305 x 198 | 50 | 270 x 248 x 157 | HEM 240 | 53 |
|
|
| 310 x 288 x 189 | HEM 280 | 51 |
| 254 x 254 x 132 | 65 | 240 x 226 x 117 | HEM 220 | 64 |
| 356 x 368 x 177 | 65 | 450 x 300 x 171 | HEB 450 | 71 |
| 254 x 254 x 107 | 75 | 320 x 300 x 127 | HEB 320 | 80 |
| 305 x 305 x 118 | 85 | 300 x 300 x 117 | HEB 300 | 84 |
|
|
| 390 x 300 x 125 | HEA 400 | 90 |
| 254 x 254 x 89 | 90 | 240 x 240 x 83 | HEB 240 | 94 |
| 356 x 368 x 129 | 90 | 330 x 300 x 105 | HEA 340 | 99 |
| 203 x 203 x 60 | 110 | 180 x 180 x 51 | HEB 180 | 114 |
| 305 x 305 x 97 | 100 | 290 x 300 x 88,3 | HEA 300 | 110 |
| 203 x 203 x 52 | 125 | 230 x 240 x 60 | HEA 240 | 129 |
| 203 x 203 x 46 | 140 | 210 x 220 x 51 | HEA 220 | 140 |
|
|
| 190 x 200 x 42 | HEA 200 | 153 |
| 152 x 152 x 30 | 160 | 152 x 160 x 34 | HEA160 | 169 |
|
|
| 133 x 140 x 25 | HEA 140 | 174 |
| 203 x 102 x 23 | 210 | 114 x 120 x 20 | HEA120 | 194 |
|
|
| 200 x 100 x 22,4 | IPE 200 | 220 |
| 152 x 152 x 23 | 205 | 180 x 91 x 19 | IPE 180 | 233 |
| 178 x 102 x 19 | 230 | 160 x 82 x 16 | IPE 160 | 250 |
|
|
|
| IPE100 | 313 |
|
|
|
| IPE 80 | 339 |
Bảng G.5 - Hệ số tiết diện cho tiết diện ống chữ nhật
| Kích thước tiết diện cột mm x mm x mm | Hệ số tiết diện danh nghĩa m-1 |
| 400 x 400 x 20 | 55 |
| 200 x 200 x 16 | 70 |
| 200 x 200 x 12,5 | 85 |
| 200 x 200 x 10 | 100 |
| 200 x 200 x 8 | 130 |
| 160 x 160 x 8 | 135 |
| 90 x 90 x 8 | 140 |
| 200 x 200 x 6,3 | 165 |
| 150 x 150 x 5 | 210 |
| 100 x 100 x 4 | 260 |
| 90 x 90 x 3,6 | 290 |
| 80 x 80 x 3,6 | 295 |
| 100 x 50 x 3,2 | 330 |
| 50 x 50 x 2,5 | 425 |
Bảng G.6 - Hệ số tiết diện cho tiết diện ống tròn
| Kích thước tiết diện cột mm x mm | Hệ số tiết diện danh nghĩa m-1 |
| 244,5 x 25 | 45 |
| 323,9 x 25 | 45 |
| 355,6 x 20 | 55 |
| 219,1 x 12,5 | 85 |
| 219,1 x 10 | 100 |
| 219,1 x 8 | 130 |
| 168,3 x 8 | 130 |
| 168,3 x 6,3 | 165 |
| 139,7 x 5 | 205 |
| 219,1 x 5 | 205 |
| 114,3 x 3,6 | 285 |
| 88,9 x 3,2 | 325 |
| 42,4 x 2,6 | 410 |
Hệ số tiết diện có thể được lựa chọn từ Bảng G.5 nếu thử nghiệm dầm hình chữ nhật. Trong trường hợp này, hệ số tiết diện được tính toán dựa trên cơ sở tiếp xúc ba mặt.
Thư mục tài liệu tham khảo
[1] TCVN 9311-3:2012, Thử nghiệm khả năng chịu lửa - Các bộ phận công trình xây dựng - Phần 3: Chỉ dẫn về phương pháp thử và áp dụng số liệu thử nghiệm.
[2] ISO/TR 12470, Fire-resistance tests - Guidance on the application and extension of results from tests conducted on fire containment assemblies and products (Thử nghiệm khả năng chịu lửa - Hướng dẫn áp dụng trực tiếp và mở rộng kết quả thử nghiệm).
MỤC LỤC
Lời nói đầu
1 Phạm vi áp dụng
2 Tài liệu viện dẫn
3 Thuật ngữ và định nghĩa
4. Ký hiệu và từ viết tắt
5. Thiết bị thử nghiệm
5.1 Yêu cầu chung
5.2 Lò thử nghiệm
5.3 Thiết bị gia tải
6. Các điều kiện thử nghiệm
6.1 Yêu cầu chung
6.2 Các điều kiện đỡ và tải trọng
7. Mẫu thử nghiệm
7.1 Yêu cầu chung
7.2 Thiết kế và chuẩn bị mẫu thử nghiệm
7.3 Thành phần vật liệu của mẫu thử
7.4 Lựa chọn mẫu thử nghiệm
8. Lắp đặt mẫu thử nghiệm
8.1 Dầm có chất tải
8.2 Dầm không chất tải
8.3 Cột có chất tải
8.4 Cột không chất tải
8.5 Lắp đặt mẫu thử nghiệm
8.6 Tải trọng lò thử nghiệm
9. Điều kiện của mẫu thử nghiệm
10 Bố trí lắp đặt
10.1 Yêu cầu chung
10.2 Đầu đo nhiệt độ của lò thử nghiệm
10.3 Lắp đặt đầu đo nhiệt độ thép
10.4 Đầu đo áp suất của lò thử nghiệm
10.5 Dụng cụ đo biến dạng
10.6 Dụng cụ đo tải trọng
11 Quy trình thử nghiệm
11.1 Quy định chung
11.2 Nhiệt độ và áp suất lò thử nghiệm
11.3 Tác dụng và kiểm soát tải trọng
11.4 Đo đạc và quan sát
12 Kết quả thử nghiệm
12.1 Tiết diện I và H
12.2 Tiết diện ống
13 Trình bày kết quả thử nghiệm
14 Báo cáo thử nghiệm
Phụ lục A (quy định) Xác định các tính chất vật liệu bảo vệ chịu lửa dạng thụ động
Phụ lục B (quy định) Xác định các tính chất vật liệu bảo vệ chịu lửa dạng phản ứng
Phụ lục C (quy định) Nguyên tắc lựa chọn mẫu thử nghiệm - vật liệu bảo vệ dạng thụ động
Phụ lục D (quy định) Nguyên tắc lựa chọn mẫu thử nghiệm - vật liệu bảo vệ dạng phản ứng
Phụ lục E (quy định) Lắp đặt đầu đo nhiệt vào cấu kiện thép và đi dây
Phụ lục F (tham khảo) Phương pháp thử nghiệm đối với ngọn lửa âm ỉ (đường cong nhiệt chậm)
Phụ lục G (tham khảo) Bảng hệ số tiết diện
Thư mục tài liệu tham khảo
Bạn chưa Đăng nhập thành viên.
Đây là tiện ích dành cho tài khoản thành viên. Vui lòng Đăng nhập để xem chi tiết. Nếu chưa có tài khoản, vui lòng Đăng ký tại đây!