- Tổng quan
- Nội dung
- Tiêu chuẩn liên quan
- Lược đồ
- Tải về
Tiêu chuẩn TCVN 9627:2013 Chăn cách điện để làm việc có điện
| Số hiệu: | TCVN 9627:2013 | Loại văn bản: | Tiêu chuẩn Việt Nam |
| Cơ quan ban hành: | Bộ Khoa học và Công nghệ | Lĩnh vực: | Công nghiệp |
|
Ngày ban hành:
Ngày ban hành là ngày, tháng, năm văn bản được thông qua hoặc ký ban hành.
|
2013 |
Hiệu lực:
|
Đã biết
|
| Người ký: | Đang cập nhật |
Tình trạng hiệu lực:
Cho biết trạng thái hiệu lực của văn bản đang tra cứu: Chưa áp dụng, Còn hiệu lực, Hết hiệu lực, Hết hiệu lực 1 phần; Đã sửa đổi, Đính chính hay Không còn phù hợp,...
|
Đã biết
|
TÓM TẮT TIÊU CHUẨN VIỆT NAM TCVN 9627:2013
Nội dung tóm tắt đang được cập nhật, Quý khách vui lòng quay lại sau!
Tải tiêu chuẩn Việt Nam TCVN 9627:2013
TIÊU CHUẨN QUỐC GIA
TCVN 9627:2013
IEC 61112:2009
LÀM VIỆC CÓ ĐIỆN - CHĂN CÁCH ĐIỆN
Live working - Electrical insulating blankets
Lời nói đầu
TCVN 9627:2013 hoàn toàn tương đương với IEC 61112:2009;
TCVN 9627:2013 do Ban kỹ thuật tiêu chuẩn Quốc gia TCVN/TC/E1 Máy điện và khí cụ điện biên soạn, Tổng cục Tiêu chuẩn Đo lường Chất lượng đề nghị, Bộ Khoa học và Công nghệ công bố.
Lời giới thiệu
Tiêu chuẩn hoàn toàn tương với IEC 61112. Tiêu chuẩn IEC 61112 được biên soạn theo các yêu cầu của IEC 61477 ở những chỗ áp dụng được.
Các sản phẩm thuộc phạm vi áp dụng của tiêu chuẩn này có thể có tác động đến môi trường trong một vài hoặc tất cả các giai đoạn trong vòng đời của sản phẩm. Các tác động này có thể từ nhẹ đến đáng kể, ngắn hạn hay dài hạn và xảy ra ở mức độ cục bộ, địa phương hoặc toàn cầu.
Nếu không có nội dung về yêu cầu thải bỏ trong hướng dẫn sử dụng, tiêu chuẩn này không bao gồm các yêu cầu của sản phẩm và các quy định về thử nghiệm đối với các nhà chế tạo sản phẩm hoặc các khuyến cáo đối với người sử dụng sản phẩm để cải thiện môi trường. Tuy nhiên, tất cả các bên có liên quan trong quá trình thiết kế, chế tạo, đóng gói, phân phối, sử dụng, bảo dưỡng, sửa chữa, tái sử dụng, phục hồi và loại bỏ đều nên xét đến các lưu ý về môi trường.
LÀM VIỆC CÓ ĐIỆN - CHĂN CÁCH ĐIỆN
Live working - Electrical insulating blankets
1. Phạm vi áp dụng
Tiêu chuẩn này áp dụng cho các chăn cách điện để bảo vệ công nhân tránh tiếp xúc ngẫu nhiên với vật dẫn mang điện hoặc các vật dẫn điện nối đất, thiết bị hoặc mạch điện được nối đất và tránh nối tắt khi lắp đặt điện.
Chăn cách điện dạng cuộn có chiều rộng nhỏ hơn 50 mm không được đề cập trong tiêu chuẩn này.
CHÚ THÍCH 1: Việc phân loại điện xoay chiều cũng như điện một chiều, xem 4.2.
CHÚ THÍCH 2: Tiêu chuẩn này đề cập đến các trang bị thử nghiệm điện xoay chiều. Có một số hạn chế đối với việc sử dụng trong các ứng dụng điện một chiều.
CHÚ THÍCH 3: Xem Phụ lục A đối với điện áp sử dụng lớn nhất được đề xuất.
2. Tài liệu viện dẫn
Các tài liệu viện dẫn sau đây là cần thiết cho việc áp dụng tiêu chuẩn. Đối với các tài liệu viện dẫn ghi năm công bố thì áp dụng bản được nêu. Đối với các tài liệu viện dẫn không ghi năm công bố thì áp dụng phiên bản mới nhất, bao gồm cả các sửa đổi.
TCVN 6099-1 (IEC 60060-1), Kỹ thuật thử nghiệm điện áp cao - Phần 1: Định nghĩa chung và yêu cầu thử nghiệm
TCVN 6099-2 (IEC 60060-2), Kỹ thuật thử nghiệm điện áp cao - Phần 2: Hệ thống đo
TCVN 7699-1 (IEC 60068-1), Thử nghiệm môi trường - Quy định chung và hướng dẫn
IEC 60212:1971, Standard conditions for use prior to and during the testing of solid electrical insulating materials (Điều kiện sử dụng tiêu chuẩn trước và trong khi thử nghiệm các vật liệu cách điện rắn)
IEC 60417, Graphical symbols for use on equipment (Ký hiệu bằng vẽ dùng trên thiết bị)
IEC 61318, Live working - Conformity assessment applicable to tools, devices and equipment (Làm việc có điện - Đánh giá sự phù hợp có thể áp dụng các dụng cụ, máy móc và thiết bị)
IEC 61477, Live working - Minimum requirements for the utilization of tools, devices and equipment (Làm việc có điện - Các yêu cầu tối thiểu đối với việc sử dụng các dụng cụ, máy móc và thiết bị)
ISO 2592, Determination of flash and fire points - Cleveland open cup method (Xác định các điểm chớp cháy và điểm cháy- Phương pháp Cleveland cốc hở)
ISO 2977, Petroleum Products and hydrocarbon solvents - Determination of aniline point and mixed aniline point (Các sản phẩm dầu mỏ và các dung môi hydrocabon - Xác định điểm anilin và điểm anilin hỗn hợp)
ISO 3104, Petroleum Products - Transparent and opaque liquids - Determination of kinematic viscosity and calculation of dynamic viscosity (Các sản phẩm dầu mỏ - Các chất lỏng trong suốt và chắn sáng - Xác định độ nhớt động học và tính toán độ nhớt động)
ISO 5904:1981, Gymnastic equipment - Landing mats and surfaces for floor exercises - Determination of resistance of slipping (Thiết bị thể thao - Thảm trải nền và các bề mặt dùng cho các bài tập trên sàn - Xác định khả năng chống trượt)
ASTM D 3767:2003, Standard practice for rubber - Measurement of dimensions (Thông lệ tiêu chuẩn đối với cao su - Đo kích thước)
3. Thuật ngữ và định nghĩa
Trong tiêu chuẩn này, áp dụng các thuật ngữ và định nghĩa trong IEC 61318 và các thuật ngữ và định nghĩa dưới đây.
3.1. Phóng điện đánh thủng (disruptive discharge)
Phóng hồ quang sau khi đánh thủng điện môi.
CHÚ THÍCH 1: Thuật ngữ "phóng tia lửa điện" được sử dụng khi xuất hiện phóng điện đánh thủng trong điện môi khí hoặc lỏng.
CHÚ THÍCH 2: Thuật ngữ “phóng điện bề mặt” (trong tiếng Pháp là “contournement”) được sử dụng khi xuất hiện phóng điện đánh thủng tối thiểu dọc theo một phần của bề mặt điện môi rắn được bao quanh bởi môi chất lỏng hoặc khí.
CHÚ THÍCH 3: Thuật ngữ “phóng điện đâm xuyên” được sử dụng khi xuất hiện phóng điện đánh thủng qua điện môi rắn gây hỏng vĩnh viễn.
[IEV 651-01-18 và định nghĩa 2.7.7 của IEC 60743, có sửa đổi]
3.2. Chất đàn hồi (elastomer)
Vật liệu cao phân tử mà nhanh chóng trở về kích thước và hình dạng ban đầu của nó sau khi bị biến dạng đáng kể do một áp lực nhẹ và giải phóng áp lực.
CHÚ THÍCH 1: Định nghĩa này được áp dụng trong các điều kiện thử nghiệm ở nhiệt độ phòng.
CHÚ THÍCH 2: Chất đàn hồi là một thuật ngữ chung bao gồm cả cao su, mủ cao su và các hợp chất đàn hồi có thể có trong tự nhiên hoặc nhân tạo hoặc một hỗn hợp hoặc một kết hợp của cả hai loại. Chất đàn hồi cũng bao gồm cả các vật liệu đàn hồi nhiệt dẻo (TPE).
[ISO 472, có sửa đổi]
3.3. Chăn cách điện (electrical insulating blanket)
Tấm mềm được làm bằng chất đàn hồi hoặc vật liệu dẻo, được sử dụng để phủ lên các vật dẫn điện hoặc các phần bằng kim loại mang điện, không mang điện hoặc được nối đất.
CHÚ THÍCH: Tấm này có thể có nhiều hình dạng xác định hoặc ở dạng cuộn để người công nhân có thể tùy ý cắt cho phù hợp với ứng dụng cụ thể.
[Định nghĩa 5.2.2 của IEC 60743 và IEV 651-04-07, có sửa đổi]
3.4. Điện áp danh nghĩa (của một hệ thống) (nominal voltage (of a system))
Giá trị điện áp gần đúng thích hợp được sử dụng để gọi tên hoặc nhận biết một hệ thống.
[IEV 601-01-21]
3.5. Chất dẻo (plastic)
Vật liệu có chứa hợp chất cao phân tử như một thành phần thiết yếu và có thể tạo hình ở dạng lỏng trong một vài giai đoạn của quá trình xử lý thành thành phẩm.
CHÚ THÍCH 1: Vật liệu đàn hồi cũng có thể tạo hình ở dạng lỏng nhưng không được coi là chất dẻo
[Định nghĩa 2.4.4 của IEC 60743 và ISO 472]
3.5. Điện áp thử nghiệm kiểm chứng (proof test voltage)
Điện áp quy định được đặt vào thiết bị hoặc mảnh thử nghiệm trong thời gian xác định ở các điều kiện quy định để đảm bảo rằng giá trị độ bền điện của cách điện cao hơn giá trị quy định.
3.6. Điện áp thử nghiệm khả năng chịu đựng (withstand test voltage)
Điện áp mà mảnh thử nghiệm cần chịu được mà không bị phóng điện đánh thủng hoặc bị hỏng về điện khác khi điện áp được đặt trong các điều kiện quy định.
4. Các yêu cầu
4.1. Quy định chung
Chăn cách điện được thiết kế và chế tạo để góp phần đảm bảo an toàn cho người sử dụng với điều kiện các chăn này được sử dụng bởi những người có kỹ năng, phù hợp với các phương pháp an toàn lao động và các hướng dẫn sử dụng.
4.2. Phân loại
Chăn cách điện được đề cập trong tiêu chuẩn này phải được phân loại như sau:
- theo cấp điện áp: cấp 00, cấp 0, cấp 1, cấp 2, cấp 3 và cấp 4.
- thêm (các) hậu tố vào tên gọi cấp, trong trường hợp chăn có (các) cấp đặc biệt như trong Bảng 1.
Hướng dẫn lựa chọn cấp (điện xoay chiều hoặc điện một chiều) được nêu trong Phụ lục A.
Hướng dẫn về phạm vi nhiệt độ mà chăn cách điện có thể sử dụng được nêu trong Phụ lục B
Bảng 1 - Các đặc tính đặc biệt
| Cấp | Chịu |
| A | Axit |
| H | Dầu |
| Z | Ozone |
| M | Xuyên thủng cơ khí |
| R | Axit, dầu và ozone |
| C | Nhiệt độ cực thấp |
| CHÚ THÍCH: Có thể sử dụng kết hợp bất kỳ của các cấp này. | |
4.3. Yêu cầu vật lý
4.3.1. Kết cấu
Chăn cách điện phải được làm bằng chất đàn hồi hoặc chất dẻo và được sản xuất bằng một quá trình liên tục. Nếu chăn cách điện có các lỗ thì chúng phải không dẫn điện. Trong trường hợp chăn cách điện có các kiểu hệ thống buộc khác nhau (ví dụ dây buộc và móc cài), chúng cũng phải không dẫn điện.
CHÚ THÍCH: Nhà chế tạo thường đề xuất số lượng, kích thước và kiểu tiêu chuẩn của các lỗ. Các lỗ thường có đường kính F8 mm. Đối với các yêu cầu đặc biệt, có thể có thỏa thuận giữa nhà chế tạo và khách hàng.
4.3.2. Hình dạng và thiết kế
Không có yêu cầu về hình dạng và thiết kế của chăn cách điện.
Chăn cách điện có thể có các hình dạng khác nhau hoặc ở dạng cuộn để cắt cho các ứng dụng cụ thể.
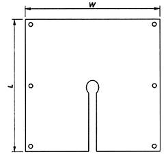
Chăn cách điện có các hình dạng khác nhau có thể ở dạng trơn hoặc có rãnh (Hình 1 và Hình 2 là các ví dụ của thiết kế này). Chúng có thể có lưới bằng sợi tổng hợp để gia cố thêm. Trong tất cả các trường hợp, chăn cách điện có thể có dây đai xung quanh chu vi.

CHÚ DẪN
L Chiều dài
W Chiều rộng
Hình 1 - Ví dụ về thiết kế trơn

CHÚ DẪN
L Chiều dài
W Chiều rộng
Hình 2 - Ví dụ về thiết kế có rãnh
4.3.3. Kích thước và dung sai
4.3.3.1. Chiều dài và chiều rộng
Nhà chế tạo phải cung cấp thông tin về chiều dài và chiều rộng của chăn. Đối với mỗi chăn, các kích thước này phải nằm trong dung sai ± 2 % kích thước công bố.
Chiều dài và chiều rộng phổ biến của chăn cách điện được cho trong Bảng 2.
Bảng 2 - Chiều dài và chiều rộng phổ biến của chăn cách điện
| Chăn với các hình dạng khác nhau | Chăn dạng cuộn | |||
| Thiết kế trơn | Thiết kế có rãnh | |||
| Chiều dài | Chiều rộng | Chiều dài | Chiều rộng | Chiều rộng |
| mm | mm | mm | mm | mm |
| 560 | 560 | 560 | 560 | 60a, 90a |
| 660 | 360 |
|
| 360, 500, 800 |
| 900 | 500 | 900 | 900 | 1 000,1 300, 2 000 |
| 910 | 305 | - | - |
|
| 910 | 457 |
|
|
|
| 910 | 690 | 910 | 910 |
|
| 910 | 910 | 1 160 | 1 160 |
|
| 1 160 | 1 160 |
|
|
|
| 1 200 | 800 | 2 000 | 1 300 |
|
| 2 000 | 1 300 |
|
|
|
| 2 128 | 910 |
|
|
|
| 2 280 | 910 |
|
|
|
| a Chỉ được chế tạo ở cấp 00 và 0. CHÚ THÍCH: Chăn có kích thước 90 mm hoặc nhỏ hơn đòi hỏi các lưu ý đặc biệt đối với thử nghiệm điện. | ||||
4.3.3.2. Chiều dày
4.3.3.2.1. Chiều dày lớn nhất
Chiều dày tối đa của chăn cách điện phải như cho trong Bảng 3 để có độ mềm dẻo thích hợp.
Các chăn loại A, H, M, R và Z có thể yêu cầu tăng cường chiều dày nhưng không vượt quá 0,6 mm.
Bảng 3 - Các chiều dày tối đa của chăn cách điện
| Cấp | Chất đàn hồi mm | Chất dẻo mm |
| 00 | 1,5 | 0,8 |
| 0 | 2,2 | 1,0 |
| 1 | 3,6 | 1,5 |
| 2 | 3,8 | 2,0 |
| 3 | 4,0 | a |
| 4 | 4,3 | a |
| a không có sẵn trên thị trường. | ||
4.3.3.2.2. Chiều dày tối thiểu
Chiều dày tối thiểu phải được xác định bằng khả năng đạt các thử nghiệm quy định trong Điều 5 và Điều 6.
4.3.4. Chất lượng gia công và hoàn thiện bề mặt
Chăn cách điện không được có các chỗ không đồng nhất về vật lý có hại trên cả hai mặt mà có thể phát hiện được bằng cách thử nghiệm và/hoặc xem xét kỹ.
Không chấp nhận các chỗ không đồng đều về vật lý nguy hại được xác định là đặc trưng bất kỳ phá vỡ biến dạng bề mặt trơn, đồng nhất, ví dụ như các lỗ châm kim, vết nứt, vết phồng, vết cắt, vật ngoại lai dẫn điện bị dính vào, nếp nhăn, dấu bị kẹp, chân không (bọt khí), các gợn và dấu khuôn gồ lên.
Có thể chấp nhận các chỗ không đồng đều về vật lý không nguy hại trên cả hai bề mặt chăn do sự không hoàn hảo của các mẫu hoặc khuôn đúc hoặc do sự không hoàn hảo cố hữu của quá trình sản xuất. Các chỗ không đồng đều này xuất hiện dưới dạng dấu khuôn trông giống các vết cắt, mặc dù thực ra chúng là gờ nhô lên của chất đàn hồi, vết lõm hoặc vết phồng.
4.4. Yêu cầu cơ, môi trường và khí hậu
Chăn cách điện phải chịu được các ứng suất cơ, môi trường và khí hậu xuất hiện trong các điều kiện làm việc bình thường.
Chăn cách điện có một hoặc nhiều cấp đặc biệt phải hỗ trợ ứng suất bổ sung thích hợp bất kỳ.
4.5. Yêu cầu điện môi
Chăn cách điện phải có khả năng chịu được ứng suất về điện tương ứng theo cấp điện áp của nó.
4.6. Ghi nhãn
Chăn cách điện phù hợp với các yêu cầu của tiêu chuẩn này phải được ghi nhãn trên sản phẩm với các nội dung dưới đây:
- tên, thương hiệu hoặc thông tin nhận biết của nhà chế tạo;
- ký hiệu IEC 60417-5216 (2002-10) - Thích hợp để làm việc có điện; tam giác kép (xem Phụ lục C);
CHÚ THÍCH 1: Tỷ lệ chính xác giữa chiều cao của hình và cạnh đáy của tam giác là 1,43. Để thuận tiện, tỷ số này có thể lấy từ 1,4 và 1,5.
- số hiệu tiêu chuẩn TCVN hoặc IEC liên quan, đặt sát với ký hiệu này (TCVN 9627 hoặc IEC 61112);
- tháng và năm chế tạo;
- phân loại, nếu thuộc đối tượng áp dụng;
- nhận biết cấp điện áp.
Trong trường hợp chăn ở dạng cuộn, các hạng mục ghi nhãn này tối thiểu phải xuất hiện trên mỗi mét chăn.
CHÚ THÍCH 2: Đối với các chăn dạng cuộn cấp 00 và cấp 0, nhà chế tạo nên ghi nhãn tối thiểu cứ mỗi 30 cm để giữ được thông tin ghi nhãn trong trường hợp chăn bị cắt thành phần nhỏ hơn.
CHÚ THÍCH 3: Chăn ở dạng cuộn cấp 00 và cấp 0 có thể được coi là các sản phẩm tiêu dùng, được thiết kế để sử dụng đơn lẻ.
Bất kỳ hạng mục ghi nhãn bổ sung nào đều phải được thỏa thuận giữa nhà chế tạo và khách hàng.
Nhãn rõ ràng, bền và không được làm suy giảm chất lượng của chăn.
Khi sử dụng mã màu, màu sắc của ký hiệu (tam giác kép) phải tương ứng với các mã dưới đây:
- Cấp 00 - màu be
- Cấp 0 - màu đỏ
- Cấp 1 - màu trắng
- Cấp 2 - màu vàng
- Cấp 3 - màu xanh lá
- Cấp 4 - màu cam
4.7. Đóng gói
Chăn cách điện phải được đóng vào các thùng chứa hoặc bao gói có độ bền thích đủ để bảo vệ chăn cách điện khỏi hư hại trong quá trình giao hàng, lưu kho bình thường và vận chuyển trước khi sử dụng lần đầu.
CHÚ THÍCH: Nếu các phần cắt cần được sử dụng lại thì người sử dụng phải có trách nhiệm cung cấp các bao gói bảo vệ (ví dụ như túi quy định).
Phía bên ngoài của thùng chứa hoặc bao gói phải được ghi nhãn với thông tin tối thiểu dưới đây:
- số hiệu tiêu chuẩn TCVN hoặc IEC liên quan ngay sát ký hiệu năm công bố (4 chữ số), (TCVN 9627:2013 hoặc IEC 61112:2009);
- tên, thương hiệu hoặc thông tin nhận biết của nhà chế tạo.
4.8. Hướng dẫn sử dụng
Nhà chế tạo phải cung cấp các hướng dẫn sử dụng dạng văn bản trên từng bao gói của chăn cách điện thuộc phạm vi áp dụng của tiêu chuẩn này.
Hướng dẫn sử dụng phải được biên soạn phù hợp với các quy định chung của IEC 61477.
Hướng dẫn sử dụng phải chứa tối thiểu các thông tin như lưu kho, nâng chuyển, thải bỏ và thử nghiệm định kỳ.
Hướng dẫn sử dụng phải thông báo cho người sử dụng về các nguy hiểm nghiêm trọng mà nhà chế tạo nhận thấy và đề xuất các khuyến cáo liên quan, nhưng không can thiệp vào qui trình làm việc (ví dụ khuyến cáo trong trường hợp chăn phủ chờm lên nhau).
5. Các thử nghiệm
5.1. Quy định chung
Tiêu chuẩn này cung cấp các điều khoản thử nghiệm để chứng tỏ sự phù hợp của sản phẩm với các yêu cầu trong Điều 4. Các điều khoản thử nghiệm này chủ yếu được sử dụng làm thử nghiệm điển hình để kiểm tra xác đầu vào thiết kế. Khi thích hợp, các biện pháp thay thế (tính toán, kiểm tra, thử nghiệm, v.v ...) được quy định trong các điều khoản thử nghiệm đối với chăn cách điện đã hoàn thành giai đoạn sản xuất.
Việc phân bổ chăn cách điện vào các nhóm thử nghiệm khác nhau, số lượng cần thiết và trình tự tiến hành thử nghiệm điển hình được cho trong Phụ lục D.
Các điều kiện về vị trí thử nghiệm phải phù hợp với TCVN 7699-1 (IEC 60068-1):
- nhiệt độ môi trường: 15 °C đến 35 °C
- độ ẩm tương đối: 45 % đến 75 %
- áp suất khí quyển: 86 kPa đến 106 kPa
Đối với thử nghiệm điển hình, nếu không có quy định khác, chăn cách điện hoặc mảnh thử nghiệm phải được ổn định trong thời gian 2 h ± 0,5 h ở nhiệt độ 23 °C ± 2 °C và độ ẩm tương đối 50 % ± 5 % theo tiêu chuẩn khí quyển B của IEC 60212.
Nếu không có quy định khác, dung sai đối với giá trị đo bất kỳ phải là ± 5 %.
5.2. Kiểm tra bằng mắt và đo
5.2.1. Quy định chung
Kiểm tra bằng mắt phải được thực hiện bởi người có thị lực bình thường hoặc có kính điều chỉnh thị lực nhưng không phóng đại bổ sung.
5.2.2. Phân loại
Phân loại phải được kiểm tra bằng mát và đáp ứng các yêu cầu trong 4.2.
5.2.3. Kết cấu
Kết cấu phải được kiểm tra bằng mắt và đáp ứng các yêu cầu trong 4.3.1.
5.2.4. Kích thước, chất lượng gia công và hoàn thiện bề mặt
Chiều dài và chiều rộng của sản phẩm được nhà chế tạo cung cấp phải được kiểm tra với chăn cách điện được trải phẳng. Thử nghiệm được coi là đạt nếu thỏa mãn các yêu cầu về kích thước tối thiểu với dung sai phù hợp với 4.3.3.1.
Chất lượng gia công và hoàn thiện bề mặt phải được kiểm tra bằng mắt. Trong trường hợp chăn ở dạng cuộn, phải giao nộp một đoạn dài 2 m để kiểm tra.
Việc kiểm tra được coi là đạt nếu đáp ứng các yêu cầu của 4.3.4. Các chỗ không đồng đều về vật lý không nguy hại được xác định là những chỗ không đồng đều trên cả hai mặt của chăn do sự không hoàn hảo của khuôn, mẫu đúc hoặc không hoàn hảo khác của bản thân qui trình chế tạo và có thể chấp nhận được với điều kiện:
a) vết lõm có các mép lượn trong và không có vết nứt trên bề mặt, và không thể nhìn thấy trên mặt đối diện khi được căng trên ngón tay;
b) không có nhiều hơn năm vết lõm như mô tả trong điểm a) trên chăn cách điện hoặc trên đoạn của cuộn cần thử nghiệm và hai vết lõm bất kỳ cách nhau tối thiểu là 15 mm;
c) các vết lõm, vết rộp hoặc các điểm đánh dấu trên khuôn có xu hướng lẫn vào độ dốc trơn nhẵn khi kéo căng vật liệu;
d) chỗ lồi nhỏ hoặc các vết rộp chỉ thể hiện một lượng nhỏ vật liệu thừa mà không thể loại bỏ dễ dàng bằng ngón tay và chỗ lồi này không ảnh hưởng đáng kể đến độ căng của vật liệu.
5.2.5. Chiều dày
Các phép đo chiều dày phải được thực hiện tại năm điểm trở lên được phân bố đều trên toàn bộ bề mặt của chăn cách điện. Trong trường hợp chăn ở dạng cuộn, phải giao nộp 2 m để thử nghiệm.
Các phép đo sẽ được thực hiện bằng một dụng cụ thương phẩm được thiết kế để sử dụng trên vật liệu mềm và dụng cụ này sẽ đo chiều dày lớn nhất với độ chính xác 0,03 mm. Phải có giá đỡ chăn đủ để tạo ra bề mặt phẳng không chịu ứng suất tại điểm đo.
Theo ASTM D3767, áp suất gây ra do bàn chân ấn lên thiết bị đo phải là (22 ± 5) kPa đối với vật liệu chăn có độ cứng bằng hoặc lớn hơn 35 IRHD và (10 ± 2) kPa đối với vật liệu chăn có độ cứng nhỏ hơn 35 IRHD.
Thử nghiệm phải được coi là đạt nếu thỏa mãn các yêu cầu trong 4.3.3.2.1.
5.3. Ghi nhãn
5.3.1. Kiểm tra bằng mắt và đo
Các yêu cầu về ghi nhãn trong 4.6 phải được kiểm tra bằng cách xem xét bằng mắt. Trong trường hợp chăn ở dạng cuộn, phải giao nộp 2 m để thử nghiệm.
5.3.2. Độ bền ghi nhãn
Độ bền của các hạng mục ghi nhãn trên chăn cách điện phải được kiểm tra bằng cách dùng một miếng vải không có xơ được thấm đẫm nước xà phòng cọ xát mạnh trong 15 s rồi sau đó cọ xát trong 15 s tiếp theo bằng miếng vải không có xơ được thấm đẫm cồn isopropanol (CH3-CH(OH)-CH3).
CHÚ THÍCH: Người sử dụng lao động phải có trách nhiệm đảm bảo tuân thủ đầy đủ các quy định pháp lý và các hướng dẫn về an toàn cụ thể liên quan đến việc sử dụng hóa chất này.
Thử nghiệm phải được coi là đạt nếu các nhãn vẫn dễ đọc và các chữ không bị mờ.
Đối với nhãn được thực hiện bằng quá trình chạm hoặc đúc thì không cần thực hiện thử nghiệm độ
5.4. Bao gói và hướng dẫn sử dụng
Bao gói và việc cung cấp đầy đủ thông tin theo yêu cầu trong 4.7 và 4.8 phải được kiểm tra bằng mắt.
5.5. Thử nghiệm cơ
5.5.1. Quy định chung
Tất cả các thử nghiệm cơ phải được thực hiện trên mảnh thử nghiệm đã được ổn định bằng cách đặt trong ít nhất 24 h từng mảnh thử nghiệm riêng rẽ được trải phẳng nằm ngang vào nhiệt độ 23 °C ± 2 °C và độ ẩm tương đối 50 % ± 5 % theo khí quyển tiêu chuẩn B của IEC 60212. Trong trường hợp chăn ở dạng cuộn, vật liệu cần thiết để chuẩn bị mảnh thử nghiệm cần được cắt trước khi ổn định.
CHÚ THÍCH: Các thuộc tính của vật liệu đàn hồi lưu hóa thay đổi liên tục theo thời gian, các thay đổi này sẽ đặc biệt đẩy nhanh trong thời gian ngay sau lưu hóa.
5.5.2. Độ bền kéo và độ dãn dài tại thời điểm đứt
Mảnh thử nghiệm dạng chày phải có hình dạng như trên Hình 3 và phải cắt bốn mảnh từ các góc của chăn cách điện cần thử nghiệm, mỗi mảnh gần một góc. Hai mảnh thử nghiệm được cắt theo chiều dài và hai mảnh theo chiều rộng. Các mảnh thử nghiệm dạng chày được cắt theo chiều dọc đối với vật liệu ở dạng cuộn với chiều rộng nhỏ hơn 75 mm.
Phải vẽ các đường chuẩn cách nhau 20 mm trên các mảnh thử nghiệm này, đặt đối xứng trên phần thắt lại của chày (xem Hình 3).

| Ký hiệu | Kích thước mm | Ký hiệu | Kích thước mm |
| A | 75 | E | 8 ± 0,5 |
| B | 12,5 ± 1,0 | F | 12,5 ± 1 |
| C | 25 ± 1 | l0 | 20 |
| D | 4 ± 0,1 |
|
|
Hình 3 - Hình chiếu bằng của mảnh thử nghiệm dạng chày
Các mảnh phải được thử nghiệm trong máy thử kéo được truyền động bằng điện ở tốc độ đủ để duy trì tốc độ chuyển động ngang của cơ cấu kẹp về cơ bản là không đổi đến giá trị lực lớn nhất của máy thử. Tốc độ chuyển động ngang phải là 500 mm/min ± 50 mm/min.
Độ bền kéo được tính bằng cách lấy lực tại điểm đứt chia cho diện tích ban đầu cần thử nghiệm.
Thử nghiệm được coi là đạt nếu từng mảnh trong bốn mảnh thử nghiệm đều có độ bền kéo không nhỏ hơn 12 MPa.
Độ dãn dài tại thời điểm đứt được tính bằng cách lấy khoảng cách giữa các đường chuẩn tại thời điểm đứt trừ đi khoảng cách ban đầu giữa các đường chuẩn trên mảnh thử nghiệm và biểu diễn kết quả dưới dạng phần trăm của khoảng cách ban đầu.
Không áp dụng cho độ dãn dài tại thời điểm đứt đối với các chăn được gia cố bằng sợi tổng hợp.
Thử nghiệm phải được coi là đạt nếu từng mảnh trong bốn mảnh thử nghiệm đều có độ dãn tại thời điểm đứt không nhỏ hơn 300 % với vật liệu đàn hồi và 150 % đối với chất dẻo.
CHÚ THÍCH 1: Máy thử cần được trang bị để có chỉ thị liên tục lực đặt vào mảnh thử nghiệm và một thang chia độ để đo độ dãn dài.
CHÚ THÍCH 2: Sau khi mảnh thử nghiệm bị đứt, máy cần đưa ra chỉ thị vĩnh viễn lực lớn nhất và, nếu có thể, độ dãn dài lớn nhất.
5.5.3. Khả năng chịu xuyên thủng cơ khí
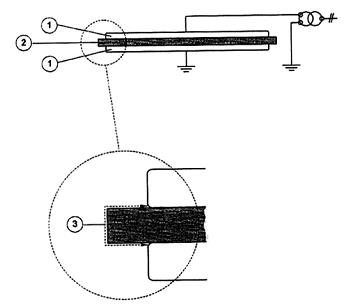
Hai mảnh thử nghiệm hình tròn đường kính 50 mm phải được cắt ra từ chăn cách điện và mỗi mảnh phải được kẹp giữa hai mảnh thử nghiệm phẳng đường kính 50 mm. Tấm ở trên phải có lỗ tròn đường kính 6 mm và tấm ở dưới có lỗ tròn đường kính 25 mm. Các mép của cả hai lỗ phải được lượn tròn với bán kính 0,8 mm (xem Hình 4).
Đinh được làm từ thanh kim loại có đường kính 5 mm và một đầu được gia công thành hình côn với góc 12° và đỉnh được lượn với bán kính 0,8 mm (xem Hình 4). Đinh phải sạch tại thời điểm sử dụng.
Kích thước tính bằng milimét trừ kích thước góc



CHÚ DẪN
1. Tấm phía trên
2. Tấm phía dưới
3. Đinh
Hình 4 - Các tấm và đinh thử nghiệm khả năng chịu xuyên thủng cơ khí
Đinh phải được bố trí vuông góc và bên trên mảnh thử nghiệm (được kẹp giữa các tấm) và phải được ấn vào và xuyên qua mẫu. Vận tốc xuyên qua là 500 mm/min ± 50 mm/min. Phải đo lực cần thiết để xuyên thủng mẫu.
Thử nghiệm được coi là đạt nếu khả năng chịu xuyên thủng lớn hơn 45 N ngoại trừ đối với chăn cách điện cấp 0 thì giá trị này phải lớn hơn 30 N và đối với chăn cấp 00 phải lớn hơn 25 N.
5.5.4. Biến dạng dư khi kéo đối với vật liệu đàn hồi
Bốn mảnh thử nghiệm có hình dạng như thể hiện trên Hình 3 được cắt ra từ chăn cách điện. Các mảnh thử nghiệm phải được lắp vào thiết bị kéo căng gồm một thanh kim loại hoặc thanh dẫn hướng thích hợp khác lắp với một cặp cơ cấu giữ, một cố định và một có thể di chuyển để giữ các đầu của mảnh thử nghiệm.
Phép đo chiều dài chuẩn khi chưa kéo căng (thể hiện là l0 trên Hình 3) phải được kiểm tra đến 0,1 mm gần nhất và mảnh thử nghiệm phải được đặt vào cơ cấu giữ. Mảnh thử nghiệm được kéo dãn với tốc độ từ 2 mm/s đến 20 mm/s đến độ dãn dài 200 % ± 10 % và giữ trong 10 min. Sau thời gian này, lực kéo được giảm với tốc độ từ 2 mm/s đến 10 mm/s và sau đó mảnh thử nghiệm được tháo ra khỏi cơ cấu đỡ và được đặt tự do trên một mặt phẳng. Sau thời gian phục hồi 10 min, đo lại chiều dài chuẩn.
Biến dạng dư được tính bằng phần trăm của sức căng ban đầu như sau:
Biến dạng dư = ![]()
trong đó
lo là chiều dài chuẩn ban đầu khi chưa kéo căng;
ls là chiều dài chuẩn sau khi đã kéo căng;
l1 là chiều dài chuẩn sau thời gian hồi phục.
Thử nghiệm được coi là đạt nếu biến dạng dư khi kéo không vượt quá 15 %.
5.5.5. Thử nghiệm khả năng chịu xé đối với vật liệu dẻo
Bốn mảnh thử nghiệm hình chữ nhật như thể hiện trên Hình 5 được cắt từ chăn cách điện. Các mảnh này được ổn định trước ở nhiệt độ 23 °C ± 2 °C và độ ẩm tương đối 50 % ± 5 % (xem khí quyển tiêu chuẩn B trong IEC 60212).
Rạch một đường dài 25 mm ± 0,5 mm ở giữa mỗi mảnh thử nghiệm, vết rạch được bắt đầu tại tâm của mảnh thử nghiệm. Sau đó vẽ hai đường thẳng bằng bút chì ruột mềm ở vị trí được chỉ ra trên Hình 5.
Góc có dung sai ± 1°.
Các mảnh được thử nghiệm trong máy thử kéo. Hai cơ cấu giữ lớn hơn mảnh thử nghiệm được đặt vào các đường thẳng và được giữ chặt để tránh trượt.
Máy thử kéo phải được truyền động với tốc độ không đổi 100 mm/min ± 10 mm/min và độ bền kéo được ghi lại là hàm của thời gian.
Lực kéo được tăng cho đến khi vật liệu rách và thử nghiệm được tiếp tục cho đến khi rách hoàn toàn thành hai nửa.
Khả năng chịu xé lớn nhất được lấy từ đường cong độ bền kéo/ thời gian và giá trị trung bình được tính cho tất cả các mảnh thử nghiệm
Thử nghiệm được coi là đạt nếu giá trị này lớn hơn 30 N.
Kích thước tính bằng milimét trừ kích thước góc

CHÚ DẪN
1. Mảnh thử nghiệm
2. Đường đậm đánh dấu bằng bút chì
3. Đường rạch
Hình 5 - Thử nghiệm khả năng chịu xé
5.6. Thử nghiệm điện môi
5.6.1. Quy định chung
Thử nghiệm điện môi phải được thực hiện bằng cách sử dụng điện áp xoay chiều. Giá trị đỉnh hoặc giá trị hiệu dụng của điện áp xoay chiều phải được đo với sai số lớn nhất theo TCVN 6099-2 (IEC 60060-2).
Chăn, bao gồm cả các mảnh thử nghiệm lấy từ cuộn, phải được ổn định hút ẩm bằng cách ngâm toàn bộ vào một bể chứa nước vòi có trở kháng (100 ± 15) Wm ở nhiệt độ phòng (như quy định trong 5.1) trong thời gian 16 h ± 0,5 h. Sau khi ổn định, chúng phải được lau khô và ngay sau đó phải chịu thử nghiệm điện môi.
CHÚ THÍCH: Các hợp chất cách điện được sử dụng ở quá trình hoàn thiện (ví dụ như parafin và bột đá tan) phải được loại bỏ bằng các dung môi thích hợp trước khi bắt đầu thử nghiệm.
5.6.2. Các điện cực
5.6.2.1. Quy định chung
Các điện cực được thiết kế sao cho đặt được ứng suất điện đồng nhất trên vùng thử nghiệm mà không phát sinh vầng quang tại điểm bất kỳ hoặc không sinh ra lực căng trong vật liệu.
Cần sử dụng các kiểu điện cực khác nhau được mô tả như dưới đây.
5.6.2.2. Đối với thử nghiệm kiểm chứng điện áp
5.6.2.2.1. Kiểu điện cực chuẩn
Nếu không xảy ra phóng điện bề mặt trong quá trình thực hiện thử nghiệm, kiểu điện cực này phải được sử dụng cho tất cả các loại chăn.
Các điện cực thử nghiệm phải là các tấm dẫn điện có các mép và các góc được lượn tròn, có kích thước che phủ vùng lớn nhất của chăn cách điện hoặc mảnh thử nghiệm, có tính đến khe hở không khí lớn nhất cho trong Bảng 4 (xem Hình 6).

CHÚ DẪN
1. Tấm dẫn điện
2. Chăn hoặc mảnh thử nghiệm
3. Khe hở không khí của điện cực
Hình 6 - Bố trí thử nghiệm kiểm chứng điện áp của chăn cách điện với kiểu điện cực chuẩn
Trong các trường hợp thử nghiệm trên cuộn, các điện cực phải có khả năng chứa tối thiểu một đoạn chăn cách điện bằng với chiều rộng của nó.
Các điện cực phải có các kích thước sao cho khe hở không khí quy định trong Bảng 4 không bị vượt quá.
Bảng 4 - Khe hở không Khí lớn nhất của điện cực đối với các thử nghiệm kiểm chứng
| Cấp điện áp của chăn cách diện | Khe hở không khí dùng cho các thử nghiệm mm |
| 00 | 10 |
| 0 | 20 |
| 1 | 80 |
| 2 | 150 |
| 3 | 200 |
| 4 | 300 |
Khe hở không khí được xác định là khoảng cách giữa điện cực trên và điện cực dưới xung quanh mép của chăn hoặc mảnh thử nghiệm.
5.6.2.2.2. Kiểu điện cực thay thế trong trường hợp xảy ra phóng điện bề mặt với kiểu tiêu chuẩn
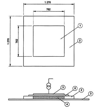
Nếu xảy ra phóng điện bề mặt trong quá trình thực hiện thử nghiệm với kiểu điện cực tiêu chuẩn trong 5.6.2.2.1, thì phải sử dụng kiểu các điện cực dưới đây.
Một tấm vật liệu cách điện có kích thước 1 270 mm x 1 270 mm dày 3 mm đến 5 mm có một khoảng hở ở giữa có kích thước 762mm x 762mm, phải được đặt trên một tấm kim loại nối đất. Tấm chắn này có dạng một “khung ảnh” có khe hở được điền đầy vật liệu dẫn điện có chiều dày sao cho nâng điện cực nối đất xấp xỉ cùng mức với tấm chắn nhằm duy trì tiếp xúc trực tiếp với chăn hoặc mảnh thử nghiệm.
Chăn hoặc mảnh thử nghiệm phải được đặt trên tấm chắn.
Một tấm kim loại hình chữ nhật có kích thước 762 mm x 762 mm và dày xấp xỉ 5 mm, có các mép và góc được lượn tròn đều, phải được đặt phía trên của chăn hoặc mảnh thử nghiệm. Sau đó tấm phía trên này phải được cấp điện bằng điện áp thử nghiệm (xem Hình 7).
CHÚ THÍCH 1: Bố trí này sẽ thử nghiệm một vùng 762 mm x 762 mm trên chăn có kích thước 914 mm x 914 mm ở điện áp 40 kV xoay chiều vì tấm chắn sẽ ngăn ngừa phóng điện bề mặt.
CHÚ THÍCH 2: Cho phép sử dụng các kích thước khác của tắm chắn phù hợp với các kích thước của chăn.
Cho phép sử dụng các thiết kế điện cực khác để thu được các kết quả như nhau.
Kích thước tính bằng milimét

CHÚ DẪN
1. Lỗ
2. Tấm chắn bằng thủy tinh plexi (dày 3 mm đến 5 mm)
3. Tấm kim loại
4. Vật liệu dẫn điện
5. Chăn hoặc mảnh thử nghiệm (1 000 mm x 1 000 mm)
Hình 7 - Bố trí thử nghiệm kiểm chứng điện áp của chăn cách điện với kiểu điện cực thay thế
5.6.2.3. Đối với thử nghiệm khả năng chịu điện áp
Điện cực gồm hai trụ kim loại có các mép sắc được lượn tròn với bán kính 3 mm. Một điện cực có đường kính 25 mm và dài xấp xỉ 25 mm. Điện cực còn lại có đường kính 75 mm và dài xấp xỉ 15 mm. Các điện cực này phải được đặt đồng trục như thể hiện trên Hình 8.
5.6.3. Thiết bị thử nghiệm
Thiết bị thử nghiệm phải có khả năng cấp một điện áp thử nghiệm có thể điều chỉnh liên tục và về cơ bản là không nhảy cấp. Thiết bị điều chỉnh được điều khiển bằng động cơ là thuận tiện và có xu hướng cung cấp một tốc độ tăng đồng nhất cho điện áp thử nghiệm. Thiết bị thử nghiệm phải được bảo vệ bằng một áptômát tự động được thiết kế để nhanh chóng ngắt khi có dòng sinh ra do chăn hoặc mảnh thử nghiệm bị hỏng.
Kích thước tính bằng milimét

CHÚ DẪN
| 1 Mảnh thử nghiệm | 4 Đế kim loại |
| 2 Thùng chứa | 5 Kim loại |
| 3 Chất lỏng cách điện |
|
CHÚ THÍCH: Trong trường hợp các mảnh thử nghiệm được cắt từ các cuộn có chiều rộng nhỏ, có thể yêu cầu sửa đổi kích thước điện cực cho phù hợp.
Hình 8 - Bố trí thử nghiệm khả năng chịu điện áp
5.6.4. Qui trình thử nghiệm diện
5.6.4.1. Thiết bị thử nghiệm
Điện áp thử nghiệm được đặt theo TCVN 6099-1 (IEC 60060-1) và thiết bị đo phù hợp với TCVN 6099-2 (IEC 60060-2).
5.6.4.2. Qui trình thử nghiệm kiểm chứng
5.6.4.2.1. Kiểu thử nghiệm
Chăn cách điện ở dạng phẳng phải được thử nghiệm như khi được giao mà không chỉnh sửa. Trong trường hợp chăn cách điện ở dạng cuộn, có chiều rộng bằng hoặc lớn hơn 1 000 mm, kích thước tối thiểu của từng mảnh thử nghiệm phải là 1 000 mm x 1 000 mm. Đối với các cuộn có chiều rộng nhỏ hơn 1 000 mm, mảnh thử nghiệm phải có chiều dài bằng với chiều rộng.
Chăn cách điện hoặc mảnh thử nghiệm phải chịu thử nghiệm điện áp như quy định trong Bảng 5 sử dụng các điện cực quy định trong 5.6.2.2. Ban đầu, điện áp phải được đặt ở giá trị thấp và được tăng dần với tốc độ tăng không đổi và xấp xỉ 1 000 V/s cho đến khi đạt được mức điện áp thử nghiệm quy định. Thời gian thử nghiệm được tính tại thời điểm đạt tới điện áp quy định.
Bảng 5 - Điện áp thử nghiệm
| Cấp điện áp của chăn cách điện | Điện áp kV hiệu dụng | |
| Thử nghiệm kiểm chứng | Thử nghiệm khả năng chịu điện áp | |
| 00 | 2,5 | 5 |
| 0 | 5 | 10 |
| 1 | 10 | 20 |
| 2 | 20 | 30 |
| 3 | 30 | 40 |
| 4 | 40 | 50 |
Thử nghiệm được coi là đạt nếu đạt được điện áp thử nghiệm quy định và duy trì ở giá trị đó trong thời gian 3 min mà không xuất hiện phóng điện đánh thủng hoặc các hỏng hóc về điện khác.
CHÚ THÍCH: Cuối mỗi giai đoạn thử nghiệm, để tránh quá điện áp nhất thời, nên giảm điện áp đặt với tốc độ không đổi đến giá trị xấp xỉ bằng một nửa trước khi cắt mạch thử nghiệm, trừ khi đã xảy ra hỏng hóc về điện.
5.6.4.2.2. Thử nghiệm thay thế trong trường hợp chăn cách điện đã hoàn thành giai đoạn sản xuất
Đối với thử nghiệm sự phù hợp, chăn không phải chịu ổn định hút ẩm. Khoảng thời gian thử nghiệm kiểm chứng phải là 1 min.
Trong trường hợp chăn ở dạng cuộn, thử nghiệm thay thế để thử nghiệm toàn bộ chiều dài của từng cuộn đang được xem xét (ví dụ bố trí thử nghiệm bằng con lăn để giữ cuộn cần thử nghiệm, một bàn cấp liệu ở tốc độ thích hợp với các con lăn được cấp điện áp thử nghiệm thích hợp, một bàn đỡ cuốn và các con lăn cuốn).
5.6.4.3. Qui trình thử nghiệm khả năng chịu điện áp
Cắt ba mảnh thử nghiệm có kích thước 150 mm x 150 mm được từ chăn cách điện.
Trong trường hợp các cuộn có chiều rộng nhỏ hơn 150 mm, các mảnh thử nghiệm phải có chiều dài bằng với chiều rộng.
Các mảnh thử nghiệm được đặt giữa các điện cực bằng kim loại như quy định trong 5.6.2.3 và toàn bộ bố trí này được ngâm vào chất lỏng cách điện (ví dụ như dầu cách điện). Các mảnh thử nghiệm không được chạm vào vách của thùng chứa.
Chỉ đặt một lần tăng điện áp đối với mỗi mảnh thử nghiệm. Điện áp phải được đặt vào từng mảnh thử nghiệm ở tốc độ không đổi 1 000 v/s cho đến khi đạt được giá trị điện áp thử nghiệm trong Bảng 5.
CHÚ THÍCH: Cuối mỗi giai đoạn thử nghiệm, để tránh quá điện áp nhất thời, nên giảm điện áp đạt với tốc độ không đổi đến giá trị xấp xỉ bằng một nửa trước khi cắt mạch thử nghiệm, trừ khi đã xảy ra hỏng hóc về điện.
Thử nghiệm phải được coi là đạt nếu không xuất hiện phóng điện đâm xuyên.
5.7. Thử nghiệm lão hóa
Đối với chất đàn hồi, tám mảnh thử nghiệm dạng chày được cắt theo Hình 3.
Đối với chất dẻo, bốn mảnh thử nghiệm dạng chày được cắt theo Hình 3 và bốn mảnh thử nghiệm nữa theo Hình 5.
Các mảnh thử nghiệm này được đặt trong lò không khí trong 168 h ở nhiệt độ 70 °C ± 2 °C và độ ẩm tương đối nhỏ hơn 20 % (xem IEC 60212 về khí quyển tiêu chuẩn cho thử nghiệm nóng khô).
Trang bị thử nghiệm là một lò không khí trong đó quá trình lưu thông không khí tạo ra từ 3 đến 10 lần thay đổi không khí trong 1 h. Không khí đi vào phải có nhiệt độ 70 °C ± 2 °C trước khi tiếp xúc với mảnh thử nghiệm.
Không được có đồng hoặc hợp kim đồng bên trong lò không khí. Phải có trang bị để treo các mảnh thử nghiệm sao cho có một khoảng cách tối thiểu là 10 mm giữa các mảnh thử nghiệm và 50 mm giữa các mảnh thử nghiệm và các bề mặt bên trong của lò.
Khi kết thúc thời gian gia nhiệt, các mảnh thử nghiệm được lấy khỏi lò và để nguội trong thời gian không ít hơn 16 h.
Cuối giai đoạn này, thử nghiệm độ bền kéo và độ dãn dài tại thời điểm đứt được thực hiện trên bốn mảnh thử nghiệm bằng chất đàn hồi và bốn mảnh thử nghiệm bằng chất dẻo theo 5.5.2.
Đối với chất đàn hồi: thử nghiệm biến dạng dư khi kéo được thực hiện trên bốn mảnh thử nghiệm phù hợp với 5.5.4.
Đối với các chất dẻo: thử nghiệm khả năng chịu xé được thực hiện trên các mảnh thử nghiệm phù hợp với 5.5.5.
Thử nghiệm được coi là đạt nếu các kết quả thu được như sau:
- đối với chăn cách điện bằng chất đàn hồi và chăn cách điện bằng chất dẻo: độ bền kéo và độ dãn dài tại thời điểm đứt không nhỏ hơn 80 % giá trị đạt được đối với các chăn không qua lão hóa. Thử nghiệm độ dãn dài không áp dụng cho chăn cách điện được gia cố bằng sợi tổng hợp;
- đối với chăn bằng chất đàn hồi: biến dạng dư khi kéo không vượt quá 15 %;
- đối với chăn bằng chết dẻo: khả năng chịu xé không nhỏ hơn 30 N.
5.8. Thử nghiệm nhiệt
5.8.1. Thử nghiệm chậm cháy
Mảnh thử nghiệm có kích thước 150 mm x 150 mm được cắt ra từ chăn cách điện và được đặt nằm ngang, chính giữa và bên trên mỏ đốt khí một khoảng 40 mm, và giữ bằng kẹp thích hợp.
Trong trường hợp chăn ở dạng cuộn có chiều rộng nhỏ hơn 150 mm, mảnh thử nghiệm sẽ có chiều dài bằng hai lần chiều rộng.
Thử nghiệm phải được thực hiện trong phòng hoặc tủ không có gió lùa.
Nguồn cấp khí đốt phải là khí metan loại kỹ thuật có bộ điều chỉnh và thiết bị đo thích hợp để tạo ra dòng khí đồng nhất.
CHÚ THÍCH: Nếu sử dụng khí đốt tự nhiên thay cho khí metan, thì hàm lượng nhiệt của khí phải xấp xỉ 37 MJ/m3, được coi là sẽ cho kết quả tương tự.
Mỏ đốt phải có đường kính 9,5 mm ± 0,5 mm để tạo ra ngọn lửa xanh có chiều cao 20 mm ± 2 mm.
Mỏ đốt được đặt cách xa mảnh thử nghiệm, được đốt và điều chỉnh theo hướng thẳng đứng để tạo ngọn lửa xanh cao 20 mm ± 2 mm. Ngọn lửa đạt được bằng cách điều chỉnh nguồn cấp khí và luồng không khí đi vào mỏ đốt cho đến khi tạo ra ngọn lửa xanh ngọn vàng cao 20 mm ± 2 mm và sau đó tăng nguồn cấp không khí cho đến khi ngọn lửa chỉ còn là màu xanh. Chiều cao của ngọn lửa được đo lại và hiệu chỉnh, nếu cần.
Sau đó, mỏ đốt được đặt ở giữa, bên dưới mảnh thử nghiệm trong thời gian 10 s và sau đó rút ra. Cần phải đảm bảo không có gió lùa can thiệp vào thử nghiệm.
Sự cháy lan của ngọn lửa trên mảnh thử nghiệm phải được quan sát trong 55 s sau khi rút ngọn lửa thử nghiệm ra.
Thử nghiệm được coi là đạt nếu ngọn lửa không đạt đến điểm bất kỳ trên đường tròn đường kính 50 mm từ tâm của mảnh thử nghiệm, trong khoảng thời gian quan sát.
5.8.2. Thử nghiệm uốn gập ở nhiệt độ thấp (trừ chăn cấp C)
Ba mảnh thử nghiệm hình chữ nhật có kích thước 200 mm x 500 mm được cắt ra từ chăn cách điện. Trong trường hợp chăn ở dạng cuộn có chiều rộng nhỏ hơn 200 mm thì mảnh thử nghiệm phải có chiều dài bằng hai lần chiều rộng.
Từng mảnh được đặt vào tủ trong 4 h ở nhiệt độ -25 °C ± 3 °C. Hai tấm polyetylen 200 mm x 200 mm dày 5 mm phải được ổn định ở cùng nhiệt độ và trong cùng khoảng thời gian.
Trong vòng 1 min sau khi lấy ra khỏi tủ, từng mảnh thử nghiệm phải được uốn gập tại điểm giữa và đặt giữa hai tấm polyetylen rồi cho chịu lực ép 100 N trong 30 s như thể hiện trên Hình 9.
Kích thước tính bằng milimét

CHÚ DẪN
| 1. Mảnh thử nghiệm | 3. Đường tâm của chỗ uốn gập |
| 2. Tấm polyetylen | 4. Lực nén 100 N |
Hình 9 - Bố trí thử nghiệm uốn gập ở nhiệt độ thấp và cực thấp
Thử nghiệm được coi là đạt nếu không có vết rách, nứt, vỡ nhìn thấy được. Mảnh thử nghiệm cũng phải đạt thử nghiệm khả năng chịu điện áp của điện môi (xem 5.6.4.3) mà không cần ổn định hút ẩm.
Ba mảnh thử nghiệm cần thiết để thử nghiệm khả năng chịu điện áp của điện môi phải được cắt ra từ mảnh thử nghiệm chịu thử nghiệm uốn gập, theo cách để chứa bề mặt có nếp gấp và nếp gấp này nằm ở tâm của từng mảnh thử nghiệm khả năng chịu điện áp của điện môi.
6. Thử nghiệm trên các chăn cách điện có các thuộc tính đặc biệt
6.1. Quy định chung
Chăn cách điện có các thuộc tính đặc biệt (xem Bảng 1), ngoài các thử nghiệm chung như Điều 5, phải đáp ứng các thử nghiệm dưới đây nếu thuộc đối tượng áp dụng. Đối với chăn cấp C, thử nghiệm uốn gập ở nhiệt độ cực thấp phải thay cho thử nghiệm ở 5.8.2.
6.2. Cấp A: Chịu axit
Bốn mảnh thử nghiệm có kích thước 150 mm x 150 mm được cắt ra từ chăn cách điện hoặc từ chăn dạng cuộn có chiều rộng lớn hơn 150 mm bằng vật liệu cấp A. Trong trường hợp cuộn có chiều rộng nhỏ hơn 150 mm thì chiều dài được lấy đủ để cho phép cắt được bốn mảnh thử nghiệm cần thiết.
Các mảnh thử nghiệm này phải được ổn định trước bằng cách ngâm trong dung dịch axit sunfuric tỷ trọng 32° Baume ở nhiệt độ 23 °C ± 2 °C trong thời gian 8 h ± 0,5 h. Sau khi ổn định axit, các mảnh thử nghiệm phải được rửa bằng nước và được để khô ở nhiệt độ xấp xỉ 70 °C trong thời gian 2 h ± 0,5 h.
Thời gian từ khi kết thúc quá trình làm khô đến khi bắt đầu thử nghiệm phải là 45 min ± 15 min. Sau đó các thử nghiệm được thực hiện trên ba mảnh thử nghiệm đối với thử nghiệm khả năng chịu điện áp (xem 5.6.4.3) mà không cần ổn định hút ẩm và trên một mảnh thử nghiệm đối với thử nghiệm khả năng chịu xuyên thủng cơ khí (xem 5.5.2).
Thử nghiệm chịu axit được coi là đạt nếu đáp ứng thử nghiệm khả năng chịu điện áp và các giá trị đạt được đối với thử nghiệm cơ khí không nhỏ hơn 75 % giá trị đạt được trong các thử nghiệm được thực hiện trên một mảnh thử nghiệm từ cùng một mẻ không qua ổn định trong axit.
6.3. Cấp H: Chịu dầu
Bốn mảnh thử nghiệm có kích thước 150 mm x 150 mm được cắt ra từ chăn cách điện hoặc từ chăn dạng cuộn có chiều rộng lớn hơn 150 mm bằng vật liệu loại H. Trong trường hợp cuộn có chiều rộng nhỏ hơn 150 mm thì chiều dài được lấy đủ để cho phép cắt được bốn mảnh thử nghiệm cần thiết.
Các mảnh thử nghiệm phải được ổn định trước trong không khí tối thiểu là 3 h ± 0,5 h ở nhiệt độ 23 °C ± 2 °C, độ ẩm tương đối 50 % ± 5 %, sau đó chúng được ngâm vào chất lỏng 102 (xem Phụ lục E) ở nhiệt độ 70 °C ± 2 °C trong 24 h ± 0,5 h.
Sau khi ổn định, các mảnh thử nghiệm phải được làm khô bằng cách sử dụng mảnh vải sạch, thấm nước và không có xơ.
Thời gian từ khi lấy ra khỏi dầu đến khi bắt đầu thử nghiệm phải là 45 min ± 15 min. Sau đó các thử nghiệm phải được thực hiện trên ba mảnh thử nghiệm đối với thử nghiệm khả năng chịu điện áp (xem 5.6.4.3) mà không cần ổn định hút ẩm và trên một mảnh thử nghiệm đối với thử nghiệm độ bền kéo và độ dãn dài tại thời điểm đứt (xem 5.5.2).
Thử nghiệm chịu dầu phải được coi là đạt nếu đáp ứng thử nghiệm khả năng chịu điện áp và các giá trị đạt được đối với thử nghiệm cơ khí không nhỏ hơn 75 % giá trị đạt được trong các thử nghiệm được thực hiện trên một mảnh thử nghiệm từ cùng một mẻ không qua ổn định trong dầu.
6.4. Cấp Z: Chịu Ozone
6.4.1. Quy định chung
Hai phương pháp được đưa ra để xác định sự phù hợp của chăn cách điện với các yêu cầu cần thiết đối với cấp Z. Trong trường hợp có tranh chấp, sử dụng phương pháp A.
6.4.2. Các phương pháp thử nghiệm
6.4.2.1. Phương pháp A
Ba mảnh thử nghiệm có kích thước 12 mm x 150 mm được cắt ra từ một chăn cách điện hoặc từ chăn ở dạng cuộn bằng vật liệu cấp Z. Các mảnh này được ổn định ở điều kiện kéo dãn 20 % trong lò ở nhiệt độ 40 °C ± 2 °C trong 8 h ± 0,5 h, và nồng độ ozone 1 mg/m3 ± 0,01 mg/m3 (0,5 x 10-6 ± 0,05 x 10-6 theo thể tích), áp suất khí quyển tiêu chuẩn 1 013 mbar (101,3 kPa).
Sau đó các mảnh thử nghiệm được bảo quản ở nhiệt độ phòng 23 °C ± 2 °C, độ ẩm tương đối 50 % ± 5 % trong 48 h ± 0,5 h và sau đó kiểm tra mức độ hỏng do ozone.
Thử nghiệm được coi là đạt nếu, sau khi hoàn thành, các mảnh thử nghiệm không cho thấy có các vết nứt vỡ có thể nhìn thấy được khi kiểm tra bằng mắt.
6.4.2.2. Phương pháp B
Thử nghiệm chịu ozone hóa được thực hiện trên mảnh thử nghiệm có kích thước 100 mm x 150 mm được cắt ra từ chăn cách điện hoặc từ chăn ở dạng cuộn bằng vật liệu cấp Z, được ổn thích hợp bằng cách đặt dàn phẳng trong 24 h.
Mảnh thử nghiệm được phủ lên một ống kim loại đường kính 25 mm với chiều dài đủ để nằm hoàn toàn bên dưới mảnh thử nghiệm, trong khi vẫn có chiều dài bổ sung cho các giá đỡ lắp đặt cần thiết (xem Hình 10).
Kích thước tính bằng milimét

CHÚ DẪN
| 1. Mảnh thử nghiệm | 3. Thanh polyethylene |
| 2. Lá nhôm | 4. Ống kim loại |
Hình 10 – Chịu ozone - Bố trí thử nghiệm phương pháp B
Các đầu tự do của mảnh thử nghiệm được kẹp bên dưới ống sao cho tạo một tiếp xúc tốt giữa mảnh thử nghiệm và ống, dọc theo nửa trên của bề mặt điện cực hình trụ.
Một lá nhôm phẳng kích thước xấp xỉ 50 mm x 100 mm được đặt lên mảnh thử nghiệm đã phủ để tạo khoảng cách ly đủ nhằm ngăn ngừa phóng điện bề mặt giữa lá nhôm và ống.
Lá nhôm phải được nối đất. Điện cực bên trong (ống) được cấp điện trong 1 h ở điện áp thử nghiệm 15 kV xoay chiều (giá trị hiệu dụng).
Thử nghiệm được coi là đạt nếu, sau khi hoàn thành, các mảnh thử nghiệm không cho thấy các vết nứt vỡ nhìn thấy được khi kiểm tra bằng mắt.
6.5. Cấp M: Khả năng chịu xuyên thủng cơ khí
Chăn cách điện cấp M phải được thử nghiệm theo thử nghiệm cơ trong 5.5.3. Tuy nhiên, các kết quả phải như quy định dưới đây:
- khả năng chịu xuyên thủng cơ khí: lớn hơn 70 N.
Nếu chăn cách điện có kết cấu không đồng nhất thì thử nghiệm được thực hiện ở vùng yếu nhất.
6.6. Cấp C: Thử nghiệm uốn gập ở nhiệt độ cực thấp
Ba mảnh thử nghiệm hình chữ nhật có kích thước 200 mm x 500 mm được cắt ra từ chăn cách điện. Trong trường hợp chăn ở dạng cuộn có chiều rộng nhỏ hơn 200 mm thì chiều dài của mảnh thử nghiệm phải bằng hai lần chiều rộng.
Từng mảnh được đặt vào tủ trong 24 h ± 0,5 h ở nhiệt độ -40 °C ± 3 °C. Hai tấm polyetylen có kích thước 200 mm x 200 mm dày 5 mm phải được ổn định ở cùng nhiệt độ và trong cùng khoảng thời gian.
Trong vòng 1 min sau khi lấy ra khỏi tu, từng mảnh thử nghiệm phải được gập lại tại điểm giữa, đặt vào giữa hai tấm polyetylen rồi chịu lực ép 100 N trong 30 s như thể hiện trên Hình 9.
Thử nghiệm được coi là đạt nếu không có vết rách, nứt, vỡ nhìn thấy được. Mảnh thử nghiệm cũng phải đạt thử nghiệm khả năng chịu điện áp của điện môi (xem 5.6.4.3) mà không cần ổn định hút ẩm.
Ba mảnh thử nghiệm cần thiết để thử nghiệm khả năng chịu điện áp của điện môi phải được cắt ra từ mảnh thử nghiệm chịu thử nghiệm uốn gập, theo cách để chứa bề mặt có nếp gấp và nếp gấp này nằm ở tâm của từng mảnh thử nghiệm khả năng chịu điện áp của điện môi.
7. Đánh giá sự phù hợp của chăn cách điện đã hoàn thành giai đoạn sản xuất
Để thực hiện việc đánh giá sự phù hợp trong giai đoạn sản xuất, phải sử dụng tiêu chuẩn này kết hợp với IEC 61318.
Phụ lục F, đề cập đến phân tích rủi ro về tính năng của chăn cách điện, đưa ra phân loại các khuyết tật và nhận biết các thử nghiệm liên quan trong trường hợp sản xuất tiếp theo.
8. Sửa đổi
Bất kỳ sửa đổi nào của chăn cách điện đều yêu cầu lặp lại các thử nghiệm điển hình, toàn bộ hoặc một phần (nếu mức độ sửa đổi được đánh giá như vậy) cũng như thay đổi trong tài liệu tham khảo của chăn.
PHỤ LỤC A
(tham khảo)
HƯỚNG DẪN LỰA CHỌN CÁC LOẠI CHĂN CÁCH ĐIỆN LIÊN QUAN ĐẾN ĐIỆN ÁP DANH NGHĨA CỦA HỆ THỐNG
Điện áp sử dụng lớn nhất khuyến cáo cho từng cấp chăn cách điện được ấn định trong Bảng A.1.
Bảng A.1 - Ấn định điện áp sử dụng lớn nhất
| Cấp | Điện xoay chiều V (hiệu dụng) | Điện một chiều V |
| 00 | 500 | Không có sẵn |
| 0 | 1 000 | 1 500 |
| 1 | 7 500 | 11 200 |
| 2 | 17 000 | 25 500 |
| 3 | 26 500 | 39 750 |
| 4 | 36 000 | 54 000 |
Điện áp sử dụng lớn nhất là thông số đặc trưng về điện áp của thiết bị bảo vệ để ấn định điện áp danh nghĩa lớn nhất của hệ thống được cấp điện để có thể làm việc an toàn.
Trên các mạch điện nhiều pha, điện áp danh nghĩa bằng với điện áp pha-pha. Nếu trong một vùng hệ thống không có phơi nhiễm nhiều pha và phơi nhiễm điện áp được giới hạn ở điện thế pha-đất thì điện thế pha-đất được coi là điện áp danh nghĩa.
Nếu thiết bị và dụng cụ điện được cách điện, hoặc cách ly, hoặc cả hai sao cho loại bỏ được phơi nhiễm nhiều pha trên mạch đấu sao trung tính nối đất (nối Y), thì điện áp danh nghĩa có thể được coi là điện áp pha-đất trên mạch đó.
Người sử dụng có thể quyết định sử dụng chăn cách điện có các cấp khác với các cấp khuyến cáo trong Bảng A.1.
Cần có cảnh báo cho việc sử dụng chăn cách điện trên các hệ thống điện một chiều do hiện nay chưa đủ dữ kiện về chúng.
PHỤ LỤC B
(tham khảo)
BẢO DƯỠNG VÀ THỬ NGHIỆM TRONG VẬN HÀNH
B.1. Quy định chung
Phụ lục này đưa ra hướng dẫn về bảo dưỡng, kiểm tra, thử nghiệm lại và sử dụng chăn cách điện sau khi mua.
Khi sử dụng chăn cho các ứng dụng làm việc không điện hoặc khi không thể tuân theo các khuyến cáo của phụ lục này, chăn không còn phù hợp cho làm việc có điện.
B.2. Lưu kho
Chăn cách điện nên được lưu kho theo cách để tránh hư hỏng (xem 4.8) theo hướng dẫn của nhà chế tạo, như các ngăn chứa hoặc khoang chứa thích hợp. Nhà chế tạo phải cung cấp bao bì thích hợp cho vận chuyển và lưu kho ban đầu của chăn cách điện để bảo vệ cho đến khi mở ra sử dụng. Người sử dụng cần cung cấp bảo vệ cần thiết sau khi mở bao bì ban đầu đối với chăn cách điện hoặc phần chưa sử dụng bất kỳ của chăn cách điện dạng cuộn và phần cắt ra mà có thể sử dụng lại.
Cần thận trọng để đảm bảo chăn cách điện không bị ép, gập hoặc lưu kho sát với các ống dẫn hơi nước, các bộ tản nhiệt, các nguồn nhiệt nhân tạo khác hoặc tiếp xúc trực tiếp với ánh sáng mặt trời, ánh sáng nhân tạo hay các nguồn ozone khác. Nhiệt độ lưu kho lý tưởng nằm trong khoảng từ 10 °C đến 21 °C.
B.3. Ghi nhãn trên chăn kích thước nhỏ cắt ra từ cuộn
Trong trường hợp chăn ở dạng cuộn, theo yêu cầu trong 4.6, nhà chế tạo phải có các hạng mục ghi nhãn xuất hiện tối thiểu trên mỗi mét chăn.
Chăn ở dạng cuộn cấp 00 và cấp 0 cần được cắt ra theo cách sao cho giữ được các thông tin ghi nhãn.
Khi người sử dụng cắt chăn cách điện tại điểm làm cho nhãn không còn hoàn chỉnh, và phần này sẽ được sử dụng lại thì người sử dụng cần đảm bảo thông tin được sao lại trên chăn theo cách bền lâu mà không ảnh hưởng tới chất lượng của chăn.
B.4. Kiểm tra trước khi sử dụng
Trước mỗi lần sử dụng, cần kiểm tra bằng mắt cả hai mặt của chăn cách điện. Kiểm tra kỹ vật liệu xem có bất cứ hư hại nào có thể ảnh hưởng đến các đặc tính điện môi như nứt, rách hoặc các lỗ châm kim.
Nếu một chăn cách điện được cho là không an toàn, không được sử dụng chăn này mà cần thử nghiệm lại.
B.5. Nhiệt độ
Chăn cách điện tiêu chuẩn cần được sử dụng trong các khu vực có nhiệt độ môi trường từ -25 °C đến +55 °C và chăn cấp C ở nhiệt độ môi trường từ -40 °C đến +55 °C.
Cần có cảnh báo khi sử dụng chăn cách điện trên các bộ phận mang điện có nhiệt độ cao. Nhiệt độ sử dụng bình thường của chăn cách điện có thể bị vượt quá nếu được đặt trên một bộ phận mang dòng điện có nhiệt độ tăng cao.
B.6. Biện pháp phòng ngừa khi sử dụng
Chăn cách điện không nên có tiếp xúc không cần thiết với nhiệt hoặc ánh sáng hoặc tiếp xúc với các hóa chất, dung dịch hay axit mạnh. Nếu chăn cách điện bị tiếp xúc với mỡ dẫn điện thì cần nhanh chóng làm sạch bằng dung dịch thích hợp.
Khi chăn cách điện bị bẩn, giặt sạch bằng xà phòng và nước ở nhiệt độ không vượt quá giá trị khuyến cáo của nhà chế tạo chăn và làm khô hoàn toàn theo các hướng dẫn của nhà chế tạo. Nếu các hợp chất cách điện như nhựa đường và sơn vẫn dính trên chăn, các phần bị ảnh hưởng cần được lau sạch ngay lập tức bằng dung dịch thích hợp, tránh sử dụng dung dịch quá mức, và sau đó rửa và xử lý như quy định. Không nên sử dụng xăng, dầu hỏa hoặc cồn trắng để loại bỏ các hợp chất này.
Chăn cách điện bị ẩm ướt trong sử dụng hoặc khi giặt phải được làm khô hoàn toàn nhưng không được làm cho nhiệt độ của chăn vượt quá 65 °C.
Nếu một chăn cách điện được sử dụng để phủ lên vật dẫn được cấp điện ở điện áp trên 1 kV thì cần phải là loại chịu ozone (ví dụ chăn cấp Z hoặc chăn có kết hợp các thuộc tính đặc biệt như cấp R).
Chăn cách điện không được thiết kế để dẫm lên.
B.7. Kiểm tra và thử nghiệm định kỳ
Không nên sử dụng chăn cách điện, ngay cả chăn đang được lưu kho, nếu chúng không được kiểm tra và/hoặc được thử nghiệm điện trong vòng 12 tháng trước đó.
Các thử nghiệm trên chăn cách điện bao gồm kiểm tra bằng mắt, sau đó thử nghiệm kiểm chứng điện môi mà không qua ổn định ẩm, ngoại trừ chăn cấp 00 và cấp 0 thì chỉ yêu cầu kiểm tra bằng mắt.
Người sử dụng cần tham khảo các điều khoản trong tiêu chuẩn này về hướng dẫn thử nghiệm để kiểm tra sự phù hợp khi sử dụng chăn liên tục.
Trong trường hợp chăn không đáp ứng kiểm tra bằng mắt hoặc thử nghiệm điện môi thì cần thải bỏ theo cách không làm tổn hại đến môi trường. Nếu có thể, cần quan tâm tới vấn đề tái chế.
Người sử dụng hoặc phòng thử nghiệm cần ghi nhãn ngày tháng của lần kiểm tra và thử nghiệm hiện hành và lần kiểm tra và thử nghiệm tiếp theo.
Ghi nhãn này nên được đặt trong vùng có đóng khung và không được làm ảnh hưởng đến các đặc tính điện môi của sản phẩm.
PHỤ LỤC C
(quy định)
THÍCH HỢP ĐỂ LÀM VIỆC CÓ ĐIỆN: TAM GIÁC KÉP
(IEC 60417-5216 (2002-10))

PHỤ LỤC D
(quy định)
QUI TRÌNH THỬ NGHIỆM ĐIỂN HÌNH CHUNG
D.1. Quy định chung
Các con số đưa ra trong các nhóm thử nghiệm khác nhau của Bảng D.1 biểu thị thứ tự thực hiện các thử nghiệm điển hình. Trong mỗi nhóm, các thử nghiệm có cùng số thứ tự có thể được thực hiện theo trình tự thuận tiện hơn.
Bảng D.1 đưa ra trình tự thực hiện các thử nghiệm chung cũng như thử nghiệm thay thế cho chăn cấp C hoặc các thử nghiệm bổ sung cho cấp A, H và z. Đối với chăn cấp R hoặc kết hợp bất kỳ khác giữa các cấp, các yêu cầu thử nghiệm và trình tự thử nghiệm có được bằng cách kết hợp các điều khoản liên quan. Không được sử dụng lại các chăn cách điện đã trải qua thử nghiệm điển hình.
Bảng D.1 - Danh sách và trình tự theo thời gian của các thử nghiệm điển hình
| Kiểu thử nghiệm | Điều | Các nhóm thử nghiệm | |||||||
| Thử nghiệm | Yêu cầu | Nhóm 1 | Nhóm 2 | Nhóm 3 | Nhóm 4 | Nhóm 5 | Nhóm 6 | Nhóm 7 | |
| Đo và kiểm tra bằng mắt |
|
|
|
|
|
|
|
|
|
| Phân loại | 5.2.2 | 4.2 | 1 |
|
|
|
|
|
|
| Kết cấu | 5.2.3 | 4.3.1 | 1 |
|
|
|
|
|
|
| Kích thước - Chiều dài và chiều rộng | 5.2.4 | 4.3.3.1 | 1 |
|
|
|
|
|
|
| Kích thước - Chiều dày | 5.2.5 | 4.3.3.2 | 1 |
|
|
|
|
|
|
| Chất lượng gia công và hoàn thiện bề mặt | 5.2.4 | 4.3.4 | 1 | 1 | 1 | 1 | 1 | 1 | 1 |
| Ghi nhãn | 5.3 | 4.6 | 1 |
|
|
|
|
|
|
| Đóng gói | 5.4 | 4.7 | 1 |
|
|
|
|
|
|
| Hướng dẫn sử dụng | 5.4 | 4.8 | 1 |
|
|
|
|
|
|
| Cơ khí |
| 4.4 |
|
|
|
|
|
|
|
| Độ bền kéo và độ dãn dài tại thời điểm đứt | 5.5.2 |
| 2 |
|
|
|
|
|
|
| Khả năng chịu xuyên thủng | 5.5.3 |
| 2b |
|
|
|
|
|
|
| Biến dạng dư sau khi kéo | 5.5.4 |
| 2a |
|
|
|
|
|
|
| Khả năng chịu xé | 5.5.5 |
| 2a |
|
|
|
|
|
|
| Điện môi |
| 4.5 |
|
|
|
|
|
|
|
| Thử nghiệm kiểm chứng | 5.6.4.2.1 |
|
| 2 | 2 | 2 |
|
|
|
| Thử nghiệm khả năng chịu điện áp | 5.6.4.3 |
|
| 3 | 3 | 3 |
|
|
|
| Lão hóa | 5.7 | 4.4 |
| 3 |
|
|
|
|
|
| Nhiệt |
| 4.4 |
|
|
|
|
|
|
|
| Thử nghiệm chậm cháy lan | 5.8.1 |
|
|
|
|
|
|
|
|
| Nhiệt độ thấp | 5.8.2 |
| 2 |
|
| 3c |
|
|
|
| Các thuộc tính đặc biệt |
| 4.4 |
|
|
|
|
|
|
|
| Cấp A: Chịu axit | 6.2 |
|
|
|
|
| 2 |
|
|
| Cấp H: Chịu dầu | 6.3 |
|
|
|
|
|
| 2 |
|
| Cấp Z: Chịu ozone | 6.4 |
|
|
|
|
|
|
| 2 |
| Cấp M: Cơ | 6.5 |
| 2b |
|
|
|
|
|
|
| Cấp C: Nhiệt độ cực thấp | 6.6 |
|
|
|
| 3c |
|
|
|
| Cỡ mỗi nhóm (đơn vị là chăn hoặc cuộn chân) | 1 | 1 | 1 | 1 | 1 | 1 | 1 | ||
| a Tùy thuộc vào vật liệu chế tạo chăn cách điện mà thực hiện thử nghiệm biến dạng dư khi kéo hoặc thử nghiệm khả năng chịu xé. b Các giá trị quy định sẽ khác đối với chăn cách điện cấp M. c Các giá trị quy định sẽ khác đối với chăn cách điện cấp C. | |||||||||
D.2. Các yêu cầu về cỡ nhóm
D.2.1. Nhóm 1
Nhóm 1 yêu cầu một chăn dạng phẳng hoặc chiều dài thích hợp của chăn dạng cuộn mà từ đó cắt ra các mảnh cần thiết để thử nghiệm cơ và thử nghiệm nhiệt, sau khi đã kiểm tra bằng mắt và đo.
- Độ bền kéo và độ dãn dài tại thời điểm đứt: bốn mảnh thử nghiệm
- Khả năng chịu xuyên thủng cơ khí: hai mảnh thử nghiệm
- Biến dạng dư khi kéo (chỉ với vật liệu đàn hồi): bốn mảnh thử nghiệm
- Khả năng chịu xé (chỉ với vật liệu chất dẻo): bốn mảnh thử nghiệm
- Chậm chất lan: một mảnh thử nghiệm
D.2.2. Nhóm 2
Nhóm 2 yêu cầu một chăn dạng phẳng hoặc chiều dài thích hợp của chăn dạng cuộn mà từ đó cắt ra mảnh thử nghiệm cần thiết để thử nghiệm kiểm chứng điện môi sau khi kiểm tra chất lượng gia công và hoàn thiện bề mặt.
Chăn cách điện hoặc mảnh thử nghiệm sau khi chịu thử nghiệm trên thì được cắt ra thành ba mảnh để thử nghiệm khả năng chịu điện áp của điện môi và tám mảnh thử nghiệm cho thử nghiệm lão hóa.
Trong trường hợp chăn dạng cuộn có chiều rộng nhỏ, mảnh thử nghiệm có thể được cắt từ cuộn ban đầu.
D.2.3. Nhóm 3
Nhóm 3 yêu cầu một chăn dạng phẳng hoặc chiều dài thích hợp của chăn dạng cuộn mà từ đó cắt ra mảnh thử nghiệm cần thiết để thử nghiệm kiểm chứng điện môi, sau khi đã kiểm tra chất lượng gia công và hoàn thiện bề mặt.
Chăn cách điện hoặc mảnh thử nghiệm sau khi chịu thử nghiệm trên thì được cắt ra thành ba mảnh để thử nghiệm khả năng chịu điện áp của điện môi. Trong trường hợp cuộn có chiều rộng nhỏ thì các mảnh thử nghiệm có thể được cắt từ cuộn ban đầu.
D.2.4. Nhóm 4
Nhóm 4 yêu cầu một chăn dạng phẳng hoặc chiều dài thích hợp của chăn dạng cuộn mà từ đó cắt ra mảnh thử nghiệm cần thiết để thử nghiệm kiểm chứng điện môi, sau khi đã kiểm tra chất lượng gia công và hoàn thiện bề mặt.
Chăn cách điện hoặc mảnh thử nghiệm sau khi chịu thử nghiệm trên thì được cắt ra thành ba mảnh để thử nghiệm khả năng chịu điện áp của điện môi và ba mảnh cho thử nghiệm ở nhiệt độ thấp và cực thấp. Trong trường hợp cuộn có chiều rộng nhỏ thì các mảnh thử nghiệm có thể được cắt từ cuộn ban đầu.
D.2.5. Nhóm 5
Nhóm 5 (đối với cấp A) yêu cầu một chăn dạng phẳng hoặc chiều dài thích hợp của chăn dạng cuộn mà từ đó cắt ra bốn mảnh thử nghiệm cần thiết để thử nghiệm kiểm chứng điện môi, sau khi đã kiểm tra chất lượng gia công và hoàn thiện bề mặt. Bốn mảnh thử nghiệm này sẽ chịu phơi nhiễm trong axit như mô tả ở 6.2.
D.2.6. Nhóm 6
Nhóm 6 (đối với cấp H) yêu cầu một chăn dạng phẳng hoặc chiều dài thích hợp của chăn dạng cuộn mà từ đó cắt ra bốn mảnh thử nghiệm cần thiết để thử nghiệm kiểm chứng điện môi, sau khi đã kiểm tra chất lượng gia công và hoàn thiện bề mặt. Bốn mảnh thử nghiệm này sẽ chịu phơi nhiễm trong dầu như mô tả ở 6.3.
D.2.7. Nhóm 7
Nhóm 7 (đối với cấp Z) yêu cầu một chăn dạng phẳng hoặc chiều dài thích hợp của chăn dạng cuộn mà từ đó cắt ra ba mảnh thử nghiệm cần thiết để thử nghiệm kiểm chứng điện môi, sau khi đã kiểm tra chất lượng gia công và hoàn thiện bề mặt. Ba mảnh thử nghiệm này sẽ chịu phơi nhiễm trong ozone như mô tả ở 6.4.
PHỤ LỤC E
(quy định)
CHẤT LỎNG SỬ DỤNG CHO CÁC THỬ NGHIỆM TRÊN CÁC CHĂN CÁCH ĐIỆN CẤP H - CHỊU DẦU
E.1. Thuộc tính của chất lỏng 102
Chất lỏng 102 được sử dụng để mô phỏng một số loại dầu thủy lực áp suất cao.
Chất lỏng là một hỗn hợp pha trộn của 95 % (m/m) dầu số 1 và 5 % (m/m) phụ gia dầu hợp chất hydrocacbon chứa 29,5 % (m/m) đến 33 % (m/m) sunphua, 1,5 % (m/m) đến 2 % (m/m) phốt pho và 0,7 % (m/m) nitơ. Phụ gia thích hợp có sẵn trong thương mại.
E.2. Đặc trưng của dầu số 1
Để đảm bảo tính đồng nhất, nguồn dầu này phải được quy định như một hỗn hợp dầu khoáng được kiểm soát chặt chẽ chứa dầu tự nhiên và các chất cặn parafin được chiết xuất, được xử lý hóa học, được tách parafin. Dầu số 1 không chứa các chất phụ gia bất kỳ, ngoại trừ một lượng rất nhỏ chất ức chế điểm chảy (khoảng 0,1 %).
Dầu số 1 có các đặc trưng được thể hiện trong Bảng E.1. Nhìn chung đây là một loại dầu khoáng và là loại dầu tích tăng thể tích.
Để đảm bảo tính đồng nhất, nguồn dầu này phải được quy định như một hỗn hợp dầu khoáng được kiểm soát chặt chẽ chứa dầu tự nhiên và các chất cặn parafin được chiết xuất, được xử lý hóa học, được tách parafin. Dầu số 1 không chứa các chất phụ gia bất kỳ, ngoại trừ một lượng rất nhỏ chất ức chế điểm chảy (khoảng 0,1 %).
Bảng E.1 - Các đặc trưng của dầu số 1
| Đặc trưng | Dầu số 1 |
| Điểm anilin (°C) a | 124 ± 1 |
| Độ nhớt động học (m2/s) b | (20 ± 1) x 10-6 |
| Điểm bắt cháy (°C tối thiểu) c | 243 |
| a Xem ISO 2977. b Được đo tại 98,89 °C (xem ISO 3104). c Được đo theo phương pháp cốc hở Cleveland (xem ISO 2592). | |
Xem ISO 1817 để biết thông tin bổ sung.
PHỤ LỤC F
(quy định)
PHÂN LOẠI KHUYẾT TẬT VÀ PHÂN BỔ CÁC THỬ NGHIỆM
Phụ lục này đưa ra mức khuyết tật của chăn cách điện được chế tạo (nghiêm trọng, lớn hoặc nhỏ) theo một cách nhất quán (xem IEC 61318). Đối với mỗi yêu cầu được nêu trong Bảng F.1, quy định cả kiểu khuyết tật và thử nghiệm liên quan.
Bảng F.1 - Phân loại các khuyết tật, các yêu cầu và thử nghiệm liên quan
| Các yêu cầu | Kiểu khuyết tật | Thử nghiệm | |||
| Nghiêm trọng | Lớn | Nhỏ | |||
| 4.3.1 | Đường kính các lỗ nhỏ |
|
| X | 5.2.3 |
| 4.3.3.1 | Tính sẵn có của chiều dài, chiều rộng và dung sai Dung sai không nằm trong giới hạn qui định |
|
| X X | 5.2.4 |
| 4.3.3.2.1 | Chiều dày lớn nhất |
|
| X | 5.2.5 |
| 4.3.4 | Chất lượng gia công và hoàn thiện bề mặt (hình dạng khác nhau) | Xa | Xa | Xa | 5.6.4.2.2 |
| 4.3.4 | Chất lượng gia công và hoàn thiện bề mặt (dạng cuộn) | Xa | Xa | Xa | 5.6.4.2.2 |
| 4.5 | Điện môi | X |
|
| 5.6.4.2.2 |
| 4.6 | Ghi nhãn |
| X |
| 5.3 |
| 4.7 | Đóng gói |
|
| X | 5.4 |
| 4.8 | Chỉ dẫn sử dụng |
|
| X | 5.4 |
| 4.4 | Cơ khí Độ bền kéo và độ dãn dài tại thời điểm đứt Khả năng chịu xuyên thủng Biến dạng dư kéo và khả năng chịu xé |
|
X X X |
| 5.5.2 5.5.3 5.5.4 hoặc 5.5.5 |
| 4.4 | Lão hóa |
|
| X | 5.7 |
| 4.4 | Nhiệt Chậm cháy lan Nhiệt độ thấp |
|
|
X X |
5.8.1 5.8.2 |
| 4.4 | Các thuộc tính đặc biệt Khả năng chịu axit Khả năng chịu dầu Khả năng chịu ozone Khả năng chịu xuyên thủng cơ khí. Nhiệt độ cực thấp |
|
|
X X X X X |
6.2 6.3 6.4 6.5 6.6 |
| a Việc phân loại khuyết tật có liên quan đến các kiểu không đồng đều. Thử nghiệm kiểm chứng điện môi trong 5.6.4.2.2 sẽ bao quát tất cả các trường hợp. | |||||
THƯ MỤC TÀI LIỆU THAM KHẢO
[1] IEC 60050(601): 1985, International Electrotechnical Vocabulary (IEV) - Chapter 601: Generation, transmission and distribution of electricity - General (Từ vựng Kỹ thuật điện Quốc tế (IEV) - Chương 601: Phát điện, truyền tải và phân phối điện năng - Yêu cầu chung)
[2] IEC 60050(651): 1999, International Electrotechnical Vocabulary (IEV) - Chapter 651: Live working (Từ vựng Kỹ thuật điện Quốc tế (IEV) - Phần 651: Làm việc có điện)
[3] IEC 60743:2001, Live working - Terminology for tools, equipment and devices (Làm việc có điện - Thuật ngữ về các dụng cụ, máy móc và thiết bị)
Amendment 1 (2008)1
[4] ISO 472:1999, Plastics - Vocabulary (Các chất dẻo - Thuật ngữ)
[5] ISO 1817, Rubber, vulcanized - Determination of effect of liquids (Cao su, lưu hóa - Xác định ảnh hưởng của các chất lỏng)
MỤC LỤC
Lời nói đầu
Lời giới thiệu
1. Phạm vi áp dụng
2. Tài liệu viện dẫn
3. Thuật ngữ và định nghĩa
4. Các yêu cầu
5. Các thử nghiệm
5.1. Quy định chung
5.2. Kiểm tra bằng mắt và đo
5.3. Ghi nhãn
5.4. Bao gói và hướng dẫn sử dụng
5.5. Thử nghiệm cơ
5.6. Thử nghiệm điện môi
5.7. Thử nghiệm lão hóa
5.8. Thử nghiệm nhiệt
6. Thử nghiệm trên các chăn cách điện có các thuộc tính đặc biệt
7. Đánh giá sự phù hợp của chăn cách điện đã hoàn thành giai đoạn sản xuất
8. Sửa đổi
Phụ lục A (tham khảo) - Hướng dẫn lựa chọn các loại chăn cách điện liên quan đến điện áp danh nghĩa của hệ thống
Phụ lục B (tham khảo) - Bảo dưỡng và thử nghiệm trong vận hành
Phụ lục C (quy định) - Thích hợp để làm việc có điện; tam giác kép
Phụ lục D (quy định) - Qui trình thử nghiệm điển hình chung
Phụ lục E (quy định) - Chất lỏng sử dụng cho các thử nghiệm trên các chăn cách điện cấp H - Chịu dầu
Phụ lục F (quy định) - Phân loại các khuyết tật và phân bổ các thử nghiệm
Thư mục tài liệu tham khảo
1 Đã có IEC 60743:2008.
Bạn chưa Đăng nhập thành viên.
Đây là tiện ích dành cho tài khoản thành viên. Vui lòng Đăng nhập để xem chi tiết. Nếu chưa có tài khoản, vui lòng Đăng ký tại đây!