- Tổng quan
- Nội dung
- Tiêu chuẩn liên quan
- Lược đồ
- Tải về
Tiêu chuẩn TCVN 4255:2025 Cấp bảo vệ bằng vỏ ngoài (mã IP)
| Số hiệu: | TCVN 4255:2025 | Loại văn bản: | Tiêu chuẩn Việt Nam |
| Cơ quan ban hành: | Bộ Khoa học và Công nghệ | Lĩnh vực: | Khoa học-Công nghệ , Công nghiệp |
| Trích yếu: | IEC 60529:2013 Cấp bảo vệ bằng vỏ ngoài (mã IP) | ||
|
Ngày ban hành:
Ngày ban hành là ngày, tháng, năm văn bản được thông qua hoặc ký ban hành.
|
22/01/2025 |
Hiệu lực:
|
Đã biết
|
| Người ký: | Đang cập nhật |
Tình trạng hiệu lực:
Cho biết trạng thái hiệu lực của văn bản đang tra cứu: Chưa áp dụng, Còn hiệu lực, Hết hiệu lực, Hết hiệu lực 1 phần; Đã sửa đổi, Đính chính hay Không còn phù hợp,...
|
Đã biết
|
TÓM TẮT TIÊU CHUẨN VIỆT NAM TCVN 4255:2025
Tiêu chuẩn quốc gia TCVN 4255:2025 IEC 60529:2013: Quy định bảo vệ cho thiết bị điện
Tiêu chuẩn quốc gia TCVN 4255:2025 IEC 60529:2013 về cấp bảo vệ bằng vỏ ngoài (mã IP) được ban hành nhằm phân loại và xác định mức độ bảo vệ của thiết bị điện có điện áp danh định không vượt quá 72,5 kV. Tiêu chuẩn này áp dụng cho việc bảo vệ thiết bị điện trước các yếu tố bên ngoài, bao gồm bảo vệ con người khỏi tiếp xúc với các phần nguy hiểm và bảo vệ thiết bị bên trong khỏi sự xâm nhập của vật rắn và nước.
Tiêu chuẩn quy định một số điểm cơ bản như sau:
- Cấp bảo vệ chống tiếp cận các phần nguy hiểm: Được thể hiện bằng chữ số đặc trưng thứ nhất, đảm bảo rằng con người không thể tiếp cận các phần điện nguy hiểm bên trong thiết bị. Các mức bảo vệ này được phân loại từ 0 đến 6, trong đó 0 là không có bảo vệ và 6 là bảo vệ tuyệt đối khỏi các vật rắn.
- Cấp bảo vệ chống sự xâm nhập của vật rắn: Cũng được thể hiện bởi chữ số đầu tiên với các phân loại từ 0 đến 6, trong đó cấp 5 chỉ ngăn chặn một lượng bụi cho phép xâm nhập mà không ảnh hưởng đến hoạt động của thiết bị.
- Cấp bảo vệ chống nước: Được thể hiện bằng chữ số thứ hai, cho thấy khả năng của vỏ ngoài đối với sự xâm nhập của nước với các mức từ 0 đến 9, trong đó cấp 3 đảm bảo rằng nước không gây ảnh hưởng có hại khi chiếu từ góc lên đến 60°, và cấp 9 đảm bảo thiết bị có thể chịu được nước phun áp lực mạnh và nhiệt độ cao.
Tiêu chuẩn này cũng yêu cầu thực hiện các thử nghiệm để xác nhận rằng các cấp bảo vệ được nêu đều đạt yêu cầu. Các thử nghiệm này được thực hiện trong điều kiện khí quyển tiêu chuẩn và cần phải được thực hiện trên các mẫu thiết bị đại diện.
TCVN 4255:2025 được ban hành thay thế TCVN 4255:2008, và hoàn toàn tương đương với IEC 60529:2013. Tiêu chuẩn có hiệu lực từ ngày công bố và được áp dụng cho các nhà sản xuất thiết bị điện cũng như tổ chức kiểm định chất lượng trong việc đảm bảo an toàn cho thiết bị điện trong quá trình lắp đặt và sử dụng.
Thông tin chi tiết:
- Ngày ban hành: Không được ghi rõ trong văn bản.
- Ngày có hiệu lực: Ngày công bố.
- Văn bản thay thế: TCVN 4255:2008.
Tải tiêu chuẩn Việt Nam TCVN 4255:2025
TIÊU CHUẨN QUỐC GIA
TCVN 4255:2025
IEC 60529:2013
CẤP BẢO VỆ BẰNG VỎ NGOÀI (MÃ IP)
Degrees of protection provided by enclosures (IP Code)
Mục lục
Lời nói đầu
1 Phạm vi áp dụng
2 Tài liệu viện dẫn
3 Thuật ngữ và định nghĩa
4 Ký hiệu
5 Cấp bảo vệ chống tiếp cận các phần nguy hiểm và chống vật rắn từ bên ngoài được thể hiện bằng chữ số đặc trưng thứ nhất
6 Cấp bảo vệ chống sự xâm nhập của nước được thể hiện bằng chữ số đặc trưng thứ hai
7 Cấp bảo vệ chống tiếp cận các phần nguy hiểm được thể hiện bằng chữ cái bổ sung
8 Chữ cái phụ
9 Ví dụ về kỹ hiệu mã IP
10 Ghi nhãn
11 Yêu cầu chung đối với các thử nghiệm
12 Thử nghiệm đối với bảo vệ chống tiếp cận các phần nguy hiểm được thể hiện bằng chữ số đặc trưng thứ nhất
13 Thử nghiệm bảo vệ chống vật rắn từ bên ngoài được thể hiện bằng chữ số đặc trưng thứ nhất
14 Thử nghiệm đối với bảo vệ chống nước được thể hiện bằng chữ số đặc trưng thứ hai
15 Thử nghiệm đối với bảo vệ chống tiếp cận các phần nguy hiểm được thể hiện bằng chữ cái bổ sung
Phụ lục A (tham khảo) - Ví dụ về mã IP để kiểm tra xác nhận khả năng bảo vệ thiết bị hạ áp chống tiếp cận các phần nguy hiểm
Phụ lục B (tham khảo) - Thông tin cần quy định trong tiêu chuẩn sản phẩm liên quan
Thư mục tài liệu tham khảo
Lời nói đầu
TCVN 4255:2025 thay thế TCVN 4255:2008;
TCVN 4255:2025 hoàn toàn tương đương với IEC 60529:2013;
TCVN 4255:2025 do Ban kỹ thuật tiêu chuẩn quốc gia TCVN/TC/E1 Máy điện và khí cụ điện biên soạn, Viện Tiêu chuẩn Chất lượng Việt Nam đề nghị, Ủy ban Tiêu chuẩn Đo lường Chất lượng Quốc gia thẩm định, Bộ Khoa học và Công nghệ công bố.
CẤP BẢO VỆ BẰNG VỎ NGOÀI (MÃ IP)
Degrees of protection provided by enclosures (IP Code)
1 Phạm vi áp dụng
Tiêu chuẩn này áp dụng để phân loại cấp bảo vệ bằng vỏ ngoài đối với thiết bị điện có điện áp danh định không vượt quá 72,5 kV.
Tiêu chuẩn này đưa ra:
a) Các khái niệm về cấp bảo vệ bằng vỏ ngoài của thiết bị điện liên quan đến:
1) bảo vệ con người chống tiếp cận các phần nguy hiểm nằm bên trong vỏ ngoài;
2) bảo vệ thiết bị nằm bên trong vỏ ngoài chống sự xâm nhập của các vật rắn từ bên ngoài;
3) bảo vệ thiết bị nằm bên trong vỏ ngoài chống các ảnh hưởng có hại do sự xâm nhập của nước;
b) Các ký hiệu đối với các cấp bảo vệ này;
c) Các yêu cầu đối với mỗi cấp bảo vệ được ký hiệu;
d) Các thử nghiệm cần thực hiện để kiểm tra xác nhận rằng vỏ ngoài đáp ứng được các yêu cầu của tiêu chuẩn này.
Tiêu chuẩn sản phẩm cụ thể xác định phạm vi và cách thức sử dụng phân loại này trong các tiêu chuẩn và cách xác định “vỏ ngoài” cho các thiết bị. Tuy nhiên, cũng khuyến cáo rằng, đối với cấp phân loại đã cho, thử nghiệm không được khác với các thử nghiệm quy định trong tiêu chuẩn này. Nếu cần, tiêu chuẩn sản phẩm liên quan có thể nêu các yêu cầu bổ sung. Hướng dẫn chi tiết cần quy định trong các tiêu chuẩn sản phẩm liên quan được nêu ở Phụ lục B.
Đối với loại thiết bị cụ thể, tiêu chuẩn sản phẩm cụ thể có thể quy định các yêu cầu khác với điều kiện là tối thiểu phải đảm bảo được cùng một mức độ an toàn.
Tiêu chuẩn này chỉ liên quan đến vỏ ngoài ở tất cả các khía cạnh thích hợp để sử dụng theo dự kiến như quy định trong tiêu chuẩn sản phẩm liên quan và, từ quan điểm về vật liệu và gia công, đảm bảo rằng cấp bảo vệ công bố được duy trì trong các điều kiện sử dụng bình thường.
Tiêu chuẩn này cũng áp dụng cho các vỏ ngoài rỗng với điều kiện là yêu cầu thử nghiệm chung được đáp ứng và cấp bảo vệ được chọn là phù hợp với loại thiết bị cần bảo vệ.
Biện pháp để bảo vệ cả vỏ lẫn thiết bị bên trong vỏ khỏi các ảnh hưởng hoặc điều kiện từ bên ngoài như:
- va đập cơ khí;
- ăn mòn;
- dung môi ăn mòn (ví dụ, chất lỏng dùng trong cắt gọt);
- nấm mốc;
- côn trùng;
- bức xạ mặt trời;
- đóng băng;
- ẩm (ví dụ, do ngưng tụ);
- môi trường dễ gây nổ;
và bảo vệ chống tiếp xúc với các phần chuyển động nguy hiểm (như quạt) từ bên ngoài vò là những vấn đề cần bảo vệ đề cập trong tiêu chuẩn sản phẩm liên quan.
Tấm chắn bên ngoài không gắn với vỏ ngoài và chướng ngại vật chỉ được cung cấp vì lý do an toàn cho con người không được coi là một phần của vò ngoài và không được đề cập trong tiêu chuẩn này.
2 Tài liệu viện dẫn
Các tài liệu viện dẫn sau đây là cần thiết cho việc áp dụng tiêu chuẩn. Đối với các tài liệu viện dẫn ghi năm công bố thì áp dụng bản được nêu. Đối với các tài liệu viện dẫn không ghi năm công bố thì áp dụng phiên bản mới nhất, bao gồm cả các sửa đổi.
TCVN 7699-1:2007 (IEC 60068-1:1988), Thử nghiệm môi trường - Phần 1: Quy định chung và hướng dẫn
TCVN 7699-2-68 (IEC 60068-2-68), Thử nghiệm môi trường - Phần 2: Các thử nghiệm - Thử nghiệm L: Bụi và cát
IEC 60050-195:1998, International Electrotechnical Vocabulary (IEV) - Part 195: Earthing and protection against electric shock (Từ vựng kỹ thuật điện quốc tế - Phần 195: Nối đất và bảo vệ chống điện giật)
IEC 60050(826): 1982, International Electrotechnical Vocabulary (IEV) - Chapter 826: Electrical installations of buildings (Từ vựng kỹ thuật điện quốc tế - Chương 826: Hệ thống lắp đặt điện trong các tòa nhà)
IEC 60071-2:1996, Insulation co-ordination - Part 2: Application guide (Phối hợp cách điện - Phần 2: Hướng dẫn áp dụng)
3 Thuật ngữ và định nghĩa
Tiêu chuẩn này áp dụng các thuật ngữ và định nghĩa sau đây.
3.1
Vỏ ngoài (enclosure)
Phần bảo vệ của thiết bị chống các ảnh hưởng nhất định từ bên ngoài và bảo vệ chống tiếp xúc trực tiếp từ tất cả các hướng [IEV 826-03-12 1)].
CHÚ THÍCH: Định nghĩa này được lấy từ "Từ vựng kỹ thuật điện quốc tế (IEV)" cần giải thích thêm dưới đây trong phạm vi áp dụng của tiêu chuẩn này:
a) Vỏ ngoài cung cấp bảo vệ cho người hoặc vật nuôi tránh tiếp cận các phần nguy hiểm.
b) Tấm chắn, các dạng lỗ hở hoặc phương tiện khác bất kỳ - được gắn với vỏ ngoài hoặc được tạo thành bởi thiết bị có vỏ ngoài - thích hợp để ngăn ngừa hoặc hạn chế sự xâm nhập của đầu dò thử nghiệm quy định thì cũng được coi là một phần của vỏ ngoài, trừ khi chúng có thể tháo ra mà không cần sử dụng chìa khoá hoặc dụng cụ.
3.2
Tiếp xúc trực tiếp (direct contact)
Tiếp xúc của con người hoặc vật nuôi với phần mang điện [IEV 826-03-05],
CHÚ THÍCH: Định nghĩa của IEV được đưa ra để tham khảo. Trong tiêu chuẩn này, "tiếp xúc trực tiếp" được thay bằng "tiếp cận các phần nguy hiểm".
3.3
Cấp bảo vệ (degree of protection)
Phạm vi (mức độ) bảo vệ bằng vỏ ngoài của thiết bị chống tiếp cận các phần nguy hiểm, chống sự xâm nhập của vật rắn từ bên ngoài và/hoặc chống sự xâm nhập của nước, và được kiểm tra xác nhận bằng phương pháp thử nghiệm được tiêu chuẩn hoá.
3.4
Mã IP (IP code)
Hệ thống mã hoá thể hiện cấp bảo vệ bằng vỏ ngoài chống tiếp cận các phần nguy hiểm, chống sự xâm nhập của vật rắn từ bên ngoài, chống sự xâm nhập của nước và đưa ra thông tin bổ sung liên quan đến các bảo vệ này.
3.5
Phần nguy hiểm (hazardous part)
Phần gây nguy hiểm khi tiếp cận hoặc chạm vào.
3.5.1
Phần mang điện nguy hiểm (hazardous live part)
Phần mang điện mà trong các điều kiện ảnh hưởng nhất định từ bên ngoài có thể gây điện giật (xem IEC 60050-195, 195-06-05).
3.5.2
Phần cơ khí nguy hiểm (hazardous mechanical part)
Phần chuyển động, không phải là trục quay nhẵn, gây nguy hiểm khi chạm vào.
3.6
Bảo vệ bằng vỏ ngoài chống tiếp cận các phần nguy hiểm (protection provided by an enclosure against access to hazardous parts)
Bảo vệ con người chống
- tiếp xúc với phần mang điện hạ áp nguy hiểm
- tiếp xúc với phần cơ khí nguy hiểm
- tiếp cận phần mang điện cao áp nguy hiểm ở khoảng cách nhỏ hơn giá trị khe hở không khí thích hợp bên trong vỏ ngoài.
CHÚ THÍCH: Bảo vệ này có thể bằng:
- bản thân vỏ ngoài,
- tấm chắn như một phần của vỏ ngoài hoặc khoảng cách bên trong vỏ ngoài.
3.7
Khe hở không khí đủ để bảo vệ chống tiếp cận các phần nguy hiểm (adequate clearance for protection against access to hazardous parts)
Khoảng cách để ngăn ngừa việc tiếp xúc hoặc tiếp cận của đầu dò đến phần nguy hiểm.
3.8
Đầu dò tiếp cận (access probe)
Đầu dò thử nghiệm mô phỏng theo cách thức thông thường, một phần của con người hoặc dụng cụ, hoặc những vật tương tự mà con người cầm vào, để kiểm tra xác nhận có đủ khe hở không khí đến phần nguy hiểm hay không.
3.9
Đầu dò vật thể (object probe)
Đầu dò thử nghiệm mô phỏng vật rắn bên ngoài để kiểm tra khả năng xâm nhập vào bên trong vỏ.
3.10
Lỗ hở (opening)
Khe hở hoặc lỗ thủng trên vỏ, sẵn có hoặc có thể được tạo ra bằng cách đặt đầu dò thử nghiệm vào với một lực quy định.
4 Ký hiệu
Cấp bảo vệ bằng vỏ ngoài được thể hiện bằng mã IP theo cách sau:
4.1 Sắp xếp mã IP

Trong trường hợp không yêu cầu quy định chữ số đặc trưng thì có thể thay chữ số đặc trưng đó bằng chữ cái "X" ("XX" nếu bỏ qua cả hai chữ số đặc trưng).
Chữ cái bổ sung và/hoặc chữ cái phụ có thể được bỏ qua mà không cần thay thế.
Trong trường hợp sử dụng nhiều hơn một chữ cái phụ, chúng phải đặt theo trình tự bảng chữ cái.
Nếu vỏ ngoài cung cấp cấp bảo vệ khác nhau đối với các bố trí lắp đặt dự kiến khác nhau, cấp bảo vệ liên quan phải được chỉ ra bởi nhà chế tạo trong các hướng dẫn liên quan đến bố trí lắp đặt dự kiến.
Chi tiết về việc ghi nhãn vỏ ngoài được cho trong Điều 10.
4.2 Thành phần của mã IP và ý nghĩa của chúng
Biểu đồ dưới đây đưa ra mô tả tóm tắt các thành phần của Mã IP. Chi tiết đầy đủ được quy định trong các điều ghi ở cột cuối cùng.

4.3 Ví dụ về sử dụng các chữ cái trong mã IP
Các ví dụ dưới đây giải thích việc sử dụng và bố trí các chữ cái trong mã IP.
Xem Điều 9 để hiểu rõ hơn về các ví dụ.
IP44 - không chữ cái, không tùy chọn
IPX5 - bỏ chữ số đặc trưng thứ nhất
IP2X - bỏ chữ số đặc trưng thứ hai
IP20C - sử dụng chữ cái bổ sung
IPXXC - bỏ cả hai chữ số đặc trưng, sử dụng chữ cái bổ sung
IPX1C - bỏ chữ số đặc trưng thứ nhất, sử dụng chữ cái bổ sung
IP3XD - bỏ chữ số đặc trưng thứ hai, sử dụng chữ cái bổ sung
IP23S - sử dụng chữ cái phụ
IP21CM - sử dụng chữ cái bổ sung và chữ cái phụ
IPX5/IPX7/IPX9 - cho ba cấp bảo vệ bằng vỏ ngoài khác nhau: chống phun nước, ngâm tạm thời và phun nước có nhiệt độ cao và áp lực cao, để áp dụng "linh hoạt"
5 Cấp bảo vệ chống tiếp cận các phần nguy hiểm và chống vật rắn từ bên ngoài được thể hiện bằng chữ số đặc trưng thứ nhất
Ký hiệu bằng chữ số đặc trưng thứ nhất nghĩa là đáp ứng các điều kiện nêu trong 5.1 và 5.2.
Chữ số đặc trưng thứ nhất thể hiện rằng:
- vỏ ngoài bảo vệ con người chống tiếp cận các phần nguy hiểm bằng cách ngăn ngừa hoặc hạn chế sự xâm nhập của phần cơ thể hoặc vật mà con người cầm vào; và đồng thời
- vỏ ngoài bảo vệ thiết bị chống sự xâm nhập của vật rắn từ bên ngoài.
Vỏ ngoài chỉ có thể được ký hiệu với cấp bảo vệ quy định thể hiện bằng chữ số đặc trưng thứ nhất nếu nó phù hợp với tất cả các cấp bảo vệ thấp hơn.
Tuy nhiên, không nhất thiết phải thử nghiệm thiết lập sự phù hợp với bất kỳ một trong các cấp bảo vệ thấp hơn nếu các thử nghiệm này hiển nhiên đáp ứng được yêu cầu nếu áp dụng.
5.1 Bảo vệ chống tiếp cận các phần nguy hiểm
Bảng 1 đưa ra mô tả tóm tắt và định nghĩa cấp bảo vệ chống tiếp cận các phần nguy hiểm.
Cấp bảo vệ liệt kê trong bảng này chỉ được quy định bởi chữ số đặc trưng thứ nhất mà không cần tham khảo phần mô tả tóm tắt hoặc định nghĩa.
Để phù hợp các điều kiện của chữ số đặc trưng thứ nhất, phải duy trì được khe hở không khí thích hợp giữa đầu dò tiếp cận và các phần nguy hiểm.
Thử nghiệm được quy định trong Điều 12.
Bảng 1 - Cấp bảo vệ chống tiếp cận các phần nguy hiểm được thể hiện bằng chữ số đặc trưng thứ nhất
| Chữ số đặc trưng thứ nhất | Cấp bảo vệ | Điều kiện thử nghiệm, xem | |
| Mô tả tóm tắt | Định nghĩa | ||
| 0 | Không có bảo vệ | - | - |
| 1 | Bảo vệ mu bàn tay chống tiếp cận phần nguy hiểm | Đầu dò tiếp cận, viên bi có đường kính Ø50 mm, phải có khe hở không khí thích hợp đến các phần nguy hiểm | 12.2 |
| 2 | Bảo vệ ngón tay chống tiếp cận các phần nguy hiểm | Ngón tay thử nghiệm có khớp đường kính Ø12 mm, dài 80 mm, phải có khe hở không khí thích hợp đến các phần nguy hiểm | 12.2 |
| 3 | Bảo vệ dụng cụ chống tiếp cận các phần nguy hiểm | Đầu dò tiếp cận có đường kính Ø 2,5 mm không được lọt qua | 12.2 |
| 4 | Bảo vệ sợi dây chống tiếp cận các phần nguy hiểm | Đầu dò tiếp cận có đường kính Ø 1,0 mm không được lọt qua | 12.2 |
| 5 | Bảo vệ sợi dây chống tiếp cận các phần nguy hiểm | Đầu dò tiếp cận có đường kính Ø 1,0 mm không được lọt qua | 12.2 |
| 6 | Bảo vệ sợi dây chống tiếp cận các phần nguy hiểm | Đầu dò tiếp cận có đường kính Ø 1,0 mm không được lọt qua | 12.2 |
| CHÚ THÍCH: Trong trường hợp các chữ số đặc trưng thứ nhất là 3, 4, 5 và 6, bảo vệ chống tiếp cận các phần nguy hiểm là thoả mãn nếu duy trì được khe hở không khí thích hợp. Tiêu chuẩn sản phẩm liên quan phải quy định khe hở không khí thích hợp theo 12.3. Do yêu cầu dòng thời được quy định trong Bảng 2, định nghĩa "không được lọt qua" được nêu trong Bảng 1. | |||
5.2 Bảo vệ chống vật rắn từ bên ngoài
Bảng 2 đưa ra mô tả tóm tắt và định nghĩa cấp bảo vệ chống sự xâm nhập của vật rắn từ bên ngoài kể cả bụi.
Cấp bảo vệ được liệt kê trong bảng này phải được quy định chỉ bằng chữ số đặc trưng thứ nhất mà không cần tham khảo mô tả tóm tắt hoặc định nghĩa.
Bảo vệ chống sự xâm nhập của vật rắn từ bên ngoài có nghĩa là đầu dò vật thể đối với các chữ số đặc trưng 0, 1 và 2 trong Bảng 2 không được lọt hoàn toàn vào trong vỏ ngoài. Điều này có nghĩa là đường kính lớn nhất của viên bi không lọt hoàn toàn qua lỗ hở trên vỏ ngoài. Đối với chữ số đặc trưng thứ nhất là 3 và 4 thì đầu dò vật thể không được tiến một chút nào vào trong vỏ ngoài.
Vỏ ngoài chống bụi có chữ số đặc trưng thứ nhất là 5 cho phép một số lượng bụi hạn chế được lọt vào ở những điều kiện nhất định.
Vỏ ngoài kín bụi có chữ số đặc trưng thứ nhất là 6 không cho phép bất kỳ bụi nào được lọt vào.
CHÚ THÍCH: Vỏ ngoài được ký hiệu bằng chữ số đặc trưng thứ nhất là 1 đến 4 nhìn chung loại trừ các vật rắn từ bên ngoài có hình dạng phổ biến lẫn không phổ biến với điều kiện là ba kích thước vuông góc với nhau của vật rắn lớn hơn kích thước thích hợp ở cột 3 của Bảng 2.
Thử nghiệm được quy định trong Điều 13.
Bảng 2 - cấp bảo vệ chống các vật rắn từ bên ngoài được thể hiện bằng chữ số đặc trưng thứ nhất
| Chữ số đặc trưng thứ nhất | Cấp bảo vệ | Điều kiện thử nghiệm, xem | |
| Mô tả tóm tắt | Định nghĩa | ||
| 0 | Không có bảo vệ | - | - |
| 1 | Bảo vệ chống sự xâm nhập của vật rắn từ bên ngoài có đường kính Ø50 mm hoặc lớn hơn | Đầu dò vật thể, viên bi đường kính Ø50 mm, không được lọt hoàn toàn 1) | 13.2 |
| 2 | Bảo vệ chống sự xâm nhập của vật rắn từ bên ngoài có đường kính Ø12,5 mm hoặc lớn hơn | Đầu dò vật thể, viên bi đường kính Ø12,5 mm, không được lọt hoàn toàn h | 13.2 |
| 3 | Bảo vệ chống sự xâm nhập của vật rắn từ bên ngoài có đường kính Ø2,5 mm hoặc lớn hơn | Đầu dò vật thể, viên bi đường kính 02,5 mm, không được lọt một chút nào 1) | 13.2 |
| 4 | Bảo vệ chống sự xâm nhập của vật rắn từ bên ngoài có đường kính Ø1,0 mm hoặc lớn hơn | Đầu dò vật thể, viên bi đường kính 01,0 mm, không được lọt một chút nào 1) | 13.2 |
| 5 | Bảo vệ chống bụi | Không ngăn ngừa hoàn toàn sự xâm nhập của bụi nhưng lượng bụi xâm nhập chỉ ở mức vừa phải không gây ảnh hưởng đến hoạt động thoả đáng của thiết bị hoặc làm phương hại đến an toàn. | 13.4 13.5 |
| 6 | Kín bụi | Không có bụi xâm nhập | 13.4 13.6 |
| 1) Đường kính lớn nhất của đầu dò vật thể không được lọt qua lỗ hở của vỏ ngoài. | |||
6 Cấp bảo vệ chống sự xâm nhập của nước được thể hiện bằng chữ số đặc trưng thứ hai
Chữ số đặc trưng thứ hai thể hiện cấp bảo vệ bằng vỏ ngoài khỏi các ảnh hưởng có hại lên thiết bị do sự xâm nhập của nước.
Các thử nghiệm đối với chữ số đặc trưng thứ hai được thực hiện bằng nước sạch. Bảo vệ thực sự có thể không thoả mãn nếu thiết bị được làm sạch bằng nước phun với áp suất và nhiệt độ cao nằm ngoài các yêu cầu của chữ số đặc trưng thứ hai là 9 và/hoặc sử dụng dung môi.
Bảng 3 đưa ra mô tả tóm tắt và định nghĩa cấp bảo vệ thể hiện bằng chữ số đặc trưng thứ hai.
Cấp bảo vệ liệt kê trong bảng phải được quy định chỉ bằng chữ số đặc trưng thứ hai mà không cần tham chiếu đến mô tả tóm tắt hoặc định nghĩa.
Các thử nghiệm được quy định trong Điều 14.
Đối với chữ số đặc trưng thứ hai đến và bằng 6, thì ký hiệu này cũng phù hợp với tất cả các yêu cầu đối với các chữ số đặc trưng thấp hơn. Tuy nhiên, không nhất thiết phải thực hiện thử nghiệm thiết lập sự phù hợp với một trong các cấp bảo vệ thấp hơn nếu các thử nghiệm này hiển nhiên là sẽ đáp ứng được yêu cầu nếu áp dụng.
Vỏ ngoài ký hiệu bằng chữ số đặc trưng thứ hai chỉ là 9 được coi là không phù hợp để chịu nước phun (được ký hiệu bằng chữ số đặc trưng thứ hai là 5 hoặc 6) và ngâm nước (được ký hiệu bằng chữ số đặc trưng thứ hai là 7 hoặc 8) và không cần phù hợp với yêu cầu đối với chữ số đặc trưng thứ hai là 5, 6, 7 hoặc 8 trừ khi nó được mã hoá kép như sau:
| Vỏ ngoài đạt thử nghiệm đối với | Ký hiệu và ghi nhãn | Phạm vi ứng dụng | |
| phun nước chữ số đặc trưng thứ hai | ngâm nước tạm thời/liên tục chữ số đặc trưng thứ hai | ||
| 5 | 7 | IPX5/IPX7 | Linh hoạt |
| 5 | 8 | IPX5/IPX8 | Linh hoạt |
| 6 | 7 | IPX6/IPX7 | Linh hoạt |
| 6 | 8 | IPX6/IPX8 | Linh hoạt |
| 9 | 7 | IPX7/IPX9 | Linh hoạt |
| 9 | 8 | IPX8/IPX9 | Linh hoạt |
| 5 và 9 | 7 | IPX5/IPX7/IPX9 | Linh hoạt |
| 5 và 9 | 8 | IPX5/IPX8/IPX9 | Linh hoạt |
| 6 và 9 | 7 | IPX6/IPX7/IPX9 | Linh hoạt |
| 6 và 9 | 8 | IPX6/IPX8/IPX9 | Linh hoạt |
| - | 7 | IPX7 | Hạn chế |
| - | 8 | IPX8 | Hạn chế |
| 9 | - | IPX9 | Hạn chế |
| 5 và 9 | - | IPX5/IPX9 | Linh hoạt |
| 6 và 9 | - | IPX6/IPX9 | Linh hoạt |
Vỏ ngoài đối với ứng dụng "linh hoạt" thể hiện ở cột cuối cùng phải đáp ứng được yêu cầu để chịu cả phun nước và ngâm nước tạm thời hoặc ngâm nước liên tục.
Vỏ ngoài đối với ứng dụng "hạn chế" thể hiện ở cột cuối cùng được coi là phù hợp chỉ đối với các điều kiện mà chúng đã được thử nghiệm.
Bảng 3 - Cấp bảo vệ chống nước được thể hiện bằng chữ số đặc trưng thứ hai
| Chữ số đặc trưng thứ hai | Cấp bảo vệ | Điều kiện thử nghiệm, xem | |
| Mô tả tóm tắt | Định nghĩa | ||
| 0 | Không có bảo vệ | - | - |
| 1 | Bảo vệ chống giọt nước rơi thẳng đứng | Giọt nước rơi thẳng đứng không gây ảnh hưởng có hại | 14.2.1 |
| 2 | Bảo vệ chống giọt nước rơi thẳng đứng khi vỏ ngoài nghiêng 15° | Giọt nước rơi thẳng đứng không gây ảnh hưởng có hại khi vỏ ngoài nghiêng một góc 15° về cả hai phía của phương thẳng đứng | 14.2.2 |
| 3 | Bảo vệ chống tia nước | Nước rơi dạng tia ở góc đến 60° cả về hai phía của phương thẳng đứng không gây ảnh hưởng có hại | 14.2.3 |
| 4 | Bảo vệ chống toé nước | Nước bắn toé vào vỏ ngoài từ mọi hướng không gây ảnh hưởng có hại | 14.2.4 |
| 5 | Bảo vệ chống phun nước | Nước được phun vào vỏ ngoài theo mọi hướng không gây ảnh hưởng có hại | 14.2.5 |
| 6 | Bảo vệ chống phun nước mạnh | Nước được phun dưới dạng luồng mạnh vào vỏ ngoài theo mọi hướng không gây ảnh hưởng có hại | 14.2.6 |
| 7 | Bảo vệ chống ảnh hưởng của ngâm nước tạm thời | Nước không được xâm nhập vào vỏ ngoài với lượng có hại khi vỏ ngoài được ngâm nước tạm thời trong các điều kiện tiêu chuẩn về áp suất và thời gian | 14.2.7 |
| 8 | Bảo vệ chống ảnh hưởng của ngâm nước liên tục | Nước không được xâm nhập vào vỏ ngoài với lượng có hại khi vỏ ngoài được ngâm nước liên tục trong các điều kiện được thoả thuận giữa nhà chế tạo và người sử dụng nhưng khắc nghiệt hơn điều kiện đối với chữ số đặc trưng là 7 | 14.2.8 |
| 9 | Bảo vệ chống phun nước áp lực mạnh và nhiệt độ cao | Nước được phun ở áp lực mạnh và nhiệt độ cao vào vỏ ngoài theo mọi hướng không gây ảnh hưởng có hại | 14.2.9 |
7 Cấp bảo vệ chống tiếp cận các phần nguy hiểm được thể hiện bằng chữ cái bổ sung
Chữ cái bổ sung thể hiện cấp bảo vệ con người chống tiếp cận các phần nguy hiểm.
Các chữ cái bổ sung chỉ được sử dụng
- nếu bảo vệ thực sự chống tiếp cận các phần nguy hiểm lớn hơn bảo vệ được thể hiện bởi chữ số đặc trưng thứ nhất.
- hoặc nếu chỉ thể hiện bảo vệ chống tiếp cận các phần nguy hiểm thì chữ số đặc trưng thứ nhất được thay bằng X.
Ví dụ, sự bảo vệ lớn hơn này có thể được tạo ra bằng các tấm chắn, hình dạng thích hợp của khe hở hoặc khoảng cách thích hợp bên trong vỏ ngoài.
Bảng 4 đưa ra đầu dò tiếp cận được coi là đại diện theo quy ước cho các phần của cơ thể con người hoặc vật do con người cầm vào và đưa ra các định nghĩa cho cấp bảo vệ chống tiếp cận các phần nguy hiểm được thể hiện bằng các chữ cái bổ sung.
Vỏ ngoài chỉ có thể được ký hiệu với cấp bảo vệ quy định được thể hiện bằng chữ cái bổ sung nếu phù hợp với tất cả các cấp bảo vệ thấp hơn. Tuy nhiên, không nhất thiết phải thực hiện các thử nghiệm thiết lập sự phù hợp với một trong các cấp bảo vệ thấp hơn nếu các thử nghiệm này hiển nhiên đáp ứng yêu cầu nếu áp dụng.
Thử nghiệm được quy định trong Điều 15.
Xem ví dụ về mã IP trong Phụ lục A.
Bảng 4 - Cấp bảo vệ chống tiếp cận các phần nguy hiểm được thể hiện bằng chữ cái bổ sung
| Chữ cái bổ sung | Cấp bảo vệ | Điều kiện thử nghiệm, xem | |
| Mô tả tóm tắt | Định nghĩa | ||
| A | Bảo vệ chống tiếp cận bởi mu bàn tay | Đầu dò tiếp cận, viên bi có đường kính Ø 50 mm, phải có khe hở không khí thích hợp với các phần nguy hiểm | 15.2 |
| B | Bảo vệ chống tiếp cận bởi ngón tay | Ngón tay thử nghiệm có khớp đường kính Ø 12 mm, dài 80 mm, phải có khe hở không khí thích hợp với các phần nguy hiểm | 15.2 |
| C | Bảo vệ chống tiếp cận bởi dụng cụ | Đầu dò tiếp cận đường kính Ø 2,5 mm dài 100 mm, phải có khe hở không khí thích hợp với các phần nguy hiểm | 15.2 |
| D | Bảo vệ chống tiếp cận bởi sợi dây | Đầu dò tiếp cận đường kính Ø 1,0 mm dài 100 mm, phải có khe hở không khí thích hợp với các phần nguy hiểm | 15.2 |
8 Chữ cái phụ
Trong tiêu chuẩn sản phẩm liên quan, thông tin bổ sung có thể được thể hiện bằng một chữ cái phụ theo sau chữ số đặc trưng thứ hai hoặc chữ cái bổ sung.
Các trường hợp ngoại lệ này phải phù hợp với các yêu cầu của tiêu chuẩn an toàn cơ bản này và tiêu chuẩn sản phẩm phải quy định rõ quy trình bổ sung cần thực hiện trong các thử nghiệm cho sự phân loại này.
Các chữ cái liệt kê dưới đây đã được ký hiệu và có ý nghĩa như đã công bố:
| Chữ cái | Ý nghĩa |
| H | Thiết bị cao áp |
| M | Thử nghiệm đối với ảnh hưởng có hại do sự xâm nhập của nước khi các bộ phận chuyển động của thiết bị (ví dụ roto của máy điện quay) đang chuyển động. |
| S | Thử nghiệm đối với ảnh hưởng có hại do sự xâm nhập của nước khi các bộ phận chuyển động của thiết bị (ví dụ roto của máy điện quay) đang đứng yên. |
| W | Thích hợp để sử dụng trong điều kiện thời tiết quy định và được cung cấp các tính chất và quá trình bảo vệ bổ sung |
Trong tiêu chuẩn sản phẩm có thể sử dụng các chữ cái khác.
Việc không có chữ cái S và M thì phải hiểu rằng cấp bảo vệ không phụ thuộc vào việc các bộ phận của thiết bị có chuyển động hay không. Điều này có thể đòi hỏi phải thực hiện thử nghiệm ở cả hai điều kiện. Tuy nhiên, thử nghiệm thiết lập sự phù hợp với một trong những điều kiện này nhìn chung là đủ với điều kiện là thử nghiệm ở điều kiện còn lại hiển nhiên là đáp ứng nếu áp dụng.
9 Ví dụ về ký hiệu mã IP
9.1 Mã IP không sử dụng chữ cái tùy chọn

Vỏ ngoài có ký hiệu này (mã IP) nghĩa là
(3) - bảo vệ con người, dụng cụ cầm tay có đường kính 2,5 mm và lớn hơn chống tiếp cận các phần nguy hiểm;
- bảo vệ thiết bị bên trong vỏ ngoài chống sự xâm nhập của vật rắn từ bên ngoài có đường kính 2,5 mm và lớn hơn;
(4) - bảo vệ thiết bị bên trong vỏ ngoài khỏi ảnh hưởng có hại do nước bắn tóe vào vỏ ngoài từ mọi hướng.
9.2 Mã IP sử dụng các chữ cái tùy chọn

Vỏ ngoài có ký hiệu này (mã IP) có nghĩa là
(2) - bảo vệ ngón tay chống tiếp cận các phần nguy hiểm;
- bảo vệ thiết bị bên trong vỏ ngoài chống sự xâm nhập của vật rắn từ bên ngoài có đường kính 12,5 mm và lớn hơn;
(3) - bảo vệ thiết bị bên trong vỏ ngoài khỏi ảnh hưởng có hại do tia nước.
(C) - bảo vệ con người, dụng cụ cầm tay có đường kính 2,5 mm và lớn hơn và chiều dài không vượt quá 100 mm chống tiếp cận các phần nguy hiểm (dụng cụ này có thể tiến vào vỏ ngoài đến hết chiều dài của nó);
(S) - thử nghiệm khả năng bảo vệ khỏi ảnh hưởng có hại do sự xâm nhập của nước khi tất cả các bộ phận của thiết bị đứng yên.
10 Ghi nhãn
Các yêu cầu đối với ghi nhãn phải được quy định trong tiêu chuẩn sản phẩm liên quan.
Khi thích hợp, tiêu chuẩn sản phẩm cũng cần quy định phương pháp ghi nhãn được sử dụng khi
- một phần của vỏ ngoài có cấp bảo vệ khác với phần còn lại của cũng vỏ ngoài đó;
- vị trí lắp đặt có ảnh hưởng đến cấp bảo vệ;
- thể hiện độ sâu ngâm nước lớn nhất và thời gian ngâm lớn nhất.
11 Yêu cầu chung đối với các thử nghiệm
11.1 Điều kiện khí quyển đối với thử nghiệm nước và bụi
Nếu không có quy định nào khác trong tiêu chuẩn sản phẩm liên quan, các thử nghiệm phải được thực hiện trong các điều kiện khí quyển tiêu chuẩn được mô tả trong IEC 60068-1.
Các điều kiện khí quyển khuyến cáo cho thử nghiệm như sau:
| Dải nhiệt độ: | 15 °C đến 35 °C |
| Độ ẩm tương đối: | 25 % đến 75 % |
| Áp suất không khí: | 86 kPa đến 106 kPa |
|
| (860 mbar đến 1 060 mbar) |
11.2 Mẫu thử nghiệm
Thử nghiệm được quy định trong tiêu chuẩn này là thử nghiệm điển hình.
Nếu không có quy định khác trong tiêu chuẩn sản phẩm liên quan, mẫu thử nghiệm cho mỗi thử nghiệm phải sạch và chưa qua sử dụng, các bộ phận phải đặt đúng vị trí và được lắp theo cách do nhà chế tạo quy định.
Nếu không thể thử nghiệm thiết bị hoàn chỉnh thì phải thử nghiệm các phần đại diện hoặc thiết bị nhỏ hơn có các chi tiết thiết kế tương tự với thiết bị kích thước thật.
Tiêu chuẩn sản phẩm liên quan phải quy định:
- số lượng mẫu cần thử nghiệm;
- điều kiện lắp đặt, lắp ráp và định vị mẫu, ví dụ như sử dụng bề mặt nhân tạo (trần, sàn hoặc tường);
CHÚ THÍCH: Điều này cũng áp dụng cho thiết bị được thiết kế để kết hợp với thiết bị liên quan khác, ví dụ bộ phận cấu thành có thể sử dụng riêng biệt hoặc nằm trong cụm lắp ráp;
- điều kiện ổn định trước cần sử dụng, nếu có;
- thử nghiệm với thiết bị được cấp điện hay không;
- thử nghiệm với các bộ phận của thiết bị chuyển động hay không.
Trong trường hợp không có quy định trên, phải áp dụng hướng dẫn của nhà chế tạo.
11.3 Áp dụng các yêu cầu thử nghiệm và giải thích các kết quả
Tiêu chuẩn sản phẩm liên quan phải áp dụng yêu cầu chung cho thử nghiệm và điều kiện chấp nhận đối với thiết bị có lỗ thoát hoặc khe hở thông gió.
Khi không có quy định kỹ thuật như vậy thì phải áp dụng yêu cầu của tiêu chuẩn này.
Tiêu chuẩn sản phẩm liên quan phải giải thích các kết quả thử nghiệm. Khi không có quy định kỹ thuật như vậy, tối thiểu phải áp dụng các điều kiện chấp nhận của tiêu chuẩn này.
11.4 Kết hợp điều kiện thử nghiệm đối với chữ số đặc trưng thứ nhất
Ký hiệu bằng chữ số đặc trưng thứ nhất có nghĩa là tất cả các điều kiện thử nghiệm được đáp ứng đối với chữ số này:
Bảng 5 - Điều kiện thử nghiệm đối với cấp bảo vệ được thể hiện bởi chữ số đặc trưng thứ nhất
| Chữ số đặc trưng thứ nhất | Thử nghiệm đối với bảo vệ chống | |
| tiếp cận các phần nguy hiểm | vật rắn từ bên ngoài | |
| 0 | Không yêu cầu thử nghiệm | Không yêu cầu thử nghiệm |
| 1 | Viên bi đường kính Ø50 mm không được lọt qua hoàn toàn và phải duy trì khe hở không khí thích hợp | |
| 2 | Ngón tay thử nghiệm có khớp có thể tiến vào được đến 80 mm chiều dài, nhưng vẫn phải duy trì khe hở không khí thích hợp | Viên bi đường kính Ø12,5 mm không được lọt hoàn toàn |
| 3 | Thanh thử nghiệm đường kính Ø2,5 mm không được lọt hoàn toàn vào và phải duy trì khe hở không khí thích hợp | |
| 4 | Sợi dây thử nghiệm đường kính Ø1,0 mm không được lọt hoàn toàn vào và phải duy trì khe hở không khí thích hợp | |
| 5 | Sợi dây thử nghiệm đường kính Ø1,0 mm không được lọt vào và phải duy trì khe hở không khí thích hợp | Chống bụi như quy định ở Bảng 2 |
| 6 | Sợi dây thử nghiệm đường kính Ø1,0 mm không được lọt vào và phải duy trì khe hở không khí thích hợp | Kín bụi như quy định ở Bảng 2 |
| Trong trường hợp chữ số đặc trưng thứ nhất là 1 và 2, không lọt hoàn toàn có nghĩa là đường kính lớn nhất của viên bi không lọt qua được lỗ hở của vỏ ngoài. | ||
11.5 Vỏ rỗng
Nếu vỏ ngoài được thử nghiệm không có thiết bị bên trong thì nhà chế tạo phải nêu các yêu cầu chi tiết trong hướng dẫn về bố trí và khoảng cách đến các phần nguy hiểm hoặc các phần có thể bị ảnh hưởng do nước hoặc vật rắn xâm nhập.
Nhà chế tạo sản phẩm hoàn chỉnh phải đảm bảo lả sau khi thiết bị điện được lắp vào thì vỏ ngoài đáp ứng được cấp bảo vệ công bố đối với sản phẩm cuối cùng.
12 Thử nghiệm đối với bảo vệ chống tiếp cận các phần nguy hiểm được thể hiện bằng chữ số đặc trưng thứ nhất
12.1 Đầu dò tiếp cận
Đầu dò tiếp cận để thử nghiệm khả năng bảo vệ con người chống tiếp cận các phần nguy hiểm được nêu trong Bảng 6.
12.2 Điều kiện thử nghiệm
Đầu dò tiếp cận được ấn vào (trong trường hợp thử nghiệm đối với chữ số đặc trưng thứ nhất là 2) hoặc đưa qua lỗ hở bất kỳ của vỏ ngoài với một lực quy định ở Bảng 6.
Đối với các thử nghiệm trên thiết bị điện hạ áp, nguồn điện áp thấp (không nhỏ hơn 40 V và không lớn hơn 50 V) nối tiếp với bóng đèn thích hợp, có thể được nối vào giữa đầu dò và phần nguy hiểm bên trong vỏ ngoài. Phần mang điện nguy hiểm chỉ được phủ véc ni hoặc sơn, hoặc được bảo vệ bằng cách oxy hóa hoặc công nghệ tương tự, phải được bọc bằng lá kim loại được nối điện với các phần mà bình thường mang điện trong vận hành.
Phương pháp mạch tín hiệu cũng có thể được áp dụng cho các phần chuyển động nguy hiểm của thiết bị điện cao áp.
Các phần chuyển động bên trong có thể cho chạy chậm nếu điều này là có thể.
Bảng 6 - Đầu dò tiếp cận dùng cho thử nghiệm khả năng bảo vệ con người chống tiếp cận các phần nguy hiểm
| Chữ số đặc trưng thứ nhất | Chữ cái bổ sung | Đầu dò tiếp cận | Lực thử nghiệm |
| 1 | A | Viên bi đường kính 50 mm
| 50 N ± 10 % |
| 2 | B |
| 10 N ± 10 % |
| 3 | C | Sợi dây thử nghiệm đường kính 2,5 mm, chiều dài 100 mm
| 3 N ± 10 % |
| 4, 5, 6 | D | Sợi dây thử nghiệm đường kính 1,0 mm, chiều dài 100 mm
| 1 N ± 10 % |
12.3 Điều kiện chấp nhận
Bảo vệ là thỏa đáng nếu duy trì được khe hở không khí thích hợp giữa đầu dò tiếp cận và các phần nguy hiểm.
Đối với thử nghiệm chữ số đặc trưng thứ nhất là 1, đầu dò tiếp cận đường kính 50 mm không được lọt hoàn toàn qua lỗ hở.
Đối với thử nghiệm chữ số đặc trưng thứ nhất là 2, ngón tay thử nghiệm có khớp.có thể tiến vào đến chiều dài 80 mm nhưng mặt chặn (Ø 50 mm x 20 mm) không được lọt qua lỗ hở. Bắt đầu từ vị trí thẳng, cả hai khớp của ngón tay thử nghiệm lần lượt được uốn đến 90° so với trục của phần tiếp giáp của ngón tay và phải đặt vào mọi vị trí có thể.
Xem thêm Phụ lục A.
Khe hở không khí thích hợp có nghĩa là:
12.3.1 Thiết bị điện hạ áp (điện áp danh định không quá 1 000 V xoay chiều và 1 500 V một chiều)
Đầu dò tiếp cận không được chạm đến các phần mang điện nguy hiểm.
Nếu khe hở không khí thích hợp được kiểm tra xác nhận bằng mạch tín hiệu giữa đầu dò và phần nguy hiểm thì bóng đèn sẽ không sáng.
CHÚ THÍCH: Tiêu chuẩn sản phẩm liên quan cần quan tâm đến thực tế là trong một số loại thiết bị điện, điện áp cực đại tạo ra bên trong thiết bị (giá trị hiệu dụng hoặc giá trị một chiều của điện áp làm việc) cao hơn điện áp danh định của thiết bị. Điện áp cực đại này cần được xét đến khi xác định điện áp thử nghiệm điện môi và khe hở không khí thích hợp.
12.3.2 Thiết bị điện cao áp (điện áp danh định quá 1 000 V xoay chiều và 1 500 V một chiều)
Khi đầu dò tiếp cận được đặt ở (các) vị trí bất lợi nhất, thiết bị phải có khả năng chịu được thử nghiệm độ bền điện môi như quy định trong tiêu chuẩn sản phẩm liên quan áp dụng cho thiết bị.
Việc kiểm tra xác nhận có thể được thực hiện bằng thử nghiệm độ bền điện môi hoặc bằng cách kiểm tra kích thước khe hở không khí quy định đảm bảo rằng các thử nghiệm sẽ thỏa mãn trong cấu trúc trường điện bất lợi nhất (xem IEC 60071-2).
Trong trường hợp khi vỏ ngoài gồm các phần có mức điện áp khác nhau, điều kiện chấp nhận thích hợp cho khe hở không khí thích hợp phải được áp dụng cho mỗi phần.
CHÚ THÍCH: Tiêu chuẩn sản phẩm liên quan cần quan tâm đến thực tế là trong một số loại thiết bị điện, điện áp cực đại tạo ra bên trong thiết bị (giá trị hiệu dụng hoặc giá trị một chiều của điện áp làm việc) cao hơn điện áp danh định của thiết bị. Điện áp cục đại này cần được xét đến khi xác định điện áp thử nghiệm điện môi và khe hở không khí thích hợp.
12.3.3 Thiết bị có các phần cơ khí nguy hiểm
Đầu dò tiếp cận không được chạm tới các phần cơ khí nguy hiểm.
Nếu khe hở không khí thích hợp được kiểm tra xác nhận bằng mạch tín hiệu giữa đầu dò và các phần nguy hiểm thì bóng đèn không được sáng.
13 Thử nghiệm bảo vệ chống vật rắn từ bên ngoài được thể hiện bằng chữ số đặc trưng thứ nhất
13.1 Phương tiện thử nghiệm
Phương tiện thử nghiệm và các điều kiện thử nghiệm chính được cho trong Bảng 7.
Bảng 7 - Phương tiện thử nghiệm dùng cho thử nghiệm khả năng bảo vệ chống vật rắn từ bên ngoài
| Chữ số đặc trưng thứ nhất | Phương tiện thử nghiệm (đầu dò vật thể và tủ tạo bụi) | Lực thử nghiệm | Điều kiện thử nghiệm, xem |
| 0 | Không yêu cầu thử nghiệm | - | - |
| 1 | Viên bi cứng đường kính | 50 N ± 10% | 13.2 |
| 2 | Viên bi cứng đường kính | 10 N ± 10 % | 13.2 |
| 3 | Thanh thép cứng đường kính | 3 N ± 10 % | 13.2 |
| 4 | Thanh thép cứng đường kính | 1 N ± 10 % | 13.2 |
| 5 | Tủ tạo bụi Hình 2, có hoặc không có áp suất | - | 13.4 và 13.5 |
| 6 | Tủ tạo bụi Hình 2, có áp suất | - | 13.4 và 13.6 |
13.2 Điều kiện thử nghiệm đối với các chữ số đặc trưng thứ nhất là 1, 2, 3, 4
Đầu dò vật thể được ấn vào lỗ hở bất kỳ của vỏ ngoài với lực quy định trong Bảng 7.
13.3 Điều kiện chấp nhận đối với chữ số đặc trưng thứ nhất là 1, 2, 3, 4
Bảo vệ là thỏa đáng nếu đường kính lớn nhất của đầu dò quy định trong Bảng 7 không lọt qua được lỗ hở bất kỳ.
CHÚ THÍCH: Đối với các chữ số đặc trưng thứ nhất là 3 và 4, đầu dò quy định ở Bảng 7 được thiết kế để mô phỏng vật rắn bên ngoài, có thể là hình cầu. Đối với vỏ ngoài có lối vào quanh co, không thẳng và có nghi ngờ về khả năng xâm nhập của vật thể hình cầu chuyển động, thì có thể cần xem bản về hoặc tạo ra sự tiếp cận đặc biệt đối với đầu dò vật thể đặt vào (các) lỗ hở cần kiểm tra với một lực quy định.
13.4 Thử nghiệm bụi đối với các chữ số đặc trưng thứ nhất là 5 và 6
Thử nghiệm được thực hiện bằng cách sử dụng một tủ tạo bụi có nguyên lý cơ bản được thể hiện trên Hình 2 trong đó máy bơm bụi tuần hoàn có thể thay bằng phương tiện khác thích hợp để giữ bột tan ở dạng lơ lửng trong tủ thử kín. Bột tan sử dụng phải có khả năng lọt qua mắt lưới vuông có đường kính dây lưới danh định là 50 μm và chiều rộng danh nghĩa giữa các sợi dây là 75 μm. Lượng bột tan cần sử dụng là 2 kg trên mỗi mét khối thể tích tủ thử. Bột tan này không được sử dụng cho nhiều hơn 20 thử nghiệm.
CHÚ THÍCH: Phải tuân thủ các quy định về sức khỏe và an toàn khi chọn và sử dụng bột tan.
Vỏ ngoài được chia thành hai loại sau:
Loại 1: Vỏ ngoài ở đó chu kỳ làm việc bình thường của thiết bị gây ra việc giảm áp suất không khí trong vỏ ngoài xuống thấp hơn áp suất không khí xung quanh, ví dụ do ảnh hưởng của chu kỳ nhiệt.
Loại 2: vỏ ngoài trong đó không có chênh lệch áp suất với không khí xung quanh.
Vỏ ngoài loại 1:
Vỏ ngoài cần thử nghiệm được đỡ trong tù thử và áp suất bên trong vỏ ngoài được giữ thấp hơn áp suất khí quyển xung quanh bằng bơm chân không. Đầu hút phải được nối với lỗ được cung cấp đặc biệt cho mục đích thử nghiệm này. Nếu không có quy định khác trong tiêu chuẩn sản phẩm liên quan thì lỗ này phải được bố trí gần các phần xung yếu.
Nếu việc tạo một lỗ đặc biệt là không thực tế thì đầu hút có thể được nối với lỗ vào cáp. Nếu còn có các lỗ khác (ví dụ lối vào cáp khác hoặc lỗ thoát nước) thì chúng được coi là được thiết kế cho sử dụng bình thường ở nơi lắp đặt thiết bị.
Bản chất của thử nghiệm là hút vào vỏ ngoài, bằng cách giảm áp, lượng không khí bằng 80 lần thể tích của vỏ ngoài cần thử nghiệm nhưng tốc độ hút không được vượt quá 60 lần thể tích trong một giờ. Trong mọi trường hợp, việc giảm áp suất này không được vượt quá 2 kPa (20 mbar) đo bằng áp kế thể hiện trên hình 2.
Nếu đạt được tốc độ hút từ 40 đến 60 lần thể tích trong một giờ thì thời gian thử nghiệm là 2 h.
Với độ giảm áp suất lớn nhất là 2 kPa (20 mbar), nếu tốc độ hút nhỏ hơn 40 lần thể tích trong một giờ thì thử nghiệm được tiếp tục cho đến khi rút qua vỏ được 80 lần thể tích hoặc sau khi đã thử nghiệm được 8 h.
Vỏ ngoài loại 2:
Vỏ ngoài cần thử nghiệm được đỡ ở vị trí làm việc bình thường bên trong tủ thử nhưng không nối với bơm chân không. Lỗ thoát nước thường mở phải được để mở trong suốt thời gian thử nghiệm. Thử nghiệm phải liên tục trong 8 h.
Vỏ ngoài loại 1 và loại 2:
Nếu không thể thử nghiệm vỏ ngoài hoàn chỉnh trong tủ thử thì phải áp dụng một trong các quy trình sau:
- thử nghiệm các phần được bọc riêng rẽ của vỏ ngoài;
- thử nghiệm các phần đại diện của vỏ ngoài, bao gồm các bộ phận như cửa, lỗ thông gió, khớp nối, gioăng làm kín trục, v.v... ở đúng vị trí trong suốt thử nghiệm;
- thử nghiệm một vỏ ngoài nhỏ hơn có các chi tiết thiết kế tương tự.
Trong hai trường hợp sau cùng, thể tích không khi được đưa qua vỏ ngoài cần thử nghiệm là lượng quy định cho vỏ ngoài kích thước thật.
13.5 Điều kiện đặc biệt đối với chữ số đặc trưng thứ nhất là 5
13.5.1 Điều kiện thử nghiệm đối với chữ số đặc trưng thứ nhất là 5
Vỏ ngoài phải được coi là thuộc loại 1 trừ khi tiêu chuẩn sản phẩm liên quan đối với thiết bị đó quy định vỏ ngoài thuộc loại 2.
13.5.2 Điều kiện chấp nhận đối với chữ số đặc trưng thứ nhất là 5
Bảo vệ được coi là thỏa đáng nếu, khi kiểm tra, bột tan không tích tụ một lượng hoặc ở vị trí có thể gây cản trở đến hoạt động đúng của thiết bị hoặc làm mất an toàn. Trừ những trường hợp đặc biệt cần phải quy định rõ ràng trong tiêu chuẩn sản phẩm liên quan, bụi không được lắng đọng ở những nơi có thể dẫn đến phóng điện bề mặt dọc theo chiều dài đường rò.
13.6 Điều kiện đặc biệt đối với chữ số đặc trưng thứ nhất là 6
13.6.1 Điều kiện thử nghiệm đối với chữ số đặc trưng thứ nhất là 6
Vỏ ngoài phải được coi là thuộc loại 1 cho dù áp suất có giảm xuống thấp hơn dưới áp suất khí quyển hay không.
13.6.2 Điều kiện chấp nhận đối với chữ số đặc trưng thứ nhất là 6
Bảo vệ được coi là thỏa đáng nếu không có bụi lắng đọng bên trong vỏ ngoài khi kết thúc thử nghiệm.
14 Thử nghiệm đối với bảo vệ chống nước được thể hiện bằng chữ số đặc trưng thứ hai
14.1 Phương tiện thử nghiệm
Phương tiện thử nghiệm và điều kiện thử nghiệm chính được cho trong Bảng 8.
Bảng 8 - Phương tiện thử nghiệm và điều kiện thử nghiệm chính đối với thử nghiệm bảo vệ chống nước
| Chữ số đặc trưng thứ hai | Phương tiện thử nghiệm | Lưu lượng nước | Thời gian thử nghiệm | Điều kiện thử nghiệm, xem |
| 0 | Không yêu cầu thử nghiệm | - | - | - |
| 1 | Hộp nhỏ giọt Hình 3 Vỏ ngoài nằm trên bàn xoay |
| 10 min | 14.2.1 |
| 2 | Hộp nhỏ giọt Hình 3 Vỏ ngoài ở 4 vị trí cố định nghiêng 15° |
| 2,5 min cho mỗi vị trí nghiêng | 14.2.2 |
| 3 | Ống dao động Hình 4 Nước phun dưới dạng tia trên một cung ±60° so với phương thẳng đứng, khoảng cách tối đa 200 mm | 0,07 l/min ± 5 % trên mỗi lỗ, nhân với số lỗ | 10 min | 14.2.3 a) |
|
| hoặc Vòi phun Hình 5 Nước phun dưới dạng tia trên một cung ±60° so với phương thẳng đứng | 10 l/min ± 5 % | 1 min/m2 nhưng tối thiểu là 5 min | 14.2.3 b) |
| 4 | Như với chữ số đặc trưng 3 Nước phun dưới dạng tia trên một cung ±180° so với phương thẳng đứng | Như đối với chữ số đặc trưng thứ hai là 3 | 14.2.4 | |
| 5 | Vòi phun nước Hình 6 Vòi phun có đường kính 6,3 mm, khoảng cách 2,5 m đến 3 m | 12,5 l/min ± 5 % | 1 min/m2 nhưng tối thiểu là 3 min | 14.2.5 |
| 6 | Vòi phun nước Hình 6 Vòi phun có đường kính 12,5 mm, khoảng cách 2,5 m đến 3 m | 100 l/min ± 5 % | 1 min/m2 nhưng tối thiểu là 3 min | 14.2.6 |
| 7 | Bể ngâm Mức nước trên vỏ ngoài: cao hơn phần cao nhất của vỏ 0,15 m cao hơn phần thấp nhất của vỏ 1 m | - | 30 min | 14.2.7 |
| 8 | Bể ngâm Mức nước: Theo thỏa thuận | - | Theo thỏa thuận | 14.2.8 |
| 9 | Vòi phun dạng quạt Hình 7 Thử nghiệm vỏ ngoài nhỏ trên bàn xoay Hình 12 Tốc độ bàn xoay (5 ± 1) r/min Phun ở 0°, 30°, 60°, 90° Hoặc | (15 ± 1) l/min | 30 s trên mỗi vị trí | 14.2.9 a) |
|
| Thử nghiệm vỏ ngoài lớn như trong sử dụng dự kiến Nước phun từ tất cả các hướng có thể Khoảng cách (175 ± 25) mm |
| 1 min/m2 nhưng tối thiểu là 3 min | 14.2.9 b) |
14.2 Điều kiện thử nghiệm
Phương tiện thử nghiệm và điều kiện thử nghiệm chính được cho trong Bảng 8.
Nội dung chi tiết liên quan đến sự phù hợp của cấp bảo vệ - đặc biệt cho chữ số đặc trưng thứ hai là 5/6/9 (phun nước) và 7/8 (ngâm nước) - được nêu ở Điều 6.
Thử nghiệm được thực hiện bằng nước sạch.
Trong các thử nghiệm đối với IPX1 đến IPX6, nhiệt độ của nước không được sai khác quá 5 °C so với nhiệt độ của mẫu thử. Nếu nhiệt độ của nước thấp hơn quá 5 °C so với nhiệt độ của mẫu thử thì phải cân bằng áp suất cho vỏ ngoài. Đối với IPX7 và IPX9, quy định chi tiết về nhiệt độ nước được cho trong 14.2.7 và 14.2.9 tương ứng.
Trong quá trình thử nghiệm, hơi ẩm bên trong vỏ ngoài có thể ngưng tụ một phần. Không được nhầm giữa sương có thể đọng lại với sự xâm nhập của nước.
Với mục đích của các thử nghiệm này, diện tích bề mặt của vỏ phải được tính với dung sai là 10 %.
Cần tiến hành các biện pháp phòng ngừa an toàn thích hợp khi thử nghiệm thiết bị được cấp điện.
14.2.1 Thử nghiệm đối với chữ số đặc trưng thứ hai là 1 sử dụng hộp nhỏ giọt
Thử nghiệm được thực hiện với thiết bị tạo ra các giọt nước có lưu lượng đồng nhất trên toàn bộ diện tích của vỏ ngoài.
Ví dụ về thiết bị như vậy được thể hiện trên Hình 3 a).
Bàn xoay, mà vỏ ngoài được đặt trên đó, có tốc độ xoay là 1 r/min và độ lệch tâm xấp xỉ 100 mm (khoảng cách giữa trục của bàn xoay và trục của mẫu thử).
Vỏ ngoài cần thử nghiệm được đặt ở tư thế làm việc bình thường bên dưới hộp nhỏ giọt, đáy của hộp phải lớn hơn diện tích của vỏ ngoài. Trừ khi vỏ ngoài được thiết kế để treo tường hoặc treo trên trần, giá đỡ vỏ ngoài cần thử nghiệm phải nhỏ hơn đế của vỏ ngoài.
Vỏ ngoài bình thường được cố định vào tường hoặc trần thì được cố định ở tư thế sử dụng bình thường vào tấm gỗ có các kích thước bằng kích thước bề mặt của vỏ ngoài tiếp xúc với tường hoặc trần khi vỏ ngoài được lắp như trong sử dụng bình thường.
Thời gian thử nghiệm là 10 min.
CHÚ THÍCH: Khi đáy của hộp nhỏ giọt nhỏ hơn diện tích vỏ ngoài cần thử nghiệm, thì diện tích vỏ ngoài cần thử nghiệm có thể chia thành nhiều phần, diện tích mỗi phần phải đủ lớn để hứng được nước nhỏ giọt. Thử nghiệm được tiếp tục cho đến khi toàn bộ diện tích của vỏ ngoài đều hứng được nước trong thời gian quy định.
14.2.2 Thử nghiệm đối với chữ số đặc trưng thứ hai là 2 với hộp nhỏ giọt
Thiết bị nhỏ giọt giống như quy định trong 14.2.1 được điều chỉnh để tạo ra lưu lượng chảy như quy định trong Bảng 8.
Bàn mà vỏ ngoài được đặt trên đó không được xoay như trong trường hợp thử nghiệm đối với chữ số đặc trưng thứ hai là 1.
Vỏ ngoài được thử nghiệm trong 2,5 min ở mỗi trong bốn vị trí nghiêng cố định.
Các vị trí này nghiêng một góc 15° về cả hai phía của phương thẳng đứng trong hai mặt phẳng vuông góc nhau (xem Hình 3b)).
Tổng thời gian thử nghiệm là 10 min.
14.2.3 Thử nghiệm đối với chữ số đặc trưng thứ hai là 3 với ống dao động hoặc vòi phun
Thử nghiệm được thực hiện bằng cách sử dụng một trong hai thiết bị được mô tả trên Hình 4 và Hình 5 phù hợp với tiêu chuẩn sản phẩm liên quan.
a) Các điều kiện khi sử dụng thiết bị thử nghiệm trên Hình 4 (ống dao động):
Lưu lượng tổng phải được điều chỉnh như quy định trong Bảng 9 và được đo bằng lưu lượng kế.
Ống dao động có lỗ phun được phân bố trên một cung 60° về cả hai phía của điểm giữa. Cơ cấu đỡ không được đục lỗ.
Vỏ ngoài cần thử nghiệm được đặt tại điểm giữa của bán nguyệt, ống được cho dao động trên một cung 120°, 60° về cả hai phía của phương thẳng đứng, thời gian để thực hiện một dao động hoàn chỉnh (2 × 120°) là khoảng 4 s và thời gian thử nghiệm là 5 min.
Sau đó vỏ được quay một góc 90° trên mặt phẳng nằm ngang và tiếp tục thử nghiệm thêm 5 min nữa.
Bán kính lớn nhất chấp nhận được của ống dao động là 1 600 mm.
Đối với một số loại thiết bị nhất định, nếu không thể làm ướt tất cả các bộ phận của vỏ ngoài cần thử nghiệm thì cơ cấu đỡ vỏ ngoài có thể nâng lên hoặc hạ xuống. Ưu tiên sử dụng thiết bị thử nghiệm cầm tay như trên Hình 5 (vòi phun) trong các trường hợp này.
b) Các điều kiện khi sử dụng thiết bị thử nghiệm như Hình 5 (vòi phun):
Trong thử nghiệm này, tấm che đối trọng phải được đặt vào.
Áp suất nước được điều chỉnh để tạo ra tốc độ phân phối quy định. Áp suất để đạt được tốc độ phân phối này sẽ nằm trong dải từ 50 kPa đến 150 kPa. Áp suất cần giữ không đổi trong suốt quá trình thử nghiệm.
Thời gian thử nghiệm là 1 min/m2 diện tích bề mặt tính toán của vỏ ngoài (không kể bề mặt lắp đặt bất kỳ), với khoảng thời gian tối thiểu là 5 min.
14.2.4 Thử nghiệm đối với chữ số đặc trưng thứ hai là 4 với ống dao động hoặc vòi phun
Thử nghiệm được thực hiện bằng cách sử dụng một trong hai thiết bị được mô tả trên Hình 4 và Hình 5 phù hợp với tiêu chuẩn sản phẩm liên quan.
a) Các điều kiện khi sử dụng thiết bị thử nghiệm như trên Hình 4 (ống dao động):
Ống dao động có các lỗ phun trên toàn bộ bán nguyệt 180°. Lưu lượng tổng phải được điều chỉnh như quy định trong Bảng 9 và được đo bằng lưu lượng kế.
Ống được cho dao động trên một cung xấp xỉ 360°, 180° về cả hai phía của phương thẳng đứng, thời gian để thực hiện một dao động hoàn chỉnh (2 × 360°) là khoảng 12 s.
Thời gian thử nghiệm là 10 min.
Nếu không có quy định nào khác trong tiêu chuẩn sản phẩm liên quan thì cơ cấu đỡ vỏ ngoài cần thử nghiệm được đục lỗ để tránh tạo thành vách ngăn và phải phun nước lên vỏ ngoài từ mọi hướng bằng cách cho ống dao động đến giới hạn hành trình của ống theo mỗi hướng.
b) Các điều kiện khi sử dụng thiết bị thử nghiệm như hình 5 (ống phun):
Trong thử nghiệm này, tấm che đối trọng phải được lấy ra khỏi vòi phun và vỏ ngoài được phun theo các hướng có thể.
Tốc độ của dòng nước và thời gian phun cho mỗi đơn vị diện tích như quy định ở 14.2.3.
Bảng 9 - Lưu lượng tổng qv trong các điều kiện thử nghiệm IPX3 và IPX4 - Lưu lượng nước trung bình qua mỗi lỗ qvl = 0,07 I/min
| Bán kính ống R mm | Cấp IPX3 | Cấp IPX4 | ||
| Số lượng lỗ hở N 1) | Lưu lượng tổng, qv l/min | Số lượng lỗ hở N 1) | Lưu lượng tổng, qv l/min | |
| 200 | 8 | 0,56 | 12 | 0,84 |
| 400 | 16 | 1,1 | 25 | 1,8 |
| 600 | 25 | 1,8 | 37 | 2,6 |
| 800 | 33 | 2,3 | 50 | 3,5 |
| 1 000 | 41 | 2,9 | 62 | 4,3 |
| 1 200 | 50 | 3,5 | 75 | 5,3 |
| 1 400 | 58 | 4,1 | 87 | 6,1 |
| 1 600 | 67 | 4,7 | 100 | 7,0 |
| 1) Tùy thuộc vào bố trí thực tế của tâm các lỗ ở khoảng cách quy định, số lượng lỗ hở N có thể tăng thêm 1. | ||||
14.2.5 Thử nghiệm đối với chữ số đặc trưng thứ hai là 5 với vòi phun 6,3 mm
Thử nghiệm được thực hiện bằng cách phun lên vỏ ngoài từ mọi hướng có thể với luồng nước từ vòi phun thử nghiệm tiêu chuẩn như thể hiện trên Hình 6.
Điều kiện thử nghiệm cần tuân thủ như sau:
- đường kính trong của vòi phun: 6,3 mm;
- tốc độ phun: 12,5 l/min ± 5 %;
- áp suất nước: được điều chỉnh để đạt được tốc độ phun quy định:
- nòng phun của chùm tia chính: đường tròn đường kính xấp xỉ 40 mm ở khoảng cách 2,5 m tính từ miệng vòi phun;
- thời gian thử nghiệm trên mỗi mét vuông diện tích bề mặt vỏ cần phun: 1 min;
- thời gian thử nghiệm tối thiểu: 3 min;
- khoảng cách từ vòi phun đến bề mặt của vỏ ngoài: từ 2,5 m đến 3 m.
14.2.6 Thử nghiệm đối với chữ số đặc trưng thứ hai là 6 với vòi phun 12,5 mm
Thử nghiệm được thực hiện bằng cách phun lên vỏ ngoài từ mọi hướng có thể với luồng nước từ vòi phun thử nghiệm tiêu chuẩn như thể hiện trên Hình 6.
Các điều kiện cần tuân thủ gồm:
- đường kính trong của vòi phun: 12,5 mm;
- tốc độ phun: 100 l/min ± 5 %;
- áp suất nước: được điều chỉnh đề đạt được tốc độ phun quy định;
- nòng phun của chùm tia chính: đường tròn đường kính xấp xỉ 120 mm ở khoảng cách 2,5 m tính từ miệng vòi phun;
- thời gian thử nghiệm trên mỗi mét vuông diện tích bề mặt vỏ cần phun: 1 min;
- thời gian thử nghiệm tối thiểu: 3 min;
- khoảng cách từ vòi phun đến bề mặt của vỏ ngoài: từ 2,5 m đến 3 m.
14.2.7 Thử nghiệm đối với chữ số đặc trưng thứ hai là 7: ngâm nước tạm thời từ 0,15 m đến 1 m
Thử nghiệm được thực hiện bằng cách ngâm hoàn toàn vỏ ngoài vào nước ở tư thế làm việc như quy định bởi nhà chế tạo sao cho đáp ứng các điều kiện sau:
a) đối với vỏ ngoài có chiều cao nhỏ hơn 850 mm, điểm thấp nhất của vỏ ngoài được đặt thấp hơn bề mặt nước 1 000 mm;
b) đối với vỏ ngoài có chiều bằng hoặc lớn hơn 850 mm, điểm cao nhất của vỏ ngoài được đặt thấp hơn bề mặt nước là 150 mm;
c) khoảng thời gian thử nghiệm là 30 min;
d) nhiệt độ nước không chênh lệch với nhiệt độ của thiết bị quá 5 °C. Tuy nhiên, trong tiêu chuẩn sản phẩm liên quan có thể quy định yêu cầu giảm nhẹ nếu cần thực hiện các thử nghiệm với thiết bị được cấp điện và/hoặc các phần của thiết bị đang chuyển động.
14.2.8 Thử nghiệm đối với chữ số đặc trưng thứ hai là 8: ngâm liên tục theo thỏa thuận
Nếu không có tiêu chuẩn sản phẩm liên quan, các điều kiện thử nghiệm phải theo thỏa thuận giữa nhà chế tạo và người sử dụng, nhưng các điều kiện này phải khắc nghiệt hơn điều kiện quy định trong 14.2.7 và phải tính đến điều kiện vỏ ngoài được ngâm liên tục trong sử dụng thực tế.
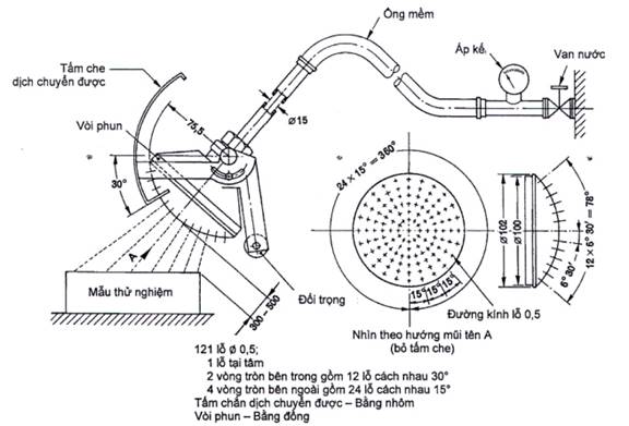
14.2.9 Thử nghiệm đối với chữ số đặc trưng thứ hai là 9: nước phun có áp lực cao và nhiệt độ cao
Thử nghiệm được thực hiện bằng cách phun lên vỏ ngoài với luồng nước từ vòi phun thử nghiệm tiêu chuẩn như thể hiện trên Hình 7, Hình 8 và Hình 9.
Bố trí để đo lực tác động của luồng nước được cho trong Hình 10.
Lực phân bổ phải được kiểm tra ở các giới hạn trên và dưới của phạm vi dung sai về khoảng cách (xem Hình 11).
Trong thử nghiệm a) hoặc b) của vỏ ngoài, nhiệt độ nước phải là (80 ± 5) °C.
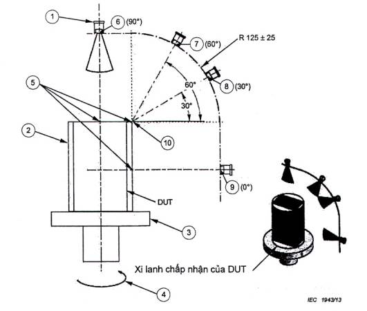
a) Đối với các vỏ ngoài nhỏ (kích thước lớn nhất nhỏ hơn 250 mm), vỏ ngoài phải được lắp đặt trên thiết bị thử nghiệm như thể hiện trên Hình 12.
- tốc độ bàn xoay: 5 r/min ± 1 r/min;
- vị trí phun: 0°, 30°, 60°, 90°
Thời gian thử nghiệm là 30 s trên mỗi vị trí.
b) Đối với vỏ ngoài lớn (kích thước lớn nhất lớn hơn hoặc bằng 250 mm), vỏ ngoài phải được lắp đặt như trong sử dụng dự kiến. Diện tích bề mặt được phơi nhiễm toàn bộ phải chịu nước phun ở một số điểm trong quy trình thử nghiệm.
- các vị trí phun: vỏ ngoài phải được phun từ mọi hướng có thể có phủ toàn bộ diện tích bề mặt và phải phun càng vuông góc với bề mặt bị phun càng tốt.
- khoảng cách từ vòi phun và mẫu cần thử nghiệm phải là 175 mm ± 25 mm.
Thời gian thử nghiệm là 1 min/m2 diện tích tính được của vỏ ngoài (ngoại trừ bề mặt lắp đặt bất kỳ), với thời gian tối thiểu là 3 min.
14.3 Điều kiện chấp nhận
Sau thử nghiệm theo các yêu cầu thích hợp trong các điều từ 14.2.1 đến 14.2.9, vỏ ngoài phải được kiểm tra mức độ xâm nhập của nước.
Tiêu chuẩn sản phẩm liên quan phải quy định lượng nước cho phép có thể lọt vào vỏ ngoài và nội dung chi tiết về thử nghiệm độ bền điện môi, nếu có.
Nhìn chung, nếu có nước lọt vào thì:
- lượng nước không đủ làm cản trở đến hoạt động đúng của thiết bị hoặc làm mất an toàn;
- nước không đọng trên phần cách điện ở những nơi có thể gây ra phóng điện bề mặt dọc theo chiều dài đường rò;
- nước không được chạm tới phần mang điện hoặc cuộn dây mang điện không được thiết kế để làm việc khi bị ướt;
- không được tích tụ gần đầu cáp hoặc lọt vào trong cáp, nếu có.
Nếu vỏ ngoài có lỗ thoát nước, thì cần kiểm tra để chứng tỏ là nước lọt vào vỏ ngoài không được tích tụ lại và được xả ra theo cách không gây hại đến thiết bị.
Đối với vỏ ngoài không có lỗ thoát nước, tiêu chuẩn sản phẩm liên quan phải quy định các điều kiện chấp nhận nếu nước có thể tích tụ lại đến mức chạm đến phần mang điện.
15 Thử nghiệm đối với bảo vệ chống tiếp cận các phần nguy hiểm được thể hiện bằng chữ cái bổ sung
15.1 Đầu dò tiếp cận
Đầu dò tiếp cận để kiểm tra khả năng bảo vệ con người chống tiếp cận các phần nguy hiểm được cho trong Bảng 6.
15.2 Điều kiện thử nghiệm
Đầu dò tiếp cận được ấn vào lỗ hở bất kỳ của vỏ ngoài với lực quy định trong Bảng 6. Nếu đầu dò tiếp cận lọt một phần hoặc hoàn toàn vào vỏ ngoài thi đầu dò được đặt vào mọi vị trí có thể, nhưng trong mọi trường hợp, mặt chặn không được lọt hoàn toàn qua lỗ hở.
Tấm chắn bên trong được coi là một phần của vỏ ngoài như định nghĩa trong 3.1.
Đối với thử nghiệm trên thiết bị điện hạ áp, nguồn điện áp thấp (không nhỏ hơn 40 V và không lớn hơn 50 V) nối tiếp với một bóng đèn thích hợp được nối giữa đầu dò và các phần nguy hiểm bên trong vỏ ngoài. Các phần mang điện nguy hiểm, chỉ được phủ lớp véc ni hoặc sơn, hoặc bảo vệ bằng cách oxy hóa hoặc công nghệ tương tự, thì được phủ bằng lá kim loại được nối điện với các phần thường mang điện trong vận hành.
Cũng nên sử dụng phương pháp mạch tín hiệu cho các phần chuyển động nguy hiểm của thiết bị điện cao áp.
Các phần chuyển động bên trong có thể cho chạy chậm, khi điều này là có thể.
15.3 Điều kiện chấp nhận
Bảo vệ là thỏa đáng nếu duy trì được khe hở không khí thích hợp giữa đầu dò tiếp cận và phần nguy hiểm.
Trong trường hợp thử nghiệm đối với chữ cái bổ sung B, ngón tay thử nghiệm có khớp có thể lọt vào vào đến 80 mm, nhưng mặt chặn (0 50 mm × 20 mm) không được lọt qua lỗ hở. Bắt đầu từ vị trí thẳng, cả hai khớp của ngón tay thử nghiệm lần lượt được uốn đến một góc đến 90° so với trục của phần tiếp giáp của ngón tay và phải đặt vào theo mọi vị trí có thể.
Trong trường hợp các thử nghiệm đối với chữ cái bổ sung c và D, đầu dò tiếp cận có thể lọt vào toàn bộ chiều dài, nhưng mặt chặn không được lọt hoàn toàn qua lỗ hở. Xem thêm Phụ lục A.
Điều kiện để kiểm tra xác nhận khe hở không khí thích hợp giống với điều kiện trong 12.3.1, 12.3.2 và 12.3.3.

Vật liệu: kim loại, trừ khi có quy định khác
Kích thước thẳng tính bằng milimét
Dung sai trên các kích thước không quy định đúng sai:
góc: 0/-10'
kích thước thẳng:
đến 25 mm: 0/-0.05
lớn hơn 25 mm: ±0,2
Cả hai khớp nối này phải cho phép uốn được một góc 90° với dung sai 0 đến +10° trên cùng một mặt phẳng và theo một hướng nhất định.
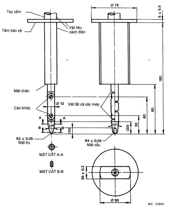
Hình 1 - Ngón tay thử nghiệm có khớp

CHÚ THÍCH: Xem IEC 60068-2-68, Hình 2 chỉ dùng cho La2.
Hình 2 - Thiết bị thử nghiệm để kiểm tra bảo vệ chống bụi (tủ tạo bụi)
Kích thước tính bằng milimét

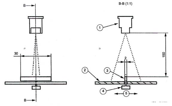
Hình 3 - Thiết bị thử nghiệm để kiểm tra khả năng bảo vệ chống giọt nước rơi thẳng đứng (hộp nhỏ giọt)
Kích thước tính bằng milimét

CHÚ THÍCH: Phạm vi các lỗ được thể hiện như đối với chữ số đặc trưng thứ hai là 3 (xem 14.2.3 a)).
Hình 4 - Thiết bị thử nghiệm để kiểm tra khả năng bảo vệ chống tia nước và chống tóe nước; chữ số đặc trưng thứ hai là 3 và 4 (ống dao động)
Kích thước tính bằng milimét

Hình 5 - Thiết bị cầm tay để kiểm tra khả năng bảo vệ chống tia nước và chống tóe nước; chữ số đặc trưng thứ hai là 3 và 4 (vòi phun)
Kích thước tính bằng milimét

D' = 6,3 đối với thử nghiệm ở 14.2.5 (chữ số đặc trưng thứ hai là 5)
D' = 12,5 đối với thử nghiệm ở 14.2.6 (chữ số đặc trưng thứ hai là 6)
Hình 6 - Thiết bị thử nghiệm để kiểm tra khả năng bảo vệ chống phun nước (vòi phun)
Kích thước tính bằng milimét

CHÚ THÍCH: Kích thước 9,69 ± 0,01 tính đến tâm của bán kính R0,75 ± 0,01.
Hình 7 - Kích thước vòi phun dạng quạt
Kích thước tính bằng milimét

CHÚ THÍCH: Phóng đại 100 lần mép của vòi phun cần thể hiện biên dạng đều đặn (xem ví dụ Hình 9).
Hình 8 - Vòi phun dạng quạt tạo ra các kích thước lỗ phun cho mục đích kiểm tra


Hình 9 - Ví dụ về đạt mức chất lượng khác nhau của hoàn thiện bề mặt đối với vòi phun dạng quạt
Kích thước tính bằng milimét

CHÚ DẪN
| 1 | Vòi phun dạng quạt: điều chỉnh lưu lượng trong phạm vi (15 ± 1) l/min để đạt đến lực tác động phân bổ từ 0,9 đến 1,2 N. Nhiệt độ nước trong quá trình kiểm tra xác nhận (20 ± 5) °C. |
| 2 | Tấm che |
| 3 | Tấm tác động 2 mm × 30 mm |
| 4 | Cảm biến lực |
| 5 | Các hướng phân bố lực (xem thêm Hình 11) |
Hình 10 - Bố trí đo lực tác động của vòi phun để xác định bảo vệ chống áp lực cao và nhiệt độ cao, cấp bảo vệ chống sự xâm nhập của nước IPX9

Hình 11 - Phân bố lực tác động
Kích thước tính bằng milimét

CHÚ DẪN
| 1 | Vòi phun dạng quạt | 6 | Vị trí 1 của vòi phun (90°) |
| 2 | Xi lanh chấp nhận đối với DUT | 7 | Vị trí 2 của vòi phun (60°) |
| 3 | Tay cầm (bàn quay) | 8 | Vị trí 3 của vòi phun (30°) |
| 4 | Trục quay | 9 | Vị trí 4 của vòi phun (0°) |
| 5 | Điểm tham chiếu đối với 0°, đối với 30°, đối với 60°, đối với 90° theo xi lanh chấp nhận đối với DUT | 10 | Điểm tâm của hình tròn bán kính 125 mm để đặt vòi phun |
Hình 12 - Bố trí thử nghiệm để xác định bảo vệ chống nước phun áp lực cao và nhiệt độ cao; cấp bảo vệ chống sự xâm nhập của nước IPX9 đối với các vỏ ngoài nhỏ
Phụ lục A
(tham khảo)
Ví dụ về mã IP để kiểm tra xác nhận khả năng bảo vệ thiết bị hạ áp chống tiếp cận các phần nguy hiểm
| Số tham chiếu | Vị trí | Hai chữ số đặc trưng | Chữ cái bổ sung | Hai chữ số đặc trưng + chữ cái bổ sung |
| 1 |
| 0X | - | 0X |
| 2 |
| 1X | A | 1X |
| 3 |
| 1X | A | 1X |
| 4 |
| 1X | A | 1X |
| 5 |
| 1X | B | 1XB |
| 6 |
| 1X | B | 1XB |
| 7 |
| 1X | D | 1XD |
| 8 |
| 1X | D | 1XD |
| 9 |
| 2X | B | 2X |
| 10 |
| 2X | B | 2X |
| 11 |
| 2X | C | 2XC |
| 12 |
| 2X | D | 2XD |
| 13 |
| 3X | C | 3X |
| 14 |
| 3X | D | 3XD |
| 15 |
| 4X | D | 4X |
Mã IP của ví dụ trong Phụ lục A
| Chữ số đặc trưng thứ nhất | Chữ cái bổ sung | ||||
| - | A | B | C | D | |
| 0 | IP0X (1) | - | - | - | - |
| 1 | - | IP1X (2. 3, 4) | IP1XB (5, 6) | - | IP1XD (7, 8) |
| 2 | - | - | IP2X (9, 10) | IP2XC (11) | IP2XD (12) |
| 3 | - | - | - | IP3X (13) | IP3XD (14) |
| 4 | - | - | - | - | IP4X (15) |
| CHÚ THÍCH: Chữ số đặc trưng trong ngoặc để chỉ số tham chiếu trong phụ lục này. | |||||
Phụ lục B
(tham khảo)
Thông tin cần quy định trong tiêu chuẩn sản phẩm liên quan
Mã IP để phân cấp bảo vệ bằng vỏ ngoài được sử dụng cho hầu hết các loại thiết bị điện.
Điều này không có nghĩa là tiêu chuẩn này là phù hợp cho tất cả các nội dung chi tiết cụ thể của các loại thiết bị khác nhau.
Tiêu chuẩn sản phẩm liên quan quy định tất cả các nội dung chi tiết liên quan đến việc áp dụng mã IP cho một loại sản phẩm cụ thể.
Ghi nhãn mã IP thể hiện việc công bố sự phù hợp với tất cả các yêu cầu có thể áp dụng của tiêu chuẩn này và với các yêu cầu bổ sung quy định trong các tiêu chuẩn sản phẩm tương ứng.
Danh mục dưới đây được đưa ra làm hướng dẫn về các thông tin chi tiết cần được quy định trong tiêu chuẩn sản phẩm:
1) phạm vi và cách thức sử dụng mã IP (xem Điều 4);
2) định nghĩa về "vỏ ngoài" áp dụng cho từng loại thiết bị cụ thể (xem Điều 2);
3) bảo vệ vỏ và thiết bị bên trong vỏ khỏi các ảnh hưởng hoặc điều kiện bên ngoài (xem Điều 2);
4) cấp bảo vệ áp dụng cho các phần chuyển động nguy hiểm từ bên ngoài (như quạt) (xem Điều 2);
5) phạm vi ứng dụng nếu vỏ ngoài phải chịu ngâm nước tạm thời hoặc liên tục (xem Điều 6);
6) áp dụng "các chữ cái bổ sung" đối với bảo vệ chống tiếp cận các phần nguy hiểm bằng các tấm chắn bên trong hoặc bằng khoảng cách, nếu cần (xem Điều 7);
7) thông tin bổ sung được nêu bởi "chữ cái phụ", nếu có (xem Điều 8);
8) phải tham vấn ý kiến của ban kỹ thuật xây dựng tiêu chuẩn này trước khi sử dụng một chữ cái phụ mới và phải nêu quy trình thử nghiệm bổ sung (xem Điều 8);
9) nội dung chi tiết về ghi nhãn (xem Điều 10);
10) điều kiện khí quyển dùng cho thử nghiệm nếu khác với 11.1;
11) tình trạng và điều kiện của mẫu thử nghiệm nếu khác với "yêu cầu chung đối với thử nghiệm" (xem 11.2);
12) nội dung chi tiết của các điều kiện thử nghiệm (xem 11.2) ví dụ:
- số lượng mẫu thử
- lắp đặt, lắp ráp và định vị mẫu
- ổn định trước
- có hoặc không cấp điện
- các phần có hoặc không chuyển động;
13) áp dụng các yêu cầu chung cho thử nghiệm và các điều kiện chấp nhận đối với lỗ thoát nước và lỗ thông gió (xem 11.3);
14) hướng dẫn để giải thích các kết quả thử nghiệm và các điều kiện chấp nhận (xem 11.3);
15) điện áp làm việc, nếu áp dụng (xem 12.3.1 và 12.3.2);
16) loại vỏ ngoài, thể hiện có hay không có sự chênh lệch áp suất do ảnh hưởng của chu kỳ nhiệt (xem 13.4);
17) vị trí lỗ hút trong thử nghiệm bụi nếu không nằm gần các phần xung yếu (xem 13.4);
18) số lượng và vị trí của bụi lắng cho phép mà không ảnh hưởng đến làm việc an toàn (xem 13.5,2);
19) thiết bị thử nghiệm dùng cho các thử nghiệm IPX3 và IPX4 (ống dao động hoặc vòi phun) (xem 14.2.3 và 14.2.4);
20) kiểu cơ cấu đỡ dùng cho vỏ ngoài (nếu không được đục lỗ) trong thử nghiệm IPX4 (xem 14.2.4);
21) nhiệt độ nước nếu thiết bị được cấp điện hoặc đang hoạt động trong thử nghiệm ngâm nước (xem 14.2.7 d));
22) điều kiện dùng cho thử nghiệm ngâm liên tục (xem 14.2.8);
23) điều kiện chấp nhận sau thử nghiệm nước, cụ thể lượng nước cho phép lọt vào bên trong và chi tiết về thử nghiệm độ bền điện môi (xem 14.3);
24) điều kiện chấp nhận nếu nước tích lũy có thể chạm tới các phần mang điện (xem 14.3);
25) nhiệt độ của nước dùng cho thử nghiệm IPX9 nếu khác với 80 °C.
Thư mục tài liệu tham khảo
[1] TCVN 14226 (IEC 61032), Bảo vệ bằng vỏ ngoài cho người và thiết bị - Đầu dò kiểm tra xác nhận
[2] IEC 61140, Protection against electric shock - Common aspects for Installation and equipment
1) IEC 60050 (826).
Bạn chưa Đăng nhập thành viên.
Đây là tiện ích dành cho tài khoản thành viên. Vui lòng Đăng nhập để xem chi tiết. Nếu chưa có tài khoản, vui lòng Đăng ký tại đây!


















