- Tổng quan
- Nội dung
- Tiêu chuẩn liên quan
- Lược đồ
- Tải về
Tiêu chuẩn Quốc gia TCVN 8215:2009 Công trình thủy lợi - Các quy định chủ yếu về thiết kế bố trí thiết bị quan trắc cụm công trình đầu mối
| Số hiệu: | TCVN 8215:2009 | Loại văn bản: | Tiêu chuẩn Việt Nam |
| Cơ quan ban hành: | Bộ Khoa học và Công nghệ | Lĩnh vực: | Xây dựng |
|
Ngày ban hành:
Ngày ban hành là ngày, tháng, năm văn bản được thông qua hoặc ký ban hành.
|
2009 |
Hiệu lực:
|
Đã biết
|
| Người ký: | Đang cập nhật |
Tình trạng hiệu lực:
Cho biết trạng thái hiệu lực của văn bản đang tra cứu: Chưa áp dụng, Còn hiệu lực, Hết hiệu lực, Hết hiệu lực 1 phần; Đã sửa đổi, Đính chính hay Không còn phù hợp,...
|
Đã biết
|
TÓM TẮT TIÊU CHUẨN VIỆT NAM TCVN 8215:2009
Nội dung tóm tắt đang được cập nhật, Quý khách vui lòng quay lại sau!
Tải tiêu chuẩn Việt Nam TCVN 8215:2009
TIÊU CHUẨN VIỆT NAM
TCVN 8215:2009
CÔNG TRÌNH THỦY LỢI - CÁC QUY ĐỊNH CHỦ YẾU VỀ THIẾT KẾ BỐ TRÍ THIẾT BỊ QUAN TRẮC CỤM CÔNG TRÌNH ĐẦU MỐI
Hydraulic structure - Major regulations on installation design observation equipment of water headworks
1. Phạm vi áp dụng
Tiêu chuẩn này áp dụng để thiết kế bố trí các thiết bị quan trắc cụm công trình đầu mối của các hệ thống thủy lợi, công trình thủy điện thuộc tất cả các cấp, ở mọi giai đoạn thiết kế.
Tiêu chuẩn này chỉ quy định nội dung thiết kế bố trí thiết bị đo các công tác quan trắc bao gồm:
a) Quan trắc chuyển vị;
b) Quan trắc thấm;
c) Quan trắc áp lực kẽ rỗng;
d) Quan trắc nhiệt độ;
e) Quan trắc trạng thái ứng suất;
f) Quan trắc áp lực đất, đá lên công trình;
g) Quan trắc áp lực nước, áp lực mạch động của dòng chảy;
h) Quan trắc ứng lực cốt thép của kết cấu bê tông cốt thép.
2. Một số quy định chung thiết kế quan trắc trong các giai đoạn thiết kế dự án
2.1 Quy định chung
Thành phần và khối lượng công tác quan trắc được quy định theo cấp, loại và kiểu công trình.
Khi bố trí thiết bị quan trắc phục vụ cho công tác nghiên cứu để làm rõ thêm hoặc chính xác hoá các vấn đề lý thuyết tính toán thì phải có chế độ quan trắc đặc biệt.
Quan trắc công trình thuỷ lợi phải được tiến hành từ khi mở móng xây dựng, trong suốt quá trình thi công và khai thác vận hành công trình. Công tác tổ chức quan trắc ở giai đoạn xây dựng do ban quản lý dự án chủ trì tổ chức thực hiện. Thời kỳ vận hành khai thác do bộ phận quản lý khai thác công trình thực hiện.
Quy định về công tác lưu trữ, quản lý và sử dụng tài liệu quan trắc:
- Các kết quả quan trắc cần sẽ được phân tích, tính toán, tổng hợp để sử dụng và gửi cho các cơ quan quản lý, thiết kế công trình và nghiên cứu khoa học khi có yêu cầu;
- Công tác lưu trữ, quản lý và sử dụng tài liệu quan trắc thực hiện theo các quy định của pháp luật và nhiệm vụ thường xuyên của cơ quan, tổ chức quản lý khai thác công trình;
- Các cơ quan, tổ chức, cá nhân được sử dụng các tài liệu quan trắc để phục vụ yêu cầu công tác, nghiên cứu khoa học và các nhu cầu chính đáng của mình theo quy định của pháp luật.
Trong đồ án bố trí thiết bị đo cần có quy trình lắp đặt, quy trình quan trắc cùng các biểu mẫu thống nhất để tiện ghi chép số liệu quan trắc.
Trong đồ án thiết kế cần phải sử dụng các thuật ngữ và các ký hiệu quy ước như sau:
- Đơn nguyên đo: là một đoạn công trình mà trên đó bố trí các thiết bị đo;
- Tiết diện đo: mặt cắt ngang hay đứng để thể hiện vị trí, loại thiết bị đo;
- Tuyến đo: đường thẳng theo phương ngang hay dọc tim công trình;
- Điểm đo: vị trí đặt từng thiết bị đo.
2.2 Thiết kế quan trắc trong các giai đoạn thiết kế dự án cần phải làm rõ các nội dung cơ bản sau
4 2.2.1 Giai đoạn báo cáo đầu tư
- Sự cần thiết phải bố trí thiết bị quan trắc;
- Xác định sơ bộ thành phần, khối lượng thiết bị đo, thiết bị thu;
- Vốn đầu tư cho xây dựng, lắp đặt các thiết bị quan trắc.
5 2.2.2 Giai đoạn lập báo cáo dự án đầu tư
- Sự cần thiết phải bố trí thiết bị quan trắc công trình;
- Thành phần khối lượng thiết bị đo, thiết bị thu (danh mục thiết bị đo, thiết bị thu, loại thiết bị nào phải đặt mua của nước ngoài);
- Vốn đầu tư xây dựng, lắp đặt thiết bị quan trắc;
- Kiến nghị (nếu cần) chế độ quan trắc đặc biệt và phải có bản đề cương quan trắc đặc biệt;
- Quan trắc đặc biệt bao gồm các nội dung chủ yếu sau:
- Sự cần thiết phải tiến hành quan trắc đặc biệt,
- Nội dung cần quan trắc đặc biệt,
- Danh mục thiết bị đo, thiết bị thu để quan trắc đặc biệt,
- Vốn đầu tư phục vụ quan trắc đặc biệt,
- Thời gian bắt đầu, kết thúc quan trắc đặc biệt.
6 2.2.3 Giai đoạn lập báo cáo kinh tế kỹ thuật, thiết kế kỹ thuật
- Bố trí các tuyến quan trắc trên mặt bằng và các mặt cắt công trình;
- Bố trí thiết bị đo trong mỗi tuyến, mỗi mặt cắt;
- Sơ đồ bố trí hệ thống dây dẫn từ thiết bị đo đến thiết bị thu;
- Bản liệt kê danh mục các thiết bị đo, thiết bị thu;
- Dự toán chi tiết thiết kế, xây dựng và lắp đặt thiết bị quan trắc trong tổng dự toán công trình.
7 2.2.4 Giai đoạn thiết kế bản vẽ thi công
- Thiết kế lắp đặt cho mỗi loại thiết bị đo;
- Thiết kế chi tiết từng tuyến dẫn từ mốc thiết bị đo đến thiết bị thu;
- Thiết kế chi tiết, kết cấu của các thiết bị đo (nếu chưa có thiết kế mẫu);
- Thiết kế lắp đặt thiết bị đo, thu, lập bản danh mục về số lượng, loại, vị trí đặt thiết bị đo, thiết bị thu, trong từng mặt cắt và toàn bộ công trình;
- Dự toán chi tiết từng hạng mục quan trắc.
8 2.2.5 Một số trường hợp đặc biệt
- Giai đoạn thiết kế kỹ thuật thi công (đối với công trình thiết kế một bước): Thực hiện theo quy định ở Điều 2.2.3. và điều 2.2.4;
- Bố trí thiết bị đo phục vụ cho quan trắc đặc biệt cũng như quan trắc tạm thời trong thời gian thi công nên bố trí tập trung vào một khối, một đơn nguyên đại diện quan trọng nhất mà dựa vào đó có thể đánh giá được sự làm việc của toàn bộ công trình.
3. Quy định về thiết kế bố trí thiết bị quan trắc
3.1 Quan trắc chuyển vị
a) Nội dung quan trắc chuyển vị gồm:
- Quan trắc lún mặt, lún của từng lớp đất trong thân khối đắp và nền (lún sâu);
- Quan trắc chuyển vị ngang, nghiêng, lệch;
- Quan trắc độ mở rộng hay thu hẹp của khớp nối, khe hở;
b) Bố trí các thiết bị đo để quan trắc chuyển vị được quy định như sau:
- Đối với công trình đất, quy định theo Điều 4.1.2;
- Đối với công trình bê tông trên nền đá, quy định theo Điều 4.2.2;
- Đối với công trình bê tông cốt thép trên nền đất, quy định theo khoản c) Điều 4.3.1 và
điều 4.3.3.
3.2 Quan trắc thấm
a) Nội dung quan trắc thấm gồm:
- Quan trắc độ cao mực nước thượng lưu của đập hồ chứa và công trình chắn nước bằng vật liệu có tính thấm; trước sau mặt cắt bố trí thiết bị đo; trước sau công trình xả, cống lấy nước, v.v...;
- Quan trắc đường bão hoà;
- Quan trắc áp lực nước thấm lên công trình;
- Quan trắc lưu lượng thấm;
b) Bố trí thiết bị đo để quan trắc thấm được quy định như sau:
- Đối với công trình đất, quy định theo Điều 4.1.4;
- Đối với công trình bê tông trên nền đá, quy định theo Điều 4.2.3;
- Đối với công trình bê tông cốt thép trên nền đất, quy định theo Điều 4.3.4.
3.3 Quan trắc nhiệt độ
Để quan trắc nhiệt độ trong công trình bê tông, cần đặt các nhiệt kế đo từ xa, trong đó nhiệt kế điện trở được áp dụng nhiều nhất.
Nhiệt kế được bố trí trong công trình ngay khi thi công. Hệ thống dây dẫn được nối từ nhiệt kế đến điểm thu tập trung.
Số lượng nhiệt kế bố trí trong công trình phụ thuộc vào kích thước, hình dạng công trình và nhiệm vụ đề ra cho công tác quan trắc. Việc bố trí nhiệt kế cần phải thông qua tính toán. Nguyên tắc cơ bản là phải đủ điểm để vẽ được biểu đồ đồng nhiệt độ, để so sánh với lý thuyết tính toán. Nên bố trí nhiệt kế ở hai biên và hạ lưu với số lượng dày hơn, càng vào tâm công trình càng ít đi. Nếu bê tông có dùng chất phụ gia thì cần bố trí nhiệt kế ở tâm để kiểm tra ảnh hưởng của nó đến chế độ nhiệt của bê tông.
Công trình bê tông trên nền đá có cột nước lớn (công trình cấp II trở lên) phải bố trí thiết bị đo nhiệt của nền và mặt tiếp xúc của công trình với nền. Chiều sâu nền đá cần quan trắc quy định tối đa bằng 0,5 Hđ (Hđ là chiều cao đập).
Ở những cấu kiện mỏng của công trình (chiều dày nhỏ hơn 5 m), nhiệt độ giảm tương đối nhanh, trong trường hợp này không cần phải bố trí nhiệt kế, trừ trường hợp có yêu cầu nghiên cứu.
Quan trắc nhiệt độ của nước thấm để xác định hướng đi và tốc độ của dòng thấm. Bố trí nhiệt kế để đo nhiệt độ của dòng thấm về nguyên tắc cũng giống như nhiệt kế đo nhiệt độ của bê tông.
Để đơn giản, nên bố trí trùng với tuyến quan trắc đường bão hoà.
3.4 Quan trắc ứng suất trong công trình và nền công trình
3.4.1 Để quan trắc ứng suất trong công trình đất cũng như công trình bê tông, có thể áp dụng một trong hai phương pháp: Quan trắc trực tiếp trị số ứng suất hoặc quan trắc trị số biến dạng sau đó tính toán bằng lý thuyết đàn hồi hoặc dẻo.
Khi thiết kế bố trí thiết bị đo từ xa cần chú ý kết hợp với thiết kế và bố trí hệ thống nhiệt kế sẽ tiết kiệm dây dẫn ra điểm quan trắc.

Hình 1 – Sơ đồ bố trí cụm hai thiết bị đo
Số lượng bố trí các thiết bị quan trắc ứng suất trong công trình phụ thuộc vào quy mô, hình dạng công trình và tính phức tạp của nền.
Để quan trắc ứng suất tại một điểm theo bài toán một chiều, hai chiều, của môi trường đẳng hướng và liên tục thì trong một điểm (đo) chúng ta chỉ cần bố trí từ một đến hai thiết bị đo là đủ (Xem Hình 1).

Hình 2 – Sơ đồ bố trí cụm chín thiết bị đo
Trong trường hợp tổng quát để nghiên cứu trạng thái ứng suất của bài toán không gian, phải bố trí một cụm gồm chín thiết bị đo (Xem Hình 2). Khi nghiên cứu bài toán biến dạng phẳng thì bố trí bốn thiết bị đo. Trường hợp bài toán ứng suất phẳng bố trí năm thiết bị đo (Hình 3). Trong trường hợp ứng suất hai hướng vuông góc với nhau thì chỉ cần bố trí hai thiết bị đo cho một điểm quan trắc.
Đối với kết cấu bê tông, để quan trắc ứng suất phải bố trí tại những vị trí công trình đã được tính toán theo lý thuyết hoặc bằng thí nghiệm trên mô hình nhằm so sánh giữa trị số thực tế với trị số tính toán. Để nghiên cứu ứng suất cục bộ tại những nơi như mép lỗ cống, các góc cửa vào của cống thì phải đặt các thiết bị đo tại đó ít nhất từ 2 đến 3 điểm quan trắc.

| Mặt đứng | Mặt cạnh |

Mặt bằng
Hình 3 - Sơ đồ bố trí cụm năm thiết bị đo
Để nghiên cứu ứng suất của nền đá, thiết bị đo phải đặt trong các hố khoan đã được khoan trước vào nền đá.

Hình 4
Trong nền đá, các thiết bị đo phải đặt thẳng đứng. Để loại trừ ứng suất bản thân của nền đá ra khỏi các chỉ số quan trắc, phải bố trí thiết bị đo trong các ống hình trụ không chịu ứng suất trước. Do việc xác định ứng suất trong nền đá rất khó khăn và phức tạp, nên chỉ bố trí các thiết bị đo tại những điểm mà ở đó xuất hiện ứng suất lớn nhất (Xem Hình 4).
Nội dung thiết kế bố trí chi tiết các thiết bị đo ứng suất trong công trình bê tông trên nền đá được quy định ở Điều 4.2.5 và 4.1.6 đối với công trình đất.
3.5 Quan trắc ứng lực trong cốt thép
Để đo ứng lực trong các cốt thép chịu lực của kết cấu bê tông cốt thép, sử dụng lực kế (Load cell) hàn trực tiếp vào cốt thép chịu lực (không được hàn vào đoạn cốt thép cong). Vị trí đặt lực kế, căn cứ vào biểu đồ mômen tính toán.
Không nên bố trí lực kế đơn chiếc, mà bố trí thành cụm từ 2 đến 3 chiếc trở lên. Có thể bố trí trên từng cốt thép cách một hoặc hai thanh. Đối với cốt thép có đường kính nhỏ hơn 20 cm thì không được hàn lực kế vào cốt thép.
3.6 Quan trắc áp lực nước, áp lực mạch động của dòng chảy
Để quan trắc áp lực nước, áp lực mạch động của dùng chảy sử dụng thiết bị cảm biến kiểu tự cảm. Các thiết bị này có thể được lắp đặt ngay khi bắt đầu đổ bê tông hoặc khi hoàn thành đổ bê tông và phải có bộ phận đặt sẵn trong khối bê tông để đảm bảo liên kết chắc chắn giữa thiết bị đo với mặt bê tông. Trường hợp phải đặt thiết bị đo trong thời gian thi công bê tông, cần thiết kế vỏ bọc bằng kim loại để bảo vệ thiết bị khỏi chịu va đập trong quá trình xây dựng. Trước khi đưa thiết bị đo vào vận hành phải tháo bỏ các vỏ bọc. Thiết bị đo phải lắp đặt hoàn chỉnh trước khi công trình ngập nước hoặc trước khi xả lũ, vì vậy trong thời gian lắp đặt thiết bị cần phải đảm bảo bê tông chèn có đủ cường độ.
Các thiết bị đo áp lực nước, áp lực mạch động có thể đặt trên mặt phẳng nằm ngang hoặc thẳng đứng của công trình. Sơ đồ bố trí, vị trí đặt thiết bị đo phải căn cứ vào kết quả tính toán hoặc thí nghiệm mô hình.
Thiết bị đo rung động để xác định biên độ dao động của công trình sẽ có tiêu chuẩn riêng, chỉ nên tiến hành đo rung động ở những điểm tự do (công son). Điều 4.2.6 và Điều 4.3.5.4 quy định chi tiết việc bố trí các thiết bị đo mạch động của công trình bê tông trên nền đá và trên nền mềm yếu.
3.7 Lắp đặt dây dẫn từ các thiết bị đo đến điểm quan trắc (điểm thu)
Phần lớn các thiết bị đo dùng để quan trắc thực tế công trình thuỷ lợi là các thiết bị đo từ xa, nên khi lập đố án bố trí các thiết bị đo cần phải thiết kế hệ thống dây dẫn. Nội dung thiết kế bao gồm tuyến của dây dẫn từ các điểm đặt thiết bị đo đến điểm quan trắc, biện pháp lắp đặt hệ thống dây dẫn, biện pháp bảo vệ dây khỏi va đập cũng như trình tự đổ bê tông.
Để tránh hư hỏng, các hệ thống dây dẫn phải được bọc cẩn thận và đặt vào rãnh (máng), sau đó phải được lấp đầy nhựa đường hoặc bê tông.
Các máng, rãnh đặt dây dẫn phải bảo đảm khô ráo, tránh nước thấm dọc theo máng; máng bố trí phía thượng lưu (mặt chịu áp) phải đặt cách mặt thoáng ít nhất 2 m nhằm tránh nước thấm vào máng.
Các điểm quan trắc (tạm thời và cố định) nên đặt tại các hành lang hoặc các ngăn chuyên dùng và phải bố trí ở cao trình thấp hơn cao trình của thiết bị đo, nhưng phải cao hơn mực nước hạ lưu.
Để lắp đặt các thiết bị đo vào công trình cũng như hệ thống dây dẫn, cơ quan thiết kế phải lập đồ án thiết kế bố trí và quy trình lắp đặt.
4. Bố trí thiết bị quan trắc công trình thuỷ lợi
4.1 Bố trí các thiết bị quan trắc đập đất và đập đất đá hỗn hợp
4.1.1 Thành phần, khối lượng công tác quan trắc
Thành phần, khối lượng công tác quan trắc được quy định như sau:
| S.T.T | Nội dung quan trắc | Cấp công trình | ||||
| I | II | III | IV | V | ||
| 1 | Quan trắc chuyển vị | + | + | + | + | + |
| 2 | Quan trắc thấm | + | + | + | + | + |
| 3 | Quan sát áp lực kẽ rỗng | + | + |
|
|
|
| 4 | Quan trắc nhiệt độ |
|
|
|
|
|
| 5 | Quan trắc ứng suất | + | + |
|
|
|
| 6 | Quan trắc áp lực đất lên kết cấu BT nằm trong đập | + | + |
|
|
|
| 7 | Quan trắc biến dạng của các bộ phận bê tông cốt thép nằm trong đập | + | + |
|
|
|
Đập cấp IV và V nếu không có yêu cầu nghiên cứu đặc biệt thì chỉ cần bố trí các thiết bị đo để quan trắc lún, đường bão hoà và lưu lượng thấm.
4.1.2 Bố trí thiết bị đo để quan trắc lún
4.1.2.1 Để quan trắc lún mặt (lún của đỉnh, cơ và trên mái đập) có thể sử dụng các thiết bị đo giới thiệu ở Phụ lục A; Đối với công trình nhỏ từ cấp IV trở xuống nên ưu tiên áp dụng phương pháp trắc đạc dùng hệ thống mốc mặt.

Hình 5 – Sơ đồ bố trí mốc quan trắc lún
Để quan trắc các lớp đất khác nhau trong thân và nền của đập cao (cấp III trở lên) nên sử dụng các thiết bị đo tự động như: quả lắc thuận đảo, thiết bị đo kiểu từ tính (Magnetic Extensometer), thiết bị đo lún sâu bằng khí nén (Pneumatic settlement cell), v.v… (Xem Phụ lục A).
Đối với những đập thấp (cấp IV trở xuống) nên sử dụng các mốc sâu đơn giản. Hệ thống mốc mặt và mốc sâu phải bố trí trong cùng một tuyến đo. Số lượng mốc trong một tuyến phụ thuộc vào tính chất phức tạp của địa chất nền, số lớp đất trong thân,nhiệm vụ nghiên cứu, quy mô đập, v.v...
4.1.2.2 Tuyến quan trắc lún mặt của đập đất đá hỗn hợp được quy định như sau:
- Phần bãi (thềm sông) cách nhau từ 150 m đến 250 m,
- Phần lòng sông cách nhau từ 100 m đến 150 m;
Trong những trường hợp sau đây, tuyến đo lún mặt phải bố trí bổ sung:
- Nếu có chiều cao đập biến đổi đột ngột;
- Địa chất nền phức tạp;
- Tuyến đập cong mà có góc ngoặt vượt quá 15o.

CHÚ DẪN
1. Mốc quan trắc lún sâu;
2: Mốc quan trắc lún mặt;
3. Mốc ngắm quan trắc chuyển vị ngang;
4. Mốc cố định
Hình 6 - Sơ đồ bố trí các tuyến quan trắc đối với đập
4.1.2.3 Số lượng mốc mặt trong mỗi tuyến đo quy định
- Trên đỉnh đập ngoài phạm vi đường giao thông, cần bố trí từ 1 đến 2 mốc; Nếu bề rộng đỉnh đập Bđ < 8 m thì chỉ cần bố trí 1 mốc, Bđ > 8 m bố trí 2 mốc;
- Trên mái hạ lưu đập nên bố trí các mốc mặt trên các cơ đập, chỉ khi không có cơ mới bố trí trực tiếp lên mái đập. Vị trí các mốc lấy tuỳ theo chiều cao đập, cứ chênh nhau theo chiều cao từ 8m đến 10 m thì bố trí 1 điểm đo;
- Trên mái thượng lưu đập, hệ thống mốc mặt chỉ đặt đối với đập cấp I, II có chế độ làm việc đặc biệt như mực nước giao động lớn thì bố trí một mốc ở trên mực nước dâng bình thường và một mốc đặt cao hơn mực nước chết từ 1 m đến 2 m.
4.1.2.4 Tuyến quan trắc lún sâu
Được quy định như Điều 4.1.2.2, nên bố trí trùng với tuyến quan trắc lún mặt. Các mốc đo lún sâu đặt trên cùng một cao độ trong mặt cắt ngang của đập gọi là tuyến đo ngang.

CHÚ DẪN
1. Mốc cao độ;
2. Các ống đo áp quan trắc đường bão hoà (cột nước thấm);
3. Thiết bị quan trắc áp lực kẽ rỗng.
Hình 7 - Sơ đồ bố trí tuyến quan trắc dọc của đập
Đối với tuyến đo ngang: cứ chênh nhau theo chiều cao từ 8 m đến 10 m thì bố trí một tuyến với đập đồng chất; Đối với đập không đồng chất thì cứ mỗi loại đất bố trí một tuyến đo sâu. Số lượng mốc sâu trong mỗi tuyến bố trí từ 2 mốc đến 5 mốc.
4.1.3 Bố trí thiết bị quan trắc chuyển vị ngang
4.1.3.1 Việc bố trí quan trắc chuyển vị ngang đối với đập đất quy định như sau:
- Đập nằm trên phần lòng sông cứ cách nhau từ 100 m đến 150 m bố trí 1 tuyến quan trắc;
- Đập nằm trên phần thềm sông cứ cách nhau từ 150 m đến 250 m bố trí 1 tuyến quan trắc;
- Số lượng tuyến quan trắc chuyển vị ngang tuỳ thuộc vào chiều dài đập, nhưng không được ít hơn 3 (một tuyến tại vị trí sâu nhất, hai tuyến bố trí hai bên thềm sông), vị trí tuyến quan trắc chuyển vị ngang nên thiết kế trùng với tuyến quan trắc lún;
- Khi bề rộng đỉnh đập Bđ > 8 m sẽ bố trí 2 điểm quan trắc tại mép thượng và hạ lưu đập,
Bđ < 8 m chỉ bố trí 1 điểm quan trắc tại mép thượng lưu đập hoặc tại giao điểm của mực nước dâng gia cường với mái đập thượng lưu.
4.1.3.2 Theo chiều cao của đập đồng chất cứ cách nhau từ 8 m đến 10 m bố trí một điểm quan trắc chuyển vị ngang; Đối với đập không đồng chất, cứ mỗi loại đất đắp khác nhau bố trí 1 điểm quan trắc chuyển vị ngang.
4.1.3.3 Thiết bị đo để quan trắc chuyển vị ngang có thể sử dụng một trong những loại sau:
- Mốc ngắm;
- Hầm dọc;
- Quả lắc thuận, đảo;
- Thiết bị đo bố trí nghiêng (Inclinometer), v.v…
4.1.3.4 Trong trường hợp có kết cấu bê tông cốt thép nằm trong thân đập, tuyến quan trắc nên bố trí trùng với vị trí có kết cấu bê tông cốt thép, nếu kết cấu bê tông nằm lộ thiên ra khỏi mặt đập thì bố trí thiết bị quan trắc chuyển vị ngang như đập đất bình thường.
4.1.4 Bố trí thiết bị quan trắc thấm
4.1.4.1 Quan trắc thấm trong thân đập đất và đập đất đá hỗn hợp gồm những nội dung sau:
- Quan trắc độ cao mực nước trước, sau đập;
- Quan trắc đường bão hoà trong thân, nền và hai bên vai đập;
- Quan trắc áp lực nước thấm lên công trình bê tông, áp lực khe hở;
- Quan trắc lưu lượng thấm.
4.1.4.2 Để quan trắc đường bão hoà trong đập, bố trí các ống đo áp (Observation well).
Cao trình đặt ống đo áp cũng như chiều dài đoạn thu nước của ống đo áp được xác định bằng tính toán nhưng phải thấp hơn giá trị tính toán đường bão hoà một đoạn tối thiểu từ 1 m đến 2 m. Các ống đo áp bố trí trong mặt cắt ngang của đập gọi tuyến đo áp. Tuyến đo áp được quy định như sau:
- Ở phần thềm sông, các tuyến bố trí cách nhau từ 150 m đến 250 m;
- Ở phần lòng sông, các tuyến đo áp cách nhau từ 100 m đến 150 m;
- Khi bố trí tuyến đo áp chú ý đặt ở những vị trí có sự thay đổi về địa chất nền hoặc kết cấu đập. Số lượng tuyến đo áp cho mỗi đập không ít hơn 3.
4.1.4.3 Số lượng ống đo áp trong một tuyến tuỳ thuộc chiều cao đập, hình thức và kết cấu đập nhưng không được ít hơn 4, trong đó bố trí một ống ở mái thượng lưu trên mực nước dâng bình thường (MNDBT); từ 1 ống đến 2 ống trên đỉnh đập nhưng phải nằm ngoài phạm vi đường giao thông; từ 2 ống đến 3 ống trên mái hạ lưu, tốt nhất tại cơ hạ lưu và trước thiết bị tiêu nước nếu có (Xem Hình 8).

Hình 8 - Sơ đồ bố trí thiết bị quan trắc đường bão hoà trong thân đập đồng chất
4.1.4.4 Để quan trắc áp lực thấm, bố trí áp lực kế (piezometer). Số lượng lực áp kế trong một tuyến khoảng từ 3 áp lực kế đến 5 áp lực kế (Xem Hình 9). Trường hợp nền đá tốt, ít nứt nẻ thì không cần bố trí thiết bị quan trắc áp lực thấm.

Hình 9 - Sơ đồ bố trí thiết bị quan trắc thấm trên một tuyến đo.
4.1.4.5 Đập có kết cấu chống thấm kiểu tường tâm, tường nghiêng bằng vật liệu ít thấm nước thì phải bố trí các thiết bị quan trắc thấm để kiểm tra hiệu quả làm việc của tường. Bố trí thiết bị quan trắc thấm quy định như Điều 4.1.4.2 và Điều 4.1.4.3 (Xem Hình 9 và Hình 10).

CHÚ DẪN
1. Các ống đo áp;
2. Áp lực kế (piezometer) quan trắc áp lực kẽ rỗng;
3. Ống đo áp quan trắc thấm trong nền.
Hình 10 - Sơ đồ bố trí thiết bị quan trắc thấm của đập
4.1.4.6 Để xác định lưu lượng thấm, tại chân mái hạ lưu đặt các rãnh tập trung nước. Tại những vị trí cần đo lưu lượng thì bố trí các công trình đo lưu lượng như: đập tràn kiểu tam giác, kiểu thành mỏng. Để đo lưu lượng thấm qua khớp nối bên trong đập cần đặt các máng tập trung nước và dẫn ra các công trình đo lưu lượng.
4.1.4.7 Nền đập xử lý thấm bằng màn chắn kiểu phun xi măng hay cừ (thép, bê tông ...), phải bố trí ống đo áp để đánh giá hiệu quả làm việc của màn. Tuyến quan trắc thấm được quy định như Điều 4.1.4.2 mỗi tuyến bố trí tối thiểu 3 hàng:
- Hàng thứ nhất đặt trước màn chắn, độ sâu dưới mặt tiếp xúc của đập với nền khoảng 2 m;
- Hàng thứ hai đặt sát sau màn chắn, độ sâu bằng từ 0,5 đến 0,7 chiều sâu của màn chắn;
- Những hàng tiếp sau bố trí nông hơn, hàng cuối cùng phải đặt sát mặt tiếp xúc giữa đập và nền;
- Hệ thống đo áp có thể đặt ngay trong quá trình thi công hoặc thi công xong nhưng phải có biện pháp khoan hỗ trợ.
4.1.5 Bố trí thiết bị quan trắc lực kẽ rỗng
4.1.5.1 Bố trí thiết bị đo để quan trắc áp lực kẽ rỗng chỉ đối với đập cấp II trở lên mà thân đập, tường tâm hoặc tường nghiêng là đất sét hoặc á sét nặng. Đối với đập có cấp thấp hơn chỉ tiến hành khi có chế độ quan trắc đặc biệt.
4.1.5.2 Thiết bị quan trắc áp lực kẽ rỗng trong thân đập là các áp lực kế (piezometer) có cấu tạo giống như áp lực kế đo áp lực đất, nước. Các áp lực kế đo áp lực kẽ rỗng đặt sẵn vào vị trí cần đo ngay trong thời gian thi công đập. Tuyến đo áp lực kẽ rỗng nên bố trí trùng với tuyến đo đường bão hoà. Bố trí các tuyến đo ngang trên mặt cắt ngang của đập, vị trí theo chiều cao cách nhau từ 15 m đến 20 m. Số lượng thiết bị đo trong mỗi tuyến phụ thuộc vào bề rộng mặt cắt đập nhưng không ít hơn 5 (Xem Hình 10).
4.1.5.3 Việc bố trí hệ thống dây dẫn từ các áp lực kế ra vị trí đọc số liệu điểm quan trắc có thể sử dụng hành lang khoan phụt, nếu không có hành lang khoan phụt thì bố trí một buồng đặc biệt ở chân đập hạ lưu nơi không ngập nước.
4.1.6 Bố trí thiết bị quan trắc ứng suất của đập
Chỉ những đập cấp II trở lên cần bố trí thiết bị đo ứng suất
Thiết bị đo ứng suất trong thân đập đất và đất đá hỗn hợp là các áp kế (pressure cell) cấu tạo giống như áp kế đo áp lực đất lên công trình bê tông. Bố trí tuyến quan trắc ứng suất giống như quy định Điều 4.1.2.2. Để thuận lợi cho việc lắp đặt và quan trắc, nên bố trí tuyến quan trắc ứng suất trùng với tuyến quan trắc lún. Số lượng áp lực kế quy định theo Điều 4.1.5.2.
4.1.7 Bố trí thiết bị quan trắc áp lực đất lên kết cấu bê tông, bê tông cốt thép nằm trong thân đập như sau:
- Dùng các áp lực kế để quan trắc áp lực đất lên kết cấu bê tông, bê tông cốt thép nằm trong đập;
- Bố trí áp lực kế để đo áp lực đất khi chiều cao cột đất trên kết cấu bê tông Hđ > 25 m;
- Bố trí tuyến đo áp lực đất lên kết cấu bê tông quy định như Điều 4.1.2.2;
- Số lượng áp lực kế bố trí trong một tuyến ít nhất là 5 để có thể xây dựng được biểu đồ đẳng áp lực đất lên công trình (Xem Hình 11).

Hình 11 - Sơ đồ bố trí các áp lực kế để đo áp lực đất lên bề mặt kết cấu bê tông đặt trong đập
4.1.8 Bố trí thiết bị quan trắc biến dạng của các kết cấu bê tông, bê tông cốt thép nằm trong đập
Đối với đập cấp II trở lên mà trong thân đập có các kết cấu chống thấm bằng bê tông hay bê tông cốt thép thì phải bố trí thiết bị đo để quan trắc chuyển vị cũng như trạng thái ứng suất, biến dạng của nó. Nguyên tắc bố trí các thiết bị đo để quan trắc theo các Điều 4.1.2; điều 4.1.3; điều 4.1.6 và điều 4.1.7;
Đối với cống lấy nước đặt trong thân đập thì phải bố trí thiết bị đo để quan trắc lún và quan trắc chuyển vị ngang của khớp nối; Thiết bị đo để quan trắc biến dạng của khớp nối tham khảo ở
Phụ lục A.
4.2 Bố trí các thiết bị quan trắc đập bê tông, bê tông cốt thép (công trình bê tông) trên nền đá
4.2.1 Thành phần khối lượng quan trắc
Thành phần, khối lượng công tác quan trắc được quy định như sau:
| S.T.T | Nội dung quan trắc | Cấp công trình | ||||
| I | II | III | IV | V | ||
| 1 | Quan trắc chuyển vị | + | + | + | + | + |
| 2 | Quan trắc thấm | + | + |
|
|
|
| 3 | Quan sát nhiệt độ | + | + |
|
|
|
| 4 | Quan trắc ứng suất | + | + |
|
|
|
| 5 | Quan trắc áp lực mạch động của dòng chảy | + | + |
|
|
|
| 6 | Quan trắc áp lực kéo cốt thép | + | + | + | + | + |
4.2.2 Bố trí thiết bị quan trắc chuyển vị
Nội dung quan trắc chuyển vị gồm:
- Quan trắc độ lún công trình và bộ phận công trình;
- Quan trắc chênh lệch lún giữa các bộ phận hoặc giữa các đơn nguyên của công trình;
- Quan trắc chuyển vị ngang, nghiêng giữa các bộ phận hoặc giữa các đơn nguyên công trình; quan trắc độ mở rộng, thu hẹp của khe nối. Thiết bị đo để quan trắc chuyển vị tham khảo ở Phụ lục A. Về nguyên tắc thiết kế bố trí thiết bị đo để quan trắc chuyển vị đối với công trình bê tông, áp dụng như quy định trong đập đất và đập đất đá hỗn hợp.
Thiết bị đo độ mở rộng hay thu hẹp của khe nối đối với công trình bê tông trên nền đá thường sử dụng như: Mốc trắc đạc, Quả lắc thuận - đảo, Thiết bị đặt nghiêng (Inclinometer), v.v...
Đối với những đập thấp (cấp IV, V), để quan trắc độ mở rộng khe nứt, có thể dùng hệ thống mốc trắc đạc đặt trên mặt công trình, nên đặt đối xứng qua khe nối.
Số lượng thiết bị đo để quan trắc khe nối phụ thuộc vào chiều cao, chiều rộng và kết cấu đập; Theo chiều dọc khe nối cứ cách nhau từ 10 đến15 m bố trí một điểm đo.
4.2.3 Bố trí thiết bị quan trắc áp lực thấm lên đáy đập, màn chống thấm trong nền và vòng quanh công trình
4.2.3.1 Quan trắc áp lực thấm
Để quan trắc áp lực thấm (kể cả áp lực đẩy nổi) lên đáy công trình phải bố trí các thiết bị đo lên mặt tiếp xúc giữa đáy công trình và nền.
Thiết bị đo là các áp lực kế (xem ở Phụ lục A) hoặc ống đo áp, nếu bố trí áp lực kế sẽ quan trắc ngay được trị số áp lực lên từng điểm đo, bố trí ống đo áp mới cho cột nước áp lực của từng điểm quan trắc.
Nguyên tắc bố trí áp lực kế cũng như ống đo áp áp dụng như quan trắc áp lực kẽ rỗng, quan trắc đường bão hoà, trong đập đất đá hỗn hợp.
4.2.3.2 Quan trắc cột nước áp lực nước tác dụng lên màn chống thấm
Để quan trắc cột nước áp lực nước tác dụng lên màn chống thấm (màn phun xi măng) với thiết bị là ống đo áp, nên bố trí các ống đo áp ở phía trước và sau màn phun.
Số lượng ống đo áp bố trí trong một tuyến từ 3 ống đến 4 ống: Một ống đặt ở phía trước màn phun, có độ sâu bằng một nửa độ sâu của màn; ống còn lại (từ 2ống đến 3 ống) bố trí sau màn phun, trong đó có một ống đặt sát màn phun ở độ sâu bằng độ sâu màn phun, một ống đặt sát ngang mặt tiếp xúc giữa nền và đập.
Nếu nền đập có nhiều lớp đá xấu khác nhau lại xuất hiện xói ngầm hoá học hoặc chịu tác dụng của nước ngầm có áp lực thì có thể tăng số lượng ống đo trong mỗi tuyến, nhưng không nhiều hơn 5 ống trong một tuyến.
Trường hợp nền đá đồng đều, không xử lý thấm thì cho phép chỉ bố trí từ 1 đến 2 thiết bị và đặt ở sát đáy công trình với nền để quan trắc áp lực ngược và thành phần hoá học của nước thấm.
4.2.3.3 Tuyến quan trắc áp lực thấm
Phụ thuộc vào chiều dài, hình dạng, kết cấu đập và điều kiện địa chất của nền đập.
Khi công trình có nhiều đơn nguyên (nhiều đoạn) thì mỗi đơn nguyên bố trí một tuyến đo.
Trường hợp công trình có nhiều loại vật liệu khác nhau (ví dụ đập có đơn nguyên bằng bê tông, đơn nguyên bằng đá xây thì bắt buộc mỗi đơn nguyên phải bố trí một tuyến quan trắc).
4.2.3.4 Quan trắc thấm vòng quanh
Thấm vòng quanh (thấm hai bên vai) công trình bê tông chỉ tiến hành trong trường hợp đất đắp hay địa chất của khối tựa là đất đá xấu, nứt nẻ nhiều.
Nguyên tắc bố trí tuyến đo áp ở đây giống như quan trắc đường bão hoà.
4.2.4 Bố trí thiết bị quan trắc nhiệt độ
Do sự thay đổi nhiệt độ trong công trình bê tông khối lớn, xuất hiện các khe nứt nhiệt gây nguy hiểm cho sự làm việc của công trình nên cần chú ý đúng mức quan trắc chế độ nhiệt trong công trình bê tông.
Thiết bị quan trắc nhiệt thường dùng là hệ thống nhiệt kế đặt sẵn vào trong khối bê tông ngay từ khi thi công công trình. Việc bố trí tuyến quan trắc nhiệt và số lượng nhiệt kế trong một tuyến phụ thuộc vào kích thước, quy mô và cấp của công trình.
Mỗi đơn nguyên công trình bố trí ít nhất một tuyến quan trắc nhiệt. Theo chiều cao công trình cứ cách nhau khoảng từ 10 đến 15 m bố trí một mặt cắt ngang (tiết diện) quan trắc.
Số lượng nhiệt kế bố trí trong một mặt cắt ngang phải đủ để vẽ được biểu đồ đẳng nhiệt của công trình, thường bố trí từ 5 đến 7 nhiệt kế trong một mặt cắt ngang (xem Hình 12) và nên bố trí ở phần sát biên dày hơn ở phần tâm công trình.
Đối với những công trình bê tông trên nền đá có chiều dày nhỏ hơn hoặc bằng 5 m thì không cần phải tiến hành quan trắc nhiệt.
4.2.5 Bố trí thiết bị quan trắc ứng suất
Quan trắc ứng suất bao gồm quan trắc trạng thái ứng suất và quan trắc ứng suất nhiệt.
a) Quan trắc trạng thái ứng suất:
- Để quan trắc trạng thái ứng suất của công trình bê tông khối lớn, thường thực hiện bằng 2 phương pháp: trực tiếp hoặc gián tiếp qua biến dạng, sau đó tính chuyển thành ứng suất theo lý thuyết đàn hồi và dẻo;
- Thiết bị quan trắc gián tiếp qua biến dạng là thiết bị kiểu dây căng (Tenzomet, Embeded Strain gauge), v.v… Thiết bị đo trực tiếp ứng suất thường dùng hiện nay là: Pressure cell, Total pressure cell, v.v…;
- Nguyên tắc bố trí hệ thống thiết bị đo trong công trình bê tông phải căn cứ vào biểu đồ ứng suất tính toán (kể cả biểu đồ ứng suất nhiệt), ưu tiên bố trí dày ở mặt cắt có biểu đồ ứng suất hai đầu. Việc bố trí tuyến và số lượng thiết bị đo trong một tuyến như quy định của Điều 3.4.
b) Quan trắc ứng suất nhiệt:
- Ứng suất nhiệt của công trình bê tông toàn khối có ý nghĩa rất quan trọng. Khi bố trí các thiết bị để quan trắc ứng suất nhiệt cần căn cứ vào biểu đồ ứng suất nhiệt tính toán. Ở sát mép thượng lưu, mặt tiếp xúc giữa bê tông với nền đá hoặc khe nhiệt hoặc khe nối phải bố trí nhiệt kế dày hơn ở giữa khối bê tông;
- Nên bố trí các thiết bị đo để quan trắc ứng suất và ứng suất nhiệt trong cùng một tuyến (Xem Hình 12).

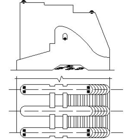
Hình 12 - Sơ đồ bố trí các tuyến quan trắc nhiệt và ứng suất đập bê tông trọng lực trên nền đá
4.2.6 Bố trí thiết bị quan trắc áp lực mạch động của dòng chảy
Quan trắc áp lực mạch động của dòng chảy sau đập tràn, cửa ra cống lấy nước, mũi hất của máng phun, thân dốc nước, v.v… chỉ thực hiện đối với công trình quan trọng cấp II trở lên.

Hình 13 - Sơ đồ bố trí thiết bị đo quan trắc áp lực mạch động của dòng chảy lên mặt công trình bê tông
Để quan trắc áp lực mạch động của dòng chảy thường dùng thiết bị đo kiểu cảm biến (Pressure Cell, Hydraulic Load Cell, v.v…) đặt ở vị trí cần đo như: tại cửa van, mũi hất đập tràn, hố tiêu năng, v.v...
Các thiết bị đo mạch động được đặt thành những tuyến song song và vuông góc với trục dòng chảy. Tại một tuyến đo, số lượng thiết bị đo bố trí không được ít hơn 3.
Đối với công trình quan trọng trước khi bố trí thiết bị quan trắc mạch động phải thông qua thí nghiệm mô hình để đặt thiết bị đo chính xác (Xem Hình 13).
Quan trắc rung động của công trình do động đất, do thiết bị máy làm việc hoặc do hoạt tải, không quy định trong tiêu chuẩn này.
4.2.7 Bố trí thiết bị quan trắc áp lực kéo cốt thép
Nguyên lý làm việc của thiết bị quan trắc áp lực kéo cốt thép tương tự như thiết bị đo ứng suất. Quan trắc biến dạng của cốt thép, sau đó xác định ứng lực theo lý thuyết đàn hồi.
Việc bố trí thiết bị quan trắc áp lực cốt thép bao gồm lực kế đo trực tiếp (Load Cell) và lực kế kiểu dây rung đo gián tiếp (Embeded Strain gause). Các lực kế được bố trí thành từng tuyến theo phương chịu lực, một sông trình không được bố trí ít hơn 3 tuyến bao gồm:
- Một tuyến ở tâm đáy móng;
- Hai tuyến còn lại đặt ở hai biên của tâm đáy;
- Số lượng lực kế trong một tuyến phụ thuộc vào hình dạng và kích thước kết cấu nhưng không được ít hơn 3 lực kế.
4.3 Bố trí thiết bị quan trắc công trình bê tông cốt thép trên nền đất
4.3.1 Một số quy định đối với quan trắc công trình bê tông cốt thép trên nền đất
a) Các công trình bê tông cốt thép trên nền đất đề cập trong tiêu chuẩn này chủ yếu là: đập tràn cột nước thấp, cống lộ thiên, trạm bơm, v.v…;
b) Nguyên tắc chung quy định về nội dung quan trắc và lập đồ án thiết kế bố trí các thiết bị đo thực hiện như quy định đã nêu ở phần trên;
c) Đối với công trình bê tông cốt thép trên nền đất, việc quan trắc chuyển vị, áp lực thấm ở nền, đường bão hoà ở hai vai công trình là rất quan trọng, cần phải bố trí thiết bị quan trắc. Ngoài ra đối với công trình cấp II trở lên còn phải bố trí các thiết bị đo để quan trắc trạng thái ứng suất trong thân và nền, áp lực mạch động ở hạ lưu của bể tiêu năng, áp lực ngang của đất.
4.3.2 Bố trí thiết bị quan trắc lún
Việc quan trắc đối với các công trình ở mục này cũng giống như trong đập đất, công trình bê tông, theo phương pháp Trắc đạc và phương pháp tự động như: Quả lắc thuận đảo, Magnetic Extensometer, v.v… Nguyên tắc bố trí các mốc đo để quan trắc lún đối với đập bê tông giống như đối với đập đất.
Trong trường hợp công trình được chia thành từng đoạn bởi các khe lún thì các mốc đo của từng đoạn sẽ sử dụng làm mốc quan trắc lún (kể cả quan trắc độ nghiêng) của mỗi đoạn công trình. Nếu khe lún qua trục mố trụ thì cho phép đặt các mốc cao độ vào bốn góc của mỗi mố trụ thượng lưu và hạ lưu (Xem Hình 14).

Hình 14 - Sơ đồ bố trí các mốc đo quan trắc lún giữa hai khoang công trình bê tông trên nền đất
4.3.3 Bố trí thiết bị để quan trắc chuyển vị ngang
Quan trắc chuyển vị ngang của công trình bê tông cốt thép trên nền đất cũng được được tiến hành như quan trắc chuyển vị ngang của công trình bê tông trên nền đá.
4.3.4 Bố trí thiết bị để puan trắc áp lực thấm
Để quan trắc áp lực thấm ở nền công trình, sử dụng các áp lực kế đặt sẵn vào điểm cần quan trắc ngay từ khi thi công. Đối với nền cát mịn phải thiết kế lớp bảo vệ hết sức cẩn thận để phòng tránh ách tắc.
Các tuyến quan trắc áp lực thấm được bố trí vuông góc với trục tim công trình. Số lượng tuyến quan trắc được ấn định bởi điều kiện địa chất nền, kích thước công trình, khoảng cách giữa các tuyến không được lớn hơn 40 m. Số lượng tuyến trên một công trình không nhỏ hơn 3: một tuyến ở giữa, còn lại hai bên thềm hoặc vai công trình nối tiếp với bờ.
Trong mỗi tuyến quan trắc, các áp lực kế được bố trí như sau:
- Ở những điểm đặc trưng của đường viền;
- Ở ngay trước và sau thiết bị chống thấm.
Quan trắc thấm vòng quanh hai bên vai công trình phải thực hiện khi đắp đất hoặc địa chất khối tựa là đá xấu, nứt nẻ nhiều. Thiết bị đo được cấu tạo giống như ống đo đường bão hoà trong đập đất. Số lượng ống trong mỗi tuyến đo tuỳ thuộc vào nền và quy mô công trình, tối thiểu phải lớn hơn 3.
4.3.5 Bố trí thiết bị để quan trắc ứng suất và ứng lực
4.3.5.1 Đối với công trình cấp II trở lên:
- Công trình bê tông cốt thép cấp II trở lên trên nền đất ngoài việc bố trí thiết bị đo để quan trắc ứng suất trong thân công trình còn phải bố trí thiết bị đo để quan trắc ứng suất của đất nền, thiết bị quan trắc ứng suất là các áp lực kế phải đặt cách mặt đáy bê tông từ 10 cm đến 15 cm;
- Việc bố trí chi tiết thiết bị quan trắc ứng suất của đất nền như Điều 3.4.1 và khoản a) Điều 4.2.5;
- Số lượng tuyến quan trắc không được nhỏ hơn 3: Một tuyến ở vị trí lòng sông, hai tuyến còn lại đặt hai bên thềm. Khoảng cách giữa các tuyến quan trắc không nên lớn hơn 30 m;
- Số lượng áp lực kế trong mỗi tuyến phụ thuộc vào kích thước mặt cắt ngang công trình; tối thiểu từ 4 đến 5: Hai biên, áp lực kế được bố trí dày hơn ở giữa; Trường hợp nền phức tạp cần phải tăng số lượng áp lực kế.
4.3.5.2 Những bộ phận công trình có khối bê tông lớn, phải bố trí thiết bị quan trắc ứng suất nhiệt áp dụng theo Điều 4.2.5.
4.3.5.3 Bố trí quan trắc ứng lực trong cốt thép
Công trình bê tông cốt thép cần quan trắc ứng lực trong cốt thép. Thiết bị đo là các lực kế (Load cell, Vibration load cell, Embeded strain gauge, v.v...), việc bố trí như sau:
- Các lực kế được bố trí thành từng tuyến theo phương chịu lực, một công trình bố trí không ít hơn 3 tuyến: Một tuyến ở tâm đáy móng, hai tuyến còn lại đặt ở hai biên của tấm đáy;
- Số lượng lực kế trong một tuyến phụ thuộc vào hình dạng và kích thước đáy móng công trình nhưng không được ít hơn 3, tốt nhất bố trí thành từng cụm;
- Các lực kế được hàn cố định vào thép chịu lực theo hai phương (dọc và ngang). Chỉ đặt lực kế đối với thép có đường kính lớn hơn 20 mm.
Trường hợp công trình có thiết kế thép néo vào nền thì phải bố trí lực kế để quan trắc ứng suất kéo của nó. Việc bố trí tuyến và số lượng lực kế trong mỗi tuyến áp dụng như phần trên của
điều này.
4.3.6 Bố trí thiết bị quan trắc đối với trường hợp công trình trên nền đất mềm yếu
Công trình bê tông cốt thép trên nền đất mềm yếu cần phải bố trí các thiết bị để quan trắc áp lực mạch động của dòng chảy lên mặt đập, bể tiêu năng và sân sau nối tiếp với bể. Các thiết bị đo mạch động của dòng chảy được bố trí ở những tuyến song song và vuông góc với dòng chảy. Vị trí đặt các điểm đo trong tuyến quan trắc cần nghiên cứu kỹ, nên đặt tại điểm có xung lực lớn nhất của dòng chảy.
Đối với công trình cấp I và cấp đặc biệt, vị trí đặt thiết bị đo mạch động phải thông qua kết quả thí nghiệm mô hình.
4.4 Bố trí thiết bị quan trắc đập vòm trên nền đá
4.4.1 Một số quy định quan trắc đập vòm
- Đập vòm là một dạng của công trình bê tông trên nền đá, nội dung thiết kế bố trí các thiết bị quan trắc áp dụng theo Điều 4.2. Tuy vậy, đập vòm thuộc loại kết cấu mỏng, tính chất làm việc không hoàn toàn giống đập bê tông trọng lực, nên có một số quy định cho phù hợp;

Hình 15 - Sơ đồ bố trí hệ thống thiết bị quan trắc trong đập vòm
- Do đập vòm đặt trên nền đá tốt, khi thiết kế bố trí thiết bị để quan trắc lún có thể sử dụng phương pháp đơn giản: bố trí các mốc trắc đạc trên bề mặt đập.
4.4.2 Bố trí thiết bị để quan trắc chuyển vị ngang đập vòm
Để quan trắc chuyển vị ngang của đập vòm, sử dụng thiết bị sau:
- Quả lắc thuận và Thiết bị đặt nghiêng (Inclinometer);
- Trường hợp đập vòm có mặt cắt cong hoặc gẫy khúc không thể bố trí dây treo chạy suốt từ đỉnh đến nền thì có thể đặt các điểm cố định trên mặt cong của đập (Xem Hình 15). Các điểm đặt khi thả quả lắc phải thẳng đứng từ trên xuống dưới. Quả lắc và giá đỡ cần bố trí trong buồng (hố) không ngập nước.
Quan trắc chuyển vị ngang và quan trắc độ võng của mặt cong đập:
- Bố trí hệ thống quả lắc để quan trắc chuyển vị ngang và quan trắc độ võng của mặt cong so với trục dọc của đập;
- Số lượng các điểm đặt quan trắc phụ thuộc vào chiều cao đập, trung bình cứ từ 10 m đến 15 m theo chiều cao bố trí một điểm đo. Mỗi khoang đập cần bố trí ít nhất một tuyến quan trắc chuyển vị ngang và độ võng.
4.4.3 Bố trí thiết bị quan trắc khe hẹp và khe lún
Bố trí thiết bị đo để quan trắc độ mở rộng hay thu hẹp của khe nhiệt và khe lún của đập vòm là đặc biệt quan trọng và phải tiến hành quan trắc ngay trong quá trình thi công công trình.
| Phương án A | Phương án B |

| a) Phương án A | b) Phương án B |
Hình 16
Thiết bị đo khe hở được bố trí đối xứng qua khe nhiệt (khe lún), theo chiều cao đập cứ từ 5 m đến 10 m bố trí một thiết bị đo.
Đối với đập cấp IV trở xuống có thể đặt các điểm dấu hoặc ống thăng bằng để quan trắc độ mở rộng của khe nối, khe lún.
4.4.4 Bố trí thiết bị quan trắc thấm
Bố trí thiết bị đo để quan trắc thấm qua nền, vai và khe nối của đập vòm quy định giống như đối với đập bê tông trọng lực ở Điều 4.2.3.
Quan trắc sự làm việc của màn phun xi măng chống thấm cho nền đập, có thể sử dụng loại đơn giản là các ống đo áp đặt sẵn trong nền ngay từ khi kết thúc khoan phụt.
Tuyến quan trắc thấm được bố trí như sau:
- Một tuyến ở trước màn phun xi măng có độ sâu bằng nửa độ sâu của màn,
- Phía sau màn bố trí hai tuyến: tuyến sát màn chống thấm có độ sâu bằng từ 0,5 đến 0,7 độ sâu màn; Tuyến thứ ba bố trí sát mặt tiếp xúc với nền.
Quan trắc áp lực thấm lên mặt tiếp xúc giữa nền với công trình, có thể sử dụng một số loại thiết bị sau:
- Ống đo áp;
- Áp lực kế: Total pressure, Pressure cell, Hydraulic Load cells, v.v…;
- Nếu sử dụng ống đo áp thì phải bố trí ống dẫn dài lên khỏi mặt thoáng. Trường hợp dùng áp lực kế đặt sẵn lên mặt tiếp xúc của nền với công trình thì phải bố trí hệ thống dây dẫn đến điểm đọc số quan trắc;
- Thiết bị đo có thể bố trí theo tuyến hay theo lưới ô vuông. Số lượng tuyến quan trắc tuỳ thuộc vào chiều dài, chiều cao và điều kiện địa chất của nền đập, khoảng cách giữa các tuyến tối đa từ 100 m đến 150 m khi địa chất nền ít phức tạp, trường hợp nền phức tạp thì thiết bị quan trắc phải bố trí dày hơn.
Bố trí thiết bị để quan trắc thấm vòng quanh hai biên công trình được thiết kế giống như hệ thống thiết bị quan trắc đường bão hoà trong đập đất.
4.4.5 Bố trí thiết bị quan trắc nhiệt
Quan trắc sự phân bố nhiệt độ bê tông trong đập vòm là đặc biệt quan trọng và phải được thực hiện ngay từ khi xây dựng công trình. Thiết kế số lượng và vị trí tuyến quan trắc nhiệt độ cần phải căn cứ vào chiều cao và số khoang đập, tối thiểu mỗi khoang đập phải có một tuyến quan trắc nhiệt độ;
Theo chiều cao của đập cứ 10 m có một mặt cắt ngang quan trắc, trên đó bố trí từ 5 đến 7 điểm tuỳ theo mặt cắt ngang của đập. Yêu cầu điểm đầu và cuối phải cách biên ngoài của đập từ 0,4 m đến 0,6 m;
Để quan trắc nhiệt độ của nền đập, cần bố trí các nhiệt kế (Resistance thermometer) đo từ xa đặt sẵn trong các lỗ khoan dưới nền đập ở độ sâu từ 5 m đến 6 m. Hệ thống lỗ khoan có thể bố trí thành tuyến ngang, dọc theo nền đập hoặc theo lưới ô vuông sao cho việc quan trắc thuận lợi. Số lượng điểm đo bố trí trong nền phải đủ để phân tích được trường nhiệt độ và thấm của nền đập.
4.4.6 Bố trí thiết bị quan trắc ứng suất
Ở đập vòm, ứng suất do tải trọng ngoài gây ra thường khá lớn vì vậy việc bố trí thiết bị đo để quan trắc ứng suất, biến dạng là rất quan trọng. Tại mỗi điểm quan trắc đều phải bố trí theo phương đứng và ngang.
Số lượng tuyến đo phụ thuộc vào chiều cao đập, nhiệm vụ nghiên cứu đặc biệt (nếu có), theo chiều cao đập cứ khoảng 10 m bố trí một mặt cắt ngang. Trên mặt cắt ngang bố trí từ 5 đến 7 điểm đo, vị trí cụ thể đặt thiết bị đo phải dựa vào kết quả tính toán trạng thái ứng suất và biến dạng của đập.
PHỤ LỤC A
(tham khảo)
DANH MỤC CÁC THIẾT BỊ ĐO THÔNG DỤNG


PHỤ LỤC B
(tham khảo)
KÝ HIỆU MỘT SỐ THIẾT BỊ ĐO THÔNG DỤNG

Bạn chưa Đăng nhập thành viên.
Đây là tiện ích dành cho tài khoản thành viên. Vui lòng Đăng nhập để xem chi tiết. Nếu chưa có tài khoản, vui lòng Đăng ký tại đây!