- Tổng quan
- Nội dung
- Tiêu chuẩn liên quan
- Lược đồ
- Tải về
Tiêu chuẩn quốc gia TCVN 5756:2001 Mũ bảo vệ cho người đi mô tô và xe máy
| Số hiệu: | TCVN 5756:2001 | Loại văn bản: | Tiêu chuẩn Việt Nam |
| Cơ quan ban hành: | Bộ Khoa học, Công nghệ và Môi trường | Lĩnh vực: | Giao thông , Công nghiệp |
| Trích yếu: | Mũ bảo vệ cho người đi mô tô và xe máy | ||
|
Ngày ban hành:
Ngày ban hành là ngày, tháng, năm văn bản được thông qua hoặc ký ban hành.
|
01/01/2001 |
Hiệu lực:
|
Đã biết
|
| Người ký: | Đang cập nhật |
Tình trạng hiệu lực:
Cho biết trạng thái hiệu lực của văn bản đang tra cứu: Chưa áp dụng, Còn hiệu lực, Hết hiệu lực, Hết hiệu lực 1 phần; Đã sửa đổi, Đính chính hay Không còn phù hợp,...
|
Đã biết
|
TÓM TẮT TIÊU CHUẨN VIỆT NAM TCVN 5756:2001
Nội dung tóm tắt đang được cập nhật, Quý khách vui lòng quay lại sau!
Tải tiêu chuẩn Việt Nam TCVN 5756:2001
TIÊU CHUẨN VIỆT NAM
TCVN 5756:2001
MŨ BẢO VỆ CHO NGƯỜI ĐI MÔ TÔ VÀ XE MÁY
Protective helmets for users of motorcycles and mopeds
Lời nói đầu
TCVN 5756 : 2001 thay thế TCVN 5756:1993.
TCVN 5756 : 2001 do Ban kỹ thuật tiêu chuẩn TCVN/ SC1
“Những vấn đề chung về cơ khí” biên soạn, Tổng cục Tiêu chuẩn Đo lường Chất lượng và Cục Đăng kiểm Việt Nam đề nghị, Bộ Khoa học, Công nghệ và Môi trường ban hành.
1. Phạm vi áp dụng
Tiêu chuẩn này áp dụng cho các loại mũ bảo vệ cho người đi mô tô, xe máy (gọi tắt là mũ) loại thông dụng khi tham gia giao thông, bao gồm cả người lái xe và người đi cùng trên xe.
Tiêu chuẩn này không áp dụng cho mũ cho trẻ em và người đi các loại xe đua, xe thể thao hoặc các loại phương tiện khác.
2. Tiêu chuẩn trích dẫn
TCVN 6238-3:1997 (EN 71-3:1988) An toàn đồ chơi trẻ em – Yêu cầu giới hạn mức xâm nhập của các độc tố.
3. Phân loại, kết cấu
3.1 Mũ được phân chia làm 3 loại (hình 1):
- Loại mũ che nửa đầu: mũ có vỏ cứng chủ yếu bảo vệ phần đầu phía trên của người đội mũ.
- Loại mũ che cả đầu và tai: mũ có vỏ cứng bảo vệ phần phía trên của đầu, vùng chẩm và quai hàm của người đội mũ.
- Loại mũ che cả hàm: mũ có vỏ cứng bảo vệ phần phía trên của đầu, vùng chẩm và cằm của người đội mũ.
3.2 Các bộ phận của mũ (hình 2)
3.2.1 Các bộ phận bắt buộc
- Vỏ cứng.
- Đệm hấp thụ xung động bên trong thân mũ (đệm bảo vệ).
- Quai đeo để cố định mũ trên đầu người đội.
- Lớp đệm lót để đảm bảo dễ chịu cho người sử dụng
3.2.2. Các bộ phận không bắt buộc là các bộ phận không có tác dụng bảo vệ đầu người đội mũ như: kính chắn gió, lưỡi trai, đệm lót cổ, v.v
4. Thông số và kích thước cơ bản
4.1 Mũ được chế tạo theo 05 cỡ. Các cỡ này phù hợp với 05 cỡ mô hình dạng đầu người (hoặc gọi là đầu giả) dùng để thử nghiệm (hoặc gọi là dạng đầu).Thông số và kích thước cơ bản của từng cỡ dạng đầu được qui định trong phụ lục A.
4.2. Dạng đầu người dùng để thử nghiệm mũ có hình dáng và kích thước cơ bản qui định trong, hình 4, hình 5, bảng 1. Dạng đầu gồm có:
a) Mặt cơ bản là mặt qui ước đi qua tâm lỗ tai trái, tai phải và mép dưới hốc mắt của đầu người (hình 3).
b) Mặt chuẩn là mặt phẳng song song với mặt cơ bản, cách mặt cơ bản một đoạn là X.
c) Mặt đối xứng là mặt phẳng vuông góc với mặt cơ bản, chia dạng đầu ra làm 2 phần đối xứng nhau. Hình 4 thể hiện biên dạng đầu trong mặt đối xứng.
d) Điểm A và điểm A’ là giao điểm của biên dạng đầu trong mặt đối xứng với mặt phẳng song song với mặt chuẩn, mặt này cách mặt chuẩn một đoạn 12,7mm về phía trên. Trọng tâm Z của dạng đầu là điểm giữa của AA’.
e) Trục đứng trung tâm là trục đi qua Z và thẳng góc với mặt cơ bản.
f) Vòng đầu là giao tuyến của mặt ngoài dạng đầu với mặt nón có đỉnh là Z, đường sinh là đường thẳng nghiêng một góc 200 so với mặt chuẩn về phía trên.
g) Điểm B và B’ là giao điểm của biên dạng đầu trong mặt đối xứng với vòng đầu.
h) Điểm K là giao điểm của mặt cơ bản với biên dạng đầu trong mặt đối xứng ở về phía trước.
i) Phần trên của dạng đầu là phần nằm phía trên của mặt chuẩn, có chiều cao lớn nhất Y. Phần này mô phỏng giống đầu người thật, có hình dạng và kích thước theo qui định trong phụ lục của tiêu chuẩn này.
j) Phần dưới của dạng đầu là phần nằm phía dưới mặt chuẩn, có chiều cao lớn nhất 114,3mm. Phần có hình dạng giống đầu người nhưng cho phép vài chỗ có hình dạng khác sao cho phù hợp với việc gá lắp thiết bị thử nghiệm.
k) Dạng đầu được đánh dấu ở các vị trí:
- Giao tuyến của mặt cơ bản với mặt ngoài dạng đầu.
- Biên dạng của mặt ngoài dạng đầu AA’ và song song với mặt cơ bản.
- Các điểm K, C, D, E, F.
l) Phạm vi cần được bảo vệ của dạng đầu là phần phía trên đường ACDEF ở cả hai bên dạng
đầu.

Hình 1a. Mũ che nửa đầu

Hình 1b. Mũ che cả đầu và tai
Hình 1c - Mũ che cả hàm
Hình 1. Các loại mũ bảo vệ

Hình 2. Cấu tạo của mũ

Hình 3 - Mặt cơ bản

Hình 4 - Dạng đầu


Hình 5 - Phạm vi che chắn bảo vệ trên dạng đầu
Bảng 1. Kích thước cơ bản và phạm vi bảo vệ trên dạng đầu
Kích thước: mm
| Cỡ đầu | Vòng đầu | X ± 0,25 | Y ± 0,25 | AC ± 0,25 | HD ± 0,25 |
| 0
1
2
3
4 | 520
540
560
580
600 | 25
26
27
28
29 | 92
96
99
104
107 | 82
84
86
89
90 | 98
101
103
105
107 |
5. Yêu cầu kỹ thuật
5.1 Vật liệu
a) Vật liệu chế tạo phải đảm bảo mũ không thay đổi đáng kể do ảnh hưởng của thời tiết, nhiệt độ và các điều kiện sử dụng như: nắng, mưa, bụi, mồ hôi, nhiệt độ quá cao hoặc quá thấp, mỹ phẩm da hoặc tóc...
b) Các bộ phận tiếp xúc với đầu người sử dụng (quai đeo, khóa, đệm lót, đệm lót cổ...), không được làm bằng vật liệu gây độc hại cho da và tóc.
5.2 Khối lượng mũ, kể cả các bộ phận kèm theo, phải thoả mãn yêu cầu cho dưới đây:
a) Đối với mũ che cả hàm: Ê 1,5kg.
b) Đối với mũ che cả đầu và tai, mũ che nửa đầu: Ê 1,0kg.
5.3 Bề mặt phía ngoài của vỏ cứng và các bộ phận kèm theo phải nhẵn, không có vết nứt hoặc gờ cạnh sắc.
5.4. Đầu đinh tán không được cao hơn bề mặt phía ngoài của vỏ cứng 2mm, phải tròn nhẵn và không được có các gờ cạnh sắc, không có đầu nhọn. Không được sử dụng các bu lông hoặc ốc vít bằng kim loại.
5.5 Vỏ cứng của mũ phải che chắn được phạm vi cần bảo vệ của đầu khi thử nghiệm theo 6.4.
5.6. Mũ phải chịu được va đập và hấp thụ xung động khi thử nghiệm theo 6.5. Sau khi thử mũ không bị nứt, vỡ, biến dạng và gia tốc dội lại khi bị va đập không được vượt quá:
a) Gia tốc tức thời : 300g ( 2942m/s2 ).
b) Gia tốc dư sau 3ms : 200g (1961m/s2 ). c) Gia tốc dư sau 6ms: 150g (1470m/s2 ).
Chú thích - Các giá trị gia tốc tính bằng m/s2 được xác định trên cơ sở đơn vị gia tốc trọng trường
g = 9,80665 m/s2
5.7 Mũ phải chịu được thử nghiệm độ bền đâm xuyên theo 6.6. Sau khi thử đầu đâm xuyên không được chạm vào dạng đầu bên trong mũ.
5.8. Quai đeo phải chịu được thử nghiệm theo 6.7. Khi thử, độ dịch chuyển của gá móc quai đeo giữa 2 lần đặt tải ban đầu và tải thử nghiệm không được vượt quá 25 mm.
5.9 Góc nhìn (hình 9): Kết cấu của mũ phải đảm bảo tầm nhìn của người đi xe máy trong khi sử dụng, cụ thể:
a). Góc nhìn bên phải và bên trái của mũ khi tiến hành đo góc nhìn theo 6.8 không được nhỏ hơn 1050.
b) Góc nhìn phía trên không được nhỏ hơn 70, góc nhìn phía dưới không được nhỏ hơn 450. 5.10 Kính chắn gió, nếu có, phải thỏa mãn các yêu cầu sau:
a) Phải chịu được thử nghiệm theo 6.9.1. Nếu kính bị vỡ, không được có các mảnh sắc nhọn có góc nhỏ hơn 600.
b) Hệ số truyền sáng khi được thử nghiệm theo 6.9.2 không được nhỏ hơn 85%
c). Không được gây ra bất kỳ sự sai khác nào về hình ảnh tới mức có thể nhận thấy được khi nhìn qua kính; không gây ra nhầm lẫn giữa các mầu trên biển báo và đèn tín hiệu giao thông.
5.11. Mũ có thể có các lỗ thông gió cho đầu người đội mũ.
5.12. Phần che tai của mũ có thể có các lỗ để nghe.
6. Phương pháp thử
6.1 Chuẩn bị mẫu
Thử nghiệm độ bền va đập và hấp thụ xung động, độ bền đâm xuyên, phải được tiến hành trên các mẫu đã thuần hoá theo các điều kiện qui định trong bảng 2. Mỗi chiếc mũ chỉ được phép chuẩn bị theo một trong hai điều kiện thuần hoá. Nếu không có qui định nào khác, mỗi đợt mẫu lấy trong lô phải tiến hành thử nghiệm đầy đủ ở cả hai điều kiện.
Mẫu kính chắn gió trước khi thử đặc tính cơ học phải được thuần hoá theo điều A qui định trong bảng 2.
Bảng 2. Các điều kiện thuần hóa
| Điều kiện thuần hoá | Nhiệt độ 0C | Thời gian thuần hoá h |
|
A. Nhiệt độ cao
B. Ngâm nước |
50 ± 2
23 ± 2 |
4 đến 6
4 đến 6 |
Sau khi thuần hoá, mẫu được đưa vào thử nghiệm theo các qui định sau:
- Mẫu chuẩn bị theo điều kiện A được tiến hành thử ngay, thời gian di chuyển và gá lắp không được quá 3 phút.
- Mẫu chuẩn bị theo điều kiện B được lấy ra ngoài, để ráo nước từ 10 phút đến 45 phút trước khi thử.
6.2 Kiểm tra ngoại quan
Quan sát hình dạng, các chi tiết ghép nối và khuyết tật bên ngoài mũ bằng mắt thường.
6.3 Kiểm tra khối lượng
Dùng cân có vạch chia đến 10g để xác định khối lượng toàn bộ của mũ.
6.4 Kiểm tra kích thước và phạm vi bảo vệ
Mũ được đội khít lên dạng đầu theo cỡ tương ứng trước khi kiểm tra.
6.4.1 Kiểm tra phạm vi che chắn bảo vệ của vỏ cứng:
a) Mũ che cả hàm, mũ che cả đầu và tai phải che được ít nhất là phần dạng đầu phía trên, tính từ đường ACDEF đánh dấu trên dạng đầu trở lên.
b) Mũ che nửa đầu phải che được ít nhất phần dạng đầu phía trên, tính từ đường bao quanh AA' đánh dấu trên dạng đầu trở lên.
6.4.2 Kiểm tra phạm vi che phủ của lớp đệm hấp thụ xung động theo đường vòng quanh AA’.
6.5 Thử độ bền va đập và hấp thụ xung động
6.5.1 Thiết bị
Sơ đồ nguyên lý của thiết bị được mô tả theo hình 6, gồm các phần chính sau:
a) Khối va đập có dạng đầu người, hệ thống đo gia tốc, khớp nối cầu và giá trượt. Khối va đập phải phù hợp các yêu cầu sau:
1) Khối lượng toàn bộ của khối va đập theo từng cỡ dạng đầu được qui định trong bảng 3.
Bảng 3. Khối lượng toàn bộ của khối va đập
| Cỡ dạng đầu | Khối lượng, kg +0,09 -0.00 |
| 0 và 1 2 3 4 | 3,5 4,0 5,0 6,0 |

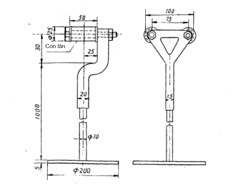
Hình 6 - Sơ đồ nguyên lý thử độ bền va đập và hấp thụ xung động
2) Khối lượng của giá trượt không lớn hơn 800g.
3) Trọng tâm của khối va đập không lệch quá 100 so với chiều thẳng đứng đi qua điểm va đập trên đe.
4) Dạng đầu làm bằng hợp kim ma giê (hợp kim chứa 0,5% zirco, còn lại là magiê) hay bằng vật liệu khác sao cho tần số dao động riêng của dạng đầu không dưới 3kHz.
5) Hệ thống đo gia tốc gồm gia tốc kế, hệ thống chỉ thị và hệ thống ghi.
a) Hệ thống đo gia tốc phải phù hợp các yêu cầu sau:
- Tần số đáp ứng : từ 10Hz đến 10kHz.
- Phạm vi đo : đến 2000g (19,6km/s2).
- Xác định được gia tốc tức thời và gia tốc dư sau 3ms và 6ms.
b) Đe
Đe làm bằng thép gồm có loại đe phẳng với bề mặt tròn, đường kính nhỏ nhất là 127mm, chiều dày nhỏ nhất là 18mm và loại đe cầu với bề mặt cầu, bán kính cầu 48mm. Các đe này được gắn trên nền bê tông hoặc vật liệu cứng vững.
c) Khung, dây dẫn hướng, hệ thống nâng, hạ, gài mở giá trượt. 6.5.2 Tiến hành thử
Mũ thử được đội chặt lên dạng đầu trên khối va đập. Buộc chặt quai đeo (hoặc có thể dùng dây buộc bên ngoài sao cho cố định mũ thử với dạng đầu nhưng không ảnh hưởng đến vị trí va đập trên mũ). Khối va đập được thả rơi tự do từ một vị trí thẳng đứng đi qua tâm đe, khoảng cách từ điểm thấp nhất của mũ đến điểm cao nhất của đe phẳng là 1830mm, đối với đe cầu là 1385mm.
Ghi nhận gia tốc va đập tức thời, gia tốc va đập dư sau 3ms, sau 6ms và xem xét tình trạng của mũ sau khi thử.
Điều chỉnh khớp cầu trên khối va đập để tiến hành thử ở 4 vùng trên mũ. Các vùng này nằm trong phạm vi che chắn, bảo vệ của mũ và cách nhau không nhỏ hơn 1/5 chu vi vòng đầu. Mỗi vùng thử ở 2 vị trí sao cho tâm của hai vị trí này cách nhau không quá 6mm, hai vùng thử trên đe cầu, hai vùng thử trên đe phẳng.
6.6 Thử độ bền đâm xuyên
6.6.1 Thiết bị thử
Thiết bị thử gồm các phần chính sau:
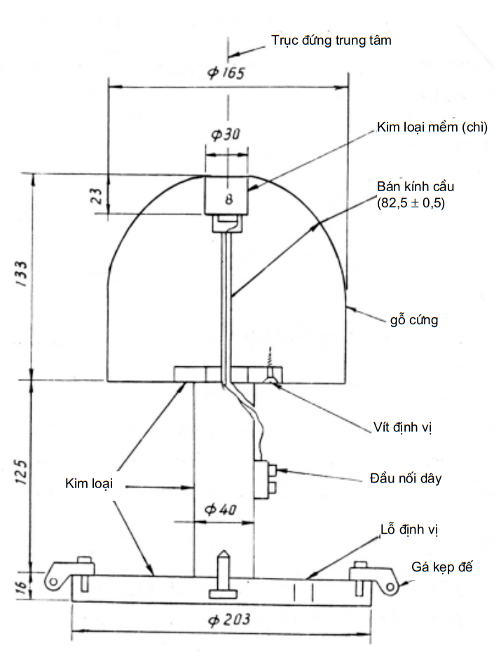
a) Dạng đầu người làm bằng gỗ cứng như mô tả trong hình 7. Phần chỏm cầu của dạng đầu có bán kính cầu 82,5mm ± 0,5mm, chiều cao 133mm. Phía trên đỉnh dạng đầu có gắn 1 lõi chì.
Đầu đâm xuyên và lõi chì này được liên kết bằng hệ thống tín hiệu điện sao cho khi có sự tiếp xúc giữa chúng sẽ nhận được tín hiệu chỉ báo (đèn báo hoặc chuông báo, …). Dạng đầu được gắn chặt lên một giá đỡ cứng vững.
b) Đầu đâm xuyên có dạng hình côn ở phần phía dưới, phần này có các thông số theo qui định sau:
- Khối lượng: 3,0kg ± 45g.
- Góc côn : 600 ± 0,50.
- Bán kính đầu : 0,5mm ± 0,1mm.
- Độ cứng đầu : 45 HRC đến 50 HRC.
- Chiều cao nhỏ nhất của phần côn : 40mm. c) Hệ thống dẫn hướng đâm xuyên. 6.6.2 Tiến hành thử
Mũ thử được đội chặt lên dạng đầu, buộc chặt quai đeo (hoặc có thể dùng dây buộc bên ngoài sao cho cố định mẫu thử với dạng đầu nhưng không ảnh hưởng đến vị trí thử đâm xuyên trên đỉnh mũ).
Đầu đâm xuyên được thả rơi tự do từ một vị trí thẳng đứng cách điểm thử đâm xuyên trên đỉnh mũ thử một khoảng cách 2000mm ± 5mm. Phạm vi thử đâm xuyên giới hạn trong bán kính 30mm ± 1mm xung quanh đỉnh mũ. Ghi nhận có hay không sự tiếp xúc giữa đầu đâm xuyên với dạng đầu người. Khi có sự nghi ngờ, phải tiến hành thử lần thứ 2 trên cùng mũ thử ở một vị trí khác trong phạm vi thử.
6.7 Thử quai đeo
6.7.1 Thiết bị thử
Thiết bị thử gồm các phần chính sau:
a) Giá để gắn mũ lên thử.
b) Gá móc quai đeo, tải trọng có hình dạng và kích thước như trong hình 8. Tải trọng gồm có tải trọng ban đầu 45N và tải thử nghiệm là 500N.
c) Thước đo biến dạng của gá móc quai đeo.
6.7.2 Tiến hành thử
Mũ thử được đội chặt lên dạng đầu. Máng quai đeo của mũ vào móc treo tải của thiết bị thử rồi buộc chặt quai đeo lại. Khoá quai đeo của mũ không được chạm vào móc treo tải cũng như trụ mang tải của thiết bị.
Cho tải trọng ban đầu tác dụng lên quai đeo của mũ và xác định vị trí b của móc treo tải trên thước đo. Sau đó tăng dần đều đặn tải này đến tải thử nghiệm lên quai đeo của mũ trong vòng 30 giây, duy trì tải thử nghiệm trong thời gian 02 phút và xác định vị trí a của móc treo tải trên thước đo.
Độ dịch chuyển giữa 2 lần đặt tải của móc quai đeo là:
e = a – b
6.8 Đo góc nhìn
6.8.1 Thiết bị
Sơ đồ nguyên lý thử theo hình 9, gồm có phần chính là dạng đầu người như qui định và dụng cụ đo góc.
6.8.2 Tiến hành thử
Mũ được đội chặt lên dạng đầu. Đo góc mở tối đa trong mặt phẳng cơ bản từ điểm K trên dạng
đầu, hướng thẳng về mép mũ bên phải và bên trái để xác định góc nhìn của mũ.
6.9 Thử kính chắn gió
6.9.1 Thử đặc tính cơ học
Đặc tính cơ học của kính chắn gió được tiến hành thử như sau:
a) Mũ được lắp kính và thuần hóa theo 6.1 được đội chặt lên dạng đầu tương ứng với cỡ mũ. Mặt phẳng cơ bản của dạng đầu phải nằm ở vị trí thẳng đứng.
b) Thiết bị thử gồm mũi va đập bằng kim loại có hình côn và vật rơi va đập:
- Mũi va đập
+ Khối lượng: 0,3kg ± 10g
+ Góc côn:. 600 ± 10
+ Bán kính đầu nhọn: 0,5mm.
- Khối lượng vật rơi va đập: 3kg ± 25g
Thiết bị phải được chế tạo sao cho mũi va đập phải dừng cách phía trên dạng đầu ít nhất 5mm
c) Tiến hành thử
Đặt mũi va đập tiếp xúc với kính tại điểm K trên mặt phẳng đối xứng thẳng đứng của đầu giả. Cho vật rơi rơi từ độ cao 1 m + 0,005 m, tính từ mặt trên cùng của mũi va đập đến mặt dưới của vật rơi, đập vào mặt trên của mũi va đập. Đánh giá kết quả kiểm tra theo 5.10.a).
6.9.2 Kiểm tra hệ số truyền sáng
a) Kiểm tra hệ số truyền sáng bằng thiết bị có sai số đo không lớn hơn 3%. b) Trình tự kiểm tra
Đặt kính chắn gió lên thiết bị kiểm tra. Tiến hành kiểm tra tại 3 điểm bất kỳ cách nhau 80 mm +5 mm. Đánh giá kết quả kiểm tra theo 5.10.b)
6.9.3 Kiểm tra sự sai khác về hình ảnh và mầu sắc
Kiểm tra sự sai khác về hình ảnh và mầu sắc bằng cách quan sát bằng mắt, so sánh hình ảnh và mầu sắc của các vật thể khi nhìn trực tiếp và khi nhìn qua kính.
6.10 Kiểm tra các độc tố của vật liệu tiếp xúc với da và tóc người đi xe theo TCVN 6238-3:1997.
7 Ghi nhãn, bao gói
7.1 Ghi nhãn
7.1.1 Ghi nhãn bắt buộc
Trên vỏ mũ và bộ phận bên trong phải ghi bằng dấu nổi hoặc bằng mực không phai, sao cho các dấu không bị xoá trong quá trình sử dụng với nội dung sau:
- Tên và địa chỉ cơ sở sản xuất.
- Nhãn hiệu phù hợp tiêu chuẩn do cơ quan có thẩm quyền cấp.
- Cỡ mũ.
- Ngày, tháng, năm sản xuất.
7.1.2 Ghi nhãn bổ sung
Mỗi mũ có kèm một tờ nhãn, ghi các nội dung:
- Những đặc điểm, tính năng riêng của mũ.
- Chỉ dẫn về sử dụng và bảo quản.
- Ngày tháng kiểm tra, người kiểm tra.
7.2 Bao gói
Mỗi mũ khi xuất xưởng phải được bao gói bằng 2 lớp, bên trong là bao chất dẻo hoặc vật liệu chống ẩm, bên ngoài là hộp bằng giấy cứng có ghi các nhãn hiệu cần thiết.
Chú thích – Theo yêu cầu của khách hàng việc bao gói khi xuất xưởng được tiến hành theo các phương thức khác.
Hình 7 - Sơ đồ dạng đầu khi thử độ bền đâm xuyên.


Hình 8 - Sơ đồ nguyên lý thử quai đeo

Hình 9a - Đo góc nhìn trên, dưới

Hình 9b - Đo góc nhìn bên trái, bên phải
Hình 9 - Sơ đồ nguyên lý đo góc nhìn.
Phụ lục A
(qui định)
Thông số và kích thước cơ bản của từng cỡ dạng đầu


Hình A.1 - Kích thước Y, tọa độ cực dạng đầu
Bảng A.1 – Dạng đầu - Toạ độ cực của mặt cắt ngang
Cỡ đầu 0. Kích thước Y = 93 mm. Chu vi vòng đầu: 520 mm
Đơn vị đo tính bằng milimét
| Chiều cao mặt cắt | 00 | 150 | 300 | 450 | 600 | 750 | 900 | 1050 | 1200 | 1350 | 1500 | 1650 | 1800 |
| 0
20
40 | 91.5
90
84.5 | 89.5
88
83 | 86
85.5
82 | 79
79
76 | 72.5
72.5
70 | 70
70
68 | 69.5
69.5
68 | 72.5
72.5
70.5 | 77
77
74.5 | 82
82
79.5 | 87.5
87
83.5 | 90.5
90
85.5 | 91.5
90.5
86.5 |
| 50
60
70 | 79.5
72.5
62 | 78.5
72
62 | 77.5
71
61.5 | 72.5
67
58 | 67
62
54 | 64.5
59.5
52 | 64.5
59.5
52 | 67
62
54.5 | 71
66
58.5 | 76
71
63 | 79.5
74
66 | 81
75
66.5 | 81.5
75
66.5 |
| 80
85
90 | 46
35.5
20 | 46
35.5
20 | 45.5
35
19.5 | 43.5
33.5
19 | 42
32.5
18.5 | 40.5
32
18.5 | 41
32.5
19.5 | 43
34.5
21 | 46.5
38
24 | 51
42
28 | 54.5
44.5
30 | 55
45.5
30.5 | 55
45.5
30.5 |
Bảng A.2 – Dạng đầu - Toạ độ cực của mặt cắt ngang
Cỡ đầu 1. Kích thước Y = 95mm. Chu vi vòng đầu: 540mm
Đơn vị đo tính bằng milimét
| Chiều cao mặt cắt |
00 |
150 |
300 |
450 |
600 |
750 |
900 |
1050 |
1200 |
1350 |
1500 |
1650 |
1800 |
|
0
20
40 |
94,5
92.7
87 |
93
90.5
87.5 |
90
89
85 |
82
82
79.5 |
76.5
76.5
74.5 |
73.5
73.5
71 |
73
73
71.5 |
76
76
74 |
80
80
75.5 |
85
85
82.5 |
919 0.5
88 |
94
93.5
89 |
94.5
94
89 |
|
50
60
70 |
82.5
76.5
66.5 |
83
76.5
66.5 |
81
75.5
66.5 |
76
71
63 |
71
66.5
59 |
68
63.5
58.5 |
68
63.5
56.5 |
70.5
66
58.5 |
74
69.5
62 |
79.5
74
66.5 |
83.5
73.5
70.5 |
84.5
79
71 |
84.5
79
71 |
|
80
85
90
95 |
52
41.5
28
10 |
52
41.5
28
10 |
52
41.5
28.5
10 |
50
40.5
28.5
10 |
47.5
39.5
28.5
10 |
46
39
30.5
10 |
46
39.5
30
11 |
48
41
31
12 |
51
44
34
13.5 |
56
48
37.5
15 |
59.5
51.5
41.5
16 |
60
52
42
16 |
60
52
42
16 |
Bảng A.3 – Dạng đầu - Toạ độ cực của mặt cắt ngang
Cỡ đầu 2. Kích thước Y = 99mm. Chu vi vòng đầu: 560mm
Đơn vị đo tính bằng milimét
| Chiều cao mặt cắt |
00 |
150 |
300 |
450 |
600 |
750 |
900 |
1050 |
1200 |
1350 |
1500 |
1650 |
1800 |
|
0
20
40 |
97.5
95.5
90 |
95.5
94
89 |
93
92
88 |
85.5
85.5
83 |
79.5
79.5
77 |
76
76
74.5 |
76
76
74 |
78.5
78.5
76.5 |
83
83
81 |
88.5
88.5
86 |
94
94
91 |
97
96.5
92 |
97.5
97
92 |
|
50
60
70 |
86.5
80.5
71 |
86
80
71 |
85
79.5
71 |
79.5
74
67 |
74
70
62.5 |
71.5
66.5
60 |
71.5
66
59.5 |
73.5
68.5
61.5 |
78.5
73
66.5 |
83.5
78
71.5 |
87.5
82
74.5 |
88.5
82
75 |
88.5
82.5
75 |
|
80
85
90
95 |
57.5
48
37
21 |
57.5
48
37
21 |
57.5
48
37
21 |
55
47
36
22 |
52
45
36.5
23 |
50
41
36
24 |
50
40
36
24 |
53
46
38
26 |
57
50
42
29 |
62
55.5
48
34 |
65
59
50
38 |
65
59
51
39.5 |
65
59
51
39.5 |
Bảng A.4 – Dạng đầu - Toạ độ cực của mặt cắt ngang
Cỡ đầu 3. Kích thước Y = 104mm. Chu vi vòng đầu: 580mm
Đơn vị đo tính bằng milimét
| Chiều cao mặt cắt |
00 |
150 |
300 |
450 |
600 |
750 |
900 |
1050 |
1200 |
1350 |
1500 |
1650 |
1800 |
|
0
20
40 |
102.5
100.5
95 |
101
99
95.5 |
97
97
93 |
90
90
87 |
84
84
82 |
81.5
81.5
79 |
81
81
79 |
83.5
83.5
81.5 |
88
88
85 |
93
93
90 |
98.5
98.5
95 |
101.5
101
97 |
102.5
102
97.5 |
|
50
60
70 |
91.5
86
77.5 |
91
86
77.5 |
90
85
77.5 |
84.5
79.5
73 |
79
74.5
68.5 |
76.5
72
66 |
76.5
72.5
66 |
79
75
68.5 |
83
78.5
72 |
88
83
77 |
92.5
86.5
80 |
96
88
81.5 |
93.5
88.5
81.5 |
|
80
85
90 |
67
59.5
50 |
67
59.5
50 |
67
59.5
50 |
65.5
58
50 |
60.5
55
47 |
58
53
45.5 |
57.5
52
45.5 |
59.5
54
47.5 |
63
57
50.5 |
68
62.5
50.5 |
72
66
60 |
72.5
66.5
60 |
72.5
66.5
60 |
|
95
100 |
39
25 |
39
25 |
39
25 |
69
25.5 |
38
26 |
36.5
26 |
37.5
25 |
39
26.5 |
43
30 |
48
35 |
52
39 |
52.5
41 |
52.5
41 |
Bảng A.5 – Dạng đầu - Toạ độ cực của mặt cắt ngang
Cỡ đầu 4. Kích thước Y = 107mm. Chu vi vòng đầu: 600mm
Đơn vị đo tính bằng milimét
| Chiều cao mặt cắt |
00 |
150 |
300 |
450 |
600 |
750 |
900 |
1050 |
1200 |
1350 |
1500 |
1650 |
1800 |
|
0
20
40 |
106
103.5
99 |
104
102.5
98.5 |
101
99.5
96.5 |
93.5
93
90.5 |
87
87
85 |
84.5
84.5
82.5 |
84
84
82 |
86.5
86.5
84 |
91
91
88.5 |
96
96
93.5 |
102
101.5
99 |
106
105.5
100.5 |
106
105.5
100.5 |
|
50
60
70 |
95.5
89.5
82 |
94.5
89.5
82 |
93
88
81 |
87.5
83
77 |
82
77.5
72 |
79.5
75
69.5 |
79
75
69.5 |
81.5
77
71.5 |
85.5
81.5
75.5 |
90
86.5
81 |
96
91
84 |
97
92
85.5 |
97
92
85.5 |
|
80
85
90 |
71.5
64.5
56.5 |
71.5
64.5
56.5 |
71
64
56.5 |
68
61.5
55 |
64
59
53 |
61.5
57
51.5 |
61.5
57
51.5 |
64.5
58.5
53 |
67
61.5
56 |
72
66.5
60.5 |
76
71
64.5 |
77
22
66 |
77
72
66 |
|
95
100
105 |
46.5
32
12 |
46.5
32
12 |
47
32.5
13 |
46.5
33
14 |
45.5
34
15 |
44
34
16 |
44
34.5
17.5 |
45.5
35.5
19.5 |
48.5
38.5
21 |
53
43
25 |
57.5
46.5
28.5 |
59
48.5
30 |
58.5
48
30 |
Bạn chưa Đăng nhập thành viên.
Đây là tiện ích dành cho tài khoản thành viên. Vui lòng Đăng nhập để xem chi tiết. Nếu chưa có tài khoản, vui lòng Đăng ký tại đây!