- Tổng quan
- Nội dung
- Tiêu chuẩn liên quan
- Lược đồ
- Tải về
Tiêu chuẩn Quốc gia TCVN 12681:2019 Dải phân cách - Kích thước và hình dạng
| Số hiệu: | TCVN 12681:2019 | Loại văn bản: | Tiêu chuẩn Việt Nam |
| Cơ quan ban hành: | Bộ Khoa học và Công nghệ | Lĩnh vực: | Giao thông |
|
Ngày ban hành:
Ngày ban hành là ngày, tháng, năm văn bản được thông qua hoặc ký ban hành.
|
15/11/2019 |
Hiệu lực:
|
Đã biết
|
| Người ký: | Đang cập nhật |
Tình trạng hiệu lực:
Cho biết trạng thái hiệu lực của văn bản đang tra cứu: Chưa áp dụng, Còn hiệu lực, Hết hiệu lực, Hết hiệu lực 1 phần; Đã sửa đổi, Đính chính hay Không còn phù hợp,...
|
Đã biết
|
TÓM TẮT TIÊU CHUẨN VIỆT NAM TCVN 12681:2019
Tiêu chuẩn Quốc gia TCVN 12681:2019: Quy định về dải phân cách và lan can phòng hộ trên đường bộ
Tiêu chuẩn Quốc gia TCVN 12681:2019 về Trang thiết bị an toàn giao thông đường bộ, cụ thể là dải phân cách và lan can phòng hộ, được ban hành ngày 30/10/2019, có hiệu lực ngay sau đó. Tiêu chuẩn này quy định rõ ràng kích thước và hình dạng của các thiết bị an toàn, giúp giảm thiểu sự cố giao thông trên đường bộ.
Tiêu chuẩn áp dụng cho các dải phân cách và lan can phòng hộ được lắp đặt cố định hoặc tạm thời. Dải phân cách có vai trò phân chia lối đi cho các phương tiện di chuyển, trong khi lan can phòng hộ giúp ngăn cản xe ra khỏi đường và bảo vệ người đi bộ. Cụ thể, lan can phòng hộ được chia thành hai loại chính: cứng (bê tông cốt thép) và nửa cứng (tôn lượn sóng).
Phân loại dải phân cách dựa theo vị trí lắp đặt gồm: dải phân cách giữa (phân chia chiều xe chạy) và dải phân cách bên (phân chia giữa xe cơ giới và xe thô sơ). Đối với lan can phòng hộ nửa cứng, thiết kế có thể là 2 hoặc 3 sóng, tùy vào vị trí và tình huống cụ thể.
Tiêu chuẩn này cũng phân loại lan can phòng hộ theo năng lượng va chạm, từ đó giúp nhà thiết kế chọn lựa loại lan can phù hợp với từng điều kiện đường. Chiều cao tối thiểu, cấu tạo và khoảng cách giữa các cột cũng được quy định chi tiết nhằm đảm bảo an toàn cho phương tiện và người sử dụng đường.
Bên cạnh đó, dải phân cách di động, thường dùng để bảo vệ tạm thời trong khu vực thi công, cũng được quy định rõ về kích thước và hình dạng, đảm bảo tính cơ động và hiệu quả trong việc hướng dẫn giao thông.
Các quy định trong tiêu chuẩn này được áp dụng chặt chẽ theo tài liệu viện dẫn trong ngành, nhằm đảm bảo tính nhất quán và an toàn trong thiết kế và lắp đặt trang thiết bị an toàn giao thông đường bộ.
Tải tiêu chuẩn Việt Nam TCVN 12681:2019
TIÊU CHUẨN QUỐC GIA
TCVN 12681:2019
TRANG THIẾT BỊ AN TOÀN GIAO THÔNG ĐƯỜNG BỘ- DẢI PHÂN CÁCH VÀ LAN CAN PHÒNG HỘ - KÍCH THƯỚC VÀ HÌNH DẠNG
Road safety traffic equipment - Road safety barries - Dimension and shape
Lời nói đầu
TCVN 12681 : 2019 do Viện Khoa học và Công nghệ Giao thông vận tải biên soạn, Bộ Giao thông vận tải đề nghị, Tổng cục Tiêu chuẩn Đo lường Chất lượng thẩm định, Bộ Khoa học Công nghệ công bố.
TRANG THIẾT BỊ AN TOÀN GIAO THÔNG ĐƯỜNG BỘ- DẢI PHÂN CÁCH VÀ LAN CAN PHÒNG HỘ - KÍCH THƯỚC VÀ HÌNH DẠNG
Road safety traffic equipment - Road safety barries - Dimension and shape
1 Phạm vi áp dụng
Tiêu chuẩn này quy định kích thước và hình dạng của dải phân cách và lan can phòng hộ, lắp đặt cố định hoặc tạm thời trên đường bộ.
2 Tài liệu viện dẫn
Các tài liệu viện dẫn sau rất cần thiết cho việc áp dụng tiêu chuẩn này. Đối với các tài liệu viện dẫn có ghi 3 năm công bố thì áp dụng phiên bản được nêu. Đối với các tài liệu viện dẫn không ghi năm công bố thì áp dụng phiên bản mới nhất, bao gồm cả các bổ sung, sửa đổi (nếu có).
TCVN 11823-13: 2017 Thiết kế cầu đường bộ - Phần 13: Lan can
3 Thuật ngữ và định nghĩa
Trong tiêu chuẩn này, các thuật ngữ và định nghĩa dưới đây được hiểu như sau:
3.1 Lan can phòng hộ (safety barrier)
Là một hệ thống kết cấu chạy dọc theo đường ô tô, vừa có tác dụng dẫn hướng xe chạy vừa có tác dụng giảm bớt lực va chạm, nhờ khả năng dễ bị biến dạng của hệ thống. Tùy vào vị trí lắp đặt, đặc điểm cấu tạo, tính năng làm việc người ta thiết kế, lắp đặt loại lan can phù hợp.
3.2 Dải phân cách (median barrier)
Dải phân cách là bộ phận của đường mà xe không chạy trên đó được dùng để phân chia phần đường xe chạy thành hai chiều xe chạy riêng biệt hoặc để phân chia phần đường của xe cơ giới và xe thô sơ hoặc của nhiều loại xe khác nhau trên cùng một chiều giao thông.
4. Phân loại
4.1 Phân loại theo cấu tạo và chức năng
4.1.1 Dải phân cách
4.1.1.1 Phân loại theo vị trí lắp đặt
a) Dải phân cách giữa
Dải phân cách giữa đặt ở tim đường và sử dụng để phân chia giữa hai chiều xe chạy.
b) Dải phân cách bên
Dải phân cách bên chia phần đường chính và phần đường bên hoặc phân chia giữa phần xe cơ giới và xe thô sơ hoặc của nhiều phương tiện khác nhau trên cùng một chiều giao thông.
4.1.1.2 Phân loại theo cấu tạo
a) Dải phân cách cố định
Dải phân cách cố định lắp cố định trên mặt đường có chiều cao trong khoảng 0,3 m - 0,8 m, tối đa là 1,27 m nếu có nhu cầu chắn sáng, độ rộng tùy theo mặt đường rộng hẹp để thiết kế và phải được gắn tiêu phản quang hoặc được sơn phản quang theo các quy định về bố trí tiêu phản quang và vạch kẻ đường (vạch đứng).
Ngoài ra, dải phân cách cố định còn có các dạng sau:
- Dải phân cách cố định có dạng bó vỉa, bên trong đổ đất trồng cây hoặc sử dụng kết hợp lan can phòng hộ nửa cứng hoặc mềm;
- Dải phân cách cố định có dạng một dải đất xen kẹp giữa các phần xe chạy, có dạng lõm xuống hoặc tận dụng điều kiện địa hình tự nhiên, có thể sử dụng kết hợp lan can phòng hộ nửa cứng hoặc mềm.
b) Dải phân cách di động
Dải phân cách di động có thể di chuyển theo bề rộng trên mặt đường được tạo bởi nhựa composite bên trong có thể đổ cát hoặc nước hoặc các cột (trụ) bê tông kết hợp ống thép.
4.1.2 Lan can phòng hộ
4.1.2.1 Phân loại theo vị trí lắp đặt
a) Lan can phòng hộ trên cầu
Lan can phòng hộ trên cầu được bố trí dọc theo các mép kết cấu để bảo vệ cho xe và người đi bộ. Đường dành cho người đi bộ có thể tách dời khỏi đường xe chạy kề bên bởi gờ bó vỉa, lan can đường ô tô hoặc lan can dùng kết hợp. Trên các đường cấp cao nội đô tốc độ lớn, có bố trí đường người đi bộ, vùng đường người đi bộ cần được tách ra khỏi đường xe chạy kề bên bằng lan can đường ô tô hoặc lan can có công năng kết hợp. Lan can đường đầu cầu nên bố trí nơi bắt đầu của tất cả lan can cầu tốc độ cao trong vùng ngoài thành phố. Hệ thống lan can đường đầu cầu nên bao gồm một đoạn chuyển tiếp từ hệ thống rào chắn phòng hộ tới hệ thống lan can cầu cứng có khả năng chịu lực ngang do xe mất điều khiển. Hệ thống tường hộ lan đầu cầu phải có đầu mút đủ an toàn khi va chạm. Việc tính toán thiết kế phải tuân theo các qui định trong TCVN 11823-13:2017.
b) Lan can phòng hộ hai bên đường
Lan can phòng hộ hai bên đường là loại được lắp đặt tại phần lề đường nhằm ngăn cản các phương tiện mất lái văng ra khỏi đường, hoặc đâm vào hệ thống các công trình hai bên đường. Hệ thống móng của lan can phòng hộ thường được chôn trong đất.
4.1.2.2 Phân loại theo độ cứng
a) Lan can phòng hộ cứng
Lan can phòng hộ cứng là loại công trình phòng hộ băng bê tông cốt thép hoặc kết cấu có độ cứng tương tự. Loại này được áp dụng trên các cầu, đường có tốc độ cao, đường có nhiều xe tải, xe buýt.
b) Lan can phòng hộ nửa cứng
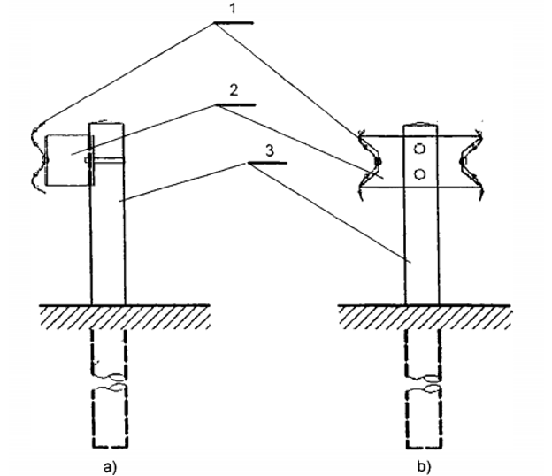
Lan can phòng hộ nửa cứng (Hình 1) là loại phòng hộ bằng tôn lượn sóng gồm một hoặc hai hàng được lắp đặt song song với mặt đường bằng cột thép gắn xuống đường; mép trên của tôn sóng phải cao hơn đỉnh cột.

| 1. Tôn lượn sóng | 2. Đệm chống va | 3. Cột đỡ | |
| a) Lan can phòng hộ lắp ở lề đường | b) Lan can phòng hộ lắp trên dải phân cách giữa | ||
Hình 1 - Lan can phòng hộ nửa cứng
c) Lan can phòng hộ mềm
Lan can phòng hội mềm (Hình 2) là loại phòng hộ dạng dây cáp treo và được căng trước lên các hệ đầu cột gắn xuống đường.

Hình 2 - Lan can phòng hộ mềm
Lan can phòng hộ mềm có cấu tạo bao gồm hệ thống các cột đầu 1, cột trung gian 5, giá đỡ cáp 4, dây cáp 3, và chốt neo 2.
4.2 Phân loại theo năng lượng va chạm
Lan can phòng hộ được phân theo mức năng lượng va chạm được quy định tại Bảng 1.
Tùy theo điều kiện cụ thể của vị trí thiết kế trên đường cao tốc (Địa hình, vận tốc thiết kế, lưu lượng giao thông và thành phần xe tải nặng trong dòng xe...) mà lựa chọn bố trí thiết kế loại lan can phòng hộ cho phù hợp.
Đối với các đoạn tuyến trên đường cao tốc có vận tốc thiết kế thấp, các đoạn đường thẳng, các đoạn đường có mức độ nguy hiểm không cao thì lựa chọn loại lan can phòng hộ có mức năng lượng va chạm trung bình.
Đối với các đoạn tuyến trên đường cao tốc có các điều kiện nguy hiểm: Đoạn xuống dốc độ dốc lớn, đoạn đường cong có bán kính nhỏ kết hợp ta luy âm dốc; hoặc đoạn đường có thành phần xe tải chiếm tỷ lệ lớn trong dòng xe thì phải chọn loại lan can phòng hộ có mức năng lượng va chạm cao hoặc rất cao.
Bảng 1 - Lan can phòng hộ theo mức năng lượng va chạm
| Cấp lan can phòng hộ | Điều kiện va chạm | Gia tốc va đâm* (m/s2) | Năng lượng va chạm** (kJ) | |||
| Vận tốc va chạm | Trọng lượng xe | Góc va chạm (°) | ||||
| A, Ag | 100 | 1,5 | 20 | <200 |
| |
| 60 | 10 | 20 |
| 160 | ||
| B, Bg | 100 | 1,5 | 20 | <200 |
| |
| 80 | 10 | 20 |
| 280 | ||
| C, Cg | 100 | 1,5 | 20 | <200 |
| |
| 80 | 15 | 20 |
| 400 | ||
| D, E | 100 | 1,5 | 20 | <200 |
| |
| 80 | 18 | 20 |
| 520 | ||
| Ghi chú: | * Điều kiện an toàn tính mạng cho người lái và hành khách; ** Điều kiện an toàn cho phương tiện xe tải B, C, D, E lan can phòng hộ lề đường; Ag, Bg, Cg lan can phòng hộ dải phân cách giữa. | |||||
Trong các trường hợp lan can phòng hộ có thiết kế đặc biệt thì cần phải được cấp có thẩm quyền phê duyệt.
5. Yêu cầu về kích thước và hình dạng
5.1 Lan can phòng hộ mềm
Kích thước Lan can phòng hộ mềm được quy định tại Hình 3.

Hình 3 - Kích thước và cầu tạo của cột đầu Lan can phòng hộ mềm
Khi chiều dài lan can phòng hộ mềm có móng là đất và có tổng chiều dài lớn hơn 500m hoặc khi chiều dài lan can phòng hộ mềm có móng là bê tông và tổng chiều dài lớn hơn 300m thì phải thiết kế cột đầu lan can phòng hộ mềm để đảm bảo an toàn cho hệ cáp. Kích thước của cột đầu quy định tại Bảng 2:
Bảng 2 - Kích thước và cấu tạo các bộ phận của cột đầu Lan can phòng hộ mềm
| Kích thước cột đầu | Kích thước bệ móng bê tông | Cao độ dây cáp dưới cùng | |||||
| Quy cách | Chiều cao | Chiều sâu chôn móng | Kiểu cột chống | Chiều sâu móng | Chiều dài móng | Chiều rộng móng | |
| Ф194x5 | 113 | 55 | Tam giác | 180 | 500 | 70 | 43 |
Các cột trung gian có cấu tạo và kích thước cho trong Bảng 3. Khoảng cách giữa các cột trung gian không được lớn hơn 700cm khi móng là đất, trong trường hợp móng là bê tông xi măng thì khoảng cách không quá 400cm. Trên đường cong có bán kính nhỏ thì tùy thuộc giá trị bán kính mà lựa chọn khoảng cách các cột trung gian cho phù hợp, bán kính càng bé thì khoảng cách giữa các cột càng nhỏ.
Bảng 3 - Kích thước và cấu tạo các bộ phận của cột trung gian của lan can phòng hộ mềm
| Hình thức chôn móng | Chiều sâu chôn móng | Chiều cao so với mặt đất H | Đường kính ngoài | Chiều dày ống | Khoảng cách lớn nhất giữa các cột |
| Trong đất | 165 | 113 | Φ140 | 4,5 | 700 |
| Trong móng BTXM | 40 | 113 | Φ140 | 4,5 | 400 |
Cấu tạo giá treo cáp được quy định tại Hình 4.

Hình 4 - Giá treo cáp Lan can phòng hộ mềm
Các kích thước giá treo cáp trong Hình 4 thể hiện trong Bảng 4:
Bảng 4 - Kích thước giá treo cáp Lan can phòng hộ mềm
| Thông số kỹ thuật | Giá treo cáp loại có 3 sợi cáp trở lên | Giá treo cáp loại có 2 sợi cáp |
| a (mm) | 170 | 170 |
| b (mm) | 148 | 148 |
| e (mm) | 40 | 65 |
| Khoảng cách hai lỗ khoan f (mm) | 260 | 290 |
| h (mm) | 340 | 420 |
| r1 (mm) | 55 | 55 |
| r2 (mm) | 120 | 120 |
| B (mm) | 192 | 192 |
| Bề dày giá treo t (mm) | 3,2 | 3,2 |
Kích thước cáp và neo cáp được quy định tại Bảng 5.
Bảng 5 - Kích thước cáp và neo cáp
| Cáp | Neo cáp | ||||
| Số sợi cáp treo trên 1 cột (Sợi) | Lực kéo ban đầu 1 sợi (kN) | Đường kính cáp (mm) | Khoảng cách giữa các sợi cáp tren trên cột (mm) | Đường kính cán neo cáp (mm) | Chiều dài cán neo cáp (mm) |
| 2-6 | 20 | 18 | 130 | 25 | 1200 |
Cáp dùng làm lan can phòng hộ là loại cáp mạ kẽm 3 tao mỗi tao 7 sợi.
5.2 Lan can phòng hộ nửa cứng
Lan can phòng hộ nửa cứng sử dụng các tấm thép dập hình tôn lượn sóng lắp trên các cột treo.
5.2.1 Ký hiệu
a) Các loại lan can phòng hộ được bố trí ở lề:
Loại A, E: Thép hình tôn lượn 2 sóng;
Loại B: Thép hình tôn lượn 3 sóng;
Loại C, D: Thép hình tôn lượn 3 sóng có hệ thanh chắn;
b) Các loại lan can phòng hộ được bố trí ở dải phân cách giữa:
Loại Ag: Thép hình tôn lượn 2 sóng;
Loại Bg: Thép hình tôn lượn 3 sóng;
Loại Cg: Thép hình tôn lượn 3 sóng có hệ thanh chắn;
5.2.2 Lan can phòng hộ nửa cứng lắp đặt tại lề đường phải thỏa mãn các yêu cầu sau:
- Loại A: Tôn lượn 2 sóng, cột đỡ dạng ống tròn (Ф114mmx4,5mm). Chi tiết xem hình 5a.
- Loại B: Tôn lượn 3 sóng, cột đỡ dạng ống tròn (Ф14mmx4,5mm). Chi tiết xem hình 5b.
- Loại C: Tôn lượn 3 sóng, thanh chắn ngang (89mmx5,5mm), cột đỡ dạng ống tròn (Ф114mmx4,5mm). Chi tiết xem hình 5c.
- Loại D: Tôn lượn 3 sóng, thanh chắn ngang (Ф89mmx5,5mm), cột đỡ dạng ống tròn (Ф114mmx4,5mm). Chi tiết xem hình 5c.
Kích thước lan can phòng hộ thép hình lắp đặt tại lề đất được quy định tại Hình 5.





Hình 5 - Lan can phòng hộ nửa cứng lắp trên lề đường loại A, B, C, D
Bảng 6: Tôn lượn sóng
| Loại | Chiều rộng B (mm) | Chiều cao H (mm) | Chiều dầy tối thiểu t (mm) | |
| Đường cao tốc | Các loại đường khác | |||
| Tôn lượn 2 sóng (Hình 5e) | 300 - 350 | 85 | 4 | 2,67 |
| Tôn lượn 3 sóng (Hình 5f) | 460 - 510 | 85 | 4 | 2,67 |
5.2.3 Lan can phòng hộ nửa cứng thiết kế ở dải phân cách giữa phải thỏa mãn các yêu cầu sau:
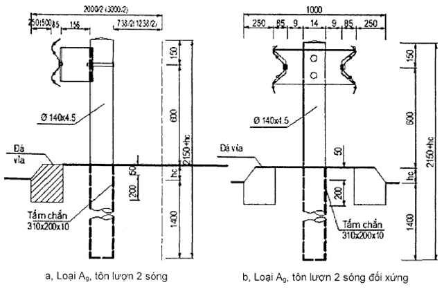
- Loại A: Tôn lượn 2 sóng, cột đỡ dạng ống tròn (Ф140mm x 4,5mm). Chi tiết tại Hình 6a.
- Loại Ag đối xứng: Tôn lượn 2 sóng, cột đỡ dạng ống tròn (Ф140mm x 4,5mm). Chi tiết tại Hình 6b.
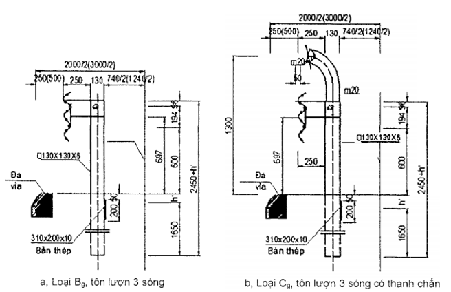
- Loại Bg: Tôn lượn 3 sóng, cột đỡ dạng hộp vuông (130mm x 130mm x 6mm),. Chi tiết tại Hình 7a.
- Loại Cg: Tôn lượn 3 sóng, thanh chắn ngang (89mm x 5,5mm), cột đỡ dạng hộp vuông (130mm x 130mm x 6mm). Chi tiết tại Hình 7b.
Kích thước Lan can phòng hộ thép hình lắp đặt tại giải phân cách giữa được quy định tại Hình 6.

Hình 6 - Lan can phòng hộ nửa cứng trên giải phân cách giữa loại Ag

Hình 7 - Lan can phòng hộ nửa cứng trên giải phân cách giữa loại Bg, Cg
5.2.4 Tính từ mặt đất, chiều sâu chôn móng của cột đỡ lan can phòng hộ thép hình cần phải đảm bảo chiều sâu tối thiểu để đảm bảo an toàn, chiều sâu này tùy thuộc loại lan can phòng hộ và vị trí lắp đặt như sau:
- Loại A, Ag khi chôn trong đất chiều sâu cột đỡ không được nhỏ hơn 140cm.
- Loại B, C, D, Bg, Cg khi chôn trong đất chiều sâu cột đỡ không được nhỏ hơn 165cm.
- Khi thiết kế lan can phòng hộ thép hình trên cầu nhỏ, hầm chui dân sinh, cống vuông...(móng BTXM) chiều sâu chôn cột đỡ không được nhỏ hơn 30cm.
-Tại những nơi có điều kiện đặc biệt (địa chất đá, bên dưới có hệ thống đường dây, đường ống) chiều sâu tối thiểu để chôn cột đỡ là 40cm.
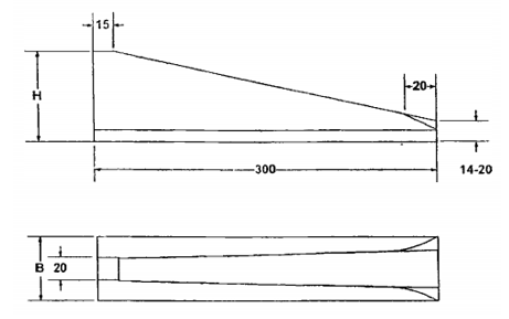
5.2.5 Tại điểm đầu của hệ thống lan can phòng hộ nửa cứng (Hình 8) theo chiều xe chạy phải thiết kế đoạn dẫn chuyển tiếp lan can phòng hộ xuống mặt đất, tại đoạn cuối của lan can phòng hộ phải thiết kế bo tròn.

Hình 8 - Điểm đầu hệ thống lan can phòng hộ nửa cứng
5.2.6 Tại các điểm chuyển tiếp giữa nền đào và nền đắp, lan can phòng hộ thép hình phải được kéo dài 20cm theo hướng nền đào và điểm đầu của Lan can phòng hộ phải được thiết kế dẫn chuyển tiếp lan can phòng hộ xuống mặt đất hoặc thiết kế bo tròn đầu như tại 5.2.5.
5.2.7 Tại dải phân cách giữa khi thiết kế lan can phòng hộ thép hình thì tại các vị trí đầu, cuối, hoặc các đoạn ngắt quãng thì phải tiến hành khép kín hai hàng lan can phòng hộ bằng hình thức bo tròn với khoảng cách giữa các cột là 2m (Hình 9).

Hình 9 - Chi tiết bo đầu hai hàng lan can phòng hộ tại vị trí cuối dải phân cách giữa
Tại vị trí phân luồng giao thông, hệ thống lan can phòng hộ thép hình cũng được bố trí khép kín bo đầu tròn trong phạm vi 8m tính từ mũi (Hình 10).

Hình 10 - Chi tiết lan can phòng hộ phân tách làn đường cao tốc
Đoạn chuyển tiếp giữa lan can phòng hộ nửa cứng trên đường và lan can trên cầu được quy định tại Hình 11.

Hình 11- Đoạn chuyển tiếp giữa lan can phòng hộ nửa cứng trên đường và lan can trên cầu
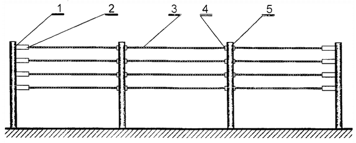
Lan can phồng hộ nửa cứng được cấu tạo gồm 1 đến 2 lớp tôn lượn sóng được lắp đặt song song với mặt đường bởi hệ cột bằng thép có gia cố chân bằng bê tông xi măng hoặc cắm thẳng xuống nền đường.
Tôn lượn sóng được dập bằng tôn tấm, chiều cao sóng 82mm, bước sóng 155mm, chiều dài 3,32m khi khoảng cách giữa các cột là 3m; 2,32m khi khoảng cách giữa các cột là 2m.
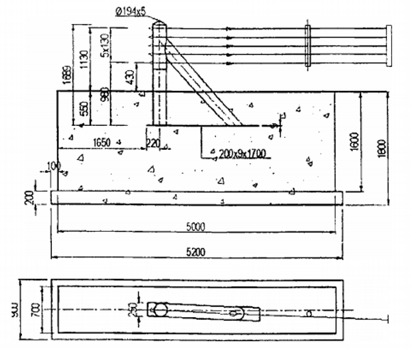
5.3 Lan can phòng hộ 3 tầng
Lan can phòng hộ 3 tầng là loại lan can phòng hộ nửa cứng loại E theo năng lượng va chạm, được kết cấu bền vững hơn để lắp đặt tại các đoạn đường đặc biệt nguy hiểm có bán kính đường cong hẹp, độ dốc phía ta luy âm, nhất là các mép vực sâu.
a) Kích thước tổng thể của lan can phòng hộ 3 tầng
Kích thước tổng thể của lan can phòng hộ 3 tầng được quy định trên Hình 12

CHÚ DẪN:
1- Tôn lượn 2 sóng
2- Cột đỡ
3- Cụm bu lông nối dầm
4- Cụm bu lông đỡ dầm
5- Cụm bu lông nền
Hình 12- Cấu tạo và kích thước tổng thể lan can 3 tầng
b) Tôn lượn sóng
Kích thước dầm tôn lượn sóng được quy định trên Hình 13.

Hình 13 - Kích thước dầm tôn lượn sóng
c) Cột đỡ
Kích thước cột đỡ được quy định trên Hình 14.

Hình 14 - Kích thước cột đỡ
d) Cụm bu lông nối dầm
Kích thước cụm bu lông nối dầm tôn lượn sóng được quy định tại Hình 15.

Hình 15 - Cụm Bu lông nối dầm tôn lượn sóng
e) Cụm bu lông đỡ dầm
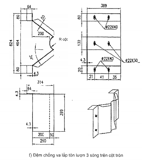
Kích thước cụm bu lông đỡ dầm tôn lượn sóng được quy định tại Hình 16.

Hình 16 - Cụm Bu lông đỡ dầm tôn lượn sóng
f) Cụm bu lông nền
Mỗi cột đỡ được bặt xuống nền bằng 4 cụm bu lông nền.
Cụm bu lông nền bao gồm 1 bu lông nền M16x300mm, 1 êcu M16, 1 đệm phẳng và 1 đệm vênh cho bu lông M16.
5.4 Lan can phòng hộ cứng
Cấu tạo và kích thước Lan can phòng hộ bê tông lắp trên đường được quy định trên Hình 17 và Bảng 7.

Hình 17 - Cấu tạo và kích thước lan can phòng hộ cứng loại chữ F và loại đối xứng
Bảng 7 - Kích thước Lan can phòng hộ BTCT (Đơn vị cm)
| Lan can phòng hộ BTCT loại chữ F | |||||
| Loại hình | H | H1 | B | B1 | B2 |
| A | 81 | 55,5 | 46,4 | 8,1 | 5,8 |
| B | 90 | 64,5 | 48,3 | 9 | 6,8 |
| D | 100 | 74,5 | 50,3 | 10 | 7,8 |
| Lan can phòng hộ BTCT loại đối xứng | |||||
| Loại hình | H | B | B1 | B2 | |
| A | 81 | 42,1 | 8,1 | 14 | |
| B | 90 | 44,5 | 9 | 15.5 | |
| D | 100 | 47,2 | 10 | 17.2 | |
Lan can phòng hộ trên cầu là một bộ phận kết cấu của cầu, lan can cầu có thể bằng thép, bằng bê tông cốt thép hoặc bê tông - thép kết hợp, tùy vào yêu cầu kỹ thuật thẩm mỹ trong quá trình thiết kế cầu sẽ chọn loại cho phù hợp. Kích thước lan can phòng hộ trên cầu được quy định tại Bảng 8. Tính toán thiết kế kết cấu, chiều cao nhỏ nhất của lan can trên cầu tùy thuộc vào cấp thử nghiệm trong TCVN11823-13:2017.
Bảng 8 - Kích thước lan can phòng hộ trên cầu (Đơn vị cm)
| Thông số yêu cầu | Các cấp thử nghiệm của lan can cầu | ||||
| TL-1 | TL-2 | TL-3 | TL-4 | TL-5 | |
| Chiều cao lan can nhỏ nhất, H (mm) | 68,5 | 68,5 | 68,5 | 81 | 107 |
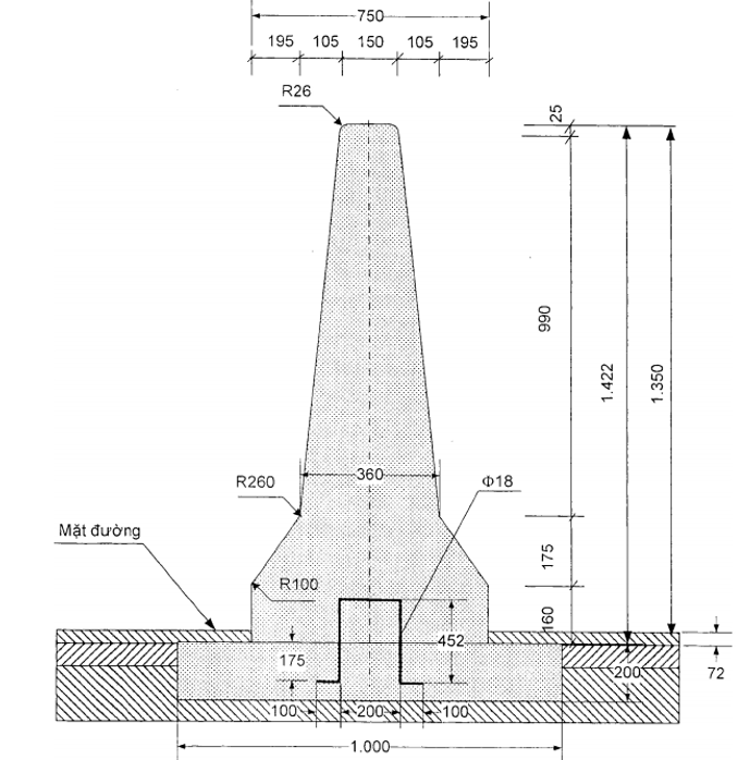
5.5 Dải phân cách cứng
Kích thước dải phân cách cứng bằng bê tông được quy định tại Hình 18 và Bảng 9.

Hình 18 - Kích thước dải phân cách cứng cố định bằng BTCT
Bảng 9 - Kích thước dải phân cách cứng bằng BTCT (Đơn vị cm)
| Loại hình | H | B | B1 |
| A | 81 | 48 | 14 |
| B | 85 | 50 | 15 |
| C | 90 | 51 | 15,5 |
| D | 100 | 54,5 | 17 |
Trường hợp dùng dải phân cách giữa kết hợp với chống chói thì chiều cao trên mặt đường là 1,27m và khi đó dải an toàn phải đạt tối thiểu là 1,0m. Một số thiết kế điển hình tham khảo tại Phụ lục A.
Đầu và cuối dải phân cách cứng bằng bê tông cốt thép phải có đoạn chuyển tiếp đảm bảo an toàn, chi tiết đoạn chuyển tiếp quy định tại Hình 19.

Hình 19 - Đoạn vuốt đầu, cuối dải phân cách cứng bằng BTCT
5.6 Dải phân cách di động
Dải phân cách di động thường được sử dụng trong khu đô thị, đường có tốc độ thấp hoặc đường đang thi công có thể chế tạo bằng bê tông cốt thép hoặc các cột bê tông kết hợp thép ống hoặc nhựa composite bên trong có thể đổ cát hoặc nước, còn gọi là dải phân cách giảm chấn.
Tùy thuộc vào từng vị trí đặt, dải phân cách giảm chấn có hình dáng và kích thước phù hợp.
Dải phân cách giảm chấn đặt liền nhau tại đường thẳng hoặc cong có hình khối đa giác. Kích thước của loại dải phân cách hình khối đa giác được quy định tại Hình 20 và Bảng 10.

Hình 20 - Kích thước dải phân cách giảm chấn hình khối đa giác
Bảng 10 - Kích thước dải phân cách giảm chấn hình khối đa giác
|
| Chiều cao H (mm) | Chiều dài L (mm) | Chiều rộng đỉnh D1 (mm) | Chiều rộng chân đế D2 (mm) |
| Giá trị | 550 - 750 | 1000 - 1100 | 150 - 250 | 450 - 500 |
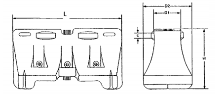
Thùng giảm chấn đặt tại đầu dải phân cách cứng hoặc đầu lan can phòng hộ. Kích thước thùng giảm chấn được quy định tại Hình 21 và Bảng 11.

Hình 21 - Kích thước thùng giảm chấn
Bảng 11 - Thông số kỹ thuật của thùng giảm chấn
| Hạng mục | Thùng trụ tròn Kiểu D | Thùng hình khối đa giác | |
| Kiểu A | Kiểu B, C | ||
| Dung tích chứa nước của thùng | 200I 20lx6 chiếc = 120l | 4001 20lx18 chiếc = 360I | 300I 20lx12 chiếc = 240I |
| Kích thước ngoài | Ф580mm | 900mmx900mm | 450mmx900mm |
| Chiều cao | (820 - 900)mm | 900mm | 900mm |
| Chiều dầy | 3mm | 4mm | 4mm |
| Trọng lượng | 8 kg | 18 kg | 14 kg |
| Màu sắc | Màu vàng | ||
Dải phân cách di động bằng bê tông cốt thép thường dùng để bảo vệ tạm thời và được lựa chọn tùy vào mục đích sử dụng (Bảng 12).
Bảng 12 - Kích thước dải phân cách di động bằng bê tông cốt thép
| TT | Chức năng | Kích thước (cm) | |
| 1 | Chuyển hướng di chuyển ở đoạn vát | Nhỏ nhất | 60x80x400 |
| Lớn nhất | 60x80x600 | ||
| 2 | Rào chắn khu vực thi công dọc theo mặt đường xe chạy: |
|
|
| - Không đào bới hoặc chiều sâu đào nhỏ hơn 50cm | Nhỏ nhất | 32x50x600 | |
| Lớn nhất | 39x65x600 | ||
| - Chiều sâu đào lớn hơn 50cm | Nhỏ nhất | 60x80x400 | |
| Lớn nhất | 60x80x600 | ||
| 3 | Phân tách dòng xe: |
|
|
| - Chiều ngược lại | Nhỏ nhất | 60x80x400 | |
| Lớn nhất | 60x80x600 | ||
| - Cùng chiều | Nhỏ nhất | 32x50x600 | |
| Lớn nhất | 39x65x600 | ||
Phụ lục A
(Tham khảo)

Hình P1: Lan can phòng hộ có chức năng chống chói loại A

Hình P2: Lan can phòng hộ có chức năng chống chói loại B

Hình P3 - Lan can phòng hộ có chức năng chống chói loại C
Thư mục tài liệu tham khảo
[1] AS/NZS 3845:1999, Road safety barrier systems. Hệ thống trang thiết bị an toàn giao thông đường bộ.
[2] AASHTO-M180 (Corrugated Sheet Steel Beams For Highway Guardrail - USA). Tôn lượn sóng trong lan can phòng hộ đường cao tốc.
[3] EN 1317-1:2008, Road restraint systems - Part 1: Terminology and general criteria for test methods. Hệ thống trang thiết bị an toàn giao thông đường bộ - Phần 1: Thuật ngữ và yêu cầu chung cho phương pháp thử.
[4] EN 1317 - 2, Road restraint systems - Part 2: Performance classes, iMPact test acceptance criteria and test methods for safety barriers. Hệ thống trang thiết bị an toàn giao thông đường bộ - Phần 2: Kiểm tra va chạm chấp nhận và phương pháp thử đối với các lan can phòng hộ.
[5] EN 1317-2+A1:2008, Road restraint systems - Part 2: Performance classes, iMPact test acceptance criteria and test methods for safety barriers including vehicle parapets. Hệ thống trang thiết bị an toàn giao thông đường bộ - Phần 2: Kiểm tra va chạm chấp nhận và phương pháp thử đối với các lan can phòng hộ trên đường.
[6] EN 1317 - 3, Road restraint systems - Part 3: Performance classes, iMPact test acceptance criteria and test methods for crash cushions. Hệ thống trang thiết bị an toàn giao thông đường bộ - Phần 3: Kiểm tra va chạm chấp nhận và phương pháp thử đối với lan can phòng hộ giảm chấn.
[7] EN 1317 - 4, Road restraint systems - Part 4: Performance classes, iMPact test acceptance criteria and test methods for terminals and transitions of safety barriers. Hệ thống trang thiết bị an toàn giao thông đường bộ - Phần 4: Kiểm tra va chạm chấp nhận và phương pháp thử đối với lan can phòng hộ chuyển tiếp.
[8] EN 1317-5:2008, Road restraint systems - Part 5: Product requirements and evaluation of conformity for vehicle restraint systems. Hệ thống trang thiết bị an toàn giao thông đường bộ - Phần 5: Các yêu cầu kỹ thuật của sản phẩm.
[9] JT/T 281-1995(Corrugated Sheet Steel Beams For Expressway Guardrail - China) .Tôn lượn sóng trong lan can phòng hộ đường cao tốc - Tiêu chuẩn Trung Quốc
[10] QCVN 41:2016/BGTVT Qui chuẩn kỹ thuật quốc gia về báo hiệu đường bộ
[11] QCVN 41:2016/BGTVT Qui chuẩn kỹ thuật quốc gia về báo hiệu đường bộ
[12] TCXDVN 104:2007 Đường đô thị - Yêu cầu thiết kế
MỤC LỤC
Lời nói đầu
1 Phạm vi áp dụng
2 Tài liệu viện dẫn
3 Thuật ngữ và định nghĩa
4 Phân loại
4.1 Phân loại theo cấu tạo và chức năng
4.2 Phân loại theo năng lượng va chạm
5 Yêu cầu về kích thước và hình dạng
5.1 Lan can phòng hộ mềm
5.2 Lan can phòng hộ nửa cứng
5.3 Lan can phòng hộ 3 tầng
5.4 Lan can phòng hộ cứng
5.5 Dải phân cách cứng
5.6 Dải phân cách di động
Phụ lục A
Thư mục tài liệu tham khảo
Bạn chưa Đăng nhập thành viên.
Đây là tiện ích dành cho tài khoản thành viên. Vui lòng Đăng nhập để xem chi tiết. Nếu chưa có tài khoản, vui lòng Đăng ký tại đây!