- Tổng quan
- Nội dung
- Tiêu chuẩn liên quan
- Lược đồ
- Tải về
Tiêu chuẩn quốc gia TCVN 13523-2:2024 Thử nghiệm phản ứng với lửa - Tính lan truyền lửa - Phần 2
| Số hiệu: | TCVN 13523-2:2024 | Loại văn bản: | Tiêu chuẩn Việt Nam |
| Cơ quan ban hành: | Bộ Khoa học và Công nghệ | Lĩnh vực: | Xây dựng , Công nghiệp |
| Trích yếu: | ISO 5658-2:2006 with Amendent 1:2011 Thử nghiệm phản ứng với lửa - Tính lan truyền lửa - Phần 2: Tính lan truyền lửa theo phương ngang trên sản phẩm xây dựng và giao thông đặt thẳng đứng | ||
|
Ngày ban hành:
Ngày ban hành là ngày, tháng, năm văn bản được thông qua hoặc ký ban hành.
|
29/10/2024 |
Hiệu lực:
|
Đã biết
|
| Người ký: | Đang cập nhật |
Tình trạng hiệu lực:
Cho biết trạng thái hiệu lực của văn bản đang tra cứu: Chưa áp dụng, Còn hiệu lực, Hết hiệu lực, Hết hiệu lực 1 phần; Đã sửa đổi, Đính chính hay Không còn phù hợp,...
|
Đã biết
|
TÓM TẮT TIÊU CHUẨN VIỆT NAM TCVN 13523-2:2024
Tiêu chuẩn quốc gia TCVN 13523-2:2024: Thử nghiệm phản ứng với lửa - Tính lan truyền lửa - Phần 2
Tiêu chuẩn quốc gia TCVN 13523-2:2024, được ban hành ngày 20/04/2024, hướng dẫn quy trình thử nghiệm tính lan truyền lửa theo phương ngang trên các sản phẩm xây dựng và giao thông được đặt thẳng đứng. Tiêu chuẩn này dựa trên ISO 5658-2:2006 đã được sửa đổi năm 2011, được biên soạn bởi Viện Vật liệu xây dựng và công bố bởi Tổng cục Tiêu chuẩn Đo lường Chất lượng, Bộ Khoa học và Công nghệ.
TCVN 13523-2:2024 định nghĩa phương pháp thử nghiệm nhằm đánh giá sự lan truyền lửa trong điều kiện có ngọn lửa mồi, từ đó cung cấp dữ liệu cần thiết cho việc so sánh tính năng của các vật liệu. Tiêu chuẩn áp dụng không chỉ cho các sản phẩm xây dựng mà còn cho cả phương tiện giao thông, như tàu biển và tàu hỏa, giúp đảm bảo an toàn cháy cho các sản phẩm này.
Quy trình thử nghiệm yêu cầu mẫu thử phải được đặt thẳng đứng và lộ ra dưới sự tác động của bức xạ nhiệt xác định. Kết quả thử nghiệm được biểu thị qua khoảng cách lan truyền của ngọn lửa theo thời gian và các thông số tính toán khác. Tiêu chuẩn còn ghi rõ rằng không nên sử dụng nó để đánh giá tính nguy hiểm cháy trong điều kiện thực tế, mà chỉ là một nền tảng cho nghiên cứu và phát triển.
Các phụ lục quan trọng của tiêu chuẩn gồm Phụ lục A và F, cung cấp hướng dẫn an toàn khi thực hiện các thử nghiệm, bởi trong quá trình thử nghiệm có thể sản sinh ra khí độc hại. Do đó, các biện pháp phòng ngừa là rất cần thiết và phải tuân theo đầy đủ hướng dẫn an toàn được cung cấp trong tài liệu.
Với tiêu chí an toàn cao và khả năng cung cấp thông tin chính xác về tính lan truyền lửa, TCVN 13523-2:2024 là một công cụ quan trọng cho các kỹ sư, nhà nghiên cứu, và các doanh nghiệp sản xuất vật liệu xây dựng, nhằm đảm bảo chất lượng và an toàn sản phẩm khi đối mặt với các yếu tố cháy nổ trong thực tế.
Tải tiêu chuẩn Việt Nam TCVN 13523-2:2024
TIÊU CHUẨN QUỐC GIA
TCVN 13523-2:2024
ISO 5658-2:2006 WITH AMENDMENT 1:2011
THỬ NGHIỆM PHẢN ỨNG VỚI LỬA - TÍNH LAN TRUYỀN LỬA - PHẦN 2: TÍNH LAN TRUYỀN LỬA THEO PHƯƠNG NGANG TRÊN SẢN PHẨM XÂY DỰNG VÀ GIAO THÔNG ĐẶT THẲNG ĐỨNG
Reaction to fire tests - Spread of flame - Part 2: Lateral spread on building and transport products in vertical configuration
Lời nói đầu
TCVN 13523-2:2024 hoàn toàn tương đương ISO 5658-2:2006 và sửa đổi 1:2011.
TCVN 13523-2:2024 do Viện Vật liệu xây dựng biên soạn, Bộ Xây dựng đề nghị, Tổng cục Tiêu chuẩn Đo lường Chất lượng thẩm định, Bộ Khoa học và Công nghệ công bố.
Bộ TCVN 13523 (ISO 5658), Thử nghiệm phản ứng với lửa - Tính lan truyền lửa gồm các phần sau:
- TCVN 13523-2:2024 (ISO 5658-2:2006 and amendment 1), Phần 2: Tính lan truyền lửa theo phương ngang trên sản phẩm xây dựng và giao thông đặt thẳng đứng;
- TCVN 13523-4:2024 (ISO 5658-4:2001), Phần 4: Thử nghiệm tính lan truyền lửa theo phương đứng trên mô hình tỷ lệ trung bình của mẫu thử lắp đặt thẳng đứng.
Lời giới thiệu
Tiêu chuẩn này dựa trên phương pháp của Tổ chức hàng hải quốc tế (IMO) được ban hành theo nghị quyết A.653 của IMO, và được xây dựng thành tiêu chuẩn Quốc tế cho phép sử dụng rộng rãi. Khác biệt chủ yếu giữa tiêu chuẩn này và thử nghiệm của IMO là tiêu chuẩn này bị giới hạn phạm vi áp dụng cho thử nghiệm tính lan truyền lửa của mẫu đặt thẳng đứng và không có hệ thống thoát khói để đánh giá tốc độ giải phóng nhiệt lượng.
ISO/TS 5658-1 mô tả quá trình xây dựng phương pháp thử tính lan truyền lửa và giải thích lý thuyết lan truyền lửa đối với các hướng khác nhau. Tiêu chuẩn này cung cấp một phương pháp đơn giản theo đó tính lan truyền lửa theo phương ngang trên bề mặt mẫu thử đặt thẳng đứng có thể được xác định với mục đích so sánh. Phương pháp này đặc biệt hữu ích cho mục đích nghiên cứu, phát triển và kiểm soát chất lượng.
Cháy là một hiện tượng phức tạp: ứng xử cháy và ảnh hưởng của cháy phụ thuộc vào một số yếu tố có liên quan đến nhau. Ứng xử của vật liệu và sản phẩm phụ thuộc vào đặc tính của đám cháy, cách sử dụng vật liệu và môi trường mà chúng bị lộ lửa. Giải thích phương pháp luận của thử nghiệm “phản ứng với lửa” theo ISO/TR 3841.
Phép thử được đưa ra trong tiêu chuẩn này chỉ liên quan đến đặc trưng đơn giản của một phương diện cụ thể trong tình huống cháy tiềm ẩn bằng nguồn bức xạ nhiệt và ngọn lửa. Chỉ mình phép thử không thể cung cấp các hướng dẫn trực tiếp về trạng thái cháy hoặc an toàn cháy.
Phụ lục A và F là phần không thể thiếu của tiêu chuẩn này. Phụ lục B đến E chỉ mang tính tham khảo. Báo cáo độ chụm được đưa ra trong Phụ lục E dựa vào thử nghiệm liên phòng sử dụng phương pháp này.
Quy trình thử nghiệm này không tin cậy khi sử dụng cho vật liệu amiăng.
Đưa ra giới thiệu cảnh báo đối với những người sử dụng thử nghiệm này.
THỬ NGHIỆM PHẢN ỨNG VỚI LỬA - TÍNH LAN TRUYỀN LỬA - PHẦN 2: TÍNH LAN TRUYỀN LỬA THEO PHƯƠNG NGANG TRÊN SẢN PHẨM XÂY DỰNG VÀ GIAO THÔNG ĐẶT THẲNG ĐỨNG
Reaction to fire tests - Spread of flame - Part 2: Lateral spread on building and transport products in vertical configuration
CẢNH BÁO - Tất cả các vấn đề liên quan đến thử nghiệm đốt chỉ ra rằng trong suốt quá trình thử nghiệm các loại khí có hại hoặc khí độc có thể sinh ra, do đó cần thực hiện các biện pháp phòng ngừa phù hợp để đảm bảo an toàn sức khỏe. Phải tuân theo hướng dẫn an toàn quy định trong Phụ lục A của tiêu chuẩn này.
1 Phạm vi áp dụng
Tiêu chuẩn này quy định phương pháp thử nghiệm để đo sự lan truyền lửa theo phương ngang trên bề mặt của mẫu thử của một sản phẩm được đặt thẳng đứng. Thử nghiệm cung cấp dữ liệu phù hợp để so sánh tính năng của vật liệu, composit hoặc các vật liệu ghép phẳng tương đối được sử dụng như lớp phủ bề mặt tường trong xây dựng và phương tiện giao thông, như tàu biển và tàu hỏa. Một số sản phẩm định hình (như các ống nối) có thể được thử nghiệm trong các điều kiện nhất định về lắp đặt và cố định.
Tiêu chuẩn được áp dụng để đo và mô tả các tính chất của vật liệu, sản phẩm hoặc vật liệu ghép chịu tác động bức xạ nhiệt khi có ngọn lửa mồi trong điều kiện kiểm soát của phòng thí nghiệm. Không sử dụng riêng tiêu chuẩn này để mô tả hoặc đánh giá tính nguy hiểm cháy hoặc nguy cơ cháy của vật liệu, sản phẩm hoặc vật liệu ghép trong điều kiện cháy thực tế.
2 Tài liệu viện dẫn
Các tài liệu viện dẫn sau là cần thiết khi áp dụng tiêu chuẩn này. Đối với tài liệu ghi năm công bố chỉ áp dụng bản được nêu. Đối với các tài liệu viện dẫn không ghi năm công bố thì áp dụng phiên bản mới nhất, bao gồm cả các sửa đổi, bổ sung (nếu có).
ISO 13943:2000, Fire safety (An toàn cháy - Thuật ngữ)
3 Thuật ngữ và định nghĩa
Tiêu chuẩn này sử dụng các thuật ngữ và định nghĩa sau:
3.1
Vật liệu ghép (Assembly)
Được chế tạo từ các vật liệu, các sản phẩm và/hoặc composit
VÍ DỤ: Panen nhiều lớp.
CHÚ THÍCH: Vật liệu ghép có thể bao gồm khe hở không khí.
3.2
Nhiệt lượng trung bình để cháy ổn định (Average heat for sustained burning)
Giá trị trung bình của nhiệt lượng để cháy ổn định, được đo tại một số vị trí quy định
CHÚ THÍCH: Nhiệt lượng trung bình để cháy ổn định được biểu thị bằng megajul trên mét vuông (MJ/m2).
3.3
Tấm lót (Backing board)
Tấm vật liệu không cháy có chiều dài và chiều rộng như mẫu thử, dày (12,5 ± 3) mm, sử dụng trong tất cả các lần thử nghiệm để lót phía sau mẫu thử.
CHÚ THÍCH 1: Xem 9.7
CHÚ THÍCH 2: Tấm vật liệu không cháy là loại khi thử nghiệm theo ISO 1716 sinh ra năng suất tỏa nhiệt toàn phần (PCS) ≤ 2 MJ/kg.
3.4
Vật liệu composit (Composite)
Sự kết hợp của nhiều vật liệu mà trong xây dựng công trình những vật liệu đó được coi là vật liệu riêng biệt.
VÍ DỤ: Vật liệu có lớp phủ hoặc vật liệu được ghép từ nhiều lớp.
3.5
Thông lượng nhiệt tới hạn tại điểm tắt cháy (Critical heat flux at extinguishment)
CFE
Thông lượng nhiệt tới bề mặt của mẫu thử tại điểm dọc theo đường tâm ngang tại đó ngọn lửa ngừng cháy lên phía trước và sau đó có thể tắt.
CHÚ THÍCH 1: Giá trị thông lượng nhiệt báo cáo dựa trên nội suy từ các số liệu đo trên tấm hiệu chuẩn bằng vật liệu không cháy.
CHÚ THÍCH 2: Thông lượng nhiệt tới hạn tại điểm tắt cháy được biểu thị bằng kilooát trên mét vuông (kW/m2).
3.6
Bề mặt lộ lửa (Exposed surface)
Bề mặt của mẫu thử chịu các điều kiện nhiệt của thử nghiệm.
3.7
Mặt trước ngọn lửa (Flame front)
Vị trí vươn xa nhất của một ngọn lửa cháy ổn định dọc theo đường tâm của mẫu thử.
3.8
Cháy lập lòe (Flashing)
Sự tồn tại của ngọn lửa ngay trong bề mặt hoặc phía trên bề mặt mẫu trong thời gian không quá 1 s.
3.9
Nhiệt lượng để cháy ổn định (Heat for sustained burning)
Tích của thời gian tính từ khi mẫu thử bắt đầu lộ lửa đến khi mặt trước ngọn lửa lan đến một vị trí nhất định và thông lượng nhiệt bức xạ tới vị trí đó đo trên một tấm hiệu chuẩn bằng vật liệu không cháy.
CHÚ THÍCH 1: Nhiệt lượng để cháy ổn định được biểu thị bằng megajul trên mét vuông (MJ/m2).
CHÚ THÍCH 2: Các vị trí trên tấm hiệu chuẩn được quy định trong Bảng 1.
3.10
Cường độ bức xạ (Irradiance)
<Tại một điểm trên bề mặt> bằng thương của thông lượng nhiệt bức xạ tới trên một phần tử vô cùng nhỏ của bề mặt chứa điểm đó chia cho diện tích của phần tử đó.
3.11
Vật liệu (Material)
Chất đơn lẻ hoặc hỗn hợp phân tán đồng đều
VÍ DỤ: Kim loại, đá, gỗ, bê tông, sợi khoáng và polyme.
3.12
Sản phẩm (Product)
Vật liệu, composit hoặc vật liệu ghép cần phải thử nghiệm để xác định thông tin.
3.13
Thông lượng nhiệt bức xạ (Radiant heat flux)
Năng lượng phát ra, truyền đi hoặc nhận được dưới dạng bức xạ.
3.14
Mẫu thử (Specimen)
Mảnh đại diện cho sản phẩm được thử nghiệm cùng với mọi vật liệu nền hoặc chất xử lý.
CHÚ THÍCH: Mẫu thử có thể bao gồm một khe không khí.
3.15
Tính lan truyền lửa (Spread of flame)
Sự lan truyền của mặt trước ngọn lửa trên bề mặt một sản phẩm dưới tác động của cường độ bức xạ nhiệt.
3.16
Vật liệu nền (Substrate)
Vật liệu được sử dụng, hoặc là đại diện cho vật liệu được sử dụng, ngay bên dưới bề mặt sản phẩm
VÍ DỤ: Tấm thạch cao đã được bả nằm dưới lớp phủ của tường.
3.17
Ngọn lửa cháy ổn định (Sustained flaming)
Sự tồn tại của ngọn lửa ngay trong bề mặt hoặc phía trên bề mặt mẫu thử trong thời gian lớn hơn 4 s.
3.18
Ngọn lửa cháy không ổn định (Transitory flaming)
Sự tồn tại của ngọn lửa ngay trong bề mặt hoặc phía trên bề mặt mẫu thử trong thời gian từ 1 s đến 4 s.
3.19
Tính lan truyền lửa theo phương ngang (Lateral spread of flame)
Sự dịch chuyển của mặt trước ngọn lửa theo một hướng nằm ngang trên chiều dài mẫu thử.
4 Nguyên tắc
4.1 Phương pháp thử nghiệm bao gồm việc đặt mẫu thử đã được ổn định lộ ra dưới môi trường có thông lượng nhiệt bức xạ xác định và sau đó đo thời gian bắt cháy, khoảng cách lan truyền lửa theo phương ngang và thời điểm ngọn lửa bị tắt.
4.2 Đặt mẫu thử ở vị trí thẳng đứng gần tấm bức xạ đốt bằng khí, mẫu thử được lộ ra dưới môi trường thông lượng nhiệt bức xạ xác định. Một ngọn lửa mồi đặt gần đầu nóng hơn của mẫu thử để bắt cháy các chất khí dễ bay hơi thoát ra từ bề mặt mẫu thử (xem Hình 1).
4.3 Sau khi bắt cháy, ghi nhận mọi sự phát triển của mặt trước ngọn lửa và lập bản ghi diễn biến của mặt trước ngọn lửa theo phương ngang dọc chiều dài của mẫu thử theo thời gian cần thiết để mặt trước ngọn lửa lan đến các khoảng cách khác nhau.
4.4 Biểu thị kết quả thử nghiệm bằng khoảng cách lan truyền lửa theo thời gian, vận tốc mặt trước ngọn lửa theo thông lượng nhiệt, thông lượng nhiệt tới hạn tại điểm tắt cháy và nhiệt lượng trung bình để cháy ổn định.

CHÚ DẪN
1 tấm bức xạ đặt thẳng đứng và hợp với mẫu thử một góc 15°
2 mẫu thử
3 khay giữ mẫu
4 khung đỡ khay giữ mẫu
5 tay cầm
6 mặt trước ngọn lửa
7 ngọn lửa mồi
Hình 1 - Sơ đồ thử nghiệm
5 Sự phù hợp của một sản phẩm để thử nghiệm
5.1 Đặc tính bề mặt
5.1.1 Phương pháp này phù hợp để đánh giá các sản phẩm có một trong các đặc tính sau đây:
a) bề mặt lộ lửa phẳng tương đối, tức là tất cả các bề mặt nhấp nhô nằm trong khoảng ± 1 mm của mặt phẳng;
b) bề mặt nhấp nhô phân bố đều trên bề mặt lộ lửa với điều kiện
1) ít nhất 50 % bề mặt của diện tích hình vuông đại diện kích thước (155 x 155) mm, có độ sâu không quá 6 mm tính từ mặt phẳng đi qua điểm cao nhất của bề mặt lộ lửa và/hoặc
2) mọi vết rạn, khe nứt hoặc lỗ có chiều rộng không quá 8 mm hoặc chiều sâu không quá 10 mm và tổng diện tích của các vết rạn, khe nứt hoặc lỗ trên bề mặt không lớn hơn 30 % diện tích hình vuông đại diện có kích thước (155 x 155) mm của bề mặt lộ lửa.
5.1.2 Trường hợp sản phẩm có các vùng diện tích bề mặt khác biệt rõ rệt, nhưng mỗi vùng riêng lẻ có các đặc tính bề mặt được quy định trong 5.1.1, phải thử nghiệm từng vùng riêng lẻ để đánh giá sản phẩm đầy đủ.
5.1.3 Đối với bề mặt lộ lửa không thỏa mãn các yêu cầu 5.1.1 a) hoặc 5.1.1 b), thì có thể thử nghiệm dưới dạng đã qua xử lý để đảm bảo bề mặt lộ lửa phẳng tương đối. Việc xử lý bề mặt phải nêu trong báo cáo.
5.2 Sản phẩm không ổn định nhiệt
Phương pháp thử nghiệm không phù hợp để đánh giá các sản phẩm phản ứng theo những cách riêng khi khi lộ ra dưới điều kiện nhiệt quy định (xem 11.12). Sản phẩm có những đặc điểm này phải đánh giá bằng phương pháp thử khác, như ví dụ đưa ra trong tiêu chuẩn ISO 9705 [3].
6 Mẫu thử
6.1 Bề mặt lộ lửa
Sản phẩm phải được thử nghiệm trên bề mặt mà bề mặt đó lộ ra trong khi sử dụng, có tính đến các yếu tố sau đây.
a) Nếu sản phẩm có một mặt hoặc cả hai mặt lộ ra khi sử dụng và lớp bên trong không đối xứng, thì phải thử nghiệm cả hai mặt.
b) Nếu bề mặt của một sản phẩm có bề mặt nhấp nhô theo hướng rõ ràng, ví dụ nếp gấp, hạt hoặc phân biệt hướng do gia công bằng máy gây ra và khi sử dụng thực tế có thể nằm theo phương ngang hoặc nằm theo phương đứng, các sản phẩm phải được thử nghiệm theo cả hai hướng.
c) Nếu bề mặt lộ lửa có vùng diện tích khác biệt về kết cấu và hình thức hoàn thiện bề mặt, cần số lượng mẫu thử thích hợp để đánh giá cho từng vùng khác biệt về kết cấu hoặc hình thức hoàn thiện.
d) Thử nghiệm tính lan truyền lửa của vật liệu dệt theo cả hướng dọc và ngang.
Nếu thử nghiệm trên mẫu thử có bề mặt kim loại sáng, phải thử nghiệm ở hai điều kiện gồm bề mặt khi nhận mẫu và bề mặt sau khi được phủ một lớp muội than hoặc keo graphit, việc phủ lớp bề mặt được thực hiện trước khi ổn định mẫu để thử nghiệm. Có thể thay thế bằng cách phun bề mặt lộ lửa của mẫu một lớp sơn đen phẳng có khả năng chịu nhiệt độ (540 ±10) °C. Trước khi thử nghiệm, ổn định lớp sơn phủ ở điều kiện nhiệt độ (23 ± 3) °C và độ ẩm tương đối (50 ± 5) % trong 48 h. Lớp phủ này có tác dụng đảm bảo sự hấp thụ bề mặt của thông lượng bức xạ nhiệt tác động lên mẫu.
6.2 Số lượng và kích thước mẫu thử
6.2.1 Sử dụng ít nhất 6 mẫu để thử nghiệm.
6.2.2 Ứng với mỗi bề mặt lộ lửa hoặc hướng lắp đặt cần thử nghiệm trên ba mẫu.
Đối với các sản phẩm có hai bề mặt lộ lửa và một mặt có hướng bất thường thì cần ít nhất 9 mẫu thử (xem 11.10).
6.2.3 Mẫu thử có chiều dài
mm, chiều rộng
mm và phải đại diện cho sản phẩm.
6.2.4 Đo chiều dày của mẫu thử với bề mặt nhấp nhô (xem 6.1) từ điểm cao nhất của bề mặt. Thử nghiệm với kích thước thực đối với các sản phẩm có chiều dày nhỏ hơn hoặc bằng 50 mm. Đối với sản phẩm có chiều dày lớn hơn 50 mm, cắt bề mặt không lộ lửa để giảm chiều dày đến
mm.
Đối với sản phẩm chiều dày từ 50 mm đến 70 mm, cần sử dụng kẹp nối dài hoặc cố định ở phía sau khay giữ mẫu (xem Hình 2).
6.3 Tạo mẫu
6.3.1 Đối với các vật liệu mỏng hoặc composit sử dụng để chế tạo một vật liệu ghép, sự có mặt của không khí hoặc một khe không khí và/hoặc đặc điểm của mọi kết cấu phía dưới có ảnh hưởng đáng kể đến đặc tính của bề mặt lộ lửa. Phải hiểu được sự ảnh hưởng của các lớp dưới đến tính năng của vật liệu ghép và lưu ý thực hiện để đảm bảo kết quả thử nghiệm thu được trên vật liệu đó đều phù hợp với hình thức sử dụng của nó trong thực tế.
6.3.2 Khi sản phẩm là vật liệu phủ bề mặt, nó phải phủ lên vật liệu nền đã chọn trước theo đúng cách thức và tỷ lệ khuyến cáo khi sử dụng trong thực tế.
6.3.3 Khi sản phẩm là vật liệu hoặc composit thường gắn với vật liệu nền, phải thử nghiệm sản phẩm kết hợp với vật liệu nền đã chọn trước bằng cách sử dụng kỹ thuật gắn được khuyến cáo, ví dụ liên kết bằng keo dán thích hợp hoặc cố định bằng máy. Quy trình cố định mẫu thử với vật liệu nền cần phải nêu rõ trong báo cáo thử nghiệm [xem 13 f)].

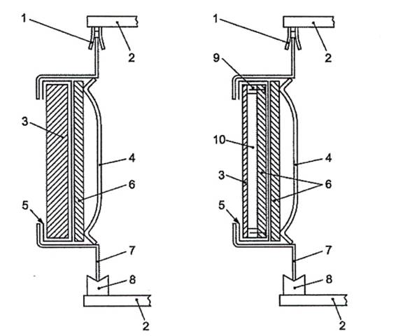
| a) Mẫu thử với tấm lót | b) Mẫu thử với tấm lót và con kê tạo thành một khe không khí |
CHÚ DẪN
1) chạc
2) dẫn hướng khay giữ mẫu
3) mẫu thử
4) kẹp lò xo hoặc cố định cứng
5) giấy nhôm bọc mẫu
6) tấm lót
7) khay giữ mẫu
8) rãnh trượt
9) con kê được bắt vít vào tấm lót
10) khe không khí
Hình 2 - Sơ đồ lắp đặt mẫu thử
6.3.4 Có thể kết hợp các phần của một mẫu thử nghiệm cùng nhau theo nhiều cách khác nhau với hướng kết hợp trong điều kiện sử dụng thực tế. Nếu sản phẩm được chế tạo có các mối ghép ngang, thì mẫu thử phải có một mối ghép ngang đặt ở đường tâm ngang. Nếu sản phẩm được chế tạo có các mối ghép đứng, một mối ghép đứng phải đặt cách đầu nóng hơn của mẫu thử 100 mm.
Các mối ghép phải cấu tạo càng giống với điều kiện sử dụng thực tế càng tốt; ví dụ sử dụng chất bịt kín và keo dính như trong thực tế.
6.4 Ổn định mẫu thử
6.4.1 Ổn định các mẫu thử đến khối lượng không đổi ở nhiệt độ (23 ± 2) °C, độ ẩm tương đối (50 ± 5) % và duy trì ở điều kiện này cho đến khi cần thử nghiệm. Khối lượng không đổi là khi khối lượng hai lần cân liên tiếp, thực hiện trong khoảng 24 h, không chênh lệch quá 0,1 % khối lượng mẫu, hoặc chênh lệch về khối lượng không lớn hơn 0,1 g, chọn giá trị sai khác lớn hơn.
6.4.2 Ổn định tấm lót và con kê (xem 9.7) trong điều kiện quy định ở 6.4.1 ít nhất 12 h trước khi sử dụng.
6.5 Chuẩn bị thí nghiệm
6.5.1 Đường chuẩn
Kẻ 1 đường tâm ngang chia đôi mẫu thử và dọc theo chiều dài mẫu thử. Kẻ các vạch thẳng đứng cách đều nhau 50 mm dọc theo đường tâm ngang. Đánh dấu điểm 0 ứng với vùng bắt đầu lộ lửa của mẫu (xem 7.4). Cần hết sức thận trọng tránh đường kẻ ảnh hưởng đến tính năng của mẫu thử, ví dụ gây hại bề mặt, hoặc làm tăng sự hấp thụ nhiệt.
CHÚ THÍCH: Một số vật liệu đổi màu hoặc cháy làm cho đường kẻ và/hoặc vạch dấu bị mờ đi. Sử dụng lưới thép không gỉ có ô chia xấp xỉ 10 mm phía trước bề mặt mẫu thử để xác định vị trí của mặt trước ngọn lửa.
6.5.2 Sản phẩm không có khe hở không khí
Nếu một sản phẩm trong điều kiện sử dụng bình thường không có khe không khí ở mặt sau, thì sau quá trình ổn định quy định ở 6.4, phải bọc các cạnh và mặt sau của mẫu trong giấy nhôm hình chữ nhật dày 0,02 mm đến 0,03 mm và kích thước (175 + 2a) mm x (820 + 2a) mm, trong đó a là chiều dày mẫu thử, để thừa khoảng 10 mm giấy nhôm đều trên các cạnh của mặt trước của mẫu. Ép giấy nhôm bằng phẳng lên mặt trước của mẫu thử [xem Hình 2 a)]. Đặt mẫu đã bọc trong giấy nhôm lên tấm lót và đưa cả hai vào khay giữ mẫu (xem Hình 3).
6.5.3 Sản phẩm có khe hở không khí
Với sản phẩm trong điều kiện sử dụng bình thường có khe không khí ở mặt sau, sau quá trình ổn định quy định ở 6.4, đặt mẫu trên con kê đã ổn định ở quanh chu vi của mẫu thử (xem Hình 2b). Gắn cả mẫu thử và con kê trên tấm lót sao cho tạo thành một khe không khí giữa mặt không lộ lửa của mẫu thử và tấm lót (xem 9.7). Bọc các cạnh sau của cả vật liệu ghép trong giấy nhôm hình chữ nhật dày 0,02 mm đến 0,03 mm và kích thước (175 + 2b) mm x (820 + 2b) mm, trong đó b là tổng độ dày của cụm mẫu thử, con kê và tấm lót, để thừa khoảng 10 mm giấy nhôm đều trên các cạnh của mặt trước của mẫu. Ép giấy nhôm bằng phẳng lên mặt trước của mẫu thử [xem Hình 2b]. Đặt mẫu thử ghép đã bọc trong giấy nhôm trên một tấm lót và đưa vào khay giữ mẫu (xem Hình 3).
Sản phẩm có chứa khe không khí nhỏ hơn 25 mm tốt nhất là thử nghiệm theo điều kiện sử dụng thực tế của chúng.
Cách thích hợp để gắn các vật liệu mỏng, mềm là kẹp sát mép xung quanh mẫu vào các con kê trên chu vi của tấm lót.
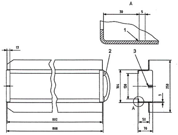
Kích thước tính bằng milimet

CHÚ DẪN
1 4 rãnh 60° x sâu 0,5 mm để định vị lò xo
2 tay cầm
3 các lỗ ở cuối đệm để cố định lò xo
Hình 3 - Sơ đồ khay giữ mẫu
6.5.4 Bảo quản mẫu thử
Bảo quản các mẫu thử đã bọc, tấm lót, con kê, được chuẩn bị như quy định ở 6.5.2 hoặc 6.5.3 trong điều kiện không khí quy định ở 6.4.1 cho đến khi cần thử nghiệm.
7 Thiết bị thử nghiệm
7.1 Quy định chung
Thiết bị thử nghiệm (xem Hình 4) bao gồm 4 phần chính: khung đỡ tấm bức xạ và khung đỡ mẫu, được liên kết với nhau để đưa mẫu thử vào vị trí yêu cầu liên quan với tấm bức xạ, khay giữ mẫu và đầu đốt ngọn lửa mồi.
Kích thước tính bằng milimét

CHÚ DẪN
| 1) tấm bức xạ 2) khay giữ mẫu 3) đầu đốt ngọn lửa mồi 4) khung thép rỗng tiết diện chữ nhật | 5) thanh gai hỗ trợ quan sát 6) gương 7) mẫu thử 8) khung đỡ khay giữ mẫu |
Hình 4- Sơ đồ thiết bị thử
7.2 Khung đỡ tấm bức xạ
Khung dùng để đỡ tấm bức xạ, cùng với hệ thống đường ống cần thiết cho không khí và khí đốt, thiết bị an toàn, bộ điều áp và lưu lượng kế.
7.2.1 Khung thép
Khung này gồm ống thép tiết diện vuông kích thước (40 x 40) mm, như Hình 4, và đỡ tấm bức xạ với tâm của tấm bức xạ nằm ở độ cao (1 200 ± 100) mm so với mặt sàn, bề mặt tấm bức xạ nằm thẳng đứng. Góc giữa mặt của tấm bức xạ và mặt trước của khung đỡ là (15 ± 3)°.
7.2.2 Tấm bức xạ
Tấm bức xạ gồm cụm các tấm chịu lửa xốp được gắn đều trên bề mặt bức xạ ở trước hộp trộn khí bằng thép không gỉ để tạo ra bề mặt bức xạ phẳng có kích thước xấp xỉ (480 x 280) mm. Hộp trộn khí có chứa vách ngăn và khuếch tán để phân bố hỗn hợp khí đốt/ không khí đều trên bề mặt bức xạ. Ngay trước bề mặt bức xạ lắp một lưới thép để tăng cường độ bức xạ.
7.2.3 Nguồn cung cấp khí đốt và không khí
Cấp khí đốt và không khí vào tấm bức xạ thông qua bộ điều chỉnh áp suất và lưu lượng phù hợp, thiết bị an toàn và lưu lượng kế.
CHÚ THÍCH 1: Hỗn hợp khí đốt/không khí đi vào hộp trộn khí qua bên ngắn hơn để dễ dàng kết nối khi tấm bức xạ được gắn trên khung thép.
Hệ thống cấp khí phù hợp bao gồm các bộ phận sau:
a) cung cấp khí tự nhiên, metan, propan với lưu lượng tối thiểu 1,0 L/s ở áp suất đủ để vượt qua tổn thất do ma sát qua đường ống, bộ điều chỉnh, van điều khiển, lưu lượng kế, tấm bức xạ...;
b) nguồn cấp không khí với lưu lượng tối thiểu 9 L/s ở áp suất đủ để vượt qua tổn thất do ma sát qua đường ống...;
c) các van phân tán cho nguồn cấp khí đốt và không khí;
d) van 1 chiều và bộ điều chỉnh áp suất trong đường cấp khí đốt;
e) một van vận hành bằng điện để tắt tự động nguồn cấp khí trong trường hợp nguồn điện bị lỗi, áp suất không khí bị tụt hoặc nhiệt độ ở bề mặt đốt giảm;
f) bộ lọc bụi và van kiểm soát lưu lượng trong nguồn cấp không khí;
g) lưu lượng kế cho khí tự nhiên, metan, propan với lưu lượng thích hợp 0,5 L/s đến 1,5 L/s ở nhiệt độ và áp suất phòng với độ phân giải nhỏ hơn hoặc bằng 1 % (không cần thiết hiệu chuẩn chính xác tuyệt đối);
CHÚ THÍCH 2: Áp dụng điều này để hỗ trợ cài đặt lưu lượng khí đốt đến một giá trị để tấm bức xạ đạt nhiệt độ thích hợp.
h) lưu lượng kế cho không khí với lưu lượng thích hợp 5 L/s đến 15 L/s ở nhiệt độ và áp suất phòng với độ phân giải nhỏ hơn hoặc bằng 1 % (không cần thiết hiệu chuẩn chính xác tuyệt đối).
CHÚ THÍCH 3: Tất cả các mục trên thường nằm gọn trong và được đỡ bởi khung thép.
7.3 Khung đỡ mẫu thử
7.3.1 Quy định chung
Khung đỡ này gồm ray dẫn hướng để đỡ khay giữ mẫu và đưa nó vào vị trí thử nghiệm yêu cầu, đầu đốt ngọn lửa mồi, gương và các thanh gai hỗ trợ quan sát.
7.3.2 Khung thép
Khung này gồm ống thép tiết diện vuông kích thước (40 x 40) mm, như Hình 4, được liên kết với khung đỡ tấm bức xạ bằng cách điều chỉnh bu lông cố định và ống đệm. Nó phải có khả năng điều chỉnh để thay đổi góc giữa tấm bức xạ và mặt trước mẫu thử từ 12 ° đến 18 °.
7.3.3 Thanh dẫn hướng của khay giữ mẫu
Các thanh dẫn hướng như Hình 2, để định vị cạnh trên và dưới của khay giữ mẫu. Chúng được làm từ thép có khả năng chịu nhiệt và ăn mòn khi thử nghiệm với nhiều mẫu. Thanh dẫn hướng dưới dài 700 mm và có một rãnh gia công trên một trong các cạnh theo chiều dài của nó. Định vị thanh trên của khay giữ mẫu bằng một hoặc nhiều thanh kẹp. Các thanh dẫn hướng được gắn ở một bên của khung thép bằng các chốt thép và cố định bằng đai ốc, cho phép điều chỉnh vị trí tương đối của chúng so với khung đỡ và giữa các thanh dẫn với nhau.
7.3.4 Gương quan sát
Gương dài 750 mm x rộng 120 mm đặt ở đáy của một bên khung đỡ, đối diện với khung đỡ khay giữ mẫu. Vị trí và góc của gương phải đảm bảo để quan sát mẫu thử trong gương dưới tấm bức xạ, kết hợp với các thanh gai hỗ trợ quan sát (xem 7.3.5) nằm phía trước ngang bề mặt mẫu thử (xem Hình 5).
CHÚ THÍCH: Bố trí một máy quay ở vị trí cho phép quan sát rõ toàn bộ mặt trước của mẫu thử, sử dụng thêm một thiết bị ghi video phù hợp để hỗ trợ thí nghiệm viên quan sát, thực hiện cùng với sự hỗ trợ quan sát của gương và các thanh gai quan sát.
7.3.5 Thanh gai hỗ trợ quan sát
Các thanh gai được sử dụng để làm tăng độ chính xác của phép đo thời gian lan truyền của mặt trước ngọn lửa dọc theo mẫu thử.
Thanh gai này làm từ thép chịu nhiệt có chiều dài 700 mm và trên thanh có gắn các kim thép dài 100 mm dọc trên một cạnh với khoảng cách đều nhau bằng 50 mm. Cố định các thanh này vào cạnh dưới thanh dẫn hướng của khay giữ mẫu sao cho các kim thép chiếu ngang thành một đường thẳng phía trước mẫu thử đã lắp.
CHÚ THÍCH: Trong một số trường hợp, để thuận tiện hơn cho việc quan sát sự lan truyền của ngọn lửa có thể sử dụng dấu V trên khay giữ mẫu.
7.4 Khay giữ mẫu
Khay giữ mẫu làm từ thép không gỉ dày (3,0 ± 0,2) mm, có kích thước như Hình 3. Khay giữ mẫu phải có một kẹp khóa nhanh để giữ mẫu thử đúng vị trí và ép mẫu thử tỳ vào viền mép phía trước. Các viền mép phía trước phải có các cạnh răng cưa trên đó có các dấu V ở khoảng cách 50 mm để dễ dàng quan sát sự lan truyền lửa. Điểm 0 tương ứng với cạnh chứa viền mép thẳng đứng ở phía cuối của mẫu thử, gần với tấm bức xạ.
Số lượng khay giữ mẫu thử cần phụ thuộc vào tổng số lượng mẫu thử dự kiến nhưng ít nhất nên có ba cái ngoài một cái dùng để giữ mẫu mô phỏng.

CHÚ DẪN
1 vị trí quan sát
2 tấm bức xạ
3 mẫu thử
4 thanh gai hỗ trợ quan sát
5 gương
Hình 5 - Sơ đồ bố trí các bộ phận của thiết bị thử nghiệm để xác định thời gian lan truyền của mặt trước ngọn lửa
7.5 Đầu đốt ngọn lửa mồi
Đầu đốt ngọn lửa mồi là một ống sứ dài xấp xỉ 200 mm, đường kính 6 mm, có hai lõi rỗng bên trong, mỗi lõi rỗng chạy dọc thân ống đường kính 1,5 mm.
CHÚ THÍCH: Thường sử dụng loại sứ cách điện để bọc can nhiệt.
Đầu đốt được gắn vào một giá đỡ trên khung thép của khung đỡ mẫu thử (7.3.2) sao cho vị trí của nó so với bề mặt thử nghiệm của mẫu thử như trong Hình 6. Cung cấp hỗn hợp propan và không khí cho đầu đốt ngọn lửa mồi thông qua bộ điều khiển phù hợp và van điều tiết và các lưu lượng kế (xem Hình 7). Độ tinh khiết của khí propan sử dụng lớn hơn hoặc bằng 95 %.
Có thể thay thế khí propan bằng các khí đốt khác (ví dụ metan) nhưng đặc tính của ngọn lửa có thể khác và có thể ảnh hưởng đến ứng xử cháy của mẫu thử. Trong trường hợp có tranh chấp cần phải sử dụng khí propan.
Kích thước tính bằng milimét

CHÚ DẪN
1 khay giữ mẫu
2 mẫu thử
3 tấm lót
Hình 6 - Vị trí đầu đốt ngọn lửa mồi và ngọn lửa mồi chạm mẫu

CHÚ DẪN
| 1 | đầu đốt ngọn lửa mồi | 8 | lưu lượng kế |
| 2 | ống nối | 9 | van kim |
| 3 | chiều dài ngọn lửa (230 ± 20) mm | 10 | van một chiều |
| 4 | vị trí của bộ đỡ đầu đốt | 11 | van đóng - mở |
| 5 | van chống cháy ngược | 12 | bình chứa khí propan |
| 6 | ống sứ có lõi kép dài (200 ± 10) mm | 13 | đường cấp không khi đến tấm bức xạ |
| 7 | khoang giảm áp |
|
|
Hình 7 - Sơ đồ liên kết ngọn lửa mồi, đầu đốt và khí đốt/không khí
8 Môi trường thử nghiệm
8.1 Tuy không quy định kích thước của phòng thử nghiệm nhưng nó phải đủ rộng. Phòng thử nghiệm phù hợp là phòng có thể tích 45 m3 với chiều cao của trần không nhỏ hơn 2,4 m và được trang bị hệ thống thoát khói thích hợp.
Hệ thống thoát khói được lắp phía trên trần và phải có công suất ít nhất 0,5 m3/s. Lỗ mở trên trần để thoát khói phải được bao quanh bởi một màn chắn làm bằng sợi chịu lửa treo ở phía trên tạo thành khoang hút hình vuông kích thước (1,3 x 1,3) m và rủ xuống đến chiều cao (1,7 ± 0,1) m tính từ mặt sàn. Khung đỡ mẫu và tấm bức xạ đặt ngay dưới chụp hút sao cho tất cả khói cháy đều được hút ra khỏi phòng.
8.2 Các thiết bị được đặt trong môi trường hoàn toàn không ảnh hưởng của các luồng khí hút, với khoảng trống ít nhất 1 m giữa thiết bị và tường của phòng thí nghiệm. Phải đặt các vật liệu trần, tường, sàn có bề mặt hoàn thiện dễ cháy cách nguồn bức xạ ít nhất 2 m.
8.3 Nguồn cung cấp không khí bên ngoài để thay thế bù cho lượng khí thoát ra theo hệ thống thoát khói được bố trí sao cho nhiệt độ môi trường phòng thí nghiệm được duy trì ổn định và trong khoảng 10 °C đến 30 °C.
8.4 Phải tiến hành đo tốc độ không khí gần mẫu mô phỏng trong khi hệ thống thoát khói đang hoạt động nhưng tấm bức xạ và nguồn cung cấp không khí ở trạng thái tắt. Lưu lượng không khí vuông góc với cạnh dưới của mẫu thử và tại điểm giữa chiều dài của mẫu thử không vượt quá 0,2 m/s theo mọi hướng, khi đo cách mẫu thử 100 mm.
9 Thiết bị bổ trợ và thiết bị đo đạc
9.1 Đầu đo thông lượng nhiệt
Sử dụng ít nhất 3 đầu đo thông lượng nhiệt loại Schmidt-Boelter (pin nhiệt) với dải thông thường từ 0 kW/m2 đến 50 kW/m2, một đầu đo để làm việc, hai đầu đo còn lại làm đầu đo chuẩn để kiểm tra.
CHÚ THÍCH 1: Dụng cụ phù hợp có bán trên thị trường và đôi khi được gọi là “đầu dò thông lượng nhiệt” hoặc “đồng hồ đo thông nhiệt lượng”.
Bề mặt cảm nhận của đầu đo phải phẳng, có đường kính không quá 10 mm, được phủ một lớp vật liệu hoàn thiện thô nhám, màu đen. Đầu đo này phải đặt trong vỏ bọc làm mát bằng nước có bề mặt trước bằng phẳng, tròn, đường kính ít nhất 25 mm và trùng với mặt phẳng của bề mặt cảm nhận. Toàn bộ mặt trước của vỏ nước làm mát có độ bóng cao. Bức xạ phải truyền trực tiếp đến bề mặt cảm nhận mà không đi qua một khe hở nào. Kiểm soát nhiệt độ của nước làm mát sao cho nhiệt độ thân đầu đo thông lượng nhiệt duy trì cao hơn nhiệt độ điểm sương.
CHÚ THÍCH 2: Yêu cầu nước làm mát cho đầu đo thông lượng nhiệt là để phép đo được chuẩn hóa và xác định. Quan hệ giữa điện áp đầu ra và thông lượng nhiệt toàn phần được thiết lập khi đầu đo được hiệu chỉnh phụ thuộc vào nhiệt độ nước làm mát. Vì vậy, nhiệt độ của nước làm mát khi hiệu chuẩn phải tương đương khi sử dụng. Nước làm mát cũng cần để bảo vệ đầu đo thông lượng nhiệt. Việc cung cấp nước làm mát bị lỗi có thể dẫn đến quá nhiệt và gãy hư hại cho đầu tiếp nhận và mất hiệu chuẩn của đầu đo thông lượng nhiệt. Trong một số trường hợp có thể sửa chữa và hiệu chuẩn lại.
Nếu sử dụng đầu đo thông lượng nhiệt có đường kính nhỏ hơn 25 mm, chèn đầu đo này vào một vỏ bọc bằng đồng có đường kính ngoài 25 mm sao cho giữ được sự tiếp xúc nhiệt tốt giữa vỏ bọc và thân nước làm mát của đầu đo thông lượng nhiệt. Mặt trước của vỏ bọc và bề mặt nhận của đầu đo thông lượng nhiệt phải nằm cùng mặt phẳng.
Đầu đo thông lượng nhiệt phải cấu tạo chắc chắn, đơn giản để lắp đặt và sử dụng, ổn định về mặt hiệu chuẩn. Các đầu đo phải có độ chính xác ± 6 % và độ lặp lại ± 0,5% theo tiêu chuẩn ISO 14934-3 [8]. Phải kiểm tra việc hiệu chuẩn đầu đo thông lượng nhiệt làm việc hai tháng một lần bằng cách so sánh với hai đầu đo thông lượng nhiệt chuẩn tham khảo (xem Phụ lục C), các đầu đo chuẩn được bảo quản và không sử dụng cho bất kỳ mục đích khác.
9.2 Hỏa quang kế toàn phần
Hỏa quang kế sử dụng phải có độ nhạy duy trì không đổi giữa bước sóng từ 1 μm đến 9 μm.
9.3 Máy ghi
Ghi tín hiệu đầu ra từ hỏa quang kế và các đầu đo thông lượng nhiệt sử dụng phương pháp thích hợp.
Có thể sử dụng một máy ghi millivoltmeter biểu đồ kiểu băng có điện trở đầu vào ít nhất 1 MΩ. Lựa chọn độ nhạy với yêu cầu nhỏ hơn độ lệch toàn thang đo của hỏa quang kế toàn phần hoặc đầu đo thông lượng nhiệt đã chọn. Nhiệt độ làm việc có hiệu quả của tấm bức xạ thường không quá 935 °C.
CHÚ THÍCH Để theo dõi sự thay đổi điều kiện hoạt động của tấm bức xạ có thể sử dụng một milivon kế điện tử có tín hiệu nhỏ hơn hoặc bằng 10 μV.
9.4 Thiết bị đo thời gian
Để đo thời gian bắt lửa và sự lan truyền lửa có thể sử dụng máy ghi thời gian hoặc đồng hồ điện có kim giây quét hoặc đồng hồ điện tử.
Máy ghi thời gian bắt lửa và bắt đầu lan truyền của ngọn lửa là loại máy ghi biểu đồ kiểu băng với tốc độ cuốn giấy ít nhất 5 mm/s.
Cả ổ giấy của máy ghi thời gian và đồng hồ điện phải được vận hành thông qua một công tắc chung để cùng hoạt động đồng thời khi các mẫu thử được lộ lửa. Có thể vận hành thiết bị này bằng tay hoặc tự động khi đã chèn mẫu thử vào.
9.5 Mẫu mô phỏng
Cắt mẫu mô phỏng từ tấm vật liệu không cháy (ví dụ: tấm canxi silicat) khối lượng thể tích khô (950 ± 100) kg/m3 và chiều dài 800 mm, chiều rộng 155 mm và dày (25 ± 2) mm. Có thể sử dụng tấm không cháy mỏng hơn có cùng khối lượng thể tích nếu chúng được cố định cùng nhau để tạo thành một tấm chiều dày (25 ± 2) mm mà không có khoảng cách đáng kể. Giữ mẫu mô phỏng ở vị trí mẫu thử trong khi vận hành thiết bị và chỉ rút ra khi đưa mẫu vào thử nghiệm.
9.6 Tấm hiệu chuẩn
Tấm hiệu chuẩn được làm từ vật liệu không cháy (ví dụ tấm canxi silicat) dày (25 ± 2) mm khối lượng thể tích khô (950 ± 100) kg/m3. Có thể sử dụng tấm vật liệu không cháy mỏng hơn có cùng khối lượng thể tích nếu chúng được cố định cùng nhau để tạo thành tấm có chiều dày (25 ± 2) mm mà không có khoảng cách đáng kể. Trên tấm hiệu chuẩn có 8 lỗ đường kính 25 mm ở các vị trí như Hình 8 để giữ đầu đo thông lượng nhiệt khi đo cường độ bức xạ trên mặt phẳng tương ứng với bề mặt lộ lửa của mẫu dưới điều kiện thử nghiệm. Có thể sử dụng một đầu đo thông lượng nhiệt, lắp vào lần lượt vào từng lỗ hoặc dùng nhiều đầu đo thông lượng nhiệt nhưng các lỗ không chứa đầu đo thông lượng nhiệt phải được bịt một nút làm bằng vật liệu giống như tấm hiệu chuẩn.
Các bề mặt cảm nhận của đầu đo thông lượng nhiệt phải nằm trên cùng mặt phẳng với bề mặt lộ lửa của tấm hiệu chuẩn.
Gắn tấm hiệu chuẩn trên khay giữ mẫu (Hình 3) với đầu đo thông lượng nhiệt đầu tiên cách đầu mút lộ lửa của tấm hiệu chuẩn 50 mm, đo đến tâm của bề mặt cảm nhận của đầu đo thông lượng nhiệt.
CHÚ THÍCH: Khoảng 14 mm đầu nóng hơn của tấm hiệu chuẩn được che bằng viền mép của khay giữ mẫu.
9.7 Tấm lót và con kê
Tấm lót được cắt từ tấm vật liệu không cháy (ví dụ tấm canxi silicat) dày (12,5 ± 3) mm với kích thước giống như mẫu mô phỏng và khối lượng thể tích khô (950 ± 100) kg/m3. Sử dụng con kê làm từ vật liệu giống tấm lót để tạo khe không khí quy định ở 6.5.3, cắt thành dải rộng (25 ± 2) mm và gắn trên toàn bộ chu vi của tấm lót.
Sử dụng lại tấm lót và con kê nếu chúng không bị bám bẩn bởi các sản phẩm cháy. Tuy nhiên, trước khi tái sử dụng, cần ổn định trong điều kiện không khí như quy định tại 6.4.1 ít nhất 24 h. Nếu có bất kỳ nghi ngờ về độ sạch của tấm lót và con kê, đưa cả hai vào trong lò sấy thông gió ở nhiệt độ xấp xỉ 250 °C trong 2 h để loại bỏ dư lượng bay hơi. Loại bỏ tấm lót và con kê nếu vẫn còn nghi ngờ về điều kiện của chúng.
10 Thiết lập điều kiện thử và quy trình hiệu chuẩn
10.1 Thiết lập điều kiện thử
Hầu hết việc điều chỉnh bộ phận của thiết bị thử nghiệm được thực hiện trong điều kiện thường. Cả trong trường hợp điều chỉnh hoạt động ban đầu trước khi thử nghiệm và kiểm tra định kỳ thì chỉ tiêu kiểm soát là thông lượng nhiệt ở bề mặt của mẫu thử. Cần lưu ý rằng việc đọc đầu đo thông lượng nhiệt bị ảnh hưởng nhẹ do dòng không khí bốc lên, được làm nóng từ tấm hiệu chuẩn. Đo thông lượng nhiệt bằng đầu đo thông lượng nhiệt gắn trên tấm hiệu chuẩn (xem Hình 8).
Vị trí ban đầu của bề mặt chịu lửa của tấm bức xạ với mẫu thử phải phù hợp với kích thước cho trên Hình 9.
Quy trình thiết lập điều kiện thử nghiệm ban đầu được thực hiện như sau.
a) Đặt tốc độ dòng khí 8 L/s qua tấm bức xạ. Bật nguồn cấp khí đốt, làm nóng tấm bức xạ và để nó đạt trạng cân bằng thái nhiệt với mẫu mô phỏng được gắn phía trước nó.
CHÚ THÍCH: Khi nguồn bức xạ hoạt động bình thường sẽ không nhìn thấy ngọn lửa từ tấm bức xạ trừ khi nhìn theo mặt phẳng song song với mặt phẳng của tấm bức xạ. Theo hướng nhìn này, có thể thấy một ngọn lửa mỏng xanh bám sát bề mặt của tấm bức xạ. Nhìn xiên tấm bức xạ sau 15 min làm nóng thường thấy bề mặt bức xạ có màu cam sáng.
b) Điều chỉnh tốc độ dòng khí đốt cho đến khi thông lượng nhiệt đo bằng đầu đo thông lượng nhiệt làm mát bằng nước gắn trên tấm hiệu chuẩn tương đương với giá trị cho trong Bảng 1 tại vị trí 50 mm và 350 mm. Nếu cần, thực hiện thay đổi nhỏ lưu lượng không khí để đạt được ngọn lửa không đáng kể từ bề mặt tấm bức xạ. Sau khi thực hiện mỗi điều chỉnh này, cần để tấm hiệu chuẩn đạt trạng thái cân bằng nhiệt trước khi đo thông lượng nhiệt bức xạ. Có thể cần điều chỉnh nhỏ theo trục dọc của mẫu thử.
c) Khi đạt được các giá trị đối với vị trí 50 mm và 350 mm, xác định thông lượng nhiệt cho từng vị trí khác nhau như Bảng 1 và đảm bảo các giá trị nằm trong sai số cho phép.
CHÚ THÍCH 2: Khi xử lý kết quả thử nghiệm, giả định rằng thông lượng nhiệt ở vị trí xác định trên mẫu thử bằng với thông lượng nhiệt đã đo ở cùng vị trí trên tấm hiệu chuẩn.
Bảng 1 - Thông lượng nhiệt chuẩn dọc theo tấm hiệu chuẩn
| Vị trí a mm | Thông lượng nhiệt kW/m2 | Sai số thông lượng nhiệt kW/m2 |
| 0 | 49,5 | b |
| 50 | 50,5 | ± 0,5 |
| 100 | 49,5 | b |
| 150 | 47,1 | ± 2,4 |
| 200 | 43,1 | b |
| 250 | 37,8 | ± 1,9 |
| 300 | 30,9 | b |
| 350 | 23,9 | ± 0,2 |
| 400 | 18,2 | b |
| 450 | 13,2 | ± 0,7 |
| 500 | 9,2 | b |
| 550 | 6,2 | ± 0,6 |
| 600 | 4,3 | b |
| 650 | 3,1 | ± 0,3 |
| 700 | 2,2 | b |
| 750 | 1,5 | ± 0,3 |
| a Khoảng cách từ đầu đo thông lượng nhiệt đến đầu nóng của tấm hiệu chuẩn. b Đây là các vị trí không quy định dung sai, chúng chỉ sử dụng để thiết lập điều kiện vận hành ban đầu và cho các giá trị thông lượng nhiệt ở vị trí này để làm trơn đường quan hệ thống lượng nhiệt-khoảng cách lan truyền lửa. Đặt đầu đo thông lượng nhiệt ở các vị trí này bằng cách rút khay giữ mẫu lùi ra ngoài 50 mm. | ||
d) Nếu cần thay đổi vị trí của trục tấm bức xạ và mẫu thử để đảm bảo yêu cầu thông lượng nhiệt ở vị trí 50 mm và 350 mm, thực hiện điều chỉnh vít nối giữa hai khung, sao cho vị trí tương đối của ngọn lửa mồi so với mẫu thử được giữ không đổi.
CHÚ THÍCH 3: Có thể thay đổi vít điều chỉnh vị trí dừng của mẫu thử để đạt thông lượng nhiệt yêu cầu, trong trường hợp này phải điều chỉnh vị trí của đầu đốt ngọn lửa mồi để giữ ngọn lửa mồi cách bề mặt trước của mẫu thử một khoảng (10 ± 2) mm.
e) Khi điều kiện vận hành đạt yêu cầu, mọi hoạt động của tấm bức xạ tiếp theo được kiểm soát bằng việc duy trì lưu lượng không khí và thay đổi lưu lượng khí đốt để đạt được thông lượng nhiệt yêu cầu. Nếu sử dụng hỏa kế bức xạ toàn phần để theo dõi vận hành tấm bức xạ, dụng cụ này phải gắn trên khung đỡ mẫu sao cho có thể quan sát được vùng trung tâm trên bề mặt bức xạ khoảng (150 x 300) mm. Lưu giữ tín hiệu ghi lại của hỏa kế bức xạ sau khi hoàn tất quy trình hiệu chuẩn.
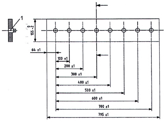
Kích thước tính bằng milimét

CHÚ DẪN
1 đầu đo thông lượng nhiệt được lắp khít vào lỗ đường kính 25 mm (ví dụ như phép đo ở 300 mm)
Hình 8 - Tấm hiệu chuẩn để đo thông lượng nhiệt
10.2 Kiểm tra
Xác nhận sự phân bố thông lượng nhiệt (xem Bảng 1) trên tấm hiệu chuẩn bằng cách hiệu chuẩn theo chu kỳ hàng ngày và hàng tháng như sau:
a) kiểm tra hàng ngày: đo thông lượng nhiệt ở các vị trí 50 mm và 350 mm tính từ đầu mút lộ lửa;
b) kiểm tra hàng tháng: đo thông lượng nhiệt ở các vị trí 50 mm, 150 mm, 250 mm, 350 mm, 450 mm, 550 mm, 650 mm và 750 mm từ đầu mút lộ lửa.
Kích thước tính bằng milimét, nếu không có quy định khác

CHÚ DẪN
1 đường trung tâm của mẫu và tấm bức xạ
2 khay giữ mẫu
3 tấm lót
4 mẫu thử
5 lưới thép
6 đầu đốt ngọn lửa mồi
7 tấm bức xạ
Hình 9 - Vị trí tương đối giữa tấm bức xạ và mẫu thử
10.3 Điều chỉnh ngọn lửa mồi
Điều chỉnh lưu lượng khí propan và không khí tương ứng 0,4 L/min và 1,0 L/min để tạo ngọn lửa có chiều dài (230 ± 20) mm theo phương thẳng đứng. Khi quan sát trong phòng tối, ngọn lửa phải vươn cao khoảng 40 mm tính từ mép trên của khay giữ mẫu đặt thẳng đứng (xem Hình 6). Ghi lưu lượng của khí propan và không khí của đầu đốt ngọn lửa mồi.
Điều chỉnh vùng tiếp xúc của ngọn lửa lên mẫu mô phỏng bằng cách di chuyển ống đốt vào gần hoặc ra xa mặt phẳng của bề mặt lộ lửa của mẫu mô phỏng. Xoay đầu đốt ngọn lửa mồi trên bộ phận giữ nó cho đến khi ngọn lửa chạm đến nửa trên của chiều cao lộ lửa của mẫu thử.
Nếu cần kiểm tra ngọn lửa mồi, điều chỉnh theo cách đã nêu ở trên mỗi ngày. Tùy vào bản chất của mẫu thử có thể cần thực hiện thường xuyên hơn.
11 Quy trình thử nghiệm
11.1 Đưa mẫu mô phỏng nằm trong khay giữ mẫu vào vị trí đối diện với tấm bức xạ và bật hệ thống thoát khí.
11.2 Vận hành tấm bức xạ để đạt được điều kiện thử nghiệm quy định ở Bảng 1.
11.3 Khi tấm bức xạ đạt trạng thái cân bằng nhiệt, đốt ngọn lửa mồi, đặt lưu lượng nhiên liệu và không khí đến tấm bức xạ, kiểm tra chiều dài ngọn lửa, nếu cần điều chỉnh lưu lượng nhiên liệu và không khí.
11.4 Lắp mẫu thử bọc trong giấy nhôm đã ổn định trên tấm lót như quy định ở 6.5.2 và 6.5.3 vào khay giữ mẫu ở nhiệt độ thường cách xa khu vực nóng của tấm bức xạ, và chèn kẹp để ép mẫu vào mặt trước của viền mép của khay giữ mẫu.
11.5 Rút khay giữ mẫu của mẫu mô phỏng và đưa mẫu thử vào vị trí thử nghiệm, thực hiện thao tác này không quá 15 s. Bật ngay đồng hồ, máy đo thời gian và cả đồng hồ camera (xem chú thích 7.3.4).
11.6 Vận hành máy đo thời gian để xác định thời gian bắt cháy và thời gian mặt trước ngọn lửa chạm đến những vị trí đầu tiên từ khi bắt đầu thử nghiệm, tốc độ cháy của mẫu thử. Ghi thời gian mặt trước ngọn lửa chạm đến mỗi vị trí nhất định, tại đó ngọn lửa phải trùng với đường tâm của mẫu thử và với vị trí của hai kim thép tương ứng của thanh gai hỗ trợ quan sát. Ghi chép thời gian thủ công qua phép đo trên biểu đồ của máy đo thời gian kiểu biểu đồ kết hợp quan sát đồng hồ. Ghi lại thời gian mặt trước ngọn lửa chạm đến các mốc 50 mm dọc theo chiều dài mẫu thử càng nhiều càng tốt. Ghi cả thời gian và vị trí dọc theo đường tâm của mẫu thử tại đó ngọn lửa ngừng tiến về phía trước.
Trong trường hợp đường dấu bị che khuất do bề mặt của mẫu thử bị biến dạng dưới tác động của ngọn lửa, người vận hành ấn định đường tâm mẫu thử bằng mắt.
11.7 Trong suốt thời gian mẫu thử lộ lửa, không được điều chỉnh lưu lượng cấp nhiên liệu tới tấm bức xạ để bù cho những thay đổi về mức bức xạ của nó.
11.8 Kết thúc thử nghiệm nếu
a) mẫu thử không bắt cháy sau 10 min lộ lửa;
b) ngọn lửa ngừng lan truyền dọc theo mẫu thử và bị tắt, không xuất hiện bất kỳ ngọn lửa nào trong 10 min sau đó;
c) ngọn lửa trên bề mặt tiến đến cuối mẫu thử;
d) mẫu thử chỉ cháy ở 1 vị trí và mặt trước ngọn lửa không lan truyền từ vị trí đó đến những vị trí khác trong vòng 30 min từ lúc bắt đầu thử nghiệm.
11.9 Khi thử nghiệm kết thúc, rút mẫu thử ra và đưa lại mẫu mô phỏng cùng khay giữ mẫu vào.
11.10 Lặp lại thao tác từ 11.4 và 11.9 cho mẫu thử bổ sung, để tấm bức xạ đạt đến trạng thái cân bằng nhiệt trước mỗi lần thử nghiệm.
a) Nếu bề mặt lộ lửa trên mẫu thử không có hướng bất thường, thử nghiệm thêm 2 mẫu thử có cùng hướng.
b) Nếu bề mặt lộ lửa trên mẫu thử có hướng bất thường, thử nghiệm thêm 1 mẫu thử có hướng vuông góc với hướng đầu tiên. Thử nghiệm mà có CFE thấp nhất phải lặp lại 4 lần theo cùng hướng (xem 3.5).
11.11 Điều kiện thử nghiệm lại như sau:
a) Nếu một trong ba mẫu thử không bắt cháy, thử nghiệm thêm 1 mẫu thử nữa;
b) Nếu 2 hoặc 3 mẫu thử của tổ mẫu đầu tiên không bắt cháy khi được lộ lửa 10 min, thử nghiệm thêm 1 mẫu thử nữa. Nếu mẫu thử này bắt cháy, thử nghiệm thêm 2 mẫu. Trong trường hợp này, báo cáo thử nghiệm cần nêu rõ rằng không thu được sự bắt cháy lặp lại.
c) Nếu 1 mẫu thử cho thấy vật liệu cháy không hoàn toàn trên phạm vi rộng thì thử nghiệm thêm ít nhất 1 mẫu được giữ trong khung thử nghiệm bởi lưới thép có đường kính sợi thép khoảng 0,3 mm và mắt lưới 25 mm. Báo cáo riêng các dữ liệu thu được khi sử dụng lưới thép.
11.12 Phương pháp thử được coi là không phù hợp nếu mẫu thử cho thấy ứng xử với bề mặt lộ lửa không cho phép đo sự lan truyền ngọn lửa, chẳng hạn như
a) bất kỳ sự chảy mềm, nóng chảy hoặc phân hủy của vật liệu làm cho mẫu thử bị chảy rơi ra khỏi khay giữ mẫu;
b) bề mặt mẫu tách ra khỏi vật liệu nền.
Tuy nhiên phương pháp thử được coi là phù hợp nếu sự bắt cháy của bề mặt lộ lửa xảy ra trong khoảng thời gian mặt trước ngọn lửa hình thành trước khi có các biểu hiện không phù hợp như mô tả ở a) và b).
11.13 Quan sát cẩn thận ứng xử của sản phẩm trong suốt quá trình thử nghiệm và đặc biệt lưu ý các hiện tượng sau đây:
a) cháy lập lòe;
b) sự cháy không ổn định (mặt trước ngọn lửa không ổn định).
Thực hiện quan sát các hiện tượng khác, như mô tả mảnh vỡ rơi ra khỏi mẫu thử và có hay không cháy (ổn định hoặc không ổn định), sự phồng lên và/hoặc biến dạng của mẫu thử, sự phân tách, sự nổ, các vết nứt và vỡ, tia lửa, sự nóng chảy, thay đổi hình dạng... Phụ lục D đưa ra hướng dẫn báo cáo các ứng xử bất thường.
12 Biểu thị tính năng cháy của sản phẩm
Báo cáo thử nghiệm kết quả dưới dạng giá trị thông lượng nhiệt bức xạ được đo trên tấm hiệu chuẩn. Không bù trừ sự thay đổi về mức nhiệt lượng phát ra của tấm bức xạ trong khi mẫu thử lộ lửa. Rút ra và liệt kê dữ liệu sau đây từ kết quả thí nghiệm đối với mỗi mẫu thử:
- Nhiệt lượng trung bình để cháy ổn định (Qsb): trung bình của các giá trị nhiệt lượng để cháy ổn định (xem 3.2 và 3.9) đo ở các khoảng cách đều nhau 50 mm, đầu tiên ở 150 mm và đến mỗi vị trí tiếp theo và bao gồm cả vị trí 400 mm (hoặc vị trí cuối cùng nếu thử nghiệm chấm dứt trước khi đạt đến vị trí 400 mm). Thời gian dài nhất sử dụng trong tính toán ứng với ngọn lửa lan đến vị trí ít nhất 30 mm trước vị trí lan truyền xa nhất của ngọn lửa trên đường tâm của mẫu thử.
- Thông lượng nhiệt tới hạn tại điểm tắt cháy (CFE): khi mẫu thử không bắt cháy, các mẫu thử được coi có CFE bằng 50 kW/m2.
Tính giá trị trung bình của các kết quả của Qsb và của CFE đối với các mẫu được thử nghiệm theo tất cả các hướng.
a) Đối với các mẫu không có hướng bất thường tại đó sự bắt cháy xảy ra với mỗi mẫu thử, tính giá trị trung bình của 3 mẫu thử.
b) Đối với các mẫu thử không có hướng bất thường trong đó có một số mẫu không bắt cháy, tính giá trị trung bình trên tất cả các mẫu thử được thử nghiệm. Khi tính giá trị trung bình Qsb, loại bỏ các mẫu thử không bắt cháy hoặc các mẫu có khoảng cách lan truyền lửa nhỏ hơn 150 mm.
c) Đối với các mẫu có hướng bất thường, tính giá trị trung bình từ tập hợp của 5 mẫu thử được thử nghiệm theo cùng một hướng. Trong khi thực hiện tính toán, loại bỏ 2 điểm cực trị (cao nhất và thấp nhất) đối với mỗi thông số.
13 Báo cáo thử nghiệm
Báo cáo thử nghiệm bao gồm thời gian để mặt trước ngọn lửa chạm đến các mốc 50 mm, tiến hành quan sát trên mỗi mẫu thử nghiệm và rút ra các đặc tính ngọn lửa. Cung cấp các thông tin dưới đây:
a) viện dẫn tiêu chuẩn này;
b) tên và địa chỉ của phòng thử nghiệm;
c) tên và địa chỉ của khách hàng;
d) tên và địa chỉ của nhà sản xuất/cung cấp;
e) mô tả đầy đủ sản phẩm được thử nghiệm, bao gồm tên thương mại, cấu tạo của sản phẩm, định hướng, chiều dày, khối lượng thể tích và vị trí sử dụng thích hợp, bề mặt chịu thử nghiệm; trong trường hợp các mẫu thử đã sơn và đánh véc ni, phải ghi chép lại số lượng mẫu và số mẫu đã sơn cũng như đặc điểm của các vật liệu hỗ trợ;
f) mô tả vật liệu nền được sử dụng và phương pháp cố định mẫu thử vào vật liệu nền nền, gồm cả cách thực hiện mối nối;
g) dữ liệu từ thử nghiệm bao gồm:
1) số lượng mẫu thử nghiệm,
2) khí đốt sử dụng cho ngọn lửa mồi,
3) thời điểm bắt cháy,
4) thời gian mỗi lần thử nghiệm(xem 11.8),
5) quan sát sự lan truyền của mặt trước ngọn lửa theo 11.6,
6) các quan sát ứng xử của sản phẩm (xem 11.12 và 11.13), bao gồm khoảng thời gian các mảnh cháy nếu xảy ra,
7) đưa ra các đặc tính ngọn lửa như mô tả ở Điều 12;
h) tuyên bố về phạm vi áp dụng “Các kết quả thử nghiệm chỉ liên quan đến ứng xử của sản phẩm trong điều kiện cụ thể của thử nghiệm và chúng không đánh giá nguy cơ cháy tiềm ẩn của sản phẩm trong điều kiện sử dụng thực tế”.
i) giải thích các lý do đối với các thử nghiệm được coi là không hợp lệ.
Phụ lục A
(quy định)
Cảnh báo an toàn
A.1 Mối nguy hiểm của khí đốt
Các khí có thể tạo thành hỗn hợp nổ với không khí trên một dải nồng độ (xem Bảng A.1).
Bảng A.1 - Mối nguy hiểm cháy và nổ của khí đốt
| Khí | Giới hạn nổ % | Nhiệt độ bắt cháy °C | |
| Giới hạn dưới | Giới hạn trên | ||
| Mê tan | 5 | 15 | 537 |
| Propan | 2,2 | 9,5 | 468 |
A.2 Mối nguy bắt cháy
Phương pháp thử nghiệm này liên quan đến việc tạo ra cường bộ bức xạ cao, có thể gây bắt cháy một số vật liệu như quần áo thậm chí chỉ sau thời gian lộ lửa ngắn. Do vậy phải thực hiện các biện pháp an toàn để tránh tai nạn do bắt cháy bức xạ này.
A.3 Mối nguy khói độc
Người thử nghiệm theo tiêu chuẩn này cần lưu ý đến thực tế khói từ các nguyên liệu cháy thường bao gồm carbon monoxide và các loại khí có hại khác. Trong nhiều trường hợp, có thể sinh ra các các sản phẩm độc hại. Cần thận trọng thực hiện các biện pháp an toàn để tránh tiếp xúc với các khí này.
A.4 Bảo vệ mắt
Thí nghiệm viên phải sử dụng dụng cụ bảo vệ mắt vì không thể hạn chế hoàn toàn được nguy cơ bắn ra các vật liệu nóng chảy hoặc các mảnh vỡ sắc nhọn từ một số loại mẫu thử khi bị nung nóng.
Phụ lục B
(tham khảo)
Tạo mẫu
B.1 Ảnh hưởng của tính chất nhiệt đến tính năng của vật liệu ghép
Sự tồn tại của các khe không khí và đặc điểm cấu tạo của lớp vật liệu phía dưới ảnh hưởng đáng kể đến tính bắt cháy và đặc tính lan truyền lửa trên bề mặt lộ lửa của vật liệu mỏng hoặc composit, đặc biệt các vật liệu có độ dẫn nhiệt cao. Tăng nhiệt dung của lớp vật liệu phía dưới làm tăng hiệu ứng “tiêu nhiệt” và trì hoãn quá trình bắt cháy của bề mặt lộ lửa và làm chậm sự lan truyền lửa. Mọi tấm lót dùng để lót dưới mẫu thử và tiếp xúc với mẫu thử, ví dụ các con kê làm bằng vật liệu không cháy (xem 9.7), có thể làm thay đổi hiệu ứng “tiêu nhiệt” và là kết quả thử nghiệm của chính nó. Phải hiểu được sự ảnh hưởng của các lớp dưới đến tính năng của mẫu thử ghép và lưu ý thực hiện để đảm bảo kết quả thử nghiệm thu được trên mẫu thử ghép đều phù hợp với hình thức sử dụng của nó trong thực tế.
B.2 Chuẩn bị mẫu thử
Chế tạo và chuẩn bị các mẫu thử nên được thực hiện như sau:
a) Đối với tính chất nhiệt của các sản phẩm mà ít xảy ra tổn thất nhiệt xuống các lớp phía dưới, ví dụ vật liệu/composit có chiều dày lớn hơn 6 mm và có nhiệt dung riêng cao và/hoặc độ dẫn nhiệt thấp, chỉ nên thử nghiệm với tấm lót phía sau mẫu thử.
b) Đối với sản phẩm thường được sử dụng không có giá đỡ và không có đặc tính lưu ý trong a), phải tạo một khe không khí sau sản phẩm bằng các con kê làm từ vật liệu không cháy cách nhiệt (xem 6.5.3).
c) Đối với sản phẩm được sử dụng trên lớp vật liệu nền có tỷ trọng thấp, không cháy và không có đặc tính lưu ý trong a), sản phẩm phải được thử nghiệm cùng với lớp vật liệu nền này.
d) Đối với sản phẩm được sử dụng trên một vật liệu nền dễ cháy và không có đặc tính lưu ý trong a), sản phẩm phải được thử nghiệm cùng với vật liệu nền này.
Phụ lục C
(tham khảo)
Hiệu chuẩn đầu đo thông lượng nhiệt làm việc
Sử dụng 2 đầu đo thông lượng nhiệt chuẩn tham khảo cho phép tránh sự thay đổi nhạy cảm của các đầu đo tham khảo, như được giải thích chi tiết trong ISO 14934-3:2006, Phụ lục D[8]. Một trong hai đầu đo chuẩn tham khảo phải được hiệu chuẩn với chu kỳ hàng năm theo một trong các phương pháp của ISO 14934-2[7].
Phụ lục D
(tham khảo)
Hướng dẫn báo cáo và theo dõi kết quả của quy trình thử nghiệm đốt
Mục đích của Phụ lục này là cung cấp hướng dẫn để theo dõi và báo cáo kết quả của quy trình thử nghiệm
| Ứng xử bất thường | Hướng dẫn để theo dõi và báo cáo |
| 1 Cháy lập lòe hoặc ngọn lửa không ổn định tạm thời, không có ngọn lửa ổn định | Báo cáo khoảng cách và thời gian lan xa nhất của ngọn lửa, có hay không xuất hiện cháy lập lòe trên đường tâm. |
| 2 Nứt nổ, không cháy lập lòe hoặc ngọn lửa | Báo cáo mức độ nghiêm trọng của vết nứt nổ. |
| 3 Cháy lập lòe nhanh hoặc ngọn lửa không ổn định trên bề mặt, sau đó hình thành ngọn lửa ổn định | Báo cáo kết quả mặt trước ngọn lửa của cả hai ngọn lửa. |
| 4 Mẫu thử hoặc bề mặt phủ bị nóng chảy và nhỏ giọt, không có ngọn lửa | Báo cáo ứng xử và mức độ hư hại trên mẫu thử |
| 5 Nứt nổ và có ngọn lửa trên phần lộ lửa của mẫu thử | Báo cáo hiện tượng nổ và tiến triển ngọn lửa |
| 6 Mẫu thử hoặc bề mặt phủ bị nóng chảy, cháy và nhỏ giọt | Báo cáo mặt trước ngọn lửa và mức độ hư hại. Cũng báo cáo cả ngọn lửa nhỏ giọt quan sát được |
| 7 Ngọn lửa mồi bị tắt | Báo cáo sự cố và lặp lại thử nghiệm |
| 8 Sự bắt cháy duy trì rất ngắn mà bị gây ra bởi sự lồi của mẫu thử phía trên khay giữ mẫu, làm giảm khoảng cách đến ngọn lửa mồi | Đặt lại ngọn lửa mồi theo mức độ lồi |
| 9 Mẫu bị gẫy và rơi ra khỏi khay giữ mẫu | Báo cáo ứng xử |
| 10 Các chất khí cháy do nhiệt phân đột ngột sinh ra từ mẫu thử, keo dính hoặc phụ gia liên kết | Báo cáo ứng xử |
| 11 Ngọn lửa nhỏ ổn định dọc theo mép mẫu thử | Báo cáo trạng thái và ngừng thử nghiệm sau 30 min (xem 11.8 d) |
| 12 Mẫu thử bị cháy ở những vùng tách biệt xa đường tâm | Báo cáo mức độ và vị trí của ngọn lửa |
Phụ lục E
(tham khảo)
Tính biến động của kết quả thí nghiệm
Thực hiện thử nghiệm liên phòng thí nghiệm để thử nghiệm một số vật liệu tại một số phòng thí nghiệm theo quy trình thử nghiệm đưa ra trong ISO 5658-2:1996 sử dụng ngọn lửa mồi acetylen không chạm mẫu.
Bảng E.1 tóm tắt kết quả của lần thử nghiệm đầu tiên với độ lặp lại và độ tái lập của sáu mẫu vật liệu khác nhau. Thử nghiệm trên mẫu polymethylmethacrylate (PMMA) cho độ lặp lại và độ tái lập tốt. Thử nghiệm trên 2 loại ván ép cho kết quả khác nhau rất nhỏ giữa các giá trị lặp lại và tái lập từ đó kết luận rằng có sự biến động nhỏ giữa các phòng thí nghiệm. Do tính chất cơ học của polystyren giãn nở (polyme nóng chảy và dính vào tấm lót tạo thành 1 lớp màng mỏng), nên kết quả có sự biến động lớn. Trong một số phòng thí nghiệm, mẫu thạch cao phủ polyvinyl chloride (PVC) và mẫu nhựa được gia cường thủy tinh phenolic không bắt cháy do đó thực hiện lại thử nghiệm với ngọn lửa mồi có chạm mẫu. Điều này cũng gây ra sự biến động kết quả giữa các phòng thí nghiệm. Với phenolic GRP và tấm bọt polyisocyanurat phủ nhôm không xảy ra bắt cháy; do đó đánh giá đặc tính lan truyền lửa nằm ngoài phạm vi của ISO 5658-2:1996[11].
Mặc dù hàng loạt các vật liệu được thử nghiệm trong các phòng thí nghiệm bị giới hạn, nhưng có thể kết luận rằng độ lặp lại và tái lập của các thử nghiệm là chấp nhận được trong giới hạn các thử nghiệm với lửa và quy trình chi tiết trong ISO 5658-2:1996 được thực hiện mà không có sự biến động lớn giữa các phòng thí nghiệm đối với các vật liệu mà có tính lan truyền lửa ngang bề mặt dưới các điều kiện thử nghiệm.
Thực hiện thử nghiệm liên phòng lần hai bởi ISO/TC92/SC1/WG3 khi soát xét ISO 5658-2:1996. Bảy phòng thí nghiệm tham gia trong nghiên cứu này, so sánh quy trình thử nghiệm của tiêu chuẩn này sử dụng ngọn lửa mồi propan có chạm mẫu với quy trình thử nghiệm ISO 5658-2:1996 sử dụng ngọn lửa mồi acetylen không chạm mẫu. Tất cả các phòng thí nghiệm đều thử nghiệm mẫu ván dăm NFR và kết quả đưa ra trong Bảng E.2. Thử nghiệm với vật liệu thứ hai tại mỗi phòng thí nghiệm theo cả hai quy trình. Kết quả đưa ra trong Bảng E.3. So sánh kết quả CFE và Qsb của tấm ván dăm đối với hai kiểu ngọn lửa mồi và chúng chứng minh rằng có thể thay thế ngọn lửa mồi không chạm mẫu bằng ngọn lửa mồi có chạm mẫu trong ISO 5658:1996.
Bảng E.1 Độ lặp lại và độ tái lập của nhiệt lượng để cháy ổn định (Qsb) và thông lượng nhiệt tới hạn tại điểm tắt cháy (CFE)
| Vật liệu | Thông sốa | Số phòng thí nghiệm | Giá trị m | Độ lặp lại | Độ tái lập | ||
| r | r/m % | R | R/m % | ||||
| Poly(methyl methacrylate) | Qsb | 7 | 2,02 | 0,19 | 9,2 | 0,45 | 22,4 |
| Gỗ dán phủ gỗ bạch dương | CFE | 8 | 3,43 | 3,25 | 94,8 | 3,60 | 105,0 |
| Qsb | 8 | 1,90 | 0,51 | 26,9 | 0,70 | 37,0 | |
| Gỗ dán chống cháy | CFE | 8 | 11,30 | 5,17 | 45,8 | 6,19 | 54,8 |
| Qsb | 6 | 1,49 | 0,41 | 27,5 | 0,43 | 28,5 | |
| Tấm thạch cao phủ PVC | CFE | 6 | 23,70 | 2 20 | 9,3 | 7,98 | 33,5 |
| Qsb | 6 | 2,73 | 1,18 | 43,4 | 1,71 | 62,8 | |
| Tấm polystyren giãn nở gắn với tấm calci silicat | CFE | 7 | 13,80 | 6,63 | 48,0 | 11,70 | 84,8 |
| Qsb | 7 | 8,63 | 2,77 | 32,1 | 4,86 | 56,4 | |
| Phenolic GRP | CFE | 5 | 35,10 | 12,30 | 35,0 | 15,50 | 44,2 |
| Qsb | 5 | 11,15 | 4,57 | 40,9 | 8,53 | 76,5 | |
| a Nhiệt lượng để cháy ổn định (Qsb) biểu thị bằng megajul trên mét vuông (MJ/m2). Thông lượng nhiệt tới hạn tại điểm tắt cháy (CFE) biểu thị bằng kilô oát trên mét vuông (kW/m2) | |||||||
Bảng E.2 - Tổng hợp kết quả với tấm ván dăm không xử lý chậm cháya
| Phòng thí nghiệm | Kết quả thử nghiệm của tấm ván dăm chậm cháy | |||||
| Thời gian bắt cháy s | CFE kW/m2 | Qsb MJ/m2 | ||||
| Acetylen, không tác động | Propan, tác động | Acetylen, không tác động | Propan, tác động | Acetylen, không tác động | Propan, tác động | |
| A | 35 | 11 | 5,3 | 4,7 | 2,0 | 1,8 |
| B | 28 | 15 | 8,3 | 5,1 | 2,1 | 2,0 |
| C | 32 | 20 | 6.0 | 6,7 | 2,9 | 2,9 |
| D | 27 | 09 | 5,7 | 5,7 | 2,1 | 2,1 |
| E | 43 | 18 | 6,1 | 5,4 | 2,2 | 2,2 |
| F | 32 | 21 | 2,4 | 3,9 | 2,4 | 2,3 |
| G | 31 | 13 | 5,5 | 4,6 | 1,7 | 1,4 |
| Giá trị trung bình | 32,6 | 15,3 | 5,6 | 5,2 | 2,2 | 2,1 |
| Srb | 4,3 | 3,8 | 0,8 | 0,7 | 0,1 | 0,1 |
| COV(sr)c | 13,1% | 26,2% | 14,5% | 13,3% | 5,2% | 4,9% |
| SRd | 6,8 | 5,4 | 1,9 | 1,1 | 0,4 | 0,5 |
| COV(SR)e | 20,8% | 37,3% | 33,2% | 20,6% | 18,6% | 22,8% |
| a dày 12 mm, 7,5 kg/m2. b sr độ lệch chuẩn lặp lại. c COV(Sr) là hệ số lặp lại của biến động. d SR độ lệch chuẩn tái lập. e COV(SR) là hệ số tái lập của biến động. | ||||||
Bảng E.3 - Tổng hợp kết quả của tám sản phẩm thử nghiệm liên phòng lần 2
| Sản phẩm | Phòng thử nghiệm | Kết quả thử nghiệm liên phòng lần 2 | |||||
| Thời gian bắt cháy s | CFE kW/m2 | Qsb MJ/m2 | |||||
| Acetylen, không chạm mẫu | Propan, có chạm mẫu | Acetylen, không chạm mẫu | Propan, có chạm mẫu | Acetylen, không chạm mẫu | Propan, có chạm mẫu | ||
| Ván dăm - NFR | Tất cả | 30 | 12 | 6,17 | 5,35 | 2,15 | 2,03 |
| NFR-polyeste GRP | A | 39 | 9 | 8,50 | 7,33 | 1,72 | 1,86 |
| Thảm sợi len | B | 7 | 3 | 24,40 | 26,21 | 0,78 | 0,49 |
| MF/PF trang trí nhiều lớp | C | 184 | 139 | 36,9 | 31,2 | 17,90 | 17,90 |
| PUR gắn trên tấm CaSi | D | 25 | 4 | 35,80 | 35,70 | 1,80 | 1,80 |
| Thảm dẻo | E | 19 | 9 | 13,7 | 12,5 | 1,2 | 1,0 |
| Vật liệu phủ sàn PVC | F | 9 | 7 | 4,0 | 7,1 | 0,9 | 1,0 |
| Sàn phủ EPDM | G | 71 | 39 | 14,61 | 14,57 | 9,84 | 8,13 |
Thử nghiệm liên phòng thứ ba được thực hiện bởi ISO/TC 92/SC 1/WG/3 năm 2008 để kiểm tra sửa đổi quy trình ngọn lửa mồi có chạm mẫu với các sản phẩm khác nhau. Bảng E.4 đưa ra mô tả các sản phẩm này.
Bảy phòng thí nghiệm tham gia và thực hiện các thử nghiệm trên bảy sản phẩm trong Bảng E.4 sử dụng quy trình trong tiêu chuẩn này. Tổng hợp kết quả thông lượng nhiệt tới hạn (CFE) và nhiệt lượng để cháy ổn định (Qsb) trong Bảng E.5 và E.6. Khi phân tích các kết quả Qsb, cần xem xét để làm rõ hơn cách tính liên quan đến dữ liệu về thời gian dài nhất. Để cân đối giữa ISO và IMO, thêm một câu từ 3.8 trong Phụ lục của IMO vào sau gạch đầu dòng của Điều 12.
Phân tích các dữ liệu thông lượng nhiệt tới hạn khi tắt cháy, tính bằng kW/m2, và nhiệt lượng để cháy ổn định, MJ/m2 theo TCVN 6910-2 (ISO 5725-2).
Bảng E.4 - Mô tả các sản phẩm được thử nghiệm liên phòng thí nghiệm lần 3
| Sản phẩm | Độ dày mm | Khối lượng thể tích kg/m3 |
| Gỗ dán | 11 | 7,3 |
| Gỗ dán có xử lý chậm cháy | 12 | 7,5 |
| Tấm thạch cao | 16 | 11,9 |
| Tấm bọt polyisocyanurat phủ lá nhôm | 39 | 1,5 |
| Tấm polycarbonat | 6 | 5,5 |
| Ván dăm có xử lý chậm cháy | 12 | 9,5 |
| Tấm thép được phủ PVC | 1,4 | 9,3 |
Bảng E.5 - Độ lặp lại và tái lập của thông lượng nhiệt tới hạn tại điểm tắt cháy (CFE)
| Sản phẩm | Số phòng thí nghiệm | Giá trị trung bình m | Độ lặp lại | Độ tái lập | ||
| r | r/m % | R | R/m % | |||
| Gỗ dán | 7 | 6,29 | 0,33 | 5,2 | 1,06 | 16,9 |
| Gỗ dán có xử lý chậm cháy | 7 | 20,54 | 0,78 | 3,8 | 5,94 | 28,9 |
| Tấm thạch cao | 7 | 20,90 | 0,64 | 3,1 | 4,89 | 23,4 |
| Tấm bọt polyisocyanurat phủ lá nhôm | 4 | 50,70 | NC | NC | NC | NC |
| Tấm polycarbonat | 7 | 18,59 | 0,50 | 2,7 | 3,81 | 20,5 |
| Ván dăm có xử lý chậm cháy | 6 | 47,08 | NC | NC | NC | NC |
| Tấm thép được phủ PVC | 7 | 31,93 | 0,41 | 1,3 | 5,31 | 16,6 |
| NC: Giá trị không thể tính toán do thiếu dữ liệu lan truyền lửa | ||||||
Bảng E.6 - Độ lặp lại và tái lập của nhiệt lượng để cháy ổn định (Qsb)
| Sản phẩm | Số thứ tự phòng thí nghiệm | Giá trị trung bình m | Độ lặp lại | Độ tái lập | ||
| r | r/m % | R | R/m % | |||
| Gỗ dán | 7 | 1,29 | 0,14 | 10,9 | 0,16 | 12,4 |
| Gỗ dán có xử lý chậm cháy | 7 | 3,64 | 0,48 | 13,2 | 1,57 | 43,1 |
| Tấm thạch cao | 7 | 2,98 | 0,16 | 5,4 | 0,36 | 12,1 |
| Tấm bọt polyisocyanurat phủ lá nhôm | 1 | NC | NC | NC | NC | NC |
| Tấm polycarbonat | 7 | 7,23 | 0,36 | 5,0 | 1,34 | 18,5 |
| Ván dăm có xử lý chậm cháy | 3 | NC | NC | NC | NC | NC |
| Tấm thép được phủ PVC | 7 | 2,62 | 0,14 | 5,3 | 0,30 | 12,9 |
| NC: Giá trị không thể tính toán do thiếu dữ liệu lan truyền lửa | ||||||
Phụ lục F
(quy định)
Phương pháp thử tính lan truyền lửa của ống nhựa
Sử dụng quy trình lắp đặt và cố định dưới đây quy định bởi IMO[9] khi xác định tính lan truyền lửa của ống nhựa phù hợp với tiêu chuẩn này. Thực hiện thử nghiệm trên từng ống và từng kích thước ống.
a) Chế tạo mẫu thử bằng cách cắt ống thành các đoạn riêng lẻ dài (800 ± 5) mm và ghép các đoạn ống theo chiều dọc thành 1 mẫu thử đại diện cho các ống và có bề mặt phẳng. Một mẫu thử gồm ít nhất hai đoạn ống. Cụm mẫu thử phải có chiều dài (800 ± 5) mm. Thực hiện tất cả các vết cắt trên thành ống. Hình 1 thể hiện cách lắp đặt và cố định các đoạn ống.
b) Số đoạn ống được lắp đặt cùng nhau tạo thành 1 mẫu thử tương ứng với số nguyên gần nhất của các đoạn ống mà tạo thành một mẫu thử có chiều rộng bề mặt tuyến tính từ 155 mm đến 180 mm. Xác định chiều rộng của bề mặt bằng cách đo tổng chu vi ngoài của cụm ống mà lộ lửa dưới thông lượng nhiệt từ tấm bức xạ.
c) Lắp ghép mẫu thử sao cho không có khe hở giữa mỗi đoạn ống. Ngoài ra các cạnh của hai đoạn ống liền nhau phải trùng với đường tâm của khay giữ mẫu.
d) Các đoạn ống riêng lẻ phải được gắn với tấm lót canxi silicat dày (11 ± 2) mm sử dụng dây thép buộc vòng qua tấm lót ở mỗi khoảng cách 50 mm và thắt chặt bằng cách xoay về phía sau.
CHÚ THÍCH Sử dụng dây hợp kim Ni-Cr đường kính (0,55 ± 0,05) mm để buộc các đoạn ống trên tấm calci silicat.
e) Các đoạn ống riêng lẻ được gắn lại do đó điểm cao nhất của bề mặt lộ lửa nằm trên cùng mặt phẳng giống như bề mặt lộ lửa phẳng của mẫu thử thông thường.
f) Khoảng trống không khí giữa bề mặt lõm không lộ lửa của mẫu thử và bề mặt của tấm lót calci silicat được để trống.
g) Nếu chiều rộng của các đoạn ống chùm quanh các cạnh của khay giữ mẫu, khoảng trống giữa cạnh trên của mặt ống lộ lửa và cạnh dưới của khay giữ mẫu phải chèn đầy bằng bông khoáng cách nhiệt chịu nhiệt độ cao.
h) Phải báo cáo mọi sự thay đổi quy trình lắp đặt và cố định nêu trên.
Kích thước tính bằng milimet

CHÚ DẪN
1 tấm calci silicat (vật liệu nền)
2 dây thép
3 mẫu ống
a Tất cả cạnh của mẫu thử nên được gắn kín bởi bông khoáng
Hình F.1 - Sơ đồ lắp đặt và cố định mẫu thử được tạo từ các đoạn ống
Thư mục tài liệu tham khảo
[1] ISO/TR 3814:1989, Tests for measuring "reaction-to-fire" of building materials - Their development and application.
[2] ISO/TS 5658-1, Reaction to fire tests - Spread of flame - Part 1: Guidance on flame spread.
[3] ISO 9705:1993, Fire tests - Full-scale room test for surface products.
[4] IMO Resolution A.653 (16), International Code for Application of Fire Test Procedures, 1998 Edition.
[5] BS 6809:1987, Method for calibration of radiometers for use in fire testing.
[6] ISO/TS 14934-1, Fire tests - Calibration and use of radiometers and heat flux meters - Part 1: General principles.
[7] ISO 14934-2, Fire tests - Calibration and use of heat flux meters - Part 2: Primary calibration Methods.
[8] ISO 14934-3:2006, Fire tests - Calibration and use of heat flux meters - Part 3: Secondary calibration method.
[9] IMO Resolution A.753 (18), International Code for Application of Fire Test Procedures, 1998 Edith Guidelines for the application of plastic pipes on ships.
[10] ISO 1716, Reaction to fire tests for building products - Determination of the heat of combustion.
[11] ISO 5658-2:1996, Reaction to fire tests - Spread of flame - Part 2: Lateral spread on buildi products in vertical configuration.
[12] TCVN 6910-2:2001 (ISO 5725-2:1994), Độ chính xác (độ đúng và độ chụm) của phương pháp đo và kết quả đo - Phần 2: Phương pháp cơ bản xác định độ lặp lại và độ tái lập của phương pháp đo tiêu chuẩn.
MỤC LỤC
Lời nói đầu
Lời giới thiệu
1 Phạm vi
2 Tài liệu viện dẫn
3 Thuật ngữ và định nghĩa
4 Nguyên tắc
5 Sự phù hợp của một sản phẩm để thử nghiệm
6 Mẫu thử
7 Thiết bị thử nghiệm
8 Môi trường thí nghiệm
9 Thiết bị bổ trợ và thiết bị đo đạc
10 Thiết lập điều kiện thử và quy trình hiệu chuẩn
11 Quy trình thử nghiệm
12 Biểu thị tính năng cháy của sản phẩm
13 Báo cáo thử nghiệm
Phụ lục A (quy định) Cảnh báo an toàn
Phụ lục B (tham khảo) Tạo mẫu
Phụ lục C (tham khảo) Hiệu chuẩn đầu đo thông lượng làm việc
Phụ lục E (tham khảo) Hướng dẫn báo cáo và theo dõi kết quả
Phụ lục F (quy định) Tính biến động của kết quả thử nghiệm
Thư mục tài liệu tham khảo
Bạn chưa Đăng nhập thành viên.
Đây là tiện ích dành cho tài khoản thành viên. Vui lòng Đăng nhập để xem chi tiết. Nếu chưa có tài khoản, vui lòng Đăng ký tại đây!