- Tổng quan
- Nội dung
- VB gốc
- Tiếng Anh
- Hiệu lực
- VB liên quan
- Lược đồ
-
Nội dung hợp nhất
Tính năng này chỉ có tại LuatVietnam.vn. Nội dung hợp nhất tổng hợp lại tất cả các quy định còn hiệu lực của văn bản gốc và các văn bản sửa đổi, bổ sung, đính chính... trên một trang. Việc hợp nhất văn bản gốc và những văn bản, Thông tư, Nghị định hướng dẫn khác không làm thay đổi thứ tự điều khoản, nội dung.
Khách hàng chỉ cần xem Nội dung hợp nhất là có thể nắm bắt toàn bộ quy định hiện hành đang áp dụng, cho dù văn bản gốc đã qua nhiều lần chỉnh sửa, bổ sung.
- Tải về
Quyết định 684/QĐ-BXD 2022 Quy trình giải quyết TTHC do Cục Kinh tế xây dựng thực hiện
| Cơ quan ban hành: | Bộ Xây dựng |
Số công báo:
Số công báo là mã số ấn phẩm được đăng chính thức trên ấn phẩm thông tin của Nhà nước. Mã số này do Chính phủ thống nhất quản lý.
|
Đang cập nhật |
| Số hiệu: | 684/QĐ-BXD | Ngày đăng công báo: | Đang cập nhật |
| Loại văn bản: | Quyết định | Người ký: | Bùi Hồng Minh |
|
Ngày ban hành:
Ngày ban hành là ngày, tháng, năm văn bản được thông qua hoặc ký ban hành.
|
11/08/2022 |
Ngày hết hiệu lực:
Ngày hết hiệu lực là ngày, tháng, năm văn bản chính thức không còn hiệu lực (áp dụng).
|
Đang cập nhật |
|
Áp dụng:
Ngày áp dụng là ngày, tháng, năm văn bản chính thức có hiệu lực (áp dụng).
|
Đã biết
|
Tình trạng hiệu lực:
Cho biết trạng thái hiệu lực của văn bản đang tra cứu: Chưa áp dụng, Còn hiệu lực, Hết hiệu lực, Hết hiệu lực 1 phần; Đã sửa đổi, Đính chính hay Không còn phù hợp,...
|
Đã biết
|
| Lĩnh vực: | Xây dựng, Hành chính |
TÓM TẮT QUYẾT ĐỊNH 684/QĐ-BXD
Ngày 11/8/2022, Bộ Xây dựng đã ra Quyết định 684/QĐ-BXD về việc ban hành quy trình giải quyết thủ tục hành chính do Cục Kinh tế xây dựng thực hiện.
Theo đó, Bộ Xây dựng ban hành quy trình giải quyết 02 thủ tục hành chính do Cục Kinh tế xây dựng thực hiện, gồm: thủ tục thẩm định/thẩm định điều chỉnh tổng mức đầu tư xây dựng công trình đối với các dự án, công trình có yêu cầu thẩm định độc lập tổng mức đầu tư xây dựng công trình và thủ tục thẩm định/thẩm định điều chỉnh dự toán xây dựng công trình đối với các dự án, công trình có yêu cầu thẩm định độc lập dự toán xây dựng công trình.
Cụ thể, tổ chức, cá nhân gửi Hồ sơ tới Bộ phận một cửa (BPMC) của Bộ Xây dựng. BPMC thực hiện tiếp nhận và chuyển giao hồ sơ về Cục Kinh tế xây dựng. Văn phòng Cục Kinh tế xây dựng tiếp nhận hồ sơ từ BPMC, làm thủ tục tiếp nhận và chuyển đến Cục trưởng Cục Kinh tế xây dựng thực hiện phân công đơn vị thụ lý hồ sơ.
Sau khi phòng chuyên môn, cán bộ được giao thẩm định kiểm tra hồ sơ, trường hợp hồ sơ đủ điều kiện thì thực hiện thẩm định theo đúng quy định, trường hợp hồ sơ không đủ điều kiện thẩm định thì đề nghị cơ quan trình thẩm định bổ sung, làm rõ các nội dung có liên quan (nếu cần thiết) hoặc dự thảo văn bản thông báo trả hồ sơ kèm theo hồ sơ để trả lại qua BPMC.
Quyết định có hiệu lực thi hành kể từ ngày ký.
Xem chi tiết Quyết định 684/QĐ-BXD có hiệu lực kể từ ngày 11/08/2022
Tải Quyết định 684/QĐ-BXD
|
BỘ XÂY DỰNG |
CỘNG HÒA XÃ HỘI CHỦ NGHĨA VIỆT NAM |
|
Số: 684/QĐ-BXD |
Hà Nội, ngày 11 tháng 8 năm 2022 |
QUYẾT ĐỊNH
Ban hành Quy trình giải quyết thủ tục hành chính do Cục Kinh tế xây dựng thực hiện
____________
BỘ TRƯỞNG BỘ XÂY DỰNG
Căn cứ Nghị định số 52/2022/NĐ-CP ngày 08/8/2022 của Chính phủ quy định chức năng, nhiệm vụ, quyền hạn và cơ cấu tổ chức của Bộ Xây dựng;
Căn cứ Nghị định số 61/2018/NĐ-CP ngày 23/4/2018 của Chính phủ về thực hiện cơ chế một cửa, một cửa liên thông trong giải quyết thủ tục hành chính;
Căn cứ Thông tư số 01/2018/TT-VPCP ngày 23/11/2018 của Chủ nhiệm Văn phòng Chính phủ hướng dẫn thi hành một số quy định của Nghị định số 61/2018/NĐ-CP ngày 23/4/2018 của Chính phủ về thực hiện cơ chế một cửa, một cửa liên thông trong giải quyết thủ tục hành chính;
Theo đề nghị của Cục trưởng Cục Kinh tế xây dựng,
QUYẾT ĐỊNH:
Điều 1. Ban hành kèm theo Quyết định này “Quy trình giải quyết thủ tục hành chính do Cục Kinh tế xây dựng thực hiện”.
Điều 2. Quyết định này có hiệu lực kể từ ngày ký ban hành.
Điều 3. Bãi bỏ Mục A.1. Các thủ tục được giao cho Cục Kinh tế xây dựng giải quyết Tại “Quy trình giải quyết thủ tục hành chính thuộc phạm vi giải quyết của Bộ Xây dựng ban hành kèm theo Quyết định số 791/QĐ-BXD ngày 25/9/2019 của Bộ trưởng Bộ Xây dựng”.
Điều 4. Cục trưởng Cục Kinh tế xây dựng, Chánh Văn phòng Bộ và các tổ chức, cá nhân có liên quan chịu trách nhiệm thi hành Quyết định này./.
|
Nơi nhận: |
KT. BỘ TRƯỞNG |
QUY TRÌNH
GIẢI QUYẾT THỦ TỤC HÀNH CHÍNH DO CỤC KINH TẾ XÂY DỰNG THỰC HIỆN
(Ban hành kèm theo Quyết định số: 684/QĐ-BXD ngày 11 tháng 7 năm 2022 của Bộ trưởng Bộ Xây dựng)
|
I. Thủ tục thẩm định/thẩm định điều chỉnh tổng mức đầu tư xây dựng công trình đối với các dự án, công trình có yêu cầu thẩm định độc lập tổng mức đầu tư xây dựng công trình |
|||||
|
TT |
Trình tự thực hiện |
Bộ phận, cán bộ tiếp nhận/giải quyết hồ sơ |
Nội dung công việc |
Thời gian giải quyết |
Ghi chú |
|
1 |
Tiếp nhận và chuyển giao hồ sơ |
Bộ phận một cửa (BPMC) |
Xem xét, tiếp nhận hồ sơ theo quy định tại Điều 17 Nghị định số 61/2018/NĐ-CP: bàn giao cho Văn phòng Cục để chuyển đến Cục trưởng |
0,5 ngày |
Chuyển ngay hồ sơ trong ngày làm việc |
|
2 |
Phân công giải quyết hồ sơ |
Cục trưởng |
Phân công đơn vị thụ lý hồ sơ |
0,5 ngày |
Chuyển ngay hồ sơ trong ngày làm việc |
|
3 |
Giải quyết hồ sơ |
Lãnh đạo/chuyên viên, Đơn vị thụ lý hồ sơ (Văn phòng Cục, Phòng Định mức và đơn giá, Phòng Kinh tế đầu tư và hợp đồng xây dựng, Trung tâm tư vấn kinh tế xây dựng) |
- Trường hợp hồ sơ chưa đủ điều kiện giải quyết, dự thảo văn bản thông báo bổ sung, hoàn thiện hồ sơ kèm theo hồ sơ để trả lại qua BPMC; - Trường hợp cần lấy ý kiến phối hợp của các cơ quan, tổ chức có liên quan thì yêu cầu người đề nghị thẩm định bổ sung hồ sơ đối với những nội dung lấy ý kiến; - Trường hợp hồ sơ không đủ điều kiện giải quyết theo quy định tại khoản 2 Điều 15 Nghị định số 15/2021/NĐ-CP, dự thảo văn bản thông báo trả hồ sơ kèm theo hồ sơ để trả lại qua BPMC. |
05 ngày |
Đối với dự án nhóm A |
|
03 ngày |
Đối với dự án nhóm B |
||||
|
02 ngày |
Đối với dự án nhóm C |
||||
|
|
|
|
- Thẩm định tổng mức đầu tư xây dựng theo Điều 7 của Nghị định số 10/2021/NĐ-CP và quy định chi tiết tại điểm a khoản 2 Điều 58 Luật Xây dựng dược sửa đổi, bổ sung tại khoản 15 Điều 1 Luật sửa đổi, bổ sung một số điều của Luật Xây dựng; - Thẩm định điều chỉnh tổng mức đầu tư xây dựng thực hiện theo Điều 9 của Nghị định số 10/2021/NĐ-CP và quy định chi tiết tại khoản 5 Điều 134 Luật Xây dựng và điểm đ khoản 18 Điều 1 Luật sửa đổi, bổ sung một số điều của Luật Xây dựng. |
23 ngày |
Đối với dự án nhóm A |
|
16 ngày |
Đối với dự án nhóm B |
||||
|
08 ngày |
Đối với dự án nhóm C |
||||
|
4 |
Phê duyệt của Lãnh đạo Cục |
Cục trưởng |
- Xem xét và ký văn bản thông báo bổ sung, hoàn thiện hồ sơ/văn bản thông báo trả hồ sơ trong trường hợp hồ sơ chưa đủ/không đủ điều kiện giải quyết hoặc ký văn bản thông báo tạm dừng thẩm định trong trường hợp người đề nghị thẩm định không thực hiện việc bổ sung hồ sơ và chuyển đến bước 7 |
01 ngày |
Đối với dự án nhóm A, dự án nhóm B và dự án nhóm C (Trường hợp có văn bản thông báo bổ sung hồ sơ, hoàn thiện hồ sơ, thời gian thực hiện TTHC được tính lại từ đầu sau khi nhận đủ hồ sơ) |
|
5 |
Phê duyệt của Lãnh đạo Bộ |
Thứ trưởng phụ trách theo dõi, chỉ đạo Cục |
Xem xét, cho ý kiến chỉ đạo về nội dung dự thảo văn bản thông báo ý kiến thẩm định |
03 ngày |
Đối với dự án nhóm A |
|
02 ngày |
Đối với dự án nhóm B |
||||
|
01 ngày |
Đối với dự án nhóm C |
||||
|
6 |
Tiếp thu, giải trình, ký thông báo kết quả thẩm định |
Cục trưởng |
- Giải trình, tiếp thu ý kiến, báo cáo Thứ trưởng theo bước 5. - Ký văn bản thông báo kết quả thẩm định sau khi có ý kiến của Thứ trưởng về các nội dung tiếp thu, giải trình (nếu có) |
01 ngày |
Đối với dự án nhóm A, dự án nhóm B và dự án nhóm C |
|
7 |
Phát hành và chuyển kết quả giải quyết về BPMC |
Văn phòng Cục |
Đóng dấu và chuyển hồ sơ kèm theo văn bản thông báo bổ sung, hoàn thiện hồ sơ/văn bản thông báo trả hồ sơ/văn bản thông báo tạm dừng thẩm định hoặc văn bản thông báo ý kiến thẩm định về BPMC |
01 ngày |
Đối với dự án nhóm A, dự án nhóm B và dự án nhóm C |
|
|
Tổng cộng: |
35 ngày đối với dự án nhóm A (kể từ ngày nhận được hồ sơ đầy đủ, hợp lệ) 25 ngày đối với dự án nhóm B (kể từ ngày nhận được hồ sơ đầy đủ, hợp lệ) 15 ngày đối với dự án nhóm C (kể từ ngày nhận được hồ sơ đầy đủ, hợp lệ) |
|||
|
II. Thủ tục thẩm định/thẩm định điều chỉnh dự toán xây dựng công trình đối với các dự án, công trình có yêu cầu thẩm định độc lập dự toán xây dựng công trình |
|||||
|
TT |
Trình tự thực hiện |
Bộ phận, cán bộ tiếp nhận/giải quyết hồ sơ |
Nội dung công việc |
Thời gian giải quyết |
Ghi chú |
|
1 |
Tiếp nhận và chuyển giao hồ sơ |
Bộ phận một cửa (BPMC) |
Xem xét, tiếp nhận hồ sơ theo quy định tại Điều 17 Nghị định số 61/2018/NĐ-CP: bàn giao cho Văn phòng Cục để chuyển đến Cục trưởng |
0,5 ngày |
Chuyển ngay hồ sơ trong ngày làm việc |
|
2 |
Phân công giải quyết hồ sơ |
Cục trưởng |
Phân công đơn vị thụ lý hồ sơ |
0,5 ngày |
Chuyển ngay hồ sơ trong ngày làm việc |
|
3 |
Giải quyết hồ sơ |
Lãnh đạo/chuyên viên, Đơn vị thụ lý hồ sơ (Văn phòng Cục, Phòng Định mức và đơn giá, Phòng Kinh tế đầu tư và hợp đồng xây dựng, Trung tâm tư vấn kinh tế xây dựng) |
- Trường hợp hồ sơ chưa đủ điều kiện giải quyết, dự thảo văn bản thông báo bổ sung, hoàn thiện hồ sơ kèm theo hồ sơ để trả lại qua BPMC; - Trường hợp cần lấy ý kiến phối hợp của các cơ quan, tổ chức có liên quan thi yêu cầu người đề nghị thẩm định bổ sung hồ sơ đối với những nội dung lấy ý kiến; - Trường hợp hồ sơ không đủ điều kiện giải quyết theo quy định tại khoản 2 Điều 15 Nghị định số 15/2021/NĐ-CP, dự thảo văn bản thông báo trả hồ sơ kèm theo hồ sơ để trả lại qua BPMC. |
05 ngày |
Đối với công trình cấp I, cấp đặc biệt |
|
04 ngày |
Đối với công trình cấp II, cấp III |
||||
|
03 ngày |
Đối với công trình còn lại |
||||
|
|
|
|
- Thẩm định dự toán xây dựng công trình theo Điều 13 của Nghị định số 10/2021/NĐ-CP và quy định chi tiết tại điểm d khoản 2 Điều 83a Luật Xây dựng được bổ sung tại khoản 26 Điều 1 Luật sửa đổi, bổ sung một số điều của Luật Xây dựng; - Thẩm định điều chỉnh dự toán xây dựng công trình thực hiện theo Điều 15 của Nghị định số 10/2021/NĐ-CP và quy định chi tiết tại khoản 4 Điều 135 Luật Xây dựng. |
25 ngày |
Đối với công trình cấp I, cấp đặc biệt |
|
18 ngày |
Đối với công trình cấp II, cấp III |
||||
|
12 ngày |
Đối với công trình còn lại |
||||
|
4 |
Phê duyệt của Lãnh đạo Cục |
Cục trưởng |
- Xem xét và ký văn bản thông báo bổ sung, hoàn thiện hồ sơ/văn bản thông báo trả hồ sơ trong trường hợp hồ sơ chưa đủ/không đủ điều kiện giải quyết hoặc ký văn bản thông báo tạm dừng thẩm định trong trường hợp người đề nghị thẩm định không thực hiện việc bổ sung hồ sơ và chuyển đến bước 7 |
03 ngày |
Đối với công trình cấp I, cấp đặc biệt |
|
03 ngày |
Đối với công trình cấp II, cấp III |
||||
|
01 ngày |
Đối với công trình còn lại (Trường hợp có văn bản thông báo bổ sung hồ sơ, hoàn thiện hồ sơ, thời gian thực hiện TTHC được tính lại từ đầu sau khi nhận đủ hồ sơ) |
||||
|
5 |
Phê duyệt của Lãnh đạo Bộ |
Thứ trưởng phụ trách theo dõi, chỉ đạo Cục |
Xem xét, cho ý kiến chỉ đạo về nội dung dự thảo văn bản thông báo ý kiến thẩm định |
03 ngày |
Đối với công trình cấp I, cấp đặc biệt |
|
02 ngày |
Đối với công trình cấp II, cấp III |
||||
|
01 ngày |
Đối với công trình còn lại |
||||
|
6 |
Tiếp thu, giải trình, ký thông báo kết quả thẩm định |
Cục trưởng |
- Giải trình, tiếp thu ý kiến, báo cáo Thứ trưởng theo bước 5. - Ký văn bản thông báo kết quả thẩm định sau khi có ý kiến của Thứ trưởng về các nội dung tiếp thu, giải trình (nếu có) |
01 ngày |
Đối với công trình cấp I, cấp đặc biệt; công trình cấp II, cấp III và các công trình còn lại |
|
7 |
Phát hành và chuyển kết quả giải quyết về BPMC |
Văn phòng Cục |
Đóng dấu và chuyển hồ sơ kèm theo văn bản thông báo bổ sung, hoàn thiện hồ sơ/văn bản thông báo trả hồ sơ/văn bản thông báo tạm dừng thẩm định hoặc văn bản thông báo ý kiến thẩm định về BPMC |
02 ngày |
Đối với công trình cấp I, cấp đặc biệt |
|
01 ngày |
Đối với công trình cấp II, cấp III |
||||
|
01 ngày |
Đối với công trình còn lại |
||||
|
|
Tổng cộng: |
40 ngày đối với công trình cấp I, đặc biệt (kể từ ngày nhận được hồ sơ đầy đủ, hợp lệ) 30 ngày đối với công trình cấp II, III (kể từ ngày nhận được hồ sơ đầy đủ, hợp lệ) 20 ngày đối với công trình còn lại (kể từ ngày nhận được hồ sơ đầy đủ, hợp lệ) |
|||
MẪU SỐ 021/PHỤ LỤC 1
(Ban hành kèm theo Quyết định số 684/QĐ-BXD ngày 11 tháng 8 năm 2022 của Bộ trưởng Bộ Xây dựng)
|
BỘ XÂY DỰNG |
CỘNG HÒA XÃ HỘI CHỦ NGHĨA VIỆT NAM |
|
Số: ………/TB-HDHS |
Hà Nội, ngày …… tháng …… năm …… |
PHIẾU YÊU CẦU BỔ SUNG, HOÀN THIỆN HỒ SƠ
Cục Kinh tế xây dựng đã tiếp nhận hồ sơ của cá nhân/tổ chức: ……………………………..
Do ông/bà: …………………………. đại diện cho (tổ chức) ……………………………… nộp
Địa chỉ: ………………………………………………………………………………………………
Số điện thoại ………………………………… Email: ……………………………………………
Yêu cầu bổ sung, hoàn thiện hồ sơ, cụ thể gồm những nội dung sau:
1 ……………………………………………………………………………………………………..
2 ……………………………………………………………………………………………………..
3 ……………………………………………………………………………………………………..
4 ……………………………………………………………………………………………………..
Hồ sơ của (cá nhân/tổ chức) sẽ được tiếp tục giải quyết theo quy định khi Bộ phận một cửa tiếp nhận đầy đủ các nội dung yêu cầu bổ sung hồ sơ theo Thông báo này./.
|
Nơi nhận: |
CỤC TRƯỞNG |
__________________
(1) Phụ lục của Thông tư số 01/2018/TT-VPCP ngày 23 tháng 11 năm 2018 của Bộ trưởng, Chủ nhiệm Văn phòng Chính phủ.
PHỤ LỤC 2:
MÔ HÌNH “CASE” VỀ QUY TRÌNH THẨM ĐỊNH/THẨM ĐỊNH ĐIỀU CHỈNH TỔNG MỨC ĐẦU TƯ, THẨM ĐỊNH/THẨM ĐỊNH ĐIỀU CHỈNH DỰ TOÁN XÂY DỰNG CÔNG TRÌNH
(Kèm theo Quyết định số 684/QĐ-BXD ngày 11 tháng 8 năm 2022 của Bộ trưởng Bộ Xây dựng)
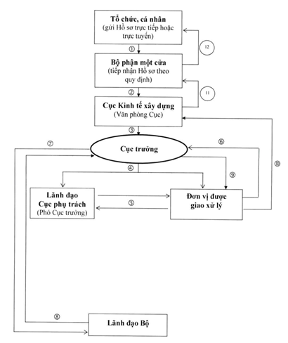
1. Lưu đồ quy trình thực hiện

1. Diễn giải quy trình
1. Các tổ chức, cá nhân gửi Hồ sơ thẩm định/thẩm định điều chỉnh tổng mức đầu tư độc lập, thẩm định/thẩm định điều chỉnh dự toán xây dựng công trình độc lập bằng hình thức trực tiếp hoặc trực tuyến tới Bộ phận một cửa của Bộ Xây dựng;
2. Bộ phận một cửa của Bộ Xây dựng thực hiện tiếp nhận Hồ sơ do các tổ chức, cá nhân chuyển đến, làm thủ tục tiếp nhận và chuyển về Cục Kinh tế xây dựng thực hiện thẩm định theo quy định của pháp luật;
3. Văn phòng Cục Kinh tế tiếp nhận Hồ sơ từ Bộ phận một cửa của Bộ Xây dựng, làm thủ tục tiếp nhận và chuyển đến Cục trưởng Cục Kinh tế xây dựng thực hiện phân giao thẩm định;
4. Cục trưởng Cục Kinh tế xây dựng thực hiện phân giao Hồ sơ đến các Phó Cục trưởng và các phòng chuyên môn của Cục để thực hiện thẩm định; Phó Cục trưởng được giao phụ trách chỉ đạo các phòng chuyên môn, cán bộ được giao thẩm định để thẩm định theo quy định;
Các phòng chuyên môn của Cục tiếp nhận Hồ sơ và Kiểm tra sự đầy đủ, tính hợp lệ của hồ sơ trình thẩm định (quy định tại Mục 1, Điều 15 của Nghị định số 15/2021/NĐ-CP) và rà soát, kiểm tra tổng thể hồ sơ trình thẩm định (Hồ sơ trình thẩm định tổng mức đầu tư thực hiện hiện theo Điều 14 của Nghị định số 15/2021/NĐ-CP ; Hồ sơ trình thẩm định dự toán thực hiện theo Điều 37 của Nghị định số 15/2021/NĐ-CP).
Sau khi kiểm tra nếu hồ sơ trình thẩm định:
- Trường hợp hồ sơ đủ điều kiện thì thực hiện thẩm định theo đúng quy định của pháp luật.
- Trường hợp hồ sơ không đủ điều kiện thẩm định thì đề nghị cơ quan trình thẩm định bổ sung, làm rõ các nội dung có liên quan (nếu cần thiết) hoặc dự thảo văn bản thông báo từ chối thẩm định kèm theo hồ sơ trình thẩm định thông qua BPMC, trong đó nêu rõ lý do từ chối thẩm định.
5. Trong quá trình thẩm định, cán bộ được giao thẩm định xin ý kiến chỉ đạo, báo cáo kết quả với Phó Cục trưởng phụ trách và trưởng đơn vị. Sau khi thống nhất báo cáo kết quả thẩm định và được xác nhận của Phó Cục trưởng, trưởng các đơn vị thì cán bộ trình Cục trưởng kết quả thẩm định.
6. Cục trưởng xem xét kết quả thẩm định:
Trường hợp đồng ý với báo cáo kết quả thẩm định thì Cục trưởng ký trình hoặc ủy quyền cho Phó Cục trưởng ký trình Lãnh đạo Bộ. Trường hợp không thống nhất với một số nội dung trong báo cáo kết quả thẩm định, Cục trưởng yêu cầu các Phó Cục trưởng, phòng chuyên môn, cán bộ được giao thực hiện thẩm định lại theo đúng quy định.
7. Lãnh đạo Bộ xem xét kết quả thẩm định, trường hợp đồng ý với báo cáo kết quả thẩm định thì Lãnh đạo Bộ ủy quyền ký báo cáo kết quả thẩm định cho Cục theo Quy chế làm việc của Cơ quan Bộ Xây dựng.
8. Trường hợp không thống nhất với một số nội dung trong báo cáo kết quả thẩm định, Lãnh đạo Bộ yêu cầu Cục thẩm định lại theo quy định.
9. Sau khi kết quả thẩm định được Lãnh đạo Cục ký ủy quyền thì cán bộ được giao nhận kết quả thẩm định từ Cục trưởng.
10. Chuyển kết quả thẩm định về Văn phòng Cục để thực hiện đóng dấu phát hành, lưu trữ văn bản theo quy định.
11. Văn phòng Cục chuyển kết quả thẩm định về Bộ phận một cửa của Bộ Xây dựng;
12. Bộ phận một cửa của Bộ Xây dựng thực hiện tiếp nhận kết quả và trả hồ sơ (kết quả thẩm định) cho Tổ chức, cá nhân có yêu cầu thẩm định.
Bạn chưa Đăng nhập thành viên.
Đây là tiện ích dành cho tài khoản thành viên. Vui lòng Đăng nhập để xem chi tiết. Nếu chưa có tài khoản, vui lòng Đăng ký tại đây!
Bạn chưa Đăng nhập thành viên.
Đây là tiện ích dành cho tài khoản thành viên. Vui lòng Đăng nhập để xem chi tiết. Nếu chưa có tài khoản, vui lòng Đăng ký tại đây!