- Tổng quan
- Nội dung
- VB gốc
- Tiếng Anh
- Hiệu lực
- VB liên quan
- Lược đồ
-
Nội dung hợp nhất
Tính năng này chỉ có tại LuatVietnam.vn. Nội dung hợp nhất tổng hợp lại tất cả các quy định còn hiệu lực của văn bản gốc và các văn bản sửa đổi, bổ sung, đính chính... trên một trang. Việc hợp nhất văn bản gốc và những văn bản, Thông tư, Nghị định hướng dẫn khác không làm thay đổi thứ tự điều khoản, nội dung.
Khách hàng chỉ cần xem Nội dung hợp nhất là có thể nắm bắt toàn bộ quy định hiện hành đang áp dụng, cho dù văn bản gốc đã qua nhiều lần chỉnh sửa, bổ sung.
- Tải về
Thông tư 40/2015/TT-BTNMT về quy trình kỹ thuật quan trắc khí thải
| Cơ quan ban hành: | Bộ Tài nguyên và Môi trường |
Số công báo:
Số công báo là mã số ấn phẩm được đăng chính thức trên ấn phẩm thông tin của Nhà nước. Mã số này do Chính phủ thống nhất quản lý.
|
Đã biết
|
| Số hiệu: | 40/2015/TT-BTNMT | Ngày đăng công báo: |
Đã biết
|
| Loại văn bản: | Thông tư | Người ký: | Nguyễn Minh Quang |
|
Ngày ban hành:
Ngày ban hành là ngày, tháng, năm văn bản được thông qua hoặc ký ban hành.
|
17/08/2015 |
Ngày hết hiệu lực:
Ngày hết hiệu lực là ngày, tháng, năm văn bản chính thức không còn hiệu lực (áp dụng).
|
Đã biết
|
|
Áp dụng:
Ngày áp dụng là ngày, tháng, năm văn bản chính thức có hiệu lực (áp dụng).
|
Đã biết
|
Tình trạng hiệu lực:
Cho biết trạng thái hiệu lực của văn bản đang tra cứu: Chưa áp dụng, Còn hiệu lực, Hết hiệu lực, Hết hiệu lực 1 phần; Đã sửa đổi, Đính chính hay Không còn phù hợp,...
|
Đã biết
|
| Lĩnh vực: | Tài nguyên-Môi trường |
TÓM TẮT THÔNG TƯ 40/2015/TT-BTNMT
Nội dung tóm tắt đang được cập nhật, Quý khách vui lòng quay lại sau!
Tải Thông tư 40/2015/TT-BTNMT
|
BỘ TÀI NGUYÊN VÀ Số: 40/2015/TT-BTNMT |
CỘNG HÒA XÃ HỘI CHỦ NGHĨA VIỆT NAM Hà Nội, ngày 17 tháng 08 năm 2015 |
THÔNG TƯ
VỀ QUY TRÌNH KỸ THUẬT QUAN TRẮC KHÍ THẢI
Căn cứ Luật Bảo vệ môi trường ngày 23 tháng 6 năm 2014;
Căn cứ Nghị định số 21/2013/NĐ-CP ngày 04 tháng 3 năm 2013 của Chính phủ quy định chức năng, nhiệm vụ, quyền hạn và cơ cấu tổ chức của Bộ Tài nguyên và Môi trường;
Theo đề nghị của Tổng cục trưởng Tổng cục Môi trường, Vụ trưởng Vụ Pháp chế và Vụ trưởng Vụ Khoa học và Công nghệ;
Bộ trưởng Bộ Tài nguyên và Môi trường ban hành Thông tư quy định quy trình kỹ thuật quan trắc khí thải,
Điều 1. Phạm vi điều chỉnh
1. Thông tư này quy định về quy trình kỹ thuật quan trắc khí thải từ ống khói, ống thải của các nhà máy, cơ sở sản xuất, chế biến, kinh doanh, dịch vụ công nghiệp và các lò đốt chất thải (sau đây gọi chung là cơ sở).
2. Hoạt động quan trắc khí thải bằng các thiết bị quan trắc tự động, liên tục không thuộc phạm vi điều chỉnh của Thông tư này.
Điều 2. Đối tượng áp dụng
Thông tư này áp dụng đối với cơ quan quản lý về môi trường và các tổ chức, cá nhân có liên quan đến hoạt động quan trắc môi trường.
Điều 3. Giải thích từ ngữ và chữ viết tắt
1. Phương pháp lấy mẫu điều kiện đẳng động lực (isokinetic) là phương pháp lấy mẫu bảo đảm điều kiện vận tốc hút của bơm lấy mẫu tại đầu hút mẫu bằng vận tốc khí thải tại điểm hút mẫu.
2. Thiết bị đo trực tiếp là thiết bị được đưa vào môi trường cần đo và hiển thị tức thời giá trị của thông số cần đo.
3. Các chữ viết tắt trong Thông tư này được hiểu như sau:
- US EPA method: phương pháp của Cơ quan Bảo vệ môi trường Mỹ.
- AS: tiêu chuẩn quốc gia của Úc.
- ISO: tiêu chuẩn của Tổ chức tiêu chuẩn quốc tế.
- JIS: tiêu chuẩn công nghiệp của Nhật Bản.
Điều 4. Nguyên tắc áp dụng các tiêu chuẩn, phương pháp viện dẫn
1. Việc áp dụng các tiêu chuẩn, phương pháp viện dẫn phải tuân thủ theo các tiêu chuẩn, phương pháp quan trắc hiện trường và phân tích môi trường được quy định tại Khoản 2 và Khoản 3 Điều 8 Thông tư này.
2. Trường hợp các tiêu chuẩn, phương pháp quan trắc hiện trường và phân tích môi trường quy định tại Khoản 2 và Khoản 3 Điều 8 Thông tư này sửa đổi, bổ sung hoặc thay thế thì áp dụng theo tiêu chuẩn, phương pháp mới.
Điều 5. Quy trình kỹ thuật quan trắc khí thải
Quy trình kỹ thuật quan trắc khí thải quy định chi tiết tại Điều 6, Điều 7 và Điều 8 Thông tư này.
Điều 6. Xác định mục tiêu của chương trình quan trắc
1. Cung cấp số liệu phục vụ công tác kiểm soát ô nhiễm không khí, quản lý môi trường không khí của Trung ương và địa phương.
2. Thực hiện các quy định, yêu cầu quan trắc, giám sát môi trường của cơ quan nhà nước có thẩm quyền.
3. Đánh giá sự tuân thủ các quy chuẩn kỹ thuật môi trường liên quan đến khí thải.
4. Đánh giá hiệu suất làm việc của các hệ thống, thiết bị xử lý khí thải.
Điều 7. Thiết kế chương trình quan trắc
1. Xác định vị trí và số lượng điểm quan trắc: thực hiện theo quy định tại Phụ lục 01 ban hành kèm theo Thông tư này.
2. Xác định thông số quan trắc
Căn cứ các quy định, yêu cầu của cơ quan nhà nước có thẩm quyền; các quy chuẩn kỹ thuật môi trường đối với khí thải các ngành công nghiệp, lò đốt chất thải; mục tiêu của chương trình quan trắc; loại hình sản xuất, quy mô, đặc điểm nguồn thải để xác định các thông số quan trắc:
a) Thông số bắt buộc quan trắc trực tiếp tại hiện trường gồm: nhiệt độ, vận tốc, lưu lượng, hàm ẩm, khối lượng mol phân tử khí khô, áp suất khí thải. Quy định kỹ thuật đối với các thông số bắt buộc đo trực tiếp tại hiện trường được quy định tại Phụ lục 02, 03 và 04 ban hành kèm theo Thông tư này;
b) Thông số lấy mẫu tại hiện trường để phân tích trong phòng thí nghiệm gồm: Bụi tổng PM, Bụi PM10, SO2, NOx (NO và NO2), H2SO4, độ khói, CO, H2S, COS, CS2, Pb, F- hợp chất hữu cơ, dioxin/furan (PCDD/PCDF), tổng các chất hữu cơ không bao gồm mêtan (TGNMO), HBr, Cl2, Br2, HF, HCl, Sb, As, Ba, Be, Cd, Cr, Co, Cu, Mn, Ni, P, Se, Ag, TI, Zn, Hg, hợp chất hidrocacbon đa vòng thơm (PAHs);
c) Các thông số: SO2, NOx (NO và NO2), CO, O2 ngoài việc lấy mẫu hiện trường và phân tích trong phòng thí nghiệm như đã quy định tại Điểm b Khoản này, có thể sử dụng phương pháp đo đạc trực tiếp tại hiện trường khi đáp ứng đầy đủ các điều kiện quy định tại Phụ lục 06 ban hành kèm theo Thông tư này.
3. Xác định thời gian, tần suất và số lượng mẫu quan trắc
a) Thời gian quan trắc: mẫu được lấy vào thời điểm hoạt động sản xuất của cơ sở đạt tối thiểu 50% công suất thiết kế. Cơ sở phải vận hành hoạt động ổn định trong suốt thời gian lấy mẫu;
b) Tần suất quan trắc: tối thiểu là 01 lần/03 tháng;
c) Số lượng mẫu trong 01 lần quan trắc: tối thiểu là 03 mẫu/01 lần.
4. Lập kế hoạch quan trắc
Kế hoạch quan trắc khí thải bảo đảm bao gồm những nội dung sau:
a) Danh sách nhân lực thực hiện quan trắc và phân công nhiệm vụ cho từng cán bộ tham gia;
b) Danh sách các tổ chức, cá nhân tham gia, phối hợp thực hiện quan trắc môi trường (nếu có);
c) Danh mục trang thiết bị, dụng cụ, hóa chất quan trắc tại hiện trường và phân tích trong phòng thí nghiệm;
d) Phương tiện, thiết bị bảo hộ, bảo đảm an toàn lao động cho hoạt động quan trắc môi trường;
đ) Thông số, phương pháp quan trắc tại hiện trường, các loại mẫu cần lấy, thể tích mẫu, phương pháp bảo quản, vận chuyển và thời gian lưu mẫu;
e) Thông số, phương pháp phân tích trong phòng thí nghiệm;
g) Kinh phí thực hiện quan trắc môi trường;
h) Kế hoạch thực hiện bảo đảm chất lượng và kiểm soát chất lượng trong quan trắc môi trường.
Điều 8. Thực hiện chương trình quan trắc
1. Công tác chuẩn bị trước khi tiến hành quan trắc
a) Chuẩn bị thiết bị quan trắc: các thiết bị quan trắc phải được kiểm định, hiệu chuẩn, bảo dưỡng và kiểm tra, vệ sinh theo quy định của cơ quan nhà nước có thẩm quyền hoặc theo hướng dẫn của nhà sản xuất;
b) Chuẩn bị công cụ, dụng cụ, hóa chất và vật liệu lọc: căn cứ vào phương pháp quan trắc thông số quan trắc để chuẩn bị các ống impinger, chất hấp thụ, chất hấp phụ, dụng cụ chứa mẫu khí phù hợp. Vật liệu lọc phải có giới hạn nhiệt độ lớn hơn nhiệt độ khí thải và phù hợp với thông số quan trắc;
c) Chuẩn bị các thiết bị phụ trợ gồm thiết bị định vị vệ tinh (GPS), máy ảnh, máy bộ đàm, máy tính;
d) Chuẩn bị dụng cụ bảo hộ lao động: chuẩn bị đầy đủ các dụng cụ bảo hộ lao động như quần áo, giầy, găng tay chuyên dụng (được làm bằng vật liệu chịu nhiệt và chống axit); mặt nạ hoặc khẩu trang phòng độc; đai bảo hiểm; mũ cứng; dụng cụ sơ cứu;
đ) Xác định vị trí quan trắc: cần tiến hành khảo sát thực địa tại ống khói và xác định vị trí quan trắc, chuẩn bị lỗ lấy mẫu, sàn công tác, các phương án nâng, hạ thiết bị, an toàn lao động, nguồn điện trước khi tiến hành quan trắc. Việc chuẩn bị lỗ lấy mẫu phải bảo đảm kích thước lỗ, vị trí phù hợp cho hoạt động lấy mẫu;
e) Kiểm tra và lắp ráp thiết bị: kiểm tra đầu lấy mẫu, kiểm tra các đầu của ống pitot để bảo đảm các lỗ không bị bụi bám bẩn gây sai số; kiểm tra vật liệu lọc, ghi ký hiệu (gồm vỏ hộp, bao bì bảo quản mẫu) trước khi lắp vào thiết bị; lắp ráp thiết bị lấy mẫu theo hướng dẫn của nhà sản xuất và kiểm tra độ kín của thiết bị. Cần bịt kín đầu lấy mẫu để bảo đảm không nhiễm bẩn bụi khi vận chuyển các thiết bị đến vị trí lấy mẫu.
| TT | Thông số | Số hiệu tiêu chuẩn, phương pháp |
| 1. | Xác định vị trí quan trắc | • US EPA method 1 |
| 2. | Vận tốc và lưu lượng | • US EPA method 2 • ISO 10780 |
| 3. | Khối lượng mol phân tử khí khô | • US EPA method 3 |
| 4. | Hàm ẩm | • US EPA method 4 |
| 5. | O2, nhiệt độ, áp suất | • Sử dụng thiết bị đo trực tiếp |
| 6. | Bụi tổng (PM) | • US EPA method 5 • US EPA method 17 • ISO 10155 • AS 4323.2:1995 • JIS Z 8808:2013 • TCVN 5977:2005 |
| 7. | Lưu huỳnh đioxit (SO2) | • US EPA method 6 • US EPA method 8 • US EPA method 8A • TCVN 6750:2005 • TCVN 7246:2003 • JIS K 0103:2011 • Sử dụng thiết bị đo trực tiếp |
| 8. | Nitơ oxit (NOx) | • US EPA method 7 • TCVN 7172:2002 • TCVN 7245:2003 • JIS K 0104:2011 • Sử dụng thiết bị đo trực tiếp |
| 9. | Axit sunfuric (H2SO4) | • US EPA method 8 • US EPA method 8A |
| 10. | Độ khói | • US EPA method 9 |
| 11. | Cacbon oxit (CO) | • US EPA method 10 • TCVN 7242:2003 • Sử dụng thiết bị đo trực tiếp |
| 12. | Hidro sunfua (H,S), cacbonyl sunfua (COS), cacbon disunfua (CS2) | • US EPA method 15 • US EPA method 15A |
| 13. | Chì (Pb) | • US EPA method 12 • US EPA method 29 • TCVN 7557-1:2005 • TCVN 7557-3:2005 |
| 14. | Tổng florua (F-) | • US EPA method 13A • US EPA method 13B |
| 15. | Hợp chất hữu cơ | • US EPA18 • US EPA 0030 |
| 16. | Dioxin, furan (PCDD/PCDF) | • US EPA method 23 • TCVN 7556-1:2005 • TCVN 7556-2:2005 • TCVN 7556-3:2005 |
| 17. | Tổng các chất hữu cơ không bao gồm metan (TGNMO) | • US EPA method 25 • US EPA method 0031 |
| 18. | Hidro bromua (HBr), clo (Cl2), brom (Br2) | • US EPA method 26 • US EPA method 26A |
| 19. | Hidro florua (HF) | • US EPA method 26 • US EPA method 26A • TCVN 7243:2003 |
| 20. | Hidro clorua (HCl) | • US EPA method 26 • US EPA method 26A • TCVN 7244:2003 • JIS K 0107:2012 |
| 21. | Kim loại gồm antimon (Sb), asen (As), bari (Ba), berili (Be), cadimi (Cd), crom (Cr), coban (Co), đồng (Cu), mangan (Mn), niken (Ni), photpho (P), selen (Se), bạc (Ag), tali (TI) và kẽm (Zn) | • US EPA method 29 • TCVN 7557:2005 |
| 22. | Thủy ngân (Hg) | • US EPA method 29 • US EPA method 30B • US EPA method 101A |
| 23. | Bụi PM10 | • US EPA method 201 • US EPA method 201A |
| 24. | Hợp chất hidrocacbon đa vòng thơm (PAHs) | • US EPA method 23 • US EPA method 0010 |
| TT | Thông số | Số hiệu tiêu chuẩn, phương pháp |
| 1. | Bụi tổng (PM) | • US EPA method 5 • US EPA method 17 • ISO 10155 • AS 4323.2:1995 • JISZ 8808:2013 • TCVN 5977:2005 |
| 2. | Lưu huỳnh đioxit (SO2) | • US EPA method 6 • US EPA method 8 • US EPA method 8A • TCVN 6750:2005 • TCVN 7246:2003 • JIS K 0103:2011 |
| 3. | Nitơ oxit (NOx) | • US EPA method 7 • TCVN 7172:2002 • TCVN 7245:2003 • JISK 0104:2011 |
| 4. | Axit sunfuric (H2SO4) | • US EPA method 8 • US EPA method 8A |
| 5. | Độ khói | • US EPA method 9 |
| 6. | Cacbon oxit (CO) | • US EPA method 10 • TCVN 7242:2003 |
| 7. | Hidro sunfua (H2S), cacbonyl sunfua (COS), cacbon disunfua (CS2) | • US EPA method 15 • US EPA method 15A |
| 8. | Chì (Pb) | • US EPA method 12 • US EPA method 29 • TCVN 7557-1:2005 • TCVN 7557-3:2005 |
| 9. | Tổng florua (F-) | • US EPA method 13A • US EPA method 13B |
| 10. | Hợp chất hữu cơ | • US EPA method 18 • US EPA method 5040 |
| 11. | Dioxin, furan (PCDD/PCDF) | • US EPA method 23 • TCVN 7556-1:2005 • TCVN 7556-2:2005 • TCVN 7556-3:2005 |
| 12. | Tổng các chất hữu cơ không bao gồm metan (TGNMO) | • US EPA method 25 • US EPA method 0031 |
| 13. | Hidro bromua (HBr), clo (Cl2), brom (Br2) | • US EPA method 26 • US EPA method 26A |
| 14. | Hidro florua (HF) | • US EPA method 26 • US EPA method 26A • TCVN 7243:2003 |
| 15. | Hidro clorua (HCl) | • US EPA method 26 • US EPA method 26A • TCVN 7244:2003 • JISK 0107:2012 |
| 16. | Kim loại gồm antimon (Sb), asen (As), bari (Ba), berili (Be), cadimi (Cd), crom (Cr), coban (Co), đồng (Cu), mangan (Mn), niken (Ni), photpho (P), selen (Se), bạc (Ag), tali (TI) và kẽm (Zn) | • US EPA method 29 • TCVN 7557:2005 |
| 17. | Thủy ngân (Hg) | • US EPA method 29 • US EPA method 30B • US EPA method 101A |
| 18. | Bụi PM10 | • US EPA method 201 • US EPA method 201A |
| 19. | Hợp chất hidrocacbon đa vòng thơm (PAHs) | • US EPA method 23 • US EPA method 0010 |
a) Quy định kỹ thuật quan trắc bụi tổng (PM) được quy định tại Phụ lục 05 ban hành kèm theo Thông tư này;
b) Đối với các thông số chưa có phương pháp tiêu chuẩn quy định tại Khoản 2 và Khoản 3 Điều này, chấp nhận áp dụng các phương pháp, tiêu chuẩn quốc tế khác có độ chính xác tương đương hoặc cao hơn;
c) Công tác bảo đảm chất lượng và kiểm soát chất lượng trong quan trắc môi trường được thực hiện theo quy định của pháp luật.
4. Xử lý số liệu và báo cáo
a) Xử lý số liệu quan trắc bao gồm việc kiểm tra số liệu quan trắc và tính toán kết quả quan trắc.
Số liệu quan trắc môi trường được kiểm tra căn cứ vào các loại hồ sơ sau:
+ Hồ sơ quan trắc hiện trường bao gồm biên bản, nhật ký lấy mẫu, đo đạc tại hiện trường, biên bản giao nhận mẫu, biểu ghi kết quả đo tại hiện trường, kết quả tính toán, quan trắc hiện trường;
+ Hồ sơ phân tích phòng thí nghiệm bao gồm biên bản thử nghiệm, kết quả tính toán, phân tích phòng thí nghiệm, dữ liệu gốc lưu trong các thiết bị phân tích;
+ Hồ sơ thực hiện công tác bảo đảm chất lượng và kiểm soát chất lượng hiện trường và phòng thí nghiệm tối thiểu bao gồm biên bản, nhật ký lấy mẫu và kết quả mẫu kiểm soát chất lượng hiện trường, kết quả kiểm tra thiết bị bằng khí chuẩn hiện trường, kết quả mẫu kiểm soát chất lượng phòng thí nghiệm;
+ Hồ sơ kiểm định, hiệu chuẩn thiết bị bao gồm tem và giấy chứng nhận phải được quản lý có hệ thống được lưu và sẵn sàng cung cấp khi có yêu cầu của cơ quan nhà nước có thẩm quyền.
- Tính toán kết quả quan trắc:
+ Kết quả được báo cáo là kết quả trung bình của ít nhất 03 mẫu trong 01 lần quan trắc;
+ Trường hợp quan trắc các thông số tại hiện trường nêu tại Điểm c Khoản 2 Điều 7, việc tính toán kết quả quan trắc phải thực hiện theo quy định tại Khoản 5 Phụ lục 6 ban hành kèm theo Thông tư này.
b) Lập báo cáo kết quả quan trắc
Báo cáo kết quả quan trắc khí thải được thực hiện theo quy định của pháp luật về quản lý số liệu quan trắc môi trường và tối thiểu phải bao gồm các nội dung chính sau: Mục tiêu chương trình quan trắc; đơn vị thực hiện quan trắc (tên, địa chỉ, người lấy mẫu); tên cơ sở, đặc tính nguồn thải, đặc điểm hoạt động của cơ sở tại thời điểm quan trắc; thông tin về chương trình quan trắc: vị trí và số lượng điểm quan trắc, số lượng mẫu quan trắc, thông số quan trắc, thời gian quan trắc, phương pháp và thiết bị quan trắc; quá trình thực hiện và kết quả quan trắc (kết quả quan trắc của mỗi mẫu hoặc mỗi phép đo, kết quả trung bình và các biên bản lấy mẫu hiện trường, kết quả kiểm tra thiết bị bằng khí chuẩn tại hiện trường); bình luận, đánh giá kết quả.
Điều 9. Hiệu lực thi hành
Thông tư này có hiệu lực thi hành kể từ ngày 05 tháng 10 năm 2015.
Điều 10. Điều khoản thi hành
1. Bộ trưởng, Thủ trưởng cơ quan ngang Bộ, Thủ trưởng cơ quan thuộc Chính phủ, Chủ tịch Ủy ban nhân dân các cấp và các tổ chức, cá nhân có liên quan chịu trách nhiệm thi hành Thông tư này.
2. Tổng cục Môi trường có trách nhiệm hướng dẫn, kiểm tra, theo dõi việc thực hiện Thông tư này.
3. Trong quá trình thực hiện Thông tư này, nếu có khó khăn, vướng mắc đề nghị các cơ quan, tổ chức, cá nhân có ý kiến phản ánh bằng văn bản gửi Bộ Tài nguyên và Môi trường để xem xét, giải quyết./.
|
Nơi nhận: |
BỘ TRƯỞNG |
PHỤ LỤC 01
XÁC ĐỊNH VỊ TRÍ, SỐ ĐIỂM QUAN TRẮC KHÍ THẢI
(Ban hành kèm theo Thông tư số 40/2015/TT-BTNMT ngày 17 tháng 8 năm 2015 của Bộ trưởng Bộ Tài nguyên và Môi trường)
1. Quy định chung
a) Phụ lục này hướng dẫn tóm tắt phương pháp của US EPA method 01 nhằm hướng dẫn xác định vị trí và số điểm quan trắc đối với khí thải;
b) Phương pháp này không áp dụng trong các trường hợp sau:
- Dòng khí ở chế độ chảy xoáy hay chảy rối;
- Ống khói có đường kính nhỏ hơn 0,3 m;
- Khoảng cách từ vị trí lấy mẫu đến vị trí thay đổi dòng (cong, nở, thắt...) nhỏ hơn 2 lần đường kính theo chiều xuôi dòng khí và nhỏ hơn 0,5 lần đường kính ống khói (hoặc ống phóng không) theo chiều ngược dòng khí;
c) Không lấy mẫu bụi và đo vận tốc khí thải ở điểm giữa (hay tâm) của tiết diện ống khói.
2. Thiết bị và dụng cụ
- Thước dây, số ghi chép, bút chịu nhiệt;
- Các loại đồng hồ đo chênh áp, áp kế dạng nghiêng, hình chữ U.
3. Quy trình thực hiện
Vị trí lỗ lấy mẫu và số điểm hút mẫu phụ thuộc vào mục tiêu xác định vận tốc khí thải, các chất ô nhiễm dạng khí hay bụi.
a) Xác định vị trí lỗ lấy mẫu
Nguyên tắc: vị trí lỗ lấy mẫu phải nằm trên mặt phẳng tiết diện của đoạn ống khói thẳng.
Cách xác định: vị trí lỗ lấy mẫu nằm trên ống khói dựa vào việc xác định đoạn A, đoạn B, đường kính trong D và thỏa mãn điều kiện: B ³ 2D và A ³ 0,5D. Trong trường hợp lý tưởng, vị trí lỗ lấy mẫu thỏa mãn điều kiện: B = 8D va A = 2D (Hình 1);
Minh họa A, B và D trên Hình 1:
- Đoạn A: là khoảng cách ngược chiều dòng khí tính từ vị trí có sự thay đổi dòng đến vị trí lấy mẫu;
- Đoạn B: là khoảng cách xuôi chiều dòng khí tính từ vị trí có sự thay đổi dòng đến vị trí lấy mẫu;
- D: đường kính trong của ống khói tại vị trí lấy mẫu (Đối với ống khói hình chữ nhật, đường kính trong D được tính theo công thức D = 4 x (diện tích tiết diện/chu vi)).

Hình 1: Vị trí lỗ lấy mẫu
b) Yêu cầu lỗ lấy mẫu: lỗ lấy mẫu bảo đảm đường kính từ 90 mm đến 110mm;
Đối với ống khói hình tròn: yêu cầu ít nhất 02 lỗ lấy mẫu theo 02 phương vuông góc với nhau;
Đối với ống khói hình chữ nhật: căn cứ vào tỉ lệ giữa chiều dài, chiều rộng và số điểm hút mẫu của ống khói để chọn số lỗ lấy mẫu phù hợp theo phương vuông góc với nhau.
Đối với những ống khói có đường kính trong lớn, cần tăng thêm lỗ lấy mẫu đối xứng nhau để giảm yêu cầu của độ dài cần lấy mẫu
c) Xác định số điểm hút mẫu
Điểm hút mẫu nằm trên tiết diện ngang của ống khói tại vị trí lỗ lấy mẫu. Tiết diện ngang của ống khói được chia thành những phần bằng nhau theo 02 phương vuông góc với nhau;
Phương pháp xác định số điểm hút mẫu trên tiết diện ngang của ống khói: dựa trên tỉ lệ giữa đoạn A và đường kính trong D (A/D) hoặc tỉ lệ giữa đoạn B và đường kính trong D (B/D), chia thành 2 trường hợp:
- Trường hợp 1 - xác định vận tốc khí thải (không bao gồm việc lấy mẫu bụi): sử dụng Hình 2 để xác định số điểm hút mẫu tối thiểu.

Hình 2: Đồ thị lựa chọn số điểm hút mẫu tối thiểu theo phương ngang (chỉ xác định vận tốc)
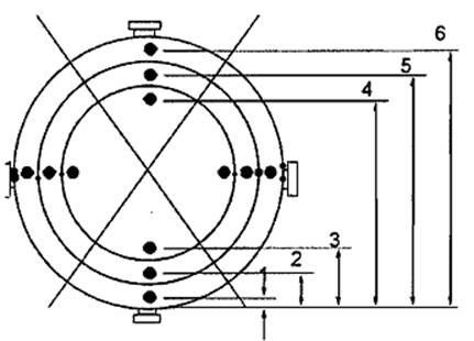
+ Đối với ống khói hình tròn: chia mặt phẳng lấy mẫu thành những đường tròn đồng tâm, các điểm hút mẫu được chia đều trên 2 đường kính. Khoảng cách từ mỗi điểm hút mẫu đến thành trong của ống khói được xác định tại Bảng 1.
Bảng 1: Khoảng cách từ mỗi điểm hút mẫu đến thành trong của ống khói tròn (được tính bằng % của đường kính trong của ống khói (%D))
|
Kí hiệu điểm hút mẫu dọc theo đường kính ống khói |
Số điểm hút mẫu trên một đường kính ống khói |
|||||||||||
|
2 |
4 |
6 |
8 |
10 |
12 |
14 |
16 |
18 |
20 |
22 |
24 |
|
|
1 |
14,6 |
6,7 |
4,4 |
3,2 |
2,6 |
2,1 |
1,8 |
1,6 |
1,4 |
1,3 |
1,1 |
1,1 |
|
2 |
85,4 |
25,0 |
14,6 |
10,5 |
8,2 |
6,7 |
5,7 |
4,9 |
4,4 |
3,9 |
3,5 |
3,2 |
|
3 |
|
75,0 |
29,6 |
19,4 |
14,6 |
11,8 |
9,9 |
8,5 |
7,5 |
6,7 |
6,0 |
5,5 |
|
4 |
|
93,3 |
70,4 |
32,3 |
22,6 |
17,7 |
14,6 |
12,5 |
10,9 |
9,7 |
8,7 |
7,9 |
|
5 |
|
|
85,4 |
67,7 |
34,2 |
25,0 |
20,1 |
16,9 |
14,6 |
12,9 |
11,6 |
10,5 |
|
6 |
|
|
95,6 |
80,6 |
65,8 |
35,6 |
26,9 |
22,0 |
18,8 |
16,5 |
14,6 |
13,2 |
|
7 |
|
|
|
89,5 |
77,4 |
64,4 |
36,6 |
28,3 |
23,6 |
20,4 |
18,0 |
16,1 |
|
8 |
|
|
|
96,8 |
85,4 |
75,0 |
63,4 |
37,5 |
29,6 |
25,0 |
21,8 |
19,4 |
|
9 |
|
|
|
|
91,8 |
82,3 |
73,1 |
62,5 |
38,2 |
30,6 |
26,2 |
23,0 |
|
10 |
|
|
|
|
97,4 |
88,2 |
79,9 |
71,7 |
61,8 |
38,8 |
31,5 |
27,2 |
|
11 |
|
|
|
|
|
93,3 |
85,4 |
78,0 |
70,4 |
61,2 |
39,3 |
32,3 |
|
12 |
|
|
|
|
|
97,9 |
90,1 |
83,1 |
76,4 |
69,4 |
60,7 |
39,8 |
|
13 |
|
|
|
|
|
|
94,3 |
87,5 |
81,2 |
75,0 |
68,5 |
60,2 |
|
14 |
|
|
|
|
|
|
98,2 |
91,5 |
85,4 |
79,6 |
73,8 |
67,7 |
|
15 |
|
|
|
|
|
|
|
95,1 |
89,1 |
83,5 |
78,2 |
72,8 |
|
16 |
|
|
|
|
|
|
|
98,4 |
92,5 |
87,1 |
82,0 |
77,0 |
|
17 |
|
|
|
|
|
|
|
|
95,6 |
90,3 |
85,4 |
80,6 |
|
18 |
|
|
|
|
|
|
|
|
98,6 |
93,3 |
88,4 |
83,9 |
|
19 |
|
|
|
|
|
|
|
|
|
96,1 |
91,3 |
86,8 |
|
20 |
|
|
|
|
|
|
|
|
|
98,7 |
94,0 |
89,5 |
|
21 |
|
|
|
|
|
|
|
|
|
|
96,5 |
92,1 |
|
22 |
|
|
|
|
|
|
|
|
|
|
98,9 |
94,5 |
|
23 |
|
|
|
|
|
|
|
|
|
|
|
96,8 |
|
24 |
|
|
|
|
|
|
|
|
|
|
|
99,9 |

Hình 3: Phân bố 12 điểm hút mẫu đối với ống khói hình tròn
+ Đối với ống khói hình chữ nhật: số điểm hút mẫu được quy định tại Bảng 2. Sau khi xác định được số điểm hút mẫu, tiến hành chia tiết diện ngang ống khói thành các ô bằng nhau và điểm hút mẫu nằm ở tâm các ô đó.
Bảng 2: Ma trận số điểm hút mẫu đối với ống khói hình chữ nhật
|
Số điểm hút mẫu |
Ma trận |
|
9 |
3x3 |
|
12 |
4x3 |
|
16 |
4x4 |
|
20 |
5x4 |
|
25 |
5x5 |
|
30 |
6x5 |
|
36 |
6x6 |
|
42 |
7x6 |
|
49 |
7x7 |

Hình 4: Phân bố 12 điểm hút mẫu đối với ống khói hình chữ nhật
- Trường hợp 2 - xác định vận tốc khí thải (bao gồm việc lấy mẫu bụi): sử dụng Hình 5 để xác định số điểm hút mẫu tối thiểu.

Hình 5: Đồ thị lựa chọn số điểm hút mẫu tối thiểu theo phương ngang (bao gồm lấy mẫu bụi)
Khi vị trí lấy mẫu thỏa mãn trường hợp lý tưởng (nằm trong đoạn 8D đến 2D), số điểm hút mẫu được chọn như sau:
- Nếu D > 0,61m: 12 điểm đối với ống khói hình chữ nhật hoặc hình tròn;
- Nếu 0,3 m < D < 0,61m: 8 điểm đối với ống khói hình tròn hoặc 9 điểm đối với ống khói hình chữ nhật.
Để bảo đảm tính ổn định của dòng khí trong ống khói, điểm hút mẫu gần nhất tính từ thành ống khói theo phương ngang phải bảo đảm một khoảng cách nhất định:
- Đối với ống khói có D ³ 0,61m: khoảng cách tối thiểu là 2,5cm;
- Đối với ống khói có D < 0,61m: khoảng cách tối thiểu là 1,3cm.
d) Xác định chế độ chảy của dòng khí
Trước khi đo phải xác định chế độ chảy của dòng khí tại vị trí lấy mẫu.
Phương pháp xác định: nối ống Pitot hình chữ S vào áp kế, hướng đầu của Pitot vuông góc với tiết diện ngang của ống khói, kiểm tra đồng hồ đo áp kế, nếu đồng hồ đo chênh áp hiển thị giá trị thì hệ thống được xác định là kín. Tiến hành quay ống Pitot một góc ±90° nếu đồng hồ đo chênh áp hiển thị giá trị thì ở vị trí này dòng khí ở chế độ chảy xoáy, điều kiện lấy mẫu tại vị trí đó không bảo đảm và cần xác định vị trí khác.
đ) Ghi chép biên bản xác định điểm hút mẫu: theo Biểu 1 Phụ lục này.
Biểu 1
TÊN CƠ QUAN (thực hiện quan trắc):
…………………………………………………………………………….
ĐT: ……………./ Fax: ……………. /E-mail: ……………. /Địa chỉ: …………….
BIÊN BẢN
Xác định điểm hút mẫu
Cơ sở: ……………………………………………… Ngày: ……………………………………
Địa chỉ: ………………………………………………Người lấy mẫu: …………………………
Địa điểm lấy mẫu: ………………………………………………………………………………
|
Khoảng cách từ lỗ lấy mẫu đến thành trong ống |
|
||
|
Khoảng cách từ tường đến lỗ lấy mẫu/độ dày thành ống |
|
||
|
Đường kính ống (> 0,3m) |
|
||
|
Chiều rộng (ống hình chữ nhật) |
|
||
|
Tiết diện ngang ống A= pD2/4 hoặc DW (>0,071m2) |
|
||
|
|
Khoảng cách tính từ vị trí lấy mẫu (L) |
Tỉ lệ L/D |
Số điểm cần lấy mẫu |
|
Thượng nguồn (³ 2D) |
|
|
|
|
Hạ nguồn (³ 0,5D) |
|
|
|
|
Điểm |
% đường kính ống khói |
Khoảng cách từ thành ống khói đến điểm hút mẫu |
Khoảng cách từ bên ngoài lỗ lấy mẫu |
|
1 |
|
|
|
|
2 |
|
|
|
|
3 |
|
|
|
|
4 |
|
|
|
|
5 |
|
|
|
|
6 |
|
|
|
|
7 |
|
|
|
|
8 |
|
|
|
|
9 |
|
|
|
|
10 |
|
|
|
|
11 |
|
|
|
|
12 |
|
|
|
|
….., ngày …. tháng…… năm ... |
||
|
Đại diện Cơ sở |
Phụ trách nhóm quan trắc |
Quan trắc viên |
PHỤ LỤC 02
XÁC ĐỊNH VẬN TỐC VÀ LƯU LƯỢNG KHÍ THẢI (ỐNG PITOT HÌNH CHỮ S)
(Ban hành kèm theo Thông tư số 40/2015/TT-BTNMT ngày 17 tháng 8 năm 2015 của Bộ trưởng Bộ Tài nguyên và Môi trường)
1. Quy định chung
Phụ lục này hướng dẫn tóm tắt phương pháp lấy mẫu của US EPA method nhằm xác định vận tốc trung bình và lưu lượng khí thải;
Phương pháp này không áp dụng trong các trường hợp đã nêu tại Điểm b Khoản 1 Phụ lục 01 ban hành kèm theo Thông tư này.
2. Nguyên lý phương pháp
Vận tốc trung bình của khí thải trong ống khói được xác định dựa trên khối lượng riêng của khí thải và giá trị trung bình của độ chênh áp đo được.
3. Thiết bị và dụng cụ
- Ống Pitot hình chữ S hoặc ống Pitot tiêu chuẩn (chữ L);
- Các loại đồng hồ đo chênh áp, áp kế dạng nghiêng, hình chữ U hoặc thiết bị đo chênh áp;
- Nhiệt kế (thường sử dụng cặp nhiệt điện);
- Thiét bị xác định khối lượng phân tử khô của khí.
4. Quy trình thực hiện
a) Lắp ráp các thiết bị và dụng cụ
Lắp ráp các thiết bị và dụng cụ như trong Hình 6.

Hình 6: Tổ hợp ống Pitot hình chữ S và áp kế.
b) Kiểm tra độ kín của thiết bị
- Kiểm tra độ kín của ống Pitot được tiến hành như sau: thổi qua đầu dưới của ống Pitot (đầu để đo áp suất động) cho đến khi công tơ của áp kế đo được ít nhất 7,6 cm H2O, sau đó bịt kín lỗ dưới, áp lực sẽ ổn định ít nhất trong 15 giây. Thực hiện tương tự đối với lỗ trên (đầu đo áp suất tĩnh) sử dụng lực hút để có được áp suất tối thiểu là 7,6 cm H2O;
c) Kiểm tra áp kế: áp kế có thể bị lệch so với giá trị “0” do rung động và thay đổi nhiệt độ, do đó kiểm tra áp kế định kỳ trong thời gian ít nhất 01 lần/giờ.
d) Đo nhiệt độ, áp suất tĩnh và áp suất động trong ống khói: đo tại tất cả các điểm hút mẫu đã xác định tại Phụ lục 01 ban hành kèm theo Thông tư này, ghi lại kết quả trong biên bản hiện trường.
đ) Đo áp suất khí quyển: đo tại vị trí lấy mẫu, và ghi lại kết quả trong biên bản hiện trường.
e) Xác định khối lượng mol phân tử khí khô trong ống khói
Đối với các quá trình đốt cháy hoặc quá trình phát ra các khí cơ bản như CO2, O2, CO, và N2 sử dụng hướng dẫn tại Phụ lục 03 ban hành kèm theo Thông tư này;
g) Xác định hàm ẩm: được quy định tại Phụ lục 04 ban hành kèm theo Thông tư này;
h) Xác định tiết diện ống khói tại vị trí lấy mẫu. Đo đường kính ống khói tại vị trí lấy mẫu, cần đo giá trị thực tế đường kính trong của ống khói tại vị trí lấy mẫu. Không dùng số liệu đường kính trong trong các bản vẽ thiết kế.
5. Tính toán và phân tích số liệu
- Vận tốc khí trung bình
(2.1)
- Lưu lượng khí khô trung bình

Trong đó
As : tiết diện ống khói, m2
Bws: hàm ẩm khí thải, theo tỷ lệ thể tích (tính toán theo Phụ lục 4 ban hành kèm theo Thông tư này)
Cp : hệ số Pitot, không thứ nguyên (Pitot hình chữ S = 0,84, Pitot tiêu chuẩn chữ L = 1,0)
Kp : hằng số Pitot, Kp = 34,97 
Ms : khối lượng mol phân tử khí thải, khí ẩm, g/mol
Ps : áp suất tác động của khí thải, mm Hg
Pstd : áp suất tại điều kiện chuẩn, 760 mm Hg
Qstd: lưu lượng khí thải, khô và ở điều kiện chuẩn, Nm3/h
ts : nhiệt độ khí thải °C
Ts : nhiệt độ tuyệt đối khí thải, °K, Ts = 273 + ts
Tstd : nhiệt độ tuyệt đối tại điều kiện chuẩn, 298 °K
vs : vận tốc khí thải trung bình, m/s
Pavg: áp suất trung bình của dòng khí, mmH2O
Biểu 2
TÊN CƠ QUAN (thực hiện quan trắc):
…………………………………………………………………………….
ĐT: ……………./ Fax: ……………. /E-mail: ……………. /Địa chỉ: …………….
BIÊN BẢN
Xác định độ chênh áp
Cơ sở: ……………………………………………… Ngày: ……………………………………
Địa chỉ: ………………………………………………Người lấy mẫu: …………………………
Địa điểm lấy mẫu: ………………………………………………………………………………
|
Kính thước ống Pitot |
|
|
Loại ống Pitot |
|
|
Hệ số ống Pitot (Cp) |
|
|
Áp suất khí quyển |
|
|
Áp suất tĩnh (Pg), mmH2O |
|
|
Kiểm tra rò rỉ ống Pitot |
|
|
Chênh áp (mmH2O) |
|
|
Độ ổn định |
|
|
Điều kiện hoạt động ống Pitot |
|
|
Thời gian Bắt đầu: ………………….Kết thúc:……………………. |
|||||
|
Điểm |
Dp mmH2O |
Nhiệt độ,°C |
Điểm |
Dp mmH2O |
Nhiệt độ,°C |
|
|
|
|
|
|
|
|
|
|
|
|
|
|
|
|
|
|
|
|
|
|
|
|
|
|
|
|
|
|
|
|
|
|
|
|
|
|
|
|
|
|
|
|
|
|
|
|
|
|
|
|
|
|
|
|
|
|
|
|
|
|
|
|
|
|
|
|
|
|
|
|
|
|
|
|
|
|
|
|
|
|
|
|
|
|
|
|
|
|
|
|
|
|
|
|
|
|
|
|
|
|
|
|
|
|
|
|
|
|
|
|
|
|
|
|
|
|
|
|
|
|
|
|
|
|
|
Trung bình |
|
|
|||
|
|
….., ngày …. tháng…… năm ... |
||
|
Đại diện Cơ sở |
Phụ trách nhóm quan trắc |
Quan trắc viên |
|
PHỤ LỤC 03
XÁC ĐỊNH KHỐI LƯỢNG MOL PHÂN TỬ KHÍ KHÔ
(Ban hành kèm theo Thông tư số 40/2015/TT-BTNMT ngày 17 tháng 8 năm 2015 của Bộ trưởng Bộ Tài nguyên và Môi trường)
1. Quy định chung
Phụ lục này hướng dẫn tóm tắt phương pháp lấy mẫu US EPA method 3 đối với các thông số oxy (O2), cacbon dioxit (CO2), cacbon monoxit (CO), nitơ (N2) để xác định khối lượng mol phân tử khí khô của một mẫu khí thải.
2. Nguyên lý phương pháp
Dựa vào nồng độ O2, CO2, CO đo được và các phép tính toán lưu lượng khí thải để tính khối lượng phân tử khí khô.
3. Thiết bị và dụng cụ
- Cần hút mẫu: sử dụng cần hút mẫu bằng vật liệu chịu nhiệt, trơ với các thành phần của khí thải, có bộ phận lọc bụi được đặt phía trong hoặc ngoài ống khói, có thể sử dụng nút bằng bông thủy tinh;
- Bơm hút hoặc quả bóp cao su một chiều;
- Bình ngưng tụ;
- Van;
- Bơm: bảo đảm kín dùng để thu mẫu khí vào túi chứa mẫu. Lắp đặt một thiết bị điều áp giữa bơm và đồng hồ đo lưu lượng để loại bỏ xung động của bơm đến đồng hồ đo lưu lượng;
- Đồng hồ đo lưu lượng: đồng hồ đo kiểu phao có khả năng đo lưu lượng khí thải trong khoảng ± 2% lưu lượng khí thải. Thông thường đồng hồ đo lưu lượng thường được lựa chọn trong khoảng 500-1.000 ml/phút;
- Túi chứa khí: sử dụng túi Tedlar, Teflon hoặc túi nhựa có phủ lớp nhôm có dung tích phù hợp với lưu lượng khí thải trong suốt thời gian lấy mẫu.
Kiểm tra độ kín của túi chứa khí: nối túi với áp kế, áp suất của túi trong khoảng từ 5 đến 10 cm H2O, để trong 10 phút, nếu cột áp kế di chuyển thì túi không bảo đảm độ kín để lấy mẫu;
- Đồng hồ đo áp (áp kế);
- Đồng hồ đo chân không: áp kế thủy ngân có giá trị ít nhất 760 mmHg.
4. Lấy mẫu
a) Lấy mẫu đơn, một điểm
- Mẫu được lấy tại một điểm hút mẫu nằm giữa tiết diện ngang của ống khói hoặc tại một điểm cách thành ống khói không nhỏ hơn 1 m, trong thời gian liên tục đến khi đủ mẫu để phân tích;
- Thể tích lấy mẫu tối thiểu là 28 lít.
- Lắp đặt thiết bị như Hình 7;
- Đặt đầu dò vào trong ống khói, đỉnh của đầu dò đặt tại vị trí điểm hút mẫu, đường ống lấy mẫu phải được làm sạch trước khi lấy mẫu. Sử dụng quả bóp cao su một chiều bơm khí vào túi hoặc bộ phân tích mẫu để xác định nồng độ O2, CO2 và CO.

Hình 7: Bộ thu mẫu đơn
b) Lấy mẫu tổ hợp, một điểm
- Tương tự quy trình lấy mẫu đơn đã nêu tại Điểm a Khoản này lắp đặt thiết bị như Hình 8;
- Lấy mẫu: mẫu được lấy với vận tốc ổn định (± 10%). Mẫu phải lấy liên tục trong suốt thời gian lấy mẫu.
- Mẫu sau khi lấy phải được phân tích ngay trong vòng 8 giờ để xác định nồng độ CO2, O2.

Hình 8: Bộ thu mẫu tổ hợp
c) Lấy mẫu tổ hợp, nhiều điểm
- Mẫu được lấy tại nhiều điểm hút mẫu đã được xác định tại Phụ lục 01 ban hành kèm theo Thông tư này.
- Đối với ống khói hình tròn có D < 0,61 m sẽ lấy tối thiểu 8 điểm theo phương ngang. Đối với ống khói hình chữ nhật có D < 0,61 m sẽ lấy tối thiểu 9 điểm theo phương ngang và tối thiểu 12 điểm cho các trường hợp khác. Dữ liệu thu mẫu được trình bày trong Bảng 3.
Bảng 3: Dữ liệu lấy mẫu
|
Thời gian |
Điểm hút mẫu |
Lưu lượng (lít/phút) |
% lệch chuẩn |
|
|
|
|
|
|
|
|
|
|
|
|
|
|
|
|
Giá trị trung bình |
|
|
|
% lệch chuẩn = [(Q - Qavg) / Qavg ] x 100% (chấp nhận % lệch chuẩn < ±10%)
5. Tính toán và phân tích số liệu
a) Khối lượng phân tử khí khô
Md = 0,440(%CO2) + 0,320(%O2) + 0,280(%N2 + %CO)
Trong đó
Md : khối lượng phân tử khô, g/g.mol
%CO2 : phần trăm CO2 theo thể tích khí khô
%O2 : phần trăm O2 theo thể tích khí khô
%CO : phần trăm co theo thể tích khí khô
%N2 : phần trăm N2theo thể tích khí khô
Xác định % khí N2 và CO như sau:
%N2 + % CO = 100 - % CO2 - %O2
Tuy nhiên, do nồng độ co trong khí thải rất bé (khoảng ppm) nên có thể bỏ qua trong quá trình tính toán, do đó khối lượng mol phân tử khí được tính theo công thức sau:
Md = 0,440(%CO2) + 0,320(%O2) + 0,280(100 - % CO2 - % O2) (3.1)
b) Hệ số nhiên liệu (Fo)
Fo = (20,9 - % O2)/(% CO2) (3.2)
Trong đó:
% O2: phần trăm O2 theo thể tích khí khô
% CO2: phần trăm CO2 theo thể tích khí khô
Nếu trong khí thải có CO thì cần hiệu chỉnh giá trị O2và CO2 trước khi tính toán hệ số nhiên liệu Fo:
% CO2 (hiệu chỉnh) = % CO2 + %CO
%O2 (hiệu chỉnh) = % O2 - 0,5 %CO
So sánh hệ số nhiên liệu Fo tính toán được từ kết quả đo đạc và hệ số nhiên liệu Fo (Bảng 4). Nếu giá trị Fo tính toán được không nằm trong khoảng cho phép được trình bày trong Bảng 4 thì cần phải kiểm tra lại trước khi chấp nhận kết quả đo.
Bảng 4: Hệ số nhiên liệu của một số loại nhiên liệu đốt
|
TT |
Loại nhiên liệu |
Khoảng Fo |
|
1 |
Than |
|
|
|
Than Anthracite và than non |
1,016 - 1,130 |
|
|
Bitum (nhựa đường) |
1,083 - 1,230 |
|
2 |
Dầu |
|
|
|
Phần cất |
1,260 - 1,413 |
|
|
Phần không cất được |
1,210 - 1,370 |
|
3 |
Khí |
|
|
|
Khí thiên nhiên |
1,600 - 1,838 |
|
|
Propan |
1,434 - 1,586 |
|
|
Butan |
1,405 - 1,553 |
|
4 |
Gỗ |
1,000 - 1,120 |
|
5 |
Vỏ cây |
1,003 - 1,130 |
PHỤ LỤC 04
XÁC ĐỊNH HÀM ẨM TRONG KHÍ THẢI
(Ban hành kèm theo Thông tư số 40/2015/TT-BTNMT ngày 17 tháng 8 năm 2015 Bộ trưởng Bộ Tài nguyên và Môi trường)
1. Yêu cầu chung
Phụ lục này hướng dẫn tóm tắt phương pháp lấy mẫu của US EPA method nhằm xác định hàm ẩm của khí trong ống khói.
2. Nguyên lý phương pháp
Mẫu khí được lấy tại điểm hút mẫu với vận tốc không đổi trong suốt quá trình lấy mẫu. Hơi nước được tách ra khỏi mẫu và được xác định theo phương pháp thể tích hoặc phương pháp trọng lượng.
3. Thiết bị và dụng cụ
- Cần lấy mẫu: sử dụng cần lấy mẫu bằng vật liệu chịu nhiệt, trơ với các thành phần của khí thải, được gia nhiệt để ngăn ngừa sự ngưng tụ của nước;
- Thiết bị đo khí áp và ống đong;
- Hệ thống impinger: gồm 4 ống impinger thủy tinh;
- Hệ thống làm mát: bao gồm thùng rỗng, đá lạnh và nước;
- Van;
- Bơm: bơm màng hoặc bơm chân không;
- Đồng hồ đo thể tích;
- Đồng hồ đo lưu lượng, đo phạm vi đo từ 0 ¸ 3 L/phút;
- Đồng hồ đo chân không: yêu cầu dải đo thấp nhất bằng 760mmHg.
4. Quy trình thực hiện
- Lắp đặt hệ thống đo hàm ẩm: hệ thống đo hàm ẩm bao gồm các ống impinger được lắp như Hình 9 và Hình 10. Trong đó, ống 1 và 2 chứa nước, ống 3 để rỗng và ống 4 chứa silica gel (hoặc chất hút ẩm khác tương đương) để làm khô mẫu khí và để bảo vệ đồng hồ, bơm;
- Bật bơm và tiến hành hút mẫu;
- Xác định hàm ẩm của không khí xung quanh trong vòng 60 phút với lưu lượng 2 L/phút;
- Đồng hồ đo thể tích: sai số ±2% và kiểm tra cỡ trước khi chia độ trên mỗi bậc của vận tốc khí thải và những điều kiện thực tế có thể xảy ra trong suốt quá trình lấy mẫu;

Hình 9: Hệ thống lấy mẫu xác định hàm ẩm

Hình 10: Hệ thống các impinger trong ống khói
5. Tính toán và phân tích kết quả
a) Thể tích hơi nước ngưng tụ
Vwc(std) = (Vf - Vi)rw R Tstd / ( Pstd Mw ) (4.1)
= K1 (Vf - Vi)
Trong đó: K1 = 0,001356 m3/ml
b) Thể tích hơi nước được giữ trong silica gel
Vwsg(std) = (Wf - Wi) R Tstd / (Pstd Mw) (4.2)
= K3 (Wf - Wi)
Trong đó: K3 = 0,001358 m3/g
c) Thể tích mẫu khí
(4.3)
d) Hàm ẩm
Bws =
(4.4)
Trong đó:
Bwb : tỷ lệ hơi nước theo thể tích trong khí thải
Mw : khối lượng mol phân tử của nước, 18 g/g.mol
Pm : áp suất tuyệt đối (trong phương pháp này thì Pm tương đương áp suất khí quyển) ở thiết bị đo khí khô, mmHg
Pstd : áp suất tuyệt đối tại điều kiện tiêu chuẩn 760 mmHg
R : hằng số khí lý tưởng, 0,06236 (mm Hg) (m3)/(g-mole).(°K)
Tm : nhiệt độ tuyệt đối đo được trên đồng hồ
Tstd : nhiệt độ tiêu chuẩn tuyệt đối, 298°K
Vf : thể tích cuối cùng của hơi nước ngưng tụ, ml
Vi : thể tích ban đầu, nếu có, của nước ngưng, ml
Vm : thể tích khí khô được xác định bằng đồng hồ đo, m3
VWC(std) thể tích hơi nước ngưng tụ, quy đổi ra điều kiện chuẩn, Nm3
vm(std) : thể tích khí khô được xác định bằng đồng hồ đo, quy đổi ra điều kiện chuẩn, m3
Vwsg(std) : thể tích hơi nước thu được trong silica gel quy đổi ra điều kiện chuẩn, m3
Wf : khối lượng cuối của silica gel và ống impinger, g
Wi : khối lượng ban đầu của silica gel và ống impinger, g
Y : hệ số hiệu chỉnh của đồng hồ đo khí
DVm : gia tăng thể tích khí được xác định bằng chỉ số của đồng hồ tại mỗi điểm nghiên cứu, m3
rw : khối lượng riêng của nước, 0,9982 g/ml
H : áp suất trung bình khác nhau đo bằng đồng hồ tại mỗi lỗ, mmH2O
Biểu 3
TÊN CƠ QUAN (thực hiện quan trắc):
…………………………………………………………………………….
ĐT: ……………./ Fax: ……………. /E-mail: ……………. /Địa chỉ: …………….
BIÊN BẢN
Xác định hàm ẩm khí thải
Cơ sở: ……………………………………………… Ngày: ……………………………………
Địa chỉ: ………………………………………………Người lấy mẫu: …………………………
Địa điểm lấy mẫu: ………………………………………………………………………………
1. Thông tin về hàm ẩm
|
Impinger |
Dung tích |
Khối lượng đầu (g) |
Khối lượng sau (g) |
Khối lượng ẩm (R) |
|
Impinger 1 |
H2O ( ………ml) |
|
|
(1) |
|
Impinger 2 |
H2O ( ……….ml) |
|
|
(2) |
|
Impinger 3 |
Trống |
|
|
(3) |
|
Impinger 4 |
Silica gel |
|
|
(4) |
|
|
Tổng |
|
||
|
Vf- Vj = (1) + (2) + (3) =………………………….. |
Wf - Wi = (4) =……………………………….. |
|
Vwc(std) = 0,001356 (Vf - Vj) = …………………….. |
Vwsg(std) = 0,001358 (Wf - Wi) =……………. |
2. Thông tin về quá trình lấy mẫu
|
Thời gian bắt đầu lấy mẫu |
|
|
|
Thời gian kết thúc lấy mẫu |
|
|
|
Lưu lượng hút |
L/phút |
|
|
Thời gian |
Phút |
|
|
Hệ số hiệu chuẩn T° và P |
|
|
|
Tổng lưu lượng lấy mẫu |
L |
|
|
Vm(std) |
Nm3 |
|
3. Tính hàm ẩm

|
|
….., ngày …. tháng…… năm ... |
||
|
Đại diện Cơ sở |
Phụ trách nhóm quan trắc |
Quan trắc viên |
|
PHỤ LỤC 05
XÁC ĐỊNH NỒNG ĐỘ BỤI TỪ KHÍ THẢI
(Ban hành kèm theo Thông tư số 40/2015/TT-BTNMT ngày 17 tháng 8 năm 2015 của Bộ trưởng Bộ Tài nguyên và Môi trường)
1. Quy định chung
Phụ lục này hướng dẫn tóm tắt phương pháp lấy mẫu của US EPA method 5 đối với thông số bụi tổng (PM) trong khí thải.
Phương pháp này không áp dụng trong các trường hợp đã nêu tại Điểm b Khoản 1 Phụ lục 01 ban hành kèm theo Thông tư này.
Yêu cầu duy trì điều kiện lấy mẫu đẳng động lực phần trăm isokinetic (I) là 90% £ I £ 110% trong suốt quá trình lấy mẫu.
2. Nguyên lý phương pháp
Mẫu được lấy tại vị trí bảo đảm điều kiện lấy mẫu đẳng động lực từ ống khói. Bụi được giữ lại trên giấy lọc bụi và được xác định theo phương pháp trọng lượng sau khi loại bỏ ẩm (sấy).
3. Thiết bị và dụng cụ lấy mẫu
- Đầu hút mẫu: làm bằng vật liệu nhẵn, được bảo quản hộp chuyên dụng để bảo đảm đường kính đầu lấy mẫu không bị ảnh hưởng trong quá trình vận chuyển. Đầu hút mẫu thích hợp cho lấy mẫu isokinetic có đường kính trong từ 32 cm đến 1,27 cm;
- Cần lấy mẫu: sử dụng cần lấy mẫu bằng vật liệu chịu nhiệt, trơ với các thành phần của khí thải, như ống thép không gỉ, thủy tinh borosilicat hoặc thạch anh với hệ thống gia nhiệt có khả năng giữ nhiệt độ khí ở 120±14°C. Đối với khí thải có nhiệt độ cao đến 480°C thì sử dụng cần lấy mẫu bằng thủy tinh borosilicate. Đối với khí thải có nhiệt độ từ 480 - 900°C thì sử dụng cần lấy mẫu bằng thạch anh.
- Ống pitot: hình chữ S, được mô tả ở Phụ lục 2 ban hành kèm theo Thông tư này. Ống pitot được gắn liền với đầu đo Hình 11 cho phép đo vận tốc khí thải;
- Thiết bị đo chênh áp: áp kế;
- Cặp giữ giấy lọc: cặp đỡ bằng thủy tinh borosilicat và một miếng đệm cao su silicone. Có thể sử dụng cặp đỡ bằng thép không gỉ, Teflon, hoặc Viton bảo đảm độ kín trong khi lấy mẫu;
- Hệ thống sấy: có khả năng duy trì ở nhiệt độ 120 ± 14°C trong suốt quá trình lấy mẫu;
- Điện cực đo nhiệt độ;
- Hệ thống ngưng tụ: Có 4 ống impingers nối với nhau thông qua các ống nối thành một hệ thống kín, ống impinger số 1 và 2 chứa nước, ống thứ 3 để rỗng và ống thứ 4 chứa một lượng xác định silica gel, hoặc chất có khả năng hút ẩm tương đương;
- Đồng hồ đo: đồng hồ đo chân không, bơm kiểm tra độ rò rỉ, đầu đo nhiệt độ có thể đo đến ±3 °C, đồng hồ đo khí khô (DGM) có thể đo lưu lượng trong phạm vi 2% (Hình 11);
- Áp kế: dùng để đo áp suất khí quyển có thể đo trong dải 2,5 mmHg;
- Dụng cụ vệ sinh thiết bị: gồm các loại bàn chải có hình dạng và kích thước phù hợp, có thể co giãn, độ dài ít nhất bằng độ dài cần lấy mẫu và làm bằng vật liệu trơ như: teflon, thép không rỉ hoặc vật liệu khác.
- Chai đựng axeton: là chai thủy tinh polyetylen, axeton không được lưu giữ trong chai polyetylen quá một tháng;
- Đĩa petri;
- Ống đong có dung tích 250 ml;
- Cân chuyên dụng tại hiện trường, độ chính xác tối thiểu là 0,001g;
- Chai nhựa có nắp bịt kín và phễu.

Hình 11: Sơ đồ thiết bị lấy mẫu bụi khí thải
4. Hóa chất, vật liệu
- Giấy lọc: dùng để lưu giữ bụi trong suốt quá trình lấy mẫu, sử dụng giấy lọc bằng vật liệu chịu nhiệt, trơ với các thành phần có trong khí thải. Phụ thuộc vào thông số cần quan trắc mà lựa chọn giấy lọc bằng vật liệu phù hợp như thủy tinh, thạch anh, xelulo.
- Silica gel: có đường kính lỗ hạt từ 1,19 - 3,36 mm. Có thể sử dụng vật liệu khác có khả năng hút ẩm tương đương hoặc cao hơn;
- Nước đá;
- Axeton tinh khiết, tạp chất ≤ 0,001% được đựng trong chai thủy tinh Polyetylen.
5. Công tác chuẩn bị
a) Công tác chuẩn bị trước khi ra hiện trường
- Cho 200 - 300g silica gel vào mỗi ống impinger và cân từng ống, ghi lại kết quả đo ban đầu.
- Kiểm tra giấy lọc: bằng cách kiểm tra ngược sáng những chỗ không đều, vết rạn nứt hay những lỗ thủng nhỏ. Dán nhãn hoặc đánh số các giấy lọc tại mặt sau gần mép hoặc có thể dán nhãn vào các hộp/thùng chứa (các đĩa petri bằng thủy tinh hoặc polyethylene) và giữ mỗi một giấy lọc riêng trong từng hộp/thùng;
- Sấy giấy lọc đến khối lượng không đổi và tiến hành cân. Chênh lệch tối đa giữa các lần cân không quá 0,5 mg. Ghi lại giá trị ổn định nhất. Trong mỗi lần cân, khoảng thời gian giấy lọc tiếp xúc với không khí trong phòng thí nghiệm tối đa là 2 phút;
- Xác định vị trí lấy mẫu, số lượng điểm hút mẫu, áp suất ống khói, nhiệt độ và áp suất động, hàm ẩm theo quy định tại Phụ lục 01, 02, 03 và 04 ban hành kèm theo Thông tư này. Ngoài ra, kiểm tra rò rỉ của ống pitot và xác định tỷ lệ lấy mẫu isokinetic;
- Lựa chọn kích thước đầu hút: căn cứ vào vận tốc của dòng khí để lựa chọn đầu hút mẫu thích hợp;
- Cần lấy mẫu phải có độ dài phù hợp, có thể hút mẫu tại tất cả các điểm hút mẫu đã được xác định theo quy định tại Phụ lục 01 ban hành kèm theo Thông tư này.
b) Công tác chuẩn bị tại hiện trường
- Cho 100 ml nước vào 2 ống impinger thứ 1 và 2, ống impinger thứ 3 để rỗng và cho khoảng 200 - 300g silica gel vào ống impinger thứ 4. Trọng lượng của silica gel trong ống impinger có thể được cân với chênh lệch không quá 0,5g;
- Sử dụng panh hoặc găng tay sạch đặt giấy lọc vào cặp giấy lọc. Kiểm tra các vết rách, hở của giấy lọc sau khi lắp đặt xong;
- Đánh dấu vị trí của từng điểm hút mẫu trong ống khói đã được xác định trên cần lấy mẫu bằng mực chịu nhiệt hoặc băng dính chịu nhiệt;
- Lắp ráp hệ thống lấy mẫu như Hình 11 và kiểm tra độ kín của hệ thống sau khi lắp ráp như hướng dẫn tại Phụ lục 02 ban hành kèm theo Thông tư này;
- Cho đá lạnh và nước xung quanh bình hệ thống impinger;
- Sau khi lắp xong hệ thống lấy mẫu, bật hệ thống gia nhiệt cần lấy mẫu và giấy lọc, chờ cho nhiệt độ ổn định. Nếu vòng đệm Viton được sử dụng để lắp ráp đầu lấy mẫu vào cần lấy mẫu, kiểm tra độ kín tại vị trí này và áp suất chân không khoảng 380 mmHg.
6. Lấy mẫu
- Trong suốt quá trình lấy mẫu, duy trì điều kiện lấy mẫu đẳng động lực (trong khoảng 10% của vận tốc đẳng động lực) và nhiệt độ xung quanh giấy lọc vào khoảng 120 ± 14 °C;
- Làm sạch các lỗ hút mẫu trước khi chạy thử để làm giảm tối đa ảnh hưởng của vật liệu, bụi bẩn đến đầu hút mẫu. Trước khi bắt đầu lấy mẫu, kiểm tra lại toàn bộ thiết bị lấy mẫu. Đưa đầu hút mẫu vào dòng khí theo phương vuông góc với dòng khí. Bật bơm và điều chỉnh lưu lượng cho điều kiện lấy mẫu đẳng động lực (tính toán phần trăm lấy mẫu đẳng động lực 90% £ I £ 110%);
- Tiến hành với tất cả các điểm hút mẫu đã tính toán theo hướng dẫn tại Phụ lục 01 ban hành kèm theo Thông tư này.
- Kết thúc quá trình lấy mẫu: đưa đầu lấy mẫu ra khỏi dòng khí, để một thời gian cho đầu lấy mẫu nguội và bắt đầu thu mẫu. Trước khi tháo rời các thiết bị, cần sử dụng giấy bạc bịt kín đầu lấy mẫu nhằm tránh việc mất hoặc thêm bụi. Lau sạch tất cả bụi bên ngoài cần lấy mẫu và bộ phận xung quanh. Tháo bộ phận chứa giấy lọc, lấy giấy lọc cho vào hộp bảo quản hoặc đĩa petri có bịt kín bằng băng paraphin, mỗi mẫu được kí hiệu riêng;
- Thu toàn bộ bụi, chất rắn đọng ở mặt trong của các bộ phận của thiết bị (như đầu lấy mẫu, cần lấy mẫu, bộ phận chứa giấy lọc) bằng các phương pháp như siêu âm, dung môi hữu cơ (aceton) và dùng chổi chuyên dụng chải sạch. Chuyển chất lỏng đã rửa vào cốc đã cân khối lượng. Toàn bộ lượng chất lỏng này sẽ được bảo quản, mỗi mẫu được kí hiệu riêng.
7. Bảo quản và vận chuyển mẫu
Giấy lọc và lượng chất lỏng thu được sau khi rửa các bộ phận của thiết bị đo được vận chuyển về phòng thí nghiệm, tiến hành cân trong điều kiện tương tự nhau.
8. Tính toán kết quả
Thể tích khí khô: quy đổi thể tích mẫu đo được bằng đồng hồ đo khí về điều kiện chuẩn (25°C, 760 mmHg).

b) Nồng độ axeton:
(5.2)
c) Lượng axeton đã rửa:
Wa = CaVawDa (5.3)
d) Tổng khối lượng bụi: bao gồm trên giấy lọc và trong dung dịch aceton dùng để rửa thiết bị:
(5.4)
đ) Giá trị Isokinetic:
- Tính từ giá trị thô:

Tính từ giá trị trung gian:

Kết quả: 90% £ I £ 110%, kết quả được chấp nhận.
Trong đó
An : tiết diện ngang của vòi lấy mẫu, m2
Bws : hơi nước trong khí thải, % thể tích
Ca : lượng aceton còn lại (mg/mg)
Cs : nồng độ bụi trong ống khói, theo khí khô, ở điều kiện tiêu chuẩn (g/Nm3)
I : phần trăm lấy mẫu đẳng động lực
ma : khối lượng bụi trong nước rửa aceton sau khi làm khô (mg)
mn : tổng bụi thu được, mg
Pbar : áp suất khí quyển tại điểm hút mẫu, mmHg
Ps : áp suất tuyệt đối của khí ống khói, mmHg
Pstd : áp suất tại điều kiện tiêu chuẩn 25°C, 760mmHg
R : hằng số khí lý tưởng 0,06236 [(mmHg) (m3)/(K)(g.mol)]
Tm : nhiệt độ trung bình tuyệt đối DGM, °K
Tstd : nhiệt độ tuyệt đối tại điều kiện chuẩn, 25°C+273 = 298 °K
Va : thể tích aceton, ml
Vaw : thể tích aceton sử dụng để rửa, ml
Vlc : tổng thể tích nước thu được trong bình ngưng và trong silica gel, ml
Vm : thể tích mẫu khí được xác định bởi đồng hồ đo khí khô, m3
Vm(std) : thể tích mẫu khí xác định bằng đồng hồ đo khí khô, ở điều kiện chuẩn, m3
VW(std) : thể tích hơi nước trong mẫu khí, ở điều kiện tiêu chuẩn , m3
Vs : vận tốc khí ống khói, tính toán theo Phụ lục 2 ban hành kèm theo Thông tư này, công thức (2.4), m/s
Wa : trọng lượng của phần thể tích còn lại, mg
Y : hệ số hiệu chuẩn của đồng hồ đo khí khô
Da : tỷ trọng của aceton, mg/ml
Dw : tỷ trọng của nước, 0,9982 g/ml
K1 = 0,3858 °K/mmHg
K3 = 0,001 g/mg
K4 = 0,003454 [ (mm Hg) (m3)] /[ (ml) (°K)]
K5 = 4,320
PHỤ LỤC 06
YÊU CẦU KỸ THUẬT VÀ QUY TRÌNH ĐO CÁC CHẤT Ô NHIỄM DẠNG KHÍ TRONG KHÍ THẢI BẰNG THIẾT BỊ ĐO TRỰC TIẾP
(Ban hành kèm theo Thông tư số 40/2015/TT-BTNMT ngày 17 tháng 8 năm 2015 của Bộ trưởng Bộ Tài nguyên và Môi trường)
1. Quy định chung
Phụ lục này quy định yêu cầu kỹ thuật cơ bản và quy trình đo các thông số gồm NOx (NO và NO2), SO2, CO, O2 trong khí thải bằng thiết bị đo trực tiếp.
2. Yêu cầu kỹ thuật đối với thiết bị đo trực tiếp
a) Yêu cầu kỹ thuật của thiết bị
Thiết bị đo trực tiếp các chất ô nhiễm dạng khí trong khí thải tối thiểu phải đáp ứng các yêu cầu về đặc tính kỹ thuật theo quy định tại Bảng 4.
Bảng 4: Yêu cầu kỹ thuật đối với thiết bị đo trực tiếp
|
Stt |
Thông số đo |
Độ chính xác |
Độ phân giải |
Thời gian đáp ứng |
|
1. |
NO |
± 5% của giá trị đọc |
1 ppm |
< 30s |
|
2. |
NO2 |
± 5% của giá trị đọc |
0,1 ppm |
< 40s |
|
3. |
SO2 |
± 5% của giá trị đọc |
1 ppm |
< 30s |
|
4. |
CO |
± 5% của giá trị đọc |
1 ppm |
< 40s |
|
5. |
O2 |
± 0,3% toàn dải đo |
0,1% |
< 60s |
Khuyến khích sử dụng các thiết bị đo đã được cấp chứng chỉ kiểm định bởi một trong các tổ chức sau: Cơ quan Bảo vệ môi trường Mỹ (US EPA), Tổ chức chứng nhận Anh (MCERT), Cơ quan kiểm định kỹ thuật Đức (TÜV), Cơ quan Môi trường Hàn Quốc (KECO) và Cơ quan Môi trường Nhật Bản (MOE);
b) Kiểm định và kiểm tra thiết bị
- Kiểm định thiết bị: thiết bị phải được kiểm định theo quy định tại Thông tư số 23/2013/TT-BKHCN ngày 26 tháng 9 năm 2013 của Bộ trưởng Bộ Khoa học và Công nghệ quy định về đo lường đối với phương tiện đo nhóm 2. Hồ sơ kiểm định bao gồm: giấy chứng nhận kiểm định và tem kiểm định phải được lưu và sẵn sàng cung cấp khi có yêu cầu của cơ quan nhà nước có thẩm quyền;
- Kiểm tra thiết bị bằng khí chuẩn tại hiện trường: trước khi đo nồng độ các chất ô nhiễm trong khí thải, cần thực hiện kiểm tra thiết bị bằng khí “không” và khí chuẩn tại hiện trường với tần suất tối thiểu là 1 lần trước mỗi ngày quan trắc;
- Tất cả tài liệu liên quan đến quá trình kiểm tra bằng khí chuẩn tại hiện trường phải được ghi chép, lưu lại hồ sơ gồm biên bản, nhật ký hiện trường, dữ liệu gốc được in hoặc sao lưu trong bộ nhớ thiết bị đối với tất cả các giá trị, giấy chứng nhận của khí chuẩn được sử dụng và sẵn sàng cung cấp cho cơ quan có thẩm quyền khi được yêu cầu;
- Khí chuẩn được sử dụng tại hiện trường phải còn hạn sử dụng, bảo đảm độ chính xác tối thiểu là ± 5% và phải được liên kết chuẩn đến một trong các tổ chức sau: Viện Đo lường Việt Nam, Viện Tiêu chuẩn và Kỹ thuật quốc gia Mỹ (NIST) hoặc các Nhà sản xuất khí chuẩn đạt tiêu chuẩn ISO/IEC 17034. Khí chuẩn được sử dụng có thể là khí đơn hoặc khí hỗn hợp.
c) Kiểm tra, bảo trì, bảo dưỡng thiết bị
Thiết bị phải được kiểm tra, thay thế linh phụ kiện, bảo trì, bảo dưỡng định kỳ và trước khi đi quan trắc hiện trường theo quy định của pháp luật và hướng dẫn của nhà sản xuất. Tất cả tài liệu liên quan đến việc kiểm tra, thay thế linh phụ kiện, bảo trì, bảo dưỡng thiết bị phải được ghi chép, lưu lại hồ sơ và sẵn sàng cung cấp cho cơ quan có thẩm quyền khi được yêu cầu.
3. Vị trí đo
a) Vị trí đo mẫu khí được xác định cùng với vị trí lấy mẫu bụi theo phương pháp xác định quy định tại Phụ lục 01 ban hành kèm theo Thông tư này.
b) Trường hợp chỉ thực hiện đo các chất ô nhiễm dạng khí mà không lấy mẫu bụi thì vị trí đo mẫu khí phải thỏa mãn điều kiện: không ở miệng ống khói và ưu tiên chọn nơi có dòng khí chuyển động ổn định.
4. Quy trình đo tại hiện trường
a) Kiểm tra thiết bị tại hiện trường
- Kiểm tra đầu đo: tất cả đầu đo của thiết bị phải được làm sạch đúng hướng dẫn của nhà sản xuất, sạch và khô ráo trước khi sử dụng;
- Kiểm tra pin;
- Khởi động thiết bị đo.
b) Kiểm tra thiết bị bằng khí chuẩn tại hiện trường
- Kiểm tra điểm “không” (zero check): kiểm tra điểm “không” được thực hiện theo chế độ tự kiểm tra điểm “không” của thiết bị hoặc sử dụng khí không. Kết quả kiểm tra điểm không phải nhỏ hơn độ phân giải của thiết bị tương ứng với từng thông số. Trường hợp kết quả kiểm tra điểm không lớn hơn độ phân giải của thiết bị, phải tiến hành kiểm tra lặp lại cho đến khi đạt yêu cầu quy định.
- Kiểm tra thiết bị bằng khí chuẩn (span check): kiểm tra tại điểm nồng độ khí chuẩn trong khoảng từ 10% đến 50% giá trị của toàn dải đo của thiết bị đối với các thông số SO2, NOx(NO và NO2); đối với thông số CO, điểm nồng độ khí chuẩn sử dụng để kiểm tra được xác định bằng ± 50% so với giá trị quy định về ngưỡng tối đa cho phép trong các quy chuẩn kỹ thuật quốc gia về môi trường tương ứng. Hoạt động đo khí thải chỉ được thực hiện khi sự sai khác giữa kết quả đo khí chuẩn hiển thị trên thiết bị và nồng độ khí chuẩn được sử dụng để kiểm tra không quá 20%. Trường hợp sự sai khác lớn hơn 20%, phải tiến hành kiểm tra lặp lại bằng khí chuẩn cho đến khi đạt yêu cầu quy định.
c) Đo đạc tại hiện trường
- Sau khi khởi động thiết bị đo, đợi cho các giá trị hiển thị được ổn định thì bắt đầu tiến hành đọc và ghi giá trị đo;
- Tại mỗi vị trí quan trắc phải thực hiện ít nhất 3 phép đo (3 mẫu) trong 1 lần quan trắc;
- Thời gian đo tối thiểu cho 1 phép đo (1 mẫu) là 15 phút với tần suất đọc và ghi giá trị đo liên tục là 3 phút/1 giá trị.
5. Tính toán kết quả khi sử dụng thiết bị đo trực tiếp
a) Căn cứ vào các quy định hiện hành về đơn vị đo và điều kiện tiêu chuẩn trong các quy chuẩn kỹ thuật quốc gia về môi trường tương ứng, phải tính toán chuyển đổi đơn vị đo sang đơn vị mg/m3 tại điều kiện tiêu chuẩn tương ứng. Trường hợp kết quả đo của thiết bị là ppm và điều kiện tiêu chuẩn quy định là 25°C, 760 mmHg, nồng độ các chất ô nhiễm được tính theo công thức sau:
CO: ppm x 1,14 = mg/Nm3
SO2: ppm x 2,62 = mg/Nm3
NO2: ppm x 1,88 = mg/Nm3
NO: ppm x 1,23 = mg/Nm3
b) Trường hợp các quy chuẩn kỹ thuật quốc gia về môi trường hiện hành có quy định về nồng độ oxy tham chiếu, phải tính toán kết quả quan trắc theo công thức sau:

Trong đó:
Cstd : nồng độ chất ô nhiễm tại giá trị nồng độ ôxy tham chiếu, mg/Nm3
Cm: nồng độ chất ô nhiễm tại giá trị nồng độ ôxy đo được, mg/Nm3
%O2(std): nồng độ ôxy tham chiếu cho phép (theo quy định của pháp luật)
%O2(m) : nồng độ ôxy đo được tại hiện trường
6. Báo cáo kết quả quan trắc
Biên bản hiện trường được lập theo mẫu quy định tại Biểu 4, Phụ lục này;
Xử lý số liệu và báo cáo kết quả quan trắc quy định tại Khoản 4 Điều 8 Thông tư này.
Biểu 4
TÊN CƠ QUAN (thực hiện quan trắc)
…………………………………………………………..
ĐT: …………../Fax: ………….. /E-mail: ………….. /Địa chỉ: …………..
BIÊN BẢN
Quan trắc khí thải với thiết bị đo trực tiếp
Cơ sở:……………………………………Ngày: …………...............................……………
Địa chỉ: …………………………………………… Người lấy mẫu:. ………………………
Địa điểm lấy mẫu: ……………………………………………………………………………
|
Ngày |
|
Thông tin thiết bị (tên, hãng, model) |
|
|
Tên cơ sở |
|
Model thiết bị |
|
|
Thành phố |
|
Ngày của giấy chứng nhận hiệu chuẩn |
|
|
Loại hình sản xuất (ghi rõ dây chuyền sản xuất được lấy mẫu) |
|
Các thông số của thiết bị đo O2 c CO c SO2 c NO2 c NO c Thông số khác: |
|
|
Ống khói |
|
Người đo |
|
|
Rò rỉ: Có c Không c |
Tần số ghi dữ liệu: …………………………………………………………. |
||
|
Điều chỉnh sau khi ghi dữ liệu Có c Không c |
Có hệ thống khử ẩm Có c Không c |
||
|
Chuẩn công tác |
|||||
|
I. Thông tin về khí chuẩn |
Nồng độ: |
Hạn sử dụng: |
|||
|
Độ chính xác: |
Hãng sản xuất: |
||||
|
II. Chuẩn công tác |
O2(%) |
CO (ppm c mg/m3 c ) |
NO (ppm c mg/m3 c ) |
NO2(ppm c mg/m3 c) |
SO2(ppm c mg/m3 c ) |
|
1. Điểm zero |
|
|
|
|
|
|
- Giá trị đặt |
|
|
|
|
|
|
- Giá trị đo được |
|
|
|
|
|
|
2. Điểm span |
|
|
|
|
|
|
- Giá trị đặt |
|
|
|
|
|
|
- Giá trị đo được |
|
|
|
|
|
|
3. Đo kiểm tra giá trị khí chuẩn |
|
|
|
|
|
|
- Điểm zero |
|
|
|
|
|
|
- Điểm span |
|
|
|
|
|
|
Kết quả đo |
|||||
|
Thời gian (giờ: phút) |
O2(%) |
CO (ppm c mg/m3 c) |
NO (ppm c mg/m3 c ) |
NO2(ppm c mg/m3 c) |
SO2(ppm c mg/m3 c ) |
|
|
|
|
|
|
|
|
|
|
|
|
|
|
|
|
|
|
|
|
|
|
|
….., ngày …. tháng…… năm ... |
|
Đại diện Cơ sở |
Phụ trách nhóm quan trắc |
Quan trắc viên |
Bạn chưa Đăng nhập thành viên.
Đây là tiện ích dành cho tài khoản thành viên. Vui lòng Đăng nhập để xem chi tiết. Nếu chưa có tài khoản, vui lòng Đăng ký tại đây!
Bạn chưa Đăng nhập thành viên.
Đây là tiện ích dành cho tài khoản thành viên. Vui lòng Đăng nhập để xem chi tiết. Nếu chưa có tài khoản, vui lòng Đăng ký tại đây!