- Tổng quan
- Nội dung
- Tiêu chuẩn liên quan
- Lược đồ
- Tải về
Tiêu chuẩn Quốc gia TCVN 8555:2010 ISO 27447:2009 Gốm mịn (gốm cao cấp, gốm kỹ thuật cao cấp) - Phương pháp thử hoạt tính kháng khuẩn của vật liệu bán dẫn xúc tác quang
| Số hiệu: | TCVN 8555:2010 | Loại văn bản: | Tiêu chuẩn Việt Nam |
| Cơ quan ban hành: | Bộ Khoa học và Công nghệ | Lĩnh vực: | Công nghiệp |
|
Ngày ban hành:
Ngày ban hành là ngày, tháng, năm văn bản được thông qua hoặc ký ban hành.
|
2010 |
Hiệu lực:
|
Đã biết
|
| Người ký: | Đang cập nhật |
Tình trạng hiệu lực:
Cho biết trạng thái hiệu lực của văn bản đang tra cứu: Chưa áp dụng, Còn hiệu lực, Hết hiệu lực, Hết hiệu lực 1 phần; Đã sửa đổi, Đính chính hay Không còn phù hợp,...
|
Đã biết
|
TÓM TẮT TIÊU CHUẨN VIỆT NAM TCVN 8555:2010
Nội dung tóm tắt đang được cập nhật, Quý khách vui lòng quay lại sau!
Tải tiêu chuẩn Việt Nam TCVN 8555:2010
TIÊU CHUẨN QUỐC GIA
TCVN 8555:2010
ISO 27447:2009
GỐM MỊN (GỐM CAO CẤP, GỐM KỸ THUẬT CAO CẤP - PHƯƠNG PHÁP THỬ HOẠT TÍNH KHÁNG KHUẨN CỦA VẬT LIỆU BÁN DẪN XÚC TÁC QUANG
Fine ceramics (advanced ceramics, advanced technical ceramics) - Test method for antibacterial activity of semiconducting photocatalytic materials
Lời nói đầu
TCVN 8555:2010 hoàn toàn tương đương với ISO 27447:2009.
TCVN 8555:2010 do Ban kỹ thuật tiêu chuẩn quốc gia TCVN/TC206 Gốm cao cấp biên soạn, Tổng cục Tiêu chuẩn Đo lường Chất lượng đề nghị, Bộ Khoa học và Công nghệ công bố
Lời giới thiệu
Dưới bức xạ photon, các chất xúc tác quang thể hiện nhiều tính năng đa dạng, như là phân hủy các chất nhiễm bẩn không khí và nước, cũng như khử mùi, tự làm sạch và hoạt tính kháng khuẩn. Những tính năng này của chất xúc tác quang nói chung dựa trên tác động của các oxy hoạt tính như là các gốc hydoxyl (OH) được tạo thành trên bề mặt của chất xúc tác quang (Tài liệu tham khảo [10] và [11] trong Thư mục tài liệu tham khảo). Bản chất tiết kiệm năng lượng và tiết kiệm nhân lực của chất xúc tác quang đã và đang thu hút sự quan tâm đặc biệt khi chất xúc tác được kích hoạt bởi ánh sáng mặt trời (hoặc ánh sáng nhân tạo).
Các ứng dụng thực tế của chất xúc tác quang, đối với việc sử dụng bên trong và bên ngoài nhà, được mở rộng nhanh chóng trong những năm gần đây. Nhiều loại vật liệu xúc tác quang đã được ra đời và đã được thương mại hóa, dựa trên các vật liệu gốm, thủy tinh, bê tông, nhựa, giấy v.v.... Các vật liệu như vậy được sản xuất bằng cách phủ hoặc trộn với chất xúc tác quang, mà trong hầu hết các trường hợp là titan dioxit (TiO2).
Tuy nhiên, ảnh hưởng của chất xúc tác quang không dễ dàng kiểm tra bằng mắt thường và hiện nay không có sẵn các phương pháp đánh giá thích hợp và chính thống. Vì vậy có một vài tranh cãi nảy sinh khi các sản phẩm xúc tác quang được giới thiệu. Hơn nữa, các tính năng đa dạng đã đề cập ở trên của chất xúc tác quang không thể được đánh giá bằng phương pháp đơn lẻ; vì vậy, các phương pháp đánh giá khác nhau được đưa ra đối với hoạt tính làm sạch không khí, khử nhiễm bẩn nước và tự làm sạch.
Tiêu chuẩn này áp dụng đối với hoạt tính kháng khuẩn của gốm xúc tác quang và các vật liệu khác được sản xuất bằng cách phủ hoặc trộn chất xúc tác quang. Các tiêu chuẩn để thử hoạt tính kháng nấm mốc có sử dụng vật liệu xúc tác quang sẽ được xây dựng riêng.
GỐM MỊN (GỐM CAO CẤP, GỐM KỸ THUẬT CAO CẤP - PHƯƠNG PHÁP THỬ HOẠT TÍNH KHÁNG KHUẨN CỦA VẬT LIỆU BÁN DẪN XÚC TÁC QUANG
Fine ceramics (advanced ceramics, advanced technical ceramics) - Test method for antibacterial activity of semiconducting photocatalytic materials
1. Phạm vi áp dụng
Tiêu chuẩn này quy định phương pháp thử để xác định hoạt tính kháng khuẩn của vật liệu có chứa chất xúc tác quang hoặc có màng xúc tác quang trên bề mặt, bằng cách đo số lượng vi khuẩn dưới sự chiếu xạ của ánh sáng tử ngoại.
Tiêu chuẩn này dự kiến để sử dụng cho nhiều loại vật liệu xúc tác quang bán dẫn khác nhau được sử dụng làm vật liệu xây dựng, tấm phẳng, vách ngăn, dạng tấm hoặc sợi là cơ sở tạo thành vật liệu có các ứng dụng khác nhau. Không bao gồm các vật liệu xúc tác quang dạng bột, hạt hoặc xốp.
Tiêu chuẩn này thường được áp dụng đối với các vật liệu xúc tác quang được sản xuất cho tác dụng kháng khuẩn. Các loại tính năng khác của vật liệu xúc tác quang, như sự phân hủy các chất nhiễm bẩn nước, tự làm sạch, chống mờ và làm sạch không khí, không được xác định bằng phương pháp này.
2. Tài liệu viện dẫn
Các tài liệu viện dẫn sau đây là cần thiết để áp dụng tiêu chuẩn này. Đối với các tài liệu viện dẫn ghi năm công bố thì áp dụng bản được nêu. Đối với các tài liệu viện dẫn không ghi năm công bố thì áp dụng phiên bản mới nhất, bao gồm cả các sửa đổi, bổ sung (nếu có).
TCVN 7870-1 (ISO 80000-1), Đại lượng và đơn vị - Phần 1: Quy định chung.
3. Thuật ngữ và định nghĩa
Trong tiêu chuẩn này sử dụng các thuật ngữ và định nghĩa sau.
3.1
Chất xúc tác quang (photocatalyst)
Chất thực hiện nhiều chức năng dựa trên phản ứng oxy hóa khử dưới chiếu xạ tử ngoại (UV), gồm sự phân hủy và loại bỏ các chất nhiễm bẩn không khí và nước, khử mùi và hoạt tính kháng khuẩn, tự làm sạch và chống mờ.
3.2
Vật liệu xúc tác quang (photocatalytic materials)
Vật liệu trong đó, hoặc trên nó, chất xúc tác quang được thêm vào bằng cách phủ, tẩm, trộn, v.v....
CHÚ THÍCH: Các vật liệu xúc tác quang dược sử dụng làm vật liệu xây dựng và làm đường để có được các chức năng như đề cập trong 3.1.
3.3
Kháng khuẩn (antibacterial)
Tình trạng ngăn chặn sự phát triển của vi khuẩn trên bề mặt của vật liệu hoặc vải bề mặt phẳng.
3.4
Giá trị hoạt tính kháng khuẩn của chất xúc tác quang đối với phương pháp kết dính màng
(photocatalyst antibacterial activity value for film adhesion method)
Sự chênh lệch giữa tổng số vi khuẩn còn sống trên bề mặt phẳng đã được xử lý chất xúc tác quang và chưa được xử lý chất xúc tác quang sau khi chiếu xạ UV.
CHÚ THÍCH: Giá trị này bao gồm sự giảm số lượng vi khuẩn không có chiếu xạ UV.
3.5
Giá trị hoạt tính kháng khuẩn của chất xúc tác quang đối với phương pháp kết dính thủy tinh
(photocatalyst antibacterial activity value for glass adhesion method)
Sự chênh lệch giữa tổng số vi khuẩn có thể sống được của vải đã được xử lý chất xúc tác quang và vải tiêu chuẩn sau khi chiếu xạ UV.
CHÚ THÍCH: Giá trị này bao gồm sự giảm số lượng vi khuẩn không có chiếu xạ UV.
3.6
Giá trị hoạt tính kháng khuẩn của chất xúc tác quang có chiếu xạ UV đối với phương pháp kết dính màng (photocatalyst antibacterial activity value with UV irradiation for film adhesion method) Sự chênh lệch giữa tổng số vi khuẩn còn sống trên bề mặt phẳng đã được xử lý chất xúc tác quang sau khi chiếu xạ UV và trên bề mặt phẳng đã được xử lý chất xúc tác quang trong khu vực tối.
3.7
Giá trị hoạt tính kháng khuẩn của chất xúc tác quang có chiếu xạ UV đối với phương pháp kết dính thủy tinh (photocatalyst antibacterial activity value with UV irradiation for glass adhesion method)
Sự chênh lệch giữa tổng số vi khuẩn còn sống của vải đã được xử lý chất xúc tác quang sau khi chiếu xạ UV và vải đã được xử lý xúc tác quang trong khu vực tối.
3.8
Phương pháp kết dính màng (film adhension method)
Phương pháp thử để đánh giá tính năng kháng khuẩn của vật liệu xúc tác quang bề mặt phẳng.
3.9
Phương pháp kết dính thủy tinh (glass adhension method)
Phương pháp thử để đánh giá tính năng kháng khuẩn của vải xúc tác quang.
3.10
Đèn huỳnh quang UV (fluorescent UV lamp)
Đèn cung cấp bức xạ UV-A trong dải sóng 300 nm đến 400 nm.
CHÚ THÍCH: Đèn thích hợp được gọi là đèn huỳnh quang xanh trắng đen (BLB), có bước sóng lớn nhất 351 nm. như mô tả trong ISO 4892-3.
4 Ký hiệu
| A | là số lượng trung bình của vi khuẩn còn sống của mẫu chưa được xử lý, chỉ sau khi cấy ghép |
| BD | là số lượng trung bình của vi khuẩn còn sống của mẫu chưa được xử lý, sau khi được giữ trong khu vực tối |
| BL | là số lượng trung bình của vi khuẩn còn sống của mẫu chưa được xử lý, sau khi chiếu xạ UV với cường độ L |
| CD | là số lượng trung bình của vi khuẩn còn sống của mẫu đã được xử lý xúc tác quang, sau khi được giữ trong khu vực tối |
| CL | là số lượng trung bình của vi khuẩn còn sống của mẫu đã được xử lý xúc tác quang, sau khi chiếu xạ UV với cường độ L |
| FBD | là giá trị tăng trưởng, sau khi được giữ trong khu vực tối |
| FBL | là giá trị tăng trưởng, sau khi chiếu xạ UV với cường độ L |
| L | là cường độ chiếu xạ UV |
| Lmax | là giá trị logarit lớn nhất của vi khuẩn còn sống |
| Lmean | là giá trị logarit trung bình của vi khuẩn còn sống đối với 3 mẫu thử |
| Lmin | là giá trị logarit nhỏ nhất của vi khuẩn còn sống |
| M | là số lượng vi khuẩn còn sống với phương pháp kết dính thủy tinh |
| MBA | là giá trị logarit trung bình của số lượng vi khuẩn còn sống đối với 3 mẫu thử chưa được xử lý, chỉ sau khi cấy ghép |
| MBD | là giá trị logarit trung bình của số lượng vi khuẩn còn sống đối với 3 mẫu thử chưa được xử lý, sau khi được giữ trong khu vực tối |
| MBL | là giá trị logarit trung bình của số lượng vi khuẩn còn sống đối với 3 mẫu thử chưa được xử lý, sau khi chiếu xạ UV với cường độ L |
| MD | là giá trị logarit trung bình của số lượng vi khuẩn còn sống đối với 3 mẫu thử đã được xử lý xúc tác quang, sau khi được giữ trong khu vực tối |
| ML | là giá trị logarit trung bình của số lượng vi khuẩn còn sống đối với 3 mẫu thử đã được xử lý xúc tác quang, sau khi chiếu xạ UV với cường độ L |
| N | là số lượng vi khuẩn còn sống với phương pháp kết dính màng |
| P | là nồng độ vi khuẩn |
| R | là hệ số pha loãng |
| RL | là giá trị hoạt tính xúc tác quang kháng khuẩn, sau khi chiếu xạ tại cường độ không đổi (L) trên vật liệu xúc tác quang |
| ∆R | là giá trị hoạt tính xúc tác quang kháng khuẩn có chiếu xạ UV |
| SL | là giá trị hoạt tính xúc tác quang kháng khuẩn, sau khi chiếu xạ UV có cường độ L |
| ∆S | là giá trị hoạt tính xúc tác quang kháng khuẩn có chiếu xạ UV |
| V | là thể tích của nước phân hủy cazein đậu nành với lexithin và môi trường polysobat 80 để rửa |
| Z | là số lượng trung bình của khuẩn lạc trong hai đĩa Petri |
5 Nguyên tắc
Tiêu chuẩn này nhằm mục đích phát triển, so sánh, đảm bảo chất lượng, đặc tính, độ tin cậy và tạo ra bộ dữ liệu cho vật liệu xúc tác quang. Phương pháp được sử dụng để nhận được hoạt tính kháng khuẩn của vật liệu xúc tác quang bởi sự tiếp xúc của mẫu thử với vi khuẩn, dưới bức xạ ánh sáng UV. Phương pháp kết dính màng có thể sử dụng được đối với lá, tấm phẳng hoặc vật liệu hình dạng phẳng. Để tránh hiện tượng màng phủ bị uốn cong vênh, hư hỏng khi phủ lên chất liệu dệt hoặc vải, phương pháp kết dính thủy tinh có thể sử dụng được đối với vải hoặc sợi dệt.
Mẫu được đặt nằm trong đĩa Petri và thể huyền phù vi khuẩn được chảy nhỏ giọt vào mẫu. Khi đó màng kết dính hoặc thủy tinh được đặt lên trên thể huyền phù và kính giữ độ ẩm được đặt lên trên đĩa Petri. Đĩa Petri có chứa mẫu được phơi ra ngoài ánh sáng. Sau khi phơi, vi khuẩn thử nghiệm được rửa ra khỏi mẫu và màng kết dính hoặc thủy tinh. Dung dịch rửa huyền phù này được đo bằng phương pháp đếm vi khuẩn còn sống.
6 Vật liệu
6.1 Vi khuẩn được sử dụng và chuẩn bị phép thử
6.1.1 Phương pháp kết dính màng
a) Staphylococcus aureus
b) Escherichia coli
6.1.2 Phương pháp kết dính thủy tinh
a) Staphylococcus aureus
b) Klebsiella pneumoniae
6.1.3 Chuẩn bị vi khuẩn
Chủng vi khuẩn được sử dụng trong phép thử là tương đương với chủng vi khuẩn được mô tả trong Bảng 1 và được bảo quản theo thực thể đã được đăng ký ở Liên đoàn thế giới về bộ sưu tập chủng cấy hoặc Hiệp hội Nhật bản về bộ sưu tập chủng cấy.
Các thao tác vô trùng sử dụng vi sinh vật có thể được tiến hành trong khoang an toàn. Nuôi cấy từng chủng trong môi trường cấy sinh học (môi trường thạch dinh dưỡng), ủ từ 16 h đến 24 h ở 37 °C ± 1 °C và sau đó bảo quản trong tủ lạnh ở 5 °C đến 10 °C. Lặp lại nuôi cấy phụ trong 1 tháng bằng cách sao lại quy trình này. Số lượng tối đa của các vi khuẩn từ chủng gốc được truyền bởi sự thu gom vi khuẩn là 10. Vi khuẩn cấy không được sử dụng nếu tồn chứa sau 1 tháng.
CHÚ THÍCH 1: Trong trường hợp vi khuẩn được bảo quản ở nhiệt độ lạnh sâu, số lượng tối đa của các vi khuẩn từ chủng gốc được truyền bởi sự thu gom vi khuẩn là 10.
CHÚ THÍCH 2: Nếu cần, có thể cho phép các phép bổ sung với các vi khuẩn khác.
Bảng 1 - Các chủng vi khuẩn được sử dụng trong thử nghiệm
| Loài vi khuẩn | Ký hiệu chủng | Tổ chức sưu tập |
| Staphylococcus aureus | ATCC 6538P | Sưu tập chủng cấy loại Mỹ |
| DSM 346 | Sưu tập vi sinh vật và chủng cấy tế bào của Đức (DSMZ) | |
| NBRC 12732 | Trung tâm tài nguyên sinh học NITE | |
| Escherichia coli | ATCC 8739 | Sưu tập chủng cấy loại Mỹ |
| DSM 1576 | Sưu tập vi sinh vật và chủng cấy tế bào của Đức (DSMZ) | |
| NBRC 3972 | Trung tâm tài nguyên sinh học NITE | |
| Klebsiella pneumoniae | ATCC 4352 | Sưu tập chủng cấy loại Mỹ |
| DSM 789 | Sưu tập vi sinh vật và chủng cấy tế bào của Đức (DSMZ) | |
| NBRC 13277 | Trung tâm tài nguyên sinh học NITE |
6.2 Hóa chất và cách dùng
6.2.1 Nước dinh dưỡng 1/500
Đối với 1000 mL nước tinh khiết, lấy 3,0 g dịch chiết thịt, 10,0 g pepton và 5,0 g natri clorua, cho vào bình và hòa tan thật kỹ. Khi hỗn hợp đã được pha loãng kỹ, sử dụng dung dịch natri hydroxit hoặc axit clohydric để chỉnh pH về (7,1 ± 0,1) ở 25 °C. Sử dụng nước cất để pha loãng môi trường này 500 lần, và sử dụng dung dịch axit clohydric hoặc natri hydroxit để chỉnh pH về (7,0 ± 0,2). Tiệt trùng trong lò hấp ở 121 °C ± 2 °C trong ít nhất 15 min. Sau khi chuẩn bị, nếu nước dinh dưỡng 1/500 không được sử dụng ngay, bảo quản nước ở 5 °C đến 10 °C. Không sử dụng nước dinh dưỡng 1/500 đã pha chế quá 1 tháng.
6.2.2 Nước dinh dưỡng
Đối với 1000 mL nước tinh khiết, lấy 3,0 g dịch chiết thịt, 10,0 g pepton và 5,0 g natri clorua, cho vào bình và hòa tan thật kỹ. Khi hỗn hợp đã được pha loãng kỹ, sử dụng dung dịch natri hydroxit hoặc axit clohydric để chỉnh pH về (7,1 ± 0,1) ở 25 °C. Nếu cần, định lượng hỗn hợp trong ống thử, thêm nút cotton và tiệt trùng trong lò hấp (xem 6.2.1). Sau khi chuẩn bị, nếu nước dinh dưỡng không được sử dụng ngay, bảo quản nước ở 5 °C đến 10 °C. Không sử dụng nước dinh dưỡng 1/500 đã pha chế quá 1 tháng.
6.2.3 Thạch dinh dưỡng
Đối với 1000 mL nước tinh khiết, lấy 3,0 g dịch chiết thịt, 5,0 g pepton và 15,0 g bột thạch, cho chúng vào bình và trộn. Gia nhiệt bình trong nước đang sôi để hòa tan hoàn toàn hỗn hợp. Sử dụng dung dịch natri hydroxit 0,1 mol/L để chỉnh pH về (6,8 ± 0,2) ở 25 °C. Thêm nút cotton và tiệt trùng trong nồi hấp (xem 6.2.1). Sau khi chuẩn bị, nếu thạch dinh dưỡng không được sử dụng ngay, bảo quản thạch ở 5 °C đến 10 °C. Không sử dụng thạch dinh dưỡng đã pha chế quá 1 tháng. Giữ nhiệt độ môi trường từ 45 °C đến 48 °C khi trộn với huyền phù vi khuẩn.
6.2.4 Nước phân hủy đậu nành-cazein với lexithin và polysorbat 80 (SCDLP)
Đối với 1000 mL nước tinh khiết, lấy 17,0 g pepton cazein, 3,0 g pepton đậu nành, 5,0 g natri clorua, 2,5 g axit phosphoric monopotasium dehydrogenat, 2,5 g gluco và 1,0 g lexithin, cho hỗn hợp vào bình và hòa tan hỗn hợp. Thêm 7,0 g chất hoạt động bề mặt không ion và hòa tan. Sử dụng dung dịch natri hydroxit và axit clohydric để chỉnh pH về (7,0 ± 0,2) ở 25 °C. Nếu cần, định lượng hỗn hợp trong ống thử, thêm nút cotton và tiệt trùng trong nồi hấp (xem 6.2.1). Sau khi chuẩn bị, nếu SCDLP không được sử dụng ngay, bảo quản ở 5 °C đến 10 °C. Không sử dụng SCDLP đã pha chế quá 1 tháng.
6.2.5 Dung dịch muối sinh lý
Đối với 1000 mL nước tinh khiết, lấy 8,5 g natri clorua, cho vào bình và hòa tan hoàn toàn. Nếu cần, định lượng trong ống thử và tiệt trùng trong nồi hấp (xem 6.2.1). Sau khi chuẩn bị, nếu dung dịch muối sinh lý không sử dụng ngay thì bảo quản ở 5 °C đến 10 °C. Không sử dụng dung dịch muối sinh lý đã pha chế quá 1 tháng.
6.2.6 Dung dịch muối sinh lý để rửa
Đối với 1000 mL nước tinh khiết, lấy 8,5 g natri clorua, cho vào bình và hòa tan hoàn toàn. Thêm 2,0 g chất hoạt động bề mặt không ion và pha loãng. Nếu cần, định lượng 20 mL dung dịch trong ống thử hoặc bình Erlenmeyer và tiệt trùng trong nồi hấp (xem 6.2.1). Sau khi chuẩn bị, nếu dung dịch muối sinh lý để rửa không sử dụng ngay thì bảo quản ở 5 °C đến 10 °C. Không sử dụng dung dịch muối sinh lý đã pha chế quá 1 tháng để rửa.
6.2.7 Chất hoạt động bề mặt không ion
Polyoxyetylen sorbitan monooleat (polysorbat 80).
7. Thiết bị, dụng cụ
Thiết bị, dụng cụ thử nghiệm cho phép khảo cứu hoạt tính kháng khuẩn của vật liệu xúc tác quang khi cho chiếu xạ UV kích hoạt chất xúc tác quang. Thiết bị bao gồm nguồn sáng và khoang chứa mẫu thử. Ví dụ về hệ thống thử chỉ ra trong Hình 1.

CHÚ DẪN
1 nguồn sáng
2 tấm kim loại đục lỗ
3 que thủy tinh
4 giấy lọc
5 mẫu thử
6 màng kết dính hoặc thủy tinh
7 kính giữ ẩm
Hình 1 - Sơ đồ thiết bị thử nghiệm
7.1 Màng kết dính
Màng kết dính là chất trơ và không hấp thụ nước có tính chất kết dính tốt, có mức độ truyền qua trên 85 % trong dải 340 nm đến 380 nm. Những tấm này được cắt ra với kích thước (40 ± 2) mm.
CHÚ THÍCH: Dữ liệu tham khảo đối với các màng kết dính xem trong Phụ lục B.
7.2 Kính kết dính
Kính kết dính bao gồm tấm kính có chiều dày ít nhất hoặc bằng 1,1 mm, có mức độ truyền qua trên 85 % trong dải 340 nm đến 380 nm. Các tấm được cắt ra có kích thước (40 ± 2) mm.
CHÚ THÍCH: Dữ liệu tham khảo đối với các tấm kính kết dính xem trong Phụ lục B.
7.3 Kính giữ ẩm
Kính giữ ẩm bao gồm các tấm kính có chiều dày nhỏ hơn hoặc bằng 1,1 mm, có mức độ truyền qua trên 85 % trong dải 340 nm đến 380 nm. Các tấm được cắt để che hoàn toàn đĩa Petri.
7.4 Ống thủy tinh hoặc đũa thủy tinh
Ống thủy tinh hoặc đũa thủy tinh được chuẩn bị bằng cắt ống hoặc đũa có chiều dài từ 10 cm đến 15 cm và uốn có dạng chữ U hoặc V.
7.5 Đèn huỳnh quang ánh sáng xanh đen
Đèn huỳnh quang phải là đèn BLB (xanh trắng đen), có bước sóng đỉnh 351 nm với kính xanh để hấp thụ ánh sáng nhìn thấy.
7.6 Thiết bị đo bức xạ ánh sáng tử ngoại
Cường độ chiếu xạ phải được đo tại vị trí mẫu thử. Thiết bị đo bức xạ UV phải được hiệu chuẩn đối với nguồn sáng được sử dụng hoặc hiệu chỉnh để xác định độ nhạy nằm trong dải sóng được hấp thụ bởi mẫu thử xúc tác quang.
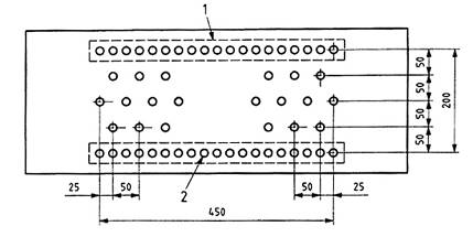
7.7 Tấm kim loại đục lỗ
Nếu không thể nhận được cường độ quy định bằng cách điều chỉnh chiều cao nguồn sáng, làm giảm cường độ bằng cách sử dụng tấm kim loại đục lỗ (xem Hình 2 và 3) trực tiếp dưới đèn.
Kích thước tính bằng milimet

CHÚ DẪN
1 Vị trí đèn
2 lỗ (đường kính khoảng 5 đến 15)
Hình 2 - Tấm kim loại đục lỗ đối với cường độ ánh sáng 0,01 mW/cm2
Kích thước tính bằng milimet

CHÚ DẪN
1 vị trí đèn
2 lỗ (đường kính khoảng 5 đến 15)
Hình 3 – Tấm kính loại đục lỗ đối với cường độ ánh sáng 0,001 mW/cm2
8. Mẫu thử
8.1 Phương pháp kết dính màng
Cắt phần phẳng của vật liệu hình vuông kích thước (50 ± 2) mm x (50 ± 2) mm. Các vật liệu phải có độ dày lên đến 10 mm. Sử dụng vật liệu làm mẫu hình dạng tiêu chuẩn. Chuẩn bị 9 miếng của mẫu không xử lý và 6 miếng của mẫu đã xử lý xúc tác quang. Nếu không thể có các mẫu không xử lý thì sử dụng các tấm kính thay thế cẩn thận tránh nhiễm vi sinh vật và lây nhiễm chéo các mẫu.
CHÚ THÍCH: Nếu khó hoặc không thể cắt hình vuông có chiều dài (50 ± 2) mm (chiều dày đến mm), có thể chấp nhận sử dụng kích cỡ mẫu khác miễn là bề mặt mẫu có thể che phủ màng có diện tích 400 mm2 đến 1600 mm2. Nếu bề mặt mẫu bị nhiễm tạp chất hữu cơ, có thể chấp nhận trước tiên loại bỏ chất nhiễm bẩn bằng cách phơi dưới nguồn sáng 1,0 mW/cm2 trong thời gian 24 h. Nếu cần, mẫu có thể được tẩy trước khi thử (có nghĩa là bằng cách rửa với etanol hoặc 70 % etanol trong nước).
8.2 Phương pháp kết dính thủy tinh
Cắt vật liệu hình vuông kích thước (50 ± 2) mm x (50 ± 2) mm làm mẫu. Chuẩn bị 9 miếng của vải tiêu chuẩn và 6 miếng của mẫu đã xử lý xúc tác quang, cẩn thận tránh nhiễm vi sinh vật và lây nhiễm chéo các mẫu.
Đặt từng mẫu vào trong đĩa thủy tinh Petri. Đặt các đĩa vào trong rổ sợi dây kim loại, đậy lá nhôm lên trên và tiệt trùng trong lò hấp. Sau khi tiệt trùng, lấy lá nhôm ra, chuyển nắp đậy đĩa đến bàn sạch và làm khô mẫu trong khoảng 60 min.
9. Cách tiến hành
Biểu đồ phương pháp thử được nêu trong Hình 4 và 5.
9.1 Phương pháp kết dính màng
9.1.1 Sử dụng vòng platin chuyển các vi khuẩn đã lưu giữ vào môi trường cấy thạch dinh dưỡng và nuôi cấy ở (37 ± 1) °C trong 16 h đến 24 h. Chuyển vi khuẩn sang môi trường thạch dinh dưỡng mới và ủ ở (37 ± 1) °C trong 16 h đến 20 h. Phân tán đều một lượng nhỏ vi khuẩn thử nghiệm trong NB 1/500 bằng vòng platin, và đo đếm vi khuẩn bằng kính hiển vi quang học hoặc phương pháp thích hợp khác. Pha loãng huyền phù vi khuẩn này bằng NB 1/500 để có được nồng độ 6,7 x 105 tế bào/mL đến 2,6 x 106 tế bào/mL và sử dụng dung dịch thu được làm dung dịch huyền phù vi khuẩn cho thử nghiệm. Nếu thể huyền vi khuẩn không được sử dụng ngay thì bảo quản ở 0 °C và sử dụng trong vòng 4 h.

Hình 4 - Biểu đồ của phương pháp kết dính màng

Hình 5 - Biểu đồ của phương pháp kết dính thủy tinh
9.1.2 Đặt giấy lọc đã tiệt trùng kiểm soát độ ẩm trong đáy của đĩa Petri đã tiệt trùng, thêm lượng thích hợp nước tiệt trùng, xen vào giữa ống hoặc đũa thủy tinh để ngăn sự tiếp xúc giữa mẫu thử và giấy lọc, đặt mẫu thử lên bề mặt đã xử lý xúc tác quang. Lấy chính xác 0,15 mL huyền phù vi khuẩn thử nghiệm bằng pipet đã tiệt trùng và nhỏ giọt lên bề mặt mỗi mẫu thử. Đặt màng lên trên giọt huyền phù, ấn nhẹ để giọt huyền phù dàn đều trên bề mặt màng một cách nhẹ nhàng sao cho không bị chảy huyền phù ra biên màng thử. Sau đó đặt kinh giữ ẩm trên mặt trên đĩa Petri. Giữ lại 3 mẫu không xử lý xúc tác quang để đếm số tế bào sống sót ngay sau khi cấy huyền phù vi khuẩn thử, số còn lại tiến hành thử với điều kiện có chiếu xạ như mô tả trong 9.3.
CHÚ THÍCH 1: Thêm 4 mL đến 6 mL nước tiệt trùng vào trong từng đĩa Petri là đủ.
CHÚ THÍCH 2: Lượng huyền phù quy định có thể gây ra sự rò rỉ ở biên màng mẫu xúc tác quang hoặc không đủ để dán đều huyền phù trên bề mặt Trong trường hợp như vậy, có thể chấp nhận giảm một nửa hoặc tăng gấp đôi lượng huyền phù quy định. Tuy nhiên, ngay cả khi lượng huyền phù vi khuẩn để cấy có thay đổi thì số tế bào trên mỗi mẫu thử phải bằng số tế bào trên mẫu thử kích thước tiêu chuẩn, với 1,0 x 105 tế bào đến 4,0 x 105 tế bào.
Lượng huyền phù vi khuẩn thử nghiệm để nuôi cấy trong trường hợp mẫu thử kích thước không tiêu chuẩn phải tỷ lệ với diện tích bề mặt màng xúc tác quang được sử dụng trong mẫu thử.
9.1.3 Đối với 3 mẫu không xử lý xúc tác quang đã được cấy huyền phù vi khuẩn để thử nghiệm (thử vi khuẩn với mẫu sau khi cấy), dùng cặp nhíp vô trùng bỏ màng kết dính và mẫu thử không xử lý xúc tác quang vào túi stomacher. Lưu ý phải cẩn thận để tránh chảy huyền phù vi khuẩn ra ngoài mẫu thử và màng dính. Cho thêm 10 ml dung dịch SCDLP, xoa bóp kỹ lưỡng bằng tay mẫu thử và màng dính từ ngoài túi stomacher và rửa vi khuẩn thử nghiệm ra dung dịch. Nhanh chóng sử dụng dung dịch vừa rửa ra này để thực hiện phép đo số tế bào sống sót.
Có thể sử dụng dụng cụ khác tương tự túi stomacher nếu chúng cho kết quả giống nhau.
9.1.4 Đối với các mẫu thử của 9.3.3 và 9.3.4, tiến hành rửa giống như cách trong 9.1.3.
9.2 Phương pháp kết dính thủy tinh
9.2.1 Nuôi dưỡng huyền phù vi khuẩn thử nghiệm được tiến hành theo phương pháp sau.
a) Cấy chủng gốc vào môi trường thạch dinh dưỡng bằng vòng platin. Ủ trong 24 h đến 48 h ở (37 ± 1) °C (quá trình ủ A). Giữ môi trường ở 5 °C đến 10 °C và sử dụng trong vòng 1 tuần.
b) Cho 20 mL chủng cấy dinh dưỡng vào bình Erlenmeyer dung tích 100 mL. Dùng vòng platin gom khuẩn lạc từ quá trình ủ A, cấy và ủ với việc khuấy (110 min-1 với biên độ khoảng 3 cm) trong 18 h đến 24 h ở (37 ± 1) °C (quá trình ủ B).
c) Cho 20 ml chủng cấy dinh dưỡng vào bình Erlenmeyer dung tích 100 mL. Thêm 0,4 mL huyền phù vi khuẩn của quá trình ủ B với nồng độ vi khuẩn 1 x 108 tế bào/mL đến 2 x 108 tế bào/mL và ủ với việc khuấy (110 rpm với biên độ khoảng 3 cm) trong (3 ± 1) h ở (37 ± 1) °C để đạt 107 tế bào/mL (quá trình ủ C).
d) Đánh giá nồng độ vi khuẩn trong quá trình ủ C sử dụng phương pháp hấp thụ quang hoặc quan sát bằng kính hiển vi quang học. Dùng nước cất pha loãng nước dinh dưỡng 20 lần ở nhiệt độ phòng, để nguội và sử dụng để điều chỉnh nồng độ vi khuẩn của quá trình ủ C đến (1 ± 0,3) x 105 tế bào/mL. Sử dụng huyền phù thu được làm vật liệu thử nghiệm. Nếu huyền phù vi khuẩn thử nghiệm không được sử dụng ngay, bảo quản ở 0 °C và sử dụng trong vòng 4 h.
9.2.2 Đặt giấy lọc tiệt trùng kiểm soát độ ẩm trong đáy đĩa Petri đã tiệt trùng, thêm lượng thích hợp nước tiệt trùng, xen ở giữa ống thủy tinh hoặc đũa thủy tinh để ngăn sự tiếp xúc giữa mẫu thử và giấy lọc, đặt tấm kính đã tiệt trùng trên đó và đặt mẫu thử lên kính tiệt trùng với bề mặt đã xử lý xúc tác quang lên trên. Dùng pipet đã tiệt trùng lấy chính xác 0,2 mL huyền phù vi khuẩn thử nghiệm và nhỏ giọt lên từng mẫu thử. Đặt tấm kính lên trên giọt huyền phù vừa được nhỏ và ấn nhẹ để huyền phù trải dàn đều trên toàn bộ bề mặt kính một cách nhẹ nhàng sao cho huyền phù không chảy ra ngoài biên của mẫu thử. Sau đó đặt kính giữ ẩm lên trên. Giữ lại 3 miếng vải tiêu chuẩn để đếm số vi khuẩn sống sót thực hiện ngay sau khi cấy huyền phù vi khuẩn thử nghiệm, số còn lại tiến hành thử với điều kiện có chiếu xạ như mô tả trong 9.3.
CHÚ THÍCH 1: Thêm 4 mL đến 6 mL nước tiệt trùng vào trong từng đĩa Petri là đủ
CHÚ THÍCH 2 Lượng huyền phù quy định có thể gây ra sự rò rỉ ở biên màng mẫu xúc tác quang hoặc không đủ để dàn đều huyền phù trên bề mặt. Trong trường hợp như vậy, có thể chấp nhận giảm một nửa hoặc tăng gấp đôi lượng huyền phù quy định. Tuy nhiên, ngay cả khi lượng huyền phù vi khuẩn để cấy có thay đổi thì số tế bào trên mỗi mẫu thử phải bằng số tế bào trên mẫu thử kích thước tiêu chuẩn, với 1,4 x 104 tế bào đến 2,6 x 104 tế bào.
CHÚ THÍCH 3: Để mẫu thấm tốt với huyền phù vi khuẩn thử nghiệm, có thể sử dụng huyền phù vi khuẩn thử nghiệm chứa 0,05 % chất hoạt động bề mặt không ion. Nếu sử dụng chất hoạt động bề mặt không ion trong huyền phù vi khuẩn thử nghiệm, ghi lại thông tin trong báo cáo thử nghiệm.
9.2.3 Đối với 3 mẫu vải tiêu chuẩn (sau khi đã cấy chủng vi khuẩn thử nghiệm), sử dụng cặp nhíp đã tiệt trùng đặt kính kết dính tiệt trùng, lớp vải tiêu chuẩn không xử lý xúc tác quang và tấm kính vào trong túi Stomacher, cẩn thận tránh làm rò rỉ huyền phù vi khuẩn. Thêm 20 mL dung dịch muối sinh lý để rửa, xoa bóp túi stomacher kỹ bằng tay và cả vải không xử lý và các tấm kính, và rửa vi khuẩn thử nghiệm. Nhanh chóng sử dụng dung dịch rửa này để tiến hành phép đo số lượng tế bào tồn tại.
Có thể sử dụng dụng cụ khác tương tự túi stomacher nếu chúng cho kết quả giống nhau.
9.2.4 Đối với các mẫu thử của 9.3.3 và 9.3.4, tiến hành rửa giống như cách trong 9.2.3.
9.3 Điều kiện chiếu xạ UV
9.3.1 Đặt cảm biến quang điện của thiết bị đo bức xạ UV trên nền của thiết bị bức xạ. Đặt màng và đĩa thủy tinh được sử dụng để thử nghiệm trên mặt trên của cảm biến. Tìm vị trí cường độ UV xem 9.3.2 phù hợp với giá trị hiển thị.
9.3.2 Thử điều kiện cường độ UV, phụ thuộc vào điều kiện vật liệu được sử dụng. Nếu cường độ UV được mô tả không thể nhận được bằng cách điều chỉnh độ cao của nguồn sáng thì giảm cường độ bằng cách sử dụng tấm kim loại đục lỗ.
Bảng 2 - Cường độ chiếu xạ UV để tham khảo trong phép thử
| Cường độ UV | Ví dụ |
| 0,25 mW/cm2 | Bên cạnh cửa sổ vào ban ngày, bên cạnh đèn hỗ trợ để phản ứng xúc tác quang (ví dụ BLB) |
| 0,10 mW/cm2 | Trong phòng (bên trong, cách cửa sổ khoảng 1,5 m) vào ban ngày, cạnh cửa sổ vào sáng sớm hoặc trước bình minh |
| 0,01 mW/cm2 | Trong phòng (bên trong, cách cửa sổ khoảng 3 m) vào ban ngày |
| 0,001 mW/cm2 | Trong phòng không có cửa sổ (chỉ có ánh sáng trong phòng), trong phòng vào buổi tối (chỉ có ánh sáng trong phòng) |
CHÚ THÍCH: Cường độ UV tối đa là 0.25 mW/cm2 để tránh làm tổn hại bởi chiếu xạ UV. Cường độ UV tối thiểu của cảm biến quang điện hiện tại là 0,001 mW/cm2. Dữ liệu tham khảo về khả năng tiêu diệt vi khuẩn của bức xạ UV xem trong Phụ lục C.
9.3.3 Phơi ra ánh sáng các đĩa Petri có chứa mẫu (3 mẫu không xử lý và 3 mẫu xử lý xúc tác quang) với huyền phù vi khuẩn trong 8 h.
CHÚ THÍCH: Thời gian phơi này có thể giảm xuống 4 h để tính đến điều kiện thực mà vật liệu xúc tác quang được sử dụng có hiệu quả
9.3.4 Giữ các đĩa Petri có chứa mẫu (3 mẫu không xử lý và 3 mẫu xử lý xúc tác quang) với huyền phù vi khuẩn trong nơi tối, trong cùng thời gian như trong 9.3.3.
9.4 Xác định số lượng vi khuẩn đang sống
Dùng pipet tiệt trùng lấy 1 mL dung dịch rửa và thêm (9 ± 0,1) mL dung dịch muối sinh lý vào trong ống thử nghiệm và khuấy kỹ, lấy 1 mL dung dịch được chiết ra bằng pipet tiệt trùng mới và thêm vào ống thử nghiệm khác (9 ± 0,1) mL dung dịch muối sinh lý và lại khuấy kỹ. Quá trình này được lại lại để nhận được một dãy dung dịch pha loãng, theo phương pháp pha loãng 10 lần. 1 mL của dung dịch từ các ống của mỗi dãy được lấy ra bằng pipet tiệt trùng mới và đổ vào mỗi hai đĩa Petri. 15 mL đến 20 mL thạch dinh dưỡng được giữ tại nhiệt độ 45 °C đến 48 °C được thêm vào mỗi đĩa Petri; để yên chúng trong 15 min ở nhiệt độ phòng. Khi môi trường thạch trở nên rắn các đĩa Petri được đặt mặt trên xuống và ủ trong 40 h đến 48 h ở (37 ± 1) °C. Số lượng khuẩn lạc được đếm trong dãy đĩa Petri với 30 khuẩn lạc đến 300 khuẩn lạc. Nồng độ vi khuẩn của dung dịch rửa nhận được theo công thức (1) và biểu thị đến hai con số có nghĩa.
P = Z x R (1)
trong đó
P là nồng độ vi khuẩn (tế bào/mL);
Z là số lượng trung bình của khuẩn lạc trong 2 đĩa Petri;
R là hệ số pha loãng.
Nếu số lượng vi khuẩn còn sống nhỏ hơn 30 trong đĩa Petri với 1 mL dung dịch rửa, số lượng tế bào được sử dụng để tính số lượng trung bình. Nếu số lượng vi khuẩn còn sống nhỏ hơn 1 trong đĩa Petri với 1 mL dung dịch rửa, số lượng trung bình được lấy là 1.
10 Tính toán
Kết quả thử nghiệm được tính như sau. Các giá trị tính được luôn luôn được làm tròn đến dấu thập phân thứ hai theo TCVN 7870-1 (ISO 80000-1).
CHÚ THÍCH: Ví dụ về kết quả thử nghiệm được chỉ ra trong Phụ Iục A.
10.1 Phương pháp màng kết dính
10.1.1 Công nhận hoàn thành yêu cầu thử nghiệm
Sử dụng nồng độ vi khuẩn nhận được trong 9.4 và áp dụng công thức (2) để tính số lượng vi khuẩn tồn tại.
N = P x V (2)
trong đó
N là số lượng tế bào của vi khuẩn còn sống;
P là nồng độ vi khuẩn nhận được trong 9.4 (tế bào/mL);
V là thể tích của môi trường SCDLP để rửa (mL).
Phép thử được coi là có giá trị nếu nó hoàn thành tất cả 4 hạng mục sau. Nếu một hoặc nhiều hơn các hạng mục này không được hoàn thành, phép thử được coi là không có giá trị và phải tiến hành làm lại.
1) Giá trị logarit của số lượng vi khuẩn còn sống chưa được xử lý sau khi nuôi cấy được lấy từ công thức (3)
(Lmax - Lmin)/(Lmean) £ 0,2 (3)
trong đó
Lmax là giá trị logarit lớn nhất của vi khuẩn còn sống;
Lmin là giá trị logarit nhỏ nhất của vi khuẩn còn sống;
Lmean là giá trị logarit trung bình của vi khuẩn còn sống đối với 3 mẫu.
2) Giá trị logarit của vi khuẩn còn sống của các mẫu chưa được xử lý sau khi nuôi cấy phải nằm trong dải từ 1,0 x 105 đến 4,0 x 105 tế bào.
3) Vi khuẩn còn sống của các mẫu chưa được xử lý sau khi phơi ngoài ánh sáng phải nhiều hơn 1,0 x 103 tế bào đối với tất cả 3 mẫu. Tuy nhiên, nếu sử dụng tấm kính làm mẫu chưa được xử lý thì số lượng vi khuẩn còn sống sau khi phơi ngoài ánh sáng phải nhiều hơn 1,0 x 104 tế bào.
4) Sau khi được giữ ở nơi tối, vi khuẩn còn sống của các mẫu chưa được xử lý phải nhiều hơn 1,0 x 103 tế bào đối với tất cả 3 mẫu. Tuy nhiên, nếu sử dụng tấm kính làm mẫu chưa được xử lý thì số lượng vi khuẩn còn sống sau khi phơi ngoài ánh sáng phải nhiều hơn 1,0 x 104 tế bào.
10.1.2 Tính giá trị hoạt tính kháng khuẩn của chất xúc tác quang
Sử dụng công thức (4) và (5) để tính giá trị hoạt tính kháng khuẩn của chất xúc tác quang sau khi phép thử được hoàn thành.
Bỏ dấu thập phân thứ hai và biểu thị giá trị với một dấu thập phân.
RL = [log(BL / A) - log(CL / A)] = log[BL / CL] (4)
trong đó
| RL | là giá trị hoạt tính kháng khuẩn của chất xúc tác quang, sau khi chiếu xạ UV với cường độ L; |
| L | là cường độ chiếu xạ UV (mW/cm2); |
| A | là số lượng trung bình của vi khuẩn còn sống của các mẫu chưa được xử lý, chỉ sau khi nuôi cấy; |
| BL | là số lượng trung bình của vi khuẩn còn sống của các mẫu chưa được xử lý, sau khi chiếu xạ UV với cường độ L; |
| CL | là số lượng trung bình của vi khuẩn còn sống của các mẫu đã xử lý xúc tác quang, sau khi chiếu xạ UV với cường độ L. |
∆R = log[BL /CL]-[log(BD / A) - log(CD / A)] = log[BL / CL] - log[BD / CD] (5)
trong đó
| ∆R | là giá trị hoạt tính kháng khuẩn của chất xúc tác quang với chiếu xạ UV; |
| BD | là số lượng trung bình của vi khuẩn còn sống của các mẫu chưa được xử lý, sau khi được giữ ở nơi tối; |
| CD | là số lượng trung bình của vi khuẩn còn sống của các mẫu đã xử lý xúc tác quang, sau khi được giữ ở nơi tối. |
10.2 Phương pháp kết dính thủy tinh
10.2.1 Công nhận hoàn thành yêu cầu thử nghiệm
Sử dụng nồng độ vi khuẩn nhận được trong 9.4 và áp dụng công thức (6) để tính số lượng vi khuẩn còn sống.
M = P x 20 (6)
trong đó
M là số lượng tế bào của vi khuẩn còn sống;
P là nồng độ vi khuẩn nhận được trong 9.4 (tế bào/mL);
20 là lượng dung dịch muối sinh lý để rửa (mL).
Hiệu lực của yêu cầu thử nghiệm được kiểm tra bằng giá trị truyền lan. Giá trị truyền lan nhận được bởi công thức (7) và (8). 2 con số cuối được làm tròn. Nếu giá trị truyền lan lớn hơn 0, phép thử là có giá trị. Nếu giá trị truyền lan nhỏ hơn 0, phép thử là không có giá trị và phải tiến hành lại
FBL = MBL - MBA (7)
trong đó
| FBL | là giá trị tăng trưởng, sau khi chiếu xạ UV với cường độ L; |
| L | là cường độ chiếu xạ UV (mW/cm2); |
| MBL | là giá trị logarit trung bình của số lượng vi khuẩn còn sống đối với 3 mẫu chưa được xử lý, sau khi chiếu xạ UV với cường độ L; |
| MBA | là giá trị logarit trung bình của số lượng vi khuẩn còn sống đối với 3 mẫu chưa được xử lý, chỉ sau khi nuôi cấy. |
FBD = MBD - MBA (8)
trong đó
| FBD | là giá trị tăng trưởng, sau khi được giữ ở nơi tối; |
| MBD | là giá trị logarit trung bình của số vi khuẩn còn sống đối với 3 mẫu chưa được xử lý, sau khi được giữ ở nơi tối. |
10.2.2 Tính giá trị hoạt tính kháng khuẩn của chất xúc tác quang
Đối với phép thử đã hoàn thành, giá trị hoạt tính kháng khuẩn của chất xúc tác quang nhận được với trên 2 con số sử dụng công thức (9) và (10).
SL = MBL - ML (9)
trong đó
| SL | là giá trị hoạt tính kháng khuẩn của chất xúc tác quang, sau khi chiếu xạ UV với cường độ L; |
| ML | là giá trị logarit trung bình của số vi khuẩn còn sống đối với 3 mẫu đã xử lý xúc tác quang, sau khi chiếu xạ UV với cường độ L. |
∆S = (MBL - ML) - (MBD - MD) (10)
trong đó
| ΔS | là giá trị hoạt tính kháng khuẩn của chất xúc tác quang với chiếu xạ UV; |
| MD | là là giá trị logarit trung bình của số vi khuẩn còn sống đối với 3 mẫu đã xử lý xúc tác quang, sau khi được giữ ở nơi tối. |
11 Báo cáo thử nghiệm
Báo cáo thử nghiệm phải bao gồm các thông tin sau:
a) Mô tả loại, kích cỡ, hình dạng và độ dày của chất xúc tác quang và các mẫu chưa được xử lý;
b) Mô tả các điều kiện trước khi áp dụng việc phơi ánh sáng;
c) Loại vi khuẩn thử nghiệm và ký hiệu chủng vi khuẩn;
d) Nhà sản xuất đèn huỳnh quang UV và số sản phẩm;
e) Nhà sản xuất thiết bị đo bức xạ ánh sáng tử ngoại và số sản phẩm;
f) Các điều kiện phơi ngoài ánh sáng bao gồm cường độ chiếu xạ UV và thời gian phơi ngoài ánh sáng;
g) Phương pháp kết dính màng, loại và kích cỡ màng kết dính và kính giữ ẩm; số lượng huyền phù vi khuẩn thử nghiệm được nuôi cấy; số lượng vi khuẩn còn sống trong huyền phù thử nghiệm; các giá trị A, BL, CL, RL, BD, CD, ∆R trong 10.1.2;
h) Phương pháp kết dính thủy tinh, loại và kích cỡ của kính kết dính và kính giữ ẩm; loại vi khuẩn thử nghiệm: ký hiệu chủng vi khuẩn; nồng độ vi khuẩn được nuôi cấy; giá trị SL, ∆S trong 10.2.2;
i) Phương pháp kết dính thủy tinh, thông tin khi sử dụng chất hoạt động bề mặt không ion trong huyền phù vi khuẩn thử nghiệm.
PHỤ LỤC A
(Tham khảo)
VÍ DỤ VỀ KẾT QUẢ THỬ NGHIỆM
Các ví dụ về kết quả thử nghiệm của phương pháp kết dính màng được chỉ ra trong Bảng A.1 và A.2.
Bảng A.1 - Ví dụ về kết quả thử nghiệm đối với Staphylococcus aureus
| Phòng thử nghiệm | 0,01 mW/cm2, 8 h | |
| R0,01 | ∆R | |
| A | 3,4 | 2,9 |
| B | 2,5 | 2,0 |
| C | 2,3 | 2,3 |
| D | 3,4 | 3,0 |
| Trung bình | 2,90 | 2,55 |
| sn - 1 | 0,58 | 0,48 |
Bảng A.2 - Ví dụ về kết quả thử nghiệm đối với Escherichia coli
| Phòng thử nghiệm | 0,01 mW/cm2, 8 h | |
|
| R0,01 | ∆R |
| E | 5,1 | 4,1 |
| F | 4,5 | 3,8 |
| G | 2,6 | 2,2 |
| H | 4,9 | 4,4 |
| Trung bình | 4,28 | 3,63 |
| s n - 1 | 1,14 | 0,98 |
Các ví dụ về kết quả thử nghiệm của phương pháp kết dính thủy tinh được chỉ ra trong Bảng A.3 và A.4.
Bảng A.3 - Ví dụ về kết quả thử nghiệm đối với Staphylococcus aureus
| Phòng thử nghiệm | 0,01 mW/cm2, 8 h | |
| S0,01 | ∆S | |
| I | 0,9 | 0,2 |
| J | 0,7 | -1,0 |
| K | 0,3 | -0,4 |
| Trung bình | 0,63 | -0,40 |
| s n - 1 | 0,31 | 0,60 |
Bảng A.2 - Ví dụ về kết quả thử nghiệm đối với Escherichia coli
| Phòng thử nghiệm | 0,01 mW/cm2, 8 h | |
| S0,01 | ∆S | |
| L | 2,2 | 1,0 |
| M | 3,1 | 1,3 |
| N | 2,2 | 1,3 |
| Trung bình | 2,50 | 1,20 |
| s n - 1 | 0,52 | 0,17 |
PHỤ LỤC B
(Tham khảo)
Dữ liệu tham khảo đối với các màng kết dính và thủy tinh kết dính
Số liệu hệ số truyền đối với màng kết dính thích hợp được làm từ polyprolylen (VF-151) của Công ty KOKUYO, Nhật bản) được chỉ ra trong Hình B.1.

CHÚ DẪN
X bước sóng (nm)
Y hệ số truyền (%)
Hình B.1 - Số liệu hệ số truyền đối với màng kết dính thích hợp
Số liệu hệ số truyền đối với thủy tinh kết dính thích hợp được làm từ borosilicat (TEMPAX1) của Công ty SCHOTT AG hoặc Pyrex77401) của CORNING) được chỉ ra trong Hình B.2.

CHÚ DẪN
X bước sóng (nm)
Y hệ số truyền (%)
Hình B.2 - Số liệu hệ số truyền đối với thủy tinh kết dính thích hợp
PHỤ LỤC C
(Tham khảo)
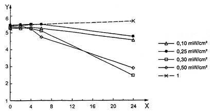
DỮ LIỆU THAM KHẢO VỀ KHẢ NĂNG TIÊU DIỆT VI KHUẨN CỦA BỨC XẠ TỬ NGOẠI
Sự tiêu diệt vi khuẩn của bức xạ tử ngoại được đánh giá với tấm kính (không có TiO2). Các kết quả được chỉ ra trong Hình C.1 đối với Escherichia col và Hình C.2 đối với Staphylococcus aureus.

CHÚ DẪN
X thời gian chiếu xạ (h)
Y vi khuẩn sống sót (LOG)
1 vùng tối
Hình C.1 - Ảnh hưởng UV đối với Escherichia col

CHÚ DẪN
X thời gian chiếu xạ (h)
Y vi khuẩn sống sót (LOG)
1 vùng tối
Hình C.2 - Ảnh hưởng UV đối với Staphylococcus aureus
THƯ MỤC TÀI LIỆU THAM KHẢO
[1] ISO 105-F, Textiles - Test for colour fastness - Part F: Standard adjacent fabric (Vật liệu dệt - Phương pháp xác định độ bền màu).
[2] ISO 554, Standard atmospheres for conditioning and/or testing - Specifications (Môi trường tiêu chuẩn để ổn định và/hoặc thử nghiệm - Yêu cầu kỹ thuật).
[3] ISO 835, Laboratory glassware - Graduated pipettes (Dụng cụ thủy tinh phòng thử nghiệm - Pepet chia vạch).
[4] ISO 4892-3, Plastics - Methods of exposure to laboratory light source - Part 3: Fluorescent UV lamps (Chất dẻo - Phương pháp tiếp xúc với nguồn sáng phòng thử nghiệm - Phần 3: Đèn huỳnh quang UV).
[5] TCVN 7764-2 (ISO 6353-2), Thuốc thử dùng trong phân tích - Phần 2: Yêu cầu kỹ thuật - Seri thứ nhất.
[6] TCVN 7764-3 (ISO 6353-3), Thuốc thử dùng trong phân tích - Phần 3: Yêu cầu kỹ thuật - Seri thứ hai.
[7] ISO 10523, Water quallity - Determination of pH (Chất lượng nước - Xác định pH).
[8] ISO 20743, Textiles - Determination of antibacterial activity of antibacterial finished products (Vật liệu dệt - Xác định hoạt tính kháng khuẩn của thành phẩm kháng khuẩn).
[9] ISO 22196, Plastics - Measurement of antibacterial activity on plastics surfaces (Chất dẻo - Xác định hoạt tính kháng khuẩn trên bề mặt chất dẻo).
[10] SUNADA, K., WATANABE, T. and HASHIMOTO, K., Studies on phototokilling of bacterial on TiO2 thin film, J. Photochem. Photobiol. A: Chem., 156, p.227 (2003) (Nghiên cứu về khả năng diệt quang của vi khuẩn trên màng mỏng TiO2, Tạp chí quang hóa, quang sinh học, A: Hóa học 156 trang 227 (2003).
[11] SUNADA, K., WATANABE, T. and HASHIMOTO, K., Bactericidal activity of copper- deposited TiO2 thin film under weak UV light illumination, Environ. Sci. Technol., 37, p. 4785 (2003) (Hoạt tính vi khuẩn của màng mỏng TiO2 phủ đồng dưới sự chiếu sáng tia UV yếu, Công nghệ khoa học môi trường, 37 trang 4785 (2003).
1) VF-15, TEMPAX và Pyrex7740 là những ví dụ về các sản phẩm thích hợp có sẵn trên thị trường. Thông tin này được đưa ra để thuận lợi cho người sử dụng tiêu chuẩn này và không phải là chỉ định bắt buộc của ISO cho sản phẩm này.
Bạn chưa Đăng nhập thành viên.
Đây là tiện ích dành cho tài khoản thành viên. Vui lòng Đăng nhập để xem chi tiết. Nếu chưa có tài khoản, vui lòng Đăng ký tại đây!