- Tổng quan
- Nội dung
- Tiêu chuẩn liên quan
- Lược đồ
- Tải về
Tiêu chuẩn Quốc gia TCVN 2823:1999 ISO 6140:1991 Chuẩn bị mẫu quặng nhôm
| Số hiệu: | TCVN 2823:1999 | Loại văn bản: | Tiêu chuẩn Việt Nam |
| Cơ quan ban hành: | Đang cập nhật | Lĩnh vực: | Tài nguyên-Môi trường , Công nghiệp |
|
Ngày ban hành:
Ngày ban hành là ngày, tháng, năm văn bản được thông qua hoặc ký ban hành.
|
1999 |
Hiệu lực:
|
Đã biết
|
| Người ký: | Đang cập nhật |
Tình trạng hiệu lực:
Cho biết trạng thái hiệu lực của văn bản đang tra cứu: Chưa áp dụng, Còn hiệu lực, Hết hiệu lực, Hết hiệu lực 1 phần; Đã sửa đổi, Đính chính hay Không còn phù hợp,...
|
Đã biết
|
TÓM TẮT TIÊU CHUẨN VIỆT NAM TCVN 2823:1999
Nội dung tóm tắt đang được cập nhật, Quý khách vui lòng quay lại sau!
Tải tiêu chuẩn Việt Nam TCVN 2823:1999
TCVN 2823:1999
ISO 6140:1991
QUẶNG NHÔM - CHUẨN BỊ MẪU
Aluminium ores - Preparation of samples
Lời nói đầu
TCVN 2823:1999 thay thế TCVN 2823:1979;
TCVN 2823:1999 hoàn toàn tương đương với ISO 6140:1991;
TCVN 2823:1999 do Ban kỹ thuật tiêu chuẩn TCVN/TC 129 “Quặng nhôm” biên soạn, Tổng cục Tiêu chuẩn Đo lường Chất lượng đề nghị, Bộ Khoa học, Công nghệ và Môi trường (nay là Bộ Khoa học và Công nghệ) ban hành.
Tiêu chuẩn này được chuyển đổi năm 2008 từ Tiêu chuẩn Việt Nam cùng số hiệu thành Tiêu chuẩn Quốc gia theo quy định tại khoản 1 Điều 69 của Luật Tiêu chuẩn và Quy chuẩn kỹ thuật và điểm a khoản 1 Điều 6 Nghị định số 127/2007/NĐ-CP ngày 1/8/2007 của Chính phủ quy định chi tiết thi hành một số điều của Luật Tiêu chuẩn và Quy chuẩn kỹ thuật.
QUẶNG NHÔM - CHUẨN BỊ MẪU
Aluminium ores - Preparation of samples
1. Phạm vi áp dụng
Tiêu chuẩn này quy định phương pháp xử lý mẫu chung và mẫu phụ của quặng nhôm để chuẩn bị mẫu xác định hàm lượng ẩm, phân tích hóa và thử lý tính.
Các phương pháp đã quy định có thể áp dụng cho tất cả các loại quặng nhôm.
2. Tiêu chuẩn trích dẫn
ISO 565:1990 Rây thí nghiệm - Lưới đan kim loại, tấm kim loại đột lỗ và tấm điện - Kích thước lỗ danh nghĩa.
ISO 6138:1991 Quặng nhôm - Xác định thực nghiệm tính không đồng nhất của kết cấu.
ISO 8685:1992 Quặng nhôm - Quy trình lấy mẫu.
ISO 9033:1989 Quặng nhôm - Xác định hàm lượng ẩm của vật liệu đổ đống.
3. Định nghĩa
3.1. Mẫu phân tích hóa: Mẫu đã đập nghiền lọt qua rây cỡ lỗ 150 mm, dùng để xác định thành phần hóa học của quặng.
3.2. Giản lược: Quá trình giảm khối lượng của mẫu (không làm biến đổi kích thước hạt của các phần tử hợp thành) trong đó một phần đại diện của mẫu được giữ lại còn phần khác loại bỏ.
3.3. Mẫu chung: Số lượng quặng bao gồm toàn bộ các mẫu đơn hoặc mẫu đơn đã giản lược, mẫu phụ hoặc mẫu phụ đã giản lược được lấy từ lô.
3.4. Mẫu ẩm: Mẫu dùng để xác định hàm lượng ẩm của một lô hoặc một đơn vị lấy mẫu.
3.5. Kích thước lớn nhất danh nghĩa: Kích thước lỗ của lưới nhỏ nhất (phù hợp với ISO 565) để ít nhất có 95% khối lượng vật liệu lọt qua.
3.6. Lọt qua: Sự đi qua bộ giản lược mẫu một lần của vật liệu được giữ lại làm mẫu.
3.7. Giảm cỡ hạt: Quá trình mẫu được làm giảm kích thước hạt bằng cách đập hoặc nghiền mà không làm thay đổi khối lượng và thành phần của mẫu.
3.8. Mẫu thử lý tính: mẫu được lấy để xác định các đặc tính vật lý.
3.9. Giai đoạn: Một chuỗi liên tục bao gồm các khâu giảm cỡ hạt, trộn và cuối cùng là giản lược. Số giai đoạn chuẩn bị mẫu bằng số lần giản lược.
4. Cơ sở chuẩn bị mẫu
4.1. Giới thiệu
Chuẩn bị mẫu gồm một số khâu riêng biệt, đôi khi bắt đầu bằng khâu sấy. Các khâu đó là:
a) giảm cỡ hạt;
b) trộn - để đạt được độ đồng nhất;
c) giản lược.
Ba khâu này lập thành một giai đoạn chuẩn bị mẫu.
Theo nguyên tắc chung là khâu giảm cỡ hạt luôn luôn đặt trước khâu giản lược. Trừ trường hợp lấy mẫu cơ giới từ băng chuyền công suất cao thì có thể giản lược các mẫu đơn ban đầu có khối lượng lớn, theo ISO 8685.
Cần chọn trình tự chuẩn bị mẫu để hạn chế sai số chuẩn bị mẫu, mà không phải giữ lại khối lượng mẫu quá lớn. Thí dụ sơ đồ chuẩn bị mẫu được nêu ở Phụ lục A.
4.2. Khối lượng nhỏ nhất của mẫu được giữ lại sau khi giản lược
Lượng mẫu giữ lại phụ thuộc vào kích thước lớn nhất danh nghĩa của hạt quặng ở giai đoạn đó.
Trình tự chuẩn bị mẫu có thể gồm hai hoặc nhiều giai đoạn, khối lượng nhỏ nhất của quặng giữ lại sau mỗi giai đoạn không được nhỏ hơn mG, trong đó
trong đó
mG là khối lượng nhỏ nhất của mẫu chung, tính bằng kilogam;
Cv là hệ số biến đổi giữa các hạt, xác định theo ISO 6138;
ss là sai số lấy mẫu yêu cầu (độ lệch tiêu chuẩn);
r là khối lượng riêng của hạt quặng (không phải khối lượng thể tích), tính bằng tấn/mét khối;
g là hệ số khoảng kích thước ghi ở Bảng 1;
D là kích thước lớn nhất danh nghĩa của hạt quặng trong lô, tính bằng milimét.
Bảng 1 - Hệ số khoảng kích thước
| Khoảng kích thước | Trị số g |
| Khoảng kích thước lớn (D/D’ > 4) Khoảng kích thước trung bình (4 ≥ D/D’ ≥ 2) Khoảng kích thước nhỏ (D/D’ < 2) Kích thước đồng dạng (D/D’ = 1) | 0,25 0,50 0,75 1,00 |
| CHÚ THÍCH: Trong đó D’ là kích thước lỗ lưới lưu giữ 95% quặng. | |
4.3. Sấy khô
Đối với vật liệu không dùng để xác định hàm lượng ẩm, vật liệu có thể sấy khô bằng không khí hoặc tủ sấy để khi gia công thì không bị mất hoặc nhiễm bẩn. Mẫu không được sấy ở nhiệt độ vượt quá 105oC. Phương pháp xử lý mẫu ẩm được quy định ở điều 7.
4.4. Giảm cỡ hạt
4.4.1. Quy định chung
Để có mẫu dùng trong các phép xác định, cho phép làm giảm kích thước trong quá trình chuẩn bị mẫu. Trường hợp chung được quy định trong các điều từ 4.4.2 đến 4.4.4.
4.4.2. Mẫu phân tích hóa
Phải giảm kích thước của quặng đến yêu cầu quy định ở điều 8.2.2. Mẫu có thể được đập nghiền thích hợp để tạo thuận tiện cho khâu giản lược như nêu ở 4.6.
Khi xử lý mẫu phân tích hóa, cho phép sấy khô vật liệu để xử lý tốt hơn. Khi sấy phải đề phòng các trường hợp sau:
a) tránh làm bẩn hoặc làm mất mẫu;
b) mẫu không được làm nóng đến nhiệt độ mà tại đó nước kết hợp hoặc các thành phần bay hơi khác bị mất. Nhiệt độ lớn nhất mà các phần mẫu đạt được không vượt quá 105oC.
4.4.3. Mẫu ẩm
Khi kích thước lớn nhất danh nghĩa nhỏ hơn 22,4 mm thì không được làm giảm cỡ hạt trước khi xác định hàm lượng ẩm.
Khi xử lý quặng có kích thước lớn nhất danh nghĩa lớn hơn 22,4 mm và không dính hoặc quá ướt thì có thể làm giảm kích thước hạt đến nhỏ hơn 22,4 mm, chú ý tránh làm thay đổi hàm lượng ẩm.
Khi xử lý quặng có kích thước lớn nhất danh nghĩa lớn hơn 22,4 mm và không dính hoặc quá ướt, có thể cân toàn bộ mẫu và sấy khô bằng không khí. Khi mẫu đã khô ở trạng thái rời rạc, mẫu phải được cân lại. Sau đó có thể giảm kích thước hạt trước khi giản lược và xác định hàm lượng ẩm còn lại theo ISO 9033.
Khi thực hiện quy trình này, trị số hàm lượng ẩm cuối cùng phải tính đến hàm lượng ẩm đã mất ở giai đoạn sấy khô bằng không khí.
4.4.4. Mẫu thử lý tính
Không được phép giảm kích thước hạt khi mẫu được dùng để:
a) xác định thành phần độ hạt;
b) xác định khối lượng thể tích.
4.4.5. Dụng cụ giảm kích thước hạt
Tiêu chuẩn này ưu tiên sử dụng các máy giảm kích thước hạt như “máy đập nghiền”.
Máy đập nghiền dùng để giảm kích thước hạt đối với mẫu quặng nhôm bao gồm một số loại như máy đập hàm, máy đập trục, máy xiết đĩa, máy đập búa (tán bột) và máy nghiền rung - máy nghiền này là thiết bị phù hợp cho giai đoạn cuối cùng để nghiền đến kích thước lớn nhất danh nghĩa là 150 mm. Các kiểu máy nêu ở Phụ lục F.
Các chi tiết máy tiếp xúc với quặng phải làm bằng vật liệu chống mòn để ít gây bẩn. Điều đó rất quan trọng đối với các mẫu phải xác định các nguyên tố vết, và rất có ý nghĩa đối với việc sử dụng các thiết bị không chứa nguyên tố cần xác định.
Mẫu phải được cấp liệu đều đặn vào trong máy nghiền, tránh làm tắc nghẹt máy hoặc làm thay đổi tốc độ nghiền vì có thể làm thay đổi thành phần độ hạt của mẫu.
Do có vật liệu quá cỡ nên sai số phân chia và phân tích mẫu bị tăng lên, phải thường xuyên kiểm tra máy nghiền để đảm bảo sản phẩm đập nghiền đạt được kích thước lớn nhất danh nghĩa theo yêu cầu.
Các loại máy giảm cỡ hạt, như máy đập búa tốc độ cao, máy nghiền rung, máy xiết đĩa có xu hướng bị nóng lên nên mẫu không được phép lưu lại trong máy quá lâu. Nếu dùng một máy cho một loạt mẫu thì phải để máy nguội sau mỗi lần hoạt động.
Máy đập búa tốc độ cao có thể bị hỏng nặng do trong mẫu có vật quá cứng, phải đề phòng bằng cách ngăn ngừa vật quá cứng trong cấp liệu vào máy. Không được phép sử dụng máy tuyển từ vì bauxít là quặng dễ nhiễm từ tính.
Tất cả các máy đập nghiền phải dễ làm sạch và phải làm sạch sau mỗi mẫu.
4.5. Trộn mẫu
4.5.1. Quy định chung
Có thể giảm sai số trong giản lược mẫu bằng cách trộn đều mẫu trước khi giản lược. Sự cần thiết trộn mẫu là đặc biệt quan trọng khi các mẫu từ nhiều nguồn hợp thành. Một số phương pháp trộn, thí dụ tạo đống hình nón hoặc phương pháp trộn quay, có thể có ảnh hưởng xấu do có xu hướng làm tăng sự phân tầng. Thông thường, việc chọn phương pháp thích hợp nhất để trộn là phải cân nhắc và phụ thuộc vào loại quặng.
CHÚ THÍCH 1 - Trừ khi lấy mẫu để phân tích hàm lượng ẩm, mẫu không rời rạc phải sấy ở nhiệt độ không vượt quá 105oC trước khi trộn. Khi lấy mẫu ẩm, phải tiến hành trộn mẫu càng nhanh càng tốt để hàm lượng ẩm ít bị thay đổi.
4.5.2. Các phương pháp trộn
Tiến hành trộn mẫu theo một trong các phương pháp mô tả ở các điều từ 4.5.2.1 đến 4.5.2.3.
4.5.2.1. Cho mẫu lọt qua dụng cụ giản lược mẫu kiểu máng hoặc quay, ít nhất 3 lần liên tiếp, gộp lại mẫu sau mỗi lần giản lược.
4.5.2.2. Trộn dải. Trong trường hợp này, dùng xẻng cấp cẩn thận quặng để tạo thành dải. Tỷ lệ dài/rộng của dải phải không nhỏ hơn 10/1. Từ dải tạo thành cắt ngang một phần bất kỳ và rải thành dải mới. Tiếp tục cắt ngang một phần bất kỳ từ dải cũ rải thành từng lớp lên dải mới. Lần lượt làm như vậy đến khi hết dải cũ và dải mới có kích thước tương tự được tạo thành. Quá trình lấy các thiết diện và tạo lại thành dải mới được lặp lại hai lần.
4.5.2.3. Dùng máy trộn cơ giới. Các mẫu máy trộn cơ giới nêu ở Phụ lục B.
4.6. Giản lược
4.6.1. Quy định chung
Giản lược mẫu có thể tiến hành theo phương pháp cơ giới hoặc thủ công. Số lượng ít nhất của các mẫu đơn phải là 20.
Giản lược mẫu có thể tiến hành bằng cách cho mẫu lọt qua một số lần cần thiết để đạt được khối lượng mẫu yêu cầu; thí dụ: khi cho mẫu lọt qua máng giản lược ba lần sẽ thu được mẫu có khối lượng bằng một phần tám.
Mẫu dụng cụ giản lược được minh họa ở Phụ lục C. Khi giản lược để lấy mẫu ẩm thì phương pháp thích hợp là giản lược cơ giới (xem 4.6.2) hoặc giản lược mẫu đơn (xem 4.6.3.2).
4.6.2. Giản lược mẫu bằng cơ giới
4.6.2.1. Quy định chung
Ưu việt chính của giản lược cơ giới là mẫu được lấy từ rất nhiều mẫu đơn so với khi giản lược thủ công. Số lượng ít nhất của các mẫu đơn phải là 20.
Chỉ tiêu thiết kế máy giản lược được quy định trong ISO 8685.
4.6.2.2. Máy giản lược mẫu
Mẫu máy giản lược được nêu trong các điều từ 4.6.2.2.1 đến 4.6.2.2.6.
4.6.2.2.1. Máy côn quay (Hình C.1)
Máy gồm phễu cấp liệu, côn có cửa tháo và quay tốc độ thấp, máng thải và ống mẫu. Quặng chảy từ phễu cấp liệu vào côn quay và được làm chệch hướng rơi vào máng thải. Một phần quặng lọt qua cửa tháo ở côn và rơi trực tiếp vào ống mẫu sau mỗi vòng quay.
4.6.2.2.2. Máy giản lược quay (Hình C.2)
Máy gồm một số hộp nhỏ hình dẻ quạt đặt trên bề mặt và dụng cụ cấp liệu. Dòng quặng chảy đồng đều đến máng phễu và với chuyển động quay tương đối của hai thành phần đó, dòng bị chặn ở mép trên của hộp dẻ quạt và chia mẫu thành các phần đại diện.
4.6.2.2.3.3 Băng rãnh (Hình C.3)
Một băng tải vô tận có các rãnh đặt cách đều nhau, mép rãnh có tác dụng như các lưỡi cắt. Quặng được cấp thành dòng đồng đều qua máng cấp liệu vào băng. Dòng quặng qua mỗi cửa rãnh rơi xuống làm một mẫu đơn. Phần dòng còn lại được tháo ở cuối băng.
4.6.2.2.4. Máng quay (Hình C.4)
Một ống rỗng có ghép một hoặc nhiều gáo cắt mẫu, ống này quay trong một ống bù, buồng hình côn. ống cấp liệu được đặt ở trên các gáo cắt mẫu. Quặng rơi qua ống cấp liệu, gáo cắt chạy ngang dòng và quặng chuyển hướng đi vào ống rỗng thành mẫu đơn.
4.6.2.2.5. Máng chuyển hướng (Hình C.5)
Một máng đi ngang được đặt ở đầu cuối của băng cấp liệu, nó sẽ cắt ngang dòng quặng lúc tháo dỡ qua đầu tang quay. Máng làm chệch hướng lấy một mẫu đơn ở mỗi lần cắt ngang.
4.6.2.2.6. Máy cắt mẫu cửa tháo đáy (Hình C.6)
Máy cắt kiểu gầu có cửa tháo đáy được đặt ở ngang dòng quặng rơi và di chuyển đến vị trí qua máng dỡ tải mẫu, tại đó mở đáy để tháo mẫu đơn.
4.6.3. Giản lược mẫu bằng thủ công
4.6.3.1. Tiến hành
Giản lược mẫu có thể thực hiện theo một trong các quy trình sau:
a) chia mẫu đơn;
b) tạo đống hình nón và chia tư;
c) máng chia;
d) xẻng phân đoạn;
e) trộn dải và chia phần.
4.6.3.2. Chia mẫu đơn
Trộn quặng cẩn thận rồi rải lên nền phẳng ở dạng hình chữ nhật có chiều dày đều nhau. Chiều dày phụ thuộc vào kích thước lớn nhất danh nghĩa của mẫu và ghi ở Bảng 2.
Bảng 2 - Tương quan giữa kích thước lớn nhất danh nghĩa, khối lượng nhỏ nhất của mẫu đơn và chiều dày của lớp mẫu
| Kích thước lớn nhất danh nghĩa, mm | Khối lượng nhỏ nhất của mẫu đơn, kg | Chiều dày của lớp mẫu, mm |
| ≤ 11,2 16,0 22,4 31,5 45,0 | 0,14 0,40 1,10 3,00 8,70 | 30 đến 35 40 đến 50 55 đến 65 80 đến 90 110 đến 120 |
Lấy dấu mạng tối thiểu là 5 x 4, lên lớp mẫu (xem Hình 1) rồi dùng xẻng múc đáy phẳng, chọn loại xẻng nêu ở Phụ lục D để lấy một mẫu đơn có khối lượng nhỏ nhất theo Bảng 2 - từ mỗi ô mạng.
Cắm tấm phẳng theo chiều thẳng đứng qua lớp quặng đến khi tấm chạm vào nền. Sau đó ấn xẻng đến đáy lớp quặng và lấy mẫu đơn bằng cách di chuyển xẻng theo chiều ngang để khi đầu xẻng chạm vào tấm phẳng - bảo đảm rằng toàn bộ hạt quặng được lấy khỏi nền trộn mẫu. Nhấc đồng thời xẻng và tấm phẳng để tấm phẳng chắn quặng không rơi khỏi xẻng.
Nếu khối lượng các mẫu đơn hợp thành nhỏ hơn khối lượng mẫu xác định theo điều 4.2, tiếp tục lấy các mẫu đơn đến khi vượt quá khối lượng nhỏ nhất.
CHÚ THÍCH
2) Phương pháp này có độ chính xác cao mặc dù có tỷ lệ giản lược lớn, tức là tỷ lệ giữa khối lượng mẫu chung và khối lượng mẫu được giữ lại. Phương pháp này thích hợp để lấy mẫu ẩm.
3) Quá trình giản lược này có thể áp dụng đối với quặng có kích thước lớn nhất danh nghĩa đến 45 mm.
4) Kết hợp với bảng 2, số lượng mẫu yêu cầu cho các phân tích tiếp theo để cấu tạo khuôn. Tỷ lệ chiều dài trên chiều rộng không lớn hơn 5: 4.
|
| |||
| Rải mẫu đã đập thành lớp hình chữ nhật có chiều dày như quy định ở Bảng 2. | Chia thành 20 phần bằng nhau, tức là thành 5 phần theo chiều dài và 4 phần theo chiều rộng. | Mỗi phần lấy một xẻng đầy mẫu bằng cách cắm xẻng tới tận đáy lớp mẫu rồi hợp nhất 20 xẻng mẫu làm thành mẫu đã giản lược. | Cách lấy một mẫu đơn bằng cách dùng tấm phẳng như nêu ở |
Hình 1 - Giản lược mẫu bằng thủ công (thí dụ chia thành 20 phần)
4.6.3.3. Tạo đống hình nón và chia tư (xem Hình 2)
Rải quặng lên tấm thép phẳng. Dùng xẻng vun đống quặng thành hình nón, mỗi xẻng được lấy liên tiếp từ chu vi của đống ban đầu và đổ trực tiếp lên đỉnh của đống mới. Lặp lại hai hoặc ba lần. Dùng xẻng làm bẹt đống vật liệu xuống thành hình nón cụt, rồi thành một bánh tròn. Dùng chạc thép chữ thập chia bánh tròn thành bốn phần.
Ấn chạc thép chữ thập xuống tận sàn, lấy hai phần đối đỉnh của mẫu chia tư và loại bỏ hai phần tư còn lại. Việc chọn hai phần chia tư tiến hành một cách ngẫu nhiên.
Nếu cần giảm tiếp khối lượng vật liệu thì lặp lại quá trình này đến khi nhận được khối lượng yêu cầu.
CHÚ THÍCH
5) Phương pháp này có thể áp dụng để giản lược quặng có kích thước lớn nhất danh nghĩa nhỏ hơn 45 mm và khối lượng mẫu nhỏ hơn một tấn.
6) Phương pháp này không dùng để lấy mẫu ẩm.
4.6.3.4. Máng chia
Máng chia là dụng cụ giản lược mẫu dùng để chia đôi mẫu quặng, một phần giữ lại và một phần khác loại bỏ. Vận hành máng chia theo cách đổ quặng vào bộ máng song song có chiều rộng bằng nhau, các máng liền kề đổ quặng vào thùng chứa đối diện nhau.

Hình 2 - Lấy mẫu bằng cách tạo nón và chia tư
Máng chia phải cấu tạo đối xứng (sao cho một phần mẫu có thể lấy từ một trong hai bên) và toàn bộ bề mặt trượt của quặng phải có độ nghiêng không lớn hơn 30o với chiều đứng. Thùng hứng phải áp khít vào khung máng để giảm mất bụi đến mức tối thiểu. Điều cần thiết là máng chia phải phù hợp với kích thước lớn nhất danh nghĩa trong quặng đưa giản lược, vì có thể dẫn đến sai số lớn nếu máng quá hẹp hoặc số máng quá ít.
Chiều rộng máng ít nhất phải bằng hai lần kích thước lớn nhất danh nghĩa của quăng. Mỗi nửa máng chia phải có ít nhất là 8 máng.
Tiến hành giản lược bằng máng chia như sau:
Trộn quặng và đặt vào thùng cấp liệu. Rải quặng trong thùng cấp liệu sao cho quặng được rải đều suốt toàn bộ chiều dài thùng. Lật nghiêng thùng để cấp đều quặng vào máng cấp liệu, sao cho quặng trượt qua các máng và tập trung vào hai hộp. Giữ lại mẫu từ một hộp hứng, lựa chọn một cách tùy ý.
CHÚ THÍCH
7) Nếu quặng làm tắc máng thì phải làm sạch trước khi vận hành tiếp tục.
8) Nếu cần giản lược tiếp phần mẫu đã giữ lại có thể cho qua máng chia lần nữa.
Khi giản lược sử dụng máng chia phải cẩn thận để mẫu ẩm bị mất ẩm ít nhất. Sử dụng máng chia kín để giản lược mẫu ẩm hoặc mẫu quặng khô để tránh mất bụi. Thí dụ về máng chia nêu ở Phụ lục E.
4.6.3.5. Xẻng phân đoạn (xem Hình 3)
Trộn đều quặng và tạo thành đống hình nón (L). Dùng xẻng thích hợp như ở Hình D.2, xúc liên tiếp xẻng đầy từ đáy đống và dọc chu vi đáy. Đổ các xẻng mẫu thành đống riêng rẽ. Số đống được xác định theo tỷ lệ giản lược. Thí dụ, nếu cần tỷ lệ giản lược là 1/5 thì tạo thành 5 đống từ N1 đến N5 như ở Hình 3. Lựa chọn ngẫu nhiên một đống để giữ lại.
Chú thích:
9) Quy trình giản lược này có thể áp dụng cho quặng có kích thước lớn nhất danh nghĩa đến 45 mm.
10) Phương pháp này không áp dụng cho mẫu ẩm.

Hình 3 - Giản lược mẫu bằng xẻng phân đoạn
4.6.3.6. Trộn thành dải và chia phần
Trộn thành dải và chia phần phỏng theo điều kiện lấy mẫu trên băng tải. Phương pháp này tiến hành như sau:
Dùng xẻng múc quặng cẩn thận và tạo thành dải, cấp đồng đều theo dọc chiều dài của dải từ đầu đến cuối và từ cả hai bên cạnh dải. Các tấm chắn ở đầu dải để sự phân tầng theo kích thước hạt chỉ xảy ra ở hai bên dải. Mẫu phụ lấy được bằng cách lồng khung mẫu ngang qua dải rồi dùng xẻng múc (Hình D.1) di chuyển quặng ở giữa khung, phải đảm bảo tất cả các hạt nhỏ được lấy vào mẫu đơn. Phải lấy đủ số mẫu đơn yêu cầu (ít nhất là 20).
CHÚ THÍCH 11 - Quy trình này không dùng để lấy mẫu ẩm.

Hình 4 - Dải đã hình thành
5. Độ chính xác chuẩn bị mẫu
Độ chính xác chuẩn bị mẫu phải được kiểm tra định kỳ và mỗi khi gia công mẫu theo sơ đồ mới. Chi tiết quy trình thử để xác định độ chính xác được trình bầy trong tiêu chuẩn tương ứng.
6. Độ chệch chuẩn bị mẫu
Độ chệch chuẩn bị mẫu phải được kiểm tra định kỳ và mỗi khi gia công mẫu theo sơ đồ mới.
7. Chuẩn bị mẫu xác định tổng hàm lượng ẩm
7.1. Các loại mẫu thử
Mẫu đưa thử là:
a) mẫu lấy dành riêng để xác định hàm lượng ẩm;
b) mẫu lấy để xác định hàm lượng ẩm và các chỉ tiêu chất lượng theo yêu cầu.
7.2. Phòng ngừa mất ẩm
Một trong những khó khăn chính khi xác định hàm lượng ẩm là giảm đến mức thấp nhất các thay đổi về hàm lượng ẩm của mẫu trong quá trình chuẩn bị mẫu cuối cùng. Mỗi biện pháp phòng ngừa là để giảm đến mức thấp nhất các thay đổi về hàm lượng ẩm do bao gói không phù hợp, bốc hơi trong quá trình xử lý, đặc biệt là khi quặng quá ướt. Tất cả các mẫu ẩm phải được giữ trong bao gói kín đặt ở nơi mát trước và sau khi gia công cũng như trong thời gian giữa các giai đoạn chuẩn bị mẫu.
Chú ý giảm thay đổi độ ẩm khi tiến hành giản lược phải thao tác càng nhanh càng tốt. Trong một số trường hợp có thể xác định hàm lượng ẩm của từng mẫu đơn để giảm thay đổi hàm lượng ẩm đến mức thấp nhất (xem Phụ lục A).
Khi xuất hiện các điều kiện làm thay đổi nhanh hàm lượng ẩm thì phải áp dụng quy trình nêu ở A.2 của tiêu chuẩn này.
7.3. Mẫu để xác định hàm lượng ẩm
Mẫu để xác định hàm lượng ẩm như quy định ở bảng 3 phải lấy và chuẩn bị theo quy trình quy định ở ISO 8685. Xác định hàm lượng ẩm phải tiến hành theo quy trình quy định trong ISO 9033. Các mẫu có kích thước lớn nhất danh nghĩa lớn hơn 22,4 mm có thể tiến hành sấy hai giai đoạn như mô tả ở 4.4.3.
7.4. Mẫu lưu
Nên lấy hai mẫu lưu để trong trường hợp có tranh chấp hoặc nếu các kết quả xác định hàm lượng ẩm lần đầu bị mất hoặc không có giá trị, thì có thể phải kiểm tra mẫu lưu. Mẫu lưu được lấy theo cùng cách thức và lấy đồng thời với mẫu cuối cùng để xác định ẩm. Sử dụng bốn thùng chứa và đặt lần lượt các mẫu đơn vào từng thùng.
Bảng 3 - Khối lượng nhỏ nhất của mẫu xác định hàm lượng ẩm
| Kích thước lớn nhất danh nghĩa, mm | Khối lượng nhỏ nhất, kg |
| 63,0 45,0 31,5 22,4 16,0 11,2 | 110 40 14 5 2 1 |
8. Chuẩn bị mẫu phân tích hóa
8.1. Quy định chung
Quy trình chuẩn bị mẫu phân tích hóa được mô tả ở 8.2 và nêu lược đồ ở Phụ lục A. Cho phép dùng mẫu ẩm sau khi sấy khô để làm mẫu phân tích hóa.
8.2. Tiến hành
8.2.1. Giai đoạn thứ nhất trong chuẩn bị mẫu
Nếu cần, mẫu phải được sấy phù hợp với 4.3. Toàn bộ mẫu phải chuyển qua khâu nghiền (xem 4.4), trộn đều rồi giản lược (xem 4.6) để giảm khối lượng đến trị số tương ứng với kích thước danh định lớn nhất của quặng đã đập nghiền (xem 4.2).
8.2.2. Các giai đoạn tiếp theo trong chuẩn bị mẫu
Trong các giai chuẩn bị tiếp theo, phần mẫu giữ lại từ giai đoạn thứ nhất được giảm kích thước hạt đến kích thước lớn nhất danh nghĩa là 150 mm (xem 4.4) rồi giản lược lấy một số mẫu như yêu cầu hợp đồng, mỗi mẫu có khối lượng không nhỏ hơn 50 g.
Mẫu phân tích hóa được giữ trong túi kín và được ghi nhãn với tất cả các chi tiết nhận biết cần thiết.
9. Chuẩn bị mẫu thử lý tính
9.1. Quy định chung
Quy trình chuẩn bị mẫu thử lý tính để xác định thành phần độ hạt hoặc khối lượng thể tích được mô tả ở 9.2. Cho phép sử dụng mẫu ẩm sau khi sấy để xác định thành phần độ hạt hoặc xác định khối lượng thể tích của vật liệu đã sấy khô.
Khi cần xác định khối lượng thể tích của vật liệu thì phải lấy một mẫu dành riêng cho mục đích này và phải áp dụng cách phòng ngừa như nêu trong 7.2. Nếu có yêu cầu xác định khối lượng thể tích của vật liệu sấy khô không khí, thì lấy một mẫu dành riêng cho mục đích này nhưng không cần phải phòng ngừa hao hụt hàm lượng ẩm do bay hơi. Không được giảm kích thước hạt trong các giai đoạn chuẩn bị mẫu để xác định thành phần độ hạt hoặc khối lượng thể tích.
Điều 4.2 về khối lượng nhỏ nhất của mẫu phải được thực hiện đầy đủ cho các khâu thử lý tính.
9.2. Tiến hành thử
9.2.1. Chuẩn bị mẫu xác định thành phần độ hạt
Quy trình riêng chuẩn bị mẫu dùng để xác định thành phần độ hạt phụ thuộc vào đặc trưng của quặng. Có hai loại chuẩn bị mẫu là:
- Loại A
Quặng chứa cấp hạt mịn dạng khoáng sét gây vón cục khi sấy. Các hạt mịn vón cục loại này có thể rất khó làm tơi để xác định đúng thành phần độ hạt của cấp hạt mịn trong quặng, ngay cả khi quặng được làm ướt trở lại để phân tán các hạt mịn;
Khi xử lý mẫu quặng loại A, các mẫu đã lấy theo tiêu chuẩn này phải được bảo vệ tránh ẩm bay hơi bằng biện pháp mô tả ở 7.2. áp dụng sàng ướt đối với loại quặng này.
- Loại B
Quặng không chứa cấp hạt mịn ở dạng khoáng sét. Quặng loại B có thể được sấy khô bằng cách phơi ngoài trời hoặc bằng tủ sấy. Khi xử lý quặng loại B để xác định thành phần độ hạt có thể sử dụng mẫu đã dùng để xác định hàm lượng ẩm.
9.2.2. Chuẩn bị mẫu xác định khối lượng thể tích
Có thể cần xác định ba loại khối lượng thể tích:
- vật liệu có hàm lượng ẩm tự nhiên;
- vật liệu sấy khô bằng không khí;
- vật liệu sấy khô bằng tủ sấy.
Khi các phép thử được thực hiện trên vật liệu tự nhiên, các mẫu phải được chuẩn bị cẩn thận như mẫu ẩm mô tả ở 7.2. Đối với vật liệu sấy khô bằng không khí và sấy khô trong tủ sấy, không cần thiết phải cẩn thận như vậy và trong trường hợp riêng mẫu ẩm có thể dùng để xác định khối lượng thể tích. Mẫu dùng nhiều chức năng để thử lý tính không đề cập đến vì mẫu có thể bị nhiễm bẩn hoặc bị phân tầng.
10. Bao gói và ghi nhãn
Các mẫu gửi đi phân tích phải được niêm phong trong bao gói kín. Nhãn và thẻ đặt trong bao gói gồm các nội dung cụ thể sau:
a) loại quặng và tên lô (tên tàu, thuyền,...);
b) khối lượng lô;
c) mẫu số;
d) địa điểm và ngày lấy mẫu;
e) hàm lượng ẩm của lô;
f) địa điểm và ngày chuẩn bị mẫu;
g) kích thước lớn nhất danh nghĩa của mẫu;
h) các điều khoản khác (nếu cần).
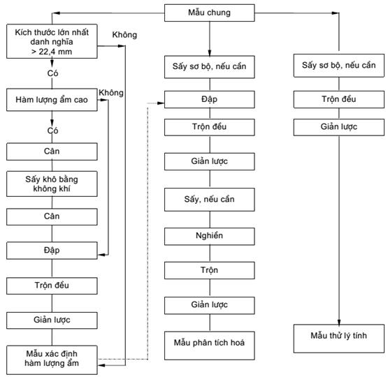
Phụ lục A
(Quy định)
Sơ đồ chuẩn bị mẫu
A.1. Sơ đồ chuẩn bị mẫu từ mẫu chung

CHÚ THÍCH 12 - Mẫu dùng để xác định hàm lượng ẩm có thể dùng để phân tích hóa nếu có yêu cầu.
A.2. Sơ đồ chuẩn bị mẫu từ các mẫu đơn hoặc mẫu phụ

Phụ lục B
(Tham khảo)
Thí dụ về các máy trộn cơ giới
Máy trộn đều hình côn kép nêu ở Hình B.1 phù hợp để trộn đều phần còn lại của giai đoạn thứ nhất phân chia mẫu. Máy gồm phần trụ ngắn, tấm vách ngăn đặt nghiêng, cửa đóng kín một đầu và được ghép chắc chắn trên bộ phận đỡ phù hợp. Máy trộn quay khoảng 60 vòng/phút. Đối với lượng mẫu đến 0,25 kg trộn trong 1 phút là đủ, nhưng với lượng mẫu lớn hơn phải trộn đến 4 phút.

Chiều dài 400 mm
Đường kính lớn nhất 330 mm
Hình B.1 - Máy trộn hình côn kép

Phụ lục C
(Tham khảo)
Giản lược mẫu cơ giới

Hình C.1 - Máy giản lược kiểu côn quay

Hình C.2 - Thí dụ về máy giản lược mẫu kiểu quay

Hình C.3 - Băng có rãnh

Hình C.4 - Máng quay
bc Cửa máng cắt của dụng cụ lấy mẫu ban đầu
Dòng chính
Mẫu đơn
Hướng cắt ngang của dụng cụ lấy mẫu ban đầu

Hình C.5 - Máy chuyển hướng
bc Cửa máng cắt của dụng cụ lấy mẫu ban đầu
Dòng chính
Mẫu đơn
Hướng cắt ngang của dụng cụ lấy mẫu ban đầu

Hình C.6 - Máy cắt mẫu cửa tháo đáy
Phụ lục D
(Tham khảo)
Dụng cụ lấy mẫu thủ công
D.1. Phạm vi
Phụ lục này mô tả các dụng cụ phù hợp để lấy mẫu thủ công đối với quặng nhôm ở trạng thái tĩnh.
D.2. Xẻng múc
Cấu tạo xẻng múc được nêu ở Hình D.1, kích thước nêu ở Bảng D.1. Xẻng múc không phù hợp để lấy mẫu quặng có kích thước lớn nhất danh nghĩa lớn hơn 45 mm.

Bảng D.1 - Kích thước của xẻng múc
| Kích thước lớn nhất danh nghĩa của quặng, mm | Khối lượng danh nghĩa của mẫu đơn, kg | Các kích thước, mm | ||
| l | b | h | ||
| 11,2 16,0 22,4 31,5 45,0 | 0,14 0,40 1,10 3,00 8,70 | 75 110 170 220 300 | 35 50 70 95 135 | 30 40 50 80 120 |
D.3. Xẻng xúc
Cấu tạo của xẻng xúc được nêu ở Hình D.2, kích thước nêu ở Bảng D.2. Xẻng xúc không phù hợp để lấy mẫu quặng có kích thước lớn nhất danh nghĩa lớn hơn 45 mm.

Hình D.2 - Xẻng xúc
Bảng D.2 - Kích thước của xẻng xúc
| Kích thước lớn nhất danh nghĩa của quặng, mm | Khối lượng danh nghĩa của mẫu đơn, kg | Các kích thước, mm | ||
| l | b | h | ||
| 11,2 16,0 22,4 31,5 45,0 | 0,14 0,40 1,10 3,00 8,70 | 75 110 170 220 300 | 35 50 70 95 135 | 30 40 50 80 120 |
Phụ lục E
(Tham khảo)
Thí dụ về máng chia

Hình E.1 - Máng chia
Phụ lục F
(Tham khảo)
Thiết bị giảm kích thước hạt

Mô hình máy đập hàm
Hình F.1 - Máy đập hàm

Máy đập hai trục với trục mang tải lò xo
Hình F.2 - Máy đập trục

Hình F.3 - Máy xiết đĩa

CHÚ THÍCH - Quặng được đặt trong khoảng giữa các vòng, vỏ máy và đĩa ở tâm. Quá trình nghiền được thực hiện trên bàn chấn động có kẹp các ngàm nghiền.
Hình F.4 - Máy nghiền vòng
MỤC LỤC
1. Phạm vi áp dụng
2. Tiêu chuẩn trích dẫn
3. Định nghĩa
4. Cơ sở chuẩn bị mẫu
5. Độ chính xác chuẩn bị mẫu
6. Độ chệch chuẩn bị mẫu
7. Chuẩn bị mẫu xác định tỏng hàm lượng ẩm
8. Chuẩn bị mẫu phân tích hóa
9. Chuẩn bị mẫu thử lý tính
10. Bao gói và ghi nhãn
Phụ lục A Sơ đồ chuẩn bị mẫu
Phụ lục B Thí dụ về các máy trộn cơ giới
Phụ lục C Giản lược mẫu cơ giới
Phụ lục D Dụng cụ lấy mẫu thủ công
Phụ lục E Thí dụ về máng chia
Phụ lục F Thiết bị giảm kích thước hạt
Bạn chưa Đăng nhập thành viên.
Đây là tiện ích dành cho tài khoản thành viên. Vui lòng Đăng nhập để xem chi tiết. Nếu chưa có tài khoản, vui lòng Đăng ký tại đây!
