- Tổng quan
- Nội dung
- Tiêu chuẩn liên quan
- Lược đồ
- Tải về
Tiêu chuẩn Quốc gia TCVN 11323:2020 Công trình thủy lợi - Hố móng trong vùng cát chảy
| Số hiệu: | TCVN 11323:2020 | Loại văn bản: | Tiêu chuẩn Việt Nam |
| Cơ quan ban hành: | Bộ Khoa học và Công nghệ | Lĩnh vực: | Xây dựng , Nông nghiệp-Lâm nghiệp |
|
Ngày ban hành:
Ngày ban hành là ngày, tháng, năm văn bản được thông qua hoặc ký ban hành.
|
2020 |
Hiệu lực:
|
Đã biết
|
| Người ký: | Đang cập nhật |
Tình trạng hiệu lực:
Cho biết trạng thái hiệu lực của văn bản đang tra cứu: Chưa áp dụng, Còn hiệu lực, Hết hiệu lực, Hết hiệu lực 1 phần; Đã sửa đổi, Đính chính hay Không còn phù hợp,...
|
Đã biết
|
TÓM TẮT TIÊU CHUẨN VIỆT NAM TCVN 11323:2020
Nội dung tóm tắt đang được cập nhật, Quý khách vui lòng quay lại sau!
Tải tiêu chuẩn Việt Nam TCVN 11323:2020
TIÊU CHUẨN QUỐC GIA
TCVN 11323:2020
CÔNG TRÌNH THỦY LỢI - HỐ MÓNG TRONG VÙNG CÁT CHẢY - THI CÔNG VÀ NGHIỆM THU
Hydraulic structures - Excavation works in quicksand - Construction and acceptance
Lời nói đầu
TCVN 11323 : 2020 do Viện Khoa học Thủy lợi Việt Nam biên soạn, Bộ Nông nghiệp và Phát triển Nông thôn đề nghị, Tổng cục Tiêu chuẩn đo lường Chất lượng thẩm định, Bộ Khoa học và Công nghệ công bố.
CÔNG TRÌNH THỦY LỢI - HỐ MÓNG TRONG VÙNG CÁT CHẢY - THI CÔNG VÀ NGHIỆM THU
Hydraulic structures - Excavation works in quicksand - Construction and acceptance
1 Phạm vi áp dụng
1.1 Tiêu chuẩn này quy định các yêu cầu thi công và nghiệm thu hố móng công trình thủy lợi trong nền cát, nơi có nguy cơ xảy ra cát chảy.
1.2 Tiêu chuẩn này cũng có thể áp dụng cho các hố móng trong các công trình xây dựng khác, nếu có điều kiện xây dựng tương tự.
2 Tài liệu viện dẫn
Các tải liệu viện dẫn sau đây là cần thiết để áp dụng tiêu chuẩn này. Đối với các tài liệu viện dẫn ghi năm công bố, áp dụng bản được nêu. Đối với các tài liệu viện dẫn không ghi năm công bố, áp dụng phiên bản mới nhất, bao gồm cả sửa đổi, bổ sung (nếu có).
TCVN 4055, Tổ chức thi công;
TCVN 4447, Công tác đất - Thi công và nghiệm thu;
TCVN 5308, Quy phạm kỹ thuật an toàn trong xây dựng;
TCVN 8215, Công trình thủy lợi - Các quy định chủ yếu về thiết kế bố trí thiết bị quan trắc cụm công trình đầu mối;
TCVN 8216, Công trình thủy lợi - Thiết kế đập đất đầm nén;
TCVN 8305, Công trình thủy lợi - Kênh đất - Yêu cầu kỹ thuật trong thi công và nghiệm thu;
TCVN 8478, Công trình thủy lợi - Yêu cầu thành phần, khối lượng khảo sát địa hình trong các giai đoạn lập dự án và thiết kế;
TCVN 8644, Công trình thủy lợi - Yêu cầu kỹ thuật khoan phụt vữa gia cố đê;
TCVN 9160, Công trình thủy lợi - Yêu cầu thiết kế dẫn dòng trong xây dựng;
TCVN 9361, Công tác nền móng - Thi công và nghiệm thu;
TCVN 9394, Đóng và ép cọc - Thi công và nghiệm thu;
TCVN 9903, Công trình thủy lợi - Yêu cầu thiết kế, thi công và nghiệm thu hạ mực nước ngầm;
TCVN 9906, Công trình thủy lợi - Cọc xi măng đất thi công theo phương pháp Jet-Grouting - Yêu cầu thiết kế thi công và nghiệm thu cho xử lý nền đất yếu.
3 Thuật ngữ và định nghĩa
Tiêu chuẩn này sử dụng các thuật ngữ và định nghĩa sau:
3.1
Hố móng công trình thủy lợi (Excavation of hydraulic structures)
Một khu vực không gian xác định trong đất đá, sử dụng để thi công công trình thủy lợi, thực hiện bằng cách đào và di chuyển khối đất đá ra khỏi khu vực đó.
3.2
Cát chảy (Quicksand)
Hiện tượng cát bị kéo khi dòng thấm vượt giới hạn, trôi theo dòng nước vào trong hố móng.
3.3
Vùng cát chảy (Quicksand area)
Khu vực có hiện tượng cát bị nước ngầm làm dịch chuyển, trôi theo dòng nước vào trong hố móng.
3.4
Xói ngầm cơ học (Seepage erosion)
Hiện tượng các hạt cát nhỏ hơn bị kéo ra ngoài qua kẽ hở giữa các hạt cát lớn hơn, dưới tác dụng cơ học của dòng thấm.
3.5
Mạch đùn, sủi (Sand boil)
Hình thành khi áp lực đẩy ngược của nước ngầm lớn, làm cho cát dưới đáy hố móng bị cuốn theo nước ngầm đi lên bề mặt đáy hố móng. Mạch đùn hoặc mạch sủi có thể xuất hiện đơn lẻ hoặc tập trung.
3.6
Bịt đáy hố móng (Seal courses)
Kết cấu ở đáy hố mỏng, có tác dụng ngăn nước thấm qua đáy hố móng và chống áp lực đẩy nổi. Ngoài ra, còn có tác dụng như một tầng văng chống. Bịt đáy hố mỏng thi công bằng cách đổ bê tông trong nước, gọi là bê tông bịt đáy. Nếu thi công bằng phương pháp trộn sâu, gọi là xi măng đất bịt đáy.
3.7
Đào hở (Open-pit)
Biện pháp đào hố móng công trình trong nền cát tự nhiên, không sử dụng các biện pháp chống đỡ thành hố móng.
4 Các yêu cầu kỹ thuật thi công hố móng trong cát chảy
4.1 Yêu cầu chung
4.1.1 Trước khi tiến hành thi công hố móng, cần nghiên cứu, đánh giá các tài liệu sau:
a) Tài liệu địa hình khu vực xây dựng, khu vực hố móng;
b) Tài liệu địa chất công trình, địa chất thủy văn, khí tượng thủy văn liên quan đến hố móng;
c) Tài liệu về dân sinh, kinh tế - xã hội;
d) Tài liệu về vật liệu xây dựng xung quanh khu vực hố móng;
e) Tài liệu về công trình.
4.1.2 Căn cứ vào hồ sơ thi công hố móng được phê duyệt, cần lập thiết kế chi tiết về tổ chức và biện pháp thi công, an toàn lao động.
4.1.3 Khi thi công hố móng phải tuân thủ hồ sơ thiết kế và chỉ dẫn kỹ thuật thi công đã được phê duyệt. Trường hợp nếu phát hiện thấy hồ sơ thiết kế hoặc chỉ dẫn kỹ thuật không phù hợp thì cần kiến nghị để điều chỉnh, sửa đổi hoặc bổ sung.
4.2 Yêu cầu kiểm tra tài liệu khảo sát địa hình, địa chất và khí tượng thủy văn
4.2.1 Kiểm tra tài liệu địa hình, địa chất công trình và địa chất thủy văn: Trước khi tiến hành thi công, phải tự kiểm tra lại cao, tọa độ, địa hình của hố móng và địa chất công trình, địa chất thủy văn. Trường hợp phát hiện có sự sai khác đáng kể so với khảo sát thiết kế hoặc vượt quá giới hạn cho phép, cần bảo ngay cho các bên liên quan để chỉnh sửa bổ sung trước khi thực hiện.
4.2.2 Kiểm tra tài liệu khí tượng thủy văn: Trước khi tiến hành thi công, phải tự kiểm tra lại tài liệu khí tượng thủy văn. Nếu phát hiện sai khác giữa tài liệu quan trắc thực tế với tài liệu trong hồ sơ thiết kế thì phải báo cáo ngay với các bên liên quan để có biện pháp xử lý.
4.3 Yêu cầu về chống thấm, tiêu nước và kiểm soát nước ngầm
Khi thực hiện các biện pháp để xử lý nền cát chảy, cần đảm bảo các yêu cầu sau:
a) Không được để dòng thấm kéo trôi cát và không được để đùn cát dưới nền và vách hố móng vào đáy hố móng;
b) Đảm bảo điều kiện thuận lợi cho việc thi công móng công trình, mức nước ngầm phải duy trì ở cao trình thấp hơn đáy móng công trình ít nhất 0,5 m;
c) Đảm bảo không gây biến dạng và ảnh hưởng đến kết cấu công trình lân cận;
d) Biện pháp xử lý nền cát chảy phải khả thi và đảm bảo tính hợp lý về kinh tế;
e) Trong trường hợp phải thi công công trình trong mùa mưa hoặc khi có nguồn nước mặt khác, biện pháp tiêu nước trong hố móng phải đảm bảo không làm phá hủy kết cấu đất của đáy và mái hố móng.
5 Các biện pháp xử lý nền cát chảy trong thi công hố móng
5.1 Biện pháp đào hở và tiêu nước mặt
5.1.1 Phạm vi áp dụng:
a) Khi mực nước ngầm bằng hoặc cao hơn đáy hố móng 0,5 m;
b) Không gian thi công hố móng đủ rộng để có thể mở mái hố móng:
c) Không có hoặc ít công trình lân cận;
d) Có đường giao thông thuận tiện và bãi thải đủ diện tích, đáp ứng được việc vận chuyển và tập kết khối lượng đất đào trong hố móng.
5.1.2 Biện pháp đào hở và tiêu nước mặt thông thường bao gồm các hạng mục sau đây:
a) Hệ thống mương hoặc rãnh trong hố móng:
b) Hố bơm tiêu;
c) Hệ thống mương hoặc rãnh tiêu nước ngoài hố móng.
5.1.3 Bố trí, cấu tạo hệ thống tiêu nước hố móng:
a) Việc lựa chọn bố trí mặt bằng và kết cấu mương tiêu phải được nghiên cứu để đáp ứng yêu cầu tiêu nước thuận tiện và mặt móng khô ráo theo yêu cầu ở 4.3 a);
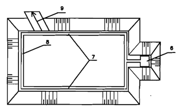
|
a) Mặt bằng hố móng trường hợp mương tiêu bố trí quanh hố móng |
b) Mặt bằng hố móng trường hợp bố trí thêm mương dọc giữa hố móng | ||
|
c) Kết cấu mương tiêu nước trong hố móng | CHÚ DẪN:
|
Hình 1 - Kết cấu mương tiêu hố móng
b) Hệ thống mương hoặc rãnh tiêu nước hố móng thông thường được bố trí quanh hố móng, dọc theo chân mái đào, xem hình 1a. Trường hợp hố móng rộng, cần bổ sung mương dọc giữa hố móng, xem Hình 1b);
c) Kích thước mương tiêu phải được xác định theo yêu cầu đủ khả năng dẫn nước và hạ thấp mực nước ngầm thấp hơn mặt móng 0,5 m;
d) Mương tiêu gồm có các loại kết cấu sau:
- Mương tiêu quanh hố móng: Kết cấu cọc tre kết hợp phên rơm, xem hình 1c hoặc vải địa kỹ thuật kết hợp đá hộc, hoặc các loại vật liệu, kết cấu phù hợp khác, xem Hình 2;
- Mương tiêu dọc giữa hố móng: Dạng hình chữ nhật hoặc hình thang. Kết cấu bằng vải địa kỹ thuật kết hợp đá hộc. Loại mương này cần phải tháo bỏ trước khi đổ bê tông móng
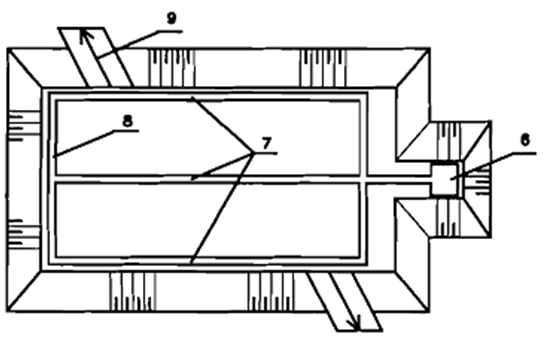
|
| CHÚ DẪN: 1 vải lọc; 2 Đá hộc. |
Hình 2 - Kết cấu mương tiêu bằng vải lọc kết hợp đá hộc
e) Hố bơm tiêu nước:
|
a) Kết cấu hố bơm nước cọc tre phên rơm |
b) kết cấu hố bơm nước cọc tre, vải lọc và đá hộc |
|
c) Mặt cắt ngang A-A và B-B | CHÚ DẪN: 1 Phên tre kẹp rơm; 2 Cọc tre; 3 Thanh nẹp; 4 Thanh chống; 5 Dăm sỏi lọc; 6 Đá hộc; 7 Cọc tre kẹp vải lọc; 8 Vải lọc; 9 Thanh tre nẹp ngang; 10 Thanh tre nẹp dọc. |
Hình 3 - Kết cấu hố bơm nước cọc tre phên rơm và cọc tre kết hợp vải lọc với đá hộc
- Vị trí hố bơm tiêu cần bố trí ngoài phạm vi đáy móng công trình để đảm bảo yêu cầu bơm tiêu nước liên tục trong quá trình đổ bê tông mỏng công trình. Thông thường nên bố trí về phía thượng lưu hoặc hạ lưu hố móng, tùy theo điều kiện cụ thể của hướng thoát nước bơm tiêu;
- Kích thước hố bơm tiêu phải được tính toán để đảm bảo yêu cầu máy bơm hoạt động liên tục và hạ được mực nước ngầm thấp hơn đáy móng ít nhất là 0,5 m;
- Kết cấu hố bơm tiêu có dạng hình chữ nhật bằng cọc tre kết hợp phên rơm, xem Hình 3a) hoặc cọc tre và vải lọc kết hợp đá hộc, xem Hình 3b).
5.1.4 Hệ thống mương tiêu nước mặt ngoài hố móng:
a) Khoảng cách từ mép ngoài hố móng đến mương tiêu: Lấy giá trị lớn nhất trong hai giá trị sau, a = b + 0,5 m (trong đó: b - chiều rộng lớn nhất trong các loại thiết bị cơ giới bố trí tại công trường) hoặc không nhỏ hơn 3,0 m;
b) Hình dạng, kích thước và độ dốc đáy mương tiêu: Phụ thuộc loại đất nền và lưu lượng nước cần tiêu. Thông thường mương có mặt cắt hình thang. Mương chính sâu 1 m, đáy rộng hơn 0,3 m, độ dốc 0,002. Mương nhánh nối tiếp vào mương chính sâu 0,3 m đến 0,5 m, rộng đáy 0,2 m đến 0,3 m, độ dốc 0,002. Mương được lót vải bạt để tránh đất làm lấp mương.
5.1.5 Yêu cầu tiêu nước trong quá trình thi công hố móng:
a) Đáy hố móng không bị xói ngầm;
b) Mái hố móng đảm bảo ổn định về thấm và sạt trượt;
c) Dòng chảy mặt không gây xói mặt hố móng đến mức ảnh hưởng lớn đến hoạt động thi công;
d) Hạ thấp mực nước ngầm theo yêu cầu tại 4.3 b).
5.2 Biện pháp đào hở và tiêu nước bằng hệ thống giếng
5.2.1 Phạm vi áp dụng:
a) Khi mực nước ngầm cao hơn so với đáy hố móng ít nhất 0,5 m;
b) Không gian thi công hố móng đủ rộng để có thể mở mái hố móng;
c) Không có hoặc ít công trình lân cận;
d) Có đường giao thông thuận tiện và bãi đổ thải đủ diện tích đáp ứng được việc vận chuyển và tập kết khối lượng đất đào trong hố móng.
5.2.2 Biện pháp đào hở và tiêu nước bằng hệ thống giếng bao gồm các hạng mục sau đây:
a) Hệ thống giếng bên ngoài hố móng;
b) Hệ thống mương hoặc rãnh tiêu nước ngoài hố móng.
|
|
b) Bố trí hai hàng giếng |
Hình 4 - Dạng hố móng đào hở, tiêu nước bằng hệ thống giếng
5.2.3 Bố trí, cấu tạo hệ thống tiêu nước hố móng:
a) Cấu tạo các loại giếng tham khảo 5.4.2 trong TCVN 9903;
b) Hệ thống mương hoặc rãnh tiêu nước ngoài hố móng theo quy định tại 5.1.3.
5.2.4 Yêu cầu tiêu nước trong quá trình thi công hố móng:
a) Đáy hố móng không bị xói ngầm, đẩy nổi;
b) Mái hố móng đảm bảo ổn định về thấm và sạt trượt;
c) Dòng chảy mặt không gây xói mặt hố móng đến mức ảnh hưởng lớn đến hoạt động thi công;
d) Hạ thấp mực nước ngầm theo yêu cầu tại 4.3 b).
5.3 Biện pháp sử dụng tường cừ thép
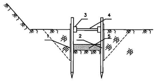
5.3.1 Phạm vi áp dụng:
a) Khi mực nước ngầm trong hố móng cao hơn đáy hố móng ít nhất 0,5 m;
b) Nền cát có trạng thái chặt vừa đến rời, không có cuội sỏi lớn, đá lăn, đá tảng và các cây gỗ hoặc các vật thể rắn khác. Tùy theo yêu cầu, cừ thép có thể làm việc ở dạng hàng đơn, hàng kép hoặc nhiều hàng:
- Sử dụng một hàng đơn khi chiều sâu hố móng H ≤ 6 m. Trong trường hợp độ sâu hố móng H > 6 m, sử dụng nhiều hàng đơn kết hợp với tạo mái hố móng. Hố móng có thể có văng chống hoặc tự do, xem hình 5;
- Có thể sử dụng một hàng kép hoặc nhiều hàng cừ đơn khi độ sâu hố móng H > 6 m, xem Hình 6 a), 6b);
c) Không gian thi công hố móng hạn chế hoặc dễ ảnh hưởng đến công trình lân cận;
d) Bãi đổ thải không đủ diện tích để đáp ứng được việc vận chuyển và tập kết khối lượng đất đào trong hố móng hở.
|
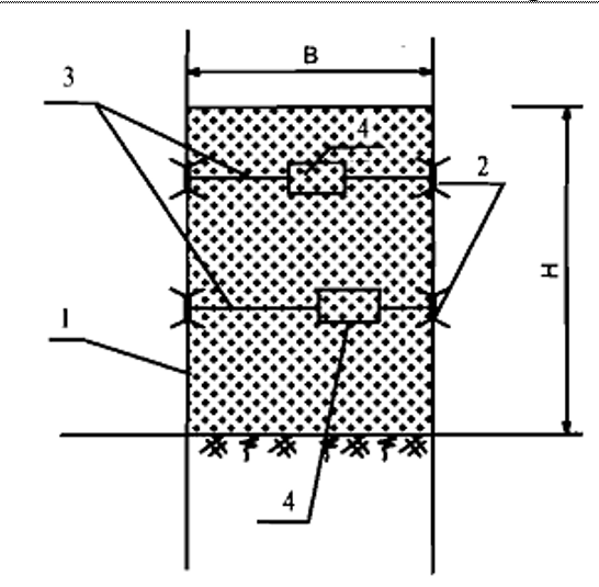
| CHÚ DẪN: 1 Bản cừ thép chữ Z; 2 Thanh nẹp dọc; 3 Thanh chống ngang; 4 Thanh chống dọc; 5 Nền cát; 6 Bê tông đáy; B là chiều rộng hố móng; L là chiều dài thanh cừ thép |
Hình 5 - Hàng đơn sử dụng văng chống
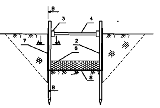
|
a) Sử dụng một hàng cừ kép |
b) Sử dụng nhiều hàng cừ đơn |
CHÚ DẪN:
1 Bản cừ thép chữ U hoặc chữ Z;
2 Thanh nẹp dọc;
3 Thanh giằng;
4 Tăng đơ;
B, H là chiều rộng và chiều cao hố móng.
Hình 6 - Cừ thép sử dụng một hàng kép hoặc nhiều hàng cừ đơn
5.3.2 Trong trường hợp sử dụng tường cừ thép đơn, nước trong hố mỏng được tiêu bằng hệ thống mương tiêu hoặc bơm tiêu nước mặt trong hố móng đến mặt đất, sau đó tiêu bằng hệ thống mương tiêu nước, cấu tạo mương tiêu theo quy định tại 5.1.3.
5.3.3 Trong trường hợp sử dụng tường cừ thép kép kết hợp với tiêu nước bằng giếng. Giếng tiêu nước có thể được bố trí trước hoặc sau cừ thép, cấu tạo giếng theo quy định tại 5.4.2 trong TCVN 9903.
5.3.4 Trong trường hợp sử dụng tường cừ thép kết hợp với bịt đáy hố móng, kết cấu bịt đáy có thể bằng bê tông bịt đáy hoặc xi măng đất bịt đáy, xem Hình 7 và Hình 8.
|
a) Hố móng bịt đáy bằng xi măng đất |
b) Mặt bằng hố móng xi mặt đất |
Hình 7 - Hố móng bịt đáy bằng xi măng đất
|
a) Hố móng bịt đáy bằng bê tông |
b) Mặt bằng hố móng bê tông |
Hình 8 - Hố móng bịt đáy bằng Bê tông
5.3.5 Yêu cầu tiêu nước trong quá trình thi công hố móng:
a) Đáy hố móng đảm bảo ổn định về thấm, đẩy nổi;
b) Hố móng đảm bảo ổn định trượt tổng thể;
c) Cừ thép chống thấm không bị thủng, rò nước và đảm bảo khả năng chịu lực, biến dạng;
d) Hạ thấp mực nước ngầm theo yêu cầu tại 4.3 b).
5.4 Biện pháp sử dụng tường Xi măng đất
5.4.1 Phạm vi áp dụng:
a) Khi chiều sâu hố móng H ≤ 10 m và mực nước ngầm trong hố móng cao hơn đáy hố móng ít nhất 0,5 m;
b) Nền cát có trạng thái từ chặt đến trạng thái rời, hàm lượng cuội sỏi không quá 20%. Không có đá lăn, đá tảng và các cây gỗ hoặc các vật thể rắn khác;
c) Không gian thi công hố móng hạn chế hoặc dễ ảnh hưởng đến công trình lân cận.
5.4.2 Trường hợp sử dụng cọc xi măng đất để làm tường chống thấm, nước trong hố móng được tiêu bằng hệ thống mương tiêu, cấu tạo mương tiêu theo quy định tại 5.1.3. Còn hệ thống mương tiêu nước mặt ngoài hố móng theo quy định tại 5.1.4.
5.4.3 Trường hợp sử dụng cọc xi măng đất để làm tường chống thấm, kết hợp với tiêu nước bằng giếng, giếng tiêu nước có thể được bố trí trước hoặc sau tường xi măng đất. Cấu tạo các loại giếng theo quy định tại 5.4.2 trong TCVN 9903.
5.4.4 Yêu cầu tiêu nước trong quá trình thi công hố móng:
a) Đáy hố móng đảm bảo ổn định về thấm;
b) Hố móng đảm bảo ổn định trượt tổng thể;
c) Tường xi măng đất chống thấm đảm bảo kín nước;
d) Hạ thấp mực nước ngầm theo yêu cầu tại điều 4.3 b.
5.5 Biện pháp sử dụng khoan phụt vữa Xi măng hoặc Xi măng - sét
5.5.1 Phạm vi áp dụng:
a) Khi chiều sâu hố móng khộng giới hạn, nền cát có lẫn cuội sỏi, đá tảng, đá lăn, cây gỗ vật rắn. Mực nước ngầm trong hố móng cao hơn đáy hố móng ít nhất 0,5 m;
b) Nền cát có chỉ số khoan phụt M = D15/d85 >10 (Trong đó: D15 là đường kính hạt có 15 % trọng lượng hạt trong nền cát cần xử lý nhỏ hơn đường kính hạt này, (mm); d85 là đường kính hạt có 85 % trọng lượng hạt trong dung dịch phụt nhỏ hơn đường kính hạt này, (mm)). Vữa phụt sử dụng như sau:
- Khi M > 10, sử dụng vữa phụt xi măng-sét;
- Khi M > 15, sử dụng vữa phụt xi măng.
c) Không gian thi công hố móng hạn chế hoặc dễ ảnh hưởng đến công trình lân cận.
5.5.2 Trường hợp sử dụng khoan phụt vữa để làm tường chống thấm, nước trong hố móng được tiêu bằng hệ thống mương tiêu, cấu tạo mương tiêu trong hố móng theo quy định tại 5.1.3. Còn hệ thống mương tiêu nước mặt ngoài hố móng theo quy định tại 5.1.4.
5.5.3 Trường hợp sử dụng khoan phụt vữa để làm tường chống thấm, kết hợp với tiêu nước bằng giếng, giếng tiêu nước có thể được bố trí trước hoặc sau tường chống thấm, cấu tạo các loại giếng theo quy định tại 5.4.2 trong TCVN 9903.
5.5.4 Yêu cầu tiêu nước trong quá trình thi công hố móng:
a) Đáy hố móng đảm bảo ổn định về thấm;
b) Hố móng đảm bảo ổn định trượt tổng thể;
c) Tường chống thấm đảm bảo kín nước;
d) Hạ thấp mực nước ngầm theo yêu cầu tại 4.3 b).
5.6 Biện pháp sử dụng tường hào Bentonite
5.6.1 Phạm vi áp dụng:
a) Khi chiều sâu hố móng H ≤ 18 m. Mực nước ngầm trong hố móng cao hơn đáy hố móng ít nhất 0,5 m;
b) Nền cát có trạng thái từ chặt đến trạng thái rời, không có đá tảng, đá lăn hoặc cây gỗ và các vật rắn lớn;
c) Không gian thi công hố móng rộng rãi.
5.6.2 Trường hợp sử dụng tường hào bentonite để làm tường chống thấm, nước trong hố móng được tiêu bằng hệ thống mương tiêu, cấu tạo mương tiêu theo quy định tại 5.1.3. Còn hệ thống mương tiêu nước mặt ngoài hố móng theo quy định tại 5.1.4.
5.6.3 Trường hợp sử dụng tường hào bentonite để làm tường chống thấm, kết hợp với tiêu nước bằng giếng, giếng tiêu nước có thể được bố trí trước hoặc sau tường hào bentonite, cấu tạo các loại giếng theo quy định tại 5.4.2 trong TCVN 9903.
5.6.4 Yêu cầu tiêu nước trong quá trình thi công hố móng:
a) Đáy hố móng đảm bảo ổn định về thấm;
b) Hố móng đảm bảo ổn định trượt tổng thể;
c) Tường hào bentonite chống thấm đảm bảo kín nước và ổn định;
d) Hạ thấp mực nước ngầm theo yêu cầu tại 4.3 b).
5.7 Biện pháp sử dụng tường cừ bê tông cốt thép
5.7.1 Phạm vi áp dụng:
a) Khi hố móng có chiều sâu H ≤ 14 m. Mực nước ngầm trong hố móng cao hơn đáy hố móng ít nhất 0,5 m;
b) Nền cát có trạng thái chặt vừa đến rời, không có đá lăn, đá tảng, cây gỗ hoặc các vật rắn lớn;
c) Không gian thi công hố móng hạn chế hoặc dễ ảnh hưởng đến công trình lân cận;
d) Bãi đổ thải không đủ diện tích để đáp ứng được việc vận chuyển và tập kết khối lượng đất đào trong hố móng hở.
5.7.2 Trường hợp sử dụng tường cừ bê tông cốt thép, nước trong hố móng được tiêu bằng hệ thống mương tiêu hoặc bơm tiêu nước mặt trong hố móng đến mặt đất, sau đó tiêu bằng hệ thống mương tiêu nước, cấu tạo mương tiêu theo quy định tại 5.1.3.
5.7.3 Trường hợp sử dụng tường cừ bê tông cốt thép kết hợp với bịt đáy hố móng, bịt đáy hố móng có thể bằng bê tông bịt đáy hoặc xi măng đất bịt đáy.
5.7.4 Yêu cầu tiêu nước trong quá trình thi công hố móng:
a) Đáy hố móng đảm bảo ổn định về thấm, đẩy nổi;
b) Hố móng đảm bảo ổn định trượt tổng thể;
c) Cừ chống thấm không bị thủng, rò nước và đảm bảo khả năng chịu lực, biến dạng;
d) Hạ thấp mực nước ngầm theo yêu cầu tại 4.3 b).
6 Thiết kế tổ chức và biện pháp thi công xử lý nền cát chảy
6.1 Nguyên tắc chung
6.1.1 Căn cứ vào hồ sơ thiết kế về tổ chức và biện pháp thi công riêng cho việc thi công xử lý nền cát chảy, phải lập biện pháp thi công cụ thể và phải được phê duyệt trước khi thực hiện thi công.
6.1.2 Trong trường hợp có đề xuất biện pháp xử lý khác với biện pháp thiết kế đã được phê duyệt, thì đơn vị đề xuất phải lập hồ sơ thiết kế cụ thể và kiến nghị để điều chỉnh biện pháp xử lý. Trường hợp này, đơn vị đề xuất phải chịu hoàn toàn trách nhiệm về mặt kỹ thuật, tiến độ.
6.2 Thi công xử lý nền cát chảy
6.2.1 Yêu cầu chung
6.2.1.1 Khi thực hiện các biện pháp thi công xử lý nền cát chảy, phải quy định và tuân thủ các yêu cầu kỹ thuật cũng như nội dung nghiệm thu.
6.2.1.2 Công tác chuẩn bị thi công theo quy định tại TCVN 4055.
6.2.1.3 Khi xảy ra một trong các tình huống sau:
a) Trong trường hợp do thiên tai, địch họa không lường trước được, phải báo cáo bằng văn bản cho các bên liên quan. Mọi diễn biến trên phải được ghi chép đầy đủ, cẩn thận và có chữ ký của đơn vị giám sát;
b) Trong trường hợp do bất khả kháng, bắt buộc phải thi công trong mùa lũ để đáp ứng tiến độ, phương án thi công trong mùa lũ cần phải có những biện pháp đảm bảo an toàn con người, phương tiện và đảm bảo kết cấu tự nhiên đất nền hố móng trong và sau khi thi công.
6.2.2 Thi công hố móng đào hở và tiêu nước mặt
6.2.2.1 Khống chế mặt bằng, cao độ và định vị hố móng
Công tác khống chế mặt bằng, cao độ và định vị hố móng theo quy định tại TCVN 8478, ngoài ra phải đảm bảo các yêu cầu kỹ thuật dưới đây:
- Trường hợp hố móng bố trí trên sông, kênh, rạch cần phải có ít nhất hai mốc chuẩn bằng bê tông trên bờ, tại vị trí ổn định, dễ quan sát, ít bị ảnh hưởng bởi các hoạt động xung quanh;
- Tùy thuộc vào hiện trạng hố móng để thiết lập mốc định vị cho phù hợp, không hạn chế số lượng mốc. Tuy nhiên, trong mọi trường hợp mỗi góc hố mỏng phải có ít nhất 1 mốc định vị.
6.2.2.2 Đào và đổ đất hố móng
a) Công tác chuẩn bị: Công tác chuẩn bị thi công phải theo quy định tại TCVN 4447.
b) Công tác thi công đào đất:
- Khi tiến hành đào và đổ đất hố móng cần theo quy định tại TCVN 9361; Ngoài ra cần có một số yêu cầu sau:
+ Trường hợp sử dụng máy đào theo quy định tại 4.4.2 trong TCVN 4447;
+ Trường hợp sử dụng máy cạp theo quy định tại 4.4.3 trong TCVN 4447;
+ Trường hợp sử dụng máy ủi theo quy định tại 4.4.4 trong TCVN 4447.
- Đào đất theo đợt, từ cao xuống thấp, mỗi đợt đào sâu không quá 1 m. Bắt đầu đào từ phía cạnh ngắn của hố móng về phía bố trí hố bơm tiêu nước lấn dần về phía đối diện. Hạn chế tối đa việc đào sâu cục bộ đất trong hố móng;
- Khi chiều sâu đào hố móng không quá 0,5 m có thể đào thẳng đứng. Trường hợp chiều sâu hố đào lớn hơn thì cần phải mở mái hố móng, cần xác định độ dốc mái đào để xác định phạm vi đào cho phép, tránh làm hố móng mở ra ngoài phạm vi thiết kế. Chiều sâu đào và độ dốc mái hố móng xem quy định ở bảng 1.
Bảng 1 - Chiều sâu đào và độ dóc mái hố móng
| Loại đất | Hệ số mái dốc tương ứng với độ sâu hào (m) | ||
| 1,5 | Từ 1,5 đến 3,0 | Từ 3,0 đến 5,0 | |
| 1. Cát sỏi ẩm (không bão hòa nước) | 1,50 | 1,75 | 2,00 |
| 2. Đất á cát | 1,25 | 1,50 | 1,75 |
c) Nghiệm thu hố móng:
Được tiến hành sau khi hoàn thành hố móng và chuẩn bị sang giai đoạn thi công khác. Sai số cho phép trong bảng 2.
Bảng 2 - Sai số cho phép đào khuôn móng
| Hạng mục | Sai số cho phép |
| 1. Cao trình đáy móng | -10 cm |
| 2. Chiều rộng và dài của hố móng | ± 20 cm |
| 3. Mái hố móng | 10% |
| 4. Sai lệch tim hố móng so với tim kênh dẫn | ± 20 cm |
6.2.2.3 Thi công mương tiêu và hố bơm tiêu nước trong hố móng
a) Yêu cầu chung: Công tác tiêu nước trong hố móng thực hiện theo quy định tại TCVN 9160;
TCVN 8305; TCVN 4447. Ngoài ra còn một số yêu cầu sau:
- Mương tiêu phải đảm bảo kích thước thiết kế, đảm bảo độ dốc về hố bơm tiêu;
- Khi thi công cần tính đến mặt cắt dự phòng để bạt mái hoặc làm kết cấu lọc, tránh phải đắp bù;
- Phân từng đoạn để thi công, thi công đến đâu xong đến đấy mới làm đoạn tiếp theo;
- Nếu thi công bằng phương tiện cơ giới thì cần phải hết sức lưu ý tránh làm phá vỡ kết cấu tự nhiên của đất nền trong phạm vi hố móng;
- Đất đào mương phải được vận chuyển ra khỏi hố móng và đổ theo quy định của thiết kế.
b) Công tác chuẩn bị:
- Tập kết máy móc, thiết bị thi công gần vị trí thi công mương;
- Tập kết vật liệu làm mương như cọc tre, phên rơm, vải lọc.
c) Công tác thi công mương thoát nước: Thi công đào bằng thủ công hoặc bằng máy đào. Khi đào cần căn cứ vào kích thước thiết kế của mương để quyết định phương án đào, sao cho vừa đúng kích thước thiết kế, tránh phải đắp vào mái mương. Sau khi đào đất, tiến hành đóng cọc tre và dựng phên rơm hoặc dùng vải lọc lót xuống mương đào sền, sau đỏ cho đá hộc xuống. Gỏi vải lọc bọc đá hộc để tạo kết cấu lọc. Khi thi công cần đậm bảo đúng chủng loại vải lọc theo hồ sơ thiết kế;
d) Lấp mương thoát nước: Mương thoát nước được lấp trước khi tiến hành đổ bê tông bản đáy. Mương phải được lấp dần từng đoạn theo phương pháp phân đoạn, phù hợp với từng khoảnh đổ bê tông đáy. Thông thường, những đoạn mương đối diện với hố bơm hút nước được lấp trước, sau đó lấn dần về phía hố bơm tiêu. Trước khi tiến hành công tác lấp đất cần dọn sạch các dị vật, các kết cấu do quá trình thi công mương tạo ra. Trong quá trình dọn các dị vật, các kết cấu do quá trình thi công mương tạo ra phải đảm bảo nền đất khô ráo. Việc đắp đất lấp mương, đặc biệt là các mương thoát nước ở vị trí mang và dưới đáy công trình, cần theo quy định tại 8.2.5 - TCVN 8216.
e) Nghiệm thu mương tiêu nước trong hố móng: Sai số cho phép được quy định trong Bảng 3.
Bảng 3 - Sai số cho phép đào mương và hố bơm tiêu
| Hạng mục | Sai số cho phép |
| 1. Cao trình đáy mương và hố bơm tiêu | -10 cm |
| 2. Chiều rộng mương và kích thước hai chiều của hố bơm tiêu | 10 cm |
| 3. Mái mương tiêu | 15% |
| 4. Đá hộc | ± 5 cm |
| 5. Lớp lọc dăm sỏi, cát | ± 3 cm |
6.2.2.4 Thi công mương tiêu và hố bơm tiêu nước ngoài hố móng
Công tác tiêu nước ngoài hố móng thực hiện theo quy định tại TCVN 8305; TCVN 4447. Ngoài ra, cần một số yêu cầu sau:
a) Thi công đào đất:
- Mương tiêu phải đảm bảo kích thước thiết kế, đảm bảo độ dốc về hố bơm tiêu;
- Khi thi công cần tính đến mặt cắt dự phòng để bạt mái hoặc làm kết cấu lọc, tránh phải đắp bù;
- Phân từng đoạn để thi công, thi công đến đâu xong đến đấy mới làm đoạn tiếp theo.
b) Tùy thuộc vào địa chất bên ngoài hố móng mà mương tiêu phía ngoài hố móng có thể đào đến độ sâu cần thiết. Trường hợp đào thẳng đứng, đáy mương nằm trên mực nước ngầm, không có công trình bên cạnh, thực hiện các yêu cầu theo quy định tại 4.2.5 trong TCVN 4447.
c) Nghiệm thu mương tiêu nước ngoài hố móng: Sai số cho phép được quy định trong Bảng 4.
Bảng 4 - Sai số cho phép đào mương tiêu ngoài hố móng
| STT | Hạng mục | Sai số cho phép |
| 1 | Cao trình đáy mương và hố bơm tiêu | -10 cm |
| 2 | Chiều rộng mương và kích thước hai chiều của hố bơm tiêu | ± 10 cm |
| 3 | Mái mương tiêu | 15% |
6.2.3 Thi công hố móng đào hở và tiêu nước bằng hệ thống giếng
6.2.3.1 Khống chế mặt bằng, cao độ và định vị hố móng: Thực hiện các yêu cầu theo quy định tại 6.2.2.1.
6.2.3.2 Thi công tiêu nước trong và ngoài hố móng:
a) Đối với giếng bơm tiêu nước ngầm trong hố móng: Thi công và nghiệm thu tiêu nước ngầm thực hiện theo quy định tại Điều 6 trong TCVN 9903;
b) Đối với mương và hố bơm tiêu ngoài phạm vi hố móng: Thực hiện theo quy định tại 6.2.2.4.
6.2.3.3 Đào và đổ đất hố móng: Thực hiện theo quy định tại 6.2.2.2.
6.2.4 Thi công hố móng tường cừ thép
6.2.4.1 Yêu cầu chung
a) Khi đóng và ép cừ thép theo quy định tại TCVN 9394;
b) Ngoài ra cừ thép phải được thi công theo theo quy trình do Nhà thầu thi công lập. Trước khi đưa vào thi công phải được kiểm tra chất lượng và có biên bản nghiệm thu;
c) Cừ thép phải được thi công trước khi thi công hệ thống tiêu nước mặt và nước ngầm.
6.2.4.2 Biện pháp thi công cừ thép
a) Để đóng cừ thép vào trong đất cát có thể thi công bằng cách sử dụng búa rung. Có 2 loại búa rung là loại dùng bằng điện đi kèm với xe cẩu và loại dùng bằng thủy lực đi kèm với máy đào. Tần số rung máy 20 Hz đến 40 Hz, lực ấn của búa thông thường nhỏ hơn 400 tấn;
b) Khi sử dụng búa rung bằng điện, trước khi thi công cần phải chuẩn bị nguồn điện. Tốt nhất là sử dụng điện lưới, nếu không có thì phải chuẩn bị nguồn máy nổ phù hợp. Máy cẩu, búa rung và cừ thép phải được tập kết đúng vị trí. Có thể sử dụng nhiều búa rung cùng lúc để thi công. Tuy nhiên, phải bố trí hợp lý để việc thi công không ảnh hưởng lẫn nhau. Thi công lưu ý các vấn đề sau:
- Trước khi thi công, phải kiểm tra, kiểm định máy móc thiết bị đủ và đạt tiêu chuẩn;
- Phải thường xuyên kiểm tra các mối hàn liên kết, các bulông, xích truyền lực, puly cáp, mô tơ và hệ thống điện;
- Sử dụng máy trắc đạc và quả rọi để định vị vị trí và độ nghiêng của thanh cừ trong thi công. Sai số thẳng đứng cho phép của thanh cừ từ 0 đến 2‰, nếu vượt quá thì dùng đầu kẹp để chỉnh;
- Chỉ được rung khi búa đã ổn định trên cọc. Cáp treo búa thả không quá căng;
- Lúc đầu chỉ được phép rung với tần số thấp để khi cọc xuống ổn định rồi mới được tăng dần lực rung của búa;
- Đóng xong một cọc khi di chuyển máy đến vị trí cọc mới phải chú ý đến nền đất tránh hiện tượng nền đất bị sụt, lún làm nghiêng máy, lật máy;
- Tuyệt đối không cho phép người đứng trong phạm vi hành lang an toàn lưới điện.
c) Ưu tiên bố trí đường thi công khi sử dụng búa rung bằng thủy lực thi công cừ thép;
d) Dung sai cho phép, khi thi công khung vây hố móng trong Bảng 5;
Bảng 5 - Dung sai cho phép thi công đóng cừ thép
| Hạng mục | Sai số cho phép |
| 1. Vị trí tim tuyến cừ thép so với thiết kế | ± 3 cm |
| 2. Cao độ đỉnh cừ thép | ± 5 cm |
| 3. Sai số phương thẳng đứng thanh cừ thép | ±-2‰L |
| 4. Sai số thanh cừ nối tiếp khung vây và tuyến cừ chống thấm trên mặt bằng | ± 5 cm |
e) Thực hiện xảm me cừ để kín mạch nối ghép giữa các thanh cừ sau khi hoàn thành thi công đóng cừ thép;
f) Ghép vòng vây hố móng bằng cách dựa vào khung dẫn hướng. Đối với vòng vây hình chữ nhật, có thể tiến hành xuất phát từ một góc hoặc hai góc khung vây. Đối với hố móng khung hình tròn hoặc elip có thể bắt đầu từ vị trí bất kỳ. Thi công cừ thép lần lượt cho đến khi khép kín khung vây, khi hạ cừ thép độ chênh đầu cừ giữa hai thanh liên tiếp không quá 0,5 m;
g) Xử lý tại vị trí hợp long:
- Xác định khoảng cách thực tế tại vị trí hợp long trên mặt bằng, trước khi tiến hành đóng 2 cừ thép cuối cùng;
- Đóng hai cây cừ cuối cùng xuống đến 2/3 chiều sâu thiết kế. Gông chúng chắc chắn lại với nhau, sao đó nhô lên để đo khoảng hở. Tiến hành chế tạo thanh cừ hợp long khi đã biết thông số khoảng hở trên mặt bằng và dưới sâu;
- Nếu thi công trong nước, thì phải sử dụng thợ lặn đo dọc thanh cừ theo chiều từ trên xuống dưới;
- Trong mọi trường hợp không được phép hợp long không kín khe hở tại vị trí hợp long. Trong trường hợp này nhất thiết phải có biện pháp bổ sung để bịt kín cửa hợp long.
6.2.4.3 Biện pháp thi công tiêu nước trong hố móng
a) Trường hợp sử dụng tường cừ thép kết hợp với hệ thống mương tiêu nước trong hố móng. Mương tiêu nước sẽ được thi công sau khi đào đất trong hố móng. Việc thi công thực hiện theo quy định tại 6.2.2.3;
b) Trường hợp sử dụng tường cừ thép kết hợp với tiêu nước bằng giếng. Giếng tiêu nước có thể thi công trước hoặc sau khi thi công hố mỏng và trước khi tiến hành đào đất hố mỏng. Đối với hố móng phức tạp có nhiều lớp cừ thép và nhiều lớp giếng, cần phải phối hợp chặt chẽ việc bơm hút nước và đào đất hố móng. Thông thường vừa bơm hút để hạ nước ngầm, vừa tiến hành đào đất. Trình tự thực hiện từ lớp cừ thép và giếng ngoài cùng, sau đó vào trong, cho đến khi cao độ hố móng đạt yêu cầu thiết kế. Công tác thi công giếng, bơm hút và nghiệm thu thực hiện theo quy định tại 6 trong TCVN 9903.
6.2.4.4 Biện pháp thi công bịt đáy bằng xi măng đất
a) Trường hợp sử dụng cừ thép kết hợp với bịt đáy xi măng đất. Công tác thi công bịt đáy xi măng đất có thể tiến hành sau khi hạp long khung vây hoặc sau khi đảo đất trong hố móng. Trong mọi trường hợp, phải để lại ít nhất 1 lớp đất nền tính từ đỉnh cọc để làm phản áp. Chiều cao lớp đất phản áp cần được xác định bằng tính toán, nhưng không nhỏ hơn 0,5 m. Lớp đất này phải đào bằng thủ công;
b) Công tác chuẩn bị và công tác thi công bịt đáy xi măng đất thực hiện theo quy định tại 6.2.5.1 và 6.2.52;
c) Xử lý kỹ thuật trong thi công;
Khi đào đất hố móng, nếu phát hiện khuyết tật ở nút bịt do cọc xi măng đất không chồng lấn lên nhau thì tùy trường hợp để chọn và xử lý bằng các biện pháp sau:
- Khoan phụt bù cọc xi măng đất vào vị trí khuyết tật, những cọc phụt bù yêu cầu chồng lấn lên cọc đã có 0,4 m. Vữa sử dụng phải sử dụng phụ gia đông kết nhanh, hàm lượng theo chỉ định của thiết kế;
- Làm tầng lọc ngược tại vị trí khuyết tật, dẫn nước qua tầng lọc ngược vào hố tập trung nước để bơm hút.
Trường hợp bịt đáy xi măng đất có nguy cơ bị đẩy nổi do áp lực nước đáy hố móng, có thể xử lý bằng các biện pháp sau:
- Bơm nước vào hố móng để cân bằng. Kéo dài tường chống thấm đã có bằng cách sử dụng phương pháp Jet grouting, vị trí tường mới phía ngoài tường đã có;
- Giảm áp lực nước đáy hố mỏng bằng cách cắm một số ống nhựa PVC vào một số vị trí định trước trên nút bịt. Đường kính ống nhựa bằng với đường kính khoan dẫn. Nước thoát ra được dẫn về vị trí tập trung để bơm hút;
- Trường hợp sau khi đào đất hố móng đến cao độ thiết kế mà nước vẫn thấm qua bịt đáy xi măng đất thì phải khơi rãnh tiêu và tập trung về hố bơm. Kích thước rãnh tiêu nước phải được xác định theo tính toán để đủ khả năng dẫn nước về hố bơm.
d) Nghiệm thu xi măng đất bịt đáy cần tiến hành sau khi đào đất trong hố móng hoặc trước khi tiến hành bơm hút nước trong hố móng. Các yêu cầu trong Bảng 6.
Bảng 6 - Sai số cho phép xi măng đất bịt đáy
| Yêu cầu kỹ thuật | Sai số cho phép | Vị trí kiểm tra | Cách thức kiểm tra |
| Cao độ đáy xi măng đất | ± 10 cm | Tại vị trí giữa và 4 góc hố móng | Thước thép, thước cuộn, dựa trên ống cần khoan rút lên. |
| Cao độ đỉnh xi măng đất | ± 5 cm | Tại vị trí giữa và 4 góc hố móng | Thước thép, thước-cuộn, đối chiếu mốc giả định vạch trên hệ khung vây. |
| Sai số tọa độ cọc xi măng đất | ± 5 cm | Tại vị trí bất kỳ | Máy trắc địa. |
| Hệ số chống thấm KXMĐ |
| Tại vị trí bất kỳ | - Thí nghiệm đổ nước hoặc ép nước. - Thí nghiệm mẫu trong phòng. |
6.2.4.5 Biện pháp thi công bịt đáy bê tông
a) Trường hợp sử dụng cừ thép kết hợp với bịt đáy bằng bê tông. Công tác thi công bê tông được tiến hành sau khi đào đất trong hố mỏng đến cao độ thiết kế;
b) Thi công bê tông bịt đáy được thực hiện bằng biện pháp thi công bê tông trong nước theo hồ sơ thiết kế hoặc tham khảo Phụ lục A tiêu chuẩn này.
6.2.4.6 Biện pháp thi công đào đất trong hố mỏng
a) Trường hợp tường cừ thép kết hợp bịt đáy hố móng bằng xi măng đất: Đất trong hố móng được đào khi bịt đáy chống thấm xi măng đất hố móng đã được thi công xong. Trong trường hợp hố móng có sử dụng văng chống, đất trong hố móng được đào từ trên xuống dưới, lần lượt đến cao trình thiết kế đặt văng chống thì dừng lại để lắp đặt văng chống. Sau đó tiếp tục đào và lắp đặt hệ thống văng chống tiếp theo cho đến khi hoàn thành việc đào hố móng. Trong quá trình thi công đào đất, cần quan sát đánh giá khuyết tật của nút bịt, để kịp thời xử lý;
b) Trường hợp tường cừ thép kết hợp bịt đáy hố mỏng bằng bê tông: Công tác đào đất trong khung vây thi công được thực hiện sau khi hoàn thành việc đóng cừ và lắp dựng xong hệ khung chống tầng trên cùng. Trường hợp đất nền không xử lý bằng cọc bê tông cốt thép thì cao độ mặt đất thấp nhất được phép đào bằng máy đào, phải cao hơn cao trình đáy hố móng thiết kế 0,5 m, phần đất còn lại sử dụng phương pháp xói hút để đưa đất trong khung vây ra ngoài. Trường hợp đất nền đã đóng cọc bê tông cốt thép, xử lý như mục 6.2.4.6 e. Trong quá trình thi công, phải kết hợp với thợ lặn để kiểm tra, điều chỉnh, đảm bảo kích thước và cao trình đáy hố móng như yêu cầu trong hồ sơ thiết kế;
c) Trường hợp tường cừ thép kết hợp tiêu nước bằng giếng: Khi công việc hạ mực nước ngầm đòi hỏi thời gian thi công dài, các thiết bị hạ mực nước ngầm hoạt động theo từng thời đoạn thi công đào đất thì cần phải phối hợp công tác hạ thấp mực nước ngầm với công tác đào đất vả các công tác xây dựng khác về thời gian và kỹ thuật thi công cũng như điều kiện bố trí các phương tiện khác;
d) Các trường hợp thi công khác, phương pháp thi công thực hiện theo quy định tại 6.2.2.2;
e) Đối với hố móng đã được đóng cọc bê tông cốt thép trước, yêu cầu cao độ mặt đất thấp nhất được phép đào bằng máy đào phải cách đầu cọc xử lý nền đã đóng trước đó (cao độ đầu cọc có kể đến phần đập đầu cọc) ít nhất 0,5m. Phần còn lại phải sử dụng phương pháp hoặc đào thủ công để đưa đất trong hố móng ra ngoài.
6.2.5 Thi công hố móng tường xi măng đất
6.2.5.1 Yêu cầu chung: Sử dụng phương pháp Jet grouting để thi công tường xi măng đất chống thấm. Chọn công nghệ 1 pha, 2 pha hay 3 pha tùy thuộc vào yêu cầu của tường chống thấm và điều kiện của đất nền. Lựa chọn thiết bị thi công có thể tham khảo Phụ lục A trong TCVN 9906.
6.2.5.2 Thi công tường xi măng đất
a) Công tác chuẩn bị: Thực hiện theo quy định tại Điều 5 trong TCVN 9906.
b) Công tác thi công tường xi măng đất:
- Nếu trong giai đoạn thiết kế chưa có điều kiện làm cọc thử thì trong giai đoạn thi công phải tiến hành làm cọc thử để xác định đường kính, chiều dài và hệ số thấm đối với nền cát hố móng, nhằm lựa chọn được các thông số thi công phù hợp;
- Việc thi công khoan xuống, rút lên và phụt vữa thực hiện theo quy định tại 5.2.1 và 5.2.2 trong TCVN 9906.
c) Xử lý kỹ thuật trong thi công: Thực hiện theo quy định tại 5.2.3 trong TCVN 9906.
d) Nghiệm thu tường chống thấm, với các yêu cầu sau:
- Sai số tọa độ cọc xi măng đất trên tuyến chống thấm cho phép là ± 2 cm, cao trình đỉnh cọc là ± 5 cm, trừ khi thiết kế có chỉ định khác;
- Đánh giá hình dạng và đường kính cọc: Đường kính cọc được kiểm tra bằng phương pháp đào lộ đầu cọc bằng thủ công, chiều sâu đào kiểm tra khoảng 2 m đến 3 m kể từ đỉnh cọc. Khi cần thiết có thể yêu cầu đào sâu hơn hoặc đào toàn bộ chiều sâu cọc;
- Kiểm tra khả năng chống thấm bằng phương pháp đổ nước hiện trường: Cho phép thí nghiệm đổ nước trong hố khoan để kiểm tra kết quả chống thấm của tường, số lượng hố khoan đổ nước thí nghiệm khoảng 2% số lượng cọc. Mỗi hố khoan nên đổ nước trong 3 đoạn. Đặc biệt lưu ý đoạn có địa tầng lẫn nhiều dăm sỏi sạn. Sau khi khoan xong phải đổ vữa lấp hố. Việc ép nước chỉ tiến hành trên các cọc thử hoặc trong một số trường hợp đặc biệt nhưng sau đó phải có biện pháp xử lý lấp hố đảm bảo kỹ thuật.
6.2.5.3 Thi công tiêu nước trong hố mỏng: Theo quy định tại 6.2.2.3.
6.2.5.4 Thi công tiêu nước ngoài hố mỏng: Theo quy định tại 6.2.2.4.
6.2.6 Thi công hố móng khoan phụt vữa xi măng hoặc xi măng - sét
6.2.6.1 Yêu cầu chung
- Thi công khoan phụt vữa phải được thi công theo quy định riêng. Vật liệu để sử dụng cho thi công khoan phụt phải có chứng chỉ chất lượng của nhà sản xuất. Trước khi đưa vào thi công phải được kiểm tra chất lượng và có biên bản nghiệm thu;
- Thi công khoan phụt chống thấm phải được thi công trước khi thi công hệ thống tiêu nước mặt và nước ngầm.
6.2.6.2 Thi công khoan phụt vữa chống thấm
a) Công tác chuẩn bị: Theo quy định tại 6.1 và 6.2 trong TCVN 8644.
b) Thực hiện thi công: Theo quy định tại 6.3 trong TCVN 8644.
c) Xử lý kỹ thuật trong thi công: Theo quy định tại 6.3.3 trong TCVN 8644.
d) Nghiệm thu thi công khoan phụt chống thấm: Theo quy định tại Điều 7 trong TCVN 8644.
6.2.6.3 Thi công tiêu nước trong hố móng: Theo quy định tại 6.2.2.3.
6.2.6.4 Thi công tiêu nước ngoài hố móng: Theo quy định tại 6.2.2.4.
6.2.7 Thi công hố móng tường hào Bentonite
6.2.7.1 Yêu cầu chung
- Tường hào chống thấm Bentonite phải được thi công theo quy định riêng. Vật liệu sử dụng để thi công khoan phụt phải có chứng chỉ chất lượng của nhà sản xuất. Trước khi đưa vào thi công phải được kiểm tra chất lượng và có biên bản nghiệm thu.
6.2.7.2 Thi công tường hào Bentonite
a) Công tác chuẩn bị:
- Chuẩn bị lán, trại, tập kết máy móc, thiết bị thi công tại vị trí quy định;
- Căn cứ vào yêu cầu chất lượng tường hào bentonite, Tư vấn Thiết kế cần lựa chọn nhiều tổ hợp bentonite, Xi măng để chọn được tổ hợp tốt nhất. Trước khi thi công, cần tiến hành thí nghiệm để xác định cấp phối đạt yêu cầu kỹ thuật của thiết kế.
b) Thực hiện thi công:
- Dây chuyền và thiết bị thi công phải được tính toán dựa trên yêu cầu kỹ thuật, khối lượng và tiến độ thi công. Mỗi dây chuyền đảm bảo việc thi công từ ủ, trộn, sản xuất vữa, vận chuyển vữa, đến khâu cuối cùng là đào hào;
- Dựa vào quy mô dây chuyền sản xuất lựa chọn các thiết bị thích hợp như: mày đào hào, máy bơm nước, máy trộn, máy bơm đẩy vữa ra hố đào;
- Các thiết bị phải được chọn phù hợp giữa công đoạn sản xuất vật liệu với công đoạn đào hào và sản xuất vật liệu, có công suất dự phòng;
- Khi thi công đào hào Bentonite có thể xuất phát từ một vị trí bất kỳ trên biên hố móng, thực hiện đào hào và bơm bentonite liên tục vào hào đảm bảo cao trình vữa trong hào bằng cao trình thiết kế, làm đến đâu xong đến đó, cho đến khi hoàn thành;
- Sau khi đào hào phải kiểm tra cát sỏi còn sót lại trong hào, do đào sót hoặc do sạt vách, và phải có biện pháp đào hết số cát sỏi còn sót đó để đảm bảo thân hào là dung dịch vữa như thiết kế.
c) Xử lý kỹ thuật trong thi công: Trong quá trình thi công, hạn chế tối đa vấn đề sạt lở vách hào. Trong trường hợp có sạt lở vách hào xảy ra, nhà thầu thi công phải báo cáo với các bên liên quan, để có giải pháp xử lý ngay chỗ sạt và biện pháp phòng ngừa sạt lở vách hào tiếp tục xảy ra;
d) Nghiệm thu thi công tường hào Bentonite: Công tác nghiệm thu theo yêu cầu cụ thể của thiết kế, phù hợp với quy định riêng.
6.2.7.3 Thi công tiêu nước trong hố móng:
- Thi công tiêu nước trong hố móng: Theo quy định tại 6.2.2.3.
- Thi công tiêu nước ngoài hố móng: Theo quy định tại 6.2.2.4.
6.2.8 Thi công hố móng tường cừ bê tông cốt thép
6.2.8.1 Yêu cầu chung
- Khi đóng và ép cừ bê tông cốt thép theo quy định tại TCVN 9394.
- Ngoài ra tường cừ bê tông cốt thép phải được thi công theo quy định riêng. Cừ bê tông cốt thép phải có chứng chỉ chất lượng của nhà sản xuất. Trước khi đưa vào thi công phải được kiểm tra chất lượng và có biên bản nghiệm thu.
- Tường cừ bê tông cốt thép phải được thi công trước khi thi công hệ thống tiêu nước mặt và nước ngầm.
6.2.8.2 Thi công tường cừ bê tông cốt thép
a) Công tác chuẩn bị
- Chuẩn bị lán, trại, tập kết máy móc, thiết bị thi công tại vị trí quy định;
- Chuẩn bị cừ bê tông cốt thép đúng chủng loại, tập kết tại nơi quy định và nghiệm thu trước khi thi công.
b) Thực hiện thi công
- Đối với đất nền là cát, chỉ nên sử dụng biện pháp thi công bằng búa rung kết hợp với xói nước. Thiết bị thi công chuyên dụng gồm xe cẩu, bủa rung loại lớn hơn 6 tấn và hệ thống phụt tia nước áp suất cao 120 at trở lên;
- Các bước thi công chính bao gồm: Lắp đặt và định vị khung dẫn hướng; Cẩu cừ bê tông cốt thép đến vị trí thi công và tiến hành định vị thi công; Lắp búa rung vào đầu cừ và tiến hành xói nước vào cát để hạ cừ đến cao độ thiết kế;
- Cừ bê tông cốt thép sử dụng cho hố móng trong cát chảy thường có chiều dài lớn (≤ 24 m). Trọng lượng cừ lớn, do đó cần cẩu phải là loại đáp ứng được tải trọng và độ vươn của cần. Chuẩn bị đường và bố trí khoảng không đủ để phương tiện thi công di chuyển trong quá trình thi công được an toàn.
c) Nghiệm thu thi công tường cừ bê tông cốt thép: Nghiệm thu tường cừ bê tông cốt thép phải được thực hiện trước khi thi công tiêu nước hố móng, theo yêu cầu của thiết kế, phù hợp với quy định riêng.
6.2.8.3 Biện pháp thi công tiêu nước trong hố móng: Theo quy định tại 6.2 4.3.
6.2.8.4 Biện pháp thi công bịt đáy xi măng đất: Theo quy định tại 6.2.4.4.
6.2.8.5 Biện pháp thi công bịt đáy bê tông vữa dâng: Theo quy định tại 6.2.4.5.
6.2.8.6 Biện pháp thi công đào đất trong hố móng: Theo quy định tại 6.2.4.6.
6.3 Biện pháp đảm bảo an toàn thi công hố móng
Khi thi công hố móng trong nền cát chảy phải thực hiện các biện pháp an toàn lao động theo quy định tại TCVN 5308 và đảm bảo vệ sinh môi trường theo các quy định hiện hành.
7 Quan trắc và kiểm soát hố móng trong quá trình thi công
7.1 Quy định chung
7.1.1 Quan trắc thi công hố móng công trình trong cát chảy thuộc loại quan trắc tạm thời phục vụ cho thi công. Việc quan trắc phải được thực hiện trước khi bắt đầu thi công và trong quá trình thi công.
7.1.2 Trong hồ sơ thiết kế, Tư vấn Thiết kế phải làm rõ sự cần thiết, xác định được nội dung quan trắc, các vị trí quan trắc, các loại thiết bị quan trắc và thời gian quan trắc.
7.1.3 Công tác tổ chức quan trắc ở giai đoạn thi công hố móng do Nhà thầu thi công hố móng thực hiện dưới sự giám sát của chủ đầu tư.
7.1.4 Loại thiết bị và quy trình quan trắc như sau:
a) Loại thiết bị đo, tính năng, tác dụng của thiết bị của tiêu chuẩn này áp dụng như quy định phụ lục A trong TCVN 8215;
b) Quy trình quan trắc và các quy định về công tác lưu trữ, quản lý và sử dụng tài liệu quan trắc thực hiện theo quy định tại 2.1 trong TCVN 8215.
7.2 Thiết kế bố trí hệ thống quan trắc
7.2.1 Nội dung bố trí quan trắc thấm gồm:
a) Quan trắc mực nước ngầm trong và ngoài hố móng;
b) Quan trắc áp lực thấm lên các kết cấu chống giữ hố móng;
c) Quan trắc xói ngầm, mạch đùn, mạch sủi.
7.2.2 Nội dung bố trí quan trắc chuyển vị gồm:
a) Quan trắc chuyển vị ngang của hố móng, kết cấu chống giữ hố móng;
b) Quan trắc chuyển vị đứng đáy hố móng;
c) Quan trắc sạt lở mái hố móng.
7.2.3 Nội dung bố trí quan trắc lực dọc trục thanh chống hoặc neo:
a) Quan trắc lực dọc trục ở thanh chống bằng đầu đo biến dạng hoặc hộp đo lực;
b) Quan trắc lực dọc trục ở neo bằng đầu đo biến dạng hoặc hộp đo lực.
7.2.4 Bố trí thiết bị quan trắc
7.2.4.1 Thiết lập ngưỡng cảnh báo
Khi lập hồ sơ thiết kế bố trí hệ thống quan trắc tạm thời, cần quy định các giá trị chuyển vị cho phép của hố mỏng, kết cấu chống đỡ, lực dọc trong thanh chống (hoặc neo) cũng như mực nước ngầm ứng với từng thời đoạn thi công. Trên cơ sở đó thiết lập các ngưỡng cảnh báo để đưa ra quyết định khi so sánh với số liệu quan trắc. Đối với quan trắc bằng mắt, khi phát hiện có hiện tượng mạch đùn, mạch sủi hoặc có hiện tượng sạt lở mái, cần phải phát cảnh báo ngay cho các đơn vị liên quan để có biện pháp xử lý kịp thời.
7.2.4.2 Bố trí các điểm quan trắc
Các điểm quan trắc phải là những điểm đặc trưng nhất theo tính chất quan trắc. Ngoài ra các điểm này cũng phải là các điểm đã được tính toán trước để thuận tiện cho việc đối chiếu kết quả.
7.2.4.3 Thành phần, khối lượng quan trắc
Phụ thuộc cấp công trình, khả năng mất an toàn xảy ra khi thi công hố móng. Thành phần, khối lượng quan trắc được quy định ở bảng 7.
Bảng 7 - Thành phần, khối lượng quan trắc theo cấp công trình
| TT | Nội dung quan trắc | Cấp công trình | ||||
| Đặc biệt | I | II | III | IV | ||
| I | Loại hố móng đào lộ thiên |
|
|
|
|
|
| 1 | Quan trắc thấm | + | + | + | + | + |
| 2 | Quan trắc chuyển vị | + | + | + | + |
|
| II | Loại hố móng có kết cấu chống thấm bằng cừ thép, cừ bê tông cốt thép, tường xi măng đất |
|
|
|
|
|
| 2.1 | Quan trắc thấm | + | + | + | + | + |
| 2.2 | Quan trắc chuyển vị | + | + | + | + |
|
| 2.3 | Quan trắc lực dọc thanh chống hoặc neo | + | + | + |
|
|
| III | Loại hố móng có kết cấu chống thấm bằng bằng khoan phụt xi măng, hào Bentonite |
|
|
|
|
|
| 3.1 | Quan trắc thấm | + | + | + | + | + |
| 3.2 | Quan trắc chuyển vị | + | + | + | + |
|
7.2.4.4 Bố trí thiết bị quan trắc thấm
a) Quan trắc mực nước ngầm trong vá ngoài hố móng
Bố trí các giếng quan trắc MNN trong và ngoài hố móng để quan trắc MNN trong và ngoài hố móng. Khoảng cách giữa các giếng cách nhau không quá 25 m/giếng theo chu vi của hố móng và không ít hơn 1 giếng tại mỗi cạnh của hố móng. Giếng phải được bố trí ở vị trí ít ảnh hưởng do thi công. Trường hợp dùng giếng để hạ MNN, độ sâu của giếng bằng độ sâu của giếng bơm hút nước ngầm. Các trường hợp khác bố trí sâu hơn cừ chống thấm 1m.
b) Quan trắc áp lực thấm lên bịt đáy hố móng
Để quan trắc áp lực thấm lên đáy nút bịt phải bố trí các thiết bị đo lên đáy nút bịt và nền. Thiết bị đo là áp lực kế hoặc ống đo áp. Nếu bố trí áp lực kế sẽ đo được trị số áp lực lên từ điểm đo, bố trí ống đo áp cho cột nước áp lực của từng điểm quan trắc, số lượng 4 điểm quan trắc ứng với 4 cạnh của nút bịt.
c) Quan trắc xói ngầm, mạch đùn, mạch sủi
Quan trắc xói ngầm, mạch đùn, mạch sủi được kiểm tra bằng mắt. Kiểm tra toàn bộ đáy hố móng, mái hố móng.
7.2.4.5 Bố trí và chọn loại thiết bị quan trắc chuyển vị
a) Quan trắc chuyển vị ngang của hố móng, kết cấu chống giữ hố móng
Tùy thuộc vào điều kiện thi công thực tế, cần lựa chọn phương pháp thích hợp để quan trắc chuyển vị ngang của hố móng hoặc kết cấu chống giữ hố móng đảm bảo yêu cầu bố trí như sau:
- Quan trắc chuyển vị ngang hố móng: Nên bố trí điểm quan trắc tại điểm công trình dự báo có thể bị lún và biến dạng và tại các vị trí là điểm giữa cạnh hố đào. Độ sâu đáy ống quan trắc phải ngàm trong đất cứng ít nhất 2 m hoặc sâu hơn mũi cừ 3 m, lấy giá trị lớn hơn trong 2 giá trị trên;
- Quan trắc chuyển vị ngang kết cấu chống giữ hố móng: Để quan trắc chuyển vị ngang nên phải sử dụng phương pháp trắc đạc. Mốc được đánh dấu với số lượng 3 điểm trên mỗi cạnh hố móng. Các vị trí cố định để đặt máy trắc địa được bố trí từ xa, ở vị trí ít bị ảnh hưởng do thi công.
b) Quan trắc chuyển vị đứng đáy hố móng
Để quan trắc chuyển vị đứng đáy hố móng nên sử dụng phương pháp trắc đạc. Mốc quan trắc được đánh dấu tại điểm trên cạnh hố móng, khoảng cách 25 m/1 điểm theo chu vi cạnh hố móng và không ít hơn 1 điểm tại mỗi cạnh. Các vị trí cố định để đặt máy trắc địa được bố trí từ xa, ở vị trí ít bị ảnh hưởng do thi công. Nên bố trí trùng với vị trí quan trắc chuyển vị ngang kết cấu chống giữ hố móng.
c) Quan trắc lực dọc trục thanh chống hoặc neo
Để quan trắc lực dọc trục thanh chống hoặc neo phải sử dụng bằng đầu đo biến dạng hoặc hộp đo lực. Thiết bị đo được bố trí ở thanh chống hoặc neo, số lượng không quá 50 % và không nhỏ hơn 15 % tổng số thanh chống hoặc neo. Ưu tiên bố trí vào những thanh dự kiến có lực dọc hoặc lực kéo lớn nhất.
d) Quan trắc sạt lở mái hố móng
Quan trắc sạt lở mái hố móng được kiểm tra bằng mắt. Việc kiểm tra được tiến hành trên toàn bộ toàn mái hố móng.
7.3 Thực hiện công tác quan trắc
7.3.1 Công tác quan trắc thấm
a) Công tác quan trắc thấm được tiến hành hàng ngày, kể từ khi bắt đầu tiến hành hút nước để hạ thấp nước ngầm (đối với hố móng sử dụng giếng hút nước để hạ thấp nước ngầm) hoặc là khi bắt đầu tiến hành đào đất trong hố móng và duy trì cho đến khi lấp đất hố móng. Tại các thời điểm 6 h, 12 h, 18 h và 24 h. Ngoài ra, có thể quy định kiểm tra thêm tại những thời điểm chênh lệch mực nước trong và ngoài hố móng lớn nhất;
b) Khi quan trắc mực nước ngầm, nếu phát hiện mực nước ngầm hạ thấp hoặc dâng cao cục bộ tại một số điểm quan trắc thì cần kiểm tra lại thiết bị đo, đối chiếu với các kết quả khảo sát địa kỹ thuật đã thực hiện, để có biện pháp xử lý cần thiết;
c) Quan trắc mạch đùn, mạch sủi, xói ngầm được tiến hành kể từ khi bắt đầu đào đất hố móng đến khi lấp đất hố móng, thực hiện liên tục suốt 24 h.
7.3.2 Quan trắc chuyển vị ngang và đứng của hố móng được tiến hành sau khi hố móng đã được đào đến cao trình thiết kế cho đến khi lấp đất hố móng. Tại các thời điểm 6 h, 12 h, 18 h và 24 h. Ngoài ra, có thể quy định kiểm tra thêm tại những thời điểm chênh lệch mực nước trong và ngoài hố móng lớn nhất.
7.3.3 Quan trắc lực dọc trục của thanh chống hoặc neo được tiến hành khi thanh chống hoặc neo bắt đầu tham gia chịu lực cho đến khi lấp đất hố móng. Tại các thời điểm 6 h, 12 h, 18 h và 24 h. Ngoài ra, có thể quy định kiểm tra thêm tại những thời điểm chênh lệch mực nước trong và ngoài hố móng lớn nhất.
7.3.4 Quan trắc sạt lở mái hố móng được tiến hành kể từ khi bắt đầu đào hố móng cho đến khi lấp đất hố móng, thực hiện liên tục suốt 24 h.
7.3.5 Xử lý số liệu quan trắc để đảm bảo điều kiện an toàn theo thiết kế.
7.4 Xử lý một số trường hợp đặc biệt thường gặp trong thi công
7.4.1 Trường hợp thi công bơm hút không hạ được mực nước ngầm:
a) Trường hợp thi công không hạ được mực nước ngầm do tắc giếng. Xử lý bằng cách bổ sung giếng ở ngay vị trí bên cạnh hoặc dùng xói nước áp lực cao và dùng pa lăng để nhổ giếng. Sau đó lại hạ giếng xuống;
b) Trường hợp thi công không hạ được mực nước ngầm do lưu lượng qua giếng không đạt yêu cầu thiết kế hoặc số lượng giếng theo thiết kế không đáp ứng được thực tế lưu lượng bơm hút. Xử lý bằng cách bổ sung thêm giếng cho đến khi hạ được đến mực nước theo yêu cầu thiết kế.
7.4.2 Trường hợp sụt, lún đất ngoài hố móng:
a) Kết cấu chống thấm bị rò, thủng làm nước chảy qua lỗ rò, thủng kéo theo cả đất cát gây ra sụt, lún đất. Trường hợp này xử lý bằng cách phụt trực tiếp hỗn hợp xi măng và hóa chất đông kết nhanh qua lỗ rò, thủng để bịt trực tiếp dòng thấm hoặc thi công cọc xi măng đất theo công nghệ Jet grouting phía ngoài hố móng để bịt lỗ rò, thủng;
b) Kết cấu chống thấm bằng cừ thép bị rò qua me, nước chảy qua me cừ, kéo theo cả đất cát gây ra sụt, lún đất. Trường hợp này xử lý bằng cách sử dụng dây đay với đất sét luyện, trám bịt vào me cừ. Nếu việc xử lý không có kết quả, cần tiến hành bơm nước vào hố móng cho đến khi mực nước trong và ngoài hố móng cân bằng. Sau đó bổ sung thêm một đoạn tường xi măng đất sát với hàng cừ thép ở phía ngoài hố móng;
c) Kết cấu chống thấm không đủ chiều dài đường viền thấm do chưa cắm được vào lớp đất có hệ số thấm nhỏ, gây ra xói ngầm và đẩy bục nền. Nếu nền bị bục lớn, trước hết phải bơm nước vào hố móng để cân bằng nước. Sau đó xử lý bằng cách kéo dài đường viền thấm bằng tường xi măng đất phía ngoài hố móng. Đỉnh tường xi măng đất sau khi thi công xong ôm lấy một đoạn từ 0,5 m đến 1,0 m đáy mũi cừ thép, mũi tường xi măng đất kéo dài đến vị trí đủ chiều dài chống thấm. Ngoài ra, có thể dùng biện pháp hạ nước ngầm bằng bơm châm kim.
7.4.3 Trường hợp sạt, trượt mái hố móng đào hở:
a) Sạt, trượt mái hố móng do mái quá dốc. Xử lý bằng cách giảm độ dốc mái. Nếu mặt bằng hố móng không cho phép, có thể dùng cừ thép kết hợp với hạ mái thành nhiều bậc;
b) Sạt, trượt mái hố móng do nước chảy trên mặt hoặc do nước ngầm. Nếu do nước chảy trên mặt thì khắc phục bằng cách đắp con chạch quanh hố móng và đào mương để dẫn nước. Nếu do nước ngầm thì đóng ván cừ chống thấm hoặc gia cường chân mái hố móng bằng cọc tre, phên nứa. Đối với công trình lớn, hố móng rộng làm tầng lọc ngược.
Phụ lục A
(Tham khảo)
Thi công bịt đáy hố móng bằng công nghệ vữa dâng
A.1 Nguyên lý:
Công nghệ vữa dâng được thực hiện bằng cách đổ cốt liệu thô vào trong khuôn trước, sau đó bơm vữa xi măng đã trộn vào trong khối đá ép dần từ dưới đáy lên, áp suất bơm làm cho dòng vữa chảy lấp các khe rỗng của cốt liệu. Vữa từ mỗi ống bơm lan toả ra một vùng có bán kính nhất định, các vùng kề nhau đan nhập vào nhau tạo thành một khối lỏng dâng lên lấp dần các khe rộng của khối cốt liệu. Khối vữa sau khi đông kết hình thành nút bịt bê tông.
A.2 Phương pháp thi công bịt đáy bằng công nghệ vữa dâng:
a) Chia diện tích khoảnh đỗ thành các ô lưới chữ nhật, kích thước mỗi ô tối đa 4 (m)x2 (m). Dùng cây luồng hoặc thanh thép buộc thành dàn định vị theo ô lưới đã chia.
b) Chế tạo các lồng thép chống bẹp dạng lồng sóc với cốt thép dọc bằng thép tròn φ 10 và cốt đai bằng thép tròn φ 6, đường kính lồng bằng 2 lần đường kính ống bơm vữa đồng thời phải nhỏ hơn kích thước ≤ 200 mm. Khoảng cách giữa các thanh cốt thép 5 cm, giữa các cốt đai tròn nằm trong phần đổ đá phải nhỏ hơn kích thước viên đá còn ở phần trên bố trí cách 100 cm một đai. Các lồng thép chống bẹp phải để cao hơn mặt nước để khi đổ, đá không bị rơi vào trong lồng, cắm các lồng chống bẹp vào những đỉnh lưới ô vuông và buộc cố định vào dàn định vị.
c) Đổ đá vào khuôn, đổ đều theo từng lưới ô vuông đã chia, lượng đá đỗ vào mỗi ô lưới bằng diện tích của ô nhân với chiều dày bê tông bịt đáy. Yêu cầu đá dăm ≥ 4cm hoặc đá hộc.
d) Đặt các ống bơm vữa vào trong lòng các lồng chống bẹp, miệng ống thả xuống sát đáy. Ống bơm vữa có đường kính 50 ÷ 100mm nối chung với đường trục và nối vào máy bơm vữa.
e) Vữa xi măng cát được trộn trong máy trộn với tỉ lệ X/C=1/2 và tỉ lệ N/X=0,65-K),85. Dùng máy bơm vữa khí nén với áp suất 0,5 Mpa hoặc có thể dùng máy bơm đẩy pittông để bơm vữa. Tốc độ vữa dâng 0,2 m/h đến 2m/h đầu ống bơm phải giữ luôn ngập trong vữa ít nhất 0,65 m.
f) Lượng vữa dâng lên được đánh giá bằng cách đo chiều dày của vữa dâng trong các lồng thép.
g) Sau khi kết thúc việc bơm vữa, thu các ống bơm và thu hồi các lồng thép bằng cách dùng cần cẩu kéo nhổ chúng lên ngay khi vữa chưa kịp ninh kết.
h) Lưu ý phải có biện pháp hạ nhiệt độ hỗn hợp bê tông để đảm bảo nhiệt độ hỗn hợp bê tông từ trạm trộn không lớn hơn 25 °C và khi tiến hành đổ không lớn hơn 32 °C.
Thư mục tài liệu tham khảo
[1] Hướng dẫn kỹ thuật phòng ngừa sự cố thi công hố đào trong vùng đất yếu. Bộ Xây Dựng. Hà Nội 2006
[2] Dewatering and ground water control. Departments of the army, the navy, and the air force (November 1983).
[3] Technical Report on Sand Boils (Piping). Technical Advisory Committee on Flood Defences, The Netherlands (March 1999).
Mục lục
Lời nói đầu
1 Phạm vi áp dụng
2 Tài liệu viện dẫn
3 Thuật ngữ và định nghĩa
4 Các yêu cầu kỹ thuật thi công hố móng trong cát chảy
5 Các biện pháp xử lý nền cát chảy trong thi công hố móng
6 Thiết kế tổ chức và biện pháp thi công xử lý nền cát chảy
7 Quan trắc và kiểm soát hố móng trong quá trình thi công
Phụ lục A Thi công bịt đáy hố móng bằng công nghệ vữa dâng
Thư mục tài liệu tham khảo
Bạn chưa Đăng nhập thành viên.
Đây là tiện ích dành cho tài khoản thành viên. Vui lòng Đăng nhập để xem chi tiết. Nếu chưa có tài khoản, vui lòng Đăng ký tại đây!















