- Tổng quan
- Nội dung
- Tiêu chuẩn liên quan
- Lược đồ
- Tải về
Tiêu chuẩn Quốc gia TCVN 10736-10:2016 ISO 16000-10:2006 Không khí trong nhà - Phần 10: Xác định phát thải của hợp chất hữu cơ bay hơi từ các sản phẩm xây dựng và đồ nội thất - Phương pháp ngăn thử phát thải
| Số hiệu: | TCVN 10736-10:2016 | Loại văn bản: | Tiêu chuẩn Việt Nam |
| Cơ quan ban hành: | Bộ Khoa học và Công nghệ | Lĩnh vực: | Tài nguyên-Môi trường |
|
Ngày ban hành:
Ngày ban hành là ngày, tháng, năm văn bản được thông qua hoặc ký ban hành.
|
2016 |
Hiệu lực:
|
Đã biết
|
| Người ký: | Đang cập nhật |
Tình trạng hiệu lực:
Cho biết trạng thái hiệu lực của văn bản đang tra cứu: Chưa áp dụng, Còn hiệu lực, Hết hiệu lực, Hết hiệu lực 1 phần; Đã sửa đổi, Đính chính hay Không còn phù hợp,...
|
Đã biết
|
TÓM TẮT TIÊU CHUẨN VIỆT NAM TCVN 10736-10:2016
Nội dung tóm tắt đang được cập nhật, Quý khách vui lòng quay lại sau!
Tải tiêu chuẩn Việt Nam TCVN 10736-10:2016
TIÊU CHUẨN QUỐC GIA
TCVN 10736-10:2016
ISO 16000-10:2006
KHÔNG KHÍ TRONG NHÀ - PHẦN 10: XÁC ĐỊNH PHÁT THẢI CỦA HỢP CHẤT HỮU CƠ BAY HƠI TỪ CÁC SẢN PHẨM XÂY DỰNG VÀ ĐỒ NỘI THẤT - PHƯƠNG PHÁP NGĂN THỬ PHÁT THẢI
Indoor air - Part 10: Determination of the emission of volatile organic compounds from building products and furnishing - Emission test cell method
Lời nói đầu
TCVN 10736-10:2016 hoàn toàn tương đương với ISO 16000-10:2006.
TCVN 10736-10:2016 do Ban kỹ thuật tiêu chuẩn quốc gia TCVN/TC 146 Chất lượng không khí biên soạn, Tổng cục Tiêu chuẩn Đo lường Chất lượng đề nghị Bộ Khoa học và Công nghệ công bố
Bộ TCVN 10736 (ISO 16000) Không khí trong nhà gồm các phần sau:
- TCVN 10736-1: 2015 (ISO 16000-1:2004) Phần 1: Các khía cạnh chung của kế hoạch lấy mẫu;
- TCVN 10736-2:2015 (ISO 16000-2:2004) Phần 2: Kế hoạch lấy mẫu formaldehyt;
- TCVN 10736-3:2015 (ISO 16000-3:2011) Phần 3: Xác định formaldehyt và hợp chất cacbonyl khác trong không khí trong nhà và không khí trong buồng thử - Phương pháp lấy mẫu chủ động;
- TCVN 10736-4:2015 (ISO 16000-4:2011) Phần 4: Xác định formaldehyt - Phương pháp lấy mẫu khuếch tán;
- TCVN 10736-5:2015 (ISO 16000-5:2007) Phần 5: Kế hoạch lấy mẫu đối với hợp chất hữu cơ bay hơi (VOC);
- TCVN 10736-6:2016 (ISO 16000-6:2011) Phần 6: Xác định hợp chất hữu cơ bay hơi trong không khí trong nhà và trong buồng thử bằng cách lấy mẫu chủ động trên chất hấp phụ Tenax TA®, giải hấp nhiệt và sắc ký khí sử dụng MS hoặc MS-FID;
- TCVN 10736-7:2016 (ISO 16000-7:2007) Phần 7: Chiến lược lấy mẫu để xác định nồng độ sợi amiăng truyền trong không khí;
- TCVN 10736-8:2016 (ISO 16000-8:2007) Phần 8: Xác định thời gian lưu trung bình tại chỗ của không khí trong các tòa nhà để xác định đặc tính các điều kiện thông gió;
- TCVN 10736-9:2016 (ISO 16000-9:2006) Phần 9: Xác định phát thải của hợp chất hữu cơ bay hơi từ các sản phẩm xây dựng và đồ nội thất - Phương pháp buồng thử phát thải;
- TCVN 10736-10:2016 (ISO 16000-10:2006) Phần 10: Xác định phát thải của hợp chất hữu cơ bay hơi từ các sản phẩm xây dựng và đồ nội thất - Phương pháp ngăn thử phát thải;
- TCVN 10736-11:2016 (ISO 16000-11:2006) Phần 11: Xác định phát thải của hợp chất hữu cơ bay hơi từ các sản phẩm xây dựng và đồ nội thất - Lấy mẫu, bảo quản mẫu và chuẩn bị mẫu thử;
- TCVN 10736-12:2016 (ISO 16000-12:2008) Phần 12: Chiến lược lấy mẫu đối với polycloro biphenyl (PCB), polycloro dibenzo-p-dioxin (PCDD), polycloro dibenzofuran (PCDF) và hydrocacbon thơm đa vòng (PAH);
- TCVN 10736-13:2016 (ISO 16000-13:2008) Phần 13: Xác định tổng (pha khí và pha hạt) polycloro biphenyl giống dioxin (PCB) và polycloro dibenzo-p-dioxin/polycloro dibenzofuran (PCDD/PCDF) - Thu thập mẫu trên cái lọc được hỗ trợ bằng chất hấp phụ;
- TCVN 10736-14:2016 (ISO 16000-14:2009) Phần 14: Xác định tổng (pha khí và pha hạt) polycloro biphenyl giống dioxin (PCB) và polycloro dibenzo-p-dioxin/polycloro dibenzofuran (PCDD/PCDF) - Chiết, làm sạch và phân tích bằng sắc ký khí phân giải cao và khối phổ.
Bộ ISO 16000 Indoor air còn có các phần sau:
- ISO 16000-15:2008 Indoor air - Part 15: Sampling strategy for nitrogen dioxide (NO2)
- ISO 16000-16:2008 Indoor air - Part 16: Detection and enumeration of moulds - Sampling by filtration
- ISO 16000-17:2008 Indoor air - Part 17: Detection and enumeration of moulds - Culture-based method
- ISO 16000-18:2011 Indoor air - Part 18: Detection and enumeration of moulds - Sampling by impaction
- ISO 16000-19:2012 Indoor air - Part 19: Sampling strategy for moulds
- ISO 16000-20:2014 Indoor air - Part 20: Detection and enumeration of moulds - Determination of total spore count
- ISO 16000-21:2013 Indoor air - Part 21: Detection and enumeration of moulds - Sampling from materials
- ISO 16000-23:2009 Indoor air - Part 23: Performance test for evaluating the reduction of formaldehyde concentrations by sorptive building materials
- ISO 16000-24:2009 Indoor air - Part 24: Performance test for evaluating the reduction of volatile organic compound (except formaldehyde) concentrations by sorptive building materials
- ISO 16000-25:2011 Indoor air - Part 25: Determination of the emission of semi-volatile organic compounds by building products - Micro-chamber method
- ISO 16000-26:2012 Indoor air - Part 26: Sampling strategy for carbon dioxide (CO2)
- ISO 16000-27:2014 Indoor air - Part 27: Determination of settled fibrous dust on surfaces by SEM (scanning electron microscopy) (direct method)
- ISO 16000-28:2012 Indoor air - Part 28: Determination of odour emissions from building products using test chambers
- ISO 16000-29:2014 Indoor air - Part 29: Test methods for VOC detectors
- ISO 16000-30:2014 Indoor air - Part 30: Sensory testing of indoor air
- ISO 16000-31:2014 Indoor air - Part 31: Measurement of flame retardants and plasticizers based on organophosphorus compounds - Phosphoric acid ester
- ISO 16000-32:2014 Indoor air - Part 32: Investigation of buildings for the occurrence of pollutants
Lời giới thiệu
Việc xác định hợp chất hữu cơ bay hơi (VOC) thoát ra từ sản phẩm xây dựng sử dụng ngăn thử phát thải cùng với lấy mẫu, bảo quản mẫu đã được tiêu chuẩn hóa và chuẩn bị mẫu thử có mục đích như sau:
- Để cung cấp cho nhà sản xuất, nhà xây dựng và người sử dụng cuối cùng các số liệu về phát thải để đánh giá tác động của sản phẩm xây dựng lên chất lượng không khí trong nhà.
- Để thúc đẩy sự phát triển các sản phẩm tiên tiến.
- Nghiên cứu khảo sát tại chỗ bề mặt sản phẩm xây dựng
Về nguyên tắc, phương pháp này có thể được dùng cho phần lớn các sản phẩm xây dựng được sử dụng trong nhà.
KHÔNG KHÍ TRONG NHÀ - PHẦN 10: XÁC ĐỊNH PHÁT THẢI CỦA HỢP CHẤT HỮU CƠ BAY HƠI TỪ CÁC SẢN PHẨM XÂY DỰNG VÀ ĐỒ NỘI THẤT - PHƯƠNG PHÁP NGĂN THỬ PHÁT THẢI
Indoor air - Part 10: Determination of the emission of volatile organic compounds from building products and furnishing - Emission test cell method
1 Phạm vi áp dụng
Tiêu chuẩn này quy định phương pháp thử trong phòng thử nghiệm chung để xác định tốc độ phát thải riêng trên diện tích của hợp chất hữu cơ bay hơi (VOC) từ sản phẩm xây dựng hoặc đồ nội thất mới trong các điều kiện khí hậu xác định. Về nguyên lý, phương pháp này cũng có thể áp dụng cho các sản phẩm lão hóa. Số liệu phát thải thu được có thể được dùng để tính toán nồng độ trong một phòng mẫu.
Theo định nghĩa ngăn thử phát thải, có thể thực hiện phép đo phát thải không phá hủy trên sản phẩm xây dựng tại chỗ trong tòa nhà. Tuy nhiên, quy trình cho các phép đo như vậy không được mô tả trong tiêu chuẩn này.
Lấy mẫu, vận chuyển và bảo quản vật liệu được thử, và chuẩn bị mẫu thử được nêu trong TCVN 10736-11 (ISO 16000-11). Phương pháp lấy mẫu và phân tích không khí để xác định VOC được nêu tại TCVN 10736-6 (ISO 16000-6) và ISO 16017-1 [20].
Ví dụ về ngăn thử phát thải được nêu tại Phụ lục C.
Để xác định phát thải formaldehyt từ các tấm gỗ, tham khảo EN 717-1:2004 [21] và ISO 12460-1[1]. Tuy nhiên, tiêu chuẩn này cũng có thể áp dụng cho tấm gỗ và các sản phẩm xây dựng khác, để xác định tốc độ phát thải của formaldehyt. Quy trình đo đối với formaldehyt được quy định tại TCVN 10736-3 (ISO 16000-3) [2].
2 Tài liệu viện dẫn
Các tài liệu viện dẫn sau rất cần thiết cho việc áp dụng tiêu chuẩn này. Đối với các tài liệu viện dẫn ghi năm công bố thì áp dụng phiên bản được nêu. Đối với các tài liệu viện dẫn không ghi năm công bố thì áp dụng phiên bản mới nhất, bao gồm cả các sửa đổi, bổ sung (nếu có).
TCVN 10736-11 (ISO 16000-11) Không khí trong nhà - Phần 11: Xác định phát thải của hợp chất hữu cơ bay hơi từ các sản phẩm xây dựng và đồ nội thất - Lấy mẫu, bảo quản mẫu và chuẩn bị mẫu thử
ISO 554:1976 Standard atmospheres for conditioning and/or testing - Specifications (Không khí tiêu chuẩn để điều kiện hóa và/hoặc thử nghiệm - Yêu cầu kỹ thuật).
3 Thuật ngữ và định nghĩa
Trong tiêu chuẩn này, áp dụng các thuật ngữ và định nghĩa sau:
3.1
Tốc độ trao đổi không khí (air change rate)
Tỉ số của thể tích của không khí sạch đi vào ngăn thử phát thải trên một giờ với thể tích ngăn thử phát thải trống đo được có cùng đơn vị như nhau.
3.2
Lưu lượng dòng không khí (air flow rate)
Thể tích không khí đi vào ngăn thử phát thải trên thời gian.
3.3
Vận tốc không khí (air velocity)
Vận tốc không khí qua bề mặt của mẫu thử.
3.4
Lưu lượng dòng khí riêng trên diện tích (area specific air flow rate)
Tỉ số giữa lưu lượng dòng khí cung cấp với diện tích của mẫu thử.
3.5
Sản phẩm xây dựng (building product)
Sản phẩm được tạo ra để kết hợp theo một cách lâu dài trong các công việc xây dựng.
3.6
Ngăn thử phát thải (emission test cell)
Một buồng nhỏ để để xác định hợp chất hữu cơ bay hơi phát thải từ sản phẩm xây dựng được đặt lên trên bề mặt của mẫu thử và được thiết kế sao cho bề mặt của mẫu thử trở thành một phần của ngăn phát thải.
3.7
Nồng độ của ngăn thử phát thải (emission test cell concentration)
Nồng độ của hợp chất hữu cơ bay hơi cụ thể, VOCx, (hoặc nhóm hợp chất hữu cơ bay hơi) đo được tại đầu ra của buồng thử phát thải.
3.8
Hệ số chịu tải sản phẩm (product loading factor)
Tỉ số của diện tích bề mặt tiếp xúc của mẫu thử với thể tích ngăn thử không có phát thải.
3.9
Độ thu hồi (recovery)
Khối lượng đo được của một hợp chất hữu cơ bay hơi mục tiêu trong không khí ra khỏi ngăn thử phát thải trong khoảng thời gian đã cho chia cho khối lượng của hợp chất hữu cơ bay hơi mục tiêu được bổ sung vào ngăn thử phát thải trong cùng khoảng thời gian, biểu thị bằng phần trăm.
CHÚ THÍCH Độ thu hồi cung cấp thông tin về hiệu năng của toàn bộ phương pháp.
3.10
Mẫu (sample)
Phần hoặc mảnh của sản phẩm xây dựng đại diện của sản phẩm.
3.11
Tốc độ phát thải riêng (specific emission rate)
qm
Tốc độ riêng theo sản phẩm mô tả khối lượng của hợp chất hữu cơ bay hơi phát ra từ một sản phẩm theo thời gian tại một thời điểm đã chọn từ khi bắt đầu thử nghiệm.
CHÚ THÍCH 1 Tốc độ phát thải riêng theo diện tích, qA được dùng trong tiêu chuẩn này. Một số tốc độ phát thải riêng khác có thể được xác định theo các yêu cầu khác nhau, ví dụ tốc độ phát thải riêng theo chiều dài, qp, tốc độ phát thải riêng theo thể tích qv, và tốc độ phát thải riêng theo đơn vị qu.
CHÚ THÍCH 2 Thuật ngữ “tốc độ phát thải riêng theo diện tích” đôi khi được dùng song song với thuật ngữ “hệ số phát thải”.
3.12
Hợp chất hữu cơ bay hơi mục tiêu (target volatile organic compound)
Hợp chất hữu cơ bay hơi của sản phẩm cụ thể.
3.13
Mẫu thử (test specimen)
Phần của mẫu được chuẩn bị đặc biệt cho thử nghiệm phát thải trong ngăn thử phát thải để mô phỏng cách thức phát thải của vật liệu hoặc sản phẩm được thử nghiệm.
3.14
Tổng các hợp chất hữu cơ bay hơi (total volatile organic compounds)
TVOC
Tổng nồng độ của các hợp chất hữu cơ bay hơi đã nhận dạng hoặc chưa nhận dạng khi rửa giải trong dải kể từ n-hexan đến n-hexadecan.
CHÚ THÍCH 1 Để định lượng hợp chất hữu cơ dã nhận dạng, sử dụng từng đáp ứng của chúng. Diện tích của pic chưa nhận dạng được chuyển đổi từ khối lượng phân tử dựa trên nồng độ sử dụng hệ số đáp ứng toluen [3].
CHÚ THÍCH 2 Vì các lý do thực tế được xem xét đối với buồng thử, định nghĩa này hơi khác so với định nghĩa nêu tại TCVN 10736-6 (ISO 16000-6). Trong TCVN 10736-6 (ISO 16000-6), TVOC liên quan đến môi trường lấy mẫu Tenax TA®1) mà trên đó TVOC được hấp phụ.
3.15
Hợp chất hữu cơ bay hơi (volatile organic compounds)
VOC
Hợp chất hữu cơ phát thải từ mẫu thử và tất cả chúng được phát hiện trong không khí đầu ra của ngăn thử.
CHÚ THÍCH 1 Vì các lý do thực tế được xem xét đối với buồng thử, định nghĩa này hơi khác so với định nghĩa nêu tại TCVN 10736-6 (ISO 16000-6). Trong TCVN 10736-6 (ISO 16000-6), định nghĩa được dựa trên khoảng điểm sôi (50 °C đến 100 °C) đến (240 °C đến 260 °C).
CHÚ THÍCH 2 Phương pháp thử phát thải mô tả trong tiêu chuẩn này là tối ưu đối với khoảng được quy định bằng định nghĩa tổng các hợp chất hữu cơ bay hơi (TVOC).
4 Ký hiệu và chữ viết tắt
Các ký hiệu và chữ viết tắt được sử dụng trong tiêu chuẩn này được đưa ra dưới đây
| Ký hiệu | Nghĩa | Đơn vị |
| ρx | Nồng độ khối lượng của VOCx trong ngăn thử phát thải | Microgam trên mét khối |
| L | Hệ số chịu tải của sản phẩm | Mét vuông trên mét khối |
| n | Tốc độ trao đổi không khí | Trao đổi trên giờ |
| q | Lưu lượng dòng khí riêng theo diện tích (= n/L) | Mét khối trên mét vuông và giờ |
| qA | Tốc độ phát thải riêng theo diện tích | Microgam trên mét vuông và giờ |
| ql | Tốc độ phát thải riêng theo chiều dài | Microgam trên mét và giờ |
| qm | Tốc độ phát thải riêng theo khối lượng | Microgam trên gam và giờ |
| qV | Tốc độ phát thải riêng theo thể tích | Microgam trên mét khối và giờ |
| qu | Tốc độ phát thải riêng theo bộ phận | Microgam trên bộ phận và giờ |
| t | Thời gian sau khi bắt đầu thử nghiệm | Giờ hoặc ngày |
5 Nguyên lý
Nguyên lý của thử nghiệm là để xác định tốc độ phát thải riêng theo diện tích của VOC phát ra từ các sản phẩm xây dựng. Thử nghiệm được thực hiện trong ngăn thử phát thải tại nhiệt độ không đổi, độ ẩm tương đối của không khí và lưu lượng riêng dòng khí theo diện tích. Phép đo nồng độ VOC trong không khí tại đầu ra đại diện cho nồng độ không khí trong ngăn thử phát thải.
Tốc độ phát thải riêng theo diện tích tại thời gian đã cho, t, được tính từ nồng độ không khí trong ngăn thử phát thải và lưu lượng riêng dòng khí theo diện tích, q, (xem Điều 13).
Với nồng độ trong không khí đã biết, dòng khí đi qua ngăn thử phát thải và diện tích bề mặt của mẫu thử, có thể xác định tốc độ phát thải riêng theo diện tích của VOC từ sản phẩm dưới điều kiện thử nghiệm.
6 Hệ thống ngăn thử phát thải
6.1 Khái quát
Hệ thống ngăn thử phát thải được thiết kế và vận hành để xác định tốc độ phát thải riêng theo diện tích đối với VOC phát thải từ sản phẩm xây dựng phải gồm: ngăn thử phát thải, máy tạo không khí sạch và hệ thống tạo ẩm, hệ thống trộn không khí, hệ thống giám sát và kiểm soát để đảm bảo thử nghiệm được tiến hành theo các điều kiện quy định [4], [5], [6], [7].
Các yêu cầu và quy định chung áp dụng cho tất cả ngăn thử phát thải trong tiêu chuẩn này được nêu tại 6.2 đến 6.6.
Các hoạt động đảm bảo chất lượng/kiểm soát chất lượng phải được tiến hành như được nêu tại Phụ lục A.
6.2 Vật liệu ngăn thử phát thải
Ngăn thử phát thải và các phần của hệ thống lấy mẫu tiếp xúc với VOC phát thải (tất cả ống và khớp nối) thường được làm bằng thép không gỉ đã được xử lý bề mặt (đánh bóng) hoặc bằng thủy tinh. Tuy nhiên, trong tất cả các trường hợp các yêu cầu tại 6.3 và 6.5 phải được đáp ứng.
Vật liệu gắn kết với ngăn thử phát thải và mẫu thử phải phát thải thấp và độ hấp phụ thấp và không đóng góp vào nồng độ của nền của ngăn thử phát thải.
6.3 Thiết bị cung cấp không khí
Ngăn thử phát thải phải được cấp không khí tinh khiết và ẩm và có một thiết bị để kiểm soát lưu lượng không khí với độ chính xác ± 5 %.
6.4 Tính kín khí
Ngăn thử phát thải phải kín khí để tránh sự trao đổi không khí với không khí bên ngoài không kiểm soát được.
Ngăn thử phát thải phải được vận hành ở áp suất cao hơn một chút áp suất không khí để tránh ảnh hưởng từ không khí phòng thử nghiệm.
Ngăn thử phát thải được xem là đủ kín nếu lưu lượng dòng không khí ở lối vào và lối ra sai khác nhỏ hơn 5 %.
Sản phẩm với bề mặt không đều hoặc khả năng thẩm thấu không khí lớn có thể gây rò rỉ. Theo yêu cầu về tính kín khí ở trên, sản phẩm phải được đặt vào đầu giữ mẫu thử nghiệm kín khí.
6.5 Thiết bị lấy mẫu không khí
Không khí xả (tại đầu ra ngăn thử phát thải) phải được dùng để lấy mẫu. Lấy mẫu không khí ở đầu ra (ví dụ bằng bơm lấy mẫu) có thể đạt được bằng cách nối các ống hấp phụ với hai đầu ra.
Tổng dòng không khí lấy mẫu cần phải nhỏ hơn 90 % dòng khí từ đầu vào đến ngăn thử phát thải.
Ống chia dòng thiết bị lấy mẫu nhiều cổng có thể cung cấp độ linh hoạt cho việc lấy mẫu đúp không khí. Ống chia dòng mẫu cần đi vào trực tiếp tới dòng khí đầu ra. Nếu phải sử dụng một ống, ống càng ngắn càng tốt và duy trì ở nhiệt độ bằng với nhiệt độ của ngăn thử phát thải.
CHÚ THÍCH Khí xả từ buồng thử phát thải cần phải được dẫn bằng ống vào tủ hút khói, đảm bảo rằng mọi hóa chất thải ra từ vật liệu thử được cách ly với môi trường phòng thử nghiệm.
6.6 Độ thu hồi và hiệu ứng “chậu”
Độ thu hồi của VOC mục tiêu có thể được xác định sử dụng nguồn VOC đã biết tốc độ phát thải riêng trong ngăn thử phát thải. Nồng độ được tạo ra cần phải có độ lớn tương tự với nồng độ dự đoán trong suốt thời gian thử nghiệm phát thải của sản phẩm xây dựng.
Phép thử độ thu hồi phải được thực hiện trong ngăn thử trên một bề mặt trơ (thủy tinh hoặc thép không gỉ) sử dụng toluen và n-dodecan. Nồng độ ngăn thử phải được xác định tại 24 h sau khi bắt đầu phép thử. Độ thu hồi trung bình phải lớn hơn 80 % toluen và n-dodecan. Kết quả của phép thử độ thu hồi phải được ghi lại trong báo cáo thử nghiệm như nồng độ dự kiến so với nồng độ đo được.
CHÚ THÍCH 1 Độ thu hồi thấp của VOC ưa ẩm có thể xảy ra trong không khí ẩm.
CHÚ THÍCH 2 Hiệu ứng chậu, rò rỉ hoặc hiệu chuẩn kém có thể gây ra những khó khăn để đáp ứng được những yêu cầu tối thiểu. Đặc tính chậu và hấp phụ phụ thuộc rất nhiều vào loại hợp chất phát thải. Có thể dùng phép thử độ thu hồi bổ sung sử dụng VOC mục tiêu với khối lượng phân tử và độ phân cực khác nhau để nâng cao hiểu biết các hiệu ứng này.
7 Thiết bị, dụng cụ
Thiết bị cần để tiến hành phép thử phát thải được nêu dưới đây.
7.1 Thiết bị cung cấp không khí sạch, ví dụ không khí đã tinh chế có áp suất hoặc không khí tổng hợp trong bình khí.
7.2 Hệ thống ngăn thử phát thải
7.3 Hệ thống tạo ẩm
7.4 Hệ thống quan trắc độ ẩm, nhiệt độ và vận tốc không khí,
7.5 Đồng hồ đo lưu lượng không khí
7.6 Phương tiện cho thử nghiệm độ thu hồi.
7.7 Tác nhân làm sạch cho ngăn thử phát thải hoặc lò để gia nhiệt và làm sạch ngăn thử phát thải.
8 Điều kiện thử
8.1 Nhiệt độ và độ ẩm tương đối của không khí
Sản phẩm được sử dụng ở Việt Nam phải được thử ở nhiệt độ 25 °C và độ ẩm tương đối của không khí 65 % RH trong thử nghiệm phát thải (ISO 554). Dung sai là ± 2 °C và ± 5 % RH.
Đối với sản phẩm có ứng dụng trong điều kiện khí hậu khác, điều kiện nhiệt độ và độ ẩm không khí khác có thể được dùng, nên theo quy định tại ISO 554.
8.2 Chất lượng không khí cấp và nồng độ nền
Không khí cấp phải không chứa bất kỳ VOC nào có mức lớn hơn các yêu cầu về nền của ngăn thử phát thải.
Nồng độ nền phải đủ thấp để không gây cản trở đến phép xác định phát thải nằm ngoài giới hạn đảm bảo chất lượng.
Nồng độ nền của TVOC phải thấp hơn 20 µg/m3. Nồng độ nền của bất kỳ một VOC mục tiêu nào phải nhỏ hơn 2 µg/m3.
Nước được dùng để tạo ẩm phải không chứa các VOC gây cản trở.
8.3 Vận tốc không khí
Vận tốc không khí đo được hoặc tính được qua toàn bộ bề mặt của mẫu thử phải nằm trong khoảng từ 0,003 m/s đến 0,3 m/s.
CHÚ THÍCH Vận tốc không khí có thể là quan trọng đối với sự phát thải bay hơi được kiểm soát, ví dụ từ một số sản phẩm thể lỏng. Điều này phụ thuộc vào chất nền.
VÍ DỤ Ví dụ về vận tốc không khí được đưa ra tại Phụ lục C.
8.4 Lưu lượng khí riêng theo diện tích và tốc độ trao đổi không khí
Điều kiện ngăn thử phát thải phụ thuộc vào lưu lượng khí riêng theo diện tích được lựa chọn như một thông số trong thiết kế điều kiện thử phát thải.
VÍ DỤ Ví dụ lưu lượng khí riêng trên diện tích được nêu tại Phụ lục B.
9 Kiểm tra xác nhận điều kiện thử
9.1 Khái quát
Tất cả biện pháp kiểm soát phải truy nguyên được đến chuẩn đã được chứng nhận theo chương trình kiểm soát và đảm bảo chất lượng (Phụ lục A).
9.2 Hệ thống kiểm soát nhiệt độ và độ ẩm tương đối của không khí
Kiểm soát nhiệt độ có thể được thực hiện bằng cách đặt ngăn thử phát thải trong một vị trí được kiểm soát với nhiệt độ yêu cầu.
Kiểm soát độ ẩm tương đối của không khí có thể thực hiện bằng các hệ thống khác nhau ví dụ hệ thống có kiểm soát độ ẩm của thiết bị cung cấp khí.
Cần phải đo nhiệt độ và độ ẩm tương đối của không khí độc lập với hệ thống kiểm soát nhiệt độ và độ ẩm không khí.
9.3 Điều kiện thử trong ngăn thử phát thải
Nhiệt độ, độ ẩm tương đối của không khí và lưu lượng dòng khí phải được đo bằng thiết bị đáp ứng độ chính xác như sau:
- Nhiệt độ ± 1,0 °C
- Độ ẩm không khí tương đối ± 3 % RH
- Lưu lượng dòng khí ± 3 %
Độ ẩm tương đối của không khí phải được đo tại đầu ra của không khí. Cảm biến nhiệt độ phải được đặt hoặc trong ngăn thử phát thải hoặc ở đầu ra của không khí.
9.4 Vận tốc không khí và lưu lượng không khí trong ngăn thử phát thải
Lưu lượng không khí phải được kiểm tra và điều chỉnh lại trước khi lấy mẫu không khí sử dụng đồng hồ đo khí đã được hiệu chuẩn. Lưu lượng không khí phải không thay đổi quá ± 5 % giá trị đặt. Vận tốc không khí trong ngăn thử phát thải phải không đổi.
CHÚ THÍCH Nếu phép thử được tiến hành có đồng hồ đo thể tích khí/đồng hồ đo lưu lượng khí không được lắp đặt lâu dài, thì cần phải biết rõ áp suất ngược được đưa vào thiết bị có thể thấp hơn lưu lượng đi qua ngăn thử phát thải.
9.5 Độ kín khí của ngăn thử phát thải
Độ kín khí của ngăn thử phát thải phải được kiểm tra khi bắt đầu phép thử phát thải, bằng so sánh lưu lượng không khí tại cổng vào và cổng ra; xem 6.4.
10 Mẫu thử
Nghiên cứu về phát thải VOC từ sản phẩm xây dựng trong ngăn thử phát thải yêu cầu xử lý phù hợp sản phẩm trước khi thử.
Tuân theo quy trình về chuẩn bị mẫu thử như được quy định ở Phụ lục A (đối với sản phẩm thể rắn) và ở Phụ lục B (đối với sản phẩm thể lỏng) của TCVN 10736-11:2016 (ISO 16000-11:2006).
11 Chuẩn bị ngăn thử phát thải
Ngăn thử phát thải phải được làm sạch theo 11.1 hoặc 11.2.
11.1 Làm sạch bằng cách sử dụng chất tẩy rửa
Ngăn thử phát thải được làm sạch bằng cách rửa bề mặt bên trong của buồng thử phát thải với chất tẩy rửa kiềm, sau đó tráng hai lần riêng biệt bằng nước mới cất. Sau đó tráng bề mặt trong với etanol không biến tính hoặc dung môi phù hợp khác.
11.2 Làm sạch bằng giải hấp nhiệt
Ngăn thử phát thải có thể cũng được làm sạch bằng cách gia nhiệt trong một lò chân không với nhiệt độ (70 °C đến 100 °C) qua đêm.
12 Phương pháp thử
12.1 Nồng độ nền
Đặt ngăn thử phát thải lên bề mặt sạch và phẳng (ví dụ thủy tinh hoặc thép không gỉ). Mẫu khí của nền ngăn thử phát thải được lấy trước khi bắt đầu một phép thử phát thải mới, để định lượng về bất kỳ sự đóng góp nào của hợp chất hữu cơ bay hơi vào ngăn thử phát thải trống.
Nồng độ nền phải đáp ứng các yêu cầu nêu tại 8.2.
12.2 Vị trí mẫu thử trong ngăn thử phát thải
Vị trí của ngăn thử phát thải phải đảm bảo hướng của dòng không khí được phân phối đều trên toàn bộ bề mặt phát thải của mẫu thử.
12.3 Thời gian cần cho phép đo nồng độ không khí trong ngăn thử
Phép đo nồng độ phải được tiến hành tại thời điểm được xác định trước. Tùy thuộc vào mục tiêu của phép thử, có thể phù hợp để lấy mẫu không khí tại các thời điểm bổ sung. Khoảng thời gian lấy mẫu không khí cho phép đo nồng độ phụ thuộc vào phương pháp phân tích được dùng và chúng phải được lập thành tài liệu.
Phải lấy mẫu đúp không khí tại (72 ± 2)h và tại (28 ± 2) ngày sau khi bắt đầu phép thử.
Sau khi kết thúc phép thử phát thải, ngăn thử phát thải phải được làm sạch theo Điều 11.
Khoảng thời gian thử phát thải được xác định theo mục đích của thử nghiệm. Đối với thử nghiệm dài hạn, mẫu thử phải được bảo quản trong các điều kiện được kiểm soát như mô tả tại 8.1, nếu nó được chuyển ra khỏi ngăn thử phát thải trong giai đoạn bảo quản.
Quá trình lão hóa mẫu thử phải tương tự với quá trình xảy ra trong ngăn thử. Mọi sự nhiễm bẩn do mẫu thử được bảo quản khác phải được tránh. Mẫu thử phải được đưa lại vào ngăn thử ít nhất 24 h trước khi lấy mẫu không khí. Mỗi sự loại bỏ mẫu thử phải được lập thành tài liệu và ghi trong biên bản thử nghiệm.
CHÚ THÍCH 1 Nếu nghiên cứu phân rã được yêu cầu, mẫu không khí có thể được lấy sau 1, 3, 7, 14, 28 và 56 ngày, hoặc dài hơn, sau khi bắt đầu thử nghiệm.
Nồng độ nền của VOC cần phải được kiểm soát đầy đủ để tránh sự nhiễm bẩn mẫu thử.
CHÚ THÍCH 2 Để giảm thiểu sự nhiễm bẩn mẫu thử, có thể sử dụng các ngăn bảo quản hoặc các hộp có thông gió tốt.
13 Tính tốc độ phát thải riêng theo diện tích và biểu thị kết quả
Tại một điều kiện thử đã biết, ρx phụ thuộc vào tốc độ phát thải riêng theo diện tích của mẫu thử và lưu lượng dòng khí đi qua ngăn thử phát thải. Đối với từng VOC, hợp chất tìm thấy trong vật liệu và trong nền phải được trừ đi hợp chất của hợp chất. Đối với TVOC, phải trừ đi nền đo được. Tương quan giữa ρx, tốc độ phát thải riêng theo một đơn vị diện tích (qA) và lưu lượng riêng dòng khí theo đơn vị diện tích (q) của ngăn thử phát thải được biểu thị như sau:
| ρx = qA . (L/n) = qA/q | (1) |
Công thức (1) chỉ ra lưu lượng riêng dòng khí theo diện tích, q, bằng với tỉ số n/L. Đối với sản phẩm đã biết được thử trong điều kiện buồng thử phát thải đã biết, nồng độ VOCx phụ thuộc vào lưu lượng dòng khí riêng theo diện tích.
Nồng độ đo được, ρx, của VOC trong không khí đầu ra từ ngăn thử phát thải phải được chuyển đổi thành tốc độ phát thải riêng theo diện tích qA. ρx là nồng độ trung bình của VOCx được tính từ mẫu không khí đúp như được mô tả tại 12.3
| qA = ρx . q | tại thời điểm t | (2) |
Kết quả phải tương quan với thời gian của phép đo phát thải sau khi đặt mẫu thử vào ngăn thử phát thải và có thể được báo cáo định lượng theo tốc độ phát thải riêng theo diện tích, của từng VOC và/hoặc TVOC theo mục đích của phép thử.
Tổng các hợp chất phát thải, TVOC, cần phải được xem xét chỉ như một hệ số cụ thể với sản phẩm được nghiên cứu và chỉ được dùng đối với so sánh các sản phẩm có hồ sơ VOC mục tiêu tương tự nhau.
CHÚ THÍCH Đối với mục đích nhất định, tốc độ phát thải riêng theo diện tích có thể được tính từ các số liệu nồng độ theo thời gian, hoặc bằng các biện pháp dùng mô hình toán học khác nhau, ví dụ phân rã bậc nhất từ số liệu nồng độ thời gian. Phương pháp này và các mô hình khác được viện dẫn tại Tài liệu tham khảo [8] và [9].
14 Đặc tính tính năng
Đặc tính tính năng của phương pháp thử khi được sử dụng cùng với TCVN 10736-6 (ISO 16000-6), được trình bày tại TCVN 10736-6 (ISO 16000-6) và 16017-1.
15 Báo cáo thử nghiệm
Báo cáo thử nghiệm phải bao gồm những thông tin sau:
a) Phòng thử nghiệm thử:
1) Tên và địa chỉ của phòng thử nghiệm;
2) Tên người chịu trách nhiệm
3) Mô tả thiết bị và phương pháp được dùng (ngăn thử, hệ thống không khí sạch, kiểm soát môi trường, bộ mẫu, thiết bị phân tích, hiệu chuẩn và tạo chuẩn);
b) Mô tả mẫu:
1) Loại sản phẩm (và tên thương hiệu nếu phù hợp);
2) Quá trình lựa chọn mẫu (ví dụ ngẫu nhiên);
3) Lịch sử sản phẩm (ngày sản xuất, ngày đến phòng thử nghiệm);
c) Chuẩn bị mẫu thử
1) Ngày và thời gian mở gói và chuẩn bị mẫu thử (giờ, ngày, tháng và năm);
2) Phương pháp chuẩn bị, bao gồm cả độ dày và chất nền, kể cả đối với sản phẩm thể lỏng chất nền, lượng trên đơn vị diện tích, và/hoặc độ dày;
d) Điều kiện và quy trình thực nghiệm:
1) Điều kiện ngăn thử (nhiệt độ, độ ẩm tương đối của không khí, tốc độ trao đổi không khí, vận tốc không khí);
2) Diện tích mẫu thử và tỉ số tải;
3) Lấy mẫu VOC phát thải (chất hấp phụ được dùng, thể tích được lấy mẫu, khoảng thời gian lấy mẫu và thời gian sau khi đưa mẫu vào ngăn thử);
e) Phân tích số liệu:
Mô tả phương pháp được dùng để thu được tốc độ phát thải riêng từ nồng độ ngăn thử đo được (mô hình toán học cụ thể hoặc công thức toán học được dùng);
f) Kết quả:
Tốc độ phát thải riêng phải được báo cáo cho từng mẫu thử, cho từng VOC và/hoặc TVOC, tại thời điểm lấy mẫu không khí;
g) Đảm bảo chất lượng/kiểm soát chất lượng:
1) Nồng độ nền của các hợp chất thử trong ngăn thử;
2) Số liệu độ thu hồi của toluen và n-dodecan (để đánh giá hiệu ứng chậu);
3) Kết quả lấy mẫu/phân tích mẫu đúp;
4) Chất lượng của các biến số môi trường (nhiệt độ, độ ẩm tương đối của không khí, tốc độ trao đổi không khí, vận tốc không khí).
Phụ lục A
(Quy định)
Hệ thống đảm bảo chất lượng/kiểm soát chất lượng
A.1 Khái quát
Thử nghiệm trong ngăn phát thải chất hữu cơ từ vật liệu/sản phẩm trong nhà phải được tiến hành trong khuôn khổ của một kế hoạch dự án đảm bảo chất lượng (QAPP). QAPP phải bao gồm một mô tả dự án, mục tiêu chất lượng dữ liệu/tiêu chí được chấp nhận, hoạt động/cách tiếp cận QA/QC và đánh giá QA/QC.
A.2 Mô tả dự án
Mô tả ngắn gọn phải bao gồm vật liệu được thử; cách thức thử nghiệm được tiến hành và người chịu trách nhiệm về các hoạt động dự án khác nhau. Thiết kế thực nghiệm dự án cần phải gồm thông tin cần thiết đối với các phần của QAPP này.
A.3 Mục tiêu/tiêu chí chấp nhận chất lượng dữ liệu
Phần này của QAPP xác định ra độ chụm, độ chính xác và tính hoàn chỉnh mong muốn đối với từng thông số được đo.
A.4 Cách tiếp cận/hoạt động QA/QC [10]
Loại hoạt động QA/QC có thể được quy định trong QAPP bao gồm thiết lập một hệ thống bản ghi/sổ tay để đảm bảo vận hành của thiết bị phù hợp và ghi lại các số liệu, như:
a) Nhật ký mẫu để ghi lại giao nhận mẫu, bảo quản và sắp xếp vật liệu;
b) Chuẩn bị chuẩn GC để lập hồ sơ tất cả các hợp chất hữu cơ;
c) Bộ ghi ống thấm để ghi lại số liệu khối lượng mất đối với tất cả các ống thấm;
d) Bộ ghi hiệu chuẩn chứa số liệu hiệu chuẩn hệ thống môi trường;
e) Bộ ghi bảo dưỡng thiết bị để lập hồ sơ bảo dưỡng và sửa chữa tất cả thiết bị;
f) Bộ ghi thử nghiệm vật liệu trong đó để ghi tất cả thông tin thích hợp cho từng thử nghiệm, kể cả chi tiết mẫu, số ID mẫu, và số ID phân tích GC;
g) Bộ ghi làm sạch/giải hấp cactric chất hấp phụ chi tiết làm sạch nhiệt và kiểm tra xác nhận QC của cactric chất hấp phụ;
h) Bộ ghi điện tử tách biệt để lập tài liệu vị trí và nội dung của số liệu được lưu giữ bằng điện tử;
i) Vận hành quản lý thông thường hoặc tất cả các thiết bị được dùng cho dự án.
Các hoạt động QC được tiến hành bởi nhân viên dự án theo thông lệ, cách thức thống nhất để cung cấp những phản hồi cần thiết trong vận hành của tất cả hệ thống đo. Các hoạt động như vậy có thể bao gồm:
- Bảo dưỡng thông lệ và hiệu chuẩn hệ thống;
- Ghi chép hàng ngày của độ chính xác và độ chụm hiệu chuẩn GC (nghĩa là kiểm soát đồ thị);
- Quan trắc theo thời gian phần trăm độ thu hồi của chuẩn nội được bổ sung vào tất cả các mẫu;
- Thu thập và phân tích mẫu đúp;
- Kiểm tra QC ống chất hấp phụ hữu cơ;
- Phân tích định kỳ các khí đánh giá được cung cấp bởi một nguồn độc lập.
A.5 Đánh giá QA/QC
Cuối cùng, chương trình QA/QC phải bao gồm các đánh giá định kỳ bởi nhân viên QA để đánh giá sự phù hợp với chương trình QAPP.
Phụ lục B
(Tham khảo)
Ví dụ lưu lượng dòng khí riêng theo diện tích trong một phòng mẫu
Bảng B.1 - Ví dụ lưu lượng dòng khí riêng theo diện tích (trong một phòng mẫu)
| Phòng mẫu a | Lưu lượng dòng khí riêng theo diện tích m3/(m2.h) hoặc n/L |
| 17,4 m3, n = 0,5 h-1 |
|
| Diện tích sàn = 7 m2 | 1,2 |
| Diện tích tường = 24 m2 | 0,4 |
| Diện tích vữa = 0,2 m2 | 44 |
| a Xem tài liệu tham khảo [5] | |
CHÚ THÍCH Nồng độ tính được có thể khác so với thực tế. Cần lưu ý rằng con số lưu lượng phát thải là giá trị trung bình trong một giờ, nhưng một ngày dài hơn thì sự phát thải có thể thay đổi nhiều lần.
Phụ lục C
(Tham khảo)
Ví dụ ngăn thử phát thải
| Thể tích (m3) | 3,5 x 10-5 | - | - | - |
| Diện tích bề mặt thử tiếp xúc tối đa (m2) | 0,0177 | - | - | - |
| Khe không khí đi vào (mm) | 1,0 | - | - | - |
| Đường kính (mm) | 150 | - | - | - |
| Độ cao tại điểm giữa (mm) | 18 | - | - | - |
| Tải lượng vật liệu lớn nhất (m2/m3) | 507 | - | - | - |
| Lưu lượng khí (l/min) | 0,100 | 0,300 | 1,400 | 2,800 |
| Tốc độ trao đổi không khí, n (h-1) | 171 | 514 | 2400 | 4800 |
| Vận tốc không khí a tại khe (m/s) | 0,0035 | 0,01 | ~0,05 | ~0,1 |
| Tốc độ dòng khí riêng theo diện tích b [m3/(h∙m2)] | 0,34 | 1 | 5 | 9 |
| Số Reynold (20 °C), Re |
|
|
| 10 |
| Vi kết cấu bề mặt tường c Ra (µm) | <0,1 |
|
|
|
| Hiệu ứng chậu của tường |
| Thời gian để đạt được cân bằng đối với VOC phân cực <2 h ở vận tốc cấp khí 400 ml/min (vận tốc không khí ≈0,014 m/s) | ||
| Phần trăm thu hồi VOC (%) d |
|
|
|
|
| Dodecan | 106 ± 2 |
|
|
|
| 2-Etylhexanol | 99 ± 2 |
|
|
|
| a Được tính theo cấu hình hình học và dòng khí b Tổng diện tích tiếp xúc của mẫu thử. c Bề mặt trong được xử lý đánh bóng → vi cấu trúc bề mặt đồng đều, Ra = Giá trị Rough (xem ISO 1302-02[19]). d Vận tốc cung cấp khí bằng 100 ml/min tại độ ẩm tương đối của không khí 50 %, nhưng đối với 2-etylhaxanol, độ ẩm tương đối của không khí được dùng bằng 0 %. | ||||

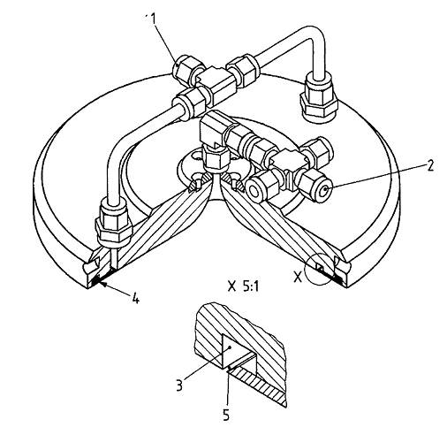
CHÚ DẪN
1 Lối vào không khí
2 Lối ra không khí
3 Kênh
4 Vật liệu gắn
5 Khe hở
CHÚ THÍCH Thông tin thêm, xem tài liệu tham khảo từ [11] đến [19]
Hình C.1 - Mô tả ví dụ của ngăn thử phát thải - Mô tả chung về 3 kích thước của ngăn thử phát thải ngoài hiện trường và trong phòng thử nghiệm
Thư mục tài liệu tham khảo
[1] ISO 12460-1:-, Wood-based panels- Determination of formaldehyde release - Part 1: Formaldehyde emission by the 1-cubic metre chamber method
[2] TCVN 10736-3:2015 (ISO 16000-3:2001), Không khí trong nhà - Phần 3: Xác định formaldehyt và hợp chất cacbonyl khác trong không khí trong nhà và không khí trong buồng thử - Phương pháp lấy mẫu chủ động
[3] ECA (European Collaborative Action "Indoor Air Quality and its Impact on Man"). Total Volatile Organic Compounds (TVOC) in Indoor Air Quality Investigations. Report No. 19, EUR 17675 EN. Luxembourg: Official Publications of the European Communities, 1997
[4] ECA (European Collaborative Action "Indoor Air Quality and its Impact on Man"). Evaluation of VOC Emissions from Building Products - Solid Flooring Materials. Report No. 18, EUR 17334 EN. Luxembourg: Official Publications of the European Communities, 1997
[5] Danish Standard/INF 90 "Directions for the determination and evaluation of the emission from building products" (Anvisning for bestemmelse og vurdering af afgasning fra byggevarer), Dansk Standard, København, 1994
[6] ECA, European Collaborative Action - Indoor Air Quality and Its Impact on Man, COST Project 613, Guideline for the Characterization of Volatile Organic Compounds Emitted from Indoor Materials and Products Using Small Test Chambers, EUR 13593 EN, Report No 8, Commission of the European Communities, 1991, Joint Research Centre
[7] NIELSEN, P.A., JENSEN, L.K., ENG, K., BASTHOLM, P., HUGOD, C., HUSEMOEN, T., MØLHAVE, L., WOLKOFF, P. (1994) Health-Related Evaluation of Building Products based on Climate Chamber Tests", Indoor Air 1994, 4, pp. 146-153
[8] TICHENOR, B.A. Indoor air sources; using small environmental test chambers to characterize organic emissions from indoor materials and products, EPA-600 8-89-074, Air and Energy Engineering Research Laboratory, U.S. Environmental Protection Agency, 1989., Section 6C
[9] ECA, European Collaborative Action - Indoor Air Quality and Its Impact on Man, COST Project 613, Formaldehyde Emissions from Wood Based Panels: Guideline for the establishment of Steady state Concentrations in Test Chambers, Report No 2, EUR 12196 EN, Commission of the European Communities, Joint Research Centre
[10] TICHENOR, B.A. Indoor air sources; using small environmental test chambers to characterize organic emissions from indoor materials and products, EPA-600 8-89-074, Air and Energy Engineering Research Laboratory, U.S. Environmental Protection Agency, 1989, Section 7
[11] GUSTAFSSON, H. and JONSSON, B. "Review of small devices for measuring chemical emission from materials", Report 1991:25, Swedish National Testing and Research Institute, Boras, 1991
[12] ROACHE, N., GUO, Z., FORTMANN, R. and TICHENOR, B.A. Comparing the Field and Laboratory Emission Cell (FLEC) with Traditional Emissions Testing Chambers. TICHENOR, B. (ed) Characterizing Sources of Indoor Air Pollution and Related Sink Effects Sinks, Philadelphia, ASTM STP 1287, 1996, pp. 98-111
[13] WOLKOFF, P. An emission cell for measurement of volatile organic compounds emitted from building materials for indoor use - the field and laboratory emission cell FLEC3), Gefahrstoffe - Reinhaltung der Luft, 56, 1996, pp. 151-157
[14] WOLKOFF, P., CLAUSEN, P.A. and NIELSEN, P.A. Application of Field and Laboratory Emission Cell "FLEC" - Performance Study, Intercomparison Study, and Case Study of Damaged Linoleum, Indoor Air, 5, 1995, pp. 196-203
[15] WOLKOFF, P., CLAUSEN, P.A., NIELSEN, P.A. and GUNNARSEN, L. "Documentation of Field and Laboratory Emission Cell "FLEC" - Identification of Emission Processes from Carpet, Linoleum, Paint, and Sealant by Modelling", Indoor Air, 3, 1993, pp. 291-297
[16] WOLKOFF, P., CLAUSEN, P.A., NIELSEN, P.A., GUSTAFSSON, H., JONSSON, B. and RASMUSEN, E. Field and Laboratory Emission Cell: FLEC, Healthy Buildings '91, American Society of Heating, Refrigerating, and Air-Conditioning Engineers, Atlanta, 1991, pp 160-165
[17] WOLKOFF, P. Impact of air velocity, temperature, humidity, and air on long-term VOC emissions from building products", Atmospheric Environment, 32, 1998, pp. 1-11
[18] Additional information about FLEC® 3) applications can be found on the internet address: http://www.flec.com
[19] ISO 1302:2002, Geometrical Product Specifications (GPS) - Indication of surface texture in technical product documentation
[20] ISO 16017-1:2000, Indoor, ambient and workplace air - Sampling and analysis of volatile organic compounds by sorbent tube/thermal desorption/capiliary gas chromatography - Part 1: Pumped sampling
[21] EN 717-1:2004, Wood-based panels - Determination of formaldehyde release - Part 1: Formaldehyde emission by the chamber method
1) Tenax TA® là tên thương mại của một sản phẩm được cung cấp bởi Supelco, Inc.. Thông tin này đưa ra chỉ tạo thuận lợi cho người sử dụng tiêu chuẩn và không phải là xác nhận của tiêu chuẩn về sản phẩm này. Các sản phẩm tương đương có thể được dùng nếu cho kết quả như nhau.
Bạn chưa Đăng nhập thành viên.
Đây là tiện ích dành cho tài khoản thành viên. Vui lòng Đăng nhập để xem chi tiết. Nếu chưa có tài khoản, vui lòng Đăng ký tại đây!