- Tổng quan
- Nội dung
- Tiêu chuẩn liên quan
- Lược đồ
- Tải về
TCVN 10736-24:2017 Sự giảm nồng độ hợp chất hữu cơ bay hơi vật liệu xây dựng hấp thu
| Số hiệu: | TCVN 10736-24:2017 | Loại văn bản: | Tiêu chuẩn Việt Nam |
| Cơ quan ban hành: | Bộ Khoa học và Công nghệ | Lĩnh vực: | Tài nguyên-Môi trường |
|
Ngày ban hành:
Ngày ban hành là ngày, tháng, năm văn bản được thông qua hoặc ký ban hành.
|
2017 |
Hiệu lực:
|
Đã biết
|
| Người ký: | Đang cập nhật |
Tình trạng hiệu lực:
Cho biết trạng thái hiệu lực của văn bản đang tra cứu: Chưa áp dụng, Còn hiệu lực, Hết hiệu lực, Hết hiệu lực 1 phần; Đã sửa đổi, Đính chính hay Không còn phù hợp,...
|
Đã biết
|
TÓM TẮT TIÊU CHUẨN VIỆT NAM TCVN 10736-24:2017
Nội dung tóm tắt đang được cập nhật, Quý khách vui lòng quay lại sau!
Tải tiêu chuẩn Việt Nam TCVN 10736-24:2017
TIÊU CHUẨN QUỐC GIA
TCVN 10736-24:2017
ISO 16000-24:2009
KHÔNG KHÍ TRONG NHÀ - PHẦN 24: THỬ TÍNH NĂNG ĐỂ ĐÁNH GIÁ SỰ GIẢM NỒNG ĐỘ HỢP CHẤT HỮU CƠ BAY HƠI (TRỪ FORMALDEHYT) DO VẬT LIỆU XÂY DỰNG HẤP THU
Indoor air - Part 24: Performance test for evaluating the reduction of volatile organic compound (except formaldehyde) concentrations by sorptive building materials
Lời nói đầu
TCVN 10736-24:2017 hoàn toàn tương đương với ISO 16000-24:2009.
TCVN 10736-24:2017 do Tiểu ban kỹ thuật tiêu chuẩn quốc gia TCVN/TC 146 Chất lượng không khí biên soạn, Tổng cục Tiêu chuẩn Đo lường Chất lượng đề nghị, Bộ Khoa học và Công nghệ công bố.
Bộ TCVN 10736 (ISO 16000) Không khí trong nhà gồm các phần sau:
- TCVN 10736-1: 2015 (ISO 16000-1:2004) Phần 1: Các khía cạnh chung của kế hoạch lấy mẫu;
- TCVN 10736-2:2015 (ISO 16000-2:2004) Phần 2: Kế hoạch lấy mẫu formaldehyf,
- TCVN 10736-3:2015 (ISO 16000-3:2011) Phần 3: Xác định formaldehyt và hợp chất cacbonyl khác trong không khí trong nhà và không khí trong buồng thử- Phương pháp lấy mẫu chủ động;
- TCVN 10736-4:2015 (ISO 16000-4:2011) Phần 4: Xác định formaldehyt - Phương pháp lấy mẫu khuếch tán;
- TCVN 10736-5:2015 (ISO 16000-5:2007) Phần 5: Kế hoạch lấy mẫu đối với hợp chất hữu cơ bay hơi (VOC);
- TCVN 10736-6:2016 (ISO 16000-6:2011) Phần 6: Xác định hợp chất hữu cơ bay hơi trong không khí trong nhà và trong buồng thử bằng cách lấy mẫu chủ động trên chất hấp phụ Tenax TA®, giải hấp nhiệt và sắc ký khí sử dụng MS hoặc MS-FID;
- TCVN 10736-7:2016 (ISO 16000-7:2007) Phần 7: Chiến lược lấy mẫu để xác định nồng độ sợi amiăng truyền trong không khí;
- TCVN 10736-8:2016 (ISO 16000-8:2007) Phần 8: Xác định thời gian lưu trung bình tại chỗ của không khí trong các tòa nhà để xác định đặc tính các điều kiện thông gió;
- TCVN 10736-9:2016 (ISO 16000-9:2006) Phần 9: Xác định phát thải của hợp chất hữu cơ bay hơi từ các sản phẩm xây dựng và đồ nội thất - Phương pháp buồng thử phát thải;
- TCVN 10736-10:2016 (ISO 16000-10:2006) Phần 10: Xác định phát thải của hợp chất hữu cơ bay hơi từ các sản phẩm xây dựng và đồ nội thất - Phương pháp ngăn thử phát thải;
- TCVN 10736-11:2016 (ISO 16000-11:2006) Phần 11: Xác định phát thải của hợp chất hữu cơ bay hơi từ các sản phẩm xây dựng và đồ nội thất - Lấy mẫu, bảo quản mẫu và chuẩn bị mẫu thử;
- TCVN 10736-12:2016 (ISO 16000-12:2008) Phần 12: Chiến lược lấy mẫu đối với polycloro biphenyl (PCB), polycloro dibenzo-p-dioxin (PCDD), polycloro dibenzofuran (PCDF) và hydrocacbon thơm đa vòng (PAH);
- TCVN 10736-13:2016 (ISO 16000-13:2008) Phần 13: Xác định tổng (pha khí và pha hạt) polycloro biphenyl giống dioxin (PCB) và polycloro dibenzo-p-dioxin/polycloro dibenzofuran (PCDD/PCDF) - Thu thập mẫu trên cái lọc được hỗ trợ bằng chất hấp phụ;
- TCVN 10736-14:2016 (ISO 16000-14:2009) Phần 14: Xác định tổng (pha khí và pha hạt) polycloro biphenyl giống dioxin (PCB) và polycloro dibenzo-p-dioxin/polycloro dibenzofuran (PCDD/PCDF) - Chiết, làm sạch và phân tích bằng sắc ký khí phân giải cao và khối phổ.
- TCVN 10736-15:2017 (ISO 16000-15:2008) Phần 15: Cách thức lấy mẫu nitơ dioxit (NO2).
- TCVN 10736-16:2017 (ISO 16000-16:2008) Phần 16: Phát hiện và đếm nấm mốc - Lấy mẫu bằng cách lọc.
- TCVN 10736-17:2017 (ISO 16000-17:2008) Phần 17: Phát hiện và đếm nấm mốc - Phương pháp nuôi cấy.
- TCVN 10736-18:2017 (ISO 16000-18:2011) Phần 18: Phát hiện và đếm nấm mốc - Lấy mẫu bằng phương pháp va đập.
- TCVN 10736-19:2017 (ISO 16000-19:2012) Phần 19: Cách thức lấy mẫu nấm mốc.
- TCVN 10736-20:2017 (ISO 16000-20:2014) Phần 20: Phát hiện và đếm nấm mốc - Xác định số đếm bào tử tổng số.
- TCVN 10736-21:2017 (ISO 16000-21:2013) Phần 21: Phát hiện và đếm nấm mốc - Lấy mẫu từ vật liệu.
- TCVN 10736-23:2017 (ISO 16000-23:2009) Phần 23: Thử tính năng để đánh giá sự giảm nồng độ formaldehyt do vật liệu xây dựng hấp thu.
- TCVN 10736-24:2017 (ISO 16000-24:2009) Phần 24: Thử tính năng để đánh giá sự giảm nồng độ hợp chất hữu cơ bay hơi (trừ fomaldehyt) do vật liệu xây dựng hấp thu.
- TCVN 10736-25:2017 (ISO 16000-25:2011) Phần 25: Xác định phát thải của hợp chất hữu cơ bán bay hơi từ các sản phẩm xây dựng - Phương pháp buồng thử nhỏ.
- TCVN 10736-26:2017 (ISO 16000-26:2012) Phần 26: Cách thức lấy mẫu cacbon dioxit (CO2)
- TCVN 10736-27:2017 (ISO 16000-27:2014) Phần 27: Xác định bụi sợi lắng đọng trên bề mặt bằng kính hiển vi điện tử quét (SEM) (phương pháp trực tiếp)
- TCVN 10736-28:2017 (ISO 16000-28:2012) Phần 28: Xác định phát thải mùi từ các sản phẩm xây dựng sử dụng buồng thử.
- TCVN 10736-29:2017 (ISO 16000-29:2014) Phần 29: Phương pháp thử các thiết bị đo hợp chất hữu cơ bay hơi (VOC).
- TCVN 10736-30:2017 (ISO 16000-30:2014) Phần 30: Thử nghiệm cảm quan của không khí trong nhà.
- TCVN 10736-31:2017 (ISO 16000-31:2014) Phần 31: Đo chất chống cháy và chất tạo dẻo trên nền hợp chất phospho hữu cơ-este axit phosphoric.
- TCVN 10736-32:2017 (ISO 16000-32:2014) Phần 32: Khảo sát tòa nhà để xác định sự xuất hiện của các chất ô nhiễm.
- TCVN 10736-33:2017 (ISO 16000-33:2017) Phần 33: Xác định phtalat bằng sắc ký khí/khối phổ (GC/MS).
Các vật liệu xây dựng hấp thu để loại bỏ chất ô nhiễm truyền theo không khí qua hấp thu lý học hoặc phản ứng hóa học đã được đưa ra trên thị trường dưới dạng các sản phẩm tấm và bảng.
Phương pháp thử hài hòa để đánh giá tác động hấp thu là quan trọng đối với đánh giá tương thích của tính năng vật liệu xây dựng hấp thu được dùng để giảm mức chất ô nhiễm không khí trong nhà.
Tiêu chuẩn này quy định phương pháp thử để đánh giá tính năng của vật liệu xây dựng hấp thu để giảm nồng độ hợp chất hữu cơ bay hơi (VOC) (trừ formaldehyt) trong không khí trong nhà theo thời gian.
Tính năng của vật liệu xây dựng hấp thu được đánh giá bằng thông lượng hấp thu và khối lượng bão hòa trên diện tích và bị ảnh hưởng bởi một số yếu tố. Do vậy, điều kiện thử cụ thể được quy định trong tiêu chuẩn này.
Tiêu chuẩn này có thể áp dụng cho hầu hết các vật liệu xây dựng hấp thu được sử dụng trong nhà với VOC (trừ formaldehyt) như là một chất ô nhiễm không khí trong nhà.
Tiêu chuẩn này được dựa trên phương pháp buồng thử như được quy định tại TCVN 10736-9 (ISO 16000-9).
KHÔNG KHÍ TRONG NHÀ PHẦN 24: THỬ TÍNH NĂNG ĐỂ ĐÁNH GIÁ SỰ GIẢM NỒNG ĐỘ HỢP CHẤT HỮU CƠ BAY HƠI (TRỪ FORMALDEHYT) DO VẬT LIỆU XÂY DỰNG HẤP THU
Indoor air- Part 24: Performance test for evaluating the reduction of volatile organic compound (except formaldehyde) concentrations by sorptive building materials
1 Phạm vi áp dụng
Tiêu chuẩn này quy định phương pháp thử chung trong phòng thử nghiệm để đánh giá độ giảm nồng độ hợp chất hữu cơ bay hơi (VOC) (trừ formaldehyt) do vật liệu xây dựng hấp thu. Phương pháp này áp dụng cho gỗ, giấy dán tường, thảm, sản phẩm sơn và các vật liệu xây dựng khác. Sự hấp thu VOC (trừ formaldehyt) có thể được diễn ra do hấp phụ, hấp thụ và hấp thu hóa học. Tính năng của vật liệu về khả năng giảm nồng độ của VOC (trừ formaldehyt) trong không khí trong nhà được đánh giá bằng đo thông lượng hấp thu và khối lượng bão hòa trên diện tích. Phép đo đầu cho biết tính năng giảm nồng độ của VOC (trừ tormaldehyt) của vật liệu một thời điểm, phép đo sau liên quan đến khả năng của một sản phẩm để duy trì tính năng đó.
Formaldehyt không thuộc phạm vi của tiêu chuẩn này bởi vì rất khó để thu được một mẫu tiêu chuẩn ổn định trong không khí.
Tiêu chuẩn này dựa trên phương pháp buồng thử quy định trong TCVN 10736-9 (ISO 16000-9). Lấy mẫu, vận chuyển và bảo quản vật liệu được thử và chuẩn bị mẫu thử được quy định ở TCVN 10736-11 (ISO 16000-11). Phương pháp lấy mẫu và phân tích để xác định hợp chất cacbonyl (trừ formaldehyt) được quy định tại TCVN 10736-3 (ISO 16000-3), và việc lấy mẫu và phương pháp xác định VOC được trình bày ở TCVN 10736-6 (ISO 16000-6) và ISO 16017-1.
2 Tài liệu viện dẫn
Các tài liệu viện dẫn sau rất cần thiết cho việc áp dụng tiêu chuẩn này. Đối với các tài liệu viện dẫn ghi năm công bố thì áp dụng phiên bản được nêu. Đối với các tài liệu viện dẫn không ghi năm công bố thì áp dụng phiên bản mới nhất, bao gồm cả các sửa đổi, bổ sung (nếu có).
TCVN 10736-3:2015 (ISO 16000-3:2011) Không khí trong nhà - Phần 3: Xác định formaldehyt và hợp chất cacbonyl khác trong không khí trong nhà và không khí trong buồng thử - Phương pháp lấy mẫu chủ động;
TCVN 10736-6 (ISO 16000-6) Không khí trong nhà - Phần 6: Xác định hợp chất hữu cơ bay hơi trong không khí trong nhà và trong buồng thử bằng cách lấy mẫu chủ động trên chất hấp phụ Tenax TA®, giải hấp nhiệt và sắc ký khí sử dụng MS hoặc MS-FID
TCVN 10736-9:2016 (ISO 16000-9:2006) Không khí trong nhà - Phần 9: Xác định phát thải của hợp chất hữu cơ bay hơi từ các sản phẩm xây dựng và đồ nội thất - Phương pháp buồng thử phát thải;
TCVN 10736-11 (ISO 16000-11) Không khí trong nhà - Phần 11: Xác định phát thải của hợp chất hữu cơ bay hơi từ các sản phẩm xây dựng và đồ nội thất - Lấy mẫu, bảo quản mẫu và chuẩn bị mẫu thử
ISO 554, Standard atmospheres for conditioning and/or testing - Specifications (Không khí tiêu chuẩn để ổn định hóa và/hoặc thử nghiệm - Yêu cầu kỹ thuật)
ISO 6353-3, Reagents for Chemical analysis - Part 3: Specifications - Second series (Thuốc thử cho phân tích hóa học - Phần 3: Yêu cầu kỹ thuật - Dãy thứ hai)
ISO 16017-1, Indoor, ambient and workplace air - Sampling and analysis of volatile organic compounds by sorbent tube/thermal desorption/capillary gas chromatography - Part 1: Pumped sampling (Không khí trong nhà, không khí xung quanh và không khí nơi làm việc - Lấy mẫu và phân tích hợp chất hữu cơ bay hơi bằng ống hấp thu/giải hấp nhiệt/sắc ký khí mao quản)
3 Thuật ngữ và định nghĩa
Trong tiêu chuẩn này áp dụng các thuật ngữ và định nghĩa sau
3.1
Thời gian thấu qua (breakthrough time)
tb
<không khí trong nhà> Thời gian tại đó nồng độ hợp chất hữu cơ bay hơi trong không khí rửa giải ra khỏi ống mẫu đạt được nồng độ 0,5 % trong không khí cấp.
3.2
Hệ số phân hủy (degradation coefficient)
<không khí trong nhà> tỉ số của khối lượng hợp chất hữu cơ bay hơi bị loại bỏ bởi tính năng ban đầu chia cho khối lượng của cùng hợp chất bị mất do phân hủy.
3.3
Thời gian trôi qua (elapsed time)
te
<không khí trong nhà> thời gian từ bắt đầu phép thử đến khi bắt đầu lấy mẫu không khí.
CHÚ THÍCH Thời gian trôi qua được biểu thị bằng ngày.
3.4
Tốc độ thông gió tương đương trên một diện tích (equivalent venlation rate per area)
FV,eq
<không khí trong nhà> tốc độ thông gió không khí sạch được tăng cường cho sự giảm nồng độ hợp chất hữu cơ bay hơi giống như vật liệu xây dựng.
3.5
Nồng độ khuyến cáo (guideline concentration)
<không khí trong nhà> khuyến cáo nồng độ không khí trong nhà đối với hợp chất hóa học mục tiêu như quy định của WHO hoặc một tổ chức tiêu chuẩn hóa quốc gia phù hợp.
3.6
Thời gian bán tồn lưu (half-lifetime)
<không khí trong nhà> khoảng thời gian trôi qua từ lúc bắt đầu thử nghiệm đến khi nồng độ hợp chất hữu cơ bay hơi giảm còn một nửa nồng độ ban đầu.
3.7
Thời gian tồn lưu (lifetime)
tlt
<không khí trong nhà> khoảng thời gian mà sản phẩm liên tục giảm nồng độ hợp chất hữu cơ bay hơi.
CHÚ THÍCH 1 Thời gian tồn lưu được đưa ra tính bằng ngày hoặc năm.
CHÚ THÍCH 2 Thời gian tồn lưu được ước lượng từ lượng hấp phụ và dung lượng hấp phụ đo được bằng phép thử ống mẫu.
3.8
Hệ số chuyển khối lượng (mass transfer coefficient)
ka
<không khí trong nhà> hệ số xuất hiện từ chênh lệch nồng độ giữa mẫu thử và không khí xung quanh trên bề mặt của nó.
CHÚ THÍCH Hệ số chuyển khối lượng được biểu thị bằng met trên giờ.
3.9
Độ thu hồi (recovery)
<không khí trong nhà> khối lượng hợp chất hữu cơ bay hơi (trừ formaldehyt) đo được trong không khí đi ra khỏi buồng thử không có mẫu thử được ổn định trong một khoảng thời gian đã biết chia cho khối lượng hợp chất hữu cơ bay hơi (trừ formaldehyt) đã thêm vào buồng thử trong cùng khoảng thời gian.
CHÚ THÍCH 1 Độ thu hồi được biểu thị bằng phần trăm và cung cấp thông tin về tính năng của toàn bộ phương pháp.
CHÚ THÍCH 2 Chấp nhận theo TCVN 10736-9:2016 (ISO 16000-9:2006), 3.9.
3.10
Khối lượng bão hòa trên diện tích (saturation mass per area)
ρAa
Khối lượng hợp chất hữu cơ bay hơi (trừ formaldehyt) tối đa theo lý thuyết có thể bị loại bỏ trên diện tích của vật liệu hấp thu.
CHÚ THÍCH 1 Khối lượng bão hòa trên diện tích được biểu thị bằng microgam trên mét vuông. Khối lượng này tương ứng với tổng khối lượng trên diện tích hấp thu tại thời gian bán tồn lưu, hoặc được ngoại suy từ dung lượng hấp thu được từ phép thử được nêu ở Phụ lục A.
3.11
Dung lượng hấp thu (sorption capacity)
ws
Tổng khối lượng hợp chất hữu cơ bay hơi (trừ formaldehyt) bị hấp thu tại thời gian thấu qua trên khối lượng chất hấp thu.
CHÚ THÍCH 1 Dung lượng hấp thu được biểu thị bằng microgam trên gam và được đo sử dụng phép thử được quy định ở Phụ lục A.
3.12
Thông lượng hấp thu (sorption flux)
Fm
Khối lượng hợp chất hữu cơ bay hơi (trừ formaldehyt) được hấp thu trong một thời gian trên một diện tích tại thời gian trôi qua quy định từ lúc bắt đầu phép thử.
3.13
Nồng độ không khí cung cấp (supply air concentration)
ρs
Nồng độ khối lượng của hợp chất hữu cơ bay hơi (trừ formaldehyt) trong không khí cấp cho buồng thử
3.14
Nồng độ buồng thử (test chamber concentration)
<không khí trong nhà> nồng độ hợp chất hữu cơ bay hơi (trừ formaldehyt) đo được tại đầu ra của một buồng thử, thu được bằng cách chia khối lượng hợp chất hữu cơ bay hơi (trừ formaldehyt) đã lấy mẫu tại đầu ra của buồng thử với thể tích của không khí lấy mẫu.
CHÚ THÍCH Chấp nhận theo ISO 16000-24:2009, 3.14.
3.15
Tổng khối lượng trên diện tích của vật hấp thu (total mass per area of sorption)
ρA
Tích phân theo thời gian của lượng hấp thu từ lúc bắt đầu phép thử đến thời gian trôi qua được quy định đo được bằng buồng thử.
CHÚ THÍCH Tổng khối lượng trên diện tích hấp phụ được biểu thị bằng microgam trên mét vuông.
3.16
Chu kỳ lấy mẫu hơi (vapour sampling period)
<không khí trong nhà> khoảng thời gian trong đó không khí được lấy mẫu từ đầu ra của buồng thử sử dụng ống lấy mẫu hoặc thiết bị khác.
4 Ký hiệu
| Ký hiệu | Nghĩa | Đơn vị |
| ρA | Khối lượng của vật liệu hấp thu trên một diện tích (mật độ bề mặt) | gam trên mét vuông |
| ρAa | khối lượng bão hòa trên một diện tích | microgam trên mét vuông |
| ρAC | tổng khối lượng trên một diện tích của vật hấp thu đo được bằng buồng thử | microgam trên mét vuông |
| ρin,t | nồng độ của hợp chất đích ở đầu vào buồng thử tại thời gian trôi qua t | microgam trên mét khối |
| ρout,t | nồng độ buồng thử tại thời gian trôi qua t | microgam trên mét khối |
| ρs | nồng độ không khí cấp trong ống mẫu | microgam trên mét khối |
| A | diện tích bề mặt của mẫu thử | mét vuông |
| Fm | thông lượng hấp thu trên thời gian trên diện tích | microgam trên mét vuông trên giờ |
| FV,a | lưu lượng không khí trên diện tích | mét khối trên mét vuông trên giờ |
| FV,eq | tốc độ thông gió tương đương | mét khối trên mét vuông trên giờ |
| ka | hệ số chuyển khối lượng được xác định sử dụng hơi nước | mét trên giờ |
| L | hệ số tải sản phẩm | mét vuông trên mét khối |
| m | khối lượng thực của mẫu thử trong ống mẫu | gam |
| n | tỉ lệ trao đổi không khí | thay đổi trên giờ |
| qc | lưu lượng không khí của buồng thử | mét khối trên giờ |
| qs | lưu lượng không khí của ống mẫu | lít trên phút |
| tb | thời gian thấu qua | phút |
| te | thời gian thấu qua | giờ hoặc ngày |
| tlt | thời gian tồn lưu của tính năng loại bỏ chất ô nhiễm | giờ hoặc ngày hoặc năm |
| V | thể tích khí của buồng thử | mét khối |
| ws | dung lượng hấp thu đo được bằng ống mẫu | microgam trên gam |
5 Nguyên tắc
Tính năng của vật liệu xây dựng, vật liệu thử về khả năng giảm nồng độ của VOC mục tiêu (trừ formaldehyt) được đánh giá bằng quan trắc sự giảm nồng độ hơi bên trong buồng thử có chứa một mẫu thử vật liệu đó. Thử nghiệm bao gồm một đánh giá về tính năng ban đầu của vật liệu và tính năng được duy trì trong thời gian bao lâu. Hợp chất mục tiêu là VOC (trừ formaldehyt) được phát hiện trong không khí ở đầu vào và đầu ra của buồng thử.
Trong phương pháp thử này, hợp chất mục tiêu được thêm chuẩn vào không khí của buồng thử có chứa vật liệu trong phép thử. Không khí đã thêm chuẩn cần được chuẩn bị có mức gần với mức khuyến cáo của WHO về hợp chất mục tiêu trong không khí trong nhà. Có thể tham khảo tiêu chuẩn quốc gia nếu điều này được ghi rõ ràng trong báo cáo thử và giấy chứng nhận.
Tính năng được xác định bằng cách quan trắc sự khác nhau về nồng độ tại đầu vào và đầu ra của buồng thử. Thử nghiệm cần được liên tục trong nửa thời gian tồn lưu, nghĩa là cho đến khi nồng độ của hợp chất đích giảm còn một nửa tại lúc bắt đầu của phép thử trong điều kiện thông gió không đổi. Với phép thử này, thông lượng hấp thu Fm và tổng khối lượng trên diện tích hấp thu, ρAC, tại thời gian bán tồn lưu được xác định. ρAC đo được tại thời gian bán tồn lưu được xác định theo khối lượng bão hòa trên diện tích ρAa.
Nếu một vật liệu thử có tính năng giảm nồng độ hợp chất mục tiêu trong thời gian dài (ví dụ lớn hơn 28 ngày) và phép thử có thời gian thử quá dài, phương pháp khác được quy định trong Phụ lục A để xác định ρAs có thể được áp dụng.
Tính năng của vật liệu xây dựng hấp thu được xác định chủ yếu bằng nồng độ của hợp chất mục tiêu, hệ số chuyển khối lượng của hợp chất mục tiêu đến bề mặt, và tính năng hấp thu của chính vật liệu xây dựng (hấp phụ đẳng nhiệt, tính chịu khuếch tán và v.v ...). Do vậy, phương pháp thử tính năng phải quy định cả nồng độ của hợp chất mục tiêu và hệ số chuyển khối lượng gắn với vật liệu xây dựng hấp thu.
Phương pháp này không áp dụng cho vật liệu có khả năng phân hủy VOC (trừ formaldehyt) bằng phản ứng xúc tác với sự có mặt của tia cực tím và các tia khả kiến.
CHÚ THÍCH Tính năng giảm hợp chất mục tiêu dài hạn được đại diện bởi khối lượng bão hòa trên một diện tích, ρAa, và nếu cần, thời gian tồn lưu của tính năng loại bỏ chất ô nhiễm, tlt, như chỉ số phụ.
6 Thiết bị và vật liệu
Thiết bị phòng thử nghiệm thông thường và các thiết bị sau
6.1 Buồng thử, tuân thủ với các quy định kỹ thuật phù hợp và các yêu cầu của TCVN 10736-9 (ISO 16000-9) (xem Hình 1). Không được tuần hoàn không khí từ đầu ra quay lại đầu vào.

CHÚ DẪN:
1 Không khí cấp đã thêm chuẩn hợp chất mục tiêu
2 Thiết bị lấy mẫu
3 Mẫu thử
4 Buồng thử
5 Thiết bị tuần hoàn không khí và kiểm soát vận tốc không khí
6 Thiết bị quan trắc nhiệt độ/độ ẩm
7 Đầu ra buồng thử
8 Thiết bị lấy mẫu
Hình 1 - Sơ đồ hệ thống buồng thử
6.2 Vật liệu gắn kết đối với mẫu thử, như phoi nhôm hoặc băng phủ có tấm nhôm để bọc các mép và mặt sau của mẫu thử, nếu chỉ bề mặt tiếp xúc trực tiếp với môi trường trong nhà trong các điều kiện sử dụng định trước là đối tượng của phép thử.
6.3 Bộ làm sạch không khí hoặc ống không khí sạch. Bộ làm sạch phải đảm bảo không khí cung cấp sạch nhất có thể trước khi thêm chuẩn hợp chất đích, nghĩa là phải không chứa bất kỳ chất ô nhiễm nào ở mức lớn hơn yêu cầu nền của buồng thử. Để ngăn ngừa nồng độ nền tăng, bộ làm sạch không khí phải được cung cấp hoặc phải sử dụng bộ lọc không khí để làm sạch không khí.
6.4 Không khí cấp đã thêm chuẩn hợp chất đích. Đưa khí chuẩn (có nồng độ hợp chất đích đã biết) hoặc một nguồn ổn định như dung dịch hợp chất đích được quy định ở ISO 6353-3, để tạo không khí được thêm chuẩn cấp cho buồng thử với nồng độ không đổi. Độ ổn định của nồng độ đã thêm chuẩn phải được quan trắc.
Nồng độ thêm chuẩn cần được xác định ít nhất hai lần (tại lúc bắt đầu và kết thúc của phép thử)
6.5 Bộ kiểm soát nhiệt độ và độ ẩm. Nhiệt độ phải được duy trì bằng lắp đặt một buồng thử ở nơi được duy trì ở nhiệt độ theo yêu cầu, như trong buồng khí hậu có nhiệt độ không đổi, hoặc bằng cách duy trì nhiệt độ yêu cầu trong buồng thử. Độ ẩm tương đối phải được duy trì tại độ ẩm yêu cầu của không khí cấp.
6.6 Lưu lượng kế, được lắp đặt tại đầu vào hoặc đầu ra của buồng thử để đo lưu lượng dòng khí đi qua buồng thử.
6.7 Thiết bị lấy mẫu không khí. Sử dụng không khí ở đầu vào và đầu ra của buồng thử để lấy mẫu. Khi cổng lấy mẫu tách biệt được sử dụng, mẫu trực tiếp từ đầu vào hoặc đầu ra của buồng thử.
Nếu ống dẫn hoặc ống được dùng, chúng phải ngắn nhất có thể và được giữ ở nhiệt độ không khí giống như ở trong buồng thử. Ống dẫn hoặc ống như vậy phải được làm bằng vật liệu có dung lượng hấp thu rất thấp, ví dụ polytetrafluoetylen.
Tổng lưu lượng dòng khí lấy mẫu phải nhỏ hơn lưu lượng dòng khí đi vào buồng thử. Thiết bị lấy mẫu phải tuân thủ theo quy định được nêu tại TCVN 10736-3 (ISO 16000-3) và TCVN 10736-6 (ISO 16000-6). Nếu không khí được lấy từ đầu vào, đảm bảo lưu lượng dòng không khí cấp duy trì không đổi.
Bộ phân phối mẫu nhiều cổng có thể được dùng để tạo ra tính linh hoạt cho lấy mẫu không khí lặp. Có thể lắp một buồng trộn nằm giữa buồng thử và bộ phân phối khí hoặc giữa đầu khí vào và buồng thử để cho phép việc bổ sung và trộn các khí chuẩn nội với dòng khí buồng thử.
Khí xả từ buồng thử cần được dẫn vào tủ hút, đảm bảo rằng bất kỳ hóa chất nào thải ra từ vật liệu thử được cách ly khỏi môi trường phòng thử nghiệm.
6.8 Thiết bị phân tích. Để xác định VOC, sắc ký khí (GC) phải được sử dụng như được quy định tại TCVN 10736-6 (ISO 16000-6) và ISO 16017-1, Để xác định hợp chất cacbonyl, sắc ký lỏng hiệu năng cao (HPLC) phải được sử dụng như được quy định tại TCVN 10736-3 (ISO 16000-3). Có thể sử dụng các thiết bị khác nếu độ chính xác bằng hoặc tốt hơn.
7 Điều kiện thử
7.1 Yêu cầu chung
Các điều kiện thử phải tuân thủ với 7.2 và 7.3. Phép thử này phải được tiến hành trong các điều kiện áp suất khí quyển.
7.2 Điều kiện thử để xác định tính năng làm giảm nồng độ
7.2.1 Nhiệt độ và độ ẩm tương đối
Vật liệu xây dựng sử dụng ở Châu Âu và Châu Mỹ phải được thử theo ISO 554 tại nhiệt độ 23 °C ± 2 °C và độ ẩm tương đối 50 % ± 5 % trong phép thử.
Vật liệu xây dựng sử dụng ở Nhật phải được thử ở nhiệt độ 28 °C ± 1 °C và độ ẩm tương đối 50 % ± 5 % trong phép thử.
Đối với vật liệu xây dựng với những ứng dụng trong các điều kiện khí hậu khác, điều kiện nhiệt độ và độ ẩm không khí khác có thể được sử dụng, như được quy định tại ISO 554. Công bố các điều kiện trong báo cáo thử nghiệm.
Những biến động ban đầu có thể được quan sát trong khí hậu của buồng thử sau khi mở cửa buồng thử và tải mẫu thử. Những biến động này phải được ghi lại.
CHÚ THÍCH Nhiệt độ và độ ẩm tương đối có thể ảnh hưởng đến thông lượng hấp thu và giải hấp lại từ vật liệu thử.
7.2.2 Chất lượng khí cấp và nồng độ nền
Nồng độ nền của khí cấp cho buồng thử và không khí trước khi thêm chuẩn hợp chất mục tiêu phải đủ thấp không gây cản trở với phép thử. Tổng nồng độ nền VOC phải thấp hơn 20 µg/m3. Nồng độ nền của từng VOC phải nhỏ hơn 2 µg/m3. Nước tinh khiết được sử dụng để tạo độ ẩm phải không chứa VOC cản trở có thể ảnh hưởng đến phép thử.
7.2.3 Hệ số chuyển khối lượng
Hệ số chuyển khối lượng theo vận tốc không khí xung quanh qua bề mặt của mẫu thử trong buồng thử phải trong khoảng từ 15 m/h ± 3 m/h (tương đương 0,25 m/s ± 0,05 m/s) khi xác định sử dụng hơi nước. Để kiểm tra sự phụ thuộc của hệ số chuyển khối lượng lên tính năng vật liệu, tiến hành đo trong các điều kiện khác ảnh hưởng hệ số chuyển khối lượng theo một cách phù hợp.
CHÚ THÍCH 1 Hệ số chuyển khối lượng là tương tự với hệ số truyền nhiệt đối lưu khi các điều kiện hình học và biên là tương tự nhau. Hệ số chuyển khối lượng có thể được ước lượng với một công thức liên quan đến lượng chuyển khối lượng (thông lượng hấp thu) đến bề mặt đến những nồng độ khác nhau quanh lớp biên. Đối với chi tiết liên quan hệ số chuyển khối lượng và phương pháp đo, xem tài liệu tham khảo [5].
CHÚ THÍCH 2 Tính năng giảm phụ thuộc vào hệ số chuyển khối lượng. Hệ số chuyển khối lượng phụ thuộc vào nồng độ của các chất trong không khí trong nhà, dòng không khí và diện tích bề mặt của mẫu thử.
7.2.4 Tốc độ thông gió riêng theo diện tích và tỷ lệ trao đổi không khí
Tỉ lệ trao đổi không khí phải được giữ không đổi ở 0,5/h ± 0,05/h. Hệ số tải của sản phẩm phải phù hợp với TCVN 10736-9 (ISO 16000-9:2006). Phụ lục B hoặc thu được từ hình học và thể tích của phòng mẫu phù hợp.
CHÚ THÍCH Việc lựa chọn tốc độ dòng khí trên diện tích, FV,a tác động đến nồng độ trạng thái bền vững của VOC mục tiêu trong không khí buồng thử.
Đối với việc so sánh các kết quả từ các buồng thử khác nhau, tỉ lệ trao đổi không khí, n, và hệ số tải của sản phẩm, L, phải như nhau cho từng buồng thử. Tỉ lệ trao đổi không khí, n, và hệ số tải sản phẩm, L có thể tác động đến dung lượng hấp thu, Fm.
7.2.5 Nồng độ không khí cấp
Nồng độ của hợp chất mục tiêu trong không khí đã thêm chuẩn trong buồng thử phải gần bằng với nồng độ khuyến cáo của WHO.
Các nồng độ khác có thể được áp dụng nếu phù hợp cho các mục đích thử. Điều này phải được công bố rõ ràng trong báo cáo thử.
Có thể thực hiện phép thử sử dụng khí hỗn hợp bao gồm hai hoặc nhiều hợp chất mục tiêu. Trong trường hợp này, cần xem xét ảnh hưởng của chất cản trở.
7.3 Các yếu tố ảnh hưởng tính năng giảm nồng độ
7.3.1 Khái quát
Để đánh giá ảnh hưởng của nhiệt độ, độ ẩm và các chất ô nhiễm trong không khí lên tính năng giảm nồng độ hợp chất đích, thay đổi từng yếu tố này riêng biệt.
7.3.2 Ảnh hưởng của nhiệt độ và độ ẩm
Nhiệt độ trong buồng thử cần được đặt ở 18 °C ± 2 °C, 23 °C ± 2 °C và 28 °C ± 1 °C, với độ ẩm tương đối trong buồng thử như được quy định ở 7.2.1 và nồng độ không khí cấp trong buồng thử đặt như quy định ở 7.2.5.
Độ ẩm tương đối trong buồng thử cần được đặt ở 25 % ± 5 %, 50 % ± 5 %, 75 % ± 5 % với nhiệt độ trong buồng thử như được quy định tại 7.2.1 và nồng độ không khí trong buồng thử đặt như được quy định ở 7.2.5.
7.3.3 Ảnh hưởng của nồng độ hợp chất mục tiêu trong không khí thêm chuẩn
Nồng độ hợp chất đích trong không khí thêm chuẩn cần được đặt ở mức gấp hai lần nồng độ khuyến cáo được quy định tại 7.2.5, và sau đó bằng một phần hai nồng độ khuyến cáo, với nhiệt độ và độ ẩm tương đối buồng thử đặt như được quy định tại 7.2.1.
7.3.4 Ảnh hưởng của các khí cản trở
Khí cản trở khác nhau được dự kiến tồn tại trong môi trường trong nhà. Có thể đo ảnh hưởng của chúng lên tính năng của vật liệu thử về sự giảm nồng độ hợp chất mục tiêu bằng cách đo tính năng như vậy trong khi thay đổi nồng độ của từng khí cản trở.
8 Xác nhận các điều kiện thử
8.1 Giám sát các điều kiện thử
Nhiệt độ, độ ẩm tương đối và lưu lượng khí phải được quan trắc và ghi lại liên tục bằng các thiết bị đáp ứng các quy định về độ chính xác như sau:
- Nhiệt độ: ± 1 °C
- Độ ẩm tương đối: ± 3 °C
- Lưu lượng khí: ± 3 %
Nhiệt độ và độ ẩm tương đối của không khí có thể được đo ở đầu ra của buồng thử nếu điểm đo được bố trí theo cách đảm bảo các giá trị tương đương với các giá trị đó trong buồng thử.
8.2 Độ kín khí của buồng thử
Độ kín khí của buồng thử cần được kiểm tra thường xuyên như được quy định tại TCVN 10736-9 (ISO 16000-9) bằng phép đo độ giảm áp hoặc bằng cách so sánh phép đo mô phỏng về lưu lượng tại đầu vào và đầu ra hoặc bằng cách đo sự pha loãng khí mang.
8.3 Tỉ lệ trao đổi không khí trong buồng thử
Tỉ lệ trao đổi không khí phải được kiểm tra thường xuyên như được quy định tại TCVN 10736-9 (ISO 16000-9).
CHÚ THÍCH Nếu phép thử được tiến hành ở đầu ra bằng lưu lượng kế không được lắp đặt cố định, chú ý rằng áp suất ngược được đưa vào bởi thiết bị có thể nhỏ hơn lưu lượng đi qua buồng thử.
8.4 Hiệu suất của việc trộn khí bên trong buồng thử
Xác định hiệu suất của trộn khí như được quy định tại TCVN 10736-9 (ISO 16000-9).
8.5 Độ thu hồi
Phép thử thu hồi phải được thực hiện trong buồng thử bằng cách đưa không khí cấp có nồng độ hợp chất mục tiêu giống như được sử dụng trong phép thử tính năng và sau đó so sánh các kết quả phép đo khí tại đầu ra và đầu vào của buồng thử. Độ thu hồi trung bình phải lớn hơn 80 %. Kết quả của phép thử thu hồi phải được báo cáo (nồng độ dự kiến so với nồng độ đo được).
CHÚ THÍCH Hiệu ứng chìm, rò rỉ hoặc hiệu chuẩn thiếu có thể gây khó khăn trong đáp ứng các yêu cầu tối thiểu của phép thử.
9 Chuẩn bị buồng thử
Buồng thử phải được làm sạch để đáp ứng được các yêu cầu của 7.2.2. Việc làm sạch có thể thực hiện bằng cách rửa bề mặt trong của buồng thử với chất tẩy rửa sau khi tráng riêng hai lần bằng nước mới cất. Buồng thử sau đó được sấy khô và làm sạch trong điều kiện thử. Buồng thử có thể được làm sạch bằng giải hấp nhiệt.
Sự hấp phụ hợp chất bay hơi bởi chính buồng thử phải được quan trắc bằng cách thực hiện một phép thử như được mô tả ở 11.1 nhưng không có mẫu thử. Dung lượng hấp thu của chính buồng thử phải được trừ khỏi dung lượng hấp phụ đo được.
Đối với việc làm sạch buồng thử, có thể sử dụng lò để làm bay hơi bất kỳ aldehyt hoặc VOC nào trên tường bên trong của buồng thử. Các phương pháp thay thế có thể được sử dụng thay cho lò.
10 Chuẩn bị mẫu thử
Sau khi hoàn tất chuẩn bị mẫu, cung cấp không khí đã thêm chuẩn hợp chất mục tiêu vào buồng thử, Lấy một mẫu vật liệu được thử từ gói của nó. Mẫu phải là một phần hoặc một mảnh đại diện cho vật liệu xây dựng. Chuẩn bị một mẫu thử từ mẫu như được quy định tại TCVN 10736-11 (ISO 16000-11).
Đối với phép đo hấp phụ hợp chất mục tiêu chỉ do bề mặt của mẫu thử, dán kín các cạnh cắt và mặt sau của mẫu bằng tấm nhôm mỏng hoặc vật liệu gắn kết khác, hoặc đặt hai mẫu thử áp sát phần sau với các cạnh được dán kín.
11 Phương pháp thử
11.1 Nồng độ nền và không khí cấp đã thêm chuẩn
Trước khi bắt đầu phép thử, thông gió buồng thử trong 1 ngày (24 h) bằng cách chạy buồng trống, và sau đó đo và xác định nồng độ nền của hợp chất mục tiêu trong buồng thử trống.
Nồng độ nền phải đủ thấp để không ảnh hưởng đến phép thử.
Sau đó bắt đầu xả buồng thử bằng không khí đã thêm chuẩn hợp chất mục tiêu. Cho phép ít nhất năm lần trao đổi không khí trước khi đưa mẫu thử vào.
11.2 Đặt mẫu thử trong buồng thử
Đặt mẫu thử ở giữa buồng thử để đảm bảo rằng không khí có dòng đồng nhất trên toàn bộ bề mặt hấp phụ của mẫu thử. Đóng buồng thử. Lấy thời điểm này bắt đầu của phép thử.
Đặt mẫu thử trong buồng thử nhanh nhất có thể.
11.3 Khoảng thời gian đo nồng độ buồng thử
11.3.1 Thử đối với tính năng giảm nồng độ
Sau khi bắt đầu phép thử, lấy mẫu khí từ đầu vào và đầu ra của buồng thử theo 11.4 tại những thời gian thấu qua được xác định trước.
Đo lượng hợp chất mục tiêu bị loại bỏ khỏi không khí buồng thử trên diện tích của mẫu thử tiếp xúc với không khí buồng thử, trong các điều kiện đo như được quy định tại 7.2.
Kiểm tra tổng lưu lượng không khí đi qua buồng thử và đảm bảo rằng không có rò rỉ. Sau đó đảm bảo rằng lưu lượng khí đầu ra trong lấy mẫu khí bằng với lưu lượng khí đầu vào trừ đi tổng lưu lượng không khí lấy mẫu. Lưu lượng không khí còn lại ở đầu ra phải ít nhất bằng 20 % tổng lưu lượng không khí lấy mẫu. Các mẫu khí phải được lấy 24 h ± 2 h, 72 h ± 6 h, 168 h ± 14 h, 14 ngày ± 1 ngày, và 28 ngày ± 2 ngày sau khi bắt đầu phép thử. Các mẫu khí bổ sung có thể được thu thập. Nên lấy mẫu song song.
Các khoảng thời gian khác có thể được lựa chọn theo mục đích của phép thử. Nếu yêu cầu về dữ liệu tính năng dài hạn của vật liệu thử, có thể cần lấy thêm các mẫu thử tại khoảng thời gian dài hơn tính từ khi bắt đầu phép thử; nghĩa là >28 ngày. Khi tính năng giảm nồng độ giảm xuống một phần hai của giá trị ban đầu, kết thúc phép thử.
Nên thực hiện các phép thử tiếp sau của sự phát thải lại bằng cách cung cấp không khí sạch vào buồng thử. Tốt hơn nên tiến hành phép thử phát thải lại định kỳ như là một phần của phép thử tính năng giảm nồng độ. Các mẫu khi cần được lấy 24 h (và ở thời gian khác nếu cần) sau khi bắt đầu phép thử phát thải lại. Trong trường hợp nếu sự hấp thu VOC của bề mặt buồng thử xảy ra đáng kể, cần biết sự đóng góp tương đối của mẫu và thành của buồng thử vào tổng sự phát thải. Điều này có thể đạt được bằng phép thử đối chứng phù hợp không có mẫu vật liệu.
Nếu quan tâm VOC và các hơi hữu cơ khác phát thải từ mẫu vật liệu, đo tốc độ phát thải như được mô tả tại TCVN 10736-3 (ISO 16000-3), TCVN 10736-6 (ISO 16000-6) và TCVN 10736-9 (ISO 16000-9).
11.3.2 Thử tính năng giảm dài hạn
Xác định điểm mà tại đó tính năng giảm được mô tả ở 11.3.1 giảm bằng một nửa so với giá trị ban đầu (nghĩa là tính năng giảm tại 24 h sau khi bắt đầu phép thử) và sau đó đo tổng khối lượng trên một diện tích hấp thu của VOC, ρAC và thời gian thấu qua te.
11.3.3 Yếu tố ảnh hưởng tính năng giảm
Ảnh hưởng của từng yếu tố môi trường có thể được đo bằng cách thay đổi giá trị chỉ một yếu tố tại một thời điểm với các điều kiện được sử dụng cho phép đo tính năng giảm nêu tại 11.3.1. Các điều kiện phải như được quy định tại 7.2.
11.4 Lấy mẫu không khí
Tenax TA®1) (nhựa 2,6-diphenyl-p-phenylen-oxi polyme) hoặc ống hấp thu thích hợp khác như được quy định ở TCVN 10736-6 (ISO 16000-6) và ISO 16017-1 phải được sử dụng để lấy mẫu không khí xác định nồng độ VOC. Ống hấp thu 2,4-dinitrophenylhydrazin (DNPH) như được quy định ở TCVN 10736-3 (ISO 16000-3) phải được sử dụng lấy mẫu không khí để xác định nồng độ hợp chất cacbonyl.
12 Xác định hợp chất đích
Rửa giải dẫn xuất DNPH của hợp chất cacbonyl từ ống DNPH và phân tích như được quy định tại TCVN 10736-3 (ISO 16000-3). Phương pháp phân tích VOC mục tiêu phải như được quy định tại TCVN 10736-6 (ISO 16000-6) và ISO 16017-1.
13 Biểu thị kết quả
13.1 Tính thông lượng hấp phụ
Tính thông lượng hấp thu trong thời gian trên một diện tích, Fm sử dụng Công thức (1):
|
| (1) |
Trong đó
ρin,te là nồng độ hợp chất mục tiêu ở đầu vào của buồng thử tại thời gian trôi qua te;
ρout,te là nồng độ của buồng thử tại thời gian trôi qua te;
qc là lưu lượng khí của buồng thử;
A là diện tích bề mặt của mẫu thử.
13.2 Tính tốc độ thông gió tương đương trên diện tích
Giả thiết nồng độ giảm do lưu lượng của khí sạch tăng, tính tốc độ thông gió tương đương trên một diện tích, FV,eq.
|
| (2) |
13.3 Tính tổng khối lượng trên diện tích hấp thu và khối lượng bão hòa trên diện tích
Tính tổng khối lượng trên diện tích hấp thu ρAC tại thời gian bán tồn lưu:
| ρAc= ∑ (Fm,i x ∆te,i) trong đó ∆te,i = te,i - te,i-1 | (3) |
Trong đó te là thời gian trôi qua.
Khối lượng bão hòa trên diện tích, ρAa được tính như sau:
| ρAa = ρAc | (4) |
14 Báo cáo thử nghiệm
Báo cáo thử nghiệm phải bao gồm ít nhất các thông tin sau
a) Phòng thử nghiệm thử:
1) Tên và địa chỉ của phòng thử nghiệm;
2) Tên của người chịu trách nhiệm;
b) Mô tả mẫu:
1) Loại vật liệu xây dựng (tên thương mại, nếu phù hợp),
2) Quá trình lựa chọn mẫu (ví dụ ngẫu nhiên)
3) Hồ sơ sản phẩm (ngày sản xuất, số mẻ, ngày đến phòng thử nghiệm, ngày và thời gian mở gói, ngày và thời gian chuẩn bị mẫu thử,...);
c) Kết quả thử nghiệm:
1) Thông lượng hấp thu hợp chất mục tiêu, tổng khối lượng trên diện tích hấp thu, tốc độ thông gió tương đương trên diện tích tại thời gian quy định trôi qua,
2) Khối lượng bão hòa và tính năng giảm khi có các khí cản trở;
3) Chi tiết phương pháp được dùng, viện dẫn tiêu chuẩn này.
d) Điều kiện thử:
1) Điều kiện buồng thử (nhiệt độ, độ ẩm tương đối, tỷ lệ trao đổi không khí, hệ số chuyển khối lượng, nồng độ khí cấp được thêm chuẩn hợp chất mục tiêu)
2) Diện tích bề mặt của mẫu thử và hệ số tải.
3) Mẫu thử có được bao gói dán kín (và cách thức) hoặc không.
4) Thông tin về lấy mẫu không khí (ống lấy mẫu được dùng, thể tích của không khí lấy mẫu, khoảng thời gian lấy mẫu hơi từ lúc bắt đầu thử, số lượng mẫu khí,...),
5) Các điều kiện thử đối với phép thử tính năng dài hạn (nhiệt độ, nồng độ không khí cấp đã thêm chuẩn hợp chất mục tiêu);
e) Thiết bị: thông tin về thiết bị và quy trình (buồng thử, vật liệu gắn kết hoặc hộp dán kín, kỹ thuật thêm chuẩn hợp chất mục tiêu, máy lọc không khí, máy kiểm soát nhiệt độ và độ ẩm, lưu lượng kế, buồng khí hậu, thiết bị lấy mẫu khí, thiết bị phân tích,...);
f) Kiểm soát chất lượng và đảm bảo chất lượng:
1) Nồng độ nền của hợp chất mục tiêu,
2) Dữ liệu thu hồi của hợp chất mục tiêu,
3) Số lượng phép đo,
4) Kết quả của từng phân tích không khí lấy mẫu, nếu lấy mẫu kép được thực hiện,
5) Độ chính xác của nhiệt độ, độ ẩm tương đối và tỷ lệ trao đổi không khí,
6) Báo cáo đảm bảo chất lượng;
g) Chi tiết bổ sung về vật liệu thử như sơn, lớp bọc hoặc vật liệu thạch cao:
1) Số lượng mẫu thử,
2) Khối lượng trên diện tích,
3) Độ dày,
4) Các quan sát khác có thể ảnh hưởng đến kết quả thử (điều kiện sấy, bảo quản, lưu giữ, hàm lượng ẩm, xử lý bề mặt).
5) Khối lượng áp dụng trên diện tích, tính bằng gam trên mét vuông,
6) Diện tích áp dụng,
7) Phương pháp áp dụng.
Phụ lục A
(Quy định)
Phép thử ống mẫu đối với tính năng giảm dài hạn
A.1 Nguyên tắc
A.1.1 Khái quát
Nếu vật liệu thử có tính năng giảm nồng độ lớn hơn 28 ngày, có nghĩa là phép thử buồng thử quá dài, phép thử ống thử mẫu để xác định ρAa có thể được áp dụng.
Phép thử ống mẫu về tính năng giảm nồng độ hợp chất mục tiêu là một phương pháp để ước lượng dung lượng hấp thu, ws.
CHÚ THÍCH Trong nhiều trường hợp, giá trị ρAa được ước tính bằng phép thử trong buồng thử nhỏ hơn giá trị ρAa được ước tính bằng phép thử dùng ống mẫu.
A.1.2 Sự giảm hợp chất mục tiêu bằng hấp phụ vật lý
Khối lượng bão hòa trên diện tích, ρAa phải được tính từ dung lượng hấp thu, ws được đo bằng cách cho không khí chứa hợp chất mục tiêu đi qua một ống mẫu bằng thủy tinh nhồi một lượng nhỏ hạt mịn (đường kính 2 mm hoặc nhỏ hơn) mẫu thử tại thời gian thấu qua.
A.1.3 Sự giảm hợp chất mục tiêu bằng phản ứng hấp phụ hóa học và hoặc phản ứng phân hủy
Khối lượng bão hòa trên diện tích, ρAa phải được tính từ dung lượng hấp thu, ws và phải được đo như quy định ở A.1.2.
Có thể tính sự hấp phụ hóa học và/hoặc phân hủy khi sơ đồ phản ứng hóa học được biết rộng rãi.
Thành phần của chất hóa học cần phải được biết trong trường hợp này, bởi vì nồng độ mol của tác nhân hấp thu đã tiêu tốn được sử dụng trong tính toán. Do vậy, phương pháp này không thể áp dụng cho vật liệu tự nhiên với các thành phần chưa được biết.
Nên xác nhận mọi tính toán về tính năng giảm dài hạn bằng dữ liệu thực nghiệm (thử nghiệm).
Cách khác, đánh giá bằng tính toán phản ứng hóa học giữa tác nhân hấp thu và hợp chất mục tiêu có thể được thực hiện.
A.2 Thiết bị và vật liệu
Thiết bị phòng thử nghiệm thông thường và trong các trường hợp đặc biệt như sau
Xem hình A.1 về thiết lập điển hình.

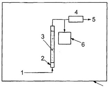
CHÚ DẪN:
1 Đầu vào không khí
2 Ống mẫu
3 Mẫu thử nền
4 Lưu lượng kế
5 Đầu ra không khí
6 Detector hợp chất mục tiêu
7 Buồng khí hậu
Hình A.1 - Ví dụ về thiết bị để đánh giá tính năng giảm nồng độ
A.2.1 Ống mẫu, phù hợp với hệ thống thử và có thể chứa mẫu thử. Ống mẫu được lắp đặt sao cho chiều dài của nó theo chiều dọc.
A.2.2 Không khí cấp đã thêm chuẩn hợp chất mục tiêu, phù hợp với 6.4.
A.2.3 Quan trắc nhiệt độ, phù hợp với 6.5.
A.2.4 Lưu lượng kế, được lắp đặt trước ống mẫu hoặc sau bơm lấy mẫu khí để đo lưu lượng khí hợp chất mục tiêu. Các thiết bị khác có thể được dùng nếu chúng có tính năng tương đương hoặc tốt hơn.
A.2.5 Detector hợp chất mục tiêu, được lắp tại đầu ra của ống mẫu. Nó có thể phát hiện hợp chất mục tiêu tại trao đổi 0,5 % nồng độ trong không khí cấp. Ví dụ, detector dẫn nhiệt hoặc phổ khối lượng có thể được dùng. Detector hợp chất mục tiêu có thể được áp dụng nếu chỉ sau hiệu chuẩn đáp ứng của chúng, ống DNPH hoặc Tenax TA® cũng có thể được lắp đặt tại đầu ra của ống mẫu để thu mẫu khí tại những khoảng thời gian phù hợp.
A.2.6 Buồng khí hậu, trong đó chứa ống mẫu. Buồng khí hậu phải có khả năng duy trì được nhiệt độ phép thử trong khoảng ± 2,0 °C.
A.3 Điều kiện thử
A.3.1 Nồng độ không khí cấp
Nồng độ của không khí cấp đã thêm chuẩn hợp chất mục tiêu trong ống mẫu phải gần bằng nồng độ khuyến cáo của WHO.
Nếu không thể thì tiến hành phép xác định này tại nồng độ hợp chất mục tiêu tương đối cao gấp 10 lần giá trị khuyến cáo.
A.3.2 Nhiệt độ và độ ẩm tương đối
Không khí cấp cần phải khô.
Vật liệu xây dựng để sử dụng ở Châu Âu và Mỹ phải được thử tại nhiệt độ 23 °C ± 2 °C trong khi thử (ISO 554).
Vật liệu xây dựng được sử dụng ở Nhật phải được thử ở nhiệt độ 28 °C ± 1 °C trong khi thử.
Độ ẩm có xu hướng ảnh hưởng kết quả. Độ ẩm của không khí cấp phải được kiểm soát tại 50 % ± 5 % trong phép thử và được ghi lại nếu phép thử không được thực hiện với khí khô.
Tính năng giảm tổng nồng độ hợp chất đích do hấp phụ vật lý phụ thuộc vào nhiệt độ. Do vậy, phép đo nên thực hiện tại ba nhiệt độ như được quy định tại 7.3.2.
A.4 Phương pháp thử
A.4.1 Lấy mẫu và xử lý sơ bộ mẫu thử
Nghiền mẫu thử để tạo thành các mảnh có thể vừa với ống mẫu, trong khi duy trì cấu trúc thứ cấp. Các hạt mịn cần được loại bỏ trước khi thử. Mẫu thử phải được sấy khô bằng chân không.
Cấu trúc thứ cấp sẽ cho hiệu quả để hấp thụ VOC được duy trì đến khi bán kính hạt xấp xỉ bằng 10 lần lỗ.
Khi không khí khô được cung cấp vào ống mẫu, mẫu thử có thể được sấy khô bằng chân không sau khi nghiền do các lý do đồng nhất và tái lập. Trong trường hợp này, sấy khô hoàn toàn có thể được giả thiết là nền. Nếu không khí ẩm được sử dụng cho phép thử này, mẫu thử có thể được kiểm soát tại điều kiện cân bằng ở mức độ ẩm cần thiết.
Quy trình này không áp dụng cho vật liệu có cấu trúc không đồng nhất.
A.4.2 Chuẩn bị ống mẫu
Cân mẫu thử nền và cho chúng vào ống mẫu. Dùng bông thủy tinh để giữ mẫu thử ở vị trí trong ống mẫu.
Khi đường kính ống lớn, giá đục lỗ cần được lắp ở mặt đầu vào để hỗ trợ mẫu, để tăng sự khuếch tán của khí. Nếu giá đục lỗ không được lắp đặt, sự khuếch tán không đồng nhất được quan sát trong ống mẫu.
A.4.3 Quan trắc nồng độ hợp chất mục tiêu của không khí cấp
Trước khi nối ống mẫu với hệ thống, nối một ống lấy mẫu không khí hoặc detector và xác định nồng độ hợp chất đích của không khí cấp đã thêm chuẩn như được quy định.
A.4.4 Thử thời gian đi qua hợp chất mục tiêu
Nối ống mẫu với hệ thống, khởi động dòng khí hợp chất mục tiêu. Tiếp tục dòng khí hợp chất mục tiêu cho đến khi không khí ở đầu ra chứa 0,5 % nồng độ không khí cấp, và sau đó xác định dung lượng hấp thu, ws (khối lượng hợp chất đích bão hòa trên khối lượng chất hấp phụ) tại nồng độ đó. Xem thời gian này làm thời gian thấu qua, tb
CHÚ THÍCH 1 Tại nồng độ hợp chất mục tiêu thấp trong không khí cấp, mất thời gian đáng kể để khí đi qua ống, do vậy yêu cầu khoảng thời gian dài trước khi bão hòa xảy ra. Để tránh thời gian thử dài, có thể đo tại nồng độ hợp chất mục tiêu cao. Tuy nhiên, phép đo ở các nồng độ lớn vượt quá 1000 µg/m3 làm giảm độ tin cậy của đường hồi quy cho thấy kết quả các phép đo tại các nồng độ lớn.
CHÚ THÍCH 2 Hấp phụ đẳng nhiệt được đưa ra bằng quy trình tương tự như được quy định trong điều này sử dụng nồng độ VOC khác nhau tại nhiệt độ thử. Dung lượng hấp thu tại giá trị khuyến cáo 1000 µg/m3 có thể được ước lượng bằng cách sử dụng đường hồi quy.
Nếu khối lượng của hợp chất gồm mẫu thử và chi tiết các phản ứng hóa học với hợp chất mục tiêu đã biết, tính năng giảm nồng độ có thể được tính. Bằng chứng của các kết quả bằng dữ liệu thực nghiệm (thử nghiệm) luôn luôn được khuyến cáo.
CHÚ THÍCH 3 Tính phụ thuộc nồng độ có thể được xác định bằng một vài phép thử với khối lượng tải khác nhau. Năng lượng hoạt hóa có thể được xác định bằng cách dựng đồ thị Arrhenius thông qua một số kết quả thử nghiệm tại các nhiệt độ khác nhau. Nửa vòng đời (thời gian tại đó tính năng giảm xuống một phần hai của tính năng ban đầu) có thể được tìm thấy từ hằng số vận tốc phản ứng thu được từ sự chuyển nồng độ theo thời gian đã lấy.
A.4.5 Biểu thị kết quả
A.4.5.1 Tính dung lượng hấp thu
Tính dung lượng hấp thu hợp chất mục tiêu, ws của mẫu thử sử dụng Công thức (A.1):
|
| (A.1) |
Trong đó
ρs là nồng độ hợp chất mục tiêu trong không khí cấp;
qs là lưu lượng không khí;
tb là thời gian thấu qua;
m là khối lượng của mẫu thử trong ống thử.
A.4.5.2 Tính khối lượng bão hòa trên diện tích
Tính khối lượng bão hòa trên diện tích ρAa theo Công thức (A.2):
| ρAa= ws ρA | (A.2) |
Trong đó ρA là tỉ trọng bề mặt của vật liệu hấp thu, được tính như khối lượng của nó trên diện tích bề mặt.
Phụ lục B
(Quy định)
Hệ thống đảm bảo chất lượng và kiểm soát chất lượng
B.1 Khái quát
Thử nghiệm trong buồng thử để đánh giá tính năng giảm nồng độ VOC và các hợp chất cacbonyl (trừ formaldehyt) do vật liệu xây dựng hấp thu phải được tiến hành trong khuôn khổ của một kế hoạch dự án đảm bảo chất lượng (QAPP). QAPP phải bao gồm một bản mô tả dự án, mục tiêu chất lượng dữ liệu và tiêu chí được chấp nhận, cách tiếp cận và các hoạt động đảm bảo chất lượng (QA/QC) và đánh giá QA/QC.
B.2 Mô tả dự án
Mô tả ngắn gọn phải bao gồm vật liệu được thử; cách thức thử nghiệm được tiến hành và người chịu trách nhiệm về các hoạt động dự án khác nhau. Thiết kế thực nghiệm dự án cần phải gồm thông tin cần thiết đối với các phần của QAPP này.
B.3 Mục tiêu chất lượng dữ liệu và tiêu chí chấp nhận
Phần này của QAPP xác định ra độ chụm, độ chính xác và tính hoàn chỉnh mong muốn đối với từng thông số được đo.
B.4 Cách tiếp cận và hoạt động QA/QC
Loại hoạt động QA/QC có thể được quy định trong QAPP bao gồm thiết lập một hệ thống bản ghi hoặc sổ tay để đảm bảo vận hành của thiết bị phù hợp và ghi lại các số liệu, như:
a) Nhật ký mẫu để ghi lại giao nhận mẫu, bảo quản và sắp xếp vật liệu;
b) Nhật ký chuẩn GC để lập hồ sơ chuẩn bị tất cả các hợp chất hữu cơ;
c) Nhật ký ống thấm để ghi lại số liệu khối lượng mất đối với tất cả các ống thấm;
d) Nhật ký hiệu chuẩn chứa số liệu hiệu chuẩn hệ thống môi trường;
e) Nhật ký bảo dưỡng thiết bị để lập hồ sơ bảo dưỡng và sửa chữa tất cả thiết bị;
f) Nhật ký thử nghiệm vật liệu trong đó để ghi tất cả thông tin thích hợp cho từng thử nghiệm, kể cả chi tiết mẫu, số ID mẫu, và số ID phân tích GC và/hoặc HPLC;
g) Nhật ký làm sạch ống hấp thu và giải hấp, chi tiết làm sạch nhiệt và kiểm tra xác nhận QC của ống hấp thu, bộ ghi làm sạch ống DNPH và chiết xuất dung môi và kiểm tra xác nhận QC của ống DNPH;
h) Nhật ký điện tử tách biệt để lập tài liệu vị trí và nội dung của số liệu được lưu giữ bằng điện tử;
i) Vận hành quản lý thông thường hoặc tất cả các thiết bị được dùng cho dự án.
Các hoạt động QC được tiến hành bởi nhân viên dự án theo thông lệ, cách thức thống nhất để cung cấp những phản hồi cần thiết trong vận hành tất cả hệ thống đo. Các hoạt động như vậy có thể bao gồm:
1) Bảo dưỡng thông lệ và hiệu chuẩn hệ thống;
2) Ghi chép hàng ngày độ chính xác và độ chụm hiệu chuẩn GC và/hoặc HPLC (nghĩa là kiểm soát đồ thị);
3) Quan trắc theo thời gian phần trăm độ thu hồi của chuẩn nội được bổ sung vào tất cả các mẫu;
4) Thu thập và phân tích mẫu đúp;
5) Kiểm tra QC ống chất hấp thu hữu cơ;
6) Phân tích định kỳ các khí đánh giá được cung cấp bởi một nguồn độc lập
B.5 Đánh giá QA/QC
Cuối cùng, chương trình QA/QC phải bao gồm các đánh giá định kỳ bởi nhân viên QA để đánh giá sự phù hợp với chương trình QAPP.
Thư mục tài liệu tham khảo
[1] ASTM D6646, Standard test method for determination of the accelerated hydrogen sulfide breakthrough capacity of granular and pelletized activated carbon
[2] JIS A1901, Determination of the emission of volatile organic compounds and aldehydes for building products - Small chamber method
[3] JIS A1905-1, Performance test of sorptive building materials of reducing Indoor air pollution with small chamber- Part 1: Measurement of adsorption flux with supplying constant concentration of formaldehyde
[4] ATAKA, Y., KATO, S., MURAKAMI, S., ZHU, Q., ITO, K. YOKOTA, T. Study of effect of adsorptive building material on formaldehyde concentrations: Development of measuring methods and modeling of adsorption phenomena. Indoor Air 2004, 14(Suppl. 8), pp. 51-64
[5] OWEN, M.S., editor. ASHRAE handbook - Fundamentals. American Society of Heating, Refrigerating and Air-Conditioning Engineers, Atlanta, GA, 2005
1) Tenax TA® là tên thương mại của một sản của Supelco, Inc. Thông tin này được đưa ra chỉ tạo thuận lợi cho người sử dụng tiêu chuẩn này mà không phải là xác nhận của tiêu chuẩn về sản phẩm này. Các sản phẩm tương đương có thể được sử dụng nếu chúng cho các kết quả như nhau.
Bạn chưa Đăng nhập thành viên.
Đây là tiện ích dành cho tài khoản thành viên. Vui lòng Đăng nhập để xem chi tiết. Nếu chưa có tài khoản, vui lòng Đăng ký tại đây!
