- Tổng quan
- Nội dung
- Tiêu chuẩn liên quan
- Lược đồ
- Tải về
Tiêu chuẩn TCVN 10736-25:2017 Xác định phát thải hợp chất hữu cơ từ sản phẩm xây dựng
| Số hiệu: | TCVN 10736-25:2017 | Loại văn bản: | Tiêu chuẩn Việt Nam |
| Cơ quan ban hành: | Bộ Khoa học và Công nghệ | Lĩnh vực: | Tài nguyên-Môi trường |
|
Ngày ban hành:
Ngày ban hành là ngày, tháng, năm văn bản được thông qua hoặc ký ban hành.
|
2017 |
Hiệu lực:
|
Đã biết
|
| Người ký: | Đang cập nhật |
Tình trạng hiệu lực:
Cho biết trạng thái hiệu lực của văn bản đang tra cứu: Chưa áp dụng, Còn hiệu lực, Hết hiệu lực, Hết hiệu lực 1 phần; Đã sửa đổi, Đính chính hay Không còn phù hợp,...
|
Đã biết
|
TÓM TẮT TIÊU CHUẨN VIỆT NAM TCVN 10736-25:2017
Nội dung tóm tắt đang được cập nhật, Quý khách vui lòng quay lại sau!
Tải tiêu chuẩn Việt Nam TCVN 10736-25:2017
TIÊU CHUẨN QUỐC GIA
TCVN 10736-25:2017
ISO 16000-25:2011
KHÔNG KHÍ TRONG NHÀ - PHẦN 25: XÁC ĐỊNH PHÁT THẢI CỦA HỢP CHẤT HỮU CƠ BÁN BAY HƠI TỪ CÁC SẢN PHẨM XÂY DỰNG - PHƯƠNG PHÁP BUỒNG THỬ NHỎ
Indoor air - Part 25: Determination of the emission of semi-volatile organic compounds by building products - Micro-chamber method
Lời nói đầu
TCVN 10736-25:2017 hoàn toàn tương đương với ISO 16000-25:2011.
TCVN 10736-25:2017 do Ban kỹ thuật tiêu chuẩn quốc gia TCVN/TC 146 Chất lượng không khí biên soạn, Tổng cục Tiêu chuẩn Đo lường Chất lượng đề nghị, Bộ Khoa học và Công nghệ công bố.
Bộ TCVN 10736 (ISO 16000) Không khí trong nhà gồm các phần sau:
- TCVN 10736-1: 2015 (ISO 16000-1:2004) Phần 1: Các khía cạnh chung của kế hoạch lấy mẫu;
- TCVN 10736-2:2015 (ISO 16000-2:2004) Phần 2: Kế hoạch lấy mẫu formaldehyt;
- TCVN 10736-3:2015 (ISO 16000-3:2011) Phần 3: Xác định formaldehyt và hợp chất cacbonyl khác trong không khí trong nhà và không khí trong buồng thử - Phương pháp lấy mẫu chủ động;
- TCVN 10736-4:2015 (ISO 16000-4:2011) Phần 4: Xác định formaldehyt - Phương pháp lấy mẫu khuếch tán;
- TCVN 10736-5:2015 (ISO 16000-5:2007) Phần 5: Kế hoạch lấy mẫu đối với hợp chất hữu cơ bay hơi (VOC);
- TCVN 10736-6:2016 (ISO 16000-6:2011) Phần 6: Xác định hợp chất hữu cơ bay hơi trong không khí trong nhà và trong buồng thử bằng cách lấy mẫu chủ động trên chất hấp phụ Tenax TA®, giải hấp nhiệt và sắc ký khí sử dụng MS hoặc MS-FID;
- TCVN 10736-7:2016 (ISO 16000-7:2007) Phần 7: Chiến lược lấy mẫu để xác định nồng độ sợi amiăng truyền trong không khí;
- TCVN 10736-8:2016 (ISO 16000-8:2007) Phần 8: Xác định thời gian lưu trung bình tại chỗ của không khí trong các tòa nhà để xác định đặc tính các điều kiện thông gió;
- TCVN 10736-9:2016 (ISO 16000-9:2006) Phần 9: Xác định phát thải của hợp chất hữu cơ bay hơi từ các sản phẩm xây dựng và đồ nội thất - Phương pháp buồng thử phát thải;
- TCVN 10736-10:2016 (ISO 16000-10:2006) Phần 10: Xác định phát thải của hợp chất hữu cơ bay hơi từ các sản phẩm xây dựng và đồ nội thất - Phương pháp ngăn thử phát thải;
- TCVN 10736-11:2016 (ISO 16000-11:2006) Phần 11: Xác định phát thải của hợp chất hữu cơ bay hơi từ các sản phẩm xây dựng và đồ nội thất - Lấy mẫu, bảo quản mẫu và chuẩn bị mẫu thử;
- TCVN 10736-12:2016 (ISO 16000-12:2008) Phần 12: Chiến lược lấy mẫu đối với polycloro biphenyl (PCB), polycloro dibenzo-p-dioxin (PCDD), polycloro dibenzofuran (PCDF) và hydrocacbon thơm đa vòng (PAH);
- TCVN 10736-13:2016 (ISO 16000-13:2008) Phần 13: Xác định tổng (pha khí và pha hạt) polycloro biphenyl giống dioxin (PCB) và polycloro dibenzo-p-dioxin/polycloro dibenzofuran (PCDD/PCDF) - Thu thập mẫu trên cái lọc được hỗ trợ bằng chất hấp phụ;
- TCVN 10736-14:2016 (ISO 16000-14:2009) Phần 14: Xác định tổng (pha khí và pha hạt) polycloro biphenyl giống dioxin (PCB) và polycloro dibenzo-p-dioxin/polycloro dibenzofuran (PCDD/PCDF) - Chiết, làm sạch và phân tích bằng sắc ký khí phân giải cao và khối phổ.
- TCVN 10736-15:2017 (ISO 16000-15:2008) Phần 15: Cách thức lấy mẫu nitơ dioxit (NO2).
- TCVN 10736-16:2017 (ISO 16000-16:2008) Phần 16: Phát hiện và đếm nấm mốc - Lấy mẫu bằng cách lọc.
- TCVN 10736-17:2017 (ISO 16000-17:2008) Phần 17: Phát hiện và đếm nấm mốc - Phương pháp nuôi cấy.
- TCVN 10736-18:2017 (ISO 16000-18:2011) Phần 18: Phát hiện và đếm nấm mốc - Lấy mẫu bằng phương pháp va đập.
- TCVN 10736-19:2017 (ISO 16000-19:2012) Phần 19: Cách thức lấy mẫu nấm mốc.
- TCVN 10736-20:2017 (ISO 16000-20:2014) Phần 20: Phát hiện và đếm nấm mốc - Xác định số đếm bào tử tổng số.
- TCVN 10736-21:2017 (ISO 16000-21:2013) Phần 21: Phát hiện và đếm nấm mốc - Lấy mẫu từ vật liệu.
- TCVN 10736-23:2017 (ISO 16000-23:2009) Phần 23: Thử tính năng để đánh giá sự giảm nồng độ formaldehyt do vật liệu xây dựng hấp thu.
- TCVN 10736-24:2017 (ISO 16000-24:2009) Phần 24: Thử tính năng để đánh giá sự giảm nồng độ hợp chất hữu cơ bay hơi (trừ fomaldehyt) do vật liệu xây dựng hấp thu.
- TCVN 10736-25:2017 (ISO 16000-25:2011) Phần 25: Xác định phát thải của hợp chất hữu cơ bán bay hơi từ các sản phẩm xây dựng - Phương pháp buồng thử nhỏ.
- TCVN 10736-26:2017 (ISO 16000-26:2012) Phần 26: Cách thức lấy mẫu cacbon dioxit (CO2)
- TCVN 10736-27:2017 (ISO 16000-27:2014) Phần 27: Xác định bụi sợi lắng đọng trên bề mặt bằng kính hiển vi điện tử quét (SEM) (phương pháp trực tiếp)
- TCVN 10736-28:2017 (ISO 16000-28:2012) Phần 28: Xác định phát thải mùi từ các sản phẩm xây dựng sử dụng buồng thử.
- TCVN 10736-29:2017 (ISO 16000-29:2014) Phần 29: Phương pháp thử các thiết bị đo hợp chất hữu cơ bay hơi (VOC).
- TCVN 10736-30:2017 (ISO 16000-30:2014) Phần 30: Thử nghiệm cảm quan của không khí trong nhà.
- TCVN 10736-31:2017 (ISO 16000-31:2014) Phần 31: Đo chất chống cháy và chất tạo dẻo trên nền hợp chất phospho hữu cơ-este axit phosphoric.
- TCVN 10736-32:2017 (ISO16000-32:2014) Phần 32: Khảo sát tòa nhà để xác định sự xuất hiện của các chất ô nhiễm.
- TCVN 10736-33:2017 (ISO 16000-33:2017) Phần 33: Xác định phtalat bằng sắc ký khí/khối phổ (GC/MS).
Lời giới thiệu
Việc xác định hợp chất hữu cơ bán bay hơi (SVOC) phát thải từ sản phẩm xây dựng bằng cách sử dụng buồng thử nhỏ phát thải cùng với việc lấy mẫu, bảo quản mẫu đã được chuẩn hóa và chuẩn bị mẫu thử có mục đích như sau:
- Để cung cấp cho nhà sản xuất, nhà xây dựng và người sử dụng cuối cùng các số liệu về phát thải để đánh giá tác động của sản phẩm xây dựng lên chất lượng không khí trong nhà.
- Để thúc đẩy sự phát triển các sản phẩm tiên tiến.
Phương pháp đo được quy định trong tiêu chuẩn này có thể áp dụng cho các sản phẩm được sử dụng trong xây dựng như các vật liệu tấm, giấy dán tường, vật liệu làm sàn, vật liệu cách âm, cách nhiệt, keo dán, sơn và các sự kết hợp của các sản phẩm đó.
SVOC như phtalic este được tìm thấy trong nhiều vật liệu xây dựng. Nếu phát thải vào môi trường trong nhà chúng dính chặt vào nhiều bề mặt và có thể trở thành một chất ô nhiễm không khí trong nhà bền vững.
Tiêu chuẩn này quy định một quy trình thử để đo phát thải SVOC từ các sản phẩm và vật liệu xây dựng. Phương pháp này về nguyên tắc, có thể được dùng cho phần lớn các sản phẩm xây dựng được sử dụng trong nhà.
ISO 16017[6][7] và ISO 12219[1]-[5] cũng tập trung vào phép đo hợp chất hữu cơ bay hơi (VOC).
KHÔNG KHÍ TRONG NHÀ - PHẦN 25: XÁC ĐỊNH PHÁT THẢI CỦA HỢP CHẤT HỮU CƠ BÁN BAY HƠI TỪ CÁC SẢN PHẨM XÂY DỰNG - PHƯƠNG PHÁP BUỒNG THỬ NHỎ
Indoor air-Part 25: Determination of the emission of semi-volatile organic compounds by building products - Micro-chamber method
1 Phạm vi áp dụng
Tiêu chuẩn này quy định phương pháp thử chung trong phòng thử nghiệm để xác định tốc độ phát thải riêng trên một diện tích của hợp chất hữu cơ bán bay hơi (SVOC) từ sản phẩm xây dựng hoặc đồ nội thất mới trong các điều kiện khí hậu xác định sử dụng một buồng thử nhỏ. Về nguyên lý, phương pháp này cũng có thể áp dụng cho các sản phẩm đã bị lão hóa. Phương pháp đo này có thể áp dụng cho các sản phẩm và vật liệu như các vật liệu tấm, giấy dán tường, vật liệu làm sàn, vật liệu cách âm, cách nhiệt, keo dán, sơn và sự kết hợp của các sản phẩm và vật liệu đó.
Lấy mẫu, vận chuyển và bảo quản vật liệu thử, và chuẩn bị mẫu thử được nêu trong TCVN 10736-11 (ISO 16000-11). Phương pháp lấy mẫu không khí và phân tích để xác định VOC được quy định tại TCVN 10736-6 (ISO 16000-6) và ISO 16017-1.
Mô tả chung về buồng thử nhỏ được nêu tại Phụ lục B.
2 Tài liệu viện dẫn
Các tài liệu viện dẫn sau rất cần thiết cho việc áp dụng tiêu chuẩn này. Đối với các tài liệu viện dẫn ghi năm công bố thì áp dụng phiên bản được nêu. Đối với các tài liệu viện dẫn không ghi năm công bố thì áp dụng phiên bản mới nhất, bao gồm cả các sửa đổi, bổ sung (nếu có).
TCVN 10736-6 (ISO 16000-6) Không khí trong nhà - Phần 6: Xác định hợp chất hữu cơ bay hơi trong không khí trong nhà và trong buồng thử bằng cách lấy mẫu chủ động trên chất hấp phụ Tenax TA®, giải hấp nhiệt và sắc ký khí sử dụng MS hoặc MS-FID
TCVN 10736-11 (ISO 16000-11) Không khí trong nhà - Phần 11: Xác định phát thải của hợp chất hữu cơ bay hơi từ các sản phẩm xây dựng và đồ nội thất - Lấy mẫu, bảo quản mẫu và chuẩn bị mẫu thử
ISO 554:1976 Standard atmospheres for conditioning and/or testing - Specifications (Không khí tiêu chuẩn để ổn định hóa và/hoặc thử nghiệm - Yêu cầu kỹ thuật).
ISO 16017-1, Indoor, ambient and workplace air- Sampling and analysis of volatile organic compounds by sorbent tube/thermal desorption/capillary gas chromatography- Part 1: Pumped sampling (Không khí trong nhà, không khí xung quanh và không khí vùng làm việc - Lấy mẫu và phân tích hợp chất hữu cơ bay hơi bằng phương pháp sắc ký khí mao quản/ống hấp thụ/ giải hấp nhiệt - Phần 1: Lấy mẫu bằng bơm).
3 Thuật ngữ và định nghĩa
Tiêu chuẩn này sử dụng các thuật ngữ và định nghĩa sau:
3.1
Tỷ lệ trao đổi không khí cho buồng thử nhỏ (air change rate for micro-chamber)
n
Tỉ số của thể tích của không khí sạch đi vào buồng thử nhỏ trên một giờ với thể tích buồng thử nhỏ trống đo được có cùng đơn vị như nhau.
3.2
Lưu lượng không khí cho buồng thử nhỏ (air flow rate for micro-chamber)
qv,c
Thể tích không khí đi vào buồng thử nhỏ trên thời gian.
3.3
Vận tốc không khí (air velocity)
Tốc độ không khí qua bề mặt của mẫu thử.
[TCVN 10736-9:2016 (ISO 16000-9:2006), 3.3]
3.4
Lưu lượng không khí riêng theo diện tích (area specific airflow rate)
qVA
Tỉ số giữa lưu lượng dòng khí cung cấp với diện tích của mẫu thử.
[TCVN 10736-9:2016 (ISO 16000-9:2006), 3.4]
3.5
Tốc độ phát thải riêng theo diện tích đối với SVOC (area specific emission rate for SVOC)
qmA
Tốc độ riêng theo sản phẩm xây dựng mô tả khối lượng của một chất phát ra từ một diện tích tiếp xúc theo thời gian tại một thời điểm đã chọn từ khi bắt đầu thử nghiệm.
CHÚ THÍCH 1 Theo tiêu chuẩn này, sự phát thải bao gồm SVOC.
CHÚ THÍCH 2 Thuật ngữ "tốc độ phát thải riêng theo diện tích" đôi khi được dùng song song với thuật ngữ "hệ số phát thải”.
3.6
Sản phẩm xây dựng (building product)
Sản phẩm được sản xuất để kết hợp vĩnh cửu với nhau trong các công việc xây dựng.
[TCVN 10736-9:2016 (ISO 16000-9:2006), 3.5]
3.7
Mẫu trắng hiện trường (field blank)
mt0
<sự phát thải SVOC từ sản phẩm xây dựng> khối lượng của SVOC trong ống hấp phụ khi tất cả các thao tác được tiến hành trừ lấy mẫu không khí.
CHÚ THÍCH Mẫu trắng hiện trường được sử dụng để xem xét sự nhiễm bẩn bắt nguồn từ chính ống hấp phụ và sự nhiễm bẩn bắt nguồn trong quá trình mở, đóng và vận chuyển ống.
3.8
Khí trơ (inert gas)
Khí không có hoạt tính hóa học hoặc các đặc tính khác.
CHÚ THÍCH Thông thường, khí heli (He) hoặc nitơ (N2) được dùng làm khí cho giải hấp nhiệt (TD) của SVOC bị hấp phụ trong buồng thử nhỏ (xem tài liệu tham khảo [8]).
3.9
Khối lượng thu được trong phép thử đối chứng (mass collected in control test)
m0
Tổng khối lượng trong các bước thứ nhất và thứ hai của phép thử không có mẫu thử.
3.10
Khối lượng thu được trong bước thứ nhất (mass collected in first step)
m1
Khối lượng của SVOC được lấy mẫu và đo tại đầu ra của buồng thử nhỏ, phát thải ra và không hấp thụ vào buồng thử nhỏ.
3.11
Khối lượng thu được trong bước thứ hai (mass collected in second step)
m2
Khối lượng của SVOC được lấy mẫu và đo tại đầu ra của buồng thử nhỏ, khi sự giải hấp nhiệt được thực hiện.
3.12
Buồng thử nhỏ (micro-chamber)
Buồng có thể kiểm soát các điều kiện để đo sự phát thải SVOC từ các vật liệu xây dựng.
CHÚ THÍCH Thể tích của buồng thử nhỏ được nêu tại B.1.
3.13
Độ thu hồi (recovery)
Khối lượng đo được của một hợp chất hữu cơ bán bay hơi mục tiêu trong không khí ra khỏi buồng thử nhỏ trong quá trình giải hấp nhiệt (bước thứ hai) chia cho khối lượng của hợp chất hữu cơ bán bay hơi mục tiêu được bổ sung vào buồng thử nhỏ
CHÚ THÍCH 1 Độ thu hồi được biểu thị bằng phần trăm.
CHÚ THÍCH 2 Độ thu hồi cung cấp thông tin về hiệu suất của toàn bộ phương pháp.
3.14
Mẫu (sample)
Phần hoặc mảnh của sản phẩm xây dựng đại diện cho sản phẩm.
[TCVN 10736-9:2016 (ISO 16000-9:2006), 3.10]
3.15
Chu kỳ lấy mẫu (sampling period)
Khoảng thời gian mà ở đó mẫu được lấy
CHÚ THÍCH Chu kỳ lấy mẫu là thời gian trong đó không khí được lấy từ đầu ra của buồng thử nhỏ sử dụng ống hấp phụ hoặc các thiết bị khác.
3.16
Hợp chất hữu cơ bán bay hơi (semi-volatile organic compound)
SVOC
Hợp chất hữu cơ có điểm sôi nằm trong khoảng từ (240 °C đến 260 °C) đến (380 °C đến 400 °C).
CHÚ THÍCH 1 Phân loại này do Tổ chức Y tế thế giới [9] đưa ra.
CHÚ THÍCH 2 Điểm sôi của một số hợp chất là khó hoặc không thể xác định được bởi vì chúng phân hủy trước khi chúng sôi tại áp suất khí quyển. Áp suất hơi là tiêu chí khác để phân loại tính bay hơi của hợp chất có thể được dùng để phân loại các chất hữu cơ. SVOC có áp suất hơi từ 10-2 mPa đến 10 Pa.
3.17
Mẫu trắng ống hấp phụ (sorbent tube blank)
Giá trị của SVOC trong chính ống hấp phụ trước khi lấy mẫu không khí.
3.18
Hợp chất hữu cơ bán bay hơi mục tiêu (target semi-volatile organic compound)
Hợp chất hữu cơ bán bay hơi của sản phẩm cụ thể.
3.19
Mẫu thử (test specimen)
<phát thải SVOC từ các sản phẩm xây dựng> Phần của mẫu được chuẩn bị đặc biệt cho thử nghiệm phát thải trong ngăn buồng thử nhỏ để mô phỏng cách thức phát thải của vật liệu hoặc sản phẩm được thử nghiệm.
3.20
Bắt đầu phép thử (test start)
Thời gian đặt mẫu thử trong buồng thử nhỏ.
3.21
Tổng khối lượng thu được ở bước thứ nhất và bước thứ hai (total mass collected in first and second step)
Tổng khối lượng thu được trong các bước thứ nhất và bước thứ hai của phép thử.
4 Ký hiệu và chữ viết tắt
Các ký hiệu và chữ viết tắt được sử dụng trong tiêu chuẩn này được đưa ra dưới đây
| Ký hiệu | Nghĩa | Đơn vị |
| A | Diện tích bề mặt của mẫu thử | mét vuông |
| Ac | diện tích bề mặt trong của buồng thử nhỏ | mét vuông |
| Sl | tỉ số diện tích bề mặt (bằng Ac/A) | mét vuông trên mét vuông |
| m0 | khối lượng thu được trong phép thử đối chứng | microgam |
| m1 | khối lượng thu được trong bước thứ nhất | microgam |
| m2 | khối lượng thu được trong bước thứ hai | microgam |
| m1+2 | khối lượng thu được trong bước thứ nhất và thứ hai | microgam |
| mt0 | khối lượng mẫu trắng hiện trường | microgam |
| n | tốc độ trao đổi không khí của buồng thử nhỏ | trao đổi trên giờ |
| qmA | Tốc độ phát thải riêng theo diện tích | microgam trên mét vuông giờ |
| qVA | lưu lượng khí riêng theo diện tích (bằng qV,c/A) | mét khối trên mét vuông giờ |
| qV,c | lưu lượng khí của buồng thử nhỏ | mét khối trên giờ |
| t | Khoảng thời gian của pha đầu tiên | giờ |
| V | Thể tích không khí của buồng thử nhỏ | mét khối |
5 Nguyên lý
Nguyên lý của thử nghiệm là để xác định tốc độ phát thải riêng theo diện tích của SVOC phát ra từ bề mặt của mẫu thử sản phẩm. Mặc dù SVOC phát thải trong buồng thử nhỏ, nhưng phần lớn hơn của những phát thải này được hấp phụ trong buồng thử ở nhiệt độ 40 °C hoặc thấp hơn. Do vậy, trong phép thử này, tốc độ phát thải riêng theo diện tích của SVOC đối với một vật liệu xây dựng là đối tượng của phép thử được xác định từ khối lượng thu được trong các bước thứ nhất và thứ hai. Kết quả của phép thử là tốc độ phát thải trung bình của SVOC về sản phẩm trong khoảng thời gian 24 h. Đối với các mục đích cụ thể, tốc độ phát thải trong một khoảng thời gian khác có thể được xác định bằng quy trình như nhau, nhưng thay đổi khoảng thời gian của bước thứ nhất.
6 Hệ thống buồng thử nhỏ
6.1 Khái quát
Hệ thống buồng thử nhỏ được thiết kế và vận hành để xác định tốc độ phát thải riêng theo diện tích đối với SVOC từ sản phẩm xây dựng phải gồm: buồng thử nhỏ, máy tạo không khí sạch và hệ thống tạo ẩm, hệ thống giám sát và kiểm soát để đảm bảo thử nghiệm được tiến hành theo các điều kiện quy định.
Thiết kế của buồng thử nhỏ có thể cho phép sản phẩm rắn có bề mặt nhẵn được đặt trong hoặc trên (hoặc dưới) buồng thử như vậy chính mẫu tạo thành một thành của buồng thử nhỏ. Cách này tương tự với cách tiếp cận được sử dụng trong TCVN 10736-9 (ISO 16000-9) và TCVN 10736-10 (ISO 16000-10). Trong trường hợp này, điều quan trọng là bề mặt mẫu do đó phát thải từ các mép và mặt sau của mẫu thử được loại trừ bằng cách được hàn kín. Để đảm bảo tính kín khí, các sản phẩm khác phải được đặt trong giá giữ mẫu thử được cấu tạo đặc biệt.
Các yêu cầu và quy định chung áp dụng cho tất cả các loại buồng thử nhỏ trong tiêu chuẩn này được nêu ở 6.2 đến 6.7.
Các hoạt động đảm bảo chất lượng và kiểm soát chất lượng phải được tiến hành như được nêu tại Phụ lục A.
6.2 Buồng thử nhỏ
Kích thước thể tích phù hợp và tỉ số kích thước phù hợp đã được kiểm tra và được đưa ra ở Phụ lục B.1. Buồng thử nhỏ và các phần của hệ thống lấy mẫu có tiếp xúc với SVOC phát thải (tất cả các ống và bộ nối) thường được làm bằng thủy tinh hoặc vật liệu trơ như thép không gỉ được bọc chất trơ và thép không gỉ được đánh bóng. Tuy nhiên trong tất cả các trường hợp, các yêu cầu được quy định tại 6.3 và 6.7 phải được đáp ứng. Tùy thuộc vào vật liệu cấu trúc của buồng thử nhỏ (ví dụ một số loại thủy tinh), việc xử lý bề mặt có thể được yêu cầu để hỗ trợ cho sự giải hấp nhiệt.
CHÚ THÍCH Thép không gỉ được đánh bóng có thể phân hủy xúc tác của một số SVOC.
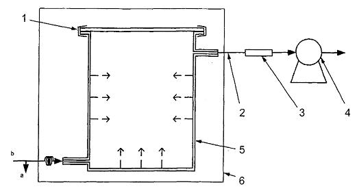
Vật liệu gắn kết hộp chứa mẫu thử phải phát thải thấp và ít hấp phụ, và không đóng góp vào nồng độ nền của buồng thử nhỏ. Sơ đồ của thiết bị buồng thử nhỏ được trình bày ở Hình 1 và Hình 2.

CHÚ DẪN:
1 Cấp không khí sạch
2 Bộ điều chỉnh dòng không khí
3 Lưu lượng kế
4 Buồng thử nhỏ
5 Mẫu thử
6 Vật liệu gắn kết
7 Bộ phân phối lấy mẫu không khí (ống hấp thụ)
a Đầu vào không khí
b Đầu ra xả thải
Hình 1 - Sơ đồ một kiểu thiết bị buồng thử nhỏ được sử dụng ở bước một của thử nghiệm

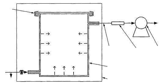
CHÚ DẪN :
1 Đường ống chuyển
2 Ống hấp thụ
3 Bơm lấy mẫu
4 Buồng thử nhỏ
5 Thiết bị gia nhiệt buồng thử
a Đường ống thông khí
b Đầu vào khí trơ
Hình 2 - Sơ đồ một kiểu thiết bị buồng thử nhỏ được sử dụng ở bước 2 của thử nghiệm
6.3 Tỉ số diện tích bề mặt
Tỉ số diện tích bề mặt của mẫu thử với diện tích bề mặt trong của buồng thử nhỏ phải bằng 0,15 ± 0,0075.
CHÚ THÍCH Tỉ số diện tích bề mặt nằm ngoài dải này có thể cho các kết quả phép đo khác nhau.
6.4 Độ kín khí
Buồng thử nhỏ phải kín khí để sự trao đổi không khí với không khí bên ngoài không kiểm soát được là nhỏ nhất.
Buồng thử phát thải phải được vận hành ở áp suất cao hơn áp suất không khí một chút để tránh ảnh hưởng từ không khí phòng thử nghiệm.
CHÚ THÍCH Phương pháp để giảm thiểu không khí trong phòng thử nghiệm đi vào trong quá trình thử là đảm bảo áp suất dương cao hơn một chút trong buồng thử nhỏ. Có thể thực hiện được bằng cách cung cấp không khí vào vi buồng thử ở tốc độ ~50 % lớn hơn vận tốc lấy mẫu bằng bơm ra khỏi buồng thử nhỏ. Nếu cách tiếp cận này được tuân thủ, đường lỗ thông hơi có thể được lắp đặt thuận lợi ngay trước đầu vào buồng thử nhỏ, cho phép không khí dư được thải cách xa vị trí thử.
6.5 Thiết bị cung cấp không khí
Buồng thử nhỏ phải được cung cấp một thiết bị, như thiết bị kiểm soát dòng, có thể kiểm soát tốc độ thông gió liên tục đến một giá trị bằng số cài đặt.
6.6 Bọc kín mẫu thử
Các mép và bề mặt phía sau của mẫu thử phải được dán kín. Có thể sử dụng vật liệu ít phát thải, ít hấp phụ làm chất gắn kết.
6.7 Độ thu hồi và hiệu ứng “chìm”
Dung dịch chuẩn của SVOC mục tiêu với độ chính xác ± 10 % phải được chuẩn bị và một khối lượng đã biết của dung dịch phải được bơm vào buồng thử nhỏ. Buồng thử nhỏ phải được gia nhiệt từ 200 °C đến 220 °C và hợp chất giải hấp phải được lấy mẫu vào ống hấp phụ với quy trình tương tự với bước 2 của phép thử này. Khối lượng như nhau của dung dịch chuẩn phải được bơm trực tiếp vào ống hấp phụ khác. Hợp chất mục tiêu bị hấp phụ vào ống hấp phụ phải được xác định bằng giải hấp nhiệt và sắc ký khí- khối phổ (TD-GC/MS). Tỉ số của kết quả thu được từ dung dịch chuẩn đi vào buồng thử nhỏ với dung dịch chuẩn từ bơm trực tiếp phải được xử lý như chuẩn thu hồi. Tỉ số thu hồi phải lớn hơn 80 %. Kết quả của phép thử thu hồi này phải được báo cáo trong báo cáo thử nghiệm như nồng độ dự đoán với nồng độ đo được.
CHÚ THÍCH Hiệu ứng chìm, rò rỉ hoặc hiệu chuẩn kém có thể gây ra những khó khăn để đáp ứng được với những yêu cầu tối thiểu. Đặc tính chìm và hấp phụ phụ thuộc rất nhiều vào loại hợp chất phát thải. Có thể sử dụng phép thử độ thu hồi bổ sung dùng SVOC với khối lượng phân tử và độ phân cực khác nhau để nâng cao hiểu biết về các hiệu ứng này.
6.8 Thiết bị làm sạch không khí
Không khí sạch phải được cung cấp khi sử dụng một thiết bị làm sạch không khí hoặc từ bình khí nén sạch, sao cho không khí được cấp cho buồng thử nhỏ tinh khiết nhất có thể. Mức nhiễm bẩn được quy định tại 8.3.
6.9 Thiết bị kiểm soát nhiệt độ và độ ẩm
Đối với kiểm soát nhiệt độ, buồng thử nhỏ phải được đặt trong một vị trí thử, như lò ổn nhiệt có thể duy trì buồng thử nhỏ ở nhiệt độ cần thiết.
Độ ẩm tương đối cần được kiểm soát bằng cách trộn không khí khô và không khí ở độ ẩm yêu cầu trong bước thứ nhất của phép thử. Nhiệt độ và độ ẩm tương đối phải được giám sát độc lập với hệ thống kiểm soát nhiệt độ và độ ẩm, và sự ngưng tụ sương phải được ngăn ngừa trong buồng thử nhỏ, Nước cho quá trình tạo ẩm phải là nước tinh khiết không có SVOC. Mức độ nhiễm bẩn được quy định tại 8.3.
6.10 Lưu lượng kế
Vận tốc thông gió chính xác trong buồng thử nhỏ phải được đo bằng cách sử dụng lưu lượng kế được lắp ở đầu ra của buồng thử nhỏ.
6.11 Lò ổn định nhiệt
Dải nhiệt độ cần ở trong khoảng từ 23 °C đến 250 °C.
Nhiệt độ của lò ổn nhiệt cần được kiểm soát với độ chính xác ± 0,5 °C và sự phân bố độ chính xác nhiệt độ ± 2 °C.
6.12 Bơm lấy mẫu
Bơm cần được kiểm soát với độ chính xác ± 10 %. Khi sử dụng một đường ống chuyển, chiều dài phải ngắn nhất có thể, để duy trì nhiệt độ như trong buồng thử nhỏ. Vật liệu có độ hấp phụ thấp phải được sử dụng cho đường ống vận chuyển (ống đầu ra).
6.13 Lò để gia nhiệt buồng thử nhỏ
Để ngăn ngừa sự oxy hóa SVOC, khí trơ cần được sử dụng. Thiết bị gia nhiệt phải có khả năng duy trì nhiệt độ buồng thử nhỏ ở khoảng 250 °C.
Đường cung cấp khí phải duy trì tại nhiệt độ quy định.
CHÚ THÍCH Nếu cần phải chứng minh hợp chất SVOC quan tâm không oxy hóa trong quá trình giải hấp nhiệt trong không khí, không khí khô sạch có thể được sử dụng thay cho khí trơ.
7 Thiết bị và vật liệu
Thiết bị cần để tiến hành phép thử phát thải được liệt kê dưới đây.
7.1 Buồng thử nhỏ (6.2)
7.2 Thiết bị cung cấp không khí (6.5).
7.3 Vật liệu để gắn kết (6.6) mặt sau và các mép của mẫu thử.
7.4 Thiết bị làm sạch không khí (6.8).
7.5 Lưu lượng kế (6.10)
7.6 Thiết bị kiểm soát nhiệt độ và độ ẩm (6.9).
7.7 Bộ gia nhiệt buồng thử nhỏ (6.13)
7.8 Ống hấp phụ và ống mẫu
7.9 Thiết bị phân tích. SVOC giữ trong ống hấp phụ phải được phân tích sử dụng TD và sắc ký khí (GC) (ion hóa ngọn lửa hoặc detector khối phổ) như được quy định ở TCVN 10736-6 (ISO 16000-6) và ISO 16017-1.
8 Điều kiện thử
8.1 Nhiệt độ và độ ẩm tương đối trong bước thử thứ nhất
Sản phẩm được sử dụng ở Châu Âu và Bắc Mỹ phải được thử ở nhiệt độ 23 °C ± 2 °C và độ ẩm tương đối của không khí 50 % RH ± 5 % RH trong thử nghiệm phát thải (ISO 554).
Đối với sản phẩm có ứng dụng trong điều kiện khí hậu khác, điều kiện nhiệt độ và độ ẩm không khí khác có thể được dùng, nên theo quy định tại ISO 554.
8.2 Nhiệt độ và độ ẩm tương đối trong bước thử thứ hai
Sau khi thay thế hoàn toàn không khí trong buồng thử nhỏ với thông gió khí trơ trong điều kiện nhiệt độ phòng, nhiệt độ buồng thử nhỏ phải tăng từ nhiệt độ phòng lên 200 °C đến 220 °C, và sau đó giữ ở 200 °C đến 220 °C trong khoảng 40 min.
Mẫu thử cần được đưa ra khỏi buồng thử nhỏ trước phần này của phép thử. Cần đưa nhiệt độ tối đa trong bước thứ hai của phép thử có xem xét đến các đặc tính lý hóa học của SVOC mục tiêu và tỉ lệ thu hồi.
8.3 Chất lượng không khí cung cấp và nồng độ nền
Không khí cấp phải không chứa bất kỳ SVOC nào tại mức lớn hơn các yêu cầu về nền của buồng thử nhỏ.
Nồng độ nền phải đủ thấp để không cản trở tới phép xác định phát thải nằm ngoài giới hạn đảm bảo chất lượng.
Nồng độ nền của một SVOC mục tiêu phải thấp hơn 50 ng/m3.
Nước được dùng để tạo ẩm phải không chứa các SVOC ở mức có thể gây cản trở tới phân tích hoặc ảnh hưởng nồng độ nền.
8.4 Lưu lượng không khí riêng theo diện tích
Thử trên các kiểu buồng thử nhỏ khác nhau (xem Phụ lục B và C) đã cho thấy vận tốc khí riêng theo diện tích không quan trọng. Tuy nhiên, thông số này không cần đặt dưới 0,15 m/h để duy trì tính phù hợp với tình trạng thực tế.
9 Kiểm tra xác nhận điều kiện thử
9.1 Khái quát
Tất cả biện pháp kiểm soát phải truy nguyên được đến chuẩn đã được chứng nhận theo chương trình kiểm soát và đảm bảo chất lượng (Phụ lục A).
9.2 Hệ thống kiểm soát nhiệt độ và độ ẩm tương đối của không khí
Kiểm soát nhiệt độ có thể được thực hiện bằng cách đặt buồng thử nhỏ phát thải trong một vị trí được kiểm soát với nhiệt độ yêu cầu.
Kiểm soát độ ẩm tương đối và nhiệt độ có thể được thực hiện bằng các hệ thống khác nhau, ví dụ kiểm soát độ ẩm của không khí cấp.
9.3 Điều kiện thử trong buồng thử nhỏ
Nhiệt độ, độ ẩm tương đối và lưu lượng không khí phải được đo bằng các thiết bị đáp ứng độ chính xác như sau:
- Nhiệt độ ± 0,5 °C
- Độ ẩm tương đối của không khí ± 5 %
- Lưu lượng không khí ± 3 %
9.4 không khí trong buồng thử nhỏ phát thải ở bước thử thứ nhất
không khí phải được kiểm tra và điều chỉnh lại trước khi lấy mẫu không khí sử dụng một lưu lượng kế đã được hiệu chuẩn. Tỷ lệ trao đổi không khí phải không quá ± 3 % giá trị đặt. Vận tốc không khí trong buồng thử nhỏ phải không đổi.
CẨN TRỌNG - Nếu phép thử được tiến hành ở đầu ra có lưu lượng kế không được lắp đặt cố định, thì cần phải biết áp suất ngược được đưa vào thiết bị có thể thấp hơn lưu lượng đi qua buồng thử nhỏ.
9.5 Tính kín khí của buồng thử nhỏ
Tính kín khí của buồng thử nhỏ phải được kiểm tra tại lúc bắt đầu của phép thử phát thải, bằng cách so sánh lưu lượng không khí tại cổng vào và cổng ra. Lưu lượng dòng tại hai vị trí không được sai khác quá 5 %.
10 Mẫu thử
Các nghiên cứu phát thải SVOC từ sản phẩm xây dựng trong buồng thử nhỏ cho thấy sản phẩm phải được xử lý phù hợp trước khi thử.
Sau khi hoàn tất chuẩn bị phép thử phát thải, mẫu cần được lấy ra khỏi bao gói được sử dụng trong vận chuyển và mẫu thử cần được chuẩn bị và gắn vào buồng thử nhỏ. Thời điểm bắt đầu phép thử (thời gian, t = 0) cần là một điểm khi mẫu thử được đưa vào buồng thử nhỏ. Các mép và mặt sau của mẫu thử cần được dán kín (6.6) bằng giấy nhôm hoặc vật liệu tương tự (xem tài liệu tham khảo [8] và [11]).
Mẫu của sản phẩm được thử, bảo quản trước khi thử, chuẩn bị mẫu thử theo quy trình được quy định tại TCVN 10736-11 (ISO 16000-11).
Xử lý bề mặt của mẫu thử, ví dụ lau kỹ chắc chắn làm ảnh hưởng đặc tính phát thải SVOC. Phát thải ban đầu của SVOC có thể ảnh hưởng nhiều bởi các chất nhiễm bẩn hấp phụ lên bề mặt. Do vậy, bao gói phù hợp và bảo quản mẫu là những điều đặc biệt quan trọng. Những ảnh hưởng ban đầu của chất nhiễm bẩn hấp phụ bề mặt có thể được khảo sát bằng cách lặp lại phép thử phát thải sau khoảng thời gian xác định kéo dài.
11 Chuẩn bị buồng thử nhỏ
Buồng thử nhỏ phải được làm sạch để đáp ứng đầy đủ các yêu cầu nêu tại 8.3. Trước khi bắt đầu phép thử, buồng thử nhỏ cần được làm sạch và rửa bằng nước cất và axeton. Để bay hơi các hóa chất còn lại, gia nhiệt buồng thử nhỏ đến 250 °C hoặc hơn. Sau khi làm nóng, buồng thử nhỏ phải được làm mát về nhiệt độ không khí trong phòng.
12 Phương pháp thử
12.1 Khối lượng thu được trong phép thử đối chứng (mẫu trắng hiện trường)
Khối lượng thu được trong phép thử đối chứng (mẫu trắng hiện trường) với buồng thử nhỏ sạch phải nhỏ hơn 10 % khi so với tổng khối lượng SVOC mục tiêu. Xác nhận độ thu hồi phải được minh chứng.
Độ thu hồi chất phân tích từ buồng thử nhỏ phải được đo theo 6.7.
12.2 Vị trí của mẫu thử trong buồng thử nhỏ đối với bước thứ nhất
Không được tiếp xúc trực tiếp giữa mẫu thử với thành bên trong của buồng thử nhỏ như được minh họa ở Hình 1 và Hình 2.
12.3 Thử phát thải (phép thử bước thứ nhất)
Phép đo nồng độ phải được thực hiện ở những thời điểm lấy mẫu đã xác định trước, thường 24 h. Tùy thuộc vào mục đích của phép thử, có thể phù hợp với mẫu khí ở những thời điểm khác. Khoảng lấy mẫu khí cho phép đo nồng độ phụ thuộc vào phương pháp phân tích được dùng và phải được lập thành tài liệu.
Không khí sạch ẩm (RH 50 %) phải được cung cấp trong khi lấy mẫu không khí trong thử nghiệm phát thải.
CHÚ THÍCH Đối với những mục đích cụ thể, tốc độ phát thải trên khoảng thời gian khác nhau có thể được xác định sử dụng quy trình tương tự.
12.4 Thử giải hấp (phép thử bước thứ hai)
Sau khi hoàn thành bước 1 của thử nghiệm phát thải, lấy mẫu thử ra khỏi buồng thử nhỏ, và làm nóng buồng thử nhỏ. Ống hấp thu đã ổn định trước phải được sử dụng cho phép thử này. Khí trơ được cung cấp và sau đó được nung nóng đến 200 °C hoặc hơn nữa.
Lấy mẫu và thông gió buồng thử nhỏ cần được tiến hành đồng thời. Thời gian lấy mẫu cần bằng 40 min cho đến khi giải hấp hoàn toàn.
13 Tính tốc độ phát thải riêng theo diện tích và biểu thị kết quả
Tính tốc độ phát thải riêng theo diện tích của mẫu thử sử dụng Công thức (1):
| | (1) |
Trong đó các biến được định nghĩa ở Điều 4.
14 Đặc tính tính năng
Đặc tính tính năng đối với các khía cạnh lấy mẫu không khí và phân tích của phương pháp thử này khi được sử dụng cùng với TCVN 10736-6 (ISO 16000-6), được thảo luận ở TCVN 10736-6 (ISO 16000-6) và ISO 16017-1.
15 Báo cáo thử nghiệm
Báo cáo thử nghiệm phải bao gồm ít nhất các thông tin sau :
a) Tổ chức thử nghiệm:
1) Tên và địa chỉ;
2) Tên của người chịu trách nhiệm;
b) Mô tả sản phẩm;
1) tên thương mại, nếu phù hợp,
2) Quá trình lựa chọn mẫu (phương pháp lấy mẫu, ...)
3) Hồ sơ sản phẩm (ngày sản xuất, số mẻ, ngày đến tổ chức thử nghiệm, ngày và thời gian mở gói, ngày và thời gian chuẩn bị mẫu thử,...);
c) Kết quả xác định tỉ lệ phát thải riêng của SVOC mục tiêu theo diện tích, biểu thị bằng microgam trên mét vuông giờ;
d) Dữ liệu phân tích, phương pháp được dùng để tính tỉ lệ phát thải riêng được định từ tổng khối lượng đã đo thu được (kiểu và công thức toán học)
e) Điều kiện thử:
1) Điều kiện buồng thử nhỏ (nhiệt độ, độ ẩm tương đối, lưu lượng không khí)
2) Diện tích mẫu thử, tỉ số diện tích bề mặt và lưu lượng không khí.
3) Mẫu thử có được dán kín.
4) Thông tin về phương pháp lấy mẫu SVOC mục tiêu (ống hấp thu được dùng, khối lượng lấy mẫu, khoảng thời gian lấy mẫu từ khi đưa mẫu vào buồng thử nhỏ, số chu kỳ lấy mẫu,...),
f) Thiết bị đo, bao gồm cả thông tin về thiết bị và phương pháp được dùng (buồng thử nhỏ, vật liệu gắn kết, thiết bị lọc không khí, thiết bị kiểm soát nhiệt độ và độ ẩm, máy đo lưu lượng, thiết bị làm nóng buồng thử, bơm lấy mẫu, thiết bị phân tích,...);
g) Kiểm soát chất lượng và đảm bảo chất lượng:
1) Khối lượng thu được trong phép thử đối chứng và mẫu trắng hiện trường đối với SVOC đích,
2) Dữ liệu thu hồi của SVOC đích,
3) Số lượng phép đo được tiến hành,
4) Giá trị phân tích cho từng trường hợp, nếu lấy mẫu nhiều được thực hiện,
5) Độ chính xác của nhiệt độ, độ ẩm tương đối và lưu lượng khí báo cáo về đảm bảo chất lượng,
h) Viện dẫn tiêu chuẩn này;
i) Tất cả chi tiết thao tác không quy định trong tiêu chuẩn này, hoặc tùy chọn cùng với chi tiết của bất kỳ sự cố nào có thể ảnh hưởng đến kết quả thử nghiệm.
Phụ lục A
(Quy định)
Hệ thống đảm bảo chất lượng và kiểm soát chất lượng
A.1 Khái quát
Thử nghiệm trong buồng nhỏ về phát thải chất hữu cơ từ vật liệu hoặc sản phẩm trong nhà phải được tiến hành trong khuôn khổ của một kế hoạch dự án đảm bảo chất lượng (QAPP). QAPP phải bao gồm một bản mô tả dự án, mục tiêu chất lượng dữ liệu và tiêu chí được chấp nhận, các hoạt động và cách tiếp cận QA/QC, đánh giá QA/QC.
A.2 Mô tả dự án
Mô tả ngắn gọn phải bao gồm vật liệu được thử; cách thức thử nghiệm được tiến hành và người chịu trách nhiệm về các hoạt động dự án khác nhau. Thiết kế thực nghiệm dự án cần phải gồm thông tin cần thiết đối với các phần của QAPP này.
A.3 Mục tiêu chất lượng dữ liệu và tiêu chí chấp nhận
Phần này của QAPP xác định độ chụm, độ chính xác và tính hoàn chỉnh mong muốn đối với từng thông số được đo.
A.4 Cách tiếp cận và hoạt động QA/QC
Loại hoạt động QA/QC có thể được quy định trong QAPP bao gồm thiết lập một hệ thống bản ghi hoặc sổ tay để đảm bảo vận hành của thiết bị phù hợp và ghi lại các số liệu (xem Tài liệu tham khảo [14]):
a) Nhật ký mẫu để ghi lại giao nhận mẫu, bảo quản và sắp xếp vật liệu;
b) Nhật ký chuẩn bị chuẩn GC để lập hồ sơ tất cả các hợp chất hữu cơ;
c) Nhật ký hiệu chuẩn chứa số liệu hiệu chuẩn hệ thống môi trường;
d) Nhật ký bảo dưỡng thiết bị để lập hồ sơ bảo dưỡng và sửa chữa tất cả thiết bị;
e) Nhật ký thử nghiệm vật liệu trong đó để ghi tất cả thông tin thích hợp cho từng thử nghiệm, kể cả chi tiết mẫu, số ID mẫu, và số ID phân tích GC;
f) Nhật ký làm sạch ống hấp thu và giải hấp chi tiết làm sạch nhiệt và kiểm tra xác nhận QC của cactric chất hấp phụ;
g) Nhật ký điện tử tách biệt để lập tài liệu vị trí và nội dung của số liệu được lưu giữ bằng điện tử;
h) Vận hành quản lý thông thường hoặc tất cả các thiết bị được dùng cho dự án.
Các hoạt động QC được tiến hành bởi nhân viên dự án theo thông lệ, cách thức thống nhất để cung cấp những phản hồi cần thiết trong vận hành của tất cả hệ thống đo. Các hoạt động như vậy có thể bao gồm:
- Bảo dưỡng thông lệ và hiệu chuẩn hệ thống;
- Ghi chép hàng ngày của độ chính xác và độ chụm hiệu chuẩn GC (nghĩa là kiểm soát đồ thị);
- Quan trắc theo thời gian phần trăm độ thu hồi của chuẩn nội được bổ sung vào tất cả các mẫu;
- Thu thập và phân tích mẫu đúp;
- Kiểm tra QC ống chất hấp phụ hữu cơ;
- Phân tích định kỳ các khí đánh giá được cung cấp bởi một nguồn độc lập.
A.5 Đánh giá QA/QC
Cuối cùng, chương trình QA/QC phải bao gồm các đánh giá định kỳ bởi nhân viên QA để đánh giá sự phù hợp với chương trình QAPP.
Phụ lục B
(Tham khảo)
Ví dụ buồng thử nhỏ và quy trình
B.1 Cấu trúc và kích thước buồng thử
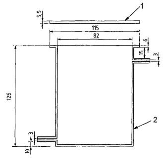
Hình B.1 trình bày ví dụ một buồng thử nhỏ gồm một hộp chứa và vỏ bao phủ. Trong trường hợp này, các phần của buồng thử nhỏ tiếp xúc với SVOC được làm bằng thủy tinh và được xử lý bề mặt để thuận tiện giải hấp. Thể tích của buồng thử là 630 ml, với dung sai tương đối ± 5 %. Kích thước được trình bày ở Hình B.1.
Tỉ số của kích thước trong và chiều cao của buồng thử nhỏ có thể được thay đổi theo dữ liệu được đưa ra ở B.4. Buồng thử nhỏ với các kích thước này đã được xác nhận trong các nghiên cứu tương thích. Buồng thử nhỏ với các kích thước khác và thể tích khác có thể đưa đến các kết quả đo khác nhau.
Kích thước tính bằng milimet

CHÚ DẪN:
1 Nắp đậy
2 Thùng chứa
Hình B.1 - Kích thước của buồng thử nhỏ
B.2 Phép thử phát thải (phép thử bước thứ nhất)
Các điều kiện vận hành điển hình như sau:
- Khoảng thời gian 24 h của bước thứ nhất;
- Lưu lượng không khí 1,2 l/h (20 ml/min);
- Lưu lượng bơm 0,9 l/h (15 ml/min).
Thiết lập phép thử điển hình được trình bày ở Hình B.2.

CHÚ DẪN:
1 Kẹp
2 Mẫu thử
3 Vật liệu gắn kết
4 Ống hấp thụ (lấy mẫu không khí trong buồng thử)
5 Bơm lấy mẫu
6 Buồng thử nhỏ
7 Lò ổn nhiệt
a Ống thông khí
b Đầu vào không khí sạch được kiểm soát độ ẩm [(50 ± 5) % RH]
Hình B.2 - Phép thử phát thải (phép thử bước thứ nhất)
B.3 Thử giải hấp (phép thử bước thứ hai)
Mẫu được lấy ra khỏi buồng thử nhỏ trước khi thử. Trong ví dụ này, buồng thử nhỏ được gia nhiệt trong một lò nung trong bước giải hấp nhiệt. Mẫu được gia nhiệt từ nhiệt độ không khí đến 200 °C đến 220 °C với tốc độ từ 10 °C/min đến 20 °C/min và duy trì tại mức trong 40 min. Lưu lượng khí đầu vào là 5,4 l/h (90 ml/min) và lưu lượng bơm điển hình là 3,6 l/h (60 ml/min). Quá trình giải hấp nhiệt của SVOC hấp phụ lên thành trong của buồng thử được trình bày ở Hình B.3.

CHÚ DẪN:
1 Kẹp
2 Ống chuyển (giữ nhiệt độ 200 °C đến 220 °C hoặc nhiệt độ cao hơn được duy trì ở tất cả thời điểm)
3 Ống hấp thụ (lấy mẫu SVOC giải hấp nhiệt từ thành trong của buồng thử)
4 Bơm lấy mẫu
5 Buồng thử nhỏ
6 Thiết bị gia nhiệt buồng thử (từ 200 °C đến 220 °C)
a Ống thông khí
b Đầu vào khí trơ (He hoặc N2)
Hình B.3 - Thử giải hấp (phép thử bước thứ hai)
B.4 Kiểm tra xác nhận tốc độ phát thải riêng trên diện tích do sự khác nhau trong kiểm tra buồng thử nhỏ
Mục đích của việc này là để chứng minh xác định vận tốc phát thải riêng của mẫu với các hình dạng khác nhau của buồng thử nhỏ.
Bảng B.1 trình bày các yêu cầu kỹ thuật cho hai loại buồng thử nhỏ được sử dụng cho phép thử kiểm tra xác nhận. Giấy dán tường bằng PVC là nguồn phát thải SVOC. Tốc độ phát thải riêng theo diện tích xác định trong từng buồng thử nhỏ được trình bày tại Bảng B.2.
Bảng B.1 - Yêu cầu kỹ thuật đối với hai loại buồng thử nhỏ
| Các điều kiện kiểm tra | Buồng thử nhỏ loại A | Buồng thử nhỏ loại B |
| Kích thước bên trong của buồng thử nhỏ, mm | Ø 82 x 120 | Ø 123 x 53 |
| Dung tích hiệu dụng của buồng thử nhỏ, ml | 630(633) | 630(629) |
| Diện tích kính trong buồng thử nhỏ (mặt bên cạnh), m2 | 0,030 9 | 0,020 5 |
| Diện tích kính trong buồng thử nhỏ (mặt đáy), m2 | 0,005 3 | 0,011 9 |
| Tổng diện tích kính trong buồng thử nhỏ, m2 | 0,041 5 | 0,044 3 |
| Diện tích bề mặt của mẫu thử, A, m2 | 0,005 3 | 0,005 9 |
| Diện tích kính hấp thụ hiệu dụng trong buồng thử, Ag,eff, m2 | 0,036 2 | 0,038 4 |
| Lưu lượng không khí trong buồng thử, qV,c, m3/h | 0,000 9 | 0,000 9 |
| Tỉ số diện tích bề mặt: AlAg,eff | 0,15 | 0,15 |
| Lưu lượng khí riêng theo diện tích: qV,clA | 0,17 | 0,15 |
Bảng B.2 - Tốc độ phát thải riêng theo diện tích được xác định trong hai loại buồng thử nhỏ
| Kết quả | Buồng thử nhỏ loại A | Buồng thử nhỏ loại B |
| Lấy mẫu bước thứ nhất | ||
| Khối lượng của DEHP, μg | <0,01 | <0,01 |
| Tốc độ phát thải riêng theo diện tích của DEHP, μg/m2.h | <0,1 | <0,1 |
| Lấy mẫu bước thứ hai | ||
| Khối lượng của DEHP, μg | 0,64 | 0,57 |
| Tốc độ phát thải riêng theo diện tích của DEHP, μg/m2.h | 5,0 | 4,0 |
Phụ lục C
(Tham khảo)
Ví dụ phương pháp đo độ thu hồi của buồng thử nhỏ
C.1 Bơm dung dịch chuẩn
Phụ lục này đưa ra ví dụ một phương pháp đo độ thu hồi của buồng thử nhỏ (xem Tài liệu tham khảo [8][11][12][13]).
Tháo đường ống đầu ra của buồng thử nhỏ trước khi đặt vào lò gia nhiệt. Dùng microxyranh, bơm vào buồng thử nhỏ thể tích dung dịch chuẩn SVOC từ 1 μl đến 5 μl, trong axeton có chứa từ 100 ng đến 500 ng của:
D6 (dodecametyl cyclohexasiloxan);
BHT (butylat hydroxytoluen);
TCEP [tris(2-cloroetyl)phosphate)];
DBP (dibutyl phtalat);
DOA [di(2-etylhexyl)adipat];
DEHP [di(2-etylhexyl)phtalat]; và
DINP (diisononyl phtalat)
Để ngăn ngừa rò rỉ không khí đi vào buồng thử trong quy trình này, đưa khí He hoặc N2 vào buồng thử nhỏ ở mức hơi cao hơn áp suất không khí xung quanh (Hình C.1).

CHÚ DẪN
1 Kẹp
2 Micro xyranh
3 Buồng thử nhỏ
a ống thông khí
b Đầu vào khí trơ (He hoặc N2)
Hình C.1 - Phép đo thu hồi trong buồng thử nhỏ, bước 1
C.2 Gia nhiệt và lấy mẫu
Bắt đầu gia nhiệt và lấy mẫu đồng thời. Tăng nhiệt độ của thiết bị gia nhiệt buồng thử từ nhiệt độ phòng đến 200 °C đến 220 oC với tốc độ 10 °C/min đến 20 °C/min và duy trì tại mức trong 40 min. Sau khi lấy mẫu, xác định các hợp chất hấp phụ trên Tenax®1) nhồi trong ống hấp phụ bằng TD-GC/MS (Hình C.2).

CHÚ DẪN:
1 Kẹp
2 Ống chuyển
3 Ống hấp thụ
4 Bơm lấy mẫu
5 Buồng thử nhỏ
6 Thiết bị gia nhiệt buồng thử (200 °C đến 220 °C)
a Ống thông khí
b Đầu vào khí trơ (He hoặc N2)
Hình C.2 - Đo thu hồi trong buồng thử nhỏ, bước 2
C.3 Xác nhận độ thu hồi
Bơm trực tiếp cùng thể tích dung dịch chuẩn SVOC như được bơm vào buồng thử nhỏ (C.1) vào ống hấp phụ có hơi Tenax TA®. Xác định các thành phần hấp phụ trên lớp nhồi bằng TD-GC/MS. Lấy giá trị phát hiện được cho từng hợp chất 100 %. Tỉ số của kết quả thu được từ chuẩn bơm vào buồng thử nhỏ (C.1 và C.2) với kết quả từ chuẩn bơm trực tiếp được xử lý là độ thu hồi.
Phụ lục D
(Tham khảo)
Lựa chọn mẫu thử
D.1 Lựa chọn mẫu thử từ các sản phẩm dạng tấm, bảng, bản
Chọn phần giữa của các sản phẩm dạng tấm, bảng, bản làm vị trí cắt cho mẫu thử.
D.2 Lựa chọn mẫu thử từ các sản phẩm dạng cuộn
Loại bỏ bao gói từ các cuộn và lựa chọn phần thích hợp ở giữa mẫu. Chọn mẫu thử sao cho bao gồm được lượng lớn mầu sắc tạo nên bản chất của mẫu sản phẩm.
D3 Lựa chọn mẫu thử từ các sản phẩm dạng sơn và chất kết dính
Đối với các sản phẩm xây dựng bay hơi trong sử dụng (các chất kết dính và sơn lỏng), chuẩn bị mẫu thử bằng cách sơn phủ sản phẩm lên một tấm kính, tấm nhôm hoặc tấm tương tự.
D.4 Dán mẫu thử
Dán các mép và mặt sau của mẫu thử với tấm nhôm hoặc tấm tương tự. Ví dụ dán mẫu thử được trình bày tại Hình D.1 và D.2.
Kích thước tính bằng milimet

| a) Mặt trước của mẫu thử | b) Mặt sau của mẫu thử |
CHÚ DẪN
1 Bề mặt đo
2 Tấm giấy nhôm
Hình D.1 - Nguyên lý của dán mẫu thử

| a) Giấy dán tường | b) Bọc sàn |
Hình D.2 - Ví dụ thực tế của mẫu thử đã được dán
Thư mục tài liệu tham khảo
[1] TCVN 10736-3 (ISO 16000-3:2001), Không khí trong nhà - Phần 3: Xác định formaldehyt và hợp chất cacbonyl khác trong không khí trong nhà và không khí trong buồng thử - Phương pháp lấy mẫu chủ động;
[2] ECA (European Collaborative Action "Indoor Air Quality and its Impact on Man"). Total Volatile Organic Compounds (TVOC) in Indoor Air Quality Investigations. Report No. 19, EUR 17675 EN. Luxembourg: Official Publications of the European Communities, 1997
[3] ECA (European Collaborative Action "Indoor Air Quality and its Impact on Man"). Guideline for the characterization of volatile organic compounds emitted from indoor materials and products using small emission test chambers. Report No. 8, EUR 13593 EN. Luxembourg: Official Publications of the European Communities, 1991
[4] ECA (European Collaborative Action "Indoor Air Quality and its Impact on Man"). Evaluation of VOC Emissions from Building Products - Solid Flooring Materials. Report No. 18, EUR 17334 EN. Luxembourg: Official Publications of the European Communities, 1997
[5] Tichenor, B.A. Indoor air sources; using small environmental emission test chambers to characterize organic emissions from indoor materials and products, EPA-600 8-89-074, Air and Energy Engineering Research Laboratory, U.S. Environmental Protection Agency, 1989. Section 2A
[6] Tichenor, B.A. Indoor air sources; using small environmental emission test chambers to characterize organic emissions from indoor materials and products, EPA-600 8-89-074, Air and Energy Engineering Research Laboratory, U.S. Environmental Protection Agency, 1989. Section 5C
[7] Tichenor, B.A. Indoor air sources; using small environmental emission test chambers to characterize organic emissions from indoor materials and products, EPA-600 8-89-074, Air and Energy Engineering Research Laboratory, U.S. Environmental Protection Agency, 1989. Section 6C
[8] ECA (European Collaborative Action "Indoor Air Quality and its Impact on Man"). Formaldehyde emissions from wood based panels: guideline for the establishment of steady state concentrations in emission test chambers. Report No. 2, EUR 12196 EN. Luxembourg: Official Publications of the European Communities, 1989
[9] Tichenor, B.A. Indoor air sources; using small environmental emission test chambers to characterize organic emissions from indoor materials and products, EPA-600 8-89-074, Air and Energy Engineering Research Laboratory, U.S. Environmental Protection Agency, 1989. Section 7
[10] Danish Standard/INF 90 “Directions for the determination and evaluation of the emission from building products” (Anvisning for bestemmelse og vurdering af afgasning fra byggevarer), Dansk Standard, København, 1994
[11] ISO 16017-1:2000, Indoor, ambient and workplace air - Sampling and analysis of volatile organic compounds by sorbent tube/thermal desorption/capillary gas chromatography - Part 1: Pumped sampling
[12] EN 717-1:2004, Wood-based panels - Determination of formaldehyde release-Part 1: Formaldehyde emission by the chamber method
1) Tenax TA® là tên thương mại của sản phẩm được sản xuất bởi Buchem. Thông tin này được đưa ra chỉ tạo thuận lợi cho người sử dụng tiêu chuẩn này và không phải xác nhận của tiêu chuẩn về sản phẩm. Các sản phẩm tương đương có thể được dùng nếu chúng cho kết quả giống nhau.
Bạn chưa Đăng nhập thành viên.
Đây là tiện ích dành cho tài khoản thành viên. Vui lòng Đăng nhập để xem chi tiết. Nếu chưa có tài khoản, vui lòng Đăng ký tại đây!