- Tổng quan
- Nội dung
- Tiêu chuẩn liên quan
- Lược đồ
- Tải về
Tiêu chuẩn TCVN 10736-31:2017 Đo este axit phosphoric không khí trong nhà
| Số hiệu: | TCVN 10736-31:2017 | Loại văn bản: | Tiêu chuẩn Việt Nam |
| Cơ quan ban hành: | Bộ Khoa học và Công nghệ | Lĩnh vực: | Tài nguyên-Môi trường |
|
Ngày ban hành:
Ngày ban hành là ngày, tháng, năm văn bản được thông qua hoặc ký ban hành.
|
2017 |
Hiệu lực:
|
Đã biết
|
| Người ký: | Đang cập nhật |
Tình trạng hiệu lực:
Cho biết trạng thái hiệu lực của văn bản đang tra cứu: Chưa áp dụng, Còn hiệu lực, Hết hiệu lực, Hết hiệu lực 1 phần; Đã sửa đổi, Đính chính hay Không còn phù hợp,...
|
Đã biết
|
TÓM TẮT TIÊU CHUẨN VIỆT NAM TCVN 10736-31:2017
Nội dung tóm tắt đang được cập nhật, Quý khách vui lòng quay lại sau!
Tải tiêu chuẩn Việt Nam TCVN 10736-31:2017
TIÊU CHUẨN QUỐC GIA
TCVN 10736-31:2017
ISO 16000-31:2014
KHÔNG KHÍ TRONG NHÀ - PHẦN 31: ĐO CHẤT CHỐNG CHÁY VÀ CHẤT TẠO DẺO TRÊN NỀN HỢP CHẤT PHOSPHO HỮU CƠ - ESTE AXIT PHOSPHORIC
Indoor air - Part 31: Measurement of flame retardants and plasticizers based on organophosphorus compounds - Phosphoric acid ester
Lời nói đầu
TCVN 10736-31:2017 hoàn toàn tương đương với ISO 16000-31:2014.
TCVN 10736-31:2017 do Ban kỹ thuật tiêu chuẩn quốc gia TCVN/TC 146 Chất lượng không khí biên soạn, Tổng cục Tiêu chuẩn Đo lường Chất lượng đề nghị, Bộ Khoa học và Công nghệ công bố.
Bộ TCVN 10736 (ISO 16000) Không khí trong nhà gồm các phần sau:
- TCVN 10736-1: 2015 (ISO 16000-1:2004) Phần 1: Các khía cạnh chung của kế hoạch lấy mẫu;
- TCVN 10736-2:2015 (ISO 16000-2:2004) Phần 2: Kế hoạch lấy mẫu formaldehyt;
- TCVN 10736-3:2015 (ISO 16000-3:2011) Phần 3: Xác định formaldehyt và hợp chất cacbonyl khác trong không khí trong nhà và không khí trong buồng thử - Phương pháp lấy mẫu chủ động;
- TCVN 10736-4:2015 (ISO 16000-4:2011) Phần 4: Xác định formaldehyt - Phương pháp lấy mẫu khuếch tán;
- TCVN 10736-5:2015 (ISO 16000-5:2007) Phần 5: Kế hoạch lấy mẫu đối với hợp chất hữu cơ bay hơi (VOC);
- TCVN 10736-6:2016 (ISO 16000-6:2011) Phần 6: Xác định hợp chất hữu cơ bay hơi trong không khí trong nhà và trong buồng thử bằng cách lấy mẫu chủ động trên chất hấp phụ Tenax TA®, giải hấp nhiệt và sắc ký khí sử dụng MS hoặc MS-FID;
- TCVN 10736-7:2016 (ISO 16000-7:2007) Phần 7: Chiến lược lấy mẫu để xác định nồng độ sợi amiăng truyền trong không khí;
- TCVN 10736-8:2016 (ISO 16000-8:2007) Phần 8: Xác định thời gian lưu trung bình tại chỗ của không khí trong các tòa nhà để xác định đặc tính các điều kiện thông gió;
- TCVN 10736-9:2016 (ISO 16000-9:2006) Phần 9: Xác định phát thải của hợp chất hữu cơ bay hơi từ các sản phẩm xây dựng và đồ nội thất - Phương pháp buồng thử phát thải;
- TCVN 10736-10:2016 (ISO 16000-10:2006) Phần 10: Xác định phát thải của hợp chất hữu cơ bay hơi từ các sản phẩm xây dựng và đồ nội thất - Phương pháp ngăn thử phát thải;
- TCVN 10736-11:2016 (ISO 16000-11:2006) Phần 11: Xác định phát thải của hợp chất hữu cơ bay hơi từ các sản phẩm xây dựng và đồ nội thất - Lấy mẫu, bảo quản mẫu và chuẩn bị mẫu thử;
- TCVN 10736-12:2016 (ISO 16000-12:2008) Phần 12: Chiến lược lấy mẫu đối với polycloro biphenyl (PCB), polycloro dibenzo-p-dioxin (PCDD), polycloro dibenzofuran (PCDF) và hydrocacbon thơm đa vòng (PAH);
- TCVN 10736-13:2016 (ISO 16000-13:2008) Phần 13: Xác định tổng (pha khí và pha hạt) polycloro biphenyl giống dioxin (PCB) và polycloro dibenzo-p-dioxin/polycloro dibenzofuran (PCDD/PCDF) - Thu thập mẫu trên cái lọc được hỗ trợ bằng chất hấp phụ;
- TCVN 10736-14:2016 (ISO 16000-14:2009) Phần 14: Xác định tổng (pha khí và pha hạt) polycloro biphenyl giống dioxin (PCB) và polycloro dibenzo-p-dioxin/polycloro dibenzofuran (PCDD/PCDF) - Chiết, làm sạch và phân tích bằng sắc ký khí phân giải cao và khối phổ.
- TCVN 10736-15:2017 (ISO 16000-15:2008) Phần 15: Cách thức lấy mẫu nitơ dioxit (NO2).
- TCVN 10736-16:2017 (ISO 16000-16:2008) Phần 16: Phát hiện và đếm nấm mốc - Lấy mẫu bằng cách lọc.
- TCVN 10736-17:2017 (ISO 16000-17:2008) Phần 17: Phát hiện và đếm nấm mốc - Phương pháp nuôi cấy.
- TCVN 10736-18:2017 (ISO 16000-18:2011) Phần 18: Phát hiện và đếm nấm mốc - Lấy mẫu bằng phương pháp va đập.
- TCVN 10736-19:2017 (ISO 16000-19:2012) Phần 19: Cách thức lấy mẫu nấm mốc.
- TCVN 10736-20:2017 (ISO 16000-20:2014) Phần 20: Phát hiện và đếm nấm mốc - Xác định số đếm bào tử tổng số.
- TCVN 10736-21:2017 (ISO 16000-21:2013) Phần 21: Phát hiện và đếm nấm mốc - Lấy mẫu từ vật liệu.
- TCVN 10736-23:2017 (ISO 16000-23:2009) Phần 23: Thử tính năng để đánh giá sự giảm nồng độ formaldehyt do vật liệu xây dựng hấp thu.
- TCVN 10736-24:2017 (ISO 16000-24:2009) Phần 24: Thử tính năng để đánh giá sự giảm nồng độ hợp chất hữu cơ bay hơi (trừ fomaldehyt) do vật liệu xây dựng hấp thu.
- TCVN 10736-25:2017 (ISO 16000-25:2011) Phần 25: Xác định phát thải của hợp chất hữu cơ bán bay hơi từ các sản phẩm xây dựng - Phương pháp buồng thử nhỏ.
- TCVN 10736-26:2017 (ISO 16000-26:2012) Phần 26: Cách thức lấy mẫu cacbon dioxit (CO2)
- TCVN 10736-27:2017 (ISO 16000-27:2014) Phần 27: Xác định bụi sợi lắng đọng trên bề mặt bằng kính hiển vi điện tử quét (SEM) (phương pháp trực tiếp)
- TCVN 10736-28:2017 (ISO 16000-28:2012) Phần 28: Xác định phát thải mùi từ các sản phẩm xây dựng sử dụng buồng thử.
- TCVN 10736-29:2017 (ISO 16000-29:2014) Phần 29: Phương pháp thử các thiết bị đo hợp chất hữu cơ bay hơi (VOC).
- TCVN 10736-30:2017 (ISO 16000-30:2014) Phần 30: Thử nghiệm cảm quan của không khí trong nhà.
- TCVN 10736-31:2017 (ISO 16000-31:2014) Phần 31: Đo chất chống cháy và chất tạo dẻo trên nền hợp chất phospho hữu cơ-este axit phosphoric.
- TCVN 10736-32:2017 (ISO 16000-32:2014) Phần 32: Khảo sát tòa nhà để xác định sự xuất hiện của các chất ô nhiễm.
- TCVN 10736-33:2017 (ISO 16000-33:2017) Phần 33: Xác định phtalat bằng sắc ký khí/khối phổ (GC/MS).
Lời giới thiệu
Trong thuật ngữ chung, este của axit phosphoric được tạo thành bởi phản ứng của alcohol hoặc phenol với phosphoryl clorua (POCl3). Sự phân biệt được tạo ra giữa mono-, di- và trieste (xem Hình 1). Trieste với nhóm aryl và alkyl, cũng như với nhóm este hỗn hợp halogen và không halogen phục vụ như là chất tạo dẻo và chất chống cháy trong chất dẻo và vecni. Song song với đó, este axit phosphoric được kết hợp trong chất tạo cứng và gia tốc, trong tác nhân tạo mùi và thúc đẩy kết dính, và dùng như chất làm sạch, ức chế ăn mòn, và các chất tạo thuận lợi cho kết dính bằng xử lý bề mặt kim loại. Chúng được sử dụng như là biện pháp bổ trợ trong sản xuất giấy và dệt may, như tác nhân làm ẩm và làm thoáng, tạo nhũ tương, và chất ổn định, như phụ gia cho tác nhân làm sạch và tẩy rửa, chất lỏng thủy lực ...và phụ gia dầu và nhiên liệu (xem bảng 1). Không có xem xét liên quan đến nhóm este thio- và dithiophosphoric axit (thuốc trừ sâu), cũng như este axit phosphoric với nhóm cyanua và halogen, với tác động đặc biệt như chất ức chế axetylclolinestera (các khí tác động thần kinh)[3].

Hình 1 - Công thức cấu tạo của este axit phosphoric
Khả năng ứng dụng nhiều như vậy của hợp chất phospho hữu cơ (OPC) dẫn tới ảnh hưởng khu vực trong nhà rộng lớn với các vật liệu xây dựng có chứa OPC, vecni, sơn, sản phẩm chăm sóc sàn, hoặc lớp bảo vệ chống cháy có thể gặp. Do các đặc tính lý học và lý-hóa khác nhau, OPC có thể được phát hiện trong môi trường dẫn truyền trong nhà (bụi và không khí). Về nguyên lý, OPC sôi ở nhiệt độ cao như tris(2-butoxyetyl)phosphat (TBEP, xem Phụ lục A) có thể được tìm thấy trong nồng độ phù hợp chỉ trong không khí trong nhà nếu nguồn phát thải đạt tới nhiệt độ tăng cao. Trong trường hợp các nguồn như vậy (ví dụ màn chắn hoặc trục lăn để bảo vệ ánh sáng mặt trời) tầm quan trọng của nhiệt độ cao phải được xem xét khi tiến hành phép thử trong buồng thử phát thải.
Mối quan tâm ngày càng tăng về ảnh hưởng đến sức khỏe của OPC trong nhà. Với không khí trong nhà, giá trị khuyến cáo II 0,05 mg/m3 đã được công bố đối với TCEP, và thuật ngữ đơn giản, đối với tổng TCEP, TCPP, TBP, TBEP, TEHP và TPP. Giá trị khuyến cáo I lấy từ tổng này bằng 0,00 5 mg/m3 [4]. Các điều khoản xem xét về sự xuất hiện và đánh giá OPC trong môi trường trong nhà là có sẵn[5].
Tiêu chuẩn này được dựa trên VDI 4301 Phần 5.
KHÔNG KHÍ TRONG NHÀ - PHẦN 31: ĐO CHẤT CHỐNG CHÁY VÀ CHẤT TẠO DẺO TRÊN NỀN HỢP CHẤT PHOSPHO HỮU CƠ - ESTE AXIT PHOSPHORIC
Indoor air - Part 31: Measurement of flame retardants and plasticizers based on organophosphorus compounds- Phosphoric acid ester
1 Phạm vi áp dụng
Tiêu chuẩn này quy định phương pháp thử cho lấy mẫu và phân tích este axit phosphoric trong không khí trong nhà và trong không khí buồng thử bằng sắc ký khí khối phổ. Cả hai nguyên tắc phương pháp cơ bản là khối phổ phân giải thấp và khối phổ phân giải cao được mô tả.
Các phương pháp được mô tả trong tiêu chuẩn này không phù hợp với xác định este axit phosphoric trong vật liệu.
CHÚ THÍCH TCVN 10736-6 (ISO 16000-6) có thể áp dụng để xác định hợp chất bay hơi được nêu trong tiêu chuẩn này.
2 Tài liệu viện dẫn
Các tài liệu viện dẫn sau rất cần thiết cho việc áp dụng tiêu chuẩn này. Đối với các tài liệu viện dẫn ghi năm công bố thì áp dụng phiên bản được nêu. Đối với các tài liệu viện dẫn không ghi năm công bố thì áp dụng phiên bản mới nhất, bao gồm cả các sửa đổi, bổ sung (nếu có).
TCVN 10736-1:2014 (ISO 16000-1:2004), Không khí trong nhà - Phần 1: Các khía cạnh chung của chiến lược lấy mẫu
TCVN 10736-9:2016 (ISO 16000-9:2006) Không khí trong nhà - Phần 9: Xác định phát thải của hợp chất hữu cơ bay hơi từ các sản phẩm xây dựng và đồ nội thất - Phương pháp buồng thử phát thải;
TCVN 10736-13:2016 (ISO 16000-13:2008) Không khí trong nhà - Phần 13: Xác định tổng (pha khí và pha hạt) polycloro biphenyl giống dioxin (PCB) và polycloro dibenzo-p-dioxin/polycloro dibenzofuran (PCDD/PCDF) - Thu thập mẫu trên cái lọc được hỗ trợ bằng chất hấp phụ;
3 Sự xuất hiện
Các hợp chất sau thuộc phosphat hữu cơ không halogen thường được phát hiện trong không khí trong nhà:
- triphenyl phosphat (TPP);
- tris(2-butoxyetyl)phosphat (TBEP);
- tri n-butyl phosphat (TBP);
- tris(2-etylhexyl)phosphat (TEHP);
- cresyl diphenyl phosphat (CDP);
- trietyl phosphate (TEP);
- tricresyl phosphat (TCP).
Este axit phosphoric halogen hóa được phát hiện chủ yếu trong bụi nhà và trong không khí trong nhà:
- tris(2-cloroetyl)phosphat (TCEP);
- tris(cloropropyl)phosphat (TCPP);
- tris(1,3-dicloro-2-propyl)phosphat (TDCPP).
Cầu nối diphosphat nền resorcinol- và bisphenol-A cũng được bổ sung làm chất chống cháy, ví dụ
- tetraphenyl resorcinol diphosphat (RDP) hoặc
- tetraphenyl bisphenol-A diphosphat (BDP).
Do vậy, có rất ít thông tin về phát thải các hợp chất này từ các nguồn sơ cấp.
Bảng 1 đưa ra tổng quan phosphat hữu cơ thường xuyên được phát hiện trong không khí trong nhà.
Danh pháp và dữ liệu hóa học và lý học của phosphat hữu cơ được nêu ở Phụ lục A.
Bảng 1 - Phosphat hữu cơ và mục đích sử dụng (xem Tài liệu tham khảo [5] và [6])
| Chữ viết tắt OPC | Phosphate hữu cơ | Mục đích sử dụng làm chất chống cháy và chất dẻo hóa |
| CDP | Cresyl diphenyl Phosphat | Lớp phủ chất chống cháy |
| RDP | Tetraphenyl resorcinol diphosphat | Vật liệu phủ, cáp đặc biệt |
| TBEP | Tris(2- butoxyetyl)phosphat | Sản phẩm chăm sóc sàn, chất phụ gia cho chất đàn hồi, dung môi Nhựa, tác nhân chống bọt, phụ gia cho chất dẻo, cao su nhân tạo và vecni |
| TBP | Tri-n-butyl phosphat | Tác nhân khử bọt cho phụ gia bê tông, giấy dán tường, sơn phun, vecni, cao su, nhựa và nhựa vinyl, tác nhân chống bọt |
| TCEP | Tris(2-cloroetyl)phosphat | Sơn, lớp phủ, trần cách âm, giấy dán tường bằng sợi thủy tinh, xốp nở, vật liệu phủ |
| TCPP | Tris(1-cloro-2-propyI)- phosphata | Bọt xốp polyuretan hấp thụ âm, xốp nở, bọt xốp mềm (ghế ngồi, đệm), lót sau của vật liệu dệt, vật liệu phủ |
| TDBPP | Tris(2,3-dibromo- propyl)phosphat | Cao su xốp, vecni, giấy, sơn, vải -xenlulô, -triaxetat, và vải polyester, thảm, nhựa, đồ nội thất, chi tiết nội thất ôtô |
| TDCPP | Tris(1,3-dicloro-2- propyl)phosphat | Bọt xốp PU, vật liệu phủ, lớp lót sau vật liệu dệt |
| TEHP | Tris(2-etylhexyl)phosphat | Chất ổn định, phụ gia chất béo, phụ gia cho cao su tổng hợp |
| TCP | Triscresyl phosphat | Dầu nhờn, nội thất ô tô, chất phụ gia cho vật liệu phủ sàn và tường |
| TPP | Triphenyl phosphat | Xốp nở, sơn và vecni, chất làm sáng, vật liệu phủ, phim nhiếp ảnh, nhựa phenol, chất phụ gia cho dầu nhờn, chi tiết nội thất ô tô |
| a TCPP kỹ thuật không tồn tại như một đồng phân tinh khiết. Do vậy nó thường dẫn đến tới ba tín hiệu GC. | ||
Nồng độ đã được công bố về phép đo không khí trong nhà được tổng hợp ở Bảng 2. Trích dẫn giá trị đo phù hợp không được loại trừ.
Bảng 2 - Kết quả công bố về OPC trong không khí trong nhà
| Chất | Nồng độ trong không khí trong nhà μg/m3 | ||
| Khoảng | Trung vị | Tài liệu tham khảo | |
| TCEP | <0,005 đến 6 | 0,10 đến 0,38 | [8] [9] [10] |
| TCPP | 0,019 đến 0,058 | - | [10] |
| TBP | 0,01 đến 0,0064 | - | [10] |
| TBEP | 0,001 đến 0,03 | - | [9] và [10] |
| TEHP | <0,001 đến 0,01 | - | [10] |
| TPP | <0,01 | - | [9] và [10] |
| TCP | <0m01 | - | [9] |
4 Không khí trong nhà
4.1 Lập kế hoạch đo
Lập kế hoạch đo để xác định không khí trong nhà đối với este axit phosphoric được tiến hành theo các yêu cầu của TCVN 10736-1 (ISO 16000-1).
4.2 Thiết bị và vật liệu để lấy mẫu và chuẩn bị mẫu
4.2.1 Thiết bị lấy mẫu
Hệ thống lấy mẫu được mô tả chi tiết trong TCVN 10736-13 (ISO 16000-13).
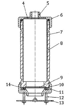
4.2.1.1 Đầu lấy mẫu, với ống bọc xốp PU (Hình 2a và 2b) [xem TCVN 10736-13 (ISO 16000-13)].
|
|
|
| a) Ống bao xốp PU với nắp (nhôm) | b) Đầu đo
|
CHÚ DẪN
1 Nắp
2 Vòng chữ O
3 Bọc xốp PU (đường kính ngoài: 49,5 mm, chiều dài: khoảng 120 mm
4 Lưới thép không gỉ
5 Nắp
6 Vòng chữ O
7 Bọc xốp PU;
8 Ống trụ (đường kính trong: 49,8 mm)
9 Lưới thép không gỉ để mang cái lọc sợi thủy tinh
10 Vòng PTFE/đĩa cái lọc/vòng PTFE
11 Nắp có lõi trong (đường kính trong của lõi trong: 27 mm)
12 Khoảng không
13 Tấm vách ngăn
14 Vòng chữ O
Hình 2 - Thiết bị lấy mẫu gồm đầu lấy mẫu có ống bao xốp PU
4.2.1.2 Bơm, với lưu lượng thể tích 2,7 m3/h đến 2,8 m3/h (45 l/min đến 46,7 l/min) trong các điều kiện lấy mẫu.
4.2.1.3 Lưu lượng kế.
4.2.1.4 Ẩm kế.
4.2.1.5 Nhiệt kế.
4.2.1.6 Áp kế.
CHÚ THÍCH Lấy mẫu OPC bằng phương tiện “hệ thống lấy mẫu thể tích nhỏ” (bọt xốp PU, ví dụ ORBO 10001)) với lưu lượng lấy mẫu 1 l/min đến 5 l/min có thể trong giới hạn quy định. Hiệu suất lấy mẫu của lớp chất hấp phụ đối với hạt truyền trong không khí là chưa được biết (xem tài liệu tham khảo [11]). Quy trình này không tương ứng với các yêu cầu lấy mẫu hạt. Do vậy, ứng dụng nó tương thích với phương pháp đã được mô tả ở đây phải được chứng minh.
4.2.2 Thiết bị chuẩn bị mẫu
4.2.2.1 Thiết bị thủy tinh, thiết bị phòng thử nghiệm thông thường.
4.2.2.2 Bình chiết, Soxhlet
4.2.2.3 Micro xy ranh, 10 μl, 50 μl và 100 μl.
4.2.3 Vật liệu để lấy mẫu và chuẩn bị mẫu
4.2.3.1 Diclorometan và toluen, tất cả dung môi được liệt kê phải có đủ độ tinh khiết phân tích vết.
4.2.3.2 Chuẩn nội, 13C-γ-HCH và 13C-DDE (xem 6.1).
4.2.3.3 Cái lọc sợi thủy tinh, Ø 5 cm, không cần mẫu trắng.
4.2.3.3 Bọt xốp PU, Ø 5 cm, chiều dài 2,5 cm, với sự nhiễm bẩn thấp.
Hướng dẫn làm sạch từng bước với bọt xốp PU “mới sản xuất”:
1) Chiết 24 h với metanol trong bình chiết Soxhlet;
2) Chiết 24 h với diclorometan trong bình chiết Soxhlet;
3) Chiết 24 h với toluen trong bình chiết Soxhlet;
4) Chiết 24 h với axeton trong bình chiết Soxhlet;
Hướng dẫn làm sạch đối với bọt xốp PU được lấy mẫu và chiết:
1) Chiết 24 h với toluen trong bình chiết Soxhlet;
2) Chiết 24 h với axeton trong bình chiết Soxhlet;
Làm khô bọt xốp PU trong bình hút ẩm trong điều kiện chân không liền kề và với dòng nitơ nhẹ tinh khiết (từ quá trình bay hơi của nitơ lỏng) hoặc trong tủ làm khô bằng chân không ở 40 °C.
Bọt xốp PU có thể co lại trong quá trình chiết hoặc được làm sạch tương ứng. Phải tiến hành cẩn thận nếu phần còn lại phù hợp chính xác sau khi làm sạch.
4.3 Lấy mẫu
Làm giàu các chất được phân tích từ không khí trong nhà trong một cái lọc sợi thủy tinh và bọt xốp PU trong ứng dụng đầu lấy mẫu như được mô tả ở TCVN 10736-13 (ISO 16000-13). Hạt liên kết cũng như các khí OPC được lấy mẫu theo cách này.
Chuẩn nội được áp dụng cho bọt xốp PU, trong khi đó tổng thể tích dung dịch chuẩn nội bằng 100 μl (đối với LRMS) hoặc 50 μl (đối với HRMS) (xem 6.1 và 6.2.1) được bơm tại các vị trí khác nhau vào bọt xốp (ví dụ bằng một xy ranh microlit).
Chuẩn nội được áp dụng tốt nhất là trước khi lấy mẫu. Nếu việc này chứng minh là không thể trong các trường hợp có lý do chính đáng, chuẩn nội cũng có thể được thêm trước khi chiết và do vậy chú thích cần phải nêu trong báo cáo thử nghiệm.
Tại vị trí đo, bọt xốp PU được đưa vào đầu lấy mẫu. Cái lọc sợi thủy tinh được đặt trong bộ đỡ cái lọc bằng cái nhíp và được cố định. Đầu lấy mẫu được đặt trên một giá đỡ theo cách mẫu khí sẽ đi qua đầu lấy mẫu theo hướng thẳng đứng từ dưới lên trên. Lỗ hút được đặt cách sàn từ 1,2 đến 1,5 m. Khoảng thời gian lấy mẫu thường 1 h. Lưu lượng thể tích phải bằng 2,7 m3/h đến 2,8 m3/h. Thể tích lấy mẫu được lấy trong 1 h không được vượt quá 10 % tỷ lệ trao đổi không khí. Nếu chưa biết, thể tích lấy mẫu theo giờ không được vượt quá 10 % thể tích phòng. Nhiệt độ phòng và độ ẩm tương đối của không khí và áp suất không khí phải được đo và ghi lại ngay trước khi và sau khi lấy mẫu. Sau khi hoàn thành lấy mẫu, bọt xốp PU và cái lọc sợi thủy tinh được tháo ra khỏi đầu lấy mẫu và chuyển vào hộp chứa phù hợp để vận chuyển.
4.4 Chuẩn bị mẫu
Tất cả các thiết bị thủy tinh sử dụng được tráng bằng diclorometan (DCM). Thiết bị thủy tinh sau đó cần được sấy trong 24 h ở 150 °C trong tủ sấy mặc dù đã được làm sạch bằng DCM.
Bọt xốp PU và cái lọc cùng được chiết trong bình chiết Soxhlet. Tối thiểu phải đạt 50 vòng chiết cho quá trình này.
Dịch chiết thu được giảm đến thể tích khoảng 1 ml đến 5 ml trong thiết bị làm bay hơi (cô quay) trong điều kiện chân không được kiểm soát hoặc trong thiết bị Turbovap®2). Việc giảm thể tích hơn nữa đến khoảng 0,1 ml đến 1 ml được thực hiện bằng cách sử dụng một dòng nitơ tinh khiết. Không được để dung môi bay hơi toàn hoàn bởi vì sự mất OPC bay hơi dễ xảy ra. Sự mất này có thể được ngăn ngừa bằng cách bổ sung toluen làm chất giữ.
CHÚ THÍCH Thời gian lưu sắc ký khí có thể thay đổi khi dùng toluen làm chất giữ.
Hiệu chuẩn được thực hiện theo Điều 6 và định lượng được tiến hành theo Điều 7.
5 Không khí buồng thử
5.1 Khái quát
Độ phát thải với các sản phẩm xây dựng và sản phẩm tiêu dùng trong các điều kiện được kiểm soát được thực hiện để thiết lập tốc độ phát thải riêng của chất [tốc độ phát thải riêng (SER)][12] [13] [14]. Phép đo không khí buồng thử được tiến hành trong không khí không có bụi sao cho đảm bảo một quy trình lấy mẫu đơn giản mà không có phân tách các hạt như sau này mô tả. Phải hết sức chú ý với thể tích buồng, tỷ lệ trao đổi không khí và thể tích lấy mẫu sao cho thể tích lấy mẫu nhỏ hơn lượng không khí cấp. Chuẩn bị lấy mẫu và đặc biệt lưu giữ mẫu phải được kết hợp với phép đo buồng thử.
Do các đặc tính lý học của nhóm hợp chất, phép đo phát thải OPC từ các sản phẩm xây dựng và từ dụng cụ, thiết bị sử dụng trong nhà là một quá trình phức tạp. Về nguyên tắc, sự phát thải như vậy có thể được xác định bằng các phân tích buồng thử theo TCVN 10736-9 (ISO 16000-9). Nếu TCVN 10736-9 (ISO 16000-9) được xây dựng cho các hợp chất hữu cơ bay hơi (VOC) được áp dụng cho OPC bán bay hơi (SVOC), đặc tính buồng thử cụ thể (ví dụ hiệu ứng “chìm”) phải được xem xét[14] [15]. Yêu cầu về ổn định trước để thực hiện phân tích buồng thử được nêu ở TCVN 10736-9 (ISO 16000-9).
5.2 Thiết bị và vật liệu để lấy mẫu
5.2.1 Buồng thử phát thải, theo TCVN 10736-9 (ISO 16000-9).
5.2.2 Bơm lấy mẫu
5.2.3 Đồng hồ đo thể tích khí.
5.2.4 Thiết bị thủy tinh, thiết bị phòng thử nghiệm thông thường.
5.2.5 Bình chiết, Soxhlet
5.2.6 Micro sy ranh, 10 μl, 50 μl, 100 μl.
5.2.7 Chuẩn nội, 13C-γ-HCH hoặc 13C-DDE (xem 6.1).
5.2.8 Chất hấp phụ, XAD-2®3) hoặc bọt xốp PU.
5.2.9 Bông thạch anh, bông thạch anh silan hóa.
Việc làm sạch được thực hiện bởi quá trình chiết Soxhlet với metanol trong ít nhất 14 h.
5.3 Lấy mẫu
5.3.1 Chuẩn bị buồng thử
Buồng thử được làm sạch trước khi bắt đầu phép đo phát thải [xem TCVN 10736-9 (ISO 16000-9)].
Tính sạch của buồng thử được lập thành tài liệu sau đó bằng phép đo mẫu trắng.
5.3.2 Chuẩn bị ống lấy mẫu
Môi trường lấy mẫu PU được làm sạch và đưa vào theo TCVN 10736-13 (ISO 16000-13).
Lớp hấp phụ XAD-2 có bán sẵn chỉ được đưa vào sau khi xử lý sơ bộ phù hợp. Trong trường hợp đó, bất kỳ sự nhiễm bẩn nhận thấy của lớp hấp phụ XAD-2 phải được loại bỏ như sau:
a) Cột sắc ký được nạp đầy bằng khoảng 150 g XAD-2.
b) XAD-2 được rửa bằng H2O cất hai lần (khoảng 1 I).
c) XAD-2 được rửa bốn lần, mỗi lần khoảng 100 ml axeton.
d) XAD-2 được làm khô trong dòng N2.
e) XAD-2 được chuyển vào bình Soxhlet 100 ml và chiết trong 24 h với metanol
f) Metanol được thay thế bằng 100 ml DCM và XAD-2 được chiết trong 24 h.
g) XAD-2 đã làm sạch được chuyển vào cột sắc ký và làm khô trong một dòng N2.
XAD-2 đã làm sạch được chuyển vào một bình thủy tinh phù hợp với cổ bằng.
Lấy khoảng 500 mg (± 10 mg) bằng pipet Pasteur. Đầu chóp sau đó được làm vỡ và một số lượng bông thạch anh silan hóa được đặt lên dải băng dính, và XAD-2 được thêm chuẩn bằng chuẩn nội. Tiến hành gói kín XAD-2 bằng một số bông thạch anh silan hóa.
5.4 Quy trình lấy mẫu
Lấy mẫu lên XAD-2 hoặc bọt xốp PU được tiến hành theo những yêu cầu của TCVN 10736-9 (ISO 16000-9) tại thời điểm quy định trong dòng khí xả của buồng thử. Lưu lượng thể tích tối đa trong khi lấy mẫu được giới hạn bởi tốc độ trao đổi không khí được xác định trước trong buồng thử theo TCVN 10736-9 (ISO 16000-9) và không được vượt quá 2 l/min.
5.5 Chuẩn bị mẫu
Ống lấy mẫu XAD-2 được rửa giải với 10 ml DCM. Nồng độ sau đó được tăng lên trong máy cô quay, và nếu cần, trong dòng N2, đến khoảng 100 μl. Dung môi phải không được làm bay hơi hoàn toàn do có thể xảy ra sự mất các OPC dễ bay hơi hơn. Sự mất OPC này có thể được ngăn ngừa bằng cách bổ sung toluen làm chất giữ.
CHÚ THÍCH Thời gian lưu sắc ký khí có thể thay đổi khi áp dụng toluen làm chất giữ.
Hiệu chuẩn được thực hiện theo Điều 6, và được định lượng theo Điều 7.
6 Hiệu chuẩn
6.1 Dung dịch chuẩn nội và dung dịch hiệu chuẩn
Kiểm định dung dịch chuẩn (dung dịch chuẩn nội và dung dịch hiệu chuẩn) được thực hiện theo các yêu cầu đảm bảo chất lượng liên quan đến kiểm soát lượng cân.
6.2 Dung dịch chuẩn nội
6.2.1 Các khía cạnh chung
Phospho hữu cơ đánh dấu 13C không có sẵn. Do vậy, 13C-γ-HCH hoặc 13C-DDE phải được sử dụng làm chuẩn nội.
CHÚ THÍCH Không nên sử dụng TBP (D24-TBP) đơteri hóa làm chuẩn nội bởi vì không xác định được hợp chất bằng phân tích một loạt các mẫu bụi trong nhà trên cột cụ thể (ví dụ siêu HP), xuất hiện tại thời gian lưu giống như D24-TBP.
Dung dịch có nồng độ yêu cầu được sử dụng như được mua từ nhà cung cấp hoặc được chuẩn bị như sau: 5 mg 13C-γ-HCH hoặc 13C-DDE được hòa tan trong 50 ml isooctan (0,1 mg/ml).
6.2.2 Dung dịch chuẩn nội cho độ phân giải thấp
Dung dịch chuẩn nội được pha loãng với DCM ở tỷ lệ 1:10 (1+9). Kết quả là dung dịch có nồng độ bằng 10 ng/µl.
6.2.3 Dung dịch chuẩn nội cho độ phân giải cao
Dung dịch chuẩn nội được pha loãng với DCM ở tỷ lệ 1:100 (1+99). Kết quả là dung dịch có nồng độ bằng 1 ng/μl.
6.3 Dung dịch hiệu chuẩn cho độ phân giải thấp
6.3.1 Ví dụ kế hoạch hiệu chuẩn
Kế hoạch hiệu chuẩn ở Bảng 3 được tham chiếu đến ví dụ thực tế sử dụng 13C-DDE làm chuẩn nội.
Bảng 3 - Kế hoạch chuẩn bị dung dịch hiệu chuẩn đối với phép đo độ phân giải thấp
(ví dụ với 13C-DDE)
| Dung dịch hiệu chuẩn (nồng độ của OPC được đo) | Dung dịch | Dung dịch 1 | Dung dịch 2 |
| μl | μl | μl | |
| 0,2 | 100 |
| 20 |
| 0,5 | 100 |
| 50 |
| 1,0 | 100 |
| 100 |
| 2,0 | 100 |
| 200 |
| 5,0 | 100 | 50 |
|
| 10 | 100 | 100 |
|
6.3.2 Dung dịch gốc
Các chất gốc được chuẩn bị cho các dung dịch gốc TCEP, TCPP, TDCPP, TBP, TBEP, TEHP, TPP và TCP.
Dung dịch được chuẩn bị như sau
a) Mỗi 250 mg hợp chất axit phosphoric tương ứng được hòa tan trong 25 ml metanol (10 mg/ml).
b) Các dung dịch gốc này được pha loãng với DCM ở tỷ lệ 1:100 (dung dịch 1) và 1:1000 (dung dịch 2).
c) Hai dung dịch thu được có nồng độ 100 ng/μl và 10 ng/μl.
6.3.3 Dung dịch hiệu chuẩn
Dung dịch hiệu chuẩn phải được chuẩn bị theo kế hoạch nêu tại Bảng 3 từ các dung dịch chuẩn nội và hai dung dịch gốc. Sáu dung dịch hiệu chuẩn được chuẩn bị như sau:
a) 100 μl dung dịch chuẩn nội cho vào một lọ có thể tích 2 ml bằng cách dùng sy ranh microlit.
b) Sau đó dùng xy ranh micro phù hợp bổ sung dung dịch gốc tương ứng và làm đầy đến thể tích cuối cùng 1 ml.
c) Lọ được đậy kín bằng cách dùng nút có mặt bích màng ngăn.
CHÚ THÍCH Sử dụng chuẩn nội cần đảm bảo cho sự bù trừ mất các chất có thể xảy ra trong chuẩn bị lấy mẫu, ví dụ sai số và sự không chính xác thể tích được bù trừ bằng chuẩn nội.
Dung dịch chuẩn nội như nhau để được dùng sau đó cho thêm chuẩn bọt xốp PU phải được sử dụng để chuẩn bị dung dịch hiệu chuẩn.
6.4 Dung dịch hiệu chuẩn đối với độ phân giải cao
6.4.1 Ví dụ kế hoạch hiệu chuẩn
Kế hoạch hiệu chuẩn ở Bảng 4 tham chiếu đến ví dụ thực tế sử dụng 13C-γ-HCH làm chuẩn nội.
Bảng 4 - Kế hoạch chuẩn bị dung dịch hiệu chuẩn đối với phép đo độ phân giải cao
(ví dụ với 13C-γ-HCH, xem 6.2.1)
| Dung dịch hiệu chuẩn (Nồng độ của OPC được đo) | 13C-γ-HCH | Dung dịch A | Dung dịch B |
| ng/ml | μl | μl | μl |
| 5 | 50 | - | 50 |
| 50 | 50 | 50 | - |
| 500 | 50 | 500 | - |
6.4.2 Dung dịch gốc
Các chất gốc được chuẩn bị cho các dung dịch gốc TCEP, TEHP, TBEP và TPP (tinh khiết 97 %).
Đối với TCP, sử dụng hỗn hợp đồng phân (tinh khiết 90 %).
Các dung dịch được chuẩn bị như sau
a) Mỗi 10 mg hợp chất axit phosphoric tương ứng được hòa tan trong 10 ml DCM (1 mg/ml).
b) Các dung dịch gốc này được pha loãng với DCM ở tỷ lệ 1:1000 (dung dịch A).
c) Các dung dịch thu được có nồng độ 1 μg/ml.
Dung dịch A được pha loãng lần nữa với DCM với tỷ lệ 1:10. Kết quả là dung dịch B có nồng độ 0,1 μg/ml.
6.4.3 Dung dịch hiệu chuẩn
Dung dịch hiệu chuẩn phải được chuẩn bị theo kế hoạch nêu tại Bảng 4 từ các dung dịch chuẩn nội và hai dung dịch gốc.
Ba dung dịch hiệu chuẩn được chuẩn bị như sau:
a) 50 μl dung dịch chuẩn nội (= 50 ng) và thể tích dung dịch gốc tương ứng như được nêu ở Bảng 4 được cho vào một lọ có thể tích 1 ml.
b) Nồng độ của chuẩn nội khoảng 50 ng/ml trong tất cả các dung dịch hiệu chuẩn.
c) Các dung dịch chuẩn nội giống nhau như được dùng sau đó cho thêm chuẩn bọt xốp PU phải được sử dụng để chuẩn bị dung dịch hiệu chuẩn.
CHÚ THÍCH 1: Sử dụng chuẩn nội theo yêu cầu đảm bảo cho sự bù trừ vì mất các chất có thể xảy ra trong chuẩn bị lấy mẫu, ví dụ sai số và sự không chính xác thể tích được bù trừ bằng chuẩn nội.
CHÚ THÍCH 2: DCM được chọn làm dung môi cho dung dịch hiệu chuẩn bởi vì tính tan ít của OPC trong dung môi không phân cực.
7 Nhận dạng và định lượng
7.1 Khái quát
Phân tích este axit phosphoric được tiến hành bằng sắc ký khí phân giải cao hoặc phân giải thấp- khối phổ (GC/HR hoặc GC/HR-MS). Định lượng được tiến hành sau phương pháp chuẩn nội. Khoảng vận hành mở rộng từ 0,2 μg/ml đến 10 μg/ml đối với GC/LR-MS và 0,005 μg/ml đến 0,5 μg/ml đối với GC/HR-MS.
Thiết bị sau đây được quy định như các ví dụ thực tế. Nếu sử dụng các thiết bị khác, các thông số phải được chuyển đổi phù hợp.
7.2 Thiết bị phân tích
7.2.1 Sắc ký khí mao quản, có detector khối phổ (ví dụ thực tế được đưa dưới đây).
7.2.2 Bộ bơm ngắt/không ngắt dòng.
7.2.3 Cột mao quản, có độ phân cực thấp.
7.3 Phân tích bằng GC/LR-MS
7.3.1 Thiết bị phân tích (ví dụ thực tế)
7.3.1.1 Sắc ký khí
7.3.1.2 Khối phổ
7.3.2 Điều kiện GC
7.3.2.1 Cột mao quản, DB 1701, chiều dài 30 m, đường kính trong 0,25 mm, độ dày màng 0,25 µm.
7.3.2.2 Bộ bơm, không ngắt dòng 2 μl.
7.3.2.3 Áp suất cột ban đầu, 90 kPa.
7.3.2.4 Chương trình nhiệt độ, 40 °C (2 min) => (15 K/min) => 180 °C => (5 K/min) => 280 °C (8,67 min), tổng thời gian chạy 40 min, bộ bơm và ống vận chuyển được giữ ở 270 °C.
7.3.3 Điều kiện MS
7.3.3.1 Modus SIM.
7.3.3.2 Khối lượng SIM, xem Bảng 5.
7.4 Phân tích với GC/HR-MS
7.4.1 Thiết bị phân tích (ví dụ thực tế)
7.4.1.1 Sắc ký khí.
7.4.1.2 Khối phổ
7.4.2 Điều kiện GC
7.4.2.1 Cột mao quản, Siêu HP, chiều dài 50 m, đường kính trong 0,2 mm, độ dày màng 0,33 μm.
7.4.2.2 Bộ bơm, không ngắt dòng 1 μl.
7.4.2.3 Áp suất cột, 186 kPa.
7.4.2.4 Bộ bơm và đường ống vận chuyển, 270 °C.
7.4.2.5 Chương trình nhiệt độ, 60 °C (2 min) => (20 K/min) => 200 °C => (4 K/min) => 220 °C => (20 K/min) => 250 °C (2 min).
7.4.3 Điều kiện MS
7.4.3.1 Độ phân giải, 7000
7.4.3.2 Chương trình MID, đối với TCEP, TBEP, TPP, TEHP và p,p,p-TCP (xem Bảng 6).
Bảng 5 - Vết khối lượng - Khối phổ phân giải thấp (khối lượng SIM)
| Chất | Thời gian lưub | Định lượng ion | Định lượng ion |
| min | m/z | m/z | |
| TBP | 14,16 | 211 | 155 (150%) |
| TCEP | 17,58 | 249 | 251 (65 %) |
| TCPP | 17,46a | 277 | 279 (65 %) |
| TDCPP | 27,21 | 191 | 193 (65 %) |
| TBEP | 26,36 | 199 | 299 (56 %) |
| TEHP | 26,10 | 211 | 113 (500%) |
| TPP | 26,61 | 326 | 325 (82 %) |
| TCP | 30,81a | 367 | 368 (130%) |
| 13C12-DDE (chuẩn nội) | 21,77 | 330 | 328 (86 %) |
| a Một số hợp chất đồng phân. | |||
| b Ví dụ theo cột. | |||
Bảng 6 - Vết khối lượng - Khối phổ phân giải cao (Chương trình MID)
|
| Hợp chất | Phân mảnh m/z |
| 1. Cửa sổ | TCEP | 204,958 8 |
|
|
| 206,955 9 |
|
|
| 248,985 0 |
|
|
| 250,982 1 |
|
| 13C-HCH | 188,955 0 |
|
|
| 226,928 6 |
| 2. Cửa sổ | TBEP | 199,073 5 |
|
|
| 227,104 8 |
|
|
| 299,162 3 |
| 3. Cửa sổ | TPP | 325,063 0 |
|
|
| 326,070 8 |
|
|
| 327,074 2 |
| 4. Cửa sổ | TEHP | 98,984 7 |
|
|
| 113,000 4 |
| 5. Cửa sổ | TCP | 367,109 9 |
|
|
| 368,117 7 |
|
|
| 369,121 1 |
7.5 Diễn giải và trình bày kết quả tính toán
7.5.1 Các khía cạnh chung
Dung dịch hiệu chuẩn (tối thiểu ba dung dịch) được bơm để hiệu chuẩn và phân tích. Hiệu chuẩn phải được kiểm tra với từng phân tích hoặc một loạt phân tích theo hướng dẫn đảm bảo chất lượng.
Sau khi phân tích, tỉ số của diện tích pic của vết ion mảnh của chất cần được phân tích với diện tích pic của vết mảnh ion của chuẩn nội (tì số diện tích pic) được tính cho từng dung dịch hiệu chuẩn (ví dụ m/z = 330 đối với 13C-DDE và m/z = 189 và m/z = 227 đối với 13C-γ-HCH).
Đối với mô phỏng hàm hiệu chuẩn, tỉ số diện tích pic được dựng đồ thị theo các nồng độ. Hàm hiệu chuẩn được xác định bằng hồi quy tuyến tính ʋPF = bρ + a
Hệ số đã xác định được sử dụng để tính nồng độ trong dung dịch đo:
|
| (1) |
Trong đó
ρ là nồng độ;
ʋPF là tỉ số diện tích pic;
b là độ dốc;
a là giá trị giao cắt với trục tung.
7.5.2 Mẫu không khí trong nhà
Kết quả phép đo phải được biểu thị bằng μg/m3 và được làm tròn tới hai chữ số có nghĩa.
7.5.3 Mẫu không khí trong buồng thử
Kết quả phép đo phải được biểu thị bằng μg/m3. Tốc độ phát thải riêng (SER) có thể được tính từ đó (ví dụ theo TCVN 10736-9 (ISO 16000-9). Kết quả được làm tròn tới hai chữ số có nghĩa.
8 Tính năng hoạt động
8.1 Tính năng hoạt động của phân tích không khí
Đặc tính phân tích đối với TBEP, TBP, TCEP, TCPP, TEHP, TCP và TPP trong không khí trong nhà và không khí trong buồng thử:
- Thể tích lấy mẫu 1 m3;
- Giới hạn định lượng (tương ứng với mẫu trắng) 10 ng/mẫu, tương ứng với 0,01 μg/m3;
- Độ lệch chuẩn (độ chụm theo ngày) 15 % đến 20 %;
- Tỉ lệ thu hồi của phương pháp phân tích > 90 %.
Đối với những trạng thái thấu qua, có thể dự đoán không có những lượng thấu qua lớp chất hấp thu được sử dụng trong các điều kiện tiêu chuẩn không khí trong nhà hoặc không khí trong buồng thử với thể tích lấy mẫu lên đến 2 m3.
9 Đảm bảo chất lượng
Nên tiến hành lấy nhiều mẫu. Kế hoạch đo phải được quy định với các biện pháp được tiến hành để đáp ứng các yêu cầu chất lượng của khách hàng. Trong lựa chọn và quy định kỹ thuật của các biện pháp đảm bảo chất lượng, phải trả lời các câu hỏi sau đây:
- Tổ chức thực hiện đo có hệ thống đảm bảo chất lượng được lập tài liệu không?
- Các phép đo kép hoặc phép đo so sánh (ví dụ với các phòng thử nghiệm khác) có được tiến hành không?
- Độ không đảm bảo phép đo sẽ được xác định như thế nào (ví dụ theo DIN 1319-3)?
- Trong phép thử liên phòng tổ chức có tham gia thực hiện phép đo không?
10 Cản trở
Đặc tính lý học và hóa lý đã mô tả của OPC, cũng như sự phân bố rộng khắp, dẫn đến sự khó khăn đáng kể trong định lượng OPC. Khuyến cáo kiểm tra đều đặn từng bước của quy trình về không có mẫu trắng hoặc hiệu ứng chéo. Trong trường hợp gặp khó khăn, mẫu trắng phải được kiểm tra trước mỗi phép xác định.
Các cản trở sau đây cần được tránh bằng các ứng dụng hướng dẫn phù hợp đã được tìm thấy trong các khóa xây dựng phương pháp và trong khi dự thảo hướng dẫn.
Mẫu trắng phù hợp và tiếp sau, hiệu ứng chéo do cả vật liệu có chứa OPC (ví dụ cái lọc giấy) và do sự mất chất do hấp phụ lên thành thiết bị. Ví dụ, xyclohexan không ở vị trí để giữ OPC phân cực mạnh trong dung dịch. Khi axeton/xyclohexan được dùng để chiết, có thể tìm thấy đến 100 % TCEP có sẵn bị hấp phụ không nghịch đảo lên thành thủy tinh của thiết bị chiết hoặc thiết bị làm giàu nếu axeton được loại bỏ ra khỏi hỗn hợp dung môi bằng chưng cất.[4] Thiết bị chiết tự động nhựa dán kín thường không phù hợp do sự hấp thụ OPC trong chất dẻo.[4] Phải thực hiện các biện pháp để làm sạch thiết bị thủy tinh trong chuẩn bị mẫu.
Khi TBP đơteri hóa (D24-TBP) được dùng làm chuẩn nội, hợp chất chưa được xác định có thể xuất hiện trong cột quy định (ví dụ siêu HP) bằng một loạt mẫu bụi nhà sẽ xuất hiện ở thời gian lưu giống D24-TBP.
Phụ lục A
(Tham khảo)
Danh pháp và đặc tính lý học
Bảng A.1 - Đặc tính lý học của hợp chất phospho hữu cơ đã chọn
| Nhóm/tên | Chữ viết tắt | Số CAS | Công thức đơn giản | Khối lượng Mol. | Điểm sôi
| Áp suất hơi
| Chú thích |
|
|
|
|
| g/mol | °C | hPa |
|
| Alkylat OPC |
|
|
|
|
|
|
|
| Trietyl phosphat | TEP | 78-40-0 | C6H15O4P | 182,2 | 215 đến 216 (1 013hPa)d | < 1,3(25 °C)c 1,4 (40 °C)d |
|
| Tri-n-butyl phosphat | TBP | 126-73-8 | C12H27O4P | 266,3 | 289 (1 013 hPa)g 130 (5 hPa)d | <6,6 (25 °C)g 0,08 (50 °C)d |
|
| Tris(2-butox-yetyl) phos-phat | TBEP | 78-51-3 | C18H39O7P | 398,5 | 200 đến 230 (5 hPa đến 5,3 hPa)j 215 đến 228 (5 hPa)c | 2,8 x 10-7 (25 °C)j < 1,3 (25 °C)c 0,04 (150 °C)c |
|
| Tris(2-etyl-hexyl) phos-phat | TEHP | 78-42-2 | C24H51O4P | 434,6 | 220 (7 hPa)j 210 (5 hPa)d | < 0,1 (20 °C)j <6,6 (20 °C)c 2,5 (200 °C)d |
|
| OPC arylat hóa |
|
|
|
|
|
|
|
| Triphenyl phosphat | TPP | 115-86-8 | C18H15O4P | 326,3 | 370 (1 013hPa)f 247 (15 hPa)d | 0,2 (150 °C)f 1,3 (193 °C)d |
|
| Cresyl diphenyl phosphat | CDP | 26444-49-5 | C19H17O4P | 340,3 | 235 đến 255 (không có số | không có số liệu | GC: 2 đồng phân |
| Tricresyl phosphat (hỗn hợp đồng phân) | TCP | 1330-78-5 | C21H21O4P | 368,4 | 262 đến 264 (11 hPa)a 241 đến 255 (5 hPa)e | 1,3 x 10-4 (20 °C)e |
|
| o,o.o-Tricresyl phosphat | o,o,o-TCP | 78-30-8 | C21H21O4P | 368,4 | 410 (1 013 hPa)e | 13,3 (265 °C)e 2,3 x 10-6 (25 °C)c |
|
| m,m,m-Tricre-syl phosphat | m,m,m-TCP | 563-04-2 | C21H21O4P | 368,4 | 260 (20 hPa)e | Không có số liệu |
|
| p,p,p-Tricresyl phosphat | p,p,p-TCP | 78-32-0 | C21H21O4P | 368,4 | 244 (5 hPa)e | Không có số liệu |
|
| OPC halogen hóa |
|
|
|
|
|
|
|
| Tris(2-cloro-etyl) phos-phat | TCEP | 115-96-8 | C6H12O-4CI3P | 285,5 | 351 (1 013 hPa)i | < 13,3(25 °C)i |
|
| Tris(1-chloro-2-propyl) phosphat | TCPP | 13674-84-5 | C9H18O-4CI3P | 327,6 | 236 đến 248 (1 013 hPa)i | < 2,7 (25 °C)i | GC: 3 đồng phân |
| Tris(3-clo-ropropyl) phosphat | TCPP | không có số liệu | C9H18O-4CI3P | 327,6 |
|
|
|
| Tris(1,3-dicloro-2-pro-pyl) phosphat | TDCPP | 13674-87-8 | C9H15O-4CI6P | 430,9 | 236 đến 237 (7 hPa)i | 0,01 (30 °C)i |
|
| Tris(2,3-dicloro pro-pyl) phosphat | TDCPP | không có số liệu | C9H15O-4CI6P | 430,9 |
|
| Không có ý nghĩa như chất chống cháy |
| Tris(2,3-dibromo propyl) phosphat | TDBPP | 126-72-7 | C9H15O-4Br6P | 697,7 | 390 (Không có số liệu)h | 2,5 x 10-4 (25 °C)h 1.6 x 10-3 (45 °C)h 6,4 x 10-3 (65 °C)b | “Tris” |
| OPC cầu |
|
|
|
|
|
|
|
| Tetraphenyl Resorcinol diphosphat | RDP | 57583-54-7 | C30H24O8P2 | 574,5 | > 300 (không có số liệu)b | < 1,3 (38 °C)b | Số liệu dựa trên cấu trúc |
| Tetraphenyl Bisphenol-A diphosphat | BDP | Không có số liệu | C39H34O8P2 | 692,6 | Không có số liệu | Không có số liệu | Số liệu dựa trên cấu trúc |
a Bảng số liệu an toàn ABCR
b Thông tin sản phẩm Flyof lex Akzo Nobel 98.
c Chem Finder.
d Merck Safety data sheet 96, 99.
e WHO 1991, Environmental Health Criteria, 110.
f WHO 1991, Environmental Health Criteria, Heft 111.
g WHO 1991, Environmental Health Criteria, 112.
h WHO 1995, Environmental Health Criteria, 173.
i WHO 1998, Environmental Health Criteria, 209.
j WHO 2000, Environmental Health Criteria, 218.
Phụ lục B
(Tham khảo)
Ví dụ sắc đồ của dung dịch chuẩn

CHÚ DẪN:
X mật độ
Y thời gian
1 tri-n-butyl phosphat
2 tris(2-cloro-etyl)phosphat
3 13C12-DDE (chuẩn nội)
4 tris(2-etylhexyl)phosphat
5 tris(2-butoxyetyl)phosphat
6 triphenyl phosphat
7 tricresyl phosphat
Hình B.1 - Sắc đồ của dung dịch chuẩn este axit phosphoric (phân giải thấp) đối với phép đo không khí trong buồng thử

CHÚ DẪN
X mật độ
Y thời gian
1 tri-n-butyl phosphat
2 tris(2-cloroetyl)phosphat
3 13C12-DDE (chuẩn nội)
4 triphenyl phosphat
Hình B.2 - Sắc đồ của không khí trong buồng thử (phân giải thấp)
Thư mục tài liệu tham khảo
[1] DIN 1319 Part 3, Grundlagen der Messtechnik - Teil 3: Auswertung von Messungen einer einzelnen Messgröße, Messunsicherheit [Basic concepts of metrology - Part 3: Evaluating measurements of a single measurand and expression of uncertainty]
[2] VDI 4301 Part 5, Messen von Innenraumluftverunreinigungen - Messen von Flammschutzmitteln und Weichmachern auf Basis phosphororganischer Verbindungen - Phosphorsäureester [Measurement of indoor air pollution - Measurement of flame retardants and plasticizers based on organophosphorus compounds - Phosphoric acid ester]
[3] I. Van der Veen, J. de Boer Phosphorous flame retardants: Properties, production, environmental occurrence, toxicity and analysis. Chemosphere. 2012, 88 pp. 1119-1153
[4] H. Sagunski, E. Roßkamp Richtwerte für die Innenraumluft: Tris(2-chlorethyl)phosphat. Bundesgesundheitsblatt Gesundheitsforschung Gesundheitsschutz. 2002, 45 pp. 300-306
[5] M. Wensing, E. Uhde, T. Salthammer Plastics additives in the indoor environment - flame retardants and plasticizers. Sci. Total Environ. 2005, 339 pp. 19-40
[6] World Health Organization (WHO) Flame Retardants: A General Introduction. Environ. Health Criteria. 1997, 192, Geneva
[7] Umweltbundesamt (UBA). Erarbeitung von Bewertungsvorschlägen zur Substitution umweltrelevanter Flammschutzmittel. Band l-lll; Texte 25/01, 26/01, 27/01, Berlin 2000, ISSN 0722-186X
[8] G. Ingerowski, A. Friedle, J. Thumulla Chlorinated ethyl and isopropyl phosphoric acid triesters in the indoor environment - an inter-laboratory exposure study. Indoor Air. 2001, 11 pp. 145-149
[9] D. Hansen, G. Volland, G. Krause, D. Zölter Bestimmung und Vorkommen von phosphororganischen Verbindungen in Hausstaub und Raumluft. Gefahrstoffe - Reinhaltung der Luft. 2001, 61 pp. 13-17
[10] H. Carlsson, U. Nilsson, G. Becker, C. Ostmann Organophosphate ester flame retardants and plasticisers in the indoor environment: analytical methodology and occurrence. Environ. Sci. Technol. 1997, 31 pp. 2931-2936
[11] EPA TO-10 A: Determination of pesticides and polychlorinated Biphenyls in ambient air using low volume polyurethane foam (PUF) sampling followed by gaschromatographic/multi-detector (GC/MD) detection
[12] T. Salthammer, M. Wensing Flame retardants in the indoor environment. Part IV: Classification of experimental data from house dust, indoor air and chamber tests. Proceedings of the 9th International Conference on Indoor Air and Climate. 2002, 2 pp. 213-218
[13] M. Wensing Untersuchungen zum Freisetzungsverhalten von organischen Flammschutzmitteln aus Produkten für den Innenraum. Luftverunreinigungen im Innenraum. VDI Bericht 1778. VDI Verlag, Düsseldorf, 2003, pp. 87-98.
[14] S. Kemmlein, O. Hahn, O. Jann Emissionen von Flammschutzmitteln aus Bauprodukten und Konsumgütern. Forschungsbericht 299 65 321. UBA-FB 000475. UBA-Texte 55/03. ISSN 0722-186X http://www.umweltbundesamt.de
[15] T. Salthammer, E. Uhde, M. Wensing Bestimmung von SVOC in Prüfkammern - Flammschutzmittel und Weichmacher. In: Neuere Entwicklungen bei der Messung und Beurteilung der Luftqualität. VDI Berichte 1656 (2002). Düsseldorf: VDI Verlag 2002. ISBN 3-18-091656-7
[16] WHO 1991, Environmental Health Criteria, No. 110 - Tricresyl phosphate, http://www.inchem.org/documents/ehc/ehc/ehc110.htm
[17] WHO 1991, Environmental Health Criteria, Heft, No. 111 - Triphenyl phosphate, http://www.inchem.org/documents/ehc/ehc/ehc111.htm
[18] WHO 1991, Environmental Health Criteria, No. 112 - Tributyl phosphate, http://www.inchem.org/documents/ehc/ehc/ehc112.htm
[19] WHO 1995, Environmental Health Criteria, No. 173 - Tris-and bis(2,3-dibromopropyl) phosphate, http://www.inchem.org/documents/ehc/ehc/ehc173.htm
[20] WHO 1998, Environmental Health Criteria, No. 209 - Flame retardants: tris(chloropropyl) phosphate and tris(2-chloroethyl) phosphate, http://www.inchem.org/documents/ehc/ehc/ehc209.htm
[21] WHO 2000, Environmental Health Criteria, No. 218 - Flame retardants: tris(2-butoxyethyl) phosphate, tris(2-ethylhexyl) phosphate and tetrakis(hydroxymenthyl) phosphonium, http://www.inchem.org/documents/ehc/ehc/ehc218.htm
[22] TCVN 10736-6 (ISO 16000-6) Phần 6: Xác định hợp chất hữu cơ bay hơi trong không khí trong nhà và trong buồng thử bằng cách lấy mẫu chủ động trên chất hấp phụ Tenax TA®, giải hấp nhiệt và sắc ký khí sử dụng MS hoặc MS-FID;
1) ORBO 1000 là tên thương mại của một sản phẩm có bán sẵn trên thị trường. Thông tin này được đưa ra chỉ tạo thuận lợi cho người sử dụng tiêu chuẩn này mà không phải là xác nhận của tiêu chuẩn về sản phẩm. Các sản phẩm tương đương có thể được sử dụng nếu chúng cho các kết quả như nhau.
2) Turbovap là tên thương mại của một sản phẩm có bán sẵn trên thị trường. Thông tin này được đưa ra chỉ tạo thuận lợi cho người sử dụng tiêu chuẩn này mà không phải là xác nhận của tiêu chuẩn về sản phẩm. Các sản phẩm tương đương có thể được sử dụng nếu chúng cho các kết quả như nhau.
3) XAD-2 là tên thương mại của một sản phẩm có bán sẵn trên thị trường. Thông tin này được đưa ra chỉ tạo thuận lợi cho người sử dụng tiêu chuẩn này mà không phải là xác nhận của tiêu chuẩn về sản phẩm. Các sản phẩm tương đương có thể được sử dụng nếu chúng cho các kết quả như nhau.
Bạn chưa Đăng nhập thành viên.
Đây là tiện ích dành cho tài khoản thành viên. Vui lòng Đăng nhập để xem chi tiết. Nếu chưa có tài khoản, vui lòng Đăng ký tại đây!


