- Tổng quan
- Nội dung
- Tiêu chuẩn liên quan
- Lược đồ
- Tải về
Tiêu chuẩn Việt Nam TCVN 7021:2002 ISO 3971:1977 Máy xay xát thóc gạo - Ký hiệu và thuật ngữ tương đương
| Số hiệu: | TCVN 7021:2002 | Loại văn bản: | Tiêu chuẩn Việt Nam |
| Cơ quan ban hành: | Bộ Khoa học, Công nghệ và Môi trường | Lĩnh vực: | Nông nghiệp-Lâm nghiệp |
|
Ngày ban hành:
Ngày ban hành là ngày, tháng, năm văn bản được thông qua hoặc ký ban hành.
|
19/08/2002 |
Hiệu lực:
|
Đã biết
|
| Người ký: | Đang cập nhật |
Tình trạng hiệu lực:
Cho biết trạng thái hiệu lực của văn bản đang tra cứu: Chưa áp dụng, Còn hiệu lực, Hết hiệu lực, Hết hiệu lực 1 phần; Đã sửa đổi, Đính chính hay Không còn phù hợp,...
|
Đã biết
|
TÓM TẮT TIÊU CHUẨN VIỆT NAM TCVN 7021:2002
Tiêu chuẩn Việt Nam TCVN 7021:2002: Quy định về máy xay xát thóc gạo và thuật ngữ tương đương
Tiêu chuẩn Việt Nam TCVN 7021:2002, tương đương với ISO 3971:1977, được ban hành nhằm mục đích cung cấp những ký hiệu và thuật ngữ tương đương về máy xay xát thóc gạo bằng tiếng Anh và tiếng Việt. Tiêu chuẩn này được biên soạn bởi Ban kỹ thuật tiêu chuẩn TCVN/TC 23 và được Bộ Khoa học, Công nghệ và Môi trường ban hành.
Ngày ban hành: Tiêu chuẩn này được công bố và có hiệu lực từ năm 2002.
1. Phạm vi áp dụng
- TCVN 7021:2002 xác định các thuật ngữ tương đương liên quan đến giải phẫu lúa gạo cũng như các ký hiệu cho thiết bị và máy xay xát thóc gạo.
- Tiêu chuẩn này còn trích dẫn tiêu chuẩn ISO 5527 về từ vựng cây ngũ cốc và hạt đậu.
2. Định nghĩa và thuật ngữ
- TCVN 7021:2002 sử dụng các định nghĩa được quy định theo ISO 5527, liên quan đến các thuật ngữ về lúa gạo như:
- Lúa, thóc – hạt: "Rice - fruit" (Thóc lúa hoặc lúa chưa xay – Paddy or Rough Rice)
- Trấu: "Husk or Hull" (Vỏ trấu – Empty glumes)
3. Sơ đồ xay xát thóc gạo
- Tiêu chuẩn giới thiệu nhiều quy trình sàng lọc và làm sạch thóc như:
- Làm sạch sơ bộ, Husking, và Whitening (xát trắng).
- Các thiết bị được sử dụng trong quá trình này bao gồm:
- Máy sàng thô, Máy bóc vỏ thóc kiểu đĩa, và Máy xát trắng kiểu trục vít.
4. Thiết bị liên quan
- Tiêu chuẩn còn quy định danh sách các loại thiết bị kèm theo mô tả chức năng của từng loại, như:
- Thiết bị phân ly bằng từ tính, Trống phân loại, và Máy phân ly thóc gạo.
- Điều này giúp cho việc lựa chọn và sử dụng thiết bị phù hợp trong ngành xay xát thóc gạo.
5. Ứng dụng toàn cầu
- TCVN 7021:2002 cung cấp sơ đồ hệ thống xay xát thóc gạo áp dụng từ nhiều quốc gia như Ý, Mỹ, và Nhật Bản. Những sơ đồ này giúp hình dung được quy trình xay xát và các thiết bị cần thiết, tạo điều kiện cho việc áp dụng công nghệ hiện đại trong sản xuất.
Việc hiểu rõ các quy định và thuật ngữ trong Tiêu chuẩn TCVN 7021:2002 không chỉ hỗ trợ cho các doanh nghiệp sản xuất mà còn giúp các cá nhân và tổ chức liên quan đến ngành nông nghiệp có thể áp dụng kiến thức một cách hiệu quả, từ đó nâng cao chất lượng sản phẩm thóc gạo trong nước.
Tải tiêu chuẩn Việt Nam TCVN 7021:2002
TIÊU CHUẨN VIỆT NAM
TCVN 7021:2002
(ISO 3971:1977)
MÁY XAY XÁT THÓC GẠO - KÝ HIỆU VÀ THUẬT NGỮ TƯƠNG ĐƯƠNG
Rice milling – Symbols and equivalent terms
Lời nói đầu
TCVN 7021:2002 tương đương với ISO 3971:1977
TCVN 7021:2002 do Ban kỹ thuật tiêu chuẩn TCVN/TC 23 Máy kéo và máy dùng trong nông lâm nghiệp biên soạn, Tổng cục Tiêu chuẩn Đo lường Chất lượng và Vụ Khoa học công nghệ và chất lượng sản phẩm thuộc Bộ Nông nghiệp và Phát triển nông thôn đề nghị, Bộ Khoa học, Công nghệ và Môi trường ban hành.
MÁY XAY XÁT THÓC GẠO- KÝ HIỆU VÀ THUẬT NGỮ TƯƠNG ĐƯƠNG
Rice milling – Symbols and equivalent terms
1. Phạm vi áp dụng
Tiêu chuẩn này xác lập những thuật ngữ tương đương bằng tiếng Anh và tiếng Việt đối với giải phẫu lúa gạo và cả những ký hiệu và thuật ngữ tương đương bằng tiếng Anh và tiếng Việt cho thiết bị và máy xay xát thóc gạo.
2. Tiêu chuẩn trích dẫn
ISO 5527 Cây ngũ gốc và hạt đậu[1]) – Từ vựng (Cereals and pulses – Vocabulary).
3. Định nghĩa
Trong tiêu chuẩn này sử dụng các định nghĩa theo ISO 5527.
4. Giải phẫu lúa gạo
| Số TT | Tiếng Việt | Tiếng Anh |
| 1 | Lúa, thóc – hạt | Rice – fruit |
|
| Thóc lúa hoặc lúa chưa xay | Paddy or Rough Rice |
| A | Trấu | Husk or Hull |
| a | Vỏ trấu | Empty glumes |
| c | Mày hoa | Floral glumes |
| d | Râu thóc | Awn |
| B | Hạt thóc | Caryopsis |
| b | Phôi | Embryo or Germ |
| 2 | Mặt cắt dọc | Longitudinal section |
| a | Vỏ trấu | Empty glumes |
| b | Phôi | Embryo |
| c | Nôi nhũ | Endosperm |
| d | Tế bào alơrôn | Aleurone cells |
| e | Vỏ hạt thóc và ngoại nhũ | Pericarp and perisperm |
| f | Mày hoa | Floral glumes |
| g | Đầu nhụy | Stylo and stigma |
| i | Đỉnh | Apex |
| 3 | Mặt cắt ngang | Cross-section |
| A | Mày hoa | Flowering glume |
| a | Lông | Hair |
| b-c | Các lớp mày hoa | Floral glume layers |
| d-e |
|
|
| B | Hạt thóc | Caryopsis |
| f | Vỏ hạt thóc | Pericarp |
| g | Vỏ hạt | Testa |
| h | Ngoại nhũ | Perisperm |
| i | Tế bào alơrôn | Aleurone cells |
| j | Nội nhũ bên trong | Inner endosperm |
| 4 | Gạo đã xát | Milled rice |
| a | Các vết tế bào alơrôn | Traces of aleurone cells |
| b | Nội nhũ bên trong | Inner endosperm |
| 5 | Tinh bột gạo | Rice starch |

5. Sơ đồ xay xát thóc gạo
| Số TT | Tiếng Việt | Tiếng Anh |
| 1 | Làm sạch sơ bộ | Pre-cleaning |
| 2 | Làm sạch | Cleaning |
| 3 | Phân loại thóc | Paddy grading |
| 4 | Bóc vỏ thóc | Husking |
| 5 | Phân ly trấu | Husk separation |
| 6 | Phân ly gạo đã bóc vỏ trấu | Husked rice separation |
| 7 | Phân ly hạt xanh non | Green kernel sepatation |
| 8 | Xát trắng và xoa bóng | Whitening and polishing |
| 9 | Phân loại gạo nguyên, gạo gẫy và tấm | Rice and brokens grading |
| 10 | Đánh bóng | Glazing |
| 11 | Xoa dầu | Oiling |
| 12 | Phân loại các sản phẩm bột | Floury products grading |

5.1. Làm sạch sơ bộ - Làm sạch – Phân loại thóc
| Số TT | Tiếng Việt | Tiếng Anh |
| 1 | Máy sàng thô | Scalping machine Scalperator |
| 2 | Sàng | Riddle |
| 3 | Máy cắt râu thóc kiểu đứng | Vertical beard cutting machine Vertical awner |
|
| Máy xát trục đứng |
|
| 4 | Mắt cắt râu thóc kiểu nằm ngang | Horizontal beard cutting machine Horizontal awner |
|
| Máy xát trục nằm ngang |
|
| 5 | Quạt và sàng phân ly hoặc máy làm sạch thóc gạo | Fan and screen separator or Paddy cleaner |
| 6 | Sàng quay phân loại hoặc sàng phẳng | Rotary sieve classifier or Plansifter |
| 7 | Trống phân loại có đục lỗ khe | Slot perforated grading cylinder |
| 8 | Lồng phân loại kiểu dây thép bố trí theo đường xoắn ốc | Wire spiral grading cylinder |
| 9 | Thiết bị phân ly bằng từ tính | Magnetic separator |
| 10 | Trống phân loại có ổ lõm | Indented cylinder |
| 11 | Đĩa phân ly có ổ lõm | Indented disc (disk) sebarstor |

5.2. Bóc vỏ thóc – Phân ly trấu và hạt xanh non
| Số TT | Tiếng Việt | Tiếng Anh |
| 1 | Máy bóc vỏ thóc kiểu đĩa | Disk husker |
| 2 | Máy bóc vỏ thóc kiểu đĩa bọc cao su | Rubber and disk husker |
| 3 | Máy bóc vỏ thóc bằng quả lô cao su | Rubber roll husker |
| 4 | Máy bóc vỏ thóc kiểu đai cao su | Rubber belt husker |
| 5 | Thiết bị phân loại kiểu sàng quay hoặc sàng phẳng | Rotary sieve classifier Plansiftier |
| 6 | Thiết bị tách trấu kiểu hút có sàng | Husk suction separator with ride |
| 7 | Thiết bị tách trấu kiểu hút có sàng ở trên | Husk suction separator with superior riddle |
| 8 | Thiết bị tách trấu kiểu hút | Husk suction separator |
| 9 | Thiết bị tách trấu bằng giảm áp | Husk depression separator |
| 10 | Thiết bị tách trấu bằng áp lực | Husk pressure separator |
| 11 | Máy phân ly thóc gạo | Paddy separator |
| 12 | Máy phân ly thóc gạo theo trọng lượng riêng | Sprcfic gravity paddy separator |
| 13 | Máy phân ly thóc gạo bằng sàng tĩnh | Static screen paddy separator |
| 14 | Trống phân loại có đục lỗ khe | Slot perfotated grading cylinder |
| 15 | Lồng phân loại kiểu dây thép bố trí theo đường xoắn ốc | Wire spiral grading culinder |

5.3. Xát trắng – Xoa dầu – Đánh bóng
| Số TT | Tiếng Việt | Tiếng Anh |
| 1 | Quả lô xát trắng hoặc xay xát hình côn | Whitening or pearling cone |
| 2 | Quả lô xát trắng hoặc xay xát hình côn ngược | Inverted whitening or pearling cone |
| 3 | Máy xát trắng theo đường xoắn ốc | Helix whitening machine |
| 4 | Máy xát và xoa bóng gạo | Huller and polisher |
| 5 | Máy bóc cám hoặc giã đập bóc tách cám | Hulling or tamping machine |
| 6 | Máy xát trắng kiểu trục vít | Screw whitener |
| 7 | Máy xoa bóng hoặc chải bóng | Polisher or brush |
| 8 | Máy xoa bóng hoặc chải bóng trục ngang | Horizontal polisher or brush |
| 9 | Trống đánh bóng | Glazing drum |
| 10 | Bộ điều cỉnh lượng cung cấp bột tan | Talc feed regulator |
| 11 | Bộ điều chỉnh lượng cung cấp glucô | Glucose feed regulator |
| 12 | Sàng gạo đã đánh bóng | Riddle for glazed rice |
| 13 | Trống xoa dầu | Oiling drm |
| 14 | Làm nóng khi xoa dầu hoặc đường xoắn ốc xoa dầu | Oiling worm or helix |
| 15 | Bộ hâm nóng dầu | Oil heater |
| 16 | Bộ điều chỉnh lượng cung cấp dầu | Oil-feed regulator |
| 17 | Máy đánh bóng kiểu vít xoắn | Helix glazing machine |

5.4. Phân loại gạo, các sản phẩm bị gẫy và bột
| Số TT | Tiếng Việt | Tiếng Anh |
| 1 | Sàng quay phân loại (sàng phẳng) gạo xát | Rotary sieve classitier (Plan-sifter) for milled rice |
| 2 | Sàng | Riddle |
| 3 | Trống phân loại có ổ lõm | Indented cylinder |
| 4 | Đĩa phân ly có ổ lõm | Indented disc (disk) separator |
| 5 | Trống phân loại có đục lỗ khe | Slot perforated grading cylinder |
| 6 | Lồng phân loại kiểu dây thép bố trí theo đường xoắn | Wire spiral grading cylinder |
| 7 | Máy phân ly theo trọng lượng riêng | Specific gravity separator |
| 8 | Sàng quay phân loại (sàng phẳng) các sản phẩm bột | Rotary sirve classifier (Plan-sifter) for floury products |
| 9 | Guồng sáu cạnh | Hexagonal reel |
| 10 | Thiết bị trộn | Mixer |
| 11 | Máy hút cám | Bran sacking machine |

5.5. Thiết bị phụ
| Số TT | Tiếng Việt | Tiếng Anh |
| 1 | Lưới thép | Wire tissure |
| 2 | Tấm phẳng có đục các lỗ khe | Slot perforated plate |
| 3 | Tấm phẳng có khoan các lỗ tròn | Round hole perforated plate |
| 4 | Lồng phân loại kiểu dây thép bố trí theo đường xoắn | Wire spiral grading cylinder |
| 5 | Đĩa phân loại có hốc | Pocket discs (disks) |
| 6 | Đĩa phân loại có ổ lõm | Indented discs (disks) |
| 7 | Trống phân loại có đục lỗ khe | Slot perforated grading cylinder |
| 8 | Quạt hút hoặc quạt thông gió | Suction fan (Aspirator) or fan (Ventilator) |
| 9 | Bộ lọc hút | Suction filter |
| 10 | Bộ lọc áp lực | Pressure filter |
| 11 | Hộp giảm áp vít tải | Depresson chest with screwconveyer |
| 12 | Thiết bị phân ly kiểu xiclon | Cyclone separator |
| 13 | Thiết bị phân ly kiểu xiclon ở phần trên | Super cyclone separator |
| 14 | Bộ lọc không khí | Air cleaner |

5.6. Thiết bị phụ
| Số TT | Tiếng Việt | Tiếng Anh |
| 1 | Gầu chuyển nâng | Bucket elevator |
| 2 | Vít tải | Screw conveyer |
| 3 | Băng tải đai | Belt conveyer |
| 4 | Băng tải kiểu xích | Chain conveyer |
| 5 | Ống chuyền đóng bao | Sacker tube conveyer |
| 6 | Quạt chuyền (giây chuyền kiểu khí động) | Pneumatic conveyer |
| 7 | Vít tải đóng bao | Spial sack slide |
| 8 | Thiết bị đo thể tích | Volumetric measure |
| 9 | Cân tự động | Automatic scale |
| 10 | Cân đóng bao | Sacking scale |
| 11 | Cân đòn | Beam scale |
| 12 | Phễu | Hopper |
| 13 | Thùng chứa | Bin |
| 14 | Ống xả đóng bao | Sacking spout |
| 15 | Thùng đóng bao | Sacking bin |

5.7. Sơ đồ hệ thống xay xát thóc gạo
Tiêu chuẩn này giới thiệu sơ đồ hệ thống xay xát thóc gạo của một số nước (xem phụ lục từ A đến J).
PHỤ LỤC A
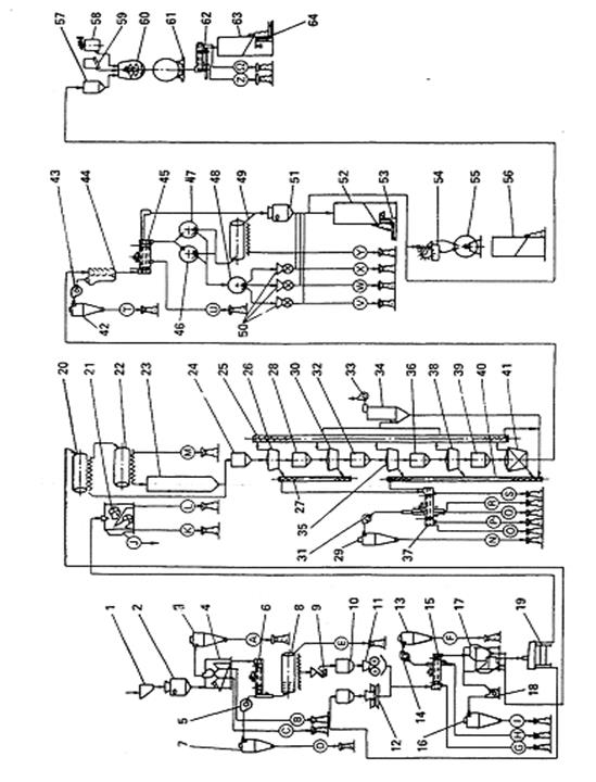
Sơ đồ hệ thống xay xát thóc gạo (Ý – Châu Âu)
| Số TT | Tiếng Việt | Tiếng Anh |
| 1 | Phễu | Hopper |
| 2 | Cân tự động | Automatic scale |
| 3 | Xiclon | Cyclone |
| 4 | Quạt và sàng phân ly | Fan and screen separator |
| 5 | Máy hút (quạt hút) | Aspirator (Suction fan) |
| 6 | Sàng phẳng | Plansifter |
| 7 | Xiclon | Cyclone |
| 8 | Trống phân loại có đục lỗ khe | Slot perfotated grading cylinder |
| 9 | Thiết bị phân ly bằng từ tính | Magnetic separator |
| 10 | Thùng chứa | Bin |
| 11 | Máy bóc bỏ thóc bằng quả lô cao su | Rubber roll huskes |
| 12 | Máy bóc vỏ thóc kiểu đĩa | Disc (disk) husker |
| 13 | Xiclon | Cyclone |
| 14 | Máy hút (Quạt hút) | Aspirator (Suction fan) |
| 15 | Sàng phẳng | Plansifter |
| 16 | Xiclon | Cyclone |
| 17 | Thiết bị tách trấu bằng giảm áp | Husk depression separator |
| 18 | Máy hút (Quạt hút) | Aspirator (Suction fan) |
| 19 | Máy phân ly thóc gạo | Paddy separator |
| 20 | Lồng phân loại kiểu dây thép bố trí theo đường xoắn | Wire spiral grading cylinder |
| 21 | Thiết bị tách trấu bằng áp lực | Husk pressure separator |
| 22 | Trống phân loại có đục lỗ khe | Slot perforated grading cylinder |
| 23 | Thùng chứa | Bin |
| 24 | Thùng chứa | Bin |
| 25 | Vít tải có quạt hút | Screw conveyer with aspiratic |
| 26 | Quả lô côn xát trắng thứ nhất | 1st Whitening cone |
| 27 | Vít tải cám | Screw conveyer for bran |
| 28 | Thùng chứa | Bin |
| 29 | Xiclon | Cyclone |
| 30 | Quả lô côn xát trắng thứ hai | 2nd Whitening cone |
| 31 | Quạt hút | Aspirator (Suction fan) |
| 32 | Thùng chứa | Bin |
| 33 | Quạt hút | Aspirator |
| 34 | Bộ lọc hút | Suction filter |
| 35 | Quả lô côn xát trắng thứ ba | 3rd Whitening cone |
| 36 | Thùng chứa | Bin |
| 37 | Sàng phẳng | Plansifter |
| 38 | Quả lô côn xát trắng thứ tư | 4th Whitening cone |
| 39 | Thùng chứa | Bin |
| 40 | Vít tải gạo đi xoa bóng | Screw conveyer for polishings |
| 41 | Máy xoa bóng | Polisher |
| 42 | Xiclon | Cyclone |
| 43 | Quạt hút | Aspirator |
| 44 | Bình lọc không khí | Air cleaner |
| 45 | Sàng phẳng | Plansifter |
| 46 | Trống phân loại có ổ lõm | Indented cylinder |
| 47 | Trống phân loại có ổ lõm | Indented cylinder |
| 48 | Trống phân loại có ổ lõm | Indented cylinder |
| 49 | Lồng phân loại kiểu dây thép bố trí theo đường xoắn | Wire spiral grading cylinder |
| 50 | Thiết bị đo thể tích | Vulumetric measure |
| 51 | Cân tự động | Automatic scale |
| 52 | Thùng chứa gạo xát | Bin for milled rice |
| 53 | Cân đòn | Beam scale |
| 54 | Bộ điều chỉnh lượng cung cấp dầu | Oil-feed regulator |
| 55 | Trống xoa dầu | Oiling drum |
| 56 | Thùng đóng bao | Sacking bin |
| 57 | Thùng chứa | Bin |
| 58 | Bộ điều chỉnh lượng cung cấp glucô | Glucose feed regulator |
| 59 | Bộ điều chỉnh lượng cung cấp bột tan | Talc feed regulator |
| 60 | Máy đánh bóng kiểu vít xoắn | Helix glazing machine |
| 61 | Trống đánh bóng | Glazing drum |
| 62 | Sàng phẳng | Plansifter |
| 63 | Thùng chứa | Bin |
| 64 | Cân đòn | Beam scale |
| A | Bụi | Dust |
| C | Đất, hạt cốc | Earth, Seeds |
| B | Cộng rơm, tạp chất | Straw, Impurities |
| D | Bụi | Dust |
| E | Đá sạn | Small stones |
| F | Bổi các mảnh vụn | Husk particles |
| G | Cám bóc vỏ thóc, cám xay | Huskingbran |
| H | Thóc bị gẫy vỡ | Raw brokens |
| I | Bụi | Dust |
| J | Trấu | Husks (e), Hulls (a) |
| K | Thu hồi gạo lật | Husked rice (Brown rice) recovered |
| L | Hạt chưa chín hẳn | Light unrepe kernels |
| M | Hạt xanh non | Green kernels |
| N | Bổi, các mảnh trấu vụn | Husk particles |
| O | Tấm lớn, gạo nguyên loại hai | Big brokens (e), second heads (a) |
| P | Cám | Bran |
| Q | Mầm thóc | Gerns |
| R | Các mảnh vỡ | Chips |
| S | Xoa bóng | Polishings |
| T | Bổi, các mảnh trấu vụn | Husk particles |
| U | Tấm nhỏ | Small brokens |
| V | Tấm lớn nhất | Biggest brokens |
| W | Tấm lớn | Big brokens |
| X | Tấm | Brokens |
| Y | Hạt gạo phấn | Chalky kernels |
| Z | Các mảnh vỡ các tảng glucô và bột tan (talc) | Chips Glucose and talcum lumps (e) English (a) American |


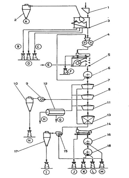
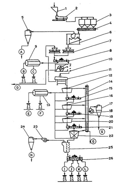
PHỤ LỤC B
Sơ đồ hệ thống xay xát thóc gạo (Mỹ)
| Số TT | Tiếng Việt | Tiếng Anh |
| 1 | Phễu | Hopper |
| 2 | Xiclon | Cyclone |
| 3 | Quạt và sàng phân ly | Fan and screen separator |
| 4 | Thiết bị phân ly bằng từ tính | Magnetic separator |
| 5 | Máy cắt râu thóc kiểu nằm ngang hoặc máy xát trục ngang | Horizontal beard cutting machine or Horizontal awner (e) |
| 6 | Đĩa phân ly có ổ lõm | Indented disk separator |
| 7 | Thùng chứa | Bin |
| 8 | Máy bóc vỏ thóc kiểu đĩa | Disc (Disk) husker |
| 9 | Máy bóc vỏ thóc kiểu đai cao su | Rubber belt husker |
| 10 | Thiết bị tách trấu kiểu hút có sàng ở trên | Husk suction separator with superior riddle |
| 11 | Máy phân ly thóc gạo | Paddy separator |
| 12 | Máy bóc cám hoặc giã đập bóc tách cám | Hulling or tamping machine |
| 13 | Thiết bị tách trấu kiểu hút có sàng ở trên | Husk suction separator with superior riddle |
| 14 | Máy bóc cám hoặc giã đập bóc tách cám | Hulling or tamping machine |
| 15 | Thiết bị tách trấu kiểu hút có sàng ở trên | Husk suction separator with superior riddle |
| 16 | Máy xoa bóng hoặc chải bóng | Polesher or brush |
| 17 | Đĩa phân ly có ổ lõm | Indented disk separator |
| A | Bụi | Dust |
| B | Cộng rơm, tạp chất | Straw, Impurities |
| C | Đất, hạt ngoại lai | Earth, foreign seeds |
|
| Các mảnh vụn kim loại | Iron particles |
| D | Trấu | Hulls (a) or Husks (e) |
| E | Cám | Bran |
| F | Cám nhận được từ xoa bóng | Polishings |
| G | Cám nhận được từ xoa bóng | Polishings |
| H | Gạo nấy bia (Mỹ), tấm nhỏ | Brewers rice (a), Small brokens |
| I | Các sản phẩm lọt qua sàng (Mỹ), tấm (Anh) | Screenings (a), Brokens (e) |
| L | Gạo nguyên loại hai (Mỹ), tấm lớn (Anh) | Second heads (a), Big brokens (a) |
| M | Gạo nguyên | Whole rice or head rice (e) English (a) American |

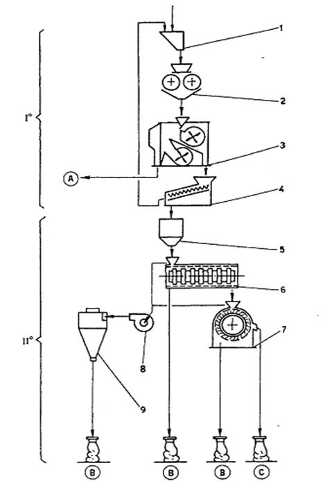
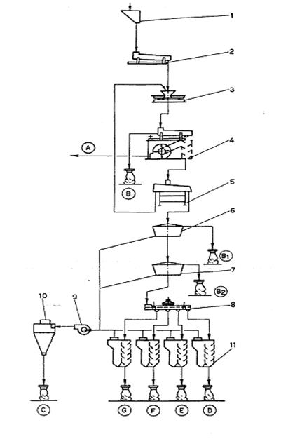
PHỤ LỤC C
Sơ đồ hệ thống xay xát thóc gạo (Nhật)
| Số TT | Tiếng Việt | Tiếng Anh |
| I0 | Các công đoạn thực hiện tại nông trại | Operations made in farm |
| 1 | Phễu đổ thóc | Paddy hopper |
| 2 | Máy bóc vỏ thóc bằng quả lô cao su | Rubber roll husker |
| 3 | Thiết bị tách trấu bằng áp lực | Husk pressure separator |
| 4 | Máy phân ly thóc gạo bằng sàng tĩnh | Static screen paddy separator |
| II0 | Các công đoạn thực hiện ở máy xay xát thóc gạo | Operations made in rice mill |
| 5 | Thùng chứa gạo lật | Bin of husked rice |
| 6 | Máy bóc cám hoặc giã đập bóc tách cám | Mulling or tamping |
| 7 | Máy xoa bóng trục ngang | Horizontal polisher |
| 8 | Quạt hút cám | Bran aspirator |
| 9 | Thiết bị phân ly kiểu xiclon | Cyclone separator |
| A | Trấu | Husks (e), Hulls (a) |
| B | Cám | Bran |
| C | Gạo nguyên | Head rice (e) English (a) American |

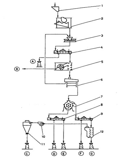
PHỤ LỤC D
Sơ đồ hệ thống xay xát thóc gạo (Valencia - Tây Ban Nha)
| Số TT | Tiếng Việt | Tiếng Anh |
| 1 | Phễu đổ thóc | Hopper |
| 2 | Thiết bị phân ly kiểu xiclon | Cyclone separator |
| 3 | Quạt và sàng phân ly | Fan and screen separator |
| 4 | Máy bóc vỏ thóc bằng quả lô cao su | Rubber roll husker |
| 5 | Thiết bị tách trấu kiểu hút có sàng ở trên | Husk suction separator with superior riddle |
| 6 | Trống phân lọai có ổ lõm | Indented cylinder |
| 7 | Quả lô côn xát trắng thứ nhất | 1st Whitening cone |
| 8 | Quả lô côn xát trắng thứ hai | 2nd Whitening cone |
| 9 | Máy hút hoặc quạt hút | Aspirator or suction fan |
| 10 | Thiết bị phân ly kiểu xiclon | Cyclone separator |
| 11 | Quả lô con xát trắng thứ ba | 3rd Whitening cone |
| 12 | Guồng sáu cạnh | Hexagonal reel |
| 13 | Máy xoa bóng | Polisher |
| 14 | Sàng phân ly | Riddle or screen separator |
| 15 | Máy hút | Aspirator |
| 16 | Trống phân loại có ổ lõm | Indented cylinder |
| 17 | Thiết bị phân ly kiểu xiclon | Cyclone separator |
| 18 | Trống phân loại có ổ lõm | Indented cylinder |
| A | Bụi | Dust |
| B | Đất | Earth |
| C | Tạp chất nhẹ | Lingt impuriries |
| D | Tạp chất nặng | Heavy impurities |
| E | Trấu | Husks (e), Hulls (a) |
| F | Cám trấu | Huskingbran (e) Huskingbran (a) |
| G | Cám | Bran |
| H | Mầm thóc, mảnh vỡ | Germs chips |
| I | Các sản phẩm bột bẩn | Dusty floury substances |
| J | Tấm nhỏ (Anh), gạo để nấu bia (Mỹ) | Small brokens (e), Brewers rice |
| K | Gạo nguyên | Whole rice or head rice |
| L | Tấm lớn | Big brokens (e) |
| M | Tấm | Brokens |
| N | Các sản phẩm bột bẩn | Dusty floury substances (e) English (a) American |

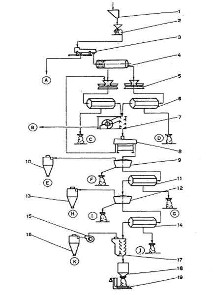
PHỤ LỤC E
Sơ đồ hệ thống xay xát thóc gạo (Việt Nam)
| Số TT | Tiếng Việt | Tiếng Anh |
| 1 | Phễu đổ thóc | Hopper |
| 2 | Sàng phân ly | Screen separator |
| 3 | Thùng chứa | Bin |
| 4 | Vít tải | Screw conveyer |
| 5 | Xiclon | Cyclone |
| 6 | Quạt và sàng phân ly | Fan and screen separator |
| 7 | Máy bóc vỏ thóc kiểu đĩa | Disk (dics) husker |
| 8 | Sàng phẳng | Plansifter |
| 9 | Guồng sáu cạnh | Hexagonal reel |
| 10 | Thiết bị tách trấu kiểu hút | Husk suction separator |
| 11 | Máy phân ly thóc gạo | Paddy separator |
| 12 | Quả lô côn xát trắng thứ nhất | 1st Whitening cone |
| 13 | Guồng sáu cạnh | Hexagonal reel |
| 14 | Vít tải | Screw conveyer under suction |
| 15 | Sàng phẳng | Plansifter |
| 16 | Quả lô côn xát thứ hai | 2nd Whitening cone |
| 17 | Xiclon | Cyclone |
| 18 | Quạt hút | Aspirator |
| 19 | Sàng phẳng | Plansifter |
| 20 | Quả lô côn xát trắng thứ ba | 3rd Whitening cone |
| 21 | Sàng phẳng | Aspirator |
| 22 | Máy xoa bóng hoặc chải bóng | Polisher or brush |
| 23 | Quạt hút | Aspirator |
| 24 | Xiclon | Cyclone |
| 25 | Bộ lọc không khí | Air cleaner |
| 26 | Sàng phẳng | Plansifter |
| A | Bụi | Dust |
| B | Thóc gãy vỡ | Raw brokens |
| C | Cám bóc vỏ thóc (cám xay) | Hulling bran (a), Husking bran (e) |
| D | Trấu | Hulls (a), Husks (e) |
| E | Tấm nhỏ, mầm thóc | Small brokens, germs |
| F | Cám | Bran |
| G | Sản phẩm bột bẩn | Dusty floury substances |
| H | Sản phẩm bột bẩn, tạp chất còn sót lại | Dusty floury substances, fragme |
| I | Tấm loại 1 | Brokens No.1 |
| J | Tấm loại 2 | Brokens No.2 |
| K | Tấm loại 3 | Brokens No.3 |
| L | Gạo nguyên | Whole rice or head rice (a) American (e) English |

PHỤ LỤC F
Sơ đồ hệ thống xay xát thóc gạo (Miến Điện)
| Số TT | Tiếng Việt | Tiếng Anh |
| 1 | Phễu đổ thóc | Hopper |
| 2 | Thiết bị phân ly kiểu xiclon | Cyclone separator |
| 3 | Quạt và sàng phân ly | Fan and screen separator |
| 4 | Máy bóc vỏ thóc kiểu đĩa | Disc (disk) husker |
| 5 | Sàng phẳng | Plansifter |
| 6 | Thiết bị tách trấu kiểu hút | Husk suction sepatator |
| 7 | Máy phân ly thóc gạo | Paddy separator |
| 8 | Vít tải | Screw conveyer |
| 9 | Quả lô côn xát trắng thứ nhất | 1st Whitening cone |
| 10 | Quả lô côn xát trắng thứ hai | 2nd Whitening cone |
| 11 | Quả lô côn xát trắng thứ ba | 3rd Whitening cone |
| 12 | Quạt hút | Aspirator (suction fan) |
| 13 | Máy xoa bóng hoặc chải bóng | Polisher or brush |
| 14 | Sàng phẳng | Plansigter |
| 15 | Quạt hút | Aspirator |
| 16 | Xiclon | Cyclone |
| 17 | Bộ lọc không khí | Air cleaner |
| 18 | Trống phân loại có ổ lõm | Indented cylinder |
| A | Bụi | Dust , earth |
| B | Tạp chất | Impurities |
| C | Trấu | Hulls (a), Husks (e) |
| D | Cám bóc vỏ thóc (cám xay) | Hulling bran (a), Husking bran (e) |
| E | Cám, xoa bóng | Bran, polishings |
| F | Sản phẩm bột bẩn | Dusty floury substances |
| G | Sản phẩm bột bẩn, tạp chất còn sót lại | Dusty floury substances, fragments |
| H | Tấm nhỏ (Anh), gạo để nấu bia (Mỹ) | Small brokens (a), Bewers rice (e) |
| I | Tấm | Brokens |
| J | Gạo nguyên loại hai (Mỹ), Tấm lớn (Anh) | Second heads (a), Big brokens (e) |
| K | Gạo nguyên | Whole rice (a) American (e) English |

PHỤ LỤC G
Sơ đồ hệ thống xay xát thóc gạo (Philippin)
| Số TT | Tiếng Việt | Tiếng Anh |
| 1 | Phễu đổ thóc | Hopper |
| 2 | Thiết bị phân ly bằng từ tính | Magnetic separator |
| 3 | Sàng thóc | Riddle (Paddy riddle) |
| 4 | Trống phân loại có đục lỗ khe | Slot perforated grading cylinder |
| 5 | Máy bóc vỏ thóc kiểu đĩa | Disc (disk) husker |
| 6 | Guồng sáu cạnh | Hexagonal reel |
| 7 | Thiết bị tách trấu kiểu hút | Husk suction separator |
| 8 | Máy phân ly thóc gạo | Paddy separator |
| 9 | Quả lô côn xát trắng thứ nhất | 1st Whitening cone |
| 10 | Thiết bị phân ly kiểu xiclon | Cyclone separator |
| 11 | Guồng sáu cạnh | Hexagonal reel |
| 12 | Quả lô côn xát trắng thứ hai | 2nd Whitening cone |
| 13 | Thiết bị phân ly kiểu xiclon | Cyclone separator |
| 14 | Guồng sáu cạnh | Hexagonal reel |
| 15 | Quạt hút | Aspirator |
| 16 | Thiết bị phân ly kiểu xiclon | Cyclone separator |
| 17 | Bộ lọc không khí | Air cleaner |
| 18 | Thùng chứa gạo xát | Bin for milled rice |
| 19 | Cân đòn | Beam scale |
| A | Đất, tạp chất | Earth, Impuriries |
| B | Trấu | Hulls (a), Husks (e) |
| C | Cám bóc vỏ thóc (cám xay) | Hulling bran (a), Husking bran (e) |
| D | Cám bóc vỏ thóc (cám xay) | Hulling bran (a), Husking bran (e) |
| E | Sản phẩm bột bẩn | Dusty floury substances |
| F | Cám | Bran |
| G | Tấm nhỏ | Small brokens |
| H | Sản phẩm bột bẩn | Dusty floury substances |
| I | Cám và xoa bóng | Bran and polishings |
| J | Tấm nhỏ | Small brokens |
| K | Sản phẩm bột bẩn, tạp chất còn sót lại | Dusty floury substances and fragments (a) American (e) English |

PHỤ LỤC H
Sơ đồ hệ thống xay xát thóc gạo (Thái Lan)
| Số TT | Tiếng Việt | Tiếng Anh |
| 1 | Phễu đổ thóc | Hopper |
| 2 | Thiết bị phân ly kiểu xiclon | Cyclone separator |
| 3 | Quạt hút | Aspirator |
| 4 | Bình lọc không khí | Air cleaner |
| 5 | Sàng phẳng | Plansifter |
| 6 | Quạt hút | Aspirator |
| 7 | Thiết bị phân ly kiểu xiclon | Cyclone separator |
| 8 | Bộ lọc không khí | Air cleaner |
| 9 | Sàng phẳng | Plansifter |
| 10 | Trống phân loại có đục lỗ khe | Slot perforated grading cylinder |
| 11 | Bình lọc không khí | Air cleaner |
| 12 | Thùng chứa | Bin |
| 13 | Máy bóc vỏ thóc kiểu đĩa | Disk husker |
| 14 | Sàng phẳng | Plansifter |
| 15 | Thiết bị tách trấu kiểu hút | Husk suction separator |
| 16 | Sàng phẳng | Plansifter |
| 17 | Sàng phẳng | Plansifter |
| 18 | Sàng phẳng | Plansifter |
| 19 | Bình lọc không khí | Air cleaner |
| 20 | Thùng chứa | Bin |
| 21 | Máy phân ly thóc gạo | Paddy separator |
| 22 | Thúng chứa | Bin |
| 23 | Máy phân ly thóc gạo | Paddy separator |
| 24 | Thùng chứa | Bin |
| 25 | Quạt hút | Aspirator |
| 26 | Quả lô con xát trắng | Whitening cone |
| 27 | Sàng phẳng | Plansifter |
| 28 | Sàng phẳng | Plansifter |
| 29 | Thiết bị phân ly kiểu xiclon | Cyclone separator |
| 30 | Quạt hút | Aspirator |
| 31 | Bình lọc không khí | Air cleaner |
| 32 | Sàng phẳng | Plansifter |
| 33 | Thùng chứa | Bin |
| 34 | Quạt hút | Aspirator |
| 35 | Quả lô côn xát trắng | Whitening cone |
| 36 | Sàng phẳng | Plansifter |
| 37 | Quạt hút | Aspirator |
| 38 | Thiết bị phân ly kiểu xiclon | Cyclone separator |
| 39 | Bộ lọc không khí | Air cleaner |
| 40 | Sàng phẳng | Plansifter |
| 41 | Sàng phẳng | Plansifter |
| 42 | Sàng phẳng | Plansifter |
| 43 | Sàng phẳng | Plansifter |
| 44 | Trống phân loại có lỗ lõm | Indented cylinder |
| A | Bụi | Dust |
| B | Bụi | Dust |
| C | Đất | Earth |
| D | Cộng rơm, tạp chất | Straw, impurities |
| E | Hạt cốc | Seeds |
| F | Cám bóc vỏ thóc (cám xay) | Husking bran |
| G | Trấu | Husks |
| H | Cám | Bran |
| I | Mầm thóc | Germs |
| J | Các mảnh vỡ | Chips |
| K | Cám C1 | Brokens C1 |
| L | Cám C2 | Brokens C2 |
| M | Cám A1 | Brokens A1 |
| N | Gạo nguyên | Whole rice or head rice |

PHỤ LỤC I
Sơ đồ hệ thống xay xát thóc gạo (Án Độ)
| Số TT | Tiếng Việt | Tiếng Anh |
| 1 | Phễu đổ thóc | Hopper |
| 2 | Sàng thóc | Riddle (Paddy diddle) |
| 3 | Máy bóc vỏ thóc kiểu đĩa | Disc (disk) husker |
| 4 | Thiết bị tách trấu kiểu hút có sàng ở trên | Husk suction separator with superior riddle |
| 5 | Máy phân ly thóc gạo | Paddy separator |
| 6 | Quả lô côn xát trắng thứ nhất | 1st Whitening cone |
| 7 | Quả lô côn xát trắng thứ hai | 2nd Whitening cone |
| 8 | Sàng phẳng | Plansifter |
| 9 | Quạt hút | Aspirator |
| 10 | Thiết bị phân ly kiểu xiclon | Cyclone separator |
| 11 | Bộ lọc không khí | Air cleaner |
| A | Trấu | Husks (e), Hulls (a) |
| B | Cám bóc vỏ thóc (cám xay) | Husking bran (e), Hulling bran (a) |
| B1 | Cám | Bran |
| B2 | Cám | Bran |
| C | Sản phẩm bột bẩn | Dusty floury substances |
| D | Gạo nguyên | Head rice |
| E | Tấm lớn (Anh), gạo nguyên loại hai (Mỹ) | Big brokens (e), Second heads (a) |
| F | Tấm | Brokens |
| G | Tấm nhỏ | Small brokens (e) English (a) American |

PHỤ LỤC J
Sơ đồ hệ thống xay xát thóc gạo (Inđônesia)
| Số TT | Tiếng Việt | Tiếng Anh |
| 1 | Phễu đổ thóc | Hopper |
| 2 | Quạt và sàng phân ly | Fan and screan separator |
| 3 | Máy bóc vỏ thóc kiểu đĩa | Disk husker |
| 4 | Sàng phẳng | Plansifter |
| 5 | Thiết bị tách trấu kiểu hút | Husk suction separator |
| 6 | Máy phân ly thóc gạo | Paddy separator |
| 7 | Máy xát và xoa bóng | Huller and polisher |
| 8 | Sàng phẳng | Plansifter |
| 9 | Sàng phẳng | Plansifter |
| 10 | Quạt hút | Aspirator |
| 11 | Xiclon | Cyclone |
| 12 | Bộ lọc không khí | Air cleaner |
| A | Trấu | Husking bran, raw brokens |
| B | Cám bóc vỏ (cám xay), thóc gẫy vỡ | Husks |
| C | Sản phẩm bột bẩn | Dusty floury substances |
| D | Cám, các mảnh vỡ | Bran, Chips |
| E | Mầm thóc, tấm nhỏ | Germs, Small brokens |
| F | Tấm | Brokens |
| G | Gạo nguyên | Whole rice or head rice |

[1] Đang biên soạn.
Bạn chưa Đăng nhập thành viên.
Đây là tiện ích dành cho tài khoản thành viên. Vui lòng Đăng nhập để xem chi tiết. Nếu chưa có tài khoản, vui lòng Đăng ký tại đây!