- Tổng quan
- Nội dung
- Tiêu chuẩn liên quan
- Lược đồ
- Tải về
Tiêu chuẩn quốc gia TCVN 14205-1:2024 Ứng dụng đường sắt - Kiểm tra ray trên đường bằng phương pháp không phá hủy - Phần 1: Yêu cầu đối với kiểm tra bằng siêu âm và các nguyên tắc đánh giá
| Số hiệu: | TCVN 14205-1:2024 | Loại văn bản: | Tiêu chuẩn Việt Nam |
| Cơ quan ban hành: | Bộ Khoa học và Công nghệ | Lĩnh vực: | Giao thông |
| Trích yếu: | Ứng dụng đường sắt - Kiểm tra ray trên đường bằng phương pháp không phá hủy - Phần 1: Yêu cầu đối với kiểm tra bằng siêu âm và các nguyên tắc đánh giá | ||
|
Ngày ban hành:
Ngày ban hành là ngày, tháng, năm văn bản được thông qua hoặc ký ban hành.
|
31/12/2024 |
Hiệu lực:
|
Đã biết
|
| Người ký: | Đang cập nhật |
Tình trạng hiệu lực:
Cho biết trạng thái hiệu lực của văn bản đang tra cứu: Chưa áp dụng, Còn hiệu lực, Hết hiệu lực, Hết hiệu lực 1 phần; Đã sửa đổi, Đính chính hay Không còn phù hợp,...
|
Đã biết
|
TÓM TẮT TIÊU CHUẨN VIỆT NAM TCVN 14205-1:2024
Nội dung tóm tắt đang được cập nhật, Quý khách vui lòng quay lại sau!
Tải tiêu chuẩn Việt Nam TCVN 14205-1:2024
TIÊU CHUẨN QUỐC GIA
TCVN 14205-1:2024
ỨNG DỤNG ĐƯỜNG SẮT - KIỂM TRA RAY TRÊN ĐƯỜNG BẰNG PHƯƠNG PHÁP KHÔNG PHÁ HỦY - PHẦN 1: YÊU CẦU ĐỐI VỚI KIỂM TRA BẰNG SIÊU ÂM VÀ CÁC NGUYÊN TẮC ĐÁNH GIÁ
Railway applications - Non - Destructive testing on rails in track Part 1: Requirements for ultrasonic inspection and evaluation principles
Lời nói đầu
TCVN 14205-1:2024 tương đương có sửa đổi so với BS EN 16729-1:2016.
TCVN 14205-1:2024 do Cục Đường sắt Việt Nam biên soạn, Bộ Giao thông vận tải đề nghị, Bộ Khoa học và Công nghệ thẩm định và công bố.
TCVN 14205:2024 Ứng dụng đường sắt - Kiểm tra ray trên đường bằng phương pháp không phá hủy bao gồm các phần sau:
- Phần 1: Yêu cầu đối với kiểm tra bằng siêu âm và các nguyên tắc đánh giá
- Phần 2: Kiểm tra ray bằng dòng điện xoáy
- Phần 3: Yêu cầu để xác định các khuyết tật bên trong và trên bề mặt ray
- Phần 4: Trình độ của nhân sự thử không phá hủy ray.
ỨNG DỤNG ĐƯỜNG SẮT - KIỂM TRA RAY TRÊN ĐƯỜNG BẰNG PHƯƠNG PHÁP KHÔNG PHÁ HỦY - PHẦN 1: YÊU CẦU ĐỐI VỚI KIỂM TRA BẰNG SIÊU ÂM VÀ CÁC NGUYÊN TẮC ĐÁNH GIÁ
Railway applications - Non - Destructive testing on rails in track Part 1: Requirements for ultrasonic inspection and evaluation principles
1 Phạm vi áp dụng
Tiêu chuẩn này áp dụng cho việc kiểm tra ray đã được lắp đặt trên đường để phát hiện các khuyết tật bên trong ray.
Tiêu chuẩn này áp dụng cho thiết bị kiểm tra được lắp cho các phương tiện kiểm tra chuyên dụng hoặc thiết bị vận hành thủ công. Tiêu chuẩn này không xác định các yêu cầu đối với việc nghiệm thu phương tiện. Tiêu chuẩn này không áp dụng cho việc kiểm tra siêu âm ray trong nhà máy sản xuất.
Tiêu chuẩn này quy định các yêu cầu đối với các nguyên tắc và hệ thống kiểm tra để tạo ra các kết quả có thể so sánh được về vị trí, loại và kích thước của các điểm mất liên tục trong ray. Tiêu chuẩn này không nhằm mục đích đưa ra bất kỳ hướng dẫn nào để quản lý kết quả kiểm tra siêu âm ray.
Tiêu chuẩn này áp dụng cho các biên dạng ray đáp ứng các yêu cầu của EN 13674-1, TB/T 2344, GOST 7173-54, GOST R 51685, JIS E 1101.
2 Tài liệu viện dẫn
Các tài liệu viện dẫn sau là cần thiết cho việc áp dụng tiêu chuẩn này. Đối với tài liệu viện dẫn ghi năm công bố, áp dụng phiên bản được nêu. Đối với tài liệu viện dẫn không ghi năm công bố, áp dụng phiên bản mới nhất, bao gồm các sửa đổi, bổ sung (nếu có).
EN 1330-4, Non-destructive testing - Terminology - Part 4: Terms used in ultrasonic testing (Kiểm tra không phá hủy - Thuật ngữ - Phần 4: Thuật ngữ sử dụng trong kiểm tra siêu âm);
EN 13674-1, Railway applications - Track - Rail - Part 1: Vignole railway rails 46 kg/m and above (ứng dụng đường sắt - Đường ray - Ray - Phần 1: Ray Vignole 46 kg/m trở lên);
TB/T 2344.1, Rail Part 1: 43kg/m~75kg/m Rail (Ray, phần 1: ray 43kg/m~75kg/m);
GOST 7173-54, R43/P43 steel rail (ray thép R43/P43);
GOST R 51685, Railway rails - General specifications (Ray đường sắt - Thông số kỹ thuật chung);
JIS E 1101, Flat bottom railway rails and special rails for switches and crossings of non-treated steel (Ray để phẳng của đường sắt và ray đặc biệt cho ghi và giao cắt bằng thép không qua nhiệt luyện).
3 Thuật ngữ và định nghĩa
Tiêu chuẩn này áp dụng các thuật ngữ và định nghĩa sau
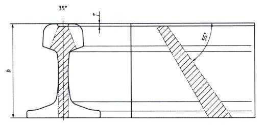
3.1
Các phần của ray (parts of the rail)
Các phần cấu thành bản thân ray như trong Hình 1.

CHÚ DẪN:
| 1 | Má ngoài ray (phía ngoài hai ray) |
| 2 | Má trong ray (phía giữa hai ray) |
| 3 | Nấm ray |
| 4 | Thân ray |
| 5 | Đế ray |
|
| Mặt lăn ray |
|
| Khu vực bán kính cong của má trong ray |
|
| Khu vực nấm ray |
|
| Khu vực bán kính góc lượn nấm ray |
|
| Khu vực thân ray |
|
| Khu vực bán kính góc lượn đế ray |
|
| Khu vực đế ray |
Hình 1 - Các phần của ray
3.2
Mẫu phản xạ mô phỏng/phản xạ giả lập (simulated reflector)
Bộ mẫu chuẩn nhân tạo được thiết kế để đại diện cho một khuyết tật thực sự có kích thước, hướng và vị trí đã biết.
3.3
Mẫu phản xạ chức năng (functional reflector)
Bộ mẫu chuẩn nhân tạo được thiết kế để kiểm tra động một hệ thống siêu âm ở tốc độ hoạt động bình thường.
4 Những vấn đề cơ bản
4.1 Yêu cầu chung
Để xác minh tính năng của hệ thống siêu âm tự động cho kiểm tra siêu âm ray, nên có các mẫu phản xạ tham chiếu xác định trong đường ray kiểm tra. Các mẫu phản xạ tham chiếu này phải được ghi lại và báo cáo ở tốc độ vận hành bình thường của hệ thống/ phương tiện kiểm tra.
Ray tham chiếu trong đường ray thử nghiệm phải được chế tạo từ ray mới để cung cấp biên dạng nấm ray và tình trạng mặt lăn ray chính xác. Các ray bị ăn mòn trên mặt lăn ray phải được làm sạch để cho phép truyền sóng siêu âm trước bất kỳ kiểm tra nào, ví dụ sử dụng bàn chải thép.
Tín hiệu hiển thị trên màn hình của một thiết bị hoặc hệ thống siêu âm là kết quả của xung siêu âm nhận được được gọi là một chỉ báo. Bằng chứng thu được bằng kiểm tra không phá hủy.
Trong các hệ thống kiểm tra theo tiêu chuẩn này, sử dụng sóng siêu âm ở dải tần từ 2 MHz đến 5 MHz.
Lỗ đáy phẳng được gia công bằng cách sử dụng mũi khoan xoắn có đường kính thích hợp, tiếp theo là lỗ khoan rãnh có cùng đường kính, đến độ sâu cần thiết để tạo ra đầu phẳng của lỗ. Độ chính xác của đường kính và độ, nằm trong khoảng 0,1 mm. Độ chính xác về góc, nằm trong khoảng 0,1°.
Lỗ khoan bên được gia công bằng mũi khoan xoắn có đường kính thích hợp. Độ chính xác của đường kính, nằm trong khoảng 0,1 mm. Độ chính xác về góc, nằm trong khoảng 0,1°.
Rãnh được gia công bằng xung điện theo hình dạng và hướng mong muốn với độ chính xác 0,1 mm. Độ chính xác về góc, nằm trong khoảng 0,1°.
Do mòn của ray, kích thước có thể thay đổi. Nếu ray được sử dụng để thiết lập khoảng cách và độ nhạy của các thiết bị của kiểm tra siêu âm thì cần phải được tính đến độ mòn ray.
4.2 Nguyên tắc kiểm tra siêu âm
Sóng siêu âm truyền vào ray sẽ bị phản xạ từ các bề mặt của thân ray. Các vết đứt gãy và các mất liên tục khác trong ray, cũng như biên của ray sẽ hoạt động như các bề mặt phản xạ. Bằng cách nhận, ghi lại và phân tích các tín hiệu siêu âm phản hồi, có thể phát hiện ra các mất liên tục trong ray được lắp đặt trên đường.
Phụ lục C đưa ra các ví dụ về các khu vực kiểm tra trong ray được kiểm tra bằng các phương tiện kiểm tra hoặc các thiết bị vận hành thủ công.
4.3 Tốc độ kiểm tra siêu âm và phát hiện các mất liên tục
Chùm siêu âm có chiều rộng được xác định bởi kích thước của đầu dò và tần số. Tất cả các mẫu phản xạ tương tác với chùm tia siêu âm. Chùm tia quét qua mẫu phản xạ khi xe và/hoặc thiết bị điều khiển bằng tay di chuyển dọc theo đường ray. Sóng siêu âm sẽ được phản xạ và phát hiện bởi đầu dò. Tất cả các hệ thống siêu âm sử dụng một mức ngưỡng cổng và hệ thống sẽ ghi lại phản hồi khi phản xạ trên mức ngưỡng. Bằng cách kiểm soát độ khuếch đại trong hệ thống siêu âm và mức ngưỡng cổng, số lượng phản hồi cho một kích thước nhất định của mẫu phản xạ có thể được xác định.
Mẫu phản xạ có thể được xác định kích thước bằng cách cài đặt các thông số hệ thống để nhận được một số lượng phản hồi đã biết từ mẫu phản xạ tham chiếu có kích thước đã biết. Mối quan hệ của số lượng phản hồi và kích thước của phản xạ tham chiếu đã được biết đến. Điều này áp dụng cho tất cả các mẫu phản xạ trong Phụ lục A.
Tốc độ kiểm tra tối đa phụ thuộc vào biên dạng ray (dọc và ngang), kích thước phản xạ được phát hiện, chiều rộng chùm tia, tần số lấy mẫu và số lượng phản hồi cần thiết cho mỗi nhận dạng được ghi lại.
4.4 Mô phỏng mẫu phản xạ bên trong ray tham chiếu
Các ray tham chiếu kết hợp với các mẫu phản xạ tham chiếu được lựa chọn từ Phụ lục A sẽ được tạo ra. Ngoài ra, có thể tạo các ray tham chiếu kết hợp tập hợp các mẫu phản xạ tham chiếu được lựa chọn từ Phụ lục B. Chúng được lắp đặt ở các ray bên trái và bên phải của một đoạn đường nếu sử dụng các phương tiện kiểm tra. Nếu chỉ sử dụng xe goòng hoặc thiết bị vận hành thủ công, các ray tham chiếu có thể bị lệch khỏi đường ray. Khi đường ray chịu tải trọng của phương tiện, khoảng cách giữa các mẫu phản xạ mô phỏng/phản xạ giả lập và các mẫu phản xạ chức năng nên được đánh giá cỏ xem xét đến tính toàn vẹn cấu trúc của ray. Các mẫu phản xạ tham chiếu phải được định hướng để kiểm tra việc quét đầu dò theo cả hai hướng.
Để ngăn ảnh hưởng của nước và bụi bẩn đối với các phản hồi siêu âm, các lỗ và rãnh tham chiếu phải được nút lại bằng vật liệu thích hợp.
Khi ray tham chiếu chịu tải trọng của phương tiện, phải thực hiện đánh giá rủi ro để xác định xem có cần thiết phải gia cường các mẫu phản xạ tham chiếu hay không (tấm nẹp hoặc tương tự) và xác định chế độ bảo dưỡng của ray tham chiếu.
Khi một số giá trị được đưa ra cho một đại lượng nhất định trong Bảng 1, chúng đều là bắt buộc. Nếu một phạm vi được cung cấp cho một số lượng, người dùng cố thẻ chọn một giá trị trong phạm vi này.
Ví dụ phản xạ số 01 bao gồm ba lỗ trên một thanh ray. Tất cả các lỗ cỏ đường kính 6 mm, Khoảng cách từ mặt lăn ray đến tâm lỗ lần lượt là 7 mm đối với lỗ thứ nhất và 10 mm và 20 mm đối với lỗ thứ hai và thứ ba. Điều này dẫn đến ba lỗ trên thanh ray cho mẫu phản xạ số 01.
Số 02 bao gồm bốn lỗ trên thanh ray. Hai lỗ cho hướng tiến và hai lỗ cho hướng lùi. Khoảng cách từ mặt lăn ray (xem Hình A.2) có thể được chọn trong phạm vi từ 10 mm đến 20 mm. Các lỗ trên mỗi hướng có đường kinh lần lượt là 5 mm và 10 mm.
Điều này dẫn đến bốn lỗ trên thanh ray cho mẫu phản xạ số 02.
Bảng 1 - Các mẫu phản xạ nhân tạo trong các ray tham chiếu (các tham chiếu quy định)
| TT | Hình, thể hiện trong Phụ lục A | Loại S/ Fa | Mô tả | Kích thước mm |
| 01 | Hình A.1 | F | Mẫu phản xạ thể tích ở nấm ray | a = 7; 10; 20 d = 6 |
| 02 | Hình A.2 | S | Mẫu phản xạ ngang của tâm (20°) trong nấm ray | a = 10 đến 20 d = 5; 10 |
| 03 | Hình A.3 | S | Mẫu phản xạ ngang của khổ đường (20°) trong nấm ray | a = 10 đến 20 b = 10 đến 15 d= 5; 10 |
| 04 | Hình A.4 | S | Mẫu phản xạ ngang của toàn bộ chiều rộng (20°) trong nấm ray | a = 20 d = 3 l = 7 |
| 05 | Hình A.5 | S | Mẫu phản xạ ngang của toàn bộ chiều rộng (35°) trong nấm ray | a = 20 d = 3 l = 7 |
| 06 | Hình A.6 | S | Mẫu phản xạ ngang của toàn bộ chiều rộng (53°) trong nấm ray | a = 20 d = 3 l = 7 |
| 07 | Hình A.7 | F | Mẫu phản xạ thể tích ở má ray trong của nấm ray | a = 25 b = 20; 25; 30; 36 d = 6 đến 8 |
| 08 | Hình A.8 | F | Mẫu phản xạ thể tích ở má ray ngoài của nấm ray | a = 25 b = 20; 25; 30; 36 d = 6 đến 8 |
| 09 | Hình A.9 | S | Mẫu phản xạ theo phương ngang trong nấm ray | a = 20 đ = 5; 8; 10 |
| 10 | Hình A.10 | S | Rãnh lỗ bu lông ngang | l = 5; 10 |
| 11 | Hình A.11 | S | Rãnh lỗ bu lông, vị trí A | l = 5; 10 |
| 12 | Hình A.12 | S | Rãnh lỗ bu lông, vị trí B | l = 5; 10 |
| 13 | Hình A.13 | S | Rãnh lỗ bu lông, vị trí C | l = 5; 10 |
| 14 | Hình A.14 | S | Rãnh lỗ bu lông, vị trí D | l = 5; 10 |
| 15 | Hình A.15 | F | Mẫu phản xạ thể tích ở bán kính góc lượn nấm ray - thân ray | d = 6 |
| 16 | Hình A.16 | F | Mẫu phản xạ thể tích ở giữa - thân ray | d = 6 |
| 17 | Hình A.17 | F | Mẫu phản xạ thể tích ở bán kính góc lượn đế ray - thân ray | d = 6 |
| 18 | Hình A.18 | S | Mẫu phản xạ ngang ở bán kính góc lươn nấm ray - thân ray (35°) | d = 3 l = 10 |
| 19 | Hình A.19 | S | Mẫu phản xạ ngang ở bán kính góc lươn đế ray - thân ray (53°) | d = 3 l = 10 |
| 20 | Hình A.20 | S | Mẫu phản xạ theo chiều dọc của phương đứng (phiên bản 1) | a = 20 h = 10; 15; 20 l = 50 đến 100 |
| 21 | Hình A.21 | S | Mẫu phản xạ theo chiều dọc của phương đứng (phiên bản 2) | a = 20 d = 5 l = 50 đến 100 |
| 22 | Hình A.22 | S | Thay đổi độ dày của đế ray | c1 = 5 c2 = 10 l = 80 w = 30 |
| 23 | Hình A.23 | S | Rãnh 5 mm của đế ray (phiên bản 1) | c = 5 r = 17 |
| 24 | Hình A.24 | S | Rãnh 10 mm của đế ray (phiên bản 1) | c = 5 r = 22 |
| 25 | Hình A.25 | F | Nhiều mẫu phản xạ lặp lại | a = 25 d = 6 10 lỗ trong phạm vi 2 000 |
| 26 | Hình A.26 | F | Mẫu phản xạ kiểm tra độ phân giải | a = 25 d= 6 l1 = 8 l2 = 9 l3 = 11 l4 = 13 l5 = 16 l6 = 21 l7 = 26 |
| a S = Mẫu phản xạ mô phỏng/phản xạ giả lập, F = Mẫu phản xạ chức năng | ||||
Bảng 2 - Các mẫu phản xạ nhân tạo trong các ray tham chiếu (các tham chiếu thông tin)
| TT | Hình, thể hiện trong Phụ lục B | Loại SI Fa | Mô tả | Kích thước mm |
| 27 | Hình B.1 | S | Mẫu phản xạ mô phỏng của góc khổ đường | a = 20 b = 20 |
| 28 | Hình B.2 | S | Mẫu phản xạ theo phương ngang trong nấm ray | a = 5 b = 25 l = 25 |
| 29 | Hình B.3 | S | Mẫu phản xạ theo phương ngang của nấm ray - thân ray (giữa thanh ray) | l = 5 |
| 30 | Hình B.4 | S | Mẫu phản xạ theo phương ngang của nấm ray - thân ray (đầu thanh ray) | l = 15 |
| 31 | Hình B.5 | S | Mẫu phản xạ theo chiều dọc của phương đứng (phiên bản 3) | a = 40 l = 75 |
| 32 | Hình B.6 | S | Rãnh 5 mm của đế ray (phiên bản 2) | c = 5 r = 35 |
| 33 | Hình B.7 | s | Rãnh 10 mm của đế ray (phiên bản 2) | c = 10 r = 40 |
| a S = Mẫu phản xạ mô phỏng/phản xạ giả lập, F = Mẫu phản xạ chức năng | ||||
5 Phát hiện các mẫu phản xạ tham chiếu
Các mẫu phản xạ tham chiếu được liệt kê trong Bảng 1 và Bảng 2 phải phát hiện được với các góc thăm dò bắt buộc được liệt kê trong Bảng 3 và Bảng 4.
Khi phần cuối của lỗ khoan được sử dụng như một mẫu phản xạ, đáy lỗ phải được gia công phẳng (FBH - lỗ đáy phẳng).
Các góc của đầu dò siêu âm được liệt kê trong Bảng 3 và Bảng 4 được sử dụng trong hầu hết các phương tiện kiểm tra siêu âm hoặc các thiết bị vận hành thủ công. Việc xác định góc thăm dò nào sẽ được sử dụng phụ thuộc vào loại phản xạ được phát hiện.
Tất cả các đầu dò góc cần có tính năng để quét được theo cả hai hướng (tiến và lùi). Các mẫu phản xạ tham chiếu phải được định hướng để kiểm tra việc quét đầu dò theo cả hai hướng.
Bảng 3 - Các mẫu phản xạ tham chiếu (Bảng 1) được phát hiện bằng góc đầu dò xác định
| TT | Mẫu phản xạ | Đường tâm của nấm ray | Song song trong phạm vi góc khổ đường | Nheo mắt theo hướng của góc khổ đường | ||||
| 0° | 35° đến 40° | 50° đến 60° | 45° đến 55° Ta | 65° đến 70° | 65° đến 70° | 65° đến 70° | ||
| 01 | Mẫu phản xạ thể tích trong nấm ray | M | O | O |
| M | M | O |
| 02 | Mẫu phản xạ ngang ở trung tâm (20°) trong nấm ray |
|
|
|
| M |
|
|
| 03 | Mẫu phản xạ ngang của khổ đường (20°) trong nấm ray |
|
|
|
| O | M |
|
| 04 | Mẫu phản xạ ngang toàn chiều rộng (20°) trong nấm ray | O | O | O |
| M | M |
|
| 05 | Mẫu phản xạ ngang toàn chiều rộng (35°) trong nấm ray | O | O | M |
| M | M |
|
| 06 | Mẫu phản xạ ngang toàn chiều rộng (53°) trong nấm ray | O | M | O |
|
|
|
|
| 07 | Mẫu phản xạ thể tích ở má trong ray của nấm ray |
|
|
| O | O | M |
|
| 08 | Mẫu phản xạ thể tích ở má ngoài ray của nấm ray |
|
|
| O | O | M |
|
| 09 | Mẫu phản xạ theo phương ngang trong nấm ray (phiên bản 1) | M |
|
|
|
|
|
|
| 10 | Rãnh lỗ bu lông theo phương ngang | M |
|
|
|
|
|
|
| 11 | Rãnh lỗ bu lông vị trí A | O | M | O |
| O |
|
|
| 12 | Rãnh lỗ bu lông vị trí B | O | M |
|
|
|
|
|
| 13 | Rãnh lỗ bu lông vị trí c | O | M | O |
| O |
|
|
| 14 | Rãnh lỗ bu lông vị trí D | O | M |
|
|
|
|
|
| 15 | Mẫu phản xạ thể tích ở bán kính góc lượn nấm ray -thân ray | M | M | O |
|
|
|
|
| 16 | Mẫu phản xạ thể tích ở giữa ray - thân ray | M | M |
|
|
|
|
|
| 17 | Mẫu phản xạ thể tích ở bán kính góc lượn đế ray -thân ray | O | M |
|
|
|
|
|
| 18 | Mẫu phản xạ theo phương ngang của bán kính góc lượn nấm ray - thân ray (35°) | O |
| M |
|
|
|
|
| 19 | Mẫu phản xạ theo phương ngang của bán kính góc lượn đế ray - thân ray (53°) |
| M |
|
|
|
|
|
| 20 | Mẫu phản xạ dọc theo phương đứng (phiên bản 1) | O |
|
| M |
|
|
|
| 21 | Mẫu phản xạ dọc theo phương đứng (phiên bản 2) | O |
|
| M |
|
|
|
| 22 | Thay đổi độ dày đế ray | M |
|
|
|
|
|
|
| 23 | Rãnh 5 mm của đế ray (phiên bản 1) |
| M |
|
|
|
|
|
| 24 | Rãnh 10 mm của đế ray (phiên bản 1) |
| M |
|
|
|
|
|
| 25 | Nhiều mẫu phản xạ lặp lại | O | O | O |
| M | O |
|
| 26 | Mẫu phản xạ kiểm tra độ phân giải | O | O | O |
| M | O |
|
| CHÚ DẪN: M bắt buộc nếu áp dụng Phụ lục B O tùy chọn CHÚ THÍCH: Các góc của đầu dò được xác định đối với mặt phẳng thẳng đứng. | ||||||||
| a Góc đầu dò ngang so với chiều dài ray | ||||||||
Bảng 4 - Các mẫu phản xạ tham chiếu (Bảng 2) được phát hiện bằng góc đầu dò xác định
| TT | Mẫu phản xạ | Đường tâm của nấm ray | Song song trong phạm vi góc khổ đường | Nheo mắt theo hướng của góc khổ đường | ||||
| 0° | 35° đến 40° | 50° đến 60° | 45° đến 55° Ta | 65° đến 70° | 65° đến 70° | 65° đến 70° | ||
| 27 | Mẫu phản xạ mô phỏng của góc khổ đường |
|
|
|
| O | M | M |
| 28 | Mẫu phản xạ theo phương ngang trong nấm ray | M |
|
|
|
|
|
|
| 29 | Mẫu phản xạ theo phương ngang của nấm ray - thân ray (giữa ray) | M |
|
|
|
|
|
|
| 30 | Mẫu phản xạ theo phương ngang của nấm ray - thân ray (đầu thanh ray) | M | O |
|
|
|
|
|
| 31 | Mẫu phản xạ dọc theo phương đứng (phiên bản 3) |
|
|
| M |
|
|
|
| 32 | Rãnh 5 mm của đế ray (phiên bản 2) |
| M |
|
|
|
|
|
| 33 | Rãnh 10 mm của đế ray (phiên bản 2) |
| M |
|
|
|
|
|
| CHÚ DẪN: M bắt buộc nếu áp dụng Phụ lục B O tùy chọn CHÚ THÍCH: Các góc của đầu dò được xác định đối với mặt phẳng thẳng đứng. | ||||||||
| a Góc đầu dò ngang so với chiều dài ray | ||||||||
6 Kiểm soát độ chính xác của vị trí
Để xác định khoảng cách của các khuyết tật, các mẫu phản xạ tham chiếu chính xác (vi dụ: lỗ bu lông) có kích thước đã biết và sự phân tách phải được kiểm tra theo cả hai hướng. Xem Bảng 5 làm ví dụ.
Bảng 5 - Các dung sai cho phép của độ chính xác về vị trí
| TT của mẫu phản xạ | Khoảng cách đến mẫu phản xạ 01 m | Chênh lệch cho phép mm |
| 01 | 0 | Mẫu phản xạ đầu tiên |
| 02 | 50 | ± 100 |
| 03 | 100 | ± 200 |
| 04 | 150 | ± 300 |
| 05 | 200 | ± 400 |
| 06 | 250 | ± 500 |
| 07 | 300 | ± 600 |
| 08 | 350 | ± 700 |
| 09 | 400 | ± 800 |
| 10 | 450 | ± 900 |
| 11 | 500 | ± 1 000 |
Phụ lục A
(Quy định)
Các mẫu phản xạ mô phỏng/phản xạ giả lập trong ray tham chiếu

CHÚ DẪN:
a Xem Bảng 1
d Xem Bảng 1
Hình A.1 - Mẫu phản xạ thể tích trong nấm ray

CHÚ DẪN:
| a | Xem Bảng 1 |
| d | Xem Bảng 1 |
| α | 20° |
| l | 20 mm |
| 1 | Mối hàn |
| 2 | Nút chêm của thép ray |
Hình A.2 - Mẫu phản xạ ngang trung tâm (20°) trong nấm ray

CHÚ DẪN:
| a | Xem Bảng 1 |
| b | Xem Bảng 1 |
| d | Xem Bảng 1 |
| α | 20° |
| l | 20 mm |
| 1 | Mối hàn |
| 2 | Nút chêm của thép ray |
Hình A.3 - Mẫu phản xạ ngang của khổ đường (20°) ở nấm ray
Kích thước tính bằng mm


CHÚ DẪN:
| a | Xem Bảng 1 |
| d | Xem Bảng 1 |
| l | Xem Bảng 1 |
Hình A.4 - Mẫu phản xạ ngang toàn chiều rộng (20°) trong nấm ray
Kích thước tính bằng mm


CHÚ DẪN:
| a | Xem Bảng 1 |
| d | Xem Bảng 1 |
| l | Xem Bảng 1 |
Hình A.5 - Mẫu phản xạ ngang toàn chiều rộng (35°) trong nấm ray
Kích thước tính bằng mm


CHÚ DẪN:
| a | Xem Bảng 1 |
| d | Xem Bảng 1 |
| l | Xem Bảng 1 |
Hình A.6 - Mẫu phản xạ ngang toàn chiều rộng (53°) trong nấm ray

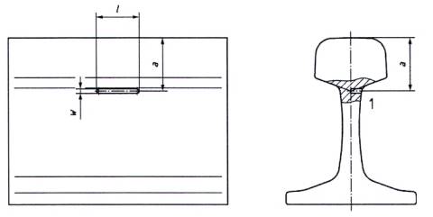
CHÚ DẪN:
| a | Xem Bảng 1 |
| b | Xem Bảng 1 |
| d | Xem Bảng 1 |
| 1 | Má trong của ray |
Hình A.7 - Mẫu phản xạ thể tích ở má trong ray của nấm ray

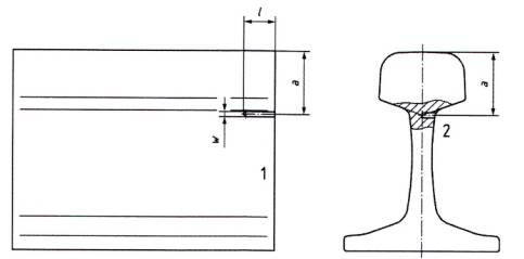
CHÚ DẪN:
| a | Xem Bảng 1 |
| b | Xem Bảng 1 |
| d | Xem Bảng 1 |
| 1 | Má ngoài ray |
Hình A.8 - Mẫu phản xạ thể tích ở má ngoài ray của nấm ray

CHÚ DẪN:
| a | Xem Bảng 1 |
| d | Xem Bảng 1 |
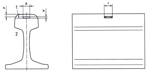
Hình A.9 - Mẫu phản xạ ngang trong nấm ray


CHÚ DẪN:
| a, d | Phụ thuộc vào từng loại ray |
| l | Xem Bảng 1 |
| w | ≤ 3 mm |
Hình A.10 - Rãnh lỗ bu lông ngang


CHÚ DẪN:
| a, d | Phụ thuộc vào từng loại ray |
| l | Xem Bảng 1 |
| w | ≤ 3 mm |
| 1 | Đầu thanh ray |
Hình A.11 - Rãnh lỗ bu lông vị trí A


CHÚ DẪN:
| a, d | Phụ thuộc vào từng loại ray |
| l | Xem Bảng 1 |
| w | ≤ 3 mm |
| 1 | Đầu thanh ray |
Hình A.12 - Rãnh lỗ bu lông vị trí B


CHÚ DẪN:
| a, d | Phụ thuộc vào từng loại ray |
| l | Xem Bảng 1 |
| w | ≤ 3 mm |
| 1 | Đầu thanh ray |
Hình A.13 - Rãnh lỗ bu lông vị trí C


CHÚ DẪN:
| a, d | Phụ thuộc vào từng loại ray |
| l | Xem Bảng 1 |
| w | ≤ 3 mm |
| 1 | Đầu thanh ray |
Hình A.14 - Rãnh lỗ bu lông vị trí D

CHÚ DẪN:
| a | Phụ thuộc vào nấm ray (xem EN 13674-1, TB/T 2344, GOST 7173-54, GOST R 51685, JIS E 1101). |
| d | Xem Bảng 1 |
Hình A.15 - Mẫu phản xạ thể tích ở bán kính góc lượn nấm ray - thân ray

CHÚ DẪN:
| a | Phụ thuộc vào biên dạng ray (đường tâm của mặt cắt) |
| d | Xem Bảng 1 |
Hình A.16 - Mẫu phản xạ thể tích giữa thân ray

CHÚ DẪN:
| a | Phụ thuộc vào biên dạng ray (xem EN 13674-1, TB/T 2344, GOST 7173-54, GOST R 51685, JIS E 1101) |
| d | Xem Bảng 1 |
Hình A.17 - Mẫu phản xạ thể tích ở bán kính góc lượn đế ray - thân ray


CHÚ DẪN:
| a | Phụ thuộc vào nấm ray (xem EN 13674-1, TB/T 2344, GOST 7173-54, GOST R 51685, JIS E 1101) |
| d | Xem Bảng 1 |
| α | 35° |
| l | Xem Bảng 1 |
| w | < 3 mm |
Hình A.18 - Mẫu phản xạ ngang của bán kính góc lượn nấm ray - thân ray (35°)


CHÚ DẪN:
| a | Phụ thuộc vào mặt cắt ngang ray (xem EN 13674-1, TB/T 2344, GOST 7173-54, GOST R 51685, JIS E 1101) |
| d | Xem Bảng 1 |
| α | 53° |
| l | Xem Bảng 1 |
| w | < 3 mm |
Hình A.19 - Mẫu phản xạ ngang bán kính góc lượn đế ray (53°)


CHÚ DẪN:
| a | Xem Bảng 1 |
| h | Xem Bảng 1 |
| l | Xem Bảng 1 |
| w | 2 mm |
| 1 | Mối hàn |
Hình A.20 - Mẫu phản xạ dọc theo phương đứng (phiên bản 1)

CHÚ DẪN:
| a | Xem Bảng 1 |
| d | Xem Bảng 1 |
| h | 6 mm (tối thiểu 2 mũi khoan, tối đa 4 mũi khoan) |
| l | Xem Bảng 1 |
| 1 | Mối hàn |
Hình A.21 - Mẫu phản xạ dọc theo phương đứng (phiên bản 2)

CHÚ DẪN:
| c1 | Xem Bảng |
| c2 | Xem Bảng |
| I | Xem Bảng |
| w | Xem Bảng |
Hình A.22 - Thay đổi chiều rộng đế ray

CHÚ DẪN:
| c | Xem Bảng 1 |
| r | Xem Bảng 1 |
| w | 2 mm |
Hình A.23 - Rãnh ở đế ray 5 mm (phiên bản 1)

CHÚ DẪN:
| c | Xem Bảng 1 |
| r | Xem Bảng 1 |
| w | 2 mm |
Hình A.24 - Rãnh ở đế ray 10 mm (phiên bản 1)

CHÚ DẪN:
| a | Xem Bảng 1 |
| d | Xem Bảng 1 |
| l | 222 mm |
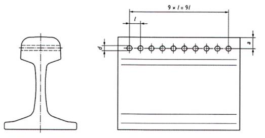
Hình A.25 - Nhiều mẫu phản xạ lặp lại

CHÚ DẪN:
| a | Xem Bảng 1 |
| d | Xem Bảng 1 |
| l1 đến l7 | Xem Bảng 1 |
Hình A.26 - Mẫu phản xạ kiểm tra độ phân giải
Phụ lục B
(Tham khảo)
Mẫu phản xạ mô phỏng/phản xạ giả lập trong ray tham chiếu

CHÚ DẪN:
| a | Xem Bảng 2 |
| d | Xem Bảng 2 |
| α | 20° |
| r | 5 mm |
| w | ≤ 3 mm |
| 1 | Má trong của ray |
Hình B.1 - Mẫu phản xạ mô phỏng của góc khổ đường

CHÚ DẪN:
| a | Xem Bảng 2 |
| d | Xem Bảng 2 |
| l | Xem Bảng 2 |
| w | ≤ 3 mm |
| 1 | Khoảng trống được lấp đầy bởi một mối hàn |
| 2 | Má ngoài của ray |
Hình B.2 - Mẫu phản xạ ngang trong nấm ray

CHÚ DẪN:
| a | Phụ thuộc vào mặt cắt ngang ray (xem EN 13674-1, TB/T 2344, GOST 7173-54, GOST R 51685, JIS E 1101) |
| l | Xem Bảng 2 |
| w | ≤ 3 mm |
| 1 | Má ngoài của ray hoặc má trong của ray |
Hình B.3 - Mẫu phản xạ ngang nấm ray - thân ray (giữa ray)

CHÚ DẪN:
| a | Phụ thuộc vào mặt cắt ngang ray (xem EN 13674-1, TB/T 2344, GOST 7173-54, GOST R 51685, JIS E 1101) |
| l | Xem Bảng 2 |
| w | ≤ 3 mm |
| 1 | Đầu thanh ray |
| 2 | Má ngoài của ray hoặc má trong của ray |
Hình B.4 - Mẫu phản xạ ngang nấm ray - thân ray (đầu thanh ray)

CHÚ DẪN:
| a | Xem Bảng 2 |
| l | Xem Bảng 2 |
| w | 2 mm |
Hình B.5 - Mẫu phản xạ dọc theo phương đứng (phiên bản 3)

CHÚ DẪN:
| c | Xem Bảng 2 |
| r | Xem Bảng 2 |
| w | 2 mm |
Hình B.6 - Rãnh ở đế ray 5 mm (phiên bản 2)

CHÚ DẪN:
| c | Xem Bảng 2 |
| r | Xem Bảng 2 |
| w | 2 mm |
Hình B.7 - Rãnh đế ray 10 mm (phiên bản 2)
Phụ lục C
(Tham khảo)
Khu vực kiểm tra siêu âm trong ray được kiểm tra bằng xe kiểm tra hoặc thiết bị vận hành thủ công

CHÚ DẪN:
| a | Vùng kiểm tra không trực tiếp lên đến 12 mm |
Hình C.1 - Khu vực kiểm tra siêu âm cho đầu dò 0°

CHÚ DẪN:
| a | Vùng kiểm tra không trực tiếp 3 mm - 8 mm |
| b | Vùng kiểm tra tối đa với đầu dò 70° |
Hình C.2 - Khu vực kiểm tra siêu âm cho đầu dò ở tâm 70°

CHÚ DẪN:
| a | Vùng được kiểm tra không trực tiếp 3 mm- 8 mm |
| b | Vùng kiểm tra tối đa với đầu dò 35° |
Hình C.3 - Khu vực kiểm tra siêu âm cho đầu dò 35°
Thư mục tài liệu tham khảo
[1] BS-EN 16729-1:2016, Railway applications - Infrastructure - Non-destructive testing on rails in track - Part 3: Requirements for identifying internal and surface rail defects
Mục lục
Lời nói đầu
1 Phạm vi áp dụng
2 Tài liệu viện dẫn
3 Thuật ngữ và định nghĩa
4 Những vấn đề cơ bản
5 Phát hiện các mẫu phản xạ tham chiếu
6 Kiểm soát độ chính xác của vị trí
Phụ lục A (Quy định) Các mẫu phản xạ mô phỏng/phản xạ giả lập trong ray tham chiếu
Phụ lục B (Tham khảo) Mẫu phản xạ mô phỏng/phản xạ giả lập trong ray tham chiếu
Phụ lục C (Tham khảo) Khu vực kiểm tra siêu âm trong ray được kiểm tra bằng xe kiểm tra hoặc thiết bị vận hành thủ công
Thư mục tài liệu tham khảo
Bạn chưa Đăng nhập thành viên.
Đây là tiện ích dành cho tài khoản thành viên. Vui lòng Đăng nhập để xem chi tiết. Nếu chưa có tài khoản, vui lòng Đăng ký tại đây!