- Tổng quan
- Nội dung
- Tiêu chuẩn liên quan
- Lược đồ
- Tải về
Tiêu chuẩn Quốc gia TCVN 10216:2013 ISO/TR 15409:2002 Phương tiện giao thông đường bộ - Đánh giá đặc tính nhiệt của bugi
| Số hiệu: | TCVN 10216:2013 | Loại văn bản: | Tiêu chuẩn Việt Nam |
| Cơ quan ban hành: | Bộ Khoa học và Công nghệ | Lĩnh vực: | Giao thông , Công nghiệp |
|
Ngày ban hành:
Ngày ban hành là ngày, tháng, năm văn bản được thông qua hoặc ký ban hành.
|
2013 |
Hiệu lực:
|
Đã biết
|
| Người ký: | Đang cập nhật |
Tình trạng hiệu lực:
Cho biết trạng thái hiệu lực của văn bản đang tra cứu: Chưa áp dụng, Còn hiệu lực, Hết hiệu lực, Hết hiệu lực 1 phần; Đã sửa đổi, Đính chính hay Không còn phù hợp,...
|
Đã biết
|
TÓM TẮT TIÊU CHUẨN VIỆT NAM TCVN 10216:2013
Nội dung tóm tắt đang được cập nhật, Quý khách vui lòng quay lại sau!
Tải tiêu chuẩn Việt Nam TCVN 10216:2013
TIÊU CHUẨN QUỐC GIA
TCVN 10216:2013
ISO/TR 15409:2002
PHƯƠNG TIỆN GIAO THÔNG ĐƯỜNG BỘ - ĐÁNH GIÁ ĐẶC TÍNH NHIỆT CỦA BUGI
Road vehicles - Heat rating of spark plugs
Lời nói đầu
TCVN 10216:2012 hoàn toàn tương đương ISO/TR 15409:2002.
TCVN 10216:2012 do Ban kỹ thuật tiêu chuẩn quốc gia TCVN/TC 22 Phương tiện giao thông đường bộ biên soạn, Tổng cục Tiêu chuẩn Đo lường Chất lượng đề nghị, Bộ Khoa học và Công nghệ công bố.
Lời giới thiệu
ISO/TC22/SC1, Thiết bị đánh lửa đã nghiên cứu các phương pháp khác nhau về đánh giá trị số nhiệt của bugi (nến đánh lửa). Cần lưu ý rằng, hiện có nhiều phương pháp đo khác nhau, mỗi phương pháp đòi hỏi phải có thiết bị đắt tiền và nhiều kinh nghiệm, nhưng mỗi một trong các phương pháp này đều cho ra các kết quả thích hợp và có giá trị như nhau.
Các cuộc thảo luận đã chỉ ra rằng không có sự hỗ trợ đáng kể đối với bất cứ phương pháp nào trong các phương pháp này.
Vì thế Tiểu ban 1 (SC1) của Ban kỹ thuật TC22 đã quyết định đề nghị công bố thông tin này như là một báo cáo kỹ thuật.
PHƯƠNG TIỆN GIAO THÔNG ĐƯỜNG BỘ - ĐÁNH GIÁ ĐẶC TÍNH NHIỆT CỦA BUGI
Road vehicles - Heat rating of spark plugs
1. Phạm vi áp dụng
Tiêu chuẩn này mô tả các phương pháp đánh giá trị số nhiệt của bugi được sử dụng trong các động cơ đánh lửa.
2. Tài liệu viện dẫn
Các tài liệu viện dẫn sau rất cần thiết cho việc áp dụng tiêu chuẩn này. Đối với các tài liệu viện dẫn ghi năm công bố thì áp dụng phiên bản được nêu. Đối với các tài liệu viện dẫn không ghi năm công bố thì áp dụng phiên bản mới nhất, bao gồm cả các sửa đổi, bổ sung (nếu có).
ISO 2542:1980, Internal combustion engines - Spark plug ignition - Terminology (Động cơ đốt trong - Đánh lửa bằng bugi-Thuật ngữ).
3. Thuật ngữ và định nghĩa
Trong tiêu chuẩn này áp dụng các thuật ngữ và định nghĩa sau.
3.1. Đánh giá trị số nhiệt (heat rating)
Đo đặc tính nhiệt của một bugi trong điều kiện làm việc (vận hành).
3.2. Giá trị đánh giá trị số nhiệt (heat rating value)
Kết quả của đánh giá trị số nhiệt.
CHÚ THÍCH: Trị số đánh giá trị số nhiệt này sẽ được biểu thị bằng các đơn vị tương đương với sự truyền nhiệt từ đầu đánh lửa của bugi hoặc đầu sứ cách điện.
3.3. Bộ nhận dạng đánh giá trị số nhiệt (heat rating identifier)
Các chữ số, chữ cái hoặc tổ hợp của các chữ số và chữ cái về trị số đánh giá trị số nhiệt phụ thuộc vào hệ thống phân loại của nhà sản xuất bugi.
3.4. Phạm vi nhiệt (heat range)
Khả năng của một bugi để tránh sự kết tủa của muội than và than cũng như sự tự đánh lửa trong ứng dụng của động cơ trên xe.
CHÚ THÍCH 1: Phạm vi nhiệt này là một kiểu bugi đã cho nên làm việc ở một nhiệt độ càng nóng càng tốt ở các tốc độ chậm của động cơ và các điều kiện tải trọng nhẹ, và nên làm việc ở một nhiệt độ càng nguội càng tốt ở tiết lưu (bướm ga) được mở rộng.
CHÚ THÍCH 2: Phạm vi nhiệt của một bugi phụ thuộc vào thiết kế các điện cực, đầu sứ cách điện, vỏ và các vật liệu kết cấu, và động cơ được sử dụng.
4. Phương pháp đánh giá-nhiệt
4.1. Để đánh giá trị số nhiệt khi sử dụng động cơ đánh giá trị số nhiệt của bugi SAE 17,6 in3, xem các Phụ lục A và Phụ lục B.
4.2. Để đánh giá trị số nhiệt khi sử dụng các động cơ của xe, xem các phương pháp dưới đây.
a) Để đánh giá trị số nhiệt bằng cách đo nhiệt độ và sự đánh lửa sớm (trước) và/hoặc muộn (sau), xem Phụ lục C.
b) Để đánh giá trị số nhiệt bằng cách đo sự đánh lửa sớm (trước) và/hoặc muộn (sau) và so sánh với các bugi mẫu, xem Phụ lục D.
4.3. Để đánh giá trị số nhiệt bằng cách đo sự đánh lửa sớm (trước) và/hoặc muộn (sau) và so sánh với các bugi mẫu được đo trong động cơ SAE 17,6 in3, xem Phụ lục E.
Phụ lục A
(tham khảo)
Phương pháp đánh giá trị số nhiệt SAE
Đánh giá sự đánh lửa sớm của bugi
(Theo tiêu chuẩn SAE J549 được soát xét lại 3-1995)
A.1. Lời nói đầu
Tiêu chuẩn này không có sự thay đổi khác với văn bản mới của ban tiêu chuẩn kỹ thuật. Tài liệu này hoàn toàn phù hợp với SAE J549 được soát xét lại 3-1995.
A.2. Phạm vi áp dụng
Quy trình kỹ thuật nên dùng của SAE này mô tả thiết bị và các phương pháp được sử dụng để đánh giá sự đánh lửa sớm của bugi.
A.2.1. Các số liệu đã cho về đánh lửa sớm của bugi thu được với thiết bị và phương pháp quy định ở đây được sử dụng có ích cho mục đích so sánh và không được xem là các trị số tuyệt đối bởi vì có thể thu được các trị số khác nhau trong các phòng thí nghiệm khác nhau.
A.3. Tài liệu viện dẫn
A.3.1. Các ấn phẩm được áp dụng - Các ấn phẩm sau tạo thành một phần của điều kiện kỹ thuật (này) cho mức độ được quy định của nó. Phải áp dụng các ấn phẩm mới nhất của SAE.
A.3.1.1. SAE Publication - Available from SAE, 400 Commonwealth Drive, Warrendale, PA 15096-0001.
SAE J2203 - SAE 17,6 Cubic inch Spark Plug Rating Engine.
A.3.1.2. U.S Government Publication - Available from DODSSP, Subscripton Services Desk, Building 4D, 700 Robins Avenue, Philadelphia, PA 19111-5094.
MIL-L-6082D.
A.4. Thiết bị
Động cơ SAE 17,6 (xem SAE J2203) với thân xy lanh có bề mặt được lăn hoa và xử lý hóa học và các vòng găng được mạ crôm.
A.5. Tốc độ
Tốc độ danh nghĩa 2700 r/min (rpm) nhưng không được vượt quá 2765 r/min khi khởi động hoặc không dưới 2670 r/min khi dẫn động động cơ.
A.6. Tỷ số nén 5,6 : 1
A.7. Độ đánh lửa sớm
300 trước điểm (tâm) chết trên (BTDC) đối với các bugi cho động cơ không dùng trong máy bay, 400 trước điểm chết trên đối với các bugi cho động cơ dùng trong máy bay hoặc các bugi cho động cơ không dùng trong máy bay khi không thể đạt được 300 trước điểm chết trên.
A.8. Nguồn đánh lửa
Manhêtô hoặc hoặc dòng điện xoay chiều đã được chấp thuận.
A.9. Lắp đặt bugi
Ren trong lỗ lắp bugi phải phù hợp với cỡ kích thước và chiều dài theo các tiêu chuẩn do SAE xác lập cho động cơ đánh lửa.
A.9.1. Nên sử dụng các giá trị momen xoắn do SAE khuyến nghị khi lắp bugi vào động cơ.
A.9.1.1. Không nên sử dụng các bạc nối chuyển tiếp hoặc các đầu nối cho lắp bugi.
A.10. Nhiên liệu
98 % 1°benzen, 2 % dầu máy bay không chất phụ gia SAE 60 loại (grade) 1100 theo điều kiện kỹ thuật MIL-L-6082D, với 0,8 mL/L (3cm3/gal) T.E.L được bổ sung thêm.
A.11. Điều chỉnh thời điểm phun nhiên liệu
Lỗ bơm phun nhiên liệu phải bắt đầu đóng kín góc trục khuỷu 600 ± 50 sau điểm chết trên (ATDC) trong hành trình hút.
A.12. Tốc độ tuần hoàn nhiên liệu
2 L/min ± 1 L/min (1/2 gal/min ± 1/4 gal/min).
A.13. Bơm phun nhiên liệu
Áp suất theo đường dẫn dọc của bơm phun nhiên liệu là 100 kPa ±10 kPa (15 psi ± 2 psi).
A.14. Áp suất phun nhiên liệu
Nhỏ nhất là 5170 kPa (750 psi).
A.15. Thành phần hỗn hợp
Thành phần hỗn hợp là thành phần cho nhiệt độ lớn nhất của bugi nhiệt.
A.16. Nhiệt độ không khí nạp (hút)
107 °C ± 3 °C (225 °F ± 5 °F).
A.17. Độ ẩm của không khí nạp
0,453 kg (75 g ± 25 g hơi ẩm/lb) của không khí khô.
A.18. Chất làm mát
Chất làm mát nên là nước cộng với 3 L (1 g/gal) chất ức chế. Tổng của các chất rắn hòa tan và lơ lửng không lớn hơn 120 ppm.
A.19. Nhiệt độ đầu vào két làm mát
a) Có kiểm soát áp suất làm mát 107 °C ± 3 °C (225 °F ± 5 °F).
b) Với động cơ có cột áp 88 °C ± 1 °C (190 °F ± 2 °F).
A.20. Lưu lượng chất làm mát 20 L/min ± 2 L/min (5 gal/min ± ½ gal/min).
A.21. Dầu bôi trơn hộp trục khuỷu dầu bôi trơn dùng cho máy bay SAE 120 không có chất phụ gia.
A.22. Áp suất dầu bôi trơn
a) Trong các ổ trục chính, 650 kPa ± 40 kPa (95 psi ± 5 psi).
b) Trong bánh răng van trượt, nhỏ nhất là 100 kPa (15psi) ở nhiệt độ làm việc (vận hành).
A.23. Nhiệt độ dầu bôi trơn 88 °C ± 5 °C (190 °F ± 10 °F).
A.24. Lượng dầu bôi trơn mức dầu bôi trơn được duy trì ở giữa (tâm) kính kiểm tra mức dầu bôi trơn.
A.25. Điều kiện làm việc trị số đánh giá (định mức) bugi là giá trị áp suất hiệu dụng trung bình được chỉ thị (IMEP) thu được trên động cơ tại một điểm khi áp suất tăng áp là 3,37 kPa (1 mm Hg) dưới điểm đánh lửa sớm.
A.25.1. Điểm đánh lửa sớm nên theo các bước sau để đạt được điểm đánh lửa sớm.
A.25.1.1. Áp suất tăng áp được tăng lên với độ tăng 13,5 kPa (4 mm Hg) tới khi xảy ra sự đánh lửa sớm được chỉ báo bằng độ tăng nhanh của nhiệt độ bugi nhiệt. Ở mỗi chỉnh đặt, độ bền của hỗn hợp được điều chỉnh sao cho đạt được nhiệt độ lớn nhất của bugi nhiệt và duy trì được nhiệt độ này trong thời gian 3 min.
A.25.1.2. Khi xảy ra sự đánh lửa sớm, cung cấp nhiên liệu được ngắt tức thời và áp suất tăng áp được giảm xuống 6,7 kPa (2 mm Hg) tại điểm mà nhiên liệu được mở và lại được điều chỉnh cho nhiệt độ lớn nhất của bugi nhiệt. Nên giữ trạng thái này trong thời gian 3 min hoặc tới khi sự đánh lửa sớm lại xảy ra.
A.25.1.3. Nếu xảy ra sự đánh lửa sớm sau bước 25.1.2, áp suất tăng áp nên được giảm xuống 3,37 kPa (1 mm Hg) khi lại điều chỉnh tới nhiệt độ tối ưu của bugi nhiệt đến khi đạt được sự làm việc ổn định của động cơ trong thời gian 3 min hoặc xảy ra sự đánh lửa sớm. Nếu xảy ra sự đánh lửa sớm, tham khảo bước 25.1.5.
A.25.1.4. Nếu sau bước 25.1.2, động cơ đi vào hoạt động ổn định, áp suất tăng áp nên được tăng lên 3,37kPa (1 mm Hg) khi lại điều chỉnh tới nhiệt độ tối ưu của bugi nhiệt tới khi đạt được sự làm việc ổn định của động cơ trong thời gian 3 min hoặc xảy ra sự đánh lửa sớm. Nếu xảy ra sự đánh lửa sớm, tham khảo bước 25.1.5.
A.25.1.5. Nên đo momen xoắn ma sát tại áp suất tăng áp 3,37 kPa (1 mm Hg) dưới điểm đánh lửa sớm (hoặc sự chỉnh đặt đã ổn định trước đây trước khi đánh lửa sớm) và trong 30 s sau khi động cơ ngừng nổ.
A.25.1.6. Có thể kiểm tra các dữ liệu đánh giá khi sử dụng một bugi có điểm đánh giá tối thiểu là 50 IMEP lớn hơn các bugi đã được đánh giá.
A.26. Tính toán IMEP
HP chỉ thị = HP ma sát + HP phanh
IHP = TF +
TB
IHP = 0,51 (TF + TB) =
0,51 (TF + TB) = (0,04) (0,01 )P = IMEP
IMEP = 8,65 (TF + TB)
Trong đó
TF Momen xoắn ma sát;
TB Momen xoắn phanh;
IMEP Áp suất hiệu dụng trung bình chỉ thị.
A.27. Chú thích
A.27.1. Dấu hiệu phân biệt ngoài biên (lề) Thanh (vạch) thay đổi (I) được định vị ở lề bên trái để thuận tiện cho người sử dụng khi định vị các vùng ở đó đã thực hiện việc soát xét lại về kỹ thuật cho lần phát hành trước đây của báo cáo. Ký hiệu (R) ở bên trái tên tài liệu chỉ sự soát xét lại hoàn toàn đối với báo cáo.
Tiêu chuẩn SAE J549 được soát xét lại 3-1995
Lý do cơ bản: Không áp dụng được.
Mối quan hệ của tiêu chuẩn SAE và tiêu chuẩn ISO: Không áp dụng được.
Ứng dụng: Quy trình kỹ thuật được khuyến nghị này của SAE mô tả thiết bị và các phương pháp được sử dụng trong đánh giá sự đánh lửa sớm của các bugi.
Phần viện dẫn
SAE J2203, Động cơ đánh lửa bugi SAE 17,6 in3.
MIL-L-6082D.
Do Ban Tiêu chuẩn về đánh lửa của SAE triển khai.
Phụ lục B
(tham khảo)
Mô tả động cơ đánh giá trị số nhiệt của SAE
Động cơ có đánh giá bugi SAE 17,6 in³
(theo tiêu chuẩn SAE J2230 được công bố lại 11-1999)
B.1. Lời nói đầu
Tài liệu này cũng đã thay đổi để tuân theo văn bản mới của Ban Tiêu chuẩn kỹ thuật SAE. Các chữ viết tắt đã thay đổi thành Phần 3. Tất cả các số hiệu của các phần khác cũng đã thay đổi một cách tương ứng.
Tài liệu hướng dẫn này được soạn thảo lần đầu tiên dưới sự bảo trợ của Ban nghiên cứu về đánh lửa của SAE bởi nhóm nghiên cứu tiêu chuẩn hóa động cơ đánh giá bugi thuộc tiểu ban kỹ thuật đánh lửa của động cơ máy bay kiểu pit tông. Năm 1974, nhóm nghiên cứu tiêu chuẩn hóa động cơ đánh giá bugi đã được đặt dưới quyền của Ban kỹ thuật thiết bị điện của SAE.
Tài liệu hướng dẫn này quy định động cơ tiêu chuẩn được sử dụng để xác định các trị số đánh giá sự đánh lửa sớm của bugi. Đó là động cơ đánh giá bugi SAE 17,6 in3 1). Cơ sở của thiết kế, phát triển và ứng dụng của động cơ này được nêu trong ấn phẩm SP-243 của SAE.
Ngoài mô tả động cơ, tài liệu hướng dẫn này còn đề cập đến các hướng dẫn về bảo dưỡng và sửa chữa lớn đối với động cơ. Tài liệu này bao gồm các phụ lục về dung sai chế tạo động cơ, các giới hạn thay thế và danh mục các chi tiết của động cơ. Tài liệu hướng dẫn cũng bao gồm phương pháp đánh giá bugi. Động cơ 17,6 đã được sử dụng nhiều năm trong ngành công nghiệp bugi để phân loại các bugi theo sự đánh giá về đánh lửa sớm của chúng. Sự tương quan của các đánh giá này giữa các phòng thử nghiệm khác nhau đã được lập ra với các thành công hạn chế chủ yếu là do các khác nhau của động cơ. Khó khăn của sự tương quan này đã thôi thúc Tiểu ban kỹ thuật đánh lửa của động cơ máy bay kiểu pit tông thuộc Ban kỹ thuật nghiên cứu về đánh lửa của SAE nghiên cứu các phương pháp tiêu chuẩn hóa và nâng cao chất lượng của động cơ này, Công ty Ethyl (đã tạo ra động cơ 17,6) đã đồng ý hợp tác với SAE để nâng cao chất lượng của động cơ.
Nhóm nghiên cứu tiêu chuẩn hóa động cơ đánh giá bugi đã được thành lập để tiêu chuẩn hóa và nâng cao chất lượng của động cơ này bao gồm những người gắn bó mật thiết với sử dụng hoặc chế tạo động cơ. Tất cả các kinh nghiệm của các cá nhân và nhiều đề án đặc biệt do nhóm nghiên cứu tiến hành đã được tập hợp lại trong tài liệu hướng dẫn này.
Sự phù hợp với mô tả về động cơ và phương pháp đánh giá được bao gồm trong tài liệu hướng dẫn này và triệt để tuân theo các hướng dẫn về bảo dưỡng, sửa chữa lớn và vận hành sẽ dẫn đến các dữ liệu đánh giá bugi đồng đều hơn từ mỗi động cơ và sự tương quan chặt chẽ hơn giữa các động cơ.
Tài liệu hướng dẫn này sẽ được soát xét lại theo định kỳ để phản ánh các cải tiến của động cơ đã được triển khai và được đánh giá một cách kỹ lưỡng. Các nhận xét, lời khuyên hoặc kiến nghị đối với tài liệu hướng dẫn hoặc động cơ sẽ được nhóm nghiên cứu tiêu chuẩn hóa động cơ đánh giá bugi hoan nghênh và xin được gửi đến tổng hành dinh của SAE để xem xét. Có thể nhận được một động cơ thuộc kiểu này từ công ty thiết bị phòng thí nghiệm (Labeco), Mooresville, Indiana, và tất cả các số liệu chi tiết được nêu dưới đây đều là các số liệu chi tiết của Labeco, trừ khi có quy định khác.
Ấn phẩm này của tài liệu hướng dẫn chỉ bao gồm động cơ loạt 16047 bởi vì đây là kiểu đã được chế tạo trong ít năm gần đây. Loạt thuộc kiểu cũ hơn 5 000 đã được nêu đầy đủ trong một ấn phẩm trước đây của tài liệu hướng dẫn (ngày xuất bản, tháng 7-1964). Động cơ loạt 16047 (Hình 1.A và Hình 1.B) khác loạt 5000 ở chỗ có lắp một hệ thống cân bằng kiểu Lanchester gồm có hai trục đối trọng quay ngược, được dẫn động xích quay ở tốc độ của trục khuỷu để loại bỏ phần mất cân bằng của bộ phận thanh truyền và pit tông.
CHÚ THÍCH: Hình vẽ được đưa ra chỉ có tính minh họa. Có thể nhận được các bản vẽ chi tiết từ công ty thiết bị phòng thí nghiệm, Mooresville, Indiana.

Hình 1.B - Động cơ 5000
CHÚ THÍCH: Hình vẽ được đưa ra có tính minh họa. Có thể nhận được các bản vẽ chi tiết từ công ty thiết bị thí nghiệm, Mooresville, Indiana.

Hình 2.B- Động cơ 5 000
B.2. Phạm vi áp dụng
Tiêu chuẩn SAE này quy định động cơ tiêu chuẩn dùng để xác định các trị số đánh giá sự đánh lửa sớm của bugi (nến đánh lửa). Động cơ đã được quy định là động cơ đánh giá bugi SAE 17,6 in3.
B.3. Tài liệu viện dẫn
B.3.1. Các ấn phẩm áp dụng được
Các ấn phẩm sau tạo thành một phần của điều kiện kỹ thuật cho phạm vi quy định của tài liệu này. Trừ khi có chỉ dẫn khác, phải áp dụng bản soát xét mới nhất của các ấn phẩm của SAE.
B.3.1.1. Các ấn phẩm của SAE, Có thể có được từ SAE, 400 Commonwealth, Drive, Warrendale, PA 15096.0001.
SAE J973, Ignition System Measurement Procedure (Quy trình đo hệ thống đánh lửa).
SAE SP-243, Proceedings of the 28th Automotive Technology Development Contractors Coordination Meeting, 27 (Biên bản của hội nghị 27 về phối hợp của các bên tham gia triển khai công nghệ ô tô lần thứ 28).
AS 840, Manual, July 1964 (Sách hướng dẫn, tháng 7 -1964).
B.4. Các chữ viết tắt
| abc | Sau điểm chết dưới |
| abs | Tuyệt đối |
| assy | Bộ phận |
| atc | Sau điểm chết trên |
| bbc | Trước điểm chết dưới |
| bdc | Điểm chết dưới |
| bp | Điểm sôi |
| brg | Ổ trục |
| brkt | Giá đỡ |
| btc | Trước điểm chết trên |
| cap | Vít có mũ |
| °C | Độ bách phân |
| C.B | Đối trọng |
| cc | Centimet khối |
| cyl | Xi lanh |
| cm | Centimet |
| deg | Độ |
| Dia | Đường kính |
| etc | Vân vân |
| °F | Độ Fahrenheit |
| gal | Galông |
| HD | Đầu, cột áp |
| hex | Sáu cạnh |
| h | Giờ |
| Hg | Thủy ngân |
| / | Trên |
| ID | Đường kính trong |
| IMEP | Áp suất hiệu dụng trung bình chỉ thị |
| in | Inch |
| K,O | Knock out |
| lb,ft | Pounds-feet (pao-fit) |
| m | Mét |
| mm | Milimét |
| Mach | Máy |
| Mfg | Nhà sản xuất |
| min | Milimum hoặc phút |
| misc | Các thứ khác, tạp |
| mnt | Lắp ráp |
| No | Số |
| NPT | Ren NPT (Ren ống quốc gia) |
| O.A.L | Chiều dài toàn bộ |
| OD | Đường kính ngoài |
| oz | Ounces (ao sơ) |
| P.F | Lắp ép |
| PSI | Pounds trên inch vuông |
| qt | Quart (đơn vị đo lường bằng 1,14 lít) |
| rd | Vòng tròn |
| rpm | Vòng trên phút |
| SAE | Hiệp hội các kỹ sư ô tô |
| s | Giây |
| soc | ống nối |
| spkt | Bánh xích |
| std | Tiêu chuẩn |
| tdc | Điểm chết trên |
| V | Von |
| w | Watt |
| X | Bởi |
B.5. Bộ phận xy lanh
Bộ phận xy lanh gồm có một cụm thân xy lanh bằng gang và một cụm đầu xy lanh bằng gang có thể tháo được, cụm đầu xy lanh gồm có các thân của cơ cấu đòn gánh được đúc liền khối và các nắp đóng kín hoàn toàn cơ cấu phân phối bằng xupap. Cụm thân xy lanh có một ống lót xy lanh bằng gang đúc ly tâm tháo được, được lắp trong thân xy lanh và được kẹp chặt với đầu xy lanh bằng mười bulông có đường kính 12,7 mm (1,2 in) để mở rộng chiều dài của thân xy lanh. Chất làm mát được truyền từ áo làm mát thân xy lanh tới đầu xy lanh thông qua mười lỗ được khoan trong đầu và thông với đường dẫn nước giữa ống lót xy lanh và áo nước làm mát. Đầu xy lanh được bố trí trên đầu mút phía trên của thân xy lanh bởi phần kéo dài có dẫn hướng trên thân xy lanh. Buồng đốt được bít kín bằng một vòng đệm kín bằng đồng được ép tới chiều dày xác định trước khi siết chặt mười bulông.
Buồng đốt có dạng hình bán cầu với đường trục của hai xu pap giao nhau tại tâm của hình cầu. Các ống lót cho mặt tựa hai xupap được mở rộng trong đầu xy lanh. Trong vài năm đã qua, việc xem xét lại đầu xy lanh đã được thực hiện và sau đây sẽ mô tả đầu xy lanh kiểu cũ, liền khối không có ống lót bugi 5573 (Hình 2) và đầu xy lanh kiểu mới, lắp ghép ống lót bugi 16001 (Hình 3). Về kiểu 5573 vẫn đang được sử dụng ở một số hãng, có hai lỗ ren để lắp các bugi trên các thành bên đối diện nhau của vòm đầu xy lanh và trong một mặt phẳng vuông góc với mặt phẳng đi qua các xupap. Góc giữa các lỗ là 110 °. Sự phối hợp tiêu chuẩn của đường kính ren bugi và chiều sâu ăn khớp ren được chỉ dẫn trên bản vẽ Số 16100 Labeco.
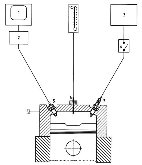
CHÚ THÍCH: Bugi nhiệt dùng để đánh giá bugi được lắp vào một trong các lỗ lắp bugi và gắn với một cặp nhiệt điện cromen -alumen có tốc độ đáp ứng từ 7-1/2 s khi nhiệt độ phòng thay đổi tới 620 °C ± 28 °C (1150 °F ± 50 ºF) khi được nhúng trong bể thiếc nóng chảy ở 815 °C ± 5,6°C (1500 °F đến 10 °F). Nhiệt độ của bugi nhiệt có thời gian di chuyển (max) là 4,5 s cho dải nhiệt độ từ -18 °C đến 860 °C (0 °F đến 1500 °F).

Hình 2 - Đầu xy lanh kiểu liền khối (có ống lót bugi) (chi tiết # 5573)

Hình 3 - Đầu xy lanh kiểu liền khối (không có ống lót bugi) (chi tiết # 16001)
Đầu xy lanh 16001 hiện nay là đầu tiêu chuẩn có các ống lót cho bugi được lắp trong đầu xy lanh với sáu vít cấy 8 mm (1/16 in). Ống lót bugi này được bít kín vào buồng đốt và với khí quyển với hai vòng “O”. Kết cấu này tạo ra một áo nước tách biệt cho ống lót bugi với áo nước của xy lanh và đầu xy lanh. Ống lót bugi này cho phép thay đổi từ một cỡ bugi này sang cỡ bugi khác chỉ trong khoảng độ vài phút mà không gây nhiễu loạn cho xy lanh, đầu xy lanh hoặc pit tông và yêu cầu này là cần thiết cho thiết kế đầu xy lanh cũ 5573. Với đầu xy lanh kiểu 16001, có thể lắp một bugi nhiệt ở mọi thời điểm.
Ống lót xy lanh thường có chiều dày đồng đều từ đỉnh tới đáy, trừ một gờ ngoài nhỏ gần đầu mút dưới của ống lót. Gờ này khớp vào một mặt bích dạng vòng bằng thép để bít kín ống lót với thân và đầu xy lanh bằng các đệm kín và chỉnh mười bulông kẹp chặt thân với đầu xy lanh. Bề mặt trong của xy lanh được lăn hoa trước khi mài doa hoàn thiện, và sau khi mài doa lần cuối, bề mặt được xử lý Parco-Lubrize.
Chất làm mát đi vào đầu mút dưới của thân xy lanh ở mặt mút của bánh răng định thời gian và rời khỏi bộ phận tại đỉnh xy lanh giữa các hộp cơ cấu đòn gánh. Chất làm mát dùng cho ống lót bugi trong đầu xy lanh kiểu 16001 đi vào áo làm mát của ống lót ngay bên dưới ống lót và rời khỏi áo làm mát ống lót ngay phía trên ống lót.
Cơ cấu đòn gánh bằng gang tạo ra độ nâng của xupap 8 mm (5/16 in) đối với độ nâng của trục khuỷu 6,33 mm (1/4 in) được lắp các ổ kim cho các trục di động bằng thép thấm cacbon và tôi cứng của cơ cấu đòn gánh, được kẹp chặt bằng các tấm nắp có lắp ghép bulông với các thân cơ cấu đòn gánh. Mỗi đòn gánh (thanh lắc) có con lăn ở đầu mút của xupap và một vít điều chỉnh ở đầu mút của thanh đẩy. Cơ cấu phân phối bằng xupap được bôi trơn bằng dầu có áp từ các thanh đẩy xupap qua một lỗ trong vít điều chỉnh tạo ra bôi trơn vung tóe, được bổ sung bởi bôi trơn của xupap do thân thanh đẩy 12,7 mm (1/2 in) phóng vào hộp cơ cấu đòn gánh xả (thanh lắc xả).
Các xupap, một hút và một xả, có các đường kính thân xupap và chiều dài lớn hơn nhiều so với các đường kính thường được quy định cho các đường kính đầu xupap được sử dụng. Mỗi xupap được vận hành bởi hai lò xo xupap để tạo ra hoạt động đáp ứng yêu cầu và bao gồm 3200 r/min (rpm).
B.6. Bộ phận trục khuỷu
Đầu mút lắp bánh răng được xem là đầu mút trước của hộp trục khuỷu (cacte) và đầu mút lắp bánh đà là đầu mút sau của hộp khuỷu. Hộp trục khuỷu gồm có một thân đúc bằng gang rất cứng vững với các lỗ khoan dẫn dầu cho phép bôi trơn có áp cho tất cả các bề mặt của ổ trục. Hộp trục khuỷu, từ ổ trục chính tới đáy có lắp hai trục có đối trọng quay ngược chiều nhau được dẫn động bằng xích. Nắp hộp bánh răng định thời bao che các bánh răng định thời, truyền động xích cho các trục có đối trọng cân bằng và căng xích chạy lồng không. Một bơm đầu được lắp bên ngoài trên nắp hộp bánh răng định thời và được dẫn động thông qua khớp nối Oldham (khớp nối hai then trượt) bởi trục có đối trọng cân bằng bên trái. Hai nắp lớn được lắp ghép bulông với các mặt bên của hộp trục khuỷu cho phép kiểm tra bên trong hộp trục khuỷu.
Có ba ổ trục chính, ổ trục chính phía trước được lắp ép vào phần gối đỡ phía trước của sàn hộp trục khuỷu và hai ổ trục chính sau được lắp ép vào ruột một ống nối đỡ tháo được. Toàn bộ ba ổ trục được cố định tại vị trí bằng các chốt côn. Tất cả các ổ trục chính đều có kết cấu một chi tiết (liền khối), kiểu ổ trục balit và được gia công lỗ chính xác ở vị trí lắp, không có sự điều chỉnh để bù cho sự mài mòn. Khe hở mặt mút của trục khuỷu được điều chỉnh bằng gia công theo kích thước của các mặt mút chặn của hai ổ trục chính bên trong với bạc chặn được kẹp chặt ở vị trí lắp trên hộp trục khuỷu có đệm kín chính xác.
Trục khuỷu là một chi tiết bằng thép rèn cứng chắc, có các ngõng trục được tôi cứng để bảo đảm độ mòn nhỏ nhất và được lắp đối trọng để cân bằng với trọng lượng ly tâm phù hợp với quy trình kỹ thuật tiêu chuẩn. Có các rãnh then cho lắp bánh đà và tất cả các bộ truyền động ở đầu mút phía trước của hộp trục khuỷu. Có lắp ghép ren cho đai ốc hãm phía trước trục khuỷu. Đầu mút sau của trục khuỷu được gia công cơ để sử dụng đệm kín hướng tâm. Vòng bít phía trước cũng là một đệm kín hướng tâm để bít kín bạc cách có chi tiết định thời.
Các trục có đối trọng cân bằng bằng chì được lắp ở phần bên dưới của hộp trục khuỷu. Các trọng lượng cân bằng làm triệt tiêu các lực mất cân bằng do phần phía trên của bộ phận thanh truyền và pit tông gây ra. Các trục này được lắp trong các bạc (ống) lót bằng đồng được lắp ép vào thành sau của hộp trục khuỷu và các bạc (ống) lót phía trước được lắp ép vào ống nối đỡ dẫn hướng ổ trục. Chúng được dẫn động ngược chiều nhau ở tốc độ của hộp trục khuỷu bằng truyền động xích ba cấp tốc độ. Độ căng của xích được điều chỉnh bằng một bánh căng xích lắp lồng không trên một bạc lệch tâm có thể được hãm cố định tại một vị trí để tạo ra độ căng xích theo yêu cầu. Bánh đà bằng thép rèn được lắp trực tiếp trên phần có ren và được tôi cứng ở phía sau trục khuỷu và được kẹp chặt bằng then và đai ốc hãm.
Trục cam, được dẫn động thông qua các bánh răng nghiêng, được chế tạo bằng thép thấm cácbon với các ngõng trục và các cam được thấm cácbon và tôi cứng. Phần trước của trục cam kéo dài qua hộp bánh răng định thời dùng cho dẫn động phụ. Sử dụng một vòng bít kín dầu tại vị trí này. Có hai ổ trục bằng đồng brông cho trục cam ổ trục trước (a) chịu tác dụng của lực đẩy ở đầu mút trục cam, được lắp ghép bulông thông qua một mặt bích với phần gối đỡ phía trước của hộp trục khuỷu; ổ trục sau (b) là một bạc (ống) lót được lắp ép vào phần gối đỡ phía sau của hộp trục khuỷu. Có thể điều chỉnh khe hở mặt mút bằng cách cắt đi một phần kim loại khỏi mặt mút bên trong của ổ trục trước.
Các cơ cấu nâng (con đội) xu pap có kiểu con lăn. Các chi tiết dẫn hướng là các chi tiết đúc bằng gang và được kẹp chặt vào mặt sàn trên đỉnh của hộp trục khuỷu bằng các vít có mũ, độ thẳng hàng chính xác theo phương thẳng đứng được bảo đảm bằng các vai (gỡ) được lắp trong các lỗ dẫn hướng được khoan trên sàn của hộp trục khuỷu.
Thanh truyền là một thanh thép rèn có một ổ trục ghép chính xác kiểu bạc lót, nắp ổ được kẹp chặt bằng hai bulông có tỷ lệ tương đối lớn. Các ổ trục được chế tạo bằng thép có lỗ chính xác, được dát bạc ở mặt lưng và không điều chỉnh được khi mòn. Bạc lót chốt pit tông được lắp ép vào thanh truyền và được chế tạo bằng đồng brông đúc cứng.
Chốt pit tông được chế tạo bằng thép thấm cacbon và tôi cứng, có đường kính thích hợp và bán kính phần hình cầu 32,50 mm (1-9/32) in.
Pit tông được chế tạo bằng gang đúc, có bốn vòng găng và một vòng găng dầu, tất cả được bố trí ở phía trên chốt pit tông và một bao chứa natri được gắn trong đầu. Bao chứa natri này được làm mát bằng phun dầu từ đầu nhỏ của thanh truyền dùng để ngăn ngừa sự quá nhiệt cục bộ của pit tông bằng cách làm tiêu tán nhiệt đồng đều hơn cho thành xy lanh qua các vòng găng và thân pit tông vào dầu bôi trơn. Bao chứa natri gồm có một khoang với hai chi tiết bằng đồng hàn bao bọc hoàn toàn lượng natri được lắp vào bên trong vật đúc. Áp lực ở giữa đầu pit tông được truyền trực tiếp cho đỉnh pit tông bằng kết cấu bên trong của bao chứa natri. Tỷ số nén của động cơ là 5,6:1.
B.7. Hệ thống hút (nạp) không khí
Hệ thống hút (nạp) gồm có một bộ phận bình chứa không khí và một ống hút. Bình chứa không khí là một vật đúc hình trụ bằng nhôm được lắp trên đỉnh của ống hút và vận hành như một buồng cân bằng để cung cấp áp lực (suất) không đổi ở đường vào hệ thống hút. Hệ thống này gồm có một ống đứng (ống đo áp) đường kính trong 22,2 mm (7/8 in) bằng đường kính ống dẫn và một bộ lọc có bốn lớp lưới bằng đồng brông (hai mạng lưới 110 và hai mạng lưới 22) để ngăn chặn cặn bẩn đường ống và cặn bẩn đi vào xylanh. Không khí đi vào bình chứa theo phương tiếp tuyến và được hút ra ở lối vào ống đứng gần với đỉnh bình chứa. Hai cặp nhiệt điện được đặt trong bình chứa không khí, một được nối với một bộ điều chỉnh để duy trì nhiệt độ không khí vào ở 107,2 °C ± 2,8 °C (225 °F ± 5 °F) (xem Phần B.13) và cặp nhiệt điện kia dùng để chỉ thị nhiệt độ.
Ống hút là một ống gang có dạng uốn cong 900 và được kẹp chặt với đầu xy lanh bằng bốn vít cấy. Xung quanh ống hút có vỏ bọc để tạo ra độ cứng vững lớn cho đường ống. Phải có phương tiện để lắp vòi phun nhiên liệu trên một mặt bên của ống hút giữa đầu xy lanh và bình chứa không khí.
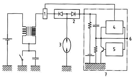
B.8. Hệ thống đánh lửa
Hệ thống đánh lửa có thể gồm có hai hệ thống để lựa chọn, một hệ thống đánh lửa manhêtô và hệ thống kia là hệ thống đánh lửa phóng điện bằng tụ điện.
B.8.1. Hệ thống đánh lửa manhêtô
Hệ thống đánh lửa manhêtô gồm có một manhêtô thấp áp, một cuộn dây cao áp và bộ phận dẫn động bằng khớp điện từ. Manhêtô được lắp độc lập trên giá của động cơ được dẫn động ở tốc độ động cơ thông qua bộ phận khớp nối dẫn động điện từ được dẫn động ở tốc độ động cơ thông qua bộ phận khớp nối dẫn động điện từ được nối với phần kéo dài phía trước của trục khuỷu. Chuyển động quay của manhêtô ngược chiều với chiều kim đồng hồ khi nhìn từ đầu dẫn động của manhêtô. Manhêtô tạo ra và phân phối dòng điện có điện áp thấp thông qua các dây dẫn thấp áp đến cuộn dây cao áp. Bằng cuộn dây này, điện áp thấp được biến đổi thành điện áp cao và được dẫn qua một đoạn dây dẫn cao áp ngắn tới bugi trong động cơ. Các xung âm phân cực phải được cung cấp cho bugi.
Bộ phận dẫn động bằng khớp điện từ gồm có một cụm bích nối điều chỉnh được, hai khớp nối mềm và một bích nối dẫn động được lắp then với trục khuỷu. Cụm bích nối điều chỉnh được có một đĩa với hai vít cố định có thể được định vị trong hai rãnh tròn trên đĩa khác.
Khi định thời đánh lửa của manhêtô cho động cơ, tháo nắp bộ chuyển mạch và phích kiểm tra định thời ra khỏi manhêtô. Với trục khuỷu được đặt ở vị trí đánh lửa sớm theo mong muốn trên, hành trình nén, định vị cụm bích nối điều chỉnh được sao cho chấm trắng trên vấu được vát cạnh của cơ cấu phân phối có kích thước lớn xếp thành hàng với kim chỉ khi nhìn qua lỗ kiểm tra. Ở vị trí này, các điểm của bộ chuyển mạch của manhêtô được mở ngay lập tức.
B.8.2. Hệ thống đánh lửa khác
Bất cứ hệ thống đánh lửa tự động nào sẵn có cho sử dụng trên thị trường như hệ thống phóng điện của tụ điện, hệ thống điện tử không có bộ chuyển mạch hoặc hệ thống có bộ chuyển mạch kiểu cảm ứng sẽ được xem là thỏa mãn yêu cầu sử dụng với điều kiện là đáp ứng được các đặc tính kỹ thuật sau của hệ thống.
Điện áp mạch hở: 24 kV (nhỏ nhất)
Thời gian tăng tốc: 50 ms (lớn nhất)
Khoảng thời gian hồ quang: 60 ms (nhỏ nhất)
Tính phân cực: Âm
Tất cả các số đo được lấy với đánh lửa của bugi ở các điều kiện sau:
Khe hở bugi: 0,635 mm (0,025 in);
Động cơ làm việc ở tốc độ: 2700 r/min (rpm);
Tăng áp Hg: 2540 mm (100 in);
Định mức thời gian tia lửa - 300 trước điểm chết trên (BTDC);
Thực hiện các phép đo điện áp phù hợp với SAE J973.
B.9. Hệ thống nhiên liệu
Hệ thống nhiên liệu gồm có một bơm cấp nhiên liệu, bộ lọc, bộ làm mát nhiên liệu, cụm bơm phun nhiên liệu, vòi phun và bình chứa nhiên liệu như đã chỉ dẫn trên Hình 4.
Bơm thể tích cấp nhiên liệu kiểu bánh răng được dẫn động ở tốc độ 600 r/min và có dung tích 2,0 L/min ± 1,0 L/min (1/2 gal/min ± 1/4 gal/min) ở tốc độ này. Bộ lọc thuộc kiểu nhiều đĩa có khoảng cách đĩa 0,038 mm (0.0015 in). Để giảm khó khăn trong quá trình vận hành động cơ do sự nhiễm bẩn nhiên liệu nên lọc nhiên liệu qua bộ lọc 2 mm trước khi cung cấp cho hệ thống nhiêu liệu.

Hình 4 - Hệ thống nhiên liệu được đề nghị sử dụng
Cụm bơm phun nhiêu liệu thuộc kiểu Robert Bosch một xy lanh PES1A80C 300/3RSX01 (ref.Labeco 200026-1) được lắp trên cùng một giá lắp để đỡ manhêtô. Bơm có lưu lượng cung cấp thay đổi và được dẫn động với tốc độ bằng một nửa tốc độ động cơ qua cụm khớp nối dẫn động (tương tự như cụm khớp nối được dùng cho manhêtô) được nối với phần kéo dài phía trước của trục cam động cơ. Đầu nối ra của bơm có lắp một van an toàn lò xo để duy trì áp suất 100 kPa ± 15 kPa (15 psi ± 2 psi) trong đường dẫn của bơm làm giảm nghẽn hơi nước. Một bộ phận làm mát nước được lắp đặt trong đường dẫn của bơm để nước mát tuần hoàn qua duy trì được nhiệt độ nhiên liệu trong phạm vi mong muốn từ 16 °C đến 32 °C (60 °F đến 90 °F).
Một phần nhiên liệu, được xác định bằng chỉnh đặt van phân phối của bơm phun, đi qua vòi phun và tạo ra sự cân bằng cho bình chứa nhiên liệu. Chất bôi trơn của bơm phun, dầu SAE 30 hoặc dầu thầu dầu, nên được thay sau ít nhất 50 h sử dụng. Thực hiện sự định thời của bơm phun bằng cách chỉnh đặt bánh đà của động cơ ở 60º sau điểm chết trên (atc) trong hành trình hút, và nối bơm phun vào trục cam của động cơ với vạch dấu trên trục côn của bơm thẳng hàng với đường “R" trên nắp mặt mút của bơm, đối với chuyển động quay theo chiều kim đồng hồ của bơm khi được nhìn từ đầu dẫn động. Khi đã thẳng hàng, cửa van tràn của bơm được đóng lại và bắt đầu cung cấp nhiên liệu cho vòi phun.
Vòi phun được lắp trên đầu mút phía trên của ống hút và trực tiếp phun nhiên liệu qua đường dẫn vuông góc với chiều của dòng không khí.
B.10. Hệ thống làm mát
Với các hàng vẫn còn sử dụng đầu xy lanh cũ kiểu liền khối không có ống lót bugi, trong đó nhiệt độ chất làm mát phải được duy trì ở 130 °C (265 °F), cần sử dụng hệ thống làm mát kiểu có áp. Mô tả chi tiết về kiểu hệ thống làm mát được đề nghị khi sử dụng đầu xy lanh liền khối được lập thành tài liệu trong sách hướng dẫn AS 840 đã xuất bản trong tháng 7 năm 1964.
Khi sử dụng kết cấu đầu xy lanh kiểu có lắp ống lót bugi, có thể sử dụng hệ thống làm mát có áp như đã nêu ở trên. Tuy nhiên, kinh nghiệm chỉ ra rằng vì nhiệt độ chất làm mát yêu cầu cho kiểu đầu xy lanh này chỉ là 88 °C (190 °F) cho nên vẫn muốn sử dụng một hệ thống làm mát vận hành ở áp suất khí quyển. Hình 5 giới thiệu một hệ thống làm mát kiểu này được khuyến nghị cho sử dụng. Hệ thống chủ yếu gồm có một bơm chất làm mát, bộ trao đổi nhiệt, bình giảm áp với hệ thống đường ống phụ để phân phối chất làm mát cho cả ống lót bugi và áo làm mát buồng đốt. Bơm chất làm mát có thể là bơm ly tâm có đủ công suất để tuần hoàn chất làm mát ở tốc độ xấp xỉ 19 L/min (5 gal/min) trong các điều kiện vận hành.

Bộ trao đổi nhiệt có thể là một thiết bị thương mại có công suất khoảng 95 000 Btu/h (6 650 gr - cal/s) để đun nóng nước vòi đi vào ở nhiệt độ phòng tới nhiệt độ yêu cầu 88 °C (190 °F).
Các bộ điều chỉnh nhiệt độ thích hợp được lắp đặt tại các điểm vào áo làm mát đầu xy lanh và ống lót bugi để duy trì được nhiệt độ vào 88 °C (190 °F). Sử dụng nước cất hoặc nước đã qua xử lý làm môi chất làm mát để ngăn ngừa sự tạo thành các chất kết tủa (cặn) khoáng vật trong hệ thống làm mát. Vì hệ thống này vận hành ở áp suất khí quyển, bình giảm áp nên được nâng cao lên tới vị trí sao cho mức chất làm mát ở phía trên điểm cao nhất trong động cơ. Có thể bổ sung chất làm mát theo yêu cầu.
B.11. Hệ thống bôi trơn
Sơ đồ lắp đặt toàn bộ hệ thống bôi trơn cho động cơ 5 750 được giới thiệu trên Hình 6. Bơm dầu được lắp bên ngoài trên nắp trước của hộp bánh răng định thời (định thời đánh lửa) và được dẫn động, thông qua một khớp nối Oldham bởi trục đối trọng (cân bằng) bên trái. Tất cả các ổ trục được bôi trơn có áp qua chỉ một van giảm áp được chỉnh đặt đến 690 kPa ± 35 kPa (100 psi ± 5psi). Các bánh răng định thời và xích truyền động có đối trọng được bôi trơn bằng tia phun dầu từ một lỗ định cỡ trong bánh xích của trục truyền động có đối trọng. Các xupap và đòn gánh (thanh lắc) được bôi trơn bằng rỉ dầu qua trục cam tới con đội xupap và qua cần đẩy tới đòn gánh. Áp suất cho cơ cấu xupap từ 70 kPa đến 105 kPa (10 psi tới 15 psi) tùy theo khe hở trong các ổ trục cam và giữa con đội xupap và bộ phận dẫn hướng của con đội xupap.
Bộ làm mát dầu được chế tạo có đường ống bằng thép và giống đến từng chi tiết với bộ trao đổi nhiệt của chất làm mát (Hình 5), trừ chiều dài.

B.11.1. Bộ lọc dầu là bộ lọc kiểu đĩa có chế độ làm việc nặng với khe hở giữa các đĩa 0,1 mm (0,0035 in) để chịu được áp suất cao và được chế tạo để có thể làm sạch các mép đĩa mà không cần phải tháo rời các đĩa. Có ba lỗ cho tháo dầu, đường dầu vào và đường dầu ra.
B.11.2. Bộ lọc dầu khác Có thể sử dụng một bộ lọc dầu cho động cơ máy bay cùng với một cụm đầu lọc điều khiển từ xa như một kiểu bộ lọc khác với bộ lọc kiểu đĩa ban đầu dùng cho động cơ đánh giá. Bộ lọc nên có giá trị thử áp suất nổ nhỏ nhất 2 760 kPa (400 psi) và không nên có hệ thống đường dẫn vòng bên trong. Đầu bộ lọc nên có một hệ thống đường dẫn vòng với dụng cụ chỉ báo điện quan sát bằng mắt để chỉ báo khi bộ lọc sử dụng hệ thống đường dẫn vòng. Các bộ lọc này thường là các bộ lọc kiểu xoay và nên được thay thế ở các khoảng thời gian cách đều nhau. Các bộ lọc này nên có sự hạn chế đối với các hạt 45 mm hoặc nhỏ hơn.
Bốn bộ nung nóng dầu kiểu ống được định vị trên mặt trước của hộp trục khuỷu và kéo dài vào trong đáy của hộp trục khuỷu. Có ba công suất nung nóng hộp trục khuỷu (285, 570 và 1140) W.
Dầu bôi trơn là loại dầu máy bay không có chất phụ gia SAE 120. Có thể sử dụng hai mươi centimet khối bột graphit (DAG) phân tán Số 2404 cho mỗi 2,2 L (2,5 qt) dầu để giảm sự tạo thành sơn dầu trên các chi tiết di động của động cơ. Dụng cụ chỉ thị mức dầu của hộp trục khuỷu được lắp trong một chi tiết đúc được kẹp chặt bằng bulông vào mặt bên của hộp trục khuỷu, mức dầu được giữ ở một nửa khoảng cách kính quan sát với động cơ ở trạng thái nghỉ. [Dung tích của hộp trục khuỷu 2,2 L (2,5 qt) toàn bộ hệ thống, khoảng 5,7 L (6 qt). Bộ phận gom dầu nên được xả ra hết, được làm sạch hoàn toàn và được nạp lại sau 50 h chạy máy.
B.12. Hệ thống xả
Kết cấu của ống xả được kẹp chặt với đầu xy lanh bằng bốn vít cấy, gồm có một ống thép dài 25,4 cm (10 in) với các mặt bích bằng thép được hàn đồng vào mỗi đầu mút ống. Ống được bọc áo làm mát đến khoảng hai phần ba chiều dài ống bằng ống thép khác được sử dụng như một bộ trao đổi nhiệt của chất làm mát.
Mặc dù mục đích đầu tiên của bộ trao đổi nhiệt chất làm mát này là duy trì nhiệt độ chất làm mát vào áo xy lanh khi động cơ được vận hành với sự tăng áp thấp và do đó có công suất thấp, nhưng bộ trao đổi nhiệt này cũng rất có hiệu quả trong: (a) tránh sự ăn mòn và tạo thành vết nứt của kết cấu hàn ống xả; (b) lấy đi nhiệt thải khỏi vùng lân cận của động cơ để thuận tiện cho người vận hành; (c) tránh được sự mắc kẹt của các đai ốc và vít cấy kẹp chặt ống xả với đầu xy lanh.
Hệ thống được khuyến nghị có ít hỏng hóc nhất và được sử dụng rộng rãi là hệ thống trong đó khí thải được làm mát bằng cách phun nước, hỗn hợp được tạo thành đi qua một ống mềm dẫn hơi nước được bọc cao su tới ống xả. Hệ thống này có lợi ích tăng gấp đôi đối với làm mát ống xả để thuận tiện cho người vận hành và ngăn ngừa sự rò rỉ của ống xả từ các vết nứt trong các mối nối hoặc mối hàn do nhiệt độ tăng quá mức. Vòi phun nước được hàn với một mặt bích và cụm chi tiết này được kẹp chặt với kết cấu hàn của ống xả bằng các bulông và đai ốc thép không gỉ. Ống khuỷu hướng theo chiều đi xuống, ra xa người vận hành, hỗn hợp nước khí xả ra đi vào ống 10,2 cm (4 in) được đặt bên ngoài tòa nhà rồi vào ống nối chữ T 10,2 cm (4 in). Hai chi tiết ống được vặn ren vít vào ống nối chữ T này, một kéo dài thẳng đứng lên phía trên lan can của tòa nhà trên đó có lắp ống tiêu âm đề giữ sự yên tĩnh, chi tiết ống kia kéo dài thẳng đứng đi xuống bộ phận gom khí xả. Việc tháo nước trong bộ phận gom nước được giữ ở mức xấp xỉ 12,7 cm (5 in) tính từ giới hạn đáy của phần bộ phận gom nước được hạ thấp này và sử dụng cả hai chi tiết ống như một cửa van nước và một van an toàn áp suất ngược trong trường hợp ống thẳng đứng trên cao bị nút kín lại.
Có thể tạo ra tín hiệu báo động đơn giản đối với áp suất ngược bằng cách luồn một dây thép vào mỗi chân (trụ) của ống chữ U có chứa dung dịch nước và muối, một dây thép được nhúng chìm vào dung dịch điện phân và dây thép thử hai được đặt phía trên dung dịch điện phân. Một mạch điện đơn giản được tạo thành bằng cách mắc nối tiếp một chuông, một nguồn điện 6 V và “công tắc" ống chữ U. Khi áp suất ngược tăng để nâng dung dịch điện phân lên tới mức đủ để tiếp xúc với dây thép thứ hai, mạch điện được hoàn thành để rung chuông.
Phần còn lại của hệ thống xả cho động cơ có thể được để lại theo quyết định của phòng thí nghiệm thử với một số điều cần lưu ý. Thông thường, nên có sự đề phòng để tránh bất cứ ảnh hưởng nào của sự cộng hưởng có thể gây ra các áp suất ngược luân phiên lúc cao, lúc thấp. Có thể dễ dàng khắc phục được ảnh hưởng của sự cộng hưởng này bằng nhiều phương pháp giảm chấn khác nhau như các ống khuỷu, buồng điều áp và v.v... Nên giới hạn áp suất ngược trong hệ thống để tránh khó khăn trong làm sạch khí xả của xy lanh do sự phủ chờm của xupap dẫn đến nhiệt độ không bình thường của đầu xy lanh. Nên tránh bất cứ sự gom nước nào có thể xuất hiện trong hệ thống xả. Nên hướng khí xả đi xuống khỏi kết cấu hàn của ống xả để ngăn ngừa sự tích tụ hơi ẩm khi động cơ không được vận hành. Ống dẫn khí xả này có thể được cung cấp áo nước để làm giảm bớt nhiệt trong khu vực thử.
Nên có phương tiện để có thể sẵn sàng tháo ống xả ra và nút kín ống xả lại trong trường hợp động cơ không được vận hành trong thời gian dài để tránh sự ăn mòn kết cấu hàn của ống xả bởi các axit trong khí xả.
B.13. Hệ thống thông hơi hộp trục khuỷu
Động cơ 5750 có một chi tiết đúc được gắn vào tấm nắp bên trái. Chi tiết đúc này được khoan lỗ để lắp ống 12,7 mm (1/2 in). Có thể lắp một ống khuỷu vào lỗ này và một đoạn ống ngắn của ống được kéo dài thẳng đứng hoặc được kéo dài tới hệ thống xả. Tấm che trên phía bên trong của tấm nắp ngăn ngừa dầu rò rỉ phun ra.
B.14. Hệ thống cung cấp không khí
Hệ thống cung cấp không khí gồm có một máy nén, một bộ phân ly không khí/nước, một van vận hành bằng phao, một bơm tuần hoàn nước, một cơ cấu báo động mức nước, một van solenoid thường đóng, một bộ điều chỉnh áp suất không khí, hai bộ nung nóng không khí, một máy biến áp tự ngẫu, một bộ kiểm tra nhiệt độ không khí và các thiết bị điện khác.
Máy nén được sử dụng thuộc kiểu bơm pit tông ly tâm (Nash MD 574 hoặc Nash 1251) và gồm có một rôto nhiều lá cánh tròn quay tròn tự do trong một vật đúc hình elip có chứa một phần nước. Các lá cánh của rôto được uốn cong và nhô ra theo phương hướng tâm khỏi mayơ và tạo thành với vỏ bảo vệ hai bên một loạt các túi xung quanh chu vi. Rôto quay tròn ở tốc độ đủ cao để làm văng chất lỏng từ tâm ra ngoài dưới tác dụng của lực ly tâm tạo thành một vòng chất lỏng có hình khối quay tròn trong một vỏ bọc (vật đúc) ở cùng một tốc độ như tốc độ của rôto, nhưng theo hình elip của vỏ bọc. Vì chất lỏng chuyển động theo vỏ bọc và được kéo ra từ rôto cho nên không khí được kéo vào qua hai cửa vào được bố trí xung quanh mayơ của rôto và được nối với cửa vào của bơm. Vì chất lỏng bị vỏ bọc ép trở lại vào trong khoang (buồng) rôto cho nên không khí bị gom lại trong khoang được nén lại và đẩy ra qua hai cửa xả được bố trí xung quanh mayơ của rôto và được nối với cửa ra của bơm. Nước cung cấp cho bơm lấy nhiệt của quá trình nén và nước dư thừa được xả ra cùng với không khí. Bộ phân ly không khí/nước gồm có một thùng chứa hoạt động như một máy phân ly ly tâm bằng cách lấy nước trong hỗn hợp ra khỏi không khí. Vì hỗn hợp không khí và nước đi vào máy phân ly theo phương tiếp tuyến, nước rơi xuống đáy và được thải ra bằng một van xả vận hành bằng phao được bố trí ở khoảng một phần ba đường dẫn đến thùng chứa. Các tấm chắn thẳng đứng nâng lên khỏi mức nước nhiều inch và ngăn nước ở đáy quay theo dòng xoáy và trào qua các thành bên của máy phân ly. Không khí được hút ra qua ống cung cấp nhô vào trong chụp (vòm) thùng chứa khoảng 3 in để ngăn nước tạo thành dòng xoáy trên bề mặt vòm thùng lẫn vào không khí xả. Phía bên trong máy phân ly được mạ kẽm để chịu được các điều kiện ăn mòn khá khốc liệt do cọ sát với nước có không khí bão hòa. Các khớp nối được hàn với thùng chứa nước để thải nước, lắp kính kiểm tra mức nước, các cặp nhiệt điện và các vòi nước có áp.
Không khí được cung cấp từ máy phân ly ở trạng thái bão hòa và có thể được làm lạnh dưới điểm sương và nước đọng lại trong các đường ống nếu tình trạng nhiệt độ xung quanh thích hợp. Để ngăn ngừa sự lắng đọng của hơi ẩm, không khí được xả từ máy phân ly vào bộ nung nóng không khí trong đường ống 3 kW. Bộ nung nóng điều khiển tự động được cung cấp dòng điện để nâng nhiệt độ không khí tới mức thích hợp sao cho nhiệt độ này vẫn sẽ cao hơn nhiệt độ của thùng chứa cho bộ nung nóng không khí tiếp sau được bố trí liền kề với động cơ. Áp suất không đổi được giữ ở bất cứ giá trị xác định nào trong hệ thống bằng bộ điều chỉnh áp suất không khí kiểu màng chênh áp để xả ra không khí do động cơ không sử dụng đến.
Áp suất không khí cung cấp cho động cơ được điều chỉnh bởi một van cửa lớn 31,8 mm (1-1/4) in và một van kim nhỏ tính chỉnh 3,18 đến 12,7 mm (1/8 in đến 1/2 in) điều khiển bằng tay. Không khí tiết lưu đi qua bộ nung nóng không khí đường vào đi vào bộ phận bình chứa không khí của động cơ. Với thiết bị trong trình tự này, sự giãn nở của không khí ở các van tiết lưu xảy ra trước khi có tác dụng nhiệt và sự điều chỉnh của áp suất và nhiệt độ, trong đường ống phân phối đã được đơn giản hóa. Bộ nung nóng không khí đường vào gồm có một thiết bị điện kín 3 kW được nối với bộ phận bình chứa không khí bằng một ống mềm, nên dùng ống kim loại vì ống cao su rất có thể bị cháy thành than. Nhiệt độ không khí vào được điều chỉnh tự động tới 107,2 °C ± 2,8 °C (225 °F ± 5 °F) bằng bộ điều chỉnh nhiệt độ thích hợp được nối với một cặp nhiệt điện được đặt trong bộ phận bình chứa không khí. Phụ tải không biến trở của bộ nung nóng được tải bằng một công tắc tơ thường mở thích hợp, bộ điều khiển cung cấp dòng điện được giữ ở mức thấp cho cuộn dây.
Sơ đồ lắp đặt hệ thống cung cấp không khí được giới thiệu trên Hình 7. Như đã thấy, không khí được cấp cho máy nén qua bộ tiêu âm và van một chiều và được cung cấp cùng với nước trong hỗn hợp vào máy phân ly. Bộ tiêu âm được sử dụng để hạ thấp mức tiếng ồn, van một chiều để ngăn chặn nước chảy về qua máy nén khi máy nén không hoạt động. Từ máy phân ly, không khí đi qua bộ nung nóng không khí trong đường ống tới các van tiết lưu của động cơ, qua bộ nung nóng không khí đường vào động cơ. Toàn bộ đường ống là các ống 31,8 mm (1-1/4) in được mạ kẽm và nên có lớp bọc cách nhiệt cho tất cả các đường ống dài.

Hình 7 - Hệ thống cung cấp không khí
Để kiểm tra độ ẩm của không khí tăng áp ở mức 75 grên ± 25 grên (434 gms) trong 1 pound không khí khô, áp suất không khí và nhiệt độ không khí trong thùng chứa phải được giữ ở các giá trị gần như không đổi. Nhiệt độ đối với các áp suất khác nhau để duy trì độ ẩm này được cho trong Bảng 1.
Bảng 1 - Nhiệt độ đối với các áp suất khác nhau để duy trì độ ẩm
| Áp suất của hệ thống | Nhiệt độ không khí của thùng máy phân ly (°C) | Nhiệt độ không khí của thùng máy phân ly (°F) |
| 310 kPa (45 psi) | 38,9 | 102 |
| 380 kPa (55 psi) | 41,7 | 107 |
| 468 kPa (65 psi) | 44,4 | 112 |
Các nhiệt độ này được kiểm soát bằng sự điều chỉnh tự động lượng nước nhận được qua cửa vào bơm tuần hoàn nước để cung cấp nước có áp cho máy nén. Bơm tuần hoàn này có thể được khởi động và áp suất được triển khai trước khi máy nén được khởi động. Khi nhiệt độ không khí xả đạt tới nhiệt độ không khí của thùng máy phân ly, van solenoid thường đóng được mở ra và nước lạnh đi vào hệ thống. Nguồn cấp nước phải có áp suất cao hơn áp suất của không khí nén ít nhất là 69 kPa (10 psi). Nước dư chảy ra ngoài qua phao mức nước trong máy phân ly để thải ra. Khi nhiệt độ không khí xả giảm xuống dưới giá trị quy định, van solenoid đóng lại và nước lại được hâm nóng bởi máy nén. Cặp nhiệt điện được lắp trong đường ống không khí ra dẫn từ máy phân ly đưa van solenoid vào hoạt động.
Hai van an toàn được lắp trong thiết bị. Trên mặt bên của máy phân ly có lắp cơ cấu báo động mức nước để rung chuông nếu nước dâng lên trong thùng chứa và báo cho người vận hành rằng van phao mức nước đã bị kẹt. Van này có thể được nối với máy nén và/hoặc động cơ để tự động dừng máy và/hoặc động cơ nếu có yêu cầu.
Để ngăn ngừa bộ nung nóng không khí đường ống bị cháy trong trường hợp máy nén hư hỏng, đường đến cuộn dây tự hãm trong công tắc tơ cho bộ nung nóng được nối dây với phía có tải của bộ khởi động dùng cho động cơ máy nén. Theo cách này, sự bó kẹt của máy nén hoặc hư hỏng điện tạm thời sẽ loại bỏ công tắc của bộ khởi động do có bảo vệ quá tải nhiệt và cắt điện cho nung nóng.
CẢNH BÁO: Nên đặc biệt chú ý tới việc ngắt hoàn toàn các van tiết lưu tới động cơ nếu máy nén được phép chạy trong khi động cơ được ngắt bất cứ khoảng thời gian nào. Nếu van tiết lưu chỉ mới được mở ra trước áp suất khí quyển, sự giãn nở của không khí ẩm làm cho nước xuất hiện ở phía sau van và đi vào bình chứa không khí. Mặc dù lượng nước này có thể không đủ mức chiều sâu để chảy qua ống đo áp trong bình chứa vào ống hút làm cho động cơ dừng lại nhưng lượng nước ở đáy bình chứa luôn sẵn sàng trở thành dòng xoáy trào qua thành bình khi lưu lượng không khí qua bình chứa tăng lên do không khí đi vào tiếp tuyến với thành bình. Vì động cơ có dung tích làm việc của xy lanh tương đối nhỏ, cho nên lượng nước thu gom được trong bộ nung nóng không khí vào hoặc bộ phận van tiết lưu có thể đủ mức gây hư hỏng cho động cơ nếu được phép đi vào xy lanh. Nếu có nghi ngờ rằng nước đã tích tụ trong hệ thống, trước tiên phải tháo nước cho bình chứa không khí thông qua nút bít kín ở đáy bình; sau đó tháo bugi ra và khởi động động cơ với việc tăng dần tốc độ không khí đi vào ống hút. Quy trình này sẽ loại bỏ toàn bộ nước tích tụ một cách an toàn và tránh cho thanh truyền bị cong, sự tạo thành hang hốc trong pit tông và xy lanh bị phá hủy.
B.15. Quy trình bảo dưỡng và sửa chữa lớn
B.15.1. Quy định chung
Rất nên tránh việc kiểm tra các chi tiết cấu thành của động cơ trừ khi có các dấu hiệu rõ rệt về sự cố. Việc tháo động cơ thường xuyên không chỉ là không cần thiết và tốn thời gian mà còn làm tăng lên đáng kể khả năng gây hư hỏng cho các chi tiết của động cơ khi xử lý không cẩn thận.
Hộp trục khuỷu nên cho chạy 5 000 h trước khi cần phải tháo ra để kiểm tra và sửa chữa lớn. Trong phần lớn các trường hợp, sự sửa chữa lớn hoặc thay thế bất cứ chi tiết nào của động cơ là hiển nhiên và cần thiết. Tiếng gõ ở tần số thấp thường biểu thị hư hỏng của ổ trục chính, tiếng răng rắc vút cao, chốt pit tông bị lỏng và tiếng rít vút cao hoặc tiếng gầm rú chỉ báo sự cố của bánh răng định thời (định thời điểm đánh lửa). Sự cố dầu ở trục cam hoặc các phần kéo dài của trục khuỷu qua hộp trục khuỷu biểu thị vòng bít kín dầu bị hỏng. Tiếng lách cách quá mức trong các hộp cơ cấu đòn gánh (cò mổ) chỉ báo độ mòn của chốt con lăn đòn gánh, độ mòn của vòng đệm chặn đòn gánh, sự ảnh hưởng lẫn nhau của lò xo xupap hoặc khe hở quá mức của thanh đẩy xupap. Sự giảm áp suất dầu biểu thị độ mòn trong bơm, sự nới lỏng ra của thân bơm khỏi hộp trục khuỷu, đường ống vào bị bít lại, van an toàn bị kẹt dính khi mở hoặc hư hỏng của ổ trục. Nhiệt độ chất làm mát không kiểm soát được có thể là do hơi nước bị giữ lại trong bơm chất làm mát, sự kẹt bó của bơm, hoặc hư hỏng của động cơ dẫn động. Sự ngưng trệ hoặc đứt quãng trong vận hành của động cơ có thể là do hư hỏng của bugi, hư hỏng của dây dẫn đánh lửa, sự cố của manhêto, sự kẹt của pit tông trụ trơn bơm phun, sự giữ lại hơi nước trong nhiêu liệu của bơm phun, hư hỏng của bơm cung cấp nhiên liệu hoặc có lẽ đơn giản chỉ là độ dốc quá lớn. Làm việc liên tục với động cơ sẽ làm cho người vận hành làm quen với mức tiếng ồn thông thường của thiết bị và có thể chuẩn đoán được bất cứ triệu chứng nào một cách chính xác. Trong trường hợp có bất cứ dấu hiệu sự cố nào thì phải tìm ra lỗi sai sót và lỗi sai sót này phải được sửa chữa ngay, không được phép tiếp tục vận hành tới khi xảy ra hư hỏng lớn cho động cơ.
Sự đòi hỏi phải có sửa chữa nhỏ đối với xupap hoặc lắp lại vòng găng lại thường xuyên không phải là sự cố rõ rệt và sẽ thuộc phạm vi một chi tiết nào đó. Trong điều kiện vận hành thông thường theo thường lệ, các khoảng thời gian xử lý lại xupap 150 h là sự bảo dưỡng thích hợp, nhưng chất lượng hoạt động của động cơ vẫn là số chỉ tốt nhất cho sự cần thiết phải có sửa chữa lớn vì làm việc trong các điều kiện đánh lửa sớm khắc nghiệt ở áp suất hiệu dụng trung bình chỉ thị (IMEP) cao có thể đưa khoảng thời gian xử lý lại xupap về dưới 100 h. Cần kiểm tra định kỳ áp suất nén. Áp suất nén nên vào khoảng 790 kPa (115 psi) ở tốc độ 900 r/min (rpm). Ở bất cứ giá trị chỉnh đặt cố định nào của các điều kiện vận hành của động cơ đều có mối quan hệ xác định giữa sự tăng áp và áp suất hiệu dụng trung bình chỉ thị là một hàm số bậc nhất (đường thẳng) như đã chỉ dẫn trên Hình 8 và nên được sử dụng khi động cơ ở trong điều kiện vận hành tốt. Ở các mức công suất cao, các điểm vẽ đồ thị sẽ nằm dưới đường cong này nếu các xupap hoặc các vòng găng không tốt. Có thể thực hiện việc kiểm tra thực tế đối với xupap bằng cách tháo ống hút và kết cấu hàn ống xả ra, quay bánh đà động cơ bằng tay tới khi pit tông ở vị trí điểm chết dưới (bdc) trong hành trình nén, đổ xăng vào các lỗ xupap trên các đầu xupap và đưa pit tông về vị trí chết trên trong hành trình nén bằng cách quay bánh đà bằng tay. Nếu các xupap hoặc các mặt tựa ở trong tình trạng không tốt, sự rò rỉ không khí qua xupap tới xăng hoàn toàn có thể nhìn thấy được.
Hầu hết các kiểm tra thực tế về bơm dầu là kiểm tra đầu pit tông bằng đèn (tốt nhất là đèn chuẩn đoán bệnh trong y tế) được đưa vào qua lỗ bugi. Nếu lỗ xy lanh có vảy hoặc có vết xước và dầu pit tông bị ngập dầu thì có thể bảo đảm chắc chắn rằng các vòng găng cũng có vảy và có thể bị kẹt hoặc bị vỡ. Nếu lỗ xy lanh ở trong tình trạng tốt và có nhiều hơn một màng dầu xuất hiện trên đầu pit tông sau khi ngắt kết động cơ khỏi tốc độ 2 700 r/min (rpm) thì thường phải lắp lại vòng găng với điều kiện là vòng găng không còn mới hoặc chưa được làm sạch. Nếu các vòng găng là các vòng găng mới hoặc vừa mới được tháo ra khỏi pit tông để làm sạch, cần cho chạy thêm để xác định sự kín khít tốt giữa các mặt vòng găng và lỗ xy lanh. Yêu cầu này thường được thực hiện bằng cách vận hành động cơ ở áp suất hiệu dụng trung bình chỉ thị 2,415 MPa (350 psi) trong thời gian từ 2 h đến 3 h.
Lý do phổ biến nhất của việc tiêu tốn nhiều dầu bôi trơn cao là khe hở mặt bên và mặt mút vòng găng quá lớn. Các vòng găng nén có lớp mạ crôm nhỏ nhất là 0,1 mm (0,004 in) có thể sẵn sàng chấp nhận độ mòn trung bình 0,05 mm (0,002 in) trên bề mặt mà không gây nguy hiểm về mài mòn lớp mạ. Như vậy khe hở mút tăng đến 0,3 mm (0,012 in) vẫn có thể nằm trong phạm vi dung sai. Các giới hạn của các khe hở mặt mút và mặt bên được liệt kê trong Phụ lục A. Các ống găng có bất cứ dấu hiệu nào về sự đóng vẩy nên được thay thế. Nếu một vòng găng có yêu cầu phải thay thế thì nên thay thế tất cả các vòng găng.

Hình 8 - Các đường cong tăng áp - Công suất ra của động cơ ở nhiệt độ lớn nhất của bugi bị nóng
B.15.2. Tháo các chi tiết của động cơ 5750
B.15.2.1. Tháo cụm xy lanh
a) Tháo tất cả các phụ tùng, thiết bị phụ.
b) Tháo ống hút và kết cấu hàn của ống xả.
c) Tháo các bao che hộp đòn gánh (cò mổ).
d) Bó chặt vòng kẹp dây, chi tiết số 5700, cho mỗi thanh đẩy và đòn gánh tương ứng của nó để ngăn ngừa các thanh đẩy rơi ra khi xy lanh được nâng lên.
e) Tháo sáu đai ốc kẹp chặt cụm xy lanh với hộp trục khuỷu.
f) Đưa động cơ về điểm chết dưới (bdc).
g) Nâng cụm xy lanh lên khỏi hộp trục khuỷu khi bảo đảm không cho pit tông rơi trở lại hộp trục khuỷu.
h) Tháo các thanh đẩy.
B.15.2.2. Tháo pit tông
a) Lặp lại B.15.2.1.
b) Đẩy chốt pit tông ra và tháo pit tông.
c) Tháo các vòng găng một cách cẩn thận để không mở rộng các vòng găng quá mức cần thiết để tháo. Có thể sử dụng dụng cụ tháo vòng găng hoàn toàn tròn.
B.15.2.3. Tháo cụm đầu xy lanh
a) Lặp lại B.15.2.1.
b) Tháo lỏng các vòng kẹp trên các ống mềm lắp vào thân thanh (cần) đẩy và đẩy các ống mềm ra khỏi thân thanh đẩy dưới.
c) Tháo mười bulông kẹp chặt cụm đầu xy lanh vào xy lanh.
d) Tháo cụm đầu xy lanh ra khỏi xy lanh. Các bu lông này sẽ kéo ra được một cách dễ dàng một khi các vòng đệm kín bị vỡ lỏng ra.
B.15.2.4. Tháo ống lót xy lanh2)
a) Lặp lại B.15.2.3.
b) Tháo nắp ổ cắm đo nhiệt 9,5 mm (3/8 in). Vặn vít vào mặt mút phía dưới của mặt bích ống lót.
c) Tháo ống lót ra khỏi thân xy lanh.
B.15.2.5. Tháo cơ cấu xupap
a) Lặp lại B.15.2.3.
b) Tháo nắp trục đòn gánh.
c) Đẩy toàn bộ trục đòn gánh ra bằng các chốt.
d) Nhấc các đòn gánh và vòng đệm chặn ra.
e) Ép các lò xo xupap và tháo các then hãm lò xo xupap. Sử dụng dụng cụ ép, chi tiết số 5254.
f) Tháo các lò xo xupap, đĩa lò xo xupap, vòng đệm và xupap.
B.15.2.6. Tháo đĩa định thời đánh lửa
a) Tháo chạc đỡ đĩa định thời đánh lửa.
b) Uốn cong ra phía sau tai của vòng đệm hãm, giữ chặt đai ốc trên đầu mút phía trước của trục khuỷu.
c) Tháo đai ốc phía trước của trục khuỷu và vòng đệm hãm
d) Tháo đĩa định thời đánh lửa bằng các chốt.
B.15.2.7. Tháo bạc gián cách của đĩa định thời đánh lửa khỏi trục khuỷu (nếu có)
a) Tháo bằng dụng cụ kéo, chi tiết số 5702.
B.15.2.8. Tháo bơm dầu
a) Tháo bốn đai ốc 9,5 mm (3/8 in) và vòng đệm.
b) Tháo bơm dầu và khớp nối Oldham.
B.14.2.9. Tháo nắp hộp bánh răng định thời đánh lửa
a) Lặp lại B.15.2.7.
b) Tháo các vít có mũ kẹp chặt vật đúc vào hộp trục khuỷu.
c) Tháo nắp. Sử dụng các vít có mũ trong hai lỗ ren đã có và kích vào nắp cho lỏng ra.
B.14.2.10. Tháo truyền động xích của đối trọng
a) Tháo vít hãm đầu có lỗ đặt chìa vặn ra khỏi trục bạc lót đĩa xích.
b) Tháo trục bạc lót đĩa xích lồng không.
c) Tháo đĩa xích lồng không và bạc lót
d) Tháo truyền động xích.
B.15.2.11. Tháo cụm trục cam
a) Lặp lại B.15.2.1.
b) Lặp lại B.15.2.9.
c) Tháo các dẫn hướng thanh đẩy (con đội) xupap khỏi sàn trên đỉnh hộp trục khuỷu.
d) Tháo các thanh đẩy (con đội) xupap qua hộp trục khuỷu.
e) Tháo các vít có mũ kẹp chặt ổ trục trước với hộp trục khuỷu.
f) Tháo trục cam cùng với bánh răng dẫn động và ổ trục trước của trục cam.
B.15.2.12. Tháo trục cam3)
a) Lặp lại các bước a, b, c và d của B.15.2.11.
b) Uốn cong ra phía sau tai của vòng đệm hãm giữ chặt đai ốc ở phía trước trục cam.
c) Tháo đai ốc trục cam và vòng đệm hãm. Sử dụng chìa vặn mặt nút. Chi tiết số 5703.
d) Lặp lại các bước e và f của B.15.2.11.
e) Tháo bánh răng định thời điểm đánh lửa khỏi trục cam. Sử dụng máy ép trục để ép trục cam ra khỏi bánh răng, chú ý không làm hư hỏng ổ trục.
B.15.2.13. Tháo đĩa (bánh) xích của trục khuỷu và bánh răng định thời
a) Lặp lại B.15.2.9.
b) Tháo đĩa (bánh) xích của trục khuỷu bằng dụng cụ tháo (vam) thích hợp.
c) Tháo bánh răng định thời. Sử dụng dụng cụ tháo (vam). Chi tiết số 5704.
B.15.2.14. Tháo bánh đà
a) Uốn (bẻ) cong về phía sau tai của vòng đệm hãm giữ chặt đai ốc của bánh đà.
b) Tháo đai ốc của bánh đà và vòng đệm hãm. Sử dụng ống kẹp trung gian. Chi tiết số 5705.
c) Lắp vòng hoặc tốc kẹp. Chi tiết số 5706 trên ren trục khuỷu.
d) Tháo bánh đà. Sử dụng dụng cụ tháo (vam) thích hợp và dùng dây xích ròng rọc hoặc có sự trợ giúp để nhấc bánh đà ra khỏi trục.
B.15.2.15. Tháo vòng chặn dầu phía sau trục khuỷu
a) Tháo then của bánh đà.
b) Tháo sáu vít có mũ và vòng đệm.
c) Tháo vòng chặn dầu của trục khuỷu. Sử dụng các vít có mũ 9,5 mm (3/8 in) trong hai lỗ có ren trên mặt bích.
d) Tháo đệm kín.
B.15.2.16. Tháo thanh truyền
a) Lặp lại B.15.2.2
b) Tháo cụm nắp bên của hộp trục khuỷu (phía thông hơi).
c) Tháo các chốt hãm ở bulông và đai ốc của thanh truyền.
d) Tháo nắp thanh truyền. Sử dụng búa lắp ráp gõ nhẹ vào mặt bên của nắp sau đó gõ vào phía bên kia.
e) Tháo thanh truyền.
B.15.2.17. Tháo bạc chuyển tiếp của ổ trục sau trục khuỷu
a) Lặp lại B.15.2.14.
b) Lặp lại B.15.2.15.
B.15.2.18. Tháo cụm đối trọng
a) Tháo sáu vít có mũ và vòng đệm.
b) Tháo cụm đối trọng. Ghi dấu chốt định vị trên vai trên.
B.15.2.19. Tháo trục đối trọng
a) Lắp cụm đối trọng trên ê tô có má kẹp mềm khi sử dụng các mặt phẳng trên các trục đối trọng.
b) Bẻ cong ra phía sau tai của vòng đệm hãm trên trục bên phải.
c) Tháo cả hai đai ốc bằng chìa vặn thích hợp.
d) Tháo các đĩa (bánh) xích và bạc chuyển tiếp ổ trục.
B.15.3. Kiểm tra chi tiết và bộ phận của động cơ 5750
B.15.3.1. Cụm đối trọng
a) Kiểm tra sự xây xát và mòn của ngõng trục cụm đối trọng. Về kích thước, xem Phụ lục B-Phụ lục B.1.
b) Kiểm tra độ mòn của bạc lót trước và sau của trục cụm đối trọng. Về kích thước, xem Phụ lục B- Phụ lục B.1. Thay thế nếu có yêu cầu. Các bạc (ống) lót được lắp khít.
c) Kiểm tra độ mòn quá mức của đĩa (bánh) xích và thay thế nếu có yêu cầu.
d) Lắp các trục đối trọng trong bạc chuyển tiếp của ổ trục. Kẹp chặt trong ê tô có má kẹp mềm. (Các trục có tính lắp lẫn).
e) Thay thế các đĩa (bánh) xích. Lắp chốt vào lỗ chốt ở bạc chuyển tiếp hướng lên đỉnh. Sử dụng rãnh theo thẳng đứng trên phần trục bên trái và rãnh then nằm ngang trên phần trục bên phải để đặt lỗ dầu bôi trơn xích trong đĩa xích và trục.
f) Thay thế các đai ốc khi sử dụng một vòng đệm hãm chỉ trên phần trục bên phải. Đai ốc trên phần trục bên trái có một rãnh để lắp khớp nối Oldham.
g) Lắp cụm đối trọng trong hộp trục khuỷu. Không sử dụng đệm kín.
B.15.3.2. Trục khuỷu
a) Kiểm tra vết xước và độ mòn của các ngõng trục của trục khuỷu về kích thước, xem Phụ lục B- Phụ lục B.1.
b) Kiểm tra bất cứ dấu hiệu nào về hư hỏng và mài mòn của các ổ trục chính. Về kích thước, xem Phụ lục B-Phụ lục B.1.
c) Lắp trục khuỷu qua ổ trục chính phía trước, chú ý cẩn thận để không tạo rãnh xước cho ổ trục bởi ren hoặc vai của trục khuỷu.
d) Làm sạch các bề mặt đối tiếp của hộp trục khuỷu và bạc chuyển tiếp của ổ trục chính phía sau, loại bỏ mọi vết xước và ba via.
e) Lắp đệm kín ở tình trạng khô hoặc có xà phòng mềm.
f) Lắp bạc chuyển tiếp của ổ trục chính phía sau, chú ý cẩn thận để không tạo thành rãnh xích cho các ổ trục bởi các vai của trục khuỷu. Độ thẳng hàng được bảo đảm bằng gỗ dẫn hướng trên bạc chuyển tiếp.
B.15.3.3. Vòng chặn dầu phía sau trục khuỷu
a) Làm sạch các bề mặt đối tiếp của hộp trục khuỷu, bạc chuyển tiếp của ổ trục sau và vòng chặn dầu sau. Kiểm tra vòng bít kín dầu và thay thế nếu cần thiết.
b) Lắp vòng bít.
c) Lắp vòng chặn dầu trên bạc chuyển tiếp.
B.15.3.4. Bánh răng định thời điểm đánh lửa của trục khuỷu
a) Kiểm tra các răng, lỗ và các mặt mút của bánh răng, và loại bỏ mọi vết xước và ba via.
b) Lắp then bán nguyệt (Woodruff) dẫn động trên trục khuỷu.
c) Chỉnh thẳng hàng bánh răng trên trục với mặt bên hướng ra ngoài có dấu “X” trên một răng. Lúc ban đầu gõ nhẹ bằng búa lắp ráp.
d) Ép bánh răng vào trục khuỷu. Đẩy bánh răng trên trục khuỷu bằng đai ốc hãm phía trước trục khuỷu và dụng cụ. Chi tiết số 5708.
e) Lắp đĩa (bánh) xích của trục khuỷu.
B.15.3.5. Trục cam
a) Kiểm tra các dấu hiệu về sự xây xát hoặc mài mòn của các cam và ngõng trục và thay thế nếu cần thiết.
b) Kiểm tra các ổ trục của trục cam. Về khe hở, xem Phụ lục B-Phụ lục B.1.
c) Lắp trục cam và ổ trục cam trước trục cam.
d) Kiểm tra khe hở mặt mút. Về khe hở, xem Phụ lục B-Phụ lục B.1.
B.15.3.6. Bánh răng dẫn động của trục cam
a) Lắp then bán nguyệt (Woodruff) trên trục cam.
b) Lắp lại bánh răng khi sử dụng rãnh theo ban đầu. Sử dụng máy ép trục.
c) Lắp cụm trục cam với các dấu “X" trên các bánh răng đối tiếp.
d) Lắp đai ốc hãm bánh răng trục cam và vòng đệm hãm.
e) Bẻ cong một tai (gỡ) của vòng đệm hãm vào một mặt phẳng trên đai ốc của trục cam.
Khi lắp các bánh răng định thời mới, quy trình lắp như sau: Lắp bánh răng định thời của trục khuỷu sao cho các lỗ để vam trên mặt trước của mặt mút bánh răng hướng ra ngoài. Thường lựa chọn rãnh then ở giữa bánh răng trục cam có thể kiểm tra sự định thời ban đầu. Phía trước của bánh răng trục cam có thể được xác định bởi mayơ 9,5 mm (3/8 in) kéo dài từ mặt mút mayơ đến mặt mút bánh răng, phía sau của bánh răng trục cam có mayơ 3,2 mm (1/8 in) kéo dài tới mặt mút bánh răng. Lắp then bán nguyệt trên trục cam và ép bánh răng lên trục cam, khi sử dụng rãnh then ở giữa của bánh răng và phía trước của bánh răng kéo dài ra phía ngoài.
Chỉnh đặt góc quay của thanh truyền và bánh đà ở 280 sau điểm chết trên (atc) trên dụng cụ chỉ thị của bánh đà. Khi sử dụng con đội (cần đầy) xupap hút (nạp) và cam hút (nạp) của trục cam cho việc chỉnh đặt ban đầu, lắp cụm trục cụm đối tiếp với bánh răng trục khuỷu ở vị trí sao cho con đội xupap hút được nâng lên khoảng 1,0 mm (0,040 in) trên pit tông trụ trượt của trục cam theo chiều quay của động cơ về phía mở của cam hút với trục cam được lắp ghép bulông ở vị trí vận hành.
Sau đó, khi dùng dụng cụ chỉ thị trên con đội xupap hút, quay bánh đà về phía điểm chết trên hoặc tới một điểm trước điểm chết trên ở đó không có sự di chuyển của kim dụng cụ chỉ thị. Sau đó quay bánh đà theo chiều quay và quan sát xem khi đạt được độ nâng 1,0 mm (0,040 in) trên con đội xupap hút từ dụng cụ chỉ thị và kiểm tra các góc quay của bánh đà thì sự định thời có nằm trong các giới hạn được liệt kê trong phần này hay không.
Nếu độ nâng lên của con đội xupap không rơi vào trong phạm vi các giới hạn, cần phải dịch chuyển cụm trục cam và bánh răng đi một hoặc nhiều răng theo chiều thích hợp để đưa sự định thời vào trong phạm vi các giới hạn này. Nếu thao tác này không đưa được sự định thời vào trong phạm vi các giới hạn thì tháo bánh răng trục cam ra và lắp lại bánh răng này trên trục cam khi sử dụng một hoặc hai rãnh then khác của bánh răng; lắp ráp lại cụm trục cam và bánh răng trong hộp trục khuỷu và lặp lại quy trình nêu trên. Vì đây là một quy trình thử cho nên có thể cần phải thử tất cả ba rãnh then của bánh răng cam trước khi sự định thời sẽ tuân theo dữ liệu định thời.
Sau khi động cơ định thời đánh lửa một cách chính xác, chỉnh đặt động cơ về điểm chết trên (tdc) của hành trình cháy và đánh dấu thích hợp trên các răng của các bánh răng định thời và rãnh then của bánh răng trục cam.
Sự định thời của trục cam với động cơ đã được lắp ráp hoàn toàn và khe hở xupap được đặt ở 1,26 mm (0,050 in) như sau (Hình 9):
Xupap hút mở ở 28° atc ± 5° atc;
Xupap hút đóng ở 22° abc ± 5° abc;
Xupap xả mở ở 23° bbc ± 5° bbc;
Xupap xả đóng ở 1° btc ± 5° btc;
Khe hở xupap phải được chỉnh đặt lại sau đó tới 0,46 mm (0,018 in) trước khi vận hành động cơ.
CHÚ THÍCH: Khi kiểm tra sự định thời, phải quan tâm đến vấn đề là độ mòn trên các con lăn và chốt của cơ cấu đòn gánh, các con lăn, mayơ và chốt của con đội xupap sẽ gây ra độ trễ trong đặc tính định thời; như vậy để có sự kiểm tra chính xác, tất cả các chi tiết nêu trên nên ở trong phạm vi các khe hở được khuyến nghị. Cho phép có dung sai cấp 10 A đối với cam để sử dụng trước khi cần thay thế.
B.15.3.7. Các cụm con đội xupap và dẫn hướng
a) Kiểm tra sự xây xát hoặc mài mòn của các chi tiết. Thay thế nếu cần thiết. Về khe hở. Chi tiết Phụ lục BA.
b) Lắp đặt cụm con đội xupap và dẫn hướng có sử dụng các chốt giữ ở dưới con đội xupap trong quá trình lắp để ngăn không cho các chi tiết rơi vào trong hộp trục khuỷu.
B.15.3.8. Xích dẫn động đối trọng
a) Đặt trục khuỷu ở điểm chết trên.
b) Lắp xích dẫn động đối trọng trên đĩa xích của trục khuỷu, bên dưới đĩa xích của trục dẫn động đối trọng bên trái và bên trên xích của trục dẫn động đối trọng bên phải. Các mũi tên trên các trục đối trọng nên chỉ xuống.
c) Lắp đặt bạc lót của đĩa xích lồng không vào đĩa xích lồng không.
d) Lắp bu lông. Căng xích bằng cách quay bạc lệch tâm tới khi có độ võng 6,35 mm (1/4 in) đo được tại trung điểm giữa đĩa xích của trục khuỷu và đĩa xích lồng không (bánh căng xích).
e) Kẹp chặt trục (chốt) của đĩa xích lồng không với bạc lót đĩa xích lồng không bằng vít không có đầu Allen. Với xích đã được căng, các mũi tên trên các trục đối trọng có thể không hoàn toàn song song với nhau.

Điểm A Độ nâng của thanh đẩy xupap hút 0,050”.
Điểm B Hành trình của thanh đẩy xupap hút trước khi kết thúc 0,050".
Điểm C Độ nâng của thanh đẩy xupap xả 0,050”.
Điểm D Hành trình của thanh đẩy xupap xả trước khi kết thúc 0,050”.
Độ nâng lớn nhất của cam = 0,274" khi hút, 0,280" khi xả
Dung sai góc nâng ± 5°.
Hình 9 - Biểu đồ định thời của xupap 1,26 mm (0,050 in) (Khe hở xupap)
(Dữ liệu cho phép của công ty thiết bị phòng thí nghiệm)
B.15.3.9. Nắp hộp bánh răng định thời
a) Kiểm tra các bề mặt đối tiếp của hộp trục khuỷu và nắp.
b) Kiểm tra các vòng bít kín dầu và thay thế nếu cần thiết.
c) Lắp đặt các đệm kín và nắp hộp bánh răng định thời.
B.15.3.10. Lắp đặt ống lót đệm của đĩa định thời
B.15.3.11. Bơm dầu
a) Kiểm tra sự mài mòn và khe hở của bơm. Về khe hở, xem Phụ lục B-Phụ lục B.1.
b) Lắp khớp nối Ohdham.
c) Kiểm tra các mặt đối tiếp của bơm và nắp bánh răng định thời và lắp đệm kín.
d) Lắp ráp bơm dầu.
B.15.3.12. Bánh đà
a) Nâng bánh đà và cho nó trượt theo then trên trục khuỷu bằng đai ốc nâng (kích), chi tiết Số 5706, trên ren. Tháo đai ốc kích sau khi bánh đà đã ở đúng vị trí.
b) Lắp đai ốc bánh đà và vòng đệm hãm. Siết chặt đai ốc bánh đà tới khi bánh đà được dẫn động tốt trên mặt côn của trục khuỷu. Bẻ cong một bên của vòng đệm trên đai ốc để hãm chặt đai ốc.
B.15.3.13. Thanh truyền
a) Kiểm tra ổ trục đầu lớn và thay thế nếu có vết xước hoặc vết nứt. Về kích thước, xem Phụ lục B-Phụ lục B.1. Tránh cạo vào ổ trục trong quá trình đo. Sử dụng calip hãm, không dùng thước cặp đo trong.
b) Kiểm tra bạc lót chốt pit tông. Về lắp ghép, xem Phụ lục A.
c) Lắp đặt bằng cách hạ thấp đầu nút trên cùng với ổ trục của nó lên trên ngõng trục của trục khuỷu và đưa nắp cùng với ổ trục của nó lên đúng vị trí.
d) Kéo vành thanh truyền lên khi sử dụng chìa vặn và momen xoắn 61,0 đến 67,8 N.m (45 đến 50 lb-ft). Sử dụng các chốt hãm để kẹp chặt các đai ốc với các bulông.
B.15.3.14. Đầu xy lanh
a) Tháo bạc (ống) lót bugi và các đệm kín của bạc lót bugi.
b) Loại bỏ các chất kết tủa trong buồng đốt.
c) Kiểm tra sự lỏng ra của các ống lót của đế xupap có thể thực hiện việc kiểm tra này bằng cách lắp khít phần trục dẫn hướng của phụ tùng vào chi tiết dẫn hướng xupap và đo độ đồng tâm của đế xupap trước và sau khi gõ nhẹ vào ống lót ở gờ sau của nó. Thay thế các ống lót đã bị hỏng.
d) Kiểm tra các chi tiết dẫn hướng xupap. Thay thế nếu có vảy, nếu có miệng loe lớn hơn 0,6 mm) 0,0025 in hoặc nếu đường kính trong (ID) của các chi tiết dẫn hướng xupap hút và xả lớn hơn 10,9 mm (0,438 in). Nếu cần thay các chi tiết dẫn hướng mới, không được lắp chúng bằng cách dùng búa đóng vào. Ép các chi tiết dẫn hướng vào bằng dụng cụ, chi tiết số 5 709 và doa tinh đến 10,9 mm (0,4365 in) đối với cả hai chi tiết dẫn hướng xupap hút và chi tiết dẫn hướng xupap xả.
e) Lắp khít phần trục dẫn hướng của phụ tùng (hoặc đoạn ống nối) vào chi tiết dẫn hướng xupap và đo độ đảo của các ống lót bằng dụng cụ chỉ thị thích hợp. Nếu độ đảo vượt quá 0,5 mm (0,002 in) hoặc nếu ống lót có hốc, vết cháy hoặc bị ăn mòn, cần thiết phải mài lại ống lót của đế xupap. Sử dụng máy mát thích hợp và các đá mài có cấp hạt 450 với các mặt mút chính xác để mài ống lót, trước tiên dùng đá mài thô và gia công tinh bằng đá mài tinh, lượng kim loại phải mài đi càng ít càng tốt.
Độ đảo của mặt trước mài không nên vượt quá 0,025 mm (0,001 in). Về các giới hạn cho mài lại và phương pháp kiểm tra, xem xét từ Hình 10 đến Hình 13. Cần lưu ý rằng các xupap hút không được lắp vào các vị trí của xupap xả. Để hỗ trợ cho sự nhận dạng, gia công một vết lõm trên đầu xupap hút và để lại một chỗ lồi (bướu) trên đầu xupap xả. Các bản vẽ được nêu trên đã minh họa các dấu hiệu nhận dạng này.
f) Kiểm tra các xupap thay thế các xupap bị cong, có vết xây xát hoặc có vết cháy. Về khe hở, xem Phụ lục A. Nếu thân xupap có vảy mỏng, cần loại bỏ vảy bằng mài với đá mài và mài nghiền. Làm sạch các đầu xupap bằng sợi thép mảnh. Không được làm sạch các đầu và thân xupap bằng dụng cụ nạo cứng. Mài lại với lượng kim loại được mài đi càng ít càng tốt để tạo cho bề mặt được làm sạch có góc 45°. Nếu mặt làm kín của xupap là 5,6 mm (7/32 in) hoặc lớn hơn, cần thay thế xupap.
g) Mài nghiền (rà) mặt làm kín của xupap với mặt tựa, trước tiên sử dụng hợp chất mài thô và sau đó là hợp chất mài tinh. Nên tiếp tục mài rà tới khi sự biến thành màu xanh chỉ ra các mặt tựa trên cả xupap và ống lót là đồng tâm với nhau. Các xupap phải chịu được áp suất không khí 690 kPa (100 psi) mà không rò rỉ.
h) Rửa sạch hoàn toàn và cẩn thận đầu xy lanh trong dầu hỏa để loại bỏ toàn bộ kim loại được mài và hợp chất mài.
i) Kiểm tra các vòng đệm chặn của cơ cấu đòn gánh và thay thế nếu chúng bị xây xát.
j) Kiểm tra các vòng đệm chặn của cơ cấu đòn gánh và thay thế chúng nếu cần thiết. Sử dụng dụng cụ, chi tiết số 5710 để ép các ổ kim vào, phía có khắc chữ của ổ luôn luôn hướng ra ngoài.
k) Kiểm tra các trục của cơ cấu đòn gánh và thay thế chúng nếu độ cứng Brinell không đạt yêu cầu.
I) Kiểm tra các con lăn và chốt của cơ cấu đòn gánh. Thay thế nếu chúng bị mòn hoặc xây xát.
m) Kiểm tra về nứt, gãy của các lò xo xupap. Về các giới hạn tải trọng, xem Phụ lục B-Phụ lục B.1.
n) Lắp đặt vòng đệm chặn và vòng đệm hãm bên dưới chi tiết dẫn hướng xupap trong mỗi hộp cơ cấu đòn gánh.
o) Ép các lò xo xupap trượt vào xupap và lắp chốt hãm trên thân xupap, thả các lò xo xupap ra. Sử dụng dụng cụ, chi tiết số 5245.
p) Đẩy trục của cơ cấu đòn gánh từ mặt bên dưới của hộp cơ cấu đòn gánh qua đòn gánh, vòng đệm chặn và mặt bên trên của hộp cơ cấu đòn gánh. Sử dụng chày đẩy, chi tiết số 5701.
q) Lắp các nắp trục cơ cấu đòn gánh, vòng đệm và đệm kín.
r) Kiểm tra khe hở mặt bên của vòng đệm chặn. Nếu dưới 0,025 mm (0,001 in), mài nghiền vòng đệm, nếu trên 0,33 mm (0,013 in), thay thế.
s) Kiểm tra bề mặt đối tiếp giữa đầu và thân xy lanh và loại bỏ mọi rãnh xước hoặc ba ria.

Hình 10 - Lắp đúng xupap trong đầu xy lanh mới

Hình 11 - Lắp ghép đúng xupap với các xupap được mài mòn lại và các đế xupap được mài lại

Hình 12 - Phương pháp kiểm tra các giới hạn lắp ghép xupap xả

Hình 13 - Phương pháp kiểm tra các giới hạn lắp ghép xupap hút
B.15.3.15. Lắp ráp xy lanh
a) Loại bỏ các chất kết tủa bằng sợi thép.
b) Kiểm tra. Về kích thước, xem Phụ lục B-Phụ lục B.1.
c) Kiểm tra các bề mặt đối tiếp giữa mặt bích ống lót và thân xy lanh, loại bỏ toàn bộ các ba via và rãnh xước.
d) Lắp đệm kín bằng đồng trên bề mặt bít kín vòng ngoài của ống lót và đệm phi kim loại dày 0,2 mm (0,007 in) trên mặt bích ống lót.
e) Lắp ráp ống lót và thân khi sử dụng hai vít có mũ đầu có lỗ đặt chìa vặn 3/8 in.
f) Kiểm tra tất cả các bề mặt đối tiếp giữa thân xy lanh và đầu xy lanh loại bỏ bất cứ các ba via và rãnh xước nào.
g) Lắp đệm kín phi kim loại dày 0,2 mm (0,007 in) giữa thân xy lanh và đầu xy lanh, và làm khô đệm kín bằng đồng giữa ống lót và đầu xy lanh.
h) Kẹp chặt cụm thân xy lanh với đầu xy lanh, khi sử dụng các bulông với các đệm đồng cứng bên dưới các đầu bulông đều nhau bằng chìa vặn với momen xoắn 81,4 đến 101,7 N.m (60 đến 75 lb-ft). Siết chặt các bulông theo trình tự được chấp nhận. Sử dụng các chìa vặn mặt nút có cơ cấu đo momen xoắn.
B.15.3.16. Lắp ráp pit tông
a) Loại bỏ các chất kết tủa bằng bàn chải cứng, sợi thép hoặc dụng cụ nạo được chế tạo bằng cách cán phẳng đầu mút của một ống đồng. Không sử dụng bàn chải dây thép hoặc đĩa đánh bóng.
b) Kiểm tra vết lõm và rãnh xước của pit tông.
c) Kiểm tra đỉnh pit tông. Thay thế pit tông nếu có vết xước hoặc vết nứt.
d) Kiểm tra độ đồng tâm. Thay thế pit tông nếu độ không tròn của thân pit tông lớn hơn 0,2 mm (0,007 in).
e) Kiểm tra chốt pit tông. Thay thế nếu chốt pit tông bị mòn hoặc xây xát.
f) Lấy đi các chất kết tủa (đóng cặn) của vòng găng bằng sợi thép.
g) Về các khe hở, xem Phụ lục B-Phụ lục B.1.
h) Nếu phải thay thế một vòng găng, phải thay thế tất cả các vòng găng.
i) Đặt các vòng găng trên pit tông theo thứ tự được tháo ra. Lắp đặt các vòng găng nén có mặt vát bên trong, nếu có, về phía đầu pit tông. Không xoắn vòng găng và không mở rộng vòng găng quá mức vừa đủ để vượt qua pit tông. Sử dụng dụng cụ nong thích hợp và chỉ mở rộng vòng găng đủ để vượt quá pit tông.
j) Lắp đặt pit tông và các vòng găng của pit tông trên máy ép, vòng găng, bộ phận No 5711.
k) Lắp chốt pit tông qua các vấu chốt pit tông và bạc lót của thanh truyền. Không dẫn động chốt pit tông vào vị trí.
B.15.3.17. Lắp xy lanh vào hộp trục khuỷu
a) Kiểm tra các bề mặt đối tiếp của thân xy lanh và thân hộp trục khuỷu.
b) Lắp đặt đệm kín trên thân hộp trục khuỷu.
c) Lắp đặt pit tông vào thân xy lanh bằng cách chỉnh thẳng hàng đường kính trong vòng găng bằng máy ép với lỗ xy lanh và hạ thấp xy lanh trên cụm pit tông. Tháo máy ép vòng găng.
d) Lắp các thanh đẩy xupap và giữ các thanh đẩy xupap này ở vị trí bằng các đồ kẹp dây.
e) Hạ thấp dần cụm xy lanh và dẫn hướng tất cả các chi tiết ở vị trí thẳng hàng.
f) Siết chặt cụm xy lanh với hộp trục khuỷu bằng chìa vặn và momen xoắn 61,0 đến 67,8 N.m (45 lb-ft đến 50 lb-ft) trên các đai ốc kẹp chặt. Siết chặt các bulông theo trình tự được chấp nhận. Sử dụng chìa vặn mặt nút có dụng cụ đo momen xoắn.
g) Tháo các đồ kẹp dây giữ thanh đẩy xupap và kẹp chặt các ống mềm của thân thanh đẩy xupap với các thân thanh đẩy xupap.
h) Điều chỉnh các thanh đẩy xupap tới 0,45 mm đến 0,50 mm (từ 0,018 in đến 0,020 in) cùng với làm nóng động cơ và siết chặt các vít kẹp chặt.
i) Kiểm tra các bề mặt đối tiếp trên các hộp và nắp của cơ cấu đòn gánh (cân bằng).
j) Lắp đặt các đệm kín nắp hộp cơ cấu đòn gánh (cân bằng).
k) Bắt bulông kẹp chặt các nắp với các hộp cơ cấu đòn gánh (cân bằng).
l) Lắp đặt các phụ tùng.
B.16. Chương trình chạy rà động cơ
Chương trình chạy rà đối với một động cơ mới hoặc động cơ được sửa chữa lại được quy định bởi mức độ nhanh chóng trong chạy rà các vòng găng và lỗ ống lót xy lanh với điều kiện là các khe hở ở trục tuân theo khuyến nghị và đảm bảo được sự bôi trơn đầy đủ.
Chương trình chạy rà được khuyến nghị cho một động cơ mới hoặc động cơ được sửa chữa lại được giới thiệu trong Bảng 2.
Nếu sự hấp thụ công suất của thiết bị khiến cho không thể tuân theo được danh mục tốc độ trong Bảng 2 thì chấp nhận sự thỏa hiệp tốt nhất có thể có được.
Bảng 2 - Chương trình chạy rà động cơ đối với động cơ mới hoặc động cơ được phục hồi với xy lanh đã qua sử dụng và các vòng găng mới
| Thời gian (h) | Tốc độ r/min (rpm) | Điều kiện vận hành áp suất (mm (in)Hg, tuyệt đối) | Điều kiện vận hành Nhiệt độ áo làm mát (°C (°F)) | Điều kiện vận hành Nhiệt độ không khí (°C (°F)) |
| 1 | Khởi động 900 | 762 (30) | 87,8 (190) | 43,3 (110) |
| 1 | Khởi động 1 800 | 762 (30) | 87,8 (190) | 43,3 (110) |
| 2 | Khởi động 2 700 | 762 (30) | 87,8 (190) | 107,2 (225) |
| 2 | Khởi động 2 700 | 1016 (40) | 87,7 (190) | 107,2 (225) |
| 1 | Khởi động 2 700 | 1270 (50) | 87,8 (190) | 107,2 (225) |
| 1 | Khởi động 2 700 | 1524 (60) | 87,8 (190) | 107,2 (225) |
|
| Tại điểm này, các bugi có thể được định mức ở 200 IMEP hoặc thấp hơn | |||
| 1 | Khởi động 2 700 | 1778 (70) | 87,8 (190) | 107,2 (225) |
| 1 | Khởi động 2 700 | 2032 (80) | 87,8 (190) | 107,2 (225) |
| CHÚ THÍCH: Trên các thiết bị có trang bị bộ điều chỉnh áp suất chất làm mát, nhiệt độ của áo làm mát nên được duy trì ở 107,2 °C (225 °F). | ||||
Chương trình được giới thiệu trong Bảng 2 được sử dụng cho phần lớn các trường hợp có thể thực hiện chạy rà trong thời gian ngắn. Nên ngắt động cơ trước mỗi thay đổi điều kiện vận hành và kiểm tra các dấu hiệu về sự cà mòn hoặc vết xước của xy lanh bằng cách soi đèn qua lỗ bugi. Bất cứ chỉ báo sự cố nào cũng được xem là lý do để lùi lại chương trình chạy rà và vận hành lâu hơn ở các điều kiện ít khắc nghiệt hơn. Khi xy lanh đã đạt tới điều kiện chạy rà tốt, bề mặt không có các vết mài và vết xước và xuất hiện một lớp láng bóng hoặc nhẵn bóng như gương, lớp này chỉ có thể bị là hư hại bởi các vết lăn hoa.
Chương trình chạy rà như trên đòi hỏi nhiều thời gian hơn so với chạy rà bất cứ các bề mặt ổ trục nào khác. Các ổ trục chính, các ổ trục của thanh truyền, các ổ trục của trục cam và các bánh răng chỉ yêu cầu chạy rà 5 h là có thể chịu được chế độ làm việc khắc nghiệt và chạy rà trong 1 h là đủ đối với các vòng bít kín dầu của trục khuỷu, các bộ phận di trượt và các mặt lăn. Chạy rà trong 1 h ở 2 700 r/min với sự tăng áp 762 mm (30 in) Hg tuyệt đối và chạy rà trong 1 h ở 2 700 r/min với sự tăng áp 1 524 mm (60 in Hg) tuyệt đối được xem là đủ cho chạy rà cơ cấu xupap sau khi sửa chữa nhỏ và làm sạch muội than đối với xupap.
Không nên vận hành động cơ ở các mức công suất cao với dầu động cơ nguội vì độ nhớt của dầu sẽ rất cao ở các nhiệt độ thấp. Để bảo đảm bôi trơn tốt cho các bề mặt ổ trục. Nên dùng quy trình làm nóng sau:
Khởi động ở 900 r/min, không có tăng áp tới khi nhiệt độ dầu đã đạt tới 50 °C (120 °F);
Khởi động ở 1 800 r/min, không tăng áp tới khi nhiệt độ dầu đã đạt tới 60 °C (140 °F);
Khởi động ở 2 700 r/min, không có tăng áp tới khi nhiệt độ dầu đã đạt tới 70 °C (160 °F).
Nếu sự hấp thụ dầu thực tế của thiết bị ngăn cản việc tuân thủ quy trình làm nóng thì có thể chấp nhận bất cứ sự thỏa hiệp nào với điều kiện là tránh vận hành ở công suất cao và/hoặc tốc độ cao tới khi nhiệt độ dầu đã đạt được 70 °C (160 °F).
B.17. Hướng dẫn vận hành
B.17.1. Hướng dẫn vận hành này dùng cho Hội nghị tiêu chuẩn về động cơ đánh giá bugi 17,6 đã được phê duyệt ngày 9 tháng 5 năm 1968. Các điều kiện vận hành quy định trong hướng dẫn đôi khi đã được soát xét lại và được đa số các thành viên của nhóm nghiên cứu tiêu chuẩn hóa động cơ đánh giá bugi của SAE thuộc ban kỹ thuật thiết bị điện SAE phê duyệt.
Cần nhận thấy rằng các phòng thí nghiệm riêng biệt sẽ có các yêu cầu về vận hành hơi khác nhau một chút, tuy nhiên các yêu cầu cơ bản nên tuân theo hướng dẫn này một cách triệt để sao cho các kết quả đánh giá sẽ có thể so sánh được. Chỉ có những điều kiện ảnh hưởng tới việc đánh giá bugi hoặc an toàn của con người và thiết bị mới được quy định theo yêu cầu, nhưng cần chỉ ra các quy trình hoặc điều kiện được khuyến nghị nhằm mục đích cung cấp thông tin và hướng dẫn.
B.17.1.1. Điều kiện vận hành yêu cầu
Tốc độ: 2 700 + 65-30 r/min.
Tỷ số nén: 5,6 đến 1
Định thời điểm đánh lửa: 40 0 trước điểm chết trên (các kiểu động cơ ô tô);
40 0 (động cơ máy bay hoặc các kiểu động cơ khác không đánh giá được ở 30 °).
Nhiên liệu: 98 % 1 độ benzen, 2 % dầu máy bay SAE 60 theo điều kiện kỹ thuật MIL-60820 cấp 1100, không có chấp phụ gia, có bổ sung 0,8 ml/L (3 cc/gal) T.E.L
Áp suất phun nhiên liệu, nhỏ nhất là 5,17 Mpa (750 psi).
Tỷ số nhiên liệu- không khí: Tạo ra nhiệt độ lớn nhất của bugi nhiệt.
Nhiệt độ không khí vào: 107,2 °C ± 2,8 °C (225 °F ± 5 °F).
Độ ẩm của không khí vào: 75 grên (0,064 g) nước trên pound không khí khô.
Nhiệt độ làm mát ở đầu ra bạc lót: 87,8 °C ± 1,0 °C (190 °F ± 2 °F).
Nhiệt độ dầu của động cơ: 87,8 °C ± 5 °C (190 °F ± 10 °F).
B.17.2. Quy trình từng bước
B.17.2.1. Lựa chọn bạc lót bugi thích hợp (xem Phụ lục B-Phụ lục B.2).
B.17.2.2. Sau khi bảo đảm rằng mặt tựa ống lót của đầu xy lanh cũng như ống lót bugi được làm sạch, lắp ống lót một cách cẩn thận vào đầu xy lanh, khi sử dụng các vòng O mới. Các vòng O nên được lắp trên ống lót và có thể được giữ ở vị trí với một lượng nhỏ vazơlin hoặc lớp mỡ mỏng.
B.17.2.3. Siết chặt luân phiên các đai ốc kẹp chặt tới khi ống lót tựa đều trong đầu xy lanh. Các đai ốc được siết chặt lần cuối với momen xoắn đều nhau 0,92 Kg-m (60 Ib-in).
B.17.2.4. Lắp bugi làm nóng tương tự như loại đã được đánh giá khi sử dụng momen xoắn lắp đặt quy định (Phụ lục C). Nên dùng một vòng đệm kín mới cho mỗi lần lắp đặt, trừ các loại mặt tựa côn.
B.17.2.5. Trước khi khởi động động cơ, phải bảo đảm chắc chắn loại và lượng dầu bôi trơn trong hộp trục khuỷu, dầu trong đáy bơm phun nhiên liệu được lựa chọn thích hợp, hệ thống làm mát áo xy lanh và ống lót bugi được nạp đầy, hệ thống cung cấp áp suất không khí được nạp tới mức nước thích hợp, và bình cung cấp nhiên liệu được nạp đầy nhiên liệu. Phải bảo đảm chắc chắn rằng các van tiết lưu cung cấp áp suất cho xy lanh được đóng chặt và các van tiết lưu không khí của khí quyển được mở hoàn toàn. Bật nguồn điện cho toàn bộ thiết bị và chỉnh đặt công tắc ở vị trí “cao” (high) cho các bộ nung nóng dầu ở dưới đáy. Đưa nước vào bộ làm mát nhiên liệu, quạt hút của hộp trục khuỷu nến được sử dụng và tất cả các van điều chỉnh nhiệt độ. Mở nguồn cung cấp không khí có kiểm soát.
B.17.2.6. Vì có nhiều thiết bị sử dụng các động lực kế khác với loại bộ biến đổi tần số hiện được cung cấp như một phần của bộ phận lắp ráp ở Hoa Kỳ cho nên ở đây chỉ đưa ra các hướng dẫn điển hình cho khởi động lực kế. Tuy nhiên, phần lớn các thiết bị đều có một số khóa liên động an toàn phải được nối mạch rẽ trong quá trình khởi động ban đầu của động cơ. Yêu cầu này thường được thực hiện bằng cách giữ nút “khởi động" (start) ở vị trí ấn xuống tới khi áp suất dầu tăng lên trên giá trị chỉnh đặt an toàn. Chừng nào mà bộ điều khiển bơm phun nhiên liệu còn ở vị trí đóng thì không có nhiên liệu được cung cấp cho van phun và động cơ sẽ không đánh lửa. Trong bất cứ điều kiện nào cũng không nên cho một động cơ nguội được khởi động hoặc chạy ở tốc độ trên 900 r/min.
B.17.2.7. Sau khi hoàn thành bất cứ chế độ động cơ nào theo yêu cầu, động cơ có thể được đánh lửa bằng cách tăng dần sự dịch chuyển của bộ điều khiển phun nhiên liệu bằng vít vi kế tới khi xảy ra đánh lửa. Sự dịch chuyển nên tiếp tục tới khi nhiệt độ của bugi nhiệt đạt tới mức lớn nhất. Khi đó, động lực kế đã thay đổi từ chế độ động cơ sang chế độ hấp thụ. Động lực kế này có thể được mở để chỉ thị công suất và ma sát. Không thể có được sự đánh giá tới khi nhiệt độ dầu đã ổn định ở 88 °C (190 °F). Có thể giành thời gian cho làm nóng bằng cách mở (bật) các bộ nung nóng dầu của hộp trục khuỷu - thậm chí cả đêm.
CẢNH BÁO: Phải luôn luôn bảo đảm chắc chắn rằng thân của động lực kế được khóa và van tiết lưu không khí của khí quyển vào được mở hoàn toàn và các van tiết liệu áp suất không khí của xy lanh được đóng hoàn toàn trước khi khởi động hoặc dừng động cơ.
B.16.2.8. Khi động cơ đã sẵn sàng cho thử, phải dừng động cơ bằng cách ngắt bộ điều khiển bơm phun nhiên liệu khỏi vít vi kế và sau đó ngắt nguồn điện khỏi động lực kế. Ngay khi động cơ đã dừng hoàn toàn, tháo cáp đánh lửa khỏi bugi làm nóng và tháo bugi làm nóng ra. Lắp bugi được đánh giá và nối cáp đánh lửa. Đưa động cơ tới tốc độ với động lực kế và nối bộ điều khiển bơm phun nhiên liệu với vít vi kế. Động cơ sẽ bắt đầu đánh lửa ngay lập tức. Mở khóa thân động lực kế. Với tốc độ được duy trì ở 2 700 r/min, mở từ từ van tiết lưu áp suất không khí của xy lanh chính đồng thời đóng từ từ van tiết lưu không khí của khí quyển, quan sát liên tục áp kế tăng áp hút. Trong quá trình truyền không khí cung cấp, sự tăng áp đường hút nên duy trì ở áp suất khí quyển.
B.17.2.9. Sau khi hoàn thành việc truyền không khí nén, động cơ có thể được vận hành với áp suất tăng áp tăng lên với độ tăng đều nhau tới khi xảy ra sự đánh lửa sớm của bugi. Hiện tượng này được chứng minh bằng sự tăng nhanh của nhiệt độ bugi nhiệt.
CẢNH BÁO: Ngay khi xảy ra đánh lửa sớm, nên cắt nhiên liệu bằng cách ngắt liên kết giữa bộ điều khiển bơm phun nhiên liệu và vít vi kế. Không thao tác nhanh có thể gây hư hỏng cho động cơ và đặc biệt là bugi được thử. Ngay sau khi nhiên liệu được cắt, nhiệt độ của bugi nhiệt sẽ giảm xuống.
B.17.3. Đánh giá bugi là đánh giá giá trị áp suất hiệu dụng trung bình chỉ thị (IMEP) thu được trên động cơ ở một điểm tại đó áp suất tăng áp là 3,37 kPa (1 in Hg) dưới điểm đánh lửa sớm. Nên theo các bước sau để đạt được điểm này:
B.17.3.1. Áp suất tăng áp được tăng lên với các độ tăng 13,5 kPa (4 in Hg) tới khi xảy ra sự đánh lửa sớm được chỉ báo bằng sự tăng nhanh của nhiệt độ bugi nhiệt. Tại mỗi điểm chỉnh đặt thành phần hỗn hợp được điều chỉnh sao cho thu được nhiệt độ lớn nhất của bugi nhiệt.
B.17.3.2. Khi xảy ra đánh lửa sớm, việc cung cấp nhiên liệu được cắt ngay và áp suất tăng áp được giảm xuống 6,7 kPa (2 in Hg) tại điểm này nhiên liệu được cung cấp và lại được điều chỉnh để đạt được nhiệt độ lớn nhất của bugi nhiệt. Nên giữ trạng thái này trong thời gian 3 min hoặc tới khi lại xảy ra đánh lửa sớm.
B.17.3.3. Nếu xảy ra đánh lửa sớm sau B.17.3.2, áp suất tăng áp nên được giảm đi 3,37 kPa (1 in Hg) lại điều chỉnh nhiệt độ tối ưu của nhiệt tới khi đạt được sự vận hành ổn định của động cơ trong thời gian 3 min hoặc xảy ra đánh lửa sớm. Nếu xảy ra đánh lửa sớm, tham khảo B.17.3.5.
B.17.3.4. Nếu B.17.3.2, động cơ vận hành ổn định thì áp suất tăng áp nên được tăng lên 3,37 kPa (1 in Hg), lại điều chỉnh nhiệt độ tối ưu của nhiệt tới khi động cơ vận hành ổn định trong thời gian 3 min hoặc xảy ra đánh lửa sớm. Nếu xảy ra đánh lửa sớm, tham khảo B.17.3.5.
B.17.3.5. Nếu đo momen ma sát ở áp suất tăng áp, 3,17 kPa (1 in Hg) dưới điểm đánh lửa sớm (hoặc điểm chỉnh đặt đã ổn định trước đây trước khi đánh lửa sớm) và trong khoảng 30 s sau khi động cơ ngừng đánh lửa (nổ).
B.17.3.6. Có thể kiểm tra các số liệu đánh giá khi sử dụng một bugi có điểm đánh giá ít nhất là cao hơn IMEP 50 so với các bugi đã được đánh giá.
B.17.3.7. Tính toán IEMP
HP chỉ thị = HP ma sát + HP phanh (1)
lHP = TF +
TB
IHP = 0,51 (TF + TB) = Thiết kế/33 000
0,51 (TF + TB) - (0,04) (0,01) P = IMEP
IMEP = 8,65 (TF + TB)
Trong đó
TF Momen ma sát;
TB Momen phanh;
IMEP Áp suất hiệu dụng trung bình chỉ thị.
Phụ lục B-Phụ lục B.1
Dung sai chế tạo và giới hạn thay thế
1. Xem Bảng B-B.1
Bảng B-B.1 – Dung sai chế tạo và giới hạn thay thế
Kích thước tính bằng milimét
Kích thước trong ngoặc tính bằng inch
|
|
| Dung sai chế tạo | Giới hạn thay thế |
| Chỉnh đặt thanh đẩy (xupap hút) |
| 0,457(0,018) Nóng |
|
| Chỉnh đặt thanh đẩy (xupap xả) |
| 0,457(0,018) Nóng |
|
| Thân xupap (hút) lắp với dẫn hướng (doa tay dẫn hướng khi lắp) | |||
| Xupap 5835 | Đường kính 11,05-11,07 (0,435-0,436) | 0,0127-0,0381 (0,0005-0,0015) | 0,08 (0,003) |
| Dẫn hướng xupap hút 5134 | Lỗ 11,07-11,087 (0,436-0,4365) |
|
|
| Thân xupap (xả) lắp với dẫn hướng (doa tay dẫn hướng khi lắp) | |||
| Xupap xả 5836 | Đường kính 11,010-11,036 (0,4335-0,4345) | 0,051-0,026 (0,002-0,003) | 0,1143 (0,0045) |
| Dẫn hướng xupap xả 5135 | 11,074-11,087 (0,436-0,4365) |
|
|
| Lắp ép dẫn hướng xupap trong đầu xy lanh | |||
| Đầu xy lanh | 17,436-17,48 (0,6875-0,688) |
|
|
| Dẫn hướng xupap hút 5134 Dẫn hướng xupap hút 5135 | 17,488-17,495 (0,6885-0,6888) | Lắp ép 0,0127-0,033 (0,0005-0,0013) |
|
| Tải trọng của lò xo xupap |
|
|
|
| Lò xo xupap trong 5230 | ở chiều cao 34,925 (1,375) ở chiều cao 42,849 (1,687) | 8,05-9,45 Kg (115-135 lb) 4,41-4,83 Kg (63-69 lb) | Dưới 7,7 Kg (110 lb) Dưới 4,06 Kg (58 lb) |
| Lò xo xupap ngoài 5231 | ở chiều cao 34,925 (1,375) ở chiều cao 42,849 (1,687) | 7,7-9,1 Kg (110-130 lb) 5,25-5,95 Kg (75-85 lb) | Dưới 7,35 kg (105 lb) |
| Khe hở mặt bên đòn gánh xupap |
|
|
|
| Đầu xy lanh | 41,986-42,139 (1,653-1,659) |
|
|
| Diện tích tiết diện đòn gánh | 39,649-39,725 (1,561-1,564) | 0,051-0,330 (0,002-0,013) |
|
| Vòng đệm chặn 5223 | 2,159-2,209 (0,085-0,087) |
|
|
| Trục đòn gánh xupap lắp với đầu xy lanh (động cơ 5750) (doa tay khi lắp) | |||
| Đầu xy lanh | Lỗ 15,875-15,808 (0,625-0,6255) | 0,0127-0,0254 (0,0005-0,001) |
|
| Trục đòn gánh | Đường kính 15,862-15,875 (0,6245-0,625) |
|
|
| Thân của thanh đẩy xupap lắp với đầu xy lanh | |||
| Đầu xy lanh | Lỗ 25,095-25,146 (0,988-0,990) | Lắp ép 0,000-0,076 (0,000-0,003) |
|
| Thân thanh đẩy trên xupap hút | 25,146-25,171 (0,990-0,991) |
|
|
| Thân thanh đẩy trên xupap xả | 25,146-25,171 (0,990-0,991) |
|
|
| Thân của thanh đẩy xupap lắp với thân xy lanh | |||
| Thân xy lanh 5544 | Lỗ 25,349-25,146 (0,998-0,990) | Lắp ép 0,000-0,076 (0,000-0,003) |
|
| Thân thanh đẩy dưới 5164 | Đường kính 25,146-25,171 (0,990-0,991) | Lắp ép 0,000-0,076 (0,000-0,003) |
|
| Cụm con đội xupap lắp với dẫn hướng | |||
| Dẫn hướng con đội xupap 5501 | Lỗ 17,462-17,475 (0,6875-0,600) | 0,043-0,071 (0,0017-0,0028) |
|
| Thân con đội 5502 (thanh đẩy, xupap) | Đường kính 17,404-17,419 (0,6852-0,6858) | 0,043-0,071 (0,0017-0,0028) |
|
| Ống lót xy lanh 5740 |
| Lỗ 66,662-66,700 (2,6245-2,626) | Độ không tròn 0,050 (0,002) Sai lệch 0,127 (0,005) |
| Vòng đệm pit tông |
|
|
|
| Pit tông (vùng đỉnh 5474) |
| Đường kính 66,395-66,421 (2,614-2,615) | Đường kính 66,015 (2,599) |
| Thân pit tông và các vùng khác |
|
| Đường kính 66,269 (2,609) |
| Pit tông (thân và các vùng khác) 5474 | Đường kính 66,523-66,548 (2,619-2,620) | Đường kính 66,523-66,548 (2,619-2,620) | Độ không tròn 0,178 (0,007) |
| Khe hở mặt mút của vòng găng |
|
|
|
| Vòng găng dầu 3296 | Khe hở mặt mút tại 66,675 (2,625) | 0,178-0,181 (0,007-0,15) | 0,686 (0,027) hoặc 0,305 (0,012) |
| Vòng găng nén 5863 | Đường kính calip |
|
|
| Vòng găng nén tùy chọn 3387 |
|
| Độ tăng thực |
| Khe hở mặt bên của vòng găng No 1 (đỉnh) | |||
| Pit tông (chiều rộng rãnh) 5474 | 2,476-2,502 (0,0975-0,985) | 0,102-0,1397 (0,004-0,0055) |
|
| Vòng găng nén 5863 | 2,362-2,375 (0,093-0,0935) | 0,102-0,1397 (0,004-0,0055) |
|
| Vòng găng nén (tùy chọn) (mạ vônfram) 3387 | 2,362-2,375 (0,093-0,0935) | 0,102-0,1397 (0,004-0,0055) |
|
| Khe hở mặt bên của vòng găng No 2, 3 và 4 | |||
| Pit tông (chiều rộng rãnh) 5474 | 2,451-2,477 (0,0965-0,0975) | 0,076-0,1143 (0,003-0,0045) | 0,1397 (0,0055) |
| Vòng găng nén 5863 | 2,362-2,375 (0,093-0,0935) | 0,076-0,1143 (0,003-0,0045) |
|
| Khe hở mặt bên của vòng găng No 5 (đáy) | |||
| Pit tông (chiều rộng rãnh) 5474 | 4,788-4,813 (0,1885-0,1895) | 0,050-0,089 (0,002-0,0035) |
|
| Vòng găng dầu 3296 | 4,724-4,737 (0,186-0,1865) | 0,050-0,089 (0,002-0,0035) | 0,127 (0,005) |
| Khe hở giữa chốt pit tông và pit tông | |||
| Pit tông 5474 | Lỗ 25,4025-25,4152 (1,0001-1,0006) | 0,0025-0,0203 (0,0001-0,0008) |
|
| Chốt pit tông 5120 | Đường kính 25,0000-25,3949 (1,0000-0,9998) | 0,0025-0,0203 (0,0001-0,0008) | 0,0381 (0,0015) |
| Khe hở giữa chốt pit tông và bạc lót thanh truyền | |||
| Chốt pit tông 5120 | 25,4000-25,3949 (1,0000-0,9998) | 0,00635-0,0305 (0,00025-0,0012) |
|
| Cụm thanh truyền 5487 | Lỗ 25,40635-25,4254 (1,00025-1,001) | 0,00635-0,0305 (0,00025-0,0012) | 0,1143 (0,0045) |
| Khe hở giữa trục khuỷu và ổ trục thanh truyền | |||
| Cổ trục khuỷu lắp với thanh truyền 5641 | Đường kính 57,1373-57,1500 (2,2495-2,250) |
|
|
| Các ổ trục thanh truyền 2000721 |
| 0,076 (0,003) | 0,127 (0,005) |
| Khe hở giữa trục khuỷu và các ổ trục chính |
|
|
|
| Cổ trục khuỷu lắp với ổ trục chính 5641 | Đường kính 57,1373-57,1500 (2,2495-2,250) | 0,076-0,1143 (0,003-0,0045) |
|
| Ổ trục chính trước 200071-1 | Lỗ 57,2262-57,2389 (2,253-2,2535) | 0,076-0,1143 (0,003-0,0045) |
|
| Ổ trục chính sau 200071-1 | Lỗ 57,2262-57,2389 (2,253-2,2535) | 0,076-0,1143 (0,003-0,0045) | 0,1397 (0,0055) |
| Ổ trục chính (trước) sau 200071-1 | (Lúc lắp ráp) | 0,076-0,1143 (0,003-0,0045) |
|
| Khe hở mặt đầu trục khuỷu |
|
|
|
| Trục khuỷu (giữa các bề mặt) 5641 | 101,041-101,092 (3,978-3,900) |
|
|
| Ổ trục chính (trước) sau 5681 (chiều dày mặt bích) |
|
|
|
| Ổ trục chính trước 5642 (chiều dày mặt bích) | (Được lắp lúc lắp ráp) | 0,254-0,356 (0,010-0,014) | 0,635 (0,025) |
| Các ổ của trục khuỷu được lắp ép vào hộp trục khuỷu và bạc chuyển tiếp sau | |||
| Hộp trục khuỷu 5601 | Lỗ 69,8627-69,8754 (2,7505-2,751) |
|
|
| Bạc chuyển tiếp ổ trục sau 5605 | Lỗ 69,8627-69,8754 (2,7505-2,751) |
|
|
| Ổ trục chính trước 5642 | Mài OD để lắp lúc lắp ráp |
|
|
| Ổ trục chính sau 5677 | Mài OD để lắp lúc lắp ráp | Lắp ép 0,0005-0,001 (0,0127-0,254) |
|
| Ổ trục chính (trước) sau 5681 | Mài OD để lắp lúc lắp ráp |
|
|
| Trục cam với các ổ trục |
|
|
|
| Cổ trục trước của trục cam 5641 | Đường kính 45,2120-45,2245 (1,780-1,7805) | 0,0254-0,0635 (0,001-0,0025) |
|
| Cổ trục sau | Đường kính 25,3746-25,3873 (0,999-0,9995) | 0,0254-0,0635 (0,001-0,0025) |
|
| Ổ trục trước 5051 | Lỗ 45,2501-45,2755 (1,7815-1,7825) | 0,0254-0,0635 (0,001-0,0025) | 0,102 (0,004) |
| Ổ trục sau 5646 | Lỗ 25,4127-25,4381 (1,0005-1,0015) | 0,0254-0,0635 (0,001-0,0025) |
|
| Khe hở mặt đầu trục cam |
|
|
|
| (chiều dài ổ trục) của trục cam 5640 | 42,799-42,849 (1,685-1,687) | 0,102-0,203 (0,004-0,008) | 0,254 (0,010) |
| (chiều dài toàn bộ - OAL) của ổ trục trước 5051 | 42,646-42,697 (1,679-1,681) | 0,102-0,203 (0,004-0,008) |
|
| Ổ trục trước của trục cam lắp vào hộp trục khuỷu | |||
| Hộp trục khuỷu 5601 | Lỗ 57,150-57,175 (2,250-2,251) | 0,0127-0,508 (0,0005-0,002) |
|
| Ổ trục sau 5051 | 57,124-57,137 (2,249-2,2495) | 0,0127-0,508 (0,0005-0,002) |
|
| Ổ trục sau của trục cam lắp vào hộp trục khuỷu (động cơ 5750) | |||
| Hộp trục khuỷu 5601 | Lỗ 31,750-31,775 (1,250-1,251) | 0,0127-0,0508 (0,0005-0,002) |
|
| Ổ trục sau 5646 | Đường kính 31,725-31,7373 (1,249-1,2495) | 0,0127-0,0508 (0,0005-0,002) |
|
| Khe hở điểm ngắt manhêto |
| 0,355-0,559 (0,014-0,022) |
|
| Áp lực của con lăn tựa trên cam của manhêto (với cam ở trên phần biên dạng dừng) |
| 0,83-22 N (3-8 oz) |
|
| Áp lực giữa các điểm của manhêto với con lăn tựa trên phần biên dạng dừng của cam |
| 5,0-7,0 N (18-25 oz) |
|
| Các trục đối trọng lắp vào các ống (bạc) lót |
|
|
|
| Các (ngõng) trục đối trọng 5608 | Đường kính 31,699-31,711 (1,248-1,2485) | 0,051-0,0889 (0,002-0,0035) |
|
| Các bạc lót sau 5610 | Lỗ 31,763-31,788 (1,2505-1,2515) | 0,51-0,0889 (0,002-0,0035) | 0,1143 (0,0045) |
| Các bạc lót trước 5647 | Lỗ 31,763-31,788 (1,2505-1,2515) |
|
|
| Các ống bạc lót trục đối trọng lắp vào hộp trục khuỷu và bạc chuyển tiếp | |||
| Hộp trục khuỷu 5601 | Lỗ 38,0873-38,1127 (1,4995-1,5005) | 0,000-0,0889 (0,000-0,0035) |
|
| Bạc chuyển tiếp 5609 | Lỗ 38,0873-38,1127 (1,4995-1,5005) | 0,000-0,0889 (0,000-0,0035) |
|
| Ống (bạc) lót sau 5610 | OD 38,075-38,0873 (1,499-1,4995) | 0,000-0,0889 (0,000-0,0035) |
|
| Ống (bạc) lót trước 5647 | OD 38,075-38,0873 (1,499-1,4995) | 0,000-0,0889 (0,000-0,0035) |
|
| Khe hở mặt đầu của trục đối trọng |
|
|
|
| (Chiều dài vai) trục đối trọng 5608 | 50,800-50,749 (2,169-2,174) | 0,076-0,279 (0,003-0,011) |
|
| (Chiều dài lỗ) bạc chuyển tiếp 5609 | 50,800-50,749 (2,000-1,998) | 0,076-0,279 (0,003-0,011) | 0,508 (0,020) |
| (Chiều dày mặt bích) ống lót trước 5647 | 4,191-4,216 (0,165-0,166) | 0,076-0,279 (0,003-0,011) |
|
| Cụm bơm dầu 5656 (động cơ 5650) |
|
|
|
| Trục dẫn động lắp vào ống lót trong thân bơm tại đầu dẫn động | |||
| Trục 5651 | Đường kính 12,725-12,7381 (0,5015-0,504) | 0,038-0,076 (0,002-0,003) | 0,127 (0,005) |
| Ống lót 5002 | Đường kính 12,776-12,802 (0,503-0,504) | 0,038-0,076 (0,0015-0,003) |
|
| Trục dẫn động lắp vào ống lót trong nắp bơm | |||
| Trục 5651 | Đường kính 12,6619-12,6745 (0,4985-0,499) | 0,051-0,076 (0,002-0,003) | 0,127 (0,005) |
| Trục 5662 | Lỗ 12,725-12,738 (0,501-0,5015) | 0,051-0,076 (0,002-0,003) |
|
| Trục lồng không lắp vào các ống lót |
|
|
|
| Trục 5782 | Đường kính 12,6619-12,6746 (0,4985-0,499) | 0,051-0,076 (0,002-0,003) |
|
| Ống lót 5652 | Lỗ 12,725-12,738 (0,501-0,5015) | 0,051-0,076 (0,002-0,003) |
|
| Lắp ép ống lót vào thân và nắp bơm |
|
|
|
| Lỗ thân bơm | Lỗ 15,8623-15,8877 (0,6245-0,6255) | Lắp ép 0,0381-0,0889 (0,0015-0,0035) |
|
| OD (đường kính ngoài) của ống lót | OD 15,925-15,951 (0,627-0,628) | Lắp ép 0,0381-0,0889 (0,0015-0,0035) |
|
| Khe hở bánh răng bơm |
| 0,076-0,127 (0,003-0,005) | 0,178 (0,007) |
Phụ lục B – Phụ lục B.2
Ống lót bugi tiêu chuẩn
1. Xem Bảng B-B.2
Bảng B-B.2 - Ống lót bugi tiêu chuẩn
| Cỡ ren của bugi | Chiều sâu vặn ren của bugi (mm(in)) | Số liệu chi tiết của Labeco (tiêu chuẩn) |
| 8 mm | 12,497 (0,492) | 20 001 |
| 10 mm | 6,350 (0,250) | 16 200 |
| c10 mm | 12,497 (0,492) | 16 201 |
| 10 mm | 17,780 (0,700) | 16 202 |
| 12 mm | 12,497 (0,492) | 16 204 |
| 12 mm | 19,050 (0,750) | 16 205 |
| 14 mm | 9,525 (0,375) | 16 206 |
| 14 mm | 11,100 (0,437) | 16 207 |
| 14 mm | 12,700 (0,500) | 16 208 |
| 14 mm | 11,684 (0,460) (mặt tựa côn) | 16 209 |
| 14 mm | 19,050 (0,750) | 16 210 |
| 14 mm | 19,050 (0,750) (ren một nửa) | 16 211 |
| 14 mm | 17,780 (0,700) (mặt tựa côn) | 16 219 |
| 14 mm | 17,272 (0,680) | 16 221 |
| 14 mm | 9,525 (0,375) (mặt tựa côn) | 16 223 |
| 14 mm | 17,780 (0,700) (mặt tựa côn) (ren 1/2 - Ford) | 16 232 |
| 14 mm | 23,241 (0,915) (mặt tựa côn) (ren 1/2 - Autolite) | 16 233 |
| 14 mm | 12,700 (0,500) | 16 154 A |
| 18 mm | 11,303 (0,445) | 16 212 |
| 18 mm | 12,700 (0,500) | 16 213 |
| 18 mm | 11,684 (0,460) | 16 214 |
| 18 mm | 20,625 (0,812) | 16 215 |
| 18 mm | 25,400 (1,000) (đặc biệt) | 16 226 |
| 18 mm | 29,718 (1,125) | 16 222 |
| 18 mm | 38,100 (1,500) (mặt tựa côn) | 16 231 |
| 18 mm | 29,718 (1,125) (ren 3/16, dập nổi) | 16 220 |
| 0,875 in | 15,900 (0,625) | 16 216 |
| 0,875 in | 20,625 (0,812) | 16 217 |
| 0,875 in | 20,625 (0,812) (Đặc biệt) | 16 218 |
Phụ lục B-Phụ lục B.3
Momen xoắn lắp đặt bugi
1. Xem Bảng B-B.3
Bảng B-B.3 - Momen xoắn khi đặt bugi
| Cỡ bugi | Momen xoắn (N∙m (lb-ft)) |
| 10 mm | 10-15 (7-11) |
| 12 mm | 15-25 (11-18) |
| 14 mm | 35-40 (26-30) |
| 14 mm (mặt tựa côn) | 9-20 (7-15) |
| 18 mm | 43-52 (32-38) |
| 18 mm (mặt tựa côn) | 20-27 (15-20) |
| 0,875 in x 18 | 47-58 (35-43) |
Phụ lục B-Phụ lục B.4
Thông báo tài liệu cho lắp ráp động cơ 5750 với đầu xy lanh lắp ống lót bugi để đánh giá bugi SAE
1. Các chi tiết, bộ phận quy định
* Chi tiết bộ phận quy định của SAE
Số lượng yêu cầu
| 1 | 5600 | Cụm hợp trục khuỷu, có đối trọng |
| 1 | 5660 | Cụm vòng giữ dầu (sau) của trục khuỷu |
| 1 | 5653 | Vòng vòng giữ dầu (sau) của trục khuỷu |
| 1 | 5661 | Vòng bít kín dầu |
| 1 | 5630 | Cụm bạc chuyển tiếp của ổ trục các trục có đối trọng |
| 1 | 5609 | Bạc chuyển tiếp của ổ trục cho trục có đối trọng |
| 2 | 5647 | Ống lót ổ trục trước của trục có đối trọng |
| 2 | 4243 | Vít siết chặt đầu có lỗ đặt chìa vặn, ren bước lớn theo tiêu chuẩn quốc gia Hoa Kỳ 0,375 - 16 x chiều dài 0,500 |
| 2 | 4260 | Chốt đường kính 0,1251/0,1253 x chiều dài 0,375 |
| 1 | 5654 | Cụm trục cam |
| 1 | 5640 | Trục cam |
| 1 | 5052 | Bánh răng định thời của trục cam |
| 1 | 5051 | Bạc lót ổ trục trước của trục cam |
| 1 | 5053 | Đai ốc của bánh răng trước trục cam lắp vào trục cam |
| 1 | 4051 | Then bán nguyệt 0,156 x 0,750 SAE #8 ANSI (506) |
| 1 | 5054 | Vòng đệm hãm bánh răng lắp vào trục cam |
| 1 | 4076 | Then bán nguyệt, 0,250 x 0,875 SAE # A ANSI (807) |
| 1 | 5631 | Cụm nắp hộp bánh răng |
| 1 | 5602 | Nắp hộp bánh răng |
| 1 | 5457 | Vòng bít kín dầu phía trước của trục cam |
| 1 | 5111 | Nắp bộ lọc kiểu cánh |
| 1 | 5112 | Đệm kín cho nắp bộ lọc |
| 1 | 5601 | Vòng bít kín dầu |
| 4 | 5634 | Vít cấy lắp bơm dầu vào hộp |
| 1 | 4246 | Vit siết chặt đầu có lỗ 6 cạnh đặt chìa vặn, ren bước lớn theo tiêu chuẩn quốc gia Hoa Kỳ 0,375 - 16 x chiều dài 2,625 |
| 1 | 4247 | Vít siết chặt đầu có lỗ 6 cạnh đặt chìa vặn, ren bước lớn theo tiêu chuẩn quốc gia Hoa Kỳ 0,375 - 16 x chiều dài 1,000 |
| 1 | 5635 | Cụm con hộp trục khuỷu |
| 1 | 5601 | Hộp trục khuỷu |
| 1 | 5605 | Bạc chuyển tiếp ổ trục sau của trục khuỷu |
| 1 | 5642 | Ổ trục chính phía trước |
| 1 | 5677 | Ổ trục sau có bạc chuyển tiếp của trục khuỷu |
| 1 | 5681 | Ổ trục trước có bạc chuyển tiếp của trục khuỷu |
| 3 | 4329 | Chốt côn #3 x chiều dài 2,500 |
| 15 | 35105 | Vít có mũ, đầu 6 cạnh, ren bước lớn theo tiêu chuẩn quốc gia Hoa Kỳ 0,375 - 16 x chiều dài 1,250, cấp bền 5 mạ cađimi |
| 15 | 4111 | Vòng đệm phẳng ID 0,375/0,391 x OD 0,625 x dầy 0,062, mạ cađimi AN 960 - 616 |
| 2 | 4243 | Vít siết chặt, đầu có lỗ 6 cạnh đặt chìa vặn, ren bước lớn theo tiêu chuẩn quốc gia Hoa Kỳ 0,375 - 16 x chiều dài 0,500 |
| 1 | 4060 | Phụ tùng nối ống, ống có miệng lọc, khuỷu nối 90 có đầu bị bao, ren ống 0,250 NPT x 0,375, ống đồng thau chịu thời tiết # 402 x 6 |
| 1 | 5621 | Cụm trục khuỷu |
| 1 | 5641 | Trục khuỷu |
| 2 | 5639 | Đối trọng của trục khuỷu |
| 4 | 5019 | Vít mũ lắp đối trọng với trục khuỷu |
| 1 | 4000 | Nút ống, đầu có lỗ đặt chìa vặn, bằng thép, ren ống 0,125 PT, nhuộm đen |
| 2 | S11205 | Dây an toàn, đường kính 0,032 bằng thép không gỉ MS 20995C32 |
| 1 | 5673 | Cụm mặt bích đầu ra của dầu |
| 1 | 5664 | Cụm sấy nóng kiểu tấm cực |
| 1 | 5665 | Tấm cực của bộ sấy nóng |
| 1 | 5685 | Nắp bộ sấy nóng kiểu tăng cực (sau) |
| 4 | 4038 | Vít đầu phẳng, ren bước nhỏ theo tiêu chuẩn quốc gia Hoa Kỳ # 10-32 x chiều dài 0,750, được mạ |
| 4 | 4030 | Vòng đệm phẳng ID #10 0,219 x OD 0,500 x dày 0,049, mã kẽm |
| 8 | 4031 | Đai ốc sáu cạnh lắp với vít có ren bước nhỏ theo tiêu chuẩn quốc gia Hoa Kỳ #10-32, mạ kẽm |
| 1 | 5697 | Tấm cực nối |
| 15 | 37729 | Tấm cực kiểu võng không hàn lắp vít cấy 16-14 AWG x #10 |
| 1 | 5696 | Nắp bộ sấy nóng kiểu tấm cực tuyến |
| 2 | 4179 | Vít có đầu phẳng, ren bích hợp lớn theo tiêu chuẩn quốc gia Hoa Kỳ #6-32 x chiều dài 0,500, bằng thép không gỉ 18-8 |
| 2 | 5698 | Bộ tách dầu kiểu dây |
| 1 | 200003-1 | Cụm điều khiển bộ sấy nóng bộ phận gom dầu |
| 1 | 200005-1 | Hộp công tắc bộ sấy nóng bộ phận gom dầu |
| 1 | 200006-1 | Nắp hộp công tắc bộ sấy nóng bộ phận gom dầu |
| 1 | 200007-1 | Biểu nhãn của công tắc bộ sấy nóng bộ phận gom dầu |
| 1 | 37547 | Công tắc của bộ chọn |
| 1 | 37548 | Tấm nối dây của công tắc bộ chọn |
| 2 | 30741 | Vít đầu tròn, ren bước nhỏ theo tiêu chuẩn quốc gia Hoa Kỳ #10-32 x chiều dài 0,250, được mạ |
| 1 | 5549 | Bộ sấy nóng bình gom dầu |
| 4 | 35602 | Vít có mũ, đầu có lỗ 6 cạnh đặt chìa vặn, ren bước lớn theo tiêu chuẩn quốc gia Hoa Kỳ #4-40 x chiều dài 0,313 |
| 1 | 5656 | Cụm bơm dầu |
| 1 | 5649 | Thân bơm dầu |
| 1 | 5650 | Nắp bơm dầu |
| 1 | 5651 | Trục dẫn động bơm dầu |
| 1 | 5782 | Trục lồng không của bơm dầu |
| 1 | 5761 | Bánh răng của trục dẫn động bơm dầu |
| 1 | 5762 | Bánh răng bị dẫn của bơm dầu |
| 1 | 5643 | Nắp bích nối |
| 3 | 5652 | Bạc lót của nắp bơm dầu |
| 1 | 5082 | Bạc lót của trục chính bơm dầu |
| 6 | 35105 | Vít có mũ, đầu 6 cạnh, ren bước lớn theo tiêu chuẩn quốc gia Hoa Kỳ 0,375-16 x chiều dài 1,250, cấp bền 5, mạ cađimi |
| 6 | 4111 | Vòng đệm phẳng ID 0,375...0,391 x OD 0,625 x dày 0,062, mạ cađimi AN 960-616 |
| 2 | 4026 | Then bán nguyệt 0,094 x 0,500 SAE #2 ANSI (304) |
| 2 | 4054 | Chốt đường kính 0,2501/0,2503 x chiều dài 0,625 |
| 1 | 5519 | Cụm điều chỉnh áp suất dầu |
| 1 | 5923 | Thân bộ điều chỉnh áp suất van an toàn |
| 1 | 5924 | Van trượt bộ điều chỉnh áp suất van an toàn |
| 1 | 5925 | Bulông của bộ điều chỉnh áp suất van an toàn |
| 1 | 5726 | Vít điều chỉnh áp suất dầu |
| 1 | 5938 | Lò xo của bộ điều chỉnh áp suất van an toàn SAE 17,6 3-7-62 |
| 2 | 4956 | Đệm kín bằng đồng ID 0,750 x dày 0,062 SAME AS 5103 (“MCCORD" #511-A) |
| 1 | 4339 | Đai ốc hãm 6 cạnh có cữ chặn đàn hồi |
| 1 | 4340 | Đệm kín ID 5/8, OD 7/8 bằng amian được mạ đồng |
| 1 | 5926 | Phích cắm của bộ điều chỉnh áp suất van an toàn |
| 8 | 35651 | Vít có mũ, đầu 6 cạnh, ren bước lớn theo tiêu chuẩn quốc gia Hoa Kỳ 0,313-18 x chiều dài 1,250, cấp bền 5, được mạ |
| 6 | 35105 | Vít có mũ, đầu 6 cạnh, ren bước lớn theo tiêu chuẩn quốc gia Hoa Kỳ 0,0375-16 x chiều dài 1,250, cấp bền 5, mạ cađimi |
| 3 | 4022 | Then bán nguyệt 0,250 x 1,125 SAE #18 ANSI (809) |
| 4 | 4030 | Vòng đệm phẳng #10 ID 0,219 x OD 0,500 x dày 0,049, mạ kẽm |
| 4 | 4037 | Đai ốc 6 cạnh, ren bước nhỏ theo tiêu chuẩn quốc gia Hoa Kỳ 0,375-24, mạ kẽm |
| 2 | 35066 | Vít có mũ, đầu 6 cạnh, ren bước lớn theo tiêu chuẩn quốc gia Hoa Kỳ 0,375-16 x chiều dài 0,750 cấp bền 5, mạ cađimi |
| 39 | 35024 | Vít có mũ, đầu 6 cạnh, ren bước lớn theo tiêu chuẩn quốc gia Hoa Kỳ 375-16 x chiều dài 0,875 cầp bền 5, mạ cađimi |
| 2 | 4047 | Vòng đệm phẳng ID 0,313...0,328 x OD 0,562 x dày 0,062 mạ cađimi AN960-516 |
| 3 | 4051 | Then bán nguyệt 0,156...0,750 SAE #8 ANSI (506) |
|
| 35610 | Vít có mũ, đầu 6 cạnh, ren bước lớn theo tiêu chuẩn quốc gia Hoa kỳ 0,250-20 x chiều dài 0,875 cấp bền 5, được mạ |
| 74 | 4111 | Vòng đệm phẳng ID 0,375...0,391 x OD 0,265 x dày 0,062 mạ cađimi AN960-616 |
| 4 | 4129 | Vít có đầu hình trụ, ren bước nhỏ theo tiêu chuẩn quốc gia Hoa Kỳ #10-32 x chiều dài 0,500 mạ cađimi |
| 6 | 35106 | Vít có mũ, đầu 6 cạnh, ren bước lớn theo tiêu chuẩn quốc gia Hoa Kỳ 0,375 -16 x chiều dài 1,750, cấp bền 5, mạ cađimi |
| 11 | 35153 | Vít có mũ, đầu 6 cạnh, ren bước lớn theo tiêu chuẩn quốc gia Hoa Kỳ 0,375 -16 x chiều dài 3,250, cấp bền 5, mạ cađimi |
| 2 | 4256 | Vít có mũ, đầu có lỗ 6 cạnh đặt chìa vặn ren bước lớn theo tiêu chuẩn quốc gia Hoa Kỳ 0,313 -18 x chiều dài 1,000 |
| 1 | 4267 | Vít siết chặt, đầu có lỗ 6 cạnh đặt chìa vặn, ren bước nhỏ theo tiêu chuẩn quốc gia Hoa Kỳ #10-32 x chiều dài 0,375 |
| 4 | 4331 | Vít có đầu hình trụ, ren bước nhỏ theo tiêu chuẩn quốc gia Hoa Kỳ #10-32 x chiều dài 1,250, được mạ (AN 501-10-20) |
| 1 | 4556 | Van an toàn PESCO PROD #3V, 195, được chỉnh đặt ở 2 in (25,8 mm) Hg |
| 2 | 4861 | Thước đo mức dầu |
| 1 | 5013 | Đệm kín cho lắp thân xy lanh 5163 đến 5002 với hộp trục khuỷu |
| 1 | 5023 | Vòng đệm hãm của đai ốc bánh đà |
| 1 | 5027 | Bánh răng định thời của trục khuỷu |
| 2 | 5035 | Vòng đệm kẹp đĩa định thời của trục khuỷu |
| 2 | 5042 | Đai ốc hãm (1 in đến 20 in) phía trước trục khuỷu |
| 1 | 5071 | Kim chỉ của bánh đà |
| 1 | 5076 | Đai ốc 6 cạnh 1,500-18 của bánh đà |
| 1 | 5603 | Tấm nắp hộp trục khuỷu |
| 2 | 5604 | Đệm kín tấm nắp hộp trục khuỷu |
| 2 | 5608 | Trục của đối trọng |
| 1 | 5611 | Đĩa xích trục khuỷu |
| 2 | 5612 | Đĩa xích trục đối trọng |
| 1 | 5613 | Đĩa xích lồng không (bánh răng xích) |
| 1 | 5614 | Bạc lót đĩa xích lồng không |
| 1 | 5615 | Bulông của bạc lốt đĩa xích lồng không |
| 1 | 5616 | Xích của cơ cấu định thời |
| 1 | 5629 | Đệm kín của hộp bánh răng |
| 4 | 5632 | Vòng đệm để dịch chuyển bộ phận sấy nóng |
| 4 | 5638 | Ống của bộ sấy nóng bộ phận thu gom dầu |
| 1 | 5644 | Đầu nối |
| 1 | 5645 | Đai ốc 6 cạnh dẫn động |
| 1 | 5648-A | Bạc chặn đĩa định thời |
| 1 | 5670 | Then thẳng chuyên dùng cho lắp bánh đà với trục khuỷu |
| 2 | 5680 | Nắp kiểm tra |
| 2 | 5686 | Van xả khí kiểu mặt bích |
| 2 | 5687 | Đệm kín của van xả khí kiểu mặt bích |
| 1 | 5691 | Đệm kín bạc chuyển tiếp ổ trục sau lắp với hộp |
| 2 | 5692 | Đệm kín của bơm dầu lắp với nắp |
| 1 | 5693 | Đệm kín của mặt bích bộ lọc dầu |
| 1 | 5694 | Đệm kín của nắp kiểm tra lắp với hộp |
| 1 | 5695 | Tấm nắp được khoan và tarô dùng cho van an toàn |
| 2 | 5837 | Vành hắt dầu của nắp hộp trục khuỷu |
| 4 | 5838 | Đệm của vành hắt dầu nắp hộp trục khuỷu |
| 6 | 35025 | Vít có mũ, đầu 6 cạnh, ren bước lớn theo tiêu chuẩn quốc gia Hoa Kỳ 0,375-16 x chiều dài 1,000, cấp bền 5, mạ cađimi |
| 3 | 4000 | Nút ống, đầu có lỗ đặt chìa vặn, bằng thép, ren ống 0,125, nhuộm đen |
| 1 | 4001 | Nút ống, đầu có lỗ đặt chìa vặn, bằng thép, ren ống 0,250, nhuộm đen |
| 1 | 5015 | Đệm kín cho vòng giữ dầu 5014 đến 5008 lắp với bạc chuyển tiếp |
| 2 | 36871 | Đoạn nối ống 0,250 NPTF x 0,375 NPTF (NPTF = Ren ống bước nhỏ), chịu được thời tiết C 3069 x 6 x 4 |
| 2 | 5610 | Bạc lót phía sau trục đối trọng |
| 1 | 5646 | Bạc lót phía sau trục cam |
| 6 | 5003 | Vít cấy lắp ghép hộp trục khuỷu với thân xy lanh |
| 4 | 4243 | Vít có mũ, đầu có lỗ 6 cạnh đặt chìa vặn, ren bước lớn theo tiêu chuẩn quốc gia Hoa Kỳ (UNC) 0,375-16 x chiều dài 0,500 |
| 2 | 4002 | Nút ống, đầu có lỗ đặt chìa vặn, bằng thép, ren ống 0,500, nhuộm đen |
| 3 | 4318 | Vít có mũ, đầu có lỗ 6 cạnh đặt chìa vặn, ren bước nhỏ theo tiêu chuẩn quốc gia Hoa Kỳ (UNF) #10-32 x chiều dài 0,375 |
| 2 | 5500 | Cụm con đội thanh đẩy xupap |
| 1 | 5502 | Thân con đội xupap |
| 1 | 5503 | Con lăn con đội xupap |
| 1 | 5504 | Trục con lăn của con đội xupap |
| 1 | 5506 | Khớp nối của thanh đẩy con đội xupap |
| 2 | 35100 | Vít có mũ, đầu 6 cạnh, ren bước lớn theo tiêu chuẩn quốc gia Hoa Kỳ (UNC) 0,313-18 x chiều dài 1,000, cấp bền 5, mạ cađimi |
| 2 | 5501 | Dẫn hướng con đội xupap |
| 3 | 4242 | Chốt, đường kính 0,3751/0,3753 x chiều dài 1,000 |
| *1 | 16018 | Đầu xy lanh, kiểu lắp ghép ống lót bugi của động cơ đánh giá bugi SAE |
| 1 | 16001 | Đầu xy lanh kiểu lắp ghép ống lót bugi |
| 1 | 5136 | Ống lót để (mặt tựa) xupap hút |
| 1 | 5137 | Ống lót để (mặt tựa) xupap xả |
| 1 | 5134 | Dẫn hướng xupap hút |
| 1 | 5135 | Dẫn hướng xupap xả |
| 8 | 5138 | Vít cấy của gờ cửa xy lanh |
| 1 | 16006 | Thân ở trên của thanh đẩy xupap xả |
| 1 | 16007 | Thân ở trên của thanh đẩy xupap hút |
| 1 | 16013 | Vít cấy lắp ống lót bugi 0,313 x 1,250 |
| 10 | 16014 | Vít cấy lắp hộp cơ cấu đòn gánh 0,250 x 1,250 |
| 1 | 16020 | Cụm đòn gánh xupap xả |
| 1 | 5211 | Con lăn của đòn gánh |
| 1 | 5212 | Mayơ (bạc) con lăn của đòn gánh |
| 1 | 5213 | Trục của con lăn và bạc của đòn gánh |
| 1 | 5214 | Vít điều chỉnh đòn gánh |
| 1 | 5215 | Khóa hàm vít điều chỉnh đòn gánh |
| 1 | 5216 | Ổ kim |
| 1 | 16021 | Đòn gánh xupap xả |
| 1 | 16021 | Cụm đòn gánh xupat hút |
| 1 | 5211 | Con lăn của đòn gánh |
| 1 | 5212 | Mayơ (bạc) con lăn của đòn gánh |
| 1 | 5213 | Trục của con lăn và bạc của đòn gánh |
| 1 | 5214 | Vít điều chỉnh đòn gánh |
| 1 | 5215 | Khóa hãm vít điều chỉnh đòn gánh |
| 1 | 5216 | Ổ kim |
| 1 | 16003 | Đòn gánh xupap xả của đầu xy lanh có ống lót bugi |
| 2 | 16011 | Cụm thanh đẩy xupap xả của đầu xy lanh có ống lót bugi |
| 2 | 16004 | Nắp hộp cơ cấu đòn gánh của đầu xy lanh có ống lót bugi |
| 2 | 16005 | Đệm kín của hộp cơ cấu đòn gánh của đầu xy lanh có ống lót bugi |
| 1 | 5143 | Đệm kín cho 5142 và 5133 |
| 2 | 5223 | Vòng đệm chặn |
| 1 | 5524 | Bạc chuyển tiếp được làm mát |
| 2 | 5227 | Đĩa lò xo xupap (dưới) |
| 2 | 5230 | Lò xo xupap trong |
| 2 | 5231 | Lò xo xupap ngoài |
| 2 | 3864 | Nút xả, ren 0,625-18 |
| 2 | 4015 | Đai ốc 6 cạnh, ren bước nhỏ theo tiêu chuẩn quốc gia Hoa Kỳ (UNF) 0,313-24, mạ kẽm |
| 2 |
| Vòm đệm phẳng ID 0,375...0,391 x OD 0,625 x dày 0,062m, mạ đi mi AN 960-616 |
| 2 | 35106 | Vít có mũ, đầu có 6 cạnh, ren bước lớn theo tiêu chuẩn quốc gia Hoa Kỳ (UNC) 0,375-16 x chiều dài 1,750, cấp bền 5, mạ cađimi |
| 8 | 35133 | Vít có mũ, đầu có 6 cạnh, ren bước lớn theo tiêu chuẩn quốc gia Hoa Kỳ (UNC) 0,313-18 x chiều dài 0,625, cấp bền 5, mạ cađimi |
| 10 | 4319 | Đai ốc 6 cạnh, ren bước nhỏ theo tiêu chuẩn quốc gia Hoa Kỳ (UNF) 0,250-28 mạ kẽm |
| 10 | 4341 | Vòng đệm phẳng ID 0,250...0,265 x OD 0,500 x dày 0,063, mạ cađimi AN 960-616 |
| 2 | 5574 | Trục đòn gánh |
| 4 | 5575 | Tấm chắn trục đòn gánh |
| 4 | 5576 | Đệm kín của tấm chắn trục đòn gánh |
| 2 | 5831 | Đệm của lò xo xupap |
| 2 | 5832 | Then chặn lò xo xupap |
| 2 | 5833 | Nắp chặn lò xo xupap |
| 2 | 5834 | Đĩa lò xo xupap (trên) |
| 1 | 5835 | Xupap hút |
| 1 | 5836-2 | Xupap xả |
| 1 | 36604 | Vòng O, 2-219, ID 1,296 x rộng 0,139 bằng cao su silicon đỏ |
| 1 | 31328 | Vòng O, 2-228, ID 2,228 x rộng 0,139 |
| 1 | 16034-C | Cặp nhiệt điện kiểu cắm vào đầu xy lanh |
| 1 | 16048 | Đệm kín của cặp nhiệt điện |
| 1 | 5587 | Cụm thân xy lanh |
| 2 | 5164 | Thân dưới để lắp các thanh đẩy xupap vào vỏ xy lanh |
| 1 | 5544 | Thân xy lanh |
| 2 | 35687 | Vít có mũ, đầu 6 cạnh, ren bước lớn theo tiêu chuẩn quốc gia Hoa Kỳ (UNC) 0,375-16 x chiều dài 2,000, cấp bền 5, được mạ |
| 2 | 35024 | Vít có mũ, đầu 6 cạnh, ren bước lớn theo tiêu chuẩn quốc gia Hoa Kỳ (UNC) 0,375-16 x chiều dài 0,875, cấp bền 5, mạ cađimi |
| 4 | 4111 | Vòng đệm phẳng ID 0,375...0,319 x OD 0,625 dày 0,062, mạ cađimi AN 960-616 |
| 2 | 4293 | Vít có mũ, đầu có lỗ 6 cạnh đặt chìa vặn ren bước lớn theo tiêu chuẩn quốc gia Hoa Kỳ (UNC) 0,375-16 x chiều dài 0,750 |
| 1 | 4359 | Đệm kín ID 3-7/16 OD 3-11/16 Hc KIM #160 (ống lót với thân xy lanh) |
| 1 | 5148 | Đệm kín cho đầu xy lanh với thân xy lanh (“Đầu với ống lót") |
| 2 | 5207 | Ống mềm cho thân thanh đẩy |
| 4 | 3351 | Đồ kẹp ống mềm #16, đường kính kẹp 0,813 đến 1,500 |
| 10 | 5546 | Vít có mũ lắp thân xy lanh với đầu xy lanh |
| 2 | 5566 | Đệm kín trên và dưới cho 5567 |
| 1 | 5569 | Đầu nối cho chất làm mát vào |
| 10 | 5577 | Đệm kín bằng đồng 1/2 in |
| 2 | 5578 | Đệm kín bằng đồng 3/8 in |
| 1 | 5579 | Tấm (đỡ) cho 5544 |
| 2 | 5581 | Đệm kín cho vòng chặn dầu của trục khuỷu |
| *1 | 5740 | Ống lót xy lanh được sửa lại 10-3-60 |
| 1 | 5741 | Mặt bích của ống lót xy lanh |
| *1 | 5939 | Cụm pit tông |
| 1 | 5474 | Pit tông & bao natri |
| 1 | 5120 | Chốt pit tông (kiểu cứng) |
| 1 | 3296 | Vòng găng, vòng găng dầu (rộng 0,187) |
| 4 | 5863 | Vòng găng, vòng găng được mạ crôm (rộng 0,094) |
| 6 | 5177 | Đai ốc có vai 1/2-20, cấp bền 5, chịu nhiệt độ cao, momen vặn nhỏ nhất 50FT/LBS |
| 2 | 5187 | Đệm kín cho các mặt bích của cửa (xy lanh) |
| 1 | 5233 | Cụm ống xả có áo làm mát |
| 2 | 5303 | Mặt bích cho cụm ống xả có áo làm mát |
| 2 | 5304 | Đệm cho cụm ống xả có áo làm mát |
| 1 | 5306 | Ống cụm ống xả có áo làm mát |
| 2 | 5234 | Bạc có ren ống 3/8 in để hàn |
| 1 | 17050 | Biển nhãn LABECO - cho sử dụng chung |
| 1 | 5487 | Cụm thanh truyền |
| 1 | 5472 | Thanh truyền |
| 2 | 5448 | Bulông thanh truyền |
| 2 | 5117 | Đai ốc của bulông thanh truyền |
| 2 | 4028 | Chốt hàm đường kính 0,094 x chiều dài 0,750 |
| 1 | 5445 | Máng lót phủ (dát) bạc |
| 1 | 5118 | Bạc lót thanh truyền lắp với chốt pit tông |
| *1 | 5496 | Cụm hút |
| *1 | 3128 | Vòi phun (BOSCH # ADN12 SD12) |
| 3 | 4002 | Nút ống, đầu có lỗ đặt chìa vặn, bằng thép, ren ống 0,500, nhuộm đen |
| 2 | 35100 | Vít có mũ, đầu 6 cạnh, ren bước lớn theo tiêu chuẩn quốc gia Hoa Kỳ (UNC) 0,313-18 x chiều dài 1,000, cấp bền 5, mạ cađimi |
| 8 | 4015 | Đai ốc 6 cạnh, ren bước lớn theo tiêu chuẩn quốc gia Hoa Kỳ (UNF) 0,313-24 mạ kẽm |
| 2 | 36426 | Vòng đệm hãm lò xo côn, đường kính trung bình 0,313, được mạ |
| 1 | 5179 | Cụm bình chứa không khí |
| 1 | 5495 | Cụm con của bình chứa không khí |
| 1 | 5180 | Bình chứa không khí |
| 6 | 5181 | Vít cấy cho lắp nắp bình chứa không khí |
| 10 | 5182 | Vít cấy cho các mặt bích bình chứa không khí |
| 1 | 4003 | Nút ống, đầu có lỗ đặt chìa vặn, bằng thép, ren ống 0,750, nhuộm đen |
| 1 | 4000 | Nút ống, đầu có lỗ đặt chìa vặn, bằng thép, ren ống 0,125, nhuộm đen |
| 1 | 5186 | Đệm kín cho lắp bình chứa không khí với nắp |
| 1 | 5361 | Cụm lưới chắn |
| 10 | 4015 | Đai ốc 6 cạnh, ren bước nhỏ theo tiêu chuẩn quốc gia Hoa Kỳ (UNF) 0,313-24, mạ kẽm |
| 1 | 5185 | Đệm kín cho lắp bình chứa không khí với mặt bích nối với bình chứa không khí |
| 1 | 5184 | Mặt bích nối dẫn không khí vào bình chứa không khí |
| 1 | 5190 | Ống đựng cho bình chứa không khí |
| 2 | 3386 | Cặp nhiệt điện, thép constantan |
| 2 | 3191 | Đầu nối cặp nhiệt điện có lỗ lắp, bằng constantan “J" |
| 1 | 5188 | Đệm kín cho cụm ống hút lắp với bình chứa không khí |
| 1 | 5189 | Ống hút |
| 1 | 5192 | Đệm kín cho 5193 với 5347 |
| 1 | 5194 | Mặt bích cho cụm giá đỡ vòi phun nhiên liệu |
| 2 | 5195 | Vít cấy cho giá đỡ vòi phun |
| *1 | 5347 | Cụm giá đỡ vòi phun (BOSCH #AKB50S- 6777A, Áp suất mở @ 1200 đến 1250 psi) |
| 1 | 5493 | Nắp bình để lắp giá với vòi phun |
| 1 | 5494 | Đệm kín cho lắp nắp bích với giá vòi phun |
| 1 | 4000 | Nút ống đầu có lỗ đặt chìa vặn, bằng thép, ren ống 0,125, nhuộm đen |
| 4 | 4099 | Vít dẫn động tự cắt ren #4 x chiều dài 0,188 kiểu “U", được mạ |
| 8 | 5028 | Đai ốc ở cạnh cao (bằng đồng thau) 0,375-16 |
| 1 | 5590 | Cụm bánh đà |
| 1 | 5591 | Bánh đà |
| 1 | 5592 | Bạc (mayơ) bánh đà |
| 6 | 35125 | Vít đầu 6 cạnh, ren bước lớn theo tiêu chuẩn quốc gia Hoa Kỳ (UNC) 0,500-13 x chiều dài 1,500, cấp bền 5 |
| 1 | 4322 | Chốt côn #9 x chiều dài 1,500 |
| 1 | 4362 | Vòng đệm phẳng ID 0,500...0,515 x OD 0,875 x dày 0,062, mạ ca đi mi AD960-816 |
| 1 | 5235 | Kết cấu hàn lắp vòi phun xả có ống mềm |
| 1 | 5259 | Cụm bộ làm mát nhiên liệu |
| 1 | 5416 | Cụm ống nhiên liệu |
| 1 | 5947 | Áp kế (bộ cảm biến áp suất xả ngược) |
| 1 | 5300 | Giá lắp manhêtô & bơm nhiên liệu |
| 4 | 4067 | Vít có mũ đầu có lỗ 6 cạnh đặt chìa vặn, ren bước lớn theo tiêu chuẩn quốc gia Hoa Kỳ (UNC) 0,375-16 x chiều dài 0,875 |
| 8 | 35667 | Vít có mũ, đầu 6 cạnh, ren bước nhỏ theo tiêu chuẩn quốc gia Hoa Kỳ 0,313-24 x chiều dài 0,750, cấp bền 5, được mạ |
| 1 | 5416 | Cụm ống nhiên liệu ngắn |
| 2 | 5781 | Đệm của giá lắp bơm nhiên liệu và manhêtô |
| 4 | 35724 | Vít có mũ, đầu 6 cạnh, ren bước lớn theo tiêu chuẩn quốc gia Hoa Kỳ (UNC) 0,500-13 x chiều dài 4,500, cấp bền 5, được mạ |
| 1 | 4051 | Then bán nguyệt, 0,516 x 0,750 SAE #8 ANSI (506) |
| 2 | 35150 | Vít có mũ, đầu 6 cạnh, ren bước lớn theo tiêu chuẩn quốc gia Hoa Kỳ (UNC) 0,375-16 x chiều dài 0,500, cấp bền 5, mạ cađimi |
| 1 | 201016-1 | Cụm nắp che của giá lắp |
| 6 | 3904 | Vít đầu tròn, ren bước nhỏ theo tiêu chuẩn quốc gia Hoa Kỳ (UNF) #10-32 x chiều dài 0,500, mạ cađimi |
| 6 | 36372 | Vòng đệm hàm lò xo côn, Đường kính trung bình #10, được mạ |
| 1 | 202041 | Cụm bơm phun nhiên liệu |
| 1 | 5345 | Bản nhiên liệu định hướng BOSCH #APE 1B-70P-300/3 |
| 1 | 4060 | Phụ tùng nối ống, ống có miệng lọc, khuỷu nối có đầu bị bao 90, vuông 0,250 x 0,375, ống bằng đồng thau chịu thời tiết # 402 x 6 |
| 1 | 4023 | Đai ốc của ống có miệng lọc 0,375 ống bằng thép chịu thời tiết # 105 x 6 |
| 1 | 5301 | Tấm lắp bơm định lượng |
| 4 | 4065 | Vít đầu phẳng, ren bước lớn theo tiêu chuẩn quốc gia Hoa Kỳ (UNC) 0,375-16 x chiều dài 0,750, được mạ |
| 1 | 4113 | Vòng đệm hãm có răng trong 0,563, được mạ |
| 1 | 5370 | Đai ốc 6 cạnh chuyên dùng cho khớp nối BOSCH #NMU 2024/1X |
| 1 | 202038 | Cụm giá lắp bộ điều khiển nhiên liệu |
| 1 | 202039 | Tri gơ của bộ điều khiển nhiên liệu |
| 1 | 202040 | Giá lắp bộ điều khiển nhiên liệu |
| 1 | 4085 | Vít có mũ, đầu có lỗ 6 cạnh đặt chìa vặn, ren bước nhỏ theo tiêu chuẩn quốc gia Hoa Kỳ (UNF) # 10-32 x chiều dài 0,500 |
| 1 | 5978-1 | Trục đỡ vị kế nhiên liệu (bơm phun nhiên liệu) |
| 1 | 5978-2 | Phụ tùng cho trục đỡ vị kế nhiên liệu |
| 1 | 3005 | Bạc lót 0,250 IPT x 0,750 IPT, BOSCH # WRV/2A1X |
| 1 | 5978-3 | Trục dùng cho trục đỡ vị kế nhiên liệu |
| 1 | 202038*005 | Chốt kẹp chữ U Đường kính 0,250 x chiều dài 0,750 |
| 1 | 4080 | Chốt hãm Đường kính 0,094 x chiều dài 1,250 |
| 1 | 202038*007 | Lò xo |
| 1 | 5409 | Nắp mặt mút để lắp bơm “BOSCH" |
| 1 | 5413 | Vít đầu ôvan, american, BOSHC # NSR 734/27X |
| 1 | 5790*020 | Manhêto Bendix 10- 518501-25 |
| 1 | 5790*021 | Cụm dây Bendix 10- 382080-1 |
| 1 | 5790*022 | Đầu nối của bộ dụng cụ Bendix |
| 1 | 5404 | Cụm khớp nối trục cam với bơm BOSCH |
| 1 | 5394 | Đệm khớp nối |
| 2 | 5369 | Cụm đĩa của khớp nối mềm |
| 1 | 5372 | Mặt bích khớp nối với trục cam |
| 1 | 5371 | Mặt bích khớp nối với bơm định hướng “BOSCH" |
| 1 | 5418 | Mặt bích điều chỉnh được |
| 2 | 35634 | Vít có mũ, đầu 6 cạnh, ren bước nhỏ theo tiêu chuẩn quốc gia Hoa Kỳ (UNF) 0,250-28 x chiều dài 1,250, cấp bền 5, được mạ |
| 2 | 35639 | Vít có mũ, đầu 6 cạnh, ren bước nhỏ theo tiêu chuẩn quốc gia Hoa Kỳ (UNF) 0,250-28 x chiều dài 2,500, cấp bền 5, được mạ |
| 6 | 4537 | Đai ốc 6 cạnh, có cữ hãm đàn hồi 0,250-28 bằng thép mạ cađimi |
| 2 | 4341 | Vòng đệm phẳng ID 0,250...0,265 x OD 0,500 x dày 0,063, mạ cađimi AN 960-616 |
| 2 | 35635 | Vít có mũ, đầu 6 cạnh, ren bước nhỏ theo tiêu chuẩn quốc gia Hoa Kỳ (UNF) 0,250-28 x chiều dài 500, cấp bền 5, được mạ |
| 2 | 4090 | Theo bán nguyệt 0,156 x 0,625 SAE #6 ANSI (505) |
| 1 | 207001 | Cụm cơ cấu dẫn động bơm phun |
| 1 | 207003 | Kết cấu hàn của giá đỡ |
| 1 | 207004 | Cần cơ cấu dẫn động |
| 1 | 207005 | Giá đỡ bạc lót của cần cơ cấu dẫn động |
| 1 | 207006 | Bạc lót |
| 1 | 207001*005 | Lò xo kéo |
| 2 | 3552 | Đai ốc 6 cạnh, ren bước lớn theo tiêu chuẩn quốc gia Hoa Kỳ (UNC) 0,250-20 bằng đồng thau |
| 1 | 201019 | Nắp cơ cấu dẫn động bơm phun |
| 1 | 201020 | Vòng đệm của nam châm điện solenoid |
| 1 | 201021 | Tay đòn |
| 1 | 201027 | Tay gạt của cơ cấu dẫn động |
| 1 | 17050 | Biển nhãn LABECO |
| 1 | 207008 | Chốt |
| 1 | 207002*01301 | Động cơ bước, 12 V DC |
| 1 | 35323 | Nam châm điện solenoid |
| 1 | 207001*015 | Nắp |
| 1 | 31310 | Hộp đầu dây |
| 1 | 207001*017 | Con lăn 1/4 DIA x 0,7 LG |
| 1 | 207001*018 | Con lăn 1/16 DIA x 0,44 LG |
| 2 | 35325 | Vít có vai Đường kính 0,250 x chiều dài 0,750 PIC 4330 |
| 12 | 32134 | Vít đầu tròn, ren bước lớn theo tiêu chuẩn quốc gia Hoa Kỳ (UNC) #4-40 x chiều dài 0,250, được mạ |
| 4 | 31424 | Vít đầu tròn, ren bước lớn theo tiêu chuẩn quốc gia Hoa Kỳ (UNC) #6-32 x chiều dài 0,750, được mạ |
| 3 | 3765 | Vít đầu tròn, ren bước lớn theo tiêu chuẩn quốc gia Hoa Kỳ (UNC) #6-32 x chiều dài 0,250, được mạ |
| 4 | 4099 | Vít dẫn động tự tarôren #4 x chiều dài 0,188, kiểu “U”, được mạ |
| 2 | 30097 | Vít siết chặt, đầu có lỗ 6 cạnh đặt chìa vặn, ren bước lớn theo tiêu chuẩn quốc gia Hoa Kỳ (UNC) #8-32 x chiều dài 0,375 |
| 6 | 31306 | Vít đầu tròn, ren bước lớn theo tiêu chuẩn quốc gia Hoa Kỳ (UNC) #8-32 x chiều dài 0,375, được mạ |
| 2 | 207001*026 | Vít đầu 6 cạnh, ren bước lớn theo tiêu chuẩn quốc gia Hoa Kỳ (UNC) 1/4-20 x 1,50 LG, bằng đồng thau |
| 4 | 4840 | Vít có mũ, đầu có lỗ 6 cạnh đặt chìa vặn, ren bước lớn theo tiêu chuẩn quốc gia Hoa Kỳ (UNC) #8-32 x chiều dài 0,625 |
| 4 | 3547 | Vòng đệm phẳng #8 ID 0,188 x OD 0,438 x dày 0,049, mạ kẽm |
| 7 | 3176 | Vòng đệm hãm của lò xo côn #6, Kích thước trung bình, được mạ |
| 6 | 36371 | Vòng đệm hãm của lò xo côn #8, Kích thước trung bình, được mạ |
| 2 | 4522 | Chốt hãm Đường kính 0,032 x chiều dài 0,750 |
| 2 | 4826 | Đai ốc hãm có cữ chặn đàn hồi, ren bước lớn theo tiêu chuẩn quốc gia Hoa Kỳ (UNC) #8-32, được mạ |
| 1 | 20013-1 | Cụm dây của bugi động cơ 17,6 |
| 1 | 5403-2 | Cụm khớp nối của trục khuỷu với manhêto Bendix #10-518501-25 |
| 1 | 5394 | Đệm khớp nối cho “MORFLEX” |
| 2 | 5369 | Cụm khớp của khớp nối mềm “MORPLEX” #302 (chỉ dùng cho chi tiết ở giữa) |
| 1 | 5380 | Khớp nối bích với trục khuỷu "MORSE” *302 x ½ in BORE - BLANK) |
| 2 | 35634 | Vít có mũ, đầu có lỗ 6 cạnh đặt chìa vặn, ren bước nhỏ theo tiêu chuẩn quốc gia Hoa Kỳ (UNF) 0,250-28 x chiều dài 1,250, cấp bền 5, được mạ |
| 2 | 35639 | Vít có mũ, đầu có lỗ 6 cạnh đặt chìa vặn, ren bước nhỏ theo tiêu chuẩn quốc gia Hoa Kỳ (UNF) 0,250-28 x chiều dài 2,500, cấp bền 5, được mạ |
| 6 | 5403-2*008 | Đai ốc đầu 6 cạnh mỏng, ren bước nhỏ theo tiêu chuẩn quốc gia Hoa Kỳ (UNF) 0,250-38 |
| 2 | 4341 | Vòng đệm phẳng ID 0,250...0,265 x OD 0,500 x dày 0,063, mạ cađimi AN 960-416 |
| 2 | 35635 | Vít có mũ, đầu 6 cạnh, ren bước nhỏ theo tiêu chuẩn quốc gia Hoa Kỳ (UNF) 0,250-28 x chiều dài 1,500, cấp bền 5, được mạ |
| 1 | 207015 | Mặt bích nối |
| 1 | 5801 | Cụm bộ làm mát dầu |
| 1 | 5360 | Kết cấu hàn của áo làm mát chính |
| 5 | 5313 | Áo làm mát mặt bích |
| 1 | 5077 | Tấm đế |
| 1 | 5236 | Kết cấu hàn của ống trung gian |
| 1 | 5733-1 | Kết cấu hàn của mặt bích kéo dài |
| 1 | 5362 | Kết cấu hàn lõi làm mát |
| 1 | 5270 | Kết cấu hàn của ống xả chất làm mát |
| 6 | 35700 | Vít có mũ, đầu 6 cạnh, ren bước nhỏ theo tiêu chuẩn quốc gia Hoa Kỳ (UNF) 0,375-24 x chiều dài 0,875, cấp bền 5 |
| 12 | 35702 | Vít có mũ, đầu 6 cạnh, ren bước nhỏ theo tiêu chuẩn quốc gia Hoa Kỳ (UNF) 0,375-24 x chiều dài 1,750, cấp bền 5 |
| 18 | 4111 | Vòng đệm phẳng ID 0,375...0,391 x OD 0,625 |
| 12 | 4037 | Đai ốc 6 cạnh, ren bước nhỏ theo tiêu chuẩn quốc gia Hoa Kỳ (UNF) 0,375-24 bằng thép, mạ kẽm |
| 3 | 4108 | Nút ống có đầu vuông, ren ống (NPT) 0,375 bằng thép, mạ kẽm |
| 2 | 5806 | Nút ống (đặc biệt) |
| 1 | 201001 | Bình giảm áp |
| 1 | 201002 | Kết cấu (bộ phận) hàn |
| 4 | 3393 | Van kim, ren ống (NPT) 0,250 |
| 1 | 3386 | Cặp nhiệt điện, thép constantan, chiều dài nhúng 1-3/8, bạc đồng than có ren ống (NPT) 0,250 |
| 1 | 34541 | Áp kế chỉ thị, đường ống dầu |
| 1 | 3661 | Van solenoid |
| 1 | 34307 | Bộ trao đổi nhiệt |
| 1 | 200011-1 | Hộp cáp |
| 1 | 32827 | Nắp FS pylet có đệm kín W |
| 1 | 12394 | Nắp chịu áp 7 psi |
| 2 | 205010-1*021 | Van góc, ren ống 1/2 in |
| 4 | 205010-1*031 | Bulông chữ U và đai ốc, ren bước lớn theo tiêu chuẩn quốc gia Hoa Kỳ (UNC) (UNC) 1/4-20 x chiều rộng 0,75 |
| 2 | 35101 | Vít có mũ, đầu 6 cạnh, ren bước lớn theo tiêu chuẩn quốc gia Hoa Kỳ (UNC) 0,375-16 x chiều dài 1,250, cấp bền 5, mạ cađimi |
| 12 | 35025 | Vít có mũ, đầu 6 cạnh, ren bước lớn theo tiêu chuẩn quốc gia Hoa Kỳ (UNC) 0,375-16 x chiều dài 1,000, cấp bền 5, mạ cađimi |
| 10 | 4814 | Vít có mũ, đầu 6 cạnh, ren bước lớn theo tiêu chuẩn quốc gia Hoa Kỳ (UNC) 0,250-20 x chiều dài 0,500, được mạ |
| 6 | 4248 | Đai ốc 6 cạnh, ren bước lớn theo tiêu chuẩn quốc gia Hoa Kỳ 0,375-16, mạ kẽm |
| 14 | 36375 | Vòng đệm hãm lò xo côn, kích thước trung bình 0,375, được mạ |
| 10 | 36374 | Vòng đệm hãm lò xo côn, kích thước trung bình 0,250, được mạ |
| 2 | 205010-1*038 | Van ngắn kiểu phao, ren ống 1/4 |
| 3 | 35283 | Van xả nước BOSCH #F-I-7621 |
| 1 | 31993 | Khóa van của bình gom |
| 1 | 31994 | Nút khóa vặn |
| 1 | 3418 | Van hình cầu bằng đồng thau, có ren ống 0,500 |
| 1 | 3395 | Van góc hình cầu bằng đồng brông, có ren ống 0,375 |
| 1 | 205012-1 | Nắp hộp cáp của cặp nhiệt điện |
| 1 | 32827 | Nắp FS pylet có đệm kín W |
| 1 | 205010-1*084 | Lưới lọc của ống 3/4 in, MASONELIAN INTL#16 |
| 1 | 3500 | Van kim, có ren ống 0,375, bằng đồng thau |
| 1 | 205010-1*096 | Bơm ly tâm và động cơ - 60 Hz, 1750 r/min, 1/3 HP, 115/230V, 1 pha, toàn bộ bơm bằng đồng brông, không thấm rỉ, loạt 1522, 3/4 AAB ITT BFLL & GOSSETT |
| 1 | 205010-1*100 | Van cửa 1/2, 125 LB, thân (trụ) bằng đồng brông, nâng bằng cơ cấu nêm #428 |
| 1 | 207023 | Hộp cáp đầu dây của cặp nhiệt điện |
| 1 | 207020 | Giá đỡ của đường ống cấp nước và thải nước |
| 1 | 207021 | Giá lắp van kiểu phao |
| 1 | 207022 | Giá lắp van kiểu phao |
| 1 | 4600 | Van kiểm tra, giá đỡ K-105, đầu ống 3/4 in 125# áp suất làm việc được sử dụng với 4557 (#37) |
| 1 | 4557 | Ống phun thủy lực, 3/4 in |
Tiêu chuẩn SAE J2230 được soát xét lại 11-1999.
Lý do cơ bản: Không áp dụng được.
Quan hệ của tiêu chuẩn SAE với tiêu chuẩn ISO: Không áp dụng được.
Ứng dụng: Tiêu chuẩn này quy định động cơ tiêu chuẩn được sử dụng để thực hiện việc đánh giá sự đánh lửa sớm của bugi. Đó là động cơ đánh giá bugi SAE 17,6 in3.
Phần viện dẫn:
SAE J973, Quy trình đo hệ thống đánh lửa.
SAE SP J97, Biên bản hội nghị lần thứ 28 về sự phối hợp của các bên tham gia phát triển công nghệ ô tô, 27.
AS 840, Sách hướng dẫn, tháng 7-1964.
Do ban kỹ thuật về đánh lửa của SAE triển khai.
Phụ lục C
(tham khảo)
Phương pháp đánh giá trị số nhiệt của Pháp
C.1. Phương pháp đo
Phương pháp gồm có quá trình tăng dòng nhiệt trong buồng đốt (cháy) một cách từ từ và ổn định tới khi đạt được sự đánh lửa không kiểm soát được do sự nung nóng bugi tạo ra.
Số đọc của nhiệt độ chuẩn tại một điểm chính xác trong buồng đốt đặc trưng cho giá trị đánh giá trị số nhiệt của bugi.
Sự tự đánh lửa và đánh lửa sau điểm đánh lửa được phát hiện bằng quan sát trên máy hiện sóng dòng ion hóa được tạo ra giữa các điện cực của đầu dò đo, xem Hình C.1.
C.2. Xác định giá trị đánh giá trị số nhiệt của bugi
Đánh giá trị số nhiệt của một bugi được liên kết với giá trị nhiệt độ được đo trong buồng đốt ngay khi xuất hiện sự tự đánh lửa.
Giá trị nhiệt độ này chỉ có thể dùng để so sánh giá trị đánh giá trị số nhiệt của các bugi được thử trong cùng một kỳ thử. Cho dù cẩn thận đến mức nào cũng không thể bảo đảm có thể thực hiện lại các phép đo. Đó là do ảnh hưởng của các tham số như các điều kiện về thời tiết, các điều kiện làm việc của động cơ và tình trạng cơ học của động cơ. Trong thực tế, các tham số này không có các ảnh hưởng gây nhiễu cho tám lần đo liên tiếp, do đó tám lần đo này có mối tương quan với nhau,
Phép thử được thực hiện bằng cách so sánh giữa các giá trị ghi được của các bugi tiêu chuẩn đã được hiệu chuẩn với các giá trị ghi được của các bugi được lấy mẫu từ dây chuyền sản xuất,
Để có thể bảo đảm được giá trị pháp lý của thử nghiệm trong khi có tính đến sự phân tán không tránh khỏi, mặc dù là rất nhỏ, phải thực hiện phép thử này ít nhất là với một bugi tiêu chuẩn và một bugi được lấy mẫu và nhiều nhất là với ba bugi tiêu chuẩn được sử dụng nhiều lần trong cùng một kỳ kiểm tra và bốn bugi được lấy mẫu.
Thực hiện phép đo luân phiên với một bugi tiêu chuẩn và một bugi được lấy mẫu, xem Bảng C.1,
Bảng C.1 - Sơ đồ thử
| Số lượng các bugi lấy mẫu được sử dụng | Số lượng các bugi tiêu chuẩn đã hiệu chuẩn được sử dụng | Trình tự các thử nghiệm |
| 1 | 1 | S1,P1,S1 |
| 2 | 2 | S1,P1,S2, P2, S2 |
| 3 | 2 | S1,P1,S2, P2, S2,P3,S1 |
| 4 | 3 | S1,P1,S2, P2, S3,P3,S2,P4,S1 |
| S Bugi tiêu chuẩn đã hiệu chuẩn; P Bugi được lấy mẫu trong sản xuất, | ||

CHÚ DẪN:
1 Máy hiện sóng
2 Ắc quy 270 V
3 Đầu vào cao áp
4 Cầu dao
5 Đầu dò ion hóa
6 Cặp nhiệt điện kiểu K
7 Bugi được thử
Hình C.1 – Nguyên lý đánh giá trị số nhiệt
C.3. Thử đánh giá trị số nhiệt các bugi
C.3.1. Dữ liệu chung của động cơ
| Một xy lanh | Thể tích quét của pit tông 454 cm3 |
| Lỗ x hành trình | (85 x 80) mm |
| Tốc độ động cơ | (2700 ± 15) min-1 |
| Tỷ số nén | 8:1 |
| Buồng đốt | Hai phần thể tích được phân bố giữa đầu xy lanh và pit tông |
| Nhiên liệu | Xăng máy bay II |
| Áp suất tăng áp | Điều chỉnh được tới 2,2 bar (tuyệt đối) |
C.3.2. Cung cấp nhiên liệu - Chế hòa khí
Cơ cấu phun điện tử được sử dụng phổ biến trong các ứng dụng của ô tô thực hiện quá trình chế hòa khí.
Phun tăng áp theo thứ tự thời gian được điều chỉnh và điều tiết bởi bơm phun nhiên liệu điện từ có sự điều chỉnh thời điểm phun được giám sát bởi một bộ xử lý.
Sự tăng áp và áp suất không khí cho động cơ được cung cấp bởi không khí nén (8 bar) của nguồn cung cấp chính, có thể cung cấp áp suất tới 1,2 bar (tương đối) qua một cơ cấu điều chỉnh.
Đo tỷ lệ không khí/nhiên liệu có liên quan đến áp suất tăng áp bằng một cảm biến làm việc dựa trên khả năng tắt dần của cơ cấu.
C.3.3. Cung cấp hỗn hợp không khí/nhiên liệu
Tỷ lệ không khí/nhiên liệu được điều chỉnh bằng một chiết áp cho một điểm làm việc đã lựa chọn được liên kết với một đường cong đã lập trình. Độ lớn của đường cong này có thể được sửa đổi bằng một chiết áp thử lại.
C.3.4. Đánh lửa
Cơ cấu điện tử năng lượng cao (A,E,I) có sự định thời đánh lửa được chỉnh đặt bởi một chương trình điển hình và được đồng bộ hóa bằng sự lệch đi một răng trên trục khuỷu.
C.3.5. Cơ cấu đánh lửa và ngắt đánh lửa
Cơ cấu trigơ khời động sự đánh lửa, điều chỉnh bằng một chiết áp cho phép người vận hành tự do chọn tần số cũng như khoảng thời gian của ngắt đánh lửa để có thể giảm tới mức tối thiểu sự nhiễu loạn do các chu kỳ không có sự đánh lửa này.
Phụ lục D
(tham khảo)
Phương pháp đánh giá trị số nhiệt của Đức
D.1. Quy định chung
Phương pháp đánh giá này là một phương pháp tương đối, trong đó các bugi thử nghiệm được so sánh với các bugi chuẩn có giá trị đánh giá trị số nhiệt đã biết. Trong quá trình đo trong một động cơ đánh giá trị số nhiệt của bugi, tải trọng nhiệt của các bugi tăng lên và trạng thái đánh lửa của bugi được quan trắc bằng phương pháp dòng ion. Tải trọng nhiệt có thể thay đổi bằng cách thay đổi sự định thời đánh lửa, tốc độ của động cơ hoặc áp suất của không khí nạp. Phụ lục này mô tả khả năng thứ nhất trong ba khả năng.
D.2. Động cơ đánh giá nhiệt
Vì phương pháp này là một phương pháp tương đối cho nên thường có thể sử dụng bất cứ động cơ đốt trong đánh lửa nào. Tuy nhiên, ít nhất là nên làm mát đầu xy lanh bằng mạch nước có kiểm soát sự ổn định về nhiệt để thu được các nhiệt độ so sánh được của động cơ tại tất cả các điểm vận hành.
Nên ưu tiên sử dụng bơm phun nhiên liệu được điều khiển bằng điện tử bởi vì có thể dễ dàng điều chỉnh hoặc kiểm soát tỷ lệ không khí-nhiên liệu l.
Để đánh giá trị số nhiệt các bugi có ren và chiều sâu ăn khớp ren khác nhau trong cùng một động cơ đánh giá nhiệt, cần sử dụng các ống lót bugi thay thế được.
Trong quá trình đo, động cơ được vận hành ở tải trọng không đổi được xác định trước (VÍ DỤ: ở toàn tải, hoặc toàn tải có tăng áp, hoặc một phần tải). Tốc độ của động cơ được giữ không đổi trong phạm vi biến đổi lớn nhất là 1 %. Tải trọng nhiệt của bugi được thay đổi bằng cách thay đổi sự định thời đánh lửa. Mức tăng lên trong đánh lửa sớm dẫn đến nhiệt độ bugi tăng lên.
Khi sử dụng xăng có bảo hiểm, phép đo các bugi “nguội” (có đầu sứ cách điện ngắn) được giới hạn bởi giới hạn gõ. Để mở rộng phạm vi vận hành, có thể sử dụng các nhiên liệu có số trị số octan cao hơn. Các đặc tính của một trong các động cơ đánh giá trị số nhiệt được sử dụng được liệt kê trong Bảng D.1.
Bảng D.1 - Ví dụ của một động cơ đánh giá trị số nhiệt
| Nhà sản xuất động cơ | HATZ |
| Kiểu động cơ | HE 673 LHK, 1xy lanh, 4 kỳ, làm mát bằng nước |
| Dung tích làm việc của xy lanh | 280 cm3 |
| Tỷ số nén | 8,4:1 |
| Tốc độ quay lớn nhất của động cơ | 3500/min |
| Công suất ở tốc độ quay lớn nhất 3500/min, không có tăng áp | 4,2 kW |
| Hệ thống đánh lửa | Đánh lửa kép, góc đánh lửa sớm 0° đến 60° trước điểm chết trên (BTDC) |
| Tỷ lệ tương đương không khí-nhiên liệu l | Xấp xỉ 0,92 |
| Nhiệt độ nước làm mát | 80 °C |
D.3. Xác định tải trọng nhiệt của bugi
Trong điều kiện vận hành bình thường của một động cơ, đánh lửa được bắt đầu bằng tia lửa điện, Cũng có thể gây ra đánh lửa bởi nhiệt của các bề mặt nóng. Thông thường nhiệt độ bề mặt cao nhất trong buồng đốt xuất hiện ở bugi. Trong quá trình đánh giá trị số nhiệt cần bảo đảm rằng trong phạm vi vận hành, sự đánh lửa do nhiệt chỉ được bắt đầu bởi bề mặt nóng của bugi. Với phép đo dòng ion, có thể phát hiện ra loại đánh lửa, Hình D.1 giới thiệu một cầu trúc đo điển hình.

CHÚ DẪN:
1 Từ nguồn điện áp đánh lửa
2 Khe hở bộ kích thích a)
3 Bộ nắn dòng ion
4 Thiết bị đo dòng ion
5 Nguồn cung cấp điện áp
6 Điện trở
7 Máy hiện sóng
8 Bugi (đầu dò đo)
a) Có thể thay thế bằng dây điốt Zener
Hình D.1 - Đo dòng ion
Sự đánh lửa do nhiệt (tự đánh lửa) được gọi là đánh lửa muộn hoặc đánh lửa sớm tùy thuộc vào sự đánh lửa này xảy ra sau hoặc trước điểm đánh lửa điện (xem ISO 2542). Có thể phát hiện ra sự đánh lửa sớm bởi sự tăng lên của dòng ion trước điểm đánh lửa (bằng) điện. Để đánh giá sự đánh lửa muộn cần thiết phải ngăn chặn các tia lửa riêng ở các khoảng quy định.
Hình D.2 giới thiệu các mẫu đường cong điển hình của dòng ion cho các trạng thái đánh lửa đã nêu trên.

CHÚ DẪN:
1 Điểm đánh lửa
Hình D.2 - Các biểu đồ trên máy hiện sóng của dòng ion (dòng ion - thời gian)
Tốc độ đánh lửa sớm là tỷ số giữa số lượng đánh lửa sớm và số lượng chu kỳ cháy quan sát được. Tốc độ đánh lửa muộn là tỷ số giữa số lượng đánh lửa muộn và số lượng các tia lửa bị ngăn chặn. Bằng cách xử lý tín hiệu dòng ion một cách thích hợp, có thể chỉ thị một cách trực tiếp sự đánh lửa sớm và muộn và các tốc độ đánh lửa sớm và muộn và dừng động cơ thử ở một tốc độ đánh lửa sớm xác định trước. Như vậy có thể ngăn ngừa được sự hư hỏng của các mẫu thử hoặc động cơ đánh giá nhiệt.
Tải trọng nhiệt của một bugi có thể được biểu thị dưới dạng tốc độ đánh lửa sớm hoặc muộn.
Hình D.3 giới thiệu sự phát triển của các tốc độ đánh lửa muộn và sớm tùy thuộc vào sự đánh lửa sớm az.
Sau khi đạt được 100 % đánh lửa muộn, có thể xảy ra một số đánh lửa sớm do sự đóng cặn trên bugi hoặc bề mặt sứ cách điện bị đốt nóng. Phạm vi ổn định cho đánh giá là ở các tốc độ đánh lửa sớm từ 5 % đến 10 %.
D.4. Bugi chuẩn (được hiệu chuẩn)
So sánh các bugi thử với các bugi chuẩn là phương pháp không phụ thuộc vào động cơ cụ thể, các tình trạng động cơ và các thông số khác có ảnh hưởng đến quá trình cháy. Kết cấu của các bugi chuẩn hoàn toàn giống với kết cấu của các bugi trong sản xuất nhưng chúng được gia công với các dung sai nhỏ nhất và độ chính xác cao nhất, và cuối cùng là các bugi chuẩn được lựa chọn bằng cách so sánh các phạm vi nhiệt cuối cùng là các bugi chuẩn với phạm vi nhiệt. Như vậy các sai lệch so với phạm vi nhiệt chuẩn được giảm tới mức tối thiểu.
D.5. Đo và đánh giá trị số nhiệt
D.5.1. Quy định chung
Do ảnh hưởng của tình trạng động cơ, nhiên liệu và môi trường lên sự đánh lửa do nhiệt, có thể đạt được độ chính xác cao nhất bằng cách đo liên tục. Sự khác nhau của các bugi thử và các bugi chuẩn có thể được đăng ký bằng cách sử dụng số lượng bugi lớn hơn.

Hình D.3 - Các tốc độ đánh lửa muộn và sớm đối với độ đánh lửa sớm az
Trước tiên phải lựa chọn các điều kiện vận hành của động cơ thử, ví dụ, có hoặc không có tăng áp, loại nhiên liệu (thường là xăng không chì có bảo hiểm) v.v...
Đầu xy lanh được trang bị một ống lót bugi tương đương với kết cấu riêng của bugi được thử.
Điều kiện tiên quyết được đặt ra cho các bugi chưa qua sử dụng trước khi đo là chúng phải được chất tải nhiệt tới khi đạt được phạm vi đánh lửa muộn.
Sau khi lắp đặt bugi thử, động cơ được vận hành ở tốc độ không đổi với toàn bộ tải trọng và tỷ lệ không khí nhiên liệu tương đương l không đổi. Phải bắt đầu phép đo tại một thời điểm đánh lửa muộn ở đó chưa xảy ra sự tự đánh lửa. Bằng cách tịnh tiến thời điểm đánh lửa, tải trọng nhiệt từ từ tăng lên. Với thiết bị đo dòng ion, có thể đo tốc độ đánh lửa muộn bằng cách triệt các tia lửa. Tốc độ đánh lửa muộn có thể được ghi lại như một hàm số của độ đánh lửa sớm (như đã chỉ dẫn trên Hình D.3). Sau khi đạt được 100 % tốc độ đánh lửa muộn, tải trọng nhiệt được tăng thêm tới khi xảy ra sự đánh lửa sớm đầu tiên.
Sự đánh lửa sớm tương đương với tải trọng nhiệt quy định (5 % hoặc 10 % tốc độ đánh lửa sớm hoặc 90 % tốc độ đánh lửa muộn) được dùng làm cơ sở cho sự đánh giá sau.
Để xác định phạm vi nhiệt chưa biết của một bugi cần phải thực hiện các phép đo bổ sung cho các bugi chuẩn với các phạm vi nhiệt thấp hơn và cao hơn phạm vi nhiệt của bugi thử. Có thể tính toán phạm vi nhiệt của bugi thử bằng nội suy tuyến tính giữa các phạm vi nhiệt của các bugi chuẩn có độ đánh lửa sớm tương đương và các bugi thử có độ đánh lửa sớm. Xem Hình D.4.
Phép nội suy thường được sử dụng để xác định phạm vi nhiệt (VÍ DỤ 1). Nếu cần thiết có thể sử dụng phép ngoại suy (VÍ DỤ 2).
D.5.2. Ví dụ 1 (nội suy)

CHÚ DẪN
1 Bugi chuẩn có trị số đánh giá trị số nhiệt 6
2 Bugi thử
3 Bugi chuẩn có trị số đánh giá trị số nhiệt 5
Hình D.4 - Các tốc độ đánh lửa muộn và sớm đối với độ đánh lửa sớm
Bảng D.2 - Độ đánh lửa sớm đo được
|
| Trị số đánh giá nhiệt | Độ đánh lửa sớm az °BTDC |
| Bugi chuẩn | 5 | 37,5 |
| Bugi thử | x | 36,0 |
| Bugi chuẩn | 6 | 31,5 |
Có thể tính toán trị số đánh giá trị số nhiệt x của bugi thử như sau (xem Bảng D.2 và Hình D.5)
x = 5 + (aZ5 - azx)/(az5 - az6)
= 5 + (37,5 - 36,0)/(37,5 - 31,5) = 5 + 1,5/6 = 5,25

Hình D.5 - Xác định một trị số đánh giá trị số nhiệt bằng nội suy
D.5.3. Ví dụ 2 (ngoại suy)
Bảng D.3 - Độ đánh lửa sớm đo được
|
| Trị số đánh giá nhiệt | Độ đánh lửa sớm az °BTDC |
| Bugi chuẩn | 5 | 37,5 |
| Bugi thử | x | 38,5 |
| Bugi chuẩn | 6 | 31,5 |
Có thể tính toán trị số nhiệt x của bugi thử như sau (xem Bảng D.3 và Hình D.6)
x = 5 + (az5 – azx)/(az5 – az6)
= 5 + (37,5 - 38,7)/(37,5 - 31,5) = 5 -1,2/6 = 4,8

Hình D.6 - Xác định một trị số đánh giá trị số nhiệt bằng ngoại suy
Phụ lục E
(tham khảo)
Phương pháp đánh giá trị số nhiệt của Nhật bản
E.1. Quy định chung
Nhiệt độ của buồng đốt được kiểm soát để luôn dưới một giới hạn lớn nhất cho phép bằng cách cân bằng nhiệt tỏa ra trong quá trình cháy với hiệu quả làm mát của hệ thống làm mát động cơ (các dòng dầu và chất làm mát) và sự thay đổi nhiên liệu đi vào. Nhiệt độ của bugi cũng được kiểm soát theo cách tương tự.
Nhiệt độ tại đầu đánh lửa của bugi là nhiệt độ cao nhất trong buồng đốt tại điểm đánh lửa. Mức nhiệt độ phụ thuộc vào kết cấu điện cực và kết cấu của sứ cách điện. Do đó, đánh lửa sớm thường xảy ra ở đầu sứ cách điện.
Hơn nữa, khi các động cơ được vận hành đánh giá trong các điều kiện nhiệt độ thấp (tải trọng thấp), cacbon có thể được tạo thành như một sản phẩm của quá trình cháy. Nếu cacbon tích tụ trên bề mặt của sứ cách điện của bugi thì điện áp cao có thể rò rỉ xuống đất. Vì thế nhiệt độ ở đầu sứ cách điện nên giữ càng cao càng tốt để ngăn ngừa sự tích tụ cacbon.
Các bugi nên được thiết kế có xét đến sự cân bằng nhiệt vào và nhiệt tiêu tán sao cho bugi không bao giờ trở thành nguồn đánh lửa sớm trong trường hợp tải trọng nặng và có thể tránh được sự tích tụ cacbon trong vận hành ở nhiệt độ thấp và tải trọng thấp.
Đối với một thông số kỹ thuật của bugi, khó có thể có được sự cân bằng nhiệt chính xác cho tất cả các động cơ. Vì thế, sự cân bằng nhiệt phải được thay đổi theo kiểu động cơ và điều kiện sử dụng.
Sự cân bằng nhiệt của bugi được định nghĩa là sự đánh giá nhiệt. Đánh lửa sớm là một điều kiện gây hư hỏng cho động cơ và không bao giờ nên xảy ra. Đánh giá về sự chống đánh lửa sớm được sử dụng như một số đo đánh giá trị số nhiệt của bugi. ở Nhật Bản, động cơ SAE 17,6 Labeco phù hợp với tiêu chuẩn SAE được sử dụng để đo IMEP (áp suất hiệu dụng trung bình chỉ thị) tính bằng pound trên inch vuông, ngay trước khi xảy ra đánh lửa sớm. Để đơn giản hóa, IMEP được chỉ định là một số giữa 2 và 9 (Nhà cung cấp A), 9 và 27 (Nhà cung cấp B), như đã chỉ ra trên Hình E,1 bao gồm trị số đánh giá trị số nhiệt của bugi.

Hình E.1 - Đánh giá sự đánh giá trị số nhiệt
E.2. Đánh giá sự đánh giá trị số nhiệt
Khi sử dụng động cơ SAE 17,6, có thể xác lập sự đánh giá trị số nhiệt của bugi bằng cách sử dụng các giá trị IMEP được lấy ở áp suất lớn nhất của ống hút (nạp) ngay trước khi đánh lửa sớm. Kỹ thuật này được mô tả dưới đây.
Động cơ có SAE17,6 rất khác so với các động cơ xe hiện nay. Với tốc độ lớn nhất tương đối thấp 2700 min- 1, áp suất của ống hút cũng khá cao và benzen được dùng làm nhiên liệu. Vì thế, sử dụng động cơ SAE 17,6 để đánh giá sự đánh giá trị số nhiệt thường không có tính thực tế, Hình E.3 giới thiệu ảnh hưởng của bugi có đầu nhô ra (sứ cách điện nhô ra khỏi vỏ kim loại).
Trong một động cơ "hiện đại" theo quy ước, khi kích thước H tăng lên thì sự chống đánh lửa sớm cũng tăng lên, tuy nhiên sự chống đánh lửa sớm giảm đi trong động cơ SAE17,6.
Vì kích thước H tương đối nhỏ đối với các bugi thông thường cho nên có thể xác định được mức chống đánh lửa khi sử dụng động cơ SAE 17,6.
Tuy nhiên, theo xu hướng hiện tại, đầu sứ cách điện nhô ra nhiều hơn (H lớn hơn) do vậy việc sử dụng động cơ SAE 17,6 để đo các đặc tính chống đánh lửa sớm trên thực tế càng gặp nhiều khó khăn hơn.

Hình E.2 - Thay đổi của đánh giá trị số nhiệt và đặc tính chống đánh lửa sớm do thay đổi chiều dài nhô ra của sứ cách điện
Trong trường hợp này, đánh giá trị số nhiệt của bugi có H nhỏ hơn được đánh giá trên động cơ SAE 17,6 và sau đó trên một động cơ của xe thông thường về các đặc tính chống đánh lửa sớm. Các bugi có đầu nhô ra lớn được đánh giá bằng sử dụng một động cơ của xe thông thường. Đánh giá trị số nhiệt được xác định bằng so sánh kết quả này với đặc tính chống đánh lửa sớm của một bugi có đầu nhô ra theo quy ước. Các đặc điểm thiết kế khác cũng được so sánh theo cách tương tự.
Về các động cơ của mô tô, tốc độ lớn nhất thường là trên 9 000 min-1, so với tốc độ của các động cơ của ô tô có phạm vi tốc độ từ 5 000 min-1 đến 6 000 min-1. Do vậy, bugi của động cơ mô tô theo quy ước được đánh giá trên động cơ SAE 17,6 và sau đó là động cơ mô tô. Đối với các kiểu được thiết kế chuyên dùng, đánh giá trị số nhiệt được thực hiện bằng so sánh với một bugi có kiểu thông thường.
Tóm lại, động cơ SAE 17,6 được sử dụng để xác lập sự đánh giá trị số nhiệt của các bugi thông thường. Tuy nhiên, đối với các kiểu được thiết kế chuyên dùng thì xác lập sự đánh giá trị số nhiệt bằng so sánh đặc tính chống đánh lửa sớm với bugi tiêu chuẩn.
Không thể đo được các bugi có đánh giá trị số nhiệt cao như các kiểu cho tăng tốc, vì khó có thể tái tạo lại được các điều kiện để tạo ra đánh lửa sớm. Vì thế, cần thực hiện đánh giá trị số nhiệt bằng động cơ SAE 17,6.
E.3. Phương pháp đánh giá trị số nhiệt
E.3.1. Đánh giá trị số nhiệt bằng sử dụng động cơ SAE 17,6
E.3.1.1. Động cơ thử và điều kiện vận hành
- Thể tích làm việc của xy lanh: 17,6 inch3 (Labeco SAE 17,6)
- Quá trình hút: Có tăng áp
- Hệ thống nhiên liệu: Phun nhiên liệu bằng cơ học
- Tỷ số nén: 5,6
- Tốc độ quay của động cơ: 2 700 min-1
- Định thời đánh lửa: 30° trước điểm chết trên (BTDC)
- Nhiên liệu: 98 % benzen, 2 % dầu SAE#120
E.3.1.2. Quy trình đo
Thực hiện đánh giá trị số nhiệt với quy trình của SAE J549a. Quy trình này chỉ được sử dụng cho các bugi tiêu chuẩn.
Phát hiện sự đánh lửa sớm bằng cách tăng nhanh bất thình lình nhiệt độ trong buồng đốt.
Như đã mô tả trong quy trình dưới đây, cần duy trì điều kiện ổn định ngay trước khi đánh lửa sớm và phải xác định IMEP từ áp suất trong ống hút. Sau đó cần ấn định một số làm giá trị IMEP để làm cơ sở cho trị số đánh giá trị số nhiệt của bugi.
a)Tăng áp suất trong ống hút khi duy trì tốc độ 2 700 min-1 điều chỉnh lưu lượng nhiên liệu để duy trì nhiệt độ lớn nhất trong buồng đốt.
b) Tăng áp suất trong ống hút theo từng bước 13,546 kPa trong khi điều chỉnh lưu lượng nhiên liệu để duy trì nhiệt độ lớn nhất trong buồng đốt.
CHÚ THÍCH: 13,546 = 4 inch Hg.
c) Ngắt nhiên liệu ngay khi xảy ra đánh lửa sớm và giảm áp suất trong ống hút xuống 6,773 kPa. Mở (bật) nhiên liệu trở lại và điều chỉnh tới lưu lượng nhiên liệu tương tự và duy trì điều kiện vận hành ổn định trong thời gian ít nhất là 3 min.
CHÚ THÍCH: 6,773 kPa = 2 inch Hg.
d) Nếu lại xảy ra đánh lửa sớm trong bước c) nêu trên, giảm áp suất trong ống hút xuống thêm
3,386 kPa tới khi có thể đạt được điều kiện vận hành ổn định trong 3 min.
CHÚ THÍCH: 3,836 kPa = 1 inch Hg.
e) Nếu đã đạt được như lúc đầu điều kiện vận hành ổn định trong 3 min như trong bước c), tăng áp suất trong ống hút 3,836 kPa và điều chỉnh lưu lượng nhiên liệu. Lặp lại tới khi xảy ra đánh lửa sớm. Nếu xảy ra đánh lửa sớm, hoàn thành bước d) nêu trên.
CHÚ THÍCH: 3,836 kPa = 1 inch Hg.
f) Đo công suất của động cơ và ma sát bằng áp suất trong ống hút trong thời gian 3 min ổn định. Phải đo ma sát trong 30 s sau khi ngắt nhiên liệu.
E.3.2. Đánh giá trị số nhiệt bằng sử dụng một động cơ thực tế
E.3.2.1. Quy định chung
Chuẩn bị và đo hai loại bugi đánh giá trị số nhiệt trong động cơ SAE 17,6. Các bugi này được sử dụng làm bugi chuẩn. Đo thời gian đánh lửa cho các bugi chuẩn và bugi được thử trên một động cơ theo quy ước (xem chi tiết ở bên dưới). Xác lập sự đánh giá trị số nhiệt cho các bugi bằng cách so sánh với các bugi chuẩn. Đánh giá trị số nhiệt được xác lập khi sử dụng một số lượng bugi thử sao cho bugi thử hoàn toàn thích hợp với các bugi chuẩn về các mức định thời gian đánh lửa và đánh lửa sớm. Nếu các bugi thử không thích hợp với các bugi chuẩn thì chúng phải được chuẩn bị lại sau khi xem xét lại thiết kế và được đo theo phương pháp nêu trên.
Việc sử dụng động cơ nào trong các động cơ sau đây phụ thuộc vào ứng dụng của các bugi thử trên thị trường. Theo kiểu của các bugi, đôi khi chúng được thử trên nhiều động cơ.
E.3.2.2. Động cơ ô tô con
Cấu hình: Làm mát bằng nước, bốn kỳ, bốn xy lanh, bốn xupap cho một xy lanh
Dung tích làm việc của xy lanh: 1 600 cm3
Tốc độ quay của động cơ: 5 500 min-1
Nhiệt độ nước: 65°C ± 5°C
Nhiệt độ dầu: 95 °C ± 5 °C
Nhiên liệu: RON 200, không chì
Tỷ lệ không khí/nhiên liệu: 12,7 ± 0,2
E.3.2.3. Động cơ mô tô (1)
Cấu hình: Làm mát bằng không khí, hai kỳ, một xy lanh
Dung tích làm việc của xy lanh: 125 cm3
Tốc độ quay của động cơ: 9 000 min-1
Nhiệt độ dầu: 95 °C ± 5 °C
Nhiên liệu: RON 100, không chì
Tỷ lệ không khí/nhiên liệu: 12,0 ± 0,2
E.3.2.4. Động cơ mô tô (2)
Cấu hình: Làm mát bằng không khí, hai kỳ, một xy lanh
Dung tích làm việc của xy lanh: 125 cm3
Tốc độ quay của động cơ: 8 500 min-1
Nhiên liệu: RON 100, không chì
Tỷ lệ không khí/nhiên liệu: 11,5 ± 0,2
Sử dụng kỹ thuật đo như nhau về đánh lửa sớm cho mỗi động cơ. Dòng ion sinh ra trước khi đánh lửa được phát hiện bằng cách tác động một điện áp âm 350 V vào điện cực giữa của bugi của xy lanh được thử với mạch điện như đã nêu trên Hình E.3. Hình E.4 giới thiệu sự phát hiện đánh lửa sớm. Để giảm tới mức tối thiểu các sai số, điện áp tác dụng được ngắt ngay sau khi đánh lửa.

CHÚ DẪN:
1 Bộ cảm biến nam châm
2 Điôt có điện áp cao
3 Bugi
4 Mạch phát hiện đánh lửa sớm
5 Mạch cắt tiếng ồn của tia lửa
6 O.S. C
7 Thiết bị thử đánh lửa sớm
Hình E.3 - Mạch điện thử đánh lửa sớm

CHÚ DẪN:
1 Tín hiệu định thổi đánh lửa
2 Dòng ion
3 Tín hiệu của màn hình giám sát
4 Đánh lửa sớm
Hình E.4 - Phát hiện sự đánh lửa sớm
Sự “xuất hiện đánh lửa sớm" chỉ được xác nhận sau khi đã phát hiện ra bốn tín hiệu đánh lửa sớm trên màn hình giám sát trong khoảng thời gian 2 min. Một đến ba tín hiệu đánh lửa sớm có thể được phân loại là “có dấu hiệu của đánh lửa sớm".
E.4. So sánh các phương pháp đánh lửa sớm và muộn để đánh giá khả năng thích nghi
Cần đánh giá trị số nhiệt hoặc làm cân bằng nhiệt của bugi để tránh sự đánh lửa sớm, trong các động cơ trong thực tế. Vì thế, cách tốt nhất để lựa chọn sự đánh giá trị số nhiệt cho một động cơ thử nghiệm là phát hiện sự tự đánh lửa sớm. Có thể giám sát sự xuất hiện của đánh lửa sớm cho mỗi chu kỳ cháy, do đó có thể thực hiện sự đánh giá chính xác.
Ví dụ, trong một động cơ bốn kỳ, ở tốc độ 6 000 min-1, có thể giám sát 3 000 hành trình sinh công trong một phút, vì thế có thể phát hiện nhanh sự đánh lửa sớm. Với phương pháp đánh lửa muộn, sử dụng một tia lửa phát ra cho mỗi 50 hành trình sinh công để phát hiện xem có sự đánh lửa muộn hay không và sự định thời đánh lửa của đánh lửa muộn. Do đó, số lượng hành trình sinh công được lấy mẫu bằng kỹ thuật đánh lửa muộn nhỏ hơn số lượng các hành trình sinh công được lấy mẫu để đo đánh lửa sớm. Ví dụ, có thể chỉ giám sát 60 hành trình sinh công trong một phút khi sử dụng phương pháp đánh lửa muộn. Vì thế phương pháp này có độ chính xác thấp hơn trong đánh giá sự đánh giá nhiệt.
Hình E.5 trình bày một ví dụ về các dữ liệu thử nghiệm đánh lửa muộn và đánh lửa sớm khi tiến hành năm phép thử lặp lại sử dụng cùng một bugi.

CHÚ DẪN
1 Độ dao động 4° CA (góc trục khuỷu)
2 Đánh lửa sớm
3 Độ dao động 36 %
CHÚ THÍCH: Động cơ 21,4 xy lanh, các điều kiện: 5 000 min-1 x WOT
Hình E.5 - Sự thay đổi của tỷ lệ tạo ra đánh lửa sớm
Mặc dù mỗi sự xuất hiện đánh lửa sớm là 40° BTDC, có sự thay đổi 30 % đến 40 % trong xuất hiện đánh lửa muộn đối với cùng một định thời đánh lửa.
Đối với cùng một sự xuất hiện đánh lửa muộn, có sự thay đổi góc trục khuỷu (CA) 3° đến 5° trong định thời đánh lửa.

CHÚ DẪN
1 Đánh lửa sớm
2 Độ chênh lệch 10° CA (góc trục khuỷu)
3 Bugi A
4 Bugi B
5 Độ chênh lệch 2° CA (gốc trục khuỷu)
Hình E.6 - Sự thay đổi của tỷ lệ tạo ra đánh lửa muộn do sự thay đổi đặc tính của bugi
Đối với đánh lửa muộn, khi tần số cơ bản là 50 %, độ chênh lệch giữa đánh giá trị số nhiệt của bugi A và bugi B chỉ xấp xỉ 2° CA trong định thời đánh lửa. Khó có thể xác nhận được độ chênh lệch này trừ khi số lượng các thử nghiệm được tăng lên do thay đổi của phép đo đánh lửa muộn.
Có độ chênh lệch 10° CA trong định thời đánh lửa sớm, nhưng độ chênh lệch này không tùy thuộc vào sự thay đổi nêu trên. Hiện tượng tương tự cũng đúng đối với vật liệu của sứ cách điện và độ dẫn điện của điện cực ở giữa và đối với kỹ thuật cải thiện phạm vi nhiệt bằng cách nâng cao độ chính xác của các chi tiết cấu thành.
Tóm lại, vấn đề cần được quan tâm là kỹ thuật tốt nhất để đánh giá sự thích hợp của bugi nên được dựa trên thử nghiệm đánh lửa sớm.
Phụ lục F
(tham khảo)
Phương pháp đánh giá trị số nhiệt của Vương quốc Anh
F.1. Động cơ đánh giá trị số nhiệt
| Kiểu động cơ Tốc độ quay danh nghĩa Điều khiển tốc độ Tỷ số nén Đánh lửa Nhiên liệu Áp suất phun nhiên liệu Thành phần của hỗn hợp | Động cơ đánh giá kiểu SAE 288 cm3 2 700 min-1 Động cơ đồng bộ 5,6:1 Manhêto Tôluen ELC BS 805/1/2 cộng 2 % dầu loại 120 (217,58 ± 7,25) kPa Cho nhiệt độ lớn nhất của bugi nhiệt |
F.2. Quy trình
F.2.1. Bước 1
Cho động cơ chạy tới khi nhiệt độ chính của dầu, không khí và nước đạt mức yêu cầu (xem Sổ tay động cơ SAE).
Dừng động cơ và lắp bugi thử.
F.2.2. Bước 2
Khởi động động cơ. Điều chỉnh áp suất tăng áp và hỗn hợp nhiên liệu/không khí để nhiệt độ của bugi nhiệt đạt tới 400 °C.
Áp suất tăng áp được tăng lên với độ tăng 6,894 kPa tới khi xảy ra đánh lửa sớm như đã chỉ thị bởi sự tăng nhanh của nhiệt độ bugi nhiệt. Tại mỗi lần chỉnh đặt, thành phần của hỗn hợp phải được điều chỉnh sao cho thu được nhiệt độ lớn nhất của bugi nhiệt.
Khi xảy ra đánh lửa sớm, sự cung cấp nhiên liệu bị ngắt trong giây lát và áp suất tăng áp được giảm đi 6,894 kPa, tại điểm nhiên liệu được cấp trở lại, áp suất tăng áp được điều chỉnh cho nhiệt độ lớn nhất của bugi nhiệt. Trạng thái này phải được giữ trong 3 min hoặc tới khi lại xảy ra đánh lửa sớm.
F.2.3. Bước 3
Nếu xảy ra đánh lửa sớm sau bước 2, áp suất tăng áp được giảm đi với tốc độ giảm 3,447 kPa tới khi đạt được sự vận hành ổn định của động cơ.
Nếu sau bước 2, động cơ đạt được sự vận hành ổn định thì áp suất tăng áp nên được tăng lên với tốc độ tăng 3,447 kPa khi điều chỉnh về nhiệt độ tối ưu của bugi nhiệt tới khi đạt được sự vận hành ổn định của động cơ trong thời gian 3 min hoặc lại xảy ra đánh lửa sớm.
F.3. Tính toán và điều chỉnh
Sử dụng một đường cong hiệu chuẩn tiêu chuẩn để thu được giá trị áp suất hiệu dụng trung bình chỉ thị (IMEP) tương đương với áp suất tăng áp "chạy ổn định" và được quy định là trị số đánh giá của bugi. Xem ví dụ trên Hình F.1.
Trị số đánh giá bugi là giá trị IMEP thu được trên động cơ tại một điểm khi áp suất tăng áp là 3,447 kPa dưới điểm đánh lửa sớm. Nên thực hiện các bước nêu trên để đạt được điểm này.
Nên đánh giá một bugi chuẩn thuộc cùng một kiểu như bugi thử trong thời gian thử hoặc lúc kết thúc thời gian thử. Các độ chênh lệch 6,894 kPa được tính đến cho các thay đổi từ ngày này sang ngày khác của các điều kiện khí quyển và vận hành của động cơ có thể được bỏ qua, nhưng đối với các độ chênh lệch lớn hơn, các trị số đánh giá bugi nên được hiệu chỉnh bởi một hệ số được rút ra bằng cách chia trị số đánh giá hiện thời của bugi chuẩn cho trị số đánh giá trước đây của nó. Nếu độ chênh lệch lớn hơn độ chênh lệch có thể được xem là hợp lý thì nên thử một bugi chuẩn thử hai và loại bỏ bugi thứ nhất. Trong bất cứ trường hợp nào cũng không nên đánh giá lại các bugi chuẩn quá sáu lần.

CHÚ THÍCH: 6,894 kPa = 1 lbf/in2 (= 0,689 mbar).
Hình F.1 - Ví dụ về đường cong hiệu chuẩn
MỤC LỤC
Lời nói đầu
Lời giới thiệu
1. Phạm vi áp dụng
2. Tài liệu viện dẫn
3. Thuật ngữ và định nghĩa
4. Các phương pháp đánh giá nhiệt
Phụ lục A (tham khảo) Phương pháp đánh giá trị số nhiệt SAE – Đánh giá sự đánh lửa sớm của bugi (Theo tiêu chuẩn SAE J549 được soát xét lại 3-1995)
Phụ lục B (tham khảo) Mô tả động cơ đánh giá trị số nhiệt của SAE - Động cơ có đánh giá bugi SAE 17,6 in3 (Theo tiêu chuẩn SAE J2230 được khẳng định lại 11-1999)
Phụ lục B-Phụ lục B.1 Dung sai chế tạo và giới hạn thay thế
Phụ lục B-Phụ lục B.2 Ống lót bugi tiêu chuẩn
Phụ lục B-Phụ lục B.3 Momen xoắn lắp đặt bugi
Phụ lục B-Phụ lục B.4 Thông báo tài liệu cho lắp ráp động cơ 5750 với đầu xy lanh lắp ống lót bugi để đánh giá bugi SAE
Phụ lục C (tham khảo) Phương pháp đánh giá trị số nhiệt của Pháp
Phụ lục D (tham khảo) Phương pháp đánh giá trị số nhiệt của Đức
Phụ lục E (tham khảo) Phương pháp đánh giá trị số nhiệt của Nhật bản
Phụ lục F (tham khảo) Phương pháp đánh giá trị số nhiệt của Vương quốc Anh
1) Đối với hệ mét, dung tích làm việc giới hạn của xylanh là 288,6 cm3. Tuy nhiên trị số “17,6" rất được quen dùng trong công nghiệp cho nên vẫn giữ lại trị số này.
2) Không tháo ống lót xy lanh trừ khi cần phải thay thế
3) Chỉ tháo nếu có hư hỏng rõ rệt
Bạn chưa Đăng nhập thành viên.
Đây là tiện ích dành cho tài khoản thành viên. Vui lòng Đăng nhập để xem chi tiết. Nếu chưa có tài khoản, vui lòng Đăng ký tại đây!