- Tổng quan
- Nội dung
- Tiêu chuẩn liên quan
- Lược đồ
- Tải về
Tiêu chuẩn TCVN 9075:2011 Chất lượng cân bằng, mức rung của quạt công nghiệp
| Số hiệu: | TCVN 9075:2011 | Loại văn bản: | Tiêu chuẩn Việt Nam |
| Cơ quan ban hành: | Đang cập nhật | Lĩnh vực: | Công nghiệp |
|
Ngày ban hành:
Ngày ban hành là ngày, tháng, năm văn bản được thông qua hoặc ký ban hành.
|
2011 |
Hiệu lực:
|
Đã biết
|
| Người ký: | Đang cập nhật |
Tình trạng hiệu lực:
Cho biết trạng thái hiệu lực của văn bản đang tra cứu: Chưa áp dụng, Còn hiệu lực, Hết hiệu lực, Hết hiệu lực 1 phần; Đã sửa đổi, Đính chính hay Không còn phù hợp,...
|
Đã biết
|
TÓM TẮT TIÊU CHUẨN VIỆT NAM TCVN 9075:2011
Nội dung tóm tắt đang được cập nhật, Quý khách vui lòng quay lại sau!
Tải tiêu chuẩn Việt Nam TCVN 9075:2011
TIÊU CHUẨN QUỐC GIA
TCVN 9075:2011
ISO 14694:2003
WITH AMENDMENT 1:2010
QUẠT CÔNG NGHIỆP - ĐẶC TÍNH KỸ THUẬT VỀ CHẤT LƯỢNG CÂN BẰNG VÀ CÁC MỨC RUNG
Industrial fans - Specifications for balance quality and vibration levels
Lời nói đầu
TCVN 9075:2011 hoàn toàn tương đương với ISO 14694:2003 và sửa đổi 1:2010.
TCVN 9075:2011 Ban Kỹ thuật Tiêu chuẩn Quốc Gia TCVN/TC 117 Quạt công nghiệp biên soạn, Tổng cục Tiêu chuẩn Đo lường Chất lượng đề nghị, Bộ Khoa học và Công nghệ công bố.
QUẠT CÔNG NGHIỆP - ĐẶC TÍNH KỸ THUẬT VỀ CHẤT LƯỢNG CÂN BẰNG VÀ CÁC MỨC RUNG
Industrial fans - Specifications for balance quality and vibration levels
1. Phạm vi áp dụng
Tiêu chuẩn này quy định các đặc tính về rung và các giới hạn độ cân bằng của quạt dùng cho mọi ứng dụng, trừ các quạt được thiết kế duy nhất cho tuần hoàn không khí, ví dụ, các quạt trần và quạt bàn. Tuy nhiên, tiêu chuẩn này được giới hạn cho tất cả các kiểu quạt được lắp đặt với công suất nhỏ hơn 300 kW hoặc cho động cơ điện tiêu chuẩn sẵn có trên thị trường có công suất lớn nhất 355 kW (theo dãy số R20). Đối với các quạt có công suất lớn hơn công suất này thì các giới hạn áp dụng được cho trong ISO 10861-3. Khi các quạt trong một thiết bị có các công suất thay đổi cả ở phía trên và phía dưới 300 kW và đã được đưa vào một hợp đồng riêng thì nhà sản xuất và khách hàng phải thỏa thuận về tiêu chuẩn thích hợp được sử dụng. Yêu cầu này thường dựa trên đa số các thiết bị.
Các dữ liệu về rung có thể được yêu cầu cho các mục đích rất khác nhau như đã được chi tiết hóa trong Điều 5.
Tiêu chuẩn này thừa nhận rằng các giá trị đo về rung có thể được ghi lại như tốc độ, gia tốc hoặc dịch chuyển được tính bằng các đơn vị tuyệt đối hoặc đêxiben trên một mức chuẩn đã cho. Độ lớn của các giá trị đo rung có thể chịu ảnh hưởng của các qui trình kỹ thuật lắp ráp ở các máy cân bằng (xem Phụ lục B). Tuy nhiên, thông số ưu tiên là tốc độ, tính bằng milimet trên giây (mm/s). Vì các qui ước thay đổi ở các bộ phận khác nhau của thế giới cho nên đã sử dụng cả hai giá trị: giá trị quân phương (r.m.s) và giá trị đỉnh tới đỉnh hoặc giá trị đỉnh. Cũng nên nhớ rằng quạt và các bộ phận của nó có thể được xem như một hệ khối lượng đàn hồi (hệ khối lượng - lò xo). Sự hiểu hết về thực tế này sẽ giúp cho việc giải quyết hầu hết các vấn đề về rung (xem Phụ lục D).
Cũng phải tính đến thực tế là các thử nghiệm ở nhà máy thường được tiến hành với quạt không được nối ghép với một hệ thống đường ống,như vậy chế độ làm việc khí động lực học của quạt có thể được xem là khác so với quạt trong quá trình vận hành bình thường. Quạt cũng có thể được tựa trên nền móng tạm thời có khối lượng và độ cứng vững khác nhau so với nền móng được sử dụng ở hiện trường. Vì vậy các thử nghiệm này được quy định với rung được đo "trong bộ lọc", ở hiện trường, các thử nghiệm được quy định "ngoài bộ lọc" và vì thể biểu thị cho phép đo toàn bộ tính khốc liệt của rung.
Tiêu chuẩn này áp dụng cho thiết bị quạt có rôto cứng thường được sử dụng trong các quá trình sấy nóng trong thương nghiệp, thông gió và điều hòa không khí, các quá trình xử lý, gia công trong công nghiệp, thông gió trong mỏ/ đường lò và các ứng dụng để sản xuất năng lượng. Các ứng dụng khác cũng không bị loại trừ. Các thiết bị được loại trừ thường có liên quan đến các lực và va đập khốc liệt hoặc các nhiệt độ cực hạn. Bất cứ phần nào hoặc tất cả các phần của tiêu chuẩn này hoặc các sửa đổi của chúng phải được thỏa thuận giữa các bên có liên quan. Nền móng của thiết bị quạt và quy trình kỹ thuật lắp đặt thiết bị quạt không thuộc phạm vi của tiêu chuẩn này.Thiết kế nền móng và lắp đặt quạt thường không thuộc trách nhiệm của nhà sản xuất quạt. Điều mong muốn là nền móng trên đó lắp đặt quạt sẽ tạo ra hệ đỡ và độ ổn định cần thiết để đáp ứng các chuẩn mực về rung của quạt như khi được giao hàng từ nhà máy.
Các yếu tố khác nhau như độ sạch của bộ cánh quạt, các điều kiện khí động lực học, rung nền, vận hành ở tốc độ khác với tốc độ đã được thỏa thuận và sự bảo dưỡng quạt cũng ảnh hưởng đến các mức rung của quạt nhưng không thuộc phạm vi của tiêu chuẩn này.
Tiêu chuẩn này chỉ bao gồm cân bằng và rung của quạt và không tính đến ảnh hưởng rung của quạt đến con người, thiết bị hoặc các quá trình gia công.
2. Tài liệu viện dẫn
Các tài liệu viện dẫn sau rất cần thiết cho áp dụng tiêu chuẩn này. Đối với các tài liệu viện dẫn có ghi năm công bố thì áp dụng phiên bản đã nêu. Đối với các tài liệu viện dẫn không ghi năm công bố thì áp dụng phiên bản mới nhất (bao gồm cả các sửa đổi).
TCVN 9072 (ISO 13348), Quạt công nghiệp - Dung sai, phương pháp chuyển đổi và trình bày các dữ liệu kỹ thuật;
TCVN 9076:2011 (ISO 14695: 2003), Quạt công nghiệp - Phương pháp đo rung của quạt.
ISO 254, Belt drives - Pulleys - Quality, finish and balance (Truyền động đai - Bánh đai - Chất lượng, gia công hoàn thiện và sự cân bằng);
ISO 1940-1:1986, Mechanical vibration - Balance quality requirements of rigid rotors - Part 1: Determination of permissible residual unbalance (Rung cơ học - Yêu cầu về chất lượng cân bằng của các roto cứng - Phần 1: Xác định độ mất cân bằng còn dư cho phép);
ISO 1940-11), Mechanical vibration - Balance quality requirements of rigid rotors - Part 1: specification and verification of balance tolerances (Rung cơ học - Yêu cầu về chất lượng cân bằng của các roto cứng. Phần 1: Điều kiện kỹ thuật và kiểm tra dung sai của độ cân bằng);
ISO 4863:1984, Resilient shaft couplings - Information to be supplied by users and manufacturers (Khớp nối trục đàn hồi - Thông tin do người sử dụng và nhà sản xuất cung cấp);
ISO 5348:1998, Mechanical vibration and shock - Mechanical mounting of accelerometers (Rung và va đập cơ học - Giá đỡ cơ khí của gia tốc kế);
ISO 5801:1997, Industrial Fans - Performance testing using standardized airways (Quạt công nghiệp - Thử đặc tính khi sử dụng đường thông gió tiêu chuẩn);
ISO 7919:1, Mechanical vibration of non-reciprocating machines - Measuremets on rotating shafts and evaluation criteria - Part 1: General guidelines (Rung cơ học của các máy không có chuyển động tịnh tiến qua lại - các phép đo trên trục quay và chuẩn mực đánh giá - Phần 1: Hướng dẫn chung);
ISO 10816-3:1998, Mechanical vibration - Evaluation of machine vibration by measurements on non- rotating parts- Part 3: Industrial machines with nominal power above 15 kW and nominal speeds between 120 r/min and 15 000 r/min when measured in situ (Rung cơ học - Đánh giá rung của máy bằng các phép đo trên các chi tiết không quay - Phần 3: Các máy công nghiệp có công suất danh nghĩa trên 15 000r/min khi được đo tại hiện trường);
3. Thuật ngữ và định nghĩa
Tiêu chuẩn này áp dụng các thuật ngữ và định nghĩa sau.
3.1. Tính khốc liệt của rung (vibration severity)
Thuật ngữ chung để gọi tên một giá trị hoặc một tập hợp các giá trị như là giá trị lớn nhất, giá trị trung bình hoặc giá trị quân phương (rms) hoặc thông số khác khi mô tả rung.
CHÚ THÍCH 1: Tính khốc liệt của rung có thể căn cứ vào các giá trị tức thời hoặc các giá trị trung bình.
CHÚ THÍCH 2: Được sửa lại cho phù hợp từ ISO 2041:1990, định nghĩa 2.42.
3.2. Trục quay (axis of rotation)
Đường tức thời mà một vật thể quay quanh nó
CHÚ THÍCH 1: Nếu ổ trục là không đẳng hướng thì sẽ không có trục quay tĩnh tại.
CHÚ THÍCH 2: Trong trường hợp ổ trục cứng, trục quay là đường trục của trục nhưng nếu ổ trục không phải là ổ trục cứng thì trục quay này không nhất thiết phải là đường trục của trục.
CHÚ THÍCH 3: Được sửa lại cho phù hợp từ ISO 1925:2001, định nghĩa 1.4.
3.3. Sự tạo cân bằng (balancing)
Quy trình trong đó sự phân bố khối lượng của một rô to được kiểm tra và nếu cần thiết, được điều chỉnh để bảo đảm cho độ mất cân bằng còn dư hoặc rung của các ngông trục và/ hoặc các lực trên các ổ trục ở tần số tương ứng với tốc độ làm việc ở trong các giới hạn quy định.
CHÚ THÍCH 1: Sự tạo cân bằng của các bộ cánh quạt của quạt đạt được bằng quá trình thêm vào (hoặc lấy đi) một trọng lượng (khối lượng) trong một mặt phẳng hoặc các mặt phẳng trên bộ cánh quạt để di chuyển trọng tâm về phía trục quay. Quá trình này sẽ giảm các lực mất cân bằng.
CHÚ THÍCH 2: Được sửa lại cho phù hợp từ ISO 1925:2001, định nghĩa 4.1.
3.4. Cấp chất lượng cân bằng (balance quality grade)
Số đo (của các rô to cứng) để phân loại là tích số của độ mất cân bằng riêng và tốc độ góc làm việc lớn nhất của rô to, được biểu thị bằng milimet trên giây.
CHÚ THÍCH 1: Các cấp thường được sử dụng trong ISO 1940-1 dựa trên cơ sở rung có thể gây ra nếu rô to được vận hành trong không gian tự do, nghĩa là cấp cân bằng 6.3 tương đương với rung của trục 6,3 mm/s, tốc độ đỉnh, ở tốc độ vận hành của rôto.
CHÚ THÍCH 2: Được sửa lại cho phù hợp từ ISO 1925:2001, định nghĩa 3.16.
3.5. Độ dịch chuyển (displacement)
Độ dịch chuyển tương đối (relative displacement)
Đại lượng vectơ quy định sự thay đổi vị trí của một vật thể hoặc hạt vật chất đối với một hệ qui chiếu.
CHÚ THÍCH 1: Hệ quy chiếu thường là một tập hợp các trục ở một vị trí trung bình hoặc một vị trí nghỉ. Thông thường tốc độ có thể được biểu thị bằng một vectơ quay, một vec tơ tịnh tiến hoặc cả hai.
CHÚ THÍCH 2: Độ dịch chuyển được gọi là độ dịch chuyển tương đối nếu nó được đo đối với một hệ qui chiếu khác với hệ qui chiếu đầu tiên đã được gọi tên trong trường hợp đã cho. Độ dịch chuyển tương đối giữa hai điểm là hiệu vectơ giữa các độ dịch chuyển của hai điểm.
CHÚ THÍCH 3: Được sửa lại cho phù hợp từ ISO 2041:1990, định nghĩa 1.1.
3.6. Số đo độ dịch chuyển (displacement measurements)
Các giá trị rung mô tả chuyển động của bề mặt trục quay so với thân ổ trục tĩnh tại.
Xem ISO 7919-1.
3.7. Độ đảo do điện (electrical runout)
Một số sai số có thể được đưa vào các phép đo độ đảo khi sử dụng các cảm biến không tiếp xúc.
CHÚ THÍCH 1: Các sai số này có thể tăng lên do hiện tượng từ dư hoặc tính không đồng nhất về điện trong các bộ phận được đo hoặc các ảnh hưởng khác tác động đến sự hiệu chuẩn cảm biến.
CHÚ THÍCH 2: Độ thay đổi đo tổng này ở vị trí nhìn thấy được của bề mặt trục bằng kim loại đen trong quá trình một vòng quay hoàn toàn chậm được xác định bằng một hệ thống dò dòng điện xoáy. Phép đo này có thể chịu ảnh hưởng của những thay đổi trong các tính chất điện từ của vật liệu trục cũng như các thay đổi trong bản thân bề mặt trục.
CHÚ THÍCH 3: Được sửa đổi cho phù hợp từ ISO 1925:2001, định nghĩa 2.19.
3.8. Loại ứng dụng của quạt (fan application category)
Sự tập hợp thành nhóm của các loại ứng dụng được dùng để mô tả các ứng dụng của quạt, các cấp chất lượng cân bằng thích hợp và các mức rung được khuyến nghị của chúng.
3.9. Mức rung của quạt (fan vibration level)
Biên độ rung tại các ổ trục của quạt được biểu thị bằng các đơn vị của tốc độ hoặc dịch chuyển.
3.10. Bộ lọc (filter)
Bộ phận để chia tách các dao động trên cơ sở tần số của chúng.
CHÚ THÍCH 1: Bộ lọc đưa vào sự tắt dần tương đối nhỏ cho các sóng dao động trong một hoặc nhiều dải tần và sự tắt dần tương đối lớn cho các tần số khác.
CHÚ THÍCH 2: Được sửa đổi cho phù hợp từ ISO 2041:1990, định nghĩa B.14
3.11. Trong bộ lọc (filter- in, sharp)
Rung chỉ được đo ở một tần số được quan tâm.
3.12. Ngoài bộ lọc (filter - our, broad pass)
Rung được đo trong một dải tần rộng.
CHÚ THÍCH Đôi khi thuật ngữ này được gọi là rung "toàn bộ".
3.13. Bệ đỡ mềm (flexible support)
Hệ thống đỡ quạt được thiết kế sao cho tần số riêng đầu tiên của nó thấp hơn nhiều so với tốc độ vận hành của quạt.
CHÚ THÍCH: Bệ đỡ mềm này đòi hỏi phải có các chi tiết đàn hồi mềm giữa quạt và kết cấu đỡ. Điều kiện này đạt được bằng cách đặt máy tựa trên lò xo hoặc lắp trên bộ phận đỡ đàn hồi (lò xo, cao su v.v...). Tần số dao động riêng của hệ treo và máy nhỏ hơn 25 % tần số tương đương với tốc độ thấp nhất của máy được thử.
3.14. Nền móng (foundation)
Cấu trúc đỡ một hệ thống cơ khí.
CHÚ THÍCH 1: Nền móng có thể cố định trong một số hệ qui chiếu quy định hoặc có thể phải di chuyển để tạo ra sự kích thích cho hệ thống đỡ.
CHÚ THÍCH 2: Đối với các quạt nền móng là bộ phận trên đó lắp quạt và tạo ra bệ đỡ cần thiết. Nền móng của quạt phải có đủ khối lượng và độ cứng vững để tránh khuyếch đại rung.
CHÚ THÍCH 3: Được sửa đổi cho phù hợp ISO 2041:1990, định nghĩa 1.23
3.15. Tần số (frequency)
Tần số có chu kỳ (cyclic frequency)
Số nghịch đảo của chu kỳ cơ sở
CHÚ THÍCH 1: Đơn vị của tần số là Hertz (Hz), tương đương với một chu kỳ trong một giây.
CHÚ THÍCH 2: Trong công nghiệp quạt cũng thường sử dụng số chu kỳ xảy ra trong một phút (CPM).
CHÚ THÍCH 3: Được sửa lại cho phù hợp từ ISO 2041:1990, định nghĩa 1.23.
3.16. Ở hiện trường (in situ)
Ám chỉ vận hành ở địa điểm lắp đặt cuối cùng.
3.17. Độ đảo cơ học (mechanical run-out)
Độ thay đổi tổng thực tế tại một vị trí của một bề mặt trục trong quá trình của toàn bộ một vòng quay chậm như được xác định bằng một dụng cụ do tĩnh tại (như một đồng hồ chỉ báo có mặt số).
3.18. Ngông trục (journal)
Bộ phận của một rô to được đỡ theo chiều hướng tâm và/ hoặc được dẫn hướng bởi một ổ trục và quay trong ổ trục này.
CHÚ THÍCH: Được sửa lại cho phù hợp từ ISO 1925:2001, định nghĩa 2.4.
3.19. Rung toàn bộ của quạt (overall fan vibration)
Xem định nghĩa 3.12.
3.20. Giá trị đỉnh (peak value)
Độ lớn đỉnh (perk magnitude)
Giá trị đỉnh dương (âm) (positive (negative) peak value)
Giá trị lớn nhất của rung trong một khoảng đã cho.
CHÚ THÍCH 1: Rung có giá trị đỉnh thường được lấy làm sai lệch lớn nhất của rung so với giá trị trung bình. Một giá trị đỉnh dương là sai lệch dương lớn nhất và một giá trị âm là sai lệch âm lớn nhất.
CHÚ THÍCH 2: Độ dịch chuyển đỉnh, các số đọc (giá trị) tốc độ hoặc gia tốc, ứng với giá trị xảy ra ở sai lệch lớn nhất so với không (0) hoặc giá trị ổn định (xem Phụ lục A).
CHÚ THÍCH 3: Được sửa lại cho phù hợp từ ISO 2041:1990, định nghĩa 2.34.
3.21. Giá trị đỉnh tới đỉnh (của rung) (peak-to peak value (of a vibration))
Hiệu đại số giữa các giá trị cực hạn của rung.
CHÚ THÍCH 1: Trong thực tế công nghiệp, các biên độ đỉnh tới đỉnh ám chỉ phạm vi di chuyển tổng trong một chu kỳ. Các số đọc đỉnh tới đỉnh chỉ áp dụng cho độ dịch chuyển (xem Phụ lục A).
CHÚ THÍCH 2: Được sửa lại cho phù hợp từ ISO 2041:1990, định nghĩa 2.35.
3.22. Giá trị quân phương (root-mean-square value)
Giá trị r.m.s (r.m.s value)
Căn bậc hai của giá trị trung bình của các giá trị bình phương.
CHÚ THÍCH 1: Giá trị r.m.s của một tập hợp số có thể được biểu thị như sau:
Giá trị r.m.s =
Trong đó chỉ số dưới dòng n ám chỉ số thứ n của tổng các số là N,.
Căn số bậc hai (của hàm đơn vị f(t) trên một khoảng giữa t1 và t2) của giá trị trung bình của các giá trị bình phương của hàm trên khoảng đó.
CHÚ THÍCH 2: Giá trị r.m.s của một hàm đơn trị f(t) trên một khoảng bằng t1 và t2 bằng
Giá trị r.m.s =
CHÚ THÍCH 3: Trong lý thuyết dao động, giá trị trung bình của dao động là bằng không (0). Trong trường hợp này giá trị r.m.s bằng sai lệch chuẩn và giá trị bình phương trung bình bằng phương sai (s2)
CHÚ THÍCH 4: Đối với chuyển động thực hình sin, giá trị r.m.s bằng 0,707 lần giá trị đỉnh.
CHÚ THÍCH 5: Được sửa lại cho phù hợp từ ISO 2041:1990, định nghĩa A.37.
3.23. Độ mất cân bằng còn dư (residual unbalance)
Độ mất cân bằng cuối cùng (final unbalance)
Độ mất cân bằng của của bất cứ loại nào còn lại sau khi tạo cân bằng.
CHÚ THÍCH: Được sửa lại cho phù hợp từ ISO 1925:2001, định nghĩa 3.10.
3.24. Hệ đỡ cứng (rigid support)
Hệ thống đỡ quạt được thiết kế sao cho tần số riêng đầu tiên của hệ thống lớn hơn nhiều so với tốc độ vận hành của quạt
CHÚ THÍCH: Độ cứng vững của nền móng là một đại lượng tương đối. Độ cứng vững này phải được xem xét cùng với độ cứng vững của hệ thống máy, ổ trục. Tỷ số giữa rung của thân ổ trục và rung của nền móng là đại lượng đặc trưng để đánh giá các ảnh hưởng độ mềm dẻo của nền móng (theo bất cứ hướng nào) gần với chân máy hoặc thân máy nhỏ hơn 25 % biên độ lớn nhất đo được ở thân ổ trục liền kề theo bất cứ hướng nào.
3.25. Tốc độ thiết kế (speed, design)
Tốc độ quay lớn nhất, được đo bằng vòng trên phút (r/min) tại đó quạt được thiết kế để vận hành.
3.26. Tốc độ làm việc (speed, service)
Tốc độ quay được đo bằng vòng trên phút (r/min) tại đó rô to vận hành ở vị trí hoặc môi trường lắp đặt cuối cùng của nó
3.27. Điều chỉnh theo ba trục (triaxral set)
Các định hướng của bộ chuyển đổi rung cho các phép đo biên độ rung.
CHÚ THÍCH: Điều chỉnh theo ba trục ám chỉ một bộ ba số đọc được lấy theo ba chiều vuông góc với nhau (thường là nằm ngang, thẳng đứng và dọc trục).
3.28. Hiệu chỉnh tạo cân bằng (trim balancing)
Hiệu chỉnh các độ mất cân bằng còn dư nhỏ trong một rôto, thường được thực hiện ở hiện trường.
CHÚ THÍCH 1: Quá trình tạo cân bằng có thể thực hiện sự hiệu chỉnh nhỏ nhưng cần thiết đối với độ mất cân bằng do kết quả của lắp ráp quạt và/ hoặc quá trình lắp ráp.
CHÚ THÍCH 2: Được sửa lại cho phù hợp từ ISO 1925:2001, định nghĩa 4.27.
3.29. Độ mất cân bằng (unbalance)
Trạng thái tồn tại trong một rôto khi lực hoặc chuyển động rung được truyền cho các ổ trục của nó do kết quả của các lực ly tâm.
CHÚ THÍCH 1: Thuật ngữ mất cân bằng đôi khi được sử dụng như một thuật ngữ đồng nghĩa với lượng không cân bằng hoặc vectơ mất cân bằng.
CHÚ THÍCH 2: Thuật ngữ độ không cân bằng (unbalance) đôi khi lại được dùng thay thế cho độ mất cân bằng (unbalance) nhưng không được tán thành.
CHÚ THÍCH 3: Độ mất cân bằng thường được đánh giá bằng tích số của khối lượng rô to nhân với khoảng cách giữa trọng tâm và tâm quay của nó trong một mặt phẳng. Trong thực tế các giá trị độ mất cân bằng thường được báo cáo là:
- Độ dịch chuyển đỉnh tới đỉnh, tính bằng micromet (mm) hoặc milimet (mm);
- Tốc độ - giá trị r.m.s hoặc giá trị đỉnh tính bằng milimet trên giây (mm/s);
- Gia tốc - giá trị r.m.s hoặc giá trị đỉnh, tính bằng met trên giây bình phương (m/s2).
CHÚ THÍCH 4: Được sửa lại cho phù hợp từ ISO 1925:2001, định nghĩa 3.1.
3.30. Tốc độ (velocity)
Tốc độ tương đối (relative velocity)
Vectơ quy định đạo hàm theo thời gian của độ dịch chuyển.
CHÚ THÍCH 1: Hệ qui chiếu thường dùng là một bộ các trục ở một vị trí trung bình hoặc một vị trí nghỉ.
Thông thường tốc độ có thể được biểu thị bằng một vectơ quay, một vectơ tịnh tiến hoặc cả hai.
CHÚ THÍCH 2: Một tốc độ được chỉ định là tốc độ tương đối nếu được đo đối với một hệ qui chiếu khác với hệ qui chiếu đầu tiên được lựa chọn trong trường hợp đã cho. Tốc độ tương đối giữa hai điểm là hiệu vectơ giữa các tốc độ của hai điểm.
CHÚ THÍCH 3: Được sửa lại cho phù hợp từ ISO 2041:1990, định nghĩa 1.2.
3.31. Rung (vibration)
Rung theo thời gian có độ lớn của một đại lượng được mô tả là chuyển động hoặc vị trí của một hệ cơ học khi độ lớn là lớn hơn và nhỏ hơn một cách luân phiên so với một vị trí trung bình hoặc giá trị chuẩn nào đó.
CHÚ THÍCH 1: Rung có thể là do chuyển động cơ học luân chuyển của một hệ đàn hồi mà các thành phần của nó là biên độ, tần số và pha.Trong thực tế, các giá trị của rung thường được báo cáo là
- Độ dịch chuyển đỉnh tới đỉnh, tính bằng micromet (mm) hoặc milimet (mm);
- Tốc độ - giá trị r.m.s hoặc giá trị đỉnh, tính bằng milimet trên giây (mm/s);
- Gia tốc - giá trị r.m.s hoặc giá trị đỉnh, tính bằng milimet trên giây bình phương (m/s2).
CHÚ THÍCH 2: Được sửa lại cho phù hợp từ ISO 2041:1990, định nghĩa 2.1.
3.32. Phổ rung (vibration spectrum)
Sự mô tả rung dưới dạng các biên độ của các thành phần của rung biến đổi theo tần số.
3.33. Bộ chuyển đổi rung (vibration transducer)
Cơ cấu được thiết kế để gắn với một hệ thống cơ học dùng để đo rung
CHÚ THÍCH: Bộ chuyển đổi rung biến đổi năng lượng rung thành một tín hiệu điện tử có tỷ lệ, tín hiệu này có thể được hiển thị hoặc được xử lý theo cách khác.
4. Ký hiệu và đơn vị
Tiêu chuẩn này sử dụng các ký hiệu và đơn vị sau:
| Ký hiệu | Mô tả | Đơn vị |
| a | Giá trị rung tức thời | m/s2 |
| a0 | Gia tốc rung chuẩn | m/s2 |
| A peak | Biên độ gia tốc rung đỉnh | m/s2 hoặc g (g= 9,806 65 m/s2) |
| A r.m.s | Biên độ gia tốc rung quân phương | (g= 9,806 65 m/s2) m/s2 hoặc g |
| AdB | Mức gia tốc rung r.m.s vượt quá mức chuẩn 10-6 m/s2 | dB |
| d | Độ dịch chuyển rung tức thời | mm, mm hoặc m |
| D | Biên độ dịch chuyển rung đỉnh tới đỉnh | mm hoặc mm |
| Dr.m.s | Biên độ dịch chuyển rung r.m.s | mm hoặc mm |
| epre | Độ mất cân bằng riêng | mm hoặc g-mm/kg |
| f | Tần số = w/2π | Hz |
| G | Cấp chất lượng cân bằng | - |
| m | Khối lượng rôto | kg |
| n | Tần số quay | r/s |
| N | Tần số quay (tốc độ làm việc của rôto) | r/min |
| t | Thời gian | s |
| T | Chu kỳ rung | s |
| Uper | (Momen) độ mất cân bằng còn dư cho phép | g.mm |
| v | Tốc độ rung tức thời | mm/s hoặc mm/s hoặc m/s |
| Vo | Tốc độ rung chuẩn | mm/s, mm/s hoặc m/s |
| Vpeak | Tốc độ rung đỉnh | mm/s, mm/s hoặc m/s |
| Vr.m.s | Tốc độ rung quân phương toàn bộ | mm/s hoặc m/s |
| VdB | Tốc độ rung r.m.s vượt quá mức chuẩn 10-9 m/s | dB |
| | Tốc độ gốc của bộ cánh quạt | rad.s-1 |
5. Mục đích của thử nghiệm
Trước khi thực hiện bất cứ thử nghiệm nào về rung nên xác định rõ mục đích của thử nghiệm bằng thông tin và có sự thỏa thuận giữa các bên có liên quan.
Các lý do quan trọng nhất cho thực hiện một thử nghiệm rung là:
a) Đánh giá thiết kế/ phát triển (xem Phụ lục D);
b) Là đánh giá chất lượng ở giai đoạn kiểm tra cuối cùng (xem 8.3 và Phụ lục D);
c) Thử nghiệm ở hiện trường để so sánh với phép đo ở nhà máy để xác định sự phù hợp của mối nối bệ đỡ/ đường ống dẫn (xem Phụ lục E);
d) Là thông tin cơ sở và chiều hướng phát triển cho chương trình giám sát - xử lý hoặc kiểm tra tình trạng của máy (xem Phụ lục G);
e) Để thông báo cho người thiết kế các kết cấu đỡ, nền móng, các hệ thống đường ống v.v... về rung còn dư có thể truyền từ quạt cho kết cấu gắn liền.
Có thể ghi lại các số đọc như là các mức đáp ứng tuyến tính toàn bộ trong các dải octa, một phần ba octa hoặc như là sự phân tích dải hẹp (rời rạc). Lượng thông tin được trình bày phụ thuộc vào loại quạt, như đã xác định trong Điều 6 và mục đích cần sử dụng thông tin.
6. Các loại ứng dụng của cân bằng và rung (các loại BV)
Thiết kế/ cấu tạo quạt và ứng dụng theo dự tính của nó là các tiêu chí quan trọng cho phân loại nhiều kiểu quạt dưới dạng các cấp cân bằng có ý nghĩa và chấp nhận được và các mức rung.
Bảng 1 đã được biên soạn để cung cấp các loại quạt cho mục đích phân loại kiểu ứng dụng đối với độ cân bằng chấp nhận được và các giới hạn về rung.
Bảng 1 - Các loại ứng dụng của quạt
| Ứng dụng | Ví dụ | Giói hạn của công suất dẫn động kW | Loại ứng dụng của quạt, BV |
| Khu nhà ở | Quạt trần, quạt tầng áp mái cửa sổ AC | £ 0,15 > 0,15 | BV-1 BV-2 |
| HVAC và nông nghiệp | Thông gió và điều hòa không khí cho tòa nhà; các hệ thống (thiết bị) ngành thương nghiệp | £ 3,7 > 3,7 | BV-2 BV-3 |
| Các quá trình trong công nghiệp và phát điện v.v... | Buồng lái và điều hòa không khí cho tòa nhà; các hệ thống (thiết bị) ngành thương nghiệp | £ 300 > 300 | BV-3 Xem ISO 10816-3 |
| Vận tải và hàng hải | Đầu máy, xe tải, ô tô | £ 15 > 15 | BV-3 BV-4 |
| Đường chuyển tiếp/đường hầm | Thông gió khẩn cấp cho đường hầm, quạt đường hầm, thông gió cho gara, quạt phun cho đường hầm | £ 75 > 75 không | BV-3 BV-4 BV-4 |
| Công nghiệp hóa dầu | Quạt các khí nguy hiểm, quạt cho các quá trình công nghệ | £ 37 > 37 | BV-3 BV-4 |
| Chế tạo chíp máy tính | Các buồng làm sạch | không | BV-3 |
| CHÚ THÍCH 1: Tiêu chuẩn này được giới hạn cho các quạt có công suất xấp xỉ dưới 300 kW. Đối với các quạt vượt quá công suất này, tham khảo ISO 10861-3. Tuy nhiên, động cơ điện tiêu chuẩn sẵn có trong ngành thương nghiệp có thể đạt tới công suất 355 kW (theo dãy R20 như đã quy định trong ISO 10861-1). Các quạt này sẽ được chấp nhận phù hợp với tiêu chuẩn này. CHÚ THÍCH 2: Bảng này không áp dụng cho các quạt có hướng gió dọc trục tốc độ thấp, khối lượng nhẹ có đường kính lớn (điển hình là đường kính 2800 mm đến 12500 mm) được sử dụng trong các thiết bị trao đổi nhiệt được làm mát bằng không khí, các tháp làm mát v.v... Các yêu cầu về chất lượng cân bằng của các quạt này phải là G16 và loại ứng dụng của quạt phải là BV-5. | |||
Nhà sản xuất sẽ nhận biết theo đặc trưng loại ứng dụng thích hợp của quạt dựa trên kiểu thiết bị và yêu cầu về công suất. Khách hàng mua bộ cánh quạt hoặc rôto có thể chỉ quan tâm đến cấp cân bằng (xem Bảng 2). Khách hàng mua một cụm quạt đầy đủ có thể quan tâm đến một hoặc nhiều yếu tố sau: cấp cân bằng (Bảng 2), rung ở nhà máy (Bảng 4), rung ở hiện trường (Bảng 5). Một cách điển hình, một loại BV sẽ áp dụng cho tất cả các yêu cầu cần xem xét. Tuy nhiên, khách hàng có thể yêu cầu một loại BV khác với loại được liệt kê cho ứng dụng nhưng cần lưu ý rằng yêu cầu này có ảnh hưởng đến giá của hợp đồng. Trong hầu hết các trường hợp, loại BV, cấp chất lượng cân bằng và tất cả các giới hạn rung chấp nhận được phải được thỏa thuận như một phần của hợp đồng đối với thiết bị quạt. Trong trường hợp không thể đạt được sự thỏa thuận nêu trên hoặc sự thỏa thuận không phải là một phần của hợp đồng thì các quạt được mua theo tiêu chuẩn này phải đáp ứng các giới hạn rung cho trong Bảng 4 (quạt đã được lắp ráp) hoặc các yêu cầu về độ mất cân bằng còn dư trong Bảng 2 (quạt đã được tháo ra).
Khách hàng có thể ký hợp đồng cho một phương án bố trí lắp đặt cụ thể được sử dụng trong thử nghiệm ở nhà máy của một quạt đã được lắp ráp để phù hợp với lắp đặt đã được lập kế hoạch tại hiện trường. Nếu không có sự bố trí trên, quạt có thể được lắp đặt cứng hoặc mềm cho thử nghiệm bất kể lắp đặt theo kế hoạch tại hiện trường.
7. Tạo cân bằng
7.1. Quy định chung
Nhà sản xuất có trách nhiệm làm cân bằng cụm quạt- bộ cánh quạt theo tiêu chuẩn thương mại được chấp nhận. Tiêu chuẩn này dựa trên ISO 1940-1. Quá trình làm cân bằng thường được thực hiện trên các máy cân bằng được chế tạo có độ nhạy cao, cho phép đánh giá chính xác độ mất cân bằng còn dư.
7.2. Cấp chất lượng cân bằng
Các cấp chất lượng cân bằng sau áp dụng cho các bộ cánh quạt. Nhà sản xuất quạt có thể đưa vào bộ phận quay khác (trục, khớp trục, ròng rọc/puli v.v...) trong các bộ phận được cân bằng. Ngoài ra có thể yêu cầu độ cân bằng của các chi tiết riêng. Xem các tài liệu viện dẫn ISO 4863 và ISO 254 về các yêu cầu cân bằng đối với các khớp trục và puli.
Bảng 2: Các cấp chất lượng cân bằng
| Loại ứng dụng của quạt | Cấp chất lượng cân bằng đối với rôto/ bộ cánh quạt cứng |
| BV-1 | G 16 |
| BV-2 | G 16 |
| BV-3 | G 6,3 |
| BV-4 | G 2,5 |
| BV-5 | G1,0 |
| CHÚ THÍCH: Trong loại ứng dụng của quạt BV-1 có một số rô to của quạt cực nhỏ có khối lượng nhỏ hơn 224 g. Trong những trường hợp này, độ mất cân bằng còn dư có thể khó xác định được một cách chính xác. Quá trình chế tạo nên bảo đảm sự phân bố đều lượng quanh trục quay. | |
7.3. Tính toán độ mất cân bằng còn dư cho phép
Các cấp G cho trong Bảng 1 là các cấp chất lượng cân bằng và thu được từ tích số của mối quan hệ eper x w, tính bằng milimet trên giây, trong đó eper là độ mất cân bằng còn dư cho phép và w là tốc độ góc của bộ cánh quạt.
Như vậy
- Độ mất cân bằng riêng, tính bằng micromet (mm) hoặc gam milimet trên kilogam (g.mm/kg).
- Độ mất cân bằng còn dư cho phép (momen), tính bằng gam milimet (g.mm);
Uper = m x eper
- Tốc độ góc của bộ cánh quạt, tính bằng radian trên giây (rad/s);
= 2p x N/60
Trong hầu hết các ứng dụng, độ mất cân bằng còn dư cho phép trong mỗi một trong hai mặt phẳng hiệu chỉnh có thể được chỉnh đặt ở Uper/2 (xem Phụ lục F). Mỗi khi có thể, bộ cánh quạt của quạt nên được lắp trên trục sẽ được sử dụng trong vận hành. Nếu sử dụng trục gá nên chú ý tránh độ lệch tâm do nối ghép giữa trục gá và may ơ bộ cánh quạt bị lỏng ra (xem Phụ lục B). Tính toán độ (lượng) mất cân bằng còn dư phải tuân theo 6.2.3 của ISO 1940-1 và phép đo phải tuân theo điều 8.
8. Rung của quạt
8.1. Các yêu cầu về đo
8.1.1. Yêu cầu chung
Các Hình 1 đến Hình 4 minh họa một số vị trí và hướng có thể sử dụng để lấy các số đọc về rung trên mỗi ổ trục của quạt. Các vị trí khác có thể liên quan đến phép đo rung tại nền móng hoặc các mặt bích của quạt (xem ISO 14695). Các giá trị cho trong Bảng 4 dựa trên các số đọc được lấy vuông góc với trục quay. Số lượng và vị trí của các số đọc được lấy trong quá trình vận hành ở xưởng hoặc tại hiện trường do nhà sản xuất quạt quyết định hoặc có sự thỏa thuận với khách hàng. Nên lấy các số đo trên các ổ trục của trục bộ cánh quạt. Khi không thể thực hiện được yêu cầu này thì phải lắp bộ cảm biến trên đường truyền rung ngắn nhất trực tiếp giữa bộ chuyển đổi và ổ trục. Các bộ chuyển đổi không được lắp trên các panen không được đỡ, thân quạt, rào chắn, các mặt bích hoặc các chỗ khác trên quạt khi không thể có được đường truyền rung liên tục, trừ khi được yêu cầu để cung cấp thông tin về rung được truyền cho đường ống dẫn và/ hoặc nền móng (xem ISO 14695 và ISO 5348).
Các số đọc theo phương nằm ngang thường phải được lấy theo chiều hướng tâm vuông góc với trục quạt. Các số dọc theo phương thẳng đứng thường phải được lấy vuông góc so với quạt và vuông góc với số đọc theo phương nằm ngang. Các số đọc chiều trục phải được lấy song song với đường trục của trục rôto.
8.1.2. Số đọc địa chấn
Tất cả các giá trị về rung trong tiêu chuẩn này là các số đọc địa chấn biểu thị sự di chuyển của thân ổ trục.
Các quan sát được thực hiện phải bao gồm các số đọc được lấy từ gia tốc kế hoặc các dụng cụ kiểu vận tốc. Cần đặc biệt chú ý để bảo đảm rằng bộ chuyển đổi cảm biến rung được lắp đặt đúng không bị tháo lỏng ra, lắc lư hoặc có cộng hưởng. Kích thước và trọng lượng của bộ chuyển đổi và hệ thống lắp đặt của nó không nên quá lớn để có thể ảnh hưởng đến các đặc tính đáp ứng rung của quạt một cách đáng kể. Các thay đổi gắn liền với lắp đặt bộ chuyển đổi và các thay đổi trong tiêu chuẩn dụng cụ có thể dẫn đến các thay đổi trong các số đo đến ± 10 % các giá trị được cho trong tiêu chuẩn này.
8.1.3. Số đọc độ dịch chuyển
Người sử dụng và nhà sản xuất có thể thỏa thuận để đo độ dịch chuyển của trục trong màng dầu của ổ trục có ống lót băng các hệ thống đầu dò ở lân cận. Các hệ thống này đo chuyển dịch tương đối giữa bề mặt trục quay và thân ổ tĩnh tại. Biên độ của độ dịch chuyển cho phép phải được giới hạn rõ ràng tới giá trị nhỏ hơn khe hở theo đường kính của ổ trục. Khe hở bên trong này biến đổi như một hàm số của cỡ kích thước ổ, tải trọng hướng tâm/ chiều trục, kiểu ổ và đường trục được quan tâm (nghĩa là, một số kết cấu có lỗ elip sẽ có khe hở theo trục ngang lớn hơn khe hở theo trục thẳng đứng). Do đó, tiêu chuẩn này không có ý định xác lập các giới hạn độ dịch chuyển của trục riêng biệt cho tất cả các các ổ trục có ống lót và các ứng dụng của quạt. Tuy nhiên các hướng dẫn sau được khuyến nghị sử dụng cho các giới hạn độ dịch chuyển của trục. Các giá trị được chỉ dẫn trong Bảng 3 là tỷ lệ phần trăm của khe hở tổng có trong ổ trục theo mỗi đường trục.
Bảng 3 - Tỷ lệ phần trăm của khe hở tổng có trong ổ trục theo mỗi đường trục
| Tình trạng | Độ dịch chuyển lớn nhất được khuyến nghị tính bằng phần trăm của khe hở hướng kính vốn có (theo bất cứ đường trục nào) |
| Khởi động/vận hành tốt | Nhỏ hơn + 25 % CHÚ THÍCH: Tiếp xúc với nhà cung cấp ổ trục để nhận được các khe hở hướng kính và chiều trục vốn có trong ổ trục có ống lót cụ thể được sử dụng. |
| Mức báo động | + 50 % |
| Mức ngắt | + 70 % |
Phép đo này đòi hỏi chuyển động nhìn thấy được của bề mặt trục. Các kích thước đo chịu ảnh hưởng không chỉ bởi rung mà còn chịu ảnh hưởng của độ đảo cơ học của bề mặt trục nếu trục bị cong hoặc không tròn. Các tính chất điện/từ của vật liệu trục tại điểm đo cũng ảnh hưởng đến độ đảo về điện của trục như khi được đo bằng một đầu dò ở lân cận. Độ đảo cơ học và theo đầu dò điện kết hợp của vật liệu trục tại điểm đo không nên vượt quá giá trị đỉnh tới đỉnh 0,0125 mm hoặc 25 % giá trị độ dịch chuyển rung khởi động/vận hành tốt, lấy giá trị lớn hơn. Cần xác định độ đảo này trong quá trình thử tốc độ lăn châm (25 r/min đến 400 r/min) khi bỏ qua các lực mất cân bằng trên rô to. Có thể cần phải chuẩn bị trục chuyên dùng để phép đo độ đảo thỏa mãn yêu cầu được đặt ra. Các đầu dò ở lân cận nên được lắp trực tiếp trong thân ổ trục khi có thể lắp được.
Các mức đã cho chỉ được áp dụng cho chế độ làm việc thiết kế. Khi quạt được thiết kế cho truyền động có tốc độ thay đổi, có thể áp dụng các mức cao hơn ở các tốc độ khác do cộng hưởng không thể tránh khỏi.
Khi các quạt được cung cấp có các cánh thay đổi thì các mức phải áp dụng cho điều kiện khi bộ điều chỉnh cánh được mở hoàn toàn. Cần đặc biệt lưu ý rằng ở các góc lớn giữa các cánh và đường trục dòng không khí vào, có thể xảy ra sự tách dòng dẫn đến các mức rung cao hơn.
Các quạt cho các loại thiết bị B và D (xem ISO 5801 và ISO 13348) phải được thử với ống dẫn ở cửa vào và/hoặc cửa ra có chiều dài ít nhất là bằng hai lần đường kính trung bình của ống (cùng xem Phụ lục C).
VÍ DỤ: Các hướng dẫn được giới thiệu cho ổ trục có ống lót đường kính danh nghĩa 150 mm có khe hở bên trong nằm ngang 0,33 mm.
Các giới hạn của rung tương đối của trục
- Khởi động/vận hành tốt = (0,25 x 0,33 mm) = 0,0825 mm đỉnh tới đỉnh
- Báo động = 0,50 x 0,33 mm) = 0,165 mm đỉnh tới đỉnh
- Ngắt = 0,70 x 0,33 mm) = 0,231 mm đỉnh tới đỉnh
Độ đảo cơ kết hợp và điện và độ đảo của trục tại điểm đo rung
a) 0,0125 mm
b) 0,25 x 0,0825 mm = 0,0206 mm
Chọn giá trị lớn hơn trong hai giá trị 0,0206 mm

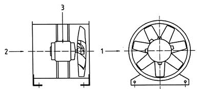
CHÚ DẪN:
1 Nằm ngang
2 Chiều trục
3 Thẳng đứng
Hình 1- Các vị trí cảm biến theo ba trục đối với quạt hướng trục được lắp nằm ngang

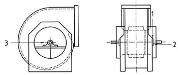
CHÚ DẪN:
1 Thẳng đứng
2 Chiều trục
3 Nằm ngang
Hình 2 - Các vị trí cảm biến theo ba trục đối với quạt lý tâm SWSI

CHÚ DẪN:
1 Thẳng đứng
2 Chiều trục
3 Nằm ngang
Hình 3 - Các vị trí cảm biến theo ba trục đối với quạt lý tâm DWDI

CHÚ DẪN:
1 Thẳng đứng
2 Chiều trục/thẳng đứng
3 Nằm ngang
Hình 4 - Các vị trí cảm biến theo ba trục đối với quạt hướng trục được lắp thẳng đứng
8.2. Hệ thống đỡ quạt
Các phương án lắp đặt quạt được phân loại đối với tính khốc liệt của rung theo tính mềm dẻo của bệ đỡ của chúng. Để được phân loại là bệ đỡ cứng quạt và hệ thống đỡ nên có tần số riêng cơ sở (thấp nhất) vượt quá tốc độ vận hành. Để được phân loại là bệ đỡ mềm, quạt và hệ thống đỡ nên có tần số riêng cơ sở thấp hơn tốc độ vận hành. Thông thường, một nền móng bê tông lớn được thiết kế có chất lượng tốt sẽ dẫn đến bệ đỡ cứng, trong khi quạt được lắp trên các bộ phận cách rung sẽ được phân loại là được đỡ mềm. Các quạt được lắp trên khung bằng thép có thể được xếp vào một trong hai loại tùy thuộc vào thiết kế kết cấu. Trong trường hợp có nghi ngờ, có thể cần đến sự phân tích hoặc các thử nghiệm để xác định tần số riêng cơ sở. Lưu ý rằng, trong một số trường hợp một quạt có thể được phân loại là được đỡ cứng trong một hướng đo và được đỡ mềm trong hướng đo khác.
8.3. Các giới hạn rung của quạt cho các thử nghiệm trong xưởng của nhà sản xuất
Các giới hạn rung được chỉ dẫn trong Bảng 4 áp dụng cho thiết bị quạt đã được lắp ráp. Các giá trị được chỉ dẫn là tốc độ tính bằng milimet trên giây (mm/s). Các giới hạn rung trong bộ lọc ở tần số quay của quạt được lấy ở các ổ trục của quạt.
Bảng 4 - Giới hạn các mức rung cho thử nghiệm trong xưởng của nhà sản xuất
| Loại ứng dụng của quạt | Được lắp đặt cứng mm/s | Được lắp đặt mềm mm/s | ||
| Đỉnh | r.m.s | Đỉnh | r.m.s | |
| BV-1 | 12,7 | 9,0 | 15,2 | 11,2 |
| BV-2 | 5,1 | 3,5 | 7,6 | 5,6 |
| BV-3 | 3,8 | 2,8 | 5,1 | 3,5 |
| BV-4 | 2,5 | 1,8 | 3,8 | 2,8 |
| BV-5 | 2,0 | 1,4 | 2,5 | 1,8 |
| CHÚ THÍCH 1: Tham chiếu Phụ lục A về chuyển đổi các đơn vị tốc độ thành các đơn vị độ dịch chuyển hoặc gia tốc cho các số đọc trong bộ lọc. CHÚ THÍCH 2: Các giá trị r.m.s được cho trong bảng này là ưu tiên. Chúng được làm tròn tới dãy số R20 như đã quy định trong ISO 10816-1. Các giá trị đỉnh được sử dụng rộng rãi ở Bắc Mỹ. Khi được cấu thành bởi một số dạng sóng hình sin, các giá trị đỉnh này không nhất thiết phải có mối quan hệ toán học chính xác với các giá trị rms chúng cũng có thể phụ thuộc vào đại lượng trên dụng cụ đo được sử dụng. CHÚ THÍCH 3: Các giá trị trong bảng này dựa vào chế độ làm việc thiết kế của quạt và tốc độ quay thiết kế của quạt và với bất cứ các cánh dẫn hướng nào ở cửa vào "được mở hoàn toàn". Các giá trị ở các điều kiện tải trọng cục bộ nên được thỏa thuận giữa nhà sản xuất và người sử dụng, nhưng không nên vượt quá 1,6 lần các giá trị đã cho. | ||||
8.4. Các giới hạn rung của quạt cho vận hành ở hiện trường
Mức rung ở hiện trường của bất cứ quạt nào không chỉ duy nhất phụ thuộc vào cấp cân bằng. Các yếu tố lắp đặt, khối lượng và độ cứng vững của hệ thống đỡ sẽ ảnh hưởng đến mức rung ở hiện trường [22]. Do đó mức rung của quạt ở hiện trường không thuộc trách nhiệm của nhà sản xuất quạt trừ khi được quy định trong hợp đồng mua hàng.
Các mức rung trong Bảng 5 là các mức rung có tính hướng dẫn cho vận hành được chấp nhận của các quạt trong các loại ứng dụng khác nhau. Các giá trị được chỉ dẫn là các giá trị đo ngoài bộ lọc được lấy trên các thân ổ trục và là các tốc độ được đo bằng milimet trên giây (mm/s).
Mức khốc liệt của rung của các quạt mới được đưa vào vận hành nên ở mức bằng hoặc thấp hơn mức "khởi động". Vì sự vận hành của quạt tăng lên theo thời gian cho nên mức rung sẽ tăng lên do mòn và các tác động được tích tụ khác. Thông thường độ tăng của rung là hợp lý và an toàn chừng nào mức rung không đạt tới "báo động".
Nếu mức khốc liệt của rung tăng lên tới mức "báo động", nên bắt đầu ngay việc nghiên cứu để xác định nguyên nhân của tăng mức rung và có hành động để sửa chữa. Sự vận hành ở tình trạng này nên được giám sát cẩn thận và được hạn chế ở thời gian yêu cầu để triển khai chương trình sửa chữa nguyên nhân làm cho mức rung tăng lên.
Nếu mức khốc liệt của rung tăng lên tới mức "ngắt" thì phải có ngay hành động sửa chữa hoặc ngắt quạt. Không thực hiện được việc giảm rung ở mức ngắt để đạt được mức rung chấp nhận được có thể là do hư hỏng của ổ trục, rạn nứt các bộ phận của rôto và của các mối hàn kết cấu thân quạt và cuối cùng là hư hỏng phá hủy.
Dữ liệu đã qua là một yếu tố quan trọng khi xem xét tính khốc liệt của rung của bất cứ thiết bị quạt nào. Sự thay đổi đột ngột trong mức rung có thể chỉ báo cần thiết phải kiểm tra hoặc bảo dưỡng tức thời. Các giá trị này nên được đánh giá và điều chỉnh cho mỗi thiết bị quạt dựa trên dữ liệu vận hành hoặc dữ liệu đã qua. Các thay đổi nhất thời trong mức rung do bôi trơn lại hoặc bảo dưỡng không nên được sử dụng để đánh giá tình trạng của thiết bị.
Bảng 5 - Các giới hạn rung địa chấn cho các thử nghiệm điện tiến hành ở hiện trường
| Khởi động | Loại ứng dụng của quạt | Được lắp đặt cứng,mm/s | Được lắp đặt mềm,mm/s | ||
| Đỉnh | r.m.s | Đỉnh | r.m.s | ||
| Khởi động | BV-1 | 14,0 | 10 | 15,2 | 11,2 |
| BV-2 | 7,6 | 5,6 | 12,7 | 9,0 | |
| BV-3 | 6,4 | 4,5 | 8,8 | 6,3 | |
| BV-4 | 4,1 | 2,8 | 6,4 | 4,5 | |
| BV-5 | 2,5 | 1,8 | 4,1 | 2,8 | |
| Báo động | BV-1 | 15,2 | 10,6 | 19,1 | 14,0 |
| BV-2 | 12,7 | 9,0 | 19,1 | 14,0 | |
| BV-3 | 10,2 | 7,1 | 16,5 | 11,8 | |
| BV-4 | 6,4 | 4,5 | 10,2 | 7,1 | |
| BV-5 | 5,7 | 4,0 | 7,6 | 5,6 | |
| Ngắt | BV-1 | Chú thích 1 | Chú thích 1 | Chú thích 1 | Chú thích 1 |
| BV-2 | Chú thích 1 | Chú thích 1 | Chú thích 1 | Chú thích 1 | |
| BV-3 | 12,7 | 9,0 | 17,8 | 12,5 | |
| BV-4 | 10,2 | 7,1 | 15,2 | 11,2 | |
| BV-5 | 7,6 | 5,6 | 10,2 | 7,1 | |
| CHÚ THÍCH 1: Các mức ngắt đối với các cấp ứng dụng của quạt BV-1 và BV-2 nên được xác lập dựa trên các dữ liệu đã qua. CHÚ THÍCH 2: Các giá trị r.m.s được cho trong bảng này là ưu tiên. Chúng được làm tròn tới dãy số R20 như đã quy định trong ISO 10916-1. Các giá trị đỉnh được sử dụng rộng rãi ở Bắc Mỹ. Khi được cấu thành bởi một số dạng sóng hình sin, các giá trị đỉnh này không nhất thiết phải có mối quan hệ toán học chính xác với các giá trị r.m.s. Chúng cũng có thể phụ thuộc vào dụng cụ đo được sử dụng ở một mức độ nào đó. | |||||
9. Các bộ phận quay khác
Các bộ phận quay phụ có thể ảnh hưởng tới các mức rung của quạt bao gồm các puli dẫn động, đai truyền, khớp trục và các bộ phận của động cơ/bộ phận phát động. Khi quạt được đặt hàng từ nhà sản xuất trong điều kiện tối thiểu (nghĩa là không có truyền động và/hoặc động cơ có do nhà sản xuất cung cấp và/hoặc lắp đặt) thì trong thực tế nhà sản xuất sẽ không thực hiện chạy thử cụm lắp ráp cuối cùng đối với các mức rung. Do đó, mặc dù bộ cánh quạt đã được làm cân bằng bởi nhà sản xuất nhưng khách hàng không được bảo đảm rằng quạt đã được lắp ráp chạy êm tới khi truyền động và/ hoặc bộ phận phát động được nối ghép với trục quạt và thiết bị được thử nghiệm đối với các mức rung khởi động.
Thông thường đối với các quạt đã lắp ráp là cần phải hiệu chỉnh tạo cân bằng để giảm mức rung tới mức khởi động (ban đầu). Chạy thử cụm lắp ráp cuối cùng nên được thực hiện đối với tất cả các thiết bị quạt mới BV-3, BV-4 và BV-5 trước khi đưa vào hoạt động. Yêu cầu này sẽ xác lập cơ sở cho công tác bảo dưỡng dự đoán trong tương lai.
Nhà sản xuất không chịu trách nhiệm về các ảnh hưởng của rung của các bộ phận truyền động được bổ sung sau khi chạy thử ở nhà máy. Đối với thông tin bổ sung và chất lượng cân bằng hoặc rung của các bộ phận có thể tham chiếu các tài liệu viện dẫn thích hợp được cho trong Điều 2.
10. Dụng cụ đo và sự hiệu chuẩn
10.1. Dụng cụ đo
Các dụng cụ đo và máy cân bằng được sử dụng phải đáp ứng các yêu cầu của nhiệm vụ và ở trong thời gian có hiệu lực của hiệu chuẩn. Xem Điều 8 của ISO 1940-1:1986. Khoảng thời gian hiệu chuẩn đối với dụng cụ nên theo khuyến nghị của nhà sản xuất dụng cụ. Các dụng cụ đo phải có trong tình trạng tốt và thích hợp với chức năng quy định trong toàn bộ khoảng thời gian thử nghiệm.
Nhân viên vận hành các dụng cụ đo kiểm phải làm quen với dụng cụ và phải có đủ kinh nghiệm để phát hiện sự trục trặc có thể có hoặc sự suy giảm chất lượng sử dụng của dụng cụ, khi các dụng cụ yêu cầu được sửa chữa hoặc hiệu chuẩn thì chúng phải được tháo ra khỏi hệ thống thử nghiệm tới khi công việc sửa chữa đã được thực hiện.
10.2. Hiệu chuẩn
Tất cả các dụng cụ đo kiểm phải được hiệu chuẩn theo một tiêu chuẩn đã cho.
Sự phức tạp của hiệu chuẩn có thể thay đổi từ kiểm tra về vật lý đến hiệu chuẩn đầy đủ. Sử dụng một số lượng nhỏ các khối lượng hiệu chuẩn để xác định độ (lượng) mất cân bằng còn dư như đã mô tả trong 8.3 của ISO 1940-1: 1986 là một phương pháp hiệu chuẩn dụng cụ đã được chấp nhận.
11. Tài liệu
11.1. Cân bằng
Phải cung cấp chứng chỉ bằng văn bản về độ cân bằng đạt được đối với một rô to riêng theo yêu cầu khi đàm phán. Trong các trường hợp này, các thông tin sau nên được đưa vào báo cáo cấp chứng chỉ cân bằng:
a) Nhà sản xuất máy cân bằng, số liệu mẫu (model);
b) Công xôn hoặc giữa các tâm;
c) Phương pháp cân bằng, một mặt phẳng, hai mặt phẳng;
d) Khối lượng của bộ phận quay;
e) Độ (lượng) mất cân bằng còn dư trong mỗi mặt phẳng hiệu chỉnh;
f) Độ (lượng) mất cân bằng cho phép trong mỗi mặt phẳng hiệu chỉnh;
g) Cấp chất lượng cân bằng yêu cầu;
h) Chuẩn chấp nhận: chấp nhận/loại bỏ;
i) Chứng chỉ cân bằng, nếu được yêu cầu.
Lưu giữ một biên bản về một rô to riêng thường là không thực tế. Khi có yêu cầu này, hồ sơ hoặc các qui trình vận hành tiêu chuẩn của nhà sản xuất phải là bằng chứng thích hợp và đạt được sự cân bằng.
11.2. Rung của quạt
Phải cung cấp chứng chỉ bằng văn bản về mức rung đạt được đối với một quạt riêng theo yêu cầu khi đàm phán. Trong các trường hợp này, các thông tin sau nên được đưa vào báo cáo cấp chứng chỉ về rung:
a) Dụng cụ được sử dụng;
b) Sự kết nối của bộ chuyển đổi;
c) Điểm vận hành của quạt (lưu lượng thể tích, áp suất, công suất);
d) Tốc độ vận hành của quạt;
e) Lắp đặt mềm hoặc cứng;
f) Mô tả các phép đo:
1) Vị trí và trục;
2) Đơn vị đo được sử dụng và các mức chuẩn;
3) Tần số, dải thông, trong bộ lọc, ngoài bộ lọc;
g) Mức rung cho phép;
h) Mức rung đo được;
i) Chuẩn chấp nhận: chấp nhận/loại bỏ;
j) Chứng chỉ về rung, nếu được yêu cầu.
Lưu giữ một biên bản về một quạt riêng thường là không thực tế. Khi có yêu cầu này, hồ sơ hoặc các qui trình vận hành tiêu chuẩn của nhà sản xuất phải là bằng chứng thích hợp và đạt được mức rung.
11.3. Chứng chỉ
Hình 5 giới thiệu một ví dụ về chứng chỉ cân bằng và rung. Ví dụ này chỉ nhằm mục đích minh họa và bất cứ chứng chỉ nào khác bao gồm các thông tin cần thiết được nêu trong 11.1 và/hoặc 11.2 đều được chấp nhận.
Chứng chỉ cân bằng/rung
| Số thứ tự sản phẩm N0 |
| Số thứ tự khách hàng N0 |
|
| Kiểu quạt |
| Khách hàng |
|
| Mô tả |
| Loại quạt số N0 |
|
| Bản vẽ số: N0 |
| Đặc tính kỹ thuật |
|
| Đường kính bộ cánh quạt |
|
|
|
| Tốc độ quay bộ cánh quạt | r/min |
|
|
| Nguồn điện | V j Hz |
|
|
Đây là chứng chỉ của quạt đã được cân bằng trong phạm vi độ mất cân bằng còn dư cho phép tuân theo cấp G của ISO 1940-1 và phù hợp với các yêu cầu của ISO 14695.
Đối với vị trí của các bộ chuyển đổi, xem bản đồ vẽ phác
| Cân bằng | Các số đọc được lọc Dải thông của bộ lọc___________Hz |
| Vị trí của bộ chuyển đổi | Tốc độ mm/s Đỉnh | Tần số Hz Quay r/min | Cấp cân bằng |
| A |
|
|
|
| B |
|
|
|
Để chuyển đổi r.m.s thành giá trị đỉnh-tới-đỉnh, nhân với 1,4141/4.
Để chuyển đổi r.m.s thành giá trị đỉnh nhân với 0,707.
| Để nhận được độ dịch chuyển tính bằng mm đỉnh = | Vđỉnh tới đỉnh x 60000 |
| 2X x r / min |
| Bản V.
|
| Dạng rung | Vị trí bộ chuyển đổi | |||
| 1 | 2 | 3 | 4 | |
|
|
|
|
|
|
|
|
|
|
|
|
|
|
|
|
|
|
Tất cả các số đọc là độ dịch chuyển/tốc độ/gia tốc rung.
Các đơn vị là mm đỉnh tới đỉnh mm/s r.m.s m/s2 r.m.s
mm/s đỉnh m/s2 đỉnh
Mức chuẩn VdB 10-9 m/s Mức chuẩn AdB, 10-6 m/s2
| Bệ đỡ quạt | Tự do £ | Cao su A/V £ | Lò xo A/V £ | Được treo £ |
| Thiết bị | Bộ chuyển đổi |
|
|
| Máy phân tích |
|
| Được thử bởi |
| Ký nhận và thay mặt cho |
|
| Ngày |
|
|
|
Hình 5 - Ví dụ về mẫu báo cáo cân bằng và rung
PHỤ LỤC A
(Tham khảo)
MỐI QUAN HỆ CỦA DỊCH CHUYỂN RUNG, TỐC ĐỘ VÀ GIA TỐC RUNG ĐỐI VỚI CHUYỂN ĐỘNG HÌNH SIN

CHÚ DẪN :
1 Độ dịch chuyển
2 Chu kỳ (tổng số thời gian để hoàn thành một chu trình)
3 r.m.s
4 Tốc độ đỉnh (khi độ dịch chuyển =0)
5 Giá tốc đỉnh (khi độ dịch chuyển ở đỉnh)
6 Độ dịch đỉnh tới đinh
Hình A.1
Thông thường không có mối quan hệ đơn giản giữa gia tốc dải tần rộng, tốc độ và độ dịch chuyển hoặc giữa giá trị đỉnh (o.p), đỉnh tới đỉnh (p-p), độ quân phương (r.m.s) và giá trị trung bình của rung. Tuy nhiên khi rung hoàn toàn hoặc phần lớn ở một tần số (ví dụ, do độ mất cân bằng còn dư) hoặc rung được đo "trong bộ lọc" thì sẽ tồn tại các mối quan hệ sau, độc lập đối với hệ thống đơn vị có liên quan.
| | | |
Các mối quan hệ sau cũng tồn tại, được biểu thị trong hệ thống đơn vị SI
Độ dịch chuyển Dđỉnh -tới -đỉnh, tính bằng milimet;
Tốc độ Vđỉnh, tính bằng milimet trên giây;
Gia tốc Ađỉnh, tính bằng met trên giây bình phương;
(1g = 9,806 65 m/s2);
Tần số f, tính bằng Hertz;
Các phương trình quan hệ
VÍ DỤ: Giá trị đỉnh-tới-đỉnh 0,10 mm, ở 1800 r/min (30Hz)
| | |
| |
|
| |
|
| |
|
| |
|
| Ađỉnh | |
Các mối quan hệ tồn tại, được biểu thị trong hệ thống đơn vị SI;
Độ dịch chuyển Dr.m.s, tính bằng milimet;
Tốc độ Vr.m.s tính bằng milimet trên giây;
Gia tốc Ar.m.s, tính bằng met trên giây bình phương;
Tần số f, tính bằng Hertz;
Các phương trình quan hệ
VÍ DỤ: 0,0354 mm đối với 1800 r/mm (30Hz)
| | |
| | |
| | |
| | |
| | |
| | |
PHỤ LỤC B
(Tham khảo)
QUY TRÌNH KỸ THUẬT LẮP RÁP ĐỂ TẠO CÂN BẰNG TRONG MÁY CÂN BẰNG
B.1. Quạt được dẫn động trực tiếp
B.1.1. Quy định chung
Các bộ cánh quạt của quạt được dự định lắp trực tiếp với trục của động cơ điện phải được cân bằng theo cùng một qui ước được dùng cho cân bằng động cơ điện.
Các động cơ điện tuân theo các phiên bản trước đây của IEC 60034-14 phải được cân bằng với toàn bộ một then được gắn vào trục. Tiêu chuẩn này đã được soát xét và các động cơ được chế tạo theo tiêu chuẩn đã được soát xét này sẽ được cân bằng với một nửa then được gắn trên trục để tuân theo các yêu cầu của ISO 8821. Các động cơ này được ghi nhãn với chữ H để chỉ ra rằng sự tạo cân bằng đã được thực hiện, khi sử dụng qui ước một nửa then và bất cứ thiết bị nào được lắp với động cơ, như quạt cũng được ghi nhãn (Để có thông tin thêm và ghi nhãn, xem ISO 8821).
B.1.2. Động cơ điện cân bằng theo qui ước toàn bộ một then.
Các bộ cánh quạt của quạt được lắp với các động cơ điện được cân bằng theo qui ước toàn bộ một then nên được cân bằng trên một trục gá côn không có then lắp với bộ cánh quạt.
B.1.3. Động cơ được cân bằng theo qui ước một nửa then
Các bộ cánh quạt được lắp với các động cơ điện đã được cân bằng theo qui ước một nửa then có thể:
a) Có rãnh then được cắt sau khi tạo cân bằng, nếu các bộ cánh quạt có một may ơ bằng điện,
b) Được cân bằng trên một trục gá côn và có rãnh then trong bộ cánh quạt được lắp với một nửa chiều cao then, và
c) Được cân bằng trên một trục gá trên đó đã cắt rãnh then hoặc các rãnh then (xem B.3) và có lắp toàn bộ một then.
B.2. Quạt được dẫn động gián tiếp
Mỗi khi có thể, toàn thể bộ phận quay bao gồm bánh công tác của quạt, trục và puli/khớp trục nên được cân bằng như một khối. Tuy nhiên, khi không thực hiện được yêu cầu này thì bộ cánh quạt phải được cân bằng trên một trục gá (xem B.3) khi sử dụng cùng một qui ước như đã sử dụng đối với trục.
B.3. Trục gá
Các trục gá là các trục tạm thời dùng để lắp các bộ cánh quạt khi chúng được cân bằng. Các trục gá nên được
a) Giữ càng nhẹ càng tốt;
b) Di chuyển cẩn thận tại mọi thời điểm và được kiểm tra thường xuyên để bảo đảm rằng chúng vẫn còn ở trạng thái cân bằng, và;
c) Ưu tiên là loại trục côn đế giảm sai số do độ lệch tâm gây ra bởi các dung sai kích thước của lỗ và trục gá. Nếu sử dụng các trục gá côn thì các khoảng cách chính xác từ các mặt phẳng cân bằng tới các ổ trục phải được sử dụng trong tính toán cân bằng.
Nếu sử dụng trục gá trụ thì phải cắt rãnh then trên trục góc và lắp toàn bộ một then để truyền momen xoắn giữa trục gá và quạt.
Theo cách khác, có thể cắt hai rãnh then cách nhau 180° trên trục gá để có thể sử dụng phương pháp thử đảo chiều. Trước tiên quạt được kiểm tra về cân bằng khi sử dụng toàn bộ một then và một nửa then để lấp đầy rãnh then kia trên trục gá. Sau đó quạt được quay đi 180° so với trục gá và được kiểm tra lại. Giá trị chênh lệch của hai số đo độ mất cân bằng biểu thị độ mất cân bằng còn dư trên trục gá và trục truyền động có khớp nối vạn năng. Một nửa độ chênh lệch giữa hai số đo biểu thị độ mất cân bằng trong rô to của quạt.
PHỤ LỤC C
(Tham khảo)
CÁC NGUỒN RUNG
C.1. Quy định chung
Có nhiều nguồn rung trong bất cứ thiết bị quạt nào và một số nguồn rung có các tần số xuất hiện có thể trực tiếp được qui vào bản chất của thiết bị. Phụ lục này chỉ đề cập đến các nguồn rung phổ biến hơn có thể xảy ra trên hầu hết các quạt. Theo qui tắc chung, bất cứ sự lỏng lẻo nào trong hệ thống đỡ sẽ làm cho trạng thái rung xấu đi. Các giá trị tham khảo được cho trong Bảng C.1.
C.2. Độ mất cân bằng
Đây là nguồn rung chủ yếu trong quạt và được đặc trưng bởi tần số rung tương ứng với tốc độ quay (1 r/s) của máy. Độ mất cân bằng gây ra bởi tâm của đường trục khối lượng quay bị lệch tâm hoặc nghiêng so với trục quay và cũng có thể là do kết quả của sự phân bố không đều của khối lượng quay, sự cộng lại của các dung sai làm cho bộ cánh quạt bị lệch tâm trên trục của nó, trục bị cong hoặc bất cứ kết hợp nào của các sai số này. Rung do kết quả của mất cân bằng sẽ xảy ra phần lớn theo chiều hướng tâm.
Trục có thể tạm thời bị uốn cong do sự đốt nóng không đều hoặc do kết quả của ma sát giữa các bộ phận quay và đứng yên, do hiệu ứng điện (xem C.6) hoặc trong trường hợp quạt tĩnh, do nhiệt độ không khí không đều. Sự uốn cong lâu dài có thể xảy ra do kết quả của các thay đổi trong tính chất của vật liệu khi không được nhiệt luyện hoặc nhiệt luyện không thích hợp, hoặc trong trường hợp quạt và động cơ được lắp đặt tách biệt nhau là do khớp trục không thẳng hàng (đồng trục) (xem C.3).
Trong quá trình sử dụng, một bộ cánh quạt có thể trở nên mất cân bằng do các chất nhiễm bẩn trong không khí tăng lên không đều. Trong môi trường có sự phá hủy, độ mất cân bằng có thể là do sự xói mòn hoặc ăn mòn đối với bộ cánh quạt.
Có thể khắc phục được các ảnh hưởng của sự mất cân bằng việc hiệu chỉnh tạo cân bằng ở các mặt phẳng thích hợp, nhưng nếu xác định nguồn mất cân bằng, thực hiện công việc sửa chữa và xác lập trạng thái có thể lắp lại được trước khi tiến hành bất cứ công việc tạo cân bằng nào.
C.3. Sự không thẳng hàng (đồng trục, song song)
Sự không thẳng hàng (đồng trục song song) xảy ra khi động cơ dẫn động và quạt được lắp đặt tách biệt và được nối với nhau bằng đai truyền hoặc khớp trục mềm. Độ không thẳng hàng đôi khi được đặc trưng bởi một tần số rung trùng hợp với một hoặc hai lần tốc độ quay (1 và 2 x r/s). Tần số rung này sẽ xuất hiện chủ yếu theo chiều hướng tâm khi có sự dịch chuyển song song, nhưng khi có dịch chuyển góc nó sẽ xuất hiện chủ yếu theo chiều trục.
Độ không thẳng hàng của các trục được lắp nối tiếp dẫn đến mối nối góc giữa các trục khi truyền chuyển động quay. Khi sử dụng các khớp trục cứng, các lực đổi chiều được tạo ra trong hệ thống dẫn đến các tải trọng mới trên các trục và khớp trục. Sử dụng các khớp trục mềm sẽ làm cho các tải trọng này giảm đi đáng kể.
C.4. Sự kích thích khí động lực học
Sự kích thích xảy ra do tương tác giữa bộ cánh quạt và các vật cản cố định như các cánh dẫn hướng, ngưỡng (của quạt ly tâm), các giá đã động cơ hoặc ổ trục, khe hở vận hành không tích hợp hoặc đường thông gió phía đầu dòng hoặc cuối dòng được thiết kế không đủ. Đặc điểm chủ yếu là một kiểu kích thích đều đặn nào đó lặp lại trong mỗi vòng quay của bộ cánh quạt chịu ảnh hưởng của các thay đổi bất thường của lực ngẫu nhiên khác giữa các cánh bộ cánh quạt và không khí. Rung sẽ được quan sát ở nhiều tần số đi qua của cánh quạt nghĩa là tính số của tốc độ quay, tính bằng vòng trên giây (r/s) và số lượng cánh.
Sự gián đoạn dòng khí động lực học gây ra bởi sự tách ly không khí khỏi các bề mặt của cánh và sự phục hồi sau đó đã tạo ra rung có dải tần rộng với độ lớn và hình dạng của nó thay đổi cùng với thay đổi tải trọng của quạt.
Sự gián đoạn dòng khí động khi quay được đặc trưng bởi các tần số không đồng bộ và đặc biệt là các tần số dưới đồng bộ (nhỏ hơn 1 x r/s), các tần số này sẽ không ổn định và không phải là một hàm số của tốc độ quay. Tất nhiên trên vỏ quạt và bất cứ ống dẫn nào sẽ có rung lớn (cao).
Sự tăng vọt của rung cũng có thể xảy ra khi có sự không tương hợp đáng kể trong các yêu cầu của hệ thống so với khả năng của quạt. Hiện tượng này của rung sẽ dẫn đến tình trạng đưa rung vào các bệ đỡ hoặc giá đỡ của quạt và âm thanh lớn sẽ được phát ra.
Khi xảy ra rung của cánh quạt là do kết quả của bất cứ các ảnh hưởng nào đã nêu trên thì rất có thể là cần phải nghiên cứu chúng bằng cách sử dụng các bộ chuyển đổi riêng biệt hơn là các cảm biến rung ở các vị trí thông thường.
C.5. Dòng xoáy của dầu
Dòng xoáy của dầu có thể xảy ra chủ yếu trên các ổ trục có ống lót hoặc ổ trượt được bôi trơn có áp và có tần số đặc trưng vừa đúng dưới một nửa tốc độ quay trừ khi máy được vận hành vượt quá tốc độ tới hạn đầu tiên của nó, trong trường hợp này dòng xoáy của dầu sẽ được quan trắc ở tốc độ tới hạn đầu tiên, và đôi khi dòng xoáy này được biết với tên gọi dòng xoáy cộng hưởng hoặc dòng đảo dầu.
C.6. Nguồn điện
Sự nung nóng không đều của động cơ điện có thể gây ra độ uốn cong và do đó dẫn đến các ảnh hưởng mất cân bằng (1xr/s). Trong trường hợp các động cơ cảm ứng, dạng ngoài của một tần số tương đương với số thanh rôto nhân với tốc độ quay, tính bằng vòng trên giây (r/s), nghĩa là các hiệu ứng nhiệt phát ra từ các thanh stato, trong khi ngược lại, một tần số tương đương với số thanh stato nhân với tần số quay tính bằng vòng trên giây (r/s), nghĩa là các hiệu ứng nhiệt phát ra từ các thanh rôto.
Đây là, đặc tính của nhiều loại rung do các nguồn được tạo ra và chúng sẽ biến mất ngay khi nguồn điện được tháo ra.
C.7. Nhiễu do đai truyền
Thông thường có hai loại bài toán về rung gắn liền với các truyền động đai có tên gọi là: phản ứng của đai đối với lực gây nhiễu khác, và rung do các bài toán thực với đai.
Bài toán đầu tiên thường xảy ra phổ biến nhất khi, mặc dù các đai truyền đang dao động, chúng chỉ phản ứng với một lực gây nhiễu khác nào đó, vì vậy thay thế các đai truyền sẽ không giải quyết được vấn đề. Các nguồn điển hình là sự mất cân bằng quá mức trong hệ thống truyền động, các puli lệch tâm, độ không thẳng hàng và sự tháo lỏng cơ khí. Vì thế nên có sự phân tích để xác định nguồn rung trước khi thay thế đai truyền. Nếu đai truyền đang phản ứng với một lực gây nhiễu nào đó thì tần số rung của đai sẽ rất có thể tương tự như tần số gây nhiễu. Khi xảy ra trường hợp này có thể sử dụng ánh sáng hoạt nghiệm để nhận biết nguồn rung, vì ở tần số rung, nguồn rung sẽ dường như tĩnh tại.
Ở các truyền động có nhiều đai, nguồn rung có để được khuyếch đại quá mức nếu các đai không có lực căng như nhau.
Các sự cố xảy ra khi các đai truyền là nguồn rung sẽ là các khuyết tật về vật lý của đai như các vết nứt, các chỗ cứng, chỗ mềm, các cục bướu trên bề mặt đai, các mảnh bị vỡ ra v.v... Với các đai truyền hình thang, sự thay đổi về chiều rộng sẽ làm cho đai chồi lên tụt xuống trong các rãnh bánh đai, tạo ra rung thông qua sự thay đổi sức căng trong đai. Khi các dây đai là nguồn rung thực sự thì tần số tại đó xảy ra rung thường sẽ là bội số nào nó (1,2,3 hoặc 4) nhân với số vòng quay của đai trên một đơn vị thời gian. Tần số cụ thể sẽ phụ thuộc vào tính chất của bài toán cũng như số lượng các bánh đai và các bánh căng đai.
Trong một số trường hợp, biên độ rung sẽ không ổn định. Hiện tượng này đặc biệt hay diễn ra trong các truyền động có nhiều đai.
Bảng C.1 - Các giá trị tham khảo
| Các tần số chiếm ưu thế | Biên độ chiếm ưu thế | Tiếng ồn nổi bật | Ghi chú | |||||||||||||||||||||||||||||
| Phương | Vị trí có thể xảy ra | |||||||||||||||||||||||||||||||
| Nguyên nhân của rung (xác suất tương đối 1 THRU 10) | C-40% | 40 %-50 % | 40%-50% | 1xRPM | 2xRPM | Bội số cao hơn | ½ RPM | ¼ RPM | Bội số thấp hơn | Tần số lẻ | Tần số rất cao | Nằm ngang | Thẳng đứng | Chiều trục | Trục rôtô | Ổ trục | Vỏ | Nền móng | Đường ống | Khớp trục | Pha (N0 của các dấu chuẩn) | Tiếng "ầm ầm nhỏ | Tiếng "gầm" to | Tiếng ù | Tiếng "đập" có chu kỳ | Tiếng "rú" cao | Tiếng kêu rất to | Kêu ré lên rất to | Siêu âm | |||
| Độ mất cân bằng | Độ mất cân bằng ban đầu |
|
|
| 10 |
|
|
|
|
|
|
| 5 | 4 | 1 | 9 | 1 |
|
|
|
| (1) |
| 8 | 2 |
|
|
|
|
| Nguyên nhân phổ biến nhất của rung mà biên độ của nó tỷ lệ với lượng mất cân bằng. Các biến chứng phức tạp như cọ xát của vòng bít, hư hỏng của ổ trục hoặc cộng hưởng có thể tạo ra rung và làm cho rung trầm trọng thêm (các rô to công xôn có thể tạo ra rung chiều trục tương đối cao) | |
| Các phần trục bị cong |
|
|
| 10 |
|
|
|
|
|
|
| 5 | 4 | 1 | 9 | 1 |
|
|
|
|
|
| 8 | 2 |
|
|
|
|
| |||
| Độ không thẳng hàng, lỏng lẻo và cong vênh biến dạng | Không thẳng hàng |
|
|
| 4 | 5 | 1 |
|
|
|
|
| 3 | 2 | 5 | 8 | 1 | 1 |
|
|
| (1)(2) (3) |
| 4 | 4 | 2 |
|
|
|
| Độ không thẳng hàng xuất hiện như một rung lớn theo chiều trục. Sử dụng đồng hồ so có mặt số để chuẩn đoán các giá trị xác thực. Có thể tạo ra các lực ma sát hoặc các lực gây sai lệch và chúng có thể trở nên khốc liệt. Sự lỏng lẻo tạo ra nhiều vấn đề. Một lượng nhỏ có thể cho phép có rung mạnh. Sự lỏng lẻo trong các ổ trục có thể bị nhầm lẫn với dòng dầu xoáy. Thường được kéo theo bởi mất cân bằng và/hoặc không thẳng hàng. Sự cong vênh gián tiếp gây ra rung bằng cách phát sinh độ không thẳng hàng, gây ra sự cọ xát bên trong hoặc tiếp xúc không đều của ổ trục. Các lực của đường ống và biến dạng của nền móng thường gây ra các vấn đề cộng hưởng. Sự cọ xát được đặc trưng bởi sự hiện diện của nhiều tần số trên toàn bộ phổ, thường là siêu âm tạo ra "các chỗ nóng" dẫn đến trục bị cong, vết nứt trong ổ trục và cộng hưởng. | |
| Lỏng lẻo cơ khí |
|
|
|
| 8 | 1 |
|
|
| 1 |
| 5 | 4 | 1 |
| 3 | 2 | 2 | 2 | 1 | (2) không ổn định | 8 | 1 | 1 |
|
|
|
|
| |||
| Rung gây ra khe hở | 1 | 8 | 1 |
|
|
|
|
|
|
|
| 5 | 4 | 1 | 7 | 1 | 1 |
|
| 1 | không ổn định | 6 | 2 |
| 2 |
|
|
|
| |||
| Biến dạng của nền móng |
| 2 |
| 5 | 2 |
|
|
|
| 1 |
| 5 | 4 | 4 | 3 | 1 | 1 | 1 |
|
| không ổn định | 1 | 5 | 3 | 1 |
|
|
|
| |||
| Cong vênh của vỏ | 1
| 8 | ½ | ½ |
|
|
| 5 | 4 | 1 | 9 | 1 |
|
|
|
|
|
| không ổn định | 1 | 7 | 1 | 1 |
|
|
|
| |||||
| Cọ xát của vòng bít | 1 | 1 |
| 2 | 1 | 1 |
|
| 1 | 1 | 1 | 4 | 3 | 3 | 8 | 1 | 1 |
|
|
| không ổn định | 2 | 5 |
| 1 |
| 1 | 1 |
| |||
| Cọ xát của rôto (chiều trục) | 2
| 3 | 1 | 1 |
|
| 1 | 1 | 1 | 4 | 3 | 3 | 7 | 1 | 2 |
|
|
| không ổn định | 3 | 5 |
| 2 |
|
|
|
| |||||
| Các lực của đường ống |
|
|
| 4 | 5 | 1 |
|
|
|
|
| 3 | 2 | 5 | 8 | 1 | 1 |
|
|
| (1) và (2) | 3 | 4 | 3 |
|
|
| 1 |
| |||
| Ổ trục và ngưỡng trục kém chất lượng | Ngưỡng trục và ổ trục lệch tâm |
|
|
| 8 | 2 |
|
|
|
|
|
| 5 | 4 | 1 | 9 | 1 |
|
|
|
| (1) |
| 1 | 9 |
|
|
|
|
| Trong trường hợp các hư hỏng của ổ trục chống ma sát, các tần số cao sẽ được ghi lại với ổ trục bị hư hỏng tại một điểm có rung tần số cao lớn nhất. Độ lệch tâm của ngòng trục liên quan đến bánh răng sẽ xuất hiện lớn nhất giống như các tâm bánh răng. Trên các động cơ hoặc máy phát rung biến mất khi tắt điện. Trên các bơm và quạt có thể nâng cao chất lượng bằng tạo sự cân bằng. Nên đo tốc độ khi phân tích các hư hỏng của ổ trục chống ma sát. | |
| Hư hỏng của ổ trục đỡ | 1 | 4
| 2 |
|
|
|
|
| 2 | 4 | 3 | 3 | 7 | 2 | 1 |
|
|
| không ổn định | 2 | 4 | 1 |
| 1 | 1 |
|
| |||||
| Hư hỏng của ổ trục chặn | 9 |
|
|
|
|
|
| 1 | 3 | 2 | 5 | 6 | 2 | 2 |
|
|
| không ổn định | 8 | 1 | 1 |
|
|
|
|
| ||||||
| Rung được kích thích bởi ổ trục | 10
|
|
|
|
|
|
| 5 | 4 | 1 | 5 | 2 | 2 | 2 |
|
| không ổn định | 6 | 1 |
| 3 |
|
|
|
| |||||||
| Độ cứng vững nằm ngang/thẳng đứng đều của ổ trục |
|
|
|
| 9@ | 1CR |
|
|
|
|
| 5 | 4 | 1 | 4 | 3 | 3 |
|
|
| thay đổi |
| 1 | 6 | 2 | 1 |
|
|
| |||
| Truyền động và khớp trục | Độ không chính xác của truyền động |
|
|
|
|
| 2 |
|
|
| 2 | 6 | 5 | 3 | 2 | 8 | 1 | 1 |
|
|
| không ổn định | 2 | 1 | 1 | 2 | 2 | 1 |
| 1 | Độ không thẳng hàng là nguyên nhân chính của các hư hỏng truyền động. Rỗ mòn, tróc vẩy được tạo thành do chất tải không đồng đều. Các khớp trục có khả năng chịu sai lệch không thẳng hàng và cả các lực xoắn. Sự xoáy/tắt dần chậm do ma sát cũng góp phần gây hư hỏng. | |
| Độ không chính xác của khớp trục |
|
|
|
| 1 | 8 | 1 |
|
|
|
| 4 | 3 | 3 | 7 | 2 |
|
|
| 1 | không ổn định |
|
| 5 |
| 5 |
|
|
| |||
| Tình trạng tới hạn | Tốc độ tới hạn |
|
|
| 10 |
|
|
|
|
|
|
| 5 | 4 | 1 | 6 | 4 |
|
|
|
| Thay đổi 1800 |
| 5 | 3 | 2 |
|
|
|
| Trên thực tế các thuật ngữ "tần số riêng" "cộng hưởng" và "tốc độ tới hạn" là đồng nghĩa. Các độ mất cân bằng nhỏ gây ra độ võng lớn của trục do lực ly tâm ở tốc độ tới hạn. Khác với rung cộng hưởng trong đó trục không rung "tới lui" nhưng quay theo một cung tăng liên tục được thừa nhận là bằng sự tắt dần hướng tâm của rung. Trục sẽ uốn cong thay vì hư hỏng do mỏi như trong trường hợp cộng hưởng. Có thể cải thiện tình trạng tới hạn bằng tạo cân bằng. Có thể cải thiện sự cộng hưởng bằng tắt dần rung ở bên trong. | |
| Tới hạn của hệ |
|
|
| 10 |
|
|
|
|
|
|
| 5 | 4 | 1 | 7 | 3 |
|
|
|
| Thay đổi |
| 5 | 3 | 2 |
|
|
|
| |||
| Tới hạn của khớp trục |
|
|
| 10 |
|
|
|
|
|
|
| 4 | 2 | 4 | 1 | 1 |
|
|
| 8 | Thay đổi |
| 2 | 4 | 2 | 2 |
|
|
| |||
| Công xôn tới hạn |
|
|
| 10 |
|
|
|
|
|
|
| 5 | 4 | 1 | 7 | 1 |
|
|
| 2 | Thay đổi |
| 5 | 4 | 1 |
|
|
|
| |||
| Cộng hưởng | Rung cộng hưởng |
|
|
| 10 |
|
|
|
|
|
|
| 4 | 4 | 2 | 2 | 1 | 2 | 3 | 2 |
| Không ổn định | 4 |
| 3 | 3 |
|
|
|
| Cộng hưởng - chỉ khuyến đại rung từ các nguồn khác, không thể phát sinh rung. Có thể tạo ra tình trạng nguy hiểm cao bằng khuyết đại rung bình thường trong các máy quay hoặc từ các mạch động trong đường ống. Có thể gây ra các bất bình thường như xoáy cộng hưởng của rôto và ổ trục. Rung xoáy thường không dễ nhận thấy ở bên ngoài vì chuyển động được chồng lên chuyển động quay tương tự như tác động của bộ khuấy máy giặt. Hư hỏng có thể xảy ra khi không có cảnh báo trừ khi truyền động dần đến tiếng ồn, cũng như rung của ổ trục và vỏ. Thường cần đến các bộ chuyển đổi chuyên dùng. Các tần số cộng hưởng xoắn trùng với các tần số điện có thể trở nên rất nghiêm trọng. | |
| Cộng hưởng dưới điều hòa |
|
|
|
|
|
| 10
|
|
| 3 | 3 | 4 | 2 | 2 | 2 | 2 | 2 |
| Đu đưa | 8 |
|
| 2 |
|
|
|
| |||||
| Cộng hưởng điều hòa |
|
|
|
| 10
|
|
|
|
| 4 | 4 | 2 | 2 | 1 | 1 | 2 | 3 |
|
|
|
| 4 | 2 | 4 |
|
|
| |||||
| Cộng hưởng của vỏ |
|
|
| 8 | 1 |
| 1 |
|
|
|
| 5 | 4 | 1 |
| 4 | 4 | 1 | 1 |
|
| 2 |
| 2 | 6 |
|
|
|
| |||
| Cộng hưởng của bệ đỡ |
|
|
| 8 | 1 |
| 1 |
|
|
|
| 5 | 4 | 1 |
| 2 | 5 | 2 | 1 |
|
| 2 |
| 2 | 6 |
|
|
|
| |||
| Cộng hưởng của nền móng |
|
|
| 8 | 1 |
| 1 |
|
|
|
| 4 | 3 | 3 |
| 1 | 4 | 4 | 1 |
|
|
| 1 | 8 | 1 |
|
|
|
| |||
| Cộng hưởng xoắn |
|
|
| 4 | 2 | 2 |
|
|
| 2 |
| Xoắn | 1 | 4 | 4 |
|
| 1 |
| 1 | 2 | 2 | 3 | 1 | 1 |
|
| |||||
| Các nguyên nhân cơ bản khác | Đai truyền chất lượng kém |
|
|
| 10 đai
|
|
|
|
|
| 4 | 3 | 3 | 5 | 3 |
| 2 |
|
| (1)-(2) Không ổn định | 1 | 1 | 3 | 5 |
|
|
|
| Đai truyền kém chất lượng - ánh sáng hoạt nghiêm sẽ làm đóng băng đai có khuyết tật. Lưu hóa thích hợp với bộ đai có lực căng đều và độ thẳng hàng chính xác. Các lực tác động qua lại có trong các máy chuyển động tịnh tiến qua lại chỉ có thể được giảm đi bằng thay đổi thiết kế hoặc cách ly. Các lực aero/hydro (thủy khí) thường xảy ra ở No các cánh quạt x các xung ngẫu nhiên RPM có thể tạo ra cộng hưởng. Xoáy ma sát - đôi khi được gọi là "xoáy trễ". Rất hiếm nhưng rất mạnh. Làm cho: rôto đi qua tới hạn; góc giữa chỗ mất cho cân bằng và "chỗ cao" của trục đu đưa 1800 với tần sự dẫn do ma sát cũng ở ngoài pha 1800. Tần số rung luôn ở tốc độ tới hạn thực của rôto. Dòng xoáy của dầu - do trục bi đẩy quanh khe hở trong ổ trục bởi sóng áp suất của dầu. Tần số 1/2 tốc độ của trục giảm đi 2% - 8% do các ảnh hưởng của ma sát. | |||
| Các lực tác động qua lại |
|
|
| 3 | 5 | 2 |
|
|
|
|
| 3 | 6 | 1 | 5 | 3 | 1 | 1 |
|
| Không ổn định |
| 8 | 2 |
|
|
|
|
| |||
| Các lực aero/hydro (thủy khí) |
|
|
| 2 |
| 6 |
|
|
|
| 2 | 5 | 4 | 1 | 4 | 3 | 2 | 1 |
|
| (1) hoặc bội số |
| 3 | 2 | 1 | 2 | 2 |
|
| |||
| Xoáy cảm ứng - ma sát | 8 | 1 | 1 |
|
|
|
|
|
|
|
| 5 | 4 | 1 | 8 | 2 |
|
|
|
| Không ổn định | 6 |
| 2 | 2 |
|
|
|
| |||
| Dòng xoáy của dầu |
| 10 |
|
|
|
|
|
|
|
|
| 5 | 4 | 1 | 8 | 2 |
|
|
|
| Không ổn định | 6 |
| 1 | 3 |
|
| 2 |
| |||
| Xoáy cộng hưởng |
| 10 |
|
|
|
|
|
|
|
|
| 5 | 4 | 1 | 2 | 2 | 2 | 2 | 2 |
| Không ổn định | 6 |
| 2 | 2 |
|
|
|
| |||
| Xoáy khô |
|
|
|
|
|
|
|
|
|
| 10 | 4 | 3 | 3 | 4 | 2 | 2 | 1 |
| 1 | Không ổn định |
|
|
|
|
|
|
| 8 | |||
| Điện | Rôtô không tròn |
|
|
| 10 |
|
|
|
|
|
|
| 5 | 4 | 1 | 9 | 1 |
|
|
|
| (1) hoặc* |
| 8 | 2 |
|
|
|
|
| * Pha ở tần số đồng bộ. Các nguyên nhân về điện rung của rung sẽ xuất hiện ở 60 Hz và 120 Hz (1 và 2 x tần số dòng) và biến mất nhanh khi cắt điện. Rung "đập trượt" có thể xảy ra ở tốc độ trượt nhân với số cực. "Tần số đập" có liên quan đến nhiều hơn một máy vận hành ở gần như cùng một tốc độ. Các nguyên nhân cơ học có thể được phát hiện với các phương pháp chỉ thị qui ước. Rung cơ học có thể phát hiện bằng các phương pháp chỉ thị qui ước. Mối nối thanh - thanh phá hủy có khuyết tật: kích hoạt một pha có điện áp thấp và quay rô to bằng tay. Sự tăng vọt của dòng điện sẽ chỉ ra thanh phá hủy. Kiểm tra các khe hở không khí. | |
| Độ không thẳng hàng của rôtô/stato |
|
|
| 10 |
|
|
|
|
|
|
| 4 | 3 | 3 | 8 | 2 |
|
|
|
| Đu đưa |
| 5 | 2 | 3 |
|
|
|
| |||
| Lỗ stato có hình elíp |
|
|
| 10 |
|
|
|
|
|
|
| 5 | 4 | 1 | 8 | 2 |
|
|
|
| kép |
| 6 | 2 | 2 | 4 |
|
|
| |||
| Thanh có khuyết tật |
|
|
| 10 |
|
|
|
|
|
|
| 5 | 4 | 1 | 9 | 1 |
|
|
|
| Dấu |
| 2 | 6 | 2 |
|
|
|
| |||
| Trục rôtô bị cong |
|
|
| 10 |
|
|
|
|
|
|
| 3 | 2 | 5 | 9 | 1 |
|
|
|
| (1) |
| 8 | 2 |
|
|
|
|
| |||
| Rô tô không được định tâm về điện |
|
|
| 10 |
|
|
|
|
|
|
| 3 | 2 | 5 | 6 | 4 |
|
|
|
| (2) |
| 3 | 3 | 4 |
|
|
|
| |||
| Bức xạ tiếng ồn | Các khuyết tật về cơ và điện là các nguồn tiếng ồn xuất hiện lúc ban đầu như là rung và sau đó được chuyển thành tiếng ồn trong không khí, Tiếng ồn cơ có thể gắn liền với sự mất cân bằng của quạt/động cơ; tiếng ồn của ổ trục, sự thẳng hàng; tác động của rung giật của dầu đối với ống dẫn và panen; rung giật của các giảm chấn. Tiếng ồn về điện có thể do sự biến đổi điện năng; 1) Các lực từ trường - hàm số của mật độ thông lượng, số lượng và hình dáng của các cực hoặc rãnh và hình học của khe hở không khí 2) Tiếng ồn điện ngẫu nhiên - các chổi điện, sự phóng điện hồ quang, các tia lửa điện v.v… | Khí động lực học - có thể có liên quan đến tạo ra gió xoáy, sự mạch động của áp suất, sự thổi của gió v.v... và tạo ra tiếng ồn dải tần rộng và dải tần hẹp. Dải tần rộng: a) Các cánh quạt, cánh dẫn hướng, các vật cản giá đỡ trong dòng không khí; b) Quạt tích hợp với bộ phận quay cơ khí, đai truyền, các rãnh v.v... c) Các thay đổi đột ngột về chiều dòng chảy hoặc mặt cắt ngang của các ống dẫn (tiếng ầm ầm). Các tốc độ khác nhau của dòng chảy trong các dòng chảy liền kề nhau, sự chia tách dòng như là các hiệu ứng lớp biên, các hiệu ứng nén v.v... Dải tần hẹp: a) Sự cộng hưởng - các tác động của bộ phận - đường ống, các dây dao động, các panen, các thành phần kết cấu, v.v... b) Tác động của gió xoáy mạnh: các cột không khí bị kích thích bởi gió mạnh c) Chuyển động quay cơ khí - tác động của còi, các rãnh, lỗ, cánh trên các chi tiết quay | Va chạm (đập) - Được tạo ra bởi sự tiếp xúc mạnh của một vật thể hoặc phần tử với vật thể hoặc phần tử khác như là tiếng ồn được tạo ra bởi búa điện đập xuống, tiếng sấm, tiếng nổ phát âm thanh v.v... Va đập của răng trong truyền động bánh răng có thể nghe rõ và cả va đập của đai truyền có khuyết tật. Tiếng ồn do va đập xảy ra quá nhanh đến mức phải sử dụng các kỹ thuật ghi có tốc độ đặc biệt cao để phân biệt va đập có chu kỳ từ quá trình chuyển tiếp không dự đoán trước được. Các khu vực có nhiều máy phát va đập sẽ có một trạng thái ổn định "máy bay điều khiển từ xa" do sự tích tụ của nhiều "đỉnh" va đập. | |||||||||||||||||||||||||||||
PHỤ LỤC D
(Tham khảo)
PHƯƠNG TRÌNH RUNG
D.1. Các lực gây rung
Quạt và các chi tiết, bộ phận của nó có thể giống như một hệ khối lượng đàn hồi và sự hiểu biết về thực tế này có ích cho việc giải nhiều bài toán về rung. Điều cũng rất quan trọng là phát hiện ra các nguyên nhân của cộng hưởng.
Mỗi quạt sẽ có ba tính chất cơ bản.
a) Khối lượng m được đo bằng kilogam. Lực do khối lượng của hệ thống là một lực quán tính hoặc là một tiêu chuẩn đánh giá khuynh hướng của vật thể ở trạng thái nghỉ.
b) Độ tắt dần của rung C là lực tắt dần rung trên một đơn vị tốc độ của hệ thống. Nó là số đo sự làm chậm lại của rung và được cho bằng newton giây trên milimet.
c) Độ cứng vững k là số đo của lực yêu cầu để làm lệch bộ phận của quạt qua một đơn vị khoảng cách, được biểu thị bằng newton trên milimet.
Các ảnh hưởng kết hợp của các lực cản này xác định cách đáp ứng của quạt đối với lực rung đã cho, ví dụ, độ mất cân bằng. Như vậy có thể trình bày:
hoặc
trong đó
| e | Độ dịch chuyển của trọng tâm so với tâm quay | m |
| e p | Độ dịch chuyển của bộ phận do lực rung | m; |
| M | Khối lượng của các bộ phận quay | kg; |
| Mu | Khối lượng của lượng mất cân bằng còn dư | kg; |
| r | Khoảng cách của lượng mất cân bằng từ tâm quay | m; |
| | Góc lệch pha giữa lực kích thích và rung thực tế | rad; |
| | Gia tốc góc | rad.s; |
| m | Khối lượng tổng hoặc khối lượng được xem xét | kg. |
Hoặc
Lực quán tính + lực tắt dần rung + lực cứng vững = lực rung.
Sẽ nhận thấy rằng ba lực cản không làm việc cùng nhau, thực ra các lực quán tính và cứng vững ở lệch pha 180°. Sẽ có một tần số nào đó khi các lực này bằng nhau và sẽ triệt tiêu với nhau. Lúc đó sẽ chỉ có lực tắt dần rung (lực này ở lệch pha 90°) đối lại với lực rung,
Hãy xem xét một hệ thống không có sự tắt dần của rung, khi đó
Độ dịch chuyển của hệ thống do lực rung có thể được biểu thị như sau:
Độ dịch chuyển ep sẽ trở nên lớn vô hạn đối với bất cứ giá trị nào của t khi biểu thức k- mw2 trở nên bằng không (0), như vậy tần số quay tới hạn wc tại đó điều này xảy ra là:
Hoặc đặc biệt, đối với quạt, tốc độ tới hạn Nc tính bằng vòng trên phút (r/min) là
Điều kiện này, được biết như là cộng hưởng, có thể gây ra các mức rung cao và mặc dù được giảm tới mức tối thiểu bằng tối ưu hóa sự tắt dần rung nhưng cũng nên tránh bằng cách vận hành ở tốc độ cách xa tốc độ tới hạn. Tất cả các quạt cùng với các bệ đỡ của chúng gồm có một số hệ thống khối lượng đàn hồi khác nhau, mỗi hệ thống có tần số riêng của nó có thể có các bậc tự do khác nhau (thường được đơn giản hóa tới 6) và một tần số cộng hưởng khác nhau cho mỗi hệ thống. Trong khi độ mất cân bằng thường là lực kích thích chủ yếu, sẽ có nhiều nguồn khác trong đó cộng hưởng có thể là một vấn đề chung. Trong các trường hợp khác này lực do mất cân bằng có thể được thay thế trong phương trình bằng các lực do điện từ, khí động lực học hoặc các yếu tố khác, khi thích hợp.
D.2. Năng lượng rung
Lực gây ra rung của một quạt được xác định như sau:
Lực rung =
Vì rung được đánh giá theo các giá trị tuyến tính dọc theo một trục cho nên có thể biểu thị lực rung như một vectơ tuyến tính. Biểu thức dưới dạng một giá trị r.m.s sẽ là:
Lực rung tuyến tính =
Một cách tương tự, độ dịch chuyển r.m.s của các khối lượng quay được cho là 1/e. Như vậy, năng lượng động học của các khối lượng quay hoặc tiềm năng để tạo ra chuyển động rung được cho như là tích số của lực tác dụng và độ dịch chuyển do lực, nghĩa là:
Năng lượng rung =
Từ nguồn gốc của các cấp G trong 7.3, biểu thức của năng lượng rung có thể được viết lại như sau :
Năng lượng rung = 1/2MG2
PHỤ LỤC E
(Tham khảo)
RUNG VÀ BỆ (GIÁ) ĐỠ
Một kết cấu bệ đỡ hoặc đế đỡ thích hợp là cần thiết để đảm bảo cho lắp đặt quạt chạy êm và không có trục trặc. Một bệ khung bằng thép kết cấu hoặc đế đỡ bằng bêtông cốt thép luôn cần thiết cho đỡ quạt, động cơ và tổ hợp truyền động và duy trì độ thẳng hàng tốt. Đôi khi, sự tiết kiệm trong thiết kế đế đỡ dẫn đến một đế đỡ không thích hợp, gây khó khăn cho việc đạt được và duy trì độ thẳng hàng tốt. Điều này sẽ lộ rõ nếu các số đọc về rung luôn luôn chỉ cho thấy các thay đổi của độ thẳng hàng, đặc biệt là trên các máy được lắp ghép bằng then. Nền móng trên đó lắp đặt bệ đỡ hoặc đế đỡ cũng có thể ảnh hưởng đến rung của quạt và động cơ. Cộng hưởng của nền móng sẽ xảy ra nếu kết cấu có tần số riêng gần với tốc độ quay của quạt hoặc động cơ. Có thể xác định sự cộng hưởng này bằng cách lấy các số đọc về rung ở các khoảng trên và xung quanh các nền móng, các bệ đỡ ổ trục và sàn ở xung quanh. Thường có sự khác biệt đáng kể giữa biên độ của rung thẳng đứng và nằm ngang khi xuất hiện một trạng thái cộng hưởng. Rung sẽ được giảm đi bằng cách tăng độ cứng vững của kết cấu nền móng hoặc tăng khối lượng của nền móng. Trong khi hiệu chỉnh sự mất cân bằng và/hoặc và sự thẳng hàng hoặc đồng trục của khớp trục sẽ giảm được lực kích thích thì các điều kiện dẫn đến rung ở mức cao sẽ vẫn còn tồn tại. Điều này có nghĩa là sẽ luôn luôn đòi hỏi một cấp cân bằng và độ thẳng hàng cao hơn quy định khi quạt và kết cấu đỡ của nó ở hoặc ở gần cộng hưởng. Tuy nhiên các tình trạng này không được khuyến nghị và giải pháp ưu tiên là tăng khối lượng và/hoặc độ cứng vững của kết cấu đỡ hoặc khối lượng bê tông.
PHỤ LỤC F
(Tham khảo)
MẤT CÂN BẰNG VÀ CÁC PHẢN LỰC Ổ TRỤC
Cách tốt nhất để có thể phối hợp và sửa chữa hiệu chỉnh các lượng mất cân bằng khác nhau được chỉ ra bằng các ví dụ.
VÍ DỤ 1: Một bộ cánh quạt của quạt hướng trục có đường kính 1000 mm và tần số quay lớn nhất, 1800 r/min dùng cho ứng dụng truyền nhiệt có khối lượng 25 kg, được cân bằng tĩnh bằng cách thêm vào một khối lượng ở vị trí bán kính 180 mm. Nên điều chỉnh các khối lượng trong các giới hạn nào?
Cấp chất lượng cân bằng G6.3 là thích hợp. Ở 30 r/s, tham chiếu Hình F.1 (được dẫn ra từ ISO 1940-1) cho De = 32 mm như là độ lệch tâm lớn nhất của trọng tâm. Khối lượng mất cân bằng lớn nhất tương ứng là:

Hình F.1 - Độ lệch tâm cho phép đối với các cấp chất lượng cân bằng
VÍ DỤ 2: Hình F.2 minh họa hoạt động cân bằng động một bộ cánh quạt có nhiều cánh, đường kính và tốc độ quay lớn nhất 250 mm, 3600 r/min, khối lượng 2,5 kg. Hai đối trọng cân bằng được gắn vào ở các bán kính 110 mm trong các mặt phẳng (sửa chữa) hiệu chuẩn cách nhau 150 mm.
Lượng mất cân bằng tĩnh ban đầu: 240 gm.mm, 50 mm từ một mặt phẳng
Ngẫu lực mất cân bằng ban đầu: 240 gm.mm x 150 mm vuông góc với lượng mất cân bằng tĩnh.
Các bộ phận đối trọng tĩnh 240 gm.mm sẽ được phân ra giữa các mặt phẳng (sửa chữa) hiệu chỉnh để có các ngẫu lực đối ngược bằng nhau.
160 gm.mm x 50 mm= 80 gm.mm x 100 mm
Các bộ phận đối trọng của ngẫu lực 120 gm.mm trong mỗi mặt phẳng hiệu chỉnh sẽ trực tiếp đối lại với các momen ngẫu lực mất cân bằng.
Tổ hợp các vectơ đối trọng trong mỗi mặt phẳng thu được 200 gm.mm và 144 gm.mm trong các hướng đã chỉ dẫn. Các giá trị này xác định các khối lượng đối trọng sau:
| | |
VÍ DỤ 3: Hình F.2 minh hoạ bộ cánh quạt được lắp công xôn so với thân quạt của ví dụ cuối cùng, có khối lượng 1,5 kg, các ổ trục cách nhau 80 mm.
Giả sử bộ cánh quạt đã được cân bằng đạt tới các giới hạn G 6,3, nghĩa là e = 16 mm ở 60 r/s cho cả cân bằng tĩnh và động.
Lượng mất cân bằng tĩnh
Ngẫu lực mất cân bằng
=3000 gm.mm2
Lưu ý rằng, trong mỗi trường hợp có một phần sáu lượng cân bằng ban đầu.
Lượng mất cân bằng tĩnh sẽ tạo một phản lực mất cân bằng 40 gm.mm được đặt ở giữa khoảng cách hai ổ trục. Hai lực đối lập này cách nhau 140 mm sẽ tạo ra ngẫu lực mất cân bằng 40 x140= 5600 gm.mm2 tác dụng lên các ổ trục.

Hình 2 - Ví dụ về hiệu chuẩn cân bằng động
PHỤ LỤC G
(Tham khảo)
GIÁM SÁT TÌNH TRẠNG VÀ HƯỚNG DẪN CHẨN ĐOÁN
Nguyên tắc cơ bản của giám sát tình trạng là giám sát phép đo thích hợp sao cho bất cứ xu hướng đi lên nào cũng có thể được phát hiện và được lấy như là một chỉ báo rằng đang tồn tại một vấn đề. Giám sát tình trạng là thích hợp khi lỗi hư hỏng phát triển chậm và khi quá trình hư hỏng được phản ánh trong một tính chất vật lý có thể đo được.
Rung của quạt, là kết quả của các khuyết tật về vật lý, có thể được giám sát trên cơ sở có hệ thống và khi ghi được một mức rung tăng lên thì phải có sự giám sát thường xuyên hơn và có thể phải có sự phân tích chi tiết. Theo cách này, sự phân tích tần số rung có thể nhận biết được nguyên nhân của một trạng thái rung không bình thường để có thể quy định và đưa vào chương trình hiệu chỉnh trong một thời gian dài trước khi lỗi hư hỏng trở nên nghiêm trọng. Chỉ báo để chấp nhận rằng hành động sửa chữa là cần thiết khi các mức giám sát vượt quá mức bình thường bởi một hệ số 1,6 hoặc 4 dB.
Có nhiều bước cơ bản để thực hiện chương trình giám sát tình trạng và các bước này có thể được tóm tắt như sau:
a) Nhận biết tình trạng và mức rung bình thường chấp nhận được của quạt. Lưu ý rằng mức rung này có thể khác so với thử nghiệm ở nhà máy do sự khác biệt trong lắp đặt v.v...;
b) Lựa chọn các điểm đo rung;
c) Xác định khoảng thời gian đo;
d) Xác lập một hệ thống ghi dữ liệu;
e) Xác lập các chuẩn mực để đánh giá tình trạng của quạt; các giới hạn rung, các khuynh hướng rung, kinh nghiệm từ các máy tương tự.
Vì đa số các quạt vận hành tốt ở xa bất cứ các tốc độ tới hạn nào cho nên các mức rung không thay đổi đáng kể do bất cứ các thay đổi nhỏ nào về tải trọng/tốc độ nhưng điều quan trọng cần phải lưu ý rằng các giới hạn đã cho được dùng cho tốc độ lớn nhất của quạt trong trường hợp khi tốc độ thay đổi. Nếu không thể đạt được tốc độ lớn nhất trong các giới hạn rung thì có thể có sự hiện diện của một vấn đề nghiêm trọng nên được nghiên cứu.
Một số hướng dẫn về chẩn đoán được cho trong Phụ lục C đã dựa trên kinh nghiệm trước đây và được dự định sử dụng trong tiến trình logic để nghiên cứu một lõi tương ứng.
Có thể sử dụng các đường ranh giới của vùng đánh giá như đã cho trong ISO 10876-1 để cho phép đánh giá chất lượng của rung một quạt đã cho và đưa ra hướng dẫn cho các hành động trong tương lai.
Mong muốn rằng mức rung của các quạt mới sẽ nhỏ hơn các giới hạn cho trong các Bảng 3, Bảng 4 và Bảng 5. Các giới hạn này tương đương với các giới hạn của vùng A khi áp dụng. Các giới hạn được khuyến nghị cho báo động và ngắt được dựa trên thông tin theo lịch trình thời gian với các kiểu quạt cụ thể.
PHỤ LỤC H
(Tham khảo)
SỰ NỚI LỎNG ĐƯỢC ĐỀ NGHỊ CỦA CÁC CẤP VÀ MỨC QUY ĐỊNH
Phải thừa nhận rằng, đối với một nhà sản xuất có thể không cần thiết phải cân bằng một cách chính xác một bộ cánh quạt cho một khách hàng nào đó có thể chấp nhận một mức chất lượng cân bằng và rung thấp hơn. Mặc dù không nằm trong phạm vi của tiêu chuẩn này, có thể sử dụng các giá trị lớn hơn theo thỏa thuận giữa nhà sản xuất và khách hàng. Các mức cân bằng phải cho phép là các mức trong Bảng 4 được nhân lên với hệ số 2,4 và các mức rung cho phép là các mức trong Bảng 5 được nhân lên với hệ số 1,6.
THƯ MỤC TÀI LIỆU THAM KHẢO
[1] ISO 1925:2001, Mechanical vibration - Balancing - Vocabulary (Rung cơ học - Sự tạo cân bằng - Từ vựng).
[2] ISO 2041:1990, Vibration and shock - Vocabulary (Rung và va đập - Từ vựng)
[3] ISO 2953:1985, Balacing machines - Description and evaluation (Máy cân bằng - Mô tả và đánh giá).
[4] ISO 2954:1975, Mechanical vibration of rotating and reciprocating machinery - Requirements for instruments for measuring viabration severity (Rung cơ học của các máy quay và tịnh tiến - Yêu cầu đối với dụng cụ để đo tính khốc liệt của rung).
[5] ISO 5802, Industrial fans - Performance testing in situ (Quạt công nghiệp - Thử đặc tính tại hiện trường).
[6] ISO 8821:1989, Mechanical vibration - Balancing-Shaft and fitment key convention (Rung cơ học - Sự tạo cân bằng - Qui ước về trục và mối ghép then).
[7] ISO 7919-1:1996, Mechanical vibration of non-reciprocating machines- Measurement on rotating shafts and evaluation criteria - Part 1: General (Rung cơ học của các máy không chuyển động tịnh tiến - Đo trên các trục quay và chuẩn đánh giá - Phần 1: Hướng dẫn chung).
[8] ISO 10876-1:1995, Mechanical vibration - Evaluation of machine vibration by measurements on non-rotating parts - Part 1: General guidelines (Rung cơ học - Đánh giá rung của máy bằng các phép đo trên các bộ phận không quay - Phần 1: Hướng dẫn chung).
[9] ISO 11342:1998, Mechanical vibration - Methods and criteria for the mechanical balacing of flexible rotors (Rung cơ học - Các phương pháp và chuẩn mực để tạo cân bằng cơ học của các rôto mềm).
[10] TCVN 9071 (ISO 12499), Quạt công nghiệp - An toàn cơ khí của quạt - Che chắn bảo vệ.
[11] ISO 13347 (all parts), Industrial fans - Determination of fan sound power level under standardized laboratory conditions (Quạt công nghiệp - Xác định mức công suất âm thanh của quạt trong điều kiện phòng thử nghiệm tiêu chuẩn).
[12] TCVN 9073 (ISO 13349), Quạt - Từ vựng và định nghĩa các loại quạt.
[13] TCVN 9074 (ISO 13350), Quạt công nghiệp - Thử đặc tính của quạt phụt.
[14] ISO 13351, Industrial fans - Dimensions (Quạt công nghiệp - Kích thước).
[15] ISO 60034-14:1996, Rotating electrical machines - Part 14: Mechanical vibration of certain machines with shaft heights 56 mm and higher- Measurement, evaluation and limits of vibration (Máy điện quay - Phần 14 : Rung cơ học của một số máy có chiều cao trục 56 mm và lớn hơn - Đo, đánh giá và các giới hạn rung).
[16] ANSI/AMCA 204-96, Balance Quality and Vibration Levels for Fans (Chất lượng cân bằng và các mức rung cho quạt).
[17] Professor JANS TRAMPE BROCH, Mechanical Vibration and Shock Measurements Bruel & Kjaer Ltd 1972
[18] RANDALL R.B, Frequency Analysis, Bruel & Kjaer Ltd 1977
[19] Advanced Audio - Visual Customer Training Instruction Manual - IRD Mechanalysis Ltd
[20] Paper 1064-82, Routine Vibration Testing of Fans, W.T.W. Cory, Air Movement & Control Asociation Inc
[21] Paper 2839-96, AMCA Standard 204, Balace Quality and Vibration Levels for Fans, H. Leslie Gutzwiller Air Movement & Control Association International
[22] CORY,W.T.W, Overview of condition monitoring methods with emphasis on industrial fans - Processings of the Institution of Mechanical Engineers Vol. 205,1991
[23] AMCA Publication 202, Trouble shooting
[24] CEN/BTS 2/AH 17, Industrial Fans - Safely requirement (Quạt công nghiệp - Yêu cầu về an toàn).
MỤC LỤC
Lời nói đầu
1. Phạm vi áp dụng
2. Tài liệu viện dẫn
3. Thuật ngữ và định nghĩa
4. Ký hiệu và đơn vị
5. Mục đích của thử nghiệm
6. Các loại ứng dụng của cân bằng và rung (các loại BV)
7. Tạo cân bằng
7.1. Quy định chung
7.2. Cấp chất lượng cân bằng
7.3. Tính toán độ mất cân bằng còn dư cho phép
8. Rung của quạt
8.1. Các yêu cầu về đo
8.2. Hệ thống đỡ quạt
8.3. Các giới hạn rung của quạt cho các thử nghiệm trong xưởng của nhà sản xuất
8.4. Các giới hạn rung của quạt cho vận hành ở hiện trường
9. Các bộ phận quay khác
10. Dụng cụ đo và sự hiệu chuẩn
10.1. Dụng cụ đo
10.2. Hiệu chuẩn
11. Tài liệu
11.1. Cân bằng
11.2. Rung của quạt
11.3. Chứng chỉ
Phụ lục A
Phụ lục B
Phụ lục C
Phụ lục D
Phụ lục E
Phụ lục F
Phụ lục G
Phụ lục H
Thư mục tài liệu tham khảo
1) Sẽ được công bố (soát xét của ISO 1940-1:1986).
Bạn chưa Đăng nhập thành viên.
Đây là tiện ích dành cho tài khoản thành viên. Vui lòng Đăng nhập để xem chi tiết. Nếu chưa có tài khoản, vui lòng Đăng ký tại đây!