- Tổng quan
- Nội dung
- Tiêu chuẩn liên quan
- Lược đồ
- Tải về
Tiêu chuẩn TCVN 14535:2025 Đồ nội thất văn phòng - Ghế văn phòng - Phương pháp xác định độ ổn định, độ bền và độ bền lâu
| Số hiệu: | TCVN 14535:2025 | Loại văn bản: | Tiêu chuẩn Việt Nam |
| Cơ quan ban hành: | Bộ Khoa học và Công nghệ | Lĩnh vực: | Công nghiệp |
| Trích yếu: | ISO 21015:2007 Đồ nội thất văn phòng - Ghế văn phòng - Phương pháp xác định độ ổn định, độ bền và độ bền lâu | ||
|
Ngày ban hành:
Ngày ban hành là ngày, tháng, năm văn bản được thông qua hoặc ký ban hành.
|
30/12/2025 |
Hiệu lực:
|
Đã biết
|
| Người ký: | Đang cập nhật |
Tình trạng hiệu lực:
Cho biết trạng thái hiệu lực của văn bản đang tra cứu: Chưa áp dụng, Còn hiệu lực, Hết hiệu lực, Hết hiệu lực 1 phần; Đã sửa đổi, Đính chính hay Không còn phù hợp,...
|
Đã biết
|
TÓM TẮT TIÊU CHUẨN VIỆT NAM TCVN 14535:2025
Nội dung tóm tắt đang được cập nhật, Quý khách vui lòng quay lại sau!
Tải tiêu chuẩn Việt Nam TCVN 14535:2025
TIÊU CHUẨN QUỐC GIA
TCVN 14535:2025
ISO 21015:2007
ĐỒ NỘI THẤT VĂN PHÒNG - GHẾ VĂN PHÒNG - PHƯƠNG PHÁP XÁC ĐỊNH ĐỘ ỔN ĐỊNH, ĐỘ BỀN VÀ ĐỘ BỀN LÂU
Office furniture - Office work chairs - Test methods for the determination of stability, strength and durability
Lời nói đầu
TCVN 14535:2025 hoàn toàn tương đương với ISO 21015:2007.
TCVN 14535:2025 do Trường Đại học Lâm nghiệp biên soạn, Bộ Nông nghiệp và Môi trường đề nghị, Ủy ban Tiêu chuẩn Đo lường Chất lượng thẩm định, Bộ Khoa học và Công nghệ công bố.
ĐỒ NỘI THẤT VĂN PHÒNG - GHẾ VĂN PHÒNG - PHƯƠNG PHÁP XÁC ĐỊNH ĐỘ ỔN ĐỊNH, ĐỘ BỀN VÀ ĐỘ BỀN LÂU
Office furniture - Office work chairs - Test methods for the determination of stability, strength and durability
1 Phạm vi áp dụng
Tiêu chuẩn này quy định các phương pháp thử để xác định độ ổn định, độ bền và độ bền lâu của ghế văn phòng. Hướng dẫn về việc lựa chọn lực, chu kỳ, v.v... cho các thử nghiệm này.
Các thử nghiệm được thiết kế để áp dụng cho đồ nội thất đã được lắp ráp hoàn chỉnh và sẵn sàng sử dụng.
Các kích thước trong thử nghiệm có thể áp dụng cho ghế văn phòng dành cho người trưởng thành.
Các thử nghiệm bao gồm việc áp dụng các lực mô phỏng việc sử dụng chức năng thông thường lên các bộ phận khác nhau của chi tiết, như cũng như việc sử dụng sai mục đích có thể xảy ra.
Các thử nghiệm được thiết kế để đánh giá các đặc tính mà không quan tâm đến vật liệu, thiết kế/xây dựng hoặc các quá trình sản xuất.
Kết quả thử nghiệm chỉ có giá trị đối với sản phẩm được thử nghiệm. Khi kết quả thử nghiệm dự định áp dụng cho các sản phẩm tương tự khác, điều quan trọng là mẫu thử phải đại diện cho mẫu sản xuất.
Các thử nghiệm được thực hiện theo tiêu chuẩn này nhằm mục đích chứng tỏ khả năng của bộ phận có thể đáp ứng điều kiện trong môi trường dự định của nó. Các thử nghiệm đã được thiết lập cho các bộ phận/chi tiết chưa được sử dụng. Tuy nhiên, khi cần căn chỉnh chính xác, chúng có thể được sử dụng để kiểm tra lỗi.
Dữ liệu được đưa ra cho việc thiết kế đệm tải ghế ngồi (Phụ lục B) và cho thiết kế đệm tải ổn định (Phụ lục C).
Tiêu chuẩn này không đưa ra bất kỳ yêu cầu nào về sản phẩm. Các yêu cầu có thể được quy định trong tiêu chuẩn cụ thể. Nếu không có quy định cụ thể, tham khảo Phụ lục A về lực và chu kỳ tác dụng lực. Các lực và chu kỳ này có thể được sử dụng cho người trưởng thành bất kể cân nặng và số giờ làm việc.
Tiêu chuẩn này không quy định các thử nghiệm phê duyệt kiểu đối với các bộ phận của ghế.
Tiêu chuẩn này không quy định các đánh giá về sự lão hóa và xuống cấp. Các thử nghiệm không nhằm mục đích đánh giá độ bền của vải bọc, ví dụ vật liệu điền đầy và vỏ bọc.
2 Tài liệu viện dẫn
Các tài liệu viện dẫn sau đây là cần thiết để áp dụng tiêu chuẩn này. Đối với các tài liệu viện dẫn ghi năm công bố thì áp dụng bản được nêu. Đối với các tài liệu viện dẫn không ghi năm công bố thì áp dụng phiên bản mới nhất, bao gồm cả các sửa đổi, bổ sung (nếu có).
ISO 22880:2004 Castors and wheels - Requirements for castors for swivel chairs (Bánh xe ghế xoay và bánh xe - Yêu cầu đối với bánh xe cho ghế xoay).
3 Thuật ngữ và định nghĩa
Trong tiêu chuẩn này, sử dụng các thuật ngữ và định nghĩa sau.
3.1
Ghế làm việc văn phòng (Office work chair)
Ghế văn phòng
Đồ nội thất ghế ngồi cho một người, có tựa lưng, có hoặc không có tựa tay, phần trên của nó, bao gồm cả mặt ghế, có thể xoay trong mặt phẳng nằm ngang và có thể điều chỉnh độ cao.
CHÚ THÍCH: Có thể bao gồm các điều chỉnh khác.
3.2
Trụ ghế (Column)
(ghế làm việc văn phòng) bộ phận liên kết chân đế và kết cấu phần trên mặt ghế
CHÚ THÍCH: Một trụ ghế thường kết hợp với cơ chế xoay và điều chỉnh chiều cao ghế ngồi.
3.3
Thiết bị khóa (Locking device)
Thiết bị cố định (khóa) chuyển động của ghế và/hoặc phần tựa lưng.
3.4
Chiều dài tựa tay (Arm-rest length)
Khoảng cách giữa các đường thẳng đứng qua các cạnh trước và sau của tựa tay.
CHÚ THÍCH: Trong trường hợp tựa tay không nằm ngang hoặc bị cong thì chiều dài được đo theo mặt phẳng nằm ngang bên dưới điểm cao nhất của tựa tay 20 mm.
3.5
Điểm đỡ (Supporting point)
Bánh xe đẩy hoặc thanh trượt
CHÚ THÍCH: Có hai loại bánh xe như được định nghĩa trong ISO 22880:2004.
a) Loại H: Bánh xe ghế xoay (bánh xe đẩy) có bánh trơn được xác định là loại H, bánh xe có mặt lốp cứng; chân cứng. Bánh xe có một màu trên toàn bộ bề mặt. Những bánh xe này phù hợp với mặt sàn trải thảm.
b) Loại W: Bánh xe đẩy có bánh lốp đàn hồi được xác định là loại W, bánh xe có mặt lốp mềm. Loại này có màu sắc khác biệt rõ ràng với tâm bánh xe. Những bánh xe này phù hợp cho sàn đá cứng, sàn gỗ hoặc sàn lát gạch hoặc những lớp phủ bằng vải không dệt
4 Điều kiện thử nghiệm chung
4.1 Chuẩn bị sơ bộ
Thiết bị phải được lắp ráp và/hoặc định hình theo hướng dẫn đi kèm. Điều bất lợi nhất phải lắp đặt thiết bị, cài đặt cho từng phép thử (xem Bảng 1). Để thử nghiệm một loạt các mẫu ghế có liên quan, chỉ cần thử nghiệm các trường hợp xấu nhất. Nếu không có hướng dẫn lắp đặt hoặc lắp ráp thì phương pháp lắp đặt hoặc lắp ráp phải được thực hiện ghi lại trong báo cáo thử nghiệm. Các phụ kiện không được siết chặt lại trừ khi có yêu cầu cụ thể của nhà sản xuất. Nếu cần thay đổi hình dạng để tạo ra tình trạng xấu nhất thì bất kỳ việc siết chặt lại các phụ kiện phải được ghi lại trong báo cáo thử nghiệm.
Nếu không có quy định khác, tất cả các thử nghiệm phải được thực hiện trên cùng một mẫu.
Thử nghiệm phải được thực hiện trong điều kiện môi trường trong nhà. Nếu trong quá trình thử nghiệm, nhiệt độ nằm ngoài phạm vi từ 15 °C đến 25 °C thì nhiệt độ tối đa và/hoặc nhiệt độ tối thiểu phải được ghi lại trong báo cáo thử nghiệm.
Trong trường hợp thiết kế không được đề cập trong quy trình thử nghiệm, thử nghiệm sẽ được thực hiện theo khả năng được mô tả và các sai lệch so với quy trình thử nghiệm phải được ghi lại trong báo cáo thử nghiệm.
Trước khi bắt đầu thử nghiệm, kiểm tra trực quan chi tiết một cách kỹ lưỡng. Ghi lại mọi khiếm khuyết để chúng không được cho là do các thử nghiệm gây ra. Thực hiện các phép đo nếu được chỉ định (theo lý thuyết).
4.2 Thiết bị kiểm tra thử
Trừ khi có quy định khác, các thử nghiệm có thể được thực hiện bằng bất kỳ thiết bị phù hợp nào vì kết quả chỉ phụ thuộc vào lực tác dụng chính xác chứ không phụ thuộc vào thiết bị.
Thiết bị không được cản trở sự biến dạng cũng như không gây ra biến dạng không tự nhiên của chi tiết/bộ phận, nghĩa là thiết bị phải có khả năng di chuyển để có thể theo dõi biến dạng của chi tiết/bộ phận trong quá trình thử nghiệm.
Tất cả các tấm đệm ghế ngồi phải có khả năng xoay theo hướng của lực tác dụng. Điểm xoay phải càng gần bề mặt tải càng tốt.
4.3 Tác dụng lực
Các lực trong thử nghiệm tải tĩnh phải được tác dụng đủ chậm để đảm bảo tác dụng lực động không đáng kể. Mỗi lực phải được duy trì trong thời gian không ít hơn 10 s và không quá 15 s.
Các lực trong thử nghiệm độ bền phải được tác dụng với tốc độ để đảm bảo không xảy ra hiện tượng gia nhiệt quá mức. Mỗi lực phải được duy trì trong (2 ± 1) s.
Lực có thể được tác dụng bằng cách sử dụng khối lượng.
4.4 Dung sai
Trừ khi có quy định khác, áp dụng các dung sai sau:
a) Lực: ± 5 % lực danh nghĩa;
b) Khối lượng: ±1 % khối lượng danh nghĩa;
c) Kích thước: ± 5 mm kích thước danh nghĩa trên bề mặt mềm;
± 1 mm kích thước danh nghĩa trên tất cả các bề mặt khác;
d) Các góc: ± 2° của góc danh nghĩa.
Độ chính xác của việc định vị các tấm đệm tải phải là ± 5 mm.
4.5 Trình tự thử nghiệm
Tất cả các phép thử có thể áp dụng phải được thực hiện trên cùng một mẫu và theo trình tự các điều khoản được đánh số trong tiêu chuẩn này.
4.6 Kiểm tra và đánh giá kết quả
Sau khi hoàn thành mỗi lần thử nghiệm, hãy kiểm tra lại sản phẩm. Ghi lại mọi thay đổi bao gồm các trường hợp sau:
a) gãy bất kỳ bộ phận hoặc khớp nối;
b) nới lỏng, có thể được chỉ rõ bằng việc dùng lực của bàn tay, đối với bất kỳ khớp nối nào được cố định;
c) biến dạng hoặc mài mòn của bất kỳ bộ phận hoặc thành phần nào làm suy giảm chức năng của chúng;
d) nới lỏng bất kỳ phương thức của bộ phận nào vào thiết bị;
e) những thay đổi có thể ảnh hưởng đến độ ổn định.
Bảng 1 - Vị trí các bộ phận ghế
| Khoản mục | Thử nghiệm | Chiều cao ghế | Mặt ghế | Chiều cao tựa lưng | Chiều sâu tựa lưng | Điều chỉnh độ cố định độ nghiêng | Bánh xe và chân đế | Tựa Tay | Chỗ để chân |
| 7.1.1 | Lật úp mép về phía trước | vị trí cao nhất | vị trí đầu tiên | vị trí cao nhất | vị trí đầu tiên | độ căng tối đa | có khả năng gây lật đổ cao nhất | có khả năng gây lật đổ cao nhất |
|
| 7.1.2 | Lật úp về phía trước | vị trí cao nhất | vị trí đầu tiên | vị trí cao nhất | vị trí đầu tiên | độ căng tối đa | có khả năng gây lật đổ cao nhất | có khả năng gây lật đổ cao nhất |
|
| 7.1.3 | Lật úp về phía trước cho ghế có chỗ để chân | vị trí cao nhất | vị trí đầu tiên | vị trí thấp nhất | vị trí đầu tiên | độ căng tối đa | có khả năng gây lật đổ cao nhất | có khả năng gây lật đổ cao nhất | có khả năng gây lật đổ cao nhất |
| 7.1.4 | Lật sang một bên đối với ghế không có tựa tay | vị trí cao nhất | vị trí đầu tiên | vị trí cao nhất | vị trí đầu tiên | độ căng tối đa | có khả năng gây ra sự lật đổ | - | - |
| 7.1.5 | Lật sang một bên cho ghế có tựa tay | vị trí cao nhất | vị trí đầu tiên | vị trí cao nhất | vị trí đầu tiên | độ căng tối đa | có khả năng gây lật đổ cao nhất | có khả năng gây lật đổ cao nhất | - |
| 7.1.6 | Ghế bị lật ngược về phía sau mà không có độ nghiêng tựa lưng | vị trí cao nhất | vị trí cuối cùng | vị trí cao nhất | vị trí cuối cùng | độ căng tối thiểu | có khả năng gây lật đổ cao nhất | có khả năng gây lật đổ cao nhất | - |
| 7.1.7 | Lật ngược ghế có tựa lưng nghiêng về phía sau | vị trí cao nhất | vị trí cuối cùng | vị trí cao nhất | vị trí cuối cùng | độ căng tối thiểu | có khả năng gây lật đổ cao nhất | có khả năng gây lật đổ cao nhất | - |
| 7.2.1 | Kiểm tra tải trọng tĩnh ở mép trước ghế | vị trí cao nhất | vị trí hàng đầu | - | - | - | - | - | - |
| 7.2.2 | Kiểm tra tải trọng tĩnh kết hợp của ghế và lưng | vị trí cao nhất | vị trí bất lợi nhất | vị trí cao nhất | vị trí cuối cùng | vùng giữa | ít có khả năng gây lật đổ nhất | - | - |
| 7.2.3 | Kiểm tra tải trọng tĩnh điểm tác dụng lực tại giữa tựa tay | vị trí cao nhất | hướng nằm ngang | - | - | - | - | có khả năng xảy ra không đạt cao nhất | - |
| 7.2.4 | Kiểm tra tải trọng tĩnh điểm tác dụng lực mép trước tựa tay | vị trí thấp nhất | hướng nằm ngang | - | - | - | - | cao nhất, vị trí đầu tiên | - |
| 7.2.5 | Kiểm tra tải trọng tĩnh ngang tựa tay | vị trí thấp nhất | hướng nằm ngang | - | - | - | - | cao nhất, vị trí rộng nhất | - |
| 7.2.6 | Kiểm tra tải trọng tĩnh của chỗ để chân | - | - | - | - | - | ít có khả năng gây ra sự lật đổ | - | vị trí cao nhất |
| 7.3.1 | Độ bền lâu của ghế và lưng ghế | vị trí cao nhất | hướng ngang và đầu tiên | vị trí cao nhất | có khả năng xảy ra không đạt cao nhất | vùng giữa | 90° đến mặt dưới tựa tay | - | - |
| 7.3.2 | Độ bền lâu của tựa tay | vị trí thấp nhất | hướng nằm ngang | - | - | độ căng tối đa | - | vị trí rộng nhất cao nhất | - |
| 7.3.3 | Kiểm tra xoay | vị trí cao nhất | hướng nằm ngang, vị trí trước nhất | vị trí thấp nhất | vị trí cuối cùng | - | - | - | - |
| 7.3.4 | Độ bền lâu của chỗ để chân | - | - | - | - | - | ít có khả năng gây ra sự lật đổ | - | vị trí thấp nhất |
| 7.3.5 | Độ bền lâu của bánh xe và đế ghế | vị trí thấp nhất | hướng nằm ngang | - |
| - | - | - | - |
5 Thiết bị thử nghiệm
5.1 Bề mặt thử nghiệm
Bề mặt thử nghiệm phải cứng, hướng nằm ngang và phẳng.
5.2 Chốt chặn
Các chốt chặn là thiết bị để ngăn ghế trượt hoặc lăn nhưng không lật. Chúng phải cao 3 mm đối với các thử nghiệm độ ổn định và cao 12 mm đối với tất cả các thử nghiệm khác, ngoại trừ trong trường hợp thiết kế của ghế hoặc phương pháp thử yêu cầu sử dụng các chốt chặn cao hơn, trường hợp đó thì phải sử dụng chốt chặn thấp nhất có thể để ngăn ghế trượt hoặc lăn.
5.3 Tấm đệm tải ghế ngồi
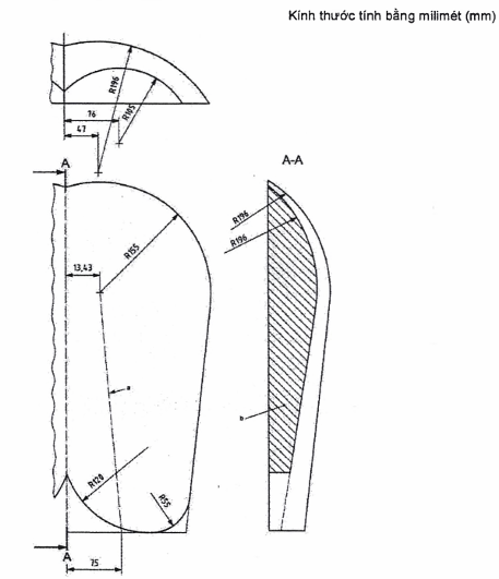
Tấm đệm tải ghế ngồi là một vật lõm cứng có hình dạng tự nhiên với bề mặt cứng và mịn (xem Hình 1). Về nguyên tắc, bệ tấm đệm ngồi này được sử dụng ở các điểm tải A (6.1) và C (6.3), Xem Hình 7. Để biết chi tiết về bố trí, hãy xem Phụ lục B.

a Điểm tải
Hình 1 - Tấm đệm tải ghế ngồi
5.4 Đệm tải ghế ngồi nhỏ
Tấm đệm tải ghế ngồi nhỏ là một vật thể tròn, cứng có đường kính 200 mm, mặt của vật thể này có độ cong hình cầu lồi bán kính 300 mm với bán kính kết hợp 12 mm giữa mặt và mặt bên. (Xem Hình 2). Về nguyên tắc, tấm đệm ghế ngồi này sẽ được sử dụng tại các điểm tải D (6.4), G (6.7), F (6.6) và J (6.9). Xem Hình 7.

Hình 2 - Đệm tải ghế ngồi nhỏ
5.5 Đệm tải cục bộ
Đệm tải cục bộ ghế ngồi là một vật thể tròn cứng có đường kính 100 mm, có mặt phẳng và bán kính kết hợp là 12 mm giữa mặt và mặt bên.
5.6 Tấm tải trọng đệm lưng
Tấm tải trọng đệm lưng là một vật thể hình chữ nhật cứng cao 200 mm và rộng 250 mm, mặt của vật thể này cong theo chiều rộng của tấm đệm với độ cong hình trụ lồi có bán kính 450 mm và có bán kính 12 mm hợp giữa mặt và các cạnh bên. (Xem Hình 3).

Hình 3 - Tấm tải trọng đệm lưng
5.7 Thiết bị kiểm tra độ bền của tựa tay
Một thiết bị có khả năng tác dụng lực tuần hoàn đồng thời vào cả hai tựa tay. Các lực sẽ được tác dụng thông qua một thiết bị tải trọng tựa tay, về nguyên lý hoạt động như minh họa trong Hình 4.

CHÚ DẪN:
Điểm tải F
Hình 4 - Nguyên lý (nguyên tắc) thử nghiệm tựa tay
Thiết bị phải có khả năng tác dụng lực theo nhiều góc khác nhau theo phương thẳng đứng. Thiết bị phải có thể điều chỉnh theo cả chiều dọc và chiều ngang và được thiết lập như quy định trong 7.3.2. Thiết bị phải có khả năng tự do theo dõi biến dạng của các giá đỡ trong quá trình thử nghiệm (xem Hình 5). Chiều dài của tấm đệm ghế ngồi là 100 mm với lực tác dụng qua tâm chiều dài của nó.

Hình 5 - Ví dụ về miếng đệm tải trọng tựa tay
5.8 Dây đai
Dây đai rộng 50 mm có khả năng chịu được khối lượng như quy định trong 7.1.1 và Phụ lục A.
5.9 Thiết bị tải trọng ổn định
Thiết bị tải trọng về nguyên tắc hoạt động như thể hiện trong Hình 6. Để biết chi tiết về bố trí, hãy xem Phụ lục C.

CHÚ DẪN:
| 1 Giữ dây đeo | F1 Lực theo phương thẳng đứng | a Để biết chi tiết, hãy xem Hình C.1. |
| 2 Đường tâm của ghế | F2 Lực theo phương ngang F | b Để biết thêm chi tiết, hãy xem Hình C.2. |
Hình 6 - Thiết bị tải trọng ổn định - Nguyên lý
5.10 Đĩa tải
Đĩa tải mỗi đĩa có khối lượng 10 kg, đường kính 350 mm và độ dày 48 mm. Trọng tâm phải nằm ở giữa đĩa.
5.11 Kiểm tra bề mặt độ bền của bánh xe
Đây phải là bề mặt thép nhẵn nằm ngang.
6 Điểm tải
6.1 Điểm tải A
Đây sẽ là điểm mà trục quay của ghế giao với bề mặt ghế khi ghế ở vị trí càng gần đường ngang càng tốt.
6.2 Điểm tải B
Điểm này sẽ là điểm trên đường tâm của tựa lưng, cao hơn 300 mm so với điểm tải A (6.1), được đo khi ghế chịu tải 640 N thông qua miếng đệm tải ghế.
6.3 Điểm tải C
Điểm này phải nằm trước điểm tải A (6.1) dọc theo đường tâm của ghế, cách kết cấu mép ghế 100 mm.
6.4 Điểm tải D
Đây sẽ là điểm cách điểm tải A (6.1) 150 mm về bên phải.
6.5 Điểm tải E
Đây sẽ là điểm cách điểm tải B (6.2) 50 mm về bên phải.
6.6 Điểm tải F
Điểm này phải nằm trước điểm tải D (6.4) trên đường thẳng song song với đường tâm, cách kết cấu mép ghế 100 mm.
6.7 Điểm tải G
Đây phải là điểm cách điểm tải A (6.1) 150 mm về bên trái.
6.8 Điểm tải H
Đây sẽ là điểm cách điểm tải B (6.2) 50 mm về bên trái.
6.9 Điểm tải J
Điểm này phải nằm trước điểm tải G (6.7) trên đường thẳng song song với đường tâm, cách kết cấu mép ghế 100 mm.

CHÚ DẪN:
Điểm tải từ A đến H, J
Hình 7 - Điểm tải
7 Phương pháp thử nghiệm
7.1 Độ ổn định
Đặt ghế lên bề mặt thử nghiệm (xem 5.1) cùng với các bộ phận của ghế quy định trong 4.1 và Bảng 1.
Ghi lại xem ghế có bị lật không trong quá trình thử nghiệm ở 7.1.1 đến 7.1.7.
7.1.1 Lật úp mép trước ghế
Không đặt ghế có các điểm dừng dựa vào các điểm đỡ (3.5). Cố định dây đai (5.8) vào ghế như minh họa trong Hình 8, tức là lực được tác dụng tại điểm trên cạnh trước xa nhất so với trục quay và để khối lượng treo tự do.

a Vị trí của dây đai trên bề mặt ghế.
b Trục nghiêng, bánh xe ở vị trí bất lợi nhất.
Hình 8 - Lật ngược mép trước
7.1.2 Lật úp về phía trước
Đặt ghế sao cho hai điểm tựa liền kề (3.5) ở phía trước tựa vào các điểm dừng (5.2).
Áp dụng bằng thiết bị tải ổn định (5.9) một lực thẳng đứng, F1, tác dụng cách mép trước của cấu trúc chịu tải của ghế 60 mm tại những điểm có khả năng dẫn đến lật đổ nhất. Áp dụng trong ít nhất 5 s một lực nằm ngang hướng ra ngoài F2 từ điểm trên bề mặt ghế nơi lực thẳng đứng được áp dụng (xem Hình 9).

CHÚ DẪN:
Điểm tải ghế
Lực thẳng đứng F1
Lực F2 hướng ra ngoài theo phương ngang
Hình 9 - Lật ngược về phía trước
7.1.3 Lật về phía trước đối với ghế có chỗ để chân
Đối với ghế có chỗ để chân, hãy lặp lại quy trình 7.1.2 trên chỗ để chân. Đối với chỗ để chân hình vòng có mặt cắt ngang tròn, lực sẽ được tác dụng ở tâm của mặt cắt ngang hình vòng.
7.1.4 Lật sang một bên đối với ghế không có tựa tay
Đặt ghế với hai điểm đỡ liền kề (3.5) ở một bên dựa vào các điểm dừng (5.2).
Áp dụng bằng thiết bị tải trọng ổn định (5.9) một lực thẳng đứng, F1, tác dụng cách mép của kết cấu chịu tải của mặt gần nhất với các điểm đỡ dừng lại 60 mm tại các điểm có khả năng dẫn đến lật đổ nhất. Áp dụng trong ít nhất 5 giây một lực ngang theo chiều ngang, F2, hướng ra ngoài từ điểm trên bề mặt ghế nơi lực thẳng đứng được áp dụng (xem Hình 10).

CHÚ DẪN:
| A Điểm tải ghế | F1 Lực thẳng đứng | F2 Lực ngang theo phương ngang |
Hình 10 - Lật ngược sang một bên đối với ghế không có tựa tay
7.1.5 Lật ngang ghế có tựa tay
Đặt ghế với hai điểm hỗ trợ liền kề (3.5) ở một bên dựa vào các điểm dừng (5.2).
Tác dụng bằng thiết bị tải ổn định (5.9) một lực thẳng đứng, F1, tác dụng vào một điểm cách đường tâm trước sau của ghế 100 mm tại phía mà các điểm đỡ (3.5) được cố định (xem Hình 11) và cách mép sau của ghế từ 175 mm đến 250 mm về phía trước. Tác dụng một lực thẳng đứng hướng xuống, F2. tác dụng vào các điểm trên tựa tay nằm cùng phía với các điểm đỡ được cố định (3.5) lên đến tối đa 40 mm vào trong từ mép ngoài của bề mặt trên của tựa tay, nhưng không quá tâm của tựa tay và ở vị trí bất lợi nhất dọc theo chiều dài của tựa tay. Tác dụng một lực ngang theo chiều ngang, F3 ra ngoài từ cùng một điểm trong ít nhất 5 giây (xem Hình 11).

CHÚ DẪN:
| A Điểm tải ghế F2 Lực hướng xuống theo phương thẳng đứng | F1 Lực thẳng đứng F3 Lực theo phương ngang |
Hình 11 - Lật ngược ghế có tựa tay
7.1.6 Lật ngược về phía sau đối với ghế không có độ nghiêng tựa lưng
Đặt ghế với hai điểm đỡ liền kề (3.5) ở mặt sau dựa vào các chốt chặn (5.2). Khi độc lập điều chỉnh thắt lưng phù hợp, ghế sẽ được đặt ở dạng úp xuống.
Lực thẳng đứng, F1, sẽ được tác dụng tại điểm A (6.1) và lực theo phương ngang, F2, sẽ được tác dụng tại điểm B (6.2). Xem Hình 12.
Nếu đệm tựa lưng xoay quanh trục ngang phía trên chiều cao của ghế và có thể di chuyển tự do, lực theo phương ngang sẽ được tác dụng lên trục. Nếu tựa lưng có thể điều chỉnh độ cao, trục sẽ được đặt càng gần càng tốt đến 300 mm phía trên điểm A (6.1).

CHÚ DẪN:
| A Điểm tải ghế B Điểm tải ngược | F1 Lực thẳng đứng F2 Lực theo phương ngang |
Hình 12 - Lật ngược về phía sau đối với ghế không có độ nghiêng tựa lưng
7.1.7 Lật ngược về phía sau đối với ghế có độ nghiêng tựa lưng
Không đặt ghế có các điểm đỡ (3.5) dựa vào các chốt chặn (5.2). Khi độc lập điều chỉnh thắt lưng phù hợp, ghế sẽ được đặt ở dạng úp xuống.
Đặt đĩa tải (5.10) lên ghế sao cho các đĩa được cố định chắc chắn vào tựa lưng như minh họa trong Hình 13. Nếu chiều cao của chồng đĩa vượt quá chiều cao của tựa lưng, hãy sử dụng giá đỡ (vật đỡ) nhẹ để ngăn các dĩa trên trượt ra.

Hình 13 - Lật ngược về phía sau đối với ghế có độ nghiêng tựa lưng
7.2 Thử nghiệm độ bền
Đặt ghế và các bộ phận của ghế theo quy định tại 4.1 và Bảng 1 trên bề mặt thử nghiệm (5.1).
7.2.1 Thử nghiệm độ bền ở mép trước ghế
Đặt miếng đệm tải ghế ngồi nhỏ (5.4) tại điểm tải F (6.6) hoặc J (6.9). Áp dụng lực hướng xuống theo phương thẳng đứng, F1, qua tâm của miếng đệm tải trọng,
7.2.2 Thử nghiệm độ bền kết hợp của ghế và lưng
Ngăn không cho ghế di chuyển về phía sau bằng cách đặt các chốt chặn (5.2) phía sau hai điểm đỡ liền kề (3.5) ở phía sau ghế.
Ghế có thiết bị (dụng cụ) khóa cho chuyển động góc của ghế và/hoặc tựa lưng phải dược thử nghiệm trước tiên với thiết bị (dụng cụ) khóa trong một nửa chu kỳ và sau đó với thiết bị mở khóa trong nửa chu kỳ còn lại. Trong nửa chu kỳ đầu tiên, tựa lưng phải ở vị trí thẳng đứng.
Tác dụng lực thẳng đứng, F1, qua miếng đệm tải trọng ghế (5.3) tại điểm A (6.1). Giữ ghế được tải và tác dụng lực, F2, qua tâm của miếng đệm tải trọng lưng (5.6) tại điểm B (6.2). Khi đủ tải, lực sẽ tác dụng ở góc 90° ±10° so với mặt phẳng tựa lưng (xem Hình 14). Nếu ghế có xu hướng lật, hãy giảm lực tựa lưng và báo cáo lực thực tế. Loại bỏ lực lưng rồi đến lực ghế.

CHÚ DẪN:
| A Điểm đặt gia tải lên ghế B Điểm đặt gia tải lên tựa lưng | F1 Lực theo phương thẳng đứng F2 Lực theo phương ngang |
Hình 14 - Kiểm tra tải trọng tĩnh kết hợp của ghế và lưng
7.2.3 Thử nghiệm độ bền hướng xuống tựa tay - Trung điểm
Tựa tay sẽ được tải trọng theo chiều thẳng đứng bằng các vị trí miếng đệm tải trọng (5.5). Các điểm tải sẽ nằm ở trung điểm chiều dài tựa tay (3.4). Các miếng đệm tải sẽ được căn giữa từ bên này sang bên kia.
Tác dụng lực vào cả hai tựa tay cùng lúc (xem Hình 15).

CHÚ DẪN:
F Lực theo phương thẳng đứng
Hình 15 - Thử nghiệm độ bền hướng xuống tựa tay - trung điểm
7.2.4 Thử nghiệm độ bền hướng xuống tựa tay về phía trước
Tựa tay sẽ được tải theo phương thẳng đứng bằng các vị trí đệm cục bộ (5.5). Các điểm tải sẽ nằm trên đường tâm của chiều dài tựa tay (3.4) và cách mép trước 75 mm. Lực sẽ bằng 50 % lực cho thử nghiệm độ bền trung điểm (7.2.3).
Tác dụng lực vào cả hai tựa tay cùng lúc (xem Hình 16).

CHÚ DẪN:
F Lực thẳng đứng
Hình 16 - Thử nghiệm độ bền hướng xuống tựa tay về phía trước
7.2.5 Thử nghiệm độ bền hướng sang ngang của tựa tay
Tác dụng lực ngang hướng ra ngoài vào cả hai tựa tay cùng lúc. Tác dụng lực vào mép tựa tay tại điểm dọc theo tựa tay có khả năng gây hỏng hóc cao nhất nhưng không nhỏ hơn 75 mm tính từ mép trước hoặc mép sau (xem Hình 17).

CHÚ DẪN:
F Lực ngang hướng ra ngoài
Hình 17 - Thử nghiệm độ bền ngang tựa tay
7.2.6 Thử nghiệm độ bền của chỗ để chân
Tác dụng lực theo phương thẳng đứng cách mép trước của kết cấu chịu lực của chỗ để chân 80 mm tại những điểm có khả năng gây ra hỏng hóc cao nhất. Đối với chỗ để chân hình vòng có mặt cắt ngang tròn, lực sẽ được áp dụng đi qua tâm của mặt cắt ngang hình vòng. Nếu ghế có xu hướng bị lật, hãy tải trọng lên ghế để ngăn lật và báo cáo thử nghiệm này.
7.3 Thử nghiệm độ bền lâu
Đặt ghế và các bộ phận của ghế theo quy định tại 4.1 và Bảng 1 trên bề mặt thử nghiệm (5.1), ngoại trừ thử nghiệm độ bền lâu của bánh xe và đế ghế (7.3.5).
7.3.1 Độ bền lâu của ghế và lưng ghế
Phần trên của ghế phải được định vị sao cho tâm của phần tựa lưng nằm giữa hai điểm đỡ liền kề (3.5) của đế có các điểm dừng (5.2) dựa vào các điểm đỡ này.
Tải trọng ghế sẽ được áp dụng theo chiều thẳng đứng bằng cách sử dụng miếng đệm tải trọng ghế (5.3). Lực tựa lưng sẽ được áp dụng theo góc 90° ± 10° vào tựa lưng khi được tải đầy đủ bằng cách sử dụng miếng đệm tải trọng lưng (5.6).
Tất cả các ghế phải được thử nghiệm theo các bước từ 1 đến 5. Xem Bảng 2.
Ghế có thiết bị khóa để di chuyển góc tựa lưng và/hoặc ghế ngồi phải được thử nghiệm theo bước 2, đầu tiên là khóa thiết bị trong một nửa số chu kỳ và sau đó mở khóa thiết bị trong nửa số chu kỳ còn lại. Trong nửa chu kỳ đầu tiên, tựa lưng phải ở vị trí thẳng đứng. Ở các bước 3, 4 và 5, cơ cấu phải được thả tự do để di chuyển.
Một chu kỳ bao gồm việc áp dụng và loại bỏ lực tại các điểm tải tương ứng.
Mỗi bước phải được hoàn tất trước khi chuyển sang bước tiếp theo.
Lực của ghế sẽ được tác dụng trước và duy trì trong khi lực của tựa lưng được tác dụng.
Nếu đệm tựa lưng xoay quanh trục ngang phía trên chiều cao của ghế và có thể di chuyển tự do, lực ngang sẽ được tác dụng lên trục. Nếu có thể điều chỉnh độ cao, trục sẽ được đặt càng gần càng tốt với 300 mm phía trên điểm "A" (6.1). Nếu không thể điều chỉnh trục đến 300 mm, hãy điều chỉnh lực để tạo ra cùng một mômen uốn.
Bảng 2 - Thử nghiệm độ bền lâu của ghế và lưng ghế
| Trình tự kiểm tra | |
| Bước | Điểm tải a |
| 1 | A |
| 2 | C-B |
| 3 | J - E |
| 4 | F - H |
| 5 | D - G |
| a Xem Hình 7. | |
7.3.2 Độ bền lâu của tựa tay
Áp dụng đồng thời và theo chu kỳ lực vào mỗi tựa tay tại các điểm cách điểm trước nhất của chiều dài tựa tay 100 mm (3.4). Sử dụng thiết bị được thể hiện về nguyên tắc trong Hình 4, áp dụng lực (10 ± 5) N qua thiết bị tải, một ví dụ về thiết bị này được thể hiện trong Hình 5. Với lực này được áp dụng, điều chỉnh thiết bị sao cho mỗi "cánh tay" của thiết bị thử nghiệm có góc 10° ± 1° so với phương thẳng đứng. Chiều dài của "cánh tay" của thiết bị thử nghiệm phải là 600 mm ± 10 mm. Tựa tay phải được phép biến dạng tự do.
7.3.3 Kiểm tra xoay
Phần đế của ghế phải được cố định trên một bàn xoay có bề mặt thử nghiệm theo 5.1 sao cho trục quay của ghế trùng với trục quay của bàn. Phần trên của ghế phải được cố định lỏng lẻo theo cách không cản trở chuyển động quay của đế. Tải trọng lên ghế tại điểm tải trọng A (6.1) bằng khối lượng, M1, và tại điểm tải trọng C (6.3) bằng khối lượng, M2, hoặc bất kỳ tải trọng tương đương nào tạo ra cùng một lực hướng xuống và mô men uốn trên ghế. Góc quay phải là 360° với tốc độ 10 ± 5 chu kỳ/phút. Đổi hướng sau mỗi lần quay.
7.3.4 Độ bền lâu của chỗ để chân
Sử dụng vị trí miếng đệm tải trọng (5.5), tác dụng lực thẳng đứng xuống chỗ để chân tại điểm có khả năng gây hỏng hóc cao nhất nhưng không nhỏ hơn 80 mm tính từ mép (cạnh) trước. Đối với chỗ để chân hình vòng tròn có mặt cắt ngang, lực sẽ được tác dụng qua tâm của mặt cắt ngang hình vòng tròn.
7.3.5 Độ bền lâu của bánh xe và đế ghế
Thử nghiệm này không áp dụng cho những chiếc ghế có bánh xe bị phanh khi ghế có tải.
Ghế phải được đặt trên một bàn xoay có bề mặt thử nghiệm theo 5.11 sao cho trục quay của ghế trùng với trục quay của bàn. Tải trọng lên ghế tại điểm A (6.1) với lực, F1. Đế phải được cố định lỏng lẻo theo cách không có sự quay của đế nhưng không ngăn cản các chuyển động tự nhiên của bánh xe trong quá trình thử nghiệm. Các bánh xe phải được để tự do xoay, bàn phải được xoay với tốc độ (6 ± 1) chu kỳ mỗi phút. Góc quay phải từ 0° đến 180° và ngược lại. Một vòng quay về phía trước và một vòng quay về phía sau tạo thành một chu kỳ.
Ngoài ra, gắn ghế vào một thiết bị cung cấp chuyển động tuyến tính từ 1000 mm ± 250 mm và bề mặt thử nghiệm theo 5.11. Tải trọng ghế tại điểm A (6.1) với lực F. Đế phải được cố định lỏng lẻo theo cách không có chuyển động quay của đế nhưng không ngăn cản chuyển động tự nhiên của bánh xe trong quá trình thử nghiệm. Một chuyển động về phía trước và một chuyển động về phía sau tạo thành một chu kỳ.
8 Báo cáo thử nghiệm
Báo cáo thử nghiệm phải bao gồm ít nhất những thông tin sau:
a) tham chiếu đến tiêu chuẩn này;
b) chi tiết của chiếc ghế được thử nghiệm;
c) bất kỳ khiếm khuyết nào được quan sát thấy trước khi thử nghiệm;
d) kết quả thử nghiệm theo Điều 7;
e) chi tiết về bất kỳ sai lệch nào so với tiêu chuẩn này;
f) tên và địa chỉ của cơ sở thử nghiệm;
g) ngày thử nghiệm.
Phụ lục A
(tham khảo)
Hướng dẫn lựa chọn lực, chu kỳ, v.v... cho các thử nghiệm về độ ổn định, độ bền và độ bền lâu - Nguyên tắc chung
Một loạt các lực, chu kỳ, v.v... được đề xuất trong Phụ lục này để đảm bảo rằng tiêu chuẩn này hữu ích khi chưa có tài liệu liên quan nào. Nếu không có các đề xuất như vậy, thì tiêu chuẩn này sẽ chỉ có thể sử dụng được ở các quốc gia có viện nghiên cứu và thử nghiệm phát triển để đưa ra các lực cần thiết, v.v...
Các lực, chu kỳ, v.v... được đề xuất (xem Bảng A.1 và A.2) nhằm mục đích đảm bảo rằng các quốc gia có thể đạt được kinh nghiệm trong việc sử dụng các tiêu chuẩn về độ bền và độ bền lâu, theo cách có thể so sánh kết quả thử nghiệm với các kết quả của các quốc gia khác. Ví dụ, nếu không có bất kỳ hướng dẫn nào, một quốc gia có thể chọn sử dụng thử nghiệm độ bền 900 N và thử nghiệm độ bền lâu 100000 chu kỳ với lực 400 N để thử nghiệm một cặp cánh tay nghỉ ngơi. Những kết quả này không thể so sánh với những kết quả từ các thử nghiệm ở một quốc gia khác đã chọn sử dụng thử nghiệm độ bền 750 N và thử nghiệm độ bền lâu 50000 chu kỳ với lực 600 N.
Cần nhấn mạnh rằng các phương pháp thử nghiệm đối với các hoạt động ảnh hưởng đến sự an toàn của ghế làm việc văn phòng chưa được lựa chọn trước từ phạm vi các thử nghiệm về độ ổn định, độ bền và độ bền lâu. Nếu cần, chúng nên được xác định bởi cơ quan chỉ định, nhưng cần lưu ý rằng các yêu cầu về an toàn có thể khác với yêu cầu về khả năng phục vụ.
Dải lực, chu kỳ, v.v... được đề xuất không nhằm mục đích hạn chế sự lựa chọn của các quốc gia tham gia trong việc tiến hành các thử nghiệm theo cách mà họ cho là thích hợp.
Cơ quan có thẩm quyền phải chỉ định các yêu cầu. Các yêu cầu được sử dụng trong các tiêu chuẩn đồ nội thất khác bao gồm:
- Không có hư hỏng, như được liệt kê trong 4.6;
- Không có hư hỏng nào ảnh hưởng đến việc sử dụng sản phẩm một cách an toàn;
- Không có hư hỏng ảnh hưởng đến chức năng hoặc hình thức;
- Không có hư hỏng theo 4.6 cho đến giới hạn quy định, sau đó không có lỗi nào ảnh hưởng đến an toàn.
Cần nhấn mạnh rằng việc áp dụng tiêu chuẩn này chỉ hữu ích nếu các yêu cầu thực sự đại diện cho môi trường dịch vụ mà đồ nội thất hướng đến. Các yêu cầu quá nghiêm ngặt hoặc không đủ nghiêm ngặt sẽ làm cho kết quả thử nghiệm trở nên không có giá trị.
Bảng A.1 - Lực đề xuất và số chu kỳ cho các thử nghiệm độ ổn định
| Khoản mục | Kiểm tra | Khối lượng/Lực | Số chu kỳ | |||
| Kiểu | Ký hiệu | Lực N | Các đơn vị khác |
| ||
| 7.1.1 | Lật úp mép trước | Khối lượng | - | - | 27 kg | 1 |
| 7.1.2 | Lật úp về phía trước | Lực hướng xuống | F1 | 600 | - | 1 |
| Lực ngang | F2 | 20 | - | |||
| 7.1.3 | Lật úp về phía trước cho ghế có chỗ để chân | Lực hướng xuống | F1 | 1.100 | - | 1 |
| Lực ngang | F2 | 20 | - | |||
| 7.1.4 | Lật sang một bên đối với ghế không có tựa tay | Lực hướng xuống | F1 | 600 | - | 1 |
| Lực ngang | F2 | 20 | - | |||
| 7.1.5 | Lật ngược sang một bên cho ghế có tựa tay | Lực hướng xuống | F1 | 250 | - | 1 |
| Lực ngang | F2 | 350 | - | |||
| Lực ngang | F3 | 20 | - | |||
| 7.1.6 | Lật ngược về phía sau đối với ghế không có độ nghiêng tựa lưng | Lực hướng xuống | F1 | 600 | - | 1 |
| Lực ngang | F2 | 192 | - | |||
| 7.1.7 | Lật ngược về phía sau đối với ghế có độ nghiêng tựa lưng | Số lượng đĩa | - | - | 13 đĩa | 1 |
Phụ lục B
(quy định)
Dữ liệu về đệm tải cho ghế ngồi
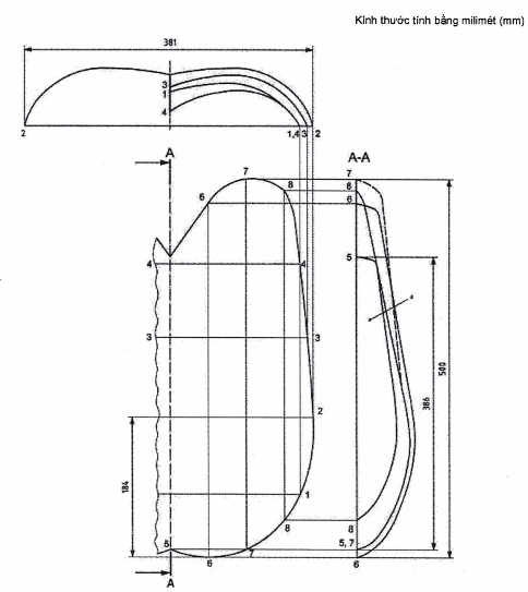
Đệm tải ghế ngồi được quy định trong 5.3 của tiêu chuẩn này hiện có hai phiên bản sau:
a) gia công trên gỗ cứng, như thể hiện trong Hình B.1.
b) đúc từ sợi thủy tinh, như thể hiện trong Hình B.2.

a Trục của hình nón.
b Phần giữa có đường chéo.
Hình B.1 - Hình dạng tấm đệm tải ghế ngồi - Kết cấu gỗ cứng

CHÚ DẪN:
1 đến 8 đường để giúp định hình hình mẫu (mẫu đệm ngồi ghế)
a một phần ở giữa có đường chéo.
Hình B.2 - Hình dạng tấm đệm tải ghế ngồi - Kết cấu sợi thủy tinh đúc
Phụ lục C
(quy định)
Dữ liệu thiết bị tải ổn định
Hình C.1 và C.2 hiển thị thông tin chi tiết về thiết bị ổn định - tải trọng.

CHÚ DẪN:
1 thanh có đầu hình cầu
2 đường tâm đến điểm và trọng tâm của khối lượng
Tổng trọng lượng là 600 N.
a Đủ để loại bỏ hết xốp và vải và tạo điều kiện để đặt lại.
b Đủ để loại bỏ hết xốp và vải.
Hình C.1 - Thiết bị ổn định phía trước - tải trọng

a Vật liệu kẹp căng thảm trên bề mặt R 300. Nó được khoét vào rãnh sâu khoảng 2 mm sao cho chỉ có răng kẹp nhô ra. Vị trí kẹp thảm được hiển thị là một ví dụ, các cấu hình dạng có thể xác lập được.
Hình C.2 - Đĩa tải trọng ổn định phía trước
Bạn chưa Đăng nhập thành viên.
Đây là tiện ích dành cho tài khoản thành viên. Vui lòng Đăng nhập để xem chi tiết. Nếu chưa có tài khoản, vui lòng Đăng ký tại đây!