• Tổng quan
  • Nội dung
  • Tiêu chuẩn liên quan
  • Lược đồ
  • Tải về
Lưu
Đây là tiện ích dành cho tài khoản Tiêu chuẩn hoặc Nâng cao . Vui lòng Đăng nhập tài khoản để xem chi tiết.
Theo dõi VB
Đây là tiện ích dành cho tài khoản Tiêu chuẩn hoặc Nâng cao . Vui lòng Đăng nhập tài khoản để xem chi tiết.
Ghi chú
Báo lỗi
In

Tiêu chuẩn TCVN 7681-2:2025 Kiểm máy tiện điều khiển số và trung tâm tiện - Phần 2: Kiểm hình học máy có trục chính mang phôi thẳng đứng

Ngày cập nhật: Thứ Hai, 25/08/2025 14:37 (GMT+7)
Số hiệu: TCVN 7681-2:2025 Loại văn bản: Tiêu chuẩn Việt Nam
Cơ quan ban hành: Bộ Khoa học và Công nghệ Lĩnh vực: Công nghiệp
Trích yếu: ISO 13041-2:2020 Điều kiện kiểm máy tiện điều khiển số và trung tâm tiện - Phần 2: Kiểm hình học máy có trục chính mang phôi thẳng đứng
Ngày ban hành:
Ngày ban hành là ngày, tháng, năm văn bản được thông qua hoặc ký ban hành.
17/06/2025
Hiệu lực:
Đã biết
Tiện ích dành cho tài khoản Tiêu chuẩn hoặc Nâng cao. Vui lòng Đăng nhập tài khoản để xem chi tiết.
Người ký: Đang cập nhật
Tình trạng hiệu lực:
Cho biết trạng thái hiệu lực của văn bản đang tra cứu: Chưa áp dụng, Còn hiệu lực, Hết hiệu lực, Hết hiệu lực 1 phần; Đã sửa đổi, Đính chính hay Không còn phù hợp,...
Đã biết
Tiện ích dành cho tài khoản Tiêu chuẩn hoặc Nâng cao. Vui lòng Đăng nhập tài khoản để xem chi tiết.

TÓM TẮT TIÊU CHUẨN VIỆT NAM TCVN 7681-2:2025

TCVN 7681-2:2025 ISO 13041-2:2020: Kiểm hình học máy có trục chính mang phôi thẳng đứng

Tiêu chuẩn quốc gia TCVN 7681-2:2025 được ban hành ngày 15/03/2025 và có hiệu lực từ ngày 01/05/2025. Văn bản này thay thế TCVN 7681-2:2013 (ISO 13041-2:2008), và hoàn toàn tương đương với ISO 13041-2:2020. Tiêu chuẩn do Ban kỹ thuật tiêu chuẩn quốc gia TCVN/TC 39 Máy công cụ biên soạn, với sự thẩm định của Ủy ban Tiêu chuẩn Đo lường Chất lượng Quốc gia và được công bố bởi Bộ Khoa học và Công nghệ.

Tiêu chuẩn này quy định các phép kiểm hình học cho các máy tiện điều khiển số (NC) và trung tâm tiện có trục chính mang phôi thẳng đứng. Nó đề cập đến các khía cạnh như độ chính xác hình học, tạo công tua, và biến dạng nhiệt, bao gồm cả các phép kiểm nhằm xác nhận độ chính xác của máy. Tiêu chuẩn áp dụng cho các máy tiện với độ chính xác thường, bao gồm các dung sai và giới hạn chấp nhận được cho kết quả kiểm tra.

TCVN 7681-2:2025 bao gồm nhiều phần khác nhau, với mỗi phần quy định các điều kiện kiểm tra cụ thể. Các phần chính của bộ tiêu chuẩn này bao gồm:

  • TCVN 7681-1:2025 (ISO 13041-1:2020): Kiểm hình học máy có trục chính mang phôi nằm ngang.
  • TCVN 7681-3:2013 (ISO 13041-3:2009): Kiểm hình học cho các máy có trục chính mang phôi thẳng đứng đảo nghịch.
  • TCVN 7681-4:2007 (ISO 13041-4:2004): Độ chính xác và khả năng lặp lại định vị của các trục tịnh tiến và quay.
  • TCVN 7681-5:2025 (ISO 13041-5:2015): Độ chính xác của tốc độ và phép nội suy.

Các phép kiểm hình học được liệt kê trong tiêu chuẩn được thực hiện để xác định độ chính xác của máy và không bao gồm các phép kiểm liên quan đến độ rung, độ ồn hay đặc tính vận hành khác của máy. Trong cả quá trình kiểm tra, hệ thống đo phải đảm bảo độ chính xác như đã quy định và có thể sử dụng các công cụ khác nhau có khả năng đo cùng đại lượng.

Định nghĩa một số thuật ngữ cơ bản được đưa ra trong tiêu chuẩn, bao gồm "máy tiện" (turning machine), "điều khiển số" (numerical control), và "trung tâm tiện" (turning centre), giúp người đọc dễ dàng hiểu và áp dụng tiêu chuẩn cho các mục đích kiểm tra và bảo trì máy.

Ngoài ra, tiêu chuẩn cũng quy định các dung sai cụ thể cho các phép kiểm, chẳng hạn:

  • Đối với độ đảo mặt đầu của bàn máy mang phôi, dung sai là 0,010 mm với đường kính lên tới 1000 mm.
  • Đối với các trục tịnh tiến, các sai số đều được quy định cụ thể, ví dụ 0,020 mm cho chiều dài đo 1000 mm.

Tất cả các thông số và phép kiểm đều được đề cập chi tiết trong các điều khoản của tiêu chuẩn, nhằm đảm bảo rằng các quy trình kiểm tra được thực hiện khoa học và chính xác, phù hợp với yêu cầu kỹ thuật trong quy trình sản xuất của máy tiện điều khiển số và trung tâm tiện.

Tải tiêu chuẩn Việt Nam TCVN 7681-2:2025

Tải văn bản tiếng Việt (.pdf) Tiêu chuẩn Việt Nam TCVN 7681-2:2025 PDF (Bản có dấu đỏ)

Đây là tiện ích dành cho tài khoản thành viên. Vui lòng Đăng nhập để xem chi tiết. Nếu chưa có tài khoản, Đăng ký tại đây!

Tải văn bản tiếng Việt (.doc) Tiêu chuẩn Việt Nam TCVN 7681-2:2025 DOC (Bản Word)

Đây là tiện ích dành cho tài khoản thành viên. Vui lòng Đăng nhập để xem chi tiết. Nếu chưa có tài khoản, Đăng ký tại đây!

Tình trạng hiệu lực: Đã biết
Hiệu lực: Đã biết
Tình trạng hiệu lực: Đã biết

TIÊU CHUẨN QUỐC GIA

TCVN 7681-2:2025

ISO 13041-2:2020

ĐIỀU KIỆN KIỂM MÁY TIỆN ĐIỀU KHIỂN SỐ VÀ TRUNG TÂM TIỆN - PHẦN 2: KIỂM HÌNH HỌC MÁY CÓ TRỤC CHÍNH MANG PHÔI THẲNG ĐỨNG

Test conditions for numerically controlled turning machines and turning centres - Part 2: Geometric test for machines with a vertical workholding spindle

Lời nói đầu

TCVN 7681-2:2025 thay thế TCVN 7681-2:2013 (ISO 13041-2:2008).

TCVN 7681-2:2025 hoàn toàn tương đương với ISO 13041-2:2020.

TCVN 7681 2:2025 do Ban kỹ thuật tiêu chuẩn quốc gia TCVN/TC 39 Máy công cụ biên soạn, Viện Tiêu chuẩn Chất lượng Việt Nam đề nghị, Ủy ban Tiêu chuẩn Đo lường Chất lượng Quốc gia thẩm định, Bộ Khoa học và Công nghệ công bố.

Bộ TCVN 7681 (ISO 13041), Điều kiện kiểm máy tiện điều khiển số và trung tâm tiện bao gồm các phần sau:

- TCVN 7681-1:2025 (ISO 13041-1:2020), Phần 1: Kiểm hình học máy có trục chính mang phôi nằm ngang;

- TCVN 7681-2:2025 (ISO 13041-2:2020), Phần 2: Kiểm hình học máy có trục chính mang phôi thẳng đứng;

- TCVN 7681-3:2013 (ISO 13041-3:2009), Phần 3: Kiểm hình học cho các máy có trục chính mang phôi thẳng đứng đảo nghịch;

- TCVN 7681-4:2007 (ISO 13041-4:2004), Phần 4: Độ chính xác và khả năng lặp lại định vị của các trục tịnh tiến và quay;

- TCVN 7681-5:2025 (ISO 13041-5:2015), Phần 5: Độ chính xác của tốc độ và phép nội suy;

- TCVN 7681-6:2013 (ISO 13041-6:2009), Phần 6: Độ chính xác của mẫu kiểm được gia công lần cuối;

- TCVN 7681-7:2007 (ISO 13041-7:2004), Phần 7: Đánh giá đặc tính tạo công tua trong các mặt phẳng tọa độ;

- TCVN 7681-8:2007 (ISO 13041-8:2004), Phần 8: Đánh giá các biến dạng nhiệt.

 

Lời giới thiệu

Trung tâm tiện là một máy công cụ trong đó chuyển động chính là chuyển động quay của chi tiết gia công còn dụng cụ cắt đứng yên. Đây là một máy công cụ điều khiển số có khả năng thực hiện nhiều nguyên công gia công, gồm phay, tiện, doa, khoan và cắt ren, cũng như thay dao tự động từ một ổ chứa dao hoặc cụm chứa tương tự theo một chương trình gia công.

Mục đích của bộ tiêu chuẩn này là cung cấp thông tin rộng và toàn diện đến mức có thể đối với các phép kiểm hình học, định vị, tạo công tua, biến dạng nhiệt và gia công, các phép kiểm này có thể được thực hiện để so sánh, nghiệm thu, bảo dưỡng hoặc bất kỳ mục đích nào khác.

Bộ tiêu chuẩn này quy định các phép kiểm cho các trung tâm tiện và các máy tiện điều khiển số có/không có các ụ sau được bố trí riêng biệt hoặc được tích hợp trong các hệ thống sản xuất linh hoạt, có tham chiếu ISO 230-1 và ISO 230-7. Bộ tiêu chuẩn này cũng thiết lập các dung sai hoặc các giá trị chấp nhận được lớn nhất đối với các kết quả kiểm tương ứng cho các trung tâm tiện và các máy tiện điều khiển số thông dụng và độ chính xác thường.

 

ĐIỀU KIỆN KIỂM MÁY TIỆN ĐIỀU KHIỂN SỐ VÀ TRUNG TÂM TIỆN - PHẦN 2: KIỂM HÌNH HỌC MÁY CÓ TRỤC CHÍNH MANG PHÔI THẲNG ĐỨNG

Test conditions for numerically controlled turning machines and turning centres - Part 2: Geometric test for machines with a vertical workholding spindle

1 Phạm vi áp dụng

Tiêu chuẩn này quy định các phép kiểm hình học cho các máy tiện điều khiển số (NC) và trung tâm tiện độ chính xác thường, thông dụng, có trục chính mang phôi thẳng đứng, cũng như các dung sai thích hợp tương ứng, có tham chiếu ISO 230-1 và ISO 230-7.

Tiêu chuẩn này giải thích các khái niệm hoặc các dạng cấu hình khác nhau và các tính năng chung của các máy tiện NC và các trung tâm tiện có trục chính mang phôi thẳng đứng. Tiêu chuẩn này cũng đưa ra thuật ngữ và ký hiệu của các trục điều khiển (xem Hình 1, Hình 2 và Bảng 1).

Tiêu chuẩn này chỉ đề cập việc kiểm tra xác nhận độ chính xác của máy, không áp dụng để kiểm vận hành máy (ví dụ như độ rung, độ ồn bất thường, chuyển động giật cục của các bộ phận) cũng như các đặc tính của máy (như tốc độ, lượng chạy dao). Các phép kiểm không liên quan độ chính xác của máy được đề cập ở các phần khác của bộ tiêu chuẩn này.

2 Tài liệu viện dẫn

Các tài liệu viện dẫn sau là cần thiết cho việc áp dụng tiêu chuẩn này. Đối với các tài liệu viện dẫn ghi năm công bố thì áp dụng phiên bản được nêu. Đối với các tài liệu viện dẫn không ghi năm công bố thì áp dụng phiên bản mới nhất, bao gồm cả các sửa đổi (nếu có).

ISO 230-1:2012 1) , Test code for machine tools - Part 1: Geometric accuracy of machines operating under no-load or quasi-static conditions (Quy tắc kiểm máy công cụ - Phần 1: Độ chính xác hình học của máy khi vận hành trong điều kiện không tải hoặc bán tĩnh)

ISO 230-7:2015 2) , Test code for machine tools - Part 7: Geometric accuracy of axes of rotation (Quy tắc kiểm máy công cụ - Phần 7: Độ chính xác hình học của các trục tâm của chuyển động quay)

3 Thuật ngữ và định nghĩa

Tiêu chuẩn này áp dụng các thuật ngữ và định nghĩa sau.

3.1

Máy tiện (turning machine)

Máy công cụ trong đó chuyển động chính là chuyển động quay của chi tiết gia công còn dụng cụ cắt đứng yên.

3.2

Điều khiển số (numerical control)

NC

Điều khiển tự động một quá trình được thực hiện bởi một thiết bị sử dụng các dữ liệu dạng số được nạp vào trong quá trình làm việc.

[NGUỒN: 2.1.1, ISO 2806:1994].

3.3

Máy tiện điều khiển số (numerically controlled turning machine)

Máy tiện NC (NC turning machine)

Máy tiện (3.1) vận hành dưới sự điều khiển số (3.2) hoặc điều khiển số bằng máy tính.

3.4

Trung tâm tiện (turning centre)

Máy tiện NC (3.3) được trang bị (các) dụng cụ cắt được dẫn động công suất và có khả năng định hướng trục chính mang phôi quanh trục của nó.

Chú thích 1: Máy này có thể bao gồm các tính năng bổ sung như thay dao tự động từ ổ chứa dao.

3.5

Rơvonve dụng cụ cắt (tool turret)

Hệ thống kẹp nhiều dụng cụ cắt có khả năng định vị dụng cụ cắt để thực hiện nguyên công gia công.

4 Lưu ý ban đầu

4.1 Đơn vị đo

Trong tiêu chuẩn này, tất cả các kích thước thẳng, sai lệch và dung sai tương ứng được tính bằng milimét; các kích thước góc được tính bằng độ, các sai lệch góc và dung sai tương ứng được thể hiện bằng các tỉ số; nhưng trong một số trường hợp, để cho rõ ràng dễ hiểu có thể sử dụng đơn vị microradian hoặc giây (cung). Cần lưu ý sự tương đương của các biểu diễn theo công thức (1).

0,010/1000 = 10 x 10 -6 = 10 urad ≈ 2" (1)

4.2 Tham chiếu ISO 230-1 và ISO 230-7

Để áp dụng tiêu chuẩn này, phải tham chiếu ISO 230-1:2012, ISO 230-7:2015 khi có yêu cầu, đặc biệt đối với việc lắp đặt máy trước khi kiểm, chạy khởi động trục chính và các bộ phận chuyển động, mô tả các phương pháp đo và độ không đảm bảo đo khuyến nghị của dụng cụ.

Trong trường hợp phép kiểm được đề cập tuân theo các quy định của ISO 230-1 hoặc ISO 230-7, tham chiếu điều tương ứng của ISO 230-1 hoặc ISO 230-7 được thể hiện trước các hướng dẫn trong ô “Xem” của các phép kiểm được mô tả trong Điều 5. Các dung sai được đưa ra cho từng phép kiểm (xem G1 đến G21, AR1 và AR2).

4.3 Cân bằng máy

Trước khi thực hiện các phép kiểm, máy công cụ cần được cân bằng theo khuyến nghị của nhà sản xuất/nhà cung cấp (xem 6.1.1 và 6.1.2, ISO 230-1:2012).

4.4 Trình tự kiểm

Trình tự các phép kiểm được trình bày trong tiêu chuẩn này không xác định thứ tự kiểm thực tế. Để thực hiện việc lắp đặt các dụng cụ hoặc đồng hồ so dễ dàng, có thể thực hiện các phép kiểm theo thứ tự bất kỳ.

4.5 Các phép kiểm được thực hiện

Khi kiểm máy, không phải lúc nào cũng cần thiết hoặc có thể thực hiện tất cả các phép kiểm được mô tả trong tiêu chuẩn này. Khi các phép kiểm được yêu cầu cho mục đích nghiệm thu, người sử dụng lựa chọn các phép kiểm có liên quan đến các bộ phận và/hoặc các đặc tính của máy mà họ quan tâm theo thỏa thuận với nhà sản xuất/nhà cung cấp. Các phép kiểm này cần được nêu rõ ràng khi đặt mua máy. Chỉ tham chiếu tiêu chuẩn này cho các phép kiểm nghiệm thu mà không có quy định các phép kiểm được tiến hành và không có sự thỏa thuận về chi phí liên quan, không thể bị coi là ràng buộc đối với bất kỳ bên nào tham gia hợp đồng.

4.6 Phương tiện đo

Phương tiện đo được nêu trong các phép kiểm được mô tả dưới đây chỉ là các ví dụ. Có thể sử dụng phương tiện đo khác có khả năng đo cùng đại lượng và có cùng độ không đảm bảo đo hoặc nhỏ hơn. Phải tham chiếu Điều 5, ISO 230-1:2012, ở đó chỉ ra mối quan hệ giữa các độ không đảm bảo đo và dung sai.

Khi nhắc đến “đồng hồ so”, nó không chỉ có nghĩa là các bộ chỉ thị số (DTI), mà còn là bất kỳ kiểu cảm biến độ dịch chuyển tuyến tính nào như các đồng hồ so mặt số hoặc tương tự, các bộ chuyển đổi vi sai biến thiên tuyến tính (LVDT), các đồng hồ đo độ dịch chuyển tỷ lệ tuyến tính, hoặc các cảm biến không tiếp xúc, khi áp dụng cho phép kiểm liên quan.

Tương tự, khi nhắc đến “thước thẳng”, nó có nghĩa là bất kỳ vật chuẩn tham chiếu độ thẳng nào, như thước thẳng bằng đá granit hoặc gốm hoặc thép hoặc gang, một cạnh của ke vuông, một đường sinh trên khối trụ vuông, bất kỳ đường thẳng nào trên một khối lập phương chuẩn, hoặc một vật đặc biệt, chuyên dụng được chế tạo vừa khít với các rãnh chữ T hoặc các chuẩn tham chiếu khác.

Theo cách tương tự, khi nhắc đến “ke vuông”, nó có nghĩa là bất kỳ vật tham chiếu độ vuông góc, như ke vuông bằng đá granit, gốm, thép hoặc gang, ke vuông dạng trụ, khối lập phương chuẩn, hoặc một vật đặc biệt, chuyên dụng.

Thông tin có giá trị về phương tiện đo có trong ISO/TR 230-11.

4.7 Sơ đồ

Trong tiêu chuẩn này, để đơn giản, các sơ đồ liên quan tới các phép kiểm hình học thường chỉ minh họa cho một kiểu máy.

4.8 Bù bằng sử dụng phần mềm

Khi các công cụ phần mềm được tích hợp sẵn để dùng cho việc bù các sai lệch hình học, việc sử dụng chúng trong các phép kiểm cho mục đích nghiệm thu phải trên cơ sở thỏa thuận giữa người sử dụng và nhà sản xuất/nhà cung cấp, với sự xem xét về máy công cụ dự định sử dụng. Khi sử dụng bù bằng phần mềm, việc này phải được nêu trong báo cáo kiểm. Phải lưu ý là khi sử dụng bù bằng phần mềm, không được khóa các trục cho mục đích kiểm (xem ISO/TR 16907).

4.9 Ảnh hưởng của trọng lực đối với các máy có hai ụ xà ngang

Đối với các máy công cụ có hai ụ trượt trên xà ngang [xem Hình 2 và Bảng 1, kiểu B, a) và b)], ụ xà ngang không được kiểm phải ở một vị trí dừng đã định theo khuyến nghị của nhà sản xuất. Nếu cả hai ụ xà ngang được sử dụng, các sai lệch có thể thay đổi do trọng lực.

4.10 Dung sai

Trong tiêu chuẩn này, tất cả các giá trị dung sai đều là các khuyến nghị. Khi chúng được sử dụng cho mục đích nghiệm thu, có thể lấy các giá trị khác theo thỏa thuận giữa người sử dụng và nhà sản xuất/nhà cung cấp. Các giá trị dung sai yêu cầu/thỏa thuận này phải được nêu rõ ràng khi đặt mua máy.

Khi thiết lập dung sai cho một phép kiểm hình học đối với một chiều dài đo khác với chiều dài đo cho trong tiêu chuẩn này, phải lưu ý rằng giá trị dung sai nhỏ nhất là 0,005.

Về nguyên tắc, các dung sai góc được cho dưới dạng một khoảng cách trên 1000 mm. Góc được chuyển đổi cho một chiều dài đo điển hình được trình bày trong ngoặc đơn, ví dụ: 0,060/1000 (0,015/250).

4.11 Các chuyển động tịnh tiến

Để đơn giản, tất cả các ví dụ về máy thể hiện trên các Hình 1 và 2 sử dụng ký hiệu trục gồm một ký tự và một số (ví dụ X, X1, X2) như định nghĩa trong 6.1 của ISO 841:2001. Trong tất cả các ví dụ, các ký tự U, V hoặc W có thể bị thay thế.

4.12 Rơvonve dụng cụ cắt hoặc bộ phận (chi tiết) kẹp dụng cụ cắt

Tùy thuộc vào cấu hình máy, các dụng cụ cắt (tĩnh hoặc được dẫn động công suất) có thể được kẹp trong bộ kẹp dụng cụ cắt hoặc trong rơvonve được đặt trên đầu trượt bộ kẹp dụng cụ cắt (đầu trượt ụ xà ngang) và/hoặc đầu trượt ụ bên. Một cơ cấu thay dao tự động cũng có thể được sử dụng. Tuy nhiên, tiêu chuẩn này không đưa ra bất kỳ phương pháp kiểm nào cho hoạt động thay dao tự động.

4.13 Dạng cấu hình máy và ký hiệu các trục

Một ký hiệu xích động học cho máy công cụ cụ thể được cung cấp cùng với sơ đồ tương ứng của nó (xem các Hình 1, 2 và Bảng 1). Ký hiệu minh họa cấu trúc của một máy công cụ bằng việc đưa ra một danh mục các bộ phận kết cấu và chuyển động bắt đầu từ phôi gia công (w) tới dụng cụ cắt (t). Nó mô tả xích động học của các trục chuyển động trong dấu ngoặc vuông, trong đó “w”, “t”, và “b” thể hiện bàn máy hoặc trục chính mang phôi, dụng cụ cắt và bệ máy. Chữ cái đứng trước của ký hiệu này thể hiện kiểu máy công cụ. “V” viết tắt cho bàn máy/trục chính mang phôi thẳng đứng.

4.14 Phân loại máy

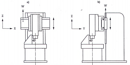
Các máy được xem xét trong tiêu chuẩn này được chia thành các dạng cấu hình cơ bản sau (xem Hình 1, 2 và Bảng 1):

- Kiểu A: Các máy có trụ đơn;

- Kiểu B: Các máy có trụ kép.

Các máy kiểu B còn được chia thành các loại sau:

- trụ máy cố định - loại cổng;

- trụ máy di động - loại khung.

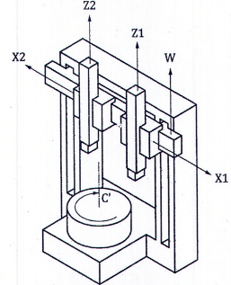
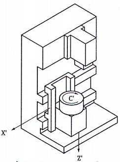
CHÚ DẪN:

Tiếng Việt

Tiếng Anh

Tiếng Pháp

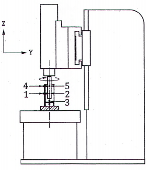
1 trục chính mang phôi (bàn máy mang phôi), C’

workholding spindle (workholding table), C’

broche porte-pièce (plateau tournant), C’

2 bệ máy

base

base

3 trụ máy

column

montant

4 xà ngang

cross-rail

traverse porte-chariot

5 ụ xà ngang (bàn trượt), X

rail head (saddle), X

chariot de traverse (trainard), X

6 đầu trượt bộ kẹp dụng cụ cắt (đầu trượt ụ xà ngang), Z

tool holder slide (rail head ram), Z

chariot de tourelle, Z

7 bộ kẹp dụng cụ cắt

tool holder

porte-outil

CHÚ THÍCH: Đối với các ngôn ngữ khác, xem Bảng B.1.

Hình 1 - Ví dụ máy có trụ đơn (kiểu A) V [w C’ b X Z t]

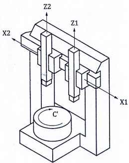
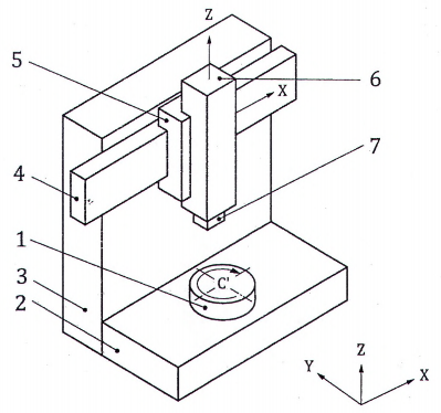
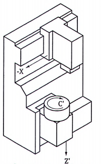
CHÚ DẪN:

 

Tiếng Việt

Tiếng Anh

Tiếng Pháp

1

trục chính mang phôi (bàn máy mang phôi), C’

workholding spindle (workholding table), C’

broche porte-pièce (plateau tournant), C’

2

bệ máy

base

base

3

trụ máy phải

right-hand column

montant droit

4

trụ máy trái

left-hand column

montant gauche

5

xà ngang, W

cross-rail, W

traverse porte-chariot, W

6

đầu trượt bộ kẹp dụng cụ cắt (đầu trượt ụ xà ngang), Z2

tool holder slide (rail head ram), Z2

coulant du chariot de traverse, Z2

7

ụ xà ngang (bàn trượt), X

rail head (saddle), X1, X2

chariot de traverse (trainard), X1, X2

8

đầu trượt bộ kẹp dụng cụ cắt (đầu trượt ụ xà ngang), Z1

tool holder slide (rail head ram), Z1

coulant du chariot de traverse, Z1

9

xà nối

bridge

traverse

10

bộ kẹp dụng cụ cắt

tool holder

porte-outil

11

Rơvonve dụng cụ cắt, B

tool turret, B

tourelle, B

CHÚ THÍCH: Đối với các ngôn ngữ khác, xem Bảng B.2.

Hình 2 - Ví dụ máy có trụ kép (kiểu B) V [w C’ b W X1 Z1 t 1 ] [w C’b W X2 Z2 B t n ]

Bảng 1 - Ví dụ về các dạng cấu hình máy

Kiểu A - Máy có trụ đơn

a) kiểu ụ hỗn hợp V [w C’ b X Z t]

b) kiểu phân chia chuyển động
(trục chính mang phôi di động)
V [w C’ X’ b Z t]

c) kiểu phân chia chuyển động
(ụ/bàn trượt di động)
V [w C’ Z’ b X t]

d) kiểu trục chính mang phôi hỗn hợp
V [w C’ Z’ X’ b t]

Kiểu B - Máy có trụ kép

a) trụ máy cố định (loại cổng),
xà ngang di động
V [w C’ b W X1 Z1 t 1 ] V [w C’ b W X2 Z2 t 2 ]

b) trụ máy cố định (loại cổng),
xà ngang cố định
V [w C’ b X1 Z1 t 1 ] V [w C’ b X2 Z2 t 2 ]

c) trụ máy di động (loại khung),
xà ngang di động
V [w C’ b Y W X Z t]

d) trụ máy cố định (loại cổng),
trục chính mang phôi di động (trục Y)
V [w C’ Y’ b X Z t]

5 Kiểm hình học

5.1 Trục chính hoặc bàn máy mang phôi

Đối tượng

G1

Kiểm độ đảo mặt đầu của bàn máy hoặc trục chính mang phôi:

a) độ đảo mặt đầu của bề mặt bàn máy mang phôi;

b) độ đảo mặt đầu của mặt trục chính.

Sơ đồ

Dung sai

a) Đối với các đường kính lên tới 1000: 0,010

Đối với bất kỳ lượng tăng thêm đường kính lên tới 1000: +0,010

b) Đối với tất cả các đường kính: 0,010

Sai số đo được

a)

 

b)

Phương tiện đo

a) và b) Đồng hồ so

Xem và tham chiếu 12.5.2, ISO 230-1:2012

a) Đồng hồ so phải được đặt trên một bộ phận của máy mang dụng cụ cắt và phải được đặt gần biên bàn máy mang phôi nhất có thể và tạo góc gần bằng 180 ° so với vị trí bị chiếm giữ của dụng cụ cắt nếu bàn máy mang phôi được gia công ở đúng chỗ của nó (xem thêm phép kiểm AR1).

Xà ngang và ụ xà ngang được khóa tại đúng vị trí, nếu có thể.

b) Các phép đo của đồng hồ so phải được lấy ở đường kính lớn nhất của mặt trục chính.

 

Đối tượng

G2

Kiểm độ đảo của:

a) lỗ bàn máy mang phôi;

b) bề mặt trụ ngoài của bàn máy mang phôi (trong trường hợp bàn máy mang phôi không có lỗ tâm);

c) đường kính định tâm của trục chính mang phối.

Sơ đồ

Dung sai

a) Đối với đường kính bán máy mang phôi lên tới 1000: 0,010

Đối với đường kính bán máy mang phôi lớn hơn 1000: 0,020

b) Đối với đường kính lên tới 1000: 0,010

Đối với bất kỳ lượng tăng thêm đường kính lên tới 1000: +0,010

c) Đối với tất cả các cỡ đường kính định tâm: 0,010

Sai số đo được

a)

 

b)

 

c)

Phương tiện đo

a), b) và c) Đồng hồ so

Xem và tham chiếu 12.5, ISO 230-1:2012

a) và b) Đồng hồ so phải được đặt ở góc gần bằng 180° so với vị trí bị chiếm giữ của dụng cụ cắt nếu bàn máy mang phôi được gia công ở đúng chỗ của nó.

Xà ngang, ụ xà ngang và đầu trượt được khóa tại đúng vị trí, nếu có thể.

Đồng hồ so nên được đặt trên bộ kẹp dụng cụ cắt gần với vị trí của dụng cụ cắt.

b) Các phép đo của đồng hồ so phải được lấy ở đường kính lớn nhất của mặt trục chính.

c) Xem 12.5.2, ISO 230-1:2012. Nếu bề mặt này là mặt côn, đầu đo của đồng hồ so phải vuông góc với bề mặt tiếp xúc.

5.2 Các trục tịnh tiến X và Z

Đối tượng

G3

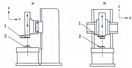
Kiểm độ thẳng chuyển động của ụ xà ngang (trục X) trên xà ngang:

a) trong mặt phẳng thẳng đứng ZX (E ZX );

b) trong mặt phẳng nằm ngang XY (E YX ).

CHÚ THÍCH: Thiết lập kiểm thể hiện ở b) chỉ áp dụng cho các trung tâm tiện.

Sơ đồ

Dung sai

Đối với a) và b)

0,020 cho chiều dài đo 1000

Cộng thêm 0,010 cho mỗi chiều dài đo tăng thêm 500

Dung sai cục bộ: 0,010 cho mỗi chiều dài đo 500

Sai số đo được

a)

b)

Phương tiện đo

a) Thước thẳng, căn mẫu điều chỉnh được và đồng hồ so hoặc dụng cụ quang học

b) Thước thẳng, căn mẫu điều chỉnh được và đồng hồ so hoặc dụng cụ quang học hoặc dây căng và kính hiển vi

Xem và tham chiếu 8.2, ISO 230-1:2012

Nếu khung máy hoặc trục chính (bàn máy) mang phôi di động được theo phương trục Y, thì nó phải ở vị trí sao cho đường đo gần với trục quay của trục chính mang phôi.

Định vị đầu trượt bộ kẹp dụng cụ cắt ở vị trí giữa hành trình của nó. Thước thẳng phải được đặt trên trục chính hoặc bàn máy mang phôi gần vuông góc với trục C.

Đồng hồ so, giao thoa kế, bia hoặc kính hiển vi phải được lắp trên ụ xà ngang gần với vị trí của dụng cụ cắt.

Nếu thước thẳng không được chỉnh thẳng bằng cơ học, các kết quả có thể được đánh giá theo 3.4.8, ISO 230-1:2012.

 

Đối tượng

G4

Kiểm sai số góc chuyển động của ụ xà ngang (trục X) trên xà ngang:

a) trong mặt phẳng ZX, E BX (lắc dọc (pitch));

b) trong mặt phẳng YZ, E AX (lắc xoay (roll));

c) trong mặt phẳng XY, E CX (lắc ngang (yaw)).

Sơ đồ

CHÚ DẪN:

1 nivô đo 3 ống tự chuẩn trực

2 nivô chuẩn 4 gương phản xạ

Dung sai

Đối với a), b) và c)

Với chiều dài đo lên tới 1600: 0,040/1000

Với chiều dài đo trên 1600: 0,060/1000

Sai số đo được

a)

b)

c)

Phương tiện đo

a) Nivô chính xác hoặc dụng cụ quang học đo góc

b) Nivô chính xác

c) Dụng cụ quang học đo góc, ví dụ ống tự chuẩn trực

Xem và tham chiếu 3.4.16 và 8.4, ISO 230-1:2012

Nivô đo hoặc phương tiện đo phải được đặt trên bộ kẹp dụng cụ cắt:

a) (E BX : lắc dọc) nivô hoặc dụng cụ quang học được định hướng trong mặt phẳng ZX (đặt thẳng đứng);

b) (E AX : lắc xoay) nivô được định hướng trong mặt phẳng YZ;

c) (E CX : lắc ngang) dụng cụ quang học (như ống tự chuẩn trực) được định hướng trong mặt phẳng XY (đặt ngang).

Khi chuyển động của ụ xà ngang gây ra một sai số góc của cả bộ kẹp dụng cụ cắt và trục chính hoặc bàn máy mang phôi, phải thực hiện các phép đo độ chênh của hai sai số góc này và giá trị này phải được công bố.

Nivô chuẩn phải được đặt trên trục chính hoặc bàn máy mang phôi.

Các phép đo phải được thực hiện ở ít nhất năm vị trí cách đều nhau dọc hành trình theo cả hai chiều chuyển động.

 

Đối tượng

G5

Kiểm độ thẳng chuyển động của đầu trượt bộ kẹp dụng cụ cắt (đầu trượt) theo phương trục Z:

a) trong mặt phẳng ZX (E XZ );

b) trong mặt phẳng YZ (E YZ ).

Sơ đồ

Dung sai

Đối với a) và b)

0,050 trên chiều dài đo 1000

Dung sai cục bộ: 0,020/300

Sai số đo được

a)

b)

Phương tiện đo

a) và b) Ke vuông và đồng hồ so

Phương pháp khác: Dụng cụ quang học, như dụng cụ quét laze

Xem và tham chiếu 8.2, ISO 230-1:2012

Di chuyển đầu trượt bộ kẹp dụng cụ cắt trên tâm của bàn máy. Đặt một ke vuông (không phải ke vuông dạng trụ) theo phương hướng kính trên bàn máy, với cạnh ke vuông nằm ngang song song với trục X, nằm về một phía của đầu trượt bộ kẹp dụng cụ, theo đó bàn máy có thể xoay 90° để mang ke vuông từ mặt phẳng ZX đến mặt phẳng YZ mà không gây va chạm với đầu trượt bộ kẹp dụng cụ. Ke vuông này không cần chỉnh thẳng với trục C. Lấy các số đọc của đồng hồ so ở vài vị trí dọc theo trục Z.

Nếu phép kiểm này được kết hợp với phép kiểm G8, đặt ke vuông ở vị trí sao cho cho phép bàn máy được xoay đến bốn vị trí cách nhau 90°.

Thiết lập phép kiểm này cũng áp dụng được cho các phép kiểm G8, G9 và G11.

 

Đối tượng

G6

Kiểm sai số góc chuyển động của đầu trượt bộ kẹp dụng cụ cắt (đầu trượt) (trục Z).

Tùy chọn khác, kiểm chuyển động quay của đầu trượt quanh trục Z (nếu lắc xoay có liên quan):

a) trong mặt phẳng YZ, E AZ (nghiêng quanh X);

b) trong mặt phẳng ZX, E BZ (nghiêng quanh Y);

c) tùy chọn khác: E CZ (lắc xoay).

Sơ đồ

CHÚ DẪN.

1 nivô đo 2 nivô chuẩn

Dung sai

Đối với chiều dài đo lên đến 1600: 0,030/1000

Đối với chiều dài đo trên 1600: 0,060/1000

Đối với đo lắc xoay tùy chọn khác, dung sai là 0,040/1000

Sai số đo được

a)

b)

c)

Phương tiện đo

a) và b) Nivô chính xác, ống tự chuẩn trực hoặc giao thoa kế laze với quang học góc

Xem và tham chiếu 3.4.16 và 8.4, ISO 230-1:2012

Các phép đo phải được thực hiện ở ít nhất năm vị trí cách đều nhau dọc hành trình theo cả hai chiều chuyển động.

Nivô chuẩn phải được đặt trên trục chính hoặc bàn máy mang phôi.

Đối với đo lắc xoay của Z tùy chọn khác, xem 8.4.2.4, ISO 230-1:2012.

 

Đối tượng

G7

Kiểm độ vuông góc của chuyển động ụ xà ngang (trục X) với trục quay của trục chính mang phôi (trục C) [E B(0(C))X ].

CHÚ THÍCH: Cũng áp dụng được cho đầu trượt bộ kẹp dụng cụ cắt thứ hai trên trụ máy.

Sơ đồ

Dung sai

0,070/1000 ( ≈ 0,020/300)

Đối với bất kỳ lượng tăng thêm chiều dài đo 300: +0,010/300

Phương sai lệch: α ≤ 90°

Quỹ đạo của trục X phải là dạng lõm trừ khi có thỏa thuận riêng giữa người sử dụng và nhà cung cấp/nhà sản xuất.

Sai số đo được

Phương tiện đo

Thước thẳng, căn mẫu điều chỉnh được và đồng hồ so

Xem và tham chiếu 10.3.3, ISO 230-1:2012

Đồng hồ so được cố định vào rơvonve hoặc bộ kẹp dụng cụ cắt gần với vị trí của dao.

Thước thẳng được đặt trên trục chính hoặc bàn máy mang phôi vuông góc với trục C, hoặc sự không vuông góc phải được xem xét trong phép đo này; hoặc

Nếu thước thẳng không vuông góc một cách hoàn hảo với trục C, các phép đo nên được lấy ở vài vị trí của chuyển động trục X, sau đó xoay trục chính góc 180° và lấy bộ số đo thứ hai ở cùng các vị trí X. Sai lệch độ vuông góc là dải trung bình của hai bộ số đo này.

Phép kiểm này áp dụng cho tất cả các ụ xà ngang.

Hướng trục X nên được xác định thông qua đường bình phương nhỏ nhất của nó hoặc thông qua số đọc ở hai điểm đo cực biên, nếu có thể đối xứng. Nhưng một số trục X không thể dịch chuyển vượt quá xa tâm bàn máy. Trong trường hợp này, bất kể phương pháp nào được chọn, nó có thể áp dụng gần đúng cho một bán kính.

CHÚ THÍCH: Đối với ứng dụng phay, độ vuông góc của X so với Z có thể là một xem xét quan trọng. Trong trường hợp này, nó có thể được đo bởi phép kiểm G21 hoặc được suy ra từ các kết quả của các phép kiểm G7 và G8.

 

Đối tượng

G8

Kiểm độ song song chuyển động trục Z (đầu trượt bộ kẹp dụng cụ cắt) với trục quay của trục chính mang phôi:

a) trong mặt phẳng ZX [E B(0(C))Z ];

b) trong mặt phẳng YZ [E A(0(C))Z ].

CHÚ THÍCH: Cũng áp dụng được cho đầu trượt bộ kẹp dụng cụ cắt thứ hai trên trụ máy.

Sơ đồ

Dung sai

a) 0,030/1000 (0,010/300)

b) 0,050/1000 (0,015/300)

Sai số đo được

a)

b)

Phương tiện đo

a) và b) Ke vuông và đồng hồ so

Xem và tham chiếu 10.1.4 và 10.1.4.3, ISO 230-1:2012

Di chuyển đầu trượt bộ kẹp dụng cụ cắt trên tâm của bàn máy. Đặt một ke vuông (không phải ke vuông dạng trụ) theo phương hướng kính trên bàn máy, với một cạnh ke vuông song song với trục X, nằm về một phía của đầu trượt bộ kẹp dụng cụ, theo đó bàn máy có thể xoay 180° để mang ke vuông về phía đối diện của đầu trượt bộ kẹp dụng cụ mà không gây ra va chạm. Ke vuông này không cần chỉnh thẳng với trục C.

Lấy các số đọc của đồng hồ so ở vài vị trí dọc theo trục Z. Nếu phép kiểm G5 được thực hiện trước phép kiểm G8, sử dụng các số đọc được lấy cho phép kiểm G5. Đối với cả a) và b), không dịch chuyển trục X, xoay bàn máy góc 180° để mang ke vuông đến phía đối diện của đầu trượt bộ kẹp dụng cụ. Lấy các số đọc của đồng hồ so tại cùng các độ cao trên ke vuông. Giá trị nửa độ chênh lệch giữa các độ dốc đường bình phương nhỏ nhất của hai phép đo (ở 0° và 180°) cung cấp sai lệch độ song song của trục Z so với trục C.

Thiết lập phép kiểm này cũng áp dụng được cho các phép kiểm G5, G9 và G11.

CHÚ THÍCH 1: Đối với các máy có hai đầu trượt ụ xà ngang, phép kiểm này có thể được thực hiện với một ke vuông dạng trụ được đặt ở tâm của bàn máy.

CHÚ THÍCH 2: Đối với các máy có hai đầu trượt bộ kẹp dụng cụ cắt, độ chênh lệch của các phép kiểm G8 đối với hai đầu trượt bộ kẹp dụng cụ cung cấp thông tin về độ song song của các đầu trượt bô kẹp dụng cụ. Dung sai cho đô song song này là vấn đề để thỏa thuận giữa nhà cung cấp/nhà sản xuất và người sử dụng.

5.3 Chuyển động xà ngang

Đối tượng

G9

Kiểm độ thẳng chuyển động của trục W của xà ngang:

a) trong mặt phẳng ZX (E XW );

b) trong mặt phẳng YZ (E YW ).

Sơ đồ

Dung sai

Đối với a) 0,050 trên chiều dài đo 1000

Đối với b) 0,080 trên chiều dài đo 1000

Sai số đo được

a)

b)

Phương tiện đo

a) và b) Ke vuông và đồng hồ so

Phương pháp khác: Dụng cụ quang học, như dụng cụ quét laze

Xem và tham chiếu 8.2, ISO 230-1:2012

Ụ xà ngang phải được đặt ở (các) vị trí dừng phù hợp theo quy định kỹ thuật của nhà sản xuất và vị trí này phải được báo cáo. Đầu trượt thẳng đứng phía trên tâm của bàn máy, nếu chỉ có một ụ xà ngang. Đặt đồng hồ so trên bộ kẹp dụng cụ cắt. Đặt một ke vuông (không phải ke vuông dạng trụ) theo phương hướng kính trên bàn máy, với một cạnh ke vuông song song với trục X, nằm về một phía của đầu trượt bộ kẹp dụng cụ cắt. Ke vuông này không cần chỉnh thẳng với trục C. Các số đọc dọc theo trục W phải được lấy ở vài vị trí với xà ngang được kẹp trên các trụ máy mà không có sự dịch chuyển trục X.

Nếu phép kiểm này được kết hợp với phép kiểm G11, đặt ke vuông ở vị trí sao cho cho phép bàn máy được xoay đến bốn vị trí cách nhau 90°.

Thiết lập phép kiểm này cũng áp dụng được cho các phép kiểm G5, G8 và G11.

 

Đối tượng

G10

Kiểm sai số góc của xà ngang trong chuyển động trục W của nó.

Tùy chọn khác, kiểm chuyển động quay của xà ngang quanh trục W (nếu lắc xoay có liên quan):

a) trong mặt phẳng thẳng đứng YZ (E AW );

b) trong mặt phẳng thẳng đứng ZX (E BW );

c) trong mặt phẳng XY, E CW (lắc xoay).

Sơ đồ

CHÚ DẪN:

1 nivô đo (vị trí ưu tiên)

2 nivô đo (vị trí thay thế khác)

3 nivô chuẩn

Dung sai

Đối với a) và b)

Đối với bất kỳ chiều dài đo 0,030/1000

Đối với đo lắc xoay tùy chọn khác, dung sai là 0,040/1000

Sai số đo được

a)

b)

c)

Phương tiện đo

a) và b) Nivô chính xác, ống tự chuẩn trực hoặc giao thoa kế laze với quang học góc

Xem và tham chiếu 8.4, ISO 230-1:2012

Đặt nivô đo ở vị trí giữa có thể có của xà ngang (bộ kẹp dụng cụ cắt) trên một bề mặt thích hợp và đọc chỉ thị ở các vị trí được trích dẫn.

Ụ xà ngang phải được đặt ở vị trí dừng phù hợp theo quy định kỹ thuật của nhà sản xuất và phải được báo cáo.

Khi chuyển động trục W gây ra sai số góc của cả bộ kẹp dụng cụ cắt và trục chính hoặc bàn máy mang phôi, các phép đo độ chênh của hai chuyển động góc này phải được thực hiện và đại lượng này phải được công bố.

Nếu áp dụng phép đo độ chênh, nivô chuẩn phải được đặt trên bàn máy mang phôi.

Khóa xà ngang tại từng vị trí, khi có thể.

Đối với đo lắc xoay của trục W, xem 8.4.2.4, ISO 230-1:2012.

 

Đối tượng

G11

Kiểm độ song song chuyển động trục W của xà ngang với trục quay của trục chính hoặc bàn máy mang phôi:

a) trong mặt phẳng ZX [E B(0C)W ];

b) trong mặt phẳng YZ [E A(0C)W ].

Sơ đồ

Dung sai

a) 0,050/1000 (0,015/300)

b) 0,067/1000 (0,020/300)

Sai số đo được

a)

b)

Phương tiện đo

a) và b) Đồng hồ so và ke vuông hoặc dụng cụ quang học, như dụng cụ quét laze

Xem và tham chiếu 10.1.4 và 10.1.4.3, ISO 230-1:2012

Ụ xà ngang phải được đặt ở vị trí dừng phù hợp theo quy định kỹ thuật của nhà sản xuất và các vị trí này phải được báo cáo.

Đầu trượt thẳng đứng phía trên tâm của bàn máy, nếu có thể. Đặt một đồng hồ so trên bộ kẹp dụng cụ cắt.

Đặt một ke vuông (không phải ke vuông dạng trụ) theo phương hướng kính trên bàn máy, với một cạnh ke vuông song song với trục X, nằm về một phía của đầu trượt bộ kẹp dụng cụ, theo đó bàn máy có thể xoay 180° để mang ke vuông về phía đối diện của đầu trượt bộ kẹp dụng cụ mà không gây ra va chạm. Ke vuông này không cần chỉnh thẳng với trục C.

Lấy các số đọc của đồng hồ so ở vài vị trí dọc theo trục W với xà ngang được kẹp trên các trụ máy trước mỗi lần đọc.

Nếu phép kiểm G9 được thực hiện trước phép kiểm G11, sử dụng các số đọc được lấy cho phép kiểm G9. Đối với cả a) và b), không dịch chuyển trục X, xoay bàn máy góc 180° để mang ke vuông đến phía đối diện của đầu trượt bộ kẹp dụng cụ.

Lấy các số đọc của đồng hồ so tại cùng các độ cao trên ke vuông. Một nửa giá trị đại số các độ chênh lệch của tất cả các cặp số đọc ở cùng các độ cao cung cấp các sai lệch độ thẳng của trục W (sẵn sàng được kiểm bởi G9).

Một nửa giá trị độ chênh lệch giữa hai kết quả nhận được ở các điểm đầu mút của hành trình, chia cho chiều dài hành trình (hoặc tốt hơn là độ dốc đường bình phương nhỏ nhất của đồ thị) cung cấp sai lệch độ song song của trục W so với trục C.

Thiết lập phép kiểm này cũng áp dụng được cho các phép kiểm G5, G8 và G9.

5.4 Các phép kiểm liên quan đến trục Y

Đối tượng

G12

Kiểm độ thẳng chuyển động của khung (loại khung) hoặc bàn máy mang phôi di động (loại cổng) theo phương trục Y:

a) trong mặt phẳng thẳng đứng YZ (E ZY );

b) trong mặt phẳng nằm ngang XY (E XY ).

Sơ đồ

Dung sai

a) 0,030 trên chiều dài đo 1000

b) 0,040 trên chiều dài đo 1000

Sai số đo được

a)

b)

Phương tiện đo

a) Thước thẳng, căn mẫu điều chỉnh được và đồng hồ so hoặc dụng cụ quang học.

b) Thước thẳng, căn mẫu điều chỉnh được và đồng hồ so hoặc dụng cụ quang học hoặc kính hiển vi và dây căng.

Xem và tham chiếu 8.2 và 12.1.2.2, ISO 230-1:2012

Đối với các máy loại khung, xà ngang được khóa ở vị trí nằm giữa, đầu trượt bộ kẹp dụng cụ cắt ở vị trí đo.

Thước thẳng nên được đặt trên bàn máy mang phôi song song với trục Y.

Đồng hồ so, giao thoa kế, bia hoặc kính hiển vi dùng cho dây căng phải được lắp trên ụ xà ngang gần với vị trí của dụng cụ cắt. Đường đo nên gàn với trục quay của bàn máy mang phôi.

Cách khác, nếu thước thẳng không được chỉnh thẳng bằng cơ học, các kết quả có thể được đánh giá theo 3.4.8, ISO 230-1:2012.

 

Đối tượng

G13

Kiểm sai số góc của khung di động (loại khung) hoặc bàn máy mang phôi di động (loại cổng) theo phương Y:

a) trong mặt phẳng YZ, E AY (lắc dọc);

b) trong mặt phẳng ZX, E BY (lắc xoay);

c) trong mặt phẳng XY, E CY (lắc ngang).

Sơ đồ

CHÚ DẪN:

1 nivô đo đối với lắc dọc 3 ống tự chuẩn trực đối với lắc ngang/lắc dọc 5 nivô đo đối với lắc xoay

2 nivô chuẩn đối với lắc dọc 4 gương phản xạ đối với lắc ngang/lắc dọc 6 nivô chuẩn đối với lắc xoay

Dung sai

Đối với a), b) và c)

Với chiều dài đo bất kỳ 0,050/1000

Sai số đo được

a)

b)

c)

Phương tiện đo

a) Nivô chính xác hoặc dụng cụ quang học đo góc

b) Nivô chính xác

c) Dụng cụ quang học đo góc

Xem và tham chiếu 3.4.16 và 8.4, ISO 230-1:2012

Nivô đo hoặc phương tiện đo phải được đặt trên ụ xà ngang được cố định ở vị trí:

a) (E AY : lắc dọc) nivô hoặc dụng cụ quang học được định hướng trong mặt phẳng YZ;

b) (E BY : lắc xoay) nivô được định hướng trong mặt phẳng ZX;

c) (E CY : lắc ngang) dụng cụ quang học được định hướng trong mặt phẳng XY.

Khi chuyển động của bộ phận di động (khung hoặc bàn trượt bàn máy) gây ra các sai số góc của cả bàn máy mang phôi và bộ kẹp dụng cụ cắt, phải thực hiện các phép đo độ chênh của hai sai số góc này và giá trị này phải được công bố.

Nivô chuẩn phải được đặt trên bộ phận không di động (bàn máy hoặc bộ kẹp dụng cụ cắt).

Các phép đo phải được thực hiện ở ít nhất năm vị trí cách đều nhau dọc hành trình theo cả hai chiều chuyển động.

 

Đối tượng

G14

Kiểm độ vuông góc của chuyển động trục Y (khung hoặc bàn máy mang phôi) với trục C [E A(0C)Y ].

CHÚ THÍCH: Phép kiểm này áp dụng cho các máy thể hiện trong Bảng 1, kiểu B c) và kiểu B d).

Sơ đồ

Dung sai

0,040/1000

Sai số đo được

Phương tiện đo

Căn mẫu và đồng hồ so

Xem và tham chiếu 10.3.3, ISO 230-1:2012

Đặt một căn mẫu trên một mép của bàn máy, cách xa trục quay theo phương Y; cố định đồng hồ so vào bộ kẹp dụng cụ cắt; đưa đầu đo vào tiếp xúc với căn mẫu và chỉnh đồng hồ so về không. Xoay bàn máy góc 180° và dịch chuyển trục Y cho đến khi đầu đo chạm lại vào căn mẫu. Số đọc của đồng hồ so chia cho khoảng dịch chuyển Y là sai số sẽ được báo cáo.

Giá trị góc α, nhỏ hơn, bằng hoặc lớn hơn 90° phải được ghi lại.

 

Đối tượng

G15

Kiểm độ vuông góc của chuyển động trục Y (khung hoặc bàn máy mang phôi) với chuyển động trục X (ụ xà ngang) E C(0X)Y .

CHÚ THÍCH: Phép kiểm này áp dụng cho các máy thể hiện trong Bảng 1, kiểu B c) và kiểu B d).

Sơ đồ

Dung sai

0,040/1000

Sai số đo được

Phương tiện đo

Ke vuông và đồng hồ so hoặc giao thoa kế laze với quang học độ vuông góc và độ thẳng

Xem và tham chiếu 10.3.2, ISO 230-1:2012

Lắp đồng hồ so lên bộ kẹp dụng cụ cắt. Đặt ke vuông trên bàn máy mang phôi (trục chính mang phôi) và điều chỉnh nó song song với chuyển động của ụ xà ngang bằng cách dùng đồng hồ so.

Điều chỉnh đầu đo của đồng hồ so vuông góc với cạnh còn lại của ke vuông.

Đối với các máy loại khung:

Dịch chuyển khung với cảm biến độ dịch chuyển dọc theo ke vuông và lấy số đọc ở các điểm cuối (2 bản ghi kết quả).

Đối với các máy với bàn máy mang phôi di động:

Dịch chuyển bàn máy mang phôi với ke vuông dọc theo cảm biến độ dịch chuyển đứng yên và lấy số đọc ở các điểm cuối (2 bản ghi kết quả).

Sai số độ vuông góc là độ chênh lệch của các bộ 2 bản ghi kết quả này chia cho khoảng cách hành trình của chúng giữa hai điểm đo.

5.5 Các bộ kẹp dụng cụ cắt và rơvonve dụng cụ cắt

Đối tượng

G16

Kiểm độ vuông góc của các mặt gá lắp dao của bộ kẹp dụng cụ cắt so với trục quay của trục chính mang phôi.

CHÚ THÍCH: Phép kiểm này áp dụng cho các mặt gá lắp dao của rơvonve mà vuông góc với đường tâm trục chính.

Sơ đồ

Dung sai

0,020 trên chiều dài đo L

trong đó L là đường kính đo

Sai số đo được

Phương tiện đo

Đồng hồ so

Xem và tham chiếu 12.4.1, ISO 230-1:2012

Một đồng hồ so được cố định trên trục chính mang phôi và tiếp xúc với mặt đáy của bộ kẹp dụng cụ cắt.

Trục chính mang phôi phải được xoay và đồng hồ so được dịch chuyển để tiếp xúc với mặt của bộ kẹp dụng cụ cắt trên đường kính lớn nhất có thể.

Nếu máy được trang bị rơvonve dụng cụ cắt, phép kiểm này phải được thực hiện lặp lại cho từng mặt gá lắp dao của rơvonve này.

 

Đối tượng

G17

Kiểm độ chính xác của việc phân độ rơvonve dụng cụ cắt:

CHÚ THÍCH: Phép kiểm này chỉ áp dụng cho các máy được trang bị rơvonve dụng cụ cắt.

Sơ đồ

Dung sai

0,030

Sai số đo được

Phương tiện đo

Đồng hồ so và trục kiểm

Xem và tham chiếu ISO 230-1:2012

Định vị trí đầu đo đồng hồ so a), b) và c) sao cho chúng tiếp xúc với các lỗ hoặc rãnh chuẩn của rơvonve. Ghi lại vị trí trục tâm của rơvonve. Ghi lại các số đọc của đồng hồ so. Kéo rơvonve ra khỏi đồng hồ so, phân độ rovonve đến vị trí kế tiếp và định lại vị trí trục tâm của rơvonve. Ghi lại các số đọc của đồng hồ so.

Nếu sử dụng mặt chuẩn của rơvonve thì đồng hồ so cần được sử dụng ở vị trí d).

Lặp lại phép kiểm này ba lần đối với từng vị trí của rơvonve; khi đó các số đọc ở từng vị trí được tính trung bình để giảm thiểu ảnh hưởng của khả năng lặp lại của rơvonve. Độ chênh lệch lớn nhất của tất cả các số đọc của đồng hồ so đã tính trung bình là độ chính xác của việc phân độ rơvonve.

Khả năng lặp lại của việc phân độ rơvonve và khả năng lặp lại của việc gá lắp trục kiểm (nếu dùng) có thể ảnh hưởng đến các số đọc.

5.6 Các trục chính mang dụng cụ cắt được dẫn động công suất

Đối tượng

G18

Kiểm độ đảo của mặt côn trong của trục chính mang dụng cụ cắt:

a) ở đầu mút trục chính mang dụng cụ cắt;

b) ở vị trí cách đầu mút trục chính mang dụng cụ cắt 250.

Sơ đồ

Dung sai

a) 0,010

b) 0,020

Sai số đo được

a)

b)

Phương tiện đo

a) và b) Đồng hồ so và trục kiểm

Xem và tham chiếu 12.5.3, ISO 230-1:2012

Gắn đồng hồ so vào bàn máy (trục chính mang phôi) và đưa trục kiểm vào trong trục chính mang dụng cụ cắt được dẫn động công suất.

Đặt cảm biến độ dịch chuyển gần với vị trí a) nhất có thể, xoay trục chính mang dụng cụ cắt và ghi lại số đọc.

Lặp lại cùng quy trình này ở vị trí b).

Nếu máy có nhiều trục chính mang dụng cụ cắt, tiến hành các phép kiểm này cho từng trục (xem thêm phép kiểm AR2).

 

Đối tượng

G19

Kiểm độ song song trục quay của trục chính mang dụng cụ cắt C1 với chuyển động của đầu trượt bộ kẹp dụng cụ cắt (trục Z):

a) trong mặt phẳng YZ [E A( 0 Z)(C1) ];

b) trong mặt phẳng ZX [E B(0Z)(C1) ].

Sơ đồ

Dung sai

Đối với a) và b)

0,080/1000 (0,020/250)

Sai số đo được

a)

b)

Phương tiện đo

a) và b) Đồng hồ so và trục kiểm

Xem và tham chiếu 10.1.4, ISO 230-1:2012

Một trục kiểm được lắp trên trục chính mang dụng cụ cắt.

Nếu có thể, trục chính mang phôi cần được kẹp lại.

a) Đồng hồ so được gắn vào trục chính mang phôi với đầu đo chạm vào trục kiểm theo phương Y. Hướng trung bình của trục kiểm được xác định bằng cách xoay trục chính mang dụng cụ cắt giữa hai số đọc cực trị của cảm biến độ dịch chuyển. Cảm biến độ dịch chuyển được chỉnh về không (0) ở hướng trung bình này. Sau đó đầu trượt bộ kẹp dụng cụ được dịch chuyển đến đầu mút khác của hành trình đo và ghi lại số đọc của cảm biến độ dịch chuyển.

b) Đồng hồ so được gắn vào trục chính mang phôi với đầu đo chạm vào trục kiểm theo phương X. Hướng trung bình của trục kiểm được xác định bằng cách xoay trục, chính mang dụng cụ cắt giữa hai số đọc cực trị của cảm biến độ dịch chuyển. Cảm biến độ dịch chuyển được chỉnh về không (0) ở hướng trung bình này. Sau đó đầu trượt bộ kẹp dụng cụ được dịch chuyển đến đầu mút khác của hành trình đo và ghi lại số đọc của cảm biến độ dịch chuyển.

Sai lệch độ song song là độ chênh lệch của trung bình hai phép đo, chỉ lấy ở các điểm đầu mút (ở 0° và 180°), chia cho khoảng cách hành trình này.

Cách khác, áp dụng độ dốc đường thẳng tham chiếu của trung bình hai phép đo (ở 0° và 180°).

CHÚ THÍCH: Các phép kiểm hơn nữa để kiểm độ chính xác của các trục quay được nêu trong Phụ lục A.

 

Đối tượng

G20

Kiểm độ đồng trục của đường tâm trục chính mang dụng cụ cắt với trục quay của trục chính mang phôi:

a) trong mặt phẳng YZ [E Y(0C)(C1) và E A(0C)(C1) ];

b) trong mặt phẳng ZX [E X(0C)(C1) và E B (0C)(C1) ].

Sơ đồ

Dung sai

độ lệch

a) 0,025

b) 0,025

độ song song

a) 0,080/1000 (0,020/250)

b) 0,080/1000 (0,020/250)

Sai số đo được

Độ lệch

a)

b)

độ song song

a)

b)

Phương tiện đo

Trục kiểm, đồng hồ so và dụng cụ laze chỉnh thẳng

Xem và tham chiếu 10.2, ISO 230-1:2012

Gắn các đồng hồ so/giá đỡ vào trục chính mang phôi và trục kiểm vào trục chính mang dụng cụ.

Xoay trục chính mang phôi để đồng hồ so nằm trong mặt phẳng ZX và đầu đo tiếp xúc với trục kiểm ở vị trí A và lấy số đọc đầu tiên. Xoay cả hai trục chính với các lượng gia tăng 90° và lấy các số đọc ở từng lượng gia tăng đó. Lặp lại phép đo cho vị trí B. Độ chênh lệch của hai số đọc lấy ở 0° và 180° chia cho 2 thể hiện các độ lệch giữa hai trục quay ở vị trí A và B trong mặt phẳng ZX.

Độ chênh lệch của hai số đọc lấy ở 90° và 270° chia cho 2 thể hiện các độ lệch giữa hai trục quay ở vị trí A và B trong mặt phẳng YZ.

Khi dụng cụ laze chỉnh thẳng được sử dụng, xoay cả hai trục chính và ghi lại các số đọc ở số lượng các vị trí quay mà hệ thống chỉnh thẳng laze yêu cầu (như 0°, 90°, 180° và 270°).

Sai số độ đồng trục chứa cả sai số đô lệch và độ song song. Sai số độ lệch là đô lệch ở vị trí B.

Sai số độ song song là độ chênh lệch giữa các độ lệch ở vị trí A và B, chia cho khoảng cách giữa các điểm A và B (250 mm).

CHÚ THÍCH: Các phép kiểm hơn nữa để kiểm độ chính xác của các trục quay được nêu trong Phụ lục A.

 

Đối tượng

G21

Kiểm độ vuông góc của chuyển động đầu trượt bộ kẹp dụng cụ cắt (trục Z) với chuyển động ụ xà ngang (trục X) [E B(0X)Z ].

Sơ đồ

Dung sai

0,050/1000 (0,015/300)

Sai số đo được

Phương tiện đo

Đồng hồ so, thước thẳng và ke vuông

Xem và tham chiếu 10.3 và 10.3.2, ISO 230-1:2012

Một đồng hồ so được cố định vào bộ kẹp dụng cụ cắt gần với vị trí của dao.

Chỉnh đặt thước thẳng song song với chuyển động của ụ xà ngang (trục X).

Đặt một ke vuông lên trên thước thẳng.

Sau đó, di chuyển đồng hồ so đến một vị trí sao cho nó chạm vào mặt phẳng thẳng đứng của ke vuông.

Các phép đo phải được lấy dọc theo trục Z trên mặt phẳng thẳng đứng của ke vuông.

CHÚ THÍCH: Độ vuông góc của chuyển động đầu trượt bộ kẹp dụng cụ cắt (trục Z) với chuyển động ụ xà ngang (trục X) có thể nhận được từ kết quả của các phép kiểm G7 và G8.

 

Phụ lục A

(tham khảo)

Kiểm độ chính xác của các đường tâm quay

A.1 Độ chính xác quay của trục chính mang phôi

Đối tượng

AR1

Chuyển động có sai số của đường tâm quay đối với trục chính mang phôi (trục C):

a) chuyển động có sai số hướng kính theo phương X [E X(C) ];

b) chuyển động có sai số hướng kính theo phương Y [E Y(C) ], chỉ dùng cho các trung tâm tiện;

c) chuyển động có sai số hướng trục [E Z(C) ];

d) chuyển động có sai số nghiêng quanh trục X [E A(C) ], chỉ dùng cho các trung tâm tiện;

e) chuyển động có sai số nghiêng quanh trục Y [E B(C) ].

Sơ đồ

CHÚ DẪN:

1 đến 5 các đầu dò

CHÚ THÍCH: Các đầu dò 2 và 5 chỉ dùng cho các trung tâm tiện.

Dung sai

ở phần trăm tốc độ quay lớn nhất


10% 50% 100%

a) giá trị chuyển động có sai số hướng kính tổng E X(C) :

b) giá trị chuyển động có sai số hướng kính tổng E Y(C) :

c) giá trị chuyển động có sai số hướng trục tổng E Z(C):

d) giá trị chuyển động có sai số nghiêng tổng E A(C) :

e) giá trị chuyển động có sai số nghiêng tổng E B(C) :

Nếu tốc độ quay nhỏ nhất lớn hơn 10 % tốc độ quay lớn nhất thì thay vào đó trục chính cần được vận hành ở tốc độ quay nhỏ nhất.

Nếu theo thỏa thuận giữa nhà sản xuất/nhà cung cấp và người sử dụng đưa phép kiểm này vào trong quy trình nghiệm thu máy theo hợp đồng, thì khi đó cũng cần có thỏa thuận để xác định các dung sai tương ứng sẽ được áp dụng.

CHÚ THÍCH: Các dung sai sẽ được cung cấp khi các dữ liệu từ các phép đo như vậy đối với đặc tính của trục chính trong môi trường công nghiệp là sẵn có.

Sai số đo được

ở phần trăm tốc độ quay lớn nhất

10% 50% 100%

a)

b)

c)

d)

e)

Phương tiện đo

Trục kiểm, các đầu dò không tiếp xúc và phương tiện đo góc; hoặc

hai khối cầu chính xác được đặt hơi lệch tâm với đường trung bình của trục chính và các đầu dò không tiếp xúc

Xem và tham chiếu ISO 230-7

Phép kiểm này là một phép kiểm trục chính với chiều cảm biến cố định (5.4, ISO 230-7:2015).

Sau khi cài đặt phương tiện đo, trục chính được chạy khởi động ở tốc độ 50 % tốc độ quay trục chính lớn nhất trong khoảng thời gian 10 min, trừ khi có quy định khác theo thỏa thuận giữa nhà sản xuất/nhà cung cấp và người sử dụng.

Chuyển động có sai số tổng và giá trị chuyển động có sai số tổng được định nghĩa lần lượt trong 3.5.1 và 3.8.2, ISO 230-7:2015.

а), b) Các giá trị chuyển động có sai số hướng kính tổng E X(C) và E Y(C) (sử dụng các đầu dò 4 và 5)

Phép đo chuyển động có sai số hướng kính được mô tả trong 5.4.3, ISO 230-7:2015. Chuyển động có sai số hướng kính cần được đo gần với đầu mút trục chính nhất có thể (các đầu dò 4 và 5 trên sơ đồ của phép kiểm AR1).

Đối với từng chuyển động có sai số hướng kính E X(C) ) và E Y(C) , một đồ thị tọa độ cực chuyển động có sai số tổng (3.6.2, ISO 230-7:2015) với một tâm đường tròn bình phương nhỏ nhất (LSC) (3.7.4, ISO 230-7:2015) cần được cung cấp.

c) Giá trị chuyển động có sai số hướng trục tổng E Z(C) (sử dụng đầu dò 3)

Phép đo chuyển động có sai số hướng trục được mô tả trong 5.4.4, ISO 230-7:2015.

Đối với chuyển động có sai số hướng trục E Z(C) , một đồ thị tọa độ cực chuyển động cố sai số tổng (3.7.2, ISO 230-7:2015) với một tâm biểu đồ cực (PC) (3.7.3, ISO 230-7:2015) cần được cung cấp.

d), e) Các giá trị chuyển động có sai số nghiêng tổng E A(C) và E B(C) (sử dụng các đầu dò 2 và 5, 1 và 4)

Phép đo chuyển động có sai số nghiêng được mô tả trong 5.4.5, ISO 230-7:2015. Bất kỳ chuyển động có sai số nghiêng nào cũng có thể được kiểm chỉ với một đầu dò không tiếp xúc (xem 5.4.5.3, ISO 230-7:2015).

Đối với từng chuyển động có sai số nghiêng E A(C) và E B(C) , một đồ thị tọa độ cực chuyển động có sai số tổng (3.7.2, ISO 230-7:2015) với một tâm biểu đồ cực (PC) (3.7.3, ISO 230-7:2015) cần được cung cấp.

Đối với các phép kiểm này cần công bố các thông số sau:

1) các vị trí hướng kính, hướng trục hoặc theo mặt tại đó thực hiện các phép đo;

2) sự nhận biết tất cả các vật, bia và đồ gá được sử dụng;

3) vị trí thiết lập phép đo;

4) việc định vị của bất kỳ giai đoạn định vị thẳng hoặc quay nào mà được kết nối với thiết bị được thử;

5) góc phương của chiều cảm biến, ví dụ các góc hướng trục, hướng kính hoặc trung gian khi thích hợp;

6) trình bày kết quả đo, ví dụ như: giá trị chuyển động có sai số, đồ thị tọa độ cực, đồ thị theo thời gian, đồ thị tần số;

7) tần số quay của trục chính (bằng không đối với chuyển động có sai số tĩnh);

8) thời gian tính bằng giây hoặc số vòng quay của trục chính;

9) quy trình chạy khởi động máy hoặc chạy rà thích hợp;

10) đáp ứng tần số của phương tiện đo, tính bằng héc (hz) hoặc chu kỳ trên vòng quay, bao gồm cả đặc tính làm giảm (roli-off) của bấy kỳ bộ lọc điện tử nào. Trong trường hợp phương tiện đo dạng kỹ thuật số, độ phân giải độ dịch chuyển và tốc độ lấy mẫu;

11) vòng cấu trúc, bao gồm vị trí và hướng của các cảm biến so với hộp trục chính từ đó chuyển động có sai số được báo cáo, các đối tượng được quy định theo đó các đường tâm trục chính và các trục tọa độ tham chiếu được định vị trí và các phần tử kết nối với các đối tượng này;

12) thời gian và ngày đo;

13) loại và tình trạng hiệu chuẩn của tất cả các phương tiện đo;

14) các điều kiện vận hành khác có thể ảnh hưởng đến phép đo, như nhiệt độ môi trường.

Nếu các phép đo nghiêng là không cần thiết (theo thỏa thuận giữa nhà cung cấp và người sử dụng), khi đó chỉ cần sử dụng ba đầu dò độ dịch chuyển (1, 2 và 3) và có thể thay trục kiểm bằng khối cầu kiểm chính xác.

A.2 Độ chính xác quay của trục chính mang dụng cụ cắt

Đối tượng

AR2

Chuyển động có sai số của đường tâm quay đối với các trục chính mang dụng cụ cát (dụng cụ cắt được dẫn động công suất) C1:

a) chuyển động có sai số hướng kính [E ng k í nh(C1) ];

b) chuyển động có sai số hướng trục [E Z(C1) ];

c) chuyển động có sai số nghiêng [E nghi ê ng( C1 ) ].

Sơ đồ

CHÚ DẪN:

1 đến 5 các đầu dò

Dung sai

ở phần trăm tốc độ quay lớn nhất


10% 50% 100%

a) giá trị chuyển động có sai số hướng kính tổng E hướ n g k í nh( C1 )

0,005 ở tất cả tốc độ quay

b) giá trị chuyển động có sai số hướng trục tổng E Z(C1)

0,003 ở tất cả tốc độ quay

c) giá trị chuyển động có sai số nghiêng tổng E nghi ê ng( C1 )

được xác định bởi nhà sản xuất/nhà cung cấp và người sử dụng

Nếu tốc độ quay nhỏ nhất lớn hơn 10 % tốc độ quay lớn nhất thì thay vào đó trục chính cần được vận hành ở tốc độ quay nhỏ nhất.

Nếu theo thỏa thuận giữa nhà sản xuất/nhà cung cấp và người sử dụng đưa phép kiểm này vào trong quy trình nghiệm thu máy theo hợp đồng, thì khi đó cũng cần có thỏa thuận để xác định các dung sai tương ứng sẽ được áp dụng.

Sai số đo được

ở phần trăm tốc độ quay lớn nhất

10% 50% 100%

a)


b)


c)

Phương tiện đo

Trục kiểm, các đầu dò không tiếp xúc và phương tiện đo góc hoặc hai khối cầu chính xác được đặt hơi lệch tâm với đường trung bình của trục chính và các đầu dò không tiếp xúc

Xem và tham chiếu ISO 230-7

Phép kiểm này là một phép kiểm trục chính với chiều cảm biến quay (5.3, ISO 230-7:2015).

Sau khi cài đặt phương tiện đo, trục chính được chạy khởi động ở tốc độ 50 % tốc độ quay trục chính lớn nhất trong khoảng thời gian 10 min, trừ khi có quy định khác theo thỏa thuận giữa nhà sản xuất/nhà cung cấp và người sử dụng.

Chuyển động có sai số tổng được định nghĩa trong 3.5.1, ISO 230-7:2015; giá trị chuyển động có sai số tổng được định nghĩa trong 3.8.2, ISO 230-7:2015.

a) Giá trị chuyển động có sai số hướng kính tổng E hướ n g k í nh( C1 ) (sử dụng các đầu dò 1 và 2)

Phép đo chuyển động có sai số hướng kính được mô tả trong 5.3.2, ISO 230-7:2015. Chuyển động có sai số hướng kính cần được đo gần với đầu mút trục chính nhất có thể (các đầu dò 1 và 2 trên sơ đồ của phép kiểm).

Đối với chuyển động có sai số hướng kính E hướ n g k í nh( C1 ) , một đồ thị tọa độ cực chuyển động có sai số tổng (3.6.2, ISO 230-7:2015) với một tâm đường tròn bình phương nhỏ nhất (LSC) (3.7.4, ISO 230-7:2015) cần được cung cấp.

b) Giá trị chuyển động có sai số hướng trục tổng E Z(C1) (sử dụng đầu dò 3)

Phép đo chuyển động có sai số hướng trục được mô tả trong 5.3.4, ISO 230-7:2015.

Đối với chuyển động có sai số hướng trục E Z(C1) , một đồ thị tọa độ cực chuyển động có sai số tổng (3.6.2, ISO 230-7:2015) với một tâm biểu đồ cực (PC) (3.7.2, ISO 230-7:2015) cần được cung cấp.

c) Giá trị chuyển động có sai số nghiêng tổng E nghi ê ng( C1 ) (sử dụng các đầu dò 1, 2, 4, 5)

Phép đo chuyển động có sai số nghiêng được mô tả trong 5.3.3, ISO 230-7:2015. Chuyển động có sai số nghiêng cũng có thể được kiểm chỉ với hai đầu dò không tiếp xúc (xem 5.3.3.2, ISO 230-7:2015).

Đối với chuyển động có sai số nghiêng E nghi ê ng( C1 ) , một đồ thị tọa độ cực chuyển động có sai số tổng (3.6.2, ISO 230-7:2015) với một tâm biểu đồ cực (PC) (3.7.2, ISO 230-7:2015) cần được cung cấp.

Đối với các phép kiểm này phải công bố các thông số sau:

1) các vị trí hướng kính, hướng trục hoặc theo mặt tại đó thực hiện các phép đo;

2) sự nhận biết tất cả các vật, bia và đồ gá được sử dụng;

3) vị trí thiết lập phép đo;

4) việc định vị của bất kỳ giai đoạn định vị thẳng hoặc quay nào mà được kết nối với thiết bị được thử;

5) góc phương của chiều cảm biến, ví dụ các góc hướng trục, hướng kính hoặc trung gian khi thích hợp;

6) trình bày kết quả đo, ví dụ như: giá trị chuyển động có sai số, đồ thị tọa độ cực, đồ thị theo thời gian, đồ thị tần số;

7) tần số quay của trục chính (bằng không đối với chuyển động có sai số tĩnh);

8) thời gian tính bằng giây hoặc số vòng quay của trục chính;

9) quy trình chạy khởi động máy hoặc chạy rà thích hợp;

10) đáp ứng tần số của phương tiện đo, tính bằng héc (hz) hoặc chu kỳ trên vòng quay, bao gồm cả đặc tính làm giảm của bấy kỳ bộ lọc điện tử nào - trong trường hợp phương tiện đo dạng kỹ thuật số, độ phân giải độ dịch chuyển và tốc độ lấy mẫu;

11) vòng cấu trúc, bao gồm vị trí và hướng của các cảm biến so với hộp trục chính từ đó chuyển động có sai số được báo cáo, các đối tượng được quy định theo đó các đường tâm trục chính và các trục tọa độ tham chiếu được định vị trí và các phần tử kết nối với các đối tượng này;

12) thời gian và ngày đo;

13) loại và tình trạng hiệu chuẩn của tất cả các phương tiện đo;

14) các điều kiện vận hành khác có thể ảnh hưởng đến phép đo, như nhiệt độ môi trường.

Nếu các phép đo nghiêng là không cần thiết (theo thỏa thuận giữa nhà cung cấp và người sử dụng), khi đó chỉ cần sử dụng ba đầu dò độ dịch chuyển (1, 2 và 3) và có thể thay trục kiểm bằng khối cầu kiểm chính xác.

 

Phụ lục B

(tham khảo)

Thuật ngữ bằng các ngôn ngữ khác

Bảng B.1 - Thuật ngữ bằng các ngôn ngữ khác đối với Hình 1

Bảng B.2 - Thuật ngữ bằng các ngôn ngữ khác đối với Hình 2

 

Thư mục tài liệu tham khảo

[1] ISO/TR 230-11:2018, Test code for machine tools - Part 11: Measuring instruments suitable for machine tool geometry tests (Quy tắc kiểm máy công cụ - Phần 11: Phương tiện đo phù hợp cho các phép kiểm hình học)

[2] ISO 841:2001, Industrial automation systems and integration - Numerical control of machines - Coordinate system and motion nomenclature (Hệ thống tự động và tích hợp công nghiệp - Điều khiển số máy - Hệ tọa độ và danh pháp chuyển động)

[3] ISO 1708, Acceptance conditions for general purpose parallel lathes - Testing of the accuracy (Điều kiện nghiệm thu máy tiện song song thông dụng - Kiểm độ chính xác)

[4] ISO 2806:1994, Industrial automation systems - Numerical control of machines - Vocabulary (Hệ thống tự động công nghiệp - Điều khiển số của máy - Từ vựng)

[5] TCVN 4279-1 (ISO 3442-1), Máy công cụ - Kích thước và kiểm hình học cho mâm cặp tự định tâm có chấu cặp - Phần 1: Mâm cặp vận hành bằng tay có chấu dạng rãnh và then

[6] TCVN 4279-2 (ISO 3442-2), Máy công cụ - Kích thước và kiểm hình học cho mâm cặp tự định tâm có chấu cặp - Phần 2: Mâm cặp vận hành bằng máy có chấu dạng rãnh và then

[7] TCVN 4279-3 (ISO 3442-3), Máy công cụ - Kích thước và kiểm hình học cho mâm cặp tự định tâm có chấu cặp - Phần 3: Mâm cặp vận hành bằng máy có khía răng cưa

[8] TCVN 7681-1 (ISO 13041-1), Điều kiện kiểm máy tiện điều khiển số và trung tâm tiện - Phần 1: Kiểm hình học máy có trục chính mang phôi nằm ngang

[9] TCVN 7681-3 (ISO 13041-3), Điều kiện kiểm máy tiện điều khiển số và trung tâm tiện - Phần 3: Kiểm hình học cho các máy có trục chính mang phôi thẳng đứng đảo nghịch

[10] ISO/TR 16907, Machine tools - Numerical compensation of geometric errors (Máy công cụ - Bù số các sai số hình học)

 

MỤC LỤC

Lời nói đầu

Lời giới thiệu

1 Phạm vi áp dụng

2 Tài liệu viện dẫn

3 Thuật ngữ và định nghĩa

4 Lưu ý ban đầu

5 Kiểm hình học

Phụ lục A (tham khảo) Kiểm độ chính xác của các đường tâm quay

Phụ lục B (tham khảo) Thuật ngữ bằng các ngôn ngữ khác

Thư mục tài liệu tham khảo

Bạn chưa Đăng nhập thành viên.

Đây là tiện ích dành cho tài khoản thành viên. Vui lòng Đăng nhập để xem chi tiết. Nếu chưa có tài khoản, vui lòng Đăng ký tại đây!

* Lưu ý: Để đọc được văn bản tải trên Luatvietnam.vn, bạn cần cài phần mềm đọc file DOC, DOCX và phần mềm đọc file PDF.

Văn bản liên quan Tiêu chuẩn Việt Nam TCVN 7681-2:2025

văn bản cùng lĩnh vực

văn bản mới nhất

CHÍNH SÁCH BẢO VỆ DỮ LIỆU CÁ NHÂN
Yêu cầu hỗ trợYêu cầu hỗ trợ
Chú thích màu chỉ dẫn
Chú thích màu chỉ dẫn:
Các nội dung của VB này được VB khác thay đổi, hướng dẫn sẽ được làm nổi bật bằng các màu sắc:
Sửa đổi, bổ sung, đính chính
Thay thế
Hướng dẫn
Bãi bỏ
Bãi bỏ cụm từ
Bình luận
Click vào nội dung được bôi màu để xem chi tiết.
×