• Tổng quan
  • Nội dung
  • Tiêu chuẩn liên quan
  • Lược đồ
  • Tải về
Lưu
Đây là tiện ích dành cho tài khoản Tiêu chuẩn hoặc Nâng cao . Vui lòng Đăng nhập tài khoản để xem chi tiết.
Theo dõi VB
Đây là tiện ích dành cho tài khoản Tiêu chuẩn hoặc Nâng cao . Vui lòng Đăng nhập tài khoản để xem chi tiết.
Ghi chú
Báo lỗi
In

Tiêu chuẩn TCVN 13230:2025 Rô bốt cho môi trường công nghiệp - Hệ thống thay đổi tự động khâu tác động cuối - Từ vựng

Ngày cập nhật: Thứ Ba, 26/08/2025 10:32 (GMT+7)
Số hiệu: TCVN 13230:2025 Loại văn bản: Tiêu chuẩn Việt Nam
Cơ quan ban hành: Bộ Khoa học và Công nghệ Lĩnh vực: Khoa học-Công nghệ , Công nghiệp
Trích yếu: ISO 11593:2022 Rô bốt cho môi trường công nghiệp - Hệ thống thay đổi tự động khâu tác động cuối - Từ vựng
Ngày ban hành:
Ngày ban hành là ngày, tháng, năm văn bản được thông qua hoặc ký ban hành.
17/06/2025
Hiệu lực:
Đã biết
Tiện ích dành cho tài khoản Tiêu chuẩn hoặc Nâng cao. Vui lòng Đăng nhập tài khoản để xem chi tiết.
Người ký: Đang cập nhật
Tình trạng hiệu lực:
Cho biết trạng thái hiệu lực của văn bản đang tra cứu: Chưa áp dụng, Còn hiệu lực, Hết hiệu lực, Hết hiệu lực 1 phần; Đã sửa đổi, Đính chính hay Không còn phù hợp,...
Đã biết
Tiện ích dành cho tài khoản Tiêu chuẩn hoặc Nâng cao. Vui lòng Đăng nhập tài khoản để xem chi tiết.

TÓM TẮT TIÊU CHUẨN VIỆT NAM TCVN 13230:2025

Tiêu chuẩn quốc gia TCVN 13230:2025 về Hệ thống thay đổi tự động khâu tác động cuối cho rô bốt công nghiệp

Ngày 17/06/2025, Bộ Khoa học và Công nghệ đã ban hành Tiêu chuẩn quốc gia TCVN 13230:2025, quy định về các thuật ngữ liên quan đến hệ thống thay đổi tự động khâu tác động cuối cho rô bốt trong môi trường công nghiệp. Tiêu chuẩn này có hiệu lực ngay khi ban hành và thay thế cho TCVN 13230:2020. TCVN 13230:2025 tương đương hoàn toàn với ISO 11593:2022.

Tiêu chuẩn này áp dụng cho hệ thống thay đổi tự động khâu tác động cuối, là một phần của các hệ thống rô bốt, giúp cải thiện quy trình sản xuất trong công nghiệp.

Phạm vi và Đối tượng áp dụng Tiêu chuẩn này định nghĩa các thuật ngữ có liên quan đến hệ thống thay đổi tự động khâu tác động cuối sử dụng trong các hệ thống rô bốt theo TCVN 13229-2.

Các thuật ngữ quan trọng

  • Hệ thống thay đổi tự động khâu tác động cuối: Bộ phận giúp nối giữa phần lắp ghép cơ khí và khâu tác động cuối, cho phép thay đổi khâu tác động cuối một cách tự động.
  • Bộ phận gắn trên rô bốt: Phần nối vào hệ thống rô bốt.
  • Bộ phận gắn trên dụng cụ: Phần nối vào khâu tác động cuối.

Chức năng và hoạt động

  • Lắp ráp (Couple)Tháo (Uncouple) là các thao tác chính của hệ thống, giúp kết nối và tách rời bộ phận gắn trên rô bốt và dụng cụ.
  • Khóa (Lock)Mở khóa (Unlock) là các thao tác đảm bảo bộ phận kết nối chắc chắn và có thể tháo rời.

Đặc điểm kỹ thuật Các thuật ngữ cũng định nghĩa quy tắc về hình dạng, kích thước và vị trí trong hệ thống thay đổi, với các thông số cụ thể như khoảng cách tiếp cận và dung sai vị trí.

Tính năng cơ khí Tiêu chuẩn quy định các lực tác động và mô men cho phép trong quá trình lắp ghép và tháo gỡ.

Thời gian thay đổi dụng cụ Tiêu chuẩn cũng đã chỉ ra các thời gian cụ thể cho từng bước trong quá trình thay đổi dụng cụ như thời gian vào ổ chứa và thời gian tháo dụng cụ, giúp tối ưu hóa quy trình làm việc.

Thông qua các định nghĩa và quy định cụ thể, tiêu chuẩn TCVN 13230:2025 hỗ trợ các nhà sản xuất và kỹ sư trong việc thiết kế, lắp đặt và vận hành hiệu quả các hệ thống rô bốt trong môi trường công nghiệp.

Tải tiêu chuẩn Việt Nam TCVN 13230:2025

Tải văn bản tiếng Việt (.pdf) Tiêu chuẩn Việt Nam TCVN 13230:2025 PDF (Bản có dấu đỏ)

Đây là tiện ích dành cho tài khoản thành viên. Vui lòng Đăng nhập để xem chi tiết. Nếu chưa có tài khoản, Đăng ký tại đây!

Tải văn bản tiếng Việt (.doc) Tiêu chuẩn Việt Nam TCVN 13230:2025 DOC (Bản Word)

Đây là tiện ích dành cho tài khoản thành viên. Vui lòng Đăng nhập để xem chi tiết. Nếu chưa có tài khoản, Đăng ký tại đây!

Tình trạng hiệu lực: Đã biết
Hiệu lực: Đã biết
Tình trạng hiệu lực: Đã biết

TIÊU CHUẨN QUỐC GIA

TCVN 13230:2025

ISO 11593:2022

RÔ BỐT CHO MÔI TRƯỜNG CÔNG NGHIỆP - HỆ THỐNG THAY ĐỔI TỰ ĐỘNG KHÂU TÁC ĐỘNG CUỐI - TỪ VỰNG

Robots for industrial environments - Automatic end effector exchange systems - Vocabulary

Lời nói đầu

TCVN 13230:2025 thay thế TCVN 13230:2020.

TCVN 13230:2025 hoàn toàn tương đương với ISO 11593:2022.

TCVN 13230:2025 do Ban kỹ thuật tiêu chuẩn quốc gia TCVN/TC 299 Robot biên soạn, Viện Tiêu chuẩn Chất lượng Việt Nam đề nghị, Ủy ban Tiêu chuẩn Đo lường Chất lượng Quốc gia thẩm định, Bộ Khoa học và Công nghệ công bố.

 

RÔ BỐT CHO MÔI TRƯỜNG CÔNG NGHIỆP - HỆ THỐNG THAY ĐỔI TỰ ĐỘNG KHÂU TÁC ĐỘNG CUỐI - TỪ VỰNG

Robots for industrial environments - Automatic end effector exchange systems - Vocabulary

1 Phạm vi áp dụng

Tiêu chuẩn này định nghĩa các thuật ngữ có liên quan đến hệ thống thay đổi tự động khâu tác động cuối được sử dụng như một phần của hệ thống rô bốt theo TCVN 13229-2 (ISO 10218-2).

2 Tài liệu viện dẫn

Trong tiêu chuẩn này không có tài liệu nào được viện dẫn.

3 Thuật ngữ và định nghĩa

Trong tiêu chuẩn này sử dụng các thuật ngữ và định nghĩa dưới đây:

3.1 Thuật ngữ và định nghĩa

3.1.1

Hệ thống thay đổi tự động khâu tác động cuối (automatic end-effector exchange system)

Bộ phận ghép nối giữa mặt lắp ghép cơ khí và khâu tác động cuối cho phép thay đổi tự động khâu tác động cuối, bao gồm một bộ phận gắn trên rô bốt (3.1.2) và một hoặc nhiều bộ phận gắn trên dụng cụ (3.1.3).

Chú thích 1: Còn được gọi là bộ đổi dụng cụ, thiết bị thay đổi nhanh, bộ đổi dụng cụ tự động, bộ đổi dụng cụ rô bốt hoặc bộ ghép nối rô bốt.

3.1.2

Bộ phận gắn trên rô bốt (robot-mounted part)

Một phần của hệ thống thay đổi tự động khâu tác động cuối (3.1.1) được gắn vào mặt lắp ghép cơ khí của một tay máy.

Chú thích 1: Cũng được gọi là phía chủ hoặc phía rô bốt.

3.1.3

Bộ phận gắn trên dụng cụ (tool-mounted part)

Một phần của hệ thống thay đổi tự động khâu tác động cuối (3.1.1) được gắn vào khâu tác động cuối.

Chú thích 1: Cũng được gọi là phía phụ hoặc phía dụng cụ.

3.1.4

Lắp, động từ (couple, verb)

Lắp bộ phận gắn trên rô bốt (3.1.2) với bộ phận gắn trên dụng cụ (3.1.3).

3.1.5

Tháo, động từ (uncouple, verb)

Tháo bộ phận gắn trên dụng cụ (3.1.3) khỏi bộ phận gắn trên rô bốt (3.1.2).

3.1.6

Khóa, động từ (lock, verb)

Kích hoạt các phần tử khóa để cố định bộ phận gắn trên dụng cụ (3.1.3) vào bộ phận gắn trên rô bốt (3.1.2).

3.1.7

Mở khóa, động từ (unlock, verb)

Kích hoạt các phần tử khóa để cho phép tháo rời bộ phận gắn trên rô bốt (3.1.2) khỏi bộ phận gắn trên dụng cụ (3.1.3).

3.1.8

Cố định, động từ (dock, verb)

Lắp (3.1.4) và khóa (3.1.6) bộ phận gắn trên rô bốt (3.1.2) với bộ phận gắn trên dụng cụ (3.1.3) khi bộ phận gắn trên dụng cụ được giữ trong ổ chứa (3.1.10).

3.1.9

Tháo rời, động từ (undock, verb)

Mở khóa (3.1.7) và tháo (3.1.5) rời bộ phận gắn trên dụng cụ (3.1.3) khỏi bộ phận gắn trên rô bốt (3.1.2) khi bộ phận gắn trên dụng cụ được giữ trong ổ chứa (3.1.10).

3.1.10

Ổ chứa (magazine)

Phương tiện lưu trữ của các khâu tác động cuối được cố định (3.1.8) và tháo rời (3.1.9) khỏi các bộ phận liên quan đến bộ phận gắn trên rô bốt (3.1.2).

Chú thích 1: Còn được gọi là giá đỡ dụng cụ, giá để dụng cụ hoặc giá đỡ.

3.1.11

Mặt lắp ghép cho phía rô bốt và phía dụng cụ (Interface for robot side and tool side)

Mô tả và đánh dấu bộ phận ghép nối rô bốt và bộ phận ghép nối dụng cụ theo Điều 6, TCVN 13234-1:2020 (ISO 9409-1:2004) và Điều 8, TCVN 13234-2:2020 (ISO 9409-2:2002).

3.1.12

Định tuyến cáp (cable routing)

Vị trí, kích thước của định tuyến và theo dõi cáp cho bộ phận rô bốt và bộ phận dụng cụ trong một bản vẽ.

3.2 Thuật ngữ liên quan đến hình dạng bên ngoài và kích thước chính của hệ thống thay đổi

3.2.1

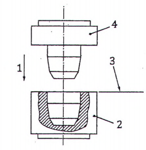
Hình dạng kết cấu (structural shape)

Kích thước tổng thể của thiết bị bao gồm đường kính ngoài (hoặc chiều rộng), độ sâu, chiều dài của từng bộ phận gắn trên rô bốt (3.1.2) và chiều dài của từng bộ phận gắn trên dụng cụ (3.1.3).

Chú thích 1: Xem Hình 1.

a) Hệ thống thay đổi ghép nối

b) Hệ thống thay đổi không ghép nối

CHÚ DẪN:

1

bộ phận gắn trên dụng cụ

ϕD

đường kính ngoài (hình tròn) (mm)

2

bộ phận gắn trên rô bốt

A

chiều rộng (cho các loại khác) (mm)

3

bề mặt

B

chiều sâu (cho các loại khác) (mm)

4

tổng chiều dài của ghép nối (khi được ghép nối)

L

chiều dài từ mặt bích gắn rô bốt đến mặt bích ghép nối

 

 

L r

chiều dài của phần gắn trên rô bốt (mm)

 

 

L t

chiều dài của phần gắn trên dụng cụ (mm)

Hình 1 - Hình dạng bên ngoài và kích thước chính của hệ thống thay đổi khi được ghép nối và tháo rời

3.2.2

Kích thước mặt đến mặt (face-to-face dimension)

Khoảng cách đo được từ mặt lắp ghép rô bốt đến mặt lắp ghép dụng cụ.

Chú thích 1: Xem Hình 1 a), Điều 4.

Chú thích 2: Dung sai chiều dài ghép nối của phần rô bốt (L cr ) và chiều dài ghép nối của phần dụng cụ (L ct ) có tác động đáng kể đến độ chính xác tư thế của toàn bộ hệ thống khi sử dụng các công cụ khác nhau. Chiều dài của hệ thống ghép nối được tính là L t ng ± Δ

3.3 Thuật ngữ liên quan đến vị trí và hướng trong ghép nối

3.3.1

Hướng lắp ghép (coupling direction)

Hướng mà bộ phận gắn trên rô bốt (3.1.2) và/hoặc bộ phận gắn trên dụng cụ (3.1.3) được di chuyển đến với nhau.

Chú thích 1: Xem Hình 2.

Chú thích 2: Các ghép nối có thể là ghép nối ngang hoặc ghép nối dọc:

- Hướng ghép nối ngang [xem Hình 2 a)]: chuyển động của ghép nối chạy song song với bề mặt phân tách của mặt lắp ghép;

- Hướng ghép nối dọc [xem Hình 2 b)]: chuyển động của ghép nối chạy theo phương vuông góc với bề mặt phân tách của mặt lắp ghép.

a) Vị trí và hướng lắp ghép ngang

b) Vị trí và hướng lắp ghép dọc

CHÚ DẪN:

1 Hướng ghép nối 3 Mức ngang

2 Bộ phận gắn trên dụng cụ 4 Bộ phận gắn trên rô bốt

Hình 2 - Vị trí và hướng trong ghép nối

3.3.2

Chiều dài của khoảng cách tiếp cận (length of the approach distance)

L a

Tổng khoảng cách hoạt động của bộ phận gắn trên rô bốt (3.1.2) và/hoặc bộ phận gắn trên dụng cụ (3.1.3) trong hướng lắp ghép (3.3.1) cho đến khi ghép nối kết hợp hoàn toàn cả hai bộ phận.

Chú thích 1: L a được biểu thị bằng milimét.

Chú thích 2: L a = L a 1 + L a 2 + L a 3

Chú thích 3: Đối với hướng ghép nối dọc, khoảng cách tiếp cận chạy theo phương vuông góc với mặt phằng tham chiếu (3.6.7). Với hướng ghép nối ngang, nó chạy song song với mặt phẳng tham chiếu.

Chú thích 4: Xem Hình 3.

 

CHÚ DẪN:

1 Hướng ghép nối

2 Bộ phận gắn trên dụng cụ

3 Bộ phận gần trên rô bốt

L a Chiều dài của khoảng cách tiếp cận (mm)

L a1 Khoảng cách hoạt động để định tâm trước (mm)

L a2 Khoảng cách hoạt động để định tâm (mm)

L a3 Khoảng cách hoạt động cho đến khi ghép nối hoàn chỉnh (mm)

Hình 3 - Hướng lắp ghép dọc

3.3.3

Vị trí bắt đầu (start position)

Vị trí của bộ phận gắn trên rô bốt (3.1.2) của thiết bị thay đổi liên quan đến bộ phận gắn trên dụng cụ (3.1.3) ngay trước khi quá trình ghép nối bắt đầu.

Chú thích 1: Vị trí bắt đầu có thể được xác định trong hệ tọa độ Đề các là (X s , Y s , Z s ).

Chú thích 2: Xem Hình 4.

CHÚ DẪN:

1 Vị trí bắt đầu (X s , Y s , Z s )

X s Tọa độ X của vị trí bắt đầu

Y s Tọa độ Y của vị trí bắt đầu

Z s Tọa độ Z của vị trí bắt đầu

 

X 1 Trục X hệ tọa độ Đề các

Y 1 Trục Y hệ tọa độ Đề các

Z 1 Trục Z hệ tọa độ Đề các

Hình 4 - Minh họa hướng ghép nối dọc

3.4 Thuật ngữ liên quan đến lực liên kết và lực tháo

3.4.1

Lực lắp ghép (coupling force)

F c

Lực do rô bốt tác dụng để lắp (3.1.4) bộ phận gắn trên rô bốt (3.1.2) của hệ thống thay đổi với bộ phận gắn trên dụng cụ (3.1.3).

Chú thích 1: F c được biểu thị bằng Niu tơn.

Chú thích 2: Trong quá trình này, bộ phận gắn trên bộ phận dụng cụ được giữ trong ổ chứa (3.1.10) dụng cụ. Lực lắp ghép bao gồm tất cả các lực bên ngoài cần thiết để ghép tất cả các đầu nối cơ, điện, thủy lực hoặc khí nén.

3.4.2

Lực tháo (Releasing force)

F e

Lực do rô bốt tác dụng để tháo bộ phận gắn trên rô bốt (3.1.2) của hệ thống thay đổi với bộ phận gắn trên dụng cụ (3.1.3).

Chú thích 1: F e được biểu thị bằng Niu tơn.

Chú thích 2: Trong quá trình này, bộ phận gắn trên bộ phận dụng cụ được giữ trong ổ chứa (3.1.10) dụng cụ. Lực tháo bao gồm tất cả các lực bên ngoài cần thiết để mở tất cả các đầu nối cơ học, điện, thủy lực hoặc khí nén.

3.4.3

Mô men uốn lớn nhất (maximum bending moment)

M b max

Mô men uốn cho phép, nếu chỉ có tải trọng uốn xảy ra.

Chú thích 1: M b max được biểu thị bằng Niu tơn - mét.

3.4.4

Mô men xoắn lớn nhất (maximum torsional moment)

M omax

Mô men xoắn cho phép, nếu chỉ có tải trọng xoắn xảy ra.

Chú thích 1: M omax được biểu thị bằng Niu tơn - mét.

3.4.5

Lực kéo lớn nhất (maximum tensile force)

F nmax

Lực kéo cho phép, nếu chỉ có tải trọng kéo

Chú thích 1: F nmax được biểu thị bằng Niu tơn.

3.4.6

Lực nén lớn nhất (maximum compressive force)

F pmax

Lực nén cho phép, nếu chỉ có tải trọng nén xảy ra.

Chú thích 1: F pmax được biểu thị bằng Niu tơn.

3.4.7

Lực ngang lớn nhất (Maximum lateral force)

F lmax

Lực ngang cho phép, nếu chỉ có lực ngang xảy ra.

Chú thích 1: F lmax được biểu thị bằng Niu tơn.

3.5 Thuật ngữ liên quan đến khối lượng và quán tính của hệ thống ghép

3.5.1

Trọng tâm trong hệ thống ghép nối (centre of gravity in the coupled system)

L g

Khoảng cách của trọng tâm trong hệ thống ghép nối so với mặt phẳng tham chiếu (3.6.7) của mặt lắp ghép cơ khí của rô bốt.

Chú thích 1: Lg được biểu thị bằng milimét.

3.5.2

Mô men quán tính của hệ thống ghép (moment of inertia of the coupled system)

I

Mô men quán tính của hệ thống ghép quanh trục Z m.

Chú thích 1: I được biểu thị bằng Niu tơn - mét.

Chú thích 2: Đối với Z m , xem Hình 6.

3.5.3

Khối lượng (mass)

m

Tính chất vật lý của vật liệu xác định mức ảnh hưởng của nó so với lực hấp dẫn và sức cản của nó đối với những thay đổi về gia tốc do quán tính.

Chú thích 1: m được biểu thị bằng kilôgam.

Chú thích 2: Khối lượng khác với trọng lực do lực hấp dẫn.

3.5.4

Khối lượng của bộ phận rô bốt (Mass of robot part)

m r

Khối lượng (3.5.3) của các thành phần rô bốt của hệ thống thay đổi.

Chú thích 1: m r được biểu thị bằng kilôgam.

3.5.5

Khối lượng của bộ phận dụng cụ (mass of tool part)

m t

Khối lượng (3.5.3) của các thành phần dụng cụ của hệ thống thay đổi.

Chú thích 1: m t được biểu thị bằng kilôgam.

3.6 Thuật ngữ liên quan đến dung sai và độ không đảm bảo

3.6.1

Dung sai vị trí ở vị trí bắt đầu (position tolerance in the start position)

Độ không đảm bảo cho phép của độ chính xác tư thế đối với các thành phần của hệ thống thay đổi.

Chú thích 1: Để cho phép lắp ráp cả hai bộ phận của hệ thống thay đổi, vị trí bắt đầu (3.3.3) cần được điều chỉnh với độ chính xác đã xác định. Dung sai vị trí ở vị trí bắt đầu được cố định bằng tư thế đạt được trong một không gian hình trụ.

Chú thích 2: Vị trí bắt đầu theo lệnh điều khiển biểu thị tâm của phạm vi dung sai, được đánh dấu bằng các đường kính s theo hướng tròn và chiều cao f theo hướng trục.

Chú thích 3: Xem Hình 5.

CHÚ DẪN

X r , mục ti ê u

Tư thế theo trục X hệ tọa độ Đề các (mục tiêu)

Z r , mục ti ê u

Tư thế theo trục Z hệ tọa độ Đề các (mục tiêu)

X r , thực tế

Tư thế theo trục X hệ tọa độ Đề các (thực tế)

Z r , thực tế

Tư thế theo trục z hệ tọa độ Đề các (thực tế)

Y r , mục ti ê u

Tư thế theo trục Y hệ tọa độ Đề các (mục tiêu)

s

Đường kính của vùng dung sai

Y r , thực tế

Tư thế theo trục Y hệ tọa độ Đề các (thực tế)

f

Chiều cao dung sai trục

Hình 5 - Hướng ghép nối trục, dung sai vị trí ở vị trí bắt đầu

3.6.2

Dung sai định hướng ở vị trí bắt đầu (orientation tolerance in the start position)

Độ không đảm bảo cho phép của độ chính xác định hướng đối với các thành phần của hệ thống thay đổi.

Chú thích 1: Dung sai định hướng được cố định với độ chính xác cao.

Chú thích 2: Dung sai định hướng được xác định từ hai giá trị giới hạn của độ lệch (3.6.3) và giá trị giới hạn của độ méo (3.6.4).

Chú thích 3: Tất cả các giá trị liên quan đến dung sai định hướng đều liên quan đến hệ tọa độ mặt lắp ghép cơ khí X m , Y m , Z m .

Chú thích 4: Xem Hình 6.

CHÚ DẪN:

1

Vị trí bắt đầu (X s , Y s , Z s )

X m

Trục X của mặt lắp ghép cơ khí

X 1

Trục X hệ tọa độ Đề các

α

Quay dọc theo trục X m

Y 1

Trục Y hệ tọa độ Đề các

Y m

Trục Y của mặt lắp ghép cơ khí

Z 1

Trục Z hệ tọa độ Đề các

β

Quay dọc theo trục Y m

 

 

Z m

Trục Z của mặt lắp ghép cơ khí

 

 

γ

Quay dọc theo trục Z m

Hình 6 - Biểu diễn dung sai định hướng của hướng ghép nối trục

3.6.3

Giá trị giới hạn của độ lệch (limit value of the misalignment)

Sai lệch tối đa cho phép của tư thế đạt được so với tư thế điều khiển theo trục X m và Y m (lần lượt tương ứng là ± α và ± β).

Chú thích 1: Các giá trị giới hạn của sai lệch thường có thể được coi là giống nhau và được biểu diễn là các giá trị giới hạn của sai lệch ±0,5 α và ± 0,5 β tương ứng.

Chú thích 2: Xem dung sai vị trí ở vị trí bắt đầu (3.6.1) trên Hình 5 và dung sai định hướng ở vị trí bắt đầu (3.6.2) trên Hình 6.

3.6.4

Giá trị giới hạn của độ méo (limit value of the distortion)

Sai lệch tối đa cho phép của tư thế đạt được so với tư thế điều khiển theo trục Zm.

Chú thích 1: Giá trị giới hạn của độ méo được biểu thị là giá trị giới hạn của độ méo ±0,5 γ.

Chú thích 2: Xem Hình 5 và Hình 6.

3.6.5

Dung sai của đường lắp ghép (tolerance of the coupling path)

Sai lệch của đường lắp ghép trong phạm vi dung sai vị trí đã được phê duyệt trong dung sai vị trí ở vị trí bắt đầu (3.6.1)

3.6.6

Khả năng lặp lại của lắp ghép (coupling repeatability)

Độ không đảm bảo về vị trí và hướng đã đo về khả năng thực hiện hành động lắp ghép nhiều lần của hệ thống rô bốt.

Chú thích 1: Khả năng lặp lại lắp ghép xác định độ lệch giữa bộ phận rô bốt và bộ phận dụng cụ trong trường hợp thao tác lắp ghép nhiều lần. Điểm tham chiếu là tâm của mặt lắp ghép trên bộ phận rô bốt trong hệ tọa độ mặt lắp ghép cơ khí X m , Y m , Z m và trên bộ phận dụng cụ trong hệ tọa độ X t , Y t , Z t . Tư thế điều khiển được đặt trên trục Z m của hệ tọa độ mặt lắp ghép cơ khí X m , Y m , Z m và được dịch chuyển một khoảng cách L a theo hướng Z m .

Chú thích 2: Xem Hình 6 và Hình 7.

Chú thích 3: Xem Điều 6, TCVN 13234-1:2020 (ISO 9409-1:2004) và Điều 8, TCVN 13234-2:2020 (ISO 9409-2:2002).

Chú thích 4: Độ lệch sẽ được phân tích thành độ lệch vị trí, được biểu thị bằng milimét [theo hướng ngang (Δs t ); theo hướng trục (Δf t )], và độ lệch hướng, được biểu thị bằng rad hoặc độ [độ lệch (α t , β t ); độ méo (y t )]

CHÚ DẪN:

X m

Trục X của mặt lắp ghép cơ khí

Z m

Trục Z của mặt lắp ghép cơ khí

X t ,mục ti ê u

Trục X của dụng cụ (mục tiêu)

Z t ,mục ti ê u

Trục Z của dụng cụ (mục tiêu)

X t,thực tế

Trục X của dụng cụ (thực tế)

Z t,thực tế

Trục Z của dụng cụ (thực tế)

Y m

Trục Y của mặt lắp ghép cơ khí

Δf t

Độ lệch vị trí theo hướng trục

Y r ,mục ti ê u

Trục Y của dụng cụ (mục tiêu)

Δs t

Độ lệch vị trí theo hướng bên

Y r ,thực tế

Trục Y của dụng cụ (thực tế)

o

Tư thế điều khiển của phần dụng cụ của mặt lắp ghép sau khi ghép nối

 

 

Tư thế đạt được của phần dụng cụ của mặt lắp ghép sau khi ghép nối

Hình 7 - Biểu diễn khả năng lặp lại của lắp ghép

3.6.7

Mặt phẳng tham chiếu (reference plane)

Bề mặt lắp dụng cụ trên bô phận dụng cụ của hệ thống thay đổi được thiết kế theo TCVN 13234-1:2020 (ISO 9409-1:2004) và TCVN 13234-2:2020 (ISO 9409-2:2002).

Chú thích 1: Xem hình 8

CHÚ DẪN:

1 mặt phẳng tham chiếu

2 bộ phận gắn trên dụng cụ

3 bộ phận gắn trên rô bốt

 

F n Lực kéo (N)

F 1 Lực bên (N)

F p Lực nén (N)

M b Mô men uốn (N.m)

M o Mô men xoắn (N.m)

Hình 8 - Mặt phẳng tham chiếu và đặc tính tải trọng

3.7 Thuật ngữ liên quan đến mặt lắp ghép ổ chứa của bộ phận gắn dụng cụ

3.7.1

Định hướng mặt lắp ghép trong ổ chứa (Interface orientation in the magazine)

Hướng của hệ thống thay đổi và dụng cụ phụ thuộc vào cách nó được giữ bởi ổ chứa (3.1.10) và hướng của ổ chứa dụng cụ.

Chú thích 1: Xem Hình 9.

CHÚ DẪN:

1

Mặt bích

7

Hướng ngang (dụng cụ đứng)

2

Dụng cụ

8

Hướng nghiêng (dụng cụ treo)

3

Ổ chứa

9

Hướng nghiêng (dụng cụ đứng)

4

Hướng dọc (dụng cụ đứng)

10

Treo nghiêng (dụng cụ treo)

5

Hướng dọc (dụng cụ treo)

11

Treo nghiêng (dụng cụ đứng)

6

Hướng ngang (dụng cụ treo)

 

 

Hình 9 - Hướng của các dụng cụ được giữ trong ổ chứa

3.7.2

Dung sai tư thế phía trước ổ chứa (pose tolerance ahead of drive-in)

Dung sai tư thế được đo tại TCP (điểm tâm dụng cụ) khi đầu mang dụng cụ bắt đầu đến ổ chứa (3.1.10).

Chú thích 1: Nhà cung cấp cần phải cố định tư thế (ví dụ bằng cách cung cấp bản vẽ).

3.7.3

Lực cất giữ (lay-off force)

F y

Lực cần thiết để đưa dụng cụ vào ổ chứa (3.1.10).

Chú thích 1: F y được biểu thị bằng Niu tơn.

3.7.4

Mô men cất giữ (lay-off moment)

M y

Mô men cần thiết để đưa dụng cụ vào ổ chứa (3.1.10).

Chú thích 1: M y được biểu thị bằng Niu tơn - mét.

3.7.5

Lực tháo (removal force)

F v

Lực cần thiết để tháo dụng cụ ra khỏi ổ chứa (3.1.10).

Chú thích 1: F v được biểu thị bằng Niu tơn.

3.7.6

Mô men tháo (removal moment)

M v

Mô men cần thiết để tháo dụng cụ ra khỏi ổ chứa (3.1.10).

Chú thích 1: M v được biểu thị bằng Niu tơn - mét.

3.8 Thuật ngữ liên quan đến thời gian thay đổi dụng cụ

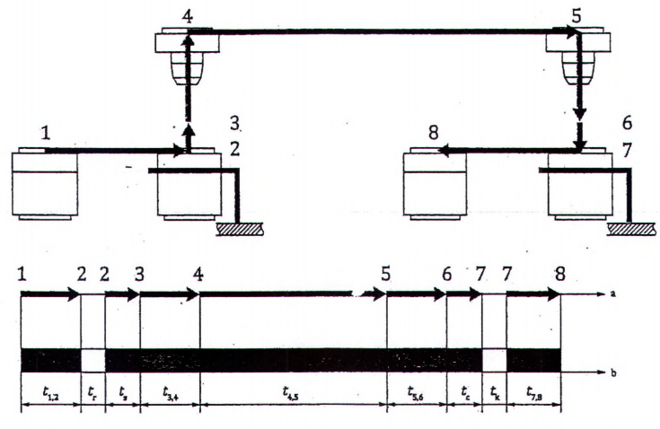
3.8.1

Thời gian thay đổi dụng cụ (tool exchange time)

t tổng

Tổng thời gian cần thiết để thực hiện tổ hợp các chuyển động cần thiết cho một hoạt động thay đổi hoàn chỉnh.

Chú thích 1: t tổng được biểu thị bằng giây.

Chú thích 2: t tổng = t 1,2 + t r + t s + t 3,4 + t 4,5 + t 5,6 + t c + t k + t 78

Chú thích 3: Xem Hình 10.

Chú thích 4: Thời gian thay đổi dụng cụ chỉ có hiệu lực đối với một chu trình và một chu kỳ thay đổi được chỉ định.

Chú thích 5: Thời gian t 1,2 , t 3 , 4 , t 4 , 5 , t 5 , 6 , t 78 chịu ảnh hưởng bởi cách lắp ráp bộ phận gắn dụng cụ (3.1.3) và bởi các yêu cầu phát sinh về khoảng cách an toàn và vận tốc. Những thời gian này là cụ thể cho một chu trình cụ thể.

Chú thích 6: Thời gian t r , t s , t c và t k phụ thuộc vào loại hệ thống khâu tác động cuối và là đặc điểm của hệ thống khâu tác động cuối được sử dụng.

3.8.2

Thời gian đi vào (drive-in time)

t 1,2

Thời gian cần thiết để đưa bộ phận gắn trên rô bốt (3.1.2) và bộ phận gắn trên dụng cụ (3.1.3) vào ổ chứa (3.1.10) với vận tốc giảm (từ vị trí 1 đến vị trí 2).

Chú thích 1: t 1,2 được biểu thị bằng giây.

Chú thích 2: Xem hình 10.

CHÚ DẪN:

1

Hoạt động tiếp cận

t 1,2

Thời gian vào (s)

2

Hoạt động nhả và tách

t r

Thời gian giải phóng (s)

3

Hoạt động lắp

t s

Thời gian tách (s)

4

Vận chuyển

t 3,4

Thời gian đi ra (s)

5

Hoạt động tiếp cận

t 4,5

Thời gian di chuyển (s)

6

Hoạt động ghép

t 5,6

Thời gian mang theo (s)

7

Hoạt động tháo dụng cụ

t c

Thời gian ghép nối (s)

8

Thu lại dụng cụ

t k

Thời gian khóa (s)

a

Khoảng cách

t 7 , 8

Thời gian kết thúc (s)

b

Thời gian

 

 

Hình 10 - Biểu đồ thay đổi dụng cụ và thời gian

3.8.3

Thời gian tháo ra (releasing time)

t r

Thời gian cần thiết để tháo ra hệ thống thay đổi bằng cách mở khóa các phần tử khóa để cho phép tách biệt giữa bộ phận gắn trên rô bốt (3.1.2) và bộ phận gắn trên dụng cụ (3.1.3) (ở vị trí 2).

Chú thích 1: t r được biểu thị bằng giây.

Chú thích 2: Xem Hình 10.

3.8.4

Thời gian tách (separation time)

t s

Thời gian cần thiết để tách bộ phận gắn trên rô bốt (3.1.2) và bộ phận gắn trên dụng cụ (3.1.3) trong ổ chứa (3.1.10) bằng cách vận hành dọc theo khoảng cách tiếp cận L a ngược với hướng lắp ghép (3.3.1) (từ vị trí 2 đến vị trí 3)

Chú thích 1: t s được biểu thị bằng giây.

Chú thích 2: Xem Hình 10.

3.8.5

Thời gian đi ra (drive-away time)

t 3,4

Thời gian cần thiết để điều khiển bộ phận gắn trên rô bốt (3.1.2) với vận tốc giảm đến vị trí trung gian 4 gần bộ phận gắn trên dụng cụ (3.1.3) (từ vị trí 3 đến vị trí 4).

Chú thích 1: t 3,4 được biểu thị bằng giây.

Chú thích 2: Xem Hình 10.

3.8.6

Thời gian di chuyển (convey time)

t 4 ,5

Thời gian cần thiết để đi đến vị trí trung gian thứ hai là 5 gần bộ phận gắn dụng cụ (3.1.3) (thích hợp ở trên cùng của vị trí bắt đầu (3.3.3).

Chú thích 1: t 4,5 được biểu thị bằng giây.

Chú thích 2: Xem Hình 10.

Chú thích 3: Thời gian t 4,5 có liên quan đến khoảng cách giữa vị trí của bộ phận gắn dụng cụ được tháo ra và vị trí của bộ phận gắn dụng cụ cần lắp (3.1.4) và đặc biệt cho chu trình, ổ chứa (3.1.10) và chu kỳ thay đổi (từ vị trí 4 đến vị trí 5).

3.8.7

Thời gian mang theo (bring-on time)

t 5 ,6

Thời gian cần thiết để điều khiển bộ phận gắn trên rô bốt (3.1.2) với vận tốc giảm đến vị trí bắt đầu (3.3.3) của hành động lắp ghép, ghép với bộ phận gắn trên dụng cụ (3.1.3) cần lắp (3.1.4) (từ vị trí 5 đến vị trí 6).

Chú thích 1: t 5 ,6 được biểu thị bằng giây.

Chú thích 2: Xem Hình 10.

3.8.8

Thời gian lắp ghép (coupling time)

t c

Thời gian cần thiết để lắp (3.1.4) nối bộ phận gắn trên rô bốt (3.1.2) và bộ phận gắn trên dụng cụ (3.1.3) dọc theo khoảng cách tiếp cận L a theo hướng lắp ghép (3.3.1) (từ vị trí 6 đến vị trí 7).

Chú thích 1: t c được biểu thị bằng giây.

Chú thích 2: Xem Hình 10.

3.8.9

Thời gian khóa (locking time)

t k

Thời gian cần thiết để khóa (3.1.6) khâu tác động cuối lại với nhau bằng cách sử dụng các thành phần khóa để kết nối bộ phận gắn trên rô bốt (3.1.2) với bộ phận gắn trên dụng cụ (3.1.3) (ở vị trí 7).

Chú thích 1: t k được biểu thị bằng giây.

Chú thích 2: Xem Hình 10.

3.8.10

Thời gian kết thúc (drive-off time)

t 7,8

Thời gian cần thiết để đưa hệ thống thay đổi khâu tác động cuối ra khỏi ổ chứa (3.1.10) với tốc độ giảm (từ vị trí 7 đến vị trí 8).

Chú thích 1: t 7,8 được biểu thị bằng giây.

Chú thích 2: Xem Hình 10.

3.8.11

Thời gian thay đổi hệ thống cụ thể (system-specific exchange time)

t x

Tổng thời gian thay đổi hệ thống là tổng số tất cả các mục thời gian thay đổi cụ thể.

Chú thích 1: t x được biểu thị bằng giây.

Chú thích 2: t x = t r + t s + t c + t k

Chú thích 3: Xem Hình 10.

4 Ký hiệu

4.1 Thông số ghép nối

L tổng ± Δ

Chiều dài của các hệ thống ghép nối (mm)

L cr ± Δ

Chiều dài ghép nối của bộ phận rô bốt (mm)

L ct ± Δ

Chiều dài ghép nối của bộ phận dụng cụ (mm)

L g

Trọng tâm trong hệ thống ghép nối

l

Mô men quán tính của hệ thống ghép nối

L a

Chiều dài của khoảng cách tiếp cận (mm)

L a 1

Khoảng cách hoạt động để định tâm trước (mm)

L a 2

Khoảng cách hoạt động để định tâm (mm)

L a 3

Khoảng cách hoạt động sau đó cho đến khi ghép nối hoàn toàn (mm)

4.2 Thông số ghép nối

F c

Lực liên kết (N)

F e

Lực nhả (N)

F lmax

Lực ngang cực đại (N)

F nmax

Lực kéo cực đại (N)

F pmax

Lực nén cực đại (N)

F v

Lực tháo (N)

F y

Lực nhả (N)

M b max

Mô men uốn cực đại (Nm)

M omax

Mô men xoắn cực đại (N'm)

M v

Mô men tháo (N•m)

M y

Mô men nhả (N•m)

4.3 Khối lượng

m

Khối lượng (kg)

m r

Khối lượng của bộ phận rô bốt (kg)

m t

Khối lượng của bộ phận dụng cụ (kg)

4.4 Kết cấu mặt lắp ghép cơ khí

X m

Mặt lắp ghép cơ học trục X

Y m

Mặt lắp ghép cơ học trục Y

Z m

Mặt lắp ghép cơ học trục Z

α

Mặt lắp ghép cơ học trục X của vòng quay

β

Mặt lắp ghép cơ học trục Y của vòng quay

γ

Mặt lắp ghép cơ học trục Z của vòng quay

4.5 Kết cấu dụng cụ

X t

Trục X dụng cụ

Y t

Trục Y dụng cụ

Z t

Trục Z dụng cụ

4.6 Bắt đầu chuyển động

X s

Bắt đầu tọa độ trục X

Y s

Bắt đầu tọa độ trục Y

Z s

Bắt đầu tọa độ trục Z

4.7 Thời gian chuyển động

t tổng

Thời gian thay đổi dụng cụ (giây)

t 1 , 2

Thời gian vào (giây)

t r

Thời gian nhả (giây)

t s

Thời gian tách (giây)

t 3, 4

Thời gian ra (giây)

t 4,5

Thời gian vận chuyển (giây)

t 5,6

Thời gian mang theo (giây)

t c

Thời gian ghép nối (giây)

t k

Thời gian khóa (giây)

t 7,8

Thời gian ra (giây)

t x

Thời gian thay đổi hệ thống cụ thể (giây)

 

Thư mục tài liệu tham khảo

[1] TCVN 13229-2 (ISO 10218-2), Rô bốt và các bộ phận cấu thành rô bốt - Yêu cầu an toàn cho rô bốt công nghiệp - Phần 2: Hệ thống rô bốt và sự tích hợp

[2] TCVN 13234-1:2020 (ISO 9409-1 ;2004), Tay máy rô bốt công nghiệp - Mặt lắp ghép cơ khí - Phần 1: Dạng Tấm

[3] TCVN 13234-2:2020 (ISO 9409-2:2002), Tay máy rô bốt công nghiệp - Mặt lắp ghép cơ khí - Phần 2: Dạng Trục

Bạn chưa Đăng nhập thành viên.

Đây là tiện ích dành cho tài khoản thành viên. Vui lòng Đăng nhập để xem chi tiết. Nếu chưa có tài khoản, vui lòng Đăng ký tại đây!

* Lưu ý: Để đọc được văn bản tải trên Luatvietnam.vn, bạn cần cài phần mềm đọc file DOC, DOCX và phần mềm đọc file PDF.

Văn bản liên quan Tiêu chuẩn Việt Nam TCVN 13230:2025

văn bản cùng lĩnh vực

văn bản mới nhất

CHÍNH SÁCH BẢO VỆ DỮ LIỆU CÁ NHÂN
Yêu cầu hỗ trợYêu cầu hỗ trợ
Chú thích màu chỉ dẫn
Chú thích màu chỉ dẫn:
Các nội dung của VB này được VB khác thay đổi, hướng dẫn sẽ được làm nổi bật bằng các màu sắc:
Sửa đổi, bổ sung, đính chính
Thay thế
Hướng dẫn
Bãi bỏ
Bãi bỏ cụm từ
Bình luận
Click vào nội dung được bôi màu để xem chi tiết.
×