- Tổng quan
- Nội dung
- Tiêu chuẩn liên quan
- Lược đồ
- Tải về
Tiêu chuẩn TCVN 10685-7:2024 Vật liệu chịu lửa không định hình - Phần 7: Thử nghiệm trên các sản phẩm định hình trước
| Số hiệu: | TCVN 10685-7:2024 | Loại văn bản: | Tiêu chuẩn Việt Nam |
| Cơ quan ban hành: | Bộ Khoa học và Công nghệ | Lĩnh vực: | Xây dựng , Công nghiệp |
| Trích yếu: | ISO 1927-7:2012 Vật liệu chịu lửa không định hình - Phần 7: Thử nghiệm trên các sản phẩm định hình trước | ||
|
Ngày ban hành:
Ngày ban hành là ngày, tháng, năm văn bản được thông qua hoặc ký ban hành.
|
29/10/2024 |
Hiệu lực:
|
Đã biết
|
| Người ký: | Đang cập nhật |
Tình trạng hiệu lực:
Cho biết trạng thái hiệu lực của văn bản đang tra cứu: Chưa áp dụng, Còn hiệu lực, Hết hiệu lực, Hết hiệu lực 1 phần; Đã sửa đổi, Đính chính hay Không còn phù hợp,...
|
Đã biết
|
TÓM TẮT TIÊU CHUẨN VIỆT NAM TCVN 10685-7:2024
Tiêu chuẩn quốc gia TCVN 10685-7:2024: Thử nghiệm trên các sản phẩm định hình trước
Tiêu chuẩn quốc gia TCVN 10685-7:2024 được ban hành để quy định các phương pháp thử nghiệm cho các sản phẩm chịu lửa không định hình đã được định hình trước. Tiêu chuẩn này hoàn toàn tương đương với tiêu chuẩn quốc tế ISO 1927-7:2012 và do Viện Vật liệu xây dựng - Bộ Xây dựng biên soạn, được Tổng cục Tiêu chuẩn Đo lường Chất lượng thẩm định và công bố vào năm 2024.
Tiêu chuẩn này áp dụng cho các sản phẩm bê tông sít đặc và cách nhiệt được quy định trong TCVN 10685-1. TCVN 10685 cũng bao gồm các phần tiêu chuẩn khác nhau: từ Phần 1 đến Phần 8, cụ thể bao gồm nội dung về giới thiệu, phân loại, lấy mẫu, và xác định các tính chất cơ lý của vật liệu chịu lửa không định hình.
Trong phần 1 của tiêu chuẩn, phạm vi áp dụng các phương pháp thử nghiệm được nhấn mạnh, bao gồm kiểm tra ngoại quan và các tính chất cơ lý của sản phẩm. Phương pháp thử nghiệm này nhằm đảm bảo rằng sản phẩm đáp ứng các tiêu chuẩn chất lượng nhất định trước khi được đưa vào sử dụng.
Bối cảnh kỹ thuật luôn được nhấn mạnh với các thuật ngữ như "khuyết tật góc", "khuyết tật cạnh", "rỗ bề mặt" và các vấn đề khác liên quan đến khuyết tật bề mặt của sản phẩm. Việc xác định các đặc điểm này là cần thiết để đảm bảo tính toàn vẹn và chất lượng của sản phẩm.
Các phương pháp thử nghiệm có thể được chia thành kiểm tra ngoại quan và kiểm tra các tính chất cơ lý. Kiểm tra ngoại quan bao gồm việc kiểm tra trực quan các khuyết tật bề mặt trong khi kiểm tra các tính chất cơ lý có thể sử dụng phương pháp phá hủy hoặc không phá hủy để đánh giá chất lượng sản phẩm.
Các dụng cụ cần thiết cho việc thử nghiệm bao gồm thước lá, thước cặp, thiết bị đo độ sâu, và nhiều loại thiết bị khác. Các phương pháp đo và xác định kích thước của các khuyết tật được hướng dẫn rõ ràng để đảm bảo tính chính xác của kết quả.
Tiêu chuẩn cũng đề cập đến các quy định về việc báo cáo kết quả thử nghiệm. Các thông tin cần ghi chép bao gồm mô tả mẫu, phương pháp thử nghiệm, các tính chất kiểm tra, kết quả thử nghiệm và bất kỳ sai lệch nào trong quy trình thực hiện.
TCVN 10685-7:2024 không chỉ đóng vai trò quan trọng trong việc xác định chất lượng của vật liệu chịu lửa mà còn là công cụ cần thiết để người tiêu dùng, doanh nghiệp và các cơ quan quản lý nhà nước đảm bảo rằng các sản phẩm trên thị trường đều đáp ứng các yêu cầu chất lượng nhất định. Việc tuân thủ các tiêu chuẩn này giúp nâng cao độ tin cậy và an toàn khi sử dụng các sản phẩm chịu lửa trong các công trình xây dựng và sản xuất công nghiệp.
Tải tiêu chuẩn Việt Nam TCVN 10685-7:2024
TIÊU CHUẨN QUỐC GIA
TCVN 10685-7:2024
ISO 1927-7:2012
VẬT LIỆU CHỊU LỬA KHÔNG ĐỊNH HÌNH - PHẦN 7: THỬ NGHIỆM TRÊN CÁC SẢN PHẨM ĐỊNH HÌNH TRƯỚC
Monolithic (unshaped) refractory products - Part 7: Tests on pre-formed shapes
Lời nói đầu
TCVN 10685-7:2024 hoàn toàn tương đương ISO 1927-7:2012.
TCVN 10685-7:2024 do Viện Vật liệu xây dựng - Bộ Xây dựng biên soạn, Bộ Xây dựng đề nghị, Tổng cục Tiêu chuẩn Đo lường Chất lượng thẩm định, Bộ Khoa học và Công nghệ công bố.
Bộ TCVN 10685 (ISO 1927), Vật liệu chịu lửa không định hình gồm các tiêu chuẩn sau:
- TCVN 10685-1:2016 (ISO 1927-1:2012), Phần 1: Giới thiệu và phân loại;
- TCVN 10685-2:2013 (ISO 1927-2:2012), Phần 2: Lấy mẫu thử;
- TCVN 10685-3:2018 (ISO 1927-3:2012), Phần 3: Đặc tính khi nhận mẫu;
- TCVN 10685-4:2018 (ISO 1927-4:2012), Phần 4: Xác định độ lưu động của hỗn hợp bê tông chịu lửa;
- TCVN 10685-5:2018 (ISO 1927-5:2012), Phần 5: Chuẩn bị và xử lý viên mẫu thử;
- TCVN 10685-6:2018 (ISO 1927-6:2012), Phần 6: Xác định các tính chất cơ lý;
- TCVN 10685-7:2024 (ISO 1927-7:2012), Phần 7: Thử nghiệm trên các sản phẩm định hình trước;
- TCVN 10685-8:2024 (ISO 1927-8:2012), Phần 8: Xác định các tính chất bổ sung.
VẬT LIỆU CHỊU LỬA KHÔNG ĐỊNH HÌNH - PHẦN 7: THỬ NGHIỆM TRÊN CÁC SẢN PHẨM ĐỊNH HÌNH TRƯỚC
Monolithic (unshaped) refractory products - Part 7: Tests on pre-formed shapes
1 Phạm vi áp dụng
Tiêu chuẩn này quy định các phương pháp thử nghiệm sản phẩm định hình trước như đã nhận. Tiêu chuẩn này áp dụng cho các sản phẩm bê tông sít đặc, cách nhiệt và vật liệu đầm theo quy định trong TCVN 10685-1.
CHÚ THÍCH: Giá trị chấp nhận đối với các phương pháp thử riêng biệt cần được thỏa thuận giữa các bên liên quan.
2 Tài liệu viện dẫn
Các tài liệu viện dẫn sau là cần thiết khi áp dụng tiêu chuẩn này. Đối với tài liệu ghi năm công bố thì áp dụng bản được nêu. Đối với các tài liệu viện dẫn không ghi năm công bố thì áp dụng phiên bản mới nhất, bao gồm cả các sửa đổi, bổ sung (nếu có).
TCVN 10685-1 (ISO 1927-1), Vật liệu chịu lửa không định hình - Phần 1: Giới thiệu và phân loại;
TCVN 10685-6 (ISO 1927-6), Vật liệu chịu lửa không định hình - Phần 6: Xác định các tính chất cơ lý.
3 Thuật ngữ, định nghĩa
Trong tiêu chuẩn này sử dụng các thuật ngữ và định nghĩa sau:
3.1
Khuyết tật góc (corner defect)
Vết sứt góc được xác định bằng ba kích thước a, b và c như nêu trong Hình 1.

CHÚ DẪN:
a, b và c: Ba kích thước xác định khuyết tật góc.
Hình 1 - Khuyết tật góc điển hình
3.2
Khuyết tật cạnh (edge defect)
Vết sứt cạnh được xác định bằng ba kích thước, e, f và g nêu như nêu trong Hình 2.

CHÚ DẪN:
e, f, và g: Ba kích thước xác định khuyết tật cạnh.
Hình 2 - Khuyết tật cạnh điển hình
3.3
Rỗ bề mặt (crater)
Các lỗ hiện rõ trên bề mặt sản phẩm được xác định bằng đường kính lớn nhất, đường kính nhỏ nhất và chiều sâu có thể đo được.
CHÚ THÍCH: Nguồn gốc có thể là do bọt khí tạo ra trong quá trình chế tạo.
3.4
Vết nứt tóc (hairline cracks)
Những vết nứt nhìn thấy trên bề mặt sản phẩm mà kích thước chiều dài có thể đo được và chiều rộng nhỏ hơn hoặc bằng 0,2 mm, xem Hình 3

CHÚ DẪN:
1 vết nứt tóc
2 Rạn bề mặt
3 Vết nứt hở
Hình 3 - Các vết rạn bề mặt điển hình
3.5
Rạn bề mặt (surface crazing)
Mạng lưới các rạn nứt nhỏ trên bề mặt sản phẩm, như trong Hình 3.
3.6
Vết nứt hở (open cracks)
Những vết nứt trên bề mặt mà chiều dài lớn hơn 10 mm và chiều rộng hơn 0,2 mm, xem Hình 3.
3.7
Vết lồi và vết lõm (prtrusions and indentations)
Những khuyết tật xuất hiện trong quá trình tạo hình hoặc nung.
3.8
Ba via (fins)
Lớp vật liệu mỏng trên bề mặt sản phẩm vượt quá khỏi cạnh.
3.9
Vết tách lớp (segregation)
Vết nứt phân tách phần vật liệu này với các phần vật liệu khác trong sản phẩm để lại vết rỗ tổ ong và/hoặc một lớp quá nhiều hạt mịn.
3.10
Vết bở (friability)
Phần bở do độ liên kết kém và/hoặc rò rỉ khuôn.
3.11
Cong vênh (warpage)
Độ lệch của bề mặt sản phẩm so với mặt phẳng.
4 Nguyên tắc
Thử nghiệm các sản phẩm định hình trước bằng các phương pháp định tính hoặc định lượng theo hai dạng sau:
a) Kiểm tra ngoại quan: Kiểm tra trực quan các vết nứt hoặc khuyết tật bề mặt khác và sự phù hợp với dung sai kích thước để đánh giá tính toàn vẹn của một sản phẩm chịu lửa.
b) Kiểm tra các tính chất cơ lý: sử dụng phương pháp phá hủy hoặc không phá hủy mẫu để đánh giá chất lượng của sản phẩm chịu lửa.
CHÚ THÍCH: Không bắt buộc phải sử dụng tất cả các phương pháp thử nghiệm được mô tả trong tiêu chuẩn này khi xác định chất lượng của một sản phẩm.
5 Thiết bị, dụng cụ
5.1 Dụng cụ đo chiều dài, thước lá thép hoặc/và thước cặp phù hợp với dung sai yêu cầu và phù hợp với độ chính xác gấp hai lần độ chính xác yêu cầu của phép đo.
CHÚ THÍCH: Nếu có thể, dung sai kích thước ít hơn 1 mm nên được đo bằng thước cặp. Thước lá thép dùng để đo với độ chính xác tới mm (khoảng 0,5 mm) trong khi các thước cặp với độ chính xác tới 0,1 mm.
5.2 Thước thép thẳng
Dày ít nhất là 5 mm và đủ dài để đo được đường chéo lớn nhất.
5.3 Hai nêm đo bằng thép, có thể là:
a) Loại 1, dài ít nhất là 50 mm và một đầu phẳng dày 10 mm, dài ít nhất là 10 mm và vát chéo đến “0” mm ở đầu kia (xem Hình 4a).
b) Loại 2, dài 160 mm vát từ 4 mm đến “0” mm (xem Hình 4b).
Mỗi nêm được chia vạch và đánh số theo mặt dốc để chỉ ra độ dày của nêm tính từ đáy nêm và thang độ dốc tăng dần cứ 0,5 mm (Loại 1) hoặc 0,1 mm (Loại 2).
Kích thước tính bằng mm

a) Loại 1

b) Loại 2
Hình 4 - Hai loại nêm đo
5.4 Lưới đo khe hở, có vạch chia 0,1 mm và/hoặc bộ căn lá thép với kích cỡ thích hợp và chính xác thường được dùng để đo độ rộng của vết nứt. Trường hợp cần thiết, căn lá thép có thể thay thế bằng nêm đo với độ chính xác phù hợp.
5.5 Thước trượt, dùng để đo góc.
5.6 Thước đo độ sâu, được hiệu chuẩn chiều sâu đến milimét, có một đầu dò đường kính 3 mm.
5.7 Dụng cụ đo khuyết tật sứt vỡ
Dụng cụ có khe hở 2 mm trên cả hai bề mặt theo mô tả ở Hình 5 để đo kích thước khuyết tật nhỏ nhất cho góc và cạnh.
CHÚ THÍCH 1: Sử dụng một dụng cụ đo vết sứt vỡ cùng thước thép thẳng để đo khuyết tật góc (xem 6.5). Sử dụng hai dụng cụ đo vết sứt vỡ cùng với thước đo chiều dài để đo khuyết tật cạnh (xem 6.6).
CHÚ THÍCH 2: Dụng cụ đo vết vỡ cho phép đo khuyết tật cạnh một cách khách quan, rõ nét.
Kích thước tính bằng mm

Hình 5 - Dụng cụ đo khuyết tật sứt, vỡ
5.8 Cân, có độ chính xác đến 1%.
5.9 Thiết bị đo vận tốc xung siêu âm
5.10 Thiết bị xác định tần số cộng hưởng bằng sốc cơ học
5.11 Súng bật nảy
5.12 Tủ sấy, có khả năng kiểm soát ở nhiệt độ (110 ± 5) °C.
5.13 Lò nung, có khả năng vận hành ở nhiệt độ (1 050 ± 25) °C.
6 Kiểm tra ngoại quan
6.1 Chuẩn bị mẫu thử
Sau khi đo các vết lồi, lõm, chà nhẹ để loại bỏ hết những chỗ nhô ra như ba via hoặc vết lồi, các phần bở rời không liên kết.
6.2 Đo kích thước
Sử dụng dụng cụ đo chiều dài để đo kích thước (xem 5.1), và trừ khi có thỏa thuận khác, chiều dài phải được đo với độ chính xác đến 0,5 mm.
6.3 Đo góc
Góc được đo bằng cách điều chỉnh thước trượt khít vào khối cần đo (xem Hình 6) và xác định trị số góc bằng cách sử dụng thước đo góc (xem Hình 7).

Hình 6 - Định vị thước trượt

Hình 7 - Đo góc
6.4 Đo độ cong vênh
Đối với bề mặt lõm, đặt thước thép thẳng trên một cạnh dọc theo đường chéo của bề mặt đang cần đo, chèn một nêm tại điểm cong lớn nhất (đảm bảo rằng kết quả không bị ảnh hưởng bởi khuyết tật nhô lên trên bề mặt bê tông) và ghi lại kết quả lớn nhất với độ chính xác đến 0,5 mm tại điểm tiếp xúc giữa nêm và thước đo.
Đối với bề mặt lồi, chèn một nêm đo ở mỗi đầu và vuông góc với thước thép thẳng như Hình 8. Điều chỉnh nêm đo tại vị trí không quá 15 mm từ các góc của viên mẫu sao cho các kết quả đọc được bằng nhau trên các nêm, đảm bảo thước thép thẳng tại điểm lồi lớn nhất. Ghi các kết quả với độ chính xác 0,5 mm.

CHÚ DẪN;
1 Thước thép thẳng
2 nêm đo
3 nêm đo
4 Điểm tiếp xúc tại vị trí cao nhất
Hình 8 - Đo độ cong vênh
Tính toán độ cong vênh, W, bằng phần trăm, theo công thức:
|
| (1) |
Trong đó;
l: độ dài đường chéo cần đo, tính bằng milimét (mm);
h: giá trị nêm đo độ cong vênh, tính bằng milimét (mm).
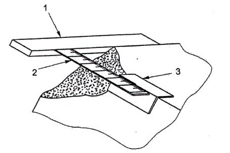
6.5 Đo khuyết tật góc
Dùng một thước thép thẳng đo các kích thước a, b và c của khuyết tật góc, một dụng cụ đo khuyết tật sứt, vỡ và một thước thép như trong Hình 9. Dụng cụ đo khuyết tật sứt vỡ nên được đặt dọc theo cạnh cần đo sao cho đỉnh của khe hở trùng với góc bị vỡ trên ít nhất một bề mặt của mẫu, như trong Hình 10. Các kích thước a, b và c được đo giữa thanh thép thẳng và đỉnh của dụng cụ đo khuyết tật sứt vỡ, độ chính xác đến milimét.

CHÚ DẪN:
1 Thước thép thẳng
2 Thước thép
3 Dụng cụ đo khuyết tật sứt vỡ
Hình 9 - Đo một khuyết tật góc

Hình 10 - Vị trí đặt thước đo khuyết tật sứt, vỡ
6.6 Đo khuyết tật cạnh
Đo chiều dài, g, của khuyết tật cạnh dùng hai dụng cụ đo khuyết tật sứt vỡ và một thước thép, như trong Hình 11. Đo độ sâu của khuyết tật cạnh kí hiệu là e và f sử dụng một thước thép thẳng và thước thép. Đo kích thước với độ chính xác đến mm.

CHÚ DẪN:
1 Dụng cụ đo khuyết tật sứt vỡ
2 Thước thép
Hình 11 - Đo độ dài của khuyết tật cạnh
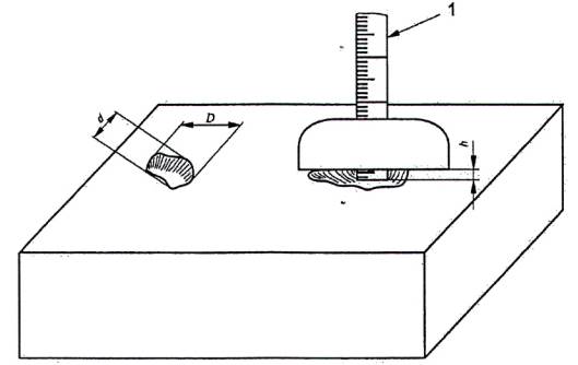
6.7 Đo rỗ bề mặt và bọt khí
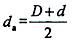
Đo đường kính lớn nhất và nhỏ nhất của một lỗ rỗ bề mặt bằng cách sử dụng thước thép như trong Hình 12.
Đường kính biểu kiến lỗ rỗ bề mặt, da, được tính như sau:
|
| (2) |
Trong đó:
D: là đường kính lớn nhất của lỗ rỗ bề mặt, tính bằng milimet (mm);
d: là đường kính nhỏ nhất của lỗ rỗ bề mặt, tính bằng milimet (mm).
Chiều sâu h tính bằng mm, của một lỗ rỗ bề mặt được đo bằng cách sử dụng thước đo độ sâu như trong Hình 12.

CHÚ DẪN:
1 Thước đo độ sâu 0 3 mm
D Đường kính lớn nhất của lỗ rỗ bề mặt
d Đường kính nhỏ nhất của lỗ rỗ bề mặt
h Độ sâu của lỗ rỗ bề mặt
Hình 12 - Đo kích thước của lỗ chảy và bọt khí
6.8 Đo vết nứt
Đo độ dài lớn nhất có thể thấy của vết nứt bằng thước thép có một hoặc nhiều đoạn thẳng. Nếu vết nứt vẫn tiếp tục kéo dài sang bề mặt khác, chiều dài của vết nứt bằng tổng các chiều dài của vết nứt trên mỗi bề mặt.
Đo chiều rộng của vết nứt bằng lưới đo khe hở hoặc căn lá thép (xem Mục 5.4).
Bảng 1 - Độ chính xác của phép đo
| Phép đo | Độ chính xác của phép đo |
| Độ dài của vết nứt | 1 mm |
| Chiều rộng của vết nứt hở: từ 0,2 đến 1 mm | 0,2 mm |
| Chiều rộng của vết nứt hở: lớn hơn 1 mm | 0,5 mm |
Đo kích thước của vết nứt với độ chính xác theo Bảng 1. Vết nứt bề mặt phải được đo bằng thước thép và tính bằng cm2.
6.9 Đo vết lồi và vết lõm
Đo chiều cao của vết lồi từ bề mặt mẫu bằng thước thép thẳng (xem Mục 5.2) và các nêm đo bằng thép (xem Mục 5.3), độ chính xác đến 0,5 mm. Đặt thước thẳng song song với bề mặt, tiếp xúc với vết lồi và điều chỉnh nêm để các giá trị bằng nhau được hiển thị trên mỗi nêm, như trong Hình 13. Đo vết lõm cũng sử dụng phương pháp tương tự như đo lỗ rỗ bề mặt (xem Mục 6.7).

CHÚ DẪN:
1 Chiều cao
2 Nêm đo vết lồi
3 Thước thép
4 Nêm đo vết lồi
Hình 13 - Đo chiều cao của vết lồi
6.10 Đo ba via
Đo chiều cao của ba vía chính xác đến milimét (mm) bằng thước đo độ sâu hoặc thước thép.
6.11 Vết tách lớp
Đo vết có cấu trúc tổ ong bằng dụng cụ đo chiều dài. Độ chính xác đến milimét (mm).
CHÚ THÍCH: Nếu có thể, kích thước của lớp tách mịn nên được đo bằng dụng cụ đo độ dài.
6.12 Vết bở
Đối với bê tông dạng sít đặc, đo những vùng bị rời hoặc không còn liên kết khi cọ sát bằng tay.
7 Kiểm tra các tính chất cơ lý
7.1 Phương pháp thử phá hủy mẫu
7.1.1 Quy tắc chung
Vị trí trong viên mẫu được lấy làm mẫu thử phải được sự đồng thuận của các bên liên quan và được ghi chép trong bản báo cáo cuối cùng. Nếu không có sự đồng thuận, vị trí lấy mẫu thí nghiệm sẽ là vùng trung tâm của viên mẫu. Nếu dùng phương pháp cắt ướt để lấy mẫu thử từ viên mẫu, thì mẫu thử phải được làm sấy khô ngay sau khi cắt.
7.1.2 Các tính chất cơ lý
Kích thước và các phép thử mẫu được cắt từ viên mẫu đã định hình trước tuân theo TCVN 10685-6 (ISO 1927-6). Trường hợp không thực hiện được, ví dụ, mẫu thử phải khoan lõi hoặc có kích thước phi tiêu chuẩn, kết quả thử nghiệm sẽ thay đổi do hình dạng mẫu thử khác nhau.
CHÚ THÍCH: Kết quả thu được bằng việc thử nghiệm viên mẫu định hình trước sẽ không giống kết quả thử nghiệm mẫu thử trong phòng thí nghiệm theo TCVN 10685-5 (ISO 1927-5).
7.1.3 Độ ẩm (xem Chú thích 2 của 7.1.4)
Cân viên mẫu hoặc mẫu thử bằng cân phù hợp với độ chính xác 1 %, sấy khô mẫu tại 110 °C đến khối lượng không đổi.
Khối lượng hao hụt, M, là phần trăm của khối lượng ban đầu theo công thức:
|
| (3) |
Trong đó:
M: độ ẩm, đơn vị là phần trăm (%);
m1: khối lượng mẫu ban đầu, đơn vị là kilôgam (kg);
m2: khối lượng mẫu sau khi sấy khô, đơn vị là kilôgam (kg).
7.1.4 Mất khi nung
Sấy sản phẩm hoặc mẫu thử tại nhiệt độ 110 °C ± 5 °C cho đến khối lượng không đổi. Để nguội đến nhiệt độ phòng và cân với độ chính xác 1 %, ghi lại khối lượng m3. Nung ở nhiệt độ 1050 °C ± 25 °C đến khối lượng không đổi. Để nguội và cân với độ chính xác 1 %, ghi lại khối lượng m4.
Tính lượng mất khi nung, L1, tính bằng phần trăm (%) khối lượng sau nung, theo công thức
|
| (4) |
Trong đó:
L1: lượng mất khi nung, đơn vị là phần trăm (%);
m3: khối lượng sau sấy, đơn vị là kilôgam (kg);
m4: khối lượng sau nung, đơn vị là kilôgam (kg).
CHÚ THÍCH 1: Nhiệt độ thử nghiệm có thể được chỉ định để xác định mất khi nung. Nhiệt độ này cần được thỏa thuận giữa các bên trước khi thử nghiệm và ghi lại trong báo cáo sau cùng.
CHÚ THÍCH 2: Nếu không thể xác định được độ ẩm hoặc độ mất khi nung trên viên mẫu có hình dạng quy định thì phải lấy mẫu thử mà không sử dụng phương pháp cắt ướt, ví dụ bằng cách phá vỡ viên mẫu để thu được mẫu thử đại diện.
7.2 Thử nghiệm mẫu bằng phương pháp thử không phá hủy
7.2.1 Thử nghiệm mẫu bằng phương pháp siêu âm
7.2.1.1 Quy định chung
Phương pháp siêu âm không đưa ra các tính chất cơ lý phổ biến, nhưng thường được sử dụng để xác định một cách tổng thể mức độ chất lượng. Phương pháp này áp dụng cho sản phẩm đã sấy khô và làm nguội ở nhiệt độ thường.
7.2.1.2 Nguyên tắc
Sự lan truyền của sóng âm qua mẫu thử và xác định vận tốc của sóng âm.
CHÚ THÍCH: Viên mẫu với hình dạng đặc biệt (ví dụ như các ống, tấm) hoặc dạng phi tiêu chuẩn có thể cho kết quả không tin cậy. Trong trường hợp đó, độ tin cậy của phép đo nên được kiểm tra bằng phương pháp sơ bộ. Bất kể vị trí nào, bề mặt tiếp xúc nên lớn hơn tiết diện của cảm biến.
7.2.1.3 Thiết bị thử nghiệm (xem Hình 14)
7.2.1.3.1 Hai cảm biến tần số thấp giống hệt nhau (từ 40 kHz đến 100 kHz) với tốc độ giảm chấn thấp. Một cảm biến phải là bộ phát, cảm biến còn lại là bộ thu.
7.2.1.3.2 Một hệ thống tiếp xúc phù hợp là một bộ tiếp âm giữa cảm biến và mẫu thử, ví dụ nhựa silicon và/hoặc là đĩa cao su.
Nếu có thể, sử dụng một thiết bị kẹp để duy trì cảm biến tiếp xúc với mẫu thử.

CHÚ DẪN:
1 Hệ thống điều chỉnh lực tiếp xúc
2 Bộ phát
3 Bộ đếm thời gian
4 Mẫu thử
5 Bộ thu
L Kích thước theo chiều truyền sóng siêu âm
Hình 14 - Sơ đồ khối của một bộ thiết bị đo vận tốc sóng âm
7.2.1.4 Cách tiến hành
Đo kích thước (L) với độ chính xác 0,5 mm, sóng siêu âm sẽ được truyền đi dọc theo kích thước (L).
Hiệu chuẩn thiết bị với mẫu chuẩn cung cấp bởi nhà sản xuất, hoặc mẫu tham chiếu phù hợp, sử dụng chất tiếp âm hiệu chuẩn để kiểm tra mẫu thử.
Đặt mẫu thử giữa các cảm biến cùng với các điểm tiếp âm phù hợp.
Duy trì cảm biến tiếp xúc với mẫu thử tại điểm đo bởi lực tay hoặc sử dụng thiết bị thích hợp. Ghi lại thời gian truyền dẫn hiển thị. Lặp lại thí nghiệm để kiểm tra độ tái lập, hiệu chuẩn lại thiết bị khi bắt đầu, cứ mỗi 50 lần đo hoặc khi thay đổi người vận hành.
CHÚ THÍCH: Số lượng và chiều của mỗi lần đo trên mẫu sẽ phụ thuộc vào hình dạng mẫu.
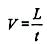
7.2.1.5 Tính toán
Tính vận tốc truyền sóng âm, V, tính bằng m/s, theo công thức:
|
| (5) |
Trong đó:
L: là kích thước dọc theo đường truyền, tính bằng mét (m);
t: là thời gian truyền, tính bằng giây (s).
7.2.1.6 Báo cáo thử nghiệm
Báo cáo thử nghiệm phải bao gồm các thông tin sau:
a) thông tin tham chiếu đến thiết bị đo siêu âm và đặc tính của thiết bị;
b) thông tin tham chiếu và đặc tính của bộ cảm biến;
c) các hệ thống tiếp xúc;
d) giá trị của vận tốc truyền đi tại mỗi hướng đo và giá trị trung bình của chúng.
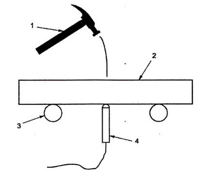
7.2.2 Xác định tần số cộng hưởng bằng sốc cơ học
7.2.2.1 Nguyên tắc
Kích thích vào viên mẫu lăng trụ với một tỷ lệ chiều dài và chiều rộng lớn hơn 3 bằng sốc cơ học và xác định tần số cộng hưởng cơ bản khi uốn của viên mẫu.
7.2.2.2 Thiết bị thử nghiệm (xem Hình 15)
7.2.2.2.1 Cảm biến, phát hiện các tần số cộng hưởng do tiếp xúc (bút thử áp điện) hoặc không tiếp xúc (ống ghi âm).
7.2.2.2.2 Búa tác động (ví dụ, một búa nhẹ hoặc tuốc nơ vít phải phù hợp về kích thước và độ cứng của mẫu thử).
7.2.2.2.3 Gối đỡ được làm từ vật liệu cách âm (ví dụ, một lớp bọt polyurethane, miếng cao su hình lăng trụ, hoặc trụ).
7.2.2.2.4 Gối đỡ cách âm, hoặc là một tấm bọt polyurethane, hoặc là hai thanh cao su có mặt cắt hình tam giác hoặc hình tròn đặt tại vị trí cách 2 đầu mẫu một khoảng bằng 0,224 lần chiều dài của mẫu thử.
Để thu được kết quả tái lặp, điểm va đập và điểm thu nhận phải được xác định chính xác.

CHÚ DẪN:
1 Búa tác động
2 Viên mẫu hoặc mẫu thử
3 Gối đỡ bằng cao su
4 Ống ghi âm
Hình 15 - Sơ đồ khối của bộ dụng cụ đo tần số cộng hưởng bằng sốc cơ học
7.2.2.3 Cách tiến hành
Đặt mẫu thử nghiệm lên gối đỡ cách âm.
Đặt cảm biến tiếp nhận vào giữa chiều dài của mẫu thử, có tính đến những trường hợp sau:
- Nếu dùng cảm biến điện áp, thì cảm biến phải tiếp xúc với điểm giữa một trong các mặt có kích thước lớn nhất.
- Nếu dùng cảm biến âm thanh, cảm biến phải tiếp xúc với điểm giữa mặt dưới của mẫu. Khi đó mẫu thử nghiệm nên được đặt trên những thanh cao su hình lăng trụ hoặc hình trụ.
Đập vào giữa bề mặt trên của mẫu bằng búa và để nó bật nảy tự do. Chú ý đọc kết quả trên các thiết bị đo. Lặp lại phép đo để nhận được năm giá trị tương ứng (sai số được xác định tương ứng với loại vật liệu và kích cỡ của mẫu).
Báo cáo kết quả trung bình của năm giá trị, S.
7.2.2.4 Tính toán
Tính tần số cộng hưởng, F, tính bằng Hertz, theo công thức:
|
| (6) |
Trong đó t là trung bình của năm giá trị đọc trên thiết bị đo, tính bằng micro giây.
7.2.2.5 Báo cáo kết quả
Bản báo cáo kết quả phải bao gồm những thông tin sau:
a) hình dạng viên mẫu thử nghiệm;
b) thông tin tham chiếu thiết bị đo tần số cộng hưởng và đặc tính của thiết bị;
c) đặc điểm và đặc tính của cảm biến nhận;
d) đặc điểm của gối đỡ;
e) đặc điểm của búa va đập;
f) điểm va đập và tiếp nhận của phép đo;
g) các giá trị đơn và giá trị trung bình của tần số cộng hưởng.
7.2.3 Súng bật nảy
7.2.3.1 Nguyên tắc
Một búa thép tác động một năng lượng xác định trước lên thanh thép tiếp xúc với bề mặt mẫu thử và đo khoảng cách bật ngược lại của búa.
7.2.3.2 Thiết bị thử nghiệm
7.2.3.2.1 Súng bật nảy, bao gồm một búa thép lò xo sau khi tác động vào một đầu thanh tiếp xúc với bề mặt mẫu. Búa lò xo di chuyển với một tốc độ ổn định. Khoảng cách bật ngược lại của búa thép từ thanh đầu súng được đo bằng thang đo gắn trên khung của thiết bị đo.
7.2.3.2.2 Đá mài, được tạo thành từ các hạt cacbua silic hoặc vật liệu tương đương.
7.2.3.2.3 Đế chuẩn, đường kính khoảng 150 mm, hình trụ cao 150 mm bằng thép cacbon với vùng tác động có độ cứng Rockwell từ 65 C đến 67 C. Một ống dẫn hướng để giữ súng bật nảy vào giữa khu vực tác động và giữ thiết bị vuông góc với bề mặt.
7.2.3.3 Mẫu thử nghiệm
Mẫu thử nghiệm phải có chiều dày tối thiểu là 100 mm. Trách những vùng bị rỗ tổ ong, rỗng và độ xốp cao.
Vùng thử nghiệm phải có đường kính tối thiểu là 150 mm. Nếu bề mặt thô ráp, lỏng lẻo hoặc mềm thì sẽ được làm phẳng bằng đá mài.
7.2.3.4 Cách tiến hành
Giữ thiết bị chắc chắn để thanh đầu súng vuông góc với bề mặt thử. Dần dần nhấn thiết bị về phía bề mặt thử nghiệm cho đến khi búa đập vào. Sau khi va chạm, duy trì áp lực trên thiết bị và, nếu cần thiết nhả nút phía bên cạnh thiết bị để khóa thanh đầu súng tại vị trí thụt lại. Xác định số bật ngược lại tới số nguyên gần nhất. Lấy 10 lần từ mỗi vùng thử nghiệm. Hai lần tác động không được gần hơn 25 mm. Kiểm tra dấu vết trên bề mặt mẫu sau khi tác động, và nếu tác động làm vỡ hoặc nát một bề mặt thì bỏ qua việc đọc và thực hiện tác động khác.
7.2.3.5 Báo cáo thử nghiệm
Báo cáo thử nghiệm phải bao gồm những thông tin sau:
a) vị trí vùng thử nghiệm trên viên mẫu;
b) mô tả vùng thử nghiệm với các đặc tính bề mặt;
c) bề mặt đã được mài và độ sâu mài;
d) thông tin súng và số sê ri;
e) hướng của súng trong suốt quá trình thử nghiệm;
f) số bật nảy trung bình cho mỗi vùng thử nghiệm.
7.2.4 Khối lượng
Cân viên mẫu với độ chính xác 1 % bằng cân phù hợp.
7.2.5 Khối lượng thể tích
Tính khối lượng thể tích hình học, ρg, tính bằng kg/m3, sử dụng công thức:
|
| (7) |
Trong đó:
m là khối lượng của mẫu theo 7.2.4, tính bằng kilôgam (kg);
v là thể tích của mẫu được tính toán chính xác sử dụng kích thước trung bình như xác định theo 6.2, tính bằng mét khối (m3).
Biểu thị kết quả với độ chính xác 1 %.
8 Báo cáo thử nghiệm
Báo cáo thử nghiệm phải bao gồm những thông tin sau:
a) tất cả các thông tin cần thiết để nhận biết mẫu thử bao gồm: kí hiệu của mẫu tạo trước cần thử nghiệm (nhà sản xuất, kiểu, hình dạng, ngày đúc mẫu, số lô, bất kỳ xử lí nhiệt nào nếu có);
b) viện dẫn tiêu chuẩn TCVN 10685-7 (ISO 1927-7);
c) phương pháp sử dụng và các tính chất kiểm tra;
d) số mẫu thử nghiệm;
e) nếu mẫu thử đã được lấy, số lượng và vị trí trên viên mẫu tạo hình trước;
f) kết quả thử nghiệm, bao gồm giá trị của các kết quả riêng và giá trị của các kết quả trung bình, tính theo quy định tại Điều 6 và Điều 7, bao gồm cả các thông tin bổ sung được quy định trong các Điều;
g) các sai lệch so với quy trình thử nghiệm;
h) các đặc điểm bất thường quan sát thấy trong quá trình thử nghiệm;
i) tên phòng thử nghiệm;
j) ngày thử nghiệm.
Thư mục tài liệu tham khảo
[1] TCVN 10685-3 (ISO 1927-3), Vật liệu chịu lửa không định hình - Phần 3: Đặc tính khi nhận mẫu;
[2] TCVN 10685-5 (ISO 1927-5), Vật liệu chịu lửa không định hình - Phần 5: Chuẩn bị và xử lý viên mẫu thử;
[3] TCVN 14131-1 (ISO 12678-2), Sản phẩm chịu lửa -Xác định kích thước và khuyết tật ngoại quan của gạch chịu lửa - Phần 1: Kích thước và sự phù hợp với bản vẽ;
[4] TCVN 14131-1 (ISO 12678-2) sản phẩm chịu lửa - Xác định kích thước và khuyết tật ngoại quan của gạch chịu lửa - Phần 2: Các khuyết tật góc, cạnh và khuyết tật bề mặt khác.
Mục lục
1. Phạm vi áp dụng
2. Tài liệu viện dẫn
3. Thuật ngữ, định nghĩa
4. Nguyên tắc
5. Dụng cụ thí nghiệm
6. Kiểm tra ngoại quan
7. Kiểm tra các tính chất cơ lý
8. Báo cáo thử nghiệm
Bạn chưa Đăng nhập thành viên.
Đây là tiện ích dành cho tài khoản thành viên. Vui lòng Đăng nhập để xem chi tiết. Nếu chưa có tài khoản, vui lòng Đăng ký tại đây!