- Tổng quan
- Nội dung
- Tiêu chuẩn liên quan
- Lược đồ
- Tải về
Tiêu chuẩn Quốc gia TCVN 13331:2021 Hệ tường kính - Lắp dựng và nghiệm thu
| Số hiệu: | TCVN 13331:2021 | Loại văn bản: | Tiêu chuẩn Việt Nam |
| Cơ quan ban hành: | Bộ Khoa học và Công nghệ | Lĩnh vực: | Xây dựng |
|
Ngày ban hành:
Ngày ban hành là ngày, tháng, năm văn bản được thông qua hoặc ký ban hành.
|
28/12/2021 |
Hiệu lực:
|
Đã biết
|
| Người ký: | Đang cập nhật |
Tình trạng hiệu lực:
Cho biết trạng thái hiệu lực của văn bản đang tra cứu: Chưa áp dụng, Còn hiệu lực, Hết hiệu lực, Hết hiệu lực 1 phần; Đã sửa đổi, Đính chính hay Không còn phù hợp,...
|
Đã biết
|
TÓM TẮT TIÊU CHUẨN VIỆT NAM TCVN 13331:2021
Nội dung tóm tắt đang được cập nhật, Quý khách vui lòng quay lại sau!
Tải tiêu chuẩn Việt Nam TCVN 13331:2021
TIÊU CHUẨN QUỐC GIA
TCVN 13331:2021
HỆ TƯỜNG KÍNH - LẮP DỰNG VÀ NGHIỆM THU
Glass curtain wall - Assembly and acceptance
Lời nói đầu
TCVN 13331:2021 được biên soạn trên cơ sở tiêu chuẩn CTO HOCTPOŇ 2.14.80-2012.
TCVN 13331:2021 do Viện Khoa học Công nghệ Xây dựng - Bộ Xây dựng biên soạn, Bộ Xây dựng đề nghị, Tổng cục Tiêu chuẩn Đo lường Chất lượng thẩm định, Bộ Khoa học và Công nghệ công bố.
HỆ TƯỜNG KÍNH - LẮP DỰNG VÀ NGHIỆM THU
Glass curtain wall - Assembly and acceptance
1 Phạm vi áp dụng
1.1 Tiêu chuẩn này đưa ra các yêu cầu lắp dựng và nghiệm thu hệ tường kính bao che phía ngoài công trình, bảo vệ không gian bên trong khỏi tác động của nhiệt độ, môi trường và tiếng ồn từ phía ngoài.
1.2 Tiêu chuẩn này không áp dụng để lắp dựng tấm ốp mặt tiền cách nhiệt, tranh kính, tấm bao che ban công và lô gia.
2 Tài liệu viện dẫn
Các tài liệu viện dẫn sau rất cần thiết khi áp dụng tiêu chuẩn này. Đối với các tài liệu viện dẫn có ghi năm công bố thì áp dụng phiên bản được nêu. Đối với các tài liệu viện dẫn không ghi năm công bố thì áp dụng phiên bản mới nhất, bao gồm cả các sửa đổi, bổ sung (nếu có).
TCVN 4101-1985, Thước đo có du xích - Yêu cầu kỹ thuật.
TCVN 4055:2012, Công trình xây dựng - Tổ chức thi công.
TCVN 5672:2012, Hệ thống tài liệu thiết kế xây dựng - Hồ sơ thi công - Yêu cầu chung.
TCVN 9259: 2012 (ISO 3443:1989), Dung sai trong xây dựng công trình.
3 Thuật ngữ và định nghĩa
Tiêu chuẩn này sử dụng các thuật ngữ và định nghĩa sau:
3.1
Bộ dụng cụ kỹ thuật (Technical tools)
Bộ các thiết bị nhỏ cầm tay, bao gồm các dụng cụ cơ khí, dụng cụ đo lường và kiểm tra, phù hợp với công nghệ được sử dụng và tiện lợi cho tổ thợ.
3.2
Chất xảm khe (Sealant)
Chất có các đặc tính gắn kết và bám dính dùng để liên kết kính với khung đỡ, đảm bảo chúng làm việc như một khối thống nhất.
3.3
Chốt giữ kính dạng đỡ điểm (Spider)
Kết cấu kim loại có một hoặc nhiều điểm đỡ, dùng để giữ các tấm kính.
3.4
Đố đứng (Mullion)
Bộ phận chịu lực thẳng đứng, tiếp nhận tải trọng từ đố ngang và truyền tải trọng đó lên kết cấu chịu lực thông qua các liên kết và gối đỡ.
3.5
Đố ngang (Transom)
Bộ phận chịu lực nằm ngang, tiếp nhận tải trọng và truyền tải trọng đó lên đố đứng thông qua các liên kết cơ học trên đố đứng.
3.6
Gối đỡ (Embedment plate)
Chi tiết gối chôn trong kết cấu chịu lực, dùng để liên kết với hệ tường kính.
3.7
Hệ tường kính dạng tổ hợp (Stick curtain walls systems)
Hệ tường kính được sản xuất và gia công các thanh nhôm (đố đứng, đố ngang), kính và một số chi tiết khác tại nhà máy, toàn bộ công việc liên kết, lắp dựng và hoàn thiện được thực hiện tại công trường.
3.8
Hệ tường kính dạng tổ hợp giấu đố (Hidden-frame curtain wall systems)
Hệ tường kính dạng tổ hợp có đố đứng, đố ngang không lộ ra ngoài mặt kính.
3.9
Hệ tường kính dạng tổ hợp lộ nửa đố (Semi-hidden frame curtain wall systems)
Hệ tường kính dạng tổ hợp có đố dọc hoặc đố ngang lộ ra ngoài mặt kính.
3.10
Hệ tường kính dạng tổ hợp lộ đố (Frame curtain wall systems)
Hệ tường kính dạng tổ hợp có đố dọc và đố ngang lộ ra ngoài mặt kính.
3.11
Hệ tường kính dạng panen (Unitized curtain wall systems)
Hệ tường kính được sản xuất, gia công và hoàn thiện thành các tấm panen ngay từ trong nhà máy, sau đó được chuyển đến công trình để lắp dựng và hoàn thiện tổng thể.
3.12
Hệ tường kính dạng đỡ điểm (Spider curtain wall Systems)
Hệ tường kính được cấu tạo bởi các giá giữ kính dạng đỡ điểm chuyên dụng và các tấm kính.
3.13
Hồ sơ thi công (Construction document)
Tập hợp các hồ sơ, tài liệu có liên quan tới công tác thiết kế, biện pháp thi công (bao gồm công nghệ, thời hạn hoàn thành, trình tự thực hiện và các tài liệu hướng dẫn trong quá trình xây dựng công trình).
3.14
Kết cấu bao che (Facade)
Kết cấu có chức năng bảo vệ các không gian bên trong tòa nhà và công trình khỏi tác động của tự nhiên từ bên ngoài, với các yêu cầu tiêu chuẩn về độ bền, cách nhiệt, cách nước, cách hơi ẩm, chống lọt khí, cách âm,...
3.15
Kết cấu chịu lực (load-bearing structure)
Các bộ phận chịu lực của công trình (cột, dầm, sàn, tường ...) mà hệ tường kính liên kết vào.
3.16
Khung đỡ (Supporting trame)
Hệ kết cấu giữ các tấm kính.
3.17
Lắp dựng (Installation)
Công tác lắp đặt vào vị trí thiết kế và vào các liên kết cố định của kết cấu.
3.18
Lớp lót cách nhiệt (Insulating lining)
Vật liệu đặt vào kết cấu có vai trò cách nhiệt.
3.19
Panen (Panel)
Kết cấu được lắp kính và hoàn chỉnh ở nhà máy, được lắp đặt lên kết cấu chịu lực.
3.20
Bu lông neo (Anchor)
Chi tiết liên kết được chôn trong kết cấu chịu lực để tiếp nhận và truyền lực từ các kết cấu bao che lên kết cấu chịu lực.
3.21
Vật liệu lấy ánh sáng (Transparent material)
Sản phẩm xây dựng được làm từ các vật liệu dạng tấm trong suốt (kính).
4 Phân loại hệ tường kính
Tùy đặc điểm kết cấu, hệ tường kính được chia thành các dạng như sau:
a) Hệ tường kính dạng tổ hợp (xem Hình 1):
- Hệ tường kính giấu đố (xem Hình 2);
- Hệ tường kính lộ nửa đố (xem Hình 3);
- Hệ tường kính lộ đố (xem Hình 4);
b) Hệ tường kính dạng panen;
c) Hệ tường kính dạng đỡ điểm (xem Hình 5).

CHÚ DẪN:
1 Đố ngang
2 Đố đứng
3 Gối đỡ
4 Bộ phận liên kết
5 Kính
6 Kết cấu chịu lực
Hình 1 - Hệ tường kính dạng tổ hợp
|
|
|
| a) Đậy khe kính bằng tấm phẳng | b) Bịt mép kính bằng chất xảm khe |
CHÚ DẪN:
1 Tấm phẳng
2 Chất xảm khe
3 Khung đỡ kính
4 Nẹp khung đỡ kính
Hình 2 - Hệ tường kính dạng tổ hợp giấu đố
|
|
|
| a) Lộ đố đứng | b) Lộ đố ngang |
CHÚ DẪN:
1 Đố đứng
2 Đố ngang
3 Kính
4 Thanh nẹp
Hình 3 - Hệ tường kính dạng tổ hợp lộ nửa đố

CHÚ DẪN:
1 Chất xảm khe
2 Đố đứng
3 Đố ngang
4 Thanh nẹp
5 Kính
6 Tấm ốp trang trí
Hình 4 - Hệ tường kính dạng tổ hợp lộ đố

CHÚ DẪN:
1 Kết cấu chịu lực
2 Bộ phận liên kết
3 Chốt giữ kính dạng đỡ điểm
4 Bộ phận neo nẹp
5 Kính
Hình 5 - Hệ tường kính dạng đỡ điểm
5 Yêu cầu lắp dựng
5.1 Quy định chung
5.1.1 Hệ tường kính phải được lắp dựng phù hợp với các yêu cầu của tiêu chuẩn này, TCVN 4055:2012, tài liệu thiết kế và thi công, các tiêu chuẩn về an toàn lao động, vệ sinh môi trường, các tiêu chuẩn kỹ thuật có liên quan khác và có xem xét đến các công tác chuẩn bị, thi công và nghiệm thu công việc.
5.1.2 Nội dung công tác chuẩn bị bao gồm:
a) Kiểm tra hồ sơ thi công lắp dựng hệ tường kính;
b) Kiểm tra hồ sơ thi công lắp dựng phần chống thấm mái, chân đế, dốc thoát nước;
c) Tiến hành đo đạc các thông số hình học của kết cấu chịu lực công trình;
d) Thử nghiệm các bu lông neo (được thực hiện bởi các tổ chức chuyên ngành);
e) Kiểm tra kết cấu chịu lực công trình;
f) Tập kết các bộ phận của hệ tường kính tới công trường và kiểm tra sự đầy đủ, nguyên vẹn, các chứng chỉ xuất xưởng của vật liệu đầu vào: panen, kính, khung nhôm, chi tiết liên kết, keo...
5.1.3 Công tác lắp dựng bao gồm các công đoạn cần thiết tương ứng với mỗi loại hệ tường kính.
5.1.4 Lắp dựng hệ tường kính có thể thực hiện bằng các phương pháp: lắp dựng từng bộ phận riêng biệt; lắp dựng từ các panen chế tạo sẵn; phương pháp lắp dựng hỗn hợp (tham khảo Hình 6).
|
|
|
|
| a) Phương pháp lắp dựng từng bộ phận | b) Phương pháp lắp dựng từ panen chế tạo sẵn | c) Phương pháp lắp dựng hỗn hợp |
CHÚ DẪN:
1 Đố đứng
2 Đố ngang
3 Panen
Hình 6 - Các phương pháp lắp dựng hệ tường kính
5.1.5 Các công tác kết thúc việc lắp dựng hệ tường kính bao gồm: hoàn thiện các phiếu nghiệm thu - bàn giao công việc, bàn giao các hồ sơ thiết kế và thi công cho ban quản lý vận hành công trình.
5.2 Công tác chuẩn bị
5.2.1 Việc nghiệm thu công tác chuẩn bị phải tuân thủ các yêu cầu của TCVN 5672:2012 và các tiêu chuẩn có liên quan khác, nội dung kiểm tra bao gồm:
a) Tính đầy đủ;
b) Hư hỏng, khuyết tật;
c) Các quy định, tiêu chuẩn về vật liệu, sản phẩm;
d) Các chứng chỉ chất lượng, chứng nhận sự phù hợp, vệ sinh, an toàn dịch tễ, cũng như các tài liệu khác kèm theo.
5.2.2 Việc tiếp nhận hồ sơ thi công lắp dựng hệ tường kính bao gồm cả công tác kiểm tra sự phù hợp của công việc thực hiện thực tế so với bản vẽ thi công.
5.2.3 Các thiết bị đo được sử dụng trong công tác kiểm tra phải được kiểm định, hiệu chuẩn phù hợp với các quy định hiện hành.
5.2.3.1. Độ lệch cho phép của bề mặt kết cấu chịu lực theo phương ngang không được vượt quá cộng trừ 5 mm. Nếu bề mặt kết cấu chịu lực không đáp ứng được yêu cầu trên thì các phần nhô ra phải được mài phẳng, phần lõm được lấp đầy bằng các loại vữa.
5.2.3.2. Kiểm tra chiều dày của kết cấu chịu lực và khoảng cách thông thủy giữa chúng được đo bằng thước mét, thước cuộn hoặc thước laser.
5.2.4 Việc kiểm tra khả năng chịu lực của kết cấu chịu lực trong điều kiện thực tế để lựa chọn neo liên kết với khung đỡ hệ tường kính được thực hiện bởi phòng thí nghiệm phù hợp và theo đề cương đã phê duyệt.
5.2.5 Neo cần được thử nghiệm khả năng chịu nhổ, chịu cắt tại hiện trường và được thực hiện bởi phòng thí nghiệm chuyên ngành theo đúng đề cương được phê duyệt.
5.2.6 Dựa trên kết quả thí nghiệm kết cấu chịu lực và kết quả thí nghiệm bu lông neo, đơn vị thiết kế có thể tính toán và lựa chọn bu lông neo cho phù hợp.
5.2.7 Mỗi lô các bộ phận của hệ tường kính chuyển tới công trường cần có hồ sơ chất lượng, chứng chỉ xuất xưởng.
CHÚ THÍCH: Lô là nhóm các cấu kiện có cùng tên gọi, kích thước, được sản xuất vào cùng một thời điểm nhất định.
5.2.8 Kiểm tra tính đầy đủ của các bộ phận hệ tường kính được thực hiện dựa vào thống kê trên hồ sơ thi công.
5.2.9 Bộ dụng cụ kỹ thuật khuyến nghị sử dụng trong công tác lắp dựng hệ tường kính được thể hiện trong Phụ lục A.
5.3 Lắp dựng hệ tường kính
5.3.1 Thành phần công tác lắp dựng hệ tường kính dạng tổ hợp bao gồm:
a) Chia tòa nhà thành các phân vùng;
b) Lắp dựng gối đỡ;
c) Lắp dựng đố đứng và liên kết chúng vào kết cấu chịu lực;
d) Lắp dựng đố ngang;
e) Lắp dựng kính;
f) Bịt kín, bơm keo lấp kín các khe hở;
g) Lắp dựng các phụ kiện khác (thanh nẹp kim loại...).
5.3.2 Khi chia tòa nhà thành các phân vùng, kích thước, số lượng và trình tự lắp dựng các phân vùng được xác định bởi kích thước của vùng lắp dựng hệ tường kính, cách tổ chức và các trang bị khi thi công, điều kiện của các bộ phận hệ tường kính, điều kiện vật liệu và phải tuân thủ hồ sơ thi công, bao gồm hồ sơ thiết kế bản vẽ thi công và hồ sơ biện pháp thi công.
5.3.3 Công tác lắp dựng gối đỡ bao gồm:
a) Định vị các điểm gối đỡ;
b) Khoan lỗ cho thanh neo;
c) Liên kết gối đỡ.
5.3.3.1. Khi xác định trục ngang của các điểm gối đỡ, các điểm biên của trục ngang được xác định bởi máy thủy bình, máy định vị laze. Vị trí lắp đặt gối đỡ được xác định bởi hai điểm biên bằng cách sử dụng thước ni vô và thước cuộn.
5.3.3.2. Khoan lỗ dưới gối đỡ được thực hiện bởi dụng cụ phù hợp. Đường kính lỗ phải bằng đường kính chi tiết liên kết. Đường kính lỗ lớn hơn có thể dẫn đến việc giảm khả năng chịu nứt của vật liệu kết cấu chịu lực.
5.3.3.3. Liên kết gối đỡ cần thực hiện theo các yêu cầu của hồ sơ thiết kế thi công.
5.3.3.4. Khoảng cách nhỏ nhất từ trục của các điểm chi tiết liên kết tới mép của nền không được nhỏ hơn 100 mm.
5.3.3.5. Không được phép lắp dựng gối đỡ trong các trường hợp sau:
- Chưa hoàn thành công tác chuẩn bị đối với kết cấu chịu lực;
- Khi xuất hiện các khuyết tật nhìn thấy được bằng bắt thường;
- Khi không tiến hành các thí nghiệm hiện trường cần thiết nhằm kiểm tra khả năng chịu lực của bu lông neo.
5.3.3.6. Số lượng bu lông neo liên kết được thử nghiệm, kiểm tra không nhỏ hơn 10 % tổng số trên mỗi 100 m2 diện tích bề mặt kết cấu chịu lực.
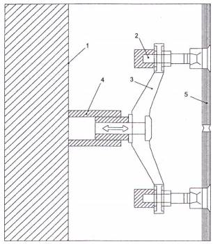
5.3.4 Các đố đứng được lắp dựng và liên kết vào kết cấu chịu lực được minh họa trên Hình 7.
5.3.4.1. Đố đứng được lắp dựng vào kết cấu chịu lực nhờ liên kết với các gối đỡ.
5.3.4.2. Độ thẳng đứng của các đố đứng được kiểm tra bởi máy kinh vĩ, máy định vị laze hoặc dây dọi.
5.3.4.3. Đối với đố đứng bằng thép thì sử dụng liên kết bằng bu lông cố định. Còn đối với đố đứng bằng nhôm thì sử dụng liên kết bu lông linh hoạt ở tất cả các gối đỡ, trừ vị trí tiếp nhận tải trọng. Liên kết bu lông linh hoạt được lắp đặt nhờ sử dụng các lỗ ô van trên các đố đứng, cho phép điều chỉnh khi có các biến dạng dãn dài do nhiệt độ.
5.3.4.4. Các đố đứng được liên kết theo phương đứng nhờ các tấm liên kết. Để loại bỏ các biến dạng do giãn nở vì nhiệt theo chiều đứng, sử dụng các lỗ trong các liên kết trên đố đứng, kích thước được tính toán dựa trên biến dạng của các đố đứng bằng nhôm khi có sự thay đổi nhiệt độ (Phụ lục B).
5.3.5 Các đố ngang được lắp dựng bằng các tấm liên kết với đố đứng (xem Hình 8).
5.3.6 Liên kết giữa 2 đố đứng có thể tham khảo minh hoạ trên Hình 9. Liên kết được đảm bảo nhờ các tấm và các chi tiết liên kết. Độ cứng và độ kín khít của liên kết được đảm bảo bởi các vật chèn kín, các thanh nẹp và thanh đậy đố đứng.

CHÚ DẪN:
1 Đố ngang
2 Đố đứng
3 Gối đỡ
4 Bu lông liên kết
5 Kết cấu chịu lực
Hình 7 - Liên kết đố đứng với kết cấu chịu lực
5.3.7 Kính được lắp dựng bằng tay (khi lắp dựng từ bên trong) hoặc với sự trợ giúp của các thiết bị nâng (khi lắp dựng từ bên ngoài).
CHÚ THÍCH: Khi lắp dựng bằng tay, khối lượng của kính không được vượt quá 50 kg và phải tuân thủ các yêu cầu của các tiêu chuẩn về an toàn lao động.
5.3.7.1 Khi lắp dựng từ bên ngoài (xem Hình 10), bắt đầu lắp dựng từ góc của các vùng đã chia của mặt tiền tòa nhà và thực hiện theo trình tự như sau:
a) Từ bãi tập kết trên công trường, kính được di chuyển bằng cần cẩu hoặc thiết bị nâng tới vị trí lắp dựng (sàn nhà), xếp chúng lên nhau trong các thùng chuyên dụng;
b) Thùng kính được di chuyển bằng cầu lên xe đẩy;
c) Di chuyển xe đẩy tới mép của sàn, gần thanh chắn an toàn;
d) Kính được nâng bởi cẩu hoặc tời có dầm ngang và sau đó lắp vào giữa các đố đứng.
5.3.7.2 Khi lắp dựng, kính được giữ bởi khung đỡ có đĩa hút chân không (máy nâng kính chân không).
5.3.7.3 Kính cần được di chuyển vào vị trí thẳng đứng. Góc và cạnh kính cần được bảo vệ chống va đập. Không được phép tựa cạnh kính trực tiếp lên bề mặt cứng.

CHÚ DẪN:
1 Đố đứng
2 Vai liên kết
3 Đố ngang
Hình 8 - Liên kết giữa đố đứng và đố ngang

CHÚ DẪN:
1 Đố đứng
2 Thanh liên kết
3 Chi tiết nẹp
4 Vật chèn kín
5 Tấm ốp đố đứng
6 Vít
7 Thanh nẹp kín
Hình 9 - Liên kết giữa hai đố đứng

CHÚ DẪN:
1 Thùng đựng kính
2 Dầm cẩu
3 Rào chắn khu vực thi công trên các ô
4 Rào chắn quanh chu vi sàn của từng tầng
5 Bệ chuyển hàng nhô ra ngoài
Hình 10 - Sơ đồ lắp dựng kính
5.3.7.4 Khi lắp dựng kính, không được lắp sai hướng của kính (mặt trong, mặt ngoài, phía trên, phía dưới).
5.3.7.5 Kính phải được đặt trên các tấm kê (mỗi tấm kính đặt trên 2 tấm kê). Khoảng cách giữa các tấm kê tới mép kính từ 50 mm đến 80 mm. Khi chiều rộng kính lớn hơn 1,5 m thì nên tăng khoảng cách giữa các tấm kê tới mép kính lên 150 mm. Để giữ kính theo phương đứng cần sử dụng các tấm lót cố định bên sườn, được bố trí thành từng cặp (mặt trước và mặt sau) ở phần phía trên và dưới kính.
5.3.8 Chèn và bịt kín khe hở giữa các tấm kính cần được thực hiện ngay sau khi lắp dựng. Bề mặt được bơm chất bịt kín cần được làm sạch khỏi bụi bẩn, dầu mỡ và đợi khô ráo. Chất bịt kín được thi công bằng tay hoặc dụng cụ bơm.
5.3.9 Các bộ phận chịu lực của hệ tường kính dạng tổ hợp giấu đố được lắp dựng tương tự như hệ tường kính dạng tổ hợp. Trong các ô tạo bởi đố đứng và đố ngang được lắp dựng kính. Kính được giữ cố định nhờ các loại keo chuyên dụng có tính bám dính cao, được kiểm tra bởi phòng thử nghiệm chuyên ngành.
5.3.10 Đối với hệ tường kính dạng tổ hợp hở nửa đố, sử dụng tấm nẹp để liên kết theo phương ngang và keo để liên kết theo phương đứng.
5.3.11 Lắp dựng hệ tường kính dạng panen được thực hiện theo từng ô, mỗi ô thường áp dụng 1 loại panen.
5.3.12 Lắp dựng hệ tường kính dạng panen được thực hiện bằng cần cẩu, bắt đầu lắp dựng panen ở vị trí xa thân cẩu nhất. Panen được nâng bằng khung có đĩa hút chân không hoặc bằng các móc chuyên dụng.
5.3.13 Công tác lắp dựng được thực hiện theo các trình tự sau:
a) Cẩu panen tới độ cao từ 0,3 m tới 0,4 m so với kết cấu chịu lực và được công nhân lắp dựng tiếp nhận;
b) Lắp dựng panen vào kết cấu chịu lực và liên kết vào vị trí thiết kế.
5.3.14 Các panen được hiệu chỉnh theo trình tự như sau:
a) Trong mặt phẳng tường: di chuyển trục định vị của panen ở mức phía dưới trục định vị đánh dấu trên kết cấu chịu lực, điều chỉnh sao cho hai trục trùng nhau;
b) Ngoài mặt phẳng tường: di chuyển mép dưới của panen với trục định vị được đánh dấu trên kết cấu chịu lực, điều chỉnh sao cho các trục trùng nhau;
c) Trong mặt phẳng thẳng đứng: căn chỉnh cạnh trong của panen vào vị trí thẳng đứng.
5.3.15 Khe nối giữa các panen được thực hiện theo đúng thiết kế.
5.3.16 Lắp dựng hệ tường kính dạng đỡ điểm bao gồm các công tác sau:
a) Đánh dấu vị trí lắp đặt các chốt giữ kính dạng đỡ điểm;
b) Liên kết chốt giữ kính dạng đỡ điểm với kết cấu chịu lực;
c) Lắp đặt kính;
d) Chèn và bịt kín các khe hở.
5.3.17 Công tác đánh dấu vị trí lắp đặt chốt giữ kính dạng đỡ điểm trên kết cấu chịu lực.
5.3.18 Liên kết chốt giữ kính dạng đỡ điểm vào kết cấu chịu lực được thực hiện tương tự như liên kết trong hệ tường kính dạng tổ hợp.
5.3.19 Kính phải có lỗ ở các góc và được lắp dựng lên chốt giữ kính dạng đỡ điểm, được liên kết bởi bu lông xiết, tuân thủ các yêu cầu của bản vẽ thiết kế thi công. Để tránh hình thành các vết nứt trên kính, đầu bu lông xiết thường được chế tạo theo dạng hình cầu.
5.3.20 Cuối cùng, tiến hành chèn và bịt kín khe hở giữa các tấm kính để đảm bảo tính kín khít.
6 Nghiệm thu
6.1 Các công việc lắp dựng hệ tường kính phải phù hợp với các yêu cầu của TCVN 4055:2012 và các tiêu chuẩn kỹ thuật có liên quan khác, bao gồm các công việc sau:
a) Kiểm tra đầu vào các bộ phận của hệ tường kính;
b) Kiểm tra mỗi công đoạn sản xuất, xây dựng;
c) Nghiệm thu.
6.2 Khi kiểm tra đầu vào các bộ phận của hệ tường kính, cần kiểm tra sự phù hợp với các yêu cầu của hồ sơ thi công và tem nhãn sản phẩm.
6.3 Sự phù hợp của tem nhãn các bộ phận hệ tường kính được kiểm tra bằng các chứng chỉ, chứng nhận sản phẩm, các thành phần trong hồ sơ thi công.
6.4 Khi kiểm tra đầu vào, tính nguyên vẹn của các bộ phận hệ tường kính được kiểm tra bằng mắt thường, kích thước hình học kiểm tra bằng các tài liệu kèm theo cũng như bằng các dụng cụ đo lường cần thiết.
6.5 Kích thước sản phẩm cũng như độ lệch cho phép tuân thủ các yêu cầu của TCVN 9259:2012 (ISO 3443:1989) và các tiêu chuẩn kỹ thuật có liên quan.
6.6 Kiểm tra kích thước hình học bằng thước dây kim loại và thước kẹp phù hợp TCVN 4101-1985.
6.7 Nếu kết quả kiểm tra không phù hợp với các tài liệu kèm theo thì cần phải xác định lại các đặc trưng cơ lý của các bộ phận hệ tường kính.
CHÚ THÍCH: Các công việc này được thực hiện bởi các phòng thử nghiệm chuyên ngành.
6.8 Kết quả kiểm tra đầu vào cần ghi vào sổ nhật ký theo quy định hiện hành.
6.9 Kiểm tra các công đoạn lắp dựng cần thực hiện theo từng bước thi công lắp dựng hệ tường kính nhằm phát hiện sớm các khuyết tật để kịp thời ngăn ngừa và khắc phục.
6.10 Khi kiểm tra các công đoạn lắp dựng, cần kiểm tra:
a) Gối đỡ theo 5.3.3;
b) Đố đứng và đố ngang theo 5.3.4 đến 5.3.6;
c) Kính theo 5.3.7.
6.11 Độ lệch vị trí gối đỡ không được vượt quá cộng trừ 5 mm, nhưng không vượt quá cộng trừ 10 mm trên toàn bộ một mặt phẳng gối đỡ. Độ lệch của mỗi bộ phận cần được ghi vào sổ nhật ký.
6.12 Độ lệch chiều dài của đố đứng không được vượt quá cộng trừ 2 mm.
6.13 Độ cong, vênh của đố đứng và đố ngang không được vượt quá cộng trừ 0,5 mm.
6.14 Vị trí tiếp giáp các bộ phận đố đứng bằng kim loại với kết cấu chịu lực cần được bảo vệ chống ăn mòn.
6.15 Bu lông liên kết trong hệ tường kính phải được siết tới giá trị mô men thiết kế (nếu hồ sơ thiết kế thi công quy định) bằng các cờ lê lực.
6.16 Kích thước các tấm kê khi xếp các tấm kính cần có chiều dài không nhỏ hơn 40 mm, chiều rộng không nhỏ hơn chiều rộng tấm kính, chiều cao không nhỏ hơn 3 mm.
6.17 Khi nghiệm thu hệ tường kính cần tiến hành kiểm tra các công đoạn lắp dựng từng cấu kiện, ghi chép vào sổ nhật ký và biên bản nghiệm thu các công việc bị che khuất.
6.18 Khi kiểm tra nghiệm thu cần kiểm tra:
a) Sự phù hợp của các tài liệu kèm theo các bộ phận hệ tường kính so với thiết kế;
b) Vị trí của hệ tường kính so với thiết kế bằng cách quan trắc bằng các dụng cụ cần thiết;
c) Các thay đổi thiết kế bằng cách kiểm tra bản vẽ, các tài liệu xác nhận sự chấp thuận những thay đổi đó;
d) Sự phù hợp của các biên bản nghiệm thu công việc bị che khuất;
e) Sự phù hợp của sổ nhật ký theo dõi và trình tự lắp dựng hệ tường kính với yêu cầu của 5.3.
6.19 Hồ sơ bàn giao kết quả công việc được thực hiện bởi nhà thầu theo mẫu của các quy định về quản lý chất lượng xây dựng.
6.20 Trước khi nghiệm thu, bàn giao đưa vào sử dụng, cần tiến hành các thử nghiệm dưới đây:
- Xác định khả năng cách nhiệt;
- Xác định độ lọt khí;
- Xác định độ kín nước;
- Xác định khả năng chịu tải trọng gió;
- Xác định độ cách âm;
CHÚ THÍCH: Các thử nghiệm này phải được thực hiện bởi các phòng thí nghiệm chuyên ngành có chức năng phù hợp.
Phụ lục A
(Tham khảo)
Khuyến nghị các dụng cụ kỹ thuật sử dụng trong công tác lắp dựng hệ tường kính
A.1 Danh sách các dụng cụ kỹ thuật sử dụng trong công tác lắp dựng hệ tường kính được tham khảo trong Bảng A.1.
Bảng A.1 - Khuyến nghị các dụng cụ kỹ thuật sử dụng trong công tác lắp dựng hệ tường kính
| Tên gọi | Nhu cầu cho 1 tổ, cái |
| Máy khoan điện cầm tay | 1 |
| Máy cưa điện cầm tay | 1 |
| Máy vặn đai ốc cầm tay chạy điện | 1 |
| Máy bắn vít cầm tay chạy điện | 1 |
| Máy mài cầm tay | 1 |
| Máy khoan | - |
| Máy hàn | 1 |
| Máy nén khí | 1 |
| Cờ lê lực | 2 |
| Cờ lê hở hai đầu | - |
| Tua vít đầu dẹp | 2 |
| Tua vít nhiều cạnh | 2 |
| Cưa kim loại | 1 |
| Súng bắn chất bịt kín | 3 |
| Dụng cụ hút kính chân không | 8 |
| Bay | 2 |
| Búa | 2 |
| Thước cuộn | 2 |
| Thước laser | 1 |
| Quả dọi kim loại | 2 |
| Ống tuy ô thủy lực | 1 |
| Thiết bị cân bằng laser | 1 |
| Dây căng | 1 |
| Thước mét bằng gỗ | 1 |
| Thước góc 90° phẳng | 1 |
| Thước ni vô | 1 |
| Máy kinh vỹ | 1 |
| Máy thủy bình | 1 |
| Mũ bảo hộ | 7 |
| Bao tay bảo hộ chuyên dụng | 7 |
| Mặt nạ có lỗ nhìn bằng kính dùng khi hàn | 1 |
| Bình chữa cháy | 1 |
| CHÚ THÍCH: Bộ dụng cụ được chuẩn bị cho tổ từ 6 người đến 8 người, bao gồm: 04 công nhân lắp dựng bậc 5; 01 công nhân lắp dựng bậc 4; 01 công nhân lắp dựng bậc 3; 01 thợ hàn bậc 4. | |
Phụ lục B
(Tham khảo)
Phụ thuộc giữa độ dãn dài của thanh nhôm và sự thay đổi nhiệt độ
B.1 Phụ thuộc giữa độ dãn dài của thay nhôm và sự thay đổi nhiệt độ được cho trong Bảng B.1.
Bảng B.1 - Phụ thuộc giữa độ dãn dài của thanh nhôm và sự thay đổi nhiệt độ
| Thay đổi nhiệt độ, | Độ giãn dài trên 1 m thanh nhôm, |
| °C | mm |
| 1 | 0 |
| 5 | 0,1 |
| 10 | 0,2 |
| 15 | 0,4 |
| 20 | 0,5 |
| 25 | 0,6 |
| 30 | 0,7 |
| 35 | 0,8 |
| 40 | 0,9 |
| 45 | 1,1 |
| 50 | 1,2 |
| 55 | 1,3 |
| 60 | 1,4 |
| 65 | 1,5 |
| 70 | 1,6 |
| 75 | 1,8 |
MỤC LỤC
1 Phạm vi áp dụng
2 Tài liệu viện dẫn
3 Thuật ngữ và định nghĩa
4 Phân loại hệ tường kính
5 Yêu cầu lắp dựng
6 Nghiệm thu
Phụ lục A (Tham khảo) Bộ dụng cụ kỹ thuật sử dụng trong công tác lắp dựng hệ tường kính
Phụ lục B (Tham khảo) Sự thay đổi độ giãn dài của thanh nhôm vào nhiệt độ
Bạn chưa Đăng nhập thành viên.
Đây là tiện ích dành cho tài khoản thành viên. Vui lòng Đăng nhập để xem chi tiết. Nếu chưa có tài khoản, vui lòng Đăng ký tại đây!






