- Tổng quan
- Nội dung
- Tiêu chuẩn liên quan
- Lược đồ
- Tải về
Tiêu chuẩn quốc gia TCVN 3114:2022 Bê tông - Phương pháp xác định độ mài mòn
| Số hiệu: | TCVN 3114:2022 | Loại văn bản: | Tiêu chuẩn Việt Nam |
| Cơ quan ban hành: | Bộ Khoa học và Công nghệ | Lĩnh vực: | Xây dựng |
|
Ngày ban hành:
Ngày ban hành là ngày, tháng, năm văn bản được thông qua hoặc ký ban hành.
|
02/11/2022 |
Hiệu lực:
|
Đã biết
|
| Người ký: | Đang cập nhật |
Tình trạng hiệu lực:
Cho biết trạng thái hiệu lực của văn bản đang tra cứu: Chưa áp dụng, Còn hiệu lực, Hết hiệu lực, Hết hiệu lực 1 phần; Đã sửa đổi, Đính chính hay Không còn phù hợp,...
|
Đã biết
|
TÓM TẮT TIÊU CHUẨN VIỆT NAM TCVN 3114:2022
Tiêu chuẩn quốc gia TCVN 3114:2022 về độ mài mòn của bê tông: Các điểm quan trọng cần biết
Tiêu chuẩn quốc gia TCVN 3114:2022, được ban hành ngày 08/09/2022, thay thế cho TCVN 3114:1993, quy định phương pháp xác định độ mài mòn của bê tông. Tiêu chuẩn này do Viện Khoa học Công nghệ Xây dựng biên soạn, và được Bộ Khoa học và Công nghệ công bố. TCVN 3114:2022 áp dụng cho tất cả các loại bê tông, đặc biệt là bê tông chịu mài mòn bề mặt do hoạt động đi lại của người hoặc phương tiện.
Để áp dụng một cách chính xác, các tài liệu tham khảo như TCVN 3105:2022 và TCVN 3118:2022 là cần thiết. Tiêu chuẩn này sử dụng một số thuật ngữ quan trọng, trong đó nổi bật là “độ mài mòn”, được định nghĩa là khả năng của vật liệu bị giảm khối lượng do tác động mài mòn.
Về thiết bị và dụng cụ, TCVN 3114:2022 yêu cầu sử dụng các máy mài như LKI-2, LKI-3 hoặc Bohme, với đĩa mài đặc biệt có độ cứng và kích thước quy định. Đồng thời, nhẹ nhàng chỉ ra công cụ cân, thước kẹp, và vật liệu mài để đảm bảo các bước thử nghiệm được thực hiện một cách chính xác.
Quy trình lấy mẫu và chuẩn bị mẫu thử cũng được mô tả rõ ràng trong tiêu chuẩn. Mẫu thử cần được lấy từ tổ mẫu gồm ít nhất ba viên, với kích thước cụ thể. Việc chuẩn bị mẫu cần thực hiện theo những điều kiện nhất định, bao gồm thời gian lưu giữ trong không khí hoặc trong nước, nhằm đảm bảo độ bền và độ chính xác của kết quả thí nghiệm.
Cách tiến hành thử nghiệm cũng được hướng dẫn cụ thể. Các bước phải tuân thủ từ việc xác định khối lượng ban đầu của mẫu, cho đến việc thực hiện quy trình mài với các chu kỳ đã quy định. Sau khi mài xong, mẫu thử cần được cân lại để tính toán độ mài mòn theo công thức cụ thể nhằm cho ra kết quả chính xác.
Kết quả thử nghiệm sẽ được báo cáo đầy đủ, bao gồm các thông tin cần thiết như ngày lấy mẫu, trạng thái mẫu thử, trọng lượng thiết bị và độ mài mòn của mẫu. Cuối cùng, tiêu chuẩn cung cấp hướng dẫn về việc xác định các giá trị dị biệt và cách thức báo cáo kết quả thử nghiệm.
TCVN 3114:2022 là một công cụ quan trọng trong việc đánh giá chất lượng bê tông, đồng thời giúp các nhà thầu, kỹ sư, và các đơn vị liên quan đảm bảo bê tông đạt tiêu chuẩn chất lượng trong quá trình thi công và sử dụng.
Tải tiêu chuẩn Việt Nam TCVN 3114:2022
TIÊU CHUẨN QUỐC GIA
TCVN 3114:2022
BÊ TÔNG - PHƯƠNG PHÁP XÁC ĐỊNH ĐỘ MÀI MÒN
Hardened concrete - Test method for abrasion
Lời nói đầu
TCVN 3114:2022 thay thế TCVN 3114:1993.
TCVN 3114:2022 được xây dựng trên cơ sở tham khảo GOST 13087-2018, Concretes - Methods of abrasion test.
TCVN 3114:2022 do Viện Khoa học Công nghệ Xây dựng biên soạn, Bộ Xây dựng đề nghị, Tổng cục Tiêu chuẩn Đo lường chất lượng thẩm định, Bộ Khoa học và Công nghệ công bố.
BÊ TÔNG - PHƯƠNG PHÁP XÁC ĐỊNH ĐỘ MÀI MÒN
Hardened concrete - Test method for abrasion
1 Phạm vi áp dụng
Tiêu chuẩn này quy định phương pháp xác định độ mài mòn của bê tông.
Tiêu chuẩn này áp dụng cho các loại bê tông chịu mài mòn bề mặt do người hoặc phương tiện thường xuyên đi lại gây ra (bê tông đường, sàn, cầu thang,...).
2 Tài liệu viện dẫn
Các tài liệu viện dẫn sau đây là cần thiết khi áp dụng tiêu chuẩn này. Đối với các tài liệu viện dẫn ghi năm công bố thì áp dụng phiên bản được nêu. Đối với các tài liệu viện dẫn không ghi năm công bố thì áp dụng phiên bản mới nhất, bao gồm cả các sửa đổi, bổ sung (nếu có).
TCVN 3105:2022, Hỗn hợp bê tông và bê tông - Lấy mẫu, chế tạo và bảo dưỡng mẫu thử.
TCVN 3118:2022, Bê tông - Phương pháp xác định cường độ chịu nén.
TCVN 12252:2020, Bê tông - Phương pháp xác định cường độ bê tông trên mẫu lấy từ kết cấu.
ISO 8486-1, Bonded abrasives - Determination and designation of grain size distribution - Part 1: Macrogrits F4 to F220 (Vật liệu mài mòn - Xác định và ký hiệu của phân bố cỡ hạt - Phần 1: Cỡ hạt từ F4 đến F220).
3 Thuật ngữ, định nghĩa
Trong tiêu chuẩn này sử dụng các thuật ngữ và định nghĩa sau:
3.1
Độ mài mòn (abrasion)
Khả năng vật liệu bị suy giảm khối lượng dưới tác động mài mòn.
3.2
Vật liệu mài (abrasive material)
Vật liệu tự nhiên hoặc nhân tạo có khả năng mài mòn vật liệu khác nhờ ma sát.
4 Thiết bị, dụng cụ
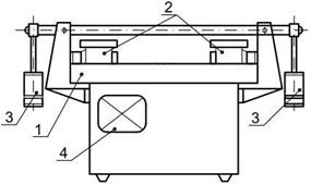
4.1 Máy mài đĩa kiểu LKI-2, LKI-3 (Hình 1) hoặc Bohme (Hình 2) có trang bị đĩa mài mòn quay theo mặt phẳng ngang. Đĩa mài mòn được làm bằng gang xám, có độ cứng Brinell bằng 180 - 220, chiều dày của đĩa không nhỏ hơn 10 mm và có thể tháo lắp được. Tốc độ quay của đĩa dưới tải trọng là (30 ± 1) r/min. Đĩa mài được gắn với bộ đếm vòng quay có thể ngừng máy sau mỗi 30 m đường mài. Phần mài của đĩa là một vành tròn rộng khoảng 200 mm. Chỉ được phép sử dụng đĩa mài khi trên mặt mài không có các vết lõm sâu quá 0,5 mm và rộng quá 5 mm.
Khung chứa mẫu được đặt sát trên đĩa mài (máy mài Bohme và LKI-2 sử dụng một khung, máy mài LKI-3 sử dụng hai khung). Khung chứa mẫu là cơ cấu cho phép đặt mẫu tự do theo phương thẳng đứng và gia tải mẫu theo phương thẳng đứng bằng một hoặc hai đòn bẩy tương ứng.
4.2 Cân kỹ thuật có khả năng cân phù hợp với độ chính xác không lớn hơn 0,1 g.
4.3 Thước kẹp kỹ thuật có độ dài phù hợp và có độ chính xác không lớn hơn 0,1 mm.
4.4 Vật liệu mài phù hợp để mài mòn mẫu. Sử dụng bột alumina nung chảy, cỡ hạt F80 theo ISO 8486-1 (Phụ lục A) làm vật liệu mài.
Theo thỏa thuận giữa các bên, cho phép sử dụng các vật liệu mài khác (ví dụ cát mài theo Phụ lục B). Khi đó trong báo cáo thử nghiệm phải ghi rõ tên vật liệu mài. Xác định hệ số chuyển đổi giữa các vật liệu mài theo Phụ lục C.

CHÚ DẪN:
1 Đĩa mài 2 Mẫu thử 3 Tải trọng 4 Bộ đếm vòng quay
Hình 1 - Sơ đồ máy mài đĩa kiểu LKI-3
5 Lấy mẫu và chuẩn bị mẫu thử
5.1 Lấy mẫu
5.1.1 Lấy mẫu thí nghiệm độ mài mòn theo tổ, mỗi tổ gồm ít nhất 3 viên mẫu lập phương kích thước cạnh 70 mm hoặc trụ có đường kính và chiều cao bằng 70 mm.
5.1.2 Để thí nghiệm độ mài mòn trên mẫu đúc, chuẩn bị mẫu theo TCVN 3105:2022. Khi kích thước hạt lớn nhất của cốt liệu bằng 40 mm và lớn hơn, trước tiên chuẩn bị mẫu theo TCVN 3105:2022. Sau đó khoan, cắt mẫu đã đúc về mẫu thử theo 5.1.1.
5.1.3 Để thí nghiệm độ mài mòn của bê tông trên kết cấu hoặc cấu kiện, mẫu được khoan, cắt từ kết cấu hoặc cấu kiện như quy định trong các Điều 5 và 6, TCVN 12252:2020.

CHÚ DẪN:
1 Đĩa mài 2 Đòn bẩy 3 Mẫu thử 4 Tải trọng
5 Bánh răng truyền động 6 Bánh đà 7 Giá giữ mẫu 8 Bộ đếm vòng quay
Hình 2 - Máy mài đĩa kiểu Bohme
5.2 Chuẩn bị mẫu
5.2.1 Tuỳ theo điều kiện làm việc của cấu kiện và kết cấu, quy định của thiết kế hoặc theo chỉ dẫn kỹ thuật, độ mài mòn của bê tông được xác định ở trạng thái khô tự nhiên trong không khí hoặc bão hoà nước.
5.2.2 Khi thí nghiệm mẫu ở trạng thái khô tự nhiên trong không khí, mẫu được lưu giữ trong phòng thí nghiệm, trong vòng không ít hơn:
- 3 ngày đối với bê tông có cấp cường độ chịu nén B25 và cao hơn;
- 6 ngày đối với bê tông có cấp cường độ chịu nén thấp hơn B25.
5.2.3 Khi thí nghiệm mẫu ở trạng thái bão hòa nước, mẫu được ngâm trong thùng nước đặt trong phòng thí nghiệm trong vòng không ít hơn 48 h. Trước khi tiến hành thí nghiệm, lấy mẫu ra khỏi nước và lau bằng khăn ẩm.
5.2.4 Với mẫu đúc, mặt mài mòn là mặt dưới của mẫu. Với mẫu lấy từ kết cấu, mặt mài mòn là mặt chịu tác động của tải trọng vận hành.
6 Cách tiến hành
6.1 Cân, xác định khối lượng ban đầu của mẫu thử chính xác đến 0,1 g.
6.2 Đo kích thước mẫu với độ chính xác đến 0,1 mm và xác định diện tích bề mặt mài như quy định trong 5.4, TCVN 3118:2022.
6.3 Đặt mẫu vào khung chứa mẫu của máy mài sao cho mẫu có thể dịch chuyển tự do theo phương thẳng đứng.
6.4 Đặt lực lên mẫu theo phương thẳng đứng, chính tâm trong suốt quá trình mài như sau:
- Với mẫu lập phương, đặt lực bằng (300 ± 5) N, tương ứng với áp lực (60 ± 1) kPa;
- Với mẫu trụ, đặt lực bằng (235 ± 5) N, tương ứng với áp lực (60 ± 1) kPa.
6.5 Với mẫu thí nghiệm ở trạng thái khô tự nhiên trong không khí, rải phần bột mài đầu tiên (20 ± 1) g thành một lớp đều (cho 30 m mài đầu tiên) trên vành mài.
6.6 Với mẫu thí nghiệm ở trạng thái bão hòa nước, chuẩn bị các phần bột mài (20 ± 1) g bằng cách làm ẩm đều mỗi phần với 15 mL nước. Lau vành mài bằng khăn ẩm và rải phần bột mài đầu tiên lên trên vành mài.
6.7 Khởi động máy mài. Sau mỗi 30 m đường mài (ứng với 28 vòng quay của máy LKI-2, LKI-3 hoặc 22 vòng quay của máy Bohme) máy tự động dừng lại. Làm sạch phần bột mài cũ, rải đều trên vành mài (20 ± 1) g bột mài mới và khởi động lại máy. Lặp lại quy trình trên 5 lần tương ứng với một chu kỳ mài (150 m đường mài).
6.8 Sau mỗi chu kỳ thí nghiệm, nhấc mẫu ra, xoay mẫu đi 90° theo mặt phẳng ngang (quanh trục thẳng đứng) rồi thực hiện chu kỳ mới theo 5.7. Thực hiện đủ 4 chu kỳ cho mỗi mẫu (tổng đường mài 600m).
CHÚ THÍCH: Có thể đánh số 1, 2, 3, 4 lên các mặt cạnh của mẫu lập phương hoặc phần bề mặt xung quanh của mẫu trụ và quay mẫu theo thứ tự này trong quá trình thí nghiệm.
6.9 Sau khi kết thúc 4 chu kỳ, nhấc mẫu ra, cân chính xác đến 0,1 g như sau:
- Với mẫu ở trạng thái khô tự nhiên trong không khí, lau sạch mẫu bằng vải khô rồi cân;
- Với mẫu ở trạng thái bão hòa nước, mẫu được ngâm trở lại trong nước 30 min, sau đó lấy mẫu ra, lau mẫu bằng vải ẩm rồi cân.
7 Biểu thị kết quả
7.1 Độ mài mòn của từng viên mẫu ( M i ), được tính bằng gam trên centimét vuông (g/cm²), chính xác đến 0,1 (g/cm²) theo công thức:

trong đó:
m0 là khối lượng ban đầu của mẫu, tính bằng gam (g);
m1 là khối lượng của mẫu sau 4 chu kỳ mài, tính bằng gam (g);
A là diện tích bề mặt mài, tính bằng centimét vuông (cm²).
7.2 Độ mài mòn của tổ mẫu được tính bằng trung bình cộng độ mài mòn của các viên mẫu trong tổ sau khi đã loại trừ các kết quả dị biệt. Xác định các kết quả dị biệt theo Phụ lục D.
8 Báo cáo thử nghiệm
Báo cáo kết quả thử nghiệm bao gồm ít nhất các thông tin sau:
a) Ngày lấy mẫu và ngày thử nghiệm;
b) Ký hiệu mẫu;
c) Trạng thái mẫu thử;
d) Loại vật liệu mài và hệ số chuyển đổi (nếu có);
e) Khối lượng từng viên mẫu trước và sau khi thử; f) Kích thước và diện tích mặt mài từng viên mẫu;
g) Độ mài mòn của từng viên và các giá trị dị biệt (nếu có);
h) Độ mài mòn của tổ mẫu;
i) Viện dẫn tiêu chuẩn này;
j) Người thí nghiệm.
Phụ lục A
(quy định)
Thành phần hạt của vật liệu mài cỡ hạt F80 theo ISO 8486-1
Thành phần hạt của vật liệu mài cỡ hạt F80 theo ISO 8486-1 được quy định trong Bảng A.1.
Bảng A.1 - Thành phần hạt F80 theo ISO 8486-1
| Cỡ sàng mm | Lượng sót trên sàng % |
| 0,300 | 0 |
| 0,212 | ≤ 25 |
| 0,180 | ≥ 40 |
| 0,150 | ≥ 25 |
| 0,125 | - |
Phụ lục B
(quy định)
Yêu cầu kỹ thuật đối với cát mài
B.1 Hàm lượng silic dioxit (SiO2) không nhỏ hơn 98,0 %.
B.2 Hàm lượng mất khi nung (MKN) không lớn hơn 0,3 %.
B.3 Hàm lượng bụi và sét bẩn không lớn hơn 1,0 %.
B.4 Độ ẩm không lớn hơn 0,5 %.
B.5 Thành phần hạt quy định trong Bảng B.1.
Bảng B.1 - Yêu cầu thành phần hạt của cát mài
| Cỡ sàng mm | Lượng sót riêng biệt trên từng sàng % |
| 1,00 | ≤ 1,0 |
| 0,80 | 5,0 ± 2,0 |
| 0,63 | 45,0 ± 5,0 |
| 0,50 | 49,0 ± 5,0 |
| ≤ 0,50 | ≤ 8,0 |
Phụ lục C
(quy định)
Xác định hệ số chuyển đổi vật liệu mài
C.1 Hệ số chuyển đổi giữa hai loại vật liệu mài khác nhau được xác định bằng thực nghiệm riêng cho mỗi loại máy mài, mỗi loại vật liệu mài cũng như cho mỗi lần thay đổi thành phần danh định của bê tông, nhưng không ít hơn 1 lần trong 5 năm.
C.2 Để xác định hệ số chuyển đổi cần chuẩn bị và thí nghiệm 8 cặp tổ mẫu.
C.3 Mỗi cặp tổ mẫu bao gồm 2 tổ mẫu, được chuẩn bị theo TCVN 3105:2022 từ cùng một hỗn hợp bê tông hoặc lấy từ cùng một cấu kiện hoặc kết cấu, được thí nghiệm ở cùng độ tuổi sau khi bảo dưỡng ở cùng điều kiện.
C.4 Với mỗi cặp tổ mẫu, xác định hệ số chuyển đổi (kj), theo công thức:

trong đó:
Mđc,j là độ mài mòn của tổ mẫu sử dụng vật liệu mài bột alumina nung chảy theo 4.4, tính bằng gam trên centimét vuông (g/cm²);
Mtn,j là độ mài mòn của tổ mẫu sử dụng vật liệu mài khác, tính bằng gam trên centimét vuông (g/cm²).
C.5 Hệ số chuyển đổi được tính bằng trung bình cộng các giá trị hệ số chuyển đổi của từng cặp tổ mẫu.
Phụ lục D
(quy định)
Xác định kết quả dị biệt
D.1 Độ lệch chuẩn của độ mài mòn trong tổ mẫu ( S ), được tính theo công thức:

trong đó:
M là độ mài mòn trung bình của tổ mẫu, tính bằng gam trên centimét vuông (g/cm²);
Mi là độ mài mòn của viên mẫu, tính bằng gam trên centimét vuông (g/cm²);
n là số lượng viên mẫu trong tổ mẫu.
D.2 Xác định hệ số (Ti), cho từng mẫu trong tổ mẫu theo công thức:

D.3 Giá trị độ mài mòn của mẫu bê tông được coi là dị biệt và không được sử dụng trong tính toán độ mài mòn của tổ mẫu khi giá trị Ti vượt quá giá trị giới hạn Tgh quy định trong bảng D.1
Bảng D.1 - Giá trị giới hạn Tgh
| Số mẫu trong tổ n | Hệ số Tgh |
| 3 | 1,15 |
| 4 | 1,48 |
| 5 | 1,72 |
| 6 | 1,89 |
Mục lục
Lời nói đầu
1 Phạm vi áp dụng
2 Tài liệu viện dẫn
3 Thuật ngữ, định nghĩa
4 Thiết bị, dụng cụ
5 Lấy mẫu và chuẩn bị mẫu thử
6 Cách tiến hành
7 Biểu thị kết quả .
8 Báo cáo thử nghiệm
Phụ lục A (quy định) Thành phần hạt của vật liệu mài cỡ hạt F80 theo ISO 8486-1
Phụ lục B (quy định) Yêu cầu kỹ thuật đối với cát mài
Phụ lục C (quy định) Xác định hệ số chuyển đổi vật liệu mài
Phụ lục D (quy định) Xác định kết quả dị biệt
Bạn chưa Đăng nhập thành viên.
Đây là tiện ích dành cho tài khoản thành viên. Vui lòng Đăng nhập để xem chi tiết. Nếu chưa có tài khoản, vui lòng Đăng ký tại đây!