- Tổng quan
- Nội dung
- Tiêu chuẩn liên quan
- Lược đồ
- Tải về
Tiêu chuẩn Việt Nam TCVN 7278-2:2003 Yêu cầu kỹ thuật đối với chất tạo bọt chữa cháy độ nở trung bình và cao
| Số hiệu: | TCVN 7278-2:2003 | Loại văn bản: | Tiêu chuẩn Việt Nam |
| Cơ quan ban hành: | Đang cập nhật | Lĩnh vực: | Khoa học-Công nghệ |
|
Ngày ban hành:
Ngày ban hành là ngày, tháng, năm văn bản được thông qua hoặc ký ban hành.
|
11/11/2003 |
Hiệu lực:
|
Đã biết
|
| Người ký: | Đang cập nhật |
Tình trạng hiệu lực:
Cho biết trạng thái hiệu lực của văn bản đang tra cứu: Chưa áp dụng, Còn hiệu lực, Hết hiệu lực, Hết hiệu lực 1 phần; Đã sửa đổi, Đính chính hay Không còn phù hợp,...
|
Đã biết
|
TÓM TẮT TIÊU CHUẨN VIỆT NAM TCVN 7278-2:2003
Tiêu chuẩn Việt Nam về Chất Tạo Bọt Chữa Cháy Độ Nở Trung Bình và Cao
Ngày 11/11/2003, Bộ Khoa học và Công nghệ đã ban hành Tiêu chuẩn Việt Nam TCVN 7278-2:2003 ISO 7203-2:1995 quy định các yêu cầu kỹ thuật đối với chất tạo bọt chữa cháy độ nở trung bình và cao dùng phun lên bề mặt chất lỏng không hòa tan với nước, có hiệu lực từ ngày ban hành.
Tiêu chuẩn này hướng tới chất tạo bọt có hiệu quả trong việc kiểm soát, dập tắt và ngăn chặn cháy lại trong các trường hợp cháy chất lỏng không hòa tan với nước.
Cấu trúc và Đặc Tính Kỹ Thuật
Tiêu chuẩn phân loại chất tạo bọt thành loại độ nở trung bình (từ 21 đến 200) và độ nở cao (trên 200). Các tính năng kỹ thuật như độ ổn định, độ lỏng tương đối, và pH của chất tạo bọt được quy định rõ ràng, trong đó pH phải nằm trong khoảng từ 6,0 đến 9,5 ở nhiệt độ 20±2°C.
Yêu cầu Ổn Nhiệt và Thử Nghiệm
Chất tạo bọt được yêu cầu phải trải qua các thử nghiệm ổn nhiệt để xác định khả năng trở lại trạng thái tối ưu sau khi đóng băng và hóa lỏng. Thời gian tiết nước 25% và 50% cũng được quy định cụ thể nhằm đảm bảo hiệu quả dập cháy.
Hiệu Quả Dập Cháy
Hiệu quả dập cháy của bọt độ nở trung bình và cao được đánh giá qua thời gian dập tắt và thời gian cháy lại. Theo bảng quy định, bọt độ nở trung bình phải có thời gian dập tắt không lớn hơn 120 giây và thời gian cháy lại không nhỏ hơn 30 giây.
Thông Tin Nhãn và Bao Bì
Chất tạo bọt phải được ghi nhãn rõ ràng với các thông tin như tên gọi, ký hiệu, nồng độ sử dụng khuyến nghị, các biện pháp tránh gây ảnh hưởng có hại đến môi trường, và nhiệt độ bảo quản. Việc bao bì phải đảm bảo các đặc tính cần thiết của chất tạo bọt được duy trì khi lưu kho.
Kết Luận
TCVN 7278-2:2003 quy định các yêu cầu kỹ thuật cần thiết nhằm đảm bảo chất lượng cho các chất tạo bọt chữa cháy, không chỉ phục vụ cho nhiệm vụ dập tắt cháy mà còn với mục tiêu bảo vệ môi trường và an toàn cho người sử dụng. Tiêu chuẩn này là đạt yêu cầu và khuyến khích các nhà sản xuất và cung cấp thực hiện đúng nội dung quy định để nâng cao hiệu quả trong công tác phòng cháy, chữa cháy.
Tải tiêu chuẩn Việt Nam TCVN 7278-2:2003
TIÊU CHUẨN VIỆT NAM
TCVN 7278-2 : 2003
CHẤT CHỮA CHÁY – CHẤT TẠO BỌT CHỮA CHÁY - PHẦN 2: YÊU CẦU KỸ THUẬT ĐỐI VỚI CHẤT TẠO BỌT CHỮA CHÁY ĐỘ NỞ TRUNG BÌNH VÀ CAO DÙNG PHUN LÊN BỀ MẶT CHẤT LỎNG KHÔNG HÒA TAN ĐƯỢC VỚI NƯỚC
Fire extinguishing media – Foam concentrates – Part 2: Specification for medium and high expansion foam concentrates for top application to water-immiscible liquids
1. Phạm vi áp dụng
Tiêu chuẩn này quy định các tính chất và hiệu quả cần thiết của chất tạo bọt chữa cháy dạng lỏng dùng để tạo ra bọt chữa cháy độ nở trung bình và/hoặc cao nhằm kiểm soát, dập tắt và ngăn chặn việc cháy lại của các đám cháy chất lỏng cháy không hòa tan được với nước. Hiệu quả dập cháy tối thiểu trong đám cháy thử phải được quy định.
2. Tiêu chuẩn trích dẫn
ISO 304 : 1985 Surface active agents– Determination of surface tension by drawing up liquid films. (Chất hoạt động bề mặt – Xác định sức căng bề mặt bằng cách kéo màng chất lỏng)
ISO 3310-1: 1990 Test sieves – Technical requiremeois and testing – Part 1: Test sieves of metal wire cloth. (Rây thử - Yêu cầu kỹ thuật và phương pháp thử - Phần 1: Rây thử bằng sợi kim loại).
TCVN 4851- 89 (ISO 3696 : 1987) Nước dùng để phân tích trong phòng thí nghiệm – Yêu cầu kỹ thuật và phương pháp thử.
ISO 3734 : 1976 Crude petroleum and fuel oils – Determination of water and sediment – Centrifuge method. (Dầu thô và dầu nhiên liệu – Xác định nước và cặn – Phương pháp ly tâm).
TCVN 7278-1: 2003 (ISO 7203-1) Chất chữa cháy – Chất tạo bọt chữa cháy – Phần 1: Yêu cầu kỹ thuật đối với chất tạo bọt chữa cháy độ nở thấp dùng phun lên bề mặt chất lỏng cháy không hòa tan được với nước.
BS 5117 : 1989 Testing corrosion inhibiting, engine coolant concentrate (antifreeze) – Part 1: Methods of test for determination of physical and chemical properties – Section 1.3: Determination of freezing point. (Thử ức chế ăn mòn dung dịch làm nguội động cơ (chống đông) – Phần 1: Phương pháp thử để xác định tính chất vật lý và hóa học – Mục 1.3: Xác định điểm đông đặc).
3. Định nghĩa
Trong tiêu chuẩn này sử dụng các định nghĩa sau:
3.1. Giá trị đặc trưng (characteristic values): Giá trị do người cung cấp chất tạo bọt công bố về tính chất vật lý và hóa học và các hiệu quả của bọt và dung dịch bọt.
3.2. Thời gian tiết nước 25% (25% drainage time): Thời gian tiết 25% lượng chất lỏng trong bọt.
3.3. Thời gian tiết nước 50% (thời gian bán hủy) (50% drainage time): Thời gian tiết 50% lượng chất lỏng trong bọt.
3.4. Độ nở (bội số nở) (expansion): Tỷ số giữa thể tích bọt được tạo thành và thể tích dung dịch tạo bọt.
3.5. Độ nở thấp (low expansion): Ứng với bọt có độ nở từ 1 đến 20 và với thiết bị, hệ thống và chất tạo bọt chữa cháy liên quan.
3.6. Độ nở trung bình (medium expansion): Ứng với bọt có độ nở từ 21 đến 200 và với thiết bị, hệ thống và chất tạo bọt chữa cháy liên quan.
3.7. Độ nở cao (high expantion): Ứng với bọt có độ nở trên 200 và với thiết bị, hệ thống và chất tạo bọt chữa cháy liên quan.
3.8. Bọt chữa cháy (firefighting – foam): Tổ hợp các bong bóng đầy khí được tạo thành từ dung dịch nước của chất tạo bọt chữa cháy thích hợp.
3.9. Chất tạo bọt (foam concentrate): Chất lỏng khi trộn với nước theo nồng độ thích hợp tạo ra dung dịch tạo bọt.
3.10. Chất tạo bọt protein (protein foam concentrate-P): Chất tạo bọt có nguồn gốc từ vật liệu protein thủy phân.
3.11. Chất tạo bọt floprotein (fluoroprotein foam concentrate – FP): Chất tạo bọt protein được cho thêm chất hoạt động bề mặt được flo hóa.
3.12. Chất tạo bọt tổng hợp (synthetic foam concentrate – S): Chất tạo bọt trên cơ sở hỗn hợp của chất hoạt động bề mặt hydrocacbon và chất chứa flocacbon có bổ sung chất ổn định.
3.13. Chất tạo bọt bền rượu (alcohol - resistant foam concentrate - AR): Chất tạo bọt có độ bền chống phân hủy khi sử dụng trên bề mặt rượu hoặc các dung môi phân cực khác.
3.14. Chất tạo bọt tạo màng nước (aqueous film-forming foam concentrate – AFFF): Chất tạo bọt trên cơ sở hỗn hợp của hydrocacbon và chất hoạt động về mặt được flo hóa có khả năng tạo màng nước trên bề mặt của một số hydrocacbon.
3.15. Chất tạo bọt floprotein tạo màng (film-forming fluproprotein concentrate – FFFP): Chất tạo bọt floprotein có khả năng tạo màng nước trên bề mặt của một số hydrocacbon.
3.16. Dung dịch tạo bọt (foam solution): Dung dịch của chất tạo bọt và nước.
3.17. Sự phun mạch (fotceful application): Phun bọt trực tiếp lên bề mặt của nhiên liệu lỏng.
3.18. Sự phun nhẹ (gentle application): Phun bọt gián tiếp lên bề mặt nhiên liệu lỏng thông qua ván thành thùng chứa hoặc bề mặt khác.
3.19. Cặn (sediment): Các hạt không hòa tan được trong chất tạo bọt.
3.20. Hệ số lan truyền (spreading coefficient): Số đo khả năng của một chất lỏng tự lan truyền qua bề mặt chất lỏng khác
4. Phân loại và cách sử dụng chất tạo bọt
4.1. Phân loại
Chất tạo bọt được phân loại thành loại độ nở trung bình và/hoặc cao và phải tuân thủ các yêu cầu tương ứng.
4.2. Sử dụng với nước biển
Nếu chất tạo bọt chữa cháy được ghi nhãn là thích hợp để sử dụng với nước biển, thì nồng độ khuyến nghị khi sử dụng với nước ngọt và nước biển phải như nhau.
5. Độ ổn định của chất tạo bọt chữa cháy khi đông đặc và hóa lỏng
Trước và sau khi ổn nhiệt phù hợp với A.2, chất tạo bọt chữa cháy, nếu được người cung cấp xác nhận là không bị tác động có hại bởi đông đặc và hóa lỏng, phải không nhìn thấy được dấu hiệu của việc phân tầng và không đồng nhất, khi thử theo phụ lục B.
Chất tạo bọt chữa cháy tuân theo điều này phải được thử nghiệm theo đúng các yêu cầu tương ứng trong các phần khác của tiêu chuẩn này sau khi đông đặc và hóa lỏng phù hợp với A.2.1.
6. Cặn trong chất tạo bọt chữa cháy
6.1. Cặn trước khi hóa già
Bất kỳ cặn nào trong chất tạo bọt được chuẩn bị theo A.1 phải có khả năng lọt qua rây 180μm và tỷ lệ phần trăm thể tích của cặn không được vượt quá 0,25% khi thử theo phụ lục C.
6.2. Cặn sau khi hóa già
Bất kỳ cặn nào trong chất tạo bọt được hóa già theo C.1 phải có khả năng lọt qua rây 180μm và tỷ lệ phần trăm thể tích của cặn không được vượt quá 1,0% khi thử theo phụ lục C.
7. Độ lỏng tương đối của chất tạo bọt chữa cháy
Trước và sau khi ổn nhiệt phù hợp với A.2, tốc độ dòng của chất tạo bọt chữa cháy không được mở hơn tốc độ dòng đạt với chất lỏng chuẩn có độ nhớt động học 200mm2/s, khi thử theo phụ lục D.
8. Độ pH của chất tạo bọt chữa cháy
8.1. Giới hạn độ pH
Độ pH của chất tạo bọt chữa cháy trước và sau ổn nhiệt phù hợp với A.2, không được nhỏ hơn 6,0 và không được lớn hơn 9,5 ở (20±2)0C.
8.2. Độ nhạy với nhiệt độ
Nếu độ pH trước và sau khi ổn nhiệt chênh nhau nhiều hơn 0,5, chất tạo bọt chữa cháy này phải được chỉ định là chất tạo bọt nhạy cảm với nhiệt độ.
9. Sức căng bề mặt của dung dịch tạo bọt
9.1. Trước khi ổn nhiệt
Sức căng bề mặt của dung dịch tạo bọt được chuẩn bị từ chất tạo bọt, trước khi ổn nhiệt phù hợp với A.2, ở nồng độ khuyến nghị của người cung cấp phải trong khoảng ± 10% của giá trị đặc trưng khi xác định phù hợp với E.2
9.2. Độ nhạy nhiệt độ
Sức căng về mặt của dung dịch tạo bọt được chuẩn bị từ chất tạo bọt sau khi ổn nhiệt phù hợp với A.2, ở nồng độ khuyến nghị của người cung cấp, phải được xác định phù hợp với E.2.
Nếu giá trị nhận được sau khi ổn nhiệt nhỏ hơn 0,95 lần hoặc lớn hơn 1,05 lần giá trị nhận được trước khi ổn nhiệt thì chất tạo bọt chữa cháy này phải được chỉ định là chất tạo bọt nhạy cảm với nhiệt độ.
10. Sức căng bề mặt phân giới giữa dung dịch tạo bọt và xyclohexan
10.1. Trước khi ổn nhiệt
Sự khác nhau giữa sức căng bề mặt phân giới giữa dung dịch bọt được chuẩn bị từ chất tạo bọt, trước khi ổn nhiệt theo A.2, và xyclohexan (khi được xác định theo E.3) và giá trị đặc trưng, không được vượt quá 1,0 mN/m hoặc 10% của giá trị đặc trưng, lấy giá trị nào lớn hơn.
10.2. Độ nhạy nhiệt độ
Sức căng bề mặt phân giới giữa dung dịch tạo bọt được chuẩn bị từ chất tạo bọt, sau khi ổn nhiệt theo A.2 và xyclohexan phải được xác định theo E.3.
Nếu hai giá trị nhận được trước và sau khi ổn nhiệt chênh nhau lớn hơn 0,5 mN/m hoặc nếu giá trị nhận được sau khi ổn nhiệt nhỏ hơn 0,95 lần hoặc lớn hơn 1,05 lần giá trị nhận được trước khi ổn nhiệt, lấy giá trị nào lớn hơn thì chất tạo bọt này phải được chỉ định là chất tạo bọt nhạy cảm với nhiệt độ.
11. Hệ số lan truyền của dung dịch tạo bọt trên xyclohexan
Hệ số lan truyền của dung dịch tạo bọt được chuẩn bị từ chất tạo bọt được người cung cấp xác nhận là chất tạo bọt “tạo màng”, trước và sau khi ổn nhiệt theo A.2, tính theo E.4, phải có giá trị dương.
Chú thích 2 – Chất tạo bọt đáp ứng điều này thường là loại AFFF hoặc FFFP hơn là loại FP, P hoặc S.
12. Độ nở và độ tiết nước của bọt
12.1. Chất tạo bọt độ nở trung bình
12.1.1. Giới hạn
12.1.1.1. Bọt được tạo thành từ chất tạo bọt với nước ngọt, trước và sau khi ổn nhiệt theo A.2, nếu thích hợp với nước biển tổng hợp theo G.14, phải có độ nở không nhỏ hơn 50% và thời gian tiết nước 25% và 50% trong khoảng ±20% giá trị đặc trưng khi thử theo phụ lục F.1.
12.1.1.2. Nếu chất tạo bọt chữa cháy được ghi nhãn là thích hợp với nước biển [xem 14.1.j], bọt được tạo thành từ chất tạo bọt này với nước biển tổng hợp theo G.1.4, khi thử theo F.1 phải có độ nở như sau:
a) Nếu giá trị đặc trưng nhỏ hơn 100, trong khoảng ±10 của trị số độ nở nhận được từ cùng mẫu thử đó của chất tạo bọt khi thử với nước ngọt (xem 12.1.1.1); hoặc
b) Nếu giá trị đặc trưng không nhỏ hơn 100, không nhỏ hơn 0,9 lần và không lớn hơn 1,1 lần trị số độ nở nhận được từ cùng một mẫu thử của chất tạo bọt khi thử với nước ngọt (xem 12.1.1.1).
Chú thích 2 – Độ nở là hàm số của chất tạo bọt và ống nhánh (xem hình F.2). Ống nhánh thử của F.1 có khuyên hướng tạo ra độ nở cao hơn một số thiết bị khác, vì thế độ nở nhỏ nhất lớn hơn độ nở nhận được nêu ra trong định nghĩa đối với độ nở trung bình (xem 3.6).
12.1.2. Độ nhạy nhiệt độ
Nếu giá trị độ nở, thời gian tiết nước 25% và/hoặc thời gian tiết nước 50%, nhận được sau khi ổn nhiệt nhỏ hơn 0,8 lần, hoặc lớn hơn 1,2 lần của giá trị tương ứng nhận được trước khi ổn nhiệt thì chất tạo bọt phải được chỉ định là chất tạo bọt nhạy cảm với nhiệt độ.
12.2. Chất tạo bọt chữa cháy độ nở cao
12.2.1. Giới hạn
12.2.1.1. Bọt được tạo thành từ chất tạo bọt, trước và sau khi ổn nhiệt theo A.2, với nước ngọt phải có độ nở không nhỏ hơn 201, và thời gian tiết nước 50% không nhỏ hơn 10 min trong khoảng ±20% của giá trị đặc trưng khi thử theo F.2.
12.2.1.2. Nếu chất tạo bọt được ghi nhãn là thích hợp để sử dụng với nước biển [xem 14.1.j] thì bọt được tạo thành từ chất tạo bọt với nước biển phải có độ nở không nhỏ hơn 0,9 lần và không lớn hơn 1,1 lần giá trị độ nở nhận được của cùng một mẫu thử của chất tạo bọt thử với nước ngọt (xem 12.2.1.1.) khi thử theo F.2.
12.2.2. Độ nhạy nhiệt độ
Nếu giá trị độ nở, và/hoặc thời gian tiết nước 50%, nhận được bằng cách sử dụng chất tạo bọt đã ổn nhiệt, nhỏ hơn 0,8 lần, hoặc lớn hơn 1,2 lần của giá trị tương ứng được khi sử dụng chất tạo bọt không ổn nhiệt thì chất tạo bọt này phải được chỉ định là chất tạo bọt nhạy cảm với nhiệt độ.
13. Hiệu quả dập cháy thử
13.1. Chất tạo bọt độ nở trung bình
Bọt được tạo thành từ chất tạo bọt trước khi ổn nhiệt, và nếu chất tạo bọt được chỉ định là chất tạo bọt nhạy cảm với nhiệt độ, sau khi ổn nhiệt theo A.2, với nước ngọt và nếu thích hợp với nước biển tổng hợp theo G.1.4 phải có thời gian dập tắt không lớn hơn giá trị cho trong bảng 1 và thời gian cháy lại không nhỏ hơn giá trị cho trong bảng 1, khi thử theo G.1 và G.2.
13.2. Chất tạo bọt độ nở cao
Bọt được tạo thành từ chất tạo bọt trước khi ổn nhiệt, và nếu chất tạo bọt được chỉ định là chất tạo bọt nhạy cảm với nhiệt độ, sau khi ổn nhiệt theo A.2, với nước ngọt và nếu thích hợp với nước biển tổng hợp theo G.1.4 phải có thời gian dập tắt không lớn hơn giá trị cho trong bảng 1, khi thử theo G.1 và G.3.
Bảng 1 – Hiệu quả dập cháy
|
| Bọt độ nở trung bình | Bọt độ nở cao |
| Thời gian dập tắt, s | Không lớn hơn 120 | Không lớn hơn 150 |
| Thời gian cháy lại 1%, s | Không nhỏ hơn 30 | Không sử dụng |
14. Ghi nhãn, bao gói và bản đặc tính kỹ thuật
14.1. Các thông tin sau phải được người cung cấp đưa ra trong bản đặc tính kỹ thuật hoặc được cung cấp cùng với contenơ vận chuyển hoặc được ghi nhãn trên contenơ vận chuyển:
a) ký hiệu (tên nhận biết) của chất tạo bọt và nếu thích hợp, các chữ “Chất tạo bọt độ nở” “trung bình” (medium) hoặc “cao” (high) hoặc “trung bình và cao” (medium and high);
b) chữ “tạo màng” (film-forming), nếu chất tạo bọt tuân theo điều 11;
c) nồng độ sử dụng khuyến nghị (thường là 1%, 3% hoặc 6%);
d) bất kỳ xu hướng nào của chất tạo bọt gây ra các ảnh hưởng có hại cho sinh ký, các phương pháp quy định để tránh các ảnh hưởng đó và các biện pháp cấp cứu nếu chúng xảy ra;
e) nhiệt độ bảo quản và nhiệt độ sử dụng khuyến nghị;
f) nếu chất tạo bọt phù hợp với điều 5, dòng chữ “không bị tác động bởi đông đặc và hóa lỏng” hoặc, nếu chất tạo bọt không phù hợp với điều 5, dòng chữ “không được làm đông đặc”;
g) khối lượng danh nghĩa trong thùng chứa;
h) tên và địa chỉ của người cung cấp;
i) số lô;
j) dòng chữ “không thích hợp sử dụng với nước biển” hoặc “thích hợp sử dụng với nước biển”;
k) bất kỳ sự ăn mòn nào của chất tạo bọt cả trong bồn chứa và trong sử dụng, mà vượt quá đáng kể so với nước ngọt;
l) vật liệu thích hợp làm thùng chứa và thiết bị, dùng cho chất tạo bọt và dung dịch tạo bọt.
Cảnh báo – Điều đặc biệt quan trọng là chất tạo bọt, sau khi pha loãng với nước tới nồng độ khuyến nghị, khi sử dụng bình thường, không được có sự nguy hiểm độc hại tới cuộc sống liên quan đến môi trường.
Việc bao gói chất tạo bọt phải bảo đảm rằng các đặc tính cần thiết của chất tạo bọt phải được duy trì khi được tồn chứa và lưu giữ phù hợp với các hướng dẫn của người cung cấp.
Ghi nhãn trên thùng chứa phải bền vững và dễ nhận biết.
Chất tạo bọt non - Newton phải được nhận biết.
Chất tạo bọt phù hợp với TCVN 7278-1: 2003 (ISO 7203-1) phải ghi nhãn “độ nở thấp”.
14.2. Nếu người sử dụng yêu cầu, người cung cấp phải đưa ra danh mục các giá trị đặc trưng
PHỤ LỤC A
(quy định)
LẤY MẪU SƠ BỘ VÀ ỔN NHIỆT CHẤT TẠO BỌT
A.1. Lấy mẫu sơ bộ
Phương pháp lấy mẫu phải đảm bảo lấy được các mẫu đại diện dù lấy từ thùng chứa lớn hoặc từ các bao gói đơn.
Bảo quản mẫu trong thùng chứa hoàn toàn kín.
Chú thích 3 – Thùng chứa dung tích 20 lít là thích hợp.
A.2. Ổn nhiệt chất tạo bọt
A.2.1. Nếu người cung cấp xác nhận rằng việc đông đặc và hóa lỏng ảnh hưởng xấu đến chất tạo bọt thì ổn nhiệt mẫu chất tạo bọt qua bốn chu kỳ đông đặc và hóa lỏng, như mô tả trong B.2, trước khi ổn nhiệt theo A.2.2.
A.2.2. Ổn nhiệt chất tạo bọt trong thùng chứa bịt kín trong 7 ngày ở (60 ± 2)0C, tiếp theo trong 1 ngày ở (20 ± 5)0C.
A.3. Thử tiếp theo
Các mẫu thử được chuẩn bị phù hợp với A.1, hoặc A.1 và A.2 nếu thích hợp. Lắc thùng chứa mẫu trước khi lấy mẫu cho các phép thử tiếp theo.
PHỤ LỤC B
(quy định)
XÁC ĐỊNH ĐỘ ỔN ĐỊNH KHI ĐÔNG ĐẶC VÀ HÓA LỎNG (XEM ĐIỀU 5)
B.1. Thiết bị thử
B.1.1. Buồng làm đông lạnh; có khả năng đạt đến nhiệt độ quy định trong B.2.
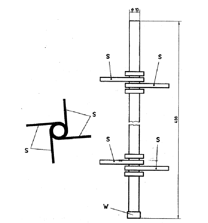
B.1.2. Ống polyetylen, đường kính khoảng 10 mm, dài khoảng 400 mm, được làm nặng và bịt kín một đầu, có gắn các miếng đệm thích hợp. Hình B.1 là một dạng điển hình.
B.1.3. Bình đo bằng thủy tinh dung tích 500 ml, cao khoảng 400 mm, đường kính 65 mm và có nút.
B.2. Tiến hành thử
Đặt nhiệt độ trong buồng làm đông lạnh thấp hơn điểm đông đặc của mẫu được đo phù hợp với BS 5117, mục 1.3 (trừ 5.2) là (10 ± 1)0C.
Để ngăn ngừa bình đo bằng thủy tinh bị vỡ do sự giãn nở của chất tạo bọt khi đông đặc, lồng một ống (B.1.2) vào bình đo với một đầu bịt kín ở phía dưới, được làm nặng nếu cần thiết để chống nổi, các miếng đệm đảm bảo giữ chúng hầu như ở trên đường tâm của bình đo. Đổ đầy bình và đậy nút.
Đặt bình đo vào buồng, làm lạnh và giữ ở nhiệt độ quy định trong 24 giờ. Khi kết thúc chu kỳ này, để tan mẫu ở nhiệt độ phòng (20 ± 5)0C trong thời gian không ít hơn 24 giờ và không nhiều hơn 96 giờ.
Lặp lại ba lần để đạt được bốn chu kỳ đông đặc và hóa lỏng trước khi thử.
Kiểm tra mẫu về việc phân tầng và độ không đồng nhất.
Kích thước danh nghĩa tính bằng milimét

Chú thích
S Các miếng đệm (ví dụ băng chất dẻo)
W Vật nặng ở đầu bịt kín
Hình B.1- Kiểu điển hình của ống polyetylen
PHỤ LỤC C
(quy định)
XÁC ĐỊNH PHẦN TRĂM CẶN (XEM ĐIỀU 6)
C.1. Lấy mẫu
Sử dụng mẫu được chuẩn bị theo A.1. Phải đảm bảo rằng cặn bất kỳ được phân tán do khuấy trộn bình chứa mẫu. Lấy hai mẫu, một mẫu thử ngay và một mẫu thử sau khi hóa già trong (24 ± 2) h ở (60 ± 20)0C trong bình chứa được nạp đầy và không có đường không khí vào.
C.2. Thiết bị thử
C.2.1. Ống máy ly tâm chia độ.
C.2.2. Máy ly tâm, hoạt động ở (6000 ± 600) m/s2.
C.2.3. Rây, kích thước lỗ danh nghĩa 180 μm, phù hợp với ISO 3310-1.
C.2.4. Chai rửa bằng chất dẻo.
Máy ly tâm và ống phù hợp với ISO 3734 là thích hợp.
C.3. Tiến hành thử
Ly tâm từng mẫu của dung dịch trong (10 ± 1) min. Xác định thể tích của cặn và ghi lại như là phần trăm thể tích của mẫu được ly tâm.
Rửa các chất chứa trong ống ly tâm (C.2.1) phía trên rây (C.2.3) và kiểm tra xem cặn có thể hoặc không thể phân tán qua rây bởi tia nước từ chai rửa bằng chất dẻo (C.2.4).
PHỤ LỤC D
(quy định)
XÁC ĐỊNH ĐỘ LỎNG TƯƠNG ĐỐI (XEM ĐIỀU 7)
Chú thích 4 – Độ nhớt động học của các chất tạo bọt Newton có thể được đo theo ISO 3104 : 1994 Sản phẩm dầu mỏ - Chất lỏng đục và trong suốt – Xác định độ nhớt động học và tính độ nhớt động lực học. Độ nhớt động lực học của các chất tạo bọt non – Newton có thể được đo bằng nhớt kế Brookfiled LVT[2]) bằng trục số 4 ở vận tốc quay 60 v/min, đọc số đo ở (60±5)s sau khi trục bắt đầu quay. Trong cả hai trường hợp có thể sử dụng dung sai nhiệt độ ± 010C.
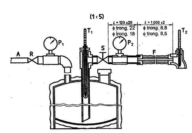
D.1. Thiết bị thử và vật liệu (xem hình D.1)
D.1.1. Ống thép không gỉ, dài 1m, có đường kính trong từ 8,5 mm đến 8,8 mm, cắt vát hai đầu, tại đó hai khớp nối ngoài được hàn hoặc tạo ren.
D.1.2. Thùng chứa, dung tích nhỏ nhất 10 l, có thể giữ lạnh mẫu ở nhiệt độ sử dụng thấp nhất, được tạo áp bằng việc cấp khí điều chỉnh.
D.1.3. Ống, đường kính trong 20 mm ± 2 mm, được lắp với van nối ống và thùng chứa có áp kế thang đo 1,5 bar hoặc 2,0 bar ở đầu cấp của ống và khuỷu ống ở đầu ra của ống.
D.1.4. Thùng chứa, để thu chất lỏng thải ra.
D.1.5. Vật liệu cách nhiệt, phủ ống sao cho chênh lệch giữa nhiệt độ của chất chứa trong thùng chứa và nhiệt độ của chất lỏng thải ra không vượt quá 10C.
Chú thích 5 – Chiều dày lớp cách nhiệt 10 mm là thích hợp.
D.1.6. Chất lỏng chuẩn, để hiệu chuẩn thiết bị, có tỷ trọng đã biết và độ nhớt 200 mm2/s tại nhiệt độ gần sát nhiệt độ phòng.
Chú thích 6 – Hỗn hợp nước/glycerin ở 210C với 90% theo khối lượng của glycerin (
= 1,2395) là thích hợp.
D.1.7. Nhiệt kế, để đo nhiệt độ chất lỏng
D.2. Hiệu chuẩn
Đổ đầy thùng chứa (D.1.2) bằng chất lỏng Newtơn chuẩn (D.1.6). Điều chỉnh áp suất trong thùng chứa sao cho áp kế chỉ áp suất không đổi (0,5 ± 0,02) bar. Thu chất lỏng từ ống (D.1.1) vào thùng chứa (D.1.4) với kỳ khoảng 60 s và ghi lại nhiệt độ, thời gian thu và khối lượng. Tính lưu lượng theo l/min.
Tiến hành thêm hai phép thử và lấy giá trị trung bình của ba lần thử làm giá trị tính toán độ nhớt ống.
Chú thích 7 – Thông thường lưu lượng xấp xỉ 1,8 l/min (2,25 kg/min) khi đường kính ống gần sát 8,6 mm và khi sử dụng hỗn hợp glyxerin mô tả ở chú thích 6.
D.3. Tiến hành thử
Nạp đầy thùng chứa (D.1.2) chất tạo bọt và làm lạnh đến nhiệt độ cao hơn nhiệt độ sử dụng thấp nhất (L.V.T) từ 10C đến 30C như quy định của người cung cấp. Kiểm tra nhiệt độ đến ± 0,10C. Tiến hành ít nhất hai phép thử, như mô tả ở D.2.
Vẽ đồ thị của số đo ở nhiệt độ cao hơn L.V.T từ 10C đến 30C và chiếu đồ thị đến L.V.T nhận được các số đo.
Kích thước tính bằng milimét

F (1:1)

Chú thích
| A Nối với nguồn cung cấp khí R Bộ phận điều chỉnh áp suất P1 Áp kế P2 Áp kế, 1,5 bar hoặc 2,0 bar | S Van ngắt F Ống thép không gỉ T1 Nhiệt kế T2 Nhiệt kế |
Hình D.1 – Thiết bị thử độ lỏng
PHỤ LỤC E
(quy định)
XÁC ĐỊNH SỨC CĂNG BỀ MẶT, SỨC CĂNG BỀ MẶT PHÂN GIỚI VÀ HỆ SỐ LAN TRUYỀN (XEM ĐIỀU 9, 10 VÀ 11)
E.1. Vật liệu
E.1.1 Dung dịch chất tạo bọt, ở nồng độ khuyến nghị sử dụng ngay được tạo thành bằng nước phân tích phù hợp với loại 3 của TCVN 4851 – 89 (ISO 3696) và sức căng bề mặt không nhỏ hơn 70mN/m.
Chú thích 8 – Dung dịch này được tạo thành trong bình thót cổ dung tích 100 ml sử dụng ống pipét để đo chất tạo bọt.
E.1.2. Xyclohexan, độ tinh khiết không nhỏ hơn 99%, chỉ dùng cho sức căng bề mặt phân giới và hệ số lan truyền.
E.2. Cách tiến hành xác định sức căng bề mặt
Sử dụng phương pháp vòng của ISO 304 để xác định sức căng bề mặt của dung dịch (E.1.1) ở nhiệt độ (20 ± 1)0C.
E.3. Cách tiến hành xác định sức căng bề mặt phân giới
Sau khi đo sức căng bề mặt theo E.2, đưa một lớp xyclohexan (E.1.2) ở nhiệt độ (20 ± 1)0C lên trên dung dịch chất tạo bọt (E.1.1) một cách thận trọng để tránh sự tiếp xúc giữa vòng và xyclohexan. Chờ (6±1) min sau đó đo sức căng bề mặt phân giới.
E.4. Hệ số lan truyền
Tính hệ số lan truyền giữa dung dịch (E.1.1) và xyclohexan (E.1.2) bằng phương trình

Trong đó:
S là hệ số truyền, tính bằng milinewtơn trên mét;
là sức căng bề mặt của xyclohexan, tính bằng milinewtơn trên mét;
là sức căng bề mặt của dung dịch chất tạo bọt, tính bằng milinewtơn trên mét;
là sức căng bề mặt phân giới giữa dung dịch chất tạo bọt và xyclohexan, tính bằng milinewtơn trên mét;
PHỤ LỤC F
(quy định)
XÁC ĐỊNH ĐỘ NỞ VÀ THỜI GIAN TIẾT NƯỚC (XEM ĐIỀU 12)
F.1. Bọt độ nở trung bình
Xem 12.1.
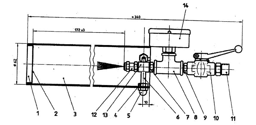
F.1.1. Thiết bị thử
F.1.1.1. Bình thu bằng chất dẻo, dung tích khoảng 200 lít với độ chính xác ± 2 lít, được lắp với bộ phận xả đáy, như chỉ ra trên hình F.1.a).
F.1.1.2. Lăng tạo bọt, như trên hình F.2, mà khi thử với nước có lưu lượng (3,25 ± 0,15) l/min ở áp suất tăng (5,0 ± 0,1) bar.
F.1.2. Điều kiện nhiệt độ
Tiến hành thử ở điều kiện nhiệt độ sau:
Nhiệt độ không khí (15±5)0C
Nhiệt độ dung dịch bọt (17,5 ± 2,5)0C
F.1.3. Cách tiến hành
Làm ướt bên trong bình thu (F.1.1.1) và cân bình (m1). Bật lăng tạo bọt (F.1.1.2) và điều chỉnh áp suất ống để có lưu lượng 3,25 l/min. Đóng bộ phận xả, thu bọt vào bình, khi đầy nửa bình, bắt đầu bấm giờ. Ngay sau khi đầy bình, ngừng thu bọt và gạt bề mặt bọt ngang bằng miệng ống. Cân bình (m2).
Tính độ nở E theo phương trình:

Trong đó:
V là thể tích của bình thu (F.1.1.1), tính bằng lít;
m1 là khối lượng của bình thu rỗng, tính bằng kilôgam;
m2 là khối lượng của bình thu chứa đầy bọt, tính bằng kilôgam;
Thừa nhận tỷ trọng của dung dịch bọt là 1,0 kg/l.
Mở cơ cấu tiết nước (xem F.1.1.1) và đo thời gian tiết nước 25% và 50%.
Xác định độ tiết nước bằng cách để bình lên bàn cân và ghi lại độ giảm khối lượng, hoặc bằng cách thu dung dịch tạo bọt đã được làm khô trong bình đo.
Phải đảm bảo rằng không có khoảng trống trong bọt được thu vào bình.
Trong khi tiến hành nạp, khóa thiết bị phun ở đáy bình cho tới khi xác định được khối lượng bọt tổng.
Trên bình ở hình F.1, có thể bịt các lỗ, ví dụ bằng băng dính.
F.2. Bọt độ nở cao
Xem 12.2
F.2.1. Thiết bị
F.2.1.1. Bình thu bằng chất dẻo, có thể tích khoảng 500 lít và độ chính xác ± 5 lít, theo hình F.1.b).
F.2.1.2. Máy tạo bọt độ nở cao, theo hình F.3, với lưu lượng (6,1 ± 0,1) l/min ở áp suất ống (5,0 ± 0,1) bar.
F.2.2. Điều kiện nhiệt độ
Tiến hành thử ở điều kiện nhiệt độ sau:
Nhiệt độ không khí (15±5)0C
Nhiệt độ dung dịch bọt (17,5 ± 2,5)0C
F.2.3. Tiến hành thử
Làm ướt bên trong bình thu (F.2.1.1) và cân bình (m1). Mở máy tạo bọt và điều chỉnh để đạt lưu lượng 6,1 l/min. Đóng phương tiện xả, thu bọt vào bình, khi đầy nửa bình, khởi động đồng hồ. Ngay sau khi bình đầy, dừng việc thu bọt và gạt bề mặt bọt ngang bằng miệng ống. Cân bình (m2).
Tính độ nở E theo phương trình:

Trong đó:
V là thể tích của bình thu (F.2.1.1), tính bằng lít;
m1 là khối lượng của bình thu rỗng, tính bằng kilôgam;
m2 là khối lượng của bình thu chứa đầy bọt, tính bằng kilôgam;
Thừa nhận tỷ trọng của dung dịch bọt là 1,0 kg/l.
Mở thiết bị làm khô và đo thời gian tiết nước 50%.
Xác định độ thoát nước bằng cách để bình lên bàn cân và ghi lại độ giảm khối lượng hoặc bằng cách thu dung dịch bọt đã được làm khô trong bình đo.
Phải đảm bảo rằng không có khoảng trống trong bọt được thu vào bình.
Trong khi tiến hành nạp, khóa thiết bị phun ở đáy bình cho tới khi xác định được khối lượng bọt tổng.
Trên bình ở hình F.1, có thể bịt các lỗ, ví dụ bằng băng dính.
Kích thước danh nghĩa tính bằng milimét
|
|
|
| a) Đối với độ nở trung bình, thể tích danh nghĩa 200 lít | b) Đối với độ nở cao, thể tích danh nghĩa 500 lít |

Góc đáy danh nghĩa là 110
c) Chi tiết tại A, chỉ ra băng dính bịt lỗ, như trong khi nạp và cân
Hình F.1 – Bình thu điển hình để xác định độ nở và thời gian tiết nước
Kích thước tính bằng milimét

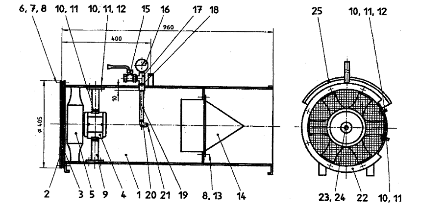
Chú thích
| 1. Vòng 2. Lưới bằng dây thép không gỉ, f 0,4 mm, lỗ 0,658 mm 3. Ống 4. Đai ốc 5. Mũ ốc 6. Bu lông 7. Miếng nối | 8. Cút chữ T 9. Miếng nối 10. Van 11. Miếng nối 12. Vòi phun *) 13. Đai 14. Áp kế |
Chú thích – Điều rất quan trọng là vòi phun phải đặt chính giữa và dọc theo tang ống bọt và áp kế được lắp đặt sao cho không đối diện với đường không khí vào của ống.
Hình F.2 – Thiết bị tạo bọt độ nở trung bình **)
*) The Fulljet B1/8 GG3.5, do Spraying Systems Company ở North Avenuc. at Shmale Road, P. O Box 7900, Wheaton, llinois 60198 – 7900, USA cung cấp là ví dụ về thiết bị thích hợp có khả năng thương mại. Thông tin này tạo thuận lợi cho người sử dụng tiêu chuẩn này và không tạo thành việc ISO chứng nhận cho thiết bị này.
**) Ví dụ của thiết bị thích hợp, có khả năng thương mại, do Svensha Skumslacknings AB, P.O. Box 32, S-44221 Kingalv Thụy Điển cung cấp. Thông tin này tạo thuận lợi cho người sử dụng tiêu chuẩn này và không tạo thành việc ISO chứng nhận cho thiết bị này.
Kích thước tính bằng milimét

Chú thích
| 1. Ống 2. Vòng 3. Tấm được khoan lỗ 4. Động cơ [1400 v/min; 223,7 W (0,3 mã lực); 50 Hz; ba pha; 30 V.a.c] 5. Quạt (1400 v/min; 7,5 mm nước ở 2000 m2/h) 6. Vít 7. Đai ốc 8. Vòng đệm 9. Giá đỡ 10. Vít 11. Vòng đệm 12. Đai ốc | 13. Đai ốc 14. Màn chắn 15. Van 16. Áp kế 17. Cút chữ T 18. Miếng nối 19. Ống 20. Khuỷu ống 21. Ống*) 22. Vỏ kiểm tra 23. Vít 24. Vòng đệm 25. Tay quay |
a) Bản vẽ lắp ráp
Hình F.3 – Máy tạo bọt độ nở cao **)
*) The Fulljet B1/8 GG3.5, do Spraying Systems Company ở North Avenuc. at Shmale Road, P. O Box 7900, Wheaton, llinois 60198 – 7900, USA cung cấp là ví dụ về thiết bị thích hợp có khả năng thương mại. Thông tin này tạo thuận lợi cho người sử dụng tiêu chuẩn này và không tạo thành việc ISO chứng nhận cho thiết bị này.
**) Ví dụ của thiết bị thích hợp, có khả năng thương mại, do Svensha Skumslacknings AB, P.O. Box 32, S-44221 Kingalv Thụy Điển cung cấp. Thông tin này tạo thuận lợi cho người sử dụng tiêu chuẩn này và không tạo thành việc ISO chứng nhận cho thiết bị này.
Kích thước tính bằng milimét


Chú thích
| 1. Ống (tấm dày 2 mm) 2. Vòng 26. Đai 27. Giá đỡ màn (tấm dày 2 mm) | 28. Thanh gia cường 29. Chân đỡ 30. Vít 31. Đai ốc |
b) Ống (1)
Hình F.2 – Máy tạo bọt độ nở cao (tiếp theo)
Kích thước tính bằng milimét


Chú thích
32. Vòng đỡ (tấm dày 1,5 mm)
33. Màn có lỗ (tấm dày 0,7 mm, các lỗ 2 mm cách nhau 3 mm)
c) Màn (14)
Hình F.3 – Máy tạo bọt độ nở cao (tiếp theo và hết)
PHỤ LỤC G
(quy định)
XÁC ĐỊNH HIỆU QUẢ DẬP CHÁY THỬ (XEM ĐIỀU 13)
Phép thử được mô tả trong phụ lục này đắt hơn và cần nhiều thời gian hơn so với các phép thử khác trong các phần của tiêu chuẩn này. Chúng được tiến hành ở cuối chương trình thử để tránh chi phí không cần thiết trong việc thử nghiệm chất tạo bọt mà không đáp ứng các yêu cầu khác.
G.1. Điều kiện chung
G.1.1. Loạt thử
G.1.1.1. Phép thử chỉ đạt yêu cầu khi đạt tất cả các yêu cầu của điều 13.
G.1.1.2. Đối với chất tạo bọt không thích hợp với nước biển, thực hiện hai hoặc ba phép thử (phép thử thứ ba là không cần thiết nếu hai phép thử đầu đều đạt hoặc đều không đạt). Chất tạo bọt đáp ứng điều 13 nếu cả hai phép thử đều đạt.
G.1.1.3. Đối với chất tạo bọt thích hợp với nước biển, tiến hành một lần thử đầu với nước ngọt và lần thử thứ hai với nước biển tổng hợp ở G.1.4. Nếu cả hai lần thử đạt hoặc không đạt, kết thúc loạt thử. Nếu chỉ một lần thử không đạt, lặp lại phép thử đó. Nếu phép thử lại đạt, tiến hành phép thử lại thứ hai, mặt khác kết thúc loạt thử. Chất tạo bọt tuân thủ điều 13 khi:
a) Nếu cả hai lần thử đầu đều đạt; hoặc
b) Nếu một trong hai phép thử đầu và cả hai phép thử lại đều đạt.
G.1.2. Nhiệt độ và vận tốc gió
Tiến hành các phép thử trong điều kiện sau:
| Nhiệt độ không khí: | (15± 5)0C |
| Nhiệt độ nhiên liệu: | (17,5± 2,5)0C |
| Nhiệt độ nước: | (17,5± 2,5)0C |
| Nhiệt độ dung dịch tạo bọt: | (17,5± 2,5)0C |
| Vận tốc gió lớn nhất: | 3 m/s ở gần quạt thử |
Chú thích 9 – Nếu cần, có thể sử dụng một số dạng màn chắn gió.
G.1.3. Biên bản
Trong khi thử dập cháy, ghi biên bản các điều sau:
- thử trong nhà hoặc ngoài trời;
- nhiệt độ không khí;
- nhiệt độ nhiên liệu;
- nhiệt độ nước;
- nhiệt độ dung dịch tạo bọt;
- vận tốc gió;
- thời gian tắt;
- thời gian cháy lại 1% (chỉ đối với bọt độ nở trung bình).
Với mục đích kiểm tra chất lượng ghi lại thời gian kiểm tra 90% và 99% và thời gian cháy lại 25%. Thời gian kiểm tra do người có kinh nghiệm xác định bằng mắt hoặc bằng cách đo bức xạ nhiệt. Phụ lục H đưa ra chi tiết một phương pháp thích hợp đối với chất tạo bọt độ nở thấp và trung bình.
G.1.4. Dung dịch chất tạo bọt
Chuẩn bị dung dịch chất tạo bọt theo hướng dẫn của người cung cấp về nồng độ, thời gian trộn lớn nhất, tính tương thích với thiết bị thử, việc tránh khỏi tạp chất do các loại chất tạo bọt khác v.v…
Sử dụng nước ngọt để tạo dung dịch chất tạo bọt và nếu người sản xuất khẳng định chất tạo bọt thích hợp với nước biển, thì cũng tạo dung dịch chất tạo bọt bằng cách sử dụng nước biển mô phỏng được tạo ra do hòa tan các thành phần sau:
| Thành phần | Hàm lượng % (theo khối lượng) |
| Natri clorua (NaCl) | 2,50 |
| Magie clorua (MgCl2. 6H2O): | 1,10 |
| Canxi clorua dihydrat (CaCl2. 2H2O): | 0,16 |
| Natri sunphat (Na2SO4): | 0,40 |
| Nước ngọt | 95,84 |
G.1.5. Nhiên liệu
Sử dụng hỗn hợp hydrocacbon béo có tính chất cơ học theo các yêu cầu sau:
| Phạm vi chưng cất: | 840C đến 1050C |
| Chênh lệch lớn nhất giữa điểm bắt đầu và điểm kết thúc sôi: | 100C |
| Thành phần chất thơm lớn nhất: | 1% |
| Tỷ trọng ở 150C: | (700 ± 20) kg/m3 |
Chú thích 11 – Nhiên liệu điển hình đáp ứng yêu cầu trên là n-heptan và các phân đoạn dung môi nào đó đôi khi được coi như heptan thương mại.
Sức căng bề mặt của n-heptan được đo phù hợp với E.2 xấp xỉ 20 mN/m.
G.2. Chất tạo bọt độ nở trung bình
Xem 13.1
G.2.1. Thiết bị
G.2.1.1. Khay cháy tròn, bằng thép có kích thước sau:
| - đường kính trong ở miệng khay: | (1480 ± 15) mm |
| - chiều sâu: | (150 ± 10) mm |
| - chiều dày thành danh nghĩa: | 2,5 mm |
| - diện tích | xấp xỉ 1,73 m2 |
G.2.1.2. Lăng tạo bọt, phù hợp với F.1.1.2.
G.2.1.3. Nồi cháy lại, làm bằng thép có chiều dày danh nghĩa 2,5 mm, đường kính (150 ± 5) mm và chiều cao (150 ± 5) mm có ngoàm để có thể treo trực tiếp vào miệng khay cháy.
G.2.2. Cách tiến hành
Đặt khay (G.2.1.1) trực tiếp trên mặt đất và đảm bảo khay ở trạng thái bằng phẳng. Đổ vào khoảng 30 lít nước ngọt và (55±2) lít nhiên liệu để đạt được phần nổi danh nghĩa 100 mm.
Treo nổi cháy lại (G.2.1.3) chứa (0,9 ± 0,1) lít nhiên liệu trên phía khuất gió của khay cháy.
Đốt khay không muộn hơn 5 min sau khi đổ nhiên liệu và để cháy không ít hơn 45 s sau khi toàn bộ bề mặt nhiên liệu cháy. Khi đó miệng lăng tạo bọt (G.2.1.2) nằm ngang miệng khay như trên hình G.1. Sau khi toàn bộ bề mặt cháy (60±5) s bắt đầu phun bọt. Ghi lại thời gian dập tắt, đó là khoảng thời gian từ lúc bắt đầu phun bọt đến lúc dập tắt. Phun bọt trong (120 ± 2) s. Sau khi sử dụng bọt, cho phép lửa trong nồi cháy lại cháy cho tới khi xuất hiện các ngọn lửa yếu trong khay cháy ở phía trên lớp bọt phủ. Ghi lại thời gian này làm thời gian cháy lại 1%.
Nếu nồi cháy lại bị dập tắt do phun bọt quá nhiều trong khi sử dụng bọt, phải châm lửa lại ngay lập tức.
G.3. Bọt độ nở cao
Xem 13.2.
G.3.1. Thiết bị
G.3.1.1 Khay cháy, phù hợp với G.2.1.1.
G.3.1.2. Máy tạo bọt độ nở cao, phù hợp với F.2.1.2.
G.3.1.3. Lưới chắn lửa, mắt lưới kim loại cạnh vuông 5 mm danh nghĩa, tạo dạng thiết bị như trên hình G.2.

Chú thích
A Lăng tạo bọt
B Khay.
C Nồi cháy lại, được treo bên ngoài miệng khay.
F Nhiên liệu
W Nước.
Hình G.1. Thiết bị thử cháy đối với bọt độ nở trung bình
G.3.2. Cách tiến hành
Đặt khay (G.2.1.1) trực tiếp lên mặt đất và đảm bảo khay ở trạng thái bằng phẳng. Cho khoảng 30 lít nước ngọt và (55±5) lít nhiên liệu để đạt được phần nổi là 100 mm.
Để màn chắn lửa (G.3.1.3) xung quanh khay cháy như trên hình G.2. Trong thời gian 5 min, đốt nhiên liệu và để chúng cháy trong khoảng thời gian ít hơn 45s. Bắt đầu tạo bọt bằng máy tạo bọt (F.2.1.2) ở khoảng cách nào đó từ ngọn lửa.
Sau khi toàn bộ bề mặt cháy (60±5)s, chuyển máy tạo bọt sang trạng thái mở trong màn lưới và phun bọt vào đám cháy trong (120 ± 2)s. Ghi lại thời gian dập tắt là khoảng thời gian từ lúc bắt đầu phun bọt đến lúc dập tắt.
Kích thước danh nghĩa tính bằng mét

Chú thích
| A Máy tạo bọt độ nở cao trên xe lăn có bánh xe B Khay | C Màn chắn lửa bằng kim loại F Nhiên liệu W Nước |
Hình G.2 – Thiết bị thử dập cháy đối với bọt độ nở cao
PHỤ LỤC H
(tham khảo)
MÔ TẢ PHƯƠNG PHÁP ĐO BỨC XẠ
H.1. Đánh giá
Đo bức xạ là biện pháp thuận tiện và khách quan để kiểm soát hiệu quả của bọt trong khi thử hiệu quả dập cháy. Điều này làm giảm sự cần thiết của việc quan sát bằng mắt (trừ đối với ngọn lửa nhỏ và thời gian cần thiết để dập tắt hoàn toàn).
Phụ lục này mô tả các thiết bị và cách tiến hành3) được sử dụng trong các loạt thử trong một phòng thí nghiệm, và các phương pháp được sử dụng để giải thích và thể hiện kết quả. Phương pháp này thích hợp đối với bọt độ nở thấp và trung bình nhưng không thích hợp với bọt độ nở cao.
Kích thước tính bằng mét

Hình H.1 – Vị trí của các bức xạ kể để ghi lại bức xạ nhiệt trong khi thử hiệu quả dập cháy
H.2. Sơ đồ bố trí thử chung
Các bức xạ kế được đặt hướng kính so với khay như trên hình H.1. Khoảng cách giữa các bức xạ kế và miệng khay phải không nhỏ hơn hai lần đường kính (D) của khay và cao hơn miệng khau ít nhất 1,5m.
Chú thích 11 – Khoảng cách lớn nhất được giới hạn bởi độ nhạy của bức xạ kế.
Mức độ bức xạ phải được ghi liên tục hoặc với các khoảng không quá 1s.
H.3. Số liệu kỹ thuật đối với bức xạ kế4)
Sử dụng hai bức xạ kế kiểu Gordon hoặc Schmidt-Boelter các bức xạ kế phải được làm mát bằng nước. Nhiệt độ nước làm mát là (30 ± 10)0C, được giữ không đổi trong khi đo.
Các bức xạ kế hấp thụ ít nhất 90% bức xạ sinh ra trong phạm vi bước sóng 0,6μm đến 15,0 μm.
Đối với ngọn lửa đã phát triển hết, các số đo của bức xạ kế không được nhỏ hơn 0,6 lần thang đo.
Các bức xạ kế phải có độ không tuyến tính ± 3% của phạm vi đo danh nghĩa, và thời gian đáp ứng lớn nhất là 2 s (tới 63% độ đáp ứng toàn bộ).
Chú thích 12 – Có thể sử dụng bức xạ kế có lớp thủy tinh bảo vệ, miễn là thỏa mãn các yêu cầu về độ nhạy quang phổ. Nếu điều đó được thừa nhận, cần phải thay đổi việc sử dụng phạm vi đo được quy định ở trên, nếu bức xạ kế có độ tuyến tính tốt hơn. Việc sử dụng ít hơn 40% là không thích hợp, như là ảnh hưởng của bức xạ nền có thể gây ra hiệu quả cao hơn nhiều.
H.4. Cách tiến hành
Hiệu chính công suất của hai bức xạ kế bằng cách trừ đi bức xạ nền được ghi lại từ 5s đến 10s sau khi dập tắt hoàn toàn.
Xác định giá trị trung bình của hai bức xạ kế.
Xác định giá trị trung bình của thời gian bức xạ được ghi lại trong khoảng thời gian 25s từ 30s đến 5s trước khi bắt đầu phun bọt (xem hình H.2).
Xác định bức xạ tương đối bằng cách chia công suất cho giá trị trung bình nhận được phù hợp với phần trên.
Giá trị bức xạ tức thời phụ thuộc dao động ngẫu nhiên. Đường cong trơn hơn thuận tiện cho việc giải thích có thể nhận được bằng việc lập đồ thị giá trị bức xạ trung bình trên chu kỳ ± 5s đối với từng giá trị thời gian.
Bức xạ tương đối được hiệu chỉnh đối với thử dập tắt được chỉ ra trên hình H.3 và đối với thử cháy lại trên hình H.4. Việc kiểm tra 90% tương đương với bức xạ tương đối 0,1.
Việc mô tả trên ý nói có thể sử dụng việc đo được điều khiển bằng máy tính.

Chú thích – Bắt đầu phun bọt ở 1 min và dừng ở 5 min. Thử cháy lại bắt đầu ở 15 min.
Hình H.2 – Mức bức xạ tuyệt đối tiêu biểu từ đầu đến mỗi phép thử

Chú thích – Bắt đầu sử dụng bọt ở 0 min và dừng ở 4 min. Việc kiểm tra 90% đạt được ở khoảng 1 min 8s.
Hình H.3 – Mức bức xạ tương đối tiêu biểu trong khi dập tắt

Chú thích – Bắt đầu cháy lại ở 0 min. Sự cháy lại 25% ở khoảng 8 min 30s.
Hình H.4 – Mức bức xạ tương đối điển hình trong khi cháy lại
PHỤ LỤC J
(tham khảo)
TÍNH TƯƠNG THÍCH
J.1. Tính tương thích giữa chất tạo bọt và bột chữa cháy
Khi bọt và bột chữa cháy có thể được sử dụng đồng thời hoặc lần lượt, người sử dụng phải đảm bảo rằng sự tác động không có lợi không làm giảm hiệu quả không được chấp nhận.
J.2. Tính tương thích giữa các chất tạo bọt
Các chất tạo bọt của các nhà chế tạo, cấp hoặc mức khác nhau thường không tương thích và không được trộn lẫn, trừ đi chúng được xác định rằng không gây ra việc giảm hiệu quả không được chấp nhận.
[2]) Nhớt kế Brookfield LVT là ví dụ về thiết bị thích hợp có khả năng thương mại. Thông tin này tạo thuận lợi cho người sử dụng tiêu chuẩn này, nhưng không có nghĩa là ISO chỉ quy định phải sử dụng thiết bị này.
3) Các chi tiết khác cho trong phương pháp Nordtest NT Fire 023 có thể nhận được từ Nordtest, Postbox 22, NIN-00341, Helsinki Phần lan.
4) The Medtherm Series 64 do Medtherm Corp P.O Box 412 Huntsviele AL, VSA cung cấp là ví dụ về thiết bị thích hợp có khả năng thương mại thông tin này tạo thuận lợi cho người sử dụng tiêu chuẩn này và không tạo thành việc ISO chứng nhận cho thiết bị này.
Bạn chưa Đăng nhập thành viên.
Đây là tiện ích dành cho tài khoản thành viên. Vui lòng Đăng nhập để xem chi tiết. Nếu chưa có tài khoản, vui lòng Đăng ký tại đây!

