- Tổng quan
- Nội dung
- Tiêu chuẩn liên quan
- Lược đồ
- Tải về
Tiêu chuẩn Quốc gia TCVN 7417-24:2015 IEC 61386-24:2004 Hệ thống ống dùng cho quản lý cáp - Phần 24: Yêu cầu cụ thể. Hệ thống ống chôn trong đất
| Số hiệu: | TCVN 7417-24:2015 | Loại văn bản: | Tiêu chuẩn Việt Nam |
| Cơ quan ban hành: | Bộ Khoa học và Công nghệ | Lĩnh vực: | Công nghiệp |
|
Ngày ban hành:
Ngày ban hành là ngày, tháng, năm văn bản được thông qua hoặc ký ban hành.
|
19/08/2015 |
Hiệu lực:
|
Đã biết
|
| Người ký: | Đang cập nhật |
Tình trạng hiệu lực:
Cho biết trạng thái hiệu lực của văn bản đang tra cứu: Chưa áp dụng, Còn hiệu lực, Hết hiệu lực, Hết hiệu lực 1 phần; Đã sửa đổi, Đính chính hay Không còn phù hợp,...
|
Đã biết
|
TÓM TẮT TIÊU CHUẨN VIỆT NAM TCVN 7417-24:2015
Tiêu chuẩn Quốc gia về Hệ thống ống chôn trong đất cho quản lý cáp
Ngày 19/08/2015, Bộ Khoa học và Công nghệ đã công bố Tiêu chuẩn Quốc gia TCVN 7417-24:2015, quy định về yêu cầu cụ thể cho hệ thống ống dùng cho quản lý cáp, phần 24, liên quan đến hệ thống ống chôn trong đất. Tiêu chuẩn này có hiệu lực từ ngày ban hành.
Tiêu chuẩn này áp dụng cho các hệ thống ống chôn trong đất để bảo vệ và quản lý các dây dẫn điện và cáp trong hệ thống lắp đặt điện hoặc hệ thống truyền thông. Các loại ống được quy định bao gồm ống kim loại, ống phi kim loại và ống composite, cùng với các phụ kiện như đầu kết thúc ống có ren và không có ren.
Yêu cầu chung
Tiêu chuẩn quy định các yêu cầu về khả năng chịu nén, va đập và độ uốn của các loại ống. Hệ thống ống phải chịu được các áp lực và va đập nhất định tùy theo mã phân loại cụ thể, ví dụ: mã 250, 450, và 750 thể hiện khả năng chịu lực khác nhau. Đối với khả năng va đập, các mẫu được thử nghiệm tại nhiệt độ khác nhau và không được có rạn nứt sau khi thử.
Ghi nhãn và tài liệu
Mỗi ống phải được ghi nhãn với mã phân loại về khả năng chịu va đập và khả năng chịu nén. Nhà sản xuất phải chỉ rõ trong tài liệu hướng dẫn tất cả các thông tin cần thiết để lắp đặt an toàn.
Kích thước và cách phân loại
Tiêu chuẩn đề cập đến việc kiểm tra kích thước của ống, đảm bảo rằng đường kính trong và ngoài đạt yêu cầu kỹ thuật. Kích thước ống đã được xác định rõ trong bảng kèm theo và dung sai cũng được quy định cụ thể.
Đặc tính cơ và thử nghiệm
Các thuộc tính cơ học của ống, bao gồm thử nghiệm khả năng chịu nén và va đập, được quy định rõ ràng. Các thử nghiệm này được thực hiện với mẫu ống nhất định, nhằm đảm bảo ống đáp ứng tiêu chuẩn an toàn và hoạt động hiệu quả khi lắp đặt chôn ngầm.
Bảng số liệu kèm theo
Phụ lục của tiêu chuẩn bao gồm bảng biểu chi tiết về kích thước ống, giá trị năng lượng thử nghiệm va đập đối với các cỡ ống khác nhau, đảm bảo rằng chúng đáp ứng các yêu cầu kỹ thuật cần thiết về an toàn và hiệu suất.
Tiêu chuẩn TCVN 7417-24:2015 là công cụ quan trọng giúp các nhà sản xuất, lắp đặt và người sử dụng đảm bảo rằng hệ thống ống dùng cho quản lý cáp trong đất đáp ứng được các yêu cầu về an toàn và hiệu suất chức năng trong thực tế.
Tải tiêu chuẩn Việt Nam TCVN 7417-24:2015
TIÊU CHUẨN QUỐC GIA
TCVN 7417-24:2015
IEC 61386-24:2004
HỆ THỐNG ỐNG DÙNG CHO QUẢN LÝ CÁP -
PHẦN 24: YÊU CẦU CỤ THỂ - HỆ THỐNG ỐNG CHÔN TRONG ĐẤT
Conduit systems for cable management -
Part 24: Particular requirements - Conduit systems buried underground
Lời nói đầu
TCVN 7417-24:2015 hoàn toàn tương đương với IEC 61386-24:2004;
TCVN 7417-24:2015 do Ban kỹ thuật tiêu chuẩn quốc gia TCVN/TC/E4 Dây và cáp điện biên soạn, Tổng cục Tiêu chuẩn Đo lường Chất lượng đề nghị, Bộ Khoa học và Công nghệ công bố.
Lời giới thiệu
Bộ TCVN 7417 gồm các phần sau đây:
1) TCVN 7417-1:2010 (IEC 61386-1:2008), Hệ thống ống dùng cho lắp đặt cáp - Phần 1: Yêu cầu chung
2) TCVN 7417-21:2015 (IEC 61386-21:2002), Hệ thống ống dùng cho quản lý cáp - Phần 21: Yêu cầu cụ thể - Hệ thống ống cứng
3) TCVN 7417-22:2015 (IEC 61386-22:2002), Hệ thống ống dùng cho quản lý cáp - Phần 22: Yêu cầu cụ thể - Hệ thống ống uốn được
4) TCVN 7417-23:2004 (IEC 61386-23:2002), Hệ thống ống dùng cho quản lý cáp - Phần 23: Yêu cầu cụ thể - Hệ thống ống mềm
5) TCVN 7417-24:2015 (IEC 61386-24:2004), Hệ thống ống dùng cho quản lý cáp - Phần 24: Yêu cầu cụ thể - Hệ thống ống chôn trong đất
6) TCVN 7417-25:2015 (IEC 61386-25:2011), Hệ thống ống dùng cho quản lý cáp - Phần 25: Yêu cầu cụ thể - Cơ cấu cố định ống
HỆ THỐNG ỐNG DÙNG CHO QUẢN LÝ CÁP - PHẦN 24: YÊU CẦU CỤ THỂ - HỆ THỐNG ỐNG CHÔN TRONG ĐẤT
Conduit systems for cable management - Part 24: Particular requirements - Conduit systems buried underground
1 Phạm vi áp dụng
Thay thế:
Tiêu chuẩn này quy định các yêu cầu và các thử nghiệm đối với hệ thống ống chôn trong đất, bao gồm ống và phụ kiện ống, dùng để bảo vệ và quản lý các dây dẫn có cách điện và/hoặc cáp trong hệ thống lắp đặt điện hoặc trong hệ thống truyền thông. Tiêu chuẩn này áp dụng cho hệ thống ống kim loại, hệ thống ống phi kim loại và hệ thống ống composite, kể cả các đầu kết thúc hệ thống, có ren,và không có ren.
2 Tài liệu viện dẫn
Áp dụng điều này của Phần 1, ngoài ra:
IEC 60423, Không áp dụng IEC 60670, Không áp dụng.
Bổ sung:
TCVN 6150-1:2003 (ISO 161-1:1996), Ống nhiệt dẻo dùng để vận chuyển chất lỏng - Đường kính ngoài danh nghĩa và áp suất danh nghĩa - Phần 1: Dãy thông số theo hệ mét
TCVN 2263-1:2007 (ISO 2768-1:1989), Dung sai chung - Phần 1: Dung sai của các kích thước dài và góc không chỉ dẫn dung sai riêng
3 Thuật ngữ và định nghĩa
Áp dụng điều này của Phần 1.
4 Yêu cầu chung
Áp dụng điều này của Phần 1.
5 Điều kiện chung đối với các thử nghiệm
Áp dụng điều này của Phần 1.
6 Phân loại
Áp dụng điều này của Phần 1, ngoài ra:
Sửa đổi:
CHÚ THÍCH: Không áp dụng Phụ lục A.
6.1 Theo đặc tính cơ
Thay thế:
6.1.1 Khả năng chịu nén
6.1.1.1 Kiểu 250 (mã 250)
CHÚ THÍCH: Hệ thống ống theo 6.1.1.1 được thiết kế để lắp đặt có các phòng ngừa bổ sung như quy định trong quy chuẩn quốc gia liên quan.
6.1.1.2 Kiểu 450 (mã 450)
CHÚ THÍCH: Hệ thống ống theo 6.1.1.2 được thiết kế để đặt trực tiếp trong đất mà không có các phòng ngừa bổ sung.
6.1.1.3 Kiểu 750 (mã 750)
CHÚ THÍCH: Hệ thống ống theo 6.1.1.3 được thiết kế để đặt trực tiếp trong đất mà không có các phòng ngừa bổ sung.
6.1.2 Khả năng chịu va đập
6.1.2.1 Nhẹ (mã L)
6.1.2.2 Bình thường (mã N)
6.1.3 Khả năng chịu uốn
6.1.3.1 Cứng
6.1.3.2 Uốn được
6.2 Theo nhiệt độ
Không áp dụng.
7 Ghi nhãn và tài liệu
Áp dụng điều này của Phần 1, ngoài ra:
7.1 Bổ sung:
Ngoài ra, ống phải được ghi nhãn:
a) mã “L” hoặc “N" theo 6.1.2;
b) mã “250”, “450” hoặc “750” theo 6.1.1. Mã này phải được ghi ngay sau mã của điểm a).
7.1.1 Không áp dụng
Bổ sung:
7.1.101 Ống phải được ghi nhãn theo 7.1 với khoảng cách đều đặn, tốt nhất là 1 m nhưng không dài hơn 3 m.
7.3 Không áp dụng.
7.4 Không áp dụng.
7.6 Bổ sung:
Thêm chú thích dưới đây sau chú thích 3:
CHÚ THÍCH 4: Thử nghiệm thay thế đang được xem xét.
Bổ sung:
7.101 Nhà chế tạo phải nêu trong tài liệu tất cả các thông tin cần thiết để lắp đặt và sử dụng đúng và an toàn.
Ngoài ra, đối với hệ thống ống theo 6.1.1.1, nhà chế tạo phải nêu hướng dẫn phòng ngừa khi lắp đặt theo các quy định kỹ thuật quốc gia liên quan, nếu có.
8 Kích thước
Thay thế:
Kích thước ống tốt nhất là theo Bảng 101.
Kiểm tra sự phù hợp của đường kính trong nhỏ nhất bằng cách đo hai đường kính vuông góc trên cùng một mặt cắt và tính giá trị trung bình.
Kiểm tra sự phù hợp của đường kính ngoài bằng dưỡng tròn hoặc phương pháp thích hợp khác bất kỳ.
9 Kết cấu
Áp dụng điều này của Phần 1, ngoài ra:
9.3 Không áp dụng
9.4 Không áp dụng
10 Đặc tính cơ
Áp dụng điều này của Phần 1, ngoài ra:
10.1.4 Thay thế:
Kiểm tra sự phù hợp bằng các thử nghiệm ở 10.2 đến 10.4.
10.2 Thử nghiệm nén
Thay thế
10.2.1 Ống phải chịu thử nghiệm nén.
CHÚ THÍCH: Thử nghiệm nén trên phụ kiện đang được xem xét.
Ống có chứa vật liệu phi kim loại chỉ được thử nghiệm sau 10 ngày chế tạo xong.
10.2.2 Mẫu dài (200 ± 5) mm.
10.2.3 Trước thử nghiệm, đo đường kính ngoài và đường kính trong của mẫu như quy định ở Điều 8.
10.2.4 Mẫu dài 220 mm được ép giữa hai tấm thép dẹt có các kích thước tối thiểu (100 x 220 x 15) mm dọc theo chiều dài mẫu. Các mẫu được ép với tốc độ (15 ± 0,5) mm/min và ghi lại giá trị tải ở độ lệch theo chiều thẳng đứng tương đương với 5 % giá trị trung bình của đường kính trong ban đầu của mẫu.
10.2.5 Khi đạt độ lệch là 5 %, lực đặt ít nhất phải là:
- 250 N đối với ống theo 6.1.1.1;
- 450 N đối với ống theo 6.1.1.2;
- 750 N đối với ống theo 6.1.1.3.
CHÚ THÍCH: Độ lệch được tính với đường kính trong nhưng phép đo đường kính ngoài có thể là đủ. Trong trường hợp nghi ngờ, cần đo đường kính trong.
10.2.6 Sau thử nghiệm, không được có rạn nứt để ánh sáng hoặc nước lọt vào giữa phía trong và phía ngoài.
10.3 Thử va đập
Thay thế:
10.3.1 Mười hai mẫu ống, mỗi mẫu dài (200 ± 5) mm, hoặc mười hai phụ kiện ống phải chịu thử va đập bằng dụng cụ thử nghiệm cho trên Hình 101.
Ống được thử riêng.
Phụ kiện ống được thử khi lắp với ống.
CHÚ THÍCH 1: Nếu cần, với mục đích của thử nghiệm này, có thể cất các phụ kiện ống miễn là kết quả thử nghiệm không bị ảnh hưởng.
CHÚ THÍCH 2: Để xác định khối lượng búa, búa được xem là đầu búa cộng với thanh trượt dẫn hướng.
10.3.2 Thiết bị thử nghiệm được đặt trên bề mặt phẳng, chắc.
Mẫu được ổn định trong tủ lạnh có nhiệt độ (-5 ± 1) °C trong 2 h.
Lấy mẫu ra khỏi tủ lạnh và đặt lên một khối hình chữ V như thể hiện trên Hình 101.
Búa được thả rơi một lần trên mỗi mẫu. Thời gian khi lấy mẫu ra khỏi tủ lạnh đến khi hoàn thành va đập không quá 10 s. Giá trị năng lượng được quy định ở Bảng 102.
Thử nghiệm được thực hiện trên phần yếu nhất của phụ kiện ống nhưng không được đập trong phạm vi 5 mm xung quanh lối vào ống. Mẫu ống được thử nghiệm ở đoạn giữa của chiều dài ống.
10.3.3 Sau thử nghiệm, khi mẫu đạt nhiệt độ (20 ± 5) °C, viên bi thích hợp được quy định ở 10.4.3 phải có khả năng lọt qua ống bằng trọng lượng của bản thân viên bi và với tốc độ ban đầu bằng không với mẫu được đặt thẳng đứng. Mẫu không được có rạn nứt để ánh sáng hoặc nước lọt vào giữa phía trong và phía ngoài.
Ít nhất phải có chín trong số mười hai mẫu đạt thử nghiệm này.
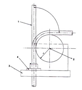
10.4 Thử nghiệm uốn
Thay thế:
10.4.1 Thử nghiệm này được thực hiện trên ống uốn được.
10.4.2 Thử nghiệm được thực hiện trên sáu mẫu ống có chiều dài thích hợp. Ba mẫu được thử ở nhiệt độ phòng, ba mẫu còn lại được thử ở nhiệt độ (-5 ± 1) °C.
Đối với thử nghiệm ở -5 °C, mẫu được ổn định trong tủ lạnh trong 2 h.
Thiết bị thử nghiệm gồm một cơ cấu như thể hiện ở Hình 102, cho phép uốn ống với bán kính uốn bằng bán kính uốn nhỏ nhất do nhà chế tạo quy định.
Một đầu của mẫu được cố định trên thiết bị thử nghiệm bằng cơ cấu thích hợp. Sau đó, uốn mẫu một góc xấp xỉ 90°. Đối với mẫu được ổn định trong tủ lạnh, tiến hành uốn trong vòng 10 s sau khi lấy ra khỏi tủ lạnh.
10.4.3 Trong quá trình thử nghiệm, mẫu không được bị bẹp.
Kiểm tra sự phù hợp bằng cách cho một viên bi có đường kính bằng (95
) % đường kính trong nhỏ nhất của mẫu do nhà chế tạo công bố, đi qua mẫu trong khi đang uốn quanh thiết bị thử nghiệm.
10.5 Thử nghiệm độ mềm dẻo
Không áp dụng.
10.6 Thử nghiệm khả năng chịu uốn ở vị trí cố định
Không áp dụng
10.7 Thử nghiệm kéo
Không áp dụng
10.8 Thử nghiệm tải treo
Không áp dụng.
11 Đặc tính điện
Áp dụng điều này của Phần 1, ngoài ra:
11.1 Yêu cầu về điện
Đang xem xét
11.2 Thử nghiệm liên kết điện
Đang xem xét
11.3 Độ bền điện môi và điện trở cách điện
Đang xem xét
12 Đặc tính nhiệt
Không áp dụng điều này của Phần 1.
13 Nguy hiểm cháy
Áp dụng điều này của Phần 1, ngoài ra:
13.1.2 Đang xem xét.
14 Ảnh hưởng từ bên ngoài
Áp dụng điều này của Phần 1.
15 Tương thích điện từ
Áp dụng điều này của Phần 1.
Bảng 101 - Đường kính ống
| Có danh nghĩa mm | Đường kính ngoài danh nghĩa mm | Dung sai mm | Đường kính trong nhỏ nhất mm |
| 25 | 25 | + 0,5 0 | 10 |
| 32 | 32 | + 0,6 0 | 24 |
| 40 | 40 | + 0,8 0 | 30 |
| 50 | 50 | + 1,0 0 | 37 |
| 63 | 63 | + 1,2 0 | 47 |
| 75 | 75 | + 1,4 0 | 50 |
| 90 | 90 | + 1,7 0 | 07 |
| 110 | 110 | + 2,0 0 | 82 |
| 125 | 125 | + 2,3 0 | 94 |
| 140 | 140 | + 2,6 0 | 100 |
| 100 | 100 | + 2,9 0 | 120 |
| 180 | 180 | + 3,3 0 | 135 |
| 200 | 200 | + 3,6 0 | 150 |
| 225 | 225 | + 4,1 0 | 170 |
| 250 | 250 | + 4,5 0 | 188 |
| CHÚ THÍCH: Đường kính ngoài danh nghĩa được lấy từ TCVN 6150-1 (ISO 161-1). Dung sai đường kính ngoài (OD) được cho như sau: OD min: đường kính ngoài danh nghĩa OD max: đường kính ngoài danh nghĩa + (0,018 x giá trị đường kính ngoài danh nghĩa) được làm tròn đến 0,1 mm. Đường kính trong nhỏ nhất: đường kính ngoài danh nghĩa chia cho 1,33. | |||
Bảng 102 - Giá trị năng lượng thử nghiệm va đập
| Cỡ danh nghĩa của ống | Nhẹ (L) | Bình thường (N) |
| |||
| Khối lượng búa | Độ cao rơi | Năng lượng | Khối lượng búa | Độ cao rơi | Năng lượng | |
| mm |
|
| J |
|
| J |
| ≤ 60 | 3 | 100 | 3 | 5 | 300 | 15 |
| Từ 61 đến 90 | 3 | 200 | 6 | 5 | 400 | 20 |
| Từ 91 đến 140 | 3 | 400 | 12 | 5 | 570 | 28 |
| > 140 | 3 | 500 | 15 | 5 | 800 | 40 |
Kích thước tính bằng milimét
Dung sai theo cấp m của TCVN 2261-1 (ISO 2768-1).

CHÚ DẪN:
1 Khung
2 Thanh dẫn hướng
3 Thang chia độ
4 Thanh trượt dẫn hướng
5 Đầu búa
6 Khối chữ V 120°
7 Đế cứng vững
CHÚ THÍCH: Bản vẽ không khống chế thiết kế mả chỉ để thể hiện kích thước.
Hình 101 - Thiết bị thử va đập

CHÚ DẪN:
1 Mẫu
2 Tâm của trụ uốn
3 Giá đỡ
4 Dẫn hướng ống
Hình 102 - Thiết bị thử uốn
Phụ lục A
(quy định)
Mã phân loại dùng cho hệ thống ống
Áp dụng Phụ lục này của Phần 1.
Phụ lục B
(quy định)
Xác định chiều dày vật liệu
Áp dụng Phụ lục này của Phần 1.
Mục lục
Lời nói đầu
Lời giới thiệu
1 Phạm vi áp dụng
2 Tài liệu viện dẫn
3 Thuật ngữ và định nghĩa
4 Yêu cầu chung
5 Điều Kiện chung đối với các thử nghiệm
6 Phân loại
7 Ghi nhãn và tài liệu
8 Kích thước
9 Kết cấu
10 Đặc tính cơ
11 Đặc tính điện
12 Đặc tính nhiệt
13 Nguy hiểm cháy
14 Ảnh hưởng từ bên ngoài
15 Tương thích điện từ
Các hình vẽ
Phụ lục A (quy định) - Mã phân loại dùng cho hệ thống ống
Phụ lục B (quy định) - Xác định chiều dày vật liệu
Bạn chưa Đăng nhập thành viên.
Đây là tiện ích dành cho tài khoản thành viên. Vui lòng Đăng nhập để xem chi tiết. Nếu chưa có tài khoản, vui lòng Đăng ký tại đây!