- Tổng quan
- Nội dung
- Tiêu chuẩn liên quan
- Lược đồ
- Tải về
Tiêu chuẩn Quốc gia TCVN 7417-21:2015 IEC 61386-21:2002 Hệ thống ống dùng cho quản lý cáp - Phần 21: Yêu cầu cụ thể. Hệ thống ống cứng
| Số hiệu: | TCVN 7417-21:2015 | Loại văn bản: | Tiêu chuẩn Việt Nam |
| Cơ quan ban hành: | Bộ Khoa học và Công nghệ | Lĩnh vực: | Công nghiệp |
|
Ngày ban hành:
Ngày ban hành là ngày, tháng, năm văn bản được thông qua hoặc ký ban hành.
|
19/08/2015 |
Hiệu lực:
|
Đã biết
|
| Người ký: | Đang cập nhật |
Tình trạng hiệu lực:
Cho biết trạng thái hiệu lực của văn bản đang tra cứu: Chưa áp dụng, Còn hiệu lực, Hết hiệu lực, Hết hiệu lực 1 phần; Đã sửa đổi, Đính chính hay Không còn phù hợp,...
|
Đã biết
|
TÓM TẮT TIÊU CHUẨN VIỆT NAM TCVN 7417-21:2015
Tiêu chuẩn Quốc gia cho Hệ thống Ống Cứng Dùng Quản Lý Cáp
Ngày 19/08/2015, Bộ Khoa học và Công nghệ đã công bố Tiêu chuẩn Quốc gia TCVN 7417-21:2015, tương đương với IEC 61386-21:2002, quy định các yêu cầu cụ thể cho hệ thống ống cứng dùng trong quản lý cáp. Tiêu chuẩn này có hiệu lực ngay từ ngày ban hành.
Tiêu chuẩn này áp dụng cho hệ thống ống cứng dùng trong lắp đặt cáp điện, đưa ra các quy định rõ ràng về yêu cầu chất lượng, kích thước, phân loại và thử nghiệm cho các sản phẩm ống cứng.
Phạm vi áp dụng
Tiêu chuẩn này bổ sung các yêu cầu cụ thể cho hệ thống ống cứng, bên cạnh các yêu cầu chung đã được quy định ở phần 1 cùng loại tiêu chuẩn.
Yêu cầu về kích thước và cấu tạo
Kích thước và cấu tạo của ống phải tuân theo các tiêu chuẩn đặc thù, đảm bảo phù hợp với quy định về đường kính trong và ren đã được công bố. Các bảng trong tiêu chuẩn cung cấp hướng dẫn chi tiết về các kích thước và cung cấp các mẫu tiêu chuẩn cho các loại ống khác nhau.
Yêu cầu ghi nhãn
Các ống cứng cần được ghi nhãn rõ ràng dọc theo chiều dài của ống, với khoảng cách không quá 3 mét, nhằm đảm bảo tính truy xuất nguồn gốc và tiêu chuẩn hóa trong sản xuất.
Thử nghiệm và Đặc tính Cơ học
Thử nghiệm các đặc tính cơ học là bắt buộc để đảm bảo chất lượng của ống. Các điều kiện thử nghiệm cho ống kim loại và phi kim loại khác nhau, và tiêu chuẩn yêu cầu rằng sau thử nghiệm, không được có dấu hiệu nứt, biến dạng quá mức hoặc hư hại khác.
Thử nghiệm Đặc tính Điện và Nhiệt
Ngoài yêu cầu về đặc tính cơ học, các yêu cầu về đặc tính điện và khả năng chịu nhiệt của các ống cứng cũng cần được kiểm tra, đảm bảo phù hợp với các thông số kỹ thuật chi tiết đã đề ra.
Nguy cơ cháy và Ảnh hưởng từ bên ngoài
Tiêu chuẩn cũng quy định các yêu cầu về khả năng chống cháy của hệ thống ống cứng, đảm bảo rằng vật liệu chế tạo cần có khả năng chịu nhiệt và không gây ra nguy cơ khi xảy ra cháy.
Tóm lại, Tiêu chuẩn TCVN 7417-21:2015 cung cấp các quy định chính xác và chi tiết nhằm đảm bảo chất lượng và độ an toàn cho hệ thống ống cứng trong quản lý cáp điện, từ kích thước cho đến kiểm tra chất lượng, đáp ứng tiêu chuẩn quốc tế và bảo vệ lợi ích của người tiêu dùng.
Tải tiêu chuẩn Việt Nam TCVN 7417-21:2015
TIÊU CHUẨN QUỐC GIA
TCVN 7417-21:2015
IEC 61386-21:2002
HỆ THỐNG ỐNG DÙNG CHO QUẢN LÝ CÁP -
PHẦN 21: YÊU CẦU CỤ THỂ - HỆ THỐNG ỐNG CỨNG
Conduit systems for cable management -
Part 21: Particular requirements - Rigid conduit systems
Lời nói đầu
TCVN 7417-21:2015 hoàn toàn tương đương với IEC 61386-21:2002;
TCVN 7417-21:2015 do Ban kỹ thuật tiêu chuẩn quốc gia TCVN/TC/E4 Dây và cáp điện biên soạn. Tổng cục Tiêu chuẩn Đo lường Chất lượng đề nghị, Bộ Khoa học và Công nghệ công bố.
Lời giới thiệu
Bộ TCVN 7417 gồm các phần sau đây:
1) TCVN 7417-1:2010 (lEC 61386-1:2008), Hệ thống ống dùng cho lắp đặt cáp - Phần 1: Yêu cầu chung
2) TCVN 7417-21:2015 (IEC 61386-21:2002), Hệ thống ống dùng cho quản lý cáp - Phần 21: Yêu cầu cụ thể - Hệ thống ống cứng
3) TCVN 7417-22:2015 (IEC 61386-22:2002), Hệ thống ống dùng cho quản lý cáp - Phần 22: Yêu cầu cụ thể - Hệ thống ống uốn được
4) TCVN 7417-23:2004 (IEC 61386-23:2002), Hệ thống ống dùng cho quản lý cáp - Phần 23: Yêu cầu cụ thể - Hệ thống ống mềm
5) TCVN 7417-24:2015 (IEC 61386-24:2004), Hệ thống ống dùng cho quản lý cáp - Phần 24: Yêu cầu cụ thể - Hệ thống ống chôn trong đất
6) TCVN 7417-25:2015 (IEC 61386-25:2011), Hệ thống ống dùng cho quản lý cáp - Phần 25: Yêu cầu cụ thể - Cơ cấu cố định ống
HỆ THỐNG ỐNG DÙNG CHO QUẢN LÝ CÁP -
PHẦN 21: YÊU CẦU CỤ THỂ - HỆ THỐNG ỐNG CỨNG
Conduit systems for cable management -
Part 21: Particular requirements - Rigid conduit systems
1 Phạm vi áp dụng
Áp dụng điều này của Phần 1, ngoài ra:
Bổ sung:
Tiêu chuẩn này quy định các yêu cầu đối với hệ thống ống cứng.
2 Tài liệu viện dẫn
Áp dụng điều này của Phần 1.
3 Thuật ngữ và định nghĩa
Áp dụng điều này của Phần 1.
4 Yêu cầu chung
Áp dụng điều này của Phần 1.
5 Điều kiện chung đối với các thử nghiệm
Áp dụng điều này của Phần 1.
6 Phân loại
Áp dụng điều này của Phần 1, ngoài ra:
Không áp dụng 6.1.1.1, 6.1.2.1, 6.1.3.2, 6.1.3.3, 6.1.3.4, 6.1.4.1 và 6.1.5.1.
CHÚ THÍCH: Pháp không áp dụng hệ thống ống cứng theo 6.1.1.2 và 6.1.2.2 và phân loại 1X từ Bảng 1 của 6.2.1.
7 Ghi nhãn và tài liệu
Áp dụng điều này của Phần 1, ngoài ra:
Bổ sung:
7.1.101 Ống phải được ghi nhãn theo 7.1 dọc theo toàn bộ chiều dài ống với khoảng cách đều đặn, tốt nhất là 1 m nhưng không dài hơn 3 m và mỗi đoạn ống phải được ghi nhãn ít nhất một lần.
Kiểm tra sự phù hợp bằng cách xem xét.
7.1.102 Nhà chế tạo phải ghi vào tài liệu đối với hệ thống có đường kính trong nhỏ nhất và phân loại theo Điều 6.
Kiểm tra sự phù hợp bằng cách xem xét.
8 Kích thước
Thay thế:
8.1 Ren và đường kính ngoài phải phù hợp với TCVN 10723 (IEC 60423).
Kiểm tra sự phù hợp bằng dưỡng quy định ở TCVN 10723 (IEC 60423).
8.2 Ống có ren và phụ kiện ống có ren, trừ phụ kiện kết thúc ống, phải phù hợp với Bảng 101. Phụ kiện ống không có ren, trừ phụ kiện là một phần của hệ thống ống có độ bền kéo công bố, phải phù hợp với Bảng 102. Đường kính trong nhỏ nhất của hệ thống ống phải như nhà chế tạo công bố.
Kiểm tra sự phù hợp bằng cách đo.
Bảng 101 - Chiều dài ren
| Cỡ | Ren ngoài | Ren trong |
| Chiều dài nhỏ nhất mm | Chiều dài nhỏ nhất mm | |
| 6 | 05,5 | 06,5 |
| 8 | 06,5 | 07,5 |
| 10 | 08,5 | 09,5 |
| 12 | 10,5 | 11,5 |
| 16 | 12,5 | 13,5 |
| 20 | 14,0 | 15,0 |
| 25 | 17,0 | 18,0 |
| 32 | 19,0 | 20,0 |
| 40 | 19,0 | 20,0 |
| 50 | 19,0 | 20,0 |
| 63 | 19,0 | 20,0 |
| 75 | 19,0 | 20,0 |
Bảng 102 - Đường kính vào lớn nhất và chiều dài vào nhỏ nhất
| Cỡ | Ren ngoài | Ren trong |
| Đường kính vào lớn nhất mm | Chiều dài vào nhỏ nhất mm | |
| 6 | 06,5 | 06,0 |
| 8 | 08,5 | 08,0 |
| 10 | 10,5 | 10,0 |
| 12 | 12,5 | 12,0 |
| 16 | 16,5 | 16,0 |
| 20 | 20,5 | 20,0 |
| 25 | 25,5 | 25,0 |
| 32 | 32,6 | 30,0 |
| 40 | 40,7 | 32,0 |
| 50 | 50,8 | 42,0 |
| 63 | 63,9 | 50,0 |
| 75 | 75,9 | 50,0 |
9 Kết cấu
Áp dụng điều này của Phần 1.
10 Đặc tính cơ
Áp dụng điều này của Phần 1, ngoài ra:
10.4 Thử nghiệm uốn
Thay thế:
Ống do nhà chế tạo công bố là uốn được thì được thử nghiệm theo 10.4.101, 10.4.102 hoặc 10.4.103.
10.4.101 Ống kim loại
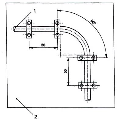
10.4.101.1 Cỡ ống 16, 20 và 25 phải chịu thử nghiệm uốn bằng thiết bị thể hiện trên Hình 101. Các cỡ ống khác được thử nghiệm theo hướng dẫn của nhà chế tạo.
10.4.101.2 Mẫu có chiều dài bằng 30 lần đường kính danh nghĩa được uốn sao cho khi thả ra thì tạo thành góc (90 ± 5)° và bán kính trong của phần uốn bằng sáu lần đường kính danh nghĩa.
10.4.101.3 Đối với ống có các mối hàn thì thử nghiệm sáu mẫu, ba mẫu có mối hàn ở phía ngoài phần uốn và ba mẫu có mối hàn bên trong phần uốn.
10.4.101.4 Sau thử nghiệm:
- vật liệu cơ bản của ống và lớp phủ bảo vệ của ống Không được nứt nhìn thấy được bằng mắt thường hoặc có điều chỉnh thị lực nhưng không phóng đại.
- mối hàn, nếu có, không được hở;
- đoạn ống không được biến dạng quá mức.
Kiểm tra đoạn ống biến dạng như sau:
Khi ống đã uốn được giữ ở tư thế mà phần thẳng của ống ở góc xấp xỉ 45° so với phương thẳng đứng, một đầu của mẫu hướng lên trên và đầu còn lại hướng xuống dưới thì dưỡng thích hợp như thể hiện trên Hình 102 phải có khả năng lọt qua ống bằng chính khối lượng của dưỡng với tốc độ ban đầu bằng không.
10.4.102 Ống phi kim loại
10.4.102.1 Cỡ ống 16, 20 và 25 phải chịu thử nghiệm uốn bằng thiết bị thể hiện trên Hình 103. Chiều dài của mẫu xấp xỉ 500 mm. Các cỡ ống khác được thử nghiệm theo hướng dẫn của nhà chế tạo.
10.4.102.2 Cơ cấu hỗ trợ uốn có dạng lò xo xoắn ốc từ sợi dây mặt cắt vuông không có ba vía và có đường kính ngoài nhỏ hơn đường kính trong nhỏ nhất quy định của ống từ 0,7 mm đến 1,0 mm, hoặc cơ cấu hỗ trợ uốn do nhà chế tạo khuyến cáo được đưa vào từng mẫu trước khi uốn.
10.4.102.3 Trước thử nghiệm, mẫu có cơ cấu hỗ trợ uốn được ổn định trong ít nhất 2 h trong tủ lạnh có nhiệt độ bên trong tủ được duy trì ở nhiệt độ công bố như cho trong Bảng 1 với dung sai ± 2 °C.
Thiết bị uốn được đặt bên trong tủ lạnh và tiến hành thử nghiệm trong vòng 10 s sau khi lấy mẫu ra khỏi tủ.
10.4.102.4 Từng mẫu được đặt vào vị trí như thể hiện trên Hình 103 và giữ nhẹ trong rãnh của dưỡng bằng kẹp. Mẫu được uốn quanh dưỡng bằng cách di chuyển trục lăn sao cho khi thả ra thì tạo thành góc (90 ± 5)°. Ở vị trí này, cơ cấu hỗ trợ uốn có thể lấy ra được mà không làm hỏng mẫu hoặc cơ cấu hỗ trợ uốn.
Sau thử nghiệm, mẫu không được nứt nhìn thấy được bằng mắt thường hoặc có điều chỉnh thị lực nhưng không phóng đại và dưỡng thích hợp như thể hiện trên Hình 102 phải có khả năng lọt qua ống bằng chính khối lượng của dưỡng với tốc độ ban đầu bằng không.
10.4.103 Ống composite
Ống composite mà nhà chế tạo công bố là uốn được thì được thử nghiệm theo 10.4.101 và 10.4.102, sử dụng mẫu mới cho mỗi thử nghiệm.
Thử nghiệm được thực hiện ở nhiệt độ công bố như được nêu ở Bảng 1 với dung sai ± 2 °C.
10.5 Thử nghiệm độ mềm dẻo
Không áp dụng điều này của Phần 1.
10.6 Thử nghiệm khả năng chịu uốn ở vị trí cố định
Thay thế:
10.6.101 Ống kim loại
Ống kim loại không phải chịu thử nghiệm khả năng chịu uốn ở vị trí cố định.
10.6.102 Ống phi kim loại và ống composite
10.6.102.1 Ống mà nhà chế tạo công bố là uốn được thì được thử nghiệm theo 10.4.102 ngoại trừ 10.4.102.3.
10.6.102.2 Các mẫu được cố định vào giá đỡ cứng vững bằng bốn đai như thể hiện trên Hình 104, sau khi lấy ra lò xo uốn hoặc cơ cấu hỗ trợ uốn bất kỳ khác do nhà chế tạo khuyến cáo.
Giá đỡ có mẫu ở đúng vị trí được giữ trong 24 h ± 15 min trong tủ gia nhiệt ở nhiệt độ công bố như cho trong Bảng 2 với dung sai ±2 °C.
Sau thời gian này, với giá đỡ ở vị trí mà phần thẳng của mẫu ở gốc xấp xỉ 45° so với phương thẳng đứng, một đầu của mẫu hướng lên trên và đầu còn lại hướng xuống dưới thì dưỡng thích hợp như thể hiện trên Hình 102 phải có khả năng lọt qua ống bằng chính khối lượng của dưỡng với tốc độ ban đầu bằng không.
10.7 Thử nghiệm kéo
Áp dụng điều này của Phần 1, ngoài ra:
10.7.3 Không áp dụng.
11 Đặc tính điện
Áp dụng điều này của Phần 1.
12 Đặc tính nhiệt
Áp dụng điều này của Phần 1, ngoài ra:
12.3 Thay thế:
Ngay sau khi gỡ tải, dưỡng thích hợp như thể hiện trên Hình 102 phải có khả năng lọt qua ống bằng chính khối lượng của dưỡng với tốc độ ban đầu bằng không, với mẫu đặt thẳng đứng.
13 Nguy hiểm cháy
Áp dụng điều này của Phần 1.
14 Ảnh hưởng từ bên ngoài
Áp dụng điều này của Phần 1.
15 Tương thích điện từ
Áp dụng điều này của Phần 1.

|
| Bán kính uốn | Bán kính rãnh | |
| Cỡ | Bán kính trong R | Bán kính ngoài R1 | r |
|
| mm | mm | mm |
| 16 | 96 | 113 | 8,1 |
| 20 | 120 | 141 | 10,1 |
| 25 | 150 | 178 | 12,7 |
CHÚ THÍCH: Bản vẽ không khống chế thiết kế mà chỉ để thể hiện kích thước.
Hình 101 - Thiết bị uốn dùng cho ống kim loại và ống composite

| D | 80 % của đường kính trong nhỏ nhất do nhà chế tạo công bố của hệ thống ống |
| Vật liệu | Thép tôi và đánh bóng, lượn tròn nhẹ các mép |
| Dung sai chế tạo |
|
| Dung sai và kích thước trục | ± 0,2 mm |
| Độ mài mòn cho phép | 0,01 mm |
CHÚ THÍCH: Bản vẽ không khống chế thiết kế mà chỉ để thể hiện kích thước.
Hình 102 - Dưỡng để kiểm tra đường kính trong nhỏ nhất của hệ thống ống sau các thử nghiệm va đập, uốn, uốn ở vị trí cố định và khả năng chịu nhiệt

CHÚ DẪN:
1 Trục lăn dùng để uốn
2 Kẹp
3 Mẫu
4 Lò xo uốn
5 Dưỡng dẫn hướng
6 Mặt cắt A-A
| Cỡ | Bán kính đến đáy rãnh của dưỡng dẫn hướng | Bán kính của đường cong theo vết ngoài theo tâm của trục lăn dùng để uốn | Bán kính rãnh của dưỡng dẫn hướng và trục lăn dùng để uốn | Đường kính đến đáy của rãnh trục lăn dùng để uốn |
|
| R1 | R2 | r | D |
|
| mm | mm | mm | mm |
| 16 | 48 | 84 | 8,1 | 24 |
| 20 | 60 | 105 | 10,1 | 30 |
| 25 | 75 | 131,25 | 12,6 | 37,5 |
CHÚ THÍCH: Bản vẽ Không khống chế thiết kế mà chỉ để thể hiện kích thước.
Hình 103 - Thiết bị uốn dùng cho ống phi kim loại và ống composite

CHÚ DẪN:
1 Mẫu
2 Giá đỡ cứng vững
CHÚ THÍCH: Bản vẽ không khống chế thiết kế mà chỉ để thể hiện kích thước.
Hình 104 - Bố trí dùng cho thử nghiệm uốn ở vị trí cố định
Phụ lục A
(quy định)
Mã phân loại dùng cho hệ thống ống
Áp dụng Phụ lục này của Phần 1.
Phụ lục B
(quy định)
Xác định chiều dày vật liệu
Áp dụng Phụ lục này của Phần 1.
Mục lục
Lời nói đầu
Lời giới thiệu
1 Phạm vi áp dụng
2 Tài liệu viện dẫn
3 Thuật ngữ và định nghĩa
4 Yêu cầu chung
5 Điều kiện chung đối với các thử nghiệm
6 Phân loại
7 Ghi nhãn và tài liệu
8 Kích thước
9 Kết cấu
10 Đặc tính cơ
11 Đặc tính điện
12 Đặc tính nhiệt
13 Nguy hiểm cháy
14 Ảnh hưởng từ bên ngoài
15 Tương thích điện từ
Các hình vẽ
Phụ lục A (quy định) - Mã phân loại dùng cho hệ thống ống
Phụ lục B (quy định) - Xác định chiều dày vật liệu
Bạn chưa Đăng nhập thành viên.
Đây là tiện ích dành cho tài khoản thành viên. Vui lòng Đăng nhập để xem chi tiết. Nếu chưa có tài khoản, vui lòng Đăng ký tại đây!