- Tổng quan
- Nội dung
- Tiêu chuẩn liên quan
- Lược đồ
- Tải về
Tiêu chuẩn Quốc gia TCVN 2697:1978 Mỡ bôi trơn - Phương pháp xác định nhiệt độ nhỏ giọt
| Số hiệu: | TCVN 2697:1978 | Loại văn bản: | Tiêu chuẩn Việt Nam |
| Cơ quan ban hành: | Bộ Khoa học, Công nghệ và Môi trường | Lĩnh vực: | Công nghiệp |
|
Ngày ban hành:
Ngày ban hành là ngày, tháng, năm văn bản được thông qua hoặc ký ban hành.
|
1978 |
Hiệu lực:
|
Đã biết
|
| Người ký: | Đang cập nhật |
Tình trạng hiệu lực:
Cho biết trạng thái hiệu lực của văn bản đang tra cứu: Chưa áp dụng, Còn hiệu lực, Hết hiệu lực, Hết hiệu lực 1 phần; Đã sửa đổi, Đính chính hay Không còn phù hợp,...
|
Đã biết
|
TÓM TẮT TIÊU CHUẨN VIỆT NAM TCVN 2697:1978
Nội dung tóm tắt đang được cập nhật, Quý khách vui lòng quay lại sau!
Tải tiêu chuẩn Việt Nam TCVN 2697:1978
TIÊU CHUẨN QUỐC GIA
TCVN 2697 : 1978
MỠ BÔI TRƠN - PHƯƠNG PHÁP XÁC ĐỊNH NHIỆT ĐỘ NHỎ GIỌT
Lubriceting gresses - Method of test for dropping point
Lời nói đầu
TCVN 2697 : 1978 do Ban kỹ thuật các vấn đề về máy và cơ khí biên soạn, Tổng cục Tiêu chuẩn đo lường Chất lượng đề nghị và Bộ Khoa học Công nghệ và Môi trường (nay là Bộ Khoa học và Công nghệ) ban hành.
Tiêu chuẩn này được chuyển đổi năm 2008 từ Tiêu chuẩn Việt Nam cùng số hiệu thành Tiêu chuẩn Quốc gia theo quy định tại khoản 1 điều 69 của Luật Tiêu chuẩn và Quy chuẩn kỹ thuật và điểm a khoản 1 điều 6 Nghị định số 127/2007/NĐ−CP ngày 1/8/2007 của Chính phủ quy định chi tiết thi hành một số điều của Luật Tiêu chuẩn và Quy chuẩn kỹ thuật.
MỠ BÔI TRƠN - PHƯƠNG PHÁP XÁC ĐỊNH NHIỆT ĐỘ NHỎ GIỌT
Lubriceting gresses - Method of test for dropping point
Tiêu chuẩn này quy định phương pháp xác định nhiệt độ nhỏ giọt của mỡ bôi trơn.
Nhiệt độ nhỏ giọt là nhiệt độ tại đó mỡ chuyển từ trạng thái nửa rắn sang trạng thái lỏng trong các điều kiện đã quy định.
1. Dụng cụ và vật liệu
1.1. Khi xác định nhiệt độ nhỏ giọt của mỡ cần sử dụng các dụng cụ và vật liệu sau:
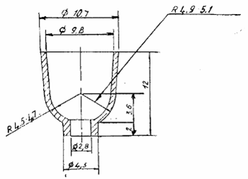
Chén đựng mỡ bằng đồng thau mạ crôm có kích thước như Hình 1;
Ống nhựa thủy tinh chịu nhiệt dài 100 mm đến 103 mm, có 3 điểm lõm cách đều nhau và cách đáy 19 mm, chiều sâu của các vật lõm đủ để giữ được chén mỡ.

Hình 1 – Chén đồng mạ crôm
Hai nhiệt kế thủy ngân có giới hạn đo nhiệt độ từ 0 oC đến 300 oC, giá trị mỗi vạch chia là 1 oC.
Cốc thủy tinh chịu nhiệt, dung tích 500 ml, chén sứ đường kính 120 m m ± 3,5 mm hoặc 156 mm ± 4,5 mm, bếp điện dây mai so kín hoặc bếp dùng khí đốt có bộ phận điều chỉnh nhiệt: máy khuấy.
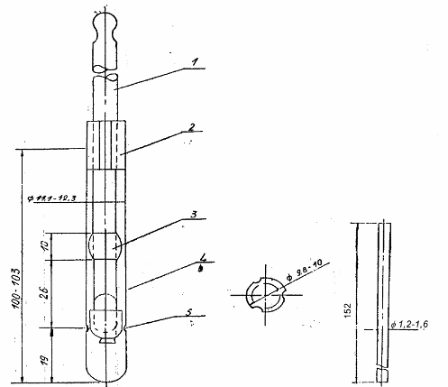
Giá đỡ vòng để dỡ cốc dầu và các cặp giữ nhiệt kế. Hai nút lic như ở Hình 2 và một que bằng kim loại nhẵn, đường kính của que 1,2 mm đến 1,6 mm, dài 152 mm (hình 3);

| 1 | Nhiệt kế | Hình 3 – Que kim loại nhẵn |
| 2 | Lỗ thủng ở nút để thoát hơi |
|
| 3 | Nút giữ nhiệt kế |
|
| 4 | Ống nghiệm |
|
| 5 | Vết lõm cách đều nhau giữ chén |
|
Hình 2 - Bộ dụng cụ xác định nhiệt độ nhỏ giọt
Dao trộn mỡ;
Dầu vazơlin y dược hoặc glyxerin.
2. Chuẩn bị thử nghiệm
2.1. Lắp 2 nút lie vào một trong 2 nhiệt kế và điều chỉnh sao cho dầu của bầu thủy ngân cách đáy chén mỡ 3 mm khi ráp dụng cụ để thử nghiệm. Treo nhiệt kế thứ 2 vào trong cốc dầu, bầu thủy ngân của nó ngang tầm với bầu thủy ngân của nhiệt kế trong ống nghiệm.
CHÚ THÍCH: Vị trí của bầu thủy ngân trong ống nghiệm không được bịt kín lỗ của chén và không tiếp xúc với lớp mỡ mỏng trong chén.
2.2. Dùng dao gạt bỏ lớp mỡ trên bề mặt và lấy vào bát sứ những lượng mỡ bằng nhau ở một số chỗ (không ít hơn 3), cách xa thành phương tiện chứa đựng và nhào trộn mỡ cẩn thận.
2.3. Ấn phần miệng rộng hơn của chén vào mỡ cần kiểm nghiệm đựng trong bát sứ, nhấc ra gạt bỏ phần mỡ thừa. Giữa chén thẳng đứng, đầu nhỏ ở dưới, cắm que kim loại vào chén sao cho que thò ra ngoài khoảng 25 mm. Áp que vào chén, để cho que đồng thời áp sát vào vành trên và vành dưới của chén giữ que ở tư thế như vậy, quay tròn chén tạo thành một chuyển động hình xoáy ốc, để gạt bỏ phần mỡ hình nón bám dọc theo que. Khi chén đã tụt khỏi que sẽ còn lại một lớp mỡ mỏng trong chén.
Đặt một miếng giấy lọc trắng, nhỏ và tròn thật sát dưới đáy ống nghiệm.
3. Tiến hành thử nghiệm
3.1. Đặt chén mỡ và nhiệt kế vào trong ống nghiệm, treo ống nghiệm vào cốc đựng dầu vazơlin hoặc glyxelin. Dầu cách mép cốc 6 mm. Ống nghiệm phải chìm trong dầu tới mép dưới của nút giữ nhiệt kế trong ống nghiệm.
3.2. Khuấy cốc dầu, đồng thời đun nóng sao cho khi nhiệt độ thấp hơn nhiệt độ nhỏ giọt dự đoán 20 oC thì nhiệt độ của dầu trong cốc sẽ tăng với tốc độ 1 oC – 7 oC/phút, sau đó giảm xuống 1,5 oC/phút.
Nhiệt độ tăng mỡ nóng chảy và dần dần lọt xuống qua lỗ của chén. Khi giọt mỡ đầu tiên rời khỏi miệng dưới của mép chén thì ghi nhiệt độ của 2 nhiệt kế, lấy nhiệt độ trung bình đó là nhiệt độ nhỏ giọt của mỡ.
CHÚ THÍCH: Một số loại mỡ như mỡ gốc nhôm không tạo thành giọt mà tạo thành cột dài, có thể dứt ra hoặc giữ nguyên cho tới khi chạm đáy ống nghiệm. Đối với loại mỡ này nhiệt độ nhỏ giọt là nhiệt độ khi cột mỡ chạm đáy ống nghiệm.
4. Đánh giá kết quả
4.1. Tiến hành 2 lần xác định liên tiếp trong cùng một cốc dầu. Kết quả cuối cùng là giá trị trung bình của hai lần xác định. Chênh lệch giữa hai lần xác định song song không vượt quá 1oC.
Bạn chưa Đăng nhập thành viên.
Đây là tiện ích dành cho tài khoản thành viên. Vui lòng Đăng nhập để xem chi tiết. Nếu chưa có tài khoản, vui lòng Đăng ký tại đây!