- Tổng quan
- Nội dung
- Tiêu chuẩn liên quan
- Lược đồ
- Tải về
Tiêu chuẩn TCVN 5699-2-2:2007 Yêu cầu an toàn với máy hút bụi
| Số hiệu: | TCVN 5699-2-2:2007 | Loại văn bản: | Tiêu chuẩn Việt Nam |
| Cơ quan ban hành: | Đang cập nhật | Lĩnh vực: | Công nghiệp |
|
Ngày ban hành:
Ngày ban hành là ngày, tháng, năm văn bản được thông qua hoặc ký ban hành.
|
2007 |
Hiệu lực:
|
Đã biết
|
| Người ký: | Đang cập nhật |
Tình trạng hiệu lực:
Cho biết trạng thái hiệu lực của văn bản đang tra cứu: Chưa áp dụng, Còn hiệu lực, Hết hiệu lực, Hết hiệu lực 1 phần; Đã sửa đổi, Đính chính hay Không còn phù hợp,...
|
Đã biết
|
TÓM TẮT TIÊU CHUẨN VIỆT NAM TCVN 5699-2-2:2007
Nội dung tóm tắt đang được cập nhật, Quý khách vui lòng quay lại sau!
Tải tiêu chuẩn Việt Nam TCVN 5699-2-2:2007
TIÊU CHUẨN QUỐC GIA
TCVN 5699-2-2 : 2007
THIẾT BỊ ĐIỆN GIA DỤNG VÀ THIẾT BỊ ĐIỆN TƯƠNG TỰ - AN TOÀN -
PHẦN 2-2: YÊU CẦU CỤ THỂ ĐỐI VỚI MÁY HÚT BỤI VÀ THIẾT BỊ LÀM SẠCH CÓ HÚT NƯỚC
Household and similar electrical appliances - Safety –
Part 2-2: Particular requirements for vacuum cleaners and water - suction cleaning appliances
Lời giới thiệu
Tiêu chuẩn này nêu các mức được chấp nhận để bảo vệ chống các nguy hiểm về điện, cơ, nhiệt, cháy và bức xạ của các thiết bị khi hoạt động trong điều kiện sử dụng bình thường có tính đến hướng dẫn của nhà chế tạo. Tiêu chuẩn này cũng đề cập đến những trường hợp bất thường dự kiến có thể xảy ra trong thực tế và có tính đến các hiện tượng điện từ trường có thể ảnh hưởng đến hoạt động an toàn của thiết bị.
Tiêu chuẩn này có xét đến các yêu cầu quy định trong bộ tiêu chuẩn TCVN 7447 (IEC 60364) ở những nơi có thể tương thích với quy tắc đi dây khi thiết bị được nối vào nguồn điện lưới.
Nếu các thiết bị thuộc phạm vi áp dụng của tiêu chuẩn này có các chức năng được đề cập trong các phần 2 khác của bộ tiêu chuẩn TCVN 5699 (IEC 60335), thì áp dụng các tiêu chuẩn phần 2 liên quan đó cho từng chức năng riêng rẽ, ngay khi có thể. Nếu thuộc đối tượng áp dụng, cần xem xét ảnh hưởng giữa chức năng này và các chức năng khác.
Bộ tiêu chuẩn này là tiêu chuẩn họ sản phẩm đề cập đến an toàn của các thiết bị và được ưu tiên hơn so với các tiêu chuẩn cùng loại và các tiêu chuẩn chung quy định cho từng đối tượng.
Phần 2 này phải được sử dụng cùng với tiêu chuẩn TCVN 5699-1 (IEC 60335-1), trong tiêu chuẩn này được gọi tắt là "Phần 1". Ở những chỗ có nêu "bổ sung", "sửa đổi", "thay thế" thì có nghĩa là nội dung liên quan của Phần 1 cần được điều chỉnh tương ứng.
Thiết bị sử dụng vật liệu hoặc có các dạng kết cấu khác với nội dung được nêu trong các yêu cầu của tiêu chuẩn này có thể được kiểm tra và thử nghiệm theo mục đích của các yêu cầu và, nếu nhận thấy là có sự tương đương về căn bản thì có thể coi là phù hợp với tiêu chuẩn này.
Dưới đây là những khác biệt tồn tại ở các quốc gia khác nhau:
- 3.1.9: Khác về định nghĩa khi làm việc bình thường (Mỹ).
- 6.1: Cho phép sử dụng thiết bị cấp 0 (Canađa, Nhật, Mỹ).
- 6.1: Yêu cầu máy hút bụi gia dụng là thiết bị cấp II hoặc cấp III (Đan Mạch, Pháp, Italia, Hà Lan, Na Uy, và Thổ Nhĩ Kỳ).
- 6.2: Không yêu cầu cấp bảo vệ IPX4 (Mỹ).
- 7.1: Không yêu cầu ghi nhãn bổ sung cho ổ cắm ra của các phụ kiện (Mỹ).
- 11.5: Chế độ đặt tăng cường được kích hoạt cứ mỗi 2 min sau 8 min (Mỹ).
- 11.7: Thử nghiệm được tiến hành với dây được kéo ra một phần ba chiều dài cho đến khi thiết lập điều kiện ổn định (Mỹ).
- 15.2: Khác về thực hiện thử nghiệm (Mỹ).
- 16.3: Khác về thực hiện thử nghiệm (Mỹ).
- 21.101: Khác về thực hiện thử nghiệm (Canađa, Mỹ).
- 21.102: Khác về thực hiện thử nghiệm (Canađa, Mỹ).
- 21.103: Khác về thực hiện thử nghiệm (Canađa, Mỹ).
- 21.104: Không thực hiện thử nghiệm (Mỹ).
- 25.1: Có thể có ổ cắm điện vào của thiết bị nếu bộ nối được giữ đúng vị trí (Mỹ).
- 25.7: Cho phép sử dung loại dây nhẹ hơn đối với máy hút bụi sử dụng trong gia đình, không phải loại máy hút bụi trung tâm (Mỹ).
THIẾT BỊ ĐIỆN GIA DỤNG VÀ THIẾT BỊ ĐIỆN TƯƠNG TỰ - AN TOÀN -
PHẦN 2-2: YÊU CẦU CỤ THỂ ĐỐI VỚI MÁY HÚT BỤI VÀ THIẾT BỊ LÀM SẠCH CÓ HÚT NƯỚC
Household and similar electrical appliances - Safety –
Part 2-2: Particular requirements for vacuum cleaners and water - suction cleaning appliances
1. Phạm vi áp dụng
Điều này của Phần 1 được thay bằng:
Tiêu chuẩn này quy định các yêu cầu về an toàn đối với máy hút bụi và thiết bị làm sạch có hút nước sử dụng điện dùng trong gia đình và các mục đích tương tự, kể cả máy hút bụi dùng để chải lông động vật, có điện áp danh định không lớn hơn 250 V. Tiêu chuẩn này cũng áp dụng cho máy hút bụi trung tâm.
Tiêu chuẩn này cũng áp dụng cho đầu làm sạch có lắp động cơ và các ống mềm mang dòng điện lắp với một máy hút bụi cụ thể.
Thiết bị không được thiết kế để sử dụng bình thường trong gia đình nhưng vẫn có thể là nguồn gây nguy hiểm cho công chúng, ví dụ như các thiết bị được thiết kế cho những người không có chuyên môn sử dụng trong cửa hiệu và các cơ sở khác dùng cho mục đích dọn dẹp bình thường, cũng thuộc phạm vi áp dụng của tiêu chuẩn này.
CHÚ THÍCH 101: Ví dụ về các thiết bị này là các thiết bị được thiết kế để sử dụng cho mục đích dọn dẹp bình thường trong khách sạn, văn phòng, trường học, bệnh viện và các cơ sở tương tự.
Trong chừng mực có thể, tiêu chuẩn này đề cập đến những nguy hiểm thường gặp mà thiết bị có thể gây ra cho mọi người ở bên trong và xung quanh nhà ở. Tuy nhiên tiêu chuẩn này nói chung không xét đến:
- việc trẻ em hoặc những người già yếu sử dụng thiết bị mà không có sự giám sát;
- việc trẻ em nghịch thiết bị.
CHÚ THÍCH 102: Cần chú ý
- đối với thiết bị được thiết kế sử dụng trên xe, tàu thủy hoặc máy bay có thể cần có, yêu cầu bổ sung
- các cơ quan chức năng Nhà nước về y tế, bảo hộ lao động, cung cấp nước và các cơ quan chức năng tương tự có thể yêu cầu các quy định bổ sung.
CHÚ THÍCH 103: Tiêu chuẩn này không áp dụng cho:
- thiết bị dùng riêng cho mục dích công nghiệp;
- thiết bị được thiết kế để sử dung ở những nơi có điều kiện môi trường đặc biệt, như khí quyển có chứa chất ăn mòn hoặc dễ cháy, nổ (bụi, hơi hoặc khí).
2. Tài liệu viện dẫn
Áp dụng điều này của Phần 1, ngoài ra còn:
Bổ sung:
ISO 6344-2, Coated abrasives - Grain size analysis - Part 2: Determination of grain size distribution of macrogrits, P12 to P220 (Chất mài mòn có phủ - Phân tích cỡ hạt – Phần 2: Xác định sự phân bố cỡ hạt mài thô, P12 đến P220)
3. Định nghĩa
Áp dụng điều này của Phần 1, ngoài ra còn:
3.1.4. Bổ sung:
CHÚ THÍCH 101: Đối với thiết bị có chế độ tăng cường, công suất vào danh định là công suất ứng với hoạt động của thiết bị không sử dụng chế độ tăng cường.
3.1.9. Thay thế:
Làm việc bình thường (normal operation)
Thiết bị làm việc trong các điều kiện dưới đây.
Thiết bị được cấp điện ở điện áp danh định và làm việc liên tục với lối không khí vào được điều chỉnh để có công suất vào Pm sau 20 s. Nếu cần, sau ba phút, thực hiện lần điều chỉnh cuối cùng lối không khí vào.
Pm được tính từ công thức:
Pm = 0,5 (Pf + Pi)
Trong đó:
Pf là công suất vào, tính bằng oát, sau 3 min làm việc với lối không khí vào không bị cản trở. Mọi cơ cấu đảm bảo luồng không khí làm mát động cơ được phép tác động trong trường hợp lối không khí vào chính bị chắn;
Pi là công suất vào, tính bằng oát, sau 20 s làm việc với lối không khí vào bị chặn. Làm mất hiệu lực tất cả các cơ cấu điều chỉnh được mà không dùng dụng cụ và đảm bảo luồng không khí làm mát động cơ trong trường hợp lối không khí vào chính bị chặn.
Nếu thiết bị được ghi nhãn dải điện áp danh định thì thiết bị được cấp điện ở giá trị trung bình của dải, với điều kiện là chênh lệch giữa các giới hạn của dải không quá 10 % giá trị trung bình. Nếu chênh lệch này vượt quá 10 % thì điện áp cung cấp là giá trị giới hạn trên của dải.
Thực hiện phép đo với thiết bị được lắp túi đựng bụi và bộ lọc, thùng gom nước để rỗng. Nếu thiết bị được thết kế chỉ để sử dụng với ống mềm thì miệng hút và các ống cứng tháo ra được tháo ra và để ống mềm nằm thẳng. Nếu thiết bị có phụ kiện là ống mềm thì được cho làm việc với ống mên được tháo ra.
Bàn chải quay và cơ cấu tương tự đươc cho làm việc nhưng không tiếp xúc với bất kỳ bề mặt nào. Đầu làm sạch có lắp động cơ được nối với ống mềm hoặc ống cứng và cho làm việc nhưng không tiếp xúc với bất kỳ bề mặt nào.
Ổ cắm ra của thiết bị để nối với các phụ kiện khác được mang tải với tải điện trở theo ghi nhãn.
3.101
Thiết bị làm sạch có hút nước (water-suction cleaning appliance)
Thiết bị dùng để hút dung dịch nước có thể chứa chất tẩy có tạo bọt.
3.102
Chế độ tăng cường (booster setting)
Vị trí của bộ điều khiển để tạm thời tạo ra công suất cao hơn công suất vào rồi tự động giảm xuống giá trị công suất vào khi không sử dụng chế độ này.
3.103
Máy hút bụi trung tâm (centrally-sited vacuum cleaner)
Máy hút bụi, được nối với hệ thống ống lắp đặt trong tòa nhà.
CHÚ THÍCH: Trong quá trình sử dụng, miệng hút và ống mềm lắp cùng được nối với một trong các cửa hút của hệ thống ống.
3.104
Đầu làm sạch có lắp động cơ (motorized cleaning head)
Phụ kiện có động cơ được cấp điện từ máy hút bụi và được gắn vào một đầu của ống mềm hoặc ống cứng.
4. Yêu cầu chung
Áp dụng điều này của Phần 1.
5. Điều kiện chung đối với các thử nghiệm
Áp dụng điều này của Phần 1, ngoài ra còn:
5.2. Bổ sung:
Sử dụng ống mềm còn mới cho từng thử nghiệm trong các điều từ 21.101 đến 21.104.
5.101. Ống mềm mang dòng điện làm việc ở điện áp cực thấp an toàn không phải chịu thử nghiệm trong các điều từ 21.101 đến 21.104.
6. Phân loại
Áp dụng điều này của Phần 1, ngoài ra còn:
6.1. Sửa đổi:
Máy hút bụi là thiết bị làm sạch có hút nước phải là thiết bị cấp I, cấp II hoặc cấp III.
Máy hút bụi dùng để chải lông động vật phải là thiết bị cấp II hoặc cấp III.
6.2. Bổ sung:
Máy hút bụi dùng để chải lông động vật và thiết bị làm sạch có hút nước phải có cấp bảo vệ bằng vỏ ngoài ít nhất là IPX4.
7. Ghi nhãn và hướng dẫn
Áp dụng điều này của Phần 1, ngoài ra còn:
7.1. Bổ sung:
Tổng công suất vào danh định và tải lớn nhất của ổ cắm ra của thiết bị, tính bằng oát, phải được ghi nhãn trên thiết bị (nếu thuộc đối tượng áp dụng).
7.6. Bổ sung:
|
| [ký hiệu 5935 của IEC 60417] | đầu làm sạch có lắp động cơ để làm sạch bằng cách hút nước. |
7.12. Bổ sung:
Hướng dẫn đối với thiết bị có ống mềm mang dòng điện và làm việc tại điện áp khác điện áp cực thấp an toàn phải có nội dung dưới dây:
LƯU Ý: Ống mềm này phải có các mối nối điện:
- không sử dung để hút nước (chỉ dùng cho máy hút bụi);
- không ngâm trong nước để làm sạch;
- cần kiểm tra ống mềm thường xuyên và không được sử dụng nếu ống mềm đã hỏng.
Hướng dẫn đối với máy hút bụi có lắp bàn chải quay hoặc các cơ cấu tương tự và thiết bị làm sạch có hút nước phải quy định rõ phích cắm phải được tháo ra khỏi ổ cắm trước khi làm sạch hoặc bảo dưỡng thiết bị.
Nếu sử dụng ký hiệu 5935 của IEC 60417 thì phải giải thích ý nghĩa của ký hiệu này.
7.14. Bổ sung:
Chiều cao của ký hiệu 5935 của IEC 60417-1 phải ít nhất là 15 mm.
Kiểm tra sự phù hợp bằng phép đo.
7.101. Đầu làm sạch có lắp dộng cơ phải được ghi nhãn:
- điện áp danh định hoặc dải điện áp danh định, tính bằng vôn;
- công suất vào danh định, tính bằng oát;
- tên, thương hiệu hoặc dấu hiệu nhận biết của nhà chế tạo hoặc nhà cung ứng được ủy quyền;
- mẫu hoặc kiểu tham chiếu.
Đầu làm sạch có lắp động cơ dùng cho thiết bị làm sạch có hút nước phải được ghi nhãn ký hiệu 5935 của IEC 60417-1, ngoại trừ các thiết bị có kết cấu cấp III có điện áp làm việc đến 24 V.
CHÚ THÍCH: ký hiệu này là dấu hiệu nhận biết, áp dụng quy tắc của ISO 3864, trừ màu của ký hiệu.
Kiểm tra sự phù hợp bằng cách xem xét.
7.102. Các ổ cắm ra của thiết bị để nối với các phụ kiện phải được ghi nhãn tải lớn nhất tính bằng oát.
CHÚ THÍCH: Nhãn này có thể ở trên thiết bị gần với ổ cắm ra.
Kiểm tra sự phù hợp bằng cách xem xét.
8. Bảo vệ chống chạm vào các bộ phận mang điện
Áp dụng điều này của Phần 1, ngoài ra còn:
8.1.1. Bổ sung:
Nếu hướng dẫn quy định rằng bộ phận cần tháo ra khi thay bóng đèn hoặc dây curoa truyền động mà yêu cầu cần có dụng cụ để tháo ra thì bộ phận này không được xem là bộ phận tháo rời được và với điều kiện là:
- có hướng dẫn về ngắt thiết bị ra khỏi nguồn điện trước khi mở nắp che được ghi trên nắp che hoặc dễ nhìn thấy trong quá trình tháo nắp che, và
- sau khi tháo nắp che, việc chạm vào bộ phận mang điện được ngăn ngừa bởi ít nhất là cách điện chính.
9. Khởi động thiết bị truyền động bằng động cơ điện
Áp dụng điều này của Phần 1.
10. Công suất vào và dòng điện
Áp dụng điều này của Phần 1, ngoài ra còn:
10.1. Bổ sung:
Công suất vào của đầu làm sạch có lắp động cơ được đo riêng rẽ.
CHÚ THÍCH 101: Ổ cắm ra của thiết bị không được mang tải khi đo công suất vào danh định.
Không sử dụng chế độ tăng cường trong khi thực hiện các phép đo này.
11. Phát nóng
Áp dụng điều này của Phần 1, ngoài ra còn:
11.3. Bổ sung:
CHÚ THÍCH 101: Khi đo công suất vào để đảm bảo rằng thiết bị được lắp ráp đúng thì phải đo công suất vào Pi với lối không khí vào bị chặn.
11.5. Bổ sung
Chế độ tăng cường được kích hoạt thường xuyên nếu kết cấu cho phép.
11.7. Bổ sung:
Thiết bị được cho làm việc đến khi thiết lập các điều kiện ổn định.
Thiết bị có lắp cơ cấu thu dây tự động được cho làm việc trong 30 min với một phần ba chiều dài dây được kéo ra, sau đó, dây được kéo ra hoàn toàn.
12. Để trống
13. Dòng điện rò và độ bền điện ở nhiệt độ làm việc
Áp dụng điều này của Phần 1, ngoài ra còn:
13.1. Bổ sung:
CHÚ THÍCH 101: Không sử dụng chế độ tăng cường.
14. Quá điện áp quá độ
Áp dụng điều này của Phần 1.
15. Khả năng chống ẩm
Áp dụng điều này của Phần 1, ngoài ra còn:
15.2. Thay thế:
Thiết bị có bình chứa chất lỏng phải có kết cấu sao cho việc tràn chất lỏng do đổ quá đầy và do lật đối với thiết bị có khả năng bị lật khi sử dụng bình thường không được ảnh hưởng đến cách điện của thiết bị.
Kiểm tra sự phù hợp bằng thử nghiệm dưới đây.
Bình chứa chất lỏng được đổ nước đến một nửa mức chỉ thị trong hướng dẫn. Thiết bị được đặt trên giá đỡ nghiêng 10° so với phương nằm ngang. Đăt một lực bằng 180 N vào phần cao nhất của thiết bị theo hướng nằm ngang bất lợi nhất. Nếu bị lật thì thiết bị phải được xem là có khả năng bị lật trong sử dụng bình thường.
Thiết bị có nối dây kiểu X trừ các thiết bị có dây được chuẩn bị đặc biệt được lắp với loại dây mềm nhẹ nhất cho phép có diện tích mặt cắt nhỏ nhất như quy định trong bảng 13.
Thiết bị có lắp ổ cắm điện vào được thử nghiệm có hoặc không có bộ nối thích hợp đã được lắp vào vị tri, chọn điều kiện bất lợi hơn.
Thùng chứa chất lỏng đổ bằng tay được đổ đầy nước chứa xấp xỉ 1 % NaCl và đổ từ từ thêm một lượng bằng 15 % dung tích của thùng chứa hoặc 0,25 l, chọn giá trị nào lớn hơn, trong thời gian 1 min.
Thùng chứa của thiết bị cầm tay và các thiết bị khác có khả năng bị lật trong sử dung bình thường được đổ đầy, nắp được đậy lại. Sau đó lật ngược thiết bị và để ở vị trí đó trong 5 min, trừ khi thiết bị tự trở về vị trí bình thường của nó.
Miệng hút và đầu làm sạch có lắp động cơ của thiết bị làm sạch có hút nước được đặt vào thùng chứa, đáy thùng ở mức ngang với bề mặt đỡ thiết bị. Thùng chứa được bổ sung dung dịch chất tẩy đến mức cách đáy thùng là 5 mm, mức này được duy trì trong suốt thử nghiệm. Dung dịch có chứa 20 g NaCl và 1 ml dung dịch dodecyl natri sunphat có nồng độ 28 % trong mỗi 8 l nước.
Cho thiết bị làm việc đến khi thùng chứa chất lỏng của thiết bị đầy hoàn toàn và để thêm 5 min nữa.
CHÚ THÍCH 101: Dung dịch được giữ trong môi trường mát và được sử dụng trong vòng bảy ngày tính từ khi điều chế ra nó.
CHÚ THÍCH 102: Công thức hóa học của dodecyl natri sunphat là C12H25NaSO4.
Sau mỗi thử nghiệm này, thiết bị phải chịu được thử nghiệm độ bền của 16.3.
Xem xét phải cho thấy không có vệt chất lỏng trên cách điện làm giảm khe hở không khí hoặc chiều dài đường rò xuống thấp hơn các giá trị quy định ở điều 29.
15.101. đầu làm sạch có lắp động cơ của thiết bị làm sạch có hút nước phải có khả năng chịu được chất lỏng có thể tiếp xúc với chúng.
Kiểm tra sự phù hợp bằng các thử nghiệm dưới đây.
Đầu làm sạch có lắp động cơ phải chịu thử nghiệm va đập như mô tả trong IEC 60068-2-75, giá trị của va đập là 2 J. Đầu làm sạch có lắp động cơ được đỡ cố định và đặt ba va đập vào từng điểm có khả năng gẫy vỡ của vỏ bọc.
Sau đó, đầu làm sạch có lắp động cơ phải chịu thử nghiệm rơi tự do theo quy trình 1 trong TCVN 7699-2-32 (IEC 60068-2-32). Thả rơi nó 4 000 lần từ độ cao 100 mm lên tấm thép có chiều dày không nhỏ hơn 15 mm. Thả rơi:
- 1 000 lần bên cạnh bên phải của nó;
- 1 000 lần bên cạnh bên trái của nó;
- 1 000 lần bên bề mặt phía trước của nó;
- 1 000 lần bên bề mặt làm sạch của nó.
Sau đó, đầu làm sạch có lắp động cơ phải chiu thử nghiệm như mô tả trong 14.2.7 của IEC 60529, với nước có chứa xấp xỉ 1 % NaCl.
Sau đó, đầu làm sạch có lắp động cơ phải chịu được thử nghiệm độ bền điện ở 16.3, đặt điện áp giữa bộ phận mang điện và dung dịch. Xem xét phải cho thấy không có dung dịch muối trên cách điện có thể làm giảm khe hở không khí hoặc chiều dài đường rò xuống thấp hơn các giá trị quy định ở điều 29.
CHÚ THÍCH: Không thực hiện thử nghiệm cho đầu làm sạch có lắp động cơ có kết cấu cấp III có điện áp làm việc đến 24 V.
16. Dòng điện rò và độ bền điện
Áp dụng điều này của Phần 1, ngoài ra còn:
16.3. Bổ sung:
Ống mềm mang dòng điện , trừ các mối nối điện của chúng, được ngâm vào nước chứa xấp xỉ 1 % NaCl và có nhiệt độ là 20°C ± 5°C trong 1 h. trong khi vẫn ngâm ống mềm, đặt điện áp 2 000 V trong 5 min giữa từng dây dẫn và tất cả các dây dẫn còn lại nối với nhau. Sau đó, đặt điện áp 3 000 V trong 1 min giữa tất cả các dây dẫn nối với nhau và dung dịch muối.
17. Bảo vệ quá tải máy biến áp và các mạch liên quan
Áp dụng điều này của Phần 1.
18. Độ bền
Không áp dụng điều này của Phần 1.
19. Hoạt động trong điều kiện không bình thường
Áp dụng điều này của Phần 1, ngoài ra còn:
19.1. Bổ sung:
Thử nghiệm của 19.7 chỉ được tiến hành cho đầu làm sạch có lắp động cơ và các động cơ quạt riêng rẽ của máy hút bụi trung tâm.
Thiết bị làm sạch có hút nước có van cũng phải chịu thử nghiệm của 19.101.
Thiết bị có chế độ tăng cường mà không bị mất kích hoạt bằng điện tử cũng phải chịu thử nghiệm của 19.102.
Máy hút bụi trung tâm cũng phải chịu thử nghiệm ở 19.103, và 19.104 nếu thuộc đối tượng áp dụng.
19.7. Bổ sung:
Đầu làm sạch có lắp động cơ được thử nghiệm trong 30 s với bàn chải quay hoặc cơ cấu tương tự được hãm lại.
Các động cơ quạt riêng rẽ của máy hút bụi trung tâm được làm việc đến khi thiết lập điều kiện ổn định.
19.9. Không áp dụng
19.10. Thay thế:
Thiết bị có các lắp động cơ kích thích nối tiếp được cấp điện ở 1,3 lần điện áp danh định và làm việc trong 30 s có lối không khí ra bị chặn lại, bàn chải quay và cơ cấu tương tự được tháo ra.
Sau thử nghiệm này, độ an toàn của thiết bị không được suy giảm, đặc biệt là các cuộn dây và các mối nối không được lỏng ra.
19.101. Thiết bị làm sạch có hút nước mà thùng chứa chất lỏng của thiết bị bày có lắp van hoặc cơ cấu khác ngăn ngừa việc tràn chất lỏng, được cấp điện ở điện áp danh định. Cho thiết bị làm việc với miệng hút được đặt vào máng có chứa nước và với van hoặc cơ cấu ngăn ngừa việc tràn chất lỏng được giữ mở hoặc làm cho mất hiệu lực. Dừng thử nghiệm ở 30 s sau khi nước bắt đầu chảy tràn ra ngoài.
CHÚ THÍCH: Nếu thiết bị có lắp từ hai cơ cấu ngăn ngừa việc tràn chất lỏng trở lên thì lần lượt làm mất hiệu lực từng cơ cấu.
19.102. Phương tiện làm mất kích hoạt chế độ tăng cường hoặc làm cho mất hiệu lực và cho thiết bị làm việc trong điều kiện quy định ở điều 11 sử dụng chế độ tăng cường.
19.103. Máy hút bụi trung tâm được cấp điện ở điện áp danh định và được cho làm việc với lối vào dành cho ống hút mềm để mở và sau đó đóng lại.
Nhiệt độ của cuộn dây không được vượt quá quy định ở 19.9.
19.104. Máy hút bụi trung tâm có hệ thống thông gió riêng cho động cơ được cấp nguồn ở điện áp danh định và làm việc với luồng không khí chạy qua động cơ bị chặn lại.
20. Sự ổn định và nguy hiểm cơ học
Áp dụng điều này của Phần 1, ngoài ra còn:
20.1. Bổ sung:
CHÚ THÍCH 101: Đầu làm sạch có lắp động cơ không phải chịu thử nghiệm này.
20.2. Bổ sung:
CHÚ THÍCH 101: Yêu cầu liên quan đến các bộ phận chuyển động không áp dụng cho bàn chải quay và các cơ cấu tương tự. Yêu cầu này không áp dụng cho các bộ phận trở nên tiếp cận được khi thay thế các phụ kiện và các bộ phận chỉ di chuyển khi bàn chải hoặc cơ cấu tương tự ở vị trí làm việc.
21. Độ bền cơ
Áp dụng điều này của Phần 1, ngoài ra còn:
21.101. Ống mềm mang dòng điện phải có khả năng chịu ép.
Kiểm tra sự phù hợp bằng thử nghiệm dưới đây.
Ống mềm được đặt giữa hai tấm thép song song, mỗi tấm dài 100 mm, rộng 50 mm và mép của các cạnh dài hơn được làm tròn với bán kính 1 mm. Đường trục của ống mềm được đặt vuông góc với cạnh dài hơn của tấm thép. Các tấm thép được đặt ở cách một đầu của ống mềm khoảng 350 mm.
Tấm thép được ép vào nhau với tốc độ 50 mm/min ± 5 mm/min cho đến khi lực đặt lên là 1,5 kN. Sau đó, nhả lực và thực hiên thử nghiệm độ bền điện của 16.3 giữa các dây dẫn nối với nhau và dung dịch muối.
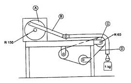
21.102. Ống mềm mang dòng điện phải có khả năng chịu mài mòn.
Kiểm tra sự phù hợp bằng thử nghiệm dưới đây.
Một đầu của ống mềm được gắn với thanh nối của cơ cấu quay như trên hình 101. Cho cơ cấu quay với tốc độ 30 vòng/min làm cho đầu của ống mềm chuyển động tiến, lùi theo phương pháp ngang trên khoảng cách 300 mm.
Ống mềm được đỡ bằng một con lăn nhẵn trên đó có một dây đai bằng vải ráp chuyển động với tốc độ 0,1 m/min. Chất mài mòn là hạt mài, cỡ P 100 như quy định trong ISO 6344-2. Vật nặng có khối lượng nặng cách tâm của con lăn một khoảng lớn nhất là 600 mm.
Thử nghiệm được thực hiện với 100 vòng quay của cơ cấu quay.
Sau thử nghiệm, cách điện chính không được lộ ra và thực hiện thử nghiệm độ bền điện của 16.3 giữa các dây dẫn nối với nhau và dung dịch muối.
21.103. Ống mềm mang dòng điện phải có khả năng chịu uốn.
Kiểm tra sự phù hợp bằng thử nghiệm dưới đây.
Một đầu ống mềm được thiết kế để nối với đầu làm sạch có lắp động cơ được gắn vào tay đỡ của thiết bị thử nghiệm cho trên hình 102. Khoảng cách giữa trục gắn tay đỡ và điểm mà tại đó ống mềm đi vào phần cứng là 300 mm ± 5 mm. Tay đỡ có thể nâng lên khỏi vị trí nằm ngang một góc 40° ± 1°. Vật có khối lượng 5 kg được treo ở đầu kia của ống mềm hoặc ở điểm thích hợp dọc theo ống mềm sao cho khi tay đỡ ở vị trí nằm ngang thì vật nặng được đỡ và không có lực căng trên ống mềm.
CHÚ THÍCH 1: Có thể cần phải đặt lại vị trí nặng trong quá trình thử nghiệm.
Vật nặng trượt trên tấm nghiêng sao cho góc lệch lớn nhất của ống mềm bằng 3°. Tay được nâng lên hạ xuống nhờ cơ cấu quay với tốc độ (10 ± 1) r/min.
Thử nghiệm được thực hiện 2 500 vòng của cơ cấu quay, sau đó, xoay đầu cố định của ống mềm đi một góc 90° và thử nghiệm được tiếp tục 2 500 vòng nữa. Lặp lại thử nghiệm ở hai vị trí 90° còn lại.
CHÚ THÍCH 2: Nếu ống mềm bị đứt trước khi cơ cấu quay được 10 000 vòng thì phải ngừng uốn.
Sau thử nghiệm, ống mềm phải chịu được thử nghiệm độ bền điện ở 16.3.
21.104. Ống mềm mang dòng điện phải co khả năng chịu xoắn.
Kiểm tra sự phù hợp bằng thử nghiệm dưới đây.
Một đầu của ống mềm được giữ ở vị trí nằm ngang, phần còn lại của ống mềm được treo tự do. Cho đầu tự do của ống mềm quay theo chu kỳ, mỗi chu kỳ có năm vòng quay theo một hướng và năm vòng quay theo hướng ngược lại, với tốc độ bằng 10 r/min.
Thử nghiệm được thực hiện 2 000 chu kỳ.
Sau thử nghiệm, ống mềm phải chịu được thử nghiệm độ bền điện của 16.3 và phải không có hư hại đến mức không phù hợp với tiêu chuẩn này.
21.105. Ống mềm mang dòng điện phải có khả năng chịu nhiệt độ thấp.
Kiểm tra sự phù hợp bằng thử nghiệm dưới đây.
Một đoạn ống mềm dài 600 mm được uốn cong như thể hiện trên hình 103 và các đầu của ống mềm được buộc vào nhau trên chiều dài 25 mm. Sau đó đặt ống mềm trong tủ có nhiệt độ -15 °C ± 2 °C trong 2 h. Ngay sau khi lấy ống mềm ra khỏi tủ, uốn ống mềm ba lần, như thể hiện trên hình 104, với tốc độ là một lần uốn trong một giây.
Thử nghiệm được thực hiện ba lần.
Ống mềm không được nứt hoặc gãy và phải chịu được thử nghiệm độ bền điện của 16.3.
CHÚ THÍCH: Bỏ qua sự đổi màu.
22. Kết cấu
Áp dụng điều này của Phần 1, ngoài ra còn:
22.32. Bổ sung:
Máy hút bụi phải có kết cấu sao cho các bộ phận bên trong của động cơ và các mối nối điện không phải chịu bụi đọng lại do không khí đi qua.
CHÚ THÍCH 101: Yêu cầu này được đáp ứng nếu không khí đi qua túi lọc bụi trước khi đi qua động cơ.
CHÚ THÍCH 102: Đối với thiết bị làm sạch có hút nước, sự phù hợp với yêu cầu liên quan đến bảo vệ chống việc đọng lại bụi bẩn được kiểm tra bằng thử nghiệm 15.2 là đủ.
22.40. Bổ sung:
Đối với thiết bị làm sạch có hút nước, cơ cấu đóng cắt phải cắt tất cả các cực.
23. Dây dẫn bên trong
Áp dụng điều này của Phần 1.
24. Linh kiện
Áp dụng điều này của Phần 1, ngoài ra còn:
24.1.3. Bổ sung:
Cơ cấu đóng cắt lắp vào máy hút bụi, không thuộc loại chỉ dùng cho gia đình, được thử nghiệm trong 50 000 chu kỳ thao tác.
25. Đấu nối nguồn và dây dẫn mềm bên ngoài
Áp dụng điều này của Phần 1, ngoài ra còn:
25.1. Bổ sung:
Máy hút bụi dùng để chải lông động vật và thiết bị làm sạch có hút nước không được lắp ở ổ cắm điện vào.
25.7. Sửa đổi:
Dây nguồn không được nhẹ hơn:
- đối với các thiết bị cầm tay có khối lượng không lớn hơn 1,5 kg khi lắp với phụ kiện nặng nhất, nhưng ngoại trừ dây nguồn,
• dây mềm có bọc cao su dai thông thường (mã 60245 IEC 53), nếu dùng cao su cách điện;
• dây mềm có bọc polyvinyl clorua nhẹ (mã 6610 TCVN 52 (60227 IEC 52)), nếu dùng polyninyl clorua cách điện;
- đối với thiết bị dùng để chải lông động vật,
• dây mềm có bọc polyclopren thông thường (mã 60245 IEC 57);
• dây đôi dẹt mềm (mã 6610 TCVN 42 (60227 IEC 42)), nếu dùng polyvinyl clorua cách điện;
- đối với thiết bị khác,
• dây mềm có bọc cao su dai thông thường (mã 60245 IEC 53), nếu dùng cao su cách điện;
• dây mềm có bọc polyvinyl clorua thông thường (mã 6610 TCVN 53 (60227 IEC 53)), nếu dùng polyvinyl clorua cách điện.
25.23. Bổ sung:
Ruột dẫn bên trong ống mềm phải có chiều dày cách điện và vỏ bọc ít nhất là tương đương với chiều dày quy định cho dây (2 x 0,75) mm2 có ký hiệu mã 6610 TCVN 52 (60277 IEC 52).
CHÚ THÍCH 101: Ruột dẫn có thể có các sợi thép mạ đồng.
26. Đầu nối dùng cho các dây dẫn bên ngoài
Áp dụng điều này của Phần 1.
27. Quy định cho nối đất
Áp dụng điều này của Phần 1.
28. Vít và các mối nối
Áp dụng điều này của Phần 1.
29. Khe hở không khí, chiều dài đường rò và cách điện rắn
Áp dụng điều này của Phần 1.
30. Khả năng chịu nhiệt và chịu cháy
Áp dụng điều này của Phần 1, ngoài ra còn:
30.2. Bổ sung:
Đối với máy hút bụi trung tâm, áp dụng 30.2.3. Đối với các thiết bị khác, áp dụng 30.2.2.
31. Khả năng chống gỉ
Áp dụng điều này của Phần 1.
32. Bức xạ, độc hại và các nguy hiểm tương tự
Áp dụng điều này của Phần 1.
Kích thước tính bằng milimét

Chú giải
A Cơ cấu quay
B Thanh nối
C Con lăn, đường kính bằng 120 mm
D Dây đai bằng vải ráp
Hình 101 - Thiết bị dùng cho thử nghiệm khả năng chịu mài mòn của ống mềm mang dòng điện
Kích thước tính bằng milimét

Chú giải
A Cơ cấu quay
B Tay đỡ
C Mặt phẳng nghiêng
Hình 102 - Thiết bị dùng cho thử nghiệm khả năng chịu uốn của ống mềm mang dòng điện
Kích thước tính bằng milimét

Hình 103 - Tạo hình ống mềm để xử lý đông lạnh
Vị trí trung gian

Vị trí của ống mềm khi bắt đầu và kết thức mỗi lần uốn
Hình 104 - Vị trí uốn dùng cho ống mềm sau khi lấy ra từ tủ đông lạnh
Phụ lục
Áp dụng các phụ lục của Phần 1, ngoài ra còn:
Phụ lục C
(Quy định)
Thử nghiệm lão hóa động cơ
Sửa đổi:
Giá trị của p trong bảng C.1 là 2 000.
Thư mục tài liệu tham khảo
Áp dụng các tài liệu tham khảo của Phần 1, ngoài ra còn:
Bổ sung:
ISO 3864, Safety colours and safety signs (Màu an toàn và ký hiệu an toàn)
Bạn chưa Đăng nhập thành viên.
Đây là tiện ích dành cho tài khoản thành viên. Vui lòng Đăng nhập để xem chi tiết. Nếu chưa có tài khoản, vui lòng Đăng ký tại đây!
