- Tổng quan
- Nội dung
- Tiêu chuẩn liên quan
- Lược đồ
- Tải về
Tiêu chuẩn quốc gia TCVN 6379:2024 Thiết bị chữa cháy - Trụ nước chữa cháy
| Số hiệu: | TCVN 6379:2024 | Loại văn bản: | Tiêu chuẩn Việt Nam |
| Cơ quan ban hành: | Bộ Khoa học và Công nghệ | Lĩnh vực: | Xây dựng , Khoa học-Công nghệ , Công nghiệp |
| Trích yếu: | Thiết bị chữa cháy - Trụ nước chữa cháy | ||
|
Ngày ban hành:
Ngày ban hành là ngày, tháng, năm văn bản được thông qua hoặc ký ban hành.
|
16/12/2024 |
Hiệu lực:
|
Đã biết
|
| Người ký: | Đang cập nhật |
Tình trạng hiệu lực:
Cho biết trạng thái hiệu lực của văn bản đang tra cứu: Chưa áp dụng, Còn hiệu lực, Hết hiệu lực, Hết hiệu lực 1 phần; Đã sửa đổi, Đính chính hay Không còn phù hợp,...
|
Đã biết
|
TÓM TẮT TIÊU CHUẨN VIỆT NAM TCVN 6379:2024
Tiêu chuẩn quốc gia TCVN 6379:2024: Thiết bị chữa cháy - Trụ nước chữa cháy
Tiêu chuẩn quốc gia TCVN 6379:2024 về thiết bị chữa cháy - trụ nước chữa cháy được ban hành ngày 09/05/2024 và có hiệu lực thi hành ngay sau đó. Tiêu chuẩn này thay thế cho TCVN 6379:1998, do Cục Cảnh sát phòng cháy, chữa cháy và cứu nạn, cứu hộ biên soạn và đã được Bộ Khoa học và Công nghệ công bố.
Tiêu chuẩn này áp dụng cho các trụ nước chữa cháy lắp đặt vào hệ thống đường ống cấp nước. Trụ nước chữa cháy là thiết bị chuyên dùng giúp lấy nước phục vụ cho việc chữa cháy. Tiêu chuẩn nêu rõ hai loại trụ nước: trụ nổi và trụ ngầm, với các thông số kỹ thuật cụ thể cho từng loại.
Theo tiêu chuẩn, các thông số và kích thước cơ bản của trụ nước bao gồm áp suất làm việc không lớn hơn 1 MPa; đường kính trong thân trụ nước là 125 mm; chiều cao của trụ nổi là 1,500 ± 20 mm và trụ ngầm là 970 ± 20 mm. Tiêu chuẩn còn quy định rằng số vòng quay để mở van trụ nước không được lớn hơn 15 vòng và hệ số tổn thất áp suất không được lớn hơn 1,2 x 10^3 s²/m⁵.
Ngoài ra, tiêu chuẩn yêu cầu trụ nước phải chịu được áp suất thử bền bằng 1,5 lần áp suất làm việc mà không có dấu hiệu nứt gãy. Yêu cầu này cũng bao gồm các thử nghiệm về việc đảm bảo không có rò rỉ, có lượng nước đọng lại trong trụ nước không lớn hơn 100 cm³ và việc không cho phép van bị hỏng khi chịu tải.
Về yêu cầu lắp đặt, trụ nước phải được lắp đặt thẳng đứng và tuân thủ các quy định của cơ quan có thẩm quyền. Khoảng cách lắp đặt trụ nước ngầm phải đảm bảo cách xa công trình ngầm tối thiểu 0,5 m.
Đối với vận hành, cần kiểm tra tình trạng kỹ thuật của trụ nước ít nhất hai lần một năm, trong đó bao gồm việc bảo dưỡng các chi tiết và kiểm tra khả năng tải. Tất cả trụ nước phải được ghi nhãn rõ ràng với thông tin sản phẩm và nhà sản xuất để đảm bảo nhận diện dễ dàng trong quá trình sử dụng.
Tiêu chuẩn này sẽ đóng vai trò quan trọng trong việc nâng cao hiệu quả của hệ thống phòng cháy chữa cháy tại các cơ sở và khu vực dân cư, đảm bảo an toàn cho người và tài sản.
Tải tiêu chuẩn Việt Nam TCVN 6379:2024
TIÊU CHUẨN QUỐC GIA
TCVN 6379 : 2024
THIẾT BỊ CHỮA CHÁY - TRỤ NƯỚC CHỮA CHÁY
Fire protection equipment - Fire hydrant
Lời nói đầu
TCVN 6379 : 2024 thay thế cho TCVN 6379 : 1998.
TCVN 6379 : 2024 do Cục Cảnh sát phòng cháy, chữa cháy và cứu nạn, cứu hộ biên soạn, Bộ Công an đề nghị, Ủy ban tiêu chuẩn Đo lường Chất lượng quốc gia thẩm định, Bộ Khoa học và Công nghệ công bố.
THIẾT BỊ CHỮA CHÁY - TRỤ NƯỚC CHỮA CHÁY
Fire protection equipment - Fire hydrant
1 Phạm vi áp dụng
Tiêu chuẩn này áp dụng cho các trụ nước chữa cháy (sau đây gọi tắt là trụ nước) lắp đặt vào hệ thống đường ống cấp nước.
2 Tài liệu viện dẫn
Các tài liệu viện dẫn sau rất cần thiết cho việc áp dụng tiêu chuẩn này. Đối với tài liệu ghi năm công bố áp dụng phiên bản được nêu. Đối với tài liệu viện dẫn không ghi năm công bố thì áp dụng phiên bản mới nhất, bao gồm cả sửa đổi, bổ sung (nếu có).
TCVN 257-1 (ISO 6508-1) Vật liệu kim loại - Thử độ cứng Rockwell. Phần 1: Phương pháp thử (thang A, B, C, D, E, F, G, H, K, N, T).
TCVN 1917 Ren hệ mét - Lắp ghép có độ hở - Dung sai.
TCVN 2097 (ISO 2409) Sơn và vecni - Phép thử cắt ô.
TCVN 2254 (ISO 2901) Ren ISO hình thang hệ mét.
TCVN 4681 Ren ống hình trụ.
TCVN 5739 Phòng cháy chữa cháy - Phương tiện chữa cháy - Thiết bị đầu nối.
TCVN 10356 (ISO 15510) Thép không gỉ - Thành phần hóa học.
ISO 4633 Rubber seals - Joint rings for water supply, drainage and sewerage pipelines - Specification for materials (ISO 4633 Vật liệu bịt kín bằng cao su - Vòng đệm dùng cho cấp nước, đường tiêu nước và hệ thống cống rãnh - Yêu cầu đối với nguyên liệu).
3 Thuật ngữ và định nghĩa
Trong tiêu chuẩn này sử dụng các thuật ngữ và định nghĩa sau:
3.1
Trụ nước chữa cháy (fire hydrant)
Thiết bị chuyên dùng được lắp đặt vào hệ thống đường ống cấp nước dùng để lấy nước phục vụ chữa cháy. Trụ nước chữa cháy bao gồm các bộ phận chính như van, thân trụ, đế trụ và họng chờ có kích thước theo tiêu chuẩn.
Trụ nước chữa cháy được chia làm hai loại là trụ nước chữa cháy nổi (trụ nổi) và trụ nước chữa cháy ngầm (trụ ngầm).
3.1.1
Trụ nổi (hydrant, pillar)
Loại trụ nước chữa cháy mà toàn bộ phần họng chờ đặt nổi trên mặt đất (tham khảo Hình A.1).
3.1.2
Trụ ngầm (hydrant, ground)
Loại trụ nước chữa cháy được đặt ngầm toàn bộ dưới mặt đất (tham khảo Hình A.2). Muốn lấy nước qua trụ ngầm phải dùng cột lấy nước chữa cháy.
3.2
Cột lấy nước chữa cháy (hydrant stand pipe)
Thiết bị chuyên dùng được trang bị theo xe chữa cháy, dùng nối với trụ ngầm để lấy nước. Cột lấy nước chữa cháy chỉ có hai họng chờ để cho xe chữa cháy hút nước trực tiếp; hoặc để lắp vòi chữa cháy lấy nước vào xe; hoặc trực tiếp chữa cháy (tham khảo Hình C.1).
3.3
Lượng nước đọng lại trong trụ nước (amount of water remaining in the fire hydrant)
Hiệu số giữa lượng nước cấp vào trụ nước chữa cháy ở trạng thái khô, đóng kín hoàn toàn, đặt đứng và lượng nước chảy ra ngoài.
4 Thông số và kích thước cơ bản
Các thông số và kích thước cơ bản của trụ nước được quy định tại Bảng 1 và Phụ lục A
Bảng 1 - Thông số và kích thước cơ bản của trụ nước chữa cháy
| Thông số | Trụ nổi | Trụ ngầm |
| Áp suất làm việc, MPa (bar), không lớn hơn | 1(10) | 1(10) |
| Đường kính trong thân trụ nước, mm | 125 ± 2 | 125 ± 2 |
| Chiều cao nâng của van, mm | Từ 24 đến 30 | Từ 24 đến 30 |
| Chiều cao trụ nước, mm | 1 500 ± 20 | 970 ± 20 |
| Số vòng quay cần thiết để van mở hoàn toàn, vòng, không lớn hơn | 15 | 15 |
| Hệ số tổn thất áp suất trong trụ nước, s2m-5, không lớn hơn | 1,2x103 | 1,2x103 |
| Số lượng họng chờ: |
|
|
| - Họng lớn | 1 | - |
| - Họng nhỏ | 2 | - |
| Đường kính trong của họng chờ, mm |
|
|
| - Họng lớn | 110 ± 2 | - |
| - Họng nhỏ | 69 ± 2 | - |
| Khoảng cách từ tâm họng chờ đến đỉnh trụ nước, mm |
|
|
| - Họng lớn | 350 ± 15 | - |
| - Họng nhỏ | 270 ± 15 | - |
| Thông số mặt bích nối với ống cấp nước: |
|
|
| - Đường kính vòng tròn tâm lỗ bắt bulông, mm | 180 ± 0,65 | 180 ± 0,65 |
| - Đường kính lỗ bắt bulông, mm | 18 | 18 |
| - Số lỗ | 8 | 8 |
| - Đường kính trong, mm | 100 ± 2 | 100 ± 2 |
5 Yêu cầu kỹ thuật
5.1 Trụ nước được chế tạo phù hợp với tiêu chuẩn này.
5.2 Trụ nước phải chịu được áp suất thử bền bằng 1,5 lần áp suất làm việc. Khi thử theo 6.10, trụ nước không có dấu hiệu nứt gãy hoặc biến dạng có thể nhìn thấy.
5.3 Sau khi lắp ráp trụ nước phải đảm bảo:
- Áp suất thử kín bằng áp suất làm việc.
- Khi áp suất thử bằng áp suất làm việc, momen xoay để mở và đóng van trụ nước không lớn hơn 150 Nm.
Khi thử theo 6.11 ở trạng thái van đóng kín hoàn toàn, không rò rỉ, đọng giọt nước ở các mối nối và trên thân trụ nước.
5.4 Van trụ nước và cơ cấu truyền động van chịu được tải trọng dọc trục không nhỏ hơn 30 000 N hoặc 3 000 kgf. Khi thử theo 6.13, không cho phép van bị đứt, hỏng ren hoặc chốt tỳ.
5.5 Lượng nước đọng lại trong trụ nước không lớn hơn 100 cm3. Khi lượng nước đọng lớn hơn, phải được sự đồng ý của cơ quan có thẩm quyền.
5.6 Trụ nước phải có lỗ xả nước để tự động xả nước đọng trong thân trụ sau khi hoạt động, ở vị trí phía trên của van đang đóng hoàn toàn, đường kính lỗ xả nước không nhỏ hơn 8 mm. Vị trí lỗ xả nước có thể ở trên mặt đất, cách mặt đất không quá 100 mm hoặc ở dưới mặt đất.
5.7 Ren ngoài khớp nối với cột lấy nước chữa cháy của trụ ngầm là loại ren ống hình trụ G6-A theo TCVN 4681.
5.8 Họng chờ của trụ nổi phải phù hợp với đầu nối loại ĐRT.H-125 đối với họng lớn và đầu nối loại ĐRT.P-80 hoặc đầu nối loại ĐCR-80 đối với họng nhỏ theo TCVN 5739.
5.9 Ren trục van là ren hình thang theo TCVN 2254.
5.10 Mối ghép ren giữa các chi tiết là 7H/8g theo TCVN 1917.
5.11 Thân và van của trụ nước phải được chế tạo bằng vật liệu kim loại có độ bền kéo không nhỏ hơn 15 kG/mm2 và độ bền uốn không nhỏ hơn 32 kG/mm2.
5.12 Phần có ren của trục van trụ nước phải được chế tạo bằng thép không gỉ với tính chất cơ lý không thấp hơn thép 30Cr13 theo TCVN 10356.
5.13 Phần có ren của khớp nối trụ ngầm phải được chế tạo bằng vật liệu có cơ tính không thấp hơn hợp kim đồng có các thông số chính nêu tại Bảng 2.
Bảng 2 - Cơ tính cơ bản của hợp kim đồng
| Độ bền kéo, σ k kG/mm2 | Độ giãn dài tương đối δ, % | Độ cứng HB, kG/mm2 |
| 18 | 4 | 60 |
5.14 Vòng đệm của van trụ nước phải được chế tạo bằng cao su theo ISO 4633. Cho phép sử dụng các loại vật liệu khác có cơ tính tương đương.
5.15 Kết cấu và cách cố định trục van của trụ nước phải bảo đảm độ chắc chắn và độ tin cậy của khớp nối, không để xảy ra khả năng khớp nối bị xoay khi mở khóa cột lấy nước chữa cháy.
5.16 Phần nối với trục van của van trụ nước phải được chế tạo bằng vật liệu có cơ tính không thấp hơn hợp kim đồng có các thông số chính nêu tại Bảng 2.
5.17 Lớp sơn bên ngoài bề mặt ngoài trụ nước không được bong tróc và phải đạt được Loại 0 theo TCVN 2097 khi thử theo 6.9. Toàn bộ nắp bảo vệ của trụ nỗi phổi sơn phản quang màu da cam hoặc màu vàng.
5.18 Phần hình vuông của trục van để nối trụ ngầm với cột lấy nước chữa cháy có kích thước
mm. Bề mặt phần hình vuông có độ cứng (26 - 38) HRC.
5.19 Nắp đậy trụ ngầm phải là kiểu lật, không gây cản trở khi lắp cột lấy nước. Nắp đậy của họng nước và trục van của trụ nổi phải được mở bằng chìa khóa chuyên dùng 5 cạnh Z22.
6 Phương pháp thử
6.1 Điều kiện thử nghiệm
Nhiệt độ thử (23 ± 5) °C.
6.2 Đo áp suất bằng áp kế có cấp chính xác không thấp hơn 1,5. Trong các thử nghiệm, chọn áp kế sao cho giá trị áp suất thử nằm trong khoảng từ 1/3 đến 2/3 phạm vi đo của áp kế.
6.3 Kiểm tra đường kính trong thân trụ nước, đường kính họng chờ, thông số mặt bích và kích thước phần hình vuông của trục van bằng thước cặp có độ chính xác nhỏ hơn hoặc bằng ±0,05 mm. Kiểm tra độ cứng phần hình vuông của trục van theo TCVN 257-1.
6.4 Kiểm tra chiều cao nâng của van bằng thước có vạch chia nhỏ hơn hoặc bằng 0,5 mm.
6.5 Kiểm tra số vòng quay cần thiết để van mở hoàn toàn bằng cách vặn van trụ nước và đếm số vòng.
6.6 Kiểm tra chiều cao trụ nước, khoảng cách từ tâm họng chờ đến đỉnh trụ nước bằng thước đo độ dài có vạch chia 1 mm, cấp chính xác cấp III.
6.7 Kiểm tra ren bằng dưỡng kiểm ren, kiểm tra sự định vị nắp trụ nước bằng mắt thường.
6.8 Hệ số tổn thất áp suất trong trụ nước, s2.m-5, được xác định theo công thức:
S = Δh l Q2 (1)
Trong đó:
- Δh là tổn thất áp suất trong trụ nước, tính bằng mét;
- Q là lưu lượng nước, tính bằng m3/s.
Xác định hệ số tổn thất áp suất trong điều kiện áp suất nước ở đầu vào trụ nước có các giá trị 0,2; 0,4 và 0,6 MPa trong phạm vi lưu lượng nước từ 15x10-3 đến 28x10-3 m3/s.
Đo tổn thất áp suất Δh bằng áp kế vi sai có giới hạn đo cực đại 0,1 MPa và có cấp chính xác 1,5; khi đó Δh là áp suất cột nước đo ở vị trí đầu vào và đầu ra của trụ nước. Hoặc sử dụng 2 áp kế để xác định áp suất chênh lệch giữa đầu vào và đầu ra của trụ nước; khi đó Δh là hiệu của áp suất đầu vào và đầu ra của trụ nước.
Xác định lưu lượng bằng thiết bị đo lưu lượng nước. Phải lắp đồng hồ đo lưu lượng nước vào đoạn ống thẳng có cùng đường kính danh nghĩa với đồng hồ đo và nước phải được điền đầy ở đoạn ống này trong khi đo. Đoạn ống thẳng phía trước và phía sau của đồng hồ phải có chiều dài không nhỏ hơn các giá trị quy định trong tài liệu hướng dẫn của nhà sản xuất. Trong trường hợp không có tài liệu hướng dẫn hoặc hướng dẫn của nhà sản xuất không nêu cụ thể thì chiều dài đoạn ống thẳng phía trước đồng hồ không nhỏ hơn 10 lần đường kính ống danh nghĩa và chiều dài đoạn ống thẳng phía sau đồng hồ không nhỏ hơn 5 lần đường kính ống danh nghĩa.
6.9 Kiểm tra chất lượng sơn theo TCVN 2097.
6.10 Thử bền trụ nước với áp suất thử bằng 1,5 lần áp suất làm việc, duy trì áp suất thử trong thời gian không ít hơn 1 min, môi chất thử là nước. Van phải ở trạng thái mở hoàn toàn trong khi thử. Đo áp suất bằng áp kế theo 6.2.
6.11 Thử kín trụ nước với áp suất thử bằng áp suất làm việc, duy trì ở áp suất thử trong thời gian không ít hơn 3 min, môi chất thử là nước. Thử kín trong cả hai trường hợp van đóng hoàn toàn và van mở hoàn toàn. Đo áp suất bằng áp kế theo 6.2.
6.12 Dùng lực kế để đo momen quay khi mở, đóng van bằng dụng cụ chuyên dùng đối với trụ nổi hoặc bằng khóa tay van của cột lấy nước chữa cháy đối với trụ ngầm.
6.13 Kiểm tra độ bền cơ học của van và cơ cấu truyền động van bằng cách tác dụng lên van một lực nén hoặc một lực kéo dọc trục không nhỏ hơn 30 000 N hoặc 3 000 kgf, duy trì áp suất thử nghiệm trong thời gian không ít hơn 3 min. Van phải ở trạng thái mở trong khi thử.
6.14 Kiểm tra lượng nước đọng lại trong trụ nước bằng cách cấp vào trong trụ nước lượng nước không nhỏ hơn 2x10-3 m3, thời gian thử nghiệm không ít hơn 3 min.
6.15 Kiểm tra đường kính lỗ xả nước bằng thước cặp có độ chính xác nhỏ hơn hoặc bằng ±0,05 mm.
6.16 Kiểm tra sự cố định khớp nối bằng cách vặn chặt hết cỡ cột lấy nước vào trụ ngầm trong trạng thái bảo đảm các điều kiện thử nghiệm theo 6.10.
6.17 Kiểm tra sự phù hợp của họng chờ trụ nổi bằng cách vặn chặt hết cỡ các loại đầu nối theo 5.8 vào họng lớn và họng nhỏ trong trạng thái bảo đảm các điều kiện thử nghiệm theo 6.10.
7 Ghi nhãn, bao gói, vận chuyển và bảo quản
7.1 Ghi nhãn
7.1.1 Trên mỗi trụ nước phải được ghi nhãn bằng tấm nhãn hoặc ghi trực tiếp ở phía sau họng lớn đối với trụ nổi và ở thân đối với trụ ngầm.
7.1.2 Nhãn phải được ghi rõ ràng với ít nhất các thông tin sau:
- Tên hoặc ký hiệu hàng hóa của cơ sở sản xuất;
- Địa chỉ cơ sở sản xuất;
- Tên sản phẩm: trụ nước chữa cháy nổi hoặc trụ nước chữa cháy ngầm;
- Năm sản xuất;
- Số hiệu tiêu chuẩn này.
7.2 Bao gói, vận chuyển
- Khi vận chuyển, trụ nước phải được bao gói riêng từng cái và cố định chắc chắn. Nếu trụ nước được bao gói thành kiện thì mỗi kiện không được quá 6 cái đối với trụ nổi và 10 cái đối với trụ ngầm.
- Mỗi trụ nước phải kèm theo tài liệu yêu cầu lắp đặt và vận hành theo điều 8 và điều 9.
7.3 Bảo quản
- Phần ren để hở và bề mặt các chi tiết kim loại không sơn phải được bôi mỡ bảo quản.
- Bảo quản trụ nước ở nơi khô ráo. Phải đóng van khi bảo quản và vận chuyển trụ nước.
8 Yêu cầu lắp đặt
8.1 Trụ nước phải lắp đặt ở tư thế thẳng đứng. Yêu cầu về lắp đặt, khoảng cách lắp đặt và thời gian bảo dưỡng trụ nước trong hệ thống dẫn nước theo quy định của cơ quan có thẩm quyền.
8.2 Trong trường hợp đặc biệt không thể lắp trụ nước trên vỉa hè, cho phép lắp đặt trụ ngầm dưới lòng đường nhưng phải bảo đảm hố trụ cách xa các công trình ngầm tối thiểu 0,5 m và phải tuân thủ những quy định về khoảng cách đối với công trình ngầm của các tài liệu pháp quy có liên quan.
8.3 Khi lắp trụ nổi trên vỉa hè, họng lớn của trụ phải quay ra phía lòng đường, khoảng cách từ mặt đất đến đỉnh trụ nước là (700 ± 35) mm.
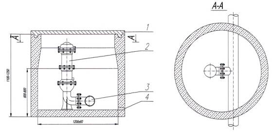
8.4 Trụ ngầm lắp đặt trong các hố trụ. Hố trụ ngầm có lỗ thoát nước đọng, cho phép hố trụ có đáy hình vuông với kích thước cạnh là (1 200 ± 60) mm, chiều cao từ 1 100 mm đến 1 250 mm và nắp đậy hố trụ có hình vuông hoặc hình tròn (tham khảo Hình D.1).
Trường hợp trụ ngầm lắp đặt dưới lòng đường thì nắp đậy của hố trụ phải chịu được tải trọng của phương tiện giao thông.
8.5 Vị trí đầu ra của lỗ xả nước đọng trụ nổi khi lắp đặt dưới mặt đất và hố trụ ngầm được lấp bằng sỏi thố tạo khe hở cho nước đọng chảy ra.
9 Yêu cầu vận hành
9.1 Trụ nước được đóng mở bằng dụng cụ chuyên dùng đối với trụ nổi hoặc cột lấy nước đối với trụ ngầm.
9.2 Chỉ sử dụng nước lấy từ trụ nước chữa cháy vào mục đích chữa cháy, cứu nạn, cứu hộ, thực tập phương án, huấn luyện nghiệp vụ và bảo dưỡng kỹ thuật.
9.3 Kiểm tra tình trạng kỹ thuật của trụ nước ít nhất hai lần trong năm, lần kiểm tra trước cách lần kiểm tra sau không quá 6 tháng.
9.4 Bảo dưỡng kỹ thuật bao gồm việc kiểm tra:
- Hiện trạng nắp đậy họng ra trụ nổi, nắp hố trụ và nắp đậy đối với trụ ngầm, toàn bộ các chi tiết của trụ nước;
- Lượng nước trong thân trụ nước và trong hố trụ;
- Độ kín của van;
- Sự vận hành của trụ nước đã lắp vòi đẩy chữa cháy và xác định khả năng tải (lưu lượng) của trụ nước;
- Sự đóng mở dễ dàng của van.
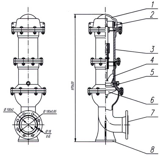
Phụ lục A
(Tham khảo)
Cấu tạo, kích thước của trụ nước chữa cháy
Kích thước tính bằng milimét

Chú dẫn:
| 1 - Nắp bảo vệ 2 - Họng và nắp họng nhỏ 3 - Họng và nắp họng lớn 4 - Cáp hoặc xích bảo vệ nắp họng 5 - Thân trụ nước 6 - Trục van | 7 - Cánh van 8 - Lỗ xả nước 9 - Van 10 - Mặt bích nối với ống cấp nước 11 - Đế trụ nước
|
Hình A.1 - Trụ nước chữa cháy nổi
Kích thước tính bằng milimét

Chú dẫn:
| 1 - Nắp đậy bảo vệ | 5 - Lỗ xả nước |
| 2 - Bạc ren | 6 - Van |
| 3 - Thân trụ nước | 7 - Mặt bích nối với ống cấp nước |
| 4 - Cánh van | 8 - Đế trụ nước |
Hình A.2 - Trụ nước chữa cháy ngầm
Phụ lục B
(Tham khảo)
Lắp đặt trụ nước chữa cháy nổi
Kích thước tính bằng milimét

Chú dẫn:
| 1 - Mặt đất | 4 - Sỏi thô |
| 2 - Đất | 5 - Bê tông |
| 3 - Lỗ xả nước |
|
Hình B.1 - Lắp đặt trụ nước chữa cháy nổi
Phụ lục C
(Tham khảo)
Cấu tạo, kích thước cột lấy nước chữa cháy
Kích thước tính bằng milimét

Chú dẫn:
| 1 - Tay van mở van trụ ngầm | 4 - Thân cột lấy nước chữa cháy |
| 2 - Van họng chờ | 5 - Đầu nối để nối với trụ ngầm |
| 3 - Đầu nối họng chờ |
|
Hình C.1 - Cột lấy nước chữa cháy
Phụ lục D
(Tham khảo)
Cấu tạo, kích thước hố trụ nước chữa cháy ngầm
Kích thước tính bằng milimét

Chú dẫn: 1 - Nắp; 2 - Trụ ngầm; 3 - ống nước cấp; 4 - Lỗ xả nước
Hình D.1 - Hố trụ nước chữa cháy ngầm
Thư mục tài liệu tham khảo
[1] TCVN 2622 Phòng cháy, chống cháy cho nhà và công trình - Yêu cầu thiết kế.
[2] TCVN 5740 Phòng cháy chữa cháy - Vòi đẩy chữa cháy.
[3] NFPA 291 Recommended Practice for Water Flow Testing and Marking of Hydrants.
[4] SS 575 Fire hydrant, rising mains and hose reel systems.

MỤC LỤC
Lời nói đầu
1 Phạm vi áp dụng
2 Tài liệu viện dẫn
3 Thuật ngữ và định nghĩa
4 Thông số và kích thước cơ bản
5 Yêu cầu kỹ thuật
6 Phương pháp thử
7 Ghi nhãn, bao gói, vận chuyển và bảo quản
8 Yêu cầu lắp đặt
9 Yêu cầu vận hành
Phụ lục A (Tham khảo) Cấu tạo, kích thước của trụ nước chữa cháy
Phụ lục B (Tham khảo) Lắp đặt trụ nước chữa cháy nổi
Phụ lục C (Tham khảo) cấu tạo, kích thước cột lấy nước chữa cháy
Phụ lục D (Tham khảo) cấu tạo, kích thước hố trụ nước chữa cháy ngầm
Thư mục tài liệu tham khảo
Bạn chưa Đăng nhập thành viên.
Đây là tiện ích dành cho tài khoản thành viên. Vui lòng Đăng nhập để xem chi tiết. Nếu chưa có tài khoản, vui lòng Đăng ký tại đây!