- Tổng quan
- Nội dung
- Tiêu chuẩn liên quan
- Lược đồ
- Tải về
Tiêu chuẩn quốc gia TCVN 13954:2024 ISO 17554:2014 Thử nghiệm phản ứng với lửa - Xác định tốc độ mất khối lượng
| Số hiệu: | TCVN 13954:2024 | Loại văn bản: | Tiêu chuẩn Việt Nam |
| Cơ quan ban hành: | Bộ Khoa học và Công nghệ | Lĩnh vực: | Xây dựng , Công nghiệp |
| Trích yếu: | ISO 17554:2014 Thử nghiệm phản ứng với lửa - Xác định tốc độ mất khối lượng | ||
|
Ngày ban hành:
Ngày ban hành là ngày, tháng, năm văn bản được thông qua hoặc ký ban hành.
|
24/12/2024 |
Hiệu lực:
|
Đã biết
|
| Người ký: | Đang cập nhật |
Tình trạng hiệu lực:
Cho biết trạng thái hiệu lực của văn bản đang tra cứu: Chưa áp dụng, Còn hiệu lực, Hết hiệu lực, Hết hiệu lực 1 phần; Đã sửa đổi, Đính chính hay Không còn phù hợp,...
|
Đã biết
|
TÓM TẮT TIÊU CHUẨN VIỆT NAM TCVN 13954:2024
TCVN 13954:2024 (ISO 17554:2014): Thử nghiệm phản ứng với lửa - Xác định tốc độ mất khối lượng
TCVN 13954:2024, tương đương với tiêu chuẩn ISO 17554:2014, được ban hành ngày 24/12/2024, có hiệu lực từ ngày 24/12/2024. Tiêu chuẩn này quy định phương pháp thử nghiệm phản ứng của vật liệu trước lửa, đặc biệt là xác định tốc độ mất khối lượng của mẫu vật liệu trong điều kiện nhiệt độ bức xạ có kiểm soát.
Tiêu chuẩn áp dụng cho các mẫu vật liệu có bề mặt phẳng đặt theo phương nằm ngang, chịu tác động của đầu đánh lửa bên ngoài. Qua thử nghiệm, thời gian bắt cháy và tốc độ mất khối lượng sẽ được ghi nhận; tốc độ này giúp đánh giá một phần về khả năng nóng chảy và giải phóng nhiệt của loại vật liệu. Đặc biệt lưu ý rằng, tiêu chuẩn không phải là công cụ để xác định tốc độ giải phóng nhiệt cho tất cả sản phẩm, mà cần tham khảo thêm tiêu chuẩn khác như TCVN 13524-1 cho các sản phẩm cụ thể.
Để thực hiện thử nghiệm, cần sử dụng các thiết bị cụ thể như bộ cấp nhiệt bức xạ, thiết bị cân đo, mạch đánh lửa và hệ thống thu thập số liệu. Ví dụ, bộ cấp nhiệt bức xạ phải có công suất từ 5.000 W, có khả năng duy trì cường độ bức xạ 75 kW/m² với độ sai lệch ±2%. Mẫu thử cần có khối lượng đủ lớn (tối thiểu 500 g) và phải trải qua quy trình định sẵn để ổn định trước khi thử nghiệm.
Tiêu chuẩn cũng quy định rõ về cách chuẩn bị mẫu, bao gồm yêu cầu bọc bằng lá nhôm, điều kiện môi trường thử nghiệm, và các kỹ thuật hiệu chuẩn thiết bị đo lường. Các yêu cầu về thiết bị như đầu đo thông lượng nhiệt cũng được xác định rõ, với dải thiết kế từ 100 ± 10 kW/m².
Trong quy trình thử nghiệm, cần chú ý tới việc bảo vệ sức khỏe cho người thực hiện, do có sự phát sinh khí độc hại và nguy cơ cháy. Việc tuân thủ nghiêm ngặt quy trình thử nghiệm và bảo vệ là rất quan trọng nhằm đảm bảo an toàn cho người thực hiện và kết quả thử nghiệm chính xác.
Với tiêu chuẩn này, việc đánh giá đúng và khối lượng mất của các loại vật liệu khi tiếp xúc với lửa sẽ hỗ trợ trong việc nâng cao an toàn cháy nổ và quy trình thiết kế các công trình xây dựng.
Tải tiêu chuẩn Việt Nam TCVN 13954:2024
TIÊU CHUẨN QUỐC GIA
TCVN 13954:2024
(ISO 17554:2014)
THỬ NGHIỆM PHẢN ỨNG VỚI LỬA - XÁC ĐỊNH TỐC ĐỘ MẤT KHỐI LƯỢNG
Reaction to fire tests - Mass loss measurement
Lời nói đầu
TCVN 13954:2024 hoàn toàn tương đương ISO 17554:2014.
TCVN 13954:2024 do Viện Khoa học Công nghệ Xây dựng - Bộ xây dựng biên soạn, Bộ Xây dựng đề nghị, Tổng cục Tiêu chuẩn Đo lường Chất lượng thẩm định, Bộ Khoa học và Công nghệ công bố.
THỬ NGHIỆM PHẢN ỨNG VỚI LỬA - XÁC ĐỊNH TỐC ĐỘ MẤT KHỐI LƯỢNG
Reaction to fire tests - Mass loss measurement
1 Phạm vi áp dụng
Tiêu chuẩn này quy định một phương pháp sử dụng mẫu vật liệu có kích thước thu nhỏ để đánh giá tốc độ mất khối lượng của các mẫu có bề mặt phẳng cơ bản đặt theo phương nằm ngang chịu tác động của các mức nhiệt bức xạ có kiểm soát với đầu đánh lửa bên ngoài trong điều kiện thông thoáng. Tốc độ mất khối lượng được xác định bằng việc đo khối lượng mẫu và được rút ra bằng tính toán. Thời gian bắt cháy (cháy ổn định) cũng được đo trong thử nghiệm này. Tốc độ mất khối lượng có thể được dùng làm chỉ số đo gián tiếp tốc độ giải phóng nhiệt cho nhiều sản phẩm. Tuy nhiên, đây không phải là thiết bị dùng cho việc xác định tốc độ giải phóng nhiệt và tốc độ mất khối lượng đối với một số sản phẩm cũng không liên quan chặt chẽ tới tốc độ giải phóng nhiệt của chúng. Những sản phẩm như vậy cần được thử nghiệm theo TCVN 13524-1 để có đánh giá đúng về sự giải phóng nhiệt.
2 Tài liệu viện dẫn
Các tài liệu viện dẫn sau rất cần thiết cho việc áp dụng tiêu chuẩn này. Đối với các tài liệu viện dẫn ghi năm ban hành thì áp dụng phiên bản được nêu. Đối với các tài liệu viện dẫn không ghi năm ban hành thì áp dụng phiên bản mới nhất, bao gồm cả các sửa đổi bổ sung (nếu có).
TCVN 13524-1 (ISO 5660-1), Thử nghiệm phản ứng với lửa - Tốc độ giải phóng nhiệt lượng, sinh khói và mất khối lượng - Phần 1: Tốc độ giải phóng nhiệt lượng (phương pháp côn nhiệt lượng) và tốc độ sinh khói (đo theo phương pháp động).
TCVN 13249:2023 (ISO 13943:2017), An toàn cháy- Từ vựng.
ISO 14934-3, Fire tests - Calibration and use of heat flux meters - Part 3: Secondary calibration method.
ISO 14697:2007, Reaction-to-fire tests - Guidance on the choice of substrates for building and transport products.
3 Thuật ngữ và định nghĩa
Tiêu chuẩn này áp dụng các thuật ngữ cho trong TCVN 13249:2023 và các thuật ngữ sau.
3.1
Bề mặt phẳng cơ bản (essentially flat surface)
Bề mặt mà độ nhấp nhô không đều của nó so với một mặt phẳng không vượt quá ± 1 mm.
3.2
Chớp cháy (flashing )
Sự tồn tại của ngọn lửa tại bề mặt hoặc trên bề mặt của mẫu thử trong thời gian ngắn hơn 1 s.
3.3
Bắt cháy (ignition)
Sự khởi đầu của sự cháy ổn định như định nghĩa theo 3.9
3.4
Cường độ bức xạ (irradiance)
Tại một điểm trên bề mặt là tỉ số của thông lượng nhiệt bức xạ tác động trên một phân tố vô cùng bé của bề mặt có chứa điểm đó và diện tích của phân tố đó.
CHÚ THÍCH sự truyền nhiệt đối lưu là không đáng kể trong trường hợp bề mặt mẫu nằm theo phương ngang. Do đó, thuật ngữ “cường độ bức xạ” sẽ được dùng thay cho thuật ngữ “thông lượng nhiệt” trong toàn bộ Tiêu chuẩn này vì nó chỉ thị rõ nhất cách thức cơ bản của truyền nhiệt bức xạ.
3.5
Vật liệu (material)
Một chất đơn lẻ hoặc một hỗn hợp các chất được phân tán đồng đều.
Ví dụ: kim loại, đá, gỗ, bê tông, sợi khoáng và polyme.
3.6
Hướng đặt mẫu (orientation)
Mặt phẳng mà theo đó bề mặt lộ lửa của mẫu được lắp đặt trong quá trình thử nghiệm với mặt thẳng đứng hoặc mặt nằm ngang hướng lên trên.
3.7
Sản phẩm (product)
Vật liệu, vật liệu composite hoặc cụm vật liệu cùng với các thông tin yêu cầu đối với chúng.
3.8
Mẫu thử (specimen)
Mẩu đại diện cho sản phẩm được dùng thử nghiệm cùng với một lớp nền hoặc có sự gia công nhất định.
CHÚ THÍCH đối với các dạng sản phẩm nào đó, ví dụ như các sản phẩm có chứa túi khí, nhiều khi không thể chuẩn bị mẫu có tính đại diện cho điều kiện sử dụng thực tế (xem điều 7)
3.9
Ngọn lửa cháy ổn định (sustained flaming)
Sự tồn tại của ngọn lửa tại hoặc trên bề mặt mẫu trong thời gian lớn hơn 10 s.
3.10
Ngọn lửa cháy không ổn định (transitory flaming)
Sự tồn tại của ngọn lửa tại hoặc trên bề mặt mẫu trong thời gian từ 1 đến 10 s
4 Kí hiệu
Bảng 1 - Các kí hiệu sử dụng trong tiêu chuẩn
| Kí hiệu | Diễn giải | Đơn vị |
| As | Diện tích bề mặt lộ lửa ban đầu của mẫu | m2 |
| m | Khối lượng của mẫu | g |
| m1 | Khối lượng của mẫu lúc bắt đầu thử nghiệm | g |
| mf | Khối lượng của mẫu lúc kết thúc thử nghiệm | g |
| m10 | Khối lượng của mẫu khi mẫu mất 10 % tổng khối lượng | g |
| m90 | Khối lượng của mẫu khi mẫu mất 90 % tổng khối lượng | g |
| ṁ | Tốc độ mất khối lượng của mẫu | g/s |
| ṁmax | Giá trị lớn nhất của tốc độ mất khối lượng | g/s |
| ṁA, 10-90 | Tốc độ mất khối lượng trung bình trên một đơn vị diện tích trong khoảng 10 % và 90 % của khối lượng mất | gm2/s |
| ṁ180 | Tốc độ mất khối lượng trung bình trong khoảng thời gian bắt đầu từ fig và kết thúc sau 180 s | g/s |
| ṁ300 | Tốc độ mất khối lượng trung bình trong khoảng thời gian bắt đầu từ tig và kết thúc sau 300 s | g/s |
| T | Thời gian | s |
| tig | Thời gian đến lúc bắt cháy (khởi đầu của sự cháy ổn định) | s |
| Δt | Quãng cách thời gian lấy số liệu thử nghiệm | s |
5 Nguyên lý
Phương pháp thử nghiệm được sử dụng để đánh giá tốc độ mất khối lượng và đựợc thực hiện với sản phẩm trong điều kiện thử nghiệm. Tốc độ mất khối lượng được xác định trên các mẫu nhỏ có tính đại diện được đốt trong môi trường thông gió tốt.
6 Thiết bị, dụng cụ
6.1 Tổng quan
Thiết bị thử nghiệm về cơ bản cần bao gồm các bộ phận sau:
6.1.1 Bộ cấp nhiệt bức xạ hình nón cụt chạy bằng điện
6.1.2 Thiết bị cân đo khối lượng mẫu
6.1.3 Khay đựng mẫu
6.1.4 Mạch đánh lửa
6.1.5 Đầu đo thông lượng nhiệt
6.1.6 Hệ thống phân tích và thu thập số liệu
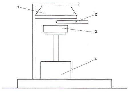
Sơ đồ giản lược của hệ thống được cho trong Hình 1. Thiết bị nên được đặt dưới hệ thống hút xả khí phù hợp với tốc độ dòng nhỏ hơn 0,025 m3.s-1. Các bộ phận riêng lẻ được mô tả chi tiết trong các phần sau:

CHÚ DẪN
1. Bộ phận gia nhiệt hình nón cụt 3. Mẫu thử
2. Đầu đánh lửa 4. Bộ đo lực
Hình 1 - Sơ đồ thiết bị
6.2 Bộ gia nhiệt bức xạ hình nón cụt chạy bằng điện
Phần từ phát xạ của bộ cấp nhiệt bao gồm một sợi đốt dùng điện có công suất phát là 5 000 W ở điện thế hoạt động, được quấn chặt thành dạng hình nón cụt (xem Hình 2). Bộ cấp nhiệt được bọc bên ngoài bằng nón cụt bằng thép không gỉ hai lớp, ở giữa được chèn đầy bằng lớp bông gốm có chiều dày danh định là 13 mm và khối lượng riêng danh định là 100 kg/m3. Cường độ bức xạ từ bộ cấp nhiệt được duy trì ở mức đặt trước bằng cách điều chỉnh nhiệt độ trung bình của 3 đầu đo nhiệt (loại K), được bọc bằng thép không gỉ, được cho là phù hợp tuy nhiên, các hợp kim Inconel, hoặc các vật liệu tính năng cao khác cũng có thể được chấp nhận) được bố trí đối xứng và tiếp xúc với (không hàn vào) phần tử cấp nhiệt (xem Hình 2).
Các đầu đo nhiệt (cặp nhiệt ngẫu) được sử dụng là các đầu đo nhiệt được bọc bảo vệ có đường kính ngoài là 3,0 mm với điểm cảm nhận nhiệt độ (điểm nóng) để lộ, hoặc dùng các đầu đo nhiệt được bọc bảo vệ có đường kính ngoài là 1,0 mm đến 1,6 mm với điểm nóng kín. Bộ cấp nhiệt phải có khả năng sản sinh cường độ bức xạ trên bề mặt mẫu đến 75 kW/m2. Cường độ bức xạ này phải đồng đều trong một diện tích 50 mm x 50 mm ở tâm của bề mặt để lộ của mẫu, sai lệch trong khoảng ± 2 % cho cường độ bức xạ là 50 kW/m2.
Các kích thước đo bằng milimét

CHÚ DẪN:
| 1. | Vỏ bên trong |
| 2. | Lớp đệm bằng sợi gốm |
| 3. | Đầu đo nhiệt |
| 4. | Vỏ bên ngoài |
| 5. | Con kê |
| 6. | Phần tử cấp nhiệt |
Hình 2 - Các bộ phận của bộ gia nhiệt hình nón cụt
6.3 Tấm chắn bức xạ
Bộ cấp nhiệt hình nón cụt phải có một tấm chắn bức xạ có thể tháo lắp được để bảo vệ mẫu thử tránh cường độ bức xạ trước khi bắt đầu thử nghiệm. Tấm chắn này được làm bằng vật liệu không cháy với tổng chiều dày không quá 12 mm.
Cấu tạo tấm chắn có thể là một trong những dạng sau đây:
- Được làm mát bằng nước và phủ một lớp hoàn thiện màu đen xỉn, bền chắc có độ phát xạ bề mặt ε = 0,95 ± 0,05; hoặc
- Không được làm mát bằng nước, có thể là kim loại với bề mặt trên phản quang hoặc kim loại với bề mặt trên là gốm hoặc là gốm để giảm thiểu sự truyền bức xạ.
Tấm chắn được trang bị tay cầm hoặc dụng cụ phù hợp để tháo lắp nhanh chóng. Tấm đế của nón nhiệt phải trang bị một cơ cấu để đưa tấm chắn vào vị trí.
6.4 Kiểm soát cường độ bức xạ
Hệ thống kiểm soát cường độ bức xạ phải được điều chỉnh thích hợp để duy trì được nhiệt độ trung bình của 3 đầu đo nhiệt của nón nhiệt trong quá trình hiệu chuẩn theo 10.1.1 ở mức định trước với độ sai lệch± 10 °C.
6.5 Thiết bị cân mẫu
Thiết bị cân mẫu có bước cân ± 0,1 g và độ chính xác ± 0,3 g hoặc chính xác hơn, được đo theo quá trình hiệu chuẩn nêu trong 10.2.1. Thiết bị cân mẫu có khả năng cân mẫu nặng tối thiểu 500 g. Thiết bị cân mẫu có thời gian hồi đáp từ 1 s đến 4 s như được xác định theo quá trình hiệu chuẩn nêu trong 10.1.2. Đầu ra của thiết bị cân không được sai lệch quá 1 g trong thời gian 30 min như xác định theo quá trình hiệu chuẩn trong 10.1.3.
6.6 Khay đựng mẫu và khung giữ mẫu
6.6.1 Khay đựng mẫu như trong Hình 3. Khay đựng mẫu có dạng một cái chảo vuông với kích thước phần miệng (106 ± 1) mm x (106 ± 1) mm và sâu (25 ± 1) mm. Khay đựng làm bằng thép không gỉ với chiều dày (2,4 ±0,15) mm. Khay đựng mẫu có cán cầm để tiện việc đưa vào và rút ra khỏi vị trí thử nghiệm và một gờ dẫn hướng để đảm bảo vị trí trung tâm của mẫu nằm phía dưới bộ cấp nhiệt và thẳng góc với thiết bị cân mẫu. Đáy của khay đựng mẫu sẽ được lót một lớp bông gốm nhẹ (khối lượng riêng danh nghĩa 65 kg/m3) dày tối thiểu 13 mm. Khoảng cách giữa đáy của bộ cáp nhiệt và bề mặt của mẫu sẽ điều chỉnh ở mức (25 ± 1) mm trừ trường hợp thử nghiệm các vật liệu không ổn định về kích thước, khi đó, khoảng cách này sẽ là (60 ± 1) mm (điều 7.5).
6.6.2 Tất cả mẫu được thử có khung giữ mẫu như trong Hình 4. Khung giữ mẫu được làm bằng thép không gỉ dày (1,9 ± 1) mm với hình dạng một cái hộp với kích thước bên trong của mỗi chiều là (111 ± 1) mm và chiều cao (54 ± 1) mm. Khoảng hở bề mặt mẫu có hình vuông với kích thước mỗi chiều là (94 ± 0,5) mm như trong Hình 4. Khung giữ mẫu phải có bộ phận gắn chắc vào khay đựng mẫu, giữ mẫu ở vị trí thử nghiệm.
6.7 Mạch đánh lửa
Việc đánh lửa bên ngoài được thực hiện bằng một bugi đánh lửa được cấp nguồn từ một biến áp 10 kV. Bugi đánh lửa có khe hở (3,0 ± 0,5) mm. Chiều dài điện cực và vị trí của bugi đánh lửa sẽ được bố trí sao cho khoảng cách khe bugi tới tâm mẫu là (13 ± 2) mm trừ trường hợp thử nghiệm các vật liệu không ổn định về kích thước thì khoảng cách này là (48 ± 2) mm, (theo 7.5).
6.8 Bộ đo thời gian bắt cháy
Bộ đo thời gian bắt cháy phải có khả năng ghi được thời gian có độ chia đến giây và có độ chính xác khoảng 1 s trong 1 h.
6.9 Đầu đo thông lượng nhiệt
Đầu đo thông lượng nhiệt làm việc được dùng để hiệu chuẩn bộ cấp nhiệt (10.2.2). Nó phải được đặt ở vị trí tương đương với trung tâm bề mặt mẫu trong quá trình hiệu chuẩn.
Đầu đo thông lượng nhiệt là loại Schmidt-Boelter với dải thiết kế (100 ± 10) kW/m2. Bề mặt nhận nhiệt phải phẳng, có hình tròn với đường kính khoảng 12,5 mm và được phủ một lớp hoàn thiện màu đen xỉn có độ phát xạ ε = 0,95 ± 0,05. Vò của đầu đo thông lượng nhiệt phải được làm mát bằng nước. Không được sử dụng mức nhiệt độ làm mát có thể gây nên đọng nước trên bề mặt nhận nhiệt của đầu đo thông lượng nhiệt.
Các kích thước đo bằng milimét

Hình 3 - Khay đựng mẫu
Các kích thước đo bằng miiimét

CHÚ DẪN: 1 Lỗ gài ở 4 vị trí (M3 hoặc 10x32)
Hình 4 - Khung giữ mẫu
Bức xạ phải không đi qua bất kỳ ô cửa nào trước khi đến được bề mặt nhận nhiệt. Đầu đo thông lượng nhiệt phải bền và không phức tạp cho thiết lập và sử dụng và ổn định khi hiệu chuẩn. Đầu đo thông lượng nhiệt phải có độ lặp trong khoảng ± 0,5 %.
Việc hiệu chuẩn đầu đo thông lượng nhiệt làm việc phải thực hiện theo Phụ lục C hoặc ISO 14934-3 và kiểm tra theo 10.3.1 bằng cách so sánh hai đầu đo thông lượng nhiệt cùng loại như đầu đo làm việc. Chúng phải có cùng dải tương tự như đầu làm chuẩn tham chiếu và không được sử dụng vào bất kỳ mục đích nào khác (xem Phụ lục C). Một trong những đầu chuẩn tham chiếu là phải được hiệu chuẩn hàng năm tại một phòng thí nghiệm tiêu chuẩn.
6.10 Hệ thống thu thập và phân tích số liệu
Hệ thống này phải có các khả năng ghi lại số liệu đầu ra của thiết bị cân. Nó phải có độ chính xác tương ứng với tối thiểu 0,01 % của số liệu đầu ra tối đa của thiết bị và tối thiểu 0,1 % đối với phần đo thời gian.
7 Tính phù hợp của sản phẩm thử nghiệm
7.1 Đặc điểm bề mặt
Một sản phẩm có một trong những đặc tính sau là phù hợp để thử nghiệm:
a) Bề mặt lộ lửa phẳng cơ bản;
b) Bề mặt lộ lửa không được phẳng cơ bản, nhưng đảm bảo rằng:
- Ít nhất 50 % bề mặt của diện tích đại diện 100 mm2 nằm trong khoảng 10 mm về phía dưới tính từ mặt phẳng chạy qua các điểm cao nhất của bề mặt lộ lửa hoặc
- Đối với những bề mặt có vết nứt, vết tách hoặc các lỗ có bề rộng không lớn hơn 8 mm và độ sâu không lớn hơn 10 mm, tổng diện tích của các vết nứt, vết tách và các lỗ như thế không vượt quá 30 % của diện tích đại diện 100 mm2 của bề mặt lộ lửa.
Trường hợp bề mặt lộ lửa không đáp ứng được các yêu cầu ở 7.1 a) hoặc 7.1 b), sản phẩm sẽ được thử nghiệm theo hình thức khác tuân thủ sát nhất có thể các yêu cầu nêu trong 7.1. Báo cáo thử nghiệm sẽ nêu rõ sản phẩm đã được thử nghiệm theo hình thức khác đó và mô tả rõ ràng về hình thức này.
7.2 Các sản phẩm không đối xứng
Một sản phẩm cần được thử nghiệm có thể có các mặt khác nhau hoặc bao gồm nhiều lớp vật liệu khác nhau được bố trí theo trật tự khác nhau liên quan tới hai bề mặt. Nếu cả hai bề mặt của sản phẩm đều có thể lộ lửa khi sử dụng trong một gian phòng, hoặc trong một khoang rỗng kín, cả hai mặt đều phải được thử nghiệm.
7.3 Các vật liệu có thời gian cháy ngắn
Đối với các mẫu có thời gian cháy ngắn (bằng hoặc nhỏ hơn 3 min), số liệu đo sẽ được ghi nhận theo bước thời gian không lớn hơn 2 s. Đối với thời gian cháy dài hơn, bước đo thời gian sẽ là 5 s.
7.4 Các mẫu vật liệu composite
Các vật liệu composite đều có thể được thử nghiệm miễn sao chúng được chuẩn bị như quy định trong 8.3 và lộ lửa theo cách thức chúng được sử dụng trong thực tế.
7.5 Các vật liệu không ổn định về mặt kích thước
Những mẫu thử phồng lên hoặc biến dạng đến mức chạm vào đầu đánh lửa trước khi bắt cháy hoặc chạm tới mặt đáy của nón nhiệt sau khi bắt cháy sẽ được thử nghiệm với khoảng cách 60 mm giữa tấm đáy của nón nhiệt và bề mặt trên của mẫu. Trong trường hợp này, việc hiệu chuẩn nón nhiệt sẽ thực hiện theo 10.2.2 với đầu đo thông lượng nhiệt đặt cách tấm đáy của nón nhiệt 60 mm. càn lưu ý rằng không thể so sánh thời gian bắt cháy trong trường hợp này với thời gian bắt cháy trong trường hợp khoảng cách 25 mm.
Các sản phẩm khác không ổn định về mặt kích thước, chẳng hạn như các sản phẩm bị cong vềnh hoặc co lại trong quá trình thử nghiệm cần được khống chế để tránh các chuyển dịch quá mức. Việc này được thực hiện với 4 sợi thép buộc như mô tả trong Hình 5. Sợi thép có đường kính (1,0 ± 0,1) mm và tối thiểu dài 350 mm. Mẫu sẽ được chuẩn bị theo cách thức tiêu chuẩn như nêu trong Điều 8. Một sợi thép lúc đó sẽ được cài vào khay đựng mẫu và khung giữ mẫu sao cho nó nằm song song và cách một trong 4 cạnh của bộ phận đựng mẫu một khoảng 20 mm. Các đầu mút của sợi thép được bện xoắn vào nhau để lưới thép tì chắc chắn vào khung giữ mẫu. Phần đầu thửa chỗ nút bện xoắn sẽ được cắt bỏ trước khi thử nghiệm. Ba sợi còn lại cũng được bố trí tương tự, song song với 3 cạnh còn lại.
Những vật liệu biến dạng quá mức không thể ghim giữ bằng 4 sợi thép thì khi thử nghiệm sẽ dùng lưới thép mảnh theo TCVN 13524-1. Lưới thép này được làm từ sợi thép đường kính (0,8 ±0,1) mm với khoảng cách mắt lưới là (20 ± 2) mm như trong Hình 5.
Những vật liệu phồng chảy và chuyển sang trạng thái lỏng như những vật liệu nóng chảy tràn ra khung giữ mẫu hoặc rò rỉ qua phần giữa khung giữ mẫu và khay đựng mẫu sẽ làm hỏng thử nghiệm. Những vật liệu loại này sẽ được thử nghiệm không có khung giữ mẫu và được đựng trong một khay lá nhôm dày 0,1 mm. Khay lá nhôm bọc mẫu kéo dài 10 mm lên trên cạnh trên của mẫu.
7.6 Những vật liệu cần thử nghiệm trong điều kiện chịu nén ép
Những vật liệu - chẳng hạn như dạng sợi - cần gá giữ hoặc chịu nén ép để thử nghiệm ở các mức khối lượng riêng đã định cần được thử nghiệm trong một bộ gá mẫu dạng lồng phù hợp (Hình 6). Lồng này tạo ra các ranh giới giả để vật liệu có thể thử nghiệm được. Bộ gá mẫu dạng lồng làm bằng sợi thép (1,0 ±0,1) mm với khoảng cách các sợi là (9 ± 1) mm (theo 8.3.3).
8 Chế tạo và chuẩn bị mẫu
8.1 Mẫu thử
8.1.1 Nếu không có quy định gì khác thì cần có 03 mẫu để thử nghiệm ở từng mức cường độ bức xạ lựa chọn và cho từng bề mặt lộ lửa khác nhau.
8.1.2 Các mẫu thử phải là đại diện cho sản phẩm được thử và có hình vuông với chiều dài các cạnh là (1000-2)mm.
8.1.3 Các sản phẩm có chiều dày thông thường là 50 mm hoặc mỏng hơn phải được thử nghiệm với chiều dày đầy đủ của chúng.
8.1.4 Với các sản phẩm có chiều dày thông thường lớn hơn 50 mm, các mẫu cần được cắt bớt bề mặt không lộ lửa nhằm giảm chiều dày xuống còn 50 mm.
8.1.5 Khi cắt mẫu từ các sản phẩm có bề mặt nhấp nhô không đều thì điểm cao nhất trên bề mặt phải được bố trí để làm điểm trung tâm của bề mặt mẫu.
Các cụm vật liệu được thử nghiệm như theo các quy định trong 8.1.3 hoặc 8.1.4. Tuy nhiên, trong trường hợp vật liệu hoặc composite mỏng được sử dụng để chế tạo cụm vật liệu thì sự có mặt của không khí hoặc khe khí hoặc bản chất cấu tạo của các lớp phía dưới đều có thể ảnh hưởng đáng kể tới sự bắt cháy và đặc tính cháy của bề mặt lộ lửa.
Sự ảnh hưởng của các lớp phía dưới cần được xem xét kỹ lưỡng để đảm bảo rằng kết quả thử nghiệm đạt được đối với bất kỳ cụm vật liệu nào đều gắn liền với việc sử dụng chúng trong thực tế.
Khi sản phẩm là vật liệu hoặc vật liệu composite thường được gắn với một lớp nền có đặc điểm rõ ràng thì sản phẩm phải được thử nghiệm với lớp nền đó có tính đến kỹ thuật gắn kết được chỉ định, chẳng hạn dán dính bằng chất kết dính thích hợp hoặc gắn kết cơ học. Khi không có lớp nền riêng hoặc có đặc điểm rõ ràng thì một lớp nền phù hợp để thử nghiệm sẽ được lựa chọn theo ISO 14697.
Các kích thước đo bằng milimét

Hình 5 - Lưới thép mảnh với các sợi thép 0,8 mm

Hình 6 - Lồng thép dùng cho các vật liệu thử nghiệm trong điều kiện chịu nén ép
8.1.6 Các sản phẩm mỏng hơn 6 mm cần được thử nghiệm với lớp nền đại diện cho điều kiện sử dụng thực tế, như thế, tổng chiều dày mẫu có thể bằng hoặc lớn hơn 6 mm.
8.2 Ổn định mẫu thử
Trước khi thử nghiệm, các mẫu thử phải được ổn định để có khối lượng không thay đổi ở nhiệt độ (23 ± 2) °C và độ ẩm tương đối (50 ± 5) % theo ISO 554.
CHÚ THÍCH Khối lượng gọi là không thay đổi khi thực hiện 2 lần cân liên tiếp nhau cách nhau 24 h cho kết quả chênh nhau không quá 0,1 % của khối lượng mẫu thử hoặc 0,1 g, chọn giá trị nào lớn hơn.
Các vật liệu như các loại poliamide cần có nhiều hơn một tuần ổn định mới đạt được sự cân bằng thì có thể cho thử nghiệm sau một thời gian ổn định quy định riêng. Tuy nhiên, thời gian này không được ít hơn một tuần và phải nêu trong báo cáo thử nghiệm.
8.3 Chuẩn bị mẫu
8.3.1 Bọc mẫu
Mẫu đã được ổn định phải được bọc trong một lớp lá nhôm dày từ 0,025 mm đến 0,04 mm với mặt sáng bóng áp vào mẫu. Tấm lá nhôm cần bao phủ được mặt đáy và bốn mặt xung quanh của mẫu, đồng thời chờm lên bề mặt lộ lửa của mẫu chừng 3 mm. Phần chờm trên bề mặt lộ lửa sẽ được cắt bỏ để nó không che lấp bề mặt lộ lửa của mẫu quá 3 mm. Phần lá nhôm thửa ở góc sẽ được gập lại tạo thành phần bịt xung quanh chu vi bề mặt lộ lửa của mẫu. Sau khi bọc mẫu, mẫu sẽ được để vào khay đựng mẫu và chụp lên bằng khung giữ mẫu. Lúc này, các phần lá nhôm không còn được nhìn thấy nữa.
Đối với các mẫu mềm, có thể dùng một mẫu giả có cùng chiều dày với mẫu được thử để tạo hình sẵn cho lá nhôm.
8.3.2 Chuẩn bị mẫu
Tất cả các mẫu (trừ những mẫu khi phồng rộp chuyển sang trạng thái lỏng hoặc những mẫu có yêu cầu thử nghiệm trong điều kiện chịu nén ép trong các lồng như đã nêu trong 8.3.3) phải được thử nghiệm với khung giữ mẫu cho trong Hình 4. Chuẩn bị mẫu cho thử nghiệm được thực hiện theo các bước sau:
a) Đặt ngửa khung giữ mẫu lên một mặt phẳng.
b) Lắp mẫu đã được bọc lá nhôm vào khung giữ mẫu với bề mặt lộ lửa của mẫu úp xuống.
c) Đặt các lớp sợi gốm (chiều dày danh định 13 mm, khối lượng riêng danh định 65kg.m-3) lên trên cùng cho tới khi có ít nhất một lớp làm đầy vượt quá mép của khung giữ mẫu.
d) Úp khay đựng mẫu vào khung giữ mẫu lên trên lớp sợi gốm và ấn xuống.
e) Gắn chặt khay đựng mẫu vào khung giữ mẫu và quay ngược lại cả bộ vừa lắp ghép đó.
8.3.3 Chuẩn bị mẫu cho các vật liệu có yêu cầu thử nghiệm trong điều kiện chịu nén ép
a) Chế tạo lồng gá mẫu như trong Hình 6 bằng cách tạo một tấm lưới thép (241 × 101) mm làm từ sợi thép (1,0 ± 0,1) mm với khoảng cách giữa các sợi là (9 ± 1) mm bao quanh một tấm dưỡng kích thước (10 × 100 × 100) mm.
b) Tháo bỏ tấm dưỡng và xếp chặt vật liệu thử vào lồng sao cho khối lượng riêng của nó giống với thực tế.
c) Thử nghiệm mẫu theo 8.3.1 nhưng không dùng khung giữ mẫu.
9 Môi trường thử nghiệm
Thiết bị thử nghiệm phải được đặt trong một môi trường tương đối kín gió với độ ẩm khoảng từ 20 % đến 80 % và nhiệt độ khoảng 15 °C đến 30 °C.
10 Hiệu chuẩn
10.1 Hiệu chuẩn ban đầu
Các bước hiệu chuẩn nêu trong mục này phải được thực hiện trước khi bắt đầu với thiết bị mới hoặc sau khi ổn định sửa chữa thiết bị hoặc thay thế bộ cấp nhiệt hoặc hệ thống kiểm soát cường độ bức xạ hoặc thiết bị cân mẫu (xem 10.1.1 và 10.1.2).
10.1.1 Hiệu chuẩn các đặc trưng ứng xử của hệ thống kiểm soát bức xạ
Hệ thống kiểm soát bức xạ được hiệu chuẩn bởi nhà cung cấp hoặc một phòng thí nghiệm với hệ thống quạt hút phù hợp với TCVN 13524-1. Bật sẵn nguồn nón nhiệt và quạt hút theo TCVN 13524-1. Thiết lập mức bức xạ (50 ± 1) kW/m2 và lưu tốc của quạt hút ở mức (0,024 ± 0,002) m3/s. Sau khi nón nhiệt ổn định, ghi lại nhiệt độ trung bình của nón nhiệt. Thử nghiệm một mẫu PMMA (Polymethylthacrylate) màu đen theo Điều 11 và không dùng khung giữ mẫu. Mẫu PMMA phải có chiều dày tối thiểu 6 mm. Giá trị của thử nghiệm sẽ được kiểm tra đối chiếu với tốc độ suy giảm khối lượng trung bình dự tính ghi nhận được qua 3 min đầu tiên sau khi bắt cháy đối với mẻ mẫu PMMA của nhà cung cấp. Dừng thử nghiệm 5 min sau khi bắt cháy. Trong quá trình thử nghiệm, ghi nhận nhiệt độ trung bình của nón nhiệt với khoảng thời gian 5 s một lần.
10.1.2 Hiệu chuẩn thời gian hồi đáp của thiết bị cân
Không bật nguồn nón nhiệt khi hiệu chuẩn thiết bị cân. Đặt một khay đựng rỗng với một quả cân nặng (500 ± 25) g lên đầu đo lực. Quả cân này thay cho khối lượng của khung giữ mẫu và không được dùng trong phần hiệu chuẩn này. Ghi nhận số đọc của thiết bị cân, điều chỉnh bằng tay hoặc điện tử giá trị đó về 0. Nhẹ nhàng thêm quả cân thứ 2 nặng (250 ± 25) g lên khay đựng mẫu và ghi nhận số đọc của thiết bị cân. Đợi cho ổn định, nhẹ nhàng lấy quả cân thứ 2 ra khỏi khay mẫu và ghi nhận số đọc của thiết bị cân. Xác định thời gian hồi đáp của thiết bị cân là trung bình của thời gian cho số đọc của thiết bị cân thay đổi từ 10 % đến 90 % của chuyển dịch giới hạn của nó.
10.1.3 Hiệu chuẩn độ lệch (drift) số đọc của thiết bị cân
Đặt chiều cao của nón nhiệt ngang tầm vị trí như khi thử nghiệm mẫu có dùng khung giữ mẫu. Đặt tấm chắn nhiệt lên thiết bị cân. Bật nguồn của nón nhiệt và quạt hút. Thiết lập mức bức xạ (50 ± 1) kW/m2. Sau khi nhiệt độ nón nhiệt ổn định, gỡ tấm chắn nhiệt ra và đặt khay đựng mẫu rỗng cùng với quả cân (500 ± 25) g lên đầu đo lực. Quả cân này thay cho khối lượng của khung giữ mẫu và không được dùng trong phần hiệu chuẩn này. Sau khi ổn định, ghi nhận số đọc của thiết bị cân, điều chỉnh bằng tay hoặc điện tử giá trị này về 0. Nhẹ nhàng thêm quả cân thứ 2 nặng (250 ± 25) g lên khay đựng mẫu. Sau khi ổn định, bắt đầu ghi nhận số đọc của thiết bị cân ở bước thời gian lớn nhất là 5 s trong vòng 30 min. Tính toán độ sai lệch của số đọc của thiết bị cân là giá trị tuyệt đối của độ chênh các giá trị ban đầu và cuối cùng.
10.2 Thực hiện hiệu chuẩn
Những bước hiệu chuẩn sau phải được thực hiện hàng ngày vào lúc bắt đầu thử nghiệm theo trình tự cho dưới đây. Hiệu chuẩn nón nhiệt cũng phải được thực hiện khi chuyển sang một mức cường độ bức xạ khác.
10.2.1 Độ chính xác của thiết bị cân
Mỗi ngày khi bắt đầu thử nghiệm, thiết bị cân phải được hiệu chuẩn với các quả cân tiêu chuẩn trong phạm vi của khối lượng mẫu thử. Nón nhiệt phải được tắt và thiết bị thử nghiệm phải được làm nguội xuống nhiệt độ môi trường trước khi thực hiện bước hiệu chuẩn này. Đặt khay rỗng cùng với quả cân (500 ± 25) g lên thiết bị cân. Quả cân này thay cho khối lượng của khung giữ mẫu và không được dùng trong phần hiệu chuẩn này. Ghi nhận số đọc của đầu đo lực, điều chỉnh bằng tay hoặc điện từ giá trị này về 0. Nhẹ nhàng thêm một quả cân khối lượng khoảng từ 50 g đến 200 g lên khay đựng mẫu ghi nhận số đọc của đầu đo lực sau khi giá trị ổn định. Lặp lại quá trình này ít nhất 4 lần sau khi thêm các quả cân có khối lượng tương tự. Cuối bước hiệu chuẩn, tổng khối lượng của các quả cân trên khay đựng mẫu tối thiểu phải bằng 500 g. Độ chính xác của đầu đo lực được xác định bằng độ chênh lớn nhất giữa khối lượng của các quả cân và giá trị số đọc của đầu đo lực ghi nhận được trong quá trình hiệu chuẩn.
10.2.2 Hiệu chuẩn nón nhiệt
Mỗi ngày khi bắt đầu thử nghiệm hoặc thay đổi sang một mức cường độ khác bức xạ, hãy điều chỉnh hệ thống kiểm soát bức xạ sao cho nón nhiệt tạo ra được cường độ bức xạ cần thiết dao động ± 2 % tại bề mặt mẫu khi đo bằng đầu đo thông lượng nhiệt. Không đặt khay đựng mẫu hoặc mẫu khi đưa đầu đo thông lượng nhiệt vào vị trí trong bước hiệu chuẩn này. Vận hành nón nhiệt ít nhất 10 min ở giá trị ổn định.
10.3 Những bước hiệu chuẩn không thường xuyên
10.3.1 Hiệu chuẩn đầu đo thông lượng nhiệt làm việc
Khi đạt đến mức thời gian 100 h làm việc, kiểm tra đầu đo thông lượng nhiệt làm việc so với đầu đo thông lượng nhiệt tham chiếu bằng cách sử dụng một trong những quy trình nêu trong Phụ lục C hoặc các quy trình nêu trong ISO 14934-3. Thực hiện các so sánh ở các mức cường độ bức xạ 25 kW/m2 và 75 kW/m2. Số đọc của hai đầu đo phải phù hợp nhau trong phạm vi ± 2 %. Nếu đầu đo thông lượng nhiệt làm việc sai khác với đầu đo tham chiếu hơn ± 2 % thì đầu đo thông lượng nhiệt làm việc phải hiệu chuẩn lại và kiểm tra đối chiếu lại với đầu đo tham chiếu. Nếu đầu đo thông lượng nhiệt làm việc không thể hiệu chuẩn đạt mức sai khác ± 2 % thì phải dùng đầu đo khác.
11 Quy trình thử nghiệm
11.1 Những cảnh báo chung
CẢNH BÁO - Để bảo vệ sức khỏe, cần chú ý tới việc có thể hít phải các loại khí độc hại trong quá trình thử nghiệm. Quy trình thử nghiệm sẽ kéo theo quá trình cháy và phát sinh nhiệt độ cao. Do đó, có thể xảy ra cháy hoặc bắt cháy đồ vật hoặc quần áo bên cạnh. Người vận hành thiết bị phải dùng găng tay bảo vệ khi đưa mẫu vào hoặc rút mẫu ra khỏi vị trí thử nghiệm. Không được chạm tay vào nón nhiệt hoặc các bộ phận gá lắp liên quan khi đang gia nhiệt nếu không sử dụng găng tay. cần lưu ý là không được chạm đầu đánh lửa vì nó có điện thế tới 10 kV. Hệ thống quạt hút của thiết bị phải được kiểm tra trước khi thử nghiệm và phải xả vào hệ thống thoát khí của tòa nhà với công suất thích hợp. Nguy cơ bắn tóe của vật liệu nóng chảy hoặc các mảnh nhọn từ một số loại mẫu khi chịu bức xạ cũng cần phải lưu tâm, do đó cần phải đeo thiết bị bảo hộ mắt.
11.2 Bước chuẩn bị ban đầu
11.2.1 Bật nguồn cho bộ cấp nhiệt hình côn và hệ thống quạt hút trong phạm vi phục vụ thiết bị thử nghiệm. Nguồn điện cho đầu đo lực không được tắt theo từng ngày.
11.2.2 Tiến hành các bước hiệu chuẩn cần thiết theo 10.2. Đặt một tấm chắn nhiệt trên đỉnh của thiết bị cân (ví dụ, khay đựng mẫu không có mẫu, chỉ có tấm bông gốm) trong quá trình khởi động và giữa các lần thử nghiệm để tránh sự truyền nhiệt quá nóng tới thiết bị cân. Điều chỉnh khoảng cách giữa tấm đáy của nón nhiệt và bề mặt mẫu như quy định trong 6.6.1 hoặc 7.5.
11.3 Quy trình
11.3.1 Bắt đầu thu thập số liệu. Thu thập dữ liệu đường cơ sở trong 1 min. Khoảng thời gian quét tiêu chuẩn là 5 s trừ phi xuất hiện khoảng thời gian cháy ngắn như đã nêu trong 7.3.
11.3.2 Đưa tấm chắn bức xạ vào vị trí (theo 6.3). Rút tấm chắn nhiệt khỏi đỉnh của thiết bị cân. Đặt khay mẫu và mẫu đã được chuẩn bị theo 8.3 lên thiết bị cân.
Tấm chắn bức xạ phải nguội dưới 100 °C ngay trước khi đưa vào vị trí.
11.3.3 Đưa đầu đánh lửa vào vị trí và rút tấm chắn bức xạ theo đúng trình tự phù hợp với loại tấm chắn được sử dụng, cụ thể như sau:
- Đối với các tấm chắn loại a) (xem 6.3), rút tấm chắn khỏi vị trí và bắt đầu thử nghiệm. Trong vòng 1 s khi rút tấm chắn, phải đưa đầu đánh lửa vào vị trí và bật nguồn.
- Đối với các tấm chắn loại b) (xem 6.3), rút tấm chắn khỏi vị trí trong vòng 15 s sau khi đưa vào và bắt đầu thử nghiệm. Trong vòng 1 s khi rút tấm chắn, phải đưa đầu đánh lửa vào vị trí và bật nguồn.
11.3.4 Ghi nhận những mốc thời gian khi có hiện tượng chớp cháy hoặc ngọn lửa cháy không ổn định. Khi ngọn lửa cháy ổn định xuất hiện, ghi nhận thời gian, tắt đầu đánh lửa và rút đầu đánh lửa khỏi vị trí. Nếu ngọn lửa tắt sau khi tắt đầu đánh lửa, lại đưa đầu đánh lửa vào vị trí và bật lên trong 5 s; không tắt đầu đánh lửa cho tới khi kết thúc quá trình thử nghiệm. Đề cập tới những hiện tượng này trong báo cáo thử nghiệm.
11.3.5 Ghi nhận tất cả các số liệu cho tới
a) 32 min sau thời điểm đạt được cháy ổn định
CHÚ THÍCH Khoảng thời gian 32 min bao gồm 30 min thử nghiệm và 2 min thêm sau đó để thu nhận dữ liệu thay đổi theo thời gian. Dữ liệu được xử lý tới thời điểm cháy ổn định cộng thêm 30 min.
b) 30 min trôi qua và mẫu không bắt cháy, hoặc
c) Khối lượng mẫu ít hơn 0,1 g cho 60 s.
Kết thúc thử nghiệm là bắt đầu khoảng thời gian 60 s bất kể hiện tượng nào xảy ra trước. Quan sát và ghi nhận những thay đổi vật lý đối với các mẫu như nóng chảy, phồng rộp và nứt gãy.
11.3.6 Đưa mẫu và khay mẫu ra khỏi vị trí thử nghiệm. Đặt tấm chắn nhiệt lên đỉnh thiết bị cân.
11.3.7 Thử nghiệm 03 mẫu và làm báo cáo như mô tả trong Điều 13. Chỉ số mất khối lượng trung bình trong 180 s sẽ được so sánh đối với cả 03 mẫu. Nếu bất cứ chỉ số trung bình nào trong số đó sai khác 10 % với trị trung bình số học của 03 chỉ số đó thì sẽ thử nghiệm thêm một tổ 03 mẫu nữa. Trong trường hợp như vậy, trị trung bình số học của 6 chỉ số đó sẽ được ghi nhận vào báo cáo.
CHÚ THÍCH Số liệu thử nghiệm sẽ giảm tính giá trị nếu mẫu bị chảy đến mức tràn ra khỏi khay mẫu; nếu hiện tượng bong nổ xảy ra hoặc nếu mẫu phồng rộp quá lớn chạm tới đầu đánh lửa hoặc chạm tới tấm đáy của nón nhiệt.
12 Tính toán
12.1 Tốc độ mất khối lượng trung bình
12.1.1 Có thể tính toán tốc độ mất khối lượng trung bình trong bất cứ khoảng thời gian nào trong quá trình thử nghiệm dựa vào theo dõi số liệu khối lượng. Sử dụng số liệu này có thể đáp ứng được các nhu cầu của người dùng nhưng cần lưu ý là các giá trị trung bình trong 180 s và 300 s đầu tiên sau khi bắt cháy cùng các giá trị lớn nhất được xem là những số liệu có giá trị nhất.
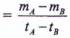
Tốc độ mất khối lượng trung bình giữa hai thời điểm A và B trong một lần thử nghiệm được tính theo công thức sau:
Tốc độ mất khối lượng trung bình tính bằng g/s
(1)
Trong đó:
mA - khối lượng tại thời điểm A (g)
mB - khối lượng tại thời điểm B (g)
tB - thời gian thời điểm B (s)
tA - thời gian thời điểm A (s)
12.1.2 Tốc độ mất khối lượng - ṁ, tại từng khoảng thời gian có thể tính được bằng cách sử dụng công thức đạo hàm số 5 điểm sau đây:
Cho khoảng quét đầu tiên (/ = 0):
|
| (2) |
Cho khoảng quét thứ hai (/ = 1):
|
| (3) |
Cho khoảng quét bất kỳ với 1 < i < n-1 (trong đó n là tổng số khoảng quét):
|
| (4) |
Cho khoảng quét áp cuối (i = n-1):
|
| (5) |
Cho khoảng quét cuối (i = n):
|
| (6) |
12.1.3 Tốc độ mất khối lượng theo đơn vị diện tích xác định trong khoảng thời gian cháy “chính”, tức là từ lúc mất 10 % tới lúc mất 90 % tổng khối lượng mẫu được tính bằng:
|
| (7) |
trong đó:
Δm = mi - mf,
m10 = mi - 0,10 Δm;
m90 = mi - 0,90 Δm;
13 Báo cáo thử nghiệm
Báo cáo thử nghiệm phải nêu tổng hợp đầy đủ các kết quả thử nghiệm của tất cả các mẫu được thử. Nội dung phải bao hàm tất cả diễn biến quan sát được trong quá trình thử nghiệm và các nhận xét về những khó khăn gặp phải trong quá trình thử nghiệm. Phải nêu rõ các đơn vị đo lường trong báo cáo. Các đơn vị đo thường dùng cho báo cáo như gợi ý dưới đây.
Các thông tin cần thiết sau phải đưa vào báo cáo:
a) Tên và Địa chỉ Phòng thí nghiệm;
b) Tên và Địa chỉ Khách hàng;
c) Tên và Địa chỉ Nhà sản xuất / Nhà cung cấp;
d) Ngày thử nghiệm;
e) Người thực hiện thử nghiệm;
f) Tên thương mại và Mã hiệu nhận biết mẫu thử;
g) Nhận dạng chung hoặc thành phần;
h) Chiều dày mẫu, đo bằng mm, khối lượng đo bằng gam (g). Với cụm vật liệu và vật liệu composite, chiều dày danh định và khối lượng riêng của từng thành phần phải được nêu rõ cùng với khối lượng riêng tổng của mẫu;
i) Màu sắc của mẫu;
j) Chi tiết về chuẩn bị mẫu của Phòng thí nghiệm;
k) Lắp đặt mẫu, mặt thử nghiệm và các quy trình đặc biệt về lắp đặt mẫu đã tuân thủ;
l) Cường độ bức xạ thể hiện bằng Ki-lô-oát trên mét vuông (kW/m2) và lưu tốc của quạt hút được thể hiện bằng mét khối trên giây (m3/s);
m) Số lượng mẫu tái lặp được thử nghiệm trong cùng điều kiện;
n) Thời gian cháy ổn định, tính bằng (s);
o) Thời gian thử nghiệm, nghĩa là thời gian từ lúc bắt đầu thử nghiệm tới lúc kết thúc theo 11.3.5, tính bằng giây (s);
p) Khối lượng còn lại sau khi thử nghiệm, mf, tính bằng gam;
q) Các giá trị được xác định trong n), o), p), tính trung bình cho tất cả các mẫu;
r) Các ghi nhận bổ sung như ngọn lửa cháy không ổn định hoặc chớp cháy;
s) Những trở ngại gặp phải trong quá trình thử nghiệm nếu có;
t) Các giá trị trung bình trong 180 s (ṁ180) và 300 s (ṁ300) đầu tiên sau khi bắt cháy, hoặc đối với những khoảng thời gian thích hợp khác và các giá trị lớn nhất (ṁmax), được tính bằng g /s;
u) Tốc độ mất khối lượng trung bình trên một đơn vị diện tích, ṁA,10-90, được tính bằng gam trên mét vuông trên giây (g/m2s) được tính trong khoảng thời gian giữa 10 % và 90 % mức mất khối lượng.
Phụ lục A
(tham khảo)
Một số lưu ý đối với người thực hiện thử nghiệm
A.1 Tổng quan
Phụ lục này nhằm cung cấp cho người thực hiện thử nghiệm và có thể cả người sử dụng kết quả thử nghiệm thông tin cơ sở về phương pháp, thiết bị và số liệu thu thập được.
Phương pháp thử nghiệm này không quy định mức cường độ bức xạ và nguồn bắt cháy bên ngoài được sử dụng hay không. Nội dung này cần được xác định riêng biệt đối với từng sản phẩm được đánh giá. Đối với các sản phẩm và ứng dụng cho trước, việc so sánh với một số đám cháy ‘‘kích thước đầy đủ” là cần thiết để xác định khoảng thời gian để tính toán mức suy giảm khối lượng.
Với thử nghiệm có tính thăm dò, kiến nghị sử dụng đầu đánh lửa và giá trị cường độ bức xạ ban đầu là 35 kW/m2; khi không có những đề xuất nào khác từ Khách hàng, khuyến cáo tiến hành thử nghiệm tại các cấp cường độ bức xạ 25, 35 và 50 kW/m2. Số liệu thu được sẽ cho biết liệu có cần thử nghiệm thêm ở các cấp bức xạ khác nữa không.
Kết quả thử nghiệm có thể không có ý nghĩa về mặt thống kê trừ phi cường độ bức xạ đã áp dụng về cơ bản là (10 kW/m2) cao hơn mức bức xạ tối thiểu cần cho sự cháy ổn định diễn ra đối với mẫu thử nghiệm đó.
A.2 Sử dụng cho kiểm soát sản phẩm nhà máy
Cả tốc độ giải phóng nhiệt và tốc độ mất khối lượng như một hàm số theo thời gian đều là những “chỉ dấu” về ứng xử cháy của một vật liệu / sản phẩm. Nếu một sản phẩm có cấu trúc không đổi thì đồ thị của tốc độ giải phóng nhiệt và mất khối lượng cũng không thay đổi. Bởi vì những thay đổi đối với tốc độ giải phóng nhiệt cũng làm thay đổi số đo mức mất khối lượng, khi đó việc kiểm tra chất lượng không đổi có thể được xác định bằng cách chỉ theo dõi tốc độ mất khối lượng và đặc tính bắt cháy là không đổi. Quy trình có tính gợi ý về việc sử dụng thiết bị trong trường hợp này được nêu trong Bảng A.1, cũng đồng thời gợi ý một số cấp thông lượng nhiệt cần thiết đối với cả thử nghiệm hoàn chỉnh lẫn quá trình kiểm soát chế tạo tại nhà máy.
Bảng A.1 - Những khuyến nghị đối với thử nghiệm kiểm soát chế tạo tại nhà máy
| Hàm | Các mức thông lượng nhiệt thử nghiệm hoàn chỉnh | Các mức thông lượng nhiệt kiểm soát chế tạo tại nhà máy |
| Thời gian tới lúc bắt cháy | 3 | 1 |
| Tốc độ cháy (tốc độ mất khối lượng) | 2 | 1 |
| Tốc độ giải phóng nhiệt như một hàm theo thời gian | 2 | - |
Phụ lục B
(tham khảo)
Tính toán thông lượng nhiệt tới hạn hiệu quả cho sự bắt cháy
B.1 Tổng quan
Thông lượng nhiệt tới hạn là thông lượng nhiệt tối thiểu cần cho việc bắt cháy ổn định. Giá trị thông lượng nhiệt tới hạn hiệu quả có thể được xác định theo kinh nghiệm bằng cách sử dụng nón nhiệt lượng và hệ thống đánh lửa của thiết bị (hoặc của thiết bị theo TCVN 13524-1) để đưa mẫu chịu các mức thông lượng nhiệt khác nhau và đo thời gian bắt cháy để sự cháy ổn định, được quan sát từ đầu. Nó được xác định bằng phương pháp "thử” và "sai” với các thử nghiệm lặp lại để đo thông lượng nhiệt cho không xảy ra bắt cháy trong khoảng 15 min.
B.2 Quy trình
Mẫu sẽ được chuẩn bị để thử nghiệm giải phóng nhiệt như nêu trong Điều 8 nhưng thử nghiệm mà không có khung giữ mẫu.
Đưa mẫu mới vào theo trình tự lần lượt khi chịu tác động của các thông lượng nhiệt khác nhau; đo và ghi chép thời gian bắt cháy ổn định đối với từng mẫu. Thông lượng nhiệt nhỏ nhất được xác định bằng phương pháp thử và sai số. Trước tiên, xác định thông lượng nhiệt theo cấp rộng 5 kW/m2, sau đó các cấp sát hơn tới 1 kW/m2.
Xác định giá trị thông lượng nhiệt nhỏ nhất mà tại đó sự bắt cháy ổn định xảy ra và giá trị thông lượng nhiệt cao nhất mà tại đó sự bắt cháy ổn định không xảy ra. Giá trị thông lượng nhiệt nhỏ nhất để sự bắt cháy xảy ra là trung bình của giá trị thông lượng nhiệt nhỏ nhất tại đó xảy ra bắt cháy và giá trị thông lượng nhiệt lớn nhất tại đó không xảy ra bắt cháy trong vòng 15 min. Ví dụ, nếu mẫu bắt cháy ở cấp 30 kW/m2 trong vòng 15 min, khi đó lặp lại cùng quy trình ở các cấp theo thứ tự: 25, 20, 15 và 10 kW/m2 cho tới khi không xảy ra hiện tượng bắt cháy trong vòng 15 min.
Nếu các kết quả thử nghiệm cho thấy sự “giao thoa”, nghĩa là thông lượng nhiệt nhỏ nhất mà có sự bắt cháy xảy ra lại thấp hơn thông lượng nhiệt cao nhất mà không có sự bắt cháy xảy ra thì cần phải tiến hành thử nghiệm 3 lần đối với từng lần xác định và lấy trung bình các kết quả. Giá trị trung bình của thông lượng nhiệt lớn nhất (đã lấy trung bình) đối với việc không xảy ra bắt cháy trong 15 min và thông lượng nhiệt nhỏ nhất trung bình để xảy ra bắt cháy trong 15 min là giá trị thông lượng nhiệt nhỏ nhất dẫn tới bắt cháy được ghi nhận trong báo cáo.
Phụ lục C
(tham khảo)
Hiệu chuẩn đầu đo thông lượng nhiệt làm việc
Sự so sánh giữa đầu đo thông lượng nhiệt làm việc và đầu đo thông lượng nhiệt tham chiếu quy định ở Điều 6.9 có thể được thực hiện bằng cách sử dụng nón nhiệt (6.2), với từng đầu đo thông lượng nhiệt được đặt lần lượt ở vị trí hiệu chuẩn, cần lưu ý làm sao toàn bộ hệ thiết bị đạt được trạng thái cân bằng nhiệt. Hoặc có thể sử dụng thiết bị so sánh được chế tạo riêng biệt (ví dụ như trong BS 6809).
Việc dùng hai tiêu chuẩn tham chiếu hơn là một tiêu chuẩn đưa lại sự an toàn cao hơn đối với những thay đổi về độ nhạy của các thiết bị tham chiếu.
Thư mục tài liệu tham khảo
[1] ISO 554:1976, Standard atmospheres for conditioning and/or testing - Specification
[2] ISO/TS 3814: - standard tests for measuring reaction-to-fire of products and materials - Their development and application
[3] BS 6809; 1987, Method for calibration of radiometers for use in fire testing
[4] ASTM E 1354-97, standard test method for heat and visible smoke release rates for materials and products using an oxygen consumption calorimeter
[5] TWILLEY. W.H., and BABRAUSKAS, V., User’s guide for the cone calorimeter, NBS Special Publication SP 745. National Bureau of Standards, US., 1988
[6] JANSSENS. M.L., Measuring rate of heat release by oxygen consumption. FireTechnol. 1991, 27 pp. 234-249
[7] BABRAUSKAS. V., and GRAYSON, S.J., eds., Heat release in fires, Interscience Communications, London, ISBN 978-0-9556548-4-8
[8] BABRAUSKAS. V., Development of the Cone calorimeter - A bench-scale heat release rate apparatus based on oxygen consumption. Fire Mater. 1984, 8 pp. 81-95
MỤC LỤC
MỤC LỤC
1 Phạm vi áp dụng
2 Tài liệu viện dẫn
3 Thuật ngữ và định nghĩa
4 Kí hiệu
5 Nguyên lý
6 Thiết bị, dụng cụ
7 Tính phù hợp của sản phẩm thử nghiệm
8 Chế tạo và chuẩn bị mẫu
9 Môi trường thử nghiệm
10 Hiệu chuẩn
11 Quy trình thử nghiệm
12 Tính toán
13 Báo cáo thử nghiệm
Phụ lục A (tham khảo) Một số lưu ý đối với người thực hiện thử nghiệm
Phụ lục B (tham khảo) Tính toán thông lượng nhiệt tới hạn hiệu quả cho sự bắt cháy
Phụ lục C (tham khảo) Hiệu chuẩn đầu đo thông lượng nhiệt làm việc
Thư mục tài liệu tham khảo
Bạn chưa Đăng nhập thành viên.
Đây là tiện ích dành cho tài khoản thành viên. Vui lòng Đăng nhập để xem chi tiết. Nếu chưa có tài khoản, vui lòng Đăng ký tại đây!