- Tổng quan
- Nội dung
- Tiêu chuẩn liên quan
- Lược đồ
- Tải về
Tiêu chuẩn Quốc gia TCVN 12286:2018 Công trình cấp nước sinh hoạt nông thôn đập ngầm
| Số hiệu: | TCVN 12286:2018 | Loại văn bản: | Tiêu chuẩn Việt Nam |
| Cơ quan ban hành: | Bộ Khoa học và Công nghệ | Lĩnh vực: | Xây dựng |
|
Ngày ban hành:
Ngày ban hành là ngày, tháng, năm văn bản được thông qua hoặc ký ban hành.
|
2018 |
Hiệu lực:
|
Đã biết
|
| Người ký: | Đang cập nhật |
Tình trạng hiệu lực:
Cho biết trạng thái hiệu lực của văn bản đang tra cứu: Chưa áp dụng, Còn hiệu lực, Hết hiệu lực, Hết hiệu lực 1 phần; Đã sửa đổi, Đính chính hay Không còn phù hợp,...
|
Đã biết
|
TÓM TẮT TIÊU CHUẨN VIỆT NAM TCVN 12286:2018
Nội dung tóm tắt đang được cập nhật, Quý khách vui lòng quay lại sau!
Tải tiêu chuẩn Việt Nam TCVN 12286:2018
TIÊU CHUẨN QUỐC GIA
TCVN 12286:2018
CÔNG TRÌNH CẤP NƯỚC SINH HOẠT NÔNG THÔN ĐẬP NGẦM - YÊU CẦU THIẾT KẾ, THI CÔNG VÀ NGHIỆM THU
Fresh water supply works in rural area - Subsurface dam - Requirements design, construction and acceptance
Mục lục
Lời nói đầu
1 Phạm vi áp dụng
2 Tài liệu viện dẫn
3 Thuật ngữ và định nghĩa
4 Thiết kế
4.1 Yêu cầu tài liệu phục vụ thiết kế
4.1.1 Mức dùng nước
4.1.2 Điều tra khảo sát hiện trạng
4.1.3 Khảo sát địa hình
4.1.4 Khảo sát địa chất và địa chất thủy văn
4.2 Thiết kế đập ngầm
4.2.1 Yêu cầu chung
4.2.2 Chọn vị trí đập ngầm
4.2.3 Bố trí tổng thể đập ngầm
4.2.4 Tấm chắn giữ nước hoặc làm chậm dòng chảy
4.2.5 Kết cấu thu lọc nước
4.2.5.1 Ống gắn băng thu nước
4 2.5.2 Cát lọc
47276 Kết cấu bảo vệ tầng lọc
4.3 Tính toán chiều dài băng thu nước
4.3.1 Khả năng thu nước của một mét băng hoặc một mô đun ống 4 m
4.3.2 Tính toán chiều dài băng thu nước
5 Thi công
5.1 Yêu cầu chung
5.1.1 Yêu cầu về băng thu nước
5.1.2 Yêu cầu về cát lọc
5.1.3 Yêu cầu về các lớp vật liệu bảo vệ tầng lọc
5.2 Trình tự và biện pháp thi công
5.2.1 Thi công hố móng
5.2.2 Thi công tấm chắn giữ nước bằng màng chống thấm HDPE
5.2.3 Thi công kết cấu thu lọc nước
5.2.3.1 Thi công lắp ráp ống gắn băng thu nước
5.2.3.2 Thi công lớp cát lọc cùng với ống gắn băng thu nước
5.2.4 Thi công kết cấu bảo vệ tầng lọc
6 Nghiệm thu
Phụ lục A (Tham khảo): Tính toán lưu lượng nước cần cấp
Phụ lục B (Quy định): Thông số kỹ thuật của băng thu nước
Phụ lục C (Tham khảo): Thiết kế các hạng mục khác trong phạm vi đập ngầm
Phụ lục D (Tham khảo): Xử lý một số trường hợp phát sinh trong quá trình thi công
Phụ lục E (Tham khảo): Quản lý, bảo dưỡng công trình
Thư mục tài liệu tham khảo 27
Lời nói đầu
TCVN 12286 : 2018 do Viện Thủy công - Viện Khoa học Thủy lợi Việt Nam biên soạn, Bộ Nông nghiệp và phát triển nông thôn đề nghị, Tổng cục Tiêu chuẩn đo lường chất lượng thẩm định, Bộ khoa học và công nghệ công bố.
CÔNG TRÌNH CẤP NƯỚC SINH HOẠT NÔNG THÔN ĐẬP NGẦM - YÊU CẦU THIẾT KẾ, THI CÔNG VÀ NGHIỆM THU
Fresh water supply works in rural area - Subsurface dam - Requirements design, construction and acceptance
1 Phạm vi áp dụng
Tiêu chuẩn này áp dụng trong thiết kế, thi công, nghiệm thu đập ngầm phục vụ cấp nước sinh hoạt nông thôn, miền núi với lưu lượng không lớn hơn 1,5 l/s;
Tiêu chuẩn này có thể tham khảo để áp dụng đối với các công trình có lưu lượng lớn hơn 1,5 l/s nhưng phải có luận chứng phù hợp.
2 Tài liệu viện dẫn
Các tài liệu viện dẫn sau rất cần thiết cho việc áp dụng tiêu chuẩn này. Đối với các tài liệu viện dẫn ghi năm công bố thì áp dụng phiên bản được nêu. Đối với các tài liệu viện dẫn không ghi năm công bố thì áp dụng phiên bản mới nhất, bao gồm cả các sửa đổi, bổ sung (nếu có).
TCVN 8478, Công trình thủy lợi - Thành phần, khối lượng-khảo sát địa hình trong các giai đoạn lập dự án và thiết kế.
TCVN 11322, Công trình thủy lợi - Màng chống thấm HDPE - Thiết kế, thi công, nghiệm thu.
3 Thuật ngữ và định nghĩa
Trong tiêu chuẩn này sử dụng các thuật ngữ và định nghĩa sau:
3.1
Băng thu nước (water belt)
Dải mỏng chất liệu nhựa PVC gồm nhiều khía rãnh hình Ω được gắn trên ống nhựa PVC. Nước trong đất đi vào các rãnh Ω rồi đổ vào ống nhựa PVC để chảy ra ngoài.
3.2
Kết cấu thu lọc nước (water collection system)
Băng thu có dạng khía rãnh gắn trên ống nhựa PVC đặt trong lớp cát hạt thô với các yêu cầu, hướng dẫn như trong tiêu chuẩn.
3.3
Đập ngầm (subsurface dam)
Một dạng công trình thu nước tập trung, đặt chắn ngang dòng chảy nước dưới đất để nước tập trung đi vào kết cấu thu lọc nước.
3.4
Màng chống thấm HDPE (HDPE geomembrane)
Màng polymer tổng hợp ở dạng cuộn hoặc tấm, mỏng, dễ uốn, có hệ số thấm thấp (K = 10-12 ÷ 10-16 cm/s), được sử dụng để chống thấm cho công trình đất, đá, bê tông.
4 Thiết kế
4.1 Yêu cầu tài liệu phục vụ thiết kế
4.1.1 Mức dùng nước
Mức dùng nước cho ăn uống, sinh hoạt và các nhu cầu khác (tính theo đầu người) đối với các điểm dân cư khu vực nông thôn của từng vùng do cấp có thẩm quyền quy định.
4.1.2 Điều tra khảo sát hiện trạng
4.1.2.1 Thu thập ảnh vệ tinh, bản đồ tỷ lệ lớn hoặc tốt nhất là bình đồ đo vẽ đã có để xác định sơ bộ vị trí đập ngầm.
4.1.2.2 Trước khi tiến hành đo địa hình cần đi thực địa so sánh và lựa chọn vị trí xây dựng đập ngầm. Tối thiểu phải có 2 vị trí tuyến để so sánh và lựa chọn. Nên kết hợp điều tra lấy ý kiến, kinh nghiệm của người dân sở tại về khả năng tồn tại nước trong tầng trầm tích lòng suối, các vị trí xuất lộ nước dưới đất vào mùa khô kiệt nhất.
4.1.2.3 Khảo sát sơ bộ tình trạng đường vận chuyển vật liệu: loại đường, độ dốc, các chướng ngại địa hình, dự kiến cách thức vận chuyển vật liệu.
4.1.2.4 Điều tra, lập báo cáo đánh giá hiện trạng cấp nước và xác định nhu cầu cấp nước. Tối thiểu phải làm rõ các vấn đề sau:
- Hiện trạng loại hình cấp nước hiện có. Đánh giá kỹ thuật, công tác quản lý vận hành;
- Các nguồn cấp nước tự nhiên, tập quán lấy nước của nhân dân địa phương đang sử dụng;
- Số người/hộ dân sử dụng nước;
- Số lượng cơ quan công sở trong vùng hưởng lợi cần cấp;
- Nhu cầu sử dụng nước sạch cho mục đích khác (phục vụ chăn nuôi, trồng trọt, làng nghề).
4.1.2.5 Điều tra xã hội học, ký cam kết sử dụng nước.
4.1.2.6 Định hướng phương án cấp nước, lưu ý cần làm rõ:
Khi xét thấy tồn tại dòng nước vận động trong tầng trầm tích lỏng suối ngay trong mùa kiệt, cần xem xét có thể tận dụng được công trình đập dâng hiện có (nếu có) hay không;
Trong những trường hợp sau đây nên xem xét dịch chuyển vị trí xây dựng đập ngầm mới về phía hạ lưu đập cũ: (i) Đập cũ đã hư hỏng hoàn toàn, quá xa nơi sử dụng và đường ống dẫn nước quá dài; (ii) Lượng nước đến trong mùa khô tại vị trí đập cũ không đủ cấp theo yêu cầu; (iii) Vị trí công trình cũ xét thấy không có lợi cho việc bố trí kết cấu thu lọc nước (tầng phủ lòng suối không đủ bề dày tối thiểu để bố trí hệ thống lọc, bờ dễ bị sạt lở, lòng suối không ổn định).
CHÚ THÍCH: Các cụm dân cư nằm cao hơn khả năng tự chảy của công trình phải có giải pháp riêng cho vùng đó.
4.1.3 Khảo sát địa hình
4.1.3.1 Sơ họa vị trí và kích thước đập ngầm lên bản đồ tỷ lệ lớn.
4.1.3.2 Đo bình đồ địa hình khu vực đập ngầm tỉ lệ 1 : 200, đường đồng mức 1 m. Diện tích đo vẽ tối thiểu bằng 3 lần diện tích dự kiến đặt thảm lọc (3 x A x B), lấn lên bờ suối mỗi bên tối thiểu 10 m.
CHÚ THÍCH:
A chiều ngang (theo hướng vuông góc dòng chảy) của diện tích dự kiến đặt băng thu nước, tính bằng m;
B chiều dọc (theo dòng suối) của diện tích dự kiến đặt băng thu nước, tính bằng m.
4.1.3.3 Đo 3 mặt cắt dọc tỉ lệ 1 : 100; một mặt cắt giữa suối, hai mặt cắt hai bên bờ tại vị trí dự kiến đặt băng thu nước. Chiều dài tối thiểu gấp 5 lần chiều dài tuyến băng thu nước dự kiến (5 x B), quá lên thượng lưu và sau về hạ lưu mỗi phía 2 x B.
4.1.3.4 Trong phạm vi đập ngầm, cứ 20 m đo 1 mặt cắt ngang tỷ lệ 1 : 100.
4.1.3.5 Tính toán diện tích chiếm đất vĩnh viễn, diện tích chiếm đất tạm thời.
4.1.3.6 Nếu địa hình khó khăn phức tạp, khối lượng vật liệu lớn và được Chủ đầu tư cho phép thì đo cắt ngang tuyến đường thi công, vận chuyển vật liệu theo quy định tại TCVN 8478.
4.1.3.7 Việc đo vẽ tuyến đường ống dẫn và phân phối nước thực hiện theo quy định tại TCVN 8478.
4.1.4 Khảo sát địa chất và địa chất thủy văn
4.1.4.1 Khảo sát địa chất - địa chất thủy văn phải tiến hành trong mùa kiệt để xác định khả năng tồn tại và vận động của nước dưới đất, làm rõ cấu trúc địa chất phục vụ thiết kế đập ngầm. Lưu ý khả năng thấm mất nước và xói ngầm để bảo đảm an toàn cho công trình khi đưa vào sử dụng, khai thác.
4.1.4.2 Đào 2 hố đến tầng đá gốc hoặc tầng thấm nước yếu để xác định chiều dày tầng trầm tích lòng suối kết hợp đo lượng thấm nước trong tầng chứa. Một hố tại vị trí đập chắn, một hố ở thượng lưu, phía trên đập chắn.
4.1.4.3 Hình dạng và kích thước hố không quy định, nhưng phải bảo đảm xác định được chiều dày tầng trầm tích lòng suối và tính được thể tích nước chảy vào hố trong một đơn vị thời gian.
4.1.4.4 Trường hợp đào quá 3 m mà chưa đến tầng thấm nước yếu thì cho phép dừng lại. Ghi chú rõ để thiết kế tính, kiểm tra khả năng mất nước và xói ngầm.
4.1.4.5 Lấy mẫu thí nghiệm các chỉ tiêu cơ lý, thủy lực của tầng trầm tích lòng suối.
4.1.4.6 Mô tả tầng trầm tích lòng suối, phân cấp đất đá để phục vụ thiết kế, thi công.
4.1.4.7 Lấy mẫu nước để xét nghiệm trước và sau khi xây dựng công trình.
4.1.4.8 Kết quả khảo sát địa chất thủy văn phải kết luận được môi trường lắp đặt băng thuộc loại nước ít, nước trung bình hay nước nhiều để thiết kế bố trí băng thu nước hợp lý:
a) Nếu Vt ≤ 0,2 L/min thì kết luận không có đủ nước để lắp đặt băng;
b) Nếu 0,2 < Vt < 0,5 L/min thì kết luận môi trường nước ít;
c) Nếu 0,5 ≤ Vt ≤ 1,5 L/min thì kết luận môi trường nước trung bình. Điều kiện này có được khi lòng suối xuất hiện vũng nước đọng ngay cả trong mùa khô;
d) Nếu Vt > 1,5 L/min thì kết luận môi trường nước nhiều. Điều kiện này có được khi dòng suối luôn có dòng chảy mặt quanh năm.
4.2 Thiết kế đập ngầm
4.2.1 Yêu cầu chung
4.2.1.1 Đập ngầm phải làm được chức năng chắn giữ hoặc làm chậm dòng chảy dưới đất trong tầng nông để nước đi vào kết cấu thu lọc bố trí phía trước đập, từ đó dẫn về nơi sử dụng.
4.2:1.2 Đập ngầm phải được thiết kế bảo đảm an toàn không bị hư hỏng do tác động của dòng chảy trên mặt, hạn chế lấp tắc, giảm thiểu, công tác duy tu và bảo dưỡng.
4.2.1.3 Lượng nước đi vào kết cấu thu lọc nước phải đủ cho nhu cầu sử dụng trong những tháng mùa khô. Chất lượng nước đáp ứng cho mục đích sinh hoạt.
4.2.2 Chọn vị trí đập ngầm
Khi sơ bộ chọn vị trí xây dựng đập ngầm cần phân tích, lựa chọn các yếu tố sau:
a) Lòng, suối đủ rộng, tầng trầm tích lòng suối đủ dày để bố trí tầng lọc không cao hơn lòng suối cũ. Không nên bố trí tại đoạn suối cong;
b) Đảm bảo hài hòa giữa các yếu tố: chiều dài đường ống; chất lượng nước và đủ độ chênh cao để dẫn nước tự chảy (độ dư cột nước về đến bề chứa tổng không nhỏ hơn 5 m);
c) Thuận tiện cho việc vận chuyển vật tư, vật liệu trong quá trình thi công; thuận tiện cho việc bảo vệ và quản lý;
d) Hạn chế bố trí dưới tán cây, hai bờ dễ bị sạt lở và các nguy cơ khác có thể làm hư hỏng công trình.
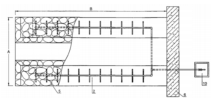
4.2.3 Bố trí tổng thể đập ngầm

a) Cắt dọc theo B - B

b) Mặt bằng

c) Cắt ngang theo A-A
CHÚ DẪN:
| 1- Đập/Tấm chắn giữ nước hoặc làm chậm dòng chảy 2- Ống nhựa PVC gắn băng thu nước 3- Lớp cát lọc 4- Lớp cuội sỏi 5- Lớp vật liệu bảo vệ tầng lọc (đá hoặc khối bê tông xốp) | 6- Phần gia cố đỉnh Đập/Tấm chắn giữ nước 7- Ống dẫn về nơi sử dụng 8- Lòng suối 9- Đá gốc hoặc mặt thấm nước yếu 10- Hố van tổng đầu nguồn |
Hình 1 - Sơ đồ minh họa kết cấu đập ngầm
Các hạng mục công trình chính trong tổng thể đập ngầm gồm:
- Kết cấu chắn (hoặc làm chậm) dòng chảy trong tầng trầm tích lòng suối;
- Kết cấu thu lọc nước;
- Các kết cấu bảo vệ tầng lọc.
Chi tiết các kết cấu xem Hình 1.
Các hạng mục khác trong phạm vi đập ngầm tham khảo Phụ lục C.
4.2.4 Tấm chắn giữ nước hoặc làm chậm dòng chảy
4.2.4.1 Tấm chắn giữ nước làm nhiệm vụ chắn ngang hoặc cắt qua tầng trầm tích lòng suối để giữ nước lại ở phía thượng lưu (hoặc làm chậm dòng chảy trong tầng trầm tích);
4.2.4.2. Tấm chắn giữ nước làm bằng vật liệu khống thấm nước. Có thể sử dụng màng chống thấm HDPE có chiều dày từ 0,5 mm đến 1 mm;
4.2.4.3 Tùy thuộc chiều dày tầng trầm tích lòng suối để bố trí tấm chắn giữ nước. Theo chiều sâu, phạm vi bố trí tấm chắn giữ nước không nên vượt quá 3 m;
4.2.4.4 Hai vai tấm chắn giữ nước phải cắm vào hai bờ để hạn chế thấm vòng. Nếu hai bờ là đất có tính thấm nước mạnh thì phải cắm sâu vào hai bờ tối thiểu mỗi bên ra 0,5 x H;
4.2.4.5 Trên đỉnh tấm chắn giữ nước phải có một dầm mũ bằng bê tông cốt thép (BTCT) để bảo vệ, ngăn chặn dòng chảy mặt làm hư hại tấm chắn giữ nước.
Cao trình đỉnh dầm mũ BTCT không nên vượt cao hơn đáy suối cũ để không làm thay đổi trạng thái tự nhiên của dòng chảy; Trường hợp vượt cao hơn đáy suối cũ, để tăng thêm dung tích trữ nước cần thiết kế thành nhiều bậc, chiều cao không quá 50 cm (xem Hình 2) để hạn chế việc tiêu năng sau bậc và không gây tích tụ các vật trôi nổi. Yêu cầu độ dốc trung bình bề mặt (từ C đến D) không lớn hơn độ dốc trung bình của đoạn lòng suối tự nhiên (từ A đến B);
Chi tiết bố trí tấm chắn giữ nước xem Hình 1a;

Hình 2 - Sơ đồ minh họa bố trí đập ngầm thành nhiều bậc
4.2.4.6 Trường hợp sử dụng đập dâng cũ để chắn thì phải kiểm tra, ngăn chặn rò rỉ dưới đáy và hai bên vai đập, có biện pháp hạn chế xói hạ lưu đập;
4.2.4.7 Kết cấu thu lọc nước được đặt phía trước (thượng lưu) tấm chắn giữ nước, trong tầng trầm tích lòng suối, làm nhiệm vụ thu lọc nước để từ đó đấu nối với ống dẫn về nơi sử dụng.
4.2.5 Kết cấu thu lọc nước
4.2.5.1 Ống gắn băng thu nước
a) Kết cấu thu lọc nước nên bố trí thành các lăng thể dọc hai bên bờ suối để lấy nước thấm vào lõi lọc theo mặt bên và từ dưới đáy (xem Hình 1). Hạn chế lấy nước thấm theo bề mặt ngang từ trên xuống để hạn chế phù sa, có rác tụ lại trên bề mặt làm giảm lưu lượng lấy nước;
b) Bộ phận chính của kết cấu thu lọc nước là băng thu nước gắn trên ống nhựa PVC;
c) Băng thu nước dạng bản, bằng nhựa PVC có khía rãnh hình Ω. Băng thu nước phải đảm bảo các thông số quy định, bề mặt bằng phẳng nhẵn, không có khuyết tật;
d) Băng thu nước được cắt thành các đoạn 50 cm, một đầu hàn nhiệt để bịt các rãnh Ω, một đầu cắm vào ống nhựa PVC. Khe hở giữa băng và rãnh đút băng trên ống nhựa PVC được dán kín bằng gioăng hoặc băng dính chịu được nước (xem Hình 8);
e) Số lượng băng gắn trên ống nhựa PVC dài 4 m có ba loại: loại 16 băng đối xứng dùng khi môi trường nước ít, loại 20 băng đối xứng dùng khi môi trường nước trung bình và loại 26 băng đối xứng dùng khi môi trường nước nhiều (xem Hình 3);

CHÚ DẪN:
| Lb = 50 cm: Chiều dài băng thu nước Bb = 20 cm: Chiều rộng băng thu nước L= 4 m: Chiều dài ống nhựa PVC a1: Khoảng cách giữa các tấm băng | Loại ống gắn 16 băng: a1 = 30 cm; a2 = 15 cm; a3 = 15 cm Loại ống gắn 20 băng: a1 = 20 cm; a2 = 5 cm; a3 = 15 cm Loại ống gắn 26 băng: a1 = 10 cm; a2 = 5 cm; a3 = 15 cm D90: Đường kính 90 mm |
Hình 3 - Băng thu nước gắn đối xứng trên ống nhựa PVC
f) Băng gắn đối xứng trên ống nhựa PVC theo góc 135° (xem Hình 4);
g) Ống nhựa PVC đường kính 90 mm có chiều dày tối thiểu 2 mm;
h) Ống nhựa PVC gắn băng thu nước được đặt vào rãnh cát (lớp dưới) tạo sẵn hình chữ V (xem Hình 4). Trục ống dốc theo chiều dòng chảy với độ dốc từ 1 % đến 2 % (xem Hình 1). Mặt khía rãnh úp xuống dưới;
|
| CHÚ DẪN: 1- Lớp cát lọc (lớp dưới) 2- Ống nhựa PVC gắn băng thu nước Lb: Chiều dài băng thu nước |
Hình 4 - Sơ đồ minh họa cách đặt ống nhựa PVC gắn băng thu nước vào rãnh cát
i) Với môi trường nước nhiều, điều kiện mặt bằng lắp đặt hẹp có thể đặt 2 đến 3 lớp băng. Mỗi lớp băng cách nhau tối thiểu 30 cm (xem Hình 5).

CHÚ DẪN:
| 1- Lớp cơ cấu thu nước trên 2- Lớp cơ cấu thu nước dưới 3- Lớp đá xếp trên mặt | 4- Lớp cuội sỏi 5- Lớp cát lọc | d1 và d2 không nhỏ hơn 300 mm d3 = 1 200 mm |
Hình 5 - Sơ đồ minh họa kết cấu thu lọc nước nhiều lớp
4.2.5.2 Cát lọc
a) Trên và dưới mặt băng là lớp cát sàng tuyển dày tối thiểu 30 cm. Loại bỏ cát hạt mịn có đường kính nhỏ hơn 0,2 mm (lượng lọt sàng 0,2 mm nhỏ hơn 5 %);
b) Trường hợp lấy nước từ trên mặt xuống, trong nước suối có hàm lượng Coliform tổng số lớn (trên 150 vi khuẩn/ 100 ml) thì có thể tăng chiều dày lớp cát;
c) Trường hợp lấy nước từ dưới đất đùn lên (thường gặp ở vùng castơ) thì trước khi rải cát lớp dưới phải rải 2 lớp lưới polymer (loại lưới chống muỗi), bên dưới có một lớp dăm sỏi 15 cm (lót) để phòng dòng nước phun lên làm phá vỡ kết cấu tầng cát (xem Hình 6).
|
| CHÚ DẪN: 1- Tấm chắn HDPE 2- Lớp đất có tính thấm nhỏ 3- Lớp cát lọc 4- Ống nhựa PVC gắn băng thu nước 5- Lớp lưới polymer 6- Lớp dăm sỏi lót dưới đáy |
Hình 6 - Kết cấu thu lọc nước lấy nước từ dưới đất đùn lên
4.2.6 Kết cấu bảo vệ tầng lọc
4.2.6.1 Trường hợp lấy nước từ trên mặt xuống:
a) Tiếp xúc với lớp cát lọc là lớp dăm sỏi nhỏ (hoặc đá dăm có cỡ hạt từ 10 đến 20 mm) dày 15 cm;
b) Phía ngoài/trên lớp dăm sỏi là lớp đá hộc xếp khan, chèn kỹ các khe hở bằng dăm sỏi. Chiều dày của lớp đá hộc tối thiểu 30 cm, kích thước viên đá tối thiểu 20 cm;
c) Mặt đá xếp khan phải phải tạo dốc 5 % về hạ lưu để lá cây, cỏ rác dễ bị dòng chảy cuốn trôi
4.2.6.2 Trường hợp lấy nước đùn từ dưới lên:
a) Mặt đáy hố đào phải làm phẳng, tháo khô nước;
b) Rải lên đáy một lớp dăm sỏi dày 15 cm, sau đó rải 2 lớp lưới polymer, tiếp theo mới đến lớp cát thô 30 cm để lắp đặt các ống băng thu nước rồi đến 30 cm cát thô phủ phía trên;
c) Để ngăn không cho nước mưa chảy trên mặt ngấm xuống đi vào băng thu thì sử dụng đất có tính thấm nhỏ (đất đắp đồng nhất) đắp phía trên.
4.3 Tính toán chiều dài băng thu nước
4.3.1 Khả năng thu nước của một mét băng hoặc một mô đun ống 4 m
4.3.1.1 Khả năng thu nước đơn vị của băng tính theo điều kiện sinh thủy trong môi trường đất, từ kết quả khảo sát theo quy định tại 4.1.4.8.
4.3.1.2 Môi trường nước ít (lấy nước rịn trong đất), sử dụng loại ống gắn 16 băng thu nước (mỗi băng thu nước dài 0,5 m) trên ống dài 4 m. Lưu lượng đơn vị: Wb = 0,5 L/min/m. Tính cho một mô đun dài 4 m là 4 L/min (240 L/h) hay Wống-4m= 5,76 m3/ngày-đêm.
4.3.1.3 Môi trường nước trung bình (mặt nước luôn nằm trên mặt băng thu nước khoảng 20 cm), sử dụng loại ống gắn 20 băng thu nước (mỗi băng thu nước dài 0,5 m) trên ống dài 4 m. Lưu lượng đơn vị: Wb = 1 L/min/m. Tính cho một mô đun dài 4 m là 10 L/min (600 L/h) hay Wống-4m = 14,4 m3/ngày- đêm.
4.3.1.4 Môi trường nước nhiều (mặt nước luôn nằm trên mặt băng thu nước khoảng 50 cm), sử dụng loại ống gắn 26 băng thu nước (mỗi băng thu nước dài 0,5 m) trên ống dài 4 m. Lưu lượng đơn vị: Wb = 2 L/min/m. Tính cho một mô đun dài 4 m là 26 L/min (1.560 L/h) hay Wống-4m = 37,4 m3/ngày-đêm.
4.3.2 Tính toán chiều dài băng thu nước
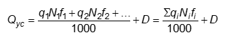
Chiều dài băng thu nước cần lắp đặt:
|
| (1) |
trong đó:
Lb là chiều dài băng thu nước cần lắp đặt (m);
Qyc là lưu lượng nước cần cấp, tham khảo Phụ lục A (m3/ngày);
Wb là khả năng thu nước đơn vị của băng, theo quy định tại 4.3.1 (L/min/m);
1,5 là hệ số dự trữ an toàn, có tính đến năm hạn cực đoan;
CHÚ THÍCH: Khi đặt hàng mua ống gắn băng theo mô đun ống dài 4m gắn 16 hoặc 20 hoặc 26 băng thu nước, thì số ống thu nước cần lắp đặt tính theo công thức:
|
| (2) |
trong đó:
N là số lượng ống thu nước cần lắp đặt, lấy tròn số nguyên (ống);
Wống-4m lấy theo môi trường sinh thủy, theo quy định tại 4.3.1 (m3/ngày-đêm).
5 Thi công
5.1 Yêu cầu chung
5.1.1 Yêu cầu về băng thu nước
5.1.1.1 Băng thu nước phải đảm bảo đủ kích thước, sai số không vượt quá ± 5 %, chiều dày băng, chiều rộng rãnh khía, đường kính lõi ống Ω, độ bền kéo theo 2 phương theo công bố của nhà sản xuất nhưng chất lượng phải bằng hoặc tốt hơn các chỉ tiêu nêu trong Phụ lục B và phải kiểm tra khả năng thu lọc nước thông qua thí nghiệm.
5.1.1.2 Bề mặt phẳng, trơn nhẵn, không có khuyết tật.
5.1.1.3 Tỉ lệ khe rỗng chiếm tối thiểu 20 % bề mặt băng thu nước.
5.1.1.4 Có thể thí nghiệm để kiểm tra khả năng thu lọc nước của băng thu nước bằng cách đặt băng thu nước giữa lớp cát hạt thô dày 60 cm (hàm lượng hạt bụi nhỏ hơn 5 %). Cột nước trên mặt băng 50 cm giữ nguyên trong suốt quá trình đo. Lưu lượng chảy qua băng không nhỏ hơn 2 L/min/m; Độ đục của nước (NTU) đã lọc sau 12 h không lớn hơn 5 (NTU ≤ 5).
5.1.2 Yêu cầu về cát lọc
5.1.2.1 Cát lọc lót phía dưới và phủ trên băng phải chọn cát hạt thô; Cát hạt mịn có đường kính Ds< 0,2 mm không được vượt quá 5 %; Cát hạt thô có kích thước Ds> 20 mm không được vượt quá 10 %, không có hạt lớn hơn 40 mm.
5.1.2.2 Nếu cát có thành phần hạt mịn cao (cát hạt mịn có đường kính Ds < 0,2 mm vượt quá 5 %), phải tiến hành sàng rửa sạch, loại bỏ hạt mịn như yêu cầu rồi mới được sử dụng.
5.1.2.3 Lớp cát lọc trên và dưới mặt băng có chiều dày tối thiểu 30 cm.
5.1.2.4 Vùng khan hiếm cát có thể dùng đá xay nhưng cũng phải sàng theo yêu cầu.
5.1.3 Yêu cầu về các lớp vật liệu bảo vệ tầng lọc
5.1.3.1 Đá xếp trên bề mặt lớp đá dăm có tác dụng không cho dòng chảy tác động, làm hư hỏng lớp phía dưới. Kích thước viên đá yêu cầu 200 mm < Dr < 300 mm để không bị dòng chảy cuốn trôi.
5.1.3.2 Có thể tận dụng đá lòng suối nhưng phải tuyển chọn theo yêu cầu.
5.1.3.3 Sau khi xếp đá bằng phẳng phải dùng dăm sỏi chèn kín các hang hốc, khe rỗng trên mặt đá (xem Hình 7).
5.1.3.4 Tốt nhất là dùng đá đẽo hoặc khối bê tông xốp để xếp lớp này, chiều dày tối thiểu của một lớp đá 20 cm (xem Hình 7).
|
| CHÚ DẪN: 1- Đá đẽo hoặc khối bê tông xốp 2- Dăm sỏi 3- Cát lọc |
Hình 7 - Yêu cầu về các lớp vật liệu bảo vệ tầng lọc
5.2 Trình tự và biện pháp thi công
5.2.1 Thi công hố móng
5.2.1.1 Phải có biện pháp dẫn dòng để hố móng luôn khô ráo trong quá trình lắp đặt lớp cát lọc. Trường hợp dòng cơ bản nhiều nước thì thi công một bên, dẫn dòng một bên. Với các đập ngầm trên suối lớn có thể ngăn bằng tường đá xây.
5.2.1.2 Hố móng phải được làm phẳng, tạo dốc từ 1 % đến 2 % bằng cuội sỏi chọn lọc. Trường hợp gặp các tảng đá mồ côi lớn nằm trong hố móng thì có thể trừ ra, điều chỉnh ống băng đi vòng qua. Trường hợp có nước từ dưới đất đùn lên thì rải thêm một đến hai lớp lưới polymer để bảo vệ lớp cát không bị xáo trộn.
5.2.1.3 Đắp đê quây chặn dòng.
5.2.1.4 Dẫn dòng bằng kênh hoặc đường ống dẫn dòng.
5.2.1.5 Nếu không dùng đường ống có thể dùng màng chống thấm lót trong lòng kênh để đảm bảo nước trong kênh dẫn dòng không thấm vào hố móng.
5.2.1.6 Đào các rãnh trong hố móng có đáy dốc dọc về một hoặc nhiều hố thu trong phạm vi móng đào để tập trung nước vào hố thu, bơm nước để hố móng luôn khô ráo, bằng phẳng.
5.2.1.7 Việc đào hố móng bằng máy hay thủ công do thiết kế quy định theo tình hình cụ thể.
5.2.1.8 Đất đào được tập kết đúng nơi quy định. Nếu tận dụng làm tầng lọc được, phải tập kết tại vị trí riêng để sàng tuyển.
5.2.2 Thi công tấm chắn giữ nước bằng màng chống thấm HDPE
Thi công tấm chắn giữ nước bằng màng chống thấm HDPE tiến hành theo quy định tại TCVN 11322.
5.2.3 Thi công kết cấu thu lọc nước
5.2.3.1 Thi công lắp ráp ống gắn băng thu nước
a) Băng thu nước đảm bảo theo quy định tại 5.1.1.
b) Băng thu nước được gắn vào rãnh xẻ trên ống nhựa PVC đường kính 90 mm theo góc 135 độ (xem Hình 4).
c) Mỗi băng thu nước dài 50 cm, một đầu được hàn nhiệt để bịt kín các ống Ω, tại chỗ cắm vào rãnh trên ống được dán kín bằng gioăng hoặc băng dính chịu nước để không cho cát lọt vào ống (xem Hình 8). Thông thường, nhà cung cấp sẽ thực hiện việc gắn băng lên ống tại xưởng, sau đó cuộn lại thành từng bỏ ống để cung cấp đến công trường.
|
| CHÚ DẪN: 1- Gioăng hoặc băng dính không thấm nước 2- Băng thu nước 3- Rãnh xẻ trên thân ống nhựa PVC 4- Ống nhựa PVC 5- Hàn nhiệt kín |
Hình 8 - Yêu cầu trong lắp ráp ống nhựa PVC gắn băng thu nước
5.2.3.2 Thi công lớp cát lọc cùng với ống gắn băng thu nước
a) Cát được tuyển chọn theo quy định tại 5.1.2.
b) Đầu tiên, rải lớp cát lọc dày 30 cm, tạo dốc và ngâm nước đầm chặt tự nhiên.
c) Đặt từng ống vào rãnh chữ V tạo sẵn, mặt khía của băng úp xuống. Hai đầu ống phải lắp tạm nút bịt để cát không lọt vào ống.
d) Định vị lần lượt từng băng thu nước vào đúng ví trí (thế nằm của băng) sao cho cuống băng thu nước (đoạn nối vào ống nhựa PVC) không bị bẻ gập ở vị trí 3 (xem Hình 9).
e) Trong quá trình chèn cát định vị băng thu nước phải đầm chặt mặt cát rồi mới úp băng thu nước xuống, sau đó lấp cát cho từng băng thu nước để cố định lại. Lưu ý: quá trình đầm có thể làm ống băng bị nâng lên khỏi vị trí 2 (xem Hình 9). Vì vậy trong quá trình đầm phải định vị để ống băng thẳng đều theo các phương.

CHÚ DẪN:
1- Đầm chặt cát dưới mặt băng thu nước
2- Ống nhựa PVC có thể bị xê dịch khi đầm cát
3- Băng thu nước có thể bị gập nếu cát bên dưới không được đầm nện chặt hoặc chịu tác dụng của lực tập trung
Hình 9 - Thi công lớp cát lọc cùng với ống gắn băng thu nước
f) Thi công lần lượt cho từng đoạn ống theo quy định tại điểm e điều 5.2.3.2, sau đó mới lấp cát đủ theo chiều dày thiết kế.
g) Quá trình thi công các lớp vật liệu phía trên phải hạn chế tải trọng tập trung nhằm tránh gây vỡ ống hoặc biến dạng, xê dịch ống và băng thu nước.
h) Nếu lấy nước đùn từ dưới lên, trình tự thi công theo quy định tại 4.2.6.2.
5.2.4 Thi công kết cấu bảo vệ tầng lọc
5.2.4.1 Đá được tuyển chọn theo quy định tại 5.1.3.
5.2.4.2 Chiều dày tối thiểu của lớp đá xếp hoặc đất đắp đồng nhất không nhỏ hơn 30 cm. Bề mặt đá xếp dốc 5 % về hạ lưu.
5.2.4.3 Đá phải xếp ken khít, cứ xếp xong một lớp phải rải và chèn đá dăm hoặc sỏi lòng suối vào kín các khe rỗng.
CHÚ THÍCH: Xử lý một số trường hợp phát sinh trong quá trình thi công tham khảo Phụ lục D.
6 Nghiệm thu
Nghiệm thu công trình phải tuân thủ theo đúng quy định cho các hạng mục công trình sau
• Nghiệm thu ống nhựa PVC gắn băng thu nước trước khi lắp đặt;
• Hố móng đạt theo quy định tại 5.2.1;
• Kết cấu tấm chắn giữ nước bằng màng chống thấm HDPE đạt theo quy định tại 5.2.2;
• Kết cấu thu lọc nước đạt theo quy định tại 5.2.3;
• Kết cấu bảo vệ tầng lọc đạt theo quy định tại 5.2.4.
CHÚ THÍCH: Một số yêu cầu trong công tác quản lý, bảo dưỡng công trình tham khảo Phụ lục E.
Phụ lục A
(Tham khảo)
Tính toán lưu lượng nước cần cấp
Lưu lượng nước cần cấp được xác định theo công thức sau:
|
| (A.1) |
trong đó:
Qyc là lưu lượng nước cần cấp (m3/ngày);
qi là tiêu chuẩn cấp nước sinh hoạt (L/người.ngày), lấy theo Bảng A.1;
Ni là số dân tính toán ứng với tiêu chuẩn cấp nước qi (người);
fi là tỷ lệ dân được cấp nước (%), lấy theo Bảng A.1;
D là lượng nước tưới cây, rửa đường, thất thoát, nước cho bản thân nhà máy xử lý nước được tính theo Bảng A.1 và lượng nước dự phòng. Lượng nước dự phòng cho phát triển công, nghiệp, dân cư và các lượng nước khác chưa tính được cho phép lấy thêm từ 5 % đến 10 % tổng lưu lượng nước cho ăn uống sinh hoạt của điểm dân cư; Khi có lý do xác đáng được phép lấy thêm nhưng không quá 15 %.
Bảng A.1 - Tiêu chuẩn dùng nước cho ăn uống sinh hoạt và các nhu cầu khác tính theo đầu người đối với điểm dân cư nông thôn
| Đối tượng dùng nước và thành phần cấp nước | Giai đoạn | |
| 2010 | 2020 | |
| a) Nước sinh hoạt: - Tiêu chuẩn cấp nước (L/người.ngày): | 60 | 100 |
| - Tỷ lệ dân số được cấp nước (%): | 75 | 90 |
| b) Nước dịch vụ: Tính theo % của (a) | 10 | 10 |
| c) Nước thất thoát; Tính theo % của (a+b), nhỏ hơn | 20 | 15 |
| d) Nước cho yêu cầu riêng của nhà máy xử lý nước; Tính theo % của (a+b+c) | 10 | 10 |
Phụ lục B
(Quy định)
Thông số kỹ thuật của băng thu nước
| Thông số | Đơn vị | Chỉ tiêu kỹ thuật |
| Vật liệu |
| Nhựa PVC tổng hợp |
| Chiều rộng | cm | 20 ÷ 22 |
| Chiều dài mỗi đoạn | cm | 50 |
| Chiều dày | mm | 2 |
| Khối lượng | g/m | 340 |
| Chiều rộng-rãnh khía | mm | 0,3 |
| Tỉ lệ khe rỗng Ω (diện tích rãnh khía trên toàn bộ diện tích mặt băng) | % | 20 |
| Đường kính lõi Ω | mm | 1,5 |
| Độ bền kéo dọc khổ băng thu nước | MPa | 18,4 |
| Độ bền kéo ngang khổ băng thu nước | MPa | 5,8 |
| Độ dãn dài theo chiều ngang khổ băng thu nước | % | 124,2 |
| Độ bền xé rách dọc khổ băng thu nước | MPa | 62,7 |
| Độ bền xé rách ngang khổ băng thu nước | MPa | 32,0 |
| Lực nén | N/mm2 | 0,44 (nén đến mức 20%) |
|
|
| 1,21 (nén đến mức 40%) |
| Sức chống chịu hóa chất | Axit Sufuaric | Tốt |
| CHÚ THÍCH: Các thông số trên cho phép sai số 5 % | ||
Phụ lục C
(Tham khảo)
Thiết kế các hạng mục khác trong phạm vi đập ngầm
C.1 Van tổng đầu nguồn
C.1.1 Van tổng đầu nguồn có tác dụng hạn chế lưu lượng chảy qua băng thu nước, hạn chế vận tốc thấm qua tầng cát không vượt qua vận tốc khởi động của cát hạt thô (< 1,5 cm/s).
C.1.2 Sau khi lắp đặt xong, tháo nước ngập công trình giống như điều kiện thiết kế, sau đó điều chỉnh van để lưu lượng không vượt quá lưu lượng nước cần cấp (Qyc) rồi chốt lại tại vị trí đó.
C.2 Hố van
C.2.1 Hố van đặt ngay phía sau công trình có kích thước đủ để người xuống kiểm tra, đóng mở van thay thế khi cần.
C.2.2 Hố van có nắp đậy, đủ nặng để trẻ em không tùy tiện nhấc ra.
C.3 Biển công trình và hàng rào bảo vệ công trình
C.3.1 Biển công trình cần có tên và số điện thoại của cơ quan/cá nhân có trách nhiệm để người dân liên hệ khi cần.
C.3.2 Khu vực công trình nên có hàng rào bảo vệ thích hợp, có biển cấm không cho người và gia súc đi qua, tắm rửa, giặt giũ trong phạm vi bảo vệ công trình và phía thượng lưu công trình.
Phụ lục D
(Tham khảo)
Xử lý một số trường hợp phát sinh trong quá trình thi công
D.1 Tình huống đối với nền móng úng nước: Tiêu nước bằng rãnh đào thu gom nước.
D.2 Gặp đá mồ côi khi thi công hố móng, nếu thấy không đào bỏ được thì tìm cách đặt băng vòng qua khối đá.
D.3 Nếu nước dưới hố móng phun lên thì phải rải từ một lớp dăm sỏi 15 cm, đến lớp lưới polymer (xem 4.2.6.2) rồi mới rải cát.
D.4 Tình huống khi gặp nước ngầm có áp: Dẫn nước có áp chảy vào rãnh đào có rải sỏi ra khỏi hố móng.
D.5 Khi gặp các trường hợp đặc biệt, cần tạm dừng thi công và báo ngay cho các bộ phận, cơ quan chức năng để lập biên bản xử lý. Phương án xử lý được các bên đồng ý thống nhất xác định và lập thành văn bản và bản vẽ (nếu có) lưu hồ sơ hoàn công.
Phụ lục E
(Tham khảo)
Quản lý, bảo dưỡng công trình
E.1 Yêu cầu chung
E.1.1 Thiết kế đập ngầm phải tạo điều kiện thuận lợi cho công tác quản lý, duy tu bảo dưỡng sau này; bao gồm:
• Thực hiện đúng các yêu cầu thiết kế theo quy định tại 4.2;
• Có đường quản lý;
• Trước khi bàn giao phải tập huấn cho người quản lý hiểu kết cấu công trình và bản chỉ dẫn xử lý các hư hỏng thường gặp nêu trong Bảng E.1.
E.1.2 Nhiệm vụ của người/nhóm người chịu trách nhiệm quản lý công trình:
Chính quyền sở tại phải có văn bản giao cho một (hoặc nhóm người) quản lý công trình, trong, đó quy định rõ trách nhiệm của người quản lý:
- Trước và sau một trận mưa phải đến công trình quan sát, kiểm tra tình trạng chung của các hạng mục đập/tấm chắn giữ nước; kết cấu thu lọc nước, đường ống, bể chứa nước nhằm phát-hiện kịp thời những hư hỏng để xử lý, sửa chữa;
- Vệ sinh đầu nguồn, dọn sạch bề mặt đá kết cấu thu lọc nước sau lũ, không, để súc vật làm mất vệ sinh khu vực đầu nguồn;
- Bảo vệ khu vực đập ngầm và dọc tuyến đường ống, không cho người hoặc súc vật đào bới làm hư hại công trình;
- Kiểm tra thường xuyên các hạng mục đập ngầm, đường ống, hệ thống van xả khí, xả cặn trên đường ống. Tự xử lý các hư hỏng như hướng dẫn nêu trong Bảng E:1.
E.2 Yêu cầu phạm vi bảo vệ nguồn nước
E.2.1 Khu vực sinh thủy cấp cho đập ngầm, trong phạm vi 1 km phía thượng lưu, cần cấm chăn thả, làm trang trại nuôi gia súc, gia cầm.
E.2.2 Trường hợp phía thượng lưu là nương rẫy, phải cấm sử dụng thuốc bảo vệ thực vật, hóa chất độc hại. Trường hợp bất khả kháng, phải thường xuyên kiểm tra, xét nghiệm nguồn nước và có biện pháp xử lý trước khi dùng cho ăn uống.
E.3 Thông tắc hệ thống lọc nước
E.3.1 Với những đập ngầm không bố trí hệ thống thổi rửa, thông tắc hệ thống lọc, việc hạn chế lấp tắc được chú ý ngay trong khâu chọn địa điểm và bố trí thiết kế các kết cấu (xem 4.1 và 4.2). Trường hợp hệ thống lọc bị tắc, xử lý bằng cách bóc dỡ mặt đá ra xếp lại (xem Bảng E.1).
E.3.2 Với những đập ngầm có bố trí hệ thống thổi rửa, thông tắc hệ thống lọc, việc thổi rửa thông tắc có thể bằng nước hoặc khí, do thiết kế quy định nhưng phải đảm bảo một số yêu cầu sau:
• Hệ thống thổi rửa bố trí tùy thuộc vào nguyên nhân gây lấp tắc, bảo đảm khi hoạt động không làm xáo trộn tầng cát lọc;
• Trường hợp nước thấm từ trên mặt xuống tầng cát thì các ống thổi rửa bố trí nằm trên lớp cát và dưới lớp dăm sỏi. Khi hoạt động, dòng khí (hoặc nước) hướng ngược lên trên;
• Trường hợp nước lấy nước từ dưới nền đùn lên Thì các ống thổi rửa bố trí nằm dưới tấm lưới polymer và trên mặt dăm sỏi đệm. Khi hoạt động, dòng khí (hoặc nước) hướng xuống dưới.
Bảng E.1 - Một số hư hỏng và biện pháp xử lý trong quản lý, bảo dưỡng công trình
| Hiện tượng | Nguyên nhân | Biện pháp xử lý |
| Lưu lượng giảm so với thiết kế | Nước suối quá đục, bùn cát hạt mịn lấp bịt kẽ hở giữa các viên đá lát, nước không xuống được tầng cát lọc. Thường xảy ra vào đầu vụ lũ; Khe hở giữa các viên đá lát quá lớn, không được chèn kỹ bằng đá nhỏ; Do thiết kế không tạo độ dốc mặt đá, hoặc đập chắn cao hơn mặt đá lát. Nước lũ không tự rửa bề mặt được. | Dọn vệ sinh sau mỗi trận lũ, nhặt bỏ rác phủ lấp trên bề mặt; Dùng bơm xịt rửa bề mặt đá; Vận hành hệ thống thông tắc (nếu có); Nếu vẫn tắc phải dỡ đá trên mặt ra để làm vệ sinh rồi xếp lại, chú ý tạo độ dốc trên mặt, không để có gờ, chèn, kỹ các khe rỗng của đá lát bằng dăm sỏi; Gọi điện theo số liên lạc đã quy định để được hướng dẫn. |
| Do van xả khí, xả cặn mất tác dụng. | Vận hành thử các van cho đến khi thông nước. | |
| Do đường ống bị tắc do bùn cát, rác. | Kiểm tra xác định đoạn ống bị tắc; Thông lại ống. Nếu không được thì thay thế đoạn ống bị tắc. | |
| Băng thu nước bị vô hiệu, không lọc được | Do lưu lượng lấy vượt quá thiết kế dẫn đến vận tốc thấm vượt quá giới hạn khởi động, cát chui vào băng, mắc lại và tích lũy dần; Do trong nguồn nước có chất lắng cặn (vôi),… | Điều chỉnh van tổng đầu nguồn về đúng lưu lượng quy định trong thiết kế; Tháo dỡ hoàn toàn hệ thống lọc. Dùng vòi xịt chải rửa băng thu nước; Nếu không được phải thay thế băng thu nước. |
Thư mục tài liệu tham khảo
[1] TCVN 1-2 : 2008, Xây dựng tiêu chuẩn - Phần 2: Quy định về trình bày và thể hiện nội dung tiêu chuẩn quốc gia;
[2] TCVN 4037 : 2012, Cấp nước - Thuật ngữ và định nghĩa;
[3] TCVN 8422 : 2010, Công trình thủy lợi - Thiết kế tầng lọc ngược công trình thủy công;
[4] TCVN 8477 : 2010, Công trình thủy lợi - Yêu cầu về thành phần, khối lượng khảo sát địa chất trong các giai đoạn lập dự án và thiết kế;
[5] TCCS 02 : 2014/VTC, Công trình cấp nước-miền núi dạng đập ngầm và hào thu nước - Hướng dẫn thiết kế, thi công và quản lý vận hành.
[6] Báo cáo kết quả Đề tài cấp Nhà nước “Nghiên cứu ứng dụng giải pháp cấp nước hữu hiệu phục vụ sinh hoạt và sản xuất vùng di dân tái định cư hai huyện Phong Thổ và Sìn Hồ tỉnh Lai Châu”, Viện Thủy công - Viện Khoa học Thủy lợi Việt Nam, 2012;
[7] Báo cáo tổng kết Dự án tiếp nhận viện trợ của AusAid (DFAT): “Thí điểm áp dụng, công nghệ đập ngầm nhằm sửa chữa, nâng cấp một số công trình cấp nước sinh hoạt tại 3 tỉnh-Hòa Bình, Lai Châu và Tuyên Quang” (theo Quyết định số 15/QĐ-BNN-HTQT của Bộ Nông nghiệp và Phát triển Nông thôn; Viện Thủy công- Viện Khoa học Thủy lợi Việt Nam, 2014;
[8] Báo cáo tổng kết Dự án KHCN: “Thử nghiệm ứng dụng băng thu nước ngầm để thu nước vùng đất ẩm ướt, tạo nguồn nước sinh hoạt hợp vệ sinh cho các vùng khan hiếm nước, thuộc các xã đặc biệt khó khăn trên địa bàn tỉnh Sơn La”; Sở Khoa học và Công nghệ Sơn La, 2016.
Bạn chưa Đăng nhập thành viên.
Đây là tiện ích dành cho tài khoản thành viên. Vui lòng Đăng nhập để xem chi tiết. Nếu chưa có tài khoản, vui lòng Đăng ký tại đây!






